CN203094614U - Packing box - Google Patents
Packing box Download PDFInfo
- Publication number
- CN203094614U CN203094614U CN 201320007800 CN201320007800U CN203094614U CN 203094614 U CN203094614 U CN 203094614U CN 201320007800 CN201320007800 CN 201320007800 CN 201320007800 U CN201320007800 U CN 201320007800U CN 203094614 U CN203094614 U CN 203094614U
- Authority
- CN
- China
- Prior art keywords
- side plate
- plate
- packing box
- buckle structure
- cover
- Prior art date
- Legal status (The legal status is an assumption and is not a legal conclusion. Google has not performed a legal analysis and makes no representation as to the accuracy of the status listed.)
- Expired - Fee Related
Links
- 238000012856 packing Methods 0.000 title claims abstract description 14
- 239000004698 Polyethylene Substances 0.000 claims abstract description 10
- -1 polyethylene Polymers 0.000 claims abstract description 10
- 229920000573 polyethylene Polymers 0.000 claims abstract description 10
- 239000000463 material Substances 0.000 claims description 8
- 238000004806 packaging method and process Methods 0.000 abstract description 19
- 230000007613 environmental effect Effects 0.000 abstract description 2
- 235000013399 edible fruits Nutrition 0.000 description 5
- 230000035939 shock Effects 0.000 description 5
- 238000010586 diagram Methods 0.000 description 3
- 238000004064 recycling Methods 0.000 description 3
- 239000002699 waste material Substances 0.000 description 3
- 238000005336 cracking Methods 0.000 description 2
- 239000004794 expanded polystyrene Substances 0.000 description 2
- 238000012986 modification Methods 0.000 description 2
- 230000004048 modification Effects 0.000 description 2
- 238000012545 processing Methods 0.000 description 2
- 238000010521 absorption reaction Methods 0.000 description 1
- 238000004026 adhesive bonding Methods 0.000 description 1
- 238000013461 design Methods 0.000 description 1
- 238000005516 engineering process Methods 0.000 description 1
- 239000006260 foam Substances 0.000 description 1
- 235000013305 food Nutrition 0.000 description 1
- 238000004643 material aging Methods 0.000 description 1
- 238000000034 method Methods 0.000 description 1
- 238000000465 moulding Methods 0.000 description 1
- 239000010816 packaging waste Substances 0.000 description 1
Images
Landscapes
- Buffer Packaging (AREA)
- Packages (AREA)
Abstract
本实用新型涉及一种包装盒,其由连为一体的发泡聚乙烯片材构成,且包括第一侧板、第二侧板、第三侧板、第四侧板、底板及盖板;该第一侧板与该第三侧板相对设置,该第二侧板与该第四侧板相对设置,该第一侧板、第二侧板、第三侧板与盖板分别具有一个内端与多个外端,该第四侧板具有两个相对的内端与两个相对的外端,该第一侧板、第二侧板与第三侧板的内端及第四侧板的其中一个内端分别连接于该底板的四周,该第四侧板的另一个内端还与该盖板的内端连接,该第一侧板、第二侧板、第三侧板、第四侧板与盖板的外端上设置有相互配合的锁扣结构。上述包装盒具有既环保又方便的优点。
The utility model relates to a packaging box, which is composed of foamed polyethylene sheets connected together, and includes a first side plate, a second side plate, a third side plate, a fourth side plate, a bottom plate and a cover plate; The first side plate is set opposite to the third side plate, the second side plate is set opposite to the fourth side plate, and the first side plate, the second side plate, the third side plate and the cover plate respectively have an inner end and a plurality of outer ends, the fourth side plate has two opposite inner ends and two opposite outer ends, the inner ends of the first side plate, the second side plate and the third side plate and the fourth side plate One of the inner ends of the fourth side plate is respectively connected to the periphery of the bottom plate, the other inner end of the fourth side plate is also connected to the inner end of the cover plate, the first side plate, the second side plate, the third side plate, the fourth side plate The outer ends of the four side plates and the cover plate are provided with locking structures that cooperate with each other. The above packing box has the advantages of environmental protection and convenience.
Description
技术领域 technical field
本实用新型涉及一种包装盒。 The utility model relates to a packing box. the
背景技术 Background technique
目前大量使用的发泡聚苯乙烯(EPS)泡沫箱是完全固定结构的立式包装箱,不可折叠,重量虽轻,但空箱运输占用空间大,运输成本高;而且EPS泡沫箱虽然能够缓冲减震,但箱体受到足够大的冲击震动后,极有可能破损、开裂,影响其原有的结构和强度;还有EPS材料再次使用、降解都非常困难,不利于环境保护。 The expanded polystyrene (EPS) foam box currently used in large quantities is a vertical packaging box with a completely fixed structure. Shock absorption, but after the box is subjected to a large enough shock and vibration, it is very likely to be damaged and cracked, affecting its original structure and strength; and EPS material is very difficult to reuse and degrade, which is not conducive to environmental protection. the
实用新型内容 Utility model content
鉴于上述状况,有必要提供一种既环保又方便拆装的包装盒。 In view of the above situation, it is necessary to provide a packaging box that is both environmentally friendly and convenient to disassemble. the
一种包装盒,该包装盒由连为一体的发泡聚乙烯(EPE)片材构成,且包括第一侧板、第二侧板、第三侧板、第四侧板、底板及盖板;该第一侧板与该第三侧板相对设置,该第二侧板与该第四侧板相对设置,该第一侧板、第二侧板、第三侧板与盖板分别具有一个内端与多个外端,该第四侧板具有两个相对的内端与两个相对的外端,该第一侧板、第二侧板与第三侧板的内端及第四侧板的其中一个内端分别连接于该底板的四周,该第四侧板的另一个内端还与该盖板的内端连接,该第一侧板、第二侧板、第三侧板、第四侧板与盖板的外端上设置有相互配合的锁扣结构。 A packaging box, the packaging box is composed of continuous expanded polyethylene (EPE) sheets, and includes a first side panel, a second side panel, a third side panel, a fourth side panel, a bottom panel and a cover panel The first side plate is set opposite to the third side plate, the second side plate is set opposite to the fourth side plate, and the first side plate, the second side plate, the third side plate and the cover plate respectively have a The inner end and a plurality of outer ends, the fourth side plate has two opposite inner ends and two opposite outer ends, the inner ends of the first side plate, the second side plate and the third side plate and the fourth side One of the inner ends of the plates is respectively connected to the periphery of the bottom plate, the other inner end of the fourth side plate is also connected to the inner end of the cover plate, the first side plate, the second side plate, the third side plate, The outer ends of the fourth side plate and the cover plate are provided with locking structures that cooperate with each other. the
该第一侧板、第二侧板与第三侧板的内端及第四侧板的其中一个内端与该底板的四周之间以及该第四侧板的另一个内端与该盖板的内端之间是分别通过半切板连接。 Between the inner ends of the first side plate, the second side plate and the third side plate, one of the inner ends of the fourth side plate and the periphery of the bottom plate, and the other inner end of the fourth side plate and the cover plate The inner ends are respectively connected by half-cut boards. the
该半切板的厚度小于该第一侧板、第二侧板、第三侧板、第四侧板、底板或盖板厚度的一半。 The thickness of the half-cut board is less than half of the thickness of the first side board, the second side board, the third side board, the fourth side board, the bottom board or the cover board. the
该锁扣结构包括凸扣结构及与该凸扣结构相对应的凹扣结构。 The locking structure includes a convex buckle structure and a concave buckle structure corresponding to the convex buckle structure. the
每个凸扣结构具有两个相对的倾斜侧面以及连接该两个倾斜侧面的顶面。 Each convex buckle structure has two opposite inclined sides and a top surface connecting the two inclined sides. the
每个倾斜侧面在靠近该顶面侧向外凸出的倾斜角度为15~30度。 The inclination angle of each inclined side protruding outward near the top surface is 15-30 degrees. the
每个凹扣结构具有两个相对的倾斜侧壁。 Each female button structure has two opposite sloped side walls. the
每个倾斜侧壁包括内侧面及与该侧面相连的顶面,该内侧面在靠近该顶面侧向外凸出的倾斜角度为15~30度。 Each inclined side wall includes an inner surface and a top surface connected to the side surface, and the inclination angle of the inner surface protruding outward near the top surface is 15-30 degrees. the
该第一侧板及该第三侧板外端侧面上的锁扣结构分别与该第二侧板及该第四侧板外端侧面的锁扣结构相对应;该盖板外端的锁扣结构分别与该第一侧板、该第二侧板、该第三侧板外端顶面的锁扣结构相对应。 The locking structure on the outer end side of the first side plate and the third side plate corresponds to the locking structure on the outer end side of the second side plate and the fourth side plate respectively; the locking structure on the outer end of the cover plate Corresponding to the locking structures on the top surface of the outer end of the first side plate, the second side plate and the third side plate respectively. the
上述包装盒采用较环保的发泡聚乙烯(EPE)材料,包装废弃物能够再回收;结构采用一片成型设计,容器使用前是一体式结构,节约空间,便于运输;在盛装水果或食品时,也不必使用胶水粘结或附件辅助,仅仅依靠箱片自身的锁扣结构,就能轻易立体成型,操作简便、快捷、高效;EPE材料受到外界的冲击震动后,能缓冲吸震,不会开裂,既绝缘绝热,又能防水保温,能很好地保护内装的水果;实际使用时,根据实际需要可以选用不同厚度的EPE材料来制作加工容器,满足水果的运输包装要求;包装使用过后的废弃物能够被拆成片状,便于回收、运输,节约成本。 The above-mentioned packaging box is made of environmentally friendly expanded polyethylene (EPE) material, and packaging waste can be recycled; the structure adopts a one-piece molding design, and the container is an integrated structure before use, which saves space and is convenient for transportation; when holding fruits or food, There is no need to use glue bonding or accessories to assist, only relying on the locking structure of the box itself, it can be easily three-dimensionally formed, and the operation is simple, fast and efficient; after the EPE material is subjected to external shock and vibration, it can cushion and absorb shock without cracking. It is not only insulated and heat-insulated, but also waterproof and heat-resistant, which can well protect the fruit inside; in actual use, EPE materials of different thicknesses can be selected according to actual needs to make processing containers to meet the transportation and packaging requirements of fruits; waste after packaging It can be disassembled into flakes, which is convenient for recycling and transportation, and saves costs. the
附图说明 Description of drawings
图1是本实用新型实施例的包装盒展开后的示意图; Fig. 1 is the schematic diagram after the packaging box of the utility model embodiment is unfolded;
图2是图1A处的局部放大图; Figure 2 is a partially enlarged view at Figure 1A;
图3是图1所示包装盒展开后的立体示意图; Fig. 3 is a three-dimensional schematic diagram of the packaging box shown in Fig. 1 after being unfolded;
图4是图1所示包装盒包装时的示意图。 Fig. 4 is a schematic diagram of the packing box shown in Fig. 1 when packed.
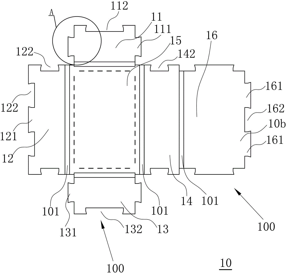
其中:10、发泡聚乙烯片材; Among them: 10. Foamed polyethylene sheet;
11、第一侧板; 12、第二侧板; 13、第三侧板; 14、第四侧板; 15、底板; 16盖板; 11. The first side board; 12. The second side board; 13. The third side board; 14. The fourth side board; 15. The bottom board; 16. The cover board;
100、锁扣结构; 101、半切板; 100. Lock structure; 101. Half-cut board;
111、121、131、161、凸扣结构; 112、122、132、142、162、凹扣结构; 111, 121, 131, 161, convex buckle structure; 112, 122, 132, 142, 162, concave buckle structure;
1001、凹槽卡钩结构; 1002、凸槽卡钩结构; θ、角度。 1001, groove hook structure; 1002, convex groove hook structure; θ, angle.
具体实施方式 Detailed ways
下面将结合附图及实施例对本实用新型的包装盒作进一步的详细说明。 The packaging box of the present utility model will be further described in detail below in conjunction with the accompanying drawings and embodiments. the
如图1至图4所示,本实用新型包装盒,该包装盒为连为一体的发泡聚乙烯(EPE)片材10构成,其发泡聚乙烯片材10包括有第一侧板11、第二侧板12、第三侧板13、第四侧板14、底板15及盖板16;第一侧板11与第三侧板13相对设置,第二侧板12与第四侧板14相对设置,第一侧板11、第二侧板12、第三侧板13与盖板16分别具有一个内端与多个外端,所述第四侧板14具有两个相对的内端与两个相对的外端,第一侧板11、第二侧板12及第三侧板13的内端及第四侧板14的其中一个内端分别连接于所述底板15的四周,第四侧板14的另一个内端还与所述盖板16的内端连接,第一侧板11、第二侧板12、第三侧板13、第四侧板14与盖板16的外端上设置有相互配合的锁扣结构100。
As shown in Figures 1 to 4, the packaging box of the present utility model is composed of an integrated foamed polyethylene (EPE)
第一侧板11、第二侧板12与第三侧板13的内端及第四侧板14的其中一个内端与该底板15的四周之间以及所述第四侧板14的另一个内端与所述盖板16的内端之间是分别通过半切板101连接,该半切板101采取半切线(切线切缝深度均为片材厚度的2/3,保留1/3) 方式切割后的EPE片材,比较容易剥离切割过的EPE层而保留未切部分,其半切板101的宽度和厚度的均为其发泡聚乙烯片材10厚度的三分之一,整片发泡聚乙烯片材10折叠使用后,虚线框内则为包装盒的使用面积(如图1所示)。
Between the inner ends of the
半切板101的厚度可为所述第一侧板11、第二侧板12、第三侧板13、第四侧板14、底板15或盖板16厚度的三分之一,锁扣结构100包括凸扣结构111、121、131、161与凹扣结构112、122、132、142、162,其凸扣结构111、121、131、161与相对应的凹扣结构112、122、132、142、162可相互卡合。
The thickness of the half-
每个凸扣结构111、121、131、161具有两个相对的倾斜侧面以及连接该两个倾斜侧面的顶面,每个倾斜侧面在靠近该顶面侧向外凸出的倾斜角度为15~30度(如图2所示);每个凹扣结构112、122、132、142、162具有两个相对的倾斜侧壁,每个倾斜侧壁包括内侧面及与该侧面相连的顶面,该内侧面在靠近该顶面侧向外凸出的倾斜角度为15~30度(如图2所示),此种结构使得各板之间相互间的榫接,增加各板锁紧力。
Each
该第一侧板11及该第三侧板13外端侧面上的锁扣结构100分别与该第二侧板12及该第四侧板14外端侧面的锁扣结构100相对应;该盖板16外端的锁扣结构100分别与该第一侧板11、该第二侧板12、该第三侧板13外端顶面的锁扣结构100相对应。采用这种技术的包装盒,在包装时可仅仅依靠箱片自身的锁扣结构,就能易于立体成型,操作简便、快捷、高效,包装使用过后的废弃物能够被拆成片状,便于回收、运输,节约成本。使得整块片材立体成型,操作简便、快捷、高效。
The locking
所述包装盒为发泡聚乙烯(EPE)材料经多层片材粘结而成,EPE材料受到外界的冲击震动后,能缓冲吸震,不会开裂,既绝缘绝热,又能防水保温,能很好地保护内装的水果;实际使用时,根据实际需要可以选用不同厚度的EPE材料来制作加工容器,满足水果的运输包装要求;包装使用过后的废弃物能够被拆成片状,便于回收、运输,节约成本。 The packaging box is made of expanded polyethylene (EPE) material bonded by multi-layer sheets. After the EPE material is subjected to external impact and vibration, it can cushion and absorb shock without cracking. It protects the fruit inside well; in actual use, EPE materials of different thicknesses can be selected to make processing containers according to actual needs to meet the transportation and packaging requirements of fruits; the waste after packaging can be disassembled into flakes, which is convenient for recycling. Shipping saves costs. the
以上所述,仅是本实用新型的较佳实施例而已,并非对本实用新型作任何形式上的限制,虽然本实用新型已以较佳实施例揭露如上,然而并非用以限定本实用新型,任何熟悉本专业的技术人员,在不脱离本实用新型技术方案范围内,当可利用上述揭示的技术内容做出些许更动或修饰为等同变化的等效实施例,但凡是未脱离本实用新型技术方案内容,依据本实用新型的技术实质对以上实施例所作的任何简单修改、等同变化与修饰,均仍属于本实用新型技术方案的范围内。 The above are only preferred embodiments of the present utility model, and do not limit the utility model in any form. Although the utility model has been disclosed as above with preferred embodiments, it is not intended to limit the utility model. Any Those who are familiar with this profession, without departing from the scope of the technical solutions of the present utility model, can use the technical content disclosed above to make some changes or modify equivalent embodiments with equivalent changes, but all without departing from the technical solutions of the present utility model Solution content, any simple modifications, equivalent changes and modifications made to the above embodiments according to the technical essence of the utility model still belong to the scope of the utility model technical solution. the
Claims (9)
Priority Applications (1)
| Application Number | Priority Date | Filing Date | Title |
|---|---|---|---|
| CN 201320007800 CN203094614U (en) | 2013-01-08 | 2013-01-08 | Packing box |
Applications Claiming Priority (1)
| Application Number | Priority Date | Filing Date | Title |
|---|---|---|---|
| CN 201320007800 CN203094614U (en) | 2013-01-08 | 2013-01-08 | Packing box |
Publications (1)
| Publication Number | Publication Date |
|---|---|
| CN203094614U true CN203094614U (en) | 2013-07-31 |
Family
ID=48846038
Family Applications (1)
| Application Number | Title | Priority Date | Filing Date |
|---|---|---|---|
| CN 201320007800 Expired - Fee Related CN203094614U (en) | 2013-01-08 | 2013-01-08 | Packing box |
Country Status (1)
| Country | Link |
|---|---|
| CN (1) | CN203094614U (en) |
Cited By (2)
| Publication number | Priority date | Publication date | Assignee | Title |
|---|---|---|---|---|
| CN108683138A (en) * | 2018-08-07 | 2018-10-19 | 杭州骏跃科技有限公司 | A kind of back box of desktop wire box |
| CN109229715A (en) * | 2018-09-28 | 2019-01-18 | 黄叶坪 | Easily assembled turnover box and blow molding process thereof |
-
2013
- 2013-01-08 CN CN 201320007800 patent/CN203094614U/en not_active Expired - Fee Related
Cited By (3)
| Publication number | Priority date | Publication date | Assignee | Title |
|---|---|---|---|---|
| CN108683138A (en) * | 2018-08-07 | 2018-10-19 | 杭州骏跃科技有限公司 | A kind of back box of desktop wire box |
| CN109229715A (en) * | 2018-09-28 | 2019-01-18 | 黄叶坪 | Easily assembled turnover box and blow molding process thereof |
| CN109229715B (en) * | 2018-09-28 | 2020-08-04 | 黄叶坪 | Easily assembled turnover box and blow molding process thereof |
Similar Documents
| Publication | Publication Date | Title |
|---|---|---|
| CN105438649B (en) | Display tray packing box | |
| CN102862743A (en) | Integrated quick-package package box with buffer gasket | |
| CN103318561A (en) | Wine bottle buffering package structure | |
| CN203094614U (en) | Packing box | |
| CN104150103B (en) | The packing box of a kind of intelligent closestool and packing method thereof | |
| CN103072762A (en) | Angle-side-face combination folding molded pulp pad | |
| CN205707739U (en) | A kind of multifunctional packaging carton | |
| CN201890458U (en) | A pallet in the packaging body of a large chassis product | |
| CN103144851A (en) | Paper box with buffering cushions inside and method for processing paper box | |
| CN202208451U (en) | Shockproof inner lining for packing box | |
| CN102152899A (en) | Folded nesting type pulp mould buffering pad | |
| CN201176298Y (en) | A packaging buffer structure lined in a packing box | |
| CN209617729U (en) | A paper-shaped circular fish tank portable packaging box | |
| CN2855941Y (en) | Integrated composite box cusion of packing chest | |
| CN205087339U (en) | Buffering resistance to compression packing foam structure | |
| CN204433393U (en) | A kind of notebook PC packaging buffer structure | |
| CN210853469U (en) | Sun-proof antidetonation heat retaining carton | |
| CN201125013Y (en) | A paper corner support | |
| CN201914525U (en) | a food container | |
| CN201942170U (en) | Multifunctional notebook computer buffer package lining pad | |
| CN205738864U (en) | Extranal packing box for frozen food | |
| CN204280340U (en) | A kind of goblet packaging cushion | |
| CN201033643Y (en) | Packing box | |
| CN220411168U (en) | Counter basin packaging structure | |
| CN114291384B (en) | One-paper formed air purifier buffer pad and air purifier package |
Legal Events
| Date | Code | Title | Description |
|---|---|---|---|
| C14 | Grant of patent or utility model | ||
| GR01 | Patent grant | ||
| C17 | Cessation of patent right | ||
| CF01 | Termination of patent right due to non-payment of annual fee |
Granted publication date: 20130731 Termination date: 20140108 |
