CN202403893U - Active polymer planar waveguide propagation constant measuring instrument based on fluorescence imaging - Google Patents
Active polymer planar waveguide propagation constant measuring instrument based on fluorescence imaging Download PDFInfo
- Publication number
- CN202403893U CN202403893U CN2011205185222U CN201120518522U CN202403893U CN 202403893 U CN202403893 U CN 202403893U CN 2011205185222 U CN2011205185222 U CN 2011205185222U CN 201120518522 U CN201120518522 U CN 201120518522U CN 202403893 U CN202403893 U CN 202403893U
- Authority
- CN
- China
- Prior art keywords
- planar waveguide
- fluorescence
- objective lens
- propagation constant
- active polymer
- Prior art date
- Legal status (The legal status is an assumption and is not a legal conclusion. Google has not performed a legal analysis and makes no representation as to the accuracy of the status listed.)
- Expired - Fee Related
Links
Images
Landscapes
- Investigating, Analyzing Materials By Fluorescence Or Luminescence (AREA)
Abstract
本实用新型公开了一种基于荧光成像的有源聚合物平面波导传播常数测量仪,其利用高数值孔径显微物镜搭建荧光成像装置,入射激光经高数值孔径油浸显微物镜聚焦照射到有源聚合物薄膜,激发掺杂于薄膜中的有源物质使其发射荧光;激发出来的荧光可耦合为传输于平面波导中的导波。导波在传播过程中,部分光能量将沿着一些特定角度从波导一侧泄露辐射到远场,并被同一物镜收集成像于CCD图像传感器。这些特定角度及辐射出来的荧光光场分布与导波的传播常数相关联,而它们均反应在CCD所记录的荧光像上,因此通过荧光像推导出平面波导中各种导波的传播常数。本实用新型结构简单紧凑,空间分辨率高,适合于有源聚合物平面波导传播常数的实时监测与快速测量。
The utility model discloses an active polymer planar waveguide propagation constant measuring instrument based on fluorescence imaging, which uses a high numerical aperture microscopic objective lens to build a fluorescent imaging device, and the incident laser light is focused and irradiated to the active polymer through a high numerical aperture oil immersion microscopic objective lens. The source polymer film excites the active material doped in the film to make it emit fluorescence; the excited fluorescence can be coupled into a guided wave transmitted in the planar waveguide. During the propagation of the guided wave, part of the light energy will leak and radiate from the side of the waveguide to the far field along some specific angles, and will be collected and imaged by the same objective lens on the CCD image sensor. These specific angles and radiated fluorescence light field distribution are related to the propagation constant of the guided wave, and they are all reflected in the fluorescent image recorded by the CCD. Therefore, the propagation constants of various guided waves in the planar waveguide are deduced from the fluorescent image. The utility model has the advantages of simple and compact structure and high spatial resolution, and is suitable for real-time monitoring and rapid measurement of the propagation constant of the active polymer planar waveguide.
Description
技术领域 technical field
本实用新型涉及光波导器件的本征参数测量与计算的技术领域,特别涉及一种基于荧光成像的有源聚合物平面波导传播常数测量仪。The utility model relates to the technical field of measuring and calculating the intrinsic parameters of optical waveguide devices, in particular to an active polymer planar waveguide propagation constant measuring instrument based on fluorescence imaging.
背景技术 Background technique
光学信息处理系统的集成化和微型化使聚合物平面波导依靠其易加工、低损耗等优点迅速发展,而光波导器件的基本属性之一传播常数更在集成光学的光器件设计与研究中不可或缺。有源物质(发光粒子)掺杂于平面波导中,可有效补偿波导传输损耗,也用于发展各种有源波导光学器件,如波导激光器与波导放大器。因此研究有源物质聚合物波导中各种导波传播常数的测量方法具有重要应用价值。现有较为成熟的测量平面波导传播常数的方法主要是基于棱镜的角度扫描法(M线法),并求解超越方程求出波导参数。其主要存在的问题为:The integration and miniaturization of optical information processing systems have led to the rapid development of polymer planar waveguides relying on their advantages such as easy processing and low loss, and the propagation constant, one of the basic properties of optical waveguide devices, is not available in the design and research of optical devices in integrated optics. Or missing. Active substances (luminescent particles) doped in planar waveguides can effectively compensate waveguide transmission loss, and are also used to develop various active waveguide optical devices, such as waveguide lasers and waveguide amplifiers. Therefore, it is of great application value to study the measurement methods of various guided wave propagation constants in active material polymer waveguides. The existing relatively mature method of measuring the propagation constant of the planar waveguide is mainly based on the angular scanning method (M-line method) of the prism, and solving the transcendental equation to obtain the waveguide parameters. Its main problems are:
1、过程繁琐,测量速度慢。M线法测量波导的有效折射率需要特定的棱镜耦合仪(θ-2θ仪),并且需要角度的逐点扫描,速度慢,耗时长,不能实现实时观测。1. The process is cumbersome and the measurement speed is slow. The M-line method requires a specific prism coupling instrument (θ-2θ instrument) to measure the effective refractive index of the waveguide, and requires point-by-point scanning of the angle, which is slow and time-consuming, and cannot achieve real-time observation.
2、空间分辨率低。其结构只能在一维方向激励共振导模,同时没有高数值孔径物镜聚焦系统,因而空间分辨率较低。2. The spatial resolution is low. Its structure can only excite the resonant guided mode in one-dimensional direction, and there is no high numerical aperture objective lens focusing system, so the spatial resolution is low.
3、局限性。此种方法不易直接计算表征传播常数的虚部,即导波的传播长度。3. Limitations. This method is not easy to directly calculate the imaginary part of the propagation constant, that is, the propagation length of the guided wave.
实用新型内容 Utility model content
本实用新型的目的是克服现有技术的不足,提出了一种基于荧光成像的有源聚合物平面波导传播常数测量仪,其结构简单紧凑,空间分辨率高,无需角度扫描,可实时监测,适合于平面波导传播常数的高效、完整测量。The purpose of this utility model is to overcome the deficiencies of the prior art, and proposes an active polymer planar waveguide propagation constant measuring instrument based on fluorescence imaging, which has a simple and compact structure, high spatial resolution, no need for angle scanning, and real-time monitoring. Suitable for efficient and complete measurements of the propagation constant of planar waveguides.
本实用新型实现上述目的的技术方案如下:The technical scheme that the utility model realizes above-mentioned purpose is as follows:
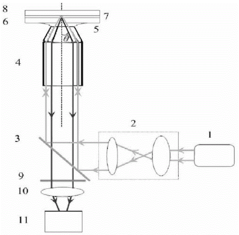
一种基于荧光成像的有源聚合物平面波导传播常数测量仪:其包括:激光光源,扩束透镜组,分束镜,高数值孔径油浸显微物镜,折射率匹配油,平面波导,滤光片,凸透镜和CCD图像传感器;其中,An active polymer planar waveguide propagation constant measuring instrument based on fluorescence imaging: it includes: laser light source, beam expander lens group, beam splitter, high numerical aperture oil immersion microscope objective lens, refractive index matching oil, planar waveguide, filter light sheet, convex lens and CCD image sensor; where,
所述的有源聚合物平面波导,是由玻璃基底,金属薄膜,掺有源物质的聚合物薄膜以及上方空气层构成的四层结构,其制备过程为:在玻璃基底上蒸镀或溅射金属薄膜,并在金属薄膜上旋涂有源物质掺杂的聚合物溶液,形成有源物质聚合物薄膜,其中,有源物质为荧光分子;The active polymer planar waveguide is a four-layer structure consisting of a glass substrate, a metal film, a polymer film doped with source material, and an upper air layer. The preparation process is: evaporation or sputtering on the glass substrate A metal thin film, and spin-coating a polymer solution doped with an active substance on the metal thin film to form an active substance polymer film, wherein the active substance is a fluorescent molecule;
所述的激光光源所发射激光,通过扩束透镜组扩束后经反射镜、高数值孔径油浸显微物镜,折射率匹配油,以宽角度范围聚焦辐照到有源聚合物薄膜上,聚合物薄膜中的荧光分子受激辐射荧光,荧光耦合成传输于平面波导中的导波;在某些特定角度下,传输的导波的部分能量从玻璃基底一侧泄露辐射出波导结构,经显微物镜收集,通过分束镜、滤光片及凸透镜后在CCD图像传感器上呈现出不同半径大小的亮环,这些特定角度与后焦面光学像上的亮环半径一一对应,同时与波导结构中存在的各种模式传播常数的实部一一对应,通过分析荧光像中亮环的半径及已知的显微物镜数值孔径,计算出导模传播常数的实部;The laser light emitted by the laser light source is expanded by a beam expander lens group and then passed through a reflector, a high numerical aperture oil-immersion microscope objective lens, and a refractive index matching oil to focus and irradiate the active polymer film with a wide angle range. The fluorescent molecules in the polymer film are stimulated to radiate fluorescence, and the fluorescence is coupled into a guided wave transmitted in the planar waveguide; at certain angles, part of the energy of the transmitted guided wave leaks out of the waveguide structure from the side of the glass substrate. Collected by the microscope objective lens, after passing through the beam splitter, filter and convex lens, bright rings of different radii will appear on the CCD image sensor. The real part of the propagation constant of various modes existing in the waveguide structure corresponds one by one, and the real part of the propagation constant of the guided mode is calculated by analyzing the radius of the bright ring in the fluorescence image and the known numerical aperture of the microscopic objective lens;
通过后焦面上的反射光场光学像计算获得传播常数的虚部,其拟合计算步骤如下:读取图像,记录其中沿着直径方向的荧光强度分布曲线,并用洛伦兹型曲线对其拟合,求出直径方向上荧光强度分布曲线的半高宽,计算出传播长度;它对应于导模传播常数的虚部。The imaginary part of the propagation constant is obtained by calculating the optical image of the reflected light field on the back focal plane. The fitting calculation steps are as follows: read the image, record the fluorescence intensity distribution curve along the diameter direction, and compare it with the Lorentzian curve Fitting, find the full width at half maximum of the fluorescence intensity distribution curve in the diameter direction, and calculate the propagation length; it corresponds to the imaginary part of the propagation constant of the guided mode.
进一步的,所述的激光光源通过扩束后,覆盖整个高数值孔径油浸显微物镜的入瞳,充分利用物镜的高数值孔径,获得较小尺寸的聚焦光斑,从而提高测量的空间分辨率,实现微区测量;同时利用同一物镜实现对荧光信号的收集与成像,简化了仪器结构。Further, the laser light source covers the entire entrance pupil of the high numerical aperture oil immersion microscope objective lens after beam expansion, and makes full use of the high numerical aperture of the objective lens to obtain a smaller focused spot, thereby improving the spatial resolution of the measurement , to achieve micro-area measurement; at the same time, the same objective lens is used to realize the collection and imaging of fluorescent signals, which simplifies the structure of the instrument.
本实用新型技术方案的原理为:The principle of the technical solution of the utility model is:
激发光经高数值孔径显微镜聚焦照射于有源聚合物平面波导,使掺杂于其中的有源物质(荧光分子)发射荧光,利用成像的方法,拍摄荧光在物镜后焦面上的强度分布图像,通过对图像上光强分布进行分析,推导出存在于此平面波导中各种导模的传播常数。导模的传播常数包含实部和虚部两部分,实部对应于导模的有效折射率,而虚部对应于此种模式在波导结构中的传播长度。具体的,The excitation light is focused and irradiated on the active polymer planar waveguide through a high numerical aperture microscope, so that the active substance (fluorescent molecule) doped in it emits fluorescence, and the intensity distribution image of the fluorescence on the back focal plane of the objective lens is captured by the imaging method , by analyzing the light intensity distribution on the image, the propagation constants of various guided modes existing in this planar waveguide are deduced. The propagation constant of a guided mode includes a real part and an imaginary part, the real part corresponds to the effective refractive index of the guided mode, and the imaginary part corresponds to the propagation length of this mode in the waveguide structure. specific,
所述激光光源,通过所设计的光路,实现强聚焦照射平面波导,在微区内激发荧光,荧光偶合成平面波导中传输的导波。由于高折射率玻璃基底的存在,在某些特定的角度下,这些导波在传输的过程中,有一部分能量会从玻璃基底一端泄露辐射到远场,进而在位于油浸显微物镜后焦面上产生各种不同半径的亮环。计算亮环半径(峰峰值的一半)与视场半径(r=f·nsinθ为亮环半径,f为高数值孔径油浸显微物镜的焦距,n为折射率匹配油的折射率,θ为导模的激发角,R=f·nsin θm为视场半径,θm最大视角,对应于显微物镜的数值孔径)的比值,计算出不同导模的激发角或波数,即对应于传播常数的实部。进一步的,对辐射的荧光沿亮环直径方向的强度分布进行洛伦兹型曲线拟合。通过计算曲线的半高全宽W,得到导波的传播距离(W-1),即对应于传播常数的虚部。The laser light source, through the designed optical path, realizes strong focusing to irradiate the planar waveguide, excites the fluorescence in the micro area, and couples the fluorescence into a guided wave transmitted in the planar waveguide. Due to the existence of the high-refractive index glass substrate, at certain angles, during the transmission of these guided waves, part of the energy will leak from one end of the glass substrate and radiate to the far field, and then in the back focus of the oil-immersed microscope objective. Bright rings of various radii are produced on the surface. Calculate the radius of the bright ring (half of the peak value) and the radius of the field of view (r=f nsin θ is the radius of the bright ring, f is the focal length of the high numerical aperture oil immersion microscope objective, n is the refractive index of the matching oil, and θ is The excitation angle of the guided mode, R=f nsin θ m is the radius of the field of view, the maximum viewing angle of θ m corresponds to the ratio of the numerical aperture of the microscopic objective lens), calculates the excitation angle or wave number of different guided modes, that is, corresponds to the propagation The real part of the constant. Further, a Lorentzian curve fitting is performed on the intensity distribution of the radiated fluorescence along the diameter direction of the bright ring. By calculating the full width at half maximum of the curve W, the propagation distance (W -1 ) of the guided wave is obtained, which corresponds to the imaginary part of the propagation constant.
本实用新型和传统技术相比的优势为:Compared with the traditional technology, the utility model has the following advantages:
1、结构简单:显微物镜在此装置中既被用于聚焦激发光,实现在微区内激发各种导模,也被用来收集荧光进行成像。通过CCD对物镜后焦面成像,利用荧光像直接测量和计算所有导模的传播常数,其结构简单紧凑;1. The structure is simple: the microscopic objective lens is used in this device to focus the excitation light to excite various guided modes in the micro-area, and is also used to collect fluorescence for imaging. Through the CCD to image the back focal plane of the objective lens, the fluorescence image is used to directly measure and calculate the propagation constants of all guided modes, and its structure is simple and compact;
2、高效率:无需进行角度扫描,直接通过成像的方法进行测量,其测量时间短,操作方便,效率高;同时可实时动态监测外界因素,如温度、湿度等对导模有效折射率的影响;2. High efficiency: no need for angle scanning, directly measure by imaging method, the measurement time is short, easy to operate, high efficiency; at the same time, it can dynamically monitor the influence of external factors such as temperature and humidity on the effective refractive index of the guided mode in real time ;
3、高分辨率:利用油浸显微物镜的高数值孔径特性,可实现高空间分辨率测量。3. High resolution: Utilizing the high numerical aperture characteristics of the oil immersion microscope objective lens, high spatial resolution measurement can be realized.
4、模式分析方便:利用CCD图像传感器观察荧光图像中的亮环半径及其光强分布,拟合计算各种导模的传播常数。4. Convenient mode analysis: Use the CCD image sensor to observe the radius of the bright ring and its light intensity distribution in the fluorescence image, and calculate the propagation constants of various guided modes by fitting.
附图说明 Description of drawings
图1为本实用新型一种基于荧光成像的有源聚合物平面波导传播常数测量仪的结构示意图;Fig. 1 is a structural schematic diagram of an active polymer planar waveguide propagation constant measuring instrument based on fluorescence imaging of the present invention;
图2为测量流程图;Figure 2 is a measurement flow chart;
图3为显微物镜后焦面上的荧光像;Fig. 3 is the fluorescent image on the rear focal plane of the microscope objective lens;
图4为沿图3所示虚线上(沿直径)各点的荧光强度分布曲线Fig. 4 is the fluorescence intensity distribution curve of each point along the dotted line (along the diameter) shown in Fig. 3
其中,1、激光光源;2扩束透镜组;3、分束镜;4、高数值孔径油浸显微物镜;5、折射率匹配油;6、玻璃基底;7、金属薄膜;8、有源聚合物薄膜;9、滤光片;10、凸透镜;11、CCD图像传感器。Among them, 1. Laser light source; 2. Beam expander lens group; 3. Beam splitter; 4. High numerical aperture oil immersion microscope objective; 5. Refractive index matching oil; 6. Glass substrate; 7. Metal film; 8. Has Source polymer film; 9, optical filter; 10, convex lens; 11, CCD image sensor.
具体实施方式 Detailed ways
下面结合附图和具体实施方式对本实用新型作进一步详细描叙,附图中相同的标号始终表示相同的部件。The utility model will be further described in detail below in conjunction with the accompanying drawings and specific embodiments, and the same reference numerals in the accompanying drawings always represent the same components.
参照图1所示的一种基于荧光成像的有源聚合物平面波导传播常数测量仪,包括:激光光源1(如波长532nm激光器),扩束透镜组2,分束镜3,高数值孔径油浸显微物镜4(以下简称显微物镜4),折射率匹配油5,玻璃基底6,金属薄膜7,有源聚合物薄膜8(实施例中,有源物质为染料若丹明B),滤光片9,凸透镜10,CCD图像传感器11。其中,具体的测量流程如图2。有源聚合物平面波导的制备方法为,在玻璃基底6上蒸镀或溅射一层45nm厚的银膜,将罗丹明B粉末(即为有源物质)溶解在聚甲基丙烯酸甲酯(PMMA)的苯甲醚溶液,然后旋涂于先前沉积了45nm银膜的玻璃基底上并烘干,即制备成了有源聚合物平面波导。将制备好的波导通过折射率1.516的匹配油5与显微物镜4(如60X,N.A.=1.42)相接;激光光源1所发射的532nm激光,经扩束透镜组2使入射光扩束到能覆盖整个显微物镜4的入瞳面,经过分束镜3反射后,经显微物镜4会聚到波导结构上激发荧光分子发射荧光,经显微物镜4收集,通过滤光片9(如中心波长580nm、带宽10nm的窄带滤光片),滤去532nm激发光,只让荧光通过,并由凸透镜10将显微物镜4后焦面上的荧光强度分布成像于CCD图像传感器11的光敏面,进而可以得到物镜后焦面的荧光像。A kind of active polymer planar waveguide propagation constant measuring instrument based on fluorescence imaging shown in Fig. 1, comprises: laser light source 1 (such as wavelength 532nm laser), beam
如图3所示,基于上述条件和参数所形成的视场内第一圈亮环,其与视场半径之比为0.9436,进而得知此模式的激发角为61.83°,对应有效折射率为1.34的导模。第二圈亮环半径与视场半径比为0.8232,该模式的激发角为50.27°,对应有效折射率为1169的导模。同理,最内圈亮环半径与视场半径比为0.7112,所以此模式的激发角为41.64°,其有效折射率为1.01。As shown in Figure 3, the ratio of the first bright ring in the field of view formed based on the above conditions and parameters to the radius of the field of view is 0.9436, and it is known that the excitation angle of this mode is 61.83°, and the corresponding effective refractive index is Guided mode of 1.34. The ratio of the radius of the second bright ring to the radius of the field of view is 0.8232, and the excitation angle of this mode is 50.27°, corresponding to the guided mode with an effective refractive index of 1169. Similarly, the ratio of the radius of the innermost bright ring to the radius of the field of view is 0.7112, so the excitation angle of this mode is 41.64°, and its effective refractive index is 1.01.
进一步的,对亮环的强度分布进行洛伦兹曲线拟合,从而计算出其半高全宽分别为,0.033K0,0.0182K0,0.0143K0。分别对应着上述三种模式,其传播长度分别为2.80μm,5.07μm和6.46μm。Further, Lorenz curve fitting is performed on the intensity distribution of the bright ring, so that the full width at half maximum is calculated as 0.033K 0 , 0.0182K 0 , and 0.0143K 0 . Corresponding to the above three modes, the propagation lengths are 2.80 μm, 5.07 μm and 6.46 μm, respectively.
本实用新型未详细阐述的部分属于本领域公知技术。以上实施例仅用以说明本实用新型的技术方案而非限制在具体实施方式的范围内,对本技术领域的普通技术人员来讲,只要各种变化在权利要求限定和确定的本实用新型的精神和范围内,这些变化是显而易见的,一切利用本实用新型构思的发明创造均在保护之列。The parts not elaborated in this utility model belong to the known technology in the art. The above examples are only used to illustrate the technical solutions of the present utility model and are not limited to the scope of the specific implementation. For those of ordinary skill in the art, as long as various changes are within the spirit of the utility model defined and determined by the claims Within the scope and range, these changes are obvious, and all inventions and creations utilizing the concept of the utility model are included in the protection list.
Claims (1)
Priority Applications (1)
| Application Number | Priority Date | Filing Date | Title |
|---|---|---|---|
| CN2011205185222U CN202403893U (en) | 2011-12-10 | 2011-12-10 | Active polymer planar waveguide propagation constant measuring instrument based on fluorescence imaging |
Applications Claiming Priority (1)
| Application Number | Priority Date | Filing Date | Title |
|---|---|---|---|
| CN2011205185222U CN202403893U (en) | 2011-12-10 | 2011-12-10 | Active polymer planar waveguide propagation constant measuring instrument based on fluorescence imaging |
Publications (1)
| Publication Number | Publication Date |
|---|---|
| CN202403893U true CN202403893U (en) | 2012-08-29 |
Family
ID=46701534
Family Applications (1)
| Application Number | Title | Priority Date | Filing Date |
|---|---|---|---|
| CN2011205185222U Expired - Fee Related CN202403893U (en) | 2011-12-10 | 2011-12-10 | Active polymer planar waveguide propagation constant measuring instrument based on fluorescence imaging |
Country Status (1)
| Country | Link |
|---|---|
| CN (1) | CN202403893U (en) |
Cited By (4)
| Publication number | Priority date | Publication date | Assignee | Title |
|---|---|---|---|---|
| CN103335993A (en) * | 2013-06-28 | 2013-10-02 | 中国科学技术大学 | Fluorescent dark field microscopy device and method based on waveguide constraint |
| CN109932162A (en) * | 2018-12-21 | 2019-06-25 | 南京理工大学 | A method and device for detecting cavity mode parameters based on white light registration |
| CN111442729A (en) * | 2020-04-16 | 2020-07-24 | 中国科学院上海微系统与信息技术研究所 | A Displacement Sensing Device Based on One-way Coupling Effect of Bloch Surface Waves |
| CN112665619A (en) * | 2020-12-17 | 2021-04-16 | 安徽中元新材料技术有限公司 | Automatic extraction device and method for high-sensitivity sensing mode |
-
2011
- 2011-12-10 CN CN2011205185222U patent/CN202403893U/en not_active Expired - Fee Related
Cited By (6)
| Publication number | Priority date | Publication date | Assignee | Title |
|---|---|---|---|---|
| CN103335993A (en) * | 2013-06-28 | 2013-10-02 | 中国科学技术大学 | Fluorescent dark field microscopy device and method based on waveguide constraint |
| CN109932162A (en) * | 2018-12-21 | 2019-06-25 | 南京理工大学 | A method and device for detecting cavity mode parameters based on white light registration |
| CN111442729A (en) * | 2020-04-16 | 2020-07-24 | 中国科学院上海微系统与信息技术研究所 | A Displacement Sensing Device Based on One-way Coupling Effect of Bloch Surface Waves |
| CN111442729B (en) * | 2020-04-16 | 2022-04-05 | 中国科学院上海微系统与信息技术研究所 | A Displacement Sensing Device Based on One-way Coupling Effect of Bloch Surface Waves |
| CN112665619A (en) * | 2020-12-17 | 2021-04-16 | 安徽中元新材料技术有限公司 | Automatic extraction device and method for high-sensitivity sensing mode |
| CN112665619B (en) * | 2020-12-17 | 2022-05-20 | 安徽中元新材料技术有限公司 | Automatic extraction device and method for high-sensitivity sensing mode |
Similar Documents
| Publication | Publication Date | Title |
|---|---|---|
| CN102426093B (en) | A Measuring Instrument for Optical Parameters of Polymer Planar Waveguide Based on Microscopic Imaging | |
| CN202351017U (en) | Measuring instrument based on microscopic imaging for optical parameters of polymer planar waveguide | |
| CN105807412B (en) | A kind of total internal reflection microscopic method and device based on free form surface shaping | |
| CN102004307B (en) | System and method for realizing total internal reflection fluorescence microscopy by using concentric double conical surface mirror | |
| CN102419250B (en) | Active polymer plane waveguide propagation constant measuring instrument based on fluorescence imaging | |
| CN108120702B (en) | A method and device for super-resolution fluorescence lifetime imaging based on parallel detection | |
| CN108072970A (en) | Optical tweezer mating plate microscopic imaging device and method | |
| CN102818794B (en) | Biological fluorescence microscopic detection instrument | |
| CN102841083A (en) | Method and system of laser scanning phase-microscope imaging | |
| CN103837499B (en) | A kind of micro-section spectral measurement device based on wideband surface plasma wave | |
| CN104482881B (en) | Laser stimulated emission depletion three-dimensional super-resolution differential confocal imaging method and device | |
| CN111024664B (en) | An imaging method of structured light illumination super-resolution microchip | |
| CN103837513B (en) | A kind of illumination microscopic method of the mating plate based on difference and device | |
| CN102539404B (en) | Directional emission fluorescence imaging detection device | |
| CN102519909B (en) | Air-space low-interference phase microscope based on liquid crystal tunable filter | |
| CN202403893U (en) | Active polymer planar waveguide propagation constant measuring instrument based on fluorescence imaging | |
| CN106841136A (en) | A kind of high accuracy axially position to ultra-thin cell and imaging method and device | |
| CN106226895A (en) | The rotation total internal reflection microscopic method of a kind of band feedback and device | |
| CN102818795B (en) | Biological fluorescence microscopic detection instrument | |
| CN107861230A (en) | Zoom optical tweezer confocal microscopic image device and method | |
| CN103616364B (en) | The super-resolution fluorescence microscopic imaging device of the photic Absorption modulation characteristic of a kind of azo-based benzene polymer | |
| CN111580261A (en) | A Microscopic Imaging Device Based on Epi-illumination | |
| CN104279984A (en) | Two-photon-method-based device and method for measuring smooth free-form surface sample | |
| CN104614349B (en) | Reflective light splitting pupil confocal photoacoustic microscopic imaging device and method | |
| CN106908222A (en) | A kind of measuring method and system of high accuracy microcobjective numerical aperture |
Legal Events
| Date | Code | Title | Description |
|---|---|---|---|
| C14 | Grant of patent or utility model | ||
| GR01 | Patent grant | ||
| CF01 | Termination of patent right due to non-payment of annual fee |
Granted publication date: 20120829 Termination date: 20141210 |
|
| EXPY | Termination of patent right or utility model |
