CN201820755U - Light emitting diode - Google Patents
Light emitting diode Download PDFInfo
- Publication number
- CN201820755U CN201820755U CN2010202599984U CN201020259998U CN201820755U CN 201820755 U CN201820755 U CN 201820755U CN 2010202599984 U CN2010202599984 U CN 2010202599984U CN 201020259998 U CN201020259998 U CN 201020259998U CN 201820755 U CN201820755 U CN 201820755U
- Authority
- CN
- China
- Prior art keywords
- light
- chip
- emitting
- blue
- red light
- Prior art date
- Legal status (The legal status is an assumption and is not a legal conclusion. Google has not performed a legal analysis and makes no representation as to the accuracy of the status listed.)
- Expired - Lifetime
Links
- 239000000758 substrate Substances 0.000 claims abstract description 52
- 239000000463 material Substances 0.000 claims description 44
- 238000004806 packaging method and process Methods 0.000 claims description 26
- 239000004411 aluminium Substances 0.000 claims description 13
- 229910052782 aluminium Inorganic materials 0.000 claims description 13
- XAGFODPZIPBFFR-UHFFFAOYSA-N aluminium Chemical compound [Al] XAGFODPZIPBFFR-UHFFFAOYSA-N 0.000 claims description 13
- 239000000084 colloidal system Substances 0.000 claims description 6
- 238000000748 compression moulding Methods 0.000 claims description 6
- 239000011796 hollow space material Substances 0.000 claims description 6
- 239000000843 powder Substances 0.000 abstract description 12
- 238000004519 manufacturing process Methods 0.000 abstract description 6
- 238000004020 luminiscence type Methods 0.000 description 9
- 239000003292 glue Substances 0.000 description 8
- 239000000047 product Substances 0.000 description 6
- 238000005516 engineering process Methods 0.000 description 3
- 239000004065 semiconductor Substances 0.000 description 3
- 230000009286 beneficial effect Effects 0.000 description 2
- 230000008901 benefit Effects 0.000 description 2
- 230000015572 biosynthetic process Effects 0.000 description 2
- 239000006185 dispersion Substances 0.000 description 2
- 230000007613 environmental effect Effects 0.000 description 2
- 229910052751 metal Inorganic materials 0.000 description 2
- 239000002184 metal Substances 0.000 description 2
- 238000000465 moulding Methods 0.000 description 2
- 229920006375 polyphtalamide Polymers 0.000 description 2
- 230000005855 radiation Effects 0.000 description 2
- 238000009877 rendering Methods 0.000 description 2
- 239000007787 solid Substances 0.000 description 2
- 241000218202 Coptis Species 0.000 description 1
- 235000002991 Coptis groenlandica Nutrition 0.000 description 1
- 239000004954 Polyphthalamide Substances 0.000 description 1
- VYPSYNLAJGMNEJ-UHFFFAOYSA-N Silicium dioxide Chemical compound O=[Si]=O VYPSYNLAJGMNEJ-UHFFFAOYSA-N 0.000 description 1
- 210000002421 cell wall Anatomy 0.000 description 1
- 230000008859 change Effects 0.000 description 1
- 230000000295 complement effect Effects 0.000 description 1
- 230000008878 coupling Effects 0.000 description 1
- 238000010168 coupling process Methods 0.000 description 1
- 238000005859 coupling reaction Methods 0.000 description 1
- 238000004134 energy conservation Methods 0.000 description 1
- 239000003822 epoxy resin Substances 0.000 description 1
- 238000000605 extraction Methods 0.000 description 1
- 239000012467 final product Substances 0.000 description 1
- 230000017525 heat dissipation Effects 0.000 description 1
- 238000005286 illumination Methods 0.000 description 1
- 230000006872 improvement Effects 0.000 description 1
- 238000009776 industrial production Methods 0.000 description 1
- 238000004643 material aging Methods 0.000 description 1
- 229910001092 metal group alloy Inorganic materials 0.000 description 1
- 239000000203 mixture Substances 0.000 description 1
- 230000004048 modification Effects 0.000 description 1
- 238000012986 modification Methods 0.000 description 1
- 238000005192 partition Methods 0.000 description 1
- 239000004033 plastic Substances 0.000 description 1
- 229920000647 polyepoxide Polymers 0.000 description 1
- 238000012797 qualification Methods 0.000 description 1
- 238000002310 reflectometry Methods 0.000 description 1
- 238000005070 sampling Methods 0.000 description 1
- 239000000741 silica gel Substances 0.000 description 1
- 229910002027 silica gel Inorganic materials 0.000 description 1
Images
Landscapes
- Led Device Packages (AREA)
Abstract
The utility model relates to a light emitting diode, which comprises a substrate, a red light emitting chip, a blue light emitting chip and an encapsulating body, wherein the red light emitting chip and the blue light emitting chip are arranged on the substrate, the encapsulating body is used for encapsulating the red light emitting chip and the blue light emitting chip, the light emitting diode also comprises fluorescent powder covered on the blue light emitting chip, and the encapsulating body is covered on the fluorescent powder and the red light emitting chip and is directly combined on the red light emitting chip. In the light emitting diode, the fluorescent powder is covered on the blue light emitting chip, and the encapsulating body is directly combined with the red light emitting chip, i.e. the red light emitting chip is not covered with the fluorescent powder, so the light output efficiency of the light emitting diode can be improved, the light efficiency of the light emitting diode is improved, and the manufacture cost is also reduced.
Description
Technical field
The utility model relates to the luminescence technology field, relates in particular to a kind of light-emitting diode with blue chip and red chip.
Background technology
LED (Light Emitting Diode), promptly light-emitting diode is a kind of semiconductor solid luminescence device.It is to utilize the solid semiconductor chip as luminescent material.When two ends add forward voltage, son and majority that dams that dams of the minority in the semiconductor takes place compoundly, emits superfluous energy and causes photo emissions, directly sends red, orange, yellow, green, blue, blue, purple, white light.Led light source since have high energy-conservation, the life-span long, be beneficial to advantage such as environmental protection, in fact, since LED comes out, the application surface of LED more and more widely, the advantage of its environmental protection and energy saving makes LED be regarded as one of main lighting source of 21 century.
In order to gain a place in illumination market, the white light LEDs of different encapsulated types constantly occurs on market.Along with the extensive application of LED, the requirement of LED increases gradually, yet the heat dissipation problem that how to improve the light efficiency of LED and how to solve high-capacity LED always is an important topic of LED exploitation.With regard to lighting module, luminous power, heat dispersion and light extraction efficiency all are the focuses that the designer was concerned about.
In LED structure in the past, luminescence chip is arranged on the support, and luminescence chip is connected with the pin conduction with gold thread usually.Luminescence chip generally adopts blue chip, covers red fluorescence powder and yellow fluorescent powder then, sends redness and yellow respectively by blue chip excitated red fluorescent powder and yellow fluorescent powder, forms the white light outgoing with blue light again.In this LED structure, by the collocation of fluorescent material, can mix the product of different color renderings, but light output can descend much light efficiency meeting variation.Because if need to improve the words of product color rendering, will add the low red fluorescence powder of a certain proportion of light efficiency, so the whole light efficiency of product will variation, and the price of red fluorescence powder is extremely expensive, increases the manufacturing cost of light-emitting diode virtually greatly.
The utility model content
In view of this, be necessary to provide a kind of high light efficiency, light-emitting diode that cost is low.
A kind of light-emitting diode, the packaging body that it comprises substrate, be arranged at suprabasil emitting red light chip and blue-light-emitting chip and encapsulate described emitting red light chip and blue-light-emitting chip, light-emitting diode also comprises the fluorescent material that covers described blue-light-emitting chip, described packaging body covers on described fluorescent material and the emitting red light chip, and described packaging body directly is incorporated on the described emitting red light chip.
Further, fit tightly between described emitting red light chip and the described packaging body.
Further, described substrate has groove, and described blue-light-emitting chip places in the described groove, and described emitting red light chip places the surface that is higher than described groove of described substrate.
Further, described substrate has plural groove, constitute the projection of relative groove between adjacent two grooves, described blue-light-emitting chip is divided into two groups of above blue chip, every group of blue chip places in the corresponding groove, have on each projection with every group of blue chip in the emitting red light chip of the corresponding quantity of chip, and be distributed in described convex surfaces.Particularly, described fluorescent material is divided into two parts at least, and every part fluorescent material covers corresponding one group of blue chip.Every group of blue chip comprises at least two blue-light-emitting chips, has at least two emitting red light chips on each projection.
Further, described packaging body is through the hemisphere of compression molding or spherical colloid, or lens.
Further, described substrate is an aluminium substrate, and described emitting red light chip and blue-light-emitting chip fit in described aluminium substrate.
Further, described substrate is an aluminium substrate, and described emitting red light chip and blue-light-emitting chip are coupled in series, and described substrate periphery is provided with positive and negative pad, and head and the tail two chips of described coupled in series are electrically connected to described positive and negative pad respectively.
Light-emitting diode also comprise place in the substrate, around the reflector of described emitting red light chip and blue-light-emitting chip, described reflector has hollow space, described packaging body is filled in the hollow space of described reflector.
In described light-emitting diode, on the blue-light-emitting chip, be coated with fluorescent material, and packaging body directly is incorporated into described emitting red light chip, be that the emitting red light chip is not coated with fluorescent material, luminous by fluorescent material excitated blue luminescence chip like this, penetrate the blue light of fluorescent material with part again and ruddiness that the emitting red light chip sends mixes, the formation white light.On the one hand, the ruddiness that the emitting red light chip sends directly mixes with blue-light-emitting chip stimulated luminescence, the light output efficiency height, promptly improve the light efficiency of light-emitting diode, on the other hand, can avoid that the emitting red light chip is covered by fluorescent material in the prior art, the light loss that its light that sends causes through fluorescent material improves light utilization efficiency.In addition, owing to do not adopt fluorescent material to cover the emitting red light chip, greatly reduce manufacturing cost.
Description of drawings
Below in conjunction with accompanying drawing embodiment of the present utility model is described, wherein:
Fig. 1 is the light-emitting diode schematic top plan view that the utility model first embodiment provides;
Fig. 2 be among Fig. 1 light-emitting diode along the cross-sectional schematic of II-II line;
Fig. 3 is the light-emitting diode schematic top plan view that the utility model second embodiment provides;
Fig. 4 be among Fig. 3 light-emitting diode along the cross-sectional schematic of IV-IV line.
Embodiment
Below based on accompanying drawing specific embodiment of the utility model is further elaborated.Should be appreciated that specific embodiment described herein as just example, and be not used in qualification protection range of the present utility model.
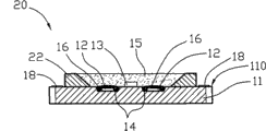
See also Fig. 1 and 2, the light-emitting diode 10 that shows the utility model first embodiment, the packaging body 15 that it comprises substrate 11, is arranged at emitting red light chip 12 and the blue-light-emitting chip 13 in the substrate 11 and encapsulates described emitting red light chip 12 and blue-light-emitting chip 13, light-emitting diode 10 also comprises the fluorescent material 16 that covers blue-light-emitting chip 13, packaging body 15 covers on fluorescent material 16 and the emitting red light chip 12, and packaging body 15 directly is incorporated on the emitting red light chip 12.
In illustrated embodiment, substrate 11 has plural groove 14, constitute the projection of relative groove 14 between adjacent two grooves 14, projection is the equal of the cell wall of groove 14, or the partition wall between adjacent two grooves 14, blue-light-emitting chip 12 is divided into two groups of above blue chip, every group of blue chip places in the corresponding groove 14, have on each projection with every group of blue chip in the emitting red light chip 13 of the corresponding quantity of chip, quantity and the number of chips in every group of blue chip that is the emitting red light chip 13 on each projection (13 pairs of two the above blue chip of an emitting red light chip for example that are complementary, vice versa) or identical, and be distributed in raised surface (being the smooth end face 110 of present embodiment), promptly what are raised with, emitting red light chip 13 just is divided into same group of number and is distributed in raised surface.Particularly, one group of blue chip in each groove 14 is coated with layer of fluorescent powder 16 jointly, be that fluorescent material 16 is divided into two parts, every part fluorescent material covers one group of blue chip in the corresponding groove 14, and cover all blue chip in the same groove 14 fully, the degree of depth of groove 14 is greater than the height of blue-light-emitting chip 12, and fluorescent material 16 can be to fill and lead up or fill up groove 14 thus, can certainly be only to cover blue-light-emitting chip 12 and the situation of not filling up groove 14.Fluorescent material 16 is not limited to into two parts, and concrete quantity is corresponding or identical with the group number of blue-light-emitting chip 12, is more than two parts.In illustrated embodiment, every part fluorescent material 16 is filled and led up corresponding groove 14, and the overhead height of the fluorescent material 16 of filling in the groove 14 is roughly concordant with end face 110, like this, the position of emitting red light chip 13 is higher than fluorescent material 16, by this structure setting, can improve uniformity of luminance and light efficiency.As shown in the figure, every group of blue chip comprises at least two blue-light-emitting chips 12, has at least two emitting red light chips 13 on each projection.
As example, specifically as shown in Figure 1, the quantity of groove 14 is two, groove 14 is the thin-and-long groove, even compartment of terrain is placed with four blue-light-emitting chips 12 in each groove 14, like this, the projection that constitutes between two grooves also is a thin-and-long, is placed with four emitting red light chips 13 on the projection accordingly.Certainly, be understandable that, in the practical application, the setting during the quantity of the quantity of groove quantity, blue-light-emitting chip 12, projection, the quantity of emitting red light chip 13 and their layout are not limited to illustrate, specifically according to actual needs, for example colour temperature, brightness etc. and change.
In the present embodiment, blue-light-emitting chip 12 places in the groove 14, directly contacts with aluminium substrate 11, and the heat that blue-light-emitting chip 12 produces when luminous directly distributes from aluminium substrate 11, help reducing the working temperature of blue-light-emitting chip 12, guarantee its luminous efficiency.In addition, offer groove 14 to hold blue-light-emitting chip 12, also conveniently put fluorescent glue separately in aluminium substrate 11.As shown in Figure 2, the cross section of groove 14 can be taper or trapezoidal, glue can be limited in the groove 14 during this sampling point fluorescent glue, prevent that the glue overflow wanders away, groove 14 sizes are enough placed blue-light-emitting chip 12 and are got final product, thereby this structure can guarantee to cover fully blue-light-emitting chip 12, save again and use glue, and easy and simple to handle.
Emitting red light chip 13 is directly covered by packaging body 15, and fits tightly between the packaging body 15, and does not cover fluorescent material, and like this, the light that emitting red light chip 13 sends is without fluorescent material, directly via packaging body 15 outgoing.On the one hand, the light that the ruddiness that emitting red light chip 13 sends directly sends with blue-light-emitting chip 12 excitated fluorescent powders mixes, the light output efficiency height, promptly improve the light efficiency of light-emitting diode, on the other hand, can avoid that the emitting red light chip is covered by fluorescent material in the prior art, the light loss that its light that sends causes through fluorescent material improves light utilization efficiency.In addition, owing to do not adopt fluorescent material to cover the emitting red light chip, greatly reduce the manufacturing cost of light-emitting diode 10.
As shown in Figure 1, blue-light-emitting chip 12 and emitting red light chip 13 are coupled in series, with two groups of blue-light-emitting chips 12 and one group of emitting red light chip 13 among Fig. 1 is example, four blue-light-emitting chip 12 coupled in series, four emitting red light chip 13 coupled in series, the emitting red light chip 13 of outer end links to each other by weld pad 17 with blue-light-emitting chip 12, and as shown in the figure, all chips 12 and 13 all are cascaded.Substrate 11 peripheries are provided with positive and negative pad 18, positive and negative pad 18 in the blue-light-emitting chip 12 of coupled in series and emitting red light chip 13 and the substrate 11 electrically connects, for example head and the tail two chips are electrically connected to positive and negative pad 18 respectively, be connected with external control circuit by positive and negative pad 18 again, thereby with blue-light-emitting chip 12 and emitting red light chip 13 connect control rather than control respectively.By this coupled in series control, can reduce the service condition of light-emitting diode 10, such as when using, the product that needs the low colour temperature of 3000k can conveniently calculate emitting red light chip 13 quantity of required coupling and the dosage of blue-light-emitting chip 12 quantity and fluorescent material 16 thereof, and, when mounted, only positive and negative pad 18 need be attached to external control circuit and connect, go driving just passable by the specification electric current, and do not need complicated control respectively and complicated connection and type of drive.
As shown in Figure 2, packaging body 15 is hemisphere or spherical colloids of mold pressing (molding) moulding, the colloid material can be but be not limited to epoxy resin or silica gel etc., its mode by compression molding forms, and is molded directly within on the end face 110 of substrate 11, contacts with the end face 110 direct plane formulas of substrate 11, multiaspect contact when reflector is arranged, can avoid the light loss of reflective cup reflects light time, improve light outgoing efficient, improve the luminous intensity of LED.In addition, owing to be hemisphere or spherical colloid, can increase the shooting angle of blue-light-emitting chip 12 and emitting red light chip 13.Therefore, present embodiment does not adopt reflector to remove to block a glue, so just reduces to meet other object (as reflector) when light comes out and causes light loss.Because be to adopt hemisphere or spherical colloid, like this, blue-light-emitting chip 12 and emitting red light chip 13 have higher light output efficiency, improve the light efficiency of light-emitting diode 10, increase the brightness of light-emitting diode 10.In addition, can utilize ripe mould pressing technology, be convenient to industrial production in enormous quantities by the mode of compression molding.
In addition, the area of packaging body 15 is less than the area of substrate 11, thereby in the part both sides that substrate 11 has more above-mentioned a plurality of external pads 18 is set respectively.In addition, a locating notch 112 also is set respectively in these part both sides that have more, these two locating notches 112 be distributed in substrate 11 edges symmetrically, locating notch 112 can be the form of location hole also, is not limited to illustrated structure.By locating notch 112, make light-emitting diode 10 can carry out contraposition to entire product neatly when mounted and regulate, thereby guarantee of the assembling of each product with the external device (ED) flexibility and reliability.
See also Fig. 3 and 4, be the structural representation of the light-emitting diode 20 of the utility model second embodiment.The structure of the structure of this light-emitting diode 20 and the light-emitting diode of top embodiment 10 is basic identical, and Fig. 3 adopts identical label with 4 with Fig. 1 and 2 components identical, does not repeat them here.The LED main difference part of two embodiment is that second embodiment adopts reflector 22.Packaging body 15 forms by a glue mode, and therefore reflector 22 is set blocks a glue.
The material of reflector 22 can be a high conductivity material, as metal or metal alloy, and as aluminium or silver-plated metal, perhaps other plastic material, for example polyphthalamide (english abbreviation is PPA).Reflector 22 is a reflectivity circulus, place in the substrate 11 and around emitting red light chip 13 and blue-light-emitting chip 12, the hollow space that runs through is arranged in it, form the truncated cone-shaped space of accommodating packaging body 15 as shown in the figure, promptly packaging body 15 is filled in the hollow space of reflector 22.Similarly, reflector 22 areas are less than the area of substrate 11, at least in one direction be shorter than substrate 11, thereby above-mentioned a plurality of external pads 18 and locating notch 112 be set respectively, so that external circuit connects and installing and locating in the part both sides that substrate 11 has more.
In the various embodiments described above, on blue-light-emitting chip 12, be coated with fluorescent material 16, and packaging body 15 directly is incorporated into emitting red light chip 13, be that emitting red light chip 13 is not coated with fluorescent material 16, the light that sends by fluorescent material 16 excitated blue luminescence chips 12 like this, penetrate the blue light of fluorescent material with part again and ruddiness that the emitting red light chip sends mixes, the formation white light.On the one hand, the ruddiness that emitting red light chip 13 sends directly mixes with blue-light-emitting chip 12 stimulated luminescences, the light output efficiency height, promptly improve the light efficiency of light-emitting diode 10, on the other hand, can avoid that the emitting red light chip is covered by fluorescent material in the prior art, the light loss that its light that sends causes through fluorescent material improves light utilization efficiency.In addition, owing to do not adopt fluorescent material to cover the emitting red light chip, greatly reduce manufacturing cost.
In addition,, on the one hand, strengthen heat dispersion, on the other hand, significantly reduce the required fluorescent material consumption of covering blue-light-emitting chip, further reduce production costs thus by form of grooves is set.
The above only is preferred embodiment of the present utility model; not in order to restriction the utility model; all any modifications of within spirit of the present utility model and principle, being done, be equal to and replace and improvement etc., all should be included within the protection range of the present utility model.
Claims (10)
1. light-emitting diode, the packaging body that it comprises substrate, be arranged at suprabasil emitting red light chip and blue-light-emitting chip and encapsulate described emitting red light chip and blue-light-emitting chip, it is characterized in that, also comprise the fluorescent material that covers described blue-light-emitting chip, described packaging body covers on described fluorescent material and the emitting red light chip, and described packaging body directly is incorporated on the described emitting red light chip.
2. light-emitting diode as claimed in claim 1 is characterized in that, fits tightly between described emitting red light chip and the described packaging body.
3. light-emitting diode as claimed in claim 1 is characterized in that described substrate has groove, and described blue-light-emitting chip places in the described groove, and described emitting red light chip places the surface that is higher than described groove of described substrate.
4. light-emitting diode as claimed in claim 1, it is characterized in that, described substrate has plural groove, constitute the projection of relative groove between adjacent two grooves, described blue-light-emitting chip is divided into two groups of above blue chip, every group of blue chip places in the corresponding groove, have on each projection with every group of blue chip in the emitting red light chip of the corresponding quantity of chip, and be distributed in described convex surfaces.
5. light-emitting diode as claimed in claim 4 is characterized in that described fluorescent material is divided into two parts at least, and every part fluorescent material covers corresponding one group of blue chip.
6. light-emitting diode as claimed in claim 4 is characterized in that, described every group of blue chip comprises at least two blue-light-emitting chips, has at least two emitting red light chips on each projection.
7. light-emitting diode as claimed in claim 1 is characterized in that, described packaging body is the hemisphere or the spherical colloid of compression molding, or lens.
8. light-emitting diode as claimed in claim 1 is characterized in that, described substrate is an aluminium substrate, and described emitting red light chip and blue-light-emitting chip fit in described aluminium substrate.
9. light-emitting diode as claimed in claim 1, it is characterized in that described substrate is an aluminium substrate, described emitting red light chip and blue-light-emitting chip are coupled in series, described substrate periphery is provided with positive and negative pad, and head and the tail two chips of described coupled in series are electrically connected to described positive and negative pad respectively.
10. light-emitting diode as claimed in claim 1, it is characterized in that, also comprise place in the substrate, around the reflector of described emitting red light chip and blue-light-emitting chip, described reflector has hollow space, described packaging body is filled in the hollow space of described reflector.
Priority Applications (1)
| Application Number | Priority Date | Filing Date | Title |
|---|---|---|---|
| CN2010202599984U CN201820755U (en) | 2010-07-15 | 2010-07-15 | Light emitting diode |
Applications Claiming Priority (1)
| Application Number | Priority Date | Filing Date | Title |
|---|---|---|---|
| CN2010202599984U CN201820755U (en) | 2010-07-15 | 2010-07-15 | Light emitting diode |
Publications (1)
| Publication Number | Publication Date |
|---|---|
| CN201820755U true CN201820755U (en) | 2011-05-04 |
Family
ID=43918699
Family Applications (1)
| Application Number | Title | Priority Date | Filing Date |
|---|---|---|---|
| CN2010202599984U Expired - Lifetime CN201820755U (en) | 2010-07-15 | 2010-07-15 | Light emitting diode |
Country Status (1)
| Country | Link |
|---|---|
| CN (1) | CN201820755U (en) |
Cited By (7)
| Publication number | Priority date | Publication date | Assignee | Title |
|---|---|---|---|---|
| CN102569279A (en) * | 2011-12-29 | 2012-07-11 | 广州市鸿利光电股份有限公司 | LED (light-emitting diode) with improved color rendering index and light emitting efficiency and method for improving color rendering index and light emitting efficiency of LED |
| CN102881803A (en) * | 2011-07-12 | 2013-01-16 | 隆达电子股份有限公司 | Light emitting diode chip package |
| TWI456735B (en) * | 2011-08-31 | 2014-10-11 | 英特明光能股份有限公司 | Multi-slot illuminating device |
| CN104470104A (en) * | 2014-12-01 | 2015-03-25 | 苏州立瓷电子技术有限公司 | Chip LED lamp color temperature adjusting method |
| US9755113B2 (en) | 2011-12-29 | 2017-09-05 | Interlight Optotech Corporation | Light emitting device |
| CN109065525A (en) * | 2018-07-10 | 2018-12-21 | 佛山市国星光电股份有限公司 | A kind of LED module and LED illumination lamp |
| CN110047823A (en) * | 2013-10-07 | 2019-07-23 | 晶元光电股份有限公司 | Light-emitting diode component and production method |
-
2010
- 2010-07-15 CN CN2010202599984U patent/CN201820755U/en not_active Expired - Lifetime
Cited By (9)
| Publication number | Priority date | Publication date | Assignee | Title |
|---|---|---|---|---|
| CN102881803A (en) * | 2011-07-12 | 2013-01-16 | 隆达电子股份有限公司 | Light emitting diode chip package |
| TWI456735B (en) * | 2011-08-31 | 2014-10-11 | 英特明光能股份有限公司 | Multi-slot illuminating device |
| CN102569279A (en) * | 2011-12-29 | 2012-07-11 | 广州市鸿利光电股份有限公司 | LED (light-emitting diode) with improved color rendering index and light emitting efficiency and method for improving color rendering index and light emitting efficiency of LED |
| US9755113B2 (en) | 2011-12-29 | 2017-09-05 | Interlight Optotech Corporation | Light emitting device |
| CN110047823A (en) * | 2013-10-07 | 2019-07-23 | 晶元光电股份有限公司 | Light-emitting diode component and production method |
| CN104470104A (en) * | 2014-12-01 | 2015-03-25 | 苏州立瓷电子技术有限公司 | Chip LED lamp color temperature adjusting method |
| CN104470104B (en) * | 2014-12-01 | 2017-01-25 | 苏州立瓷智能电器有限公司 | Chip LED lamp color temperature adjusting method |
| CN109065525A (en) * | 2018-07-10 | 2018-12-21 | 佛山市国星光电股份有限公司 | A kind of LED module and LED illumination lamp |
| CN109065525B (en) * | 2018-07-10 | 2024-09-06 | 佛山市国星光电股份有限公司 | LED module and LED lighting lamp |
Similar Documents
| Publication | Publication Date | Title |
|---|---|---|
| CN201820755U (en) | Light emitting diode | |
| CN103840071B (en) | A kind of LED lamp bar manufacture method and LED lamp bar | |
| CN101452986A (en) | Encapsulation structure and method for white light emitting diode device | |
| CN106783821A (en) | The full-spectrum LED encapsulating structure and its method for packing of a kind of unstressed configuration powder | |
| CN102254907B (en) | LED (light-emitting diode) and packaging method thereof | |
| CN201348169Y (en) | White light-emitting diode (LED) integrated array light source encapsulated based on chip-on-board (COB) technology | |
| CN201057438Y (en) | A three-color chip light-emitting diode | |
| CN202013883U (en) | High-power LED (Light Emitting Diode) module sealing structure | |
| CN102130110A (en) | Multi-chipset high-power LED encapsulation structure | |
| CN204693116U (en) | Solid-state sealed LED bulb | |
| CN103470968A (en) | Light emitting diode lamp core with large light emitting angle and illumination device with lamp core | |
| CN205050865U (en) | LED circuit board | |
| CN104747934A (en) | LED lighting device providing directed beams | |
| CN102280555A (en) | Light-emitting diode and manufacturing method thereof | |
| CN203553209U (en) | Novel LED packaging body | |
| CN202736973U (en) | Three-dimensional cladded and packaged LED chip | |
| CN102157505A (en) | Light emitting module | |
| CN101771024A (en) | Light-emitting diode (LED) and packaging method thereof | |
| CN203165895U (en) | Four-cup type light-emitting diode (LED) lamp | |
| CN104791663B (en) | The specular removal street lamp changed based on the magnetic padlock that pattern-recognition is developed | |
| CN108447854B (en) | LED chip packaging module and preparation method thereof | |
| CN201666469U (en) | LED module packaging structure | |
| CN202384336U (en) | Light-emitting diode (LED) light source module | |
| CN201909274U (en) | RGB (red, green and blue) three-colored LED (light-emitting diode) point light source | |
| CN102610712B (en) | Light emitting diode (LED) package method and structure |
Legal Events
| Date | Code | Title | Description |
|---|---|---|---|
| C14 | Grant of patent or utility model | ||
| GR01 | Patent grant | ||
| CX01 | Expiry of patent term |
Granted publication date: 20110504 |
|
| CX01 | Expiry of patent term |