CN112742011A - Movable fighting actual combat trainer - Google Patents
Movable fighting actual combat trainer Download PDFInfo
- Publication number
- CN112742011A CN112742011A CN202110134667.0A CN202110134667A CN112742011A CN 112742011 A CN112742011 A CN 112742011A CN 202110134667 A CN202110134667 A CN 202110134667A CN 112742011 A CN112742011 A CN 112742011A
- Authority
- CN
- China
- Prior art keywords
- fixedly connected
- combat
- cavity
- rod
- plate
- Prior art date
- Legal status (The legal status is an assumption and is not a legal conclusion. Google has not performed a legal analysis and makes no representation as to the accuracy of the status listed.)
- Pending
Links
- 238000009434 installation Methods 0.000 claims abstract description 41
- 238000006073 displacement reaction Methods 0.000 claims abstract description 8
- 238000006243 chemical reaction Methods 0.000 claims abstract description 7
- 238000004891 communication Methods 0.000 claims description 10
- 238000005192 partition Methods 0.000 claims description 9
- 239000000463 material Substances 0.000 claims description 4
- 230000009286 beneficial effect Effects 0.000 abstract description 5
- 238000004080 punching Methods 0.000 abstract 1
- 238000010586 diagram Methods 0.000 description 5
- 238000010009 beating Methods 0.000 description 3
- 238000005516 engineering process Methods 0.000 description 2
- 235000005156 Brassica carinata Nutrition 0.000 description 1
- 244000257790 Brassica carinata Species 0.000 description 1
- 230000000694 effects Effects 0.000 description 1
- 238000000034 method Methods 0.000 description 1
- 230000004044 response Effects 0.000 description 1
- 230000004043 responsiveness Effects 0.000 description 1
Images
Classifications
-
- A—HUMAN NECESSITIES
- A63—SPORTS; GAMES; AMUSEMENTS
- A63B—APPARATUS FOR PHYSICAL TRAINING, GYMNASTICS, SWIMMING, CLIMBING, OR FENCING; BALL GAMES; TRAINING EQUIPMENT
- A63B69/00—Training appliances or apparatus for special sports
- A63B69/20—Punching balls, e.g. for boxing; Other devices for striking used during training of combat sports, e.g. bags
-
- A—HUMAN NECESSITIES
- A63—SPORTS; GAMES; AMUSEMENTS
- A63B—APPARATUS FOR PHYSICAL TRAINING, GYMNASTICS, SWIMMING, CLIMBING, OR FENCING; BALL GAMES; TRAINING EQUIPMENT
- A63B69/00—Training appliances or apparatus for special sports
- A63B69/34—Tackling, blocking or grappling dummies, e.g. boxing or wrestling or American- football dummies
Landscapes
- Health & Medical Sciences (AREA)
- General Health & Medical Sciences (AREA)
- Physical Education & Sports Medicine (AREA)
- Rehabilitation Tools (AREA)
Abstract
本发明公开了一种移动式搏击实战训练器,包括底板与安装块,所述底板上设有用于驱动安装块移动的位移部件,所述安装块一端面开设有一对安装腔,所述安装腔内滑动安装有连接杆。本发明通过位移部件启动,使得训练者需要跟随着安装块移动击打打击板,进而的增加了实战的感觉,而有利与训练自身的体能,并且训练者击打打击板的时候,使得储气腔内气压增大当其内部气压达到压力阀开启阀值的时候,其内部气体冲入到伸缩腔内推动活塞以及伸缩杆伸出,模仿了对手出拳的动作,并且伸缩杆伸出一定长度后,在吸气部件与复位部件的配合下,进行复位等待下次伸出,从而训练者在训练时,需要注意躲避伸缩杆伸出,进而的锻炼了训练者的反应能力。
The invention discloses a mobile combat combat training device, comprising a base plate and an installation block, the base plate is provided with a displacement component for driving the movement of the installation block, and one end face of the installation block is provided with a pair of installation cavities, the installation cavities A connecting rod is slidably installed inside. The present invention is activated by the displacement component, so that the trainer needs to follow the installation block to move and hit the strike plate, thereby increasing the feeling of actual combat, which is beneficial to training one's own physical fitness, and when the trainer hits the strike plate, the air is stored. The air pressure in the cavity increases. When the internal air pressure reaches the opening threshold of the pressure valve, the internal air rushes into the telescopic cavity to push the piston and the telescopic rod out, imitating the action of the opponent punching, and the telescopic rod extends for a certain length. Then, under the cooperation of the suction part and the reset part, reset is performed and wait for the next extension, so that the trainer needs to pay attention to avoid the extension of the telescopic rod during training, thereby exercising the trainer's reaction ability.
Description
技术领域technical field
本发明涉及拳击训练装置技术领域,尤其涉及一种移动式搏击实战训练器。The invention relates to the technical field of boxing training devices, in particular to a mobile combat training device.
背景技术Background technique
现代搏击技术是融传统武术、散打、拳击、柔道、摔跤、泰拳、截拳道、空手道等于一体,专门用于制服敌人的综合性格斗武艺。它注重实用,追求实效,强调在最短的时间内,以最少的动作,将敌制服。长期以来,这项技术一直是各国执行特殊任务的军警、宪兵、特种部队等的必训课目,同时也被越来越多的人作为强身健体的选择。Modern fighting technology is a comprehensive fighting martial art that integrates traditional martial arts, Sanda, boxing, judo, wrestling, Muay Thai, Jeet Kune Do, and karate, and is specially used to subdue the enemy. It focuses on practicality, pursues practical results, and emphasizes subduing the enemy in the shortest time and with the fewest movements. For a long time, this technology has been a compulsory subject for military police, military police, special forces, etc. performing special tasks in various countries, and it is also used by more and more people as a choice for physical fitness.
在搏击训练的时候,通常需要使用一些训练器材,如以及打击靶,现有的训练打击靶通常位置是固定的,而且,从而在训练时,训练者只能站在一个区域反复击打,从而使得训练时,毫无仿真实战的感觉,也不利于锻炼训练者的体能,并且,现有的训练打击靶大多只具备受击,不能够模仿实战中的对手出拳,从而难以锻炼训练者的反应能力。During combat training, it is usually necessary to use some training equipment, such as hitting targets. The existing training hitting targets are usually fixed in position. Moreover, during training, the trainer can only stand in one area and repeatedly hit, thereby During training, there is no feeling of simulating actual combat, and it is not conducive to exercising the trainer's physical fitness. Moreover, most of the existing training targets are only capable of being hit, and cannot imitate the opponent's punches in actual combat, so it is difficult to exercise the trainer's ability. Response capability.
发明内容SUMMARY OF THE INVENTION
本发明的目的是为了解决现有技术中以下缺点现有的训练打击靶位置固定,从而导致训练者只能站在一个区域反复击打,使得训练时毫无仿真实战的感觉,并且也不利于锻炼训练者的以及现有的训练打击靶大多只具备受击,不能够模仿实战中的对手出拳,从而难以锻炼训练者的反应能力,而提出的一种移动式搏击实战训练器。The purpose of the present invention is to solve the following shortcomings in the prior art. The position of the existing training hitting target is fixed, so that the trainer can only stand in one area and repeatedly hit, so that there is no feeling of simulated actual combat during training, and it is not conducive to Most of the training targets for training trainers and existing training targets are only capable of being hit, and cannot imitate the opponent's punches in actual combat, so it is difficult to train the trainer's reaction ability, and a mobile combat combat training device is proposed.
为了实现上述目的,本发明采用了如下技术方案:In order to achieve the above object, the present invention adopts the following technical solutions:
一种移动式搏击实战训练器,包括底板与安装块,所述底板上设有用于驱动安装块移动的位移部件,所述安装块一端面开设有一对安装腔,所述安装腔内滑动安装有连接杆,所述连接杆远离集气壳的一端固定连接有打击板,所述安装块远离打击板的一端面固定连接有集气壳,所述安装腔远离打击板的一端设有用于增加集气壳内气压的集气部件,所述安装块两侧均设有用于训练训练者反应能力的训练部件;A mobile combat combat training device includes a base plate and an installation block, the base plate is provided with a displacement component for driving the movement of the installation block, and one end face of the installation block is provided with a pair of installation cavities, and the installation cavity is slidably installed. A connecting rod, one end of the connecting rod away from the gas collecting shell is fixedly connected with a striking plate, an end face of the mounting block away from the striking plate is fixedly connected with a gas collecting shell, and one end of the installation cavity away from the striking plate is provided with a set for increasing the collecting an air collecting part for the air pressure in the air shell, and both sides of the installation block are provided with training parts for training the trainer's reaction ability;
所述训练部件包括弧形杆,所述弧形杆通过固定块固定连接在安装块上,所述弧形杆内开设有伸缩腔,所述伸缩腔远离打击板的一端通过连通管与储气壳内部相连通,所述连通管内固定连接有压力阀,所述伸缩腔内部密封滑动连接有活塞,且靠近压力阀的一端设有用于活塞复位的复位部件,所述活塞远离压力阀的一端固定连接有弧形伸缩杆,所述储气壳上设有用于抽出伸缩腔内部气体的吸气部件。The training component includes an arc-shaped rod, the arc-shaped rod is fixedly connected to the installation block through a fixing block, a telescopic cavity is opened in the arc-shaped rod, and the end of the telescopic cavity away from the striking plate is connected to the gas storage through a communication pipe. The inside of the shell is communicated, a pressure valve is fixedly connected in the communication pipe, a piston is sealed and slidably connected in the telescopic cavity, and a reset part for resetting the piston is provided at one end close to the pressure valve, and the end of the piston away from the pressure valve is fixed An arc-shaped telescopic rod is connected, and the gas storage shell is provided with a suction part for extracting the gas inside the telescopic cavity.
优选的,所述位移部件包括固定条,所述固定条上开设有滑槽,所述滑槽两端壁之间转动连接有往复丝杆,所述固定条一端设有用于驱动往复丝杆转动的驱动部件,所述往复丝杆上螺纹套设有滑块,所述滑块侧壁与滑槽侧壁滑动连接,所述滑块顶壁通过支撑腿与安装块固定连接。Preferably, the displacement component includes a fixing bar, a chute is provided on the fixing bar, a reciprocating screw is rotatably connected between the walls of both ends of the chute, and one end of the fixing bar is provided with a drive for driving the reciprocating screw to rotate. A sliding block is threadedly sleeved on the reciprocating screw rod, the side wall of the sliding block is slidably connected with the side wall of the chute, and the top wall of the sliding block is fixedly connected with the mounting block through the support legs.
优选的,所述集气部件包括移动板,所述移动板固定连接在连接杆远离打击板的一端面,且侧壁与安装腔内壁密封滑动连接,所述移动板与安装腔底壁之间相抵有弹簧,所述安装腔底壁上开设有与储气壳内部相通的出气口,且开设有与外界相通的进气口,所述进气口与出气口内均设有用于限制气体流向的限流部件。Preferably, the gas collecting component includes a moving plate, the moving plate is fixedly connected to an end face of the connecting rod away from the striking plate, and the side wall is sealed and slidingly connected to the inner wall of the installation cavity, and the moving plate is connected to the bottom wall of the installation cavity. There are springs in contact with each other, the bottom wall of the installation cavity is provided with an air outlet that communicates with the inside of the gas storage shell, and an air inlet communicated with the outside is provided. Current limiting parts.
优选的,所述复位部件包括固定连接在伸缩腔内的固定杆与弹力绳,所述弹力绳一端与固定杆固定连接,且另一端与活塞端部固定连接。Preferably, the reset component includes a fixed rod and an elastic cord fixedly connected in the telescopic cavity, one end of the elastic cord is fixedly connected with the fixed rod, and the other end is fixedly connected with the end of the piston.
优选的,所述吸气部件包括固定连接在集气壳上的抽气泵,所述抽气泵通过抽气管与伸缩腔靠近压力阀一端相连通,所述弧形杆上设有用于启动抽气泵开启的启动开关。Preferably, the air suction component includes an air suction pump fixedly connected to the air collecting shell, the air suction pump is communicated with the end of the expansion chamber close to the pressure valve through the air suction pipe, and the arc rod is provided with an air suction pump for starting the air suction pump to open. start switch.
优选的,所述启动开关包括指令端与触点,所述指令端固定连接在伸缩腔的侧壁上,且贴近固定块,所述触点固定连接伸缩杆上,且贴近活塞,所述当触点移动指令端所在位置的时候,抽气泵启动工作。Preferably, the start switch includes a command end and a contact, the command end is fixedly connected to the side wall of the telescopic cavity and is close to the fixing block, the contact is fixedly connected to the telescopic rod and is close to the piston, the when When the contact moves to the position of the command end, the air pump starts to work.
优选的,所述限流部件包括单向进气阀与单向排气阀,所述单向进气阀固定连接在进气口中,所述单向排气阀固定连接在出气口中。Preferably, the flow restricting component includes a one-way intake valve and a one-way exhaust valve, the one-way intake valve is fixedly connected to the air inlet, and the one-way exhaust valve is fixedly connected to the air outlet.
优选的,所述集气壳内固定连接有分隔板,所述分隔板将储气腔内空间等分,两个出气口位于分隔板的两侧。Preferably, a partition plate is fixedly connected in the gas collecting shell, the partition plate equally divides the space in the gas storage cavity, and the two air outlets are located on both sides of the partition plate.
优选的,所述打击板远离连接杆的一端固定连接有缓冲垫,所述伸缩杆远离活塞的一端固定连接有拳套,所述缓冲垫与拳套均采用海绵材质制作。Preferably, a buffer pad is fixedly connected to the end of the strike plate away from the connecting rod, and a fist glove is fixedly connected to the end of the telescopic rod away from the piston, and the buffer pad and the glove are both made of sponge material.
优选的,所述驱动部件包括电机,所述电机固定连接在底板上,且输出轴与往复丝杆一端固定连接。Preferably, the driving component includes a motor, the motor is fixedly connected to the base plate, and the output shaft is fixedly connected to one end of the reciprocating screw.
与现有技术相比,本发明的有益效果是:Compared with the prior art, the beneficial effects of the present invention are:
1、在使用该训练装置的时候,训练者通过启动电机,使得电机带动往复丝杆转动,因为滑块螺纹套设在往复丝杆上,并且因为滑块侧壁与滑槽侧壁滑动连接,从而往复丝杆转动,滑块只能水平方向移动,不能翻转,并且因为滑块上端通过支撑腿固定连接有安装块,以及因为安装块上开设有一对安装腔,安装腔内滑动安装有连接杆,连接杆远离集气壳的一端固定连接有打击板,从而当滑块移动的时候,安装块跟随着滑块同时移动,进而的训练者想要击打到打击板,需要跟随着安装块同时移动,进而训练人员在训练时,一方面能由于安装块在移动而增加了实战的感觉,一方面增加了体能的损耗,从而有利与训练自身的体能;1. When using the training device, the trainer starts the motor to make the motor drive the reciprocating screw to rotate, because the slider is threaded on the reciprocating screw, and because the side wall of the slider is slidably connected to the side wall of the chute, As a result, the reciprocating screw rotates, the slider can only move in the horizontal direction, and cannot be turned over, and because the upper end of the slider is fixedly connected with the mounting block through the support legs, and because the mounting block is provided with a pair of mounting cavities, the connecting rod is slidably installed in the mounting cavity. , the end of the connecting rod away from the gas collecting shell is fixedly connected with the strike plate, so that when the slider moves, the installation block moves with the slider at the same time, and then the trainer wants to hit the strike plate, and needs to follow the installation block at the same time. Moving, and then when the trainer is training, on the one hand, the installation block is moving, which increases the feeling of actual combat, on the other hand, it increases the loss of physical energy, which is beneficial to training their own physical fitness;
2、当在训练者击打打击板的时候,因连接杆滑动连接在安装腔中,以及连接杆远离打击板的一端设有集气部件,从而当使用击打打击板的时候,集气部件跟随着连接杆移动时将进行集气,并且将气体挤压进入到储气腔内,以及储气腔通过连通管与伸缩腔相连通,从而当储气腔内的气压达到了连通管内压力阀开启阀值的时候,储气腔内气体将冲进伸缩腔内,进而的因为伸缩腔内密封滑动连接有活塞,活塞远离压力阀的一端固定连接有弧形伸缩杆,进而的当气体进入将活塞以及伸缩杆推动,从而模仿了实战中对手的出拳,当伸缩杆伸出一段距离后,吸气部件工作将伸缩腔内气体吸出,使得其内部气压减小,并且伸缩杆在复位部件的作用下复位,等待下次压力阀开启伸出,因此训练者在训练时,需要注意伸缩杆的伸出,并且躲避伸缩杆伸出,进而的锻炼了训练者的反应能力。2. When the trainer hits the pad, the connecting rod is slidably connected in the installation cavity, and the end of the connecting rod away from the pad is provided with an air collecting part, so that when the hitting pad is used, the air collecting part is When the connecting rod moves, the gas will be collected, and the gas will be squeezed into the gas storage cavity, and the gas storage cavity will be communicated with the telescopic cavity through the communication tube, so that when the air pressure in the air storage cavity reaches the pressure valve in the communication tube When the threshold is opened, the gas in the gas storage chamber will rush into the expansion chamber, and then because the expansion chamber is sealed and slidably connected with a piston, the end of the piston away from the pressure valve is fixedly connected with an arc-shaped expansion rod, and then when the gas enters the The piston and the telescopic rod are pushed to imitate the opponent's punch in actual combat. When the telescopic rod is extended for a certain distance, the suction part works to suck out the gas in the telescopic cavity, so that the internal air pressure is reduced, and the telescopic rod is in the reset part. Under the action of reset, wait for the next pressure valve to open and extend, so the trainer needs to pay attention to the extension of the telescopic rod during training, and avoid the extension of the telescopic rod, thereby exercising the trainer's ability to respond.
附图说明Description of drawings
图1为本发明提出的一种移动式搏击实战训练器的俯视剖视结构示意图;Fig. 1 is the top sectional structure schematic diagram of a kind of mobile combat combat training device proposed by the present invention;
图2为本发明提出的一种移动式搏击实战训练器的左视结构示意图;Fig. 2 is a left-view structural schematic diagram of a mobile combat training device proposed by the present invention;
图3为本发明提出的一种移动式搏击实战训练器的部分俯视剖视结构示意图;Fig. 3 is the partial top view sectional structure schematic diagram of a kind of mobile combat combat training device proposed by the present invention;
图4为图1中A的局部放大结构示意图;Fig. 4 is the partial enlarged structural schematic diagram of A in Fig. 1;
图5为图1中B的局部放大结构示意图。FIG. 5 is a partial enlarged structural schematic diagram of B in FIG. 1 .
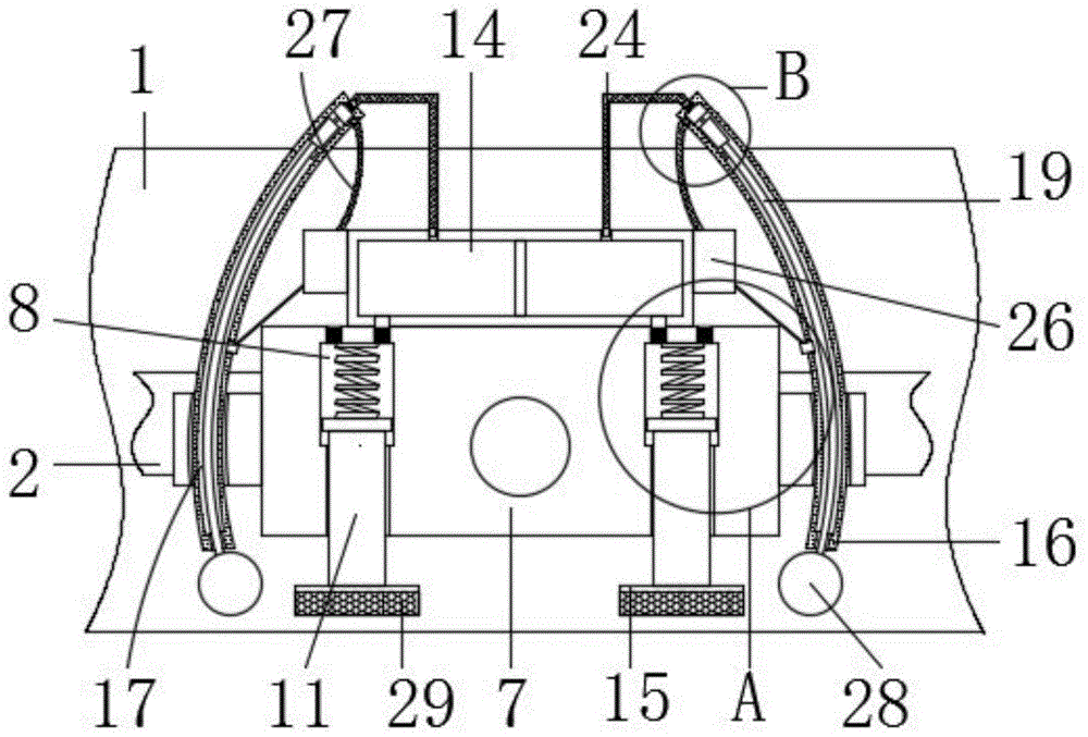
图中:1底板、2固定条、3滑槽、4往复丝杆、5滑块、6支撑腿、7安装块、8安装腔、9移动板、10弹簧、11连接杆、12出气口、13进气口、14储气腔、15打击板、16弧形杆、17伸缩腔、18活塞、19伸缩杆、20指令端、21压力阀、22固定杆、23弹力绳、24连通管、25触点、26抽气泵、27抽气管、28拳套、29缓冲垫、30电机。In the picture: 1 bottom plate, 2 fixed strip, 3 chute, 4 reciprocating screw rod, 5 slider, 6 support legs, 7 mounting block, 8 mounting cavity, 9 moving plate, 10 spring, 11 connecting rod, 12 air outlet, 13 air inlet, 14 air storage cavity, 15 strike plate, 16 arc rod, 17 telescopic cavity, 18 piston, 19 telescopic rod, 20 command end, 21 pressure valve, 22 fixed rod, 23 elastic rope, 24 connecting pipe, 25 contacts, 26 air pumps, 27 air tubes, 28 gloves, 29 cushions, 30 motors.
具体实施方式Detailed ways
下面将结合本发明实施例中的附图,对本发明实施例中的技术方案进行清楚、完整地描述,显然,所描述的实施例仅仅是本发明一部分实施例,而不是全部的实施例。The technical solutions in the embodiments of the present invention will be clearly and completely described below with reference to the accompanying drawings in the embodiments of the present invention. Obviously, the described embodiments are only a part of the embodiments of the present invention, but not all of the embodiments.
在本发明的描述中,需要理解的是,术语“中心”、“纵向”、“横向”、“长度”、“宽度”、“厚度”、“上”、“下”、“前”、“后”、“左”、“右”、“竖直”、“水平”、“顶”、“底”“内”、“外”、“顺时针”、“逆时针”等指示的方位或位置关系为基于附图所示的方位或位置关系,仅是为了便于描述本发明和简化描述,而不是指示或暗示所指的装置或元件必须具有特定的方位、以特定的方位构造和操作,因此不能理解为对本发明的限制。In the description of the present invention, it should be understood that the terms "center", "longitudinal", "lateral", "length", "width", "thickness", "upper", "lower", "front", " Rear", "left", "right", "vertical", "horizontal", "top", "bottom", "inside", "outside", "clockwise", "counterclockwise", etc. The relationship is based on the orientation or positional relationship shown in the drawings, which is only for the convenience of describing the present invention and simplifying the description, rather than indicating or implying that the device or element referred to must have a particular orientation, be constructed and operated in a particular orientation, and therefore It should not be construed as a limitation of the present invention.
此外,术语“第一”、“第二”仅用于描述目的,而不能理解为指示或暗示相对重要性或者隐含指明所指示的技术特征的数量。由此,限定有“第一”、“第二”的特征可以明示或者隐含地包括一个或者更多个该特征。在本发明的描述中,“多个”的含义是两个或两个以上,除非另有明确具体的限定。In addition, the terms "first" and "second" are only used for descriptive purposes, and should not be construed as indicating or implying relative importance or implying the number of indicated technical features. Thus, a feature defined as "first" or "second" may expressly or implicitly include one or more of that feature. In the description of the present invention, "plurality" means two or more, unless otherwise expressly and specifically defined.
在本发明中,除非另有明确的规定和限定,术语“安装”、“相连”、“连接”、“固定”等术语应做广义理解,例如,可以是固定连接,也可以是可拆卸连接,或一体地连接;可以是机械连接,也可以是电连接;可以是直接相连,也可以通过中间媒介间接相连,可以是两个元件内部的连通。对于本领域的普通技术人员而言,可以根据具体情况理解上述术语在本发明中的具体含义。In the present invention, unless otherwise expressly specified and limited, the terms "installed", "connected", "connected", "fixed" and other terms should be understood in a broad sense, for example, it may be a fixed connection or a detachable connection , or integrally connected; it can be a mechanical connection or an electrical connection; it can be a direct connection, or an indirect connection through an intermediate medium, or the internal communication between the two components. For those of ordinary skill in the art, the specific meanings of the above terms in the present invention can be understood according to specific situations.
参照图1-5,一种移动式搏击实战训练器,包括底板1与安装块7,底板1上设有用于驱动安装块7移动的位移部件,安装块7一端面开设有一对安装腔8,安装腔8内滑动安装有连接杆11,连接杆11远离集气壳的一端固定连接有打击板15,安装块7远离打击板15的一端面固定连接有集气壳,安装腔8远离打击板15的一端设有用于增加集气壳内气压的集气部件,安装块7两侧均设有用于训练训练者反应能力的训练部件;1-5, a mobile combat training device includes a
训练部件包括弧形杆16,弧形杆16通过固定块固定连接在安装块7上,弧形杆16内开设有伸缩腔17,伸缩腔17远离打击板15的一端通过连通管24与储气壳内部相连通,连通管24内固定连接有压力阀21,伸缩腔17内部密封滑动连接有活塞18,且靠近压力阀21的一端设有用于活塞18复位的复位部件,活塞18远离压力阀21的一端固定连接有弧形伸缩杆19,储气壳上设有用于抽出伸缩腔17内部气体的吸气部件。The training component includes an arc-
本发明中,在使用该训练装置的时候,训练者通过启动电机30,使得电机30带动往复丝杆4转动,因为滑块5螺纹套设在往复丝杆4上,并且因为滑块5侧壁与滑槽3侧壁滑动连接,从而往复丝杆4转动,滑块5只能水平方向移动,不能翻转,并且因为滑块5上端通过支撑腿6固定连接有安装块7,以及因为安装块7上开设有一对安装腔8,安装腔8内滑动安装有连接杆11,连接杆11远离集气壳的一端固定连接有打击板15,从而当滑块5移动的时候,安装块7跟随着滑块5同时移动,进而的训练者想要击打到打击板15,需要跟随着安装块7同时移动,进而训练人员在训练时,一方面能由于安装块7在移动而增加了实战的感觉,一方面增加了体能的损耗,从而有利与训练自身的体能;In the present invention, when using the training device, the trainer activates the
当在训练者击打打击板15的时候,因连接杆11滑动连接在安装腔8中,以及连接杆11远离打击板15的一端设有集气部件,从而当使用击打打击板15的时候,集气部件跟随着连接杆11移动时将进行集气,并且将气体挤压进入到储气腔14内,以及储气腔14通过连通管24与伸缩腔17相连通,从而当储气腔14内的气压达到了连通管24内压力阀21开启阀值的时候,储气腔14内气体将冲进伸缩腔17内,进而的因为伸缩腔17内密封滑动连接有活塞18,活塞18远离压力阀21的一端固定连接有弧形伸缩杆19,进而的当气体进入将活塞18以及伸缩杆19推动,从而模仿了实战中对手的出拳,当伸缩杆19伸出一段距离后,吸气部件工作将伸缩腔17内气体吸出,使得其内部气压减小,并且伸缩杆19在复位部件的作用下复位,等待下次压力阀21开启伸出,因此训练者在训练时,需要注意伸缩杆19的伸出,并且躲避伸缩杆19伸出,进而的锻炼了训练者的反应能力。When the trainer hits the beating
本实施例中优选的技术方案,位移部件包括固定条2,固定条2上开设有滑槽3,滑槽3两端壁之间转动连接有往复丝杆4,固定条2一端设有用于驱动往复丝杆4转动的驱动部件,往复丝杆4上螺纹套设有滑块5,滑块5侧壁与滑槽3侧壁滑动连接,滑块5顶壁通过支撑腿6与安装块7固定连接,这样能够使得滑块5在滑槽3中水平往复移动,从而使得安装块7也在不停的移动。In the preferred technical solution in this embodiment, the displacement component includes a fixing
本实施例中优选的技术方案,集气部件包括移动板9,移动板9固定连接在连接杆11远离打击板15的一端面,且侧壁与安装腔8内壁密封滑动连接,移动板9与安装腔8底壁之间相抵有弹簧10,安装腔8底壁上开设有与储气壳内部相通的出气口12,且开设有与外界相通的进气口13,进气口13与出气口12内均设有用于限制气体流向的限流部件,当训练者击打打击板15的时候,连接杆11向内部移动,从而使得移动板9将安装腔8内的气体从出气口12挤压进入到储气腔14内,并且训练者收拳的时候,移动板9在弹簧10的作用下复位,从而外界气体从进气口13被吸入安装腔8内,从而达到了集气的效果。In the preferred technical solution in this embodiment, the gas collecting component includes a moving
本实施例中优选的技术方案,复位部件包括固定连接在伸缩腔17内的固定杆22与弹力绳23,弹力绳23一端与固定杆22固定连接,且另一端与活塞18端部固定连接,弹力绳23能够在伸缩腔17内没有气体时,将活塞18拉回复位。In the preferred technical solution in this embodiment, the reset component includes a fixed
本实施例中优选的技术方案,吸气部件包括固定连接在集气壳上的抽气泵26,抽气泵26通过抽气管27与伸缩腔17靠近压力阀21一端相连通,弧形杆16上设有用于启动抽气泵26开启的启动开关,当启动开关呈闭合状态的时候,抽气泵26工作,从而能够将伸缩腔17内的气体抽出,使得复位部件能够将活塞18进行复位。In the preferred technical solution in this embodiment, the air suction component includes an
本实施例中优选的技术方案,启动开关包括指令端20与触点25,指令端20固定连接在伸缩腔17的侧壁上,且贴近固定块,触点25固定连接伸缩杆19上,且贴近活塞18,当触点25移动指令端20在位置的时候,抽气泵26启动工作,这样能够使得伸缩杆19能够伸出一段距离,从而极大的模仿了实战中对手出拳的情况,进而锻炼了训练者的反应能力。In the preferred technical solution in this embodiment, the start switch includes a
本实施例中优选的技术方案,限流部件包括单向进气阀与单向排气阀,单向进气阀固定连接在进气口13中,单向排气阀固定连接在出气口12中,这样能够限制气体的流向,从而使得安装腔8只能从外界吸入气体,并且吸入的气体能够排放进入到储气腔14中。In the preferred technical solution in this embodiment, the flow restricting component includes a one-way intake valve and a one-way exhaust valve, the one-way intake valve is fixedly connected to the
本实施例中优选的技术方案,集气壳内固定连接有分隔板,分隔板将储气腔14内空间等分,两个出气口12位于分隔板的两侧,这样能够使得随着训练者击打两个打击板15的频率不同,使得分隔板两侧的气压不同,进而的使得两个伸缩杆19不会同时伸出,从而增加了训练的难度,更加有利锻炼训练者的反应能力。In the preferred technical solution in this embodiment, a partition plate is fixedly connected in the gas collecting shell, the partition plate divides the space in the
本实施例中优选的技术方案,打击板15远离连接杆11的一端固定连接有缓冲垫29,伸缩杆19远离活塞18的一端固定连接有拳套28,缓冲垫29与拳套28均采用海绵材质制作,缓冲垫29以及拳套28使用海绵材质制作,能够训练者击打打击板15的时候,起到一定的保护训练人员拳头的作用,拳套28能够防止将伸缩杆19击伤训练者。In the preferred technical solution in this embodiment, a
本实施例中优选的技术方案,驱动部件包括电机30,电机30固定连接在底板1上,且输出轴与往复丝杆4一端固定连接,电机30起到提供动力驱动往复丝杆4转动的作用。In the preferred technical solution in this embodiment, the driving component includes a
以上所述,仅为本发明较佳的具体实施方式,但本发明的保护范围并不局限于此,任何熟悉本技术领域的技术人员在本发明揭露的技术范围内,根据本发明的技术方案及其发明构思加以等同替换或改变,都应涵盖在本发明的保护范围之内。The above description is only a preferred embodiment of the present invention, but the protection scope of the present invention is not limited to this. The equivalent replacement or change of the inventive concept thereof shall be included within the protection scope of the present invention.
Claims (10)
Priority Applications (1)
| Application Number | Priority Date | Filing Date | Title |
|---|---|---|---|
| CN202110134667.0A CN112742011A (en) | 2021-01-29 | 2021-01-29 | Movable fighting actual combat trainer |
Applications Claiming Priority (1)
| Application Number | Priority Date | Filing Date | Title |
|---|---|---|---|
| CN202110134667.0A CN112742011A (en) | 2021-01-29 | 2021-01-29 | Movable fighting actual combat trainer |
Publications (1)
| Publication Number | Publication Date |
|---|---|
| CN112742011A true CN112742011A (en) | 2021-05-04 |
Family
ID=75653339
Family Applications (1)
| Application Number | Title | Priority Date | Filing Date |
|---|---|---|---|
| CN202110134667.0A Pending CN112742011A (en) | 2021-01-29 | 2021-01-29 | Movable fighting actual combat trainer |
Country Status (1)
| Country | Link |
|---|---|
| CN (1) | CN112742011A (en) |
Cited By (1)
| Publication number | Priority date | Publication date | Assignee | Title |
|---|---|---|---|---|
| WO2025155554A1 (en) * | 2023-01-25 | 2025-07-24 | Brewer Andrew D | Door or wall mount for pro training boxing device |
Citations (5)
| Publication number | Priority date | Publication date | Assignee | Title |
|---|---|---|---|---|
| CN205412154U (en) * | 2016-03-18 | 2016-08-03 | 张彤 | Fighting actual combat training device |
| CN206631141U (en) * | 2017-04-11 | 2017-11-14 | 国武时代国际文化传媒(北京)有限公司 | Free combat fight exercise anti-fight device |
| CN109224411A (en) * | 2018-10-27 | 2019-01-18 | 蒋远民 | A kind of confrontation of basketball, which is laid up, stops training aids |
| CN109331449A (en) * | 2018-11-23 | 2019-02-15 | 张功溪 | A kind of boxing defence training station |
| CN109847314A (en) * | 2019-03-06 | 2019-06-07 | 浙江工业职业技术学院 | A mechanical boxing defense exercise table |
-
2021
- 2021-01-29 CN CN202110134667.0A patent/CN112742011A/en active Pending
Patent Citations (5)
| Publication number | Priority date | Publication date | Assignee | Title |
|---|---|---|---|---|
| CN205412154U (en) * | 2016-03-18 | 2016-08-03 | 张彤 | Fighting actual combat training device |
| CN206631141U (en) * | 2017-04-11 | 2017-11-14 | 国武时代国际文化传媒(北京)有限公司 | Free combat fight exercise anti-fight device |
| CN109224411A (en) * | 2018-10-27 | 2019-01-18 | 蒋远民 | A kind of confrontation of basketball, which is laid up, stops training aids |
| CN109331449A (en) * | 2018-11-23 | 2019-02-15 | 张功溪 | A kind of boxing defence training station |
| CN109847314A (en) * | 2019-03-06 | 2019-06-07 | 浙江工业职业技术学院 | A mechanical boxing defense exercise table |
Cited By (1)
| Publication number | Priority date | Publication date | Assignee | Title |
|---|---|---|---|---|
| WO2025155554A1 (en) * | 2023-01-25 | 2025-07-24 | Brewer Andrew D | Door or wall mount for pro training boxing device |
Similar Documents
| Publication | Publication Date | Title |
|---|---|---|
| CN110665200B (en) | A kind of offensive simulation training device for basketball force defense and using method thereof | |
| CN108939485A (en) | Wushu simulated training system | |
| CN108404383B (en) | Reaction training equipment for martial arts training | |
| CN112742011A (en) | Movable fighting actual combat trainer | |
| CN205850152U (en) | A kind of grapple training device | |
| CN109091839B (en) | A basketball close-fitting defense against offense training device | |
| CN110280004A (en) | A kind of karate training mate robot | |
| CN205287536U (en) | Wooden man stake that special exercise check kept off | |
| CN111603740B (en) | Breaking-away trainer for basketball confrontation breakthrough and training method | |
| CN109011437A (en) | A kind of structure improved golf club | |
| CN209541540U (en) | One kind is travelled pistol | |
| CN210021101U (en) | A training device for football | |
| JP7356751B1 (en) | Sports physical training equipment | |
| CN119258512A (en) | A basketball training stand | |
| CN115138055A (en) | Boxing speed ball support for boxing exercise | |
| CN209900612U (en) | Psychological education is with experiential formula decompression apparatus | |
| CN116059610A (en) | Multifunctional Sanda training device for Sanda training and method of use thereof | |
| CN203329317U (en) | Novel robot used for martial art fitness training | |
| TWM434194U (en) | Recoil shock generating structure for toy gun | |
| CN114594858A (en) | AR (augmented reality) head-mounted equipment, AR interaction system and interaction method of AR scene | |
| CN209060486U (en) | A rapid response device for football training | |
| CN202860061U (en) | Ground breaststroke training plane | |
| CN221905680U (en) | A mobile football target | |
| CN111658928A (en) | Severe patient breathing equipment | |
| CN203227284U (en) | A shot counting device |
Legal Events
| Date | Code | Title | Description |
|---|---|---|---|
| PB01 | Publication | ||
| PB01 | Publication | ||
| SE01 | Entry into force of request for substantive examination | ||
| SE01 | Entry into force of request for substantive examination | ||
| RJ01 | Rejection of invention patent application after publication |
Application publication date: 20210504 |
|
| RJ01 | Rejection of invention patent application after publication |
