CN111329568B - Flexible combined fixing device for spine - Google Patents
Flexible combined fixing device for spine Download PDFInfo
- Publication number
- CN111329568B CN111329568B CN202010257227.XA CN202010257227A CN111329568B CN 111329568 B CN111329568 B CN 111329568B CN 202010257227 A CN202010257227 A CN 202010257227A CN 111329568 B CN111329568 B CN 111329568B
- Authority
- CN
- China
- Prior art keywords
- fixing
- nail
- connecting rods
- ear
- connecting rod
- Prior art date
- Legal status (The legal status is an assumption and is not a legal conclusion. Google has not performed a legal analysis and makes no representation as to the accuracy of the status listed.)
- Active
Links
- 210000005069 ears Anatomy 0.000 claims description 34
- 241000587161 Gomphocarpus Species 0.000 claims description 29
- 239000013013 elastic material Substances 0.000 claims description 6
- 230000002093 peripheral effect Effects 0.000 claims description 2
- 238000000034 method Methods 0.000 abstract description 4
- 238000011084 recovery Methods 0.000 abstract description 4
- 238000001356 surgical procedure Methods 0.000 abstract description 4
- 239000000463 material Substances 0.000 abstract description 2
- 206010039722 scoliosis Diseases 0.000 description 6
- 238000010586 diagram Methods 0.000 description 3
- 210000000988 bone and bone Anatomy 0.000 description 2
- 206010033799 Paralysis Diseases 0.000 description 1
- 230000005856 abnormality Effects 0.000 description 1
- 230000004308 accommodation Effects 0.000 description 1
- 238000001514 detection method Methods 0.000 description 1
- 201000010099 disease Diseases 0.000 description 1
- 208000037265 diseases, disorders, signs and symptoms Diseases 0.000 description 1
- 230000004217 heart function Effects 0.000 description 1
- 230000007774 longterm Effects 0.000 description 1
- 230000004199 lung function Effects 0.000 description 1
- 230000002980 postoperative effect Effects 0.000 description 1
- 210000000278 spinal cord Anatomy 0.000 description 1
- 238000006467 substitution reaction Methods 0.000 description 1
Images
Classifications
-
- A—HUMAN NECESSITIES
- A61—MEDICAL OR VETERINARY SCIENCE; HYGIENE
- A61B—DIAGNOSIS; SURGERY; IDENTIFICATION
- A61B17/00—Surgical instruments, devices or methods
- A61B17/56—Surgical instruments or methods for treatment of bones or joints; Devices specially adapted therefor
- A61B17/58—Surgical instruments or methods for treatment of bones or joints; Devices specially adapted therefor for osteosynthesis, e.g. bone plates, screws or setting implements
- A61B17/68—Internal fixation devices, including fasteners and spinal fixators, even if a part thereof projects from the skin
- A61B17/70—Spinal positioners or stabilisers, e.g. stabilisers comprising fluid filler in an implant
- A61B17/7074—Tools specially adapted for spinal fixation operations other than for bone removal or filler handling
-
- A—HUMAN NECESSITIES
- A61—MEDICAL OR VETERINARY SCIENCE; HYGIENE
- A61B—DIAGNOSIS; SURGERY; IDENTIFICATION
- A61B17/00—Surgical instruments, devices or methods
- A61B17/56—Surgical instruments or methods for treatment of bones or joints; Devices specially adapted therefor
- A61B17/58—Surgical instruments or methods for treatment of bones or joints; Devices specially adapted therefor for osteosynthesis, e.g. bone plates, screws or setting implements
- A61B17/68—Internal fixation devices, including fasteners and spinal fixators, even if a part thereof projects from the skin
- A61B17/84—Fasteners therefor or fasteners being internal fixation devices
- A61B17/86—Pins or screws or threaded wires; nuts therefor
- A61B17/8605—Heads, i.e. proximal ends projecting from bone
- A61B17/861—Heads, i.e. proximal ends projecting from bone specially shaped for gripping driver
- A61B17/862—Heads, i.e. proximal ends projecting from bone specially shaped for gripping driver at the periphery of the screw head
-
- A—HUMAN NECESSITIES
- A61—MEDICAL OR VETERINARY SCIENCE; HYGIENE
- A61B—DIAGNOSIS; SURGERY; IDENTIFICATION
- A61B17/00—Surgical instruments, devices or methods
- A61B17/56—Surgical instruments or methods for treatment of bones or joints; Devices specially adapted therefor
- A61B17/58—Surgical instruments or methods for treatment of bones or joints; Devices specially adapted therefor for osteosynthesis, e.g. bone plates, screws or setting implements
- A61B17/68—Internal fixation devices, including fasteners and spinal fixators, even if a part thereof projects from the skin
- A61B17/84—Fasteners therefor or fasteners being internal fixation devices
- A61B17/86—Pins or screws or threaded wires; nuts therefor
- A61B17/8625—Shanks, i.e. parts contacting bone tissue
-
- A—HUMAN NECESSITIES
- A61—MEDICAL OR VETERINARY SCIENCE; HYGIENE
- A61B—DIAGNOSIS; SURGERY; IDENTIFICATION
- A61B17/00—Surgical instruments, devices or methods
- A61B17/56—Surgical instruments or methods for treatment of bones or joints; Devices specially adapted therefor
- A61B17/58—Surgical instruments or methods for treatment of bones or joints; Devices specially adapted therefor for osteosynthesis, e.g. bone plates, screws or setting implements
- A61B17/68—Internal fixation devices, including fasteners and spinal fixators, even if a part thereof projects from the skin
- A61B17/84—Fasteners therefor or fasteners being internal fixation devices
- A61B17/86—Pins or screws or threaded wires; nuts therefor
- A61B2017/8655—Pins or screws or threaded wires; nuts therefor with special features for locking in the bone
Landscapes
- Health & Medical Sciences (AREA)
- Orthopedic Medicine & Surgery (AREA)
- Life Sciences & Earth Sciences (AREA)
- Surgery (AREA)
- Neurology (AREA)
- Heart & Thoracic Surgery (AREA)
- Engineering & Computer Science (AREA)
- Biomedical Technology (AREA)
- Nuclear Medicine, Radiotherapy & Molecular Imaging (AREA)
- Medical Informatics (AREA)
- Molecular Biology (AREA)
- Animal Behavior & Ethology (AREA)
- General Health & Medical Sciences (AREA)
- Public Health (AREA)
- Veterinary Medicine (AREA)
- Orthopedics, Nursing, And Contraception (AREA)
- Surgical Instruments (AREA)
Abstract
本发明涉及一种脊柱的柔性组合式固定装置。本发明设置每个固定钉可以连接两个连接杆,从而使得相邻的固定钉之间的连接方式非常稳固,而多个固定钉之间的连接又相对具有柔性,更加适用于实际脊柱手术后的恢复。两个连接杆都和固定钉连接,但是两个连接之间具有一定的弹性和柔性,如果选择间隔的连接方式,即三个固定钉由两个连接杆连接的方式,则可以保证一定的柔性;如果选择相邻的两个固定钉由两个连接杆连接的方式,则可以增大连接的稳固性,降低每一根连接杆的强度需求,从而对于连接杆的材料选择和体积等都可以放宽。
The invention relates to a flexible combined fixation device for the spine. In the present invention, each fixing nail can be connected to two connecting rods, so that the connection between adjacent fixing nails is very stable, and the connection between multiple fixing nails is relatively flexible, which is more suitable for actual spinal surgery. recovery. The two connecting rods are connected with the fixing nails, but there is a certain degree of elasticity and flexibility between the two connections. If you choose a spaced connection method, that is, three fixing nails are connected by two connecting rods, you can ensure a certain degree of flexibility. ; If you choose the way that two adjacent fixing nails are connected by two connecting rods, you can increase the stability of the connection and reduce the strength requirements of each connecting rod, so that the material selection and volume of the connecting rods can be adjusted. relax.
Description
技术领域technical field
本发明涉及医疗器械领域,尤其涉及一种脊柱的柔性组合式固定装置。The invention relates to the field of medical instruments, in particular to a flexible combined fixation device for the spine.
背景技术Background technique
脊柱侧凸俗称脊柱侧弯,它是一种脊柱的三维畸形,包括冠状位、矢状位和轴位上的序列异常。正常人的脊柱从后面看应该是一条直线,并且躯干两侧对称。较重的脊柱侧凸则会影响婴幼儿及青少年的生长发育,使身体变形,严重者可以影响心肺功能、甚至累及脊髓,造成瘫痪。轻度的脊柱侧凸可以观察,严重者需要手术治疗。脊柱侧凸是危害青少年和儿童的常见疾病,关键是要早发现、早治疗。较重的脊柱侧弯需要进行矫正手术,而手术时需要对脊柱进行固定。Scoliosis, commonly known as scoliosis, is a three-dimensional deformity of the spine, including sequence abnormalities in the coronal, sagittal and axial positions. The spine of a normal person should be straight when viewed from the back, and the sides of the trunk should be symmetrical. Severe scoliosis will affect the growth and development of infants and adolescents, deforming the body. In severe cases, it can affect the heart and lung function, and even involve the spinal cord, resulting in paralysis. Mild scoliosis can be observed, and severe cases require surgical treatment. Scoliosis is a common disease that endangers adolescents and children, and the key is early detection and early treatment. Severe scoliosis requires corrective surgery, which requires immobilization of the spine.
CN202942196U公开了一种脊柱柔性固定装置,包括有微调旋钮、柔性段、定位上螺钉、连接横杆和锁定螺钉。两个相同形式的锁定螺钉是一种脊柱柔性固定装置的主体件,锁定螺钉的下部是螺杆,螺杆上设置有螺纹,锁定螺钉的上端是螺钉端头,螺钉端头设置有横向的通孔,穿过两个锁定螺钉上的通孔,设置有连接横杆,连接横杆的居中段设置为柔性段,在连接横杆的两端,设置有微调旋钮。可以为脊柱柔性固定提供长期的耐久性和稳定性。CN202942196U discloses a flexible spinal fixation device, which includes a fine-tuning knob, a flexible section, a positioning screw, a connecting cross bar and a locking screw. Two locking screws of the same form are the main parts of a spinal flexible fixation device. The lower part of the locking screw is a screw rod, and the screw rod is provided with threads. The upper end of the locking screw is a screw end, and the screw end is provided with a transverse through hole. Through the through holes on the two locking screws, a connecting cross bar is provided, the middle section of the connecting cross bar is set as a flexible section, and the two ends of the connecting cross bar are provided with fine-tuning knobs. Can provide long-term durability and stability for spinal flexible fixation.
现有的脊柱固定装置都是刚性的固定连接,但是在实际使用时,由于脊柱骨块之间的连接需具有一定程度的弹性,因此纯刚性的连接一方面恢复较慢,另一方面患者实际使用中不适感比较强。The existing spinal fixation devices are all rigid fixed connections, but in actual use, because the connection between the spinal bone blocks needs to have a certain degree of elasticity, the purely rigid connection on the one hand recovers slowly, and on the other hand, the patient's actual There is a strong sense of discomfort during use.
发明内容Contents of the invention
针对上述内容,为解决上述问题,提供一种脊柱的柔性组合式固定装置,包括固定钉和连接杆:In view of the above content, in order to solve the above problems, a flexible combined fixation device for the spine is provided, including fixation nails and connecting rods:
固定钉的数量和连接杆的数量均为多个,固定钉包括钉体和钉头,钉体用于钉入脊椎骨,钉头用于固定连接杆;连接杆包括头端和尾端,头端和尾端的形状一致;两个固定钉可固定连接一个连接杆的头端和尾端,且每一个钉头一次性可以最多固定两个连接杆;The number of fixing nails and the number of connecting rods are multiple. The fixing nails include a nail body and a nail head. The nail body is used to nail into the vertebra, and the nail head is used to fix the connecting rods; Consistent with the shape of the tail end; two fixing nails can be fixedly connected to the head end and tail end of a connecting rod, and each nail head can fix up to two connecting rods at one time;
每个固定钉上连接两个连接杆的位置可以独立的锁定连接杆,单固定钉上连接两个连接杆的位置之间柔性连接。The position where two connecting rods are connected on each fixing nail can independently lock the connecting rods, and the position where two connecting rods are connected on a single fixing nail is flexibly connected.
钉体为钉状,周壁上设置有螺纹,可以旋入脊椎骨;钉体的一端设置钉头,钉头包括钉头座、第一固定部和第二固定部;钉头座和钉体一体成型,其轴向的直径大于钉体的直径;钉头座上设置第一固定部,第一固定部为两个从钉头座的边缘沿着钉头座轴向凸出的第一耳,两个第一耳之间可以垂直于固定钉的轴向插入连接杆,即两个第一耳之间的距离大于连接杆的直径;两个第一耳之间设置有螺纹,可以沿着固定钉的轴向旋入第一固定块,第一固定块用于压住在第一耳之间插入的连接杆。The nail body is nail-shaped, and there are threads on the surrounding wall, which can be screwed into the spine; one end of the nail body is provided with a nail head, and the nail head includes a nail head seat, a first fixing part and a second fixing part; the nail head seat and the nail body are integrally formed , the diameter in the axial direction is greater than the diameter of the nail body; the first fixing part is arranged on the nail head seat, and the first fixing part is two first ears protruding from the edge of the nail head seat along the axial direction of the nail head seat, and the two The connecting rod can be inserted perpendicular to the axial direction of the fixing nail between the two first ears, that is, the distance between the two first ears is greater than the diameter of the connecting rod; a thread is provided between the two first ears, which can be inserted along the fixing nail The axial direction of the first fixed block is screwed into the first fixed block, and the first fixed block is used to press the connecting rod inserted between the first ears.
第一固定部的顶部设置第二固定部,第二固定部由两个与第一耳设置方向相同的第二耳组成,每个第二耳连接至一个第一耳,且两个第二耳的顶部是固定连接的,从而使得两个第二耳的顶部形成一个完整的圆环;连接杆可以插入两个第二耳之间;两个第二耳之间可以旋入第二固定块和第三固定块,第二固定块和第三固定块用于压住第二耳之间插入的连接杆;The top of the first fixing part is provided with a second fixing part, and the second fixing part is composed of two second ears set in the same direction as the first ears, each second ear is connected to one first ear, and the two second ears The top of the top is fixedly connected, so that the tops of the two second ears form a complete circle; the connecting rod can be inserted between the two second ears; the second fixed block and the second fixed block can be screwed between the two second ears The third fixed block, the second fixed block and the third fixed block are used to press the connecting rod inserted between the second ears;
第二耳和第一耳之间设置工型连接块,工型连接块的截面为工字型;第一耳和工型块的底边固定连接,第二耳底部设置可以容纳工型块顶部的容纳腔,且容纳腔的大小可以通过调节第二耳顶部的螺钉进行调节,从而使得工型块和第二耳之间可以松动的连接,且其相互移动的范围可以调节。An I-shaped connecting block is set between the second ear and the first ear, and the section of the I-shaped connecting block is I-shaped; the first ear is fixedly connected to the bottom of the I-shaped block, and the bottom of the second ear is set to accommodate the top of the I-shaped block The size of the accommodation cavity can be adjusted by adjusting the screw on the top of the second ear, so that the connection between the I-shaped block and the second ear can be loosened, and the range of mutual movement can be adjusted.
第一耳和第二耳之间设置弹性材料,且弹性材料将工型块包覆在内,从而使得第二耳和第一耳的相互移动具有弹性。An elastic material is arranged between the first ear and the second ear, and the elastic material wraps the mold block inside, so that the mutual movement of the second ear and the first ear is elastic.
第一耳之间插入的连接杆和第二耳之间插入的连接杆的另一端分别连接不同的固定钉,从而使得三个固定钉之间由两个连接杆连接。The other ends of the connecting rod inserted between the first ears and the connecting rod inserted between the second ears are respectively connected to different fixing nails, so that the three fixing nails are connected by two connecting rods.
第一耳之间插入的连接杆和第二耳之间插入的连接杆的另一端分别连接相同的固定钉,从而使得两个固定钉之间由两个连接杆连接,增加稳定性。The other ends of the connecting rod inserted between the first ears and the connecting rod inserted between the second ears are respectively connected to the same fixing nails, so that the two fixing nails are connected by two connecting rods to increase stability.
本发明设置每个固定钉可以连接两个连接杆,从而使得相邻的固定钉之间的连接方式非常稳固,而多个固定钉之间的连接又相对具有柔性,更加适用于实际脊柱手术后的恢复。In the present invention, each fixing nail can be connected to two connecting rods, so that the connection between adjacent fixing nails is very stable, and the connection between multiple fixing nails is relatively flexible, which is more suitable for actual spinal surgery. recovery.
两个连接杆都和固定钉连接,但是两个连接之间具有一定的弹性和柔性,如果选择间隔的连接方式,即三个固定钉由两个连接杆连接的方式,则可以保证一定的柔性;如果选择相邻的两个固定钉由两个连接杆连接的方式,则可以增大连接的稳固性,降低每一根连接杆的强度需求,从而对于连接杆的材料选择和体积等都可以放宽,且不同组的固定钉之间没有束缚,使得术后恢复更加舒适。The two connecting rods are connected with the fixing nails, but there is a certain degree of elasticity and flexibility between the two connections. If you choose a spaced connection method, that is, three fixing nails are connected by two connecting rods, you can ensure a certain degree of flexibility. ; If you choose the way that two adjacent fixing nails are connected by two connecting rods, you can increase the stability of the connection and reduce the strength requirements of each connecting rod, so that the material selection and volume of the connecting rods can be adjusted. Relaxed, and there is no binding between different groups of fixation nails, making postoperative recovery more comfortable.
附图说明Description of drawings
被包括来提供对所公开主题的进一步认识的附图,将被并入此说明书并构成该说明书的一部分。附图也阐明了所公开主题的实现,以及连同详细描述一起用于解释所公开主题的实现原则。没有尝试对所公开主题的基本理解及其多种实践方式展示超过需要的结构细节。The accompanying drawings, which are included to provide a further understanding of the disclosed subject matter, are incorporated in and constitute a part of this specification. The drawings also illustrate implementations of the disclosed subject matter and, together with the detailed description, serve to explain implementation principles of the disclosed subject matter. No attempt has been made to reveal more structural detail than is necessary for a fundamental understanding of the disclosed subject matter and its various ways of practicing it.
图1为本发明的固定钉和连接杆的示意图;Fig. 1 is the schematic diagram of fixing nail and connecting rod of the present invention;
图2为固定钉的钉头的示意图;Fig. 2 is the schematic diagram of the nail head of fixing nail;
图3为本发明固定钉和连接杆的不同连接方式的示意图。Fig. 3 is a schematic diagram of different connection modes of the fixing nail and the connecting rod in the present invention.
具体实施方式Detailed ways
本发明的优点、特征以及达成所述目的的方法通过附图及后续的详细说明将会明确。The advantages, characteristics, and means for achieving the object of the present invention will be clarified by the accompanying drawings and detailed descriptions that follow.
实施例1:Example 1:
一种脊柱的柔性组合式固定装置,包括固定钉1和连接杆2:A flexible combined fixation device for the spine, including fixation nails 1 and connecting rods 2:
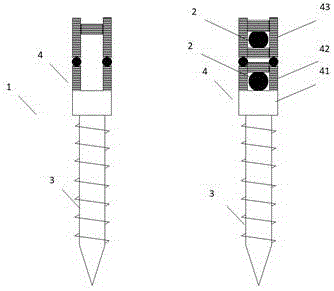
固定钉1的数量和连接杆2的数量均为多个,固定钉1包括钉体3和钉头4,钉体3用于钉入脊椎骨,钉头4用于固定连接杆2;连接杆2包括头端和尾端,头端和尾端的形状一致;两个固定钉1可固定连接一个连接杆2的头端和尾端,且每一个钉头4一次性可以最多固定两个连接杆2;The number of fixing nails 1 and the number of connecting
每个固定钉1上连接两个连接杆2的位置可以独立的锁定连接杆2,单固定钉1上连接两个连接杆2的位置之间柔性连接。The position where two connecting
钉体3为钉状,周壁上设置有螺纹,可以旋入脊椎骨;钉体3的一端设置钉头4,钉头4包括钉头座41、第一固定部42和第二固定部43;钉头座41和钉体3一体成型,其轴向的直径大于钉体3的直径;钉头座41上设置第一固定部42,第一固定部42为两个从钉头座41的边缘沿着钉头座41轴向凸出的第一耳44,两个第一耳44之间可以垂直于固定钉1的轴向插入连接杆2,即两个第一耳44之间的距离大于连接杆2的直径;两个第一耳44之间设置有螺纹,可以沿着固定钉1的轴向旋入第一固定块45,第一固定块45用于压住在第一耳44之间插入的连接杆2。The nail body 3 is nail-shaped, and the peripheral wall is provided with threads, which can be screwed into the vertebrae; one end of the nail body 3 is provided with a nail head 4, and the nail head 4 includes a
第一固定部42的顶部设置第二固定部43,第二固定部43由两个与第一耳44设置方向相同的第二耳46组成,每个第二耳46连接至一个第一耳44,且两个第二耳46的顶部是固定连接的,从而使得两个第二耳46的顶部形成一个完整的圆环;连接杆2可以插入两个第二耳46之间;两个第二耳46之间可以旋入第二固定块47和第三固定块48,第二固定块47和第三固定块48用于压住第二耳46之间插入的连接杆2;The top of the
第二耳46和第一耳44之间设置工型连接块49,工型连接块49的截面为工字型;第一耳44和工型块的底边固定连接,第二耳46底部设置可以容纳工型块顶部的容纳腔,且容纳腔的大小可以通过调节第二耳46顶部的螺钉50进行调节,从而使得工型块和第二耳46之间可以松动的连接,且其相互移动的范围可以调节。I-shaped connecting
第一耳44和第二耳46之间设置弹性材料,且弹性材料将工型块包覆在内,从而使得第二耳46和第一耳44的相互移动具有弹性。An elastic material is provided between the
第一耳44之间插入的连接杆2和第二耳46之间插入的连接杆2的另一端分别连接不同的固定钉1,从而使得三个固定钉1之间由两个连接杆2连接。The other ends of the connecting
第一耳44之间插入的连接杆2和第二耳46之间插入的连接杆2的另一端分别连接相同的固定钉1,从而使得两个固定钉1之间由两个连接杆2连接,增加稳定性。The other end of the connecting
实施例2:Example 2:
本实施例介绍简单的使用方法:This example introduces a simple method of use:
使用时,先在脊椎骨钻孔,然后置入固定钉,置入固定钉之前的其他操作在此不再赘述;When in use, drill holes in the spine first, and then insert the fixation nails. Other operations before placing the fixation nails will not be repeated here;
置入后,使得固定钉和脊椎骨连接稳固,然后在两个相邻的固定钉之间插入一个连接杆,并旋入第一固定块使得连接杆固定;After placement, the fixation nails are firmly connected to the vertebrae, and then a connecting rod is inserted between two adjacent fixation nails, and the first fixing block is screwed in to fix the connecting rod;
然后旋入第二固定块,插入第二根连接杆,旋入第三固定块,采用第一耳44之间插入的连接杆2和第二耳46之间插入的连接杆2的另一端分别连接不同的固定钉1,从而使得三个固定钉1之间由两个连接杆2连接的方式连接各个脊柱骨,从而使得相邻的脊椎骨之间是稳定的固定连接,而相邻的三个脊椎骨之间可以产生轻微的移动,实现柔性连接,从而提高了连接的柔性,更加适合实际的使用情况和恢复情况。Then screw into the second fixed block, insert the second connecting rod, screw into the third fixed block, and adopt the other end of the connecting
以上所述,仅为本发明的优选实施方式,但本发明的保护范围并不局限于此,任何熟悉本技术领域的技术人员在本发明揭露的技术范围内,可轻易想到变化或替换,都应涵盖在本发明的保护范围之内。因此,本发明的保护范围应以所述权利要求的保护范围为准。The above is only a preferred embodiment of the present invention, but the scope of protection of the present invention is not limited thereto. Anyone skilled in the art can easily think of changes or substitutions within the technical scope disclosed in the present invention. Should be covered within the protection scope of the present invention. Therefore, the protection scope of the present invention should be determined by the protection scope of the claims.
Claims (3)
Priority Applications (1)
| Application Number | Priority Date | Filing Date | Title |
|---|---|---|---|
| CN202010257227.XA CN111329568B (en) | 2020-04-03 | 2020-04-03 | Flexible combined fixing device for spine |
Applications Claiming Priority (1)
| Application Number | Priority Date | Filing Date | Title |
|---|---|---|---|
| CN202010257227.XA CN111329568B (en) | 2020-04-03 | 2020-04-03 | Flexible combined fixing device for spine |
Publications (2)
| Publication Number | Publication Date |
|---|---|
| CN111329568A CN111329568A (en) | 2020-06-26 |
| CN111329568B true CN111329568B (en) | 2023-04-11 |
Family
ID=71175114
Family Applications (1)
| Application Number | Title | Priority Date | Filing Date |
|---|---|---|---|
| CN202010257227.XA Active CN111329568B (en) | 2020-04-03 | 2020-04-03 | Flexible combined fixing device for spine |
Country Status (1)
| Country | Link |
|---|---|
| CN (1) | CN111329568B (en) |
Citations (3)
| Publication number | Priority date | Publication date | Assignee | Title |
|---|---|---|---|---|
| CN101466319A (en) * | 2006-04-24 | 2009-06-24 | 华沙整形外科股份有限公司 | Connector apparatus |
| CN105078562A (en) * | 2015-03-13 | 2015-11-25 | 上海三友医疗器械有限公司 | Medical screw with connector |
| CN206044709U (en) * | 2016-02-02 | 2017-03-29 | 薛妹妹 | A kind of automatically reset pedicle nail |
Family Cites Families (7)
| Publication number | Priority date | Publication date | Assignee | Title |
|---|---|---|---|---|
| US20040087952A1 (en) * | 2002-10-31 | 2004-05-06 | Amie Borgstrom | Universal polyaxial washer assemblies |
| US20040111088A1 (en) * | 2002-12-06 | 2004-06-10 | Picetti George D. | Multi-rod bone attachment member |
| ATE539693T1 (en) * | 2004-07-12 | 2012-01-15 | Synthes Gmbh | DEVICE FOR DYNAMIC FIXATION OF BONE |
| CN102488548B (en) * | 2011-11-30 | 2013-09-18 | 上海拓腾医疗器械有限公司 | Internal fixing device and internal fixing method of vertebral columns |
| US10238432B2 (en) * | 2017-02-10 | 2019-03-26 | Medos International Sàrl | Tandem rod connectors and related methods |
| CN109549696B (en) * | 2017-09-27 | 2024-03-22 | 上海三友医疗器械股份有限公司 | Adjustable double-groove spine internal fixation device and bone screw |
| CN109875669A (en) * | 2019-04-23 | 2019-06-14 | 天津正天医疗器械有限公司 | A kind of spinal fixation system |
-
2020
- 2020-04-03 CN CN202010257227.XA patent/CN111329568B/en active Active
Patent Citations (3)
| Publication number | Priority date | Publication date | Assignee | Title |
|---|---|---|---|---|
| CN101466319A (en) * | 2006-04-24 | 2009-06-24 | 华沙整形外科股份有限公司 | Connector apparatus |
| CN105078562A (en) * | 2015-03-13 | 2015-11-25 | 上海三友医疗器械有限公司 | Medical screw with connector |
| CN206044709U (en) * | 2016-02-02 | 2017-03-29 | 薛妹妹 | A kind of automatically reset pedicle nail |
Also Published As
| Publication number | Publication date |
|---|---|
| CN111329568A (en) | 2020-06-26 |
Similar Documents
| Publication | Publication Date | Title |
|---|---|---|
| KR101404894B1 (en) | Flexible, sliding, dynamic implant system, for selective stabilization and correction of the vertebral column deformities and instabilities | |
| CN106175997B (en) | A kind of artificial dentata supporter | |
| JP6853607B2 (en) | Bone implant with tether band | |
| JP2015533618A (en) | Percutaneous modular head-to-head cross-connector | |
| CN203089338U (en) | Atlantoaxial anterior approach restoration inner fixing device | |
| WO2021240427A1 (en) | Expandable medical implant for adolescent cranium defects | |
| GB2416697A (en) | Body augmenter capable of being planted through a pedicle for vertebral body reconstruction | |
| CN111329568B (en) | Flexible combined fixing device for spine | |
| JPH06343652A (en) | Composite spinal cord device | |
| WO2018130202A1 (en) | Scoliosis correction system having single central rod | |
| CN208838119U (en) | A kind of locking-typed children's occipital bone inner fixing device | |
| CN207429150U (en) | A kind of nail | |
| CN213098543U (en) | Interspinous process fixing device | |
| TWI756794B (en) | Interspinous stabilization device | |
| CN209332231U (en) | Orthopedic spine correction device | |
| CN113197635A (en) | Clavicle middle section bone fracture plate | |
| CN209713109U (en) | Remote interface fracture Minimally Invasive Surgery utensil in humerus | |
| CN221205424U (en) | Measuring device for kyphosis | |
| CN217162246U (en) | Novel anterior spinal fixing plate | |
| CN223220569U (en) | 3D prints elastic intervertebral disc repairing device | |
| CN215228277U (en) | Fixing device between way vertebral plate behind cervical vertebra | |
| KR102314563B1 (en) | Fixing holder for medical plate | |
| CN221904236U (en) | Butterfly-type bionic artificial vertebral plate | |
| CN114999293B (en) | Device and method for manufacturing skull base depression model | |
| CN204814289U (en) | Artifical centrum of non - fusion technique of frame -type |
Legal Events
| Date | Code | Title | Description |
|---|---|---|---|
| PB01 | Publication | ||
| PB01 | Publication | ||
| SE01 | Entry into force of request for substantive examination | ||
| SE01 | Entry into force of request for substantive examination | ||
| GR01 | Patent grant | ||
| GR01 | Patent grant |
