CN101988630B - Stage lighting system and method thereof for proving high-brightness white light - Google Patents
Stage lighting system and method thereof for proving high-brightness white light Download PDFInfo
- Publication number
- CN101988630B CN101988630B CN2009101095031A CN200910109503A CN101988630B CN 101988630 B CN101988630 B CN 101988630B CN 2009101095031 A CN2009101095031 A CN 2009101095031A CN 200910109503 A CN200910109503 A CN 200910109503A CN 101988630 B CN101988630 B CN 101988630B
- Authority
- CN
- China
- Prior art keywords
- light
- wavelength conversion
- transmission
- stage lighting
- conversion device
- Prior art date
- Legal status (The legal status is an assumption and is not a legal conclusion. Google has not performed a legal analysis and makes no representation as to the accuracy of the status listed.)
- Active
Links
- 238000000034 method Methods 0.000 title claims abstract description 21
- 238000006243 chemical reaction Methods 0.000 claims abstract description 105
- 230000003287 optical effect Effects 0.000 claims abstract description 63
- 230000005540 biological transmission Effects 0.000 claims abstract description 19
- 239000000758 substrate Substances 0.000 claims abstract description 7
- 239000000463 material Substances 0.000 claims description 26
- 238000001914 filtration Methods 0.000 claims description 4
- 238000004020 luminiscence type Methods 0.000 claims 5
- 230000000243 photosynthetic effect Effects 0.000 claims 5
- 239000011248 coating agent Substances 0.000 claims 1
- 238000000576 coating method Methods 0.000 claims 1
- 239000005357 flat glass Substances 0.000 claims 1
- 239000003086 colorant Substances 0.000 abstract description 6
- 230000017525 heat dissipation Effects 0.000 abstract description 6
- 238000003491 array Methods 0.000 description 23
- 240000005528 Arctium lappa Species 0.000 description 17
- 230000004907 flux Effects 0.000 description 5
- 229910001507 metal halide Inorganic materials 0.000 description 4
- 150000005309 metal halides Chemical class 0.000 description 4
- 238000010586 diagram Methods 0.000 description 3
- 239000000843 powder Substances 0.000 description 3
- OAICVXFJPJFONN-UHFFFAOYSA-N Phosphorus Chemical compound [P] OAICVXFJPJFONN-UHFFFAOYSA-N 0.000 description 2
- 239000011521 glass Substances 0.000 description 2
- 239000003292 glue Substances 0.000 description 2
- 238000003384 imaging method Methods 0.000 description 2
- 238000009825 accumulation Methods 0.000 description 1
- 230000015572 biosynthetic process Effects 0.000 description 1
- 238000001816 cooling Methods 0.000 description 1
- 239000000975 dye Substances 0.000 description 1
- 230000000694 effects Effects 0.000 description 1
- 238000000295 emission spectrum Methods 0.000 description 1
- 238000005516 engineering process Methods 0.000 description 1
- 230000005284 excitation Effects 0.000 description 1
- 230000003595 spectral effect Effects 0.000 description 1
- 238000001228 spectrum Methods 0.000 description 1
- 238000003786 synthesis reaction Methods 0.000 description 1
Images
Classifications
-
- G—PHYSICS
- G03—PHOTOGRAPHY; CINEMATOGRAPHY; ANALOGOUS TECHNIQUES USING WAVES OTHER THAN OPTICAL WAVES; ELECTROGRAPHY; HOLOGRAPHY
- G03B—APPARATUS OR ARRANGEMENTS FOR TAKING PHOTOGRAPHS OR FOR PROJECTING OR VIEWING THEM; APPARATUS OR ARRANGEMENTS EMPLOYING ANALOGOUS TECHNIQUES USING WAVES OTHER THAN OPTICAL WAVES; ACCESSORIES THEREFOR
- G03B21/00—Projectors or projection-type viewers; Accessories therefor
- G03B21/14—Details
- G03B21/20—Lamp housings
- G03B21/2006—Lamp housings characterised by the light source
- G03B21/2033—LED or laser light sources
- G03B21/204—LED or laser light sources using secondary light emission, e.g. luminescence or fluorescence
-
- F—MECHANICAL ENGINEERING; LIGHTING; HEATING; WEAPONS; BLASTING
- F21—LIGHTING
- F21V—FUNCTIONAL FEATURES OR DETAILS OF LIGHTING DEVICES OR SYSTEMS THEREOF; STRUCTURAL COMBINATIONS OF LIGHTING DEVICES WITH OTHER ARTICLES, NOT OTHERWISE PROVIDED FOR
- F21V13/00—Producing particular characteristics or distribution of the light emitted by means of a combination of elements specified in two or more of main groups F21V1/00 - F21V11/00
- F21V13/12—Combinations of only three kinds of elements
- F21V13/14—Combinations of only three kinds of elements the elements being filters or photoluminescent elements, reflectors and refractors
-
- F—MECHANICAL ENGINEERING; LIGHTING; HEATING; WEAPONS; BLASTING
- F21—LIGHTING
- F21V—FUNCTIONAL FEATURES OR DETAILS OF LIGHTING DEVICES OR SYSTEMS THEREOF; STRUCTURAL COMBINATIONS OF LIGHTING DEVICES WITH OTHER ARTICLES, NOT OTHERWISE PROVIDED FOR
- F21V5/00—Refractors for light sources
- F21V5/008—Combination of two or more successive refractors along an optical axis
-
- F—MECHANICAL ENGINEERING; LIGHTING; HEATING; WEAPONS; BLASTING
- F21—LIGHTING
- F21V—FUNCTIONAL FEATURES OR DETAILS OF LIGHTING DEVICES OR SYSTEMS THEREOF; STRUCTURAL COMBINATIONS OF LIGHTING DEVICES WITH OTHER ARTICLES, NOT OTHERWISE PROVIDED FOR
- F21V9/00—Elements for modifying spectral properties, polarisation or intensity of the light emitted, e.g. filters
- F21V9/08—Elements for modifying spectral properties, polarisation or intensity of the light emitted, e.g. filters for producing coloured light, e.g. monochromatic; for reducing intensity of light
-
- F—MECHANICAL ENGINEERING; LIGHTING; HEATING; WEAPONS; BLASTING
- F21—LIGHTING
- F21V—FUNCTIONAL FEATURES OR DETAILS OF LIGHTING DEVICES OR SYSTEMS THEREOF; STRUCTURAL COMBINATIONS OF LIGHTING DEVICES WITH OTHER ARTICLES, NOT OTHERWISE PROVIDED FOR
- F21V9/00—Elements for modifying spectral properties, polarisation or intensity of the light emitted, e.g. filters
- F21V9/30—Elements containing photoluminescent material distinct from or spaced from the light source
- F21V9/32—Elements containing photoluminescent material distinct from or spaced from the light source characterised by the arrangement of the photoluminescent material
-
- F—MECHANICAL ENGINEERING; LIGHTING; HEATING; WEAPONS; BLASTING
- F21—LIGHTING
- F21V—FUNCTIONAL FEATURES OR DETAILS OF LIGHTING DEVICES OR SYSTEMS THEREOF; STRUCTURAL COMBINATIONS OF LIGHTING DEVICES WITH OTHER ARTICLES, NOT OTHERWISE PROVIDED FOR
- F21V9/00—Elements for modifying spectral properties, polarisation or intensity of the light emitted, e.g. filters
- F21V9/40—Elements for modifying spectral properties, polarisation or intensity of the light emitted, e.g. filters with provision for controlling spectral properties, e.g. colour, or intensity
- F21V9/45—Elements for modifying spectral properties, polarisation or intensity of the light emitted, e.g. filters with provision for controlling spectral properties, e.g. colour, or intensity by adjustment of photoluminescent elements
-
- F—MECHANICAL ENGINEERING; LIGHTING; HEATING; WEAPONS; BLASTING
- F21—LIGHTING
- F21S—NON-PORTABLE LIGHTING DEVICES; SYSTEMS THEREOF; VEHICLE LIGHTING DEVICES SPECIALLY ADAPTED FOR VEHICLE EXTERIORS
- F21S10/00—Lighting devices or systems producing a varying lighting effect
- F21S10/007—Lighting devices or systems producing a varying lighting effect using rotating transparent or colored disks, e.g. gobo wheels
-
- F—MECHANICAL ENGINEERING; LIGHTING; HEATING; WEAPONS; BLASTING
- F21—LIGHTING
- F21W—INDEXING SCHEME ASSOCIATED WITH SUBCLASSES F21K, F21L, F21S and F21V, RELATING TO USES OR APPLICATIONS OF LIGHTING DEVICES OR SYSTEMS
- F21W2131/00—Use or application of lighting devices or systems not provided for in codes F21W2102/00-F21W2121/00
- F21W2131/40—Lighting for industrial, commercial, recreational or military use
- F21W2131/406—Lighting for industrial, commercial, recreational or military use for theatres, stages or film studios
-
- F—MECHANICAL ENGINEERING; LIGHTING; HEATING; WEAPONS; BLASTING
- F21—LIGHTING
- F21Y—INDEXING SCHEME ASSOCIATED WITH SUBCLASSES F21K, F21L, F21S and F21V, RELATING TO THE FORM OR THE KIND OF THE LIGHT SOURCES OR OF THE COLOUR OF THE LIGHT EMITTED
- F21Y2113/00—Combination of light sources
- F21Y2113/10—Combination of light sources of different colours
- F21Y2113/13—Combination of light sources of different colours comprising an assembly of point-like light sources
-
- F—MECHANICAL ENGINEERING; LIGHTING; HEATING; WEAPONS; BLASTING
- F21—LIGHTING
- F21Y—INDEXING SCHEME ASSOCIATED WITH SUBCLASSES F21K, F21L, F21S and F21V, RELATING TO THE FORM OR THE KIND OF THE LIGHT SOURCES OR OF THE COLOUR OF THE LIGHT EMITTED
- F21Y2115/00—Light-generating elements of semiconductor light sources
- F21Y2115/10—Light-emitting diodes [LED]
Landscapes
- Physics & Mathematics (AREA)
- Engineering & Computer Science (AREA)
- General Engineering & Computer Science (AREA)
- Spectroscopy & Molecular Physics (AREA)
- Multimedia (AREA)
- Optics & Photonics (AREA)
- General Physics & Mathematics (AREA)
- Non-Portable Lighting Devices Or Systems Thereof (AREA)
Abstract
一种舞台灯光照明系统及其提供高亮度白光的方法,该舞台灯光照明系统包括封装在散热基板上的由复数个LED芯片构成的LED阵列,以及将各LED芯片的发光汇聚合成为一束合光的合光装置,将该合光装置的输出光聚焦到出光口的聚焦透镜;尤其还包括透射型光波长转换装置及控制处理装置。在提供白光的时段内,控制处理装置控制预定波长的LED芯片发光,同时在光路上切入所述透射型光波长转换装置来产生受激发光,以混合产生白光;该时段过后,将该透射型光波长转换装置切离所述光路。采用本发明,提高了高亮度白光的输出效率,具有舞台灯光色彩丰富、发光源光利用效率高的优点。
A stage lighting system and its method for providing high-brightness white light, the stage lighting system includes an LED array composed of a plurality of LED chips packaged on a heat dissipation substrate, and the light emission of each LED chip is aggregated into a bundle The light combination device focuses the output light of the light combination device to the focusing lens of the light outlet; in particular, it also includes a transmission type light wavelength conversion device and a control processing device. During the period of providing white light, the control processing device controls the LED chip with a predetermined wavelength to emit light, and at the same time cuts into the transmission-type light wavelength conversion device on the optical path to generate stimulated light, so as to mix and generate white light; after this period, the transmission-type light wavelength conversion device An optical wavelength conversion device cuts off the optical path. The invention improves the output efficiency of high-brightness white light, and has the advantages of rich colors of stage lights and high light utilization efficiency of light sources.
Description
技术领域 本发明涉及照明装置或其系统的功能特征,具体来说,尤其涉及主要用于舞台灯光照明的照明系统。FIELD OF THE INVENTION The present invention relates to functional features of lighting devices or systems thereof, in particular lighting systems mainly used for stage lighting.
背景技术 LED(发光二极管)光源为绿色无污染的干净节能光源,其可达到的光通量设计指标在逐年提升。目前LED光源主要应用于一些小功率、低端的换色灯产品上。Background technology LED (Light Emitting Diode) light source is a green, pollution-free, clean and energy-saving light source, and its achievable luminous flux design index is increasing year by year. At present, LED light sources are mainly used in some low-power, low-end color-changing lamp products.
大功率舞台灯光光源主要采用金卤放电泡。金卤放电泡为白色光源,使用寿命较低,一般为几百小时到数千小时不等。因金卤放电泡的发光谱为白色连续光谱,舞台灯光所需的不同色彩只能靠彩色滤光片来滤光实现,使得灯光投射出的图案具有较低的色彩饱和度,色彩既不鲜艳,也不丰富。为了提高单色光的色彩饱和度,可以使用带宽极窄的滤光片来滤光,其不足之处是会降低单色光的亮度。High-power stage lighting sources mainly use metal halide discharge bulbs. The metal halide discharge bulb is a white light source, and its service life is relatively low, generally ranging from hundreds of hours to thousands of hours. Because the emission spectrum of the metal halide discharge bulb is a white continuous spectrum, the different colors required by the stage lighting can only be achieved by filtering with color filters, so that the patterns projected by the lights have low color saturation and the colors are not bright. , nor rich. In order to improve the color saturation of monochromatic light, a filter with extremely narrow bandwidth can be used to filter the light. The disadvantage is that it will reduce the brightness of monochromatic light.
若舞台灯光采用LED光源,则可以省掉所述彩色滤光片,并通过调节不同基色LED的电流来改变光源的颜色,从而利用单色LED较高的色彩饱和度,可使舞台灯光色彩的表现自由度大为提高。但目前LED发热量大,发光效率还不够高,且单个LED芯片不能承受高功率,因此大功率舞台灯光的高光通量往往要靠LED阵列来实现。If the stage lighting adopts LED light source, the color filter can be omitted, and the color of the light source can be changed by adjusting the current of different primary color LEDs, so that the higher color saturation of the single-color LED can be used to make the color of the stage light more stable. The degree of freedom of expression is greatly improved. But at present, LED generates a lot of heat, and its luminous efficiency is not high enough, and a single LED chip cannot withstand high power. Therefore, the high luminous flux of high-power stage lighting is often achieved by LED arrays.
申请号为200720061982.0的中国专利公开了一种舞台灯的光源组件,采用一个LED阵列和大型散热装置,可以提供一百瓦的发光功率,并可通过控制该LED阵列中的不同色LED的工作来实现色彩调整。其不足之处在于:基于散热和光通量等性能指标,尤其是输出光的亮色均匀性方面的考虑,该光源组件尚不能满足大功率舞台灯光的需求。The Chinese patent with the application number 200720061982.0 discloses a light source assembly for a stage light, which uses an LED array and a large cooling device, can provide a luminous power of 100 watts, and can control the work of different colored LEDs in the LED array. Implement color adjustments. Its shortcoming is: based on performance indicators such as heat dissipation and luminous flux, especially the consideration of the uniformity of bright color of the output light, this light source module cannot meet the needs of high-power stage lighting.
为此,本公司曾提出中国专利申请中,将来自多个LED阵列的单色光通过分光合色装置来合成为一束,可以提高光源的输出功率及改善光输出亮色均匀性。For this reason, the company has proposed in the Chinese patent application that the monochromatic light from multiple LED arrays is synthesized into one beam through a light splitting and color combining device, which can increase the output power of the light source and improve the uniformity of light output brightness.
上述在舞台灯系统中采用LED阵列的现有技术不足之处在于:在产生白光时系统的发光效率较传统的金卤放电泡方案低,具体分析为:金卤放电泡为热光源,输出光的效率几乎不受热量影响,因而光源输出功率无论是高是低,输出光的效率几乎不变。以现有的575瓦摇头灯来说,其灯泡输出的光通量达到49000流明,发光效率为85流明/瓦;而1200瓦摇头灯的灯泡光通量输出达到110000流明时,发光效率仍为85流明/瓦。与之对应的是,大功率LED光源采用单色光来合光产生白光时,由于目前产生绿(G)光的LED芯片的电光转换效率较低、产生蓝(B)光的LED电光效率最高、产生红(R)光的LED电光效率居中;而白光的光谱成分中绿光最高、红光次之、蓝光最少,为了调整白平衡,合光时系统必然会降低蓝、红光的输出功率,这样造成了白光效率的低下,光源输出功率越大白光效率越小。The disadvantage of the prior art of using LED arrays in the above-mentioned stage lighting system is that the luminous efficiency of the system is lower than that of the traditional metal halide discharge bulb solution when white light is produced. The efficiency of the light source is hardly affected by heat, so whether the output power of the light source is high or low, the efficiency of the output light is almost unchanged. Taking the existing 575-watt moving head light as an example, the luminous flux output by the bulb reaches 49,000 lumens, and the luminous efficiency is 85 lumens/watt; while the luminous flux output of the 1200-watt moving head light reaches 110,000 lumens, the luminous efficiency is still 85 lumens/watt . Correspondingly, when a high-power LED light source uses monochromatic light to combine light to produce white light, the electro-optic conversion efficiency of the LED chip that produces green (G) light is currently low, and the electro-optic efficiency of the LED that produces blue (B) light is the highest. 1. The electro-optic efficiency of LEDs that produce red (R) light is in the middle; while the spectral components of white light are green light the highest, red light the second, and blue light the least. In order to adjust the white balance, the system will inevitably reduce the output power of blue and red light when combining light , which results in low white light efficiency, the greater the output power of the light source, the smaller the white light efficiency.
发明内容 本发明要解决的技术问题是针对上述现有技术的不足之处,而提出一种舞台灯光照明系统及其方法,在提高光输出功率的同时,提高高亮度白光的输出效率。Summary of the invention The technical problem to be solved by the present invention is to propose a stage lighting system and its method to improve the output efficiency of high-brightness white light while increasing the light output power.
为解决上述技术问题,本发明的基本构思为:既然采用R,G和B三基色LED来合成白光的亮度或效率较低,若在舞台灯光照明系统提供白光输出的时段内,设置采用一单色光来激发光波长转换材料,例如荧光粉,以产生白光,则无疑可以提高白光的亮度。In order to solve the above-mentioned technical problems, the basic idea of the present invention is: since the brightness or efficiency of white light synthesis by using R, G and B three primary color LEDs is low, if the stage lighting system provides white light output during the period, it is set to use a single Color light is used to excite light wavelength conversion materials, such as phosphors, to produce white light, which can undoubtedly improve the brightness of white light.
作为实现本发明构思的技术方案是,提供一种舞台灯光照明系统提供高亮度白光的方法,包括步骤:As a technical solution for realizing the concept of the present invention, a method for providing high-brightness white light in a stage lighting system is provided, including steps:
将来自于封装在散热基板上的LED阵列中的复数个LED芯片的光汇聚合成为一束合光;Aggregate the light from multiple LED chips in the LED array packaged on the heat dissipation substrate into a beam of combined light;
将该束合光引导往一个出光口;directing the beam of combined light to a light outlet;
尤其是,还包括步骤:在所述出光口的光为白光的时段内,控制预定波长的LED芯片发光,将其它波长的各LED芯片关掉,同时在所述合光的引导光路上切入一透射型光波长转换装置来产生具有第二预定波长的受激发光,该受激发光与透射的所述预定波长的LED芯片发出的光来混合产生白光;该时段过后,将所述透射型光波长转换装置切离所述引导光路,控制所述LED阵列中具有不同发光波长的LED芯片发光来使所述出光口的光具有预定的颜色或颜色变化。In particular, it also includes the step of: controlling LED chips with predetermined wavelengths to emit light during the period when the light at the light outlet is white light, turning off the LED chips with other wavelengths, and simultaneously cutting into a light path on the combined light guiding light path. A transmission-type light wavelength conversion device to generate excited light with a second predetermined wavelength, which is mixed with the transmitted light emitted by the LED chip of the predetermined wavelength to generate white light; after this period, the transmission-type light The wavelength conversion device cuts off the guiding light path, and controls the LED chips with different light emitting wavelengths in the LED array to emit light so that the light at the light outlet has a predetermined color or color change.
具体地说,上述方案中,所述舞台灯光照明系统可以是包括两个所述LED阵列,同一所述LED阵列上的各LED芯片均为一同色LED芯片;用两个包括复数个透镜的透镜阵列,使每一所述透镜对准一LED芯片来将该LED芯片的输出光准直成近平行光;将由该两个透镜阵列而出的两束近平行光分别通过一合色滤光片的透射和反射来汇聚成一束,再通过一聚焦透镜聚焦到所述出光口。还可以是包括三个所述LED阵列,同一所述LED阵列上的各LED芯片均为一同色LED芯片;用三个包括复数个透镜的透镜阵列,使每一所述透镜对准一LED芯片以将该LED芯片的输出光准直成近平行光;将由该三个透镜阵列而出的三束近平行光通过一分光合色装置来汇聚成一束,再通过一聚焦透镜聚焦到所述出光口。其中,所述分光合色装置采用具有三个光入口端的X型合色滤光装置,使每一所述光入口端对准一所述透镜阵列。有一所述LED阵列上的各LED芯片均为蓝光LED芯片;对应的透射型光波长转换装置包括可产生黄色受激发光的光波长转换材料。Specifically, in the above solution, the stage lighting system may include two LED arrays, and each LED chip on the same LED array is an LED chip of the same color; Array, aligning each of the lenses with an LED chip to collimate the output light of the LED chip into a near-parallel light; passing the two near-parallel lights from the two lens arrays through a color combining filter respectively The transmission and reflection are gathered into one beam, and then focused to the light outlet through a focusing lens. It is also possible to include three LED arrays, and each LED chip on the same LED array is an LED chip of the same color; use three lens arrays including a plurality of lenses, so that each of the lenses is aligned with an LED chip To collimate the output light of the LED chip into near-parallel light; the three beams of near-parallel light from the three lens arrays are converged into one beam through a light-splitting and color-combining device, and then focused to the outgoing light by a focusing lens mouth. Wherein, the light-splitting and color-combining device adopts an X-type color-combining filter device with three light entrance ports, so that each light entrance port is aligned with one of the lens arrays. Each LED chip on the LED array is a blue LED chip; the corresponding transmission-type light wavelength conversion device includes a light wavelength conversion material that can generate yellow excited light.
上述方案中,所述透射型光波长转换装置包括光波长转换材料,及用来承载或夹持所述光波长转换材料的一具有转轴的透光轮盘;相应地,还包括步骤:当所述透射型光波长转换装置被切入所述光路时,控制该透光轮盘转动使得该透光轮盘上一预定圆环区域循环扫过该光路。或者将所述透射型光波长转换装置设置在一具有转轴的透光轮/盘上,通过控制该透光轮/盘的旋转角度来控制该透射型光波长转换装置在所述光路中的切入或切离。进一步地,还在所述透光轮/盘上设置有一张或一张以上的图案片,通过控制该透光轮/盘的旋转角度来选择在所述光路中切入的是所述透射型光波长转换装置还是图案片。In the above solution, the transmission-type light wavelength conversion device includes a light wavelength conversion material, and a light-transmitting disc with a rotating shaft for carrying or holding the light wavelength conversion material; correspondingly, it also includes the step of: when the When the transmission-type optical wavelength conversion device is cut into the optical path, the light transmission wheel is controlled to rotate so that a predetermined ring area on the light transmission wheel sweeps the light path in a cycle. Alternatively, the transmission-type light wavelength conversion device is arranged on a light-transmitting wheel/disk with a rotating shaft, and the cut-in of the transmission-type light wavelength conversion device in the optical path is controlled by controlling the rotation angle of the light-transmitting wheel/disk or cut off. Further, one or more pattern sheets are arranged on the light transmission wheel/disc, and the transmission type light is selected to be cut into the optical path by controlling the rotation angle of the light transmission wheel/disk The wavelength conversion device is also a gobo.
上述方案中,还包括在所述出光口后端设置投影透镜来引导输出光进行远距离投影的步骤。此外,还包括步骤:当所述透射型光波长转换装置被切入所述光路时,还同时切入两个联动透镜,将该两个联动透镜分置于该透射型光波长转换装置的前、后;当所述透射型光波长转换装置被切离所述光路时,还同时切离所述两个联动透镜。进一步地,还包括步骤:在所述出光口处设置一携带有一张或一张以上图案片的图案盘,使总有一所述图案片正对着所述出光口。可以控制图案盘来切换对着所述出光口的图案片。The above solution also includes the step of arranging a projection lens at the rear end of the light outlet to guide the output light for long-distance projection. In addition, it also includes the step of: when the transmission-type optical wavelength conversion device is cut into the optical path, two linkage lenses are also cut in at the same time, and the two linkage lenses are respectively placed in front and rear of the transmission-type optical wavelength conversion device ; When the transmission-type optical wavelength conversion device is cut off from the optical path, the two linkage lenses are also cut off at the same time. Further, the method further includes the step of: setting a gobo plate carrying one or more pattern sheets at the light exit, so that one of the pattern sheets is always facing the light exit. The gobo wheel can be controlled to switch the gobo sheet facing the light outlet.
作为实现本发明构思的技术方案还是,提供一种舞台灯光照明系统,包括封装在散热基板上的由复数个LED芯片构成的LED阵列,以及将各LED芯片的发光汇聚合成为一束合光的合光装置,将该合光装置的输出光聚焦到出光口的聚焦透镜;尤其是,还包括透射型光波长转换装置,以及控制处理装置;所述控制处理装置用于在所述出光口的光为白光的时段内,控制预定波长的LED芯片发光,将其它波长的各LED芯片关掉,同时在所述合光的引导光路上切入所述透射型光波长转换装置来产生具有第二预定波长的受激发光,该受激发光与透射的所述预定波长的LED芯片发出的光来混合产生白光;还用于该时段过后,将所述透射型光波长转换装置切离所述引导光路,控制所述LED阵列中具有不同发光波长的LED芯片发光来使所述出光口的光具有预定的颜色或颜色变化。As a technical solution to realize the concept of the present invention, a stage lighting lighting system is provided, which includes an LED array composed of a plurality of LED chips packaged on a heat dissipation substrate, and a lighting system that aggregates the light emitted by each LED chip into a combined light beam. A light combining device, focusing the output light of the light combining device to the focusing lens of the light outlet; especially, it also includes a transmission type light wavelength conversion device, and a control processing device; the control processing device is used for the light at the light outlet During the time period when the light is white light, control the LED chips with a predetermined wavelength to emit light, turn off the LED chips with other wavelengths, and at the same time cut into the transmission-type light wavelength conversion device on the guiding light path of the combined light to generate light with the second predetermined wavelength. Excited light of a wavelength, the excited light is mixed with the transmitted light emitted by the LED chip of the predetermined wavelength to generate white light; it is also used to cut the transmission-type light wavelength conversion device away from the guiding light path after this period of time Controlling the LED chips with different light emitting wavelengths in the LED array to emit light so that the light at the light outlet has a predetermined color or color change.
上述方案中,所述LED阵列包括两种或两种以上具有不同发光波长的LED芯片;所述合光装置为具有杯状反射面的光收集组件,杯底被置入所述LED阵列,杯口朝向所述聚焦透镜。或者是,所述舞台灯光照明系统包括两个所述LED阵列,同一所述LED阵列上的各LED芯片均为一同色LED芯片;所述合光装置包括一个合色滤光片及两个与所述LED阵列相对应的包括复数个透镜的透镜阵列,每一所述透镜对准一LED以将该LED的输出光准直成近平行光,出自该两个透镜阵列的两束近平行光一边一束地射往所述合色滤光片的两边,分别通过透射和反射的方式汇聚成一束射往所述聚焦透镜。或者是,所述舞台灯光照明系统包括三个所述LED阵列,同一所述LED阵列上的各LED芯片均为一同色LED芯片;所述合光装置包括一个具有三个光入口端的分光合色装置,及三个与所述LED阵列相对应的包括复数个透镜的透镜阵列,每一所述透镜对准一LED以将该LED的输出光准直成近平行光,出自该三个透镜阵列的三束近平行光通过所述分光合色装置汇聚成一束射往所述聚焦透镜。其中,所述分光合色装置或者为一个X型合色滤光装置,或者为由两片合色滤光片平行设置而成的级联型合色滤光装置。所述合色滤光片或者为二向色片,或者为镀有分光滤光膜的玻璃片。In the above solution, the LED array includes two or more LED chips with different luminous wavelengths; the light combining device is a light collection assembly with a cup-shaped reflective surface, and the bottom of the cup is placed in the LED array, and the cup The mouth faces the focusing lens. Alternatively, the stage lighting system includes two LED arrays, and each LED chip on the same LED array is an LED chip of the same color; the light combination device includes a color combining filter and two The LED array corresponds to a lens array including a plurality of lenses, and each lens is aimed at an LED so as to collimate the output light of the LED into a near-parallel light, and two beams of near-parallel light from the two lens arrays One beam is sent to both sides of the color combining filter, and is converged into one beam by means of transmission and reflection respectively, and is sent to the focusing lens. Alternatively, the stage lighting system includes three LED arrays, and each LED chip on the same LED array is an LED chip of the same color; device, and three lens arrays including a plurality of lenses corresponding to the LED array, each of the lenses is aimed at an LED to collimate the output light of the LED into a nearly parallel light, from the three lens arrays The three near-parallel beams of light are converged into one beam by the light-splitting and color-synthesizing device and directed to the focusing lens. Wherein, the light-splitting and color-combining device is either an X-type color-combining filter device, or a cascaded color-combining filter device composed of two color-combining filters arranged in parallel. The color-combining filter is either a dichroic film, or a glass plate coated with a light-splitting filter film.
上述方案中,系统还包括两个联动透镜,随所述透射型光波长转换装置切入和切离所述光路;在所述光路中,该两个联动透镜分置在所述透射型光波长转换装置的两边。所述联动透镜为凸透镜或菲涅尔透镜。In the above scheme, the system further includes two linkage lenses, which are cut into and out of the optical path along with the transmission-type optical wavelength conversion device; both sides of the device. The linkage lens is a convex lens or a Fresnel lens.
上述方案中,所述透射型光波长转换装置包括光波长转换材料及承载或夹持该光波长转换材料的透光介质。所述透光介质包括具有转轴的透光轮盘,当所述透射型光波长转换装置被切入所述光路时,该透光轮盘受控转动使得轮盘上一预定圆环区域内的光波长转换材料循环扫过该光路。所述控制处理装置通过控制所述透射型光波长转换装置移动来控制该透射型光波长转换装置在所述光路中的切入或切离。或者是,所述透射型光波长转换装置被设置在一具有转轴的透光轮/盘上,所述控制处理装置通过控制该透光轮/盘的旋转角度来控制该透射型光波长转换装置在所述光路中的切入或切离。进一步地,所述透光轮/盘上在所述透射型光波长转换装置以外区域还设置有一张或一张以上的图案片。In the above solution, the transmission-type light wavelength conversion device includes a light wavelength conversion material and a light-transmitting medium carrying or clamping the light wavelength conversion material. The light-transmitting medium includes a light-transmitting wheel with a rotating shaft. When the transmission-type optical wavelength conversion device is cut into the optical path, the light-transmitting wheel is controlled to rotate so that the light in a predetermined circular area on the wheel A wavelength converting material is swept cyclically across the optical path. The control processing device controls whether the transmission-type light wavelength conversion device is switched in or out of the optical path by controlling the movement of the transmission-type light wavelength conversion device. Alternatively, the transmission-type light wavelength conversion device is arranged on a light-transmitting wheel/disk with a rotating shaft, and the control processing device controls the transmission-type light wavelength conversion device by controlling the rotation angle of the light-transmitting wheel/disk Cut-in or cut-out in the optical path. Further, one or more pattern sheets are provided on the transparent wheel/disc in areas other than the transmission-type optical wavelength conversion device.
上述方案中,所述舞台灯光照明系统还包括携带有一张或一张以上图案片的图案盘;总有一所述图案片正对着所述出光口。或者还包括投影透镜,引导所述出光口的输出光进行远距离投影。In the above solution, the stage lighting system further includes a gobo plate carrying one or more gobos; there is always one gobo facing the light outlet. Or a projection lens is also included to guide the output light of the light outlet for long-distance projection.
采用上述各技术方案,具有光色彩丰富、易于实施、发光源的光利用效率高的优点。The adoption of the above technical solutions has the advantages of rich light colors, easy implementation, and high light utilization efficiency of the light source.
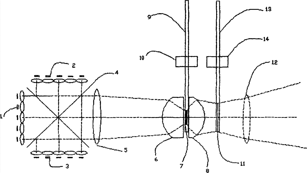
附图说明 图1示意了本发明舞台灯光照明系统产生白光时的光路图;BRIEF DESCRIPTION OF THE DRAWINGS Fig. 1 schematically shows the light path diagram when the stage lighting lighting system of the present invention produces white light;
图2示意了本发明舞台灯光照明系统产生非白光时的光路图;Fig. 2 illustrates the light path diagram when the stage lighting lighting system of the present invention produces non-white light;
图3示意了图1中包括的光波长转换装置的结构图;Fig. 3 schematically illustrates the structural diagram of the optical wavelength conversion device included in Fig. 1;
图4示意了图1系统结构中投影透镜的工作;Fig. 4 illustrates the work of projection lens in Fig. 1 system structure;
图5示意了对图1系统结构进行改进的替换实施例;Fig. 5 schematically shows an alternative embodiment for improving the system structure in Fig. 1;
图6示意了图案盘的一种实施例;Figure 6 illustrates an embodiment of a gobo wheel;
其中,各附图标记为:1、2、3――第一、二、三LED芯片阵列,4――分光合色装置,5――聚焦透镜,6、8――第一、二凸透镜,7――光波长转换装置,9――透光轮/盘,10――转轴,11――出光口,12――投影透镜,13――图案盘,14――图案盘的转轴。Among them, the reference signs are: 1, 2, 3—first, second, and third LED chip arrays, 4—light splitting and color combining device, 5—focusing lens, 6,8—first, second convex lens, 7—light wavelength conversion device, 9—opaque wheel/disk, 10—rotating shaft, 11—light outlet, 12—projection lens, 13—gobo wheel, 14—rotating shaft of the gobo wheel.
具体实施方式 下面,结合附图所示之最佳实施例进一步阐述本发明。DETAILED DESCRIPTION OF THE PREFERRED EMBODIMENTS Below, the present invention will be further described in conjunction with the preferred embodiments shown in the accompanying drawings.
根据现有技术,舞台灯光照明系统提供各种色光的方法包括步骤:According to the prior art, the method for providing various colored lights by the stage lighting system includes steps:
将来自于封装在散热基板上的LED阵列中的复数个LED芯片的光汇聚合成为一束合光;Aggregate the light from multiple LED chips in the LED array packaged on the heat dissipation substrate into a beam of combined light;
将该束合光引导往一个出光口;directing the beam of combined light to a light outlet;
控制所述LED阵列中具有不同发光波长的LED芯片发光来使所述出光口的光具有预定的颜色或颜色变化。The LED chips with different light emitting wavelengths in the LED array are controlled to emit light so that the light at the light outlet has a predetermined color or color change.
本发明方法基于上述各步骤,还包括步骤:The inventive method is based on above-mentioned each steps, also comprises step:
在所述出光口的光为白光的时段内,控制预定波长的LED芯片发光,同时在所述合光的引导光路上切入一透射型光波长转换装置来产生具有第二预定波长的受激发光,来混合产生白光;该时段过后,将所述透射型光波长转换装置切离所述引导光路。During the time period when the light at the light outlet is white light, the LED chip with a predetermined wavelength is controlled to emit light, and at the same time, a transmission-type light wavelength conversion device is cut into the guiding light path of the combined light to generate stimulated light with a second predetermined wavelength. , to mix and generate white light; after this period of time, the transmission-type optical wavelength conversion device is cut off from the guiding light path.
如图1所示,根据本发明方法设计的舞台灯光照明系统包括至少一个LED阵列,由按一定的空间间隔封装在散热基板上的复数个LED芯片构成;合光装置4,将各LED芯片的发光汇聚合成为一束合光;聚焦透镜5,将合光聚焦到出光口11。可以令同一所述LED阵列上的各LED芯片均为一同色LED,图1以三个LED阵列1、2、3为例,例如但不限于分别采用R、G、B LED发光芯片。相应地,所述合光装置4包括一个具有三个光入口端的分光合色装置,及三个与所述LED阵列相对应的包括复数个透镜的透镜阵列,每一所述透镜对准一LED芯片以最大限度地收集从该LED芯片输出的大角度光,并将该大角度光线转为有一定发散角的近平行光,该近平行光发散角度越小越好;出自该三个透镜阵列的三束(R、G、B)近平行光通过所述分光合色装置汇聚成一束射往所述聚焦透镜5。所述分光合色装置可以如图所示是一个具有三个光入口端的X型合色滤光装置,使每一所述光入口端对准一所述透镜阵列;还可以是由两片合色滤光片平行设置而成的级联型合色滤光装置。而所述合色滤光片可以是二向色片,也可以是镀有分光滤光膜的玻璃片;这些均在本公司的相关在先申请中涉及,此处不再赘述。As shown in Figure 1, the stage lighting lighting system designed according to the method of the present invention includes at least one LED array, which is composed of a plurality of LED chips packaged on the heat dissipation substrate at certain spatial intervals; The emitted light converges into a beam of combined light; the focusing
事实上,在对舞台灯光照明系统颜色种类要求不很丰富的场合,或许采用两个单色LED阵列足可。相应地,此时合光装置4可以用一个合色滤光片及两个所述透镜阵列来替代,出自该两个透镜阵列的两束近平行光一边一束地射往所述合色滤光片的两边,分别通过透射和反射的方式汇聚成一束射往所述聚焦透镜5。在对舞台灯光照明系统出射光的亮度或颜色均匀性要求不高的场合,还可以仅采用一个LED阵列来同时包括两种或两种以上具有不同发光波长的LED芯片,所述合光装置4用具有杯状反射面的光收集组件来替代,在该光收集组件杯底置入所述LED阵列,将杯口朝向所述聚焦透镜5。这些因非本发明重点,不再另加图示说明。In fact, in occasions where the color requirements for the stage lighting system are not very rich, it may be sufficient to use two single-color LED arrays. Correspondingly, at this time, the light combining device 4 can be replaced by a color combining filter and two described lens arrays, and the two beams of near-parallel lights from the two lens arrays are directed to the described color combining filter one by one. The two sides of the light sheet are respectively converged into a beam by means of transmission and reflection and directed to the focusing
本发明舞台灯光照明系统还包括透射型光波长转换装置7,以及控制处理装置;该控制处理装置控制各所述LED芯片的发光,还控制所述透射型光波长转换装置7适时切入和切离所述聚焦透镜到所述出光口之间的光路。图1示意了当所述透射型光波长转换装置7切入所述光路,用来产生高亮度白光的情形;图2示意了当所述透射型光波长转换装置7切离所述光路的情形。The stage lighting lighting system of the present invention also includes a transmission-type optical wavelength conversion device 7, and a control processing device; the control processing device controls the light emission of each of the LED chips, and also controls the transmission-type optical wavelength conversion device 7 to switch in and out in a timely manner. The light path between the focusing lens and the light outlet. FIG. 1 illustrates the situation when the transmission-type optical wavelength conversion device 7 is cut into the optical path to generate high-brightness white light; FIG. 2 illustrates the situation when the transmission-type optical wavelength conversion device 7 is cut off from the optical path.
所述透射型光波长转换装置7包括光波长转换材料及承载或夹持该光波长转换材料的透光介质。可以如图3所示用两片透光介质15、17来夹持光波长转换材料16,例如但不限于荧光粉、染料或量子发光材料;还可以将所述光波长转换材料与胶水混合后胶贴在任一所述透光介质上。The transmission-type light wavelength conversion device 7 includes a light wavelength conversion material and a light-transmitting medium carrying or clamping the light wavelength conversion material. As shown in Figure 3, two light-transmitting
图1中示意的所述透射型光波长转换装置7被设置在一具有转轴10的透光轮或透光盘9上,所述控制处理装置通过控制该透光轮/盘9的旋转角度来控制该透射型光波长转换装置7在所述光路中的切入或切离。所述光波长转换材料以荧光粉为例,因为小角度的入射激发光线经过荧光粉后,出光呈180度朗伯分布,使系统的光学扩展量变大,不利于出光口11对大角度光线的收集利用;本发明舞台灯光照明系统还包括了两个联动的透镜6、8,随所述透射型光波长转换装置7切入和切离所述光路。所述联动透镜6、8可以是凸透镜,也可以是较薄的菲涅尔透镜;在所述光路中,该两个透镜分置在所述透射型光波长转换装置的两边。第一透镜6具有较强的聚焦能力,将光线聚焦到光波长转换装置7上;第二透镜8收集来自所述光波长转换装置7的大角度光线,使出射光的有效孔径与出光口11相匹配,来减少光能的损失。The transmission-type optical wavelength conversion device 7 schematically shown in FIG. 1 is arranged on a light-transmitting wheel or a light-transmitting disc 9 with a
令图1所示系统中有一所述LED阵列上的各LED芯片均为蓝光LED芯片,对应的透射型光波长转换装置包括可产生黄色受激发光的光波长转换材料,则当舞台灯光要投射白色光时,控制处理装置控制使蓝光芯片发光,将另两LED阵列上的各LED芯片关掉,控制使联动透镜6、8和透射型光波长转换装置7切入所述光路即可。此时荧光粉受激发出黄光,所述黄光与透射部分的蓝光合成白光,其亮度效率远远大于采用R、G、B三基色高功率LED来合成白光。所述光波长转换材料的厚度不同,将影响合成白光的色温;因而可以通过调节所述光波长转换材料的厚度来改变所述白光的色温。Let each LED chip on one of the LED arrays in the system shown in Figure 1 be a blue LED chip, and the corresponding transmission-type light wavelength conversion device includes a light wavelength conversion material that can generate yellow stimulated light, then when the stage lighting is to project When the light is white, the control processing device controls the blue chip to emit light, turns off the LED chips on the other two LED arrays, and controls the
所述联动透镜6、8可以设计成与所述透射型光波长转换装置7联动,例如一起绕转轴10旋转。图2中,将所述联动透镜6、8与所述透射型光波长转换装置7一起切离所述光路,从而可以利用R、G、B三基色高功率LED来合成各种色光。采用本发明切换方案,既能弥补现有LED舞台灯光中白光亮度的不足,又能保持舞台灯光具有颜色高饱和和色彩丰富的优点。The linked
考虑到射入所述透射型光波长转换装置7的光可能具有较大光功率,为了保护光波长转换材料,可以将该透射型光波长转换装置7改装成用一具有转轴的透光轮盘来承载或夹持所述光波长转换材料。相应地,改进本发明方法为,当该透射型光波长转换装置被切入所述光路时,控制所述透光轮盘转动使得该透光轮盘上一预定圆环区域(携带该区域内光波长转换材料)循环扫过该光路。这样,可以避免热量在任一处光波长转换材料上积聚。相应地,透射型光波长转换装置7在所述光路中的切入或切离将通过一移动机构来移动所述透光轮盘实现。所述联动透镜6、8可以通过所述移动机构来与该透射型光波长转换装置7联动,而不与该透射型光波长转换装置7的轮盘的转动联动。Considering that the light entering the transmission-type optical wavelength conversion device 7 may have relatively large optical power, in order to protect the optical wavelength conversion material, the transmission-type optical wavelength conversion device 7 can be converted into a light-transmitting wheel with a rotating shaft To carry or hold the optical wavelength conversion material. Correspondingly, the method of the present invention is improved as follows: when the transmission-type light wavelength conversion device is cut into the optical path, the rotation of the light-transmitting wheel is controlled so that a predetermined circular area on the light-transmitting wheel (carrying light in this area) wavelength conversion material) cyclically sweeps the optical path. In this way, heat accumulation on the light wavelength conversion material can be avoided at any place. Correspondingly, the cut-in or cut-out of the transmission-type light wavelength conversion device 7 in the optical path will be realized by moving the light-transmissive wheel by a moving mechanism. The linked
考虑到本发明系统图案投影的需求,本发明系统还包括携带有一张或一张以上图案片的图案盘。如图2所示,当所述透射型光波长转换装置7被切离所述光路时(图中以虚线示意此时切入的透光部分),可以在所述出光口11处设置一图案片。所述图案盘可以如图6所示为一带转轴14的转盘13,携带有多张图案片,控制处理装置通过控制该转盘13的旋转角度来切换或选择图案片,使总有一图案片(例如但不限于131)正对着所述出光口11。Considering the requirements of the pattern projection of the system of the present invention, the system of the present invention also includes a pattern wheel carrying one or more pattern sheets. As shown in Figure 2, when the transmission-type optical wavelength conversion device 7 is cut off from the optical path (the dotted line in the figure indicates the light-transmitting part cut in at this time), a pattern sheet can be set at the
在该实施例中,所述图案片131被固定在图案盘13上时,还可以被设计成能绕着自己的轴自转,使系统出光图案更具有动态效果。In this embodiment, when the
若系统提供白光时无需同时提供任何图案,则还可以考虑同时在图1所示的透光轮/盘9在所述透射型光波长转换装置7以外的区域上设置有一张或一张以上的图案片,通过控制该透光轮/盘的旋转角度来选择在所述光路中切入的是所述透射型光波长转换装置还是某一图案片;如图5a及图5b所示。该方案中,如图5a所示,因参与成像系统对孔径的控制需求,对第二联动镜头8具有较高的规格要求。If the system does not need to provide any patterns at the same time when providing white light, it can also be considered that one or more than one light transmission wheel/disk 9 shown in Figure 1 is provided on the area other than the transmission type light wavelength conversion device 7. The gobo, by controlling the rotation angle of the light-transmitting wheel/disc, it is selected whether the transmission-type optical wavelength conversion device or a certain gobo is cut into the optical path; as shown in Fig. 5a and Fig. 5b. In this solution, as shown in FIG. 5 a , due to the requirement of controlling the aperture of the participating imaging system, the
本发明系统还可以包括设置在所述出光口后端的投影透镜12,引导该出光口的输出光进行远距离投影。The system of the present invention may further include a
所述图案片还可以是不带任何图案,供产生白光时或有需求时使用。但不排除系统提供白光时,对图案片有带图案的需求。则系统结构可以局部示意如图4所示。透射型光转换装置7设置在转盘9上,图案片设置在图案盘13上。如图4a,当透射型光转换装置7被切入所述光路时,为了使成像清晰,投影镜头12整体要向远离光源的方向移动;如图4b,当透射型光转换装置7被切离所述光路时,一般图案片具有较大的外径,为了使成像清晰,投影镜头12整体要向靠近光源的方向移动。The pattern sheet can also be without any pattern for use when generating white light or when required. However, it does not rule out that when the system provides white light, there is a demand for patterned sheets. Then the system structure can be partially schematically shown in Fig. 4 . The transmissive light conversion device 7 is set on the turntable 9 , and the gobo piece is set on the
Claims (27)
Priority Applications (3)
| Application Number | Priority Date | Filing Date | Title |
|---|---|---|---|
| CN2009101095031A CN101988630B (en) | 2009-07-31 | 2009-07-31 | Stage lighting system and method thereof for proving high-brightness white light |
| PCT/CN2010/001160 WO2011011979A1 (en) | 2009-07-31 | 2010-07-30 | Illumination system for stage lighting and method for providing high-brightness white light |
| US13/386,657 US8662690B2 (en) | 2009-07-31 | 2010-07-30 | Multi-colored illumination system with wavelength converter and method |
Applications Claiming Priority (1)
| Application Number | Priority Date | Filing Date | Title |
|---|---|---|---|
| CN2009101095031A CN101988630B (en) | 2009-07-31 | 2009-07-31 | Stage lighting system and method thereof for proving high-brightness white light |
Publications (2)
| Publication Number | Publication Date |
|---|---|
| CN101988630A CN101988630A (en) | 2011-03-23 |
| CN101988630B true CN101988630B (en) | 2013-01-09 |
Family
ID=43528726
Family Applications (1)
| Application Number | Title | Priority Date | Filing Date |
|---|---|---|---|
| CN2009101095031A Active CN101988630B (en) | 2009-07-31 | 2009-07-31 | Stage lighting system and method thereof for proving high-brightness white light |
Country Status (3)
| Country | Link |
|---|---|
| US (1) | US8662690B2 (en) |
| CN (1) | CN101988630B (en) |
| WO (1) | WO2011011979A1 (en) |
Families Citing this family (23)
| Publication number | Priority date | Publication date | Assignee | Title |
|---|---|---|---|---|
| JP5699568B2 (en) * | 2010-11-29 | 2015-04-15 | セイコーエプソン株式会社 | Light source device, projector |
| CN102721006B (en) * | 2012-02-16 | 2014-03-05 | 深圳市光峰光电技术有限公司 | light emitting device |
| CN103574479B (en) * | 2012-07-24 | 2015-04-15 | 旭正隆股份有限公司 | LED light projector |
| DE102012213311A1 (en) * | 2012-07-30 | 2014-01-30 | Osram Gmbh | Projection with semiconductor light sources, deflecting mirrors and transmitted light areas |
| CN103868009B (en) * | 2012-12-10 | 2015-09-09 | 深圳市光峰光电技术有限公司 | Stage Lighting System |
| CN103900020B (en) * | 2012-12-26 | 2016-06-08 | 深圳市光峰光电技术有限公司 | Light-emitting device and stage lamp system |
| WO2014183583A1 (en) * | 2013-05-17 | 2014-11-20 | 深圳市绎立锐光科技开发有限公司 | Light-emitting device and stage lamp system |
| EP2851610B1 (en) * | 2013-09-20 | 2017-04-26 | Osram Sylvania Inc. | Solid-state luminaire with electronically adjustable light beam distribution |
| TWI502270B (en) * | 2013-12-27 | 2015-10-01 | Coretronic Corp | Wavelength conversion device and projector |
| TWI521175B (en) * | 2014-03-27 | 2016-02-11 | 玉晶光電股份有限公司 | A fishing lamp with a removable spectral conversion component and the method for manufacturing the spectral conversion component |
| CN106154702B (en) * | 2015-03-30 | 2018-12-18 | 中强光电股份有限公司 | Rotating wheel and projection device with same |
| JP6663579B2 (en) * | 2015-09-25 | 2020-03-13 | ウシオ電機株式会社 | Light source device |
| CN205350946U (en) * | 2015-12-16 | 2016-06-29 | 深圳市绎立锐光科技开发有限公司 | Light source system and lighting system |
| CN107688275B (en) * | 2016-08-06 | 2023-10-13 | 深圳光峰科技股份有限公司 | Lighting device and display system |
| CN110476010B (en) * | 2017-04-05 | 2021-01-15 | 精工爱普生株式会社 | Illumination device and projector |
| CN207049716U (en) * | 2017-07-25 | 2018-02-27 | 深圳市绎立锐光科技开发有限公司 | The stage lamp illuminating system of light supply apparatus and the application light supply apparatus |
| DE102017117027B3 (en) * | 2017-07-27 | 2018-12-13 | SMR Patents S.à.r.l. | Projection device, review device and motor vehicle |
| CN107588396A (en) * | 2017-08-15 | 2018-01-16 | 浙江沪乐电气设备制造有限公司 | A kind of stealthy wakelight |
| CN108613047A (en) * | 2018-04-02 | 2018-10-02 | 佛山市南海区协隆电器有限公司 | Starry sky projector |
| CN110389487A (en) * | 2018-04-17 | 2019-10-29 | 深圳光峰科技股份有限公司 | Light source device and display device |
| CN110043833A (en) * | 2019-04-18 | 2019-07-23 | 广州光联电子科技有限公司 | A kind of optical system of the stage LED light source with field lens |
| KR102853006B1 (en) * | 2020-06-26 | 2025-08-29 | 엘지디스플레이 주식회사 | Display device |
| CN116068833A (en) * | 2021-11-04 | 2023-05-05 | 中强光电股份有限公司 | Illumination system, projection device and projection control method |
Citations (4)
| Publication number | Priority date | Publication date | Assignee | Title |
|---|---|---|---|---|
| CN1487356A (en) * | 2002-05-10 | 2004-04-07 | 精工爱普生株式会社 | Lighting device and projection display device |
| CN101042225A (en) * | 2003-01-22 | 2007-09-26 | 三洋电机株式会社 | Illuminating device and projection type video display apparatus |
| US20070253197A1 (en) * | 2006-05-01 | 2007-11-01 | Coretronic Corporation | Light-emitting diode light source system |
| CN201137834Y (en) * | 2007-12-25 | 2008-10-22 | 鹤山丽得电子实业有限公司 | Stage lamp light source component |
Family Cites Families (14)
| Publication number | Priority date | Publication date | Assignee | Title |
|---|---|---|---|---|
| US6273589B1 (en) * | 1999-01-29 | 2001-08-14 | Agilent Technologies, Inc. | Solid state illumination source utilizing dichroic reflectors |
| US6139166A (en) * | 1999-06-24 | 2000-10-31 | Lumileds Lighting B.V. | Luminaire having beam splitters for mixing light from different color ' LEDs |
| US6755554B2 (en) * | 2000-05-25 | 2004-06-29 | Matsushita Electric Industrial Co., Ltd. | Color wheel assembly and color sequential display device using the same, color wheel unit and color sequential display device using the same, and color sequential display device |
| CN100424547C (en) * | 2002-12-26 | 2008-10-08 | 三洋电机株式会社 | Projection Video Display |
| CN100383660C (en) | 2003-01-22 | 2008-04-23 | 三洋电机株式会社 | Illumination device and projection type image display |
| US7004602B2 (en) * | 2003-02-25 | 2006-02-28 | Ryan Waters | LED light apparatus and methodology |
| US7159987B2 (en) * | 2003-04-21 | 2007-01-09 | Seiko Epson Corporation | Display device, lighting device and projector |
| JP2005316406A (en) * | 2004-03-30 | 2005-11-10 | Sanyo Electric Co Ltd | Optical member, illumination apparatus and projection-type image display apparatus |
| US7524084B2 (en) * | 2004-03-30 | 2009-04-28 | Sanyo Electric Co., Ltd. | Illuminating device, and projection type video display |
| JP4685386B2 (en) * | 2004-08-31 | 2011-05-18 | 株式会社リコー | Image display device, projector device, and image observation device |
| TR201809376T4 (en) | 2006-06-02 | 2018-07-23 | Philips Lighting Holding Bv | Lighting device that produces color and white light. |
| US7857457B2 (en) * | 2006-09-29 | 2010-12-28 | 3M Innovative Properties Company | Fluorescent volume light source having multiple fluorescent species |
| US7547114B2 (en) | 2007-07-30 | 2009-06-16 | Ylx Corp. | Multicolor illumination device using moving plate with wavelength conversion materials |
| US8783887B2 (en) | 2007-10-01 | 2014-07-22 | Intematix Corporation | Color tunable light emitting device |
-
2009
- 2009-07-31 CN CN2009101095031A patent/CN101988630B/en active Active
-
2010
- 2010-07-30 WO PCT/CN2010/001160 patent/WO2011011979A1/en not_active Ceased
- 2010-07-30 US US13/386,657 patent/US8662690B2/en active Active
Patent Citations (4)
| Publication number | Priority date | Publication date | Assignee | Title |
|---|---|---|---|---|
| CN1487356A (en) * | 2002-05-10 | 2004-04-07 | 精工爱普生株式会社 | Lighting device and projection display device |
| CN101042225A (en) * | 2003-01-22 | 2007-09-26 | 三洋电机株式会社 | Illuminating device and projection type video display apparatus |
| US20070253197A1 (en) * | 2006-05-01 | 2007-11-01 | Coretronic Corporation | Light-emitting diode light source system |
| CN201137834Y (en) * | 2007-12-25 | 2008-10-22 | 鹤山丽得电子实业有限公司 | Stage lamp light source component |
Also Published As
| Publication number | Publication date |
|---|---|
| US8662690B2 (en) | 2014-03-04 |
| US20120147601A1 (en) | 2012-06-14 |
| WO2011011979A1 (en) | 2011-02-03 |
| CN101988630A (en) | 2011-03-23 |
Similar Documents
| Publication | Publication Date | Title |
|---|---|---|
| CN101988630B (en) | Stage lighting system and method thereof for proving high-brightness white light | |
| CN102072463B (en) | The method of lighting fixture and adjustable colors thereof, light wavelength conversion wheel component | |
| US11215909B2 (en) | Light source system and projection device | |
| JP5671666B2 (en) | Solid light source device and projection display device | |
| US9075299B2 (en) | Light source with wavelength conversion device and filter plate | |
| CN104991406B (en) | A light source system, lighting device and projection device | |
| US7744241B2 (en) | High brightness light source using light emitting devices of different wavelengths and wavelength conversion | |
| CN202615106U (en) | Light-emitting device and projection system | |
| CN201568808U (en) | Efficient light-composition stage lighting device | |
| EP1494062A2 (en) | Optical beam-combining total internal reflection (TIR) prism and light-condensing illumination apparatus incorporating same | |
| WO2011011981A1 (en) | Led illuminating device for stage lighting and method for improving color uniformity of the device | |
| JP2011164173A (en) | Projection type display apparatus | |
| JP2001042431A (en) | Light source device and projector device | |
| CN103969935A (en) | Illuminator and image display device | |
| CN104081114A (en) | Lighting apparatus comprising phosphor wheel | |
| CN113900336A (en) | Light source components and projection equipment | |
| US8087805B2 (en) | Motor-driven, head-displaceable floodlight unit | |
| CN201748342U (en) | Optical wavelength conversion wheel assembly and lighting device with the optical wavelength conversion wheel assembly | |
| CN102063002B (en) | Color regulating plate for solid light source projector | |
| CN103672501B (en) | Light source | |
| CN101907230A (en) | Stage lighting system and led array | |
| CN201568777U (en) | Lamplight lighting device with high bright white light | |
| CN210601177U (en) | Illumination source based on non-rotating wavelength conversion material | |
| CN207049716U (en) | The stage lamp illuminating system of light supply apparatus and the application light supply apparatus | |
| CN113687570A (en) | Laser light source system and laser projection apparatus |
Legal Events
| Date | Code | Title | Description |
|---|---|---|---|
| C06 | Publication | ||
| PB01 | Publication | ||
| C10 | Entry into substantive examination | ||
| SE01 | Entry into force of request for substantive examination | ||
| C14 | Grant of patent or utility model | ||
| GR01 | Patent grant | ||
| PE01 | Entry into force of the registration of the contract for pledge of patent right |
Denomination of invention: Stage lighting system and method thereof for proving high-brightness white light Effective date of registration: 20140828 Granted publication date: 20130109 Pledgee: Shenzhen SME credit financing guarantee Group Co., Ltd. Pledgor: Shenzhen Appotronics Co., Ltd. Registration number: 2014990000713 |
|
| PLDC | Enforcement, change and cancellation of contracts on pledge of patent right or utility model | ||
| PC01 | Cancellation of the registration of the contract for pledge of patent right | ||
| PC01 | Cancellation of the registration of the contract for pledge of patent right |
Date of cancellation: 20180305 Granted publication date: 20130109 Pledgee: Shenzhen SME credit financing guarantee Group Co., Ltd. Pledgor: Shenzhen Appotronics Co., Ltd. Registration number: 2014990000713 |
|
| TR01 | Transfer of patent right | ||
| TR01 | Transfer of patent right |
Effective date of registration: 20180810 Address after: 518000 Nanshan District, Shenzhen, Guangdong, Guangdong Province, Guangdong Road, 63 Xuefu Road, high-tech zone, 21 headquarters building, 22 floor. Patentee after: Shenzhen Yili Ruiguang Technology Development Co.,Ltd. Address before: 518057 room 1703, international business building, South Nanshan District high tech Zone, Shenzhen, Guangdong Patentee before: Shenzhen Appotronics Co., Ltd. |
|
| PE01 | Entry into force of the registration of the contract for pledge of patent right | ||
| PE01 | Entry into force of the registration of the contract for pledge of patent right |
Denomination of invention: Stage lighting system and method thereof for proving high-brightness white light Effective date of registration: 20200703 Granted publication date: 20130109 Pledgee: Shenzhen hi tech investment small loan Co.,Ltd. Pledgor: APPOTRONICS CHINA Corp. Registration number: Y2020980003760 |
|
| PC01 | Cancellation of the registration of the contract for pledge of patent right | ||
| PC01 | Cancellation of the registration of the contract for pledge of patent right |
Date of cancellation: 20211119 Granted publication date: 20130109 Pledgee: Shenzhen hi tech investment small loan Co.,Ltd. Pledgor: YLX Inc. Registration number: Y2020980003760 |
