[go: up one dir, main page]

WO2022158102A1 - Packaged absorbent article - Google Patents

Packaged absorbent article Download PDF

Info

Publication number
WO2022158102A1
WO2022158102A1 PCT/JP2021/042267 JP2021042267W WO2022158102A1 WO 2022158102 A1 WO2022158102 A1 WO 2022158102A1 JP 2021042267 W JP2021042267 W JP 2021042267W WO 2022158102 A1 WO2022158102 A1 WO 2022158102A1
Authority
WO
WIPO (PCT)
Prior art keywords
absorbent article
region
packaging sheet
sealing tape
adhesive layer
Prior art date
Legal status (The legal status is an assumption and is not a legal conclusion. Google has not performed a legal analysis and makes no representation as to the accuracy of the status listed.)
Ceased
Application number
PCT/JP2021/042267
Other languages
French (fr)
Japanese (ja)
Inventor
恵 葭葉
Current Assignee (The listed assignees may be inaccurate. Google has not performed a legal analysis and makes no representation or warranty as to the accuracy of the list.)
Daio Paper Corp
Original Assignee
Daio Paper Corp
Priority date (The priority date is an assumption and is not a legal conclusion. Google has not performed a legal analysis and makes no representation as to the accuracy of the date listed.)
Filing date
Publication date
Application filed by Daio Paper Corp filed Critical Daio Paper Corp
Publication of WO2022158102A1 publication Critical patent/WO2022158102A1/en
Anticipated expiration legal-status Critical
Ceased legal-status Critical Current

Links

Images

Classifications

    • AHUMAN NECESSITIES
    • A61MEDICAL OR VETERINARY SCIENCE; HYGIENE
    • A61FFILTERS IMPLANTABLE INTO BLOOD VESSELS; PROSTHESES; DEVICES PROVIDING PATENCY TO, OR PREVENTING COLLAPSING OF, TUBULAR STRUCTURES OF THE BODY, e.g. STENTS; ORTHOPAEDIC, NURSING OR CONTRACEPTIVE DEVICES; FOMENTATION; TREATMENT OR PROTECTION OF EYES OR EARS; BANDAGES, DRESSINGS OR ABSORBENT PADS; FIRST-AID KITS
    • A61F13/00Bandages or dressings; Absorbent pads
    • A61F13/15Absorbent pads, e.g. sanitary towels, swabs or tampons for external or internal application to the body; Supporting or fastening means therefor; Tampon applicators
    • AHUMAN NECESSITIES
    • A61MEDICAL OR VETERINARY SCIENCE; HYGIENE
    • A61FFILTERS IMPLANTABLE INTO BLOOD VESSELS; PROSTHESES; DEVICES PROVIDING PATENCY TO, OR PREVENTING COLLAPSING OF, TUBULAR STRUCTURES OF THE BODY, e.g. STENTS; ORTHOPAEDIC, NURSING OR CONTRACEPTIVE DEVICES; FOMENTATION; TREATMENT OR PROTECTION OF EYES OR EARS; BANDAGES, DRESSINGS OR ABSORBENT PADS; FIRST-AID KITS
    • A61F13/00Bandages or dressings; Absorbent pads
    • A61F13/15Absorbent pads, e.g. sanitary towels, swabs or tampons for external or internal application to the body; Supporting or fastening means therefor; Tampon applicators
    • A61F13/551Packaging before or after use
    • AHUMAN NECESSITIES
    • A61MEDICAL OR VETERINARY SCIENCE; HYGIENE
    • A61FFILTERS IMPLANTABLE INTO BLOOD VESSELS; PROSTHESES; DEVICES PROVIDING PATENCY TO, OR PREVENTING COLLAPSING OF, TUBULAR STRUCTURES OF THE BODY, e.g. STENTS; ORTHOPAEDIC, NURSING OR CONTRACEPTIVE DEVICES; FOMENTATION; TREATMENT OR PROTECTION OF EYES OR EARS; BANDAGES, DRESSINGS OR ABSORBENT PADS; FIRST-AID KITS
    • A61F13/00Bandages or dressings; Absorbent pads
    • A61F13/15Absorbent pads, e.g. sanitary towels, swabs or tampons for external or internal application to the body; Supporting or fastening means therefor; Tampon applicators
    • A61F13/56Supporting or fastening means
    • AHUMAN NECESSITIES
    • A61MEDICAL OR VETERINARY SCIENCE; HYGIENE
    • A61FFILTERS IMPLANTABLE INTO BLOOD VESSELS; PROSTHESES; DEVICES PROVIDING PATENCY TO, OR PREVENTING COLLAPSING OF, TUBULAR STRUCTURES OF THE BODY, e.g. STENTS; ORTHOPAEDIC, NURSING OR CONTRACEPTIVE DEVICES; FOMENTATION; TREATMENT OR PROTECTION OF EYES OR EARS; BANDAGES, DRESSINGS OR ABSORBENT PADS; FIRST-AID KITS
    • A61F13/00Bandages or dressings; Absorbent pads
    • A61F13/15Absorbent pads, e.g. sanitary towels, swabs or tampons for external or internal application to the body; Supporting or fastening means therefor; Tampon applicators
    • A61F13/56Supporting or fastening means
    • A61F13/58Adhesive tab fastener elements
    • A61F13/60Adhesive tab fastener elements with release means associated with tab fasteners

Definitions

  • the present invention relates to packaged absorbent articles.
  • absorbent articles such as sanitary napkins, panty liners, and incontinence pads are provided in a state of being wrapped in a wrapping sheet for hygiene and convenience of carrying.
  • Patent Document 1 discloses a first edge portion including one longitudinal end in the unfolded state and a second longitudinal edge portion including the other longitudinal end.
  • the first edge is arranged outside the second edge in the thickness direction, and the base end side of the lead tape is fixed to the surface of the first edge.
  • the article describes an absorbent article package in which the free end side of a lead tape protruding outwardly from the first edge portion in the longitudinal direction is detachably attached to the surface of the package sheet.
  • Patent Document 1 describes that at least a part of the region of the packaging sheet to which the free end side of the lead tape is attached has a density higher than a predetermined density and a thickness smaller than a predetermined thickness. It is Furthermore, it is described that since the fibers are compacted and the surface of the nonwoven fabric is in a smooth state, when the free end of the lead tape is peeled off, it is difficult for the fibers to come off or the nonwoven fabric to break on the surface of the packaging sheet. .
  • the tape can be easily peeled off even on the proximal side, so the tape falls off before opening and acts as a sealing tape. may become unfulfilled.
  • An object of one aspect of the present invention is to provide a packaged absorbent article from which the sealing tape can be easily peeled off when unsealed, while maintaining its original function as a sealing tape.
  • a first aspect of the present invention is a packaged absorbent article including a packaging sheet and an absorbent article wrapped with the packaging sheet, wherein the packaging sheet has a first region including one end in the first direction of the packaging sheet and a second region including the other end in the first direction, folded by overlapping the first region on the outer surface of the second region, and sealing across the outer surface of the first region and the outer surface of the second region.
  • the sealing tape has a fixing portion located on the outer surface side of the first region and a gripping portion located on the outer surface side of the second region, and the gripping portion is attached to the packaging sheet.
  • An adhesive layer is intermittently formed on the facing surface.
  • the gripping portion of the sealing tape is not coated with the adhesive and adheres to the packaging sheet. There are parts that do not. Thereby, the contact area between the grip portion and the packaging sheet, more specifically, the contact area between the grip portion and the second region of the packaging sheet can be reduced. Therefore, the bonding force between the grip portion and the second region is reduced, and when the packaged absorbent article is opened by holding the grip portion of the sealing tape, the sealing tape can be peeled off from the second region with less force. can be done.
  • the grip portion of the sealing tape can be easily peeled off from the second region when the packaged absorbent article is unsealed without weakening the adhesive force per unit area of the adhesive applied to the sealing tape. . Therefore, a high bonding strength can be maintained between the fixing portion of the sealing tape and the first region of the packaging sheet.
  • the adhesive layer is not intermittently applied but solid, the fibers on the surface of the packaging sheet come into contact at all points of the adhesive layer. As a result, many fibers adhere to the adhesive layer, and most of the adhesive layer is covered with fibers. Therefore, when the used absorbent article is disposed of, when the used absorbent article is wrapped in the packaging sheet and fastened with the sealing tape, the used absorbent article can be kept wrapped by the sealing tape. There are times when it becomes impossible.
  • the adhesive layer is applied intermittently.
  • the fibers will adhere to the adhesive layer. do.
  • the fibers will adhere to the adhesive layer. Therefore, since the number of fibers adhering to the adhesive layer is reduced, the ratio of the surface area of the adhesive layer to which no fibers are adhered is increased compared to the case where the adhesive is solidly applied.
  • the used absorbent article is kept wrapped by the sealing tape. be able to.
  • the pressure-sensitive adhesive layer is formed with a linear pattern or a spiral pattern.
  • various patterns can be formed, for example, the width, length, shape, number, spacing, etc. of the lines, depending on the pattern, the area where the adhesive is applied, or the adhesive is applied. Not area can be controlled. Thereby, the contact area between the grip portion and the second region of the packaging sheet can be controlled. Therefore, it is possible to control the binding force between the grip portion and the second region of the packaging sheet.
  • the pattern allows the portions coated with the pressure-sensitive adhesive layer and the portions not coated with the adhesive layer to be dispersed over the entire gripping portion, thereby forming the gripping portion and the packaging sheet.
  • a reduction in the contact area between can occur uniformly. Therefore, the sealing tape can be smoothly peeled off even if the user applies uneven force when peeling off the gripped portion of the sealing tape.
  • the pattern can be manufactured relatively easily in the manufacturing process, so the manufacturing cost can be reduced.
  • the pressure-sensitive adhesive layer has portions where the layer thickness is thick and portions where the layer thickness is thin.
  • the sealing tape when the sealing tape is pressed and adhered onto the packaging sheet, the portion with a thick layer is pressed more strongly, but the portion with a thin layer is less pressed, and the package The sheet and adhesive layer are more weakly bonded.
  • the grip portion when the grip portion is peeled off from the packaging sheet, the portion with a thin layer thickness is peeled off with a smaller peeling force than the portion with a thicker layer thickness, so the peeling force can be reduced as a whole.
  • the packaging sheet contains a fibrous material, the part with a thicker layer is pressed more strongly, and more fibers of the packaging sheet tend to adhere, whereas the fibers that adhere to a part with a thinner layer Few. Therefore, when the used absorbent article is disposed of, when the used absorbent article is wrapped with the packaging sheet and fastened with the sealing tape, the sealing tape is more reliably retained, and the used absorbent article is wrapped. state can be maintained.
  • a thick portion can be easily formed by setting the intersection point of the pattern at the portion where the layer thickness is thick.
  • a continuous and uniform-thickness adhesive layer is formed on the surface of the fixed part facing the packaging sheet.
  • the basis weight of the adhesive layer of the fixed portion can be made larger than the basis weight of the adhesive layer of the grip portion.
  • the holding portion can be easily peeled off from the second region without weakening the adhesive force per unit area of the adhesive applied to the sealing tape, and the bonding force between the fixing portion and the packaging sheet is maintained high. can do.
  • the sealing tape has a shape in which the length in the second direction orthogonal to the first direction decreases toward the end side of the grip.
  • the contact area between the gripping portion and the packaging sheet is adjusted to the edge of the gripping portion. It can be reduced toward the part side. Therefore, the bonding force between the gripping portion and the second region is reduced, and when starting to open the packaged absorbent article with the gripping portion of the sealing tape, the sealing tape is pulled from the second region with a particularly small force. can be peeled off with
  • the packaging sheet is paper or non-woven fabric.
  • the packaging sheet when the packaging sheet is paper, the burden on the environment at the time of disposal can be reduced, and when it is a non-woven fabric, it can provide a soft touch.
  • a packaged absorbent article having a sealing tape that can be easily peeled off when unsealed while maintaining its original function as a sealing tape.
  • FIG. 1 is a plan view of a packaged absorbent article according to a first embodiment of the present invention
  • FIG. 2 is a sectional view taken along the line II of FIG. 1
  • FIG. 2 is a plan view of the unfolded state of the packaged absorbent article shown in FIG. 1, viewed from the side on which the absorbent article is placed.
  • FIG. 5 is a diagram showing a first modification of the sealing tape of the packaged absorbent article according to the first embodiment of the present invention
  • FIG. 4 is a diagram showing a second modification of the sealing tape of the packaged absorbent article according to the first embodiment of the present invention
  • Figure 6 is an enlarged view of portion II of Figure 5;
  • FIG. 10 is a diagram showing a third modification of the sealing tape of the packaged absorbent article according to the first embodiment of the present invention
  • FIG. 10 is a diagram showing a fourth modified example of the sealing tape of the packaged absorbent article according to the first embodiment of the present invention
  • FIG. 10 is a diagram showing a fifth modification of the sealing tape of the packaged absorbent article according to the first embodiment of the present invention
  • FIG. 10 is a diagram showing a sixth modification of the sealing tape of the packaged absorbent article according to the first embodiment of the present invention
  • FIG. 10 is a diagram showing a seventh modification of the sealing tape of the packaged absorbent article according to the first embodiment of the present invention
  • FIG. 10 is a diagram showing an eighth modification of the sealing tape of the packaged absorbent article according to the first embodiment of the present invention
  • FIG. 10 is a diagram showing a ninth modification of the sealing tape of the packaged absorbent article according to the first embodiment of the present invention
  • FIG. 10 is a diagram showing a tenth modification of the sealing tape of the packaged absorbent article according to the first embodiment of the present invention
  • Fig. 2 is a plan view of a packaged absorbent article according to a second embodiment of the present invention
  • FIG. 4 is a plan view of a packaged absorbent article according to a third embodiment of the present invention
  • FIG. 4 is a diagram for explaining the method for manufacturing the sealing tape for the packaged absorbent article according to the first embodiment of the present invention
  • FIG. 1 shows a plan view of a packaged absorbent article 100 according to the first embodiment of the present invention.
  • FIG. 2 shows a sectional view taken along line II of FIG. 3 shows a plan view of the unfolded state of the packaged absorbent article 100 shown in FIG. 1, viewed from the side on which the absorbent article 1 is placed.
  • the packaged absorbent article 100 includes a packaging sheet 10 and the absorbent article 1 wrapped by the packaging sheet 10.
  • the packaged absorbent article 100 is an individual package containing one absorbent article 1 in one packaging sheet 10 .
  • the packaged absorbent article 100 is prepared by placing the absorbent article 1 on the expanded packaging sheet 10, and placing the packaging sheet 10 together with the absorbent article 1 so that both end regions in one direction of the packaging sheet 10 overlap each other. 1 is placed, that is, by folding the packaging sheet 10 together with the absorbent article 1 into at least three rolls.
  • the packaging sheet 10 has a first region R1 including one end 11 in the longitudinal direction (first direction) D1 of the packaging sheet 10 and a longitudinal direction D1 of the packaging sheet 10. and a second region R2 including the other end 12 of the.
  • first region R1 is folded back at the first folding line L1 extending along the lateral direction (second direction) D2 orthogonal to the longitudinal direction D1.
  • second region R2 is folded back along the second folding line L2 extending along the lateral direction D2 before the first region R1 is folded back.
  • a region between the first region R1 and the second region R2 is defined as a third region R3.
  • the other end 12 in the longitudinal direction D1 may be folded to reach the first folding line L1 of the first region R1, or as shown in FIG. Alternatively, the other end 12 may be folded away from the first folding line L1.
  • Such a wrapping method of overlapping two regions of the edge of the wrapping sheet 10 is preferable because it is simple and can reliably enclose the absorbent article without exposing it to the external environment.
  • the absorbent article 1 used in the embodiment of the present invention may be a sanitary napkin, a panty liner (a sheet for vaginal discharge), a pad for light incontinence, or the like.
  • the absorbent article 1 has an elongated shape in plan view, but the plan view shape of the absorbent article 1 is not limited to that illustrated.
  • the absorbent article 1 may be, for example, a body fluid absorbing pad having a shape such as a regular polygon including a square, a circle, or the like, which can be wrapped by the packaging sheet without being folded together with the packaging sheet.
  • the absorbent article 1 has an elongated shape, the total length of the absorbent article 1 can be 140-420 mm, and the width of the absorbent article 1 can be 50-120 mm.
  • the absorbent article 1 may have a structure in which a liquid-impermeable backsheet, an absorbent body, and a liquid-permeable topsheet are laminated in this order.
  • a sheet material having at least water impermeability such as an olefin resin sheet such as polyethylene or polypropylene, can be used.
  • a laminated nonwoven fabric obtained by laminating a nonwoven fabric on a polyethylene sheet or the like, or a laminated sheet of a nonwoven fabric in which a waterproof film is interposed to substantially ensure liquid impermeability can be used.
  • a material having moisture permeability may be used.
  • a perforated or non-perforated nonwoven fabric, a porous plastic sheet, or the like is preferably used as the surface sheet.
  • the material fibers that make up the nonwoven fabric include, for example, olefins such as polyethylene and polypropylene, synthetic fibers such as polyester and polyamide, regenerated fibers such as rayon and cupra, blended fibers thereof, and natural fibers such as cotton. It can be used in combination of two or more.
  • the absorber is not limited as long as it is a material that can absorb and retain bodily fluids, but it preferably contains cotton-like pulp and a water-absorbing polymer.
  • As the water absorbent polymer super absorbent polymer granules (SAP), super absorbent polymer fibers (SAF) and combinations thereof can be used.
  • SAP super absorbent polymer granules
  • SAF super absorbent polymer fibers
  • the pulp includes chemical pulp obtained from wood, cellulose fibers such as dissolving pulp, and artificial cellulose fibers such as rayon and acetate.
  • the thickness of the absorber can be in the range of 0.5-25 mm, preferably in the range of 1.5-6.5 mm.
  • the absorbent body can also have a structure in which a region corresponding to the body fluid outlet (body fluid outlet corresponding region) and a region behind the body fluid outlet corresponding region facing the groove of the buttocks are swollen.
  • the absorber has dimensions and a shape that do not protrude from the topsheet and the backsheet, and the outer edges of the backsheet and the topsheet are adhered to the front and rear edges of the absorber by adhesive such as hot melt or heat treatment. They are joined by adhesive means such as seals and ultrasonic seals.
  • side nonwoven fabrics may be provided along the longitudinal direction at both ends in the width direction on the outer sides of the absorbent body. As the side nonwoven fabric, a water repellent nonwoven fabric or a hydrophilic treated nonwoven fabric can be used.
  • the shape of the packaging sheet 10 is not particularly limited, it is preferable that it has an elongated shape such as a rectangle or an oblong shape in an unfolded state (unfolded state) as shown in FIG. Thereby, the elongated and planar absorbent article 1 can be hygienically packaged.
  • the dimensions of the packaging sheet 10 depend on the size and shape of the absorbent article 1 to be packaged. and the length (sometimes simply referred to as width) in the transverse direction D2 orthogonal to the longitudinal direction D1 can be 70 to 250 mm.
  • a longer packaging sheet 10 can be used according to the length of the absorbent article.
  • the length of the second region R2 is made longer than the length of the third region R3, and when the second region R2 is folded, the second region R2 is first folded along the second folding line L2 and the other end 12.
  • Fold the absorbent article on the side where the absorbent article is placed at the third folding line extending along the transverse direction D2 to the position between The first region R1 can be folded along the first folding line L1 to obtain a packaged absorbent article folded in four as a whole.
  • the material constituting the packaging sheet 10 is not particularly limited, and may be a fiber-containing sheet such as paper or non-woven fabric, or a resin film.
  • paper can refer to a sheet made by agglutinating plant fibers or other fibers with a glue.
  • it can refer to a material mainly composed of vegetable fibers (pulp), for example, a material containing 50% or more, preferably 80% or more, vegetable fiber of the contained fibers.
  • the types of pulp contained in the paper may include wood pulp, non-wood pulp, and waste paper pulp, which may be either mechanical pulp or chemical pulp. Additives may be added to the paper.
  • paper used for the packaging sheet 10 include various types of paper such as western paper, Japanese paper, processed paper, and synthetic paper.
  • unprocessed or processed paper conventionally used for other purposes such as newsprint, printing paper (including high-quality paper), writing paper, drawing paper, wrapping paper, tissue paper, miscellaneous paper, etc. can also be used as newsprint, printing paper (including high-quality paper), writing paper, drawing paper, wrapping paper, tissue paper, miscellaneous paper, etc. can also be used as newsprint, printing paper (including high-quality paper), writing paper, drawing paper, wrapping paper, tissue paper, miscellaneous paper, etc. can also be used as
  • the packaging sheet 10 is made of thin paper with a low basis weight in order to facilitate folding when packaging the absorbent article and to facilitate maintaining the state after packaging. be able to.
  • the thin paper may be light imitation paper, Indian paper, rice paper (used as cigarette wrapping paper, etc.), glassine paper, tissue paper, toilet paper, filter paper, and the like.
  • the packaging sheet 10 may be processed after papermaking. Examples of the above processing include crepe processing, embossing, calendar processing, water repellent processing, slit processing, ply processing, and printing processing. Both strength and flexibility can be improved by creping or embossing.
  • the basis weight of the packaging sheet is preferably 50 g/m 2 or less, more preferably 40 g/m 2 or less, still more preferably 30 g/m 2 or less, 20 g/m 2 or less, It can be 11 g/m 2 or less, 8 g/m 2 or less.
  • the lower limit of the basis weight of the packaging sheet 10 is not particularly limited as long as it functions as the packaging sheet 10, but it is preferably 5 g/m 2 or more, more preferably 10 g/m 2 or more.
  • the thickness of the paper packaging sheet 10 is preferably 40-200 ⁇ m, more preferably 100-200 ⁇ m.
  • the nonwoven fabric to be used is preferably a meltblown nonwoven fabric, a spunbond nonwoven fabric, or the like, and it is also possible to use a laminate obtained by combining a plurality of layers of these nonwoven fabrics.
  • fibers constituting the nonwoven fabric may be polyolefins such as polypropylene and polyethylene, polyamides such as polyester and nylon, and the like.
  • a resin film is used for the packaging sheet 10
  • resins used include polyolefins such as polypropylene and polyethylene, polyester, and polyvinyl alcohol.
  • the resin film a stretched one is preferable.
  • the resin film may be either a non-breathable film or a breathable film.
  • one packaging sheet 10 may be a single-layer sheet made of the materials described above, or one packaging sheet 10 may be formed by laminating a plurality of layers made of different materials. It may be a laminated sheet. Therefore, for example, it may be configured by laminating a resin film on the paper sheet described above.
  • the packaged absorbent article 100 is formed with peelable seal portions 15, 15 on both edges in the lateral direction D2.
  • the sealed portions 15 , 15 prevent the absorbent article 1 from being exposed to the outside, and also prevent dust from entering the inside of the packaged absorbent article 100 .
  • the seals 15, 15 may be formed, for example, by heat sealing, ultrasonic sealing, or the like, or by an adhesive.
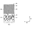
  • the packaged absorbent article 100 is provided with a sealing tape 50 after the absorbent article 1 is wrapped by the packaging sheet 10 (FIGS. 1 to 3).
  • the sealing tape 50 is an adhesive tape having adhesive layers 61 and 62 on the surface facing the packaging sheet 10 .
  • the adhesive tape is a tape that can be attached to and detached from the outer surface of the packaging sheet 10 even after a certain amount of time has passed.
  • the sealing tape 50 is adhered from the first region R1 overlaid on the outer surface of the second region R2 to the second region R2.
  • the sealing tape 50 is attached to the outer surface of the packaging sheet 10 so as to straddle one end 11 of the packaging sheet 10 in the longitudinal direction D1 included in the first region R1.
  • the first region R1 can be at least partially pinned to the second region R2 to prevent the first region R1 from opening. Therefore, before the packaged absorbent article 100 is unsealed, it is possible to prevent dust and the like from entering between the first region R1 and the second region R2.
  • the sealing tape 50 has a fixing portion 52 positioned on the outer surface side of the first region R1 and a grip portion 51 positioned on the outer surface side of the second region R2.
  • the vicinity of the second folding line L2 of the packaging sheet 10 is usually held with one hand, and the grip portion 51 attached to the second region R2 of the sealing tape 50 is held with the other hand. It is held by hand and pulled, and the sealing tape 50 is peeled off from the second region R2.
  • the sealing tape 50 is further pulled, the sealing of the sealing portions 15, 15 is released, but the fixing portion 52 attached to the first region R1 of the sealing tape 50 is attached to the first region R1. maintained as they were. Therefore, by continuously pulling the sealing tape 50, the first region R1 is lifted together with the sealing tape 50 and peeled off from the second region R2, so that the packaged absorbent article 100 can be unfolded.
  • an adhesive layer 61 is intermittently (discontinuously) formed on the surface S1 of the grip portion 51 of the sealing tape 50 facing the second region R2. More specifically, the adhesive layer 61 is formed in stripes.
  • intermittently formed or striped formation includes a portion where the adhesive layer 61 is formed and a portion where the adhesive layer 61 is not formed (no adhesive is applied) (in other words, and the adhesive is not applied to the entire surface where it is required).
  • the adhesive is substantially applied. It also includes cases where the action and function as an adhesive are negligible.
  • a plurality of linear portions extending along the lateral direction (second direction) D2 of the sealing tape 50 are separated from each other in the longitudinal direction (first direction) D1 of the sealing tape 50. are arranged side by side with a space between them. Therefore, the grip portion 51 has a portion where the adhesive is not applied and does not adhere to the second region R2. Therefore, the contact area between the grip portion 51 and the second region R2 can be reduced. As a result, the binding force between the grip portion 51 and the second region R2 can be reduced, and when the wrapped absorbent article 100 is opened by holding the grip portion 51, the grip portion 51 can be moved from the second region R2 with a smaller force. It can be peeled off, and the wrapped absorbent article 100 can be opened with a smooth action.
  • the sealing tape 50 coated with a weakly adhesive adhesive is used in order to facilitate the peeling of the grip portion 51. something happened.
  • the adhesive strength of the sealing tape 50 as a whole is weakened, the adhesive strength of the fixing portion 52 of the sealing tape 50 is also weakened, and the fixing portion 52 may be pulled out before or during the opening operation of the packaged absorbent article 100 .
  • the original role of the sealing tape 50 to prevent the opening of the first region R1 could not be fulfilled because the sealing tape 50 was peeled off from the first region R1.
  • the bonding force can be weakened only at the grip portion 51 without changing the adhesive force per unit area of the adhesive applied to the sealing tape 50 .
  • the holding portion 51 can be easily peeled off while maintaining the high bonding strength to the first region R1. For example, by intermittently forming the adhesive layer 61 of the grip portion 51 as described above without changing the type of adhesive applied to the sealing tape 50, the bonding force of only the grip portion 51 can be weakened. .
  • the end 51 a of the sealing tape 50 on the grip part 51 side may not be attached to the packaging sheet 10 .
  • the end of the sealing tape 50 on the side of the grip portion 51 is folded back, and the outer surface (the surface without the adhesive layer) of the sealing tape 50 is the end facing the packaging sheet 10. 51a may be formed.
  • the shape of the sealing tape 50 is not particularly limited, it may be rectangular or square with a constant width.
  • the width of the sealing tape 50 may preferably be 5-30 mm, more preferably 10-20 mm.
  • the overall length of the sealing tape 50 may be preferably 10-50 mm, more preferably 15-40 mm.
  • FIGS. 4 Modified example of sealing tape
  • 5 and 7 to 14 show modifications of the sealing tape 50 of the packaged absorbent article 100 according to the first embodiment of the present invention.
  • 6 shows an enlarged view of portion II of FIG.
  • 5, and 7 to 14 are plan views of the sealing tape 50 viewed from the side of the adhesive layers 61 and 62 (the side facing the packaging sheet 10). It is described so that the grip portion 51 is on the side and the fixing portion 52 is on the upper side. 4, 5, and 7 to 14, the adhesive layer 62 of the fixing portion 52 of the sealing tape 50 is the same as the example shown in FIGS.
  • the pattern of the adhesive layer 61 is different.
  • the pattern means the entire pattern of the adhesive layer 61 formed on the grip portion 51, but the intersection of the patterns means the pattern as the whole pattern as well as the individual patterns that make up the pattern. It may indicate an adhesive layer.
  • the pattern of the pressure-sensitive adhesive layer 61 is not limited to the striped pattern shown in FIGS. good.
  • the width of the lines may preferably be 0.1-3.0 mm, more preferably 0.5-2.0 mm. Also, the number of lines is three in the examples shown in FIGS. 1 and 3 to 5, but is not limited to this.
  • the ratio of the total planar view area of the adhesive layer 61 on the surface S1 of the grip portion 51 facing the packaging sheet 10 depends on the adhesive performance of the adhesive layer 61 and the material of the packaging sheet 10, but is preferably It may be 30-90%, more preferably 50-80%.
  • the contact area can be 30% or more. It is possible to secure the role of the sealing tape 50 of fixing to the second region R2.
  • the ratio of the total surface area of the pressure-sensitive adhesive layer 61 to 90% or less, the contact area can be 90% or less. It is possible to further improve the effect that it is easy to peel off.
  • the pattern of the pressure-sensitive adhesive layer 61 can form various patterns depending on the shape and width of the lines, as well as the length, number of lines, intervals, and the like. Therefore, the planar view area of the adhesive layer 61 (the area of the portion to which the adhesive is applied) or the planar view area of the portion to which the adhesive is not applied on the surface S1 of the grip portion 51 facing the packaging sheet 10 is can be controlled (and possibly changed). Thereby, the contact area between the grip portion 51 and the second region R2 of the packaging sheet 10 can be controlled. Therefore, the coupling force between the grip portion 51 and the second region R2 can be controlled.
  • the portions coated with the adhesive and the portions not coated with the adhesive can be efficiently dispersed over the entire grip portion 51. Reduction of the contact area between the grip portion 51 and the second region R2 of the packaging sheet 10 can be uniformly caused. Therefore, even if the user applies uneven force when peeling off the grip portion 51 of the sealing tape 50, the sealing tape 50 can be peeled off smoothly.
  • a spiral pattern as shown in FIG. 5 is particularly preferable.
  • the adhesive layer 61 is intermittently formed also in the case of the spiral pattern.
  • the grip portion 51 has a portion where the adhesive is not applied and does not adhere to the second region R2. Therefore, the contact area between the grip portion 51 and the second region R2 can be reduced.
  • the binding force between the grip portion 51 and the second region R2 can be reduced, and when the wrapped absorbent article 100 is opened by holding the grip portion 51, the grip portion 51 can be moved from the second region R2 with a smaller force. It can be peeled off, and the wrapped absorbent article 100 can be opened with a smooth action.
  • the portion coated with the adhesive and the portion not coated with the adhesive can be relatively easily dispersed over the entire grip portion 51 and formed. Therefore, the contact area between the grip portion 51 and the second region R2 of the packaging sheet 10 can be reduced more uniformly.
  • the pressure-sensitive adhesive layer 61 preferably has a portion 61a with a large layer thickness (large basis weight) and a portion 61b with a thin layer thickness (small basis weight).
  • the layer thickness of the thick portion 61a can be preferably twice or more that of the thin portion 61b.
  • the thinner portion 61b is peeled off with a smaller peeling force than the thicker portion 61a, so that peeling can be performed with a smaller force as a whole.
  • the user when replacing the absorbent article, the user often wraps the used absorbent article in the packaging sheet 10 that was peeled off when the new packaged absorbent article was opened, and discards it.
  • the sealing tape 50 that remains attached to the first region R1 of the packaging sheet 10 is reused to wrap it.
  • Used absorbent articles can be clipped. More specifically, the used absorbent article is wrapped so that the first region R1 having the sealing tape 50 of the packaging sheet 10 is positioned outside, and the gripping portion 51 of the sealing tape 50 is placed under the gripping portion 51. It is attached to the surface of the packaging sheet 10 arranged on the side. This allows the used absorbent article to remain compactly rolled and wrapped. Therefore, it is preferable that the grip portion 51 of the sealing tape 50 once peeled off at the time of opening can be reused (has refastening properties).
  • the packaging sheet 10 is a fiber-containing sheet containing a fiber material such as paper or non-woven fabric
  • the grip portion 51 of the sealing tape 50 when the grip portion 51 of the sealing tape 50 is peeled off at the time of opening the packaged absorbent article, the fibers on the surface of the packaging sheet 10 easily adheres to the adhesive layer 61 of the grip portion 51 .
  • the fibers adhering to the once peeled grip portion 51 can reduce the adhesiveness of the adhesive layer 61 .
  • the adhesive layer 61 when the adhesive layer 61 is applied intermittently, most of the individual fibers adhere to the adhesive layer 61. When they are in contact, the fibers separate from the surface of the packaging sheet 10 and adhere to the adhesive layer 61 . However, even if some of the fibers of interest are in contact with the adhesive layer 61, if most of the fibers are in contact with a portion where the adhesive layer 61 is not present, the fibers will not separate from the surface of the packaging sheet 10 and will be attached to the packaging sheet. 10 Stay on the surface.
  • the proportion of fibers adhering to the pressure-sensitive adhesive layer 61 is reduced, so the surface of the pressure-sensitive adhesive layer 61 is covered with fibers covering the pressure-sensitive adhesive-applied surface per unit area more than when the pressure-sensitive adhesive is applied in a solid state. of the adhesive layer 61 can be avoided. As a result, the ratio of the surface area of the adhesive layer 61 to which the fibers are not adhered is greater than in the case where the adhesive is applied solidly. 51 can be reused.
  • the portion with the thicker layer is stronger when the sealing tape 50 is adhered. While being pressed, more fibers of the packaging sheet 10 tend to adhere, fewer fibers adhere to the portion 61b where the layer thickness is thin. Therefore, when the used absorbent article is disposed of, when the used absorbent article is wrapped in the packaging sheet 10 and fastened with the sealing tape 50, the sealing tape 50 is more securely fastened, and the used absorbent article is removed. You can keep it wrapped.
  • the adhesive layer 61 having thick portions 61a and thin portions 61b can be formed, for example, by partially overlapping and applying the adhesive multiple times.
  • a portion 61a with a thick layer and a portion 61b with a thin layer it is possible to relatively easily form a portion 61a with a thick layer and a portion 61b with a thin layer.
  • the linear portions are doubled to form a thick portion 61a.
  • other non-overlapping linear portions become portions 61b where the layer thickness is thin.
  • the number, distribution, etc., of the portions 61a where the layer thickness is thick and the portions 61b, where the layer thickness is thin can be controlled by the number, positions, and the like of the intersection points 65 .
  • the portions 61a with a thick layer and the portions 61b with a thin layer can be formed in a dispersed manner over the entire gripping portion 51, the refastening property between the gripping portion 51 and the second region R2 of the packaging sheet 10 is improved. can be generated uniformly.
  • the pressure-sensitive adhesive layer 61 is a pattern that includes one or more linear portions and has a portion (intersection point) where two or more linear portions overlap, the thick portion 61a and the thin portion 61b can be relatively easily separated. Since it can be formed, it is not limited to a spiral pattern. It may be an irregular wavy line pattern as shown in FIG. 7 or a lattice pattern as shown in FIG.
  • the pattern of the pressure-sensitive adhesive layer 61 may be a linear pattern as described above, or a pattern that is an aggregation of small portions of squares (FIG. 9) and circles (dots) (FIG. 10) in plan view. may be In this case, it is preferable that the square small portions and the circular small portions are spaced apart.
  • the pattern of the adhesive layer 61 is formed by combining different shaped adhesives. By combining adhesives with different shapes, it is possible to widen the range of control of the bonding strength between the grip portion 51 and the packaging sheet 10 or the refastening property of the grip portion 51 .
  • a floral design pattern is formed, which can be formed, for example, by transferring a hot-melt adhesive to the tape substrate. Since the design has a part where the adhesive is not applied, the intermittent adhesive layer 61 can be formed and at the same time, the design can be imparted.
  • the example shown in FIG. 14 differs from the example shown in FIG. 5 in that the pattern of the adhesive layer 61 includes three spirals, and the pitch of the spirals decreases toward the fixed portion 52 side. That is, the planar view area per unit area of the adhesive layer 61 increases toward the fixing portion 52 side.
  • the contact area between the sealing tape 50 and the packaging sheet 10 can be made smaller on the side of the gripping portion 51 of the sealing tape 50 closer to the end portion 51a. Therefore, at the stage when the sealing tape 50 starts to be peeled off, the force required for peeling off can be reduced, and the sealing tape 50 can be peeled off smoothly.
  • the number of intersection points 65 included in the spiral pattern increases toward the fixing portion 52 side. That is, the planar view area of the portion 61a with the thick layer is large.
  • the packaging sheet 10 contains a fiber material
  • more fibers of the packaging sheet 10 are likely to adhere to the side of the gripping portion 51 closer to the fixing portion 52, whereas the end portion 51a of the gripping portion 51 is more likely to adhere. Fewer fibers can be attached on the side closer to the Therefore, when the used absorbent article is disposed of, when the used absorbent article is wrapped in the packaging sheet 10 and fastened with the sealing tape 50, the side of the sealing tape 50 closer to the end 51a can be more securely fastened. , can keep the used absorbent article wrapped.
  • FIG. 15 shows a plan view of a packaged absorbent article 200 according to the second embodiment.
  • the basic configuration of the packaged absorbent article 200 and the configuration of the adhesive layers 261 and 262 of the sealing tape 250 are the same as in the first embodiment, but the shape of the sealing tape 250 is different.
  • the sealing tape 250 of this embodiment has a trapezoidal shape in which the length in the lateral direction (second direction) D2 decreases toward the end portion 251a.
  • the maximum value of the length of the fixing portion 352 of the sealing tape 250 in the horizontal direction D2 (the edge on the fixing portion 252 side) is W1
  • the length of the vertical direction (first direction) D1 of the sealing tape 250 is The length is H1
  • the length excluding the end portion 251a in the vertical direction (first direction) D1 of the grip portion 251 is H2
  • W2 be the length of the grip portion 251 in the horizontal direction (second direction) D2.
  • W1 can be preferably 8 to 20 mm, more preferably 10 to 15 mm.
  • W2 can be preferably 5-20 mm, more preferably 8-12 mm.
  • H1 can be preferably 20-40 mm, more preferably 25-35 mm.
  • FIG. 16 shows a plan view of a packaged absorbent article 300 according to the third embodiment.
  • the basic configuration of the packaged absorbent article 300 and the configuration of the adhesive layers 361 and 362 of the sealing tape 350 are the same as those of the first embodiment and the second embodiment, but the sealing The shape of the tape 350 is different.
  • the shape of the sealing tape 350 of this embodiment is a heart shape in which the length in the lateral direction (second direction) D2 decreases toward the end portion 351a.
  • the length of the maximum value of the length of the fixing portion 352 of the sealing tape 350 in the horizontal direction D2 is W1
  • the length of the vertical direction (first direction) D1 of the sealing tape 350 is H1
  • the length of the holding portion 351 is H2 is the length excluding the end portion 351a in the vertical direction (first direction) D1
  • the horizontal direction (first 2 directions) Let the length of D2 be W2.
  • W1 can be preferably 8 to 20 mm, more preferably 10 to 15 mm.
  • W2 can be preferably 5-20 mm, more preferably 8-12 mm.
  • H1 can be preferably 20-40 mm, more preferably 25-35 mm.
  • the shape of the sealing tapes 250 and 350 is such that the length in the horizontal direction at the position 1/2 in the vertical direction from the edge of the end portions 251a and 351a of the gripping portions 251 and 351 is the width of the fixed portions 252 and 352. It may be smaller than the maximum value of the length in the direction, and is not limited to the trapezoid and heart shape described above.
  • the adhesive layers 261, 262, 361, 362 of the fixing portions 252, 352 and the gripping portions 251, 351 in the second and third embodiments are all the first to tenth modifications described in the first embodiment. can be a pattern of
  • FIG. 17 shows a method of manufacturing the sealing tape 50 as an example.
  • the adhesive layers 61 and 62 of the sealing tape 50 are formed by ejecting a filamentous hot-melt adhesive from an adhesive ejection nozzle provided in a fixed adhesive application device 90 using an adhesive application device 90, and forming a roll. It can be formed relatively simply by applying it to one surface of the tape substrate conveyed by. Forming the pattern of the adhesive layer 61 of the grip portion 51 on one side of the tape substrate divided into two in the longitudinal direction of the tape substrate, and simultaneously forming the adhesive layer 62 of the fixing portion 52 on the other side. can be done.
  • striped intermittent adhesive layers 61 as shown in FIGS. can be formed.
  • regular wavy lines Fig. 4
  • spiral shapes Fig. 5
  • the adhesive layer 61 can be formed in various patterns such as irregular wavy lines (FIG. 7).
  • the portion coated with the adhesive and the portion not coated with the adhesive can be dispersed over the entire grip portion 51 and formed.
  • the adhesive layer 61 having a spiral pattern rotates the adhesive by, for example, changing the direction of the nozzle itself or applying wind pressure to the thread-like adhesive discharged from the nozzle. It can be formed by coating while Therefore, it is possible to relatively easily form the portion where the adhesive is applied and the portion where the adhesive is not applied so as to be dispersed over the entire grip portion 51 .
  • the pressure-sensitive adhesive layer 61 having thick portions 61a and thin portions 61b can be formed in one step (single-stroke drawing) without repeated application.
  • the adhesive layer 61 may be formed by transfer, spraying, or brush coating.
  • a complicated shape pattern such as a grid pattern (FIG. 8) or a floral pattern (FIG. 13) by transfer.
  • a sealing tape 50 with layer 61 is obtained.
  • the sealing tape 250 of the packaged absorbent article 200 according to the second embodiment it can be manufactured by the same method as in the first embodiment, but a single sealing tape 250 is cut out from a band-shaped tape base material.
  • the trapezoidal sealing tape 250 can be obtained by cutting at an angle from the direction perpendicular to the transport direction Dt of the tape base material.
  • the sealing tape 350 of the packaged absorbent article 300 according to the third embodiment it can be manufactured by the same method as in the first embodiment. , can be obtained by die-cutting into a heart shape.

Landscapes

  • Health & Medical Sciences (AREA)
  • Life Sciences & Earth Sciences (AREA)
  • Engineering & Computer Science (AREA)
  • Biomedical Technology (AREA)
  • Heart & Thoracic Surgery (AREA)
  • Vascular Medicine (AREA)
  • Epidemiology (AREA)
  • Animal Behavior & Ethology (AREA)
  • General Health & Medical Sciences (AREA)
  • Public Health (AREA)
  • Veterinary Medicine (AREA)
  • Absorbent Articles And Supports Therefor (AREA)
  • Packages (AREA)

Abstract

A packaged absorbent article comprising a packaging sheet and an absorbent article packaged in said packaging sheet, wherein: the packaging sheet has a first region that includes one end in a first direction of the packaging sheet and a second region that includes the other end in the first direction, is folded up by folding the first region over the outer surface of the second region, and has a sealing tape stuck across the outer surface of the first region and the outer surface of the second region; the sealing tape has a fixing part that is disposed on the outer surface side of the first region and a holding part that is disposed on the outer surface side of the second region; and adhesive layers are intermittently formed on a surface of the holding part opposing the packaging sheet.

Description

包装吸収性物品Packaged absorbent article

 本発明は、包装吸収性物品に関する。 The present invention relates to packaged absorbent articles.

 一般的に、生理用ナプキン、パンティライナー、失禁パッドといった吸収性物品は、衛生面から、また持ち運びを便利にするために、包装シートによって包装された状態で提供されている。 In general, absorbent articles such as sanitary napkins, panty liners, and incontinence pads are provided in a state of being wrapped in a wrapping sheet for hygiene and convenience of carrying.

 このような包装された吸収性物品としては、例えば、特許文献1に、展開した状態における長手方向の一方側の端を含む第1端縁部と、長手方向の他方側の端を含む第2端縁部とを有し、第1端縁部が第2端縁部よりも厚さ方向の外側に配置されており、第1端縁部の表面にはリードテープの基端側が固定されており、縦方向において、第1端縁部よりも外側に突出したリードテープの自由端側が、包装シートの表面に剥離可能に貼付された吸収性物品包装体が記載されている。 As such a packaged absorbent article, for example, Patent Document 1 discloses a first edge portion including one longitudinal end in the unfolded state and a second longitudinal edge portion including the other longitudinal end. The first edge is arranged outside the second edge in the thickness direction, and the base end side of the lead tape is fixed to the surface of the first edge. The article describes an absorbent article package in which the free end side of a lead tape protruding outwardly from the first edge portion in the longitudinal direction is detachably attached to the surface of the package sheet.

 特許文献1には、包装シートの、リードテープの自由端側が貼付された領域の少なくとも一部において、所定の密度よりも密度が高く、所定の厚さよりも厚さが薄くなっていることが記載されている。さらに、繊維が押し固められ不織布表面が平滑な状態となっているため、リードテープの自由端部を剥がす際に、包装シートの表面において繊維抜けや不織布の破れが生じ難いことが記載されている。 Patent Document 1 describes that at least a part of the region of the packaging sheet to which the free end side of the lead tape is attached has a density higher than a predetermined density and a thickness smaller than a predetermined thickness. It is Furthermore, it is described that since the fibers are compacted and the surface of the nonwoven fabric is in a smooth state, when the free end of the lead tape is peeled off, it is difficult for the fibers to come off or the nonwoven fabric to break on the surface of the packaging sheet. .

特開2018-149025号公報JP 2018-149025 A

 しかしながら、特許文献1に記載された吸収性物品包装体では、リードテープには特段の工夫がなされていないため、粘着性の強いテープを用いた場合等には、開封時にテープの自由端側が剥がしにくくなることがある。そして、このように自由端側が剥がしにくいテープを無理に強い力で剥がした場合、包装シートが破れる可能性もある。 However, in the absorbent article package described in Patent Literature 1, since no special contrivance is made to the lead tape, if a highly adhesive tape is used, the free end side of the tape may be peeled off when the package is opened. It may become difficult. If the free end of the tape, which is difficult to peel off, is forcibly peeled off with a strong force, the packaging sheet may be torn.

 一方、テープの剥がしやすさの向上のために、粘着力の低いテープを用いた場合には、テープが基端側でも剥がれやすくなるため、開封前にテープが脱落して封止テープとしての役割を果たせなくなる可能性がある。 On the other hand, if a tape with low adhesive strength is used to improve the ease of peeling of the tape, the tape can be easily peeled off even on the proximal side, so the tape falls off before opening and acts as a sealing tape. may become unfulfilled.

 本発明の一態様は、封止テープとしての本来の機能を維持しつつ、開封時に封止テープを剥がしやすい包装吸収性物品を提供することを課題とする。 An object of one aspect of the present invention is to provide a packaged absorbent article from which the sealing tape can be easily peeled off when unsealed, while maintaining its original function as a sealing tape.

 本発明の第一の態様は、包装シートと、包装シートで包装された吸収性物品とを含む包装吸収性物品であって、包装シートは、包装シートの第1方向の一端を含む第1領域と、第1方向の他端を含む第2領域と、を有し、第1領域を、第2領域の外面に重ねることによって折り畳まれ、第1領域の外面及び第2領域の外面にわたって封止テープが貼着されており、封止テープは、第1領域の外面側に位置する固定部と、第2領域の外面側に位置する把持部と、を有し、把持部の包装シートとの対向面に、粘着剤層が間欠的に形成されている。 A first aspect of the present invention is a packaged absorbent article including a packaging sheet and an absorbent article wrapped with the packaging sheet, wherein the packaging sheet has a first region including one end in the first direction of the packaging sheet and a second region including the other end in the first direction, folded by overlapping the first region on the outer surface of the second region, and sealing across the outer surface of the first region and the outer surface of the second region The sealing tape has a fixing portion located on the outer surface side of the first region and a gripping portion located on the outer surface side of the second region, and the gripping portion is attached to the packaging sheet. An adhesive layer is intermittently formed on the facing surface.

 上記第一の態様によれば、封止テープの把持部は、包装シートとの対向面に、粘着剤層が間欠的に形成されているので、粘着剤が塗布されておらず包装シートと粘着しない部分が存在する。これにより、把持部と、包装シートとの間の接触面積、より具体的には、把持部と、包装シートの第2領域との間の接触面積を低減できる。よって、把持部と第2領域との間の結合力が低減され、封止テープの把持部を持って包装吸収性物品を開封する際、封止テープを第2領域からより小さい力で剥がすことができる。 According to the first aspect, since the adhesive layer is intermittently formed on the surface facing the packaging sheet, the gripping portion of the sealing tape is not coated with the adhesive and adheres to the packaging sheet. There are parts that do not. Thereby, the contact area between the grip portion and the packaging sheet, more specifically, the contact area between the grip portion and the second region of the packaging sheet can be reduced. Therefore, the bonding force between the grip portion and the second region is reduced, and when the packaged absorbent article is opened by holding the grip portion of the sealing tape, the sealing tape can be peeled off from the second region with less force. can be done.

 また、本態様によれば、封止テープに塗布された粘着剤の単位面積当たりの粘着力を弱めることなく、包装吸収性物品の開封時に封止テープの把持部を第2領域から剥がしやすくできる。そのため、封止テープの固定部と包装シートの第1領域との結合力は高く維持することができる。 In addition, according to this aspect, the grip portion of the sealing tape can be easily peeled off from the second region when the packaged absorbent article is unsealed without weakening the adhesive force per unit area of the adhesive applied to the sealing tape. . Therefore, a high bonding strength can be maintained between the fixing portion of the sealing tape and the first region of the packaging sheet.

 さらに、紙、あるいは不織布などの繊維素材を含む包装シートの場合、粘着剤層が間欠的ではなく、べたで塗布されている場合は、粘着剤層のあらゆる箇所で、包装シート表面の繊維が接触することになるので、多数の繊維が粘着剤層に付着し、粘着剤層のほとんどが繊維で覆われてしまうことになる。そのため、使用済みの吸収性物品の廃棄時に、使用済みの吸収性物品を包装シートで包んで封止テープで留める際、封止テープにより使用済み吸収性物品の包まれた状態を維持することができなくなる場合が生じる。 Furthermore, in the case of packaging sheets containing fibrous materials such as paper or non-woven fabric, if the adhesive layer is not intermittently applied but solid, the fibers on the surface of the packaging sheet come into contact at all points of the adhesive layer. As a result, many fibers adhere to the adhesive layer, and most of the adhesive layer is covered with fibers. Therefore, when the used absorbent article is disposed of, when the used absorbent article is wrapped in the packaging sheet and fastened with the sealing tape, the used absorbent article can be kept wrapped by the sealing tape. There are times when it becomes impossible.

 これに対し、本態様では、粘着剤層が間欠的に塗布されている。ここで、粘着剤層に付着する可能性のある包装シート表面の個別の繊維に着目すると、当該個別の繊維の大半が粘着剤層に接触している場合は、当該繊維は粘着剤層に付着する。しかし、繊維の大半が粘着剤層のない箇所に接触している場合は、その一部が粘着剤層に接触していても、当該粘着剤層に繊維が付着する可能性は小さい。従って粘着剤層に付着する繊維の数は少なくなるので、繊維が付着していない粘着剤層の表面面積の割合は、粘着剤がべたで塗布される場合と比較して、多くなる。その結果、使用済みの吸収性物品の廃棄時に、使用済みの吸収性物品を包装シートで包んで封止テープで留める際、封止テープにより、使用済み吸収性物品の包まれた状態を維持することができる。 On the other hand, in this aspect, the adhesive layer is applied intermittently. Here, focusing on individual fibers on the surface of the packaging sheet that may adhere to the adhesive layer, if most of the individual fibers are in contact with the adhesive layer, the fibers will adhere to the adhesive layer. do. However, when most of the fibers are in contact with the adhesive layer, even if some of the fibers are in contact with the adhesive layer, there is little possibility that the fibers will adhere to the adhesive layer. Therefore, since the number of fibers adhering to the adhesive layer is reduced, the ratio of the surface area of the adhesive layer to which no fibers are adhered is increased compared to the case where the adhesive is solidly applied. As a result, at the time of disposal of the used absorbent article, when the used absorbent article is wrapped in the packaging sheet and fastened with the sealing tape, the used absorbent article is kept wrapped by the sealing tape. be able to.

 本発明の第二の態様は、粘着剤層は、直線状のパターン又はスパイラル状のパターンによって形成されている。 In a second aspect of the present invention, the pressure-sensitive adhesive layer is formed with a linear pattern or a spiral pattern.

 上記第二の態様によれば、多様なパターンを形成することができ、例えば、線の幅、長さ、形状、本数、間隔等、パターンによって、粘着剤の塗布面積、又は粘着剤が塗布されていない面積を制御することができる。これにより、把持部と、包装シートの第2領域との接触面積を制御できる。よって、把持部と、包装シートの第2領域との間の結合力を制御できる。 According to the second aspect, various patterns can be formed, for example, the width, length, shape, number, spacing, etc. of the lines, depending on the pattern, the area where the adhesive is applied, or the adhesive is applied. Not area can be controlled. Thereby, the contact area between the grip portion and the second region of the packaging sheet can be controlled. Therefore, it is possible to control the binding force between the grip portion and the second region of the packaging sheet.

 また、本態様によれば、パターンによって、粘着剤層の塗布されている部分と、塗布されていない部分とを、把持部全体にわたって分散させて形成することができ、把持部と包装シートとの間の接触面積の低減を均一に生じさせることができる。よって、使用者が封止テープの把持部を剥がす際に偏った力の入れ方をしても、封止テープをスムーズに剥がすことができる。 In addition, according to this aspect, the pattern allows the portions coated with the pressure-sensitive adhesive layer and the portions not coated with the adhesive layer to be dispersed over the entire gripping portion, thereby forming the gripping portion and the packaging sheet. A reduction in the contact area between can occur uniformly. Therefore, the sealing tape can be smoothly peeled off even if the user applies uneven force when peeling off the gripped portion of the sealing tape.

 さらに本態様によれば、製造工程において、パターンを比較的容易に製造できるので、製造コストを安価にすることができる。 Furthermore, according to this aspect, the pattern can be manufactured relatively easily in the manufacturing process, so the manufacturing cost can be reduced.

 本発明の第三の態様は、粘着剤層は、層厚が厚い箇所と薄い箇所とを有する。 In the third aspect of the present invention, the pressure-sensitive adhesive layer has portions where the layer thickness is thick and portions where the layer thickness is thin.

 上記第三の態様によれば、封止テープを包装シート上に押圧して粘着させる際、層厚の厚い箇所は、より強く押圧されるが、層厚の薄い箇所にかかる押圧は小さく、包装シートと粘着剤層とはより弱く結合されている。その結果、把持部を包装シートから剥離する際、層厚の薄い箇所は、厚い箇所よりも小さい剥離力で剥離するので、全体として小さい力で剥離することができる。また、包装シートが、繊維素材を含む場合、層厚が厚い箇所の方がより強く押圧され、包装シートの繊維がより多く付着しやすくなるのに対し、層厚が薄い箇所に付着する繊維は少ない。よって、使用済みの吸収性物品の廃棄時に、使用済みの吸収性物品を包装シートで包んで封止テープで留める際に、封止テープがより確実に留まり、使用済み吸収性物品の包まれた状態を維持することができる。 According to the third aspect, when the sealing tape is pressed and adhered onto the packaging sheet, the portion with a thick layer is pressed more strongly, but the portion with a thin layer is less pressed, and the package The sheet and adhesive layer are more weakly bonded. As a result, when the grip portion is peeled off from the packaging sheet, the portion with a thin layer thickness is peeled off with a smaller peeling force than the portion with a thicker layer thickness, so the peeling force can be reduced as a whole. In addition, when the packaging sheet contains a fibrous material, the part with a thicker layer is pressed more strongly, and more fibers of the packaging sheet tend to adhere, whereas the fibers that adhere to a part with a thinner layer Few. Therefore, when the used absorbent article is disposed of, when the used absorbent article is wrapped with the packaging sheet and fastened with the sealing tape, the sealing tape is more reliably retained, and the used absorbent article is wrapped. state can be maintained.

 なお、層厚が厚い箇所は、パターンの交点とすることにより、厚い箇所を容易に形成することができる。 It should be noted that a thick portion can be easily formed by setting the intersection point of the pattern at the portion where the layer thickness is thick.

 本発明の第四の態様は、固定部の包装シートとの対向面に、連続した均一な厚みの粘着剤層が形成されている。 In the fourth aspect of the present invention, a continuous and uniform-thickness adhesive layer is formed on the surface of the fixed part facing the packaging sheet.

 上記第四の態様によれば、固定部の粘着剤層の目付を把持部の粘着剤層の目付より大きく形成することができる。これにより、封止テープに塗布された粘着剤の単位面積当たりの粘着力を弱めることなく、把持部を第2領域から剥がしやすくすることができるとともに、固定部と包装シートの結合力は高く維持することができる。 According to the fourth aspect, the basis weight of the adhesive layer of the fixed portion can be made larger than the basis weight of the adhesive layer of the grip portion. As a result, the holding portion can be easily peeled off from the second region without weakening the adhesive force per unit area of the adhesive applied to the sealing tape, and the bonding force between the fixing portion and the packaging sheet is maintained high. can do.

 本発明の第五の態様は、封止テープは、把持部の端部側に向かうにつれて、第1方向と直交する第2方向の長さが小さくなる形状を有する。 According to a fifth aspect of the present invention, the sealing tape has a shape in which the length in the second direction orthogonal to the first direction decreases toward the end side of the grip.

 上記第五の態様によれば、把持部と、包装シートとの間の接触面積、より具体的には、把持部と、包装シートの第2領域との間の接触面積を、把持部の端部側に向かうにつれて低減できる。よって、把持部と第2領域との間の結合力が低減され、封止テープの把持部を持って包装吸収性物品の開封を開始する際に、封止テープを第2領域から特に小さい力で剥がすことができる。 According to the fifth aspect, the contact area between the gripping portion and the packaging sheet, more specifically, the contact area between the gripping portion and the second region of the packaging sheet, is adjusted to the edge of the gripping portion. It can be reduced toward the part side. Therefore, the bonding force between the gripping portion and the second region is reduced, and when starting to open the packaged absorbent article with the gripping portion of the sealing tape, the sealing tape is pulled from the second region with a particularly small force. can be peeled off with

 本発明の第六の態様は、包装シートは、紙又は不織布である。 In a sixth aspect of the present invention, the packaging sheet is paper or non-woven fabric.

 上記第六の態様によれば、包装シートが紙の場合は、廃棄時の環境への負担を低減でき、不織布の場合は、柔らかな触感をもたらすことができる。 According to the sixth aspect, when the packaging sheet is paper, the burden on the environment at the time of disposal can be reduced, and when it is a non-woven fabric, it can provide a soft touch.

 本発明の一態様によれば、封止テープとしての本来の機能を維持しつつ、開封時に剥がしやすい封止テープを備えた包装吸収性物品を提供することができる。 According to one aspect of the present invention, it is possible to provide a packaged absorbent article having a sealing tape that can be easily peeled off when unsealed while maintaining its original function as a sealing tape.

本発明の第一実施形態による包装吸収性物品の平面図である。1 is a plan view of a packaged absorbent article according to a first embodiment of the present invention; FIG. 図1のI-I線断面図である。FIG. 2 is a sectional view taken along the line II of FIG. 1; 図1に示す包装吸収性物品が展開された状態を、吸収性物品が載置されている側から見た平面図である。FIG. 2 is a plan view of the unfolded state of the packaged absorbent article shown in FIG. 1, viewed from the side on which the absorbent article is placed. 本発明の第一実施形態による包装吸収性物品の封止テープの第一変形例を示す図である。FIG. 5 is a diagram showing a first modification of the sealing tape of the packaged absorbent article according to the first embodiment of the present invention; 本発明の第一実施形態による包装吸収性物品の封止テープの第二変形例を示す図である。FIG. 4 is a diagram showing a second modification of the sealing tape of the packaged absorbent article according to the first embodiment of the present invention; 図5の部分IIの拡大図である。Figure 6 is an enlarged view of portion II of Figure 5; 本発明の第一実施形態による包装吸収性物品の封止テープの第三変形例を示す図である。FIG. 10 is a diagram showing a third modification of the sealing tape of the packaged absorbent article according to the first embodiment of the present invention; 本発明の第一実施形態による包装吸収性物品の封止テープの第四変形例を示す図である。FIG. 10 is a diagram showing a fourth modified example of the sealing tape of the packaged absorbent article according to the first embodiment of the present invention; 本発明の第一実施形態による包装吸収性物品の封止テープの第五変形例を示す図である。FIG. 10 is a diagram showing a fifth modification of the sealing tape of the packaged absorbent article according to the first embodiment of the present invention; 本発明の第一実施形態による包装吸収性物品の封止テープの第六変形例を示す図である。FIG. 10 is a diagram showing a sixth modification of the sealing tape of the packaged absorbent article according to the first embodiment of the present invention; 本発明の第一実施形態による包装吸収性物品の封止テープの第七変形例を示す図である。FIG. 10 is a diagram showing a seventh modification of the sealing tape of the packaged absorbent article according to the first embodiment of the present invention; 本発明の第一実施形態による包装吸収性物品の封止テープの第八変形例を示す図である。FIG. 10 is a diagram showing an eighth modification of the sealing tape of the packaged absorbent article according to the first embodiment of the present invention; 本発明の第一実施形態による包装吸収性物品の封止テープの第九変形例を示す図である。FIG. 10 is a diagram showing a ninth modification of the sealing tape of the packaged absorbent article according to the first embodiment of the present invention; 本発明の第一実施形態による包装吸収性物品の封止テープの第十変形例を示す図である。FIG. 10 is a diagram showing a tenth modification of the sealing tape of the packaged absorbent article according to the first embodiment of the present invention; 本発明の第二実施形態による包装吸収性物品の平面図である。Fig. 2 is a plan view of a packaged absorbent article according to a second embodiment of the present invention; 本発明の第三実施形態による包装吸収性物品の平面図である。FIG. 4 is a plan view of a packaged absorbent article according to a third embodiment of the present invention; 本発明の第一実施形態による包装吸収性物品の封止テープの製造方法を説明するための図である。FIG. 4 is a diagram for explaining the method for manufacturing the sealing tape for the packaged absorbent article according to the first embodiment of the present invention;

 以下、本発明の実施の形態について図面を参照しながら説明する。なお、各図面において、特に説明がない限り、同一の又は対応する構成については同一の符号を付して説明を省略する場合がある。また、図面は、発明の理解を助けるための模式的なものである。 Hereinafter, embodiments of the present invention will be described with reference to the drawings. In addition, in each drawing, unless there is a particular description, the same reference numerals may be attached to the same or corresponding configurations, and the description thereof may be omitted. Also, the drawings are schematic to aid understanding of the invention.

 <第一実施形態>
 (包装吸収性物品)
 図1に、本発明の第一実施形態による包装吸収性物品100の平面図を示す。図2に、図1のI-I線断面図を示す。また、図3に、図1に示す包装吸収性物品100が展開された状態を、吸収性物品1が載置されている側から見た平面図を示す。
<First embodiment>
(Packaged absorbent article)
FIG. 1 shows a plan view of a packaged absorbent article 100 according to the first embodiment of the present invention. FIG. 2 shows a sectional view taken along line II of FIG. 3 shows a plan view of the unfolded state of the packaged absorbent article 100 shown in FIG. 1, viewed from the side on which the absorbent article 1 is placed.

 図1~図3に示すように、包装吸収性物品100は、包装シート10と包装シート10によって包装された吸収性物品1とを含む。別言すれば、包装吸収性物品100は、1枚の包装シート10に1つの吸収性物品1を収容した個別包装体である。包装吸収性物品100は、広げた包装シート10に吸収性物品1を載置し、包装シート10の一方向の両端の領域が重なるようにして包装シート10を吸収性物品1とともに、吸収性物品1が載置されている側へと折り畳むことによって、すなわち包装シート10を吸収性物品1とともに少なくとも巻き三つ折りすることによって、得ることができる。 As shown in FIGS. 1 to 3, the packaged absorbent article 100 includes a packaging sheet 10 and the absorbent article 1 wrapped by the packaging sheet 10. As shown in FIGS. In other words, the packaged absorbent article 100 is an individual package containing one absorbent article 1 in one packaging sheet 10 . The packaged absorbent article 100 is prepared by placing the absorbent article 1 on the expanded packaging sheet 10, and placing the packaging sheet 10 together with the absorbent article 1 so that both end regions in one direction of the packaging sheet 10 overlap each other. 1 is placed, that is, by folding the packaging sheet 10 together with the absorbent article 1 into at least three rolls.

 より具体的には、包装シート10は、図3より明らかであるように、包装シート10の長手方向(第1方向)D1の一端11を含む第1領域R1と、包装シート10の長手方向D1の他端12を含む第2領域R2とを備えている。そして、第1領域R1を第2領域R2の外面に重ねることによって、吸収性物品1を包み込むことができる。その際、第1領域R1は、長手方向D1と直交する短手方向(第2方向)D2に沿って延びる第1折り線L1にて折り返される。また、第2領域R2は、第1領域R1が折り返される前に、短手方向D2に沿って延びる第2折り線L2にて折り返される。なお、本形態では、第1領域R1と第2領域R2との間の領域を第3領域R3とする。 More specifically, as is clear from FIG. 3, the packaging sheet 10 has a first region R1 including one end 11 in the longitudinal direction (first direction) D1 of the packaging sheet 10 and a longitudinal direction D1 of the packaging sheet 10. and a second region R2 including the other end 12 of the. By overlapping the first region R1 on the outer surface of the second region R2, the absorbent article 1 can be wrapped. At that time, the first region R1 is folded back at the first folding line L1 extending along the lateral direction (second direction) D2 orthogonal to the longitudinal direction D1. Also, the second region R2 is folded back along the second folding line L2 extending along the lateral direction D2 before the first region R1 is folded back. In this embodiment, a region between the first region R1 and the second region R2 is defined as a third region R3.

 第2領域R2を第2折り線L2にて折り返す際、長手方向D1の他端12が、第1領域R1の第1折り線L1に達するように折り畳まれてもよいし、図1に示すように、他端12が第1折り線L1から離れた位置となるように折り畳まれてもよい。また、第1領域R1を第1折り線L1にて折り返す際、包装シート10の長手方向D1の一端11が、第2折り線L2を越えて第2領域R2からはみ出さないことが好ましい。包装シート10の端の2領域を重ね合せるこのような包装方法は簡単であり、且つ吸収性物品を外部環境に晒されない状態で確実に封入することができるので、好ましい。 When folding the second region R2 along the second folding line L2, the other end 12 in the longitudinal direction D1 may be folded to reach the first folding line L1 of the first region R1, or as shown in FIG. Alternatively, the other end 12 may be folded away from the first folding line L1. Moreover, when folding the first region R1 along the first folding line L1, it is preferable that one end 11 of the packaging sheet 10 in the longitudinal direction D1 does not protrude from the second region R2 beyond the second folding line L2. Such a wrapping method of overlapping two regions of the edge of the wrapping sheet 10 is preferable because it is simple and can reliably enclose the absorbent article without exposing it to the external environment.

 (吸収性物品)
 本発明の実施形態において用いられる吸収性物品1は、生理用ナプキン、パンティライナー(おりものシート)、軽失禁用パッド等であってよい。本明細書では、吸収性物品1は平面視で細長形状を有しているが、吸収性物品1の平面視形状は図示のものに限られない。吸収性物品1は、例えば、包装シートとともに折り畳まずに包装シートによって包装される形状のもの、例えば正方形を含む正多角形、円形等の形状の体液吸収パッド等であってもよい。吸収性物品1が細長形状である場合、吸収性物品1の全長は、140~420mmとすることができ、吸収性物品1の幅は50~120mmとすることができる。
(Absorbent article)
The absorbent article 1 used in the embodiment of the present invention may be a sanitary napkin, a panty liner (a sheet for vaginal discharge), a pad for light incontinence, or the like. In this specification, the absorbent article 1 has an elongated shape in plan view, but the plan view shape of the absorbent article 1 is not limited to that illustrated. The absorbent article 1 may be, for example, a body fluid absorbing pad having a shape such as a regular polygon including a square, a circle, or the like, which can be wrapped by the packaging sheet without being folded together with the packaging sheet. When the absorbent article 1 has an elongated shape, the total length of the absorbent article 1 can be 140-420 mm, and the width of the absorbent article 1 can be 50-120 mm.

 吸収性物品1は、液不透過性の裏面シート、吸収体、及び液透過性の表面シートがこの順に積層されてなる構造を有していてよい。裏面シートとしては、ポリエチレンやポリプロピレン等のオレフィン系樹脂シート等の少なくとも遮水性を有するシート材を用いることができる。ポリエチレンシート等に不織布を積層したラミネート不織布や、さらには防水フィルムを介在させて実質的に不透液性を確保した不織布の積層シート等を用いることができる。また、透湿性を有するものが用いられてもよい。 The absorbent article 1 may have a structure in which a liquid-impermeable backsheet, an absorbent body, and a liquid-permeable topsheet are laminated in this order. As the back sheet, a sheet material having at least water impermeability, such as an olefin resin sheet such as polyethylene or polypropylene, can be used. A laminated nonwoven fabric obtained by laminating a nonwoven fabric on a polyethylene sheet or the like, or a laminated sheet of a nonwoven fabric in which a waterproof film is interposed to substantially ensure liquid impermeability can be used. Also, a material having moisture permeability may be used.

 表面シートとしては、有孔又は無孔の不織布や多孔性プラスチックシート等が好適に用いられる。不織布を構成する素材繊維としては、例えば、ポリエチレン、ポリプロピレン等のオレフィン、ポリエステル、ポリアミド等の合成繊維、レーヨン、キュプラ等の再生繊維、及びこれらの混紡繊維、並びに綿等の天然繊維を単独で又は2種以上組み合わせて用いることができる。 As the surface sheet, a perforated or non-perforated nonwoven fabric, a porous plastic sheet, or the like is preferably used. The material fibers that make up the nonwoven fabric include, for example, olefins such as polyethylene and polypropylene, synthetic fibers such as polyester and polyamide, regenerated fibers such as rayon and cupra, blended fibers thereof, and natural fibers such as cotton. It can be used in combination of two or more.

 吸収体は、体液を吸収して保持できる材料であれば限定されないが、綿状パルプと吸水性ポリマーとを含むことが好ましい。吸水性ポリマーとしては、高吸水ポリマー粒状粉(superabsorbent polymer(SAP))、高吸水ポリマー繊維(superabsorbent fiber(SAF))及びこれらの組合せを用いることができる。パルプとしては、木材から得られる化学パルプ、溶解パルプ等のセルロース繊維、レーヨン、アセテート等の人工セルロース繊維からなるものが挙げられる。 The absorber is not limited as long as it is a material that can absorb and retain bodily fluids, but it preferably contains cotton-like pulp and a water-absorbing polymer. As the water absorbent polymer, super absorbent polymer granules (SAP), super absorbent polymer fibers (SAF) and combinations thereof can be used. The pulp includes chemical pulp obtained from wood, cellulose fibers such as dissolving pulp, and artificial cellulose fibers such as rayon and acetate.

 吸収体の厚みは、0.5~25mmの範囲内とすることができ、1.5~6.5mmの範囲であると好ましい。吸収体は、体液排出口に対応させる領域(体液排出口対応領域)や、体液排出口対応領域より後方の、臀部の溝に対向する領域を、膨出させた構造とすることもできる。 The thickness of the absorber can be in the range of 0.5-25 mm, preferably in the range of 1.5-6.5 mm. The absorbent body can also have a structure in which a region corresponding to the body fluid outlet (body fluid outlet corresponding region) and a region behind the body fluid outlet corresponding region facing the groove of the buttocks are swollen.

 上記吸収体は、表面シート及び裏面シートからはみ出さない寸法及び形状を有し、吸収体の前方及び後方の端縁部では、裏面シートと表面シートとの外縁がホットメルト等の接着剤やヒートシール、超音波シール等の接着手段によって接合されている。また、吸収体の側方の外方においては、幅方向両端部に長手方向に沿ってサイド不織布が設けられていてもよい。サイド不織布としては、撥水処理不織布又は親水処理不織布を使用することができる。 The absorber has dimensions and a shape that do not protrude from the topsheet and the backsheet, and the outer edges of the backsheet and the topsheet are adhered to the front and rear edges of the absorber by adhesive such as hot melt or heat treatment. They are joined by adhesive means such as seals and ultrasonic seals. In addition, side nonwoven fabrics may be provided along the longitudinal direction at both ends in the width direction on the outer sides of the absorbent body. As the side nonwoven fabric, a water repellent nonwoven fabric or a hydrophilic treated nonwoven fabric can be used.

 (包装シート)
 包装シート10の形状は特に限定されないが、図3に示すように展開された状態(折り畳まれていない状態)で細長形状、例えば長方形、長楕円形等を有するものであると好ましい。これにより、細長形状で且つ平面状の吸収性物品1を衛生的に包装することができる。
(packaging sheet)
Although the shape of the packaging sheet 10 is not particularly limited, it is preferable that it has an elongated shape such as a rectangle or an oblong shape in an unfolded state (unfolded state) as shown in FIG. Thereby, the elongated and planar absorbent article 1 can be hygienically packaged.

 包装シート10の寸法は、包装する吸収性物品1の大きさや形状によるが、例えば、包装シート10を広げた状態で、長手方向D1の長さ(単に長さと呼ぶ場合がある)は100~450mmとすることができ、長手方向D1に直交する短手方向D2の長さ(単に幅と呼ぶ場合がある)は70~250mmとすることができる。 The dimensions of the packaging sheet 10 depend on the size and shape of the absorbent article 1 to be packaged. and the length (sometimes simply referred to as width) in the transverse direction D2 orthogonal to the longitudinal direction D1 can be 70 to 250 mm.

 なお、長さが比較的長い吸収性物品を包装する場合には、吸収性物品の長さに合わせて、長さのより長い包装シート10を使用することができる。その場合、第2領域R2の長さを第3領域R3の長さよりも長くしておき、第2領域R2を折り畳む際に、まず第2領域R2を、第2折り線L2と他端12との間の位置にする短手方向D2に沿って延びる第3折り線にて吸収性物品が載置された側に折り込み、その後、第2折り線L2にて第2領域R2全体を、続いて第1折り線L1にて第1領域R1を折り畳み、全体として四つ折りされた包装吸収性物品を得ることができる。 It should be noted that when packaging relatively long absorbent articles, a longer packaging sheet 10 can be used according to the length of the absorbent article. In that case, the length of the second region R2 is made longer than the length of the third region R3, and when the second region R2 is folded, the second region R2 is first folded along the second folding line L2 and the other end 12. Fold the absorbent article on the side where the absorbent article is placed at the third folding line extending along the transverse direction D2 to the position between The first region R1 can be folded along the first folding line L1 to obtain a packaged absorbent article folded in four as a whole.

 包装シート10を構成する材料は、特に限定されず、紙、不織布等の繊維含有シートであってもよいし、樹脂製フィルムであってもよい。 The material constituting the packaging sheet 10 is not particularly limited, and may be a fiber-containing sheet such as paper or non-woven fabric, or a resin film.

 包装シート10に紙を用いた場合、廃棄の際の環境負担が少なく、独特の風合いを付与できるという点で好ましい。なお、本明細書において、紙とは、植物繊維その他の繊維を膠着剤で膠着させて平板状にしたものを指すことができる。特に、植物繊維(パルプ)を主原料としたもの、例えば含有繊維のうち植物繊維が50%以上であるもの、好ましくは80%以上であるものを指すことができる。紙に含まれるパルプの種類としては、木材パルプ、非木材パルプ、古紙パルプが含まれていてよく、これらは、機械パルプ、化学パルプのいずれであってもよい。紙には、添加剤が添加されていてもよい。さらに、包装シート10に用いられる具体的な紙の例としては、洋紙、和紙、加工紙、合成紙等の様々な種類の紙を挙げることができる。また、従来他の用途で使用されている紙、例えば、新聞用紙、印刷用紙(上質紙を含む)、筆記用紙、図画用紙、包装用紙、薄葉紙、雑種紙等と呼ばれる紙を未加工で又は加工して用いることもできる。 When paper is used for the packaging sheet 10, it is preferable in terms of less burden on the environment at the time of disposal and the ability to impart a unique texture. In the present specification, the term "paper" can refer to a sheet made by agglutinating plant fibers or other fibers with a glue. In particular, it can refer to a material mainly composed of vegetable fibers (pulp), for example, a material containing 50% or more, preferably 80% or more, vegetable fiber of the contained fibers. The types of pulp contained in the paper may include wood pulp, non-wood pulp, and waste paper pulp, which may be either mechanical pulp or chemical pulp. Additives may be added to the paper. Further, specific examples of paper used for the packaging sheet 10 include various types of paper such as western paper, Japanese paper, processed paper, and synthetic paper. In addition, unprocessed or processed paper conventionally used for other purposes, such as newsprint, printing paper (including high-quality paper), writing paper, drawing paper, wrapping paper, tissue paper, miscellaneous paper, etc. can also be used as

 包装シート10の材料として紙を用いた場合には、吸収性物品を包装する際に折り畳みやすく、包装された後の状態を維持しやすくするために、包装シート10は、目付の低い薄葉紙とすることができる。薄葉紙は、薄口模造紙、インディアンペーパー、ライスペーパー(タバコ用巻紙等として使用)、グラシン紙、ティシュペーパー、トイレットペーパー、ろ紙等であってもよい。また、包装シート10は、抄紙後に加工が施されたものであってもよい。上記加工とは、例えば、クレープ加工、エンボス加工、カレンダー加工、撥水加工、スリット加工、プライ加工、印刷加工等が挙げられる。クレープ加工やエンボス加工を行うことにより、強度及び柔軟性をともに向上させることができる。 When paper is used as the material of the packaging sheet 10, the packaging sheet 10 is made of thin paper with a low basis weight in order to facilitate folding when packaging the absorbent article and to facilitate maintaining the state after packaging. be able to. The thin paper may be light imitation paper, Indian paper, rice paper (used as cigarette wrapping paper, etc.), glassine paper, tissue paper, toilet paper, filter paper, and the like. Moreover, the packaging sheet 10 may be processed after papermaking. Examples of the above processing include crepe processing, embossing, calendar processing, water repellent processing, slit processing, ply processing, and printing processing. Both strength and flexibility can be improved by creping or embossing.

 包装シート10の材料として紙を用いた場合、包装シートの目付は、好ましくは50g/m以下、より好ましくは40g/m以下、さらに好ましくは30g/m以下、20g/m以下、11g/m以下、8g/m以下とすることができる。また、包装シート10の目付の下限は、包装シート10として機能する限りは特に限定されないが、好ましくは5g/m以上、より好ましくは10g/m以上とすることができる。また、紙製の包装シート10の厚みは、好ましくは40~200μm、より好ましくは100~200μmとすることができる。 When paper is used as the material of the packaging sheet 10, the basis weight of the packaging sheet is preferably 50 g/m 2 or less, more preferably 40 g/m 2 or less, still more preferably 30 g/m 2 or less, 20 g/m 2 or less, It can be 11 g/m 2 or less, 8 g/m 2 or less. The lower limit of the basis weight of the packaging sheet 10 is not particularly limited as long as it functions as the packaging sheet 10, but it is preferably 5 g/m 2 or more, more preferably 10 g/m 2 or more. The thickness of the paper packaging sheet 10 is preferably 40-200 μm, more preferably 100-200 μm.

 包装シート10に不織布を用いた場合、風合いやソフト感等を向上させることができ、好ましい。用いられる不織布としては、メルトブロー不織布、スパンボンド不織布等が好ましく、これらの不織布の層を組み合わせ複数積層させたものを用いることもできる。また、不織布を構成する繊維は、ポリプロピレン、ポリエチレン等のポリオレフィン、ポリエステル、ナイロン等のポリアミド等であってよい。 When a nonwoven fabric is used for the packaging sheet 10, the texture and softness can be improved, which is preferable. The nonwoven fabric to be used is preferably a meltblown nonwoven fabric, a spunbond nonwoven fabric, or the like, and it is also possible to use a laminate obtained by combining a plurality of layers of these nonwoven fabrics. Moreover, fibers constituting the nonwoven fabric may be polyolefins such as polypropylene and polyethylene, polyamides such as polyester and nylon, and the like.

 包装シート10に樹脂製フィルムを用いた場合、用いられる樹脂としては、ポリプロピレン、ポリエチレン等のポリオレフィン、ポリエステル、ポリビニルアルコール等を挙げることができる。樹脂製フィルムとしては、延伸加工されたものが好ましい。また、樹脂製フィルムは、非通気性フィルムであってもよいし、通気性フィルムであってもよい。樹脂製フィルムを用いた場合、印刷の輪郭が明瞭になり、着色剤の発色も良好になるので、包装シートのデザイン性を向上させることができる。 When a resin film is used for the packaging sheet 10, examples of resins used include polyolefins such as polypropylene and polyethylene, polyester, and polyvinyl alcohol. As the resin film, a stretched one is preferable. Moreover, the resin film may be either a non-breathable film or a breathable film. When a resin film is used, the outline of the print becomes clearer and the coloration of the coloring agent is improved, so that the design of the packaging sheet can be improved.

 包装シート10としては、1枚の包装シート10が、上述の材料からなる単層のシートであってもよいし、1枚の包装シート10が、異なる材料からなる複数の層を積層させてなる積層シートであってもよい。よって、例えば、上述の紙製のシートに、樹脂フィルムをラミネートさせて構成したものであってもよい。 As the packaging sheet 10, one packaging sheet 10 may be a single-layer sheet made of the materials described above, or one packaging sheet 10 may be formed by laminating a plurality of layers made of different materials. It may be a laminated sheet. Therefore, for example, it may be configured by laminating a resin film on the paper sheet described above.

 包装吸収性物品100には、図1に示すように、短手方向D2の両縁部に、剥離可能なシール部15、15が形成されている。シール部15、15によって、吸収性物品1が外部に対して露出することを防止し、また包装吸収性物品100の内側にゴミ等が侵入することも防止できる。シール部15、15は、例えばヒートシール、超音波シール等によって、或いは接着剤によって形成されていてよい。 As shown in FIG. 1, the packaged absorbent article 100 is formed with peelable seal portions 15, 15 on both edges in the lateral direction D2. The sealed portions 15 , 15 prevent the absorbent article 1 from being exposed to the outside, and also prevent dust from entering the inside of the packaged absorbent article 100 . The seals 15, 15 may be formed, for example, by heat sealing, ultrasonic sealing, or the like, or by an adhesive.

 (封止テープ)
 包装吸収性物品100には、吸収性物品1が包装シート10によって包まれた後に、封止テープ50が設けられている(図1~図3)。封止テープ50は、包装シート10との対向面に粘着剤層61、62を備えた粘着テープである。粘着テープは、ある程度の時間経過後でも包装シート10の外面に対して着脱自在なテープである。
(sealing tape)
The packaged absorbent article 100 is provided with a sealing tape 50 after the absorbent article 1 is wrapped by the packaging sheet 10 (FIGS. 1 to 3). The sealing tape 50 is an adhesive tape having adhesive layers 61 and 62 on the surface facing the packaging sheet 10 . The adhesive tape is a tape that can be attached to and detached from the outer surface of the packaging sheet 10 even after a certain amount of time has passed.

 封止テープ50は、第2領域R2の外面に重ねられた第1領域R1から第2領域R2にわたって貼着されている。別言すれば、封止テープ50は、包装シート10の外面に、第1領域R1に含まれる包装シート10の長手方向D1の一端11を跨るように貼着されている。封止テープ50を設けることで、第1領域R1を第2領域R2に少なくとも部分的に留めておき、第1領域R1が開かないようにすることができる。そのため、包装吸収性物品100の開封前に、第1領域R1と第2領域R2との間からゴミ等が侵入することを防止できる。また、第1領域R1と第2領域R2との間に誤って手や物が入り、第1領域R1が第2領域R2から剥がされてしまうことも防止できる。 The sealing tape 50 is adhered from the first region R1 overlaid on the outer surface of the second region R2 to the second region R2. In other words, the sealing tape 50 is attached to the outer surface of the packaging sheet 10 so as to straddle one end 11 of the packaging sheet 10 in the longitudinal direction D1 included in the first region R1. By providing the sealing tape 50, the first region R1 can be at least partially pinned to the second region R2 to prevent the first region R1 from opening. Therefore, before the packaged absorbent article 100 is unsealed, it is possible to prevent dust and the like from entering between the first region R1 and the second region R2. In addition, it is possible to prevent the first region R1 from being peeled off from the second region R2 due to a hand or object accidentally entering between the first region R1 and the second region R2.

 また、封止テープ50は、第1領域R1の外面側に位置する固定部52と、第2領域R2の外面側に位置する把持部51を有する。包装吸収性物品100の開封時には、通常、包装シート10の第2折り線L2付近を一方の手で持って、封止テープ50の第2領域R2に貼着されている把持部51を他方の手で持って引っ張り、封止テープ50を第2領域R2から剥がす。そして、封止テープ50をさらに引っ張ると、シール部15、15のシールが解除されるが、封止テープ50の第1領域R1に貼着されている固定部52は第1領域R1に貼着されたままに維持される。よって、引き続き封止テープ50を引っ張ることで、第1領域R1が封止テープ50とともに持ち上げられて第2領域R2から剥がされて、包装吸収性物品100を展開することができる。 In addition, the sealing tape 50 has a fixing portion 52 positioned on the outer surface side of the first region R1 and a grip portion 51 positioned on the outer surface side of the second region R2. When opening the packaged absorbent article 100, the vicinity of the second folding line L2 of the packaging sheet 10 is usually held with one hand, and the grip portion 51 attached to the second region R2 of the sealing tape 50 is held with the other hand. It is held by hand and pulled, and the sealing tape 50 is peeled off from the second region R2. When the sealing tape 50 is further pulled, the sealing of the sealing portions 15, 15 is released, but the fixing portion 52 attached to the first region R1 of the sealing tape 50 is attached to the first region R1. maintained as they were. Therefore, by continuously pulling the sealing tape 50, the first region R1 is lifted together with the sealing tape 50 and peeled off from the second region R2, so that the packaged absorbent article 100 can be unfolded.

 図1及び図3に示すように、封止テープ50の把持部51の第2領域R2との対向面S1には、粘着剤層61が間欠的(不連続)に形成されている。より具体的には、粘着剤層61は、縞状に形成されている。ここで間欠的に形成あるいは縞状に形成とは、粘着剤層61が形成されている箇所と全く粘着剤層61が形成されていない(粘着剤が塗布されていない)箇所とを含む(言い換えると粘着剤が必要な箇所の全面に塗布されてはいない)ことを示す。ただし粘着剤層61が全く形成されていない場合だけでなく、粘着剤層61が形成されている箇所と比較して、粘着剤が塗布されていても、実質的に塗布されている当該粘着剤が粘着剤としての作用、機能が無視できる場合も含まれる。 As shown in FIGS. 1 and 3, an adhesive layer 61 is intermittently (discontinuously) formed on the surface S1 of the grip portion 51 of the sealing tape 50 facing the second region R2. More specifically, the adhesive layer 61 is formed in stripes. Here, intermittently formed or striped formation includes a portion where the adhesive layer 61 is formed and a portion where the adhesive layer 61 is not formed (no adhesive is applied) (in other words, and the adhesive is not applied to the entire surface where it is required). However, not only when the adhesive layer 61 is not formed at all, even if the adhesive is applied, compared to the place where the adhesive layer 61 is formed, the adhesive is substantially applied. It also includes cases where the action and function as an adhesive are negligible.

 また、粘着剤層61は、封止テープ50の横方向(第2方向)D2に沿って延在する複数の直線状部分が、封止テープ50の縦方向(第1方向)D1に互いに間隔を空けて並んで配置されることにより形成されている。そのため、把持部51には、粘着剤が塗布されておらず第2領域R2と粘着しない部分が存在する。よって、把持部51と第2領域R2との間の接触面積を低減できる。これにより、把持部51と第2領域R2との間の結合力が低減でき、把持部51を持って包装吸収性物品100を開封する際、把持部51を第2領域R2からより小さい力で剥がすことができ、スムーズな動作で包装吸収性物品100を開封することができる。 In the adhesive layer 61, a plurality of linear portions extending along the lateral direction (second direction) D2 of the sealing tape 50 are separated from each other in the longitudinal direction (first direction) D1 of the sealing tape 50. are arranged side by side with a space between them. Therefore, the grip portion 51 has a portion where the adhesive is not applied and does not adhere to the second region R2. Therefore, the contact area between the grip portion 51 and the second region R2 can be reduced. As a result, the binding force between the grip portion 51 and the second region R2 can be reduced, and when the wrapped absorbent article 100 is opened by holding the grip portion 51, the grip portion 51 can be moved from the second region R2 with a smaller force. It can be peeled off, and the wrapped absorbent article 100 can be opened with a smooth action.

 なお、把持部51に粘着剤層61が間欠的に形成されていない従来の技術では、把持部51を剥がし易くするために、粘着性の弱い粘着剤が塗布された封止テープ50が用いられることがあった。しかしながら、封止テープ50全体の粘着力を弱くしてしまうと、封止テープ50の固定部52の粘着力も弱くなり、包装吸収性物品100の開封前又は開封動作中に、固定部52が第1領域R1から剥がれてしまい、封止テープ50の、第1領域R1が開かないようにするという本来の役割を果たせないことがあった。これに対し、本形態によれば、封止テープ50に塗布された粘着剤の単位面積当たりの粘着力を変更することなく、把持部51のみにおいて結合力を弱めることができるので、固定部52の第1領域R1への結合力の高さを維持したまま、把持部51を剥がし易くすることができる。例えば、封止テープ50に塗布する粘着剤種を変更することなく、上述のように把持部51の粘着剤層61を間欠的に形成することで、把持部51のみ結合力を弱めることができる。 In the conventional technique in which the adhesive layer 61 is not intermittently formed on the grip portion 51, the sealing tape 50 coated with a weakly adhesive adhesive is used in order to facilitate the peeling of the grip portion 51. something happened. However, if the adhesive strength of the sealing tape 50 as a whole is weakened, the adhesive strength of the fixing portion 52 of the sealing tape 50 is also weakened, and the fixing portion 52 may be pulled out before or during the opening operation of the packaged absorbent article 100 . The original role of the sealing tape 50 to prevent the opening of the first region R1 could not be fulfilled because the sealing tape 50 was peeled off from the first region R1. In contrast, according to the present embodiment, the bonding force can be weakened only at the grip portion 51 without changing the adhesive force per unit area of the adhesive applied to the sealing tape 50 . The holding portion 51 can be easily peeled off while maintaining the high bonding strength to the first region R1. For example, by intermittently forming the adhesive layer 61 of the grip portion 51 as described above without changing the type of adhesive applied to the sealing tape 50, the bonding force of only the grip portion 51 can be weakened. .

 なお、封止テープ50の把持部51側の端部51aは、包装シート10に貼着されていなくてもよい。例えば、図1~図3に示すように、封止テープ50の把持部51側の端が折り返され、封止テープ50の外面(粘着剤層のない面)が包装シート10に対向する端部51aが形成されていてよい。これにより、使用者は包装吸収性物品100の開封時に、端部51aを摘まんで封止テープ50の把持部51を容易に持ち上げることができる。 Note that the end 51 a of the sealing tape 50 on the grip part 51 side may not be attached to the packaging sheet 10 . For example, as shown in FIGS. 1 to 3, the end of the sealing tape 50 on the side of the grip portion 51 is folded back, and the outer surface (the surface without the adhesive layer) of the sealing tape 50 is the end facing the packaging sheet 10. 51a may be formed. Thereby, when the packaged absorbent article 100 is unsealed, the user can easily lift the grip portion 51 of the sealing tape 50 by pinching the end portion 51a.

 封止テープ50の形状は特に限定されないが、幅が一定の長方形又は正方形であってよい。封止テープ50の幅は、好ましくは5~30mm、より好ましくは10~20mmであってよい。また、封止テープ50の全体の長さは、好ましくは10~50mm、より好ましくは15~40mmであってよい。 Although the shape of the sealing tape 50 is not particularly limited, it may be rectangular or square with a constant width. The width of the sealing tape 50 may preferably be 5-30 mm, more preferably 10-20 mm. Also, the overall length of the sealing tape 50 may be preferably 10-50 mm, more preferably 15-40 mm.

 (封止テープの変形例)
 図4、図5及び図7~図14に、本発明の第一実施形態による包装吸収性物品100の封止テープ50の変形例を示す。また、図6に、図5の部分IIの拡大図を示す。なお、図4、図5及び図7~図14は、封止テープ50を粘着剤層61、62側(包装シート10との対向面側)から見た平面図であり、各図において、下側が把持部51、上側が固定部52となるように記載している。図4、図5及び図7~図14に示す変形例では、封止テープ50の固定部52の粘着剤層62は、図1及び図3に示す例と同様であるが、把持部51の粘着剤層61のパターンが異なる。ここで、パターンとは、把持部51に形成された粘着剤層61の模様全体を意味するが、パターンの交点という場合は、全体の模様としてのパターンの他に、当該模様を構成する個々の粘着剤層を示す場合がある。
(Modified example of sealing tape)
4, 5 and 7 to 14 show modifications of the sealing tape 50 of the packaged absorbent article 100 according to the first embodiment of the present invention. 6 shows an enlarged view of portion II of FIG. 4, 5, and 7 to 14 are plan views of the sealing tape 50 viewed from the side of the adhesive layers 61 and 62 (the side facing the packaging sheet 10). It is described so that the grip portion 51 is on the side and the fixing portion 52 is on the upper side. 4, 5, and 7 to 14, the adhesive layer 62 of the fixing portion 52 of the sealing tape 50 is the same as the example shown in FIGS. The pattern of the adhesive layer 61 is different. Here, the pattern means the entire pattern of the adhesive layer 61 formed on the grip portion 51, but the intersection of the patterns means the pattern as the whole pattern as well as the individual patterns that make up the pattern. It may indicate an adhesive layer.

 粘着剤層61のパターンは、図1及び図3に示すような縞状に限らず他の直線であってもよく、規則的な波線(図4)、スパイラル状(図5)であってもよい。線の幅は、好ましくは0.1~3.0mm、より好ましくは0.5~2.0mmであってよい。また、線の本数は、図1、図3~図5に示す例では3本であるがこれに限らない。 The pattern of the pressure-sensitive adhesive layer 61 is not limited to the striped pattern shown in FIGS. good. The width of the lines may preferably be 0.1-3.0 mm, more preferably 0.5-2.0 mm. Also, the number of lines is three in the examples shown in FIGS. 1 and 3 to 5, but is not limited to this.

 把持部51の包装シート10との対向面S1における、粘着剤層61の平面視面積の合計の割合は、粘着剤層61の粘着剤の性能及び包装シート10の材料にもよるが、好ましくは30~90%、より好ましくは、50~80%であってよい。粘着剤層61の平面視面積の合計の割合を30%以上とすることで、接触面積を30%以上とすることができるので、開封前に第2領域R2から剥がれにくく、第1領域R1を第2領域R2に止着するという封止テープ50の役割を確保することができる。また、粘着剤層61の平面視面積の合計の割合を90%以下とすることで、接触面積を90%以下とすることができるので、包装吸収性物品100を開封する際、封止テープ50を剥がしやすいという効果をより一層向上させることができる。 The ratio of the total planar view area of the adhesive layer 61 on the surface S1 of the grip portion 51 facing the packaging sheet 10 depends on the adhesive performance of the adhesive layer 61 and the material of the packaging sheet 10, but is preferably It may be 30-90%, more preferably 50-80%. By setting the ratio of the total surface area of the pressure-sensitive adhesive layer 61 to 30% or more, the contact area can be 30% or more. It is possible to secure the role of the sealing tape 50 of fixing to the second region R2. In addition, by setting the ratio of the total surface area of the pressure-sensitive adhesive layer 61 to 90% or less, the contact area can be 90% or less. It is possible to further improve the effect that it is easy to peel off.

 粘着剤層61のパターンは、線の形状、幅の他、長さ、本数、間隔等によって、多様なパターンを形成することができる。よって、把持部51の包装シート10との対向面S1における、粘着剤層61の平面視面積(粘着剤が塗布された部分の面積)、又は粘着剤が塗布されていない部分の平面視面積を制御(場合に応じて変更)することができる。これにより、把持部51と、包装シート10の第2領域R2との接触面積を制御できる。よって、把持部51と、第2領域R2との結合力を制御できる。 The pattern of the pressure-sensitive adhesive layer 61 can form various patterns depending on the shape and width of the lines, as well as the length, number of lines, intervals, and the like. Therefore, the planar view area of the adhesive layer 61 (the area of the portion to which the adhesive is applied) or the planar view area of the portion to which the adhesive is not applied on the surface S1 of the grip portion 51 facing the packaging sheet 10 is can be controlled (and possibly changed). Thereby, the contact area between the grip portion 51 and the second region R2 of the packaging sheet 10 can be controlled. Therefore, the coupling force between the grip portion 51 and the second region R2 can be controlled.

 粘着剤層61のパターンが、線状のパターンである場合、粘着剤の塗布されている部分と、塗布されていない部分とを、効率良く把持部51全体にわたって分散させて形成することができ、把持部51と包装シート10の第2領域R2との接触面積の低減を均一に生じさせることができる。よって、使用者が封止テープ50の把持部51を剥がす際に偏った力の入れ方をしても、封止テープ50をスムーズに剥がすことができる。 When the pattern of the adhesive layer 61 is a linear pattern, the portions coated with the adhesive and the portions not coated with the adhesive can be efficiently dispersed over the entire grip portion 51. Reduction of the contact area between the grip portion 51 and the second region R2 of the packaging sheet 10 can be uniformly caused. Therefore, even if the user applies uneven force when peeling off the grip portion 51 of the sealing tape 50, the sealing tape 50 can be peeled off smoothly.

 線状のパターンの中でも、特に、図5に示すようなスパイラル状であると好ましい。スパイラル状のパターンの場合も、粘着剤層61が間欠的に形成されている。つまり、把持部51には、粘着剤が塗布されておらず第2領域R2と粘着しない部分が存在する。よって、把持部51と第2領域R2との間の接触面積を低減できる。これにより、把持部51と第2領域R2との間の結合力が低減でき、把持部51を持って包装吸収性物品100を開封する際、把持部51を第2領域R2からより小さい力で剥がすことができ、スムーズな動作で包装吸収性物品100を開封することができる。また、粘着剤の塗布されている部分と、塗布されていない部分とを、比較的簡便に把持部51全体にわたって分散させて形成することができる。よって、把持部51と包装シート10の第2領域R2との接触面積の低減をより均一に生じさせることができる。 Among linear patterns, a spiral pattern as shown in FIG. 5 is particularly preferable. The adhesive layer 61 is intermittently formed also in the case of the spiral pattern. In other words, the grip portion 51 has a portion where the adhesive is not applied and does not adhere to the second region R2. Therefore, the contact area between the grip portion 51 and the second region R2 can be reduced. As a result, the binding force between the grip portion 51 and the second region R2 can be reduced, and when the wrapped absorbent article 100 is opened by holding the grip portion 51, the grip portion 51 can be moved from the second region R2 with a smaller force. It can be peeled off, and the wrapped absorbent article 100 can be opened with a smooth action. In addition, the portion coated with the adhesive and the portion not coated with the adhesive can be relatively easily dispersed over the entire grip portion 51 and formed. Therefore, the contact area between the grip portion 51 and the second region R2 of the packaging sheet 10 can be reduced more uniformly.

 また、粘着剤層61は、図6に示すように、層厚の厚い(目付が大きい)箇所61aと薄い(目付が小さい)箇所61bとを有していることが好ましい。層厚の厚い箇所61aの層厚は、好ましくは薄い箇所61bの2倍以上とすることができる。これにより、封止テープ50を包装シート10上に押圧して粘着させる際、層厚の厚い箇所61aはより強く押圧されるが、層厚の薄い箇所61bにかかる押圧は小さく、包装シート10と粘着剤層61とはより弱く結合される。その結果、把持部51を包装シート10から剥離する際、層厚の薄い箇所61bは、厚い箇所61aよりも小さい剥離力で剥離するので、全体として小さい力で剥離することができる。 In addition, as shown in FIG. 6, the pressure-sensitive adhesive layer 61 preferably has a portion 61a with a large layer thickness (large basis weight) and a portion 61b with a thin layer thickness (small basis weight). The layer thickness of the thick portion 61a can be preferably twice or more that of the thin portion 61b. As a result, when the sealing tape 50 is pressed onto the packaging sheet 10 to adhere to it, the portion 61a with the thick layer is pressed more strongly, but the portion 61b with the thin layer is less pressed. It is more weakly bonded with the adhesive layer 61 . As a result, when the grip portion 51 is peeled off from the packaging sheet 10, the thinner portion 61b is peeled off with a smaller peeling force than the thicker portion 61a, so that peeling can be performed with a smaller force as a whole.

 さらに、使用者は、吸収性物品を交換する際に、新しい包装吸収性物品を開封した時に剥がされた包装シート10で、使用済みの吸収性物品を包んで廃棄することが多い。その際、使用済みの吸収性物品を丸めて包装シート10で包んだ後、包装シート10の第1領域R1に貼着されたままとなっている封止テープ50を再使用して、包まれた使用済み吸収性物品を留めることができる。より具体的には、包装シート10の封止テープ50を有する第1領域R1が外側に位置するように使用済み吸収性物品を包み、封止テープ50の把持部51を、把持部51の下側に配置される包装シート10の表面に貼着させる。これにより、使用済み吸収性物品がコンパクトに丸められ包まれた状態を維持できる。よって、開封時に一旦剥がされた封止テープ50の把持部51は、再使用できること(再止着性を有すること)が好ましい。 Furthermore, when replacing the absorbent article, the user often wraps the used absorbent article in the packaging sheet 10 that was peeled off when the new packaged absorbent article was opened, and discards it. At that time, after the used absorbent article is rolled up and wrapped with the packaging sheet 10, the sealing tape 50 that remains attached to the first region R1 of the packaging sheet 10 is reused to wrap it. Used absorbent articles can be clipped. More specifically, the used absorbent article is wrapped so that the first region R1 having the sealing tape 50 of the packaging sheet 10 is positioned outside, and the gripping portion 51 of the sealing tape 50 is placed under the gripping portion 51. It is attached to the surface of the packaging sheet 10 arranged on the side. This allows the used absorbent article to remain compactly rolled and wrapped. Therefore, it is preferable that the grip portion 51 of the sealing tape 50 once peeled off at the time of opening can be reused (has refastening properties).

 特に包装シート10が紙や不織布等の繊維素材を含む繊維含有シートである場合には、包装吸収性物品の開封時に封止テープ50の把持部51を剥がした時に、包装シート10の表面の繊維が把持部51の粘着剤層61に付着しやすい。そして、一旦剥がされた把持部51に付着した繊維は、粘着剤層61の粘着性を低下させ得る。 In particular, when the packaging sheet 10 is a fiber-containing sheet containing a fiber material such as paper or non-woven fabric, when the grip portion 51 of the sealing tape 50 is peeled off at the time of opening the packaged absorbent article, the fibers on the surface of the packaging sheet 10 easily adheres to the adhesive layer 61 of the grip portion 51 . The fibers adhering to the once peeled grip portion 51 can reduce the adhesiveness of the adhesive layer 61 .

 本形態によれば、粘着剤層61に付着する可能性のある個別の繊維に着目すると、粘着剤層61が間欠的に塗布されていると、当該個別の繊維の大半が粘着剤層61に接触している場合は、当該繊維は包装シート10表面から分離し、粘着剤層61に付着する。しかし、着目する繊維の一部が粘着剤層61に接触していても大半が粘着剤層61のない箇所に接触している場合は、その繊維は包装シート10表面から分離せずに包装シート10表面にとどまる。その結果、当該粘着剤層61に繊維が付着する割合は小さくなるので、粘着剤層61の表面は、べたで粘着剤が塗布される場合よりも、単位面積当たりの粘着剤塗布表面を覆う繊維が少なくなり、その分、粘着剤層61の表面の粘着力の低下を回避することができる。その結果、繊維が付着していない粘着剤層61の表面面積の割合は、粘着剤がべたで塗布される場合と比較して多くなるので、開封時に一旦剥がされた封止テープ50の把持部51は、再使用することができる。 According to this embodiment, focusing on individual fibers that may adhere to the adhesive layer 61, when the adhesive layer 61 is applied intermittently, most of the individual fibers adhere to the adhesive layer 61. When they are in contact, the fibers separate from the surface of the packaging sheet 10 and adhere to the adhesive layer 61 . However, even if some of the fibers of interest are in contact with the adhesive layer 61, if most of the fibers are in contact with a portion where the adhesive layer 61 is not present, the fibers will not separate from the surface of the packaging sheet 10 and will be attached to the packaging sheet. 10 Stay on the surface. As a result, the proportion of fibers adhering to the pressure-sensitive adhesive layer 61 is reduced, so the surface of the pressure-sensitive adhesive layer 61 is covered with fibers covering the pressure-sensitive adhesive-applied surface per unit area more than when the pressure-sensitive adhesive is applied in a solid state. of the adhesive layer 61 can be avoided. As a result, the ratio of the surface area of the adhesive layer 61 to which the fibers are not adhered is greater than in the case where the adhesive is applied solidly. 51 can be reused.

 加えて、粘着剤層61は、層厚の厚い箇所61aと薄い箇所61bとを有していると、封止テープ50が貼着されている状態では、層厚が厚い箇所の方がより強く押圧され、包装シート10の繊維がより多く付着しやすくなるのに対し、層厚が薄い箇所61bに付着する繊維はより少なくなる。よって、使用済みの吸収性物品の廃棄時に、使用済みの吸収性物品を包装シート10で包んで封止テープ50で留める際に、封止テープ50がより確実に留まり、使用済み吸収性物品の包まれた状態を維持することができる。 In addition, if the pressure-sensitive adhesive layer 61 has a portion 61a with a thick layer and a portion 61b with a thin layer, the portion with the thicker layer is stronger when the sealing tape 50 is adhered. While being pressed, more fibers of the packaging sheet 10 tend to adhere, fewer fibers adhere to the portion 61b where the layer thickness is thin. Therefore, when the used absorbent article is disposed of, when the used absorbent article is wrapped in the packaging sheet 10 and fastened with the sealing tape 50, the sealing tape 50 is more securely fastened, and the used absorbent article is removed. You can keep it wrapped.

 層厚の厚い箇所61aと薄い箇所61bとを有する粘着剤層61は、例えば、粘着剤を部分的に複数回重ねて塗布することで形成することができるが、粘着剤層61が、図5に示すようなスパイラル状である場合、層厚の厚い箇所61aと薄い箇所61bを比較的簡便に形成することができる。具体的には、図6に示すように、スパイラル状のパターンに含まれる線状部分同士の交点(交差部)65では、線状部分が二重に重なって層厚の厚い箇所61aが形成され、それ以外の、重なりのない線状部分が層厚の薄い箇所61bとなる。また、交点65の数、位置等によって、層厚の厚い箇所61aと薄い箇所61bそれぞれの数、分布等を制御することができる。これにより、包装吸収性物品100の開封後における把持部51の再止着性を制御しながら向上させることができる。さらに、層厚の厚い箇所61aと薄い箇所61bとを、把持部51全体にわたって分散させて形成することができるので、把持部51と包装シート10の第2領域R2との再止着性の向上を均一に生じさせることができる。 The adhesive layer 61 having thick portions 61a and thin portions 61b can be formed, for example, by partially overlapping and applying the adhesive multiple times. In the case of a spiral shape as shown in FIG. 2, it is possible to relatively easily form a portion 61a with a thick layer and a portion 61b with a thin layer. Specifically, as shown in FIG. 6, at an intersection (intersection) 65 between the linear portions included in the spiral pattern, the linear portions are doubled to form a thick portion 61a. , and other non-overlapping linear portions become portions 61b where the layer thickness is thin. In addition, the number, distribution, etc., of the portions 61a where the layer thickness is thick and the portions 61b, where the layer thickness is thin, can be controlled by the number, positions, and the like of the intersection points 65 . As a result, it is possible to control and improve the refastening property of the grip part 51 after the packaged absorbent article 100 is unsealed. Furthermore, since the portions 61a with a thick layer and the portions 61b with a thin layer can be formed in a dispersed manner over the entire gripping portion 51, the refastening property between the gripping portion 51 and the second region R2 of the packaging sheet 10 is improved. can be generated uniformly.

 粘着剤層61は、1以上の線状部分を含み、2以上の線状部分が重なる箇所(交点)を有するパターンである場合、比較的簡便に層厚の厚い箇所61aと薄い箇所61bとを形成することができるので、スパイラル状のパターンに限らない。図7に示すような不規則な波線のパターン、図8に示すような格子状のパターンであってもよい。 If the pressure-sensitive adhesive layer 61 is a pattern that includes one or more linear portions and has a portion (intersection point) where two or more linear portions overlap, the thick portion 61a and the thin portion 61b can be relatively easily separated. Since it can be formed, it is not limited to a spiral pattern. It may be an irregular wavy line pattern as shown in FIG. 7 or a lattice pattern as shown in FIG.

 粘着剤層61のパターンは、上述のような線状のパターンであってもよいし、平面視形状が四角形(図9)、円形(ドット)(図10)の小部分の集合体であるパターンであってもよい。この場合、四角形の小部分、円形の小部分が離隔して散在していることが好ましい。 The pattern of the pressure-sensitive adhesive layer 61 may be a linear pattern as described above, or a pattern that is an aggregation of small portions of squares (FIG. 9) and circles (dots) (FIG. 10) in plan view. may be In this case, it is preferable that the square small portions and the circular small portions are spaced apart.

 図11及び図12に示す例では、粘着剤層61のパターンが、異なる形状の粘着剤を組み合わせて形成されている。異なる形状の粘着剤を組み合わせることで、把持部51と包装シート10との結合力、又は把持部51の再止着性の制御の幅を広げることができる。 In the examples shown in FIGS. 11 and 12, the pattern of the adhesive layer 61 is formed by combining different shaped adhesives. By combining adhesives with different shapes, it is possible to widen the range of control of the bonding strength between the grip portion 51 and the packaging sheet 10 or the refastening property of the grip portion 51 .

 図13に示す例では、花柄のデザインのパターンが形成されており、例えば、ホットメルト粘着剤をテープ基材に転写することで形成できる。デザインに粘着剤が塗布されていない部分が存在することで、間欠的な粘着剤層61を形成できると同時に、デザイン性を付与することができる。 In the example shown in FIG. 13, a floral design pattern is formed, which can be formed, for example, by transferring a hot-melt adhesive to the tape substrate. Since the design has a part where the adhesive is not applied, the intermittent adhesive layer 61 can be formed and at the same time, the design can be imparted.

 図14に示す例は、図5に示す例とは異なり、粘着剤層61のパターンは、3本のスパイラルを含み、固定部52側に向かうにつれてスパイラルのピッチが小さくなっている。つまり、固定部52側に向かうにつれて粘着剤層61の単位面積当たりの平面視面積が大きくなっている。この構成により、封止テープ50の把持部51の端部51aに近い側において、封止テープ50と包装シート10との間の接触面積をより小さくすることができる。よって、封止テープ50を剥がし始めの段階で、剥がすために要する力を小さくすることができ、封止テープ50をスムーズに剥がすことができる。また、図14に示す例の粘着剤層61では、固定部52側に向かうにつれて、スパイラル状のパターンに含まれる交点65が多くなっている。つまり、層厚の厚い箇所61aの平面視面積が大きくなっている。この構成により、包装シート10が繊維素材を含む場合でも、把持部51の固定部52に近い側において、包装シート10の繊維がより多く付着しやすくなるのに対し、把持部51の端部51aに近い側において、付着する繊維を少なくすることができる。よって、使用済みの吸収性物品の廃棄時に、使用済みの吸収性物品を包装シート10で包んで封止テープ50で留める際に、封止テープ50の端部51aに近い側でより確実に留まり、使用済み吸収性物品の包まれた状態を維持することができる。 The example shown in FIG. 14 differs from the example shown in FIG. 5 in that the pattern of the adhesive layer 61 includes three spirals, and the pitch of the spirals decreases toward the fixed portion 52 side. That is, the planar view area per unit area of the adhesive layer 61 increases toward the fixing portion 52 side. With this configuration, the contact area between the sealing tape 50 and the packaging sheet 10 can be made smaller on the side of the gripping portion 51 of the sealing tape 50 closer to the end portion 51a. Therefore, at the stage when the sealing tape 50 starts to be peeled off, the force required for peeling off can be reduced, and the sealing tape 50 can be peeled off smoothly. In addition, in the adhesive layer 61 of the example shown in FIG. 14, the number of intersection points 65 included in the spiral pattern increases toward the fixing portion 52 side. That is, the planar view area of the portion 61a with the thick layer is large. With this configuration, even when the packaging sheet 10 contains a fiber material, more fibers of the packaging sheet 10 are likely to adhere to the side of the gripping portion 51 closer to the fixing portion 52, whereas the end portion 51a of the gripping portion 51 is more likely to adhere. Fewer fibers can be attached on the side closer to the Therefore, when the used absorbent article is disposed of, when the used absorbent article is wrapped in the packaging sheet 10 and fastened with the sealing tape 50, the side of the sealing tape 50 closer to the end 51a can be more securely fastened. , can keep the used absorbent article wrapped.

 <第二実施形態>
 図15に、第二実施形態による包装吸収性物品200の平面図を示す。図15に示す例では、第一実施形態と、包装吸収性物品200の基本的な構成及び封止テープ250の粘着剤層261、262の構成は同様であるが、封止テープ250の形状が異なっている。本形態の封止テープ250の形状は、端部251a側に向かうにつれて、横方向(第2方向)D2の長さが小さくなる台形である。ここで、封止テープ250の固定部352の横方向D2の長さの最大値(固定部252側の端縁)の長さをW1、封止テープ250の縦方向(第1方向)D1の長さをH1、把持部251の縦方向(第1方向)D1の端部251aを除く長さをH2、把持部251の端部251a側の下端から縦方向D1にH2の1/2の位置における把持部251の横方向(第2方向)D2の長さをW2とする。このとき、W1は、好ましくは8~20mm、より好ましくは10~15mmとすることができる。W2は、好ましくは5~20mm、より好ましくは8~12mmとすることができる。H1は、好ましくは20~40mm、より好ましくは25~35mmとすることができる。この構成により、把持部251と、包装シート10との間の接触面積、より具体的には、把持部251と、包装シート10の第2領域R2との間の接触面積を把持部251の端部251a側に向かうにつれて低減できる。よって、把持部251と第2領域R2との間の結合力が低減され、封止テープ250の把持部251を持って包装吸収性物品200の開封を開始する際、封止テープ50を第2領域R2から特に小さい力で剥がすことができる。また、本形態によれば、第一実施形態と同様の作用効果が得られる。
<Second embodiment>
FIG. 15 shows a plan view of a packaged absorbent article 200 according to the second embodiment. In the example shown in FIG. 15, the basic configuration of the packaged absorbent article 200 and the configuration of the adhesive layers 261 and 262 of the sealing tape 250 are the same as in the first embodiment, but the shape of the sealing tape 250 is different. The sealing tape 250 of this embodiment has a trapezoidal shape in which the length in the lateral direction (second direction) D2 decreases toward the end portion 251a. Here, the maximum value of the length of the fixing portion 352 of the sealing tape 250 in the horizontal direction D2 (the edge on the fixing portion 252 side) is W1, and the length of the vertical direction (first direction) D1 of the sealing tape 250 is The length is H1, the length excluding the end portion 251a in the vertical direction (first direction) D1 of the grip portion 251 is H2, and the position of 1/2 of H2 in the vertical direction D1 from the lower end of the end portion 251a side of the grip portion 251 Let W2 be the length of the grip portion 251 in the horizontal direction (second direction) D2. At this time, W1 can be preferably 8 to 20 mm, more preferably 10 to 15 mm. W2 can be preferably 5-20 mm, more preferably 8-12 mm. H1 can be preferably 20-40 mm, more preferably 25-35 mm. With this configuration, the contact area between the gripping portion 251 and the packaging sheet 10, more specifically, the contact area between the gripping portion 251 and the second region R2 of the packaging sheet 10 is reduced to the edge of the gripping portion 251. It can be reduced toward the portion 251a side. Therefore, the bonding force between the gripping portion 251 and the second region R2 is reduced, and when starting to unseal the packaged absorbent article 200 with the gripping portion 251 of the sealing tape 250, the sealing tape 50 is placed in the second region R2. It can be peeled off from the region R2 with a particularly small force. Moreover, according to this embodiment, the same effects as those of the first embodiment can be obtained.

 <第三実施形態>
 図16に、第三実施形態による包装吸収性物品300の平面図を示す。図16に示す例では、第一実施形態及び第二実施形態と、包装吸収性物品300の基本的な構成及び封止テープ350の粘着剤層361、362の構成は同様であるが、封止テープ350の形状が異なっている。本形態の封止テープ350の形状は、端部351a側に向かうにつれて、横方向(第2方向)D2の長さが小さくなるハート型である。ここで、封止テープ350の固定部352の横方向D2の長さの最大値の長さをW1、封止テープ350の縦方向(第1方向)D1の長さをH1、把持部351の縦方向(第1方向)D1の端部351aを除く長さをH2、把持部351の端部351a側の下端から縦方向D1にH2の1/2の位置における把持部351の横方向(第2方向)D2の長さをW2とする。このとき、W1は、好ましくは8~20mm、より好ましくは10~15mmとすることができる。W2は、好ましくは5~20mm、より好ましくは8~12mmとすることができる。H1は、好ましくは20~40mm、より好ましくは25~35mmとすることができる。この構成により、第二実施形態と同様の作用効果が得られる。また、本形態によれば、第一実施形態と同様の作用効果が得られる。
<Third Embodiment>
FIG. 16 shows a plan view of a packaged absorbent article 300 according to the third embodiment. In the example shown in FIG. 16, the basic configuration of the packaged absorbent article 300 and the configuration of the adhesive layers 361 and 362 of the sealing tape 350 are the same as those of the first embodiment and the second embodiment, but the sealing The shape of the tape 350 is different. The shape of the sealing tape 350 of this embodiment is a heart shape in which the length in the lateral direction (second direction) D2 decreases toward the end portion 351a. Here, the length of the maximum value of the length of the fixing portion 352 of the sealing tape 350 in the horizontal direction D2 is W1, the length of the vertical direction (first direction) D1 of the sealing tape 350 is H1, and the length of the holding portion 351 is H2 is the length excluding the end portion 351a in the vertical direction (first direction) D1, and the horizontal direction (first 2 directions) Let the length of D2 be W2. At this time, W1 can be preferably 8 to 20 mm, more preferably 10 to 15 mm. W2 can be preferably 5-20 mm, more preferably 8-12 mm. H1 can be preferably 20-40 mm, more preferably 25-35 mm. With this configuration, the same effects as those of the second embodiment can be obtained. Moreover, according to this embodiment, the same effects as those of the first embodiment can be obtained.

 なお、封止テープ250、350の形状は、把持部251、351の端部251a、351a側の端縁から縦方向1/2の位置における横方向の長さが、固定部252、352の横方向の長さの最大値よりも小さければよく、上述の台形及びハート形に限らない。 The shape of the sealing tapes 250 and 350 is such that the length in the horizontal direction at the position 1/2 in the vertical direction from the edge of the end portions 251a and 351a of the gripping portions 251 and 351 is the width of the fixed portions 252 and 352. It may be smaller than the maximum value of the length in the direction, and is not limited to the trapezoid and heart shape described above.

 また、第二、第三実施形態における固定部252、352及び把持部251、351の粘着剤層261、262、361、362は、いずれも第一実施形態で説明した第一~第十変形例のパターンとすることができる。 Further, the adhesive layers 261, 262, 361, 362 of the fixing portions 252, 352 and the gripping portions 251, 351 in the second and third embodiments are all the first to tenth modifications described in the first embodiment. can be a pattern of

 (封止テープの製造方法)
 図17に、例として、封止テープ50の製造方法を示す。封止テープ50の粘着剤層61、62は、粘着剤塗布装置90を用いて、固定された粘着剤塗布装置90に設けられた粘着剤吐出ノズルから糸状のホットメルト粘着剤を吐出し、ロールで搬送されるテープ基材の一面に塗布することで比較的簡便に形成できる。テープ基材の一面において、テープ基材の長軸方向で二分した一方側に把持部51の粘着剤層61のパターンを形成すると同時に、他方側に固定部52の粘着剤層62を形成することができる。
(Manufacturing method of sealing tape)
FIG. 17 shows a method of manufacturing the sealing tape 50 as an example. The adhesive layers 61 and 62 of the sealing tape 50 are formed by ejecting a filamentous hot-melt adhesive from an adhesive ejection nozzle provided in a fixed adhesive application device 90 using an adhesive application device 90, and forming a roll. It can be formed relatively simply by applying it to one surface of the tape substrate conveyed by. Forming the pattern of the adhesive layer 61 of the grip portion 51 on one side of the tape substrate divided into two in the longitudinal direction of the tape substrate, and simultaneously forming the adhesive layer 62 of the fixing portion 52 on the other side. can be done.

 例えば、把持部51の粘着剤層61を形成するための粘着剤吐出ノズルを複数、間隔を空けて配置することで、図1及び図3に示すような縞状の間欠的な粘着剤層61を形成することができる。また、粘着剤吐出ノズルから吐出する糸状のホットメルト粘着剤の直径、吐出時間、吐出角度、本数、配置等を調整することで、規則的な波線(図4)、スパイラル状(図5)、不規則な波線(図7)等の多様なパターンの粘着剤層61を形成することができる。また、テープ基材に対する糸状のホットメルト粘着剤の吐出角度を大きく変化させることで、テープ基材の搬送方向Dt以外の方向においてもテープ基材の一面に線状のパターンを幅広く形成することができる。よって、粘着剤の塗布されている部分と、塗布されていない部分とを、把持部51全体にわたって分散させて形成することができる。 For example, by arranging a plurality of adhesive discharge nozzles for forming the adhesive layer 61 of the grip portion 51 at intervals, striped intermittent adhesive layers 61 as shown in FIGS. can be formed. In addition, by adjusting the diameter, ejection time, ejection angle, number, arrangement, etc., of the thread-like hot-melt adhesive ejected from the adhesive ejection nozzle, regular wavy lines (Fig. 4), spiral shapes (Fig. 5), The adhesive layer 61 can be formed in various patterns such as irregular wavy lines (FIG. 7). Further, by greatly changing the ejection angle of the filamentous hot-melt adhesive with respect to the tape substrate, it is possible to form a wide linear pattern on one surface of the tape substrate even in a direction other than the transport direction Dt of the tape substrate. can. Therefore, the portion coated with the adhesive and the portion not coated with the adhesive can be dispersed over the entire grip portion 51 and formed.

 スパイラル状(図5)のパターンの粘着剤層61は、例えば、ノズル自体の向きを変更させたり、或いはノズルから吐出された糸状の粘着剤に風圧を与えたりすることにより、粘着剤を回転させながら塗布することで形成することができる。よって、比較的簡便に、粘着剤の塗布されている部分と、塗布されていない部分とを、把持部51全体にわたって分散させて形成することができる。さらに、複数回重ねて塗布することなく一工程(一筆書き)で、層厚の厚い箇所61aと薄い箇所61bとを有する粘着剤層61を形成することができる。 The adhesive layer 61 having a spiral pattern (FIG. 5) rotates the adhesive by, for example, changing the direction of the nozzle itself or applying wind pressure to the thread-like adhesive discharged from the nozzle. It can be formed by coating while Therefore, it is possible to relatively easily form the portion where the adhesive is applied and the portion where the adhesive is not applied so as to be dispersed over the entire grip portion 51 . In addition, the pressure-sensitive adhesive layer 61 having thick portions 61a and thin portions 61b can be formed in one step (single-stroke drawing) without repeated application.

 また、粘着剤吐出ノズルの口金の形状、粘着剤の吐出のタイミング等を変更することで、四角形(図9)、円形(ドット)(図10)の小部分の集合体であるパターンの粘着剤層61を形成することができる。さらに、形状の異なる複数のノズルを使用することで、異なる形状の粘着剤が組み合わされたパターンの粘着剤層61(図11、図12)を形成することができる。 In addition, by changing the shape of the mouthpiece of the adhesive ejection nozzle, the timing of ejection of the adhesive, etc., it is possible to create an adhesive with a pattern that is an aggregate of small portions of squares (Fig. 9) and circles (dots) (Fig. 10). A layer 61 can be formed. Furthermore, by using a plurality of nozzles with different shapes, it is possible to form a patterned adhesive layer 61 (FIGS. 11 and 12) in which adhesives with different shapes are combined.

 また、粘着剤層61は、転写、噴霧、刷毛塗によって形成してもよい。例えば、格子状(図8)、又は花柄(図13)のような複雑な形状のパターンは、転写によって形成すると好ましい。 Also, the adhesive layer 61 may be formed by transfer, spraying, or brush coating. For example, it is preferable to form a complicated shape pattern such as a grid pattern (FIG. 8) or a floral pattern (FIG. 13) by transfer.

 そして、粘着剤層61、62を形成した後、テープ基材の短軸方向(テープ基材の搬送方向Dtと直交する方向)に沿って切断することで、把持部51に間欠的な粘着剤層61を有する封止テープ50が得られる。ここで、第二実施形態による包装吸収性物品200の封止テープ250を製造する場合も第一実施形態と同様の方法で製造できるが、帯状のテープ基材から単体の封止テープ250を切り出す際、テープ基材の搬送方向Dtと直交する方向から角度を付けて切断することで台形の封止テープ250を得ることができる。また、第三実施形態による包装吸収性物品300の封止テープ350を製造する場合も第一実施形態と同様の方法で製造できるが、帯状のテープ基材から単体の封止テープ350を切り出す際、ハート形に型抜きすることで得ることができる。 Then, after the adhesive layers 61 and 62 are formed, they are cut along the minor axis direction of the tape substrate (the direction perpendicular to the transport direction Dt of the tape substrate), so that the adhesive is intermittently applied to the grip portion 51 . A sealing tape 50 with layer 61 is obtained. Here, when manufacturing the sealing tape 250 of the packaged absorbent article 200 according to the second embodiment, it can be manufactured by the same method as in the first embodiment, but a single sealing tape 250 is cut out from a band-shaped tape base material. At this time, the trapezoidal sealing tape 250 can be obtained by cutting at an angle from the direction perpendicular to the transport direction Dt of the tape base material. Also, when manufacturing the sealing tape 350 of the packaged absorbent article 300 according to the third embodiment, it can be manufactured by the same method as in the first embodiment. , can be obtained by die-cutting into a heart shape.

 以上の通り、実施形態を説明したが、上記実施形態は、例として提示したものであり、上記実施形態により本発明が限定されるものではない。上記実施形態は、その他の様々な形態で実施されることが可能であり、発明の要旨を逸脱しない範囲で、種々の組み合わせ、省略、置き換え、変更などを行うことが可能である。これら実施形態やその変形は、発明の範囲や要旨に含まれると共に、特許請求の範囲に記載された発明とその均等の範囲に含まれる。 Although the embodiment has been described as above, the above embodiment is presented as an example, and the present invention is not limited by the above embodiment. The above embodiments can be implemented in various other forms, and various combinations, omissions, replacements, changes, etc. can be made without departing from the scope of the invention. These embodiments and modifications thereof are included in the scope and gist of the invention, and are included in the scope of the invention described in the claims and equivalents thereof.

 本国際出願は2021年1月22日に出願された日本国特許出願2021-008504号に基づく優先権を主張するものであり、2021-008504号の全内容をここに本国際出願に援用する。 This international application claims priority based on Japanese Patent Application No. 2021-008504 filed on January 22, 2021, and the entire contents of No. 2021-008504 are hereby incorporated into this international application.

1 吸収性物品
10 包装シート
11 長手方向の一端
12 長手方向の他端
50、250、350 封止テープ
51、251、351 封止テープの把持部
51a、251a、351a 把持部の端部
52、252、352 封止テープの固定部
61、261、361 把持部の粘着剤層
61a 層厚が厚い箇所
61b 層厚が薄い箇所
62、262、362 固定部の粘着剤層
65 交点
100、200、300 包装吸収性物品
D1 包装シートの第1方向
D2 包装シートの第2方向
L1 第1折り線
L2 第2折り線
R1 第1領域
R2 第2領域
R3 第3領域
S1 把持部の包装シートとの対向面
S2 固定部の包装シートとの対向面
1 Absorbent article 10 Packaging sheet 11 One longitudinal end 12 Other longitudinal ends 50, 250, 350 Sealing tapes 51, 251, 351 Sealing tape gripping portions 51a, 251a, 351a Gripping end portions 52, 252 , 352 sealing tape fixing portions 61, 261, 361 grip portion adhesive layer 61a thick layer portion 61b layer thin portion 62, 262, 362 fixing portion adhesive layer 65 intersections 100, 200, 300 packaging Absorbent article D1 First direction D2 of the packaging sheet Second direction L1 of the packaging sheet First folding line L2 Second folding line R1 First region R2 Second region R3 Third region S1 Opposing surface S2 of the grip portion to the packaging sheet The surface facing the packaging sheet of the fixed part

Claims (6)

 包装シートと、前記包装シートで包装された吸収性物品とを含む包装吸収性物品であって、
 前記包装シートは、前記包装シートの第1方向の一端を含む第1領域と、前記第1方向の他端を含む第2領域と、を有し、
 前記第1領域を、前記第2領域の外面に重ねることによって折り畳まれ、前記第1領域の外面及び前記第2領域の外面にわたって封止テープが貼着されており、
 前記封止テープは、前記第1領域の外面側に位置する固定部と、前記第2領域の外面側に位置する把持部と、を有し、
 前記把持部の前記包装シートとの対向面に、粘着剤層が間欠的に形成されている、包装吸収性物品。
A packaged absorbent article comprising a packaging sheet and an absorbent article packaged with the packaging sheet,
The packaging sheet has a first region including one end in the first direction of the packaging sheet and a second region including the other end in the first direction,
The first region is folded by overlapping the outer surface of the second region, and a sealing tape is attached over the outer surface of the first region and the outer surface of the second region,
The sealing tape has a fixing portion located on the outer surface side of the first region and a grip portion located on the outer surface side of the second region,
A packaged absorbent article, wherein an adhesive layer is intermittently formed on a surface of the grip part facing the packaging sheet.
 前記粘着剤層は、直線状のパターン又はスパイラル状のパターンによって形成されている、請求項1に記載の包装吸収性物品。 The packaged absorbent article according to claim 1, wherein the pressure-sensitive adhesive layer is formed in a linear pattern or a spiral pattern.  前記粘着剤層は、層厚が厚い箇所と薄い箇所とを有する、請求項1又は2に記載の包装吸収性物品。 The packaged absorbent article according to claim 1 or 2, wherein the pressure-sensitive adhesive layer has a portion with a thick layer and a portion with a thin layer.  前記固定部の前記包装シートとの対向面に、連続した均一な厚みの粘着剤層が形成されている、請求項1から3のいずれか一項に記載の包装吸収性物品。 The packaged absorbent article according to any one of claims 1 to 3, wherein a continuous and uniform-thickness adhesive layer is formed on the surface of the fixing portion facing the packaging sheet.  前記封止テープは、前記把持部の端部側に向かうにつれて、前記第1方向と直交する第2方向の長さが小さくなる形状を有する、請求項1から4のいずれか一項に記載の包装吸収性物品。 5. The sealing tape according to any one of claims 1 to 4, wherein the length of the sealing tape in the second direction orthogonal to the first direction decreases toward the end side of the grip portion. Packaged absorbent articles.  前記包装シートは、紙又は不織布である、請求項1から5のいずれか一項に記載の包装吸収性物品。 The packaged absorbent article according to any one of claims 1 to 5, wherein the packaging sheet is paper or nonwoven fabric.
PCT/JP2021/042267 2021-01-22 2021-11-17 Packaged absorbent article Ceased WO2022158102A1 (en)

Applications Claiming Priority (2)

Application Number Priority Date Filing Date Title
JP2021008504A JP2022112640A (en) 2021-01-22 2021-01-22 Packaged absorbent article
JP2021-008504 2021-01-22

Publications (1)

Publication Number Publication Date
WO2022158102A1 true WO2022158102A1 (en) 2022-07-28

Family

ID=82548696

Family Applications (1)

Application Number Title Priority Date Filing Date
PCT/JP2021/042267 Ceased WO2022158102A1 (en) 2021-01-22 2021-11-17 Packaged absorbent article

Country Status (3)

Country Link
JP (1) JP2022112640A (en)
TW (1) TWI877431B (en)
WO (1) WO2022158102A1 (en)

Cited By (6)

* Cited by examiner, † Cited by third party
Publication number Priority date Publication date Assignee Title
US11794976B2 (en) 2020-07-30 2023-10-24 The Procter And Gamble Company Recyclable absorbent article package material
US12076221B2 (en) 2020-07-30 2024-09-03 The Procter & Gamble Company Natural fiber-containing packages for absorbent articles
US12090034B2 (en) 2020-07-30 2024-09-17 The Procter & Gamble Company Recyclable absorbent article package material
US12178692B2 (en) 2020-10-09 2024-12-31 The Procter & Gamble Company Absorbent article packages with natural fibers and opening features
US12303371B2 (en) 2023-01-25 2025-05-20 The Procter & Gamble Company Recyclable packages
US12325576B2 (en) 2021-07-30 2025-06-10 The Procter & Gamble Company Sealed absorbent article package with natural fibers

Families Citing this family (5)

* Cited by examiner, † Cited by third party
Publication number Priority date Publication date Assignee Title
JP2024074046A (en) * 2022-11-18 2024-05-30 大王製紙株式会社 Method for manufacturing individually packaged absorbent article, and individually packaged absorbent article
JP2024074044A (en) * 2022-11-18 2024-05-30 大王製紙株式会社 Individually packaged absorbent articles and packaging sheets
JP2024143329A (en) * 2023-03-30 2024-10-11 大王製紙株式会社 Individually-packaged absorbent article
WO2025143251A1 (en) * 2023-12-27 2025-07-03 ユニ・チャーム株式会社 Absorbent article
WO2025143253A1 (en) * 2023-12-27 2025-07-03 ユニ・チャーム株式会社 Absorbent article

Citations (3)

* Cited by examiner, † Cited by third party
Publication number Priority date Publication date Assignee Title
JPS63307065A (en) * 1987-05-29 1988-12-14 Matsushita Electric Ind Co Ltd Part arranged strip
JP2001161745A (en) * 1999-12-14 2001-06-19 Kao Corp Packaging materials for absorbent articles
JP2010075249A (en) * 2008-09-24 2010-04-08 Daio Paper Corp Individually packaged absorbent article

Family Cites Families (1)

* Cited by examiner, † Cited by third party
Publication number Priority date Publication date Assignee Title
JP6145483B2 (en) * 2015-09-03 2017-06-14 ユニ・チャーム株式会社 Absorbent packaging

Patent Citations (3)

* Cited by examiner, † Cited by third party
Publication number Priority date Publication date Assignee Title
JPS63307065A (en) * 1987-05-29 1988-12-14 Matsushita Electric Ind Co Ltd Part arranged strip
JP2001161745A (en) * 1999-12-14 2001-06-19 Kao Corp Packaging materials for absorbent articles
JP2010075249A (en) * 2008-09-24 2010-04-08 Daio Paper Corp Individually packaged absorbent article

Cited By (9)

* Cited by examiner, † Cited by third party
Publication number Priority date Publication date Assignee Title
US11794976B2 (en) 2020-07-30 2023-10-24 The Procter And Gamble Company Recyclable absorbent article package material
US12076221B2 (en) 2020-07-30 2024-09-03 The Procter & Gamble Company Natural fiber-containing packages for absorbent articles
US12090034B2 (en) 2020-07-30 2024-09-17 The Procter & Gamble Company Recyclable absorbent article package material
US12110163B2 (en) 2020-07-30 2024-10-08 The Procter & Gamble Company Recyclable absorbent article package material
US12252320B2 (en) 2020-07-30 2025-03-18 The Procter & Gamble Company Recyclable absorbent article package material
US12178692B2 (en) 2020-10-09 2024-12-31 The Procter & Gamble Company Absorbent article packages with natural fibers and opening features
US12325576B2 (en) 2021-07-30 2025-06-10 The Procter & Gamble Company Sealed absorbent article package with natural fibers
US12303371B2 (en) 2023-01-25 2025-05-20 The Procter & Gamble Company Recyclable packages
US12364630B2 (en) 2023-01-25 2025-07-22 The Procter & Gamble Company Packages for absorbent articles

Also Published As

Publication number Publication date
TW202228618A (en) 2022-08-01
JP2022112640A (en) 2022-08-03
TWI877431B (en) 2025-03-21

Similar Documents

Publication Publication Date Title
WO2022158102A1 (en) Packaged absorbent article
CN101686882B (en) Individually packaged absorbent article
US20230036459A1 (en) Wrapping sheet and wrapped absorbent article
JP7349388B2 (en) Packaging sheets and packaging absorbent articles
CN102740819B (en) Absorbent commodity
JP5755920B2 (en) Absorbent package
JP2023018807A (en) Packaged absorbent article
JP7381380B2 (en) Packaging materials, packaged surface articles, packaged absorbent articles, and individual packaging methods
JP7364515B2 (en) Packaging structures and packaging absorbent articles
JP7425627B2 (en) Packaging sheets and packaging absorbent articles
JP7700411B2 (en) Individually packaged absorbent articles
JP7386748B2 (en) Packaging sheets and packaging absorbent articles
JP7394660B2 (en) Packaging sheets and packaging absorbent articles
JP7690714B2 (en) Individually packaged absorbent articles
JP4410448B2 (en) Absorbent articles
JP2021049293A (en) Packaged absorbent article
JP7306941B2 (en) Packaged absorbent article
WO2024202135A1 (en) Individually wrapped absorbent article
WO2024106048A1 (en) Individually-packaged absorbent article and packaging sheet
JP2024019915A (en) Individually packaged absorbent articles
JP2021153916A (en) Packaging material and packaged absorptive article
CN119894472A (en) Individually packaged absorbent article

Legal Events

Date Code Title Description
121 Ep: the epo has been informed by wipo that ep was designated in this application

Ref document number: 21921205

Country of ref document: EP

Kind code of ref document: A1

NENP Non-entry into the national phase

Ref country code: DE

122 Ep: pct application non-entry in european phase

Ref document number: 21921205

Country of ref document: EP

Kind code of ref document: A1