[go: up one dir, main page]

WO2018171060A1 - Linear vibration motor - Google Patents

Linear vibration motor Download PDF

Info

Publication number
WO2018171060A1
WO2018171060A1 PCT/CN2017/089569 CN2017089569W WO2018171060A1 WO 2018171060 A1 WO2018171060 A1 WO 2018171060A1 CN 2017089569 W CN2017089569 W CN 2017089569W WO 2018171060 A1 WO2018171060 A1 WO 2018171060A1
Authority
WO
WIPO (PCT)
Prior art keywords
magnetic field
vibration motor
reinforcing portion
vibrator
field reinforcing
Prior art date
Legal status (The legal status is an assumption and is not a legal conclusion. Google has not performed a legal analysis and makes no representation as to the accuracy of the status listed.)
Ceased
Application number
PCT/CN2017/089569
Other languages
French (fr)
Chinese (zh)
Inventor
朱跃光
孙长军
Current Assignee (The listed assignees may be inaccurate. Google has not performed a legal analysis and makes no representation or warranty as to the accuracy of the list.)
Goertek Inc
Original Assignee
Goertek Inc
Priority date (The priority date is an assumption and is not a legal conclusion. Google has not performed a legal analysis and makes no representation as to the accuracy of the date listed.)
Filing date
Publication date
Application filed by Goertek Inc filed Critical Goertek Inc
Publication of WO2018171060A1 publication Critical patent/WO2018171060A1/en
Anticipated expiration legal-status Critical
Ceased legal-status Critical Current

Links

Images

Classifications

    • HELECTRICITY
    • H02GENERATION; CONVERSION OR DISTRIBUTION OF ELECTRIC POWER
    • H02KDYNAMO-ELECTRIC MACHINES
    • H02K33/00Motors with reciprocating, oscillating or vibrating magnet, armature or coil system
    • H02K33/02Motors with reciprocating, oscillating or vibrating magnet, armature or coil system with armatures moved one way by energisation of a single coil system and returned by mechanical force, e.g. by springs
    • HELECTRICITY
    • H02GENERATION; CONVERSION OR DISTRIBUTION OF ELECTRIC POWER
    • H02KDYNAMO-ELECTRIC MACHINES
    • H02K33/00Motors with reciprocating, oscillating or vibrating magnet, armature or coil system
    • H02K33/16Motors with reciprocating, oscillating or vibrating magnet, armature or coil system with polarised armatures moving in alternate directions by reversal or energisation of a single coil system

Definitions

  • the present invention relates to the field of vibration device technology, and more particularly to a linear vibration motor that vibrates in a short axis direction.
  • a miniature vibration motor is generally used for system feedback.
  • the incoming call alert of the mobile phone the vibration feedback of the gaming machine, and the like.
  • the vibration direction of the vibration motor is generally along the horizontal long axis direction.
  • the long axis direction is the extending direction of the long side of the vibration motor.
  • Such a vibration motor generally includes a vibrator assembly and a metal dome housed in a housing.
  • a metal dome is used to suspend the magnetic vibrator within the housing.
  • the metal shrapnel not only provides a restoring force to the vibrator assembly, but also provides a supporting force for suspending the vibrator assembly in the space.
  • the magnetic circuit of the long-axis direction vibration motor is mostly vertically magnetized, and the magnetization direction is perpendicular to the coil, thereby forming a long-axis direction driving force.
  • the short axis direction is the extending direction of the short side of the vibration motor.
  • F Lorentz force formula
  • B magnetic induction intensity
  • I current magnitude
  • L wire length. Since the length L of the wire is limited by the short axis, it cannot be made large, so that the driving force is limited.
  • the strength of the magnetic induction strength limits the magnitude of the driving force of the vibration motor. Since the magnetic induction intensity is small, the response time is prolonged and the vibration effect is poor.
  • a linear vibration motor includes a housing, a vibrator, a coil, and an elastic member, the housing having a cavity, the vibrator, the coil and the elastic member being disposed in the cavity, the vibrator being suspended by the elastic member
  • the vibrator includes a first permanent magnet connected together, a magnetic field reinforcing portion and a weight portion, a long side of the first permanent magnet, a long side of the magnetic field reinforcing portion, and the coil
  • the long sides are respectively parallel to the long axis direction, and the short sides of the three are respectively parallel to the short axis direction
  • the first permanent magnets are plural and the magnetization direction is parallel to the vibration direction
  • the adjacent first permanent magnets The adjacent one side has the same polarity, the first permanent magnet is spaced apart from the magnetic field reinforcing portion, and the long side of the coil is opposite to the magnetic field reinforcing portion so that the vibrator is short Vibration in the axial direction.
  • the magnetic field reinforcing portion is a second permanent magnet, and a magnetizing direction of the second permanent magnet is perpendicular to a vibration direction.
  • the magnetic field reinforcing portion is made of a magnetic conductive material.
  • the weight portion is made of a magnetic conductive material, and the magnetic field reinforcing portion and the weight portion are integrally formed.
  • the number of the coils is two
  • the number of the first permanent magnets is two
  • the magnetic field reinforcing portion is one.
  • the adjacent long sides of the two coils and the magnetic field reinforcing portion are respectively In contrast, the two long sides opposite to the magnetic field reinforcing portion have the same current direction.
  • two of the long sides opposite to the magnetic field reinforcing portion are symmetrically disposed with respect to a center line of the magnetic field reinforcing portion.
  • a pole core is further disposed, the coil is disposed around the pole core, the pole core is in one-to-one correspondence with the coil, and the pole core and the shell are made of a magnetic conductive material, each The pole core is coupled to the housing, each of the pole cores magnetizing a sidewall of the housing adjacent the pole core, and a magnetic force is formed between the sidewall and the first permanent magnet.
  • the pole core is integrally formed with the housing.
  • the pole core is formed by the housing being recessed inwardly.
  • the elastic element is a spring piece
  • the elastic piece includes a first connecting portion for connecting with the housing, a second connecting portion for connecting with the vibrator, and a middle portion between the first connecting portion and the second connecting portion.
  • a spring arm which is in the form of a straight piece.
  • the inventors of the present invention have found that in the prior art, the length of the wire cannot be made large due to the size in the short-axis direction, and the driving force of the vibrator is small. Therefore, the technical task to be achieved by the present invention Or the technical problem to be solved is unexpected or unexpected by those skilled in the art, so the present invention is a new technical solution.
  • FIG. 1 is an exploded view of a linear vibration motor in accordance with one embodiment of the present invention.
  • FIG. 2 is an assembled view of a stator and a lower case in accordance with one embodiment of the present invention.
  • Figure 3 is a schematic view showing the structure of a lower case in accordance with one embodiment of the present invention.
  • FIG. 4 is a schematic structural view of a shrapnel according to an embodiment of the present invention.
  • Figure 5 is a cross-sectional view of a linear vibration motor in accordance with one embodiment of the present invention.
  • Figure 6 is a cross-sectional view of a linear vibration motor in accordance with another embodiment of the present invention.
  • Figure 7 is a bottom plan view of a linear vibration motor without a lower case, in accordance with one embodiment of the present invention.
  • Figure 8 is a schematic view showing the structure of a magnet assembly in accordance with one embodiment of the present invention.
  • a linear vibration motor is provided.
  • the vibration motor can be used in electronic devices such as mobile phones, game machines, notebook computers, wearable devices, walkie-talkies, and the like.
  • the vibration motor includes a housing, a vibrator, a coil 17, and an elastic member.
  • the housing has a cavity.
  • the vibrator, coil 17 and spring element are disposed within the cavity.
  • the elastic member may be, but not limited to, a spring piece 12, an elastic rubber member, a spring, or the like.
  • the vibrator is suspended in the cavity by a resilient element.
  • the vibrator includes a first permanent magnet 14, a magnetic field reinforcement portion, and a weight portion that are coupled together.
  • the first permanent magnet 14 is used to form a magnetic field.
  • the first permanent magnet 14 is a ferrite magnet or a neodymium iron boron magnet.
  • the magnetic field reinforcement is used to enhance the magnetic induction strength of the vibrator.
  • the weight portion is used to increase the inertia of the vibrator to enhance the vibration.
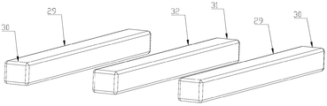
  • the long side 29 of the first permanent magnet, the long side of the magnetic field reinforcing portion and the long side 27 of the coil are respectively parallel to the long axis direction, and the short side 30 of the first permanent magnet, the short side of the magnetic field reinforcing portion and the short of the coil
  • the sides 28 are respectively parallel to the short axis direction.
  • the shape of the first permanent magnet 14 and the magnetic field reinforcing portion can be designed according to actual needs, as long as it has opposite long sides and short sides, and is easy to process.
  • a rectangular parallelepiped, a cylinder, a prism, and the like For example, a rectangular parallelepiped, a cylinder, a prism, and the like.
  • the first permanent magnets 14 are plural and the magnetization direction is parallel to the short axis direction.
  • the magnetization direction of the first permanent magnet 14 is parallel to the coil 17.
  • Adjacent sides of the plurality of first permanent magnets 14 have the same polarity.
  • the long axis direction is the extending direction of the long side of the linear vibration motor
  • the short axis direction is the extending direction of the short side of the linear vibration motor.
  • the two extension directions are perpendicular to each other.
  • the isotropic repulsion causes adjacent first permanent magnets 14 to form a pair of magnetizing path structures, and the direction of the magnetic field of the gap of adjacent first permanent magnets 14 is perpendicular to the coil 17.
  • the first permanent magnet 14 is spaced apart from the magnetic field reinforcing portion Set.
  • the magnetic field reinforcing portion can enhance the magnetic induction strength of the magnetic field between the adjacent first permanent magnets 14.
  • the long side 27 of the coil opposes the magnetic field reinforcing portion to vibrate the vibrator in the short axis direction.
  • the long side 29 of the first permanent magnet, the long side of the magnetic field reinforcing portion and the long side 27 of the coil are parallel to the long axis direction, respectively, and the short sides of the three are parallel to the short axis direction, respectively, and the vibrator is short. Vibration in the axial direction.
  • the lengths of the first permanent magnet 14, the magnetic field reinforcing portion and the coil 17 are not limited by the housing, and the user can set the lengths of the three according to actual needs, thereby increasing the driving force of the linear vibration motor, shortening the response time, and improving the linearity.
  • the vibration of the vibration motor is not limited by the housing, and the user can set the lengths of the three according to actual needs, thereby increasing the driving force of the linear vibration motor, shortening the response time, and improving the linearity.
  • the magnetic field reinforcing portion can effectively enhance the magnetic induction intensity of the magnetic field between the adjacent first permanent magnets 14, further increase the driving force of the linear vibration motor, shorten the response time, and improve the vibration of the linear vibration motor.
  • the number of the first permanent magnets 14 is plural and the magnetization direction of the first permanent magnets 14 is parallel to the short-axis direction, which can effectively increase the magnetic field strength and further increase the driving force.
  • the weight portion does not need to be designed to avoid the processing difficulty, and the weight portion is easy to obtain a large mass, and the vibration of the linear vibration motor is improved.
  • FIG. 1 is an exploded view of a linear vibration motor in accordance with one embodiment of the present invention.
  • Figure 5 is a cross-sectional view of a linear vibration motor in accordance with one embodiment of the present invention.
  • the housing includes an upper case 11 and a lower case 10.
  • the upper case 11 and the lower case 10 are fastened together to form a cavity inside them.
  • the housing is provided in a rectangular parallelepiped shape.
  • the cross section of the housing may be an approximately rectangular parallelepiped shape, such as an elliptical shape, a racetrack shape, or the like, as long as it has a relatively long axis direction and a short axis direction.
  • the material of the housing may be, but not limited to, metal, plastic, ceramic, and the like.
  • the coil 17 there are two coils 17, two first permanent magnets 14, and one magnetic field reinforcing portion.
  • the adjacent long sides of the two coils 17 are opposed to the magnetic field reinforcing portion, and complement the magnetic field.
  • the two long sides of the opposite part have the same current direction.
  • the coil 17 is disposed on the lower case 10.
  • the coil 17 is connected to an external circuit through the FPC 16 to transmit an electrical signal.
  • the two long sides facing the magnetic field reinforcing portion are symmetrically arranged with respect to the center line of the magnetic field reinforcing portion.
  • the driving force of the two coils 17 can be more uniformly applied to the vibrator.
  • the housing has a first projection 22 and the coil 17 is disposed on the first projection 22 on.
  • the lower case 10 protrudes into the cavity to form the first protrusion 22.
  • the coil 17 is disposed on the first projection 22 by bonding or laser welding. In this way, the gap between the first permanent magnet 14 and the coil 17 is smaller, enabling more magnetic lines of inductance to pass through the coil 17, thereby increasing the magnitude of the Lorentz force.
  • the elastic member is a spring piece 12.
  • the elastic piece 12 includes a first connecting portion 23 for connecting with the housing, a second connecting portion 25 for connecting with the vibrator, and a spring arm 24 located between the first connecting portion 23 and the second connecting portion 25, and the elastic arm 24 is Straight sheet.
  • a second boss portion 26 is provided on the upper case 11, and the first connecting portion 23 is welded to the second boss portion 26.
  • the second connecting portion 25 is directly connected to the weight portion.
  • the straight-shaped elastic arm 24 reduces the manufacturing difficulty of the elastic piece 12, and the structural strength of the elastic piece 12 is high.
  • the elastic arm 24 has a set oblique angle with the first connecting portion 23 and the second connecting portion 25.
  • the shrapnel 12 does not need to be subjected to large bending processing, which reduces damage during processing and improves service life.
  • the size of the elastic piece 12 in the axial direction is not limited and can have a larger length.
  • the stress and resonance frequency of the elastic piece 12 are low.
  • a person skilled in the art can set the thickness of the elastic piece 12 according to actual conditions.
  • the magnetic field reinforcement is the second permanent magnet 15.
  • the magnetization direction of the second permanent magnet 15 is perpendicular to the vibration direction.
  • two first permanent magnets 14 are arranged in parallel, and a second permanent magnet 15 is situated between the two first permanent magnets 14, the three being joined together to form a magnet assembly.
  • the magnet assembly is coupled to the weight portion.
  • the long side 29 of the first permanent magnet is parallel to the long side 31 of the second permanent magnet, and the short side 30 of the first permanent magnet is parallel to the short side 32 of the second permanent magnet.
  • the three are the same size to facilitate installation.
  • the magnetization direction of the second permanent magnet 15 is in the vertical direction
  • the magnetization direction of the first permanent magnet 14 is in the horizontal direction.
  • the magnetic field on the adjacent side of the two first permanent magnets 14 forms a pair of magnetization path structures such that the magnetic flux lines therebetween are in the vertical direction.
  • the N pole of the first permanent magnet 14 faces downward so that the magnetic intensities of two adjacent N poles are stronger.
  • a person skilled in the art can set the magnetization direction of the second permanent magnet 15 according to actual needs, as long as the magnetic induction intensity of the magnetic field on the adjacent side of the two first permanent magnets 14 can be enhanced.
  • the magnetic field reinforcement is made of a magnetically permeable material.
  • Magnetically conductive material The magnetic field can be magnetized, which can play the role of gathering magnetic lines, thereby enhancing the magnetic induction intensity.
  • the magnetic field reinforcing portion is the magnetic conductive block 33, and the material of the magnetic conductive block 33 is SUS-430.
  • the long side of the magnetic block 33 is parallel to the long side 29 of the first permanent magnet, and the short side of the magnetic block 33 is parallel to the short side 30 of the first permanent magnet.
  • the magnetic lines of interest on the adjacent sides are gathered by the magnetic block 33. In this way, the magnetic induction intensity is effectively enhanced.
  • the weight portion is made of a magnetically permeable material, and the magnetic field reinforcing portion and the weight portion are integrally formed.
  • the weight portion is the mass 13 and the mass 13 is made of SUS-430.
  • the magnetic block 33 is integrally formed with the mass 13.
  • the mass 13 and the magnetic conductive block 33 are integrally molded by pouring or punching.
  • Two first permanent magnets 14 are respectively disposed on both sides of the magnetic conductive block 33. In this way, the processing process is simplified, and the joint strength of the mass 13 and the magnetic conductive block 33 is higher.
  • the linear vibration motor also includes a pole core 20.
  • the coil 17 is disposed around the pole core 20, and the pole core 20 is in one-to-one correspondence with the coil 17.
  • the pole core 20 and the housing are made of a magnetically permeable material.
  • Each pole core 20 is coupled to a housing.
  • Each pole core 20 magnetizes a sidewall of the housing adjacent the pole core 20.
  • a magnetic force is formed between the side wall and the first permanent magnet 14. This magnetic force drives the vibrator to vibrate.
  • the coil 17 on the left side magnetizes the pole core 20 surrounded by it, wherein the side of the pole core 20 close to the lower casing 10 is an N pole. Due to the magnetic conduction of the upper case 11 and the lower case 10, the polarity of the first side wall 18 is N pole.
  • the coil 17 on the right side magnetizes the pole core 20 surrounded by it, wherein the side of the pole core 20 close to the lower casing 10 is an S pole. Due to the magnetic conduction of the upper case 11 and the lower case 10, the polarity of the second side wall 19 is the S pole. At this time, the direction of the Lorentz force F of the coil 17 to the vibrator is leftward.
  • the first side wall 18 is attractive to the magnetic force of the vibrator, which is to the left.
  • the second side wall 19 is a repulsive force to the magnetic force of the vibrator, and the repulsive force is to the left.
  • the directions of the three forces are the same, and the resultant force constitutes the driving force of the vibration of the vibrator.
  • the pole core 20 is strip-shaped, and the movement is welded to the lower casing 10 by laser welding, as shown in the figure. 6 is shown.
  • the pole core 20 is integrally formed with the housing.
  • the pole core 20 and the casing are integrally formed by pouring, stamping, or the like.
  • the pole core 20 is recessed inwardly from the casing.
  • the bottom case is formed of a sheet, and the convex portion 21 is formed by punching, and the convex portion 21 serves as the pole core 20, and the coil 17 is disposed around the pole core 20.
  • the processing steps are simplified.
  • the magnetic permeability between the pole core 20 and the casing is good.
  • the driving force of the vibrator vibration is further improved.

Landscapes

  • Engineering & Computer Science (AREA)
  • Power Engineering (AREA)
  • Apparatuses For Generation Of Mechanical Vibrations (AREA)
  • Reciprocating, Oscillating Or Vibrating Motors (AREA)

Abstract

A linear vibration motor. The vibration motor comprises a housing, a vibrator, a coil (17) and an elastic element; the housing is provided with a cavity, and the vibrator, the coil (17) and the elastic element are arranged within the cavity; the vibrator is suspended in the cavity by means of the elastic element, and the vibrator comprises a first permanent magnet (14), a magnetic field reinforcing part, and a weight part, which are connected together; a long side (29) of the first permanent magnet, a long side of the magnetic field reinforcing part and a long side (27) of the coil are parallel to a long axis direction respectively, while short sides of the three are parallel to a short axis direction respectively; a plurality of first permanent magnets (14) are provided and a magnetizing direction is parallel to a vibration direction, and adjacent sides of adjacent first permanent magnets (14) have the same polarity; the first permanent magnet (14) and the magnetic field reinforcing part are provided with a space therebetween, and the long side (27) of the coil is opposite to the magnetic field reinforcing part such that the vibrator vibrates in the short axis direction.

Description

线性振动马达Linear vibration motor 技术领域Technical field

本发明涉及振动装置技术领域,更具体地,涉及一种沿短轴方向振动的线性振动马达。The present invention relates to the field of vibration device technology, and more particularly to a linear vibration motor that vibrates in a short axis direction.

背景技术Background technique

随着通信技术的发展,便携式电子产品,例如手机、掌上游戏机或者掌上多媒体娱乐设备等进入人们的生活。在这些便携式电子产品中,一般采用微型振动马达来做系统反馈。例如,手机的来电提示、游戏机的振动反馈等。With the development of communication technologies, portable electronic products, such as mobile phones, handheld game consoles or handheld multimedia entertainment devices, have entered people's lives. In these portable electronic products, a miniature vibration motor is generally used for system feedback. For example, the incoming call alert of the mobile phone, the vibration feedback of the gaming machine, and the like.

在现有的振动马达中,振动马达的振动方向一般为沿水平长轴方向。长轴方向即振动马达的长边的延伸方向。这种振动马达一般包括收容于壳体内的振子组件和金属弹片。金属弹片用于将所述磁性振子悬浮于所述壳体内。金属弹片不仅要为振子组件提供回复力,还要提供使振子组件悬置于空间内的支撑力。In the conventional vibration motor, the vibration direction of the vibration motor is generally along the horizontal long axis direction. The long axis direction is the extending direction of the long side of the vibration motor. Such a vibration motor generally includes a vibrator assembly and a metal dome housed in a housing. A metal dome is used to suspend the magnetic vibrator within the housing. The metal shrapnel not only provides a restoring force to the vibrator assembly, but also provides a supporting force for suspending the vibrator assembly in the space.

长轴方向振动马达的磁路多采用垂直充磁,并且充磁方向垂直线圈,从而形成长轴方向驱动力。但由于受限于短轴方向尺寸,线圈和磁铁的长度不能做大。短轴方向即振动马达的短边的延伸方向。根据洛伦兹力公式F=BIL,其中,B:磁感强度;I:电流大小;L:导线长度。由于导线长度L的大小受到短轴限制,不能做的很大,故使得驱动力受到限制。The magnetic circuit of the long-axis direction vibration motor is mostly vertically magnetized, and the magnetization direction is perpendicular to the coil, thereby forming a long-axis direction driving force. However, the length of the coil and the magnet cannot be made large due to the limitation in the short-axis direction. The short axis direction is the extending direction of the short side of the vibration motor. According to the Lorentz force formula F=BIL, where B: magnetic induction intensity; I: current magnitude; L: wire length. Since the length L of the wire is limited by the short axis, it cannot be made large, so that the driving force is limited.

此外,磁感强度的强弱限制了振动马达的驱动力的大小。由于磁感强度小,故响应时间延长,振动效果差。Further, the strength of the magnetic induction strength limits the magnitude of the driving force of the vibration motor. Since the magnetic induction intensity is small, the response time is prolonged and the vibration effect is poor.

发明内容Summary of the invention

本发明的一个目的是提供一种线性振动马达新技术方案。It is an object of the present invention to provide a new technical solution for a linear vibration motor.

根据本发明的第一方面,提供了一种线性振动马达。该振动马达包括 壳体、振子、线圈以及弹性元件,所述壳体具有腔体,所述振子、所述线圈和所述弹性元件被设置在所述腔体内,所述振子通过所述弹性元件悬置在所述腔体中,所述振子包括连接在一起的第一永磁体、磁场补强部和配重部,所述第一永磁体的长边、所述磁场补强部的长边和所述线圈的长边分别与长轴方向平行,并且三者的短边分别与短轴方向平行,所述第一永磁体为多个并且充磁方向平行于振动方向,相邻的所述第一永磁体的相邻的一侧具有相同的极性,所述第一永磁体与所述磁场补强部间隔设置,所述线圈的长边与所述磁场补强部相对,以使所述振子沿短轴方向振动。According to a first aspect of the invention, a linear vibration motor is provided. The vibration motor includes a housing, a vibrator, a coil, and an elastic member, the housing having a cavity, the vibrator, the coil and the elastic member being disposed in the cavity, the vibrator being suspended by the elastic member In the cavity, the vibrator includes a first permanent magnet connected together, a magnetic field reinforcing portion and a weight portion, a long side of the first permanent magnet, a long side of the magnetic field reinforcing portion, and the coil The long sides are respectively parallel to the long axis direction, and the short sides of the three are respectively parallel to the short axis direction, the first permanent magnets are plural and the magnetization direction is parallel to the vibration direction, and the adjacent first permanent magnets The adjacent one side has the same polarity, the first permanent magnet is spaced apart from the magnetic field reinforcing portion, and the long side of the coil is opposite to the magnetic field reinforcing portion so that the vibrator is short Vibration in the axial direction.

可选地,所述磁场补强部为第二永磁体,所述第二永磁体的充磁方向与振动方向垂直。Optionally, the magnetic field reinforcing portion is a second permanent magnet, and a magnetizing direction of the second permanent magnet is perpendicular to a vibration direction.

可选地,所述磁场补强部由导磁性材料制作而成。Optionally, the magnetic field reinforcing portion is made of a magnetic conductive material.

可选地,所述配重部由导磁性材料制作而成,所述磁场补强部与所述配重部是一体成型的。Optionally, the weight portion is made of a magnetic conductive material, and the magnetic field reinforcing portion and the weight portion are integrally formed.

可选地,所述线圈为2个,所述第一永磁体为2个,所述磁场补强部为1个,2个所述线圈的相邻的长边均与所述磁场补强部相对,并且与所述磁场补强部相对的2个所述长边具有相同的电流方向。Optionally, the number of the coils is two, the number of the first permanent magnets is two, and the magnetic field reinforcing portion is one. The adjacent long sides of the two coils and the magnetic field reinforcing portion are respectively In contrast, the two long sides opposite to the magnetic field reinforcing portion have the same current direction.

可选地,与所述磁场补强部相对的2个所述长边相对于所述磁场补强部的中线对称设置。Optionally, two of the long sides opposite to the magnetic field reinforcing portion are symmetrically disposed with respect to a center line of the magnetic field reinforcing portion.

可选地,还包括极芯,所述线圈围绕所述极芯设置,所述极芯与所述线圈一一对应,所述极芯和所述壳体由导磁性材料制作而成,每个所述极芯与所述壳体连接,每个所述极芯将所述壳体的与该极芯相邻的侧壁磁化,所述侧壁与所述第一永磁体之间形成磁力。Optionally, a pole core is further disposed, the coil is disposed around the pole core, the pole core is in one-to-one correspondence with the coil, and the pole core and the shell are made of a magnetic conductive material, each The pole core is coupled to the housing, each of the pole cores magnetizing a sidewall of the housing adjacent the pole core, and a magnetic force is formed between the sidewall and the first permanent magnet.

可选地,所述极芯与所述壳体是一体成型的。Optionally, the pole core is integrally formed with the housing.

可选地,由所述壳体向内凹陷形成所述极芯。Optionally, the pole core is formed by the housing being recessed inwardly.

可选地,所述弹性元件为弹片,所述弹片包括用于与壳体连接的第一连接部、用于与振子连接的第二连接部以及位于第一连接部和第二连接部中间的弹臂,所述弹臂为直片状。Optionally, the elastic element is a spring piece, and the elastic piece includes a first connecting portion for connecting with the housing, a second connecting portion for connecting with the vibrator, and a middle portion between the first connecting portion and the second connecting portion. A spring arm, which is in the form of a straight piece.

本发明的发明人发现,在现有技术中,受限于短轴方向的尺寸,导线长度不能做大,造成振子的驱动力小。因此,本发明所要实现的技术任务 或者所要解决的技术问题是本领域技术人员从未想到的或者没有预期到的,故本发明是一种新的技术方案。The inventors of the present invention have found that in the prior art, the length of the wire cannot be made large due to the size in the short-axis direction, and the driving force of the vibrator is small. Therefore, the technical task to be achieved by the present invention Or the technical problem to be solved is unexpected or unexpected by those skilled in the art, so the present invention is a new technical solution.

通过以下参照附图对本发明的示例性实施例的详细描述,本发明的其它特征及其优点将会变得清楚。Other features and advantages of the present invention will become apparent from the Detailed Description of the <RTIgt;

附图说明DRAWINGS

被结合在说明书中并构成说明书的一部分的附图示出了本发明的实施例,并且连同其说明一起用于解释本发明的原理。The accompanying drawings, which are incorporated in FIG

图1是根据本发明一个实施例的线性振动马达的分解图。1 is an exploded view of a linear vibration motor in accordance with one embodiment of the present invention.

图2是根据本发明一个实施例的定子与下壳的装配图。2 is an assembled view of a stator and a lower case in accordance with one embodiment of the present invention.

图3是根据本发明一个实施例的下壳的结构示意图。Figure 3 is a schematic view showing the structure of a lower case in accordance with one embodiment of the present invention.

图4是根据本发明一个实施例的弹片的结构示意图。4 is a schematic structural view of a shrapnel according to an embodiment of the present invention.

图5是根据本发明一个实施例的线性振动马达的剖视图。Figure 5 is a cross-sectional view of a linear vibration motor in accordance with one embodiment of the present invention.

图6是根据本发明另一个实施例的线性振动马达的剖视图。Figure 6 is a cross-sectional view of a linear vibration motor in accordance with another embodiment of the present invention.

图7根据本发明一个实施例的未设置下壳的线性振动马达的仰视图。Figure 7 is a bottom plan view of a linear vibration motor without a lower case, in accordance with one embodiment of the present invention.

图8是根据本发明一个实施例的磁体组件的结构示意图。Figure 8 is a schematic view showing the structure of a magnet assembly in accordance with one embodiment of the present invention.

附图标记说明:Description of the reference signs:

10:下壳;11:上壳;12:弹片;13:质量块;14:第一永磁体;15:第二永磁体;16:FPC;17:线圈;18:第一侧壁;19:第二侧壁;20:极芯;21:凸起部;22:第一凸起;23:第一连接部;24:弹臂;25:第二连接部;26:第二凸起;27:线圈的长边;28:线圈的短边;29:第一永磁体的长边;30:第一永磁体的短边;31:第二永磁体的长边;32:第二永磁体的短边;33:导磁块。10: lower shell; 11: upper shell; 12: shrapnel; 13: mass; 14: first permanent magnet; 15: second permanent magnet; 16: FPC; 17: coil; 18: first side wall; Second side wall; 20: pole core; 21: raised portion; 22: first protrusion; 23: first connecting portion; 24: elastic arm; 25: second connecting portion; 26: second convex portion; : long side of the coil; 28: short side of the coil; 29: long side of the first permanent magnet; 30: short side of the first permanent magnet; 31: long side of the second permanent magnet; 32: second permanent magnet Short side; 33: magnetic block.

具体实施方式detailed description

现在将参照附图来详细描述本发明的各种示例性实施例。应注意到:除非另外具体说明,否则在这些实施例中阐述的部件和步骤的相对布置、数字表达式和数值不限制本发明的范围。Various exemplary embodiments of the present invention will now be described in detail with reference to the drawings. It should be noted that the relative arrangement of the components and steps, numerical expressions and numerical values set forth in the embodiments are not intended to limit the scope of the invention unless otherwise specified.

以下对至少一个示例性实施例的描述实际上仅仅是说明性的,决不作 为对本发明及其应用或使用的任何限制。The following description of at least one exemplary embodiment is merely illustrative and is in no way Any limitations to the invention and its application or use.

对于相关领域普通技术人员已知的技术、方法和设备可能不作详细讨论,但在适当情况下,所述技术、方法和设备应当被视为说明书的一部分。Techniques, methods and apparatus known to those of ordinary skill in the relevant art may not be discussed in detail, but the techniques, methods and apparatus should be considered as part of the specification, where appropriate.

在这里示出和讨论的所有例子中,任何具体值应被解释为仅仅是示例性的,而不是作为限制。因此,示例性实施例的其它例子可以具有不同的值。In all of the examples shown and discussed herein, any specific values are to be construed as illustrative only and not as a limitation. Thus, other examples of the exemplary embodiments may have different values.

应注意到:相似的标号和字母在下面的附图中表示类似项,因此,一旦某一项在一个附图中被定义,则在随后的附图中不需要对其进行进一步讨论。It should be noted that similar reference numerals and letters indicate similar items in the following figures, and therefore, once an item is defined in one figure, it is not required to be further discussed in the subsequent figures.

根据本发明的实施例,提供了一种线性振动马达。该振动马达能够用于手机、游戏机、笔记本电脑、可穿戴设备、对讲机等电子设备。According to an embodiment of the invention, a linear vibration motor is provided. The vibration motor can be used in electronic devices such as mobile phones, game machines, notebook computers, wearable devices, walkie-talkies, and the like.

如图1-8所示,该振动马达包括壳体、振子、线圈17以及弹性元件。壳体具有腔体。振子、线圈17和弹性元件被设置在腔体内。例如,弹性元件可以是但不局限于弹片12、弹性橡胶件、弹簧等。As shown in FIGS. 1-8, the vibration motor includes a housing, a vibrator, a coil 17, and an elastic member. The housing has a cavity. The vibrator, coil 17 and spring element are disposed within the cavity. For example, the elastic member may be, but not limited to, a spring piece 12, an elastic rubber member, a spring, or the like.

振子通过弹性元件悬置在腔体中。振子包括连接在一起的第一永磁体14、磁场补强部和配重部。第一永磁体14用于形成磁场。例如,第一永磁体14为铁氧体磁铁或者钕铁硼磁铁。磁场补强部用于增强振子的磁感强度。配重部用于增大振子的惯性,以提升振感。第一永磁体的长边29、磁场补强部的长边和线圈的长边27分别与长轴方向平行,并且第一永磁体的短边30、磁场补强部的短边和线圈的短边28分别与短轴方向平行。The vibrator is suspended in the cavity by a resilient element. The vibrator includes a first permanent magnet 14, a magnetic field reinforcement portion, and a weight portion that are coupled together. The first permanent magnet 14 is used to form a magnetic field. For example, the first permanent magnet 14 is a ferrite magnet or a neodymium iron boron magnet. The magnetic field reinforcement is used to enhance the magnetic induction strength of the vibrator. The weight portion is used to increase the inertia of the vibrator to enhance the vibration. The long side 29 of the first permanent magnet, the long side of the magnetic field reinforcing portion and the long side 27 of the coil are respectively parallel to the long axis direction, and the short side 30 of the first permanent magnet, the short side of the magnetic field reinforcing portion and the short of the coil The sides 28 are respectively parallel to the short axis direction.

第一永磁体14和磁场补强部的形状可以根据实际需要进行设计,只要具有相对的长边和短边、便于加工即可。例如,长方体、圆柱体、棱柱体等。The shape of the first permanent magnet 14 and the magnetic field reinforcing portion can be designed according to actual needs, as long as it has opposite long sides and short sides, and is easy to process. For example, a rectangular parallelepiped, a cylinder, a prism, and the like.

第一永磁体14为多个并且充磁方向平行于短轴方向。第一永磁体14的充磁方向与线圈17平行。多个第一永磁体14的相邻的一侧具有相同的极性。如图1和2所示,长轴方向即线性振动马达的长边的延伸方向,短轴方向即线性振动马达的短边的延伸方向。例如,两个延伸方向相互垂直。同性相斥使得相邻的第一永磁体14形成对充磁路结构,相邻第一永磁体14的间隙的磁场方向垂直于线圈17。第一永磁体14与磁场补强部间隔设 置。磁场补强部能够增强相邻的第一永磁体14之间的磁场的磁感强度。线圈的长边27与磁场补强部相对,以使振子沿短轴方向振动。The first permanent magnets 14 are plural and the magnetization direction is parallel to the short axis direction. The magnetization direction of the first permanent magnet 14 is parallel to the coil 17. Adjacent sides of the plurality of first permanent magnets 14 have the same polarity. As shown in FIGS. 1 and 2, the long axis direction is the extending direction of the long side of the linear vibration motor, and the short axis direction is the extending direction of the short side of the linear vibration motor. For example, the two extension directions are perpendicular to each other. The isotropic repulsion causes adjacent first permanent magnets 14 to form a pair of magnetizing path structures, and the direction of the magnetic field of the gap of adjacent first permanent magnets 14 is perpendicular to the coil 17. The first permanent magnet 14 is spaced apart from the magnetic field reinforcing portion Set. The magnetic field reinforcing portion can enhance the magnetic induction strength of the magnetic field between the adjacent first permanent magnets 14. The long side 27 of the coil opposes the magnetic field reinforcing portion to vibrate the vibrator in the short axis direction.

该线性振动马达,第一永磁体的长边29、磁场补强部的长边和线圈的长边27分别与长轴方向平行,并且三者的短边分别与短轴方向平行,振子沿短轴方向振动。第一永磁体14、磁场补强部和线圈17的长度不受壳体的限制,用户能够根据实际需要设置三者的长度,从而能够增大线性振动马达的驱动力,缩短响应时间,提升线性振动马达的振感。In the linear vibration motor, the long side 29 of the first permanent magnet, the long side of the magnetic field reinforcing portion and the long side 27 of the coil are parallel to the long axis direction, respectively, and the short sides of the three are parallel to the short axis direction, respectively, and the vibrator is short. Vibration in the axial direction. The lengths of the first permanent magnet 14, the magnetic field reinforcing portion and the coil 17 are not limited by the housing, and the user can set the lengths of the three according to actual needs, thereby increasing the driving force of the linear vibration motor, shortening the response time, and improving the linearity. The vibration of the vibration motor.

此外,磁场补强部能够有效地增强相邻地第一永磁体14之间的磁场的磁感强度,进一步增大线性振动马达的驱动力,缩短响应时间,提升线性振动马达的振感。Further, the magnetic field reinforcing portion can effectively enhance the magnetic induction intensity of the magnetic field between the adjacent first permanent magnets 14, further increase the driving force of the linear vibration motor, shorten the response time, and improve the vibration of the linear vibration motor.

此外,在该线性振动马达中,第一永磁体14为多个并且第一永磁体14的充磁方向平行于短轴方向,能够有效地提高磁场强度,进一步增大了驱动力。Further, in the linear vibration motor, the number of the first permanent magnets 14 is plural and the magnetization direction of the first permanent magnets 14 is parallel to the short-axis direction, which can effectively increase the magnetic field strength and further increase the driving force.

此外,由于长度不受限制,故配重部无需进行避让设计,降低了加工难度,并且配重部容易获得大的质量,提升线性振动马达的振感。In addition, since the length is not limited, the weight portion does not need to be designed to avoid the processing difficulty, and the weight portion is easy to obtain a large mass, and the vibration of the linear vibration motor is improved.

图1是根据本发明一个实施例的线性振动马达的分解图。图5是根据本发明一个实施例的线性振动马达的剖视图。1 is an exploded view of a linear vibration motor in accordance with one embodiment of the present invention. Figure 5 is a cross-sectional view of a linear vibration motor in accordance with one embodiment of the present invention.

如图1所示,壳体包括上壳11和下壳10。上壳11和下壳10扣合在一起,以在它们内部形成腔体。为了方便说明,壳体设置为长方体。当然,在其他示例中,壳体的截面可以为近似长方体的形状,例如椭圆形、跑道形等,只要具有相对的长轴方向和短轴方向即可。壳体的材质可以是但不局限于金属、塑料、陶瓷等。As shown in FIG. 1, the housing includes an upper case 11 and a lower case 10. The upper case 11 and the lower case 10 are fastened together to form a cavity inside them. For convenience of explanation, the housing is provided in a rectangular parallelepiped shape. Of course, in other examples, the cross section of the housing may be an approximately rectangular parallelepiped shape, such as an elliptical shape, a racetrack shape, or the like, as long as it has a relatively long axis direction and a short axis direction. The material of the housing may be, but not limited to, metal, plastic, ceramic, and the like.

在该例子中,线圈17为2个,第一永磁体14为2个,磁场补强部为1个,2个线圈17的相邻的长边均与磁场补强部相对,并且与磁场补强部相对的2个长边具有相同的电流方向。如图2所示,线圈17被设置在下壳10上。线圈17通过FPC16与外部电路连接,以传输电信号。优选的是,与磁场补强部相对的2个长边相对于磁场补强部的中线对称设置。这样,两个线圈17的驱动力能更均衡地作用在振子上。In this example, there are two coils 17, two first permanent magnets 14, and one magnetic field reinforcing portion. The adjacent long sides of the two coils 17 are opposed to the magnetic field reinforcing portion, and complement the magnetic field. The two long sides of the opposite part have the same current direction. As shown in FIG. 2, the coil 17 is disposed on the lower case 10. The coil 17 is connected to an external circuit through the FPC 16 to transmit an electrical signal. Preferably, the two long sides facing the magnetic field reinforcing portion are symmetrically arranged with respect to the center line of the magnetic field reinforcing portion. Thus, the driving force of the two coils 17 can be more uniformly applied to the vibrator.

在一个例子中,壳体具有第一凸起22,线圈17被设置在第一凸起22 上。例如,如图2所示,下壳10向腔体内凸出,以形成第一凸起22。线圈17通过粘接或者激光焊接的方式被设置在第一凸起22上。通过这种方式,第一永磁体14与线圈17之间的间隙更小,能够使更多的磁感线穿过线圈17,从而提高了洛伦兹力的大小。In one example, the housing has a first projection 22 and the coil 17 is disposed on the first projection 22 on. For example, as shown in FIG. 2, the lower case 10 protrudes into the cavity to form the first protrusion 22. The coil 17 is disposed on the first projection 22 by bonding or laser welding. In this way, the gap between the first permanent magnet 14 and the coil 17 is smaller, enabling more magnetic lines of inductance to pass through the coil 17, thereby increasing the magnitude of the Lorentz force.

在一个例子中,如图4所示,弹性元件为弹片12。弹片12包括用于与壳体连接的第一连接部23、用于与振子连接的第二连接部25以及位于第一连接部23和第二连接部25中间的弹臂24,弹臂24为直片状。例如,如图1所示,在上壳11上设置有第二凸起部26,第一连接部23被焊接到第二凸起部26上。第二连接部25直接与配重部连接。直片状的弹臂24,降低了弹片12的制造难度,并且弹片12的结构强度高。弹臂24与第一连接部23和第二连接部25具有设定的切斜角度。弹片12无需进行大的弯折加工,降低了加工过程中的损伤,提高了使用寿命。In one example, as shown in FIG. 4, the elastic member is a spring piece 12. The elastic piece 12 includes a first connecting portion 23 for connecting with the housing, a second connecting portion 25 for connecting with the vibrator, and a spring arm 24 located between the first connecting portion 23 and the second connecting portion 25, and the elastic arm 24 is Straight sheet. For example, as shown in FIG. 1, a second boss portion 26 is provided on the upper case 11, and the first connecting portion 23 is welded to the second boss portion 26. The second connecting portion 25 is directly connected to the weight portion. The straight-shaped elastic arm 24 reduces the manufacturing difficulty of the elastic piece 12, and the structural strength of the elastic piece 12 is high. The elastic arm 24 has a set oblique angle with the first connecting portion 23 and the second connecting portion 25. The shrapnel 12 does not need to be subjected to large bending processing, which reduces damage during processing and improves service life.

此外,由于该线性振动马达沿短轴方向振动,弹片12延长轴方向的尺寸不受限制,可以具有更大的长度。这样,弹片12的应力和谐振频率较低。Further, since the linear vibration motor vibrates in the short-axis direction, the size of the elastic piece 12 in the axial direction is not limited and can have a larger length. Thus, the stress and resonance frequency of the elastic piece 12 are low.

本领域技术人员可以根据实际情况设置弹片12的厚度。A person skilled in the art can set the thickness of the elastic piece 12 according to actual conditions.

在一个例子中,磁场补强部为第二永磁体15。第二永磁体15的充磁方向与振动方向垂直。例如,如图1、5和8所示,两个第一永磁体14平行设置,第二永磁体15位于两个第一永磁体14之间,三者连接在一起构成磁体组件。磁体组件与配重部连接在一起。第一永磁体的长边29与第二永磁体的长边31平行,第一永磁体的短边30与第二永磁体的短边32平行。例如,三者的外形尺寸相同,以便于安装。例如,第二永磁体15的充磁方向沿竖直方向,第一永磁体14的充磁方向沿水平方向。两个第一永磁体14的相邻的一侧的磁场形成对充磁路结构,使得二者之间的磁感线沿竖直方向。例如,如图5所示,第一永磁体14的N极朝下,以使两个相邻的N极的磁感强度更强。In one example, the magnetic field reinforcement is the second permanent magnet 15. The magnetization direction of the second permanent magnet 15 is perpendicular to the vibration direction. For example, as shown in Figures 1, 5 and 8, two first permanent magnets 14 are arranged in parallel, and a second permanent magnet 15 is situated between the two first permanent magnets 14, the three being joined together to form a magnet assembly. The magnet assembly is coupled to the weight portion. The long side 29 of the first permanent magnet is parallel to the long side 31 of the second permanent magnet, and the short side 30 of the first permanent magnet is parallel to the short side 32 of the second permanent magnet. For example, the three are the same size to facilitate installation. For example, the magnetization direction of the second permanent magnet 15 is in the vertical direction, and the magnetization direction of the first permanent magnet 14 is in the horizontal direction. The magnetic field on the adjacent side of the two first permanent magnets 14 forms a pair of magnetization path structures such that the magnetic flux lines therebetween are in the vertical direction. For example, as shown in FIG. 5, the N pole of the first permanent magnet 14 faces downward so that the magnetic intensities of two adjacent N poles are stronger.

本领域技术人员可以根据实际需要设置第二永磁体15的充磁方向,只要能够增强两个第一永磁体14的相邻一侧磁场的磁感强度即可。A person skilled in the art can set the magnetization direction of the second permanent magnet 15 according to actual needs, as long as the magnetic induction intensity of the magnetic field on the adjacent side of the two first permanent magnets 14 can be enhanced.

在另一个例子中,磁场补强部由导磁性材料制作而成。导磁性材料在 磁场中能被磁化,能够起到聚拢磁感线的作用,从而增强磁感强度。例如,如图6所示,磁场补强部为导磁块33,导磁块33的材质为SUS-430。导磁块33的长边与第一永磁体的长边29平行,导磁块33的短边与第一永磁体的短边30平行。相邻侧部的磁感线被导磁块33聚拢。通过这种方式,有效地增强了磁感强度。In another example, the magnetic field reinforcement is made of a magnetically permeable material. Magnetically conductive material The magnetic field can be magnetized, which can play the role of gathering magnetic lines, thereby enhancing the magnetic induction intensity. For example, as shown in FIG. 6, the magnetic field reinforcing portion is the magnetic conductive block 33, and the material of the magnetic conductive block 33 is SUS-430. The long side of the magnetic block 33 is parallel to the long side 29 of the first permanent magnet, and the short side of the magnetic block 33 is parallel to the short side 30 of the first permanent magnet. The magnetic lines of interest on the adjacent sides are gathered by the magnetic block 33. In this way, the magnetic induction intensity is effectively enhanced.

在一个例子中,配重部由导磁性材料制作而成,磁场补强部与配重部是一体成型的。例如,配重部为质量块13,质量块13的材质为SUS-430。导磁块33与质量块13一体成型。例如,通过浇筑或者冲压的方式使质量块13和导磁块33一体成型。两个第一永磁体14分别被设置在导磁块33的两侧。通过这种方式,简化了加工工艺,并且质量块13和导磁块33的连接强度更高。In one example, the weight portion is made of a magnetically permeable material, and the magnetic field reinforcing portion and the weight portion are integrally formed. For example, the weight portion is the mass 13 and the mass 13 is made of SUS-430. The magnetic block 33 is integrally formed with the mass 13. For example, the mass 13 and the magnetic conductive block 33 are integrally molded by pouring or punching. Two first permanent magnets 14 are respectively disposed on both sides of the magnetic conductive block 33. In this way, the processing process is simplified, and the joint strength of the mass 13 and the magnetic conductive block 33 is higher.

在一个例子中,线性振动马达还包括极芯20。线圈17围绕极芯20设置,极芯20与线圈17一一对应。极芯20和壳体由导磁性材料制作而成。每个极芯20与壳体连接。每个极芯20将壳体的与该极芯20相邻的侧壁磁化。侧壁与第一永磁体14之间形成磁力。该磁力驱动振子振动。In one example, the linear vibration motor also includes a pole core 20. The coil 17 is disposed around the pole core 20, and the pole core 20 is in one-to-one correspondence with the coil 17. The pole core 20 and the housing are made of a magnetically permeable material. Each pole core 20 is coupled to a housing. Each pole core 20 magnetizes a sidewall of the housing adjacent the pole core 20. A magnetic force is formed between the side wall and the first permanent magnet 14. This magnetic force drives the vibrator to vibrate.

例如,如图5或者6所示,左侧的线圈17将其包围的极芯20磁化,其中该极芯20的靠近下壳10的一侧为N极。由于上壳11和下壳10的导磁作用,第一侧壁18的极性为N极。右侧的线圈17将其包围的极芯20磁化,其中该极芯20的靠近下壳10的一侧为S极。由于上壳11和下壳10的导磁作用,第二侧壁19的极性为S极。此时,线圈17对振子的洛伦兹力F的方向向左。第一侧壁18对于振子的磁力为吸引力,该吸引力向左。第二侧壁19对于振子的磁力为排斥力,该排斥力向左。三个力的方向相同,合力构成了振子振动的驱动力。For example, as shown in FIG. 5 or 6, the coil 17 on the left side magnetizes the pole core 20 surrounded by it, wherein the side of the pole core 20 close to the lower casing 10 is an N pole. Due to the magnetic conduction of the upper case 11 and the lower case 10, the polarity of the first side wall 18 is N pole. The coil 17 on the right side magnetizes the pole core 20 surrounded by it, wherein the side of the pole core 20 close to the lower casing 10 is an S pole. Due to the magnetic conduction of the upper case 11 and the lower case 10, the polarity of the second side wall 19 is the S pole. At this time, the direction of the Lorentz force F of the coil 17 to the vibrator is leftward. The first side wall 18 is attractive to the magnetic force of the vibrator, which is to the left. The second side wall 19 is a repulsive force to the magnetic force of the vibrator, and the repulsive force is to the left. The directions of the three forces are the same, and the resultant force constitutes the driving force of the vibration of the vibrator.

当振子向左振动到达最大位移时,线圈17的电流方向发生改变,此时,线圈17对振子的洛伦兹力的方向向右。第一侧壁18对于振子的排斥力向右。第二侧壁19对于振子的吸引力向右。三个力共同驱动振子振动。壳体的侧壁与振子之间形成“电磁力F’”,即在线圈17通电后,侧壁与振子产生的磁力,该“电磁力F’”使振子的驱动力大大增加。When the vibrator vibrates to the left to reach the maximum displacement, the direction of the current of the coil 17 changes, and at this time, the direction of the Lorentz force of the coil 17 to the vibrator is rightward. The repulsive force of the first side wall 18 to the vibrator is to the right. The attraction of the second side wall 19 to the vibrator is to the right. The three forces collectively drive the vibrator to vibrate. An "electromagnetic force F'" is formed between the side wall of the casing and the vibrator, that is, the magnetic force generated by the side wall and the vibrator after the coil 17 is energized, and the "electromagnetic force F'" greatly increases the driving force of the vibrator.

例如,极芯20为条状,通过激光焊接将机芯焊接到下壳10上,如图 6所示。For example, the pole core 20 is strip-shaped, and the movement is welded to the lower casing 10 by laser welding, as shown in the figure. 6 is shown.

优选的是,极芯20与壳体一体成型。例如,采用浇筑、冲压等方式将极芯20与壳体一体加工成型。Preferably, the pole core 20 is integrally formed with the housing. For example, the pole core 20 and the casing are integrally formed by pouring, stamping, or the like.

例如,如图5所示,由壳体向内凹陷形成极芯20。在制作时,底壳采用片材,通过冲压的方式形成凸起部21,凸起部21作为极芯20,线圈17围绕极芯20设置。通过这种方式,简化了加工步骤。此外,极芯20与壳体之间的导磁效果良好。进一步提高了振子振动的驱动力。For example, as shown in FIG. 5, the pole core 20 is recessed inwardly from the casing. At the time of production, the bottom case is formed of a sheet, and the convex portion 21 is formed by punching, and the convex portion 21 serves as the pole core 20, and the coil 17 is disposed around the pole core 20. In this way, the processing steps are simplified. In addition, the magnetic permeability between the pole core 20 and the casing is good. The driving force of the vibrator vibration is further improved.

虽然已经通过例子对本发明的一些特定实施例进行了详细说明,但是本领域的技术人员应该理解,以上例子仅是为了进行说明,而不是为了限制本发明的范围。本领域的技术人员应该理解,可在不脱离本发明的范围和精神的情况下,对以上实施例进行修改。本发明的范围由所附权利要求来限定。 While the invention has been described in detail with reference to the preferred embodiments of the present invention, it is understood that It will be appreciated by those skilled in the art that the above embodiments may be modified without departing from the scope and spirit of the invention. The scope of the invention is defined by the appended claims.

Claims (10)

一种线性振动马达,其特征在于,包括壳体、振子、线圈(17)以及弹性元件,所述壳体具有腔体,所述振子、所述线圈(17)和所述弹性元件被设置在所述腔体内,所述振子通过所述弹性元件悬置在所述腔体中,所述振子包括连接在一起的第一永磁体(14)、磁场补强部和配重部,所述第一永磁体的长边(29)、所述磁场补强部的长边和所述线圈的长边(27)分别与长轴方向平行,并且三者的短边分别与短轴方向平行,所述第一永磁体(14)为多个并且充磁方向平行于振动方向,相邻的所述第一永磁体(14)的相邻的一侧具有相同的极性,所述第一永磁体(14)与所述磁场补强部间隔设置,所述线圈的长边(27)与所述磁场补强部相对,以使所述振子沿短轴方向振动。A linear vibration motor comprising a housing, a vibrator, a coil (17) and an elastic member, the housing having a cavity, the vibrator, the coil (17) and the elastic member being disposed at In the cavity, the vibrator is suspended in the cavity by the elastic element, and the vibrator includes a first permanent magnet (14), a magnetic field reinforcing portion and a weight portion connected together, the first The long side (29) of a permanent magnet, the long side of the magnetic field reinforcing portion, and the long side (27) of the coil are parallel to the long axis direction, respectively, and the short sides of the three are parallel to the short axis direction, respectively. The first permanent magnets (14) are plural and the magnetization direction is parallel to the vibration direction, and the adjacent one side of the adjacent first permanent magnets (14) has the same polarity, the first permanent magnet (14) The distance between the magnetic field reinforcing portion and the magnetic field reinforcing portion is such that a long side (27) of the coil faces the magnetic field reinforcing portion to vibrate the vibrator in a short axis direction. 根据权利要求1所述的线性振动马达,其特征在于,所述磁场补强部为第二永磁体(15),所述第二永磁体(15)的充磁方向与振动方向垂直。The linear vibration motor according to claim 1, wherein the magnetic field reinforcing portion is a second permanent magnet (15), and a magnetizing direction of the second permanent magnet (15) is perpendicular to a vibration direction. 根据权利要求1或2所述的线性振动马达,其特征在于,所述磁场补强部由导磁性材料制作而成。The linear vibration motor according to claim 1 or 2, wherein the magnetic field reinforcing portion is made of a magnetic conductive material. 根据权利要求1-3中的任意一项所述的线性振动马达,其特征在于,所述配重部由导磁性材料制作而成,所述磁场补强部与所述配重部是一体成型的。The linear vibration motor according to any one of claims 1 to 3, wherein the weight portion is made of a magnetic conductive material, and the magnetic field reinforcing portion and the weight portion are integrally formed. of. 根据权利要求1-4中的任意一项所述的线性振动马达,其特征在于,所述线圈为2个,所述第一永磁体(14)为2个,所述磁场补强部为1个,2个所述线圈(17)的相邻的长边均与所述磁场补强部相对,并且与所述磁场补强部相对的2个所述长边具有相同的电流方向。 The linear vibration motor according to any one of claims 1 to 4, wherein the number of the coils is two, the number of the first permanent magnets (14) is two, and the magnetic field reinforcing portion is one. The adjacent long sides of the two coils (17) are opposed to the magnetic field reinforcing portion, and the two long sides facing the magnetic field reinforcing portion have the same current direction. 根据权利要求1-5中的任意一项所述的线性振动马达,其特征在于,与所述磁场补强部相对的2个所述长边相对于所述磁场补强部的中线对称设置。The linear vibration motor according to any one of claims 1 to 5, wherein the two long sides facing the magnetic field reinforcing portion are symmetrically arranged with respect to a center line of the magnetic field reinforcing portion. 根据权利要求1-6中的任意一项所述的线性振动马达,其特征在于,还包括极芯(20),所述线圈(17)围绕所述极芯(20)设置,所述极芯(20)与所述线圈(17)一一对应,所述极芯(20)和所述壳体由导磁性材料制作而成,每个所述极芯(20)与所述壳体连接,每个所述极芯(20)将所述壳体的与该极芯(20)相邻的侧壁磁化,所述侧壁与所述第一永磁体(14)之间形成磁力。A linear vibration motor according to any one of claims 1 to 6, further comprising a pole core (20) disposed around the pole core (20), the pole core (20) in one-to-one correspondence with the coil (17), the pole core (20) and the casing are made of a magnetic conductive material, and each of the pole cores (20) is connected to the casing. Each of the pole cores (20) magnetizes a sidewall of the housing adjacent the pole core (20), and a magnetic force is formed between the sidewall and the first permanent magnet (14). 根据权利要求1-7中的任意一项所述的线性振动马达,其特征在于,所述极芯(20)与所述壳体是一体成型的。A linear vibration motor according to any one of claims 1 to 7, wherein the pole core (20) is integrally formed with the housing. 根据权利要求1-8中的任意一项所述的线性振动马达,其特征在于,由所述壳体向内凹陷形成所述极芯(20)。The linear vibration motor according to any one of claims 1 to 8, characterized in that the pole core (20) is recessed inwardly from the casing. 根据权利要求1-9中的任意一项所述的线性振动马达,其特征在于,所述弹性元件为弹片(12),所述弹片(12)包括用于与壳体连接的第一连接部(23)、用于与振子连接的第二连接部(25)以及位于第一连接部(23)和第二连接部(25)中间的弹臂(24),所述弹臂(24)为直片状。 The linear vibration motor according to any one of claims 1 to 9, wherein the elastic member is a spring piece (12), and the elastic piece (12) includes a first connecting portion for connection with the housing. (23) a second connecting portion (25) for connecting to the vibrator and a spring arm (24) located between the first connecting portion (23) and the second connecting portion (25), wherein the elastic arm (24) is Straight sheet.
PCT/CN2017/089569 2017-03-23 2017-06-22 Linear vibration motor Ceased WO2018171060A1 (en)

Applications Claiming Priority (2)

Application Number Priority Date Filing Date Title
CN201710176641.6A CN106953492B (en) 2017-03-23 2017-03-23 Linear vibration motor
CN201710176641.6 2017-03-23

Publications (1)

Publication Number Publication Date
WO2018171060A1 true WO2018171060A1 (en) 2018-09-27

Family

ID=59472334

Family Applications (1)

Application Number Title Priority Date Filing Date
PCT/CN2017/089569 Ceased WO2018171060A1 (en) 2017-03-23 2017-06-22 Linear vibration motor

Country Status (2)

Country Link
CN (1) CN106953492B (en)
WO (1) WO2018171060A1 (en)

Families Citing this family (6)

* Cited by examiner, † Cited by third party
Publication number Priority date Publication date Assignee Title
CN108566065A (en) * 2018-04-10 2018-09-21 维沃移动通信有限公司 A kind of vibrating motor and mobile terminal
CN109309892B (en) * 2018-10-16 2022-07-19 歌尔股份有限公司 Electromagnetic exciter and screen sounding device
CN112243188B (en) * 2019-07-19 2023-04-14 歌尔股份有限公司 Transducer magnetic circuit structure, transducer and electronic equipment thereof
CN111865028A (en) * 2020-08-24 2020-10-30 深圳市科力尔电机有限公司 A spring plate linear vibration motor
CN112260508B (en) * 2020-10-29 2024-05-31 东莞汉特斯电子科技有限公司 Linear vibrator and electronic equipment
CN116847256A (en) * 2023-07-28 2023-10-03 歌尔股份有限公司 Vibration sounding device, vibration sounding module and electronic equipment

Citations (6)

* Cited by examiner, † Cited by third party
Publication number Priority date Publication date Assignee Title
JPH07169074A (en) * 1993-12-14 1995-07-04 Hitachi Metals Ltd Driver
CN204392055U (en) * 2015-01-16 2015-06-10 瑞声科技(南京)有限公司 Vibrating motor
CN105356712A (en) * 2015-11-25 2016-02-24 歌尔声学股份有限公司 Linear vibration motor
CN106100278A (en) * 2016-07-21 2016-11-09 瑞声科技(新加坡)有限公司 Linear vibration electric motor
CN106300865A (en) * 2016-08-24 2017-01-04 歌尔股份有限公司 Linear vibration motor
CN206023534U (en) * 2016-08-16 2017-03-15 歌尔股份有限公司 Resonant motor

Family Cites Families (5)

* Cited by examiner, † Cited by third party
Publication number Priority date Publication date Assignee Title
US8013699B2 (en) * 2002-04-01 2011-09-06 Med-El Elektromedizinische Geraete Gmbh MRI-safe electro-magnetic tranducer
CN201789401U (en) * 2010-09-01 2011-04-06 歌尔声学股份有限公司 Flat linear vibrator
CN204597754U (en) * 2015-05-07 2015-08-26 歌尔声学股份有限公司 Flat linear motor
CN205178826U (en) * 2015-11-25 2016-04-20 歌尔声学股份有限公司 Linear vibrating motor
CN107070159B (en) * 2017-03-13 2019-09-17 歌尔股份有限公司 Linear vibration motor

Patent Citations (6)

* Cited by examiner, † Cited by third party
Publication number Priority date Publication date Assignee Title
JPH07169074A (en) * 1993-12-14 1995-07-04 Hitachi Metals Ltd Driver
CN204392055U (en) * 2015-01-16 2015-06-10 瑞声科技(南京)有限公司 Vibrating motor
CN105356712A (en) * 2015-11-25 2016-02-24 歌尔声学股份有限公司 Linear vibration motor
CN106100278A (en) * 2016-07-21 2016-11-09 瑞声科技(新加坡)有限公司 Linear vibration electric motor
CN206023534U (en) * 2016-08-16 2017-03-15 歌尔股份有限公司 Resonant motor
CN106300865A (en) * 2016-08-24 2017-01-04 歌尔股份有限公司 Linear vibration motor

Also Published As

Publication number Publication date
CN106953492A (en) 2017-07-14
CN106953492B (en) 2020-02-18

Similar Documents

Publication Publication Date Title
CN204886637U (en) vibration motor
WO2018171060A1 (en) Linear vibration motor
CN109068244B (en) Electromagnetic exciter and screen sounding device
CN109309892B (en) Electromagnetic exciter and screen sounding device
CN217590568U (en) Linear vibration motor
US20200412228A1 (en) Vibration motor
US11245320B2 (en) Linear vibration motor
CN105703596A (en) Linear motor
US11515773B2 (en) Linear vibration motor and electronic device
WO2018036037A1 (en) Linear vibration motor
WO2021121055A1 (en) Vibration apparatus
US20180236487A1 (en) Linear vibration motor
WO2017088359A1 (en) Linear vibration motor
CN111049349B (en) Vibrating device and electronic product
WO2018058807A1 (en) Linear vibration motor
CN205583985U (en) Linear vibrating motor
WO2018058808A1 (en) Linear vibration motor, and electronic device
CN208821074U (en) Electromagnetic driver and screen sounding device
WO2022143043A1 (en) Vibrator and electronic device
WO2021000090A1 (en) Vibration electric motor
CN114421730B (en) Linear vibration motor
US20200212775A1 (en) Linear Vibration Motor
CN207559830U (en) A kind of linear vibration motor
CN110429784A (en) A kind of horizontal linearity vibrating motor structure and its implementation
CN206023534U (en) Resonant motor

Legal Events

Date Code Title Description
121 Ep: the epo has been informed by wipo that ep was designated in this application

Ref document number: 17902027

Country of ref document: EP

Kind code of ref document: A1

NENP Non-entry into the national phase

Ref country code: DE

122 Ep: pct application non-entry in european phase

Ref document number: 17902027

Country of ref document: EP

Kind code of ref document: A1