[go: up one dir, main page]

WO2013005559A1 - 照明装置および表示装置 - Google Patents

照明装置および表示装置 Download PDF

Info

Publication number
WO2013005559A1
WO2013005559A1 PCT/JP2012/065364 JP2012065364W WO2013005559A1 WO 2013005559 A1 WO2013005559 A1 WO 2013005559A1 JP 2012065364 W JP2012065364 W JP 2012065364W WO 2013005559 A1 WO2013005559 A1 WO 2013005559A1
Authority
WO
WIPO (PCT)
Prior art keywords
light
prism
light guide
region
incident
Prior art date
Legal status (The legal status is an assumption and is not a legal conclusion. Google has not performed a legal analysis and makes no representation as to the accuracy of the status listed.)
Ceased
Application number
PCT/JP2012/065364
Other languages
English (en)
French (fr)
Inventor
龍三 結城
壮史 石田
Current Assignee (The listed assignees may be inaccurate. Google has not performed a legal analysis and makes no representation or warranty as to the accuracy of the list.)
Sharp Corp
Original Assignee
Sharp Corp
Priority date (The priority date is an assumption and is not a legal conclusion. Google has not performed a legal analysis and makes no representation as to the accuracy of the date listed.)
Filing date
Publication date
Application filed by Sharp Corp filed Critical Sharp Corp
Priority to US14/130,529 priority Critical patent/US9348081B2/en
Publication of WO2013005559A1 publication Critical patent/WO2013005559A1/ja
Anticipated expiration legal-status Critical
Ceased legal-status Critical Current

Links

Images

Classifications

    • GPHYSICS
    • G02OPTICS
    • G02BOPTICAL ELEMENTS, SYSTEMS OR APPARATUS
    • G02B6/00Light guides; Structural details of arrangements comprising light guides and other optical elements, e.g. couplings
    • G02B6/0001Light guides; Structural details of arrangements comprising light guides and other optical elements, e.g. couplings specially adapted for lighting devices or systems
    • G02B6/0011Light guides; Structural details of arrangements comprising light guides and other optical elements, e.g. couplings specially adapted for lighting devices or systems the light guides being planar or of plate-like form
    • G02B6/0033Means for improving the coupling-out of light from the light guide
    • GPHYSICS
    • G02OPTICS
    • G02BOPTICAL ELEMENTS, SYSTEMS OR APPARATUS
    • G02B6/00Light guides; Structural details of arrangements comprising light guides and other optical elements, e.g. couplings
    • G02B6/0001Light guides; Structural details of arrangements comprising light guides and other optical elements, e.g. couplings specially adapted for lighting devices or systems
    • G02B6/0011Light guides; Structural details of arrangements comprising light guides and other optical elements, e.g. couplings specially adapted for lighting devices or systems the light guides being planar or of plate-like form
    • G02B6/0033Means for improving the coupling-out of light from the light guide
    • G02B6/0035Means for improving the coupling-out of light from the light guide provided on the surface of the light guide or in the bulk of it
    • GPHYSICS
    • G02OPTICS
    • G02BOPTICAL ELEMENTS, SYSTEMS OR APPARATUS
    • G02B6/00Light guides; Structural details of arrangements comprising light guides and other optical elements, e.g. couplings
    • G02B6/0001Light guides; Structural details of arrangements comprising light guides and other optical elements, e.g. couplings specially adapted for lighting devices or systems
    • G02B6/0011Light guides; Structural details of arrangements comprising light guides and other optical elements, e.g. couplings specially adapted for lighting devices or systems the light guides being planar or of plate-like form
    • G02B6/0033Means for improving the coupling-out of light from the light guide
    • G02B6/005Means for improving the coupling-out of light from the light guide provided by one optical element, or plurality thereof, placed on the light output side of the light guide
    • G02B6/0053Prismatic sheet or layer; Brightness enhancement element, sheet or layer
    • GPHYSICS
    • G02OPTICS
    • G02BOPTICAL ELEMENTS, SYSTEMS OR APPARATUS
    • G02B6/00Light guides; Structural details of arrangements comprising light guides and other optical elements, e.g. couplings
    • G02B6/0001Light guides; Structural details of arrangements comprising light guides and other optical elements, e.g. couplings specially adapted for lighting devices or systems
    • G02B6/0011Light guides; Structural details of arrangements comprising light guides and other optical elements, e.g. couplings specially adapted for lighting devices or systems the light guides being planar or of plate-like form
    • G02B6/0013Means for improving the coupling-in of light from the light source into the light guide
    • G02B6/0015Means for improving the coupling-in of light from the light source into the light guide provided on the surface of the light guide or in the bulk of it
    • G02B6/0018Redirecting means on the surface of the light guide
    • GPHYSICS
    • G02OPTICS
    • G02BOPTICAL ELEMENTS, SYSTEMS OR APPARATUS
    • G02B6/00Light guides; Structural details of arrangements comprising light guides and other optical elements, e.g. couplings
    • G02B6/0001Light guides; Structural details of arrangements comprising light guides and other optical elements, e.g. couplings specially adapted for lighting devices or systems
    • G02B6/0011Light guides; Structural details of arrangements comprising light guides and other optical elements, e.g. couplings specially adapted for lighting devices or systems the light guides being planar or of plate-like form
    • G02B6/0033Means for improving the coupling-out of light from the light guide
    • G02B6/0035Means for improving the coupling-out of light from the light guide provided on the surface of the light guide or in the bulk of it
    • G02B6/00362-D arrangement of prisms, protrusions, indentations or roughened surfaces
    • GPHYSICS
    • G02OPTICS
    • G02FOPTICAL DEVICES OR ARRANGEMENTS FOR THE CONTROL OF LIGHT BY MODIFICATION OF THE OPTICAL PROPERTIES OF THE MEDIA OF THE ELEMENTS INVOLVED THEREIN; NON-LINEAR OPTICS; FREQUENCY-CHANGING OF LIGHT; OPTICAL LOGIC ELEMENTS; OPTICAL ANALOGUE/DIGITAL CONVERTERS
    • G02F1/00Devices or arrangements for the control of the intensity, colour, phase, polarisation or direction of light arriving from an independent light source, e.g. switching, gating or modulating; Non-linear optics
    • G02F1/01Devices or arrangements for the control of the intensity, colour, phase, polarisation or direction of light arriving from an independent light source, e.g. switching, gating or modulating; Non-linear optics for the control of the intensity, phase, polarisation or colour 
    • G02F1/13Devices or arrangements for the control of the intensity, colour, phase, polarisation or direction of light arriving from an independent light source, e.g. switching, gating or modulating; Non-linear optics for the control of the intensity, phase, polarisation or colour  based on liquid crystals, e.g. single liquid crystal display cells
    • G02F1/133Constructional arrangements; Operation of liquid crystal cells; Circuit arrangements
    • G02F1/1333Constructional arrangements; Manufacturing methods
    • G02F1/1335Structural association of cells with optical devices, e.g. polarisers or reflectors
    • G02F1/1336Illuminating devices
    • G02F1/133615Edge-illuminating devices, i.e. illuminating from the side

Definitions

  • the present invention relates to an illuminating device and a display device, and more particularly to an illuminating device equipped with a light guide member for guiding light and a display device including the illuminating device.
  • a backlight unit for supplying light is usually mounted on the liquid crystal display panel.
  • the backlight unit is preferably configured to generate planar light that spreads over the entire area of the planar liquid crystal display panel. Therefore, the backlight unit mounted on the liquid crystal display device may include a light guide plate (light guide member) for mixing the light of the built-in light source with a high degree.
  • an edge light (side light) type backlight unit As a backlight unit including a light guide plate, for example, an edge light (side light) type backlight unit is known.
  • An edge-light type backlight unit generally has a configuration in which a light source such as an LED (Light Emitting Diode) is disposed on a side surface of a light guide plate.
  • a light source such as an LED (Light Emitting Diode)
  • LED Light Emitting Diode
  • Patent Document 1 An example of such a backlight unit is described in Patent Document 1, for example.
  • edge light type backlight unit when a point light source such as an LED is used as the light source, it is difficult to make light uniformly incident on a wide light guide plate. For this reason, in a backlight unit using an LED as a light source, it becomes difficult to emit light uniformly and efficiently in a region (light emitting region) corresponding to the display region of the liquid crystal display panel, resulting in a reduction in illumination quality. There is a problem of doing.
  • the present invention has been made to solve the above-described problems, and one object of the present invention is to provide a lighting device capable of improving the lighting quality and a display device including the lighting device. It is to be.
  • an illumination device includes a light source and a light guide that guides light from the light source.
  • the light guide includes a light incident surface on which light from the light source is incident, an end region on the light source side, and a light emission region disposed on the opposite side of the light source from the end region.
  • a first reflecting portion that reflects light incident on the light guide is provided in the light emission region of the light guide.
  • this 1st reflection part is comprised so that it may start from the position spaced apart predetermined distance from the light-incidence surface in an edge part area
  • the luminance of the light emitting area can be improved by providing the first reflecting portion in the light emitting area.
  • the boundary is easily visually recognized. Therefore, in the first aspect, the first reflecting portion is configured to start from the end region. As a result, the boundary between the region where the first reflecting portion is formed and the region where it is not formed is included in the end region, so that the boundary is not included in the light emitting region. it can. Therefore, the boundary can be prevented from being visually recognized, and light can be uniformly emitted from the light emission region.
  • the first reflecting portion is configured to start from a position separated from the light incident surface in the end region by a predetermined distance.
  • the first reflecting portion is configured to start from the light incident surface.
  • the region closer to the light source than the first reflecting portion in the end region has a structure different from the light emitting region.
  • a structure different from the light emitting area means that a reflection part different from the first reflection part is provided in an area closer to the light source than the first reflection part in the end area, and a reflection part is provided. It includes a flat state (a state where it is a flat portion).
  • a second reflecting portion may be provided on the back side of the light guide.
  • the formation start position of the second reflecting portion is closer to the light source than the first reflecting portion. If comprised in this way, the light which becomes a factor of a brightness nonuniformity can be reflected by a 2nd reflection part, and can be radiate
  • the light emitting region is provided with a third reflecting portion that spreads light in a direction intersecting with the light incident direction, and from the first reflecting portion in the end region.
  • the light source side region is provided with a fourth reflecting portion that largely changes the propagation angle of light spreading in a direction intersecting the light incident direction as compared with the third reflecting portion. If comprised in this way, the light from the light source entered into the light guide by the 4th reflection part can be reflected.
  • the fourth reflecting unit greatly changes the propagation angle of light spreading in the direction intersecting the light incident direction as compared with the third reflecting unit. For this reason, the spread of light in the direction intersecting the light incident direction can be suppressed by the fourth reflecting portion.
  • V-shaped bright lines are likely to occur in the end region of the light guide.
  • This V-shaped bright line is generated due to light spreading laterally in the light guide. Therefore, the generation of V-shaped bright lines can be effectively suppressed by suppressing the spread of light in the direction intersecting the light incident direction.
  • the light that has become the V-shaped bright line can be used effectively, so that the light use efficiency and the luminance can be effectively improved.
  • the 3rd reflection part is formed in the light emission area.
  • the third reflecting portion has a smaller effect of changing the propagation angle of the light spreading in the direction intersecting the light incident direction than the fourth reflecting portion. In other words, the light is spread in a direction crossing the light incident direction. For this reason, in the light emission region, light can be appropriately diffused by the third reflecting portion. Thereby, generation
  • the 3rd reflection part is comprised so that it may start from the position spaced apart from the light-incidence surface in the edge part area
  • the third reflecting portion and the fourth reflecting portion of the light guide can be formed continuously with each other.
  • the third reflecting portion and the fourth reflecting portion have a recess including an inclined surface while extending continuously in a substantially vertical direction with respect to the light incident surface when viewed in plan, and the depth of the recess.
  • the depth becomes deeper toward the light incident surface. Even when configured in this manner, the occurrence of V-shaped bright lines and linear unevenness can be effectively suppressed.
  • a reflective layer for reflecting light emitted from the fourth reflective portion to the outside is provided on the fourth reflective portion. If comprised in this way, the light radiate
  • the reflective layer is preferably provided so as to cover, for example, the entire surface or a part of the end region on the light source side of the light guide. That is, the reflective layer is preferably provided so as to cover at least a part of the fourth reflective portion (for example, the end region on the light source side).
  • the lighting device preferably includes a light guide member including a light guide and a low refractive index layer having a refractive index smaller than that of the light guide.
  • the low refractive index layer is provided on the back surface of the light guide without interposing an air layer.
  • a plurality of first reflecting portions are provided on the front surface side or the back surface of the light guide, and a plurality of second reflecting portions are provided on the back surface of the light guide member.
  • the first reflecting portion is formed so as to have a function of gradually decreasing the incident angle of light from the light source with respect to the back surface of the light guide, and the second reflecting portion is a light guide. It is preferable to form so as to have a function of totally reflecting light from the light source forward at the interface between the back surface of the member and the air layer.
  • a plurality of first reflecting portions that gradually reduce the incident angle of light from the light source with respect to the back surface of the light guide are provided on the front surface side or back surface of the light guide, and the light guide is provided on the back surface of the light guide member.
  • the light guide is provided on the back surface of the light guide member.
  • the incident angle of the light with respect to the back surface of a light guide becomes smaller than the critical angle of a light guide and a low refractive index layer
  • the light from a light source injects into a low refractive index layer. Therefore, the light incident on the low refractive index layer has a small light spread angle, and the light spread angle reflected at the interface between the back surface of the light guide member and the air layer is also small. Thereby, the spreading angle of the light emitted from the light guide member can be reduced. As a result, the light collecting characteristics can be improved. In addition, the luminance can be improved.
  • the lighting device can be thinned and the manufacturing cost can be reduced. Furthermore, by not having an optical sheet, there is no loss of light when passing through the optical sheet (for example, there is no light loss due to multiple reflections between the sheets), so that the light utilization efficiency is improved. Can do.
  • the light from the light source is guided while being repeatedly reflected between the front surface portion and the back surface of the light guide.
  • the light incident angle with respect to the back surface of the light guide decreases as the distance from the surface decreases. For this reason, as the distance from the light source increases, the light from the light source easily enters the low refractive index layer. For this reason, the amount of light incident on the low refractive index layer can be made uniform between a portion close to the light source and a large amount of light (light flux) and a portion far from the light source and a small amount of light (light flux). As a result, light can be uniformly emitted from the light guide member. In addition, the luminance can be made uniform.
  • the second reflecting portion be provided on substantially the entire back surface of the light guide member because light can be emitted more uniformly from substantially the entire light emission region of the light guide member.
  • the plurality of first reflecting portions have a function of totally reflecting light from the light source, light incident on the low refractive index layer from the light guide is emitted from the back surface of the light guide member, and light loss occurs. Can be suppressed.
  • the second reflection part totally reflects light, absorption of light by the second reflection part is suppressed. Thereby, the utilization efficiency of light can be improved more.
  • the provision of the first reflecting portion and the second reflecting portion on the light guide can effectively suppress the occurrence of V-shaped bright lines and linear unevenness. Therefore, it is possible to improve the light utilization efficiency and the luminance while suppressing the occurrence of luminance unevenness. In addition, thickness reduction and cost reduction can be achieved.
  • region in which it is not formed becomes easy to be visually recognized.
  • the first reflecting portion to start from the end region, it is possible to prevent the region from being included in the light emitting region. Thereby, since the boundary can be prevented from being visually recognized, the illumination quality can be improved.
  • the lighting device may include an optical sheet that overlaps the light guide.
  • the optical sheet preferably has a prism surface, and is arranged so that the prism surface faces the light guide. If comprised in this way, the number of optical sheets can be reduced, improving a brightness
  • V-shaped bright lines and linear unevenness are likely to occur.
  • by providing the light guide with the first reflecting portion and the second reflecting portion it is possible to effectively suppress the occurrence of V-shaped bright lines and linear unevenness.
  • the front surface and the back surface of the light guide can be formed to be substantially parallel to each other.
  • a display device includes the illumination device according to the first aspect and a display panel that receives light from the illumination device. If comprised in this way, the display apparatus with the high display quality which the brightness nonuniformity was suppressed can be obtained.
  • an illumination device capable of improving illumination quality and a display device including the illumination device.
  • 1 is a side view of a liquid crystal display device including a backlight unit according to a first embodiment of the present invention. It is the perspective view which showed typically the backlight unit by 1st Embodiment of this invention. It is the top view which showed typically a part of backlight unit by 1st Embodiment of this invention. It is the perspective view which showed typically the backlight unit by 1st Embodiment of this invention. It is sectional drawing which showed typically the backlight unit by 1st Embodiment of this invention, and is also an optical path figure which showed the optical path of light. It is the expanded sectional view which showed the structure of the light-projection surface of the light guide of the backlight unit by 1st Embodiment of this invention.
  • FIG. 4 is a view corresponding to a cross section taken along line a1-a1 of FIG.
  • FIG. 4 is a view corresponding to a cross section taken along line a2-a2 of FIG.
  • FIG. 4 is a diagram corresponding to a cross section taken along the line a1-a1 of FIG. 3 (a diagram illustrating another example).
  • FIG. 4 is a diagram corresponding to a cross section taken along line a2-a2 of FIG. 3 (a diagram illustrating another example). It is the top view which showed typically a part of backlight unit by 2nd Embodiment of this invention. It is sectional drawing along the a3-a3 line
  • FIG. 39 is a diagram corresponding to a cross section taken along line a3-a3 of FIG. 38 (a diagram illustrating another example).
  • FIG. 39 is a diagram corresponding to a cross section taken along line a4-a4 of FIG. 38 (a diagram illustrating another example).
  • FIG. 1 is a side view of a liquid crystal display device including a backlight unit according to a first embodiment of the present invention.
  • FIG. 2 is a perspective view schematically showing the backlight unit according to the first embodiment of the present invention.
  • a backlight unit according to a first embodiment of the present invention and a liquid crystal display device including the backlight unit will be described with reference to FIGS.
  • the liquid crystal display device 1 includes a liquid crystal display panel 10, a backlight unit 20 disposed on the back side of the liquid crystal display panel 10, and the liquid crystal display panel 10 and the backlight unit 20. And a frame (not shown).
  • the liquid crystal display device 1 is an example of the “display device” in the present invention
  • the liquid crystal display panel 10 is an example of the “display panel” in the present invention
  • the backlight unit 20 is an example of the “lighting device” in the present invention.
  • an active matrix substrate 11 including a switching element such as a TFT (Thin Film Transistor) and an opposite substrate 12 facing the active matrix substrate 11 are bonded to each other with a sealing material (not shown). It is constituted by.
  • a liquid crystal (not shown) is injected into the gap between the substrates 11 and 12.
  • a polarizing film 13 is attached to each of the light receiving surface side of the active matrix substrate 11 and the light emitting surface side of the counter substrate 12.
  • the liquid crystal display panel 10 configured in this manner displays an image by using a change in transmittance caused by the tilt of liquid crystal molecules.
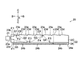
  • the backlight unit 20 is an edge light type backlight unit. As shown in FIGS. 1, 2, and 4, the backlight unit 20 includes an LED 21 as a light source and a light guide plate 22 that guides light from the LED 21.
  • the backlight unit 20 includes a plurality of the LEDs 21, and the plurality of LEDs 21 are arranged in the A direction (for example, the width direction of the light guide plate 22: see FIG. 2).
  • the light guide plate 22 is an example of the “light guide member” in the present invention.
  • an optical sheet such as a condenser lens is not provided between the light guide plate 22 of the backlight unit 20 and the liquid crystal display panel 10. That is, the backlight unit 20 of the first embodiment is a seatless backlight.
  • the light guide plate 22 is made of a single plate-like member. As shown in FIGS. 1 and 4, the light guide plate 22 includes a light guide 23 having a light incident surface (light incident surface) 23 a on which light from the LED 21 is incident, and a smaller refraction than the light guide 23. And a low refractive index layer 24 having a refractive index.
  • the light guide 23 is made of a transparent material having a refractive index (n1), and the low refractive index layer 24 is made of a transparent material having a refractive index (n2).
  • the refractive index (n1) of the light guide 23 is preferably 1.42 or more, more preferably 1.59 to 1.65.
  • the refractive index (n2) of the low refractive index layer 24 is preferably less than 1.42, more preferably 1.10 to 1.35.
  • a relationship of n2 ⁇ n1 is established between the refractive index (n1) of the light guide 23 and the refractive index (n2) of the low refractive index layer 24. In this case, it is preferable that a relationship of n1 / n2> 1.18 holds between the refractive index (n1) of the light guide 23 and the refractive index (n2) of the low refractive index layer 24.
  • the light guide 23 constituting the light guide plate 22 is made of a transparent resin material such as acrylic or polycarbonate. If the light guide 23 is made of acrylic or the like, the refractive index of the light guide 23 can be about 1.49. If the light guide 23 is made of polycarbonate or the like, the refractive index of the light guide 23 can be about 1.59. In addition, when the light guide 23 is comprised from an acryl, translucency can be improved more compared with the case where the light guide 23 is comprised from a polycarbonate.
  • the light guide 23 is formed in a substantially rectangular parallelepiped. That is, the light guide 23 is formed such that the light exit surface 23b (upper surface) and the back surface 23c (lower surface) are substantially parallel.
  • the light incident surface (light incident surface) 23 a of the light guide 23 is disposed substantially parallel to the light emitting surface of the LED 21.
  • the light incident surface 23 a is formed from the side surface of the light guide 23.
  • the low refractive index layer 24 is integrally formed on the back surface 23c of the light guide 23 without an air layer or the like.
  • the low refractive index layer 24 has a thickness of about 10 ⁇ m to about 50 ⁇ m, for example.
  • the low refractive index layer 24 is made of a transparent resin material having a refractive index lower than that of the light guide 23 as described above.
  • a resin material include resins containing hollow particles such as fluorine-based acrylates and nano-sized inorganic fillers. If the low refractive index layer 24 is made of fluorine-based acrylate or the like, the refractive index of the low refractive index layer 24 can be about 1.35. In addition, if the low refractive index layer 24 is made of a resin containing hollow particles such as nano-sized inorganic filler, the refractive index of the low refractive index layer 24 can be 1.30 or less.
  • the light emitting surface 23b of the light guide 23 is formed with a plurality of prisms 23e that gradually reduce the incident angle of light from the LED 21 with respect to the back surface 23c of the light guide 23.
  • the light emitting surface 23b of the light guide 23 has a plurality of plane portions along the normal direction (the B direction (direction orthogonal to the A direction)) of the light incident surface 23a of the light guide 23.
  • 23d and a plurality of concave prisms 23e are alternately formed. That is, the flat surface portion 23d is formed between the prisms 23e adjacent to each other in the B direction (for example, the length direction of the light guide plate 22).
  • the plane portion 23d and the prism 23e are formed so as to extend in the A direction (see FIG. 2). However, the plane portion 23d and the prism 23e are divided by a prism 23i described later.
  • the prism 23e is an example of the “first reflecting portion” in the present invention.
  • the flat portion 23d is formed in the same plane as the light emitting surface 23b, and is formed substantially parallel to the back surface 23c. As shown in FIG. 6, the plane portion 23 d is formed to have a predetermined width W ⁇ b> 1 in the B direction.
  • the concave prism 23e is formed by an inclined surface 23f that is inclined with respect to the flat surface portion 23d (light emitting surface 23b) and a vertical surface 23g that is substantially perpendicular to the flat surface portion 23d (light emitting surface 23b).
  • the inclined surface 23 f is formed so as to approach the back surface 23 c as the distance from the LED 21 increases.
  • the light emitted from the LED 21 is repeatedly reflected between the inclined surface 23f (prism 23e) of the light guide 23 and the back surface 23c, so that the incident angle of the light guide 23 with respect to the back surface 23c is increased.
  • the inclination angle ⁇ 1 of the inclined surface 23f with respect to the flat portion 23d is preferably an angle of 5 ° or less, more preferably an angle of 0.1 ° to 3.0 °.
  • the inclined surface 23f (prism 23e) is formed to have a predetermined width W2 in the B direction.
  • the width W2 of the inclined surface 23f (prism 23e) in the B direction is preferably 0.25 mm or less, and more preferably 0.01 mm to 0.10 mm.
  • the width W1 in the B direction of the flat surface portion 23d, the inclination angle ⁇ 1 of the inclined surface 23f, the width W2 in the B direction of the inclined surface 23f (prism 23e), and the pitch P1 in the B direction of the inclined surface 23f (prism 23e) are as follows. It may be constant regardless of the distance from the LED 21.
  • a plurality of planar portions 23 h and a plurality of concave prisms 23 i are arranged along the A direction on the light emitting surface 23 b of the light guide 23. It is formed alternately. That is, a flat portion 23h is formed between the prisms 23i adjacent to each other along the A direction.
  • the flat portion 23h and the prism 23i are formed so as to extend in the normal direction (B direction) of the light incident surface 23a of the light guide 23, respectively.
  • the planar portion 23h and the prism 23i (the inclined surface 23j) are formed so as to extend in a substantially vertical direction (B direction) with respect to the light incident surface 23a when viewed in a plan view.
  • the flat portion 23h is formed in the same plane as the light emitting surface 23b.
  • the planar portion 23h is formed to have a predetermined width W3 in the A direction.
  • the width W3 of the flat portion 23h is preferably 200 ⁇ m or less.
  • the concave prism 23i is formed by a pair of inclined surfaces 23j inclined with respect to the flat portion 23h (light emitting surface 23b). That is, the concave prism 23i is formed so that its cross section has a triangular shape.
  • the inclination angle ⁇ 2 of the pair of inclined surfaces 23j (inclination angle with respect to the plane portion 23h) is preferably about 30 ° to about 89 °.
  • the prism 23i is an example of the “third reflecting portion” in the present invention.
  • the pair of inclined surfaces 23j are formed to have a predetermined width W4 in the A direction.
  • the width W4 in the A direction of the pair of inclined surfaces 23j (prisms 23i) is preferably about 0.1 mm or less, more preferably about 0.010 mm (10 ⁇ m) to about 0.020 mm (20 ⁇ m).
  • the prisms 23 i are preferably formed in the same shape, the same size, and the same pitch regardless of the formation position in the plane of the light guide 23. That is, the width W3 in the A direction of the flat surface portion 23h, the inclination angle (inclination angle with respect to the flat surface portion 23h) ⁇ 2 of the pair of inclined surfaces 23j, the width W4 of the pair of inclined surfaces 23j (prism 23i) in the A direction, The pitches P2 in the A direction of the inclined surfaces 23j (prisms 23i) are preferably formed to be constant.
  • the prism 23i is formed on the same surface as the prism 23e so as to overlap the prism 23e (the prism 23e and the prism 23i are formed on the light emitting surface 23b of the light guide 23).
  • the prism 23i has a function of diffusing light in the lateral direction (A direction: a direction intersecting the light incident direction).
  • the occupation area ratio of the prism 23i to the prism 23e is preferably 50% or more.
  • a plurality of concave prisms 24b are formed on the back surface 24a of the low refractive index layer 24 (the back surface of the light guide plate 22).
  • the prism 24b is formed at least over the entire light emission region 22a of the light guide plate 22.
  • the prism 24b is formed to extend in the A direction (see FIG. 4). Further, the light emission region 22 a of the light guide plate 22 is arranged so as to correspond to the display region of the liquid crystal display panel 10.
  • the prism 24b is an example of the “second reflecting portion” in the present invention.
  • the concave prism 24b is formed by an inclined surface 24c inclined with respect to the back surface 24a and a vertical surface 24d perpendicular to the back surface 24a.
  • the inclined surface 24c is not a curved surface but a flat surface.
  • the inclined surface 24c is formed so as to approach the light guide 23 as the distance from the LED 21 (see FIG. 1) increases.
  • the inclination angle ⁇ 3 of the inclined surface 24c with respect to the back surface 24a is preferably about 40 ° to about 50 °. That is, the angle ⁇ 4 formed by the inclined surface 24c and the vertical surface 24d is preferably about 50 ° to about 40 °.
  • the inclined surface 24c (prism 24b) is formed to have a predetermined width W5 in the B direction.
  • the width W5 in the B direction of the inclined surface 24c (prism 24b) is about 0.1 mm or less, and preferably about 0.010 mm to about 0.025 mm.
  • the inclined surfaces 24c are arranged in the B direction at a pitch P3 having the same size as the width W5. That is, the plurality of prisms 24b are continuously formed in the B direction without any gap, and no flat surface portion is provided between the prisms 24b and 24b.
  • the prisms 24b have the same shape, the same size, and the same pitch on almost the entire back surface 24a of the low refractive index layer 24 regardless of the formation position in the plane of the low refractive index layer 24. It may be formed. In this way, if the prisms 24b are formed in the same shape, the same size, and the same pitch, it is possible to prevent the light condensing characteristics from being different in the plane of the low refractive index layer 24. Is possible. Thereby, the luminance of the liquid crystal display panel 10 (see FIG. 1) can be made uniform.
  • the prism 24b has a function of totally reflecting light from the LED 21 forward (upper surface side) at the interface between the light guide plate 22 and the air layer.
  • a plurality of concave shapes are formed along the A direction at the LED 21 side end portion (the end region 22 b (near the light incident portion)) of the light guide plate 22.
  • Prism 23q is formed. As shown in FIGS. 10 and 12, the prism 23q is formed so that its cross section has a triangular shape. The prism 23q has a pair of inclined surfaces 23r. The prism 23q is an example of the “fourth reflecting portion” in the present invention.
  • the light guide plate 22 (light guide 23) of the first embodiment corresponds to the display area of the liquid crystal display panel 10 (see FIG. 1) in plan view. It has a region 22 a (a light emitting region 22 a that emits planar light forward toward the liquid crystal display panel 10) and an end region 22 b on the LED 21 side of the light guide plate 22 (a region near the light incident part).
  • the end region 22b is adjacent to the light emitting region 22a.
  • region from the light-incidence surface 23a to the distance D20 to the B direction is made into the edge part area
  • the boundary (imaginary line g) between the end region 22b and the light emitting region 22a is set at a position away from the light incident surface 23a by a distance D20 in the B direction.
  • the distance D20 varies depending on the design of the liquid crystal display panel, the interval between the light sources, and the like, but when the interval between the light sources is P, for example, 0.5 ⁇ D20 / P ⁇ 2.
  • region 22a is an area
  • a plurality of concave prisms 23q are formed in the end region 22b (near the light incident portion) on the upper surface of the light guide plate 22 (light guide 23).
  • the concave prism 23q is formed so as to extend in the normal direction (B direction) of the light incident surface 23a, like the prism 23i described above. Specifically, the prism 23q (inclined surface 23r) is formed to extend in a substantially vertical direction (B direction) from the light incident surface 23a when viewed in a plan view. Further, as shown in FIG. 14, the length D10 in the B direction of the prism 23q is preferably 0.5 mm or more, and more preferably 1 mm or more.
  • the length D10 of the prism 23q is set to be smaller than the distance D20 of the end region 22b. That is, it is set to satisfy the relationship of D10 ⁇ D20.
  • the pair of inclined surfaces 23r are formed to have a predetermined width W14 in the A direction.
  • the width W14 in the A direction of the pair of inclined surfaces 23r (prisms 23q) is preferably about 0.010 mm (10 ⁇ m) to about 0.020 mm (20 ⁇ m).
  • the inclination angle ⁇ 12 of the inclined surface 23r is preferably about 30 ° to about 89 °.
  • a plane portion 23p (a surface on which the prism 23q is not formed) may be formed between the prisms 23q adjacent to each other along the A direction.
  • the plane portion 23p is formed to have a predetermined width W13 in the A direction.
  • the width W13 of the planar portion 23p is preferably 200 ⁇ m or less.
  • the width W13 of the flat portion 23p is preferably 0 to 200 ⁇ m.
  • the prism 23 e and the prism 23 i described above are mainly formed in the light emission region 22 a of the light guide 23.
  • the prism 23e has a formation start position L1 that is not located in the light emitting region 22a, and the end region 22b (the boundary between the light emitting region 22a and the end region 22b). Is included). Specifically, the prism 23e starts from a position L1 (a predetermined position in the end region 22b) that is separated from the light incident surface 23a by a predetermined distance D30 in the B direction. That is, the prism 23e is formed from the light incident surface 23a side with respect to the light emitting region 22a (display region).
  • the distance D30 varies depending on the design of the liquid crystal display panel, the interval between the light sources, and the like, but when the interval between the light sources is P, for example, 0.5 ⁇ D30 / P ⁇ 2. However, as will be described later, the relationship between the distance D30 and the distance D20 is D30 ⁇ D20.
  • the formation start position of the prism 23i is not located in the light output region 22a, but is in the end region 22b (including the boundary between the light output region 22a and the end region 22b). positioned.
  • the formation start positions of the prism 23e and the prism 23i may be the same or different.
  • a prism 23q is formed in a region where the prism 23e is not formed in the end region 22b (a region on the LED 21 side where the prism 23e and the prism 23i are not formed in the end region 22b). That is, the region closer to the LED 21 than the prism 23e in the end region 22b has a structure different from that of the light emitting region 22a.
  • the prism 23e has a function of extracting light, so that the region where the prism 23e is formed has higher luminance than the region where the prism 23e is not formed. For this reason, as shown in FIG. 7, since the luminance is different between the region S1 where the prism 23e is formed and the region S2 where the prism 23e is not formed, the boundary is easily visually recognized. That is, the formation start position L1 of the prism 23e becomes the boundary of the luminance difference, and the boundary is easily visually recognized.
  • the prisms 23e and 23i are configured to start from the end region 22b as described above.
  • the boundary between the region S1 where the prism 23e is formed and the region S2 where the prism 23e is not formed is included in the end region 22b, so that the boundary is not included in the light emission region (display region) ( (Not located). Therefore, the boundary is prevented from being visually recognized, and light can be emitted uniformly from the light emission region 22a.
  • the position L0 of the light incident surface 23a (the LED side end portion of the light guide 23) is used as a reference
  • the position L0, the formation start position L1 of the prism 23e, and the start position L2 of the light emitting area 22a (display area).
  • the positional relationship is L0 ⁇ L1 ⁇ L2.
  • the position increases as the distance from the position L0 in the B direction increases.
  • the position L1 approaches the position L0 the amount of emitted light in the non-display area increases and the amount of light that becomes a loss increases, so the position L1 is preferably closer to the position L2.
  • the length D10 of the prism 23q described above is shorter than the distance D30 from the light incident surface 23a to the formation start position L1 of the prism 23e.
  • the distance D30 is shorter than the distance D20 from the light incident surface 23a to the light emission region 22a (the light emission region 22a (display region) start position L2). Therefore, the relationship between D10, D20, and D30 satisfies D10 ⁇ D30 ⁇ D20.
  • the formation end position of the prism 23q is L3
  • the positional relationship between the prisms is L0 ⁇ L3 ⁇ L1 ⁇ L2.
  • the prism 24b is formed more on the light incident surface 23a (LED 21) side than the prism 23e. That is, the formation start position L3 of the prism 24b is located closer to the LED 21 than the formation start position L1 of the prism 23e.
  • the prism 24b preferably starts from the light incident surface 23a (position L0). That is, the prism 24b is preferably formed on the entire surface of the back surface 24a of the low refractive index layer 24 (the back surface of the light guide plate 22).
  • V-shaped bright line (V-shaped bright line) is likely to be generated in a region near the light incident surface 23a of the light guide plate 22 (near the light incident portion). If such a V-shaped bright line is generated, the illumination quality in the vicinity of the light incident surface 23a may be deteriorated.
  • the V-shaped bright line is generated due to light spreading in the lateral direction in the light guide plate 22, as will be described later. Therefore, in order to suppress the V-shaped bright line, it is effective to collect light spreading in the lateral direction in the front direction.
  • the linear unevenness is a phenomenon that occurs because the light emitted from the LED 21 has directivity and the light flux is most concentrated in the front direction. Therefore, if the light is collected too much in the front direction, the linear unevenness is emphasized.
  • the V-shaped bright line and the linear unevenness have a trade-off relationship. Therefore, it is not easy to solve these simultaneously.
  • the prism 23q is formed in the end region 22b on the LED 21 side of the light guide 23 (light guide plate 22), and this prism 23q is used as the prism 23i of the light output region 22a.
  • the propagation angle of light spreading in the lateral direction (A direction) is greatly changed as compared with FIG.
  • the prism 23q has a shape (including dimensions) different from that of the prism 23i. That is, in the first embodiment, prisms having different shapes are formed on the upper surface of the light guide plate 22 in the end region 22b and the light emitting region 22a.
  • the prism 23q (inclined surface 23r) in the end region 22b is formed so as to reflect the light R1 emitted in the V-shaped bright line direction and change the angular distribution of light in the horizontal direction (lateral direction). That is, the prism 23q (inclined surface 23r) efficiently changes the angle of the light of the V-shaped bright line component (arrow R1 in FIGS. 3 and 14) and does not become the V-shaped bright line component (FIGS. 3 and 14).
  • the arrow R2) component is increased.
  • the prism 23q in the end region 22b reflects the light R1 incident on the light guide plate 22 from the LED 21 in a direction approaching the optical axis O (a direction in which the angle formed with the optical axis O decreases).
  • the prism 23i formed in the light emitting region 22a is less effective in changing the propagation angle of light spreading in the lateral direction than the prism 23q in the end region 22b.
  • the prism 23i spreads light (diffuses light) in a direction intersecting the light incident direction as compared with the prism 23q. For this reason, in the light emission region 22a, the light is appropriately diffused by the prism 23i, and the occurrence of linear unevenness is suppressed.
  • the prism 23i satisfies one of the following conditions (a) and (b).
  • the inclination angle ⁇ 2 of the inclined surface 23j of the prism 23i is smaller than the inclination angle ⁇ 12 of the inclined surface 23r of the prism 23q ( ⁇ 2 ⁇ 12).
  • the occupation ratio of the inclined surface 23j (inclined area) of the prism 23i is smaller than the occupation ratio of the inclined surface 23r (inclined area) of the prism 23q (the ratio occupied by the plane portion is larger than the prism 23q) (W3 / W4> W13 / W14).
  • FIG. 3 the optical path of the light emitted from the LED 21 of the backlight unit 20 according to the first embodiment will be described with reference to FIGS. 3, 5, 9, 11, and 14 to 16.
  • FIG. 3 the optical path of the light emitted from the LED 21 of the backlight unit 20 according to the first embodiment will be described with reference to FIGS. 3, 5, 9, 11, and 14 to 16.
  • the light emitted from the LED 21 has the highest intensity in the front direction (B side direction) of the LED 21 and has a spread of ⁇ 90 ° in the A direction and the C direction with respect to the front direction.
  • the light emitted from the LED 21 is refracted when entering the light incident surface 23a of the light guide 23 (light guide plate 22), and the spread in the A direction and the C direction with respect to the front direction is ⁇ ⁇ 1.
  • the back surface 23c the light guide 23 and the light guide 23. At the interface with the low refractive index layer 24), the light is totally reflected on the light emitting surface 23b side.
  • the light emitted from the LED 21 is repeatedly reflected between the prism 23e (light emitting surface 23b) of the light guide 23 and the back surface 23c, so that the incident angle with respect to the back surface 23c of the light guide 23 gradually increases. And is incident on the low refractive index layer 24.
  • the light emitted from the LED 21 is repeatedly reflected between the prism 23e and the back surface 23c of the light guide 23, whereby the incident angle with respect to the back surface 23c of the light guide 23 is reduced by about ⁇ 1 ⁇ 2. For this reason, the spread angle in the B direction of light incident on the low refractive index layer 24 is about ⁇ 1 ⁇ 2 or less.
  • the light Q5 traveling toward the back surface 23c of the light guide 23 is similarly the back surface 23c of the light guide 23 and the prism 23e (light emission).
  • the light is incident on the low-refractive index layer 24 by repeated reflection with the surface 23b).
  • substantially all of the light incident on the low refractive index layer 24 is forward (liquid crystal display panel) on the inclined surface 24c of the prism 24b (the interface between the inclined surface 24c of the prism 24b and the air layer). 10 side) is totally reflected (see broken line arrow) or totally reflected after being transmitted (see broken line arrow). Then, the totally reflected light (see the broken line arrow) again enters the light guide 23 and exits forward (to the liquid crystal display panel 10 side) from the light exit surface 23b (see FIG. 5).
  • the refractive index (n1) of the light guide 23 is 1.42 or more (for example, about 1.59 to about 1.65) and the refractive index of the air layer is about 1, the light guide 23 and the air
  • the critical angle with the layer is smaller than the critical angle between the light guide 23 and the low refractive index layer 24. For this reason, almost no light exits from the light exit surface 23b without passing through the prism 24b of the low refractive index layer 24.
  • the prism 23i is formed on the front surface 23b of the light guide 23
  • a part of the light traveling toward the front surface 23b of the light guide 23 is The light is diffused (reflected) on both sides in the A direction by the inclined surface 23j of the prism 23i.
  • the light from the LED 21 is incident on the low refractive index layer 24 as described above while being diffused in the A direction.
  • the light R1 emitted in the V-shaped emission line direction from the light incident from the light incident surface 23a is the prism 23q (inclined surface 23r) of the end region 22b.
  • the light guide angle propagation angle
  • the light incident from the light incident surface 23a is reflected by the prism 23q (inclined surface 23r) in a direction approaching the optical axis O (a direction in which the angle formed with the optical axis O decreases).
  • the light R1 having an angular distribution that becomes a V-shaped emission line (light that becomes a component of a V-shaped emission line) is converted into the light R2 having an angle distribution that does not become a V-shaped emission line (light that does not become a component of a V-shaped emission line). And changed.
  • the light incident from the light incident surface 23a propagates in the light guide plate 22 as light that does not become a component of the V-shaped bright line. Therefore, the generation of V-shaped bright lines is suppressed.
  • the spread of light in the lateral direction (for example, the A direction) is suppressed by the prism 23q (broken line arrow in FIG. 15). reference).
  • the prism 23q (broken line arrow in FIG. 15). reference).
  • the prism 23i having a smaller suppression effect on the spread of light than the prism 23q is formed, so that light is appropriately diffused in the light emitting region 22a. (See broken line arrows in FIG. 16). Thereby, generation
  • the light incident on the light incident surface 23a of the light guide 23 is incident on the light guide 23 and is not totally reflected by the low refractive index layer 24, but immediately enters the low refractive index layer.
  • a light component (referred to as component A) incident on 24 is included (see broken line arrow). Since this component A is emitted from the prism 24b, it is emitted all at once at the position where the prism 24b is present (starting position of the prism 24b), which causes luminance unevenness. (By Snell's law, the amount of light of component A increases as the refractive index difference between the refractive index (n1) of the light guide 23 and the refractive index (n2) of the low refractive index layer 24 decreases). If the prism 24b starts from the light emitting area 22a side of the prism 23e, light that causes uneven brightness is emitted from the light emitting area 22a.
  • the prism 24b is formed closer to the light incident surface 23a (LED 21) than the prism 23e. That is, the prism 24b is formed from the front side (LED 21 side) with respect to the light emitting region 22a. For this reason, the component A that causes luminance unevenness can be emitted from the end region 22b in front of the light emission region 22a (display region start position L2). Thereby, it is suppressed that the light which becomes a factor of a brightness nonuniformity is radiate
  • the light emitted from the LED 21 has a spread of ⁇ 90 ° in the A direction and the C direction with respect to the front direction (B side direction) of the LED 21.
  • the light emitted from the LED 21 is refracted when entering the light incident surface 23a of the light guide 23, and the spread in the A direction and the C direction with respect to the B direction becomes ⁇ ⁇ 1 as shown in FIG.
  • the angle ⁇ 1 is a critical angle between the light guide 23 and the air layer.
  • this region is illustrated as a region T1 (hatched region) in FIG.
  • T1 hatchched region
  • the spreading component in the C direction of the light incident on the light guide 23 is ⁇ C
  • the incident angle of the light to the low refractive index layer 24 is ⁇ / 2 ⁇ C.
  • ⁇ A sin 2 ⁇ sin 2 ⁇ C (4)
  • n1 1.59
  • n2 1.35
  • the possible range of theta A it is possible to suppress 0 ⁇ ⁇ A ⁇ 19.95, and the A-direction of the light spread .
  • the effect of suppressing the spread of light in the A direction is slightly weakened by the prism 23i.
  • the width W3 in the A direction of the flat surface portion 23h is less than or equal to the width W4 in the A direction of the prism 23i.
  • the influence of the flat portion 23h and the prism 23i will be further described.
  • the light reflected by the flat portion 23h of the light guide 23 is reversed in the direction of the C direction while maintaining the spread in the B direction and the A direction.
  • the light reflected by the prism 23i of the light guide 23 changes the spread component in the C direction and the A direction while maintaining the spread in the B direction.
  • the light guide plate 22 (see FIG. 4) is configured to include the light guide 23 and the low refractive index layer 24, and the prism 23e, the prism 23i, the prism 24b, and the like are provided, As shown in FIG. 17, V-shaped bright lines are likely to occur near the light incident surface of the light guide plate 22. For this reason, the inventors of the present application have made various studies on the cause of the occurrence of the V-shaped bright line.
  • FIG. 18 is a diagram showing the angular distribution of light in each region of FIG.
  • the region “1” is located in the V-shaped bright line portion of each of the LEDs 1 and 2, and the region “2” is located in the V-shaped bright line portion of the LED 2.
  • the region “3” and the region “4” are located in a region away from the V-shaped bright line.
  • 18A to 18D show the angular distribution of the light from the LED 1
  • FIGS. 18E to 18H show the angular distribution of the light from the LED 2.
  • FIG. 18E to 18H show the angular distribution of the light from the LED 2.
  • the light intensity at the angle of the horizontal portion is not observed strongly, but is observed as almost the same light intensity in any angular distribution. . From this, it was observed that the light that becomes the V-shaped emission line is concentrated on the lateral portion of the circumference (the angle of the lateral portion).
  • the V-shaped bright line was caused by the angular distribution of incident light and the like, and the light at the angle of the horizontal portion was a V-shaped bright line. This is considered to be because light of the angle of the horizontal portion is emitted forward from the light emitting surface 23b (see FIG. 4) in the region near the light incident surface 23a.
  • the surface of the light incident surface 23a is affected by the surface roughness of the light incident surface 23a of the light guide plate 22, the influence of the prism 23e (see FIG. 6) and the prism 23i (see FIG. 9) formed on the light emitting surface 23b, and the like.
  • the light of the horizontal portion has an incident angle of light with respect to the back surface 23 c of the light guide 23 that is equal to or smaller than the critical angle between the light guide 23 and the low refractive index layer 24.
  • the light enters the low refractive index layer 24 and is reflected forward by the prism 24b (see FIG. 5). And it is radiate
  • the light in the lateral portion of the circumference in the hatching region
  • the light surrounded by a broken line becomes a V-shaped bright line.
  • FIG. 20 shows the angle distribution in the light guide plate.
  • FIG. 20A shows a state (initial state) before the light of the lateral part of the circumference is reflected by the prism 23q (inclined surface 23r), and
  • FIG. 20B shows the lateral part of the circumference. Shows the state after the light is reflected by the prism 23q (inclined surface 23r) (state in the light emission region).
  • the prism 23q inclined surface 23r
  • FIG. 3 shows the light having the angle of the horizontal portion has an incident angle of light with respect to the back surface 23c (see FIG.
  • the light in the hatched portion surrounded by the broken line is incident on the light guide plate 22 and then immediately incident on the low refractive index layer 24 without being totally reflected by the low refractive index layer 24. It is a light component that
  • the prism 23q (see FIG. 3) in the end region 22b of the light guide plate 22, the generation of V-shaped bright lines is suppressed and luminance unevenness is suppressed.
  • the prism 23i of the light exit surface 23b is configured to appropriately diffuse light. Therefore, as shown in FIG. 22, it was confirmed that not only the V-shaped bright line but also the occurrence of linear unevenness is suppressed.
  • FIGS. 30 to 35 are views for explaining the manufacturing process of the light guide plate of the backlight unit according to the first embodiment. Next, with reference to FIGS. 30 to 35, a method for manufacturing the light guide plate 22 of the backlight unit 20 according to the first embodiment will be described.
  • the light guide 23 is formed using a thermal imprint method. Specifically, as shown in FIG. 30, a film material 23 k made of a transparent resin is disposed between the upper mold 130 and the lower mold 131. Next, as shown in FIG. 31, the film material 23 k is heated and pressurized by the upper mold 130 and the lower mold 131. Thereby, the film material 23k is formed in a desired shape.
  • the film material 23k is peeled off from the upper mold 130 and the lower mold 131, cooled, and divided into individual pieces, whereby the light guide 23 is obtained as shown in FIG.
  • the roll toe can be formed by forming the light guide 23 using the imprint method using the film material 23k.
  • the light guide 23 can be manufactured by a roll method. Thereby, the manufacturing time can be shortened and the manufacturing cost can be reduced.
  • the low refractive index layer 24 is formed on the back surface 23c of the light guide 23 using an imprint method using UV light (ultraviolet light).
  • a UV curable resin 24e made of a transparent resin is applied on the back surface 23c of the light guide 23.
  • the light emitting surface 23b and the back surface 23c are formed substantially in parallel, so that the UV curable resin 24e can be applied in a uniform film thickness.
  • the light guide 23 and the UV curable resin 24e are disposed on the quartz substrate 132, and the light guide 23 and the UV curable resin 24e are sandwiched between the quartz substrate 132 and the mold 133. Thereafter, the UV curable resin 24e is cured to become the low refractive index layer 24 by irradiating UV light from the quartz substrate 132 side. Thereby, as shown in FIG. 35, the light guide plate 22 including the light guide 23 and the low refractive index layer 24 formed in a desired shape is obtained.
  • the formation of the low refractive index layer 24 may be performed by a roll-to-roll method, and then the light guide plate 22 (the light guide 23 and the low refractive index layer 24) may be divided into pieces.
  • the light emitting surface 23b of the light guide 23 is provided with the plurality of prisms 23e that gradually reduce the incident angle of light from the LED 21 with respect to the back surface 23c of the light guide 23.
  • the light from the LED 21 is guided while being repeatedly reflected between the light exit surface 23b and the back surface 23c of the light guide 23, and the incident angle of the light with respect to the back surface 23c of the light guide 23 gradually decreases.
  • the incident angle of light with respect to the back surface 23 c of the light guide 23 becomes smaller than the critical angle between the light guide 23 and the low refractive index layer 24, the light from the LED 21 enters the low refractive index layer 24.
  • the spread angle in the B direction of the light incident on the low refractive index layer 24 becomes small, and the spread angle in the B direction of the light reflected at the interface between the back surface 24a of the low refractive index layer 24 and the air layer also becomes small. . That is, the light condensing characteristic can be improved and the luminance of the liquid crystal display panel 10 can be improved. As a result, since it is not necessary to provide a plurality of optical sheets such as a condensing lens on the light guide plate 22, the backlight unit 20 can be thinned and an increase in manufacturing cost can be suppressed.
  • the light from the LED 21 is transmitted between the light exit surface 23b and the back surface 23c of the light guide 23.
  • the light is guided while being repeatedly reflected, and as it moves away from the LED 21, the incident angle with respect to the back surface 23 c of the light guide 23 becomes smaller and becomes easier to enter the low refractive index layer 24.
  • the amount of light incident on the low refractive index layer 24 can be made uniform between the portion near the LED 21 where the amount of light (light flux) is large and the portion far from the LED 21 where the amount of light (light flux) is small.
  • light can be uniformly emitted from the entire light emission region 22a of the light guide plate 22, so that the luminance of the liquid crystal display panel 10 can be made uniform.
  • the plurality of prisms 24b that reflect the light from the LEDs 21 forward are formed on substantially the entire back surface 24a of the low refractive index layer 24 in the light emission region 22a of the light guide plate 22.
  • the light can be uniformly reflected by the plurality of prisms 24b over substantially the entire light emitting region 22a of the light guide plate 22.
  • light can be emitted more uniformly from the entire light emission region 22a of the light guide plate 22, so that it is possible to suppress the occurrence of dot unevenness and to make the luminance of the liquid crystal display panel 10 more uniform. can do.
  • the plurality of prisms 24 b have a function of totally reflecting the light from the LED 21, so that the light incident on the low refractive index layer 24 from the light guide 23 is the back surface of the low refractive index layer 24. Emitting from 24a can be suppressed. Thereby, since it can suppress that the loss of light generate
  • the prism 23e is configured to start from the end region 22b.
  • the boundary between the region S1 where the prism 23e is not formed and the region S2 where the prism 23e is formed is included in the end region 22b, so that the boundary is not included in the light emitting region 22a. be able to. Therefore, the boundary can be prevented from being visually recognized, and light can be uniformly emitted from the light emission region 22a.
  • the prism 23e becomes the light incident surface 23a (position L0).
  • the amount of light emitted from the end region 22b can be reduced. Therefore, loss of light can be reduced.
  • the formation start position L1 of the prism 23e approaches the light incident surface 23a (position L0)
  • the amount of emitted light in the non-display area (end area 22b) increases, and the amount of light that becomes a loss increases. For this reason, it is preferable that the formation start position L1 of the prism 23e is closer to the start position L2 of the light emission region 22a (display region).
  • the prism 24b is formed on the back surface 24a of the low refractive index layer 24 (the back surface of the light guide plate 22), and the formation start position L3 of the prism 24b is set to be greater than the formation start position L1 of the prism 23e.
  • the LED 21 side light that causes luminance unevenness can be reflected by the prism 24b and emitted from the end region 22b. For this reason, it can suppress that such light is guide
  • the prism 23q is formed in the end region 22b on the LED 21 side of the light guide 23 so that the light from the LED 21 incident on the light guide 23 is reflected by the prism 23q. Can do.
  • the prism 23q greatly changes the propagation angle of light spreading in the lateral direction compared to the prism 23i. For this reason, this prism 23q can suppress the spread of light in the lateral direction.
  • the V-shaped bright line is generated due to light spreading in the lateral direction in the light guide 23. Therefore, the generation of V-shaped bright lines can be effectively suppressed by suppressing the spread of light in the lateral direction by the prism 23q.
  • the light that has become the V-shaped bright line can be used effectively, so that the light use efficiency and the luminance can be effectively improved.
  • the prism 23i formed in the light emitting region 22a of the light guide 23 is configured so that the effect of changing the propagation angle of light spreading in the lateral direction is smaller than that of the prism 23q.
  • light can be appropriately diffused by the prism 23i. Thereby, generation
  • the prism 23q is formed in the end region 22b (near the light incident portion) of the light guide 23, and the prism 23i is formed in the light emitting region 22a.
  • production of a linear nonuniformity can be suppressed effectively.
  • planar light with good uniformity can be obtained. That is, in the planar light emitted from the backlight unit 20, it is possible to effectively suppress the occurrence of luminance unevenness due to V-shaped bright lines and linear unevenness. As a result, the backlight unit 20 with high luminance uniformity can be obtained.
  • the V-shaped bright line and the light that has been linearly uneven can be used effectively, the light use efficiency and the luminance can be effectively improved.
  • the prism 23q in the end region 22b reflects the light incident on the light guide 23 in a direction approaching the optical axis O of the light from the LED 21, so that the component light that becomes a V-shaped emission line is V-shaped.
  • the light can be effectively changed to components that do not become bright lines.
  • the generation of V-shaped bright lines can be more effectively suppressed, so that the occurrence of uneven brightness due to the V-shaped bright lines is effectively suppressed in the planar light emitted from the backlight unit 20. can do.
  • the prism 23q and the prism 23i have different shapes, the prism 23q and the prism 23i can be easily configured so that the propagation angle of light spreading in the lateral direction is changed.
  • the prism 23q (inclined surface 23r) is formed so as to extend in the substantially vertical direction (B direction) from the light incident surface 23a when seen in a plan view, and is incident (incident) on the light guide 23.
  • the prism 23i (inclined surface 23j) is formed so as to extend in a substantially vertical direction (B direction) with respect to the light incident surface 23a when viewed in a plan view, whereby light is transmitted through the inclined surface 23j (prism 23i).
  • light can be diffused appropriately. Thereby, generation
  • the light emitting surface 23b and the back surface 23c of the light guide 23 are formed substantially parallel to each other, so that, for example, a wedge-shaped light guide whose back surface is inclined with respect to the light emitting surface is used.
  • the low refractive index layer 24 can be easily formed on the back surface 23 c of the light guide 23.
  • the incident angle of the light from LED21 with respect to the back surface 23c of the light guide 23 is provided by providing the inclined surface 23f inclined with respect to the light-projection surface 23b of the light guide 23 in the prism 23e. Can be made small gradually, easily.
  • the inclined surface 23f is inclined by 5 ° or less (0.1 ° or more and 3 ° or less) with respect to the light emitting surface 23b of the light guide 23, whereby the light is reflected from the prism 23e and the back surface.
  • the incident angle of light with respect to the back surface 23c of the light guide 23 is reduced by 10 ° or less (0.2 ° or more and 6 ° or less). Thereby, the incident angle of the light with respect to the back surface 23c of the light guide 23 can be gradually reduced more easily.
  • the first embodiment it is possible to suppress the light emitted from the light guide 23 from being split by forming the plane portion 23d between the prisms 23e adjacent in the B direction.
  • the light can be reflected more uniformly by the plurality of prisms 24b.
  • Light can be emitted more uniformly from the entire emission region 22a. Thereby, the brightness
  • the plurality of prisms 24b can reflect light more uniformly. Light can be emitted more uniformly from the entire light emission region 22 a of the light guide plate 22.
  • a plurality of prisms 23 i for diffusing light from the LEDs 21 in the A direction are formed on the light emitting surface 23 b (light emitting region 22 a) of the light guide 23, so that the light is guided.
  • 23 can be appropriately diffused in the A direction, so that the luminance of the front portion of the LED 21 of the liquid crystal display panel 10 and the luminance of the portion other than the front portion of the LED 21 of the liquid crystal display panel 10 can be made uniform. . That is, the luminance of the liquid crystal display panel 10 can be made more uniform.
  • a prism 23i it is possible to suppress the occurrence of linear unevenness, and thus it is possible to effectively suppress the brightness unevenness.
  • the prism 23i is formed by a pair of inclined surfaces 23j, the light from the LED 21 can be diffused to both sides in the A direction by the pair of inclined surfaces 23j.
  • the brightness of the panel 10 can be made more uniform.
  • LED21 when using LED21 as a light source, since the brightness
  • the prism 23q in the end region 22b and the prism 23i in the light emitting region 22a are formed in such a manner that the cross sections thereof are triangular.
  • the shapes of the prisms 23q and 23i may be shapes other than the triangular cross section.
  • the shape of the prisms 23q and 23i is not particularly limited as long as the prisms 23q and 23i have inclined surfaces capable of reflecting light and changing the light guide angle.
  • the prism 23q of the end region 22b may be formed such that the cross section thereof has an arc shape (a configuration having a curved inclined surface).
  • the prism 23i of the light emitting region 22a may be formed so that the cross section thereof is an arc shape. 36 corresponds to FIG. 12 described above, and FIG. 37 corresponds to FIG. 13 described above.
  • FIG. 38 is a plan view schematically showing a part of the backlight unit according to the second embodiment of the present invention.
  • 39 is a cross-sectional view taken along line a3-a3 in FIG. 38
  • FIG. 40 is a cross-sectional view taken along line a4-a4 in FIG. 41 and 42 are cross-sectional views showing other examples of the second embodiment.
  • 41 shows a diagram corresponding to the cross section along the line a3-a3 in FIG. 38
  • FIG. 42 shows a diagram corresponding to the cross section along the line a4-a4 in FIG.
  • a backlight unit according to a second embodiment of the present invention will be described with reference to FIG. 3 and FIGS.
  • symbol is attached
  • a plurality of concave prisms 223i (concave portions) extending continuously from the end region 22b to the light emitting region 22a are formed. That is, in the second embodiment, the prisms in the end region 22b and the light emitting region 22a are not formed separately in the end region 22b and the light emitting region 22a. It is said that. More specifically, the prism 23i and the prism 23q, which are separately formed in the first embodiment, are formed into a continuous shape and formed as the prism 223i on the light guide 23.
  • the prism 223i formed on the front surface 23b of the light guide 23 is formed so that its cross section has a triangular shape, as shown in FIGS.
  • the prism 223i has a pair of inclined surfaces 223j. Further, the prism 223i is formed to extend in the normal direction (B direction) of the light incident surface 23a.
  • a plane portion 223h is formed between the prisms 223i adjacent in the A direction. Further, between the prisms 223i adjacent to each other in the A direction, a plurality of planar portions 23d and a plurality of concave prisms 23e are alternately formed as in the first embodiment.
  • the prism 23e is formed on the light incident surface 23a side (LED 21 side) from the light emitting region 22a (display region). Specifically, the prism 23e starts from a position L1 (a predetermined position in the end region 22b) that is separated from the light incident surface 23a by a predetermined distance D30 in the B direction.
  • the depth of the prism 223i becomes deeper toward the light incident surface 23a (see FIG. 38). Since the inclination angle of the inclined surface 223j of the prism 223i is constant, the width in the A direction increases as the depth of the prism 223i increases. Therefore, the width of the prism 223i increases in the A direction as it goes toward the light incident surface 23a. Thereby, the occupation area (occupancy ratio) of the prism 223i (the inclined surface 223j) is larger in the end region 22b than in the light emission region 22a.
  • the occupied area (occupancy) of the prism 223i (inclined surface 223j) is large in the end region 22b of the light guide 23, and the occupied area of the prism 223i (inclined surface 223j) in the light emitting region 22a. (Occupancy rate) is formed to be small. Therefore, the occurrence of V-shaped bright lines and linear unevenness is effectively suppressed.
  • the prism 223i configured as described above serves as the prism 23q (see FIG. 3) of the first embodiment in the end region 22b, and the prism 23i (see FIG. 3) of the first embodiment in the light emitting region 22a. To play the role. That is, the prism 23q and the prism 23i can play the role of the prism 223i alone.
  • the width of the prism 223i in the A direction is larger in the end region 22b than in the light emitting region 22a.
  • the width of the flat portion 223h is smaller in the end region 22b than in the light emitting region 22a. Therefore, there is a relationship of W14> W4 and W13 ⁇ W3.
  • the prism 223i is formed so that its cross section is triangular.
  • the shape of the prism 223i may be other than a triangular cross section.
  • the prism 223i may be formed so that the cross section thereof has an arc shape (a configuration having a curved inclined surface).
  • the inclination angle of the inclined surface 223j also increases in addition to the increase in the width in the A direction. As the tilt angle increases, the effect of suppressing the V-shaped bright line increases. Therefore, if the prism 223i is formed so that its cross section has an arc shape, generation of V-shaped bright lines can be more effectively suppressed.
  • the width of the prism 223i in the A direction is larger in the end region 22b than in the light emitting region 22a.
  • the width of the flat portion 223h is smaller in the end region 22b than in the light emitting region 22a. Therefore, there is a relationship of W14> W4 and W13 ⁇ W3.
  • FIG. 43 is a plan view schematically showing a part of the backlight unit according to the third embodiment of the present invention.
  • FIG. 44 is a schematic cross-sectional view for explaining a backlight unit according to the third embodiment of the present invention.
  • a backlight unit according to a third embodiment of the present invention will be described.
  • symbol is attached
  • the reflective layer 30 is provided on the entire surface or a part of the end region 22b (near the light incident portion).
  • the reflective layer 30 is made of, for example, a reflective plate coated with silver or a reflective sheet such as white PET resin.
  • the reflective layer 30 may be installed on the light guide plate 22 (light guide 23), or may be in close contact with the light guide plate 22 (light guide 23) by an adhesive layer (not shown) or the like.
  • the reflective layer 30 may be formed by forming a reflective film such as aluminum or silver having high reflectivity directly on the light guide plate 22.
  • the reflecting layer 30 that reflects the light emitted to the outside from the prism 23q on the prism 23q (on the end region 22b), for example, an air layer (in the air) Can be reflected by the reflective layer 30 and incident on the light guide 23.
  • an air layer in the air
  • FIG. 45 is a cross-sectional view schematically showing a backlight unit according to the fourth embodiment of the present invention.
  • a backlight unit according to a fourth embodiment of the present invention will be described with reference to FIG.
  • the corresponding components are denoted by the same reference numerals, and redundant description will be omitted as appropriate.
  • a prism layer 25 is further formed on the back surface 23c side of the light guide 23 in addition to the low refractive index layer 24.
  • the low refractive index layer 24 is sandwiched between the light guide 23 and the prism layer 25.
  • the prism layer 25 is made of a transparent material having a refractive index (n3), and is formed on the lower surface (back surface) of the low refractive index layer 24 without an air layer or the like.
  • n2 ⁇ n3 ⁇ n1 holds among the refractive index (n1) of the light guide 23, the refractive index (n2) of the low refractive index layer 24, and the refractive index (n3) of the prism layer 25. Is preferred.
  • a prism 25b that can collect light using total reflection is formed on the back surface of the prism layer 25 (the back surface of the light guide plate 22).
  • the prism 25b has the same shape as the prism 24b (see FIG. 1) shown in the first embodiment. That is, in the fourth embodiment, instead of the prism 24b being formed in the low refractive index layer 24, the prism 25b is formed in the prism layer 25.
  • the prism 25b is an example of the “second reflecting portion” in the present invention.
  • FIG. 46 is a cross-sectional view schematically showing a backlight unit according to the fifth embodiment of the present invention.
  • 47 is an enlarged cross-sectional view of a part of the prism sheet shown in FIG.
  • a backlight unit according to a fifth embodiment of the present invention will be described.
  • symbol is attached
  • a reverse prism type (turning lens type) backlight unit is used.
  • the light guide plate 22 constituting the backlight unit does not include a low refractive index layer. That is, in the fifth embodiment, the light guide plate 22 includes the light guide 23.
  • a prism 523e having the same function as the prism 23e (see FIG. 1) is formed on the back surface 23c (lower surface) of the light guide plate 22 (light guide 23).
  • a prism 523i or a grain pattern 523i having the same function as the prism 23i (see FIG. 9) is formed on the front surface 23b (upper surface) of 22 (light guide 23).
  • the prism 523e formed on the back surface 23c of the light guide plate 22 (light guide 23) has an inclined surface 523f inclined at an inclination angle ⁇ 5.
  • the inclination angle ⁇ 5 of the inclined surface 523f is, for example, about 1 ° to 2 °.
  • the prism 523e only needs to be formed on either the front surface 23b (upper surface) or the rear surface 23c (lower surface) of the light guide plate 22 (light guide 23), and the prism 523i or the embossed pattern 523i is also formed on the light guide plate 22. It may be formed on either the front surface 23b (upper surface) or the back surface 23c (lower surface).
  • a prism sheet 510 (single-sided prism sheet) having a prism surface 511 is installed on the light guide plate 22.
  • the prism sheet 510 is installed so as to overlap the light guide plate 22 (light guide 23).
  • the prism surface 511 of the prism sheet 510 faces the front surface 23b of the light guide plate 22 (light guide 23).
  • a plurality of prisms 512 are formed on the prism surface 511 of the prism sheet 510. These prisms 512 are formed so that the cross section has a triangular shape. As shown in FIG. 47, each of the plurality of prisms 512 has a pair of inclined surfaces 512a.
  • An angle ⁇ 6 (vertical angle ⁇ 6 of the prism 512) formed by the pair of inclined surfaces 512a is, for example, about 65 ° to about 70 °.
  • the prism 523i and the embossed pattern 523i are each an example of the “third reflecting portion” in the present invention, and the prism sheet 510 is an example of the “optical sheet” in the present invention.
  • An air layer is interposed between the prism sheet 510 and the light guide plate 22. This air layer serves as the low refractive index layer shown in the first to fourth embodiments.
  • the prism 523e is formed on the light incident surface 23a side with respect to the light emitting region 22a (display region). Specifically, the prism 523e starts from a position L1 (a predetermined position in the end region 22b) that is separated from the light incident surface 23a by a predetermined distance D30 in the B direction. As in the first embodiment, a flat portion may be formed between the prisms 523e adjacent in the B direction (for example, the length direction of the light guide plate 22).
  • the light from the LED 21 is incident from the light incident surface 23a and guided in the light guide plate 22 (light guide 23).
  • 23b is emitted toward the prism sheet 510.
  • light is emitted from the front surface 23b (light emission surface 23b) of the light guide plate 22 at an angle ⁇ 7 of about 20 °, for example, and is incident on the prism 512 of the prism sheet 510. Then, the incident light is totally reflected forward by the prism sheet 510 (see arrow).
  • the light incident on the light guide plate 22 has a spread due to the presence of surface roughness due to the processing of the light incident surface 23a (for example, Gaussian scattering). Then, the spread light hits the prism 523i or the embossed pattern 523i formed on, for example, the front surface 23b of the light guide plate 22, so that the end region 22b (near the light incident portion) becomes a critical angle or less and a V-shaped base line is generated. . That is, even in such a turning lens type backlight unit, a V-shaped base line is likely to occur.
  • Gaussian scattering for example, Gaussian scattering
  • the prism 23q described above is formed in the end region 22b as in the first to fourth embodiments.
  • the prism 23q may be formed on either the front surface 23b or the back surface 23c of the light guide plate 22 (light guide 23).
  • FIG. 46 the example formed in the front surface 23b of the light-guide plate 22 is shown.
  • the prism 23q is formed so as to greatly change the propagation angle of light spreading in the lateral direction (A direction) as compared to the prism 523i or the embossed pattern 523i, as in the first to fourth embodiments. Therefore, also in the fifth embodiment, the occurrence of V-shaped bright lines and linear unevenness is effectively suppressed.
  • the number of optical sheets can be reduced by employing a turning lens type backlight unit.
  • a turning lens type backlight unit V-shaped bright lines and linear irregularities are likely to occur, but the prism 23q and the prism 523i (or the embossed pattern 523i) are formed on the light guide plate 22 (light guide 23). ) Can effectively suppress the occurrence of V-shaped bright lines and linear unevenness.
  • FIG. 48 is a plan view schematically showing a part of the backlight unit according to the sixth embodiment of the present invention.
  • a backlight unit according to a sixth embodiment of the present invention will be described with reference to FIG. 3, FIG. 7, and FIG.
  • symbol is attached
  • a trapezoidal prism 40a is formed at the end of the light guide plate 22 (light guide 23) (the end on the LED 21 side).
  • the end region 22b of the light guide 23 is formed in the trapezoidal prism 40a.
  • the trapezoidal prism 40 a is formed integrally with the light guide plate 22, and the oblique side of the trapezoid is the inclined surface 40 when viewed in plan. That is, a trapezoidal prism 40 a including the inclined surface 40 is formed at the end of the light guide plate 22. Further, the pair of inclined surfaces 40 (slope sides) are line symmetric with respect to the optical axis O.
  • the inclined surface 40 is formed substantially perpendicular to the light emitting surface 23b or the back surface 23c of the light guide 23.
  • the inclined surface 40 is formed so as to extend from the light incident surface 23a in a direction inclined with respect to the optical axis O. Further, the inclined surface 40 is formed so as to reflect the light R2 incident on the light guide plate 22 from the LED 21 in a direction approaching the optical axis O (a direction in which the angle formed with the optical axis O decreases). That is, the inclined surface 40 reflects the light R2 emitted in the V-shaped bright line direction and changes the angular distribution of light in the horizontal direction (lateral direction).
  • the trapezoidal prism 40a is formed in a region S1 (region on the LED 21 side: see FIG. 7) where the prism 23e is not formed in the end region 22b.
  • the light emitted in the V-shaped emission line direction incident from the light incident surface 23a is reflected by the inclined surface 40 of the trapezoidal prism 40a and is horizontally
  • the angular distribution of light in the direction (lateral direction) is changed.
  • the light incident from the light incident surface 23a propagates in the light guide plate 22 as light that does not become a component of the V-shaped bright line. Therefore, the generation of V-shaped bright lines is suppressed.
  • the trapezoidal prism 40a has the same function as the prism 23q (see FIG. 3) shown in the first embodiment, a trapezoidal prism 40a may be provided instead of the prism 23q. Moreover, it is good also as a structure further provided with the prism 23q in the structure which has the trapezoidal prism 40a.
  • the trapezoidal prism 40a may be formed up to the start position L2 of the light emitting region 22a.
  • the LED 21 side end of the light guide plate 22 A cut portion may be formed in the portion (near the light incident surface 23a).
  • an inclined surface made of an air interface an inclined surface similar to the inclined surface 40 of the trapezoidal prism 40a
  • the outer surface of the inclined surface is preferably subjected to reflection processing such as mirror processing.
  • the present invention is not limited to this and may be applied to lighting devices other than the backlight unit.
  • the lighting device of the present invention can be applied to general lighting such as room lighting and outdoor lighting.
  • the present invention is not limited to this, and backlights of other types than the above are used.
  • the present invention can also be applied to a unit.
  • the prism (prism 23e) which makes the incident angle of the light from LED with respect to the back surface of a light guide gradually small on the light-projection surface (front surface) of a light guide, and light to a horizontal direction
  • the said prism may be formed other than the light-projection surface (front surface) of a light guide.
  • a prism 23e that gradually reduces the incident angle of light from the LED 21 with respect to the back surface 23c of the light guide 23 may be formed on the back surface 23c of the light guide 23. Further, as shown in FIG.
  • a prism 23 i that diffuses light in the lateral direction may be formed on the back surface 23 c of the light guide 23.
  • both the prism 23e and the prism 23i may be formed on the back surface 23c of the light guide 23, or either one may be formed on the back surface 23c of the light guide 23.
  • region of a light guide on the light-projection surface (front surface) of a light guide was shown, this invention is not limited to this. Instead, the prism (prism 23q) in the end region may be formed on the back surface of the light guide (interface with the low refractive index layer). Further, as shown in the above embodiment, the prism 23q and the prism 23i may be formed in the same plane, or may be formed in different planes unlike the above embodiment.
  • each prism (prism 23e, prism 23i, prism 23q) formed in a light guide may be formed in the single side
  • the refractive index (n5) is preferably n2 ⁇ n5 ⁇ n1, where the refractive index of the intervening layer is the refractive index (n5).
  • the prism (prism 23e) which gradually reduces the incident angle of the light from LED with respect to the back surface of a light guide, and the prism (prism 23i) which diffuses light laterally are each concave shape.
  • the prism may be formed in a shape other than a concave shape (for example, a convex shape).
  • the prism 23 i can be formed in a convex shape that protrudes upward, as illustrated in FIG. 51 and FIG. 52.
  • the convex prism 23i may be formed, for example, so that its cross section has an arc shape.
  • the convex prism 23i may be formed so that the cross section has a triangular shape, for example. Moreover, shapes other than the above, such as an elliptical shape, may be used. Similarly, the prism (prism 23e) that gradually reduces the incident angle of light from the LED with respect to the back surface of the light guide and the prism (prism 23q) formed in the end region are also variously convex. It can be a shape.
  • the prism (prism 23q) in the end region and the prism (prism 23i) for diffusing light in the lateral direction are formed so as to extend in a direction substantially perpendicular to the light incident surface.
  • the present invention is not limited to this, and any other shape may be used as long as it has a function similar to that described above.
  • the prism (prism 23i) that diffuses light in the lateral direction is configured to start from the end region, but the prism 23i is configured to start from the light emitting region. Also good. However, the prism 23i is also preferably configured to start from the end region before the light emitting region.
  • the example in which the prism 23q is formed in the end region of the light guide is shown.
  • the region where the prism 23e is not formed in the end region can be in a planar state (a state where it is a planar portion).
  • other optical patterns can be formed in this region.
  • the prism (prism 24b (25b)) provided on the back surface of the light guide plate is configured to start from the light source side (LED side) with respect to the prism 23e.
  • the prism 24b (25b) may be configured to start from the same position as the prism 23e or from the light emission region side of the prism 23e.
  • the prism 24b (25b) is preferably configured to start from a position closer to the light incident surface.
  • the said embodiment it is good also as a structure which provides a reflecting plate in the back side of a light-guide plate.
  • the structure of the reflecting plate is not particularly limited, and is formed of, for example, a reflecting plate made of a dielectric multilayer mirror, a reflecting plate coated with silver, or a reflecting plate made of white PET resin. And preferred. Moreover, you may be set as the structure which provided the diffusion plate which diffuses light between a light-guide plate and a display panel.
  • the light source should just be arrange
  • the values such as the angle and the width described in the above embodiment are examples, and the angle and the width may be formed to values different from those in the above embodiment.
  • the present invention is not limited thereto, and the light guide plate is formed.
  • the prism may be formed using a roll-shaped mold and a quartz substrate.
  • the prism was formed in the light guide using the imprint method by a heat
  • the prism may be formed after the low refractive index layer is formed on the light guide.
  • a film material 224e to be the low refractive index layer 24 is laminated on the film material 23k to be the light guide 23.
  • the film materials 23k and 224e are disposed between the upper mold 230 and the lower mold 231.
  • the film materials 23k and 224e are heated and pressurized by the upper mold 230 and the lower mold 231. Thereby, the film materials 23k and 224e are formed in a desired shape.
  • the film materials 23k and 224e are peeled off from the upper mold 230 and the lower mold 231 and cooled, and divided into individual pieces, whereby the light guide 23 and the low refractive index layer 24 are obtained as shown in FIG.
  • a light guide plate 22 made of is obtained.
  • the sheet (film material: refractive index (n13)) on which 25b) is formed is bonded together with a sheet (film material: refractive index (n12)) to be a low refractive index layer.
  • the relationship between the refractive indexes of the sheets is n12 ⁇ n13 ⁇ n11.
  • the prism sheet used in the backlight unit may be, for example, a double-sided prism sheet other than the single-sided prism sheet.
  • a prism sheet having a prism surface on the light guide plate side and a microlens or the like formed on the opposite surface (upper surface) can be used.
  • Liquid crystal display device 10 Liquid crystal display panel (display panel) 11 Active matrix substrate 12 Counter substrate 13 Polarizing film 20 Backlight unit (illumination device) 21 LED (light source) 22 Light guide plate (light guide member) 22a Light exit region 22b End region 23 Light guide 23a Light incident surface (light incident surface) 23b Light exit surface, front surface (top surface) 23c Back (bottom) 23d Plane part 23e Prism (first reflection part) 23f Inclined surface 23g Vertical surface 23h Plane portion 23i Prism (third reflection portion) 23j inclined surface 23p plane part 23q prism (fourth reflecting part) 23r inclined surface 24 low refractive index layer 24a back surface 24b prism (second reflection part) 24c inclined surface 25 prism layer 25b prism (second reflecting portion) 30 Reflective layer

Landscapes

  • Physics & Mathematics (AREA)
  • General Physics & Mathematics (AREA)
  • Optics & Photonics (AREA)
  • Planar Illumination Modules (AREA)

Abstract

 照明品位を向上させることが可能な照明装置を提供する。このバックライトユニット(照明装置)20は、光源と、この光源からの光を導光する導光体23とを備えている。導光体23は、光源からの光が入光される入光面(光入射面23a)と、光源側の端部領域22bと、端部領域22bに対して光源とは反対側に配された光出射領域22aとを含む。導光体23の光出射領域22bには、導光体23内に入光された光を反射するプリズム23eが設けられている。このプリズム23eは、端部領域22bにおける光入射面23aから所定の距離D30を隔てた位置L1から始まるように構成されている。

Description

照明装置および表示装置
 本発明は、照明装置および表示装置に関し、特に、光を導光させる導光部材を搭載した照明装置およびその照明装置を備えた表示装置に関する。
 非発光型の液晶表示パネル(表示パネル)を搭載する液晶表示装置(表示装置)では、通常、その液晶表示パネルに対して、光を供給するバックライトユニット(照明装置)も搭載される。バックライトユニットは、面状の液晶表示パネル全域に対して行き渡るような面状光を生成するように構成されているのが好ましい。そのため、液晶表示装置に搭載されるバックライトユニットは、内蔵する光源の光を高い度合いで混ぜ合わせるための導光板(導光部材)を含むことがある。
 導光板を含むバックライトユニットとしては、たとえば、エッジライト(サイドライト)型のバックライトユニットが知られている。エッジライト型のバックライトユニットは、一般的に、導光板の側面にLED(Light Emitting Diode:発光ダイオード)などの光源が配置された構成を有している。このような構成を有するバックライトユニットでは、光源から出射された光が導光板の側面から導光板内部に入射されるとともに、入射された光は導光板内部で導光されて液晶表示パネル側に放出される。
 なお、このようなバックライトユニットの一例がたとえば特許文献1に記載されている。
特開2009-164100号公報
 ここで、エッジライト型のバックライトユニットにおいて、光源にLEDなどの点光源を用いた場合、幅の広い導光板に均一に光を入射させることが困難となる。このため、光源にLEDを用いたバックライトユニットでは、液晶表示パネルの表示領域に対応する領域(光出射領域)にて、均一かつ効率的に光を出射させることが困難となり、照明品位が低下するという問題点がある。
 この発明は、上記のような課題を解決するためになされたものであり、この発明の1つの目的は、照明品位を向上させることが可能な照明装置およびその照明装置を備えた表示装置を提供することである。
 上記目的を達成するために、この発明の第1の局面による照明装置は、光源と、この光源からの光を導光する導光体とを備える。導光体は、光源からの光が入光される入光面と、光源側の端部領域と、端部領域に対して光源とは反対側に配された光出射領域とを含む。また、導光体の光出射領域には、導光体内に入光された光を反射する第1反射部が設けられている。そして、この第1反射部が、端部領域における入光面から所定の距離を隔てた位置から始まるように構成されている。
 この第1の局面による照明装置では、上記のように、光出射領域に第1反射部を設けることによって、光出射領域の輝度を向上させることができる。ここで、第1反射部が形成されている領域と形成されていない領域とでは輝度が異なるため、その境界が視認されやすくなる。そのため、第1の局面では、この第1反射部を端部領域から始まるように構成している。これにより、第1反射部が形成されている領域と形成されていない領域との境界が端部領域に含まれることになるので、その境界が光出射領域に含まれないように構成することができる。したがって、その境界が視認されないようにすることができるとともに、光出射領域から均一に光を出射することができる。
 また、第1反射部を、端部領域における入光面から所定の距離を隔てた位置から始まるように構成することによって、たとえば第1反射部が入光面から始まるように構成されている場合に比べて、端部領域での出射光量を低減することができる。そのため、光の損失(ロス)を低減することができる。
 このように、第1の局面では、光出射領域において、均一かつ効率的に光を出射させることができる。したがって、照明品位の優れた照明装置を得ることができる。
 上記第1の局面による照明装置において、端部領域における第1反射部よりも光源側の領域は、光出射領域とは異なる構造とされているのが好ましい。「光出射領域とは異なる構造」とは、端部領域における第1反射部よりも光源側の領域に第1反射部とは異なる反射部が設けられている場合、および、反射部が設けられず平面状の状態(平面部となっている状態)を含む。
 また、上記第1の局面による照明装置において、導光体の背面側には、第2反射部が設けられていてもよい。この場合、第2反射部の形成開始位置は、第1反射部よりも光源側であるのが好ましい。このように構成すれば、輝度ムラの要因となる光を第2反射部で反射させて、端部領域から出射させることができる。このため、このような光が光出射領域に導光されて、光出射領域から出射されるのを抑制することができる。すなわち、輝度ムラの要因となる光が光出射領域から出射されるのを抑制することができる。これにより、輝度ムラの発生を抑制することができる。
 上記第1の局面による照明装置において、光出射領域には、光の入光方向に対して交差する方向に光を広げる第3反射部が設けられており、端部領域における第1反射部よりも光源側の領域には、第3反射部に比べて、光の入光方向に対して交差する方向に広がる光の伝搬角度を大きく変化させる第4反射部が設けられているとより好ましい。このように構成すれば、第4反射部によって導光体に入光された光源からの光を反射させることができる。第4反射部は、第3反射部に比べて、光の入光方向に対して交差する方向に広がる光の伝搬角度を大きく変化させる。このため、この第4反射部によって、入光方向に対して交差する方向への光の広がりを抑制することができる。ここで、導光体の端部領域においてはV字型輝線が発生し易い。このV字型輝線は、導光体内において横方向に広がった光が原因で発生する。そのため、入光方向に対して交差する方向への光の広がりを抑制することによって、V字型輝線の発生を効果的に抑制することができる。なお、V字型輝線の発生を抑制することによって、V字型輝線となっていた光を有効利用することができるので、光の利用効率および輝度を効果的に向上させることができる。
 V字型輝線の発生を抑制するためには、入光方向に対して交差する方向への光の広がりを抑制することが有効である。しかしながら、光の広がりを抑制しすぎると線状ムラ(入光方向に延びる線状の光ムラ)が生じる。そのため、光出射領域に第3反射部を形成している。第3反射部は、第4反射部に比べて、光の入光方向に対して交差する方向に広がる光の伝搬角度を変化させる効果が小さい。換言すると、光の入光方向に対して交差する方向に光を広げる。このため、光出射領域においては、第3反射部によって、光を適度に拡散させることができる。これにより、線状ムラの発生を抑制することができる。なお、第3反射部は、上記第1反射部と同様、端部領域における入光面から所定の距離を隔てた位置から始まるように構成されているのが好ましい。
 このように、導光体に第3反射部および第4反射部を形成することによって、V字型輝線および線状ムラの発生を抑制することができる。このため、輝度ムラを効果的に改善することができるので、均一性の良好な高品位な面状光を得ることができる。
 また、導光体の第3反射部と第4反射部とは互いに連続して形成することもできる。この場合、第3反射部および第4反射部は、平面的に見て、入光面に対して略垂直方向に連続して延びるとともに、傾斜面を含む凹部を有し、この凹部の深さが、入光面に向かうにしたがい深くなっているのが好ましい。このように構成した場合でも、V字型輝線および線状ムラの発生を効果的に抑制することができる。
 さらに、好ましくは、第4反射部上には、第4反射部から外部に出射される光を反射する反射層が設けられている。このように構成すれば、たとえば空気層に出射される光を反射層で反射させて導光体内に入射させることができる。これにより、光損失を低減することができるの、光利用効率を向上させることができる。
 この場合、上記反射層は、たとえば、導光体における光源側の端部領域の全面もしくは一部を覆うように設けられているのが好ましい。すなわち、上記反射層は、第4反射部(たとえば光源側の端部領域)の少なくとも一部を覆うように設けられているのが好ましい。
 上記第1の局面による照明装置において、好ましくは、導光体と、導光体よりも小さい屈折率を有する低屈折率層とを含む導光部材を備える。この場合、低屈折率層は、導光体の背面上に空気層を介することなく設けられているのが好ましい。また、導光体の前面側または背面には、複数の第1反射部が設けられており、導光部材の背面には、複数の第2反射部が設けられているのが好ましい。さらに、この場合、第1反射部は、導光体の背面に対する光源からの光の入射角度を徐々に小さくさせる機能を有するように形成されているのが好ましく、第2反射部は、導光部材の背面と空気層との界面において光源からの光を前方に全反射させる機能を有するように形成されているのが好ましい。
 このように、導光体の前面側または背面に、導光体の背面に対する光源からの光の入射角度を徐々に小さくさせる複数の第1反射部を設け、導光部材の背面に、導光部材の背面と空気層との界面において光源からの光を前方に全反射させる複数の第2反射部を設けることにより、光源からの光は、導光体の前面側の部分と背面との間で反射を繰り返しながら導光され、導光体の背面に対する光の入射角が徐々に小さくなる。そして、導光体の背面に対する光の入射角が導光体と低屈折率層との臨界角よりも小さくなった場合に、光源からの光は低屈折率層に入射する。このため、低屈折率層に入射された光は、光の広がり角が小さくなり、導光部材の背面と空気層との界面において反射される光の広がり角も小さくなる。これにより、導光部材から出射される光の広がり角を小さくすることができる。その結果、集光特性を向上させることができる。加えて、輝度を向上させることもできる。
 また、このように構成することによって、導光部材上に集光レンズなどの複数の光学シートを設けることなく集光特性および輝度を向上させることができるので、光学シートを設ける必要がない。そのため、光学シートを設けない構成とすることにより、照明装置の薄型化および製造コストの低減を図ることができる。さらに、光学シートを設けない構成とすることにより、光学シートを通過する際の光の損失がないため(たとえば、シート間の多重反射による光ロスがないため)、光の利用効率を向上させることができる。
 また、導光体の前面側または背面に上記第1反射部を設けることによって、光源からの光は、導光体の前面側の部分と背面との間で反射を繰り返しながら導光され、光源から離れるにしたがって、導光体の背面に対する光の入射角が小さくなる。このため、光源から離れるにしたがって、光源からの光は低屈折率層に入射し易くなる。そのため、光源に近く光の量(光束)が多い部分と光源から遠く光の量(光束)が少ない部分とにおいて、低屈折率層に入射する光の量を均一にすることができる。その結果、導光部材から均一に光を出射させることができる。加えて、輝度を均一にすることもできる。
 さらに、導光部材の背面に、光源からの光を前方に反射させる複数の第2反射部を設けることによって、この第2反射部により光を均一に反射させることができる。これにより、ドットムラが生じるのを抑制することができるとともに、輝度をより均一にすることができる。なお、第2反射部は導光部材の背面の略全面に設けられていれば、導光部材の光出射領域の略全域からより均一に光を出射させることができるため好ましい。
 複数の第1反射部は、光源からの光を全反射させる機能を有するため、導光体から低屈折率層に入射した光が導光部材の背面から出射して、光の損失が発生するのを抑制することができる。また、第2反射部は光を全反射させるため、第2反射部での光の吸収が抑制される。これにより、光の利用効率をより向上させることができる。
 なお、このように構成した場合、V字型輝線および線状ムラといった輝度ムラが発生し易くなる。しかしながら、導光体に第1反射部および第2反射部を設けることによって、V字型輝線および線状ムラの発生を効果的に抑制することができる。そのため、輝度ムラの発生を抑制しながら、光の利用効率および輝度を向上させることができる。加えて、薄型化および低コスト化を図ることもできる。また、このように構成した場合、第1反射部が形成されている領域と形成されていない領域との境界が視認され易くなる。しかしながら、第1反射部を端部領域から始まるように構成することにより、その領域が光出射領域に含まれないようにすることができる。これにより、その境界が視認されないようにすることができるので、照明品位を向上させることができる。
 また、上記第1の局面による照明装置において、導光体に重なる光学シートを備えた構成とすることもできる。この場合、光学シートは、プリズム面を有し、このプリズム面が導光体側を向くように配置されているのが好ましい。このように構成すれば、輝度を向上させながら、光学シートの数を減らすことができる。その一方、このように構成した場合、V字型輝線および線状ムラが発生し易くなる。しかしながら、導光体に第1反射部および第2反射部を設けることにより、V字型輝線および線状ムラの発生を効果的に抑制することができる。
 上記第1の局面による照明装置において、導光体の前面および背面は、互いに略平行となるように形成することができる。
 この発明の第2の局面による表示装置は、上記第1の局面による照明装置と、この照明装置からの光を受ける表示パネルとを備えている。このように構成すれば、輝度ムラが抑制された、表示品位の高い表示装置を得ることができる。
 以上のように、本発明によれば、照明品位を向上させることが可能な照明装置およびその照明装置を備えた表示装置を容易に得ることができる。
本発明の第1実施形態によるバックライトユニットを備えた液晶表示装置の側面図である。 本発明の第1実施形態によるバックライトユニットを模式的に示した斜視図である。 本発明の第1実施形態によるバックライトユニットの一部を模式的に示した平面図である。 本発明の第1実施形態によるバックライトユニットを模式的に示した斜視図である。 本発明の第1実施形態によるバックライトユニットを模式的に示した断面図であり、光の光路を示した光路図でもある。 本発明の第1実施形態によるバックライトユニットの導光体の光出射面の構造を示した拡大断面図である。 本発明の第1実施形態によるバックライトユニットの一部を模式的に示した図(プリズム有無の境界を示した図)である。 本発明の第1実施形態によるバックライトユニットを模式的に示した断面図であり、光の光路を示した光路図でもある。 本発明の第1実施形態によるバックライトユニットを模式的に示した断面図(光出射領域の断面図)である。 本発明の第1実施形態によるバックライトユニットを模式的に示した断面図(端部領域の断面図)である。 本発明の第1実施形態によるバックライトユニットの導光板の背面側の構造を示した拡大断面図であり、光の光路を示した光路図でもある。 図3のa1-a1線に沿った断面に対応する図である。 図3のa2-a2線に沿った断面に対応する図である。 本発明の第1実施形態によるバックライトユニットの一部を模式的に示した平面図である。 本発明の第1実施形態によるバックライトユニットの導光板を模式的に示した断面図(端部領域における光の反射を説明するための図)である。 本発明の第1実施形態によるバックライトユニットの導光板を模式的に示した断面図(光出射領域における光の反射を説明するための図)である。 V字型輝線および線状ムラを示した図である。 図17の各領域での光の角度分布を示した図である。 LEDからの出射光角度分布を示した図である。 導光板内での光の角度分布を示した図である。 導光板内での光の角度分布を示した図である。 実施例によるバックライトユニットからの出射光(面状光)をシミュレーションで求めた図である。 比較例によるバックライトユニットからの出射光(面状光)をシミュレーションで求めた図である。 本発明の第1実施形態によるバックライトユニットの導光体に入射した光の広がりを説明するための斜視図である。 本発明の第1実施形態によるバックライトユニットの導光体に入射した光をLED側から見た図である。 本発明の第1実施形態によるバックライトユニットの導光体に入射した光のうち低屈折率層に入射する光をLED側から見た図である。 本発明の第1実施形態によるバックライトユニットの導光体の平面部23hおよびプリズム23iで反射する光を示した図である。 本発明の第1実施形態によるバックライトユニットの導光体の平面部23hで反射する光を示した図である。 本発明の第1実施形態によるバックライトユニットの導光体のプリズム23iで反射する光を示した図である。 本発明の第1実施形態によるバックライトユニットの導光板の製造工程を説明するための断面図である。 本発明の第1実施形態によるバックライトユニットの導光板の製造工程を説明するための断面図である。 本発明の第1実施形態によるバックライトユニットの導光板の製造工程を説明するための断面図である。 本発明の第1実施形態によるバックライトユニットの導光板の製造工程を説明するための断面図である。 本発明の第1実施形態によるバックライトユニットの導光板の製造工程を説明するための断面図である。 本発明の第1実施形態によるバックライトユニットの導光板の製造工程を説明するための断面図である。 図3のa1-a1線に沿った断面に対応した図(他の例を示した図)である。 図3のa2-a2線に沿った断面に対応した図(他の例を示した図)である。 本発明の第2実施形態によるバックライトユニットの一部を模式的に示した平面図である。 図38のa3-a3線に沿った断面図である。 図38のa4-a4線に沿った断面図である。 図38のa3-a3線に沿った断面に対応した図(他の例を示した図)である。 図38のa4-a4線に沿った断面に対応した図(他の例を示した図)である。 本発明の第3実施形態によるバックライトユニットの一部を模式的に示した平面図である。 本発明の第3実施形態によるバックライトユニットを説明するための模式的断面図である。 本発明の第4実施形態によるバックライトユニットを模式的に示した断面図である。 本発明の第5実施形態によるバックライトユニットを模式的に示した断面図である。 図46に示したプリズムシートの一部を拡大して示した断面図である。 本発明の第6実施形態によるバックライトユニットの一部を模式的に示した平面図である。 本発明の第1変形例によるバックライトユニットを模式的に示した断面図である。 本発明の第2変形例によるバックライトユニットを模式的に示した断面図である。 本発明の第3変形例によるバックライトユニットを模式的に示した断面図である。 本発明の第4変形例によるバックライトユニットを模式的に示した断面図である。 バックライトユニットの導光板の他の製造工程を説明するための断面図である。 バックライトユニットの導光板の他の製造工程を説明するための断面図である。 バックライトユニットの導光板の他の製造工程を説明するための断面図である。
 以下、本発明を具体化した実施形態を図面に基づいて詳細に説明する。
 (第1実施形態)
 図1は、本発明の第1実施形態によるバックライトユニットを備えた液晶表示装置の側面図である。図2は、本発明の第1実施形態によるバックライトユニットを模式的に示した斜視図である。図3は、本発明の第1実施形態によるバックライトユニットの一部を模式的に示した平面図である。図4~図29は、本発明の第1実施形態によるバックライトユニットを説明するための図である。まず、図1~図29を参照して、本発明の第1実施形態によるバックライトユニットおよびそのバックライトユニットを備えた液晶表示装置について説明する。
 第1実施形態による液晶表示装置1は、図1に示すように、液晶表示パネル10と、液晶表示パネル10の背面側に配置されたバックライトユニット20と、液晶表示パネル10およびバックライトユニット20を収納するフレーム(図示せず)とを備えている。なお、液晶表示装置1は、本発明の「表示装置」の一例であり、液晶表示パネル10は、本発明の「表示パネル」の一例である。また、バックライトユニット20は、本発明の「照明装置」の一例である。
 液晶表示パネル10は、たとえば、TFT(Thin Film Transistor)などのスイッチング素子を含むアクティブマトリックス基板11と、このアクティブマトリックス基板11に対向する対向基板12とをシール材(図示せず)で貼り合わせることによって構成されている。また、両基板11および12の隙間には、液晶(図示せず)が注入されている。そして、アクティブマトリックス基板11の受光面側および対向基板12の出射面側には、それぞれ、偏光フィルム13が取り付けられている。
 このように構成された液晶表示パネル10は、液晶分子の傾きに起因する透過率の変化を利用して、画像を表示する。
 第1実施形態によるバックライトユニット20は、エッジライト型のバックライトユニットである。このバックライトユニット20は、図1、図2および図4に示すように、光源としてのLED21と、LED21からの光を導光する導光板22とを含む。バックライトユニット20は、上記LED21を複数備えており、これら複数のLED21がA方向(たとえば、導光板22の幅方向:図2参照)に並ぶように配置されている。なお、導光板22は、本発明の「導光部材」の一例である。
 第1実施形態では、図1に示すように、バックライトユニット20の導光板22と液晶表示パネル10との間には、集光レンズなどの光学シートが設けられない構成とされている。すなわち、第1実施形態のバックライトユニット20は、シートレスバックライトとされている。
 導光板22は、一枚状の板状部材からなる。また、図1および図4に示すように、導光板22は、LED21からの光が入射される光入射面(入光面)23aを有する導光体23と、導光体23よりも小さい屈折率を有する低屈折率層24とを含んで構成されている。導光体23は屈折率(n1)の透明材料からなり、低屈折率層24は屈折率(n2)の透明材料からなる。
 導光体23の屈折率(n1)は、1.42以上であるのが好ましく、1.59~1.65であればより好ましい。一方、低屈折率層24の屈折率(n2)は、1.42未満であるのが好ましく、1.10~1.35であればより好ましい。導光体23の屈折率(n1)と低屈折率層24の屈折率(n2)との間には、n2<n1の関係が成り立つ。この場合、導光体23の屈折率(n1)と低屈折率層24の屈折率(n2)との間には、n1/n2>1.18の関係が成り立つことが好ましい。
 導光板22を構成する導光体23は、たとえば、アクリルやポリカーボネートなどの透明樹脂材料から構成されている。導光体23をアクリルなどから構成すれば、導光体23の屈折率を約1.49にすることが可能である。また、導光体23をポリカーボネートなどから構成すれば、導光体23の屈折率を約1.59にすることが可能である。なお、導光体23をアクリルから構成した場合、導光体23をポリカーボネートから構成した場合に比べて、透光性をより向上させることができる。
 導光体23は略直方体に形成されている。すなわち、導光体23は光出射面23b(上面)と、背面23c(下面)とが略平行となるように形成されている。導光体23の光入射面(入光面)23aは、LED21の光出射面と略平行に配置されている。なお、光入射面23aは、導光体23の側面からなる。
 低屈折率層24は、図5に示すように、導光体23の背面23c上に、空気層などを介することなく一体的に形成されている。この低屈折率層24は、たとえば、約10μm~約50μmの厚みを有している。
 低屈折率層24は、上記のように、導光体23よりも屈折率が低い透明樹脂材料から構成されている。このような樹脂材料としては、たとえば、フッ素系のアクリレートや、ナノサイズの無機フィラーなどの中空粒子が含有された樹脂などが挙げられる。低屈折率層24をフッ素系のアクリレートなどから構成すれば、低屈折率層24の屈折率を約1.35にすることが可能である。また、低屈折率層24をナノサイズの無機フィラーなどの中空粒子が含有された樹脂などから構成すれば、低屈折率層24の屈折率を1.30以下にすることが可能である。
 第1実施形態では、導光体23の光出射面23bに、導光体23の背面23cに対するLED21からの光の入射角度を徐々に小さくさせる複数のプリズム23eが形成されている。具体的には、導光体23の光出射面23bには、導光体23の光入射面23aの法線方向(B方向(A方向に直交する方向))に沿って、複数の平面部23dと、複数の凹状のプリズム23eとが交互に形成されている。すなわち、B方向(たとえば、導光板22の長さ方向)に隣り合うプリズム23e同士の間に、平面部23dが形成されている。これら平面部23dおよびプリズム23eは、A方向(図2参照)に延びるようにそれぞれ形成されている。ただし、平面部23dおよびプリズム23eは、後述するプリズム23iによって分断されている。なお、プリズム23eは、本発明の「第1反射部」の一例である。
 平面部23dは、光出射面23bと同一面内に形成されており、背面23cに略平行に形成されている。平面部23dは、図6に示すように、B方向に所定の幅W1を有するように形成されている。
 凹状のプリズム23eは、平面部23d(光出射面23b)に対して傾斜した傾斜面23fと、平面部23d(光出射面23b)に対して略垂直な垂直面23gとによって形成されている。この傾斜面23fは、図5に示すように、LED21から離れるにしたがって背面23cに近づくように形成されている。これにより、後述するようにLED21から出射した光は、導光体23の傾斜面23f(プリズム23e)と背面23cとの間で反射を繰り返すことにより、導光体23の背面23cに対する入射角が徐々に小さくなる。なお、図6に示すように、傾斜面23fの平面部23dに対する傾斜角度α1は、5°以下の角度であるのが好ましく、0.1°~3.0°の角度であればより好ましい。
 傾斜面23f(プリズム23e)は、B方向に所定の幅W2を有するように形成されている。この傾斜面23f(プリズム23e)のB方向の幅W2は、0.25mm以下であるのが好ましく、0.01mm~0.10mmであればより好ましい。また、傾斜面23f(プリズム23e)は、B方向に、所定のピッチP1(=W1+W2)で配置されている。
 なお、平面部23dのB方向の幅W1、傾斜面23fの傾斜角度α1、傾斜面23f(プリズム23e)のB方向の幅W2、および、傾斜面23f(プリズム23e)のB方向のピッチP1は、LED21からの距離に関係なく一定であってもよい。
 また、図9および図13に示すように、第1実施形態では、導光体23の光出射面23bに、A方向に沿って、複数の平面部23hと、複数の凹状のプリズム23iとが交互に形成されている。すなわち、A方向に沿って隣り合うプリズム23i同士の間に、平面部23hが形成されている。これら平面部23hおよびプリズム23iは、導光体23の光入射面23aの法線方向(B方向)に延びるようにそれぞれ形成されている。具体的には、平面部23hおよびプリズム23i(傾斜面23j)は、平面的に見た場合に、光入射面23aに対して略垂直方向(B方向)に延びるように形成されている。
 平面部23hは、光出射面23bと同一面内に形成されている。また、平面部23hは、A方向に所定の幅W3を有するように形成されている。平面部23hの幅W3は、200μm以下であるのが好ましい。
 凹状のプリズム23iは、平面部23h(光出射面23b)に対して傾斜した一対の傾斜面23jによって形成されている。すなわち、凹状のプリズム23iは、その断面が三角形状を有するように形成されている。一対の傾斜面23jの傾斜角度(平面部23hに対する傾斜角度)α2は、約30°~約89°であることが好ましい。なお、プリズム23iは、本発明の「第3反射部」の一例である。
 また、一対の傾斜面23j(プリズム23i)は、A方向に所定の幅W4を有するように形成されている。この一対の傾斜面23j(プリズム23i)のA方向の幅W4は、約0.1mm以下であるのが好ましく、約0.010mm(10μm)~約0.020mm(20μm)であればより好ましい。
 プリズム23iのA方向のピッチP2(=W3+W4)は、P2<W4×2(W3/W4<1)であることが好ましい。すなわち、平面部23hのA方向の幅W3は、一対の傾斜面23jのA方向の幅W4より小さいことが好ましい。
 なお、プリズム23iは、導光体23の面内における形成位置に関係なく、同一の形状、同一の大きさで、かつ、同一のピッチで形成されることが好ましい。すなわち、平面部23hのA方向の幅W3、一対の傾斜面23jの傾斜角度(平面部23hに対する傾斜角度)α2、一対の傾斜面23j(プリズム23i)のA方向の幅W4、および、一対の傾斜面23j(プリズム23i)のA方向のピッチP2は、それぞれ一定に形成されることが好ましい。
 このように、第1実施形態では、プリズム23eと同一面に、プリズム23eと重なるようにプリズム23iが形成されている(導光体23の光出射面23bにプリズム23eおよびプリズム23iが形成されている)。このプリズム23iは、光を横方向(A方向:光の入光方向に対して交差する方向)に拡散させる機能を有している。なお、プリズム23eに対するプリズム23iの占有面積比率は50%以上であるのが好ましい。
 低屈折率層24の背面24a(導光板22の背面)には、図1に示すように、複数の凹状のプリズム24bが形成されている。このプリズム24bは、少なくとも導光板22の光出射領域22aの全域に形成されている。また、プリズム24bは、A方向(図4参照)に延びるように形成されている。また、導光板22の光出射領域22aは、液晶表示パネル10の表示領域に対応するように配置されている。なお、プリズム24bは、本発明の「第2反射部」の一例である。
 凹状のプリズム24bは、図11に示すように、背面24aに対して傾斜した傾斜面24cと、背面24aに対して垂直な垂直面24dとによって形成されている。
 また、第1実施形態では、この傾斜面24cは、曲面でなく平面に形成されている。傾斜面24cは、LED21(図1参照)から離れるにしたがって導光体23に近づくように形成されている。この場合、傾斜面24cの背面24aに対する傾斜角度α3は、約40°~約50°であることが好ましい。すなわち、傾斜面24cと垂直面24dとのなす角度α4は、約50°~約40°であることが好ましい。
 また、傾斜面24c(プリズム24b)は、B方向に所定の幅W5を有するように形成されている。この傾斜面24c(プリズム24b)のB方向の幅W5は、約0.1mm以下であり、約0.010mm~約0.025mmであることが好ましい。
 さらに、傾斜面24c(プリズム24b)は、B方向に、幅W5と同じ大きさのピッチP3で配置されている。すなわち、複数のプリズム24bは、B方向に隙間無く連続して形成されており、プリズム24bとプリズム24bとの間には平面部は設けられていない。
 なお、プリズム24bは、低屈折率層24の面内における形成位置に関係なく、低屈折率層24の背面24aの略全面において、同一の形状、同一の大きさで、かつ、同一のピッチに形成されていてもよい。このように、プリズム24bを、同一の形状、同一の大きさで、かつ、同一のピッチに形成すれば、低屈折率層24の面内において、光の集光特性が異なるのを抑制することが可能となる。これにより、液晶表示パネル10(図1参照)の輝度を均一にすることが可能となる。
 後述するように、上記プリズム24bは、導光板22と空気層との界面において、LED21からの光を前方(上面側)に全反射させる機能を有している。
 また、第1実施形態では、図3および図4に示すように、導光板22におけるLED21側の端部(端部領域22b(入光部近傍))に、A方向に沿って、複数の凹状のプリズム23qが形成されている。このプリズム23qは、図10および図12に示すように、その断面が三角形状を有するように形成されている。また、プリズム23qは、一対の傾斜面23rを有している。なお、プリズム23qは、本発明の「第4反射部」の一例である。
 詳説すると、図1および図3に示すように、第1実施形態の導光板22(導光体23)は、平面的に見て、液晶表示パネル10(図1参照)の表示領域に対応する領域22a(液晶表示パネル10に向けて前方に面状光を出射する光出射領域22a)と、導光板22におけるLED21側の端部領域22b(入光部近傍領域)とを有している。この端部領域22bは、光出射領域22aと隣接している。そして、図14に示すように、光入射面23aからB方向への距離D20までの領域が端部領域22bとされている。すなわち、光入射面23aからB方向に距離D20だけ離れた位置に、端部領域22bと光出射領域22aとの境界(仮想線g)が設定されている。距離D20は、液晶表示パネルの設計や光源の間隔などによって異なるが、光源の間隔をPとした場合、たとえば0.5≦D20/P≦2とすることができる。なお、光出射領域22aは、端部領域22bに対してLED21とは反対側の領域である。そして、導光板22(導光体23)の上面における端部領域22b(入光部近傍)内に、凹状のプリズム23qが複数形成されている。
 凹状のプリズム23qは、図3に示すように、上記したプリズム23iと同様、光入射面23aの法線方向(B方向)に延びるように形成されている。具体的には、プリズム23q(傾斜面23r)は、平面的に見た場合に光入射面23aから略垂直方向(B方向)に延びるように形成されている。また、図14に示すように、プリズム23qのB方向の長さD10は、0.5mm以上とされているのが好ましく、1mm以上とされていればより好ましい。
 第1実施形態では、プリズム23qの長さD10は、端部領域22bの距離D20より小さくなるように設定されている。すなわち、D10<D20の関係を満たすように設定されている。
 また、図10および図12に示すように、一対の傾斜面23r(プリズム23q)は、A方向に所定の幅W14を有するように形成されている。この一対の傾斜面23r(プリズム23q)のA方向の幅W14は、約0.010mm(10μm)~約0.020mm(20μm)とされているのが好ましい。また、傾斜面23rの傾斜角度α12は、約30°~約89°であることが好ましい。
 なお、A方向に沿って隣り合うプリズム23q同士の間には、平面部23p(プリズム23qが形成されていない面)が形成されていてもよい。この場合、平面部23pは、A方向に所定の幅W13を有するように形成される。平面部23pの幅W13は200μm以下であるのが好ましい。また、導光板22におけるLED21側の端部領域22b(入光部近傍)においては、平面部23pが形成されない構成とすることも可能である。したがって、平面部23pの幅W13は0~200μmであるのが好ましい。
 また、プリズム23qのA方向のピッチP12(=W13+W14)は、P12<W14×2(W13/W14<1)であることが好ましい。すなわち、平面部23pのA方向の幅W13は、一対の傾斜面23rのA方向の幅W14より小さいことが好ましい。
 図3および図4に示すように、上記したプリズム23eおよびプリズム23iは、主として、導光体23の光出射領域22aに形成されている。
 ここで、第1実施形態では、プリズム23eは、その形成開始位置L1が、光出射領域22a内には位置しておらず、端部領域22b(光出射領域22aと端部領域22bとの境界を含む)に位置している。詳説すると、プリズム23eは、光入射面23aからB方向に所定の距離D30を隔てた位置L1(端部領域22b内の所定位置)から始まっている。すなわち、プリズム23eは、光出射領域22a(表示領域)よりも光入射面23a側から形成されている。距離D30は、液晶表示パネルの設計や光源の間隔などによって異なるが、光源の間隔をPとした場合、たとえば0.5≦D30/P≦2とすることができる。ただし、後述するように、距離D30と距離D20との関係は、D30≦D20となる。プリズム23iについても、プリズム23eと同様、その形成開始位置が、光出射領域22a内には位置しておらず、端部領域22b(光出射領域22aと端部領域22bとの境界を含む)に位置している。プリズム23eとプリズム23iの形成開始位置は、同じであってもよいし、異なっていてもよい。そして、端部領域22bにおけるプリズム23eが形成されていない領域(端部領域22bにおけるプリズム23eおよびプリズム23iが形成されていないLED21側の領域)に、プリズム23qが形成されている。すなわち、端部領域22bにおけるプリズム23eよりもLED21側の領域は、光出射領域22aとは異なる構造とされている。
 プリズム23eは、後述するように、光を取り出す機能を有するため、プリズム23eが形成されている領域は、形成されていない領域に比べて輝度が高い。そのため、図7に示すように、プリズム23eが形成されている領域S1と形成されていない領域S2とで輝度が異なるので、その境界が視認され易くなる。すなわち、プリズム23eの形成開始位置L1が輝度差の境界となり、その境界が視認され易くなる。
 そのため、第1実施形態では、上記のように、プリズム23eおよび23iを端部領域22bから始まるように構成している。これにより、プリズム23eが形成されている領域S1と形成されていない領域S2との境界が端部領域22bに含まれることになるので、その境界が光出射領域(表示領域)に含まれない(位置しない)ように構成される。したがって、その境界が視認されないようにされているとともに、光出射領域22aから均一に光を出射することが可能となる。
 なお、光入射面23a(導光体23のLED側の端部)の位置L0を基準とすると、位置L0、プリズム23eの形成開始位置L1および光出射領域22a(表示領域)の開始位置L2の位置関係は、L0<L1≦L2とされている。ただし、位置L0からB方向に離れるにしたがい位置が大きくなるものとする。また、位置L1が位置L0に近づくと、非表示領域での出射光量が増加し、ロスとなる光量が増加するため、位置L1は位置L2に近い方が好ましい。
 上記したプリズム23qの長さD10は、光入射面23aからプリズム23eの形成開始位置L1までの距離D30よりも短い。また、距離D30は、光入射面23aから光出射領域22a(光出射領域22a(表示領域)の開始位置L2)までの距離D20よりも短い。そのため、D10、D20およびD30の関係は、D10<D30≦D20を満たす。さらに、プリズム23qの形成終了位置をL3とすると、各プリズムの位置関係は、L0<L3<L1≦L2となっている。
 また、第1実施形態では、図8に示すように、プリズム24bは、プリズム23eよりもより光入射面23a(LED21)側から形成されている。すなわち、プリズム24bの形成開始位置L3が、プリズム23eの形成開始位置L1よりもLED21側に位置している。なお、プリズム24bは、光入射面23a(位置L0)から開始しているのが好ましい。すなわち、プリズム24bは、低屈折率層24の背面24a(導光板22の背面)の全面に形成されているのが好ましい。
 ここで、上記のように、導光板22を、導光体23と低屈折率層24とを有する構成とし、かつ、プリズム23e、プリズム23i、プリズム24b等を設けた構成とした場合、後述するように、導光板22の光入射面23aの近傍領域(入光部近傍)にV字状の輝線(V字型輝線)が生じ易くなる。このようなV字型輝線が生じると、光入射面23aの近傍領域の照明品質が低下するおそれがある。
 V字型輝線は、後述するように、導光板22内で横方向に広がった光が原因で発生する。そのため、V字型輝線を抑制するためには、横方向に広がった光を正面方向に集めることが有効である。一方、線状ムラは、LED21からの出射光に指向性があり正面方向に最も光束が集中しているために発生する現象である。そのため、正面方向に光を集めすぎると線状ムラが強調されてしまう。このように、V字型輝線と線状ムラとはトレードオフの関係にある。そのため、これらを同時に解決することは容易ではない。
 そこで、第1実施形態では、上記したように、導光体23(導光板22)におけるLED21側の端部領域22bにプリズム23qを形成するとともに、このプリズム23qを、光出射領域22aのプリズム23iに比べて、横方向(A方向)に広がる光の伝搬角度を大きく変化させるように構成している。このように構成するために、第1実施形態では、プリズム23qは、プリズム23iとは異なる形状(寸法等を含む)とされている。すなわち、第1実施形態では、導光板22の上面に、端部領域22bと光出射領域22aとで異なる形状のプリズムが形成されている。
 端部領域22bのプリズム23q(傾斜面23r)は、V字型輝線方向に出射した光R1を反射させて、水平方向(横方向)の光の角度分布を変化させるように形成されている。すなわち、プリズム23q(傾斜面23r)は、V字型輝線成分の光(図3および図14の矢印R1)を効率よく角度変化させて、V字型輝線成分とならない光(図3および図14の矢印R2)成分を増やすように構成されている。たとえば、端部領域22bのプリズム23qは、LED21から導光板22に入射された光R1を光軸Oに近づける方向(光軸Oとのなす角が小さくなる方向)に反射させる。
 一方、光出射領域22aに形成されたプリズム23iは、端部領域22bのプリズム23qに比べて、横方向に広がる光の伝搬角度を変化させる効果が小さい。換言すると、プリズム23iは、プリズム23qに比べて、光の入光方向に対して交差する方向に光を広げる(光を拡散させる)。このため、光出射領域22aにおいては、プリズム23iによって、光が適度に拡散され、線状ムラの発生が抑制される。
 なお、光出射領域22aのプリズム23iによって線状ムラの発生を抑制するためには、プリズム23iが以下の(a)および(b)のいずれかの条件を満たしているのが好ましい。
 (a)プリズム23iの傾斜面23jの傾斜角度α2が、プリズム23qの傾斜面23rの傾斜角度α12より小さい(α2<α12)。
 (b)プリズム23iの傾斜面23j(傾斜領域)の占有率が、プリズム23qの傾斜面23r(傾斜領域)の占有率より小さい(平面部の占める割合がプリズム23qより大きい)(W3/W4>W13/W14)。
 次に、図3、図5、図9、図11および図14~図16を参照して、第1実施形態によるバックライトユニット20のLED21から出射した光の光路について説明する。
 LED21から出射した光は、LED21の正面方向(B側方向)に最も高い強度を有し、正面方向に対してA方向およびC方向に±90°の広がりを有する。このLED21から出射した光は、図5に示すように、導光体23(導光板22)の光入射面23aに入射する際に屈折し、正面方向に対するA方向およびC方向の広がりが±θ1になる。なお、角度θ1は、導光体23と空気層との臨界角であり、θ1=arcsin(1/n1)である。
 導光体23の光入射面23aに入射した光のうち、導光体23の光出射面23bに向かって進行する光Q1は、プリズム23eの傾斜面23fに向かって、θ2(=90°-θ1-α1)以上の入射角で進行し、導光体23のプリズム23e(導光体23の光出射面23bと空気層との界面)において、その大部分が背面23c側に全反射される。
 そして、プリズム23eで全反射された光Q2は、背面23c(低屈折率層24)に向かって、θ3(=90°-θ1-α1×2)以上の入射角で進行する。このとき、背面23cに向かって進行する光Q2のうち、導光体23と低屈折率層24との臨界角よりも小さい入射角の光のみが低屈折率層24に入射する。その一方、背面23cに向かって進行する光Q2のうち、導光体23と低屈折率層24との臨界角以上の入射角の光は、導光体23の背面23c(導光体23と低屈折率層24との界面)において、光出射面23b側に全反射される。
 また、背面23cで全反射された光Q3は、プリズム23eの傾斜面23fに向かって、θ4(=90°-θ1-α1×3)以上の入射角で進行し、導光体23のプリズム23eで背面23c側に全反射される。
 そして、プリズム23eで全反射された光Q4は、背面23c(低屈折率層24)に向かって、θ5(=90°-θ1-α1×4)以上の入射角で進行する。このとき、背面23cに向かって進行する光Q4のうち、導光体23と低屈折率層24との臨界角よりも小さい入射角の光のみが低屈折率層24に入射する。その一方、背面23cに向かって進行する光Q4のうち、導光体23と低屈折率層24との臨界角以上の入射角の光は、導光体23の背面23cで光出射面23b側に全反射される。
 このように、LED21から出射した光は、導光体23のプリズム23e(光出射面23b)と背面23cとの間で反射が繰り返されることによって、導光体23の背面23cに対する入射角が徐々に小さくなるように導光され、低屈折率層24に入射する。
 なお、LED21から出射した光が、導光体23のプリズム23eと背面23cとの間で反射を繰り返すことにより、導光体23の背面23cに対する入射角が約α1×2ずつ小さくなる。このため、低屈折率層24に入射する光のB方向の広がり角は、約α1×2以下となる。
 また、導光体23の光入射面23aに入射した光のうち、導光体23の背面23cに向かって進行する光Q5も、同様に、導光体23の背面23cとプリズム23e(光出射面23b)との間で反射が繰り返されることによって、低屈折率層24に入射する。
 その後、図11に示すように、低屈折率層24に入射した光の略全てが、プリズム24bの傾斜面24c(プリズム24bの傾斜面24cと空気層との界面)において、前方(液晶表示パネル10側)に、全反射(破線矢印参照)され、または、透過した後に全反射(破線矢印参照)される。そして、全反射された光(破線矢印参照)は、再度、導光体23に入射し、光出射面23b(図5参照)から前方(液晶表示パネル10側)に出射する。
 なお、導光体23の屈折率(n1)は1.42以上(たとえば約1.59~約1.65)であり、空気層の屈折率は約1であるので、導光体23と空気層との臨界角は、導光体23と低屈折率層24との臨界角よりも小さい。このため、低屈折率層24のプリズム24bを介さずに光出射面23bから出射される光はほとんど存在しない。
 また、第1実施形態では、図9に示すように、導光体23の前面23bにプリズム23iを形成しているので、導光体23の前面23bに向かって進行する光の一部は、プリズム23iの傾斜面23jでA方向の両側に拡散(反射)される。
 このとき、導光体23の光入射面23a側から見て、導光体23の前面(上面)23bに対する入射角の大きい光は、プリズム23iの傾斜面23jで反射されることにより、導光体23の背面23cに対する入射角が小さくなる。
 そして、LED21からの光は、A方向に拡散されながら、上記したように低屈折率層24に入射される。
 一方、図3および図14に示すように、光入射面23aから入射されたLED21からの光のうちV字型輝線方向に出射した光R1は、端部領域22bのプリズム23q(傾斜面23r)によって反射され、導光角度(伝搬角度)が変化する。具体的には、光入射面23aから入射された光は、プリズム23q(傾斜面23r)によって、光軸Oに近づく方向(光軸Oとのなす角度が小さくなる方向)へと反射される。このため、V字型輝線となる角度分布の光R1(V字型輝線の成分となる光)は、V字型輝線とならない角度分布の光R2(V字型輝線の成分とならない光)へと変化される。これにより、光入射面23aから入射された光は、V字型輝線の成分とならない光となって導光板22内を伝搬する。したがって、V字型輝線の発生が抑制される。
 導光板22(導光体23)の端部領域22bにおいては、図15に示すように、プリズム23qによって光の横方向(たとえばA方向)への広がりが抑えられている(図15の破線矢印参照)。その一方、図16に示すように、光出射領域22aにおいては、プリズム23qよりも光の広がりに対する抑制効果が小さいプリズム23iが形成されているため、光出射領域22aでは光が適度に拡散される(図16の破線矢印参照)。これにより、線状ムラの発生が抑制される。
 また、図8に示すように、導光体23の光入射面23aに入射した光には、導光体23に入射後、低屈折率層24で全反射されずにすぐに低屈折率層24に入射する光成分(成分Aとする)が含まれる(破線矢印参照)。この成分Aは、プリズム24bにより出射されるため、プリズム24bが存在している位置(プリズム24bの開始位置)で一気に出射されて輝度ムラの要因となる。(なお、スネルの法則より、導光体23の屈折率(n1)と低屈折率層24の屈折率(n2)との屈折率差が小さくなるほど成分Aの光量は増える。)そのため、たとえば、プリズム24bがプリズム23eよりも光出射領域22a側から始まっていると、輝度ムラの要因となる光が光出射領域22aから出射されることになる。
 第1実施形態では、上記したように、プリズム24bは、プリズム23eよりもより光入射面23a(LED21)側から形成されている。すなわち、プリズム24bは、光出射領域22aよりも手前側(LED21側)から形成されている。そのため、輝度ムラの要因となる成分Aを、光出射領域22a(表示領域の開始位置L2)よりも手前の端部領域22bから出射させることが可能となる。これにより、光出射領域22aから輝度ムラの要因となる光が出射されるのが抑制される。
 次に、図24~図29を参照して、導光板22から出射する光がA方向に広がるのを抑制される理由について詳細に説明する。
 LED21から出射した光は、LED21の正面方向(B側方向)に対して、A方向およびC方向に±90°の広がりを有する。このLED21から出射した光は、導光体23の光入射面23aに入射する際に屈折し、図24に示すように、B方向に対するA方向およびC方向の広がりが±θ1になる。なお、角度θ1は、導光体23と空気層との臨界角である。
 ここで、導光体23内において、光はB方向に対してA方向およびC方向に角度θの範囲で存在するとすると、以下の式(1)が成り立つ。
 θ≦θ1=arcsin(1/n1)・・・(1)
 導光体23と低屈折率層24との臨界角をφとすると、以下の式(2)を満たす領域の光のみが低屈折率層24に入射する可能性がある。
 π/2-θ<φ=arcsin(n2/n1)・・・(2)
 また、この領域を図示すると、図25の領域T1(ハッチング領域)である。なお、後述するように、導光体23に入射した直後の光のうち、実際に低屈折率層24に入射できるのは、図25の領域T2の光のみである。この理由を以下に説明する。
 導光体23に入射した光のC方向の広がり成分をθとすると、低屈折率層24への光の入射角は、π/2-θである。また、光が低屈折率層24に入射するための条件は、π/2-θ<φであり、0<π/2-θ<90であるので、以下の式(3)が得られる。
 cos(π/2-θ)=sinθ>cosφ・・・(3)
 また、導光体23に入射した光のA方向の広がり成分をθとすると、図26から、θは、以下の式(4)を満たす。
 sinθ=sinθ-sinθ・・・(4)
 ここで、上記式(1)および式(3)よりsinθ≦sinθ1、cosφ<sinθ≦sinθ1であるので、上記式(4)を用いて、以下の式(5)が得られる。
 0≦sinθ<sinθ1-cosφ・・・(5)
 たとえば、n1=1.59で、n2=1.35であれば、θの取り得る範囲は、0≦θ<19.95となり、A方向の光の広がりを抑制することが可能となる。なお、A方向の光の広がりを抑制する効果は、プリズム23iにより若干弱められるが、平面部23hのA方向の幅W3は、プリズム23iのA方向の幅W4以下の大きさであるため、プリズム23iの傾斜角を大きくする(頂角を小さくする)ことで、A方向の光の広がりを抑制する効果の大部分を維持することが可能となる。
 この平面部23hおよびプリズム23iの影響についてさらに説明する。導光体23の平面部23hで反射される光は、図27および図28に示すように、B方向およびA方向の広がりを維持したまま、C方向の向きが反転する。一方、導光体23のプリズム23iで反射される光は、図27および図29に示すように、B方向の広がりを維持したまま、C方向およびA方向の広がり成分が変化する。
 このため、導光体23内で、C方向およびA方向の光の広がりが偏るのを抑制することが可能となる。すなわち、プリズム23iにより、光のC方向およびA方向の広がりは導光体23内で随時変化するので、C方向およびA方向の成分は等価なものとすることが可能となる。
 これにより、上記式(2)を満たす領域T1(図25参照)の光は、プリズム23iによりC方向およびA方向の広がり成分が変更されることにより、上記式(3)を満たしたときに、低屈折率層24に入射する。その結果、A方向に広がるのを抑制された光を、導光板22から均一に出射することが可能となる。
 続いて、図3~図10および図17~図23を参照して、導光板22の光入射面近傍に生じるV字型輝線について説明する。
 上述したように、導光板22(図4参照)を、導光体23と低屈折率層24とを有する構成とし、かつ、プリズム23e、プリズム23i、プリズム24b等を設けた構成とした場合、図17に示すように、導光板22の光入射面近傍にV字型輝線が生じ易くなる。そのため、本願発明者らは、このV字型輝線の発生原因について種々検討を行った。
 まず、LED(光源)から出射された光の全角度分布において、どの角度の光がV字型輝線に影響しているのかをシミュレーションによって求めた。その結果を図18に示す。図18は、図17の各領域での光の角度分布を示した図である。領域「1」は、LED1およびLED2のそれぞれのV字型輝線部分に位置しており、領域「2」は、LED2のV字型輝線部分に位置している。一方、領域「3」および領域「4」は、V字型輝線から離れた領域に位置している。また、図18の(a)~(d)はLED1からの光の角度分布を示しており、図18の(e)~(h)はLED2からの光の角度分布を示している。
 図18より、V字型輝線部分に位置する領域「1」では、LED1(図18(a))およびLED2(図18(e))のいずれにおいても、横部分の角度(破線で囲まれた部分)の光強度が強く、この光がV字型輝線として観測された。また、領域「2」は、LED2のV字型輝線部分に位置しているため、LED2(図18(f))において、横部分の角度(破線で囲まれた部分)の光強度が強く観測された。一方、V字型輝線部分に位置していない領域「3」および領域「4」においては、横部分の角度の光強度は強く観測されず、どの角度分布においてもほぼ同じ光強度として観測された。これより、V字型輝線となる光は、円周の横部分(横部分の角度)に集中していることが観察された。
 以上より、V字型輝線は入射された光の角度分布等に起因し、横部分の角度の光がV字型輝線になっていることが確認された。これは、横部分の角度の光が、光入射面23aの近傍領域において、光出射面23b(図4参照)から前方に出射されるためであると考えられる。具体的には、導光板22の光入射面23aの表面粗さや光出射面23bに形成されたプリズム23e(図6参照)やプリズム23i(図9参照)の影響等によって、光入射面23aの近傍領域において、横部分の角度の光は、導光体23の背面23cに対する光の入射角が導光体23と低屈折率層24との臨界角以下となる。これにより、その光は低屈折率層24に入射され、プリズム24b(図5参照)によって前方側に反射される。そして、光出射面23bから前方に出射される。この光が、光入射面23aの近傍領域においてV字型輝線になると考えられる。すなわち、低屈折率層24との界面で全反射されない光が前方側に漏れ出すことでV字型輝線が生じているものと考えられる。
 具体的には、図19に示すように、たとえば、LEDから角度θ1(たとえば65°~90°の範囲の角度)で出射された光のうち、円周の横部分の光(ハッチング領域のうち破線で囲まれた部分の光)がV字型輝線となる。
 これに対し、図3に示したように、導光板22の端部領域22bにプリズム23q(傾斜面23r)を形成した場合には、このプリズム23q(傾斜面23r)で横部分の角度の光が反射されて、その角度分布が変えられる。これにより、低屈折率層24への入射が抑制されて(低屈折率層24との界面で全反射されて)、光出射面23bからの光の漏れが抑制される。その結果、V字型輝線の発生が抑制される。
 図20に、導光板内での角度分布を示す。図20(A)は、円周の横部分の光がプリズム23q(傾斜面23r)で反射される前の状態(初期状態)を示しており、図20(B)は、円周の横部分の光がプリズム23q(傾斜面23r)で反射された後の状態(光出射領域での状態)を示している。図20に示すように、円周の横部分の光がプリズム23q(傾斜面23r)(図3参照)で反射されることにより、その光の角度分布が変えられる。これにより、横部分の角度の光は、背面23c(図5参照)に対する光の入射角が導光体23と低屈折率層24との臨界角より大きくなる。そのため、光入射面23aの近傍領域において、プリズム24b(図5参照)による前方側への反射が抑制される。その結果、V字型輝線の発生が抑制される。このように、プリズム23q(傾斜面23r)(図3および図10参照)を端部領域22bに形成することにより、V字型輝線となる角度分布の光がプリズム23q(傾斜面23r)で反射されてV字型輝線とならない角度分布に変化するため、V字型輝線が防止され、かつ、この光が有効利用される。
 なお、図21に示すように、ハッチング領域のうち破線で囲まれた部分の光が、導光板22に入射後、低屈折率層24で全反射されずにすぐに低屈折率層24に入射する光成分となっている。
 続いて、プリズム23q(傾斜面23r)(図3参照)によるV字型輝線の抑制効果をシミュレーションによって確認した。このシミュレーションでは、第1実施形態と同様の構成(プリズム23qを有する構成)を実施例とし、プリズム23qを有しない点以外は実施例と同様の構成を比較例とした。その結果を、図22および図23に示す。図22に示すように、プリズム23q(図3参照)を有する実施例では、V字型輝線が観察されず、輝度ムラのない高品質な面状光となっていることが確認された。これに対し、図23に示す比較例では、V字型輝線が観察され、このV字型輝線によって輝度ムラが生じる結果となった。これより、導光板22の端部領域22bにプリズム23q(図3参照)を設けることによって、V字型輝線の発生が抑制されて、輝度ムラが抑制されることが確認された。なお、図3に示したように、光出射面23bのプリズム23iは、端部領域22bのプリズム23qとは異なり適度に光を拡散させるように構成されている。そのため、図22に示すように、V字型輝線のみならず、線状ムラの発生も抑制されることが確認された。
 図30~図35は、第1実施形態によるバックライトユニットの導光板の製造工程を説明するための図である。次に、図30~図35を参照して、第1実施形態によるバックライトユニット20の導光板22の製造方法について説明する。
 まず、熱によるインプリント法を用いて、導光体23を形成する。具体的には、図30に示すように、上金型130と下金型131との間に、透明樹脂からなるフィルム材23kを配置する。次に、図31に示すように、上金型130と下金型131とにより、フィルム材23kを加熱および加圧する。これにより、フィルム材23kは、所望の形状に形成される。
 そして、フィルム材23kを、上金型130および下金型131から剥離し冷却するとともに、個片に分割することによって、図32に示すように、導光体23が得られる。
 なお、インプリント法ではなく、射出成形により導光体23を形成することも可能であるが、フィルム材23kを用いたインプリント法を用いて導光体23を形成することにより、ロール・トゥ・ロール方式で導光体23を製造することが可能である。これにより、製造時間を短縮することが可能であるとともに、製造コストを低減することが可能である。
 続いて、UV光(紫外線)によるインプリント法を用いて、導光体23の背面23c上に低屈折率層24を形成する。具体的には、図33に示すように、導光体23の背面23c上に透明樹脂からなるUV硬化樹脂24eを塗布する。このとき、導光体23は、光出射面23bと背面23cとが略平行に形成されているので、UV硬化樹脂24eを均一な膜厚に塗布することが可能である。
 そして、図34に示すように、石英基板132上に導光体23およびUV硬化樹脂24eを配置するとともに、石英基板132と金型133とにより、導光体23およびUV硬化樹脂24eを挟み込む。その後、石英基板132側からUV光を照射することにより、UV硬化樹脂24eは、硬化し低屈折率層24になる。これにより、図35に示すように、所望の形状に形成された導光体23および低屈折率層24からなる導光板22が得られる。
 なお、低屈折率層24の形成までをロール・トゥ・ロール方式で行い、その後、導光板22(導光体23および低屈折率層24)を個片にしてもよい。
 第1実施形態では、上記のように、導光体23の光出射面23bに、導光体23の背面23cに対するLED21からの光の入射角を徐々に小さくさせる複数のプリズム23eを設けることによって、LED21からの光は、導光体23の光出射面23bと背面23cとの間で反射を繰り返しながら導光され、導光体23の背面23cに対する光の入射角が徐々に小さくなる。そして、導光体23の背面23cに対する光の入射角が導光体23と低屈折率層24との臨界角よりも小さくなった場合に、LED21からの光は、低屈折率層24に入射する。このため、低屈折率層24に入射する光のB方向の広がり角は小さくなり、低屈折率層24の背面24aと空気層との界面において反射される光のB方向の広がり角も小さくなる。すなわち、光の集光特性を向上させることができるとともに、液晶表示パネル10の輝度を向上させることができる。その結果、導光板22上に集光レンズなどの複数の光学シートを設ける必要がないので、バックライトユニット20を薄型化することができるとともに、製造コストが増加するのを抑制することができる。
 また、複数の光学シートを設ける必要がないので、光学シートを通過する際の光の損失がない(たとえば、シート間の多重反射による光ロスがない)。これにより、光の利用効率を向上させることができる。
 また、導光体23の背面23cに対する光の入射角を徐々に小さくさせる複数のプリズム23eを設けることによって、LED21からの光は、導光体23の光出射面23bと背面23cとの間で反射を繰り返しながら導光され、LED21から離れるにしたがって、導光体23の背面23cに対する入射角が小さくなるとともに低屈折率層24に入射し易くなる。これにより、LED21に近く光の量(光束)が多い部分とLED21から遠く光の量(光束)が少ない部分とにおいて、低屈折率層24に入射する光の量を均一にすることができる。その結果、導光板22の光出射領域22aの全域から均一に光を出射させることができるので、液晶表示パネル10の輝度を均一にすることができる。
 また、第1実施形態では、LED21からの光を前方に反射させる複数のプリズム24bを、導光板22の光出射領域22aにおいて、低屈折率層24の背面24aの略全面に形成することによって、導光板22の光出射領域22aの略全域において、複数のプリズム24bにより、光を均一に反射させることができる。これにより、導光板22の光出射領域22aの全域から、より均一に光を出射させることができるので、ドットむらが生じるのを抑制することができるとともに、液晶表示パネル10の輝度をより均一にすることができる。
 また、第1実施形態では、複数のプリズム24bは、LED21からの光を全反射させる機能を有するので、導光体23から低屈折率層24に入射した光が、低屈折率層24の背面24aから出射するのを抑制することができる。これにより、光の損失が発生するのを抑制することができるので、光の利用効率をより向上させることができる。
 ここで、上記したように、プリズム23eが形成されていない領域S1と形成されている領域S2とでは輝度が異なるため、その境界が視認されやすくなる。そのため、第1実施形態では、このプリズム23eを端部領域22bから始まるように構成している。これにより、プリズム23eが形成されていない領域S1と形成されている領域S2との境界が端部領域22bに含まれることになるので、その境界が光出射領域22aに含まれないように構成することができる。したがって、その境界が視認されないようにすることができるとともに、光出射領域22aから均一に光を出射することができる。
 また、プリズム23eを、端部領域22bにおける光入射面23a(入光面)から所定の距離D30を隔てた位置から始まるように構成することによって、たとえばプリズム23eが光入射面23a(位置L0)から始まるように構成されている場合に比べて、端部領域22bでの出射光量を低減することができる。そのため、光の損失(ロス)を低減することができる。なお、プリズム23eの形成開始位置L1が光入射面23a(位置L0)に近づくと、非表示領域(端部領域22b)での出射光量が増加し、ロスとなる光量が増加する。このため、プリズム23eの形成開始位置L1は、光出射領域22a(表示領域)の開始位置L2により近い方が好ましい。
 このように、第1実施形態では、光出射領域22aにおいて、均一かつ効率的に光を出射させることができる。したがって、照明品位の優れたバックライトユニットを得ることができる。
 また、第1実施形態では、低屈折率層24の背面24a(導光板22の背面)にプリズム24bを形成するとともに、このプリズム24bの形成開始位置L3を、プリズム23eの形成開始位置L1よりもLED21側とすることによって、輝度ムラの要因となる光をプリズム24bで反射させて、端部領域22bから出射させることができる。このため、このような光が光出射領域22aに導光されて、光出射領域22aから出射されるのを抑制することができる。すなわち、輝度ムラの要因となる光が光出射領域から出射されるのを抑制することができる。これにより、輝度ムラの発生を抑制することができる。
 また、第1実施形態では、導光体23におけるLED21側の端部領域22bにプリズム23qを形成することによって、このプリズム23qにより、導光体23に入射されたLED21からの光を反射させることができる。プリズム23qは、プリズム23iに比べて、横方向に広がる光の伝搬角度を大きく変化させる。このため、このプリズム23qによって、横方向への光の広がりを抑制することができる。V字型輝線は、導光体23内において横方向に広がった光が原因で発生する。そのため、プリズム23qによって横方向への光の広がりを抑制することにより、V字型輝線の発生を効果的に抑制することができる。なお、V字型輝線の発生を抑制することによって、V字型輝線となっていた光を有効利用することができるので、光の利用効率および輝度を効果的に向上させることができる。
 また、導光体23の光出射領域22aに形成されたプリズム23iを、プリズム23qに比べて、横方向に広がる光の伝搬角度を変化させる効果が小さくなるように構成することによって、光出射領域22aにおいては、プリズム23iにより、光を適度に拡散させることができる。これにより、線状ムラの発生を抑制することができる。
 このように、第1実施形態では、導光体23の端部領域22b(入光部近傍)にプリズム23qを形成するとともに、光出射領域22aにプリズム23iを形成することによって、V字型輝線および線状ムラの発生を効果的に抑制することができる。このため、輝度ムラを効果的に改善することができるので、均一性の良好な面状光を得ることができる。すなわち、バックライトユニット20から出射される面状光において、V字型輝線および線状ムラに起因する輝度ムラの発生を効果的に抑制することができる。その結果、輝度の均一性が高いバックライトユニット20を得ることができる。また、V字型輝線および線状ムラとなっていた光を有効利用することができるので、光の利用効率および輝度を効果的に向上させることができる。
 また、端部領域22bのプリズム23qは、導光体23に入射された光をLED21からの光の光軸Oに近づける方向に反射させるため、V字型輝線となる成分の光をV字型輝線とならない成分の光に効果的に変化させることができる。これにより、V字型輝線の発生をより効果的に抑制することができるので、バックライトユニット20から出射される面状光において、V字型輝線に起因する輝度ムラの発生を効果的に抑制することができる。
 なお、プリズム23qとプリズム23iとを互いに異なる形状とすることによって、容易に、プリズム23qとプリズム23iとで、横方向に広がる光の伝搬角度が変わるように構成することができる。
 また、プリズム23q(傾斜面23r)を、平面的に見て、光入射面23aから略垂直方向(B方向)に延びるように形成することによって、導光体23に入射(入光)された光を傾斜面23r(プリズム23q)で反射させるにより、容易に、横方向に広がる光の伝搬角度を変化さることができる。これにより、容易に、V字型輝線の発生を抑制することができる。また、プリズム23i(傾斜面23j)を、平面的に見て、光入射面23aに対して略垂直方向(B方向)に延びるように形成することによって、傾斜面23j(プリズム23i)で光を反射させることにより、光を適度に拡散させることができる。これにより、より効果的に、線状ムラの発生を抑制することができる。
 また、第1実施形態では、導光体23の光出射面23bと背面23cとを、互いに略平行に形成することによって、たとえば背面が光出射面に対して傾斜した楔形の導光体を用いる場合に比べて、導光体23の背面23c上に低屈折率層24を形成し易くすることができる。
 また、第1実施形態では、プリズム23eに、導光体23の光出射面23bに対して傾斜した傾斜面23fを設けることによって、導光体23の背面23cに対するLED21からの光の入射角を、容易に、徐々に小さくさせることができる。
 また、第1実施形態では、傾斜面23fを、導光体23の光出射面23bに対して、5°以下(0.1°以上3°以下)傾斜させることによって、光がプリズム23eと背面23cとの間で反射を繰り返すことにより、導光体23の背面23cに対する光の入射角は、10°以下(0.2°以上6°以下)ずつ小さくなる。これにより、導光体23の背面23cに対する光の入射角を、より容易に、徐々に小さくすることができる。
 また、第1実施形態では、B方向に隣接するプリズム23e同士の間に、平面部23dを形成することによって、導光体23から出射する光が分光されるのを抑制することができる。
 また、第1実施形態では、複数のプリズム24bを、B方向に隙間無く連続して形成することによって、複数のプリズム24bにより、光をより均一に反射させることができるので、導光板22の光出射領域22aの全域から、より均一に光を出射させることができる。これにより、液晶表示パネル10の輝度をより均一にすることができる。
 また、第1実施形態では、複数のプリズム24bを、互いに同一の形状で、かつ、同一の大きさに形成することによって、複数のプリズム24bにより、光をより均一に反射させることができるので、導光板22の光出射領域22aの全域から、より均一に光を出射させることができる。
 また、第1実施形態では、導光体23の光出射面23b(光出射領域22a)に、LED21からの光をA方向に拡散させる複数のプリズム23iを形成することによって、光を導光体23内でA方向に適度に拡散させることができるので、液晶表示パネル10のLED21の正面部分の輝度と、液晶表示パネル10のLED21の正面部分以外の部分の輝度とを均一にすることができる。すなわち、液晶表示パネル10の輝度をより均一にすることができる。また、このようなプリズム23iを形成することによって、線状ムラの発生を抑制することができるので、輝度ムラを効果的に抑制することができる。
 また、LED21からの光をA方向に拡散させる複数のプリズム23iを形成することによって、導光体23の光入射面23a側から見て、導光体23の背面23cに対する入射角の大きい光を、プリズム23iで反射させることにより、導光体23の背面23cに対する入射角を小さくすることができる。これにより、低屈折率層24に入射する光がA方向に広がるのを抑制することができるので、導光板22から出射される光がA方向に広がるのを抑制することができる。その結果、A方向の光の集光特性を向上させることができるとともに、液晶表示パネル10の輝度をより向上させることができる。
 また、第1実施形態では、プリズム23iを、一対の傾斜面23jにより形成することによって、LED21からの光を、一対の傾斜面23jにより、A方向の両側に拡散させることができるので、液晶表示パネル10の輝度をより均一にすることができる。
 また、光源としてLED21を用いる場合、液晶表示パネル10のLED21の正面部分の輝度と、液晶表示パネル10のLED21の正面部分以外の部分の輝度とが異なり易いので、上記のように、LED21からの光をA方向に拡散させる複数のプリズム23iを設けるのは、特に有効である。
 また、このようなバックライトユニット20を備えることによって、輝度ムラが抑制された、表示品位の高い液晶表示装置1を容易に得ることができる。
 なお、上記実施形態では、端部領域22bのプリズム23qおよび光出射領域22aのプリズム23iを、それぞれ、その断面が三角形状となるように形成した例を示した。しかしながら、プリズム23qおよび23iの形状は、断面三角形状以外の形状であってもよい。プリズム23qおよび23iは、光を反射させて導光角度を変化させることが可能な傾斜面を有していれば、その形状は特に制限されるものではない。たとえば、図36に示すように、端部領域22bのプリズム23qは、その断面が円弧状(曲面状の傾斜面を有する構成)となるように形成されていてもよい。同様に、図37に示すように、光出射領域22aのプリズム23iは、その断面が円弧状となるように形成されていてもよい。また、図36は上記した図12に対応しており、図37は上記した図13に対応している。
 (第2実施形態)
 図38は、本発明の第2実施形態によるバックライトユニットの一部を模式的に示した平面図である。図39は、図38のa3-a3線に沿った断面図であり、図40は、図38のa4-a4線に沿った断面図である。図41および図42は、第2実施形態の他の例を示した断面図である。図41は、図38のa3-a3線に沿った断面に対応した図を示しており、図42は、図38のa4-a4線に沿った断面に対応した図を示している。次に、図3および図38~図42を参照して、本発明の第2実施形態によるバックライトユニットについて説明する。なお、各図において、対応する構成要素には同一の符号を付すことにより、重複する説明は適宜省略する。
 この第2実施形態では、図38に示すように、端部領域22bから光出射領域22aに連続して延びる凹状のプリズム223i(凹部)が複数形成されている。すなわち、この第2実施形態では、端部領域22bと光出射領域22aとで別々にプリズムが形成されているのではなく、端部領域22bのプリズムと光出射領域22aのプリズムとが連続した形状とされている。より具体的には、第1実施形態において別々に形成していたプリズム23iとプリズム23qとを連続した形状として、プリズム223iとして導光体23に形成している。
 導光体23の前面23bに形成されたプリズム223iは、図39および図40に示すように、その断面が三角形状を有するように形成されている。また、プリズム223iは、一対の傾斜面223jを有している。さらに、プリズム223iは、光入射面23aの法線方向(B方向)に延びるように形成されている。
 また、A方向に隣り合うプリズム223i同士の間に、平面部223hが形成されている。また、A方向に隣り合うプリズム223i同士の間には、上記第1実施形態と同様、複数の平面部23dと、複数の凹状のプリズム23eとが交互に形成されている。そして、プリズム23eは、光出射領域22a(表示領域)よりも光入射面23a側(LED21側)から形成されている。詳説すると、プリズム23eは、光入射面23aからB方向に所定の距離D30を隔てた位置L1(端部領域22b内の所定位置)から始まっている。
 プリズム223iは、図38~図40に示すように、その深さが光入射面23a(図38参照)に向かうにしたがい深くなっている。プリズム223iの傾斜面223jの傾斜角度は一定であるため、プリズム223iの深さが深くなると、A方向の幅も大きくなる。そのため、プリズム223iは、光入射面23aに向かうにしたがい、A方向の幅が大きくなっている。これにより、プリズム223i(傾斜面223j)の占有面積(占有率)が、光出射領域22aに比べて、端部領域22bで大きくなっている。
 プリズム223i(傾斜面223j)の占有面積(占有率)が大きくなると、光の横方向への広がりが抑えられるため、V字型輝線の発生が抑制される。その一方、光出射領域22aにおいては、端部領域22bと同様の占有率とすると、線状ムラが強調される。
 そのため、第2実施形態では、導光体23の端部領域22bではプリズム223i(傾斜面223j)の占有面積(占有率)が大きく、光出射領域22aではプリズム223i(傾斜面223j)の占有面積(占有率)が小さくなるように形成されている。したがって、V字型輝線および線状ムラの発生が効果的に抑制される。
 このように構成されたプリズム223iは、端部領域22bでは第1実施形態のプリズム23q(図3参照)の役割をするとともに、光出射領域22aでは第1実施形態のプリズム23i(図3参照)の役割をする。すなわち、プリズム23qとプリズム23iの役割をプリズム223iのみで果たすことが可能となる。
 なお、端部領域22bと光出射領域22aとで傾斜面223jの傾斜角度は等しいため、図39の傾斜角度α12と図40の傾斜角度α2とは同じになる(α2=α12)。また、プリズム223iのA方向のピッチは場所によって変わらない。そのため、端部領域22bにおけるプリズム223iのピッチP12(図39参照)と光出射領域22aにおけるプリズム223iのピッチP2(図40参照)とは等しい(W13+W14=W3+W4)。プリズム223iのA方向の幅は、端部領域22bの方が光出射領域22aよりも大きく、逆に、平面部223hの幅は、端部領域22bの方が光出射領域22aよりも小さい。そのため、W14>W4、W13<W3の関係を有する。
 第2実施形態のその他の構成は、上記第1実施形態と同様である。
 第2実施形態では、上記のように、端部領域22bから光出射領域22aに連続して延びる凹状のプリズム223iを形成することによって、容易に、V字型輝線および線状ムラの発生を効果的に抑制することができる。
 第2実施形態のその他の効果は、上記第1実施形態と同様である。
 なお、上記実施形態では、プリズム223iを、その断面が三角形状となるように形成した例を示した。しかしながら、プリズム223iの形状は、断面三角形状以外の形状であってもよい。たとえば、図41および図42に示すように、プリズム223iは、その断面が円弧状(曲面状の傾斜面を有する構成)となるように形成されていてもよい。
 ここで、断面が円弧状の場合、プリズム223iの深さが深くなると、A方向の幅が大きくなることに加えて、傾斜面223jの傾斜角度も大きくなる。傾斜角度が大きくなると、V字型輝線を抑制する効果が大きくなる。そのため、プリズム223iを、その断面が円弧状となるように形成すれば、より効果的にV字型輝線の発生を抑制することが可能となる。
 プリズム223iの断面が円弧状の場合、端部領域22b(図41参照)の方が光出射領域22a(図42参照)に比べて、傾斜面223jの傾斜角度が大きくなる(α12>α2)。プリズム223iのA方向のピッチは場所によって変わらない。そのため、端部領域22bにおけるプリズム223iのピッチP12(図41参照)と光出射領域22aにおけるプリズム223iのピッチP2(図42参照)とは等しい(W13+W14=W3+W4)。プリズム223iのA方向の幅は、端部領域22bの方が光出射領域22aよりも大きく、逆に、平面部223hの幅は、端部領域22bの方が光出射領域22aよりも小さい。そのため、W14>W4、W13<W3の関係を有する。
 (第3実施形態)
 図43は、本発明の第3実施形態によるバックライトユニットの一部を模式的に示した平面図である。図44は、本発明の第3実施形態によるバックライトユニットを説明するための模式的断面図である。次に、図43および図44を参照して、本発明の第3実施形態によるバックライトユニットについて説明する。なお、各図において、対応する構成要素には同一の符号を付すことにより、重複する説明は適宜省略する。
 この第3実施形態では、図43に示すように、上記第1実施形態の構成において、端部領域22b(入光部近傍)の全面もしくは一部に反射層30が設置されている。反射層30は、たとえば、銀をコーティングした反射板または白色PET樹脂などの反射シート等からなる。反射層30は、導光板22(導光体23)の上に設置してもよし、粘着層(図示せず)などにより導光板22(導光体23)と密着させてもよい。また、導光板22に直接反射率の高いアルミニウムや銀などの反射膜を成膜することによって反射層30を形成してもかまわない。
 導光板22のプリズム23qが形成された領域(端部領域22b)に反射層30が存在しない場合、図44の(A)に示すように、プリズム23qの傾斜面23rに当たった光の一部が空気中に出射される(矢印参照)。この場合、空気中に出射された光はロスされることになる(損失となる)。
 一方、図43に示すように、導光板22のプリズム23qが形成された領域(端部領域22b)に反射層30が設けられている場合、図44の(B)に示すように、先述の光も反射層30で反射される。これにより、その光は再度導光板22内に入射される。
 第3実施形態のその他の構成は、上記第1実施形態と同様である。なお、第2実施形態の構成に上記反射層30を設けた構成とすることもできる。
 第3実施形態では、上記のように、プリズム23q上(端部領域22b上)に、プリズム23qから外部に出射される光を反射する反射層30を設けることによって、たとえば空気層(空気中)に出射される光を反射層30で反射させて導光体23内に入射させることができる。これにより、光損失を低減することができるの、光利用効率を向上させることができる。
 第3実施形態のその他の効果は、上記第1実施形態と同様である。また、第2実施形態の構成に反射層30を設けた場合は、第3実施形態のその他の効果は、第1および第2実施形態と同様である。
 (第4実施形態)
 図45は、本発明の第4実施形態によるバックライトユニットを模式的に示した断面図である。次に、図45を参照して、本発明の第4実施形態によるバックライトユニットについて説明する。なお、図45において、対応する構成要素には同一の符号を付すことにより、重複する説明は適宜省略する。
 この第4実施形態では、図45に示すように、導光体23の背面23c側に低屈折率層24に加えてプリズム層25がさらに形成された構成とされている。具体的には、低屈折率層24を導光体23とプリズム層25とで挟む構造とされている。プリズム層25は、屈折率(n3)の透明材料からなり、低屈折率層24の下面(背面)に空気層などを介することなく形成されている。この場合、導光体23の屈折率(n1)、低屈折率層24の屈折率(n2)、プリズム層25の屈折率(n3)の間には、n2<n3≦n1の関係が成り立つことが好ましい。
 また、第4実施形態では、プリズム層25の背面(導光板22の背面)に全反射を利用して光を集光することができるプリズム25bが形成されている。このプリズム25bは、第1実施形態で示したプリズム24b(図1参照)と同様の形状を有している。すなわち、第4実施形態では、低屈折率層24にプリズム24bが形成される代わりに、プリズム層25にプリズム25bが形成された構成となっている。なお、プリズム25bは、本発明の「第2反射部」の一例である。
 第4実施形態のその他の構成は、上記第1~第3実施形態と同様である。また、第4実施形態の効果は、上記第1~第3実施形態と同様である。
 (第5実施形態)
 図46は、本発明の第5実施形態によるバックライトユニットを模式的に示した断面図である。図47は、図46に示したプリズムシートの一部を拡大して示した断面図である。次に、図1、図9、図46および図47を参照して、本発明の第5実施形態によるバックライトユニットについて説明する。なお、各図において、対応する構成要素には同一の符号を付すことにより、重複する説明は適宜省略する。
 この第5実施形態では、図46に示すように、逆プリズム方式(ターニングレンズ方式)のバックライトユニットとされている。具体的には、上記第1~第4実施形態とは異なり、バックライトユニットを構成する導光板22が、低屈折率層を含まない構成とされている。すなわち、第5実施形態では、導光板22は導光体23からなる。
 また、第5実施形態では、たとえば、導光板22(導光体23)の背面23c(下面)に、プリズム23e(図1参照)と同様の機能を有するプリズム523eが形成されており、導光板22(導光体23)の前面23b(上面)に、プリズム23i(図9参照)と同様の機能を有するプリズム523iまたはシボパターン523iが形成されている。導光板22(導光体23)の背面23cに形成されたプリズム523eは、傾斜角度α5で傾斜する傾斜面523fを有している。傾斜面523fの傾斜角度α5は、たとえば、1°~2°程度とされている。なお、プリズム523eは、導光板22(導光体23)の前面23b(上面)または背面23c(下面)のいずれかに形成されていればよく、プリズム523iまたはシボパターン523iも、導光板22の前面23b(上面)または背面23c(下面)のいずれかに形成されていればよい。
 さらに、第5実施形態では、導光板22上に、プリズム面511を有するプリズムシート510(片面プリズムシート)が設置されている。このプリズムシート510は、導光板22(導光体23)と重なるように設置されている。プリズムシート510のプリズム面511は、導光板22(導光体23)の前面23bと対向している。プリズムシート510のプリズム面511には、複数のプリズム512が形成されている。これらのプリズム512は、その断面が三角形状を有するように形成されている。また、図47に示すように、複数のプリズム512は、それぞれ、一対の傾斜面512aを有している。一対の傾斜面512aのなす角度α6(プリズム512の頂角α6)はたとえば約65°~約70°とされている。なお、プリズム523iおよびシボパターン523iは、それぞれ、本発明の「第3反射部」の一例であり、プリズムシート510は、本発明の「光学シート」の一例である。
 プリズムシート510と導光板22との間には、空気層が介在されている。この空気層は、第1~第4実施形態で示した低屈折率層の役割をする。
 また、上記第1~第4実施形態と同様、プリズム523eは、光出射領域22a(表示領域)よりも光入射面23a側から形成されている。詳説すると、プリズム523eは、光入射面23aからB方向に所定の距離D30を隔てた位置L1(端部領域22b内の所定位置)から始まっている。なお、上記第1実施形態と同様、B方向(たとえば、導光板22の長さ方向)に隣り合うプリズム523e同士の間に平面部が形成されていてもよい。
 ターニングレンズ方式のバックライトユニットにおいては、図46に示すように、LED21からの光が光入射面23aから入射されて導光板22(導光体23)内を導光し、導光板22の前面23bからプリズムシート510に向けて出射される。導光板22の前面23b(光出射面23b)からは、図47に示すように、たとえば約20°の角度α7で光が出射され、プリズムシート510のプリズム512に入射される。そして、このプリズムシート510によって、入射された光が前方に全反射される(矢印参照)。
 このように構成されたターニングレンズ方式のバックライトユニットでは、図46に示すように、光入射面23aの加工による面粗さの存在によって、導光板22内に入射した光は広がりをもつ(たとえばガウス散乱など)。そして、その広がった光が導光板22のたとえば前面23bに形成されたプリズム523iまたはシボパターン523iに当たることで端部領域22b(入光部近傍)で臨界角以下となり、V字型基線が発生する。すなわち、このようなターニングレンズ方式のバックライトユニットにおいてもV字型基線が発生し易い。
 そのため、第5実施形態では、上記第1~第4実施形態と同様、端部領域22bに上記したプリズム23qが形成されている。なお、プリズム23qは、導光板22(導光体23)の前面23bおよび背面23cのいずれに形成されていてもよい。図46では、導光板22の前面23bに形成された例が示されている。
 また、プリズム23qは、上記第1~第4実施形態と同様、プリズム523iまたはシボパターン523iに比べて、横方向(A方向)に広がる光の伝搬角度を大きく変化させるように形成されている。したがって、この第5実施形態においても、V字型輝線および線状ムラの発生が効果的に抑制されている。
 第5実施形態では、上記のように、ターニングレンズ方式のバックライトユニットを採用することによって、光学シートの数を減らすことができる。また、ターニングレンズ方式のバックライトユニットを採用することによって、V字型輝線および線状ムラが発生し易くなるものの、導光板22(導光体23)にプリズム23qおよびプリズム523i(またはシボパターン523i)を設けることにより、V字型輝線および線状ムラの発生を効果的に抑制することができる。
 第5実施形態のその他の構成および効果は、上記第1実施形態と同様である。
 (第6実施形態)
 図48は、本発明の第6実施形態によるバックライトユニットの一部を模式的に示した平面図である。次に、図3、図7および図48を参照して、本発明の第6実施形態によるバックライトユニットについて説明する。なお、各図において、対応する構成要素には同一の符号を付すことにより、重複する説明は適宜省略する。
 この第6実施形態では、図48に示すように、上記第1実施形態の構成において、導光板22(導光体23)の端部(LED21側の端部)に台形状のプリズム40aが形成されている。すなわち、この第6実施形態では、導光体23の端部領域22bが台形状のプリズム40aに形成されている。台形状のプリズム40aは、導光板22と一体に形成されており、平面的に見て、台形の斜辺が傾斜面40となっている。すなわち、導光板22の端部には、傾斜面40を含む台形状のプリズム40aが形成されている。また、一対の傾斜面40(斜辺)は、光軸Oに線対称となっている。なお、上記傾斜面40は、導光体23の光出射面23bまたは背面23cに対して略垂直に形成されている。また、傾斜面40は、光入射面23aから光軸Oに対して傾斜する方向に延びるように形成されている。さらに、傾斜面40は、LED21から導光板22に入射された光R2を光軸Oに近づける方向(光軸Oとのなす角が小さくなる方向)に反射させるように形成されている。すなわち、傾斜面40は、V字型輝線方向に出射した光R2を反射させて、水平方向(横方向)の光の角度分布を変化させる。
 また、台形状のプリズム40aは、端部領域22bにおけるプリズム23eが形成されていない領域S1(LED21側の領域:図7参照)に形成されている。
 このように構成された第6実施形態のバックライトユニットでは、光入射面23aから入射されたV字型輝線方向に出射した光を、台形状のプリズム40aの傾斜面40で反射されて、水平方向(横方向)の光の角度分布を変化させる。これにより、光入射面23aから入射された光は、V字型輝線の成分とならない光となって導光板22内を伝搬する。したがって、V字型輝線の発生が抑制される。
 なお、台形状のプリズム40aは、上記第1実施形態で示したプリズム23q(図3参照)と同様の機能を有するため、プリズム23qに代えて、台形状のプリズム40aを設ける構成としてもよい。また、台形状のプリズム40aを有する構成に、さらにプリズム23qを備える構成としてもよい。
 第6実施形態のその他の構成は、上記第1実施形態と同様である。また、第6実施形態の効果は、上記第1実施形態と同様である。
 また、上記台形状のプリズム40aは、光出射領域22aの開始位置L2まで形成されていてもよい。また、V字型輝線を抑制するためには、傾斜面40を有していればよいため、上記のような台形状のプリズム40aを形成する代わりに、たとえば、導光板22におけるLED21側の端部(光入射面23aの近傍)に切り込み部を形成してもよい。切り込み部を形成することで、空気界面からなる傾斜面(台形状のプリズム40aの傾斜面40と同様の傾斜面)が形成されるため、この傾斜面によって、V字型輝線の発生を抑制することが可能となる。なお、傾斜面の外表面にはミラー加工などの反射加工が施されていると好ましい。
 なお、今回開示された実施形態は、すべての点で例示であって制限的なものではないと考えられるべきである。本発明の範囲は、上記した実施形態の説明ではなく特許請求の範囲によって示され、さらに特許請求の範囲と均等の意味および範囲内でのすべての変更が含まれる。
 たとえば、上記第1~第6実施形態では、照明装置を、バックライトユニットに適用した例について示したが、本発明はこれに限らず、バックライトユニット以外の照明装置に適用してもよい。たとえば、室内照明や外灯などの一般照明に本発明の照明装置を適用することもできる。
 また、上記第1~第6実施形態では、シートレスバックライトまたはターニングレンズ方式のバックライトに本発明を適用した例について説明したが、本発明はこれに限らず、上記以外の方式のバックライトユニットに本発明を適用することもできる。
 また、上記第1~第6実施形態では、表示パネルおよび表示装置を、それぞれ、液晶表示パネルおよび液晶表示装置に適用した例について示したが、本発明はこれに限らず、液晶表示パネルおよび液晶表示装置以外の表示パネルおよび表示装置に適用してもよい。
 また、上記実施形態では、導光体の光出射面(前面)に、導光体の背面に対するLEDからの光の入射角度を徐々に小さくさせるプリズム(プリズム23e)、および、光を横方向に拡散させるプリズム(プリズム23i)を形成した例を示したが、本発明はこれに限らず、上記プリズムは、導光体の光出射面(前面)以外に形成されていてもよい。たとえば、図49に示すように、導光体23の背面23cに対するLED21からの光の入射角度を徐々に小さくさせるプリズム23eを導光体23の背面23cに形成してもよい。また、図50に示すように、光を横方向に拡散させるプリズム23iを導光体23の背面23cに形成してもよい。なお、プリズム23eおよびプリズム23iの両方を、導光体23の背面23cに形成するようにしてもよいし、いずれか一方を導光体23の背面23cに形成するようにしてもよい。
 さらに、上記実施形態では、導光体の光出射面(前面)に、導光体の端部領域に形成されるプリズム(プリズム23q)を形成した例を示したが、本発明はこれに限らず、端部領域のプリズム(プリズム23q)は、導光体の背面(低屈折率層との界面)に形成されていてもよい。また、上記実施形態で示したように、プリズム23qとプリズム23iとは同一面内に形成されていてもよいし、上記実施形態とは異なり、異なる面内に形成されていてもよい。
 また、上記実施形態において、導光体に形成される各プリズム(プリズム23e、プリズム23i、プリズム23q)は、導光体の片面(前面または背面のいずれか)に形成されていてもよいし、導光体の両面(前面および背面)に形成されていてもよい。
 なお、上記実施形態において、導光体(屈折率n1)と低屈折率層(屈折率n2)との間に屈折率の異なる材料が介在されていてもよい。この場合、介在される層の屈折率を屈折率(n5)とすると、屈折率(n5)はn2<n5≦n1であるのが好ましい。
 また、上記実施形態では、導光体の背面に対するLEDからの光の入射角度を徐々に小さくさせるプリズム(プリズム23e)、および、光を横方向に拡散させるプリズム(プリズム23i)を、それぞれ、凹状に形成した例について示したが、本発明はこれに限らず、上記プリズムは、凹状以外の形状(たとえば凸状)に形成してもよい。光出射領域に形成される、光を横方向に拡散させるプリズムを例にして説明すると、たとえば、図51および図52に示すように、プリズム23iを上方に突出する凸状とすることができる。この場合、図51に示すように、凸状のプリズム23iは、たとえば、その断面が円弧状を有するように形成されていてもよい。また、図52に示すように、凸状のプリズム23iは、たとえば、その断面が三角形状を有するように形成されていてもよい。また、楕円形状など上記以外の形状であってもよい。同様に、導光体の背面に対するLEDからの光の入射角度を徐々に小さくさせるプリズム(プリズム23e)、および、端部領域に形成されるプリズム(プリズム23q)についても、凸状等の種々の形状とすることができる。
 また、上記実施形態では、端部領域のプリズム(プリズム23q)および光を横方向に拡散させるプリズム(プリズム23i)を、光入射面に対して略垂直方向に延びるように形成した例を示したが、本発明はこれに限らず、上記と同様の機能を有する形状であれば、これ以外の形状であってもよい。
 また、上記実施形態では、光を横方向に拡散させるプリズム(プリズム23i)を端部領域から始まるように構成した例を示したが、プリズム23iは、光出射領域から始まるように構成されていてもよい。ただし、プリズム23iにおいても、光出射領域手前の端部領域から始まるように構成されているのが好ましい。
 さらに、上記実施形態では、導光体の端部領域にプリズム23qを形成した例を示したが、本発明はこれに限らず、プリズム23qを形成しない構成とすることもできる(D10=0(D10=L0))。この場合、端部領域におけるプリズム23eが形成されていない領域は平面状の状態(平面部となっている状態)とすることができる。また、この領域に他の光学パターンを形成することもできる。
 また、上記実施形態では、導光板の背面に設けられたプリズム(プリズム24b(25b))を、プリズム23eよりも光源側(LED側)から始まるように構成した例を示したが、本発明はこれに限らず、プリズム24b(25b)はプリズム23eと同じ位置、または、プリズム23eよりも光出射領域側から始まるように構成されていてもよい。ただし、輝度ムラ抑制の観点からは、プリズム24b(25b)は、光入射面により近い位置から始まるように構成されているのが好ましい。
 なお、上記実施形態において、導光板の背面側に反射板を設ける構成としてもよい。反射板の構成は特に制限されることはないが、たとえば、誘電体多層膜ミラーから構成される反射板、銀をコーティングした反射板、白色PET樹脂からなる反射板のいずれかで形成されていると好ましい。また、導光板と表示パネルとの間に、光を拡散させる拡散板を設けた構成とされていてもよい。
 また、上記実施形態では、光源として、LEDを用いた例について示したが、本発明はこれに限らず、光源として、LED以外の発光素子を用いてもよいし、発光素子以外の光源(たとえばCCFLなど)を用いてもよい。また、光源は、バックライトユニット(導光体)の少なくとも一辺に配置されていればよい。
 また、上記実施形態で記載した角度および幅などの値は一例であり、角度および幅などを、上記実施形態とは異なる値に形成してもよい。
 また、上記実施形態では、導光板を形成する際に、平板状の金型および石英基板を用いて、プリズムを形成した例について説明したが、本発明はこれに限らず、導光板を形成する際に、ロール状の金型および石英基板を用いて、プリズムを形成してもよい。
 また、上記実施形態では、熱によるインプリント法を用いて、導光体にプリズムを形成した後、その導光体に低屈折率層を形成した例を示したが、本発明はこれに限らず、たとえば、導光体に低屈折率層を形成した後に、プリズムを形成するようにしてもよい。
 具体的には、まず、図53に示すように、導光体23となるフィルム材23k上に、低屈折率層24となるフィルム材224eを積層する。次に、上金型230と下金型231との間に、フィルム材23kおよび224eを配置する。そして、図54に示すように、上金型230と下金型231とにより、フィルム材23kおよび224eを加熱および加圧する。これにより、フィルム材23kおよび224eは、所望の形状に形成される。その後、フィルム材23kおよび224eを、上金型230および下金型231から剥離し冷却するとともに、個片に分割することによって、図55に示すように、導光体23および低屈折率層24からなる導光板22が得られる。
 導光体の背面にプリズムを形成する場合は、たとえば、プリズム23eやプリズム23iを低屈折率層との界面となる面に形成したシート(フィルム材:屈折率(n11))と、プリズム24b(25b)を形成したシート(フィルム材:屈折率(n13))とを、低屈折率層となるシート(フィルム材:屈折率(n12))で貼り合わせることによって作製される。このとき、各シートの屈折率の関係は、n12<n13≦n11とされる。
 また、上記第3実施形態では、第1実施形態の構成に反射層を設けた例を示したが、本発明はこれに限らず、第4または第5実施形態の構成に第3実施形態で示した反射層を設けてもよい。
 また、上記第5実施形態では、片面にプリズム面を有する片面プリズムシートを用いた例を示したが、バックライトユニットに用いられるプリズムシートは片面プリズムシート以外のたとえば両面プリズムシートであってもよい。この場合、たとえば、導光板側にプリズム面を有し、その反対側の面(上面)にマイクロレンズ等が形成されたプリズムシートなどを用いることができる。
 さらに、上記第6実施形態では、第1実施形態の構成に台形状のプリズム等(傾斜面)を形成した例を示したが、本発明はこれに限らず、第2~第5実施形態の構成に第6実施形態で示した構成を適用することもできる。
 なお、上記で開示された技術を適宜組み合わせて得られる実施形態についても本発明の技術的範囲に含まれる。
 1              液晶表示装置(表示装置)
 10             液晶表示パネル(表示パネル)
 11             アクティブマトリックス基板
 12             対向基板
 13             偏光フィルム
 20             バックライトユニット(照明装置)
 21             LED(光源)
 22             導光板(導光部材)
 22a            光出射領域
 22b            端部領域
 23             導光体
 23a            光入射面(入光面)
 23b            光出射面、前面(上面)
 23c            背面(下面)
 23d            平面部
 23e            プリズム(第1反射部)
 23f            傾斜面
 23g            垂直面
 23h            平面部
 23i            プリズム(第3反射部)
 23j            傾斜面
 23p            平面部
 23q            プリズム(第4反射部)
 23r            傾斜面
 24             低屈折率層
 24a            背面
 24b            プリズム(第2反射部)
 24c            傾斜面
 25             プリズム層
 25b            プリズム(第2反射部)
 30             反射層

Claims (12)

  1.  光源と、
     前記光源からの光を導光する導光体とを備え、
     前記導光体は、前記光源からの光が入光される入光面と、前記光源側の端部領域と、前記端部領域に対して前記光源とは反対側に配された光出射領域とを含み、
     前記導光体の光出射領域には、前記導光体内に入光された光を反射する第1反射部が設けられており、
     前記第1反射部は、前記端部領域における前記入光面から所定の距離を隔てた位置から始まっていることを特徴とする、照明装置。
  2.  前記端部領域における前記第1反射部よりも光源側の領域は、前記光出射領域とは異なる構造とされていることを特徴とする、請求項1に記載の照明装置。
  3.  前記導光体の背面側には、第2反射部が設けられており、
     前記第2反射部の形成開始位置は、前記第1反射部よりも前記光源側であることを特徴とする、請求項1または2に記載の照明装置。
  4.  前記光出射領域には、光の入光方向に対して交差する方向に光を広げる第3反射部が設けられており、
     前記端部領域における前記第1反射部よりも光源側の領域には、前記第3反射部に比べて、光の入光方向に対して交差する方向に広がる光の伝搬角度を大きく変化させる第4反射部が設けられていることを特徴とする、請求項1~3のいずれか1項に記載の照明装置。
  5.  前記第3反射部と前記第4反射部とは、連続して形成されていることを特徴とする、請求項4に記載の照明装置。
  6.  前記第4反射部上には、前記第4反射部から外部に出射される光を反射する反射層が設けられていることを特徴とする、請求項5に記載の照明装置。
  7.  前記反射層は、前記第4反射部の少なくとも一部を覆うように設けられていることを特徴とする、請求項6に記載の照明装置。
  8.  前記導光体と、前記導光体よりも小さい屈折率を有する低屈折率層とを含む導光部材を備え、
     前記低屈折率層は、前記導光体の背面上に空気層を介することなく設けられており、
     前記導光体の前面側または背面には、複数の前記第1反射部が設けられており、
     前記導光部材の背面には、複数の前記第2反射部が設けられていることを特徴とする、請求項1~7のいずれか1項に記載の照明装置。
  9.  前記第1反射部は、前記導光体の背面に対する前記光源からの光の入射角度を徐々に小さくさせる機能を有し、
     前記第2反射部は、前記導光部材の背面と空気層との界面において前記光源からの光を前方に全反射させる機能を有することを特徴とする、請求項8に記載の照明装置。
  10.  プリズム面を有し、前記導光体に重なる光学シートをさらに備え、
     前記光学シートは、前記プリズム面が前記導光体側を向くように配置されていることを特徴とする、請求項1~7のいずれか1項に記載の照明装置。
  11.  前記導光体の前面および背面は、互いに略平行となるように形成されていることを特徴とする、請求項1~10のいずれか1項に記載の照明装置。
  12.  請求項1~11のいずれか1項に記載の照明装置と、
     前記照明装置からの光を受ける表示パネルとを備えることを特徴とする、表示装置。
PCT/JP2012/065364 2011-07-06 2012-06-15 照明装置および表示装置 Ceased WO2013005559A1 (ja)

Priority Applications (1)

Application Number Priority Date Filing Date Title
US14/130,529 US9348081B2 (en) 2011-07-06 2012-06-15 Illumination device and display device

Applications Claiming Priority (2)

Application Number Priority Date Filing Date Title
JP2011150279 2011-07-06
JP2011-150279 2011-07-06

Publications (1)

Publication Number Publication Date
WO2013005559A1 true WO2013005559A1 (ja) 2013-01-10

Family

ID=47436916

Family Applications (1)

Application Number Title Priority Date Filing Date
PCT/JP2012/065364 Ceased WO2013005559A1 (ja) 2011-07-06 2012-06-15 照明装置および表示装置

Country Status (2)

Country Link
US (1) US9348081B2 (ja)
WO (1) WO2013005559A1 (ja)

Cited By (2)

* Cited by examiner, † Cited by third party
Publication number Priority date Publication date Assignee Title
WO2016017492A1 (ja) * 2014-07-29 2016-02-04 シャープ株式会社 照明装置及び表示装置
JP2021163731A (ja) * 2020-04-03 2021-10-11 株式会社ジャパンディスプレイ 発光装置及び照明装置

Families Citing this family (9)

* Cited by examiner, † Cited by third party
Publication number Priority date Publication date Assignee Title
KR20140066522A (ko) * 2012-11-23 2014-06-02 삼성디스플레이 주식회사 백라이트 유닛 및 이를 포함하는 표시 장치
WO2015093396A1 (ja) 2013-12-18 2015-06-25 シャープ株式会社 照明装置及び表示装置
WO2015098680A1 (ja) * 2013-12-24 2015-07-02 シャープ株式会社 照明装置及び表示装置
CN107429884B (zh) * 2014-12-10 2019-06-18 夏普株式会社 照明装置及显示装置
KR20190035974A (ko) * 2017-09-25 2019-04-04 삼성디스플레이 주식회사 백라이트 유닛 및 표시 장치
CN109212660B (zh) * 2018-10-26 2020-01-24 合肥京东方光电科技有限公司 导光组件、光准直组件、背光模组及显示装置
CN111624815B (zh) * 2020-06-29 2022-05-31 京东方科技集团股份有限公司 一种背光模组及显示装置
CN212675318U (zh) * 2020-08-07 2021-03-09 中强光电股份有限公司 导光元件及显示装置
JP7616961B2 (ja) * 2021-07-16 2025-01-17 株式会社デンソー 光導光部材

Citations (6)

* Cited by examiner, † Cited by third party
Publication number Priority date Publication date Assignee Title
JP2005129271A (ja) * 2002-11-29 2005-05-19 Fujitsu Ltd リフレクタ及び照明装置及び導光板及び表示装置
JP2009053377A (ja) * 2007-08-27 2009-03-12 Hitachi Displays Ltd 液晶表示装置
JP2009070644A (ja) * 2007-09-12 2009-04-02 Epson Imaging Devices Corp 照明装置、液晶装置及び電子機器
JP2009176593A (ja) * 2008-01-25 2009-08-06 Seiko Instruments Inc 照明装置及びこれを用いた表示装置
WO2010100784A1 (ja) * 2009-03-06 2010-09-10 シャープ株式会社 面状照明装置およびそれを備えた表示装置
JP2010217637A (ja) * 2009-03-18 2010-09-30 Sony Corp 電気光学装置及び電子機器

Family Cites Families (2)

* Cited by examiner, † Cited by third party
Publication number Priority date Publication date Assignee Title
KR100985358B1 (ko) 2007-12-10 2010-10-04 히다치 가세고교 가부시끼가이샤 백라이트부
JP2009164100A (ja) 2007-12-11 2009-07-23 Hitachi Chem Co Ltd バックライト

Patent Citations (6)

* Cited by examiner, † Cited by third party
Publication number Priority date Publication date Assignee Title
JP2005129271A (ja) * 2002-11-29 2005-05-19 Fujitsu Ltd リフレクタ及び照明装置及び導光板及び表示装置
JP2009053377A (ja) * 2007-08-27 2009-03-12 Hitachi Displays Ltd 液晶表示装置
JP2009070644A (ja) * 2007-09-12 2009-04-02 Epson Imaging Devices Corp 照明装置、液晶装置及び電子機器
JP2009176593A (ja) * 2008-01-25 2009-08-06 Seiko Instruments Inc 照明装置及びこれを用いた表示装置
WO2010100784A1 (ja) * 2009-03-06 2010-09-10 シャープ株式会社 面状照明装置およびそれを備えた表示装置
JP2010217637A (ja) * 2009-03-18 2010-09-30 Sony Corp 電気光学装置及び電子機器

Cited By (5)

* Cited by examiner, † Cited by third party
Publication number Priority date Publication date Assignee Title
WO2016017492A1 (ja) * 2014-07-29 2016-02-04 シャープ株式会社 照明装置及び表示装置
JPWO2016017492A1 (ja) * 2014-07-29 2017-06-22 シャープ株式会社 照明装置及び表示装置
US9915770B2 (en) 2014-07-29 2018-03-13 Sharp Kabushiki Kaisha Lighting device and display device
JP2021163731A (ja) * 2020-04-03 2021-10-11 株式会社ジャパンディスプレイ 発光装置及び照明装置
JP7414621B2 (ja) 2020-04-03 2024-01-16 株式会社ジャパンディスプレイ 発光装置及び照明装置

Also Published As

Publication number Publication date
US20140146561A1 (en) 2014-05-29
US9348081B2 (en) 2016-05-24

Similar Documents

Publication Publication Date Title
WO2013005542A1 (ja) 照明装置および表示装置
WO2013005559A1 (ja) 照明装置および表示装置
JP5373886B2 (ja) 面状照明装置およびそれを備えた表示装置
JP4142016B2 (ja) 導光板およびそれを備えた照明装置、平面光源装置ならびに表示装置
JP5198570B2 (ja) 照明装置、面光源装置、および液晶表示装置
WO2013008569A1 (ja) 照明装置及び表示装置
CN101737725B (zh) 背光模块及液晶显示器
WO2011065052A1 (ja) 面状照明装置およびそれを備えた表示装置
JP2009289701A (ja) 照明装置、面光源装置、および液晶表示装置
JP2009164101A (ja) バックライト
WO2011055795A1 (ja) 面状光源装置およびこれを用いた表示装置
WO2014017490A1 (ja) 照明装置及び表示装置
JP2013187059A (ja) 導光板及び面光源装置
WO2010004801A1 (ja) 照明装置および液晶表示装置
JP2010218693A (ja) 点状光源用導光板
US20140146562A1 (en) Illumination device and display device
CN108885302B (zh) 照明装置和显示装置
WO2012144409A1 (ja) 照明装置および表示装置
WO2010001653A1 (ja) 導光体ユニット、面光源装置、および液晶表示装置
JP6628889B2 (ja) 複数の光チャネルを備える導光体
JP2010287556A (ja) 照明装置及びこれを備える表示装置
JP5293177B2 (ja) 光学シート、面光源装置および表示装置
JP2007121675A (ja) 液晶表示装置
CN101285964A (zh) 具有放射状沟槽的光学基板以及应用其的背光模块
JP2009164100A (ja) バックライト

Legal Events

Date Code Title Description
121 Ep: the epo has been informed by wipo that ep was designated in this application

Ref document number: 12807039

Country of ref document: EP

Kind code of ref document: A1

WWE Wipo information: entry into national phase

Ref document number: 14130529

Country of ref document: US

NENP Non-entry into the national phase

Ref country code: DE

122 Ep: pct application non-entry in european phase

Ref document number: 12807039

Country of ref document: EP

Kind code of ref document: A1

NENP Non-entry into the national phase

Ref country code: JP