WO2000077592A2 - Control device providing a virtual machine environment and an ip network - Google Patents
Control device providing a virtual machine environment and an ip network Download PDFInfo
- Publication number
- WO2000077592A2 WO2000077592A2 PCT/US2000/015860 US0015860W WO0077592A2 WO 2000077592 A2 WO2000077592 A2 WO 2000077592A2 US 0015860 W US0015860 W US 0015860W WO 0077592 A2 WO0077592 A2 WO 0077592A2
- Authority
- WO
- WIPO (PCT)
- Prior art keywords
- control
- further improvement
- field device
- network
- field
- Prior art date
- Legal status (The legal status is an assumption and is not a legal conclusion. Google has not performed a legal analysis and makes no representation as to the accuracy of the status listed.)
- Ceased
Links
Classifications
-
- G—PHYSICS
- G06—COMPUTING OR CALCULATING; COUNTING
- G06F—ELECTRIC DIGITAL DATA PROCESSING
- G06F11/00—Error detection; Error correction; Monitoring
- G06F11/07—Responding to the occurrence of a fault, e.g. fault tolerance
- G06F11/16—Error detection or correction of the data by redundancy in hardware
- G06F11/20—Error detection or correction of the data by redundancy in hardware using active fault-masking, e.g. by switching out faulty elements or by switching in spare elements
- G06F11/202—Error detection or correction of the data by redundancy in hardware using active fault-masking, e.g. by switching out faulty elements or by switching in spare elements where processing functionality is redundant
-
- G—PHYSICS
- G05—CONTROLLING; REGULATING
- G05B—CONTROL OR REGULATING SYSTEMS IN GENERAL; FUNCTIONAL ELEMENTS OF SUCH SYSTEMS; MONITORING OR TESTING ARRANGEMENTS FOR SUCH SYSTEMS OR ELEMENTS
- G05B19/00—Programme-control systems
- G05B19/02—Programme-control systems electric
- G05B19/04—Programme control other than numerical control, i.e. in sequence controllers or logic controllers
- G05B19/042—Programme control other than numerical control, i.e. in sequence controllers or logic controllers using digital processors
- G05B19/0421—Multiprocessor system
-
- G—PHYSICS
- G05—CONTROLLING; REGULATING
- G05B—CONTROL OR REGULATING SYSTEMS IN GENERAL; FUNCTIONAL ELEMENTS OF SUCH SYSTEMS; MONITORING OR TESTING ARRANGEMENTS FOR SUCH SYSTEMS OR ELEMENTS
- G05B19/00—Programme-control systems
- G05B19/02—Programme-control systems electric
- G05B19/418—Total factory control, i.e. centrally controlling a plurality of machines, e.g. direct or distributed numerical control [DNC], flexible manufacturing systems [FMS], integrated manufacturing systems [IMS] or computer integrated manufacturing [CIM]
- G05B19/4184—Total factory control, i.e. centrally controlling a plurality of machines, e.g. direct or distributed numerical control [DNC], flexible manufacturing systems [FMS], integrated manufacturing systems [IMS] or computer integrated manufacturing [CIM] characterised by fault tolerance, reliability of production system
-
- G—PHYSICS
- G06—COMPUTING OR CALCULATING; COUNTING
- G06F—ELECTRIC DIGITAL DATA PROCESSING
- G06F8/00—Arrangements for software engineering
- G06F8/60—Software deployment
-
- G—PHYSICS
- G06—COMPUTING OR CALCULATING; COUNTING
- G06Q—INFORMATION AND COMMUNICATION TECHNOLOGY [ICT] SPECIALLY ADAPTED FOR ADMINISTRATIVE, COMMERCIAL, FINANCIAL, MANAGERIAL OR SUPERVISORY PURPOSES; SYSTEMS OR METHODS SPECIALLY ADAPTED FOR ADMINISTRATIVE, COMMERCIAL, FINANCIAL, MANAGERIAL OR SUPERVISORY PURPOSES, NOT OTHERWISE PROVIDED FOR
- G06Q10/00—Administration; Management
- G06Q10/06—Resources, workflows, human or project management; Enterprise or organisation planning; Enterprise or organisation modelling
-
- G—PHYSICS
- G05—CONTROLLING; REGULATING
- G05B—CONTROL OR REGULATING SYSTEMS IN GENERAL; FUNCTIONAL ELEMENTS OF SUCH SYSTEMS; MONITORING OR TESTING ARRANGEMENTS FOR SUCH SYSTEMS OR ELEMENTS
- G05B2219/00—Program-control systems
- G05B2219/20—Pc systems
- G05B2219/23—Pc programming
- G05B2219/23297—Remote load of program with cellular, wireless, satellite connection
-
- G—PHYSICS
- G05—CONTROLLING; REGULATING
- G05B—CONTROL OR REGULATING SYSTEMS IN GENERAL; FUNCTIONAL ELEMENTS OF SUCH SYSTEMS; MONITORING OR TESTING ARRANGEMENTS FOR SUCH SYSTEMS OR ELEMENTS
- G05B2219/00—Program-control systems
- G05B2219/20—Pc systems
- G05B2219/23—Pc programming
- G05B2219/23298—Remote load of program, through internet
-
- G—PHYSICS
- G05—CONTROLLING; REGULATING
- G05B—CONTROL OR REGULATING SYSTEMS IN GENERAL; FUNCTIONAL ELEMENTS OF SUCH SYSTEMS; MONITORING OR TESTING ARRANGEMENTS FOR SUCH SYSTEMS OR ELEMENTS
- G05B2219/00—Program-control systems
- G05B2219/20—Pc systems
- G05B2219/25—Pc structure of the system
- G05B2219/25014—Fieldbus general name of bus connected to machines, detectors, actuators
-
- G—PHYSICS
- G05—CONTROLLING; REGULATING
- G05B—CONTROL OR REGULATING SYSTEMS IN GENERAL; FUNCTIONAL ELEMENTS OF SUCH SYSTEMS; MONITORING OR TESTING ARRANGEMENTS FOR SUCH SYSTEMS OR ELEMENTS
- G05B2219/00—Program-control systems
- G05B2219/20—Pc systems
- G05B2219/25—Pc structure of the system
- G05B2219/25092—Customized control features, configuration
-
- G—PHYSICS
- G05—CONTROLLING; REGULATING
- G05B—CONTROL OR REGULATING SYSTEMS IN GENERAL; FUNCTIONAL ELEMENTS OF SUCH SYSTEMS; MONITORING OR TESTING ARRANGEMENTS FOR SUCH SYSTEMS OR ELEMENTS
- G05B2219/00—Program-control systems
- G05B2219/20—Pc systems
- G05B2219/25—Pc structure of the system
- G05B2219/25428—Field device
-
- G—PHYSICS
- G05—CONTROLLING; REGULATING
- G05B—CONTROL OR REGULATING SYSTEMS IN GENERAL; FUNCTIONAL ELEMENTS OF SUCH SYSTEMS; MONITORING OR TESTING ARRANGEMENTS FOR SUCH SYSTEMS OR ELEMENTS
- G05B2219/00—Program-control systems
- G05B2219/30—Nc systems
- G05B2219/31—From computer integrated manufacturing till monitoring
- G05B2219/31156—Network structure, internet
-
- G—PHYSICS
- G05—CONTROLLING; REGULATING
- G05B—CONTROL OR REGULATING SYSTEMS IN GENERAL; FUNCTIONAL ELEMENTS OF SUCH SYSTEMS; MONITORING OR TESTING ARRANGEMENTS FOR SUCH SYSTEMS OR ELEMENTS
- G05B2219/00—Program-control systems
- G05B2219/30—Nc systems
- G05B2219/31—From computer integrated manufacturing till monitoring
- G05B2219/31161—Java programcode or simular active agents, programs, applets
-
- G—PHYSICS
- G05—CONTROLLING; REGULATING
- G05B—CONTROL OR REGULATING SYSTEMS IN GENERAL; FUNCTIONAL ELEMENTS OF SUCH SYSTEMS; MONITORING OR TESTING ARRANGEMENTS FOR SUCH SYSTEMS OR ELEMENTS
- G05B2219/00—Program-control systems
- G05B2219/30—Nc systems
- G05B2219/34—Director, elements to supervisory
- G05B2219/34038—Web, http, ftp, internet, intranet server
-
- G—PHYSICS
- G05—CONTROLLING; REGULATING
- G05B—CONTROL OR REGULATING SYSTEMS IN GENERAL; FUNCTIONAL ELEMENTS OF SUCH SYSTEMS; MONITORING OR TESTING ARRANGEMENTS FOR SUCH SYSTEMS OR ELEMENTS
- G05B2219/00—Program-control systems
- G05B2219/30—Nc systems
- G05B2219/34—Director, elements to supervisory
- G05B2219/34259—Common language run time CLR, MS-NET, DOTNET, java run time environment
-
- Y—GENERAL TAGGING OF NEW TECHNOLOGICAL DEVELOPMENTS; GENERAL TAGGING OF CROSS-SECTIONAL TECHNOLOGIES SPANNING OVER SEVERAL SECTIONS OF THE IPC; TECHNICAL SUBJECTS COVERED BY FORMER USPC CROSS-REFERENCE ART COLLECTIONS [XRACs] AND DIGESTS
- Y02—TECHNOLOGIES OR APPLICATIONS FOR MITIGATION OR ADAPTATION AGAINST CLIMATE CHANGE
- Y02P—CLIMATE CHANGE MITIGATION TECHNOLOGIES IN THE PRODUCTION OR PROCESSING OF GOODS
- Y02P90/00—Enabling technologies with a potential contribution to greenhouse gas [GHG] emissions mitigation
- Y02P90/02—Total factory control, e.g. smart factories, flexible manufacturing systems [FMS] or integrated manufacturing systems [IMS]
Definitions
- the invention pertains to control systems and, more particularly, to methods and apparatus for networking, configuring and operating field devices, controllers, consoles and other control devices.
- control and “control systems” refer to the control of a device or system by monitoring one or more of its characteristics. This is used to insure that output, processing, quality and/or efficiency remain within desired parameters over the course of time.
- digital data processing or other automated apparatus monitor a device, process or system and automatically adjust its operational parameters.
- such apparatus monitor the device, process or system and display alarms or other indicia of its characteristics, leaving responsibility for adjustment to the operator.
- Control is used in a number of fields.
- Process control for example, is employed in the manufacturing sector for process, repetitive and discrete manufactures, though, it also has wide application in utility and other service industries.
- Environmental control finds application in residential, commercial, institutional and industrial settings, where temperature and other environmental factors must be properly maintained.
- Control is also used in articles of manufacture, from toasters to aircraft, to monitor and control device operation.
- Modern day control systems typically include a combination of field devices, controllers, workstations and other more powerful digital data processing apparatus, the functions of which may overlap or be combined.
- Field devices include temperature, flow and other sensors that measure characteristics of the subject device, process or system. They also include valves and other actuators that mechanically, electrically, magnetically, or otherwise effect the desired control.
- Controllers generate settings for the control devices based on measurements from sensor type field devices. Controller operation is typically based on a "control algorithm" that maintains a controlled system at a desired level, or drives it to that level, by minimizing differences between the values measured by the sensors and, for example, a setpoint defined by the operator.
- Workstations, control stations and the like are typically used to configure and monitor the process as a whole. They are often also used to execute higher-levels of process control, e.g., coordinating groups of controllers and responding to alarm conditions occurring within them.
- a workstation coordinates controllers that actuate conveyors, valves, and the like, to transport soup stock and other ingredients to a processing vessel.
- the workstation also configures and monitors the controllers that maintain the contents of that vessel at a simmer or low boil.
- the latter operate, for example, by comparing measurements of vapor pressure in the processing vessel with a desired setpoint. If the vessel pressure is too low, the control algorithm may call for incrementally opening the heating gas valves, thereby, driving the pressure and boiling activity upwards. As the pressure approaches the desired setpoint, the algorithm requires incrementally leveling the valves to maintain the roil of the boil.
- the field devices, controllers, workstations and other components that make up a process control system typically communicate over heterogeneous media.
- Field devices connect with controllers, for example, over dedicated "fieldbuses" operating under proprietary or industry-specific protocols. Examples of these are FoxCom(TM), Profibus. ControlNet, ModBus, DeviceNet, among others.
- the controllers themselves may be connected to one another, as well as to workstations, via backplane or other proprietary high-speed dedicated buses, such as Nodebus(TM). Communications among workstations and plant or enterprise-level processors may be via Ethernet networks or other Internet Protocol (IP) networks.
- IP Internet Protocol
- Control device manufacturers individually, and the control industry, as a whole, have pushed for some uniformity among otherwise competing communication standards.
- the Foundation Fieldbus for example, is the result of an industry-wide effort to define a uniform protocol for communications among processor-equipped (or "intelligent") field devices. Efforts such as this have been limited to specific segments of the control hierarchy (e.g., bus communications among field devices) and are typically hampered by technological changes that all to soon render the standards obsolete.
- field devices may function at the direction of controllers and controllers, in turn, at the direction of workstations (or other plant-level processors), proprietary mechanisms within the individual components determine how they perform their respective functions. Even the commands for invoking those functions may be manufacturer- or product-specific. Thus, the commands necessary to drive actuators of one manufacturer will differ from those of another. How the corresponding commands are processed internally within the actuators differ still more (though, hopefully, the results achieved are the same).
- the specific programming codes used to effect a given control algorithm likewise differs among competing makes, as do those of the higher-level control processors.
- JDC Distributed Control
- a related object is to provide such methods and apparatus for process control.
- the foregoing are among the objects attained by invention which provides, in one aspect, an improved field device for a process or other control system
- the field device includes a virtual machine environment for executing Java byte code (or other such intermediate code) that, for example, configures the device to execute a control algorithm
- the field device can be an "intelligent" transmitter or actuator that includes a low power processor, along with a random access memory, a read-only memory, FlashRAM, and a sensor interface
- the processor can execute a real-time operating system, as well as a Java virtual machine (JVM) Java byte code executes in the JVM to configure the field device to perform typical process control functions, e g , for proportional integral de ⁇ vative (PID) control and signal conditioning
- JVM Java virtual machine
- a field device such as a low-power intelligent actuator, that incorporates an embedded web server
- This can be used to configure, monitor and/or maintain the device itself (as well as other elements of the control system) via a browser attached directly to the device or coupled to it over the network
- the field device can incorporate a configuration editor, e g , operating on a processor within the field device, that an end-user executes via the browser and web server
- Such a configuration editor can, in related aspects of the invention, be enabled or disabled depending on the environment in which it is used and more specifically, for example, the type of network in which it is incorporated
- the editor can be disabled when the field device is incorporated in a process control network that includes, e g , an applications development environment suitable for configuration of the field device
- it can be enabled when the field device is incorporated in a network that lacks such a capability
- Still further aspects of the invention provide a field device as desc ⁇ bed above that includes an interface to an IP network, through which the device communicates with other elements of the control system
- the IP network can be, for example, an Ethernet network
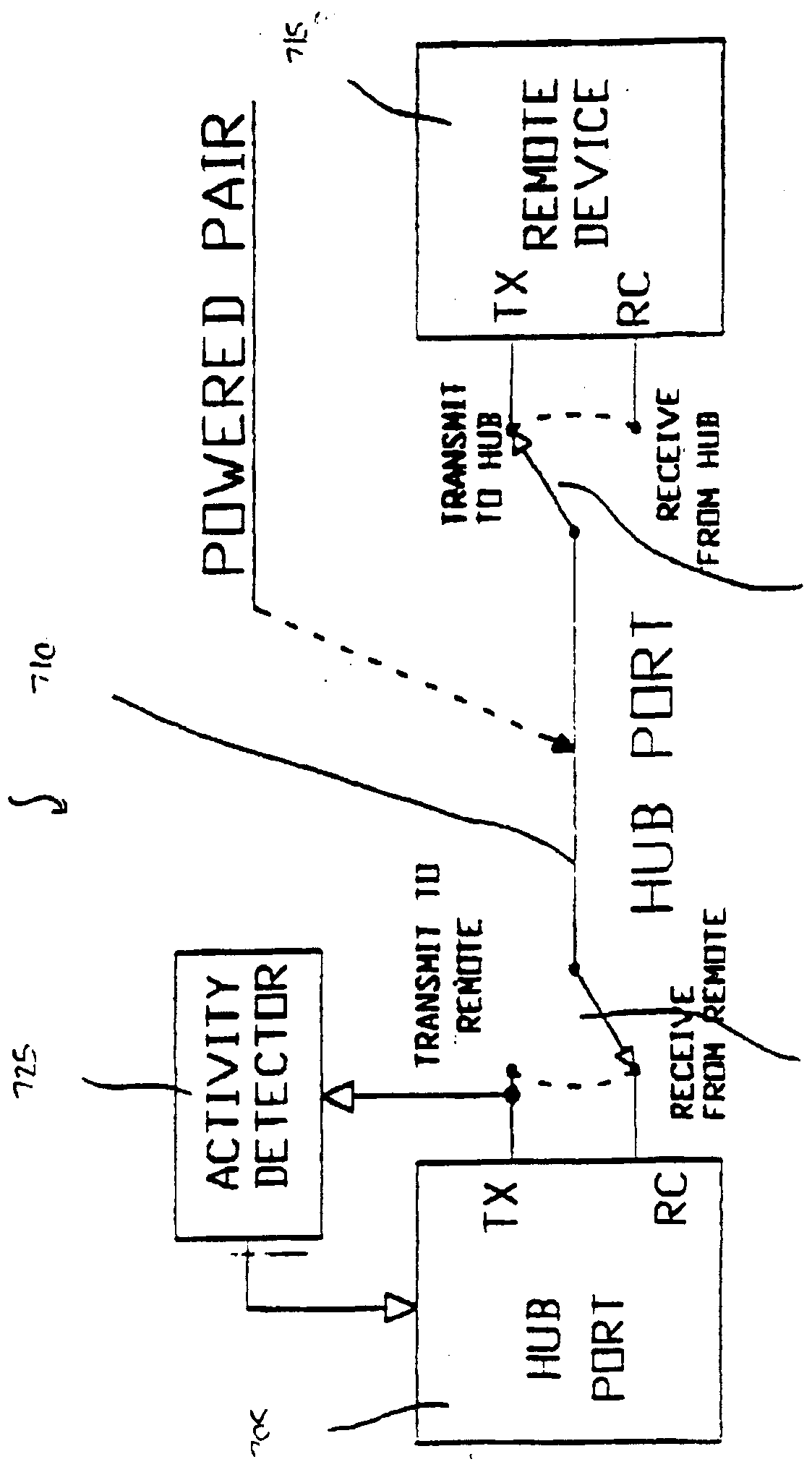
- it can be "powered,” carrying elect ⁇ cal power as well as packets, datagrams, and other control or data signals
- the field device draws operational power, e g., for its processor and other components, from such a network
- the field device can supply an identifier (e.g., attained from a letterbug, assigned by a hub, or otherwise) to a DHCP or other server on the network.
- an identifier e.g., attained from a letterbug, assigned by a hub, or otherwise
- the field device can formally enter into the control network, e.g., by posting its characteristics to a network bulletin board, e.g , using a network enabler such as a Jim and/or JavaSpace server, or the like.
- Other network devices monitoring or notified via such a bulletin board can send configuration information to the field device or otherwise.
- control devices such as servers, control stations, operator consoles, personal computers, handheld computers, and the like, having attributes as described above.
- control devices can have other att ⁇ butes.
- they can provide web servers that collect process data from one or more control devices, generate source for operator displays, provide access to the control system, and host an applications development environment.
- Still other aspects of the invention provide process, environmental, indust ⁇ al and other control systems that comp ⁇ se field and control devices as desc ⁇ bed above that are coupled via an IP network and, particularly, for example, by a powered IP network
- Additional aspects of the invention are directed to DHCP servers and network enablers
- FIG. 1 depicts a process control system 10 according to one practice of the invention
- FIGS 2 and 3 depict more particular embodiments of a control system of the type shown in Figure 1,
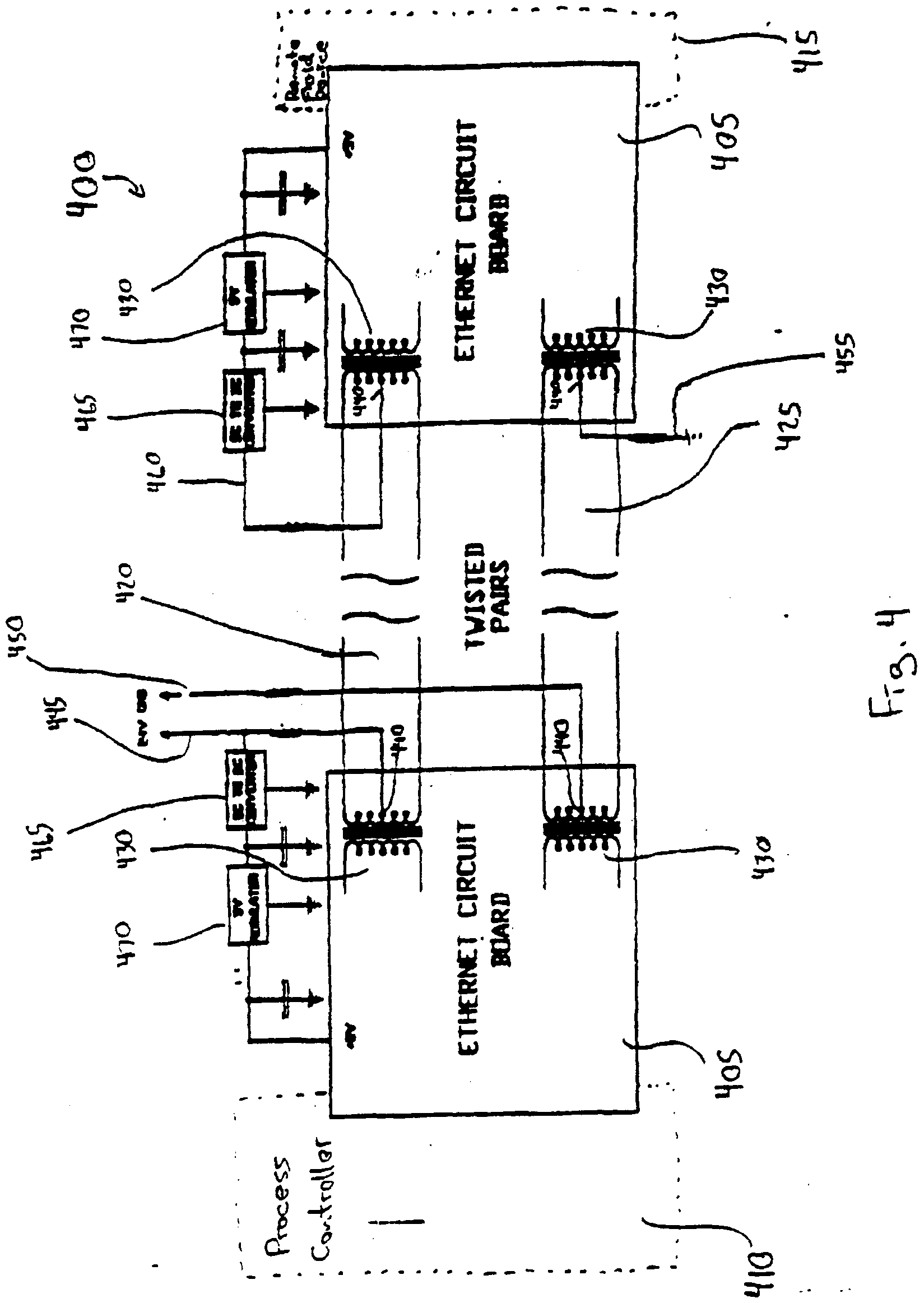
- Figure 4 depicts a native intelligent field device according to the invention
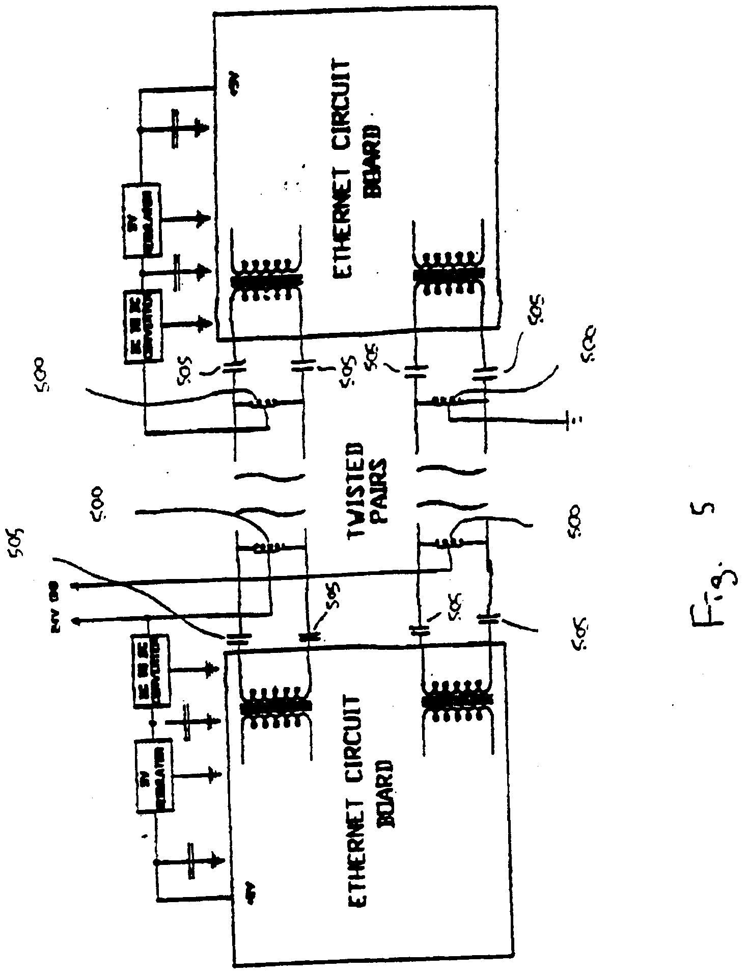
- Figure 5 depicts a native control device according to the invention.
- Figure 6 depicts a native intelligent positioner implementation according to the invention
- FIG. 1 depicts a process control system 10 according to the invention
- the system includes networked control devices that monitor and control a hypothetical mixing process that utilizes mixing chamber 22, fluid inlets 24, 26, fluid outlet 28, paddle 30, cooler 32, and cooler inlet 34 Though illustrated and desc ⁇ bed below for use m connection with process control, those skilled m the art will appreciate that apparatus and methods according to the invention can be used in connection any industrial, manufacturing, service, environmental or other process, device or system amenable to monitoring or control (hereinafter, collectively, "control")
- the networked control devices include actuators, such as the valves depicted as controlling inlets and outlets 24 - 28 and 34 A further actuator is shown controlling paddle 30
- actuators operate under control of respective field device controllers, labeled CTL, that are also constructed and operated in the conventional manner to provide initialization, signal conditioning and communications functions
- the actuators can be of the intelligent va ⁇ ety and can include integral microprocessors or other digital data processing apparatus for control, initialization, signal conditioning, communications and other control-related functions
- the label CTL is used regardless of whether the control-related functionality is integral to the actuators (e g , as in the case of intelligent actuators) or otherwise
- Illustrated sensor 29 monitors a temperature, level or other characteristic of fluid in chamber 22
- the sensor 29, as well as other sensing apparatus utilized by the system are constructed and operated in the conventional manner known in the art, as modified in accord with the teachings hereof They can be coupled to the control network via a transmitter or other interface device INT that, too, is constructed and operated in the conventional manner, as modified by the teachings hereof
- the interface devices facilitate initialization, signal conditioning and communications between the sensors and the control system
- one or more sensors can be of the intelligent va ⁇ ety, incorporating integral microprocessors or other digital data processing capabilities for initialization, signal conditioning, communications and other control- related functions
- the label INT is used in reference to the control-related functionality, regardless of whether embodied in an intelligent transmitter or otherwise
- the networked control devices include one or more controllers 36 that monitor and control respective aspects of the hypothetical mixing process in the conventional manner, as modified in accord with the teachings hereof
- the controllers can comp ⁇ se mainframe computers, workstations, personal computers, special-purpose hardware or other digital data processing apparatus capable of performing conventional monito ⁇ ng and control functions
- Preferred controllers are constructed and operated in the manner of the CP control processors commercially available from the assignee hereof, as modified in accord with the teachings herein
- the control system 10 includes a variety of devices that serve as user interfaces and that provide configuration and/or control functions, all in the conventional manner as modified in accord with the teachings hereof Illustrated for these pu ⁇ oses are workstation 40, laptop computer 42 and handheld computer 44 These devices can provide configuration and control functions directly, as in the case of workstation 40, or in cooperation with server devices, e g , as in the case of handheld computer 44 and server 46 Apparatus 40 - 44 can couple with the control network directly, e g , via bus or network connection, or indirectly, e g , via satellite, wireless connection or modem connection
- the control devices 36 - 46, CTL and INT are coupled for communications via a medium that permits at least selected ones of the devices to communicate with one another
- those devices are coupled via one or more networks 48 that are, preferably, IP-based such as, by way non-hmiting example, Ethernets
- the network(s) can include, as indicated by the multiple segments shown in the drawing, multiple segments such as various wide and local area networks They may also include high and/or low bandwidth components, such as phone lines, and low and/or high latency components, such as geosynchronous satellites networks
- Figure 2 depicts a more particular embodiment of a control system 50 of the type shown m Figure 1
- the system includes an ente ⁇ se server 52, a first thm client 54, plant server 56, a second thm client 58, a controller 60, a Java-enabled field device 62, and one or more field devices 64, coupled to one another, e g , in the manner illustrated, by one or more networks 66, 68
- Native ente ⁇ se server 52 (corresponding, by way of non-hmiting example, to server 46) comprises a mainframe computer or engmee ⁇ ng workstation that executes ente ⁇ se-level applications such as, by non-limiting example, those for financial, asset planning and procurement, distribution and/or human resources. In addition, it supports web serving, as well as optional object, relational and other database management systems.
- Server 52 executes Windows NT, Solaris or another conventional commercial or proprietary operating system. It is also equipped with a Java Virtual Machine (JVM), e.g., capable of executing Java virtual machine instructions (bytecodes), of performing remote method invocation (RMI), and of supporting Jini networking.
- JVM Java Virtual Machine
- the ente ⁇ rise server 12 can be coupled to further networks, e.g., to the Internet, as shown, in any manner known in the art.
- Native thin client 54 (corresponding, for example, to handheld computer 44) provides similar functionality as server 52, though its actual processing activity is limited to user input and output.
- Application processing such as financial, asset planning and procurement, distribution and/or human resources, are performed on behalf of client 54 by a server, such as server 52.
- the operating system and JVM functions may be embedded in the conventional manner of a thin client.
- the thin client 54 is coupled to the ente ⁇ rise server 52 over a business information network 66 (corresponding, for example, to network 48), typically, an Ethernet or other IP network, configured in a LAN, WAN or the like.
- Native plant server 56 (corresponding, by way of non-limiting example to workstation 40) comprises a plant control console or engineering workstation modified in accord with the teachings hereof, executing plant-level control applications including system, process, engineering, plant information, configuration, lab quality, maintenance, resource and documentation applications of the type known in the art .
- plant server 56 can execute Windows NT, Solaris or other conventional operating systems. It is also preferably equipped to execute a Java Virtual Machine as described above.
- Plant server 56 is coupled to the ente ⁇ rise server 52 and thin client 54 over the business information network 66.
- Native thin client 58 provides similar functionality as server 56 though, again, relies on that (or another) server to perform most processing activity.
- the operating system and JVM functions may be embedded in the conventional manner of a thin client.
- the thin client 58 is coupled to the plant server 56 over a control network 68 (corresponding, for example, to network 48), e g , an Ethernet
- Native controller 60 executes control algorithms to control associated non-native field devices 64, e g , via any variety of commercial and/or proprietary field bus 70 hardware and protocols Where processing resources are limited, the controller 60 utilizes a embedded operating system that supports web serving and the JVM The controller 60 is coupled to the plant sever 66 and to the thin client 58 via control network 68
- Native field device 62 is a sensor, actuator or other field device
- the illustrated device is of the intelligent va ⁇ ety, including processor (not shown) and operating system It can be of the type commercially available in the marketplace, as modified in accord with the teachings hereof
- the illustrated device supports web serving and JVM, as desc ⁇ bed above
- the device 62 provides information collection and control functions, as illustrated
- FIG. 3 depicts another a more particular embodiment of a control system 50 of the type shown in Figure 1
- the illustrated control system 10, 50 uses web browsers, Java, Jim, JavaSpaces, TCP/IP and other technologies normally associated with the Internet and the world wide web to create a self-defining control network that minimizes complexity while emphasizing the portability and re-usabihty of the user's application
- These technologies are advantageously employed to eliminate prop ⁇ etary hardware and software to preserve the user's investments, eliminate network configuration and system management through self-configu ⁇ ng networks, increase the user's choice of algorithm suppliers by implementing control in Java, preserve the user's applications through hardware and system software changes through the use of Java and Web Browsers for process displays, minimize the wi ⁇ ng costs, reduce maintenance by making intelligent field devices a practical reality
- control system 10 uses an object location service, a commercial messaging service, and standard networking equipment, such as hubs, routers, network interface cards, where applicable It also relies on common standards, where applicable, such as 802 3, Internet RFCs, the IEEE 1451 sensor standards
- object location service e.g , a commercial messaging service
- standard networking equipment such as hubs, routers, network interface cards, where applicable It also relies on common standards, where applicable, such as 802 3, Internet RFCs, the IEEE 1451 sensor standards
- standard networking equipment such as hubs, routers, network interface cards, where applicable It also relies on common standards, where applicable, such as 802 3, Internet RFCs, the IEEE 1451 sensor standards
- 802 3 Internet RFCs
- IEEE 1451 sensor standards e.g , a commercial messaging service
- the system 10 supports a heterogeneous computing environment and utilizes industry standards (e g , Microsoft standards) to provide communications between the native control components to the business and desktop environments
- native control devices such as controllers 36, 60, workstation 40, servers 46, 52, 56 providing a platform for the control system typically include a central processing unit (CPU), memory (RAM), network support hardware, access to permanent storage, an operating system, and a Java Virtual Machme (JVM) including the TCP/IP suite
- the devices include web server software, e g , software of the type that serves graphical "web" pages in response to requests by other devices Configurator software can be provided, as well, permitting each device to configure the control system or selected portions of it Those skilled in the art will appreciate that not all of these components need be included in all native control devices, e g , some commercially available JVMs can serve as an OS themselves
- Process control object (PCO) software provided on the platform-defining control devices comp ⁇ se a collection of data and methods implemented in Java and executed on the native control devices' JVMs to perform typical process control functions, by way of non-hmiting example, signal conditioning and PID control
- PCO Process control object
- SMO station management object
- the SMO software can implement SNMP or the equivalent Java functionality
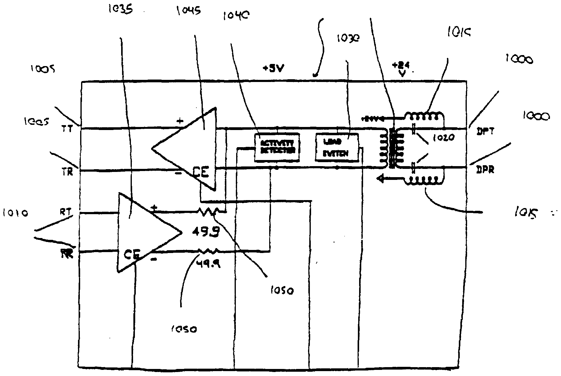
- Native intelligent field devices typically include a low power CPU, e.g., a NetARM or Java Chip; a real-time OS like Vx Works, QNX, PSOS; RAM; FlashRAM to serve as permanent storage; ROM/EEPROM to serve as the home for the OS and other permanent software: an Ethernet interface; power from the Ethernet interface (in the event a powered Ethernet network or hub is used) or otherwise; a sensor interface , e.g., IEEE 1451.1 and 1451.2; JVM; a web server, and a device specific configurator servlet.
- a field device so constructed can be configured and monitored via a lightweight web browser, e.g., handheld computer 44, coupled to the device over the network 48.
- the field devices can include serial interfaces to allow the attachment of these devices to HART, FoxComm, Profibus and other networks operating under a protocol different from that of network 48. Combined with appropriate software, these devices provide the user with a single transmitter suitable for use on any field network.
- the control system 10 can include one or more stoic sensors, not illustrated, that constitute minimal sensing elements. Typically, these are simply silicon chips that are packaged to allow them to sense the process environment and that have only enough electronics to relay measurements to a pair of wires that carry the raw signal to another device for processing. Some stoic sensors generate a signal without external power; others require some excitation.
- native devices 36 - 46, CTL and INT according to the invention support the attachment of many stoic sensors.
- thermocouples may not use a transmitter compatible with the network 48 but, rather, send raw sensor output to a multiplexor for processing
- the system 10 includes two types of intelligent I/O cards, network I O cards supporting IP and an API, and native I/O cards that support the protocol of network 48 (l e., the "native" protocol) directly
- Network I/O cards are coupled directly to network 48
- Native control devices are IP enabled and support the prop ⁇ etary API of the cards, thereby, permitting reading and wntmg of their I/O registers.
- the cards' respective APIs support ret ⁇ eval of data in several formats (raw counts, linea ⁇ zed counts, enginee ⁇ ng units, etc ), as well as the assignment of simple configuration information to those registers, if the device supports such functions
- the native devices utilize I/O classes that corresponding to the native I/O protocols Redundant I/O devices can be physically interfaced transparently through a single I/O card or through multiple independent network I/O cards Logically, PCOs support at least the use of multiple independent cards.
- Alternative I/O features may be used in addition Native I/O cards are substantially similar to native-enabled transmitters, except for packaging and scale These I/O cards may be considered as small multi-loop controllers or multiplexors
- I/O cards are utilized with devices that cannot otherwise directly interface with the network 48
- the cards provide an interface that permits at least reading and wntmg of relevant device values, which can be stored internally to the card and accessed via its API
- Foreign devices that are control systems in its own right typically maintain objects or other data structures representing process values and associated data
- a preferred interface to these "devices" are through objects that wrap the foreign function blocks with the services expected of native devices, , e.g., detail displays and configurators, which are accessed in exactly the same manner as native ones of those same services.
- a name service is be able to locate foreign blocks and the native API of system 10 permits querying those blocks for values
- Native Controllers In a preferred embodiment, all native devices may be used as controllers, though, dedicated I/O- less native controllers, such as controllers 36 and 60. are typically required for unit-wide operations Thus, for example, control can also be provided by personal computers, workstations and servers of the type shown as elements 40 42, 46, in Figure 1 Native controllers, e g , 36, 60 are of the same general design as native boards used in the transmitters and actuators However, they support a faster CPU clock cycle and more memory (volatile and non-volatile) than then smaller siblings High performance native controllers have a still more powerful CPU, more RAM, and maybe a removable FlashRAM card for bulk storage and backup Like the native transmitters and actuators, these native controllers can receive power from a powered Ethernet connection or otherwise Native controllers can be used in redundant and non-redundant configurations Since the I/O is independent of the native controller, redundancy can be implemented in a number of manners, e g , hardware fault-tolerance or transaction based synchronization between
- Native workstations can be constitute web browser-enabled devices that communicate with web servers, such as element 46, that actually collect the process data from other native devices
- the workstations can consist of a flat panel display, OS and web browser m ROM (or on a memory card), web page (process graphic) database/cache, connections for optional annunciator keyboards, option for wireless Ethernet, and, optional, battery operation Data supporting the operator interface comes from native devices directly
- a native web server such as servers 46, 52, 56 sources the operator displays This can be implemented with redundancy using technologies NT's clustering capabilities, or the like Additionally, a native web server provides access to a illustrated control system 10 to users not physically attached to the illustrated control system 10, e g , as illustrated with respect to elements 44 and 46 of Figure 1 In this mode, it centralizes data requests to maximize efficient use of communication resources
- the illustrated control system 10 includes native enablers 49, such as Jim and JavaSpaces devices and Solid-State DHCP servers These enablers, which are optionally redundant, are preferably fully solid state with persistent memo ⁇ es They do not use battenes for their persistent memory, though they may well plug into a wall outlet for power in non-industrial environments
- the Jim and JavaSpaces serve as community "bulletin boards " These are used to notify system monitors that native devices have been added to or removed from the system The system monitors respond to such notices by t ⁇ gge ⁇ ng approp ⁇ ate actions
- the illustrated control system 10 assumes that each native device is able to acquire an IP address when it comes on-line
- a DHCP server illustrated for example by element 49 is required to furnish these addresses
- it is preferably a solid-state device and, optionally, includes a redundant partner DHCP Server
- a particular native DHCP server provides addresses for a portion of the network 48 It obtains its configuration by notifying the system 10 that it has come on line
- IP addresses can be selected by mechanisms other than DHCP servers
- An internetwork server 47 is used to link separate control systems networks 48 It provides a platform for inter-network communications, controlled access to data, name conflict resolution, and other services need to efficiently, securely, and transparently accomplish the connection of one or more illustrated control systems to another
- the illustrated system permits the electronic downloading of software and/or licenses for execution on the native devices This includes native software objects, updates and/or licenses for same
- downloaded software registers with the system monitor and declares whethei or not it is licensed.
- the system monitor In the case of insufficient licensing, the system monitor's notifies the customer approp ⁇ ately
- the system 10 can access a download site, e.g., an Internet e-commerce site, and determines if updates are available If so, it notifies the user and invites him/her to request downloading of the upgrade
- a download site e.g., an Internet e-commerce site
- Such an e-commerce or other web site can also provide configuration tools that allow the user to design, implement, and test a new PCO block. This allows the user to access complex and/or rapidly improving software tools without having to maintain them locally For this pu ⁇ ose, the use is charged, e.g., a modest access fee.
- the system 10 includes a native secu ⁇ ty system to control access to managed objects based on the type of access, e.g., (I) extra-network, i.e., users who are accessing the illustrated control system 10 from a non-native station; (ii) inter-network, i.e., users who are operating from a native workstation on a different physical native network; and (in) intra-network, i.e., users who are operating from a native workstation within the particular native network.
- extra-network i.e., users who are accessing the illustrated control system 10 from a non-native station
- inter-network i.e., users who are operating from a native workstation on a different physical native network
- intra-network i.e., users who are operating from a native workstation within the particular native network.
- Secured extra-system access is provided through a native secure web server, e.g., server 46, that permits dial-up, network, and other remote access and that supplies and defines the permitted extra-network access, including the API available to applications hosted outside the network or on the server See, for example, elements 44 and 46 of Figure 1 Access is controlled by user name, by user location (IP address or workstation name depending on the network), and by the type of the targeted object
- Inter-system access is provided by a gateway device, such as server 47, that permits the secure transfer of data.
- This device negotiates secure access, deals with name conflicts between systems, and provides support for va ⁇ ous physical media A pair of such devices are provided to account for situations where the source is local to the sink.
- the server 47 or other gateway encrypts the data so that others cannot read it. Likewise, it authenticates message sources to venfy that they are coming from a matching device.
- a prefe ⁇ ed gateway minimizes the number of packet transfers so as to minimize delays over slow or high latency links
- Secured intra-system access is controlled based on the user and the workstation, leveraging the Java secu ⁇ ty model and other secu ⁇ ty models to the extent possible
- the native security system authenticates users, e g , regardless of whether they are attempting access from operator's console or via an application program
- the native security system manages access to objects, including PCO attributes (1 e , va ⁇ ables and/or parameters of PCOs), system monitors, and native messages It allows applications to add objects to the list of managed objects Read and w ⁇ te access is preferably controlled separately,
- the security model is based on a lock and key approach
- Each PCO attribute for example, is assigned to one of a large number of locks
- the user is given different keys for read and write access to object attributes This key may be modified according to the type of native workstation used for access
- the key is passed to the object att ⁇ bute when the object att ⁇ bute is accessed If the access is a connection, it need be passed only once
- the object att ⁇ bute compares the key to its lock and allow or deny access as approp ⁇ ate
- a software tool is supplied with the applications development environment (ADE) or configurator that allows identification of users, access points allowed by the user, object attribute groups accessible to the user, and access type (read or w ⁇ te) to the object types
- the object att ⁇ bute groups define collections of object att ⁇ butes via similar security access guidelines, e g , alarm limits might be in one group and tuning parameters might be in another
- the security model is embedded in the APIs providing access to the secured objects This assures that that access is granted only after the native secu ⁇ ty system has performed the necessary verifications
- control system 10 supports the on-line upgrade of all application software from remote and local workstations
- Application software for pu ⁇ oses of this discussion, includes the
- control system 10 provides modules that support direct connections to a native support center via dialup analog phone lines, and dialup high speed lines, e g , ISDN and ADSL Native maintenance, including software updates, operate over these connections, hence, it is not necessary for a person to be physically present to update system or application software
- the illustrated control system 10 includes diagnostics to track problems from the hardware upwards Maintenance staff can run in parallel diagnostic versions of the software Such software running in open loop or switched into operation as necessary is believed particularly advantageous for support purposes
- An application development environment coordinates configuration in the illustrated control system 10, e g , except for devices (such as certain transmitters and positioners) where use of an ADE is not advantageous and for which internal configuration is preferred
- Characte ⁇ stics of the ADE are its use in configuring/building control applications including control schemes, displays, histo ⁇ ans, etc , support of multiple simultaneous users, support of remote, concurrent development, support of change trackmg and change management including task based activity traces, summary reports, change annotation, approval cycles, and user identification, a human interface component that runs in any web browser coupled to the system, a server component that runs on any user-supplied system, permanent storage comp ⁇ sing a commercial database for which a JDBC implementation is available, allowing the definition of configuration object templates, allowing the instantiation of configuration object templates into configuration objects, allowing the user to add and remove editors for configuration object components in real-time, limiting the user's access to configuration capabilities in the va ⁇ ous pieces of equipment, and supporting application dist ⁇ bution along with verification of
- the native ADE delivers lower enginee ⁇ ng and maintenance costs through the unification of application development, preservation of application expertise, reduction of application development effort, and the deployment of developed applications Is it based on industry standards (e g , IEC 1131 and IEC 1499) to preserve the user's investment in training and applications It also produces approp ⁇ ately formatted Java class for execution in native devices Since the native ADE produces output that can be read and loaded into a JVM and since the native control devices include JVM, one control configurator can configure all native devices
- the ADE imports configurations from legacy systems, supports the use of third-party control algorithms, and supports both bulk building of control configurations and on-line changes with validation
- Configuration is not limited to implementation on a web browser, though this can be advantageous since it allows configuration from many types of device without installation of special software, I e , it provides a thin-client configuration mechanism
- For device configuration there are two cases a device used in illustrated control system 10 and a device used outside illustrated control system 10
- the configurator is placed in the device so that it can be configured even without the native ADE
- This on-board configurator allows the device to be configured for use with Profibus, Foundation Fieldbus, on 4-20ma wires, and other industry-standard or proprietary networks
- a copy of the configurator is available from a native web server for off-line configuration and download, and (n) the on-board configurator is disabled to prevent changes in the configuration except through the ADE 2 5 Human Interface
- the illustrated system's p ⁇ mary human interface (HI) device is a web browser
- the native HI is multilingual, l e , it supports the presentation of information in a default language and one or more secondary languages simultaneously All standard native applications support text substitution based on the currently selected language Error messages are likewise in the currently selected language
- Process Control Process Control is implemented using process control objects (PCOs) running in an execution environment consisting of a JVM and any associated applications required to load and execute the specified control strategies Control strategies are specified in terms of PCO composites
- PCOs are Java classes designed to be modular and easily upgraded even during operation
- the native PCO configurator from a high level view, creates instances of these classes, connects them as necessary, and installs them in particular devices
- PCO blocks are, from the user's point of view, similar to conventional function blocks Likewise, composites are similar to conventional collections of function blocks Distinguishing external features of PCOs include the fact that changes involve the addition/deletion of PCOs and cause new versions to be loaded into the targeted native device The new version runs in parallel with the old version until the engineer decides that it is operating properly and "swaps" the control from old to new
- Composite PCOs may span stations transparently PCOs are bound to stations very late in the configuration process and may be migrated from one station to another at any time Further, PCOs from different sources may operate in the same device if the configurator supports the use of multiple PCO libraries
- a native PCO configurator supports multiple libraries of PCOs from multiple vendors, permits the creation of composite PCOs from other PCOs, permits the use of composite PCOs as templates, with a composite PCO definition specifying which fields is altered in a template, permits the assignment of PCOs to physical devices, provides IEC 1131/1499 influenced view of the configuration process, I e , support for Logic Diagrams, Structured Text, Sequential Function Charts, Function Blocks, and PCOs, while producing Java byte code as its output
- the creation of composites includes the raising of internal (deeply buried) names to the top level of the composite PCO
- a cascaded Temperature/Flow loop might have the temperature and flow measurements referenced as TC_CASCADE PRIMARYFLOW and TC_CASCADE SECONDARYFLOW or as the longer fully qualified name
- the configurator works both off-line in a bulk creation mode and on-line in an individual co ⁇ ection mode
- a process control system imposes significant quality of service requirements on any services used to locate objects of interest and to acquire values from or make changes to those objects
- the illustrated system includes an object location and data transfer service that provides a communication model definition, secu ⁇ ty, object location services, network types requi ⁇ ng support, quality of service, APIs (Java and non- Java), maintenance and upgrade strategy, and interoperability with existing control systems
- the communications system addresses the particular needs of process data transfer
- the illustrated control system 10 supports time synchronization to the millisecond in each station on the network 46 Where equipment configuration renders this impossible, time synchronization to 50 ms is provided
- the illustrated control system 10 provides a facility that centralizes viewing, recording, organizing, and categorizing the messages generated by the system monitor, the operator action journals, the PCOs, and other systems that record textual information
- This application is the basis for alarm management strategies including inferential alarming and alarm prediction
- the message management facility is not in and of itself an alarm histo ⁇ an Rather, it relies on a native historian to provide the long-term storage of this information
- the native historian provides the fundamental data collection, reduction, and archival services
- the data collected includes process values and messages from various applications within the illustrated control system 10
- it provides histo ⁇ cal data in support of several other common applications - typically known as plant information management system (PIMS) programs and trend window support
- PIMS plant information management system
- the historian is capable of exporting its data to user- selected databases
- These applications include a simple and easy to report writing facility, a calculation facility that can use histo ⁇ cal and real-time data to compute new values, and a desktop visualization system that uses the historians data instead of real-time data
- the desktop visualization system uses the native graphics capabilities to connect the graphics to the historian and to allow the operator to "move" the entire graphic backwards and forwards through the historical data
- the values calculated by the calculation facility are stored in PCOs that represent the data and generate approp ⁇ ate alarms
- the report w ⁇ ting facility supports shift reports with calendar adjustments as a simple to use feature In addition, it facilitates the definition of ad-hoc reports using a page layout metaphor
- Interoperabhty Interoperability of the illustrated control system IO with legacy process control systems can be facilitated by adding a networked I/O module to the I/O chain of existing I/O cards, adding a native device integrator to talk to other networks of devices, or utilizing a native API for Microsoft- and Solans-based applications
- Each native device is assigned a name that is used to identify the device and obtain any configuration information that it needs.
- Embodiments of the invention use alternate approaches to identifying a device, including using a hub that is configured by the user to assign a name to each of its ports, e.g., using letterbug or software configuration; installing a letterbug, e.g., on the workshop bench, which tells the device its name; using a PC or handheld computer, e.g., on the workshop bench, to give the device its name; or using soft letterbugs.
- a native device After a native device has its name, it acquires its IP address from its environment.
- the illustrated embodiment uses DHCP for this pu ⁇ ose.
- the DHCP server is a native device, such as enabler 49, though other DHCP servers can be used, as well.
- each bulletin board is covers a given "territory" or region of the network.
- a system monitor monitors the health of system components (hardware and software ), monitors the health and operation of user applications, provides configuration information to devices that request it, and monitors the licensing of software and upgrades for pu ⁇ oses of alerting the approp ⁇ ate groups
- the system monitor supports standard SNMP agents and any native specific system management protocols
- the predominant source of information used by the system monitors are the bulletin boards which, as noted above, are used by the native devices to record their current state of operation As devices are added and removed from the bulletin boards, the system monitor displays that information
- the information posted on the bulletin boards includes diagnostic information
- a system monitor not only displays this information but also allows the user to access and operate any embedded diagnostic displays and operations
- the device obtains an IP address from a DHCP server 49 on the network 48
- the device obtains an IP address from a DHCP server on the network 3) The device registers with the bulletin board 4) The device begins operation according the configuration stored in its non-volatile RAM This RAM may be a network resource that it must recovei If that resource is unavailable, the device is essentially unconfigured and the above procedure is followed
- the engineer starts a web browser on workstation 40, handheld computer 44 (wireless or otherwise), a PC, a native workstation, etc 2)
- the default home page on the browser is cached and contains an applet that locates the native bulletin board and raises the initial web page that lists the services available from that workstation 3)
- the engineer selects the ADE and a native device of interest
- the native configurator (ADE) is used to make the changes
- the web browser is pointed at the web server that hosts the ADE This approach eliminates conflicts between field change and database changes
- the configuration of non-native devices is provided by a service that encapsulates the native commands and passes them through a native device to the actual foreign device
- the engineer can "Ve ⁇ fy and Validate" his new control scheme by viewing the detail displays for the new and the old objects "in parallel”
- the set of available detail displays may include special displays for evaluation of parallel composites 4)
- the proposed security mechanism is a lock and key.
- the attributes of an object that are available to be manipulated are assigned a lock number.
- An application registers with the security system at start-up to obtain a key. The value of the key depends on the effective user id (name) and the station on which the application is running. The key is never visible to the user, so he/she cannot alter it. This key is available to any library that uses the security system to ensure proper access.
- a security database contains a list of users. For each user it allows the specification of a master key, i.e., a bit array with a bit set for each lock the user is allowed to unlock. There is one master key for each object type supported by the security system. By default, the security system supports the creation of master keys for the system monitor, process data (PCO attributes), and native messages (events). The database also allows modifications to the master key for a user based on the station used to perform an operation. These exceptions can be expressed as IP addresses, station names, or by the type of access being used (e.g., extra-system, inter-system, or intra-system).
- the security system supports caching the security system database on specific servers to improve redundant operation and to speed key queries. This is generally not a significant issue since the query is done once per application.
- the illustrated control system 10 supports at least 256 individual locks This allows the application engineer to define 255 groups of objects for each type of object being accessed
- the value record of a PCO att ⁇ bute includes two keys one for read access and one for write access
- a default value for the key can be mhented according to rules concerning the use of the attnbute, e g , all alarm attributes have an assigned group by default
- a system monitor interface implements the same mechanism
- a configuration object is a collection of objects plus the editor used to manipulate them
- a Configuration Object Template (COT) is a CO that has not been instantiated
- the application development environment (ADE) is the environment for configuration object editors It shows the user the existing COs in the CO being edited and a list of available templates It provides the mechanism for adding objects to a CO by instantiating a COT and for removing COs
- a Configuration Object Component (COC) is any of the objects found in a Configuration Object Typical components are PCOs, Process Graphics, Reports, Histo ⁇ an Configuration Objects, etc
- the ADE has two components the human interface and the server Several human interfaces can access the same server at any time
- the ADE preferably includes a system editor, a control editor, a graphic editor, a message manager editor, a historian editor All editors support the use and creation of templates by the user The also support the assignment of their objects to particular stations in the native network Not all objects require assignment, but the editors are responsible for it
- DHCP/Bullet These devices allocate IP Name and association with a Web in Board addresses to stations and act as Server
- DHCP/bulletin board Server (which may be a Web Server)
- DHCP/bulletin board Server which may be a Web Server
- the system editor is object onented and template driven The user is allowed to select an object type from a palette and attach it to the appropriate stations Individual Device Editors are provided for each of the device types
- the editor allows the user to specify the number of IP addresses that this device needs to be able to supply below it In this case, when the device starts up, it gets its own IP address and IP address range from the Web Server or DHCP/bulletm board device to which it is assigned If it is not assigned to such a device, the editor allows a range of IP addresses to be assigned to it It is assumed that the device gets its own IP address from another, non-Native DHCP Server
- Each device type on the network is provided a specific editor to control its specific configuration Typical devices are transmitters, actuators, controllers, etc These editors are available for offline configuration In this case, the system monitor downloads any approved configurations at the next start-up
- the editors may also be available on-board the device (e g , for fixed function devices such as single station controllers), which allows direct configuration through a web browser
- the on-board facility is automatically disabled once the device is placed on a native network This ensures database consistency while allowing the use of the device on non-native networks
- device specific configurators are provide in ADE add-in and on-board, preferably, with the same code would be available and used for both
- the Control Editor implements PCOs plus four of the IEC 1131-3 languages (LD, ST, SFC, and FB). Any control schemes built in those languages are translated into a Java file, compiled, and downloaded.
- the IEC 1131-3 concept of configurations, resources, programs, and tasks are translated into the native environment that consists of set of native platforms.
- the Control Editor supports defining of control schemes using PCOs in the same manner that it supports the use of IEC Function Blocks; supports the assignment of control entities to specific PCO platforms; the importation of instruments lists to generate, and PCOs.
- the Graphic Editor support all of the human interface (HI) functionality and graphics typical of this type of editor.
- HI human interface
- a historian object when found in a CO is a representation of a portion of the full historian configuration, e.g., a slice of the historian.
- the historian object consists of the name of the historian to receive the data and a list of PCO attributes. Each attribute is associated with certain critical information related to the historian, e.g., change deltas, sample rates, reduction operations, archive characteristics, etc. Starting the historian editor resulting in showing the full configuration of the historian(s) to which this object is assigned.
- Historian Data Definition Object Editor One historian object exists for each historian in the system. These objects are created automatically if a historian data definition object is created and assigned to a historian. The data in this object controls the general function of the historian, e.g., where it runs in the system, what its archive policy is, what its data reduction policy is, etc.
- the process control domain is usually divided into three primary control styles: (i) analog control (continuous), (ii) logic control (ladder logic), and (iii) sequential control (supervisory operation of logic and analog control structares).
- every process control system must address batch (or recipe based) manufacturing with the related topics of lot tracking and validation.
- control system 10 views these styles as particular visualizations of the process control functionality. This means that these three types of control do not exist as objects. Rather, the control system receives a class definition of a process control object (PCO) which it instantiates and executes. It is the responsibility of the control editor to create the correct representation of the control structure while also representing that control structure in one of the industry standard formats, i.e., ladder-logic, function blocks, or structured text, or PCOs directly
- Sequential Function Charts are a meta-language used to control the execution of the other three languages. In the illustrated embodiment, it serves as a wrapper class for the other classes.
- the source code for a control scheme and the critical values for its PCO attributes, i.e., its checkpoint file, are held in the non-volatile memory of the Native device.
- the fundamental control object is a PCO attribute. As noted above, these are provided in two types: variables and parameters.
- An example of a variable attribute is a measurement in a PID block.
- a PCO attribute is an object in its own right and it contains certain vital information when it is retrieved. This information is "atomic", i.e., all information is obtained with an attribute, not just its "value”.
- the minimal set of information from a PCO variable attribute is value, data type, quality information time tag in milliseconds, and alarm status. It is this object that is transferred from one PCO to another to implement the transfer of information needed in an actual control scheme.
- Parameter attributes bundle less information than a variable attribute.
- the typical example of a parameter attribute is the proportional band of a PID block. In the illustrated control system 10, this attribute has less supporting information than a variable attribute, e.g., it would not have an engineering unit range.
- PCO attributes and methods to operate on those attributes are combined into PCO Blocks.
- These blocks are analogous to the control blocks in other systems, e.g., I/A Series FoxBlocks, IEC 1131-3 Function Blocks, and Foxboro Microspec Blocks.
- I/A Series FoxBlocks IEC 1131-3 Function Blocks
- Foxboro Microspec Blocks I/A Series FoxBlocks
- they can be executed on any microprocessor running any OS that supports a JVM.
- they are designed to occupy only the amount of RAM required for the selected options and to be on-line replaceable.
- PCO blocks capture and encapsulate knowledge of regulatory control algorithms needed to by continuous processes.
- the PCO user block can be used to integrate particular user-defined control algorithms into a PCO control scheme. It is the PCO user block that is used to implement control strategies that are defined using one of the IEC 1131-3 control languages.
- PCO Composites are implementations of a control strategy. They consist of PCO blocks and other PCO composites linked in such a manner as to provide the control mechanisms needed for a particular process. It is the PCO composite that captures application level control expertise, e.g., complex control structures for major pieces of equipment or even the simpler idioms of cascade control.
- the PCO execution environment is the software in a native control device that supports the execution of PCOs.
- This software includes the JVM and any other required code, such as a class loader that loads stand-alone applications for each composite, a class loader that loads an applet for each composite, a block processor that loads Java byte codes for a composite and executes each composite in turn, and a block processor that loads Java byte codes for PCO Blocks and executes each blocks in turn.
- control system 10 Several types of communication are provided in the illustrated control system 10. These types include data transfer, message transfer between application programs, object movement (downloads), class file (code) transfers, and events (unsolicited messages).
- the communications mechanism is redundant, i.e., the failure of one station in the system does not prevent communication (new or established) between any two other stations. It also minimizes the impact on uninvolved stations when the service is used by its clients, e.g., a message is not sent to a network segment if it is not going to be used there.
- the communications mechanism moreover, provides an encapsulated implementation that can be replaced "under the hood" as new technologies become available. Also, it allows the illustrated control system 10 to be configured for the appropriate communication resources, e.g., the number of outbound connections. Moreover, it provides performance statistics, e.g., high, low, average transfer times between two stations, bytes per seconds between two stations, etc., for viewing in the system monitor. Still further, it automatically reconnects to an object if it is relocated on or removed from/restored to the network.
- Data transfer in the illustrated control system 10 is provided by a mechanism that permits clients to subscribe to updates in a object. It also provides a mechanism for one-shot get/set access to an object.
- a client of the data transfer facility supplies the control system with a (i) number of objects that it needs, (ii) conditions under which it wants updates: change delta, maximum time between updates, or both, (iii) be capable of retrieving the values all at once (a snapshot), and (IV) be capable of ret ⁇ eving the values as series of changes with the option to block, for a user specified amount of time, while waiting for a change
- Client publication write lists
- Target devices subscribe to the data in the source device
- client one-shots the client of the data transfer facility supplies the svstem with a number of objects that it needs and ret ⁇ eve the values all at once (a snapshot)
- client one-shots the client supplies the system with a numbei of objects that it wishes to change, and set any part of the object if it has access
- the parts referred to are the supporting information in a PCO attribute as well as the value part
- the client of the message transfer facility must support p ⁇ vate conversations between applications using a reliable communications mechanism and support by subsc ⁇ ption publication of information from one server to many clients
- the private conversation mode allows applications to find each other by their application name the client application is not required to know the station name or IP address of the server application It also allow applications to send records (messages) of arbitrary size the pnvate conversation mode guarantees that the message boundary is recognized and that order is preserved Moreover, it allows both the sending and receiving process to determine if the connection is lost Still further, it supports transaction based message transfer, I e , the sender does not get an acknowledgement until the receiver says that the message is safely stored
- the subscription facility supports senders and listeners
- a sender is a process that has data that may be of interest to one or more listeners
- the subscription mode supports this type of operation by allowing a "sending" process to register that it will produce messages of a particular type, allowing a "listening" process to register to receive all messages of a particular type, supporting transaction based subscription if the client so requests (this request would have no impact on the sender), and supporting transaction based publishing by a server if the server requests it (this request would have no impact on the receiver). If no listeners are registered, the subscription facility defines how the message is handled.
- the native communications system is linked to the native security system to ensure that unauthorized users are unable to access objects.
- the illustrated control system 10 does not arbitrate between users of a resource.
- the prevention of multiple access to an object is the responsibility of the object.
- the breaking of an application secured link by an operator is not a function of the illustrated control system 10.
- the object location service supports the location of named objects; supports hierarchical object names; allows rule based specification of the name delimiting character; locates an object based on a "longest fit" because (a) not all parts of an object name are globally known and (b) not all parts of an object are in the same physical location; supports the implementation of naming scopes, i.e., limiting the visibility of names; supports the use of a name search path so that relative names can be located; is redundant; supports locating many types of objects, e.g., server processes, PCO attributes, and application programs; and supports the addition of related information about the object in the name directory, e.g., object type, short-cut information to be used by the process that owns the object, object type/implemented interface, and information.
- the object location services permit a client to request the name of a service that supports a specific interface. This allows new interfaces to be added to a service without
- the illustrated control system operates over any IP based network 48.
- the illustrated control system 10 operates over wide area networks supplied by the customer, installed plant LANs supplied by the customer, dedicated LANs supplied either by the customer or the vendor, redundant LANs supplied by the vendor. This operation is transparent to all applications using the system 10. While it is recognized that performance are degraded over low bandwidth (phone lines) and high latency (geosynchronous satellites) networks, the system 10 optimizes as best it can to minimize the impact of different network types. In short, the illustrated control system 10 does not assume that it "owns" the network.
- the illustrated control system 10 is operating in support of a PCO in a dedicated control station (not a transmitter) or in a PC, it supports at least 10,000 object value gets/sets per second if the object is in the local station; supports at least 100 get/set per second requests from a client if the object is in a remote station; supports at least 50 get/set requests per second made to a server from a remote client; is able to locate 3000 objects per second; is able to detect a communication failure in no more than 1000 milliseconds; ensures that the time to move data from a server station to a client station (API call to API call) is less than 100 milliseconds in a normally configured network; allows a server station to move 6000 values out of its box every second; allows a client station to accept at least 2000 values every second; allows an unlimited (but, configured) number of names to be defined in the system; and supports the registration of 50,000 globally known names without requiring a reconfiguration. All server stations are able to support at least 30 client
- All client stations support at least 30 server stations for continuous data feeds without requiring a reconfiguration.
- APIs Within the illustrated control system 10 environment an API are provided for all of the above services. This API are delivered as a Java Bean so that the underlying communications mechanism may be replaced without breaking all of the applications that use the service.
- the illustrated control system 10 defines and enforces a mechanism for supporting interoperability of messages from stations at different versions.
- a mechanism like interface inheritance is provided, i.e., a message carries in it enough "type” information that the receiving application knows how to "decode” the message even if the receiving application is at a lower level. This adds fields to messages if necessary, but not remove/replace old fields.
- the illustrated control system 10 supports integration of non-Java applications using appropriate technologies, e.g., CORBA, COM DCOM ActiveX, and emulation of APIs. Physical gateways are permitted, but these gateways provide only a minimal amount of configuration.
- JTNI and JavaSpaces technologies permit object location within the illustrated system.
- JINI technology allows native devices to register names in a globally available database. JINI clients can find this database and perform searches against it.
- JavaSpaces allow a device to register important information in a globally available bulletin board.
- JavaSpaces provide four simple services: posting, removal, query by example, and notification. The notification feature informs prospective users of a class of objects when such objects are added and removed from the JavaSpace.
- a JavaSpace handles services like system monitoring.
- EOM enhanced object manager
- a LDAP compliant service are created and used to store pathnames and related information, e.g., IP addresses, Port Numbers, internal indexes, etc.
- the EOM API provides get set and read/write support similar to that provided by the OM today. 3) When provided a name, the EOM looks in the local copy of the LDAP database. 4) If the name is found and the data is local, the request is passed to the correct data provider (the EOM, the CIO database, or the AOS database) who returns the value and other data. The EOM handles sending updates on change driven data.
- the EOM sends the request to the remote EOM which then makes a local query.
- the EOM handles sending updates on change driven data.
- the location request is passed to the master LDAP database. If it is found there, the address information is passed back to the local LDAP database (which is updated) and steps 4) and 5) are repeated.
- the request is posted for a period of time. If it is resolved in that period, the requesting station is notified. If it is not resolved, the master
- LDAP database drops the name and notifies the requesting station.
- SNTP Simple Network Time Protocol
- SNTP Simple Network Time Protocol
- Controllers requiring high accuracy are placed on tightly controlled networks or equipped with an interrupt used to coordinate time updates.
- a master timekeeper tied to a well known reliable data source - GPS clock or broadcasted time from the national atomic clocks. This master time keeper generates the interrupt and SNTP. It is built with a highly reliable internal clock so that loss of time feed does not result in significant drift within the Mean Time to Repair (MTTR).
- MTTR Mean Time to Repair
- Alarm and message manage requires that all process alarming to be based on the top-level composite's attributes; that acknowledgments be handled at the composite level; that PCOs, system monitors, and the native human interface a reliable message protocol to send the message to a message management system (MMS); that the MMS is used by end-users to view the current alarm state and the alarm history; and that the MMS use the plant historian to permanently store and archive messages.
- MMS message management support service
- the service operates as follows.
- the MMSS server When a client of the MMSS connects to the MMSS server, the MMSS server send any messages in its internal alarm queue that are older than the time of the connection to the client; transmits the alarm state at the time of the connection to the client, and transmit any new messages subsequent to the connection. If the connection to the MMSS client fails, there is no impact on the operation of the control station or the control network; minor delays associated with detecting the loss of connection are generally viewed as acceptable.
- the MMSS support at least two (2) and, preferably, four simultaneous clients.
- the alarm state of a PCO attribute is defined to include block attribute identification (full PATH attribute name, at least); the bad I/O status of the block for I/O attributes; an indication of the alarm status for each alarm type defined for the attribute; the priority, criticality, and acknowledgment status of the attribute; the on/off status of the attribute, i.e., is it updating; the status of the alarm inhibit and alarm disable or alarm option parameters, and the time tag of each alarm event stored within the block, e.g., the into alarm time, the acknowledged time, and the return to normal time. This information is recovered from all currently active alarms.
- the application engineer specifies which attributes of the PCOs within the composite are to be annunciated.
- a composite is placed on line, it notifies the object location service that it exists.
- a message management service are notified of the new composite and arrange for notification from the device.
- the MMS are centralized and redundant. It provides a complete alarm state for the plant at any time including startup. It retains a message history for as long as configured through the use of the plant historian. Users view the alarms through to the Alarm Manager.
- the native field devices are coupled to the network 48 via an IP network, preferably, Ethernet and, still more preferably, powered Ethernet.
- Powered Ethernet delivers the power, along with conventional Ethernet data.
- the native field devices use one of two wiring schemes, with each scheme supplying power to the field device: (a) standard four wire lOBase-T wiring, or (b) industry standard two-wires used for 4-20ma based transmitters.
- the devices also provide a single Ethernet interface (or redundancy, where desired in the cabling or the field device); and connect to a non-redundant powered hub with the following features: (a) non-redundant connections to the IFDs; and (b) support for redundant connection to a plant-wide network.
- the powered Ethernet implementation leaves the physical and logical Ethernet interfaces in place. This means that except for adding a new wiring type, the physical layer, the data link layer, the use of CSMA/CD, and lOBase-T connectors are preserved.
- the illustrated embodiment utilizes powered Ethernet hubs to provide communications and power to its intelligent field devices.
- IFDs may be transmitters, actuators, Networked I/O, or PCO platforms.
- the powered hubs are preferably, stackable, DIN rail-mountable, support connection to a redundant network, and support both 10 Mbps and 100 Mbps Ethernet.
- Intelligent transmitters use the IEEE 1451 standard to communicate to their sensor(s) This facilitates use of the same module in many types of transmitters from potentially many vendors and allows the transmitter to support up to 255, perhaps externally mounted, sensing devices
- the native intelligent positioners also support a powered Ethernet interface like the one used by the native intelligent transmitters
- Figure 6 shows a prefe ⁇ ed native intelligent positioner implementation The approach standardize interfaces and use a PCO to control the positioner as evident in the drawing
- Blank cells indicate that the featare is not present in the indicated device.
- the invention relates to interconnecting devices for instrumentation and control.
- Control systems often include intelligent field devices having digital processors. Examples of such devices include valve controllers and transmitters, such as those associated with, for example, temperature sensors, pressure sensors, and flow meters. Another type of intelligent field device is a field mounted process controller that sends control signals to, for example, a valve controller, based on process information received from one or more transmitters. The functionality of different field devices may be inco ⁇ orated into a single module.
- a process controller, a valve controller, and a temperature sensor/transmitter may be inco ⁇ orated into a single module.
- control systems typically require some mechanism for transmitting signals between devices, and for transmitting signals from devices to a central control station. Due to cost constraints, connections between devices, and between the devices and a control station, are often provided using a single pair of wires. In many instances, this same pair of wires is used to provide power to the devices.
- the HART protocol specifies provision of a 4-20 mA analog control signal and a 1200 baud bidirectional digital data link on a pair of wires connected to a device
- the 4-20 mA signal is used both to power the device and to provide a control signal to or from the device
- the HART protocol achieves simultaneous analog and digital transmission by using a frequency shift keying (FSK) technique to overlay a bidirectional digital signal on the analog control signal
- FSK frequency shift keying
- the FOXCOMM protocol also overlays a bidirectional digital data signal on a 4-20 mA analog control and power signal
- Different versions of the protocol use either 600 baud or 4800 baud digital signals
- Yet another version uses the analog signal only for power delivery and transmits all information using digital signals
- the invention features providing a powered Ethernet connection between two devices connected by an Ethernet connection that provides data communication between the devices Electncal power is applied on to the Ethernet connection at the first device At the second device, the electncal power is extracted and used to power the second device
- the Ethernet connection may include two pairs of wires, with a first pair of wires being used to transmit data from the first device to the second device and a second pair of wires being used to transmit data from the second device to the first device
- applying electrical power on to the Ethernet connection at the first device may include applying a DC voltage across the two pairs of wires by coupling a first potential to the first pair of wires and a second potential to the second pair of wires, with the DC voltage being defined as a difference between the two potentials
- coupling potentials to the pairs of wires may include applying the DC voltage between the center taps of the primary windings of the two transformers
- a center-tapped inductor may be connected across each pair of wires at the first device, and potentials may be coupled to the pairs of wires by applying the DC voltage between the center tap
- the Ethernet connection also may be implemented using a single pair of wires to transmit data from the first device to the second device, to transmit data from the second device to the first device, and to provide power from the first device to the second device
- applying electncal power on to the Ethernet connection at the first device may include applying a DC voltage across the pair of wires by coupling a first potential to the first wire through an inductor and coupling a second potential to the second wire through an inductor, with the DC voltage being defined as a difference between the two potentials
- Each device may be, for example, a process controller, a field device, or an Ethernet hub
- a field device may be operable to sense a process condition and to transmit infomiation about the sensed process condition using the Ethernet connection, or to control a process condition in response to a command received through the Ethernet connection
- the invention features connecting a four-terminal Ethernet connection to a two-wire Ethernet connection
- a device having a four-terminal Ethernet connection the connection including a first pair of terminals for transmitting data away from the device and a second pair of terminals for transmitting data to the device is connected to a two-wire Ethernet connection for transmitting data to and from the device by a switched connection
- the switched connection operating in a first mode in which the two-wire Ethernet connection is connected to the first pair of terminals and a second mode in which the two-wire Ethernet connection is connected to the second pair of terminals
- the switched connection is initially set to operate in the first mode, and the two-wire Ethernet connection is monitored for data being transmitted to the device
- the switched connection is set to operate in the second mode upon detection of data being transmitted to the device Power may be injected on to the two-wire Ethernet connection at the device for use in powe ⁇ ng another device connected to the two-wire Ethernet connection
- an impedance presented to the two-wire Ethernet connection may be changed from a first impedance when the switched connection
- Ethernet connection uses an Ethernet protocol to communicate data over an Ethernet connection using an Ethernet protocol, power circuitry operable to extract operating power from the Ethernet connection, and process circuitry operable to sense a process condition and to transmit information about the sensed process condition using the Ethernet connection, or to control a process condition in response to a command received through the Ethernet connection
- Such a field device examples include a device providing a temperature or pressure sensor, a flow meter, and a valve controller
- the communications circuitry and the power circuitry may be operable to interface with an Ethernet connection including only a single pair of wires
- Figs 1-3 are block diagrams of systems using powered Ethernet connections
- Figs 4 and 5 are block diagrams of systems for providing power to a field device over a four-wire Ethernet connection
- Fig 6 is a circuit diagram of a four-wire circuit
- Fig 7 is a block diagram of a system for providing power and emulating a four-wire Ethernet connection using only a single pair of wires
- Figs 8A-8F are block diagrams of different operating states of the system of Fig 7
- Fig 9 is a circuit diagram showing connections of a hub using two-wire powered
- Fig 10 is a circuit diagram of a line circuit of the circuit of Fig 9
- Figs 11-17 are circuit diagrams of elements of a two-wire circuit
- a control system 100 includes a controller 105 that powers and controls a remote field device 110 over a powered Ethernet connection 1 15
- the system 100 applies the well-known and well-established Ethernet protocol to an instrumentation and control system
- the powered Ethernet connection 115 may be provided by modifying connections to existing wiring of a system employing a proprietary protocol.
- a powered Ethernet system may be produced by retrofitting an existing system.
- Ethernet protocols such as the Ethernet protocol are often used to communicate between devices, such as components of a computer network.
- Ethernet uses a bus or star topology and supports data transfer rates of 10 Mbps.
- Ethernet handles simultaneous demands using a technique known as carrier sense multi -access with collision detection ("CSMA CD").
- CSMA CD carrier sense multi -access with collision detection
- the Ethernet specification served as the basis for the IEEE 802.3 communication standard, which specifies the physical and lower software layers.
- the IEEE 802.3 standard controls the implementation of the basic Ethernet hardware technology. In specific terms, it controls the media access control sublayer and the physical layer functions for a bus-structured local area network that uses CSMA/CD as an access protocol.
- lOBase-T One of several adaptations of the Ethernet (IEEE 802.3) standard for Local Area Networks (LANs) is lOBase-T.
- the lOBase-T standard also called Twisted Pair Ethemet
- the cable is thinner and more flexible than the coaxial cable used for the 10Base-2 or 10Base-5 standards. Cables in the lOBase-T system connect with RJ-45 connectors.
- a star topology is common, with 12 or more computers connected directly to a hub or a concentrator.
- the 1 OBase-T system operates at 10 Mbps and uses baseband transmission methods.
- Ethernet Information is communicated on the Ethernet using electrical signals.
- the standard Ethernet protocol specifies the physical layer characteristics of these signals. This information is converted to digital information by the Ethernet devices.
- the Ethernet protocol typically employs a first pair of wires for transmission in one direction and a second pair of wires for transmission in the opposite direction.
- the pairs of wires generally are not used to power the devices.
- Associated with the Ethernet protocol is a well-developed collection of standard hardware and software components that may be used to implement communications between devices.
- the powered Ethernet connection 115 provides a connection for powering and communicating with remote field devices using standard, or slightly modified, Ethernet hardv. are and software
- the connection 115 may employ either one or two pairs of wires
- a system 200 includes a controller 205 connected to a collection of field devices 210 by a powered Ethernet connection 215 m a bus configuration
- the connection 215 may employ either one or two pairs of wires
- FIG. 3 shows a system 300 that includes a controller 305 connected to a hub 310 by a powered Ethernet connection 315 The hub 310 is then connected to a collection of field devices 320 by powered Ethernet connections 325 in a star configuration
- connection 315, 325 may employ either one or two pairs of wires, and different connections may employ different numbers of pairs
- the connection 315 which is typically substantially longer than the connections 325, may employ a single pair of wires, while one or more of the connections 325 employs two pairs of wires
- Exemplary single-pair (two-wire) and double-pair (four-wire) systems are discussed in detail below
- a system 400 employs standard Ethernet boards 405 at both a process controller 410 and a remote field device 415 The boards communicate via two pairs of wires, with the first pair 420 providing communications from the process controller to the field device, and the second pair 425 providing communications from the field device to the process controller
- Each Ethernet board includes a pair of transformers 430, with each transformer being associated with a pair of wires
- a 24 Volt DC power signal from a power supply 435 is injected to central taps 440 of the pnmary coils of the transformers
- the positive (+V) lead 445 of the DC power signal is provided at the central tap of the pnmary coil of one of the transformers
- the ground (GND) lead 450 of the DC power signal is provided at the central tap of the pnmary coil of the other transformer
- transformer 430 provides a device operating power signal 460.
- the signal 460 and ground 455 are provided to a DC-to-DC converter 465 that reduces and isolates the DC voltage to provide operating power for the device.
- the coil of the DC-to- DC converter can be impedance matched to the resistance of the wire pairs.
- the output of the DC-to-DC converter is provided to a voltage regulator circuit 470 that provides power to the Ethemet board and the field device.
- the process controller also may include a DC-to-DC converter 465 and a voltage regulator circuit 470 for use in powering the Ethernet board of the process controller. These elements are unnecessary when the process controller has a separate power supply. Only one remote field device 415 is shown in Fig. 4. However, as illustrated in Figs.
- the transformers include primary coils connected to the twisted pairs and secondary coils connected to devices on the Ethernet boards.
- the secondary coils of the transformers may be constructed of bi-filar coils to reduce the required size of the transfonners.
- the power can be applied via center-tapped inductors 500 connected across the secondary coils of the transformers.
- the DC current is isolated from the transformers by capacitors 505.
- Each inductor must be large enough that it does not degrade the termination impedance of its conesponding wire pair.
- Fig. 6 illustrates a fairly simple prototype circuit 600 for powering a four-wire connection 605.
- center-tapped inductors 615 are used to direct power on to the connection 605.
- center-tapped inductors 625 are used to remove power from the connection 605.
- a 24 volt signal was applied to the connection 605 at the process controller side and about 100 mA was drained through a resistor 630 on the field device end, resulting in power consumption of 2.5 watts.
- the two ends were implemented using NIC cards 635 mounted in
- a system 700 having a two-wire connection may be used to emulate a four-wire, powered Ethernet connection
- This approach is particularly useful in retrofitting Ethernet to existing systems that use only a single pair of wires to provide power and communications between a process controller and a remote field device
- this approach may be used to make Ethernet connections without upgrading or replacing existing wires
- the system 700 includes a hub port 705 connected by a single pair of wires 710 to a remote field device 715
- Each connection includes the hub port 705, a switch 720 connected between the port and the hub end of the single pair of wires 710, an activity detector 725 connected to the switch 720, and a switch 730 connected between the other end of the pair of wires and the remote field device
- Each switch functions as a double pole, double throw switch, and may be implemented with a driver and receiver that can be enabled or disabled by means of a chip select lead
- the switches control their associated devices to be in reception states or transmission states
- the remote field device 715 and an associated hub port 705 operate in an idle mode when no traffic is present on the wire connection between them
- the hub switch 720 is switched to the transmit position and the remote field switch 730 is switched to the receive position In this mode, the remote field device can determine if the network is clear
- the field device 715 switches the switch 730 to the transmit position under control of the Ethernet remote physical layer This connects the field device to the hub activity detector 725
- the activity detector 725 detects the first part of the output signal of the remote device 715
- the hub's activity detector 725 detects activity, it switches the switch 720 to the receive position to connect the transmitting field device to the transmit pair of the hub There may be several bits of transmission lost during this transition However, this causes no problem since the first 64 bits of the Ethemet packet are only used for synchronizing clocks
- the hub once the hub starts receiving data, the hub generates a signal to the other remote field devices to notify them that the system is busy so that they will not start to send data of their own
- the hub may detect a collision when it receives a signal on its receive pair from another remote field device connected to it It must then signal to the remote field devices that a collision has occurred This can be done in several ways One simple way is to reverse the polanty of the DC power supplied to the field devices
- the field devices may be configured to automatically switch their switches to the receive positions in response to this polanty reversal, as shown in Fig 8F
- the transmitting field devices will then see the jamming signal on their receive inputs, will stop transmitting, and will initiate a backout sequence to resolve the collision
- an eight-port, standard Ethernet hub 900 includes ports 905, each of which includes a two-wire transmit connection 910 that receives data transmitted by a remote device 715 and a two-wire receive connection 915 that sends data to be received by the remote device 715
- a two-wire powered Ethernet connection is provided by inserting a line circuit 920 between a hub port 905 and a two-wire connection 710 to a remote device 715 This permits the use of standard Ethernet hubs to provide powered connections to remote devices over only a single pair of wires
- each hub port line circuit 920 includes a first pair of terminals 1000 connected to the two-wire connection 710, a second pair of terminals 1005 connected to the transmit connection 910, and a third pair of terminals 1010 connected to the receive connection 915 Power is supplied to the terminals 1000 by a 24 Volt source connected to the terminals through inductors 1015 or other high impedance devices Capacitors 1020
- a load switch 1030 is connected across the primary coil of the transformer 1025
- the load switch 1030 is controlled by the hub to provide impedance matching
- the load switch 1030 connects a load impedance across the line so that the line is properly terminated
- the load switch removes the load since a transmission dnver 1035 provides the terminating impedance
- An activity detector 1040 also is connected across the primary coil of the transformer 1025 As discussed above, the activity detector 1040 detects transmissions by the remote device and notifies the hub to permit the hub to reconfigure the line circuit 920
- the activity detector can be implemented in a number of ways One simple implementation rectifies the signal produced by the primary coil of the transformer 1025 and compares the rectified signal to a threshold that indicates that a signal is present
- a receiver 1045 is connected across the pnmary coil of the transformer 1025
- Outputs of the receiver 1045 are connected to the pair of terminals 1005
- the receiver 1045 is controlled by a signal (TCE) from the hub
- Outputs of the transmission driver 1035 are connected through resistors 1050 to the pnmary coil of the transformer 1025
- the resistors 1050 may be used to provide a 100 ohm driving impedance Inputs of the transmission dnver 1035 are connected to the pair of terminals 1010
- the transmission driver 1035 is controlled by a signal (RCE) from the hub
- a powered, two-wire 10 MHz half duplex Ethernet communications system may be used to transmit Ethernet packets as well as
- the first configuration examined was a two-wire powered Ethernet point-to-point connection that involved two NIC cards connected together via a cable that was cut in half so that the two pairs of the cable could be connected together With the two pairs shorted together, the NIC cards were put in the full-duplex mode so that a card that received its own signal would not mte ⁇ ret the signal as a collision and shut down
- the two cards communicated with each other, by "pinging" each other continuously Pinging is simply sending a message with an address of a device If the device is up and connected, it sends an acknowledgement
- This configuration used two standard NIC cards from SMC installed on two standard personal computers running Windows NT
- the PHY chip on the SMC NIC cards is the
- the second configuration which proved unsuccessful, employed a standard NIC card connected to a standard hub and back to a standard NIC card.
- the configuration included one NIC card, again the SMC 9432 NIC card using the Altima AH 101 PHY chip, connected in two-wire mode via UTP Category 5 cable to one port of a standard low cost single board Ethernet hub.
- Another 9432 NIC card (in another computer) was interfaced in standard
- Ethernet 4 wire mode via a short run (10 ft.) of UTP Category 5 cabling to another port of the Ethernet hub.
- this configuration failed because the hub is always a half duplex only device.
- the TX output of that particular hub port may be directly connected to the
- the generic response of a half duplex device to a perceived collision is to immediately terminate whatever it was transmitting when something came in on its RX input, ignore the packet it is receiving on RX, generate a "jam" signal on its TX output, and then time out for some random period of time before trying to re-transmit the packet it was sending when the collision occurred. However, when it tries to re-transmit the packet, it again immediately senses the packet on its RX input, and again goes into collision response mode. This sequence of events continues indefinitely whenever the hub tries to transmit an Ethernet packet, which means that no useful information is transmitted as long as TX is connected to RX. Therefore, without hardware or firmware
- a third configuration used a standard NIC card interfaced to a port of a high performance Cisco switch in two-wire mode and another NIC card interfaced to the switch via another switch port in four-wire mode with no modifications made to the switch's hardware. (Changes were made to the switch firmware via the software control console on the switch.)
- the NIC-card-to-Cisco switch two-wire interface failed because the switch could not properly perform a needed operational function called auto-negotiation with a two- wire cable.
- the problems can be avoided by directing the switch to not auto-negotiate with the NIC in two-wire mode and to disregard anything it receives on its RX input when it is transmitting out of TX on its two-wire interface.
- a variation on the previous configuration used a low cost, single board, ADMtech switch of simple construction, made with three major VLSI components and other low cost discrete chips and components.
- the switch was modified by adding one low cost HC chip and a resistor to the board.
- the rest of the experimental configuration was the same as that for the previous configuration.
- one NIC card was interfaced to the switch in two-wire mode on one switch port, while a second NIC card was interfaced to the switch via another port in four-wire mode.
- each two-wire port by the corresponding RX input and, through hardware or firmware modifications, to not auto-negotiate The hardware modification to the switch involving the 74HC125 chip and resistor solves the problem of RX inputs ignoring transmitted TX packets.
- the second problem is solved by adding a boot strap serial EEPROM to the board to direct the main switch controller chip, the ADMtech AL968 chip, to not auto-negotiate.
- the first modification of the NIC board attempted for two-wire operation is shown in Fig. 1 1.
- the NPN transistor 1100 was turned on only when TXEN went high. This connected the two 49.9 ohm resistors 1105 to TXOP and TXON. When the TXEN lead was low, the transmit driver was disconnected from the rest of the circuit. The receive pair on the output side of the transformer 1110 was connected to the transmit pair. The transmit pair was then connected to the jack 1115 and inductors were added. This approach was unsuccessful.
- the next modification approach is shown in Fig. 12. All modifications were done to an external board 1200 that was then connected in series with the loop. This approach was successful and resulted in the two NIC cards communicating.
- One problem with this approach was that the terminations on the transmit and receive pairs were connected in parallel, which resulted in a 50 ohm termination instead of a 100 ohm termination. This is not important on short loops.
- 10 volts were applied to one card and a 100 ohm resistor on the other. This resulted in one watt being sent over the loop.
- a telephone then was connected to each loop, and one end was connected to a 20-volt power supply through two 160-ohm resistors. Users were able to talk on the Ethernet loop while it was transmitting data.
- the circuit is shown in Fig. 13.
- NIC cards The switch generated a table of addresses by monitoring the traffic. Once it saw its own address as the source of an incoming message, it shut down. This problem may be solved through use of a card that cuts off the receiver when the transmitter is active. Such a card is shown in Fig. 14.
- resistors R3 and R4 have been added to provide a DC current component since TI is not a bipolar switch. L3 is added so that the DC current will Appendix (from PCT Patent Application USOO/10013, filed Apnl 14, 2000)
- the maximum distance over which powered Ethernet can operate is a function of several variables The distance can be limited by one of two factors, the power limitation and the signal strength limitation
- the power limitation is in turn determined by the power a device needs, the resistance of the loop, and the maximum voltage available for use
- the DC impedance of the converter must equal the loop resistance
- the connection distance provided by the four-wire mode is twice that of the two-wire mode
- the loop and the device will each dissipate one watt (since, for maximum distance, the device resistance equals the loop resistance )
- the DC current will be 83 3 mA
- the loop resistance will be 144 ohms
- the length is 2,900 ft This is sufficiently long that the limitation due to signal strength may be the controlling factor for most applications
- the added circuit essentially doubles the power used by the output driver.
- Multi-drop Providing multi-drop capability is even more difficult than full duplex operation.
- the output driver must present an infinite output impedance (that is, it must be a pure current source). Since the signal injected in the loop will travel in both directions, the driver power will be doubled. The power supply also becomes more complicated. The power supplies on the remote devices must be designed so that they draw a constant current. Otherwise, near-end devices will draw excessive current and far end devices will not be able to operate.
- a method of providing a powered Ethernet connection between two devices compnsing providing a first device, providing a second device, providing an Ethernet connection between the first device and the second device, the Ethernet connection providing data communication between the devices, applying electrical power on to the Ethernet connection at the first device, extracting electrical power from the Ethernet connection at the second device, and powe ⁇ ng the second device using the extracted electncal power
- Ethernet connection comp ⁇ ses two pairs of wires, with a first pair of wires being used to transmit data from the first device to the second device and a second pair of wires being used to transmit data from the second device to the first device
- each pair of wires is connected to a corresponding transformer at the first device, each transformer includes a center-tapped primary winding, and coupling potentials to the pairs of wires comprises applying the DC voltage between the center taps of the primary windings of the two transformers
- each pair of wires is connected to a corresponding transformer at the second device, each transformer includes a center-tapped winding, and extracting electrical power from the Ethernet connection at the second device comprises extracting a DC voltage existing between the center taps of the windings of the two transformers.
- a center-tapped inductor is connected across each pair of wires at the second device, and extracting electrical power from the Ethernet connection at the second device comprises extracting a DC voltage existing between the center taps of the inductors.
- Ethernet connection comprises a single pair of wires used to transmit data from the first device to the second device, to transmit data from the second device to the first device, and to provide power from the first device to the second device.
- applying electrical power on to the Ethernet connection at the first device comprises applying a DC voltage across the pair of wires by coupling a first potential to the first wire through an inductor and coupling a second potential to the second wire through an inductor, with the DC voltage being defined as a difference between the two potentials.
- the second device comprises a field device operable to sense a process condition and to transmit information about the sensed process condition to the first device using the Ethernet connection.
- the second device comprises a field device operable to control a process condition in response to a command sent from the first device using the Ethernet connection
- the second device compnses a field device operable to sense a process condition and to transmit information about the sensed process condition to the first device using the Ethernet connection
- the second device compnses a field device operable to control a process condition in response to a command sent from the first device using the Ethernet connection
- the second device comprises a field device operable to sense a process condition and to transmit information about the sensed process condition to the first device using the Ethernet connection
- a method of connecting a four-terminal Ethernet connection to a two- wire Ethernet connection comprising providing a device having a four-terminal Ethernet connection, the connection including a first pair of terminals for transmitting data away from the device and a second pair of terminals for transmitting data to the device, providing a two-wire Ethernet connection for transmitting data to and from the device, providing a switched connection between the four-terminal Ethernet connection and the two-wire Ethernet connection, the switched connection operating in a first mode in which
- the two-wire Ethemet connection is connected to the first pair of terminals and a second mode in which the two-wire Ethernet connection is connected to the second pair of terminals; setting the switched connection to operate in the first mode; monitoring the two-wire Ethernet connection for data being transmitted to the device; and setting the switched connection to operate in the second mode upon detection of data being transmitted to the device.
- a field device for use with a powered Ethernet connection comprising: communications circuitry operable to communicate data over an Ethernet connection using an Ethernet protocol; power circuitry operable to extract operating power from the Ethernet connection; and process circuitry operable to: sense a process condition and to transmit information about the sensed process condition using the Ethernet connection; or control a process condition in response to a command received through the Ethernet connection.
- a system providing a powered Ethernet connection between two devices, the system compnsing a first device, a second device, an Ethernet connection between the first device and the second device, the Ethernet connection providing data communication between the devices, circuitry for applying electncal power on to the Ethernet connection at the first device, circuitry for extracting electncal power from the Ethernet connection at the second device, and circuitry for powenng the second device using the extracted electncal power
- Ethernet connection comprises two pairs of wires, with a first pair of wires being used to transmit data from the first device to the second device and a second pair of wires being used to transmit data from the second device to the first device
- circuitry for applying electrical power on to the Ethernet connection at the first device compnses circuitry for applying a DC voltage across the two pairs of wires by coupling a first potential to the first pair of wires and a second potential to the second pair of wires, with the DC voltage being defined as a difference between the two potentials
- each pair of wires is connected to a conesponding transformer at the first device, each transformer includes a center-tapped primary winding, and
- each pair of wires is connected to a corresponding transformer at the second device, each transformer includes a center-tapped winding, and the circuitry for extracting electncal power from the Ethernet connection at the second device compnses circuitry for extracting a DC voltage existing between the center taps of the windings of the two transformers
- Ethernet connection compnses a single pair of wires used to transmit data from the first device to the second device, to transmit data from the second device to the first device, and to provide power from the first device to the second device
- circuitry for applying electncal power on to the Ethernet connection at the first device compnses circuitry for applying a DC voltage across the pair of wires by coupling a first potential to the first wire through an inductor and
- the second device comprises a field device operable to sense a process condition and to transmit information about the sensed process condition to the first device using the Ethernet connection
- the second device comprises a field device operable to control a process condition in response to a command sent from the first device using the Ethernet connection
- the second device comprises a field device operable to sense a process condition and to transmit information about the sensed process condition to the first device using the Ethernet connection
- the second device comp ⁇ ses a field device operable to control a process condition in response to a command sent from the first device using the Ethernet connection
- the second device compnses a field device operable to sense a process condition and to transmit information about the sensed process condition to the first device using the Ethernet connection
- the second device comprises a field device operable to control a process condition in response to a command sent from the first device using the Ethernet connection
- a powered Ethemet connection is provided between two devices connected by an Ethernet connection that provides data communication between the devices Electrical power is applied to the Ethernet connection at the first device, and extracted from the Ethernet connection at the second device The extracted power is used to power the second device.
Landscapes
- Engineering & Computer Science (AREA)
- Theoretical Computer Science (AREA)
- Physics & Mathematics (AREA)
- General Physics & Mathematics (AREA)
- General Engineering & Computer Science (AREA)
- Quality & Reliability (AREA)
- Business, Economics & Management (AREA)
- Economics (AREA)
- Human Resources & Organizations (AREA)
- Software Systems (AREA)
- Strategic Management (AREA)
- Automation & Control Theory (AREA)
- Entrepreneurship & Innovation (AREA)
- Educational Administration (AREA)
- Game Theory and Decision Science (AREA)
- Manufacturing & Machinery (AREA)
- Marketing (AREA)
- Operations Research (AREA)
- Tourism & Hospitality (AREA)
- General Business, Economics & Management (AREA)
- Development Economics (AREA)
- Programmable Controllers (AREA)
- Small-Scale Networks (AREA)
Abstract
Description
Claims
Priority Applications (1)
| Application Number | Priority Date | Filing Date | Title |
|---|---|---|---|
| AU58701/00A AU5870100A (en) | 1999-06-11 | 2000-06-09 | Methods and apparatus for control using control devices that provide a virtual machine environment and that communicate via an ip network |
Applications Claiming Priority (8)
| Application Number | Priority Date | Filing Date | Title |
|---|---|---|---|
| US13907199P | 1999-06-11 | 1999-06-11 | |
| US60/139,071 | 1999-06-11 | ||
| US09/345,215 | 1999-06-30 | ||
| US09/345,215 US6501995B1 (en) | 1999-06-30 | 1999-06-30 | Process control system and method with improved distribution, installation and validation of components |
| US14469399P | 1999-07-20 | 1999-07-20 | |
| US60/144,693 | 1999-07-20 | ||
| US14927699P | 1999-08-17 | 1999-08-17 | |
| US60/149,276 | 1999-08-17 |
Publications (3)
| Publication Number | Publication Date |
|---|---|
| WO2000077592A2 true WO2000077592A2 (en) | 2000-12-21 |
| WO2000077592A3 WO2000077592A3 (en) | 2002-06-06 |
| WO2000077592A9 WO2000077592A9 (en) | 2002-07-04 |
Family
ID=27495349
Family Applications (1)
| Application Number | Title | Priority Date | Filing Date |
|---|---|---|---|
| PCT/US2000/015860 Ceased WO2000077592A2 (en) | 1999-06-11 | 2000-06-09 | Control device providing a virtual machine environment and an ip network |
Country Status (2)
| Country | Link |
|---|---|
| AU (1) | AU5870100A (en) |
| WO (1) | WO2000077592A2 (en) |
Cited By (32)
| Publication number | Priority date | Publication date | Assignee | Title |
|---|---|---|---|---|
| WO2003029907A1 (en) * | 2001-09-27 | 2003-04-10 | Endress + Hauser Gmbh + Co. Kg | Method for operating a field device using a browser |
| WO2003036400A1 (en) * | 2001-10-15 | 2003-05-01 | Siemens Aktiengesellschaft | Method for implementing an operating and observation system for field devices |
| WO2003038535A1 (en) * | 2001-10-15 | 2003-05-08 | Siemens Aktiengesellschaft | Method for operating and observing field devices |
| WO2003023541A3 (en) * | 2001-09-12 | 2004-04-01 | Endress & Hauser Gmbh & Co Kg | Method for securing the exchange of data between an external access unit and a field device |
| WO2003044608A3 (en) * | 2001-11-23 | 2004-04-08 | Endress & Hauser Process Solut | Method for operating a field device |
| WO2003073191A3 (en) * | 2002-02-26 | 2004-07-08 | Endress & Hauser Process Solut | Method for transferring field device data to an external data bank |
| EP1486842A3 (en) * | 2003-06-10 | 2005-01-26 | Endress + Hauser Flowtec AG | Method for transmitting measurement data from a measuring device to a central control unit. |
| WO2005015327A1 (en) * | 2003-08-06 | 2005-02-17 | Siemens Aktiengesellschaft | Method for updating a data stock of a first data processing system |
| EP1349024A3 (en) * | 2002-03-18 | 2005-09-21 | Sick AG | Coupling device for coupling devices to a bus system |
| WO2005066730A3 (en) * | 2004-01-08 | 2005-12-01 | Endress & Hauser Gmbh & Co Kg | Process installation comprising a plurality of field appliances |
| EP1431877A3 (en) * | 2002-09-20 | 2005-12-07 | Sick AG | Parameterizing-/diagnostic system for a field device |
| US7020532B2 (en) * | 1999-06-11 | 2006-03-28 | Invensys Systems, Inc. | Methods and apparatus for control using control devices that provide a virtual machine environment and that communicate via an IP network |
| WO2008156665A3 (en) * | 2007-06-13 | 2009-03-26 | Fisher Rosemount Systems Inc | Improved functionality for handheld field maintenance tools |
| DE102007049523A1 (en) | 2007-10-15 | 2009-04-16 | Endress + Hauser Conducta Gesellschaft für Mess- und Regeltechnik mbH + Co. KG | System for process automation with a large number of intelligent sensors and a method for calibrating the sensors |
| EP2005296A4 (en) * | 2006-03-01 | 2010-06-16 | Abb Ab | METHOD OF MANAGING DIFFERENT VERSIONS OF AN APPLICATION, AND AUTOMATION SYSTEM |
| EP1576376A4 (en) * | 2002-12-20 | 2011-12-28 | Dako Denmark As | Isolated communication sample processing system and methods of biological slide processing |
| US9350791B2 (en) | 2014-03-21 | 2016-05-24 | Ptc Inc. | System and method of injecting states into message routing in a distributed computing environment |
| US9350812B2 (en) | 2014-03-21 | 2016-05-24 | Ptc Inc. | System and method of message routing using name-based identifier in a distributed computing environment |
| US9348943B2 (en) | 2011-11-16 | 2016-05-24 | Ptc Inc. | Method for analyzing time series activity streams and devices thereof |
| US9389602B2 (en) | 2001-08-13 | 2016-07-12 | Rockwell Automation, Inc. | Industrial controller automation interface |
| US9462085B2 (en) | 2014-03-21 | 2016-10-04 | Ptc Inc. | Chunk-based communication of binary dynamic rest messages |
| US9467533B2 (en) | 2014-03-21 | 2016-10-11 | Ptc Inc. | System and method for developing real-time web-service objects |
| US9560170B2 (en) | 2014-03-21 | 2017-01-31 | Ptc Inc. | System and method of abstracting communication protocol using self-describing messages |
| US9578082B2 (en) | 2011-11-16 | 2017-02-21 | Ptc Inc. | Methods for dynamically generating an application interface for a modeled entity and devices thereof |
| US9576046B2 (en) | 2011-11-16 | 2017-02-21 | Ptc Inc. | Methods for integrating semantic search, query, and analysis across heterogeneous data types and devices thereof |
| US9762637B2 (en) | 2014-03-21 | 2017-09-12 | Ptc Inc. | System and method of using binary dynamic rest messages |
| US9961058B2 (en) | 2014-03-21 | 2018-05-01 | Ptc Inc. | System and method of message routing via connection servers in a distributed computing environment |
| US10025942B2 (en) | 2014-03-21 | 2018-07-17 | Ptc Inc. | System and method of establishing permission for multi-tenancy storage using organization matrices |
| RU187250U1 (en) * | 2018-11-28 | 2019-02-26 | Общество с ограниченной ответственностью "БУЛАТ" | Ethernet switch |
| US10313410B2 (en) | 2014-03-21 | 2019-06-04 | Ptc Inc. | Systems and methods using binary dynamic rest messages |
| US10338896B2 (en) | 2014-03-21 | 2019-07-02 | Ptc Inc. | Systems and methods for developing and using real-time data applications |
| CN113360191A (en) * | 2020-03-03 | 2021-09-07 | 杭州海康威视数字技术股份有限公司 | Driving device of network switching chip |
Family Cites Families (15)
| Publication number | Priority date | Publication date | Assignee | Title |
|---|---|---|---|---|
| US6098116A (en) * | 1996-04-12 | 2000-08-01 | Fisher-Rosemont Systems, Inc. | Process control system including a method and apparatus for automatically sensing the connection of devices to a network |
| US6032208A (en) * | 1996-04-12 | 2000-02-29 | Fisher-Rosemount Systems, Inc. | Process control system for versatile control of multiple process devices of various device types |
| US5805442A (en) * | 1996-05-30 | 1998-09-08 | Control Technology Corporation | Distributed interface architecture for programmable industrial control systems |
| US5956487A (en) * | 1996-10-25 | 1999-09-21 | Hewlett-Packard Company | Embedding web access mechanism in an appliance for user interface functions including a web server and web browser |
| JP3398676B2 (en) * | 1996-11-26 | 2003-04-21 | 株式会社四国総合研究所 | Equipment management system |
| JPH10161707A (en) * | 1996-11-29 | 1998-06-19 | Sukiyan Technol:Kk | Control method of fa system |
| US6139177A (en) * | 1996-12-03 | 2000-10-31 | Hewlett Packard Company | Device access and control using embedded web access functionality |
| US5978578A (en) * | 1997-01-30 | 1999-11-02 | Azarya; Arnon | Openbus system for control automation networks |
| US5847957A (en) * | 1997-06-16 | 1998-12-08 | Base Ten Systems, Inc. | Web access for a manufacturing execution system |
| US6052629A (en) * | 1997-07-18 | 2000-04-18 | Gilbarco Inc. | Internet capable browser dispenser architecture |
| JPH1165629A (en) * | 1997-08-21 | 1999-03-09 | Okuma Mach Works Ltd | Numerical control system |
| US6151625A (en) * | 1997-09-10 | 2000-11-21 | Schneider Automation Inc. | Internet web interface including programmable logic controller for controlling output devices based on status of input devices |
| US6282454B1 (en) * | 1997-09-10 | 2001-08-28 | Schneider Automation Inc. | Web interface to a programmable controller |
| US6055633A (en) * | 1997-10-28 | 2000-04-25 | Honeywell Inc. | Method of reprogramming memories in field devices over a multidrop network |
| US6201996B1 (en) * | 1998-05-29 | 2001-03-13 | Control Technology Corporationa | Object-oriented programmable industrial controller with distributed interface architecture |
-
2000
- 2000-06-09 WO PCT/US2000/015860 patent/WO2000077592A2/en not_active Ceased
- 2000-06-09 AU AU58701/00A patent/AU5870100A/en not_active Abandoned
Cited By (46)
| Publication number | Priority date | Publication date | Assignee | Title |
|---|---|---|---|---|
| US7020532B2 (en) * | 1999-06-11 | 2006-03-28 | Invensys Systems, Inc. | Methods and apparatus for control using control devices that provide a virtual machine environment and that communicate via an IP network |
| US9766611B2 (en) | 2001-08-13 | 2017-09-19 | Rockwell Automation, Inc. | Industrial controller automation interface |
| US10310479B2 (en) | 2001-08-13 | 2019-06-04 | Rockwell Automation, Inc. | Industrial controller automation interface |
| US9690279B2 (en) | 2001-08-13 | 2017-06-27 | Rockwell Automation, Inc. | Industrial controller automation interface |
| US9389602B2 (en) | 2001-08-13 | 2016-07-12 | Rockwell Automation, Inc. | Industrial controller automation interface |
| US10203679B2 (en) | 2001-08-13 | 2019-02-12 | Rockwell Automation, Inc. | Industrial controller automation interface |
| WO2003023541A3 (en) * | 2001-09-12 | 2004-04-01 | Endress & Hauser Gmbh & Co Kg | Method for securing the exchange of data between an external access unit and a field device |
| WO2003029907A1 (en) * | 2001-09-27 | 2003-04-10 | Endress + Hauser Gmbh + Co. Kg | Method for operating a field device using a browser |
| WO2003038535A1 (en) * | 2001-10-15 | 2003-05-08 | Siemens Aktiengesellschaft | Method for operating and observing field devices |
| WO2003036400A1 (en) * | 2001-10-15 | 2003-05-01 | Siemens Aktiengesellschaft | Method for implementing an operating and observation system for field devices |
| US7072987B2 (en) | 2001-10-15 | 2006-07-04 | Siemens Aktiengellschaft | Method for operating and observing field devices |
| WO2003044608A3 (en) * | 2001-11-23 | 2004-04-08 | Endress & Hauser Process Solut | Method for operating a field device |
| WO2003073191A3 (en) * | 2002-02-26 | 2004-07-08 | Endress & Hauser Process Solut | Method for transferring field device data to an external data bank |
| EP1349024A3 (en) * | 2002-03-18 | 2005-09-21 | Sick AG | Coupling device for coupling devices to a bus system |
| US7082340B2 (en) | 2002-09-20 | 2006-07-25 | Sick Ag | Parameterization and diagnostic system for field devices |
| EP1431877A3 (en) * | 2002-09-20 | 2005-12-07 | Sick AG | Parameterizing-/diagnostic system for a field device |
| EP1576376A4 (en) * | 2002-12-20 | 2011-12-28 | Dako Denmark As | Isolated communication sample processing system and methods of biological slide processing |
| US9778273B2 (en) | 2002-12-20 | 2017-10-03 | Dako Denmark A/S | Isolated communication sample processing system and methods of biological slide processing |
| US9599630B2 (en) | 2002-12-20 | 2017-03-21 | Dako Denmark A/S | Method and apparatus for automatic staining of tissue samples |
| EP1486842A3 (en) * | 2003-06-10 | 2005-01-26 | Endress + Hauser Flowtec AG | Method for transmitting measurement data from a measuring device to a central control unit. |
| WO2005015327A1 (en) * | 2003-08-06 | 2005-02-17 | Siemens Aktiengesellschaft | Method for updating a data stock of a first data processing system |
| WO2005066730A3 (en) * | 2004-01-08 | 2005-12-01 | Endress & Hauser Gmbh & Co Kg | Process installation comprising a plurality of field appliances |
| EP2005296A4 (en) * | 2006-03-01 | 2010-06-16 | Abb Ab | METHOD OF MANAGING DIFFERENT VERSIONS OF AN APPLICATION, AND AUTOMATION SYSTEM |
| US8185580B2 (en) | 2006-03-01 | 2012-05-22 | Abb Ab | Method for handling different versions of an application, and an automation system |
| CN101681165B (en) * | 2007-06-13 | 2013-11-06 | 费希尔-罗斯蒙德系统公司 | Improved functionality for handheld field maintenance tools |
| WO2008156665A3 (en) * | 2007-06-13 | 2009-03-26 | Fisher Rosemount Systems Inc | Improved functionality for handheld field maintenance tools |
| WO2009050088A3 (en) * | 2007-10-15 | 2009-07-02 | Conducta Endress & Hauser | System for process automation with a plurality of intelligent sensors and method for calibrating the sensors |
| DE102007049523A1 (en) | 2007-10-15 | 2009-04-16 | Endress + Hauser Conducta Gesellschaft für Mess- und Regeltechnik mbH + Co. KG | System for process automation with a large number of intelligent sensors and a method for calibrating the sensors |
| US9348943B2 (en) | 2011-11-16 | 2016-05-24 | Ptc Inc. | Method for analyzing time series activity streams and devices thereof |
| US9965527B2 (en) | 2011-11-16 | 2018-05-08 | Ptc Inc. | Method for analyzing time series activity streams and devices thereof |
| US9578082B2 (en) | 2011-11-16 | 2017-02-21 | Ptc Inc. | Methods for dynamically generating an application interface for a modeled entity and devices thereof |
| US10025880B2 (en) | 2011-11-16 | 2018-07-17 | Ptc Inc. | Methods for integrating semantic search, query, and analysis and devices thereof |
| US9576046B2 (en) | 2011-11-16 | 2017-02-21 | Ptc Inc. | Methods for integrating semantic search, query, and analysis across heterogeneous data types and devices thereof |
| US9350812B2 (en) | 2014-03-21 | 2016-05-24 | Ptc Inc. | System and method of message routing using name-based identifier in a distributed computing environment |
| US9350791B2 (en) | 2014-03-21 | 2016-05-24 | Ptc Inc. | System and method of injecting states into message routing in a distributed computing environment |
| US9961058B2 (en) | 2014-03-21 | 2018-05-01 | Ptc Inc. | System and method of message routing via connection servers in a distributed computing environment |
| US9762637B2 (en) | 2014-03-21 | 2017-09-12 | Ptc Inc. | System and method of using binary dynamic rest messages |
| US9560170B2 (en) | 2014-03-21 | 2017-01-31 | Ptc Inc. | System and method of abstracting communication protocol using self-describing messages |
| US10025942B2 (en) | 2014-03-21 | 2018-07-17 | Ptc Inc. | System and method of establishing permission for multi-tenancy storage using organization matrices |
| US9467533B2 (en) | 2014-03-21 | 2016-10-11 | Ptc Inc. | System and method for developing real-time web-service objects |
| US10313410B2 (en) | 2014-03-21 | 2019-06-04 | Ptc Inc. | Systems and methods using binary dynamic rest messages |
| US9462085B2 (en) | 2014-03-21 | 2016-10-04 | Ptc Inc. | Chunk-based communication of binary dynamic rest messages |
| US10338896B2 (en) | 2014-03-21 | 2019-07-02 | Ptc Inc. | Systems and methods for developing and using real-time data applications |
| US10432712B2 (en) | 2014-03-21 | 2019-10-01 | Ptc Inc. | System and method of injecting states into message routing in a distributed computing environment |
| RU187250U1 (en) * | 2018-11-28 | 2019-02-26 | Общество с ограниченной ответственностью "БУЛАТ" | Ethernet switch |
| CN113360191A (en) * | 2020-03-03 | 2021-09-07 | 杭州海康威视数字技术股份有限公司 | Driving device of network switching chip |
Also Published As
| Publication number | Publication date |
|---|---|
| WO2000077592A9 (en) | 2002-07-04 |
| AU5870100A (en) | 2001-01-02 |
| WO2000077592A3 (en) | 2002-06-06 |
Similar Documents
| Publication | Publication Date | Title |
|---|---|---|
| WO2000077592A2 (en) | Control device providing a virtual machine environment and an ip network | |
| US6788980B1 (en) | Methods and apparatus for control using control devices that provide a virtual machine environment and that communicate via an IP network | |
| WO2001009690A1 (en) | Methods and apparatus for object-based process control | |
| US5841654A (en) | Windows based network configuration and control method for a digital control system | |
| JP6194252B2 (en) | Process control system | |
| US6507765B1 (en) | Computer integrated manufacturing control and information system | |
| US6738388B1 (en) | Shadow function block interface for use in a process control network | |
| US6098116A (en) | Process control system including a method and apparatus for automatically sensing the connection of devices to a network | |
| US5995916A (en) | Process control system for monitoring and displaying diagnostic information of multiple distributed devices | |
| US7003558B2 (en) | Method and system for communicating information and controlling equipment according to a standard protocol between two computers | |
| JP3827092B2 (en) | Control system setting device, control system setting method, and setting program | |
| US5801942A (en) | Process control system user interface including selection of multiple control languages | |
| US5909368A (en) | Process control system using a process control strategy distributed among multiple control elements | |
| US9124445B2 (en) | Apparatus for integrating device objects into a superordinated control unit | |
| WO1998036335A9 (en) | Process control system using a layered-hierarchy control strategy distributed into multiple control devices | |
| JP2014116027A5 (en) | ||
| US20090326852A1 (en) | Method for Testing Device Descriptions for Field Devices of Automation Technology | |
| JP2012084162A5 (en) | ||
| US20090164989A1 (en) | Method for producing and application-specific installation package from device objects | |
| JP2006302297A (en) | Control system setting device, control system setting method, and setting program | |
| WO2002077732A1 (en) | Device document management in automation system | |
| Berrie et al. | Networks in Process Automation: Hardware Structures and Integration of Process Variables into Networks | |
| BERRIE et al. | 4.16 Fieldbuses and Network Protocols | |
| Network | Schneider Electric’s Transparent |
Legal Events
| Date | Code | Title | Description |
|---|---|---|---|
| AK | Designated states |
Kind code of ref document: A2 Designated state(s): AE AL AM AT AU AZ BA BB BG BR BY CA CH CN CR CU CZ DE DK DM EE ES FI GB GD GE GH GM HR HU ID IL IN IS JP KE KG KP KR KZ LC LK LR LS LT LU LV MA MD MG MK MN MW MX NO NZ PL PT RO RU SD SE SG SI SK SL TJ TM TR TT TZ UA UG UZ VN YU ZA ZW |
|
| AL | Designated countries for regional patents |
Kind code of ref document: A2 Designated state(s): GH GM KE LS MW MZ SD SL SZ TZ UG ZW AM AZ BY KG KZ MD RU TJ TM AT BE CH CY DE DK ES FI FR GB GR IE IT LU MC NL PT SE BF BJ CF CG CI CM GA GN GW ML MR NE SN TD TG |
|
| 121 | Ep: the epo has been informed by wipo that ep was designated in this application | ||
| DFPE | Request for preliminary examination filed prior to expiration of 19th month from priority date (pct application filed before 20040101) | ||
| REG | Reference to national code |
Ref country code: DE Ref legal event code: 8642 |
|
| AK | Designated states |
Kind code of ref document: A3 Designated state(s): AE AL AM AT AU AZ BA BB BG BR BY CA CH CN CR CU CZ DE DK DM EE ES FI GB GD GE GH GM HR HU ID IL IN IS JP KE KG KP KR KZ LC LK LR LS LT LU LV MA MD MG MK MN MW MX NO NZ PL PT RO RU SD SE SG SI SK SL TJ TM TR TT TZ UA UG UZ VN YU ZA ZW |
|
| AL | Designated countries for regional patents |
Kind code of ref document: A3 Designated state(s): GH GM KE LS MW MZ SD SL SZ TZ UG ZW AM AZ BY KG KZ MD RU TJ TM AT BE CH CY DE DK ES FI FR GB GR IE IT LU MC NL PT SE BF BJ CF CG CI CM GA GN GW ML MR NE SN TD TG |
|
| AK | Designated states |
Kind code of ref document: C2 Designated state(s): AE AL AM AT AU AZ BA BB BG BR BY CA CH CN CR CU CZ DE DK DM EE ES FI GB GD GE GH GM HR HU ID IL IN IS JP KE KG KP KR KZ LC LK LR LS LT LU LV MA MD MG MK MN MW MX NO NZ PL PT RO RU SD SE SG SI SK SL TJ TM TR TT TZ UA UG UZ VN YU ZA ZW |
|
| AL | Designated countries for regional patents |
Kind code of ref document: C2 Designated state(s): GH GM KE LS MW MZ SD SL SZ TZ UG ZW AM AZ BY KG KZ MD RU TJ TM AT BE CH CY DE DK ES FI FR GB GR IE IT LU MC NL PT SE BF BJ CF CG CI CM GA GN GW ML MR NE SN TD TG |
|
| COP | Corrected version of pamphlet |
Free format text: PAGES 1/6-6/6, DRAWINGS, REPLACED BY NEW PAGES 1/6-6/6; DUE TO LATE TRANSMITTAL BY THE RECEIVING OFFICE |
|
| 122 | Ep: pct application non-entry in european phase | ||
| NENP | Non-entry into the national phase |
Ref country code: JP |















