[go: up one dir, main page]

US9084686B1 - Inserter for an expandable spinal interbody fusion device - Google Patents

Inserter for an expandable spinal interbody fusion device Download PDF

Info

Publication number
US9084686B1
US9084686B1 US14/474,721 US201414474721A US9084686B1 US 9084686 B1 US9084686 B1 US 9084686B1 US 201414474721 A US201414474721 A US 201414474721A US 9084686 B1 US9084686 B1 US 9084686B1
Authority
US
United States
Prior art keywords
inserter
lifting platform
actuator
driver
insert
Prior art date
Legal status (The legal status is an assumption and is not a legal conclusion. Google has not performed a legal analysis and makes no representation as to the accuracy of the status listed.)
Expired - Fee Related
Application number
US14/474,721
Inventor
Scott McLean
Nicola Cullinan
David Boisvert
Current Assignee (The listed assignees may be inaccurate. Google has not performed a legal analysis and makes no representation or warranty as to the accuracy of the list.)
Spine Wave Inc
Original Assignee
Spine Wave Inc
Priority date (The priority date is an assumption and is not a legal conclusion. Google has not performed a legal analysis and makes no representation as to the accuracy of the date listed.)
Filing date
Publication date
Application filed by Spine Wave Inc filed Critical Spine Wave Inc
Assigned to SPINE WAVE, INC. reassignment SPINE WAVE, INC. ASSIGNMENT OF ASSIGNORS INTEREST (SEE DOCUMENT FOR DETAILS). Assignors: CULLINAN, NICOLA, MCLEAN, SCOTT, BOISVERT, DAVID
Priority to US14/474,721 priority Critical patent/US9084686B1/en
Priority to AU2015225697A priority patent/AU2015225697B2/en
Priority to PCT/US2015/016574 priority patent/WO2015134196A1/en
Priority to EP15758440.0A priority patent/EP3113726A4/en
Priority to CA2941055A priority patent/CA2941055C/en
Priority to JP2016555685A priority patent/JP6100982B1/en
Publication of US9084686B1 publication Critical patent/US9084686B1/en
Application granted granted Critical
Assigned to OXFORD FINANCE LLC, SILICON VALLEY BANK reassignment OXFORD FINANCE LLC SECURITY INTEREST Assignors: SPINE WAVE, INC.
Expired - Fee Related legal-status Critical Current
Anticipated expiration legal-status Critical

Links

Images

Classifications

    • AHUMAN NECESSITIES
    • A61MEDICAL OR VETERINARY SCIENCE; HYGIENE
    • A61FFILTERS IMPLANTABLE INTO BLOOD VESSELS; PROSTHESES; DEVICES PROVIDING PATENCY TO, OR PREVENTING COLLAPSING OF, TUBULAR STRUCTURES OF THE BODY, e.g. STENTS; ORTHOPAEDIC, NURSING OR CONTRACEPTIVE DEVICES; FOMENTATION; TREATMENT OR PROTECTION OF EYES OR EARS; BANDAGES, DRESSINGS OR ABSORBENT PADS; FIRST-AID KITS
    • A61F2/00Filters implantable into blood vessels; Prostheses, i.e. artificial substitutes or replacements for parts of the body; Appliances for connecting them with the body; Devices providing patency to, or preventing collapsing of, tubular structures of the body, e.g. stents
    • A61F2/02Prostheses implantable into the body
    • A61F2/30Joints
    • A61F2/46Special tools for implanting artificial joints
    • A61F2/4603Special tools for implanting artificial joints for insertion or extraction of endoprosthetic joints or of accessories thereof
    • A61F2/4611Special tools for implanting artificial joints for insertion or extraction of endoprosthetic joints or of accessories thereof of spinal prostheses
    • AHUMAN NECESSITIES
    • A61MEDICAL OR VETERINARY SCIENCE; HYGIENE
    • A61FFILTERS IMPLANTABLE INTO BLOOD VESSELS; PROSTHESES; DEVICES PROVIDING PATENCY TO, OR PREVENTING COLLAPSING OF, TUBULAR STRUCTURES OF THE BODY, e.g. STENTS; ORTHOPAEDIC, NURSING OR CONTRACEPTIVE DEVICES; FOMENTATION; TREATMENT OR PROTECTION OF EYES OR EARS; BANDAGES, DRESSINGS OR ABSORBENT PADS; FIRST-AID KITS
    • A61F2/00Filters implantable into blood vessels; Prostheses, i.e. artificial substitutes or replacements for parts of the body; Appliances for connecting them with the body; Devices providing patency to, or preventing collapsing of, tubular structures of the body, e.g. stents
    • A61F2/02Prostheses implantable into the body
    • A61F2/30Joints
    • A61F2/44Joints for the spine, e.g. vertebrae, spinal discs
    • A61F2/442Intervertebral or spinal discs, e.g. resilient
    • A61F2/4425Intervertebral or spinal discs, e.g. resilient made of articulated components
    • AHUMAN NECESSITIES
    • A61MEDICAL OR VETERINARY SCIENCE; HYGIENE
    • A61FFILTERS IMPLANTABLE INTO BLOOD VESSELS; PROSTHESES; DEVICES PROVIDING PATENCY TO, OR PREVENTING COLLAPSING OF, TUBULAR STRUCTURES OF THE BODY, e.g. STENTS; ORTHOPAEDIC, NURSING OR CONTRACEPTIVE DEVICES; FOMENTATION; TREATMENT OR PROTECTION OF EYES OR EARS; BANDAGES, DRESSINGS OR ABSORBENT PADS; FIRST-AID KITS
    • A61F2/00Filters implantable into blood vessels; Prostheses, i.e. artificial substitutes or replacements for parts of the body; Appliances for connecting them with the body; Devices providing patency to, or preventing collapsing of, tubular structures of the body, e.g. stents
    • A61F2/02Prostheses implantable into the body
    • A61F2/30Joints
    • A61F2/44Joints for the spine, e.g. vertebrae, spinal discs
    • A61F2/4455Joints for the spine, e.g. vertebrae, spinal discs for the fusion of spinal bodies, e.g. intervertebral fusion of adjacent spinal bodies, e.g. fusion cages
    • AHUMAN NECESSITIES
    • A61MEDICAL OR VETERINARY SCIENCE; HYGIENE
    • A61FFILTERS IMPLANTABLE INTO BLOOD VESSELS; PROSTHESES; DEVICES PROVIDING PATENCY TO, OR PREVENTING COLLAPSING OF, TUBULAR STRUCTURES OF THE BODY, e.g. STENTS; ORTHOPAEDIC, NURSING OR CONTRACEPTIVE DEVICES; FOMENTATION; TREATMENT OR PROTECTION OF EYES OR EARS; BANDAGES, DRESSINGS OR ABSORBENT PADS; FIRST-AID KITS
    • A61F2/00Filters implantable into blood vessels; Prostheses, i.e. artificial substitutes or replacements for parts of the body; Appliances for connecting them with the body; Devices providing patency to, or preventing collapsing of, tubular structures of the body, e.g. stents
    • A61F2/02Prostheses implantable into the body
    • A61F2/30Joints
    • A61F2/44Joints for the spine, e.g. vertebrae, spinal discs
    • A61F2/4455Joints for the spine, e.g. vertebrae, spinal discs for the fusion of spinal bodies, e.g. intervertebral fusion of adjacent spinal bodies, e.g. fusion cages
    • A61F2/447Joints for the spine, e.g. vertebrae, spinal discs for the fusion of spinal bodies, e.g. intervertebral fusion of adjacent spinal bodies, e.g. fusion cages substantially parallelepipedal, e.g. having a rectangular or trapezoidal cross-section
    • AHUMAN NECESSITIES
    • A61MEDICAL OR VETERINARY SCIENCE; HYGIENE
    • A61FFILTERS IMPLANTABLE INTO BLOOD VESSELS; PROSTHESES; DEVICES PROVIDING PATENCY TO, OR PREVENTING COLLAPSING OF, TUBULAR STRUCTURES OF THE BODY, e.g. STENTS; ORTHOPAEDIC, NURSING OR CONTRACEPTIVE DEVICES; FOMENTATION; TREATMENT OR PROTECTION OF EYES OR EARS; BANDAGES, DRESSINGS OR ABSORBENT PADS; FIRST-AID KITS
    • A61F2/00Filters implantable into blood vessels; Prostheses, i.e. artificial substitutes or replacements for parts of the body; Appliances for connecting them with the body; Devices providing patency to, or preventing collapsing of, tubular structures of the body, e.g. stents
    • A61F2/02Prostheses implantable into the body
    • A61F2/30Joints
    • A61F2002/30001Additional features of subject-matter classified in A61F2/28, A61F2/30 and subgroups thereof
    • A61F2002/30316The prosthesis having different structural features at different locations within the same prosthesis; Connections between prosthetic parts; Special structural features of bone or joint prostheses not otherwise provided for
    • A61F2002/30535Special structural features of bone or joint prostheses not otherwise provided for
    • A61F2002/30537Special structural features of bone or joint prostheses not otherwise provided for adjustable
    • A61F2002/30556Special structural features of bone or joint prostheses not otherwise provided for adjustable for adjusting thickness
    • AHUMAN NECESSITIES
    • A61MEDICAL OR VETERINARY SCIENCE; HYGIENE
    • A61FFILTERS IMPLANTABLE INTO BLOOD VESSELS; PROSTHESES; DEVICES PROVIDING PATENCY TO, OR PREVENTING COLLAPSING OF, TUBULAR STRUCTURES OF THE BODY, e.g. STENTS; ORTHOPAEDIC, NURSING OR CONTRACEPTIVE DEVICES; FOMENTATION; TREATMENT OR PROTECTION OF EYES OR EARS; BANDAGES, DRESSINGS OR ABSORBENT PADS; FIRST-AID KITS
    • A61F2/00Filters implantable into blood vessels; Prostheses, i.e. artificial substitutes or replacements for parts of the body; Appliances for connecting them with the body; Devices providing patency to, or preventing collapsing of, tubular structures of the body, e.g. stents
    • A61F2/02Prostheses implantable into the body
    • A61F2/30Joints
    • A61F2002/30001Additional features of subject-matter classified in A61F2/28, A61F2/30 and subgroups thereof
    • A61F2002/30316The prosthesis having different structural features at different locations within the same prosthesis; Connections between prosthetic parts; Special structural features of bone or joint prostheses not otherwise provided for
    • A61F2002/30535Special structural features of bone or joint prostheses not otherwise provided for
    • A61F2002/30599Special structural features of bone or joint prostheses not otherwise provided for stackable
    • AHUMAN NECESSITIES
    • A61MEDICAL OR VETERINARY SCIENCE; HYGIENE
    • A61FFILTERS IMPLANTABLE INTO BLOOD VESSELS; PROSTHESES; DEVICES PROVIDING PATENCY TO, OR PREVENTING COLLAPSING OF, TUBULAR STRUCTURES OF THE BODY, e.g. STENTS; ORTHOPAEDIC, NURSING OR CONTRACEPTIVE DEVICES; FOMENTATION; TREATMENT OR PROTECTION OF EYES OR EARS; BANDAGES, DRESSINGS OR ABSORBENT PADS; FIRST-AID KITS
    • A61F2/00Filters implantable into blood vessels; Prostheses, i.e. artificial substitutes or replacements for parts of the body; Appliances for connecting them with the body; Devices providing patency to, or preventing collapsing of, tubular structures of the body, e.g. stents
    • A61F2/02Prostheses implantable into the body
    • A61F2/30Joints
    • A61F2/46Special tools for implanting artificial joints
    • A61F2/4603Special tools for implanting artificial joints for insertion or extraction of endoprosthetic joints or of accessories thereof
    • A61F2002/4625Special tools for implanting artificial joints for insertion or extraction of endoprosthetic joints or of accessories thereof with relative movement between parts of the instrument during use
    • AHUMAN NECESSITIES
    • A61MEDICAL OR VETERINARY SCIENCE; HYGIENE
    • A61FFILTERS IMPLANTABLE INTO BLOOD VESSELS; PROSTHESES; DEVICES PROVIDING PATENCY TO, OR PREVENTING COLLAPSING OF, TUBULAR STRUCTURES OF THE BODY, e.g. STENTS; ORTHOPAEDIC, NURSING OR CONTRACEPTIVE DEVICES; FOMENTATION; TREATMENT OR PROTECTION OF EYES OR EARS; BANDAGES, DRESSINGS OR ABSORBENT PADS; FIRST-AID KITS
    • A61F2/00Filters implantable into blood vessels; Prostheses, i.e. artificial substitutes or replacements for parts of the body; Appliances for connecting them with the body; Devices providing patency to, or preventing collapsing of, tubular structures of the body, e.g. stents
    • A61F2/02Prostheses implantable into the body
    • A61F2/30Joints
    • A61F2/46Special tools for implanting artificial joints
    • A61F2/4603Special tools for implanting artificial joints for insertion or extraction of endoprosthetic joints or of accessories thereof
    • A61F2002/4625Special tools for implanting artificial joints for insertion or extraction of endoprosthetic joints or of accessories thereof with relative movement between parts of the instrument during use
    • A61F2002/4627Special tools for implanting artificial joints for insertion or extraction of endoprosthetic joints or of accessories thereof with relative movement between parts of the instrument during use with linear motion along or rotating motion about the instrument axis or the implantation direction, e.g. telescopic, along a guiding rod, screwing inside the instrument

Definitions

  • the subject invention relates generally to the field of spinal implants and more particularly to an inserter for an expandable spinal interbody fusion device for expanding the expandable device in the spine.
  • Spinal implants such as spinal interbody fusion devices are used to treat degenerative disc disease and other damages or defects in the spinal disc between adjacent vertebrae.
  • the disc may be herniated or suffering from a variety of degenerative conditions, such that the anatomical function of the spinal disc is disrupted. Most prevalent surgical treatment for these conditions is to fuse the two vertebrae surrounding the affected disc. In most cases, the entire disc will be removed, except for a portion of the annulus, by way of a discectomy procedure.
  • a spinal fusion device is then introduced into the intradiscal space and suitable bone graft or bone substitute material is placed substantially in and/or adjacent the device in order to promote fusion between two adjacent vertebrae.
  • Certain spinal devices for achieving fusion are also expandable so as to correct disc height between the adjacent vertebrae.
  • expandable interbody fusion devices are described in U.S. Pat. No. 6,595,998 entitled “Tissue Distraction Device”, which issued on Jul. 22, 2003 (the '998 Patent), U.S. Pat. No. 7,931,688 entitled “Expandable Interbody Fusion Device”, which issued on Apr. 26, 2011 (the '688 Patent), and U.S. Pat. No. 7,967,867 entitled “Expandable Interbody Fusion Device”, which issued on Jun. 28, 2011 (the '867 Patent).
  • the '998 Patent, the '688 Patent and the '867 Patent each discloses sequentially introducing in situ a series of elongate inserts referred to as wafers in a percutaneous approach to incrementally distract opposing vertebral bodies to stabilize the spine and correct spinal height, the wafers including features that allow adjacent wafers to interlock in multiple degrees of freedom.
  • the '998 Patent, the '688 Patent and the '867 Patent are assigned to the same assignee as the present invention, the disclosures of these patents being incorporated herein by reference in their entirety.
  • a further object is the provision of the capability of the inserter to allow a surgeon to determine that suitable expansion has been reached and that no additional inserts may be inserted.
  • FIG. 1 a is a top perspective of an apparatus including an inserter releasably attached to an expandable spinal interbody fusion device in accordance with an embodiment of the present invention, the expandable interbody fusion device being unexpanded.
  • FIG. 1 b is a side elevation view of the apparatus of FIG. 1 a.
  • FIG. 1 c is a top plan view of the apparatus of FIG. 1 a.
  • FIG. 2 is an enlarged view of the distal portion of the apparatus as circled in FIG. 1 c.
  • FIG. 3 a is top perspective view of the unexpanded fusion device of FIG. 1 a.
  • FIG. 3 b is top perspective view of the fusion device of FIG. 3 after being expanded.
  • FIG. 4 is an exploded top perspective view of the expanded device of FIG. 3 b.
  • FIG. 5 a is a side elevation view of the expanded device of FIG. 3 b.
  • FIG. 5 b is a sectional view of the device of FIG. 5 a as seen along viewing lines B-B of FIG. 5 a.
  • FIG. 5 c is a sectional view of the device of FIG. 5 a as seen along viewing lines C-C of FIG. 5 a.
  • FIG. 6 a is a top perspective view of an insert used in the expandable spinal interbody fusion device of FIG. 3 a.
  • FIG. 6 b is a top plan view of the insert of FIG. 6 a.
  • FIG. 6 c is a longitudinal cross-sectional view of the insert as seen along viewing lines VI-VI of FIG. 6 b.
  • FIG. 6 d is a bottom plan view of the insert of FIG. 6 a.
  • FIG. 6 e is a distal end elevation view of the insert of FIG. 6 a.
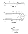
  • FIG. 7 a is a top perspective view of an elevator used in the expandable spinal interbody fusion device of FIG. 3 a.
  • FIG. 7 b is a top plan view of the elevator of FIG. 7 a.
  • FIG. 7 c is a longitudinal cross-sectional view of the elevator as seen along viewing lines VII-VII of FIG. 7 b.
  • FIG. 7 d is a bottom plan view of the elevator of FIG. 7 a.
  • FIG. 7 e is a distal end elevation view of the elevator of FIG. 7 a.
  • FIG. 8 is an exploded top perspective view of the track and components of the inserter of FIG. 1 a , including the translatable lifting platform and translatable driver.
  • FIG. 8 a is an enlarged view of the distal portion of the inserter track and components as circled in FIG. 8 .
  • FIG. 9 is a cross-sectional view of the inserter and device of FIG. 1 a as seen along viewing lines IX-IX of FIG. 1 c.
  • FIG. 9 a is an enlarged view of the encircled portion A of FIG. 9 .
  • FIG. 9 b is an enlarged view of the encircled portion B of FIG. 9 .
  • FIG. 10 a is a cross-sectional view of the distal end of the inserter and device as seen along viewing lines A-A of FIG. 2 with the expandable device unexpanded.
  • FIG. 10 b is a cross-sectional view of the distal end of the inserter and device as seen along viewing lines B-B of FIG. 2 with the expandable device unexpanded.
  • FIG. 11 is a top partial perspective view of the distal end of the lifting platform and the elevator of the expandable device in the position depicted in FIGS. 10 a and 10 b.
  • FIG. 12 is a cross-sectional view of the lifting platform and elevator as seen along viewing lines XII-XII of FIG. 11 .
  • FIGS. 13 a and 13 b are views similar to FIGS. 10 a and 10 b with the lifting platform having been distally moved to a position lifting the elevator and expanding the expandable device and a first insert partially entering the expanded device.
  • FIG. 14 is a view similar to FIG. 10 a showing the first insert inserted into the expanded expandable device.
  • FIGS. 15 a and 15 b are views similar to FIGS. 13 a and 13 b with the lifting platform having been moved distally to a position lifting the elevator and the first insert to further expand the expandable device with a second insert partially entering the expanded device.
  • FIGS. 16 a and 16 b are views of the expandable device expanded as shown in the views of FIGS. 15 a and 15 b with the second insert having been further distally moved to a position moving the elevator away from the first insert and creating a space for the insertion of the second insert.
  • FIG. 17 is a view similar to the view of FIG. 14 showing the first and second inserts inserted into the expanded expandable device.
  • FIG. 18 is a cross-sectional view as seen along the viewing lines XVIII-XVIII of FIG. 17 .
  • FIG. 19 is a proximal perspective view of the expanded spinal interbody fusion device with a guide pin releasably connected thereto subsequent to the inserter having been detached from the guide pin with inserts not being shown for clarity.
  • FIG. 20 is a top perspective of an apparatus including an inserter releasably attached to an expandable spinal interbody fusion device in accordance with a further embodiment of the present invention with the inserter being modular.
  • Apparatus 1 comprises an expandable spinal interbody fusion device 10 and an inserter 100 .
  • the inserter 100 is an instrument used for inserting the device 10 into an intradiscal space between opposing vertebral bodies of a spine, expanding the device in situ and for inserting inserts into the expanded device 100 .
  • the expandable interbody fusion device 10 includes a first element, such as superior endplate 12 , a second element, such as inferior endplate 14 , at least one insert 16 and expansion structure including an elevator 18 , as will be detailed hereinbelow.
  • the height, H, across the superior and inferior endplates 12 , 14 in the unexpanded condition as illustrated in FIG. 1 b is less than the normal anatomic height of a typical intradiscal space.
  • the invention contemplates expanding the interbody fusion device 10 by the inserter 100 from an unexpanded condition as shown in FIG. 3 a to the expanded height as shown in FIG. 3 b to ultimately restore the normal anatomic height of the disc space and thereafter inserting one or more inserts, such as inserts 16 , as will be described, to form a stack of inserts 16 between the expanded superior endplate 12 and inferior endplate 14 .
  • fusion device 10 is configured and sized for implantation into the spine from the posterior approach.
  • device 10 In the unexpanded state as shown in FIG. 3 a , device 10 has a length of approximately 25 mm, a width of approximately 10 mm, and an unexpanded height H of approximately 7 mm. Fusion device 10 may also be configured and sized for implantation into the spine using posteriolateral, anterior or lateral approaches, as will be described.
  • the superior endplate 12 as shown in FIGS. 3 a - b and 18 is elongate and comprises a hub 20 having pair of side surfaces 22 and 24 extending longitudinally on each side of the hub 20 and a pair of end surfaces 26 and 28 extending respectively at the proximal rear end and the distal front end of the superior endplate 12 .
  • the hub 20 is sized and configured to fit within a cavity 48 of the inferior endplate 14 for telescoping movement therewithin, as will be described.
  • the lower surface 30 of the hub 20 ( FIG. 18 ) is generally flat and planar.
  • Suitable friction or crush ribs may be provided between the hub 20 and cavity 48 of inferior endplate 14 at inner surface 44 a to temporarily hold the superior and inferior endplates 12 , 14 together in the direction of expansion as the device 10 is introduced into the intradiscal space to be distracted.
  • the superior endplate 12 includes a graft chamber defined by an opening 38 extending through the upper outer surface 12 a and the lower surface 30 .
  • the superior endplate 12 is formed of a biocompatible polymer such as polyethylethylketone (PEEK). PEEK is used in fusion applications for its combination of strength, biocompatibility, and elasticity which is similar to human bone. Other composites may include derivatives of PEEK such as carbon fiber reinforced PEEK and PEKK, respectively.
  • the superior endplate 12 may further include an upper endcap that defines the outer surface 12 a .
  • the endcap may be a separate plate formed of material for the promotion of bone growth, such as titanium, and may be attached to the endplate 12 with suitable conventional techniques.
  • the upper surface 12 a may be defined by a coating of a suitable layer of bone growth promotion material, such as titanium, which may be deposited by conventional techniques.
  • the inferior endplate 14 of the interbody fusion device 10 as shown in FIGS. 3 a - b and 18 is elongate and comprises a pair of opposing spaced apart sidewalls 40 and 42 extending along the longitudinal direction and projecting upwardly from the lower outer surface 14 a .
  • a pair of spaced apart end walls 44 and 46 extend laterally across the device 10 and project upwardly from outer surface 14 a .
  • Rear end wall 44 is disposed at the rear or proximal end of the device 10 and front end wall 46 is disposed at the front or distal end of the device 10 .
  • the side walls 40 , 42 together with rear end wall 44 and front end wall 46 form an open, upwardly facing fully bounded interior cavity 48 as shown in FIGS. 3 a and 4 .
  • the interior cavity 48 is sized and configured to receive the superior endplate 12 including the hub 20 in relatively close fit between the side walls 40 and 42 and the end walls 44 and 46 of the inferior endplate 14 in a non-expanded condition as shown in FIGS. 1 a - b .
  • the hub 20 of superior endplate 12 as well as the entire stack of inserts 16 , remains fully contained within the inferior endplate 14 during telescoping expansion of the device 10 as shown in FIGS. 18 and 19 , contributing to the torsional strength of the expanded device 10 .
  • the inferior plate 14 as shown in FIGS. 4 and 19 includes a lower inner support surface 54 on which elevator 18 is supported. Inner surface 54 defines the bottom surface of the cavity 48 . Inferior endplate 14 further defines a fully bounded insert channel 50 extending through the rear end wall 44 in communication with interior cavity 48 and through which one or more inserts 16 are introduced. The height of channel 50 as measured vertically from inner surface 54 is slightly greater than the combined thicknesses of insert 16 and elevator 18 . With insert 16 being slidably received through channel 50 on top of elevator 18 , as will be described, only one insert 16 may be introduced at a time.
  • the rear end wall 44 further defines a threaded connection opening 56 ( FIG. 10 a ) for threaded releasable receipt of a guide pin 108 for use in the introduction of inserts 16 and in the delivery of bone graft material into the device 10 , as will also be described.
  • Rear end wall 44 may also additionally include a pair of bilateral openings, such as holes 58 , adjacent the sidewalls 40 and 42 for use in releasably attaching the inserter 100 to the device 10 for the establishment of a rigid connection to the device 10 for insertion into the intradiscal space.
  • a pair of bilateral openings such as holes 58
  • Elevator 18 is supported on inner surface 54 of inferior endplate 14 with the lateral width of elevator 18 being dimensioned for relatively close sliding fit between opposite interior surfaces 40 a and 42 a of side walls 40 and 42 , as shown in FIGS. 5 c and 18 .
  • inferior endplate 14 includes a rail 14 b projecting inwardly from each interior surface 40 a and 42 a and upwardly from lower inner surface 54 toward superior endplate 12 .
  • the upward projection of each rail 14 b from inner surface 54 is slightly greater than twice the thickness of elevator 18 .
  • Rails 14 b slidably project into recesses 310 extending into the base 305 of elevator 18 at each lateral side.
  • Rails 14 b substantially constrain movement of elevator 18 in the axial direction while the clearance in recesses 310 allows free movement of elevator 18 in the direction of expansion along rails 14 b as shown by the arrow 130 in FIG. 10 a .
  • elevator 18 is captively supported within inferior endplate 14 and is independently movable along the direction of expansion toward and away from each of the superior endplate 12 and the inferior endplate 14 .
  • the inferior endplate 14 includes a graft chamber defined by an opening 60 extending through the lower outer surface 14 a and the lower inner surface 54 in communication with cavity 48 .
  • the inferior endplate 14 is formed of a material different from the material of the superior endplate 12 .
  • the inferior endplate 14 may be formed of a biocompatible metal, such as titanium, for its strength properties. Titanium is chosen for strength, biocompatibility, processing capability, and fluoroscopic imaging properties (radiolucency).
  • inferior endplate 14 is formed of titanium or other suitable metal that is radiopaque
  • windows 62 may be formed through sidewalls 40 and 42 as shown in FIGS. 3 a - b and 19 so as to allow visual observation of bony through growth by suitable imaging techniques, such as fluoroscopy.
  • suitable imaging techniques such as fluoroscopy.
  • insert 16 comprises an elongate and generally flat body 200 having an upper surface 202 and a lower surface 204 , both of which are generally planar and substantially parallel so that the inserts 16 can form a stable stack within the interbody fusion device 10 upon expansion.
  • Insert 16 includes a trailing rear proximal end 206 and a leading front distal end 208 .
  • the body 200 is formed to have a generally U-shaped, horseshoe configuration, with a pair of spaced opposing arms 212 and 214 projecting rearwardly from a base 205 and defining a rearwardly facing generally U-shaped opening 216 extending through the rear end 206 and through upper surface 202 and lower surface 204 .
  • the lateral width of body 200 between side surfaces 212 a and 214 a is dimensioned for a relatively close sliding fit between interior surfaces 40 a and 42 a of side walls 40 and 42 of inferior endplate 14 , as shown in FIG. 5 b .
  • Such close dimensioning reduces the potential of lateral movement of insert 16 during insert introduction and within cavity 48 of inferior endplate 14 .
  • a surface 218 between the upper surface 202 and the lower surface 204 at the base 205 of opening 216 defines a pushing surface for receipt of a driver of inserter 10 , as will be described.
  • each insert 200 The opening 216 at the rear end of each insert 200 is provided to allow bone graft material to flow into the device 10 through the insert openings 216 and into the openings 38 and 60 extending through the superior endplate 12 and the inferior endplate 14 , respectively.
  • a pair of inclined surfaces 208 a extends upwardly from and communicating with lower surface 204 on each lateral side the insert 16 adjacent the front distal end 208 .
  • the insert 16 includes a feature for interlocking engagement with elevator 18 in a complementary cooperative connection.
  • Distal front end 208 of insert body 200 includes therein a latching receptacle 220 defined by a pair of spaced opposing arms 222 a and 222 b for receipt therein of a flexible latch 318 ( FIG. 7 a - e ) on elevator 18 , as will be described.
  • Arms 222 a and 222 b include inwardly projecting locking surfaces 224 a and 224 b respectively for cooperative locking engagement with elevator latch 318 .
  • the inserts 16 described herein do not function to assist in the separation of superior endplate 12 and inferior endplate 14 or any subsequent inserts 16 inserted into interbody fusion device 16 , as that lifting function is provided herein by inserter 100 in conjunction with elevator 18 . It is contemplated that the inserts 16 described herein be formed of a biocompatible material that is sufficiently rigid to form a solid stack as the successive inserts are inserted into the device. Thus, in one specific embodiment, the inserts 16 are formed of PEEK or a carbon-fiber reinforced PEEK, or similar polymeric material.
  • the elevator 18 comprises an elongate and generally flat body 300 having an upper surface 302 and a lower surface 304 , both of which are generally planar and substantially parallel.
  • the elevator 18 has a thickness between upper surface 302 and lower surface 304 that is slightly greater than the thickness of insert 16 .
  • the thickness of elevator 18 may be 1.03 mm.
  • Elevator 18 includes a trailing rear proximal end 306 and a leading front distal end 308 .
  • the elevator body 300 is formed to have a generally U-shaped, horseshoe configuration similar to the configuration of insert 16 .
  • Elevator body 300 includes a pair of spaced opposing arms 312 and 314 projecting rearwardly from a base 305 and defining a rearwardly facing generally U-shaped opening 316 extending through the rear end 306 and through upper surface 302 and lower surface 304 .
  • Base 305 has a rearwardly facing surface 305 a that communicates with opening 316 .
  • the opening 316 at the rear end of elevator 18 is provided to allow bone graft material introduced into the device 10 to flow through the insert openings 216 of inserts 16 and into the openings 38 and 60 extending through the superior endplate 12 and the inferior endplate 14 , respectively.
  • the rear proximal end 306 includes an inclined surface 312 a and 314 a , respectively at the free end of each arm 312 and 314 extending downwardly from and communicating with the upper surface 302 .
  • the rear proximal end 306 further includes an inclined lifting surface 312 b and 314 b , respectively at the free end of each arm 312 and 314 extending upwardly from and communicating with the lower surface 304 .
  • the front distal end 308 includes adjacent base surface 305 a an inclined lifting surface 308 a extending upwardly from and communicating with lower surface 304 .
  • the inclined lifting surfaces 312 b , 314 b and 308 a are angled in the same direction with approximately equal angles.
  • the lifting surfaces 312 b , 314 b and 308 a define inclined ramps with multiple points of contact for cooperative contact with complementary surfaces of an expansion component on the inserter 100 for lifting elevator 18 , as will be described.
  • Inclined surface 308 a is generally centrally located along the elongate axis of elevator, while surfaces 312 b and 314 b are spaced bilaterally.
  • lifting surfaces 308 a , 312 b and 314 b define three triangulated points of contact.
  • Elevator has a recess 310 extending into the elevator base 305 at each lateral side thereof. Recesses 310 are sized to receive rails 14 b on the interior surfaces of inferior endplate 14 , as described.
  • the elevator 18 is formed of titanium alloy, type 2, which may be anodized for lubricity. Other materials, such as PEEK, may also be used as the material for elevator 18 .
  • Distal front end of elevator body 300 includes a flexible latch 318 projecting upwardly from upper surface 302 .
  • Latch 318 comprises a pair of spaced opposing flexible arms 320 a and 320 b that are configured to flex toward each other.
  • Flexible arms 320 a and 320 b include outwardly directed locking surfaces 322 a and 322 b respectively, for cooperative receipt within receptacle 220 of each insert 16 , as shown in FIG. 5 b .
  • locking surfaces 224 a and 224 b resiliently engage locking surfaces 322 a and 322 b , respectively.
  • Latch 318 projects above the upper surface 302 and a height slightly greater than the thickness of an insert 16 .
  • the lateral width of elevator body 300 between the side surfaces 312 c and 314 c , respectively of arms 312 and 314 is dimensioned for a relatively close sliding fit as noted hereinabove between interior surfaces 40 a and 42 a of inferior endplate 14 , as shown in FIG. 5 c.
  • Inserter 100 is elongate having a distal end 100 a and at a proximal end 100 b a frame 101 .
  • a trigger actuator 102 to effect expansion of device 10 and insertion of inserts 16 into device 10 after expansion includes a frame 101 at the proximal end 100 b of inserter.
  • a plurality of inserts 16 are movably supported in a linear array on an elongate track 104 for individual successive insertion into device 10 .
  • Track 104 supports at least one insert 16 and may, for example, support an array of five inserts 16 , although fewer or more inserts 16 may be supported as desired.
  • the distal end 100 a is shown in exploded detail in FIGS. 8 and 8 a .
  • the inserter 100 includes elongate track 104 and an outer elongate track cover 106 , the cover 106 being substantially rigidly joined to track 104 .
  • Track 104 is configured as a closed channel and is supported within outer track cover 106 .
  • Cover 106 is fixedly secured to frame 101 , although in a particular arrangement as will be described, cover 106 may be removably attached to frame 101 .
  • An elongate guide pin 108 is supported within an opening 110 extending lengthwise through the cover 106 .
  • the distal end 108 a of the guide pin 108 is threaded for releasable threaded engagement into opening 56 in the proximal rear end wall 44 of the inferior endplate 14 .
  • the proximal end of guide pin 108 is provided with a threaded knob 112 for compressing and releasably attaching the cover 106 , and thereby the track 104 to the device 10 .
  • the track cover 106 in one arrangement, includes a pair of opposing pins 114 that engage corresponding holes 58 in rear wall 44 of inferior endplate 14 ( FIG. 19 ) to assist in rigidly securing the inserter 100 to the device 10 .
  • Track 104 in one embodiment, is formed of stamped stainless steel and cover 106 is an extruded aluminum alloy. Stainless steel or strong reinforced plastic could also be used for cover 106 .
  • the track 104 at the distal end 100 a of the inserter 100 supports an expansion component defined by an axially translatable lifting platform 116 movably supported on track 104 for relative axial movement thereto to cooperatively slidably contact elevator 18 for expanding the device 10 .
  • the lifting platform 116 is elongate and generally flat having an upper surface 118 and a lower surface 120 , both of which are generally planar and substantially parallel ( FIG. 18 ).
  • the lifting platform 116 has a thickness between upper surface 118 and lower surface 120 that is dimensioned to be the same as the thickness of elevator 18 , i.e., slightly greater than the thickness of an insert 16 .
  • Lifting platform 116 is supported by the inserter 100 for reciprocating axial movement in projecting and retracting directions.
  • the proximal end of the lifting platform 116 d is coupled to the trigger actuator 102 to effect such projecting and retracting directions, as will be described.
  • Lifting platform 116 projects slidably axially outwardly from track 104 and includes at its free distal end an inclined lifting surface 116 a extending downwardly from and communicating with upper surface 118 .
  • lifting platform further includes a pair of laterally spaced inclined surfaces 116 b and 116 c .
  • the inclined lifting surfaces 116 a , 116 b and 116 c are angled in the same direction with angles approximately equal to the angles respectively of inclined lifting surfaces 312 b , 314 b and 308 a of elevator body 300 .
  • Inclined surfaces 116 a , 116 b and 116 c define inclined ramps with multiple complementary points of contact for cooperative contact with elevator 18 .
  • Inclined surface 116 a is generally centrally located along the elongate axis of lifting platform 116 , while surfaces 116 b and 116 c are spaced bilaterally.
  • lifting surfaces 116 a , 116 b and 116 c define three triangulated points of contact that are located and spaced to cooperatively contact lifting surfaces 308 a , 312 b , and 314 b , respectively during movement of lifting platform 116 in the projecting direction.
  • Lifting platform 116 particularly inclined surfaces 116 a , 116 b and 116 c , may be coated or otherwise include a suitable lubricant to facilitate sliding contact with elevator 18 for expansion of device 10 .
  • such lubricant may include a molybdenum disulfide (MoS 2 ) material.
  • inserter 100 further supports at its distal end 100 a a driver 124 for axial translational movement within track 104 .
  • the proximal end 124 a ( FIG. 8 ) of driver 124 is coupled to trigger actuator 102 to effect translational movement of the driver 124 , as will be described.
  • the distal end of driver 124 comprises a pushing surface 124 b sized and configured to enter into the opening 216 of an insert body 200 to engage pushing surface 218 and push the insert 16 from track 104 into the device 10 upon axial distal movement of driver 124 .
  • driver 124 includes an upper surface 124 c on which inserts 16 are movably supported in a linear array.
  • an indexing member 125 that cooperates with driver 124 to distally incrementally move inserts 16 in the projecting direction to be positioned for individual contact with driver pushing surface 124 b while preventing retrograde movement of inserts 16 as they are positioned.
  • inserter 100 comprises a flexible graft shield 128 projecting distally from inner track 104 .
  • Graft shield 128 is supported at one end 128 a in a cantilevered manner with an opposite end 128 b being unsupported and free to flex.
  • Graft shield 128 is elongate and generally flat and is sized and configured to substantially block communication between the opening 38 through the superior endplate 12 and inserts 16 slidably inserted into device 10 .
  • graft shield 128 is configured to extend into device 10 through channel 50 between the superior endplate 12 and the expansion structure adjacent the lower surface 30 of the superior endplate 12 .
  • Trigger actuator 102 comprises a pair of hand grips 132 and 134 biased apart by an extension spring 136 .
  • Hand grip 132 is fixedly secured to frame 101 of inserter 100 .
  • Hand grip 134 is pivotally connected to frame 101 at pivot point 138 and is movable toward hand grip 132 against the bias of extension spring 136 by manual pressure.
  • Hand grip 134 has gear teeth 140 that interface with a gear rack 146 slidably coupled to the frame 101 .
  • the gear mechanism is sized to provide the appropriate translation of the gear rack 146 in the projecting direction as trigger actuator 102 is actuated.
  • Gear rack 146 includes a lower surface 146 a defining a tooth pattern, an upper surface 146 b defining a pushing surface 146 d , a ramp surface 146 e , and a distal end 146 c .
  • Distal end 146 c includes a pawl 148 configured for limited rotation about pivot point 148 a , the distal end of pawl 148 being biased toward the driving slide 150 by a compression spring 152 .
  • the pawl 148 Prior to actuation of trigger 102 the pawl 148 is constrained from rotation about pivot point 148 a by the lower surface 150 a of driving slide 150 .
  • the pawl 148 Upon a first actuation of trigger 102 , and therefor translation of the gear rack 146 in the projecting direction, the pawl 148 , under bias of compression spring 152 , slides along lower surface 150 a .
  • pawl 148 rotates counterclockwise as viewed in FIG. 9 a about pivot point 148 a to a position limited by contact with upper surface 146 f of gear rack 146 .
  • Pawl 148 includes a pushing surface 148 b sized to engage pushing surface 154 a at proximal end of lifting slide 154 . Further actuation of the trigger 102 promotes contact of pushing surfaces 148 b and 154 a and therefor movement of the lifting slide 154 and lifting platform 116 in the projecting direction causing expansion of the device 10 .
  • Lifting slide 154 further includes a proximal elongate tethering portion 154 b with pushing surface 154 c sized to engage pushing surface 150 b at proximal end of driving slide 150 .
  • pushing surface 154 c engages pushing surface 150 b for joint translation therebetween.
  • Driving slide 150 further includes an upper boss feature 156 defining pushing surfaces 156 a and 156 b sized to fit within slot a 124 d ( FIG. 8 ) of driver 124 .
  • Slot 124 d comprises complementary axially spaced apart pushing surfaces 124 e and 124 f , respectively.
  • the length of slot 124 d is sized such that translation of driving slide 150 during first actuation of trigger 102 does not induce contact between pushing surfaces 156 b and 124 f and therefore does not impart translation of driver 124 .
  • Driving slide 150 further includes a pawl 158 configured for limited rotation about pivot point 158 a , the proximal end of pawl being biased toward the gear rack 146 by bilateral torsion springs (not shown).
  • the pawl 148 Prior to actuation of trigger 102 the pawl 148 is constrained from rotation about pivot point 158 a by a ledge surface 160 rigidly coupled to frame 101 .
  • the pawl 158 Upon translation of the driving slide 150 in the projecting direction, the pawl 158 , under bias of the torsion springs, slides along upper ledge surface 160 .
  • pawl 158 rotates counterclockwise as viewed in FIG.
  • Such translation is configured to be slightly longer than the translation required by the lifting platform 116 to achieve full expansion of device 10 such that rotation of pawl 158 will not occur in the absence of full expansion of device 10 .
  • rigidly coupled to pawl 158 for rotation therewith are bilateral flags 162 positioned in slots 163 in frame 101 ( FIG. 1 a ), the flags 162 projecting laterally outwardly of both sides of frame 101 . Upon joint rotation of pawl 158 and flags 162 the user is visually alerted to the position of the driving slide 150 and lifting slide 154 thereby indicating to the user that full expansion of device 10 has been achieved and that no further inserts can be introduced.
  • Pawl 158 further comprises a pushing surface 158 b sized to engage pushing surface 146 d of gear rack 146 and a ramp surface 158 c sized to engage ramp surface 146 e of gear rack 146 .
  • the gear rack 146 and hand grips 132 / 134 are returned under the bias of the extension spring 136 .
  • cooperative ramp surfaces 146 e and 158 c collide inducing pawl 158 to rotate clockwise thereby allowing passage of the gear rack 146 .
  • pawl 158 rotates counterclockwise about pivot point 158 a back to a position limited by contact with lower surface 150 c of driving slide 150 .
  • lifting platform 116 remains projected maintaining the expanded state of device 10 and that driving slide 150 remains in a partially projected state due to tether 154 b of lifting slide 154 .
  • pawl 158 remains in a rotated state limited by contact with driving slide 150 while pawl 148 is returned to its original collapsed state limited by lower surface 150 a of driving slide 150 .
  • gear rack 146 translates again in the projecting direction such that pushing surface 146 d contacts pushing surface 158 b of pawl 158 causing joint translation of gear rack 146 and driving slide 150 .
  • pushing surface 156 b of driving slide 150 contacts pushing surface 124 f of driver 124 causing joint translation therebetween, thereby engaging pushing surface 218 of insert 16 and pushing the insert 16 from track 104 into the device 10 during completion of the second stroke of trigger actuator 102 .
  • a cam 164 and gear 166 are provided for the purpose of returning the track lifting platform 116 to its original position in the retracting direction.
  • the gear 166 interfaces with a second gear rack 154 d rigidly connected to the lower surface of lifting slide 154 .
  • the cam 164 is coupled to gear 166 for opposite rotation therebetween and is positioned to contact a notch 170 ( FIG. 8 a ) in the driver 124 after an insert 16 has been partially inserted into the device 10 .
  • Further trigger actuation returns the lifting platform 116 to its original position while the driver further inserts the insert 16 .
  • the gear rack 146 and hand grips 132 / 134 are returned under the bias of the extension spring 136 .
  • hex fitting 174 ( FIG. 1 a ) coupled to gear 166 may be actuated by a hex wrench or other suitable tool. Rotation of fitting 174 rotates gear 166 which directly translates lifting slide 154 and hence lifting platform 116 proximally to release the expansion of device 10 with no insert 16 introduced.
  • the trigger actuator 102 operates to expand device 10 and introduce one or more inserts 16 .
  • first stroke only lifting platform 116 is translated in the projecting direction to cause expansion of device 10 .
  • Driver 124 remains stationary during the entire first stroke.
  • lifting platform 116 remains stationary in the projecting position maintaining the expanded state of device 10 as hand grips 132 / 134 return.
  • driver 124 is translated in the projecting direction while the lifting platform 116 is initially stationary in the projecting direction.
  • driver 124 When driver 124 has inserted an insert 16 partially into the expanded device 10 continued operation of trigger actuator 102 retracts lifting platform 116 in the retracting direction. As lifting platform 116 retracts, driver 124 continues to advance in the projecting direction to push insert 16 fully into position upon completion of the second stroke.
  • expansion of device 10 is achieved during the first stroke of trigger actuator 102 and full insertion of an insert 16 during completion the second stroke.
  • the mechanism of inserter 100 may be adjusted such that the longer device is expanded in a first stroke, the inserts 16 inserted partially into the expanded device during a second stroke, and fully inserted in the third stroke.
  • the number of strokes employed for expansion of device 10 and insertion of an insert 16 into the expanded device 10 may be varied by suitable adjustment of the operating mechanism of trigger actuator 102 .
  • Such adjustment may include, for example, varying the number of pushing surfaces 146 d that are provided on gear rack 146 for engagement with pawl 158 .
  • FIGS. 10 a - b and 11 - 12 the assembly of the device 10 and the inserter 100 is described.
  • the superior endplate 12 and the inferior endplate 14 are assembled in an unexpanded condition to the inserter 100 with the superior endplate 12 residing fully within cavity 48 of inferior endplate 14 .
  • elevator 18 is captively retained between superior endplate 12 and inferior endplate 14 as described above and shown in FIG. 5 c for independent movement along the direction of expansion 130 .
  • the inserter 100 is releasably attached to the device 10 upon threaded engagement of the guide pin 108 into threaded opening 56 in the proximal rear end wall 44 of the inferior endplate 14 .
  • Graft shield 128 extends into device 10 through channel 50 between the superior endplate 12 and the elevator 18 adjacent the lower surface 30 of the superior endplate 12 .
  • lifting platform 116 is in a retracted position relative to device 10 and elevator 18 .
  • Insert 16 as seen in FIG. 10 a , is disposed on track 104 exteriorly of and ready for insertion into device 10 .
  • the lower surface 120 of lifting platform 116 is situated on lower inner surface 54 of inferior endplate 14 .
  • lower surface 304 of elevator 18 is supported by lower inner surface 54 of inferior endplate 14 .
  • lifting platform 116 and elevator 18 are on substantially the same plane, with the upper surface 118 of lifting platform 116 being substantially coplanar with the upper surface 302 of elevator 18 .
  • elevator 18 is fixed in the axial direction relative to axial movement of lifting platform 116 .
  • apparatus 1 comprising unexpanded device 10 releasably attached to inserter 100 is ready for use in inserting device 10 into an intradiscal space between two opposing vertebral bodies.
  • opening 38 through superior endplate 12 may be pre-packed with a suitable bone graft material for the promotion of fusion through device 10 to the opposing vertebral bodies.
  • Graft shield 128 extends into device 10 through channel 50 between the superior endplate 12 and the elevator 18 adjacent the lower surface 30 of the superior endplate 12 defining a pocket for receipt of the graft material.
  • graft shield 128 rests unattached on an interior ledge 12 b of superior endplate 12 adjacent the distal end thereof. Opening 38 is therefore open adjacent outer surface 12 a of superior endplate 12 and closed by graft shield 128 adjacent lower surface 30 .
  • graft shield 128 provides a barrier between the graft material and the elevator 18 and inserts 16 inserted into device 10 during expansion.
  • Pre-packing of bone graft material in opening 38 on graft shield 128 advantageously allows for less introduction of graft material in situ and provides more assurance that sufficient graft material will be contained throughout device 10 and into openings 38 and 60 through superior endplate 12 and inferior endplates 14 and in a stress-loaded condition against opposing vertebral bodies.
  • graft shield 128 provides a barrier substantially preventing graft material within opening 38 from being disturbed during expansion and by substantially blocking graft material from interfering with the expansion of device 10 or with the slidable insertion of inserts 16 which may be impeded by graft material on the sliding interfacing surfaces.
  • inserter 100 is used to insert unexpanded device 10 into the intradiscal space.
  • Device 10 may be implanted as explained hereinabove into the spine posteriorly or posteriolaterally, either bilaterally or unilaterally, or in an anterior or lateral approach depending upon the surgical indication and the surgeons preference.
  • actuator 102 as described hereinabove is then operated in a first actuation. Initially during the first stroke lifting platform 116 is translated axially while driver 124 remains stationary. Lifting platform 116 is moved from the retracted position of FIGS. 10 a - b to a projecting direction whereby lifting platform 116 is moved further into device 10 .
  • lifting surfaces 116 a , 116 b and 116 c of lifting platform 116 contact cooperative lifting surfaces 308 a , 312 b , and 314 b , respectively of elevator 18 .
  • the cooperative engagement causes elevator 18 to move in the direction of expansion away from lower inner surface 54 of inferior endplate 14 and toward superior endplate 12 .
  • the upper surface 302 of elevator 18 contacts lower surface 30 of superior endplate 12 and elevator 18 slidably moves in the direction of expansion along rails 14 b toward superior endplate 12 and away from inferior endplate 14 as shown in FIGS. 13 a - b , thereby expanding device 10 .
  • Trigger actuator 102 When complete expansion of device 10 is achieved the first stroke of trigger actuator 102 is completed and hand grips 132 / 134 are returned to the original starting position, as described above. Trigger actuator 102 is then operated in a second actuation to start a second stroke. As the second stroke commences, lifting platform 116 remains stationary holding device 10 in the expanded condition while axial translation of driver 124 begins. Continued operation of actuator 102 pushes insert 16 distally so that the distal front end 208 moves freely into expanded device 10 through channel 50 until the distal front end 208 of insert 16 is partially inserted into expanded device 10 between superior endplate 12 and inferior endplate 14 adjacent the proximal end of device 10 , as illustrated in FIGS. 13 a - b.
  • lifting platform 116 With insert 16 partially inserted in device 10 , continued operation of the actuator 102 during the second stroke causes lifting platform 116 to move proximally thereby moving lifting platform 116 in a retracting direction. With distal front end 208 of insert 16 supporting superior endplate 12 , continued proximal movement of lifting platform 116 causes lifting surfaces 116 a , 116 b and 116 c of lifting platform 116 to sufficiently disengage cooperative lifting surfaces 308 a , 312 b , and 314 b , respectively of elevator 18 to allow elevator 18 to move away in the direction of expansion from superior endplate 12 and toward inferior endplate 14 along rails 14 b and return to the position of elevator 18 shown in FIGS. 10 a - b .
  • Driver 124 is retracted proximally to the original position shown in FIGS. 10 a - b when the hand grip 134 of actuator 102 is released.
  • receptacle 220 described hereinabove at the distal end 208 of insert 16 cooperatively receives complementary flexible latch 318 on the upper surface 302 of elevator 18 such that locking surfaces 224 a , 224 b and 322 a , 322 b resiliently interlock, as shown in FIG. 5 b .
  • Such interlocking substantially resists any back out of the insert 16 through channel 50 as driver 124 is withdrawn away from insert 16 in the retracted position.
  • the initial insert 16 is moved upwardly with superior endplate 12 by elevator 18 .
  • latch 318 is separated from receptacle 220 as space 64 is created. With the initial insert 16 moved upwardly, it is situated above channel 50 and held captive by the interior surfaces of inferior endplate 14 , including interior surface 44 a of rear end wall 44 . It should be appreciated that while insert 16 is held in position within device 10 by interlocking of receptacle 220 and latch 318 , other structure to resist back out movement of insert 16 may be provided, such as interlocking structure between insert 16 and one or more interior surfaces of the inferior endplate 14 , or interlocking structure between adjacent inserts 16 .
  • opening 216 of insert 16 is at least partially aligned with opening 316 of elevator 18 , opening 38 of superior endplate 12 and opening 60 of inferior endplate 14 .
  • insert opening 216 , elevator opening 316 and graft chambers 38 and 60 will all be in at least partial alignment and communication with each other.
  • actuator 102 may be operated to insert one or more additional inserts 16 in the same manner as described with respect to the insertion of first insert 16 .
  • FIGS. 15 a - b show device 10 with one insert 16 having been inserted and a second insert 16 partially introduced after device 10 has been further expanded during a first stroke of actuator 102 by elevator 18 upon lifting by the lifting platform 116 in the same process as described with respect to FIGS. 13 a - b .
  • lifting platform 116 is pulled proximally in a retracting direction, sufficiently disengaging lifting surfaces 116 a , 116 b and 116 c of lifting platform 116 from cooperative lifting surfaces 308 a , 312 b , and 314 b , respectively of elevator 18 to allow elevator 18 to freely return to inner surface 54 of inferior endplate 14 .
  • elevator 18 fails to fully or partially return to such position, during pushing of second insert 16 into device 10 by driver 124 , the inclined surfaces 208 a adjacent the front distal end 208 of second insert 16 contacts inclined surfaces 312 a and 314 a , respectively at the upper free end of each arm 312 and 314 of elevator 18 , as shown in FIGS. 16 a - b , to urge elevator 18 toward and against lower surface 54 of the inferior endplate 14 creating a space 64 between lower surface 204 of the first insert 16 and upper surface 302 of elevator 18 .
  • a suitable biasing element may be included to normally urge elevator 18 toward inner surface 54 of inferior endplate 14 .
  • Inferior endplate 14 may be formed to include a lip 46 a on the front end wall 46 adjacent the distal end of cavity 48 to contain a spring 107 which would serve as the biasing element, as shown, for example, in FIG. 15 a . It should be understood that the features urging elevator 18 toward lower inner surface 54 of inferior endplate 14 function during the insertion of first insert 16 as well as with all subsequently inserted inserts 16 .
  • the second insert 16 is the lowermost insert and resides on upper surface 302 of elevator 18 directly below and in contact with first insert 16 , as shown in FIGS. 17 and 18 .
  • Driver 124 is then again retracted proximally to the original position shown n FIGS. 10 a - b when the hand grip 134 of actuator 102 is released.
  • An indication that full expansion of device 10 has been reached may also be determined visually as described hereinabove by observation that flags 162 on actuator 102 have rotated relative to frame 101 . The surgeon would then terminate the procedure by actuating hex fitting 174 , as described hereinabove. Inserter 100 would then be removed from the expanded device 10 by rotatably removing knob 112 from the proximal end of guide pin 108 . As shown in FIG. 19 , the guide pin 108 may remain releasably connected to expanded device 10 to serve as a locator for subsequent attachment to an apparatus containing suitable bone graft to assist in the delivery of such material into channel 50 of inferior endplate 14 through which inserts 16 were inserted.
  • the overall length of the device 10 as defined by the length of the inferior endplate 14 is about 25 mm.
  • the width of the device 10 is approximately 10 mm.
  • the height of the unexpanded device 10 of FIGS. 1 a - c with the superior endplate 12 fully nested within the inferior endplate 14 is approximately 7 mm.
  • the height of device 10 may be expanded from an unexpanded height of approximately 7 mm to an expanded height of approximately 12 mm.
  • device 10 for posterior implantation may have an initial unexpanded height in the range of approximately 7-10 mm, a width in the range of approximately 10-14 mm, and a length in the range of approximately 20-35 mm, with up to eight inserts 16 for the taller sizes.
  • trigger actuator 102 may have an operating mechanism as described herein for expanding device 10 in a first stroke and fully inserting an insert 16 in a second stroke.
  • device 10 may have an unexpanded height in the range of approximately 8-10 mm, a width in the range of approximately 14-26 mm, and a length in the range of approximately 35-60 mm.
  • trigger actuator 102 may have an operating mechanism adjusted to expand device 10 in a first stroke, partially insert an insert 16 in a second stroke, and fully insert an insert 16 in a third stroke.
  • Channel 50 extending through the rear end wall 44 , is sized and configured to facilitate the introduction of a suitable bone graft material by a graft delivery apparatus that may use guide pin 108 as a locator, as shown in FIG. 19 .
  • a graft delivery apparatus may have an entry tip sized and configured for entry into channel 50 .
  • a portion of rear end wall 44 may be notched out to form a channel portion 50 a of increased height directly below threaded opening 56 .
  • Channel portion 50 a situated below threading opening 56 would direct the entry flow of bone graft material into the center of expanded device 10 .
  • Channel portion 50 a may be suitably configured to cooperatively receive the entry tip of the graft delivery apparatus, with such channel portion 50 a being rectangular, square or arcuate.
  • channel portion 50 a may be particularly configured to be square.
  • channel portion 50 a may have a width of 3 mm and a height of 3 mm as measured vertically from inner surface 54 .
  • channel portion 50 a may be particularly configured to be generally rectangular.
  • channel portion 50 a may have a height of 3 mm as measured vertically from inner surface 54 , and a width of 6 mm.
  • the minimum dimension of channel portion 50 a , or any portion of channel 50 used as an entry port for such autograft material be no less than about 2 mm. It should be appreciated, however, that depending upon the viscosity of bone graft material to be delivered, such minimum dimension may vary.
  • Inserter 400 comprises an actuator 402 and a releasable cartridge 404 .
  • Actuator 402 includes a pair of hand grips 407 and 408 that are biased apart by an extension spring in the same manner as in trigger actuator 102 described hereinabove.
  • Actuator 402 includes a frame 410 housing an operating mechanism 411 substantially the same as the operating mechanism of trigger actuator 102 .
  • Grip 407 is fixedly secured to frame 410 while grip 408 is pivotally connected to frame 410 by a pivot pin 412 .
  • Frame 410 supports a rotatable flag 414 that is coupled to the operating mechanism 411 as in trigger actuator 102 .
  • Frame 410 includes a pair of spring-loaded flexible latches 416 projecting upwardly from an interface surface 410 a adjacent the proximal end 410 b of frame 410 . Adjacent the distal end 410 c of frame 410 a support surface 410 d is provided.
  • Actuator 402 in a particular embodiment is reusable.
  • Frame 410 , as well as frame 101 , and hand grips 407 , 408 , as well as hand grips 132 , 134 are all formed of stainless steel in a particular arrangement, although other materials, such as aluminum alloys and plastics may also be used.
  • Cartridge 404 comprises a track 406 contained within an outer cover 418 similar to track 104 and cover 106 of trigger actuator 102 .
  • Cartridge 404 likewise houses a translatable lifting platform, a translatable driver and an indexing member (all not shown) that are constructed the same as lifting platform 116 , driver 124 and indexing member 125 of trigger actuator 102 , and that function in the same manner.
  • a support 420 comparable to support 172 is secured to the bottom of cover 418 .
  • Cartridge 404 supports a plurality of inserts 16 in a linear array for insertion into the expandable device 10 .
  • Cooperative latching structure is provided at the bottom surface of cover 418 for releasable engagement with latches 416 of actuator 402 .
  • cartridge 404 is disposable.
  • Cartridge 404 is releasably attached to frame 410 by initially engaging support 420 with support surface 410 d on frame 410 and then rotating cartridge down toward proximal end 410 b until latches 416 releasably attach to the cooperative latching structure at the bottom of cartridge 404 .
  • components of operating mechanism 411 interface with the driver and the lifting mechanism within track 406 in a manner comparable to actuator 102 , including the receipt of boss feature 422 (the same as boss feature 156 ) into a slot that is the same as slot 124 d of driver 124 .
  • Cartridge 404 may be released from actuator 402 by actuation of release levers 424 supported by frame 410 on both sides thereof and movably coupled to latches 416 .
  • modular inserter 400 operates the same as trigger actuator 102 described hereinabove.
  • an inserter with a graft shield such as shield 128
  • an inserter with a graft shield may be used with expandable spinal interbody fusion devices having an expansion structure without an elevator 18 as described hereinabove.
  • an inserter with a graft shield 128 may be used with the expandable interbody fusion device shown and described in the '054 Application referenced hereinabove wherein the device is expanded upon introduction of a series of wafers.
  • Shield 128 may be used similarly as described herein to provide a barrier between a graft opening through one of the endplates, such as the superior endplate, and the wafers. Such a barrier would substantially prevent bone graft material pre-packed into such opening from interfering with sliding receipt of such wafers during insertion and expansion of the device.
  • actuators other than trigger actuators such as with threaded rotary mechanisms, may be used with the inserter 100 described herein.

Landscapes

  • Health & Medical Sciences (AREA)
  • Engineering & Computer Science (AREA)
  • Biomedical Technology (AREA)
  • Orthopedic Medicine & Surgery (AREA)
  • Neurology (AREA)
  • Transplantation (AREA)
  • Heart & Thoracic Surgery (AREA)
  • Oral & Maxillofacial Surgery (AREA)
  • Cardiology (AREA)
  • Vascular Medicine (AREA)
  • Life Sciences & Earth Sciences (AREA)
  • Animal Behavior & Ethology (AREA)
  • General Health & Medical Sciences (AREA)
  • Public Health (AREA)
  • Veterinary Medicine (AREA)
  • Physical Education & Sports Medicine (AREA)
  • Prostheses (AREA)
  • Surgical Instruments (AREA)

Abstract

An elongate inserter has a distal end releasably connected to an expandable interbody fusion device and a proximal end including a trigger actuator. The interbody fusion device comprises a superior endplate and an inferior endplate that are movable in an expansion direction relative to each other in the intradiscal space. The inserter includes a lifting platform comprising ramps surfaces that upon operation of the trigger actuator cooperatively engage complementary surfaces of expansion structure within the device to cause the superior and inferior endplates to move relatively away from each other. A driver is supported by the inserter for pushing an insert between the superior and inferior endplates after expansion of the device.

Description

CROSS-REFERENCE TO RELATED APPLICATION
This application claims priority to U.S. Provisional Patent Application No. 61/948,660, filed Mar. 6, 2014, the entire contents of which are incorporated by reference herein.
FIELD OF THE INVENTION
The subject invention relates generally to the field of spinal implants and more particularly to an inserter for an expandable spinal interbody fusion device for expanding the expandable device in the spine.
BACKGROUND OF THE INVENTION
Spinal implants such as spinal interbody fusion devices are used to treat degenerative disc disease and other damages or defects in the spinal disc between adjacent vertebrae. The disc may be herniated or suffering from a variety of degenerative conditions, such that the anatomical function of the spinal disc is disrupted. Most prevalent surgical treatment for these conditions is to fuse the two vertebrae surrounding the affected disc. In most cases, the entire disc will be removed, except for a portion of the annulus, by way of a discectomy procedure. A spinal fusion device is then introduced into the intradiscal space and suitable bone graft or bone substitute material is placed substantially in and/or adjacent the device in order to promote fusion between two adjacent vertebrae.
Certain spinal devices for achieving fusion are also expandable so as to correct disc height between the adjacent vertebrae. Examples of expandable interbody fusion devices are described in U.S. Pat. No. 6,595,998 entitled “Tissue Distraction Device”, which issued on Jul. 22, 2003 (the '998 Patent), U.S. Pat. No. 7,931,688 entitled “Expandable Interbody Fusion Device”, which issued on Apr. 26, 2011 (the '688 Patent), and U.S. Pat. No. 7,967,867 entitled “Expandable Interbody Fusion Device”, which issued on Jun. 28, 2011 (the '867 Patent). The '998 Patent, the '688 Patent and the '867 Patent each discloses sequentially introducing in situ a series of elongate inserts referred to as wafers in a percutaneous approach to incrementally distract opposing vertebral bodies to stabilize the spine and correct spinal height, the wafers including features that allow adjacent wafers to interlock in multiple degrees of freedom. The '998 Patent, the '688 Patent and the '867 Patent are assigned to the same assignee as the present invention, the disclosures of these patents being incorporated herein by reference in their entirety.
An issue that has arisen regarding such interbody fusion devices that use inserts or wafers to incrementally expand such devices is the determination of when full expansion has been achieved as a result of ligamentotaxis and no further inserts may be inserted. It is therefore desirable for a surgeon to know when a sufficient number of inserts has been introduced to stabilize the spine and correct spinal height and whether any additional inserts may be introduced. One approach addressing this issue is described in commonly assigned U.S. Pat. No. 8,828,019, entitled “Inserter for Expanding an Expandable Interbody Fusion Device”, issued on Sep. 9, 2014 (“the '019 Patent”) and incorporated herein by reference in its entirety.
Accordingly, there is a need for an improved expandable interbody fusion device and inserter to expand and insert such a device, including the capability to determine when proper expansion of the device has been achieved and no further inserts may be introduced.
SUMMARY OF THE INVENTION
It is an object of the invention to provide an inserter to expand an expandable interbody fusion device and sequentially insert one or more inserts after each incremental expansion of the device. A further object is the provision of the capability of the inserter to allow a surgeon to determine that suitable expansion has been reached and that no additional inserts may be inserted.
DESCRIPTION OF THE FIGURES
FIG. 1 a is a top perspective of an apparatus including an inserter releasably attached to an expandable spinal interbody fusion device in accordance with an embodiment of the present invention, the expandable interbody fusion device being unexpanded.
FIG. 1 b is a side elevation view of the apparatus of FIG. 1 a.
FIG. 1 c is a top plan view of the apparatus of FIG. 1 a.
FIG. 2 is an enlarged view of the distal portion of the apparatus as circled in FIG. 1 c.
FIG. 3 a is top perspective view of the unexpanded fusion device of FIG. 1 a.
FIG. 3 b is top perspective view of the fusion device of FIG. 3 after being expanded.
FIG. 4 is an exploded top perspective view of the expanded device of FIG. 3 b.
FIG. 5 a is a side elevation view of the expanded device of FIG. 3 b.
FIG. 5 b is a sectional view of the device of FIG. 5 a as seen along viewing lines B-B of FIG. 5 a.
FIG. 5 c is a sectional view of the device of FIG. 5 a as seen along viewing lines C-C of FIG. 5 a.
FIG. 6 a is a top perspective view of an insert used in the expandable spinal interbody fusion device of FIG. 3 a.
FIG. 6 b is a top plan view of the insert of FIG. 6 a.
FIG. 6 c is a longitudinal cross-sectional view of the insert as seen along viewing lines VI-VI of FIG. 6 b.
FIG. 6 d is a bottom plan view of the insert of FIG. 6 a.
FIG. 6 e is a distal end elevation view of the insert of FIG. 6 a.
FIG. 7 a is a top perspective view of an elevator used in the expandable spinal interbody fusion device of FIG. 3 a.
FIG. 7 b is a top plan view of the elevator of FIG. 7 a.
FIG. 7 c is a longitudinal cross-sectional view of the elevator as seen along viewing lines VII-VII of FIG. 7 b.
FIG. 7 d is a bottom plan view of the elevator of FIG. 7 a.
FIG. 7 e is a distal end elevation view of the elevator of FIG. 7 a.
FIG. 8 is an exploded top perspective view of the track and components of the inserter of FIG. 1 a, including the translatable lifting platform and translatable driver.
FIG. 8 a is an enlarged view of the distal portion of the inserter track and components as circled in FIG. 8.
FIG. 9 is a cross-sectional view of the inserter and device of FIG. 1 a as seen along viewing lines IX-IX of FIG. 1 c.
FIG. 9 a is an enlarged view of the encircled portion A of FIG. 9.
FIG. 9 b is an enlarged view of the encircled portion B of FIG. 9.
FIG. 10 a is a cross-sectional view of the distal end of the inserter and device as seen along viewing lines A-A of FIG. 2 with the expandable device unexpanded.
FIG. 10 b is a cross-sectional view of the distal end of the inserter and device as seen along viewing lines B-B of FIG. 2 with the expandable device unexpanded.
FIG. 11 is a top partial perspective view of the distal end of the lifting platform and the elevator of the expandable device in the position depicted in FIGS. 10 a and 10 b.
FIG. 12 is a cross-sectional view of the lifting platform and elevator as seen along viewing lines XII-XII of FIG. 11.
FIGS. 13 a and 13 b are views similar to FIGS. 10 a and 10 b with the lifting platform having been distally moved to a position lifting the elevator and expanding the expandable device and a first insert partially entering the expanded device.
FIG. 14 is a view similar to FIG. 10 a showing the first insert inserted into the expanded expandable device.
FIGS. 15 a and 15 b are views similar to FIGS. 13 a and 13 b with the lifting platform having been moved distally to a position lifting the elevator and the first insert to further expand the expandable device with a second insert partially entering the expanded device.
FIGS. 16 a and 16 b are views of the expandable device expanded as shown in the views of FIGS. 15 a and 15 b with the second insert having been further distally moved to a position moving the elevator away from the first insert and creating a space for the insertion of the second insert.
FIG. 17 is a view similar to the view of FIG. 14 showing the first and second inserts inserted into the expanded expandable device.
FIG. 18 is a cross-sectional view as seen along the viewing lines XVIII-XVIII of FIG. 17.
FIG. 19 is a proximal perspective view of the expanded spinal interbody fusion device with a guide pin releasably connected thereto subsequent to the inserter having been detached from the guide pin with inserts not being shown for clarity.
FIG. 20 is a top perspective of an apparatus including an inserter releasably attached to an expandable spinal interbody fusion device in accordance with a further embodiment of the present invention with the inserter being modular.
DESCRIPTION OF THE EMBODIMENTS
For the purposes of promoting and understanding of the principles of the invention, reference will now be made to the embodiments illustrated in the drawings and described in the following written specification. It is understood that no limitation to the scope of the invention is thereby intended. It is further understood that the present invention includes any alterations and modifications to the illustrated embodiments and includes further applications of the principles of the invention as would normally occur to one skilled in the art to which this invention pertains.
Turning now to FIGS. 1 a-c, 2, 3 a-b and 4, an apparatus 1 for use in spinal interbody fusion is shown. Apparatus 1 comprises an expandable spinal interbody fusion device 10 and an inserter 100. The inserter 100 is an instrument used for inserting the device 10 into an intradiscal space between opposing vertebral bodies of a spine, expanding the device in situ and for inserting inserts into the expanded device 100. The expandable interbody fusion device 10 includes a first element, such as superior endplate 12, a second element, such as inferior endplate 14, at least one insert 16 and expansion structure including an elevator 18, as will be detailed hereinbelow. The height, H, across the superior and inferior endplates 12, 14 in the unexpanded condition as illustrated in FIG. 1 b is less than the normal anatomic height of a typical intradiscal space. The invention contemplates expanding the interbody fusion device 10 by the inserter 100 from an unexpanded condition as shown in FIG. 3 a to the expanded height as shown in FIG. 3 b to ultimately restore the normal anatomic height of the disc space and thereafter inserting one or more inserts, such as inserts 16, as will be described, to form a stack of inserts 16 between the expanded superior endplate 12 and inferior endplate 14. In the particular arrangement being described, fusion device 10 is configured and sized for implantation into the spine from the posterior approach. In the unexpanded state as shown in FIG. 3 a, device 10 has a length of approximately 25 mm, a width of approximately 10 mm, and an unexpanded height H of approximately 7 mm. Fusion device 10 may also be configured and sized for implantation into the spine using posteriolateral, anterior or lateral approaches, as will be described.
The superior endplate 12 as shown in FIGS. 3 a-b and 18 is elongate and comprises a hub 20 having pair of side surfaces 22 and 24 extending longitudinally on each side of the hub 20 and a pair of end surfaces 26 and 28 extending respectively at the proximal rear end and the distal front end of the superior endplate 12. The hub 20 is sized and configured to fit within a cavity 48 of the inferior endplate 14 for telescoping movement therewithin, as will be described. The lower surface 30 of the hub 20 (FIG. 18) is generally flat and planar. Suitable friction or crush ribs may be provided between the hub 20 and cavity 48 of inferior endplate 14 at inner surface 44 a to temporarily hold the superior and inferior endplates 12, 14 together in the direction of expansion as the device 10 is introduced into the intradiscal space to be distracted.
With continued reference to FIGS. 3 a-b and 18, the superior endplate 12 includes a graft chamber defined by an opening 38 extending through the upper outer surface 12 a and the lower surface 30. In accordance with one arrangement, the superior endplate 12 is formed of a biocompatible polymer such as polyethylethylketone (PEEK). PEEK is used in fusion applications for its combination of strength, biocompatibility, and elasticity which is similar to human bone. Other composites may include derivatives of PEEK such as carbon fiber reinforced PEEK and PEKK, respectively. In a particular aspect, the superior endplate 12 may further include an upper endcap that defines the outer surface 12 a. The endcap may be a separate plate formed of material for the promotion of bone growth, such as titanium, and may be attached to the endplate 12 with suitable conventional techniques. As an alternative, the upper surface 12 a may be defined by a coating of a suitable layer of bone growth promotion material, such as titanium, which may be deposited by conventional techniques.
The inferior endplate 14 of the interbody fusion device 10 as shown in FIGS. 3 a-b and 18 is elongate and comprises a pair of opposing spaced apart sidewalls 40 and 42 extending along the longitudinal direction and projecting upwardly from the lower outer surface 14 a. A pair of spaced apart end walls 44 and 46 extend laterally across the device 10 and project upwardly from outer surface 14 a. Rear end wall 44 is disposed at the rear or proximal end of the device 10 and front end wall 46 is disposed at the front or distal end of the device 10. The side walls 40, 42 together with rear end wall 44 and front end wall 46 form an open, upwardly facing fully bounded interior cavity 48 as shown in FIGS. 3 a and 4. The interior cavity 48 is sized and configured to receive the superior endplate 12 including the hub 20 in relatively close fit between the side walls 40 and 42 and the end walls 44 and 46 of the inferior endplate 14 in a non-expanded condition as shown in FIGS. 1 a-b. The hub 20 of superior endplate 12, as well as the entire stack of inserts 16, remains fully contained within the inferior endplate 14 during telescoping expansion of the device 10 as shown in FIGS. 18 and 19, contributing to the torsional strength of the expanded device 10.
The inferior plate 14 as shown in FIGS. 4 and 19 includes a lower inner support surface 54 on which elevator 18 is supported. Inner surface 54 defines the bottom surface of the cavity 48. Inferior endplate 14 further defines a fully bounded insert channel 50 extending through the rear end wall 44 in communication with interior cavity 48 and through which one or more inserts 16 are introduced. The height of channel 50 as measured vertically from inner surface 54 is slightly greater than the combined thicknesses of insert 16 and elevator 18. With insert 16 being slidably received through channel 50 on top of elevator 18, as will be described, only one insert 16 may be introduced at a time. As device 10 is expanded and further inserts 16 are sequentially introduced, all inserts 16 lying above the lowermost insert 16, which would be situated on top of elevator 18, will be prevented from backing out of the device 10 by the interior surface 44 a of rear end wall 44 (FIG. 4). The rear end wall 44 further defines a threaded connection opening 56 (FIG. 10 a) for threaded releasable receipt of a guide pin 108 for use in the introduction of inserts 16 and in the delivery of bone graft material into the device 10, as will also be described. Rear end wall 44 may also additionally include a pair of bilateral openings, such as holes 58, adjacent the sidewalls 40 and 42 for use in releasably attaching the inserter 100 to the device 10 for the establishment of a rigid connection to the device 10 for insertion into the intradiscal space.
Elevator 18 is supported on inner surface 54 of inferior endplate 14 with the lateral width of elevator 18 being dimensioned for relatively close sliding fit between opposite interior surfaces 40 a and 42 a of side walls 40 and 42, as shown in FIGS. 5 c and 18. As such, lateral movement of elevator 18 in directions transverse to the direction of expansion is substantially constrained. In addition, inferior endplate 14 includes a rail 14 b projecting inwardly from each interior surface 40 a and 42 a and upwardly from lower inner surface 54 toward superior endplate 12. The upward projection of each rail 14 b from inner surface 54 is slightly greater than twice the thickness of elevator 18. Rails 14 b slidably project into recesses 310 extending into the base 305 of elevator 18 at each lateral side. Rails 14 b substantially constrain movement of elevator 18 in the axial direction while the clearance in recesses 310 allows free movement of elevator 18 in the direction of expansion along rails 14 b as shown by the arrow 130 in FIG. 10 a. As such, elevator 18 is captively supported within inferior endplate 14 and is independently movable along the direction of expansion toward and away from each of the superior endplate 12 and the inferior endplate 14.
As shown particularly in FIGS. 4, 5 a-b and 18, the inferior endplate 14 includes a graft chamber defined by an opening 60 extending through the lower outer surface 14 a and the lower inner surface 54 in communication with cavity 48. In accordance with one arrangement, the inferior endplate 14 is formed of a material different from the material of the superior endplate 12. In this aspect, the inferior endplate 14 may be formed of a biocompatible metal, such as titanium, for its strength properties. Titanium is chosen for strength, biocompatibility, processing capability, and fluoroscopic imaging properties (radiolucency). Other alternative materials include cobalt chrome, stainless steel (both stronger than titanium but much less radiolucent), or biocompatible ceramics such as silicon nitride or zirconia, which are radiolucent. Titanium and silicon nitride have demonstrated good apposition to bone and superiority to PEEK. In this regard where inferior endplate 14 is formed of titanium, the lower outer surface 14 a would provide for the promotion of bone growth. Lower outer surface 14 a may also, however, be coated with a suitable layer of bone growth promotion material, such as titanium, and deposited in a conventional manner so as to match the roughness/porosity of the superior endplate outer surface 12 a.
Where inferior endplate 14 is formed of titanium or other suitable metal that is radiopaque, windows 62 may be formed through sidewalls 40 and 42 as shown in FIGS. 3 a-b and 19 so as to allow visual observation of bony through growth by suitable imaging techniques, such as fluoroscopy. Further details of interbody fusion device 10 are described in commonly assigned U.S. patent application Ser. No. 13/795,054 entitled “Expandable Interbody Fusion Device with Graft Chambers”, filed on Mar. 12, 2013 (“the '054 Application”) and incorporated herein by reference in its entirety.
Details of insert 16 are shown in FIGS. 6 a-e. The insert 16 comprises an elongate and generally flat body 200 having an upper surface 202 and a lower surface 204, both of which are generally planar and substantially parallel so that the inserts 16 can form a stable stack within the interbody fusion device 10 upon expansion. Insert 16 includes a trailing rear proximal end 206 and a leading front distal end 208. The body 200 is formed to have a generally U-shaped, horseshoe configuration, with a pair of spaced opposing arms 212 and 214 projecting rearwardly from a base 205 and defining a rearwardly facing generally U-shaped opening 216 extending through the rear end 206 and through upper surface 202 and lower surface 204. The lateral width of body 200 between side surfaces 212 a and 214 a is dimensioned for a relatively close sliding fit between interior surfaces 40 a and 42 a of side walls 40 and 42 of inferior endplate 14, as shown in FIG. 5 b. Such close dimensioning reduces the potential of lateral movement of insert 16 during insert introduction and within cavity 48 of inferior endplate 14. A surface 218 between the upper surface 202 and the lower surface 204 at the base 205 of opening 216 defines a pushing surface for receipt of a driver of inserter 10, as will be described. The opening 216 at the rear end of each insert 200 is provided to allow bone graft material to flow into the device 10 through the insert openings 216 and into the openings 38 and 60 extending through the superior endplate 12 and the inferior endplate 14, respectively. A pair of inclined surfaces 208 a extends upwardly from and communicating with lower surface 204 on each lateral side the insert 16 adjacent the front distal end 208.
The insert 16 includes a feature for interlocking engagement with elevator 18 in a complementary cooperative connection. Distal front end 208 of insert body 200 includes therein a latching receptacle 220 defined by a pair of spaced opposing arms 222 a and 222 b for receipt therein of a flexible latch 318 (FIG. 7 a-e) on elevator 18, as will be described. Arms 222 a and 222 b include inwardly projecting locking surfaces 224 a and 224 b respectively for cooperative locking engagement with elevator latch 318. Unlike the inserts described in the '054 Application, the inserts 16 described herein do not function to assist in the separation of superior endplate 12 and inferior endplate 14 or any subsequent inserts 16 inserted into interbody fusion device 16, as that lifting function is provided herein by inserter 100 in conjunction with elevator 18. It is contemplated that the inserts 16 described herein be formed of a biocompatible material that is sufficiently rigid to form a solid stack as the successive inserts are inserted into the device. Thus, in one specific embodiment, the inserts 16 are formed of PEEK or a carbon-fiber reinforced PEEK, or similar polymeric material.
Turning now to FIGS. 7 a-e, details of the elevator 18 are shown. The elevator 18 comprises an elongate and generally flat body 300 having an upper surface 302 and a lower surface 304, both of which are generally planar and substantially parallel. The elevator 18 has a thickness between upper surface 302 and lower surface 304 that is slightly greater than the thickness of insert 16. As such, when as noted below the thickness of an insert 16 is, for example, 1.0 mm, the thickness of elevator 18 may be 1.03 mm. Elevator 18 includes a trailing rear proximal end 306 and a leading front distal end 308. The elevator body 300 is formed to have a generally U-shaped, horseshoe configuration similar to the configuration of insert 16. Elevator body 300 includes a pair of spaced opposing arms 312 and 314 projecting rearwardly from a base 305 and defining a rearwardly facing generally U-shaped opening 316 extending through the rear end 306 and through upper surface 302 and lower surface 304. Base 305 has a rearwardly facing surface 305 a that communicates with opening 316. The opening 316 at the rear end of elevator 18 is provided to allow bone graft material introduced into the device 10 to flow through the insert openings 216 of inserts 16 and into the openings 38 and 60 extending through the superior endplate 12 and the inferior endplate 14, respectively. The rear proximal end 306 includes an inclined surface 312 a and 314 a, respectively at the free end of each arm 312 and 314 extending downwardly from and communicating with the upper surface 302. The rear proximal end 306 further includes an inclined lifting surface 312 b and 314 b, respectively at the free end of each arm 312 and 314 extending upwardly from and communicating with the lower surface 304. The front distal end 308 includes adjacent base surface 305 a an inclined lifting surface 308 a extending upwardly from and communicating with lower surface 304. The inclined lifting surfaces 312 b, 314 b and 308 a are angled in the same direction with approximately equal angles. The lifting surfaces 312 b, 314 b and 308 a define inclined ramps with multiple points of contact for cooperative contact with complementary surfaces of an expansion component on the inserter 100 for lifting elevator 18, as will be described. Inclined surface 308 a is generally centrally located along the elongate axis of elevator, while surfaces 312 b and 314 b are spaced bilaterally. Thus, lifting surfaces 308 a, 312 b and 314 b define three triangulated points of contact. Elevator has a recess 310 extending into the elevator base 305 at each lateral side thereof. Recesses 310 are sized to receive rails 14 b on the interior surfaces of inferior endplate 14, as described. In one specific embodiment, the elevator 18 is formed of titanium alloy, type 2, which may be anodized for lubricity. Other materials, such as PEEK, may also be used as the material for elevator 18.
Distal front end of elevator body 300 includes a flexible latch 318 projecting upwardly from upper surface 302. Latch 318 comprises a pair of spaced opposing flexible arms 320 a and 320 b that are configured to flex toward each other. Flexible arms 320 a and 320 b include outwardly directed locking surfaces 322 a and 322 b respectively, for cooperative receipt within receptacle 220 of each insert 16, as shown in FIG. 5 b. Upon receipt of latch 318 into receptacle 220, locking surfaces 224 a and 224 b resiliently engage locking surfaces 322 a and 322 b, respectively. Latch 318 projects above the upper surface 302 and a height slightly greater than the thickness of an insert 16. The lateral width of elevator body 300 between the side surfaces 312 c and 314 c, respectively of arms 312 and 314 is dimensioned for a relatively close sliding fit as noted hereinabove between interior surfaces 40 a and 42 a of inferior endplate 14, as shown in FIG. 5 c.
Turning again now to FIGS. 1 a-c and FIGS. 8 and 8 a, details of the inserter 100 are described. Inserter 100 is elongate having a distal end 100 a and at a proximal end 100 b a frame 101. A trigger actuator 102 to effect expansion of device 10 and insertion of inserts 16 into device 10 after expansion includes a frame 101 at the proximal end 100 b of inserter. A plurality of inserts 16 are movably supported in a linear array on an elongate track 104 for individual successive insertion into device 10. Track 104 supports at least one insert 16 and may, for example, support an array of five inserts 16, although fewer or more inserts 16 may be supported as desired.
The distal end 100 a is shown in exploded detail in FIGS. 8 and 8 a. The inserter 100 includes elongate track 104 and an outer elongate track cover 106, the cover 106 being substantially rigidly joined to track 104. Track 104 is configured as a closed channel and is supported within outer track cover 106. Cover 106 is fixedly secured to frame 101, although in a particular arrangement as will be described, cover 106 may be removably attached to frame 101. An elongate guide pin 108 is supported within an opening 110 extending lengthwise through the cover 106. The distal end 108 a of the guide pin 108 is threaded for releasable threaded engagement into opening 56 in the proximal rear end wall 44 of the inferior endplate 14. The proximal end of guide pin 108 is provided with a threaded knob 112 for compressing and releasably attaching the cover 106, and thereby the track 104 to the device 10. The track cover 106, in one arrangement, includes a pair of opposing pins 114 that engage corresponding holes 58 in rear wall 44 of inferior endplate 14 (FIG. 19) to assist in rigidly securing the inserter 100 to the device 10. It should be appreciated that other securement structure may be used to releasably attach the inserter 100 to the device 10. Track 104, in one embodiment, is formed of stamped stainless steel and cover 106 is an extruded aluminum alloy. Stainless steel or strong reinforced plastic could also be used for cover 106.
The track 104 at the distal end 100 a of the inserter 100 supports an expansion component defined by an axially translatable lifting platform 116 movably supported on track 104 for relative axial movement thereto to cooperatively slidably contact elevator 18 for expanding the device 10. The lifting platform 116 is elongate and generally flat having an upper surface 118 and a lower surface 120, both of which are generally planar and substantially parallel (FIG. 18). The lifting platform 116 has a thickness between upper surface 118 and lower surface 120 that is dimensioned to be the same as the thickness of elevator 18, i.e., slightly greater than the thickness of an insert 16. Lifting platform 116 is supported by the inserter 100 for reciprocating axial movement in projecting and retracting directions. The proximal end of the lifting platform 116 d is coupled to the trigger actuator 102 to effect such projecting and retracting directions, as will be described.
Lifting platform 116 projects slidably axially outwardly from track 104 and includes at its free distal end an inclined lifting surface 116 a extending downwardly from and communicating with upper surface 118. At a location spaced proximally of lifting surface 116 a, lifting platform further includes a pair of laterally spaced inclined surfaces 116 b and 116 c. The inclined lifting surfaces 116 a, 116 b and 116 c are angled in the same direction with angles approximately equal to the angles respectively of inclined lifting surfaces 312 b, 314 b and 308 a of elevator body 300. Inclined surfaces 116 a, 116 b and 116 c define inclined ramps with multiple complementary points of contact for cooperative contact with elevator 18. Inclined surface 116 a is generally centrally located along the elongate axis of lifting platform 116, while surfaces 116 b and 116 c are spaced bilaterally. Thus, lifting surfaces 116 a, 116 b and 116 c define three triangulated points of contact that are located and spaced to cooperatively contact lifting surfaces 308 a, 312 b, and 314 b, respectively during movement of lifting platform 116 in the projecting direction. Lifting platform 116, particularly inclined surfaces 116 a, 116 b and 116 c, may be coated or otherwise include a suitable lubricant to facilitate sliding contact with elevator 18 for expansion of device 10. Where lifting platform 116 is made of stainless steel, for example, such lubricant may include a molybdenum disulfide (MoS2) material.
Still referring to FIGS. 8 and 8 a, inserter 100 further supports at its distal end 100 a a driver 124 for axial translational movement within track 104. The proximal end 124 a (FIG. 8) of driver 124 is coupled to trigger actuator 102 to effect translational movement of the driver 124, as will be described. The distal end of driver 124 comprises a pushing surface 124 b sized and configured to enter into the opening 216 of an insert body 200 to engage pushing surface 218 and push the insert 16 from track 104 into the device 10 upon axial distal movement of driver 124. Furthermore, driver 124 includes an upper surface 124 c on which inserts 16 are movably supported in a linear array. Also included as shown in FIG. 8 is an indexing member 125 that cooperates with driver 124 to distally incrementally move inserts 16 in the projecting direction to be positioned for individual contact with driver pushing surface 124 b while preventing retrograde movement of inserts 16 as they are positioned.
With further reference still to FIG. 8 a, inserter 100 comprises a flexible graft shield 128 projecting distally from inner track 104. Graft shield 128 is supported at one end 128 a in a cantilevered manner with an opposite end 128 b being unsupported and free to flex. Graft shield 128 is elongate and generally flat and is sized and configured to substantially block communication between the opening 38 through the superior endplate 12 and inserts 16 slidably inserted into device 10. As will be described, graft shield 128 is configured to extend into device 10 through channel 50 between the superior endplate 12 and the expansion structure adjacent the lower surface 30 of the superior endplate 12.
Turning now to FIGS. 9 and 9 a-b, the details of the trigger actuator 102 of the inserter 100 and its operating mechanism and function are described. Trigger actuator 102 comprises a pair of hand grips 132 and 134 biased apart by an extension spring 136. Hand grip 132 is fixedly secured to frame 101 of inserter 100. Hand grip 134 is pivotally connected to frame 101 at pivot point 138 and is movable toward hand grip 132 against the bias of extension spring 136 by manual pressure. Hand grip 134 has gear teeth 140 that interface with a gear rack 146 slidably coupled to the frame 101. The gear mechanism is sized to provide the appropriate translation of the gear rack 146 in the projecting direction as trigger actuator 102 is actuated. Also slidably coupled to the frame 101 are a driving slide 150 that is configured for relative and joint movement with driver 124, and a lifting slide 154 that is configured for joint movement with lifting platform 116. Gear rack 146 includes a lower surface 146 a defining a tooth pattern, an upper surface 146 b defining a pushing surface 146 d, a ramp surface 146 e, and a distal end 146 c. Distal end 146 c includes a pawl 148 configured for limited rotation about pivot point 148 a, the distal end of pawl 148 being biased toward the driving slide 150 by a compression spring 152. Prior to actuation of trigger 102 the pawl 148 is constrained from rotation about pivot point 148 a by the lower surface 150 a of driving slide 150. Upon a first actuation of trigger 102, and therefor translation of the gear rack 146 in the projecting direction, the pawl 148, under bias of compression spring 152, slides along lower surface 150 a. When sufficient translation of gear rack 146 has occurred such that the pawl 148 has passed the distal end of driving slide 150, pawl 148 rotates counterclockwise as viewed in FIG. 9 a about pivot point 148 a to a position limited by contact with upper surface 146 f of gear rack 146.
Pawl 148 includes a pushing surface 148 b sized to engage pushing surface 154 a at proximal end of lifting slide 154. Further actuation of the trigger 102 promotes contact of pushing surfaces 148 b and 154 a and therefor movement of the lifting slide 154 and lifting platform 116 in the projecting direction causing expansion of the device 10.
Lifting slide 154 further includes a proximal elongate tethering portion 154 b with pushing surface 154 c sized to engage pushing surface 150 b at proximal end of driving slide 150. Upon translation of lifting slide 154 in the projecting direction, pushing surface 154 c engages pushing surface 150 b for joint translation therebetween.
Driving slide 150 further includes an upper boss feature 156 defining pushing surfaces 156 a and 156 b sized to fit within slot a 124 d (FIG. 8) of driver 124. Slot 124 d comprises complementary axially spaced apart pushing surfaces 124 e and 124 f, respectively. The length of slot 124 d is sized such that translation of driving slide 150 during first actuation of trigger 102 does not induce contact between pushing surfaces 156 b and 124 f and therefore does not impart translation of driver 124.
Driving slide 150 further includes a pawl 158 configured for limited rotation about pivot point 158 a, the proximal end of pawl being biased toward the gear rack 146 by bilateral torsion springs (not shown). Prior to actuation of trigger 102 the pawl 148 is constrained from rotation about pivot point 158 a by a ledge surface 160 rigidly coupled to frame 101. Upon translation of the driving slide 150 in the projecting direction, the pawl 158, under bias of the torsion springs, slides along upper ledge surface 160. When sufficient translation of driving slide 150 has occurred such that the pawl 158 has passed the distal end of ledge surface 160, pawl 158 rotates counterclockwise as viewed in FIG. 9 a about pivot point 158 a to a position limited by contact with lower surface 150 c of driving slide 150. Such translation is configured to be slightly longer than the translation required by the lifting platform 116 to achieve full expansion of device 10 such that rotation of pawl 158 will not occur in the absence of full expansion of device 10. Further, rigidly coupled to pawl 158 for rotation therewith are bilateral flags 162 positioned in slots 163 in frame 101 (FIG. 1 a), the flags 162 projecting laterally outwardly of both sides of frame 101. Upon joint rotation of pawl 158 and flags 162 the user is visually alerted to the position of the driving slide 150 and lifting slide 154 thereby indicating to the user that full expansion of device 10 has been achieved and that no further inserts can be introduced.
Pawl 158 further comprises a pushing surface 158 b sized to engage pushing surface 146 d of gear rack 146 and a ramp surface 158 c sized to engage ramp surface 146 e of gear rack 146. After full actuation and a complete stroke of trigger 102 and release of grip pressure, the gear rack 146 and hand grips 132/134 are returned under the bias of the extension spring 136. During retraction of the gear rack 146, cooperative ramp surfaces 146 e and 158 c collide inducing pawl 158 to rotate clockwise thereby allowing passage of the gear rack 146. Upon sufficient translation of the gear rack 146 in the retracting direction such that the ramp surface 146 e has passed the proximal edge of ramp 158 c, pawl 158 rotates counterclockwise about pivot point 158 a back to a position limited by contact with lower surface 150 c of driving slide 150.
It should be appreciated that upon completion of first actuation of trigger 102 and completion of the first stroke, lifting platform 116 remains projected maintaining the expanded state of device 10 and that driving slide 150 remains in a partially projected state due to tether 154 b of lifting slide 154. It should also be noted that pawl 158 remains in a rotated state limited by contact with driving slide 150 while pawl 148 is returned to its original collapsed state limited by lower surface 150 a of driving slide 150.
Upon a second actuation of trigger 102 gear rack 146 translates again in the projecting direction such that pushing surface 146 d contacts pushing surface 158 b of pawl 158 causing joint translation of gear rack 146 and driving slide 150. Upon further actuation, pushing surface 156 b of driving slide 150 contacts pushing surface 124 f of driver 124 causing joint translation therebetween, thereby engaging pushing surface 218 of insert 16 and pushing the insert 16 from track 104 into the device 10 during completion of the second stroke of trigger actuator 102.
For the purpose of returning the track lifting platform 116 to its original position in the retracting direction a cam 164 and gear 166 are provided. The gear 166 interfaces with a second gear rack 154 d rigidly connected to the lower surface of lifting slide 154. The cam 164 is coupled to gear 166 for opposite rotation therebetween and is positioned to contact a notch 170 (FIG. 8 a) in the driver 124 after an insert 16 has been partially inserted into the device 10. Further trigger actuation returns the lifting platform 116 to its original position while the driver further inserts the insert 16. When full trigger actuation is achieved, the gear rack 146 and hand grips 132/134 are returned under the bias of the extension spring 136. To reset the position of driving slide 150 manually, the user pulls up on bilateral tabs 162 b rigidly coupled to flags 162 thereby imparting rotation of pawl 158 and translation of driving slide 150 in the retracting direction. Due to the rotated state of flags 162 and pawl 158, driver slide 150 can be returned to its original retracted position with pawl 158 rotation limited by ledge 160 surface. A two way ratchet mechanism 168 prevents unwanted motion of driving slide 150 in the wrong direction. In the event full expansion of device 10 is achieved and the surgeon prefers to abort the procedure without further introduction of an insert 16, hex fitting 174 (FIG. 1 a) coupled to gear 166 may be actuated by a hex wrench or other suitable tool. Rotation of fitting 174 rotates gear 166 which directly translates lifting slide 154 and hence lifting platform 116 proximally to release the expansion of device 10 with no insert 16 introduced.
It should now be understood how the trigger actuator 102 operates to expand device 10 and introduce one or more inserts 16. During the first stroke, only lifting platform 116 is translated in the projecting direction to cause expansion of device 10. Driver 124 remains stationary during the entire first stroke. After the hand grips 132/134 are returned to the starting position under the bias of extension spring 136 upon completion of the first stroke, lifting platform 116 remains stationary in the projecting position maintaining the expanded state of device 10 as hand grips 132/134 return. During the second stroke of trigger actuator 102, driver 124 is translated in the projecting direction while the lifting platform 116 is initially stationary in the projecting direction. When driver 124 has inserted an insert 16 partially into the expanded device 10 continued operation of trigger actuator 102 retracts lifting platform 116 in the retracting direction. As lifting platform 116 retracts, driver 124 continues to advance in the projecting direction to push insert 16 fully into position upon completion of the second stroke.
Thus, for the particular device being described for insertion into the intradiscal space in the posterior approach, expansion of device 10 is achieved during the first stroke of trigger actuator 102 and full insertion of an insert 16 during completion the second stroke. For longer devices, such as those insertable from the lateral approach, the mechanism of inserter 100 may be adjusted such that the longer device is expanded in a first stroke, the inserts 16 inserted partially into the expanded device during a second stroke, and fully inserted in the third stroke. It should thus be appreciated by those skilled in the art that the number of strokes employed for expansion of device 10 and insertion of an insert 16 into the expanded device 10 may be varied by suitable adjustment of the operating mechanism of trigger actuator 102. Such adjustment may include, for example, varying the number of pushing surfaces 146 d that are provided on gear rack 146 for engagement with pawl 158.
Turning now to FIGS. 10 a-b and 11-12 the assembly of the device 10 and the inserter 100 is described. The superior endplate 12 and the inferior endplate 14 are assembled in an unexpanded condition to the inserter 100 with the superior endplate 12 residing fully within cavity 48 of inferior endplate 14. In such condition elevator 18 is captively retained between superior endplate 12 and inferior endplate 14 as described above and shown in FIG. 5 c for independent movement along the direction of expansion 130. The inserter 100 is releasably attached to the device 10 upon threaded engagement of the guide pin 108 into threaded opening 56 in the proximal rear end wall 44 of the inferior endplate 14. Graft shield 128 extends into device 10 through channel 50 between the superior endplate 12 and the elevator 18 adjacent the lower surface 30 of the superior endplate 12. With the inserter 100 fixed to the device 10, lifting platform 116 and driver 124 are axially translatable relative to the device 10 in the projecting and retracting directions. In this unexpanded condition, there are no inserts 16 in the device 10. In the arrangement being described, there are five inserts 16 supported in a linear array on track 104.
In the position illustrated in FIGS. 10 a-b and 11-12 lifting platform 116 is in a retracted position relative to device 10 and elevator 18. Insert 16, as seen in FIG. 10 a, is disposed on track 104 exteriorly of and ready for insertion into device 10. In this position the lower surface 120 of lifting platform 116 is situated on lower inner surface 54 of inferior endplate 14. Likewise lower surface 304 of elevator 18 is supported by lower inner surface 54 of inferior endplate 14. As such, lifting platform 116 and elevator 18 are on substantially the same plane, with the upper surface 118 of lifting platform 116 being substantially coplanar with the upper surface 302 of elevator 18. With the inserter 100 attached to the device 10, elevator 18 is fixed in the axial direction relative to axial movement of lifting platform 116.
In the condition shown in FIGS. 10 a-b, apparatus 1 comprising unexpanded device 10 releasably attached to inserter 100 is ready for use in inserting device 10 into an intradiscal space between two opposing vertebral bodies. Prior to insertion, opening 38 through superior endplate 12 may be pre-packed with a suitable bone graft material for the promotion of fusion through device 10 to the opposing vertebral bodies. Graft shield 128 extends into device 10 through channel 50 between the superior endplate 12 and the elevator 18 adjacent the lower surface 30 of the superior endplate 12 defining a pocket for receipt of the graft material. The free end 128 b of graft shield 128 rests unattached on an interior ledge 12 b of superior endplate 12 adjacent the distal end thereof. Opening 38 is therefore open adjacent outer surface 12 a of superior endplate 12 and closed by graft shield 128 adjacent lower surface 30. As such, graft shield 128 provides a barrier between the graft material and the elevator 18 and inserts 16 inserted into device 10 during expansion. Pre-packing of bone graft material in opening 38 on graft shield 128 advantageously allows for less introduction of graft material in situ and provides more assurance that sufficient graft material will be contained throughout device 10 and into openings 38 and 60 through superior endplate 12 and inferior endplates 14 and in a stress-loaded condition against opposing vertebral bodies. In addition, graft shield 128 provides a barrier substantially preventing graft material within opening 38 from being disturbed during expansion and by substantially blocking graft material from interfering with the expansion of device 10 or with the slidable insertion of inserts 16 which may be impeded by graft material on the sliding interfacing surfaces.
At this point in the surgical procedure, inserter 100 is used to insert unexpanded device 10 into the intradiscal space. Device 10 may be implanted as explained hereinabove into the spine posteriorly or posteriolaterally, either bilaterally or unilaterally, or in an anterior or lateral approach depending upon the surgical indication and the surgeons preference. Once device 10 is inserted in the intradiscal space in a suitable location, actuator 102 as described hereinabove is then operated in a first actuation. Initially during the first stroke lifting platform 116 is translated axially while driver 124 remains stationary. Lifting platform 116 is moved from the retracted position of FIGS. 10 a-b to a projecting direction whereby lifting platform 116 is moved further into device 10. During movement in the projecting direction, lifting surfaces 116 a, 116 b and 116 c of lifting platform 116 contact cooperative lifting surfaces 308 a, 312 b, and 314 b, respectively of elevator 18. The cooperative engagement causes elevator 18 to move in the direction of expansion away from lower inner surface 54 of inferior endplate 14 and toward superior endplate 12. The upper surface 302 of elevator 18 contacts lower surface 30 of superior endplate 12 and elevator 18 slidably moves in the direction of expansion along rails 14 b toward superior endplate 12 and away from inferior endplate 14 as shown in FIGS. 13 a-b, thereby expanding device 10.
When complete expansion of device 10 is achieved the first stroke of trigger actuator 102 is completed and hand grips 132/134 are returned to the original starting position, as described above. Trigger actuator 102 is then operated in a second actuation to start a second stroke. As the second stroke commences, lifting platform 116 remains stationary holding device 10 in the expanded condition while axial translation of driver 124 begins. Continued operation of actuator 102 pushes insert 16 distally so that the distal front end 208 moves freely into expanded device 10 through channel 50 until the distal front end 208 of insert 16 is partially inserted into expanded device 10 between superior endplate 12 and inferior endplate 14 adjacent the proximal end of device 10, as illustrated in FIGS. 13 a-b.
With insert 16 partially inserted in device 10, continued operation of the actuator 102 during the second stroke causes lifting platform 116 to move proximally thereby moving lifting platform 116 in a retracting direction. With distal front end 208 of insert 16 supporting superior endplate 12, continued proximal movement of lifting platform 116 causes lifting surfaces 116 a, 116 b and 116 c of lifting platform 116 to sufficiently disengage cooperative lifting surfaces 308 a, 312 b, and 314 b, respectively of elevator 18 to allow elevator 18 to move away in the direction of expansion from superior endplate 12 and toward inferior endplate 14 along rails 14 b and return to the position of elevator 18 shown in FIGS. 10 a-b. As elevator 18 returns to the position whereby the lower surface 120 of lifting platform 116 is situated on lower inner surface 54 of inferior endplate 14, a space like the space 64 as described hereinbelow with reference to FIG. 16 b, is created between lower surface 30 of superior endplate 12 and upper surface 302 of elevator 18. Such space between the superior endplate 12 and the elevator 18 is slightly greater than the thickness of an insert 16 and is in direct communication with lower surface 30 of superior endplate 12 and upper surface 302 of elevator 18. During completion of the second stroke of actuator 102 driver 124 continues to move axially distally slidably pushing insert 16 fully into such space of expanded device 10, as shown in FIG. 14, with lower surface 204 of insert 16 facing and being in slidable contact with upper surface 302 of elevator 18. Driver 124 is retracted proximally to the original position shown in FIGS. 10 a-b when the hand grip 134 of actuator 102 is released.
During insertion of insert 16 into device 10, receptacle 220 described hereinabove at the distal end 208 of insert 16 cooperatively receives complementary flexible latch 318 on the upper surface 302 of elevator 18 such that locking surfaces 224 a, 224 b and 322 a, 322 b resiliently interlock, as shown in FIG. 5 b. Such interlocking substantially resists any back out of the insert 16 through channel 50 as driver 124 is withdrawn away from insert 16 in the retracted position. In the event device 10 is further expanded, as described hereinbelow, the initial insert 16 is moved upwardly with superior endplate 12 by elevator 18. As elevator 18 then returns downwardly toward inferior endplate 14 as will be explained, latch 318 is separated from receptacle 220 as space 64 is created. With the initial insert 16 moved upwardly, it is situated above channel 50 and held captive by the interior surfaces of inferior endplate 14, including interior surface 44 a of rear end wall 44. It should be appreciated that while insert 16 is held in position within device 10 by interlocking of receptacle 220 and latch 318, other structure to resist back out movement of insert 16 may be provided, such as interlocking structure between insert 16 and one or more interior surfaces of the inferior endplate 14, or interlocking structure between adjacent inserts 16. Upon completion of insertion of insert 16, opening 216 of insert 16 is at least partially aligned with opening 316 of elevator 18, opening 38 of superior endplate 12 and opening 60 of inferior endplate 14. Once inserter 100 is removed from the expanded device upon completion of the surgical procedure, insert opening 216, elevator opening 316 and graft chambers 38 and 60, respectively, will all be in at least partial alignment and communication with each other.
In the event the surgeon determines that additional inserts 16 are required in order to provide proper correction of the height of the intradiscal space, actuator 102 may be operated to insert one or more additional inserts 16 in the same manner as described with respect to the insertion of first insert 16. FIGS. 15 a-b show device 10 with one insert 16 having been inserted and a second insert 16 partially introduced after device 10 has been further expanded during a first stroke of actuator 102 by elevator 18 upon lifting by the lifting platform 116 in the same process as described with respect to FIGS. 13 a-b. As the second insert 16 enters the further expanded device 10 during the second stroke, lifting platform 116 is pulled proximally in a retracting direction, sufficiently disengaging lifting surfaces 116 a, 116 b and 116 c of lifting platform 116 from cooperative lifting surfaces 308 a, 312 b, and 314 b, respectively of elevator 18 to allow elevator 18 to freely return to inner surface 54 of inferior endplate 14. However, in the event elevator 18 fails to fully or partially return to such position, during pushing of second insert 16 into device 10 by driver 124, the inclined surfaces 208 a adjacent the front distal end 208 of second insert 16 contacts inclined surfaces 312 a and 314 a, respectively at the upper free end of each arm 312 and 314 of elevator 18, as shown in FIGS. 16 a-b, to urge elevator 18 toward and against lower surface 54 of the inferior endplate 14 creating a space 64 between lower surface 204 of the first insert 16 and upper surface 302 of elevator 18. Alternatively, or in addition, a suitable biasing element may be included to normally urge elevator 18 toward inner surface 54 of inferior endplate 14. Inferior endplate 14 may be formed to include a lip 46 a on the front end wall 46 adjacent the distal end of cavity 48 to contain a spring 107 which would serve as the biasing element, as shown, for example, in FIG. 15 a. It should be understood that the features urging elevator 18 toward lower inner surface 54 of inferior endplate 14 function during the insertion of first insert 16 as well as with all subsequently inserted inserts 16.
Continued operation of actuator 102 during the second stroke will continue to move second insert 16 until fully inserted shown in FIG. 17. During insertion of second insert 16 into device 10, the resilient interlocking features of receptacle 220 described hereinabove of the second insert 16 cooperatively interlock with the complementary interlocking features of flexible latch 318 on the distal end of elevator 18. Upon completion of insertion of second insert 16, opening 216 of insert 16 is at least partially aligned with opening 216 of the first insert, opening 38 of superior endplate 12 and opening 60 of inferior endplate 14, all of which will be in communication upon removal of inserter 100. The second insert 16 is the lowermost insert and resides on upper surface 302 of elevator 18 directly below and in contact with first insert 16, as shown in FIGS. 17 and 18. Driver 124 is then again retracted proximally to the original position shown n FIGS. 10 a-b when the hand grip 134 of actuator 102 is released.
When the intradiscal space has been expanded to its maximum anatomic extent as the spine reaches ligamentotaxis and the device 10 cannot be further expanded, the surgeon will be able to determine such condition by tactile feedback. Insertion of an insert 16 into device 10 can only be achieved after elevator 18 reaches its ultimate movement in the direction of expansion toward superior endplate 12. As such, failure to compress hand grips 132/134 in a manner to complete the first stroke of actuator 102 will allow the surgeon to recognize that ligamentotaxis has been reached and the proper intradiscal height has been restored. Inasmuch as the insertion of an insert 16 follows the expansion of device 10 upon full movement of elevator 18 in the direction of expansion toward inferior endplate 14, incomplete insertion of an insert 16 may be avoided. An indication that full expansion of device 10 has been reached may also be determined visually as described hereinabove by observation that flags 162 on actuator 102 have rotated relative to frame 101. The surgeon would then terminate the procedure by actuating hex fitting 174, as described hereinabove. Inserter 100 would then be removed from the expanded device 10 by rotatably removing knob 112 from the proximal end of guide pin 108. As shown in FIG. 19, the guide pin 108 may remain releasably connected to expanded device 10 to serve as a locator for subsequent attachment to an apparatus containing suitable bone graft to assist in the delivery of such material into channel 50 of inferior endplate 14 through which inserts 16 were inserted. As such, upon removal of inserter 100 from expanded device 10, a substantially unobstructed path exists from channel 50 though opening 316 of elevator 18 and openings 216 of inserts 16 and into openings 38 and 60 extending through the superior endplate 12 and the inferior endplate 14, respectively, to allow bone graft material introduced into expanded device 10 through channel 50 to flow fully through device 10.
In accordance with certain specific applications of device 10 for posterior implantation as described hereinabove, the overall length of the device 10 as defined by the length of the inferior endplate 14 is about 25 mm. The width of the device 10 is approximately 10 mm. The height of the unexpanded device 10 of FIGS. 1 a-c with the superior endplate 12 fully nested within the inferior endplate 14 is approximately 7 mm. With the introduction of five inserts 16, each of which has a thickness of approximately 1.0 mm, the height of device 10 may be expanded from an unexpanded height of approximately 7 mm to an expanded height of approximately 12 mm. It should be appreciated that these dimensions are only illustrative and the number of inserts 16 as well as the dimensions of device 10 may vary depending upon the particular surgery and application. For example, device 10 for posterior implantation may have an initial unexpanded height in the range of approximately 7-10 mm, a width in the range of approximately 10-14 mm, and a length in the range of approximately 20-35 mm, with up to eight inserts 16 for the taller sizes. For implementing such posterior-size devices 10, trigger actuator 102 may have an operating mechanism as described herein for expanding device 10 in a first stroke and fully inserting an insert 16 in a second stroke.
For certain applications of device 10 that may be implanted from a lateral approach, device 10 may have an unexpanded height in the range of approximately 8-10 mm, a width in the range of approximately 14-26 mm, and a length in the range of approximately 35-60 mm. To implant such devices 10 from the lateral approach, trigger actuator 102 may have an operating mechanism adjusted to expand device 10 in a first stroke, partially insert an insert 16 in a second stroke, and fully insert an insert 16 in a third stroke.
Channel 50, extending through the rear end wall 44, is sized and configured to facilitate the introduction of a suitable bone graft material by a graft delivery apparatus that may use guide pin 108 as a locator, as shown in FIG. 19. Such a graft delivery apparatus may have an entry tip sized and configured for entry into channel 50. In a particular arrangement, it may be desirable to increase the entry opening to further ease the delivery of graft material. In such instance, a portion of rear end wall 44 may be notched out to form a channel portion 50 a of increased height directly below threaded opening 56. Channel portion 50 a situated below threading opening 56 would direct the entry flow of bone graft material into the center of expanded device 10. Channel portion 50 a may be suitably configured to cooperatively receive the entry tip of the graft delivery apparatus, with such channel portion 50 a being rectangular, square or arcuate. In the example of device 10 for posterior applications, channel portion 50 a may be particularly configured to be square. Where such device 10 has an initial unexpanded height of 7 mm and a width of 10 mm, channel portion 50 a may have a width of 3 mm and a height of 3 mm as measured vertically from inner surface 54. In the example of device 10 for lateral applications, channel portion 50 a may be particularly configured to be generally rectangular. Where such device 10 has an initial unexpanded height of 8 mm and a width of 16 mm, channel portion 50 a may have a height of 3 mm as measured vertically from inner surface 54, and a width of 6 mm. For purposes of delivering bone graft material in the form of autograft, it is desirable that the minimum dimension of channel portion 50 a, or any portion of channel 50 used as an entry port for such autograft material be no less than about 2 mm. It should be appreciated, however, that depending upon the viscosity of bone graft material to be delivered, such minimum dimension may vary.
Turning now to FIG. 20, an alternative inserter 400 embodying a modular construction is described. Inserter 400 comprises an actuator 402 and a releasable cartridge 404. Actuator 402 includes a pair of hand grips 407 and 408 that are biased apart by an extension spring in the same manner as in trigger actuator 102 described hereinabove. Actuator 402 includes a frame 410 housing an operating mechanism 411 substantially the same as the operating mechanism of trigger actuator 102. Grip 407 is fixedly secured to frame 410 while grip 408 is pivotally connected to frame 410 by a pivot pin 412. Frame 410 supports a rotatable flag 414 that is coupled to the operating mechanism 411 as in trigger actuator 102. Frame 410 includes a pair of spring-loaded flexible latches 416 projecting upwardly from an interface surface 410 a adjacent the proximal end 410 b of frame 410. Adjacent the distal end 410 c of frame 410 a support surface 410 d is provided. Actuator 402 in a particular embodiment is reusable. Frame 410, as well as frame 101, and hand grips 407, 408, as well as hand grips 132, 134 are all formed of stainless steel in a particular arrangement, although other materials, such as aluminum alloys and plastics may also be used.
Cartridge 404 comprises a track 406 contained within an outer cover 418 similar to track 104 and cover 106 of trigger actuator 102. Cartridge 404 likewise houses a translatable lifting platform, a translatable driver and an indexing member (all not shown) that are constructed the same as lifting platform 116, driver 124 and indexing member 125 of trigger actuator 102, and that function in the same manner. A support 420 comparable to support 172 is secured to the bottom of cover 418. Cartridge 404 supports a plurality of inserts 16 in a linear array for insertion into the expandable device 10. Cooperative latching structure is provided at the bottom surface of cover 418 for releasable engagement with latches 416 of actuator 402. In a particular embodiment, cartridge 404 is disposable.
Cartridge 404 is releasably attached to frame 410 by initially engaging support 420 with support surface 410 d on frame 410 and then rotating cartridge down toward proximal end 410 b until latches 416 releasably attach to the cooperative latching structure at the bottom of cartridge 404. Upon attachment of cartridge 404 with actuator 402, components of operating mechanism 411 interface with the driver and the lifting mechanism within track 406 in a manner comparable to actuator 102, including the receipt of boss feature 422 (the same as boss feature 156) into a slot that is the same as slot 124 d of driver 124. Cartridge 404 may be released from actuator 402 by actuation of release levers 424 supported by frame 410 on both sides thereof and movably coupled to latches 416. In all other respects, modular inserter 400 operates the same as trigger actuator 102 described hereinabove.
While the invention has been illustrated and described in detail in the drawings and foregoing description, the same should be considered as illustrative and not restrictive in character. It is understood that only the preferred embodiments have been presented and that all changes, modifications and further applications that come within the spirit of the invention are desired to be protected. For instance, an inserter with a graft shield, such as shield 128, may be used with expandable spinal interbody fusion devices having an expansion structure without an elevator 18 as described hereinabove. For example, an inserter with a graft shield 128 may be used with the expandable interbody fusion device shown and described in the '054 Application referenced hereinabove wherein the device is expanded upon introduction of a series of wafers. Shield 128 may be used similarly as described herein to provide a barrier between a graft opening through one of the endplates, such as the superior endplate, and the wafers. Such a barrier would substantially prevent bone graft material pre-packed into such opening from interfering with sliding receipt of such wafers during insertion and expansion of the device. In addition, it should also be appreciated that actuators other than trigger actuators, such as with threaded rotary mechanisms, may be used with the inserter 100 described herein.

Claims (24)

What is claimed is:
1. An inserter for expanding an expandable spinal interbody fusion device and inserting a plurality of inserts therewithin, comprising:
an elongate track having a distal end and a proximal end, said distal end being configured to be releasably attached to said device, said inserter including at said proximal end an actuator, said track linearly supporting said plurality of inserts for sequential individual insertion into said device, an elongate lifting platform which moves on said track and operably coupled to said actuator for translational movement in axially opposite projecting and is retracting directions, said lifting platform including a lifting surface for engaging a cooperatively configured receiving surface of said device when said lifting platform is in said projecting direction to expand said device, said inserter including an elongate driver which moves on said track and is operably coupled to said actuator for translational movement at least partially independently of said lifting platform in axially opposite directions for contacting and driving an insert from said plurality of inserts into said device, wherein said movement of said lifting platform in said projecting direction is effected in a first stroke of said actuator, and said movement of said lifting platform in said retracting direction is effected in a second stroke of said actuator.
2. The inserter of claim 1, wherein said lifting platform is generally flat and has a distal free end projecting outwardly from said inserter.
3. The inserter of claim 2, wherein said lifting surface comprises multiple points of contact.
4. The inserter of claim 3, wherein said multiple points of contact are defined by cooperative lifting surfaces, wherein said cooperative lifting surfaces on said lifting platform include a lifting surface adjacent a distal end of said lifting platform and a lifting surface at a location spaced proximally of the distal end of said lifting platform.
5. The inserter of claim 4, wherein the cooperative lifting surfaces on said lifting platform define at least three points of contact.
6. The inserter of claim 4, wherein each of said cooperative lifting surfaces on said lifting platform is formed as an inclined ramp.
7. The inserter of claim 6, wherein said driver has a distal end defining a pushing surface for engagement with a cooperative pushing surface on each of said inserts.
8. The inserter of claim 7, wherein said lifting platform is coupled to said actuator to move during said first stroke in the projecting direction while said driver remains stationary.
9. The inserter of claim 8, wherein said lifting platform is coupled to said actuator to hold the position of said lifting platform in a lifted position relative to said device upon completion of said first stroke while said driver is moved in said second stroke while said lifting platform is held in the lifted position to push each of said inserts at least partially into said device.
10. The inserter of claim 9, wherein said lifting platform is coupled to said actuator to retract said lifting platform in the retracting direction in the second stroke after each of said inserts is positioned at least partially into said device, said driver being coupled to said actuator to advance each of said inserts in said second stroke substantially fully into said device after each insert has been at least partially positioned into said device.
11. The inserter of claim 1, further comprising a guide pin releasably connectable to said device and detachably connected to said inserter.
12. The inserter of claim 1, wherein said inserter further comprises a graft shield projecting from the distal end of said inserter and being of size and configuration to extend into said device.
13. An inserter for expanding an expandable spinal interbody fusion device and inserting an insert therewithin, comprising:
a frame;
an elongate lifting platform movably supported by said frame for expanding said device;
an elongate driver movably supported by said frame for inserting an insert into said device, said driver being movable at least partially independently of said lifting platform; and
an actuator supported by said frame and operably coupled to said driver to cause independent movement of said driver and said lifting platform upon operation thereof relative to said frame;
wherein said lifting platform is moved axially in a first stroke of said actuator, and said driver is moved axially in a second stroke of said actuator.
14. The inserter of claim 13, wherein said elongate lifting platform is moved exclusively during said entire first stroke while said driver remains stationary.
15. The inserter of claim 14, wherein said driver is moved exclusively during a portion of said second stroke while said elongate lifting platform remains stationary.
16. The inserter of claim 15, wherein said elongate lifting platform and said driver are moved in opposite axial directions during a further portion of said second stroke.
17. The inserter of claim 13, wherein said actuator comprises a pair of hand grips, one grip being fixedly secured to said frame and the other grip being pivotally connected to said frame.
18. The inserter of claim 13, further comprising an indicator movably coupled to said lifting platform to provide a visual indication of the position of the lifting platform.
19. An inserter for expanding an expandable spinal interbody fusion device and inserting an insert therewithin, comprising:
an actuator including a frame and an operating mechanism; and
an elongate cartridge releasably connected to said frame, said cartridge including an elongate track supporting for movement thereon an elongate lifting platform for expanding said device, said elongate track supporting for movement thereon at least partially independently of said lifting platform an elongate driver for inserting an insert into said device, and a plurality of inserts in a linear array, said cartridge being disposed on said frame such that said lifting platform and said driver are operably separably connected to said operating mechanism.
20. The inserter of claim 19, wherein said cartridge is disposable.
21. The inserter of claim 20, wherein said actuator is reusable.
22. The inserter of claim 19, wherein said actuator frame comprises a flexible latch for releasable connection to said cartridge.
23. The inserter of claim 22, wherein said frame includes a movable lever for actuation of said flexible latch and release of said cartridge from said frame.
24. The inserter of claim 19, wherein said actuator comprises a pair of hand grips, one grip being fixedly secured to said frame and the other grip being pivotally connected to said frame and spring-loaded relative to said one grip.
US14/474,721 2014-03-06 2014-09-02 Inserter for an expandable spinal interbody fusion device Expired - Fee Related US9084686B1 (en)

Priority Applications (6)

Application Number Priority Date Filing Date Title
US14/474,721 US9084686B1 (en) 2014-03-06 2014-09-02 Inserter for an expandable spinal interbody fusion device
CA2941055A CA2941055C (en) 2014-03-06 2015-02-19 Inserter for an expandable spinal interbody fusion device
PCT/US2015/016574 WO2015134196A1 (en) 2014-03-06 2015-02-19 Inserter for an expandable spinal interbody fusion device
EP15758440.0A EP3113726A4 (en) 2014-03-06 2015-02-19 Inserter for an expandable spinal interbody fusion device
AU2015225697A AU2015225697B2 (en) 2014-03-06 2015-02-19 Inserter for an expandable spinal interbody fusion device
JP2016555685A JP6100982B1 (en) 2014-03-06 2015-02-19 Inserter for expandable spinal interbody fusion device

Applications Claiming Priority (4)

Application Number Priority Date Filing Date Title
US201461948654P 2014-03-06 2014-03-06
US201461948660P 2014-03-06 2014-03-06
US201461948645P 2014-03-06 2014-03-06
US14/474,721 US9084686B1 (en) 2014-03-06 2014-09-02 Inserter for an expandable spinal interbody fusion device

Publications (1)

Publication Number Publication Date
US9084686B1 true US9084686B1 (en) 2015-07-21

Family

ID=55177064

Family Applications (5)

Application Number Title Priority Date Filing Date
US14/474,639 Expired - Fee Related US9114026B1 (en) 2014-03-06 2014-09-02 Inserter for an expandable spinal interbody fusion device
US14/474,575 Expired - Fee Related US9107766B1 (en) 2014-03-06 2014-09-02 Expandable spinal interbody fusion device and inserter
US14/474,599 Expired - Fee Related US9216094B2 (en) 2014-03-06 2014-09-02 Expandable spinal interbody fusion device and inserter
US14/474,555 Expired - Fee Related US9078767B1 (en) 2014-03-06 2014-09-02 Expandable spinal interbody fusion device
US14/474,721 Expired - Fee Related US9084686B1 (en) 2014-03-06 2014-09-02 Inserter for an expandable spinal interbody fusion device

Family Applications Before (4)

Application Number Title Priority Date Filing Date
US14/474,639 Expired - Fee Related US9114026B1 (en) 2014-03-06 2014-09-02 Inserter for an expandable spinal interbody fusion device
US14/474,575 Expired - Fee Related US9107766B1 (en) 2014-03-06 2014-09-02 Expandable spinal interbody fusion device and inserter
US14/474,599 Expired - Fee Related US9216094B2 (en) 2014-03-06 2014-09-02 Expandable spinal interbody fusion device and inserter
US14/474,555 Expired - Fee Related US9078767B1 (en) 2014-03-06 2014-09-02 Expandable spinal interbody fusion device

Country Status (2)

Country Link
US (5) US9114026B1 (en)
WO (2) WO2015134195A1 (en)

Cited By (17)

* Cited by examiner, † Cited by third party
Publication number Priority date Publication date Assignee Title
US20150374509A1 (en) * 2014-06-25 2015-12-31 Spine Wave, Inc. Expandable interbody fusion device with nested correction surface
US9861495B2 (en) 2013-03-14 2018-01-09 Raed M. Ali, M.D., Inc. Lateral interbody fusion devices, systems and methods
US9980750B2 (en) 2011-03-18 2018-05-29 Raed M. Ali, M.D., Inc. Spinal fusion devices and systems
WO2018195286A1 (en) * 2017-04-19 2018-10-25 Metronom Health, Inc. Inserter for an analyte sensors
US10179054B2 (en) 2008-02-06 2019-01-15 Jeffrey B. Kleiner Spinal fusion cage system with inserter
US10195053B2 (en) 2009-09-18 2019-02-05 Spinal Surgical Strategies, Llc Bone graft delivery system and method for using same
US10201355B2 (en) 2009-02-06 2019-02-12 Kleiner Intellectual Property, Llc Angled surgical tool for removing tissue from within an intervertebral space
US10245159B1 (en) 2009-09-18 2019-04-02 Spinal Surgical Strategies, Llc Bone graft delivery system and method for using same
US10314718B2 (en) 2016-09-22 2019-06-11 Loubert S. Suddaby Expandable intervertebral fusion implant
US10596010B2 (en) 2017-09-18 2020-03-24 Loubert S. Suddaby Stand-alone expandable interbody spinal fusion device with locking mechanism
US10687962B2 (en) 2013-03-14 2020-06-23 Raed M. Ali, M.D., Inc. Interbody fusion devices, systems and methods
US10973656B2 (en) 2009-09-18 2021-04-13 Spinal Surgical Strategies, Inc. Bone graft delivery system and method for using same
US10987228B2 (en) 2011-03-18 2021-04-27 Raed M. Ali, M.D., Inc. Devices and methods for transpedicular stabilization of the spine
US11207192B2 (en) 2017-01-26 2021-12-28 Loubert S. Suddaby Stand-alone expandable interbody spinal fusion device with integrated fixation mechanism
US11219532B2 (en) 2017-09-18 2022-01-11 Loubert S. Suddaby Stand-alone expandable interbody spinal fusion device with locking mechanism
US11666455B2 (en) 2009-09-18 2023-06-06 Spinal Surgical Strategies, Inc., A Nevada Corporation Bone graft delivery devices, systems and kits
US11701239B2 (en) 2017-01-26 2023-07-18 Loubert S. Suddaby Stand-alone expandable interbody spinal fusion device with integrated fixation mechanism

Families Citing this family (58)

* Cited by examiner, † Cited by third party
Publication number Priority date Publication date Assignee Title
US6793678B2 (en) 2002-06-27 2004-09-21 Depuy Acromed, Inc. Prosthetic intervertebral motion disc having dampening
US8597360B2 (en) 2004-11-03 2013-12-03 Neuropro Technologies, Inc. Bone fusion device
WO2008070863A2 (en) 2006-12-07 2008-06-12 Interventional Spine, Inc. Intervertebral implant
US8900307B2 (en) 2007-06-26 2014-12-02 DePuy Synthes Products, LLC Highly lordosed fusion cage
US8551173B2 (en) 2008-01-17 2013-10-08 DePuy Synthes Products, LLC Expandable intervertebral implant and associated method of manufacturing the same
CA2720580A1 (en) 2008-04-05 2009-10-08 Synthes Usa, Llc Expandable intervertebral implant
US9526620B2 (en) 2009-03-30 2016-12-27 DePuy Synthes Products, Inc. Zero profile spinal fusion cage
CN105342683B (en) 2009-07-06 2018-02-13 斯恩蒂斯有限公司 Expandable fixation assemblies
US8979860B2 (en) 2010-06-24 2015-03-17 DePuy Synthes Products. LLC Enhanced cage insertion device
US8623091B2 (en) 2010-06-29 2014-01-07 DePuy Synthes Products, LLC Distractible intervertebral implant
US20120078372A1 (en) 2010-09-23 2012-03-29 Thomas Gamache Novel implant inserter having a laterally-extending dovetail engagement feature
US9402732B2 (en) 2010-10-11 2016-08-02 DePuy Synthes Products, Inc. Expandable interspinous process spacer implant
US10420654B2 (en) 2011-08-09 2019-09-24 Neuropro Technologies, Inc. Bone fusion device, system and method
WO2013023098A1 (en) 2011-08-09 2013-02-14 Neuropro Spinal Jaxx Inc. Bone fusion device, apparatus and method
US10292830B2 (en) 2011-08-09 2019-05-21 Neuropro Technologies, Inc. Bone fusion device, system and method
US9248028B2 (en) 2011-09-16 2016-02-02 DePuy Synthes Products, Inc. Removable, bone-securing cover plate for intervertebral fusion cage
US9532883B2 (en) 2012-04-13 2017-01-03 Neuropro Technologies, Inc. Bone fusion device
US10159583B2 (en) * 2012-04-13 2018-12-25 Neuropro Technologies, Inc. Bone fusion device
WO2014018098A1 (en) 2012-07-26 2014-01-30 DePuy Synthes Products, LLC Expandable implant
US9717601B2 (en) 2013-02-28 2017-08-01 DePuy Synthes Products, Inc. Expandable intervertebral implant, system, kit and method
US9522070B2 (en) 2013-03-07 2016-12-20 Interventional Spine, Inc. Intervertebral implant
US10098757B2 (en) 2013-03-15 2018-10-16 Neuropro Technologies Inc. Bodiless bone fusion device, apparatus and method
ES2915684T3 (en) * 2013-05-14 2022-06-24 Expanding Innovations Inc Intervertebral devices and related methods
AU2014268740B2 (en) 2013-05-20 2018-04-26 K2M, Inc. Adjustable implant and insertion tool
US11065132B2 (en) 2014-03-06 2021-07-20 Spine Wave, Inc. Method of expanding a space between opposing tissue surfaces
US9439783B2 (en) 2014-03-06 2016-09-13 Spine Wave, Inc. Inserter for expanding body tissue
US9445921B2 (en) 2014-03-06 2016-09-20 Spine Wave, Inc. Device for expanding and supporting body tissue
US9585762B2 (en) 2014-10-09 2017-03-07 K2M, Inc. Expandable spinal interbody spacer and method of use
US11426290B2 (en) 2015-03-06 2022-08-30 DePuy Synthes Products, Inc. Expandable intervertebral implant, system, kit and method
US9913727B2 (en) 2015-07-02 2018-03-13 Medos International Sarl Expandable implant
JP2018527108A (en) * 2015-09-23 2018-09-20 アルファテック スパイン, インコーポレイテッド Implants and guides for inserting implants
ES2969787T3 (en) * 2015-10-09 2024-05-22 Spectrum Spine Ip Holdings Llc Adjustable and Expandable Interbody Fusion Devices
US10426631B2 (en) * 2016-02-20 2019-10-01 Seth K. WILLIAMS System and method for spine fusion using an expandable cage
US10004608B2 (en) 2016-02-26 2018-06-26 K2M, Inc. Insertion instrument for expandable spinal implants
US10433981B2 (en) 2016-05-13 2019-10-08 Spine Wave, Inc. Graft delivery apparatus
WO2018002715A2 (en) 2016-06-28 2018-01-04 Eit Emerging Implant Technologies Gmbh Expandable and angularly adjustable articulating intervertebral cages
WO2018002711A2 (en) 2016-06-28 2018-01-04 Eit Emerging Implant Technologies Gmbh Expandable, angularly adjustable intervertebral cages
CN106308984B (en) * 2016-08-31 2018-09-14 广州爱锘德医疗器械有限公司 Bidirectional up-down fusion device and rotating mechanism for driving Bidirectional up-down fusion device
CN106166092B (en) * 2016-08-31 2018-09-14 广州爱锘德医疗器械有限公司 Lift threaded fusion cage and the operator for driving lifting threaded fusion cage
US10537436B2 (en) 2016-11-01 2020-01-21 DePuy Synthes Products, Inc. Curved expandable cage
US10888433B2 (en) 2016-12-14 2021-01-12 DePuy Synthes Products, Inc. Intervertebral implant inserter and related methods
TR201620372A3 (en) * 2016-12-30 2018-08-27 Tobb Ekonomi Ve Teknoloji Ueniversitesi AN EXTENDABLE CAGE
US10213321B2 (en) 2017-01-18 2019-02-26 Neuropro Technologies, Inc. Bone fusion system, device and method including delivery apparatus
US10973657B2 (en) 2017-01-18 2021-04-13 Neuropro Technologies, Inc. Bone fusion surgical system and method
US10111760B2 (en) 2017-01-18 2018-10-30 Neuropro Technologies, Inc. Bone fusion system, device and method including a measuring mechanism
US10729560B2 (en) 2017-01-18 2020-08-04 Neuropro Technologies, Inc. Bone fusion system, device and method including an insertion instrument
US10398563B2 (en) 2017-05-08 2019-09-03 Medos International Sarl Expandable cage
US11344424B2 (en) 2017-06-14 2022-05-31 Medos International Sarl Expandable intervertebral implant and related methods
US10940016B2 (en) 2017-07-05 2021-03-09 Medos International Sarl Expandable intervertebral fusion cage
WO2019210235A1 (en) * 2018-04-27 2019-10-31 Kleiner Device Labs, Llc. Tools for spinal surgery
US11446156B2 (en) 2018-10-25 2022-09-20 Medos International Sarl Expandable intervertebral implant, inserter instrument, and related methods
CN109820626B (en) * 2019-03-15 2023-11-14 博能华医疗器械(北京)有限公司 Four-way expansion interbody fusion cage
US11426286B2 (en) 2020-03-06 2022-08-30 Eit Emerging Implant Technologies Gmbh Expandable intervertebral implant
US11850160B2 (en) 2021-03-26 2023-12-26 Medos International Sarl Expandable lordotic intervertebral fusion cage
US11752009B2 (en) 2021-04-06 2023-09-12 Medos International Sarl Expandable intervertebral fusion cage
US12161560B2 (en) 2021-08-03 2024-12-10 Warsaw Orthopedic, Inc. Integral graft interbody devices
US12090064B2 (en) 2022-03-01 2024-09-17 Medos International Sarl Stabilization members for expandable intervertebral implants, and related systems and methods
WO2023196246A1 (en) 2022-04-05 2023-10-12 Spine Wave, Inc. Steerable and expandable interbody fusion device and associated instrumentation

Citations (111)

* Cited by examiner, † Cited by third party
Publication number Priority date Publication date Assignee Title
US3486505A (en) 1967-05-22 1969-12-30 Gordon M Morrison Orthopedic surgical instrument
US4524766A (en) 1982-01-07 1985-06-25 Petersen Thomas D Surgical knee alignment method and system
US4624254A (en) * 1982-02-17 1986-11-25 United States Surgical Corporation Apparatus for applying surgical clips
US4683476A (en) 1984-06-22 1987-07-28 Benson S.A. Drawing machine having automatically replaced writing members and apparatus therefor
US4736738A (en) 1984-07-09 1988-04-12 Matej Lipovsek Instrument kit and procedure for performing posterior lumbar interbody fusion
US4743493A (en) 1986-10-06 1988-05-10 Spire Corporation Ion implantation of plastics
US4755797A (en) 1986-08-14 1988-07-05 Nittan Co., Ltd. Fire alarm apparatus
US4863476A (en) 1986-08-29 1989-09-05 Shepperd John A N Spinal implant
US4888024A (en) 1985-11-08 1989-12-19 Powlan Roy Y Prosthetic device and method of fixation within the medullary cavity of bones
FR2639823A1 (en) 1988-12-06 1990-06-08 Garcia Alain Replacement of the nucleus of the intervertebral disc by a polyurethane polymerised in situ
US5059193A (en) 1989-11-20 1991-10-22 Spine-Tech, Inc. Expandable spinal implant and surgical method
US5192327A (en) 1991-03-22 1993-03-09 Brantigan John W Surgical prosthetic implant for vertebrae
US5192326A (en) 1990-12-21 1993-03-09 Pfizer Hospital Products Group, Inc. Hydrogel bead intervertebral disc nucleus
US5197971A (en) 1990-03-02 1993-03-30 Bonutti Peter M Arthroscopic retractor and method of using the same
US5298254A (en) 1989-09-21 1994-03-29 Osteotech, Inc. Shaped, swollen demineralized bone and its use in bone repair
EP0621020A1 (en) 1993-04-21 1994-10-26 SULZER Medizinaltechnik AG Intervertebral prosthesis and method of implanting such a prosthesis
US5431658A (en) 1994-02-14 1995-07-11 Moskovich; Ronald Facilitator for vertebrae grafts and prostheses
FR2719763A1 (en) 1994-05-11 1995-11-17 Jean Taylor Vertebral implant.
US5505732A (en) 1988-06-13 1996-04-09 Michelson; Gary K. Apparatus and method of inserting spinal implants
US5514180A (en) 1994-01-14 1996-05-07 Heggeness; Michael H. Prosthetic intervertebral devices
US5522899A (en) 1988-06-28 1996-06-04 Sofamor Danek Properties, Inc. Artificial spinal fusion implants
US5571109A (en) 1993-08-26 1996-11-05 Man Ceramics Gmbh System for the immobilization of vertebrae
US5591235A (en) 1995-03-15 1997-01-07 Kuslich; Stephen D. Spinal fixation device
US5645599A (en) 1994-07-26 1997-07-08 Fixano Interspinal vertebral implant
US5756127A (en) 1996-10-29 1998-05-26 Wright Medical Technology, Inc. Implantable bioresorbable string of calcium sulfate beads
US5766252A (en) 1995-01-24 1998-06-16 Osteonics Corp. Interbody spinal prosthetic implant and method
US5836948A (en) 1997-01-02 1998-11-17 Saint Francis Medical Technologies, Llc Spine distraction implant and method
US5860977A (en) 1997-01-02 1999-01-19 Saint Francis Medical Technologies, Llc Spine distraction implant and method
WO1999002214A1 (en) 1997-07-09 1999-01-21 Tegementa, L.L.C. Interbody device and method for treatment of osteoporotic vertebral collapse
US5891147A (en) 1996-06-25 1999-04-06 Sdgi Holdings, Inc. Minimally invasive spinal surgical methods & instruments
US5951553A (en) 1997-07-14 1999-09-14 Sdgi Holdings, Inc. Methods and apparatus for fusionless treatment of spinal deformities
US5980522A (en) 1994-07-22 1999-11-09 Koros; Tibor Expandable spinal implants
US5997552A (en) * 1995-10-20 1999-12-07 United States Surgical Corporation Meniscal fastener applying device
US6033411A (en) 1997-10-14 2000-03-07 Parallax Medical Inc. Precision depth guided instruments for use in vertebroplasty
US6045579A (en) 1997-05-01 2000-04-04 Spinal Concepts, Inc. Adjustable height fusion device
US6066154A (en) 1994-01-26 2000-05-23 Kyphon Inc. Inflatable device for use in surgical protocol relating to fixation of bone
US6110210A (en) 1999-04-08 2000-08-29 Raymedica, Inc. Prosthetic spinal disc nucleus having selectively coupled bodies
US6110179A (en) 1998-03-02 2000-08-29 Benoist Girard Sas Prosthesis inserter
US6159211A (en) 1998-10-22 2000-12-12 Depuy Acromed, Inc. Stackable cage system for corpectomy/vertebrectomy
US6159244A (en) 1999-07-30 2000-12-12 Suddaby; Loubert Expandable variable angle intervertebral fusion implant
US6183517B1 (en) 1998-12-16 2001-02-06 Loubert Suddaby Expandable intervertebral fusion implant and applicator
US6190414B1 (en) 1996-10-31 2001-02-20 Surgical Dynamics Inc. Apparatus for fusion of adjacent bone structures
US6200347B1 (en) 1999-01-05 2001-03-13 Lifenet Composite bone graft, method of making and using same
US6241771B1 (en) 1997-08-13 2001-06-05 Cambridge Scientific, Inc. Resorbable interbody spinal fusion devices
US6273898B1 (en) * 1997-11-26 2001-08-14 Aesculap Ag & Co. Kg Clip applicator
US6273916B1 (en) 1999-09-02 2001-08-14 Cook Incorporated Method and apparatus for strengthening vertebral bodies
US6279916B1 (en) 1995-06-29 2001-08-28 Friedhelm Stecher Flat gasket and method of producing the same
US6287309B1 (en) 1997-09-23 2001-09-11 Dimso (Distribution Medicale Du Sudouest) Screw and plate system for backbone osteosynthesis
US6287308B1 (en) 1997-07-14 2001-09-11 Sdgi Holdings, Inc. Methods and apparatus for fusionless treatment of spinal deformities
US6290724B1 (en) 1998-05-27 2001-09-18 Nuvasive, Inc. Methods for separating and stabilizing adjacent vertebrae
US20020026195A1 (en) 2000-04-07 2002-02-28 Kyphon Inc. Insertion devices and method of use
US6387130B1 (en) 1999-04-16 2002-05-14 Nuvasive, Inc. Segmented linked intervertebral implant systems
US6395034B1 (en) 1999-11-24 2002-05-28 Loubert Suddaby Intervertebral disc prosthesis
US6402750B1 (en) 2000-04-04 2002-06-11 Spinlabs, Llc Devices and methods for the treatment of spinal disorders
US6419705B1 (en) 1999-06-23 2002-07-16 Sulzer Spine-Tech Inc. Expandable fusion device and method
US6432107B1 (en) 2000-01-15 2002-08-13 Bret A. Ferree Enhanced surface area spinal fusion devices
US6436142B1 (en) 1998-12-14 2002-08-20 Phoenix Biomedical Corp. System for stabilizing the vertebral column including deployment instruments and variable expansion inserts therefor
US20020147497A1 (en) 2001-04-06 2002-10-10 Integrated Vascular Systems, Inc. Methods for treating spinal discs
US6478800B1 (en) 2000-05-08 2002-11-12 Depuy Acromed, Inc. Medical installation tool
US20020177897A1 (en) 2001-02-04 2002-11-28 Michelson Gary K. Instrumentation and method for inserting and deploying and expandable interbody spinal fusion implant
US6488710B2 (en) 1999-07-02 2002-12-03 Petrus Besselink Reinforced expandable cage and method of deploying
US6500205B1 (en) 2000-04-19 2002-12-31 Gary K. Michelson Expandable threaded arcuate interbody spinal fusion implant with cylindrical configuration during insertion
US6520993B2 (en) 2000-12-29 2003-02-18 Depuy Acromed, Inc. Spinal implant
US6562074B2 (en) 2001-10-17 2003-05-13 Medicinelodge, Inc. Adjustable bone fusion implant and method
US6595998B2 (en) 2001-03-08 2003-07-22 Spinewave, Inc. Tissue distraction device
US20030171812A1 (en) 2001-12-31 2003-09-11 Ilan Grunberg Minimally invasive modular support implant device and method
US6620196B1 (en) 2000-08-30 2003-09-16 Sdgi Holdings, Inc. Intervertebral disc nucleus implants and methods
US6656178B1 (en) 1999-07-28 2003-12-02 Baat B.V. Engineering Vertebral-column fusion devices and surgical methods
US20040030387A1 (en) 2002-03-11 2004-02-12 Landry Michael E. Instrumentation and procedure for implanting spinal implant devices
US6695854B1 (en) * 1999-11-29 2004-02-24 General Surgical Innovations, Inc. Blood vessel clip and applicator
US6726691B2 (en) 1998-08-14 2004-04-27 Kyphon Inc. Methods for treating fractured and/or diseased bone
US6740093B2 (en) 2000-02-28 2004-05-25 Stephen Hochschuler Method and apparatus for treating a vertebral body
US6837904B2 (en) 2001-07-16 2005-01-04 Spinecore, Inc. Method of surgically treating scoliosis
US20050027364A1 (en) 2003-08-01 2005-02-03 Kim Daniel H. Prosthetic intervertebral disc and methods for using the same
US6852095B1 (en) 1997-07-09 2005-02-08 Charles D. Ray Interbody device and method for treatment of osteoporotic vertebral collapse
US6852126B2 (en) 2000-07-17 2005-02-08 Nuvasive, Inc. Stackable interlocking intervertebral support system
US20050283244A1 (en) 2003-08-05 2005-12-22 Gordon Charles R Method of insertion of an expandable intervertebral implant
US6997929B2 (en) 2003-05-16 2006-02-14 Spine Wave, Inc. Tissue distraction device
US20060058807A1 (en) 2004-08-25 2006-03-16 Michael Landry Expandable interbody fusion device
US20060129244A1 (en) 2004-10-25 2006-06-15 Alphaspine, Inc. Expandable intervertebral spacer method and apparatus
US7118580B1 (en) 1999-09-14 2006-10-10 Spine Solutions Inc. Instrument for inserting intervertebral implants
US7329283B2 (en) 1997-06-03 2008-02-12 Warsaw Orthopedic, Inc. Open intervertebral spacer
US20080119853A1 (en) 2006-11-21 2008-05-22 Jeffrey Felt Methods and apparatus for minimally invasive modular interbody fusion devices
US20080154377A1 (en) 2006-12-22 2008-06-26 Voellmicke John C Composite vertebral spacers and instrument
US20080161927A1 (en) 2006-10-18 2008-07-03 Warsaw Orthopedic, Inc. Intervertebral Implant with Porous Portions
US20080172127A1 (en) 2007-01-16 2008-07-17 Mi4Spine, Llc Minimally Invasive Interbody Device
US20080300598A1 (en) 2007-05-31 2008-12-04 Spine Wave, Inc. Expandable Interbody Fusion Device
US20090198339A1 (en) 2008-02-06 2009-08-06 Nuvasive, Inc. Systems and methods for spinal fusion
US7591852B2 (en) 2003-12-02 2009-09-22 Alphatec Spine, Inc. Vertebral body replacement cage assembly
US20090306672A1 (en) 2008-06-05 2009-12-10 Alphatec Spine,Inc. Alif inserter/distractor
US7722625B2 (en) 2004-06-30 2010-05-25 Depuy Products, Inc. Modular bone clamp instrument
US7753912B2 (en) * 2003-03-31 2010-07-13 Spine Wave, Inc. Tissue distraction device
US20100312347A1 (en) 2008-05-05 2010-12-09 Spinalmotion, Inc. Polyaryletherketone artificial intervertebral disc
US20110184522A1 (en) 2010-01-27 2011-07-28 Warsaw Orthopedic, Inc. Modular interbody devices and methods of use
US8062375B2 (en) 2009-10-15 2011-11-22 Globus Medical, Inc. Expandable fusion device and method of installation thereof
US20120022653A1 (en) 2010-07-20 2012-01-26 X-Spine Systems, Inc. Composite orthopedic implant having a low friction material substrate with primary frictional features and secondary frictional features
US20120158144A1 (en) 2005-05-06 2012-06-21 Ullrich Jr Peter F Implant with critical ratio of load bearing surface area to central opening area
US20120191190A1 (en) 2011-01-20 2012-07-26 Warsaw Orthopedic Spinal implant with attachable bone securing component
US8303663B2 (en) 2009-07-22 2012-11-06 Spinex Tec, Llc Methods and apparatuses for vertebral body distraction and fusion employing a coaxial screw gear sleeve mechanism
US8303879B2 (en) 2010-02-01 2012-11-06 Sb Technologies, Llc Composite interbody device and method of manufacture
US8308805B2 (en) 2010-03-16 2012-11-13 Pinnacle Spine Group, Llc Methods of delivering an implant to an intervertebral space
US20120316568A1 (en) * 2004-01-08 2012-12-13 Spine Wave, Inc. System for distracting opposing vertebral bodies of a spine
US8382842B2 (en) 2009-05-14 2013-02-26 Stout Medical Group, L.P. Expandable support device and method of use
US20130090735A1 (en) 2011-10-07 2013-04-11 Daniel Ryan Mermuys Intervertebral Implant
US20130184825A1 (en) 2008-02-06 2013-07-18 Kleiner Intellectual Property, Llc Spinal Fusion Cage with Removable Planar Elements
US8585761B2 (en) 2008-03-28 2013-11-19 K2M, Inc. Expandable cage with locking device
WO2013184946A1 (en) 2012-06-06 2013-12-12 Medivest, Llc Expandable tissue spacer implant and method of use
US8628578B2 (en) 2011-12-19 2014-01-14 Warsaw Orthopedic, Inc. Expandable interbody implant and methods of use
US8715351B1 (en) 2012-11-29 2014-05-06 Spine Wave, Inc. Expandable interbody fusion device with graft chambers
US8828019B1 (en) * 2013-03-13 2014-09-09 Spine Wave, Inc. Inserter for expanding an expandable interbody fusion device
US20140277476A1 (en) * 2013-03-12 2014-09-18 Spine Wave, Inc. Expandable interbody fusion device with graft chambers

Family Cites Families (3)

* Cited by examiner, † Cited by third party
Publication number Priority date Publication date Assignee Title
US7771473B2 (en) * 2006-07-06 2010-08-10 Lanx, Inc. Expandable spinal fusion cage
TW201103521A (en) * 2009-07-20 2011-02-01 Wei-Zhen Hong Spinal fusion device
US7863476B1 (en) 2009-11-23 2011-01-04 Oil Chem Technologies Multifunctional anionic surfactants

Patent Citations (140)

* Cited by examiner, † Cited by third party
Publication number Priority date Publication date Assignee Title
US3486505A (en) 1967-05-22 1969-12-30 Gordon M Morrison Orthopedic surgical instrument
US4524766A (en) 1982-01-07 1985-06-25 Petersen Thomas D Surgical knee alignment method and system
US4624254A (en) * 1982-02-17 1986-11-25 United States Surgical Corporation Apparatus for applying surgical clips
US4683476A (en) 1984-06-22 1987-07-28 Benson S.A. Drawing machine having automatically replaced writing members and apparatus therefor
US4736738A (en) 1984-07-09 1988-04-12 Matej Lipovsek Instrument kit and procedure for performing posterior lumbar interbody fusion
US4888024A (en) 1985-11-08 1989-12-19 Powlan Roy Y Prosthetic device and method of fixation within the medullary cavity of bones
US4755797A (en) 1986-08-14 1988-07-05 Nittan Co., Ltd. Fire alarm apparatus
US4863476A (en) 1986-08-29 1989-09-05 Shepperd John A N Spinal implant
US4743493A (en) 1986-10-06 1988-05-10 Spire Corporation Ion implantation of plastics
US5505732A (en) 1988-06-13 1996-04-09 Michelson; Gary K. Apparatus and method of inserting spinal implants
US5522899A (en) 1988-06-28 1996-06-04 Sofamor Danek Properties, Inc. Artificial spinal fusion implants
FR2639823A1 (en) 1988-12-06 1990-06-08 Garcia Alain Replacement of the nucleus of the intervertebral disc by a polyurethane polymerised in situ
US5439684A (en) 1989-09-21 1995-08-08 Osteotech, Inc. Shaped, swollen demineralized bone and its use in bone repair
US5298254A (en) 1989-09-21 1994-03-29 Osteotech, Inc. Shaped, swollen demineralized bone and its use in bone repair
US5059193A (en) 1989-11-20 1991-10-22 Spine-Tech, Inc. Expandable spinal implant and surgical method
US5197971A (en) 1990-03-02 1993-03-30 Bonutti Peter M Arthroscopic retractor and method of using the same
US5192326A (en) 1990-12-21 1993-03-09 Pfizer Hospital Products Group, Inc. Hydrogel bead intervertebral disc nucleus
US5192327A (en) 1991-03-22 1993-03-09 Brantigan John W Surgical prosthetic implant for vertebrae
EP0621020A1 (en) 1993-04-21 1994-10-26 SULZER Medizinaltechnik AG Intervertebral prosthesis and method of implanting such a prosthesis
US5702454A (en) 1993-04-21 1997-12-30 Sulzer Orthopadie Ag Process for implanting an invertebral prosthesis
US5755797A (en) 1993-04-21 1998-05-26 Sulzer Medizinaltechnik Ag Intervertebral prosthesis and a process for implanting such a prosthesis
US5571109A (en) 1993-08-26 1996-11-05 Man Ceramics Gmbh System for the immobilization of vertebrae
US5514180A (en) 1994-01-14 1996-05-07 Heggeness; Michael H. Prosthetic intervertebral devices
US6066154A (en) 1994-01-26 2000-05-23 Kyphon Inc. Inflatable device for use in surgical protocol relating to fixation of bone
US5431658A (en) 1994-02-14 1995-07-11 Moskovich; Ronald Facilitator for vertebrae grafts and prostheses
FR2719763A1 (en) 1994-05-11 1995-11-17 Jean Taylor Vertebral implant.
US5980522A (en) 1994-07-22 1999-11-09 Koros; Tibor Expandable spinal implants
US5645599A (en) 1994-07-26 1997-07-08 Fixano Interspinal vertebral implant
US5766252A (en) 1995-01-24 1998-06-16 Osteonics Corp. Interbody spinal prosthetic implant and method
US5591235A (en) 1995-03-15 1997-01-07 Kuslich; Stephen D. Spinal fixation device
US6279916B1 (en) 1995-06-29 2001-08-28 Friedhelm Stecher Flat gasket and method of producing the same
US5997552A (en) * 1995-10-20 1999-12-07 United States Surgical Corporation Meniscal fastener applying device
US5891147A (en) 1996-06-25 1999-04-06 Sdgi Holdings, Inc. Minimally invasive spinal surgical methods & instruments
US5756127A (en) 1996-10-29 1998-05-26 Wright Medical Technology, Inc. Implantable bioresorbable string of calcium sulfate beads
US6190414B1 (en) 1996-10-31 2001-02-20 Surgical Dynamics Inc. Apparatus for fusion of adjacent bone structures
US5836948A (en) 1997-01-02 1998-11-17 Saint Francis Medical Technologies, Llc Spine distraction implant and method
US5860977A (en) 1997-01-02 1999-01-19 Saint Francis Medical Technologies, Llc Spine distraction implant and method
US6074390A (en) 1997-01-02 2000-06-13 St. Francis Medical Technologies, Inc. Spine distraction implant and method
US6045579A (en) 1997-05-01 2000-04-04 Spinal Concepts, Inc. Adjustable height fusion device
US7329283B2 (en) 1997-06-03 2008-02-12 Warsaw Orthopedic, Inc. Open intervertebral spacer
WO1999002214A1 (en) 1997-07-09 1999-01-21 Tegementa, L.L.C. Interbody device and method for treatment of osteoporotic vertebral collapse
US6852095B1 (en) 1997-07-09 2005-02-08 Charles D. Ray Interbody device and method for treatment of osteoporotic vertebral collapse
US6287308B1 (en) 1997-07-14 2001-09-11 Sdgi Holdings, Inc. Methods and apparatus for fusionless treatment of spinal deformities
US5951553A (en) 1997-07-14 1999-09-14 Sdgi Holdings, Inc. Methods and apparatus for fusionless treatment of spinal deformities
US6241771B1 (en) 1997-08-13 2001-06-05 Cambridge Scientific, Inc. Resorbable interbody spinal fusion devices
US6287309B1 (en) 1997-09-23 2001-09-11 Dimso (Distribution Medicale Du Sudouest) Screw and plate system for backbone osteosynthesis
US6033411A (en) 1997-10-14 2000-03-07 Parallax Medical Inc. Precision depth guided instruments for use in vertebroplasty
US6273898B1 (en) * 1997-11-26 2001-08-14 Aesculap Ag & Co. Kg Clip applicator
US6110179A (en) 1998-03-02 2000-08-29 Benoist Girard Sas Prosthesis inserter
US6290724B1 (en) 1998-05-27 2001-09-18 Nuvasive, Inc. Methods for separating and stabilizing adjacent vertebrae
US6726691B2 (en) 1998-08-14 2004-04-27 Kyphon Inc. Methods for treating fractured and/or diseased bone
US6159211A (en) 1998-10-22 2000-12-12 Depuy Acromed, Inc. Stackable cage system for corpectomy/vertebrectomy
US6436142B1 (en) 1998-12-14 2002-08-20 Phoenix Biomedical Corp. System for stabilizing the vertebral column including deployment instruments and variable expansion inserts therefor
US6183517B1 (en) 1998-12-16 2001-02-06 Loubert Suddaby Expandable intervertebral fusion implant and applicator
US6200347B1 (en) 1999-01-05 2001-03-13 Lifenet Composite bone graft, method of making and using same
US6110210A (en) 1999-04-08 2000-08-29 Raymedica, Inc. Prosthetic spinal disc nucleus having selectively coupled bodies
US6387130B1 (en) 1999-04-16 2002-05-14 Nuvasive, Inc. Segmented linked intervertebral implant systems
US6419705B1 (en) 1999-06-23 2002-07-16 Sulzer Spine-Tech Inc. Expandable fusion device and method
US6488710B2 (en) 1999-07-02 2002-12-03 Petrus Besselink Reinforced expandable cage and method of deploying
US6656178B1 (en) 1999-07-28 2003-12-02 Baat B.V. Engineering Vertebral-column fusion devices and surgical methods
US6159244A (en) 1999-07-30 2000-12-12 Suddaby; Loubert Expandable variable angle intervertebral fusion implant
US6273916B1 (en) 1999-09-02 2001-08-14 Cook Incorporated Method and apparatus for strengthening vertebral bodies
US7118580B1 (en) 1999-09-14 2006-10-10 Spine Solutions Inc. Instrument for inserting intervertebral implants
US6395034B1 (en) 1999-11-24 2002-05-28 Loubert Suddaby Intervertebral disc prosthesis
US6695854B1 (en) * 1999-11-29 2004-02-24 General Surgical Innovations, Inc. Blood vessel clip and applicator
US6432107B1 (en) 2000-01-15 2002-08-13 Bret A. Ferree Enhanced surface area spinal fusion devices
US6740093B2 (en) 2000-02-28 2004-05-25 Stephen Hochschuler Method and apparatus for treating a vertebral body
US6402750B1 (en) 2000-04-04 2002-06-11 Spinlabs, Llc Devices and methods for the treatment of spinal disorders
US20020026195A1 (en) 2000-04-07 2002-02-28 Kyphon Inc. Insertion devices and method of use
US6500205B1 (en) 2000-04-19 2002-12-31 Gary K. Michelson Expandable threaded arcuate interbody spinal fusion implant with cylindrical configuration during insertion
US6478800B1 (en) 2000-05-08 2002-11-12 Depuy Acromed, Inc. Medical installation tool
US20050149194A1 (en) 2000-07-17 2005-07-07 Nuvasive, Inc. Stackable interlocking intervertebral support system
US6852126B2 (en) 2000-07-17 2005-02-08 Nuvasive, Inc. Stackable interlocking intervertebral support system
US6620196B1 (en) 2000-08-30 2003-09-16 Sdgi Holdings, Inc. Intervertebral disc nucleus implants and methods
US6520993B2 (en) 2000-12-29 2003-02-18 Depuy Acromed, Inc. Spinal implant
US20020177897A1 (en) 2001-02-04 2002-11-28 Michelson Gary K. Instrumentation and method for inserting and deploying and expandable interbody spinal fusion implant
US6595998B2 (en) 2001-03-08 2003-07-22 Spinewave, Inc. Tissue distraction device
US20040019354A1 (en) 2001-03-08 2004-01-29 Wes Johnson Tissue distraction device
US20040064144A1 (en) 2001-03-08 2004-04-01 Wes Johnson Tissue distraction device
US20040220580A1 (en) 2001-03-08 2004-11-04 Wes Johnson Tissue distraction device
US20020147497A1 (en) 2001-04-06 2002-10-10 Integrated Vascular Systems, Inc. Methods for treating spinal discs
US6837904B2 (en) 2001-07-16 2005-01-04 Spinecore, Inc. Method of surgically treating scoliosis
US6648917B2 (en) 2001-10-17 2003-11-18 Medicinelodge, Inc. Adjustable bone fusion implant and method
US6852129B2 (en) 2001-10-17 2005-02-08 Movdice Holding, Inc. Adjustable bone fusion implant and method
US6562074B2 (en) 2001-10-17 2003-05-13 Medicinelodge, Inc. Adjustable bone fusion implant and method
US6863673B2 (en) 2001-10-17 2005-03-08 Movdice Holding, Inc. Methods for adjustable bone fusion implants
US20030171812A1 (en) 2001-12-31 2003-09-11 Ilan Grunberg Minimally invasive modular support implant device and method
US20040030387A1 (en) 2002-03-11 2004-02-12 Landry Michael E. Instrumentation and procedure for implanting spinal implant devices
US7753912B2 (en) * 2003-03-31 2010-07-13 Spine Wave, Inc. Tissue distraction device
US8430885B2 (en) * 2003-05-16 2013-04-30 Spine Wave, Inc. Tissue distraction device
US6997929B2 (en) 2003-05-16 2006-02-14 Spine Wave, Inc. Tissue distraction device
US7674278B2 (en) * 2003-05-16 2010-03-09 Spine Wave, Inc. Tissue distraction device
US20100087826A1 (en) * 2003-05-16 2010-04-08 Spinewave, Inc. Tissue Distraction Device
US20060229629A1 (en) * 2003-05-16 2006-10-12 Spine Wave, Inc. Tissue distraction device
US7905921B2 (en) 2003-08-01 2011-03-15 Spinal Kinetics, Inc. Prosthetic intervertebral disc
US20050027364A1 (en) 2003-08-01 2005-02-03 Kim Daniel H. Prosthetic intervertebral disc and methods for using the same
US20050283244A1 (en) 2003-08-05 2005-12-22 Gordon Charles R Method of insertion of an expandable intervertebral implant
US7591852B2 (en) 2003-12-02 2009-09-22 Alphatec Spine, Inc. Vertebral body replacement cage assembly
US20120316568A1 (en) * 2004-01-08 2012-12-13 Spine Wave, Inc. System for distracting opposing vertebral bodies of a spine
US7722625B2 (en) 2004-06-30 2010-05-25 Depuy Products, Inc. Modular bone clamp instrument
US20060058880A1 (en) 2004-08-25 2006-03-16 Steve Wysocki Expandable interbody fusion device
US20140135936A1 (en) * 2004-08-25 2014-05-15 Spine Wave, Inc. Expandable interbody fusion device
US8337562B2 (en) 2004-08-25 2012-12-25 Spine Wave, Inc. Device for distracting body tissue
US20120109317A1 (en) * 2004-08-25 2012-05-03 Spine Wave, Inc. Device for distracting body tissue
US7931688B2 (en) 2004-08-25 2011-04-26 Spine Wave, Inc. Expandable interbody fusion device
US20060058807A1 (en) 2004-08-25 2006-03-16 Michael Landry Expandable interbody fusion device
US20110213465A1 (en) * 2004-08-25 2011-09-01 Spine Wave, Inc. Expandable interbody fusion device
US20060129244A1 (en) 2004-10-25 2006-06-15 Alphaspine, Inc. Expandable intervertebral spacer method and apparatus
US20120158144A1 (en) 2005-05-06 2012-06-21 Ullrich Jr Peter F Implant with critical ratio of load bearing surface area to central opening area
US20080161927A1 (en) 2006-10-18 2008-07-03 Warsaw Orthopedic, Inc. Intervertebral Implant with Porous Portions
US20080119853A1 (en) 2006-11-21 2008-05-22 Jeffrey Felt Methods and apparatus for minimally invasive modular interbody fusion devices
US20080154377A1 (en) 2006-12-22 2008-06-26 Voellmicke John C Composite vertebral spacers and instrument
US20080172127A1 (en) 2007-01-16 2008-07-17 Mi4Spine, Llc Minimally Invasive Interbody Device
US7967867B2 (en) 2007-05-31 2011-06-28 Spine Wave, Inc. Expandable interbody fusion device
US20080300598A1 (en) 2007-05-31 2008-12-04 Spine Wave, Inc. Expandable Interbody Fusion Device
US20110251693A1 (en) * 2007-05-31 2011-10-13 Spine Wave, Inc. Expandable device for distracting spinal tissue surfaces
US20130131811A1 (en) * 2007-05-31 2013-05-23 Spine Wave, Inc. Expandable device for distracting spinal tissue surfaces
US20140107788A1 (en) * 2007-05-31 2014-04-17 Spine Wave, Inc. Expandable interbody fusion device
US8574299B2 (en) * 2007-05-31 2013-11-05 Spine Wave, Inc. Expandable device for distracting spinal tissue surfaces
US20090198339A1 (en) 2008-02-06 2009-08-06 Nuvasive, Inc. Systems and methods for spinal fusion
US20130184825A1 (en) 2008-02-06 2013-07-18 Kleiner Intellectual Property, Llc Spinal Fusion Cage with Removable Planar Elements
US8585761B2 (en) 2008-03-28 2013-11-19 K2M, Inc. Expandable cage with locking device
US20100312347A1 (en) 2008-05-05 2010-12-09 Spinalmotion, Inc. Polyaryletherketone artificial intervertebral disc
US20090306672A1 (en) 2008-06-05 2009-12-10 Alphatec Spine,Inc. Alif inserter/distractor
US8382842B2 (en) 2009-05-14 2013-02-26 Stout Medical Group, L.P. Expandable support device and method of use
US8303663B2 (en) 2009-07-22 2012-11-06 Spinex Tec, Llc Methods and apparatuses for vertebral body distraction and fusion employing a coaxial screw gear sleeve mechanism
US8062375B2 (en) 2009-10-15 2011-11-22 Globus Medical, Inc. Expandable fusion device and method of installation thereof
US20110184522A1 (en) 2010-01-27 2011-07-28 Warsaw Orthopedic, Inc. Modular interbody devices and methods of use
US8303879B2 (en) 2010-02-01 2012-11-06 Sb Technologies, Llc Composite interbody device and method of manufacture
US8308805B2 (en) 2010-03-16 2012-11-13 Pinnacle Spine Group, Llc Methods of delivering an implant to an intervertebral space
US20120022653A1 (en) 2010-07-20 2012-01-26 X-Spine Systems, Inc. Composite orthopedic implant having a low friction material substrate with primary frictional features and secondary frictional features
US20120191190A1 (en) 2011-01-20 2012-07-26 Warsaw Orthopedic Spinal implant with attachable bone securing component
US20130090735A1 (en) 2011-10-07 2013-04-11 Daniel Ryan Mermuys Intervertebral Implant
US8628578B2 (en) 2011-12-19 2014-01-14 Warsaw Orthopedic, Inc. Expandable interbody implant and methods of use
WO2013184946A1 (en) 2012-06-06 2013-12-12 Medivest, Llc Expandable tissue spacer implant and method of use
US8715351B1 (en) 2012-11-29 2014-05-06 Spine Wave, Inc. Expandable interbody fusion device with graft chambers
US20140277476A1 (en) * 2013-03-12 2014-09-18 Spine Wave, Inc. Expandable interbody fusion device with graft chambers
US8828019B1 (en) * 2013-03-13 2014-09-09 Spine Wave, Inc. Inserter for expanding an expandable interbody fusion device
US20140277479A1 (en) * 2013-03-13 2014-09-18 Spine Wave, Inc. Inserter for expanding an expandable interbody fusion device
US20140364950A1 (en) 2013-03-13 2014-12-11 Spine Wave, Inc. Method and inserter for interbody fusion

Non-Patent Citations (22)

* Cited by examiner, † Cited by third party
Title
Baddeley, S. and Cullen, J.C., "The Use of Methylmethacrylate in the Treatment of Giant Cell Tumours of the Proximal Tibia", Aust. N.Z. J. Surg. vol. 49-No. 1, Feb. 1979, 3 pp.
Blackstone Medical Inc., Construx(TM) PEEK VBR System, 2005, www.blackstonemedical.com, 1 p.
Blackstone Medical Inc., Construx™ PEEK VBR System, 2005, www.blackstonemedical.com, 1 p.
Campanacci, M., Gui, L., Ranieri, L., Savini, R., "Treatment of Tibial Plateau Fractures", Chi. Org. Mov. 72(3), Dec. 1975 (Italian text), pp. 234-256, English Translation, 15 pp.
Co-pending U.S. Appl. No. 14/474,555, filed Sep. 2, 2014.
Co-pending U.S. Appl. No. 14/474,575, filed Sep. 2, 2014.
Co-pending U.S. Appl. No. 14/474,599, filed Sep. 2, 2014.
Co-pending U.S. Appl. No. 14/474,639, filed Sep. 2, 2014.
Co-pending U.S. Appl. No. 14/474,777, filed Sep. 2, 2014.
Final Office Action issued on Feb. 5, 2015 with respect to U.S. Appl. No. 14/474,777.
International Search Report and Written Opinion dated May 20, 2015 for PCT Application No. PCT/US/2015/016574.
International Search Report and Written Opinion dated May 29, 2015 for PCT Application No. PCT/US/2015/016557.
Kyphon Inc., Surgical Technique Manual Nov. 16, 1999, pp. 5, 6, 9, 16-19.
Kyphon web page, www.kyphon.com, Mar. 13, 2001, 1 p.
Office Action issued on Feb. 23, 2015 with respect to U.S. Appl. No. 14/474,599.
Office Action issued on Jan. 28, 2015 with respect to U.S. Appl. No. 14/474,639.
Office Action issued on Nov. 10, 2014 with respect to U.S. Appl. No. 14/474,575.
Office Action issued on Nov. 6, 2014 with respect to U.S. Appl. No. 14/474,555.
Office Action issued on Oct. 10, 2014 with respect to U.S. Appl. No. 14/474,777.
Office Action issued on Oct. 24, 2014 with respect to U.S. Appl. No. 14/474,599.
PCT Search Report for corresponding PCT Application No. PCT/US2008/064534, Sep. 12, 2008, 2pgs.
U.S. Appl. No. 13/795,054, entitled "Expandable Interbody Fusion Device With Graft Chambers", filed on Mar. 12, 2013.

Cited By (26)

* Cited by examiner, † Cited by third party
Publication number Priority date Publication date Assignee Title
US10179054B2 (en) 2008-02-06 2019-01-15 Jeffrey B. Kleiner Spinal fusion cage system with inserter
US10201355B2 (en) 2009-02-06 2019-02-12 Kleiner Intellectual Property, Llc Angled surgical tool for removing tissue from within an intervertebral space
US10973656B2 (en) 2009-09-18 2021-04-13 Spinal Surgical Strategies, Inc. Bone graft delivery system and method for using same
US12167971B2 (en) 2009-09-18 2024-12-17 Spinal Surgical Strategies, Inc. Bone graft delivery devices, systems and kits
US12053393B2 (en) 2009-09-18 2024-08-06 Spinal Surgical Strategies, Inc. Bone graft delivery system and method for use
US11666455B2 (en) 2009-09-18 2023-06-06 Spinal Surgical Strategies, Inc., A Nevada Corporation Bone graft delivery devices, systems and kits
US11660208B2 (en) 2009-09-18 2023-05-30 Spinal Surgical Strategies, Inc. Bone graft delivery system and method for using same
US10195053B2 (en) 2009-09-18 2019-02-05 Spinal Surgical Strategies, Llc Bone graft delivery system and method for using same
US10245159B1 (en) 2009-09-18 2019-04-02 Spinal Surgical Strategies, Llc Bone graft delivery system and method for using same
US9980750B2 (en) 2011-03-18 2018-05-29 Raed M. Ali, M.D., Inc. Spinal fusion devices and systems
US10987228B2 (en) 2011-03-18 2021-04-27 Raed M. Ali, M.D., Inc. Devices and methods for transpedicular stabilization of the spine
US11304824B2 (en) 2013-03-14 2022-04-19 Raed M. Ali, M.D., Inc. Interbody fusion devices, systems and methods
US11413162B2 (en) 2013-03-14 2022-08-16 Raed M. Ali, M.D., Inc. Spinal fusion devices, systems and methods
US10687962B2 (en) 2013-03-14 2020-06-23 Raed M. Ali, M.D., Inc. Interbody fusion devices, systems and methods
US10548742B2 (en) 2013-03-14 2020-02-04 Raed M. Ali, M.D., Inc. Lateral interbody fusion devices, systems and methods
US9861495B2 (en) 2013-03-14 2018-01-09 Raed M. Ali, M.D., Inc. Lateral interbody fusion devices, systems and methods
US10045857B2 (en) 2013-03-14 2018-08-14 Raed M. Ali, M.D., Inc. Lateral interbody fusion devices, systems and methods
US9498347B2 (en) * 2014-06-25 2016-11-22 Spine Wave, Inc. Expandable interbody fusion device with nested correction surface
US20150374509A1 (en) * 2014-06-25 2015-12-31 Spine Wave, Inc. Expandable interbody fusion device with nested correction surface
US10314718B2 (en) 2016-09-22 2019-06-11 Loubert S. Suddaby Expandable intervertebral fusion implant
US11701239B2 (en) 2017-01-26 2023-07-18 Loubert S. Suddaby Stand-alone expandable interbody spinal fusion device with integrated fixation mechanism
US11207192B2 (en) 2017-01-26 2021-12-28 Loubert S. Suddaby Stand-alone expandable interbody spinal fusion device with integrated fixation mechanism
US11389089B2 (en) 2017-04-19 2022-07-19 Metronom Health, Inc. Inserter for analyte sensors
WO2018195286A1 (en) * 2017-04-19 2018-10-25 Metronom Health, Inc. Inserter for an analyte sensors
US11219532B2 (en) 2017-09-18 2022-01-11 Loubert S. Suddaby Stand-alone expandable interbody spinal fusion device with locking mechanism
US10596010B2 (en) 2017-09-18 2020-03-24 Loubert S. Suddaby Stand-alone expandable interbody spinal fusion device with locking mechanism

Also Published As

Publication number Publication date
US9114026B1 (en) 2015-08-25
US20150250609A1 (en) 2015-09-10
WO2015134196A1 (en) 2015-09-11
US9078767B1 (en) 2015-07-14
US20150250617A1 (en) 2015-09-10
US9216094B2 (en) 2015-12-22
US9107766B1 (en) 2015-08-18
WO2015134195A1 (en) 2015-09-11
US20150250608A1 (en) 2015-09-10

Similar Documents

Publication Publication Date Title
US9084686B1 (en) Inserter for an expandable spinal interbody fusion device
US9265623B2 (en) Method of expanding a spinal interbody fusion device
US10314722B2 (en) Inserter for expanding an expandable device
US10682244B2 (en) Inserter for expanding body tissue
US9039767B2 (en) Method and inserter for interbody fusion
US11065132B2 (en) Method of expanding a space between opposing tissue surfaces
CA2941054C (en) Expandable spinal interbody fusion device
CA2941055C (en) Inserter for an expandable spinal interbody fusion device
WO2016200631A1 (en) Device for expanding and supporting body tissue
WO2016200691A2 (en) Inserter for expanding body tissue

Legal Events

Date Code Title Description
AS Assignment

Owner name: SPINE WAVE, INC., CONNECTICUT

Free format text: ASSIGNMENT OF ASSIGNORS INTEREST;ASSIGNORS:MCLEAN, SCOTT;CULLINAN, NICOLA;BOISVERT, DAVID;SIGNING DATES FROM 20140825 TO 20140826;REEL/FRAME:033650/0746

STCF Information on status: patent grant

Free format text: PATENTED CASE

AS Assignment

Owner name: SILICON VALLEY BANK, MASSACHUSETTS

Free format text: SECURITY INTEREST;ASSIGNOR:SPINE WAVE, INC.;REEL/FRAME:046612/0765

Effective date: 20180719

Owner name: OXFORD FINANCE LLC, VIRGINIA

Free format text: SECURITY INTEREST;ASSIGNOR:SPINE WAVE, INC.;REEL/FRAME:046612/0765

Effective date: 20180719

MAFP Maintenance fee payment

Free format text: PAYMENT OF MAINTENANCE FEE, 4TH YR, SMALL ENTITY (ORIGINAL EVENT CODE: M2551); ENTITY STATUS OF PATENT OWNER: SMALL ENTITY

Year of fee payment: 4

FEPP Fee payment procedure

Free format text: MAINTENANCE FEE REMINDER MAILED (ORIGINAL EVENT CODE: REM.); ENTITY STATUS OF PATENT OWNER: SMALL ENTITY

LAPS Lapse for failure to pay maintenance fees

Free format text: PATENT EXPIRED FOR FAILURE TO PAY MAINTENANCE FEES (ORIGINAL EVENT CODE: EXP.); ENTITY STATUS OF PATENT OWNER: SMALL ENTITY

STCH Information on status: patent discontinuation

Free format text: PATENT EXPIRED DUE TO NONPAYMENT OF MAINTENANCE FEES UNDER 37 CFR 1.362

FP Lapsed due to failure to pay maintenance fee

Effective date: 20230721