[go: up one dir, main page]

US8852188B2 - Proximal reamer - Google Patents

Proximal reamer Download PDF

Info

Publication number
US8852188B2
US8852188B2 US13/826,259 US201313826259A US8852188B2 US 8852188 B2 US8852188 B2 US 8852188B2 US 201313826259 A US201313826259 A US 201313826259A US 8852188 B2 US8852188 B2 US 8852188B2
Authority
US
United States
Prior art keywords
reamer
sleeve
stem
implant
proximal
Prior art date
Legal status (The legal status is an assumption and is not a legal conclusion. Google has not performed a legal analysis and makes no representation as to the accuracy of the status listed.)
Active
Application number
US13/826,259
Other versions
US20130226184A1 (en
Inventor
David W. Daniels
Barry A. Schnieders
Gabriel M. Surma
Jonathan E. Carr
Larry G. McCleary
Current Assignee (The listed assignees may be inaccurate. Google has not performed a legal analysis and makes no representation or warranty as to the accuracy of the list.)
DePuy Synthes Products Inc
Original Assignee
DePuy Synthes Products Inc
Priority date (The priority date is an assumption and is not a legal conclusion. Google has not performed a legal analysis and makes no representation as to the accuracy of the date listed.)
Filing date
Publication date
Application filed by DePuy Synthes Products Inc filed Critical DePuy Synthes Products Inc
Priority to US13/826,259 priority Critical patent/US8852188B2/en
Publication of US20130226184A1 publication Critical patent/US20130226184A1/en
Application granted granted Critical
Publication of US8852188B2 publication Critical patent/US8852188B2/en
Active legal-status Critical Current
Anticipated expiration legal-status Critical

Links

Images

Classifications

    • AHUMAN NECESSITIES
    • A61MEDICAL OR VETERINARY SCIENCE; HYGIENE
    • A61BDIAGNOSIS; SURGERY; IDENTIFICATION
    • A61B17/00Surgical instruments, devices or methods
    • A61B17/16Instruments for performing osteoclasis; Drills or chisels for bones; Trepans
    • A61F17/16
    • AHUMAN NECESSITIES
    • A61MEDICAL OR VETERINARY SCIENCE; HYGIENE
    • A61BDIAGNOSIS; SURGERY; IDENTIFICATION
    • A61B17/00Surgical instruments, devices or methods
    • A61B17/16Instruments for performing osteoclasis; Drills or chisels for bones; Trepans
    • A61B17/1604Chisels; Rongeurs; Punches; Stamps
    • AHUMAN NECESSITIES
    • A61MEDICAL OR VETERINARY SCIENCE; HYGIENE
    • A61BDIAGNOSIS; SURGERY; IDENTIFICATION
    • A61B17/00Surgical instruments, devices or methods
    • A61B17/16Instruments for performing osteoclasis; Drills or chisels for bones; Trepans
    • A61B17/164Instruments for performing osteoclasis; Drills or chisels for bones; Trepans intramedullary
    • AHUMAN NECESSITIES
    • A61MEDICAL OR VETERINARY SCIENCE; HYGIENE
    • A61BDIAGNOSIS; SURGERY; IDENTIFICATION
    • A61B17/00Surgical instruments, devices or methods
    • A61B17/16Instruments for performing osteoclasis; Drills or chisels for bones; Trepans
    • A61B17/1662Instruments for performing osteoclasis; Drills or chisels for bones; Trepans for particular parts of the body
    • A61B17/1664Instruments for performing osteoclasis; Drills or chisels for bones; Trepans for particular parts of the body for the hip
    • A61B17/1668Instruments for performing osteoclasis; Drills or chisels for bones; Trepans for particular parts of the body for the hip for the upper femur
    • AHUMAN NECESSITIES
    • A61MEDICAL OR VETERINARY SCIENCE; HYGIENE
    • A61BDIAGNOSIS; SURGERY; IDENTIFICATION
    • A61B17/00Surgical instruments, devices or methods
    • A61B17/16Instruments for performing osteoclasis; Drills or chisels for bones; Trepans
    • A61B17/17Guides or aligning means for drills, mills, pins or wires
    • A61B17/1739Guides or aligning means for drills, mills, pins or wires specially adapted for particular parts of the body
    • AHUMAN NECESSITIES
    • A61MEDICAL OR VETERINARY SCIENCE; HYGIENE
    • A61FFILTERS IMPLANTABLE INTO BLOOD VESSELS; PROSTHESES; DEVICES PROVIDING PATENCY TO, OR PREVENTING COLLAPSING OF, TUBULAR STRUCTURES OF THE BODY, e.g. STENTS; ORTHOPAEDIC, NURSING OR CONTRACEPTIVE DEVICES; FOMENTATION; TREATMENT OR PROTECTION OF EYES OR EARS; BANDAGES, DRESSINGS OR ABSORBENT PADS; FIRST-AID KITS
    • A61F2/00Filters implantable into blood vessels; Prostheses, i.e. artificial substitutes or replacements for parts of the body; Appliances for connecting them with the body; Devices providing patency to, or preventing collapsing of, tubular structures of the body, e.g. stents
    • A61F2/02Prostheses implantable into the body
    • A61F2/30Joints
    • A61F2/32Joints for the hip
    • A61F2/36Femoral heads ; Femoral endoprostheses
    • AHUMAN NECESSITIES
    • A61MEDICAL OR VETERINARY SCIENCE; HYGIENE
    • A61FFILTERS IMPLANTABLE INTO BLOOD VESSELS; PROSTHESES; DEVICES PROVIDING PATENCY TO, OR PREVENTING COLLAPSING OF, TUBULAR STRUCTURES OF THE BODY, e.g. STENTS; ORTHOPAEDIC, NURSING OR CONTRACEPTIVE DEVICES; FOMENTATION; TREATMENT OR PROTECTION OF EYES OR EARS; BANDAGES, DRESSINGS OR ABSORBENT PADS; FIRST-AID KITS
    • A61F2/00Filters implantable into blood vessels; Prostheses, i.e. artificial substitutes or replacements for parts of the body; Appliances for connecting them with the body; Devices providing patency to, or preventing collapsing of, tubular structures of the body, e.g. stents
    • A61F2/02Prostheses implantable into the body
    • A61F2/30Joints
    • A61F2/46Special tools for implanting artificial joints
    • A61F2/4603Special tools for implanting artificial joints for insertion or extraction of endoprosthetic joints or of accessories thereof
    • A61F2/4607Special tools for implanting artificial joints for insertion or extraction of endoprosthetic joints or of accessories thereof of hip femoral endoprostheses
    • AHUMAN NECESSITIES
    • A61MEDICAL OR VETERINARY SCIENCE; HYGIENE
    • A61FFILTERS IMPLANTABLE INTO BLOOD VESSELS; PROSTHESES; DEVICES PROVIDING PATENCY TO, OR PREVENTING COLLAPSING OF, TUBULAR STRUCTURES OF THE BODY, e.g. STENTS; ORTHOPAEDIC, NURSING OR CONTRACEPTIVE DEVICES; FOMENTATION; TREATMENT OR PROTECTION OF EYES OR EARS; BANDAGES, DRESSINGS OR ABSORBENT PADS; FIRST-AID KITS
    • A61F2/00Filters implantable into blood vessels; Prostheses, i.e. artificial substitutes or replacements for parts of the body; Appliances for connecting them with the body; Devices providing patency to, or preventing collapsing of, tubular structures of the body, e.g. stents
    • A61F2/02Prostheses implantable into the body
    • A61F2/30Joints
    • A61F2/46Special tools for implanting artificial joints
    • A61F2/4657Measuring instruments used for implanting artificial joints
    • AHUMAN NECESSITIES
    • A61MEDICAL OR VETERINARY SCIENCE; HYGIENE
    • A61FFILTERS IMPLANTABLE INTO BLOOD VESSELS; PROSTHESES; DEVICES PROVIDING PATENCY TO, OR PREVENTING COLLAPSING OF, TUBULAR STRUCTURES OF THE BODY, e.g. STENTS; ORTHOPAEDIC, NURSING OR CONTRACEPTIVE DEVICES; FOMENTATION; TREATMENT OR PROTECTION OF EYES OR EARS; BANDAGES, DRESSINGS OR ABSORBENT PADS; FIRST-AID KITS
    • A61F2/00Filters implantable into blood vessels; Prostheses, i.e. artificial substitutes or replacements for parts of the body; Appliances for connecting them with the body; Devices providing patency to, or preventing collapsing of, tubular structures of the body, e.g. stents
    • A61F2/02Prostheses implantable into the body
    • A61F2/30Joints
    • A61F2/46Special tools for implanting artificial joints
    • A61F2/468Testing instruments for artificial joints
    • AHUMAN NECESSITIES
    • A61MEDICAL OR VETERINARY SCIENCE; HYGIENE
    • A61FFILTERS IMPLANTABLE INTO BLOOD VESSELS; PROSTHESES; DEVICES PROVIDING PATENCY TO, OR PREVENTING COLLAPSING OF, TUBULAR STRUCTURES OF THE BODY, e.g. STENTS; ORTHOPAEDIC, NURSING OR CONTRACEPTIVE DEVICES; FOMENTATION; TREATMENT OR PROTECTION OF EYES OR EARS; BANDAGES, DRESSINGS OR ABSORBENT PADS; FIRST-AID KITS
    • A61F2/00Filters implantable into blood vessels; Prostheses, i.e. artificial substitutes or replacements for parts of the body; Appliances for connecting them with the body; Devices providing patency to, or preventing collapsing of, tubular structures of the body, e.g. stents
    • A61F2/02Prostheses implantable into the body
    • A61F2/30Joints
    • A61F2/46Special tools for implanting artificial joints
    • A61F2/4684Trial or dummy prostheses
    • AHUMAN NECESSITIES
    • A61MEDICAL OR VETERINARY SCIENCE; HYGIENE
    • A61BDIAGNOSIS; SURGERY; IDENTIFICATION
    • A61B17/00Surgical instruments, devices or methods
    • A61B17/56Surgical instruments or methods for treatment of bones or joints; Devices specially adapted therefor
    • A61B2017/564Methods for bone or joint treatment
    • AHUMAN NECESSITIES
    • A61MEDICAL OR VETERINARY SCIENCE; HYGIENE
    • A61FFILTERS IMPLANTABLE INTO BLOOD VESSELS; PROSTHESES; DEVICES PROVIDING PATENCY TO, OR PREVENTING COLLAPSING OF, TUBULAR STRUCTURES OF THE BODY, e.g. STENTS; ORTHOPAEDIC, NURSING OR CONTRACEPTIVE DEVICES; FOMENTATION; TREATMENT OR PROTECTION OF EYES OR EARS; BANDAGES, DRESSINGS OR ABSORBENT PADS; FIRST-AID KITS
    • A61F2/00Filters implantable into blood vessels; Prostheses, i.e. artificial substitutes or replacements for parts of the body; Appliances for connecting them with the body; Devices providing patency to, or preventing collapsing of, tubular structures of the body, e.g. stents
    • A61F2/02Prostheses implantable into the body
    • A61F2/30Joints
    • A61F2/32Joints for the hip
    • AHUMAN NECESSITIES
    • A61MEDICAL OR VETERINARY SCIENCE; HYGIENE
    • A61FFILTERS IMPLANTABLE INTO BLOOD VESSELS; PROSTHESES; DEVICES PROVIDING PATENCY TO, OR PREVENTING COLLAPSING OF, TUBULAR STRUCTURES OF THE BODY, e.g. STENTS; ORTHOPAEDIC, NURSING OR CONTRACEPTIVE DEVICES; FOMENTATION; TREATMENT OR PROTECTION OF EYES OR EARS; BANDAGES, DRESSINGS OR ABSORBENT PADS; FIRST-AID KITS
    • A61F2/00Filters implantable into blood vessels; Prostheses, i.e. artificial substitutes or replacements for parts of the body; Appliances for connecting them with the body; Devices providing patency to, or preventing collapsing of, tubular structures of the body, e.g. stents
    • A61F2/02Prostheses implantable into the body
    • A61F2/30Joints
    • A61F2/32Joints for the hip
    • A61F2/34Acetabular cups
    • AHUMAN NECESSITIES
    • A61MEDICAL OR VETERINARY SCIENCE; HYGIENE
    • A61FFILTERS IMPLANTABLE INTO BLOOD VESSELS; PROSTHESES; DEVICES PROVIDING PATENCY TO, OR PREVENTING COLLAPSING OF, TUBULAR STRUCTURES OF THE BODY, e.g. STENTS; ORTHOPAEDIC, NURSING OR CONTRACEPTIVE DEVICES; FOMENTATION; TREATMENT OR PROTECTION OF EYES OR EARS; BANDAGES, DRESSINGS OR ABSORBENT PADS; FIRST-AID KITS
    • A61F2/00Filters implantable into blood vessels; Prostheses, i.e. artificial substitutes or replacements for parts of the body; Appliances for connecting them with the body; Devices providing patency to, or preventing collapsing of, tubular structures of the body, e.g. stents
    • A61F2/02Prostheses implantable into the body
    • A61F2/30Joints
    • A61F2/32Joints for the hip
    • A61F2/36Femoral heads ; Femoral endoprostheses
    • A61F2/3662Femoral shafts
    • AHUMAN NECESSITIES
    • A61MEDICAL OR VETERINARY SCIENCE; HYGIENE
    • A61FFILTERS IMPLANTABLE INTO BLOOD VESSELS; PROSTHESES; DEVICES PROVIDING PATENCY TO, OR PREVENTING COLLAPSING OF, TUBULAR STRUCTURES OF THE BODY, e.g. STENTS; ORTHOPAEDIC, NURSING OR CONTRACEPTIVE DEVICES; FOMENTATION; TREATMENT OR PROTECTION OF EYES OR EARS; BANDAGES, DRESSINGS OR ABSORBENT PADS; FIRST-AID KITS
    • A61F2/00Filters implantable into blood vessels; Prostheses, i.e. artificial substitutes or replacements for parts of the body; Appliances for connecting them with the body; Devices providing patency to, or preventing collapsing of, tubular structures of the body, e.g. stents
    • A61F2/02Prostheses implantable into the body
    • A61F2/30Joints
    • A61F2/32Joints for the hip
    • A61F2/36Femoral heads ; Femoral endoprostheses
    • A61F2/3662Femoral shafts
    • A61F2/367Proximal or metaphyseal parts of shafts
    • AHUMAN NECESSITIES
    • A61MEDICAL OR VETERINARY SCIENCE; HYGIENE
    • A61FFILTERS IMPLANTABLE INTO BLOOD VESSELS; PROSTHESES; DEVICES PROVIDING PATENCY TO, OR PREVENTING COLLAPSING OF, TUBULAR STRUCTURES OF THE BODY, e.g. STENTS; ORTHOPAEDIC, NURSING OR CONTRACEPTIVE DEVICES; FOMENTATION; TREATMENT OR PROTECTION OF EYES OR EARS; BANDAGES, DRESSINGS OR ABSORBENT PADS; FIRST-AID KITS
    • A61F2/00Filters implantable into blood vessels; Prostheses, i.e. artificial substitutes or replacements for parts of the body; Appliances for connecting them with the body; Devices providing patency to, or preventing collapsing of, tubular structures of the body, e.g. stents
    • A61F2/02Prostheses implantable into the body
    • A61F2/30Joints
    • A61F2/32Joints for the hip
    • A61F2/36Femoral heads ; Femoral endoprostheses
    • A61F2/3662Femoral shafts
    • A61F2/3676Distal or diaphyseal parts of shafts
    • AHUMAN NECESSITIES
    • A61MEDICAL OR VETERINARY SCIENCE; HYGIENE
    • A61FFILTERS IMPLANTABLE INTO BLOOD VESSELS; PROSTHESES; DEVICES PROVIDING PATENCY TO, OR PREVENTING COLLAPSING OF, TUBULAR STRUCTURES OF THE BODY, e.g. STENTS; ORTHOPAEDIC, NURSING OR CONTRACEPTIVE DEVICES; FOMENTATION; TREATMENT OR PROTECTION OF EYES OR EARS; BANDAGES, DRESSINGS OR ABSORBENT PADS; FIRST-AID KITS
    • A61F2/00Filters implantable into blood vessels; Prostheses, i.e. artificial substitutes or replacements for parts of the body; Appliances for connecting them with the body; Devices providing patency to, or preventing collapsing of, tubular structures of the body, e.g. stents
    • A61F2/02Prostheses implantable into the body
    • A61F2/30Joints
    • A61F2002/30001Additional features of subject-matter classified in A61F2/28, A61F2/30 and subgroups thereof
    • A61F2002/30108Shapes
    • A61F2002/30199Three-dimensional shapes
    • A61F2002/30224Three-dimensional shapes cylindrical
    • AHUMAN NECESSITIES
    • A61MEDICAL OR VETERINARY SCIENCE; HYGIENE
    • A61FFILTERS IMPLANTABLE INTO BLOOD VESSELS; PROSTHESES; DEVICES PROVIDING PATENCY TO, OR PREVENTING COLLAPSING OF, TUBULAR STRUCTURES OF THE BODY, e.g. STENTS; ORTHOPAEDIC, NURSING OR CONTRACEPTIVE DEVICES; FOMENTATION; TREATMENT OR PROTECTION OF EYES OR EARS; BANDAGES, DRESSINGS OR ABSORBENT PADS; FIRST-AID KITS
    • A61F2/00Filters implantable into blood vessels; Prostheses, i.e. artificial substitutes or replacements for parts of the body; Appliances for connecting them with the body; Devices providing patency to, or preventing collapsing of, tubular structures of the body, e.g. stents
    • A61F2/02Prostheses implantable into the body
    • A61F2/30Joints
    • A61F2002/30001Additional features of subject-matter classified in A61F2/28, A61F2/30 and subgroups thereof
    • A61F2002/30316The prosthesis having different structural features at different locations within the same prosthesis; Connections between prosthetic parts; Special structural features of bone or joint prostheses not otherwise provided for
    • A61F2002/30317The prosthesis having different structural features at different locations within the same prosthesis
    • A61F2002/30322The prosthesis having different structural features at different locations within the same prosthesis differing in surface structures
    • AHUMAN NECESSITIES
    • A61MEDICAL OR VETERINARY SCIENCE; HYGIENE
    • A61FFILTERS IMPLANTABLE INTO BLOOD VESSELS; PROSTHESES; DEVICES PROVIDING PATENCY TO, OR PREVENTING COLLAPSING OF, TUBULAR STRUCTURES OF THE BODY, e.g. STENTS; ORTHOPAEDIC, NURSING OR CONTRACEPTIVE DEVICES; FOMENTATION; TREATMENT OR PROTECTION OF EYES OR EARS; BANDAGES, DRESSINGS OR ABSORBENT PADS; FIRST-AID KITS
    • A61F2/00Filters implantable into blood vessels; Prostheses, i.e. artificial substitutes or replacements for parts of the body; Appliances for connecting them with the body; Devices providing patency to, or preventing collapsing of, tubular structures of the body, e.g. stents
    • A61F2/02Prostheses implantable into the body
    • A61F2/30Joints
    • A61F2002/30001Additional features of subject-matter classified in A61F2/28, A61F2/30 and subgroups thereof
    • A61F2002/30316The prosthesis having different structural features at different locations within the same prosthesis; Connections between prosthetic parts; Special structural features of bone or joint prostheses not otherwise provided for
    • A61F2002/30329Connections or couplings between prosthetic parts, e.g. between modular parts; Connecting elements
    • A61F2002/30331Connections or couplings between prosthetic parts, e.g. between modular parts; Connecting elements made by longitudinally pushing a protrusion into a complementarily-shaped recess, e.g. held by friction fit
    • AHUMAN NECESSITIES
    • A61MEDICAL OR VETERINARY SCIENCE; HYGIENE
    • A61FFILTERS IMPLANTABLE INTO BLOOD VESSELS; PROSTHESES; DEVICES PROVIDING PATENCY TO, OR PREVENTING COLLAPSING OF, TUBULAR STRUCTURES OF THE BODY, e.g. STENTS; ORTHOPAEDIC, NURSING OR CONTRACEPTIVE DEVICES; FOMENTATION; TREATMENT OR PROTECTION OF EYES OR EARS; BANDAGES, DRESSINGS OR ABSORBENT PADS; FIRST-AID KITS
    • A61F2/00Filters implantable into blood vessels; Prostheses, i.e. artificial substitutes or replacements for parts of the body; Appliances for connecting them with the body; Devices providing patency to, or preventing collapsing of, tubular structures of the body, e.g. stents
    • A61F2/02Prostheses implantable into the body
    • A61F2/30Joints
    • A61F2002/30001Additional features of subject-matter classified in A61F2/28, A61F2/30 and subgroups thereof
    • A61F2002/30316The prosthesis having different structural features at different locations within the same prosthesis; Connections between prosthetic parts; Special structural features of bone or joint prostheses not otherwise provided for
    • A61F2002/30329Connections or couplings between prosthetic parts, e.g. between modular parts; Connecting elements
    • A61F2002/30331Connections or couplings between prosthetic parts, e.g. between modular parts; Connecting elements made by longitudinally pushing a protrusion into a complementarily-shaped recess, e.g. held by friction fit
    • A61F2002/30332Conically- or frustoconically-shaped protrusion and recess
    • AHUMAN NECESSITIES
    • A61MEDICAL OR VETERINARY SCIENCE; HYGIENE
    • A61FFILTERS IMPLANTABLE INTO BLOOD VESSELS; PROSTHESES; DEVICES PROVIDING PATENCY TO, OR PREVENTING COLLAPSING OF, TUBULAR STRUCTURES OF THE BODY, e.g. STENTS; ORTHOPAEDIC, NURSING OR CONTRACEPTIVE DEVICES; FOMENTATION; TREATMENT OR PROTECTION OF EYES OR EARS; BANDAGES, DRESSINGS OR ABSORBENT PADS; FIRST-AID KITS
    • A61F2/00Filters implantable into blood vessels; Prostheses, i.e. artificial substitutes or replacements for parts of the body; Appliances for connecting them with the body; Devices providing patency to, or preventing collapsing of, tubular structures of the body, e.g. stents
    • A61F2/02Prostheses implantable into the body
    • A61F2/30Joints
    • A61F2002/30001Additional features of subject-matter classified in A61F2/28, A61F2/30 and subgroups thereof
    • A61F2002/30316The prosthesis having different structural features at different locations within the same prosthesis; Connections between prosthetic parts; Special structural features of bone or joint prostheses not otherwise provided for
    • A61F2002/30329Connections or couplings between prosthetic parts, e.g. between modular parts; Connecting elements
    • A61F2002/30474Connections or couplings between prosthetic parts, e.g. between modular parts; Connecting elements using an intermediate sleeve interposed between both prosthetic parts to be coupled
    • AHUMAN NECESSITIES
    • A61MEDICAL OR VETERINARY SCIENCE; HYGIENE
    • A61FFILTERS IMPLANTABLE INTO BLOOD VESSELS; PROSTHESES; DEVICES PROVIDING PATENCY TO, OR PREVENTING COLLAPSING OF, TUBULAR STRUCTURES OF THE BODY, e.g. STENTS; ORTHOPAEDIC, NURSING OR CONTRACEPTIVE DEVICES; FOMENTATION; TREATMENT OR PROTECTION OF EYES OR EARS; BANDAGES, DRESSINGS OR ABSORBENT PADS; FIRST-AID KITS
    • A61F2/00Filters implantable into blood vessels; Prostheses, i.e. artificial substitutes or replacements for parts of the body; Appliances for connecting them with the body; Devices providing patency to, or preventing collapsing of, tubular structures of the body, e.g. stents
    • A61F2/02Prostheses implantable into the body
    • A61F2/30Joints
    • A61F2002/30001Additional features of subject-matter classified in A61F2/28, A61F2/30 and subgroups thereof
    • A61F2002/30316The prosthesis having different structural features at different locations within the same prosthesis; Connections between prosthetic parts; Special structural features of bone or joint prostheses not otherwise provided for
    • A61F2002/30329Connections or couplings between prosthetic parts, e.g. between modular parts; Connecting elements
    • A61F2002/30476Connections or couplings between prosthetic parts, e.g. between modular parts; Connecting elements locked by an additional locking mechanism
    • A61F2002/30492Connections or couplings between prosthetic parts, e.g. between modular parts; Connecting elements locked by an additional locking mechanism using a locking pin
    • AHUMAN NECESSITIES
    • A61MEDICAL OR VETERINARY SCIENCE; HYGIENE
    • A61FFILTERS IMPLANTABLE INTO BLOOD VESSELS; PROSTHESES; DEVICES PROVIDING PATENCY TO, OR PREVENTING COLLAPSING OF, TUBULAR STRUCTURES OF THE BODY, e.g. STENTS; ORTHOPAEDIC, NURSING OR CONTRACEPTIVE DEVICES; FOMENTATION; TREATMENT OR PROTECTION OF EYES OR EARS; BANDAGES, DRESSINGS OR ABSORBENT PADS; FIRST-AID KITS
    • A61F2/00Filters implantable into blood vessels; Prostheses, i.e. artificial substitutes or replacements for parts of the body; Appliances for connecting them with the body; Devices providing patency to, or preventing collapsing of, tubular structures of the body, e.g. stents
    • A61F2/02Prostheses implantable into the body
    • A61F2/30Joints
    • A61F2002/30001Additional features of subject-matter classified in A61F2/28, A61F2/30 and subgroups thereof
    • A61F2002/30316The prosthesis having different structural features at different locations within the same prosthesis; Connections between prosthetic parts; Special structural features of bone or joint prostheses not otherwise provided for
    • A61F2002/30329Connections or couplings between prosthetic parts, e.g. between modular parts; Connecting elements
    • A61F2002/30476Connections or couplings between prosthetic parts, e.g. between modular parts; Connecting elements locked by an additional locking mechanism
    • A61F2002/30507Connections or couplings between prosthetic parts, e.g. between modular parts; Connecting elements locked by an additional locking mechanism using a threaded locking member, e.g. a locking screw or a set screw
    • A61F2002/30512
    • AHUMAN NECESSITIES
    • A61MEDICAL OR VETERINARY SCIENCE; HYGIENE
    • A61FFILTERS IMPLANTABLE INTO BLOOD VESSELS; PROSTHESES; DEVICES PROVIDING PATENCY TO, OR PREVENTING COLLAPSING OF, TUBULAR STRUCTURES OF THE BODY, e.g. STENTS; ORTHOPAEDIC, NURSING OR CONTRACEPTIVE DEVICES; FOMENTATION; TREATMENT OR PROTECTION OF EYES OR EARS; BANDAGES, DRESSINGS OR ABSORBENT PADS; FIRST-AID KITS
    • A61F2/00Filters implantable into blood vessels; Prostheses, i.e. artificial substitutes or replacements for parts of the body; Appliances for connecting them with the body; Devices providing patency to, or preventing collapsing of, tubular structures of the body, e.g. stents
    • A61F2/02Prostheses implantable into the body
    • A61F2/30Joints
    • A61F2002/30001Additional features of subject-matter classified in A61F2/28, A61F2/30 and subgroups thereof
    • A61F2002/30316The prosthesis having different structural features at different locations within the same prosthesis; Connections between prosthetic parts; Special structural features of bone or joint prostheses not otherwise provided for
    • A61F2002/30535Special structural features of bone or joint prostheses not otherwise provided for
    • A61F2002/30537Special structural features of bone or joint prostheses not otherwise provided for adjustable
    • A61F2002/30538Special structural features of bone or joint prostheses not otherwise provided for adjustable for adjusting angular orientation
    • A61F2002/3054Special structural features of bone or joint prostheses not otherwise provided for adjustable for adjusting angular orientation about a connection axis or implantation axis for selecting any one of a plurality of radial orientations between two modular parts, e.g. Morse taper connections, at discrete positions, angular positions or continuous positions
    • AHUMAN NECESSITIES
    • A61MEDICAL OR VETERINARY SCIENCE; HYGIENE
    • A61FFILTERS IMPLANTABLE INTO BLOOD VESSELS; PROSTHESES; DEVICES PROVIDING PATENCY TO, OR PREVENTING COLLAPSING OF, TUBULAR STRUCTURES OF THE BODY, e.g. STENTS; ORTHOPAEDIC, NURSING OR CONTRACEPTIVE DEVICES; FOMENTATION; TREATMENT OR PROTECTION OF EYES OR EARS; BANDAGES, DRESSINGS OR ABSORBENT PADS; FIRST-AID KITS
    • A61F2/00Filters implantable into blood vessels; Prostheses, i.e. artificial substitutes or replacements for parts of the body; Appliances for connecting them with the body; Devices providing patency to, or preventing collapsing of, tubular structures of the body, e.g. stents
    • A61F2/02Prostheses implantable into the body
    • A61F2/30Joints
    • A61F2002/30001Additional features of subject-matter classified in A61F2/28, A61F2/30 and subgroups thereof
    • A61F2002/30316The prosthesis having different structural features at different locations within the same prosthesis; Connections between prosthetic parts; Special structural features of bone or joint prostheses not otherwise provided for
    • A61F2002/30535Special structural features of bone or joint prostheses not otherwise provided for
    • A61F2002/30604Special structural features of bone or joint prostheses not otherwise provided for modular
    • AHUMAN NECESSITIES
    • A61MEDICAL OR VETERINARY SCIENCE; HYGIENE
    • A61FFILTERS IMPLANTABLE INTO BLOOD VESSELS; PROSTHESES; DEVICES PROVIDING PATENCY TO, OR PREVENTING COLLAPSING OF, TUBULAR STRUCTURES OF THE BODY, e.g. STENTS; ORTHOPAEDIC, NURSING OR CONTRACEPTIVE DEVICES; FOMENTATION; TREATMENT OR PROTECTION OF EYES OR EARS; BANDAGES, DRESSINGS OR ABSORBENT PADS; FIRST-AID KITS
    • A61F2/00Filters implantable into blood vessels; Prostheses, i.e. artificial substitutes or replacements for parts of the body; Appliances for connecting them with the body; Devices providing patency to, or preventing collapsing of, tubular structures of the body, e.g. stents
    • A61F2/02Prostheses implantable into the body
    • A61F2/30Joints
    • A61F2/30767Special external or bone-contacting surface, e.g. coating for improving bone ingrowth
    • A61F2/30771Special external or bone-contacting surface, e.g. coating for improving bone ingrowth applied in original prostheses, e.g. holes or grooves
    • A61F2002/3082Grooves
    • A61F2002/30827Plurality of grooves
    • AHUMAN NECESSITIES
    • A61MEDICAL OR VETERINARY SCIENCE; HYGIENE
    • A61FFILTERS IMPLANTABLE INTO BLOOD VESSELS; PROSTHESES; DEVICES PROVIDING PATENCY TO, OR PREVENTING COLLAPSING OF, TUBULAR STRUCTURES OF THE BODY, e.g. STENTS; ORTHOPAEDIC, NURSING OR CONTRACEPTIVE DEVICES; FOMENTATION; TREATMENT OR PROTECTION OF EYES OR EARS; BANDAGES, DRESSINGS OR ABSORBENT PADS; FIRST-AID KITS
    • A61F2/00Filters implantable into blood vessels; Prostheses, i.e. artificial substitutes or replacements for parts of the body; Appliances for connecting them with the body; Devices providing patency to, or preventing collapsing of, tubular structures of the body, e.g. stents
    • A61F2/02Prostheses implantable into the body
    • A61F2/30Joints
    • A61F2/30767Special external or bone-contacting surface, e.g. coating for improving bone ingrowth
    • A61F2/30771Special external or bone-contacting surface, e.g. coating for improving bone ingrowth applied in original prostheses, e.g. holes or grooves
    • A61F2002/30878Special external or bone-contacting surface, e.g. coating for improving bone ingrowth applied in original prostheses, e.g. holes or grooves with non-sharp protrusions, for instance contacting the bone for anchoring, e.g. keels, pegs, pins, posts, shanks, stems, struts
    • A61F2002/30886Special external or bone-contacting surface, e.g. coating for improving bone ingrowth applied in original prostheses, e.g. holes or grooves with non-sharp protrusions, for instance contacting the bone for anchoring, e.g. keels, pegs, pins, posts, shanks, stems, struts externally-threaded
    • AHUMAN NECESSITIES
    • A61MEDICAL OR VETERINARY SCIENCE; HYGIENE
    • A61FFILTERS IMPLANTABLE INTO BLOOD VESSELS; PROSTHESES; DEVICES PROVIDING PATENCY TO, OR PREVENTING COLLAPSING OF, TUBULAR STRUCTURES OF THE BODY, e.g. STENTS; ORTHOPAEDIC, NURSING OR CONTRACEPTIVE DEVICES; FOMENTATION; TREATMENT OR PROTECTION OF EYES OR EARS; BANDAGES, DRESSINGS OR ABSORBENT PADS; FIRST-AID KITS
    • A61F2/00Filters implantable into blood vessels; Prostheses, i.e. artificial substitutes or replacements for parts of the body; Appliances for connecting them with the body; Devices providing patency to, or preventing collapsing of, tubular structures of the body, e.g. stents
    • A61F2/02Prostheses implantable into the body
    • A61F2/30Joints
    • A61F2/32Joints for the hip
    • A61F2/34Acetabular cups
    • A61F2002/348Additional features
    • A61F2002/3495Spherical shell significantly smaller than a hemisphere, e.g. extending over less than 160 degrees
    • AHUMAN NECESSITIES
    • A61MEDICAL OR VETERINARY SCIENCE; HYGIENE
    • A61FFILTERS IMPLANTABLE INTO BLOOD VESSELS; PROSTHESES; DEVICES PROVIDING PATENCY TO, OR PREVENTING COLLAPSING OF, TUBULAR STRUCTURES OF THE BODY, e.g. STENTS; ORTHOPAEDIC, NURSING OR CONTRACEPTIVE DEVICES; FOMENTATION; TREATMENT OR PROTECTION OF EYES OR EARS; BANDAGES, DRESSINGS OR ABSORBENT PADS; FIRST-AID KITS
    • A61F2/00Filters implantable into blood vessels; Prostheses, i.e. artificial substitutes or replacements for parts of the body; Appliances for connecting them with the body; Devices providing patency to, or preventing collapsing of, tubular structures of the body, e.g. stents
    • A61F2/02Prostheses implantable into the body
    • A61F2/30Joints
    • A61F2/32Joints for the hip
    • A61F2/36Femoral heads ; Femoral endoprostheses
    • A61F2/3609Femoral heads or necks; Connections of endoprosthetic heads or necks to endoprosthetic femoral shafts
    • A61F2002/3611Heads or epiphyseal parts of femur
    • AHUMAN NECESSITIES
    • A61MEDICAL OR VETERINARY SCIENCE; HYGIENE
    • A61FFILTERS IMPLANTABLE INTO BLOOD VESSELS; PROSTHESES; DEVICES PROVIDING PATENCY TO, OR PREVENTING COLLAPSING OF, TUBULAR STRUCTURES OF THE BODY, e.g. STENTS; ORTHOPAEDIC, NURSING OR CONTRACEPTIVE DEVICES; FOMENTATION; TREATMENT OR PROTECTION OF EYES OR EARS; BANDAGES, DRESSINGS OR ABSORBENT PADS; FIRST-AID KITS
    • A61F2/00Filters implantable into blood vessels; Prostheses, i.e. artificial substitutes or replacements for parts of the body; Appliances for connecting them with the body; Devices providing patency to, or preventing collapsing of, tubular structures of the body, e.g. stents
    • A61F2/02Prostheses implantable into the body
    • A61F2/30Joints
    • A61F2/32Joints for the hip
    • A61F2/36Femoral heads ; Femoral endoprostheses
    • A61F2/3609Femoral heads or necks; Connections of endoprosthetic heads or necks to endoprosthetic femoral shafts
    • A61F2002/3625Necks
    • AHUMAN NECESSITIES
    • A61MEDICAL OR VETERINARY SCIENCE; HYGIENE
    • A61FFILTERS IMPLANTABLE INTO BLOOD VESSELS; PROSTHESES; DEVICES PROVIDING PATENCY TO, OR PREVENTING COLLAPSING OF, TUBULAR STRUCTURES OF THE BODY, e.g. STENTS; ORTHOPAEDIC, NURSING OR CONTRACEPTIVE DEVICES; FOMENTATION; TREATMENT OR PROTECTION OF EYES OR EARS; BANDAGES, DRESSINGS OR ABSORBENT PADS; FIRST-AID KITS
    • A61F2/00Filters implantable into blood vessels; Prostheses, i.e. artificial substitutes or replacements for parts of the body; Appliances for connecting them with the body; Devices providing patency to, or preventing collapsing of, tubular structures of the body, e.g. stents
    • A61F2/02Prostheses implantable into the body
    • A61F2/30Joints
    • A61F2/32Joints for the hip
    • A61F2/36Femoral heads ; Femoral endoprostheses
    • A61F2/3609Femoral heads or necks; Connections of endoprosthetic heads or necks to endoprosthetic femoral shafts
    • A61F2002/365Connections of heads to necks
    • A61F2002/366
    • AHUMAN NECESSITIES
    • A61MEDICAL OR VETERINARY SCIENCE; HYGIENE
    • A61FFILTERS IMPLANTABLE INTO BLOOD VESSELS; PROSTHESES; DEVICES PROVIDING PATENCY TO, OR PREVENTING COLLAPSING OF, TUBULAR STRUCTURES OF THE BODY, e.g. STENTS; ORTHOPAEDIC, NURSING OR CONTRACEPTIVE DEVICES; FOMENTATION; TREATMENT OR PROTECTION OF EYES OR EARS; BANDAGES, DRESSINGS OR ABSORBENT PADS; FIRST-AID KITS
    • A61F2/00Filters implantable into blood vessels; Prostheses, i.e. artificial substitutes or replacements for parts of the body; Appliances for connecting them with the body; Devices providing patency to, or preventing collapsing of, tubular structures of the body, e.g. stents
    • A61F2/02Prostheses implantable into the body
    • A61F2/30Joints
    • A61F2/32Joints for the hip
    • A61F2/36Femoral heads ; Femoral endoprostheses
    • A61F2/3662Femoral shafts
    • A61F2/3672Intermediate parts of shafts
    • A61F2002/3674Connections of proximal parts to distal parts
    • AHUMAN NECESSITIES
    • A61MEDICAL OR VETERINARY SCIENCE; HYGIENE
    • A61FFILTERS IMPLANTABLE INTO BLOOD VESSELS; PROSTHESES; DEVICES PROVIDING PATENCY TO, OR PREVENTING COLLAPSING OF, TUBULAR STRUCTURES OF THE BODY, e.g. STENTS; ORTHOPAEDIC, NURSING OR CONTRACEPTIVE DEVICES; FOMENTATION; TREATMENT OR PROTECTION OF EYES OR EARS; BANDAGES, DRESSINGS OR ABSORBENT PADS; FIRST-AID KITS
    • A61F2/00Filters implantable into blood vessels; Prostheses, i.e. artificial substitutes or replacements for parts of the body; Appliances for connecting them with the body; Devices providing patency to, or preventing collapsing of, tubular structures of the body, e.g. stents
    • A61F2/02Prostheses implantable into the body
    • A61F2/30Joints
    • A61F2/32Joints for the hip
    • A61F2/36Femoral heads ; Femoral endoprostheses
    • A61F2/3662Femoral shafts
    • A61F2002/3678Geometrical features
    • A61F2002/368Geometrical features with lateral apertures, bores, holes or openings, e.g. for reducing the mass, for receiving fixation screws or for communicating with the inside of a hollow shaft
    • AHUMAN NECESSITIES
    • A61MEDICAL OR VETERINARY SCIENCE; HYGIENE
    • A61FFILTERS IMPLANTABLE INTO BLOOD VESSELS; PROSTHESES; DEVICES PROVIDING PATENCY TO, OR PREVENTING COLLAPSING OF, TUBULAR STRUCTURES OF THE BODY, e.g. STENTS; ORTHOPAEDIC, NURSING OR CONTRACEPTIVE DEVICES; FOMENTATION; TREATMENT OR PROTECTION OF EYES OR EARS; BANDAGES, DRESSINGS OR ABSORBENT PADS; FIRST-AID KITS
    • A61F2/00Filters implantable into blood vessels; Prostheses, i.e. artificial substitutes or replacements for parts of the body; Appliances for connecting them with the body; Devices providing patency to, or preventing collapsing of, tubular structures of the body, e.g. stents
    • A61F2/02Prostheses implantable into the body
    • A61F2/30Joints
    • A61F2/32Joints for the hip
    • A61F2/36Femoral heads ; Femoral endoprostheses
    • A61F2/3662Femoral shafts
    • A61F2002/3678Geometrical features
    • A61F2002/3686Geometrical features bent
    • AHUMAN NECESSITIES
    • A61MEDICAL OR VETERINARY SCIENCE; HYGIENE
    • A61FFILTERS IMPLANTABLE INTO BLOOD VESSELS; PROSTHESES; DEVICES PROVIDING PATENCY TO, OR PREVENTING COLLAPSING OF, TUBULAR STRUCTURES OF THE BODY, e.g. STENTS; ORTHOPAEDIC, NURSING OR CONTRACEPTIVE DEVICES; FOMENTATION; TREATMENT OR PROTECTION OF EYES OR EARS; BANDAGES, DRESSINGS OR ABSORBENT PADS; FIRST-AID KITS
    • A61F2220/00Fixations or connections for prostheses classified in groups A61F2/00 - A61F2/26 or A61F2/82 or A61F9/00 or A61F11/00 or subgroups thereof
    • A61F2220/0025Connections or couplings between prosthetic parts, e.g. between modular parts; Connecting elements
    • AHUMAN NECESSITIES
    • A61MEDICAL OR VETERINARY SCIENCE; HYGIENE
    • A61FFILTERS IMPLANTABLE INTO BLOOD VESSELS; PROSTHESES; DEVICES PROVIDING PATENCY TO, OR PREVENTING COLLAPSING OF, TUBULAR STRUCTURES OF THE BODY, e.g. STENTS; ORTHOPAEDIC, NURSING OR CONTRACEPTIVE DEVICES; FOMENTATION; TREATMENT OR PROTECTION OF EYES OR EARS; BANDAGES, DRESSINGS OR ABSORBENT PADS; FIRST-AID KITS
    • A61F2220/00Fixations or connections for prostheses classified in groups A61F2/00 - A61F2/26 or A61F2/82 or A61F9/00 or A61F11/00 or subgroups thereof
    • A61F2220/0025Connections or couplings between prosthetic parts, e.g. between modular parts; Connecting elements
    • A61F2220/0033Connections or couplings between prosthetic parts, e.g. between modular parts; Connecting elements made by longitudinally pushing a protrusion into a complementary-shaped recess, e.g. held by friction fit
    • AHUMAN NECESSITIES
    • A61MEDICAL OR VETERINARY SCIENCE; HYGIENE
    • A61FFILTERS IMPLANTABLE INTO BLOOD VESSELS; PROSTHESES; DEVICES PROVIDING PATENCY TO, OR PREVENTING COLLAPSING OF, TUBULAR STRUCTURES OF THE BODY, e.g. STENTS; ORTHOPAEDIC, NURSING OR CONTRACEPTIVE DEVICES; FOMENTATION; TREATMENT OR PROTECTION OF EYES OR EARS; BANDAGES, DRESSINGS OR ABSORBENT PADS; FIRST-AID KITS
    • A61F2230/00Geometry of prostheses classified in groups A61F2/00 - A61F2/26 or A61F2/82 or A61F9/00 or A61F11/00 or subgroups thereof
    • A61F2230/0063Three-dimensional shapes
    • A61F2230/0069Three-dimensional shapes cylindrical
    • AHUMAN NECESSITIES
    • A61MEDICAL OR VETERINARY SCIENCE; HYGIENE
    • A61FFILTERS IMPLANTABLE INTO BLOOD VESSELS; PROSTHESES; DEVICES PROVIDING PATENCY TO, OR PREVENTING COLLAPSING OF, TUBULAR STRUCTURES OF THE BODY, e.g. STENTS; ORTHOPAEDIC, NURSING OR CONTRACEPTIVE DEVICES; FOMENTATION; TREATMENT OR PROTECTION OF EYES OR EARS; BANDAGES, DRESSINGS OR ABSORBENT PADS; FIRST-AID KITS
    • A61F2250/00Special features of prostheses classified in groups A61F2/00 - A61F2/26 or A61F2/82 or A61F9/00 or A61F11/00 or subgroups thereof
    • A61F2250/0014Special features of prostheses classified in groups A61F2/00 - A61F2/26 or A61F2/82 or A61F9/00 or A61F11/00 or subgroups thereof having different values of a given property or geometrical feature, e.g. mechanical property or material property, at different locations within the same prosthesis
    • A61F2250/0026Special features of prostheses classified in groups A61F2/00 - A61F2/26 or A61F2/82 or A61F9/00 or A61F11/00 or subgroups thereof having different values of a given property or geometrical feature, e.g. mechanical property or material property, at different locations within the same prosthesis differing in surface structures
    • AHUMAN NECESSITIES
    • A61MEDICAL OR VETERINARY SCIENCE; HYGIENE
    • A61FFILTERS IMPLANTABLE INTO BLOOD VESSELS; PROSTHESES; DEVICES PROVIDING PATENCY TO, OR PREVENTING COLLAPSING OF, TUBULAR STRUCTURES OF THE BODY, e.g. STENTS; ORTHOPAEDIC, NURSING OR CONTRACEPTIVE DEVICES; FOMENTATION; TREATMENT OR PROTECTION OF EYES OR EARS; BANDAGES, DRESSINGS OR ABSORBENT PADS; FIRST-AID KITS
    • A61F2310/00Prostheses classified in A61F2/28 or A61F2/30 - A61F2/44 being constructed from or coated with a particular material
    • A61F2310/00005The prosthesis being constructed from a particular material
    • A61F2310/00011Metals or alloys
    • A61F2310/00017Iron- or Fe-based alloys, e.g. stainless steel
    • AHUMAN NECESSITIES
    • A61MEDICAL OR VETERINARY SCIENCE; HYGIENE
    • A61FFILTERS IMPLANTABLE INTO BLOOD VESSELS; PROSTHESES; DEVICES PROVIDING PATENCY TO, OR PREVENTING COLLAPSING OF, TUBULAR STRUCTURES OF THE BODY, e.g. STENTS; ORTHOPAEDIC, NURSING OR CONTRACEPTIVE DEVICES; FOMENTATION; TREATMENT OR PROTECTION OF EYES OR EARS; BANDAGES, DRESSINGS OR ABSORBENT PADS; FIRST-AID KITS
    • A61F2310/00Prostheses classified in A61F2/28 or A61F2/30 - A61F2/44 being constructed from or coated with a particular material
    • A61F2310/00005The prosthesis being constructed from a particular material
    • A61F2310/00011Metals or alloys
    • A61F2310/00023Titanium or titanium-based alloys, e.g. Ti-Ni alloys
    • AHUMAN NECESSITIES
    • A61MEDICAL OR VETERINARY SCIENCE; HYGIENE
    • A61FFILTERS IMPLANTABLE INTO BLOOD VESSELS; PROSTHESES; DEVICES PROVIDING PATENCY TO, OR PREVENTING COLLAPSING OF, TUBULAR STRUCTURES OF THE BODY, e.g. STENTS; ORTHOPAEDIC, NURSING OR CONTRACEPTIVE DEVICES; FOMENTATION; TREATMENT OR PROTECTION OF EYES OR EARS; BANDAGES, DRESSINGS OR ABSORBENT PADS; FIRST-AID KITS
    • A61F2310/00Prostheses classified in A61F2/28 or A61F2/30 - A61F2/44 being constructed from or coated with a particular material
    • A61F2310/00005The prosthesis being constructed from a particular material
    • A61F2310/00011Metals or alloys
    • A61F2310/00029Cobalt-based alloys, e.g. Co-Cr alloys or Vitallium

Definitions

  • the present invention relates generally to the field of orthopaedics, and more particularly, to an implant for use in arthroplasty.
  • Joint replacement surgery is quite common and enables many individuals to function properly when it would not be otherwise possible to do so.
  • Artificial joints are usually comprised of metal, ceramic and/or plastic components that are fixed to existing bone.
  • joint arthroplasty is a well-known surgical procedure by which a diseased and/or damaged joint is replaced with a prosthetic joint.
  • the ends or distal portions of the bones adjacent to the joint are resected or a portion of the distal part of the bone is removed and the artificial joint is secured thereto.
  • Such bone prostheses include components of artificial joints such as elbows, hips, knees and shoulders.
  • Factors related to dislocation include surgical technique, implant design, implant positioning and patient related factors.
  • implant systems address this concern by offering a series of products with a range of lateral offsets, neck offsets, head offsets and leg lengths. The combination of these four factors affects the laxity of the soft tissue. By optimizing the biomechanics, the surgeon can provide a patient a stable hip much more resistant to dislocation.
  • Anteversion of a total hip system is closely linked to the stability of the joint. Improper anteversion can lead to dislocation and patient dissatisfaction. Anteversion control is important in all hip stems. However, it is a more challenging issue with the advent of stems with additional modularity.
  • the prior art has provided for some addressing of the anteversion problem.
  • the current S-ROM® stems have laser markings on the medial stem and the proximal sleeve. This marking enables the surgeon to measure relative alignment between these components. Since the sleeve has infinite anteversion, it is not necessarily oriented relative to a bony landmark that can be used to define anteversion. In fact, the current sleeves are sometimes oriented with the spout pointing directly laterally into the remaining available bone.
  • a revision procedure is performed in which the index devices (some or all) are removed. Quite often the remaining bone is significantly compromised compared to a primary hip procedure. Significant bone loss is observed, often with a lack of bone landmarks typically used for alignment.
  • a trial or substitute stem is first implanted into the patient.
  • the trial is utilized to verify the selected size and shape of the implant in situ on the patient and the patient is subjected to what is known as a trial reduction.
  • This trial reduction represents moving the joint, including the trial implant through selected typical motions for that joint.
  • Current hip instruments provide a series of trials of different sizes to help the surgeon assess the fit and position of the implant.
  • Trials which are also known as provisionals, allow the surgeon to perform a trial reduction to assess the suitability of the implant and the implant's stability prior to final implant selection.
  • many trialing systems are modular.
  • the implant is represented.
  • the S-ROM® stem is modular and includes a stem and a sleeve, the angular relationship or relative anteversion between the neck and the sleeve is independent and represented by teeth mating between the neck and the proximal body trial.
  • the proximal body trial has fixed transverse bolts that are keyed to the sleeve in the trialing for straight, primary stems. The long stem trials do not have the transverse bolts and are thus not rotationally stable during trial reduction and therefore are not always used by the surgeon.
  • This lengthy surgical procedure includes the steps of preparing the canal, removing the instruments to prepare the canal, implanting trials, performing a trial reduction and then implanting the prosthesis. This lengthy procedure increases the risk of the patient's surgical complications.
  • the trials and implants all need to be properly located and selected to obtain the optimum results for the patient.
  • the positioning of the trial with respect to the femur and the implant with respect to the trial currently allow for much variation from procedure to procedure.
  • orthopaedic surgery preferably conserves as much of the resected bone as possible.
  • Current surgical procedures require that sufficient bone be resected and removed by instruments in the proximal bone to provide for clearance for the proximal trial and the proximal implant.
  • material must be removed proximally on the bone to provide for the variety of positions that may be optimum for the patient.
  • the distal canal is prepared with a reamer and the bowed step is installed in the reamed cavity.
  • the longitudinal centerline of the proximal body of the implant is not in alignment with the centerline of the distal stem due to the fact that the distal stem is bowed.
  • the reamer that prepares the distal cavity can not remove bone to provide clearance to the proximal body in a precise manner to minimize bone removal, due to the fact that the proximal body centerline of the implant is not in alignment with the distal stem centerline.
  • Either additional material must be removed by the distal reamer from the proximal bone to allow for this non-alignment, or additional material must be removed by other means, for example by an osteotome. Either method requires additional bone removal that is not clinically desired.
  • the present invention is directed to alleviate at least some of the problems with the prior art.
  • the design of the present invention gives the surgeon the ability to remove proximal bone after the distal implant has been implanted utilizing the fixed position of the implant to support a tool to remove the proximal bone.
  • the present invention provides a reamer that utilizes the distal implant in the long bone as a guide for proximally reaming the long bone.
  • a long bone for example a hip
  • This reaming is done using a tapered reamer.
  • the distal stem implant has a 3° bend to accommodate for the natural interior bow of the femoral canal in long distal stem implant configurations used in revision arthroplasty. Because of the 3° bend, proximal reaming must be separately performed to remove the bone not removed by the distal tapered reamer.
  • the surgeon may, utilizing the present invention, use the proximal end or tapered portion of the distal stem implant as a pilot shaft for the proximal reamer.
  • a protective sleeve may be placed over the tapered portion of the distal stem component of the implant to prevent damage to the distal stem component while the proximal reaming is being performed.
  • the next step for the surgeon, after the proximal reaming, would be to proceed with implanting the proximal body implant or a proximal body trial.
  • a trial reduction is then performed and, if a trial reduction includes a proper implant/trial assembly selection, the corresponding implant is then inserted onto the distal stem implant.
  • a reamer for reaming a proximal portion of a cavity for use in implanting a joint prosthesis.
  • the reamer cooperates with a proximal portion of an orthopaedic implant stem.
  • the reamer includes a body defining a cavity formed in the body for receiving at least a portion of the orthopaedic implant stem.
  • the reamer also includes a plurality of cutting edges extending outwardly from the body. The edges are adapted for cooperation with bone.
  • the reamer also includes a stem extending from an end of the body.
  • a reamer assembly for reaming a cavity for use in implanting an orthopaedic implant stem of a joint prosthesis.
  • the reamer cooperates with a proximal portion of an orthopaedic implant stem.
  • the reamer assembly includes a sleeve that fits over the proximal portion of the orthopaedic implant stem.
  • the sleeve defines an outer periphery of the sleeve.
  • the reamer assembly also includes a reamer having a body defining a cavity formed in the body for receiving at least a portion of the outer periphery of the sleeve.
  • the reamer also has a plurality of cutting edges extending outwardly from the body. The edges are adapted for cooperation with bone.
  • the reamer also has a stem extending from an end of the body.
  • a sleeve for use with an orthopaedic implant stem and a proximal reamer.
  • the sleeve fits over the proximal portion of the orthopaedic implant stem.
  • the sleeve defines an outer periphery of the sleeve.
  • a kit for use in joint arthroplasty includes a proximal orthopaedic implant stem and a sleeve that fits over the proximal portion of the orthopaedic implant stem.
  • the sleeve defines an outer periphery of the sleeve.
  • the kit also includes a reamer.
  • the reamer has a body defining a cavity formed in the body for receiving at least a portion of the orthopaedic implant stem.
  • the reamer also includes a plurality of cutting edges extending outwardly from the body. The edges are adapted for cooperation with bone.
  • the reamer also includes a stem extending from an end of the body.
  • a method for providing joint arthroplasty includes the steps of resecting an end portion of a long bone and preparing a central longitudinal opening in a medullary canal of the long bone.
  • the method also includes the steps of providing a prosthetic stem component and installing the prosthetic stem component into the opening in a medullary canal.
  • the method also includes the steps of providing a reamer including an opening for receiving the prosthetic stem component and positioning the reamer onto prosthetic stem component with the opening of the reamer positioned at least partially over the prosthetic stem component.
  • the method also includes the steps of reaming a portion of the long bone with the reamer, removing the reamer; and installing a prosthetic body component onto the prosthetic stem component.
  • a method for providing joint arthroplasty comprising.
  • the method includes the steps of resecting an end portion of a long bone and preparing a central longitudinal opening in a medullary canal of the long bone.
  • the method also includes the steps of providing a prosthetic stem component and installing the prosthetic stem component into the opening in a medullary canal.
  • the method also includes the steps of installing a sleeve onto the prosthetic stem component and providing a reamer including an opening for receiving the prosthetic stem component.
  • the method also includes the steps of positioning the reamer onto the sleeve and reaming a portion of the long bone with the reamer.
  • the method also includes the steps of removing the reamer and installing a prosthetic body component onto the prosthetic stem component.
  • the technical advantages of the present invention include the ability to reduce the number of steps in the surgical technique necessary to perform orthopedic surgery, for example hip implant surgery.
  • a method for providing joint arthroplasty includes the steps of resecting an end portion of a long bone, preparing a central longitudinal opening in the canal, providing a prosthetic stem component, and installing the stem component into the opening.
  • the method also includes the step for providing a reamer for receiving the prosthetic stem component.
  • the reamer is positioned at least partially over the prosthetic stem component.
  • the present invention provides for a reduction in the number of steps in the surgical technique for joint arthroplasty.
  • the technical advantages of the present invention further include a reduction in the number of instruments required to perform a joint arthroplasty, a reduced number of instruments in the instrument tray and a reduction in the related costs of the instruments.
  • a method and apparatus for providing joint arthroplasty is provided in which the distal stem implant is implanted into the reamed bone canal without the use of a distal stem trial. Therefore, the instrument of a distal stem trial is not required in this aspect of the present invention.
  • the present invention provides for a reduced number of instruments required to perform the joint arthroplasty.
  • the technical advantages of the present invention further include the ability to remove bone proximally from the long bone after a distal stem implant is installed into the long bone of the patient.
  • a method for performing joint arthroplasty includes providing a prosthetic stem component which is positioned in the canal of the long bone and providing a reamer for receiving the prosthetic stem component.
  • a proximal reamer is positioned onto the prosthetic stem component and reams a proximal portion of the long bone.
  • the technical advantages of the present invention further include the ability to remove bone in a form that is eccentric with the center line of the distal canal with a reamer.
  • a reamer assembly is provided for reaming a proximal portion of a cavity for use in implanting a proximal body implant of a modular joint prosthesis.
  • the reamer cooperates with a proximal portion of the distal stem implant.
  • the reamer assembly includes a proximal reamer and a sleeve that slips over the proximal portion of the distal stem implant. The sleeve may snap into a cavity of the proximal reamer.
  • the orthopedic implant stem has a proximal portion that is non-linear with the distal portion of the implant stem.
  • the present invention provides the ability to remove bone that is eccentric with the distal canal with a reamer. Reaming of the proximal portion of the long bone may be better than broaching the proximal portion in that bone may be too sclerotic or too weak and fragile to absorb the impaction force from broaching.
  • the technical advantages of the present invention further include the ability to use the implant as an implant shaft for reaming.
  • a reamer assembly for reaming a proximal portion of a cavity for a joint prosthesis is provided.
  • the assembly includes a sleeve that fits over the orthopedic stem and a reamer that is fitted over the sleeve and is used to prepare a proximal portion of the long bone.
  • the present invention provides for ability to use the implant as a pilot shaft for the reamer.
  • the technical advantages of the present invention further include the ability to perform in situa proximal body trialing on top of a distal implant stem.
  • a method providing joint arthroplasty includes the steps of resecting an end portion of the long bone, preparing an opening in the canal and providing a distal stem component.
  • the distal stem component is installed into the canal and a reamer, including an opening for receiving the proximal portion of the distal stem component, is positioned over the stem with the reamer reaming in situa the proximal portion of the long bone for receiving the proximal body component.
  • a proximal body implant component or a proximal body trial component may be positioned over the prosthetic distal stem implant component and a trial performed on top of the distal prosthetic stem implant component.
  • the present invention provides for the performing in situa a proximal body trialing on top of a distal implant component.
  • FIG. 1 is a plan view of a reamer in position in a long bone for preparing a bone canal for receiving a long bone prosthetic stem;
  • FIG. 2 is a plan view of a curved long bone distal stem implant in position in the canal prepared by the reamer of FIG. 1 for use with the present invention
  • FIG. 2A is a plan view of a straight long bone distal stem implant in position in the canal prepared by the reamer of FIG. 1 for use with the present invention
  • FIG. 3 is a plan view of a sleeve for use on the distal long bone stem of FIG. 2 , according to an embodiment of the present invention
  • FIG. 3A is a plan view of a sleeve with a cylindrical bore and a cylindrical outer periphery according to another embodiment of the present invention.
  • FIG. 3B is a plan view of a sleeve with a cylindrical bore and a tapered outer periphery according to another embodiment of the present invention.
  • FIG. 3C is a partial plan view of a recess in the bore of a sleeve to mate with a protrusion on the distal long bone stem according to another embodiment of the present invention
  • FIG. 3D is an end view of the sleeve of FIG. 3C showing the recess in the bore of the sleeve;
  • FIG. 3E is an end view of a sleeve having three spaced apart recesses in the bore of the sleeve according to another embodiment of the present invention.
  • FIG. 3F is a partial plan view of a protrusion in the bore of the sleeve to mate with a recess on the distal long bone stem according to another embodiment of the present invention
  • FIG. 3G is an end view of the sleeve of FIG. 3F showing the protrusion in the bore of the sleeve;
  • FIG. 3H is an end view of a sleeve having three spaced apart protrusions in the bore of the sleeve according to another embodiment of the present invention.
  • FIG. 3I is a plan view of a sleeve having a protrusion on the outer periphery of the sleeve according to another embodiment of the present invention.
  • FIG. 3J is an end view of the sleeve of FIG. 3I showing the protrusion on the periphery of the sleeve;
  • FIG. 3K is an end view of a sleeve having three spaced apart protrusions on the periphery of the sleeve according to another embodiment of the present invention.
  • FIG. 3L is an end view of a sleeve having a rib or ring on the periphery of the sleeve according to another embodiment of the present invention.
  • FIG. 3M is a plan view of a sleeve having a groove on the outer periphery of the sleeve according to another embodiment of the present invention.
  • FIG. 3N is a plan view of a sleeve having a groove on the outer periphery of the sleeve with a cylindrical bore and with a cylindrical outside diameter according to another embodiment of the present invention
  • FIG. 3P is a cross sectional view along the lines 3 P- 3 P in the direction of the arrows;
  • FIG. 3Q is a plan view of the sleeve of FIG. 3N ;
  • FIG. 4 is a plan view of the distal implant stem of FIG. 2 with the sleeve of FIG. 3M installed on the stem, to form a distal implant sleeve assembly;
  • FIG. 4A is a plan view of a distal implant stem with an external protrusion for use with the sleeve of FIG. 3C installed on the stem, to form a distal implant sleeve assembly according to another embodiment of the present invention
  • FIG. 4B is an end view of the distal implant sleeve assembly of FIG. 4A showing the protrusion on the periphery of the distal implant stem;
  • FIG. 4C is an end view of a distal implant stem with 3 spaced apart external protrusions for use with the sleeve of FIG. 3E installed on the stem, to form a distal implant sleeve assembly according to another embodiment of the present invention
  • FIG. 4D is a plan view of a distal implant stem with an external indent for use with the sleeve of FIG. 3F installed on the stem, to form a distal implant sleeve assembly according to another embodiment of the present invention
  • FIG. 4E is an end view of the distal implant sleeve assembly of FIG. 4D showing the protrusion on the external indent of the distal implant stem;
  • FIG. 4F is an end view of a distal implant stem with 3 spaced apart external indents for use with the sleeve of FIG. 3H installed on the stem, to form a distal implant sleeve assembly according to another embodiment of the present invention
  • FIG. 4G is a top view of the implant/sleeve assembly of FIG. 4 ;
  • FIG. 4H is a plan view of a guide pin for use with the assembly of FIG. 4 to protect the sleeve of FIG. 3 ;
  • FIG. 4I is a plan view of a implant/sleeve/pin assembly with the guide pin of FIG. 4H assembled onto the implant/sleeve assembly of FIG. 4 ;
  • FIG. 5 is a plan view of a reamer for use with a distal stem component according to another embodiment of the present invention.
  • FIG. 5A is a plan view of a reamer for use with a distal stem component having a cylindrical outer periphery, the reamer having a cylindrical opening and a cylindrical periphery according to another embodiment of the present invention
  • FIG. 5B is a plan view of a reamer for use with a distal stem component having a cylindrical outer periphery, the reamer having a cylindrical opening and a tapered periphery according to another embodiment of the present invention
  • FIG. 5C is a plan view of a reamer for use with a distal stem component, the reamer having a tapered opening and a tapered periphery according to another embodiment of the present invention
  • FIG. 6 is a plan view of the reamer of FIG. 5 , partially in cross section;
  • FIG. 6A is a plan view of the reamer of FIG. 5C , partially in cross section;
  • FIG. 7 is a plan view, partially in cross section, of the reamer of FIG. 5C shown in greater detail;
  • FIG. 7A is a partial plan view of FIG. 7 showing the spring loaded detent positioned in the bore of the reamer to mate with a groove on the external periphery of the sleeve in greater detail;
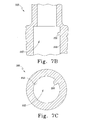
  • FIG. 7B is a partial plan view of a proximal reamer showing a protrusion positioned in the bore of the reamer to mate with a groove on the sleeve according to another embodiment of the present invention
  • FIG. 7C is an end view of the proximal reamer of FIG. 7B showing the protrusion positioned in the bore of the reamer;
  • FIG. 7D is an end view of a proximal reamer of FIG. 7B showing 3 spaced apart protrusions positioned in the bore of the reamer according to another embodiment of the present invention
  • FIG. 7E is a partial plan view of a proximal reamer showing a ring positioned in the bore of the reamer to mate with a groove on the sleeve according to another embodiment of the present invention
  • FIG. 7F is a partial plan view of a proximal reamer showing a groove positioned in the bore of the reamer to mate with a protrusion on the sleeve according to another embodiment of the present invention
  • FIG. 7G is a partial plan view of FIG. 7 showing the spring loaded detent positioned in the bore of the reamer to mate with a groove on the external periphery of the sleeve, the sleeve having a distal cylindrical portion and a proximal cylindrical portion according to another embodiment of the present invention
  • FIG. 8 is a plan view partially in cross section of the reamer of FIG. 5 in position on the distal implant/sleeve assembly of FIG. 4 ;
  • FIG. 9 is a partial plan view, partially in cross section, of the reamer of FIG. 5 with the sleeve of FIG. 3 in position on the reamer of FIG. 5 to form a reamer/sleeve assembly according to another embodiment of the present invention
  • FIG. 10 is a proximal body implant for use with the distal stem implant of FIG. 2 ;
  • FIG. 11 is a long bone implant assembly including the proximal body implant of FIG. 10 in position on the long bone distal stem implant of FIG. 2 ;
  • FIG. 12 is an enlarged partial plan view of the long bone implant assembly of FIG. 11 showing the tapered connection in greater detail;
  • FIG. 13 is an exploded view of the long bone implant assembly of FIG. 11 including a head
  • FIG. 14 is an assembled view of the long bone implant assembly of FIG. 13 ; in position in the body;
  • FIG. 15 is a proximal trial component for use with the long bone distal stem implant of FIG. 2 ;
  • FIG. 16 is a kit for use in performing arthroplasty according to another embodiment of the present invention.
  • FIG. 17 is a flow chart of a surgical procedure according to another embodiment of the present invention.
  • the femur 2 includes an intermedullary canal 4 into which the prosthesis of the present invention may be inserted.
  • the femur 2 is resected along resection line 6 by, for example, a power tool, for example, a saw.
  • the resecting of the long bone or femur 2 exposes the intermedullary canal 4 of femur 2 .
  • a reamer 8 that may be a standard commercially available reamer is positioned in the intermedullary canal 4 of the long bone 2 to form cavity 10 for receiving an orthopedic joint implant.
  • the reamer 8 includes a plurality of longitudinally extending flutes 12 which are used to remove bone and other biological matter from the intermedullary canal 4 to form the cavity 10 .
  • the reamer 8 may be rotated by use of a connector 14 positioned on the reamer 8 .
  • the connector 14 may be any standard connector for example a Hudson or an A-O connector.
  • the connector 14 is used to connect to a power tool 16 for rotating the reamer 8 .
  • the power tool 16 may be any standard power tool. It should be appreciated that the reamer 8 may be rotated through the use of the connector 14 by a hand tool for example a “T” shaped handle.
  • a distal implant stem 18 is shown fitted into the cavity 10 formed in the intermedullary canal 4 of the long bone or femur 2 .
  • the distal implant stem 18 may, as is shown in FIG. 2 , be in the form of a curved or bent stem.
  • the natural femur has a curve that may best be replicated in an implant component, particularly when the distal implant stem has a particularly long length, such as is used in a revision arthroplasty.
  • the distal implant stem shape may be defined by a radius R extending from origin 21 .
  • the curved or bent portion of stem 18 may be located mostly distally on the stem 18 .
  • the distal implant stem includes an external tapered proximal portion 20 and a connector in the form of external threads 24 located proximally from the tapered proximal portion 20 .
  • the resection line 6 may generally correspond to the position at which the stem 18 , when implanted, begins the external tapered portion 20 of the stem 18 .
  • the stem may be in the form of a straight or cylindrical stem 18 A which does not include a curved or bent portion.
  • the use of the proximal reamer in the present invention with such a cylindrical stem 18 A may provide for bone removal for receiving the proximal body that is precise and that minimizes bone removal in comparison with other methods of removing bone for receiving the proximal body.
  • a sleeve 24 X for use with distal implant stems for example stem 18 of FIG. 2 .
  • the sleeve 24 X is used with a proximal reamer 58 C (See FIG. 5C ).
  • the sleeve 24 X as shown in FIG. 3 , is fitable over the tapered proximal portion 20 of the distal implant stem 18 .
  • the sleeve 24 X defines an outer periphery 26 X of the sleeve 24 X. As shown in FIG.
  • the sleeve 24 X may be hollow and may include a cavity 28 X extending longitudinally along sleeve center line 30 X.
  • the cavity 28 X may define an inner periphery 32 X of the sleeve 24 X.
  • the inner periphery 32 X of the sleeve 24 X may have any shape that mates with external periphery 19 of the tapered proximal portion 20 of the stem 18 (See FIG. 2 ).
  • the stem 18 includes the tapered proximal portion 20 as well as the threaded portion 22 .
  • the inner periphery 32 X includes tapered portion 34 X to mate with tapered portion 20 of the stem 18 .
  • the inner periphery 32 X of the sleeve 24 X includes a threaded cylindrical portion 36 X which mates with internal threads 25 formed on the stem 18 (See FIG. 2 ).
  • the tapered portion 34 X and the cylindrical portion 36 X define a step or shoulder 38 X positioned between the cylindrical portion 36 X and the tapered portion 34 X of the sleeve 24 X.
  • the sleeve 24 X may include the outer periphery 26 X having a shape compatible to that of the proximal reamer (See FIG. 5C ).
  • the outer periphery 26 X may, as is shown in FIG. 3 , be tapered and defined by an included angle ⁇ .
  • the included angle ⁇ may be designed such that the sleeve 24 X may have a wall thickness T which is generally uniform.
  • the tapered portion 34 X of the internal periphery 32 X of the sleeve 24 X may be defined by and include an included angle ⁇ which is similar to the included angle ⁇ . As shown in FIG. 3 , the internal angle ⁇ is slightly smaller than the included angle ⁇ .
  • the sleeve 24 X is fixedly secured to stem 18 of FIG. 2 so that wear or damage does not occur to the tapered proximal portion 20 of the stem 18 .
  • the sleeve 24 X may include a feature for assuring that the stem 18 is fixedly secured to the sleeve 24 X when assembled together.
  • the angle ⁇ of the internal periphery at the tapered portion 34 X may be designed such that it provides for a locking taper with the tapered portion 20 of the stem 18 .
  • cylindrical portion 36 X of the inner periphery 32 X may include a feature of, for example, internal threads 40 X show in phantom, which may alternatively be used to thread the sleeve 24 X into engagement with external threads 23 on the stem 18 .
  • Sleeve 24 A is like sleeve 24 of FIG. 3 except that sleeve 24 A includes an outer periphery 26 A and an inner periphery 32 A that are both cylindrical.
  • the sleeve 24 A is suitable for use with reamers having a cylindrical profiled driving surface.
  • sleeve 24 B is similar to the sleeve 24 of FIG. 3 except that the sleeve 24 B includes an outer periphery 26 B which is cylindrical and an inner periphery 32 B which is tapered. It should be appreciated that the sleeve 24 B of FIG. 3B may have a uniform configuration of the inner periphery 32 B with no step or shoulder, as well as, a simple cylindrical shape of outer periphery 26 B.
  • the sleeve 24 may include an annular external ring or lip 42 which extends outwardly from outer periphery 26 at lower end 44 of the sleeve 24 .
  • the lip 42 may serve to prevent the outer periphery 26 of the sleeve 24 to be permanently taper locked onto the proximal reamer.
  • the sleeve 24 While it is desirable to have the sleeve 24 be rigidly fixed to the distal implant 18 when the proximal reamer is used with the sleeve 24 , such rigid engagement of the sleeve 24 to the implant stem 18 may be acquired by an interference fit between the inner periphery 32 of the sleeve 24 and the tapered external portion 20 of the stem 18 if the components are cylindrical or tapered locked if not.
  • the sleeve 24 may include a locking or securing feature 46 that cooperates with a connection feature 56 on the stem 18 to assure the rigidity of the sleeve 24 against the stem 18 .
  • a sleeve 24 C is shown which is similar to the sleeve 24 of FIG. 3 except that the sleeve 24 C includes the sleeve/stem securing feature 46 C in the form of an indentation.
  • the indentation 46 C may mate with a complimentary protrusion extending from the outer periphery 26 of the external tapered portion 20 of the stem 18 (see FIG. 2 ).
  • the sleeve 24 C may include a solitary indent 46 C as shown in FIG. 3D .
  • Sleeve 24 E is like sleeve 24 C of FIGS. 3C and 3D except that the sleeve 24 E includes more than one indent, for example, three spaced apart indents 46 E.
  • Sleeve 24 F is similar to sleeve 24 of FIG. 3 except that the sleeve 24 F includes a sleeve/stem securing feature in the form of a protrusion 46 F extending inwardly from inner periphery 32 F of the sleeve 24 F.
  • the protrusion 46 F is a solitary protrusion.
  • the protrusion 46 F of FIGS. 3F and 3G may mate with an indent 56 F formed on the external tapered portion 20 F of the stem 18 F of FIG. 4F .
  • sleeve 24 H yet another embodiment of the present invention is shown as sleeve 24 H.
  • the sleeve 24 H is like the sleeve 24 F except that the sleeve 24 H includes three spaced apart protrusions 46 H.
  • sleeve 24 I yet another embodiment of the present invention is shown as sleeve 24 I.
  • the sleeve 24 I is similar to sleeve 24 of FIG. 3 except that the sleeve 24 I includes a sleeve/proximal reamer securing feature in the form of a protrusion 48 I positioned near shoulder 38 I of the sleeve 24 .
  • the protrusion 48 I extends outwardly from outer periphery 26 I of the sleeve 24 I.
  • the protrusion 48 I serves to mate with an indent on the proximal reamer so that when the proximal reamer is extracted from the stem 18 , the sleeve 24 I remains with the proximal reamer and does not need to be separately removed from the stem 18 (see FIG. 2 ).
  • the protrusion 48 I may have any suitable shape and may as shown in FIG. 3I be tapered downwardly to make the engagement of the protrusion into the opening easier in the downward direction of the reamer and to assure that the sleeve 24 is removed with the proximal reamer. This feature reduces surgical procedure steps and saves time in the operating room.
  • the protrusion 48 I of the sleeve 24 I may be a solitary protrusion.
  • sleeve 24 K yet another embodiment of the present invention is shown as sleeve 24 K.
  • the sleeve 24 K includes a protrusion 48 K extending outwardly from external periphery 26 K of the sleeve 24 K. It should be appreciated as shown in FIG. 3K that three separate spaced apart protrusions 48 K may be utilized with complimentary indents formed in the proximal reamer (see FIG. 4 ).
  • the protrusion 48 I of the sleeve 24 I may be a solitary protrusion that extends around the periphery of the sleeve to form a ring or lip.
  • the sleeve 24 X may include a sleeve reamer connection feature 48 X in the form of an internal groove 48 X extending inwardly from outer periphery 26 X of the sleeve 24 X.
  • the groove 48 X may be positioned anywhere along longitudinal axis central line 30 X of the sleeve 24 X, but preferably is located near the shoulder 38 X of the sleeve 24 X.
  • the groove 48 X serves to mate with a detent 88 C formed in the proximal reamer 58 C (See FIG. 7A ). It should be appreciated that the feature 48 X should provide for an ability to have relative rotation between the sleeve 24 X and the proximal reamer 58 C.
  • a sleeve 24 for use with distal implant stems for example stem 18 of FIG. 2
  • the sleeve 24 is used with a proximal reamer 58 (See FIG. 5 ).
  • the sleeve 24 as shown in FIG. 3 , is fitable over the tapered proximal portion 20 of the distal implant stem 18 .
  • the sleeve 24 defines an outer periphery 26 of the sleeve 24 .
  • the sleeve 24 may be hollow and may include a cavity 28 extending longitudinally along sleeve center line 30 .
  • the cavity 28 may define an inner periphery 32 of the sleeve 24 .
  • the inner periphery 32 of the sleeve 24 may have any shape that mates with external periphery 19 of the tapered proximal portion 20 of the stem 18 .
  • the inner periphery 19 may be cylindrical and interferencely fit onto the tapered proximal portion 20 of the stem 18 of FIG. 2 .
  • the stem 18 includes the tapered proximal portion 20 as well as the threaded portion 22 .
  • the inner periphery 32 includes a distal cylindrical portion 34 to interferencely fit with tapered portion 20 of the stem 18 .
  • the inner periphery 32 of the sleeve 24 includes a proximal cylindrical portion 36 with opposed double flats 37 which mates with opposed double flats 27 formed on the stem 18 (See FIG. 2 ).
  • the sleeve 24 may include the outer periphery 26 having a shape compatible to that of the proximal reamer (See FIG. 5 ). If the angle of the proximal reamer bore is small enough, the outer periphery 26 of the sleeve 24 may be cylindrical. The outer periphery 26 may, as is shown in FIG. 3 , be cylindrical and defined by diameter DOS. The sleeve 24 may have a wall thickness T which is generally uniform. Thus distal cylindrical portion 34 of the internal periphery 32 of the sleeve 24 may be defined by wall thickness T.
  • the sleeve 24 is fixedly secured to stem 18 so that wear or damage does not occur to the tapered proximal portion 20 of the stem 18 .
  • the sleeve 24 may include a feature for assuring that the stem 18 is fixedly secured to the sleeve 24 when assembled together.
  • the distal cylindrical portion 34 of the internal periphery 32 of the sleeve 24 may be designed such that it provides for an interference fit with the tapered portion 20 of the stem 18 .
  • the cylindrical portion 36 of the inner periphery 32 may include a feature of, for example, internal threads (not shown), which may alternatively be used to thread the sleeve 24 into engagement with external threads 23 on the stem 18 .
  • the sleeve may optionally have longitudinal slots (not shown) through the wall of the sleeve 24 .
  • the slot may be a single slot or a plurality of spaced apart slots.
  • the slots may partially extend along the length of the sleeve 24 or may extend the fill length, splitting the sleeve 24 .
  • the slots permit additional interference fit.
  • the implant sleeve assembly 50 includes the sleeve 24 of FIG. 3 positioned on the orthopedic implant stem 18 of FIG. 2 .
  • the orthopedic implant stem 18 is positioned in canal 4 of cavity 10 of soft or cancellous bone in the canal 4 of the femur 2 .
  • the sleeve 24 may be loaded onto the orthopedic implant stem 18 in the direction of arrow 52 .
  • the orthopedic implant stem 18 may be moved from loading position 54 as shown in phantom to the installed position 56 as shown in solid.
  • the sleeve 24 may be installed in situa on the orthopedic implant stem 18 already installed into the canal 4 of the cavity 10 of the femur 2 , it should be appreciated that the sleeve 24 may be preinstalled onto the orthopedic implant stem 18 prior to the performing of the surgery such that the sleeve 24 may protect external periphery 19 of the stem tapered portion 20 of the stem 18 during shipment and during the installation of the stem 18 into the cavity 10 of the canal 4 of the femur 2 .
  • the sleeve 24 is preferably rigidly fitted against the orthopedic implant stem 18 .
  • the rigid connection of the sleeve 24 to the stem 18 may be accomplished by the fitting of the sleeve internal periphery 32 of the sleeve 24 against the external periphery 19 of the stem tapered portion 20 of the stem 18 .
  • the internal periphery 32 of the sleeve 24 may be cylindrical and may thus interferencely fit with the external periphery 19 of the stem tapered portion 20 of the orthopedic implant stem 18 defined by included angle ⁇ .
  • the orthopedic implant stem 18 may include features to assure the rigid securement of the sleeve 24 to the stem 18 .
  • the stem 18 may include a stem/sleeve connection feature 56 for cooperation with the sleeve/stem connection feature 48 of the sleeve 24 (See FIG. 3 ).
  • implant sleeve assembly 50 A is similar to the implant sleeve assembly 50 of FIG. 4 , except that the implant sleeve assembly 50 A includes a stem 18 A which has a stem/sleeve connection feature in the form of a protrusion 56 A extending from the stem 18 A.
  • the protrusion 56 A fits into the single indentation 46 C formed in the sleeve 24 C of FIGS. 3C and 3D .
  • implant/sleeve assembly 50 C yet another embodiment of the present invention is shown as implant/sleeve assembly 50 C.
  • the implant sleeve assembly 50 C is similar to the implant/sleeve assembly 50 A of FIGS. 4A and 4B except that stem 18 of the implant sleeve assembly 50 C includes a plurality of spaced apart protrusions 56 C extending from stem 18 C.
  • the protrusions 56 C cooperate with a plurality of indents 46 E formed on sleeve 24 E.
  • implant sleeve assembly 50 D includes a solitary indent 56 D formed on the stem 18 D.
  • the indent 56 D on the stem 18 D cooperates with a solitary protrusion 46 F formed on sleeve 24 F of FIGS. 3F and 3G .
  • implant sleeve assembly 50 F is similar to the implant sleeve assembly 50 D of FIGS. 4E and 4D .
  • the implant sleeve assembly 50 F includes a stem 18 F which includes three spaced apart indentations 56 F.
  • the indentations 56 F of the stem 18 F cooperate with three spaced apart protrusions 46 H formed on sleeve 24 H of FIG. 3H .
  • the stem 18 of the distal reamer 8 includes opposed double flats 27 formed on stem 18 .
  • the proximal cylindrical portion 36 of the sleeve 24 includes opposed double flats 37 formed in the proximal cylindrical portion 36 of the sleeve 24 .
  • the opposed double flats 37 formed in the proximal cylindrical portion 36 of the sleeve 24 mate with the opposed double flats 27 formed on stem 18 .
  • the stem 18 of the distal reamer 8 also includes an elongated central recess 29 extending from end 31 of the stem 18 of the distal reamer 8 .
  • the guide pin 33 for use with the implant sleeve assembly 50 of FIG. 4 to protect the sleeve 18 of FIGS. 3N , 3 P and 3 Q.
  • the guide pin 33 fits onto the external threads 23 on the stem 18 of distal reamer 8 of FIG. 1 .
  • the guide pin 33 includes internal threads 35 for mating with the external threads 23 on the stem 18 of distal reamer 8 .
  • the guide pin 33 may have any shape for fitting into the proximal reamer 58 of FIG. 5 .
  • the guide pin 33 may have a generally cylindrical shape define by diameter DGP.
  • the guide pin 33 may have a rounded or bullet nose 43 to assist in guiding the reamer 58 onto the guide pin 33 .
  • the guide pin may include a through transverse opening- 51 for use in extracting the guide pin 33 .
  • FIG. 4I the guide pin 33 of FIG. 4H is shown assembled onto the implant/sleeve assembly 50 of FIG. 4 to form an implant/sleeve/pin assembly 45 .
  • the proximal reamer 58 of FIG. 5 is guided onto the implant/sleeve/pin assembly 45 .
  • reamer 58 yet another embodiment of the present invention is shown as reamer 58 .
  • the reamer 58 is utilized for reaming a proximal portion 62 of the cavity 10 formed in the canal 4 of the femur 2 .
  • the reamer 58 is for use in implanting a joint prosthesis 62 .
  • the joint prosthesis 62 includes the distal stem portion 18 .
  • the reamer 58 includes a body 66 defining a cavity 68 formed in the body 66 .
  • the cavity 68 is adapted to receive at least a portion of the orthopedic implant component, for example, stem 18 .
  • the reamer 58 also includes a plurality of cutting edges 70 extending outwardly from the body 66 .
  • the edges 70 are adapted for cooperation with bone, for example, the femur 2 .
  • the reamer 58 further includes a stem 72 extending from an end 74 of the body 66 .
  • the body 66 may have any suitable shape and may for example, be cylindrical, have a polygon cross-section, or have a periphery 76 that is tapered.
  • the stem 72 may have any suitable shape and may include a connector 78 in the form of, for example, a standard commercially available connector, for example, a AO connector or an Hudson connector, capable of receiving a tool, for example, a driver 80 for rotating the reamer 58 in the direction of arrow 82 .
  • the reamer 58 includes cutting edges 70 that engage and remove bone.
  • the reamer 58 may have any suitable shape and may have any number of cutting edges 70 .
  • the flutes are equally spaced and extend longitudinally along longitudinal center line 84 of the proximal reamer 58 .
  • the flutes 70 may run longitudinally with the longitudinal axis 84 or may as is shown in FIG. 5 be helical or form an angle, for example angle ⁇ with respect to the horizontal.
  • the cavity 68 formed in the proximal reamer 58 may have any suitable shape and may for example be cylindrical or have an external periphery 86 which defines a cone.
  • the internal periphery 86 of the proximal reamer 58 defines the cavity 68 and, preferably, has a shape that mates with the proximal portion 20 of the stem 18 .
  • external periphery 71 of reamer 58 is defined by cutting edges 70 and may be tapered.
  • the internal periphery 86 formed by the cavity 68 may also be tapered. It should be appreciated that other shapes of these components maybe within the scope of the invention.
  • the reamer 58 includes a proximal internal cavity 39 for receiving the guide pin 33 of FIG. 4H .
  • the proximal internal cavity 39 defines an end 41 of the internal cavity that provides a stop for cooperation with the bullet nose 43 of the guide pin 33 .
  • the reamer 58 may also include longitudinal slots 47 extending from the outer periphery 49 of the reamer to the proximal internal cavity 39 for viewing the insertion of the guide pin 33 into the reamer 58 and to ease cleaning of the reamer 58 .
  • the reamer 58 may have a solitary or multiple (for example 3 equally spaced apart) slots 47 .
  • proximal reamer 58 A is similar to the proximal reamer 58 of FIG. 5 except that the proximal reamer 58 A includes cutting edges 70 A that form an external periphery 71 A that is cylindrical. Also, cavity 68 A forms an internal periphery 86 A which is, likewise, cylindrical.
  • reamer 58 B yet another embodiment of the present invention is shown as reamer 58 B.
  • the reamer 58 B is similar to the reamer 58 of FIG. 5 except that the reamer 58 B includes a cavity 68 B which forms an interior periphery 86 B which is cylindrical.
  • Cutting edges 70 B form an external periphery 71 B which is tapered or conical.
  • the external periphery 71 B is defined by included angle ⁇ .
  • reamer 58 C yet another embodiment of the present invention is shown as reamer 58 C.
  • the reamer 58 C is utilized for reaming a proximal portion 62 C of the cavity 10 formed in the canal 4 of the femur 2 .
  • the reamer 58 C is for use in implanting a joint prosthesis 62 .
  • the joint prosthesis 62 includes the distal stem portion 18 .
  • the reamer 58 C includes a body 66 C defining a cavity 68 C formed in the body 66 C.
  • the cavity 68 C is adapted to receive at least a portion of the orthopedic implant component, for example, stem 18 .
  • the reamer 58 C also includes a plurality of cutting edges 70 C extending outwardly from the body 66 C.
  • the edges 70 C are adapted for cooperation with bone, for example, the femur 2 .
  • the reamer 58 C further includes a stem 72 C extending from an end 74 C of the body 66 C.
  • the body 66 C may have any suitable shape and may for example, be cylindrical, have a polygon cross-section, or have a periphery 76 C that is tapered.
  • the stem 72 C may have any suitable shape and may include a connector 78 C in the form of, for example, a standard commercially available connector, for example, a AO connector or an Hudson connector, capable of receiving a tool, for example, a driver 80 C for rotating the reamer 58 C in the direction of arrow 82 C.
  • the reamer 58 C includes cutting edges 70 C that engage and remove bone.
  • the reamer 58 C may have any suitable shape and may have any number of cutting edges 70 C.
  • the flutes are equally spaced and extend longitudinally along longitudinal center line 84 C of the proximal reamer 58 C.
  • the flutes 70 C may run longitudinally with the longitudinal axis 84 C or may as is shown in FIG. 5C be helical or form an angle, for example angle ⁇ . with respect to the horizontal.
  • the cavity 68 C formed in the proximal reamer 58 C may have any suitable shape and may for example be cylindrical or have an external periphery 86 C which defines a cone.
  • the internal periphery 86 C of the proximal reamer 58 C defines the distal cavity 68 and, preferably, has a shape that mates with the proximal portion 20 of the stem 18 .
  • external periphery 71 C of reamer 58 C is defined by cutting edges 70 C and may be tapered.
  • the internal periphery 86 C formed by the cavity 68 C may also be tapered. It should be appreciated that other shapes of these components maybe within the scope of the invention.
  • the cutting edge 70 of the reamer 58 may have any suitable form.
  • the cutting edge 70 may include a plurality of spaced apart flutes 73 .
  • Each of the flutes 73 may as shown in FIG. 6 include a grouping of spaced apart reliefs 75 .
  • the reliefs may be positioned on each of the flutes 73 and may form circular rings or as shown in FIG. 6 be spirally positioned around the reamer external periphery 71 .
  • the reamer 58 may include an attachment feature 88 for cooperation with the sleeve 24 such that the sleeve 24 is removed with the reamer 58 when the reamer has completed preparing the cavity for the proximal body.
  • the attachment feature 88 may have any suitable size and shape to assist in having the sleeve 24 be removed with the reamer 58 .
  • the cutting edge 70 C of the reamer 58 C may have any suitable form.
  • the cutting edge 70 C may include a plurality of spaced apart flutes 73 C.
  • Each of the flutes 73 C may as shown in FIG. 6C include a grouping of spaced apart reliefs 75 C.
  • the reliefs may be positioned on each of the flutes 73 C and may form circular rings or as shown in FIG. 6C be spirally positioned around the reamer external periphery 71 C.
  • the reamer 58 C may include an attachment feature 88 C for cooperation with the sleeve 24 X of FIG. 3 such that the sleeve 24 X is removed with the reamer 58 C when the reamer has completed preparing the cavity for the proximal body.
  • the attachment feature 88 C may have any suitable size and shape to assist in having the sleeve 24 X be removed with the reamer 58 C.
  • the attachment feature 88 C is shown in greater detail.
  • the attachment feature 88 may be in the form of a protrusion or as shown in FIG. 7 be in the form of a spring loaded detent.
  • the spring loaded detent 88 C of the reamer 58 C is shown in greater detail.
  • the spring loaded detent 88 C includes a ball 83 C which is spring biased in the direction of the cavity 68 C.
  • the spring 85 C and detent 88 C are positioned in an opening 87 C.
  • the detent 88 C receives the sleeve 24 C by compressing the spring 85 C and moving the ball 83 C inwardly.
  • the spring 85 C then extends to engage the groove 48 C in the sleeve 24 C so that the sleeve 24 C may be removed with the reamer 58 C.
  • the ball 83 C of the detent 88 C cooperates with groove 48 C of the sleeve 58 C as shown in FIG. 3M .
  • the detent 88 C By providing the detent 88 C to fit with a groove, for example groove 48 M of FIG. 3M , the reamer 58 C may rotate while the sleeve 24 X is stationary or fixed to the distal stem 18 .
  • Reamer 58 B is similar to the reamer 58 of FIG. 7 except that the reamer 58 B has a fixed solitary protrusion 88 B which extends inwardly from internal periphery 86 B of the cavity 68 B of the reamer 58 B.
  • the protrusion 88 B of reamer 58 B cooperates with groove 48 of the sleeve 58 , as shown in FIG. 3M .
  • reamer 58 D is similar to the reamer 58 B of FIGS. 7B and 7C except that the reamer 58 D includes three spaced apart protrusions 86 D extending inwardly from internal periphery 86 D of the cavity 68 D of the reamer 58 D.
  • the protrusion 88 D of reamer 58 D cooperates with groove 48 of the sleeve 58 , as shown in FIG. 3M .
  • the protrusion 88 B of FIGS. 7B and 7C as well the protrusions 88 D of the reamer 58 D of FIG. 7D cooperate with a sleeve having a groove, for example sleeve 24 having groove 48 , as shown in FIG. 3M .
  • the protrusions and the groove cooperate such that the proximal reamer 58 may rotate while the stem 18 and the sleeve 24 are stationary.
  • proximal reamer 58 E yet another embodiment of the present invention is shown as proximal reamer 58 E.
  • the proximal reamer 58 E is similar to the reamer 58 D of FIG. 7D except that a continuous rib 88 E extends inwardly from internal periphery 86 E of cavity 68 E.
  • the rib 88 E cooperates with groove 48 formed in sleeve 24 as shown in FIG. 3M .
  • reamer 58 F yet another embodiment of the present invention is shown as reamer 58 F.
  • the reamer 58 F is similar to the reamer 58 E as shown in FIG. 7E except that the reamer 58 F includes a circumferential interior groove 88 F extending outwardly from internal periphery 86 F formed in cavity 68 F of the reamer 58 F.
  • the groove 88 F cooperates with, for example, the single protrusion 24 A of FIG. 3K or the rib 48 K formed in sleeve 24 K of FIG. 3K .
  • the attachment feature 88 is shown in greater detail.
  • the attachment feature 88 may be in the form of a protrusion or as shown in FIG. 7 be in the form of a spring loaded detent.
  • the spring loaded detent 88 includes a ball 83 which is spring biased in the direction of the distal cavity 68 .
  • the spring 85 and detent 88 are positioned in an opening 87 .
  • the detent 88 receives the sleeve 24 by compressing the spring 85 and moving the ball 83 inwardly.
  • the spring 85 then extends to engage the groove 48 in the sleeve 24 so that the sleeve 24 may be removed with the reamer 58 .
  • the ball 83 of the detent 88 cooperates with groove 48 of the sleeve 58 as shown in FIG. 3N .
  • the reamer 58 may rotate while the sleeve 24 is stationary or fixed to the distal stem 18 .
  • reamer assembly 90 is shown.
  • Sleeve 24 and the guide pin 33 are positioned in the proximal internal cavity 39 formed in the proximal reamer 58 .
  • the orthopedic implant stem 18 is positioned in the cavity 68 of the reamer 58 and the external periphery 19 of the proximal portion 20 of the stem 18 mates with the inner periphery 32 of the sleeve 24 .
  • the sleeve outer periphery 26 is rotatably engaged with internal periphery 86 of the reamer 58 .
  • the securing feature 48 of the sleeve 24 engages with the attachment feature 88 of the reamer 58 .
  • the securing feature 56 of the stem 18 connects with the locking feature 46 of the sleeve 24 .
  • the reamer sleeve assembly 92 includes the reamer 58 as well as the sleeve 24 . As shown in FIG. 9 , the reamer sleeve assembly includes a detent 88 formed on the reamer 58 which cooperates with groove 48 formed in the sleeve 24 .
  • the outer periphery 71 defined by the cutting edge 70 of the reamer 58 is utilized to remove bone from proximal portion 89 of the femur 2 .
  • Cutting edges 70 of the reamer 58 prepare cavity 91 in the proximal portion 89 of the femur 2 .
  • the proximal cavity 91 is defined by angle ⁇ which is generally similar to the angle ⁇ defined by the external periphery 71 of the reamer 58 .
  • the lip 42 of the sleeve 24 cooperates with the groove 48 formed in the sleeve 24 and the D-tent 88 to securably position the sleeve 24 in the reamer 58 .
  • the orthopedic implant proximal component 90 is shown for use with the stem 18 .
  • the orthopedic implant proximal component 90 includes a body 93 for receiving head 96 of the prosthesis.
  • the body 93 defines a longitudinal opening 97 for receiving the stem 18 .
  • the body 93 further defines an external portion 98 which is sized to fit within the opening 91 prepared in the proximal portion 89 of the femur 2 by the reamer 58 (See FIG. 9 ).
  • the hip stem assembly 99 includes distal implant stem 18 to which proximal body 93 is fixedly secured.
  • the tapered portion 20 of the stem 18 is fitted into longitudinal opening 97 formed in body 93 of the proximal component 92 .
  • the tapered portion 20 of the stem 18 may include external threads 21 formed on threaded portion 22 of the stem 18 .
  • a fastener in the form of a nut 100 may be used to assure the complete seating of the tapered portion 20 of the stem 18 into the longitudinal opening 97 .
  • the nut 100 may be left on the orthopedic stem assembly 99 or may be removed once the stem 18 is securely fitted to the proximal component 92 .
  • the proximal component 92 is shown in greater detail. As shown in FIG. 12 , the proximal portion 20 of the distal component 18 is shown fitted into longitudinal opening 97 of the proximal component 92 . The threads 21 of the threaded portion 22 of the stem 18 engage the nut 100 and draw the stem into engagement with the proximal component 92 . External periphery 98 of the proximal component 92 is fitted into cavity 91 formed by the proximal reamer 58 . The neck 94 supports an externally tapered periphery 95 to which head 96 in the form of a spherical ball is securely fitted.
  • the components of the stem assembly 99 are shown in an exploded view.
  • the stem 18 , the proximal component 92 , the head 96 , and the nut 100 are shown in their respective position prior to assembly.
  • the stem 18 has an arcuate shape.
  • the present invention is particularly well suited for use with orthopedic implants with a curved or bent stem. It should be appreciated however that the current invention may be used with straight or cylindrical or linear stems as well.
  • a reamer can not be provided for preparing simultaneously the distal cavity for the distal reamer and a closely fitting reamed portion for the proximal body as these two components do not have a common center line and thus can not be reamed simultaneously.
  • the hip prosthesis 102 includes the stem assembly 99 as well as head 96 .
  • a shell or cup 104 may be secured onto acetabulum 106 .
  • the cup or shell 104 may mate directly with the head 96 or a liner or bearing 108 may be positioned between the cup 104 and the head 96 .
  • the orthopedic implant 102 may be made of any suitable material.
  • the stem 99 may be made of any suitable durable material that is compatible with the human anatomy and may for example be made of a metal. If made of a metal, the orthopedic implant components may be made of, for example, cobalt chromium alloy, stainless steel alloy, or a titanium alloy.
  • the liner or bearing 108 may be made of a metal or may be made of a plastic, for example, polyethylene.
  • a trial neck 110 is shown for use with the distal implant stem 18 .
  • the trial neck 110 substitutes for the proximal component 92 and may be utilized to provide a trial reduction to assure that the proper proximal component is used.
  • a proximal implant similar to the trial neck 110 will be substituted once the trial reduction has been performed and the proximal trial neck 110 is found to be suitable, thus making the corresponding proximal component suitable for the patient.
  • the kit 112 for use in performing arthroplasty is provided.
  • the kit 112 includes proximal reamer 58 , as well as, sleeve 24 and distal implant stem 18 .
  • the kit 112 may further include a distal reamer 8 .
  • the kit 112 may further include a proximal trial 110 .
  • the kit 112 may further include proximal implant component 92 .
  • the kit 112 may further include guide pin 33 .
  • a method 220 for performing arthroplasty includes a first step 222 of resecting an end portion of a long bone.
  • the method 220 further includes a second step 224 of preparing a central longitudinal opening in a medullary canal of the long bone.
  • the method 220 further includes a third step 226 of providing a prosthetic stem component and a fourth step 228 of installing the prosthetic stem component into the opening in the medullary canal.
  • the method 220 further includes a fifth step 230 of providing a reamer including an opening for receiving the prosthetic stem component and a sixth step 232 of positioning the reamer onto prosthetic stem component with the opening of the reamer positioned at least partially over the prosthetic stem component.
  • the method 220 further includes an seventh step 234 of reaming a portion of the long bone with the reamer and a ninth step 236 of removing the reamer.
  • the method 220 further includes a ninth step 238 of installing a prosthetic body component onto the prosthetic stem component.

Landscapes

  • Health & Medical Sciences (AREA)
  • Life Sciences & Earth Sciences (AREA)
  • Orthopedic Medicine & Surgery (AREA)
  • Surgery (AREA)
  • General Health & Medical Sciences (AREA)
  • Engineering & Computer Science (AREA)
  • Biomedical Technology (AREA)
  • Heart & Thoracic Surgery (AREA)
  • Oral & Maxillofacial Surgery (AREA)
  • Animal Behavior & Ethology (AREA)
  • Public Health (AREA)
  • Veterinary Medicine (AREA)
  • Transplantation (AREA)
  • Nuclear Medicine, Radiotherapy & Molecular Imaging (AREA)
  • Medical Informatics (AREA)
  • Molecular Biology (AREA)
  • Dentistry (AREA)
  • Cardiology (AREA)
  • Vascular Medicine (AREA)
  • Physical Education & Sports Medicine (AREA)
  • Biophysics (AREA)
  • Surgical Instruments (AREA)
  • Prostheses (AREA)
  • Milling Processes (AREA)
  • Dental Tools And Instruments Or Auxiliary Dental Instruments (AREA)
  • Control And Other Processes For Unpacking Of Materials (AREA)

Abstract

A method for providing joint arthroplasty includes resecting an end portion of a long bone, preparing a central longitudinal opening in a medullary canal of the long bone, providing a prosthetic stem component, installing the prosthetic stem component into the opening in a medullary canal, providing a reamer including an opening for receiving the prosthetic stem component, positioning the reamer onto the prosthetic stem component with the opening of the reamer positioned at least partially over the prosthetic stem component, reaming a portion of the long bone with the reamer, removing the reamer, and installing a prosthetic body component onto the prosthetic stem component.

Description

This is a divisional application of application Ser. No. 11/529,799, filed Sep. 29, 2006, now U.S. Pat. No. 8,597,298 which issued Dec. 3, 2013, the entire contents of which are herein incorporated by reference.
TECHNICAL FIELD OF THE INVENTION
The present invention relates generally to the field of orthopaedics, and more particularly, to an implant for use in arthroplasty.
BACKGROUND OF THE INVENTION
Patients who suffer from the pain and immobility caused by osteoarthritis and rheumatoid arthritis have an option of joint replacement surgery. Joint replacement surgery is quite common and enables many individuals to function properly when it would not be otherwise possible to do so. Artificial joints are usually comprised of metal, ceramic and/or plastic components that are fixed to existing bone.
Such joint replacement surgery is otherwise known as joint arthroplasty. Joint arthroplasty is a well-known surgical procedure by which a diseased and/or damaged joint is replaced with a prosthetic joint. In a typical total joint arthroplasty, the ends or distal portions of the bones adjacent to the joint are resected or a portion of the distal part of the bone is removed and the artificial joint is secured thereto.
There are known to exist many designs and methods for manufacturing implantable articles, such as bone prostheses. Such bone prostheses include components of artificial joints such as elbows, hips, knees and shoulders.
Currently in total hip arthroplasty, a major critical concern is the instability of the joint. Instability is associated with dislocation. Dislocation is particularly a problem in total hip arthroplasty.
Factors related to dislocation include surgical technique, implant design, implant positioning and patient related factors. In total hip arthroplasty, implant systems address this concern by offering a series of products with a range of lateral offsets, neck offsets, head offsets and leg lengths. The combination of these four factors affects the laxity of the soft tissue. By optimizing the biomechanics, the surgeon can provide a patient a stable hip much more resistant to dislocation.
In order to accommodate the range of patient arthropathy metrics, a wide range of hip implant geometries are currently manufactured by DePuy Orthopaedics, Inc., the assignee of the current application, and by other companies. In particular, the S-ROM® total hip systems offered by DePuy Orthopaedics, Inc. include three offsets, three neck lengths, four head lengths and one leg length adjustment. The combination of all these biomechanic options is rather complex.
Anteversion of a total hip system is closely linked to the stability of the joint. Improper anteversion can lead to dislocation and patient dissatisfaction. Anteversion control is important in all hip stems. However, it is a more challenging issue with the advent of stems with additional modularity.
The prior art has provided for some addressing of the anteversion problem. For example, the current S-ROM® stems have laser markings on the medial stem and the proximal sleeve. This marking enables the surgeon to measure relative alignment between these components. Since the sleeve has infinite anteversion, it is not necessarily oriented relative to a bony landmark that can be used to define anteversion. In fact, the current sleeves are sometimes oriented with the spout pointing directly laterally into the remaining available bone.
When a primary or index total joint arthroplasty fails, a revision procedure is performed in which the index devices (some or all) are removed. Quite often the remaining bone is significantly compromised compared to a primary hip procedure. Significant bone loss is observed, often with a lack of bone landmarks typically used for alignment.
In a common step in the surgical procedure known as total hip arthroplasty, a trial or substitute stem is first implanted into the patient. The trial is utilized to verify the selected size and shape of the implant in situ on the patient and the patient is subjected to what is known as a trial reduction. This trial reduction represents moving the joint, including the trial implant through selected typical motions for that joint. Current hip instruments provide a series of trials of different sizes to help the surgeon assess the fit and position of the implant. Trials, which are also known as provisionals, allow the surgeon to perform a trial reduction to assess the suitability of the implant and the implant's stability prior to final implant selection. In order to reduce inventory costs and complexity, many trialing systems are modular. For example, in the Excel™ Instrument System, a product of DePuy Orthopaedics, Inc., there is a series of broaches and a series of neck trials that can be mixed and matched to represent the full range of implants. There is a single fixed relationship between a broach and a neck trial, because these trials represent a system of monolithic stem implants.
Likewise, in the current S-ROM® instrument systems provided by DePuy Orthopaedics, Inc., there are neck trials, proximal body trials, distal stem trials, head trials and sleeve trials. By combining all of these components, the implant is represented. Since the S-ROM® stem is modular and includes a stem and a sleeve, the angular relationship or relative anteversion between the neck and the sleeve is independent and represented by teeth mating between the neck and the proximal body trial. The proximal body trial has fixed transverse bolts that are keyed to the sleeve in the trialing for straight, primary stems. The long stem trials do not have the transverse bolts and are thus not rotationally stable during trial reduction and therefore are not always used by the surgeon.
With the introduction of additional implant modularity, the need for independent positioning of the distal stem, proximal body and any sleeve that comprise the implants is required. Currently bowed, monolithic stems are offered with a fixed amount of anteversion, typically 15 degrees.
Currently available implants, trials and instruments result in a lengthy surgical procedure. This lengthy surgical procedure includes the steps of preparing the canal, removing the instruments to prepare the canal, implanting trials, performing a trial reduction and then implanting the prosthesis. This lengthy procedure increases the risk of the patient's surgical complications.
When utilizing currently available instruments, trials and surgical procedures, the surgeon must perform the trial reduction on the patient before the surgeon has any feedback regarding the appropriateness of the trial and the positioning of the trial in the body. Adjustments in the positioning and selection of the trial and resultant implants thus become difficult and time consuming to perform.
Utilizing the current instruments, the trials and implants all need to be properly located and selected to obtain the optimum results for the patient. The positioning of the trial with respect to the femur and the implant with respect to the trial currently allow for much variation from procedure to procedure.
To optimize patient outcomes, orthopaedic surgery preferably conserves as much of the resected bone as possible. Current surgical procedures require that sufficient bone be resected and removed by instruments in the proximal bone to provide for clearance for the proximal trial and the proximal implant. Thus, under current techniques, material must be removed proximally on the bone to provide for the variety of positions that may be optimum for the patient.
U.S. Patent Application Publication No. 20040122439 entitled “ADJUSTABLE BIOMECHANICAL TEMPLATING & RESECTION INSTRUMENT AND ASSOCIATED METHOD”, U.S. Patent Application Publication No. 20040122437 entitled “ALIGNMENT DEVICE FOR MODULAR IMPLANTS AND METHOD” and U.S. Patent Application Publication No. 20040122440 entitled “INSTRUMENT AND ASSOCIATED METHOD OF TRIALING FOR MODULAR HIP STEMS” are hereby incorporated in their entireties by reference.
When performing hip arthroplasty using bowed stems, the distal canal is prepared with a reamer and the bowed step is installed in the reamed cavity. The longitudinal centerline of the proximal body of the implant is not in alignment with the centerline of the distal stem due to the fact that the distal stem is bowed. The reamer that prepares the distal cavity can not remove bone to provide clearance to the proximal body in a precise manner to minimize bone removal, due to the fact that the proximal body centerline of the implant is not in alignment with the distal stem centerline. Either additional material must be removed by the distal reamer from the proximal bone to allow for this non-alignment, or additional material must be removed by other means, for example by an osteotome. Either method requires additional bone removal that is not clinically desired.
While the prior art has attempted to reduce the steps in surgical techniques and improve the ability to precisely remove bone to prepare the bone for receiving a proximal component, the need remains for a system and apparatus to reduce the steps in surgical techniques utilizing distal reamers and proximal bodies for modular implants.
The present invention is directed to alleviate at least some of the problems with the prior art.
SUMMARY OF THE INVENTION
The design of the present invention gives the surgeon the ability to remove proximal bone after the distal implant has been implanted utilizing the fixed position of the implant to support a tool to remove the proximal bone.
The present invention provides a reamer that utilizes the distal implant in the long bone as a guide for proximally reaming the long bone.
After a long bone, for example a hip, has been resected, you must ream distally to prepare canal for the distal stem implant in a modular distal stem and proximal body implant assembly. This reaming is done using a tapered reamer. The distal stem implant has a 3° bend to accommodate for the natural interior bow of the femoral canal in long distal stem implant configurations used in revision arthroplasty. Because of the 3° bend, proximal reaming must be separately performed to remove the bone not removed by the distal tapered reamer. Once the implant has been implanted, the surgeon may, utilizing the present invention, use the proximal end or tapered portion of the distal stem implant as a pilot shaft for the proximal reamer. A protective sleeve may be placed over the tapered portion of the distal stem component of the implant to prevent damage to the distal stem component while the proximal reaming is being performed. The next step for the surgeon, after the proximal reaming, would be to proceed with implanting the proximal body implant or a proximal body trial. A trial reduction is then performed and, if a trial reduction includes a proper implant/trial assembly selection, the corresponding implant is then inserted onto the distal stem implant.
According to one embodiment of the present invention, there is provided a reamer for reaming a proximal portion of a cavity for use in implanting a joint prosthesis. The reamer cooperates with a proximal portion of an orthopaedic implant stem. The reamer includes a body defining a cavity formed in the body for receiving at least a portion of the orthopaedic implant stem. The reamer also includes a plurality of cutting edges extending outwardly from the body. The edges are adapted for cooperation with bone. The reamer also includes a stem extending from an end of the body.
According to another embodiment of the present invention there is provided a reamer assembly for reaming a cavity for use in implanting an orthopaedic implant stem of a joint prosthesis. The reamer cooperates with a proximal portion of an orthopaedic implant stem. The reamer assembly includes a sleeve that fits over the proximal portion of the orthopaedic implant stem. The sleeve defines an outer periphery of the sleeve. The reamer assembly also includes a reamer having a body defining a cavity formed in the body for receiving at least a portion of the outer periphery of the sleeve. The reamer also has a plurality of cutting edges extending outwardly from the body. The edges are adapted for cooperation with bone. The reamer also has a stem extending from an end of the body.
According to yet another embodiment of the present invention there is provided a sleeve for use with an orthopaedic implant stem and a proximal reamer. The sleeve fits over the proximal portion of the orthopaedic implant stem. The sleeve defines an outer periphery of the sleeve.
According to a further embodiment of the present invention, there is provided a kit for use in joint arthroplasty. The kit includes a proximal orthopaedic implant stem and a sleeve that fits over the proximal portion of the orthopaedic implant stem. The sleeve defines an outer periphery of the sleeve. The kit also includes a reamer. The reamer has a body defining a cavity formed in the body for receiving at least a portion of the orthopaedic implant stem. The reamer also includes a plurality of cutting edges extending outwardly from the body. The edges are adapted for cooperation with bone. The reamer also includes a stem extending from an end of the body.
According to a further embodiment of the present invention, there is provided a method for providing joint arthroplasty. The method includes the steps of resecting an end portion of a long bone and preparing a central longitudinal opening in a medullary canal of the long bone. The method also includes the steps of providing a prosthetic stem component and installing the prosthetic stem component into the opening in a medullary canal. The method also includes the steps of providing a reamer including an opening for receiving the prosthetic stem component and positioning the reamer onto prosthetic stem component with the opening of the reamer positioned at least partially over the prosthetic stem component. The method also includes the steps of reaming a portion of the long bone with the reamer, removing the reamer; and installing a prosthetic body component onto the prosthetic stem component.
According to a further embodiment of the present invention, there is provided a method for providing joint arthroplasty comprising. The method includes the steps of resecting an end portion of a long bone and preparing a central longitudinal opening in a medullary canal of the long bone. The method also includes the steps of providing a prosthetic stem component and installing the prosthetic stem component into the opening in a medullary canal. The method also includes the steps of installing a sleeve onto the prosthetic stem component and providing a reamer including an opening for receiving the prosthetic stem component. The method also includes the steps of positioning the reamer onto the sleeve and reaming a portion of the long bone with the reamer. The method also includes the steps of removing the reamer and installing a prosthetic body component onto the prosthetic stem component.
The technical advantages of the present invention include the ability to reduce the number of steps in the surgical technique necessary to perform orthopedic surgery, for example hip implant surgery. For example, according to one aspect of the present invention a method for providing joint arthroplasty is provided. The method includes the steps of resecting an end portion of a long bone, preparing a central longitudinal opening in the canal, providing a prosthetic stem component, and installing the stem component into the opening. The method also includes the step for providing a reamer for receiving the prosthetic stem component. The reamer is positioned at least partially over the prosthetic stem component. By placing the reamer over the prosthetic stem component a separate tool is not required to guide the reamer and a prosthetic trial or other component is not required to be positioned in the canal to provide the support for the reamer. Thus the present invention provides for a reduction in the number of steps in the surgical technique for joint arthroplasty.
The technical advantages of the present invention further include a reduction in the number of instruments required to perform a joint arthroplasty, a reduced number of instruments in the instrument tray and a reduction in the related costs of the instruments. For example, and according to another aspect of the present invention, a method and apparatus for providing joint arthroplasty is provided in which the distal stem implant is implanted into the reamed bone canal without the use of a distal stem trial. Therefore, the instrument of a distal stem trial is not required in this aspect of the present invention. Thus the present invention provides for a reduced number of instruments required to perform the joint arthroplasty.
The technical advantages of the present invention further include the ability to remove bone proximally from the long bone after a distal stem implant is installed into the long bone of the patient. For example, according to another aspect of the present invention a method for performing joint arthroplasty is provided which includes providing a prosthetic stem component which is positioned in the canal of the long bone and providing a reamer for receiving the prosthetic stem component. A proximal reamer is positioned onto the prosthetic stem component and reams a proximal portion of the long bone. Thus the present invention provides for removing bone proximally after a distal stem implant is installed.
The technical advantages of the present invention further include the ability to remove bone in a form that is eccentric with the center line of the distal canal with a reamer. For example, according to another aspect of the present invention a reamer assembly is provided for reaming a proximal portion of a cavity for use in implanting a proximal body implant of a modular joint prosthesis. The reamer cooperates with a proximal portion of the distal stem implant. The reamer assembly includes a proximal reamer and a sleeve that slips over the proximal portion of the distal stem implant. The sleeve may snap into a cavity of the proximal reamer. The orthopedic implant stem has a proximal portion that is non-linear with the distal portion of the implant stem. Thus the present invention provides the ability to remove bone that is eccentric with the distal canal with a reamer. Reaming of the proximal portion of the long bone may be better than broaching the proximal portion in that bone may be too sclerotic or too weak and fragile to absorb the impaction force from broaching.
The technical advantages of the present invention further include the ability to use the implant as an implant shaft for reaming. For example, according to another aspect of the present invention a reamer assembly for reaming a proximal portion of a cavity for a joint prosthesis is provided. The assembly includes a sleeve that fits over the orthopedic stem and a reamer that is fitted over the sleeve and is used to prepare a proximal portion of the long bone. Thus the present invention provides for ability to use the implant as a pilot shaft for the reamer.
The technical advantages of the present invention further include the ability to perform in situa proximal body trialing on top of a distal implant stem. For example, according to yet another aspect of the present invention a method providing joint arthroplasty is provided. The method includes the steps of resecting an end portion of the long bone, preparing an opening in the canal and providing a distal stem component. The distal stem component is installed into the canal and a reamer, including an opening for receiving the proximal portion of the distal stem component, is positioned over the stem with the reamer reaming in situa the proximal portion of the long bone for receiving the proximal body component. A proximal body implant component or a proximal body trial component may be positioned over the prosthetic distal stem implant component and a trial performed on top of the distal prosthetic stem implant component. Thus, the present invention provides for the performing in situa a proximal body trialing on top of a distal implant component.
Other technical advantages of the present invention will be readily apparent to one skilled in the art from the following figures, descriptions and claims.
BRIEF DESCRIPTION OF THE DRAWINGS
For a more complete understanding of the present invention and the advantages thereof, reference is now made to the following description taken in connection with the accompanying drawings, in which:
FIG. 1 is a plan view of a reamer in position in a long bone for preparing a bone canal for receiving a long bone prosthetic stem;
FIG. 2 is a plan view of a curved long bone distal stem implant in position in the canal prepared by the reamer of FIG. 1 for use with the present invention;
FIG. 2A is a plan view of a straight long bone distal stem implant in position in the canal prepared by the reamer of FIG. 1 for use with the present invention;
FIG. 3 is a plan view of a sleeve for use on the distal long bone stem of FIG. 2, according to an embodiment of the present invention;
FIG. 3A is a plan view of a sleeve with a cylindrical bore and a cylindrical outer periphery according to another embodiment of the present invention;
FIG. 3B is a plan view of a sleeve with a cylindrical bore and a tapered outer periphery according to another embodiment of the present invention;
FIG. 3C is a partial plan view of a recess in the bore of a sleeve to mate with a protrusion on the distal long bone stem according to another embodiment of the present invention;
FIG. 3D is an end view of the sleeve of FIG. 3C showing the recess in the bore of the sleeve;
FIG. 3E is an end view of a sleeve having three spaced apart recesses in the bore of the sleeve according to another embodiment of the present invention;
FIG. 3F is a partial plan view of a protrusion in the bore of the sleeve to mate with a recess on the distal long bone stem according to another embodiment of the present invention;
FIG. 3G is an end view of the sleeve of FIG. 3F showing the protrusion in the bore of the sleeve;
FIG. 3H is an end view of a sleeve having three spaced apart protrusions in the bore of the sleeve according to another embodiment of the present invention;
FIG. 3I is a plan view of a sleeve having a protrusion on the outer periphery of the sleeve according to another embodiment of the present invention;
FIG. 3J is an end view of the sleeve of FIG. 3I showing the protrusion on the periphery of the sleeve;
FIG. 3K is an end view of a sleeve having three spaced apart protrusions on the periphery of the sleeve according to another embodiment of the present invention;
FIG. 3L is an end view of a sleeve having a rib or ring on the periphery of the sleeve according to another embodiment of the present invention;
FIG. 3M is a plan view of a sleeve having a groove on the outer periphery of the sleeve according to another embodiment of the present invention;
FIG. 3N is a plan view of a sleeve having a groove on the outer periphery of the sleeve with a cylindrical bore and with a cylindrical outside diameter according to another embodiment of the present invention;
FIG. 3P is a cross sectional view along the lines 3P-3P in the direction of the arrows;
FIG. 3Q is a plan view of the sleeve of FIG. 3N;
FIG. 4 is a plan view of the distal implant stem of FIG. 2 with the sleeve of FIG. 3M installed on the stem, to form a distal implant sleeve assembly;
FIG. 4A is a plan view of a distal implant stem with an external protrusion for use with the sleeve of FIG. 3C installed on the stem, to form a distal implant sleeve assembly according to another embodiment of the present invention;
FIG. 4B is an end view of the distal implant sleeve assembly of FIG. 4A showing the protrusion on the periphery of the distal implant stem;
FIG. 4C is an end view of a distal implant stem with 3 spaced apart external protrusions for use with the sleeve of FIG. 3E installed on the stem, to form a distal implant sleeve assembly according to another embodiment of the present invention;
FIG. 4D is a plan view of a distal implant stem with an external indent for use with the sleeve of FIG. 3F installed on the stem, to form a distal implant sleeve assembly according to another embodiment of the present invention;
FIG. 4E is an end view of the distal implant sleeve assembly of FIG. 4D showing the protrusion on the external indent of the distal implant stem;
FIG. 4F is an end view of a distal implant stem with 3 spaced apart external indents for use with the sleeve of FIG. 3H installed on the stem, to form a distal implant sleeve assembly according to another embodiment of the present invention;
FIG. 4G is a top view of the implant/sleeve assembly of FIG. 4;
FIG. 4H is a plan view of a guide pin for use with the assembly of FIG. 4 to protect the sleeve of FIG. 3;
FIG. 4I is a plan view of a implant/sleeve/pin assembly with the guide pin of FIG. 4H assembled onto the implant/sleeve assembly of FIG. 4;
FIG. 5 is a plan view of a reamer for use with a distal stem component according to another embodiment of the present invention;
FIG. 5A is a plan view of a reamer for use with a distal stem component having a cylindrical outer periphery, the reamer having a cylindrical opening and a cylindrical periphery according to another embodiment of the present invention;
FIG. 5B is a plan view of a reamer for use with a distal stem component having a cylindrical outer periphery, the reamer having a cylindrical opening and a tapered periphery according to another embodiment of the present invention;
FIG. 5C is a plan view of a reamer for use with a distal stem component, the reamer having a tapered opening and a tapered periphery according to another embodiment of the present invention;
FIG. 6 is a plan view of the reamer of FIG. 5, partially in cross section;
FIG. 6A is a plan view of the reamer of FIG. 5C, partially in cross section;
FIG. 7 is a plan view, partially in cross section, of the reamer of FIG. 5C shown in greater detail;
FIG. 7A is a partial plan view of FIG. 7 showing the spring loaded detent positioned in the bore of the reamer to mate with a groove on the external periphery of the sleeve in greater detail;
FIG. 7B is a partial plan view of a proximal reamer showing a protrusion positioned in the bore of the reamer to mate with a groove on the sleeve according to another embodiment of the present invention;
FIG. 7C is an end view of the proximal reamer of FIG. 7B showing the protrusion positioned in the bore of the reamer;
FIG. 7D is an end view of a proximal reamer of FIG. 7B showing 3 spaced apart protrusions positioned in the bore of the reamer according to another embodiment of the present invention;
FIG. 7E is a partial plan view of a proximal reamer showing a ring positioned in the bore of the reamer to mate with a groove on the sleeve according to another embodiment of the present invention;
FIG. 7F is a partial plan view of a proximal reamer showing a groove positioned in the bore of the reamer to mate with a protrusion on the sleeve according to another embodiment of the present invention;
FIG. 7G is a partial plan view of FIG. 7 showing the spring loaded detent positioned in the bore of the reamer to mate with a groove on the external periphery of the sleeve, the sleeve having a distal cylindrical portion and a proximal cylindrical portion according to another embodiment of the present invention;
FIG. 8 is a plan view partially in cross section of the reamer of FIG. 5 in position on the distal implant/sleeve assembly of FIG. 4;
FIG. 9 is a partial plan view, partially in cross section, of the reamer of FIG. 5 with the sleeve of FIG. 3 in position on the reamer of FIG. 5 to form a reamer/sleeve assembly according to another embodiment of the present invention;
FIG. 10 is a proximal body implant for use with the distal stem implant of FIG. 2;
FIG. 11 is a long bone implant assembly including the proximal body implant of FIG. 10 in position on the long bone distal stem implant of FIG. 2;
FIG. 12 is an enlarged partial plan view of the long bone implant assembly of FIG. 11 showing the tapered connection in greater detail;
FIG. 13 is an exploded view of the long bone implant assembly of FIG. 11 including a head;
FIG. 14 is an assembled view of the long bone implant assembly of FIG. 13; in position in the body;
FIG. 15 is a proximal trial component for use with the long bone distal stem implant of FIG. 2;
FIG. 16 is a kit for use in performing arthroplasty according to another embodiment of the present invention; and
FIG. 17 is a flow chart of a surgical procedure according to another embodiment of the present invention.
DETAILED DESCRIPTION OF THE INVENTION
Embodiments of the present invention and the advantages thereof are best understood by referring to the following descriptions and drawings, wherein like numerals are used for like and corresponding parts of the drawings.
Referring now to FIG. 1 a long bone or femur 2 for use with the present invention is shown. The femur 2 includes an intermedullary canal 4 into which the prosthesis of the present invention may be inserted. The femur 2 is resected along resection line 6 by, for example, a power tool, for example, a saw. The resecting of the long bone or femur 2 exposes the intermedullary canal 4 of femur 2. A reamer 8 that may be a standard commercially available reamer is positioned in the intermedullary canal 4 of the long bone 2 to form cavity 10 for receiving an orthopedic joint implant. The reamer 8 includes a plurality of longitudinally extending flutes 12 which are used to remove bone and other biological matter from the intermedullary canal 4 to form the cavity 10. The reamer 8 may be rotated by use of a connector 14 positioned on the reamer 8. The connector 14 may be any standard connector for example a Hudson or an A-O connector. The connector 14 is used to connect to a power tool 16 for rotating the reamer 8. The power tool 16 may be any standard power tool. It should be appreciated that the reamer 8 may be rotated through the use of the connector 14 by a hand tool for example a “T” shaped handle.
Referring now to FIG. 2, a distal implant stem 18 is shown fitted into the cavity 10 formed in the intermedullary canal 4 of the long bone or femur 2. The distal implant stem 18 may, as is shown in FIG. 2, be in the form of a curved or bent stem. The natural femur has a curve that may best be replicated in an implant component, particularly when the distal implant stem has a particularly long length, such as is used in a revision arthroplasty. The distal implant stem shape may be defined by a radius R extending from origin 21. The curved or bent portion of stem 18 may be located mostly distally on the stem 18. The distal implant stem includes an external tapered proximal portion 20 and a connector in the form of external threads 24 located proximally from the tapered proximal portion 20. The resection line 6 may generally correspond to the position at which the stem 18, when implanted, begins the external tapered portion 20 of the stem 18.
Referring now to FIG. 2A, it should be appreciated that the stem may be in the form of a straight or cylindrical stem 18A which does not include a curved or bent portion. The use of the proximal reamer in the present invention with such a cylindrical stem 18A may provide for bone removal for receiving the proximal body that is precise and that minimizes bone removal in comparison with other methods of removing bone for receiving the proximal body.
According to the present invention, and referring now to FIG. 3, a sleeve 24X for use with distal implant stems, for example stem 18 of FIG. 2, is shown. The sleeve 24X is used with a proximal reamer 58C (See FIG. 5C). The sleeve 24X, as shown in FIG. 3, is fitable over the tapered proximal portion 20 of the distal implant stem 18. The sleeve 24X defines an outer periphery 26X of the sleeve 24X. As shown in FIG. 3, the sleeve 24X may be hollow and may include a cavity 28X extending longitudinally along sleeve center line 30X. The cavity 28X may define an inner periphery 32X of the sleeve 24X. The inner periphery 32X of the sleeve 24X may have any shape that mates with external periphery 19 of the tapered proximal portion 20 of the stem 18 (See FIG. 2).
Referring again to FIG. 2, the stem 18 includes the tapered proximal portion 20 as well as the threaded portion 22. Similarly, and referring to FIG. 3, the inner periphery 32X includes tapered portion 34X to mate with tapered portion 20 of the stem 18. Also, the inner periphery 32X of the sleeve 24X includes a threaded cylindrical portion 36X which mates with internal threads 25 formed on the stem 18 (See FIG. 2).
The tapered portion 34X and the cylindrical portion 36X define a step or shoulder 38X positioned between the cylindrical portion 36X and the tapered portion 34X of the sleeve 24X. The sleeve 24X may include the outer periphery 26X having a shape compatible to that of the proximal reamer (See FIG. 5C). The outer periphery 26X may, as is shown in FIG. 3, be tapered and defined by an included angle α. The included angle α may be designed such that the sleeve 24X may have a wall thickness T which is generally uniform. Thus the tapered portion 34X of the internal periphery 32X of the sleeve 24X may be defined by and include an included angle θ which is similar to the included angle α. As shown in FIG. 3, the internal angle α is slightly smaller than the included angle θ.
Preferably the sleeve 24X is fixedly secured to stem 18 of FIG. 2 so that wear or damage does not occur to the tapered proximal portion 20 of the stem 18. Thus the sleeve 24X may include a feature for assuring that the stem 18 is fixedly secured to the sleeve 24X when assembled together. The angle αα of the internal periphery at the tapered portion 34X may be designed such that it provides for a locking taper with the tapered portion 20 of the stem 18. Alternatively, the cylindrical portion 36X of the inner periphery 32X may include a feature of, for example, internal threads 40X show in phantom, which may alternatively be used to thread the sleeve 24X into engagement with external threads 23 on the stem 18.
Referring now to FIG. 3A, an alternate embodiment of the present invention is shown as sleeve 24A. Sleeve 24A is like sleeve 24 of FIG. 3 except that sleeve 24A includes an outer periphery 26A and an inner periphery 32A that are both cylindrical. The sleeve 24A is suitable for use with reamers having a cylindrical profiled driving surface.
Referring now to FIG. 3B, another embodiment of the present invention is shown as shown as sleeve 24B. The sleeve 24B is similar to the sleeve 24 of FIG. 3 except that the sleeve 24B includes an outer periphery 26B which is cylindrical and an inner periphery 32B which is tapered. It should be appreciated that the sleeve 24B of FIG. 3B may have a uniform configuration of the inner periphery 32B with no step or shoulder, as well as, a simple cylindrical shape of outer periphery 26B.
The sleeve 24 may include an annular external ring or lip 42 which extends outwardly from outer periphery 26 at lower end 44 of the sleeve 24. The lip 42 may serve to prevent the outer periphery 26 of the sleeve 24 to be permanently taper locked onto the proximal reamer.
While it is desirable to have the sleeve 24 be rigidly fixed to the distal implant 18 when the proximal reamer is used with the sleeve 24, such rigid engagement of the sleeve 24 to the implant stem 18 may be acquired by an interference fit between the inner periphery 32 of the sleeve 24 and the tapered external portion 20 of the stem 18 if the components are cylindrical or tapered locked if not.
It should also be appreciated that to assure the locking of the sleeve 24 to the stem 18, the sleeve 24 may include a locking or securing feature 46 that cooperates with a connection feature 56 on the stem 18 to assure the rigidity of the sleeve 24 against the stem 18.
As shown in FIG. 3C, a sleeve 24C is shown which is similar to the sleeve 24 of FIG. 3 except that the sleeve 24C includes the sleeve/stem securing feature 46C in the form of an indentation. The indentation 46C may mate with a complimentary protrusion extending from the outer periphery 26 of the external tapered portion 20 of the stem 18 (see FIG. 2).
Referring now to FIG. 3D, the sleeve 24C may include a solitary indent 46C as shown in FIG. 3D.
Referring now to FIG. 3E, another embodiment of the present invention is shown as sleeve 24E. Sleeve 24E is like sleeve 24C of FIGS. 3C and 3D except that the sleeve 24E includes more than one indent, for example, three spaced apart indents 46E.
Referring now to FIGS. 3F and 3G, yet another embodiment of the present invention is shown as sleeve 24F. Sleeve 24F is similar to sleeve 24 of FIG. 3 except that the sleeve 24F includes a sleeve/stem securing feature in the form of a protrusion 46F extending inwardly from inner periphery 32F of the sleeve 24F. As shown in FIG. 3G, the protrusion 46F is a solitary protrusion. The protrusion 46F of FIGS. 3F and 3G may mate with an indent 56F formed on the external tapered portion 20F of the stem 18F of FIG. 4F.
Referring now to FIG. 3H, yet another embodiment of the present invention is shown as sleeve 24H. The sleeve 24H is like the sleeve 24F except that the sleeve 24H includes three spaced apart protrusions 46H.
Referring now to FIG. 3I, yet another embodiment of the present invention is shown as sleeve 24I. The sleeve 24I is similar to sleeve 24 of FIG. 3 except that the sleeve 24I includes a sleeve/proximal reamer securing feature in the form of a protrusion 48I positioned near shoulder 38I of the sleeve 24. The protrusion 48I extends outwardly from outer periphery 26I of the sleeve 24I. The protrusion 48I serves to mate with an indent on the proximal reamer so that when the proximal reamer is extracted from the stem 18, the sleeve 24I remains with the proximal reamer and does not need to be separately removed from the stem 18 (see FIG. 2).
The protrusion 48I may have any suitable shape and may as shown in FIG. 3I be tapered downwardly to make the engagement of the protrusion into the opening easier in the downward direction of the reamer and to assure that the sleeve 24 is removed with the proximal reamer. This feature reduces surgical procedure steps and saves time in the operating room.
Referring now to FIG. 3J, the protrusion 48I of the sleeve 24I may be a solitary protrusion.
Referring now to FIG. 3K, yet another embodiment of the present invention is shown as sleeve 24K. The sleeve 24K includes a protrusion 48K extending outwardly from external periphery 26K of the sleeve 24K. It should be appreciated as shown in FIG. 3K that three separate spaced apart protrusions 48K may be utilized with complimentary indents formed in the proximal reamer (see FIG. 4).
Referring now to FIG. 3L, the protrusion 48I of the sleeve 24I may be a solitary protrusion that extends around the periphery of the sleeve to form a ring or lip.
Referring now to FIG. 3M, the sleeve 24X is shown in greater detail. The sleeve 24X may include a sleeve reamer connection feature 48X in the form of an internal groove 48X extending inwardly from outer periphery 26X of the sleeve 24X. The groove 48X may be positioned anywhere along longitudinal axis central line 30X of the sleeve 24X, but preferably is located near the shoulder 38X of the sleeve 24X. The groove 48X serves to mate with a detent 88C formed in the proximal reamer 58C (See FIG. 7A). It should be appreciated that the feature 48X should provide for an ability to have relative rotation between the sleeve 24X and the proximal reamer 58C.
According to the present invention, and referring now to FIGS. 3N, 3P and 3Q, a sleeve 24 for use with distal implant stems, for example stem 18 of FIG. 2, is shown. The sleeve 24 is used with a proximal reamer 58 (See FIG. 5). The sleeve 24, as shown in FIG. 3, is fitable over the tapered proximal portion 20 of the distal implant stem 18. The sleeve 24 defines an outer periphery 26 of the sleeve 24. As shown in FIG. 3, the sleeve 24 may be hollow and may include a cavity 28 extending longitudinally along sleeve center line 30. The cavity 28 may define an inner periphery 32 of the sleeve 24. The inner periphery 32 of the sleeve 24 may have any shape that mates with external periphery 19 of the tapered proximal portion 20 of the stem 18. The inner periphery 19 may be cylindrical and interferencely fit onto the tapered proximal portion 20 of the stem 18 of FIG. 2.
Referring again to FIG. 2, the stem 18 includes the tapered proximal portion 20 as well as the threaded portion 22. Similarly, and referring to FIGS. 3N, 3P and 3Q, the inner periphery 32 includes a distal cylindrical portion 34 to interferencely fit with tapered portion 20 of the stem 18. Also, the inner periphery 32 of the sleeve 24 includes a proximal cylindrical portion 36 with opposed double flats 37 which mates with opposed double flats 27 formed on the stem 18 (See FIG. 2).
Referring again to FIGS. 3N, 3P and 3Q, the distal cylindrical portion 34 and the proximal cylindrical portion 36 define a step or shoulder 38 positioned between the cylindrical portion 36 and the distal cylindrical portion 34 of the sleeve 24. The sleeve 24 may include the outer periphery 26 having a shape compatible to that of the proximal reamer (See FIG. 5). If the angle of the proximal reamer bore is small enough, the outer periphery 26 of the sleeve 24 may be cylindrical. The outer periphery 26 may, as is shown in FIG. 3, be cylindrical and defined by diameter DOS. The sleeve 24 may have a wall thickness T which is generally uniform. Thus distal cylindrical portion 34 of the internal periphery 32 of the sleeve 24 may be defined by wall thickness T.
Preferably the sleeve 24 is fixedly secured to stem 18 so that wear or damage does not occur to the tapered proximal portion 20 of the stem 18. Thus the sleeve 24 may include a feature for assuring that the stem 18 is fixedly secured to the sleeve 24 when assembled together. The distal cylindrical portion 34 of the internal periphery 32 of the sleeve 24 may be designed such that it provides for an interference fit with the tapered portion 20 of the stem 18. Alternatively, the cylindrical portion 36 of the inner periphery 32 may include a feature of, for example, internal threads (not shown), which may alternatively be used to thread the sleeve 24 into engagement with external threads 23 on the stem 18.
It should be appreciated that to assure the interference fit between the distal cylindrical portion 34 of the sleeve 24 and the tapered portion 20 of the stem 18 of the reamer 8, the sleeve may optionally have longitudinal slots (not shown) through the wall of the sleeve 24. The slot may be a single slot or a plurality of spaced apart slots. The slots may partially extend along the length of the sleeve 24 or may extend the fill length, splitting the sleeve 24. The slots permit additional interference fit.
According to the present invention and referring now to FIG. 4, an implant sleeve assembly 50 is shown. The implant sleeve assembly 50 includes the sleeve 24 of FIG. 3 positioned on the orthopedic implant stem 18 of FIG. 2. The orthopedic implant stem 18 is positioned in canal 4 of cavity 10 of soft or cancellous bone in the canal 4 of the femur 2. The sleeve 24 may be loaded onto the orthopedic implant stem 18 in the direction of arrow 52. The orthopedic implant stem 18 may be moved from loading position 54 as shown in phantom to the installed position 56 as shown in solid.
While the sleeve 24 may be installed in situa on the orthopedic implant stem 18 already installed into the canal 4 of the cavity 10 of the femur 2, it should be appreciated that the sleeve 24 may be preinstalled onto the orthopedic implant stem 18 prior to the performing of the surgery such that the sleeve 24 may protect external periphery 19 of the stem tapered portion 20 of the stem 18 during shipment and during the installation of the stem 18 into the cavity 10 of the canal 4 of the femur 2.
The sleeve 24 is preferably rigidly fitted against the orthopedic implant stem 18. The rigid connection of the sleeve 24 to the stem 18 may be accomplished by the fitting of the sleeve internal periphery 32 of the sleeve 24 against the external periphery 19 of the stem tapered portion 20 of the stem 18. The internal periphery 32 of the sleeve 24 may be cylindrical and may thus interferencely fit with the external periphery 19 of the stem tapered portion 20 of the orthopedic implant stem 18 defined by included angle θθ.
The orthopedic implant stem 18, like the sleeve 24, may include features to assure the rigid securement of the sleeve 24 to the stem 18. For example, and as shown in FIG. 4, the stem 18 may include a stem/sleeve connection feature 56 for cooperation with the sleeve/stem connection feature 48 of the sleeve 24 (See FIG. 3).
Referring now to FIGS. 4A and 4B, yet another embodiment of the present invention is shown as implant sleeve assembly 50A. The implant sleeve assembly 50A is similar to the implant sleeve assembly 50 of FIG. 4, except that the implant sleeve assembly 50A includes a stem 18A which has a stem/sleeve connection feature in the form of a protrusion 56A extending from the stem 18A. The protrusion 56A fits into the single indentation 46C formed in the sleeve 24C of FIGS. 3C and 3D.
Referring now to FIG. 4C, yet another embodiment of the present invention is shown as implant/sleeve assembly 50C. The implant sleeve assembly 50C is similar to the implant/sleeve assembly 50A of FIGS. 4A and 4B except that stem 18 of the implant sleeve assembly 50C includes a plurality of spaced apart protrusions 56C extending from stem 18C. The protrusions 56C cooperate with a plurality of indents 46E formed on sleeve 24E.
Referring now to FIGS. 4D and 4E, yet another embodiment of the present invention is shown as implant sleeve assembly 50D. The implant sleeve assembly 50D includes a solitary indent 56D formed on the stem 18D. The indent 56D on the stem 18D cooperates with a solitary protrusion 46F formed on sleeve 24F of FIGS. 3F and 3G.
Referring now to FIG. 4F, yet another embodiment of the present invention is shown as implant sleeve assembly 50F. The implant sleeve assembly 50F is similar to the implant sleeve assembly 50D of FIGS. 4E and 4D. The implant sleeve assembly 50F includes a stem 18F which includes three spaced apart indentations 56F. The indentations 56F of the stem 18F cooperate with three spaced apart protrusions 46H formed on sleeve 24H of FIG. 3H.
Referring now to FIG. 4G the sleeve 24 is shown in cooperation with the stem 18 of the distal reamer 8. The stem 18 of the distal reamer 8 includes opposed double flats 27 formed on stem 18. The proximal cylindrical portion 36 of the sleeve 24 includes opposed double flats 37 formed in the proximal cylindrical portion 36 of the sleeve 24. The opposed double flats 37 formed in the proximal cylindrical portion 36 of the sleeve 24 mate with the opposed double flats 27 formed on stem 18. The stem 18 of the distal reamer 8 also includes an elongated central recess 29 extending from end 31 of the stem 18 of the distal reamer 8.
Referring now to FIG. 4H a guide pin 33 for use with the implant sleeve assembly 50 of FIG. 4 to protect the sleeve 18 of FIGS. 3N, 3P and 3Q. The guide pin 33 fits onto the external threads 23 on the stem 18 of distal reamer 8 of FIG. 1. The guide pin 33 includes internal threads 35 for mating with the external threads 23 on the stem 18 of distal reamer 8. The guide pin 33 may have any shape for fitting into the proximal reamer 58 of FIG. 5. For example the guide pin 33 may have a generally cylindrical shape define by diameter DGP. The guide pin 33 may have a rounded or bullet nose 43 to assist in guiding the reamer 58 onto the guide pin 33. The guide pin may include a through transverse opening-51 for use in extracting the guide pin 33.
Referring now to FIG. 4I the guide pin 33 of FIG. 4H is shown assembled onto the implant/sleeve assembly 50 of FIG. 4 to form an implant/sleeve/pin assembly 45. The proximal reamer 58 of FIG. 5 is guided onto the implant/sleeve/pin assembly 45.
Referring now to FIG. 5, yet another embodiment of the present invention is shown as reamer 58. The reamer 58 is utilized for reaming a proximal portion 62 of the cavity 10 formed in the canal 4 of the femur 2. The reamer 58 is for use in implanting a joint prosthesis 62. The joint prosthesis 62 includes the distal stem portion 18. The reamer 58 includes a body 66 defining a cavity 68 formed in the body 66. The cavity 68 is adapted to receive at least a portion of the orthopedic implant component, for example, stem 18.
The reamer 58 also includes a plurality of cutting edges 70 extending outwardly from the body 66. The edges 70 are adapted for cooperation with bone, for example, the femur 2. The reamer 58 further includes a stem 72 extending from an end 74 of the body 66. The body 66 may have any suitable shape and may for example, be cylindrical, have a polygon cross-section, or have a periphery 76 that is tapered. The stem 72 may have any suitable shape and may include a connector 78 in the form of, for example, a standard commercially available connector, for example, a AO connector or an Hudson connector, capable of receiving a tool, for example, a driver 80 for rotating the reamer 58 in the direction of arrow 82. The reamer 58 includes cutting edges 70 that engage and remove bone.
The reamer 58 may have any suitable shape and may have any number of cutting edges 70. For example, there may be two, three, four, five, seven or more flutes. Preferably, the flutes are equally spaced and extend longitudinally along longitudinal center line 84 of the proximal reamer 58. The flutes 70 may run longitudinally with the longitudinal axis 84 or may as is shown in FIG. 5 be helical or form an angle, for example angle ββ with respect to the horizontal.
The cavity 68 formed in the proximal reamer 58 may have any suitable shape and may for example be cylindrical or have an external periphery 86 which defines a cone. The internal periphery 86 of the proximal reamer 58 defines the cavity 68 and, preferably, has a shape that mates with the proximal portion 20 of the stem 18.
As shown in FIG. 5, external periphery 71 of reamer 58 is defined by cutting edges 70 and may be tapered. The internal periphery 86 formed by the cavity 68 may also be tapered. It should be appreciated that other shapes of these components maybe within the scope of the invention. The reamer 58 includes a proximal internal cavity 39 for receiving the guide pin 33 of FIG. 4H. The proximal internal cavity 39 defines an end 41 of the internal cavity that provides a stop for cooperation with the bullet nose 43 of the guide pin 33. The reamer 58 may also include longitudinal slots 47 extending from the outer periphery 49 of the reamer to the proximal internal cavity 39 for viewing the insertion of the guide pin 33 into the reamer 58 and to ease cleaning of the reamer 58. The reamer 58 may have a solitary or multiple (for example 3 equally spaced apart) slots 47.
Referring now to FIG. 5A, another embodiment of the present invention is shown as proximal reamer 58A. Proximal reamer 58A is similar to the proximal reamer 58 of FIG. 5 except that the proximal reamer 58A includes cutting edges 70A that form an external periphery 71A that is cylindrical. Also, cavity 68A forms an internal periphery 86A which is, likewise, cylindrical.
Referring now to FIG. 5B, yet another embodiment of the present invention is shown as reamer 58B. The reamer 58B is similar to the reamer 58 of FIG. 5 except that the reamer 58B includes a cavity 68B which forms an interior periphery 86B which is cylindrical. Cutting edges 70B form an external periphery 71B which is tapered or conical. The external periphery 71B is defined by included angle αα.
Referring now to FIG. 5C, yet another embodiment of the present invention is shown as reamer 58C. The reamer 58C is utilized for reaming a proximal portion 62C of the cavity 10 formed in the canal 4 of the femur 2. The reamer 58C is for use in implanting a joint prosthesis 62. The joint prosthesis 62 includes the distal stem portion 18. The reamer 58C includes a body 66C defining a cavity 68C formed in the body 66C. The cavity 68C is adapted to receive at least a portion of the orthopedic implant component, for example, stem 18.
The reamer 58C also includes a plurality of cutting edges 70C extending outwardly from the body 66C. The edges 70C are adapted for cooperation with bone, for example, the femur 2. The reamer 58C further includes a stem 72C extending from an end 74C of the body 66C. The body 66C may have any suitable shape and may for example, be cylindrical, have a polygon cross-section, or have a periphery 76C that is tapered. The stem 72C may have any suitable shape and may include a connector 78C in the form of, for example, a standard commercially available connector, for example, a AO connector or an Hudson connector, capable of receiving a tool, for example, a driver 80C for rotating the reamer 58C in the direction of arrow 82C. The reamer 58C includes cutting edges 70C that engage and remove bone.
The reamer 58C may have any suitable shape and may have any number of cutting edges 70C. For example, there may be two, three, four, five, seven or more flutes. Preferably, the flutes are equally spaced and extend longitudinally along longitudinal center line 84C of the proximal reamer 58C. The flutes 70C may run longitudinally with the longitudinal axis 84C or may as is shown in FIG. 5C be helical or form an angle, for example angle ββ. with respect to the horizontal.
The cavity 68C formed in the proximal reamer 58C may have any suitable shape and may for example be cylindrical or have an external periphery 86C which defines a cone. The internal periphery 86C of the proximal reamer 58C defines the distal cavity 68 and, preferably, has a shape that mates with the proximal portion 20 of the stem 18.
As shown in FIG. 5C, external periphery 71C of reamer 58C is defined by cutting edges 70C and may be tapered. The internal periphery 86C formed by the cavity 68C may also be tapered. It should be appreciated that other shapes of these components maybe within the scope of the invention.
Referring now to FIG. 6, the cutting edge 70 of the reamer 58 may have any suitable form. For example, the cutting edge 70 may include a plurality of spaced apart flutes 73. Each of the flutes 73 may as shown in FIG. 6 include a grouping of spaced apart reliefs 75. The reliefs may be positioned on each of the flutes 73 and may form circular rings or as shown in FIG. 6 be spirally positioned around the reamer external periphery 71.
The reamer 58 may include an attachment feature 88 for cooperation with the sleeve 24 such that the sleeve 24 is removed with the reamer 58 when the reamer has completed preparing the cavity for the proximal body. The attachment feature 88 may have any suitable size and shape to assist in having the sleeve 24 be removed with the reamer 58.
Referring now to FIG. 6A, the cutting edge 70C of the reamer 58C may have any suitable form. For example, the cutting edge 70C may include a plurality of spaced apart flutes 73C. Each of the flutes 73C may as shown in FIG. 6C include a grouping of spaced apart reliefs 75C. The reliefs may be positioned on each of the flutes 73C and may form circular rings or as shown in FIG. 6C be spirally positioned around the reamer external periphery 71C.
The reamer 58C may include an attachment feature 88C for cooperation with the sleeve 24X of FIG. 3 such that the sleeve 24X is removed with the reamer 58C when the reamer has completed preparing the cavity for the proximal body. The attachment feature 88C may have any suitable size and shape to assist in having the sleeve 24X be removed with the reamer 58C.
Referring now to FIG. 7, the attachment feature 88C is shown in greater detail. The attachment feature 88 may be in the form of a protrusion or as shown in FIG. 7 be in the form of a spring loaded detent.
Referring now to FIG. 7A, the spring loaded detent 88C of the reamer 58C is shown in greater detail. The spring loaded detent 88C includes a ball 83C which is spring biased in the direction of the cavity 68C. The spring 85C and detent 88C are positioned in an opening 87C. The detent 88C receives the sleeve 24C by compressing the spring 85C and moving the ball 83C inwardly. The spring 85C then extends to engage the groove 48C in the sleeve 24C so that the sleeve 24C may be removed with the reamer 58C.
The ball 83C of the detent 88C cooperates with groove 48C of the sleeve 58C as shown in FIG. 3M. By providing the detent 88C to fit with a groove, for example groove 48M of FIG. 3M, the reamer 58C may rotate while the sleeve 24X is stationary or fixed to the distal stem 18.
Referring now to FIGS. 7B and 7C, yet another embodiment of the present invention is shown as reamer 58B. Reamer 58B is similar to the reamer 58 of FIG. 7 except that the reamer 58B has a fixed solitary protrusion 88B which extends inwardly from internal periphery 86B of the cavity 68B of the reamer 58B. The protrusion 88B of reamer 58B cooperates with groove 48 of the sleeve 58, as shown in FIG. 3M.
According to the present invention and referring now to FIG. 7D, yet another embodiment of the present invention is shown as reamer 58D. The reamer 58D is similar to the reamer 58B of FIGS. 7B and 7C except that the reamer 58D includes three spaced apart protrusions 86D extending inwardly from internal periphery 86D of the cavity 68D of the reamer 58D. The protrusion 88D of reamer 58D cooperates with groove 48 of the sleeve 58, as shown in FIG. 3M.
The protrusion 88B of FIGS. 7B and 7C as well the protrusions 88D of the reamer 58D of FIG. 7D cooperate with a sleeve having a groove, for example sleeve 24 having groove 48, as shown in FIG. 3M. The protrusions and the groove cooperate such that the proximal reamer 58 may rotate while the stem 18 and the sleeve 24 are stationary.
Referring now to FIG. 7E, yet another embodiment of the present invention is shown as proximal reamer 58E. The proximal reamer 58E is similar to the reamer 58D of FIG. 7D except that a continuous rib 88E extends inwardly from internal periphery 86E of cavity 68E. The rib 88E cooperates with groove 48 formed in sleeve 24 as shown in FIG. 3M.
Referring now to FIG. 7F, yet another embodiment of the present invention is shown as reamer 58F. The reamer 58F is similar to the reamer 58E as shown in FIG. 7E except that the reamer 58F includes a circumferential interior groove 88F extending outwardly from internal periphery 86F formed in cavity 68F of the reamer 58F. The groove 88F cooperates with, for example, the single protrusion 24A of FIG. 3K or the rib 48K formed in sleeve 24K of FIG. 3K.
Referring now to FIG. 7G, the attachment feature 88 is shown in greater detail. The attachment feature 88 may be in the form of a protrusion or as shown in FIG. 7 be in the form of a spring loaded detent.
The spring loaded detent 88 includes a ball 83 which is spring biased in the direction of the distal cavity 68. The spring 85 and detent 88 are positioned in an opening 87. The detent 88 receives the sleeve 24 by compressing the spring 85 and moving the ball 83 inwardly. The spring 85 then extends to engage the groove 48 in the sleeve 24 so that the sleeve 24 may be removed with the reamer 58.
The ball 83 of the detent 88 cooperates with groove 48 of the sleeve 58 as shown in FIG. 3N. By providing the detent 88 to fit with a groove, for example groove 48 of FIG. 3N, the reamer 58 may rotate while the sleeve 24 is stationary or fixed to the distal stem 18.
Referring now to FIG. 8 and according to present invention, reamer assembly 90 is shown. Sleeve 24 and the guide pin 33 are positioned in the proximal internal cavity 39 formed in the proximal reamer 58. The orthopedic implant stem 18 is positioned in the cavity 68 of the reamer 58 and the external periphery 19 of the proximal portion 20 of the stem 18 mates with the inner periphery 32 of the sleeve 24. The sleeve outer periphery 26 is rotatably engaged with internal periphery 86 of the reamer 58. The securing feature 48 of the sleeve 24 engages with the attachment feature 88 of the reamer 58. Similarly, the securing feature 56 of the stem 18 connects with the locking feature 46 of the sleeve 24.
Referring now to FIG. 9, yet another embodiment of the present invention is shown as reamer sleeve assembly 92. The reamer sleeve assembly 92 includes the reamer 58 as well as the sleeve 24. As shown in FIG. 9, the reamer sleeve assembly includes a detent 88 formed on the reamer 58 which cooperates with groove 48 formed in the sleeve 24. The outer periphery 71 defined by the cutting edge 70 of the reamer 58 is utilized to remove bone from proximal portion 89 of the femur 2. Cutting edges 70 of the reamer 58 prepare cavity 91 in the proximal portion 89 of the femur 2. The proximal cavity 91 is defined by angle ααα which is generally similar to the angle β defined by the external periphery 71 of the reamer 58.
Referring now to FIG. 9, it should be appreciated that the lip 42 of the sleeve 24 cooperates with the groove 48 formed in the sleeve 24 and the D-tent 88 to securably position the sleeve 24 in the reamer 58.
Referring now to FIG. 10, an orthopedic implant proximal component 90 is shown for use with the stem 18. The orthopedic implant proximal component 90 includes a body 93 for receiving head 96 of the prosthesis. The body 93 defines a longitudinal opening 97 for receiving the stem 18. The body 93 further defines an external portion 98 which is sized to fit within the opening 91 prepared in the proximal portion 89 of the femur 2 by the reamer 58 (See FIG. 9).
Referring now to FIG. 11, a hip stem assembly 99 to be used with the reamer and reamer assembly of the present invention is shown. The hip stem assembly 99 includes distal implant stem 18 to which proximal body 93 is fixedly secured. The tapered portion 20 of the stem 18 is fitted into longitudinal opening 97 formed in body 93 of the proximal component 92. The tapered portion 20 of the stem 18 may include external threads 21 formed on threaded portion 22 of the stem 18. A fastener in the form of a nut 100 may be used to assure the complete seating of the tapered portion 20 of the stem 18 into the longitudinal opening 97. The nut 100 may be left on the orthopedic stem assembly 99 or may be removed once the stem 18 is securely fitted to the proximal component 92.
Referring now to FIG. 12, the proximal component 92 is shown in greater detail. As shown in FIG. 12, the proximal portion 20 of the distal component 18 is shown fitted into longitudinal opening 97 of the proximal component 92. The threads 21 of the threaded portion 22 of the stem 18 engage the nut 100 and draw the stem into engagement with the proximal component 92. External periphery 98 of the proximal component 92 is fitted into cavity 91 formed by the proximal reamer 58. The neck 94 supports an externally tapered periphery 95 to which head 96 in the form of a spherical ball is securely fitted.
Referring now to FIG. 13, the components of the stem assembly 99 are shown in an exploded view. The stem 18, the proximal component 92, the head 96, and the nut 100 are shown in their respective position prior to assembly. As shown in FIG. 13, the stem 18 has an arcuate shape. The present invention is particularly well suited for use with orthopedic implants with a curved or bent stem. It should be appreciated however that the current invention may be used with straight or cylindrical or linear stems as well. It should be appreciated that when using an implant with a curved or arcuate stem, a reamer can not be provided for preparing simultaneously the distal cavity for the distal reamer and a closely fitting reamed portion for the proximal body as these two components do not have a common center line and thus can not be reamed simultaneously.
Referring now to FIG. 14, orthopedic implant assembly in the form of a hip prosthesis 102 is shown. The hip prosthesis 102 includes the stem assembly 99 as well as head 96. A shell or cup 104 may be secured onto acetabulum 106. The cup or shell 104 may mate directly with the head 96 or a liner or bearing 108 may be positioned between the cup 104 and the head 96. The orthopedic implant 102 may be made of any suitable material. The stem 99 may be made of any suitable durable material that is compatible with the human anatomy and may for example be made of a metal. If made of a metal, the orthopedic implant components may be made of, for example, cobalt chromium alloy, stainless steel alloy, or a titanium alloy. It should be appreciated that the liner or bearing 108 may be made of a metal or may be made of a plastic, for example, polyethylene.
Referring now to FIG. 15, a trial neck 110 is shown for use with the distal implant stem 18. The trial neck 110 substitutes for the proximal component 92 and may be utilized to provide a trial reduction to assure that the proper proximal component is used. A proximal implant similar to the trial neck 110 will be substituted once the trial reduction has been performed and the proximal trial neck 110 is found to be suitable, thus making the corresponding proximal component suitable for the patient.
Referring now to FIG. 16, a kit 112 for use in performing arthroplasty is provided. The kit 112 includes proximal reamer 58, as well as, sleeve 24 and distal implant stem 18. The kit 112 may further include a distal reamer 8. The kit 112 may further include a proximal trial 110. The kit 112 may further include proximal implant component 92. The kit 112 may further include guide pin 33.
According to the present invention and referring now to FIG. 17, a method 220 for performing arthroplasty is provided. The method 220 includes a first step 222 of resecting an end portion of a long bone. The method 220 further includes a second step 224 of preparing a central longitudinal opening in a medullary canal of the long bone. The method 220 further includes a third step 226 of providing a prosthetic stem component and a fourth step 228 of installing the prosthetic stem component into the opening in the medullary canal.
The method 220 further includes a fifth step 230 of providing a reamer including an opening for receiving the prosthetic stem component and a sixth step 232 of positioning the reamer onto prosthetic stem component with the opening of the reamer positioned at least partially over the prosthetic stem component.
The method 220 further includes an seventh step 234 of reaming a portion of the long bone with the reamer and a ninth step 236 of removing the reamer. The method 220 further includes a ninth step 238 of installing a prosthetic body component onto the prosthetic stem component.
Although the present invention and its advantages have been described in detail, it should be understood that various changes, substitutions, and alterations can be made therein without departing from the spirit and scope of the present invention as defined by the appended claims.

Claims (9)

We claim:
1. A method for providing joint arthroplasty comprising: resecting an end portion of a long bone; preparing a central longitudinal opening in a medullary canal of the long bone with a first reamer; removing the first reamer from the prepared central opening; installing a prosthetic stem component into the prepared opening in the medullary canal after removing the first reamer; providing a second reamer including an opening for receiving the prosthetic stem component; supporting the second reamer with the prosthetic stem component with the opening of the second reamer positioned at least partially over the prosthetic stem component; reaming a portion of the long bone with the supported second reamer; removing the second reamer; and installing a prosthetic body component onto the prosthetic stem component, wherein supporting the second reamer with the prosthetic stem comprises: axially locking the second reamer to the sleeve while allowing rotation of the second reamer with respect to the sleeve.
2. The method of claim 1, further comprising the steps of:
providing a body trial;
attaching the body trial to the prosthetic stem component; and
performing a trial reduction.
3. The method of claim 1, further comprising:
providing a sleeve for cooperation with the second reamer; and
installing the sleeve onto prosthetic stem component prior to the supporting of the second reamer with the prosthetic stem component.
4. The method of claim 3, wherein installing the sleeve onto the prosthetic stem component comprises locking the sleeve to the prosthetic stem.
5. The method of claim 1, wherein removing the second reamer comprises removing the sleeve with the second reamer.
6. The method of claim 4, wherein locking the sleeve to the prosthetic stem comprises:
inserting a tapered bore of the sleeve onto a tapered portion of the prosthetic stem.
7. The method of claim 1, wherein axially locking the second reamer comprises:
biasing a detent into a groove.
8. The method of claim 1, wherein axially locking the second reamer comprises:
positioning a protrusion into a groove.
9. The method of claim 1, wherein reaming a portion of the long bone with the supported second reamer comprises:
rotating the supported second reamer while the prosthetic stem remains stationary.
US13/826,259 2006-09-29 2013-03-14 Proximal reamer Active US8852188B2 (en)

Priority Applications (1)

Application Number Priority Date Filing Date Title
US13/826,259 US8852188B2 (en) 2006-09-29 2013-03-14 Proximal reamer

Applications Claiming Priority (2)

Application Number Priority Date Filing Date Title
US11/529,799 US8597298B2 (en) 2006-09-29 2006-09-29 Proximal reamer
US13/826,259 US8852188B2 (en) 2006-09-29 2013-03-14 Proximal reamer

Related Parent Applications (1)

Application Number Title Priority Date Filing Date
US11/529,799 Division US8597298B2 (en) 2006-09-29 2006-09-29 Proximal reamer

Publications (2)

Publication Number Publication Date
US20130226184A1 US20130226184A1 (en) 2013-08-29
US8852188B2 true US8852188B2 (en) 2014-10-07

Family

ID=38878350

Family Applications (3)

Application Number Title Priority Date Filing Date
US11/529,799 Active 2031-07-31 US8597298B2 (en) 2006-09-29 2006-09-29 Proximal reamer
US13/826,259 Active US8852188B2 (en) 2006-09-29 2013-03-14 Proximal reamer
US13/826,841 Active US8852189B2 (en) 2006-09-29 2013-03-14 Proximal reamer

Family Applications Before (1)

Application Number Title Priority Date Filing Date
US11/529,799 Active 2031-07-31 US8597298B2 (en) 2006-09-29 2006-09-29 Proximal reamer

Family Applications After (1)

Application Number Title Priority Date Filing Date
US13/826,841 Active US8852189B2 (en) 2006-09-29 2013-03-14 Proximal reamer

Country Status (6)

Country Link
US (3) US8597298B2 (en)
EP (2) EP1905394B1 (en)
JP (2) JP5265164B2 (en)
CN (2) CN101152101B (en)
AT (1) ATE486548T1 (en)
DE (1) DE602007010219D1 (en)

Cited By (3)

* Cited by examiner, † Cited by third party
Publication number Priority date Publication date Assignee Title
US9572682B2 (en) 2011-09-29 2017-02-21 Arthromeda, Inc. System and method for precise prosthesis positioning in hip arthroplasty
US9597096B2 (en) 2013-03-15 2017-03-21 Arthromeda, Inc. Systems and methods for providing alignment in total knee arthroplasty
US20180078279A1 (en) * 2016-09-20 2018-03-22 RELIGN Corporation Arthroscopic devices and methods

Families Citing this family (28)

* Cited by examiner, † Cited by third party
Publication number Priority date Publication date Assignee Title
US20070050041A1 (en) * 2005-08-30 2007-03-01 Dietz Terry L Orthopaedic implant stem component, joint component, and associated kit
US8556912B2 (en) 2007-10-30 2013-10-15 DePuy Synthes Products, LLC Taper disengagement tool
US20110015634A1 (en) * 2009-07-14 2011-01-20 Biomet Manufacturing Corp. Modular Reaming System for Femoral Revision
US8221432B2 (en) 2010-03-05 2012-07-17 Biomet Manufacturing Corp. Method and apparatus for implanting a modular femoral hip
US8460393B2 (en) 2010-03-05 2013-06-11 Biomet Manufacturing Corp. Modular lateral hip augments
US8419743B2 (en) 2010-03-05 2013-04-16 Biomet Manufacturing Corp. Assembly tool for modular implants and associated method
US8679130B2 (en) * 2010-03-05 2014-03-25 Biomet Manufacturing, Llc Guide assembly for lateral implants and associated methods
US8333807B2 (en) 2010-03-05 2012-12-18 Biomet Manufacturing Corp. Method and apparatus for trialing and implanting a modular femoral hip
US8529569B2 (en) * 2010-03-05 2013-09-10 Biomet Manufacturing, Llc Method and apparatus for preparing a proximal femur
US8533921B2 (en) 2010-06-15 2013-09-17 DePuy Synthes Products, LLC Spiral assembly tool
US9095452B2 (en) 2010-09-01 2015-08-04 DePuy Synthes Products, Inc. Disassembly tool
EP2856975B1 (en) 2011-04-06 2017-06-14 DePuy Synthes Products, LLC Instrument assembly for implanting a revision hip prosthesis
ES2588361T3 (en) * 2012-07-26 2016-11-02 Waldemar Link Gmbh & Co. Kg Lace module for a long stem prosthesis
US9232950B2 (en) * 2013-03-15 2016-01-12 Depuy (Ireland) Femoral orthopaedic surgical instruments for setting offset
US9636122B2 (en) 2013-03-15 2017-05-02 Depuy Ireland Unlimited Company Femoral orthopaedic instrument assembly for setting offset
JP6228775B2 (en) * 2013-07-29 2017-11-08 京セラ株式会社 Component unit for artificial hip joints
US20150313615A1 (en) * 2014-05-05 2015-11-05 Daniel R. Jacobson Bone cleaning tool
FR3034976B1 (en) * 2015-04-16 2022-06-10 Beguec Pierre Le BONE REMODELING ANCILLARY
CA2984813A1 (en) * 2015-05-13 2016-11-17 Smith & Nephew, Inc. System for orthopedic implantation preparation
US9737313B1 (en) 2016-11-07 2017-08-22 Roger C. Sohn Shoulder reamer devices, systems including the same, and related methods
CN106551724B (en) * 2016-11-22 2018-12-11 哈尔滨工业大学 A kind of minimally invasive spine surgical robot abrasive drilling clamping device
US11723646B2 (en) * 2017-07-24 2023-08-15 Conmed Corporation Self-drilling all-suture anchor
US12121446B1 (en) * 2020-02-11 2024-10-22 Dartmouth-Hitchcock Clinic Modular implant for combination hip replacement with intramedullary rod
US11690726B2 (en) * 2021-01-14 2023-07-04 Depuy Ireland Unlimited Company Surgical component, kit and method
CN114506083A (en) * 2022-01-12 2022-05-17 南京鼓楼医院 Manufacturing and using method of marrow expanding direction control mold in hip joint replacement and revision operation
US12220136B2 (en) * 2022-02-12 2025-02-11 Conventus Orthopaedics, Inc. Reamer device with integrated depth gauging
DE102022108553A1 (en) 2022-04-08 2023-10-12 Aesculap Ag Medical instruments and joint implantation system
CN119523570B (en) * 2024-12-30 2025-05-16 陕西中医药大学 Adjustable guide hole device of fracture steel plate

Citations (176)

* Cited by examiner, † Cited by third party
Publication number Priority date Publication date Assignee Title
US650795A (en) 1900-01-17 1900-05-29 William T Maxwell Boring implement.
US1029402A (en) 1911-04-11 1912-06-11 Richard H Ritter Milling attachment for drill-presses.
US3177507A (en) 1962-05-24 1965-04-13 Buell Ind Inc Bolt pointer
US3633583A (en) 1969-08-22 1972-01-11 Meyer Fishbein Orthopedic single-blade bone cutter
US3810312A (en) 1971-11-11 1974-05-14 Const Supply Co Alignment instrument
US4004581A (en) 1974-09-11 1977-01-25 Friedrichsfeld Gmbh Tool for forming a bed in a hip bone to receive an artificial acetabulum
US4116200A (en) 1975-10-01 1978-09-26 Aesculap-Werke Aktiengesellschaft Vormals Jetter & Scheerer Milling tool for surgical purposes
US4473070A (en) 1983-01-05 1984-09-25 Regents Of The University Of Michigan Intramedullary reamer
US4601289A (en) 1985-04-02 1986-07-22 Dow Corning Wright Femoral trial prosthesis/rasp assembly
EP0206777A2 (en) 1985-06-26 1986-12-30 Finsbury (Instruments) Limited Surgical tool
US4658808A (en) 1984-05-11 1987-04-21 Waldemar Link Gmbh & Co. Arrangement for preparing an anatomically measured endoprosthesis
DE3538654A1 (en) 1985-10-28 1987-04-30 Mecron Med Prod Gmbh DRILLING SYSTEM CONTAINING A DRILL GUIDE FOR THE INSERTION OF AN ENDOPROTHESIS AND RELATED PROSTHESIS
US4716894A (en) 1986-08-27 1988-01-05 Zimmer, Inc. Acetabular cup inserting instrument
US4777942A (en) 1986-10-02 1988-10-18 Sulzer Brothers Limited Bone milling instrument
US4917530A (en) 1989-08-31 1990-04-17 Boehringer Mannheim Corporation Structural joint
US4969911A (en) 1989-02-17 1990-11-13 United States Manufacturing Company Adjustable prosthetic joint with alignment means
US5002578A (en) 1990-05-04 1991-03-26 Venus Corporation Modular hip stem prosthesis apparatus and method
US5002581A (en) 1989-11-03 1991-03-26 Dow Corning Wright Corporation Modular hip joint prosthesis with adjustable anteversion
US5015255A (en) 1989-05-10 1991-05-14 Spine-Tech, Inc. Spinal stabilization method
WO1991010408A1 (en) 1990-01-08 1991-07-25 Zimmer, Inc. Methods and apparatus for arthroscopic prosthetic knee replacement
US5047033A (en) 1989-02-08 1991-09-10 Smith & Nephew Richards Inc. Mill and guide apparatus for preparation of a hip prosthesis
US5053037A (en) 1991-03-07 1991-10-01 Smith & Nephew Richards Inc. Femoral instrumentation for long stem surgery
US5100407A (en) 1990-09-04 1992-03-31 Pfizer Hospital Products Group, Inc. Modular trial hip replacement system
GB2250441A (en) 1990-12-06 1992-06-10 Jayantilal Mohanial Meswania Surgical bone shaping instrument
US5135529A (en) 1989-11-03 1992-08-04 Dow Corning Wright Corporation Instrument for implanting modular hip joint prosthesis with adjustable anteversion and method of using said instrument
WO1993001769A1 (en) 1991-07-23 1993-02-04 Aktiebolaget Astra Hip joint prosthesis
US5192283A (en) 1990-08-10 1993-03-09 Ling Robin S M System for performing hip prosthesis revision surgery
US5197989A (en) 1987-09-03 1993-03-30 Hinckfuss Bruce W Two stage joint prosthesis
US5201882A (en) 1989-11-03 1993-04-13 Paxson Robert D Modular hip joint prosthesis with adjustable anteversion
US5207680A (en) 1992-05-11 1993-05-04 Zimmer, Inc. Front milling guide for use in orthopaedic surgery
JPH05212069A (en) 1991-12-20 1993-08-24 Bristol Myers Squibb Co Surgical reamer assembly
USD346979S (en) 1993-02-11 1994-05-17 Zimmer, Inc. Bone milling template
WO1994012123A1 (en) 1992-11-20 1994-06-09 Burke Dennis W Improved femoral implant collar and installation apparatus
US5336226A (en) 1992-08-11 1994-08-09 Chapman Lake Instruments, Inc. Bone face cutter
US5342363A (en) 1992-11-30 1994-08-30 Wright Medical Technology, Inc. Medical instrument and procedure
US5344423A (en) 1992-02-06 1994-09-06 Zimmer, Inc. Apparatus and method for milling bone
US5370706A (en) 1986-08-15 1994-12-06 Depuy Inc. Modular hip prosthesis
WO1994027507A1 (en) 1993-05-27 1994-12-08 Howmedica Inc. Flexible medullary reaming system
US5372209A (en) 1992-07-28 1994-12-13 Dcd, Ltd. Polycentric reamer
US5403320A (en) 1993-01-07 1995-04-04 Venus Corporation Bone milling guide apparatus and method
USD357315S (en) 1993-03-15 1995-04-11 Zimmer, Inc. Bone milling template
US5415659A (en) 1993-12-01 1995-05-16 Amei Technologies Inc. Spinal fixation system and pedicle clamp
EP0661023A2 (en) 1993-12-17 1995-07-05 Bristol-Myers Squibb Company Femoral milling instrumentation for use in total knee arthroplasty with optional cutting guide attachment
US5468243A (en) 1993-10-27 1995-11-21 Halpern; Alan A. Femoral superior neck remodelling means and method
US5496324A (en) 1994-06-20 1996-03-05 Zimmer, Inc. Proximal body milling apparatus
US5507824A (en) 1993-02-23 1996-04-16 Lennox; Dennis W. Adjustable prosthetic socket component, for articulating anatomical joints
US5507830A (en) 1989-02-08 1996-04-16 Smith & Nephew Richards Inc. Modular hip prosthesis
US5507833A (en) 1992-02-10 1996-04-16 Kim-Med, Inc. Hip replacement system and method for implanting the same
US5507815A (en) 1991-06-17 1996-04-16 Cycam, Inc. Random surface protrusions on an implantable device
US5527316A (en) 1994-02-23 1996-06-18 Stone; Kevin T. Surgical reamer
US5534005A (en) 1994-10-05 1996-07-09 Smith & Nephew Richards, Inc. Surgical milling system
US5540694A (en) 1993-06-01 1996-07-30 Joint Medical Products Corporation Instrument for cutting bone
EP0726063A1 (en) 1995-02-13 1996-08-14 Bristol-Myers Squibb Company Orthopaedic milling guide with cutter lockout
US5593411A (en) 1995-03-13 1997-01-14 Zimmer, Inc. Orthopaedic milling guide for milling intersecting planes
FR2737107A1 (en) 1995-07-26 1997-01-31 Medinov Sa Assembly connection for two parts of joint prosthesis component - has connecting screw with enlarged head secured in female component by threaded locking washer and threaded shaft securing male component
US5601567A (en) 1994-06-30 1997-02-11 Howmedica Inc. Method of sizing a femoral canal using a modular femoral trial hip replacement system
US5601563A (en) 1995-08-25 1997-02-11 Zimmer, Inc. Orthopaedic milling template with attachable cutting guide
US5607431A (en) 1995-02-09 1997-03-04 Howmedica Inc. Prosthetic hip implantation method and apparatus
US5607269A (en) 1995-11-21 1997-03-04 Osteotech, Inc. Bone milling apparatus
US5643271A (en) 1994-09-09 1997-07-01 Sulzer Orthopedics Inc. Angled orthopedic surfacer and guide
US5645607A (en) 1995-03-02 1997-07-08 Zimmer, Inc. Hip stem provisional having adjustable neck offsets
US5653714A (en) 1996-02-22 1997-08-05 Zimmer, Inc. Dual slide cutting guide
US5658349A (en) 1991-07-29 1997-08-19 Joint Medical Products Corporation Prosthetic joint system for bone replacement
US5683395A (en) 1996-04-26 1997-11-04 Mikhail; W. E. Michael System for performing hip prothesis revision surgery
US5697932A (en) 1994-11-09 1997-12-16 Osteonics Corp. Bone graft delivery system and method
US5702487A (en) 1994-06-01 1997-12-30 Implex Corporation Prosthetic device
US5728128A (en) 1997-02-11 1998-03-17 Wright Medical Technology, Inc. Femoral neck anteversion guide
WO1998015739A1 (en) 1996-10-04 1998-04-16 Future Sea Farms Inc. Low head pumping system for fish farms
US5743915A (en) 1993-07-06 1998-04-28 Zimmer, Inc. Femoral milling instrumentation for use in total knee arthoroplasty with optional cutting guide attachment
US5752972A (en) 1995-11-09 1998-05-19 Hoogeboom; Thomas J. Modular endoscopic surgical instrument
EP0842639A2 (en) 1996-11-13 1998-05-20 Howmedica Inc. Machining assembly and methods for preparing the medullary cavity of a femur in hip arthroplasty
US5755803A (en) 1994-09-02 1998-05-26 Hudson Surgical Design Prosthetic implant
US5766261A (en) 1996-02-01 1998-06-16 Osteonics Corp. Femoral revision broach with modular trial components and method
US5776200A (en) 1995-02-15 1998-07-07 Smith & Nephew, Inc. Tibial trial prosthesis and bone preparation system
US5792143A (en) 1997-04-21 1998-08-11 Biomet, Inc Neck length measuring device and method of using same for implanting a hip prosthesis
US5810827A (en) 1994-09-02 1998-09-22 Hudson Surgical Design, Inc. Method and apparatus for bony material removal
US5810829A (en) 1996-02-21 1998-09-22 Smith & Nephew, Inc. Posterior stabilized/constrained reamer guide
US5858020A (en) 1995-12-05 1999-01-12 Metagen, Llc Modular prosthesis
US5860969A (en) 1997-04-30 1999-01-19 Biomet, Inc. Version adjustment instrument for modular femoral components and method of using same
US5876459A (en) 1996-08-30 1999-03-02 Powell; Douglas Hunter Adjustable modular orthopedic implant
US5879391A (en) 1996-09-30 1999-03-09 Johnson & Johnson Professional, Inc. Modular prosthesis
US5906644A (en) 1996-08-30 1999-05-25 Powell; Douglas Hunter Adjustable modular orthopedic implant
US5919195A (en) 1998-01-20 1999-07-06 Johnson & Johnson Professional, Inc. Oblong acetabular component instrumentation
US5935172A (en) 1996-06-28 1999-08-10 Johnson & Johnson Professional, Inc. Prosthesis with variable fit and strain distribution
US5951606A (en) 1992-11-20 1999-09-14 Burke; Dennis W. Centering device for femoral implant and method and apparatus for implementation thereof
US5957925A (en) 1998-05-20 1999-09-28 Bristol-Myers Squibb Co. Orthopaedic milling instrument
US5968049A (en) 1997-05-22 1999-10-19 Precifar S.A. Milling cutter for medical purposes
US5976188A (en) 1997-10-21 1999-11-02 Johnson & Johnson Professional, Inc. Modular prosthesis system with hybrid fixation
US5976145A (en) 1998-06-01 1999-11-02 Johnson & Johnson Professional, Inc. Calcar milling guide and system
US5976147A (en) 1997-07-11 1999-11-02 Johnson & Johnson Professional, Inc Modular instrumentation for bone preparation and implant trial reduction of orthopedic implants
US5993455A (en) 1996-11-13 1999-11-30 Noble; Philip C. Surgical broach and methods for preparing the medullary cavity of a femur in hip arthroplasty
US6045556A (en) 1996-11-08 2000-04-04 Depuy International, Ltd. Broach for shaping a medullary cavity in a bone
US6071311A (en) 1998-08-14 2000-06-06 Johnson & Johnson Professional, Inc. Cylindrical box femoral stem
US6080162A (en) 1998-09-28 2000-06-27 Depuy Orthopaedics, Inc. Modular orthopaedic clamping tool
US6090146A (en) 1999-06-16 2000-07-18 Bristol-Myers Squibb Company Fastener for a modular implant
JP2000210314A (en) 1998-12-22 2000-08-02 Johnson & Johnson Professional Inc Proximal femoral sleeve for repair lumbar prosthesis
US6117138A (en) 1999-04-16 2000-09-12 Sulzer Orthopedics Inc. Instruments for forming bony cavity for implantable femoral, hip prosthesis
US6120507A (en) 1999-01-29 2000-09-19 Bristol-Myers Squibb Company Instrument and method for seating prosthesis
US6126694A (en) 1999-03-05 2000-10-03 Sulzer Orthopedics Inc. Universal distal broach and stem trial
JP2000271157A (en) 1999-03-23 2000-10-03 Sulzer Orthopedics Ltd Device for introducing cartilage graft piece, device set, and method
US6159214A (en) 1996-07-31 2000-12-12 Michelson; Gary K. Milling instrumentation and method for preparing a space between adjacent vertebral bodies
US6162226A (en) 1998-09-25 2000-12-19 Depuy Orthopaedics, Inc. Long bone reamer with depth stop indicator
US6193259B1 (en) 1999-01-28 2001-02-27 Clarence B. Rupard Mounting frame for use with three point hitch
US6193759B1 (en) 1997-03-26 2001-02-27 Depuy Orthopaedics, Inc. Modular long stem hip trial
US6197065B1 (en) 1993-11-01 2001-03-06 Biomet, Inc. Method and apparatus for segmental bone replacement
US6206884B1 (en) 1998-07-15 2001-03-27 Medidea, Llc Reduction-based joint replacement apparatus and methods
US6224605B1 (en) 1999-11-24 2001-05-01 Bristol-Myers Squibb Co. Orthopaedic instrumentation assembly and method of using same
US20010001121A1 (en) 1998-03-28 2001-05-10 Alan Lombardo Methods and tools for femoral intermedullary revision surgery
US6238435B1 (en) 2000-03-10 2001-05-29 Bristol-Myers Squibb Co Assembly tool for prosthetic implant
US6258093B1 (en) 1999-02-01 2001-07-10 Garland U. Edwards Surgical reamer cutter
US6258097B1 (en) 2000-06-02 2001-07-10 Bristol-Myers Squibb Co Head center instrument and method of using the same
US6270502B1 (en) 1998-12-11 2001-08-07 Smith & Nephew, Inc. Methods and instruments for performing radial impacting
US20010016779A1 (en) 1997-03-20 2001-08-23 Philipp Lubinus Milling tool for emptying the femoral medullary space and hip prosthesis to be inserted in the space created
US6287342B1 (en) 1996-04-02 2001-09-11 Franz Copf Prosthesis part
US20010034526A1 (en) 2000-02-15 2001-10-25 Kuslich Stephen D. Expandable reamer
US6318651B1 (en) 1997-02-11 2001-11-20 Petrus Tarasius Josephus Spiering Mill, in particular for milling of bone, as well as a drum, provided with cutting members, applicable in the mill
JP2001522686A (en) 1997-11-18 2001-11-20 パッパス.マイケル.ジェー Femoral surgery instrument with removable collet
US6319286B1 (en) 2000-03-13 2001-11-20 Exactech, Inc Modular hip prosthesis
US6332886B1 (en) 1999-02-03 2001-12-25 Synthes (Usa) Surgical reamer and method of using same
US6355068B1 (en) 2001-06-07 2002-03-12 Hammill Manufacturing Co. Sight gauge modular joint and method
US6361563B2 (en) 1999-09-01 2002-03-26 Wright Medical Technology, Inc. Radial head implant system including modular implant and modular radial head locking instrument
US6432110B1 (en) 1992-02-20 2002-08-13 Wright Medical Technology, Inc. Modular trial instrument with interlock mechanism
US6432141B1 (en) 1999-03-31 2002-08-13 Gregory W. Stocks Joint prosthesis assembly and method for installing same
US20020183758A1 (en) 2001-06-01 2002-12-05 Middleton Lance M. Tissue cavitation device and method
WO2002102254A2 (en) 2001-06-14 2002-12-27 Gerard Engh Apparatus and method for sculpting the surface of a bone joint
US6517581B2 (en) 2001-01-25 2003-02-11 Zimmer, Inc. Method and apparatus for preparing a femur to receive a modular prosthetic femoral component
FR2828397A1 (en) 2001-08-09 2003-02-14 Jacques Afriat Kit for fitting replacement hip comprises drill with shaft which fits into medullary canal of femur, distal conical bit and slanting proximal conical bit being used to widen top of canal
USRE38058E1 (en) 1989-02-08 2003-04-01 Smith & Nephew, Inc. Mill and guide apparatus for preparation of a hip prosthesis
US20030093080A1 (en) 2001-11-12 2003-05-15 Brown Scott C. Apparatus and method for bone positioning
US20030109882A1 (en) 2001-08-01 2003-06-12 Showa Ika Kohgyo Co., Ltd Implant for bone connector
US20030114933A1 (en) 1999-12-23 2003-06-19 Denis Bouttens Shoulder prosthesis assembly
EP1323395A2 (en) 2001-12-31 2003-07-02 Depuy Orthopaedics, Inc. Augmented glenoid component having an interrupted surface
US6589285B2 (en) 2001-11-20 2003-07-08 Centerpulse Orthopedics Inc. Apparatus for, and method of, providing hip prosthesis implantation
WO2003065906A2 (en) 2002-02-08 2003-08-14 Gursharan Singh Chana Device for holding and rotating an acetabulum reamer
US20030171816A1 (en) 2002-03-06 2003-09-11 Christopher Scifert Intramedullary trial fixation device
US20030171756A1 (en) 2002-02-12 2003-09-11 Fallin T. Wade Surgical milling instrument for shaping a bone cavity
EP1348384A2 (en) 2002-03-29 2003-10-01 Depuy Orthopaedics, Inc. Medical instrument for milling bone along a curve
WO2003082159A1 (en) 2002-03-29 2003-10-09 Osteotech, Inc. Method of making bone particles
US20030204269A1 (en) 2002-04-25 2003-10-30 Medicinelodge, Inc. Triapartite attachment mechanism and method for a modular prosthesis
WO2003092513A1 (en) 2002-04-30 2003-11-13 Precimed S.A. Reamer spindle for minimally invasive joint surgery
WO2003094803A1 (en) 2002-05-09 2003-11-20 Hayes Medical, Inc. System for trial implantation of a femoral hip prosthesis
WO2003094698A2 (en) 2002-05-09 2003-11-20 Hayes Medical, Inc. Bone milling instrument
US20030220698A1 (en) 2000-04-26 2003-11-27 Dana Mears Method and apparatus for performing a minimally invasive total hip arthroplasty
EP1369089A2 (en) 2002-05-23 2003-12-10 Zimmer Technology, Inc. Apparatus for reducing femoral fractures
US6663616B1 (en) 1997-02-24 2003-12-16 Co.Don Aktiengesellschaft Set of surgical instruments
US6676706B1 (en) 2000-04-26 2004-01-13 Zimmer Technology, Inc. Method and apparatus for performing a minimally invasive total hip arthroplasty
US20040015239A1 (en) 2002-05-23 2004-01-22 Beguec Pierre Le Apparatus for the preparation of a femur bone for for the implantation of a prosthesis
US6692530B2 (en) 2001-10-17 2004-02-17 Hammill Manufacturing Co. Split sleeve modular joint
US6702854B1 (en) 1999-06-01 2004-03-09 Apex Surgical, Llc Implantable joint prosthesis
US20040064186A1 (en) 2002-09-30 2004-04-01 Mccleary Larry G. Modular trial mechanism
WO2004032767A1 (en) 2002-10-11 2004-04-22 Depuy International Limited A reamer assembly
US6740090B1 (en) 2000-02-16 2004-05-25 Trans1 Inc. Methods and apparatus for forming shaped axial bores through spinal vertebrae
US20040122525A1 (en) 2002-12-20 2004-06-24 Daniels David W. Modular hip stems and associated method of trialing
US20040122437A1 (en) 2002-12-20 2004-06-24 Dwyer Kimberly A. Alignment device for modular implants and method
US20040122440A1 (en) 2002-12-20 2004-06-24 Daniels David W. Instrument and associated method of trialing for modular hip stems
US20040147933A1 (en) 2003-01-29 2004-07-29 Mcgovern Michael A. Apparatus and method for preparing bone for antirotational implantation of an orthopedic endoprosthesis
US6770100B2 (en) 2000-07-29 2004-08-03 Klaus Draenert Modular revision prosthesis
US20040172138A1 (en) 1993-11-01 2004-09-02 May Brian M. Compliant fixation of external prosthesis
US6824552B2 (en) 2002-04-03 2004-11-30 Stryker Corporation Surgical cutting accessory with nickel titanium alloy cutting head
US20040267266A1 (en) 2003-06-25 2004-12-30 Daniels David Wayne Modular tapered reamer for bone preparation and associated method
US20040267267A1 (en) * 2003-06-25 2004-12-30 Daniels David Wayne Non-linear reamer for bone preparation and associated method
US20040267372A1 (en) 2003-06-30 2004-12-30 Vanasse Thomas M Modular trial neck segment
EP1493407A2 (en) 2003-07-03 2005-01-05 Centerpulse Orthopedics Inc. Modular hip prosthesis
US6846314B2 (en) 1997-07-01 2005-01-25 Ira L. Shapira Method and apparatus for extracting bone marrow
JP2005507303A (en) 2001-11-05 2005-03-17 プレシメッド エス.アー. Torque transmission coupling assembly and surgical instrument
US6875218B2 (en) 2002-06-10 2005-04-05 Zimmer Austin, Inc. Elongated driving bit attachable to a driving instrument and method of use for minimally invasive hip surgery
US6883217B2 (en) 2002-12-13 2005-04-26 Zimmer Technology, Inc. Apparatus for disassembling mating taper connections
US6905515B1 (en) 2003-12-27 2005-06-14 Zimmer Technology, Inc. Junction for a modular implant
US20050154331A1 (en) 2003-12-30 2005-07-14 Christie Michael J. Minimally invasive bone miller apparatus
EP1263334B1 (en) 2000-03-15 2005-10-12 SDGI Holdings, Inc. Instruments for laparoscopic spinal surgery
US20050234461A1 (en) 2001-05-25 2005-10-20 Burdulis Albert G Jr Surgical tools facilitating increased accuracy, speed and simplicity in performing joint arthroplasty
EP1591084A1 (en) 2004-04-23 2005-11-02 Calamel Serge Implant glénoidien pour prothèse totale d'épaule inversée, et prothèse totale d'épaule inversée le comprenant.
US20050288676A1 (en) 2004-06-29 2005-12-29 Barry Schnieders Minimally invasive bone broach
US20060015110A1 (en) 2004-07-15 2006-01-19 Pepper John R Cutting device
US7008420B2 (en) 2002-12-12 2006-03-07 Olympus Corporation High frequency surgical instrument
US7641658B2 (en) 2002-11-08 2010-01-05 Warsaw Orthopedic, Inc. Transpedicular intervertebral disk access methods and devices

Family Cites Families (3)

* Cited by examiner, † Cited by third party
Publication number Priority date Publication date Assignee Title
CN2223618Y (en) * 1995-06-20 1996-04-03 陈建华 Percutaneous automatic pressing bone screw
CN2557082Y (en) * 2002-07-18 2003-06-25 杨术真 Multi-function sleeve type skull drill
US20040122439A1 (en) 2002-12-20 2004-06-24 Dwyer Kimberly A. Adjustable biomechanical templating & resection instrument and associated method

Patent Citations (237)

* Cited by examiner, † Cited by third party
Publication number Priority date Publication date Assignee Title
US650795A (en) 1900-01-17 1900-05-29 William T Maxwell Boring implement.
US1029402A (en) 1911-04-11 1912-06-11 Richard H Ritter Milling attachment for drill-presses.
US3177507A (en) 1962-05-24 1965-04-13 Buell Ind Inc Bolt pointer
US3633583A (en) 1969-08-22 1972-01-11 Meyer Fishbein Orthopedic single-blade bone cutter
US3810312A (en) 1971-11-11 1974-05-14 Const Supply Co Alignment instrument
US4004581A (en) 1974-09-11 1977-01-25 Friedrichsfeld Gmbh Tool for forming a bed in a hip bone to receive an artificial acetabulum
US4116200A (en) 1975-10-01 1978-09-26 Aesculap-Werke Aktiengesellschaft Vormals Jetter & Scheerer Milling tool for surgical purposes
US4473070A (en) 1983-01-05 1984-09-25 Regents Of The University Of Michigan Intramedullary reamer
US4658808A (en) 1984-05-11 1987-04-21 Waldemar Link Gmbh & Co. Arrangement for preparing an anatomically measured endoprosthesis
US4601289A (en) 1985-04-02 1986-07-22 Dow Corning Wright Femoral trial prosthesis/rasp assembly
EP0206777A3 (en) 1985-06-26 1987-12-09 Finsbury (Instruments) Limited Surgical tool
EP0206777B1 (en) 1985-06-26 1990-05-16 Finsbury (Instruments) Limited Surgical tool
EP0206777A2 (en) 1985-06-26 1986-12-30 Finsbury (Instruments) Limited Surgical tool
US4738256A (en) 1985-06-26 1988-04-19 Finsbury (Instruments) Limited Surgical tool
DE3538654A1 (en) 1985-10-28 1987-04-30 Mecron Med Prod Gmbh DRILLING SYSTEM CONTAINING A DRILL GUIDE FOR THE INSERTION OF AN ENDOPROTHESIS AND RELATED PROSTHESIS
US5370706A (en) 1986-08-15 1994-12-06 Depuy Inc. Modular hip prosthesis
US4716894A (en) 1986-08-27 1988-01-05 Zimmer, Inc. Acetabular cup inserting instrument
US4777942A (en) 1986-10-02 1988-10-18 Sulzer Brothers Limited Bone milling instrument
US5197989A (en) 1987-09-03 1993-03-30 Hinckfuss Bruce W Two stage joint prosthesis
US5507830A (en) 1989-02-08 1996-04-16 Smith & Nephew Richards Inc. Modular hip prosthesis
USRE38058E1 (en) 1989-02-08 2003-04-01 Smith & Nephew, Inc. Mill and guide apparatus for preparation of a hip prosthesis
US5047033A (en) 1989-02-08 1991-09-10 Smith & Nephew Richards Inc. Mill and guide apparatus for preparation of a hip prosthesis
US4969911A (en) 1989-02-17 1990-11-13 United States Manufacturing Company Adjustable prosthetic joint with alignment means
US5015255A (en) 1989-05-10 1991-05-14 Spine-Tech, Inc. Spinal stabilization method
US4917530A (en) 1989-08-31 1990-04-17 Boehringer Mannheim Corporation Structural joint
US5201882A (en) 1989-11-03 1993-04-13 Paxson Robert D Modular hip joint prosthesis with adjustable anteversion
US5002581A (en) 1989-11-03 1991-03-26 Dow Corning Wright Corporation Modular hip joint prosthesis with adjustable anteversion
US5135529A (en) 1989-11-03 1992-08-04 Dow Corning Wright Corporation Instrument for implanting modular hip joint prosthesis with adjustable anteversion and method of using said instrument
US5228459A (en) 1990-01-08 1993-07-20 Caspari Richard B Method of resecting bone
US5171244A (en) 1990-01-08 1992-12-15 Caspari Richard B Methods and apparatus for arthroscopic prosthetic knee replacement
US5395376A (en) 1990-01-08 1995-03-07 Caspari; Richard B. Method of implanting a prosthesis
WO1991010408A1 (en) 1990-01-08 1991-07-25 Zimmer, Inc. Methods and apparatus for arthroscopic prosthetic knee replacement
US5304181A (en) 1990-01-08 1994-04-19 Caspari Richard B Methods and apparatus for arthroscopic prosthetic knee replacement
US5263498A (en) 1990-01-08 1993-11-23 Caspari Richard B Method of arthroscopically preparing an articular bone surface
EP0511244A4 (en) 1990-01-08 1993-04-28 Zimmer, Inc. Methods and apparatus for arthroscopic prosthetic knee replacement
EP0511244B1 (en) 1990-01-08 1998-10-21 Zimmer, Inc. Milling cutter for bone resection
US5002578A (en) 1990-05-04 1991-03-26 Venus Corporation Modular hip stem prosthesis apparatus and method
EP0595956B1 (en) 1990-08-10 1998-09-02 MIKHAIL, Michael W.E. System for performing hip prosthesis revision surgery
US5192283A (en) 1990-08-10 1993-03-09 Ling Robin S M System for performing hip prosthesis revision surgery
US5470336A (en) 1990-08-10 1995-11-28 Ling; Robin S. M. System for performing hip prosthesis revision surgery
EP0595956A4 (en) 1990-08-10 1994-08-24 Michael W E Mikhail System for performing hip prosthesis revision surgery
US5100407A (en) 1990-09-04 1992-03-31 Pfizer Hospital Products Group, Inc. Modular trial hip replacement system
GB2250441A (en) 1990-12-06 1992-06-10 Jayantilal Mohanial Meswania Surgical bone shaping instrument
US5387218A (en) 1990-12-06 1995-02-07 University College London Surgical instrument for shaping a bone
WO1992010138A1 (en) 1990-12-06 1992-06-25 Meswania Jayantilal Mohanial Surgical instrument
US5053037A (en) 1991-03-07 1991-10-01 Smith & Nephew Richards Inc. Femoral instrumentation for long stem surgery
US5507815A (en) 1991-06-17 1996-04-16 Cycam, Inc. Random surface protrusions on an implantable device
WO1993001769A1 (en) 1991-07-23 1993-02-04 Aktiebolaget Astra Hip joint prosthesis
US5658349A (en) 1991-07-29 1997-08-19 Joint Medical Products Corporation Prosthetic joint system for bone replacement
JPH05212069A (en) 1991-12-20 1993-08-24 Bristol Myers Squibb Co Surgical reamer assembly
US5344423A (en) 1992-02-06 1994-09-06 Zimmer, Inc. Apparatus and method for milling bone
US5486180A (en) 1992-02-06 1996-01-23 Zimmer, Inc. Apparatus for milling bone
US5507833A (en) 1992-02-10 1996-04-16 Kim-Med, Inc. Hip replacement system and method for implanting the same
US6432110B1 (en) 1992-02-20 2002-08-13 Wright Medical Technology, Inc. Modular trial instrument with interlock mechanism
US5207680A (en) 1992-05-11 1993-05-04 Zimmer, Inc. Front milling guide for use in orthopaedic surgery
US5372209A (en) 1992-07-28 1994-12-13 Dcd, Ltd. Polycentric reamer
US5336226A (en) 1992-08-11 1994-08-09 Chapman Lake Instruments, Inc. Bone face cutter
US5951606A (en) 1992-11-20 1999-09-14 Burke; Dennis W. Centering device for femoral implant and method and apparatus for implementation thereof
US6179877B1 (en) 1992-11-20 2001-01-30 Dennis W. Burke Centering device for femoral implant and method and apparatus for implementation thereof
WO1994012123A1 (en) 1992-11-20 1994-06-09 Burke Dennis W Improved femoral implant collar and installation apparatus
US5569255A (en) 1992-11-20 1996-10-29 Burke; Dennis W. Method for implanting a prosthetic device into a bone
US5342363A (en) 1992-11-30 1994-08-30 Wright Medical Technology, Inc. Medical instrument and procedure
US5403320A (en) 1993-01-07 1995-04-04 Venus Corporation Bone milling guide apparatus and method
USD346979S (en) 1993-02-11 1994-05-17 Zimmer, Inc. Bone milling template
US5507824A (en) 1993-02-23 1996-04-16 Lennox; Dennis W. Adjustable prosthetic socket component, for articulating anatomical joints
USD357315S (en) 1993-03-15 1995-04-11 Zimmer, Inc. Bone milling template
EP0861635A2 (en) 1993-05-27 1998-09-02 Howmedica Inc. Flexible medullary reaming system
EP0861635B1 (en) 1993-05-27 2002-07-17 Stryker Technologies Corporation Flexible medullary reaming system
EP0861635A3 (en) 1993-05-27 1998-11-04 Howmedica Inc. Flexible medullary reaming system
US5908423A (en) 1993-05-27 1999-06-01 Howmedica, Inc. Flexible medullary reaming system
WO1994027507A1 (en) 1993-05-27 1994-12-08 Howmedica Inc. Flexible medullary reaming system
EP1201191A1 (en) 1993-05-27 2002-05-02 Stryker Technologies Corporation Flexible medullary reaming system
US5540694A (en) 1993-06-01 1996-07-30 Joint Medical Products Corporation Instrument for cutting bone
US5769855A (en) 1993-07-06 1998-06-23 Zimmer Inc. Femoral milling instrumentation for use in total knee arthroplasty with optional cutting guide attachment
US5743915A (en) 1993-07-06 1998-04-28 Zimmer, Inc. Femoral milling instrumentation for use in total knee arthoroplasty with optional cutting guide attachment
US5474559A (en) 1993-07-06 1995-12-12 Zimmer, Inc. Femoral milling instrumentation for use in total knee arthroplasty with optional cutting guide attachment
US5860981A (en) 1993-07-06 1999-01-19 Dennis W. Burke Guide for femoral milling instrumention for use in total knee arthroplasty
US5853415A (en) 1993-07-06 1998-12-29 Zimmer, Inc. Femoral milling instrumentation for use in total knee arthroplasty with optional cutting guide attachment
US5468243A (en) 1993-10-27 1995-11-21 Halpern; Alan A. Femoral superior neck remodelling means and method
US20040172138A1 (en) 1993-11-01 2004-09-02 May Brian M. Compliant fixation of external prosthesis
US6508841B2 (en) 1993-11-01 2003-01-21 Biomet, Inc. Method and apparatus for segmental bone replacement
US20010007957A1 (en) 1993-11-01 2001-07-12 Martin Daniel L. Method and apparatus for segmental bone replacement
US6197065B1 (en) 1993-11-01 2001-03-06 Biomet, Inc. Method and apparatus for segmental bone replacement
US5415659A (en) 1993-12-01 1995-05-16 Amei Technologies Inc. Spinal fixation system and pedicle clamp
EP0661023B1 (en) 1993-12-17 2001-08-22 Bristol-Myers Squibb Company Femoral milling instrumentation for use in total knee arthroplasty with optional cutting guide attachment
EP1084680B1 (en) 1993-12-17 2005-03-30 Bristol-Myers Squibb Company Milling instrumentation for use in total knee arthroplasty
EP1084680A2 (en) 1993-12-17 2001-03-21 Bristol-Myers Squibb Company Milling instrumentation for use in total knee arthroplasty
EP0661023A2 (en) 1993-12-17 1995-07-05 Bristol-Myers Squibb Company Femoral milling instrumentation for use in total knee arthroplasty with optional cutting guide attachment
US5527316A (en) 1994-02-23 1996-06-18 Stone; Kevin T. Surgical reamer
US5702487A (en) 1994-06-01 1997-12-30 Implex Corporation Prosthetic device
US5496324A (en) 1994-06-20 1996-03-05 Zimmer, Inc. Proximal body milling apparatus
US5601567A (en) 1994-06-30 1997-02-11 Howmedica Inc. Method of sizing a femoral canal using a modular femoral trial hip replacement system
US6197064B1 (en) 1994-09-02 2001-03-06 Hudson Surgical Design, Inc. Prosthetic implant
US5755803A (en) 1994-09-02 1998-05-26 Hudson Surgical Design Prosthetic implant
US5879354A (en) 1994-09-02 1999-03-09 Hudson Surgical Design, Inc. Prosthetic implant
US5810827A (en) 1994-09-02 1998-09-22 Hudson Surgical Design, Inc. Method and apparatus for bony material removal
US6056754A (en) 1994-09-02 2000-05-02 Hudson Surgical Design, Inc. Method and apparatus for patella resection and guide handle
US5643271A (en) 1994-09-09 1997-07-01 Sulzer Orthopedics Inc. Angled orthopedic surfacer and guide
US5534005A (en) 1994-10-05 1996-07-09 Smith & Nephew Richards, Inc. Surgical milling system
US5697932A (en) 1994-11-09 1997-12-16 Osteonics Corp. Bone graft delivery system and method
US5607431A (en) 1995-02-09 1997-03-04 Howmedica Inc. Prosthetic hip implantation method and apparatus
EP0726063A1 (en) 1995-02-13 1996-08-14 Bristol-Myers Squibb Company Orthopaedic milling guide with cutter lockout
US5776200A (en) 1995-02-15 1998-07-07 Smith & Nephew, Inc. Tibial trial prosthesis and bone preparation system
US5645607A (en) 1995-03-02 1997-07-08 Zimmer, Inc. Hip stem provisional having adjustable neck offsets
US5593411A (en) 1995-03-13 1997-01-14 Zimmer, Inc. Orthopaedic milling guide for milling intersecting planes
FR2737107A1 (en) 1995-07-26 1997-01-31 Medinov Sa Assembly connection for two parts of joint prosthesis component - has connecting screw with enlarged head secured in female component by threaded locking washer and threaded shaft securing male component
US5601563A (en) 1995-08-25 1997-02-11 Zimmer, Inc. Orthopaedic milling template with attachable cutting guide
US5752972A (en) 1995-11-09 1998-05-19 Hoogeboom; Thomas J. Modular endoscopic surgical instrument
US5607269A (en) 1995-11-21 1997-03-04 Osteotech, Inc. Bone milling apparatus
US5858020A (en) 1995-12-05 1999-01-12 Metagen, Llc Modular prosthesis
US5766261A (en) 1996-02-01 1998-06-16 Osteonics Corp. Femoral revision broach with modular trial components and method
US5810829A (en) 1996-02-21 1998-09-22 Smith & Nephew, Inc. Posterior stabilized/constrained reamer guide
US5653714A (en) 1996-02-22 1997-08-05 Zimmer, Inc. Dual slide cutting guide
US6287342B1 (en) 1996-04-02 2001-09-11 Franz Copf Prosthesis part
US5683395A (en) 1996-04-26 1997-11-04 Mikhail; W. E. Michael System for performing hip prothesis revision surgery
US5935172A (en) 1996-06-28 1999-08-10 Johnson & Johnson Professional, Inc. Prosthesis with variable fit and strain distribution
US6440139B2 (en) 1996-07-31 2002-08-27 Gary K. Michelson Milling instrumentation and method for preparing a space between adjacent vertebral bodies
US6159214A (en) 1996-07-31 2000-12-12 Michelson; Gary K. Milling instrumentation and method for preparing a space between adjacent vertebral bodies
US5906644A (en) 1996-08-30 1999-05-25 Powell; Douglas Hunter Adjustable modular orthopedic implant
US5876459A (en) 1996-08-30 1999-03-02 Powell; Douglas Hunter Adjustable modular orthopedic implant
US5879391A (en) 1996-09-30 1999-03-09 Johnson & Johnson Professional, Inc. Modular prosthesis
WO1998015739A1 (en) 1996-10-04 1998-04-16 Future Sea Farms Inc. Low head pumping system for fish farms
US6045556A (en) 1996-11-08 2000-04-04 Depuy International, Ltd. Broach for shaping a medullary cavity in a bone
US5810830A (en) 1996-11-13 1998-09-22 Howmedica Inc. Machining assembly and methods for preparing the medullary cavity of a femur in hip arthroplasty
US5993455A (en) 1996-11-13 1999-11-30 Noble; Philip C. Surgical broach and methods for preparing the medullary cavity of a femur in hip arthroplasty
EP0842639B1 (en) 1996-11-13 2004-02-25 Stryker Technologies Corporation Machining assembly for preparing the medullary cavity of a femur in hip arthroplasty
EP0842639A3 (en) 1996-11-13 1998-06-10 Howmedica Inc. Machining assembly and methods for preparing the medullary cavity of a femur in hip arthroplasty
EP0842639A2 (en) 1996-11-13 1998-05-20 Howmedica Inc. Machining assembly and methods for preparing the medullary cavity of a femur in hip arthroplasty
US5728128A (en) 1997-02-11 1998-03-17 Wright Medical Technology, Inc. Femoral neck anteversion guide
US6318651B1 (en) 1997-02-11 2001-11-20 Petrus Tarasius Josephus Spiering Mill, in particular for milling of bone, as well as a drum, provided with cutting members, applicable in the mill
US6663616B1 (en) 1997-02-24 2003-12-16 Co.Don Aktiengesellschaft Set of surgical instruments
US20010016779A1 (en) 1997-03-20 2001-08-23 Philipp Lubinus Milling tool for emptying the femoral medullary space and hip prosthesis to be inserted in the space created
US6193759B1 (en) 1997-03-26 2001-02-27 Depuy Orthopaedics, Inc. Modular long stem hip trial
US5792143A (en) 1997-04-21 1998-08-11 Biomet, Inc Neck length measuring device and method of using same for implanting a hip prosthesis
US5860969A (en) 1997-04-30 1999-01-19 Biomet, Inc. Version adjustment instrument for modular femoral components and method of using same
US5968049A (en) 1997-05-22 1999-10-19 Precifar S.A. Milling cutter for medical purposes
US6846314B2 (en) 1997-07-01 2005-01-25 Ira L. Shapira Method and apparatus for extracting bone marrow
US5976147A (en) 1997-07-11 1999-11-02 Johnson & Johnson Professional, Inc Modular instrumentation for bone preparation and implant trial reduction of orthopedic implants
US5976188A (en) 1997-10-21 1999-11-02 Johnson & Johnson Professional, Inc. Modular prosthesis system with hybrid fixation
JP2001522686A (en) 1997-11-18 2001-11-20 パッパス.マイケル.ジェー Femoral surgery instrument with removable collet
US5919195A (en) 1998-01-20 1999-07-06 Johnson & Johnson Professional, Inc. Oblong acetabular component instrumentation
US6258095B1 (en) 1998-03-28 2001-07-10 Stryker Technologies Corporation Methods and tools for femoral intermedullary revision surgery
US20010001121A1 (en) 1998-03-28 2001-05-10 Alan Lombardo Methods and tools for femoral intermedullary revision surgery
US5957925A (en) 1998-05-20 1999-09-28 Bristol-Myers Squibb Co. Orthopaedic milling instrument
US5976145A (en) 1998-06-01 1999-11-02 Johnson & Johnson Professional, Inc. Calcar milling guide and system
US6206884B1 (en) 1998-07-15 2001-03-27 Medidea, Llc Reduction-based joint replacement apparatus and methods
US6071311A (en) 1998-08-14 2000-06-06 Johnson & Johnson Professional, Inc. Cylindrical box femoral stem
US6162226A (en) 1998-09-25 2000-12-19 Depuy Orthopaedics, Inc. Long bone reamer with depth stop indicator
US6080162A (en) 1998-09-28 2000-06-27 Depuy Orthopaedics, Inc. Modular orthopaedic clamping tool
US6270502B1 (en) 1998-12-11 2001-08-07 Smith & Nephew, Inc. Methods and instruments for performing radial impacting
JP2000210314A (en) 1998-12-22 2000-08-02 Johnson & Johnson Professional Inc Proximal femoral sleeve for repair lumbar prosthesis
US6193259B1 (en) 1999-01-28 2001-02-27 Clarence B. Rupard Mounting frame for use with three point hitch
US6120507A (en) 1999-01-29 2000-09-19 Bristol-Myers Squibb Company Instrument and method for seating prosthesis
US6258093B1 (en) 1999-02-01 2001-07-10 Garland U. Edwards Surgical reamer cutter
US6332886B1 (en) 1999-02-03 2001-12-25 Synthes (Usa) Surgical reamer and method of using same
US6126694A (en) 1999-03-05 2000-10-03 Sulzer Orthopedics Inc. Universal distal broach and stem trial
JP2000271157A (en) 1999-03-23 2000-10-03 Sulzer Orthopedics Ltd Device for introducing cartilage graft piece, device set, and method
US6432141B1 (en) 1999-03-31 2002-08-13 Gregory W. Stocks Joint prosthesis assembly and method for installing same
US20030130740A1 (en) 1999-03-31 2003-07-10 Stocks Gregory W. Joint prosthesis assembly and method for installing same
US6117138A (en) 1999-04-16 2000-09-12 Sulzer Orthopedics Inc. Instruments for forming bony cavity for implantable femoral, hip prosthesis
US6702854B1 (en) 1999-06-01 2004-03-09 Apex Surgical, Llc Implantable joint prosthesis
US6090146A (en) 1999-06-16 2000-07-18 Bristol-Myers Squibb Company Fastener for a modular implant
US6361563B2 (en) 1999-09-01 2002-03-26 Wright Medical Technology, Inc. Radial head implant system including modular implant and modular radial head locking instrument
US6224605B1 (en) 1999-11-24 2001-05-01 Bristol-Myers Squibb Co. Orthopaedic instrumentation assembly and method of using same
US20030114933A1 (en) 1999-12-23 2003-06-19 Denis Bouttens Shoulder prosthesis assembly
US20010034526A1 (en) 2000-02-15 2001-10-25 Kuslich Stephen D. Expandable reamer
US6740090B1 (en) 2000-02-16 2004-05-25 Trans1 Inc. Methods and apparatus for forming shaped axial bores through spinal vertebrae
US6238435B1 (en) 2000-03-10 2001-05-29 Bristol-Myers Squibb Co Assembly tool for prosthetic implant
US6911048B2 (en) 2000-03-13 2005-06-28 Exactech, Inc. Modular hip prosthesis
US6319286B1 (en) 2000-03-13 2001-11-20 Exactech, Inc Modular hip prosthesis
EP1263334B1 (en) 2000-03-15 2005-10-12 SDGI Holdings, Inc. Instruments for laparoscopic spinal surgery
US20030220698A1 (en) 2000-04-26 2003-11-27 Dana Mears Method and apparatus for performing a minimally invasive total hip arthroplasty
US6953480B2 (en) 2000-04-26 2005-10-11 Zimmer Technology, Inc. Method and apparatus for performing a minimally invasive total hip arthroplasty
US6676706B1 (en) 2000-04-26 2004-01-13 Zimmer Technology, Inc. Method and apparatus for performing a minimally invasive total hip arthroplasty
US6258097B1 (en) 2000-06-02 2001-07-10 Bristol-Myers Squibb Co Head center instrument and method of using the same
US6770100B2 (en) 2000-07-29 2004-08-03 Klaus Draenert Modular revision prosthesis
US6517581B2 (en) 2001-01-25 2003-02-11 Zimmer, Inc. Method and apparatus for preparing a femur to receive a modular prosthetic femoral component
US20050234461A1 (en) 2001-05-25 2005-10-20 Burdulis Albert G Jr Surgical tools facilitating increased accuracy, speed and simplicity in performing joint arthroplasty
US20020183758A1 (en) 2001-06-01 2002-12-05 Middleton Lance M. Tissue cavitation device and method
US6355068B1 (en) 2001-06-07 2002-03-12 Hammill Manufacturing Co. Sight gauge modular joint and method
WO2002102254A2 (en) 2001-06-14 2002-12-27 Gerard Engh Apparatus and method for sculpting the surface of a bone joint
WO2002102254B1 (en) 2001-06-14 2003-06-26 Gerard Engh Apparatus and method for sculpting the surface of a bone joint
WO2002102254A3 (en) 2001-06-14 2003-05-22 Gerard Engh Apparatus and method for sculpting the surface of a bone joint
US20030109882A1 (en) 2001-08-01 2003-06-12 Showa Ika Kohgyo Co., Ltd Implant for bone connector
FR2828397A1 (en) 2001-08-09 2003-02-14 Jacques Afriat Kit for fitting replacement hip comprises drill with shaft which fits into medullary canal of femur, distal conical bit and slanting proximal conical bit being used to widen top of canal
WO2003015642A1 (en) 2001-08-09 2003-02-27 Jacques Afriat Assembly for setting in place a hip prosthesis femoral implant on a femur
US6692530B2 (en) 2001-10-17 2004-02-17 Hammill Manufacturing Co. Split sleeve modular joint
JP2005507303A (en) 2001-11-05 2005-03-17 プレシメッド エス.アー. Torque transmission coupling assembly and surgical instrument
US20030093080A1 (en) 2001-11-12 2003-05-15 Brown Scott C. Apparatus and method for bone positioning
US6589285B2 (en) 2001-11-20 2003-07-08 Centerpulse Orthopedics Inc. Apparatus for, and method of, providing hip prosthesis implantation
EP1323395A2 (en) 2001-12-31 2003-07-02 Depuy Orthopaedics, Inc. Augmented glenoid component having an interrupted surface
EP1323395A3 (en) 2001-12-31 2005-08-17 Depuy Orthopaedics, Inc. Augmented glenoid component having an interrupted surface
WO2003065906A2 (en) 2002-02-08 2003-08-14 Gursharan Singh Chana Device for holding and rotating an acetabulum reamer
US20050222572A1 (en) 2002-02-08 2005-10-06 Gursharan Chana Surgical devices and methods of use
US20030171756A1 (en) 2002-02-12 2003-09-11 Fallin T. Wade Surgical milling instrument for shaping a bone cavity
US20030171816A1 (en) 2002-03-06 2003-09-11 Christopher Scifert Intramedullary trial fixation device
EP1348384A3 (en) 2002-03-29 2003-11-19 Depuy Orthopaedics, Inc. Medical instrument for milling bone along a curve
WO2003082159A1 (en) 2002-03-29 2003-10-09 Osteotech, Inc. Method of making bone particles
US6949101B2 (en) 2002-03-29 2005-09-27 Depuy Orthopaedics, Inc. Medical instrument for milling a curved path in bone and procedure
US20030187449A1 (en) 2002-03-29 2003-10-02 Mccleary Larry G. Medical instrument for milling a curved path in bone and procedure
EP1348384A2 (en) 2002-03-29 2003-10-01 Depuy Orthopaedics, Inc. Medical instrument for milling bone along a curve
JP2003339724A (en) 2002-03-29 2003-12-02 Depuy Orthopaedics Inc Medical instrument for milling curved path in bone and procedure
US6824552B2 (en) 2002-04-03 2004-11-30 Stryker Corporation Surgical cutting accessory with nickel titanium alloy cutting head
US20030204269A1 (en) 2002-04-25 2003-10-30 Medicinelodge, Inc. Triapartite attachment mechanism and method for a modular prosthesis
WO2003092513A1 (en) 2002-04-30 2003-11-13 Precimed S.A. Reamer spindle for minimally invasive joint surgery
US20040092951A1 (en) 2002-05-09 2004-05-13 Serra Michael A. Bone milling instrument
WO2003094698A2 (en) 2002-05-09 2003-11-20 Hayes Medical, Inc. Bone milling instrument
WO2003094803A1 (en) 2002-05-09 2003-11-20 Hayes Medical, Inc. System for trial implantation of a femoral hip prosthesis
US20040054419A1 (en) 2002-05-09 2004-03-18 Serra Michael A. System for trial implantation of a femoral hip prosthesis
WO2003094698A3 (en) 2002-05-09 2004-06-17 Hayes Medical Inc Bone milling instrument
EP1369089A2 (en) 2002-05-23 2003-12-10 Zimmer Technology, Inc. Apparatus for reducing femoral fractures
US20040015239A1 (en) 2002-05-23 2004-01-22 Beguec Pierre Le Apparatus for the preparation of a femur bone for for the implantation of a prosthesis
EP1369089A3 (en) 2002-05-23 2004-06-16 Zimmer Technology, Inc. Apparatus for reducing femoral fractures
US6875218B2 (en) 2002-06-10 2005-04-05 Zimmer Austin, Inc. Elongated driving bit attachable to a driving instrument and method of use for minimally invasive hip surgery
US20040064186A1 (en) 2002-09-30 2004-04-01 Mccleary Larry G. Modular trial mechanism
WO2004032767A1 (en) 2002-10-11 2004-04-22 Depuy International Limited A reamer assembly
JP2006501917A (en) 2002-10-11 2006-01-19 デピュイ インターナショナル リミテッド Reamer assembly
US7641658B2 (en) 2002-11-08 2010-01-05 Warsaw Orthopedic, Inc. Transpedicular intervertebral disk access methods and devices
US7008420B2 (en) 2002-12-12 2006-03-07 Olympus Corporation High frequency surgical instrument
US6883217B2 (en) 2002-12-13 2005-04-26 Zimmer Technology, Inc. Apparatus for disassembling mating taper connections
US20040122525A1 (en) 2002-12-20 2004-06-24 Daniels David W. Modular hip stems and associated method of trialing
US20040122437A1 (en) 2002-12-20 2004-06-24 Dwyer Kimberly A. Alignment device for modular implants and method
US20040122440A1 (en) 2002-12-20 2004-06-24 Daniels David W. Instrument and associated method of trialing for modular hip stems
US20040147933A1 (en) 2003-01-29 2004-07-29 Mcgovern Michael A. Apparatus and method for preparing bone for antirotational implantation of an orthopedic endoprosthesis
US7001392B2 (en) 2003-01-29 2006-02-21 Howmedica Osteonics Corp. Apparatus and method for preparing bone for antirotational implantation of an orthopedic endoprosthesis
US7074224B2 (en) 2003-06-25 2006-07-11 Depuy Products, Inc. Modular tapered reamer for bone preparation and associated method
US20040267267A1 (en) * 2003-06-25 2004-12-30 Daniels David Wayne Non-linear reamer for bone preparation and associated method
US20040267266A1 (en) 2003-06-25 2004-12-30 Daniels David Wayne Modular tapered reamer for bone preparation and associated method
US20040267372A1 (en) 2003-06-30 2004-12-30 Vanasse Thomas M Modular trial neck segment
EP1493407A2 (en) 2003-07-03 2005-01-05 Centerpulse Orthopedics Inc. Modular hip prosthesis
US20050004679A1 (en) 2003-07-03 2005-01-06 Gary Sederholm Modular hip prosthesis
EP1493407A3 (en) 2003-07-03 2005-04-13 Centerpulse Orthopedics Inc. Modular hip prosthesis
US6905515B1 (en) 2003-12-27 2005-06-14 Zimmer Technology, Inc. Junction for a modular implant
US20050154331A1 (en) 2003-12-30 2005-07-14 Christie Michael J. Minimally invasive bone miller apparatus
EP1591084A1 (en) 2004-04-23 2005-11-02 Calamel Serge Implant glénoidien pour prothèse totale d'épaule inversée, et prothèse totale d'épaule inversée le comprenant.
US20050288676A1 (en) 2004-06-29 2005-12-29 Barry Schnieders Minimally invasive bone broach
US20060015110A1 (en) 2004-07-15 2006-01-19 Pepper John R Cutting device

Non-Patent Citations (8)

* Cited by examiner, † Cited by third party
Title
Depuy Orthopaedics, Inc., "S-ROM Modular Hip System, Minimally Invasive Calcar Miller Surgical Technique", 0612-04-503, DePuy Orthopaedics, Inc., 2004 (12 pages).
European Search Report and European Search Opinion in corresponding application EP 07253847.3, dated Jan. 28, 2008 (7 pages).
European Search Report and European Search Opinion in corresponding application EP 09168260.9, dated Jan. 13, 2010 (6 pages).
European Search Report and European Search Opinion in corresponding application EP 10170706.5, dated Sep. 21, 2010 (6 pages).
Paul, H. A., et al., "Development of a Surgical Robot for Cementless Total Hip Arthroplasty," Clinical Orthopaedics and Related Research 285, Dec. 1992, 57-66 (10 pages).
Translation of Chinese Patent Office First Office Action in corresponding Chinese patent application CN 200710170103.2, issued Apr. 26, 2010 (9 pages).
Translation of Japan Patent Office Notification of Reasons for Refusal in corresponding Japanese patent application JP 2007-254157, mailed May 15, 2012 (4 pages).
Translation of Japan Patent Office Notification of Reasons for Refusal in corresponding Japanese patent application JP 2012-180081, mailed Sep. 24, 2013 (2 pages).

Cited By (8)

* Cited by examiner, † Cited by third party
Publication number Priority date Publication date Assignee Title
US9572682B2 (en) 2011-09-29 2017-02-21 Arthromeda, Inc. System and method for precise prosthesis positioning in hip arthroplasty
US10314666B2 (en) 2011-09-29 2019-06-11 Arthromeda, Inc. System and method for precise prosthesis positioning in hip arthroplasty
US9597096B2 (en) 2013-03-15 2017-03-21 Arthromeda, Inc. Systems and methods for providing alignment in total knee arthroplasty
US9955983B2 (en) 2013-03-15 2018-05-01 Arthromeda, Inc. Systems and methods for providing alignment in total knee arthroplasty
US20180078279A1 (en) * 2016-09-20 2018-03-22 RELIGN Corporation Arthroscopic devices and methods
US10028767B2 (en) * 2016-09-20 2018-07-24 RELIGN Corporation Arthroscopic devices and methods
US10849648B2 (en) 2016-09-20 2020-12-01 RELIGN Corporation Arthroscopic devices and methods
US11576699B2 (en) 2016-09-20 2023-02-14 RELIGN Corporation Arthroscopic devices and methods

Also Published As

Publication number Publication date
CN101152101A (en) 2008-04-02
US20130226184A1 (en) 2013-08-29
US8852189B2 (en) 2014-10-07
JP5539467B2 (en) 2014-07-02
EP2241293B1 (en) 2013-06-05
JP2008086771A (en) 2008-04-17
CN105640676B (en) 2018-11-23
JP2012213661A (en) 2012-11-08
US20080161811A1 (en) 2008-07-03
ATE486548T1 (en) 2010-11-15
CN105640676A (en) 2016-06-08
US20130289567A1 (en) 2013-10-31
US8597298B2 (en) 2013-12-03
EP1905394B1 (en) 2010-11-03
EP2241293A1 (en) 2010-10-20
JP5265164B2 (en) 2013-08-14
EP1905394A1 (en) 2008-04-02
DE602007010219D1 (en) 2010-12-16
CN101152101B (en) 2016-03-23

Similar Documents

Publication Publication Date Title
US8852188B2 (en) Proximal reamer
US7074224B2 (en) Modular tapered reamer for bone preparation and associated method
US8632546B2 (en) Expandable proximal reamer
US6616697B2 (en) Hip implant assembly
EP2301481B1 (en) Expandable reverse shoulder trial
US20070050039A1 (en) Orthopaedic implant, stem and associated method
EP2168506B1 (en) Minimally invasive bone miller apparatus
US8956357B2 (en) Expandable proximal reamer
EP1396231A1 (en) Tool for preparation of a bone cavity for arthroplasty
US10603178B2 (en) Prosthetic hip system
JP7638997B2 (en) Surgical instruments and methods
US20080161812A1 (en) Calcar planar

Legal Events

Date Code Title Description
STCF Information on status: patent grant

Free format text: PATENTED CASE

MAFP Maintenance fee payment

Free format text: PAYMENT OF MAINTENANCE FEE, 4TH YEAR, LARGE ENTITY (ORIGINAL EVENT CODE: M1551)

Year of fee payment: 4

MAFP Maintenance fee payment

Free format text: PAYMENT OF MAINTENANCE FEE, 8TH YEAR, LARGE ENTITY (ORIGINAL EVENT CODE: M1552); ENTITY STATUS OF PATENT OWNER: LARGE ENTITY

Year of fee payment: 8