[go: up one dir, main page]

US8594730B2 - Secure smart card system - Google Patents

Secure smart card system Download PDF

Info

Publication number
US8594730B2
US8594730B2 US13/216,919 US201113216919A US8594730B2 US 8594730 B2 US8594730 B2 US 8594730B2 US 201113216919 A US201113216919 A US 201113216919A US 8594730 B2 US8594730 B2 US 8594730B2
Authority
US
United States
Prior art keywords
card
transaction
smart card
magnetic stripe
data
Prior art date
Legal status (The legal status is an assumption and is not a legal conclusion. Google has not performed a legal analysis and makes no representation as to the accuracy of the status listed.)
Active, expires
Application number
US13/216,919
Other versions
US20120052800A1 (en
Inventor
John Kenneth Bona
Mark Allan Cox
Current Assignee (The listed assignees may be inaccurate. Google has not performed a legal analysis and makes no representation or warranty as to the accuracy of the list.)
X Card Holdings LLC
Original Assignee
X Card Holdings LLC
Priority date (The priority date is an assumption and is not a legal conclusion. Google has not performed a legal analysis and makes no representation as to the accuracy of the date listed.)
Filing date
Publication date
Application filed by X Card Holdings LLC filed Critical X Card Holdings LLC
Priority to US13/216,919 priority Critical patent/US8594730B2/en
Publication of US20120052800A1 publication Critical patent/US20120052800A1/en
Priority to US14/063,722 priority patent/US9129280B2/en
Application granted granted Critical
Publication of US8594730B2 publication Critical patent/US8594730B2/en
Active legal-status Critical Current
Adjusted expiration legal-status Critical

Links

Images

Classifications

    • GPHYSICS
    • G06COMPUTING OR CALCULATING; COUNTING
    • G06QINFORMATION AND COMMUNICATION TECHNOLOGY [ICT] SPECIALLY ADAPTED FOR ADMINISTRATIVE, COMMERCIAL, FINANCIAL, MANAGERIAL OR SUPERVISORY PURPOSES; SYSTEMS OR METHODS SPECIALLY ADAPTED FOR ADMINISTRATIVE, COMMERCIAL, FINANCIAL, MANAGERIAL OR SUPERVISORY PURPOSES, NOT OTHERWISE PROVIDED FOR
    • G06Q20/00Payment architectures, schemes or protocols
    • G06Q20/30Payment architectures, schemes or protocols characterised by the use of specific devices or networks
    • G06Q20/34Payment architectures, schemes or protocols characterised by the use of specific devices or networks using cards, e.g. integrated circuit [IC] cards or magnetic cards
    • GPHYSICS
    • G06COMPUTING OR CALCULATING; COUNTING
    • G06KGRAPHICAL DATA READING; PRESENTATION OF DATA; RECORD CARRIERS; HANDLING RECORD CARRIERS
    • G06K19/00Record carriers for use with machines and with at least a part designed to carry digital markings
    • G06K19/06Record carriers for use with machines and with at least a part designed to carry digital markings characterised by the kind of the digital marking, e.g. shape, nature, code
    • G06K19/06187Record carriers for use with machines and with at least a part designed to carry digital markings characterised by the kind of the digital marking, e.g. shape, nature, code with magnetically detectable marking
    • GPHYSICS
    • G06COMPUTING OR CALCULATING; COUNTING
    • G06KGRAPHICAL DATA READING; PRESENTATION OF DATA; RECORD CARRIERS; HANDLING RECORD CARRIERS
    • G06K19/00Record carriers for use with machines and with at least a part designed to carry digital markings
    • G06K19/06Record carriers for use with machines and with at least a part designed to carry digital markings characterised by the kind of the digital marking, e.g. shape, nature, code
    • G06K19/06187Record carriers for use with machines and with at least a part designed to carry digital markings characterised by the kind of the digital marking, e.g. shape, nature, code with magnetically detectable marking
    • G06K19/06196Constructional details
    • GPHYSICS
    • G06COMPUTING OR CALCULATING; COUNTING
    • G06KGRAPHICAL DATA READING; PRESENTATION OF DATA; RECORD CARRIERS; HANDLING RECORD CARRIERS
    • G06K19/00Record carriers for use with machines and with at least a part designed to carry digital markings
    • G06K19/06Record carriers for use with machines and with at least a part designed to carry digital markings characterised by the kind of the digital marking, e.g. shape, nature, code
    • G06K19/067Record carriers with conductive marks, printed circuits or semiconductor circuit elements, e.g. credit or identity cards also with resonating or responding marks without active components
    • G06K19/07Record carriers with conductive marks, printed circuits or semiconductor circuit elements, e.g. credit or identity cards also with resonating or responding marks without active components with integrated circuit chips
    • GPHYSICS
    • G06COMPUTING OR CALCULATING; COUNTING
    • G06KGRAPHICAL DATA READING; PRESENTATION OF DATA; RECORD CARRIERS; HANDLING RECORD CARRIERS
    • G06K19/00Record carriers for use with machines and with at least a part designed to carry digital markings
    • G06K19/06Record carriers for use with machines and with at least a part designed to carry digital markings characterised by the kind of the digital marking, e.g. shape, nature, code
    • G06K19/067Record carriers with conductive marks, printed circuits or semiconductor circuit elements, e.g. credit or identity cards also with resonating or responding marks without active components
    • G06K19/07Record carriers with conductive marks, printed circuits or semiconductor circuit elements, e.g. credit or identity cards also with resonating or responding marks without active components with integrated circuit chips
    • G06K19/0701Record carriers with conductive marks, printed circuits or semiconductor circuit elements, e.g. credit or identity cards also with resonating or responding marks without active components with integrated circuit chips at least one of the integrated circuit chips comprising an arrangement for power management
    • G06K19/0702Record carriers with conductive marks, printed circuits or semiconductor circuit elements, e.g. credit or identity cards also with resonating or responding marks without active components with integrated circuit chips at least one of the integrated circuit chips comprising an arrangement for power management the arrangement including a battery
    • GPHYSICS
    • G06COMPUTING OR CALCULATING; COUNTING
    • G06KGRAPHICAL DATA READING; PRESENTATION OF DATA; RECORD CARRIERS; HANDLING RECORD CARRIERS
    • G06K19/00Record carriers for use with machines and with at least a part designed to carry digital markings
    • G06K19/06Record carriers for use with machines and with at least a part designed to carry digital markings characterised by the kind of the digital marking, e.g. shape, nature, code
    • G06K19/067Record carriers with conductive marks, printed circuits or semiconductor circuit elements, e.g. credit or identity cards also with resonating or responding marks without active components
    • G06K19/07Record carriers with conductive marks, printed circuits or semiconductor circuit elements, e.g. credit or identity cards also with resonating or responding marks without active components with integrated circuit chips
    • G06K19/0716Record carriers with conductive marks, printed circuits or semiconductor circuit elements, e.g. credit or identity cards also with resonating or responding marks without active components with integrated circuit chips at least one of the integrated circuit chips comprising a sensor or an interface to a sensor
    • G06K19/0718Record carriers with conductive marks, printed circuits or semiconductor circuit elements, e.g. credit or identity cards also with resonating or responding marks without active components with integrated circuit chips at least one of the integrated circuit chips comprising a sensor or an interface to a sensor the sensor being of the biometric kind, e.g. fingerprint sensors
    • GPHYSICS
    • G06COMPUTING OR CALCULATING; COUNTING
    • G06KGRAPHICAL DATA READING; PRESENTATION OF DATA; RECORD CARRIERS; HANDLING RECORD CARRIERS
    • G06K19/00Record carriers for use with machines and with at least a part designed to carry digital markings
    • G06K19/06Record carriers for use with machines and with at least a part designed to carry digital markings characterised by the kind of the digital marking, e.g. shape, nature, code
    • G06K19/067Record carriers with conductive marks, printed circuits or semiconductor circuit elements, e.g. credit or identity cards also with resonating or responding marks without active components
    • G06K19/07Record carriers with conductive marks, printed circuits or semiconductor circuit elements, e.g. credit or identity cards also with resonating or responding marks without active components with integrated circuit chips
    • G06K19/0719Record carriers with conductive marks, printed circuits or semiconductor circuit elements, e.g. credit or identity cards also with resonating or responding marks without active components with integrated circuit chips at least one of the integrated circuit chips comprising an arrangement for application selection, e.g. an acceleration sensor or a set of radio buttons
    • GPHYSICS
    • G06COMPUTING OR CALCULATING; COUNTING
    • G06KGRAPHICAL DATA READING; PRESENTATION OF DATA; RECORD CARRIERS; HANDLING RECORD CARRIERS
    • G06K19/00Record carriers for use with machines and with at least a part designed to carry digital markings
    • G06K19/06Record carriers for use with machines and with at least a part designed to carry digital markings characterised by the kind of the digital marking, e.g. shape, nature, code
    • G06K19/067Record carriers with conductive marks, printed circuits or semiconductor circuit elements, e.g. credit or identity cards also with resonating or responding marks without active components
    • G06K19/07Record carriers with conductive marks, printed circuits or semiconductor circuit elements, e.g. credit or identity cards also with resonating or responding marks without active components with integrated circuit chips
    • G06K19/0723Record carriers with conductive marks, printed circuits or semiconductor circuit elements, e.g. credit or identity cards also with resonating or responding marks without active components with integrated circuit chips the record carrier comprising an arrangement for non-contact communication, e.g. wireless communication circuits on transponder cards, non-contact smart cards or RFIDs
    • GPHYSICS
    • G06COMPUTING OR CALCULATING; COUNTING
    • G06KGRAPHICAL DATA READING; PRESENTATION OF DATA; RECORD CARRIERS; HANDLING RECORD CARRIERS
    • G06K19/00Record carriers for use with machines and with at least a part designed to carry digital markings
    • G06K19/06Record carriers for use with machines and with at least a part designed to carry digital markings characterised by the kind of the digital marking, e.g. shape, nature, code
    • G06K19/067Record carriers with conductive marks, printed circuits or semiconductor circuit elements, e.g. credit or identity cards also with resonating or responding marks without active components
    • G06K19/07Record carriers with conductive marks, printed circuits or semiconductor circuit elements, e.g. credit or identity cards also with resonating or responding marks without active components with integrated circuit chips
    • G06K19/077Constructional details, e.g. mounting of circuits in the carrier
    • G06K19/07701Constructional details, e.g. mounting of circuits in the carrier the record carrier comprising an interface suitable for human interaction
    • G06K19/07703Constructional details, e.g. mounting of circuits in the carrier the record carrier comprising an interface suitable for human interaction the interface being visual
    • GPHYSICS
    • G06COMPUTING OR CALCULATING; COUNTING
    • G06QINFORMATION AND COMMUNICATION TECHNOLOGY [ICT] SPECIALLY ADAPTED FOR ADMINISTRATIVE, COMMERCIAL, FINANCIAL, MANAGERIAL OR SUPERVISORY PURPOSES; SYSTEMS OR METHODS SPECIALLY ADAPTED FOR ADMINISTRATIVE, COMMERCIAL, FINANCIAL, MANAGERIAL OR SUPERVISORY PURPOSES, NOT OTHERWISE PROVIDED FOR
    • G06Q20/00Payment architectures, schemes or protocols
    • G06Q20/30Payment architectures, schemes or protocols characterised by the use of specific devices or networks
    • G06Q20/32Payment architectures, schemes or protocols characterised by the use of specific devices or networks using wireless devices
    • G06Q20/322Aspects of commerce using mobile devices [M-devices]
    • GPHYSICS
    • G06COMPUTING OR CALCULATING; COUNTING
    • G06QINFORMATION AND COMMUNICATION TECHNOLOGY [ICT] SPECIALLY ADAPTED FOR ADMINISTRATIVE, COMMERCIAL, FINANCIAL, MANAGERIAL OR SUPERVISORY PURPOSES; SYSTEMS OR METHODS SPECIALLY ADAPTED FOR ADMINISTRATIVE, COMMERCIAL, FINANCIAL, MANAGERIAL OR SUPERVISORY PURPOSES, NOT OTHERWISE PROVIDED FOR
    • G06Q20/00Payment architectures, schemes or protocols
    • G06Q20/30Payment architectures, schemes or protocols characterised by the use of specific devices or networks
    • G06Q20/34Payment architectures, schemes or protocols characterised by the use of specific devices or networks using cards, e.g. integrated circuit [IC] cards or magnetic cards
    • G06Q20/341Active cards, i.e. cards including their own processing means, e.g. including an IC or chip
    • GPHYSICS
    • G06COMPUTING OR CALCULATING; COUNTING
    • G06QINFORMATION AND COMMUNICATION TECHNOLOGY [ICT] SPECIALLY ADAPTED FOR ADMINISTRATIVE, COMMERCIAL, FINANCIAL, MANAGERIAL OR SUPERVISORY PURPOSES; SYSTEMS OR METHODS SPECIALLY ADAPTED FOR ADMINISTRATIVE, COMMERCIAL, FINANCIAL, MANAGERIAL OR SUPERVISORY PURPOSES, NOT OTHERWISE PROVIDED FOR
    • G06Q20/00Payment architectures, schemes or protocols
    • G06Q20/30Payment architectures, schemes or protocols characterised by the use of specific devices or networks
    • G06Q20/34Payment architectures, schemes or protocols characterised by the use of specific devices or networks using cards, e.g. integrated circuit [IC] cards or magnetic cards
    • G06Q20/352Contactless payments by cards
    • GPHYSICS
    • G06COMPUTING OR CALCULATING; COUNTING
    • G06QINFORMATION AND COMMUNICATION TECHNOLOGY [ICT] SPECIALLY ADAPTED FOR ADMINISTRATIVE, COMMERCIAL, FINANCIAL, MANAGERIAL OR SUPERVISORY PURPOSES; SYSTEMS OR METHODS SPECIALLY ADAPTED FOR ADMINISTRATIVE, COMMERCIAL, FINANCIAL, MANAGERIAL OR SUPERVISORY PURPOSES, NOT OTHERWISE PROVIDED FOR
    • G06Q20/00Payment architectures, schemes or protocols
    • G06Q20/30Payment architectures, schemes or protocols characterised by the use of specific devices or networks
    • G06Q20/34Payment architectures, schemes or protocols characterised by the use of specific devices or networks using cards, e.g. integrated circuit [IC] cards or magnetic cards
    • G06Q20/357Cards having a plurality of specified features
    • G06Q20/3574Multiple applications on card
    • GPHYSICS
    • G06COMPUTING OR CALCULATING; COUNTING
    • G06QINFORMATION AND COMMUNICATION TECHNOLOGY [ICT] SPECIALLY ADAPTED FOR ADMINISTRATIVE, COMMERCIAL, FINANCIAL, MANAGERIAL OR SUPERVISORY PURPOSES; SYSTEMS OR METHODS SPECIALLY ADAPTED FOR ADMINISTRATIVE, COMMERCIAL, FINANCIAL, MANAGERIAL OR SUPERVISORY PURPOSES, NOT OTHERWISE PROVIDED FOR
    • G06Q20/00Payment architectures, schemes or protocols
    • G06Q20/38Payment protocols; Details thereof
    • G06Q20/40Authorisation, e.g. identification of payer or payee, verification of customer or shop credentials; Review and approval of payers, e.g. check credit lines or negative lists
    • G06Q20/401Transaction verification
    • G06Q20/4018Transaction verification using the card verification value [CVV] associated with the card
    • GPHYSICS
    • G07CHECKING-DEVICES
    • G07FCOIN-FREED OR LIKE APPARATUS
    • G07F7/00Mechanisms actuated by objects other than coins to free or to actuate vending, hiring, coin or paper currency dispensing or refunding apparatus
    • G07F7/08Mechanisms actuated by objects other than coins to free or to actuate vending, hiring, coin or paper currency dispensing or refunding apparatus by coded identity card or credit card or other personal identification means
    • G07F7/0806Details of the card
    • G07F7/0846On-card display means

Definitions

  • the present invention relates to transaction cards, and more particularly to smart cards and to transaction cards having magnetic stripe emulators.
  • Plastic card fraud has become a significant issue not only in the United States but also worldwide. Fraud levels can be measured in the tens of billions of dollars each year or higher when the various stakeholders that are involved in the losses associated with fraudulent transactions measure their total costs.
  • a merchant loses not only the revenue and profit related to a sale, but the product itself, and possibly higher transaction fees when fraud occurs frequently in its business.
  • a merchant must also incur the costs associated with investigating certain types of fraudulent transactions.
  • Credit card associations like the VISA® and MASTERCARD® associations cover some costs associated with fraud but the credit card issuers incur significantly more costs, including costs associated with refunding the amounts charged to a card holder account, investigating possible fraudulent transactions and issuing new plastic cards if a significant breach of security has been identified. When the total costs of fraud are measured among all the parties involved in financial transactions, the losses are staggering.
  • Plastic card fraud has also opened up a market for all sorts of fraud detection and educational services. Neural network software to detect and hopefully prevent a fraudulent transaction from occurring costs card issuers and their processors millions of dollars to operate. Educational seminars to teach card issuers, merchants, and card holders on how to better safeguard the information that can be used to commit identity theft and plastic card fraud also cost card issuers millions of dollars.
  • Existing security standards like the Payment Card Industry (PCI) Data Security Standard, while being excellent network and system security practices also require merchants to take extra measures to safeguard the information they possess and these measures cost merchants millions of dollars to implement.
  • PCI Payment Card Industry
  • An entire industry has been created to protect the static data used in today's plastic card transactions. All told, billions are spent and still fraud levels continue to increase. These increases are due not only to defective security; rather, plastic card programs continue to utilize static data that, if obtained, can be used to commit plastic card fraud.
  • the card When a customer wishes to pay for goods using this system, the card is placed into a “PIN pad” terminal (often by the customer themselves) or a modified swipe-card reader, which accesses the chip on the card. Once the card has been verified as authentic, the customer enters a 4-digit PIN, which is checked against the PIN stored on the card; if the two match, the transaction completes.
  • a smart card usable in magnetic stripe swipe transactions with a transaction terminal configured to read transaction information encoded on a magnetic stripe of a standard transaction card includes a card body, which includes a magnetic stripe emulator for use with the transaction terminal, a smart card chip programmed with at least one transaction application for providing secured data for use in a transaction and dynamic card verification data, a power supply, and a card controller in communication with the magnetic stripe emulator.
  • the card controller is configured to receive the dynamic card verification data and control the magnetic stripe emulator to emit a magnetic field encoded with at least a portion of the secured data and the dynamic card verification data.
  • FIG. 1 is a block diagram of a smart card application management system
  • FIGS. 2A and 2B illustrate a smart card according to one embodiment of the present invention
  • FIGS. 3A and 3B illustrate a smart card activation unit for use with the smart card of FIGS. 2A and 2B according to an embodiment of the present invention
  • FIGS. 4A and 4B illustrate an alternative embodiment of the smart card of FIGS. 2A and 2B ;
  • FIGS. 5A and 5B illustrate an alternative embodiment of a smart card activation unit for use with the smart card of FIGS. 4A and 4B ;
  • FIG. 6 is a flow diagram illustrating a method of enrolling biometric information on a smart card
  • FIG. 7 is a flow diagram illustrating a method of authenticating a user using biometrics
  • FIG. 8 is a flow diagram illustrating a method of selecting and activating a transaction application on a smart card
  • FIG. 9 illustrates a data format for Track 1 and Track 2 for a credit transaction
  • FIG. 10 is a block diagram of controller of the activation unit of FIGS. 3A and 3B ;
  • FIG. 11 is a block diagram of the controller of smart card of FIGS. 2A and 2B ;
  • FIG. 12 illustrates an embodiment of the present invention utilizing a cell phone/companion card combination for performing magnetic stripe transactions
  • FIGS. 13A and 13B illustrate an embodiment of a NFC enabled companion card for use in the combination of FIG. 12 ;
  • FIG. 14 is a block diagram of the controller of the NFC enabled companion card of FIGS. 13A and 13B ;
  • FIG. 15 is a block diagram of the processing components of the cell phone illustrated in FIG. 12 ;
  • FIG. 16 illustrates a transaction system using the companion card of FIGS. 13A and 13B ;
  • FIG. 17 is a flow diagram illustrating the use of the companion card and cell phone of FIG. 12 in a transaction
  • FIG. 18 illustrates a system for programming the cell phone of FIG. 12 ;
  • FIG. 19 illustrates an embodiment of the cell phone illustrated in FIG. 12 .
  • the device modules described herein are preferably implemented in software as an application program that is executable by any suitable microprocessor architecture.
  • the microprocessor architecture includes hardware such as one or more central processing units (CPU), a random access memory (RAM), and input/output (I/O) interface(s), as well as an operating system and microinstruction code.
  • CPU central processing units
  • RAM random access memory
  • I/O input/output
  • the various processes and functions described herein may be either part of the microinstruction code or application programs which are executed via the operating system.
  • a smart card that can support all point of sale (POS) readers, i.e., contact smart card readers, contactless smart card readers and magnetic stripe readers, and deliver dynamic data content through not only the smart card readers but also the magnetic stripe point of sale devices.
  • POS point of sale
  • Existing smart card specifications for contactless and contact transactions call for the smart card chip to generate some dynamic data for inclusion in the transaction.
  • Visa Inc.'s MSD contactless smart card specifications includes a code designated Dynamic Card Verification Value (dCVV) for each transaction.
  • MasterCard Inc.'s PAYPASS® Magstripes smart card specification has a similar code designated the CVC3.
  • dCVV Dynamic Card Verification Value
  • CVC3 Code designated the Code designated the CVC3.
  • necessary information for performing secure card not present transactions can be displayed on the smart card display.
  • This information can include the dCVV or CVC3 codes discussed above that are generated by the smart card for use in card present transactions, or other dynamic information, such as a one-time-password (OTP).
  • OTP one-time-password
  • Companies and organizations such as QSecure of Los Altos, Calif., InCard Technologies of Los Angeles, Calif., RSA Division of EMC Corporation of Bedford, Mass., and OATH (Open AuTHentication) initiative and others have proposed various OTP schemes for inserting a dynamic code into the payment process.
  • OTP Open AuTHentication
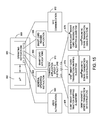
  • FIG. 1 is a block diagram of a system 100 for managing applications on a smart card.
  • the system 100 includes a smart card 200 , a smart card activation unit 300 , which communicates with smart card 200 , and a personal computer (or other processor) 125 , which is communicatively coupled through a network (such as Internet 150 ) to Smart Card Management System (SCMS) 175 and locally communicatively coupled to the smart card activation unit 300 .
  • SCMS Smart Card Management System
  • a user can manage transaction applications stored on a smart card chip or processor within smart card 200 . More specifically, standards exist for managing applications on smart cards.
  • GlobalPlatform Card, Device and Systems standards promulgated by GlobalPlatform, which is an independent, not-for-profit organization concerned with a standardized infrastructure for development, deployment and management of smart cards.
  • GlobalStandards was founded in 1999 to take responsibility for Visa Inc.'s Open Platform specification, which is one of a number of competing smart card standards including GSM, EMV and OCF.
  • the GlobalPlatform Card Specification is a secure, dynamic card and application management specification that defines card components, command sets, transaction sequences and interfaces that are hardware-neutral, operating system neutral, vendor-neutral and application independent. The specifications are applicable to any type of application and industry, allowing any combination of applications from any industry on a single card—from mono-application to multi-application.
  • the GlobalPlatform Card Security Requirements Specification provides guidance for selecting card configurations most appropriate to the security policies set up by the card issuer and application providers. Card vendors are also provided with guidance to implement security functions in a consistent manner. Most of the secure elements used in the Near Field Communication (NFC) context rely on GlobalPlatform card specification.
  • NFC Near Field Communication
  • GlobalPlatform also provides a number of specifications for device programming, with different profiles for different industries. The profiles are organized around a common core framework technology and share most of their detailed API's. There are a number of GlobalPlatform specifications relating to the system's infrastructure, developed to standardize back-end systems from personalization to security, key management and application loading.
  • the GlobalPlatform Profile Specification standardizes the interface between the data preparation system and the personalization device utilizing a simple, cost effective, interoperable machine-independent mechanism.
  • Key Management Systems Functional Requirements Specification standardizes the description, or key profile, and procedures around key management, providing an opportunity to deliver centralized key management across separate systems. Communication between various components of the system's infrastructure is standardized via the GlobalPlatform Messaging Specification, which defines all the roles and responsibilities of the actors, or systems, for a multi application smart card infrastructure.
  • the smart card 200 is shown docked (or otherwise interfaced) with the smart card activation unit 300 , which, as described in more detail below, preferably takes the form of a sleeve with a slot for receiving the smart card 200 .
  • the SCMS system 175 is a server based application that manages all information necessary to create a Load File.
  • This Load File is the program code and data that are used to install applications on a GlobalPlatform compliant smart card like the Card 200 .
  • the user establishes a session to the SCMS System 175 over the Internet 150 and downloads the Load File to the smart card through the connection between the PC 125 and smart card activation unit 300 .
  • the smart card activation unit 300 acts as a PC/SC (Personal Computer/Smart Card) compliant device and delivers the Load File to the GlobalPlatform compliant Card Manager running in the Smart Card Chip operating system (e.g. Java Card, Multos, etc.).
  • the Card Manager handles the steps involved in installing the application. All the steps involved in this process are defined by the GlobalPlatform System, Device, and Card standards.
  • the PC/SC specification was developed to facilitate the interoperability necessary to allow Integrated Circuit Card (ICC) technology, also known as smart cards, to be effectively utilized in the PC environment.
  • ICC Integrated Circuit Card
  • the PC/SC specification is based on the ISO 7816 standard, and its formal name is “Interoperability Specification for ICCs and Personal Computer Systems.”
  • SCMS system in managing smart card applications is familiar to artisans in the relevant art. Briefly, the user gains access to the SCMS system 175 either through their web banking software or directly by using username/password credentials.
  • the SCMS system presents the user with a list of applications already installed on the user's smart card and a list of applications available for downloading to the smart card. This process is called Post Issuance Provisioning and provides the ability to add or change applications on a smart card after it has been issued to the card holder.
  • the user can select to download a VISA® Credit Card application issued by their financial institution and the SCMS would use other related information to generate the load file, manage a secure communications channel with the smart card and download the load file to the smart card.
  • the SCMS tracks all information about the smart card, e.g., chip identifier, OS, keys, issuer, card holder information and what changes have occurred to the applications on the card.
  • the Global Platform System standard dictates the necessary functionality that is supported by a SCMS system.
  • the smart card activation unit 300 besides its use in managing applications on the smart card 200 , such as its use in authenticating that a valid user is performing a transaction and its use in selecting an application (credit, debit, loyalty, access control, etc.) for use in a transaction, are described below, along with additional details regarding the smart card 200 .
  • FIG. 2A is a front view of the smart card 200 , more specifically the smart card body 202
  • FIG. 2B is a schematic illustration of the internal and rear side components of the smart card 200 and smart card body 202 .
  • the smart card body 202 takes the shape of a standard plastic magnetic stripe card, as governed by applicable standards.
  • the card 200 may include the logo 208 of the card issuer or other source indicia.
  • the card 200 includes a display 204 , such as a LCD display.
  • the display 204 can take the form of electronic paper, also called e-paper or electronic ink display. This display technology is designed to mimic the appearance of ordinary ink on paper.
  • Smart card contact pad 206 is provided on a surface of the card for contact-based communications between an embedded smart card chip and a smart card reader. Smart card contact pad 206 is used to perform transactions on devices supporting the ISO/IEC 7816 standards. In Europe and in Canada this would include the Chip & Pin devices used to perform payment transactions. Contact smart cards are also common in physical access control systems.
  • the card 200 includes an internal power source 212 , such as a battery, for providing power to the various operable components of the smart card 200 .
  • a battery for providing power to the various operable components of the smart card 200 .
  • the internal power source 212 is a thin film battery, such as the FLEXIONTM ultra-thin, flexible lithium polymer battery available from Solicore, Inc. or a lithium thin-film battery available from Varta Microbattery GmbH.
  • a solar panel (not shown) may be provided. Solar cells are connected to a charger and can be used to extend the life of the card beyond that of a conventional battery and/or to recharge the battery.
  • the card 200 includes a conventional smart card chip/processor 218 which communicates with an appropriately configured external smart card reader by way of the smart card contact pad 206 or wirelessly by way of integrated antenna 220 (i.e., contactless communication).
  • the smart card 200 also includes a smart card controller 216 (i.e., ASIC processor) in communication with an I/O port 210 , for communicating with an external source such as the card activation unit 300 (as described in more detail below) and a magnetic stripe emulator 214 .
  • a smart card controller 216 i.e., ASIC processor
  • I/O port 210 for communicating with an external source such as the card activation unit 300 (as described in more detail below)
  • a magnetic stripe emulator 214 Various designs for magnetic stripe emulators are known in the art, some of which are described in, for example, U.S. Pat. No. 4,701,601 to Francini et al., entitled “Transaction Card with Magnetic Stripe Emulator”, and U.S. Published Application Nos.
  • a typical magnetic stripe emulator will include a transducer coil for each magnetic strip track and including a number of coil windings wound around a strip of electromagnetically inducible core material. Each transducer coil is individually inducible by a driver circuit. Instead of an electromagnetic coil, the transducer can be formed from an integrated thin film head. The number of transducer coils may be chosen to three in order to induce secured data signals corresponding to conventional magnetic strip information, which lies in magnetic strips in three tracks, but may as an alternative be provided in numbers ranging from one to more than three. For most applications, data is only to be generated in two transducer coils as shown for emulator 214 , corresponding to the first and second tracks of a conventional magnetic strip.
  • the data is permanently magnetically presented to a credit card reader using a so-called F2F-format, or two frequency format, in which a “0” bit is formed by a magnet part of a predetermined length in the magnetic strip, and a “1” bit is two longitudinally, magnetically oppositely directed magnet parts, having a combined length equal to the length of the “0” bit magnet part.
  • the transducer coils of the emulator 214 preferably emit and present data signals in the F2F-format to a reader, such as a credit card reader, which is to read information from the card 200 with a reader head.
  • the transducers generate varying magnetic fields that extend beyond the carrier.
  • the transducer coil preferably produce a homogenous and relatively strong magnetic field encoded with the desired data in order for it to be readable by a credit card reader.
  • the nature of this magnetic field is heavily influenced by the transducer coil construction, such as choice of core material and core construction of the cores strips, number and position of the core windings upon the core strips.
  • the design of the emulator 214 based on these factors is within the skill of the artisan in this field. Variations in the signals to a transducer coil generates a variable magnetic field along the strip that is identical to the magnetic field that a reader head is influenced by when a conventional magnetic strip credit card holding the same secured data is passed through the same reader.
  • the material of the core strip is an electromagnetically inducible material, such as metal, preferably electromagnetic lamination, sheet iron or other sheet metal, either provided as a single or double foil on one or each side of the card body, advantageously having a width and a position corresponding to a conventional magnetic track in order to have a similar magnetic and physical appearance.
  • the choice of core material of the core strips strongly influences the strength and distribution of the magnetic field produced and allows for an enhancement of the magnetic field being produced, resulting in the need for lower current in the core windings, which reduces the power consumption of the card.
  • the transducer strips of the magnetic stripe emulator 214 are positioned on card 200 in a manner such that alignment with the read sensor of existing reader terminals is facilitated.
  • Current specifications call for the magnetic stripe to be located 0.223 inches (5.66 mm) from the edge of the card, and to be 0.375 inches (9.52 mm) wide. Each track is 0.110 inches (2.79 mm) wide.
  • the card controller 216 controls all aspects of the functionality of the card 200 that are not provided by the conventional smart card chip 218 .
  • the card controller is preferably a separate processor from the smart card chip, thereby enabling the use of the already standardized smart card chip 218 . While it is contemplated that in alternative embodiments the functions of the card controller 216 and smart card chip 218 could be merged, such a merged approach not preferred as it is more difficult to implement and would likely face difficulties in meeting EMV certification standards for the device. Further, it should be understood that although card controller 216 is shown as a single processor, its functions or operations could be distributed amongst two or more processors, controllers, drivers, chips or other devices (collectively referred to herein as “controller”).
  • the card controller 216 serves as a driver for managing the display 204 .
  • This functionality can be built into a central processor or provided in the form of a separate driver chip.
  • the card controller 216 can have built in wireless capabilities for interfacing with antenna 220 to communicate with card activation unit 300 , or include a separate wireless communications chip (shown as activation unit interface 210 ) for exchanging information with the unit 300 .
  • activation unit interface 210 is a wireless RS485 chip for implementing wireless communications with the activation unit 300 .
  • the interface 210 could be a wired communications interface, such as a RS232 chip.
  • the contact pad 206 , antenna 220 , and the smart card chip 218 as the means for communicating with the activation unit 300 , this approach would also require that the smart card operating system (OS) be modified to identify these non-standard communications and intercept and redirect the communications to the card controller 216 . This approach would likely be in violation of the EMV standards and thus prevent the device from being certified for use.
  • OS operating system
  • Using a separate interface 210 for performing communications between the activation unit 300 and the smart card controller 216 leaves the smart card chip 218 , smart card contact pad 206 and antenna 220 as a stand-alone system, allowing the smart card 200 to pass EMV certification testing.
  • the card 200 can includes a peripheral communications controller (e.g., SPI bus) for passing information between various components.
  • the card controller 216 controls the magnetic stripe emulator 214 for transmitting secure transaction data during a transaction, e.g., a credit card swipe transaction.
  • this data includes not only standard secured data, such as the static transaction data called for by governing specifications (e.g., account holder name, account number, etc.) but also dynamic information. Using this dynamic information in authorizing transactions prevents fraudulent transactions since the static information alone cannot be used to perform a transaction.
  • the smart card chip 218 is a dual interface smart card (contact and contactless) found in many of the multi-application smart cards available in the market today.
  • standards and standard bodies e.g., ISO/IEC 7816, ISO/IEC 14443, GlobalPlatform (described above) to name a few
  • these standards provide for secure communications and access to installed applications and data stored in secure memory.
  • the smart card activation unit 300 communicates with the smart card chip 218 to allow a user to select an active application, queries the application for any necessary information for performing a transaction, and pass some of this information back to the card, specifically the card controller 216 for use in the magnetic stripe emulator 214 and/or display on the card display 204 .
  • the smart card activation unit 300 is also used during transactions to authenticate that a valid user is performing the transaction and to select what type of card application (e.g., credit, debit, loyalty, access control, etc.) is going to be used in the transaction. These uses are described below but first various features of the smart card activation unit 300 are described in connection with FIGS. 3A and 3B .
  • FIG. 3A is a front external view of the smart card activation unit 300 .
  • the activation unit 300 includes a biometric sensor 312 , which is preferably a fingerprint reader, and a user interface.
  • the user interface includes an input means 304 (e.g., keypad), including various input buttons or toggles, such as “scroll” button 306 , “ok” button 308 and “on/off” button 310 , and a display 302 , such as a LCD display.
  • the on/off button 310 is used to turn the activation unit 300 on and off
  • the scroll button 306 is used to scroll through a list of applications stored on the smart card chip 218 of the smart card 200 and displayed on display 302 .
  • a list of names e.g., “VISA”, “MASTERCARD”, etc.
  • the user uses the button 308 to select an active application from the displayed list of applications.
  • FIG. 3B illustrates the internal components of the activation unit 300 .
  • the activation unit includes an activation unit controller 320 that controls and interfaces with the other active components of the activation unit 300 .
  • the activation unit includes a smart card interface 322 for contact interfacing with the smart card chip 218 of the smart card 200 .
  • the smart card interface is a contact based solution (ISO/IEC 7816) and communicates with the smart card chip 218 through smart card contact 206 on the face of the smart card 200 .
  • the smart card contact pad 206 has eight contact areas to support the communications: c1 is assigned to the supply voltage; c2 is assigned to a reset signal; c3 is assigned to a clock signal; c4 is not used; c5 is assigned to ground; c6 is not used; c7 is for I/O; and c8 is not used.
  • the interface 322 corresponds to these electrical contacts, i.e., provides a physical connection to the pad 206 when the smart card and activation unit 300 are connected.
  • the sleeve controller 320 can also use the contactless standard to communicate with the dual interface smart card chip 218 through the antenna 324 . Contactless communication with the smart card chip 218 can be accomplished with either NFC or Standard ISO/IEC 14443 components.
  • the activation unit also includes smart card controller interface 318 for wired (e.g., RS232) or wireless (RS485) wireless communications with the interface 210 of the smart card 200 .
  • smart card controller interface 318 for wired (e.g., RS232) or wireless (RS485) wireless communications with the interface 210 of the smart card 200 .
  • the activation unit 300 includes an internal power source represented as battery power source 314 .
  • the battery power source 314 can be a standard rechargeable lithium polymer battery commonly used in cell phones, PDA devices, hand held games and the like.
  • An alternate or additional power source for the activation unit 300 is USB PC connection 316 .
  • This PC Connection 316 serves as the means by which PC and Internet based software download content and applications to the card 200 as described above in connection with FIG. 1 .
  • PC/SC is the standard for connection and interaction with a smart card acceptance device like activation unit 300 .
  • the activation unit 300 can both read and write content to the smart card 200 using established standards like PC/SC and GlobalPlatform Card and Device standards.
  • the biometric sensor 312 is used to authenticate the user to the smart card 100 .
  • this authentication process is accomplished by a smart card application resident at smart card chip 218 referred to as “Match on Card.”
  • the biometric sensor 312 captures a live image of a presented user's fingerprint. The live image is processed by software running on the controller 320 or by a separate processor (not shown) to generate a template from this image data.
  • the sleeve controller communicates with the biometric sensor and transmits the template file through either smart card interface 322 or antenna 324 to the smart card chip 218 , specifically to the Match on Card application running on the smart card chip 218 .
  • the Match on Card application compares this received live template file with one or more templates that have been previously stored in the smart card chip 218 (or associated memory). The result of the comparison is either a success or failure result. A Success results will allow the user to proceed, and a Failure result will stop any future use of the activation unit until a Success result is achieved. If the user cannot complete this authentication step, the user cannot use the smart card 100 for any transactions. That is, the smart card 200 is not unlocked.
  • the smart card application that is selected by the user for use is unlocked until the card is placed back into the sleeve.
  • the sleeve senses the presence of the card it will perform the necessary functions to lock all resident applications.
  • the magnetic stripe 214 of the smart card is in active (transmit) mode until either the completion of a swipe or a timeout has occurred, or when the card is placed back into the sleeve.
  • the timeout length is preferably user definable.
  • the authentication means is shown as a biometric system, other authentication systems may be used.
  • a secure PIN or password can be stored on the smart card chip 218 .
  • the user inputs the PIN or password rather than present a finger to be authenticated.
  • the activation unit 300 is shown as a stand-alone device, the activation unit 300 and its functionality can be incorporated into other devices, such as a personal digital assistant or other portable devices such as a cell phone. To the extent this device has Internet capabilities, the device could provide both the activation unit and computer aspects of the system of FIG. 1 .
  • the sleeve controller 320 uses a card Interface 318 to communicate any necessary information to the smart card for display on the card display 204 and for transmission through the magnetic stripe emulator 214 .
  • Application specific information can be displayed for visual verification or other typical plastic card risk management functions like comparing a displayed name against another form of identification.
  • the card interface 318 and card controller 216 communicate via wireless RS-485, but, as explained above, wired communications (e.g., RS-232) with interface I/O 210 can also be used.
  • FIGS. 4A and 4B illustrate an alternative embodiment of the smart card 400 .
  • the smart card body 402 includes a smart card contact pad 406 , an optional logo 408 , a biometric sensor 410 , and a user interface including a display 404 and a user input keypad 412 including scroll button 414 , OK button 416 and on/off button 418 .
  • the card 400 includes smart card controller 422 , which is coupled to magnetic stripe emulator 430 , smart card chip 424 and antenna 426 .
  • the card 400 includes an internal battery power source 420 .
  • the card 400 can be used with a simplified activation unit 500 illustrated in FIGS. 5A and 5B .
  • the activation unit 500 includes a sleeve controller 502 and a PC interface 504 and is operable only for managing applications on the smart card chip 424 .
  • the sleeve controller 502 communicates with the smart card chip 424 of the card 400 through either contact communications via smart card contact interface 506 (described above) or contactless communications using antenna 508 .
  • the activation unit is essentially a standard smart PC/SC card acceptance device for supporting smart cards, such as those devices sold by Advanced Card Systems Ltd. Of Hong Kong, Gemalto (formerly Gemplus) of the Netherlands, Fujitsu of Japan and others.
  • the card controller 422 communicates directly with the smart card chip 424 through an interconnect with the smart card chip 424 rather than through the activation unit.
  • the smart card chip 424 must support some form of bus design, like SPI, to communicate with an outside controller chip like the card controller 422 .
  • the user uses keypad 412 to turn on the card 400 .
  • the biometric sensor 410 captures a live image and it is converted to a template by appropriate software, which is provided to the Match on Card application resident on the smart card chip 424 .
  • a successful match against a previously stored template authenticates the user and activates the card for use.
  • the user then used keypad 412 to scroll through the available applications on the smart card chip 424 and to select one of the available applications for use.
  • the controller 422 retrieves the secured static and dynamic data for the application and controls magnetic stripe emulator 430 to emulate this data, thus allowing the smart card 400 to be used with a conventional magnetic stripe reader but with the further advantages of enhanced security and fraud prevention provided by the use of the dynamic data.
  • the card could also be used with conventional smart card readers.
  • the controller 422 controls display 404 to display any necessary information for performing the transactions (e.g., dynamic card verification data such as a dynamic code or one time password or other data).
  • FIG. 6 is a flow diagram of the biometric enrollment process for initializing the smart card 200 with a user's fingerprint template for later use in authenticating the user during transactions. While the method is described in connection with smart card 200 , the method is equally applicable to modified smart card 400 . This process determines what users can access applications stored on the smart card chip 218 .
  • the user docks the smart card 200 with the activation unit 300 and turns on the activation unit using on/off button 310 of the keypad 304 .
  • the user places a finger on the biometric sensor 312 .
  • this sensor can be a silicon based area sensor or a swipe sensor commonly found on many laptops.
  • the biometric sensor 312 captures the fingerprint image, and at step 603 the image quality is checked to make sure enough relevant points are identified to enable accurate authentication using the fingerprint.
  • step 604 if the image quality is not sufficient the user is prompted to repeat the capture step (via display 302 ) and the process returns to repeat steps 601 to 603 .
  • the biometric sensor 312 processes the image into a template file of the representative data points.
  • the template is stored in the secure memory of the smart card chip 218 , which can be accessed in the future by the Match on Card application of the smart card chip 218 .
  • step 607 the user is asked if another image should be captured for future comparison. If another image is requested the process is repeated. If no additional images are to be captured the process terminates at step 508 .
  • FIG. 7 is a flow diagram of the user authentication process. Assuming biometrics are used for authentication, this process is only used after the user completes the biometric enrollment process described above in connection with FIG. 6 .
  • the user docks the smart card 200 with the activation unit 300 and turns on the activation unit using the on/off button 310 of keypad 304 .
  • the user places a finger on the biometric sensor 312 .
  • the biometric system captures the live biometric image.
  • the biometric system checks the image quality to determine if there are a sufficient number of data points for comparison.
  • step 703 if quality is determined to be insufficient, the user is notified at step 704 (through display 302 ) that the image capture step must be repeated.
  • the biometric system processes the image into a template file of the representative data points.
  • the template file is submitted from the activation unit 300 to the Match on Card application of the smart card chip 218 for comparison to the template(s) that were stored during the biometric enrollment process ( FIG. 6 ).
  • the Match on Card application returns a value of success or failure.
  • step 708 if a failure to match occurs the user is notified of the result (via display 302 ), returned to step 701 and prompted to place a finger on the biometric sensor.
  • step 709 if a successful match is determined the user is notified (via display 302 ) and the process ends (step 710 ) by sending the user to the application selection process defined in FIG. 8 . At this point, the user has been authenticated and the card id active.
  • FIG. 7 While the method of FIG. 7 is described in connection with smart card 200 and activation unit 300 , the method is equally applicable to modified smart card 400 . That is, the process is performed entirely within the smart card 400 rather than by using the activation unit 300 .
  • FIG. 8 is a flow diagram illustrating an application selection process where an application is selected for use in a transaction and the magnetic stripe emulator of the smart card 200 (or 400 ) is primed for use in the transaction.
  • the method FIG. 8 follows the user authentication process of FIG. 7 .
  • step 800 the user successfully activates the device using the method of FIG. 7 .
  • the activation unit 300 specifically the activation unit controller 320 through, for example, the smart card interface 322 , performs a query of the smart card chip 218 to obtain a list of its installed applications.
  • the activation unit controller 320 generates a list of applications and displays the list on the display unit 302 .
  • step 803 the user presses a key on the keypad 304 .
  • the activation 300 unit is turned off at step 804 .
  • the function to lock all applications on the smart card is called when the user turns off the card activation unit while card is in the activation unit or when a card is placed back into the card activation unit.
  • step 805 if the user pressed the scroll key 306 at step 803 , the next item on the list is highlighted. If the user had scrolled to the last application on the list the highlight is returned to the first application on the list and control is passed back to step 803 where the activation unit waits for the next key to be pressed.
  • step 806 if the user pressed the ok key 308 , the life cycle status of the application selected is changed to “unlocked” and the other applications have their life cycle statuses changed to “locked” (step 807 ).
  • Application lifecycles and the methods of changing them are defined in the GlobalPlatform Card and other standards discussed above.
  • Steps 808 to 810 represents steps that enable the use of smart card dynamic card verification data in magnetic stripe transactions.
  • the activation unit 300 through its controller 320 acting as a GlobalPlatform device (or other device if another standard is employed) queries the user-selected application from the smart card chip 218 and obtains the necessary data values to be used by the smart card 200 in constructing the magnetic stripe data and any data elements for display on the card display 302 .
  • any necessary keys are passed from the activation unit 300 to the smart card application to authenticate activation unit 300 as a valid GlobalPlatform (or other) device, according to the applicable industry standard.
  • a mapping algorithm is used by the controller 320 to take the output from the query of the smart card application to format a data stream that is to be emulated by the magnetic stripe emulator 214 .
  • This algorithm maps the output of the smart card, which is a given number of data bits representing various data elements of a smart card transaction, to various data elements called for in the applicable magnetic stripe transaction specification for the given transaction application.
  • the activation unit can then create a new data stream in accordance with the transaction application rules for the magnetic stripe transaction, including all of the necessary data elements plucked from the smart card data stream (e.g., user name, account number, etc.) but also including dynamic card verification data.
  • the dynamic card verification data includes: (a) dynamic data code flag; (b) a dynamic data code (retrieved from the smart card data stream); and (c) an incremental transaction number (also retrieved from the smart card data stream).
  • the controller also received any necessary data for display during card not present transactions.
  • the activation unit 300 sends the newly created magnetic stripe data and any display data to the smart card controller 216 .
  • the card controller 216 then sends the display data to the display 204 and the magnetic stripe data to the magnetic stripe emulator 214 .
  • the activation unit 300 notifies the user through display 302 that the card can be removed from the activation unit and is ready for use with any card reader (i.e., contact or contactless smart card reader or standard magnetic stripe reader).
  • any card reader i.e., contact or contactless smart card reader or standard magnetic stripe reader.
  • step 812 if the smart card 200 is removed from the activation unit 300 the activation unit 300 is turned off. If the smart card 200 is not removed from the activation unit 300 , control is passed back to step 803 and the device waits for another key to be pressed.
  • the removal of the smart card 200 at step 712 is a system level event meaning and at any time if this event occurs, the activation unit 300 is turned off.
  • the magnetic stripe emulator will stay active for a user definable period of time or until the sensors that form part of the emulator sense a successful swipe past a magnetic read head.
  • the smart card will stay active until the card is placed back into the sleeve.
  • FIG. 9 is a table illustrating the generally applicable data format specifications for magnetic stripe credit card transactions defined in ISO/IEC 7813.
  • FIG. 9 also illustrates how to change static magnetic stripe data to include some dynamic information for use in a transaction.
  • Tracks 1 and 2 include many fields that are used to allow a card issuer or its agent to authorize a financial transaction.
  • the typical DD segment includes the static CVV (VISA) or CVC (MASTERCARD) values, which are allotted three characters. Replacing the three character CVV or CVC data with a three digit dynamic code (dCVV in Visa, Inc.
  • CVC3 in MasterCard, Inc. terms including the dCVV of CVC3 indicator character (e.g., a status flag indicating that dynamic data is present), and including a four character Application Transaction Counter value allows the card issuer to use a set of data unique to each transaction to authorize a transaction.
  • the smart card chip application in use increments the transaction counter after each transaction from that particular smart card application (i.e., each smart card application maintains its own transaction counter). This value is passed to the transaction server (which is part of the credit card transaction infrastructure in place) during authorization and eliminates the need on the server side to stay in sync as is required by many of today's security tokens.
  • This approach takes the dynamic code scheme already defined in the specifications for secure smart card transactions, but not for magnetic stripe transactions, and allows for it to be supported in traditional magnetic stripe transactions.
  • Use of this dynamic information in a magnetic stripe transaction allows the same smart card verification algorithms already in place for use with smart card transactions to be reused for magnetic stripe transactions, thereby providing magnetic stripe transactions with the security of smart card transactions through existing magnetic stripe readers.
  • This approach saves a tremendous amount of resources and money by implementing secure transactions through existing magnetic stripe readers already deployed in the field.
  • Magnetic stripes following these specifications can typically be read by most point-of-sale hardware, which are simply general-purpose computers that can be programmed to perform specific tasks.
  • cards adhering to these standards include ATM cards, bank cards (credit and debit cards including VISA and MasterCard), gift cards, loyalty cards, driver's licenses, telephone calling cards, membership cards, and electronic benefit transfer cards (e.g., food stamps).
  • the approach described herein can be used in nearly any application in which value or secure information is stored on the card itself or even in remote storage. For example, health care information can be stored at a central provider. The user can be issued a smart card as described herein.
  • the smart card would have some secured data, such as an identification of the user and an account number, as well as a smart card chip that can generate dynamic data (e.g., a code and/or transaction number).
  • the user can use the smart card to authorize a doctor or other health care provider to access this secured data (i.e., a transaction) and the backend system would operate in the manner described above to use authorization algorithms with the dynamic data to authorize the transaction (i.e., release of the medical data).
  • FIG. 10 is a more detailed block diagram view of the processing components of the card activation unit controller 320 .
  • the controller 320 includes a microprocessor 1 programmed with memory 2 containing its various operating instructions. Memory 2 includes instruction set 3 for enabling the controller 320 to act as a smart card acceptance device.
  • Instruction set 4 includes instructions for allowing the controller 320 to communicate with a smart card controller 216 of smart card 200 .
  • Instruction set 5 is used by the controller 320 in performing the biometric scanning, template formation, etc. operations of the controller.
  • Instruction set 6 includes the general operating instructions of the controller. These operating instructions form the operating framework for the device, including the use of the various other instruction sets in performing the operations and methods described herein, and the like.
  • Operating instructions 2 includes a set of instructions 11 for controlling the display information to the user on the activation unit display 302 .
  • the operating instructions include sets of transaction application specific instructions 7 .
  • the transaction specific instructions 7 can include a set of instructions 8 that are specific to Visa, Inc. transactions.
  • Instructions 8 include a smart card transaction mapping algorithm that is used by the controller 320 to identify specific data elements in a VISA® smart card transaction data communication received from the smart card chip 218 as well as instructions for constructing a magnetic stripe transaction data structure in accordance the governing specification, including the necessary static data elements and the dynamic card verification data for the magnetic stripe transaction data structure.
  • Other instruction sets such as instruction set 9 , which is specific to MasterCard, Inc. transactions, and instruction set 10 specific to debit card transactions, etc. are also included.
  • FIG. 11 is a block diagram of the processing components of smart card controller 216 .
  • Smart card controller 216 includes a microprocessor 20 programmed in accordance with operating instructions 21 .
  • the operating instructions can include, for example, instruction set 22 for managing communications with the activation unit 300 .
  • the operating instructions 21 also include an instructions set 23 relating to control of the magnetic stripe emulator 214 .
  • the operating instructions include a general set of operating instructions 24 for controlling the overall operation of the device. These operating instructions form the operating framework for the device, including the use of the various other instruction sets in performing the operations and methods described herein, and the like.
  • operating instructions 21 includes a set of instructions 25 for controlling the display of information to the user on the activation unit display 204 .
  • smart card controller 422 would incorporate many of the functions performed by activation unit controller 320 . That is, in addition to the operating instruction sets described above for smart card controller 216 in FIG. 11 , smart card controller 422 can include those instructions sets from FIG. 10 necessary for performing the operations described above in connection with smart card 400 .
  • FIGS. 12-20 illustrate an embodiment of a transaction system that utilizes a smart card transaction enabled cell phone or other portable wireless communication device.
  • FIG. 12 shows a short-range communication enabled cell phone 950 in communication with a NFC enabled companion card 900 .
  • the short-range communication scheme is Near Field Communication or NFC, which is a short-range high frequency wireless communication technology that enables the exchange of data between devices over about a 10-20 centimeters (about 4-8 inches) distance.
  • NFC is an extension of the ISO/IEC 14443 proximity-card standard (contactless card, RFID) that combines the interface of a smart card and a reader into a single device.
  • An NFC device can communicate with both existing ISO/IEC 14443 smart cards and readers, as well as with other NFC devices, and is thereby compatible with the existing contactless RFID infrastructure already in use for, for example, public transportation and payment. While the transaction system is described herein in connection with NFC communications, it should be understood that NFC communication is only one possible embodiment and other protocol/approaches for short range communications can be used to communicate between devices.
  • the phrase “near field communications” is used herein generically to refer to these short range communications while NFC as an acronym refers to the specific Near Field Communications standard.
  • the cell phone 950 is configured for contactless transactions (e.g., contactless credit or debit transactions) using existing NFC techniques.
  • existing contactless transaction enabled cell phones cannot be used for magnetic stripe transactions, which is the dominant technology presently in use.
  • the cell phone 950 communicates with the NFC enabled companion card 900 by way of NFC communications.
  • the cell phone 950 communicates transaction data to the NFC enabled companion card 900 for use in a magnetic stripe transaction using a magnetic stripe emulator.
  • this transaction data preferably include any necessary static secured data for performing the transaction as well as dynamic card verification data for use in authorizing the transaction. Any necessary data for display on the NFC enabled companion card 900 for use in the transaction can also be transmitted.
  • FIG. 13A is a frontal view of the NFC enabled companion card 900 and FIG. 13B illustrates the internal and some rear components of the NFC enabled companion card 900 .
  • the NFC enabled companion card 900 has a smart card body 902 that is shaped like a conventional credit or transaction card.
  • the smart card includes an on/off button 906 for powering the smart card on/off and a display 904 for displaying information to the user.
  • the NFC enabled companion card 900 includes a smart card controller (i.e., ASIC) 908 in communication with a magnetic stripe emulator.
  • ASIC smart card controller
  • the NFC enabled companion card 900 also includes an internal battery power source 916 for powering at least the smart card controller 908 and the magnetic stripe emulator 914 .
  • the NFC enabled companion card 900 includes a NFC chip (i.e., contactless RF module) that is configured for RF communications via the antenna 912 with another NFC enabled device. While the NFC chip is shown as a separate chip set 910 , the NFC functionality can be built into the ASIC that serves as the controller 908 .
  • the NFC enabled companion card 900 does not need to include a smart card chip, as the smart card application(s) is/are resident on the cell phone 950 .
  • FIG. 14 is a block diagram of the processing components of smart card controller 908 .
  • Smart card controller 908 includes a microprocessor 909 programmed in accordance with operating instructions 911 .
  • the operating instructions 911 include, for example, instruction set 913 relating to control of the magnetic stripe emulator 914 and instruction set 917 for engaging in NFC communications with another NFC enabled device.
  • Instruction set 917 interfaces with NFC chip set 910 if the NFC chip set is a separate component from controller 908 or includes the NFC chip set functionality if the NFC communication functionality is incorporated into the controller 908 .
  • the operating instructions include a general set of operating instructions 915 for controlling the overall operation of the device.
  • Operating instructions 915 form the operating framework for the device, including the use of the various other instruction sets in performing the operations and methods described herein, and the like.
  • Operating instructions 911 can also includes a set of instructions 919 for controlling the display of information to the user on the display 904 .
  • FIG. 15 is block diagram of the relevant processing components of cell phone 950 . It should be understood that only those portions of the processing capabilities pertinent to interacting with the NFC enabled companion card 900 for performing a transaction are described herein.
  • the general processing capabilities of a cell phone, PDA or other wireless communication device for performing its standard operations e.g., placing a telephone call, communicating via the Internet, email, etc.
  • the cell phone 950 includes a controller 960 that includes a microprocessor 962 programmed in accordance with operating instructions 963 .
  • the operating instructions 963 include a set of general operating instructions 964 . These operating instructions 964 form the operating framework for the device, including the use of the various other instruction sets in performing the operations and methods described herein, the display of information to the user on display of the cell phone and the like.
  • Instruction set 966 includes one or more smart card applications 966 for performing contactless smart card transactions, such as by way of NFC communications. These instructions correspond to the VISA® smart card transaction applications, MASTERCARD® smart card transaction applications, debit transaction application, information access transaction, etc. described above as being resident in secure memory of the smart card chips 218 , 424 discussed above.
  • These applications 966 initiate transactions using secured data stored in the device, generate dynamic card verification data (e.g., the dCVV code for VISA® transactions and transaction counters) and provide information for display to a user during a transaction.
  • These smart card applications 966 are familiar to those artisans in this field.
  • the operating instructions 963 also include one or more smart card reader applications 968 for communicating with the smart card applications 966 . These instructions correspond to the smart card acceptance device instruction set 3 described above and allow the device to interface with and manage smart card applications 966 .
  • This application 968 enables the controller 960 to mimic a smart card acceptance device (e.g., a reader) to receive secure communications with the contactless smart card transaction data from the smart card transaction applications 966 .
  • this “reader” application 966 queries the selected application to return the Track 2 equivalent data.
  • this Track 2 data would include the dCVV and the transaction counter data.
  • the “reader” application can provide the data to the transaction application specific instructions 970 (described below) to derive Track 1 data for use in a magnetic stripe transaction.
  • the magnetic stripe transaction data is passed to the NFC communication program 972 , which establishes a peer-to-peer session with an in-range NFC enabled companion card 900 .
  • the operating instructions 963 include a set of transaction application specific instructions 970 similar to instruction set 7 discussed above in connection with FIG. 10 . These instructions are used by the controller 960 in mapping/parsing the smart card transaction data received from the smart card application(s) 966 , as described above, and formatting some or all of the data for use in a magnetic stripe transaction.
  • the transaction application specific instructions 970 can include a set of instructions 974 specific to Visa, Inc. transactions.
  • Instructions 974 include a smart card transaction mapping algorithm that is used by the controller 960 to identify specific data elements in a VISA® smart card transaction contactless data communication from the smart card application 966 as well as instructions for constructing a magnetic stripe transaction data structure in accordance the governing specification, including the necessary static data elements and the dynamic card verification data for the magnetic stripe transaction data structure.
  • Other instruction sets such as instruction set 976 , which is specific to MasterCard, Inc. transactions, and instruction set 978 specific to debit card transactions, etc. are also included.
  • the operating instructions 963 can include an instruction set 980 for performing user authentication for transactions.
  • These instructions can be specific to biometric authentication (e.g., biometric scanning, template formation, etc.) or other kinds of authentication, such as user PIN or password authentication.
  • FIG. 16 illustrates the use of the NFC enabled companion card 900 in a transactions, specifically a credit transaction, after the magnetic stripe emulator 914 has been encoded with transaction information.
  • the NFC enabled companion card 900 is swiped through a standard magnetic stripe reader 1000 connected to a POS device, such as a cash register 1100 . If dynamic card verification data is included in the encoded data, that data is used during the authorization process as discussed above.
  • FIG. 17 is a basic flow diagram illustrating a method of using the NFC enabled companion card 900 and cell phone 950 in a transaction. The details of many of the individual steps shown in FIG. 17 are described above in more detail in connection with the flow diagrams of FIGS. 6-8 .
  • the user turns on the NFC enabled companion card 900 .
  • the user uses the cell phone (or other wireless communication device) to bring up a list of transaction applications (e.g., debit, VISA, Inc., MasterCard Inc., etc.) and the user selects one of the transactions for use.
  • the smart card reader application 968 can query the smart card applications for available applications and the processor 962 displays those applications on the display of the cell phone 950 . The user scrolls through the listing and selects an application for use.
  • the cell phone 950 can be programmed with a mobile wallet application that allows the user to select from among the installed applications (credit, debit, others) and enable or activate one for use in the next transaction.
  • the user is authenticated, such as using biometrics if the cell phone (or smart card) has biometric capabilities or a PIN or password authentication scheme.
  • the user brings the NFC enabled companion card 900 within NFC range of the cell phone 950 so that they can communicate with one another. Once in range of one another the NFC enabled mobile phone and the smart card establish a peer-to-peer session and pass data to each other.
  • the NFC peer-to-peer session is governed by applicable standards.
  • the cell phone 950 using transaction application specific instructions 970 , prepares magnetic stripe transaction data for use by the NFC enabled companion card 900 .
  • the smart card reader application 968 obtains contactless smart card transaction data from the smart card application(s) 966 and provides that information to the transaction application specific instructions 970 to prepare the magnetic stripe transaction data.
  • the cell phone 950 transmits the magnetic stripe transaction data to the smart card using NFC communication instructions 972 .
  • the transmission of data between the phone and the card can be encrypted according to the established standards covering NFC and ISO 14443 contactless smart cards.
  • the NFC enabled companion card 900 receives the magnetic stripe transaction data and the smart card controller 908 controls the magnetic stripe emulator to encode the received magnetic stripe transaction data in its magnetic field.
  • the user is notified (through the display 904 of the NFC enabled companion card 900 and/or the display of the cell phone 950 ) that the card is ready to use in a traditional magnetic stripe reader.
  • the user uses the smart card with a standard magnetic stripe reader to perform a transaction.
  • the NFC enabled companion card 900 After a successful transaction, at a predetermined time limit or when the user presses the on/off button 906 , the NFC enabled companion card 900 deletes any transaction data and is available for use in the next transaction. For security purposes, the NFC enabled companion card 900 retains no useful information related to the transaction.
  • the cell phone can also be used in conventional contactless smart card transactions.
  • VISA® MSD and MASTERCARD® Magstripe smart card specifications this means that the cell phone returns Track 2 equivalent data.
  • the contactless reader application takes Track 2 data and creates Track 1 data since a lot of the information is redundant on the Tracks. The only significant difference in the track data is that the card holder name is on Track 1 but including this information in payment information is sometimes not recommended. The contactless reader then sends this data to the POS system for use in authorizing the transaction.
  • FIG. 18 illustrates a system for programming the cell phone 950 with transaction applications and managing those applications.
  • the system operates in much the same manner as the system shown in FIG. 1 and described above except that the programming occurs over-the-air via a cellular system. Of course, programming could also occur via wireless Internet communications.
  • the system includes Smart Card Managements System 175 , which is described above.
  • the issuer 173 (or its agent) takes standard account information and a SCMS system 175 and combines the account information with other data to create a load file that is downloaded to the cell phone 950 via the cellular data network 179 and Over the Air (OTA) Provisioning Service 177 , such as the Trusted Service Provider service provided by Venyon of Helsinki, Finland.
  • OTA Over the Air
  • This service is responsible for, among other things, managing the cellular communications during the download of the Load File.
  • the mobile phone 950 receives this load file it is routed to the card manager program resident on the phone 950 that controls the installation and activation of the smart card applications on the phone.
  • FIG. 19 illustrates an option for storing and charging the NFC enabled companion card 900 . More specifically, the NFC enabled companion card 900 is stored in a slot or pocket 951 behind the cell phone 950 . A connection is provided to couple the cell phone 950 to the NFC enabled companion card 900 so that the internal battery 916 of the NFC enabled companion card 900 can be recharged by the internal battery of cell phone 950 .
  • the smart card system described herein provides particular advantages when used in connection with financial transactions, the system is not so limited.
  • the smart card system can be used in connection with access to customer records, health records, financial records or other confidential information.
  • the term “transaction” as used herein is not limited to financial transactions but rather more generically refers to the provision of information by way of smart card or magnetic stripe for use in some form of authentication and/or authorization.

Landscapes

  • Engineering & Computer Science (AREA)
  • General Physics & Mathematics (AREA)
  • Physics & Mathematics (AREA)
  • Theoretical Computer Science (AREA)
  • Business, Economics & Management (AREA)
  • Microelectronics & Electronic Packaging (AREA)
  • Computer Hardware Design (AREA)
  • Accounting & Taxation (AREA)
  • General Business, Economics & Management (AREA)
  • Strategic Management (AREA)
  • Computer Networks & Wireless Communication (AREA)
  • Computer Security & Cryptography (AREA)
  • Finance (AREA)
  • Automation & Control Theory (AREA)
  • Credit Cards Or The Like (AREA)
  • Financial Or Insurance-Related Operations Such As Payment And Settlement (AREA)

Abstract

A smart card usable in magnetic stripe swipe transactions with a transaction terminal configured to read transaction information encoded on a magnetic stripe of a standard transaction card includes a card body, which includes a magnetic stripe emulator for use with the transaction terminal, a smart card chip programmed with at least one transaction application for providing secured data for use in a transaction and dynamic card verification data, a power supply, and a card controller in communication with the magnetic stripe emulator. The card controller is configured to receive the dynamic card verification data and control the magnetic stripe emulator to emit a magnetic field encoded with at least a portion of the secured data and the dynamic card verification data.

Description

CROSS-REFERENCE TO RELATED APPLICATIONS
This application is a continuation application of U.S. patent application Ser. No. 13/059,433, entitled “Secured Smart Card System”, filed Feb. 17, 2011, which is a U.S. national phase application of PCT/US09/54275 filed Aug. 19, 2009, which claims priority to U.S. Provisional Patent Application No. 61/090,358, entitled “Biometrically Secured Powered Smart Card,” filed Aug. 20, 2008, and to U.S. Provisional Patent Application No. 61/090,362, entitled “NFC Cellphone Companion Card,” filed Aug. 20, 2008, the entirety of each of which is hereby incorporated by reference herein.
FIELD OF THE INVENTION
The present invention relates to transaction cards, and more particularly to smart cards and to transaction cards having magnetic stripe emulators.
BACKGROUND OF THE INVENTION
Plastic card fraud has become a significant issue not only in the United States but also worldwide. Fraud levels can be measured in the tens of billions of dollars each year or higher when the various stakeholders that are involved in the losses associated with fraudulent transactions measure their total costs. A merchant loses not only the revenue and profit related to a sale, but the product itself, and possibly higher transaction fees when fraud occurs frequently in its business. A merchant must also incur the costs associated with investigating certain types of fraudulent transactions. Credit card associations like the VISA® and MASTERCARD® associations cover some costs associated with fraud but the credit card issuers incur significantly more costs, including costs associated with refunding the amounts charged to a card holder account, investigating possible fraudulent transactions and issuing new plastic cards if a significant breach of security has been identified. When the total costs of fraud are measured among all the parties involved in financial transactions, the losses are staggering.
Plastic card fraud has also opened up a market for all sorts of fraud detection and educational services. Neural network software to detect and hopefully prevent a fraudulent transaction from occurring costs card issuers and their processors millions of dollars to operate. Educational seminars to teach card issuers, merchants, and card holders on how to better safeguard the information that can be used to commit identity theft and plastic card fraud also cost card issuers millions of dollars. Existing security standards, like the Payment Card Industry (PCI) Data Security Standard, while being excellent network and system security practices also require merchants to take extra measures to safeguard the information they possess and these measures cost merchants millions of dollars to implement. An entire industry has been created to protect the static data used in today's plastic card transactions. All told, billions are spent and still fraud levels continue to increase. These increases are due not only to defective security; rather, plastic card programs continue to utilize static data that, if obtained, can be used to commit plastic card fraud.
Over the years, the industry has continued to layer additional static data on credit, debit, and ATM transaction cards. Pin numbers and card security codes have been implemented to help address specific issues of security but criminals continue to adapt their schemes to steal this information. Social engineering attacks like “phishing” are successful because they can target large numbers of people to obtain this static data. The use of holograms and new logos to help prevent counterfeit cards from being used has added to the costs of plastic cards. The plastic card industry has focused on preventing the use of static data rather than adopting a means of implementing some level of dynamic information into these transactions.
Some in the industry have viewed smart cards as one possible solution to this static data problem. The contact and contactless smart card standards and the hardware integrated into the smart card, the point of sale (POS) device, and the authorization process have adopted methods to include some dynamic data in the transaction authorization process. When implemented on a massive scale, for example the Chip and Pin systems common in Europe, these standards have been effective in the local prevention of fraud. For example, the Chip and PIN system in the United Kingdom is a government-backed initiative to implement the EMV standard for secure payments. In this initiative, banks and retailers replace traditional magnetic stripe equipment with smart card technology, where credit/debit cards contain an embedded microchip and are authenticated automatically using a PIN. When a customer wishes to pay for goods using this system, the card is placed into a “PIN pad” terminal (often by the customer themselves) or a modified swipe-card reader, which accesses the chip on the card. Once the card has been verified as authentic, the customer enters a 4-digit PIN, which is checked against the PIN stored on the card; if the two match, the transaction completes.
This kind of smart card technology has been shown to decrease certain types of fraud, an example being fraud associated with counterfeit cards, but fraud in total has continued to rise. This is due to the fact that smart cards are only implemented on a scale necessary to affect fraud regionally. Criminals can target other regions that still rely on the static information common to the vast majority of plastic cards in circulation or they can perform more “card not present” transactions, as in internet purchases or mail order transactions. Smart cards also suffer from having to continue to support the predominate point of sale reader technology deployed worldwide, i.e., magnetic stripe.
Implementing smart cards on a scale necessary to significantly affect fraud levels requires billions of dollars to be spent by merchants or governments to add the new point of sale readers, update the point of sale software, and add the processing functionality for all stakeholders that deal with financial transactions. There are an estimated 20,000,000 magnetic stripe readers in the field today. Replacing these readers with smart card readers would be a huge investment.
An improved and more cost-effective solution for preventing plastic card fraud is desired.
SUMMARY OF THE INVENTION
A smart card usable in magnetic stripe swipe transactions with a transaction terminal configured to read transaction information encoded on a magnetic stripe of a standard transaction card includes a card body, which includes a magnetic stripe emulator for use with the transaction terminal, a smart card chip programmed with at least one transaction application for providing secured data for use in a transaction and dynamic card verification data, a power supply, and a card controller in communication with the magnetic stripe emulator. The card controller is configured to receive the dynamic card verification data and control the magnetic stripe emulator to emit a magnetic field encoded with at least a portion of the secured data and the dynamic card verification data.
The above and other features of the present invention will be better understood from the following detailed description of the preferred embodiments of the invention that is provided in connection with the accompanying drawings.
BRIEF DESCRIPTION OF THE DRAWINGS
The accompanying drawings illustrate preferred embodiments of the invention, as well as other information pertinent to the disclosure, in which:
FIG. 1 is a block diagram of a smart card application management system;
FIGS. 2A and 2B illustrate a smart card according to one embodiment of the present invention;
FIGS. 3A and 3B illustrate a smart card activation unit for use with the smart card of FIGS. 2A and 2B according to an embodiment of the present invention;
FIGS. 4A and 4B illustrate an alternative embodiment of the smart card of FIGS. 2A and 2B;
FIGS. 5A and 5B illustrate an alternative embodiment of a smart card activation unit for use with the smart card of FIGS. 4A and 4B;
FIG. 6 is a flow diagram illustrating a method of enrolling biometric information on a smart card;
FIG. 7 is a flow diagram illustrating a method of authenticating a user using biometrics;
FIG. 8 is a flow diagram illustrating a method of selecting and activating a transaction application on a smart card;
FIG. 9 illustrates a data format for Track 1 and Track 2 for a credit transaction;
FIG. 10 is a block diagram of controller of the activation unit of FIGS. 3A and 3B;
FIG. 11 is a block diagram of the controller of smart card of FIGS. 2A and 2B;
FIG. 12 illustrates an embodiment of the present invention utilizing a cell phone/companion card combination for performing magnetic stripe transactions;
FIGS. 13A and 13B illustrate an embodiment of a NFC enabled companion card for use in the combination of FIG. 12;
FIG. 14 is a block diagram of the controller of the NFC enabled companion card of FIGS. 13A and 13B;
FIG. 15 is a block diagram of the processing components of the cell phone illustrated in FIG. 12;
FIG. 16 illustrates a transaction system using the companion card of FIGS. 13A and 13B;
FIG. 17 is a flow diagram illustrating the use of the companion card and cell phone of FIG. 12 in a transaction;
FIG. 18 illustrates a system for programming the cell phone of FIG. 12; and
FIG. 19 illustrates an embodiment of the cell phone illustrated in FIG. 12.
DETAILED DESCRIPTION
This description of the exemplary embodiments is intended to be read in connection with the accompanying drawings, which are to be considered part of the entire written description. In the description, relative terms such as “lower,” “upper,” “horizontal,” “vertical,” “above,” “below,” “up,” “down,” “top” and “bottom” as well as derivative thereof (e.g., “horizontally,” “downwardly,” “upwardly,” etc.) should be construed to refer to the orientation as then described or as shown in the drawing under discussion. These relative terms are for convenience of description and do not require that the apparatus be constructed or operated in a particular orientation. Terms concerning attachments, coupling and the like, such as “connected” and “interconnected,” refer to a relationship wherein structures are secured or attached to one another either directly or indirectly through intervening structures, as well as both movable or rigid attachments or relationships, unless expressly described otherwise.
In the following description, it is to be understood that aspects of the present invention may be implemented in various forms of hardware, software, firmware, or a combination thereof. In particular, the device modules described herein are preferably implemented in software as an application program that is executable by any suitable microprocessor architecture. The microprocessor architecture includes hardware such as one or more central processing units (CPU), a random access memory (RAM), and input/output (I/O) interface(s), as well as an operating system and microinstruction code. The various processes and functions described herein may be either part of the microinstruction code or application programs which are executed via the operating system.
It is to be further understood that, because some of the constituent system components described herein are preferably implemented as software modules, the actual system connections shown in the Figures may differ depending upon the manner in which the systems are programmed. It is to be appreciated that special purpose microprocessors may be employed to implement the present invention. Given the teachings herein, one of ordinary skill in the related art will be able to contemplate these and similar implementations or configurations of the present invention.
As described in the Background section, massive investments have been made in the estimated 20,000,000 magnetic stripe readers in the field today. Replacing these readers with smart card readers would be a huge investment. Presented herein is are devices, systems and methods that perform secure transactions while making use of the existing magnetic stripe readers and all, or as much as possible, of the existing infrastructure for, for example, financial transactions. More specifically, the embodiments described herein make it possible to implement some dynamic data in transactions utilizing magnetic stripe readers while making it economical for card issuers to distribute this technology to their customers. This approach can serve as an effective safeguard for secured static credit card (or other) information and thus act as a significant tool against fraudulent transactions. The existing standards for magnetic stripe based financial transactions contain regions that can be requisitioned for use with dynamic data. In certain preferred embodiments, a smart card is provided that can support all point of sale (POS) readers, i.e., contact smart card readers, contactless smart card readers and magnetic stripe readers, and deliver dynamic data content through not only the smart card readers but also the magnetic stripe point of sale devices.
Existing smart card specifications for contactless and contact transactions call for the smart card chip to generate some dynamic data for inclusion in the transaction. By way of example only, Visa Inc.'s MSD contactless smart card specifications includes a code designated Dynamic Card Verification Value (dCVV) for each transaction. MasterCard Inc.'s PAYPASS® Magstripes smart card specification has a similar code designated the CVC3. These one-time (i.e., dynamic) codes are generated by the smart card chip and are unique to each transaction. Traditional magnetic stripe specifications for Track 1 and Track 2 contents require a specific static value called a CVV to be present. Replacing the static CVV value with the dynamic dCVV or CVC3 codes (in the embodiments where the data is formatted for VISA® and MASTERCARD® transactions, respectively) and including any other necessary data used to verify the dCVV or CVC3 codes (e.g., Application Transaction Counter (ATC) value and dynamic data presence flag) would provide sufficient information in the payment authorization process to eliminate both “card present” and “card not present” fraud. Dynamic data generated by a smart card chip for use in authorization of transactions (whether financial, information access or other) are generically referred to herein sometimes as “dynamic card verification data.”
As described herein, necessary information for performing secure card not present transactions can be displayed on the smart card display. This information can include the dCVV or CVC3 codes discussed above that are generated by the smart card for use in card present transactions, or other dynamic information, such as a one-time-password (OTP). Companies and organizations such as QSecure of Los Altos, Calif., InCard Technologies of Los Angeles, Calif., RSA Division of EMC Corporation of Bedford, Mass., and OATH (Open AuTHentication) initiative and others have proposed various OTP schemes for inserting a dynamic code into the payment process. The device described below allows for existing smart card standards to be used in the generation and verification of OTP values rather than require card issues to support multiple OTP algorithms.
FIG. 1 is a block diagram of a system 100 for managing applications on a smart card. The system 100 includes a smart card 200, a smart card activation unit 300, which communicates with smart card 200, and a personal computer (or other processor) 125, which is communicatively coupled through a network (such as Internet 150) to Smart Card Management System (SCMS) 175 and locally communicatively coupled to the smart card activation unit 300. Through system 100, a user can manage transaction applications stored on a smart card chip or processor within smart card 200. More specifically, standards exist for managing applications on smart cards. By way of example only, one set of standards is defined by the GlobalPlatform Card, Device and Systems standards promulgated by GlobalPlatform, which is an independent, not-for-profit organization concerned with a standardized infrastructure for development, deployment and management of smart cards. GlobalStandards was founded in 1999 to take responsibility for Visa Inc.'s Open Platform specification, which is one of a number of competing smart card standards including GSM, EMV and OCF.
The GlobalPlatform Card Specification is a secure, dynamic card and application management specification that defines card components, command sets, transaction sequences and interfaces that are hardware-neutral, operating system neutral, vendor-neutral and application independent. The specifications are applicable to any type of application and industry, allowing any combination of applications from any industry on a single card—from mono-application to multi-application. The GlobalPlatform Card Security Requirements Specification provides guidance for selecting card configurations most appropriate to the security policies set up by the card issuer and application providers. Card vendors are also provided with guidance to implement security functions in a consistent manner. Most of the secure elements used in the Near Field Communication (NFC) context rely on GlobalPlatform card specification.
GlobalPlatform also provides a number of specifications for device programming, with different profiles for different industries. The profiles are organized around a common core framework technology and share most of their detailed API's. There are a number of GlobalPlatform specifications relating to the system's infrastructure, developed to standardize back-end systems from personalization to security, key management and application loading. The GlobalPlatform Profile Specification standardizes the interface between the data preparation system and the personalization device utilizing a simple, cost effective, interoperable machine-independent mechanism. Key Management Systems Functional Requirements Specification standardizes the description, or key profile, and procedures around key management, providing an opportunity to deliver centralized key management across separate systems. Communication between various components of the system's infrastructure is standardized via the GlobalPlatform Messaging Specification, which defines all the roles and responsibilities of the actors, or systems, for a multi application smart card infrastructure.
Referring again to FIG. 1, the smart card 200 is shown docked (or otherwise interfaced) with the smart card activation unit 300, which, as described in more detail below, preferably takes the form of a sleeve with a slot for receiving the smart card 200. The SCMS system 175 is a server based application that manages all information necessary to create a Load File. This Load File is the program code and data that are used to install applications on a GlobalPlatform compliant smart card like the Card 200. The user establishes a session to the SCMS System 175 over the Internet 150 and downloads the Load File to the smart card through the connection between the PC 125 and smart card activation unit 300. The smart card activation unit 300 acts as a PC/SC (Personal Computer/Smart Card) compliant device and delivers the Load File to the GlobalPlatform compliant Card Manager running in the Smart Card Chip operating system (e.g. Java Card, Multos, etc.). The Card Manager handles the steps involved in installing the application. All the steps involved in this process are defined by the GlobalPlatform System, Device, and Card standards. The PC/SC specification was developed to facilitate the interoperability necessary to allow Integrated Circuit Card (ICC) technology, also known as smart cards, to be effectively utilized in the PC environment. The PC/SC specification is based on the ISO 7816 standard, and its formal name is “Interoperability Specification for ICCs and Personal Computer Systems.”
The use of SCMS system in managing smart card applications is familiar to artisans in the relevant art. Briefly, the user gains access to the SCMS system 175 either through their web banking software or directly by using username/password credentials. The SCMS system presents the user with a list of applications already installed on the user's smart card and a list of applications available for downloading to the smart card. This process is called Post Issuance Provisioning and provides the ability to add or change applications on a smart card after it has been issued to the card holder. The user can select to download a VISA® Credit Card application issued by their financial institution and the SCMS would use other related information to generate the load file, manage a secure communications channel with the smart card and download the load file to the smart card. The SCMS tracks all information about the smart card, e.g., chip identifier, OS, keys, issuer, card holder information and what changes have occurred to the applications on the card. The Global Platform System standard dictates the necessary functionality that is supported by a SCMS system.
Further details regarding use of the smart card activation unit 300, besides its use in managing applications on the smart card 200, such as its use in authenticating that a valid user is performing a transaction and its use in selecting an application (credit, debit, loyalty, access control, etc.) for use in a transaction, are described below, along with additional details regarding the smart card 200.
FIG. 2A is a front view of the smart card 200, more specifically the smart card body 202, and FIG. 2B is a schematic illustration of the internal and rear side components of the smart card 200 and smart card body 202. The smart card body 202 takes the shape of a standard plastic magnetic stripe card, as governed by applicable standards. The card 200 may include the logo 208 of the card issuer or other source indicia. In embodiments, the card 200 includes a display 204, such as a LCD display. In embodiments, the display 204 can take the form of electronic paper, also called e-paper or electronic ink display. This display technology is designed to mimic the appearance of ordinary ink on paper. Unlike a conventional flat panel display, which uses a backlight to illuminate its pixels, electronic paper reflects light like ordinary paper and is capable of holding text and images indefinitely without drawing electricity, while allowing the image to be changed later. Examples of e-paper displays include electrophoretic displays, bistable LCD and cholesteric LCD. Smart card contact pad 206 is provided on a surface of the card for contact-based communications between an embedded smart card chip and a smart card reader. Smart card contact pad 206 is used to perform transactions on devices supporting the ISO/IEC 7816 standards. In Europe and in Canada this would include the Chip & Pin devices used to perform payment transactions. Contact smart cards are also common in physical access control systems.
Turning to FIG. 2B, the card 200 includes an internal power source 212, such as a battery, for providing power to the various operable components of the smart card 200. Suitable long life batteries for the low power requirements are available. In particular embodiments, the internal power source 212 is a thin film battery, such as the FLEXION™ ultra-thin, flexible lithium polymer battery available from Solicore, Inc. or a lithium thin-film battery available from Varta Microbattery GmbH. In embodiments, a solar panel (not shown) may be provided. Solar cells are connected to a charger and can be used to extend the life of the card beyond that of a conventional battery and/or to recharge the battery. The card 200 includes a conventional smart card chip/processor 218 which communicates with an appropriately configured external smart card reader by way of the smart card contact pad 206 or wirelessly by way of integrated antenna 220 (i.e., contactless communication).
The smart card 200 also includes a smart card controller 216 (i.e., ASIC processor) in communication with an I/O port 210, for communicating with an external source such as the card activation unit 300 (as described in more detail below) and a magnetic stripe emulator 214. Various designs for magnetic stripe emulators are known in the art, some of which are described in, for example, U.S. Pat. No. 4,701,601 to Francini et al., entitled “Transaction Card with Magnetic Stripe Emulator”, and U.S. Published Application Nos. 2007/0189581 and 2005/0194452 to Nordentoft et al., both entitled “Credit Card and Secured Data Activation System,” the entirety of each of which is hereby incorporated by reference herein. A typical magnetic stripe emulator will include a transducer coil for each magnetic strip track and including a number of coil windings wound around a strip of electromagnetically inducible core material. Each transducer coil is individually inducible by a driver circuit. Instead of an electromagnetic coil, the transducer can be formed from an integrated thin film head. The number of transducer coils may be chosen to three in order to induce secured data signals corresponding to conventional magnetic strip information, which lies in magnetic strips in three tracks, but may as an alternative be provided in numbers ranging from one to more than three. For most applications, data is only to be generated in two transducer coils as shown for emulator 214, corresponding to the first and second tracks of a conventional magnetic strip.
In conventional magnetic strips, the data is permanently magnetically presented to a credit card reader using a so-called F2F-format, or two frequency format, in which a “0” bit is formed by a magnet part of a predetermined length in the magnetic strip, and a “1” bit is two longitudinally, magnetically oppositely directed magnet parts, having a combined length equal to the length of the “0” bit magnet part. Thus, the transducer coils of the emulator 214 preferably emit and present data signals in the F2F-format to a reader, such as a credit card reader, which is to read information from the card 200 with a reader head.
The transducers generate varying magnetic fields that extend beyond the carrier. The transducer coil preferably produce a homogenous and relatively strong magnetic field encoded with the desired data in order for it to be readable by a credit card reader. The nature of this magnetic field is heavily influenced by the transducer coil construction, such as choice of core material and core construction of the cores strips, number and position of the core windings upon the core strips. The design of the emulator 214 based on these factors is within the skill of the artisan in this field. Variations in the signals to a transducer coil generates a variable magnetic field along the strip that is identical to the magnetic field that a reader head is influenced by when a conventional magnetic strip credit card holding the same secured data is passed through the same reader.
The material of the core strip is an electromagnetically inducible material, such as metal, preferably electromagnetic lamination, sheet iron or other sheet metal, either provided as a single or double foil on one or each side of the card body, advantageously having a width and a position corresponding to a conventional magnetic track in order to have a similar magnetic and physical appearance. The choice of core material of the core strips strongly influences the strength and distribution of the magnetic field produced and allows for an enhancement of the magnetic field being produced, resulting in the need for lower current in the core windings, which reduces the power consumption of the card.
The transducer strips of the magnetic stripe emulator 214 are positioned on card 200 in a manner such that alignment with the read sensor of existing reader terminals is facilitated. Current specifications call for the magnetic stripe to be located 0.223 inches (5.66 mm) from the edge of the card, and to be 0.375 inches (9.52 mm) wide. Each track is 0.110 inches (2.79 mm) wide.
The card controller 216 controls all aspects of the functionality of the card 200 that are not provided by the conventional smart card chip 218. The card controller is preferably a separate processor from the smart card chip, thereby enabling the use of the already standardized smart card chip 218. While it is contemplated that in alternative embodiments the functions of the card controller 216 and smart card chip 218 could be merged, such a merged approach not preferred as it is more difficult to implement and would likely face difficulties in meeting EMV certification standards for the device. Further, it should be understood that although card controller 216 is shown as a single processor, its functions or operations could be distributed amongst two or more processors, controllers, drivers, chips or other devices (collectively referred to herein as “controller”). For example, the card controller 216 serves as a driver for managing the display 204. This functionality can be built into a central processor or provided in the form of a separate driver chip. Likewise, the card controller 216 can have built in wireless capabilities for interfacing with antenna 220 to communicate with card activation unit 300, or include a separate wireless communications chip (shown as activation unit interface 210) for exchanging information with the unit 300. In embodiments, activation unit interface 210 is a wireless RS485 chip for implementing wireless communications with the activation unit 300. Alternatively, the interface 210 could be a wired communications interface, such as a RS232 chip. While it is possible to use the contact pad 206, antenna 220, and the smart card chip 218 as the means for communicating with the activation unit 300, this approach would also require that the smart card operating system (OS) be modified to identify these non-standard communications and intercept and redirect the communications to the card controller 216. This approach would likely be in violation of the EMV standards and thus prevent the device from being certified for use. Using a separate interface 210 for performing communications between the activation unit 300 and the smart card controller 216 leaves the smart card chip 218, smart card contact pad 206 and antenna 220 as a stand-alone system, allowing the smart card 200 to pass EMV certification testing. Although not shown, the card 200 can includes a peripheral communications controller (e.g., SPI bus) for passing information between various components.
The card controller 216 controls the magnetic stripe emulator 214 for transmitting secure transaction data during a transaction, e.g., a credit card swipe transaction. Importantly, this data includes not only standard secured data, such as the static transaction data called for by governing specifications (e.g., account holder name, account number, etc.) but also dynamic information. Using this dynamic information in authorizing transactions prevents fraudulent transactions since the static information alone cannot be used to perform a transaction.
As explained above, the smart card chip 218 is a dual interface smart card (contact and contactless) found in many of the multi-application smart cards available in the market today. There are established standards and standard bodies (e.g., ISO/IEC 7816, ISO/IEC 14443, GlobalPlatform (described above) to name a few) that define this component's functions. These standards provide for secure communications and access to installed applications and data stored in secure memory. As described below, the smart card activation unit 300 communicates with the smart card chip 218 to allow a user to select an active application, queries the application for any necessary information for performing a transaction, and pass some of this information back to the card, specifically the card controller 216 for use in the magnetic stripe emulator 214 and/or display on the card display 204.
In addition to its use in managing applications on the smart card 200, the smart card activation unit 300 is also used during transactions to authenticate that a valid user is performing the transaction and to select what type of card application (e.g., credit, debit, loyalty, access control, etc.) is going to be used in the transaction. These uses are described below but first various features of the smart card activation unit 300 are described in connection with FIGS. 3A and 3B.
FIG. 3A is a front external view of the smart card activation unit 300. The activation unit 300 includes a biometric sensor 312, which is preferably a fingerprint reader, and a user interface. In the illustrated embodiment, the user interface includes an input means 304 (e.g., keypad), including various input buttons or toggles, such as “scroll” button 306, “ok” button 308 and “on/off” button 310, and a display 302, such as a LCD display. The on/off button 310 is used to turn the activation unit 300 on and off The scroll button 306 is used to scroll through a list of applications stored on the smart card chip 218 of the smart card 200 and displayed on display 302. A list of names (e.g., “VISA”, “MASTERCARD”, etc.) or other identifiers corresponding to these applications is displayed on the display 302. The user uses the button 308 to select an active application from the displayed list of applications.
FIG. 3B illustrates the internal components of the activation unit 300. The activation unit includes an activation unit controller 320 that controls and interfaces with the other active components of the activation unit 300. The activation unit includes a smart card interface 322 for contact interfacing with the smart card chip 218 of the smart card 200. In the illustrated embodiment, the smart card interface is a contact based solution (ISO/IEC 7816) and communicates with the smart card chip 218 through smart card contact 206 on the face of the smart card 200. As will be understood by those familiar with smart card communications, the smart card contact pad 206 has eight contact areas to support the communications: c1 is assigned to the supply voltage; c2 is assigned to a reset signal; c3 is assigned to a clock signal; c4 is not used; c5 is assigned to ground; c6 is not used; c7 is for I/O; and c8 is not used. The interface 322 corresponds to these electrical contacts, i.e., provides a physical connection to the pad 206 when the smart card and activation unit 300 are connected. The sleeve controller 320 can also use the contactless standard to communicate with the dual interface smart card chip 218 through the antenna 324. Contactless communication with the smart card chip 218 can be accomplished with either NFC or Standard ISO/IEC 14443 components.
The activation unit also includes smart card controller interface 318 for wired (e.g., RS232) or wireless (RS485) wireless communications with the interface 210 of the smart card 200.
In embodiments, the activation unit 300 includes an internal power source represented as battery power source 314. The battery power source 314 can be a standard rechargeable lithium polymer battery commonly used in cell phones, PDA devices, hand held games and the like. An alternate or additional power source for the activation unit 300 is USB PC connection 316. This PC Connection 316 serves as the means by which PC and Internet based software download content and applications to the card 200 as described above in connection with FIG. 1. PC/SC is the standard for connection and interaction with a smart card acceptance device like activation unit 300. The activation unit 300 can both read and write content to the smart card 200 using established standards like PC/SC and GlobalPlatform Card and Device standards.
When the activation unit 300 is turned on and the smart card is docked with the activation unit 300 (as shown in FIG. 1, for example), the biometric sensor 312 is used to authenticate the user to the smart card 100. In one preferred embodiment, this authentication process is accomplished by a smart card application resident at smart card chip 218 referred to as “Match on Card.” Various companies, such as Precise Biometrics of Sweden, Sagem Orga of Germany and others supply this type of application for smart cards for use in access control solutions. The biometric sensor 312 captures a live image of a presented user's fingerprint. The live image is processed by software running on the controller 320 or by a separate processor (not shown) to generate a template from this image data. The sleeve controller communicates with the biometric sensor and transmits the template file through either smart card interface 322 or antenna 324 to the smart card chip 218, specifically to the Match on Card application running on the smart card chip 218. The Match on Card application compares this received live template file with one or more templates that have been previously stored in the smart card chip 218 (or associated memory). The result of the comparison is either a success or failure result. A Success results will allow the user to proceed, and a Failure result will stop any future use of the activation unit until a Success result is achieved. If the user cannot complete this authentication step, the user cannot use the smart card 100 for any transactions. That is, the smart card 200 is not unlocked.
The smart card application that is selected by the user for use is unlocked until the card is placed back into the sleeve. When the sleeve senses the presence of the card it will perform the necessary functions to lock all resident applications. The magnetic stripe 214 of the smart card is in active (transmit) mode until either the completion of a swipe or a timeout has occurred, or when the card is placed back into the sleeve. The timeout length is preferably user definable.
Although the authentication means is shown as a biometric system, other authentication systems may be used. For example, a secure PIN or password can be stored on the smart card chip 218. In this embodiment, the user inputs the PIN or password rather than present a finger to be authenticated.
While the activation unit 300 is shown as a stand-alone device, the activation unit 300 and its functionality can be incorporated into other devices, such as a personal digital assistant or other portable devices such as a cell phone. To the extent this device has Internet capabilities, the device could provide both the activation unit and computer aspects of the system of FIG. 1.
As described in more detail below in connection with the flow diagram of FIG. 8, the sleeve controller 320 uses a card Interface 318 to communicate any necessary information to the smart card for display on the card display 204 and for transmission through the magnetic stripe emulator 214. Application specific information can be displayed for visual verification or other typical plastic card risk management functions like comparing a displayed name against another form of identification. In preferred embodiments, the card interface 318 and card controller 216 communicate via wireless RS-485, but, as explained above, wired communications (e.g., RS-232) with interface I/O 210 can also be used.
FIGS. 4A and 4B illustrate an alternative embodiment of the smart card 400. In this embodiment, many of the components of the activation unit 300 are incorporated into the smart card 400. The smart card body 402 includes a smart card contact pad 406, an optional logo 408, a biometric sensor 410, and a user interface including a display 404 and a user input keypad 412 including scroll button 414, OK button 416 and on/off button 418. With reference to FIG. 4B, the card 400 includes smart card controller 422, which is coupled to magnetic stripe emulator 430, smart card chip 424 and antenna 426. The card 400 includes an internal battery power source 420.
The card 400 can be used with a simplified activation unit 500 illustrated in FIGS. 5A and 5B. In this embodiment, the activation unit 500 includes a sleeve controller 502 and a PC interface 504 and is operable only for managing applications on the smart card chip 424. The sleeve controller 502 communicates with the smart card chip 424 of the card 400 through either contact communications via smart card contact interface 506 (described above) or contactless communications using antenna 508. The activation unit is essentially a standard smart PC/SC card acceptance device for supporting smart cards, such as those devices sold by Advanced Card Systems Ltd. Of Hong Kong, Gemalto (formerly Gemplus) of the Netherlands, Fujitsu of Japan and others. In this embodiment of the smart card 400, the card controller 422 communicates directly with the smart card chip 424 through an interconnect with the smart card chip 424 rather than through the activation unit. The smart card chip 424 must support some form of bus design, like SPI, to communicate with an outside controller chip like the card controller 422.
In use, the user uses keypad 412 to turn on the card 400. As described above in connection the embodiments of card 200 and activation unit 300, the biometric sensor 410 captures a live image and it is converted to a template by appropriate software, which is provided to the Match on Card application resident on the smart card chip 424. A successful match against a previously stored template authenticates the user and activates the card for use. The user then used keypad 412 to scroll through the available applications on the smart card chip 424 and to select one of the available applications for use. Once an application is selected, the controller 422 retrieves the secured static and dynamic data for the application and controls magnetic stripe emulator 430 to emulate this data, thus allowing the smart card 400 to be used with a conventional magnetic stripe reader but with the further advantages of enhanced security and fraud prevention provided by the use of the dynamic data. Of course, the card could also be used with conventional smart card readers. For card not present transactions, the controller 422 controls display 404 to display any necessary information for performing the transactions (e.g., dynamic card verification data such as a dynamic code or one time password or other data).
FIG. 6 is a flow diagram of the biometric enrollment process for initializing the smart card 200 with a user's fingerprint template for later use in authenticating the user during transactions. While the method is described in connection with smart card 200, the method is equally applicable to modified smart card 400. This process determines what users can access applications stored on the smart card chip 218.
At step 600, the user docks the smart card 200 with the activation unit 300 and turns on the activation unit using on/off button 310 of the keypad 304.
At step 601, the user places a finger on the biometric sensor 312. In embodiments, this sensor can be a silicon based area sensor or a swipe sensor commonly found on many laptops.
At step 602, the biometric sensor 312 captures the fingerprint image, and at step 603 the image quality is checked to make sure enough relevant points are identified to enable accurate authentication using the fingerprint.
At step 604, if the image quality is not sufficient the user is prompted to repeat the capture step (via display 302) and the process returns to repeat steps 601 to 603.
At step 605, if the image is of sufficient quality (as determined at step 603), the biometric sensor 312 processes the image into a template file of the representative data points.
At step 606, the template is stored in the secure memory of the smart card chip 218, which can be accessed in the future by the Match on Card application of the smart card chip 218.
At step 607, the user is asked if another image should be captured for future comparison. If another image is requested the process is repeated. If no additional images are to be captured the process terminates at step 508.
FIG. 7 is a flow diagram of the user authentication process. Assuming biometrics are used for authentication, this process is only used after the user completes the biometric enrollment process described above in connection with FIG. 6.
At step 700, the user docks the smart card 200 with the activation unit 300 and turns on the activation unit using the on/off button 310 of keypad 304.
At step 701, the user places a finger on the biometric sensor 312.
At step 702, the biometric system captures the live biometric image.
At step 703, the biometric system checks the image quality to determine if there are a sufficient number of data points for comparison.
At step 703, if quality is determined to be insufficient, the user is notified at step 704 (through display 302) that the image capture step must be repeated.
At step 705, if the image is of sufficient quality (as determined at step 703), the biometric system processes the image into a template file of the representative data points.
At step 706, the template file is submitted from the activation unit 300 to the Match on Card application of the smart card chip 218 for comparison to the template(s) that were stored during the biometric enrollment process (FIG. 6).
At step 707, the Match on Card application returns a value of success or failure.
At step 708, if a failure to match occurs the user is notified of the result (via display 302), returned to step 701 and prompted to place a finger on the biometric sensor.
At step 709, if a successful match is determined the user is notified (via display 302) and the process ends (step 710) by sending the user to the application selection process defined in FIG. 8. At this point, the user has been authenticated and the card id active.
While the method of FIG. 7 is described in connection with smart card 200 and activation unit 300, the method is equally applicable to modified smart card 400. That is, the process is performed entirely within the smart card 400 rather than by using the activation unit 300.
FIG. 8 is a flow diagram illustrating an application selection process where an application is selected for use in a transaction and the magnetic stripe emulator of the smart card 200 (or 400) is primed for use in the transaction. The method FIG. 8 follows the user authentication process of FIG. 7.
At step 800, the user successfully activates the device using the method of FIG. 7.
At step 801, the activation unit 300, specifically the activation unit controller 320 through, for example, the smart card interface 322, performs a query of the smart card chip 218 to obtain a list of its installed applications.
At step 802, the activation unit controller 320 generates a list of applications and displays the list on the display unit 302.
At step 803, the user presses a key on the keypad 304.
If the user pressed the on/off key 310 at step 803, the activation 300 unit is turned off at step 804. The function to lock all applications on the smart card is called when the user turns off the card activation unit while card is in the activation unit or when a card is placed back into the card activation unit.
At step 805, if the user pressed the scroll key 306 at step 803, the next item on the list is highlighted. If the user had scrolled to the last application on the list the highlight is returned to the first application on the list and control is passed back to step 803 where the activation unit waits for the next key to be pressed.
At step 806, if the user pressed the ok key 308, the life cycle status of the application selected is changed to “unlocked” and the other applications have their life cycle statuses changed to “locked” (step 807). Application lifecycles and the methods of changing them are defined in the GlobalPlatform Card and other standards discussed above.
Steps 808 to 810 represents steps that enable the use of smart card dynamic card verification data in magnetic stripe transactions. At step 808, the activation unit 300, through its controller 320 acting as a GlobalPlatform device (or other device if another standard is employed) queries the user-selected application from the smart card chip 218 and obtains the necessary data values to be used by the smart card 200 in constructing the magnetic stripe data and any data elements for display on the card display 302. During step 808, any necessary keys are passed from the activation unit 300 to the smart card application to authenticate activation unit 300 as a valid GlobalPlatform (or other) device, according to the applicable industry standard.
At step 809, a mapping algorithm is used by the controller 320 to take the output from the query of the smart card application to format a data stream that is to be emulated by the magnetic stripe emulator 214. This algorithm maps the output of the smart card, which is a given number of data bits representing various data elements of a smart card transaction, to various data elements called for in the applicable magnetic stripe transaction specification for the given transaction application. The activation unit can then create a new data stream in accordance with the transaction application rules for the magnetic stripe transaction, including all of the necessary data elements plucked from the smart card data stream (e.g., user name, account number, etc.) but also including dynamic card verification data. In embodiments, the dynamic card verification data includes: (a) dynamic data code flag; (b) a dynamic data code (retrieved from the smart card data stream); and (c) an incremental transaction number (also retrieved from the smart card data stream). The controller also received any necessary data for display during card not present transactions.
At step 810, the activation unit 300 sends the newly created magnetic stripe data and any display data to the smart card controller 216. The card controller 216 then sends the display data to the display 204 and the magnetic stripe data to the magnetic stripe emulator 214.
At step 811, once all the information is obtained and properly communicated to the smart card from the activation unit 300, the activation unit 300 notifies the user through display 302 that the card can be removed from the activation unit and is ready for use with any card reader (i.e., contact or contactless smart card reader or standard magnetic stripe reader).
At step 812, if the smart card 200 is removed from the activation unit 300 the activation unit 300 is turned off. If the smart card 200 is not removed from the activation unit 300, control is passed back to step 803 and the device waits for another key to be pressed. The removal of the smart card 200 at step 712 is a system level event meaning and at any time if this event occurs, the activation unit 300 is turned off.
The magnetic stripe emulator will stay active for a user definable period of time or until the sensors that form part of the emulator sense a successful swipe past a magnetic read head. The smart card will stay active until the card is placed back into the sleeve.
FIG. 9 is a table illustrating the generally applicable data format specifications for magnetic stripe credit card transactions defined in ISO/IEC 7813. FIG. 9 also illustrates how to change static magnetic stripe data to include some dynamic information for use in a transaction. Tracks 1 and 2 include many fields that are used to allow a card issuer or its agent to authorize a financial transaction. On each track there is a Discretionary Data(DD) segment that allows for the issuer to include some relevant information to use in the transaction authorization process. The typical DD segment includes the static CVV (VISA) or CVC (MASTERCARD) values, which are allotted three characters. Replacing the three character CVV or CVC data with a three digit dynamic code (dCVV in Visa, Inc. terms, or CVC3 in MasterCard, Inc. terms), including the dCVV of CVC3 indicator character (e.g., a status flag indicating that dynamic data is present), and including a four character Application Transaction Counter value allows the card issuer to use a set of data unique to each transaction to authorize a transaction. The smart card chip application in use increments the transaction counter after each transaction from that particular smart card application (i.e., each smart card application maintains its own transaction counter). This value is passed to the transaction server (which is part of the credit card transaction infrastructure in place) during authorization and eliminates the need on the server side to stay in sync as is required by many of today's security tokens.
This approach takes the dynamic code scheme already defined in the specifications for secure smart card transactions, but not for magnetic stripe transactions, and allows for it to be supported in traditional magnetic stripe transactions. Use of this dynamic information in a magnetic stripe transaction allows the same smart card verification algorithms already in place for use with smart card transactions to be reused for magnetic stripe transactions, thereby providing magnetic stripe transactions with the security of smart card transactions through existing magnetic stripe readers. This approach saves a tremendous amount of resources and money by implementing secure transactions through existing magnetic stripe readers already deployed in the field.
It should be understood that the specific scheme described above in connection with FIG. 9, where a CVV or CVC value is replaced with a dCVV or CVC3 value, is specific to only one data specification. The scheme (i.e., particular data format, location of dynamic data, selected dynamic data, etc.) can change according to the card issuer and transaction application. Modifications on data formats clearly fall within the spirit and scope of the present invention. Those familiar with transaction cards will recognize that a number of international organization for standardization standards have been promulgate, e.g., ISO/IEC 7810, ISO/IEC 7811, ISO/IEC 7812, ISO/IEC 7813, ISO 8583, and ISO 4909, for defining the physical properties of the card, including size, flexibility, location of the magstripe, magnetic characteristics, and data formats. These standards also provide the standards for financial cards, including the allocation of card number ranges to different card issuing institutions. These standards will guide the artisan in formatting the secured data and dynamic card verification data for use in a magnetic stripe transaction.
Magnetic stripes following these specifications can typically be read by most point-of-sale hardware, which are simply general-purpose computers that can be programmed to perform specific tasks. Examples of cards adhering to these standards include ATM cards, bank cards (credit and debit cards including VISA and MasterCard), gift cards, loyalty cards, driver's licenses, telephone calling cards, membership cards, and electronic benefit transfer cards (e.g., food stamps). The approach described herein can be used in nearly any application in which value or secure information is stored on the card itself or even in remote storage. For example, health care information can be stored at a central provider. The user can be issued a smart card as described herein. The smart card would have some secured data, such as an identification of the user and an account number, as well as a smart card chip that can generate dynamic data (e.g., a code and/or transaction number). The user can use the smart card to authorize a doctor or other health care provider to access this secured data (i.e., a transaction) and the backend system would operate in the manner described above to use authorization algorithms with the dynamic data to authorize the transaction (i.e., release of the medical data). FIG. 10 is a more detailed block diagram view of the processing components of the card activation unit controller 320. The controller 320 includes a microprocessor 1 programmed with memory 2 containing its various operating instructions. Memory 2 includes instruction set 3 for enabling the controller 320 to act as a smart card acceptance device. These instructions allow the device to interface with and manage applications on a smart card chip as described above. Instruction set 4 includes instructions for allowing the controller 320 to communicate with a smart card controller 216 of smart card 200. Instruction set 5 is used by the controller 320 in performing the biometric scanning, template formation, etc. operations of the controller. Instruction set 6 includes the general operating instructions of the controller. These operating instructions form the operating framework for the device, including the use of the various other instruction sets in performing the operations and methods described herein, and the like. Operating instructions 2 includes a set of instructions 11 for controlling the display information to the user on the activation unit display 302. Finally, the operating instructions include sets of transaction application specific instructions 7. These instructions are used by the controller 320 in mapping/parsing the smart card transaction data received from the smart card, as described above, and formatting some or all of the data for use in a magnetic stripe transaction. For example, the transaction specific instructions 7 can include a set of instructions 8 that are specific to Visa, Inc. transactions. Instructions 8 include a smart card transaction mapping algorithm that is used by the controller 320 to identify specific data elements in a VISA® smart card transaction data communication received from the smart card chip 218 as well as instructions for constructing a magnetic stripe transaction data structure in accordance the governing specification, including the necessary static data elements and the dynamic card verification data for the magnetic stripe transaction data structure. Other instruction sets, such as instruction set 9, which is specific to MasterCard, Inc. transactions, and instruction set 10 specific to debit card transactions, etc. are also included.
FIG. 11 is a block diagram of the processing components of smart card controller 216. Smart card controller 216 includes a microprocessor 20 programmed in accordance with operating instructions 21. The operating instructions can include, for example, instruction set 22 for managing communications with the activation unit 300. The operating instructions 21 also include an instructions set 23 relating to control of the magnetic stripe emulator 214. The operating instructions include a general set of operating instructions 24 for controlling the overall operation of the device. These operating instructions form the operating framework for the device, including the use of the various other instruction sets in performing the operations and methods described herein, and the like. Finally, operating instructions 21 includes a set of instructions 25 for controlling the display of information to the user on the activation unit display 204.
As described above, smart card controller 422 would incorporate many of the functions performed by activation unit controller 320. That is, in addition to the operating instruction sets described above for smart card controller 216 in FIG. 11, smart card controller 422 can include those instructions sets from FIG. 10 necessary for performing the operations described above in connection with smart card 400.
FIGS. 12-20 illustrate an embodiment of a transaction system that utilizes a smart card transaction enabled cell phone or other portable wireless communication device. FIG. 12 shows a short-range communication enabled cell phone 950 in communication with a NFC enabled companion card 900. In embodiments, the short-range communication scheme is Near Field Communication or NFC, which is a short-range high frequency wireless communication technology that enables the exchange of data between devices over about a 10-20 centimeters (about 4-8 inches) distance. As such, the cell phone is enabled for both long range (e.g., cell communications) and short-range communications. NFC is an extension of the ISO/IEC 14443 proximity-card standard (contactless card, RFID) that combines the interface of a smart card and a reader into a single device. An NFC device can communicate with both existing ISO/IEC 14443 smart cards and readers, as well as with other NFC devices, and is thereby compatible with the existing contactless RFID infrastructure already in use for, for example, public transportation and payment. While the transaction system is described herein in connection with NFC communications, it should be understood that NFC communication is only one possible embodiment and other protocol/approaches for short range communications can be used to communicate between devices. The phrase “near field communications” is used herein generically to refer to these short range communications while NFC as an acronym refers to the specific Near Field Communications standard.
In this embodiment, the cell phone 950 is configured for contactless transactions (e.g., contactless credit or debit transactions) using existing NFC techniques. However, existing contactless transaction enabled cell phones cannot be used for magnetic stripe transactions, which is the dominant technology presently in use. In the embodiment illustrated in FIG. 12, the cell phone 950 communicates with the NFC enabled companion card 900 by way of NFC communications. Specifically, in much the same manner described above in connection with the activation unit 300, the cell phone 950 communicates transaction data to the NFC enabled companion card 900 for use in a magnetic stripe transaction using a magnetic stripe emulator. In exemplary embodiments, this transaction data preferably include any necessary static secured data for performing the transaction as well as dynamic card verification data for use in authorizing the transaction. Any necessary data for display on the NFC enabled companion card 900 for use in the transaction can also be transmitted.
Turning to FIGS. 13A and 13B, FIG. 13A is a frontal view of the NFC enabled companion card 900 and FIG. 13B illustrates the internal and some rear components of the NFC enabled companion card 900. The NFC enabled companion card 900 has a smart card body 902 that is shaped like a conventional credit or transaction card. The smart card includes an on/off button 906 for powering the smart card on/off and a display 904 for displaying information to the user. As with other embodiments of smart cards described herein, the NFC enabled companion card 900 includes a smart card controller (i.e., ASIC) 908 in communication with a magnetic stripe emulator. The NFC enabled companion card 900 also includes an internal battery power source 916 for powering at least the smart card controller 908 and the magnetic stripe emulator 914. The NFC enabled companion card 900 includes a NFC chip (i.e., contactless RF module) that is configured for RF communications via the antenna 912 with another NFC enabled device. While the NFC chip is shown as a separate chip set 910, the NFC functionality can be built into the ASIC that serves as the controller 908. The NFC enabled companion card 900 does not need to include a smart card chip, as the smart card application(s) is/are resident on the cell phone 950.
FIG. 14 is a block diagram of the processing components of smart card controller 908. Smart card controller 908 includes a microprocessor 909 programmed in accordance with operating instructions 911. The operating instructions 911 include, for example, instruction set 913 relating to control of the magnetic stripe emulator 914 and instruction set 917 for engaging in NFC communications with another NFC enabled device. Instruction set 917 interfaces with NFC chip set 910 if the NFC chip set is a separate component from controller 908 or includes the NFC chip set functionality if the NFC communication functionality is incorporated into the controller 908. The operating instructions include a general set of operating instructions 915 for controlling the overall operation of the device. These operating instructions 915 form the operating framework for the device, including the use of the various other instruction sets in performing the operations and methods described herein, and the like. Operating instructions 911 can also includes a set of instructions 919 for controlling the display of information to the user on the display 904.
FIG. 15 is block diagram of the relevant processing components of cell phone 950. It should be understood that only those portions of the processing capabilities pertinent to interacting with the NFC enabled companion card 900 for performing a transaction are described herein. The general processing capabilities of a cell phone, PDA or other wireless communication device for performing its standard operations (e.g., placing a telephone call, communicating via the Internet, email, etc.) are familiar to those in the art of wireless communication devices and are not described herein so as to avoid obscuring the description of the present invention. The cell phone 950 includes a controller 960 that includes a microprocessor 962 programmed in accordance with operating instructions 963.
The operating instructions 963 include a set of general operating instructions 964. These operating instructions 964 form the operating framework for the device, including the use of the various other instruction sets in performing the operations and methods described herein, the display of information to the user on display of the cell phone and the like. Instruction set 966 includes one or more smart card applications 966 for performing contactless smart card transactions, such as by way of NFC communications. These instructions correspond to the VISA® smart card transaction applications, MASTERCARD® smart card transaction applications, debit transaction application, information access transaction, etc. described above as being resident in secure memory of the smart card chips 218, 424 discussed above. These applications 966 initiate transactions using secured data stored in the device, generate dynamic card verification data (e.g., the dCVV code for VISA® transactions and transaction counters) and provide information for display to a user during a transaction. These smart card applications 966 are familiar to those artisans in this field. The operating instructions 963 also include one or more smart card reader applications 968 for communicating with the smart card applications 966. These instructions correspond to the smart card acceptance device instruction set 3 described above and allow the device to interface with and manage smart card applications 966. This application 968 enables the controller 960 to mimic a smart card acceptance device (e.g., a reader) to receive secure communications with the contactless smart card transaction data from the smart card transaction applications 966. By way of example and with specific reference to credit card applications, this “reader” application 966 queries the selected application to return the Track 2 equivalent data. In a Visa, Inc. application, this Track 2 data would include the dCVV and the transaction counter data. Once this data is obtained the “reader” application can provide the data to the transaction application specific instructions 970 (described below) to derive Track 1 data for use in a magnetic stripe transaction. The magnetic stripe transaction data is passed to the NFC communication program 972, which establishes a peer-to-peer session with an in-range NFC enabled companion card 900.
The operating instructions 963 include a set of transaction application specific instructions 970 similar to instruction set 7 discussed above in connection with FIG. 10. These instructions are used by the controller 960 in mapping/parsing the smart card transaction data received from the smart card application(s) 966, as described above, and formatting some or all of the data for use in a magnetic stripe transaction. For example, the transaction application specific instructions 970 can include a set of instructions 974 specific to Visa, Inc. transactions. Instructions 974 include a smart card transaction mapping algorithm that is used by the controller 960 to identify specific data elements in a VISA® smart card transaction contactless data communication from the smart card application 966 as well as instructions for constructing a magnetic stripe transaction data structure in accordance the governing specification, including the necessary static data elements and the dynamic card verification data for the magnetic stripe transaction data structure. Other instruction sets, such as instruction set 976, which is specific to MasterCard, Inc. transactions, and instruction set 978 specific to debit card transactions, etc. are also included.
Finally, the operating instructions 963 can include an instruction set 980 for performing user authentication for transactions. These instructions can be specific to biometric authentication (e.g., biometric scanning, template formation, etc.) or other kinds of authentication, such as user PIN or password authentication.
FIG. 16 illustrates the use of the NFC enabled companion card 900 in a transactions, specifically a credit transaction, after the magnetic stripe emulator 914 has been encoded with transaction information. Once the magnetic stripe emulator 914 is encoded with the proper transaction data, the NFC enabled companion card 900 is swiped through a standard magnetic stripe reader 1000 connected to a POS device, such as a cash register 1100. If dynamic card verification data is included in the encoded data, that data is used during the authorization process as discussed above.
FIG. 17 is a basic flow diagram illustrating a method of using the NFC enabled companion card 900 and cell phone 950 in a transaction. The details of many of the individual steps shown in FIG. 17 are described above in more detail in connection with the flow diagrams of FIGS. 6-8.
At step 1200, the user turns on the NFC enabled companion card 900.
At step 1202, the user uses the cell phone (or other wireless communication device) to bring up a list of transaction applications (e.g., debit, VISA, Inc., MasterCard Inc., etc.) and the user selects one of the transactions for use. During this step, the smart card reader application 968 can query the smart card applications for available applications and the processor 962 displays those applications on the display of the cell phone 950. The user scrolls through the listing and selects an application for use. The cell phone 950 can be programmed with a mobile wallet application that allows the user to select from among the installed applications (credit, debit, others) and enable or activate one for use in the next transaction.
At step 1204, the user is authenticated, such as using biometrics if the cell phone (or smart card) has biometric capabilities or a PIN or password authentication scheme.
At step 1206, the user brings the NFC enabled companion card 900 within NFC range of the cell phone 950 so that they can communicate with one another. Once in range of one another the NFC enabled mobile phone and the smart card establish a peer-to-peer session and pass data to each other. The NFC peer-to-peer session is governed by applicable standards.
At step 1208, the cell phone 950, using transaction application specific instructions 970, prepares magnetic stripe transaction data for use by the NFC enabled companion card 900. As will be understood from the foregoing description, the smart card reader application 968 obtains contactless smart card transaction data from the smart card application(s) 966 and provides that information to the transaction application specific instructions 970 to prepare the magnetic stripe transaction data.
At step 1210, the cell phone 950 transmits the magnetic stripe transaction data to the smart card using NFC communication instructions 972. The transmission of data between the phone and the card can be encrypted according to the established standards covering NFC and ISO 14443 contactless smart cards.
At step 1220, the NFC enabled companion card 900 receives the magnetic stripe transaction data and the smart card controller 908 controls the magnetic stripe emulator to encode the received magnetic stripe transaction data in its magnetic field.
At step 1230, the user is notified (through the display 904 of the NFC enabled companion card 900 and/or the display of the cell phone 950) that the card is ready to use in a traditional magnetic stripe reader. The user uses the smart card with a standard magnetic stripe reader to perform a transaction.
After a successful transaction, at a predetermined time limit or when the user presses the on/off button 906, the NFC enabled companion card 900 deletes any transaction data and is available for use in the next transaction. For security purposes, the NFC enabled companion card 900 retains no useful information related to the transaction.
The cell phone can also be used in conventional contactless smart card transactions. For the VISA® MSD and MASTERCARD® Magstripe smart card specifications this means that the cell phone returns Track 2 equivalent data. The contactless reader application takes Track 2 data and creates Track 1 data since a lot of the information is redundant on the Tracks. The only significant difference in the track data is that the card holder name is on Track 1 but including this information in payment information is sometimes not recommended. The contactless reader then sends this data to the POS system for use in authorizing the transaction.
FIG. 18 illustrates a system for programming the cell phone 950 with transaction applications and managing those applications. The system operates in much the same manner as the system shown in FIG. 1 and described above except that the programming occurs over-the-air via a cellular system. Of course, programming could also occur via wireless Internet communications. The system includes Smart Card Managements System 175, which is described above. The issuer 173 (or its agent) takes standard account information and a SCMS system 175 and combines the account information with other data to create a load file that is downloaded to the cell phone 950 via the cellular data network 179 and Over the Air (OTA) Provisioning Service 177, such as the Trusted Service Provider service provided by Venyon of Helsinki, Finland. This service is responsible for, among other things, managing the cellular communications during the download of the Load File. When the mobile phone 950 receives this load file it is routed to the card manager program resident on the phone 950 that controls the installation and activation of the smart card applications on the phone.
FIG. 19 illustrates an option for storing and charging the NFC enabled companion card 900. More specifically, the NFC enabled companion card 900 is stored in a slot or pocket 951 behind the cell phone 950. A connection is provided to couple the cell phone 950 to the NFC enabled companion card 900 so that the internal battery 916 of the NFC enabled companion card 900 can be recharged by the internal battery of cell phone 950.
While the smart card system described herein provides particular advantages when used in connection with financial transactions, the system is not so limited. The smart card system can be used in connection with access to customer records, health records, financial records or other confidential information. As such, the term “transaction” as used herein is not limited to financial transactions but rather more generically refers to the provision of information by way of smart card or magnetic stripe for use in some form of authentication and/or authorization.
Although the invention has been described in terms of exemplary embodiments, it is not limited thereto. Rather, the appended claims should be construed broadly to include other variants and embodiments of the invention that may be made by those skilled in the art without departing from the scope and range of equivalents of the invention.

Claims (15)

What is claimed is:
1. A transaction system, comprising:
a portable, personal wireless communication device enabled for near field communications with a similarly enabled device, the wireless communication device being programmed with at least one smart card application for use in contactless smart card transactions, wherein the wireless communication device is configured to format contactless smart card transaction data for magnetic stripe transactions and communicate magnetic stripe transaction data by near field communication, the magnetic stripe transaction data including the formatted contactless smart card transaction data; and
a companion card enabled for near field communications with a similarly enabled device, the companion card including a card body which includes:
a magnetic stripe emulator for use with a transaction terminal configured to read transaction information encoded on a magnetic stripe of a standard transaction card;
a card controller in communication with the magnetic stripe emulator, wherein the card controller is configured to receive the magnetic stripe transaction data communicated to the companion card by near field communication and control the magnetic stripe emulator to emit a magnetic field encoded with the magnetic stripe transaction data; and
a power supply.
2. The transaction system of claim 1, wherein the contactless smart card transaction data includes dynamic card verification data, wherein dynamic card verification data is included in the magnetic stripe transaction data.
3. The transaction system of claim 1, wherein the portable, personal wireless communication device is a cellular telephone and the near field communications are NFC format.
4. A companion card enabled for near field communications with a similarly enabled device, the companion card including a card body which includes:
a magnetic stripe emulator for use with a transaction terminal configured to read transaction information encoded on a magnetic stripe of a standard transaction card, the magnetic stripe emulator configured to spatially code data along one or more emulated tracks readable via swipe through the transactional terminal;
a card controller in communication with the magnetic stripe emulator, wherein the card controller is configured to receive magnetic stripe transaction data communicated to the companion card by near field communication and control the magnetic stripe emulator to emit a magnetic field encoded with the magnetic stripe transaction data;
a near field communications module; and
a power supply.
5. The companion card of claim 4, wherein the near field communication module is a NFC chip.
6. The companion card of claim 4, wherein the card body further comprises a display in communication with the card controller, and wherein the card controller displays on the display information for use in authorizing a card-not-present transaction.
7. The companion card of claim 4, wherein the magnetic stripe emulator includes two or more emulated magnetic stripe tracks.
8. The companion card 4, wherein the communicated magnetic stripe transaction data comprises secured smart card transaction data and dynamic card verification data from a contactless smart card transaction application.
9. A portable, personal wireless communication device enabled for near field communications with a similarly enabled companion card, the wireless communication device being programmed with at least one smart card application for use in contactless smart card transactions, wherein the wireless communication device is configured to format contactless smart card transaction data for magnetic stripe transactions and communicate magnetic stripe transaction data by near field communication to the companion card, the magnetic stripe transaction data including the formatted contactless smart card transaction data.
10. The communication device of claim 9, wherein the communication device is a cellular telephone and is configured for contactless smart card transactions, and wherein the communication device includes a smart card reader application for receiving transaction data from the at least one smart card application and a set of instructions specific to the at least one smart card application for formatting the contactless smart card transaction data for use in magnetic stripe transactions.
11. The communication device of claim 9, wherein the communication device is configured for NFC communications.
12. The communication device of claim 9, wherein the communication device is programmed with a plurality of transaction applications, each transaction application providing respective secured data for use in a transaction, wherein the contactless smart card transaction application data comprises dynamic card verification data and the secured data for a selected transaction application.
13. The communication device of claim 12, wherein the plurality of transaction applications correspond to two or more of a credit transaction application, a debit transaction application and an information access control application.
14. The communication device of claim 12, wherein the communication device is configured to present a user interface display for enabling user selection of the plurality of transaction applications for use.
15. The communication device of claim 9, wherein the communication device comprises a slot or pocket for carrying the companion card when not in use in magnetic swipe transactions.
US13/216,919 2008-08-20 2011-08-24 Secure smart card system Active 2029-10-29 US8594730B2 (en)

Priority Applications (2)

Application Number Priority Date Filing Date Title
US13/216,919 US8594730B2 (en) 2008-08-20 2011-08-24 Secure smart card system
US14/063,722 US9129280B2 (en) 2008-08-20 2013-10-25 Secure smart card system

Applications Claiming Priority (5)

Application Number Priority Date Filing Date Title
US9036208P 2008-08-20 2008-08-20
US9035808P 2008-08-20 2008-08-20
PCT/US2009/054275 WO2010022129A1 (en) 2008-08-20 2009-08-19 Secure smart card system
US201113059433A 2011-02-17 2011-02-17
US13/216,919 US8594730B2 (en) 2008-08-20 2011-08-24 Secure smart card system

Related Parent Applications (2)

Application Number Title Priority Date Filing Date
PCT/US2009/054275 Continuation WO2010022129A1 (en) 2008-08-20 2009-08-19 Secure smart card system
US13/059,433 Continuation US8814052B2 (en) 2008-08-20 2009-08-19 Secure smart card system

Related Child Applications (1)

Application Number Title Priority Date Filing Date
US14/063,722 Continuation US9129280B2 (en) 2008-08-20 2013-10-25 Secure smart card system

Publications (2)

Publication Number Publication Date
US20120052800A1 US20120052800A1 (en) 2012-03-01
US8594730B2 true US8594730B2 (en) 2013-11-26

Family

ID=41707439

Family Applications (3)

Application Number Title Priority Date Filing Date
US13/059,433 Active 2030-10-20 US8814052B2 (en) 2008-08-20 2009-08-19 Secure smart card system
US13/216,919 Active 2029-10-29 US8594730B2 (en) 2008-08-20 2011-08-24 Secure smart card system
US14/063,722 Active US9129280B2 (en) 2008-08-20 2013-10-25 Secure smart card system

Family Applications Before (1)

Application Number Title Priority Date Filing Date
US13/059,433 Active 2030-10-20 US8814052B2 (en) 2008-08-20 2009-08-19 Secure smart card system

Family Applications After (1)

Application Number Title Priority Date Filing Date
US14/063,722 Active US9129280B2 (en) 2008-08-20 2013-10-25 Secure smart card system

Country Status (4)

Country Link
US (3) US8814052B2 (en)
EP (1) EP2324445B1 (en)
CN (1) CN102160061B (en)
WO (1) WO2010022129A1 (en)

Cited By (154)

* Cited by examiner, † Cited by third party
Publication number Priority date Publication date Assignee Title
US20120066741A1 (en) * 2009-05-13 2012-03-15 Rainer Falk Electronic key for authentication
US8857722B2 (en) 2012-07-20 2014-10-14 CPI Card Group—Colorado, Inc. Weighted transaction card
US9070053B2 (en) 2013-10-25 2015-06-30 CPI Card Group—Colorado, Inc. Multi-metal layered card
WO2016168438A1 (en) * 2015-04-14 2016-10-20 Capital One Services, Llc A system, method, and apparatus for updating an existing dynamic transaction card
US9614570B2 (en) * 2012-08-30 2017-04-04 Mark and Draw, LLC. Cellular-phone case having retractable card holding structure
WO2017150924A1 (en) * 2016-03-02 2017-09-08 주식회사 마늘랩 Smart card for sequentially generating dynamic magnetic fields and method for controlling same
US9773153B1 (en) * 2016-03-24 2017-09-26 Fingerprint Cards Ab Fingerprint sensor module
US20180150840A1 (en) * 2015-01-28 2018-05-31 Malsaeng Co., Ltd. Online financial transaction identity authentication system using real card, and method thereof
US10028120B2 (en) * 2015-02-18 2018-07-17 Global Life-Line, Inc. Identification card holder with personal locator
US10032099B2 (en) 2012-07-20 2018-07-24 CPI Card Group—Colorado, Inc. Weighted transaction card
US10089568B2 (en) 2016-06-01 2018-10-02 CPI Card Group—Colorado, Inc. IC chip card with integrated biometric sensor pads
US20190122140A1 (en) * 2017-10-20 2019-04-25 STATGRAF Research LLP. Data analysis and rendering
US10425129B1 (en) 2019-02-27 2019-09-24 Capital One Services, Llc Techniques to reduce power consumption in near field communication systems
US10438437B1 (en) 2019-03-20 2019-10-08 Capital One Services, Llc Tap to copy data to clipboard via NFC
US10453053B2 (en) 2014-09-02 2019-10-22 Fit Pay, Inc. Systems and devices for wireless charging of a powered transaction card and embedding electronics in a wearable accessory
US10461396B2 (en) 2015-04-03 2019-10-29 Fit Pay, Inc. System and method for low-power close-proximity communications and energy transfer using a miniature multi-purpose antenna
US10467445B1 (en) 2019-03-28 2019-11-05 Capital One Services, Llc Devices and methods for contactless card alignment with a foldable mobile device
US10467622B1 (en) 2019-02-01 2019-11-05 Capital One Services, Llc Using on-demand applications to generate virtual numbers for a contactless card to securely autofill forms
US10475025B2 (en) 2011-10-17 2019-11-12 Capital One Services, Llc System, method, and apparatus for updating an existing dynamic transaction card
US10489781B1 (en) 2018-10-02 2019-11-26 Capital One Services, Llc Systems and methods for cryptographic authentication of contactless cards
US10498401B1 (en) 2019-07-15 2019-12-03 Capital One Services, Llc System and method for guiding card positioning using phone sensors
US10505738B1 (en) 2018-10-02 2019-12-10 Capital One Services, Llc Systems and methods for cryptographic authentication of contactless cards
US10506426B1 (en) 2019-07-19 2019-12-10 Capital One Services, Llc Techniques for call authentication
US10511443B1 (en) 2018-10-02 2019-12-17 Capital One Services, Llc Systems and methods for cryptographic authentication of contactless cards
US10510074B1 (en) 2019-02-01 2019-12-17 Capital One Services, Llc One-tap payment using a contactless card
US10516447B1 (en) 2019-06-17 2019-12-24 Capital One Services, Llc Dynamic power levels in NFC card communications
US10523708B1 (en) 2019-03-18 2019-12-31 Capital One Services, Llc System and method for second factor authentication of customer support calls
US10535062B1 (en) 2019-03-20 2020-01-14 Capital One Services, Llc Using a contactless card to securely share personal data stored in a blockchain
US10542036B1 (en) 2018-10-02 2020-01-21 Capital One Services, Llc Systems and methods for signaling an attack on contactless cards
US10541995B1 (en) 2019-07-23 2020-01-21 Capital One Services, Llc First factor contactless card authentication system and method
US10546444B2 (en) 2018-06-21 2020-01-28 Capital One Services, Llc Systems and methods for secure read-only authentication
US10554411B1 (en) 2018-10-02 2020-02-04 Capital One Services, Llc Systems and methods for cryptographic authentication of contactless cards
US10558275B2 (en) 2014-01-31 2020-02-11 Hewlett-Packard Development Company, L.P. E-paper display writer
US10565587B1 (en) 2018-10-02 2020-02-18 Capital One Services, Llc Systems and methods for cryptographic authentication of contactless cards
US10579998B1 (en) 2018-10-02 2020-03-03 Capital One Services, Llc Systems and methods for cryptographic authentication of contactless cards
US10581611B1 (en) 2018-10-02 2020-03-03 Capital One Services, Llc Systems and methods for cryptographic authentication of contactless cards
US10582386B1 (en) 2018-10-02 2020-03-03 Capital One Services, Llc Systems and methods for cryptographic authentication of contactless cards
US10592710B1 (en) 2018-10-02 2020-03-17 Capital One Services, Llc Systems and methods for cryptographic authentication of contactless cards
US10607214B1 (en) 2018-10-02 2020-03-31 Capital One Services, Llc Systems and methods for cryptographic authentication of contactless cards
US10607216B1 (en) 2018-10-02 2020-03-31 Capital One Services, Llc Systems and methods for cryptographic authentication of contactless cards
US10615981B1 (en) 2018-10-02 2020-04-07 Capital One Services, Llc Systems and methods for cryptographic authentication of contactless cards
US10623393B1 (en) 2018-10-02 2020-04-14 Capital One Services, Llc Systems and methods for cryptographic authentication of contactless cards
US10630653B1 (en) 2018-10-02 2020-04-21 Capital One Services, Llc Systems and methods for cryptographic authentication of contactless cards
US10643420B1 (en) 2019-03-20 2020-05-05 Capital One Services, Llc Contextual tapping engine
US10657754B1 (en) 2019-12-23 2020-05-19 Capital One Services, Llc Contactless card and personal identification system
US10664941B1 (en) 2019-12-24 2020-05-26 Capital One Services, Llc Steganographic image encoding of biometric template information on a card
US10680824B2 (en) 2018-10-02 2020-06-09 Capital One Services, Llc Systems and methods for inventory management using cryptographic authentication of contactless cards
US10685350B2 (en) 2018-10-02 2020-06-16 Capital One Services, Llc Systems and methods for cryptographic authentication of contactless cards
US10686603B2 (en) 2018-10-02 2020-06-16 Capital One Services, Llc Systems and methods for cryptographic authentication of contactless cards
US10701560B1 (en) 2019-10-02 2020-06-30 Capital One Services, Llc Client device authentication using contactless legacy magnetic stripe data
US10713649B1 (en) 2019-07-09 2020-07-14 Capital One Services, Llc System and method enabling mobile near-field communication to update display on a payment card
US10733645B2 (en) 2018-10-02 2020-08-04 Capital One Services, Llc Systems and methods for establishing identity for order pick up
US10733283B1 (en) 2019-12-23 2020-08-04 Capital One Services, Llc Secure password generation and management using NFC and contactless smart cards
US10733601B1 (en) 2019-07-17 2020-08-04 Capital One Services, Llc Body area network facilitated authentication or payment authorization
US10748138B2 (en) 2018-10-02 2020-08-18 Capital One Services, Llc Systems and methods for cryptographic authentication of contactless cards
US10757574B1 (en) 2019-12-26 2020-08-25 Capital One Services, Llc Multi-factor authentication providing a credential via a contactless card for secure messaging
US10771254B2 (en) 2018-10-02 2020-09-08 Capital One Services, Llc Systems and methods for email-based card activation
US10771253B2 (en) 2018-10-02 2020-09-08 Capital One Services, Llc Systems and methods for cryptographic authentication of contactless cards
US10783337B2 (en) 2016-08-16 2020-09-22 CPI Card Group—Colorado, Inc. IC chip card
US10783519B2 (en) 2018-10-02 2020-09-22 Capital One Services, Llc Systems and methods for cryptographic authentication of contactless cards
US10797882B2 (en) 2018-10-02 2020-10-06 Capital One Services, Llc Systems and methods for cryptographic authentication of contactless cards
US10832271B1 (en) 2019-07-17 2020-11-10 Capital One Services, Llc Verified reviews using a contactless card
US10841091B2 (en) 2018-10-02 2020-11-17 Capital One Services, Llc Systems and methods for cryptographic authentication of contactless cards
US10853795B1 (en) 2019-12-24 2020-12-01 Capital One Services, Llc Secure authentication based on identity data stored in a contactless card
US10860814B2 (en) 2018-10-02 2020-12-08 Capital One Services, Llc Systems and methods for cryptographic authentication of contactless cards
US10860914B1 (en) 2019-12-31 2020-12-08 Capital One Services, Llc Contactless card and method of assembly
US10861006B1 (en) 2020-04-30 2020-12-08 Capital One Services, Llc Systems and methods for data access control using a short-range transceiver
US10862540B1 (en) 2019-12-23 2020-12-08 Capital One Services, Llc Method for mapping NFC field strength and location on mobile devices
US10871958B1 (en) 2019-07-03 2020-12-22 Capital One Services, Llc Techniques to perform applet programming
US10885514B1 (en) 2019-07-15 2021-01-05 Capital One Services, Llc System and method for using image data to trigger contactless card transactions
US10885410B1 (en) 2019-12-23 2021-01-05 Capital One Services, Llc Generating barcodes utilizing cryptographic techniques
US10909544B1 (en) 2019-12-26 2021-02-02 Capital One Services, Llc Accessing and utilizing multiple loyalty point accounts
US10909527B2 (en) 2018-10-02 2021-02-02 Capital One Services, Llc Systems and methods for performing a reissue of a contactless card
US10915888B1 (en) 2020-04-30 2021-02-09 Capital One Services, Llc Contactless card with multiple rotating security keys
US10949520B2 (en) 2018-10-02 2021-03-16 Capital One Services, Llc Systems and methods for cross coupling risk analytics and one-time-passcodes
US10963865B1 (en) 2020-05-12 2021-03-30 Capital One Services, Llc Augmented reality card activation experience
US10970712B2 (en) 2019-03-21 2021-04-06 Capital One Services, Llc Delegated administration of permissions using a contactless card
US10984416B2 (en) 2019-03-20 2021-04-20 Capital One Services, Llc NFC mobile currency transfer
US10992477B2 (en) 2018-10-02 2021-04-27 Capital One Services, Llc Systems and methods for cryptographic authentication of contactless cards
US11030339B1 (en) 2020-04-30 2021-06-08 Capital One Services, Llc Systems and methods for data access control of personal user data using a short-range transceiver
US11038688B1 (en) 2019-12-30 2021-06-15 Capital One Services, Llc Techniques to control applets for contactless cards
US11037136B2 (en) 2019-01-24 2021-06-15 Capital One Services, Llc Tap to autofill card data
US11048991B2 (en) 2017-02-14 2021-06-29 CPI Card Group—Colorado, Inc. Edge-to-edge metal card and production method
US11062098B1 (en) 2020-08-11 2021-07-13 Capital One Services, Llc Augmented reality information display and interaction via NFC based authentication
US11063979B1 (en) 2020-05-18 2021-07-13 Capital One Services, Llc Enabling communications between applications in a mobile operating system
US11100511B1 (en) 2020-05-18 2021-08-24 Capital One Services, Llc Application-based point of sale system in mobile operating systems
US11113685B2 (en) 2019-12-23 2021-09-07 Capital One Services, Llc Card issuing with restricted virtual numbers
US11120453B2 (en) 2019-02-01 2021-09-14 Capital One Services, Llc Tap card to securely generate card data to copy to clipboard
US11157893B2 (en) 2014-11-08 2021-10-26 Samsung Electronics Co., Ltd. Electronic device including a plurality of payment modules
US11165586B1 (en) 2020-10-30 2021-11-02 Capital One Services, Llc Call center web-based authentication using a contactless card
US11182771B2 (en) 2019-07-17 2021-11-23 Capital One Services, Llc System for value loading onto in-vehicle device
US11200563B2 (en) 2019-12-24 2021-12-14 Capital One Services, Llc Account registration using a contactless card
US11210664B2 (en) 2018-10-02 2021-12-28 Capital One Services, Llc Systems and methods for amplifying the strength of cryptographic algorithms
US11210656B2 (en) 2020-04-13 2021-12-28 Capital One Services, Llc Determining specific terms for contactless card activation
US11216799B1 (en) 2021-01-04 2022-01-04 Capital One Services, Llc Secure generation of one-time passcodes using a contactless card
US11222342B2 (en) 2020-04-30 2022-01-11 Capital One Services, Llc Accurate images in graphical user interfaces to enable data transfer
US11245438B1 (en) 2021-03-26 2022-02-08 Capital One Services, Llc Network-enabled smart apparatus and systems and methods for activating and provisioning same
US11354555B1 (en) 2021-05-04 2022-06-07 Capital One Services, Llc Methods, mediums, and systems for applying a display to a transaction card
US11361302B2 (en) 2019-01-11 2022-06-14 Capital One Services, Llc Systems and methods for touch screen interface interaction using a card overlay
US11373169B2 (en) 2020-11-03 2022-06-28 Capital One Services, Llc Web-based activation of contactless cards
US11392933B2 (en) 2019-07-03 2022-07-19 Capital One Services, Llc Systems and methods for providing online and hybridcard interactions
US11438329B2 (en) 2021-01-29 2022-09-06 Capital One Services, Llc Systems and methods for authenticated peer-to-peer data transfer using resource locators
US11455620B2 (en) 2019-12-31 2022-09-27 Capital One Services, Llc Tapping a contactless card to a computing device to provision a virtual number
US11482312B2 (en) 2020-10-30 2022-10-25 Capital One Services, Llc Secure verification of medical status using a contactless card
US11521262B2 (en) 2019-05-28 2022-12-06 Capital One Services, Llc NFC enhanced augmented reality information overlays
US11521213B2 (en) 2019-07-18 2022-12-06 Capital One Services, Llc Continuous authentication for digital services based on contactless card positioning
US20230004759A1 (en) * 2019-08-15 2023-01-05 Visa International Service Association Method, System, and Computer Program Product for Detecting Fraudulent Interactions
US11562358B2 (en) 2021-01-28 2023-01-24 Capital One Services, Llc Systems and methods for near field contactless card communication and cryptographic authentication
US11615395B2 (en) 2019-12-23 2023-03-28 Capital One Services, Llc Authentication for third party digital wallet provisioning
US11637826B2 (en) 2021-02-24 2023-04-25 Capital One Services, Llc Establishing authentication persistence
US11651361B2 (en) 2019-12-23 2023-05-16 Capital One Services, Llc Secure authentication based on passport data stored in a contactless card
US11682012B2 (en) 2021-01-27 2023-06-20 Capital One Services, Llc Contactless delivery systems and methods
US11687930B2 (en) 2021-01-28 2023-06-27 Capital One Services, Llc Systems and methods for authentication of access tokens
US11694187B2 (en) 2019-07-03 2023-07-04 Capital One Services, Llc Constraining transactional capabilities for contactless cards
US11777933B2 (en) 2021-02-03 2023-10-03 Capital One Services, Llc URL-based authentication for payment cards
US11792001B2 (en) 2021-01-28 2023-10-17 Capital One Services, Llc Systems and methods for secure reprovisioning
US11823175B2 (en) 2020-04-30 2023-11-21 Capital One Services, Llc Intelligent card unlock
US11902442B2 (en) 2021-04-22 2024-02-13 Capital One Services, Llc Secure management of accounts on display devices using a contactless card
US11935035B2 (en) 2021-04-20 2024-03-19 Capital One Services, Llc Techniques to utilize resource locators by a contactless card to perform a sequence of operations
US11961089B2 (en) 2021-04-20 2024-04-16 Capital One Services, Llc On-demand applications to extend web services
USD1025131S1 (en) * 2022-05-05 2024-04-30 Capital One Services, Llc Display screen with graphical user interface for card communication
US11978037B2 (en) 2015-04-14 2024-05-07 Capital One Services, Llc System, method, and apparatus for updating an existing dynamic transaction card
US12041172B2 (en) 2021-06-25 2024-07-16 Capital One Services, Llc Cryptographic authentication to control access to storage devices
US12062258B2 (en) 2021-09-16 2024-08-13 Capital One Services, Llc Use of a payment card to unlock a lock
US12061682B2 (en) 2021-07-19 2024-08-13 Capital One Services, Llc System and method to perform digital authentication using multiple channels of communication
US12069173B2 (en) 2021-12-15 2024-08-20 Capital One Services, Llc Key recovery based on contactless card authentication
US12086852B2 (en) 2019-07-08 2024-09-10 Capital One Services, Llc Authenticating voice transactions with payment card
US12125021B2 (en) 2018-12-18 2024-10-22 Capital One Services, Llc Devices and methods for selective contactless communication
US12124903B2 (en) 2023-03-16 2024-10-22 Capital One Services, Llc Card with a time-sensitive element and systems and methods for implementing the same
US12141795B2 (en) 2018-09-19 2024-11-12 Capital One Services, Llc Systems and methods for providing card interactions
US12141804B2 (en) 2016-12-28 2024-11-12 Capital One Services, Llc Dynamic transaction card protected by multi- factor authentication
US12143515B2 (en) 2021-03-26 2024-11-12 Capital One Services, Llc Systems and methods for transaction card-based authentication
US12147983B2 (en) 2023-01-13 2024-11-19 Capital One Services, Llc Systems and methods for multi-factor authentication using device tracking and identity verification
US12160419B2 (en) 2021-04-15 2024-12-03 Capital One Services, Llc Authenticated messaging session with contactless card authentication
US12165149B2 (en) 2020-08-12 2024-12-10 Capital One Services, Llc Systems and methods for user verification via short-range transceiver
US12166750B2 (en) 2022-02-08 2024-12-10 Capital One Services, Llc Systems and methods for secure access of storage
US12200135B2 (en) 2023-06-13 2025-01-14 Capital One Services, Llc Contactless card-based authentication via web-browser
US12248928B2 (en) 2023-03-13 2025-03-11 Capital One Services, Llc Systems and methods of secure merchant payment over messaging platform using a contactless card
US12248832B2 (en) 2023-03-07 2025-03-11 Capital One Services, Llc Systems and methods for steganographic image encoding and identity verification using same
US12289396B2 (en) 2022-08-18 2025-04-29 Capital One Services, Llc Parallel secret salt generation and authentication for encrypted communication
US12299672B2 (en) 2023-03-30 2025-05-13 Capital One Services, Llc System and method for authentication with transaction cards
US12301735B2 (en) 2021-06-18 2025-05-13 Capital One Services, Llc Systems and methods for contactless card communication and multi-device key pair cryptographic authentication
US12335256B2 (en) 2023-03-08 2025-06-17 Capital One Services, Llc Systems and methods for device binding authentication
US12335412B2 (en) 2021-06-21 2025-06-17 Capital One Services, Llc Systems and methods for scalable cryptographic authentication of contactless cards
US12354077B2 (en) 2022-06-23 2025-07-08 Capital One Services, Llc Mobile web browser authentication and checkout using a contactless card
US12354104B2 (en) 2022-08-09 2025-07-08 Capital One Services, Llc Methods and arrangements for proof of purchase
US12495042B2 (en) 2021-08-16 2025-12-09 Capital One Services, Llc Systems and methods for resetting an authentication counter
US12499432B2 (en) 2023-04-06 2025-12-16 Capital One Services, Llc Techniques to perform operations with a contactless card when in the presence of a trusted device
US12505448B2 (en) 2023-08-09 2025-12-23 Capital One Services, Llc Systems and methods for fraud prevention in mobile application verification device enrollment process
US12505450B2 (en) 2022-08-17 2025-12-23 Capital One Services, Llc Systems and methods for dynamic data generation and cryptographic card authentication
US12511640B2 (en) 2023-03-13 2025-12-30 Capital One Services, Llc Systems and methods of managing password using contactless card
US12511638B2 (en) 2023-09-07 2025-12-30 Capital One Services, Llc Assignment of near-field communications applets
US12511654B2 (en) 2022-08-08 2025-12-30 Capital One Services, Llc Systems and methods for bypassing contactless payment transaction limit
US12519652B2 (en) 2023-02-24 2026-01-06 Capital One Services, Llc System and method for dynamic integration of user-provided data with one-time-password authentication cryptogram

Families Citing this family (227)

* Cited by examiner, † Cited by third party
Publication number Priority date Publication date Assignee Title
WO2009038511A1 (en) * 2007-09-21 2009-03-26 Telefonaktiebolaget Lm Ericsson (Publ) All in one card
US8413892B2 (en) 2007-12-24 2013-04-09 Dynamics Inc. Payment cards and devices with displays, chips, RFIDs, magnetic emulators, magnetic encoders, and other components
EP2192540A1 (en) * 2008-11-28 2010-06-02 Gemalto Canada Inc. Tragbarer Gegenstand mit Display und Anwendung zum Durchführen von elektronischen Transaktionen
ES2533658T3 (en) * 2009-02-25 2015-04-13 Vodafone Holding Gmbh Power supply for a chip card
US9715681B2 (en) 2009-04-28 2017-07-25 Visa International Service Association Verification of portable consumer devices
WO2010126994A1 (en) * 2009-04-28 2010-11-04 Mastercard International Incorporated Apparatus, method, and computer program product for recovering torn smart payment device transactions
US8534564B2 (en) 2009-05-15 2013-09-17 Ayman Hammad Integration of verification tokens with mobile communication devices
US9038886B2 (en) * 2009-05-15 2015-05-26 Visa International Service Association Verification of portable consumer devices
US8893967B2 (en) 2009-05-15 2014-11-25 Visa International Service Association Secure Communication of payment information to merchants using a verification token
US9105027B2 (en) 2009-05-15 2015-08-11 Visa International Service Association Verification of portable consumer device for secure services
US10846683B2 (en) 2009-05-15 2020-11-24 Visa International Service Association Integration of verification tokens with mobile communication devices
US8167201B2 (en) * 2009-10-07 2012-05-01 Castles Technology Co., Ltd. Composite chip card with a security protection interface and a method for controlling the same
US8682390B2 (en) * 2009-12-31 2014-03-25 Cellco Partnership Matching themes between accessories and associated electronic devices
US20110191236A1 (en) * 2010-01-27 2011-08-04 Qsecure, Inc. Virtual card
US8700909B2 (en) * 2010-02-26 2014-04-15 International Business Machines Corporation Revocation of a biometric reference template
US9129199B2 (en) 2010-03-02 2015-09-08 Gonow Technologies, Llc Portable E-wallet and universal card
US8671055B2 (en) 2010-03-02 2014-03-11 Digital Life Technologies, Llc Portable E-wallet and universal card
US9129270B2 (en) * 2010-03-02 2015-09-08 Gonow Technologies, Llc Portable E-wallet and universal card
US9195926B2 (en) 2010-03-02 2015-11-24 Gonow Technologies, Llc Portable e-wallet and universal card
US9317018B2 (en) 2010-03-02 2016-04-19 Gonow Technologies, Llc Portable e-wallet and universal card
US8788418B2 (en) 2010-03-02 2014-07-22 Gonow Technologies, Llc Portable E-wallet and universal card
US9218557B2 (en) 2010-03-02 2015-12-22 Gonow Technologies, Llc Portable e-wallet and universal card
US9177241B2 (en) 2010-03-02 2015-11-03 Gonow Technologies, Llc Portable e-wallet and universal card
US20110238476A1 (en) * 2010-03-23 2011-09-29 Michael Carr Location-based Coupons and Mobile Devices
US8521131B1 (en) 2010-03-23 2013-08-27 Amazon Technologies, Inc. Mobile device security
US8473414B2 (en) * 2010-04-09 2013-06-25 Visa International Service Association System and method including chip-based device processing for transaction
US9665864B2 (en) * 2010-05-21 2017-05-30 Intel Corporation Method and device for conducting trusted remote payment transactions
EP2390823A1 (en) * 2010-05-31 2011-11-30 Gemalto SA Bank card with display screen
EP2393045A1 (en) 2010-06-04 2011-12-07 Gemalto SA Bank card with display screen
US9558481B2 (en) * 2010-09-28 2017-01-31 Barclays Bank Plc Secure account provisioning
US20120266220A1 (en) * 2010-11-17 2012-10-18 Sequent Software Inc. System and Method for Controlling Access to a Third-Party Application with Passwords Stored in a Secure Element
US20120124659A1 (en) 2010-11-17 2012-05-17 Michael Craft System and Method for Providing Diverse Secure Data Communication Permissions to Trusted Applications on a Portable Communication Device
US8533123B2 (en) * 2010-12-13 2013-09-10 Magtek, Inc. Systems and methods for conducting contactless payments using a mobile device and a magstripe payment card
US8988187B2 (en) * 2011-01-13 2015-03-24 Hong Kong Applied Science And Technology Research Institute Co., Ltd. Proximity based biometric identification systems and methods
FR2971109B1 (en) 2011-01-28 2016-06-24 Spirtech BIOMETRIC SYSTEM FOR VERIFYING IDENTITY WITH SUCCESS SIGNAL, COOPERATING WITH A PORTABLE OBJECT
EP2681701A4 (en) 2011-03-04 2014-08-20 Visa Int Service Ass INTEGRATING PAYMENT FUNCTIONALITY IN SECURE COMPUTER ELEMENTS
US9589256B1 (en) 2011-04-07 2017-03-07 Wells Fargo Bank, N.A. Smart chaining
US8690051B1 (en) 2011-04-07 2014-04-08 Wells Fargo Bank, N.A. System and method for receiving ATM deposits
US9292840B1 (en) 2011-04-07 2016-03-22 Wells Fargo Bank, N.A. ATM customer messaging systems and methods
ES1074970Y (en) * 2011-04-28 2011-10-05 Prepaytrans Gestion Empresarial S L CREDIT CARD
US8925826B2 (en) * 2011-05-03 2015-01-06 Microsoft Corporation Magnetic stripe-based transactions using mobile communication devices
US20120290472A1 (en) * 2011-05-10 2012-11-15 Mullen Jeffrey D Systems and devices for mobile payment acceptance
WO2012155005A1 (en) * 2011-05-11 2012-11-15 Sierchio Joseph Universal interactive smart card device
US9965768B1 (en) 2011-05-19 2018-05-08 Amazon Technologies, Inc. Location-based mobile advertising
US8628022B1 (en) * 2011-05-23 2014-01-14 Dynamics Inc. Systems and methods for sensor mechanisms for magnetic cards and devices
US8313037B1 (en) * 2011-07-08 2012-11-20 Thomas David Humphrey Simulated magnetic stripe card system and method for use with magnetic stripe card reading terminals
US20130013490A1 (en) * 2011-07-08 2013-01-10 Bank Of America Corporation Mobile apparatus with back-up payment system
TW201303760A (en) * 2011-07-15 2013-01-16 Hon Hai Prec Ind Co Ltd Electronic card having payment function
US8827153B1 (en) * 2011-07-18 2014-09-09 Dynamics Inc. Systems and methods for waveform generation for dynamic magnetic stripe communications devices
US9495550B2 (en) * 2011-08-04 2016-11-15 J. Chance Anderson System and method for sharing of data securely between electronic devices
CN104025137B (en) 2011-08-30 2019-05-03 D·耶格尔 System and method for authorizing transactions utilizing unpredictable passwords
WO2013034681A1 (en) * 2011-09-08 2013-03-14 Ehrensvaerd Jakob Devices and methods for identification, authentication and signing purposes
US10332102B2 (en) * 2011-10-17 2019-06-25 Capital One Services, Llc System, method, and apparatus for a dynamic transaction card
US8918855B2 (en) * 2011-12-09 2014-12-23 Blackberry Limited Transaction provisioning for mobile wireless communications devices and related methods
US8880027B1 (en) * 2011-12-29 2014-11-04 Emc Corporation Authenticating to a computing device with a near-field communications card
US9986208B2 (en) * 2012-01-27 2018-05-29 Qualcomm Incorporated System and method for determining location of a device using opposing cameras
US10282724B2 (en) 2012-03-06 2019-05-07 Visa International Service Association Security system incorporating mobile device
US9165293B2 (en) 2012-03-30 2015-10-20 Mastercard International Incorporated Systems and methods for waveform transmission of transaction card data
US9122968B2 (en) 2012-04-03 2015-09-01 X-Card Holdings, Llc Information carrying card comprising a cross-linked polymer composition, and method of making the same
US9439334B2 (en) 2012-04-03 2016-09-06 X-Card Holdings, Llc Information carrying card comprising crosslinked polymer composition, and method of making the same
CN102819346B (en) * 2012-04-06 2016-01-13 信利工业(汕尾)有限公司 A kind of touch-screen of integrated NFC antenna
US8990572B2 (en) * 2012-04-24 2015-03-24 Daon Holdings Limited Methods and systems for conducting smart card transactions
TWI630565B (en) * 2012-05-08 2018-07-21 台灣積體電路製造股份有限公司 Mobile phone with security code generatore
US9406011B2 (en) 2012-05-29 2016-08-02 Stratos Technologies, Inc. Virtual wallet
US8870081B2 (en) 2012-05-29 2014-10-28 Protean Payment, Inc. Payment card and methods
US9084114B2 (en) 2012-08-07 2015-07-14 Genesys Telecommunications Laboratories, Inc. Technique to authenticate in a mobile application using near-field communication
KR101911315B1 (en) * 2012-08-24 2018-10-24 삼성전자주식회사 System and method for providing settlement information
US10783426B2 (en) 2012-08-30 2020-09-22 David Finn Dual-interface metal hybrid smartcard
CA2884402C (en) 2012-09-07 2022-06-14 Lawrence F. Glaser Credit card form factor secure mobile computer and methods
US9122966B2 (en) 2012-09-07 2015-09-01 Lawrence F. Glaser Communication device
US11593776B2 (en) 2012-09-07 2023-02-28 Studebaker & Brackett PC Communication device to sense one or more biometric characteristics of a user
US8955746B2 (en) 2012-09-27 2015-02-17 Intel Corporation Providing a locking technique for electronic displays
US8820649B2 (en) * 2012-11-20 2014-09-02 Omne Mobile Payments, Inc. Electronic card with a programmable magnetic stripe
US8971856B2 (en) 2012-12-28 2015-03-03 Cellco Partnership Personalizing an accessory with digital content
US8851370B2 (en) * 2013-01-02 2014-10-07 Jpmorgan Chase Bank, N.A. System and method for secure card with on-board verification
US11551051B2 (en) 2013-01-18 2023-01-10 Amatech Group Limiied Coupling frames for smartcards with various module opening shapes
TWI506562B (en) * 2013-01-25 2015-11-01 Ind Tech Res Inst Ticket card, information rewritable apparatus and system thereof
EP2951981A1 (en) * 2013-01-29 2015-12-09 Grace, Mary Smart card and smart card system with enhanced security features
US20140239068A1 (en) * 2013-02-22 2014-08-28 John Chowhan Park Credit card with alterable id/security features
WO2014149926A1 (en) 2013-03-15 2014-09-25 X-Card Holdings, Llc Methods of making a core layer for an information carrying card, and resulting products
WO2014145673A1 (en) * 2013-03-15 2014-09-18 Mastercard International Incorporated Methods and apparatus for providing and operating an enhanced payment display card with network support
US9022286B2 (en) * 2013-03-15 2015-05-05 Virtual Electric, Inc. Multi-functional credit card type portable electronic device
US20140297389A1 (en) * 2013-03-27 2014-10-02 Lyudmyla Nikolaevna Brown Loyalty points card
US20140339315A1 (en) * 2013-04-02 2014-11-20 Tnt Partners, Llc Programmable Electronic Card and Supporting Device
WO2014165562A2 (en) * 2013-04-02 2014-10-09 Tnt Partners, Llc Programmable electronic card and supporting device
US20140316873A1 (en) * 2013-04-22 2014-10-23 Codecard, Inc. Apparatus, system and methods to issue a prize to a user of a credit account based on user purchase activities
GB2514142A (en) * 2013-05-14 2014-11-19 Incorporated Mastercard International System and method for mobile PIN synchronisation
US9275386B2 (en) 2013-05-29 2016-03-01 Stratos Technologies, Inc. Method for facilitating payment with a programmable payment card
US10210505B2 (en) 2013-07-23 2019-02-19 Capital One Services, Llc Dynamic transaction card optimization
US20150069125A1 (en) * 2013-09-09 2015-03-12 Coatmen Technology Integration Limited Active contact and near-field card reading device and method thereof
US20150081447A1 (en) * 2013-09-19 2015-03-19 Cortex Mcp, Inc. Track data point-of-sale platform
US9516006B2 (en) * 2013-10-23 2016-12-06 Google Inc. Re-programmable secure cryptographic device
US10396858B2 (en) * 2013-10-25 2019-08-27 Powercast Corporation Bi-stable display tag
WO2015073888A2 (en) 2013-11-14 2015-05-21 Protean Payment, Inc. Method for remotely controlling a reprogrammable payment card
CN103679447A (en) * 2013-12-13 2014-03-26 苏州士丹尼信息技术有限公司 Credit card transaction system
US20150220913A1 (en) * 2014-02-04 2015-08-06 Microsoft Corporation Multi-Use Card and System
US20150371234A1 (en) * 2014-02-21 2015-12-24 Looppay, Inc. Methods, devices, and systems for secure provisioning, transmission, and authentication of payment data
EP2925035A1 (en) * 2014-03-24 2015-09-30 Gemalto SA Method for activating and deactivating an application in a telecommunications terminal including a secure element and a biometric reader and corresponding server
US9016570B1 (en) * 2014-04-18 2015-04-28 Adrian Gluck Multi-purpose credit card reader apparatus
CA2954763C (en) * 2014-06-02 2019-05-07 Schlage Lock Company Llc Systems and methods for a credential including multiple access privileges
US11410010B2 (en) * 2014-08-21 2022-08-09 Amatech Group Limiied Smartcard with a coupling frame and a wireless connection between modules
EP2996299B1 (en) 2014-09-15 2021-05-12 Wincor Nixdorf International GmbH Method and assembly for authorising an action on a self-service system
CN105512712A (en) * 2014-10-16 2016-04-20 金雅拓股份有限公司 Double-port smart card for loading quantity of prepayment quotas into prepayment meter
US10867231B2 (en) 2014-11-07 2020-12-15 Maap Technology Inc. Wireless to magnetic transition smart card
US20160203471A1 (en) * 2014-11-07 2016-07-14 Madjid Zand Wireless to magnetic transition smart card
US10496983B2 (en) 2014-11-07 2019-12-03 Maap Technology Inc. Wireless to magnetic transition smart card
KR102424286B1 (en) * 2014-11-08 2022-07-25 삼성전자주식회사 Electronic Device Including a Plurality of Payment Modules
FR3028643A1 (en) * 2014-11-13 2016-05-20 Youen Puillandre ELECTRONIC MULTICARTE
WO2016085019A1 (en) * 2014-11-24 2016-06-02 주식회사지니 Watch functioning as mobile payment device and payment method using same
MX2017007192A (en) * 2014-12-04 2018-01-30 Mastercard International Inc Methods and apparatus for conducting secure magnetic stripe card transactions with a proximity payment device.
US11620654B2 (en) 2014-12-04 2023-04-04 Mastercard International Incorporated Methods and apparatus for conducting secure magnetic stripe card transactions with a proximity payment device
CA2971865A1 (en) * 2014-12-22 2016-06-30 Capital One Services, Llc A system, method, and apparatus for locating a bluetooth enabled transaction card
EP3238151A4 (en) * 2014-12-22 2018-06-06 Capital One Services, LLC A system, method and apparatus for reprogramming a transaction card
CN104539430B (en) * 2014-12-30 2018-11-30 飞天诚信科技股份有限公司 A kind of dynamic password formation method and equipment based on card
CN105989400A (en) * 2015-02-03 2016-10-05 天地融科技股份有限公司 Simulation device
CN105989399A (en) * 2015-02-03 2016-10-05 天地融科技股份有限公司 Simulation device
US9436941B1 (en) * 2015-02-18 2016-09-06 Calay Venture S.à.r.l. Smart payment instruments
US20160267486A1 (en) * 2015-03-13 2016-09-15 Radiius Corp Smartcard Payment System and Method
WO2016160816A1 (en) * 2015-03-30 2016-10-06 Hendrick Chaya Coleena Smart data cards that enable the performance of various functions upon activation/authentication by a user's fingerprint, oncard pin number entry, and/or by facial recognition of the user, or by facial recognition of a user alone, including an automated changing security number that is displayed on a screen on a card's surface following an authenticated biometric match
JP5920747B1 (en) * 2015-04-07 2016-05-18 エイピーエス.エスエイ Application programs and cards
US10482453B2 (en) 2015-04-14 2019-11-19 Capital One Services, Llc Dynamic transaction card protected by gesture and voice recognition
DE102016100809A1 (en) * 2015-04-14 2016-10-20 Samsung Electronics Co. Ltd. Nahfeldkommunikationsbaugruppe and portable device containing the same
US10360557B2 (en) 2015-04-14 2019-07-23 Capital One Services, Llc Dynamic transaction card protected by dropped card detection
CA2982765C (en) 2015-04-14 2022-10-25 Capital One Services, Llc Dynamic transaction card optimization
US10474941B2 (en) 2015-04-14 2019-11-12 Capital One Services, Llc Dynamic transaction card antenna mounting
US10997588B2 (en) 2015-04-14 2021-05-04 Capital One Services, Llc Dynamic transaction card protected by dropped card detection
EP3086272A1 (en) * 2015-04-20 2016-10-26 Oberthur Technologies Selecting an application on a card
US20180144115A1 (en) * 2015-04-22 2018-05-24 Center Id Disablement indicator on a programmable smart card
CN104869534A (en) * 2015-05-22 2015-08-26 东信和平科技股份有限公司 Method based on mobile phone application remote detection smart card and system thereof
US9691012B2 (en) * 2015-06-29 2017-06-27 Cameros Bay Capital, LLC Dynamic authentication system and methods for use with legacy terminals
KR102435446B1 (en) * 2015-07-14 2022-08-24 삼성전자 주식회사 Electronic device and payment method using the same
WO2017010793A1 (en) * 2015-07-14 2017-01-19 Samsung Electronics Co., Ltd. Electronic device and payment method using the same
CN105678553A (en) * 2015-08-05 2016-06-15 腾讯科技(深圳)有限公司 Method, device and system for processing order information
US9613306B2 (en) * 2015-08-31 2017-04-04 American Express Travel Related Services Company, Inc. Magnetic card swipe emulation systems and methods
JP5950318B1 (en) * 2015-09-03 2016-07-13 ブレイニー株式会社 Multifunctional card, card payment terminal, and card payment system
EP3537362A1 (en) * 2015-09-09 2019-09-11 Samsung Electronics Co., Ltd. Method and apparatus for performing payment
CN108780547B (en) * 2015-09-10 2022-10-14 沃润熙控股有限公司 Proxy device for representing multiple certificates
FR3042894B1 (en) * 2015-10-27 2018-10-12 Ingenico Group METHOD FOR SECURING TRANSACTION DATA PROCESSING, TERMINAL AND CORRESPONDING COMPUTER PROGRAM
KR102461325B1 (en) * 2015-10-29 2022-10-31 삼성전자주식회사 Portable biometric authentication device and terminal device using near field communication
AU2016374489B2 (en) * 2015-12-16 2022-07-07 Scramcard Holdings (Hong Kong )Limited Multi-scheme payment integrated circuit card, payment system, and payment method
US10095572B2 (en) 2015-12-18 2018-10-09 CPI Card Group—Colorado, Inc. System and method for providing IC chip cards
KR20170078415A (en) * 2015-12-29 2017-07-07 삼성전자주식회사 Apparatus and method of controlling a door lock
US11734678B2 (en) * 2016-01-25 2023-08-22 Apple Inc. Document importation into secure element
US20190034912A1 (en) 2016-01-29 2019-01-31 Xard Group Pty Ltd Apparatus and method for emulating transactional infrastructure with a digital transaction processing unit (dtpu)
US12051058B2 (en) 2016-01-29 2024-07-30 Xard Group Pty Ltd Validating transactions
EP3408813A4 (en) * 2016-01-29 2019-03-13 Xard Group Pty Ltd TRANSACTION REGISTRATION
AU2017210749A1 (en) 2016-01-29 2018-09-20 Xard Group Pty Ltd Biometric reader in card
FR3047826B1 (en) * 2016-02-17 2018-02-02 Morpho METHOD AND DEVICE FOR PARAMETERING A DEVICE FOR PERFORMING BANKING OPERATIONS
EP3455794A4 (en) 2016-05-13 2019-04-24 Entrust Datacard Corporation CHIP CARD PROGRAMMING WITH MULTIPLE PROTOCOLS
GB2550207A (en) * 2016-05-13 2017-11-15 Visa Europe Ltd Extended data storage
FR3051581B1 (en) * 2016-05-20 2018-10-05 Paragon Id DEVICE FOR GENERATING AND DYNAMIC SECURITY CODE DISPLAY
US10339531B2 (en) 2016-06-10 2019-07-02 Bank Of America Corporation Organic light emitting diode (“OLED”) security authentication system
US9697388B1 (en) 2016-06-14 2017-07-04 Bank Of America Corporation Unfoldable OLED reader/displays for the visually-impaired
US20170364890A1 (en) * 2016-06-15 2017-12-21 Mastercard International Incorporated System and method of payment of merchants on behalf of payment card system transaction acquirers
US10970027B2 (en) 2016-06-21 2021-04-06 Bank Of America Corporation Combination organic light emitting diode (“OLED”) device
US10163154B2 (en) 2016-06-21 2018-12-25 Bank Of America Corporation OLED (“organic light emitting diode”) teller windows
US9747539B1 (en) 2016-06-21 2017-08-29 Bank Of America Corporation Organic light emitting diode (“OLED”) travel card
US10460135B1 (en) 2016-06-21 2019-10-29 Bank Of America Corporation Foldable organic light emitting diode (“OLED”) purchasing instrument reader
US10783336B2 (en) 2016-06-21 2020-09-22 Bank Of America Corporation Reshape-able OLED device for positioning payment instrument
US9665818B1 (en) * 2016-06-21 2017-05-30 Bank Of America Corporation Organic light emitting diode (“OLED”) universal plastic
FR3053504B1 (en) * 2016-06-29 2018-08-17 Idemia France COMPONENT ELECTRONIC ENTITY SUPPLIED BY INTERNAL ELECTROMAGNETIC COUPLING
US9858558B1 (en) 2016-07-08 2018-01-02 Bank Of America Corporation Multi-screen automated teller machine (ATM)/automated teller assist (ATA) machines for use by wheelchair users
US10580068B2 (en) 2016-07-11 2020-03-03 Bank Of America Corporation OLED-based secure monitoring of valuables
US9760124B1 (en) 2016-07-11 2017-09-12 Bank Of America Corporation Organic light emitting diode (“OLED”)-based displays
US9727759B1 (en) * 2016-08-08 2017-08-08 Ellipse World S.A. Prepaid, debit and credit card security code generation system
US10235674B2 (en) 2016-08-08 2019-03-19 Ellipse World, Inc. Method for a prepaid, debit and credit card security code generation system
US20180039986A1 (en) * 2016-08-08 2018-02-08 Ellipse World S.A. Method for a Prepaid, Debit and Credit Card Security Code Generation System
US10032169B2 (en) 2016-08-08 2018-07-24 Ellipse World, Inc. Prepaid, debit and credit card security code generation system
US10043183B2 (en) 2016-08-30 2018-08-07 Bank Of America Corporation Organic light emitting diode (“OLED”) visual authentication circuit board
CN106226789A (en) * 2016-08-31 2016-12-14 江苏艾倍科科技股份有限公司 A kind of Big Dipper student card
US10176676B2 (en) 2016-09-23 2019-01-08 Bank Of America Corporation Organic light emitting diode (“OLED”) display with quick service terminal (“QST”) functionality
SG10201608491QA (en) * 2016-10-11 2018-05-30 Mastercard Asia Pacific Pte Ltd Method And Device For Digital Payment Transactions
CN106529356B (en) * 2016-10-28 2019-07-05 东信和平科技股份有限公司 A kind of smart card creation data output method
US10115047B2 (en) * 2016-12-09 2018-10-30 Capital One Services, Llc Transaction card with secured magnetic strip and method for making the same
IT201600127809A1 (en) * 2016-12-19 2018-06-19 DEVICE FOR PAYMENT TRANSACTIONS WITH CONTACTLESS TECHNOLOGY (NFC), WITH GENERATING ALGORITHM OTP CODE UNIQUE INTEGRAL TEXT STRING TEMPLATE GENERATED BY BIOMETRIC SCANNING OF THE DIGITAL FOOTPRINT, WITH TOKEN OTP FUNCTION, RECOGNITION OF IDENTITY AND SUBSCRIPTION FEATURE PUBLIC AND RELATED PROCESSES OF OPERATION, ASSOCIATION AND USE
US20180189527A1 (en) * 2017-01-03 2018-07-05 Soo Hyang KANG Method for activating multi-function device card
USD855617S1 (en) * 2017-01-17 2019-08-06 David Williams Smart card
US10984304B2 (en) 2017-02-02 2021-04-20 Jonny B. Vu Methods for placing an EMV chip onto a metal card
KR101911747B1 (en) 2017-03-20 2018-10-25 주식회사 하이딥 Touch type distinguishing method and touch input device performing the same
US11250307B2 (en) 2017-03-23 2022-02-15 Idex Biometrics Asa Secure, remote biometric enrollment
US10282651B2 (en) 2017-03-23 2019-05-07 Idex Asa Sensor array system selectively configurable as a fingerprint sensor or data entry device
US10775906B2 (en) 2017-12-12 2020-09-15 Idex Biometrics Asa Power source for biometric enrollment with status indicators
IT201700041158A1 (en) * 2017-04-13 2018-10-13 St Poligrafico E Zecca Dello Stato S P A NEW IDENTIFICATION DOCUMENT
FR3067492B1 (en) 2017-06-13 2019-07-19 Ingenico Group METHOD OF TRANSMITTING DATA TO A MAGNETIC READING HEAD, RECEIVED DATA PROCESSING METHOD, PAYMENT TERMINAL AND PROGRAM THEREOF
CN107309875A (en) * 2017-07-03 2017-11-03 杭州酷哥教育科技有限公司 The method and system for programming Control of swiping the card
US11062312B2 (en) 2017-07-14 2021-07-13 The Toronto-Dominion Bank Smart chip card with fraud alert and biometric reset
US10460748B2 (en) 2017-10-04 2019-10-29 The Toronto-Dominion Bank Conversational interface determining lexical personality score for response generation with synonym replacement
US10339931B2 (en) 2017-10-04 2019-07-02 The Toronto-Dominion Bank Persona-based conversational interface personalization using social network preferences
US9990632B1 (en) 2017-10-25 2018-06-05 Capital One Services, Llc Dynamic modification of a verification method associated with a transaction card
WO2019090236A1 (en) * 2017-11-03 2019-05-09 Pap Investments, Ltd. Transaction card with embedded premium content
CN108090341A (en) * 2017-12-15 2018-05-29 深圳市文鼎创数据科技有限公司 Java card control method and java card
US20200366676A1 (en) * 2018-01-18 2020-11-19 Felica Networks, Inc. Information processing device, information processing method, user terminal, service providing device, and service providing method
US11100492B2 (en) * 2018-02-19 2021-08-24 Peter Garrett General purpose re-loadable card aggregation implementation
US11361204B2 (en) 2018-03-07 2022-06-14 X-Card Holdings, Llc Metal card
EP3570239A1 (en) * 2018-05-15 2019-11-20 Thales Dis France SA Method and system of autonomous enrolment for biometric device holder
USD956760S1 (en) * 2018-07-30 2022-07-05 Lion Credit Card Inc. Multi EMV chip card
US11847650B2 (en) * 2018-08-03 2023-12-19 International Business Machines Corporation Methods and systems for managing personal device security
FR3084942B1 (en) * 2018-08-07 2021-07-30 Idemia Identity & Security France ACQUISITION OF A BIOMETRIC FOOTPRINT FROM A CHIP CARD
US10176414B1 (en) * 2018-08-31 2019-01-08 Capital One Services, Llc Battery charger for a transaction card
US11429704B2 (en) 2018-09-18 2022-08-30 Apple Inc. Packaging with automatic authentication system for packaged product
EP3663985A1 (en) * 2018-12-07 2020-06-10 Thales Dis France SA Method for manufacturing a device comprising a body in the form of a card and an information area
FR3090158B1 (en) * 2018-12-18 2020-12-11 Idemia France Securing a transaction using a smart card and smart card
JP6541120B1 (en) * 2019-01-22 2019-07-10 株式会社Social Area Networks Card type wireless device
US20200285929A1 (en) * 2019-03-06 2020-09-10 Ziaur Rahman Biometric card with display
US10807766B2 (en) 2019-03-15 2020-10-20 Apple Inc. Packaging with radio-frequency authentication system for packaged product
CN111027369B (en) * 2019-05-06 2023-11-07 义隆电子股份有限公司 Smart card with fingerprint sensing system and control method thereof
US11392922B2 (en) * 2019-06-20 2022-07-19 Advanced New Technologies Co., Ltd. Validating transactions using information transmitted through magnetic fields
US11138488B2 (en) 2019-06-26 2021-10-05 Bank Of America Corporation Organic light emitting diode (“OLED”) single-use payment instrument
EP3761164A1 (en) * 2019-07-05 2021-01-06 Quside Technologies S.L. Entropy provider
US20210035109A1 (en) * 2019-07-31 2021-02-04 Mastercard International Incorporated Methods and systems for enrollment and use of biometric payment card
CN110390530A (en) * 2019-07-31 2019-10-29 中国工商银行股份有限公司 The safe payment method and relevant apparatus of chip bank card
CN110866580B (en) * 2019-10-31 2024-01-16 天星数科科技有限公司 Preprocessing method and device for configuring NFC smart card
US11410157B2 (en) * 2019-11-25 2022-08-09 Capital One Services, Llc Programmable card for token payment and systems and methods for using programmable card
US11531979B2 (en) 2020-03-24 2022-12-20 Bank Of America Corporation Stored-value card-to-card direct communication
US11100379B1 (en) * 2020-04-03 2021-08-24 Sentrycard Technologies, Inc. Multi-purpose smart card with user trusted bond
CN111800848B (en) * 2020-07-02 2021-09-10 恒宝股份有限公司 Smart card control method and device, terminal equipment and readable storage medium
KR102828090B1 (en) * 2020-07-17 2025-07-01 삼성전자주식회사 Biometric authentication smart card
WO2022061437A1 (en) * 2020-09-24 2022-03-31 Orcelli Pavani Giuliano Multifunctional data validation device and data validation method
US20220108287A1 (en) * 2020-10-01 2022-04-07 Bank Of America Corporation Smart card with reverse payment technology
US20220215221A1 (en) * 2021-01-05 2022-07-07 Peter Renteria Biometric actuated balance-revealing debit card
KR20240013148A (en) * 2021-05-20 2024-01-30 이덱스 바이오메트릭스 아사 Transaction authorization using biometric identity verification
US12106308B2 (en) * 2022-07-08 2024-10-01 Bank Of America Corporation Auxiliary battery power authentication system for use with an EMV contactless secure transaction card
US12220897B2 (en) 2022-10-20 2025-02-11 X-Card Holdings, Llc Core layer for information carrying card, resulting information carrying card, and methods of making the same
US12528279B2 (en) 2022-10-20 2026-01-20 X-Card Holdings, Llc Core layer for information carrying card, resulting information carrying card, and methods of making the same
US12236301B2 (en) * 2022-11-04 2025-02-25 Capital One Services, Llc Systems and methods to generate power for a contactless card via a piezoelectric component
WO2025056185A1 (en) * 2023-09-15 2025-03-20 Giesecke+Devrient ePayments GmbH Method and device for activating a chipcard
DE102023136679A1 (en) * 2023-12-22 2025-06-26 Giesecke+Devrient ePayments GmbH Method for registering biometric data in a data carrier with a biometric sensor

Citations (30)

* Cited by examiner, † Cited by third party
Publication number Priority date Publication date Assignee Title
US4701601A (en) 1985-04-26 1987-10-20 Visa International Service Association Transaction card with magnetic stripe emulator
US5412192A (en) 1993-07-20 1995-05-02 American Express Company Radio frequency activated charge card
US5623552A (en) 1994-01-21 1997-04-22 Cardguard International, Inc. Self-authenticating identification card with fingerprint identification
US5748737A (en) 1994-11-14 1998-05-05 Daggar; Robert N. Multimedia electronic wallet with generic card
US6325285B1 (en) 1999-11-12 2001-12-04 At&T Corp. Smart card with integrated fingerprint reader
US20030057278A1 (en) 2001-09-18 2003-03-27 Wong Jacob Y. Advanced magnetic stripe bridge (AMSB)
US6547130B1 (en) 1999-06-03 2003-04-15 Ming-Shiang Shen Integrated circuit card with fingerprint verification capability
US20040010449A1 (en) 2001-07-10 2004-01-15 Berardi Michael J. System and method for selecting load options for use in radio frequency identification in contact and contactless transactions
US20040129787A1 (en) 2002-09-10 2004-07-08 Ivi Smart Technologies, Inc. Secure biometric verification of identity
US20040133787A1 (en) * 2002-03-28 2004-07-08 Innovation Connection Corporation System, method and apparatus for enabling transactions using a biometrically enabled programmable magnetic stripe
US6769607B1 (en) * 1999-11-15 2004-08-03 Satyan G. Pitroda Point of sale and display adapter for electronic transaction device
US20040179718A1 (en) 2003-03-14 2004-09-16 Chou Bruce C.S. Card-type biometric identification device and method therefor
US20040188519A1 (en) 2003-03-31 2004-09-30 Kepler, Ltd. A Hong Kong Corporation Personal biometric authentication and authorization device
US20050001711A1 (en) * 2000-11-06 2005-01-06 Innovation Connection Corporation System, method and apparatus for electronic ticketing
US20050194452A1 (en) 2004-03-08 2005-09-08 Torsten Nordentoft Credit card and a secured data activation system
US20060161789A1 (en) * 2002-03-28 2006-07-20 Doughty Ralph O System, method and apparatus for enabling transactions using a user enabled programmable magnetic stripe
US20060186209A1 (en) 2005-02-22 2006-08-24 Tyfone, Inc. Electronic transaction card
US20060287964A1 (en) * 2003-12-17 2006-12-21 Brown Kerry D Contact/contactless and magnetic-stripe data collaboration in a payment card
US7194438B2 (en) * 2004-02-25 2007-03-20 Nokia Corporation Electronic payment schemes in a mobile environment for short-range transactions
US7270276B2 (en) 2004-09-29 2007-09-18 Sap Ag Multi-application smartcard
US20080035738A1 (en) 2005-05-09 2008-02-14 Mullen Jeffrey D Dynamic credit card with magnetic stripe and embedded encoder and methods for using the same to provide a copy-proof credit card
US20080126260A1 (en) 2006-07-12 2008-05-29 Cox Mark A Point Of Sale Transaction Device With Magnetic Stripe Emulator And Biometric Authentication
US20080148059A1 (en) 2003-07-25 2008-06-19 Shapiro Michael F Universal, Biometric, Self-Authenticating Identity Computer Having Multiple Communication Ports
US20080223938A1 (en) 2007-03-12 2008-09-18 Faith Patrick L Payment Card Dynamically Receiving Power from External Source
US20080314971A1 (en) * 2007-06-22 2008-12-25 Faith Patrick L Mobile subscriber device for financial transaction tokens
US20080314994A1 (en) * 2007-06-22 2008-12-25 Faith Patrick L Appliance for financial transaction tokens
US20090159701A1 (en) 2007-12-24 2009-06-25 Dynamics Inc. Payment cards and devices with enhanced magnetic emulators
US7715593B1 (en) 2003-06-16 2010-05-11 Uru Technology Incorporated Method and system for creating and operating biometrically enabled multi-purpose credential management devices
US7946501B2 (en) 2005-07-01 2011-05-24 Fabrizio Borracci Universal smart card
US8072331B2 (en) * 2008-08-08 2011-12-06 Tyfone, Inc. Mobile payment device

Family Cites Families (3)

* Cited by examiner, † Cited by third party
Publication number Priority date Publication date Assignee Title
US20020116330A1 (en) * 2001-02-21 2002-08-22 Hed Aharon Zeev Wireless communicating credit card
US20060259390A1 (en) * 2003-06-19 2006-11-16 Rosenberger Ronald J Multiple account preset parameter method, apparatus and systems for financial transactions and accounts
US20110280258A1 (en) * 2010-05-17 2011-11-17 Appsware Wireless, Llc System and method for dynamic configuration of session layer retry logic based on signal quality

Patent Citations (77)

* Cited by examiner, † Cited by third party
Publication number Priority date Publication date Assignee Title
US4701601A (en) 1985-04-26 1987-10-20 Visa International Service Association Transaction card with magnetic stripe emulator
US5412192A (en) 1993-07-20 1995-05-02 American Express Company Radio frequency activated charge card
US5623552A (en) 1994-01-21 1997-04-22 Cardguard International, Inc. Self-authenticating identification card with fingerprint identification
US5748737A (en) 1994-11-14 1998-05-05 Daggar; Robert N. Multimedia electronic wallet with generic card
US6547130B1 (en) 1999-06-03 2003-04-15 Ming-Shiang Shen Integrated circuit card with fingerprint verification capability
US6325285B1 (en) 1999-11-12 2001-12-04 At&T Corp. Smart card with integrated fingerprint reader
US6769607B1 (en) * 1999-11-15 2004-08-03 Satyan G. Pitroda Point of sale and display adapter for electronic transaction device
US20050001711A1 (en) * 2000-11-06 2005-01-06 Innovation Connection Corporation System, method and apparatus for electronic ticketing
US20040010449A1 (en) 2001-07-10 2004-01-15 Berardi Michael J. System and method for selecting load options for use in radio frequency identification in contact and contactless transactions
US20030057278A1 (en) 2001-09-18 2003-03-27 Wong Jacob Y. Advanced magnetic stripe bridge (AMSB)
US8082575B2 (en) * 2002-03-28 2011-12-20 Rampart-Id Systems, Inc. System, method and apparatus for enabling transactions using a user enabled programmable magnetic stripe
US20060161789A1 (en) * 2002-03-28 2006-07-20 Doughty Ralph O System, method and apparatus for enabling transactions using a user enabled programmable magnetic stripe
US8015592B2 (en) * 2002-03-28 2011-09-06 Innovation Connection Corporation System, method and apparatus for enabling transactions using a biometrically enabled programmable magnetic stripe
US20040133787A1 (en) * 2002-03-28 2004-07-08 Innovation Connection Corporation System, method and apparatus for enabling transactions using a biometrically enabled programmable magnetic stripe
US20040129787A1 (en) 2002-09-10 2004-07-08 Ivi Smart Technologies, Inc. Secure biometric verification of identity
US20040179718A1 (en) 2003-03-14 2004-09-16 Chou Bruce C.S. Card-type biometric identification device and method therefor
US20040188519A1 (en) 2003-03-31 2004-09-30 Kepler, Ltd. A Hong Kong Corporation Personal biometric authentication and authorization device
US20100117794A1 (en) 2003-06-16 2010-05-13 William Mark Adams Method and system for creating and operating biometrically enabled multi-purpose credential management devices
US7715593B1 (en) 2003-06-16 2010-05-11 Uru Technology Incorporated Method and system for creating and operating biometrically enabled multi-purpose credential management devices
US20080148059A1 (en) 2003-07-25 2008-06-19 Shapiro Michael F Universal, Biometric, Self-Authenticating Identity Computer Having Multiple Communication Ports
US20060287964A1 (en) * 2003-12-17 2006-12-21 Brown Kerry D Contact/contactless and magnetic-stripe data collaboration in a payment card
US7194438B2 (en) * 2004-02-25 2007-03-20 Nokia Corporation Electronic payment schemes in a mobile environment for short-range transactions
US20070189581A1 (en) 2004-03-08 2007-08-16 Torsten Nordentoft Credit card and a secured data activation system
US20050194452A1 (en) 2004-03-08 2005-09-08 Torsten Nordentoft Credit card and a secured data activation system
US7270276B2 (en) 2004-09-29 2007-09-18 Sap Ag Multi-application smartcard
US7954716B2 (en) * 2005-02-22 2011-06-07 Tyfone, Inc. Electronic transaction card powered by mobile device
US7828214B2 (en) * 2005-02-22 2010-11-09 Tyfone, Inc. Mobile phone with electronic transaction card
US8136732B2 (en) * 2005-02-22 2012-03-20 Tyfone, Inc. Electronic transaction card with contactless interface
US8091786B2 (en) * 2005-02-22 2012-01-10 Tyfone, Inc. Add-on card with smartcard circuitry powered by a mobile device
US8083145B2 (en) * 2005-02-22 2011-12-27 Tyfone, Inc. Provisioning an add-on apparatus with smartcard circuity for enabling transactions
US7581678B2 (en) * 2005-02-22 2009-09-01 Tyfone, Inc. Electronic transaction card
US20060186209A1 (en) 2005-02-22 2006-08-24 Tyfone, Inc. Electronic transaction card
US7954717B2 (en) * 2005-02-22 2011-06-07 Tyfone, Inc. Provisioning electronic transaction card in mobile device
US7954715B2 (en) * 2005-02-22 2011-06-07 Tyfone, Inc. Mobile device with transaction card in add-on slot
US20080035738A1 (en) 2005-05-09 2008-02-14 Mullen Jeffrey D Dynamic credit card with magnetic stripe and embedded encoder and methods for using the same to provide a copy-proof credit card
US7946501B2 (en) 2005-07-01 2011-05-24 Fabrizio Borracci Universal smart card
US20080126260A1 (en) 2006-07-12 2008-05-29 Cox Mark A Point Of Sale Transaction Device With Magnetic Stripe Emulator And Biometric Authentication
US20080223938A1 (en) 2007-03-12 2008-09-18 Faith Patrick L Payment Card Dynamically Receiving Power from External Source
US20080314994A1 (en) * 2007-06-22 2008-12-25 Faith Patrick L Appliance for financial transaction tokens
US7819321B2 (en) * 2007-06-22 2010-10-26 Visa U.S.A. Inc. Appliance for financial transaction tokens
US20080314971A1 (en) * 2007-06-22 2008-12-25 Faith Patrick L Mobile subscriber device for financial transaction tokens
US20090159681A1 (en) 2007-12-24 2009-06-25 Dynamics, Inc. Cards and devices with magnetic emulators and magnetic reader read-head detectors
US20090159672A1 (en) 2007-12-24 2009-06-25 Dynamics Inc. Cards with serial magnetic emulators
US20090159706A1 (en) 2007-12-24 2009-06-25 Dynamics Inc. Payment cards and devices with displays, chips, rfids, magentic emulators, magentic decoders, and other components
US20090159673A1 (en) 2007-12-24 2009-06-25 Dynamics Inc. Systems and methods for programmable payment cards and devices with loyalty-based payment applications
US20090159702A1 (en) 2007-12-24 2009-06-25 Dynamics Inc. Advanced dynamic credit cards
US20090159696A1 (en) 2007-12-24 2009-06-25 Dynamics Inc. Advanced dynamic credit cards
US20090159698A1 (en) 2007-12-24 2009-06-25 Dymanics Inc. Payment cards and devices with gift card, global integration, and magnetic stripe reader communication functionality
US20090159688A1 (en) 2007-12-24 2009-06-25 Dynamics Inc. Payment cards and devices with displays, chips, rfids, magnetic emulators, magnetic decoders, and other components
US20090159709A1 (en) 2007-12-24 2009-06-25 Dynamics Inc. Advanced dynamic credit cards
US20090159663A1 (en) 2007-12-24 2009-06-25 Dynamics Inc. Payment cards and devices operable to receive point-of-sale actions before point-of-sale and forward actions at point-of-sale
US20090159697A1 (en) 2007-12-24 2009-06-25 Dynamics, Inc. Cards and devices with magnetic emulators with zoning control and advanced interiors
US20090159699A1 (en) 2007-12-24 2009-06-25 Dynamics Inc. Payment cards and devices operable to receive point-of-sale actions before point-of-sale and forward actions at point-of-sale
US20090159668A1 (en) 2007-12-24 2009-06-25 Dynamics Inc. Cards and devices with multifunction magnetic emulators and methods for using same
US20090159713A1 (en) 2007-12-24 2009-06-25 Dynamics Inc. Payment cards and devices with enhanced magnetic emulators
US20090159707A1 (en) 2007-12-24 2009-06-25 Dynamics Inc. Systems and methods for programmable payment cards and devices with loyalty-based payment applications
US20090159711A1 (en) 2007-12-24 2009-06-25 Dynamics Inc. Cards and devices with magnetic emulators with zoning control and advanced interiors
US20090159710A1 (en) 2007-12-24 2009-06-25 Dynamics Inc. Cards and devices with magnetic emulators and magnetic reader read-head detectors
US20090159682A1 (en) 2007-12-24 2009-06-25 Dynamics Inc. Cards and devices with multi-function magnetic emulators and methods for using same
US20090159700A1 (en) 2007-12-24 2009-06-25 Dynamics Inc. Systems and methods for programmable payment cards and devices with loyalty-based payment applications
WO2009082760A2 (en) 2007-12-24 2009-07-02 Dynamics Inc. Cards and devices with magnetic emulators for communicating with magnetic stripe readers and applications for the same
US20090159680A1 (en) 2007-12-24 2009-06-25 Dynamics Inc. Credit, security, debit cards and the like with buttons
US20090159708A1 (en) 2007-12-24 2009-06-25 Dynamics Inc. Payment cards and devices with enhanced magnetic emulators
US20090159669A1 (en) 2007-12-24 2009-06-25 Dynamics Inc. Cards with serial magnetic emulators
US7784687B2 (en) * 2007-12-24 2010-08-31 Dynamics Inc. Payment cards and devices with displays, chips, RFIDS, magnetic emulators, magnetic decoders, and other components
US20090160617A1 (en) 2007-12-24 2009-06-25 Dynamics Inc. Credit, security, debit cards and the like with buttons
US20090159703A1 (en) 2007-12-24 2009-06-25 Dynamics Inc. Credit, security, debit cards and the like with buttons
US20090159670A1 (en) 2007-12-24 2009-06-25 Dynamics Inc. Cards and devices with multifunction magnetic emulators and methods for using the same
US20090159705A1 (en) 2007-12-24 2009-06-25 Dynamics Inc. Payment cards and devices operable to receive point-of-sale actions before point-of-sale and forward actions at point-of-sale
US20090159671A1 (en) 2007-12-24 2009-06-25 Dynamics Inc. Cards and devices with magnetic emulators with zoning control and advanced interiors
US20090159689A1 (en) 2007-12-24 2009-06-25 Dynamics Inc. Payment cards and devices with gift card, global integration, and magnetic stripe reader communication functionality
US20090159667A1 (en) 2007-12-24 2009-06-25 Dynamics, Inc. Cards with serial magnetic emulators
US20090159701A1 (en) 2007-12-24 2009-06-25 Dynamics Inc. Payment cards and devices with enhanced magnetic emulators
US20090159712A1 (en) 2007-12-24 2009-06-25 Dynamics Inc. Payment cards and devices with displays, chips, rfids, magnetic emulators, magentic decoders, and other components
US20090159690A1 (en) 2007-12-24 2009-06-25 Dynamics Inc. Payment cards and devices with gift card, global integration, and magnetic stripe reader communication functionality
US20090159704A1 (en) 2007-12-24 2009-06-25 Dynamics Inc. Cards and devices with magnetic emulators and magnetic read-head detectors
US8072331B2 (en) * 2008-08-08 2011-12-06 Tyfone, Inc. Mobile payment device

Non-Patent Citations (4)

* Cited by examiner, † Cited by third party
Title
International Search Report and Written Opinion dated Sep. 29, 2009 in corresponding International Application No. PCT/US2009/054275.
Office Action dated Jan. 22, 2013 in copending U.S. Appl. No. 13/059,433.
Office Action issued on May 24, 2013 in corresponding Chinese National Phase Application No. 200980132605.3.
Supplemental European Search Report and Opinion dated Mar. 1, 2013 from corresponding EU Application No. 09808756.2-1958 /2324445.

Cited By (251)

* Cited by examiner, † Cited by third party
Publication number Priority date Publication date Assignee Title
US9659425B2 (en) * 2009-05-13 2017-05-23 Siemens Aktiengesellschaft Electronic key for authentication
US20120066741A1 (en) * 2009-05-13 2012-03-15 Rainer Falk Electronic key for authentication
US10489774B2 (en) 2011-10-17 2019-11-26 Capital One Services, Llc System, method, and apparatus for updating an existing dynamic transaction card
US10475025B2 (en) 2011-10-17 2019-11-12 Capital One Services, Llc System, method, and apparatus for updating an existing dynamic transaction card
US10255536B2 (en) 2012-07-20 2019-04-09 CPI Card Group—Colorado, Inc. Weighted transaction card
US10445628B2 (en) 2012-07-20 2019-10-15 Cpi Card Group-Colorado, Inc. Weighted transaction card
US10824926B2 (en) 2012-07-20 2020-11-03 CPI Card Group—Colorado, Inc. Weighted transaction card
US9430724B2 (en) 2012-07-20 2016-08-30 CPI Card Group—Colorado, Inc. Weighted transaction card
US9779343B2 (en) 2012-07-20 2017-10-03 CPI Card Group—Colorado, Inc. Weighted transaction card
US9117155B2 (en) 2012-07-20 2015-08-25 CPI Card Group—Colorado, Inc. Weighted transaction card
US8857722B2 (en) 2012-07-20 2014-10-14 CPI Card Group—Colorado, Inc. Weighted transaction card
US10032099B2 (en) 2012-07-20 2018-07-24 CPI Card Group—Colorado, Inc. Weighted transaction card
US11301735B2 (en) 2012-07-20 2022-04-12 CPI Card Group—Colorado, Inc. Weighted inlays for transaction cards
US9614570B2 (en) * 2012-08-30 2017-04-04 Mark and Draw, LLC. Cellular-phone case having retractable card holding structure
US9547814B2 (en) 2013-10-25 2017-01-17 CPI Card Group—Colorado, Inc. Multi-metal layered card
US9070053B2 (en) 2013-10-25 2015-06-30 CPI Card Group—Colorado, Inc. Multi-metal layered card
US10558275B2 (en) 2014-01-31 2020-02-11 Hewlett-Packard Development Company, L.P. E-paper display writer
US10453053B2 (en) 2014-09-02 2019-10-22 Fit Pay, Inc. Systems and devices for wireless charging of a powered transaction card and embedding electronics in a wearable accessory
US11157893B2 (en) 2014-11-08 2021-10-26 Samsung Electronics Co., Ltd. Electronic device including a plurality of payment modules
US20180150840A1 (en) * 2015-01-28 2018-05-31 Malsaeng Co., Ltd. Online financial transaction identity authentication system using real card, and method thereof
US20190110180A1 (en) * 2015-02-18 2019-04-11 Global Life-Line, Inc. Identification Card Holder With Personal Locator
US10028120B2 (en) * 2015-02-18 2018-07-17 Global Life-Line, Inc. Identification card holder with personal locator
US10461396B2 (en) 2015-04-03 2019-10-29 Fit Pay, Inc. System and method for low-power close-proximity communications and energy transfer using a miniature multi-purpose antenna
US12456111B2 (en) 2015-04-14 2025-10-28 Capital One Services, Llc System, method, and apparatus for updating an existing dynamic transaction card
WO2016168438A1 (en) * 2015-04-14 2016-10-20 Capital One Services, Llc A system, method, and apparatus for updating an existing dynamic transaction card
US10614446B2 (en) 2015-04-14 2020-04-07 Capital One Services, Llc System, method, and apparatus for updating an existing dynamic transaction card
US11037134B2 (en) 2015-04-14 2021-06-15 Capital One Services, Llc System, method, and apparatus for updating an existing dynamic transaction card
US11978037B2 (en) 2015-04-14 2024-05-07 Capital One Services, Llc System, method, and apparatus for updating an existing dynamic transaction card
WO2017150924A1 (en) * 2016-03-02 2017-09-08 주식회사 마늘랩 Smart card for sequentially generating dynamic magnetic fields and method for controlling same
US9773153B1 (en) * 2016-03-24 2017-09-26 Fingerprint Cards Ab Fingerprint sensor module
US10089568B2 (en) 2016-06-01 2018-10-02 CPI Card Group—Colorado, Inc. IC chip card with integrated biometric sensor pads
US10783337B2 (en) 2016-08-16 2020-09-22 CPI Card Group—Colorado, Inc. IC chip card
US12141804B2 (en) 2016-12-28 2024-11-12 Capital One Services, Llc Dynamic transaction card protected by multi- factor authentication
US12307457B2 (en) 2016-12-28 2025-05-20 Capital One Services, Llc Dynamic transaction card protected by multi-factor authentication
US11048991B2 (en) 2017-02-14 2021-06-29 CPI Card Group—Colorado, Inc. Edge-to-edge metal card and production method
US11710071B2 (en) 2017-10-20 2023-07-25 Statgraf Research Data analysis and rendering
US20190122140A1 (en) * 2017-10-20 2019-04-25 STATGRAF Research LLP. Data analysis and rendering
US10878651B2 (en) 2018-06-21 2020-12-29 Capital One Services, Llc Systems and methods for secure read-only authentication
US10546444B2 (en) 2018-06-21 2020-01-28 Capital One Services, Llc Systems and methods for secure read-only authentication
US12530937B2 (en) 2018-06-21 2026-01-20 Capital One Services, Llc Systems and methods for secure read-only authentication
US12141795B2 (en) 2018-09-19 2024-11-12 Capital One Services, Llc Systems and methods for providing card interactions
US12288205B2 (en) 2018-09-19 2025-04-29 Capital One Services, Llc Systems and methods for providing card interactions
US12003490B2 (en) 2018-10-02 2024-06-04 Capital One Services, Llc Systems and methods for card information management
US12010238B2 (en) 2018-10-02 2024-06-11 Capital One Services, Llc Systems and methods for cryptographic authentication of contactless cards
US10581611B1 (en) 2018-10-02 2020-03-03 Capital One Services, Llc Systems and methods for cryptographic authentication of contactless cards
US10582386B1 (en) 2018-10-02 2020-03-03 Capital One Services, Llc Systems and methods for cryptographic authentication of contactless cards
US10592710B1 (en) 2018-10-02 2020-03-17 Capital One Services, Llc Systems and methods for cryptographic authentication of contactless cards
US10607214B1 (en) 2018-10-02 2020-03-31 Capital One Services, Llc Systems and methods for cryptographic authentication of contactless cards
US10607216B1 (en) 2018-10-02 2020-03-31 Capital One Services, Llc Systems and methods for cryptographic authentication of contactless cards
US10615981B1 (en) 2018-10-02 2020-04-07 Capital One Services, Llc Systems and methods for cryptographic authentication of contactless cards
US10565587B1 (en) 2018-10-02 2020-02-18 Capital One Services, Llc Systems and methods for cryptographic authentication of contactless cards
US10623393B1 (en) 2018-10-02 2020-04-14 Capital One Services, Llc Systems and methods for cryptographic authentication of contactless cards
US10630653B1 (en) 2018-10-02 2020-04-21 Capital One Services, Llc Systems and methods for cryptographic authentication of contactless cards
US12526149B2 (en) 2018-10-02 2026-01-13 Capital One Services, Llc Systems and methods for cryptographic authentication of contactless cards
US12494915B2 (en) 2018-10-02 2025-12-09 Capital One Services, Llc Systems and methods for cryptographic authentication of contactless cards
US10680824B2 (en) 2018-10-02 2020-06-09 Capital One Services, Llc Systems and methods for inventory management using cryptographic authentication of contactless cards
US10685350B2 (en) 2018-10-02 2020-06-16 Capital One Services, Llc Systems and methods for cryptographic authentication of contactless cards
US10686603B2 (en) 2018-10-02 2020-06-16 Capital One Services, Llc Systems and methods for cryptographic authentication of contactless cards
US12493869B2 (en) 2018-10-02 2025-12-09 Capital One Services, Llc Systems and methods for cryptographic authentication of contactless cards
US12489625B2 (en) 2018-10-02 2025-12-02 Capital One Services, Llc Systems and methods of key selection for cryptographic authentication of contactless cards
US10733645B2 (en) 2018-10-02 2020-08-04 Capital One Services, Llc Systems and methods for establishing identity for order pick up
US12341897B2 (en) 2018-10-02 2025-06-24 Capital One Services, Llc Systems and methods for cryptographic authentication of contactless cards
US10748138B2 (en) 2018-10-02 2020-08-18 Capital One Services, Llc Systems and methods for cryptographic authentication of contactless cards
US12261960B2 (en) 2018-10-02 2025-03-25 Capital One Services, Llc Systems and methods for cryptographic authentication of contactless cards
US10771254B2 (en) 2018-10-02 2020-09-08 Capital One Services, Llc Systems and methods for email-based card activation
US10771253B2 (en) 2018-10-02 2020-09-08 Capital One Services, Llc Systems and methods for cryptographic authentication of contactless cards
US10778437B2 (en) 2018-10-02 2020-09-15 Capital One Services, Llc Systems and methods for cryptographic authentication of contactless cards
US10554411B1 (en) 2018-10-02 2020-02-04 Capital One Services, Llc Systems and methods for cryptographic authentication of contactless cards
US10783519B2 (en) 2018-10-02 2020-09-22 Capital One Services, Llc Systems and methods for cryptographic authentication of contactless cards
US10797882B2 (en) 2018-10-02 2020-10-06 Capital One Services, Llc Systems and methods for cryptographic authentication of contactless cards
US12166892B2 (en) 2018-10-02 2024-12-10 Capital One Services, Llc Systems and methods for message presentation using contactless cards
US12155770B2 (en) 2018-10-02 2024-11-26 Capital One Services, Llc Systems and methods for user information management using contactless cards
US10841091B2 (en) 2018-10-02 2020-11-17 Capital One Services, Llc Systems and methods for cryptographic authentication of contactless cards
US12154097B2 (en) 2018-10-02 2024-11-26 Capital One Services, Llc Systems and methods for phone-based card activation
US10860814B2 (en) 2018-10-02 2020-12-08 Capital One Services, Llc Systems and methods for cryptographic authentication of contactless cards
US10489781B1 (en) 2018-10-02 2019-11-26 Capital One Services, Llc Systems and methods for cryptographic authentication of contactless cards
US12125027B2 (en) 2018-10-02 2024-10-22 Capital One Services, Llc Systems and methods for performing transactions with contactless cards
US12112322B2 (en) 2018-10-02 2024-10-08 Capital One Services, Llc Systems and methods for user authorization and access to services using contactless cards
US10880327B2 (en) 2018-10-02 2020-12-29 Capital One Services, Llc Systems and methods for signaling an attack on contactless cards
US10542036B1 (en) 2018-10-02 2020-01-21 Capital One Services, Llc Systems and methods for signaling an attack on contactless cards
US12106341B2 (en) 2018-10-02 2024-10-01 Capital One Services, Llc Systems and methods for establishing identity for order pick up
US10887106B2 (en) 2018-10-02 2021-01-05 Capital One Services, Llc Systems and methods for cryptographic authentication of contactless cards
US12079798B2 (en) 2018-10-02 2024-09-03 Capital One Services, Llc Systems and methods for cryptographic authentication of contactless cards
US12081582B2 (en) 2018-10-02 2024-09-03 Capital One Services, Llc Systems and methods for signaling an attack on contactless cards
US10909527B2 (en) 2018-10-02 2021-02-02 Capital One Services, Llc Systems and methods for performing a reissue of a contactless card
US12069178B2 (en) 2018-10-02 2024-08-20 Capital One Services, Llc Systems and methods for cryptographic authentication of contactless cards
US10949520B2 (en) 2018-10-02 2021-03-16 Capital One Services, Llc Systems and methods for cross coupling risk analytics and one-time-passcodes
US12056692B2 (en) 2018-10-02 2024-08-06 Capital One Services, Llc Systems and methods for secure transaction approval
US10965465B2 (en) 2018-10-02 2021-03-30 Capital One Services, Llc Systems and methods for cryptographic authentication of contactless cards
US12056560B2 (en) 2018-10-02 2024-08-06 Capital One Services, Llc Systems and methods for contactless card applet communication
US10579998B1 (en) 2018-10-02 2020-03-03 Capital One Services, Llc Systems and methods for cryptographic authentication of contactless cards
US10992477B2 (en) 2018-10-02 2021-04-27 Capital One Services, Llc Systems and methods for cryptographic authentication of contactless cards
US12026707B2 (en) 2018-10-02 2024-07-02 Capital One Services, Llc Systems and methods for cryptographic authentication of contactless cards
US11469898B2 (en) 2018-10-02 2022-10-11 Capital One Services, Llc Systems and methods for message presentation using contactless cards
US11502844B2 (en) 2018-10-02 2022-11-15 Capital One Services, Llc Systems and methods for cryptographic authentication of contactless cards
US11544707B2 (en) 2018-10-02 2023-01-03 Capital One Services, Llc Systems and methods for cryptographic authentication of contactless cards
US11456873B2 (en) 2018-10-02 2022-09-27 Capital One Services, Llc Systems and methods for cryptographic authentication of contactless cards
US12008558B2 (en) 2018-10-02 2024-06-11 Capital One Services, Llc Systems and methods for cryptographic authentication of contactless cards
US11444775B2 (en) 2018-10-02 2022-09-13 Capital One Services, Llc Systems and methods for content management using contactless cards
US11438164B2 (en) 2018-10-02 2022-09-06 Capital One Services, Llc Systems and methods for email-based card activation
US11438311B2 (en) 2018-10-02 2022-09-06 Capital One Services, Llc Systems and methods for card information management
US10505738B1 (en) 2018-10-02 2019-12-10 Capital One Services, Llc Systems and methods for cryptographic authentication of contactless cards
US11997208B2 (en) 2018-10-02 2024-05-28 Capital One Services, Llc Systems and methods for inventory management using cryptographic authentication of contactless cards
US11989724B2 (en) 2018-10-02 2024-05-21 Capital One Services Llc Systems and methods for cryptographic authentication of contactless cards using risk factors
US11102007B2 (en) 2018-10-02 2021-08-24 Capital One Services, Llc Contactless card emulation system and method
US11974127B2 (en) 2018-10-02 2024-04-30 Capital One Services, Llc Systems and methods for cryptographic authentication of contactless cards
US11563583B2 (en) 2018-10-02 2023-01-24 Capital One Services, Llc Systems and methods for content management using contactless cards
US11129019B2 (en) 2018-10-02 2021-09-21 Capital One Services, Llc Systems and methods for performing transactions with contactless cards
US11144915B2 (en) 2018-10-02 2021-10-12 Capital One Services, Llc Systems and methods for cryptographic authentication of contactless cards using risk factors
US11924188B2 (en) 2018-10-02 2024-03-05 Capital One Services, Llc Systems and methods for cryptographic authentication of contactless cards
US11843700B2 (en) 2018-10-02 2023-12-12 Capital One Services, Llc Systems and methods for email-based card activation
US11843698B2 (en) 2018-10-02 2023-12-12 Capital One Services, Llc Systems and methods of key selection for cryptographic authentication of contactless cards
US11182785B2 (en) 2018-10-02 2021-11-23 Capital One Services, Llc Systems and methods for authorization and access to services using contactless cards
US11182784B2 (en) 2018-10-02 2021-11-23 Capital One Services, Llc Systems and methods for performing transactions with contactless cards
US11195174B2 (en) 2018-10-02 2021-12-07 Capital One Services, Llc Systems and methods for cryptographic authentication of contactless cards
US11804964B2 (en) 2018-10-02 2023-10-31 Capital One Services, Llc Systems and methods for cryptographic authentication of contactless cards
US11210664B2 (en) 2018-10-02 2021-12-28 Capital One Services, Llc Systems and methods for amplifying the strength of cryptographic algorithms
US11790187B2 (en) 2018-10-02 2023-10-17 Capital One Services, Llc Systems and methods for data transmission using contactless cards
US11784820B2 (en) 2018-10-02 2023-10-10 Capital One Services, Llc Systems and methods for cryptographic authentication of contactless cards
US11770254B2 (en) 2018-10-02 2023-09-26 Capital One Services, Llc Systems and methods for cryptographic authentication of contactless cards
US11233645B2 (en) 2018-10-02 2022-01-25 Capital One Services, Llc Systems and methods of key selection for cryptographic authentication of contactless cards
US11232272B2 (en) 2018-10-02 2022-01-25 Capital One Services, Llc Systems and methods for contactless card applet communication
US11728994B2 (en) 2018-10-02 2023-08-15 Capital One Services, Llc Systems and methods for cryptographic authentication of contactless cards
US10511443B1 (en) 2018-10-02 2019-12-17 Capital One Services, Llc Systems and methods for cryptographic authentication of contactless cards
US11297046B2 (en) 2018-10-02 2022-04-05 Capital One Services, Llc Systems and methods for cryptographic authentication of contactless cards
US11423452B2 (en) 2018-10-02 2022-08-23 Capital One Services, Llc Systems and methods for establishing identity for order pick up
US11301848B2 (en) 2018-10-02 2022-04-12 Capital One Services, Llc Systems and methods for secure transaction approval
US11321546B2 (en) 2018-10-02 2022-05-03 Capital One Services, Llc Systems and methods data transmission using contactless cards
US11336454B2 (en) 2018-10-02 2022-05-17 Capital One Services, Llc Systems and methods for cryptographic authentication of contactless cards
US11341480B2 (en) 2018-10-02 2022-05-24 Capital One Services, Llc Systems and methods for phone-based card activation
US11349667B2 (en) 2018-10-02 2022-05-31 Capital One Services, Llc Systems and methods for inventory management using cryptographic authentication of contactless cards
US11699047B2 (en) 2018-10-02 2023-07-11 Capital One Services, Llc Systems and methods for contactless card applet communication
US11610195B2 (en) 2018-10-02 2023-03-21 Capital One Services, Llc Systems and methods for cryptographic authentication of contactless cards
US11658997B2 (en) 2018-10-02 2023-05-23 Capital One Services, Llc Systems and methods for signaling an attack on contactless cards
US12125021B2 (en) 2018-12-18 2024-10-22 Capital One Services, Llc Devices and methods for selective contactless communication
US12260393B2 (en) 2018-12-18 2025-03-25 Capital One Services, Llc Devices and methods for selective contactless communication
US11361302B2 (en) 2019-01-11 2022-06-14 Capital One Services, Llc Systems and methods for touch screen interface interaction using a card overlay
US11037136B2 (en) 2019-01-24 2021-06-15 Capital One Services, Llc Tap to autofill card data
US10510074B1 (en) 2019-02-01 2019-12-17 Capital One Services, Llc One-tap payment using a contactless card
US11120453B2 (en) 2019-02-01 2021-09-14 Capital One Services, Llc Tap card to securely generate card data to copy to clipboard
US10467622B1 (en) 2019-02-01 2019-11-05 Capital One Services, Llc Using on-demand applications to generate virtual numbers for a contactless card to securely autofill forms
US10425129B1 (en) 2019-02-27 2019-09-24 Capital One Services, Llc Techniques to reduce power consumption in near field communication systems
US10523708B1 (en) 2019-03-18 2019-12-31 Capital One Services, Llc System and method for second factor authentication of customer support calls
US10984416B2 (en) 2019-03-20 2021-04-20 Capital One Services, Llc NFC mobile currency transfer
US10643420B1 (en) 2019-03-20 2020-05-05 Capital One Services, Llc Contextual tapping engine
US10783736B1 (en) 2019-03-20 2020-09-22 Capital One Services, Llc Tap to copy data to clipboard via NFC
US10438437B1 (en) 2019-03-20 2019-10-08 Capital One Services, Llc Tap to copy data to clipboard via NFC
US10535062B1 (en) 2019-03-20 2020-01-14 Capital One Services, Llc Using a contactless card to securely share personal data stored in a blockchain
US10970712B2 (en) 2019-03-21 2021-04-06 Capital One Services, Llc Delegated administration of permissions using a contactless card
US10467445B1 (en) 2019-03-28 2019-11-05 Capital One Services, Llc Devices and methods for contactless card alignment with a foldable mobile device
US11521262B2 (en) 2019-05-28 2022-12-06 Capital One Services, Llc NFC enhanced augmented reality information overlays
US10516447B1 (en) 2019-06-17 2019-12-24 Capital One Services, Llc Dynamic power levels in NFC card communications
US10871958B1 (en) 2019-07-03 2020-12-22 Capital One Services, Llc Techniques to perform applet programming
US11392933B2 (en) 2019-07-03 2022-07-19 Capital One Services, Llc Systems and methods for providing online and hybridcard interactions
US11694187B2 (en) 2019-07-03 2023-07-04 Capital One Services, Llc Constraining transactional capabilities for contactless cards
US12086852B2 (en) 2019-07-08 2024-09-10 Capital One Services, Llc Authenticating voice transactions with payment card
US10713649B1 (en) 2019-07-09 2020-07-14 Capital One Services, Llc System and method enabling mobile near-field communication to update display on a payment card
US10885514B1 (en) 2019-07-15 2021-01-05 Capital One Services, Llc System and method for using image data to trigger contactless card transactions
US10498401B1 (en) 2019-07-15 2019-12-03 Capital One Services, Llc System and method for guiding card positioning using phone sensors
US11182771B2 (en) 2019-07-17 2021-11-23 Capital One Services, Llc System for value loading onto in-vehicle device
US10733601B1 (en) 2019-07-17 2020-08-04 Capital One Services, Llc Body area network facilitated authentication or payment authorization
US10832271B1 (en) 2019-07-17 2020-11-10 Capital One Services, Llc Verified reviews using a contactless card
US11521213B2 (en) 2019-07-18 2022-12-06 Capital One Services, Llc Continuous authentication for digital services based on contactless card positioning
US10506426B1 (en) 2019-07-19 2019-12-10 Capital One Services, Llc Techniques for call authentication
US20240223554A1 (en) * 2019-07-23 2024-07-04 Capital One Services, Llc First factor contactless card authentication system and method
US10541995B1 (en) 2019-07-23 2020-01-21 Capital One Services, Llc First factor contactless card authentication system and method
US20230004759A1 (en) * 2019-08-15 2023-01-05 Visa International Service Association Method, System, and Computer Program Product for Detecting Fraudulent Interactions
US11847572B2 (en) * 2019-08-15 2023-12-19 Visa International Service Association Method, system, and computer program product for detecting fraudulent interactions
US11638148B2 (en) 2019-10-02 2023-04-25 Capital One Services, Llc Client device authentication using contactless legacy magnetic stripe data
US12532170B2 (en) 2019-10-02 2026-01-20 Capital One Services, Llc Client device authentication using contactless legacy magnetic stripe data
US10701560B1 (en) 2019-10-02 2020-06-30 Capital One Services, Llc Client device authentication using contactless legacy magnetic stripe data
US11615395B2 (en) 2019-12-23 2023-03-28 Capital One Services, Llc Authentication for third party digital wallet provisioning
US10733283B1 (en) 2019-12-23 2020-08-04 Capital One Services, Llc Secure password generation and management using NFC and contactless smart cards
US10657754B1 (en) 2019-12-23 2020-05-19 Capital One Services, Llc Contactless card and personal identification system
US11113685B2 (en) 2019-12-23 2021-09-07 Capital One Services, Llc Card issuing with restricted virtual numbers
US10862540B1 (en) 2019-12-23 2020-12-08 Capital One Services, Llc Method for mapping NFC field strength and location on mobile devices
US10885410B1 (en) 2019-12-23 2021-01-05 Capital One Services, Llc Generating barcodes utilizing cryptographic techniques
US11651361B2 (en) 2019-12-23 2023-05-16 Capital One Services, Llc Secure authentication based on passport data stored in a contactless card
US10853795B1 (en) 2019-12-24 2020-12-01 Capital One Services, Llc Secure authentication based on identity data stored in a contactless card
US10664941B1 (en) 2019-12-24 2020-05-26 Capital One Services, Llc Steganographic image encoding of biometric template information on a card
US11200563B2 (en) 2019-12-24 2021-12-14 Capital One Services, Llc Account registration using a contactless card
US10757574B1 (en) 2019-12-26 2020-08-25 Capital One Services, Llc Multi-factor authentication providing a credential via a contactless card for secure messaging
US10909544B1 (en) 2019-12-26 2021-02-02 Capital One Services, Llc Accessing and utilizing multiple loyalty point accounts
US11038688B1 (en) 2019-12-30 2021-06-15 Capital One Services, Llc Techniques to control applets for contactless cards
US10860914B1 (en) 2019-12-31 2020-12-08 Capital One Services, Llc Contactless card and method of assembly
US11455620B2 (en) 2019-12-31 2022-09-27 Capital One Services, Llc Tapping a contactless card to a computing device to provision a virtual number
US11210656B2 (en) 2020-04-13 2021-12-28 Capital One Services, Llc Determining specific terms for contactless card activation
US11823175B2 (en) 2020-04-30 2023-11-21 Capital One Services, Llc Intelligent card unlock
US11270291B2 (en) 2020-04-30 2022-03-08 Capital One Services, Llc Systems and methods for data access control using a short-range transceiver
US12174991B2 (en) 2020-04-30 2024-12-24 Capital One Services, Llc Systems and methods for data access control of personal user data using a short-range transceiver
US11030339B1 (en) 2020-04-30 2021-06-08 Capital One Services, Llc Systems and methods for data access control of personal user data using a short-range transceiver
US12205103B2 (en) 2020-04-30 2025-01-21 Capital One Services, Llc Contactless card with multiple rotating security keys
US11222342B2 (en) 2020-04-30 2022-01-11 Capital One Services, Llc Accurate images in graphical user interfaces to enable data transfer
US10861006B1 (en) 2020-04-30 2020-12-08 Capital One Services, Llc Systems and methods for data access control using a short-range transceiver
US12393926B2 (en) 2020-04-30 2025-08-19 Capital One Services, Llc Systems and methods for data access control using a short-range transceiver
US11562346B2 (en) 2020-04-30 2023-01-24 Capital One Services, Llc Contactless card with multiple rotating security keys
US10915888B1 (en) 2020-04-30 2021-02-09 Capital One Services, Llc Contactless card with multiple rotating security keys
US10963865B1 (en) 2020-05-12 2021-03-30 Capital One Services, Llc Augmented reality card activation experience
US11063979B1 (en) 2020-05-18 2021-07-13 Capital One Services, Llc Enabling communications between applications in a mobile operating system
US11100511B1 (en) 2020-05-18 2021-08-24 Capital One Services, Llc Application-based point of sale system in mobile operating systems
US11062098B1 (en) 2020-08-11 2021-07-13 Capital One Services, Llc Augmented reality information display and interaction via NFC based authentication
US12165149B2 (en) 2020-08-12 2024-12-10 Capital One Services, Llc Systems and methods for user verification via short-range transceiver
US11165586B1 (en) 2020-10-30 2021-11-02 Capital One Services, Llc Call center web-based authentication using a contactless card
US11482312B2 (en) 2020-10-30 2022-10-25 Capital One Services, Llc Secure verification of medical status using a contactless card
US11373169B2 (en) 2020-11-03 2022-06-28 Capital One Services, Llc Web-based activation of contactless cards
US11216799B1 (en) 2021-01-04 2022-01-04 Capital One Services, Llc Secure generation of one-time passcodes using a contactless card
US11682012B2 (en) 2021-01-27 2023-06-20 Capital One Services, Llc Contactless delivery systems and methods
US11687930B2 (en) 2021-01-28 2023-06-27 Capital One Services, Llc Systems and methods for authentication of access tokens
US11562358B2 (en) 2021-01-28 2023-01-24 Capital One Services, Llc Systems and methods for near field contactless card communication and cryptographic authentication
US11792001B2 (en) 2021-01-28 2023-10-17 Capital One Services, Llc Systems and methods for secure reprovisioning
US12333531B2 (en) 2021-01-28 2025-06-17 Capital One Services, Llc Systems and methods for secure reprovisioning
US11922417B2 (en) 2021-01-28 2024-03-05 Capital One Services, Llc Systems and methods for near field contactless card communication and cryptographic authentication
US11438329B2 (en) 2021-01-29 2022-09-06 Capital One Services, Llc Systems and methods for authenticated peer-to-peer data transfer using resource locators
US11777933B2 (en) 2021-02-03 2023-10-03 Capital One Services, Llc URL-based authentication for payment cards
US11637826B2 (en) 2021-02-24 2023-04-25 Capital One Services, Llc Establishing authentication persistence
US11848724B2 (en) 2021-03-26 2023-12-19 Capital One Services, Llc Network-enabled smart apparatus and systems and methods for activating and provisioning same
US12143515B2 (en) 2021-03-26 2024-11-12 Capital One Services, Llc Systems and methods for transaction card-based authentication
US11245438B1 (en) 2021-03-26 2022-02-08 Capital One Services, Llc Network-enabled smart apparatus and systems and methods for activating and provisioning same
US20220311475A1 (en) 2021-03-26 2022-09-29 Capital One Services, Llc Network-enabled smart apparatus and systems and methods for activating and provisioning same
US11990955B2 (en) 2021-03-26 2024-05-21 Capital One Services, Llc Network-enabled smart apparatus and systems and methods for activating and provisioning same
US12160419B2 (en) 2021-04-15 2024-12-03 Capital One Services, Llc Authenticated messaging session with contactless card authentication
US11961089B2 (en) 2021-04-20 2024-04-16 Capital One Services, Llc On-demand applications to extend web services
US11935035B2 (en) 2021-04-20 2024-03-19 Capital One Services, Llc Techniques to utilize resource locators by a contactless card to perform a sequence of operations
US11902442B2 (en) 2021-04-22 2024-02-13 Capital One Services, Llc Secure management of accounts on display devices using a contactless card
US11354555B1 (en) 2021-05-04 2022-06-07 Capital One Services, Llc Methods, mediums, and systems for applying a display to a transaction card
US12301735B2 (en) 2021-06-18 2025-05-13 Capital One Services, Llc Systems and methods for contactless card communication and multi-device key pair cryptographic authentication
US12335412B2 (en) 2021-06-21 2025-06-17 Capital One Services, Llc Systems and methods for scalable cryptographic authentication of contactless cards
US12041172B2 (en) 2021-06-25 2024-07-16 Capital One Services, Llc Cryptographic authentication to control access to storage devices
US12061682B2 (en) 2021-07-19 2024-08-13 Capital One Services, Llc System and method to perform digital authentication using multiple channels of communication
US12495042B2 (en) 2021-08-16 2025-12-09 Capital One Services, Llc Systems and methods for resetting an authentication counter
US12062258B2 (en) 2021-09-16 2024-08-13 Capital One Services, Llc Use of a payment card to unlock a lock
US12069173B2 (en) 2021-12-15 2024-08-20 Capital One Services, Llc Key recovery based on contactless card authentication
US12166750B2 (en) 2022-02-08 2024-12-10 Capital One Services, Llc Systems and methods for secure access of storage
USD1025131S1 (en) * 2022-05-05 2024-04-30 Capital One Services, Llc Display screen with graphical user interface for card communication
US12354077B2 (en) 2022-06-23 2025-07-08 Capital One Services, Llc Mobile web browser authentication and checkout using a contactless card
US12511654B2 (en) 2022-08-08 2025-12-30 Capital One Services, Llc Systems and methods for bypassing contactless payment transaction limit
US12354104B2 (en) 2022-08-09 2025-07-08 Capital One Services, Llc Methods and arrangements for proof of purchase
US12505450B2 (en) 2022-08-17 2025-12-23 Capital One Services, Llc Systems and methods for dynamic data generation and cryptographic card authentication
US12289396B2 (en) 2022-08-18 2025-04-29 Capital One Services, Llc Parallel secret salt generation and authentication for encrypted communication
US12147983B2 (en) 2023-01-13 2024-11-19 Capital One Services, Llc Systems and methods for multi-factor authentication using device tracking and identity verification
US12519652B2 (en) 2023-02-24 2026-01-06 Capital One Services, Llc System and method for dynamic integration of user-provided data with one-time-password authentication cryptogram
US12248832B2 (en) 2023-03-07 2025-03-11 Capital One Services, Llc Systems and methods for steganographic image encoding and identity verification using same
US12335256B2 (en) 2023-03-08 2025-06-17 Capital One Services, Llc Systems and methods for device binding authentication
US12511640B2 (en) 2023-03-13 2025-12-30 Capital One Services, Llc Systems and methods of managing password using contactless card
US12248928B2 (en) 2023-03-13 2025-03-11 Capital One Services, Llc Systems and methods of secure merchant payment over messaging platform using a contactless card
US12124903B2 (en) 2023-03-16 2024-10-22 Capital One Services, Llc Card with a time-sensitive element and systems and methods for implementing the same
US12299672B2 (en) 2023-03-30 2025-05-13 Capital One Services, Llc System and method for authentication with transaction cards
US12499432B2 (en) 2023-04-06 2025-12-16 Capital One Services, Llc Techniques to perform operations with a contactless card when in the presence of a trusted device
US12200135B2 (en) 2023-06-13 2025-01-14 Capital One Services, Llc Contactless card-based authentication via web-browser
US12505448B2 (en) 2023-08-09 2025-12-23 Capital One Services, Llc Systems and methods for fraud prevention in mobile application verification device enrollment process
US12511638B2 (en) 2023-09-07 2025-12-30 Capital One Services, Llc Assignment of near-field communications applets

Also Published As

Publication number Publication date
CN102160061A (en) 2011-08-17
US20140052630A1 (en) 2014-02-20
EP2324445A1 (en) 2011-05-25
US9129280B2 (en) 2015-09-08
EP2324445A4 (en) 2013-03-13
US8814052B2 (en) 2014-08-26
WO2010022129A1 (en) 2010-02-25
US20110140841A1 (en) 2011-06-16
US20120052800A1 (en) 2012-03-01
CN102160061B (en) 2014-04-09
EP2324445B1 (en) 2019-03-20

Similar Documents

Publication Publication Date Title
US8594730B2 (en) Secure smart card system
US12141785B2 (en) Multi-function electronic payment card and device system
US11188908B2 (en) Multi-function transaction card
KR102416954B1 (en) Methods for prepaid, debit and credit card security code generation systems
US10475025B2 (en) System, method, and apparatus for updating an existing dynamic transaction card
US10380581B2 (en) System, method, and apparatus for a dynamic transaction card
US20180039987A1 (en) Multi-function transaction card
US8746553B2 (en) Payment device updates using an authentication process
US11556917B2 (en) Authorizing a payment with a multi-function transaction card
US20120123937A1 (en) Portable e-wallet and universal card
US20160189127A1 (en) Systems And Methods For Creating Dynamic Programmable Credential and Security Cards
WO2016168394A1 (en) A system, method, and apparatus for a dynamic transaction card
WO2002086810A1 (en) Method and apparatus of secure credit card transaction
EP2807600A1 (en) Portable e-wallet and universal card
EP3284049A1 (en) A system, method, and apparatus for updating an existing dynamic transaction card
CN101872454A (en) Sales terminal transaction processing method, equipment and mobile terminal transaction processing method
KR20090029323A (en) Electronic payment device and electronic payment method using the same
US20190272531A1 (en) Payment device with touch screen

Legal Events

Date Code Title Description
STCF Information on status: patent grant

Free format text: PATENTED CASE

CC Certificate of correction
FPAY Fee payment

Year of fee payment: 4

MAFP Maintenance fee payment

Free format text: PAYMENT OF MAINTENANCE FEE, 8TH YR, SMALL ENTITY (ORIGINAL EVENT CODE: M2552); ENTITY STATUS OF PATENT OWNER: SMALL ENTITY

Year of fee payment: 8

MAFP Maintenance fee payment

Free format text: PAYMENT OF MAINTENANCE FEE, 12TH YR, SMALL ENTITY (ORIGINAL EVENT CODE: M2553); ENTITY STATUS OF PATENT OWNER: SMALL ENTITY

Year of fee payment: 12