[go: up one dir, main page]

US8359545B2 - Fast and smooth scrolling of user interfaces operating on thin clients - Google Patents

Fast and smooth scrolling of user interfaces operating on thin clients Download PDF

Info

Publication number
US8359545B2
US8359545B2 US12/287,601 US28760108A US8359545B2 US 8359545 B2 US8359545 B2 US 8359545B2 US 28760108 A US28760108 A US 28760108A US 8359545 B2 US8359545 B2 US 8359545B2
Authority
US
United States
Prior art keywords
list
scroll
animation
scrolling
readable medium
Prior art date
Legal status (The legal status is an assumption and is not a legal conclusion. Google has not performed a legal analysis and makes no representation as to the accuracy of the status listed.)
Expired - Fee Related, expires
Application number
US12/287,601
Other versions
US20090100373A1 (en
Inventor
Tom Pixley
Dave Aufderheide
Frank Hunleth
Current Assignee (The listed assignees may be inaccurate. Google has not performed a legal analysis and makes no representation or warranty as to the accuracy of the list.)
Ceva Technologies Inc
Original Assignee
Hillcrest Laboratories Inc
Priority date (The priority date is an assumption and is not a legal conclusion. Google has not performed a legal analysis and makes no representation as to the accuracy of the date listed.)
Filing date
Publication date
Application filed by Hillcrest Laboratories Inc filed Critical Hillcrest Laboratories Inc
Priority to US12/287,601 priority Critical patent/US8359545B2/en
Assigned to HILLCREST LABORATORIES, INC. reassignment HILLCREST LABORATORIES, INC. ASSIGNMENT OF ASSIGNORS INTEREST (SEE DOCUMENT FOR DETAILS). Assignors: AUFDERHEIDE, DAVE, HUNLETH, FRANK, PIXLEY, TOM
Publication of US20090100373A1 publication Critical patent/US20090100373A1/en
Priority to US13/742,445 priority patent/US9400598B2/en
Application granted granted Critical
Publication of US8359545B2 publication Critical patent/US8359545B2/en
Assigned to MULTIPLIER CAPITAL, LP reassignment MULTIPLIER CAPITAL, LP SECURITY AGREEMENT Assignors: HILLCREST LABORATORIES, INC.
Assigned to IDHL HOLDINGS, INC. reassignment IDHL HOLDINGS, INC. ASSIGNMENT OF ASSIGNORS INTEREST (SEE DOCUMENT FOR DETAILS). Assignors: HILLCREST LABORATORIES, INC.
Assigned to HILLCREST LABORATORIES, INC. reassignment HILLCREST LABORATORIES, INC. RELEASE BY SECURED PARTY (SEE DOCUMENT FOR DETAILS). Assignors: MULTIPLIER CAPITAL, LP
Assigned to CEVA TECHNOLOGIES, INC. reassignment CEVA TECHNOLOGIES, INC. ASSIGNMENT OF PATENTS Assignors: IDHL HOLDINGS, INC.
Expired - Fee Related legal-status Critical Current
Adjusted expiration legal-status Critical

Links

Images

Classifications

    • GPHYSICS
    • G06COMPUTING OR CALCULATING; COUNTING
    • G06FELECTRIC DIGITAL DATA PROCESSING
    • G06F3/00Input arrangements for transferring data to be processed into a form capable of being handled by the computer; Output arrangements for transferring data from processing unit to output unit, e.g. interface arrangements
    • G06F3/01Input arrangements or combined input and output arrangements for interaction between user and computer
    • G06F3/048Interaction techniques based on graphical user interfaces [GUI]
    • G06F3/0484Interaction techniques based on graphical user interfaces [GUI] for the control of specific functions or operations, e.g. selecting or manipulating an object, an image or a displayed text element, setting a parameter value or selecting a range
    • G06F3/0485Scrolling or panning
    • G06F3/04855Interaction with scrollbars
    • GPHYSICS
    • G06COMPUTING OR CALCULATING; COUNTING
    • G06FELECTRIC DIGITAL DATA PROCESSING
    • G06F3/00Input arrangements for transferring data to be processed into a form capable of being handled by the computer; Output arrangements for transferring data from processing unit to output unit, e.g. interface arrangements
    • G06F3/01Input arrangements or combined input and output arrangements for interaction between user and computer
    • G06F3/03Arrangements for converting the position or the displacement of a member into a coded form
    • G06F3/033Pointing devices displaced or positioned by the user, e.g. mice, trackballs, pens or joysticks; Accessories therefor
    • G06F3/0354Pointing devices displaced or positioned by the user, e.g. mice, trackballs, pens or joysticks; Accessories therefor with detection of 2D relative movements between the device, or an operating part thereof, and a plane or surface, e.g. 2D mice, trackballs, pens or pucks
    • G06F3/03543Mice or pucks
    • GPHYSICS
    • G06COMPUTING OR CALCULATING; COUNTING
    • G06FELECTRIC DIGITAL DATA PROCESSING
    • G06F3/00Input arrangements for transferring data to be processed into a form capable of being handled by the computer; Output arrangements for transferring data from processing unit to output unit, e.g. interface arrangements
    • G06F3/01Input arrangements or combined input and output arrangements for interaction between user and computer
    • G06F3/03Arrangements for converting the position or the displacement of a member into a coded form
    • G06F3/033Pointing devices displaced or positioned by the user, e.g. mice, trackballs, pens or joysticks; Accessories therefor
    • G06F3/0362Pointing devices displaced or positioned by the user, e.g. mice, trackballs, pens or joysticks; Accessories therefor with detection of 1D translations or rotations of an operating part of the device, e.g. scroll wheels, sliders, knobs, rollers or belts
    • GPHYSICS
    • G06COMPUTING OR CALCULATING; COUNTING
    • G06FELECTRIC DIGITAL DATA PROCESSING
    • G06F3/00Input arrangements for transferring data to be processed into a form capable of being handled by the computer; Output arrangements for transferring data from processing unit to output unit, e.g. interface arrangements
    • G06F3/01Input arrangements or combined input and output arrangements for interaction between user and computer
    • G06F3/048Interaction techniques based on graphical user interfaces [GUI]
    • G06F3/0484Interaction techniques based on graphical user interfaces [GUI] for the control of specific functions or operations, e.g. selecting or manipulating an object, an image or a displayed text element, setting a parameter value or selecting a range
    • G06F3/0485Scrolling or panning
    • GPHYSICS
    • G06COMPUTING OR CALCULATING; COUNTING
    • G06FELECTRIC DIGITAL DATA PROCESSING
    • G06F2203/00Indexing scheme relating to G06F3/00 - G06F3/048
    • G06F2203/033Indexing scheme relating to G06F3/033
    • G06F2203/0335Finger operated miniaturized mouse

Definitions

  • This application describes, among other things, scrolling on user interfaces in a fast and smooth manner.
  • the television was tuned to the desired channel by adjusting a tuner knob and the viewer watched the selected program. Later, remote control devices were introduced that permitted viewers to tune the television from a distance. This addition to the user-television interface created the phenomenon known as “channel surfing” whereby a viewer could rapidly view short segments being broadcast on a number of channels to quickly learn what programs were available at any given time.
  • Printed guides are still the most prevalent mechanism for conveying programming information.
  • the multiple button remote control with up and down arrows is still the most prevalent channel/content selection mechanism.
  • the reaction of those who design and implement the TV user interface to the increase in available media content has been a straightforward extension of the existing selection procedures and interface objects.
  • the number of rows in the printed guides has been increased to accommodate more channels.
  • the number of buttons on the remote control devices has been increased to support additional functionality and content handling, e.g., as shown in FIG. 1 .
  • the user interface bottleneck problem is being exacerbated by the aggregation of technologies. Consumers are reacting positively to having the option of buying integrated systems rather than a number of segregable components.
  • An example of this trend is the combination television/VCR/DVD in which three previously independent components are frequently sold today as an integrated unit. This trend is likely to continue, potentially with an end result that most if not all of the communication devices currently found in the household will be packaged together as an integrated unit, e.g., a television/VCR/DVD/internet access/radio/stereo unit. Even those who continue to buy separate components will likely desire seamless control of, and interworking between, the separate components. With this increased aggregation comes the potential for more complexity in the user interface.
  • buttons on these universal remote units was typically more than the number of buttons on either the TV remote unit or VCR remote unit individually. This added number of buttons and functionality makes it very difficult to control anything but the simplest aspects of a TV or VCR without hunting for exactly the right button on the remote. Many times, these universal remotes do not provide enough buttons to access many levels of control or features unique to certain TVs. In these cases, the original device remote unit is still needed, and the original hassle of handling multiple remotes remains due to user interface issues arising from the complexity of aggregation. Some remote units have addressed this problem by adding “soft” buttons that can be programmed with the expert commands.
  • buttons sometimes have accompanying LCD displays to indicate their action. These too have the flaw that they are difficult to use without looking away from the TV to the remote control. Yet another flaw in these remote units is the use of modes in an attempt to reduce the number of buttons.
  • moded a special button exists to select whether the remote should communicate with the TV, DVD player, cable set-top box, VCR, etc. This causes many usability issues including sending commands to the wrong device, forcing the user to look at the remote to make sure that it is in the right mode, and it does not provide any simplification to the integration of multiple devices.
  • the most advanced of these universal remote units provide some integration by allowing the user to program sequences of commands to multiple devices into the remote. This is such a difficult task that many users hire professional installers to program their universal remote units.
  • Scrolling refers to the act of sliding a horizontal or vertical presentation of content, such as text, drawings, or images, across a screen or display window.
  • content such as text, drawings, or images
  • the graphical content to fill that area can be generated on the fly by the computer as the user provides inputs to the user interface which indicate his or her desire to scroll.
  • Systems and methods according to the present invention address this need and others by providing mechanisms to facilitate for fast and smooth scrolling of user interfaces operating on, e.g., thin clients.
  • a method for scrolling within a graphical user interface comprising: displaying a first portion of a list having a first plurality of entries which are visible on the graphical user interface; receiving user input to scroll the list by a number of entries; displaying an animation of dummy data in portions of the graphical user interface associated with the first plurality of entries while the list is being scrolled; ceasing scrolling; and replacing the animation of dummy data with a second portion of the list including a second plurality of entries.
  • a computer-readable medium contains program instructions coded thereon which, when executed by a computer or processor, performs the steps of displaying a first portion of a list having a first plurality of entries which are visible on the graphical user interface, receiving user input to scroll the list by a number of entries, displaying an animation of dummy data in portions of the graphical user interface associated with the first plurality of entries while the list is being scrolled, ceasing scrolling, and
  • a user interface includes a first portion of a list of items currently displayed on the user interface, and a mechanism for receiving a user input to scroll the list, wherein the user interface displays an animation of dummy data while the list is being scrolled and subsequently replaces the animation of dummy data with a second portion of the list.
  • FIG. 1 depicts a conventional remote control unit for an entertainment system
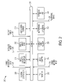
  • FIG. 2 depicts an exemplary media system in which exemplary embodiments of the present invention can be implemented
  • FIG. 3( a ) shows a 3D pointing device according to an exemplary embodiment of the present invention
  • FIG. 3( b ) illustrates a user employing a 3D pointing device to provide input to a user interface on a television according to an exemplary embodiment of the present invention
  • FIG. 4 depicts a zooming transition as well as a usage of an up function global navigation object according to an exemplary embodiment of the present invention
  • FIG. 5 shows a scrollable list according to an exemplary embodiment of the present invention
  • FIG. 6 shows animation and visual context information according to an exemplary embodiment of the present invention
  • FIG. 7 illustrates moving through a scrollable list and updating the visual context information with respect to FIG. 6 according to an exemplary embodiment of the present invention
  • FIG. 8 shows information relating to a photograph as visual context information according to an exemplary embodiment of the present invention
  • FIG. 9 depicts static visual context information according to an exemplary embodiment of the present invention.
  • FIG. 10 is a method flowchart illustrating changes to a user interface while scrolling through a list according to an exemplary embodiment of the present invention.
  • an exemplary aggregated media system 200 in which the present invention can be implemented will first be described with respect to FIG. 2 .
  • I/O input/output
  • the I/O bus 210 represents any of a number of different of mechanisms and techniques for routing signals between the media system components.
  • the I/O bus 210 may include an appropriate number of independent audio “patch” cables that route audio signals, coaxial cables that route video signals, two-wire serial lines or infrared or radio frequency transceivers that route control signals, optical fiber or any other routing mechanisms that route other types of signals.
  • the media system 200 includes a television/monitor 212 , a video cassette recorder (VCR) 214 , digital video disk (DVD) recorder/playback device 216 , audio/video tuner 218 and compact disk player 220 coupled to the I/O bus 210 .
  • the VCR 214 , DVD 216 and compact disk player 220 may be single disk or single cassette devices, or alternatively may be multiple disk or multiple cassette devices. They may be independent units or integrated together.
  • the media system 200 includes a microphone/speaker system 222 , video camera 224 and a wireless I/O control device 226 .
  • the wireless I/O control device 226 is a 3D pointing device.
  • the wireless I/O control device 226 can communicate with the entertainment system 200 using, e.g., an IR or RF transmitter or transceiver. Alternatively, the I/O control device can be connected to the entertainment system 200 via a wire.
  • the entertainment system 200 also includes a system controller 228 .
  • the system controller 228 operates to store and display entertainment system data available from a plurality of entertainment system data sources and to control a wide variety of features associated with each of the system components.
  • system controller 228 is coupled, either directly or indirectly, to each of the system components, as necessary, through I/O bus 210 .
  • system controller 228 in addition to or in place of I/O bus 210 , system controller 228 is configured with a wireless communication transmitter (or transceiver), which is capable of communicating with the system components via IR signals or RF signals. Regardless of the control medium, the system controller 228 is configured to control the media components of the media system 200 via a graphical user interface described below.
  • media system 200 may be configured to receive media items from various media sources and service providers.
  • media system 200 receives media input from and, optionally, sends information to, any or all of the following sources: cable broadcast 230 , satellite broadcast 232 (e.g., via a satellite dish), very high frequency (VHF) or ultra high frequency (UHF) radio frequency communication of the broadcast television networks 234 (e.g., via an aerial antenna), telephone network 236 and cable modem 238 (or another source of Internet content).
  • VHF very high frequency
  • UHF ultra high frequency
  • remote devices which operate as 3D pointers are of particular interest for the present specification, although the present invention is not limited to systems including 3D pointers.
  • Such devices enable the translation of movement of the device, e.g., linear movement, rotational movement, acceleration or any combination thereof, into commands to a user interface.
  • An exemplary loop-shaped, 3D pointing device 300 is depicted in FIG. 3( a ), however the present invention is not limited to loop-shaped devices.
  • the 3D pointing device 300 includes two buttons 302 and 304 as well as a scroll wheel 306 (scroll wheel 306 can also act as a button by depressing the scroll wheel 306 ), although other exemplary embodiments will include other physical configurations.
  • User movement of the 3D pointing device 300 can be defined, for example, in terms of rotation about one or more of an x-axis attitude (roll), a y-axis elevation (pitch) or a z-axis heading (yaw).
  • some exemplary embodiments of the present invention can additionally (or alternatively) measure linear movement of the 3D pointing device 300 along the x, y, and/or z axes to generate cursor movement or other user interface commands.
  • An example is provided below.
  • a number of permutations and variations relating to 3D pointing devices can be implemented in systems according to exemplary embodiments of the present invention. The interested reader is referred to U.S. patent application Ser. No.
  • 3D pointing device 300 will be held by a user in front of a display 308 and that motion of the 3D pointing device 300 will be translated by the 3D pointing device 300 o output which is usable to interact with the information displayed on display 308 , e.g., to move the cursor 310 on the display 308 .
  • 3D pointing devices and their associated user interfaces can be used to make media selections on a television as shown in FIG. 3( b ), which will be described in more detail below.
  • aspects of exemplary embodiments of the present invention can be optimized to enhance the user's experience of the so-called “10-foot” interface, i.e., a typical distance between a user and his or her television in a living room.
  • interactions between pointing, scrolling, zooming and panning, e.g., using a 3D pointing device 300 associated user interface can be optimized for this environment as will be described below, although the present invention is not limited thereto.
  • Rotation of the 3D pointing device 300 about the y-axis can be sensed by the 3D pointing device 300 and translated into an output usable by the system to move cursor 310 along the y 2 axis of the display 308 .
  • rotation of the 3D pointing device 300 about the z-axis can be sensed by the 3D pointing device 300 and translated into an output usable by the system to move cursor 310 along the x 2 axis of the display 308 .
  • 3D pointing device 300 can be used to interact with the display 308 in a number of ways other than (or in addition to) cursor movement, for example it can control cursor fading, volume or media transport (play, pause, fast-forward and rewind). Additionally, the system can be programmed to recognize gestures, e.g., predetermined movement patterns, to convey commands in addition to cursor movement. Moreover, other input commands, e.g., a zoom-in or zoom-out on a particular region of a display (e.g., actuated by pressing button 302 to zoom-in or button 304 to zoom-out), may also be available to the user.
  • gestures e.g., predetermined movement patterns
  • other input commands e.g., a zoom-in or zoom-out on a particular region of a display (e.g., actuated by pressing button 302 to zoom-in or button 304 to zoom-out), may also be available to the user.
  • user interfaces may use, at least in part, zooming techniques for moving between user interface views.
  • the zooming transition effect can be performed by progressive scaling and displaying of at least some of the UI objects displayed on the current UI view to provide a visual impression of movement of those UI objects away from an observer.
  • user interfaces may zoom-in in response to user interaction with the user interface which will, likewise, result in the progressive scaling and display of UI objects that provide the visual impression of movement toward an observer. More information relating to zoomable user interfaces can be found in U.S. patent application Ser. No. 10/768,432, filed on Jan.
  • Movement within the user interface between different user interface views is not limited to zooming.
  • Other non-zooming techniques can be used, in addition to zooming or as an alternative thereto, to transition between user interface views.
  • panning can be performed by progressive translation and display of at least some of the user interface objects which are currently displayed in a user interface view. This provides the visual impression of lateral movement of those user interface objects to an observer.
  • the GUI screen (also referred to herein as a “UI view”, which terms refer to a currently displayed set of UI objects) seen on television 320 is a home view.
  • the home view displays a plurality of applications 322 , e.g., “Photos”, “Music”, “Recorded”, “Guide”, “Live TV”, “On Demand”, and “Settings”, which are selectable by the user by way of interaction with the user interface via the 3D pointing device 300 .
  • Such user interactions can include, for example, pointing, scrolling, clicking or various combinations thereof.
  • exemplary embodiments described herein focus on techniques for scrolling content within a currently displayed user interface view.
  • Such content can include, for example, scrollable visual directories, scrollable lists, scrollable grid guides and any other scrollable content.
  • FIG. 4 illustrates a number of on-demand movie selections, categorized by genre, which view 400 can be reached by, for example, zooming in on the “On Demand” application object shown in the home view of FIG. 3( b ).
  • the zoom-in button 302 on the 3D pointing device 300 By pressing the zoom-in button 302 on the 3D pointing device 300 one more time, while the current focus (e.g., selection highlighting) is on the UI object associated with “Genre A” 402 in the UI view 400 , the user interface will zoom-in on this object to display a new UI view 404 .
  • the UI view 404 will display a number of sub-genre media selection objects which can, for example, be implemented as DVD movie cover images. Although this example illustrates groupings or “bookcases” containing six images per genre, it will be appreciated that other implementations, or other views within the same implementation, may include more or fewer images per group, e.g., 16, 32, 64, etc.
  • some facility for scrolling the visual directories can be provided, e.g., to enable the user to reach those user interface objects (images in this example) which are not currently on-screen, such as the cut-off row of genres and sub-genres shown at the bottom of views 400 and 404 , respectively.
  • rotating the scroll wheel 306 of the 3D pointing device 300 can provide an input command to the user interface to scroll the genres or subgenres up to reveal the images which are currently off-screen.
  • a scrollable list there are typically a number of different ways to scroll through a scrollable list using a device such as the 3D pointing device 300 .
  • one method for scrolling through a list such as the list shown in FIG. 5 , would be to rotate the scroll wheel 306 of the 3D pointing device 300 .
  • Another exemplary method would be to use 3D pointing device 300 to point and click upon either the top arrow button 502 or the bottom arrow button 504 to move the scroll list up or down one row.
  • a user could point to a location on an on-screen scrollbar 506 and click at that location to jump to a new portion of the scrollable list which corresponds to that location on the scrollbar 506 .
  • the modes of scrolling with a scroll wheel 306 can also be broken down into different modes of scrolling associated with the scrolling speed or amount of content to be scrolled at a time, e.g., single-row scrolling, page-at-a-time scrolling, and fast-scrolling.
  • scrolling on such interfaces may pose additional challenges when, for example, the client system which is generating and controlling the user interface has relatively limited resources.
  • generating the additional rows or columns of images, text, etc., of content needed to populate the rows or columns as they are coming on screen may take more processing resources than are currently available.
  • a so-called “thin” client such as a mid- to high-end TV set-top box having a 300 MHz (or less) processor, 128 megabytes (or less) of RAM and a 2-D graphics accelerator may have its resources sufficiently tied up in handling the various functions associated with the user interface to be unable to quickly generate content on-the-fly for scrolling in a manner which provides a smooth visual experience to the user.
  • these exemplary embodiments are not limited to implementation on this purely illustrative set-top box or similar client devices. In fact, although these exemplary embodiments provide benefits for use with such thin client devices, they can be employed on client devices having significantly greater processing resources so as to free additional resources for other functionality.
  • a predetermined number of rows (and/or columns) in addition to those which are displayed in a user interface view are generated and stored for use when scrolling inputs are received by the user interface. For example, if the user interface view provides a list of 30 items (1 per row) of which 5 are visible at any given time, then the user interface could create 10 graphical rows (e.g., 5 visible on-screen at the moment and 5 hidden off-screen). Then, as the user scrolls, the user interface populates each row in the list with the appropriate data, e.g., metadata, a .jpg file associated with a DVD cover art image, etc., using pre-stored data to populate the “new” row(s) as the user scrolls the interface.
  • the appropriate data e.g., metadata, a .jpg file associated with a DVD cover art image, etc.
  • this exemplary embodiment there are as many off-screen rows pre-generated as there are on-screen rows (alternatively there could be twice the number of rows off-screen as there are on-screen, e.g., half filled with data corresponding to rows “above” the top row currently displayed and half filled with data corresponding to rows “below” the bottom row which is currently displayed).
  • the user interface can scroll several rows in either direction while showing a continuous scrolling list to the user.
  • single-row scrolling mode is typically the default scrolling mode and can be used whenever the user is moving slowly through content.
  • Moving slowly through content can be described as any single-line scroll wheel 306 click or spin.
  • a “scroll wheel click” can be described as moving a scrollable wheel one increment in either direction of movement from its current position.
  • This single increment of scroll wheel motion is typically associated with some type of feedback, e.g., the sound of a single click or the feel of having pushed the wheel over a single set amount of resistance, for a user such that the user knows when a single increment of the wheel has occurred.
  • the scrolling list moves one row for each click of the scroll-wheel 306 i.e., by shifting existing rows up or down and re-populating the bottommost or topmost row, respectively, with pre-stored data. This provides a smooth scrolling experience as each row is moved smoothly from off-screen to on-screen.
  • page-at-a-time scrolling mode can be used, for example, to scroll lists of content for which a user has been found to most often browse the list a single page at a time.
  • a “page” of content is equal to the number of rows or columns displayable at one time for a given user interface screen.
  • page-at-a-time scrolling mode a single scroll operation for the user interface screen shown in FIG. 5 would result in all six rows being displaced with new data items.
  • any spin of the scroll wheel 306 greater than one click will move the user from single-row mode to page-at-a-time mode.
  • the list will be scrolled one page by moving all off-screen rows smoothly from off-screen to on-screen. Additionally, while transitioning from single-row scrolling mode to page-at-a-time scrolling mode the exact number of scroll-wheel clicks can be ignored, regardless of whether the user scrolled more or less than a full page. Scroll wheel interactions tend to come in discrete groups of clicks since the user will pause scrolling when their finger reaches the top or bottom of the scroll wheel bed. If they wish to continue scrolling they will generally pick up their finger, move it to the other end of the exposed wheel, and continue the previous movement.
  • the page-at-a-time scrolling mode can, for example, end in one of two ways:
  • the user interface will run out of pre-stored rows to re-use and does not have sufficient pre-generated rows to populate the on-screen rows with actual list data.
  • exemplary embodiments can also provide a fast-scrolling mechanism, e.g., in addition to single scrolling and page-at-a time scrolling, in combination with either single scrolling or page-at-a time scrolling, or by itself.
  • the fast-scrolling mechanism involves, for example, replacing the rows (or columns) displayed on-screen with an animation of dummy data when the user requests a scrolling of content which is faster than what the user interface can render to the display using, e.g., pre-cached rows or columns of actual data.
  • Fast-scroll mode can, for example, be entered either when the user attempts to scroll more than a single page while in single-row mode or, if using page-at-a-time mode, when the user spins the scroll-wheel a second time once they have already entered page-at-a-time mode.
  • these exemplary embodiments are not limited to these purely exemplary techniques for entering fast scroll mode and that this mode can be entered using any desired mechanism.
  • the animation of dummy data provided in lieu of actual scrolling content is individually created for each screen based on a set of representative content for that screen and is designed to appear as if the user were scrolling quickly past the actual content in the list.
  • the content is blurred such that at least some of the individual characteristics of each row are indistinguishable from row to row, which provides blurred animation of dummy data to be perceived by the end user as representative of any the actual content being scrolled through very quickly.
  • FIG. 6 shows this type of fast scroll mode animation.
  • the fast scroll animation provides the user or observer of the user interface with the visual impression of rapid movement of the scrolling items, e.g., either vertically up or vertically down in this example, in a manner which is pronounced of the visual impression provided by the images imprinted on the wheels of a slot machine as they are rotating during a spin.
  • the images which are scrolling may appear blurred to the user (as seen in FIG. 6 ) due to the speed at which they are scrolling across the screen.
  • the user interface can intentionally avoid using actual data (i.e., hide the on-screen rows or columns) to further reduce the load on the client's CPU. More specifically, this can involve allowing the client's processor(s) to not update each individual row or column within the scrolling user interface element but, to instead, do a single update to all on-screen rows once the animation has ended and the user has reached their final scroll position. Additionally, if the data used to generate each list is queried from a database, jumping over the content between the start and end locations permits a reduction in the number of database queries generated to scroll the content and thereby further reduce load on the CPU.
  • the above described exemplary fast scroll process can be used to display a scrolling list of images, text, or a mixture of both.
  • the displayed animation using dummy data will typically not be an exact match for any set of actual content being scrolled.
  • the dummy data used to perform the scrolling animation can be tailored based upon known available information regarding the actual content so that the animation is relatively well matched to the actual content being scrolled through. For example, in a bookshelf based visual solution there could be full bookshelves, i.e., space for 12 images in each shelf with 12 images being shown, or partially full bookshelves, i.e., space for 12 images with only an average of 3-5 images per shelf.
  • the images used are animated Multiple-image Network Graphics (MNG) images.
  • MNG is a member of the Portable Network Graphics (PNG) family that can include multiple images such as animations or complex still frames made from multiple PNG or Joint Photographic Experts Group (JPEG) Network Graphics (JNG) single image data streams.
  • JPEG Joint Photographic Experts Group
  • JNG Joint Photographic Experts Group
  • Other methods of animation may, alternatively, be used to animate images for fast scrolling according to these exemplary embodiments, preferably (but not limited to) techniques which do not heavily tax the CPU(s) on the system which is displaying the user interface. For example, if an implementation had a video processor in addition to a general purpose processor, such an implementation could use pre-created video to display the animation in order to free up the CPU for processing the next group of data.
  • Animated MNG images of dummy data to be used in fast scroll mode for a particular list or user interface element can, for example, be created by taking two screenshots while actual content associated with that list is scrolled on a display to two consecutive positions. These two screenshot images can then be pasted together into a single continuous image such that the image can be scrolled indefinitely in either direction without any breaks.
  • This image is then blurred, according to this exemplary embodiment, by 60 pixels along the axis of scroll to both give the illusion of speed and to make specific content unrecognizable.
  • This blurred image is then animated using six frames which, when displayed in a repeating loop, create the illusion of large amounts of non-specific content scrolling indefinitely.
  • the animated MNG images of dummy data are, at this point in their creation, larger with respect to their file size than may be optimal for a typical thin client.
  • smaller images can be created and then scaled to fit the scrolling list. For example, this can be accomplished by scaling the image down to 20% of its original size along the axis of scroll and scaling it down to 50% of its original size along the off-axis, since the image detail is more visible along the non-moving axis.
  • the dummy data animation used during fast scroll mode could be 400 pixels wide by 80 pixels high, which is then stretched to fill the entire 800 pixel by 400 pixel display area.
  • different scaling percentages can be used for the animation as desired for different clients and/or display sizes. If such optional scaling is used, the loss of data from scaling the image enhances the blurring effect on the image and further reduces the load on the client's CPU.
  • the blurred content being displayed is typically not specifically recognizable by users. Therefore, additional visual feedback can be provided to the user to indicate their current or, alternatively, destination position in the scrolling list.
  • the feedback provided can be generated differently for each type of scrolling list depending upon what is most helpful for a user to see regarding the list being scrolled. For example as shown in FIG. 6 , if the scrollable list is an alphabetically ordered list of sings, the display of the title of the song at the current position 602 in the list can be displayed.
  • the feedback 602 (which is also referred to herein as the “visual context information”) is typically updated as shown, for example, in FIG. 7 to display a song title 702 showing the user how far he or she has scrolled. In this manner, the user is given dynamic visual clues and can see when he or she has reached the point that they are looking for and stop scrolling through the list.
  • Other items can also be stored in lists that a user may wish to scroll through such as photos or a list of television shows, e.g., in an electronic program guide.
  • the dynamic visual context information which is shown during fast scroll mode could be a count or text of such photos, for example as seen in FIG. 8 , “Photo 19 out of 87”, and/or a thumbnail image of the photo 802 at that position in the list.
  • For the television guide a channel number and name could be shown as the visual context information and/or the time and date could be shown depending upon, for example, how the scrollable list has been setup.
  • fast-scroll mode is capable of using scroll acceleration to more quickly move the user through long lists of information.
  • fast-scroll mode the total distance traveled from the starting scroll position to the current position is tracked. Once a user has moved more than ten rows, the system begins to multiply that value (distance tracked) by, for example, a logarithmic based modifier.
  • the scroll acceleration factor can, according to one exemplary embodiment, be implemented as the log e of the number of rows scrolled damped by log e (3), which damping factor can be varied.
  • This exemplary technique allows a user to quickly jump through long lists of data, but by using a logarithm based modifier it keeps the scroll speed from getting to be too fast such that the user passes by an item of interest on the list or repeatedly overshoots a desired selection.
  • the visual context information shown can remain static, e.g., when the visual context information identifies the scrolling destination rather than providing an update as to current position, as shown in FIG. 9 .
  • animation 902 and visual context information 904 can be displayed.
  • the visual context information 904 shows “Jump to 56 ESPN” to show the user what was selected and that the system is currently jumping to the location.
  • the visual context information display 904 may be desirable to statically display the selection in the visual context information display 904 and not change it while moving through the list, i.e., during the display of the dummy data animation.
  • a method for scrolling through a list is shown in the flowchart of FIG. 10 .
  • a method for scrolling within a graphical user interface includes: displaying a first portion of a list having a first plurality of entries which are visible on the GUI at step 1002 ; receiving user input to scroll the list by a number of entries at step 1004 ; displaying an animation of dummy data in portions of the GUI associated with the first plurality of entries while the list is being scrolled at step 1006 ; ceasing scrolling at step 1008 ; and replacing the animation of dummy data with a second portion of the list including a second plurality of entries at step 1100 .
  • Systems and methods for processing data according to exemplary embodiments of the present invention can be performed by one or more processors executing sequences of instructions contained in a memory device. Such instructions may be read into the memory device from other computer-readable mediums such as secondary data storage device(s). Execution of the sequences of instructions contained in the memory device causes the processor to operate, for example, as described above. In alternative embodiments, hard-wire circuitry may be used in place of or in combination with software instructions to implement the present invention.

Landscapes

  • Engineering & Computer Science (AREA)
  • General Engineering & Computer Science (AREA)
  • Theoretical Computer Science (AREA)
  • Human Computer Interaction (AREA)
  • Physics & Mathematics (AREA)
  • General Physics & Mathematics (AREA)
  • User Interface Of Digital Computer (AREA)

Abstract

Systems and methods according to the present invention provide a user interface for scrolling through lists of information on user interfaces.

Description

RELATED APPLICATION
This application is related to, and claims priority from, U.S. Provisional Patent Application Ser. No. 60/999,130, entitled “Fast and Smooth Scrolling of User Interfaces Operating on Thin Clients”, to Tom Pixley et al., filed on Oct. 16, 2007, the disclosure of which is incorporated here by reference.
BACKGROUND
This application describes, among other things, scrolling on user interfaces in a fast and smooth manner.
Technologies associated with the communication of information have evolved rapidly over the last several decades. Television, cellular telephony, the Internet and optical communication techniques (to name just a few things) combine to inundate consumers with available information and entertainment options. Taking television as an example, the last three decades have seen the introduction of cable television service, satellite television service, pay-per-view movies and video-on-demand. Whereas television viewers of the 1960s could typically receive perhaps four or five over-the-air TV channels on their television sets, today's TV watchers have the opportunity to select from hundreds, thousands, and potentially millions of channels of shows and information. Video-on-demand technology, currently used primarily in hotels and the like, provides the potential for in-home entertainment selection from among thousands of movie titles.
The technological ability to provide so much information and content to end users provides both opportunities and challenges to system designers and service providers. One challenge is that while end users typically prefer having more choices rather than fewer, this preference is counterweighted by their desire that the selection process be both fast and simple. Unfortunately, the development of the systems and interfaces by which end users access media items has resulted in selection processes which are neither fast nor simple. Consider again the example of television programs. When television was in its infancy, determining which program to watch was a relatively simple process primarily due to the small number of choices. One would consult a printed guide which was formatted, for example, as series of columns and rows which showed the correspondence between (1) nearby television channels, (2) programs being transmitted on those channels and (3) date and time. The television was tuned to the desired channel by adjusting a tuner knob and the viewer watched the selected program. Later, remote control devices were introduced that permitted viewers to tune the television from a distance. This addition to the user-television interface created the phenomenon known as “channel surfing” whereby a viewer could rapidly view short segments being broadcast on a number of channels to quickly learn what programs were available at any given time.
Despite the fact that the number of channels and amount of viewable content has dramatically increased, the generally available user interface, control device options and frameworks for televisions has not changed much over the last 30 years. Printed guides are still the most prevalent mechanism for conveying programming information. The multiple button remote control with up and down arrows is still the most prevalent channel/content selection mechanism. The reaction of those who design and implement the TV user interface to the increase in available media content has been a straightforward extension of the existing selection procedures and interface objects. Thus, the number of rows in the printed guides has been increased to accommodate more channels. The number of buttons on the remote control devices has been increased to support additional functionality and content handling, e.g., as shown in FIG. 1. However, this approach has significantly increased both the time required for a viewer to review the available information and the complexity of actions required to implement a selection. Arguably, the cumbersome nature of the existing interface has hampered commercial implementation of some services, e.g., video-on-demand, since consumers are resistant to new services that will add complexity to an interface that they view as already too slow and complex.
In addition to increases in bandwidth and content, the user interface bottleneck problem is being exacerbated by the aggregation of technologies. Consumers are reacting positively to having the option of buying integrated systems rather than a number of segregable components. An example of this trend is the combination television/VCR/DVD in which three previously independent components are frequently sold today as an integrated unit. This trend is likely to continue, potentially with an end result that most if not all of the communication devices currently found in the household will be packaged together as an integrated unit, e.g., a television/VCR/DVD/internet access/radio/stereo unit. Even those who continue to buy separate components will likely desire seamless control of, and interworking between, the separate components. With this increased aggregation comes the potential for more complexity in the user interface. For example, when so-called “universal” remote units were introduced, e.g., to combine the functionality of TV remote units and VCR remote units, the number of buttons on these universal remote units was typically more than the number of buttons on either the TV remote unit or VCR remote unit individually. This added number of buttons and functionality makes it very difficult to control anything but the simplest aspects of a TV or VCR without hunting for exactly the right button on the remote. Many times, these universal remotes do not provide enough buttons to access many levels of control or features unique to certain TVs. In these cases, the original device remote unit is still needed, and the original hassle of handling multiple remotes remains due to user interface issues arising from the complexity of aggregation. Some remote units have addressed this problem by adding “soft” buttons that can be programmed with the expert commands. These soft buttons sometimes have accompanying LCD displays to indicate their action. These too have the flaw that they are difficult to use without looking away from the TV to the remote control. Yet another flaw in these remote units is the use of modes in an attempt to reduce the number of buttons. In these “moded” universal remote units, a special button exists to select whether the remote should communicate with the TV, DVD player, cable set-top box, VCR, etc. This causes many usability issues including sending commands to the wrong device, forcing the user to look at the remote to make sure that it is in the right mode, and it does not provide any simplification to the integration of multiple devices. The most advanced of these universal remote units provide some integration by allowing the user to program sequences of commands to multiple devices into the remote. This is such a difficult task that many users hire professional installers to program their universal remote units.
Some attempts have also been made to modernize the screen interface between end users and media systems. However, these attempts typically suffer from, among other drawbacks, an inability to easily scale between large collections of media items and small collections of media items. For example, interfaces which rely on lists of items may work well for small collections of media items, but are tedious to browse for large collections of media items. Interfaces which rely on hierarchical navigation (e.g., tree structures) may be speedier to traverse than list interfaces for large collections of media items, but are not readily adaptable to small collections of media items. Additionally, users tend to lose interest in selection processes wherein the user has to move through three or more layers in a tree structure. For all of these cases, current remote units make this selection process even more tedious by forcing the user to repeatedly depress the up and down buttons to navigate the list or hierarchies. When selection skipping controls are available such as page up and page down, the user usually has to look at the remote to find these special buttons or be trained to know that they even exist. Accordingly, organizing frameworks, techniques and systems which simplify the control and screen interface between users and media systems as well as accelerate the selection process, while at the same time permitting service providers to take advantage of the increases in available bandwidth to end user equipment by facilitating the supply of a large number of media items and new services to the user have been proposed in U.S. patent application Ser. No. 10/768,432, filed on Jan. 30, 2004, entitled “A Control Framework with a Zoomable Graphical User Interface for Organizing, Selecting and Launching Media Items”, the disclosure of which is incorporated here by reference.
One common type of navigation functionality that is provided in many types of user interfaces is scrolling. The term “scrolling” refers to the act of sliding a horizontal or vertical presentation of content, such as text, drawings, or images, across a screen or display window. In a typical computer system when creating a scrolling content area, the graphical content to fill that area can be generated on the fly by the computer as the user provides inputs to the user interface which indicate his or her desire to scroll. However, depending on the resources of the system which is generating the user interface, the type of content being scrolled, the transition effects associated with the scrolling, the speed of scrolling and/or other processing-related considerations, it may not be possible to generate the new content which fills the areas which become visible on the user interface as fast as the user might expect given his or her scrolling inputs. For example, user interfaces running on so-called “thin” clients, e.g., set-top boxes, having relatively few processing resources as compared to high-end personal computers, may not be able to supply the resources needed to generate the scrolling content quickly enough.
Accordingly, it would be desirable to provide systems, methods, devices and software for fast and smooth scrolling of user interfaces operating on, e.g., thin clients.
SUMMARY
Systems and methods according to the present invention address this need and others by providing mechanisms to facilitate for fast and smooth scrolling of user interfaces operating on, e.g., thin clients.
According to one exemplary embodiment a method for scrolling within a graphical user interface comprising: displaying a first portion of a list having a first plurality of entries which are visible on the graphical user interface; receiving user input to scroll the list by a number of entries; displaying an animation of dummy data in portions of the graphical user interface associated with the first plurality of entries while the list is being scrolled; ceasing scrolling; and replacing the animation of dummy data with a second portion of the list including a second plurality of entries.
According to another exemplary embodiment, a computer-readable medium contains program instructions coded thereon which, when executed by a computer or processor, performs the steps of displaying a first portion of a list having a first plurality of entries which are visible on the graphical user interface, receiving user input to scroll the list by a number of entries, displaying an animation of dummy data in portions of the graphical user interface associated with the first plurality of entries while the list is being scrolled, ceasing scrolling, and
replacing the animation of dummy data with a second portion of the list including a second plurality of entries.
According to yet another exemplary embodiment, a user interface includes a first portion of a list of items currently displayed on the user interface, and a mechanism for receiving a user input to scroll the list, wherein the user interface displays an animation of dummy data while the list is being scrolled and subsequently replaces the animation of dummy data with a second portion of the list.
BRIEF DESCRIPTION OF THE DRAWINGS
The accompanying drawings illustrate exemplary embodiments of the present invention, wherein:
FIG. 1 depicts a conventional remote control unit for an entertainment system;
FIG. 2 depicts an exemplary media system in which exemplary embodiments of the present invention can be implemented;
FIG. 3( a) shows a 3D pointing device according to an exemplary embodiment of the present invention;
FIG. 3( b) illustrates a user employing a 3D pointing device to provide input to a user interface on a television according to an exemplary embodiment of the present invention;
FIG. 4 depicts a zooming transition as well as a usage of an up function global navigation object according to an exemplary embodiment of the present invention;
FIG. 5 shows a scrollable list according to an exemplary embodiment of the present invention;
FIG. 6 shows animation and visual context information according to an exemplary embodiment of the present invention;
FIG. 7 illustrates moving through a scrollable list and updating the visual context information with respect to FIG. 6 according to an exemplary embodiment of the present invention;
FIG. 8 shows information relating to a photograph as visual context information according to an exemplary embodiment of the present invention;
FIG. 9 depicts static visual context information according to an exemplary embodiment of the present invention; and
FIG. 10 is a method flowchart illustrating changes to a user interface while scrolling through a list according to an exemplary embodiment of the present invention.
DETAILED DESCRIPTION
The following detailed description of the invention refers to the accompanying drawings. The same reference numbers in different drawings identify the same or similar elements. Also, the following detailed description does not limit the invention. Instead, the scope of the invention is defined by the appended claims.
In order to provide some context for this discussion, an exemplary aggregated media system 200 in which the present invention can be implemented will first be described with respect to FIG. 2. Those skilled in the art will appreciate, however, that the present invention is not restricted to implementation in this type of media system and that more or fewer components can be included therein. Therein, an input/output (I/O) bus 210 connects the system components in the media system 200 together. The I/O bus 210 represents any of a number of different of mechanisms and techniques for routing signals between the media system components. For example, the I/O bus 210 may include an appropriate number of independent audio “patch” cables that route audio signals, coaxial cables that route video signals, two-wire serial lines or infrared or radio frequency transceivers that route control signals, optical fiber or any other routing mechanisms that route other types of signals.
In this exemplary embodiment, the media system 200 includes a television/monitor 212, a video cassette recorder (VCR) 214, digital video disk (DVD) recorder/playback device 216, audio/video tuner 218 and compact disk player 220 coupled to the I/O bus 210. The VCR 214, DVD 216 and compact disk player 220 may be single disk or single cassette devices, or alternatively may be multiple disk or multiple cassette devices. They may be independent units or integrated together. In addition, the media system 200 includes a microphone/speaker system 222, video camera 224 and a wireless I/O control device 226. According to exemplary embodiments of the present invention, the wireless I/O control device 226 is a 3D pointing device. The wireless I/O control device 226 can communicate with the entertainment system 200 using, e.g., an IR or RF transmitter or transceiver. Alternatively, the I/O control device can be connected to the entertainment system 200 via a wire.
The entertainment system 200 also includes a system controller 228. According to one exemplary embodiment of the present invention, the system controller 228 operates to store and display entertainment system data available from a plurality of entertainment system data sources and to control a wide variety of features associated with each of the system components. As shown in FIG. 2, system controller 228 is coupled, either directly or indirectly, to each of the system components, as necessary, through I/O bus 210. In one exemplary embodiment, in addition to or in place of I/O bus 210, system controller 228 is configured with a wireless communication transmitter (or transceiver), which is capable of communicating with the system components via IR signals or RF signals. Regardless of the control medium, the system controller 228 is configured to control the media components of the media system 200 via a graphical user interface described below.
As further illustrated in FIG. 2, media system 200 may be configured to receive media items from various media sources and service providers. In this exemplary embodiment, media system 200 receives media input from and, optionally, sends information to, any or all of the following sources: cable broadcast 230, satellite broadcast 232 (e.g., via a satellite dish), very high frequency (VHF) or ultra high frequency (UHF) radio frequency communication of the broadcast television networks 234 (e.g., via an aerial antenna), telephone network 236 and cable modem 238 (or another source of Internet content). Those skilled in the art will appreciate that the media components and media sources illustrated and described with respect to FIG. 2 are purely exemplary and that media system 200 may include more or fewer of both. For example, other types of inputs to the system include AM/FM radio and satellite radio.
More details regarding this exemplary entertainment system and frameworks associated therewith can be found in the above-incorporated by reference U.S. patent application “A Control Framework with a Zoomable Graphical User Interface for Organizing, Selecting and Launching Media Items”. Alternatively, remote devices and interaction techniques between remote devices and user interfaces in accordance with the present invention can be used in conjunction with other types of systems, for example computer systems including, e.g., a display, a processor and a memory system or with various other systems and applications.
As mentioned in the Background section, remote devices which operate as 3D pointers are of particular interest for the present specification, although the present invention is not limited to systems including 3D pointers. Such devices enable the translation of movement of the device, e.g., linear movement, rotational movement, acceleration or any combination thereof, into commands to a user interface. An exemplary loop-shaped, 3D pointing device 300 is depicted in FIG. 3( a), however the present invention is not limited to loop-shaped devices. In this exemplary embodiment, the 3D pointing device 300 includes two buttons 302 and 304 as well as a scroll wheel 306 (scroll wheel 306 can also act as a button by depressing the scroll wheel 306), although other exemplary embodiments will include other physical configurations. User movement of the 3D pointing device 300 can be defined, for example, in terms of rotation about one or more of an x-axis attitude (roll), a y-axis elevation (pitch) or a z-axis heading (yaw). In addition, some exemplary embodiments of the present invention can additionally (or alternatively) measure linear movement of the 3D pointing device 300 along the x, y, and/or z axes to generate cursor movement or other user interface commands. An example is provided below. A number of permutations and variations relating to 3D pointing devices can be implemented in systems according to exemplary embodiments of the present invention. The interested reader is referred to U.S. patent application Ser. No. 11/119,663, entitled (as amended) “3D Pointing Devices and Methods”, filed on May 2, 2005, U.S. patent application Ser. No. 11/119,719, entitled (as amended) “3D Pointing Devices with Tilt Compensation and Improved Usability”, also filed on May 2, 2005, U.S. patent application Ser. No. 11/119,987, entitled (as amended) “Methods and Devices for Removing Unintentional Movement in 3D Pointing Devices”, also filed on May 2, 2005, and U.S. patent application Ser. No. 11/119,688, entitled “Methods and Devices for Identifying Users Based on Tremor”, also filed on May 2, 2005, the disclosures of which are incorporated here by reference, for more details regarding exemplary 3D pointing devices which can be used in conjunction with exemplary embodiments of the present invention.
According to exemplary embodiments of the present invention, it is anticipated that 3D pointing device 300 will be held by a user in front of a display 308 and that motion of the 3D pointing device 300 will be translated by the 3D pointing device 300 o output which is usable to interact with the information displayed on display 308, e.g., to move the cursor 310 on the display 308. For example, such 3D pointing devices and their associated user interfaces can be used to make media selections on a television as shown in FIG. 3( b), which will be described in more detail below. Aspects of exemplary embodiments of the present invention can be optimized to enhance the user's experience of the so-called “10-foot” interface, i.e., a typical distance between a user and his or her television in a living room. For example, interactions between pointing, scrolling, zooming and panning, e.g., using a 3D pointing device 300 associated user interface, can be optimized for this environment as will be described below, although the present invention is not limited thereto.
Referring again to FIG. 3( a), an exemplary relationship between movement of the 3D pointing device 300 and corresponding cursor movement on a user interface will now be described. Rotation of the 3D pointing device 300 about the y-axis can be sensed by the 3D pointing device 300 and translated into an output usable by the system to move cursor 310 along the y2 axis of the display 308. Likewise, rotation of the 3D pointing device 300 about the z-axis can be sensed by the 3D pointing device 300 and translated into an output usable by the system to move cursor 310 along the x2 axis of the display 308. It will be appreciated that the output of 3D pointing device 300 can be used to interact with the display 308 in a number of ways other than (or in addition to) cursor movement, for example it can control cursor fading, volume or media transport (play, pause, fast-forward and rewind). Additionally, the system can be programmed to recognize gestures, e.g., predetermined movement patterns, to convey commands in addition to cursor movement. Moreover, other input commands, e.g., a zoom-in or zoom-out on a particular region of a display (e.g., actuated by pressing button 302 to zoom-in or button 304 to zoom-out), may also be available to the user.
According to exemplary embodiments of the present invention, user interfaces may use, at least in part, zooming techniques for moving between user interface views. The zooming transition effect can be performed by progressive scaling and displaying of at least some of the UI objects displayed on the current UI view to provide a visual impression of movement of those UI objects away from an observer. In another functional aspect of the present invention, user interfaces may zoom-in in response to user interaction with the user interface which will, likewise, result in the progressive scaling and display of UI objects that provide the visual impression of movement toward an observer. More information relating to zoomable user interfaces can be found in U.S. patent application Ser. No. 10/768,432, filed on Jan. 30, 2004, entitled “A Control Framework with a Zoomable Graphical User Interface for Organizing, Selecting and Launching Media Items”, and U.S. patent application Ser. No. 09/829,263, filed on Apr. 9, 2001, entitled “Interactive Content Guide for Television Programming”, the disclosures of which are incorporated here by reference.
Movement within the user interface between different user interface views is not limited to zooming. Other non-zooming techniques can be used, in addition to zooming or as an alternative thereto, to transition between user interface views. For example, panning can be performed by progressive translation and display of at least some of the user interface objects which are currently displayed in a user interface view. This provides the visual impression of lateral movement of those user interface objects to an observer.
Returning now to the application illustrated in FIG. 3( b), the GUI screen (also referred to herein as a “UI view”, which terms refer to a currently displayed set of UI objects) seen on television 320 is a home view. In this particular exemplary embodiment, the home view displays a plurality of applications 322, e.g., “Photos”, “Music”, “Recorded”, “Guide”, “Live TV”, “On Demand”, and “Settings”, which are selectable by the user by way of interaction with the user interface via the 3D pointing device 300. Such user interactions can include, for example, pointing, scrolling, clicking or various combinations thereof. For more details regarding exemplary pointing, scrolling and clicking interactions which can be used in conjunction with exemplary embodiments of the present invention, the interested reader is directed to U.S. patent application Ser. No. 11/417,764, entitled “METHODS AND SYSTEMS FOR SCROLLING AND POINTING IN USER INTERFACES”, to Frank J. Wroblewski, filed on May 4, 2006, the disclosure of which is incorporated here by reference.
Smooth and Fast Scrolling
Regardless of the different techniques which are employed in a particular user interface implementation to transition between user interface views, exemplary embodiments described herein focus on techniques for scrolling content within a currently displayed user interface view. Such content can include, for example, scrollable visual directories, scrollable lists, scrollable grid guides and any other scrollable content. For example, consider the UI view 400 shown in FIG. 4. This view illustrates a number of on-demand movie selections, categorized by genre, which view 400 can be reached by, for example, zooming in on the “On Demand” application object shown in the home view of FIG. 3( b). By pressing the zoom-in button 302 on the 3D pointing device 300 one more time, while the current focus (e.g., selection highlighting) is on the UI object associated with “Genre A” 402 in the UI view 400, the user interface will zoom-in on this object to display a new UI view 404. The UI view 404 will display a number of sub-genre media selection objects which can, for example, be implemented as DVD movie cover images. Although this example illustrates groupings or “bookcases” containing six images per genre, it will be appreciated that other implementations, or other views within the same implementation, may include more or fewer images per group, e.g., 16, 32, 64, etc. Additionally, some facility for scrolling the visual directories can be provided, e.g., to enable the user to reach those user interface objects (images in this example) which are not currently on-screen, such as the cut-off row of genres and sub-genres shown at the bottom of views 400 and 404, respectively. For example, according to one exemplary embodiment, rotating the scroll wheel 306 of the 3D pointing device 300 can provide an input command to the user interface to scroll the genres or subgenres up to reveal the images which are currently off-screen.
According to exemplary embodiments, there are typically a number of different ways to scroll through a scrollable list using a device such as the 3D pointing device 300. As mentioned above, one method for scrolling through a list, such as the list shown in FIG. 5, would be to rotate the scroll wheel 306 of the 3D pointing device 300. Another exemplary method would be to use 3D pointing device 300 to point and click upon either the top arrow button 502 or the bottom arrow button 504 to move the scroll list up or down one row. Alternatively, a user could point to a location on an on-screen scrollbar 506 and click at that location to jump to a new portion of the scrollable list which corresponds to that location on the scrollbar 506. The modes of scrolling with a scroll wheel 306 can also be broken down into different modes of scrolling associated with the scrolling speed or amount of content to be scrolled at a time, e.g., single-row scrolling, page-at-a-time scrolling, and fast-scrolling.
As mentioned above, however, scrolling on such interfaces may pose additional challenges when, for example, the client system which is generating and controlling the user interface has relatively limited resources. In some implementations, generating the additional rows or columns of images, text, etc., of content needed to populate the rows or columns as they are coming on screen may take more processing resources than are currently available. For example, a so-called “thin” client such as a mid- to high-end TV set-top box having a 300 MHz (or less) processor, 128 megabytes (or less) of RAM and a 2-D graphics accelerator may have its resources sufficiently tied up in handling the various functions associated with the user interface to be unable to quickly generate content on-the-fly for scrolling in a manner which provides a smooth visual experience to the user. Note, however, that these exemplary embodiments are not limited to implementation on this purely illustrative set-top box or similar client devices. In fact, although these exemplary embodiments provide benefits for use with such thin client devices, they can be employed on client devices having significantly greater processing resources so as to free additional resources for other functionality.
Thus, according to one exemplary embodiment, a predetermined number of rows (and/or columns) in addition to those which are displayed in a user interface view are generated and stored for use when scrolling inputs are received by the user interface. For example, if the user interface view provides a list of 30 items (1 per row) of which 5 are visible at any given time, then the user interface could create 10 graphical rows (e.g., 5 visible on-screen at the moment and 5 hidden off-screen). Then, as the user scrolls, the user interface populates each row in the list with the appropriate data, e.g., metadata, a .jpg file associated with a DVD cover art image, etc., using pre-stored data to populate the “new” row(s) as the user scrolls the interface.
According to this exemplary embodiment, there are as many off-screen rows pre-generated as there are on-screen rows (alternatively there could be twice the number of rows off-screen as there are on-screen, e.g., half filled with data corresponding to rows “above” the top row currently displayed and half filled with data corresponding to rows “below” the bottom row which is currently displayed). This addresses, at least in part, the inability to create rows on the fly in some exemplary implementations, e.g., when such user interfaces are generated on thin client devices. Using this technique the user interface can scroll several rows in either direction while showing a continuous scrolling list to the user.
According to exemplary embodiments, single-row scrolling mode is typically the default scrolling mode and can be used whenever the user is moving slowly through content. Moving slowly through content can be described as any single-line scroll wheel 306 click or spin. It will be appreciated that a “scroll wheel click” can be described as moving a scrollable wheel one increment in either direction of movement from its current position. This single increment of scroll wheel motion is typically associated with some type of feedback, e.g., the sound of a single click or the feel of having pushed the wheel over a single set amount of resistance, for a user such that the user knows when a single increment of the wheel has occurred. In single-row mode, the scrolling list moves one row for each click of the scroll-wheel 306 i.e., by shifting existing rows up or down and re-populating the bottommost or topmost row, respectively, with pre-stored data. This provides a smooth scrolling experience as each row is moved smoothly from off-screen to on-screen.
According to another exemplary embodiment, page-at-a-time scrolling mode can be used, for example, to scroll lists of content for which a user has been found to most often browse the list a single page at a time. In this context, a “page” of content is equal to the number of rows or columns displayable at one time for a given user interface screen. For example, when in page-at-a-time scrolling mode, a single scroll operation for the user interface screen shown in FIG. 5 would result in all six rows being displaced with new data items. When page-at-a-time mode is enabled, any spin of the scroll wheel 306 greater than one click will move the user from single-row mode to page-at-a-time mode. Once a user has entered page-at-a-time mode, the list will be scrolled one page by moving all off-screen rows smoothly from off-screen to on-screen. Additionally, while transitioning from single-row scrolling mode to page-at-a-time scrolling mode the exact number of scroll-wheel clicks can be ignored, regardless of whether the user scrolled more or less than a full page. Scroll wheel interactions tend to come in discrete groups of clicks since the user will pause scrolling when their finger reaches the top or bottom of the scroll wheel bed. If they wish to continue scrolling they will generally pick up their finger, move it to the other end of the exposed wheel, and continue the previous movement. The page-at-a-time scrolling mode according to these exemplary embodiments can, for example, end in one of two ways:
    • 1. If only one single discrete group of clicks is received then the system can enter page-at-a-time mode, scroll a single page, and then immediately return to normal scrolling mode.
    • 2. If instead, after receiving the first group of clicks, the user continues to move the wheel in the same direction within a short enough time period to be considered part of the same user interaction (generally less than or equal to 1 second) the system can proceed to exit page-at-a-time mode and enter the fast-scrolling mode (described below).
However, these scrolling solutions, while they address in part the difficulties of scrolling in systems having, for example, limited resources, also create some additional challenges. For example, if the user scrolls continuously, the user interface may still not be able to repopulate and reposition each row (or column) fast enough to keep up with the scrolling animation occurring on-screen. For example, after a user in page-at-a-time scroll mode scrolls down by a complete page, the system will need some time to generate the new “off-screen” list elements. Continuous activation of, e.g., “page down”, scrolling may cause the system to lag behind in being able to present new scrolling content which may provide jerky or discontinuous viewing. Alternatively, if, in a single action, the user scrolls more rows than the user interface has cached off-screen (e.g., in the example given above if the user scrolls more than 5 rows), then the user interface will run out of pre-stored rows to re-use and does not have sufficient pre-generated rows to populate the on-screen rows with actual list data.
To address these challenges, exemplary embodiments can also provide a fast-scrolling mechanism, e.g., in addition to single scrolling and page-at-a time scrolling, in combination with either single scrolling or page-at-a time scrolling, or by itself. The fast-scrolling mechanism according to these exemplary embodiments involves, for example, replacing the rows (or columns) displayed on-screen with an animation of dummy data when the user requests a scrolling of content which is faster than what the user interface can render to the display using, e.g., pre-cached rows or columns of actual data. Fast-scroll mode can, for example, be entered either when the user attempts to scroll more than a single page while in single-row mode or, if using page-at-a-time mode, when the user spins the scroll-wheel a second time once they have already entered page-at-a-time mode. However, it will be appreciated that these exemplary embodiments are not limited to these purely exemplary techniques for entering fast scroll mode and that this mode can be entered using any desired mechanism.
According to one exemplary embodiment, the animation of dummy data provided in lieu of actual scrolling content is individually created for each screen based on a set of representative content for that screen and is designed to appear as if the user were scrolling quickly past the actual content in the list. The content is blurred such that at least some of the individual characteristics of each row are indistinguishable from row to row, which provides blurred animation of dummy data to be perceived by the end user as representative of any the actual content being scrolled through very quickly. One purely illustrative example showing this type of fast scroll mode animation is shown in FIG. 6 for the list of FIG. 5. Although it may be difficult to discern in the still, snapshot image of the animation shown in FIG. 6, the fast scroll animation according to exemplary embodiments provides the user or observer of the user interface with the visual impression of rapid movement of the scrolling items, e.g., either vertically up or vertically down in this example, in a manner which is reminiscent of the visual impression provided by the images imprinted on the wheels of a slot machine as they are rotating during a spin. Thus the images which are scrolling may appear blurred to the user (as seen in FIG. 6) due to the speed at which they are scrolling across the screen.
While displaying the scrolling animation in this fast scroll mode, the user interface can intentionally avoid using actual data (i.e., hide the on-screen rows or columns) to further reduce the load on the client's CPU. More specifically, this can involve allowing the client's processor(s) to not update each individual row or column within the scrolling user interface element but, to instead, do a single update to all on-screen rows once the animation has ended and the user has reached their final scroll position. Additionally, if the data used to generate each list is queried from a database, jumping over the content between the start and end locations permits a reduction in the number of database queries generated to scroll the content and thereby further reduce load on the CPU.
In terms of scrolling content, the above described exemplary fast scroll process can be used to display a scrolling list of images, text, or a mixture of both. The displayed animation using dummy data will typically not be an exact match for any set of actual content being scrolled. However the dummy data used to perform the scrolling animation can be tailored based upon known available information regarding the actual content so that the animation is relatively well matched to the actual content being scrolled through. For example, in a bookshelf based visual solution there could be full bookshelves, i.e., space for 12 images in each shelf with 12 images being shown, or partially full bookshelves, i.e., space for 12 images with only an average of 3-5 images per shelf. Depending upon which bookshelf type matches the associated content, different animations can be displayed which approximate the desired look. For another example, compare music album covers with photo snapshots. Music album covers, while having an average color palette that differs between music album covers, typically have an average color palette that uses brighter colors than a typical photo snapshot. Therefore, animations using dummy data with brighter color palettes could be used for fast scrolling through visual directories or bookshelves of music album covers, as compared to the dummy data used to provide a blurred animation of fast scrolling through visual directories or bookshelves of photo snapshots.
According to some exemplary embodiments, the images used are animated Multiple-image Network Graphics (MNG) images. MNG is a member of the Portable Network Graphics (PNG) family that can include multiple images such as animations or complex still frames made from multiple PNG or Joint Photographic Experts Group (JPEG) Network Graphics (JNG) single image data streams. For more information regarding MNG, the interested reader is pointed to the MNG 1.0 specification which can be found online at www.libpng.org/pub/mng/spec/. Other methods of animation may, alternatively, be used to animate images for fast scrolling according to these exemplary embodiments, preferably (but not limited to) techniques which do not heavily tax the CPU(s) on the system which is displaying the user interface. For example, if an implementation had a video processor in addition to a general purpose processor, such an implementation could use pre-created video to display the animation in order to free up the CPU for processing the next group of data.
Animated MNG images of dummy data to be used in fast scroll mode for a particular list or user interface element can, for example, be created by taking two screenshots while actual content associated with that list is scrolled on a display to two consecutive positions. These two screenshot images can then be pasted together into a single continuous image such that the image can be scrolled indefinitely in either direction without any breaks. This image is then blurred, according to this exemplary embodiment, by 60 pixels along the axis of scroll to both give the illusion of speed and to make specific content unrecognizable. This blurred image is then animated using six frames which, when displayed in a repeating loop, create the illusion of large amounts of non-specific content scrolling indefinitely.
The animated MNG images of dummy data are, at this point in their creation, larger with respect to their file size than may be optimal for a typical thin client. To further improve these animations for use in fast scrolling according to some exemplary embodiments on thin clients, smaller images can be created and then scaled to fit the scrolling list. For example, this can be accomplished by scaling the image down to 20% of its original size along the axis of scroll and scaling it down to 50% of its original size along the off-axis, since the image detail is more visible along the non-moving axis. For example, if the size of the scrolling list was 800 pixels wide by 400 pixels high, the dummy data animation used during fast scroll mode could be 400 pixels wide by 80 pixels high, which is then stretched to fill the entire 800 pixel by 400 pixel display area. Alternatively, different scaling percentages can be used for the animation as desired for different clients and/or display sizes. If such optional scaling is used, the loss of data from scaling the image enhances the blurring effect on the image and further reduces the load on the client's CPU.
During the above described dummy data animation process in fast scroll mode, the blurred content being displayed is typically not specifically recognizable by users. Therefore, additional visual feedback can be provided to the user to indicate their current or, alternatively, destination position in the scrolling list. The feedback provided can be generated differently for each type of scrolling list depending upon what is most helpful for a user to see regarding the list being scrolled. For example as shown in FIG. 6, if the scrollable list is an alphabetically ordered list of sings, the display of the title of the song at the current position 602 in the list can be displayed. As a user continues to scroll through the list while in the fast-scroll mode, the feedback 602 (which is also referred to herein as the “visual context information”) is typically updated as shown, for example, in FIG. 7 to display a song title 702 showing the user how far he or she has scrolled. In this manner, the user is given dynamic visual clues and can see when he or she has reached the point that they are looking for and stop scrolling through the list.
Other items can also be stored in lists that a user may wish to scroll through such as photos or a list of television shows, e.g., in an electronic program guide. For photos the dynamic visual context information which is shown during fast scroll mode could be a count or text of such photos, for example as seen in FIG. 8, “Photo 19 out of 87”, and/or a thumbnail image of the photo 802 at that position in the list. For the television guide a channel number and name could be shown as the visual context information and/or the time and date could be shown depending upon, for example, how the scrollable list has been setup.
According to exemplary embodiments, fast-scroll mode is capable of using scroll acceleration to more quickly move the user through long lists of information. In fast-scroll mode, the total distance traveled from the starting scroll position to the current position is tracked. Once a user has moved more than ten rows, the system begins to multiply that value (distance tracked) by, for example, a logarithmic based modifier. For example, the scroll acceleration factor can, according to one exemplary embodiment, be implemented as the loge of the number of rows scrolled damped by loge(3), which damping factor can be varied. Thus, the acceleration formula can, for example, be expressed as
scrollDelta=scrollDelta*(ceil(loge(abs(scrollDelta))/loge(3))),
where “scrollDelta” is the number of rows that the user attempted to scroll. This exemplary technique allows a user to quickly jump through long lists of data, but by using a logarithm based modifier it keeps the scroll speed from getting to be too fast such that the user passes by an item of interest on the list or repeatedly overshoots a desired selection.
Although the foregoing exemplary embodiments describe the visual context information which is displayed with the blurred, dummy data animation, according to another exemplary embodiment, the visual context information shown can remain static, e.g., when the visual context information identifies the scrolling destination rather than providing an update as to current position, as shown in FIG. 9. For example, when a user is viewing a list such as an electronic programming guide and chooses a selection point within the scrollable content to jump to, animation 902 and visual context information 904 can be displayed. In this case the visual context information 904 shows “Jump to 56 ESPN” to show the user what was selected and that the system is currently jumping to the location. In this case may be desirable to statically display the selection in the visual context information display 904 and not change it while moving through the list, i.e., during the display of the dummy data animation.
Utilizing the above-described exemplary techniques according to exemplary embodiments, a method for scrolling through a list is shown in the flowchart of FIG. 10. Initially, a method for scrolling within a graphical user interface (GUI) includes: displaying a first portion of a list having a first plurality of entries which are visible on the GUI at step 1002; receiving user input to scroll the list by a number of entries at step 1004; displaying an animation of dummy data in portions of the GUI associated with the first plurality of entries while the list is being scrolled at step 1006; ceasing scrolling at step 1008; and replacing the animation of dummy data with a second portion of the list including a second plurality of entries at step 1100.
Systems and methods for processing data according to exemplary embodiments of the present invention can be performed by one or more processors executing sequences of instructions contained in a memory device. Such instructions may be read into the memory device from other computer-readable mediums such as secondary data storage device(s). Execution of the sequences of instructions contained in the memory device causes the processor to operate, for example, as described above. In alternative embodiments, hard-wire circuitry may be used in place of or in combination with software instructions to implement the present invention.
Numerous variations of the afore-described exemplary embodiments are contemplated. The above-described exemplary embodiments are intended to be illustrative in all respects, rather than restrictive, of the present invention. Thus the present invention is capable of many variations in detailed implementation that can be derived from the description contained herein by a person skilled in the art. All such variations and modifications are considered to be within the scope and spirit of the present invention as defined by the following claims. No element, act, or instruction used in the description of the present application should be construed as critical or essential to the invention unless explicitly described as such. Also, used herein, the article “a” is intended to include one or more items.

Claims (41)

1. A method for scrolling within a graphical user interface comprising:
displaying a first portion of a list having a first plurality of entries which are visible on said graphical user interface;
receiving user input to scroll said list by a number of entries;
displaying an animation of dummy data in portions of said graphical user interface associated with said first plurality of entries while said list is being scrolled, wherein said animation of dummy data is generated by taking at least two screenshots of said list while said list is scrolled to at least two consecutive positions and pasting said at least two screenshots into a single continuous image which is blurred along an axis of scrolling, such that displaying said animation of said dummy data requires fewer processing resources than displaying scrolling of the list;
ceasing scrolling; and
replacing said animation of dummy data with a second portion of said list including a second plurality of entries.
2. The method of claim 1, wherein said step of displaying an animation of dummy data is provided if said user input requests scrolling of said list by more than a predetermined number of entries and wherein, if said user input requests scrolling of said list by fewer than said predetermined number, then said step of animating is omitted and actual data is displayed as said list is scrolled.
3. The method of claim 2, wherein said predetermined number of entries is greater than one page of entries when in a single-row scroll mode or a second spin of a scroll wheel when in a page-at-a-time scroll mode.
4. The method of claim 3, wherein said list moves one row for each click of said scroll wheel when in said single-row scroll mode.
5. The method of claim 3, wherein said list moves one page by moving all off-screen rows smoothly from off-screen to on-screen when in said page-at-a-time mode.
6. The method of claim 2, wherein when said step of animating is omitted, said actual data is displayed one row at a time from pre-filled off-screen rows when in single-row mode or said actual data is displayed one page at a time from a pre-filled off-screen page when in page-at-a-time mode.
7. The method of claim 1, wherein said animation of dummy data is associated to the content of said portion of said list.
8. The method of claim 7, wherein said animation of dummy data includes animated Multiple-image Network Graphics (MNG).
9. The method of claim 8, further comprising:
creating said animated MNG images by taking two screenshots of a list while said list is scrolled to two consecutive positions and pasting said two screenshots into a single continuous image which is then blurred by sixty pixels along the axis of scroll.
10. The method of claim 9, further comprising:
modifying said single continuous image into six frames in one continuous scroll.
11. The method of claim 10, further comprising:
scaling said single continuous image down to twenty percent of said single continuous image's size along the axis of scroll; and
scaling said single continuous image down to fifty percent of said single continuous image's size along the off-axis.
12. The method of claim 1, wherein said animation of dummy data has an associated color palette, wherein said color palette relates to items in said scroll list.
13. The method of claim 1, further comprising:
displaying dynamic visual context information that is updated indicating current position within said list.
14. The method of claim 13, wherein said dynamic visual context information is updated based upon a relationship with an amount scrolled.
15. The method of claim 13, wherein said dynamic visual context information includes at least text related to information in said list.
16. The method of claim 15, wherein said information in said list is at least one of song titles, movie titles and photographs.
17. The method of claim 1, wherein said user input to scroll said list is received from a scroll wheel on a 3D pointer.
18. The method of claim 17, wherein a speed of scroll as displayed in said graphical user interface is related logarithmically to a modifier.
19. The method of claim 1, wherein said user input to scroll said list occurs by clicking top or bottom arrows on an on-screen toolbar to move said list up or down one row.
20. The method of claim 1, wherein said user input is received by clicking at a location along an on-screen toolbar to jump to said location.
21. A non-transitory computer-readable medium containing program instructions coded thereon which, when executed by a computer or processor, perform the steps of:
displaying a first portion of a list having a first plurality of entries which are visible on said graphical user interface;
receiving user input to scroll said list by a number of entries;
displaying an animation of dummy data in portions of said graphical user interface associated with said first plurality of entries while said list is being scrolled, wherein said animation of dummy data is generated by taking at least two screenshots of said list while said list is scrolled to at least two consecutive positions and pasting said at least two screenshots into a single continuous image which is blurred along an axis of scrolling, such that displaying said animation of said dummy data requires fewer processing resources than displaying scrolling of the list;
ceasing scrolling; and
replacing said animation of dummy data with a second portion of said list including a second plurality of entries.
22. The non-transitory computer-readable medium of claim 21, wherein said step of displaying an animation of dummy data is provided if said user input requests scrolling of said list by more than a predetermined number of entries and wherein, if said user input requests scrolling of said list by fewer than said predetermined number, then said step of animating is omitted and actual data is displayed as said list is scrolled.
23. The non-transitory computer-readable medium of claim 22, wherein said predetermined number of entries is greater than one page of entries when in a single-row scroll mode or a second spin of a scroll wheel when in a page-at-a-time scroll mode.
24. The non-transitory computer-readable medium of claim 23, wherein said list moves one row for each click of said scroll wheel when in said single-row scroll mode.
25. The non-transitory computer-readable medium of claim 23, wherein said list moves one page by moving all off-screen rows smoothly from off-screen to on-screen when in said page-at-a-time mode.
26. The non-transitory computer-readable medium of claim 22, wherein when said step of animating is omitted, said actual data is displayed one row at a time from pre-filled off-screen rows when in single-row mode or said actual data is displayed one page at a time from a pre-filled off-screen page when in page-at-a-time mode.
27. The non-transitory computer-readable medium of claim 21, wherein said animation of dummy data is associated to the content of said portion of said list.
28. The non-transitory computer-readable medium of claim 27, wherein said animation of dummy data includes animated Multiple-image Network Graphics (MNG).
29. The non-transitory computer-readable medium of claim 28, further comprising:
creating said animated MNG images by taking two screenshots of a list while said list is scrolled to two consecutive positions and pasting said two screenshots into a single continuous image which is then blurred by sixty pixels along the axis of scroll.
30. The non-transitory computer-readable medium of claim 29, further comprising:
modifying said single continuous image into six frames in one continuous scroll.
31. The non-transitory computer-readable medium of claim 30, further comprising:
scaling said single continuous image down to twenty percent of said single continuous image's size along the axis of scroll; and
scaling said single continuous image down to fifty percent of said single continuous image's size along the off-axis.
32. The non-transitory computer-readable medium of claim 31, wherein said animation of dummy data has an associated color palette, wherein said color palette relates to items in said scroll list.
33. The non-transitory computer-readable medium of claim 21, further comprising:
displaying dynamic visual context information that is updated indicating current position within said list.
34. The non-transitory computer-readable medium of claim 33, wherein said dynamic visual context information is updated based upon a relationship with an amount scrolled.
35. The non-transitory computer-readable medium of claim 33, wherein said dynamic visual context information includes at least text related to information in said list.
36. The non-transitory computer-readable medium of claim 35, wherein said information in said list is at least one of song titles, movie titles and photographs.
37. The non-transitory computer-readable medium of claim 21, wherein said user input to scroll said list is received from a scroll wheel on a 3D pointer.
38. The non-transitory computer-readable medium of claim 37, wherein a speed of scroll as displayed in said graphical user interface is related logarithmically to a modifier.
39. The non-transitory computer-readable medium of claim 21, wherein said user input to scroll said list occurs by clicking top or bottom arrows on an on-screen toolbar to move said list up or down one row.
40. The non-transitory computer-readable medium of claim 1, wherein said user input is received by clicking at a location along an on-screen toolbar to jump to said location.
41. A user interface generated by one or more processors executing sequences of instructions contained in a memory device, the user interface comprising:
a first portion of a list of items currently displayed on said user interface; and
a mechanism for receiving a user input to scroll said list,
wherein said user interface displays an animation of dummy data while said list is being scrolled and subsequently replaces said animation of dummy data with a second portion of said list, wherein said animation of dummy data is generated by taking at least two screenshots of said list while said list is scrolled to at least two consecutive positions and pasting said at least two screenshots into a single continuous image which is blurred along an axis of scrolling, such that displaying said animation of said dummy data requires fewer processing resources than displaying scrolling of the list.
US12/287,601 2007-10-16 2008-10-10 Fast and smooth scrolling of user interfaces operating on thin clients Expired - Fee Related US8359545B2 (en)

Priority Applications (2)

Application Number Priority Date Filing Date Title
US12/287,601 US8359545B2 (en) 2007-10-16 2008-10-10 Fast and smooth scrolling of user interfaces operating on thin clients
US13/742,445 US9400598B2 (en) 2007-10-16 2013-01-16 Fast and smooth scrolling of user interfaces operating on thin clients

Applications Claiming Priority (2)

Application Number Priority Date Filing Date Title
US99913007P 2007-10-16 2007-10-16
US12/287,601 US8359545B2 (en) 2007-10-16 2008-10-10 Fast and smooth scrolling of user interfaces operating on thin clients

Related Child Applications (1)

Application Number Title Priority Date Filing Date
US13/742,445 Continuation US9400598B2 (en) 2007-10-16 2013-01-16 Fast and smooth scrolling of user interfaces operating on thin clients

Publications (2)

Publication Number Publication Date
US20090100373A1 US20090100373A1 (en) 2009-04-16
US8359545B2 true US8359545B2 (en) 2013-01-22

Family

ID=40535410

Family Applications (2)

Application Number Title Priority Date Filing Date
US12/287,601 Expired - Fee Related US8359545B2 (en) 2007-10-16 2008-10-10 Fast and smooth scrolling of user interfaces operating on thin clients
US13/742,445 Expired - Fee Related US9400598B2 (en) 2007-10-16 2013-01-16 Fast and smooth scrolling of user interfaces operating on thin clients

Family Applications After (1)

Application Number Title Priority Date Filing Date
US13/742,445 Expired - Fee Related US9400598B2 (en) 2007-10-16 2013-01-16 Fast and smooth scrolling of user interfaces operating on thin clients

Country Status (4)

Country Link
US (2) US8359545B2 (en)
JP (1) JP2011501289A (en)
KR (1) KR101542274B1 (en)
WO (1) WO2009051665A1 (en)

Cited By (19)

* Cited by examiner, † Cited by third party
Publication number Priority date Publication date Assignee Title
US20110154189A1 (en) * 2009-12-21 2011-06-23 Canon Kabushiki Kaisha Display control apparatus and display control method
US20120030614A1 (en) * 2010-07-30 2012-02-02 Nokia Corporation Displaying information
US20120154449A1 (en) * 2010-12-15 2012-06-21 Hillcrest Laboratories, Inc. Visual whiteboard for television-based social network
US20130067349A1 (en) * 2011-09-12 2013-03-14 Microsoft Corporation Efficiently providing data from a virtualized data source
US20130132894A1 (en) * 2007-10-16 2013-05-23 Hillcrest Laboratories, Inc. Fast and smooth scrolling of user interfaces operating on thin clients
USD692022S1 (en) * 2012-11-09 2013-10-22 Blackberry Limited Display screen with icon
US20140089787A1 (en) * 2011-05-31 2014-03-27 Rakuten, Inc. Information processing device, information processing method, information processing program, and recording medium in which information processing program is recorded
US20140173504A1 (en) * 2012-12-17 2014-06-19 Microsoft Corporation Scrollable user interface control
US20150052470A1 (en) * 2013-08-19 2015-02-19 Samsung Electronics Co., Ltd. Method and apparatus for displaying medical image
US20150116309A1 (en) * 2012-11-05 2015-04-30 Andrew Ofstad Subtle camera motions in a 3d scene to anticipate the action of a user
US9043722B1 (en) 2012-06-19 2015-05-26 Surfwax, Inc. User interfaces for displaying relationships between cells in a grid
USD751587S1 (en) * 2013-04-30 2016-03-15 Microsoft Corporation Display screen with graphical user interface
US9900664B2 (en) 2015-01-15 2018-02-20 Industrial Technology Research Institute Method and system for display control, breakaway judging apparatus and video/audio processing apparatus
US10095382B2 (en) * 2014-02-27 2018-10-09 Kyocera Document Solutions Inc. Display apparatus
USD872765S1 (en) * 2017-10-17 2020-01-14 Adobe Inc. Display screen or portion thereof with icon
USD976950S1 (en) * 2020-10-02 2023-01-31 Lutron Technology Company Llc Display screen or portion thereof with animated graphical user interface
US20230393726A1 (en) * 2022-06-02 2023-12-07 Shopify Inc. Methods and apparatuses for providing condensable user interface
US12123654B2 (en) 2010-05-04 2024-10-22 Fractal Heatsink Technologies LLC System and method for maintaining efficiency of a fractal heat sink
US12251201B2 (en) 2019-08-16 2025-03-18 Poltorak Technologies Llc Device and method for medical diagnostics

Families Citing this family (77)

* Cited by examiner, † Cited by third party
Publication number Priority date Publication date Assignee Title
AU2006252196B2 (en) * 2006-12-21 2009-05-14 Canon Kabushiki Kaisha Scrolling Interface
AU2006252190B2 (en) * 2006-12-21 2010-03-25 Canon Kabushiki Kaisha Collection browser for image items with multi-valued attributes
AU2006252194B2 (en) 2006-12-21 2010-02-11 Canon Kabushiki Kaisha Scrolling Interface
AU2006252191B2 (en) * 2006-12-21 2009-03-26 Canon Kabushiki Kaisha Scrolling Interface
KR101406289B1 (en) * 2007-03-08 2014-06-12 삼성전자주식회사 Apparatus and method for providing items based on scrolling
US7930646B2 (en) * 2007-10-19 2011-04-19 Microsoft Corporation Dynamically updated virtual list view
US7877702B2 (en) * 2007-11-20 2011-01-25 International Business Machines Corporation Tree widget data population
US8140995B1 (en) * 2008-04-15 2012-03-20 Adobe Systems Incorporated Method and apparatus indicating scroll position on a display
US20090288035A1 (en) * 2008-05-15 2009-11-19 Microsoft Corporation Scrollable views in a client/server application
US20100088640A1 (en) * 2008-10-08 2010-04-08 Belkin International, Inc. Method And Electrical Device For Displaying Data To A User
US20100162126A1 (en) * 2008-12-23 2010-06-24 Palm, Inc. Predictive cache techniques
JP5470861B2 (en) * 2009-01-09 2014-04-16 ソニー株式会社 Display device and display method
US8176442B2 (en) * 2009-05-29 2012-05-08 Microsoft Corporation Living cursor control mechanics
JP2011108186A (en) * 2009-11-20 2011-06-02 Sony Corp Apparatus, method, and program for processing information
WO2011088129A1 (en) * 2010-01-12 2011-07-21 Crane Merchandising Systems, Inc. Vending machine gui utilizing xml for on-the-fly language selection by an end user
USD658195S1 (en) 2010-01-27 2012-04-24 Apple Inc. Display screen or portion thereof with animated graphical user interface
JP5459003B2 (en) * 2010-03-23 2014-04-02 ソニー株式会社 Image processing apparatus, image processing method, and image processing program
JP2012019381A (en) * 2010-07-08 2012-01-26 Sony Corp Image processor and image processing method
US8429556B2 (en) * 2010-07-20 2013-04-23 Apple Inc. Chunking data records
USD667834S1 (en) 2010-10-18 2012-09-25 Apple Inc. Display screen or portion thereof with graphical user interface
JP5789965B2 (en) 2010-12-01 2015-10-07 富士通株式会社 Image transmission method, image transmission apparatus, and image transmission program
US20120221974A1 (en) * 2011-02-28 2012-08-30 Sony Network Entertainment Inc. Method and apparatus for presenting elements of a user interface
JP5276145B2 (en) 2011-06-13 2013-08-28 株式会社ソニー・コンピュータエンタテインメント List display device
US9035967B2 (en) * 2011-06-30 2015-05-19 Google Technology Holdings LLC Method and device for enhancing scrolling and other operations on a display
US9223395B2 (en) 2011-09-14 2015-12-29 Microsoft Technology Licensing, Llc Viewing presentations in a condensed animation mode
US9280836B1 (en) * 2011-10-18 2016-03-08 Google Inc. Techniques for rendering images in a tiled view
US9607420B2 (en) 2011-11-14 2017-03-28 Microsoft Technology Licensing, Llc Animations for scroll and zoom
JP5865039B2 (en) * 2011-11-30 2016-02-17 キヤノン株式会社 Information processing apparatus, information processing apparatus control method, and program
US8994755B2 (en) * 2011-12-20 2015-03-31 Alcatel Lucent Servers, display devices, scrolling methods and methods of generating heatmaps
KR20130081503A (en) * 2012-01-09 2013-07-17 삼성전자주식회사 Display apparatus and control method thereof
EP2615847A1 (en) * 2012-01-16 2013-07-17 LG Electronics, Inc. Image display apparatus and method for operating the same
US9645724B2 (en) 2012-02-01 2017-05-09 Facebook, Inc. Timeline based content organization
US9235318B2 (en) 2012-02-01 2016-01-12 Facebook, Inc. Transitions among hierarchical user-interface layers
US9557876B2 (en) 2012-02-01 2017-01-31 Facebook, Inc. Hierarchical user interface
USD708637S1 (en) 2012-02-09 2014-07-08 Apple Inc. Display screen or portion thereof with icon
USD708638S1 (en) 2012-03-07 2014-07-08 Apple Inc. Display screen or portion thereof with graphical user interface
US10691230B2 (en) 2012-12-29 2020-06-23 Apple Inc. Crown input for a wearable electronic device
US10275117B2 (en) * 2012-12-29 2019-04-30 Apple Inc. User interface object manipulations in a user interface
US10175873B2 (en) * 2013-01-21 2019-01-08 Salesforce.Com, Inc. System and method for retrieving data based on scrolling velocity
KR102085309B1 (en) * 2013-01-30 2020-03-05 삼성전자주식회사 Method and apparatus for scrolling in an electronic device
US9934488B2 (en) * 2013-03-13 2018-04-03 Autodesk, Inc. User interface navigation elements for navigating datasets
US11073979B2 (en) 2013-03-15 2021-07-27 Arris Enterprises Llc Non-linear navigation of data representation
US10095397B2 (en) 2013-04-30 2018-10-09 Splunk Inc. Navigating scrollable sections of content in a viewing area
CN104093076B (en) * 2013-06-19 2018-04-10 腾讯科技(深圳)有限公司 Page turning method, device and terminal
KR102234400B1 (en) * 2013-07-08 2021-03-31 삼성전자주식회사 Apparatas and method for changing the order or the position of list in an electronic device
US10503388B2 (en) 2013-09-03 2019-12-10 Apple Inc. Crown input for a wearable electronic device
US10545657B2 (en) 2013-09-03 2020-01-28 Apple Inc. User interface for manipulating user interface objects
US12287962B2 (en) 2013-09-03 2025-04-29 Apple Inc. User interface for manipulating user interface objects
US11068128B2 (en) 2013-09-03 2021-07-20 Apple Inc. User interface object manipulations in a user interface
AU2014315234A1 (en) 2013-09-03 2016-04-21 Apple Inc. User interface for manipulating user interface objects with magnetic properties
USD749108S1 (en) * 2013-10-25 2016-02-09 Microsoft Corporation Display screen with animated graphical user interface
USD747334S1 (en) * 2013-10-25 2016-01-12 Microsoft Corporation Display screen with graphical user interface
USD748121S1 (en) * 2013-10-25 2016-01-26 Microsoft Corporation Display screen with animated graphical user interface
USD748122S1 (en) * 2013-10-25 2016-01-26 Microsoft Corporation Display screen with transitional graphical user interface
USD748120S1 (en) * 2013-10-25 2016-01-26 Microsoft Corporation Display screen with animated graphical user interface
USD746847S1 (en) * 2013-10-25 2016-01-05 Microsoft Corporation Display screen with animated graphical user interface
JP2015148991A (en) * 2014-02-07 2015-08-20 ソニー株式会社 Information processing apparatus, information processing method, and program
DK2921944T3 (en) * 2014-03-17 2019-04-15 Nokia Technologies Oy USER INTERFACE
CN110825299B (en) 2014-06-27 2024-03-29 苹果公司 Reduced size user interface
JP6331869B2 (en) * 2014-08-20 2018-05-30 ティアック株式会社 Display device and electronic device including the same
TW201610758A (en) 2014-09-02 2016-03-16 蘋果公司 Button functionality
US20160062571A1 (en) 2014-09-02 2016-03-03 Apple Inc. Reduced size user interface
CN113824998B (en) 2014-09-02 2024-07-12 苹果公司 Method and apparatus for a music user interface
TWI676127B (en) 2014-09-02 2019-11-01 美商蘋果公司 Method, system, electronic device and computer-readable storage medium regarding electronic mail user interface
USD780203S1 (en) * 2014-10-02 2017-02-28 Deere & Company Display screen with a graphical user interface
JP6448334B2 (en) * 2014-12-02 2019-01-09 キヤノン株式会社 Display control device and control method of display control device
USD774077S1 (en) * 2015-02-09 2016-12-13 Express Scripts, Inc. Display screen with graphical user interface
US10365807B2 (en) 2015-03-02 2019-07-30 Apple Inc. Control of system zoom magnification using a rotatable input mechanism
KR102589496B1 (en) * 2016-07-04 2023-10-16 삼성전자 주식회사 Method for displaying screen and electronic device implementing the same
WO2018053033A1 (en) 2016-09-15 2018-03-22 Picadipity, Inc. Automatic image display systems and methods with looped autoscrolling and static viewing modes
KR101943820B1 (en) * 2016-12-29 2019-01-31 주식회사 카카오 Method for displaying visual information for browsing and method for controling user interface
AU2017392491B2 (en) * 2017-01-10 2022-02-03 Razer (Asia-Pacific) Pte. Ltd. Input devices and methods for providing a scrolling input to an application
KR101968979B1 (en) * 2017-09-26 2019-04-15 (주)투비소프트 Method for configuring user interface
WO2019070242A1 (en) * 2017-10-03 2019-04-11 Google Llc Data transfers from memory to manage graphical output latency
DK179888B1 (en) 2018-09-11 2019-08-27 Apple Inc. CONTENT-BASED TACTICAL OUTPUTS
US11435830B2 (en) 2018-09-11 2022-09-06 Apple Inc. Content-based tactile outputs
CN110472168B (en) * 2019-07-05 2024-07-05 中国平安财产保险股份有限公司 Page data updating method and device, computer equipment and storage medium

Citations (112)

* Cited by examiner, † Cited by third party
Publication number Priority date Publication date Assignee Title
US4787051A (en) 1986-05-16 1988-11-22 Tektronix, Inc. Inertial mouse system
US4839838A (en) 1987-03-30 1989-06-13 Labiche Mitchell Spatial input apparatus
US5045843A (en) 1988-12-06 1991-09-03 Selectech, Ltd. Optical pointing device
US5128671A (en) 1990-04-12 1992-07-07 Ltv Aerospace And Defense Company Control device having multiple degrees of freedom
US5138154A (en) 1990-04-04 1992-08-11 Gyration Inc. Shaft angle encoder with rotating off-axis interference pattern
US5181181A (en) 1990-09-27 1993-01-19 Triton Technologies, Inc. Computer apparatus input device for three-dimensional information
US5359348A (en) 1992-05-21 1994-10-25 Selectech, Ltd. Pointing device having improved automatic gain control and information reporting
US5396265A (en) 1990-09-17 1995-03-07 Massachusetts Institute Of Technology Three-dimensional tactile computer input device
US5440326A (en) 1990-03-21 1995-08-08 Gyration, Inc. Gyroscopic pointer
US5453758A (en) 1992-07-31 1995-09-26 Sony Corporation Input apparatus
US5484355A (en) 1993-10-01 1996-01-16 Smith & Nephew Roylan, Inc. System for therapeutic exercise and evaluation
US5506605A (en) 1992-07-27 1996-04-09 Paley; W. Bradford Three-dimensional mouse with tactile feedback
WO1996011435A1 (en) 1994-10-07 1996-04-18 Synaptics, Incorporated Object position detector with edge motion feature and gesture recognition
US5554980A (en) 1993-03-12 1996-09-10 Mitsubishi Denki Kabushiki Kaisha Remote control system
US5698784A (en) 1996-01-24 1997-12-16 Gyration, Inc. Vibratory rate gyroscope and methods of assembly and operation
US5703623A (en) 1996-01-24 1997-12-30 Hall; Malcolm G. Smart orientation sensing circuit for remote control
US5757360A (en) 1995-05-03 1998-05-26 Mitsubishi Electric Information Technology Center America, Inc. Hand held computer control device
US5757381A (en) * 1996-04-04 1998-05-26 Sofmap Future Design, Inc. Methods for fast scrolling of images
US5796354A (en) 1997-02-07 1998-08-18 Reality Quest Corp. Hand-attachable controller with direction sensing
US5819206A (en) 1994-01-21 1998-10-06 Crossbow Technology, Inc. Method and apparatus for determining position and orientation of a moveable object using accelerometers
US5825350A (en) 1996-03-13 1998-10-20 Gyration, Inc. Electronic pointing apparatus and method
US5835156A (en) 1996-08-14 1998-11-10 Samsung Electroncis, Ltd. Television graphical user interface employing remote random access pointing device
EP0919906A2 (en) 1997-11-27 1999-06-02 Matsushita Electric Industrial Co., Ltd. Control method
US5912612A (en) 1997-10-14 1999-06-15 Devolpi; Dean R. Multi-speed multi-direction analog pointing device
US5955988A (en) 1996-08-14 1999-09-21 Samsung Electronics Co., Ltd. Graphical user interface for establishing installation location for satellite based television system
US5959626A (en) * 1997-05-22 1999-09-28 International Business Machines Corporation Method and apparatus for manipulating very long lists of data displayed in a graphical user interface using a layered list mechanism
US5973757A (en) * 1997-03-31 1999-10-26 Aubuchon; Mark S. Contoured and balanced remote tv control device
US6002394A (en) 1995-10-02 1999-12-14 Starsight Telecast, Inc. Systems and methods for linking television viewers with advertisers and broadcasters
US6016144A (en) 1996-08-14 2000-01-18 Samsung Electronics Co., Ltd. Multi-layered television graphical user interface
US6049823A (en) 1995-10-04 2000-04-11 Hwang; Ivan Chung-Shung Multi server, interactive, video-on-demand television system utilizing a direct-access-on-demand workgroup
US6069594A (en) 1991-07-29 2000-05-30 Logitech, Inc. Computer input device with multiple switches using single line
US6115028A (en) 1996-08-22 2000-09-05 Silicon Graphics, Inc. Three dimensional input system using tilt
US6128032A (en) * 1997-07-31 2000-10-03 Lg Electronics Inc. Method for scrolling a video signal in an internet set top box
US6164808A (en) 1996-02-09 2000-12-26 Murata Mfg. Co., Ltd. Three-dimensional data input device
US6191774B1 (en) 1995-11-17 2001-02-20 Immersion Corporation Mouse interface for providing force feedback
US6239797B1 (en) * 1998-04-02 2001-05-29 Partnerware Technologies Method and apparatus for remote database record scroll/update without refresh
WO2001078055A1 (en) 2000-04-05 2001-10-18 Feinstein David Y View navigation and magnification of a hand-held device with a display
US6369794B1 (en) 1998-09-09 2002-04-09 Matsushita Electric Industrial Co., Ltd. Operation indication outputting device for giving operation indication according to type of user's action
US6400996B1 (en) 1999-02-01 2002-06-04 Steven M. Hoffberg Adaptive pattern recognition based control system and method
US6473713B1 (en) 1999-09-20 2002-10-29 American Gnc Corporation Processing method for motion measurement
US20020158843A1 (en) 2001-04-26 2002-10-31 International Business Machines Corporation Method and adapter for performing assistive motion data processing and/or button data processing external to a computer
US6492981B1 (en) 1997-12-23 2002-12-10 Ricoh Company, Ltd. Calibration of a system for tracking a writing instrument with multiple sensors
US6544126B2 (en) 2000-04-25 2003-04-08 Nintendo Co., Ltd. Portable game machine with download capability
WO2003048909A2 (en) 2001-12-04 2003-06-12 Applied Neural Computing, L.L.C. Validating the identity of a user using a pointing device
US20030107551A1 (en) 2001-12-10 2003-06-12 Dunker Garrett Storm Tilt input device
US20030146938A1 (en) * 2001-12-20 2003-08-07 Bernhard Geiger Fast scrolling through image sets containing markers
US20030159051A1 (en) 2000-03-27 2003-08-21 Wilhelm Hollnagel Method for generating electronic signatures
US20030193572A1 (en) 2002-02-07 2003-10-16 Andrew Wilson System and process for selecting objects in a ubiquitous computing environment
US6672962B1 (en) 1998-05-13 2004-01-06 Kabushiki Kaisha Sega Enterprises Gun-shaped controller and game device
US6690391B1 (en) * 2000-07-13 2004-02-10 Sony Corporation Modal display, smooth scroll graphic user interface and remote command device suitable for efficient navigation and selection of dynamic data/options presented within an audio/visual system
US20040031058A1 (en) 2002-05-10 2004-02-12 Richard Reisman Method and apparatus for browsing using alternative linkbases
US20040095317A1 (en) 2002-11-20 2004-05-20 Jingxi Zhang Method and apparatus of universal remote pointing control for home entertainment system and computer
US20040104891A1 (en) * 2002-11-25 2004-06-03 Frank Sacca Intertial pointer for electronic displays
US6753849B1 (en) 1999-10-27 2004-06-22 Ken Curran & Associates Universal remote TV mouse
US6757446B1 (en) 2000-11-27 2004-06-29 Microsoft Corporation System and process for image-based relativistic rendering
US20040193413A1 (en) 2003-03-25 2004-09-30 Wilson Andrew D. Architecture for controlling a computer using hand gestures
US20040204240A1 (en) 2000-02-22 2004-10-14 Barney Jonathan A. Magical wand and interactive play experience
US20040229693A1 (en) 2003-05-13 2004-11-18 Clifton Lind Multiple video display gaming machine and gaming system
US20040239626A1 (en) 2001-08-13 2004-12-02 Noguera Gritsko Perez Tilt-based pointing for hand-held devices
US20040268393A1 (en) * 2003-05-08 2004-12-30 Hunleth Frank A. Control framework with a zoomable graphical user interface for organizing, selecting and launching media items
US20050008148A1 (en) 2003-04-02 2005-01-13 Dov Jacobson Mouse performance identification
US6856326B1 (en) * 2000-01-28 2005-02-15 International Business Machines Corporation Smooth scrolling system and method
US20050097601A1 (en) * 2003-10-31 2005-05-05 Daniel Danker Quick EPG navigation
US20050117130A1 (en) * 2003-11-28 2005-06-02 Microsoft Corporation Optical projection system for computer input devices
US20050128316A1 (en) * 2003-12-12 2005-06-16 Canon Kabushiki Kaisha Image processing system
US20050174324A1 (en) 2003-10-23 2005-08-11 Hillcrest Communications, Inc. User interface devices and methods employing accelerometers
US6929548B2 (en) 2002-04-23 2005-08-16 Xiaoling Wang Apparatus and a method for more realistic shooting video games on computers or similar devices
US20050210391A1 (en) * 2003-08-11 2005-09-22 Core Mobility, Inc. Systems and methods for navigating content in an interactive ticker
US20050212767A1 (en) 2004-03-23 2005-09-29 Marvit David L Context dependent gesture response
US20050246738A1 (en) * 1999-03-30 2005-11-03 Tivo Inc. Multimedia mobile personalization system
US20050243062A1 (en) 2004-04-30 2005-11-03 Hillcrest Communications, Inc. Free space pointing devices with tilt compensation and improved usability
US20050257166A1 (en) * 2004-05-11 2005-11-17 Tu Edgar A Fast scrolling in a graphical user interface
US20050253806A1 (en) 2004-04-30 2005-11-17 Hillcrest Communications, Inc. Free space pointing devices and methods
US6973457B1 (en) * 2002-05-10 2005-12-06 Oracle International Corporation Method and system for scrollable cursors
US6973625B1 (en) * 2001-07-06 2005-12-06 Convergys Cmg Utah Method for creating browser-based user interface applications using a framework
US20050289524A1 (en) * 2004-06-22 2005-12-29 Mcginnes Simon Systems and methods for software based on business concepts
US6984208B2 (en) 2002-08-01 2006-01-10 The Hong Kong Polytechnic University Method and apparatus for sensing body gesture, posture and movement
US6990639B2 (en) 2002-02-07 2006-01-24 Microsoft Corporation System and process for controlling electronic components in a ubiquitous computing environment using multimodal integration
US20060028446A1 (en) 2004-04-30 2006-02-09 Hillcrest Communications, Inc. Methods and devices for removing unintentional movement in free space pointing devices
US6998966B2 (en) 2003-11-26 2006-02-14 Nokia Corporation Mobile communication device having a functional cover for controlling sound applications by motion
US20060092133A1 (en) 2004-11-02 2006-05-04 Pierre A. Touma 3D mouse and game controller based on spherical coordinates system and system for use
US20060143655A1 (en) * 1998-11-30 2006-06-29 United Video Properties, Inc. Interactive television program guide with selectable languages
US20060184966A1 (en) * 2005-02-14 2006-08-17 Hillcrest Laboratories, Inc. Methods and systems for enhancing television applications using 3D pointing
US20060182362A1 (en) 2004-11-23 2006-08-17 Mclain Peter Systems and methods relating to enhanced peripheral field motion detection
US7098891B1 (en) 1992-09-18 2006-08-29 Pryor Timothy R Method for providing human input to a computer
US20060236263A1 (en) * 2005-04-15 2006-10-19 Microsoft Corporation Tactile device for scrolling
US20060250358A1 (en) * 2005-05-04 2006-11-09 Hillcrest Laboratories, Inc. Methods and systems for scrolling and pointing in user interfaces
US7139983B2 (en) * 2000-04-10 2006-11-21 Hillcrest Laboratories, Inc. Interactive content guide for television programming
US20060262116A1 (en) * 2005-05-19 2006-11-23 Hillcrest Laboratories, Inc. Global navigation objects in user interfaces
US7173604B2 (en) 2004-03-23 2007-02-06 Fujitsu Limited Gesture identification of controlled devices
US20070035518A1 (en) * 2005-07-01 2007-02-15 Hillcrest Laboratories, Inc. 3D pointing devices
US7188045B1 (en) 2006-03-09 2007-03-06 Dean A. Cirielli Three-dimensional position and motion telemetry input
US20070100915A1 (en) * 2005-10-31 2007-05-03 Rose Daniel E Methods for displaying dynamic suggestions in a user interface
US7231385B2 (en) * 2003-07-21 2007-06-12 International Business Machines Corporation Method, system, and program for positioning a cursor on rows of a result table
US20070136268A1 (en) * 2005-12-09 2007-06-14 Microsoft Corporation Just in time loading list
US7236156B2 (en) 2004-04-30 2007-06-26 Hillcrest Laboratories, Inc. Methods and devices for identifying users based on tremor
US20070159642A1 (en) * 2006-01-10 2007-07-12 Ho-Youn Choi Apparatus and method for processing image signal without requiring high memory bandwidth
US20070206022A1 (en) 2006-03-06 2007-09-06 The Oakmont Group, Inc. Method and apparatus for associating text with animated graphics
US20070206831A1 (en) * 2003-04-17 2007-09-06 Sony Corporation Information Processing Device, Image Pickup Device, And Information Classification Processing Method
US20070288958A1 (en) * 1998-11-30 2007-12-13 United Video Properties, Inc. Interactive program guide system and method
US7353134B2 (en) 2006-03-09 2008-04-01 Dean A. Cirielli Three-dimensional position and motion telemetry input
US20080079972A1 (en) * 2006-09-29 2008-04-03 Goodwin Robert L Image-based document display
US7379050B2 (en) * 2004-10-08 2008-05-27 Zippy Technology Corp. Input device
US7489297B2 (en) * 2004-05-11 2009-02-10 Hitachi, Ltd. Method for displaying information and information display system
US20090094548A1 (en) * 2007-10-05 2009-04-09 Nobori Fujio Information Processing Unit and Scroll Method
US20090202001A1 (en) * 2006-07-03 2009-08-13 Nippon Telegraph And Telephone Corporation Image processing method and apparatus, image processing program, and storage medium which stores the program
US20090214183A1 (en) * 2001-12-26 2009-08-27 Victor Company Of Japan, Ltd. Method and apparatus for generating information signal to be recorded
US20100067583A1 (en) * 2003-08-30 2010-03-18 Jong Yeul Suh Service system of thumbnail image and transmitting/receiving method thereof
US7877702B2 (en) * 2007-11-20 2011-01-25 International Business Machines Corporation Tree widget data population
US20110058103A1 (en) * 2009-09-10 2011-03-10 Ali Corporation Method of raster-scan search for multi-region on-screen display and system using the same
US7930646B2 (en) * 2007-10-19 2011-04-19 Microsoft Corporation Dynamically updated virtual list view
US20110225196A1 (en) * 2008-03-19 2011-09-15 National University Corporation Hokkaido University Moving image search device and moving image search program

Family Cites Families (6)

* Cited by examiner, † Cited by third party
Publication number Priority date Publication date Assignee Title
JP2000148126A (en) * 1998-11-18 2000-05-26 Dream Technologies Kk Image display device and method
US7698652B2 (en) 2001-02-09 2010-04-13 Koninklijke Philips Electronics N.V. Rapid retrieval user interface designed around small displays and few buttons for searching long lists
US20090177994A1 (en) 2004-01-09 2009-07-09 Koninklijke Philips Electronic, N.V. Double scrolling
KR100732166B1 (en) * 2005-09-02 2007-06-27 엘지전자 주식회사 Mobile communication terminal with content retrieval function and method using the same
US8359545B2 (en) * 2007-10-16 2013-01-22 Hillcrest Laboratories, Inc. Fast and smooth scrolling of user interfaces operating on thin clients
US9619131B2 (en) * 2013-02-22 2017-04-11 Blackberry Limited Methods and devices for displaying content

Patent Citations (130)

* Cited by examiner, † Cited by third party
Publication number Priority date Publication date Assignee Title
US4787051A (en) 1986-05-16 1988-11-22 Tektronix, Inc. Inertial mouse system
US4839838A (en) 1987-03-30 1989-06-13 Labiche Mitchell Spatial input apparatus
US5045843A (en) 1988-12-06 1991-09-03 Selectech, Ltd. Optical pointing device
US5045843B1 (en) 1988-12-06 1996-07-16 Selectech Ltd Optical pointing device
US5440326A (en) 1990-03-21 1995-08-08 Gyration, Inc. Gyroscopic pointer
US5898421A (en) 1990-03-21 1999-04-27 Gyration, Inc. Gyroscopic pointer and method
US5138154A (en) 1990-04-04 1992-08-11 Gyration Inc. Shaft angle encoder with rotating off-axis interference pattern
US5128671A (en) 1990-04-12 1992-07-07 Ltv Aerospace And Defense Company Control device having multiple degrees of freedom
US5396265A (en) 1990-09-17 1995-03-07 Massachusetts Institute Of Technology Three-dimensional tactile computer input device
US5181181A (en) 1990-09-27 1993-01-19 Triton Technologies, Inc. Computer apparatus input device for three-dimensional information
US6069594A (en) 1991-07-29 2000-05-30 Logitech, Inc. Computer input device with multiple switches using single line
US5359348A (en) 1992-05-21 1994-10-25 Selectech, Ltd. Pointing device having improved automatic gain control and information reporting
US5506605A (en) 1992-07-27 1996-04-09 Paley; W. Bradford Three-dimensional mouse with tactile feedback
US5453758A (en) 1992-07-31 1995-09-26 Sony Corporation Input apparatus
US7098891B1 (en) 1992-09-18 2006-08-29 Pryor Timothy R Method for providing human input to a computer
US5554980A (en) 1993-03-12 1996-09-10 Mitsubishi Denki Kabushiki Kaisha Remote control system
US5484355A (en) 1993-10-01 1996-01-16 Smith & Nephew Roylan, Inc. System for therapeutic exercise and evaluation
US5819206A (en) 1994-01-21 1998-10-06 Crossbow Technology, Inc. Method and apparatus for determining position and orientation of a moveable object using accelerometers
WO1996011435A1 (en) 1994-10-07 1996-04-18 Synaptics, Incorporated Object position detector with edge motion feature and gesture recognition
US5757360A (en) 1995-05-03 1998-05-26 Mitsubishi Electric Information Technology Center America, Inc. Hand held computer control device
US6002394A (en) 1995-10-02 1999-12-14 Starsight Telecast, Inc. Systems and methods for linking television viewers with advertisers and broadcasters
US6049823A (en) 1995-10-04 2000-04-11 Hwang; Ivan Chung-Shung Multi server, interactive, video-on-demand television system utilizing a direct-access-on-demand workgroup
US6191774B1 (en) 1995-11-17 2001-02-20 Immersion Corporation Mouse interface for providing force feedback
US5698784A (en) 1996-01-24 1997-12-16 Gyration, Inc. Vibratory rate gyroscope and methods of assembly and operation
US5703623A (en) 1996-01-24 1997-12-30 Hall; Malcolm G. Smart orientation sensing circuit for remote control
US6466831B1 (en) 1996-02-09 2002-10-15 Murata Mpg. Co. Ltd. Three-dimensional data input device
US6164808A (en) 1996-02-09 2000-12-26 Murata Mfg. Co., Ltd. Three-dimensional data input device
US5825350A (en) 1996-03-13 1998-10-20 Gyration, Inc. Electronic pointing apparatus and method
US5757381A (en) * 1996-04-04 1998-05-26 Sofmap Future Design, Inc. Methods for fast scrolling of images
US6016144A (en) 1996-08-14 2000-01-18 Samsung Electronics Co., Ltd. Multi-layered television graphical user interface
US5955988A (en) 1996-08-14 1999-09-21 Samsung Electronics Co., Ltd. Graphical user interface for establishing installation location for satellite based television system
US5835156A (en) 1996-08-14 1998-11-10 Samsung Electroncis, Ltd. Television graphical user interface employing remote random access pointing device
US6115028A (en) 1996-08-22 2000-09-05 Silicon Graphics, Inc. Three dimensional input system using tilt
US5796354A (en) 1997-02-07 1998-08-18 Reality Quest Corp. Hand-attachable controller with direction sensing
US5973757A (en) * 1997-03-31 1999-10-26 Aubuchon; Mark S. Contoured and balanced remote tv control device
US5959626A (en) * 1997-05-22 1999-09-28 International Business Machines Corporation Method and apparatus for manipulating very long lists of data displayed in a graphical user interface using a layered list mechanism
US6128032A (en) * 1997-07-31 2000-10-03 Lg Electronics Inc. Method for scrolling a video signal in an internet set top box
US5912612A (en) 1997-10-14 1999-06-15 Devolpi; Dean R. Multi-speed multi-direction analog pointing device
EP0919906A2 (en) 1997-11-27 1999-06-02 Matsushita Electric Industrial Co., Ltd. Control method
US6492981B1 (en) 1997-12-23 2002-12-10 Ricoh Company, Ltd. Calibration of a system for tracking a writing instrument with multiple sensors
US6239797B1 (en) * 1998-04-02 2001-05-29 Partnerware Technologies Method and apparatus for remote database record scroll/update without refresh
US6672962B1 (en) 1998-05-13 2004-01-06 Kabushiki Kaisha Sega Enterprises Gun-shaped controller and game device
US6369794B1 (en) 1998-09-09 2002-04-09 Matsushita Electric Industrial Co., Ltd. Operation indication outputting device for giving operation indication according to type of user's action
US20060143655A1 (en) * 1998-11-30 2006-06-29 United Video Properties, Inc. Interactive television program guide with selectable languages
US20070288958A1 (en) * 1998-11-30 2007-12-13 United Video Properties, Inc. Interactive program guide system and method
US6400996B1 (en) 1999-02-01 2002-06-04 Steven M. Hoffberg Adaptive pattern recognition based control system and method
US20050246738A1 (en) * 1999-03-30 2005-11-03 Tivo Inc. Multimedia mobile personalization system
US20090259939A1 (en) * 1999-03-30 2009-10-15 Tivo Inc. Multimedia mobile personalization system
US20100319014A1 (en) * 1999-03-30 2010-12-16 Tivo Inc. Multimedia Mobile Personalization System
US6473713B1 (en) 1999-09-20 2002-10-29 American Gnc Corporation Processing method for motion measurement
US6753849B1 (en) 1999-10-27 2004-06-22 Ken Curran & Associates Universal remote TV mouse
US6466198B1 (en) 1999-11-05 2002-10-15 Innoventions, Inc. View navigation and magnification of a hand-held device with a display
US6856326B1 (en) * 2000-01-28 2005-02-15 International Business Machines Corporation Smooth scrolling system and method
US20040204240A1 (en) 2000-02-22 2004-10-14 Barney Jonathan A. Magical wand and interactive play experience
US20030159051A1 (en) 2000-03-27 2003-08-21 Wilhelm Hollnagel Method for generating electronic signatures
WO2001078055A1 (en) 2000-04-05 2001-10-18 Feinstein David Y View navigation and magnification of a hand-held device with a display
US6933923B2 (en) 2000-04-05 2005-08-23 David Y. Feinstein View navigation and magnification of a hand-held device with a display
US7139983B2 (en) * 2000-04-10 2006-11-21 Hillcrest Laboratories, Inc. Interactive content guide for television programming
US6544126B2 (en) 2000-04-25 2003-04-08 Nintendo Co., Ltd. Portable game machine with download capability
US20050154988A1 (en) * 2000-07-13 2005-07-14 Proehl Andrew M. Modal display, smooth scroll graphic user interface and remote command device suitable for efficient navigation and selection of dynamic data/options presented within an audio/visual system
US6690391B1 (en) * 2000-07-13 2004-02-10 Sony Corporation Modal display, smooth scroll graphic user interface and remote command device suitable for efficient navigation and selection of dynamic data/options presented within an audio/visual system
US6757446B1 (en) 2000-11-27 2004-06-29 Microsoft Corporation System and process for image-based relativistic rendering
US6650313B2 (en) 2001-04-26 2003-11-18 International Business Machines Corporation Method and adapter for performing assistive motion data processing and/or button data processing external to a computer
US20020158843A1 (en) 2001-04-26 2002-10-31 International Business Machines Corporation Method and adapter for performing assistive motion data processing and/or button data processing external to a computer
US6973625B1 (en) * 2001-07-06 2005-12-06 Convergys Cmg Utah Method for creating browser-based user interface applications using a framework
US20040239626A1 (en) 2001-08-13 2004-12-02 Noguera Gritsko Perez Tilt-based pointing for hand-held devices
WO2003048909A2 (en) 2001-12-04 2003-06-12 Applied Neural Computing, L.L.C. Validating the identity of a user using a pointing device
US20030107551A1 (en) 2001-12-10 2003-06-12 Dunker Garrett Storm Tilt input device
US20030146938A1 (en) * 2001-12-20 2003-08-07 Bernhard Geiger Fast scrolling through image sets containing markers
US20090214183A1 (en) * 2001-12-26 2009-08-27 Victor Company Of Japan, Ltd. Method and apparatus for generating information signal to be recorded
US20030193572A1 (en) 2002-02-07 2003-10-16 Andrew Wilson System and process for selecting objects in a ubiquitous computing environment
US6990639B2 (en) 2002-02-07 2006-01-24 Microsoft Corporation System and process for controlling electronic components in a ubiquitous computing environment using multimodal integration
US6929548B2 (en) 2002-04-23 2005-08-16 Xiaoling Wang Apparatus and a method for more realistic shooting video games on computers or similar devices
US20040031058A1 (en) 2002-05-10 2004-02-12 Richard Reisman Method and apparatus for browsing using alternative linkbases
US6973457B1 (en) * 2002-05-10 2005-12-06 Oracle International Corporation Method and system for scrollable cursors
US6984208B2 (en) 2002-08-01 2006-01-10 The Hong Kong Polytechnic University Method and apparatus for sensing body gesture, posture and movement
US20040095317A1 (en) 2002-11-20 2004-05-20 Jingxi Zhang Method and apparatus of universal remote pointing control for home entertainment system and computer
US20040104891A1 (en) * 2002-11-25 2004-06-03 Frank Sacca Intertial pointer for electronic displays
US20040193413A1 (en) 2003-03-25 2004-09-30 Wilson Andrew D. Architecture for controlling a computer using hand gestures
US20050008148A1 (en) 2003-04-02 2005-01-13 Dov Jacobson Mouse performance identification
US20070206831A1 (en) * 2003-04-17 2007-09-06 Sony Corporation Information Processing Device, Image Pickup Device, And Information Classification Processing Method
US20050125826A1 (en) * 2003-05-08 2005-06-09 Hunleth Frank A. Control framework with a zoomable graphical user interface for organizing selecting and launching media items
US20040268393A1 (en) * 2003-05-08 2004-12-30 Hunleth Frank A. Control framework with a zoomable graphical user interface for organizing, selecting and launching media items
US20040229693A1 (en) 2003-05-13 2004-11-18 Clifton Lind Multiple video display gaming machine and gaming system
US7231385B2 (en) * 2003-07-21 2007-06-12 International Business Machines Corporation Method, system, and program for positioning a cursor on rows of a result table
US20050210391A1 (en) * 2003-08-11 2005-09-22 Core Mobility, Inc. Systems and methods for navigating content in an interactive ticker
US20100067583A1 (en) * 2003-08-30 2010-03-18 Jong Yeul Suh Service system of thumbnail image and transmitting/receiving method thereof
US20050174324A1 (en) 2003-10-23 2005-08-11 Hillcrest Communications, Inc. User interface devices and methods employing accelerometers
US20050097601A1 (en) * 2003-10-31 2005-05-05 Daniel Danker Quick EPG navigation
US6998966B2 (en) 2003-11-26 2006-02-14 Nokia Corporation Mobile communication device having a functional cover for controlling sound applications by motion
US20050117130A1 (en) * 2003-11-28 2005-06-02 Microsoft Corporation Optical projection system for computer input devices
US20050128316A1 (en) * 2003-12-12 2005-06-16 Canon Kabushiki Kaisha Image processing system
US7173604B2 (en) 2004-03-23 2007-02-06 Fujitsu Limited Gesture identification of controlled devices
US20050212767A1 (en) 2004-03-23 2005-09-29 Marvit David L Context dependent gesture response
WO2005099166A2 (en) 2004-04-01 2005-10-20 Dov Jacobson Mouse performance identification
US7414611B2 (en) 2004-04-30 2008-08-19 Hillcrest Laboratories, Inc. 3D pointing devices with orientation compensation and improved usability
US20090128489A1 (en) * 2004-04-30 2009-05-21 Liberty Matthew G Methods and devices for removing unintentional movement in 3d pointing devices
US7236156B2 (en) 2004-04-30 2007-06-26 Hillcrest Laboratories, Inc. Methods and devices for identifying users based on tremor
US7158118B2 (en) 2004-04-30 2007-01-02 Hillcrest Laboratories, Inc. 3D pointing devices with orientation compensation and improved usability
US20060028446A1 (en) 2004-04-30 2006-02-09 Hillcrest Communications, Inc. Methods and devices for removing unintentional movement in free space pointing devices
US20050243062A1 (en) 2004-04-30 2005-11-03 Hillcrest Communications, Inc. Free space pointing devices with tilt compensation and improved usability
US7262760B2 (en) 2004-04-30 2007-08-28 Hillcrest Laboratories, Inc. 3D pointing devices with orientation compensation and improved usability
US7239301B2 (en) 2004-04-30 2007-07-03 Hillcrest Laboratories, Inc. 3D pointing devices and methods
US20050253806A1 (en) 2004-04-30 2005-11-17 Hillcrest Communications, Inc. Free space pointing devices and methods
US7489297B2 (en) * 2004-05-11 2009-02-10 Hitachi, Ltd. Method for displaying information and information display system
US7681141B2 (en) * 2004-05-11 2010-03-16 Sony Computer Entertainment America Inc. Fast scrolling in a graphical user interface
US20050257166A1 (en) * 2004-05-11 2005-11-17 Tu Edgar A Fast scrolling in a graphical user interface
US20050289524A1 (en) * 2004-06-22 2005-12-29 Mcginnes Simon Systems and methods for software based on business concepts
US7379050B2 (en) * 2004-10-08 2008-05-27 Zippy Technology Corp. Input device
US20060092133A1 (en) 2004-11-02 2006-05-04 Pierre A. Touma 3D mouse and game controller based on spherical coordinates system and system for use
US20060182362A1 (en) 2004-11-23 2006-08-17 Mclain Peter Systems and methods relating to enhanced peripheral field motion detection
US20110067068A1 (en) * 2005-02-14 2011-03-17 Hillcrest Laboratories, Inc. Methods and Systems for Enhancing Television Applications Using 3D Pointing
US20060184966A1 (en) * 2005-02-14 2006-08-17 Hillcrest Laboratories, Inc. Methods and systems for enhancing television applications using 3D pointing
US20060236263A1 (en) * 2005-04-15 2006-10-19 Microsoft Corporation Tactile device for scrolling
US20060250358A1 (en) * 2005-05-04 2006-11-09 Hillcrest Laboratories, Inc. Methods and systems for scrolling and pointing in user interfaces
US20060262116A1 (en) * 2005-05-19 2006-11-23 Hillcrest Laboratories, Inc. Global navigation objects in user interfaces
US20070035518A1 (en) * 2005-07-01 2007-02-15 Hillcrest Laboratories, Inc. 3D pointing devices
US20070100915A1 (en) * 2005-10-31 2007-05-03 Rose Daniel E Methods for displaying dynamic suggestions in a user interface
US20070136268A1 (en) * 2005-12-09 2007-06-14 Microsoft Corporation Just in time loading list
US20070159642A1 (en) * 2006-01-10 2007-07-12 Ho-Youn Choi Apparatus and method for processing image signal without requiring high memory bandwidth
US20070206022A1 (en) 2006-03-06 2007-09-06 The Oakmont Group, Inc. Method and apparatus for associating text with animated graphics
US7188045B1 (en) 2006-03-09 2007-03-06 Dean A. Cirielli Three-dimensional position and motion telemetry input
US7353134B2 (en) 2006-03-09 2008-04-01 Dean A. Cirielli Three-dimensional position and motion telemetry input
US20090202001A1 (en) * 2006-07-03 2009-08-13 Nippon Telegraph And Telephone Corporation Image processing method and apparatus, image processing program, and storage medium which stores the program
US20080079972A1 (en) * 2006-09-29 2008-04-03 Goodwin Robert L Image-based document display
US20090094548A1 (en) * 2007-10-05 2009-04-09 Nobori Fujio Information Processing Unit and Scroll Method
US7930646B2 (en) * 2007-10-19 2011-04-19 Microsoft Corporation Dynamically updated virtual list view
US7877702B2 (en) * 2007-11-20 2011-01-25 International Business Machines Corporation Tree widget data population
US20110225196A1 (en) * 2008-03-19 2011-09-15 National University Corporation Hokkaido University Moving image search device and moving image search program
US20110058103A1 (en) * 2009-09-10 2011-03-10 Ali Corporation Method of raster-scan search for multi-region on-screen display and system using the same

Non-Patent Citations (64)

* Cited by examiner, † Cited by third party
Title
Ang, W. T., et al., "Physical Model of a MEMS Accelerometer for Low-g Motion Tracking Applications," Proceedings of the 2004 IEEE International Conference on Robotics & Automation, Apr. 2004, pp. 1345-1351.
Appendices A, B and C, from U.S. Patent No. 6,069,594 to Barnes et al., pp. 1-104, May 30, 2000.
Bachmann, E. R., "Inertial and Magnetic Tracking of Limb Segment Orientation for Inserting Humans into Synthetic Environments," Dissertation, Naval Postgraduate School, Monterey, California, Dec. 2000, pp. 1-178.
Bachmann, E. R., et al., "Design and Implementation of MARG Sensors for 3-DOF Orientation Measurement of Rigid Bodies," IEEE International Conference on Robotics and Automation, ICRA '03, Sep. 2003, vol. 1, pp. 1171-1178.
Bachmann, E. R., et al., "Orientation Tracking for Humans and Robots Using Inertial Sensors," IEEE International Symposium on Computational Intelligence in Robotics and Automation, CIRA '99 Proceedings, 1999, pp. 187-194.
Baerveldt, A-J., et al., "A Low-Cost and Low-Weight Attitude Estimation System for an Autonomous Helicopter," 1997 IEEE International Conference on Intelligent Engineering Systems, INES '97 Proceedings, Sep. 1997, pp. 391-395.
Barshan, B., et al., "Inertial Navigation Systems for Mobile Robots," IEEE Transactions on Robotics and Automation, vol. 11, No. 3, Jun. 1995, pp. 328-342.
Bibi, F., et al., "Modeling and Simulation of Bias Uncertainty of Gyroscope for Improved Navigation," 2nd International Bhurban Conference on Applied Sciences and Technology, Bhurban, Pakistan, Jun. 16-21, 2003, pp. 1-9.
Blomster, J., "Orientation Estimation Combining Vision and Gyro Measurements," KTH Electrical Engineering, Master's Degree Project, Stockholm, Sweden, Apr. 6, 2006, pp. 1-44.
C. Liu, et al., "Enhanced Fisher Linear Discriminant Models for Face Recognition," Proc. 14th International Conference on Pattern Recognition, Queensland, Australia, Aug. 17-20, 1998, pp. 1-5.
C. N. Riviere, et al., "Adaptive Canceling of Physiological Tremor for Improved Precision in Microsurgery," IEEE Transactions on Biomedical Engineering, vol. 45, No. 7, Jul. 1998, pp. 839-846.
C. N. Riviere, et al., "Toward Active Tremor Canceling in Handheld Microsurgical Instruments," IEEE Transactions on Robotics and Automation, vol. 19, No. 5, Oct. 2003, pp. 793-800.
Choukroun, D., "Novel Methods for Attitude Determination Using Vector Observations," Research Thesis, Senate of the Technion-Israel Institute of Technology, May 2003, pp. 1-290.
Choukroun, D., et al., "A Novel Quaternion Kalman Filter," TAE No. 930, Faculty of Aerospace Engineering, Technion-Israel Institute of Technology, Jan. 2004, pp. 1-53.
Discussion Thread at Sitepoint , "Display please wait message while querying", published on Jan. 2001, 2 pages. *
Discussion Thread at Sitepoint <http://www.sitepoint.com>, "Display please wait message while querying", published on Jan. 2001, 2 pages. *
Dogancay, K., "Bias Compensation for the Bearings-Only Pseudolinear Target Track Estimator," IEEE Transactions on Signal Processing, vol. 54, No. 1, Jan. 2006, pp. 59-68.
European Search Report for Application No. EP 05757855 mailed Apr. 10, 2008.
Foxlin, E., "Inertial Head-Tracker Sensor Fusion by a Complementary Separate-Bias Kalman Filter," Proceedings of the IEEE 1996 Virtual Reality Annual International Symposium, 1996, pp. 185-194, 267.
Foxlin, E., "Pedestrian Tracking with Shoe-Mounted Inertial Sensors," Computer Graphics and Applications, IEEE, vol. 25, No. 6, 2005, pp. 38-46.
Gebre-Egziabher, D., et al., "A Gryo-Free Quaternion-Based Attitude Determination System Suitable for Implementation Using Low Cost Sensors," Position Location and Navigation Symposium, IEEE, 2000, pp. 185-192.
Gripton, A., "The Application and Future Development of a MEMS SiVS® for Commercial and Military Inertial Products," Position Location and Navigation Symposium, IEEE, 2002, pp. 28-35.
Hide, C., et al., "Multiple Model Kalman Filtering for GPS and Low-Cost INS Integration," Institute of Engineering, Surveying and Space Geodesy (IESSG), University of Nottingham, pp. 1-8.
Hong, S., et al., "Observability of Error States in GPS/INS Integration," IEEE Transactions on Vehicular Technology, vol. 54, No. 2, Mar. 2005, pp. 731-743.
IEEE Standards, "802.16 IEEE Standard for Local and Metropolitan Area Networks, Part 16: Air Interface for Fixed Broadband Wireless Access Systems," IEEE Std 802.16-2004, Oct. 1, 2004, pp. 1-857.
International Search Report for PCT/US 08/11654 mailed Dec. 22, 2008.
International Search Report for PCT/US04/35369, mailed May 11, 2006.
International Search Report for PCT/US05/15051 mailed Feb. 19, 2008.
International Search Report for PCT/US05/15096, mailed May 15, 2006.
International Search Report for PCT/US05/42558 mailed Nov. 30, 2006.
J. Geen, et al., "New iMEMS Angular-Rate-Sensing Gyroscope," Analog Dialogue, 37-03 (2003), pp. 1-4.
J. Jakubowski, et al., "Higher Order Statistics and Neural Network for Tremor Recognition," IEEE Transactions on Biomedical Engineering, vol. 49, No. 2, Feb. 2002, pp. 152-159.
J. Jakubowski, et al., "Increasing Effectiveness of Human Hand Tremor Separation Process by Using Higher-Order Statistics," Measurement Science Review, vol. 1, No. 1, 2001, pp. 43-46.
J. Raethjen, et al., "Tremor Analysis in Two Normal Cohorts," Clinical Neurophysiology 115, 2004, pp. 2151-2156.
J. Timmer, "Modeling Noisy Time Series: Physiological Tremor," International Journal of Bifurcation and Chaos, vol. 8, No. 7, 1998, pp. 1505-1516.
J. Timmer, et al., "Characteristics of Hand Tremor Time Series," Biological Cybernetics, vol. 70, 1993, pp. 75-80.
J. Timmer, et al., "Cross-Spectral Analysis of Physiological Tremor and Muscle Activity: I Theory and application to Unsynchronized Electromyogram," Biological Cybernetics, vol. 78, 1998, pp. 349-357.
J. Timmer, et al., "Cross-Spectral Analysis of Physiological Tremor and Muscle Activity: II Application to Synchronized Electromyogram," Biological Cybernetics, vol. 78, 1998, pp. 359-368.
J. Timmer, et al., "Cross-Spectral Analysis of Tremor Time Series," International Journal of Bifurcation and Chaos, vol. 10, No. 11, 2000, pp. 2595-2610.
J. Timmer, et al., "Pathological Tremors: Deterministic Chaos or Nonlinear Stochastic Oscillators?" Chaos, vol. 10, No. 1, Mar. 2000, pp. 278-288.
Kraft, E., "A Quaternion-based Unscented Kalman Filter for Orientation Tracking," Proceedings of the Sixth International Conference of Information Fusion, vol. 1, 2003, pp. 47-54.
Leavitt, J., et al., "High Bandwidth Tilt Measurement Using Low-Cost Sensors," IEEE/ASME Transactions on Mechatronics, vol. 11, No. 3, Jun. 2006, pp. 320-327.
Mahony, R., et al., "Complementary Filter Design on the Special Orthogonal Group SO(3)," 44th IEEE Conference on Decision and Control, and 2005 European Control Conference, CDC-ECC '05, Dec. 2005, pp. 1477-1484.
Office Action for Chinese Application No. 200580021163.7 mailed Jan. 25, 2008.
P. Navarrete, et al., "Eigenspace-based Recognition of Faces: Comparisons and a new Approach," Image Analysis and Processing, 2001, pp. 1-6.
Park, H. W., et al., "Covariance Analysis of Strapdown INS Considering Gyrocompass Characteristics," IEEE Transactions on Aerospace and Electronic Systems, vol. 31, No. 1, Jan. 1995, pp. 320-328.
Park, S., et al., "Examples of Estimation Filters from Recent Aircraft Projects at MIT," Nov. 2004, pp. 1-15.
Rios, J. A., et al., "Fusion Filter Algorithm Enhancements for a MEMS GPS/IMU," Crossbow Technology, Inc., pp. 1-12.
Roumeliotis, S. I., et al., "Circumventing Dynamic Modeling: Evaluation of the Error-State Kalman Filter Applied to Mobile Robot Localization," 1999 IEEE International Conference Proceedings on Robotics and Automation, vol. 2, 1999, pp. 1656-1663.
S. Haykin, et al., "Adaptive Tracking of Linear Time-Variant Systems by Extended RLS Algorithms," IEEE Transactions on Signal Processing, vol. 45, No. 5, May 1997, pp. 1118-1128.
S. Strachan, et al., "Muscle Tremor as an Input Mechanism," UIST '04, XP002473042, Oct. 24-27, 2004, pp. 1-2.
Supplemental European Search Report for Application No. EP 04 79 6360 mailed Apr. 2, 2008.
Supplemental European Search Report for Application No. EP 05 74 4089 mailed Mar. 6, 2008.
Supplemental European Search Report for Application No. EP 05 76 1047 mailed Apr. 2, 2008.
V. Digalakis, et al., "ML Estimation of a Stochastic Linear System with the EM Algorithm and Its Application to Speech Recognition," IEEE Transactions on Speech and Audio Processing, vol. 1, No. 4, Oct. 1993, pp. 431-442.
W. T. Ang, et al., "Design and Implementation of Active Error Canceling in Hand-held Microsurgical Instrument," Proceedings of the 2001 IEEE/RSJ International Conference on Intelligent Robots and Systems, vol. 2, Oct. 2001, pp. 1106-1111.
W. T. Ang, et al., "Design of All-Accelerometer Inertial Measurement Unit for Tremor Sensing in Hand-held Microsurgical Instrument," Proceedings of the 2003 IEEE International Conference on Robotics & Automation, Sep. 2003, pp. 1781-1786.
Website: A. H. Sayed, "UCLA Adaptive Systems Laboratory-Home Page," UCLA, http://asl.ee.ucla.edu/index.php?option=com-frontpage&Itemid=1, retrieved Aug. 17, 2007, p. 1.
Welch, G. F., "SCAAT: Incremental Tracking with Incomplete Information," Department of Computer Science, UNC-Chapel Hill, TR96-051, Oct. 1996, pp. 1-207.
Written Opinion for PCT/US 08/11654 mailed Dec. 22, 2008.
Written Opinion for PCT/US04/35369, mailed May 11, 2006.
Written Opinion for PCT/US05/15051 mailed Feb. 19, 2008.
Written Opinion for PCT/US05/15096, mailed May 15, 2006.
Written Opinion for PCT/US05/42558 mailed Nov. 30, 2006.

Cited By (28)

* Cited by examiner, † Cited by third party
Publication number Priority date Publication date Assignee Title
US20130132894A1 (en) * 2007-10-16 2013-05-23 Hillcrest Laboratories, Inc. Fast and smooth scrolling of user interfaces operating on thin clients
US9400598B2 (en) * 2007-10-16 2016-07-26 Hillcrest Laboratories, Inc. Fast and smooth scrolling of user interfaces operating on thin clients
US9148536B2 (en) * 2009-12-21 2015-09-29 Canon Kabushiki Kaisha Display control apparatus and display control method
US20110154189A1 (en) * 2009-12-21 2011-06-23 Canon Kabushiki Kaisha Display control apparatus and display control method
US12123654B2 (en) 2010-05-04 2024-10-22 Fractal Heatsink Technologies LLC System and method for maintaining efficiency of a fractal heat sink
US20120030614A1 (en) * 2010-07-30 2012-02-02 Nokia Corporation Displaying information
US9864501B2 (en) * 2010-07-30 2018-01-09 Apaar Tuli Displaying information
US20120154449A1 (en) * 2010-12-15 2012-06-21 Hillcrest Laboratories, Inc. Visual whiteboard for television-based social network
US9377876B2 (en) * 2010-12-15 2016-06-28 Hillcrest Laboratories, Inc. Visual whiteboard for television-based social network
US20140089787A1 (en) * 2011-05-31 2014-03-27 Rakuten, Inc. Information processing device, information processing method, information processing program, and recording medium in which information processing program is recorded
US10705710B2 (en) * 2011-05-31 2020-07-07 Rakuten, Inc. Web page content insertion based on scroll operation
US20130067349A1 (en) * 2011-09-12 2013-03-14 Microsoft Corporation Efficiently providing data from a virtualized data source
US9043722B1 (en) 2012-06-19 2015-05-26 Surfwax, Inc. User interfaces for displaying relationships between cells in a grid
US20150116309A1 (en) * 2012-11-05 2015-04-30 Andrew Ofstad Subtle camera motions in a 3d scene to anticipate the action of a user
USD692022S1 (en) * 2012-11-09 2013-10-22 Blackberry Limited Display screen with icon
US20140173504A1 (en) * 2012-12-17 2014-06-19 Microsoft Corporation Scrollable user interface control
US10474342B2 (en) * 2012-12-17 2019-11-12 Microsoft Technology Licensing, Llc Scrollable user interface control
USD751587S1 (en) * 2013-04-30 2016-03-15 Microsoft Corporation Display screen with graphical user interface
US20150052470A1 (en) * 2013-08-19 2015-02-19 Samsung Electronics Co., Ltd. Method and apparatus for displaying medical image
US10095382B2 (en) * 2014-02-27 2018-10-09 Kyocera Document Solutions Inc. Display apparatus
US9900664B2 (en) 2015-01-15 2018-02-20 Industrial Technology Research Institute Method and system for display control, breakaway judging apparatus and video/audio processing apparatus
USD872765S1 (en) * 2017-10-17 2020-01-14 Adobe Inc. Display screen or portion thereof with icon
USD1020772S1 (en) 2017-10-17 2024-04-02 Adobe Inc. Display screen or portion thereof with icon
US12251201B2 (en) 2019-08-16 2025-03-18 Poltorak Technologies Llc Device and method for medical diagnostics
USD976950S1 (en) * 2020-10-02 2023-01-31 Lutron Technology Company Llc Display screen or portion thereof with animated graphical user interface
USD1098172S1 (en) 2020-10-02 2025-10-14 Lutron Technology Company Llc Display screen or portion thereof with animated graphical user interface
US20230393726A1 (en) * 2022-06-02 2023-12-07 Shopify Inc. Methods and apparatuses for providing condensable user interface
US12487739B2 (en) * 2022-06-02 2025-12-02 Shopify Inc. Methods and apparatuses for providing condensable user interface

Also Published As

Publication number Publication date
KR20100083827A (en) 2010-07-22
US9400598B2 (en) 2016-07-26
KR101542274B1 (en) 2015-08-06
US20090100373A1 (en) 2009-04-16
US20130132894A1 (en) 2013-05-23
WO2009051665A8 (en) 2010-07-29
WO2009051665A1 (en) 2009-04-23
JP2011501289A (en) 2011-01-06

Similar Documents

Publication Publication Date Title
US8359545B2 (en) Fast and smooth scrolling of user interfaces operating on thin clients
US8935630B2 (en) Methods and systems for scrolling and pointing in user interfaces
US20060262116A1 (en) Global navigation objects in user interfaces
US9600580B2 (en) Method of adaptive browsing for digital content
US8521587B2 (en) Systems and methods for placing advertisements
KR100994011B1 (en) A control framework with a zoomable graphical user interface for organizing, selecting and launching media items
US9576033B2 (en) System, method and user interface for content search
US20080065989A1 (en) Playlist creation tools for television user interfaces
US20170223420A1 (en) Multimedia systems, methods and applications
US20110231484A1 (en) TV Internet Browser
US20120266069A1 (en) TV Internet Browser
US20170272807A1 (en) Overlay device, system and method
US9459783B2 (en) Zooming and panning widget for internet browsers
WO2006088831A2 (en) Methods and systems for enhancing television applications using 3d pointing

Legal Events

Date Code Title Description
AS Assignment

Owner name: HILLCREST LABORATORIES, INC., MARYLAND

Free format text: ASSIGNMENT OF ASSIGNORS INTEREST;ASSIGNORS:PIXLEY, TOM;AUFDERHEIDE, DAVE;HUNLETH, FRANK;REEL/FRAME:022047/0554

Effective date: 20081113

FEPP Fee payment procedure

Free format text: ENTITY STATUS SET TO UNDISCOUNTED (ORIGINAL EVENT CODE: BIG.); ENTITY STATUS OF PATENT OWNER: LARGE ENTITY

STCF Information on status: patent grant

Free format text: PATENTED CASE

AS Assignment

Owner name: MULTIPLIER CAPITAL, LP, MARYLAND

Free format text: SECURITY AGREEMENT;ASSIGNOR:HILLCREST LABORATORIES, INC.;REEL/FRAME:037963/0405

Effective date: 20141002

FPAY Fee payment

Year of fee payment: 4

AS Assignment

Owner name: IDHL HOLDINGS, INC., DELAWARE

Free format text: ASSIGNMENT OF ASSIGNORS INTEREST;ASSIGNOR:HILLCREST LABORATORIES, INC.;REEL/FRAME:042747/0445

Effective date: 20161222

AS Assignment

Owner name: HILLCREST LABORATORIES, INC., DELAWARE

Free format text: RELEASE BY SECURED PARTY;ASSIGNOR:MULTIPLIER CAPITAL, LP;REEL/FRAME:043339/0214

Effective date: 20170606

AS Assignment

Owner name: CEVA TECHNOLOGIES, INC., CALIFORNIA

Free format text: ASSIGNMENT OF PATENTS;ASSIGNOR:IDHL HOLDINGS, INC.;REEL/FRAME:050966/0756

Effective date: 20190719

FEPP Fee payment procedure

Free format text: MAINTENANCE FEE REMINDER MAILED (ORIGINAL EVENT CODE: REM.); ENTITY STATUS OF PATENT OWNER: LARGE ENTITY

LAPS Lapse for failure to pay maintenance fees

Free format text: PATENT EXPIRED FOR FAILURE TO PAY MAINTENANCE FEES (ORIGINAL EVENT CODE: EXP.); ENTITY STATUS OF PATENT OWNER: LARGE ENTITY

STCH Information on status: patent discontinuation

Free format text: PATENT EXPIRED DUE TO NONPAYMENT OF MAINTENANCE FEES UNDER 37 CFR 1.362

FP Lapsed due to failure to pay maintenance fee

Effective date: 20210122