[go: up one dir, main page]

US7706574B1 - Identifying and protecting composed and transmitted messages utilizing keystroke dynamics - Google Patents

Identifying and protecting composed and transmitted messages utilizing keystroke dynamics Download PDF

Info

Publication number
US7706574B1
US7706574B1 US10/704,512 US70451203A US7706574B1 US 7706574 B1 US7706574 B1 US 7706574B1 US 70451203 A US70451203 A US 70451203A US 7706574 B1 US7706574 B1 US 7706574B1
Authority
US
United States
Prior art keywords
diagraph
template
time interval
key
user
Prior art date
Legal status (The legal status is an assumption and is not a legal conclusion. Google has not performed a legal analysis and makes no representation as to the accuracy of the status listed.)
Active, expires
Application number
US10/704,512
Inventor
Gordon A. Ross
Current Assignee (The listed assignees may be inaccurate. Google has not performed a legal analysis and makes no representation or warranty as to the accuracy of the list.)
Concentrix SREV Inc
Original Assignee
AdmitOne Security Inc
Priority date (The priority date is an assumption and is not a legal conclusion. Google has not performed a legal analysis and makes no representation as to the accuracy of the date listed.)
Filing date
Publication date
Priority to US10/704,512 priority Critical patent/US7706574B1/en
Application filed by AdmitOne Security Inc filed Critical AdmitOne Security Inc
Assigned to BIONET SYSTEMS, LLC reassignment BIONET SYSTEMS, LLC ASSIGNMENT OF ASSIGNORS INTEREST (SEE DOCUMENT FOR DETAILS). Assignors: ROSS, GORDON A.
Assigned to BIOPASSWORD LLC reassignment BIOPASSWORD LLC ASSIGNMENT OF ASSIGNORS INTEREST (SEE DOCUMENT FOR DETAILS). Assignors: BIONET SYSTEMS
Assigned to BIOPASSWORD, INC. reassignment BIOPASSWORD, INC. MERGER (SEE DOCUMENT FOR DETAILS). Assignors: BIOPASSWORD, LLC
Assigned to ADMITONE SECURITY, INC. reassignment ADMITONE SECURITY, INC. CHANGE OF NAME (SEE DOCUMENT FOR DETAILS). Assignors: BIOPASSWORD, INC.
Application granted granted Critical
Publication of US7706574B1 publication Critical patent/US7706574B1/en
Assigned to SCOUT ANALYTICS, INC. reassignment SCOUT ANALYTICS, INC. CHANGE OF NAME (SEE DOCUMENT FOR DETAILS). Assignors: ADMITONE SECURITY, INC.
Assigned to BENAROYA CAPITAL COMPANY, L.L.C. reassignment BENAROYA CAPITAL COMPANY, L.L.C. SECURITY AGREEMENT Assignors: SCOUT ANALYTICS, INC.
Assigned to JPMORGAN CHASE BANK, NATIONAL ASSOCIATION reassignment JPMORGAN CHASE BANK, NATIONAL ASSOCIATION SECURITY AGREEMENT Assignors: SCOUT ANALYTICS, INC.
Assigned to ServiceSource International, Inc. reassignment ServiceSource International, Inc. MERGER (SEE DOCUMENT FOR DETAILS). Assignors: SCOUT ANALYTICS, INC.
Assigned to CONCENTRIX SERVICESOURCE INC. reassignment CONCENTRIX SERVICESOURCE INC. MERGER (SEE DOCUMENT FOR DETAILS). Assignors: CONCENTRIX MERGER SUB, INC., ServiceSource International, Inc.
Assigned to CONCENTRIX SREV, INC. reassignment CONCENTRIX SREV, INC. CHANGE OF NAME (SEE DOCUMENT FOR DETAILS). Assignors: CONCENTRIX SERVICESOURCE INC.
Assigned to BANK OF AMERICA, N.A., AS ADMINISTRATIVE AGENT reassignment BANK OF AMERICA, N.A., AS ADMINISTRATIVE AGENT NOTICE OF GRANT OF SECURITY INTEREST IN PATENTS Assignors: CONCENTRIX SREV, INC.
Assigned to SCOUT ANALYTICS, INC. reassignment SCOUT ANALYTICS, INC. RELEASE BY SECURED PARTY (SEE DOCUMENT FOR DETAILS). Assignors: JPMORGAN CHASE BANK, NATIONAL ASSOCIATION
Assigned to CONCENTRIX SREV, INC. reassignment CONCENTRIX SREV, INC. TERMINATION AND RELEASE OF SECURITY INTEREST IN PATENTS Assignors: BANK OF AMERICA, N.A., AS ADMINISTRATIVE AGENT
Active legal-status Critical Current
Adjusted expiration legal-status Critical

Links

Images

Classifications

    • GPHYSICS
    • G06COMPUTING OR CALCULATING; COUNTING
    • G06FELECTRIC DIGITAL DATA PROCESSING
    • G06F21/00Security arrangements for protecting computers, components thereof, programs or data against unauthorised activity
    • G06F21/60Protecting data
    • G06F21/606Protecting data by securing the transmission between two devices or processes
    • GPHYSICS
    • G06COMPUTING OR CALCULATING; COUNTING
    • G06VIMAGE OR VIDEO RECOGNITION OR UNDERSTANDING
    • G06V40/00Recognition of biometric, human-related or animal-related patterns in image or video data
    • G06V40/30Writer recognition; Reading and verifying signatures

Definitions

  • Authentication systems protect resources, such as documents and data, and accurately identify the creator of the resource.
  • a message i.e., a written instrument or electronic document
  • a hand written signature sealed by a physical seal, or protected by a password or a personal identification number (PIN) in order to identify the author of the message or control access to its contents.
  • PIN personal identification number
  • the signature, PIN or password of the message creator is stored in a central memory or in storage media that is part of the computer system.
  • the user enters the appropriate signature, password or PIN using an input device.
  • the computer system compares the signature, password or PIN that is entered using the input device with the stored signature, password or PIN associated with the message to be accessed and determines whether to allow the message to be displayed or accessed.
  • Message creation is accomplished through the use of message creating devices such as word processing applications, email applications or similar software. Communication of messages may be done over a network such as the Internet using standard telecommunications infrastructure. A standard Qwerty or Dvorak type of keyboard may be used in order to input data or collect keystrokes.
  • FIG. 1 is a block diagram of a system for authenticating messages.
  • FIG. 2 a is an illustration of a personal digital assistant capable of authenticating messages.
  • FIG. 2 b is an illustration of a cellular phone capable of authenticating messages.
  • FIG. 2 c is an illustration of computer system capable of authenticating messages.
  • FIG. 2 d is an illustration of a touch pad system capable of authenticating messages.
  • FIG. 2 e is an illustration of a visual input system capable of authenticating messages.
  • FIG. 3 is a flowchart of a template generation and diagraph collection process.
  • FIG. 4 is a flowchart of an authorization process.
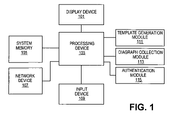
  • FIG. 1 is a block diagram for an authentication system.
  • the authentication system may include display device 101 for showing text and graphical information to a user.
  • Display device 101 is connected to processing device 103 .
  • Display device 101 is capable of displaying alpha numeric character sets, diagrams or graphics.
  • display system may be a Flat Panel Liquid Crystal Display (LCD) or a Cathode Ray Tube (CRT) type of display.
  • LCD Flat Panel Liquid Crystal Display
  • CRT Cathode Ray Tube
  • processing device 103 is a general purpose processor such as a central processing unit (CPU). In another embodiment, processing device 103 may be a dedicated device or set of devices such as an application specific integrated circuit (ASIC) for text messaging, text processing, cellular communications processing or similar processing. Processing device 103 may be connected to system memory 105 that stores data and instructions used by processing device 103 .
  • CPU central processing unit
  • ASIC application specific integrated circuit
  • Input device 109 is connected to processing device 103 to allow a user to provide data to processing device 103 .
  • input device 109 may be a keyboard, key pad, touch pad, pointer device (e.g., a mouse, trackball or similar device), visual input device or similar input device.
  • Input device 109 is used for creating diagraphs or alpha-numeric characters that are input to processing device 103 .
  • Input device 109 is also used to request the reading and displaying of a message or similar resource.
  • the authentication system may be used with existing or future input devices that are able to compose a message using alpha-numeric character sets and diagraphs.
  • template generation module 111 diagraph collection module 113 and authentication module 115 are each in communication with processing device 103 .
  • These modules may be ASICs, code to be run by processing device 103 that is stored in a storage medium such as a fixed disk, compact disk or similar medium, applications running on a remote system or combinations thereof.
  • diagraph collection module 113 works in conjunction with processing device 103 to collect incoming data from input device 109 .
  • Diagraph collection module 113 provides a collection of keystroke dynamic diagraphs of the message creator from each of a plurality of input sources of the message creator from a minimum of one input device 109 that communicates with processing device 103 .
  • This data is used by template generation module 111 to generate a template of input device use characteristics.
  • the template can be used by authentication module 115 to compare signature data in a resource against a template or set of templates.
  • Authentication module 115 works in coordination with processing device 103 to control access to resources requested by a user.
  • the system may also include network device 107 for transmitting and receiving data and instructions over a network or communications system.
  • Authentication involves determining which individuals are authorized to access protected resources such as messages. In one embodiment, varying levels of accuracy in authentication may be enforced. If an authorization level of a user falls within the defined multi-level range corresponding to an acceptable false acceptance rate (FAR) then the user is given access to a resource. Any individual who does not meet the required level is denied access to the resource.
  • FAR false acceptance rate
  • the message creator or system manager may determine the threshold required to access the message. The message may be set to a range of threshold levels depending on the level of security desired.
  • a message is used herein as an exemplary resource to be protected by the authentication system. Other resources such as data files, applications and similar information may similarly be protected.
  • a message is a communication in writing, in speech, or by signals.
  • a message creator may be an individual with sole authority for message creation and access to the message. Message access and creation authority may also be granted to members of a predetermined group of authorized message creators and users.
  • Signature data uniquely identifies the creator of the message. Signature data is based on timing patterns in the manner in which a user inputs data, such as timing patterns in the keystrokes of a user typing a message. Signature data may be collected during the creation of a message to be protected and be embedded into the message. Data collected that uniquely identifies a user may also be collected to create an authentication template. This identifying data is aggregated for each user to allow an authentication system to identify a message created by that user. The system authenticates messages based on the comparison of signatures and authentication templates, which are each derived from diagraph timings and similar input timings. A diagraph is a common sequence of letters such as “th,” “ch” or similar patterns that occur during typing or data input.
  • messages may be authenticated when a user seeks to access the message.
  • the authentication templates are statistically compared to signature data of the message. This process is especially suited for protecting the confidentiality of a message and at the same time ensuring that a message is authentic (i.e., the origin of the message is verified).
  • the authentication system ensures a message is authentic and readable by the creator and other authorized individuals. If the message is intercepted, an unauthorized person is denied access by the system preventing the viewing or use of its contents.
  • FIGS. 2A-2E display some of the input devices and systems that can be used to generate protected messages and to authenticate messages over a variety of communication mediums.
  • FIG. 2 a is an illustration of an exemplary embodiment utilizing a personal digital assistant (PDA).
  • PDA 212 includes display 214 and touchpad 213 for receiving input from a user.
  • PDA 212 may include a central processing unit and software modules for diagraph collection 115 , authentication 115 and template generation 111 .
  • diagraph collection module 113 , authentication module 115 and template generation module 111 are implemented as ASICs or similar devices.
  • a PDA may be used for creating, storing and forwarding alpha-numeric messages and information over communication networks, including networks, such as wireless networks, and via infra-red signaling.
  • a PDA's touchpad 213 may include a “virtual” keyboard that is used for composing and sending messages using a “stylus”, or pen, to “tap” the various keyboard characters that are on the screen. Authentication protocols may be established by using the virtual keyboard that is on the touch screen of the PDA.
  • FIG. 2 b is an illustration of an exemplary embodiment utilizing a cellular or wireless phone 200 .
  • Cellular phone 200 includes display 202 for viewing messages and key pad 201 that allows a user to compose messages.
  • cellular phone 200 may include processing device 103 , diagraph collection module 113 , template generation module 111 and authentication module 115 .
  • Buttons of keypad 201 may be used for composing and sending messages.
  • Cellular phone 200 is capable of composing, sending and receiving alpha-numeric messages over wireless communication networks.
  • FIG. 2 c is an illustration of an exemplary embodiment, utilizing computer system 236 including a display device 238 and input device 237 .
  • computer system 236 includes a central processing unit and software modules for diagraph collection 113 , authentication 115 and template generation 111 .
  • computer system 236 may be a stand-alone, host or network computer system with a flat panel monitor cathode ray tube (CRT) or similar display device 238 .
  • computer system 236 includes a keyboard 237 for inputting alpha-numeric data into a computer system 236 .
  • Keyboard 237 may be a wired or a wireless type of keyboard.
  • FIG. 2 d is an illustration of an exemplary embodiment, utilizing touchpad system 224 including combined display touchpad 216 for receiving input and displaying text and graphics.
  • touchpad system 224 may include a central processing unit and software modules for diagraph collection 113 , authentication 115 and template generation 111 .
  • diagraph collection, authentication and template generation modules are implemented as ASICs or similar devices.
  • touchpad device 224 includes a keyboard that is part of the touchpad display 226 . This keyboard is used for typing data by touching the appropriate characters that appear on the screen.
  • FIG. 2 e is an illustration of a visual input system 252 .
  • Visual input system 252 includes a camera 258 or similar optical device for tracking the movements of user 259 .
  • camera 258 tracks the eye movements of user 259 in relation to a display 256 showing a set of input options 250 .
  • visual input system 252 is coupled to a system including a central processing unit and software modules for diagraph collection 113 , authentication 115 and template generation 111 .
  • diagraph collection module 113 , authentication module 115 and template generation module 111 are implemented as ASICS or similar devices.
  • Visual input system 252 tracks what alpha-numeric key the individual is looking at on the keyboard which is part of the visual display attached to a computer system and generates an appropriate signal to be input into the computer system.
  • Camera 258 works in conjunction with computer software to recognize and record the characters that the subject human being is looking at on the touch screen keyboard.
  • FIG. 3 is a flow chart illustrating the process of generating an authentication template and message signature. In one embodiment, this process involves developing biometric keystroke dynamic message identification data.
  • a biometric keystroke dynamic message identification data is a uniquely identifying set of values derived from the timing of input patterns of a user.
  • the authentication system is described with reference to FIG. 1 and the accompanying text is referenced here.
  • the process is started by a user when creating the message that is to be protected by the authentication system (block 301 ).
  • a user may create an email message to be sent to another user.
  • diagraph collecting module 113 collects the characters and various diagraphs input by the creator.
  • the message creator's characters and diagraphs are gathered by the system through input devices 109 including keyboards, touch pads, touch-screen pads, pointer devices or visual systems (block 303 ).
  • input devices 109 including keyboards, touch pads, touch-screen pads, pointer devices or visual systems
  • Diagraph collection module 113 in conjunction with processor 103 accomplish the collection of this data.
  • Diagraph collection module 113 may be a dedicated circuit or a software program. Diagraph collection module 113 captures the character stream that is generated when the message is being input.
  • Diagraph collection module 113 captures a string of characters consisting of common key combinations known as diagraphs. These diagraphs, that are part of the overall message created from an input device, are captured along with the time between the appearance of these diagraphs. Additional data such as flight (times between each character and diagraph created) and dwell (length of time each character was held) times are also tracked. Examples of these diagraphs are the common combinations of the characters such as “th”, “on”, “in”, “ou,” “me,” etc. These diagraphs can vary in length from 2 to n characters, where n is any number.
  • Pressure measurements from an input device 109 may be monitored via the measurement of the electronic pulses generated by the manner in which a person pushes the keys or by the way the person touches the screen on a virtual keyboard or similar input device.
  • the use of hardware load cells or other pressure sensing devices is not needed to determine how much pressure was used when striking the key. It may be measured mathematically by measuring the flight and dwell times. The flight time is the time between each key press. The dwell time is how long the key was pressed. Pressure can be “virtually” measured by using the dwell time. If the key has too much pressure applied to it, a long dwell time results as well as the potential for repeating the same character over and over as the key continues to generate a signal until the pressure is removed. The result of more pressure being asserted on a key will result in a longer dwell time.
  • Diagraph collection module 113 determines if the characters and diagraphs are being collected correctly (block 305 ). If the module is not collecting the characters and diagraphs correctly collection is continued until diagraphs and related data are properly collected (block 303 ). For example, the diagraph collection module determines whether a user typing the email messages has typed a sufficient number of characters or a sufficient number of diagraphs in the message to uniquely identify the user. Collection failure may occur when an input device (e.g., keyboard, keypad or similar device) ceases to function due to hardware failure. Collection failure may also occur when a user ceases to input data or decides to terminate the application collecting the data. If insufficient characters or diagraphs are collected, an authorization signature may not be created. Collection failure may also occur in the event of power outages or brown out. The computer system may have insufficient processing resources to collect input data and fail to accumulate the appropriate data in order to develop a proper signature.
  • an input device e.g., keyboard, keypad or similar device
  • diagraph collection module 113 determines if sufficient data has been collected to identify the message creator (block 307 ). As these items are collected by the collection module 113 , diagraph collection module 113 does a mathematical and statistical analysis to determine whether sufficient data has been collected that will allow a unique message authentication identifier to be determined.
  • the number of characters or diagraphs that are required to be collected is dependent on the typing characteristics of the user. In one embodiment, the minimum number of characters required is approximately 15 samples of 8 characters of an uninterrupted typing pattern (i.e., a minimum of 120 characters or diagraphs). In another embodiment, fewer character and diagraph samples may be used dependent on the level of accuracy desired in the authentication process.
  • diagraph collection module 113 passes the data onto the template generation module 111 to develop the message creator's authentication template (block 311 ). If the collection module 113 has collected an insufficient amount of characters and diagraphs to properly identify a user then it continues to collect characters and diagraphs from the input devices (block 309 ).
  • Template generation module 111 processes the collected data to determine unique timing characteristics associated with the characters and diagraphs generated by the message creator in order to generate the message creator's authorization template and signature value as discussed above (block 311 ). For example, the collected data of a user typing an email message is used to calculate a unique identifying value for that user.
  • template generation module 111 in conjunction with diagraph collection module 113 register each keystroke dynamically produced diagraph collected from the message sample.
  • the diagraph is stored in a template associated with the previously collected diagraph data of the authorized message creator for use in verifying or identifying the message creator.
  • the template is a numeric value based on statistical analysis.
  • the template may be encrypted and stored in a data file as encrypted data.
  • the calculations include determining the template interval mean (TIM), which is shown by the following formula:
  • TIM ( n - 1 ) * ( templatemean ) + ( samplemean ) n where n is the number of keys used.
  • the (TIM) is one of a set of calculations that are used to develop a template. Other calculations include determining the Euclidean Distance for the flight time data (the time between key presses and diagraph collections) and the dwell time data (the time measurement of the duration of a key press and/or time between the creation of diagraphs).
  • authentication makes use of vectors and the calculation of the Euclidean Distance (ED) between the various points.
  • the Euclidean Distance for measuring the distance between vectors is a way of obtaining similarity between signatures and may be calculated by the following formula:
  • the variable m is the number of diagraphs or similar data points collected.
  • the Euclidean distance is a mathematical calculation to determine the proximity of two vectors. The calculation involves for each measurement (e.g., diagraph related data collected including flight and dwell times and similar data) subtracting the sample measurement from the signature average for the measurement and dividing by the signature's Euclidean distance for the measurement. This result is squared. These results are added together and the square root is obtained. In one embodiment, this intermediate value is multiplied by 10 and divided by the total number of measurements. The final result is referred to as the Euclidean Distance.
  • Y may represent the key activation or ‘key down’ data and Z may represent the key release or ‘key up’ data.
  • the vectors and data utilized by the identification algorithms such as the Euclidean distance calculation includes dwell and flight times for diagraphs and similar input data along with features extracted from histograms that are generated from the diagraphs.
  • these histograms include “all flights” where the “average” and “median” of all flight times are recorded.
  • Other histograms include the “all dwell times” where the “average” and “median” dwell times are recorded. Additional measurements of placements of the keys are also measured.
  • the final signature is created from the calculated Euclidean distance value, the template interval mean value (TIM) or similar algorithms for measuring the proximity of input data with previously collected data to generate a unique identifying value. In another embodiment, these values are further adjusted by a scoring function.
  • a ‘score’ is calculated for the signature based on the information from the histograms that were created from the diagraphs.
  • Wtg is a weighting factor.
  • the weighting factor may be determined by techniques discussed in “Authentication by Keystroke Timing:Some Preliminary Results,” Gaines, R. et al, Rand Corporation (1980).
  • the final score may be utilized for authentication by being compared with several threshold values to determine whether the authentication is correct. Depending on the comparison value returned, the message may be judged authentic or unauthentic. The score also determines who is authorized to open and view or read the message based on threshold values for individual and group authentication.
  • Template generation module 111 verifies that the message creator's identification template has been created (block 313 ). If the template has not been successfully created the template generation module 111 returns control to the collection module 113 to continue to gather sufficient characters and diagraphs until a template is successfully created.
  • the characteristics of the diagraphs and character information generated by the message creator are recorded with previously stored diagraph template information. If the message creator's authentication template has been successfully created, the template generation module incorporates it into the overall message that has been created as a signature for the user (block 315 ).
  • the signature value may be stored as a header value in the format of the email composed by the user.
  • the message is also encrypted to prevent circumvention of the authentication system. The message is complete after the signature is embedded if no encryption is used (block 317 ).
  • the signature data is embedded as part of the message header stream and becomes part of the over all message.
  • the signature may be a part of the body or tail of a message. This signature is part of the over all message and can be transmitted as part of the message or separately if the message creator chooses.
  • the signature may be directly incorporated into the formatting routines used to create the message.
  • the completed message with the message creator's authentication template (i.e., signature) embedded within it may be transmitted to another device.
  • the protected message may be sent or transferred over any communication medium including networks such as the Internet (block 319 ).
  • networks such as the Internet
  • an email composed by a user with an embedded signature may be sent over a network to an intended recipient.
  • the protected message may also be stored locally or remotely (block 321 ).
  • FIG. 4 is a flow chart illustrating the process of authenticating a message.
  • Authentication module 115 authenticates a signature protected message and identifies the creator of the message. The authentication process relies on signature data embedded in the message and authentication templates stored in a database accessible to the authentication module 115 . Signature data and authentication template data are calculated during the creation of the message while the creator is composing the message.
  • the authentication and identification process is initiated by a request to access a message or by a similar event (block 401 ).
  • a recipient of an email with an embedded signature may open the email.
  • Authentication module 115 reads the signature data that was created by the template generation module 111 and embedded in the message (block 403 ).
  • Authentication module 115 searches the authentication templates that are stored in a template database with the embedded signature database and compares them to determine if they match (block 405 ).
  • a single user may have multiple signatures stored each associated with a type of input device or similar categorization.
  • the database comparison may search a specific category of signatures. For example, the database may be searched when an email with an embedded signature is opened in categories or devices that may generate an email such as a signature generated by a keyboard.
  • authentication module 115 determines authenticity and identity of a message creator by comparing the signature value embedded in a message with the values in a database identifying users of a system. This system is premised on the recognized differences in how one individual (individual X) will activate keys on a keyboard, keypad, touch screen or other alpha-numeric input device, from another individual (individual Y). In another embodiment, authentication module 115 analyzes sets of stored diagraph data to compare them with the authentication signature in the message.
  • the associated signature data is compared to that which is in the authentication template database for a match with a template associated with the message creator or authorized reader of the message. If a match is made within the associated tolerance levels that the creator or system manager has defined, then the message will be deemed authentic. If a match is not made then the message is deemed unauthentic and handled accordingly. This may mean the message is inoperable or inaccessible.
  • the signature data must be retrieved from the message.
  • the signature may be stored within the header information for the message or in the body of the message itself.
  • the signature value is matched against a known signature or set of signatures. If the quantified difference between the signature value and a stored template or signature value falls within an allocated statistical curve then the message is either accepted as valid or is identified as potentially invalid, or unauthenticated.
  • Authentication module 115 may also report the identification of the creator and process the message as authentic (block 411 ). If no match is found then the message is processed as unauthenticated (block 409 ). This may result in blocked access to the message.
  • other applications may then display the message and indicate the message is authentic and identify the message creator's credentials (block 413 ).
  • Authentication module 115 may also identify the individual attempting to access the message to determine if the individual is authorized to access the message by accessing a database of authorized users.
  • signature data may be tracked to monitor activities of users including users with unknown identity.
  • signature data or authentication template data may be converted to threshold score data during message creation or prior to a message access request. Scores and threshold values may be stored as a part of a signature or authentication template. In another embodiment, statistical data collected for a user may be stored and utilized to generate templates and signature values.

Landscapes

  • Engineering & Computer Science (AREA)
  • Theoretical Computer Science (AREA)
  • General Physics & Mathematics (AREA)
  • Physics & Mathematics (AREA)
  • General Health & Medical Sciences (AREA)
  • Computer Hardware Design (AREA)
  • Computer Security & Cryptography (AREA)
  • Software Systems (AREA)
  • General Engineering & Computer Science (AREA)
  • Health & Medical Sciences (AREA)
  • Bioethics (AREA)
  • Human Computer Interaction (AREA)
  • Multimedia (AREA)
  • User Interface Of Digital Computer (AREA)

Abstract

A system for authenticating messages using keystroke dynamics identifying a composer of a message using diagraphs transmitted by the use of an input device. Keystrokes are gathered by modules that determine the timing factors between each keystroke and diagraph that is created by the message composer. Once sufficient keystrokes and diagraphs are monitored that allows a generation of an identifier of a unique message composition rhythm, a unique signature of the message creator is stored within the created message. This authentication method is embedded within a message. When a user tries to access or authenticate a message, the user will be verified against the authorized signature contained within the message or authorized database of readers. If a match occurs, the user will then be allowed to access the message.

Description

FIELD
Verifying message authenticity.
BACKGROUND
Authentication systems protect resources, such as documents and data, and accurately identify the creator of the resource. For example, a message (i.e., a written instrument or electronic document) created by an individual can be marked by a hand written signature, sealed by a physical seal, or protected by a password or a personal identification number (PIN) in order to identify the author of the message or control access to its contents. In some electronic or computer systems, the signature, PIN or password of the message creator is stored in a central memory or in storage media that is part of the computer system. When a user desires to read the protected message, the user enters the appropriate signature, password or PIN using an input device. The computer system compares the signature, password or PIN that is entered using the input device with the stored signature, password or PIN associated with the message to be accessed and determines whether to allow the message to be displayed or accessed.
Message creation is accomplished through the use of message creating devices such as word processing applications, email applications or similar software. Communication of messages may be done over a network such as the Internet using standard telecommunications infrastructure. A standard Qwerty or Dvorak type of keyboard may be used in order to input data or collect keystrokes.
BRIEF DESCRIPTION OF THE DRAWINGS
Embodiments are illustrated by way of example and not by way of limitation in the figures of the accompanying drawings in which like references indicate similar elements. It should be noted that references to “an” or “one” embodiment in this disclosure are not necessarily to the same embodiment, and such references mean at least one.
FIG. 1 is a block diagram of a system for authenticating messages.
FIG. 2 a is an illustration of a personal digital assistant capable of authenticating messages.
FIG. 2 b is an illustration of a cellular phone capable of authenticating messages.
FIG. 2 c is an illustration of computer system capable of authenticating messages.
FIG. 2 d is an illustration of a touch pad system capable of authenticating messages.
FIG. 2 e is an illustration of a visual input system capable of authenticating messages.
FIG. 3 is a flowchart of a template generation and diagraph collection process.
FIG. 4 is a flowchart of an authorization process.
DETAILED DESCRIPTION
FIG. 1 is a block diagram for an authentication system. The authentication system may include display device 101 for showing text and graphical information to a user. Display device 101 is connected to processing device 103. Display device 101 is capable of displaying alpha numeric character sets, diagrams or graphics. In one embodiment, display system may be a Flat Panel Liquid Crystal Display (LCD) or a Cathode Ray Tube (CRT) type of display.
In one embodiment, processing device 103 is a general purpose processor such as a central processing unit (CPU). In another embodiment, processing device 103 may be a dedicated device or set of devices such as an application specific integrated circuit (ASIC) for text messaging, text processing, cellular communications processing or similar processing. Processing device 103 may be connected to system memory 105 that stores data and instructions used by processing device 103.
Input device 109 is connected to processing device 103 to allow a user to provide data to processing device 103. In one embodiment, input device 109 may be a keyboard, key pad, touch pad, pointer device (e.g., a mouse, trackball or similar device), visual input device or similar input device. Input device 109 is used for creating diagraphs or alpha-numeric characters that are input to processing device 103. Input device 109 is also used to request the reading and displaying of a message or similar resource. The authentication system may be used with existing or future input devices that are able to compose a message using alpha-numeric character sets and diagraphs.
In one embodiment, template generation module 111, diagraph collection module 113 and authentication module 115 are each in communication with processing device 103. These modules may be ASICs, code to be run by processing device 103 that is stored in a storage medium such as a fixed disk, compact disk or similar medium, applications running on a remote system or combinations thereof.
In one embodiment, diagraph collection module 113 works in conjunction with processing device 103 to collect incoming data from input device 109. Diagraph collection module 113 provides a collection of keystroke dynamic diagraphs of the message creator from each of a plurality of input sources of the message creator from a minimum of one input device 109 that communicates with processing device 103. This data is used by template generation module 111 to generate a template of input device use characteristics. The template can be used by authentication module 115 to compare signature data in a resource against a template or set of templates. Authentication module 115 works in coordination with processing device 103 to control access to resources requested by a user. The system may also include network device 107 for transmitting and receiving data and instructions over a network or communications system.
Authentication involves determining which individuals are authorized to access protected resources such as messages. In one embodiment, varying levels of accuracy in authentication may be enforced. If an authorization level of a user falls within the defined multi-level range corresponding to an acceptable false acceptance rate (FAR) then the user is given access to a resource. Any individual who does not meet the required level is denied access to the resource. In one embodiment, the message creator or system manager may determine the threshold required to access the message. The message may be set to a range of threshold levels depending on the level of security desired.
A message is used herein as an exemplary resource to be protected by the authentication system. Other resources such as data files, applications and similar information may similarly be protected. A message is a communication in writing, in speech, or by signals. A message creator may be an individual with sole authority for message creation and access to the message. Message access and creation authority may also be granted to members of a predetermined group of authorized message creators and users.
Messages to be protected are associated with signature data. Signature data uniquely identifies the creator of the message. Signature data is based on timing patterns in the manner in which a user inputs data, such as timing patterns in the keystrokes of a user typing a message. Signature data may be collected during the creation of a message to be protected and be embedded into the message. Data collected that uniquely identifies a user may also be collected to create an authentication template. This identifying data is aggregated for each user to allow an authentication system to identify a message created by that user. The system authenticates messages based on the comparison of signatures and authentication templates, which are each derived from diagraph timings and similar input timings. A diagraph is a common sequence of letters such as “th,” “ch” or similar patterns that occur during typing or data input.
In one embodiment, messages may be authenticated when a user seeks to access the message. During the message authentication process the authentication templates are statistically compared to signature data of the message. This process is especially suited for protecting the confidentiality of a message and at the same time ensuring that a message is authentic (i.e., the origin of the message is verified). The authentication system ensures a message is authentic and readable by the creator and other authorized individuals. If the message is intercepted, an unauthorized person is denied access by the system preventing the viewing or use of its contents.
FIGS. 2A-2E display some of the input devices and systems that can be used to generate protected messages and to authenticate messages over a variety of communication mediums.
FIG. 2 a is an illustration of an exemplary embodiment utilizing a personal digital assistant (PDA). PDA 212 includes display 214 and touchpad 213 for receiving input from a user. Referring in conjunction to the authentication system of FIG. 1, PDA 212 may include a central processing unit and software modules for diagraph collection 115, authentication 115 and template generation 111. In another embodiment, diagraph collection module 113, authentication module 115 and template generation module 111 are implemented as ASICs or similar devices.
A PDA may be used for creating, storing and forwarding alpha-numeric messages and information over communication networks, including networks, such as wireless networks, and via infra-red signaling.
A PDA's touchpad 213 may include a “virtual” keyboard that is used for composing and sending messages using a “stylus”, or pen, to “tap” the various keyboard characters that are on the screen. Authentication protocols may be established by using the virtual keyboard that is on the touch screen of the PDA.
FIG. 2 b is an illustration of an exemplary embodiment utilizing a cellular or wireless phone 200. Cellular phone 200 includes display 202 for viewing messages and key pad 201 that allows a user to compose messages. Referring in conjunction to the authentication system of FIG. 1, cellular phone 200 may include processing device 103, diagraph collection module 113, template generation module 111 and authentication module 115. Buttons of keypad 201 may be used for composing and sending messages. Cellular phone 200 is capable of composing, sending and receiving alpha-numeric messages over wireless communication networks.
FIG. 2 c is an illustration of an exemplary embodiment, utilizing computer system 236 including a display device 238 and input device 237. Referring in conjunction to the authentication system of FIG. 1, computer system 236 includes a central processing unit and software modules for diagraph collection 113, authentication 115 and template generation 111.
In one embodiment, computer system 236 may be a stand-alone, host or network computer system with a flat panel monitor cathode ray tube (CRT) or similar display device 238. In one embodiment, computer system 236 includes a keyboard 237 for inputting alpha-numeric data into a computer system 236. Keyboard 237 may be a wired or a wireless type of keyboard.
FIG. 2 d is an illustration of an exemplary embodiment, utilizing touchpad system 224 including combined display touchpad 216 for receiving input and displaying text and graphics. Referring in conjunction to the authentication system of FIG. 1, touchpad system 224 may include a central processing unit and software modules for diagraph collection 113, authentication 115 and template generation 111. In another embodiment, diagraph collection, authentication and template generation modules are implemented as ASICs or similar devices.
In one embodiment, touchpad device 224 includes a keyboard that is part of the touchpad display 226. This keyboard is used for typing data by touching the appropriate characters that appear on the screen.
FIG. 2 e is an illustration of a visual input system 252. Visual input system 252 includes a camera 258 or similar optical device for tracking the movements of user 259. In one embodiment, camera 258 tracks the eye movements of user 259 in relation to a display 256 showing a set of input options 250. Referring in conjunction to the authentication system of FIG. 1, visual input system 252 is coupled to a system including a central processing unit and software modules for diagraph collection 113, authentication 115 and template generation 111. In another embodiment, diagraph collection module 113, authentication module 115 and template generation module 111 are implemented as ASICS or similar devices.
Visual input system 252 tracks what alpha-numeric key the individual is looking at on the keyboard which is part of the visual display attached to a computer system and generates an appropriate signal to be input into the computer system. Camera 258 works in conjunction with computer software to recognize and record the characters that the subject human being is looking at on the touch screen keyboard.
FIG. 3 is a flow chart illustrating the process of generating an authentication template and message signature. In one embodiment, this process involves developing biometric keystroke dynamic message identification data. A biometric keystroke dynamic message identification data is a uniquely identifying set of values derived from the timing of input patterns of a user.
The authentication system is described with reference to FIG. 1 and the accompanying text is referenced here. The process is started by a user when creating the message that is to be protected by the authentication system (block 301). For example, a user may create an email message to be sent to another user. During the creation of the message, diagraph collecting module 113 collects the characters and various diagraphs input by the creator. The message creator's characters and diagraphs are gathered by the system through input devices 109 including keyboards, touch pads, touch-screen pads, pointer devices or visual systems (block 303). For example, while typing the email message a user's keystrokes are collected. Diagraph collection module 113 in conjunction with processor 103 accomplish the collection of this data. Diagraph collection module 113 may be a dedicated circuit or a software program. Diagraph collection module 113 captures the character stream that is generated when the message is being input.
Diagraph collection module 113 captures a string of characters consisting of common key combinations known as diagraphs. These diagraphs, that are part of the overall message created from an input device, are captured along with the time between the appearance of these diagraphs. Additional data such as flight (times between each character and diagraph created) and dwell (length of time each character was held) times are also tracked. Examples of these diagraphs are the common combinations of the characters such as “th”, “on”, “in”, “ou,” “me,” etc. These diagraphs can vary in length from 2 to n characters, where n is any number.
Pressure measurements from an input device 109 may be monitored via the measurement of the electronic pulses generated by the manner in which a person pushes the keys or by the way the person touches the screen on a virtual keyboard or similar input device. The use of hardware load cells or other pressure sensing devices is not needed to determine how much pressure was used when striking the key. It may be measured mathematically by measuring the flight and dwell times. The flight time is the time between each key press. The dwell time is how long the key was pressed. Pressure can be “virtually” measured by using the dwell time. If the key has too much pressure applied to it, a long dwell time results as well as the potential for repeating the same character over and over as the key continues to generate a signal until the pressure is removed. The result of more pressure being asserted on a key will result in a longer dwell time.
Diagraph collection module 113 determines if the characters and diagraphs are being collected correctly (block 305). If the module is not collecting the characters and diagraphs correctly collection is continued until diagraphs and related data are properly collected (block 303). For example, the diagraph collection module determines whether a user typing the email messages has typed a sufficient number of characters or a sufficient number of diagraphs in the message to uniquely identify the user. Collection failure may occur when an input device (e.g., keyboard, keypad or similar device) ceases to function due to hardware failure. Collection failure may also occur when a user ceases to input data or decides to terminate the application collecting the data. If insufficient characters or diagraphs are collected, an authorization signature may not be created. Collection failure may also occur in the event of power outages or brown out. The computer system may have insufficient processing resources to collect input data and fail to accumulate the appropriate data in order to develop a proper signature.
If the characters and diagraphs are being collected correctly then diagraph collection module 113 determines if sufficient data has been collected to identify the message creator (block 307). As these items are collected by the collection module 113, diagraph collection module 113 does a mathematical and statistical analysis to determine whether sufficient data has been collected that will allow a unique message authentication identifier to be determined.
The number of characters or diagraphs that are required to be collected is dependent on the typing characteristics of the user. In one embodiment, the minimum number of characters required is approximately 15 samples of 8 characters of an uninterrupted typing pattern (i.e., a minimum of 120 characters or diagraphs). In another embodiment, fewer character and diagraph samples may be used dependent on the level of accuracy desired in the authentication process.
If sufficient data has been collected to identify the creator, then diagraph collection module 113 passes the data onto the template generation module 111 to develop the message creator's authentication template (block 311). If the collection module 113 has collected an insufficient amount of characters and diagraphs to properly identify a user then it continues to collect characters and diagraphs from the input devices (block 309).
Template generation module 111 processes the collected data to determine unique timing characteristics associated with the characters and diagraphs generated by the message creator in order to generate the message creator's authorization template and signature value as discussed above (block 311). For example, the collected data of a user typing an email message is used to calculate a unique identifying value for that user. In one embodiment, template generation module 111 in conjunction with diagraph collection module 113 register each keystroke dynamically produced diagraph collected from the message sample. The diagraph is stored in a template associated with the previously collected diagraph data of the authorized message creator for use in verifying or identifying the message creator. The template is a numeric value based on statistical analysis. In one embodiment, the template may be encrypted and stored in a data file as encrypted data.
In one embodiment, the calculations include determining the template interval mean (TIM), which is shown by the following formula:
TIM = ( n - 1 ) * ( templatemean ) + ( samplemean ) n
where n is the number of keys used.
In one embodiment, the (TIM) is one of a set of calculations that are used to develop a template. Other calculations include determining the Euclidean Distance for the flight time data (the time between key presses and diagraph collections) and the dwell time data (the time measurement of the duration of a key press and/or time between the creation of diagraphs).
In one embodiment, authentication makes use of vectors and the calculation of the Euclidean Distance (ED) between the various points. The Euclidean Distance for measuring the distance between vectors is a way of obtaining similarity between signatures and may be calculated by the following formula:
ED ( Y , Z ) = k = 1 m ( Y ( k ) - Z ( k ) ) 2
where Y={Y1; Y2; Y3; . . . Yk} and Z={Z1; Z2; Z3 . . . Zk} are the two representing a first set of features between the pattern vectors (e.g. diagraphs). The variable m is the number of diagraphs or similar data points collected.
The Euclidean distance is a mathematical calculation to determine the proximity of two vectors. The calculation involves for each measurement (e.g., diagraph related data collected including flight and dwell times and similar data) subtracting the sample measurement from the signature average for the measurement and dividing by the signature's Euclidean distance for the measurement. This result is squared. These results are added together and the square root is obtained. In one embodiment, this intermediate value is multiplied by 10 and divided by the total number of measurements. The final result is referred to as the Euclidean Distance.
For example, Y may represent the key activation or ‘key down’ data and Z may represent the key release or ‘key up’ data. The Euclidean distance calculated over this set of data results in a unique identifier for an individual when sufficient data has been collected. This formula may be extended for additional extracted feature processing continuous from k=1 to m where m=number of patterns. In one embodiment, the Euclidean distance value may be used to produces a number that may be used for defining a threshold value for the authorization level by the message creator.
The vectors and data utilized by the identification algorithms such as the Euclidean distance calculation includes dwell and flight times for diagraphs and similar input data along with features extracted from histograms that are generated from the diagraphs. In one embodiment, these histograms include “all flights” where the “average” and “median” of all flight times are recorded. Other histograms include the “all dwell times” where the “average” and “median” dwell times are recorded. Additional measurements of placements of the keys are also measured.
In one embodiment, the final signature is created from the calculated Euclidean distance value, the template interval mean value (TIM) or similar algorithms for measuring the proximity of input data with previously collected data to generate a unique identifying value. In another embodiment, these values are further adjusted by a scoring function.
In one embodiment, after features are extracted from the data a ‘score’ is calculated for the signature based on the information from the histograms that were created from the diagraphs. In one embodiment, the scoring is calculated:
Score=[templatediagraphs−samplediagraphs]*Wtg
where Wtg is a weighting factor. The weighting factor may be determined by techniques discussed in “Authentication by Keystroke Timing:Some Preliminary Results,” Gaines, R. et al, Rand Corporation (1980). The final score may be utilized for authentication by being compared with several threshold values to determine whether the authentication is correct. Depending on the comparison value returned, the message may be judged authentic or unauthentic. The score also determines who is authorized to open and view or read the message based on threshold values for individual and group authentication.
Template generation module 111 verifies that the message creator's identification template has been created (block 313). If the template has not been successfully created the template generation module 111 returns control to the collection module 113 to continue to gather sufficient characters and diagraphs until a template is successfully created.
In one embodiment, the characteristics of the diagraphs and character information generated by the message creator are recorded with previously stored diagraph template information. If the message creator's authentication template has been successfully created, the template generation module incorporates it into the overall message that has been created as a signature for the user (block 315). For example, the signature value may be stored as a header value in the format of the email composed by the user. In one embodiment, the message is also encrypted to prevent circumvention of the authentication system. The message is complete after the signature is embedded if no encryption is used (block 317).
In one embodiment, the signature data is embedded as part of the message header stream and becomes part of the over all message. In another embodiment, the signature may be a part of the body or tail of a message. This signature is part of the over all message and can be transmitted as part of the message or separately if the message creator chooses. In another embodiment, the signature may be directly incorporated into the formatting routines used to create the message.
In one embodiment, the completed message with the message creator's authentication template (i.e., signature) embedded within it may be transmitted to another device. The protected message may be sent or transferred over any communication medium including networks such as the Internet (block 319). For example, an email composed by a user with an embedded signature may be sent over a network to an intended recipient. The protected message may also be stored locally or remotely (block 321).
FIG. 4 is a flow chart illustrating the process of authenticating a message. Authentication module 115 authenticates a signature protected message and identifies the creator of the message. The authentication process relies on signature data embedded in the message and authentication templates stored in a database accessible to the authentication module 115. Signature data and authentication template data are calculated during the creation of the message while the creator is composing the message.
The authentication and identification process is initiated by a request to access a message or by a similar event (block 401). For example, a recipient of an email with an embedded signature may open the email. Authentication module 115 reads the signature data that was created by the template generation module 111 and embedded in the message (block 403). Authentication module 115 searches the authentication templates that are stored in a template database with the embedded signature database and compares them to determine if they match (block 405). A single user may have multiple signatures stored each associated with a type of input device or similar categorization. The database comparison may search a specific category of signatures. For example, the database may be searched when an email with an embedded signature is opened in categories or devices that may generate an email such as a signature generated by a keyboard.
In one embodiment, authentication module 115 determines authenticity and identity of a message creator by comparing the signature value embedded in a message with the values in a database identifying users of a system. This system is premised on the recognized differences in how one individual (individual X) will activate keys on a keyboard, keypad, touch screen or other alpha-numeric input device, from another individual (individual Y). In another embodiment, authentication module 115 analyzes sets of stored diagraph data to compare them with the authentication signature in the message.
When a message is received or access requested to the message the associated signature data is compared to that which is in the authentication template database for a match with a template associated with the message creator or authorized reader of the message. If a match is made within the associated tolerance levels that the creator or system manager has defined, then the message will be deemed authentic. If a match is not made then the message is deemed unauthentic and handled accordingly. This may mean the message is inoperable or inaccessible.
In one embodiment, to determine the authenticity of the message the signature data must be retrieved from the message. The signature may be stored within the header information for the message or in the body of the message itself. During authentication, the signature value is matched against a known signature or set of signatures. If the quantified difference between the signature value and a stored template or signature value falls within an allocated statistical curve then the message is either accepted as valid or is identified as potentially invalid, or unauthenticated.
In one embodiment, if a match is found or threshold met for the embedded message signature, then data access may be allowed to the message by the requesting user (block 407). Authentication module 115 may also report the identification of the creator and process the message as authentic (block 411). If no match is found then the message is processed as unauthenticated (block 409). This may result in blocked access to the message.
In one embodiment, other applications may then display the message and indicate the message is authentic and identify the message creator's credentials (block 413). Authentication module 115 may also identify the individual attempting to access the message to determine if the individual is authorized to access the message by accessing a database of authorized users. In another embodiment, signature data may be tracked to monitor activities of users including users with unknown identity.
In one embodiment, signature data or authentication template data may be converted to threshold score data during message creation or prior to a message access request. Scores and threshold values may be stored as a part of a signature or authentication template. In another embodiment, statistical data collected for a user may be stored and utilized to generate templates and signature values.
In the foregoing specification, the invention has been described with reference to specific embodiments thereof. It will, however, be evident that various modifications and changes can be made thereto without departing from the broader spirit and scope of the invention as set forth in the appended claims. The specification and drawings are, accordingly, to be regarded in an illustrative rather than a restrictive sense.

Claims (27)

1. A method performed by a processing device comprising:
tracking a first time interval that a computer system input source is active;
tracking a second time interval between input source activation; and
storing in the computer system at least one biometric keystroke user identification template derived from the first time interval and the second time interval, wherein the first time interval and second time interval: (1) are associated with a first diagraph defined by a common sequence of letters that occur during typing of separate letters of the first diagraph and (2) depend on a typing characteristic of a user, wherein the first time interval is an interval that a first key of the first diagraph is active, the second time interval is an interval between input source deactivation of the first key and input source activation of a second key of the first diagraph; and further comprising tracking a third time interval that the computer input source is active for the second key of the first diagraph, wherein deriving the user identification template comprises calculating a template interval mean using the first, second, and third time interval to measure the proximity of the first, second, and third time interval with a plurality of previously tracked first, second, and third time intervals; wherein the computer system input source is an alpha-numeric keyboard.
2. The method of claim 1, wherein the at least one template includes a numeric value based on statistically analysis.
3. The method of claim 1, further comprising:
associating the first time interval and the second time interval with a resource.
4. The method of claim 1, wherein the input source is one of a keyboard, touch pad, and keypad.
5. The method of claim 1, wherein the first time interval is an interval during which a first displayed character is typed using the input device, and wherein the second time interval is an interval between typing the first displayed character and typing a second displayed character using the input device.
6. The method of claim 2, further comprising generating the at least one template comprising calculating a template interval mean (TIM) or calculating a Euclidian Distance using the first set of input timing data for the first diagraph.
7. A method performed by a processing device comprising:
recording a set of signals from an alpha-numeric keyboard;
determining dwell times and flight times for the set of signals;
embedding the dwell times and flight times as a first template in a resource, wherein the dwell times and flight times: (1) are associated with a first diagraph defined by a common sequence of letters that occur during typing of separate letters of the first diagraph and (2) depend on a typing characteristic of a user, wherein the dwell times and flight times include: a first time interval that a first key of the first diagraph is active, a second time interval between deactivation of the first key and activation of a second key of the first diagraph, and a third time interval that the second key of the first diagraph is active, wherein deriving the user identification template comprises calculating a template interval mean using the first, second, and third time interval to measure the proximity of the first, second, and third time interval with a plurality of previously tracked first, second, and third time intervals; and
allowing access to the resource if the first template approximates a second template.
8. The method of claim 7, further comprising:
computing a value based on the first template; and
comparing the value to a threshold value.
9. The method of claim 7, further comprising:
searching a database for the second template, the second template approximating the first template.
10. A system comprising:
a display device;
an input device,
a processing module coupled to the input device and the display device to generate an authentication template based on dwell times and flight times received from an input device, wherein the dwell times and flight times: (1) are associated with a first diagraph defined by a common sequence of letters that occur during typing of separate letters of the first diagraph and (2) depend on a typing characteristic of a user, wherein the dwell times and flight times include a first time interval that a first key of the first diagraph is active, a second time interval between deactivation of the first key and activation of a second key of the first diagraph, and a third time interval that the second key of the first diagraph is active; wherein the input device is an alpha-numeric keyboard wherein deriving the user identification template comprises calculating a template interval mean using the first, second, and third time interval to measure the proximity of the first, second, and third time interval with a plurality of previously tracked first, second and third time intervals; and
a storage device to store the authentication template.
11. The system of claim 10, further comprising:
a network device coupled to the processing device to transmit one of the authentication template and an input from the input device.
12. The system of claim 10, wherein the input device is one of a keyboard, touch pad, keypad and visual input device.
13. The system of claim 12, wherein the processing module to compare the authentication template with a signature embedded in a resource; and
wherein the processing module grants access to the resource if the authentication template and embedded template each identify an identical creator.
14. A computer-readable medium having instructions stored in the medium, which when executed by a machine cause the machine to perform operations comprising:
storing a first set of diagraph characteristics data for a user, wherein the diagraph characteristics data comprises data: (1) defined by a common sequence of letters that occur during typing of separate letters of the first diagraph on an alpha-numeric keyboard and (2) that depend on a typing characteristic of a user, wherein the diagraph characteristics data comprises a first time interval that a first key of the first diagraph is active, a second time interval between deactivation of the first key and activation of a second key of the first diagraph, and a third time interval that a second key of the first diagraph is active, wherein deriving the user identification template comprises calculating a template interval mean using the first, second, and third time interval to measure the proximity of the first, second, and third time interval with a plurality of previously tracked first, second, and third time intervals; and
generating an authentication template from the first set of diagraph characteristics data specific to the user;
storing the template in a memory.
15. The computer-readable medium of claim 14, which when executed by the machine further causes the machine to perform operations comprising:
comparing a second set of diagraph characteristics data with the first set of diagraph characteristics data; and
allowing access to a resource if the second set of diagraph characteristics data approximates the first set of diagraph characteristics data.
16. The computer-readable medium of claim 14, which when executed by the machine further causes the machine to perform operations comprising:
storing the second set of diagraph characteristics data within a resource.
17. The computer-readable medium of claim 14, wherein the resource is an encoded message.
18. A method performed by a processing device comprising:
tracking a first set of computer system input source key activation and release timing data for at least one user typing on an alpha-numeric keyboard;
storing in the computer system at least one biometric keystroke user identification template derived from the first set of input timing data;
tracking a second set of computer system input source key activation and release timing data for the at least one user typing on an alpha-numeric keyboard;
comparing the second set of input timing data with the at least one biometric keystroke user identification template, wherein the first set and second set of input source key activation and release timing data: (1) are associated with a first diagraph defined by a common sequence of letters that occur during typing of separate letters of the first diagraph and (2) depend on a typing characteristic of a user, wherein the first set of input timing data comprises a first time interval that a first key of the first diagraph is active, a second time interval between deactivation of the first key and activation of a second key of the first diagraph, and a third time interval that a second key of the first diagraph is active, wherein deriving the user identification template comprises calculating a template interval mean using the first, second, and third time interval to measure the proximity of the first, second, and third time interval with a plurality of previously tracked first, second, and third time intervals.
19. The method of claim 18, further comprising generating the at least one template comprising calculating a template interval mean (TIM) or calculating a Euclidian Distance using the first set of input timing data for the first diagraph.
20. The method of claim 18, wherein the first set of input timing data comprise data from a plurality of documents known to be from a first user, and further comprising comparing the template to the second set of input timing data to determine if the second set of input timing data originated from the first user.
21. The method of claim 20, further comprising storing a plurality of templates in a storage system, where each template is representative of a given user.
22. The method of claim 21, further comprising comparing the second set of input timing data to the plurality of templates to identify a user who provided the second set of input timing data.
23. The method of claim 21, further comprising receiving a claim that the second set of input timing data is from a given user, and determining if the sample is from the given user by comparing it to the plurality of templates.
24. The method of claim 18 wherein the first and second set of timing data are for inputting the first diagraph and a second diagraph of an uninterrupted typing pattern input from an alpha-numeric keyboard, and include key activation and release timing for each of at least two keys of each of the first diagraph and the second diagraph.
25. The method of claim 24 further comprising rejecting the template if the first set of timing data does not include a sufficient number of diagraphs.
26. The method of claim 24 wherein the first set of timing data comprises a time interval between an input source key activation for the first diagraph and an input source key activation for the second diagraph.
27. The method of claim 26 wherein the template comprises a Euclidian Distance of the time interval between an input source key activation for the first diagraph and an input source key activation for the second diagraph.
US10/704,512 2003-11-06 2003-11-06 Identifying and protecting composed and transmitted messages utilizing keystroke dynamics Active 2027-02-04 US7706574B1 (en)

Priority Applications (1)

Application Number Priority Date Filing Date Title
US10/704,512 US7706574B1 (en) 2003-11-06 2003-11-06 Identifying and protecting composed and transmitted messages utilizing keystroke dynamics

Applications Claiming Priority (1)

Application Number Priority Date Filing Date Title
US10/704,512 US7706574B1 (en) 2003-11-06 2003-11-06 Identifying and protecting composed and transmitted messages utilizing keystroke dynamics

Publications (1)

Publication Number Publication Date
US7706574B1 true US7706574B1 (en) 2010-04-27

Family

ID=42112521

Family Applications (1)

Application Number Title Priority Date Filing Date
US10/704,512 Active 2027-02-04 US7706574B1 (en) 2003-11-06 2003-11-06 Identifying and protecting composed and transmitted messages utilizing keystroke dynamics

Country Status (1)

Country Link
US (1) US7706574B1 (en)

Cited By (15)

* Cited by examiner, † Cited by third party
Publication number Priority date Publication date Assignee Title
US20080152100A1 (en) * 2006-12-21 2008-06-26 Verizon Data Services Inc. Biometric systems and methods for enhanced caller identification and call intercept
US20090150437A1 (en) * 2007-12-07 2009-06-11 Gustavo De Los Reyes System and method for tracking an individual using typeprinting
US20090183231A1 (en) * 2008-01-14 2009-07-16 Weon-Il Jin User terminal with security function and security-control method
US20110187499A1 (en) * 2010-02-01 2011-08-04 Ulrich Mueller Method for operating a motor vehicle
US8533815B1 (en) * 2009-02-03 2013-09-10 Scout Analytics, Inc. False reject mitigation using non-biometric authentication
US20130343616A1 (en) * 2012-06-24 2013-12-26 Neurologix Security Inc. Biometrics based methods and systems for user authentication
CN103645871A (en) * 2013-12-06 2014-03-19 四川九洲电器集团有限责任公司 Method and system for dynamically displaying local area image
US20140208402A1 (en) * 2011-09-20 2014-07-24 Conor Robert White Methods and systems for increasing the security of electronic messages
US20140283007A1 (en) * 2013-03-12 2014-09-18 Eric Lynch Temporal Security for Controlled Access Systems
JP2015176365A (en) * 2014-03-14 2015-10-05 富士通株式会社 Message transmission device, message reception device, message transmission program, message reception program, and message check method
US20150347005A1 (en) * 2014-05-30 2015-12-03 Vmware, Inc. Key combinations toolbar
WO2022067436A1 (en) * 2020-09-30 2022-04-07 Mastercard Technologies Canada ULC User identification with input profile record
US11640450B2 (en) 2018-08-12 2023-05-02 International Business Machines Corporation Authentication using features extracted based on cursor locations
US20230315216A1 (en) * 2022-03-31 2023-10-05 Rensselaer Polytechnic Institute Digital penmanship
US11907350B2 (en) 2020-09-30 2024-02-20 Mastercard Technologies Canada ULC User identification with blended response from dual-layer identification service

Citations (48)

* Cited by examiner, † Cited by third party
Publication number Priority date Publication date Assignee Title
US3993976A (en) 1974-05-13 1976-11-23 The United States Of America As Represented By The Secretary Of The Air Force Method and apparatus for pattern analysis
US4197524A (en) 1978-12-29 1980-04-08 General Electric Company Tap-actuated lock and method of actuating the lock
US4455588A (en) 1981-04-30 1984-06-19 Nissan Motor Company, Limited Electronical unlocking method and system
US4499462A (en) 1980-09-04 1985-02-12 Battelle Institut E.V. Circuit arrangement for the electronic code locking of locks
US4621334A (en) 1983-08-26 1986-11-04 Electronic Signature Lock Corporation Personal identification apparatus
US4805222A (en) * 1985-12-23 1989-02-14 International Bioaccess Systems Corporation Method and apparatus for verifying an individual's identity
US5060263A (en) 1988-03-09 1991-10-22 Enigma Logic, Inc. Computer access control system and method
US5161245A (en) * 1991-05-01 1992-11-03 Apple Computer, Inc. Pattern recognition system having inter-pattern spacing correction
US5181238A (en) 1989-05-31 1993-01-19 At&T Bell Laboratories Authenticated communications access service
US5222195A (en) 1989-05-17 1993-06-22 United States Of America Dynamically stable associative learning neural system with one fixed weight
US5276769A (en) 1989-03-13 1994-01-04 Sharp Kabushiki Kaisha Neural network learning apparatus and method
US5371809A (en) 1992-03-30 1994-12-06 Desieno; Duane D. Neural network for improved classification of patterns which adds a best performing trial branch node to the network
US5544255A (en) * 1994-08-31 1996-08-06 Peripheral Vision Limited Method and system for the capture, storage, transport and authentication of handwritten signatures
US5557686A (en) * 1993-01-13 1996-09-17 University Of Alabama Method and apparatus for verification of a computer user's identification, based on keystroke characteristics
US5675497A (en) 1994-06-30 1997-10-07 Siemens Corporate Research, Inc. Method for monitoring an electric motor and detecting a departure from normal operation
US5764889A (en) 1996-09-26 1998-06-09 International Business Machines Corporation Method and apparatus for creating a security environment for a user task in a client/server system
US5793952A (en) 1996-05-17 1998-08-11 Sun Microsystems, Inc. Method and apparatus for providing a secure remote password graphic interface
US5802507A (en) 1992-12-16 1998-09-01 U.S. Philips Corporation Method for constructing a neural device for classification of objects
US5910989A (en) 1995-04-20 1999-06-08 Gemplus Method for the generation of electronic signatures, in particular for smart cards
US5930804A (en) 1997-06-09 1999-07-27 Philips Electronics North America Corporation Web-based biometric authentication system and method
JPH11253426A (en) 1998-03-16 1999-09-21 Ntt Data Corp Biometric feature authentication method and device, recording medium
JPH11306351A (en) 1998-04-20 1999-11-05 Ntt Data Corp Data integration method and apparatus, recording medium
US6062474A (en) 1997-10-02 2000-05-16 Kroll; Mark William ATM signature security system
US6151593A (en) 1997-07-14 2000-11-21 Postech Foundation Apparatus for authenticating an individual based on a typing pattern by using a neural network system
US6167439A (en) 1988-05-27 2000-12-26 Kodak Limited Data retrieval, manipulation and transmission with facsimile images
US6307955B1 (en) * 1998-12-18 2001-10-23 Topaz Systems, Inc. Electronic signature management system
US6334121B1 (en) 1998-05-04 2001-12-25 Virginia Commonwealth University Usage pattern based user authenticator
US6421450B2 (en) * 1997-02-12 2002-07-16 Nec Corporation Electronic watermark system
EP1251468A2 (en) 2001-04-17 2002-10-23 Matsushita Electric Industrial Co., Ltd. Personal authentication method and device
US20020171603A1 (en) 2001-04-12 2002-11-21 I-Larn Chen Method for changing CPU frequence under control of neural network
US6513018B1 (en) 1994-05-05 2003-01-28 Fair, Isaac And Company, Inc. Method and apparatus for scoring the likelihood of a desired performance result
US6597775B2 (en) 2000-09-29 2003-07-22 Fair Isaac Corporation Self-learning real-time prioritization of telecommunication fraud control actions
US20040005995A1 (en) 2001-07-26 2004-01-08 Edelson Jeffrey D Method for reducing exacerbations associated with copd
US20040034788A1 (en) 2002-08-15 2004-02-19 Ross Gordon Alfred Intellectual property protection and verification utilizing keystroke dynamics
US20040103296A1 (en) 2002-11-25 2004-05-27 Harp Steven A. Skeptical system
US20040162999A1 (en) 2002-12-19 2004-08-19 International Business Machines Corporation Method for improved password entry
US20040187037A1 (en) * 2003-02-03 2004-09-23 Checco John C. Method for providing computer-based authentication utilizing biometrics
US6839682B1 (en) 1999-05-06 2005-01-04 Fair Isaac Corporation Predictive modeling of consumer financial behavior using supervised segmentation and nearest-neighbor matching
US20050008148A1 (en) 2003-04-02 2005-01-13 Dov Jacobson Mouse performance identification
US6850606B2 (en) 2001-09-25 2005-02-01 Fair Isaac Corporation Self-learning real-time prioritization of telecommunication fraud control actions
US6865566B2 (en) 2000-05-09 2005-03-08 Fair Isaac Corporation Approach for re-using business rules
US6903723B1 (en) * 1995-03-27 2005-06-07 Donald K. Forest Data entry method and apparatus
US20050149463A1 (en) 2002-04-29 2005-07-07 George Bolt Method of training a neural network and a neural network trained according to the method
US6944604B1 (en) 2001-07-03 2005-09-13 Fair Isaac Corporation Mechanism and method for specified temporal deployment of rules within a rule server
US6968328B1 (en) 2000-12-29 2005-11-22 Fair Isaac Corporation Method and system for implementing rules and ruleflows
US6993514B2 (en) 2000-09-07 2006-01-31 Fair Isaac Corporation Mechanism and method for continuous operation of a rule server
US7246243B2 (en) 2000-05-16 2007-07-17 Nec Corporation Identification system and method for authenticating user transaction requests from end terminals
US20070245151A1 (en) 2004-10-04 2007-10-18 Phoha Vir V System and method for classifying regions of keystroke density with a neural network

Patent Citations (50)

* Cited by examiner, † Cited by third party
Publication number Priority date Publication date Assignee Title
US3993976A (en) 1974-05-13 1976-11-23 The United States Of America As Represented By The Secretary Of The Air Force Method and apparatus for pattern analysis
US4197524A (en) 1978-12-29 1980-04-08 General Electric Company Tap-actuated lock and method of actuating the lock
US4499462A (en) 1980-09-04 1985-02-12 Battelle Institut E.V. Circuit arrangement for the electronic code locking of locks
US4455588A (en) 1981-04-30 1984-06-19 Nissan Motor Company, Limited Electronical unlocking method and system
US4621334A (en) 1983-08-26 1986-11-04 Electronic Signature Lock Corporation Personal identification apparatus
US4805222A (en) * 1985-12-23 1989-02-14 International Bioaccess Systems Corporation Method and apparatus for verifying an individual's identity
US5060263A (en) 1988-03-09 1991-10-22 Enigma Logic, Inc. Computer access control system and method
US6167439A (en) 1988-05-27 2000-12-26 Kodak Limited Data retrieval, manipulation and transmission with facsimile images
US5276769A (en) 1989-03-13 1994-01-04 Sharp Kabushiki Kaisha Neural network learning apparatus and method
US5222195A (en) 1989-05-17 1993-06-22 United States Of America Dynamically stable associative learning neural system with one fixed weight
US5181238A (en) 1989-05-31 1993-01-19 At&T Bell Laboratories Authenticated communications access service
US5161245A (en) * 1991-05-01 1992-11-03 Apple Computer, Inc. Pattern recognition system having inter-pattern spacing correction
US5371809A (en) 1992-03-30 1994-12-06 Desieno; Duane D. Neural network for improved classification of patterns which adds a best performing trial branch node to the network
US5802507A (en) 1992-12-16 1998-09-01 U.S. Philips Corporation Method for constructing a neural device for classification of objects
US5557686A (en) * 1993-01-13 1996-09-17 University Of Alabama Method and apparatus for verification of a computer user's identification, based on keystroke characteristics
US6513018B1 (en) 1994-05-05 2003-01-28 Fair, Isaac And Company, Inc. Method and apparatus for scoring the likelihood of a desired performance result
US5675497A (en) 1994-06-30 1997-10-07 Siemens Corporate Research, Inc. Method for monitoring an electric motor and detecting a departure from normal operation
US5544255A (en) * 1994-08-31 1996-08-06 Peripheral Vision Limited Method and system for the capture, storage, transport and authentication of handwritten signatures
US6903723B1 (en) * 1995-03-27 2005-06-07 Donald K. Forest Data entry method and apparatus
US5910989A (en) 1995-04-20 1999-06-08 Gemplus Method for the generation of electronic signatures, in particular for smart cards
US5793952A (en) 1996-05-17 1998-08-11 Sun Microsystems, Inc. Method and apparatus for providing a secure remote password graphic interface
US5764889A (en) 1996-09-26 1998-06-09 International Business Machines Corporation Method and apparatus for creating a security environment for a user task in a client/server system
US6421450B2 (en) * 1997-02-12 2002-07-16 Nec Corporation Electronic watermark system
US5930804A (en) 1997-06-09 1999-07-27 Philips Electronics North America Corporation Web-based biometric authentication system and method
US6151593A (en) 1997-07-14 2000-11-21 Postech Foundation Apparatus for authenticating an individual based on a typing pattern by using a neural network system
US6062474A (en) 1997-10-02 2000-05-16 Kroll; Mark William ATM signature security system
US6405922B1 (en) * 1997-10-02 2002-06-18 Kroll Family Trust Keyboard signature security system
JPH11253426A (en) 1998-03-16 1999-09-21 Ntt Data Corp Biometric feature authentication method and device, recording medium
JPH11306351A (en) 1998-04-20 1999-11-05 Ntt Data Corp Data integration method and apparatus, recording medium
US6334121B1 (en) 1998-05-04 2001-12-25 Virginia Commonwealth University Usage pattern based user authenticator
US6307955B1 (en) * 1998-12-18 2001-10-23 Topaz Systems, Inc. Electronic signature management system
US6839682B1 (en) 1999-05-06 2005-01-04 Fair Isaac Corporation Predictive modeling of consumer financial behavior using supervised segmentation and nearest-neighbor matching
US6865566B2 (en) 2000-05-09 2005-03-08 Fair Isaac Corporation Approach for re-using business rules
US6965889B2 (en) 2000-05-09 2005-11-15 Fair Isaac Corporation Approach for generating rules
US7246243B2 (en) 2000-05-16 2007-07-17 Nec Corporation Identification system and method for authenticating user transaction requests from end terminals
US6993514B2 (en) 2000-09-07 2006-01-31 Fair Isaac Corporation Mechanism and method for continuous operation of a rule server
US6597775B2 (en) 2000-09-29 2003-07-22 Fair Isaac Corporation Self-learning real-time prioritization of telecommunication fraud control actions
US6968328B1 (en) 2000-12-29 2005-11-22 Fair Isaac Corporation Method and system for implementing rules and ruleflows
US20020171603A1 (en) 2001-04-12 2002-11-21 I-Larn Chen Method for changing CPU frequence under control of neural network
EP1251468A2 (en) 2001-04-17 2002-10-23 Matsushita Electric Industrial Co., Ltd. Personal authentication method and device
US6944604B1 (en) 2001-07-03 2005-09-13 Fair Isaac Corporation Mechanism and method for specified temporal deployment of rules within a rule server
US20040005995A1 (en) 2001-07-26 2004-01-08 Edelson Jeffrey D Method for reducing exacerbations associated with copd
US6850606B2 (en) 2001-09-25 2005-02-01 Fair Isaac Corporation Self-learning real-time prioritization of telecommunication fraud control actions
US20050149463A1 (en) 2002-04-29 2005-07-07 George Bolt Method of training a neural network and a neural network trained according to the method
US20040034788A1 (en) 2002-08-15 2004-02-19 Ross Gordon Alfred Intellectual property protection and verification utilizing keystroke dynamics
US20040103296A1 (en) 2002-11-25 2004-05-27 Harp Steven A. Skeptical system
US20040162999A1 (en) 2002-12-19 2004-08-19 International Business Machines Corporation Method for improved password entry
US20040187037A1 (en) * 2003-02-03 2004-09-23 Checco John C. Method for providing computer-based authentication utilizing biometrics
US20050008148A1 (en) 2003-04-02 2005-01-13 Dov Jacobson Mouse performance identification
US20070245151A1 (en) 2004-10-04 2007-10-18 Phoha Vir V System and method for classifying regions of keystroke density with a neural network

Non-Patent Citations (27)

* Cited by examiner, † Cited by third party
Title
"Guidelines on Evaluation of Techniques for Automated Personal ID," U.S. Dept. of Comm./NBS, FIPS, PUB 48, Apr. 1977.
"Keystroke Dynamics Authentication of Computer Terminal Users," Bioaccess System 2000, 2000A, 2001, 2011, and OEM, Jun. 1984.
BioPassword Technical Report, BioPassword Keystroke Dynamics, Oct. 2001, pp. 1-9.
BioPassword, "Technical Report. BioPassword Keystroke Dynamics", http://web.archive.org/web/20040807231; http://www.biopassword.com/home/technology/BP%204.5%20Technical%20Paper.pdf, (Oct. 18, 2001).
BioPassword, Inc., Office Action in U.S. Appl. No. 11/394,607 dated Feb. 4, 2008 (received Feb. 8, 2008), 6 pages.
Bleha, S., et al., "Computer-Access Security Systems Using Keystroke Dynamics," IEEE Transactions on Pattern Analysis and Machine Intelligence (Dec. 1990), 12(12): 1217-1222.
Brown, M., et al., "User Identification via Keystroke Characteristics of Typed Names Using Neural Networks," Int. Journal of Man-Machine Studies (1993) 39(6): 99-1014.
Cotton, Ira W. et al, "Approaches to Controlling Personal Access to Computer Terminals," Proceeding Computer Networks: Treads & Appos., 1975.
David Umphress and Glen Williams; Identity verification through keyboard characteristics; Department of Computer Science, Texas A & M University; Academic Press Inc. (London) Limited, 1985, pp. 263-273.
Fielding, R., et al., "Hypertext Transfer Protocol-HTTP 1.1", RFC2616 dated Jun. 1999; 177 pages.
Ilonen, J, "Keystroke dynamics", Advanced topics in information processing 1-lectures, Lappeenranta University of Technology, Department of Information Technology, (2003), 1-15.
Jain, A.K., et al., "Artificial Neural Networks: A Tutorial," Computer, (Mar. 1996) 29(3): 31-44.
Jerome H. Saltzer, et al., "The Protection of Information in Computer Systems", Proceedings of the IEEE, vol. 63, No. 9, Sep. 1975 (pp. 1278-1308).
John Sedgwick, "The Body Code Machines", These New Computerized Devices Can Recognize You Anywhere, This World, Jan. 9, 1983 (pp. 9-10).
Kullback, Solomon, Information Theory & Statistics, John Wiley & Sons Inc., pp. 3383, 1959.
Legett, J., et al., "Verifying identity via keystroke characteristics," Int. Journal of Man-Machine Studies (1988) 28(1): 67-76.
Lippmann, R.P., et al., "An Introduction to Computing with Neural Nets," IEEE ASSP Magazine, (Apr. 1987) 4(2): 4-22.
Monrose, F, et al., "Keystroke dynamics as a biometric for authentication", Future Generation Computer Systems, vol. 16, (2000), 351-359.
Monrose, F., et al., "Authentication via Keystroke Dynamics," Proc. of the ACM Workshop, ACM Conference on Computer Communications Security (1997), pp. 48-56.
Monrose, F., et al., "Keystroke dynamics as a biometric for authentication," Future Generation Computer Systems, 16(2000): 359-359, Mar. 1999.
Peacock, A, et al., "Typing patterns: a key to user identification", IEEE Computer Society, vol. 2, No. 5, (Sep. 2004), 40-47.
Penn State Research Foundation, Inc., EP Extended Search Report dated Oct. 1, 2008 for EP Application No. 05858188.5.
R. Stockton Gaines, et al., "Authentication By Keystroke Timing: Some Preliminary Results", Prepared Under a Grant From the National Science Foundation, R-2526-NSF, May 1980, Published by Rand Corporation.
Rennick, R.J. et al., "Mufti-A Multi-Function ID System," WESCON Tech. Papers, 1975.
Riganati, John P., "An Overview of Electronic ID Systems," WESCON Tech. Papers, 1975.
Robinson, J.A., et al., "Computer User Verification Using Login String Keystroke Dynamics," IEEE Transactions on Systems, Man and Cybernetics-Part A: Systems and Humans, (Mar. 1998) vol. 28, No. 2, pp. 236-241.
Sheng, Y., et al., "A parallel decision tree-based method for user authentication based on keystroke patterns," IEEE Transactions on Systems, Man and Cybernetics-Part B: Cybernetics, (Aug. 2005) 35(4): 836-833.

Cited By (26)

* Cited by examiner, † Cited by third party
Publication number Priority date Publication date Assignee Title
US8094791B2 (en) * 2006-12-21 2012-01-10 Verizon Data Services Llc Biometric systems and methods for enhanced caller identification and call intercept
US20080152100A1 (en) * 2006-12-21 2008-06-26 Verizon Data Services Inc. Biometric systems and methods for enhanced caller identification and call intercept
US20090150437A1 (en) * 2007-12-07 2009-06-11 Gustavo De Los Reyes System and method for tracking an individual using typeprinting
US20090183231A1 (en) * 2008-01-14 2009-07-16 Weon-Il Jin User terminal with security function and security-control method
US8516557B2 (en) * 2008-01-14 2013-08-20 Samsung Electronics Co., Ltd. User terminal with security function and security-control method
US8533815B1 (en) * 2009-02-03 2013-09-10 Scout Analytics, Inc. False reject mitigation using non-biometric authentication
US20110187499A1 (en) * 2010-02-01 2011-08-04 Ulrich Mueller Method for operating a motor vehicle
US20140208402A1 (en) * 2011-09-20 2014-07-24 Conor Robert White Methods and systems for increasing the security of electronic messages
US9544286B2 (en) * 2011-09-20 2017-01-10 Daon Holdings Limited Methods and systems for increasing the security of electronic messages
US8942431B2 (en) * 2012-06-24 2015-01-27 Neurologix Security Group Inc Biometrics based methods and systems for user authentication
US20130343616A1 (en) * 2012-06-24 2013-12-26 Neurologix Security Inc. Biometrics based methods and systems for user authentication
US10402551B2 (en) 2013-03-12 2019-09-03 Eric Lynch Temporal security for controlled access systems
US9390244B2 (en) * 2013-03-12 2016-07-12 Eric Lynch Temporal security for controlled access systems
US20140283007A1 (en) * 2013-03-12 2014-09-18 Eric Lynch Temporal Security for Controlled Access Systems
CN103645871A (en) * 2013-12-06 2014-03-19 四川九洲电器集团有限责任公司 Method and system for dynamically displaying local area image
CN103645871B (en) * 2013-12-06 2016-08-17 四川九洲电器集团有限责任公司 A kind of method and system of Dynamic Announce local area image
US9888036B2 (en) 2014-03-14 2018-02-06 Fujitsu Limited Message sending device, message receiving device, message checking method, and recording medium
JP2015176365A (en) * 2014-03-14 2015-10-05 富士通株式会社 Message transmission device, message reception device, message transmission program, message reception program, and message check method
US20150347005A1 (en) * 2014-05-30 2015-12-03 Vmware, Inc. Key combinations toolbar
US10528252B2 (en) * 2014-05-30 2020-01-07 Vmware, Inc. Key combinations toolbar
US11640450B2 (en) 2018-08-12 2023-05-02 International Business Machines Corporation Authentication using features extracted based on cursor locations
WO2022067436A1 (en) * 2020-09-30 2022-04-07 Mastercard Technologies Canada ULC User identification with input profile record
US11907350B2 (en) 2020-09-30 2024-02-20 Mastercard Technologies Canada ULC User identification with blended response from dual-layer identification service
US12204626B2 (en) 2020-09-30 2025-01-21 Mastercard Technologies Canada ULC User identification with blended response from dual-layer identification service
US20230315216A1 (en) * 2022-03-31 2023-10-05 Rensselaer Polytechnic Institute Digital penmanship
US12056289B2 (en) * 2022-03-31 2024-08-06 Rensselaer Polytechnic Institute Digital penmanship

Similar Documents

Publication Publication Date Title
Jain et al. Biometrics: a tool for information security
Song et al. Multi-touch authentication using hand geometry and behavioral information
Buschek et al. Improving accuracy, applicability and usability of keystroke biometrics on mobile touchscreen devices
US8789145B2 (en) System and method for electronic transaction authorization
Serwadda et al. Examining a large keystroke biometrics dataset for statistical-attack openings
EP3497621B1 (en) Identifying one or more users based on typing pattern and/or behaviour
US8997191B1 (en) Gradual template generation
US7706574B1 (en) Identifying and protecting composed and transmitted messages utilizing keystroke dynamics
Bhatt et al. Keystroke dynamics for biometric authentication—A survey
US20080235788A1 (en) Haptic-based graphical password
US20030056100A1 (en) Method and system for authenticating a digitized signature for execution of an electronic document
Martinovic et al. Authentication using pulse-response biometrics
US8533486B1 (en) Incorporating false reject data into a template for user authentication
Wu et al. It's all in the touch: Authenticating users with HOST gestures on multi-touch screen devices
Yusuf et al. A survey of biometric approaches of authentication
US11288349B2 (en) System and method for authentication using biometric hash strings
Bhatia Keystroke dynamics based authentication using information sets
Rashid et al. Clicking your way to security: A review of continuous authentication with mouse dynamics
Dimaratos et al. Evaluation scheme to analyze keystroke dynamics methods
Ameh et al. Securing cardless automated teller machine transactions using bimodal authentication system
US20070233667A1 (en) Method and apparatus for sample categorization
Leberknight et al. An investigation into the efficacy of keystroke analysis for perimeter defense and facility access
Garofalo et al. A Novel Evaluation Framework for Biometric Security: Assessing Guessing Difficulty as a Metric
Abo-Alian et al. Authentication as a service for cloud computing
Ballard Robust techniques for evaluating biometric cryptographic key generators

Legal Events

Date Code Title Description
AS Assignment

Owner name: BIONET SYSTEMS, LLC,WASHINGTON

Free format text: ASSIGNMENT OF ASSIGNORS INTEREST;ASSIGNOR:ROSS, GORDON A.;REEL/FRAME:015539/0638

Effective date: 20040407

AS Assignment

Owner name: BIOPASSWORD LLC,WASHINGTON

Free format text: ASSIGNMENT OF ASSIGNORS INTEREST;ASSIGNOR:BIONET SYSTEMS;REEL/FRAME:016700/0653

Effective date: 20040423

AS Assignment

Owner name: BIOPASSWORD, INC.,WASHINGTON

Free format text: MERGER;ASSIGNOR:BIOPASSWORD, LLC;REEL/FRAME:019020/0727

Effective date: 20041230

Owner name: BIOPASSWORD, INC., WASHINGTON

Free format text: MERGER;ASSIGNOR:BIOPASSWORD, LLC;REEL/FRAME:019020/0727

Effective date: 20041230

AS Assignment

Owner name: ADMITONE SECURITY, INC.,WASHINGTON

Free format text: CHANGE OF NAME;ASSIGNOR:BIOPASSWORD, INC.;REEL/FRAME:022945/0553

Effective date: 20080406

STCF Information on status: patent grant

Free format text: PATENTED CASE

AS Assignment

Owner name: SCOUT ANALYTICS, INC., WASHINGTON

Free format text: CHANGE OF NAME;ASSIGNOR:ADMITONE SECURITY, INC.;REEL/FRAME:025799/0258

Effective date: 20100512

AS Assignment

Owner name: BENAROYA CAPITAL COMPANY, L.L.C., WASHINGTON

Free format text: SECURITY AGREEMENT;ASSIGNOR:SCOUT ANALYTICS, INC.;REEL/FRAME:029709/0695

Effective date: 20130118

FPAY Fee payment

Year of fee payment: 4

AS Assignment

Owner name: JPMORGAN CHASE BANK, NATIONAL ASSOCIATION, CALIFOR

Free format text: SECURITY AGREEMENT;ASSIGNOR:SCOUT ANALYTICS, INC.;REEL/FRAME:032323/0468

Effective date: 20140220

MAFP Maintenance fee payment

Free format text: PAYMENT OF MAINTENANCE FEE, 8TH YEAR, LARGE ENTITY (ORIGINAL EVENT CODE: M1552)

Year of fee payment: 8

MAFP Maintenance fee payment

Free format text: PAYMENT OF MAINTENANCE FEE, 12TH YEAR, LARGE ENTITY (ORIGINAL EVENT CODE: M1553); ENTITY STATUS OF PATENT OWNER: LARGE ENTITY

Year of fee payment: 12

AS Assignment

Owner name: SERVICESOURCE INTERNATIONAL, INC., CALIFORNIA

Free format text: MERGER;ASSIGNOR:SCOUT ANALYTICS, INC.;REEL/FRAME:061306/0137

Effective date: 20141224

AS Assignment

Owner name: CONCENTRIX SERVICESOURCE INC., CALIFORNIA

Free format text: MERGER;ASSIGNORS:SERVICESOURCE INTERNATIONAL, INC.;CONCENTRIX MERGER SUB, INC.;REEL/FRAME:061319/0788

Effective date: 20220720

Owner name: CONCENTRIX SREV, INC., CALIFORNIA

Free format text: CHANGE OF NAME;ASSIGNOR:CONCENTRIX SERVICESOURCE INC.;REEL/FRAME:061323/0405

Effective date: 20220721

AS Assignment

Owner name: BANK OF AMERICA, N.A., AS ADMINISTRATIVE AGENT, CALIFORNIA

Free format text: NOTICE OF GRANT OF SECURITY INTEREST IN PATENTS;ASSIGNOR:CONCENTRIX SREV, INC.;REEL/FRAME:061799/0811

Effective date: 20201130

AS Assignment

Owner name: CONCENTRIX SREV, INC., CALIFORNIA

Free format text: TERMINATION AND RELEASE OF SECURITY INTEREST IN PATENTS;ASSIGNOR:BANK OF AMERICA, N.A., AS ADMINISTRATIVE AGENT;REEL/FRAME:063424/0684

Effective date: 20230421