US6648909B2 - Solo perineal hot and cold pack - Google Patents
Solo perineal hot and cold pack Download PDFInfo
- Publication number
- US6648909B2 US6648909B2 US09/853,842 US85384201A US6648909B2 US 6648909 B2 US6648909 B2 US 6648909B2 US 85384201 A US85384201 A US 85384201A US 6648909 B2 US6648909 B2 US 6648909B2
- Authority
- US
- United States
- Prior art keywords
- compartment
- perineal
- patient
- outer shell
- pack
- Prior art date
- Legal status (The legal status is an assumption and is not a legal conclusion. Google has not performed a legal analysis and makes no representation as to the accuracy of the status listed.)
- Expired - Lifetime
Links
- 238000002560 therapeutic procedure Methods 0.000 claims abstract description 16
- 239000002250 absorbent Substances 0.000 claims abstract description 6
- 230000002745 absorbent Effects 0.000 claims abstract description 5
- 239000000463 material Substances 0.000 claims description 22
- 239000000126 substance Substances 0.000 claims description 19
- 238000006243 chemical reaction Methods 0.000 claims description 11
- 238000000034 method Methods 0.000 claims description 5
- 230000001225 therapeutic effect Effects 0.000 claims description 5
- 230000008961 swelling Effects 0.000 abstract description 2
- PAWQVTBBRAZDMG-UHFFFAOYSA-N 2-(3-bromo-2-fluorophenyl)acetic acid Chemical compound OC(=O)CC1=CC=CC(Br)=C1F PAWQVTBBRAZDMG-UHFFFAOYSA-N 0.000 description 7
- XLYOFNOQVPJJNP-UHFFFAOYSA-N water Substances O XLYOFNOQVPJJNP-UHFFFAOYSA-N 0.000 description 6
- 238000001816 cooling Methods 0.000 description 5
- 229920001684 low density polyethylene Polymers 0.000 description 4
- 239000004702 low-density polyethylene Substances 0.000 description 4
- 229920000728 polyester Polymers 0.000 description 4
- 238000000015 thermotherapy Methods 0.000 description 4
- 230000008901 benefit Effects 0.000 description 2
- 238000010438 heat treatment Methods 0.000 description 2
- 230000007246 mechanism Effects 0.000 description 2
- 239000000203 mixture Substances 0.000 description 2
- 238000007669 thermal treatment Methods 0.000 description 2
- 208000007811 Latex Hypersensitivity Diseases 0.000 description 1
- 229920010126 Linear Low Density Polyethylene (LLDPE) Polymers 0.000 description 1
- 239000004677 Nylon Substances 0.000 description 1
- 239000004698 Polyethylene Substances 0.000 description 1
- 229920000297 Rayon Polymers 0.000 description 1
- VMHLLURERBWHNL-UHFFFAOYSA-M Sodium acetate Chemical compound [Na+].CC([O-])=O VMHLLURERBWHNL-UHFFFAOYSA-M 0.000 description 1
- XSQUKJJJFZCRTK-UHFFFAOYSA-N Urea Chemical compound NC(N)=O XSQUKJJJFZCRTK-UHFFFAOYSA-N 0.000 description 1
- 239000000654 additive Substances 0.000 description 1
- 239000000853 adhesive Substances 0.000 description 1
- 230000001070 adhesive effect Effects 0.000 description 1
- 230000017531 blood circulation Effects 0.000 description 1
- 229910021538 borax Inorganic materials 0.000 description 1
- 239000004202 carbamide Substances 0.000 description 1
- 150000001875 compounds Chemical class 0.000 description 1
- 238000012864 cross contamination Methods 0.000 description 1
- 239000012530 fluid Substances 0.000 description 1
- 230000035876 healing Effects 0.000 description 1
- 230000036541 health Effects 0.000 description 1
- 239000012212 insulator Substances 0.000 description 1
- 239000004816 latex Substances 0.000 description 1
- 229920000126 latex Polymers 0.000 description 1
- 238000012986 modification Methods 0.000 description 1
- 230000004048 modification Effects 0.000 description 1
- 239000004745 nonwoven fabric Substances 0.000 description 1
- 230000000474 nursing effect Effects 0.000 description 1
- 229920001778 nylon Polymers 0.000 description 1
- 238000013021 overheating Methods 0.000 description 1
- TWNQGVIAIRXVLR-UHFFFAOYSA-N oxo(oxoalumanyloxy)alumane Chemical compound O=[Al]O[Al]=O TWNQGVIAIRXVLR-UHFFFAOYSA-N 0.000 description 1
- -1 polyethylene Polymers 0.000 description 1
- 229920000573 polyethylene Polymers 0.000 description 1
- 239000002964 rayon Substances 0.000 description 1
- 239000001632 sodium acetate Substances 0.000 description 1
- 235000017281 sodium acetate Nutrition 0.000 description 1
- 239000004328 sodium tetraborate Substances 0.000 description 1
- 235000010339 sodium tetraborate Nutrition 0.000 description 1
- AKHNMLFCWUSKQB-UHFFFAOYSA-L sodium thiosulfate Chemical compound [Na+].[Na+].[O-]S([O-])(=O)=S AKHNMLFCWUSKQB-UHFFFAOYSA-L 0.000 description 1
- 235000019345 sodium thiosulphate Nutrition 0.000 description 1
Images
Classifications
-
- A—HUMAN NECESSITIES
- A61—MEDICAL OR VETERINARY SCIENCE; HYGIENE
- A61F—FILTERS IMPLANTABLE INTO BLOOD VESSELS; PROSTHESES; DEVICES PROVIDING PATENCY TO, OR PREVENTING COLLAPSING OF, TUBULAR STRUCTURES OF THE BODY, e.g. STENTS; ORTHOPAEDIC, NURSING OR CONTRACEPTIVE DEVICES; FOMENTATION; TREATMENT OR PROTECTION OF EYES OR EARS; BANDAGES, DRESSINGS OR ABSORBENT PADS; FIRST-AID KITS
- A61F7/00—Heating or cooling appliances for medical or therapeutic treatment of the human body
- A61F7/02—Compresses or poultices for effecting heating or cooling
- A61F7/03—Compresses or poultices for effecting heating or cooling thermophore, i.e. self-heating, e.g. using a chemical reaction
-
- A—HUMAN NECESSITIES
- A61—MEDICAL OR VETERINARY SCIENCE; HYGIENE
- A61F—FILTERS IMPLANTABLE INTO BLOOD VESSELS; PROSTHESES; DEVICES PROVIDING PATENCY TO, OR PREVENTING COLLAPSING OF, TUBULAR STRUCTURES OF THE BODY, e.g. STENTS; ORTHOPAEDIC, NURSING OR CONTRACEPTIVE DEVICES; FOMENTATION; TREATMENT OR PROTECTION OF EYES OR EARS; BANDAGES, DRESSINGS OR ABSORBENT PADS; FIRST-AID KITS
- A61F7/00—Heating or cooling appliances for medical or therapeutic treatment of the human body
- A61F2007/0001—Body part
- A61F2007/0018—Trunk or parts thereof
- A61F2007/0028—Rectum
-
- A—HUMAN NECESSITIES
- A61—MEDICAL OR VETERINARY SCIENCE; HYGIENE
- A61F—FILTERS IMPLANTABLE INTO BLOOD VESSELS; PROSTHESES; DEVICES PROVIDING PATENCY TO, OR PREVENTING COLLAPSING OF, TUBULAR STRUCTURES OF THE BODY, e.g. STENTS; ORTHOPAEDIC, NURSING OR CONTRACEPTIVE DEVICES; FOMENTATION; TREATMENT OR PROTECTION OF EYES OR EARS; BANDAGES, DRESSINGS OR ABSORBENT PADS; FIRST-AID KITS
- A61F7/00—Heating or cooling appliances for medical or therapeutic treatment of the human body
- A61F2007/0001—Body part
- A61F2007/0048—Genitals
-
- A—HUMAN NECESSITIES
- A61—MEDICAL OR VETERINARY SCIENCE; HYGIENE
- A61F—FILTERS IMPLANTABLE INTO BLOOD VESSELS; PROSTHESES; DEVICES PROVIDING PATENCY TO, OR PREVENTING COLLAPSING OF, TUBULAR STRUCTURES OF THE BODY, e.g. STENTS; ORTHOPAEDIC, NURSING OR CONTRACEPTIVE DEVICES; FOMENTATION; TREATMENT OR PROTECTION OF EYES OR EARS; BANDAGES, DRESSINGS OR ABSORBENT PADS; FIRST-AID KITS
- A61F7/00—Heating or cooling appliances for medical or therapeutic treatment of the human body
- A61F7/02—Compresses or poultices for effecting heating or cooling
- A61F2007/0225—Compresses or poultices for effecting heating or cooling connected to the body or a part thereof
- A61F2007/0233—Compresses or poultices for effecting heating or cooling connected to the body or a part thereof connected to or incorporated in clothing or garments
-
- A—HUMAN NECESSITIES
- A61—MEDICAL OR VETERINARY SCIENCE; HYGIENE
- A61F—FILTERS IMPLANTABLE INTO BLOOD VESSELS; PROSTHESES; DEVICES PROVIDING PATENCY TO, OR PREVENTING COLLAPSING OF, TUBULAR STRUCTURES OF THE BODY, e.g. STENTS; ORTHOPAEDIC, NURSING OR CONTRACEPTIVE DEVICES; FOMENTATION; TREATMENT OR PROTECTION OF EYES OR EARS; BANDAGES, DRESSINGS OR ABSORBENT PADS; FIRST-AID KITS
- A61F7/00—Heating or cooling appliances for medical or therapeutic treatment of the human body
- A61F7/02—Compresses or poultices for effecting heating or cooling
- A61F2007/0268—Compresses or poultices for effecting heating or cooling having a plurality of compartments being filled with a heat carrier
- A61F2007/0269—Compresses or poultices for effecting heating or cooling having a plurality of compartments being filled with a heat carrier with separable compartments, e.g. reconnectable
- A61F2007/0271—Permanently separable compartments, e.g. with rupturable portions
-
- A—HUMAN NECESSITIES
- A61—MEDICAL OR VETERINARY SCIENCE; HYGIENE
- A61F—FILTERS IMPLANTABLE INTO BLOOD VESSELS; PROSTHESES; DEVICES PROVIDING PATENCY TO, OR PREVENTING COLLAPSING OF, TUBULAR STRUCTURES OF THE BODY, e.g. STENTS; ORTHOPAEDIC, NURSING OR CONTRACEPTIVE DEVICES; FOMENTATION; TREATMENT OR PROTECTION OF EYES OR EARS; BANDAGES, DRESSINGS OR ABSORBENT PADS; FIRST-AID KITS
- A61F7/00—Heating or cooling appliances for medical or therapeutic treatment of the human body
- A61F7/02—Compresses or poultices for effecting heating or cooling
- A61F2007/0268—Compresses or poultices for effecting heating or cooling having a plurality of compartments being filled with a heat carrier
- A61F2007/0276—Compresses or poultices for effecting heating or cooling having a plurality of compartments being filled with a heat carrier with separate compartments connectable by rupturing a wall or membrane
Definitions
- the invention relates generally to thermal therapy devices and relates more specifically to hot and cold packs for providing thermal therapy to the perineal area of a patient.
- thermal therapy has been used in the past to provide either heating or cooling to specific parts of a patient's body.
- heat has been used in the past to increase blood flow and speed the healing process to an injured area.
- cooling has been used to prevent and reduce swelling and pain.
- hot or cold packs have been used in a variety of applications.
- One application of particular interest is in providing thermal therapy to postpartum patients in the perineal and rectal areas.
- This therapy has been provided in a variety of ways. For example, cool therapy has been provided by placing crushed ice in a latex exam glove, closing the cuff of the glove and placing it on the perineal area.
- Obvious problems with using an exam glove and ice to provide cool therapy include: (1) leakage, (2) uncontrolled temperature, (3) nursing time, (4) latex allergies, (5) lack of conformity to shape of the perineal area, AND (6) uncontrolled duration of temperature.
- One advantage of this type of device is that it is relatively inexpensive and relatively readily available.
- a combination perineal pad and cold pack in which the cold pack is located either inside or on top of the perineal pad.
- the cold pack When the cold pack is located inside the perineal pad, the amount of cooling available to the patient is reduced due to the insulative qualities of the absorbent material.
- the cold pack In instances in which the cold pack is fixedly attached to the top of the perineal pad, cooling is readily available, but the cold pack may not be located in the most useful location on the pad. Also, the pad may not be of the most appropriate size or absorbency for the particular patient's needs.
- the combination of a cold pack and perineal pad can be more expensive than desired in today's cost-conscious health care environment.
- a device for applying thermal therapy to the perineal or rectal area of a patient.
- the device includes an elongated pack to provide either heat or cold therapy.
- the pack has an outer shell means for placement against a patient's perineal and/or rectal area.
- the outer shell means is formed from a pliant, non-woven, fluid-impervious material.
- the elongated pack also includes a sealed inner space that is enclosed within the outer shell.
- the sealed space has a first compartment containing a first chemical and a second compartment containing a second chemical.
- the first and second compartments are adjacent to one another and are separated by a rupturable wall.
- the sealed inner space may be filled with a gel or other material which may be mechanically heated or cooled to a therapeutic temperature range.
- FIG. 1 is a partially broken away perspective view of the preferred embodiment of the subject invention
- FIG. 2 is a side view of the preferred embodiment illustrated in FIG. 1 along sectional lines 2 — 2 ;
- FIG. 3 is an end view of the preferred embodiment of FIG. 1;
- FIG. 4 is a side view of another embodiment of the invention in which a rupturable wall extends between two sheets of fluid-impervious material;
- FIG. 5 is a side view of yet another embodiment of the invention in which a rupturable wall is attached to one sheet of fluid-impervious material;
- FIG. 6 is another embodiment of the subject invention in which a bubble is located inside a pouch formed of a single sheet of material and sealed about three edges;
- FIG. 7 is another embodiment of the invention in which multiple devices are connected to one another yet are detachable
- FIG. 8 illustrates another embodiment of the invention in which attachment devices are provided for placement
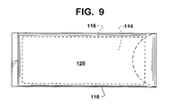
- FIG. 9 illustrates another embodiment of the invention in which a reusable pouch is used with a single-use disposable outer envelope.
- the subject invention is a device 10 for applying thermal therapy to the perineal or rectal area of a patient.
- the device 10 includes an elongated pack 12 for producing a thermal treatment.
- the thermal treatment is produced through a chemical reaction of two chemical compounds which, when mixed, produce either an endothermic or exothermic reaction.
- the pack 12 includes an outer shell means 14 for placement against a patient's perineal or rectal area.
- the outer shell 14 is formed of a pliant, non-woven, fluid-impervious material. Examples of such materials include co-extruded poly back non-wovens, polyester and rayon blends and spun bond.
- the preferred material is co-extruded poly backed non-woven. It is desirable to use a fluid-impervious material because it allows the maximum amount of thermal therapy to be available to a patient. If the outer shell 14 is a fluid-absorbent material, the fluid absorbed in the material will tend to act as an insulator against the cold or heat therapy and will reduce the effectiveness of the device 10 .
- the outer shell 14 is formed from a co-extruded sheet of material 16 having a single seal 18 . Also, in the preferred embodiment, seal 18 is placed away from the patient's tissue so that a uniform surface 20 is in contact with the patient.
- a sealed inner space 22 is provided within the outer shell 14 .
- the sealed inner space 22 is formed from a separate pouch 24 .
- the outer shell 14 can form a pouch 26 that forms both the outer shell 14 and inner space 22 .
- the sealed inner space 22 is formed of a pouch 24 made of a laminated rollstock, polyester/low-density polyethylene (LDPE). Other materials which may be used to form the pouch 24 include biaxially oriented nylon laminated to linear low density polyethylene (LLDPE) and straight polyethylene.
- the inner space 22 includes a first compartment 28 which contains a first chemical 30 .
- the inner space 22 also includes a second compartment 32 containing a second chemical 34 .
- a rupturable wall 36 is also provided between the first and second compartments 28 , 32 . When the rupturable wall 36 is ruptured, the first and second chemicals 30 , 34 are allowed to mix to cause either an endothermic or exothermic reaction to occur.
- the first chemical 30 may be taken from the group consisting of sodium acetate and sodium thiosulfate
- the second chemical 34 may be taken from the group consisting of borax and aluminum oxide so that when the first and second chemicals 30 , 34 are exposed, an exothermic chain reaction occurs.
- the first chemical 30 may be taken from the group consisting of ammonium nitrate and urea
- the second chemical 34 may be taken from the group consisting of water and additives so that when the first and second chemicals 30 , 34 are mixed, an endothermic reaction occurs.
- the elongated pack 12 is generally rectangular and of a length designed to contact at least one of the perineal and rectal areas. In another embodiment, the pack 12 may be long enough to cover both areas.
- the first compartment 28 is formed of a rupturable sealed bubble 38 .
- the bubble 38 is located entirely within the sealed pouch 24 .
- the second compartment 32 is formed from an area 42 remaining between the sealed bubble 38 and the inner wall 40 of the pouch 24 .
- the bubble 38 contains the first chemical 30
- area 42 contains the second chemical 34 .
- bubble 38 may contain water 44
- area 42 may contain ammonium nitrate 46 . When the bubble 38 is ruptured, the ammonium nitrate 46 and water 44 mix to produce an endothermic reaction, resulting in cooling.
- the outer shell 14 of the device 10 is formed from first and second sheets of a fluid-impervious material 48 , 50 .
- the first and second sheets 48 , 50 are sealed to one another around the edges to form a sealed inner space 22 .
- a third rupturable sheet 52 is located between the first and second sheets 48 , 50 .
- the third sheet 52 is sealed to at least one of the first and second sheets 48 , 50 around the edges of the third sheet 52 so that a first compartment 28 is formed by an area 54 between the first and third sheets 48 , 52 and a second compartment 32 is formed in the area 56 between the second and third sheets 50 , 52 .
- FIG. 5 Another embodiment of the invention is illustrated in FIG. 5 .
- the device 10 is formed from two sheets of material.
- a first sheet 58 is used to form an outer shell 60 .
- a second sheet of material 62 is a rupturable material.
- the second sheet 62 is sealed about its edges to the first sheet 58 to form a first compartment 64 .
- the first sheet 58 is then folded over the second sheet 62 and sealed about its edges to form a second compartment 66 .
- First and second chemicals 68 , 70 are inserted in the first and second compartments 64 , 66 respectively.
- the first compartment 72 is formed from a bubble 74 made of laminated film made of polyester/LDPE and is filled with water 76 .
- the second compartment 78 is formed from a second single sheet 80 of polyester/LDPE. The second sheet 80 is folded to surround and encase the bubble 74 . The second sheet 80 is sealed along its opposite folded edges 82 , 84 to form an envelope type pouch 86 which forms the second compartment 78 . The second compartment 78 is then filled with ammonium nitrate 88 . The remaining edges 90 , 92 between the opposite folded edges 82 , 84 are then sealed to seal the second compartment 78 .
- the bubble 74 has a perforated area 94 which weakens the bubble 74 and allows it to rupture prior to any rupturing of the second sheet 80 .
- the perforated area 94 will rupture first to allow the water 76 and ammonium nitrate 88 to mix, thereby producing the desired endothermic reaction.
- other chemicals may be used as described above to produce an exothermic reaction.
- each pack 96 , 98 , 100 is generally rectangular in shape and has opposed first and second narrow ends 102 , 104 .
- a first end 102 of one pack 96 is attached to a second end 104 of an adjacent pack 98 .
- a perforation 106 exists between the first and second ends 102 , 104 to make the packs separable from one another.
- each device 10 may include one or more tabs 108 which can be used to attach the device 10 to a holding mechanism such as a sanitary pad belt or other device (not illustrated).
- Another attachment means 110 may be provided.
- the attachment means 110 may be an adhesive strip 112 or other securing mechanism.
- a reusable pouch 114 containing a gel or other material 116 can be used in conjunction with a single use disposable pouch 118 .
- the gel 116 may be heated or cooled as desired and then placed inside of the disposable pouch 118 . In this way, the possibility of cross-contamination through multiple uses of the same pouch 114 can be reduced by having a new surface 120 in contact with the patient for each use.
Landscapes
- Health & Medical Sciences (AREA)
- Vascular Medicine (AREA)
- Thermal Sciences (AREA)
- Engineering & Computer Science (AREA)
- Biomedical Technology (AREA)
- Heart & Thoracic Surgery (AREA)
- Physics & Mathematics (AREA)
- Life Sciences & Earth Sciences (AREA)
- Animal Behavior & Ethology (AREA)
- General Health & Medical Sciences (AREA)
- Public Health (AREA)
- Veterinary Medicine (AREA)
- Thermotherapy And Cooling Therapy Devices (AREA)
Abstract
A device for providing thermal therapy to the perineal and rectal areas of a patient is provided. The device can be used alone or in conjunction with an absorbent pad. The device is particularly useful for alleviating post-partum swelling and pain. Different embodiments of the device can be used to provide either hot or cold therapy to a patient.
Description
This application is a divisional of U.S. patent application Ser. No. 08/636,614 filed on Apr. 23, 1996, now U.S. Pat. No. 6,248,125.
1. Field of the Invention
The invention relates generally to thermal therapy devices and relates more specifically to hot and cold packs for providing thermal therapy to the perineal area of a patient.
2. Brief Description of the Prior Art
Various forms of thermal therapy have been used in the past to provide either heating or cooling to specific parts of a patient's body. For example, heat has been used in the past to increase blood flow and speed the healing process to an injured area. Similarly, cooling has been used to prevent and reduce swelling and pain. In the past, hot or cold packs have been used in a variety of applications. One application of particular interest is in providing thermal therapy to postpartum patients in the perineal and rectal areas. This therapy has been provided in a variety of ways. For example, cool therapy has been provided by placing crushed ice in a latex exam glove, closing the cuff of the glove and placing it on the perineal area. Obvious problems with using an exam glove and ice to provide cool therapy include: (1) leakage, (2) uncontrolled temperature, (3) nursing time, (4) latex allergies, (5) lack of conformity to shape of the perineal area, AND (6) uncontrolled duration of temperature. One advantage of this type of device, however, is that it is relatively inexpensive and relatively readily available.
However, due to the many disadvantages listed above, another type of device which has been developed is a combination perineal pad and cold pack in which the cold pack is located either inside or on top of the perineal pad. When the cold pack is located inside the perineal pad, the amount of cooling available to the patient is reduced due to the insulative qualities of the absorbent material. In instances in which the cold pack is fixedly attached to the top of the perineal pad, cooling is readily available, but the cold pack may not be located in the most useful location on the pad. Also, the pad may not be of the most appropriate size or absorbency for the particular patient's needs. Also, the combination of a cold pack and perineal pad can be more expensive than desired in today's cost-conscious health care environment.
Similar advantages and disadvantages exist with regard to methods and devices for providing heat therapy to the perineal and rectal areas of a patient. Two commonly used methods to provide heat therapy are: (1) moistening a towel or other absorbent device with hot water and applying it to a patient, or (2) moistening a towel or other absorbent device and then heating it in a microwave oven before applying it to a patient. Obvious disadvantages of each of these methods include potential for burning due to overheating, not achieving therapeutic heat, and presence of moisture when moisture may be contra indicated.
Therefore, a need existed to provide a device which is relatively inexpensive, easy for hospitals to use, and flexible to meet the individual needs of a particular patient. The subject invention meets all of the needs described above.
A device is provided for applying thermal therapy to the perineal or rectal area of a patient. The device includes an elongated pack to provide either heat or cold therapy. The pack has an outer shell means for placement against a patient's perineal and/or rectal area. In the preferred embodiment, the outer shell means is formed from a pliant, non-woven, fluid-impervious material. The elongated pack also includes a sealed inner space that is enclosed within the outer shell. In the preferred embodiment, the sealed space has a first compartment containing a first chemical and a second compartment containing a second chemical. In the preferred embodiment, the first and second compartments are adjacent to one another and are separated by a rupturable wall. When the wall is ruptured, the contents of the two compartments are allowed to mix to create a thermal reaction which produces a temperature in a therapeutic range. In other embodiments, the sealed inner space may be filled with a gel or other material which may be mechanically heated or cooled to a therapeutic temperature range.
FIG. 1 is a partially broken away perspective view of the preferred embodiment of the subject invention;
FIG. 2 is a side view of the preferred embodiment illustrated in FIG. 1 along sectional lines 2—2;
FIG. 3 is an end view of the preferred embodiment of FIG. 1;
FIG. 4 is a side view of another embodiment of the invention in which a rupturable wall extends between two sheets of fluid-impervious material;
FIG. 5 is a side view of yet another embodiment of the invention in which a rupturable wall is attached to one sheet of fluid-impervious material;
FIG. 6 is another embodiment of the subject invention in which a bubble is located inside a pouch formed of a single sheet of material and sealed about three edges;
FIG. 7 is another embodiment of the invention in which multiple devices are connected to one another yet are detachable;
FIG. 8 illustrates another embodiment of the invention in which attachment devices are provided for placement; and
FIG. 9 illustrates another embodiment of the invention in which a reusable pouch is used with a single-use disposable outer envelope.
Referring now to FIG. 1, the subject invention is a device 10 for applying thermal therapy to the perineal or rectal area of a patient. The device 10 includes an elongated pack 12 for producing a thermal treatment. In the preferred embodiment, the thermal treatment is produced through a chemical reaction of two chemical compounds which, when mixed, produce either an endothermic or exothermic reaction.
In the preferred embodiment, the pack 12 includes an outer shell means 14 for placement against a patient's perineal or rectal area. The outer shell 14 is formed of a pliant, non-woven, fluid-impervious material. Examples of such materials include co-extruded poly back non-wovens, polyester and rayon blends and spun bond. The preferred material is co-extruded poly backed non-woven. It is desirable to use a fluid-impervious material because it allows the maximum amount of thermal therapy to be available to a patient. If the outer shell 14 is a fluid-absorbent material, the fluid absorbed in the material will tend to act as an insulator against the cold or heat therapy and will reduce the effectiveness of the device 10. It is also desirable to use a pliant material to maximize the comfort of the device 10, since it is being placed against sensitive tissue. Therefore, it is highly desirable for the outer shell 14 not to include rough edges. In the preferred embodiment, the outer shell 14 is formed from a co-extruded sheet of material 16 having a single seal 18. Also, in the preferred embodiment, seal 18 is placed away from the patient's tissue so that a uniform surface 20 is in contact with the patient.
In the preferred embodiment, a sealed inner space 22 is provided within the outer shell 14. In another embodiment, the sealed inner space 22 is formed from a separate pouch 24. In yet another embodiment, the outer shell 14 can form a pouch 26 that forms both the outer shell 14 and inner space 22.
In the preferred embodiment, the sealed inner space 22 is formed of a pouch 24 made of a laminated rollstock, polyester/low-density polyethylene (LDPE). Other materials which may be used to form the pouch 24 include biaxially oriented nylon laminated to linear low density polyethylene (LLDPE) and straight polyethylene. The inner space 22 includes a first compartment 28 which contains a first chemical 30. The inner space 22 also includes a second compartment 32 containing a second chemical 34. A rupturable wall 36 is also provided between the first and second compartments 28, 32. When the rupturable wall 36 is ruptured, the first and second chemicals 30, 34 are allowed to mix to cause either an endothermic or exothermic reaction to occur. When heat therapy is desired, the first chemical 30 may be taken from the group consisting of sodium acetate and sodium thiosulfate, and the second chemical 34 may be taken from the group consisting of borax and aluminum oxide so that when the first and second chemicals 30, 34 are exposed, an exothermic chain reaction occurs.
Similarly, when cold therapy is desired, the first chemical 30 may be taken from the group consisting of ammonium nitrate and urea, and the second chemical 34 may be taken from the group consisting of water and additives so that when the first and second chemicals 30, 34 are mixed, an endothermic reaction occurs.
In the preferred embodiment, the elongated pack 12 is generally rectangular and of a length designed to contact at least one of the perineal and rectal areas. In another embodiment, the pack 12 may be long enough to cover both areas.
In one embodiment, the first compartment 28 is formed of a rupturable sealed bubble 38. The bubble 38 is located entirely within the sealed pouch 24. The second compartment 32 is formed from an area 42 remaining between the sealed bubble 38 and the inner wall 40 of the pouch 24. Accordingly, the bubble 38 contains the first chemical 30, and area 42 contains the second chemical 34. For example, bubble 38 may contain water 44, and area 42 may contain ammonium nitrate 46. When the bubble 38 is ruptured, the ammonium nitrate 46 and water 44 mix to produce an endothermic reaction, resulting in cooling.
As illustrated in FIG. 4, in another embodiment of the invention, the outer shell 14 of the device 10 is formed from first and second sheets of a fluid- impervious material 48, 50. The first and second sheets 48, 50 are sealed to one another around the edges to form a sealed inner space 22. A third rupturable sheet 52 is located between the first and second sheets 48, 50. The third sheet 52 is sealed to at least one of the first and second sheets 48, 50 around the edges of the third sheet 52 so that a first compartment 28 is formed by an area 54 between the first and third sheets 48, 52 and a second compartment 32 is formed in the area 56 between the second and third sheets 50, 52.
Another embodiment of the invention is illustrated in FIG. 5. As can be seen in this figure, the device 10 is formed from two sheets of material. A first sheet 58 is used to form an outer shell 60. A second sheet of material 62 is a rupturable material. The second sheet 62 is sealed about its edges to the first sheet 58 to form a first compartment 64. The first sheet 58 is then folded over the second sheet 62 and sealed about its edges to form a second compartment 66. First and second chemicals 68, 70 are inserted in the first and second compartments 64, 66 respectively.
In a particularly preferred embodiment illustrated in FIG. 6, the first compartment 72 is formed from a bubble 74 made of laminated film made of polyester/LDPE and is filled with water 76. The second compartment 78 is formed from a second single sheet 80 of polyester/LDPE. The second sheet 80 is folded to surround and encase the bubble 74. The second sheet 80 is sealed along its opposite folded edges 82, 84 to form an envelope type pouch 86 which forms the second compartment 78. The second compartment 78 is then filled with ammonium nitrate 88. The remaining edges 90, 92 between the opposite folded edges 82, 84 are then sealed to seal the second compartment 78. In the preferred embodiment, the bubble 74 has a perforated area 94 which weakens the bubble 74 and allows it to rupture prior to any rupturing of the second sheet 80. Thus, when pressure is applied to the device 10, the perforated area 94 will rupture first to allow the water 76 and ammonium nitrate 88 to mix, thereby producing the desired endothermic reaction. In other similar embodiments, other chemicals may be used as described above to produce an exothermic reaction.
In another embodiment of the invention as illustrated in FIG. 7, multiple thermal packs 96, 98, 100 are connected to one another and can be detached from one another as desired. In the preferred embodiment, each pack 96, 98, 100 is generally rectangular in shape and has opposed first and second narrow ends 102, 104. A first end 102 of one pack 96 is attached to a second end 104 of an adjacent pack 98. In the preferred embodiment, a perforation 106 exists between the first and second ends 102, 104 to make the packs separable from one another.
In yet another embodiment illustrated in FIG. 8, each device 10 may include one or more tabs 108 which can be used to attach the device 10 to a holding mechanism such as a sanitary pad belt or other device (not illustrated). Another attachment means 110 may be provided. The attachment means 110 may be an adhesive strip 112 or other securing mechanism.
Finally, in another embodiment of the invention/illustrated in FIG. 9, a reusable pouch 114 containing a gel or other material 116 can be used in conjunction with a single use disposable pouch 118. The gel 116 may be heated or cooled as desired and then placed inside of the disposable pouch 118. In this way, the possibility of cross-contamination through multiple uses of the same pouch 114 can be reduced by having a new surface 120 in contact with the patient for each use.
While the invention has been described in detail and with reference to specific embodiments thereof, it will be apparent to those skilled in the art that various changes and modifications can be made therein without departing from the spirit and scope of the invention.
Claims (2)
1. A method for applying thermal therapy to at least one of the perineal and rectal areas of a patient comprising:
a) providing an elongated pack emitting one of heat or cold in a therapeutic temperature range;
b) providing an absorbent pad for placement adjacent to at least one of perineal and rectal areas of said patient; and
c) placing said pack between said pad and said patient;
wherein said elongated pack comprises:
an outer shell means for placement against said perineal area, said outer shell being formed of a pliant, non-woven, fluid-impervious material; and
a sealed inner space enclosed within said outer shell, said inner space having:
i) a first compartment containing a first chemical;
ii) a second compartment containing a second chemical;
iii) said first and second compartments being fixedly encased to one another; and
iv) said first and second compartments having a rupturable wall therebetween which when ruptured causes said thermal reaction; and
v) said first compartment being fixedly encased by the second compartment at a sealed edge where the first and second compartments overlap and extending across the length of the second compartment.
2. A method for applying thermal therapy to at least one of the perineal and rectal areas of a patient comprising:
a) providing an elongated pack emitting one of heat or cold in a therapeutic range;
b) providing a garment for placement adjacent to at least one of the perineal and rectal areas of said patient; and
c) placing said pack between said garment and said patient;
wherein said elongated pack comprises:
an outer shell means for placement against said perineal area, said outer shell being formed of a pliant, non-woven, fluid-impervious material; and
a sealed inner space enclosed within said outer shell, said inner space having:
i) a first compartment containing a first chemical;
ii) a second compartment containing a second chemical;
iii) said first and second compartments being fixedly encased to one another; and
iv) said first and second compartments having a rupturable wall therebetween which when ruptured causes said thermal reaction; and
said first compartment being fixedly encased by the second compartment at a sealed edge where the first and second compartments overlap and extending across the length of the second compartment.
Priority Applications (1)
| Application Number | Priority Date | Filing Date | Title |
|---|---|---|---|
| US09/853,842 US6648909B2 (en) | 1996-04-23 | 2001-05-11 | Solo perineal hot and cold pack |
Applications Claiming Priority (2)
| Application Number | Priority Date | Filing Date | Title |
|---|---|---|---|
| US08/636,614 US6248125B1 (en) | 1996-04-23 | 1996-04-23 | Perineal cold bubble |
| US09/853,842 US6648909B2 (en) | 1996-04-23 | 2001-05-11 | Solo perineal hot and cold pack |
Related Parent Applications (1)
| Application Number | Title | Priority Date | Filing Date |
|---|---|---|---|
| US08/636,614 Division US6248125B1 (en) | 1996-04-23 | 1996-04-23 | Perineal cold bubble |
Publications (2)
| Publication Number | Publication Date |
|---|---|
| US20010018605A1 US20010018605A1 (en) | 2001-08-30 |
| US6648909B2 true US6648909B2 (en) | 2003-11-18 |
Family
ID=24552624
Family Applications (2)
| Application Number | Title | Priority Date | Filing Date |
|---|---|---|---|
| US08/636,614 Expired - Lifetime US6248125B1 (en) | 1996-04-23 | 1996-04-23 | Perineal cold bubble |
| US09/853,842 Expired - Lifetime US6648909B2 (en) | 1996-04-23 | 2001-05-11 | Solo perineal hot and cold pack |
Family Applications Before (1)
| Application Number | Title | Priority Date | Filing Date |
|---|---|---|---|
| US08/636,614 Expired - Lifetime US6248125B1 (en) | 1996-04-23 | 1996-04-23 | Perineal cold bubble |
Country Status (2)
| Country | Link |
|---|---|
| US (2) | US6248125B1 (en) |
| WO (1) | WO1997039708A2 (en) |
Cited By (70)
| Publication number | Priority date | Publication date | Assignee | Title |
|---|---|---|---|---|
| US20050043776A1 (en) * | 2003-08-21 | 2005-02-24 | Kimberly-Clark Worldwide, Inc. | Reflective heat patch |
| US20050228465A1 (en) * | 2004-04-09 | 2005-10-13 | Christa Harris | Thermal device for activatable thermochemical compositions |
| US20060010902A1 (en) * | 2003-06-06 | 2006-01-19 | Trinh David L | Thermal therapeutic method |
| US20060064148A1 (en) * | 2004-09-23 | 2006-03-23 | Sammarco Domenic A | Self-adherent instant cold compress therapeutic wrap |
| US20070021809A1 (en) * | 2005-07-22 | 2007-01-25 | Cole Pamela S | Vagina and vulva cooling and heating device |
| US20070021727A1 (en) * | 2005-07-22 | 2007-01-25 | Fabrega Marco A | Disposable absorbent undergarment with pocket |
| US20080045913A1 (en) * | 2006-08-17 | 2008-02-21 | Kimberly-Clark Worldwide, Inc. | Training article for delivering unique sensations |
| US7338516B2 (en) | 2004-12-23 | 2008-03-04 | Kimberly-Clark Worldwide, Inc. | Method for applying an exothermic coating to a substrate |
| US20080082151A1 (en) * | 2006-08-31 | 2008-04-03 | Kimberly-Clark Worldwide, Inc. | Warming product |
| US20080140165A1 (en) * | 2006-12-11 | 2008-06-12 | Cohen Jason C | Thermal grill for heating articles |
| US20080251062A1 (en) * | 2004-07-14 | 2008-10-16 | Toshihiro Dodo | Heat Cloth and Process for Producing the Same |
| US20080268216A1 (en) * | 2007-04-30 | 2008-10-30 | Kimberly-Clark Worldwide, Inc. | Cooling product |
| US20090105793A1 (en) * | 2005-08-12 | 2009-04-23 | Mark Brown | Therapeutic device for thermally assisted urinary function |
| US20090149772A1 (en) * | 2007-12-05 | 2009-06-11 | Kimberly-Clark Worldwide, Inc. | Temperature Indicator for Cooling Products |
| US20090149925A1 (en) * | 2007-12-05 | 2009-06-11 | Kimberly-Clark Worldwide, Inc. | Temperature Indicator for Warming Products |
| US7559907B2 (en) | 2004-02-23 | 2009-07-14 | Aqueduct Medical, Inc. | Temperature-controllable device |
| US20090287283A1 (en) * | 2008-05-16 | 2009-11-19 | Seth Biser | Thermal compress assembly and system with external frame |
| US20100126492A1 (en) * | 2008-11-24 | 2010-05-27 | St Etienne Roselyn | Portable baby bottle warmer |
| US7763061B2 (en) | 2004-12-23 | 2010-07-27 | Kimberly-Clark Worldwide, Inc. | Thermal coverings |
| US20100300426A1 (en) * | 2009-06-02 | 2010-12-02 | Madan Deepak S | Tunable flameless heaters |
| US20100312317A1 (en) * | 2009-06-06 | 2010-12-09 | Carol Baltazar | Hot/cold temperature treatment apparatus |
| US20130023970A1 (en) * | 2010-03-28 | 2013-01-24 | Kimberly Cull | Treating Medical Conditions in Body Cavities |
| USD693015S1 (en) * | 2012-02-17 | 2013-11-05 | Therapearl, Llc | Thermal pack |
| US8636786B2 (en) | 2008-05-16 | 2014-01-28 | Seth A. Biser | Thermal compress system and methods of using the same |
| USD701611S1 (en) | 2012-01-13 | 2014-03-25 | Therapearl, Llc | Thermal pack |
| USD702849S1 (en) * | 2012-02-17 | 2014-04-15 | Therapearl, Llc | Thermal pack |
| US20140371829A1 (en) * | 2013-06-14 | 2014-12-18 | Ten Minute, Inc. | Methods and apparatus for a therapeutic device |
| USD728811S1 (en) | 2012-01-13 | 2015-05-05 | Therapearl, Llc | Thermal pack |
| USD728810S1 (en) | 2012-01-13 | 2015-05-05 | Therapearl, Llc | Thermal pack |
| USD736396S1 (en) * | 2012-02-17 | 2015-08-11 | Therapearl, Llc | Thermal pack |
| USD749232S1 (en) | 2010-06-04 | 2016-02-09 | Therapearl, Llc | Thermal pack |
| USD771014S1 (en) | 2012-04-05 | 2016-11-08 | Therapearl, Llc | Thermal pack |
| US9644880B2 (en) | 2013-01-24 | 2017-05-09 | Rachel Kimia Paul | Cooling device |
| USD787082S1 (en) | 2010-06-04 | 2017-05-16 | Therapearl, Llc | Thermal pack |
| USD787081S1 (en) | 2010-06-04 | 2017-05-16 | Therapearl, Llc | Thermal pack |
| US20170296381A1 (en) * | 2016-04-14 | 2017-10-19 | Paul Fox | Sportswear cooling system |
| USD805648S1 (en) | 2014-08-20 | 2017-12-19 | Therapearl | Thermal pack |
| US20180338556A1 (en) * | 2017-05-26 | 2018-11-29 | Charla Cothran | Cool Strip |
| USD857217S1 (en) | 2018-03-01 | 2019-08-20 | Shanghai Chuangshi Industry Group Co., Ltd. | Therapy pack |
| USD857216S1 (en) | 2018-03-01 | 2019-08-20 | Shanghai Chuangshi Industry Group Co., Ltd. | Therapy pack |
| USD857218S1 (en) | 2018-03-01 | 2019-08-20 | Shanghai Chuangshi Industry Group Co., Ltd. | Therapy pack |
| US10492943B2 (en) | 2018-03-02 | 2019-12-03 | Shanghai Chuangshi Industry Group Co., Ltd. | Polymers, thermochromic agents, and/or hydrogel compositions and apparatus, including products embodying the same, and methods and processes for making same |
| USD883502S1 (en) * | 2010-06-04 | 2020-05-05 | Therapearl Llc | Thermal pack |
| USD886311S1 (en) | 2018-03-01 | 2020-06-02 | Shanghai Chuangshi Industry Group Co., Ltd. | Therapy pack |
| USD886312S1 (en) | 2018-03-01 | 2020-06-02 | Shanghai Chuangshi Industry Group Co., Ltd. | Therapy pack |
| USD887569S1 (en) | 2018-03-01 | 2020-06-16 | Shanghai Chuangshi Industry Group Co., Ltd. | Therapy pack |
| USD888262S1 (en) | 2018-03-01 | 2020-06-23 | Shanghai Chuangshi Industry Group Co., Ltd. | Therapy pack |
| USD888261S1 (en) | 2018-03-01 | 2020-06-23 | Shanghai Chuangshi Industry Group Co., Ltd. | Therapy pack |
| USD888976S1 (en) | 2018-03-01 | 2020-06-30 | Shanghai Chuangshi Industry Group Co., Ltd. | Therapy pack |
| USD888975S1 (en) | 2018-03-01 | 2020-06-30 | Shanghai Chuangshi Industry Group Co., Ltd. | Therapy pack |
| USD888974S1 (en) | 2018-03-01 | 2020-06-30 | Shanghai Chuangshi Industry Group Co., Ltd. | Therapy pack |
| USD888973S1 (en) | 2018-03-01 | 2020-06-30 | Shanghai Chuangshi Industry Group Co., Ltd. | Therapy pack |
| USD904631S1 (en) | 2010-06-04 | 2020-12-08 | Therapearl Llc | Thermal pack |
| USD904633S1 (en) | 2010-06-04 | 2020-12-08 | Therapearl Llc | Thermal pack |
| USD904632S1 (en) | 2010-06-04 | 2020-12-08 | Therapearl Llc | Thermal pack |
| USD908902S1 (en) | 2010-06-04 | 2021-01-26 | Therapearl, Llc | Thermal pack |
| USD912260S1 (en) * | 2018-06-29 | 2021-03-02 | Kobayashi Pharmaceutical Co., Ltd. | Sheet preparation to be applied on a human body |
| US11076983B2 (en) | 2008-05-16 | 2021-08-03 | Seth A. Biser | Thermal eye compress systems and methods of use |
| US11298260B2 (en) | 2016-07-19 | 2022-04-12 | Allegiance Corporation | Perineal thermal pack with improved liquid containment |
| USD950745S1 (en) | 2009-06-06 | 2022-05-03 | Therapearl, Llc | Temperature therapy apparatus |
| USD951464S1 (en) | 2010-06-04 | 2022-05-10 | Therapearl, Llc | Thermal pack |
| USD961098S1 (en) | 2018-03-01 | 2022-08-16 | Biofreeze Ip Holdings, Llc | Therapy pack |
| USD961100S1 (en) | 2018-03-01 | 2022-08-16 | Biofreeze Ip Holdings, Llc | Therapy pack |
| USD961095S1 (en) | 2018-03-01 | 2022-08-16 | Biofreeze Ip Holdings, Llc | Therapy pack |
| USD961097S1 (en) | 2018-03-01 | 2022-08-16 | Biofreeze Ip Holdings, Llc | Therapy pack |
| USD961096S1 (en) | 2018-03-01 | 2022-08-16 | Biofreeze Ip Holdings, Llc | Therapy pack |
| USD961099S1 (en) | 2018-03-01 | 2022-08-16 | Biofreeze Ip Holdings, Llc | Therapy pack |
| USD984659S1 (en) | 2018-03-01 | 2023-04-25 | Biofreeze Ip Holdings, Llc | Therapy pack |
| USD985134S1 (en) | 2018-03-01 | 2023-05-02 | Biofreeze Ip Holdings, Llc | Therapy pack |
| US11877916B2 (en) | 2019-05-03 | 2024-01-23 | Parkview Health | Perineal therapy pad |
Families Citing this family (37)
| Publication number | Priority date | Publication date | Assignee | Title |
|---|---|---|---|---|
| US6770064B1 (en) * | 1996-12-30 | 2004-08-03 | Kimberly-Clark Worldwide, Inc. | Internally heated absorbent article |
| US6989471B2 (en) * | 2000-02-15 | 2006-01-24 | The Procter & Gamble Company | Absorbent article with phase change material |
| KR100382347B1 (en) * | 2000-10-30 | 2003-05-01 | 에스케이케미칼주식회사 | Sheet-shaped heating element and method of preparing the same |
| US7182778B2 (en) | 2001-11-01 | 2007-02-27 | Gel Tech Solutions, Inc. | Conforming thermal pack |
| US20060036304A1 (en) * | 2001-11-01 | 2006-02-16 | Peter Cordani | Thermal garment system and method of using the same |
| US7083839B2 (en) * | 2001-12-20 | 2006-08-01 | Kimberly-Clark Worldwide, Inc. | Laminate structures containing activatable materials |
| US20040243146A1 (en) * | 2002-11-18 | 2004-12-02 | Chesbrough Richard M | Method and apparatus for supporting a medical device |
| FR2854231B1 (en) * | 2003-04-22 | 2006-04-28 | Daniel Cholet | MULTIPLE ENVELOPE SYSTEM FOR CONTROLLING THE RISK OF LIQUID LEAKS FILLING THE POCKETS OF COLD STORES |
| US20050004429A1 (en) * | 2003-07-01 | 2005-01-06 | Stephen Tracanna | Chilled sexual aid |
| US20050045498A1 (en) * | 2003-08-25 | 2005-03-03 | Kimberly-Clark Worldwide, Inc. | Cold pack |
| US7476047B2 (en) * | 2004-04-30 | 2009-01-13 | Kimberly-Clark Worldwide, Inc. | Activatable cleaning products |
| GB0415611D0 (en) * | 2004-07-13 | 2004-08-18 | Davies Mary M | Haemoease |
| NL1026963C2 (en) * | 2004-09-03 | 2006-03-06 | Pm Consumer Products Ag | Cooling element for cooling hemorrhoids. |
| US7604623B2 (en) * | 2005-08-30 | 2009-10-20 | Kimberly-Clark Worldwide, Inc. | Fluid applicator with a press activated pouch |
| US7575384B2 (en) * | 2005-08-31 | 2009-08-18 | Kimberly-Clark Worldwide, Inc. | Fluid applicator with a pull tab activated pouch |
| US7565987B2 (en) * | 2005-08-31 | 2009-07-28 | Kimberly-Clark Worldwide, Inc. | Pull tab activated sealed packet |
| US20070142807A1 (en) * | 2005-12-21 | 2007-06-21 | Lee Janet A | Liquid absorbing cooling pad |
| US20080071336A1 (en) * | 2006-09-20 | 2008-03-20 | Janelle Merriman | Therapeutic hygiene article |
| FR2908041B1 (en) * | 2006-11-08 | 2008-12-12 | Michel Frey | APPLICATION OF HEATING PATCH WITH PROGRESSIVE BODY RELEASE |
| US9968797B2 (en) | 2007-05-03 | 2018-05-15 | Orthocor Medical, Inc. | Electromagnetic thermal therapy |
| US8768454B2 (en) | 2007-05-03 | 2014-07-01 | Orthocor Medical, Inc. | Electromagnetic thermal therapy |
| US7924142B2 (en) | 2008-06-30 | 2011-04-12 | Kimberly-Clark Worldwide, Inc. | Patterned self-warming wipe substrates |
| US20100152689A1 (en) * | 2008-12-15 | 2010-06-17 | Andrew Mark Long | Physical sensation absorbent article |
| WO2011017051A1 (en) | 2009-07-26 | 2011-02-10 | Forever Young International, Inc. | Self-heated consumer spa products and applications thereof |
| US20110319841A1 (en) * | 2010-06-17 | 2011-12-29 | Jill Marie Romie | Device for reducing wound trauma with an absorbent pad housing |
| US9028537B2 (en) * | 2011-03-10 | 2015-05-12 | Dale E. Walters | Infant heel heat pack |
| US20120232620A1 (en) * | 2011-03-10 | 2012-09-13 | Walters Dale E | Infant Heel Heat Pack |
| US10172739B2 (en) | 2012-07-12 | 2019-01-08 | Behrouz Benyaminpour | Portable therapeutic system using hot or cold temperature |
| US9144514B2 (en) * | 2013-01-01 | 2015-09-29 | Christine L. Enderby | Lactation aid and soothing garment |
| EP2896908A1 (en) * | 2014-01-18 | 2015-07-22 | Cool Everywhere SL | A self-heating or self-cooling pack |
| US11065149B2 (en) | 2014-09-30 | 2021-07-20 | Behrouz Benyaminpour | Portable therapeutic system using hot or cold temperature |
| WO2018132812A1 (en) * | 2017-01-16 | 2018-07-19 | Domtar Paper Company, Llc | Disposable ice pack |
| USD836790S1 (en) | 2017-12-22 | 2018-12-25 | Rachel's Remedies, LLC | Gel pack |
| IT201800000714A1 (en) * | 2018-01-11 | 2019-07-11 | Filippi Aurelio Filippi | Cooling patch for the treatment of premature ejaculation |
| US11364144B2 (en) | 2018-05-22 | 2022-06-21 | Rachel E. Jackson | Apparatus for the moisture, medicated, and thermal treatment of physical conditions |
| EP3811006A1 (en) | 2018-06-19 | 2021-04-28 | Domtar Paper Company, LLC | Expandable and/or disposable ice pack |
| JP7723964B2 (en) * | 2021-09-09 | 2025-08-15 | イントロン・スペース株式会社 | Protective Materials |
Citations (61)
| Publication number | Priority date | Publication date | Assignee | Title |
|---|---|---|---|---|
| US734213A (en) | 1902-04-30 | 1903-07-21 | Joshua Barnes | Hot-water bag. |
| US1567931A (en) | 1924-10-23 | 1925-12-29 | Percy H Epler | Compress |
| US2323478A (en) | 1941-05-03 | 1943-07-06 | Lobl Frederick | Electric heating pad |
| US2562121A (en) | 1947-09-09 | 1951-07-24 | Noel J Poux | Therapeutical device |
| US2573791A (en) | 1947-04-19 | 1951-11-06 | John N M Howells | Heat applying bandage |
| US2907173A (en) | 1956-05-04 | 1959-10-06 | Kwik Kold Of America Inc | Method of forming a cooling package |
| US3095291A (en) | 1961-05-12 | 1963-06-25 | Albert A Robbins | Cooling envelope with breakable diaphragm |
| US3149943A (en) | 1961-11-20 | 1964-09-22 | Martin R Amador | Chemical refrigerant package |
| US3175558A (en) | 1962-03-14 | 1965-03-30 | James C Caillonette | Thermal therapeutic pack |
| US3643665A (en) | 1969-04-04 | 1972-02-22 | Kay Laboratories Inc | Therapeutic pack for thermal applications |
| US3736769A (en) | 1971-07-01 | 1973-06-05 | Union Carbide Corp | Cooling device |
| US3763622A (en) | 1972-09-18 | 1973-10-09 | Kay Laboratories Inc | Method of making a pack for absorbing or adding heat |
| US3768480A (en) | 1972-06-07 | 1973-10-30 | Johnson & Johnson | Disposable diaper |
| US3783869A (en) | 1972-05-20 | 1974-01-08 | L Schnipper | Combined sanitary napkin and medicated bandage |
| GB1383536A (en) | 1972-03-22 | 1974-02-12 | Kay Laboratories Inc | Hot or cold pack |
| US3804077A (en) | 1971-08-05 | 1974-04-16 | Kay Laboratories Inc | Hot or cold pack |
| US3809096A (en) | 1971-01-21 | 1974-05-07 | W York | Perineal pad |
| US3867939A (en) | 1972-05-18 | 1975-02-25 | Moore Perk Corp | Disposable, sterile temperature control applicator pad for medical application |
| US3871376A (en) | 1974-03-13 | 1975-03-18 | Union Carbide Corp | Combination absorbent dressing and flexible cooling device |
| US3874504A (en) | 1971-11-22 | 1975-04-01 | John P Verakas | Chemical thermal pack |
| US3889684A (en) | 1974-02-01 | 1975-06-17 | Steve Lebold | Hot and cold pack |
| US3905367A (en) | 1974-05-10 | 1975-09-16 | John Bernard Dapcich | Limb cooling apparatus |
| US3950158A (en) | 1974-05-31 | 1976-04-13 | American Medical Products Company | Urea cold pack having an inner bag provided with a perforated seal |
| US4107509A (en) | 1977-03-07 | 1978-08-15 | Northern Electric Company | Apparatus for treating body members with heat and moisture |
| US4240436A (en) | 1978-08-31 | 1980-12-23 | Singleton Rosa R | Therapeutic cold pack |
| US4397315A (en) | 1981-09-16 | 1983-08-09 | The Kendall Company | Dressing with temperature pack |
| US4404820A (en) | 1982-01-29 | 1983-09-20 | Romaine John W | Cold compress |
| US4550725A (en) | 1977-10-21 | 1985-11-05 | Phillips Petroleum Company | Method and apparatus for absorbing moisture |
| US4596250A (en) | 1984-11-14 | 1986-06-24 | Genetic Laboratories, Inc. | Moldable cooling/heating device with directional cooling/heating |
| US4596570A (en) | 1985-08-29 | 1986-06-24 | Personal Products Company | Napkin with extendable tabs |
| US4605006A (en) | 1984-02-28 | 1986-08-12 | Minnesota Mining And Manufacturing Company | Hypothermic protection pad |
| US4607624A (en) | 1985-08-07 | 1986-08-26 | Valerie Jefferson | Heating pad and massager |
| US4834739A (en) | 1987-12-17 | 1989-05-30 | Kimberly-Clark Corporation | External feminine protection device with skid-resistant coating for holding the device in place |
| USD302592S (en) | 1986-12-29 | 1989-08-01 | Holmes Kenneth E | Therapeutic traction pillow |
| US4856651A (en) | 1987-12-22 | 1989-08-15 | Francis Jr Sam E | Chemical thermal pack and method of making same |
| US4911701A (en) | 1988-02-26 | 1990-03-27 | Mcneil-Ppc, Inc. | Sanitary napkin having elastic shaping means |
| US4953550A (en) | 1988-11-09 | 1990-09-04 | Minnesota Mining And Manufacturing Company | Chemical thermal pack having an outer pouch provided with capillaries |
| US4986076A (en) | 1989-06-07 | 1991-01-22 | Kenneth Kirk | Isothermal cooling method and device |
| US5062425A (en) | 1987-06-26 | 1991-11-05 | Tucker Annabelle D | Expansible internal pressure cold packs and perineal ice pad |
| US5167655A (en) | 1991-04-29 | 1992-12-01 | Mccoy Kevin | Cold therapy panty |
| US5178139A (en) | 1990-03-05 | 1993-01-12 | Stephen P. Angelillo | Absorbent pad and thermal pack |
| US5184613A (en) | 1991-06-17 | 1993-02-09 | International Technidyne Corporation | Thermal pack heel warming apparatus for a neonate or infant |
| US5205278A (en) | 1992-05-01 | 1993-04-27 | Wang Ching Chuan | Chemical bag warmer |
| US5211949A (en) | 1990-01-09 | 1993-05-18 | University Of Dayton | Dry powder mixes comprising phase change materials |
| US5245938A (en) | 1990-03-26 | 1993-09-21 | Frye Ruth E | Solid, pliable organic compound for hot/cold thermal padding material |
| US5274865A (en) | 1992-11-25 | 1994-01-04 | Sanwa Life Cela Kabushiki Kaisha | Cooling device |
| US5300104A (en) | 1992-10-20 | 1994-04-05 | Yvon Gaudreault | Thermotherapeutic pad |
| US5314005A (en) | 1991-11-25 | 1994-05-24 | Reuven Dobry | Particulate heating/cooling agents |
| US5342412A (en) | 1991-02-25 | 1994-08-30 | Kiribai Chemical Industry Co., Ltd. | Disposable body warmer |
| US5366491A (en) | 1993-06-10 | 1994-11-22 | Bruder Healthcare Company | Moist heat apparatus |
| US5366492A (en) | 1993-08-14 | 1994-11-22 | Kiribai Chemical Industry Co., Ltd. | Disposable body warmer |
| US5393462A (en) | 1991-11-15 | 1995-02-28 | P.I., Inc. | Reusable thermal pack and flow retardant gel for use therein |
| US5417721A (en) | 1992-06-15 | 1995-05-23 | Mallasch; Luther F. | Prostate gland enlargement reducing device |
| US5425975A (en) | 1989-11-08 | 1995-06-20 | Japan Pionics Co., Ltd. | Sheet-shaped heat-generating body |
| US5441534A (en) | 1993-02-09 | 1995-08-15 | Macwinnie; Virginia | Heat pack for thermal treatment of breast |
| US5447531A (en) | 1993-03-15 | 1995-09-05 | Hot Springs Thermalsoft, Inc. | Therapeutic heat pack |
| US5447532A (en) | 1993-09-10 | 1995-09-05 | Furuya; Mitsuko | Highly absorptive expanding therapeutic water pillow |
| US5456704A (en) | 1994-04-21 | 1995-10-10 | Kilcullen; Robert J. | Method of treatment with therapeutic moist heating pad |
| US5476492A (en) | 1994-02-23 | 1995-12-19 | Unrug; Sophia | Body warmer for therapeutic purposes containing whole herb seed |
| US5476490A (en) | 1994-05-10 | 1995-12-19 | Medela, Inc. | Heating pad |
| US5792213A (en) | 1995-11-15 | 1998-08-11 | Tecnol Medical Products, Inc. | Hot or cold chemical therapy pack |
Family Cites Families (2)
| Publication number | Priority date | Publication date | Assignee | Title |
|---|---|---|---|---|
| FR2178740A1 (en) | 1972-04-05 | 1973-11-16 | Kay Laboratories Inc | Tissue wrapped thermal sachet - within which heat is produced or absorbed chemically |
| NZ254711A (en) | 1992-08-10 | 1997-02-24 | Okanagan House Inc | Thermal bandage having a fluid absorbent member and a pocket adjacent thereto |
-
1996
- 1996-04-23 US US08/636,614 patent/US6248125B1/en not_active Expired - Lifetime
-
1997
- 1997-04-23 WO PCT/US1997/006859 patent/WO1997039708A2/en not_active Ceased
-
2001
- 2001-05-11 US US09/853,842 patent/US6648909B2/en not_active Expired - Lifetime
Patent Citations (63)
| Publication number | Priority date | Publication date | Assignee | Title |
|---|---|---|---|---|
| US734213A (en) | 1902-04-30 | 1903-07-21 | Joshua Barnes | Hot-water bag. |
| US1567931A (en) | 1924-10-23 | 1925-12-29 | Percy H Epler | Compress |
| US2323478A (en) | 1941-05-03 | 1943-07-06 | Lobl Frederick | Electric heating pad |
| US2573791A (en) | 1947-04-19 | 1951-11-06 | John N M Howells | Heat applying bandage |
| US2562121A (en) | 1947-09-09 | 1951-07-24 | Noel J Poux | Therapeutical device |
| US2907173A (en) | 1956-05-04 | 1959-10-06 | Kwik Kold Of America Inc | Method of forming a cooling package |
| US3095291A (en) | 1961-05-12 | 1963-06-25 | Albert A Robbins | Cooling envelope with breakable diaphragm |
| US3149943A (en) | 1961-11-20 | 1964-09-22 | Martin R Amador | Chemical refrigerant package |
| US3175558A (en) | 1962-03-14 | 1965-03-30 | James C Caillonette | Thermal therapeutic pack |
| US3643665A (en) | 1969-04-04 | 1972-02-22 | Kay Laboratories Inc | Therapeutic pack for thermal applications |
| US3809096A (en) | 1971-01-21 | 1974-05-07 | W York | Perineal pad |
| US3736769A (en) | 1971-07-01 | 1973-06-05 | Union Carbide Corp | Cooling device |
| US3804077A (en) | 1971-08-05 | 1974-04-16 | Kay Laboratories Inc | Hot or cold pack |
| US3874504A (en) | 1971-11-22 | 1975-04-01 | John P Verakas | Chemical thermal pack |
| GB1383536A (en) | 1972-03-22 | 1974-02-12 | Kay Laboratories Inc | Hot or cold pack |
| US3867939A (en) | 1972-05-18 | 1975-02-25 | Moore Perk Corp | Disposable, sterile temperature control applicator pad for medical application |
| US3783869A (en) | 1972-05-20 | 1974-01-08 | L Schnipper | Combined sanitary napkin and medicated bandage |
| US3768480A (en) | 1972-06-07 | 1973-10-30 | Johnson & Johnson | Disposable diaper |
| US3763622A (en) | 1972-09-18 | 1973-10-09 | Kay Laboratories Inc | Method of making a pack for absorbing or adding heat |
| US3889684A (en) | 1974-02-01 | 1975-06-17 | Steve Lebold | Hot and cold pack |
| US3871376A (en) | 1974-03-13 | 1975-03-18 | Union Carbide Corp | Combination absorbent dressing and flexible cooling device |
| US3905367A (en) | 1974-05-10 | 1975-09-16 | John Bernard Dapcich | Limb cooling apparatus |
| US3950158A (en) | 1974-05-31 | 1976-04-13 | American Medical Products Company | Urea cold pack having an inner bag provided with a perforated seal |
| US4107509A (en) | 1977-03-07 | 1978-08-15 | Northern Electric Company | Apparatus for treating body members with heat and moisture |
| US4550725A (en) | 1977-10-21 | 1985-11-05 | Phillips Petroleum Company | Method and apparatus for absorbing moisture |
| US4240436A (en) | 1978-08-31 | 1980-12-23 | Singleton Rosa R | Therapeutic cold pack |
| US4397315A (en) | 1981-09-16 | 1983-08-09 | The Kendall Company | Dressing with temperature pack |
| US4404820A (en) | 1982-01-29 | 1983-09-20 | Romaine John W | Cold compress |
| US4605006A (en) | 1984-02-28 | 1986-08-12 | Minnesota Mining And Manufacturing Company | Hypothermic protection pad |
| US4596250A (en) | 1984-11-14 | 1986-06-24 | Genetic Laboratories, Inc. | Moldable cooling/heating device with directional cooling/heating |
| US4607624A (en) | 1985-08-07 | 1986-08-26 | Valerie Jefferson | Heating pad and massager |
| US4596570A (en) | 1985-08-29 | 1986-06-24 | Personal Products Company | Napkin with extendable tabs |
| USD302592S (en) | 1986-12-29 | 1989-08-01 | Holmes Kenneth E | Therapeutic traction pillow |
| US5062425A (en) | 1987-06-26 | 1991-11-05 | Tucker Annabelle D | Expansible internal pressure cold packs and perineal ice pad |
| US4834739A (en) | 1987-12-17 | 1989-05-30 | Kimberly-Clark Corporation | External feminine protection device with skid-resistant coating for holding the device in place |
| US4856651A (en) | 1987-12-22 | 1989-08-15 | Francis Jr Sam E | Chemical thermal pack and method of making same |
| US4911701A (en) | 1988-02-26 | 1990-03-27 | Mcneil-Ppc, Inc. | Sanitary napkin having elastic shaping means |
| US4953550A (en) | 1988-11-09 | 1990-09-04 | Minnesota Mining And Manufacturing Company | Chemical thermal pack having an outer pouch provided with capillaries |
| US4986076A (en) | 1989-06-07 | 1991-01-22 | Kenneth Kirk | Isothermal cooling method and device |
| US5425975A (en) | 1989-11-08 | 1995-06-20 | Japan Pionics Co., Ltd. | Sheet-shaped heat-generating body |
| US5211949A (en) | 1990-01-09 | 1993-05-18 | University Of Dayton | Dry powder mixes comprising phase change materials |
| US5277180A (en) | 1990-03-05 | 1994-01-11 | Angelillo Stephen P | Absorbent pad and thermal pack |
| US5178139A (en) | 1990-03-05 | 1993-01-12 | Stephen P. Angelillo | Absorbent pad and thermal pack |
| US5245938A (en) | 1990-03-26 | 1993-09-21 | Frye Ruth E | Solid, pliable organic compound for hot/cold thermal padding material |
| US5342412A (en) | 1991-02-25 | 1994-08-30 | Kiribai Chemical Industry Co., Ltd. | Disposable body warmer |
| US5167655A (en) | 1991-04-29 | 1992-12-01 | Mccoy Kevin | Cold therapy panty |
| US5184613A (en) | 1991-06-17 | 1993-02-09 | International Technidyne Corporation | Thermal pack heel warming apparatus for a neonate or infant |
| US5393462A (en) | 1991-11-15 | 1995-02-28 | P.I., Inc. | Reusable thermal pack and flow retardant gel for use therein |
| US5314005A (en) | 1991-11-25 | 1994-05-24 | Reuven Dobry | Particulate heating/cooling agents |
| US5417276A (en) | 1991-11-25 | 1995-05-23 | Dobry; Reuven | Particulate heating/cooling agents |
| US5205278A (en) | 1992-05-01 | 1993-04-27 | Wang Ching Chuan | Chemical bag warmer |
| US5417721A (en) | 1992-06-15 | 1995-05-23 | Mallasch; Luther F. | Prostate gland enlargement reducing device |
| US5300104A (en) | 1992-10-20 | 1994-04-05 | Yvon Gaudreault | Thermotherapeutic pad |
| US5274865A (en) | 1992-11-25 | 1994-01-04 | Sanwa Life Cela Kabushiki Kaisha | Cooling device |
| US5441534A (en) | 1993-02-09 | 1995-08-15 | Macwinnie; Virginia | Heat pack for thermal treatment of breast |
| US5447531A (en) | 1993-03-15 | 1995-09-05 | Hot Springs Thermalsoft, Inc. | Therapeutic heat pack |
| US5366491A (en) | 1993-06-10 | 1994-11-22 | Bruder Healthcare Company | Moist heat apparatus |
| US5366492A (en) | 1993-08-14 | 1994-11-22 | Kiribai Chemical Industry Co., Ltd. | Disposable body warmer |
| US5447532A (en) | 1993-09-10 | 1995-09-05 | Furuya; Mitsuko | Highly absorptive expanding therapeutic water pillow |
| US5476492A (en) | 1994-02-23 | 1995-12-19 | Unrug; Sophia | Body warmer for therapeutic purposes containing whole herb seed |
| US5456704A (en) | 1994-04-21 | 1995-10-10 | Kilcullen; Robert J. | Method of treatment with therapeutic moist heating pad |
| US5476490A (en) | 1994-05-10 | 1995-12-19 | Medela, Inc. | Heating pad |
| US5792213A (en) | 1995-11-15 | 1998-08-11 | Tecnol Medical Products, Inc. | Hot or cold chemical therapy pack |
Cited By (99)
| Publication number | Priority date | Publication date | Assignee | Title |
|---|---|---|---|---|
| US20060010902A1 (en) * | 2003-06-06 | 2006-01-19 | Trinh David L | Thermal therapeutic method |
| US7243509B2 (en) | 2003-06-06 | 2007-07-17 | David Lam Trinh | Thermal therapeutic method |
| US7087076B2 (en) * | 2003-08-21 | 2006-08-08 | Kimberly-Clark Worldwide, Inc. | Reflective heat patch |
| US8016868B2 (en) | 2003-08-21 | 2011-09-13 | Kimberly-Clark Worldwide, Inc. | Reflective heat patch |
| US20050043776A1 (en) * | 2003-08-21 | 2005-02-24 | Kimberly-Clark Worldwide, Inc. | Reflective heat patch |
| US20060224221A1 (en) * | 2003-08-21 | 2006-10-05 | Kimberly-Clark Worlwide, Inc. | Reflective heat patch |
| US7559907B2 (en) | 2004-02-23 | 2009-07-14 | Aqueduct Medical, Inc. | Temperature-controllable device |
| US20050228465A1 (en) * | 2004-04-09 | 2005-10-13 | Christa Harris | Thermal device for activatable thermochemical compositions |
| US20080251062A1 (en) * | 2004-07-14 | 2008-10-16 | Toshihiro Dodo | Heat Cloth and Process for Producing the Same |
| US20060064148A1 (en) * | 2004-09-23 | 2006-03-23 | Sammarco Domenic A | Self-adherent instant cold compress therapeutic wrap |
| US7338516B2 (en) | 2004-12-23 | 2008-03-04 | Kimberly-Clark Worldwide, Inc. | Method for applying an exothermic coating to a substrate |
| US7763061B2 (en) | 2004-12-23 | 2010-07-27 | Kimberly-Clark Worldwide, Inc. | Thermal coverings |
| US20070021809A1 (en) * | 2005-07-22 | 2007-01-25 | Cole Pamela S | Vagina and vulva cooling and heating device |
| US20070021727A1 (en) * | 2005-07-22 | 2007-01-25 | Fabrega Marco A | Disposable absorbent undergarment with pocket |
| US8052730B2 (en) * | 2005-08-12 | 2011-11-08 | Mark Brown | Therapeutic device for thermally assisted urinary function |
| US20090105793A1 (en) * | 2005-08-12 | 2009-04-23 | Mark Brown | Therapeutic device for thermally assisted urinary function |
| US20080045913A1 (en) * | 2006-08-17 | 2008-02-21 | Kimberly-Clark Worldwide, Inc. | Training article for delivering unique sensations |
| US8319004B2 (en) | 2006-08-17 | 2012-11-27 | Kimberly-Clark Worldwide, Inc. | Training article for delivering unique sensations |
| US20080082151A1 (en) * | 2006-08-31 | 2008-04-03 | Kimberly-Clark Worldwide, Inc. | Warming product |
| US8425578B2 (en) | 2006-08-31 | 2013-04-23 | Kimberly-Clark Worldwide, Inc. | Warming product |
| US7875066B2 (en) | 2006-12-11 | 2011-01-25 | Kimberly-Clark Worldwide, Inc. | Thermal grill for heating articles |
| US20080140165A1 (en) * | 2006-12-11 | 2008-06-12 | Cohen Jason C | Thermal grill for heating articles |
| US20080268216A1 (en) * | 2007-04-30 | 2008-10-30 | Kimberly-Clark Worldwide, Inc. | Cooling product |
| US8187697B2 (en) | 2007-04-30 | 2012-05-29 | Kimberly-Clark Worldwide, Inc. | Cooling product |
| US20090149772A1 (en) * | 2007-12-05 | 2009-06-11 | Kimberly-Clark Worldwide, Inc. | Temperature Indicator for Cooling Products |
| US20090149925A1 (en) * | 2007-12-05 | 2009-06-11 | Kimberly-Clark Worldwide, Inc. | Temperature Indicator for Warming Products |
| US8636786B2 (en) | 2008-05-16 | 2014-01-28 | Seth A. Biser | Thermal compress system and methods of using the same |
| US20090287283A1 (en) * | 2008-05-16 | 2009-11-19 | Seth Biser | Thermal compress assembly and system with external frame |
| US11076983B2 (en) | 2008-05-16 | 2021-08-03 | Seth A. Biser | Thermal eye compress systems and methods of use |
| US20100126492A1 (en) * | 2008-11-24 | 2010-05-27 | St Etienne Roselyn | Portable baby bottle warmer |
| US20100300426A1 (en) * | 2009-06-02 | 2010-12-02 | Madan Deepak S | Tunable flameless heaters |
| US8635998B2 (en) | 2009-06-02 | 2014-01-28 | Read Manufacturing Company | Tunable flameless heaters |
| US20100312317A1 (en) * | 2009-06-06 | 2010-12-09 | Carol Baltazar | Hot/cold temperature treatment apparatus |
| USD950745S1 (en) | 2009-06-06 | 2022-05-03 | Therapearl, Llc | Temperature therapy apparatus |
| USD787080S1 (en) | 2009-06-06 | 2017-05-16 | Therapearl, Llc | Thermal pack |
| USD787694S1 (en) | 2009-06-06 | 2017-05-23 | Therapearl, Llc | Thermal pack |
| US20130023970A1 (en) * | 2010-03-28 | 2013-01-24 | Kimberly Cull | Treating Medical Conditions in Body Cavities |
| US10869777B2 (en) * | 2010-03-28 | 2020-12-22 | Kimberly Cull | Treating medical conditions in body cavities |
| USD908902S1 (en) | 2010-06-04 | 2021-01-26 | Therapearl, Llc | Thermal pack |
| USD965804S1 (en) | 2010-06-04 | 2022-10-04 | Therapearl, Llc | Thermal pack |
| USD749232S1 (en) | 2010-06-04 | 2016-02-09 | Therapearl, Llc | Thermal pack |
| USD904633S1 (en) | 2010-06-04 | 2020-12-08 | Therapearl Llc | Thermal pack |
| USD904631S1 (en) | 2010-06-04 | 2020-12-08 | Therapearl Llc | Thermal pack |
| USD950746S1 (en) | 2010-06-04 | 2022-05-03 | Therapearl, Llc | Temperature therapy apparatus |
| USD787082S1 (en) | 2010-06-04 | 2017-05-16 | Therapearl, Llc | Thermal pack |
| USD787081S1 (en) | 2010-06-04 | 2017-05-16 | Therapearl, Llc | Thermal pack |
| USD904632S1 (en) | 2010-06-04 | 2020-12-08 | Therapearl Llc | Thermal pack |
| USD951465S1 (en) | 2010-06-04 | 2022-05-10 | Therapearl, Llc | Thermal pack |
| USD951464S1 (en) | 2010-06-04 | 2022-05-10 | Therapearl, Llc | Thermal pack |
| USD952170S1 (en) | 2010-06-04 | 2022-05-17 | Therapearl, Llc | Temperature therapy apparatus |
| USD883502S1 (en) * | 2010-06-04 | 2020-05-05 | Therapearl Llc | Thermal pack |
| USD959002S1 (en) | 2010-06-04 | 2022-07-26 | Therapearl, Llc | Temperature therapy apparatus |
| USD974577S1 (en) | 2010-06-04 | 2023-01-03 | Therapearl, Llc | Thermal pack |
| USD728811S1 (en) | 2012-01-13 | 2015-05-05 | Therapearl, Llc | Thermal pack |
| USD793569S1 (en) | 2012-01-13 | 2017-08-01 | Therapearl Llc | Thermal pack |
| USD701611S1 (en) | 2012-01-13 | 2014-03-25 | Therapearl, Llc | Thermal pack |
| USD728810S1 (en) | 2012-01-13 | 2015-05-05 | Therapearl, Llc | Thermal pack |
| USD702849S1 (en) * | 2012-02-17 | 2014-04-15 | Therapearl, Llc | Thermal pack |
| USD693015S1 (en) * | 2012-02-17 | 2013-11-05 | Therapearl, Llc | Thermal pack |
| USD736396S1 (en) * | 2012-02-17 | 2015-08-11 | Therapearl, Llc | Thermal pack |
| USD836208S1 (en) | 2012-04-05 | 2018-12-18 | Therapearl Llc | Thermal pack |
| USD866782S1 (en) | 2012-04-05 | 2019-11-12 | Therapearl Llc | Thermal pack |
| USD771014S1 (en) | 2012-04-05 | 2016-11-08 | Therapearl, Llc | Thermal pack |
| US9644880B2 (en) | 2013-01-24 | 2017-05-09 | Rachel Kimia Paul | Cooling device |
| US20140371829A1 (en) * | 2013-06-14 | 2014-12-18 | Ten Minute, Inc. | Methods and apparatus for a therapeutic device |
| USD805648S1 (en) | 2014-08-20 | 2017-12-19 | Therapearl | Thermal pack |
| USD873429S1 (en) | 2014-08-20 | 2020-01-21 | Therapearl, Llc | Thermal pack |
| US20170296381A1 (en) * | 2016-04-14 | 2017-10-19 | Paul Fox | Sportswear cooling system |
| US11298260B2 (en) | 2016-07-19 | 2022-04-12 | Allegiance Corporation | Perineal thermal pack with improved liquid containment |
| US20180338556A1 (en) * | 2017-05-26 | 2018-11-29 | Charla Cothran | Cool Strip |
| USD857216S1 (en) | 2018-03-01 | 2019-08-20 | Shanghai Chuangshi Industry Group Co., Ltd. | Therapy pack |
| USD961095S1 (en) | 2018-03-01 | 2022-08-16 | Biofreeze Ip Holdings, Llc | Therapy pack |
| USD888974S1 (en) | 2018-03-01 | 2020-06-30 | Shanghai Chuangshi Industry Group Co., Ltd. | Therapy pack |
| USD985134S1 (en) | 2018-03-01 | 2023-05-02 | Biofreeze Ip Holdings, Llc | Therapy pack |
| USD984660S1 (en) | 2018-03-01 | 2023-04-25 | Biofreeze Ip Holdings, Llc | Therapy pack |
| USD888975S1 (en) | 2018-03-01 | 2020-06-30 | Shanghai Chuangshi Industry Group Co., Ltd. | Therapy pack |
| USD888976S1 (en) | 2018-03-01 | 2020-06-30 | Shanghai Chuangshi Industry Group Co., Ltd. | Therapy pack |
| USD888261S1 (en) | 2018-03-01 | 2020-06-23 | Shanghai Chuangshi Industry Group Co., Ltd. | Therapy pack |
| USD888262S1 (en) | 2018-03-01 | 2020-06-23 | Shanghai Chuangshi Industry Group Co., Ltd. | Therapy pack |
| USD887569S1 (en) | 2018-03-01 | 2020-06-16 | Shanghai Chuangshi Industry Group Co., Ltd. | Therapy pack |
| USD886312S1 (en) | 2018-03-01 | 2020-06-02 | Shanghai Chuangshi Industry Group Co., Ltd. | Therapy pack |
| USD886311S1 (en) | 2018-03-01 | 2020-06-02 | Shanghai Chuangshi Industry Group Co., Ltd. | Therapy pack |
| USD984662S1 (en) | 2018-03-01 | 2023-04-25 | Biofreeze Ip Holdings, Llc | Therapy pack |
| USD961098S1 (en) | 2018-03-01 | 2022-08-16 | Biofreeze Ip Holdings, Llc | Therapy pack |
| USD961100S1 (en) | 2018-03-01 | 2022-08-16 | Biofreeze Ip Holdings, Llc | Therapy pack |
| USD888973S1 (en) | 2018-03-01 | 2020-06-30 | Shanghai Chuangshi Industry Group Co., Ltd. | Therapy pack |
| USD961097S1 (en) | 2018-03-01 | 2022-08-16 | Biofreeze Ip Holdings, Llc | Therapy pack |
| USD961096S1 (en) | 2018-03-01 | 2022-08-16 | Biofreeze Ip Holdings, Llc | Therapy pack |
| USD961099S1 (en) | 2018-03-01 | 2022-08-16 | Biofreeze Ip Holdings, Llc | Therapy pack |
| USD857218S1 (en) | 2018-03-01 | 2019-08-20 | Shanghai Chuangshi Industry Group Co., Ltd. | Therapy pack |
| USD857217S1 (en) | 2018-03-01 | 2019-08-20 | Shanghai Chuangshi Industry Group Co., Ltd. | Therapy pack |
| USD982765S1 (en) | 2018-03-01 | 2023-04-04 | Biofreeze Ip Holdings, Llc | Therapy pack |
| USD984659S1 (en) | 2018-03-01 | 2023-04-25 | Biofreeze Ip Holdings, Llc | Therapy pack |
| USD984661S1 (en) | 2018-03-01 | 2023-04-25 | Biofreeze Ip Holdings, Llc | Therapy pack |
| US10492943B2 (en) | 2018-03-02 | 2019-12-03 | Shanghai Chuangshi Industry Group Co., Ltd. | Polymers, thermochromic agents, and/or hydrogel compositions and apparatus, including products embodying the same, and methods and processes for making same |
| US11690756B2 (en) | 2018-03-02 | 2023-07-04 | Biofreeze Ip Holdings, Llc | Polymers, thermochromic agents, and/or hydrogel compositions and apparatus, including products embodying the same, and methods and processes for making same |
| USD916304S1 (en) | 2018-06-29 | 2021-04-13 | Kobayashi Pharmaceutical Co., Ltd. | Sheet preparation to be applied on a human body |
| USD912260S1 (en) * | 2018-06-29 | 2021-03-02 | Kobayashi Pharmaceutical Co., Ltd. | Sheet preparation to be applied on a human body |
| US11877916B2 (en) | 2019-05-03 | 2024-01-23 | Parkview Health | Perineal therapy pad |
Also Published As
| Publication number | Publication date |
|---|---|
| WO1997039708A2 (en) | 1997-10-30 |
| US20010018605A1 (en) | 2001-08-30 |
| US6248125B1 (en) | 2001-06-19 |
| WO1997039708A3 (en) | 1998-03-05 |
Similar Documents
| Publication | Publication Date | Title |
|---|---|---|
| US6648909B2 (en) | Solo perineal hot and cold pack | |
| US5456704A (en) | Method of treatment with therapeutic moist heating pad | |
| US5184613A (en) | Thermal pack heel warming apparatus for a neonate or infant | |
| US6265631B1 (en) | Absorbent pad and thermal pack | |
| US6083256A (en) | NNT or cold pad with inner element | |
| US6524331B1 (en) | Thermal device with automatic nesting feature | |
| US3889684A (en) | Hot and cold pack | |
| US7243509B2 (en) | Thermal therapeutic method | |
| US4397315A (en) | Dressing with temperature pack | |
| US3175558A (en) | Thermal therapeutic pack | |
| US3867939A (en) | Disposable, sterile temperature control applicator pad for medical application | |
| US5730721A (en) | Medical applicator and method | |
| EP0613357B1 (en) | Thermal bandage | |
| US4381025A (en) | Cover for instant hot or cold pack | |
| US5167655A (en) | Cold therapy panty | |
| JPH084015Y2 (en) | Chemical thermal pack | |
| US6770064B1 (en) | Internally heated absorbent article | |
| CN101742978B (en) | Combined Tension Wraps | |
| WO1997026940A9 (en) | Medical applicator and method | |
| EP0050948A2 (en) | Improvements relating to heat-exchanging head pieces | |
| EP1051138A1 (en) | Hot or cold applicator with inner element | |
| US6320095B1 (en) | Therapeutic pad | |
| US6440160B1 (en) | Emergency stretcher kit | |
| US6786880B2 (en) | Therapeutic pad | |
| US5662096A (en) | Trigger to activate supercooled aqueous salt solution for use in a heat pack |
Legal Events
| Date | Code | Title | Description |
|---|---|---|---|
| STCF | Information on status: patent grant |
Free format text: PATENTED CASE |
|
| FEPP | Fee payment procedure |
Free format text: PAYOR NUMBER ASSIGNED (ORIGINAL EVENT CODE: ASPN); ENTITY STATUS OF PATENT OWNER: LARGE ENTITY |
|
| FPAY | Fee payment |
Year of fee payment: 4 |
|
| FPAY | Fee payment |
Year of fee payment: 8 |
|
| FPAY | Fee payment |
Year of fee payment: 12 |