[go: up one dir, main page]

US6636259B1 - Automatically configuring a web-enabled digital camera to access the internet - Google Patents

Automatically configuring a web-enabled digital camera to access the internet Download PDF

Info

Publication number
US6636259B1
US6636259B1 US09/625,824 US62582400A US6636259B1 US 6636259 B1 US6636259 B1 US 6636259B1 US 62582400 A US62582400 A US 62582400A US 6636259 B1 US6636259 B1 US 6636259B1
Authority
US
United States
Prior art keywords
website
information
digital camera
user
camera
Prior art date
Legal status (The legal status is an assumption and is not a legal conclusion. Google has not performed a legal analysis and makes no representation as to the accuracy of the status listed.)
Expired - Lifetime, expires
Application number
US09/625,824
Inventor
Eric C. Anderson
Robert Paul Morris
Current Assignee (The listed assignees may be inaccurate. Google has not performed a legal analysis and makes no representation or warranty as to the accuracy of the list.)
IPAC SUB
Mind Fusion LLC
Original Assignee
IPAC Acquisition Subsidiary I LLC
Priority date (The priority date is an assumption and is not a legal conclusion. Google has not performed a legal analysis and makes no representation as to the accuracy of the date listed.)
Filing date
Publication date
US case filed in Washington Western District Court litigation Critical https://portal.unifiedpatents.com/litigation/Washington%20Western%20District%20Court/case/2%3A20-cv-01618 Source: District Court Jurisdiction: Washington Western District Court "Unified Patents Litigation Data" by Unified Patents is licensed under a Creative Commons Attribution 4.0 International License.
Assigned to FLASHPOINT TECHNOLOGY, INC. reassignment FLASHPOINT TECHNOLOGY, INC. ASSIGNMENT OF ASSIGNORS INTEREST (SEE DOCUMENT FOR DETAILS). Assignors: ANDERSON, ERIC C., MORRIS, ROBERT PAUL
Priority to US09/625,824 priority Critical patent/US6636259B1/en
Application filed by IPAC Acquisition Subsidiary I LLC filed Critical IPAC Acquisition Subsidiary I LLC
Priority to AU2002224570A priority patent/AU2002224570A1/en
Priority to EP01984379A priority patent/EP1325633B1/en
Priority to JP2002515024A priority patent/JP4383738B2/en
Priority to DE60135921T priority patent/DE60135921D1/en
Priority to PCT/US2001/041089 priority patent/WO2002009435A1/en
Assigned to IPAC SUB reassignment IPAC SUB ASSIGNMENT OF ASSIGNORS INTEREST (SEE DOCUMENT FOR DETAILS). Assignors: FLASHPOINT TECHNOLOGY, INC.
Assigned to IPAC ACQUISITION SUBSIDIARY I, LLC reassignment IPAC ACQUISITION SUBSIDIARY I, LLC CORRECTIVE ASSIGNMENT TO CORRECT THE RECEIVING PARTY, FILED ON 07/05/2002, RECORDED ON REEL 013066 FRAME 0062. Assignors: FLASHPOINT TECHNOLOGY, INC.
Assigned to IPAC ACQUISITION SUBSIDIARY I, LLC reassignment IPAC ACQUISITION SUBSIDIARY I, LLC ASSIGNMENT CORRECTION,REEL/FRAME:013056/0062 Assignors: FLASHPOINT TECHNOLOGY, INC.
Assigned to FLASHPOINT TECHNOLOGY, INC. reassignment FLASHPOINT TECHNOLOGY, INC. SECURITY AGREEMENT Assignors: IPAC ACQUISITION SUBSIDIARY I, LLC
Priority to US10/658,999 priority patent/US7443419B2/en
Publication of US6636259B1 publication Critical patent/US6636259B1/en
Application granted granted Critical
Assigned to FLASHPOINT TECHNOLOGY, INC. reassignment FLASHPOINT TECHNOLOGY, INC. RELEASE BY SECURED PARTY (SEE DOCUMENT FOR DETAILS). Assignors: IPAC ACQUISITION SUBSIDIARY I, LLC
Priority to US10/845,693 priority patent/US20040215788A1/en
Assigned to FOTOMEDIA TECHNOLOGIES, LLC reassignment FOTOMEDIA TECHNOLOGIES, LLC ASSIGNMENT OF ASSIGNORS INTEREST (SEE DOCUMENT FOR DETAILS). Assignors: IPAC ACQUISITION SUBSIDIARY I, LLC
Priority to US12/212,113 priority patent/US8009194B2/en
Priority to US13/183,566 priority patent/US8572663B2/en
Assigned to FOTOMEDIA TECHNOLOGIES, LLC reassignment FOTOMEDIA TECHNOLOGIES, LLC ASSIGNMENT OF ASSIGNORS INTEREST (SEE DOCUMENT FOR DETAILS). Assignors: IPAC ACQUISITION SUBSIDIARY I, LLC
Assigned to KDL SCAN DESIGNS LLC reassignment KDL SCAN DESIGNS LLC ASSIGNMENT OF ASSIGNORS INTEREST (SEE DOCUMENT FOR DETAILS). Assignors: FOTOMEDIA TECHNOLOGIES, LLC
Priority to US14/024,515 priority patent/US9276968B2/en
Priority to US14/144,285 priority patent/US9118740B2/en
Priority to US14/834,280 priority patent/US9906703B2/en
Assigned to CHEMTRON RESEARCH LLC reassignment CHEMTRON RESEARCH LLC MERGER (SEE DOCUMENT FOR DETAILS). Assignors: KDL SCAN DESIGNS LLC
Priority to US15/003,638 priority patent/US9736196B2/en
Adjusted expiration legal-status Critical
Assigned to INTELLECTUAL VENTURES ASSETS 186 LLC reassignment INTELLECTUAL VENTURES ASSETS 186 LLC ASSIGNMENT OF ASSIGNORS INTEREST (SEE DOCUMENT FOR DETAILS). Assignors: CHEMTRON RESEARCH LLC
Assigned to INTELLECTUAL VENTURES ASSETS 186 LLC, INTELLECTUAL VENTURES ASSETS 191 LLC reassignment INTELLECTUAL VENTURES ASSETS 186 LLC SECURITY INTEREST Assignors: MIND FUSION, LLC
Assigned to MIND FUSION, LLC reassignment MIND FUSION, LLC ASSIGNMENT OF ASSIGNOR'S INTEREST Assignors: INTELLECTUAL VENTURES ASSETS 186 LLC
Expired - Lifetime legal-status Critical Current

Links

Images

Classifications

    • HELECTRICITY
    • H04ELECTRIC COMMUNICATION TECHNIQUE
    • H04NPICTORIAL COMMUNICATION, e.g. TELEVISION
    • H04N1/00Scanning, transmission or reproduction of documents or the like, e.g. facsimile transmission; Details thereof
    • H04N1/00127Connection or combination of a still picture apparatus with another apparatus, e.g. for storage, processing or transmission of still picture signals or of information associated with a still picture
    • H04N1/00132Connection or combination of a still picture apparatus with another apparatus, e.g. for storage, processing or transmission of still picture signals or of information associated with a still picture in a digital photofinishing system, i.e. a system where digital photographic images undergo typical photofinishing processing, e.g. printing ordering
    • H04N1/00148Storage
    • H04N1/00151Storage with selective access
    • HELECTRICITY
    • H04ELECTRIC COMMUNICATION TECHNIQUE
    • H04LTRANSMISSION OF DIGITAL INFORMATION, e.g. TELEGRAPHIC COMMUNICATION
    • H04L65/00Network arrangements, protocols or services for supporting real-time applications in data packet communication
    • H04L65/1066Session management
    • H04L65/1069Session establishment or de-establishment
    • HELECTRICITY
    • H04ELECTRIC COMMUNICATION TECHNIQUE
    • H04NPICTORIAL COMMUNICATION, e.g. TELEVISION
    • H04N1/00Scanning, transmission or reproduction of documents or the like, e.g. facsimile transmission; Details thereof
    • H04N1/00127Connection or combination of a still picture apparatus with another apparatus, e.g. for storage, processing or transmission of still picture signals or of information associated with a still picture
    • H04N1/00132Connection or combination of a still picture apparatus with another apparatus, e.g. for storage, processing or transmission of still picture signals or of information associated with a still picture in a digital photofinishing system, i.e. a system where digital photographic images undergo typical photofinishing processing, e.g. printing ordering
    • H04N1/00185Image output
    • H04N1/00196Creation of a photo-montage, e.g. photoalbum
    • HELECTRICITY
    • H04ELECTRIC COMMUNICATION TECHNIQUE
    • H04NPICTORIAL COMMUNICATION, e.g. TELEVISION
    • H04N1/00Scanning, transmission or reproduction of documents or the like, e.g. facsimile transmission; Details thereof
    • H04N1/00127Connection or combination of a still picture apparatus with another apparatus, e.g. for storage, processing or transmission of still picture signals or of information associated with a still picture
    • H04N1/00204Connection or combination of a still picture apparatus with another apparatus, e.g. for storage, processing or transmission of still picture signals or of information associated with a still picture with a digital computer or a digital computer system, e.g. an internet server
    • H04N1/00209Transmitting or receiving image data, e.g. facsimile data, via a computer, e.g. using e-mail, a computer network, the internet, I-fax
    • H04N1/00212Attaching image data to computer messages, e.g. to e-mails
    • HELECTRICITY
    • H04ELECTRIC COMMUNICATION TECHNIQUE
    • H04NPICTORIAL COMMUNICATION, e.g. TELEVISION
    • H04N1/00Scanning, transmission or reproduction of documents or the like, e.g. facsimile transmission; Details thereof
    • H04N1/00127Connection or combination of a still picture apparatus with another apparatus, e.g. for storage, processing or transmission of still picture signals or of information associated with a still picture
    • H04N1/00204Connection or combination of a still picture apparatus with another apparatus, e.g. for storage, processing or transmission of still picture signals or of information associated with a still picture with a digital computer or a digital computer system, e.g. an internet server
    • H04N1/00236Connection or combination of a still picture apparatus with another apparatus, e.g. for storage, processing or transmission of still picture signals or of information associated with a still picture with a digital computer or a digital computer system, e.g. an internet server using an image reading or reproducing device, e.g. a facsimile reader or printer, as a local input to or local output from a computer
    • HELECTRICITY
    • H04ELECTRIC COMMUNICATION TECHNIQUE
    • H04NPICTORIAL COMMUNICATION, e.g. TELEVISION
    • H04N1/00Scanning, transmission or reproduction of documents or the like, e.g. facsimile transmission; Details thereof
    • H04N1/00127Connection or combination of a still picture apparatus with another apparatus, e.g. for storage, processing or transmission of still picture signals or of information associated with a still picture
    • H04N1/00204Connection or combination of a still picture apparatus with another apparatus, e.g. for storage, processing or transmission of still picture signals or of information associated with a still picture with a digital computer or a digital computer system, e.g. an internet server
    • H04N1/00236Connection or combination of a still picture apparatus with another apparatus, e.g. for storage, processing or transmission of still picture signals or of information associated with a still picture with a digital computer or a digital computer system, e.g. an internet server using an image reading or reproducing device, e.g. a facsimile reader or printer, as a local input to or local output from a computer
    • H04N1/00241Connection or combination of a still picture apparatus with another apparatus, e.g. for storage, processing or transmission of still picture signals or of information associated with a still picture with a digital computer or a digital computer system, e.g. an internet server using an image reading or reproducing device, e.g. a facsimile reader or printer, as a local input to or local output from a computer using an image reading device as a local input to a computer
    • HELECTRICITY
    • H04ELECTRIC COMMUNICATION TECHNIQUE
    • H04NPICTORIAL COMMUNICATION, e.g. TELEVISION
    • H04N1/00Scanning, transmission or reproduction of documents or the like, e.g. facsimile transmission; Details thereof
    • H04N1/00127Connection or combination of a still picture apparatus with another apparatus, e.g. for storage, processing or transmission of still picture signals or of information associated with a still picture
    • H04N1/00204Connection or combination of a still picture apparatus with another apparatus, e.g. for storage, processing or transmission of still picture signals or of information associated with a still picture with a digital computer or a digital computer system, e.g. an internet server
    • H04N1/00244Connection or combination of a still picture apparatus with another apparatus, e.g. for storage, processing or transmission of still picture signals or of information associated with a still picture with a digital computer or a digital computer system, e.g. an internet server with a server, e.g. an internet server
    • HELECTRICITY
    • H04ELECTRIC COMMUNICATION TECHNIQUE
    • H04NPICTORIAL COMMUNICATION, e.g. TELEVISION
    • H04N7/00Television systems
    • H04N7/18Closed-circuit television [CCTV] systems, i.e. systems in which the video signal is not broadcast
    • HELECTRICITY
    • H04ELECTRIC COMMUNICATION TECHNIQUE
    • H04NPICTORIAL COMMUNICATION, e.g. TELEVISION
    • H04N2201/00Indexing scheme relating to scanning, transmission or reproduction of documents or the like, and to details thereof
    • H04N2201/0008Connection or combination of a still picture apparatus with another apparatus
    • H04N2201/0015Control of image communication with the connected apparatus, e.g. signalling capability
    • HELECTRICITY
    • H04ELECTRIC COMMUNICATION TECHNIQUE
    • H04NPICTORIAL COMMUNICATION, e.g. TELEVISION
    • H04N2201/00Indexing scheme relating to scanning, transmission or reproduction of documents or the like, and to details thereof
    • H04N2201/0008Connection or combination of a still picture apparatus with another apparatus
    • H04N2201/0074Arrangements for the control of a still picture apparatus by the connected apparatus
    • HELECTRICITY
    • H04ELECTRIC COMMUNICATION TECHNIQUE
    • H04NPICTORIAL COMMUNICATION, e.g. TELEVISION
    • H04N2201/00Indexing scheme relating to scanning, transmission or reproduction of documents or the like, and to details thereof
    • H04N2201/32Circuits or arrangements for control or supervision between transmitter and receiver or between image input and image output device, e.g. between a still-image camera and its memory or between a still-image camera and a printer device
    • H04N2201/3201Display, printing, storage or transmission of additional information, e.g. ID code, date and time or title
    • H04N2201/3204Display, printing, storage or transmission of additional information, e.g. ID code, date and time or title of data relating to a user, sender, addressee, machine or electronic recording medium
    • H04N2201/3205Display, printing, storage or transmission of additional information, e.g. ID code, date and time or title of data relating to a user, sender, addressee, machine or electronic recording medium of identification information, e.g. name or ID code
    • HELECTRICITY
    • H04ELECTRIC COMMUNICATION TECHNIQUE
    • H04NPICTORIAL COMMUNICATION, e.g. TELEVISION
    • H04N2201/00Indexing scheme relating to scanning, transmission or reproduction of documents or the like, and to details thereof
    • H04N2201/32Circuits or arrangements for control or supervision between transmitter and receiver or between image input and image output device, e.g. between a still-image camera and its memory or between a still-image camera and a printer device
    • H04N2201/3201Display, printing, storage or transmission of additional information, e.g. ID code, date and time or title
    • H04N2201/3274Storage or retrieval of prestored additional information
    • HELECTRICITY
    • H04ELECTRIC COMMUNICATION TECHNIQUE
    • H04NPICTORIAL COMMUNICATION, e.g. TELEVISION
    • H04N2201/00Indexing scheme relating to scanning, transmission or reproduction of documents or the like, and to details thereof
    • H04N2201/32Circuits or arrangements for control or supervision between transmitter and receiver or between image input and image output device, e.g. between a still-image camera and its memory or between a still-image camera and a printer device
    • H04N2201/3201Display, printing, storage or transmission of additional information, e.g. ID code, date and time or title
    • H04N2201/3278Transmission

Definitions

  • the present invention is related to co-pending U.S. patent application Ser. No. 09/625,398 entitled “Method and System For Hosting Entity-Specific Photo-Sharing Websites For Entity-Specific Digital Cameras,”; and to co-pending U.S. patent application Ser. No. 09/626,418 entitled “Method And System For Selecting Actions To Be Taken By A Server When Uploading Images,” which are assigned to the assignee of the present application and filed on the same date as the present application.
  • the present invention relates to a method and system for customizing digital cameras to upload images to an entity-specific photo-sharing websites, and more particularly to automatically configuring a web-enabled digital camera to access the Internet.
  • an email software application is loaded into a digital camera capable of running software that allows the user to e-mail the images directly from the camera.
  • the user simply connects his or her digital camera to a cellphone or modem, runs the e-mail application, and selects the desired images and the email recipients. The selected images are then sent to the recipients as e-mail attachments.
  • the present invention provides a method and system for automatically establishing a user account and for configuring a hand-held electronic device for accessing a site on a public network using the user account.
  • the method and system include establishing a connection to a website server, which is responsible for establishing and maintaining website accounts.
  • the presence of account information on the electronic device camera is then checked, and if none are found, it is determined that this is a first-time connection and information uniquely identifying the electronic device is sent to the website server so that the server can set-up the account information based on the electronic device information.
  • the server then sends user account information to the device, including an account ID and password.
  • the user account information is then stored on electronic device for use the next time the electronic device accesses the website, whereby the user does not have to enter account information in order to establish the ISP connection or the website account before accessing the public network.
  • a user does not have to enter account information in order to establish the ISP connection or the website account before accessing the public network with the electronic device.
  • FIG. 1 is a block diagram illustrating an online photo-sharing system in accordance with a preferred embodiment of the present invention.
  • FIG. 2 is a flow chart illustrating a business method for hosting entity-specific photo-sharing websites for entity-specific image capture devices in accordance with a preferred embodiment of the present invention.
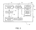
  • FIG. 3 is a diagram showing a preferred embodiment of the connectivity and application software of the camera.
  • FIGS. 4A and 4B illustrate a flow chart of a process for automatically configuring a web-enabled digital camera to access the Internet in a preferred embodiment of the present invention.
  • FIG. 5 is a block diagram illustrating an example action list 48 displayed on the LCD screen of the camera.
  • the present invention relates to an automatic system for uploading images from a digital camera to entity-specific photo-sharing websites and for automatically establishing accounts.
  • the following description is presented to enable one of ordinary skill in the art to make and use the invention and is provided in the context of a patent application and its requirements. Various modifications to the preferred embodiment will be readily apparent to those skilled in the art and the generic principles herein may be applied to other embodiments. Thus, the present invention is not intended to be limited to the embodiment shown but is to be accorded the widest scope consistent with the principles and features described herein.
  • FIG. 1 is a block diagram illustrating an online photo-sharing system 10 in accordance with a preferred embodiment of the present invention.
  • the system includes a plurality of camera controlling entities 12 that produce, own, or otherwise control a set of digital cameras 14 , and an online photo-sharing service 16 .
  • the online photo-sharing service 16 includes a gateway server 18 and an entity/account database 20 .
  • the various camera controlling entities 12 contract with the photo-sharing service 16 to transparently host customized photo-sharing websites 22 for each entity, which are referred to herein as entity-specific photo-sharing websites 22 .
  • the entity-specific photo-sharing websites 22 are each accessible to the user through the entity's existing Internet site (not shown), and thus appear to users as though the entity-specific photo-sharing websites 22 are hosted by the corresponding entity.
  • the cameras 14 for a particular entity are customized for that entity to create entity-specific cameras 14 , such that when the cameras 14 connect to the Internet, the cameras 14 automatically upload their images to the photo-sharing website of the corresponding entity.
  • the photo-sharing service 16 automatically stores the images in a web album, which is viewable over the Internet by a user's web browser 24 .
  • a camera controlling entity 12 is any entity that makes, owns, sells, or controls digital cameras 14 , and therefore includes, camera manufactures, companies, retailers, and end-users. One or more combination of these entities 12 may either contract with the photo-sharing service 16 to provide entity-specific websites 22 for their cameras 14 , or have entity information transmitted to the photo-sharing service 16 from the cameras 14 . Therefore, a camera controlling entity 12 may include a single entity 12 or a hierarchal relationship of entities 12 .
  • An example of a single entity 12 includes an insurance company that contracts with the photo-sharing service 16 to have all digital cameras 14 used by their agents to transmit their images to a customized insurance photo-sharing website.
  • Examples of a hierarchal relationships of entities 12 includes a camera manufacturer, such as Nikon, that contracts with the photo-sharing service 16 to have all Nikon digital cameras 14 transmit their images to the customized Nikon photo-sharing website. Since the images of different users must be distinguished, each user of a Nikon camera 14 would also constitute an entity within the Nikon website so that the images from different users can be distinguished.
  • Other examples of hierarchal entity relationships include a retailer and its consumers, a real estate agency and its agents, community groups and its members, and government agencies and its employees, for instance.
  • the cameras 14 are customized for their respective entities 12 by providing the cameras 14 with software for transmitting entity ID information 28 identifying its controlling entity 12 to the photo-sharing service 16 .
  • the photo-sharing service 16 in conjunction with the gateway server 18 and the entity/account database 20 hosts the entity-specific photo-sharing websites 22 .
  • Each entity-specific website 22 is identified in the database 20 by an entity account number 30 and includes the web pages and URLs 32 comprising the website, the images and web albums 34 stored on the website, and the user account numbers 36 of authorized users.
  • the database 20 also includes user accounts 40 , each of which comprises a user account number 42 , user preferences 44 , the user's images 46 , and action lists 48 , explained further below.
  • the gateway server 18 which communicates with the cameras 14 during image uploading, receives one or more entity IDs 28 from each camera 14 and matches the entity ID 28 with an entity account 30 in the database 20 .
  • the images are then automatically associated with the photo-sharing website 22 of the identified entity 12 and/or the identified user.
  • a user of the camera 14 may visit the online photo-sharing website 22 over the Internet to view the images via a web browser 24 . Since the photo-sharing websites 22 are transparently hosted by the photo-sharing service 16 , each photo-sharing website 22 appears as though it is hosted by the entity itself, rather than the third party service.
  • the cameras 14 may connect to the Internet via a service provider 26 , which may include a wireless carrier and/or an Internet service provider (ISP) that is capable of servicing many devices simultaneously.
  • ISP Internet service provider
  • each of the cameras 14 is provided with wireless connectivity for connecting to the Internet, and are therefore so called “web-enabled” devices, although a wired connection method may also be used.
  • the cameras 14 may be provided with wireless connectivity using anyone of a variety of methods.
  • a cellphone may be used to provide the digital camera 14 with wireless capability, where the camera 14 is connected to the cellphone via a cable or some short-range wireless communication, such as Bluetooth.
  • the camera 14 could be provided with built-in cellphone-like wireless communication.
  • the digital camera 14 is not wireless, but instead uses a modem for Internet connectivity.
  • the modem could be external or internal. If external, the camera 14 could be coupled to modem via any of several communications means (e.g., USB, IEEE1394, infrared link, etc.).
  • An internal modem could be implemented directly within the electronics of camera 14 (e.g., via a modem ASIC), or alternatively, as a software only modem executing on a processor within camera.
  • the Internet connection can take several forms. Hence, it should be appreciated that the present invention is not limited to any particular method of accessing the Internet.
  • the entity-specific websites 22 are customized to seamlessly integrate into the entity's existing website by following the look and feel of the entity's existing website.
  • the entity-specific websites 22 are hosted on the photo-sharing service 16 , but a link to the entity-specific websites 22 may be provided on the homepage of the corresponding entity's existing website.
  • the user in order to view a web album on an entity-specific website 22 , the user must visit the entity's existing website and click the link to the entity-specific website 22 , where the user's browser 24 will be transparently directed to the photo-sharing service 16 and be provided with the web pages 32 of the entity-specific website 22 .
  • Minolta and Nikon are entities 12 that have contracted with the photo-sharing service 16 , and that the photo-sharing service 16 hosts a photo-sharing website 22 for Minolta and a photo-sharing website 22 Nikon.
  • the Minolta cameras 14 would be provided the entity ID 28 for Minolta and the Nikon cameras 14 would be provided the entity ID 28 for Nikon.
  • the gateway server 18 would distinguish the cameras 14 by the entity IDs 28 and would direct the set of images received from Minolta cameras 14 to Minolta's photo-sharing website, and would direct the images from Nikon cameras 14 to Nikon's photo-sharing website.
  • the owners of the cameras 14 would use a browser 24 on their PC or PDA to visit the URL of the Minolta or Nikon photo-sharing websites 22 .
  • the photo-sharing service 16 sends the URL of the entity-specific website 22 directly to the camera 14 for display to inform the user of the address.
  • the photo-sharing service 16 provides business-to-business and business-to-consumer business models.
  • the service is business-to-business because the service provides companies, such as camera manufactures, with a complete end-to-end solution for their cameras 14 .
  • the solution includes customized software for their cameras 14 for sending images over the internet, and an internet website for storing images from those cameras 14 on a branded website that appears to be hosted by the company.
  • the service is business-to-consumer because it allows users of digital cameras 14 with an automatic solution for uploading captured images from a digital camera 14 to an online photo-sharing website, without a PC.
  • the photo-sharing service 16 provides a method of doing business whereby the photo-sharing service 16 shares revenue based on the hierarchal relationship of the entities 12 . For example, if the photo sharing service 16 charges a fee for receiving and/or storing the images received from the entity-specific cameras 14 , then the photo sharing service 16 may share a portion of the fee with the manufacturer and/or third party supplier of the camera 14 that uploaded the images, for instance. Revenue may also be shared with the wireless service provider providing the connection with the photo sharing service 16 .
  • FIG. 2 is a flow chart illustrating a business method for hosting entity-specific photo-sharing websites for entity-specific image capture devices, such a digital cameras, in accordance with a preferred embodiment of the present invention.
  • the cameras 14 are provided with connectivity and application software for communicating over the Internet in step 50 . In a preferred embodiment, this step is performed during camera 14 manufacturing to provide off-the-shelf web enabled cameras 14 .
  • the cameras 14 are also customized for specific entities 12 to create entity-specific cameras 14 by providing each of the cameras 14 with at least one entity ID 28 identifying the corresponding controlling entity in step 52 .
  • the camera 14 includes a microprocessor-based architecture that runs an operating system 70 for controlling camera hardware 72 and overall functionality of the camera 14 (e.g., taking pictures, storing pictures, and the like).
  • an operating system 70 is the DigitaTM Operating Environment developed by the assignee of the present application.
  • the camera 14 also includes communication manager 74 software, and a TCP-IP protocol stack 76 , that enables communication via the internet, as is well-known in the art.
  • the entity ID information 28 and captured images may be stored in one or more types of memories 82 .
  • the cameras 14 are provided with hierarchal entity IDs 28 ; one entity ID 28 identifying the entity, and a second entity ID 28 identifying the end-user. Whether there are one or more entity IDs 28 , the entity ID 28 ′ of the camera manufacturer may always be provided. Camera 14 customization may occur either during manufacture or anytime thereafter.
  • the manufacturer entity ID 28 ′ is provided at the time of manufacturing and is stored in an EEPROM 82 b , while the entity IDs 28 for other entities 12 , such as companies and end-users, are loaded into the camera 14 subsequent to manufacturing and are stored in flash memory 82 a or the EEPROM 82 b.
  • Customization that occurs subsequent to manufacture may be implemented using several methods.
  • the first method is to manufacture the cameras 14 with an application programming interface (not shown) for accepting a subsequently loaded software application that specifies the entity ID's 28 .
  • the application may come preloaded on a flash card, which is then inserted into the camera 14 by the user and stored in flash memory 82 a .
  • the application may also be wirelessly beamed into the camera.
  • the software application transmits the appropriate entity IDs 28 to the gateway server 18 .
  • the second method is to load a small file in the camera 14 specifying the entity IDs 28 from a removable memory or from a PC, and storing the file in a system folder within the camera's flash memory 82 a .
  • the camera 14 then accesses the file when an Internet connection is established.
  • the communication manager 74 automatically extracts the manufacturing ID 28 ′ and the entity ID 28 and transmits them to the gateway server 18 .
  • the entity ID 28 is also stored in the EEPROM 82 b and is factory set to zero (empty). Thus, unless the entity ID 28 is set, the manufacturing ID 28 ′ may default as the highest controlling entity.
  • a custom entity ID will be issued for developer X and developer X will place the custom entity ID into the EEPROM 82 b .
  • Developer X is now a controlling entity 12 , and may specify to the photo-sharing service 16 that a developer X entity-specific photo-sharing site 22 or developer X's own website be the destination for the uploaded images.
  • the protocol stack 76 under direction of the communications manager interfaces with the communications hardware 78 of camera.
  • the protocol stack 76 includes software APIs and protocol libraries that interface with the communication manager 74 , and communication hardware interface drivers that interfaces directly with the various communications hardware 72 the camera 14 must function with (e.g., a Bluetooth transceiver, etc.).
  • the communication manager 74 communicates with operating system 70 and the IP protocol stack 76 to establish an Internet connection ant to transmit the entity ID 28 information and images from the memories 82 a and 82 b to the photo-sharing service 16 .
  • Entity specific cameras 14 may then be distinguished by providing a mapping of the camera serial numbers and product IDs to specific entities 12 in the database 20 .
  • the camera 14 has been described in terms of a software-based customization solution, those with ordinary skill in the art will readily recognize that the camera 14 may also be provided with a hardware-based solution.
  • the entity-specific websites 22 are created for each entity contracting with the photo-sharing service 16 in step 54 .
  • Customization requires storage of entity information in the entity/account database 20 and creating and storing web page elements comprising the entity-specific photo-sharing website in the database 20 .
  • the entity-specific information stored in the database 20 may also include service levels, and enabled features for the entity-specific website 22 .
  • Features are components or services that may be provided on websites by the photo-sharing service 16 , such as search functions, and online printing, for instance, but may be selectable by each entity for its own website.
  • company X may provide customized cameras 14 for its employees, but may not wish to allow employees to print images from the company X photo website for security reasons. If so desired, company X may have the photo service disable this feature from their particular website.
  • the entity-specific websites 22 are not created from scratch, but are created by modifying a preexisting template.
  • the template may include several different sections, such as A, B, C and D, for instance. Assuming for example that the template used to create a website for Nikon, and section A is used to specify the name of the entity then the name Nikon would be inserted into that section. Other entity-specific content would be used to fill out the remaining sections.
  • the Web pages comprising the Nikon specific photo-sharing website would then be provided with URL's unique to that website.
  • the entity's regular website would be modified to include a link to the entity's photo-sharing website 22 .
  • the entity-specific photo-sharing website would include a link back to the entity's website.
  • Entities 12 may have entity photo-sharing websites 22 created for them in one of two ways; automatically by logging into the photo-sharing service 16 and manually customizing the templates, or by having the entity photo-sharing website created for them.
  • the camera 14 when a camera 14 establishes an internet connection with the gateway server 18 , the camera 14 transmits its entity IDs 28 and/or user entity ID 28 when uploading user selected images to the gateway server 18 in step 56 .
  • the gateway server 18 matches the entity ID 28 with an entity account in the database 20 and matches the user entity ID 28 with a user account 40 in the database 20 in step 58 .
  • the images received are then stored in the user account 40 of the identified entity-specific website 22 in step 60 .
  • each user account 40 in the database 20 may also include one or more action lists 48 .
  • an action list 48 includes one or more items representing actions that the gateway server 18 should take with respect to uploaded images, such as where to store and/or send the images from a particular user or camera, for instance.
  • the action list 48 stored on the database 20 under a user's account 40 are automatically downloaded to the user's camera 14 during a connection with the gateway server 18 and stored on the camera 14 .
  • the action list 48 is displayed to the user so the user may easily select what actions the gateway server 18 should take with respect to the images by selecting the displayed action list items.
  • Examples of action list items include specifying that the uploaded images should be stored on the entity-specific photo website, sending the images to a list of email addresses, or even performing some type of analysis or calculation on the image data, for instance.
  • an action list item is not limited to. instructing the gateway server 18 to perform actions only within the photo-sharing service 16 .
  • an item in the action list 48 may also instruct the gateway server 18 to perform actions outside of the photo-sharing service 16 , such as storing the images in an external database 49 of the entity 12 .
  • some users of the company's cameras 14 could have action lists 48 instructing the gateway server 18 to store uploaded images to the company's database, rather than to the company's photo-sharing site 22 .
  • the gateway server 18 may be programmed to automatically perform predefined tasks, such as creating new web albums, or a new page within an existing album, parse the images to extract sound files or other metadata, print images and mail them to designated addresses, and so on.
  • the action lists 48 may be created via several methods.
  • the action list is created by the photo-sharing service 16 the first time the user's camera establishes a connection. That is, a default action list 48 is automatically created based on the entity ID when a user account 40 is first created.
  • a default action list 48 may be created to implement a workflow specified by the entity 12 .
  • a default action list 48 may be created instructing the gateway sever 18 to store the user's images in a simulated “shoebox” on the entity-specific photo-sharing site 20 . The user may then go online and create albums from the images in the shoebox as desired.
  • the action list 48 may be created manually on the website 20 by the user navigating to the site 20 using a web browser 24 , accessing her account, and manually creating the action list 48 or editing the action list 48 on the entity-specific site 22 .
  • the action list 48 may also be created automatically on the website 20 in response to user actions performed on the website, such as printing images, or creating a web album.
  • the user may be prompted whether they would like this action added to his or her action list 48 . If so, the user clicks a check-box and the item is added the action list 48 .
  • any action list 48 created and edited on the photo-sharing site 20 are downloaded to the camera every time the camera 14 connects to the photo-sharing service 16 and made available for user selection on the camera 14 during the next upload.
  • Yet another method for creating an action list 48 is to allow the user to create the action list on the camera 14 .
  • the user may manually create an action list 48 by “typing” in predefined items on the camera.
  • the user may also type in an email address as an action list item whereby when that item is selected, the uploaded images are stored as a web album on the entity-specific photo-sharing website 22 and the server 18 sends a notification to the specified recipient containing the URL to the web album page.
  • a method and system for hosting web-based photo-sharing websites and for customizing digital cameras to upload images to the entity-specific photo-sharing websites has been disclosed. According to the present invention, users of the customized cameras 14 can upload images to the Internet for storage and web photo album creation without the use of a PC.
  • the present invention assumes that an ISP account has been established with the digital camera's service provider, and that users of cameras 14 belonging to a certain entity 12 may use the cameras 14 to upload images to the website of the entity 12 .
  • two problems with account setup remain.
  • One problem is that just as with a PC and PDA, the user must first establish an ISP account before the camera 14 can establish Internet communication.
  • the second account problem is that most websites, including the photo sharing sites 22 , may require each user to establish a unique account before using the site to distinguish one user from another.
  • the user Before being able to connect the web-enabled camera 14 to the Internet, the user must establish these two accounts by either entering account setup information on a PC or entering account setup information on the camera 14 . Neither alternative is a convenient alternative for people who do not have the time nor inclination to do so.
  • the cameras and the photo sharing site are provided with software for automatically creating Internet and photo-sharing website accounts for each camera 14 upon first use, without requiring the user to first enter account information on a PC or on the camera 14 .
  • FIGS. 4A and 4B a flow chart illustrating a process for automatically configuring a web-enabled digital camera to access the Internet in a preferred embodiment of the present invention.
  • the process will be described in terms of automatically establishing Internet accounts for a digital camera without requiring the user to enter information, those with ordinary skill in the art will readily recognize that the present invention may be used to automatically establish Internet accounts for any type of portable electronic device.
  • the process assumes that a user has just acquired a digital camera 14 customized as described above, and has just taken the camera 14 out of its box in step 100 .
  • the user may review the images in the camera's LCD screen and optionally select a set of images to upload to the photo sharing service 16 in step 104 .
  • the user then presses a “send” button on the camera in step 106 to upload the images.
  • the camera displays a confirmation dialog screen on the camera and prompts the user to record an audio annotation for the images or to continue in step 108 .
  • the user may then choose to record audio for the images in step 110 .
  • the camera displays a “connecting” dialog screen in step 112 to indicate to the user that the camera is establishing an Internet connection.
  • the camera checks for available connection options in step 114 , and if more than one is found, the camera prompts the user to select one of the connection options.
  • the camera may be within range of a Bluetooth-equipped printer and a cellphone, so the user will be prompted to choose which device the camera should establish communication with.
  • the camera checks for the presence of account information on the camera in step 116 , and if there are none, the camera assumes that this is a first-time connection.
  • the camera in order to allow the camera to make a first-time Internet connection, the camera is provided with default Internet service provider (ISP) information during manufacturing, including an ISP access number, and user ID and password (if required).
  • ISP Internet service provider
  • the camera establishes connection with the default ISP in step 118 by dialing the preloaded access number, and by sending the preloaded user ID and password to the ISP.
  • This special account may be configured so that the camera can only connect to the gateway server 18 (no other IP addresses may be allowed).
  • the camera After connecting with the ISP, the camera connects to the gateway server 18 and sends unique camera information and/or user information in step 120 .
  • a combination of the camera's serial number and the make and model number of the camera may be sent as the unique camera information.
  • the user's e-mail address may be sent as the unique camera or user information.
  • the gateway server 18 uses the unique camera information to set up a user account 40 in step 122 .
  • the gateway server 18 After creating the user account 40 , the gateway server 18 returns an information packet to the camera containing new ISP information (if needed), an account ID, and an account password in step 124 .
  • the information packet may also contain a default action list specifying what actions should be taken with respect to the images, an advertisement for display on the camera, and the URL of the entity-specific website 22 .
  • the steps of providing the camera with default ISP info and returning new ISP info may be omitted.
  • the camera receives the information packet in step 126 , and writes a configuration file to memory 82 a containing the ID, password, and default action list in step 128 .
  • the camera then displays the action list on the camera's LCD screen for selection by the user in step 130 .
  • the camera may optionally display the user's account information as well.
  • the camera 14 first logs off the special ISP and the gateway accounts, and then reconnects using new ISP and gateway accounts in order to retrieve the action lists 48 .
  • FIG. 5 is a block diagram illustrating an example action list 48 displayed on the LCD screen of the camera 14 .
  • the action list 48 is shown displaying three major options; printing the uploaded images, saving the uploaded images in the user's shoebox, and sending the images to Mom. Under the printing option, the user may select from various size prints. Rather than nested menu categories as shown under the printing option, the action list 48 may be displayed with each action listed as a separate item (e.g., “Send 4 ⁇ 8 prints to Mom”, “Send 5 ⁇ 7 prints to me”).
  • the camera begins to upload the images along with the selected actions in step 132 and displays a progress bar on the screen in step 134 .
  • the camera may also display the advertisement sent in the information packet from the gateway server 18 .
  • the advertisement may advertise the controlling entity 12 , the entity's photo-sharing site 22 , or the photo sharing service 16 .
  • the camera breaks the connection with the gateway server in step 136 .
  • the camera 14 may also display the URL of the entity-specific website 22 to the user.
  • the camera will use any new ISP information received to connect to the Internet and will use the account ID and password written to memory 82 a when connecting to the gateway server 18 .
  • unique camera information such as the serial number
  • Jack has just purchased a digital camera 14 from a store and unpacks the camera from the box.
  • Jack pops in the batteries, sets the date and time, and takes some pictures of his dog and his new baby.
  • Jack can see the pictures have come out well on the small LCD, and now wants to try sharing them with his parents.
  • the Quick Start Guide says to select the photos to be sent using the “Select” button, and then press the “Send” button. So, Jack navigates to each of the baby pictures, selects them, and then presses the “Send” button. Instantly, a dialog comes up on the LCD screen: “No Receiving Device Found! Please turn on your phone or other connecting device.” Oops! Jack pulls out his cell phone, and turns it on. He presses the “Continue” button. Jack does not see this happen, but the camera now “discovers” the cell phone, and immediately presents another dialog: “4 Images Selected. Press Record to add a Sound Note, or Continue to send”. Although Jack finds the proposition of recording sound interesting, he decides to skip it and presses the “Continue” button. Immediately, the dialog is replaced with a “Connecting . . . ” dialog.
  • a new dialog comes up, with a progress bar. Jack is surprised to see that the transmission is already almost 1 ⁇ 3 done. Below the progress bar, the dialog says “Press “Continue” to use camera during photo transmission, or wait for progress bar to complete”. Jack is interested in watching how fast his images are transmitted, and decides to watch the progress bar complete.
  • a “Transmission Successful” dialog appears. Jack presses the OK button. The camera returns to the review mode.
  • Jack is pretty excited—he just sent four baby pictures to the Internet. Jack then decides to see what happened to his images so he turns on his PC. After connecting to the internet, Jack types in the URL from the Quick Start Guide. A Photo-sharing service web page appears, welcoming Jack to the photo-sharing service. After looking briefly at the welcome page, Jack types in his serial number from the Quick Start Guide, and selects his camera's model number from a pop-up menu. Jack clicks on a “Submit” button on the web page.
  • the page explains to Jack that he is looking at his on-line digital photo shoebox. Since the server 18 knows this is Jack's first visit, special help messages may appear.
  • Various options are provided via buttons and text links.
  • One that catches Jack's eye is CREATE WEB PHOTO ALBUM. Jack clicks this button, and works his way through the process of setting up an on-line photo album. This includes selecting photos from the shoebox, as well as selecting layout and style.
  • One of the check-box items Jack is offered is “Make this album a camera Action List Item”.
  • Jack doesn't know what that is, so he clicks the Action List link, which brings up a brief description “If you check this box, you will be able to send pictures directly from the camera to this photo album!” Jack finds this interesting, so he closes the description window, and checks the box. Jack also enters the email address for his parents and his wife's parents, so they can be notified to come and see his photo album, which he has entitled “Our First Baby”.
  • buttons Jack does not click is the “Complete Account Setup” button. He knows that he has 30 days to do that chore, and figures he will get back to it later.
  • Jack's wife arrives home from shopping at this point, and Jack wants to show her how the new camera works. He starts by showing her the baby album on the PC, then decides to take some pictures of them holding the baby. Jack then selects the images, and presses the “Send” button again.
  • One of the radio button items is “Make prints a separate Action List Item” or “Make prints part of your Action List”. Jack remembers something about Action Lists from before, but is not sure what this means.
  • Action Lists maintained on the server that are automatically downloaded to the camera to update the camera selection list each time a connection is made
  • the files could be text, GIF, animated GIF, JPG, or even a script or applet. This feature enables the ability to display advertisements on the camera, remind the user of remaining time to complete account setup, make special offers, and indicate limits reached.
  • a method and system for automatically configuring a web-enabled digital camera to access the Internet has been disclosed.
  • the present invention has been described in accordance with the embodiments shown, one of ordinary skill in the art will readily recognize that there could be variations to the embodiments and those variations would be within the spirit and scope of the present invention.
  • the photo-sharing service has been described as including the gateway server and the database, the database may be located elsewhere.
  • the gateway server may be used to control account information, while one or more other servers may be used to provide the web pages of the entity-specific websites. Accordingly, many modifications may be made by one of ordinary skill in the art without departing from the spirit and scope of the appended claims.

Landscapes

  • Engineering & Computer Science (AREA)
  • General Engineering & Computer Science (AREA)
  • Multimedia (AREA)
  • Signal Processing (AREA)
  • Computing Systems (AREA)
  • Business, Economics & Management (AREA)
  • Computer Networks & Wireless Communication (AREA)
  • General Business, Economics & Management (AREA)
  • Information Transfer Between Computers (AREA)
  • Television Signal Processing For Recording (AREA)
  • Closed-Circuit Television Systems (AREA)
  • Studio Devices (AREA)
  • Management, Administration, Business Operations System, And Electronic Commerce (AREA)

Abstract

The present invention provides a method and system for automatically establishing a user account and for configuring a hand-held electronic device for accessing a site on a public network using the user account. The method and system include establishing a connection to a website server, which is responsible for establishing and maintaining website accounts. The presence of account information on the electronic device camera is then checked, and if none are found, it is determined that this is a first-time connection and information uniquely identifying the electronic device is sent to the website server so that the server can set-up the account information based on the electronic device information. The server then sends user account information to the device, including an account ID and password. The user account information is then stored on electronic device for use the next time the electronic device accesses the website, whereby the user does not have to enter account information in order to establish the ISP connection or the website account before accessing the public network.

Description

CROSS-REFERENCE TO RELATED APPLICATIONS
The present invention is related to co-pending U.S. patent application Ser. No. 09/625,398 entitled “Method and System For Hosting Entity-Specific Photo-Sharing Websites For Entity-Specific Digital Cameras,”; and to co-pending U.S. patent application Ser. No. 09/626,418 entitled “Method And System For Selecting Actions To Be Taken By A Server When Uploading Images,” which are assigned to the assignee of the present application and filed on the same date as the present application.
FIELD OF THE INVENTION
The present invention relates to a method and system for customizing digital cameras to upload images to an entity-specific photo-sharing websites, and more particularly to automatically configuring a web-enabled digital camera to access the Internet.
BACKGROUND
As the popularity of digital cameras grows, the desire of digital camera users to share their images with others will also continue to grow. New digital camera owners typically try to share their images based on the paradigm of film cameras, in which images are printed on paper and then placed into a photo album. The most straightforward approach to do this with a digital camera is to connect the digital camera directly to a printer to create the prints, and then manually insert the images into a photo album. Users often find this process somewhat complicated and restrictive because standard printers can only print images in limited sizes and requires particular types of paper. And even after the photo album has been assembled, the printed images are not easily shared with many people.
The best approaches to photo-sharing take advantage of the Internet. One such approach is for users to store the digital images on a PC and then send the images to others using email. Several Internet companies now offer an even more convenient approach by providing photo-sharing websites that allow users to store their images for free and to arrange the images into web-based photo albums. Once posted on a photo-sharing website, others may view the images over the Internet.
While convenient for storing digital images, getting the images to the photo-sharing websites can be challenging for users. Most commonly, users must upload their images from the digital camera to a PC using a cable or IrDA, or by inserting the camera's flash card into the PC. From the PC, the user logs onto the Internet and uploads the images to a photo-sharing website. After uploading the images, the user works on the website to arrange the images into web albums and to add any textual information.
Although today's approach for storing images from a digital camera onto a web photo-sharing website and for creating web photo albums works reasonably well, two problems remain that hinder the mainstream adoption of web-based photo-sharing. One problem is that this approach requires the use of a PC, notebook computer, or PDA. While many digital camera users today have PC's, most of those users are early adopters of technology. There are many other consumers who would purchase a digital camera, but are reluctant to do so because they do not yet own a PC or are intimidated by them.
In an effort to address this problem, the assignee of the present application developed an approach to uploading images to the web that doesn't require the use of a PC. In this approach, an email software application is loaded into a digital camera capable of running software that allows the user to e-mail the images directly from the camera. The user simply connects his or her digital camera to a cellphone or modem, runs the e-mail application, and selects the desired images and the email recipients. The selected images are then sent to the recipients as e-mail attachments.
Although emailing photos directly from the camera allows users who do not own a PC to share images over the Internet, these users must still establish accounts with both an Internet service provider (ISP) and the photo-sharing website before being able to post their images. These accounts must also be set-up by PC users as well. For techno savvy users who use a PC to upload the images to the photo-sharing website, establishing the accounts may not be a bother, but even these users may not always have their PCs handy, such as when on vacation, for instance. And for non-PC users, establishing the accounts by entering account information on the digital camera itself may prove to be a cumbersome, if not a daunting, task.
Accordingly, what is needed is an improved method for uploading images from a digital camera to a photo-sharing website on the Internet. In order for online photo-sharing to become more mainstream, an approach that doesn't require a PC or PC expertise and that reduces complexity for the user is required. The present invention addresses such a need.
SUMMARY OF THE INVENTION
The present invention provides a method and system for automatically establishing a user account and for configuring a hand-held electronic device for accessing a site on a public network using the user account. The method and system include establishing a connection to a website server, which is responsible for establishing and maintaining website accounts. The presence of account information on the electronic device camera is then checked, and if none are found, it is determined that this is a first-time connection and information uniquely identifying the electronic device is sent to the website server so that the server can set-up the account information based on the electronic device information. The server then sends user account information to the device, including an account ID and password. The user account information is then stored on electronic device for use the next time the electronic device accesses the website, whereby the user does not have to enter account information in order to establish the ISP connection or the website account before accessing the public network.
According to the method and system disclosed herein, a user does not have to enter account information in order to establish the ISP connection or the website account before accessing the public network with the electronic device.
BRIEF DESCRIPTION OF THE DRAWINGS
FIG. 1 is a block diagram illustrating an online photo-sharing system in accordance with a preferred embodiment of the present invention.
FIG. 2 is a flow chart illustrating a business method for hosting entity-specific photo-sharing websites for entity-specific image capture devices in accordance with a preferred embodiment of the present invention.
FIG. 3 is a diagram showing a preferred embodiment of the connectivity and application software of the camera.
FIGS. 4A and 4B illustrate a flow chart of a process for automatically configuring a web-enabled digital camera to access the Internet in a preferred embodiment of the present invention.
FIG. 5 is a block diagram illustrating an example action list 48 displayed on the LCD screen of the camera.
DETAILED DESCRIPTION
The present invention relates to an automatic system for uploading images from a digital camera to entity-specific photo-sharing websites and for automatically establishing accounts. The following description is presented to enable one of ordinary skill in the art to make and use the invention and is provided in the context of a patent application and its requirements. Various modifications to the preferred embodiment will be readily apparent to those skilled in the art and the generic principles herein may be applied to other embodiments. Thus, the present invention is not intended to be limited to the embodiment shown but is to be accorded the widest scope consistent with the principles and features described herein.
FIG. 1 is a block diagram illustrating an online photo-sharing system 10 in accordance with a preferred embodiment of the present invention. The system includes a plurality of camera controlling entities 12 that produce, own, or otherwise control a set of digital cameras 14, and an online photo-sharing service 16. The online photo-sharing service 16 includes a gateway server 18 and an entity/account database 20. The various camera controlling entities 12 contract with the photo-sharing service 16 to transparently host customized photo-sharing websites 22 for each entity, which are referred to herein as entity-specific photo-sharing websites 22. The entity-specific photo-sharing websites 22 are each accessible to the user through the entity's existing Internet site (not shown), and thus appear to users as though the entity-specific photo-sharing websites 22 are hosted by the corresponding entity. According to a preferred embodiment of the present invention, the cameras 14 for a particular entity are customized for that entity to create entity-specific cameras 14, such that when the cameras 14 connect to the Internet, the cameras 14 automatically upload their images to the photo-sharing website of the corresponding entity. In a further aspect of the present invention, the photo-sharing service 16 automatically stores the images in a web album, which is viewable over the Internet by a user's web browser 24.
As used herein, a camera controlling entity 12 is any entity that makes, owns, sells, or controls digital cameras 14, and therefore includes, camera manufactures, companies, retailers, and end-users. One or more combination of these entities 12 may either contract with the photo-sharing service 16 to provide entity-specific websites 22 for their cameras 14, or have entity information transmitted to the photo-sharing service 16 from the cameras 14. Therefore, a camera controlling entity 12 may include a single entity 12 or a hierarchal relationship of entities 12.
An example of a single entity 12 includes an insurance company that contracts with the photo-sharing service 16 to have all digital cameras 14 used by their agents to transmit their images to a customized insurance photo-sharing website. Examples of a hierarchal relationships of entities 12 includes a camera manufacturer, such as Nikon, that contracts with the photo-sharing service 16 to have all Nikon digital cameras 14 transmit their images to the customized Nikon photo-sharing website. Since the images of different users must be distinguished, each user of a Nikon camera 14 would also constitute an entity within the Nikon website so that the images from different users can be distinguished. Other examples of hierarchal entity relationships include a retailer and its consumers, a real estate agency and its agents, community groups and its members, and government agencies and its employees, for instance.
In a preferred embodiment, the cameras 14 are customized for their respective entities 12 by providing the cameras 14 with software for transmitting entity ID information 28 identifying its controlling entity 12 to the photo-sharing service 16. The photo-sharing service 16 in conjunction with the gateway server 18 and the entity/account database 20 hosts the entity-specific photo-sharing websites 22. Each entity-specific website 22 is identified in the database 20 by an entity account number 30 and includes the web pages and URLs 32 comprising the website, the images and web albums 34 stored on the website, and the user account numbers 36 of authorized users. The database 20 also includes user accounts 40, each of which comprises a user account number 42, user preferences 44, the user's images 46, and action lists 48, explained further below.
The gateway server 18, which communicates with the cameras 14 during image uploading, receives one or more entity IDs 28 from each camera 14 and matches the entity ID 28 with an entity account 30 in the database 20. The images are then automatically associated with the photo-sharing website 22 of the identified entity 12 and/or the identified user.
After the images are uploaded, a user of the camera 14 may visit the online photo-sharing website 22 over the Internet to view the images via a web browser 24. Since the photo-sharing websites 22 are transparently hosted by the photo-sharing service 16, each photo-sharing website 22 appears as though it is hosted by the entity itself, rather than the third party service.
In one embodiment, the cameras 14 may connect to the Internet via a service provider 26, which may include a wireless carrier and/or an Internet service provider (ISP) that is capable of servicing many devices simultaneously. In a preferred embodiment, each of the cameras 14 is provided with wireless connectivity for connecting to the Internet, and are therefore so called “web-enabled” devices, although a wired connection method may also be used.
The cameras 14 may be provided with wireless connectivity using anyone of a variety of methods. For example, a cellphone may be used to provide the digital camera 14 with wireless capability, where the camera 14 is connected to the cellphone via a cable or some short-range wireless communication, such as Bluetooth. Alternatively, the camera 14 could be provided with built-in cellphone-like wireless communication. In an alternative embodiment, the digital camera 14 is not wireless, but instead uses a modem for Internet connectivity. The modem could be external or internal. If external, the camera 14 could be coupled to modem via any of several communications means (e.g., USB, IEEE1394, infrared link, etc.). An internal modem could be implemented directly within the electronics of camera 14 (e.g., via a modem ASIC), or alternatively, as a software only modem executing on a processor within camera. As such, it should be appreciated that, at the hardware connectivity level, the Internet connection can take several forms. Hence, it should be appreciated that the present invention is not limited to any particular method of accessing the Internet.
In a preferred embodiment, the entity-specific websites 22 are customized to seamlessly integrate into the entity's existing website by following the look and feel of the entity's existing website. The entity-specific websites 22 are hosted on the photo-sharing service 16, but a link to the entity-specific websites 22 may be provided on the homepage of the corresponding entity's existing website. Thus, in order to view a web album on an entity-specific website 22, the user must visit the entity's existing website and click the link to the entity-specific website 22, where the user's browser 24 will be transparently directed to the photo-sharing service 16 and be provided with the web pages 32 of the entity-specific website 22.
As an example of the operation of the photo sharing system 10, consider the following scenario. Assume that Minolta and Nikon are entities 12 that have contracted with the photo-sharing service 16, and that the photo-sharing service 16 hosts a photo-sharing website 22 for Minolta and a photo-sharing website 22 Nikon. The Minolta cameras 14 would be provided the entity ID 28 for Minolta and the Nikon cameras 14 would be provided the entity ID 28 for Nikon. When the Minolta and the Nikon cameras 14 send sets of images to the photo-sharing service 16, the gateway server 18 would distinguish the cameras 14 by the entity IDs 28 and would direct the set of images received from Minolta cameras 14 to Minolta's photo-sharing website, and would direct the images from Nikon cameras 14 to Nikon's photo-sharing website. To view the images, the owners of the cameras 14 would use a browser 24 on their PC or PDA to visit the URL of the Minolta or Nikon photo-sharing websites 22. In one preferred embodiment, the photo-sharing service 16 sends the URL of the entity-specific website 22 directly to the camera 14 for display to inform the user of the address.
According to the present invention, the photo-sharing service 16 provides business-to-business and business-to-consumer business models. The service is business-to-business because the service provides companies, such as camera manufactures, with a complete end-to-end solution for their cameras 14. The solution includes customized software for their cameras 14 for sending images over the internet, and an internet website for storing images from those cameras 14 on a branded website that appears to be hosted by the company. The service is business-to-consumer because it allows users of digital cameras 14 with an automatic solution for uploading captured images from a digital camera 14 to an online photo-sharing website, without a PC.
According to one preferred embodiment of the present invention, the photo-sharing service 16 provides a method of doing business whereby the photo-sharing service 16 shares revenue based on the hierarchal relationship of the entities 12. For example, if the photo sharing service 16 charges a fee for receiving and/or storing the images received from the entity-specific cameras 14, then the photo sharing service 16 may share a portion of the fee with the manufacturer and/or third party supplier of the camera 14 that uploaded the images, for instance. Revenue may also be shared with the wireless service provider providing the connection with the photo sharing service 16.
FIG. 2 is a flow chart illustrating a business method for hosting entity-specific photo-sharing websites for entity-specific image capture devices, such a digital cameras, in accordance with a preferred embodiment of the present invention. First, the cameras 14 are provided with connectivity and application software for communicating over the Internet in step 50. In a preferred embodiment, this step is performed during camera 14 manufacturing to provide off-the-shelf web enabled cameras 14. The cameras 14 are also customized for specific entities 12 to create entity-specific cameras 14 by providing each of the cameras 14 with at least one entity ID 28 identifying the corresponding controlling entity in step 52.
Referring now to FIG. 3, a diagram showing the preferred embodiment of the connectivity and application software of the camera 14 and the entity ID 28 information is shown. Preferably, the camera 14 includes a microprocessor-based architecture that runs an operating system 70 for controlling camera hardware 72 and overall functionality of the camera 14 (e.g., taking pictures, storing pictures, and the like). An example of such an operating system 70 is the Digita™ Operating Environment developed by the assignee of the present application. The camera 14 also includes communication manager 74 software, and a TCP-IP protocol stack 76, that enables communication via the internet, as is well-known in the art. The entity ID information 28 and captured images may be stored in one or more types of memories 82.
For hierarchal entity relationships, the cameras 14 are provided with hierarchal entity IDs 28; one entity ID 28 identifying the entity, and a second entity ID 28 identifying the end-user. Whether there are one or more entity IDs 28, the entity ID 28′ of the camera manufacturer may always be provided. Camera 14 customization may occur either during manufacture or anytime thereafter. In a preferred embodiment, the manufacturer entity ID 28′ is provided at the time of manufacturing and is stored in an EEPROM 82 b, while the entity IDs 28 for other entities 12, such as companies and end-users, are loaded into the camera 14 subsequent to manufacturing and are stored in flash memory 82 a or the EEPROM 82 b.
Customization that occurs subsequent to manufacture may be implemented using several methods. The first method is to manufacture the cameras 14 with an application programming interface (not shown) for accepting a subsequently loaded software application that specifies the entity ID's 28. The application may come preloaded on a flash card, which is then inserted into the camera 14 by the user and stored in flash memory 82 a. The application may also be wirelessly beamed into the camera. When executed in the camera, the software application transmits the appropriate entity IDs 28 to the gateway server 18.
The second method is to load a small file in the camera 14 specifying the entity IDs 28 from a removable memory or from a PC, and storing the file in a system folder within the camera's flash memory 82 a. The camera 14 then accesses the file when an Internet connection is established. In a preferred embodiment, the communication manager 74 automatically extracts the manufacturing ID 28′ and the entity ID 28 and transmits them to the gateway server 18. In this embodiment, the entity ID 28 is also stored in the EEPROM 82 b and is factory set to zero (empty). Thus, unless the entity ID 28 is set, the manufacturing ID 28′ may default as the highest controlling entity.
If, for example, a third party developer X contracts to provide custom camera software for camera manufacturer Z, then a custom entity ID will be issued for developer X and developer X will place the custom entity ID into the EEPROM 82 b. Developer X is now a controlling entity 12, and may specify to the photo-sharing service 16 that a developer X entity-specific photo-sharing site 22 or developer X's own website be the destination for the uploaded images.
The protocol stack 76, under direction of the communications manager interfaces with the communications hardware 78 of camera. The protocol stack 76 includes software APIs and protocol libraries that interface with the communication manager 74, and communication hardware interface drivers that interfaces directly with the various communications hardware 72 the camera 14 must function with (e.g., a Bluetooth transceiver, etc.). The communication manager 74 communicates with operating system 70 and the IP protocol stack 76 to establish an Internet connection ant to transmit the entity ID 28 information and images from the memories 82 a and 82 b to the photo-sharing service 16.
In an alternative embodiment, rather than loading entity ID's 28 into the camera, a combination of the camera's serial number and the make and model number of the camera may be used as the entity ID 28. Entity specific cameras 14 may then be distinguished by providing a mapping of the camera serial numbers and product IDs to specific entities 12 in the database 20.
Although the camera 14 has been described in terms of a software-based customization solution, those with ordinary skill in the art will readily recognize that the camera 14 may also be provided with a hardware-based solution.
Referring again to FIG. 2, before or after camera customization, the entity-specific websites 22 are created for each entity contracting with the photo-sharing service 16 in step 54. Customization requires storage of entity information in the entity/account database 20 and creating and storing web page elements comprising the entity-specific photo-sharing website in the database 20. The entity-specific information stored in the database 20 may also include service levels, and enabled features for the entity-specific website 22. Features are components or services that may be provided on websites by the photo-sharing service 16, such as search functions, and online printing, for instance, but may be selectable by each entity for its own website. As an example, company X may provide customized cameras 14 for its employees, but may not wish to allow employees to print images from the company X photo website for security reasons. If so desired, company X may have the photo service disable this feature from their particular website.
In a preferred embodiment, the entity-specific websites 22 are not created from scratch, but are created by modifying a preexisting template. The template may include several different sections, such as A, B, C and D, for instance. Assuming for example that the template used to create a website for Nikon, and section A is used to specify the name of the entity then the name Nikon would be inserted into that section. Other entity-specific content would be used to fill out the remaining sections. The Web pages comprising the Nikon specific photo-sharing website would then be provided with URL's unique to that website. The entity's regular website would be modified to include a link to the entity's photo-sharing website 22. In addition, the entity-specific photo-sharing website would include a link back to the entity's website. Entities 12 may have entity photo-sharing websites 22 created for them in one of two ways; automatically by logging into the photo-sharing service 16 and manually customizing the templates, or by having the entity photo-sharing website created for them.
Referring still to FIG. 2, when a camera 14 establishes an internet connection with the gateway server 18, the camera 14 transmits its entity IDs 28 and/or user entity ID 28 when uploading user selected images to the gateway server 18 in step 56. In response, the gateway server 18 matches the entity ID 28 with an entity account in the database 20 and matches the user entity ID 28 with a user account 40 in the database 20 in step 58. The images received are then stored in the user account 40 of the identified entity-specific website 22 in step 60.
Referring again to FIG. 1, each user account 40 in the database 20 may also include one or more action lists 48. According to the present invention, an action list 48 includes one or more items representing actions that the gateway server 18 should take with respect to uploaded images, such as where to store and/or send the images from a particular user or camera, for instance. As explained further below, the action list 48 stored on the database 20 under a user's account 40 are automatically downloaded to the user's camera 14 during a connection with the gateway server 18 and stored on the camera 14. When the user initiates an image upload, the action list 48 is displayed to the user so the user may easily select what actions the gateway server 18 should take with respect to the images by selecting the displayed action list items.
Examples of action list items include specifying that the uploaded images should be stored on the entity-specific photo website, sending the images to a list of email addresses, or even performing some type of analysis or calculation on the image data, for instance.
In a further aspect of the present invention, an action list item is not limited to. instructing the gateway server 18 to perform actions only within the photo-sharing service 16. Rather, an item in the action list 48 may also instruct the gateway server 18 to perform actions outside of the photo-sharing service 16, such as storing the images in an external database 49 of the entity 12. For instance, in the example where the entity 12 is a company, some users of the company's cameras 14 could have action lists 48 instructing the gateway server 18 to store uploaded images to the company's database, rather than to the company's photo-sharing site 22. Based on the action lists 48 and customization, the gateway server 18 may be programmed to automatically perform predefined tasks, such as creating new web albums, or a new page within an existing album, parse the images to extract sound files or other metadata, print images and mail them to designated addresses, and so on.
In a preferred embodiment, the action lists 48 may be created via several methods. In one method, the action list is created by the photo-sharing service 16 the first time the user's camera establishes a connection. That is, a default action list 48 is automatically created based on the entity ID when a user account 40 is first created. In a hierarchal entity relationship where the entity 12 is a company, a default action list 48 may be created to implement a workflow specified by the entity 12. In a hierarchal relationship where the entity 12 is camera manufacturer, for instance, a default action list 48 may be created instructing the gateway sever 18 to store the user's images in a simulated “shoebox” on the entity-specific photo-sharing site 20. The user may then go online and create albums from the images in the shoebox as desired.
Another method is for the user to create the action list 48 online on the entity-specific photo-sharing site 20. The action list 48 may be created manually on the website 20 by the user navigating to the site 20 using a web browser 24, accessing her account, and manually creating the action list 48 or editing the action list 48 on the entity-specific site 22. The action list 48 may also be created automatically on the website 20 in response to user actions performed on the website, such as printing images, or creating a web album. Alternatively, after performing an action, the user may be prompted whether they would like this action added to his or her action list 48. If so, the user clicks a check-box and the item is added the action list 48. In a preferred embodiment, any action list 48 created and edited on the photo-sharing site 20 are downloaded to the camera every time the camera 14 connects to the photo-sharing service 16 and made available for user selection on the camera 14 during the next upload.
Yet another method for creating an action list 48 is to allow the user to create the action list on the camera 14. The user may manually create an action list 48 by “typing” in predefined items on the camera. The user may also type in an email address as an action list item whereby when that item is selected, the uploaded images are stored as a web album on the entity-specific photo-sharing website 22 and the server 18 sends a notification to the specified recipient containing the URL to the web album page.
A method and system for hosting web-based photo-sharing websites and for customizing digital cameras to upload images to the entity-specific photo-sharing websites has been disclosed. According to the present invention, users of the customized cameras 14 can upload images to the Internet for storage and web photo album creation without the use of a PC.
In one embodiment described above, the present invention assumes that an ISP account has been established with the digital camera's service provider, and that users of cameras 14 belonging to a certain entity 12 may use the cameras 14 to upload images to the website of the entity 12. However, two problems with account setup remain. One problem is that just as with a PC and PDA, the user must first establish an ISP account before the camera 14 can establish Internet communication. The second account problem is that most websites, including the photo sharing sites 22, may require each user to establish a unique account before using the site to distinguish one user from another. Before being able to connect the web-enabled camera 14 to the Internet, the user must establish these two accounts by either entering account setup information on a PC or entering account setup information on the camera 14. Neither alternative is a convenient alternative for people who do not have the time nor inclination to do so.
In a further aspect of the present invention, the cameras and the photo sharing site are provided with software for automatically creating Internet and photo-sharing website accounts for each camera 14 upon first use, without requiring the user to first enter account information on a PC or on the camera 14.
Referring now to FIGS. 4A and 4B, a flow chart illustrating a process for automatically configuring a web-enabled digital camera to access the Internet in a preferred embodiment of the present invention. Although the process will be described in terms of automatically establishing Internet accounts for a digital camera without requiring the user to enter information, those with ordinary skill in the art will readily recognize that the present invention may be used to automatically establish Internet accounts for any type of portable electronic device.
The process assumes that a user has just acquired a digital camera 14 customized as described above, and has just taken the camera 14 out of its box in step 100. After taking pictures with the camera in step 102, the user may review the images in the camera's LCD screen and optionally select a set of images to upload to the photo sharing service 16 in step 104. The user then presses a “send” button on the camera in step 106 to upload the images.
In response, the camera displays a confirmation dialog screen on the camera and prompts the user to record an audio annotation for the images or to continue in step 108. The user may then choose to record audio for the images in step 110. After choosing to continue, or after recording audio, the camera displays a “connecting” dialog screen in step 112 to indicate to the user that the camera is establishing an Internet connection. At the same time, the camera checks for available connection options in step 114, and if more than one is found, the camera prompts the user to select one of the connection options. For example, the camera may be within range of a Bluetooth-equipped printer and a cellphone, so the user will be prompted to choose which device the camera should establish communication with.
The camera then checks for the presence of account information on the camera in step 116, and if there are none, the camera assumes that this is a first-time connection. According to the present invention, in order to allow the camera to make a first-time Internet connection, the camera is provided with default Internet service provider (ISP) information during manufacturing, including an ISP access number, and user ID and password (if required). The camera establishes connection with the default ISP in step 118 by dialing the preloaded access number, and by sending the preloaded user ID and password to the ISP. This special account may be configured so that the camera can only connect to the gateway server 18 (no other IP addresses may be allowed).
After connecting with the ISP, the camera connects to the gateway server 18 and sends unique camera information and/or user information in step 120. In a preferred embodiment of the present invention, a combination of the camera's serial number and the make and model number of the camera may be sent as the unique camera information. In another preferred embodiment, the user's e-mail address may be sent as the unique camera or user information.
Continuing with FIG. 4B, the gateway server 18 uses the unique camera information to set up a user account 40 in step 122. After creating the user account 40, the gateway server 18 returns an information packet to the camera containing new ISP information (if needed), an account ID, and an account password in step 124. The information packet may also contain a default action list specifying what actions should be taken with respect to the images, an advertisement for display on the camera, and the URL of the entity-specific website 22.
It should be noted that if the camera is used in conjunction with an IP direct phone or is provided with a phone number for connected to a dedicated server where the user is not billed separately for the ISP connection, then the steps of providing the camera with default ISP info and returning new ISP info, may be omitted.
The camera receives the information packet in step 126, and writes a configuration file to memory 82 a containing the ID, password, and default action list in step 128. The camera then displays the action list on the camera's LCD screen for selection by the user in step 130. The camera may optionally display the user's account information as well.
In an alternative preferred embodiment where security is a concern, the camera 14 first logs off the special ISP and the gateway accounts, and then reconnects using new ISP and gateway accounts in order to retrieve the action lists 48.
FIG. 5 is a block diagram illustrating an example action list 48 displayed on the LCD screen of the camera 14. The action list 48 is shown displaying three major options; printing the uploaded images, saving the uploaded images in the user's shoebox, and sending the images to Mom. Under the printing option, the user may select from various size prints. Rather than nested menu categories as shown under the printing option, the action list 48 may be displayed with each action listed as a separate item (e.g., “Send 4×8 prints to Mom”, “Send 5×7 prints to me”).
Referring again to FIG. 4B, after the user selects one or more actions from the action list 48, the camera begins to upload the images along with the selected actions in step 132 and displays a progress bar on the screen in step 134. In one preferred embodiment, the camera may also display the advertisement sent in the information packet from the gateway server 18. The advertisement may advertise the controlling entity 12, the entity's photo-sharing site 22, or the photo sharing service 16. After all the images are uploaded and associated with the user's account 40, the camera breaks the connection with the gateway server in step 136. At this point, the camera 14 may also display the URL of the entity-specific website 22 to the user.
The next time the user uploads images, the camera will use any new ISP information received to connect to the Internet and will use the account ID and password written to memory 82 a when connecting to the gateway server 18. Thus, by using unique camera information, such as the serial number, to establish a web site account upon first use, the present invention eliminates the need for the user to type in information to establish a web site accounts.
To further explain the present invention from a user interaction point of view, consider the following scenario where a user named Jack has just purchased a digital camera 14 from a store and unpacks the camera from the box. There is a “Quick Start Guide” which guides him in getting started. Jack pops in the batteries, sets the date and time, and takes some pictures of his dog and his new baby. Jack can see the pictures have come out well on the small LCD, and now wants to try sharing them with his parents.
The Quick Start Guide says to select the photos to be sent using the “Select” button, and then press the “Send” button. So, Jack navigates to each of the baby pictures, selects them, and then presses the “Send” button. Instantly, a dialog comes up on the LCD screen: “No Receiving Device Found! Please turn on your phone or other connecting device.” Oops! Jack pulls out his cell phone, and turns it on. He presses the “Continue” button. Jack does not see this happen, but the camera now “discovers” the cell phone, and immediately presents another dialog: “4 Images Selected. Press Record to add a Sound Note, or Continue to send”. Although Jack finds the proposition of recording sound intriguing, he decides to skip it and presses the “Continue” button. Immediately, the dialog is replaced with a “Connecting . . . ” dialog.
Shortly, another dialog appears: “Your camera serial number is 38147. Please write this down. You will need it to access your web photo albums”. Jack writes the number down on the spot provided in the Quick Start Guide, and presses OK.
Another “Connecting . . . ” dialog appears, and is then quickly replaced by another dialog, which says “A free, temporary account has been set up for you at www.photo-sharing service.com/new_accounts. You will need your camera serial number to access your photos and complete the setup of your account. Please complete the account setup within 30 days”. Jack writes down the URL in the space provided in the Quick Start Guide, and presses the OK button. Jack doesn't know it, but during this dialog, the camera has begun transmitting his images and is already partially complete.
A new dialog comes up, with a progress bar. Jack is surprised to see that the transmission is already almost ⅓ done. Below the progress bar, the dialog says “Press “Continue” to use camera during photo transmission, or wait for progress bar to complete”. Jack is interested in watching how fast his images are transmitted, and decides to watch the progress bar complete. A “Transmission Successful” dialog appears. Jack presses the OK button. The camera returns to the review mode.
Jack is pretty excited—he just sent four baby pictures to the Internet. Jack then decides to see what happened to his images so he turns on his PC. After connecting to the internet, Jack types in the URL from the Quick Start Guide. A Photo-sharing service web page appears, welcoming Jack to the photo-sharing service. After looking briefly at the welcome page, Jack types in his serial number from the Quick Start Guide, and selects his camera's model number from a pop-up menu. Jack clicks on a “Submit” button on the web page.
Jack now sees a page which shows thumbnails of the baby pictures he just sent, the page is entitled “My Shoebox”. The page explains to Jack that he is looking at his on-line digital photo shoebox. Since the server 18 knows this is Jack's first visit, special help messages may appear. Various options are provided via buttons and text links. One that catches Jack's eye is CREATE WEB PHOTO ALBUM. Jack clicks this button, and works his way through the process of setting up an on-line photo album. This includes selecting photos from the shoebox, as well as selecting layout and style. One of the check-box items Jack is offered is “Make this album a camera Action List Item”. Jack doesn't know what that is, so he clicks the Action List link, which brings up a brief description “If you check this box, you will be able to send pictures directly from the camera to this photo album!” Jack finds this interesting, so he closes the description window, and checks the box. Jack also enters the email address for his parents and his wife's parents, so they can be notified to come and see his photo album, which he has entitled “Our First Baby”.
One of the buttons Jack does not click is the “Complete Account Setup” button. He knows that he has 30 days to do that chore, and figures he will get back to it later.
Jack's wife arrives home from shopping at this point, and Jack wants to show her how the new camera works. He starts by showing her the baby album on the PC, then decides to take some pictures of them holding the baby. Jack then selects the images, and presses the “Send” button again.
Since his cell phone is still on, sitting on the table a few feet away, the connection goes smoothly and quickly. A new dialog pops up, surprising Jack. It says “Select the destination for your pictures” and offers two choices: “My Shoebox” and “Our First Baby”. Jack is amazed, he doesn't realize that the server 18 downloaded his action list to his camera during the connection. Jack decides to select the “Our First Baby” web album as the destination for the images, and clicks OK. The pictures are sent as before. After the transmission has completed, Jack goes to the PC to check on the photo album. When Jack refreshes the album page, he now sees the additional pictures he just sent, along with the pictures he sent before.
Jack spots a “Send Prints” link on the web page, and clicks it. He is led through a selection of print types, mailing addresses, and credit card info to make it possible to send prints. He is offered the option of completing the setup of his account. Jack decides to do that now, and proceeds to fill out the requested information, including his credit card number. Once the account setup is complete, Jack continues the print order. One of the radio button items is “Make prints a separate Action List Item” or “Make prints part of your Action List”. Jack remembers something about Action Lists from before, but is not sure what this means. The description says “Making a separate action list for prints allows you to decide in the camera to send to the photo album and send prints or to just send to the photo album.” Jack thinks this is cool, and checks the “Make prints a separate Action List” item. The next time Jack sends photos from the camera, his action list will be updated to present three choices: My Shoebox, Our First Baby, and Our First Baby w/Prints.
The underlying technology supporting this scenario are summarized below. Other functions and features are assumed, but not required for this scenario:
1. Two-way connection between camera and portal
2. Camera metadata included in the request
3. If not using an IP direct connection,
3.1. Default ISP connection info built into the camera for the first connection (country specific)
3.2. Downloaded assigned ISP information from the portal to the camera
4. Software capable of recognizing automatically a set of supported phones and adjusting the protocol to match
5. Action Lists maintained on the server that are automatically downloaded to the camera to update the camera selection list each time a connection is made
6. An On-line shoebox
7. Ability to download files to the camera from the server. The files could be text, GIF, animated GIF, JPG, or even a script or applet. This feature enables the ability to display advertisements on the camera, remind the user of remaining time to complete account setup, make special offers, and indicate limits reached.
A method and system for automatically configuring a web-enabled digital camera to access the Internet has been disclosed. Although the present invention has been described in accordance with the embodiments shown, one of ordinary skill in the art will readily recognize that there could be variations to the embodiments and those variations would be within the spirit and scope of the present invention. For example, although the photo-sharing service has been described as including the gateway server and the database, the database may be located elsewhere. Also, the gateway server may be used to control account information, while one or more other servers may be used to provide the web pages of the entity-specific websites. Accordingly, many modifications may be made by one of ordinary skill in the art without departing from the spirit and scope of the appended claims.

Claims (22)

What is claimed is:
1. A method for automatically establishing a user account and for configuring a hand-held image capture device which includes a digital camera for accessing a site on a public network using the user account, the method comprising the steps of:
(a) establishing a connection to a website server, the website server being responsible for establishing and maintaining website accounts;
(b) checking for the presence of account information on the image Capture Device and if none are found, determining that this is a first-time connection and automatically sending image capture device information uniquely identifying the electronic device to the website server so that the server can set-up the account information based on the image capture device information;
(c) receiving user account information from the server, wherein the user account information includes an account ID and password; and
(d) storing the user account information on image capture device for use a next time the image capture device accesses the website, whereby the user does not have to enter account information in order to establish the connection with the public network or to establish the website account.
2. The method of claim 1 further including the step of providing a digital camera as the hand-held image capture device.
3. The method of claim 2 further including the step of sending at least a partial serial number as the image capture device information uniquely identifying the electronic device.
4. The method of claim 3 further including the step of uploading captured images to the website server.
5. The method of claim 4 wherein step (a) further including the steps of:
(i) providing the image capture device with default ISP information; and
(ii) establishing a connection to an ISP using the default ISP information.
6. The method of claim 5 further including the step of terminating the connection with the ISP when the uploading of the images is complete.
7. The method of claim 6 further including the step of providing the digital camera with a default ISP access number, user ID, and password.
8. A system for automatically establishing a user account and for configuring a hand-held image capture device which includes a digital camera image capture device for accessing a site on a public network using the user account, comprising:
means for establishing a connection to a website server, the website server being responsible for establishing and maintaining website accounts;
means for checking for the presence of account information on the image capture device, and if none are found, determining that this is a first-time connection and automatically sending image capture device information uniquely identifying the image capture device to the website server so that the server can set-up the account information based on the image capture device information; and
means for receiving user account information from the server, wherein the user account information includes an account ID; and
means for storing the user account information on image capture device for use a next time the image capture device accesses the website, whereby the user does not have to enter account information in order to establish the ISP connection or the website account.
9. The system of claim 8 wherein the hand-held image capture device comprises a digital camera.
10. The system of claim 9 wherein the image capture device information uniquely identifying the image capture device includes a serial number of the image capture device.
11. The system of claim 10 wherein the camera uploads captured images to the website server.
12. The system of claim 9 wherein the camera further includes means for providing the image capture device with default ISP information, and means for establishing a connection to an ISP using the default ISP information.
13. The system of claim 12 wherein the digital camera terminates the connection with the ISP upon completion of image uploading.
14. The system of claim 13 wherein the camera is provided with a default ISP access number, user ID, and password.
15. A method for automatically establishing a user account and for configuring a digital camera to access a website on a public network using the user account, the digital camera including captured images and communication means for accessing the public network, the method comprising the steps of:
(e) storing default ISP information on the digital camera, the default ISP information including an access number;
(f) in response to a user request to upload images to the website, determining whether this is a first-time connection;
(g) if it is first-time connection, establishing communication with the default ISP by dialing the access number;
(h) establishing communication with the website and automatically sending a digital camera ID to the website;
(i) using the digital camera ID to set up a user account on the website,
(j) sending user account information to the digital camera, the user account including an account ID and an account password;
(k) storing the user account information on the camera; and
(l) uploading images to the website and associating the images with the user account, whereby the user does not have to enter information to establish a connection with the public network or to establish the website account.
16. The method of claim 15 further including the step of sending at least a partial serial number as the digital camera ID.
17. The method of claim 16 further including the step of receiving new ISP information from the website.
18. The method of claim 17 further including the step of using the new ISP information a next time the digital camera establishes a connection with the public network.
19. A system for automatically establishing a user account and for configuring a digital camera for accessing a website on a public network using the user account, the digital camera including images captured by user and communication means for wirelessly accessing the public network, the system comprising the steps of:
means for storing default ISP information on the digital camera, the default ISP information including an access number;
means for determining whether this is a first-time connection in response to a user request to upload images to the website;
means for the establishing communication with the default ISP by dialing the access number;
means for establishing communication with the website and sending a digital camera ID to the website;
means for using the digital camera ID to set up a user account on the website,
means for automatically sending user account information to the digital camera, the user account including an account ID and an account password;
means for storing the user account information on the camera; and
means for uploading images to the website and associating the images with the user account, whereby the user does not have to enter information to establish a connection with the public network or to establish the website account.
20. The system of claim 19 wherein the digital camera ID includes a serial number.
21. The system of claim 20 wherein the digital camera receives new ISP information from the website.
22. The system of claim 21 wherein the digital camera uses the new ISP information a next time the digital camera establishes a connection with the public network.
US09/625,824 2000-07-26 2000-07-26 Automatically configuring a web-enabled digital camera to access the internet Expired - Lifetime US6636259B1 (en)

Priority Applications (14)

Application Number Priority Date Filing Date Title
US09/625,824 US6636259B1 (en) 2000-07-26 2000-07-26 Automatically configuring a web-enabled digital camera to access the internet
AU2002224570A AU2002224570A1 (en) 2000-07-26 2001-06-20 Automatically configuring a web-enabled digital camera to access the internet
PCT/US2001/041089 WO2002009435A1 (en) 2000-07-26 2001-06-20 Automatically configuring a web-enabled digital camera to access the internet
EP01984379A EP1325633B1 (en) 2000-07-26 2001-06-20 Automatically configuring a web-enabled digital camera to access the internet
JP2002515024A JP4383738B2 (en) 2000-07-26 2001-06-20 How to automatically set up a digital camera available on the web to access the Internet
DE60135921T DE60135921D1 (en) 2000-07-26 2001-06-20 AUTOMATICALLY CONFIGURE A WEB-ACTIVATED DIGITAL CAMERA TO ACCESS THE INTERNET
US10/658,999 US7443419B2 (en) 2000-07-26 2003-09-09 Automatically configuring a web-enabled digital camera to access the internet
US10/845,693 US20040215788A1 (en) 2000-07-26 2004-05-13 System and method for associating a device with an existing service account
US12/212,113 US8009194B2 (en) 2000-07-26 2008-09-17 Automatically configuring a web-enabled digital camera to access the internet
US13/183,566 US8572663B2 (en) 2000-07-26 2011-07-15 Automatically configuring a web-enabled portable device to access the internet
US14/024,515 US9276968B2 (en) 2000-07-26 2013-09-11 Automatically configuring a web-enabled portable device to access the internet
US14/144,285 US9118740B2 (en) 2000-07-26 2013-12-30 Method and system for hosting entity-specific photo-sharing websites for entity-specific digital cameras
US14/834,280 US9906703B2 (en) 2000-07-26 2015-08-24 Method and system for hosting entity-specific photo-sharing websites for entity-specific digital cameras
US15/003,638 US9736196B2 (en) 2000-07-26 2016-01-21 Automatically configuring a web-enabled portable device to access the internet

Applications Claiming Priority (1)

Application Number Priority Date Filing Date Title
US09/625,824 US6636259B1 (en) 2000-07-26 2000-07-26 Automatically configuring a web-enabled digital camera to access the internet

Related Child Applications (1)

Application Number Title Priority Date Filing Date
US10/658,999 Continuation US7443419B2 (en) 2000-07-26 2003-09-09 Automatically configuring a web-enabled digital camera to access the internet

Publications (1)

Publication Number Publication Date
US6636259B1 true US6636259B1 (en) 2003-10-21

Family

ID=24507753

Family Applications (6)

Application Number Title Priority Date Filing Date
US09/625,824 Expired - Lifetime US6636259B1 (en) 2000-07-26 2000-07-26 Automatically configuring a web-enabled digital camera to access the internet
US10/658,999 Expired - Lifetime US7443419B2 (en) 2000-07-26 2003-09-09 Automatically configuring a web-enabled digital camera to access the internet
US12/212,113 Expired - Fee Related US8009194B2 (en) 2000-07-26 2008-09-17 Automatically configuring a web-enabled digital camera to access the internet
US13/183,566 Expired - Fee Related US8572663B2 (en) 2000-07-26 2011-07-15 Automatically configuring a web-enabled portable device to access the internet
US14/024,515 Expired - Fee Related US9276968B2 (en) 2000-07-26 2013-09-11 Automatically configuring a web-enabled portable device to access the internet
US15/003,638 Expired - Fee Related US9736196B2 (en) 2000-07-26 2016-01-21 Automatically configuring a web-enabled portable device to access the internet

Family Applications After (5)

Application Number Title Priority Date Filing Date
US10/658,999 Expired - Lifetime US7443419B2 (en) 2000-07-26 2003-09-09 Automatically configuring a web-enabled digital camera to access the internet
US12/212,113 Expired - Fee Related US8009194B2 (en) 2000-07-26 2008-09-17 Automatically configuring a web-enabled digital camera to access the internet
US13/183,566 Expired - Fee Related US8572663B2 (en) 2000-07-26 2011-07-15 Automatically configuring a web-enabled portable device to access the internet
US14/024,515 Expired - Fee Related US9276968B2 (en) 2000-07-26 2013-09-11 Automatically configuring a web-enabled portable device to access the internet
US15/003,638 Expired - Fee Related US9736196B2 (en) 2000-07-26 2016-01-21 Automatically configuring a web-enabled portable device to access the internet

Country Status (6)

Country Link
US (6) US6636259B1 (en)
EP (1) EP1325633B1 (en)
JP (1) JP4383738B2 (en)
AU (1) AU2002224570A1 (en)
DE (1) DE60135921D1 (en)
WO (1) WO2002009435A1 (en)

Cited By (134)

* Cited by examiner, † Cited by third party
Publication number Priority date Publication date Assignee Title
US20010017656A1 (en) * 2000-02-25 2001-08-30 Asahi Kogaku Kogyo Kabushiki Kaisha Internet camera system
US20010017655A1 (en) * 2000-02-28 2001-08-30 Asahi Kogaku Kogyo Kabushiki Kaisha Internet camera
US20010024232A1 (en) * 2000-02-18 2001-09-27 Asahi Kogaku Kogyo Kabushiki Kaisha Internet camera
US20020036990A1 (en) * 2000-09-11 2002-03-28 Ben Chodor Still picture capture, editing and distribution system utilizing a publicly accessible wide area network
US20020036698A1 (en) * 2000-09-25 2002-03-28 Koichi Mizutani Image sensing device
US20020049979A1 (en) * 2000-05-18 2002-04-25 Patrick White Multiple camera video system which displays selected images
US20020049728A1 (en) * 2000-07-03 2002-04-25 Fuji Photo Film Co., Ltd. Image distributing system
US20020053087A1 (en) * 2000-10-27 2002-05-02 Asahi Kogaku Kogyo Kabushiki Kaisha Internet camera system
US20020063889A1 (en) * 2000-11-24 2002-05-30 Kazuhoro Takemoto Printing system, image capturing apparatus, print service reception processing apparatus, print service administration apparatus, print processing apparatus, memory media, print service method, print service reception processing method, print service administration method and print processing method
US20020083323A1 (en) * 2000-12-22 2002-06-27 Cromer Daryl Carvis Method and system for enabling an image to be authenticated
US20020087601A1 (en) * 2000-12-29 2002-07-04 Anderson Eric C. Client-server system for merging of metadata with images
US20020087622A1 (en) * 2000-12-29 2002-07-04 Anderson Eric C. Meta-application architecture for integrating photo-service websites for browser-enabled devices
US20020089587A1 (en) * 2000-05-18 2002-07-11 Imove Inc. Intelligent buffering and reporting in a multiple camera data streaming video system
US20020116450A1 (en) * 2000-12-01 2002-08-22 Multiscience System Pte Ltd. Network for information transfer for mobile stations
US20020135680A1 (en) * 2001-03-23 2002-09-26 Sanyo Electric Co., Ltd. Server system and image management method thereof
US20020149677A1 (en) * 2001-04-09 2002-10-17 Michael Wright Digital camera with communications functionality
US20020184305A1 (en) * 2001-06-04 2002-12-05 Simpson Shell S. System and method for printing from a web application
US20020188867A1 (en) * 2001-06-08 2002-12-12 Bushey Robert D. System and method for appliance adaptation and evolution
US20020186412A1 (en) * 2001-05-18 2002-12-12 Fujitsu Limited Image data storing system and method, image obtaining apparatus, image data storage apparatus, mobile terminal, and computer-readable medium in which a related program is recorded
US20030009534A1 (en) * 2001-07-03 2003-01-09 Yoichi Yamagishi Image information managing system
US20030007078A1 (en) * 2001-07-03 2003-01-09 Feldis John J. Image tagging for post processing
US20030011682A1 (en) * 2001-07-10 2003-01-16 Sellen Abigail Jane Method of sending digital photographs
US20030030731A1 (en) * 2001-05-03 2003-02-13 Colby Steven M. System and method for transferring image data between digital cameras
US20030038835A1 (en) * 2001-08-24 2003-02-27 Defelice William D. Digital camera/e-mail kiosk
US20030038882A1 (en) * 2001-08-22 2003-02-27 Lou Chauvin System, method and software product for ordering image products using images stored on a digital storage device from a plurality of order terminals
US20030053124A1 (en) * 2001-08-28 2003-03-20 Jun Iijima Printing system
US20030065807A1 (en) * 2001-09-28 2003-04-03 Hiroshi Satomi Server apparatus and control method therefor
US20030063131A1 (en) * 2001-10-03 2003-04-03 Tiger Color Inc. Picture moving and positioning method in image processing software
US20030069800A1 (en) * 2001-10-04 2003-04-10 Eastman Kodak Company Mobile wireless image capture and printing method and system
US20030071900A1 (en) * 2001-10-12 2003-04-17 Fuji Photo Film Co., Ltd. Image storage system and image accumulation apparatus
US20030084193A1 (en) * 2001-10-31 2003-05-01 Brake Gregory A. Systems and methods for preparing a record of an event based on images from multiple image capture devices
US20030103144A1 (en) * 2001-12-04 2003-06-05 Robert Sesek Digital camera having image transfer method and system
US20030133015A1 (en) * 2001-12-17 2003-07-17 Jackel Lawrence David Web-connected interactive digital camera
US20030140090A1 (en) * 2000-09-06 2003-07-24 Babak Rezvani Automated upload of content based on captured event
US20030146977A1 (en) * 2002-02-04 2003-08-07 Lightsurf Technologies, Inc. Device facilitating efficient transfer of digital content from media capture device
US20030197785A1 (en) * 2000-05-18 2003-10-23 Patrick White Multiple camera video system which displays selected images
US20040004663A1 (en) * 2002-07-02 2004-01-08 Lightsurf Technologies, Inc. Imaging system providing automatic organization and processing of images based on location
US20040032498A1 (en) * 2002-06-19 2004-02-19 Jeremy Wyn-Harris Internet camera
US20040051894A1 (en) * 2002-09-16 2004-03-18 Xerox Corporation Portable input scanning device in communication with a multi-function document services machine
US20040066403A1 (en) * 2001-08-01 2004-04-08 Yasuyuki Nagata Information processing apparatus and method
WO2004012027A3 (en) * 2002-07-29 2004-06-03 Milsys Ltd Multipurpose processor, system and method
US20040111415A1 (en) * 2002-12-04 2004-06-10 Patricia Scardino Automatic organization of images uploaded to a photo-sharing site
US20040155971A1 (en) * 2003-02-06 2004-08-12 Manish Sharma Method and system for building a view of an object
US20040172419A1 (en) * 2003-02-27 2004-09-02 Morris Robert P. Photosharing server filters for automatic storage and sharing of digital files
US20040179102A1 (en) * 2001-11-15 2004-09-16 Isao Matsufune Content transmission apparatus
US20040201709A1 (en) * 2001-06-26 2004-10-14 Eastman Kodak Company Electronic camera and system for transmitting digital over a communication network
US20040201711A1 (en) * 2001-04-30 2004-10-14 Lopaz Patricia D. Method for setting image intent
US20040208476A1 (en) * 2000-02-11 2004-10-21 Manowitz Neal Jacob Digital camera system
US20040215788A1 (en) * 2000-07-26 2004-10-28 Morris Robert P. System and method for associating a device with an existing service account
US20040218045A1 (en) * 2001-04-20 2004-11-04 Eric Bodnar System and methodology for automated provisioning of new user accounts
US20050031108A1 (en) * 2003-08-08 2005-02-10 Innomedia Pte Ltd. System for discover of provisioning information by telephones in a frame switched network without a broadcast based protocol
US20050055727A1 (en) * 1997-12-04 2005-03-10 Pentax U.S.A., Inc. Integrated internet/intranet camera
US20050075895A1 (en) * 2003-10-06 2005-04-07 Kamran Mohsenin Method for storing and retrieving digital images with a service provider
US20050083425A1 (en) * 2003-10-16 2005-04-21 Cozier Robert P. Using audio in a customized menu
US20050102198A1 (en) * 2000-03-24 2005-05-12 Parulski Kenneth A. Configuring image storage devices to enable imaging services
US20050108523A1 (en) * 2003-02-22 2005-05-19 Earle West Method and apparatus for collecting remote data
US20050162687A1 (en) * 2004-01-23 2005-07-28 Lee Steven K. System and method for routing service requests from a paired digital camera and transceiver module
US20050182786A1 (en) * 2004-02-16 2005-08-18 Canon Kabushiki Kaisha Information processing system, server apparatus, control method of server apparatus, program and storage medium
WO2005078613A1 (en) * 2004-02-13 2005-08-25 Futurice Oy Data processing system
US20050226413A1 (en) * 2004-03-12 2005-10-13 Toshiaki Wada Shooting apparatus, managing server, shooting managing system and shooting managing method
US20050261990A1 (en) * 2004-04-16 2005-11-24 Russell Gocht Mobile query system and method based on visual cues
US20060018628A1 (en) * 2003-06-10 2006-01-26 Fujitsu Limited Data transmission system
US20060039221A1 (en) * 2004-08-18 2006-02-23 Sony Corporation Memory card, memory card control method and memory card access control method
US20060044407A1 (en) * 2004-08-26 2006-03-02 Sprint Spectrum L.P. Method and system for delivering photos to called destinations
US20060055966A1 (en) * 2004-09-16 2006-03-16 Fuji Photo Film Co., Ltd. Print system
US20060085531A1 (en) * 2004-10-15 2006-04-20 Industrial Technology Research Institute Active data transmission device and system
US20060130151A1 (en) * 2004-12-14 2006-06-15 Chao-Hung Wu Web camera identification system and method
US20060136559A1 (en) * 2004-12-21 2006-06-22 Morris Robert P Automated construction of print order for images capture during a session
US20060143607A1 (en) * 2004-12-29 2006-06-29 Morris Robert P Method and system for allowing a user to create actions to be taken by a server
US20060143684A1 (en) * 2004-12-29 2006-06-29 Morris Robert P Method and system for allowing a user to specify actions that are to be automatically performed on data objects uploaded to a server
US20060168285A1 (en) * 2003-04-17 2006-07-27 Nielsen Peter D File upload using a browser
US7117519B1 (en) * 2000-07-26 2006-10-03 Fotomedia Technologies Llc Method and system for selecting actions to be taken by a server when uploading images
US20070028277A1 (en) * 2005-07-26 2007-02-01 Frank Clemente Integrated internet camera system
US20070027961A1 (en) * 2001-06-18 2007-02-01 David Holzer Method and apparatus for relationship management
US20070035763A1 (en) * 2005-08-09 2007-02-15 Globalprint Systems, Inc. Print job management method and system
US7196718B1 (en) 2004-08-26 2007-03-27 Sprint Spectrum L.P. Method and apparatus for transmission of digital image to destination associated with voice call participant
US20070118525A1 (en) * 2005-11-18 2007-05-24 Flashpoint Technology, Inc. System and method for controlling access to assets in a network-based media sharing system using tagging
US20070153090A1 (en) * 2004-09-01 2007-07-05 Creative Technology Ltd System for operating a plurality of mobile image capturing devices
US20070192464A1 (en) * 2005-12-22 2007-08-16 Axis Ab Monitoring system and method for connecting a monitoring device to a service server
US20070226330A1 (en) * 2002-03-06 2007-09-27 Canon Kabushiki Kaisha Information processing system, information processing apparatus, information processing method, storage medium that stores program for implementing it to be readable by information processing apparatus and that program
US20070238493A1 (en) * 2003-12-24 2007-10-11 Nigel Richardson Mobile Station Having a Configurable Grip
US7287088B1 (en) * 2000-10-06 2007-10-23 Fotomedia Technologies, Llc Transmission bandwidth and memory requirements reduction in a portable image capture device by eliminating duplicate image transmissions
US20070291303A1 (en) * 2006-06-18 2007-12-20 Masahide Tanaka Digital Camera with Communication Function
US20080030363A1 (en) * 2000-09-06 2008-02-07 Xanboo, Inc. Systems and methods for the automatic registration of devices
US7406248B1 (en) * 2000-11-28 2008-07-29 Canon Kabushiki Kaisha Digital image retrieval and storage
US7409701B1 (en) * 2001-01-31 2008-08-05 Logitech Europe S.A. Web cam with an interlude switch
US7408660B1 (en) * 2002-08-08 2008-08-05 Sprint Spectrum L.P. Method and system for managing delivery of digital image files to image processing labs
US7424310B1 (en) 2004-08-26 2008-09-09 Sprint Spectrum L.P. System, method, and apparatus for automatic transmission of recently captured images
US7443419B2 (en) 2000-07-26 2008-10-28 Fotomedia Technologies, Llc Automatically configuring a web-enabled digital camera to access the internet
US7525578B1 (en) 2004-08-26 2009-04-28 Sprint Spectrum L.P. Dual-location tagging of digital image files
US20090167870A1 (en) * 2008-01-02 2009-07-02 Serge Caleca Method for Creating Custom Digital Images Utilizing Background Replacement Technology Over a Network
US20100049810A1 (en) * 2007-02-19 2010-02-25 Nikon Corporation Server apparatus
US7710452B1 (en) 2005-03-16 2010-05-04 Eric Lindberg Remote video monitoring of non-urban outdoor sites
US7734589B1 (en) 2005-09-16 2010-06-08 Qurio Holdings, Inc. System and method for optimizing data uploading in a network based media sharing system
US7747574B1 (en) 2005-09-19 2010-06-29 Qurio Holdings, Inc. System and method for archiving digital media
US20100281394A1 (en) * 2009-04-29 2010-11-04 Paramesh Gopi System and Method for Photo-Image Local Distribution
US20110037864A1 (en) * 2009-08-17 2011-02-17 Microseven Systems, LLC Method and apparatus for live capture image
US7916322B2 (en) * 2002-03-14 2011-03-29 Senshin Capital, Llc Method and apparatus for uploading content from a device to a remote network location
US20110115930A1 (en) * 2009-11-17 2011-05-19 Kulinets Joseph M Image management system and method of selecting at least one of a plurality of cameras
US20110115931A1 (en) * 2009-11-17 2011-05-19 Kulinets Joseph M Image management system and method of controlling an image capturing device using a mobile communication device
US7958205B2 (en) 2002-07-09 2011-06-07 Senshin Capital, Llc Method and system for communicating between a remote printer and a server
US7978219B1 (en) 2000-08-30 2011-07-12 Kevin Reid Imes Device, network, server, and methods for providing digital images and associated processing information
US20110205373A1 (en) * 1999-06-02 2011-08-25 Wasula John L Customizing digital image transfer
US20110221903A1 (en) * 2010-03-09 2011-09-15 Stephen Swinford Production and Internet-Viewing of High-Resolution Images of the Commonly Viewed Exterior Surfaces of Vehicles, Each with the Same Background View
US20120070029A1 (en) * 2010-09-16 2012-03-22 Daniel Gregory Muriello Using camera signatures from uploaded images to authenticate users of an online system
US20120072493A1 (en) * 2010-09-16 2012-03-22 Daniel Muriello Associating cameras with users of a social networking system
US20120081556A1 (en) * 2010-10-04 2012-04-05 Hwang Myunghee Mobile terminal and image transmitting method therein
US8166098B1 (en) * 2002-06-17 2012-04-24 At&T Intellectual Property I, Lp System and method for dynamically capturing digital images from image capture devices
US20120163679A1 (en) * 2010-12-24 2012-06-28 Telefonaktiebolaget L M Ericsson (Publ) Dynamic profile creation in response to facial recognition
US8212893B2 (en) 1999-06-08 2012-07-03 Verisign, Inc. Digital camera device and methodology for distributed processing and wireless transmission of digital images
US8224776B1 (en) 2000-07-26 2012-07-17 Kdl Scan Designs Llc Method and system for hosting entity-specific photo-sharing websites for entity-specific digital cameras
US20120271915A1 (en) * 2005-01-05 2012-10-25 Microsoft Corporation Processing files from a mobile device
US8326352B1 (en) * 2000-09-06 2012-12-04 Kevin Reid Imes Device, network, server, and methods for providing service requests for wireless communication devices
US20130133048A1 (en) * 2010-08-02 2013-05-23 3Fish Limited Identity assessment method and system
US20130282821A1 (en) * 2009-11-06 2013-10-24 Facebook, Inc. Associating cameras with users and objects in a social networking system
US8676925B1 (en) 2006-02-27 2014-03-18 Jiawei Liu Method and apparatus for peer-to-peer capturing and sharing of visual information based on incentives
US20140123262A1 (en) * 2001-07-23 2014-05-01 Sony Corporation Information processing system, information processing apparatus, and method
US8947542B2 (en) 2005-07-26 2015-02-03 Alex Is The Best, Llc Integrated internet camera system and method
US9122861B2 (en) 2010-07-30 2015-09-01 Sony Corporation Managing device connectivity and network based services
US9183560B2 (en) 2010-05-28 2015-11-10 Daniel H. Abelow Reality alternate
US20160100090A1 (en) * 2005-10-17 2016-04-07 Cutting Edge Vision Llc Automatic upload of pictures from a camera
US9622058B1 (en) 2000-06-02 2017-04-11 Timothy G. Newman Apparatus, system, methods and network for communicating information associated with digital images
US10235390B2 (en) * 2006-03-29 2019-03-19 Blackberry Limited Shared image database with geographic navigation
US20190207992A1 (en) * 2017-12-29 2019-07-04 Facebook, Inc. Systems and methods for sharing content
US10592202B2 (en) 2000-11-01 2020-03-17 Flexiworld Technologies, Inc. Mobile information apparatus supporting mobile payment that includes security based, at least partly, on user pushbutton, user biometrics, data encryption, and short physical distance wireless communication
US10606535B2 (en) 2000-11-20 2020-03-31 Flexiworld Technologies, Inc. Internet based digital content services that provide content upload, content storage, content sharing, and content playlist selection; and smart devices with access to the internet based digital content services
US10761791B2 (en) 2000-11-01 2020-09-01 Flexiworld Technologies, Inc. Wireless printing devices that provide printing services over a network without a need for a client device of the printing device to use, at the client device, a printer specific printer driver
US10860290B2 (en) 2000-11-01 2020-12-08 Flexiworld Technologies, Inc. Mobile information apparatuses that include a digital camera, a touch sensitive screen interface, support for voice activated commands, and a wireless communication chip or chipset supporting IEEE 802.11
US10915296B2 (en) 2000-11-01 2021-02-09 Flexiworld Technologies, Inc. Information apparatus that includes a touch sensitive screen interface for managing or replying to e-mails
US11076122B2 (en) * 2017-05-15 2021-07-27 Olympus Corporation Communication terminal, image management system, and image management method
US11204729B2 (en) 2000-11-01 2021-12-21 Flexiworld Technologies, Inc. Internet based digital content services for pervasively providing protected digital content to smart devices based on having subscribed to the digital content service
US11234121B2 (en) 2007-12-28 2022-01-25 Cellspinsoft Inc. Automatic multimedia upload for publishing data and multimedia content
US20220188676A1 (en) * 2020-12-15 2022-06-16 International Business Machines Corporation Inference model optimization
US11778328B2 (en) 2010-03-09 2023-10-03 Stephen Michael Swinford Revolutionary apparatus producing high resolution images of the commonly viewed exterior surfaces of automobiles

Families Citing this family (67)

* Cited by examiner, † Cited by third party
Publication number Priority date Publication date Assignee Title
JP4114127B2 (en) * 2000-10-02 2008-07-09 富士フイルム株式会社 COMMUNICATION DEVICE, COMMUNICATION METHOD, COMPUTER-READABLE RECORDING MEDIUM CONTAINING COMMUNICATION PROGRAM, AND SERVICE SYSTEM
EP1229721A3 (en) * 2001-01-31 2004-09-29 Fuji Photo Film Co., Ltd. Information displaying method and menu service method and system
US20040201682A1 (en) * 2001-08-22 2004-10-14 Lou Chauvin System, method and software product for allowing a consumer to order image products over a communication network from a plurality of different providers
US7743110B2 (en) * 2001-08-22 2010-06-22 Eastman Kodak Company System, method and software product for ordering image products over a communication network from a plurality of different providers having various business relationships, using images stored on a digital storage device
JP2003108471A (en) * 2001-09-28 2003-04-11 Canon Inc INFORMATION PROVIDING DEVICE, ITS CONTROL METHOD, CONTROL PROGRAM, AND STORAGE MEDIUM
US7437450B1 (en) * 2001-11-30 2008-10-14 Cisco Technology Inc. End-to-end performance tool and method for monitoring electronic-commerce transactions
US20030149573A1 (en) * 2002-02-04 2003-08-07 Lynton Todd M. Product registration system
US7970854B2 (en) * 2003-01-15 2011-06-28 Qurio Holdings, Inc. Method and system for requesting image prints in an online photosharing system
US7734700B2 (en) 2003-10-10 2010-06-08 Eastman Kodak Company System and method for notification of digital images to be shared via a service provider
US20090037362A1 (en) * 2003-10-17 2009-02-05 Stephen James Fox Method of and software for performing a task
JP2005157415A (en) * 2003-11-20 2005-06-16 Canon Inc Server apparatus control method, program for causing computer apparatus to execute the control method, storage medium storing the program, and computer apparatus
JP2005218067A (en) * 2004-02-02 2005-08-11 Nakagawa Kenkyusho:Kk Mobile terminal with camera for visible light communication
JPWO2005081118A1 (en) * 2004-02-25 2007-08-02 松下電器産業株式会社 Mail system and mail processing method
JP4517709B2 (en) * 2004-04-23 2010-08-04 富士ゼロックス株式会社 Image processing apparatus, image processing program, image processing method, control apparatus, and system
US9008055B2 (en) * 2004-04-28 2015-04-14 Kdl Scan Designs Llc Automatic remote services provided by a home relationship between a device and a server
US8972576B2 (en) * 2004-04-28 2015-03-03 Kdl Scan Designs Llc Establishing a home relationship between a wireless device and a server in a wireless network
US20080249777A1 (en) * 2004-04-29 2008-10-09 Koninklijke Philips Electronics, N.V. Method And System For Control Of An Application
US20060040644A1 (en) * 2004-08-17 2006-02-23 Sharp Laboratories Of America, Inc. System and method for sending photos to default send-to recipient for mobile telephone messaging
KR100857267B1 (en) 2005-05-02 2008-09-08 주식회사 케이티 WLAN service system and its authentication method
US9092928B2 (en) * 2005-07-01 2015-07-28 The Invention Science Fund I, Llc Implementing group content substitution in media works
US20080052104A1 (en) * 2005-07-01 2008-02-28 Searete Llc Group content substitution in media works
US20100017885A1 (en) * 2005-07-01 2010-01-21 Searete Llc, A Limited Liability Corporation Of The State Of Delaware Media markup identifier for alterable promotional segments
US20090210946A1 (en) * 2005-07-01 2009-08-20 Searete Llc, A Limited Liability Corporation Of The State Of Delaware Media markup for promotional audio content
US8910033B2 (en) * 2005-07-01 2014-12-09 The Invention Science Fund I, Llc Implementing group content substitution in media works
US20080052161A1 (en) * 2005-07-01 2008-02-28 Searete Llc Alteration of promotional content in media works
US20090235364A1 (en) * 2005-07-01 2009-09-17 Searete Llc, A Limited Liability Corporation Of The State Of Delaware Media markup for promotional content alteration
US20090037243A1 (en) * 2005-07-01 2009-02-05 Searete Llc, A Limited Liability Corporation Of The State Of Delaware Audio substitution options in media works
US20070294720A1 (en) * 2005-07-01 2007-12-20 Searete Llc Promotional placement in media works
US20090204475A1 (en) * 2005-07-01 2009-08-13 Searete Llc, A Limited Liability Corporation Of The State Of Delaware Media markup for promotional visual content
US20070263865A1 (en) * 2005-07-01 2007-11-15 Searete Llc, A Limited Liability Corporation Of The State Of Delaware Authorization rights for substitute media content
US20070005422A1 (en) * 2005-07-01 2007-01-04 Searete Llc, A Limited Liability Corporation Of The State Of Delaware Techniques for image generation
US9230601B2 (en) * 2005-07-01 2016-01-05 Invention Science Fund I, Llc Media markup system for content alteration in derivative works
US9065979B2 (en) * 2005-07-01 2015-06-23 The Invention Science Fund I, Llc Promotional placement in media works
US20080086380A1 (en) * 2005-07-01 2008-04-10 Searete Llc, A Limited Liability Corporation Of The State Of Delaware Alteration of promotional content in media works
US20090150199A1 (en) * 2005-07-01 2009-06-11 Searete Llc, A Limited Liability Corporation Of The State Of Delaware Visual substitution options in media works
US20100154065A1 (en) * 2005-07-01 2010-06-17 Searete Llc, A Limited Liability Corporation Of The State Of Delaware Media markup for user-activated content alteration
US20080010083A1 (en) * 2005-07-01 2008-01-10 Searete Llc, A Limited Liability Corporation Of The State Of Delaware Approval technique for media content alteration
US20070276757A1 (en) * 2005-07-01 2007-11-29 Searete Llc, A Limited Liability Corporation Of The State Of Delaware Approval technique for media content alteration
US9426387B2 (en) * 2005-07-01 2016-08-23 Invention Science Fund I, Llc Image anonymization
US20090150444A1 (en) * 2005-07-01 2009-06-11 Searete Llc, A Limited Liability Corporation Of The State Of Delaware Media markup for audio content alteration
US20090151004A1 (en) * 2005-07-01 2009-06-11 Searete Llc, A Limited Liability Corporation Of The State Of Delaware Media markup for visual content alteration
US20090037278A1 (en) * 2005-07-01 2009-02-05 Searete Llc, A Limited Liability Corporation Of The State Of Delaware Implementing visual substitution options in media works
US9583141B2 (en) * 2005-07-01 2017-02-28 Invention Science Fund I, Llc Implementing audio substitution options in media works
US20070266049A1 (en) * 2005-07-01 2007-11-15 Searete Llc, A Limited Liability Corportion Of The State Of Delaware Implementation of media content alteration
US20070046773A1 (en) * 2005-09-01 2007-03-01 Eastman Kodak Company Method for providing an output product service using a recyclable electronic capture device
JP2007081490A (en) * 2005-09-09 2007-03-29 Canon Inc Computer, image processing method, imaging apparatus, and control method thereof
US7933972B1 (en) 2005-09-29 2011-04-26 Qurio Holdings, Inc. Method and system for organizing categories of content in a distributed network
US8458098B1 (en) 2005-09-29 2013-06-04 Qurio Holdings, Inc. Methods of tracking remote software installations and registrations and related systems and computer program products
US7516104B1 (en) 2005-09-29 2009-04-07 Qurio Holdings, Inc. Methods of providing software over a network and related systems and computer program products
JP4897520B2 (en) * 2006-03-20 2012-03-14 株式会社リコー Information distribution system
US7705882B2 (en) * 2006-06-09 2010-04-27 International Truck Intellectual Property Company, Llc Device and system for enabling families to share in long haul truckers' travels
DE102006052320A1 (en) * 2006-11-07 2008-05-08 Deutsche Telekom Ag Digital photographs e.g. vacation videos, producing method for use in e.g. mobile phone, involves directly and wirelessly sending photographs from camera to receiver and from receiver to address of Internet portal over Internet
US20080180539A1 (en) * 2007-01-31 2008-07-31 Searete Llc, A Limited Liability Corporation Image anonymization
US20080244755A1 (en) * 2007-03-30 2008-10-02 Searete Llc, A Limited Liability Corporation Of The State Of Delaware Authorization for media content alteration
US20080270161A1 (en) * 2007-04-26 2008-10-30 Searete Llc, A Limited Liability Corporation Of The State Of Delaware Authorization rights for substitute media content
US9215512B2 (en) 2007-04-27 2015-12-15 Invention Science Fund I, Llc Implementation of media content alteration
WO2008147836A1 (en) * 2007-05-23 2008-12-04 David Bradin Production of polypropylene from renewable resources
KR101495538B1 (en) * 2008-10-21 2015-02-25 삼성전자주식회사 Image forming method and apparatus of the same
KR101673188B1 (en) * 2010-03-02 2016-11-08 삼성전자주식회사 Method and apparatus for sharing contents
FI20115141A0 (en) 2011-02-15 2011-02-15 P2S Media Group Oy Procedures and arrangements for user registration
JP5842454B2 (en) * 2011-08-12 2016-01-13 ソニー株式会社 Information processing apparatus, communication system, and information processing method
US9137347B1 (en) 2012-04-05 2015-09-15 Google Inc. Remotely configuring a wireless device and uploading media to a server
KR20140022217A (en) * 2012-08-13 2014-02-24 네이버 주식회사 Digital photo frame providing calander type interface and operating method
KR101423866B1 (en) * 2013-01-23 2014-07-25 케이티텔레캅 주식회사 Ip camera simply registrating method using of http
US9258436B2 (en) * 2013-04-03 2016-02-09 Arcsoft (Hangzhou) Multimedia Technology Co., Ltd. Method of easily configuring a network camera
JP2017059888A (en) * 2015-09-14 2017-03-23 オリンパス株式会社 Information recording apparatus, information recording method, and information recording program
JP2024090996A (en) * 2022-12-23 2024-07-04 キヤノン株式会社 Account management system, account management method, information terminal and program

Citations (9)

* Cited by examiner, † Cited by third party
Publication number Priority date Publication date Assignee Title
US5430827A (en) * 1993-04-23 1995-07-04 At&T Corp. Password verification system
US5737491A (en) * 1996-06-28 1998-04-07 Eastman Kodak Company Electronic imaging system capable of image capture, local wireless transmission and voice recognition
US5905736A (en) * 1996-04-22 1999-05-18 At&T Corp Method for the billing of transactions over the internet
US6064671A (en) * 1995-12-08 2000-05-16 Killian; Michael G. Multi-homed end system for increasing computers network bandwidth
US6067571A (en) * 1996-07-23 2000-05-23 Canon Kabushiki Kaisha Server, terminal and control method for transmitting real-time images over the internet
US6167469A (en) * 1998-05-18 2000-12-26 Agilent Technologies, Inc. Digital camera having display device for displaying graphical representation of user input and method for transporting the selected digital images thereof
US6226752B1 (en) * 1999-05-11 2001-05-01 Sun Microsystems, Inc. Method and apparatus for authenticating users
US6269481B1 (en) * 1997-05-02 2001-07-31 Webtv Networks, Inc. Automatic selecting and downloading device drivers from a server system to a client system that includes one or more devices
US6502195B1 (en) * 1998-06-04 2002-12-31 Z4 Technologies, Inc. Computer readable storage medium for providing repeated contact with software end-user

Family Cites Families (150)

* Cited by examiner, † Cited by third party
Publication number Priority date Publication date Assignee Title
SE464283B (en) 1986-10-15 1991-04-08 Forsheda Ab SEAT AND MACHINE FORMING A END PART ON A PIPE
JP2543862B2 (en) 1986-12-03 1996-10-16 株式会社東芝 Image data management system
US5206915A (en) 1989-10-10 1993-04-27 Unisys Corporation Image-based document processing system providing lost image recovery
US5233618A (en) * 1990-03-02 1993-08-03 Micro Technology, Inc. Data correcting applicable to redundant arrays of independent disks
EP0477080B1 (en) 1990-09-17 1998-06-03 Canon Kabushiki Kaisha Data communication apparatus
JPH04310188A (en) 1991-03-01 1992-11-02 Internatl Business Mach Corp <Ibm> Library service method for document/image library
DE69232164T2 (en) 1991-08-22 2002-07-18 Sun Microsystems, Inc. Network video provider device and method
EP0605618A4 (en) * 1991-09-23 1998-05-13 Microsystems Z Enhanced security system for computing devices.
US5396546A (en) * 1991-10-03 1995-03-07 Viscorp Apparatus and method for automatic and user configurable information appliance
US5249230A (en) * 1991-11-21 1993-09-28 Motorola, Inc. Authentication system
US5684918A (en) * 1992-02-07 1997-11-04 Abecassis; Max System for integrating video and communications
US5821523A (en) 1992-03-12 1998-10-13 Bunte; Alan G. Combined code reader and digital camera using a common photodetector
US5333133A (en) * 1992-04-28 1994-07-26 Teloquent Communications Corporation Call processing control system
US5532833A (en) 1992-10-13 1996-07-02 International Business Machines Corporation Method and system for displaying selected portions of a motion video image
US5475441A (en) 1992-12-10 1995-12-12 Eastman Kodak Company Electronic camera with memory card interface to a computer
US5719786A (en) * 1993-02-03 1998-02-17 Novell, Inc. Digital media data stream network management system
JP3438205B2 (en) 1993-02-25 2003-08-18 株式会社リコー Digital electronic camera device
JPH06284148A (en) 1993-03-30 1994-10-07 Hitachi Ltd Video communication control method and communication control device
US5612732A (en) 1993-03-31 1997-03-18 Casio Computer Co., Ltd. Portable compact imaging and displaying apparatus with rotatable camera
US5625410A (en) 1993-04-21 1997-04-29 Kinywa Washino Video monitoring and conferencing system
JPH0746559A (en) 1993-07-29 1995-02-14 Canon Inc Terminal device
US5432871A (en) 1993-08-04 1995-07-11 Universal Systems & Technology, Inc. Systems and methods for interactive image data acquisition and compression
US6594688B2 (en) * 1993-10-01 2003-07-15 Collaboration Properties, Inc. Dedicated echo canceler for a workstation
US5768426A (en) 1993-11-18 1998-06-16 Digimarc Corporation Graphics processing system employing embedded code signals
US5446491A (en) 1993-12-21 1995-08-29 Hitachi, Ltd. Multi-point video conference system wherein each terminal comprises a shared frame memory to store information from other terminals
EP1783981A1 (en) 1993-12-24 2007-05-09 Sharp Kabushiki Kaisha Image information storage device and image information storage regenerating device
JPH07210614A (en) 1993-12-29 1995-08-11 Internatl Business Mach Corp <Ibm> Method and system for creation of statement
US5973731A (en) * 1994-03-03 1999-10-26 Schwab; Barry H. Secure identification system
US5748780A (en) 1994-04-07 1998-05-05 Stolfo; Salvatore J. Method and apparatus for imaging, image processing and data compression
EP0674414B1 (en) 1994-03-21 2002-02-27 Avid Technology, Inc. Apparatus and computer-implemented process for providing real-time multimedia data transport in a distributed computing system
US5477264A (en) * 1994-03-29 1995-12-19 Eastman Kodak Company Electronic imaging system using a removable software-enhanced storage device
US5677909A (en) 1994-05-11 1997-10-14 Spectrix Corporation Apparatus for exchanging data between a central station and a plurality of wireless remote stations on a time divided commnication channel
JP3083042B2 (en) 1994-05-12 2000-09-04 新東工業株式会社 Mold making method
US5835140A (en) 1994-06-27 1998-11-10 Matsushita Electric Industrial Co., Ltd. Remote-control method and apparatus for rotating image device
US5739864A (en) 1994-08-24 1998-04-14 Macrovision Corporation Apparatus for inserting blanked formatted fingerprint data (source ID, time/date) in to a video signal
US6185811B1 (en) * 1994-08-01 2001-02-13 Hammond Manufacturing Company Method for making a transformer
US5802281A (en) 1994-09-07 1998-09-01 Rsi Systems, Inc. Peripheral audio/video communication system that interfaces with a host computer and determines format of coded audio/video signals
JP3504738B2 (en) 1994-09-09 2004-03-08 オリンパス株式会社 Electronic imaging apparatus and electronic imaging system
JP3525353B2 (en) 1994-09-28 2004-05-10 株式会社リコー Digital electronic still camera
JP3893480B2 (en) 1994-09-28 2007-03-14 株式会社リコー Digital electronic camera
US5608874A (en) 1994-12-02 1997-03-04 Autoentry Online, Inc. System and method for automatic data file format translation and transmission having advanced features
US5633484A (en) 1994-12-26 1997-05-27 Motorola, Inc. Method and apparatus for personal attribute selection and management using a preference memory
US5799322A (en) 1995-01-24 1998-08-25 Tandem Computer, Inc. System and method for stopping updates at a specified timestamp in a remote duplicate database facility
US5793966A (en) 1995-12-01 1998-08-11 Vermeer Technologies, Inc. Computer system and computer-implemented process for creation and maintenance of online services
US5606365A (en) * 1995-03-28 1997-02-25 Eastman Kodak Company Interactive camera for network processing of captured images
US5666159A (en) 1995-04-24 1997-09-09 Eastman Kodak Company Electronic camera system with programmable transmission capability
US5845265A (en) * 1995-04-26 1998-12-01 Mercexchange, L.L.C. Consignment nodes
US5674003A (en) 1995-04-28 1997-10-07 Andersen; David B. Mechanisms for accessing unique features of telephony networks from a protocol-Independent data transport interface
US5896128A (en) 1995-05-03 1999-04-20 Bell Communications Research, Inc. System and method for associating multimedia objects for use in a video conferencing system
US5943046A (en) 1995-07-19 1999-08-24 Intervoice Limited Partnership Systems and methods for the distribution of multimedia information
US5822524A (en) 1995-07-21 1998-10-13 Infovalue Computing, Inc. System for just-in-time retrieval of multimedia files over computer networks by transmitting data packets at transmission rate determined by frame size
US6002770A (en) 1995-07-28 1999-12-14 Mytec Technologies Inc. Method for secure data transmission between remote stations
JPH0965269A (en) 1995-08-23 1997-03-07 Olympus Optical Co Ltd Image pickup device
US5568192A (en) 1995-08-30 1996-10-22 Intel Corporation Method and apparatus for processing digital video camera signals
US5659742A (en) 1995-09-15 1997-08-19 Infonautics Corporation Method for storing multi-media information in an information retrieval system
US5852472A (en) 1995-09-28 1998-12-22 Intel Corporation Method and apparatus for connecting video sources and video sinks
US6266082B1 (en) 1995-12-19 2001-07-24 Canon Kabushiki Kaisha Communication apparatus image processing apparatus communication method and image processing method
US5790807A (en) 1995-12-20 1998-08-04 Tandem Computers Incorporated Computer sysem data I/O by reference among CPUS and I/O devices
US5696850A (en) 1995-12-21 1997-12-09 Eastman Kodak Company Automatic image sharpening in an electronic imaging system
US5771355A (en) 1995-12-21 1998-06-23 Intel Corporation Transmitting electronic mail by either reference or value at file-replication points to minimize costs
JP3902806B2 (en) 1996-01-26 2007-04-11 キヤノン株式会社 Video camera
JPH09212461A (en) 1996-01-29 1997-08-15 Internatl Business Mach Corp <Ibm> Data transfer control method
US5862218A (en) 1996-04-04 1999-01-19 Fotonation, Inc. Method and apparatus for in-camera image marking and authentication
US6628325B1 (en) * 1998-06-26 2003-09-30 Fotonation Holdings, Llc Camera network communication device
WO1997030375A1 (en) * 1996-02-13 1997-08-21 Obsidian Imaging, Inc. Method and apparatus for configuring a camera through external means
JP3651998B2 (en) * 1996-02-20 2005-05-25 キヤノン株式会社 Camera control device, camera control method, and camera system
US6076109A (en) 1996-04-10 2000-06-13 Lextron, Systems, Inc. Simplified-file hyper text protocol
US5862325A (en) 1996-02-29 1999-01-19 Intermind Corporation Computer-based communication system and method using metadata defining a control structure
JPH09261519A (en) 1996-03-22 1997-10-03 Canon Inc Imaging device
US5862217A (en) 1996-03-28 1999-01-19 Fotonation, Inc. Method and apparatus for in-camera encryption
US6185611B1 (en) 1998-03-20 2001-02-06 Sun Microsystem, Inc. Dynamic lookup service in a distributed system
US5784581A (en) 1996-05-03 1998-07-21 Intel Corporation Apparatus and method for operating a peripheral device as either a master device or a slave device
US5806005A (en) * 1996-05-10 1998-09-08 Ricoh Company, Ltd. Wireless image transfer from a digital still video camera to a networked computer
DE59708043D1 (en) 1996-06-17 2002-10-02 Siemens Ag Communication system and method for taking and managing digital images
US5832514A (en) 1996-06-26 1998-11-03 Microsoft Corporation System and method for discovery based data recovery in a store and forward replication process
US6525761B2 (en) 1996-07-23 2003-02-25 Canon Kabushiki Kaisha Apparatus and method for controlling a camera connected to a network
US5790789A (en) 1996-08-02 1998-08-04 Suarez; Larry Method and architecture for the creation, control and deployment of services within a distributed computer environment
US5991842A (en) 1996-08-27 1999-11-23 Canon Kabushiki Kaisha Communication system for providing digital data transfer, electronic equipment for transferring data using the communication system, and an interface control device
US6073241A (en) * 1996-08-29 2000-06-06 C/Net, Inc. Apparatus and method for tracking world wide web browser requests across distinct domains using persistent client-side state
US5960074A (en) * 1996-09-23 1999-09-28 Curtis Clark Mobile tele-computer network for motion picture, television and tv advertising production
JPH10124491A (en) * 1996-10-24 1998-05-15 Fujitsu Ltd Document sharing and organizing system, shared document management device and document access device
JP3943674B2 (en) 1996-10-25 2007-07-11 キヤノン株式会社 Camera control system, camera server and control method thereof
US5884042A (en) 1996-10-31 1999-03-16 Sensormatic Electronics Corporation Data identification in an intelligent video information management system
JPH10150523A (en) * 1996-11-20 1998-06-02 Fuji Photo Film Co Ltd Preserving and utilizing system for photographic image data photographed by digital camera
US6012088A (en) * 1996-12-10 2000-01-04 International Business Machines Corporation Automatic configuration for internet access device
US6017157A (en) * 1996-12-24 2000-01-25 Picturevision, Inc. Method of processing digital images and distributing visual prints produced from the digital images
US5917542A (en) 1997-02-18 1999-06-29 Eastman Kodak Company System and method for digital image capture and transmission
US6573927B2 (en) * 1997-02-20 2003-06-03 Eastman Kodak Company Electronic still camera for capturing digital image and creating a print order
US6784924B2 (en) 1997-02-20 2004-08-31 Eastman Kodak Company Network configuration file for automatically transmitting images from an electronic still camera
JP3787404B2 (en) 1997-02-24 2006-06-21 キヤノン株式会社 Camera control system and control method thereof
DE69835179T2 (en) * 1997-03-12 2007-07-05 Canon K.K. Method, system and device for data transmission and program for data transmission method stored in a storage medium
US6046762A (en) 1997-04-01 2000-04-04 Cosmocom, Inc. Multimedia telecommunication automatic call distribution system
US6185551B1 (en) * 1997-06-16 2001-02-06 Digital Equipment Corporation Web-based electronic mail service apparatus and method using full text and label indexing
US6321231B1 (en) 1997-08-11 2001-11-20 Marshall, O'toole, Gerstein, Murray & Borun Data management and order delivery system
US6049621A (en) 1997-08-22 2000-04-11 International Business Machines Corporation Determining a point correspondence between two points in two respective (fingerprint) images
JP3516328B2 (en) * 1997-08-22 2004-04-05 株式会社日立製作所 Information communication terminal equipment
US6301586B1 (en) * 1997-10-06 2001-10-09 Canon Kabushiki Kaisha System for managing multimedia objects
CA2306704A1 (en) 1997-10-16 1999-04-29 John Slaby An apparatus and method for controlling access to a service over a communications system
US6035323A (en) * 1997-10-24 2000-03-07 Pictra, Inc. Methods and apparatuses for distributing a collection of digital media over a network with automatic generation of presentable media
JPH11146084A (en) * 1997-11-06 1999-05-28 Casio Comput Co Ltd Data transmitting / receiving device and recording medium
US6930709B1 (en) * 1997-12-04 2005-08-16 Pentax Of America, Inc. Integrated internet/intranet camera
US5860068A (en) 1997-12-04 1999-01-12 Petabyte Corporation Method and system for custom manufacture and delivery of a data product
JPH11205761A (en) 1998-01-14 1999-07-30 Mitsubishi Electric Corp Mobile phone with camera function
US6301607B2 (en) 1998-02-06 2001-10-09 Netergy Networks, Inc. Arrangement and method for displaying and sharing images
US6147742A (en) * 1998-02-26 2000-11-14 Eastman Kodak Company Photofinishing system and method for automated advanced services including image and associated audio data processing
US6567122B1 (en) 1998-03-18 2003-05-20 Ipac Acquisition Subsidiary I Method and system for hosting an internet web site on a digital camera
US6223190B1 (en) * 1998-04-13 2001-04-24 Flashpoint Technology, Inc. Method and system for producing an internet page description file on a digital imaging device
FR2778647B1 (en) 1998-05-14 2000-06-23 Admv Sa AUTOMATIC PARTS GUIDANCE AND DISTRIBUTION MECHANISM
US7173651B1 (en) * 1998-06-02 2007-02-06 Knowles Andrew T Apparatus and system for prompt digital photo delivery and archival
US20060062192A1 (en) * 1998-06-26 2006-03-23 Payne William A Iii Method for wireless access system supporting multiple frame types
US6623528B1 (en) * 1998-07-22 2003-09-23 Eastman Kodak Company System and method of constructing a photo album
US7391443B2 (en) * 1998-08-21 2008-06-24 Sony Corporation Information processing apparatus, information processing method, and medium
US6281874B1 (en) 1998-08-27 2001-08-28 International Business Machines Corporation Method and system for downloading graphic images on the internet
JP3754849B2 (en) * 1998-10-30 2006-03-15 キヤノン株式会社 Data communication apparatus, control method, storage medium, and image printing system
US6762791B1 (en) 1999-02-16 2004-07-13 Robert W. Schuetzle Method for processing digital images
KR100382851B1 (en) * 1999-03-31 2003-05-09 인터내셔널 비지네스 머신즈 코포레이션 A method and apparatus for managing client computers in a distributed data processing system
US6571271B1 (en) 1999-05-03 2003-05-27 Ricoh Company, Ltd. Networked appliance for recording, storing and serving digital images
US20020101816A1 (en) 1999-05-20 2002-08-01 Michael F. Braitberg Removable optical storage device and system
WO2000074370A1 (en) * 1999-06-02 2000-12-07 Eastman Kodak Company Customizing digital image transfer
US6647409B1 (en) * 1999-07-13 2003-11-11 Microsoft Corporation Maintaining a sliding view of server based data on a handheld personal computer
AU6514200A (en) * 1999-08-03 2001-02-19 Videoshare, Inc. Method and system for sharing video with advertisements over a network
US6657702B1 (en) * 1999-08-31 2003-12-02 Shutterfly, Inc. Facilitating photographic print re-ordering
US6650831B1 (en) * 1999-10-15 2003-11-18 James Thompson Method of providing access to photographic images over a computer network
US6625812B2 (en) 1999-10-22 2003-09-23 David Hardin Abrams Method and system for preserving and communicating live views of a remote physical location over a computer network
US6638259B1 (en) * 1999-10-28 2003-10-28 Scimed Life Systems, Inc. Biocompatible medical devices
JP3681937B2 (en) * 1999-10-29 2005-08-10 サンデン株式会社 Cashless vending system
US6581094B1 (en) * 1999-11-02 2003-06-17 Sun Microsystems, Inc. Apparatus and method for identifying a digital device based on the device's uniform device descriptor file that specifies the attributes of the device in a XML document in a networked environment
US6591295B1 (en) 1999-11-05 2003-07-08 Oracle International Corp. Methods and apparatus for using multimedia data stored in a relational database in web applications
US6583799B1 (en) 1999-11-24 2003-06-24 Shutterfly, Inc. Image uploading
TW403853B (en) * 1999-12-13 2000-09-01 Inventec Corp A digital camera with a function of picture transmission
US6950800B1 (en) 1999-12-22 2005-09-27 Eastman Kodak Company Method of permitting group access to electronically stored images and transaction card used in the method
US7483964B1 (en) * 2000-02-25 2009-01-27 Nortel Networks, Limited System, device, and method for providing personalized services in a communication system
US6701522B1 (en) * 2000-04-07 2004-03-02 Danger, Inc. Apparatus and method for portal device authentication
US6738494B1 (en) * 2000-06-23 2004-05-18 Eastman Kodak Company Method for varying an image processing path based on image emphasis and appeal
US8224776B1 (en) 2000-07-26 2012-07-17 Kdl Scan Designs Llc Method and system for hosting entity-specific photo-sharing websites for entity-specific digital cameras
US7117519B1 (en) * 2000-07-26 2006-10-03 Fotomedia Technologies Llc Method and system for selecting actions to be taken by a server when uploading images
US6636259B1 (en) 2000-07-26 2003-10-21 Ipac Acquisition Subsidiary I, Llc Automatically configuring a web-enabled digital camera to access the internet
FR2812495B1 (en) * 2000-07-31 2003-02-07 Eastman Kodak Co METHOD FOR PROVIDING DIGITAL PHOTOGRAPHIC IMAGES
US7287088B1 (en) 2000-10-06 2007-10-23 Fotomedia Technologies, Llc Transmission bandwidth and memory requirements reduction in a portable image capture device by eliminating duplicate image transmissions
US6909889B2 (en) 2000-10-06 2005-06-21 Fuji Photo Film Co., Ltd. Print service system, print order receiving server, image storage service system, image storage server and mobile telephone
US6453361B1 (en) * 2000-10-27 2002-09-17 Ipac Acquisition Subsidiary I, Llc Meta-application architecture for integrating photo-service websites
JP3974037B2 (en) 2000-11-08 2007-09-12 三菱電機株式会社 Image registration server and image mediation distribution system
US6874025B2 (en) 2000-12-22 2005-03-29 Intel Corporation System and method of application input validation
US7272788B2 (en) 2000-12-29 2007-09-18 Fotomedia Technologies, Llc Client-server system for merging of metadata with images
JP2003271633A (en) * 2002-03-12 2003-09-26 Mazda Motor Corp Information providing method and computer program therefor
KR100469422B1 (en) 2002-04-08 2005-02-02 엘지전자 주식회사 Method for browsing thumbnail image of mobile communication terminal
KR101007798B1 (en) * 2003-12-08 2011-01-14 엘지전자 주식회사 Scaling Method for Partial Area of Main Image of Digital Broadcast Receiver
JP4524624B2 (en) * 2005-01-20 2010-08-18 ブラザー工業株式会社 Setup program and image forming system
WO2007051500A1 (en) 2005-10-31 2007-05-10 Handy Tiling Holding B.V. System for setting tiles
US20080114543A1 (en) * 2006-11-14 2008-05-15 Interchain Solution Private Limited Mobile phone based navigation system

Patent Citations (9)

* Cited by examiner, † Cited by third party
Publication number Priority date Publication date Assignee Title
US5430827A (en) * 1993-04-23 1995-07-04 At&T Corp. Password verification system
US6064671A (en) * 1995-12-08 2000-05-16 Killian; Michael G. Multi-homed end system for increasing computers network bandwidth
US5905736A (en) * 1996-04-22 1999-05-18 At&T Corp Method for the billing of transactions over the internet
US5737491A (en) * 1996-06-28 1998-04-07 Eastman Kodak Company Electronic imaging system capable of image capture, local wireless transmission and voice recognition
US6067571A (en) * 1996-07-23 2000-05-23 Canon Kabushiki Kaisha Server, terminal and control method for transmitting real-time images over the internet
US6269481B1 (en) * 1997-05-02 2001-07-31 Webtv Networks, Inc. Automatic selecting and downloading device drivers from a server system to a client system that includes one or more devices
US6167469A (en) * 1998-05-18 2000-12-26 Agilent Technologies, Inc. Digital camera having display device for displaying graphical representation of user input and method for transporting the selected digital images thereof
US6502195B1 (en) * 1998-06-04 2002-12-31 Z4 Technologies, Inc. Computer readable storage medium for providing repeated contact with software end-user
US6226752B1 (en) * 1999-05-11 2001-05-01 Sun Microsystems, Inc. Method and apparatus for authenticating users

Cited By (324)

* Cited by examiner, † Cited by third party
Publication number Priority date Publication date Assignee Title
US7962946B2 (en) 1997-12-04 2011-06-14 Axis Ab Camera connectible to CCTV network
US20050078189A1 (en) * 1997-12-04 2005-04-14 Pentax U.S.A., Inc. Integrated Internet camera
US7350224B2 (en) 1997-12-04 2008-03-25 Pentax Of America, Inc. Integrated internet/intranet camera
US7425987B2 (en) 1997-12-04 2008-09-16 Pentax Of America, Inc. Method of transmitting image data from standalone device
US7428005B2 (en) 1997-12-04 2008-09-23 Pentax Of America, Inc. Integrated Internet/intranet camera
US7428004B2 (en) 1997-12-04 2008-09-23 Pentax Of America, Inc. Standalone device connectible to CCTV network
US7523480B2 (en) 1997-12-04 2009-04-21 Pentax Of America, Inc. Integrated Internet camera
US7523481B2 (en) 1997-12-04 2009-04-21 Pentax Of America, Inc. Integrated internet camera
US7631335B2 (en) 1997-12-04 2009-12-08 Pentax Of America, Inc. Integrated internet camera
US7640568B2 (en) 1997-12-04 2009-12-29 Pentax Of America, Inc. Integrated internet camera
US7640567B2 (en) 1997-12-04 2009-12-29 Pentax Of America, Inc. Camera connectible to CCTV network
US7644431B2 (en) 1997-12-04 2010-01-05 Pentax Of America, Inc. Method for sending image data from camera to CCTV network
US7272845B2 (en) 1997-12-04 2007-09-18 Pentax Of America, Inc. Integrated internet/intranet camera
US20050055727A1 (en) * 1997-12-04 2005-03-10 Pentax U.S.A., Inc. Integrated internet/intranet camera
US9143672B2 (en) 1997-12-04 2015-09-22 Axis Ab Device for sending image data from camera to CCTV network
US7962945B2 (en) 1997-12-04 2011-06-14 Axis Ab Method for sending image data from camera to cctv network
US9621778B2 (en) 1997-12-04 2017-04-11 Axis Ab Device for sending image data from camera to CCTV network
US6930709B1 (en) 1997-12-04 2005-08-16 Pentax Of America, Inc. Integrated internet/intranet camera
US20050144653A1 (en) * 1997-12-04 2005-06-30 Pentax U.S.A., Inc. Method of transmitting image data from standalone device
US8381255B2 (en) 1997-12-04 2013-02-19 Axis Ab Device for sending image data from camera to CCTV network
US20050099519A1 (en) * 1997-12-04 2005-05-12 Pentax U.S.A., Inc. Integrated internet camera
US20110205373A1 (en) * 1999-06-02 2011-08-25 Wasula John L Customizing digital image transfer
US8698903B2 (en) * 1999-06-02 2014-04-15 Intellectual Ventures Fund 83 Llc Customizing digital image transfer
US8754948B2 (en) 1999-06-02 2014-06-17 Intellectual Ventures Fund 83 Llc Customizing digital image transfer
US8212893B2 (en) 1999-06-08 2012-07-03 Verisign, Inc. Digital camera device and methodology for distributed processing and wireless transmission of digital images
US20040208476A1 (en) * 2000-02-11 2004-10-21 Manowitz Neal Jacob Digital camera system
US20010024232A1 (en) * 2000-02-18 2001-09-27 Asahi Kogaku Kogyo Kabushiki Kaisha Internet camera
US6980232B2 (en) 2000-02-18 2005-12-27 Pentax Corporation Image transmitting Internet camera
US20010017656A1 (en) * 2000-02-25 2001-08-30 Asahi Kogaku Kogyo Kabushiki Kaisha Internet camera system
US6965398B2 (en) * 2000-02-28 2005-11-15 Pentax Corporation Internet camera
US20010017655A1 (en) * 2000-02-28 2001-08-30 Asahi Kogaku Kogyo Kabushiki Kaisha Internet camera
US7231359B2 (en) * 2000-03-24 2007-06-12 Eastman Kodak Company Configuring image storage devices to enable imaging services
US20050102198A1 (en) * 2000-03-24 2005-05-12 Parulski Kenneth A. Configuring image storage devices to enable imaging services
US20020089587A1 (en) * 2000-05-18 2002-07-11 Imove Inc. Intelligent buffering and reporting in a multiple camera data streaming video system
US20020049979A1 (en) * 2000-05-18 2002-04-25 Patrick White Multiple camera video system which displays selected images
US7196722B2 (en) 2000-05-18 2007-03-27 Imove, Inc. Multiple camera video system which displays selected images
US20030197785A1 (en) * 2000-05-18 2003-10-23 Patrick White Multiple camera video system which displays selected images
US10771934B2 (en) 2000-06-02 2020-09-08 Kevin R. Imes Apparatus, system, methods and network for communicating information associated with digital images
US9622058B1 (en) 2000-06-02 2017-04-11 Timothy G. Newman Apparatus, system, methods and network for communicating information associated with digital images
US7472134B2 (en) * 2000-07-03 2008-12-30 Fujifilm Corporation Image distributing system
US20020049728A1 (en) * 2000-07-03 2002-04-25 Fuji Photo Film Co., Ltd. Image distributing system
US8645325B2 (en) 2000-07-26 2014-02-04 Kdl Scan Designs Llc Method and system for hosting entity-specific photo-sharing websites for entity-specific digital cameras
US8009194B2 (en) 2000-07-26 2011-08-30 Fotomedia Technologies, Llc Automatically configuring a web-enabled digital camera to access the internet
US9906703B2 (en) 2000-07-26 2018-02-27 Chemtron Research Llc Method and system for hosting entity-specific photo-sharing websites for entity-specific digital cameras
US9736196B2 (en) 2000-07-26 2017-08-15 Chemtron Research Llc Automatically configuring a web-enabled portable device to access the internet
US20140115049A1 (en) * 2000-07-26 2014-04-24 Kdl Scan Designs Llc Method and system for hosting entity-specific photo-sharing websites for entity-specific digital cameras
US9276968B2 (en) 2000-07-26 2016-03-01 Chemtron Research Llc Automatically configuring a web-enabled portable device to access the internet
US10462349B2 (en) 2000-07-26 2019-10-29 Chemtron Research Llc Method and system for hosting entity-specific photo-sharing web sites for entity-specific digital cameras
US20040215788A1 (en) * 2000-07-26 2004-10-28 Morris Robert P. System and method for associating a device with an existing service account
US7443419B2 (en) 2000-07-26 2008-10-28 Fotomedia Technologies, Llc Automatically configuring a web-enabled digital camera to access the internet
US8224776B1 (en) 2000-07-26 2012-07-17 Kdl Scan Designs Llc Method and system for hosting entity-specific photo-sharing websites for entity-specific digital cameras
US8572663B2 (en) 2000-07-26 2013-10-29 Kdl Scan Designs Llc Automatically configuring a web-enabled portable device to access the internet
US7117519B1 (en) * 2000-07-26 2006-10-03 Fotomedia Technologies Llc Method and system for selecting actions to be taken by a server when uploading images
US9118740B2 (en) * 2000-07-26 2015-08-25 Kdl Scan Designs Llc Method and system for hosting entity-specific photo-sharing websites for entity-specific digital cameras
US20090009610A1 (en) * 2000-07-26 2009-01-08 Anderson Eric C Automatically Configuring A Web-Enabled Digital Camera To Access The Internet
US8488003B1 (en) 2000-08-30 2013-07-16 Kevin R. Imes Device, network, server, and methods for providing digital images and associated processing information
US9826147B1 (en) 2000-08-30 2017-11-21 Kevin R. Imes Device, network, server, and methods for providing digital images and associated processing information
US8681240B1 (en) * 2000-08-30 2014-03-25 Kevin R. Imes Device, network, server, and methods for providing digital images and associated processing information
US7978219B1 (en) 2000-08-30 2011-07-12 Kevin Reid Imes Device, network, server, and methods for providing digital images and associated processing information
US9473559B2 (en) 2000-09-06 2016-10-18 Google Inc. Virtual representation systems and methods
US8860804B2 (en) 2000-09-06 2014-10-14 Xanboo Inc. Automated upload of content based on captured event
US9509754B2 (en) 2000-09-06 2016-11-29 Google Inc. Provisioning remote access to a node
US9491224B2 (en) 2000-09-06 2016-11-08 Google Inc. Remotely controlling camera functionality
US9413810B2 (en) 2000-09-06 2016-08-09 Google Inc. Remote access to a node
US9407685B2 (en) 2000-09-06 2016-08-02 Google Inc. Remotely viewing image or video captured by node
US8554272B1 (en) 2000-09-06 2013-10-08 Kevin R. Imes Device, network, server, and methods for providing service requests for wireless communication devices
US9648082B2 (en) 2000-09-06 2017-05-09 Google Inc. Functionality inoperable unless node registered at remote site
US9407684B2 (en) 2000-09-06 2016-08-02 Google Inc. Remotely controlling node functionality
US9401950B2 (en) 2000-09-06 2016-07-26 Google Inc. Node unregisterable without user account at remote site
US8723664B2 (en) 2000-09-06 2014-05-13 Nest Labs, Inc. Systems and methods for the automatic registration of devices
US9332057B2 (en) 2000-09-06 2016-05-03 Google Inc. Node having functionality that is inoperable unless the node is registered to a user account at a remote site
US20110050410A1 (en) * 2000-09-06 2011-03-03 Babak Rezvani Systems and methods for the automatic registration of devices
US7796023B2 (en) 2000-09-06 2010-09-14 Babak Rezvani Systems and methods for the automatic registration of devices
US20100208069A1 (en) * 2000-09-06 2010-08-19 Xanboo Inc. Automated upload of content based on captured event
US7734724B2 (en) * 2000-09-06 2010-06-08 Xanboo Inc. Automated upload of content based on captured event
US8855713B2 (en) 2000-09-06 2014-10-07 Kevin R. Imes Device, network, server, and methods for providing service requests for wireless communication devices
US8326352B1 (en) * 2000-09-06 2012-12-04 Kevin Reid Imes Device, network, server, and methods for providing service requests for wireless communication devices
US10122784B2 (en) 2000-09-06 2018-11-06 Google Llc Configurable remote notification of detected events
US10284624B2 (en) 2000-09-06 2019-05-07 Google Llc Functionality inoperable unless node registered at remote site
US9094371B2 (en) 2000-09-06 2015-07-28 Google Inc. Node having components for performing functions and software for controlling the components if the node has been registered to a user account at a remote site
US9100368B2 (en) 2000-09-06 2015-08-04 Google Inc. Methods and systems for installing a device at a location featuring a client application capable of displaying installation instructions via a client device
US9118626B2 (en) 2000-09-06 2015-08-25 Google Inc. Systems and methods for the automatic registration of devices
US9137108B2 (en) 2000-09-06 2015-09-15 Google Inc. System for remotely monitoring device to obtain information sensed by a device component featuring client application that displays virtual component corresponding to sensed information and remote site for facilitating communication between client application and device
US9313761B2 (en) 2000-09-06 2016-04-12 Google Inc. Node output facilitates communication with remote site
US20030140090A1 (en) * 2000-09-06 2003-07-24 Babak Rezvani Automated upload of content based on captured event
US9172742B2 (en) 2000-09-06 2015-10-27 Google Inc. System for detecting trigger event at location and sending notification to remote user device featuring detecting device for detecting trigger event and remote site for receiving notification from detecting device and sending notification to client application of remote user device
US9172606B2 (en) 2000-09-06 2015-10-27 Google Inc. System for remotely controlling device of node featuring client application that displays virtual component corresponding to physical component of device and remote site located remote from node for sending control commands received from client application to node
US9184992B2 (en) 2000-09-06 2015-11-10 Google Inc. Registration of nodes at remote sites
US9191909B2 (en) 2000-09-06 2015-11-17 Google Inc. Method of registering a device at a remote site featuring a client application capable of establishing multiple wireless connections for transmitting registration messages between device and remote site
US9203695B2 (en) 2000-09-06 2015-12-01 Google Inc. Data table at remote site having device identifier that identifies device at location remote from remote site, parameter setting for configuring device at location, and control setting for operation of device at location
US9191277B2 (en) 2000-09-06 2015-11-17 Google Inc. Method of registering a device at a remote site featuring a client application capable of detecting the device and transmitting registration messages between the device and the remote site
US20080030363A1 (en) * 2000-09-06 2008-02-07 Xanboo, Inc. Systems and methods for the automatic registration of devices
US20020036990A1 (en) * 2000-09-11 2002-03-28 Ben Chodor Still picture capture, editing and distribution system utilizing a publicly accessible wide area network
US7129972B2 (en) * 2000-09-25 2006-10-31 Canon Kabushiki Kaisha Image sensing device for transmitting images
US20020036698A1 (en) * 2000-09-25 2002-03-28 Koichi Mizutani Image sensing device
US8868778B2 (en) 2000-10-06 2014-10-21 Kdl Scan Designs Llc Transmission bandwidth and memory requirements reduction in a portable image capture device
US7587514B2 (en) 2000-10-06 2009-09-08 Fotomedia Technologies, Llc Transmission bandwidth and memory requirements reduction in a portable image capture device
US8073965B2 (en) 2000-10-06 2011-12-06 Fotomedia Technologies, Llc Transmission bandwidth and memory requirements reduction in a portable image capture device
US20080043111A1 (en) * 2000-10-06 2008-02-21 Anderson Eric C Transmission Bandwidth and Memory Requirements Reduction In A Portable Image Capture Device
US7287088B1 (en) * 2000-10-06 2007-10-23 Fotomedia Technologies, Llc Transmission bandwidth and memory requirements reduction in a portable image capture device by eliminating duplicate image transmissions
US7562380B2 (en) 2000-10-27 2009-07-14 Hoya Corporation Internet camera system
US20020053087A1 (en) * 2000-10-27 2002-05-02 Asahi Kogaku Kogyo Kabushiki Kaisha Internet camera system
US10873856B2 (en) 2000-11-01 2020-12-22 Flexiworld Technologies, Inc. Printing devices supporting printing over air or printing over a wireless network
US10860290B2 (en) 2000-11-01 2020-12-08 Flexiworld Technologies, Inc. Mobile information apparatuses that include a digital camera, a touch sensitive screen interface, support for voice activated commands, and a wireless communication chip or chipset supporting IEEE 802.11
US10768871B2 (en) 2000-11-01 2020-09-08 Flexiworld Technologies, Inc. Wireless output devices or wireless controllers for establishing wireless connectivity and for receiving digital content
US10761791B2 (en) 2000-11-01 2020-09-01 Flexiworld Technologies, Inc. Wireless printing devices that provide printing services over a network without a need for a client device of the printing device to use, at the client device, a printer specific printer driver
US11096056B2 (en) 2000-11-01 2021-08-17 Flexiworld Technologies, Inc. Output devices, such as televisions, output controllers, or audio output devices, that are setup to wirelessly receive digital content from a digital content service over the internet or from a wireless information apparatus that is in the same network as the output devices
US11204729B2 (en) 2000-11-01 2021-12-21 Flexiworld Technologies, Inc. Internet based digital content services for pervasively providing protected digital content to smart devices based on having subscribed to the digital content service
US10592202B2 (en) 2000-11-01 2020-03-17 Flexiworld Technologies, Inc. Mobile information apparatus supporting mobile payment that includes security based, at least partly, on user pushbutton, user biometrics, data encryption, and short physical distance wireless communication
US10592201B2 (en) 2000-11-01 2020-03-17 Flexiworld Technologies, Inc. Mobile information apparatus supporting mobile payment having security based, at least in part, on device identification number, password or pin code, data encryption, and short physical distance wireless communication
US10846031B2 (en) 2000-11-01 2020-11-24 Flexiworld Technologies, Inc. Software application for a mobile device to wirelessly manage or wirelessly setup an output system or output device for service
US11029903B2 (en) 2000-11-01 2021-06-08 Flexiworld Technologies, Inc. Output systems, such as television controllers, televisions, display devices, or audio output devices, operable for playing digital content wirelessly received either from a digital content service over the internet or wirelessly received from a client device that is in the same network as the output system
US11416197B2 (en) 2000-11-01 2022-08-16 Flexiworld Technologies, Inc. Wireless controllers connectable to televisions, wireless televisions, wireless output controllers, or wireless output devices for receiving digital content from one or more servers over the internet
US10740066B2 (en) 2000-11-01 2020-08-11 Flexiworld Technologies, Inc. Output devices that establish wireless connection with an information apparatus subsequent to having been wirelessly discovered by the information apparatus
US10915296B2 (en) 2000-11-01 2021-02-09 Flexiworld Technologies, Inc. Information apparatus that includes a touch sensitive screen interface for managing or replying to e-mails
US10642576B2 (en) 2000-11-01 2020-05-05 Flexiworld Technologies, Inc. Mobile information apparatus that includes wireless communication circuitry for discovery of an output device for outputting digital content at the wirelessly discovered output device
US10606535B2 (en) 2000-11-20 2020-03-31 Flexiworld Technologies, Inc. Internet based digital content services that provide content upload, content storage, content sharing, and content playlist selection; and smart devices with access to the internet based digital content services
US11169756B2 (en) 2000-11-20 2021-11-09 Flexijet Technologies, Inc. Method for capturing, storing, accessing, and outputting digital content
US20020063889A1 (en) * 2000-11-24 2002-05-30 Kazuhoro Takemoto Printing system, image capturing apparatus, print service reception processing apparatus, print service administration apparatus, print processing apparatus, memory media, print service method, print service reception processing method, print service administration method and print processing method
US7406248B1 (en) * 2000-11-28 2008-07-29 Canon Kabushiki Kaisha Digital image retrieval and storage
US20020116450A1 (en) * 2000-12-01 2002-08-22 Multiscience System Pte Ltd. Network for information transfer for mobile stations
US20020083323A1 (en) * 2000-12-22 2002-06-27 Cromer Daryl Carvis Method and system for enabling an image to be authenticated
US7197531B2 (en) 2000-12-29 2007-03-27 Fotomedia Technologies, Llc Meta-application architecture for integrating photo-service websites for browser-enabled devices
US20020087622A1 (en) * 2000-12-29 2002-07-04 Anderson Eric C. Meta-application architecture for integrating photo-service websites for browser-enabled devices
US20080209014A1 (en) * 2000-12-29 2008-08-28 Anderson Eric C Meta-Application Architecture For Integrating Photo-Service Websites For Browser-Enabled Devices
US7392284B2 (en) 2000-12-29 2008-06-24 Fotomedia Technologies, Llc Meta-application architecture for integrating photo-service websites for browser-enabled devices
US20020087601A1 (en) * 2000-12-29 2002-07-04 Anderson Eric C. Client-server system for merging of metadata with images
US7548949B2 (en) 2000-12-29 2009-06-16 Fotomedia Technologies, Llc Meta-application architecture for integrating photo-service websites for browser-enabled devices
US7272788B2 (en) * 2000-12-29 2007-09-18 Fotomedia Technologies, Llc Client-server system for merging of metadata with images
US10841798B2 (en) 2001-01-19 2020-11-17 Flexiworld Technologies, Inc. Information apparatus or client software that wirelessly discovers, within short range, one or more output devices for establishing a wireless connection
US7409701B1 (en) * 2001-01-31 2008-08-05 Logitech Europe S.A. Web cam with an interlude switch
US20090086010A1 (en) * 2001-01-31 2009-04-02 Logitech Europe S.A. Web cam with an interlude switch
US8359619B2 (en) 2001-01-31 2013-01-22 Logitech Europe S.A. Web cam with an interlude switch
US20020135680A1 (en) * 2001-03-23 2002-09-26 Sanyo Electric Co., Ltd. Server system and image management method thereof
US7325061B2 (en) * 2001-03-23 2008-01-29 Sanyo Electric Co., Ltd. Server system and image management method thereof
US20020149677A1 (en) * 2001-04-09 2002-10-17 Michael Wright Digital camera with communications functionality
US20040218045A1 (en) * 2001-04-20 2004-11-04 Eric Bodnar System and methodology for automated provisioning of new user accounts
US7433710B2 (en) * 2001-04-20 2008-10-07 Lightsurf Technologies, Inc. System and methodology for automated provisioning of new user accounts
US20090042540A1 (en) * 2001-04-20 2009-02-12 Lightsurf Technologies, Inc. System and Methodology for Automated Provisioning of New User Accounts
US20040201711A1 (en) * 2001-04-30 2004-10-14 Lopaz Patricia D. Method for setting image intent
US20030030731A1 (en) * 2001-05-03 2003-02-13 Colby Steven M. System and method for transferring image data between digital cameras
US20020186412A1 (en) * 2001-05-18 2002-12-12 Fujitsu Limited Image data storing system and method, image obtaining apparatus, image data storage apparatus, mobile terminal, and computer-readable medium in which a related program is recorded
US9983836B2 (en) 2001-05-30 2018-05-29 Intellectual Ventures I Llc Method and system for communicating between a remote printer and a server
US7424509B2 (en) * 2001-06-04 2008-09-09 Hewlett-Packard Development Company, L.P. System and method for printing from a web application
US20020184305A1 (en) * 2001-06-04 2002-12-05 Simpson Shell S. System and method for printing from a web application
US20020188867A1 (en) * 2001-06-08 2002-12-12 Bushey Robert D. System and method for appliance adaptation and evolution
US20070027961A1 (en) * 2001-06-18 2007-02-01 David Holzer Method and apparatus for relationship management
US8458335B2 (en) * 2001-06-18 2013-06-04 Digi International Inc. Method and apparatus for relationship management
US6999111B2 (en) * 2001-06-26 2006-02-14 Eastman Kodak Company Electronic camera and system for transmitting digital over a communication network
US20040201709A1 (en) * 2001-06-26 2004-10-14 Eastman Kodak Company Electronic camera and system for transmitting digital over a communication network
US20030007078A1 (en) * 2001-07-03 2003-01-09 Feldis John J. Image tagging for post processing
US7110026B2 (en) * 2001-07-03 2006-09-19 Logitech Europe S.A. Image tagging for post processing
US20030009534A1 (en) * 2001-07-03 2003-01-09 Yoichi Yamagishi Image information managing system
US7272641B2 (en) * 2001-07-03 2007-09-18 Canon Kabushiki Kaisha Image information managing system
US20030011682A1 (en) * 2001-07-10 2003-01-16 Sellen Abigail Jane Method of sending digital photographs
US9660979B2 (en) * 2001-07-23 2017-05-23 Sony Corporation Information processing system, information processing apparatus, and method
US20140123262A1 (en) * 2001-07-23 2014-05-01 Sony Corporation Information processing system, information processing apparatus, and method
US7913175B2 (en) * 2001-08-01 2011-03-22 Sony Corporation Information processing apparatus and method
US10250536B2 (en) * 2001-08-01 2019-04-02 Sony Corporation Information processing apparatus and method
US20150281151A1 (en) * 2001-08-01 2015-10-01 Sony Corporation Information processing apparatus and method
US20100251183A1 (en) * 2001-08-01 2010-09-30 Yasuyuki Nagata Information processing apparatus and method
US20040066403A1 (en) * 2001-08-01 2004-04-08 Yasuyuki Nagata Information processing apparatus and method
US8276083B2 (en) 2001-08-01 2012-09-25 Sony Corporation Information processing apparatus and method
US9077871B2 (en) 2001-08-01 2015-07-07 Sony Corporation Information processing apparatus and method
US20030038882A1 (en) * 2001-08-22 2003-02-27 Lou Chauvin System, method and software product for ordering image products using images stored on a digital storage device from a plurality of order terminals
US8688764B2 (en) * 2001-08-22 2014-04-01 Intellectual Ventures Fund 83 Llc System, method and software product for ordering image products using images stored on a digital storage device from a plurality of order terminals
US20030038835A1 (en) * 2001-08-24 2003-02-27 Defelice William D. Digital camera/e-mail kiosk
US7196810B2 (en) * 2001-08-28 2007-03-27 Casio Computer Co., Ltd Printing system
US20070086040A1 (en) * 2001-08-28 2007-04-19 Casio Computer Co., Ltd. Printing system
US20030053124A1 (en) * 2001-08-28 2003-03-20 Jun Iijima Printing system
US7554686B2 (en) 2001-08-28 2009-06-30 Casio Computer Co., Ltd. Printing system
US20030065807A1 (en) * 2001-09-28 2003-04-03 Hiroshi Satomi Server apparatus and control method therefor
US7433916B2 (en) * 2001-09-28 2008-10-07 Canon Kabushiki Kaisha Server apparatus and control method therefor
US20030063131A1 (en) * 2001-10-03 2003-04-03 Tiger Color Inc. Picture moving and positioning method in image processing software
US20030069800A1 (en) * 2001-10-04 2003-04-10 Eastman Kodak Company Mobile wireless image capture and printing method and system
US20070233873A1 (en) * 2001-10-12 2007-10-04 Fujifilm Corporation Image storage system and image accumulation apparatus
US20030071900A1 (en) * 2001-10-12 2003-04-17 Fuji Photo Film Co., Ltd. Image storage system and image accumulation apparatus
US7568033B2 (en) * 2001-10-12 2009-07-28 Fujifilm Corporation Image storage system and image accumulation apparatus
US7587494B2 (en) 2001-10-12 2009-09-08 Fujifilm Corporation Image storage system and image accumulation apparatus
US20030084193A1 (en) * 2001-10-31 2003-05-01 Brake Gregory A. Systems and methods for preparing a record of an event based on images from multiple image capture devices
US8135646B2 (en) * 2001-11-15 2012-03-13 Sony Corporation Content transmission apparatus
US20040179102A1 (en) * 2001-11-15 2004-09-16 Isao Matsufune Content transmission apparatus
US20030103144A1 (en) * 2001-12-04 2003-06-05 Robert Sesek Digital camera having image transfer method and system
US20030133015A1 (en) * 2001-12-17 2003-07-17 Jackel Lawrence David Web-connected interactive digital camera
US20030146977A1 (en) * 2002-02-04 2003-08-07 Lightsurf Technologies, Inc. Device facilitating efficient transfer of digital content from media capture device
US7724281B2 (en) 2002-02-04 2010-05-25 Syniverse Icx Corporation Device facilitating efficient transfer of digital content from media capture device
US7873721B2 (en) * 2002-03-06 2011-01-18 Canon Kabushiki Kaisha Information processing system, information processing apparatus, information processing method, storage medium that stores program for implementing it to be readable by information processing apparatus and that program
US20070226330A1 (en) * 2002-03-06 2007-09-27 Canon Kabushiki Kaisha Information processing system, information processing apparatus, information processing method, storage medium that stores program for implementing it to be readable by information processing apparatus and that program
US7916322B2 (en) * 2002-03-14 2011-03-29 Senshin Capital, Llc Method and apparatus for uploading content from a device to a remote network location
US8166098B1 (en) * 2002-06-17 2012-04-24 At&T Intellectual Property I, Lp System and method for dynamically capturing digital images from image capture devices
US20040032498A1 (en) * 2002-06-19 2004-02-19 Jeremy Wyn-Harris Internet camera
US20040004663A1 (en) * 2002-07-02 2004-01-08 Lightsurf Technologies, Inc. Imaging system providing automatic organization and processing of images based on location
US10346105B2 (en) 2002-07-09 2019-07-09 Intellectual Ventures I Llc Method and system for communicating between a remote printer and a server
US7958205B2 (en) 2002-07-09 2011-06-07 Senshin Capital, Llc Method and system for communicating between a remote printer and a server
US8645500B2 (en) 2002-07-09 2014-02-04 Intellectual Ventures I Llc Method and system for communicating between a remote printer and a server
WO2004012027A3 (en) * 2002-07-29 2004-06-03 Milsys Ltd Multipurpose processor, system and method
US7408660B1 (en) * 2002-08-08 2008-08-05 Sprint Spectrum L.P. Method and system for managing delivery of digital image files to image processing labs
US20040051894A1 (en) * 2002-09-16 2004-03-18 Xerox Corporation Portable input scanning device in communication with a multi-function document services machine
US20040111415A1 (en) * 2002-12-04 2004-06-10 Patricia Scardino Automatic organization of images uploaded to a photo-sharing site
US20040155971A1 (en) * 2003-02-06 2004-08-12 Manish Sharma Method and system for building a view of an object
US20050108523A1 (en) * 2003-02-22 2005-05-19 Earle West Method and apparatus for collecting remote data
US7461094B2 (en) * 2003-02-27 2008-12-02 Qurio Holdings, Inc. Photosharing server filters for automatic storage and sharing of digital files
US20090055371A1 (en) * 2003-02-27 2009-02-26 Qurio Holdings, Inc. Photosharing server filters for automatic storage and sharing of digital files
WO2004077273A3 (en) * 2003-02-27 2005-02-03 Flashpoint Technology Inc Photosharing server filters for automatic storage and sharing of digital files
US9176992B2 (en) 2003-02-27 2015-11-03 Lg Electronics Inc. Photosharing server filters for automatic storage and sharing of digital files
US20040172419A1 (en) * 2003-02-27 2004-09-02 Morris Robert P. Photosharing server filters for automatic storage and sharing of digital files
US20060168285A1 (en) * 2003-04-17 2006-07-27 Nielsen Peter D File upload using a browser
US20060018628A1 (en) * 2003-06-10 2006-01-26 Fujitsu Limited Data transmission system
US20050031108A1 (en) * 2003-08-08 2005-02-10 Innomedia Pte Ltd. System for discover of provisioning information by telephones in a frame switched network without a broadcast based protocol
US7356136B2 (en) * 2003-08-08 2008-04-08 Innomedia Pte Ltd System for discover of provisioning information by telephones in a frame switched network without a broadcast based protocol
US20050075895A1 (en) * 2003-10-06 2005-04-07 Kamran Mohsenin Method for storing and retrieving digital images with a service provider
US20050083425A1 (en) * 2003-10-16 2005-04-21 Cozier Robert P. Using audio in a customized menu
US8314883B2 (en) * 2003-12-24 2012-11-20 Nokia Corporation Mobile station having a configurable grip
US20070238493A1 (en) * 2003-12-24 2007-10-11 Nigel Richardson Mobile Station Having a Configurable Grip
US6995857B2 (en) 2004-01-23 2006-02-07 Vpr Matrix, Inc. System and method for routing service requests from a paired digital camera and transceiver module
US20050162687A1 (en) * 2004-01-23 2005-07-28 Lee Steven K. System and method for routing service requests from a paired digital camera and transceiver module
WO2005078613A1 (en) * 2004-02-13 2005-08-25 Futurice Oy Data processing system
US7908241B2 (en) 2004-02-13 2011-03-15 Futurice Oy Data processing system
US20070174321A1 (en) * 2004-02-13 2007-07-26 Mikko Viikari Data processing system
US20050182786A1 (en) * 2004-02-16 2005-08-18 Canon Kabushiki Kaisha Information processing system, server apparatus, control method of server apparatus, program and storage medium
US8972367B2 (en) * 2004-02-16 2015-03-03 Canon Kabushiki Kaisha Information processing system, server apparatus, control method of server apparatus, program and storage medium
US7515180B2 (en) * 2004-03-12 2009-04-07 Olympus Corporation Shooting apparatus and servers, systems and methods for managing images shot by the shooting apparatus
US20050226413A1 (en) * 2004-03-12 2005-10-13 Toshiaki Wada Shooting apparatus, managing server, shooting managing system and shooting managing method
US7707218B2 (en) * 2004-04-16 2010-04-27 Mobot, Inc. Mobile query system and method based on visual cues
US20050261990A1 (en) * 2004-04-16 2005-11-24 Russell Gocht Mobile query system and method based on visual cues
WO2005103980A3 (en) * 2004-04-16 2008-07-17 Mobot Inc Mobile query system and method based on visual cues
US7769867B2 (en) * 2004-08-18 2010-08-03 Sony Corporation Mountable memory card and method for communicating, controlling, accessing and/or using the same
US20060039221A1 (en) * 2004-08-18 2006-02-23 Sony Corporation Memory card, memory card control method and memory card access control method
US20060044407A1 (en) * 2004-08-26 2006-03-02 Sprint Spectrum L.P. Method and system for delivering photos to called destinations
US7424310B1 (en) 2004-08-26 2008-09-09 Sprint Spectrum L.P. System, method, and apparatus for automatic transmission of recently captured images
US7424282B2 (en) 2004-08-26 2008-09-09 Sprint Spectrum L.P. Method and system for delivering photos to called destinations
US7196718B1 (en) 2004-08-26 2007-03-27 Sprint Spectrum L.P. Method and apparatus for transmission of digital image to destination associated with voice call participant
US7525578B1 (en) 2004-08-26 2009-04-28 Sprint Spectrum L.P. Dual-location tagging of digital image files
US20070153090A1 (en) * 2004-09-01 2007-07-05 Creative Technology Ltd System for operating a plurality of mobile image capturing devices
US20060055966A1 (en) * 2004-09-16 2006-03-16 Fuji Photo Film Co., Ltd. Print system
US20060085531A1 (en) * 2004-10-15 2006-04-20 Industrial Technology Research Institute Active data transmission device and system
US20060130151A1 (en) * 2004-12-14 2006-06-15 Chao-Hung Wu Web camera identification system and method
US20060136559A1 (en) * 2004-12-21 2006-06-22 Morris Robert P Automated construction of print order for images capture during a session
US7461331B2 (en) * 2004-12-21 2008-12-02 Fotomedia Technologies, Llc Automated construction of print order for images capture during a session
US20060143607A1 (en) * 2004-12-29 2006-06-29 Morris Robert P Method and system for allowing a user to create actions to be taken by a server
US20060143684A1 (en) * 2004-12-29 2006-06-29 Morris Robert P Method and system for allowing a user to specify actions that are to be automatically performed on data objects uploaded to a server
US11616820B2 (en) * 2005-01-05 2023-03-28 Microsoft Technology Licensing, Llc Processing files from a mobile device
US9106759B2 (en) * 2005-01-05 2015-08-11 Microsoft Technology Licensing, Llc Processing files from a mobile device
US10432684B2 (en) 2005-01-05 2019-10-01 Microsoft Technology Licensing, Llc Processing files from a mobile device
US20120271915A1 (en) * 2005-01-05 2012-10-25 Microsoft Corporation Processing files from a mobile device
US7710452B1 (en) 2005-03-16 2010-05-04 Eric Lindberg Remote video monitoring of non-urban outdoor sites
US9197806B2 (en) 2005-07-26 2015-11-24 Alex Is The Best, Llc Integrated internet camera system and method
US8134600B2 (en) 2005-07-26 2012-03-13 Frank Clemente Internet direct device
US20070028277A1 (en) * 2005-07-26 2007-02-01 Frank Clemente Integrated internet camera system
US10194192B2 (en) 2005-07-26 2019-01-29 Alex Is The Best, Llc Integrated internet camera system and method
US7907172B2 (en) 2005-07-26 2011-03-15 Frank Clemente Integrated internet camera system
US7633524B2 (en) 2005-07-26 2009-12-15 Frank Clemente Integrated internet camera system
US8477197B2 (en) 2005-07-26 2013-07-02 Alex Is The Best, Llc Internet direct device
US9473750B2 (en) 2005-07-26 2016-10-18 Alex Is The Best, Llc Integrated internet camera system and method
US9774901B2 (en) 2005-07-26 2017-09-26 Alex Is The Best, Llc Integrated internet camera system and method
US20100091115A1 (en) * 2005-07-26 2010-04-15 Frank Clemente Integrated internet camera system
US8581991B1 (en) 2005-07-26 2013-11-12 Alex Is The Best, Llc Integrated internet camera system and method
US8947542B2 (en) 2005-07-26 2015-02-03 Alex Is The Best, Llc Integrated internet camera system and method
WO2007016024A3 (en) * 2005-07-26 2007-05-24 Frank Clemente Integrated internet camera system
US20110149091A1 (en) * 2005-07-26 2011-06-23 Frank Clemente Internet direct device
US7839521B2 (en) * 2005-08-09 2010-11-23 Global Print Systems, Inc. Methods and systems for print job management and printing
US20070035763A1 (en) * 2005-08-09 2007-02-15 Globalprint Systems, Inc. Print job management method and system
US7734589B1 (en) 2005-09-16 2010-06-08 Qurio Holdings, Inc. System and method for optimizing data uploading in a network based media sharing system
US7747574B1 (en) 2005-09-19 2010-06-29 Qurio Holdings, Inc. System and method for archiving digital media
US20160100090A1 (en) * 2005-10-17 2016-04-07 Cutting Edge Vision Llc Automatic upload of pictures from a camera
US11153472B2 (en) 2005-10-17 2021-10-19 Cutting Edge Vision, LLC Automatic upload of pictures from a camera
US10257401B2 (en) 2005-10-17 2019-04-09 Cutting Edge Vision Llc Pictures using voice commands
US10063761B2 (en) * 2005-10-17 2018-08-28 Cutting Edge Vision Llc Automatic upload of pictures from a camera
US9936116B2 (en) * 2005-10-17 2018-04-03 Cutting Edge Vision Llc Pictures using voice commands and automatic upload
US11818458B2 (en) 2005-10-17 2023-11-14 Cutting Edge Vision, LLC Camera touchpad
US9141825B2 (en) 2005-11-18 2015-09-22 Qurio Holdings, Inc. System and method for controlling access to assets in a network-based media sharing system using tagging
US20070118525A1 (en) * 2005-11-18 2007-05-24 Flashpoint Technology, Inc. System and method for controlling access to assets in a network-based media sharing system using tagging
US20070192464A1 (en) * 2005-12-22 2007-08-16 Axis Ab Monitoring system and method for connecting a monitoring device to a service server
US11595351B2 (en) 2005-12-22 2023-02-28 Axis Ab Monitoring system and method for connecting a monitoring device to a service server
US9882869B2 (en) 2005-12-22 2018-01-30 Axis Ab Monitoring system and method for connecting a monitoring device to a service server
US10476840B2 (en) 2005-12-22 2019-11-12 Axis Ab Monitoring system and method for connecting a monitoring device to a service server
US11909718B2 (en) 2005-12-22 2024-02-20 Axis Ab Monitoring system and method for connecting a monitoring device to a service server
US11019024B2 (en) 2005-12-22 2021-05-25 Axis Ab Monitoring system and method for connecting a monitoring device to a service server
US20120016985A1 (en) * 2005-12-22 2012-01-19 Axis Ab Monitoring system and method for connecting a monitoring device to a service server
US8676925B1 (en) 2006-02-27 2014-03-18 Jiawei Liu Method and apparatus for peer-to-peer capturing and sharing of visual information based on incentives
US10235390B2 (en) * 2006-03-29 2019-03-19 Blackberry Limited Shared image database with geographic navigation
US8497910B2 (en) 2006-06-18 2013-07-30 NL Giken Incorporated Digital camera having communication function
US8482617B2 (en) 2006-06-18 2013-07-09 NL Giken Incorporated Digital camera with communication function
US20070291303A1 (en) * 2006-06-18 2007-12-20 Masahide Tanaka Digital Camera with Communication Function
US20100049810A1 (en) * 2007-02-19 2010-02-25 Nikon Corporation Server apparatus
US11234121B2 (en) 2007-12-28 2022-01-25 Cellspinsoft Inc. Automatic multimedia upload for publishing data and multimedia content
US20090167870A1 (en) * 2008-01-02 2009-07-02 Serge Caleca Method for Creating Custom Digital Images Utilizing Background Replacement Technology Over a Network
US20100281394A1 (en) * 2009-04-29 2010-11-04 Paramesh Gopi System and Method for Photo-Image Local Distribution
US8434022B2 (en) * 2009-04-29 2013-04-30 Applied Micro Circuits Corporation System and method for photo-image local distribution
US20110037864A1 (en) * 2009-08-17 2011-02-17 Microseven Systems, LLC Method and apparatus for live capture image
US8818022B2 (en) * 2009-11-06 2014-08-26 Facebook, Inc. Associating cameras with users and objects in a social networking system
US9485423B2 (en) 2009-11-06 2016-11-01 Facebook, Inc. Associating cameras with users and objects in a social networking system
US8965041B2 (en) * 2009-11-06 2015-02-24 Facebook, Inc. Associating cameras with users and objects in a social networking system
US20130282821A1 (en) * 2009-11-06 2013-10-24 Facebook, Inc. Associating cameras with users and objects in a social networking system
US20110115931A1 (en) * 2009-11-17 2011-05-19 Kulinets Joseph M Image management system and method of controlling an image capturing device using a mobile communication device
US20110115930A1 (en) * 2009-11-17 2011-05-19 Kulinets Joseph M Image management system and method of selecting at least one of a plurality of cameras
US20110221903A1 (en) * 2010-03-09 2011-09-15 Stephen Swinford Production and Internet-Viewing of High-Resolution Images of the Commonly Viewed Exterior Surfaces of Vehicles, Each with the Same Background View
US11778328B2 (en) 2010-03-09 2023-10-03 Stephen Michael Swinford Revolutionary apparatus producing high resolution images of the commonly viewed exterior surfaces of automobiles
US8836785B2 (en) * 2010-03-09 2014-09-16 Stephen Michael Swinford Production and internet-viewing of high-resolution images of the commonly viewed exterior surfaces of vehicles, each with the same background view
US11222298B2 (en) 2010-05-28 2022-01-11 Daniel H. Abelow User-controlled digital environment across devices, places, and times with continuous, variable digital boundaries
US9183560B2 (en) 2010-05-28 2015-11-10 Daniel H. Abelow Reality alternate
US9122861B2 (en) 2010-07-30 2015-09-01 Sony Corporation Managing device connectivity and network based services
US20160021083A1 (en) * 2010-08-02 2016-01-21 3Fish Limited Automated identity assessment method and system
US10230713B2 (en) 2010-08-02 2019-03-12 3Fish Limited Automated identity assessment method and system
US9602495B2 (en) * 2010-08-02 2017-03-21 3Fish Limited Automated identity assessment method and system
US9122851B2 (en) * 2010-08-02 2015-09-01 3 Fish Limited Identity assessment method and system
US20130133048A1 (en) * 2010-08-02 2013-05-23 3Fish Limited Identity assessment method and system
US9917826B2 (en) 2010-08-02 2018-03-13 3Fish Limited Automated identity assessment method and system
US10587601B2 (en) 2010-08-02 2020-03-10 3Fish Limited Automated identity assessment method and system
US20120070029A1 (en) * 2010-09-16 2012-03-22 Daniel Gregory Muriello Using camera signatures from uploaded images to authenticate users of an online system
US8472662B2 (en) * 2010-09-16 2013-06-25 Facebook, Inc. Associating cameras with users of a social networking system
US20130011007A1 (en) * 2010-09-16 2013-01-10 Daniel Gregory Muriello Using camera signatures from uploaded images to authenticate users of an online system
US8306256B2 (en) * 2010-09-16 2012-11-06 Facebook, Inc. Using camera signatures from uploaded images to authenticate users of an online system
US8503718B2 (en) * 2010-09-16 2013-08-06 Facebook, Inc. Using camera signatures from uploaded images to authenticate users of an online system
US20120072493A1 (en) * 2010-09-16 2012-03-22 Daniel Muriello Associating cameras with users of a social networking system
US8760553B2 (en) * 2010-10-04 2014-06-24 Lg Electronics Inc. Mobile terminal and image transmitting method therein
US20120081556A1 (en) * 2010-10-04 2012-04-05 Hwang Myunghee Mobile terminal and image transmitting method therein
US20120163679A1 (en) * 2010-12-24 2012-06-28 Telefonaktiebolaget L M Ericsson (Publ) Dynamic profile creation in response to facial recognition
US8526686B2 (en) * 2010-12-24 2013-09-03 Telefonaktiebolaget L M Ericsson (Publ) Dynamic profile creation in response to facial recognition
US11076122B2 (en) * 2017-05-15 2021-07-27 Olympus Corporation Communication terminal, image management system, and image management method
US20190207992A1 (en) * 2017-12-29 2019-07-04 Facebook, Inc. Systems and methods for sharing content
US10805367B2 (en) * 2017-12-29 2020-10-13 Facebook, Inc. Systems and methods for sharing content
US20220188676A1 (en) * 2020-12-15 2022-06-16 International Business Machines Corporation Inference model optimization
US12008487B2 (en) * 2020-12-15 2024-06-11 International Business Machines Corporation Inference model optimization

Also Published As

Publication number Publication date
US20040046868A1 (en) 2004-03-11
US20090009610A1 (en) 2009-01-08
EP1325633A4 (en) 2005-08-17
US8572663B2 (en) 2013-10-29
JP2004519115A (en) 2004-06-24
AU2002224570A1 (en) 2002-02-05
US20160366192A1 (en) 2016-12-15
WO2002009435A1 (en) 2002-01-31
US20110271000A1 (en) 2011-11-03
EP1325633A1 (en) 2003-07-09
US8009194B2 (en) 2011-08-30
US9276968B2 (en) 2016-03-01
EP1325633B1 (en) 2008-09-24
DE60135921D1 (en) 2008-11-06
US9736196B2 (en) 2017-08-15
JP4383738B2 (en) 2009-12-16
US20140012986A1 (en) 2014-01-09
US7443419B2 (en) 2008-10-28

Similar Documents

Publication Publication Date Title
US10462349B2 (en) Method and system for hosting entity-specific photo-sharing web sites for entity-specific digital cameras
US6636259B1 (en) Automatically configuring a web-enabled digital camera to access the internet
US7117519B1 (en) Method and system for selecting actions to be taken by a server when uploading images
US7287088B1 (en) Transmission bandwidth and memory requirements reduction in a portable image capture device by eliminating duplicate image transmissions
CN103049229B (en) Information providing apparatus, information providing system, information providing method and terminal installation
JP4174538B2 (en) Method and system for image print request in online photo sharing system
US20020138279A1 (en) On-line digital imaging services
US20020087601A1 (en) Client-server system for merging of metadata with images
US20060143684A1 (en) Method and system for allowing a user to specify actions that are to be automatically performed on data objects uploaded to a server
US20090213228A1 (en) Method For Specifying Image Handling For Images On A Portable Device
US20060143607A1 (en) Method and system for allowing a user to create actions to be taken by a server
JP2006174292A (en) Composite photograph forming system and apparatus thereof
JP2003050768A (en) Information distribution system and information distribution method, information supply device and information supply method, and information processing terminal and information processing method
US20090210512A1 (en) System, method, and program product for creating and sharing digital image output data across a network
JP2003050767A (en) Information distribution system and information distribution method, and information supply device and information supply method
JP2002063290A (en) Information management system, information image card management server, client, program, storage medium, and information management method
JP4432765B2 (en) Image processing system

Legal Events

Date Code Title Description
AS Assignment

Owner name: FLASHPOINT TECHNOLOGY, INC., CALIFORNIA

Free format text: ASSIGNMENT OF ASSIGNORS INTEREST;ASSIGNORS:ANDERSON, ERIC C.;MORRIS, ROBERT PAUL;REEL/FRAME:010973/0751;SIGNING DATES FROM 20000721 TO 20000724

AS Assignment

Owner name: IPAC SUB, NEW HAMPSHIRE

Free format text: ASSIGNMENT OF ASSIGNORS INTEREST;ASSIGNOR:FLASHPOINT TECHNOLOGY, INC.;REEL/FRAME:013056/0062

Effective date: 20020614

AS Assignment

Owner name: IPAC ACQUISITION SUBSIDIARY I, LLC, NEW HAMPSHIRE

Free format text: ASSIGNMENT CORRECTION,REEL/FRAME;ASSIGNOR:FLASHPOINT TECHNOLOGY, INC.;REEL/FRAME:013323/0484

Effective date: 20020614

Owner name: IPAC ACQUISITION SUBSIDIARY I, LLC, NEW HAMPSHIRE

Free format text: CORRECTIVE ASSIGNMENT TO CORRECT THE RECEIVING PARTY, FILED ON 07/05/2002, RECORDED ON REEL 013066 FRAME 0062;ASSIGNOR:FLASHPOINT TECHNOLOGY, INC.;REEL/FRAME:013258/0731

Effective date: 20020614

Owner name: IPAC ACQUISITION SUBSIDIARY I, LLC, NEW HAMPSHIRE

Free format text: ASSIGNMENT CORRECTION,REEL/FRAME:013056/0062;ASSIGNOR:FLASHPOINT TECHNOLOGY, INC.;REEL/FRAME:013323/0484

Effective date: 20020614

AS Assignment

Owner name: FLASHPOINT TECHNOLOGY, INC., NEW HAMPSHIRE

Free format text: SECURITY AGREEMENT;ASSIGNOR:IPAC ACQUISITION SUBSIDIARY I, LLC;REEL/FRAME:013913/0138

Effective date: 20020617

STCF Information on status: patent grant

Free format text: PATENTED CASE

AS Assignment

Owner name: FLASHPOINT TECHNOLOGY, INC., NEW HAMPSHIRE

Free format text: RELEASE BY SECURED PARTY;ASSIGNOR:IPAC ACQUISITION SUBSIDIARY I, LLC;REEL/FRAME:014402/0231

Effective date: 20031203

AS Assignment

Owner name: FOTOMEDIA TECHNOLOGIES, LLC, NEW HAMPSHIRE

Free format text: ASSIGNMENT OF ASSIGNORS INTEREST;ASSIGNOR:IPAC ACQUISITION SUBSIDIARY I, LLC;REEL/FRAME:018362/0078

Effective date: 20060907

FPAY Fee payment

Year of fee payment: 4

CC Certificate of correction
FPAY Fee payment

Year of fee payment: 8

AS Assignment

Owner name: FOTOMEDIA TECHNOLOGIES, LLC, NEW HAMPSHIRE

Free format text: ASSIGNMENT OF ASSIGNORS INTEREST;ASSIGNOR:IPAC ACQUISITION SUBSIDIARY I, LLC;REEL/FRAME:027228/0962

Effective date: 20111114

FEPP Fee payment procedure

Free format text: PAYOR NUMBER ASSIGNED (ORIGINAL EVENT CODE: ASPN); ENTITY STATUS OF PATENT OWNER: LARGE ENTITY

Free format text: PAYER NUMBER DE-ASSIGNED (ORIGINAL EVENT CODE: RMPN); ENTITY STATUS OF PATENT OWNER: LARGE ENTITY

AS Assignment

Owner name: KDL SCAN DESIGNS LLC, DELAWARE

Free format text: ASSIGNMENT OF ASSIGNORS INTEREST;ASSIGNOR:FOTOMEDIA TECHNOLOGIES, LLC;REEL/FRAME:027512/0307

Effective date: 20111212

FPAY Fee payment

Year of fee payment: 12

AS Assignment

Owner name: CHEMTRON RESEARCH LLC, DELAWARE

Free format text: MERGER;ASSIGNOR:KDL SCAN DESIGNS LLC;REEL/FRAME:036828/0702

Effective date: 20150826

AS Assignment

Owner name: INTELLECTUAL VENTURES ASSETS 186 LLC, DELAWARE

Free format text: ASSIGNMENT OF ASSIGNORS INTEREST;ASSIGNOR:CHEMTRON RESEARCH LLC;REEL/FRAME:062667/0076

Effective date: 20221222

AS Assignment

Owner name: INTELLECTUAL VENTURES ASSETS 186 LLC, DELAWARE

Free format text: SECURITY INTEREST;ASSIGNOR:MIND FUSION, LLC;REEL/FRAME:063295/0001

Effective date: 20230214

Owner name: INTELLECTUAL VENTURES ASSETS 191 LLC, DELAWARE

Free format text: SECURITY INTEREST;ASSIGNOR:MIND FUSION, LLC;REEL/FRAME:063295/0001

Effective date: 20230214

AS Assignment

Owner name: MIND FUSION, LLC, WASHINGTON

Free format text: ASSIGNMENT OF ASSIGNORS INTEREST;ASSIGNOR:INTELLECTUAL VENTURES ASSETS 186 LLC;REEL/FRAME:064271/0001

Effective date: 20230214

Owner name: MIND FUSION, LLC, WASHINGTON

Free format text: ASSIGNMENT OF ASSIGNOR'S INTEREST;ASSIGNOR:INTELLECTUAL VENTURES ASSETS 186 LLC;REEL/FRAME:064271/0001

Effective date: 20230214