[go: up one dir, main page]

US12057453B2 - Semiconductor device and method for manufacturing the same - Google Patents

Semiconductor device and method for manufacturing the same Download PDF

Info

Publication number
US12057453B2
US12057453B2 US17/742,432 US202217742432A US12057453B2 US 12057453 B2 US12057453 B2 US 12057453B2 US 202217742432 A US202217742432 A US 202217742432A US 12057453 B2 US12057453 B2 US 12057453B2
Authority
US
United States
Prior art keywords
oxide semiconductor
layer
semiconductor layer
conductive layer
film
Prior art date
Legal status (The legal status is an assumption and is not a legal conclusion. Google has not performed a legal analysis and makes no representation as to the accuracy of the status listed.)
Active, expires
Application number
US17/742,432
Other versions
US20220278136A1 (en
Inventor
Shunpei Yamazaki
Masayuki Sakakura
Current Assignee (The listed assignees may be inaccurate. Google has not performed a legal analysis and makes no representation or warranty as to the accuracy of the list.)
Semiconductor Energy Laboratory Co Ltd
Original Assignee
Semiconductor Energy Laboratory Co Ltd
Priority date (The priority date is an assumption and is not a legal conclusion. Google has not performed a legal analysis and makes no representation as to the accuracy of the date listed.)
Filing date
Publication date
Application filed by Semiconductor Energy Laboratory Co Ltd filed Critical Semiconductor Energy Laboratory Co Ltd
Priority to US17/742,432 priority Critical patent/US12057453B2/en
Publication of US20220278136A1 publication Critical patent/US20220278136A1/en
Application granted granted Critical
Publication of US12057453B2 publication Critical patent/US12057453B2/en
Active legal-status Critical Current
Adjusted expiration legal-status Critical

Links

Images

Classifications

    • HELECTRICITY
    • H10SEMICONDUCTOR DEVICES; ELECTRIC SOLID-STATE DEVICES NOT OTHERWISE PROVIDED FOR
    • H10DINORGANIC ELECTRIC SEMICONDUCTOR DEVICES
    • H10D30/00Field-effect transistors [FET]
    • H10D30/60Insulated-gate field-effect transistors [IGFET]
    • H10D30/67Thin-film transistors [TFT]
    • H10D30/674Thin-film transistors [TFT] characterised by the active materials
    • H10D30/6755Oxide semiconductors, e.g. zinc oxide, copper aluminium oxide or cadmium stannate
    • H01L27/1225
    • HELECTRICITY
    • H01ELECTRIC ELEMENTS
    • H01LSEMICONDUCTOR DEVICES NOT COVERED BY CLASS H10
    • H01L21/00Processes or apparatus adapted for the manufacture or treatment of semiconductor or solid state devices or of parts thereof
    • H01L21/02Manufacture or treatment of semiconductor devices or of parts thereof
    • H01L21/02104Forming layers
    • H01L21/02365Forming inorganic semiconducting materials on a substrate
    • H01L21/02518Deposited layers
    • H01L21/02521Materials
    • H01L21/02565Oxide semiconducting materials not being Group 12/16 materials, e.g. ternary compounds
    • H01L27/124
    • H01L27/1248
    • H01L27/1255
    • H01L29/66969
    • H01L29/7869
    • H01L33/42
    • HELECTRICITY
    • H10SEMICONDUCTOR DEVICES; ELECTRIC SOLID-STATE DEVICES NOT OTHERWISE PROVIDED FOR
    • H10DINORGANIC ELECTRIC SEMICONDUCTOR DEVICES
    • H10D30/00Field-effect transistors [FET]
    • H10D30/60Insulated-gate field-effect transistors [IGFET]
    • H10D30/67Thin-film transistors [TFT]
    • H10D30/6704Thin-film transistors [TFT] having supplementary regions or layers in the thin films or in the insulated bulk substrates for controlling properties of the device
    • H10D30/6713Thin-film transistors [TFT] having supplementary regions or layers in the thin films or in the insulated bulk substrates for controlling properties of the device characterised by the properties of the source or drain regions, e.g. compositions or sectional shapes
    • HELECTRICITY
    • H10SEMICONDUCTOR DEVICES; ELECTRIC SOLID-STATE DEVICES NOT OTHERWISE PROVIDED FOR
    • H10DINORGANIC ELECTRIC SEMICONDUCTOR DEVICES
    • H10D30/00Field-effect transistors [FET]
    • H10D30/60Insulated-gate field-effect transistors [IGFET]
    • H10D30/67Thin-film transistors [TFT]
    • H10D30/6729Thin-film transistors [TFT] characterised by the electrodes
    • H10D30/673Thin-film transistors [TFT] characterised by the electrodes characterised by the shapes, relative sizes or dispositions of the gate electrodes
    • H10D30/6733Multi-gate TFTs
    • HELECTRICITY
    • H10SEMICONDUCTOR DEVICES; ELECTRIC SOLID-STATE DEVICES NOT OTHERWISE PROVIDED FOR
    • H10DINORGANIC ELECTRIC SEMICONDUCTOR DEVICES
    • H10D30/00Field-effect transistors [FET]
    • H10D30/60Insulated-gate field-effect transistors [IGFET]
    • H10D30/67Thin-film transistors [TFT]
    • H10D30/6758Thin-film transistors [TFT] characterised by the insulating substrates
    • HELECTRICITY
    • H10SEMICONDUCTOR DEVICES; ELECTRIC SOLID-STATE DEVICES NOT OTHERWISE PROVIDED FOR
    • H10DINORGANIC ELECTRIC SEMICONDUCTOR DEVICES
    • H10D86/00Integrated devices formed in or on insulating or conducting substrates, e.g. formed in silicon-on-insulator [SOI] substrates or on stainless steel or glass substrates
    • H10D86/40Integrated devices formed in or on insulating or conducting substrates, e.g. formed in silicon-on-insulator [SOI] substrates or on stainless steel or glass substrates characterised by multiple TFTs
    • HELECTRICITY
    • H10SEMICONDUCTOR DEVICES; ELECTRIC SOLID-STATE DEVICES NOT OTHERWISE PROVIDED FOR
    • H10DINORGANIC ELECTRIC SEMICONDUCTOR DEVICES
    • H10D86/00Integrated devices formed in or on insulating or conducting substrates, e.g. formed in silicon-on-insulator [SOI] substrates or on stainless steel or glass substrates
    • H10D86/40Integrated devices formed in or on insulating or conducting substrates, e.g. formed in silicon-on-insulator [SOI] substrates or on stainless steel or glass substrates characterised by multiple TFTs
    • H10D86/421Integrated devices formed in or on insulating or conducting substrates, e.g. formed in silicon-on-insulator [SOI] substrates or on stainless steel or glass substrates characterised by multiple TFTs having a particular composition, shape or crystalline structure of the active layer
    • H10D86/423Integrated devices formed in or on insulating or conducting substrates, e.g. formed in silicon-on-insulator [SOI] substrates or on stainless steel or glass substrates characterised by multiple TFTs having a particular composition, shape or crystalline structure of the active layer comprising semiconductor materials not belonging to the Group IV, e.g. InGaZnO
    • HELECTRICITY
    • H10SEMICONDUCTOR DEVICES; ELECTRIC SOLID-STATE DEVICES NOT OTHERWISE PROVIDED FOR
    • H10DINORGANIC ELECTRIC SEMICONDUCTOR DEVICES
    • H10D86/00Integrated devices formed in or on insulating or conducting substrates, e.g. formed in silicon-on-insulator [SOI] substrates or on stainless steel or glass substrates
    • H10D86/40Integrated devices formed in or on insulating or conducting substrates, e.g. formed in silicon-on-insulator [SOI] substrates or on stainless steel or glass substrates characterised by multiple TFTs
    • H10D86/441Interconnections, e.g. scanning lines
    • HELECTRICITY
    • H10SEMICONDUCTOR DEVICES; ELECTRIC SOLID-STATE DEVICES NOT OTHERWISE PROVIDED FOR
    • H10DINORGANIC ELECTRIC SEMICONDUCTOR DEVICES
    • H10D86/00Integrated devices formed in or on insulating or conducting substrates, e.g. formed in silicon-on-insulator [SOI] substrates or on stainless steel or glass substrates
    • H10D86/40Integrated devices formed in or on insulating or conducting substrates, e.g. formed in silicon-on-insulator [SOI] substrates or on stainless steel or glass substrates characterised by multiple TFTs
    • H10D86/451Integrated devices formed in or on insulating or conducting substrates, e.g. formed in silicon-on-insulator [SOI] substrates or on stainless steel or glass substrates characterised by multiple TFTs characterised by the compositions or shapes of the interlayer dielectrics
    • HELECTRICITY
    • H10SEMICONDUCTOR DEVICES; ELECTRIC SOLID-STATE DEVICES NOT OTHERWISE PROVIDED FOR
    • H10DINORGANIC ELECTRIC SEMICONDUCTOR DEVICES
    • H10D86/00Integrated devices formed in or on insulating or conducting substrates, e.g. formed in silicon-on-insulator [SOI] substrates or on stainless steel or glass substrates
    • H10D86/40Integrated devices formed in or on insulating or conducting substrates, e.g. formed in silicon-on-insulator [SOI] substrates or on stainless steel or glass substrates characterised by multiple TFTs
    • H10D86/481Integrated devices formed in or on insulating or conducting substrates, e.g. formed in silicon-on-insulator [SOI] substrates or on stainless steel or glass substrates characterised by multiple TFTs integrated with passive devices, e.g. auxiliary capacitors
    • HELECTRICITY
    • H10SEMICONDUCTOR DEVICES; ELECTRIC SOLID-STATE DEVICES NOT OTHERWISE PROVIDED FOR
    • H10DINORGANIC ELECTRIC SEMICONDUCTOR DEVICES
    • H10D86/00Integrated devices formed in or on insulating or conducting substrates, e.g. formed in silicon-on-insulator [SOI] substrates or on stainless steel or glass substrates
    • H10D86/40Integrated devices formed in or on insulating or conducting substrates, e.g. formed in silicon-on-insulator [SOI] substrates or on stainless steel or glass substrates characterised by multiple TFTs
    • H10D86/60Integrated devices formed in or on insulating or conducting substrates, e.g. formed in silicon-on-insulator [SOI] substrates or on stainless steel or glass substrates characterised by multiple TFTs wherein the TFTs are in active matrices
    • HELECTRICITY
    • H10SEMICONDUCTOR DEVICES; ELECTRIC SOLID-STATE DEVICES NOT OTHERWISE PROVIDED FOR
    • H10DINORGANIC ELECTRIC SEMICONDUCTOR DEVICES
    • H10D99/00Subject matter not provided for in other groups of this subclass
    • HELECTRICITY
    • H10SEMICONDUCTOR DEVICES; ELECTRIC SOLID-STATE DEVICES NOT OTHERWISE PROVIDED FOR
    • H10HINORGANIC LIGHT-EMITTING SEMICONDUCTOR DEVICES HAVING POTENTIAL BARRIERS
    • H10H20/00Individual inorganic light-emitting semiconductor devices having potential barriers, e.g. light-emitting diodes [LED]
    • H10H20/80Constructional details
    • H10H20/83Electrodes
    • H10H20/832Electrodes characterised by their material
    • H10H20/833Transparent materials
    • H10P14/3434
    • HELECTRICITY
    • H01ELECTRIC ELEMENTS
    • H01LSEMICONDUCTOR DEVICES NOT COVERED BY CLASS H10
    • H01L21/00Processes or apparatus adapted for the manufacture or treatment of semiconductor or solid state devices or of parts thereof
    • H01L21/02Manufacture or treatment of semiconductor devices or of parts thereof
    • H01L21/02104Forming layers
    • H01L21/02365Forming inorganic semiconducting materials on a substrate
    • H01L21/02518Deposited layers
    • H01L21/02521Materials
    • H01L21/02551Group 12/16 materials
    • H01L21/02554Oxides
    • HELECTRICITY
    • H01ELECTRIC ELEMENTS
    • H01LSEMICONDUCTOR DEVICES NOT COVERED BY CLASS H10
    • H01L2924/00Indexing scheme for arrangements or methods for connecting or disconnecting semiconductor or solid-state bodies as covered by H01L24/00
    • HELECTRICITY
    • H01ELECTRIC ELEMENTS
    • H01LSEMICONDUCTOR DEVICES NOT COVERED BY CLASS H10
    • H01L2924/00Indexing scheme for arrangements or methods for connecting or disconnecting semiconductor or solid-state bodies as covered by H01L24/00
    • H01L2924/0001Technical content checked by a classifier
    • H01L2924/0002Not covered by any one of groups H01L24/00, H01L24/00 and H01L2224/00
    • H10P14/3426

Definitions

  • the present invention relates to a semiconductor device having a circuit formed using a thin film transistor (hereinafter referred to as TFT) and a manufacturing method thereof.
  • TFT thin film transistor
  • the present invention relates to electro-optical devices typified by liquid crystal display panels, or electronic devices which have light-emitting display devices containing an organic light-emitting element as a component.
  • a semiconductor device refers to all devices that can function by utilizing semiconductor characteristics.
  • An electro-optical device, a semiconductor circuit, and an electronic appliance are all semiconductor devices.
  • a transparent electrode of indium tin oxide (ITO), indium zinc oxide, ZnO, SnO 2 , or the like, a metal electrode of Al, Ag, Cr, Ni, Mo, Au, Ti, Ta, or the like, or a metal electrode of an alloy containing any of the above elements can be used; and, by stacking two or more of these layers, contact resistance may be reduced or interface intensity may be improved (for example, see Patent Document 3).
  • a metal such as indium (In), aluminum (Al), gold (Au), or silver (Ag)
  • an oxide material such as indium oxide (In 2 O 3 ), tin oxide (SnO 2 ), zinc oxide (ZnO), cadmium oxide (CdO), cadmium indium oxide (CdIn 2 O 4 ), cadmium tin oxide (Cd 2 SnO 4 ), or zinc tin oxide (Zn 2 SnO 4 )
  • the same material or different materials may be used for the gate electrode, the source electrode, and the drain electrode (for example, see Patent Documents 4 and 5).
  • an object of one embodiment of the present invention is to improve both the aperture ratio and reliability of a display device formed using metal oxide.
  • a heat treatment for reducing moisture and the like which are impurities and for improving the purity of the oxide semiconductor film is performed. Further, impurities such as moisture existing not only in the oxide semiconductor film but also in a gate insulating layer and at interfaces between the oxide semiconductor film and a film above and in contact therewith and between the oxide semiconductor film and a film below and in contact therewith are reduced.
  • One embodiment of the present invention disclosed in this specification is a manufacturing method of a semiconductor device which includes the steps of: forming a gate electrode layer including metal oxide over a substrate having an insulating surface; forming a gate insulating layer over the gate electrode layer; forming an oxide semiconductor layer over the gate insulating layer; dehydrating or dehydrogenating the oxide semiconductor layer; forming a source electrode layer and a drain electrode layer including metal oxide over the dehydrated or dehydrogenated oxide semiconductor layer; forming a protective insulating layer in contact with part of the oxide semiconductor layer, over the gate insulating layer, the oxide semiconductor layer, the source electrode layer, and the drain electrode layer; and forming a pixel electrode layer including metal oxide over the protective insulating layer.
  • a heat treatment is performed in an oxygen atmosphere, in an inert gas atmosphere such as nitrogen or a rare gas (argon, helium, or the like), or under a reduced pressure at a temperature greater than or equal to 350° C. or preferably greater than or equal to 400° C. and less than the strain point of the substrate, whereby an impurity such as moisture contained in the oxide semiconductor layer is reduced.
  • an inert gas atmosphere such as nitrogen or a rare gas (argon, helium, or the like
  • Dehydration or dehydrogenation of the oxide semiconductor is conducted with conditions of the heat treatment such that at least a peak at around 300° C. of two peaks of water are/is not detected when the dehydrated or dehydrogenated oxide semiconductor layer is measured with thermal desorption spectroscopy (TDS) while the temperature is increased to 450° C. Therefore, even when a thin film transistor using the dehydrated or dehydrogenated oxide semiconductor layer is subjected to TDS at a temperature as high as 450° C., at least a peak of water at around 300° C. is not detected.
  • TDS thermal desorption spectroscopy
  • slow cooling is performed from the heating temperature T at which the oxide semiconductor layer is dehydrated or dehydrogenated to a temperature low enough to prevent water from coming in again, specifically to a temperature which is more than 100° C. lower than the heating temperature T, or more preferably to a temperature less than or equal to 100° C.
  • a gas atmosphere in which the heating temperature T is decreased may be switched to a gas atmosphere different from that in which the temperature is increased to the heating temperature T.
  • Electric characteristics of a thin film transistor are improved and a thin film transistor having mass productivity and high performance is realized, by using an oxide semiconductor film which is formed by reducing moisture contained in the film by the heat treatment for dehydration or dehydrogenation and then subjected to slow cooling (or cooling) in an atmosphere containing no moisture (the dew point temperature of which is less than or equal to ⁇ 40° C. or preferably, less than or equal to ⁇ 60° C.).
  • a heat treatment in an oxygen atmosphere, in an inert gas atmosphere such as nitrogen or a rare gas (argon, helium, or the like), or under a reduced pressure is called a heat treatment for dehydration or dehydrogenation.
  • dehydration or dehydrogenation in this specification refers to not only elimination of H 2 by a heat treatment but also elimination of H, OH, or the like by a heat treatment.
  • an oxide semiconductor layer which has been of an i-type becomes an oxygen deficiency type layer and has low resistance by the heat treatment, i.e., becomes an n-type (such as n ⁇ or n + ); and then, by forming an oxide insulating film in contact with the oxide semiconductor layer, the oxide semiconductor layer is placed into a state where oxygen is in excess so as to have a higher resistance, i.e., becomes an i-type.
  • a semiconductor device including a thin film transistor which has favorable electric characteristics and high reliability can be manufactured and provided.
  • an oxide semiconductor layer which has been of an i-type becomes an oxygen deficiency type layer and has low resistance by the heat treatment, i.e., becomes an n-type (such as n ⁇ or n + ), and then, the oxide semiconductor layer is placed into a state where oxygen is in excess by the slow cooling in the oxygen atmosphere so as to have a higher resistance, i.e., becomes an i-type.
  • oxide semiconductor used in this specification is represented by InMO 3 (ZnO) m (m>0), and a thin film transistor in which the thin film of the oxide semiconductor is used as an oxide semiconductor layer is manufactured.
  • M represents one or more metal elements selected from Ga, Fe, Ni, Mn, and Co.
  • M may be Ga or may include the above metal element in addition to Ga; for example, M may be Ga and Ni or may be Ga and Fe.
  • a transition metal element such as Fe or Ni or an oxide of the transition metal is contained as an impurity element in addition to a metal element contained as M.
  • an oxide semiconductor which includes Ga as M is referred to as an In—Ga—Zn—O-based oxide semiconductor and a thin film of the In—Ga—Zn—O-based oxide semiconductor is referred to as an In—Ga—Zn—O-based non-single-crystal film.
  • any of the following metal oxide can be applied besides the above: an In—Sn—Zn—O-based metal oxide; an In—Al—Zn—O-based metal oxide; a Sn—Ga—Zn—O-based metal oxide; an Al—Ga—Zn—O-based metal oxide; a Sn—Al—Zn—O-based metal oxide; an In—Zn—O-based metal oxide; a Sn—Zn—O-based metal oxide; an Al—Zn—O-based metal oxide; an In—O-based metal oxide; a Sn—O-based metal oxide; and a Zn—O-based metal oxide.
  • the silicon oxide may be included in the oxide semiconductor layer formed using the above metal oxide.
  • the oxide semiconductor preferably includes In, or more preferably, In and Ga. Dehydration or dehydrogenation is effective in changing the oxide semiconductor layer into an i-type (intrinsic).
  • the oxide semiconductor layer which is amorphous is changed into a microcrystalline film or a polycrystalline film in some cases depending on the condition of the heat treatment or the material of the oxide semiconductor layer. Further, the oxide semiconductor layer is partially crystallized in some cases; for example, crystal grains (nanocrystals) may be included in the amorphous structure. Even when the oxide semiconductor layer is changed into a microcrystalline film or a polycrystalline film, the thin film transistor can obtain switching characteristics as long as the oxide semiconductor layer is placed into a state where oxygen is in excess to have a higher resistance, i.e., to become an i-type.
  • the oxide semiconductor layer is preferably amorphous in order to reduce off-current of the TFT and to achieve low power consumption.
  • the oxide semiconductor layer preferably has a small thickness of less than or equal to 50 nm. By making the thickness of the oxide semiconductor layer small, crystallization in the oxide semiconductor layer at the time of the heat treatment after the formation thereof can be suppressed.
  • the oxide semiconductor layer is made to include silicon oxide (SiO x (X>0)) which inhibits crystallization, and thus can be prevented from being crystallized when the heat treatment is performed after the oxide semiconductor layer is formed in the manufacturing process.
  • off current is current which flows between a source electrode and a drain electrode when a transistor is in an off state.
  • the off current is current which flows between a source electrode and a drain electrode when gate voltage is lower than threshold voltage of the transistor.
  • a gate electrode layer, a source electrode layer, a drain electrode layer, a pixel electrode layer, another electrode layer, or another wiring layer can be formed by a sputtering method, a vacuum evaporation method (such as an electron beam evaporation method), an arc discharge ion plating method or a spray method using a conductive material having a visible light transmitting property such as the following metal oxide: an In—Sn—Zn—O-based metal oxide; an In—Al—Zn—O-based metal oxide; a Sn—Ga—Zn—O-based metal oxide; an Al—Ga—Zn—O-based metal oxide; a Sn—Al—Zn—O-based metal oxide; an In—Zn—O-based metal oxide; a Sn—Zn—O-based metal oxide; an Al—Zn—O-based metal oxide; an In—O-based metal oxide; a Sn—O-based metal oxide; and a Zn—O-based metal oxide.
  • an Al—Zn—O-based non-single-crystal film including nitrogen which is an Al—Zn—O—N-based non-single-crystal film, a Zn—O—N-based non-single-crystal film including nitrogen, or a Sn—Zn—O—N-based non-single-crystal film including nitrogen may be used.
  • the relative proportion (atomic %) of zinc in an Al—Zn—O—N-based oxide semiconductor film is less than or equal to 47 atomic % and is larger than the relative proportion (atomic %) of aluminum in the oxide semiconductor film.
  • the relative proportion (atomic %) of aluminum in the oxide semiconductor film is larger than the relative proportion (atomic %) of nitrogen in a conductive film having a light transmitting property.
  • the unit of the relative proportion in the conductive film having a light transmitting property is atomic percent, and the relative proportion is evaluated by analysis using an electron probe X-ray microanalyzer (EPMA).
  • An aperture ratio of a display device can be improved by using a conductive film having a visible light transmitting property for the gate electrode layer, the source electrode layer, the drain electrode layer, the pixel electrode layer, another electrode layer, or another wiring layer.
  • the aperture ratio can be further improved.
  • a high aperture ratio can be achieved even when one pixel is divided into a plurality of sub-pixels in order to realize a wide viewing angle.
  • an aperture ratio can be high even when a group of thin film transistors is densely arranged and an area of a display region can be sufficiently secured.
  • an aperture ratio can be improved because not only the thin film transistor but also their respective storage capacitor has a light transmitting property.
  • a high aperture ratio can be achieved by using a film having a light transmitting property for components (a wiring and a semiconductor layer) of a thin film transistor even when a plurality of thin film transistors is placed in one pixel.
  • a plurality of thin film transistors is included in a pixel portion, and a portion in which a gate electrode of a thin film transistor is electrically connected to a source wiring or a drain wiring of another transistor is also included in the pixel portion.
  • a high aperture ratio can be achieved because the thin film transistors and the storage capacitor have a light transmitting property.
  • the gate electrode layer, the source electrode layer, the drain electrode layer, the pixel electrode layer, another electrode layer, and another wiring layer are formed using the same material, a common sputtering target and a common manufacturing apparatus can be used; therefore, cost of the material of these layers and an etchant (or an etching gas) which is used in etching can be reduced, resulting in a reduction in manufacturing cost.
  • a film having a visible light transmitting property refers to a film with a thickness which realizes a visible light transmittance of 75% to 100%. Such a film is referred to also as a transparent conductive film.
  • a conductive film which is semitransparent to visible light may be used as metal oxide for the gate electrode layer, the source electrode layer, the drain electrode layer, the pixel electrode layer, another electrode layer, or another wiring layer.
  • a conductive film is semitransparent to visible light, it has a transmittance of visible light of 50% to 75%.
  • each of the gate electrode layer, the source electrode layer, the drain electrode layer, the pixel electrode layer, another electrode layer, and another wiring layer is set to greater than or equal to 30 nm and less than or equal to 200 nm.
  • a thickness which allows each layer to have a light transmitting property or to be semitransparent to visible light may be selected.
  • the gate insulating layer and the oxide semiconductor film may be processed successively (also referred to as successive processing, in situ process, or successive formation) without exposure to air.
  • the gate insulating layer and the oxide semiconductor film are successively processed without exposure to air, the gate insulating layer and the oxide semiconductor film can be formed without contamination of an interface thereof by atmospheric components or impurity elements floating in air, such as moisture or hydrocarbon. Therefore, variation in characteristics between the thin film transistors can be reduced.
  • successive processing in this specification means that during a series of a first treatment step by a PCVD method or a sputtering method to a second treatment step by a PCVD method or a sputtering method, an atmosphere in which a substrate to be processed is disposed is not contaminated by a contaminant atmosphere such as air, and is constantly controlled to be vacuum, an inert gas atmosphere (a nitrogen atmosphere or a rare gas atmosphere) or an oxygen atmosphere.
  • a contaminant atmosphere such as air
  • an inert gas atmosphere a nitrogen atmosphere or a rare gas atmosphere
  • the substrate is transferred after the first treatment step to another chamber without being exposed to air and subjected to the second treatment.
  • a substrate transfer step an alignment step, a slow-cooling step, a step of heating or cooling the substrate to a temperature which is necessary for the second step or the like may be provided.
  • Such a process is also within the scope of the successive processing in this specification.
  • a step in which liquid is used such as a cleaning step, wet etching, or resist formation, may be provided between the first treatment step and the second treatment step. This case is not within the scope of the successive treatment in this specification.
  • a semiconductor device having a structure which is obtained by the above manufacturing method is a semiconductor device including: a gate electrode layer over a substrate having an insulating surface; a gate insulating layer over the gate electrode layer; an oxide semiconductor layer over the gate insulating layer; a source electrode layer and a drain electrode layer over the oxide semiconductor layer; a protective insulating layer in contact with part of the oxide semiconductor layer, over the gate insulating layer, the oxide semiconductor layer, the source electrode layer, and the drain electrode layer; and a pixel electrode layer including metal oxide over the protective insulating layer.
  • the gate electrode layer, the gate insulating layer, the oxide semiconductor layer, the source electrode layer, the drain electrode layer, the protective insulating layer, and the pixel electrode layer have a light transmitting property.
  • the pixel electrode layer overlaps with the oxide semiconductor layer and the gate electrode layer.
  • the pixel electrode layer overlaps with the oxide semiconductor layer and the gate electrode layer
  • the overlapping region can also serve as a display region, whereby a high aperture ratio can be realized.
  • the pixel electrode layer which overlaps with the oxide semiconductor layer and the gate electrode layer may be a pixel electrode layer of an adjacent pixel.
  • a structure can be employed in which the pixel electrode layer electrically connected to the oxide semiconductor layer with the source electrode layer and the drain electrode layer therebetween overlaps not with the channel formation region of the oxide semiconductor layer but with the pixel electrode layer of an adjacent pixel.
  • the terminal electrodes can be formed using the same material and process as the gate electrode layer, the source electrode layer, the drain electrode layer, or the pixel electrode layer.
  • the storage capacitors in the pixel portion of the liquid crystal display device or the light-emitting display device include a capacitor wiring layer which is formed of a conductive material having a visible light transmitting property, a capacitor electrode layer which is formed of a conductive material having a visible light transmitting property, and the gate insulating layer that is used as a dielectric.
  • the capacitor wiring layer in this case can be formed using the same material and process as the gate electrode layer.
  • the capacitor electrode layer can be formed using the same material and process as the source electrode layer or the drain electrode layer.
  • the storage capacitors in the pixel portion of the liquid crystal display device or the light-emitting display device may include a capacitor wiring layer formed of a conductive material having a visible light transmitting property, a pixel electrode layer which is formed of a conductive material having a visible light transmitting property, and the protective insulating layer that is used as a dielectric.
  • the capacitor wiring layer in this case can be formed using the same material and process as the source electrode layer or the drain electrode layer.
  • a display device including a thin film transistor a light-emitting display device in which a light-emitting element is used and a display device in which an electrophoretic display element is used, which is also referred to as electronic paper, are given in addition to a liquid crystal display device.
  • liquid crystal display device there is no particular limitation on the foregoing liquid crystal display device, and a liquid crystal display device using TN liquid crystal, IPS liquid crystal, OCB liquid crystal, STN liquid crystal, VA liquid crystal, ECB liquid crystal, GH liquid crystal, polymer dispersed liquid crystal, discotic liquid crystal, or the like can be used.
  • a normally black liquid crystal panel such as a transmissive liquid crystal display device utilizing a vertical alignment (VA) mode is preferable.
  • VA vertical alignment
  • Some examples are given as a vertical alignment mode. For example, an MVA (multi-domain vertical alignment) mode, a PVA (patterned vertical alignment) mode, an ASV mode, or the like can be employed.
  • one pixel is divided into a plurality of sub-pixels and a projection portion is provided in a position of a counter substrate corresponding to the center of each sub-pixel, so that a multi-domain pixel is formed.
  • a driving method in which one pixel is divided into a plurality of sub-pixels and a projection portion is provided at a position of a counter substrate which corresponds to the center of each sub-pixel so that orientation division (multi-domain) of one pixel is performed and a wide viewing angle is achieved, is referred to as sub-pixel driving.
  • the projection portion may be provided over/on either one or both of the counter substrate and the element substrate. The projection portion makes liquid crystal molecules orient radially and improves controllability of the orientation.
  • an electrode for driving liquid crystal that is, a pixel electrode may have a top view shape like a comb-shape or a zigzagged shape so that a direction in which voltage is applied may be varied.
  • a multi-domain pixel may be formed utilizing photo-alignment.
  • a protective circuit for protecting the thin film transistor in the pixel portion is preferably provided over the same substrate for a gate line or a source line.
  • the protective circuit is preferably formed with a non-linear element including an oxide semiconductor.
  • a high aperture ratio can be achieved even when the size of a pixel is miniaturized for an increase in the number of scan lines, for example, so as to realize high definition of a display image. Further, by using a film having a light transmitting property for components of a thin film transistor, a high aperture ratio can be achieved even when one pixel is divided into a plurality of sub-pixels in order to realize a wide viewing angle.
  • FIGS. 1 A to 1 C are cross-sectional views illustrating manufacturing steps of one embodiment of the present invention
  • FIGS. 2 A and 2 B are a plan view and a cross-sectional view, respectively, illustrating one embodiment of the present invention
  • FIGS. 3 A to 3 D are cross-sectional views illustrating manufacturing steps of one embodiment of the present invention.
  • FIGS. 4 A to 4 C are cross-sectional views illustrating manufacturing steps of one embodiment of the present invention.
  • FIGS. 5 A to 5 C are cross-sectional views illustrating manufacturing steps of one embodiment of the present invention.
  • FIGS. 6 A and 6 B are a plan view and a cross-sectional view, respectively, illustrating one embodiment of the present invention.
  • FIGS. 7 A and 7 B are cross-sectional views illustrating manufacturing steps of one embodiment of the present invention
  • FIG. 7 C is a plan view illustrating one embodiment of the present invention
  • FIGS. 8 A to 8 D are cross-sectional views illustrating manufacturing steps of one embodiment of the present invention.
  • FIGS. 9 A to 9 C are cross-sectional views illustrating manufacturing steps of one embodiment of the present invention.
  • FIG. 10 is a plan view illustrating one embodiment of the present invention.
  • FIG. 11 is a plan view illustrating one embodiment of the present invention.
  • FIGS. 12 A and 12 C are cross-sectional views and FIGS. 12 B and 12 D are plan views illustrating one embodiment of the present invention
  • FIGS. 13 A to 13 C are perspective views illustrating one embodiment of the present invention.
  • FIGS. 14 A and 14 B are block diagrams illustrating one embodiment of the present invention.
  • FIG. 15 is a timing chart illustrating one embodiment of the present invention.
  • FIG. 16 is an equivalent circuit diagram of a pixel in a semiconductor device
  • FIGS. 17 A to 17 C are cross-sectional views each illustrating a semiconductor device
  • FIGS. 18 A and 18 B are diagrams each illustrating a semiconductor device
  • FIGS. 19 A and 19 B are diagrams each illustrating a semiconductor device.
  • FIG. 20 is a diagram illustrating a semiconductor device.
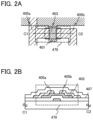
  • FIG. 2 B a thin film transistor 470 which is one type of a structure called a channel-etch type is illustrated.
  • FIG. 2 A is a plan view of the thin film transistor 470 included in a semiconductor device
  • FIG. 2 B is a cross-sectional view taken along line C 1 -C 2 of FIG. 2 A
  • the thin film transistor 470 is a bottom gate thin film transistor and includes, over a substrate 400 having an insulating surface, a gate electrode layer 401 , a gate insulating layer 402 , an oxide semiconductor layer 403 , a source electrode layer 405 a , and a drain electrode layer 405 b .
  • an oxide insulating film 407 is provided to cover the thin film transistor 470 and be in contact with the oxide semiconductor layer 403 .
  • the substrate 400 having an insulating surface, the gate electrode layer 401 , the gate insulating layer 402 , the oxide semiconductor layer 403 , the source electrode layer 405 a , the drain electrode layer 405 b , and the oxide insulating film 407 are all formed using a material having a visible light transmitting property.
  • the thin film transistor 470 has a light transmitting property and an aperture ratio can be improved in the case where the thin film transistor 470 is placed in a pixel portion of a display device.
  • the oxide semiconductor layer 403 at least after an oxide semiconductor film is formed, a heat treatment (a heat treatment for dehydration or dehydrogenation) for reducing moisture and the like which are impurities is performed.
  • the heat treatment for dehydration or dehydrogenation and slow cooling follow the formation of an oxide insulating film in contact with the oxide semiconductor layer, and the like; accordingly, the carrier of the oxide semiconductor layer is reduced to lead to an improvement in the reliability of the thin film transistor 470 .
  • Impurities such as moisture are reduced not only in the oxide semiconductor layer 403 but also in the gate insulating layer 402 , at interfaces between the oxide semiconductor layer 403 and a film above and in contact therewith and between the oxide semiconductor layer 403 and a film below and in contact therewith which are specifically an interface between the gate insulating layer 402 and the oxide semiconductor layer 403 and an interface between the oxide insulating film 407 and the oxide semiconductor layer 403 .
  • FIGS. 1 A to 1 C cross-sectional views which describe the manufacturing process of the thin film transistor 470 illustrated in FIG. 2 B are in FIGS. 1 A to 1 C .
  • the gate electrode layer 401 is provided over the substrate 400 having an insulating surface.
  • the substrate 400 having an insulating surface Although there is no particular limitation on a substrate which can be used as the substrate 400 having an insulating surface, it is necessary that the substrate have at least enough heat resistance to a heat treatment to be performed later.
  • a glass substrate formed of barium borosilicate glass, aluminoborosilicate glass, or the like can be used.
  • a glass substrate whose strain point is greater than or equal to 730° C. is preferably used.
  • a glass substrate a glass material such as aluminosilicate glass, aluminoborosilicate glass, or barium borosilicate glass is used, for example.
  • barium oxide (BaO) barium oxide
  • a glass substrate is heat-resistant and of more practical use. Therefore, a glass substrate containing BaO and B 2 O 3 so that the amount of BaO is larger than that of B 2 O 3 is preferably used.
  • a substrate formed of an insulator such as a ceramic substrate, a quartz substrate, or a sapphire substrate may be used instead of the above glass substrate.
  • crystallized glass or the like can be used.
  • an insulating film serving as a base film may be provided between the substrate 400 and the gate electrode layer 401 .
  • the base film has a function of preventing diffusion of an impurity element from the substrate 400 , and can be formed to have a single-layer or stacked-layer structure using one or more of a silicon nitride film, a silicon oxide film, a silicon nitride oxide film, and a silicon oxynitride film.
  • a conductive material having a visible light transmitting property such as the following materials can be employed: an In—Sn—Zn—O-based metal oxide; an In—Al—Zn—O-based metal oxide; a Sn—Ga—Zn—O-based metal oxide; an Al—Ga—Zn—O-based metal oxide; a Sn—Al—Zn—O-based metal oxide; an In—Zn—O-based metal oxide; a Sn—Zn—O-based metal oxide; an Al—Zn—O-based metal oxide; an In—O-based metal oxide; a Sn—O-based metal oxide; and a Zn—O-based metal oxide.
  • the thickness of the gate electrode layer 401 is selected as appropriate to be within the range of 30 nm to 200 nm.
  • a deposition method of the metal oxide used for the gate electrode layer 401 a sputtering method, a vacuum evaporation method (an electron beam evaporation method or the like), an arc discharge ion plating method or a spray method is used.
  • the gate insulating layer 402 is formed over the gate electrode layer 401 .
  • the gate insulating layer 402 can be formed to have a single-layer or stacked layer structure using a silicon oxide layer, a silicon nitride layer, a silicon oxynitride layer, or a silicon nitride oxide layer by a plasma CVD method, a sputtering method, or the like.
  • a silicon oxynitride layer may be formed using SiH 4 , oxygen, and nitrogen as a film formation gas by a plasma CVD method.
  • an oxide semiconductor film is formed to a thickness of greater than or equal to 2 nm and less than or equal to 200 nm over the gate insulating layer 402 .
  • dust on a surface of the gate insulating layer 402 is preferably removed by reverse sputtering in which an argon gas is introduced and plasma is generated.
  • the reverse sputtering refers to a method in which, without application of a voltage to a target side, an RF power source is used for application of a voltage to a substrate side in an argon atmosphere to generate plasma in the vicinity of the substrate to modify a surface.
  • argon nitrogen, helium, oxygen or the like may be used instead of argon.
  • the oxide semiconductor film is formed by a sputtering method with use of an In—Ga—Zn—O-based oxide semiconductor target.
  • the oxide semiconductor film can be formed by a sputtering method in a rare gas (typically argon) atmosphere, in an oxygen atmosphere, or in an atmosphere including a rare gas (typically argon) and oxygen.
  • the gate insulating layer 402 and the oxide semiconductor film may be formed successively without exposure to air.
  • the gate insulating layer 402 and the oxide semiconductor film are successively formed without exposure to air, the gate insulating layer 402 and the oxide semiconductor film can be formed without contamination of an interface thereof by atmospheric components or impurity elements floating in air, such as moisture or hydrocarbon. Therefore, variation in characteristics between the thin film transistors can be reduced.
  • the oxide semiconductor film is processed into an oxide semiconductor layer (a first oxide semiconductor layer 430 ), which is an island-shaped oxide semiconductor layer, by a photolithography step (see FIG. 1 A ).
  • the first oxide semiconductor layer 430 is dehydrated or dehydrogenated.
  • a temperature at which a first heat treatment for dehydration or dehydrogenation is performed is greater than or equal to 350° C. and less than the strain point of the substrate, preferably greater than or equal to 400° C.
  • the substrate is introduced into an electric furnace which is one of heat treatment apparatuses and the first oxide semiconductor layer 430 is subjected to a heat treatment in an oxygen atmosphere; then, the slow cooling is performed in the oxygen atmosphere, whereby a second oxide semiconductor layer 431 is formed (see FIG. 1 B ).
  • the slow cooling is performed from the heating temperature T at which the oxide semiconductor layer is dehydrated or dehydrogenated to a temperature low enough to prevent water from coming in again, specifically to a temperature which is more than 100° C. lower than the heating temperature T.
  • the slow cooling is performed to a temperature lower than a temperature of a second heat treatment which is to be performed later and then the substrate is taken out of the heat treatment apparatus.
  • the oxide semiconductor layer is subjected to the heat treatment in the oxygen atmosphere, whereby an impurity such as water contained in the oxide semiconductor layer can be removed and at the same time, the second oxide semiconductor layer 431 is placed into a state where oxygen is in excess.
  • the oxide semiconductor layer is crystallized and changed into a microcrystalline film or a polycrystalline film in some cases depending on the condition of the first heat treatment or the material of the oxide semiconductor layer.
  • the purity of the oxygen gas which is introduced into the heat treatment apparatus is preferably greater than or equal to 6N (99.9999%) or more preferably greater than or equal to 7N (99.99999%) (that is, the impurity concentration in the oxygen is less than or equal to 1 ppm, or preferably less than or equal to 0.1 ppm).
  • the first heat treatment is performed for greater than or equal to 0.5 hours and less than or equal to 10 hours, where the rate of temperature increase of the electric furnace is preferably greater than or equal to 0.1° C./min and less than or equal to 20° C./min. Further, the rate of temperature decrease in the electric furnace is preferably greater than or equal to 0.1° C./min and less than or equal to 15° C./min.
  • a rapid heating method such as a gas rapid thermal anneal (GRTA) method using a heated gas or a lamp rapid thermal anneal (LRTA) method using lamp light can be used for the first heat treatment.
  • GRTA gas rapid thermal anneal
  • LRTA lamp rapid thermal anneal
  • a chamber for the first heat treatment can be different from that for a cooling treatment.
  • the oxide semiconductor layer over the substrate is heated in a first chamber which is filled with an oxygen gas and whose temperature is increased to greater than or equal to 400° C. and less than the strain point of the substrate.
  • the substrate on which the above first heat treatment is performed is transferred into a second chamber which is filled with oxygen and whose temperature is less than or equal to 100° C. or preferably room temperature, and is subjected to the cooling treatment.
  • the oxide semiconductor film before being processed into the island-shaped oxide semiconductor layer can also be subjected to the first heat treatment in an oxygen atmosphere.
  • the substrate is taken out of the heating device and a photolithography step is performed.
  • the gate insulating layer Before the oxide semiconductor film is formed, the gate insulating layer may be subjected to a heat treatment (at a temperature greater than or equal to 400° C. and less than the strain point of the substrate) in an inert gas (nitrogen or a rare gas such as helium, neon, or argon) atmosphere, in an oxygen atmosphere, or under a reduced pressure so that an impurity such as hydrogen and water in the layer is removed.
  • an inert gas nitrogen or a rare gas such as helium, neon, or argon
  • a conductive film is formed over the gate insulating layer 402 and the second oxide semiconductor layer 431 .
  • a deposition method of the conductive film a sputtering method, a vacuum evaporation method (an electron beam evaporation method or the like), an arc discharge ion plating method, or a spray method is used.
  • a conductive material having a visible light transmitting property such as the following materials can be employed: an In—Sn—Zn—O-based metal oxide; an In—Al—Zn—O-based metal oxide; a Sn—Ga—Zn—O-based metal oxide; an Al—Ga—Zn—O-based metal oxide; a Sn—Al—Zn—O-based metal oxide; an In—Zn—O-based metal oxide; a Sn—Zn—O-based metal oxide; an Al—Zn—O-based metal oxide; an In—O-based metal oxide; a Sn—O-based metal oxide; and a Zn—O-based metal oxide.
  • the thickness of the conductive film is selected as appropriate to be within the range of 30 nm to 200 nm.
  • the second oxide semiconductor layer 431 and the conductive film are selectively etched by a photolithography step so as to form the oxide semiconductor layer 403 , the source electrode layer 405 a , and the drain electrode layer 405 b .
  • the oxide semiconductor layer 403 is etched to be the oxide semiconductor layer having a groove (depression).
  • the oxide insulating film 407 serving as a protective insulating layer is formed in contact with part of the oxide semiconductor layer 403 , whereby the thin film transistor 470 can be manufactured (see FIG. 1 C ).
  • the oxide insulating film 407 is formed to have a thickness of at least greater than or equal to 1 nm and can be appropriately formed by a method in which an impurity such as water or hydrogen is prevented from entering the oxide insulating film 407 , for example, by a CVD method or a sputtering method.
  • the oxide insulating film 407 is formed by a sputtering method.
  • the oxide insulating film 407 which is formed in contact with the low-resistance oxide semiconductor layer, does not contain an impurity such as moisture, a hydrogen ion, or OH ⁇ and is formed using an inorganic insulating film which prevents intrusion of these from the outside.
  • an impurity such as moisture, a hydrogen ion, or OH ⁇
  • an inorganic insulating film which prevents intrusion of these from the outside.
  • a silicon oxide film, a silicon nitride oxide film, an aluminum oxide film, or an aluminum oxynitride film is used.
  • a silicon nitride film or an aluminum nitride film on and in contact with the oxide insulating film 407 may be formed.
  • the silicon nitride film does not contain an impurity such as moisture, a hydrogen ion, or OH ⁇ and prevents intrusion of these from the outside.
  • a silicon oxide film with a thickness of 300 nm is formed as the oxide insulating film 407 .
  • a substrate temperature at the time of the film formation may be greater than or equal to room temperature and less than or equal to 300° C.; in this embodiment, the substrate temperature is 100° C.
  • the silicon oxide film can be formed by a sputtering method in a rare gas (typically argon) atmosphere, in an oxygen atmosphere, or in an atmosphere including a rare gas (typically argon) and oxygen.
  • a silicon oxide target or a silicon target can be used; for example, the silicon oxide film can be formed using a silicon target by a sputtering method in an atmosphere including oxygen and nitrogen.
  • the thin film transistor 470 may be subjected to the second heat treatment (preferably at a temperature greater than or equal to 150° C. and less than 350° C.) in a nitrogen atmosphere or in an oxygen atmosphere.
  • the second heat treatment is performed in a nitrogen atmosphere at 250° C. for one hour.
  • FIGS. 3 A to 3 D A semiconductor device and a method for manufacturing a semiconductor device which are different from Embodiment 1 will be described with reference to FIGS. 3 A to 3 D .
  • the portion that is identical to or has a function similar to those described in Embodiment 1 can be formed in a manner similar to that described in Embodiment 1; therefore, repetitive description is omitted.
  • FIGS. 3 A to 3 D are cross-sectional views illustrating a manufacturing process of a thin film transistor 480 .
  • the structure of the thin film transistor 480 which is illustrated in FIG. 3 D is called an inverted coplanar type (also called a bottom-contact type).
  • the gate electrode layer 401 is provided over the substrate 400 having an insulating surface.
  • An insulating film serving as a base film may be provided between the substrate 400 and the gate electrode layer 401 .
  • the gate insulating layer 402 is formed over the gate electrode layer 401 . Then, an oxide semiconductor film is formed over the gate insulating layer 402 .
  • the oxide semiconductor film is then processed into an oxide semiconductor layer (the first oxide semiconductor layer 430 ), which is an island-shaped oxide semiconductor layer, by a photolithography step (see FIG. 3 A ). Note that FIG. 3 A is the same as FIG. 1 A .
  • the first oxide semiconductor layer 430 is dehydrated or dehydrogenated.
  • a temperature at which a first heat treatment for dehydration or dehydrogenation is performed is greater than or equal to 350° C. and less than the strain point of the substrate, preferably greater than or equal to 400° C.
  • the substrate is introduced into an electric furnace which is one of heat treatment apparatuses and the first oxide semiconductor layer 430 is subjected to a heat treatment in an inert gas (nitrogen or a rare gas such as helium, neon, or argon) atmosphere or under a reduced pressure, whereby a second oxide semiconductor layer 442 is formed (see FIG. 3 B ).
  • an inert gas nitrogen or a rare gas such as helium, neon, or argon
  • the resistance of the oxide semiconductor layer is reduced (a carrier concentration thereof is increased preferably to greater than or equal to 1 ⁇ 10 18 /cm 3 ) and a low-resistance oxide semiconductor layer (the second oxide semiconductor layer 442 ) can be formed.
  • the nitrogen or the rare gas such as helium, neon, or argon it is preferable that water, hydrogen, and the like be not contained in the nitrogen or the rare gas such as helium, neon, or argon.
  • the purity of the nitrogen or the rare gas such as helium, neon, or argon which is introduced into the heat treatment apparatus is preferably greater than or equal to 6N, or more preferably greater than or equal to 7N (that is, the impurity concentration is less than or equal to 1 ppm, or preferably less than or equal to 0.1 ppm).
  • the dehydration or dehydrogenation is performed by heating the electric furnace, which has a nitrogen atmosphere and to which the substrate is introduced, to a temperature greater than or equal to 350° C. and less than or equal to 600° C., or preferably greater than or equal to 400° C.; then, introduction of the nitrogen or the rare gas is stopped and a heater is turned off.
  • slow cooling is performed in an oxygen atmosphere so that a third oxide semiconductor layer 481 is formed (see FIG. 3 C ).
  • the slow cooling is performed in an oxygen atmosphere from the heating temperature T at which the oxide semiconductor layer is dehydrated or dehydrogenated to a temperature low enough to prevent water from coming in again, specifically to a temperature more than 100° C. lower than the heating temperature T.
  • the slow cooling is performed in an oxygen atmosphere to a temperature lower than a temperature of a second heat treatment which is to be performed later and then the substrate is taken out of the heat treatment apparatus.
  • the slow cooling is performed after the heater of the electric furnace is turned off and oxygen is introduced into the electric furnace. It is preferable that an impurity such as water or hydrogen be not contained in the introduced oxygen.
  • the purity of the oxygen which is introduced into a chamber from a gas supply source is less than or equal to 6N, or preferably less than or equal to 7N (that is, the impurity concentration in the oxygen is less than or equal to 1 ppm, or preferably less than or equal to 0.1 ppm).
  • cooling may be performed by introducing oxygen into the electric furnace after the heat treatment and returning the pressure to an atmospheric pressure.
  • a chamber for the first heat treatment can be different from that for a cooling treatment.
  • the oxide semiconductor layer over the substrate is heated in a first chamber which is filled with nitrogen or a rare gas and whose temperature is increased to greater than or equal to 400° C. and less than the strain point of the substrate.
  • the slow cooling is performed to a temperature low enough to prevent water from coming in again, specifically to a temperature which is more than 100° C. lower than the heating temperature T.
  • the substrate on which the above first heat treatment is performed is transferred into a second chamber which is filled with oxygen and whose temperature is less than or equal to 100° C. or preferably room temperature, and is subjected to the cooling treatment.
  • the oxide semiconductor film before being processed into the island-shaped oxide semiconductor layer can also be subjected to the first heat treatment in an inert gas atmosphere or under a reduced pressure. In that case, after the first heat treatment and the cooling treatment, the substrate is taken out of the heating device and a photolithography step is performed.
  • the gate insulating layer Before the oxide semiconductor film is formed, the gate insulating layer may be subjected to a heat treatment (at a temperature greater than or equal to 400° C. and less than the strain point of the substrate) in an inert gas (nitrogen or a rare gas such as helium, neon, or argon) atmosphere, in an oxygen atmosphere, or under a reduced pressure so that an impurity such as hydrogen and water in the layer is removed.
  • an inert gas nitrogen or a rare gas such as helium, neon, or argon
  • a conductive film is formed over the gate insulating layer 402 and the third oxide semiconductor layer 481 .
  • a conductive material having a visible light transmitting property such as the following materials can be employed: an In—Sn—Zn—O-based metal oxide; an In—Al—Zn—O-based metal oxide; a Sn—Ga—Zn—O-based metal oxide; an Al—Ga—Zn—O-based metal oxide; a Sn—Al—Zn—O-based metal oxide; an In—Zn—O-based metal oxide; a Sn—Zn—O-based metal oxide; an Al—Zn—O-based metal oxide; an In—O-based metal oxide; a Sn—O-based metal oxide; and a Zn—O-based metal oxide.
  • the thickness of the conductive film is selected as appropriate to be within the range of 30 nm to 200 nm.
  • the third oxide semiconductor layer 481 and the conductive film are selectively etched by a photolithography step so as to form an oxide semiconductor layer 483 , the source electrode layer 405 a and the drain electrode layer 405 b .
  • the oxide semiconductor layer is etched to be the oxide semiconductor layer having a groove (depression).
  • the oxide insulating film 407 serving as a protective insulating layer is formed in contact with part of the oxide semiconductor layer 483 , whereby the thin film transistor 480 can be manufactured (see FIG. 3 D ).
  • the oxide insulating film 407 is formed to have a thickness of at least greater than or equal to 1 nm and can be appropriately formed by a method in which an impurity such as water or hydrogen is prevented from entering the oxide insulating film 407 , for example, by a CVD method or a sputtering method.
  • the oxide insulating film 407 is formed by a sputtering method.
  • the oxide insulating film 407 which is formed in contact with the low-resistance oxide semiconductor layer, does not contain an impurity such as moisture, a hydrogen ion, or OH ⁇ and is formed using an inorganic insulating film which prevents intrusion of these from the outside.
  • an impurity such as moisture, a hydrogen ion, or OH ⁇
  • an inorganic insulating film which prevents intrusion of these from the outside.
  • a silicon oxide film, a silicon nitride oxide film, an aluminum oxide film, or an aluminum oxynitride film is used.
  • a silicon nitride film or an aluminum nitride film on and in contact with the oxide insulating film 407 may be formed.
  • the silicon nitride film does not contain an impurity such as moisture, a hydrogen ion, or OH ⁇ and prevents intrusion of these from the outside.
  • a silicon oxide film with a thickness of 300 nm is formed as the oxide insulating film 407 .
  • a substrate temperature at the time of the film formation may be greater than or equal to room temperature and less than or equal to 300° C.; in this embodiment, the substrate temperature is 100° C.
  • the silicon oxide film can be formed by a sputtering method in a rare gas (typically argon) atmosphere, in an oxygen atmosphere, or in an atmosphere including a rare gas (typically argon) and oxygen.
  • a silicon oxide target or a silicon target can be used; for example, the silicon oxide film can be formed using a silicon target by a sputtering method in an atmosphere including oxygen and nitrogen.
  • the thin film transistor 480 may be subjected to the second heat treatment (preferably at a temperature greater than or equal to 150° C. and less than 350° C.) in a nitrogen atmosphere or in an oxygen atmosphere.
  • the second heat treatment is performed in a nitrogen atmosphere at 250° C. for one hour.
  • the oxide semiconductor layer 483 is heated while being in contact with the oxide insulating film 407 ; thus, variation in electric characteristics of the thin film transistor 480 can be reduced.
  • Embodiment 1 can be freely combined with Embodiment 1.
  • Embodiments 1 and 2 A semiconductor device and a method for manufacturing a semiconductor device which are different from Embodiments 1 and 2 will be described with reference to FIGS. 4 A to 4 C .
  • the portion that is identical to or has a function similar to those described in Embodiments 1 and 2 can be formed in a manner similar to that described in Embodiments 1 and 2; therefore, repetitive description is omitted.
  • FIGS. 4 A to 4 C are cross-sectional views illustrating a manufacturing process of a thin film transistor 440 .
  • the structure of the thin film transistor 440 which is illustrated in FIG. 4 C is called a channel stop type.
  • the gate electrode layer 401 is provided over the substrate 400 having an insulating surface.
  • An insulating film serving as a base film may be provided between the substrate 400 and the gate electrode layer 401 .
  • the gate insulating layer 402 is formed over the gate electrode layer 401 . Then, an oxide semiconductor film is formed over the gate insulating layer 402 .
  • the oxide semiconductor film is processed into an oxide semiconductor layer (the first oxide semiconductor layer 430 ), which is an island-shaped oxide semiconductor layer, by a photolithography step (see FIG. 4 A ). Note that FIG. 4 A is the same as FIG. 1 A .
  • the first oxide semiconductor layer 430 is dehydrated or dehydrogenated.
  • a temperature at which a first heat treatment for dehydration or dehydrogenation is performed is greater than or equal to 350° C. and less than the strain point of the substrate, preferably greater than or equal to 400° C.
  • the substrate is introduced into an electric furnace which is one of heat treatment apparatuses and the first oxide semiconductor layer 430 is subjected to a heat treatment in an inert gas (nitrogen or a rare gas such as helium, neon, or argon) atmosphere or under a reduced pressure, whereby a second oxide semiconductor layer 444 is formed (see FIG. 4 B ).
  • an inert gas nitrogen or a rare gas such as helium, neon, or argon
  • the nitrogen or the rare gas such as helium, neon, or argon it is preferable that water, hydrogen and the like be not contained in the nitrogen or the rare gas such as helium, neon, or argon.
  • the purity of the nitrogen or the rare gas such as helium, neon, or argon which is introduced into the heat treatment apparatus is preferably greater than or equal to 6N (99.9999%) or more preferably greater than or equal to 7N (99.99999%) (that is, the impurity concentration is less than or equal to 1 ppm, or preferably less than or equal to 0.1 ppm).
  • the dehydration or dehydrogenation is performed by heating the electric furnace, which has a nitrogen atmosphere and to which the substrate is introduced, to a temperature greater than or equal to 350° C.
  • the resistance of the oxide semiconductor layer is reduced (a carrier concentration thereof is increased preferably to greater than or equal to 1 ⁇ 10 18 /cm 3 ) and a low-resistance oxide semiconductor layer (the second oxide semiconductor layer 444 ) can be formed.
  • cooling may be performed by introducing an inert gas into the electric furnace after the heat treatment and returning the pressure to an atmospheric pressure.
  • a chamber for the heat treatment can be different from that for a cooling treatment.
  • the oxide semiconductor layer over the substrate is heated in a first chamber which is filled with nitrogen or a rare gas and whose temperature is increased to greater than or equal to 200° C. and less than or equal to 600° C., or preferably greater than or equal to 400° C. and less than or equal to 450° C.
  • the slow cooling is performed to a temperature low enough to prevent water from coming in again, specifically to a temperature more than 100° C. lower than the heating temperature T.
  • the substrate on which the above heat treatment is performed is transferred into a second chamber which is filled with nitrogen or a rare gas and whose temperature is less than or equal to 100° C. or preferably room temperature, and is subjected to the cooling treatment.
  • the oxide semiconductor film before being processed into the island-shaped oxide semiconductor layer can also be subjected to the heat treatment in an inert gas atmosphere or under a reduced pressure.
  • the slow cooling to a temperature greater than or equal to room temperature and less than 100° C. is performed; then, the substrate is taken out of the heating device and a photolithography step is performed.
  • the gate insulating layer Before the oxide semiconductor film is formed, the gate insulating layer may be subjected to a heat treatment (at a temperature greater than or equal to 400° C. and less than the strain point of the substrate) in an inert gas (nitrogen or a rare gas such as helium, neon, or argon) atmosphere, in an oxygen atmosphere, or under a reduced pressure so that an impurity such as hydrogen and water in the layer is removed.
  • an inert gas nitrogen or a rare gas such as helium, neon, or argon
  • a conductive film is formed over the gate insulating layer 402 and the second oxide semiconductor layer 444 .
  • a conductive material having a visible light transmitting property such as the following materials can be employed: an In—Sn—Zn—O-based metal oxide; an In—Al—Zn—O-based metal oxide; a Sn—Ga—Zn—O-based metal oxide; an Al—Ga—Zn—O-based metal oxide; a Sn—Al—Zn—O-based metal oxide; an In—Zn—O-based metal oxide; a Sn—Zn—O-based metal oxide; an Al—Zn—O-based metal oxide; an In—O-based metal oxide; a Sn—O-based metal oxide; and a Zn—O-based metal oxide.
  • the thickness of the conductive film is selected as appropriate to be within the range of 30 nm to 200 nm.
  • the second oxide semiconductor layer 444 and the conductive film are selectively etched by a photolithography step so as to form the oxide semiconductor layer, the source electrode layer 405 a , and the drain electrode layer 405 b .
  • the oxide semiconductor layer is etched to be the oxide semiconductor layer having a groove (depression).
  • the oxide insulating film 407 serving as a protective insulating layer is formed in contact with part of the oxide semiconductor layer.
  • the oxide insulating film 407 is formed to have a thickness of at least greater than or equal to 1 nm and can be appropriately formed by a method in which an impurity such as water or hydrogen is prevented from entering the oxide insulating film 407 , for example, by a CVD method or a sputtering method.
  • the oxide insulating film 407 is formed by a sputtering method.
  • the oxide insulating film 407 which is formed in contact with the low-resistance oxide semiconductor layer, does not contain an impurity such as moisture, a hydrogen ion, or OH ⁇ and is formed using an inorganic insulating film which prevents intrusion of these from the outside.
  • an impurity such as moisture, a hydrogen ion, or OH ⁇
  • an inorganic insulating film which prevents intrusion of these from the outside.
  • a silicon oxide film, a silicon nitride oxide film, an aluminum oxide film, or an aluminum oxynitride film is used.
  • a silicon nitride film or an aluminum nitride film on and in contact with the oxide insulating film 407 may be formed.
  • the silicon nitride film does not contain an impurity such as moisture, a hydrogen ion, or OH ⁇ and prevents intrusion of these from the outside.
  • the oxide insulating film 407 By forming the oxide insulating film 407 in contact with the low-resistance second oxide semiconductor layer 444 by a sputtering method, a PCVD method, or the like, resistance is increased at least in a region of the low-resistance oxide semiconductor layer 444 , which is in contact with the oxide insulating film 407 (a carrier concentration thereof is decreased to preferably less than 1 ⁇ 10 18 /cm 3 ), and thus the region can be a high-resistance oxide semiconductor region.
  • the resistance of regions of the low-resistance oxide semiconductor layer 444 which overlap with the source electrode layer 405 a and the drain electrode layer 405 b , is still low, and thus two low-resistance oxide semiconductor regions with the high-resistance oxide semiconductor region therebetween are obtained. It is important to increase and decrease the carrier concentration of the oxide semiconductor layer by the heating in an inert gas atmosphere (or under a reduced pressure), the slow cooling, the formation of the oxide insulating film, and the like during the manufacturing process of the semiconductor device.
  • the oxide semiconductor layer 444 becomes an oxide semiconductor layer 443 (a third oxide semiconductor layer) which has the high-resistance oxide semiconductor region and the low-resistance oxide semiconductor regions, and the thin film transistor 440 can be formed. Note that the high-resistance oxide semiconductor region serves as a channel formation region of the thin film transistor 440 .
  • the low-resistance oxide semiconductor regions in the oxide semiconductor layer 443 which overlap with the drain and source electrode layers, reliability can be increased when a drive circuit is formed.
  • the low-resistance oxide semiconductor regions a structure is realized in which the drain electrode layer, the low-resistance oxide semiconductor region, and the channel formation region can vary in conductivity in this order.
  • the low-resistance oxide semiconductor region serves as a buffer so that a local high electric field is not applied even when a high electric field is applied between the gate electrode layer and the drain electrode layer; in this manner, the transistor can have a structure with an increased withstand voltage.
  • leakage current in the channel formation region can be reduced when a drive circuit is formed.
  • leakage current flowing between the drain electrode layer and the source electrode layer passes through the drain electrode layer, the low-resistance oxide semiconductor region on the drain electrode layer side, the channel formation region, the low-resistance oxide semiconductor region on the source electrode layer side, and the source electrode layer in this order.
  • the leakage current which flows from the low-resistance oxide semiconductor region on the drain electrode layer side to the channel formation region can be concentrated in the vicinity of the interface between the gate insulating layer and the channel formation region, which has high resistance when the transistor is turned off, whereby the leakage current at a back channel portion (part of the surface of the channel formation region which is apart from the gate electrode layer) can be reduced.
  • the thin film transistor 440 may be subjected to a second heat treatment (preferably at a temperature greater than or equal to 150° C. and less than 350° C.) in a nitrogen atmosphere or in an oxygen atmosphere.
  • a second heat treatment is performed in a nitrogen atmosphere at 250° C. for one hour.
  • Embodiment 1 can be freely combined with Embodiment 1 or 2.
  • FIGS. 5 A to 5 C and FIGS. 6 A and 6 B A semiconductor device and a method for manufacturing the semiconductor device are described with reference to FIGS. 5 A to 5 C and FIGS. 6 A and 6 B .
  • FIG. 6 A is a plan view of a thin film transistor 460 included in a semiconductor device
  • FIG. 6 B is a cross-sectional view taken along line D 1 -D 2 of FIG. 6 A
  • the thin film transistor 460 is a bottom gate thin film transistor and includes, over a substrate 450 having an insulating surface, a gate electrode layer 451 , a gate insulating layer 452 , a source electrode layer 455 a , a drain electrode layer 455 b , and an oxide semiconductor layer 453 .
  • an oxide insulating film 457 is provided to cover the thin film transistor 460 and be in contact with the oxide semiconductor layer 453 .
  • An In—Ga—Zn—O-based non-single-crystal film is used for the oxide semiconductor layer 453 .
  • the gate insulating layer 452 exists in the entire region including the thin film transistor 460 , and the gate electrode layer 451 is provided between the gate insulating layer 452 and the substrate 450 which is a substrate having an insulating surface.
  • the source electrode layer 455 a and the drain electrode layer 455 b are provided over the gate insulating layer 452 .
  • the oxide semiconductor layer 453 is provided over the gate insulating layer 452 , the source electrode layer 455 a and the drain electrode layer 455 b .
  • a wiring layer is provided over the gate insulating layer 452 in addition to the source electrode layer 455 a and the drain electrode layer 455 b , and the wiring layer extends beyond the peripheral portion of the oxide semiconductor layer 453 .
  • the substrate 450 having an insulating surface, the gate electrode layer 451 , the gate insulating layer 452 , the oxide semiconductor layer 453 , the source electrode layer 455 a , the drain electrode layer 455 b , and the oxide insulating film 457 are all formed using a material having a visible light transmitting property.
  • the thin film transistor 460 has a light transmitting property and an aperture ratio can be improved in the case where the thin film transistor 460 is placed in a pixel portion of a display device.
  • the oxide semiconductor layer 453 is subjected to a heat treatment (a heat treatment for dehydration or dehydrogenation) for reducing moisture and the like which are impurities and slow cooling at least after the oxide semiconductor film is formed; then, the oxide insulating film 457 is formed in contact with the oxide semiconductor layer 453 . In this manner, the oxide semiconductor film is used as a channel formation region.
  • a heat treatment a heat treatment for dehydration or dehydrogenation
  • FIGS. 5 A to 5 C are cross-sectional views illustrating steps of manufacturing the thin film transistor 460 which is illustrated in FIG. 6 B .
  • the gate electrode layer 451 is provided over the substrate 450 which is a substrate having an insulating surface. Further, an insulating film serving as a base film may be provided between the substrate 450 and the gate electrode layer 451 .
  • the base film has a function of preventing diffusion of an impurity element from the substrate 450 , and can be formed to have a single-layer or stacked-layer structure using one or more of a silicon nitride film, a silicon oxide film, a silicon nitride oxide film, and a silicon oxynitride film.
  • a conductive material having a visible light transmitting property such as the following materials can be employed: an In—Sn—Zn—O-based metal oxide; an In—Al—Zn—O-based metal oxide; a Sn—Ga—Zn—O-based metal oxide; an Al—Ga—Zn—O-based metal oxide; a Sn—Al—Zn—O-based metal oxide; an In—Zn—O-based metal oxide; a Sn—Zn—O-based metal oxide; an Al—Zn—O-based metal oxide; an In—O-based metal oxide; a Sn—O-based metal oxide; and a Zn—O-based metal oxide.
  • the thickness of the gate electrode layer 451 is selected as appropriate to be within the range of 30 nm to 200 nm.
  • the gate insulating layer 452 is formed over the gate electrode layer 451 .
  • the gate insulating layer 452 can be formed to have a single-layer or stacked layer structure using a silicon oxide layer, a silicon nitride layer, a silicon oxynitride layer, or a silicon nitride oxide layer by a plasma CVD method, a sputtering method, or the like.
  • a silicon oxynitride layer may be formed using SiH 4 , oxygen, and nitrogen as a film formation gas by a plasma CVD method.
  • a conductive film is formed over the gate insulating layer 452 and processed into the island-shaped source electrode layer 455 a and the island-shaped drain electrode layer 455 b by a photolithography step (see FIG. 5 A ).
  • a conductive material having a visible light transmitting property such as the following materials can be employed: an In—Sn—Zn—O-based metal oxide; an In—Al—Zn—O-based metal oxide; a Sn—Ga—Zn—O-based metal oxide; an Al—Ga—Zn—O-based metal oxide; a Sn—Al—Zn—O-based metal oxide; an In—Zn—O-based metal oxide; a Sn—Zn—O-based metal oxide; an Al—Zn—O-based metal oxide; an In—O-based metal oxide; a Sn—O-based metal oxide; and a Zn—O-based metal oxide.
  • the thickness of the conductive film is selected as appropriate to be within the range of 30 nm to 200 nm.
  • an oxide semiconductor film is formed over the gate insulating layer 452 , the source electrode layer 455 a and the drain electrode layer 455 b , and processed into an island-shaped oxide semiconductor layer 483 (the first oxide semiconductor layer) by a photolithography step (see FIG. 5 B ).
  • oxygen ashing is performed at the time of removing a resist mask which is used at this photolithography step, oxygen is introduced into an exposed region of the oxide semiconductor layer.
  • dust on a surface of the gate insulating layer 452 is preferably removed by reverse sputtering in which an argon gas is introduced and plasma is generated.
  • the oxide semiconductor layer 483 is subjected to the first heat treatment for dehydration or dehydrogenation.
  • a temperature at which the first heat treatment for dehydration or dehydrogenation is performed is greater than or equal to 350° C. and less than the strain point of the substrate, preferably greater than or equal to 400° C.
  • the first heat treatment for dehydration or dehydrogenation a heat treatment in an inert gas (nitrogen or a rare gas such as helium, neon, or argon) atmosphere, in an oxygen atmosphere, or under a reduced pressure is performed.
  • the slow cooling is performed from the heating temperature T at which the oxide semiconductor layer is dehydrated or dehydrogenated to a temperature low enough to prevent water from coming in again, specifically to a temperature which is more than 100° C. lower than the heating temperature T.
  • the slow cooling is performed to a temperature lower than a temperature of a second heat treatment which is to be performed later and then the substrate is taken out of the heat treatment apparatus.
  • the oxide semiconductor layer 453 in which impurities such as moisture in the layer are reduced is formed by the first heat treatment performed in an oxygen atmosphere and the slow cooling performed in the oxygen atmosphere.
  • the combination of the first heat treatment and the slow cooling and the combination and order described in any one of Embodiments 1 to 3 can be used.
  • the inert gas nitrogen or a rare gas such as helium, neon, or argon
  • the purity of the gas which is introduced into the heat treatment apparatus is preferably greater than or equal to 6N (99.9999%) or more preferably greater than or equal to 7N (99.99999%) (that is, the impurity concentration in the atmosphere is less than or equal to 1 ppm, or preferably less than or equal to 0.1 ppm).
  • the oxide semiconductor film before being processed into the island-shaped oxide semiconductor layer can also be subjected to the first heat treatment in an oxygen atmosphere.
  • the substrate is taken out of the heating device and a photolithography step is performed.
  • the gate insulating layer Before the oxide semiconductor film is formed, the gate insulating layer may be subjected to a heat treatment (at a temperature greater than or equal to 400° C. and less than the strain point of the substrate) in an inert gas (nitrogen or a rare gas such as helium, neon, or argon) atmosphere, in an oxygen atmosphere, or under a reduced pressure so that an impurity such as hydrogen and water in the layer is removed.
  • an inert gas nitrogen or a rare gas such as helium, neon, or argon
  • the oxide insulating film 457 is formed in contact with the oxide semiconductor layer 453 by a sputtering method or a PCVD method, whereby the thin film transistor 460 can be manufactured (see FIG. 5 C ).
  • a silicon oxide film with a thickness of 300 nm is formed as the oxide insulating film 457 .
  • a substrate temperature at the time of the film formation may be greater than or equal to room temperature and less than or equal to 300° C.; in this embodiment, the substrate temperature is 100° C.
  • the thin film transistor 460 may be subjected to the second heat treatment (preferably at a temperature greater than or equal to 150° C. and less than 350° C.) in a nitrogen atmosphere or in an oxygen atmosphere.
  • the second heat treatment is performed at 250° C. for one hour in a nitrogen atmosphere.
  • Embodiment 1 can be freely combined with Embodiment 1, 2, or 3.
  • FIGS. 7 A to 7 C An example of a plan view of a thin film transistor is illustrated in FIG. 7 C , a cross-sectional view taken along dotted line Z 1 -Z 2 of which corresponds to FIG. 7 B .
  • This embodiment is an example in which gallium is not included in an oxide semiconductor layer of the thin film transistor 1430 .
  • a gate electrode layer 1401 is provided over a substrate 1400 .
  • an insulating film serving as a base film may be provided between the substrate 1400 and the gate electrode layer 1401 .
  • the base film has a function of preventing diffusion of an impurity element from the substrate 1400 , and can be formed to have a single-layer or stacked-layer structure using one or more of a silicon nitride film, a silicon oxide film, a silicon nitride oxide film, and a silicon oxynitride film.
  • a conductive material having a visible light transmitting property such as the following materials can be employed: an In—Sn—Zn—O-based metal oxide; an In—Al—Zn—O-based metal oxide; a Sn—Ga—Zn—O-based metal oxide; an Al—Ga—Zn—O-based metal oxide; a Sn—Al—Zn—O-based metal oxide; an In—Zn—O-based metal oxide; a Sn—Zn—O-based metal oxide; an Al—Zn—O-based metal oxide; an In—O-based metal oxide; a Sn—O-based metal oxide; and a Zn—O-based metal oxide.
  • the thickness of the gate electrode layer 1401 is selected as appropriate to be within the range of 30 nm to 200 nm.
  • a gate insulating layer 1402 is formed so as to cover the gate electrode layer 1401 .
  • An oxide semiconductor layer is formed over the gate insulating layer 1402 .
  • the oxide semiconductor layer is formed using a Sn—Zn—O-based oxide semiconductor by a sputtering method.
  • gallium is not used for the oxide semiconductor layer, use of an expensive target in formation of the oxide semiconductor layer can be avoided, so that cost can be reduced.
  • dehydration or dehydrogenation is performed.
  • the first heat treatment for dehydration or dehydrogenation a heat treatment in an inert gas (nitrogen or a rare gas such as helium, neon, or argon) atmosphere, in an oxygen atmosphere, or under a reduced pressure is performed.
  • a temperature at which the first heat treatment is performed is greater than or equal to 350° C. and less than the strain point of the substrate, preferably greater than or equal to 400° C.
  • slow cooling is performed from the heating temperature T at which the oxide semiconductor layer is dehydrated or dehydrogenated to a temperature low enough to prevent water from coming in again, specifically to a temperature which is more than 100° C. lower than the heating temperature T.
  • the slow cooling is performed to a temperature lower than a temperature of a second heat treatment which is to be performed later and then the substrate is taken out of the heat treatment apparatus.
  • an oxide semiconductor layer 1403 in which impurities such as moisture in the layer are reduced is formed by the first heat treatment performed in an oxygen atmosphere and the slow cooling performed in the oxygen atmosphere (see FIG. 7 A ).
  • the combination of the first heat treatment and the slow cooling and the combination and order described in any one of Embodiments 1 to 3 can be used.
  • the inert gas nitrogen or a rare gas such as helium, neon, or argon
  • the purity of the gas which is introduced into the heat treatment apparatus is preferably greater than or equal to 6N or more preferably greater than or equal to 7N (that is, the impurity concentration in the atmosphere is less than or equal to 1 ppm, or preferably less than or equal to 0.1 ppm).
  • the oxide semiconductor film before being processed into the island-shaped oxide semiconductor layer can also be subjected to the first heat treatment in an oxygen atmosphere.
  • the substrate is taken out of the heating device and a photolithography step is performed.
  • the gate insulating layer Before the oxide semiconductor film is formed, the gate insulating layer may be subjected to a heat treatment (at a temperature greater than or equal to 400° C. and less than the strain point of the substrate) in an inert gas (nitrogen or a rare gas such as helium, neon, or argon) atmosphere, in an oxygen atmosphere, or under a reduced pressure so that an impurity such as hydrogen and water in the layer is removed.
  • an inert gas nitrogen or a rare gas such as helium, neon, or argon
  • a channel protective layer 1418 is provided on and in contact with the oxide semiconductor layer 1403 .
  • damage to a channel formation region of the oxide semiconductor layer 1403 e.g., a reduction in thickness due to plasma or an etchant in etching
  • the thin film transistor 1430 can have improved reliability.
  • the channel protective layer 1418 can be successively formed without exposure to air after the heat treatment for dehydration or dehydrogenation. Successive film formation without exposure to air makes it possible to form the oxide semiconductor layer 1403 and the channel protective layer 1418 , the interface of which is not contaminated by atmospheric components or impurity elements floating in air, such as moisture or hydrocarbon. Therefore, variation in characteristics between the thin film transistors can be reduced.
  • the channel protective layer 1418 can be formed using an inorganic material which contains oxygen (e.g., silicon oxide, silicon oxynitride, or silicon nitride oxide).
  • an inorganic material which contains oxygen e.g., silicon oxide, silicon oxynitride, or silicon nitride oxide.
  • a vapor deposition method such as a plasma CVD method or a thermal CVD method or a sputtering method can be used.
  • the shape thereof is processed by etching.
  • the channel protective layer 1418 is formed in such a manner that a silicon oxide film is formed by a sputtering method and processed by etching using a mask formed by photolithography.
  • oxygen ashing is performed at the time of removing a resist mask which is used at this photolithography step, oxygen is introduced into an exposed region of the oxide semiconductor layer.
  • a conductive film is formed over the channel protective layer 1418 and the oxide semiconductor layer 1403 .
  • a conductive material having a visible light transmitting property such as the following materials can be employed: an In—Sn—Zn—O-based metal oxide; an In—Al—Zn—O-based metal oxide; a Sn—Ga—Zn—O-based metal oxide; an Al—Ga—Zn—O-based metal oxide; a Sn—Al—Zn—O-based metal oxide; an In—Zn—O-based metal oxide; a Sn—Zn—O-based metal oxide; an Al—Zn—O-based metal oxide; an In—O-based metal oxide; a Sn—O-based metal oxide; and a Zn—O-based metal oxide.
  • the thickness of the conductive film is selected as appropriate to be within the range of 30 nm to 200 nm.
  • the conductive film is selectively etched using a mask formed by photolithography so as to form a source electrode layer 1405 a and a drain electrode layer 1405 b over the channel protective layer 1418 and the oxide semiconductor layer 1403 ; thus, the thin film transistor 1430 is manufactured (see FIG. 7 B ).
  • Embodiment 1 can be freely combined with Embodiment 1, 2, or 3.
  • FIGS. 8 A to 8 D a manufacturing example of a liquid crystal display device in which the thin film transistor described in Embodiment 1 is placed in a pixel portion is described with reference to FIGS. 8 A to 8 D , FIGS. 9 A to 9 C , FIG. 10 , FIG. 11 , FIGS. 12 A to 12 D , FIGS. 13 A to 13 C , FIGS. 14 A and 14 B , and FIG. 15 .
  • a glass substrate formed of barium borosilicate glass, aluminoborosilicate glass, or the like can be used as a substrate 100 having a light transmitting property.
  • a large-area substrate having a size of, for example, 1000 mm ⁇ 1200 mm, 1100 mm ⁇ 1250 mm, or 1150 mm ⁇ 1300 mm may be used.
  • a plurality of liquid crystal display devices can be manufactured using one substrate and the manufacturing cost can be reduced.
  • a glass substrate having a size of 600 mm ⁇ 720 mm is used.
  • a first photolithography step is performed. to form a resist mask, and unnecessary portions of the conductive film are removed by etching to form wirings and an electrode (a gate wiring including a gate electrode layer 101 , a capacitor wiring 108 , and a first terminal 121 ).
  • the etching is performed so that at least end portions of the gate electrode layer 101 have a tapered shape.
  • a resist mask may be formed by an ink-jet method.
  • the manufacturing cost can be reduced.
  • a resist mask may be formed by an ink-jet method in at least one step of the photolithography process below in order to reduce the manufacturing cost.
  • a conductive material having a visible light transmitting property such as the following materials can be employed: an In—Sn—Zn—O-based metal oxide; an In—Al—Zn—O-based metal oxide; a Sn—Ga—Zn—O-based metal oxide; an Al—Ga—Zn—O-based metal oxide; a Sn—Al—Zn—O-based metal oxide; an In—Zn—O-based metal oxide; a Sn—Zn—O-based metal oxide; an Al—Zn—O-based metal oxide; an In—O-based metal oxide; a Sn—O-based metal oxide; and a Zn—O-based metal oxide.
  • Each thickness of the gate wiring including the gate electrode layer 101 , the capacitor wiring 108 , and the first terminal 121 of a terminal portion is selected as appropriate to be within the range of 30 nm to 200 nm.
  • a deposition method of the conductive film a sputtering method, a vacuum evaporation method (an electron beam evaporation method or the like), an arc discharge ion plating method, a spray method, or an ink-jet method is used.
  • the photolithography step becomes unnecessary and a further cost reduction can be achieved.
  • an In—Sn—O-based conductive film is formed using an In—Sn—O-based target by a sputtering method.
  • the conductive film may be subjected to a heat treatment in order to have low resistance after being formed.
  • the target is formed by attaching a target material to a backing plate (a board for attaching a target thereto).
  • the target may be divided and attached to one backing plate.
  • warpage of the target can be relaxed in the attachment of the target to the backing plate.
  • such divided targets can be suitably used for a target which is upsized in accordance with the size of the large substrate. Needless to say, one target may be attached to one backing plate.
  • Examples of a sputtering method include an RF sputtering method in which a high-frequency power source is used as a sputtering power source, a DC sputtering method, and a pulsed DC sputtering method in which a bias is applied in a pulsed manner.
  • An RF sputtering method is mainly used in the case where an insulating film is formed, and a DC sputtering method is mainly used in the case where a metal film is formed.
  • multi-source sputtering apparatus in which a plurality of targets of different materials can be set.
  • films of different materials can be formed to be stacked in the same chamber, or a film of plural kinds of materials can be formed by electric discharge at the same time in the same chamber.
  • a sputtering apparatus provided with a magnet system inside the chamber and used for a magnetron sputtering, and a sputtering apparatus used for an ECR sputtering in which plasma generated with the use of microwaves is used without using glow discharge.
  • a deposition method by sputtering there are also a reactive sputtering method in which a target substance and a sputtering gas component are chemically reacted with each other during deposition to form a thin compound film thereof, and a bias sputtering in which a voltage is also applied to a substrate during deposition.
  • a gate insulating layer 102 is formed over the entire surface of the gate electrode layer 101 .
  • the gate insulating layer 102 is formed to a thickness of greater than or equal to 50 nm and less than or equal to 250 nm by a sputtering method, a PCVD method, or the like.
  • the gate insulating layer 102 is formed to have a single-layer structure or a stacked-layer structure using an inorganic insulating film such as a silicon oxide film, a silicon oxynitride film, a silicon nitride oxide film, a silicon nitride film, or a tantalum oxide film.
  • the gate insulating layer 102 having a thickness of 100 nm is formed over the gate electrode layer 101 in the following manner: a monosilane gas (SiH 4 ), nitrous oxide (N 2 O), and a rare gas are introduced into a chamber of a high-density plasma apparatus as source gases, and high density plasma is generated under a pressure of 10 Pa to 30 Pa.
  • the gate insulating layer 102 is a silicon oxynitride film.
  • the high-density plasma apparatus refers to an apparatus which can realize a plasma density of greater than or equal to 1 ⁇ 10 11 /cm 3 . For example, plasma is generated by applying a microwave power of 3 kW to 6 kW so that the insulating film is formed.
  • the flow ratio of a monosilane gas (SiH 4 ) to nitrous oxide (N 2 O) which are introduced into the chamber is in the range of 1:10 to 1:200.
  • a rare gas which is introduced into the chamber helium, argon, krypton, xenon, or the like can be used.
  • argon which is inexpensive, is preferably used.
  • the gate insulating layer 102 formed with the high-density plasma apparatus has a uniform thickness, the gate insulating layer 102 has excellent step coverage. Further, by forming the insulating film using the high-density plasma apparatus, the thickness of the insulating film can be controlled precisely.
  • the insulating film obtained with the high-density plasma apparatus is greatly different from an insulating film formed with a conventional parallel plate PCVD apparatus.
  • the insulating film obtained with the high-density plasma apparatus has an etching rate which is lower than that of the insulating film formed with the conventional parallel plate PCVD apparatus by greater than or equal to 10% or greater than or equal to 20% in the case where the etching rates with the same etchant are compared to each other.
  • the insulating film obtained with the high-density plasma apparatus is a dense film.
  • an oxide semiconductor film (an In—Ga—Zn—O-based non-single-crystal film) is formed over the gate insulating layer 102 . It is effective to form the In—Ga—Zn—O-based non-single-crystal film without exposure to air after the plasma treatment because dust or moisture can be prevented from being attached to an interface between the gate insulating layer and the semiconductor film.
  • a pulse direct current (DC) power supply is preferable because this can reduce dust and make the film thickness uniform.
  • the In—Ga—Zn—O-based non-single-crystal film is formed to have a thickness of 2 nm to 200 nm.
  • an In—Ga—Zn—O-based non-single-crystal film with the thickness of 50 nm is formed using the In—Ga—Zn—O-based oxide semiconductor target by a sputtering method.
  • the oxide semiconductor film preferably has a thickness of less than or equal to 50 nm in order to be kept amorphous.
  • the oxide semiconductor film is further etched so that a small-thickness region, i.e., a channel formation region, has a thickness less than or equal to 30 nm and a small-thickness region of the completed thin film transistor has a thickness greater than or equal to 5 nm and less than or equal to 20 nm.
  • the channel width of the completed thin film transistor be greater than or equal to 0.5 ⁇ m and less than or equal to 10 ⁇ m.
  • a target is formed by attaching a target material to a backing plate (a board for attaching a target thereto) and vacuum packing.
  • the backing plate including the target material attached thereto be set in a sputtering apparatus while being kept away from moisture and the like in the air as much as possible. It is preferable that the target be kept away from moisture and the like in the air as much as possible not only at the time of setting the target material to the sputtering apparatus, but also during the period up to vacuum-packing, during which manufacturing the target, attaching the target materials to the backing plate, and the like are performed.
  • a second photolithography step is performed to form a resist mask, and then the oxide semiconductor film is etched.
  • unnecessary portions are removed by wet etching using a mixed solution of phosphoric acid, acetic acid, and nitric acid, so that a first oxide semiconductor layer 133 is formed (see FIG. 8 A ).
  • etching here is not limited to wet etching and dry etching may also be performed.
  • a gas containing chlorine a chlorine-based gas such as chlorine (Cl 2 ), boron chloride (BCl 3 ), silicon chloride (SiCl 4 ), or carbon tetrachloride (CCl 4 )
  • a chlorine-based gas such as chlorine (Cl 2 ), boron chloride (BCl 3 ), silicon chloride (SiCl 4 ), or carbon tetrachloride (CCl 4 )
  • chlorine chlorine
  • BCl 3 boron chloride
  • SiCl 4 silicon chloride
  • CCl 4 carbon tetrachloride
  • a gas containing fluorine a fluorine-based gas such as carbon tetrafluoride (CF 4 ), sulfur fluoride (SF 6 ), nitrogen fluoride (NF 3 ), or trifluoromethane (CHF 3 )); oxygen (O 2 ); any of these gases to which a rare gas such as helium (He) or argon (Ar) is added; or the like can be used.
  • a fluorine-based gas such as carbon tetrafluoride (CF 4 ), sulfur fluoride (SF 6 ), nitrogen fluoride (NF 3 ), or trifluoromethane (CHF 3 )
  • oxygen O 2
  • any of these gases to which a rare gas such as helium (He) or argon (Ar) is added; or the like can be used.
  • a parallel plate RIE (reactive ion etching) method or an ICP (inductively coupled plasma) etching method can be used.
  • the etching conditions the amount of electric power applied to a coil-shaped electrode, the amount of electric power applied to an electrode on the substrate side, the temperature of the electrode on the substrate side, or the like.
  • a mixed solution of phosphoric acid, acetic acid, and nitric acid, or the like can be used.
  • ITO07N produced by KANTO CHEMICAL CO., INC.
  • KANTO CHEMICAL CO., INC. may also be used.
  • the etchant used in the wet etching is removed by cleaning together with the material which is etched off.
  • the waste liquid including the etchant and the material etched off may be purified to recycle the materials contained in the waste liquid.
  • the etching conditions (such as an etchant, etching time, and temperature) are adjusted as appropriate depending on the material so that the film can be etched into a desired shape.
  • the first oxide semiconductor layer 133 is subjected to a first heat treatment for dehydration or dehydrogenation. After the first oxide semiconductor layer 133 is subjected to the first heat treatment in an oxygen atmosphere, slow cooling in the oxygen atmosphere is performed.
  • the first heat treatment is performed at a temperature of 650° C. in an oxygen atmosphere for one hour, for example.
  • the slow cooling is performed from the heating temperature T at which the oxide semiconductor layer is dehydrated or dehydrogenated to a temperature low enough to prevent water from coming in again, specifically to a temperature which is more than 100° C. lower than the heating temperature T so that a second oxide semiconductor layer 134 is formed.
  • the slow cooling is performed to a temperature lower than a temperature of a second heat treatment which is to be performed later and then the substrate is taken out of the heat treatment apparatus.
  • the oxide semiconductor layer is subjected to the heat treatment in the oxygen atmosphere, whereby an impurity such as water contained in the oxide semiconductor layer can be removed and at the same time, the second oxide semiconductor layer 134 is placed into a state where oxygen is in excess (see FIG. 8 B ).
  • the oxide semiconductor layer is crystallized and changed into a microcrystalline film or a polycrystalline film in some cases depending on the condition of the first heat treatment or the material of the oxide semiconductor layer.
  • a conductive film 132 having a light transmitting property is formed over the second oxide semiconductor layer 134 by a sputtering method, a vacuum evaporation method (an electron beam evaporation method or the like), an arc discharge ion plating method, a spray method, or an ink-jet method (see FIG. 8 C ).
  • a conductive material having a visible light transmitting property such as the following materials can be employed as the material of the conductive film 132 having a light transmitting property: an In—Sn—Zn—O-based metal oxide; an In—Al—Zn—O-based metal oxide; a Sn—Ga—Zn—O-based metal oxide; an Al—Ga—Zn—O-based metal oxide; a Sn—Al—Zn—O-based metal oxide; an In—Zn—O-based metal oxide; a Sn—Zn—O-based metal oxide; an Al—Zn—O-based metal oxide; an In—O-based metal oxide; a Sn—O-based metal oxide; and a Zn—O-based metal oxide.
  • the thickness of the conductive film 132 having a light transmitting property is selected as appropriate to be within the range of 30 nm to 200 nm.
  • the present invention is not particularly limited thereto and the first heat treatment may be performed after the conductive film 132 having a light transmitting property is formed.
  • the oxide semiconductor layer can be dehydrated or dehydrogenated and at the same time, the conductive film 132 having a light transmitting property can have improved crystallinity and low resistance by this heat treatment.
  • a third photolithography step is performed to form a resist mask and then unnecessary portions are etched away, so that a source electrode layer 105 a , a drain electrode layer 105 b , a capacitor electrode 135 , and a second terminal 122 are formed.
  • Wet etching or dry etching is employed as an etching method at this time.
  • an exposed region of the oxide semiconductor layer is partly etched so that an oxide semiconductor layer 103 having a depression is formed. Therefore, a region of the oxide semiconductor layer 103 , which does not overlap with the source electrode layer 105 a and the drain electrode layer 105 b has a small thickness.
  • the etching for forming the source electrode layer 105 a , the drain electrode layer 105 b and the oxide semiconductor layer is performed at a time by dry etching. Accordingly, end portions of the oxide semiconductor layer 103 and the source electrode layer 105 a are aligned with each other and are continuous while end portions of the oxide semiconductor layer 103 and the drain electrode layer 105 b are aligned with each other and are continuous (these end portions are located above the gate electrode layer 101 ).
  • the second terminal 122 which is formed using the same material as the source electrode layer 105 a or the drain electrode layer 105 b is left in the terminal portion. Note that the second terminal 122 is electrically connected to a source wiring (a source wiring including the source electrode layer 105 a ).
  • a storage capacitor is formed by the capacitor wiring 108 and the capacitor electrode 135 which is formed using the same material as the source electrode layer 105 a or the drain electrode layer 105 b using the gate insulating layer 102 as a dielectric.
  • the number of resist masks can be reduced, which realizes a simplified process and lower cost.
  • the resist mask is removed.
  • oxygen ashing is performed at the time of removing the resist mask, oxygen is introduced into an exposed region of the oxide semiconductor layer 103 .
  • a first protective insulating layer 107 serving as a protective insulating layer is formed in contact with part of the oxide semiconductor layer 103 .
  • the first protective insulating layer 107 is formed using, typically a silicon oxide film, a silicon oxynitride film, an aluminum oxide film, an aluminum oxynitride film or the like. Needless to say, the first protective insulating layer 107 is an insulating film having a light transmitting property.
  • a heat treatment may be performed after the first protective insulating layer 107 is formed.
  • the heat treatment may be performed at a temperature greater than or equal to 150° C. and less than 350° C. in an oxygen atmosphere or in a nitrogen atmosphere.
  • the oxide semiconductor layer 103 is heated while being in contact with the first protective insulating layer 107 ; thus, the oxide semiconductor layer 103 can be made to have a higher resistance, whereby electric characteristics of the transistor can be improved and variation in electric characteristics of the transistor can be reduced.
  • the timing of this heat treatment (at a temperature greater than or equal to 150° C. and less than or equal to 350° C., preferably) is not particularly limited as long as it is after the formation of the first protective insulating layer 107 .
  • this heat treatment also serves as a heat treatment in another step, e.g., a heat treatment in formation of a resin film or a heat treatment for reducing the resistance of a conductive film having a light transmitting property, the number of steps can be prevented from increasing.
  • a thin film transistor 170 can be completed.
  • a second protective insulating layer 131 is formed (see FIG. 9 A ).
  • the second protective insulating layer 131 is formed using an inorganic insulating film containing no impurities such as moisture, a hydrogen ion, or OH ⁇ , which prevents intrusion of these from the outside; typically, a silicon nitride film, an aluminum nitride film, a silicon nitride oxide film, an aluminum oxynitride film or the like is used.
  • the second protective insulating layer 131 is an insulating film having a light transmitting property.
  • the second protective insulating layer 131 is preferably in contact with the gate insulating layer 102 or an insulating film serving as a base which is provided below the second protective insulating layer 131 , whereby intrusion of an impurity such as moisture, a hydrogen ion, or OH ⁇ from a side surface of the substrate is prevented.
  • the above structure is effective particularly when a silicon nitride film is used for the gate insulating layer 102 or the insulating film serving as a base which is in contact with the second protective insulating layer 131 .
  • a fourth photolithography step is performed to form a resist mask.
  • the first protective insulating layer 107 , the second protective insulating layer 131 , and the gate insulating layer 102 are etched to form a contact hole 125 that reaches the drain electrode layer 105 b .
  • a contact hole 127 that reaches the second terminal 122 and a contact hole 126 that reaches the first terminal 121 are also formed in the same etching step.
  • a cross-sectional view at this stage is illustrated in FIG. 9 B .
  • FIG. 10 is a plan view at this stage and cross-sectional views taken along dotted lines A 1 -A 2 and B 1 -B 2 of which correspond to FIG. 9 B .
  • a contact hole 124 that reaches the capacitor electrode 135 is also formed in the same etching step.
  • the conductive film having a light transmitting property is formed using indium oxide (In 2 O 3 ), indium oxide-tin oxide alloy (In 2 O 3 —SnO 2 , abbreviated to ITO), or the like by a sputtering method, a vacuum evaporation method, or the like.
  • An Al—Zn—O-based non-single-crystal film including nitrogen examples of which are an Al—Zn—O—N-based non-single-crystal film, a Zn—O—N-based non-single-crystal film including nitrogen, and a Sn—Zn—O—N-based non-single-crystal film including nitrogen, may be used as the conductive film.
  • the relative proportion (atomic %) of zinc in an Al—Zn—O—N-based oxide semiconductor film is less than or equal to 47 atomic % and is larger than the relative proportion (atomic %) of aluminum in the oxide semiconductor film.
  • the relative proportion (atomic %) of aluminum in the oxide semiconductor film is larger than the relative proportion (atomic %) of nitrogen in the conductive film having a light transmitting property.
  • Such a material is etched with a hydrochloric acid-based solution.
  • indium oxide-zinc oxide alloy In 2 O 3 —ZnO
  • the heat treatment can serve as a heat treatment for increasing resistance of the oxide semiconductor layer 103 , which results in improvement of electric characteristics of the transistor and reduction of variation in the electric characteristics thereof.
  • a fifth photolithography step is performed to form a resist mask. Then, an unnecessary portion is etched away, so that a pixel electrode layer 110 is formed. Note that the pixel electrode layer 110 is electrically connected to the capacitor electrode 135 through the contact hole which is formed in the first protective insulating layer 107 and the second protective insulating layer 131 .
  • the first terminal 121 and the second terminal 122 are covered with the resist mask, and conductive films 128 and 129 having light transmitting properties are left in the terminal portions.
  • the conductive films 128 and 129 having light transmitting properties serve as an electrode or a wiring connected to an FPC.
  • the conductive film 128 having a light transmitting property which is formed over the first terminal 121 is a connection terminal electrode which functions as an input terminal of the gate wiring.
  • the conductive film 129 having a light transmitting property which is formed over the second terminal 122 is a connection terminal electrode serving as an input terminal of a source wiring.
  • FIG. 9 C A cross-sectional view at this stage is illustrated in FIG. 9 C .
  • FIG. 11 A plan view at this stage is illustrated in FIG. 11 , cross-sectional vies taken along dotted lines A 1 -A 2 and B 1 -B 2 of which correspond to FIG. 9 C .
  • the present invention is not particularly limited thereto and the channel formation region of the thin film transistor 170 may overlap with a pixel electrode layer of an adjacent pixel, which is not electrically connected to the channel formation region.
  • the conductive film having a light transmitting property which is the pixel electrode layer 110 here, is formed so as to overlap with the channel formation region of the thin film transistor 170 , in a bias-temperature stress test (hereinafter, referred to as a BT test) for examining reliability of a thin film transistor, the amount of change in threshold voltage of the thin film transistor 170 between before and after the BT test can be reduced.
  • a bias-temperature stress test here
  • FIGS. 12 A and 12 B are respectively a cross-sectional view and a plan view of a gate wiring terminal portion at this stage.
  • FIG. 12 A is a cross-sectional view taken along line E 1 -E 2 of FIG. 12 B .
  • a conductive film 155 having a light transmitting property which is formed over a first protective insulating layer 154 and a second protective insulating layer 157 is a connection terminal electrode which functions as an input terminal. Furthermore, in the terminal portion of FIG.
  • a first terminal 151 formed of the same material as the gate wiring and a connection electrode layer 153 formed of the same material as the source wiring overlap with each other with a gate insulating layer 152 interposed therebetween, and are electrically connected to each other through the conductive film 155 having a light transmitting property.
  • the portion where the conductive film 128 having a light transmitting property is in contact with the first terminal 121 in FIG. 9 C corresponds to a portion where the conductive film 155 having a light transmitting property is in contact with the first terminal 151 in FIG. 12 A .
  • FIGS. 12 C and 12 D are respectively a cross-sectional view and a plan view of a source wiring terminal portion which is different from that illustrated in FIG. 9 C .
  • FIG. 12 C is a cross-sectional view taken along line F 1 -F 2 of FIG. 12 D .
  • the conductive film 155 having a light transmitting property which is formed over the first protective insulating layer 154 and the second protective insulating layer 157 is a connection terminal electrode which functions as an input terminal.
  • an electrode layer 156 formed of the same material as the gate wiring is located below a second terminal 150 electrically connected to the source wiring and overlaps with the second terminal 150 with the gate insulating layer 152 therebetween.
  • the electrode layer 156 is not electrically connected to the second terminal 150 , and a capacitor to prevent noise or static electricity can be formed if the potential of the electrode layer 156 is set to a potential different from that of the second terminal 150 , such as floating, GND, or 0 V. Further, the second terminal 150 is electrically connected to the conductive film 155 having a light transmitting property with the first protective insulating layer 154 and the second protective insulating layer 157 therebetween.
  • a plurality of gate wirings, source wirings, and capacitor wirings are provided depending on the pixel density. Also in the terminal portion, the first terminal at the same potential as the gate wiring, the second terminal at the same potential as the source wiring, a third terminal at the same potential as the capacitor wiring, and the like are each arranged in plurality.
  • the number of each of the terminals may be any number, and the number of the terminals may be determined by a practitioner as appropriate.
  • the storage capacitor and a pixel thin film transistor portion including the thin film transistor 170 of a bottom-gate staggered thin film transistor can be completed using the five photomasks.
  • the thin film transistor and the storage capacitor By disposing the thin film transistor and the storage capacitor in each pixel of a pixel portion in which pixels are arranged in a matrix form, one of substrates for manufacturing an active matrix display device can be obtained.
  • a substrate is referred to as an active matrix substrate for convenience.
  • an active matrix substrate and a counter substrate provided with a counter electrode are bonded to each other with a liquid crystal layer interposed therebetween.
  • a common electrode electrically connected to the counter electrode on the counter substrate is provided over the active matrix substrate, and a fourth terminal electrically connected to the common electrode is provided in the terminal portion.
  • the fourth terminal is provided so that the common electrode is set to a fixed potential such as GND or 0 V.
  • a structure of a storage capacitor is not limited to that described in this embodiment; for example, instead of providing the capacitor wiring, the pixel electrode layer may overlap with a gate wiring of an adjacent pixel with the protective insulating layer and the gate insulating layer interposed therebetween, so that a storage capacitor is formed.
  • FIGS. 13 A to 13 C illustrate an example of a liquid crystal panel in which a liquid crystal layer is provided between the active matrix substrate and the counter substrate, and an FPC 1924 is attached.
  • a display panel 1908 of FIG. 13 A a first substrate 1920 for which a pixel electrode layer is provided and a second substrate 1923 facing the first substrate 1920 are attached to each other with a sealant 1922 .
  • the sealant 1922 is formed so as to surround a display portion 1921 .
  • a liquid crystal layer is provided in a region surrounded by the first substrate 1920 , the second substrate 1923 , and the sealant 1922 .
  • liquid crystal is sealed by utilizing a liquid crystal dripping method, and attaching the substrates under a reduced pressure.
  • the gap between the pair of substrates is maintained with a spacer; specifically, a spherical spacer, a columnar spacer, a filler in a sealant, or the like.
  • the spacer may be selected as appropriate depending on a liquid crystal mode (a TN mode, a VA mode, an IPS mode, or the like) for driving the display panel 1908 .
  • the second substrate is not always provided with an electrode in an IPS mode, in other liquid crystal modes the second substrate is often provided with a counter electrode; and in such a case, when the pair of substrates is attached, connection for electrically connecting the counter electrode to a terminal electrode provided on the first substrate is also carried out.
  • FIG. 13 B illustrates a structural example of a panel manufactured utilizing a method of sealing liquid crystal which differs from that of FIG. 13 A .
  • FIG. 13 B portions which are the same as those in FIG. 13 A are denoted by the same reference numerals as those used in FIG. 13 A .
  • liquid crystal is injected through an inlet for injecting liquid crystal which is formed by a first sealant 1925 , using a liquid crystal injecting method or the like, and then the inlet for injecting liquid crystal is sealed by a second sealant 1926 .
  • FIG. 13 C illustrates a structural example of a panel which differs from that of FIG. 13 A .
  • portions which are the same as those in FIG. 13 A are denoted by the same reference numerals as those used in FIG. 13 A .
  • a driver IC 1927 for driving a display portion is mounted on the first substrate 1920 , so that circuits are integrated.
  • a desired optical film such as a polarizer, an anti-reflection film, or a color filter may be provided, as appropriate, for the display panels illustrated in FIGS. 13 A to 13 C , if necessary.
  • FIGS. 14 A and 14 B Block diagrams in FIGS. 14 A and 14 B shows a structure of an active matrix liquid crystal display device which corresponds to FIG. 13 C .
  • FIG. 14 A a structure of a display portion 1301 which is provided over a substrate 1300 and a driving portion 1302 which is connected to the outside of the substrate 1300 is illustrated.
  • the driving portion 1302 includes a signal line driver circuit 1303 , a scan line driver circuit 1304 , and the like.
  • a plurality of pixels 1305 is provided in matrix.
  • a scan signal is supplied from the scan line driver circuit 1304 to a scan line 1306 through an external connection terminal 1309 .
  • data is supplied from the signal line driver circuit 1303 to a signal line 1308 through the external connection terminal 1309 .
  • a scan signal from the scan line 1306 is supplied in such a manner that the pixels 1305 are sequentially selected from a first row of the scan line 1306 .
  • the driving portion 1302 is formed outside of the substrate 1300 and can be mounted on an FPC (flexible printed circuit) by a TAB (tape automated bonding) method.
  • the driving portion 1302 can be mounted on the substrate 1300 by a chip on glass (COG) method.
  • COG chip on glass
  • the driving portion 1302 is formed outside of the substrate 1300 and formed using a transistor which uses a single crystal semiconductor in this embodiment. Therefore, advantages such as improvement in driving frequency, low power consumption by a reduction in driving voltage, and suppression of variations in output signals can be obtained in the driving portion 1302 .
  • a signal, voltage, current, or the like is input from the scan line driver circuit 1304 and the signal line driver circuit 1303 through the external connection terminal 1309 .
  • the scan line driver circuit 1304 is connected to n scan lines 1306 G 1 to G n .
  • the signal line driver circuit 1303 is connected to 3 ⁇ m signal lines in total: m signal lines S R1 to S Rm corresponding to R; m signal lines S G1 to S Gm corresponding to G, and m signal lines S B1 to S Bm corresponding to B. That is, as illustrated in FIG. 14 B , each color element is provided with a signal line and data is supplied from the signal line to the pixel corresponding to each color element, so that the pixels 1305 can express a desired color.
  • a timing chart of FIG. 15 illustrates scan signals for selecting the scan lines 1306 (e.g., G 1 and G n ) in the respective row-selection periods (scan period of one row of pixels of the display device) in one frame period, and a data signal of the signal line 1308 (e.g., SR 1 ).
  • each pixel is provided with the thin film transistor 170 , which is an n-channel transistor. Also in FIG. 15 , description is made on the driving of a pixel in the case of controlling on or off of an n-channel transistor.
  • a row-selection period is 1/(120 ⁇ n) second on the assumption that one frame period during which an image of one screen is displayed is set to at least 1/120 second ( ⁇ 8.3 ms) (more preferably, 1/240 second) so that an afterimage is not visible to an observer and the number of scan lines is set to n.
  • a row-selection period is 1/240000 second ( ⁇ 4.2 ⁇ s) if signal delay or the like due to a wiring is not taken into consideration.
  • the thin film transistor 170 which is arranged in each pixel has a light transmitting property, a high aperture ratio can be realized even when the number of scan lines is increased to, for example, 2000.
  • an active matrix liquid crystal display device for example, a TN type liquid crystal display device
  • pixel electrode layers arranged in a matrix form are driven to form a display pattern on a screen.
  • voltage is applied between a selected pixel electrode layer and a counter electrode corresponding to the pixel electrode layer, and thus, a liquid crystal layer disposed between the pixel electrode layer and the counter electrode is optically modulated. This optical modulation is recognized as a display pattern by a viewer.
  • liquid crystal is arranged in a twisted state at 90° between the pair of the substrates, and the absorption axis direction of the polarizing element is arranged in approximately parallel or perpendicular to the rubbing direction.
  • incident light from a light source such as a backlight becomes linear polarization in a polarizing element on the light source side, and this linear polarization is transmitted along the twist of the liquid crystal layer.
  • the transmission axis of the other polarizing element is aligned with an azimuth of the linear polarization, the linear polarization is all emitted to display white (normally white display).
  • a color filter is provided and color display is performed when no voltage is applied to the pixel electrode layer.
  • incident light from a light source becomes linear polarization in the polarizing element on the light source side, and the direction of a unit vector showing an average orientation direction of a liquid crystal molecule axis included in the liquid crystal layer is the approximately perpendicular to the substrate surface. Therefore, the linear polarization is transmitted without changing of an azimuth thereof on the light source side, and the azimuth is aligned with the absorption axis of the other polarizing element, and black display is obtained.
  • the present invention can be applied to various modes of liquid crystal display devices.
  • a method for improving viewing angle characteristics the present invention can be applied to a lateral electric field method (also referred to as IPS) in which an electric field in the horizontal direction to the main surface of the substrate is applied to the liquid crystal layer.
  • the present invention can be applied to a method in which a vertical alignment film is used as an alignment film with the use of a nematic liquid crystal material having negative dielectric anisotropy as a liquid crystal material.
  • This method in which the vertical alignment film is used is one of voltage control birefringence (also referred to as ECB) methods, and transmittance is controlled utilizing birefringence of the liquid crystal molecules.
  • voltage control birefringence also referred to as ECB
  • response speed of the liquid crystal layer may be improved so as to response a moving image with the use of ferroelectric liquid crystal and antiferroelectric liquid crystal.
  • a liquid crystal exhibiting a blue phase for which an alignment film is unnecessary may be used.
  • a blue phase is one of liquid crystal phases, which appears just before a cholesteric phase changes into an isotropic phase while temperature of cholesteric liquid crystal is increased. Since the blue phase appears within an only narrow range of temperature, a liquid crystal composition containing a chiral agent at greater than or equal to 5 wt % so as to improve the temperature range is used for the liquid crystal layer.
  • the liquid crystal composition which includes a liquid crystal showing a blue phase and a chiral agent has a short response time of less than or equal to 1 msec, has optical isotropy, which makes the alignment process unneeded, and has a small viewing angle dependence.
  • the present invention can be applied to a transmission-type liquid crystal display device in which an OCB (optical compensate birefringence) mode is employed.
  • the OCB mode improves response speed of a liquid crystal layer by the liquid crystal layer between a pair of substrates being made to be in a state referred to as bend alignment.
  • a pretilt angle of the first alignment film in contact with the liquid crystal layer and a pretilt angle of the second alignment film in contact with the liquid crystal layer are reversed, whereby the bend alignment is made.
  • the liquid crystal layer is needed to be transferred from splay alignment that is an initial state to the bend alignment state.
  • the present invention can be applied to a transmission-type liquid crystal display device in which a vertical alignment mode is employed.
  • a transmission-type liquid crystal display device in which the vertical alignment mode is employed one pixel is set to be a plurality of sub-pixels, and a projection portion is provided in an opposite substrate positioned in a center part of each of sub-pixels, whereby orientation division (multi-domain) of one pixel is performed; accordingly, a driving method for achieving a wide viewing angle may be employed. This driving method is referred to as sub-pixel driving.
  • the thin film transistor 170 which is arranged in each pixel has a light transmitting property, a high aperture ratio can be realized even when one pixel is divided into a plurality of sub-pixels for sub-pixel driving in order to realize a wide viewing angle.
  • a liquid crystal display device In displaying moving images, a liquid crystal display device has a problem in that a long response time of liquid crystal molecules themselves causes afterimages or blurring of moving images.
  • a driving method called black insertion is employed in which black is displayed on the whole screen every other frame period.
  • a vertical synchronizing frequency is set 1.5 times or more, preferably 2 times or more as high as a usual vertical synchronizing frequency, whereby moving image characteristics are improved.
  • a driving method in which a plurality of LEDs (light-emitting diodes) or a plurality of EL light sources is used to form a surface light source as a backlight, and each light source of the surface light source is independently driven in a pulsed manner in one frame period.
  • the surface light source three or more kinds of LEDs may be used and an LED emitting white light may be used. Since a plurality of LEDs can be controlled independently, the light emission timing of LEDs can be synchronized with the timing at which a liquid crystal layer is optically modulated. According to this driving method, LEDs can be partly turned off; therefore, an effect of reducing power consumption can be obtained particularly in the case of displaying an image having a large part on which black is displayed on one screen.
  • the display characteristics of a liquid crystal display device such as moving-image characteristics, can be improved as compared to those of conventional liquid crystal display devices.
  • the n-channel transistor disclosed in this specification includes an oxide semiconductor film which is used for a channel formation region and has excellent dynamic characteristics; thus, it can be combined with these driving methods.
  • an oxide semiconductor for a thin film transistor leads to a reduction in manufacturing cost. Since moisture and the like which are impurities are reduced for increasing purity of the oxide semiconductor film by a heat treatment for dehydration or dehydrogenation, it is not necessary to use an ultrapure oxide semiconductor target and a special sputtering apparatus provided with a deposition chamber whose dew point temperature is lowered. Therefore, a semiconductor device including a thin film transistor which has favorable electric characteristics and high reliability can be manufactured.
  • the channel formation region in the oxide semiconductor layer is a high-resistance region; thus, electric characteristics of the thin film transistor are stabilized and increase in off current or the like can be prevented. Therefore, a semiconductor device including a thin film transistor which has favorable electric characteristics and high reliability can be provided.
  • a light-emitting display device As a display element included in a display device, a light-emitting element utilizing electroluminescence is described here. Light-emitting elements utilizing electroluminescence are classified according to whether a light-emitting material is an organic compound or an inorganic compound. In general, the former is referred to as an organic EL element, and the latter is referred to as an inorganic EL element.
  • the organic EL element by application of a voltage to a light-emitting element, electrons and holes are separately injected from a pair of electrodes into a layer containing a light-emitting organic compound, and thus current flows. Then, the carriers (electrons and holes) recombine, so that the light-emitting organic compound is excited. The light-emitting organic compound returns to a ground state from the excited state, thereby emitting light. Owing to such a mechanism, this light-emitting element is referred to as a current-excitation light-emitting element.
  • the inorganic EL elements are classified according to their element structures into a dispersion-type inorganic EL element and a thin-film inorganic EL element.
  • the dispersion-type inorganic EL element has a light-emitting layer where particles of a light-emitting material are dispersed in a binder, and its light emission mechanism is donor-acceptor recombination type light emission which utilizes a donor level and an acceptor level.
  • the thin-film inorganic EL element has a structure where a light-emitting layer is sandwiched between dielectric layers, which are further sandwiched between electrodes, and its light emission mechanism is localized type light emission that utilizes inner-shell electron transition of metal ions. Note that description is made here using an organic EL element as a light-emitting element.
  • FIG. 16 is a diagram illustrating an example of a pixel structure to which digital time grayscale driving can be applied, as an example of a semiconductor device.
  • one pixel includes two n-channel transistors each using an oxide semiconductor layer for a channel formation region.
  • a pixel 6400 includes a switching transistor 6401 , a driving transistor 6402 , a light-emitting element 6404 , and a capacitor 6403 .
  • a gate of the switching transistor 6401 is connected to a scan line 6406
  • a first electrode (one of a source electrode and a drain electrode) of the switching transistor 6401 is connected to a signal line 6405
  • a second electrode (the other of the source electrode and the drain electrode) of the switching transistor 6401 is connected to a gate of the driving transistor 6402 .
  • the gate of the driving transistor 6402 is connected to a power source line 6407 through the capacitor 6403 , a first electrode of the driving transistor 6402 is connected to the power source line 6407 , and a second electrode of the driving transistor 6402 is connected to a first electrode (pixel electrode layer) of the light-emitting element 6404 .
  • a second electrode of the light-emitting element 6404 corresponds to a common electrode 6408 .
  • the common electrode 6408 is electrically connected to a common potential line provided over the same substrate.
  • the second electrode (the common electrode 6408 ) of the light-emitting element 6404 is set to a low power source potential.
  • the low power source potential is lower than a high power source potential which is supplied to the power source line 6407 .
  • GND, 0 V, or the like may be set as the low power source potential.
  • the difference between the high power source potential and the low power source potential is applied to the light-emitting element 6404 so that current flows through the light-emitting element 6404 , whereby the light-emitting element 6404 emits light.
  • each potential is set so that the difference between the high power source potential and the low power source potential is greater than or equal to a forward threshold voltage of the light-emitting element 6404 .
  • the capacitor 6403 can be omitted.
  • the gate capacitance of the driving transistor 6402 may be formed between a channel formation region and a gate electrode.
  • a video signal is input to the gate of the driving transistor 6402 to make the driving transistor 6402 completely turned on or off. That is, the driving transistor 6402 operates in a linear region, and thus, a voltage higher than the voltage of the power source line 6407 is applied to the gate of the driving transistor 6402 . Note that a voltage greater than or equal to “power source line voltage+V th of the driving transistor 6402 ” is applied to the signal line 6405 .
  • the same pixel structure as in FIG. 16 can be employed by inputting signals in a different way.
  • a voltage greater than or equal to “forward voltage of the light-emitting element 6404 +V th of the driving transistor 6402 ” is applied to the gate of the driving transistor 6402 .
  • the forward voltage of the light-emitting element 6404 refers to a voltage to obtain a desired luminance, and includes at least a forward threshold voltage.
  • the pixel structure is not limited to that illustrated in FIG. 16 .
  • the pixel in FIG. 16 can further include a switch, a resistor, a capacitor, a transistor, a logic circuit, or the like.
  • Driving TFTs 7001 , 7011 , and 7021 used in semiconductor devices illustrated in FIGS. 17 A, 17 B, and 17 C , respectively, can be formed in a manner similar to that of the thin film transistor described in Embodiment 1 and are highly reliable thin film transistors each including an oxide semiconductor layer.
  • the thin film transistors described in Embodiment 2 or 3 can be used as the driving TFTs 7001 , 7011 , and 7021 .
  • At least one of an anode and a cathode is required to transmit light.
  • a thin film transistor and a light-emitting element are formed over a substrate.
  • a light-emitting element can have a top emission structure in which light is extracted through the surface opposite to the substrate, a bottom emission structure in which light is extracted through the surface on the substrate side, or a dual emission structure in which light is extracted through the surface opposite to the substrate and the surface on the substrate side.
  • the pixel structure can be applied to a light-emitting element having any of these emission structures.
  • a light-emitting element having a top emission structure is described with reference to FIG. 17 A .
  • FIG. 17 A is a cross-sectional view of a pixel in the case where the driving TFT 7001 is an n-type TFT and light is emitted from a light-emitting element 7002 to an anode 7005 side.
  • a cathode 7003 of the light-emitting element 7002 is electrically connected to the driving TFT 7001 , and a light-emitting layer 7004 and the anode 7005 are stacked in this order over the cathode 7003 .
  • the driving TFT 7001 is covered with a protective insulating layer 7006 which is a silicon nitride film, an aluminum nitride film or the like and further covered with a planarization insulating film 7007 .
  • the cathode 7003 can be formed using a variety of conductive materials as long as they have a low work function and reflect light. For example, Ca, Al, MgAg, AlLi, or the like is preferably used.
  • the light-emitting layer 7004 may be formed using a single layer or a plurality of layers stacked.
  • the light-emitting layer 7004 is formed using a plurality of layers, the light-emitting layer 7004 is formed by stacking an electron-injection layer, an electron-transport layer, a light-emitting layer, a hole-transport layer, and a hole-injection layer in this order over the cathode 7003 . However, it is not necessary to form all of these layers.
  • the anode 7005 is formed using a conductive film having a light transmitting property such as a film of indium oxide containing tungsten oxide, indium zinc oxide containing tungsten oxide, indium oxide containing titanium oxide, indium tin oxide containing titanium oxide, indium tin oxide (hereinafter referred to as ITO), indium zinc oxide, or indium tin oxide to which silicon oxide is added.
  • a conductive film having a light transmitting property such as a film of indium oxide containing tungsten oxide, indium zinc oxide containing tungsten oxide, indium oxide containing titanium oxide, indium tin oxide containing titanium oxide, indium tin oxide (hereinafter referred to as ITO), indium zinc oxide, or indium tin oxide to which silicon oxide is added.
  • the cathode 7003 is insulated from a cathode 7008 of an adjacent pixel by a partition wall 7009 .
  • the cathode 7008 of the adjacent pixel overlaps with an oxide semiconductor layer and a gate insulating layer of the driving TFT 7001 .
  • a bias-temperature stress test hereinafter, referred to as a BT test
  • a region where the light-emitting layer 7004 is sandwiched between the cathode 7003 and the anode 7005 corresponds to the light-emitting element 7002 .
  • light is emitted from the light-emitting element 7002 to the anode 7005 side as indicated by arrows.
  • FIG. 17 B is a cross-sectional view of a pixel in the case where the driving TFT 7011 is an n-type TFT and light is emitted from a light-emitting element 7012 to a cathode 7013 side.
  • the cathode 7013 of the light-emitting element 7012 is formed over a conductive film 7017 having a light transmitting property which is electrically connected to the driving TFT 7011 , and a light-emitting layer 7014 and an anode 7015 are stacked in this order over the cathode 7013 .
  • a light-blocking film 7016 for reflecting or blocking light may be formed so as to cover the anode 7015 when the anode 7015 has a light transmitting property.
  • various materials can be used as in the case of FIG. 17 A as long as the cathode 7013 is formed using a conductive material having a low work function.
  • the cathode 7013 is formed to have a thickness that enables transmission of light (preferably, approximately 5 nm to 30 nm).
  • an aluminum film with a thickness of 20 nm can be used as the cathode 7013 .
  • the light-emitting layer 7014 may be formed using either a single layer or a plurality of layers stacked.
  • the anode 7015 is not required to transmit light, but can be formed using a conductive material having a light transmitting property as in the case of FIG. 17 A .
  • a metal or the like that reflects light can be used, for example; however, it is not limited to a metal film.
  • a resin or the like to which black pigments are added can also be used.
  • the cathode 7013 is insulated from a cathode 7018 of an adjacent pixel by a partition wall 7019 .
  • the cathode 7018 of the adjacent pixel overlaps with an oxide semiconductor layer and a gate insulating layer of the driving TFT 7011 .
  • a bias-temperature stress test hereinafter, referred to as a BT test
  • a region where the light-emitting layer 7014 is sandwiched between the cathode 7013 and the anode 7015 corresponds to the light-emitting element 7012 .
  • light is emitted from the light-emitting element 7012 to the cathode 7013 side as indicated by an arrow.
  • the driving TFT 7011 has a light transmitting property, light emitted from a light-emitting element of the pixel adjacent to the light-emitting element 7012 is emitted to the cathode 7013 side through the driving TFT 7011 as indicated by an arrow.
  • a light-emitting element having a dual emission structure is described with reference to FIG. 17 C .
  • a cathode 7023 of a light-emitting element 7022 is formed over a conductive film 7027 having a light transmitting property which is electrically connected to the driving TFT 7021 , and a light-emitting layer 7024 and an anode 7025 are stacked in this order over the cathode 7023 .
  • the cathode 7023 can be formed using any of a variety of materials as long as the cathode 7023 is formed using a conductive material having a low work function.
  • the cathode 7023 is formed to have a thickness that enables transmission of light.
  • an Al film having a thickness of 20 nm can be used as the cathode 7023 .
  • the light-emitting layer 7024 may be formed using a single layer or a plurality of layers stacked as in the case of FIG. 17 A .
  • the anode 7025 can be formed using a conductive material having a light transmitting property.
  • the cathode 7023 is insulated from a cathode 7028 of an adjacent pixel by a partition wall 7029 .
  • the cathode 7028 of the adjacent pixel overlaps with an oxide semiconductor layer and a gate insulating layer of the driving TFT 7021 .
  • a bias-temperature stress test hereinafter, referred to as a BT test
  • a region where the cathode 7023 , the light-emitting layer 7024 , and the anode 7025 overlap with one another corresponds to the light-emitting element 7022 .
  • the light-emitting element 7022 In the case of the pixel illustrated in FIG. 17 C , light is emitted from the light-emitting element 7022 to both the anode 7025 side and the cathode 7023 side as indicated by arrows.
  • the driving TFT 7021 has a light transmitting property, light emitted from a light-emitting element of the pixel adjacent to the light-emitting element 7022 is emitted to a cathode 7023 side through the driving TFT 7021 as indicated by an arrow.
  • the cathode which is a pixel electrode layer overlaps with the channel formation region of the TFT of the adjacent pixel is described in this embodiment, the present invention is not particularly limited to this example, and a structure in which the cathode overlaps with the channel formation region of the TFT to which the cathode is electrically connected may be employed.
  • an organic EL element is described here as a light-emitting element, an inorganic EL element can also be provided as a light-emitting element.
  • a thin film transistor which controls the driving of a light-emitting element is electrically connected to the light-emitting element; however, a structure may be employed in which a TFT for current control is connected between the driving TFT and the light-emitting element.
  • the structure of the semiconductor device is not limited to those illustrated in FIGS. 17 A to 17 C and can be modified in various ways based on techniques disclosed in this specification.
  • a highly reliable light-emitting display device (display panel) can be manufactured as a semiconductor device.
  • a semiconductor device which has a thin film transistor manufactured by the process described in any of Embodiments 1 to 7 disclosed in this specification can be applied to a variety of electronic appliances (including amusement machines).
  • electronic appliances include a television set (also referred to as a television or a television receiver), a monitor of a computer or the like, a camera such as a digital camera or a digital video camera, a digital photo frame, a mobile phone set (also referred to as a mobile phone or a mobile phone device), a portable game console, a portable information terminal, an audio reproducing device, a large-sized game machine such as a pachinko machine, and the like.
  • FIG. 18 A illustrates an example of a mobile phone 1000 .
  • the mobile phone 1000 includes a display portion 1002 incorporated in a housing 1001 , operation buttons 1003 , an external connection port 1004 , a speaker 1005 , a microphone 1006 and the like.
  • the first mode is a display mode mainly for displaying images.
  • the second mode is an input mode mainly for inputting data such as text.
  • the third mode is a display-and-input mode in which two modes of the display mode and the input mode are combined.
  • a text input mode mainly for inputting text is selected for the display portion 1002 so that text displayed on a screen can be input.
  • a detection device including a sensor for detecting inclination, such as a gyroscope or an acceleration sensor, is provided inside the mobile phone 1000 , display on the screen of the display portion 1002 can be automatically switched by determining the installation direction of the mobile phone 1000 (whether the mobile phone 1000 is placed horizontally or vertically for a landscape mode or a portrait mode).
  • the screen modes are switched by touching the display portion 1002 or operating the operation buttons 1003 of the housing 1001 .
  • the screen modes can be switched depending on the kind of the image displayed on the display portion 1002 . For example, when a signal of an image displayed on the display portion is a signal of moving image data, the screen mode is switched to the display mode. When the signal is a signal of text data, the screen mode is switched to the input mode.
  • the screen mode when input by touching the display portion 1002 is not performed for a certain period while a signal detected by the optical sensor in the display portion 1002 is detected, the screen mode may be controlled so as to be switched from the input mode to the display mode.
  • the display portion 1002 can function as an image sensor. For example, an image of a palm print, a fingerprint, or the like is taken when the display portion 1002 is touched with a palm or a finger, whereby personal identification can be performed. Further, by providing a backlight which emits near-infrared light or a sensing light source which emits near-infrared light for the display portion, an image of a finger vein, a palm vein, or the like can be taken.
  • a plurality of thin film transistors which is described in Embodiment 1 is arranged in the display portion 1002 . Since the thin film transistors and wirings have light transmitting properties, they do not block incident light in the case of providing an optical sensor for the display portion 1002 and thus are effective. In addition, also in the case of providing a backlight which emits near-infrared light or a sensing light source which emits near-infrared light for the display portion, the thin film transistors and the wirings do not block light and thus are effective.
  • FIG. 18 B also illustrates an example of a mobile phone.
  • a portable information terminal whose example is illustrated in FIG. 18 B can have a plurality of functions.
  • such a portable information terminal can have a function of processing a variety of pieces of data by incorporating a computer.
  • the portable information terminal illustrated in FIG. 18 B has a housing 1800 and a housing 1801 .
  • the housing 1800 includes a display panel 1802 , a speaker 1803 , a microphone 1804 , a pointing device 1806 , a camera lens 1807 , an external connection terminal 1808 , and the like.
  • the housing 1801 includes a keyboard 1810 , an external memory slot 1811 , and the like.
  • an antenna is incorporated in the housing 1801 .
  • the display panel 1802 is provided with a touch panel.
  • a plurality of operation keys 1805 which is displayed as images is illustrated by dashed lines in FIG. 18 B .
  • a contactless IC chip, a small memory device, or the like may be incorporated.
  • the display device of the present invention can be used for the display panel 1802 and the direction of display is changed appropriately depending on an application mode. Further, the display device is provided with the camera lens 1807 on the same surface as the display panel 1802 , and thus it can be used as a video phone. The speaker 1803 and the microphone 1804 can be used for videophone calls, recording, and playing sound, etc. as well as voice calls. Moreover, the housings 1800 and 1801 in a state where they are developed as illustrated in FIG. 18 B can shift so that one is lapped over the other by sliding; therefore, the size of the portable information terminal can be reduced, which makes the portable information terminal suitable for being carried.
  • the external connection terminal 1808 can be connected to an AC adapter and various types of cables such as a USB cable, and charging and data communication with a personal computer are possible. Moreover, a storage medium can be inserted into the external memory slot 1811 so that a large amount of data can be stored and can be moved.
  • an infrared communication function may be provided.
  • FIG. 19 A illustrates an example of a television set 9600 .
  • a display portion 9603 is incorporated in a housing 9601 . Images can be displayed on the display portion 9603 .
  • the housing 9601 is supported by a stand 9605 .
  • the television set 9600 can be operated with an operation switch of the housing 9601 or a separate remote controller 9610 .
  • Channels and volume can be controlled with an operation key 9609 of the remote controller 9610 so that an image displayed on the display portion 9603 can be controlled.
  • the remote controller 9610 may be provided with a display portion 9607 for displaying data output from the remote controller 9610 .
  • the television set 9600 is provided with a receiver, a modem, and the like. With the receiver, a general television broadcast can be received. Furthermore, when the television set 9600 is connected to a communication network by wired or wireless connection via the modem, one-way (from a transmitter to a receiver) or two-way (between a transmitter and a receiver, between receivers, or the like) data communication can be performed.
  • an aperture ratio can be high also in the case of realizing an image with high definition by increasing the number of scan lines, for example, to 2000 (considering so-called 4 k2 k images with 4096 ⁇ 2160 pixels, 3840 ⁇ 2160 pixels, or the like).
  • the size of the display portion 9603 is 60 inches, 120 inches, or the like, which exceeds 10 inches, there is a concern that the wiring resistance of a wiring having a light transmitting property becomes problematic; therefore, a scan line or source line is preferably provided with a low-resistance metal wiring as an auxiliary wiring.
  • FIG. 19 B illustrates an example of a digital photo frame 9700 .
  • a display portion 9703 is incorporated in a housing 9701 .
  • Various images can be displayed on the display portion 9703 .
  • the display portion 9703 can display data of an image shot by a digital camera or the like to function as a normal photo frame.
  • the digital photo frame 9700 is provided with an operation portion, an external connection terminal (a USB terminal, a terminal that can be connected to various cables such as a USB cable, or the like), a recording medium insertion portion, and the like. Although they may be provided on the same surface as the display portion, it is preferable to provide them on the side surface or the back surface for the design of the digital photo frame 9700 .
  • a memory storing data of an image shot by a digital camera is inserted into the recording medium insertion portion of the digital photo frame, whereby the image data can be transferred and displayed on the display portion 9703 .
  • the digital photo frame 9700 may have a configuration capable of wirelessly transmitting and receiving data. Through wireless communication, desired image data can be transferred to be displayed.
  • FIG. 20 illustrates a portable amusement machine including two housings: a housing 9881 and a housing 9891 .
  • the housings 9881 and 9891 are connected with a connection portion 9893 so as to be opened and closed.
  • a display portion 9882 and a display portion 9883 are incorporated in the housing 9881 and the housing 9891 , respectively.
  • a speaker portion 9884 includes a speaker portion 9884 , a recording medium insertion portion 9886 , an LED lamp 9890 , an input means (an operation key 9885 , a connection terminal 9887 , a sensor 9888 (a sensor having a function of measuring force, displacement, position, speed, acceleration, angular velocity, rotational frequency, distance, light, liquid, magnetism, temperature, chemical substance, sound, time, hardness, electric field, current, voltage, electric power, radiation, flow rate, humidity, gradient, oscillation, odor, or infrared rays), or a microphone 9889 ), and the like.
  • an operation key 9885 includes a sensor 9888 (a sensor having a function of measuring force, displacement, position, speed, acceleration, angular velocity, rotational frequency, distance, light, liquid, magnetism, temperature, chemical substance, sound, time, hardness, electric field, current, voltage, electric power, radiation, flow rate, humidity, gradient, oscillation, odor, or infrared
  • the structure of the portable amusement machine is not limited to the above and other structures provided with at least a semiconductor device disclosed in this specification can be employed.
  • the portable amusement machine may include other accessory equipment as appropriate.
  • the portable amusement machine illustrated in FIG. 20 has a function of reading a program or data stored in a recording medium to display it on the display portion, and a function of sharing information with another portable amusement machine by wireless communication.
  • the portable amusement machine illustrated in FIG. 20 can have various functions without limitation to the above.
  • the thin film transistor having a light transmitting property can be arranged in a display portion or a display panel of a variety of electronic appliances such as the above ones.
  • a highly reliable electronic appliance having a display portion with a high aperture ratio can be provided by using the thin film transistor having a light transmitting property as a switching element of the display panel.

Landscapes

  • Engineering & Computer Science (AREA)
  • Thin Film Transistor (AREA)
  • Manufacturing & Machinery (AREA)
  • Computer Hardware Design (AREA)
  • Physics & Mathematics (AREA)
  • Power Engineering (AREA)
  • Condensed Matter Physics & Semiconductors (AREA)
  • General Physics & Mathematics (AREA)
  • Microelectronics & Electronic Packaging (AREA)
  • Liquid Crystal (AREA)
  • Devices For Indicating Variable Information By Combining Individual Elements (AREA)
  • Electroluminescent Light Sources (AREA)
  • Metal-Oxide And Bipolar Metal-Oxide Semiconductor Integrated Circuits (AREA)
  • Electrodes Of Semiconductors (AREA)
  • Shift Register Type Memory (AREA)
  • Bipolar Transistors (AREA)

Abstract

It is an object to manufacture and provide a highly reliable display device including a thin film transistor with a high aperture ratio which has stable electric characteristics. In a manufacturing method of a semiconductor device having a thin film transistor in which a semiconductor layer including a channel formation region is formed using an oxide semiconductor film, a heat treatment for reducing moisture and the like which are impurities and for improving the purity of the oxide semiconductor film (a heat treatment for dehydration or dehydrogenation) is performed. Further, an aperture ratio is improved by forming a gate electrode layer, a source electrode layer, and a drain electrode layer using conductive films having light transmitting properties.

Description

TECHNICAL FIELD
The present invention relates to a semiconductor device having a circuit formed using a thin film transistor (hereinafter referred to as TFT) and a manufacturing method thereof. For example, the present invention relates to electro-optical devices typified by liquid crystal display panels, or electronic devices which have light-emitting display devices containing an organic light-emitting element as a component.
Note that in this specification, a semiconductor device refers to all devices that can function by utilizing semiconductor characteristics. An electro-optical device, a semiconductor circuit, and an electronic appliance are all semiconductor devices.
BACKGROUND ART
Note that as a method for providing a metal auxiliary wiring for a transparent electrode of an electro-optical element, a method by which the metal auxiliary wiring is provided so as to overlap with an upper surface of the transparent electrode or a lower surface of the transparent electrode and to be electrically connected to the transparent electrode has been known (for example, see Patent Document 1).
A structure in which an additional capacitor electrode provided for an active matrix substrate is formed of a conductive film having a light transmitting property of ITO, SnO2, or the like and an auxiliary wiring formed of a metal film is provided in contact with the additional capacitor electrode in order to reduce the electric resistance of the additional capacitor electrode has been known (see Patent Document 2).
Note that it has been known that, as each of a gate electrode, a source electrode, and a drain electrode of a field effect transistor formed using an amorphous oxide semiconductor film, a transparent electrode of indium tin oxide (ITO), indium zinc oxide, ZnO, SnO2, or the like, a metal electrode of Al, Ag, Cr, Ni, Mo, Au, Ti, Ta, or the like, or a metal electrode of an alloy containing any of the above elements can be used; and, by stacking two or more of these layers, contact resistance may be reduced or interface intensity may be improved (for example, see Patent Document 3).
Note that it has been known that, as a material of each of a source electrode, a drain electrode, a gate electrode and an auxiliary capacitor electrode of a transistor formed using an amorphous oxide semiconductor, a metal such as indium (In), aluminum (Al), gold (Au), or silver (Ag), or an oxide material such as indium oxide (In2O3), tin oxide (SnO2), zinc oxide (ZnO), cadmium oxide (CdO), cadmium indium oxide (CdIn2O4), cadmium tin oxide (Cd2SnO4), or zinc tin oxide (Zn2SnO4) can be used; and the same material or different materials may be used for the gate electrode, the source electrode, and the drain electrode (for example, see Patent Documents 4 and 5).
REFERENCE
    • [Patent Document 1] Japanese Published Patent Application No. H02-82221
    • [Patent Document 2] Japanese Published Patent Application No. H02-310536
    • [Patent Document 3] Japanese Published Patent Application No. 2008-243928
    • [Patent Document 4] Japanese Published Patent Application No. 2007-109918
    • [Patent Document 5] Japanese Published Patent Application No. 2007-115807
DISCLOSURE OF INVENTION
However, since a conductive film having a light transmitting property is used just for an electrode material in a conventional display panel which uses an oxide semiconductor, an aperture ratio cannot be improved. In addition, when a display device is manufactured using metal oxide, its reliability has not been taken into consideration.
In view of the above, an object of one embodiment of the present invention is to improve both the aperture ratio and reliability of a display device formed using metal oxide.
In a manufacturing method of a semiconductor device having a thin film transistor in which a semiconductor layer including a channel formation region is formed using an oxide semiconductor film, a heat treatment for reducing moisture and the like which are impurities and for improving the purity of the oxide semiconductor film (a heat treatment for dehydration or dehydrogenation) is performed. Further, impurities such as moisture existing not only in the oxide semiconductor film but also in a gate insulating layer and at interfaces between the oxide semiconductor film and a film above and in contact therewith and between the oxide semiconductor film and a film below and in contact therewith are reduced.
One embodiment of the present invention disclosed in this specification is a manufacturing method of a semiconductor device which includes the steps of: forming a gate electrode layer including metal oxide over a substrate having an insulating surface; forming a gate insulating layer over the gate electrode layer; forming an oxide semiconductor layer over the gate insulating layer; dehydrating or dehydrogenating the oxide semiconductor layer; forming a source electrode layer and a drain electrode layer including metal oxide over the dehydrated or dehydrogenated oxide semiconductor layer; forming a protective insulating layer in contact with part of the oxide semiconductor layer, over the gate insulating layer, the oxide semiconductor layer, the source electrode layer, and the drain electrode layer; and forming a pixel electrode layer including metal oxide over the protective insulating layer.
For dehydration or dehydrogenation, a heat treatment is performed in an oxygen atmosphere, in an inert gas atmosphere such as nitrogen or a rare gas (argon, helium, or the like), or under a reduced pressure at a temperature greater than or equal to 350° C. or preferably greater than or equal to 400° C. and less than the strain point of the substrate, whereby an impurity such as moisture contained in the oxide semiconductor layer is reduced.
Dehydration or dehydrogenation of the oxide semiconductor is conducted with conditions of the heat treatment such that at least a peak at around 300° C. of two peaks of water are/is not detected when the dehydrated or dehydrogenated oxide semiconductor layer is measured with thermal desorption spectroscopy (TDS) while the temperature is increased to 450° C. Therefore, even when a thin film transistor using the dehydrated or dehydrogenated oxide semiconductor layer is subjected to TDS at a temperature as high as 450° C., at least a peak of water at around 300° C. is not detected.
Then, slow cooling is performed from the heating temperature T at which the oxide semiconductor layer is dehydrated or dehydrogenated to a temperature low enough to prevent water from coming in again, specifically to a temperature which is more than 100° C. lower than the heating temperature T, or more preferably to a temperature less than or equal to 100° C.
A gas atmosphere in which the heating temperature T is decreased may be switched to a gas atmosphere different from that in which the temperature is increased to the heating temperature T.
Electric characteristics of a thin film transistor are improved and a thin film transistor having mass productivity and high performance is realized, by using an oxide semiconductor film which is formed by reducing moisture contained in the film by the heat treatment for dehydration or dehydrogenation and then subjected to slow cooling (or cooling) in an atmosphere containing no moisture (the dew point temperature of which is less than or equal to −40° C. or preferably, less than or equal to −60° C.).
In this specification, a heat treatment in an oxygen atmosphere, in an inert gas atmosphere such as nitrogen or a rare gas (argon, helium, or the like), or under a reduced pressure is called a heat treatment for dehydration or dehydrogenation. For convenience, dehydration or dehydrogenation in this specification refers to not only elimination of H2 by a heat treatment but also elimination of H, OH, or the like by a heat treatment.
In the case where a heat treatment is performed in an inert gas atmosphere such as nitrogen or a rare gas (argon, helium, or the like) or under a reduced pressure, it can be said that: an oxide semiconductor layer which has been of an i-type becomes an oxygen deficiency type layer and has low resistance by the heat treatment, i.e., becomes an n-type (such as n or n+); and then, by forming an oxide insulating film in contact with the oxide semiconductor layer, the oxide semiconductor layer is placed into a state where oxygen is in excess so as to have a higher resistance, i.e., becomes an i-type. Thus, a semiconductor device including a thin film transistor which has favorable electric characteristics and high reliability can be manufactured and provided.
In the case where the heat treatment is performed in an inert gas atmosphere such as nitrogen or a rare gas (argon, helium, or the like) or under a reduced pressure, and then the atmosphere is switched to an oxygen atmosphere so that slow cooling is performed, an oxide semiconductor layer which has been of an i-type becomes an oxygen deficiency type layer and has low resistance by the heat treatment, i.e., becomes an n-type (such as n or n+), and then, the oxide semiconductor layer is placed into a state where oxygen is in excess by the slow cooling in the oxygen atmosphere so as to have a higher resistance, i.e., becomes an i-type.
In addition, in the case where the heat treatment for dehydration or dehydrogenation is performed in an oxygen atmosphere, moisture in the oxide semiconductor layer is released, whereby the oxide semiconductor layer can be placed into a state where oxygen is in excess.
The term “oxide semiconductor” used in this specification is represented by InMO3(ZnO)m (m>0), and a thin film transistor in which the thin film of the oxide semiconductor is used as an oxide semiconductor layer is manufactured. Note that M represents one or more metal elements selected from Ga, Fe, Ni, Mn, and Co. As an example, M may be Ga or may include the above metal element in addition to Ga; for example, M may be Ga and Ni or may be Ga and Fe. Moreover, in the above oxide semiconductor, in some cases, a transition metal element such as Fe or Ni or an oxide of the transition metal is contained as an impurity element in addition to a metal element contained as M. In this specification, among the oxide semiconductor whose structures are expressed by InMO3 (ZnO)m (m>0), an oxide semiconductor which includes Ga as M is referred to as an In—Ga—Zn—O-based oxide semiconductor and a thin film of the In—Ga—Zn—O-based oxide semiconductor is referred to as an In—Ga—Zn—O-based non-single-crystal film.
As the metal oxide applied to the oxide semiconductor layer, any of the following metal oxide can be applied besides the above: an In—Sn—Zn—O-based metal oxide; an In—Al—Zn—O-based metal oxide; a Sn—Ga—Zn—O-based metal oxide; an Al—Ga—Zn—O-based metal oxide; a Sn—Al—Zn—O-based metal oxide; an In—Zn—O-based metal oxide; a Sn—Zn—O-based metal oxide; an Al—Zn—O-based metal oxide; an In—O-based metal oxide; a Sn—O-based metal oxide; and a Zn—O-based metal oxide. Alternatively, the silicon oxide may be included in the oxide semiconductor layer formed using the above metal oxide.
The oxide semiconductor preferably includes In, or more preferably, In and Ga. Dehydration or dehydrogenation is effective in changing the oxide semiconductor layer into an i-type (intrinsic).
In the case where the heat treatment for dehydration or dehydrogenation is performed after the oxide semiconductor layer is formed, the oxide semiconductor layer which is amorphous is changed into a microcrystalline film or a polycrystalline film in some cases depending on the condition of the heat treatment or the material of the oxide semiconductor layer. Further, the oxide semiconductor layer is partially crystallized in some cases; for example, crystal grains (nanocrystals) may be included in the amorphous structure. Even when the oxide semiconductor layer is changed into a microcrystalline film or a polycrystalline film, the thin film transistor can obtain switching characteristics as long as the oxide semiconductor layer is placed into a state where oxygen is in excess to have a higher resistance, i.e., to become an i-type.
However, the oxide semiconductor layer is preferably amorphous in order to reduce off-current of the TFT and to achieve low power consumption.
In order to be amorphous even after the heat treatment for dehydration or dehydrogenation which follows the formation of the oxide semiconductor layer, the oxide semiconductor layer preferably has a small thickness of less than or equal to 50 nm. By making the thickness of the oxide semiconductor layer small, crystallization in the oxide semiconductor layer at the time of the heat treatment after the formation thereof can be suppressed.
Alternatively, in order to be amorphous even after the heat treatment for dehydration or dehydrogenation which follows the formation of the oxide semiconductor layer, the oxide semiconductor layer is made to include silicon oxide (SiOx (X>0)) which inhibits crystallization, and thus can be prevented from being crystallized when the heat treatment is performed after the oxide semiconductor layer is formed in the manufacturing process.
Note that in this specification, off current is current which flows between a source electrode and a drain electrode when a transistor is in an off state. For example, in an n-channel transistor, the off current is current which flows between a source electrode and a drain electrode when gate voltage is lower than threshold voltage of the transistor.
Further, a gate electrode layer, a source electrode layer, a drain electrode layer, a pixel electrode layer, another electrode layer, or another wiring layer can be formed by a sputtering method, a vacuum evaporation method (such as an electron beam evaporation method), an arc discharge ion plating method or a spray method using a conductive material having a visible light transmitting property such as the following metal oxide: an In—Sn—Zn—O-based metal oxide; an In—Al—Zn—O-based metal oxide; a Sn—Ga—Zn—O-based metal oxide; an Al—Ga—Zn—O-based metal oxide; a Sn—Al—Zn—O-based metal oxide; an In—Zn—O-based metal oxide; a Sn—Zn—O-based metal oxide; an Al—Zn—O-based metal oxide; an In—O-based metal oxide; a Sn—O-based metal oxide; and a Zn—O-based metal oxide. Further, the silicon oxide may be included in a wiring layer or an electrode layer which is formed of the above metal oxide.
As other materials which may be used for the gate electrode layer, the source electrode layer, the drain electrode layer, the pixel electrode layer, another electrode layer, or another wiring layer, an Al—Zn—O-based non-single-crystal film including nitrogen, which is an Al—Zn—O—N-based non-single-crystal film, a Zn—O—N-based non-single-crystal film including nitrogen, or a Sn—Zn—O—N-based non-single-crystal film including nitrogen may be used. Note that the relative proportion (atomic %) of zinc in an Al—Zn—O—N-based oxide semiconductor film is less than or equal to 47 atomic % and is larger than the relative proportion (atomic %) of aluminum in the oxide semiconductor film. The relative proportion (atomic %) of aluminum in the oxide semiconductor film is larger than the relative proportion (atomic %) of nitrogen in a conductive film having a light transmitting property. Note that the unit of the relative proportion in the conductive film having a light transmitting property is atomic percent, and the relative proportion is evaluated by analysis using an electron probe X-ray microanalyzer (EPMA).
An aperture ratio of a display device can be improved by using a conductive film having a visible light transmitting property for the gate electrode layer, the source electrode layer, the drain electrode layer, the pixel electrode layer, another electrode layer, or another wiring layer. In addition, when a material having a light transmitting property is used also for the oxide semiconductor layer, the aperture ratio can be further improved. By using a film having a light transmitting property for components (a wiring and a semiconductor layer) of a thin film transistor, particularly in a small liquid crystal display device, a high aperture ratio can be achieved even when the size of a pixel is miniaturized for an increase in the number of scan lines, for example, so as to realize high definition of a display image. Further, by using a film having a light transmitting property for components of a thin film transistor, a high aperture ratio can be achieved even when one pixel is divided into a plurality of sub-pixels in order to realize a wide viewing angle. In other words, an aperture ratio can be high even when a group of thin film transistors is densely arranged and an area of a display region can be sufficiently secured. For example, in the case where one pixel includes two to four sub-pixels, an aperture ratio can be improved because not only the thin film transistor but also their respective storage capacitor has a light transmitting property.
Also in a light-emitting display device, a high aperture ratio can be achieved by using a film having a light transmitting property for components (a wiring and a semiconductor layer) of a thin film transistor even when a plurality of thin film transistors is placed in one pixel. In a light-emitting display device using a light-emitting element, a plurality of thin film transistors is included in a pixel portion, and a portion in which a gate electrode of a thin film transistor is electrically connected to a source wiring or a drain wiring of another transistor is also included in the pixel portion. For example, even when two to seven thin film transistors and a storage capacitor are included in one pixel in a light-emitting display device, a high aperture ratio can be achieved because the thin film transistors and the storage capacitor have a light transmitting property.
In addition, when the gate electrode layer, the source electrode layer, the drain electrode layer, the pixel electrode layer, another electrode layer, and another wiring layer are formed using the same material, a common sputtering target and a common manufacturing apparatus can be used; therefore, cost of the material of these layers and an etchant (or an etching gas) which is used in etching can be reduced, resulting in a reduction in manufacturing cost.
In this specification, a film having a visible light transmitting property refers to a film with a thickness which realizes a visible light transmittance of 75% to 100%. Such a film is referred to also as a transparent conductive film. A conductive film which is semitransparent to visible light may be used as metal oxide for the gate electrode layer, the source electrode layer, the drain electrode layer, the pixel electrode layer, another electrode layer, or another wiring layer. When a conductive film is semitransparent to visible light, it has a transmittance of visible light of 50% to 75%.
The thickness of each of the gate electrode layer, the source electrode layer, the drain electrode layer, the pixel electrode layer, another electrode layer, and another wiring layer is set to greater than or equal to 30 nm and less than or equal to 200 nm. A thickness which allows each layer to have a light transmitting property or to be semitransparent to visible light may be selected.
Further, the gate insulating layer and the oxide semiconductor film may be processed successively (also referred to as successive processing, in situ process, or successive formation) without exposure to air. When the gate insulating layer and the oxide semiconductor film are successively processed without exposure to air, the gate insulating layer and the oxide semiconductor film can be formed without contamination of an interface thereof by atmospheric components or impurity elements floating in air, such as moisture or hydrocarbon. Therefore, variation in characteristics between the thin film transistors can be reduced.
Note that the term “successive processing” in this specification means that during a series of a first treatment step by a PCVD method or a sputtering method to a second treatment step by a PCVD method or a sputtering method, an atmosphere in which a substrate to be processed is disposed is not contaminated by a contaminant atmosphere such as air, and is constantly controlled to be vacuum, an inert gas atmosphere (a nitrogen atmosphere or a rare gas atmosphere) or an oxygen atmosphere. By the successive processing, film formation or the like can be performed while preventing moisture or the like from attaching again to the substrate to be processed which is cleaned.
Performing the process from the first treatment step to the second treatment step in the same chamber is within the scope of the successive processing in this specification.
In addition, the following is also within the scope of the successive processing in this specification: in the case of performing the process from the first treatment step to the second treatment step in different chambers, the substrate is transferred after the first treatment step to another chamber without being exposed to air and subjected to the second treatment.
Note that between the first treatment step and the second treatment step, a substrate transfer step, an alignment step, a slow-cooling step, a step of heating or cooling the substrate to a temperature which is necessary for the second step or the like may be provided. Such a process is also within the scope of the successive processing in this specification.
A step in which liquid is used, such as a cleaning step, wet etching, or resist formation, may be provided between the first treatment step and the second treatment step. This case is not within the scope of the successive treatment in this specification.
A semiconductor device having a structure which is obtained by the above manufacturing method is a semiconductor device including: a gate electrode layer over a substrate having an insulating surface; a gate insulating layer over the gate electrode layer; an oxide semiconductor layer over the gate insulating layer; a source electrode layer and a drain electrode layer over the oxide semiconductor layer; a protective insulating layer in contact with part of the oxide semiconductor layer, over the gate insulating layer, the oxide semiconductor layer, the source electrode layer, and the drain electrode layer; and a pixel electrode layer including metal oxide over the protective insulating layer. In the above structure, the gate electrode layer, the gate insulating layer, the oxide semiconductor layer, the source electrode layer, the drain electrode layer, the protective insulating layer, and the pixel electrode layer have a light transmitting property. The pixel electrode layer overlaps with the oxide semiconductor layer and the gate electrode layer.
With the above structure, at least one of the above problems is resolved.
In the above structure, although the pixel electrode layer overlaps with the oxide semiconductor layer and the gate electrode layer, the overlapping region can also serve as a display region, whereby a high aperture ratio can be realized. The pixel electrode layer which overlaps with the oxide semiconductor layer and the gate electrode layer may be a pixel electrode layer of an adjacent pixel. In other words, a structure can be employed in which the pixel electrode layer electrically connected to the oxide semiconductor layer with the source electrode layer and the drain electrode layer therebetween overlaps not with the channel formation region of the oxide semiconductor layer but with the pixel electrode layer of an adjacent pixel.
In a terminal portion in which a plurality of terminal electrodes connected to an external terminal such as an FPC is placed, the terminal electrodes can be formed using the same material and process as the gate electrode layer, the source electrode layer, the drain electrode layer, or the pixel electrode layer.
Further, the storage capacitors in the pixel portion of the liquid crystal display device or the light-emitting display device include a capacitor wiring layer which is formed of a conductive material having a visible light transmitting property, a capacitor electrode layer which is formed of a conductive material having a visible light transmitting property, and the gate insulating layer that is used as a dielectric. Note that the capacitor wiring layer in this case can be formed using the same material and process as the gate electrode layer. In addition, the capacitor electrode layer can be formed using the same material and process as the source electrode layer or the drain electrode layer.
Alternatively, the storage capacitors in the pixel portion of the liquid crystal display device or the light-emitting display device may include a capacitor wiring layer formed of a conductive material having a visible light transmitting property, a pixel electrode layer which is formed of a conductive material having a visible light transmitting property, and the protective insulating layer that is used as a dielectric. The capacitor wiring layer in this case can be formed using the same material and process as the source electrode layer or the drain electrode layer.
Moreover, as a display device including a thin film transistor, a light-emitting display device in which a light-emitting element is used and a display device in which an electrophoretic display element is used, which is also referred to as electronic paper, are given in addition to a liquid crystal display device.
There is no particular limitation on the foregoing liquid crystal display device, and a liquid crystal display device using TN liquid crystal, IPS liquid crystal, OCB liquid crystal, STN liquid crystal, VA liquid crystal, ECB liquid crystal, GH liquid crystal, polymer dispersed liquid crystal, discotic liquid crystal, or the like can be used. Among them, a normally black liquid crystal panel, such as a transmissive liquid crystal display device utilizing a vertical alignment (VA) mode is preferable. Some examples are given as a vertical alignment mode. For example, an MVA (multi-domain vertical alignment) mode, a PVA (patterned vertical alignment) mode, an ASV mode, or the like can be employed. Specifically, one pixel is divided into a plurality of sub-pixels and a projection portion is provided in a position of a counter substrate corresponding to the center of each sub-pixel, so that a multi-domain pixel is formed. Such a driving method, in which one pixel is divided into a plurality of sub-pixels and a projection portion is provided at a position of a counter substrate which corresponds to the center of each sub-pixel so that orientation division (multi-domain) of one pixel is performed and a wide viewing angle is achieved, is referred to as sub-pixel driving. It is to be noted that the projection portion may be provided over/on either one or both of the counter substrate and the element substrate. The projection portion makes liquid crystal molecules orient radially and improves controllability of the orientation.
Further, an electrode for driving liquid crystal, that is, a pixel electrode may have a top view shape like a comb-shape or a zigzagged shape so that a direction in which voltage is applied may be varied. Further, a multi-domain pixel may be formed utilizing photo-alignment.
Since a thin film transistor is easily broken due to static electricity or the like, a protective circuit for protecting the thin film transistor in the pixel portion is preferably provided over the same substrate for a gate line or a source line. The protective circuit is preferably formed with a non-linear element including an oxide semiconductor.
In a pixel portion of a display device, by using a film having a light transmitting property for components of a thin film transistor, a high aperture ratio can be achieved even when the size of a pixel is miniaturized for an increase in the number of scan lines, for example, so as to realize high definition of a display image. Further, by using a film having a light transmitting property for components of a thin film transistor, a high aperture ratio can be achieved even when one pixel is divided into a plurality of sub-pixels in order to realize a wide viewing angle.
BRIEF DESCRIPTION OF DRAWINGS
In the accompanying drawings:
FIGS. 1A to 1C are cross-sectional views illustrating manufacturing steps of one embodiment of the present invention;
FIGS. 2A and 2B are a plan view and a cross-sectional view, respectively, illustrating one embodiment of the present invention;
FIGS. 3A to 3D are cross-sectional views illustrating manufacturing steps of one embodiment of the present invention;
FIGS. 4A to 4C are cross-sectional views illustrating manufacturing steps of one embodiment of the present invention;
FIGS. 5A to 5C are cross-sectional views illustrating manufacturing steps of one embodiment of the present invention;
FIGS. 6A and 6B are a plan view and a cross-sectional view, respectively, illustrating one embodiment of the present invention;
FIGS. 7A and 7B are cross-sectional views illustrating manufacturing steps of one embodiment of the present invention, and FIG. 7C is a plan view illustrating one embodiment of the present invention;
FIGS. 8A to 8D are cross-sectional views illustrating manufacturing steps of one embodiment of the present invention;
FIGS. 9A to 9C are cross-sectional views illustrating manufacturing steps of one embodiment of the present invention;
FIG. 10 is a plan view illustrating one embodiment of the present invention;
FIG. 11 is a plan view illustrating one embodiment of the present invention;
FIGS. 12A and 12C are cross-sectional views and FIGS. 12B and 12D are plan views illustrating one embodiment of the present invention;
FIGS. 13A to 13C are perspective views illustrating one embodiment of the present invention;
FIGS. 14A and 14B are block diagrams illustrating one embodiment of the present invention;
FIG. 15 is a timing chart illustrating one embodiment of the present invention;
FIG. 16 is an equivalent circuit diagram of a pixel in a semiconductor device;
FIGS. 17A to 17C are cross-sectional views each illustrating a semiconductor device;
FIGS. 18A and 18B are diagrams each illustrating a semiconductor device;
FIGS. 19A and 19B are diagrams each illustrating a semiconductor device; and
FIG. 20 is a diagram illustrating a semiconductor device.
BEST MODE FOR CARRYING OUT THE INVENTION
Hereinafter, embodiments of the present invention will be described in detail with reference to the accompanying drawings. However, the present invention is not limited to the description below, and it is easily understood by those skilled in the art that modes and details disclosed herein can be modified in various ways. Therefore, the present invention is not construed as being limited to description of the embodiments.
Embodiment 1
A semiconductor device and a method for manufacturing a semiconductor device will be described with reference to FIGS. 1A to 1C and FIGS. 2A and 2B. In FIG. 2B, a thin film transistor 470 which is one type of a structure called a channel-etch type is illustrated.
FIG. 2A is a plan view of the thin film transistor 470 included in a semiconductor device, and FIG. 2B is a cross-sectional view taken along line C1-C2 of FIG. 2A. The thin film transistor 470 is a bottom gate thin film transistor and includes, over a substrate 400 having an insulating surface, a gate electrode layer 401, a gate insulating layer 402, an oxide semiconductor layer 403, a source electrode layer 405 a, and a drain electrode layer 405 b. In addition, an oxide insulating film 407 is provided to cover the thin film transistor 470 and be in contact with the oxide semiconductor layer 403.
The substrate 400 having an insulating surface, the gate electrode layer 401, the gate insulating layer 402, the oxide semiconductor layer 403, the source electrode layer 405 a, the drain electrode layer 405 b, and the oxide insulating film 407 are all formed using a material having a visible light transmitting property. Thus, the thin film transistor 470 has a light transmitting property and an aperture ratio can be improved in the case where the thin film transistor 470 is placed in a pixel portion of a display device.
As for the oxide semiconductor layer 403, at least after an oxide semiconductor film is formed, a heat treatment (a heat treatment for dehydration or dehydrogenation) for reducing moisture and the like which are impurities is performed. The heat treatment for dehydration or dehydrogenation and slow cooling follow the formation of an oxide insulating film in contact with the oxide semiconductor layer, and the like; accordingly, the carrier of the oxide semiconductor layer is reduced to lead to an improvement in the reliability of the thin film transistor 470.
Impurities such as moisture are reduced not only in the oxide semiconductor layer 403 but also in the gate insulating layer 402, at interfaces between the oxide semiconductor layer 403 and a film above and in contact therewith and between the oxide semiconductor layer 403 and a film below and in contact therewith which are specifically an interface between the gate insulating layer 402 and the oxide semiconductor layer 403 and an interface between the oxide insulating film 407 and the oxide semiconductor layer 403.
Hereinafter, cross-sectional views which describe the manufacturing process of the thin film transistor 470 illustrated in FIG. 2B are in FIGS. 1A to 1C.
In FIG. 1A, the gate electrode layer 401 is provided over the substrate 400 having an insulating surface.
Although there is no particular limitation on a substrate which can be used as the substrate 400 having an insulating surface, it is necessary that the substrate have at least enough heat resistance to a heat treatment to be performed later. As the substrate 400 having an insulating surface, a glass substrate formed of barium borosilicate glass, aluminoborosilicate glass, or the like can be used.
In the case where a glass substrate is used and the temperature at which the heat treatment is to be performed later is high, a glass substrate whose strain point is greater than or equal to 730° C. is preferably used. As a glass substrate, a glass material such as aluminosilicate glass, aluminoborosilicate glass, or barium borosilicate glass is used, for example. Note that by containing a larger amount of barium oxide (BaO) than boric acid, a glass substrate is heat-resistant and of more practical use. Therefore, a glass substrate containing BaO and B2O3 so that the amount of BaO is larger than that of B2O3 is preferably used.
Note that a substrate formed of an insulator such as a ceramic substrate, a quartz substrate, or a sapphire substrate may be used instead of the above glass substrate. Alternatively, crystallized glass or the like can be used.
Further, an insulating film serving as a base film may be provided between the substrate 400 and the gate electrode layer 401. The base film has a function of preventing diffusion of an impurity element from the substrate 400, and can be formed to have a single-layer or stacked-layer structure using one or more of a silicon nitride film, a silicon oxide film, a silicon nitride oxide film, and a silicon oxynitride film.
As the material of the gate electrode layer 401, a conductive material having a visible light transmitting property such as the following materials can be employed: an In—Sn—Zn—O-based metal oxide; an In—Al—Zn—O-based metal oxide; a Sn—Ga—Zn—O-based metal oxide; an Al—Ga—Zn—O-based metal oxide; a Sn—Al—Zn—O-based metal oxide; an In—Zn—O-based metal oxide; a Sn—Zn—O-based metal oxide; an Al—Zn—O-based metal oxide; an In—O-based metal oxide; a Sn—O-based metal oxide; and a Zn—O-based metal oxide. The thickness of the gate electrode layer 401 is selected as appropriate to be within the range of 30 nm to 200 nm. As a deposition method of the metal oxide used for the gate electrode layer 401, a sputtering method, a vacuum evaporation method (an electron beam evaporation method or the like), an arc discharge ion plating method or a spray method is used.
Next, the gate insulating layer 402 is formed over the gate electrode layer 401.
The gate insulating layer 402 can be formed to have a single-layer or stacked layer structure using a silicon oxide layer, a silicon nitride layer, a silicon oxynitride layer, or a silicon nitride oxide layer by a plasma CVD method, a sputtering method, or the like. For example, a silicon oxynitride layer may be formed using SiH4, oxygen, and nitrogen as a film formation gas by a plasma CVD method.
Then, an oxide semiconductor film is formed to a thickness of greater than or equal to 2 nm and less than or equal to 200 nm over the gate insulating layer 402.
Note that before the oxide semiconductor film is formed by a sputtering method, dust on a surface of the gate insulating layer 402 is preferably removed by reverse sputtering in which an argon gas is introduced and plasma is generated. The reverse sputtering refers to a method in which, without application of a voltage to a target side, an RF power source is used for application of a voltage to a substrate side in an argon atmosphere to generate plasma in the vicinity of the substrate to modify a surface. Note that instead of argon, nitrogen, helium, oxygen or the like may be used.
The oxide semiconductor film is formed by a sputtering method with use of an In—Ga—Zn—O-based oxide semiconductor target. Alternatively, the oxide semiconductor film can be formed by a sputtering method in a rare gas (typically argon) atmosphere, in an oxygen atmosphere, or in an atmosphere including a rare gas (typically argon) and oxygen.
The gate insulating layer 402 and the oxide semiconductor film may be formed successively without exposure to air. When the gate insulating layer 402 and the oxide semiconductor film are successively formed without exposure to air, the gate insulating layer 402 and the oxide semiconductor film can be formed without contamination of an interface thereof by atmospheric components or impurity elements floating in air, such as moisture or hydrocarbon. Therefore, variation in characteristics between the thin film transistors can be reduced.
Then, the oxide semiconductor film is processed into an oxide semiconductor layer (a first oxide semiconductor layer 430), which is an island-shaped oxide semiconductor layer, by a photolithography step (see FIG. 1A).
Next, the first oxide semiconductor layer 430 is dehydrated or dehydrogenated. A temperature at which a first heat treatment for dehydration or dehydrogenation is performed is greater than or equal to 350° C. and less than the strain point of the substrate, preferably greater than or equal to 400° C. Here, the substrate is introduced into an electric furnace which is one of heat treatment apparatuses and the first oxide semiconductor layer 430 is subjected to a heat treatment in an oxygen atmosphere; then, the slow cooling is performed in the oxygen atmosphere, whereby a second oxide semiconductor layer 431 is formed (see FIG. 1B). The slow cooling is performed from the heating temperature T at which the oxide semiconductor layer is dehydrated or dehydrogenated to a temperature low enough to prevent water from coming in again, specifically to a temperature which is more than 100° C. lower than the heating temperature T. Alternatively, the slow cooling is performed to a temperature lower than a temperature of a second heat treatment which is to be performed later and then the substrate is taken out of the heat treatment apparatus. The oxide semiconductor layer is subjected to the heat treatment in the oxygen atmosphere, whereby an impurity such as water contained in the oxide semiconductor layer can be removed and at the same time, the second oxide semiconductor layer 431 is placed into a state where oxygen is in excess. The oxide semiconductor layer is crystallized and changed into a microcrystalline film or a polycrystalline film in some cases depending on the condition of the first heat treatment or the material of the oxide semiconductor layer.
Note that in the first heat treatment, it is preferable that water, hydrogen, and the like be not contained in the oxygen gas. Alternatively, the purity of the oxygen gas which is introduced into the heat treatment apparatus is preferably greater than or equal to 6N (99.9999%) or more preferably greater than or equal to 7N (99.99999%) (that is, the impurity concentration in the oxygen is less than or equal to 1 ppm, or preferably less than or equal to 0.1 ppm).
The first heat treatment is performed for greater than or equal to 0.5 hours and less than or equal to 10 hours, where the rate of temperature increase of the electric furnace is preferably greater than or equal to 0.1° C./min and less than or equal to 20° C./min. Further, the rate of temperature decrease in the electric furnace is preferably greater than or equal to 0.1° C./min and less than or equal to 15° C./min.
As a result, the reliability of the thin film transistor to be formed later can be improved.
Further, instead of the heating method in which an electric furnace is used, a rapid heating method such as a gas rapid thermal anneal (GRTA) method using a heated gas or a lamp rapid thermal anneal (LRTA) method using lamp light can be used for the first heat treatment.
In the case where the heat treatment apparatus is a multi-chamber type, a chamber for the first heat treatment can be different from that for a cooling treatment. Typically, the oxide semiconductor layer over the substrate is heated in a first chamber which is filled with an oxygen gas and whose temperature is increased to greater than or equal to 400° C. and less than the strain point of the substrate. Then, through a transfer chamber into which an oxygen gas is introduced, the substrate on which the above first heat treatment is performed is transferred into a second chamber which is filled with oxygen and whose temperature is less than or equal to 100° C. or preferably room temperature, and is subjected to the cooling treatment. Through the above steps, throughput can be improved.
Alternatively, the oxide semiconductor film before being processed into the island-shaped oxide semiconductor layer can also be subjected to the first heat treatment in an oxygen atmosphere. In that case, after the first heat treatment and the cooling treatment of the oxide semiconductor film, the substrate is taken out of the heating device and a photolithography step is performed.
Before the oxide semiconductor film is formed, the gate insulating layer may be subjected to a heat treatment (at a temperature greater than or equal to 400° C. and less than the strain point of the substrate) in an inert gas (nitrogen or a rare gas such as helium, neon, or argon) atmosphere, in an oxygen atmosphere, or under a reduced pressure so that an impurity such as hydrogen and water in the layer is removed.
Next, a conductive film is formed over the gate insulating layer 402 and the second oxide semiconductor layer 431. As a deposition method of the conductive film, a sputtering method, a vacuum evaporation method (an electron beam evaporation method or the like), an arc discharge ion plating method, or a spray method is used.
As the material of the conductive film, a conductive material having a visible light transmitting property such as the following materials can be employed: an In—Sn—Zn—O-based metal oxide; an In—Al—Zn—O-based metal oxide; a Sn—Ga—Zn—O-based metal oxide; an Al—Ga—Zn—O-based metal oxide; a Sn—Al—Zn—O-based metal oxide; an In—Zn—O-based metal oxide; a Sn—Zn—O-based metal oxide; an Al—Zn—O-based metal oxide; an In—O-based metal oxide; a Sn—O-based metal oxide; and a Zn—O-based metal oxide. The thickness of the conductive film is selected as appropriate to be within the range of 30 nm to 200 nm.
Then, the second oxide semiconductor layer 431 and the conductive film are selectively etched by a photolithography step so as to form the oxide semiconductor layer 403, the source electrode layer 405 a, and the drain electrode layer 405 b. Note that only part of the oxide semiconductor layer is etched to be the oxide semiconductor layer having a groove (depression). When oxygen ashing is performed at the time of removing a resist mask which is used at this photolithography step, oxygen is introduced into an exposed region of the oxide semiconductor layer.
Next, the oxide insulating film 407 serving as a protective insulating layer is formed in contact with part of the oxide semiconductor layer 403, whereby the thin film transistor 470 can be manufactured (see FIG. 1C). The oxide insulating film 407 is formed to have a thickness of at least greater than or equal to 1 nm and can be appropriately formed by a method in which an impurity such as water or hydrogen is prevented from entering the oxide insulating film 407, for example, by a CVD method or a sputtering method. Here, the oxide insulating film 407 is formed by a sputtering method. The oxide insulating film 407, which is formed in contact with the low-resistance oxide semiconductor layer, does not contain an impurity such as moisture, a hydrogen ion, or OH and is formed using an inorganic insulating film which prevents intrusion of these from the outside. Typically, a silicon oxide film, a silicon nitride oxide film, an aluminum oxide film, or an aluminum oxynitride film is used. Alternatively, a silicon nitride film or an aluminum nitride film on and in contact with the oxide insulating film 407 may be formed. The silicon nitride film does not contain an impurity such as moisture, a hydrogen ion, or OH and prevents intrusion of these from the outside.
In this embodiment, a silicon oxide film with a thickness of 300 nm is formed as the oxide insulating film 407. A substrate temperature at the time of the film formation may be greater than or equal to room temperature and less than or equal to 300° C.; in this embodiment, the substrate temperature is 100° C. The silicon oxide film can be formed by a sputtering method in a rare gas (typically argon) atmosphere, in an oxygen atmosphere, or in an atmosphere including a rare gas (typically argon) and oxygen. As a target, a silicon oxide target or a silicon target can be used; for example, the silicon oxide film can be formed using a silicon target by a sputtering method in an atmosphere including oxygen and nitrogen.
Further, after the oxide insulating film 407 is formed, the thin film transistor 470 may be subjected to the second heat treatment (preferably at a temperature greater than or equal to 150° C. and less than 350° C.) in a nitrogen atmosphere or in an oxygen atmosphere. For example, the second heat treatment is performed in a nitrogen atmosphere at 250° C. for one hour. By the second heat treatment, the oxide semiconductor layer 403 is heated while being in contact with the oxide insulating film 407; thus, variation in electric characteristics of the thin film transistor 470 can be reduced.
Embodiment 2
A semiconductor device and a method for manufacturing a semiconductor device which are different from Embodiment 1 will be described with reference to FIGS. 3A to 3D. The portion that is identical to or has a function similar to those described in Embodiment 1 can be formed in a manner similar to that described in Embodiment 1; therefore, repetitive description is omitted.
FIGS. 3A to 3D are cross-sectional views illustrating a manufacturing process of a thin film transistor 480. The structure of the thin film transistor 480 which is illustrated in FIG. 3D is called an inverted coplanar type (also called a bottom-contact type).
Similarly to Embodiment 1, the gate electrode layer 401 is provided over the substrate 400 having an insulating surface. An insulating film serving as a base film may be provided between the substrate 400 and the gate electrode layer 401.
Next, similarly to Embodiment 1, the gate insulating layer 402 is formed over the gate electrode layer 401. Then, an oxide semiconductor film is formed over the gate insulating layer 402.
The oxide semiconductor film is then processed into an oxide semiconductor layer (the first oxide semiconductor layer 430), which is an island-shaped oxide semiconductor layer, by a photolithography step (see FIG. 3A). Note that FIG. 3A is the same as FIG. 1A.
Next, the first oxide semiconductor layer 430 is dehydrated or dehydrogenated. A temperature at which a first heat treatment for dehydration or dehydrogenation is performed is greater than or equal to 350° C. and less than the strain point of the substrate, preferably greater than or equal to 400° C. Here, the substrate is introduced into an electric furnace which is one of heat treatment apparatuses and the first oxide semiconductor layer 430 is subjected to a heat treatment in an inert gas (nitrogen or a rare gas such as helium, neon, or argon) atmosphere or under a reduced pressure, whereby a second oxide semiconductor layer 442 is formed (see FIG. 3B). By the heat treatment in an inert gas atmosphere or under a reduced pressure, the resistance of the oxide semiconductor layer is reduced (a carrier concentration thereof is increased preferably to greater than or equal to 1×1018/cm3) and a low-resistance oxide semiconductor layer (the second oxide semiconductor layer 442) can be formed.
Note that in the first heat treatment, it is preferable that water, hydrogen, and the like be not contained in the nitrogen or the rare gas such as helium, neon, or argon. Alternatively, the purity of the nitrogen or the rare gas such as helium, neon, or argon which is introduced into the heat treatment apparatus is preferably greater than or equal to 6N, or more preferably greater than or equal to 7N (that is, the impurity concentration is less than or equal to 1 ppm, or preferably less than or equal to 0.1 ppm). In this embodiment, the dehydration or dehydrogenation is performed by heating the electric furnace, which has a nitrogen atmosphere and to which the substrate is introduced, to a temperature greater than or equal to 350° C. and less than or equal to 600° C., or preferably greater than or equal to 400° C.; then, introduction of the nitrogen or the rare gas is stopped and a heater is turned off.
After the heating, slow cooling is performed in an oxygen atmosphere so that a third oxide semiconductor layer 481 is formed (see FIG. 3C). The slow cooling is performed in an oxygen atmosphere from the heating temperature T at which the oxide semiconductor layer is dehydrated or dehydrogenated to a temperature low enough to prevent water from coming in again, specifically to a temperature more than 100° C. lower than the heating temperature T. Alternatively, the slow cooling is performed in an oxygen atmosphere to a temperature lower than a temperature of a second heat treatment which is to be performed later and then the substrate is taken out of the heat treatment apparatus. In this embodiment, the slow cooling is performed after the heater of the electric furnace is turned off and oxygen is introduced into the electric furnace. It is preferable that an impurity such as water or hydrogen be not contained in the introduced oxygen. Alternatively, the purity of the oxygen which is introduced into a chamber from a gas supply source is less than or equal to 6N, or preferably less than or equal to 7N (that is, the impurity concentration in the oxygen is less than or equal to 1 ppm, or preferably less than or equal to 0.1 ppm).
As a result, the reliability of the thin film transistor to be formed later can be improved.
Note that in the case where the first heat treatment is performed under a reduced pressure, cooling may be performed by introducing oxygen into the electric furnace after the heat treatment and returning the pressure to an atmospheric pressure.
In the case where the heat treatment apparatus is a multi-chamber type, a chamber for the first heat treatment can be different from that for a cooling treatment. Typically, the oxide semiconductor layer over the substrate is heated in a first chamber which is filled with nitrogen or a rare gas and whose temperature is increased to greater than or equal to 400° C. and less than the strain point of the substrate. Then, the slow cooling is performed to a temperature low enough to prevent water from coming in again, specifically to a temperature which is more than 100° C. lower than the heating temperature T. Next, through a transfer chamber into which nitrogen or a rare gas is introduced, the substrate on which the above first heat treatment is performed is transferred into a second chamber which is filled with oxygen and whose temperature is less than or equal to 100° C. or preferably room temperature, and is subjected to the cooling treatment. Through the above steps, throughput can be improved.
Alternatively, the oxide semiconductor film before being processed into the island-shaped oxide semiconductor layer can also be subjected to the first heat treatment in an inert gas atmosphere or under a reduced pressure. In that case, after the first heat treatment and the cooling treatment, the substrate is taken out of the heating device and a photolithography step is performed.
Before the oxide semiconductor film is formed, the gate insulating layer may be subjected to a heat treatment (at a temperature greater than or equal to 400° C. and less than the strain point of the substrate) in an inert gas (nitrogen or a rare gas such as helium, neon, or argon) atmosphere, in an oxygen atmosphere, or under a reduced pressure so that an impurity such as hydrogen and water in the layer is removed.
Then, a conductive film is formed over the gate insulating layer 402 and the third oxide semiconductor layer 481.
As the material of the conductive film, a conductive material having a visible light transmitting property such as the following materials can be employed: an In—Sn—Zn—O-based metal oxide; an In—Al—Zn—O-based metal oxide; a Sn—Ga—Zn—O-based metal oxide; an Al—Ga—Zn—O-based metal oxide; a Sn—Al—Zn—O-based metal oxide; an In—Zn—O-based metal oxide; a Sn—Zn—O-based metal oxide; an Al—Zn—O-based metal oxide; an In—O-based metal oxide; a Sn—O-based metal oxide; and a Zn—O-based metal oxide. The thickness of the conductive film is selected as appropriate to be within the range of 30 nm to 200 nm.
Then, the third oxide semiconductor layer 481 and the conductive film are selectively etched by a photolithography step so as to form an oxide semiconductor layer 483, the source electrode layer 405 a and the drain electrode layer 405 b. Note that only part of the oxide semiconductor layer is etched to be the oxide semiconductor layer having a groove (depression). When oxygen ashing is performed at the time of removing a resist mask which is used at this photolithography step, oxygen is introduced into an exposed region of the oxide semiconductor layer.
Next, the oxide insulating film 407 serving as a protective insulating layer is formed in contact with part of the oxide semiconductor layer 483, whereby the thin film transistor 480 can be manufactured (see FIG. 3D). The oxide insulating film 407 is formed to have a thickness of at least greater than or equal to 1 nm and can be appropriately formed by a method in which an impurity such as water or hydrogen is prevented from entering the oxide insulating film 407, for example, by a CVD method or a sputtering method. Here, the oxide insulating film 407 is formed by a sputtering method. The oxide insulating film 407, which is formed in contact with the low-resistance oxide semiconductor layer, does not contain an impurity such as moisture, a hydrogen ion, or OH and is formed using an inorganic insulating film which prevents intrusion of these from the outside. Typically, a silicon oxide film, a silicon nitride oxide film, an aluminum oxide film, or an aluminum oxynitride film is used. Alternatively, a silicon nitride film or an aluminum nitride film on and in contact with the oxide insulating film 407 may be formed. The silicon nitride film does not contain an impurity such as moisture, a hydrogen ion, or OH and prevents intrusion of these from the outside.
In this embodiment, a silicon oxide film with a thickness of 300 nm is formed as the oxide insulating film 407. A substrate temperature at the time of the film formation may be greater than or equal to room temperature and less than or equal to 300° C.; in this embodiment, the substrate temperature is 100° C. The silicon oxide film can be formed by a sputtering method in a rare gas (typically argon) atmosphere, in an oxygen atmosphere, or in an atmosphere including a rare gas (typically argon) and oxygen. As a target, a silicon oxide target or a silicon target can be used; for example, the silicon oxide film can be formed using a silicon target by a sputtering method in an atmosphere including oxygen and nitrogen.
Further, after the oxide insulating film 407 is formed, the thin film transistor 480 may be subjected to the second heat treatment (preferably at a temperature greater than or equal to 150° C. and less than 350° C.) in a nitrogen atmosphere or in an oxygen atmosphere. For example, the second heat treatment is performed in a nitrogen atmosphere at 250° C. for one hour. By the second heat treatment, the oxide semiconductor layer 483 is heated while being in contact with the oxide insulating film 407; thus, variation in electric characteristics of the thin film transistor 480 can be reduced.
This embodiment can be freely combined with Embodiment 1.
Embodiment 3
A semiconductor device and a method for manufacturing a semiconductor device which are different from Embodiments 1 and 2 will be described with reference to FIGS. 4A to 4C. The portion that is identical to or has a function similar to those described in Embodiments 1 and 2 can be formed in a manner similar to that described in Embodiments 1 and 2; therefore, repetitive description is omitted.
FIGS. 4A to 4C are cross-sectional views illustrating a manufacturing process of a thin film transistor 440. The structure of the thin film transistor 440 which is illustrated in FIG. 4C is called a channel stop type.
Similarly to Embodiment 1, the gate electrode layer 401 is provided over the substrate 400 having an insulating surface. An insulating film serving as a base film may be provided between the substrate 400 and the gate electrode layer 401.
Next, similarly to Embodiment 1, the gate insulating layer 402 is formed over the gate electrode layer 401. Then, an oxide semiconductor film is formed over the gate insulating layer 402.
Then, the oxide semiconductor film is processed into an oxide semiconductor layer (the first oxide semiconductor layer 430), which is an island-shaped oxide semiconductor layer, by a photolithography step (see FIG. 4A). Note that FIG. 4A is the same as FIG. 1A.
Next, the first oxide semiconductor layer 430 is dehydrated or dehydrogenated. A temperature at which a first heat treatment for dehydration or dehydrogenation is performed is greater than or equal to 350° C. and less than the strain point of the substrate, preferably greater than or equal to 400° C. Here, the substrate is introduced into an electric furnace which is one of heat treatment apparatuses and the first oxide semiconductor layer 430 is subjected to a heat treatment in an inert gas (nitrogen or a rare gas such as helium, neon, or argon) atmosphere or under a reduced pressure, whereby a second oxide semiconductor layer 444 is formed (see FIG. 4B).
Note that in the first heat treatment, it is preferable that water, hydrogen and the like be not contained in the nitrogen or the rare gas such as helium, neon, or argon. Alternatively, the purity of the nitrogen or the rare gas such as helium, neon, or argon which is introduced into the heat treatment apparatus is preferably greater than or equal to 6N (99.9999%) or more preferably greater than or equal to 7N (99.99999%) (that is, the impurity concentration is less than or equal to 1 ppm, or preferably less than or equal to 0.1 ppm). In this embodiment, the dehydration or dehydrogenation is performed by heating the electric furnace, which has a nitrogen atmosphere and to which the substrate is introduced, to a temperature greater than or equal to 350° C. and less than or equal to 600° C., or preferably greater than or equal to 400° C.; then, a heater is turned off and slow cooling is performed. By the heat treatment and the slow cooling in an inert gas atmosphere or under a reduced pressure, the resistance of the oxide semiconductor layer is reduced (a carrier concentration thereof is increased preferably to greater than or equal to 1×1018/cm3) and a low-resistance oxide semiconductor layer (the second oxide semiconductor layer 444) can be formed.
Note that in the case where the heat treatment is performed under a reduced pressure, cooling may be performed by introducing an inert gas into the electric furnace after the heat treatment and returning the pressure to an atmospheric pressure.
In the case where the heat treatment apparatus is a multi-chamber type, a chamber for the heat treatment can be different from that for a cooling treatment. Typically, the oxide semiconductor layer over the substrate is heated in a first chamber which is filled with nitrogen or a rare gas and whose temperature is increased to greater than or equal to 200° C. and less than or equal to 600° C., or preferably greater than or equal to 400° C. and less than or equal to 450° C. Then, the slow cooling is performed to a temperature low enough to prevent water from coming in again, specifically to a temperature more than 100° C. lower than the heating temperature T. Next, through a transfer chamber into which nitrogen or a rare gas is introduced, the substrate on which the above heat treatment is performed is transferred into a second chamber which is filled with nitrogen or a rare gas and whose temperature is less than or equal to 100° C. or preferably room temperature, and is subjected to the cooling treatment. Through the above steps, throughput can be improved.
Alternatively, the oxide semiconductor film before being processed into the island-shaped oxide semiconductor layer can also be subjected to the heat treatment in an inert gas atmosphere or under a reduced pressure. In that case, after the oxide semiconductor film is subjected to the heat treatment in the inert gas atmosphere or under a reduced pressure, the slow cooling to a temperature greater than or equal to room temperature and less than 100° C. is performed; then, the substrate is taken out of the heating device and a photolithography step is performed.
Before the oxide semiconductor film is formed, the gate insulating layer may be subjected to a heat treatment (at a temperature greater than or equal to 400° C. and less than the strain point of the substrate) in an inert gas (nitrogen or a rare gas such as helium, neon, or argon) atmosphere, in an oxygen atmosphere, or under a reduced pressure so that an impurity such as hydrogen and water in the layer is removed.
Then, a conductive film is formed over the gate insulating layer 402 and the second oxide semiconductor layer 444.
As the material of the conductive film, a conductive material having a visible light transmitting property such as the following materials can be employed: an In—Sn—Zn—O-based metal oxide; an In—Al—Zn—O-based metal oxide; a Sn—Ga—Zn—O-based metal oxide; an Al—Ga—Zn—O-based metal oxide; a Sn—Al—Zn—O-based metal oxide; an In—Zn—O-based metal oxide; a Sn—Zn—O-based metal oxide; an Al—Zn—O-based metal oxide; an In—O-based metal oxide; a Sn—O-based metal oxide; and a Zn—O-based metal oxide. The thickness of the conductive film is selected as appropriate to be within the range of 30 nm to 200 nm.
Then, the second oxide semiconductor layer 444 and the conductive film are selectively etched by a photolithography step so as to form the oxide semiconductor layer, the source electrode layer 405 a, and the drain electrode layer 405 b. Note that only part of the oxide semiconductor layer is etched to be the oxide semiconductor layer having a groove (depression). When oxygen ashing is performed at the time of removing a resist mask which is used at this photolithography step, oxygen is introduced into an exposed region of the oxide semiconductor layer.
Next, the oxide insulating film 407 serving as a protective insulating layer is formed in contact with part of the oxide semiconductor layer. The oxide insulating film 407 is formed to have a thickness of at least greater than or equal to 1 nm and can be appropriately formed by a method in which an impurity such as water or hydrogen is prevented from entering the oxide insulating film 407, for example, by a CVD method or a sputtering method. Here, the oxide insulating film 407 is formed by a sputtering method. The oxide insulating film 407, which is formed in contact with the low-resistance oxide semiconductor layer, does not contain an impurity such as moisture, a hydrogen ion, or OH and is formed using an inorganic insulating film which prevents intrusion of these from the outside. Typically, a silicon oxide film, a silicon nitride oxide film, an aluminum oxide film, or an aluminum oxynitride film is used. Alternatively, a silicon nitride film or an aluminum nitride film on and in contact with the oxide insulating film 407 may be formed. The silicon nitride film does not contain an impurity such as moisture, a hydrogen ion, or OH and prevents intrusion of these from the outside.
By forming the oxide insulating film 407 in contact with the low-resistance second oxide semiconductor layer 444 by a sputtering method, a PCVD method, or the like, resistance is increased at least in a region of the low-resistance oxide semiconductor layer 444, which is in contact with the oxide insulating film 407 (a carrier concentration thereof is decreased to preferably less than 1×1018/cm3), and thus the region can be a high-resistance oxide semiconductor region. Further, the resistance of regions of the low-resistance oxide semiconductor layer 444 which overlap with the source electrode layer 405 a and the drain electrode layer 405 b, is still low, and thus two low-resistance oxide semiconductor regions with the high-resistance oxide semiconductor region therebetween are obtained. It is important to increase and decrease the carrier concentration of the oxide semiconductor layer by the heating in an inert gas atmosphere (or under a reduced pressure), the slow cooling, the formation of the oxide insulating film, and the like during the manufacturing process of the semiconductor device. The oxide semiconductor layer 444 becomes an oxide semiconductor layer 443 (a third oxide semiconductor layer) which has the high-resistance oxide semiconductor region and the low-resistance oxide semiconductor regions, and the thin film transistor 440 can be formed. Note that the high-resistance oxide semiconductor region serves as a channel formation region of the thin film transistor 440.
Note that by forming the low-resistance oxide semiconductor regions in the oxide semiconductor layer 443 which overlap with the drain and source electrode layers, reliability can be increased when a drive circuit is formed. Specifically, by forming the low-resistance oxide semiconductor regions, a structure is realized in which the drain electrode layer, the low-resistance oxide semiconductor region, and the channel formation region can vary in conductivity in this order. Thus, in a transistor which operates while being connected to a wiring which supplies the drain electrode layer with a high power source potential VDD, the low-resistance oxide semiconductor region serves as a buffer so that a local high electric field is not applied even when a high electric field is applied between the gate electrode layer and the drain electrode layer; in this manner, the transistor can have a structure with an increased withstand voltage.
In addition, by forming the low-resistance oxide semiconductor regions in the oxide semiconductor layer 443 which overlap with the drain and source electrode layers, leakage current in the channel formation region can be reduced when a drive circuit is formed. Specifically, by forming the low-resistance oxide semiconductor regions, leakage current flowing between the drain electrode layer and the source electrode layer passes through the drain electrode layer, the low-resistance oxide semiconductor region on the drain electrode layer side, the channel formation region, the low-resistance oxide semiconductor region on the source electrode layer side, and the source electrode layer in this order. At this time, the leakage current which flows from the low-resistance oxide semiconductor region on the drain electrode layer side to the channel formation region can be concentrated in the vicinity of the interface between the gate insulating layer and the channel formation region, which has high resistance when the transistor is turned off, whereby the leakage current at a back channel portion (part of the surface of the channel formation region which is apart from the gate electrode layer) can be reduced.
Further, after the oxide insulating film 407 is formed, the thin film transistor 440 may be subjected to a second heat treatment (preferably at a temperature greater than or equal to 150° C. and less than 350° C.) in a nitrogen atmosphere or in an oxygen atmosphere. For example, the second heat treatment is performed in a nitrogen atmosphere at 250° C. for one hour. By the second heat treatment, the oxide semiconductor layer 443 is heated while being in contact with the oxide insulating film 407; thus, variation in electric characteristics of the thin film transistor 440 can be reduced.
This embodiment can be freely combined with Embodiment 1 or 2.
Embodiment 4
A semiconductor device and a method for manufacturing the semiconductor device are described with reference to FIGS. 5A to 5C and FIGS. 6A and 6B.
FIG. 6A is a plan view of a thin film transistor 460 included in a semiconductor device, and FIG. 6B is a cross-sectional view taken along line D1-D2 of FIG. 6A. The thin film transistor 460 is a bottom gate thin film transistor and includes, over a substrate 450 having an insulating surface, a gate electrode layer 451, a gate insulating layer 452, a source electrode layer 455 a, a drain electrode layer 455 b, and an oxide semiconductor layer 453. In addition, an oxide insulating film 457 is provided to cover the thin film transistor 460 and be in contact with the oxide semiconductor layer 453. An In—Ga—Zn—O-based non-single-crystal film is used for the oxide semiconductor layer 453.
In the thin film transistor 460, the gate insulating layer 452 exists in the entire region including the thin film transistor 460, and the gate electrode layer 451 is provided between the gate insulating layer 452 and the substrate 450 which is a substrate having an insulating surface. The source electrode layer 455 a and the drain electrode layer 455 b are provided over the gate insulating layer 452. Further, the oxide semiconductor layer 453 is provided over the gate insulating layer 452, the source electrode layer 455 a and the drain electrode layer 455 b. Although not illustrated, a wiring layer is provided over the gate insulating layer 452 in addition to the source electrode layer 455 a and the drain electrode layer 455 b, and the wiring layer extends beyond the peripheral portion of the oxide semiconductor layer 453.
The substrate 450 having an insulating surface, the gate electrode layer 451, the gate insulating layer 452, the oxide semiconductor layer 453, the source electrode layer 455 a, the drain electrode layer 455 b, and the oxide insulating film 457 are all formed using a material having a visible light transmitting property. Thus, the thin film transistor 460 has a light transmitting property and an aperture ratio can be improved in the case where the thin film transistor 460 is placed in a pixel portion of a display device.
The oxide semiconductor layer 453 is subjected to a heat treatment (a heat treatment for dehydration or dehydrogenation) for reducing moisture and the like which are impurities and slow cooling at least after the oxide semiconductor film is formed; then, the oxide insulating film 457 is formed in contact with the oxide semiconductor layer 453. In this manner, the oxide semiconductor film is used as a channel formation region.
FIGS. 5A to 5C are cross-sectional views illustrating steps of manufacturing the thin film transistor 460 which is illustrated in FIG. 6B.
The gate electrode layer 451 is provided over the substrate 450 which is a substrate having an insulating surface. Further, an insulating film serving as a base film may be provided between the substrate 450 and the gate electrode layer 451. The base film has a function of preventing diffusion of an impurity element from the substrate 450, and can be formed to have a single-layer or stacked-layer structure using one or more of a silicon nitride film, a silicon oxide film, a silicon nitride oxide film, and a silicon oxynitride film.
As the material of the gate electrode layer 451, a conductive material having a visible light transmitting property such as the following materials can be employed: an In—Sn—Zn—O-based metal oxide; an In—Al—Zn—O-based metal oxide; a Sn—Ga—Zn—O-based metal oxide; an Al—Ga—Zn—O-based metal oxide; a Sn—Al—Zn—O-based metal oxide; an In—Zn—O-based metal oxide; a Sn—Zn—O-based metal oxide; an Al—Zn—O-based metal oxide; an In—O-based metal oxide; a Sn—O-based metal oxide; and a Zn—O-based metal oxide. The thickness of the gate electrode layer 451 is selected as appropriate to be within the range of 30 nm to 200 nm.
Next, the gate insulating layer 452 is formed over the gate electrode layer 451.
The gate insulating layer 452 can be formed to have a single-layer or stacked layer structure using a silicon oxide layer, a silicon nitride layer, a silicon oxynitride layer, or a silicon nitride oxide layer by a plasma CVD method, a sputtering method, or the like. For example, a silicon oxynitride layer may be formed using SiH4, oxygen, and nitrogen as a film formation gas by a plasma CVD method.
Then, a conductive film is formed over the gate insulating layer 452 and processed into the island-shaped source electrode layer 455 a and the island-shaped drain electrode layer 455 b by a photolithography step (see FIG. 5A).
As the material of the conductive film, a conductive material having a visible light transmitting property such as the following materials can be employed: an In—Sn—Zn—O-based metal oxide; an In—Al—Zn—O-based metal oxide; a Sn—Ga—Zn—O-based metal oxide; an Al—Ga—Zn—O-based metal oxide; a Sn—Al—Zn—O-based metal oxide; an In—Zn—O-based metal oxide; a Sn—Zn—O-based metal oxide; an Al—Zn—O-based metal oxide; an In—O-based metal oxide; a Sn—O-based metal oxide; and a Zn—O-based metal oxide. The thickness of the conductive film is selected as appropriate to be within the range of 30 nm to 200 nm.
Then, an oxide semiconductor film is formed over the gate insulating layer 452, the source electrode layer 455 a and the drain electrode layer 455 b, and processed into an island-shaped oxide semiconductor layer 483 (the first oxide semiconductor layer) by a photolithography step (see FIG. 5B). When oxygen ashing is performed at the time of removing a resist mask which is used at this photolithography step, oxygen is introduced into an exposed region of the oxide semiconductor layer.
Note that before the oxide semiconductor film is formed by a sputtering method, dust on a surface of the gate insulating layer 452 is preferably removed by reverse sputtering in which an argon gas is introduced and plasma is generated.
The oxide semiconductor layer 483 is subjected to the first heat treatment for dehydration or dehydrogenation. A temperature at which the first heat treatment for dehydration or dehydrogenation is performed is greater than or equal to 350° C. and less than the strain point of the substrate, preferably greater than or equal to 400° C.
As the first heat treatment for dehydration or dehydrogenation, a heat treatment in an inert gas (nitrogen or a rare gas such as helium, neon, or argon) atmosphere, in an oxygen atmosphere, or under a reduced pressure is performed. After that, the slow cooling is performed from the heating temperature T at which the oxide semiconductor layer is dehydrated or dehydrogenated to a temperature low enough to prevent water from coming in again, specifically to a temperature which is more than 100° C. lower than the heating temperature T. Alternatively, the slow cooling is performed to a temperature lower than a temperature of a second heat treatment which is to be performed later and then the substrate is taken out of the heat treatment apparatus.
In this embodiment, similarly to Embodiment 1, the oxide semiconductor layer 453 in which impurities such as moisture in the layer are reduced is formed by the first heat treatment performed in an oxygen atmosphere and the slow cooling performed in the oxygen atmosphere. There is no particular limitation on the combination of the first heat treatment and the slow cooling, and the combination and order described in any one of Embodiments 1 to 3 can be used.
Note that in the first heat treatment, it is preferable that water, hydrogen, and the like be not contained in the inert gas (nitrogen or a rare gas such as helium, neon, or argon) atmosphere or in the oxygen atmosphere. Alternatively, the purity of the gas which is introduced into the heat treatment apparatus is preferably greater than or equal to 6N (99.9999%) or more preferably greater than or equal to 7N (99.99999%) (that is, the impurity concentration in the atmosphere is less than or equal to 1 ppm, or preferably less than or equal to 0.1 ppm).
As a result, the reliability of the thin film transistor to be formed later can be improved.
Alternatively, the oxide semiconductor film before being processed into the island-shaped oxide semiconductor layer can also be subjected to the first heat treatment in an oxygen atmosphere. In that case, after the first heat treatment and the cooling treatment of the oxide semiconductor film, the substrate is taken out of the heating device and a photolithography step is performed.
Before the oxide semiconductor film is formed, the gate insulating layer may be subjected to a heat treatment (at a temperature greater than or equal to 400° C. and less than the strain point of the substrate) in an inert gas (nitrogen or a rare gas such as helium, neon, or argon) atmosphere, in an oxygen atmosphere, or under a reduced pressure so that an impurity such as hydrogen and water in the layer is removed.
Next, the oxide insulating film 457 is formed in contact with the oxide semiconductor layer 453 by a sputtering method or a PCVD method, whereby the thin film transistor 460 can be manufactured (see FIG. 5C). In this embodiment, a silicon oxide film with a thickness of 300 nm is formed as the oxide insulating film 457. A substrate temperature at the time of the film formation may be greater than or equal to room temperature and less than or equal to 300° C.; in this embodiment, the substrate temperature is 100° C.
Further, after the oxide insulating film 457 is formed, the thin film transistor 460 may be subjected to the second heat treatment (preferably at a temperature greater than or equal to 150° C. and less than 350° C.) in a nitrogen atmosphere or in an oxygen atmosphere. For example, the second heat treatment is performed at 250° C. for one hour in a nitrogen atmosphere. By the second heat treatment, the oxide semiconductor layer 453 is heated while being in contact with the oxide insulating film 457; thus, variation in electric characteristics of the thin film transistor 460 can be reduced.
This embodiment can be freely combined with Embodiment 1, 2, or 3.
Embodiment 5
In this embodiment, an example of a channel stop type thin film transistor 1430 is described with reference to FIGS. 7A to 7C. An example of a plan view of a thin film transistor is illustrated in FIG. 7C, a cross-sectional view taken along dotted line Z1-Z2 of which corresponds to FIG. 7B. This embodiment is an example in which gallium is not included in an oxide semiconductor layer of the thin film transistor 1430.
First, a gate electrode layer 1401 is provided over a substrate 1400.
Additionally, an insulating film serving as a base film may be provided between the substrate 1400 and the gate electrode layer 1401. The base film has a function of preventing diffusion of an impurity element from the substrate 1400, and can be formed to have a single-layer or stacked-layer structure using one or more of a silicon nitride film, a silicon oxide film, a silicon nitride oxide film, and a silicon oxynitride film.
As the material of the gate electrode layer 1401, a conductive material having a visible light transmitting property such as the following materials can be employed: an In—Sn—Zn—O-based metal oxide; an In—Al—Zn—O-based metal oxide; a Sn—Ga—Zn—O-based metal oxide; an Al—Ga—Zn—O-based metal oxide; a Sn—Al—Zn—O-based metal oxide; an In—Zn—O-based metal oxide; a Sn—Zn—O-based metal oxide; an Al—Zn—O-based metal oxide; an In—O-based metal oxide; a Sn—O-based metal oxide; and a Zn—O-based metal oxide. The thickness of the gate electrode layer 1401 is selected as appropriate to be within the range of 30 nm to 200 nm.
Next, a gate insulating layer 1402 is formed so as to cover the gate electrode layer 1401. An oxide semiconductor layer is formed over the gate insulating layer 1402.
In this embodiment, the oxide semiconductor layer is formed using a Sn—Zn—O-based oxide semiconductor by a sputtering method. When gallium is not used for the oxide semiconductor layer, use of an expensive target in formation of the oxide semiconductor layer can be avoided, so that cost can be reduced.
Just after deposition of an oxide semiconductor film or after being processed into an island-shaped oxide semiconductor layer, dehydration or dehydrogenation is performed.
As the first heat treatment for dehydration or dehydrogenation, a heat treatment in an inert gas (nitrogen or a rare gas such as helium, neon, or argon) atmosphere, in an oxygen atmosphere, or under a reduced pressure is performed. A temperature at which the first heat treatment is performed is greater than or equal to 350° C. and less than the strain point of the substrate, preferably greater than or equal to 400° C. After that, slow cooling is performed from the heating temperature T at which the oxide semiconductor layer is dehydrated or dehydrogenated to a temperature low enough to prevent water from coming in again, specifically to a temperature which is more than 100° C. lower than the heating temperature T. Alternatively, the slow cooling is performed to a temperature lower than a temperature of a second heat treatment which is to be performed later and then the substrate is taken out of the heat treatment apparatus.
In this embodiment, similarly to Embodiment 1, an oxide semiconductor layer 1403 in which impurities such as moisture in the layer are reduced is formed by the first heat treatment performed in an oxygen atmosphere and the slow cooling performed in the oxygen atmosphere (see FIG. 7A). There is no particular limitation on the combination of the first heat treatment and the slow cooling, and the combination and order described in any one of Embodiments 1 to 3 can be used.
Note that in the first heat treatment, it is preferable that water, hydrogen and the like be not contained in the inert gas (nitrogen or a rare gas such as helium, neon, or argon) atmosphere or in the oxygen atmosphere. Alternatively, the purity of the gas which is introduced into the heat treatment apparatus is preferably greater than or equal to 6N or more preferably greater than or equal to 7N (that is, the impurity concentration in the atmosphere is less than or equal to 1 ppm, or preferably less than or equal to 0.1 ppm).
As a result, the reliability of the thin film transistor to be formed later can be improved.
Alternatively, the oxide semiconductor film before being processed into the island-shaped oxide semiconductor layer can also be subjected to the first heat treatment in an oxygen atmosphere. In that case, after the first heat treatment and the cooling treatment of the oxide semiconductor film, the substrate is taken out of the heating device and a photolithography step is performed.
Before the oxide semiconductor film is formed, the gate insulating layer may be subjected to a heat treatment (at a temperature greater than or equal to 400° C. and less than the strain point of the substrate) in an inert gas (nitrogen or a rare gas such as helium, neon, or argon) atmosphere, in an oxygen atmosphere, or under a reduced pressure so that an impurity such as hydrogen and water in the layer is removed.
Next, a channel protective layer 1418 is provided on and in contact with the oxide semiconductor layer 1403. By providing the channel protective layer 1418, damage to a channel formation region of the oxide semiconductor layer 1403 (e.g., a reduction in thickness due to plasma or an etchant in etching) can be prevented in the manufacturing process. Thus, the thin film transistor 1430 can have improved reliability.
Further, the channel protective layer 1418 can be successively formed without exposure to air after the heat treatment for dehydration or dehydrogenation. Successive film formation without exposure to air makes it possible to form the oxide semiconductor layer 1403 and the channel protective layer 1418, the interface of which is not contaminated by atmospheric components or impurity elements floating in air, such as moisture or hydrocarbon. Therefore, variation in characteristics between the thin film transistors can be reduced.
The channel protective layer 1418 can be formed using an inorganic material which contains oxygen (e.g., silicon oxide, silicon oxynitride, or silicon nitride oxide). As a method for forming the channel protective layer 1418, a vapor deposition method such as a plasma CVD method or a thermal CVD method or a sputtering method can be used. After the formation of the channel protective layer 1418, the shape thereof is processed by etching. Here, the channel protective layer 1418 is formed in such a manner that a silicon oxide film is formed by a sputtering method and processed by etching using a mask formed by photolithography. When oxygen ashing is performed at the time of removing a resist mask which is used at this photolithography step, oxygen is introduced into an exposed region of the oxide semiconductor layer.
Then, a conductive film is formed over the channel protective layer 1418 and the oxide semiconductor layer 1403.
As the material of the conductive film, a conductive material having a visible light transmitting property such as the following materials can be employed: an In—Sn—Zn—O-based metal oxide; an In—Al—Zn—O-based metal oxide; a Sn—Ga—Zn—O-based metal oxide; an Al—Ga—Zn—O-based metal oxide; a Sn—Al—Zn—O-based metal oxide; an In—Zn—O-based metal oxide; a Sn—Zn—O-based metal oxide; an Al—Zn—O-based metal oxide; an In—O-based metal oxide; a Sn—O-based metal oxide; and a Zn—O-based metal oxide. The thickness of the conductive film is selected as appropriate to be within the range of 30 nm to 200 nm.
Next, the conductive film is selectively etched using a mask formed by photolithography so as to form a source electrode layer 1405 a and a drain electrode layer 1405 b over the channel protective layer 1418 and the oxide semiconductor layer 1403; thus, the thin film transistor 1430 is manufactured (see FIG. 7B).
This embodiment can be freely combined with Embodiment 1, 2, or 3.
Embodiment 6
In this embodiment, a manufacturing example of a liquid crystal display device in which the thin film transistor described in Embodiment 1 is placed in a pixel portion is described with reference to FIGS. 8A to 8D, FIGS. 9A to 9C, FIG. 10 , FIG. 11 , FIGS. 12A to 12D, FIGS. 13A to 13C, FIGS. 14A and 14B, and FIG. 15 .
In FIG. 8A, a glass substrate formed of barium borosilicate glass, aluminoborosilicate glass, or the like can be used as a substrate 100 having a light transmitting property. As the substrate 100 having a light transmitting property, a large-area substrate having a size of, for example, 1000 mm×1200 mm, 1100 mm×1250 mm, or 1150 mm×1300 mm may be used. When such a large-area substrate is used, a plurality of liquid crystal display devices can be manufactured using one substrate and the manufacturing cost can be reduced. In this embodiment, a glass substrate having a size of 600 mm×720 mm is used.
Next, after a conductive film having a visible light transmitting property is formed over an entire surface of the substrate 100, a first photolithography step is performed. to form a resist mask, and unnecessary portions of the conductive film are removed by etching to form wirings and an electrode (a gate wiring including a gate electrode layer 101, a capacitor wiring 108, and a first terminal 121). At this time, the etching is performed so that at least end portions of the gate electrode layer 101 have a tapered shape.
In the case of using a large-area substrate, instead of using an expensive photomask for a photolithography, a resist mask may be formed by an ink-jet method. When the resist mask is formed by an ink-jet method, the manufacturing cost can be reduced. Note that a resist mask may be formed by an ink-jet method in at least one step of the photolithography process below in order to reduce the manufacturing cost.
As the material of the gate wiring including the gate electrode layer 101, the capacitor wiring 108, and the first terminal 121 of a terminal portion, a conductive material having a visible light transmitting property such as the following materials can be employed: an In—Sn—Zn—O-based metal oxide; an In—Al—Zn—O-based metal oxide; a Sn—Ga—Zn—O-based metal oxide; an Al—Ga—Zn—O-based metal oxide; a Sn—Al—Zn—O-based metal oxide; an In—Zn—O-based metal oxide; a Sn—Zn—O-based metal oxide; an Al—Zn—O-based metal oxide; an In—O-based metal oxide; a Sn—O-based metal oxide; and a Zn—O-based metal oxide. Each thickness of the gate wiring including the gate electrode layer 101, the capacitor wiring 108, and the first terminal 121 of a terminal portion is selected as appropriate to be within the range of 30 nm to 200 nm. As a deposition method of the conductive film, a sputtering method, a vacuum evaporation method (an electron beam evaporation method or the like), an arc discharge ion plating method, a spray method, or an ink-jet method is used. In the case of forming the conductive film by an ink jet method, the photolithography step becomes unnecessary and a further cost reduction can be achieved.
In this embodiment, as the conductive film, an In—Sn—O-based conductive film is formed using an In—Sn—O-based target by a sputtering method. The conductive film may be subjected to a heat treatment in order to have low resistance after being formed. The target is formed by attaching a target material to a backing plate (a board for attaching a target thereto). As for the attachment of the target to the backing plate, the target may be divided and attached to one backing plate. When the target is divided, warpage of the target can be relaxed in the attachment of the target to the backing plate. In particular, when the thin film is formed over a large substrate, such divided targets can be suitably used for a target which is upsized in accordance with the size of the large substrate. Needless to say, one target may be attached to one backing plate.
Examples of a sputtering method include an RF sputtering method in which a high-frequency power source is used as a sputtering power source, a DC sputtering method, and a pulsed DC sputtering method in which a bias is applied in a pulsed manner. An RF sputtering method is mainly used in the case where an insulating film is formed, and a DC sputtering method is mainly used in the case where a metal film is formed.
In addition, there is also a multi-source sputtering apparatus in which a plurality of targets of different materials can be set. With the multi-source sputtering apparatus, films of different materials can be formed to be stacked in the same chamber, or a film of plural kinds of materials can be formed by electric discharge at the same time in the same chamber.
In addition, there are a sputtering apparatus provided with a magnet system inside the chamber and used for a magnetron sputtering, and a sputtering apparatus used for an ECR sputtering in which plasma generated with the use of microwaves is used without using glow discharge.
Furthermore, as a deposition method by sputtering, there are also a reactive sputtering method in which a target substance and a sputtering gas component are chemically reacted with each other during deposition to form a thin compound film thereof, and a bias sputtering in which a voltage is also applied to a substrate during deposition.
Next, a gate insulating layer 102 is formed over the entire surface of the gate electrode layer 101. The gate insulating layer 102 is formed to a thickness of greater than or equal to 50 nm and less than or equal to 250 nm by a sputtering method, a PCVD method, or the like. The gate insulating layer 102 is formed to have a single-layer structure or a stacked-layer structure using an inorganic insulating film such as a silicon oxide film, a silicon oxynitride film, a silicon nitride oxide film, a silicon nitride film, or a tantalum oxide film.
In this embodiment, the gate insulating layer 102 having a thickness of 100 nm is formed over the gate electrode layer 101 in the following manner: a monosilane gas (SiH4), nitrous oxide (N2O), and a rare gas are introduced into a chamber of a high-density plasma apparatus as source gases, and high density plasma is generated under a pressure of 10 Pa to 30 Pa. The gate insulating layer 102 is a silicon oxynitride film. In this embodiment, the high-density plasma apparatus refers to an apparatus which can realize a plasma density of greater than or equal to 1×1011/cm3. For example, plasma is generated by applying a microwave power of 3 kW to 6 kW so that the insulating film is formed. When the insulating film is formed, the flow ratio of a monosilane gas (SiH4) to nitrous oxide (N2O) which are introduced into the chamber is in the range of 1:10 to 1:200. In addition, as a rare gas which is introduced into the chamber, helium, argon, krypton, xenon, or the like can be used. In particular, argon, which is inexpensive, is preferably used.
In addition, since the gate insulating layer 102 formed with the high-density plasma apparatus has a uniform thickness, the gate insulating layer 102 has excellent step coverage. Further, by forming the insulating film using the high-density plasma apparatus, the thickness of the insulating film can be controlled precisely.
The insulating film obtained with the high-density plasma apparatus is greatly different from an insulating film formed with a conventional parallel plate PCVD apparatus. The insulating film obtained with the high-density plasma apparatus has an etching rate which is lower than that of the insulating film formed with the conventional parallel plate PCVD apparatus by greater than or equal to 10% or greater than or equal to 20% in the case where the etching rates with the same etchant are compared to each other. Thus, it can be said that the insulating film obtained with the high-density plasma apparatus is a dense film.
Next, an oxide semiconductor film (an In—Ga—Zn—O-based non-single-crystal film) is formed over the gate insulating layer 102. It is effective to form the In—Ga—Zn—O-based non-single-crystal film without exposure to air after the plasma treatment because dust or moisture can be prevented from being attached to an interface between the gate insulating layer and the semiconductor film. Here, the oxide semiconductor film is formed in an oxygen atmosphere, in an argon atmosphere, or in an atmosphere including argon and oxygen under the conditions where a target is an oxide semiconductor target containing In, Ga, and Zn (an In—Ga—Zn—O-based oxide semiconductor target (In2O3:Ga2O3:ZnO=1:1:1)) with a diameter of 8 inches, the distance between the substrate and the target is 170 mm, the pressure is 0.4 Pa, and the direct current (DC) power supply is 0.5 kW. Note that use of a pulse direct current (DC) power supply is preferable because this can reduce dust and make the film thickness uniform. The In—Ga—Zn—O-based non-single-crystal film is formed to have a thickness of 2 nm to 200 nm. As the oxide semiconductor film, an In—Ga—Zn—O-based non-single-crystal film with the thickness of 50 nm is formed using the In—Ga—Zn—O-based oxide semiconductor target by a sputtering method. The oxide semiconductor film preferably has a thickness of less than or equal to 50 nm in order to be kept amorphous. Especially in a channel-etched thin film transistor, the oxide semiconductor film is further etched so that a small-thickness region, i.e., a channel formation region, has a thickness less than or equal to 30 nm and a small-thickness region of the completed thin film transistor has a thickness greater than or equal to 5 nm and less than or equal to 20 nm. In addition, it is preferable that the channel width of the completed thin film transistor be greater than or equal to 0.5 μm and less than or equal to 10 μm.
A target is formed by attaching a target material to a backing plate (a board for attaching a target thereto) and vacuum packing. In formation of the oxide semiconductor layer, in order to obtain excellent electric characteristics of a thin film transistor, it is preferable that the backing plate including the target material attached thereto be set in a sputtering apparatus while being kept away from moisture and the like in the air as much as possible. It is preferable that the target be kept away from moisture and the like in the air as much as possible not only at the time of setting the target material to the sputtering apparatus, but also during the period up to vacuum-packing, during which manufacturing the target, attaching the target materials to the backing plate, and the like are performed.
Next, a second photolithography step is performed to form a resist mask, and then the oxide semiconductor film is etched. For example, unnecessary portions are removed by wet etching using a mixed solution of phosphoric acid, acetic acid, and nitric acid, so that a first oxide semiconductor layer 133 is formed (see FIG. 8A). Note that etching here is not limited to wet etching and dry etching may also be performed.
As an etching gas for dry etching, a gas containing chlorine (a chlorine-based gas such as chlorine (Cl2), boron chloride (BCl3), silicon chloride (SiCl4), or carbon tetrachloride (CCl4)) is preferably used.
Alternatively, a gas containing fluorine (a fluorine-based gas such as carbon tetrafluoride (CF4), sulfur fluoride (SF6), nitrogen fluoride (NF3), or trifluoromethane (CHF3)); oxygen (O2); any of these gases to which a rare gas such as helium (He) or argon (Ar) is added; or the like can be used.
As the dry etching method, a parallel plate RIE (reactive ion etching) method or an ICP (inductively coupled plasma) etching method can be used. In order to etch the film into a desired shape, the etching conditions (the amount of electric power applied to a coil-shaped electrode, the amount of electric power applied to an electrode on the substrate side, the temperature of the electrode on the substrate side, or the like) are adjusted as appropriate.
As an etchant used for wet etching, a mixed solution of phosphoric acid, acetic acid, and nitric acid, or the like can be used. Alternatively, ITO07N (produced by KANTO CHEMICAL CO., INC.) may also be used.
The etchant used in the wet etching is removed by cleaning together with the material which is etched off. The waste liquid including the etchant and the material etched off may be purified to recycle the materials contained in the waste liquid. When a material such as indium included in the oxide semiconductor layer is collected from the waste liquid after the etching and reused, the resources can be efficiently used and thus the cost can be reduced.
The etching conditions (such as an etchant, etching time, and temperature) are adjusted as appropriate depending on the material so that the film can be etched into a desired shape.
The first oxide semiconductor layer 133 is subjected to a first heat treatment for dehydration or dehydrogenation. After the first oxide semiconductor layer 133 is subjected to the first heat treatment in an oxygen atmosphere, slow cooling in the oxygen atmosphere is performed.
The first heat treatment is performed at a temperature of 650° C. in an oxygen atmosphere for one hour, for example. The slow cooling is performed from the heating temperature T at which the oxide semiconductor layer is dehydrated or dehydrogenated to a temperature low enough to prevent water from coming in again, specifically to a temperature which is more than 100° C. lower than the heating temperature T so that a second oxide semiconductor layer 134 is formed. Alternatively, the slow cooling is performed to a temperature lower than a temperature of a second heat treatment which is to be performed later and then the substrate is taken out of the heat treatment apparatus. The oxide semiconductor layer is subjected to the heat treatment in the oxygen atmosphere, whereby an impurity such as water contained in the oxide semiconductor layer can be removed and at the same time, the second oxide semiconductor layer 134 is placed into a state where oxygen is in excess (see FIG. 8B). The oxide semiconductor layer is crystallized and changed into a microcrystalline film or a polycrystalline film in some cases depending on the condition of the first heat treatment or the material of the oxide semiconductor layer.
Then, a conductive film 132 having a light transmitting property is formed over the second oxide semiconductor layer 134 by a sputtering method, a vacuum evaporation method (an electron beam evaporation method or the like), an arc discharge ion plating method, a spray method, or an ink-jet method (see FIG. 8C).
A conductive material having a visible light transmitting property such as the following materials can be employed as the material of the conductive film 132 having a light transmitting property: an In—Sn—Zn—O-based metal oxide; an In—Al—Zn—O-based metal oxide; a Sn—Ga—Zn—O-based metal oxide; an Al—Ga—Zn—O-based metal oxide; a Sn—Al—Zn—O-based metal oxide; an In—Zn—O-based metal oxide; a Sn—Zn—O-based metal oxide; an Al—Zn—O-based metal oxide; an In—O-based metal oxide; a Sn—O-based metal oxide; and a Zn—O-based metal oxide. The thickness of the conductive film 132 having a light transmitting property is selected as appropriate to be within the range of 30 nm to 200 nm.
In this embodiment, an example is described in which the first heat treatment for dehydration or dehydrogenation is performed before the conductive film 132 having a light transmitting property is formed; however, the present invention is not particularly limited thereto and the first heat treatment may be performed after the conductive film 132 having a light transmitting property is formed. When the first heat treatment is performed after the conductive film 132 having a light transmitting property is formed, the oxide semiconductor layer can be dehydrated or dehydrogenated and at the same time, the conductive film 132 having a light transmitting property can have improved crystallinity and low resistance by this heat treatment.
Next, a third photolithography step is performed to form a resist mask and then unnecessary portions are etched away, so that a source electrode layer 105 a, a drain electrode layer 105 b, a capacitor electrode 135, and a second terminal 122 are formed. Wet etching or dry etching is employed as an etching method at this time. In this etching step, an exposed region of the oxide semiconductor layer is partly etched so that an oxide semiconductor layer 103 having a depression is formed. Therefore, a region of the oxide semiconductor layer 103, which does not overlap with the source electrode layer 105 a and the drain electrode layer 105 b has a small thickness. In FIG. 8D, the etching for forming the source electrode layer 105 a, the drain electrode layer 105 b and the oxide semiconductor layer is performed at a time by dry etching. Accordingly, end portions of the oxide semiconductor layer 103 and the source electrode layer 105 a are aligned with each other and are continuous while end portions of the oxide semiconductor layer 103 and the drain electrode layer 105 b are aligned with each other and are continuous (these end portions are located above the gate electrode layer 101).
In the third photolithography step, the second terminal 122 which is formed using the same material as the source electrode layer 105 a or the drain electrode layer 105 b is left in the terminal portion. Note that the second terminal 122 is electrically connected to a source wiring (a source wiring including the source electrode layer 105 a).
In addition, in the third photolithography step, a storage capacitor is formed by the capacitor wiring 108 and the capacitor electrode 135 which is formed using the same material as the source electrode layer 105 a or the drain electrode layer 105 b using the gate insulating layer 102 as a dielectric.
Further, with use of a resist mask having regions with a plurality of thicknesses (typically, two different thicknesses) which is formed using a multi-tone mask, the number of resist masks can be reduced, which realizes a simplified process and lower cost.
Next, the resist mask is removed. When oxygen ashing is performed at the time of removing the resist mask, oxygen is introduced into an exposed region of the oxide semiconductor layer 103. Then, a first protective insulating layer 107 serving as a protective insulating layer is formed in contact with part of the oxide semiconductor layer 103. The first protective insulating layer 107 is formed using, typically a silicon oxide film, a silicon oxynitride film, an aluminum oxide film, an aluminum oxynitride film or the like. Needless to say, the first protective insulating layer 107 is an insulating film having a light transmitting property.
Then, a heat treatment may be performed after the first protective insulating layer 107 is formed. The heat treatment may be performed at a temperature greater than or equal to 150° C. and less than 350° C. in an oxygen atmosphere or in a nitrogen atmosphere. By the heat treatment, the oxide semiconductor layer 103 is heated while being in contact with the first protective insulating layer 107; thus, the oxide semiconductor layer 103 can be made to have a higher resistance, whereby electric characteristics of the transistor can be improved and variation in electric characteristics of the transistor can be reduced. The timing of this heat treatment (at a temperature greater than or equal to 150° C. and less than or equal to 350° C., preferably) is not particularly limited as long as it is after the formation of the first protective insulating layer 107. When this heat treatment also serves as a heat treatment in another step, e.g., a heat treatment in formation of a resin film or a heat treatment for reducing the resistance of a conductive film having a light transmitting property, the number of steps can be prevented from increasing.
Through the above steps, a thin film transistor 170 can be completed.
After that, a second protective insulating layer 131 is formed (see FIG. 9A). The second protective insulating layer 131 is formed using an inorganic insulating film containing no impurities such as moisture, a hydrogen ion, or OH, which prevents intrusion of these from the outside; typically, a silicon nitride film, an aluminum nitride film, a silicon nitride oxide film, an aluminum oxynitride film or the like is used. Needless to say, the second protective insulating layer 131 is an insulating film having a light transmitting property.
Further, the second protective insulating layer 131 is preferably in contact with the gate insulating layer 102 or an insulating film serving as a base which is provided below the second protective insulating layer 131, whereby intrusion of an impurity such as moisture, a hydrogen ion, or OH from a side surface of the substrate is prevented. The above structure is effective particularly when a silicon nitride film is used for the gate insulating layer 102 or the insulating film serving as a base which is in contact with the second protective insulating layer 131.
Next, a fourth photolithography step is performed to form a resist mask. The first protective insulating layer 107, the second protective insulating layer 131, and the gate insulating layer 102 are etched to form a contact hole 125 that reaches the drain electrode layer 105 b. In addition, a contact hole 127 that reaches the second terminal 122 and a contact hole 126 that reaches the first terminal 121 are also formed in the same etching step. A cross-sectional view at this stage is illustrated in FIG. 9B. Note that FIG. 10 is a plan view at this stage and cross-sectional views taken along dotted lines A1-A2 and B1-B2 of which correspond to FIG. 9B. In addition, as illustrated in FIG. 10 , a contact hole 124 that reaches the capacitor electrode 135 is also formed in the same etching step.
Next, the resist mask is removed, and then a conductive film having a light transmitting property is formed. The conductive film having a light transmitting property is formed using indium oxide (In2O3), indium oxide-tin oxide alloy (In2O3—SnO2, abbreviated to ITO), or the like by a sputtering method, a vacuum evaporation method, or the like. An Al—Zn—O-based non-single-crystal film including nitrogen, examples of which are an Al—Zn—O—N-based non-single-crystal film, a Zn—O—N-based non-single-crystal film including nitrogen, and a Sn—Zn—O—N-based non-single-crystal film including nitrogen, may be used as the conductive film. Note that the relative proportion (atomic %) of zinc in an Al—Zn—O—N-based oxide semiconductor film is less than or equal to 47 atomic % and is larger than the relative proportion (atomic %) of aluminum in the oxide semiconductor film. The relative proportion (atomic %) of aluminum in the oxide semiconductor film is larger than the relative proportion (atomic %) of nitrogen in the conductive film having a light transmitting property. Such a material is etched with a hydrochloric acid-based solution. However, since a residue is easily generated particularly in etching ITO, indium oxide-zinc oxide alloy (In2O3—ZnO) may be used to improve etching processability. Further, when a heat treatment for reducing the resistance of the conductive film having a light transmitting property is performed, the heat treatment can serve as a heat treatment for increasing resistance of the oxide semiconductor layer 103, which results in improvement of electric characteristics of the transistor and reduction of variation in the electric characteristics thereof.
Next, a fifth photolithography step is performed to form a resist mask. Then, an unnecessary portion is etched away, so that a pixel electrode layer 110 is formed. Note that the pixel electrode layer 110 is electrically connected to the capacitor electrode 135 through the contact hole which is formed in the first protective insulating layer 107 and the second protective insulating layer 131.
In addition, in the fifth photolithography step, the first terminal 121 and the second terminal 122 are covered with the resist mask, and conductive films 128 and 129 having light transmitting properties are left in the terminal portions. The conductive films 128 and 129 having light transmitting properties serve as an electrode or a wiring connected to an FPC. The conductive film 128 having a light transmitting property which is formed over the first terminal 121 is a connection terminal electrode which functions as an input terminal of the gate wiring. The conductive film 129 having a light transmitting property which is formed over the second terminal 122 is a connection terminal electrode serving as an input terminal of a source wiring.
Then, the resist mask is removed. A cross-sectional view at this stage is illustrated in FIG. 9C. A plan view at this stage is illustrated in FIG. 11 , cross-sectional vies taken along dotted lines A1-A2 and B1-B2 of which correspond to FIG. 9C. Although an example is described in which the pixel electrode layer 110 overlaps with the channel formation region and the gate electrode layer 101 of the thin film transistor 170 to which the pixel electrode layer 110 is electrically connected, the present invention is not particularly limited thereto and the channel formation region of the thin film transistor 170 may overlap with a pixel electrode layer of an adjacent pixel, which is not electrically connected to the channel formation region. When the conductive film having a light transmitting property, which is the pixel electrode layer 110 here, is formed so as to overlap with the channel formation region of the thin film transistor 170, in a bias-temperature stress test (hereinafter, referred to as a BT test) for examining reliability of a thin film transistor, the amount of change in threshold voltage of the thin film transistor 170 between before and after the BT test can be reduced.
FIGS. 12A and 12B are respectively a cross-sectional view and a plan view of a gate wiring terminal portion at this stage. FIG. 12A is a cross-sectional view taken along line E1-E2 of FIG. 12B. In FIG. 12A, a conductive film 155 having a light transmitting property which is formed over a first protective insulating layer 154 and a second protective insulating layer 157 is a connection terminal electrode which functions as an input terminal. Furthermore, in the terminal portion of FIG. 12A, a first terminal 151 formed of the same material as the gate wiring and a connection electrode layer 153 formed of the same material as the source wiring overlap with each other with a gate insulating layer 152 interposed therebetween, and are electrically connected to each other through the conductive film 155 having a light transmitting property. Note that the portion where the conductive film 128 having a light transmitting property is in contact with the first terminal 121 in FIG. 9C corresponds to a portion where the conductive film 155 having a light transmitting property is in contact with the first terminal 151 in FIG. 12A.
FIGS. 12C and 12D are respectively a cross-sectional view and a plan view of a source wiring terminal portion which is different from that illustrated in FIG. 9C. FIG. 12C is a cross-sectional view taken along line F1-F2 of FIG. 12D. In FIG. 12C, the conductive film 155 having a light transmitting property which is formed over the first protective insulating layer 154 and the second protective insulating layer 157 is a connection terminal electrode which functions as an input terminal. Furthermore, in the terminal portion of FIG. 12C, an electrode layer 156 formed of the same material as the gate wiring is located below a second terminal 150 electrically connected to the source wiring and overlaps with the second terminal 150 with the gate insulating layer 152 therebetween. The electrode layer 156 is not electrically connected to the second terminal 150, and a capacitor to prevent noise or static electricity can be formed if the potential of the electrode layer 156 is set to a potential different from that of the second terminal 150, such as floating, GND, or 0 V. Further, the second terminal 150 is electrically connected to the conductive film 155 having a light transmitting property with the first protective insulating layer 154 and the second protective insulating layer 157 therebetween.
A plurality of gate wirings, source wirings, and capacitor wirings are provided depending on the pixel density. Also in the terminal portion, the first terminal at the same potential as the gate wiring, the second terminal at the same potential as the source wiring, a third terminal at the same potential as the capacitor wiring, and the like are each arranged in plurality. The number of each of the terminals may be any number, and the number of the terminals may be determined by a practitioner as appropriate.
Through these five photolithography steps, the storage capacitor and a pixel thin film transistor portion including the thin film transistor 170 of a bottom-gate staggered thin film transistor can be completed using the five photomasks. By disposing the thin film transistor and the storage capacitor in each pixel of a pixel portion in which pixels are arranged in a matrix form, one of substrates for manufacturing an active matrix display device can be obtained. In this specification, such a substrate is referred to as an active matrix substrate for convenience.
In the case of manufacturing an active matrix liquid crystal display device, an active matrix substrate and a counter substrate provided with a counter electrode are bonded to each other with a liquid crystal layer interposed therebetween. Note that a common electrode electrically connected to the counter electrode on the counter substrate is provided over the active matrix substrate, and a fourth terminal electrically connected to the common electrode is provided in the terminal portion. The fourth terminal is provided so that the common electrode is set to a fixed potential such as GND or 0 V.
Alternatively, a structure of a storage capacitor is not limited to that described in this embodiment; for example, instead of providing the capacitor wiring, the pixel electrode layer may overlap with a gate wiring of an adjacent pixel with the protective insulating layer and the gate insulating layer interposed therebetween, so that a storage capacitor is formed.
As a method by which a liquid crystal layer is provided between an active matrix substrate and a counter substrate and sealed, there are a liquid crystal dripping method, a liquid crystal injection method, and the like. FIGS. 13A to 13C illustrate an example of a liquid crystal panel in which a liquid crystal layer is provided between the active matrix substrate and the counter substrate, and an FPC 1924 is attached. In a display panel 1908 of FIG. 13A, a first substrate 1920 for which a pixel electrode layer is provided and a second substrate 1923 facing the first substrate 1920 are attached to each other with a sealant 1922. The sealant 1922 is formed so as to surround a display portion 1921. A liquid crystal layer is provided in a region surrounded by the first substrate 1920, the second substrate 1923, and the sealant 1922. In the display panel 1908 illustrated in FIG. 13A, liquid crystal is sealed by utilizing a liquid crystal dripping method, and attaching the substrates under a reduced pressure. The gap between the pair of substrates is maintained with a spacer; specifically, a spherical spacer, a columnar spacer, a filler in a sealant, or the like. Note that the spacer may be selected as appropriate depending on a liquid crystal mode (a TN mode, a VA mode, an IPS mode, or the like) for driving the display panel 1908. Note that although the second substrate is not always provided with an electrode in an IPS mode, in other liquid crystal modes the second substrate is often provided with a counter electrode; and in such a case, when the pair of substrates is attached, connection for electrically connecting the counter electrode to a terminal electrode provided on the first substrate is also carried out.
FIG. 13B illustrates a structural example of a panel manufactured utilizing a method of sealing liquid crystal which differs from that of FIG. 13A. Note that in FIG. 13B, portions which are the same as those in FIG. 13A are denoted by the same reference numerals as those used in FIG. 13A. In the display panel illustrated in FIG. 13B, liquid crystal is injected through an inlet for injecting liquid crystal which is formed by a first sealant 1925, using a liquid crystal injecting method or the like, and then the inlet for injecting liquid crystal is sealed by a second sealant 1926.
FIG. 13C illustrates a structural example of a panel which differs from that of FIG. 13A. In FIG. 13C, portions which are the same as those in FIG. 13A are denoted by the same reference numerals as those used in FIG. 13A. In a panel in FIG. 13C, a driver IC 1927 for driving a display portion is mounted on the first substrate 1920, so that circuits are integrated.
A desired optical film such as a polarizer, an anti-reflection film, or a color filter may be provided, as appropriate, for the display panels illustrated in FIGS. 13A to 13C, if necessary.
Block diagrams in FIGS. 14A and 14B shows a structure of an active matrix liquid crystal display device which corresponds to FIG. 13C. In FIG. 14A, a structure of a display portion 1301 which is provided over a substrate 1300 and a driving portion 1302 which is connected to the outside of the substrate 1300 is illustrated. The driving portion 1302 includes a signal line driver circuit 1303, a scan line driver circuit 1304, and the like. In the display portion 1301, a plurality of pixels 1305 is provided in matrix.
In FIG. 14A, a scan signal is supplied from the scan line driver circuit 1304 to a scan line 1306 through an external connection terminal 1309. In addition, data is supplied from the signal line driver circuit 1303 to a signal line 1308 through the external connection terminal 1309. A scan signal from the scan line 1306 is supplied in such a manner that the pixels 1305 are sequentially selected from a first row of the scan line 1306.
Note that in this embodiment, the driving portion 1302 is formed outside of the substrate 1300 and can be mounted on an FPC (flexible printed circuit) by a TAB (tape automated bonding) method. Alternatively, the driving portion 1302 can be mounted on the substrate 1300 by a chip on glass (COG) method.
Note that the driving portion 1302 is formed outside of the substrate 1300 and formed using a transistor which uses a single crystal semiconductor in this embodiment. Therefore, advantages such as improvement in driving frequency, low power consumption by a reduction in driving voltage, and suppression of variations in output signals can be obtained in the driving portion 1302. Note also that a signal, voltage, current, or the like is input from the scan line driver circuit 1304 and the signal line driver circuit 1303 through the external connection terminal 1309.
In FIG. 14A, the scan line driver circuit 1304 is connected to n scan lines 1306 G1 to Gn. Considering the case where the minimum image unit is composed of three pixels of R (red), G (green), and B (blue), the signal line driver circuit 1303 is connected to 3·m signal lines in total: m signal lines SR1 to SRm corresponding to R; m signal lines SG1 to SGm corresponding to G, and m signal lines SB1 to SBm corresponding to B. That is, as illustrated in FIG. 14B, each color element is provided with a signal line and data is supplied from the signal line to the pixel corresponding to each color element, so that the pixels 1305 can express a desired color.
A timing chart of FIG. 15 illustrates scan signals for selecting the scan lines 1306 (e.g., G1 and Gn) in the respective row-selection periods (scan period of one row of pixels of the display device) in one frame period, and a data signal of the signal line 1308 (e.g., SR1).
Note that block diagrams in FIGS. 14A and 14B, each pixel is provided with the thin film transistor 170, which is an n-channel transistor. Also in FIG. 15 , description is made on the driving of a pixel in the case of controlling on or off of an n-channel transistor.
In the timing chart of FIG. 15 , a row-selection period is 1/(120×n) second on the assumption that one frame period during which an image of one screen is displayed is set to at least 1/120 second (≈8.3 ms) (more preferably, 1/240 second) so that an afterimage is not visible to an observer and the number of scan lines is set to n. In the case of a display device including 2000 scan lines (considering so-called 4 k2 k images with 4096×2160 pixels, 3840×2160 pixels, or the like), a row-selection period is 1/240000 second (≈4.2 μs) if signal delay or the like due to a wiring is not taken into consideration.
Since the thin film transistor 170 which is arranged in each pixel has a light transmitting property, a high aperture ratio can be realized even when the number of scan lines is increased to, for example, 2000.
In an active matrix liquid crystal display device (for example, a TN type liquid crystal display device), pixel electrode layers arranged in a matrix form are driven to form a display pattern on a screen. Specifically, voltage is applied between a selected pixel electrode layer and a counter electrode corresponding to the pixel electrode layer, and thus, a liquid crystal layer disposed between the pixel electrode layer and the counter electrode is optically modulated. This optical modulation is recognized as a display pattern by a viewer.
In the TN-type liquid crystal display device, liquid crystal is arranged in a twisted state at 90° between the pair of the substrates, and the absorption axis direction of the polarizing element is arranged in approximately parallel or perpendicular to the rubbing direction. In such a TN-type liquid crystal display device, when no voltage is applied to the pixel electrode layer, incident light from a light source such as a backlight becomes linear polarization in a polarizing element on the light source side, and this linear polarization is transmitted along the twist of the liquid crystal layer. In addition, when the transmission axis of the other polarizing element is aligned with an azimuth of the linear polarization, the linear polarization is all emitted to display white (normally white display).
Further, in the case of a full-color liquid crystal display device, a color filter is provided and color display is performed when no voltage is applied to the pixel electrode layer. Alternatively, when a voltage is applied to the pixel electrode layer, incident light from a light source becomes linear polarization in the polarizing element on the light source side, and the direction of a unit vector showing an average orientation direction of a liquid crystal molecule axis included in the liquid crystal layer is the approximately perpendicular to the substrate surface. Therefore, the linear polarization is transmitted without changing of an azimuth thereof on the light source side, and the azimuth is aligned with the absorption axis of the other polarizing element, and black display is obtained.
In this embodiment, an example of the TN-type liquid crystal display device is shown; however, it is not particularly limited, and the present invention can be applied to various modes of liquid crystal display devices. For example, as a method for improving viewing angle characteristics, the present invention can be applied to a lateral electric field method (also referred to as IPS) in which an electric field in the horizontal direction to the main surface of the substrate is applied to the liquid crystal layer. In addition, the present invention can be applied to a method in which a vertical alignment film is used as an alignment film with the use of a nematic liquid crystal material having negative dielectric anisotropy as a liquid crystal material. This method in which the vertical alignment film is used is one of voltage control birefringence (also referred to as ECB) methods, and transmittance is controlled utilizing birefringence of the liquid crystal molecules.
As a method for improving response speed, response speed of the liquid crystal layer may be improved so as to response a moving image with the use of ferroelectric liquid crystal and antiferroelectric liquid crystal.
Alternatively, a liquid crystal exhibiting a blue phase for which an alignment film is unnecessary may be used. A blue phase is one of liquid crystal phases, which appears just before a cholesteric phase changes into an isotropic phase while temperature of cholesteric liquid crystal is increased. Since the blue phase appears within an only narrow range of temperature, a liquid crystal composition containing a chiral agent at greater than or equal to 5 wt % so as to improve the temperature range is used for the liquid crystal layer. The liquid crystal composition which includes a liquid crystal showing a blue phase and a chiral agent has a short response time of less than or equal to 1 msec, has optical isotropy, which makes the alignment process unneeded, and has a small viewing angle dependence.
Further, the present invention can be applied to a transmission-type liquid crystal display device in which an OCB (optical compensate birefringence) mode is employed. The OCB mode improves response speed of a liquid crystal layer by the liquid crystal layer between a pair of substrates being made to be in a state referred to as bend alignment. A pretilt angle of the first alignment film in contact with the liquid crystal layer and a pretilt angle of the second alignment film in contact with the liquid crystal layer are reversed, whereby the bend alignment is made. In this OCB mode, the liquid crystal layer is needed to be transferred from splay alignment that is an initial state to the bend alignment state.
Furthermore, the present invention can be applied to a transmission-type liquid crystal display device in which a vertical alignment mode is employed. In the transmission-type liquid crystal display device in which the vertical alignment mode is employed, one pixel is set to be a plurality of sub-pixels, and a projection portion is provided in an opposite substrate positioned in a center part of each of sub-pixels, whereby orientation division (multi-domain) of one pixel is performed; accordingly, a driving method for achieving a wide viewing angle may be employed. This driving method is referred to as sub-pixel driving.
Since the thin film transistor 170 which is arranged in each pixel has a light transmitting property, a high aperture ratio can be realized even when one pixel is divided into a plurality of sub-pixels for sub-pixel driving in order to realize a wide viewing angle.
In displaying moving images, a liquid crystal display device has a problem in that a long response time of liquid crystal molecules themselves causes afterimages or blurring of moving images. In order to improve the moving-image characteristics of a liquid crystal display device, a driving method called black insertion is employed in which black is displayed on the whole screen every other frame period.
Further, there is another driving method which is so-called double-frame rate driving. In the double-frame rate driving, a vertical synchronizing frequency is set 1.5 times or more, preferably 2 times or more as high as a usual vertical synchronizing frequency, whereby moving image characteristics are improved.
Further alternatively, in order to improve the moving-image characteristics of a liquid crystal display device, a driving method may be employed, in which a plurality of LEDs (light-emitting diodes) or a plurality of EL light sources is used to form a surface light source as a backlight, and each light source of the surface light source is independently driven in a pulsed manner in one frame period. As the surface light source, three or more kinds of LEDs may be used and an LED emitting white light may be used. Since a plurality of LEDs can be controlled independently, the light emission timing of LEDs can be synchronized with the timing at which a liquid crystal layer is optically modulated. According to this driving method, LEDs can be partly turned off; therefore, an effect of reducing power consumption can be obtained particularly in the case of displaying an image having a large part on which black is displayed on one screen.
By combining these driving methods, the display characteristics of a liquid crystal display device, such as moving-image characteristics, can be improved as compared to those of conventional liquid crystal display devices.
The n-channel transistor disclosed in this specification includes an oxide semiconductor film which is used for a channel formation region and has excellent dynamic characteristics; thus, it can be combined with these driving methods.
The use of an oxide semiconductor for a thin film transistor leads to a reduction in manufacturing cost. Since moisture and the like which are impurities are reduced for increasing purity of the oxide semiconductor film by a heat treatment for dehydration or dehydrogenation, it is not necessary to use an ultrapure oxide semiconductor target and a special sputtering apparatus provided with a deposition chamber whose dew point temperature is lowered. Therefore, a semiconductor device including a thin film transistor which has favorable electric characteristics and high reliability can be manufactured.
The channel formation region in the oxide semiconductor layer is a high-resistance region; thus, electric characteristics of the thin film transistor are stabilized and increase in off current or the like can be prevented. Therefore, a semiconductor device including a thin film transistor which has favorable electric characteristics and high reliability can be provided.
This embodiment can be implemented in appropriate combination with the structures described in the other embodiments.
Embodiment 7
An example of a light-emitting display device will be described as a semiconductor device. As a display element included in a display device, a light-emitting element utilizing electroluminescence is described here. Light-emitting elements utilizing electroluminescence are classified according to whether a light-emitting material is an organic compound or an inorganic compound. In general, the former is referred to as an organic EL element, and the latter is referred to as an inorganic EL element.
In the organic EL element, by application of a voltage to a light-emitting element, electrons and holes are separately injected from a pair of electrodes into a layer containing a light-emitting organic compound, and thus current flows. Then, the carriers (electrons and holes) recombine, so that the light-emitting organic compound is excited. The light-emitting organic compound returns to a ground state from the excited state, thereby emitting light. Owing to such a mechanism, this light-emitting element is referred to as a current-excitation light-emitting element.
The inorganic EL elements are classified according to their element structures into a dispersion-type inorganic EL element and a thin-film inorganic EL element. The dispersion-type inorganic EL element has a light-emitting layer where particles of a light-emitting material are dispersed in a binder, and its light emission mechanism is donor-acceptor recombination type light emission which utilizes a donor level and an acceptor level. The thin-film inorganic EL element has a structure where a light-emitting layer is sandwiched between dielectric layers, which are further sandwiched between electrodes, and its light emission mechanism is localized type light emission that utilizes inner-shell electron transition of metal ions. Note that description is made here using an organic EL element as a light-emitting element.
FIG. 16 is a diagram illustrating an example of a pixel structure to which digital time grayscale driving can be applied, as an example of a semiconductor device.
The structure and operation of a pixel which can be driven by a digital time grayscale method will be described. An example is described here in which one pixel includes two n-channel transistors each using an oxide semiconductor layer for a channel formation region.
A pixel 6400 includes a switching transistor 6401, a driving transistor 6402, a light-emitting element 6404, and a capacitor 6403. A gate of the switching transistor 6401 is connected to a scan line 6406, a first electrode (one of a source electrode and a drain electrode) of the switching transistor 6401 is connected to a signal line 6405, and a second electrode (the other of the source electrode and the drain electrode) of the switching transistor 6401 is connected to a gate of the driving transistor 6402. The gate of the driving transistor 6402 is connected to a power source line 6407 through the capacitor 6403, a first electrode of the driving transistor 6402 is connected to the power source line 6407, and a second electrode of the driving transistor 6402 is connected to a first electrode (pixel electrode layer) of the light-emitting element 6404. A second electrode of the light-emitting element 6404 corresponds to a common electrode 6408. The common electrode 6408 is electrically connected to a common potential line provided over the same substrate.
Note that the second electrode (the common electrode 6408) of the light-emitting element 6404 is set to a low power source potential. The low power source potential is lower than a high power source potential which is supplied to the power source line 6407. For example, GND, 0 V, or the like may be set as the low power source potential. The difference between the high power source potential and the low power source potential is applied to the light-emitting element 6404 so that current flows through the light-emitting element 6404, whereby the light-emitting element 6404 emits light. Thus, each potential is set so that the difference between the high power source potential and the low power source potential is greater than or equal to a forward threshold voltage of the light-emitting element 6404.
When the gate capacitance of the driving transistor 6402 is used as a substitute for the capacitor 6403, the capacitor 6403 can be omitted. The gate capacitance of the driving transistor 6402 may be formed between a channel formation region and a gate electrode.
Here, in the case of using a voltage-input voltage-driving method, a video signal is input to the gate of the driving transistor 6402 to make the driving transistor 6402 completely turned on or off. That is, the driving transistor 6402 operates in a linear region, and thus, a voltage higher than the voltage of the power source line 6407 is applied to the gate of the driving transistor 6402. Note that a voltage greater than or equal to “power source line voltage+Vth of the driving transistor 6402” is applied to the signal line 6405.
In the case of using an analog grayscale method instead of the digital time grayscale method, the same pixel structure as in FIG. 16 can be employed by inputting signals in a different way.
In the case of using the analog grayscale driving method, a voltage greater than or equal to “forward voltage of the light-emitting element 6404+Vth of the driving transistor 6402” is applied to the gate of the driving transistor 6402. The forward voltage of the light-emitting element 6404 refers to a voltage to obtain a desired luminance, and includes at least a forward threshold voltage. By inputting a video signal to enable the driving transistor 6402 to operate in a saturation region, current can flow through the light-emitting element 6404. In order that the driving transistor 6402 can operate in the saturation region, the potential of the power source line 6407 is higher than a gate potential of the driving transistor 6402. With the analog video signal, current in accordance with the video signal flows through the light-emitting element 6404, and the analog grayscale driving method can be performed.
Note that the pixel structure is not limited to that illustrated in FIG. 16 . For example, the pixel in FIG. 16 can further include a switch, a resistor, a capacitor, a transistor, a logic circuit, or the like.
Next, structures of the light-emitting element are described with reference to FIGS. 17A to 17C. Here, a cross-sectional structure of a pixel is described by taking an n-channel driving TFT as an example. Driving TFTs 7001, 7011, and 7021 used in semiconductor devices illustrated in FIGS. 17A, 17B, and 17C, respectively, can be formed in a manner similar to that of the thin film transistor described in Embodiment 1 and are highly reliable thin film transistors each including an oxide semiconductor layer. Alternatively, the thin film transistors described in Embodiment 2 or 3 can be used as the driving TFTs 7001, 7011, and 7021.
In order to extract light emitted from the light-emitting element, at least one of an anode and a cathode is required to transmit light. A thin film transistor and a light-emitting element are formed over a substrate. A light-emitting element can have a top emission structure in which light is extracted through the surface opposite to the substrate, a bottom emission structure in which light is extracted through the surface on the substrate side, or a dual emission structure in which light is extracted through the surface opposite to the substrate and the surface on the substrate side. The pixel structure can be applied to a light-emitting element having any of these emission structures.
A light-emitting element having a top emission structure is described with reference to FIG. 17A.
FIG. 17A is a cross-sectional view of a pixel in the case where the driving TFT 7001 is an n-type TFT and light is emitted from a light-emitting element 7002 to an anode 7005 side. In FIG. 17A, a cathode 7003 of the light-emitting element 7002 is electrically connected to the driving TFT 7001, and a light-emitting layer 7004 and the anode 7005 are stacked in this order over the cathode 7003. Further, the driving TFT 7001 is covered with a protective insulating layer 7006 which is a silicon nitride film, an aluminum nitride film or the like and further covered with a planarization insulating film 7007. The cathode 7003 can be formed using a variety of conductive materials as long as they have a low work function and reflect light. For example, Ca, Al, MgAg, AlLi, or the like is preferably used. The light-emitting layer 7004 may be formed using a single layer or a plurality of layers stacked. When the light-emitting layer 7004 is formed using a plurality of layers, the light-emitting layer 7004 is formed by stacking an electron-injection layer, an electron-transport layer, a light-emitting layer, a hole-transport layer, and a hole-injection layer in this order over the cathode 7003. However, it is not necessary to form all of these layers. The anode 7005 is formed using a conductive film having a light transmitting property such as a film of indium oxide containing tungsten oxide, indium zinc oxide containing tungsten oxide, indium oxide containing titanium oxide, indium tin oxide containing titanium oxide, indium tin oxide (hereinafter referred to as ITO), indium zinc oxide, or indium tin oxide to which silicon oxide is added.
The cathode 7003 is insulated from a cathode 7008 of an adjacent pixel by a partition wall 7009. The cathode 7008 of the adjacent pixel overlaps with an oxide semiconductor layer and a gate insulating layer of the driving TFT 7001. In the case where a bias-temperature stress test (hereinafter, referred to as a BT test) for examining reliability of a thin film transistor is carried out, by forming the cathode 7008 of the adjacent pixel which overlaps with a channel formation region of the driving TFT 7001, the amount of change in threshold voltage of the driving TFT 7001 between before and after the BT test can be reduced.
A region where the light-emitting layer 7004 is sandwiched between the cathode 7003 and the anode 7005 corresponds to the light-emitting element 7002. In the case of the pixel illustrated in FIG. 17A, light is emitted from the light-emitting element 7002 to the anode 7005 side as indicated by arrows.
Next, a light-emitting element having a bottom emission structure is described with reference to FIG. 17B. FIG. 17B is a cross-sectional view of a pixel in the case where the driving TFT 7011 is an n-type TFT and light is emitted from a light-emitting element 7012 to a cathode 7013 side. In FIG. 17B, the cathode 7013 of the light-emitting element 7012 is formed over a conductive film 7017 having a light transmitting property which is electrically connected to the driving TFT 7011, and a light-emitting layer 7014 and an anode 7015 are stacked in this order over the cathode 7013. A light-blocking film 7016 for reflecting or blocking light may be formed so as to cover the anode 7015 when the anode 7015 has a light transmitting property. For the cathode 7013, various materials can be used as in the case of FIG. 17A as long as the cathode 7013 is formed using a conductive material having a low work function. The cathode 7013 is formed to have a thickness that enables transmission of light (preferably, approximately 5 nm to 30 nm). For example, an aluminum film with a thickness of 20 nm can be used as the cathode 7013. Similar to the case of FIG. 17A, the light-emitting layer 7014 may be formed using either a single layer or a plurality of layers stacked. The anode 7015 is not required to transmit light, but can be formed using a conductive material having a light transmitting property as in the case of FIG. 17A. As the light-blocking film 7016, a metal or the like that reflects light can be used, for example; however, it is not limited to a metal film. For example, a resin or the like to which black pigments are added can also be used.
The cathode 7013 is insulated from a cathode 7018 of an adjacent pixel by a partition wall 7019. The cathode 7018 of the adjacent pixel overlaps with an oxide semiconductor layer and a gate insulating layer of the driving TFT 7011. In the case where a bias-temperature stress test (hereinafter, referred to as a BT test) for examining reliability of a thin film transistor is carried out, by forming the cathode 7018 of the adjacent pixel which overlaps with a channel formation region of the driving TFT 7011, the amount of change in threshold voltage of the driving TFT 7011 between before and after the BT test can be reduced.
A region where the light-emitting layer 7014 is sandwiched between the cathode 7013 and the anode 7015 corresponds to the light-emitting element 7012. In the case of the pixel illustrated in FIG. 17B, light is emitted from the light-emitting element 7012 to the cathode 7013 side as indicated by an arrow.
Further, since the driving TFT 7011 has a light transmitting property, light emitted from a light-emitting element of the pixel adjacent to the light-emitting element 7012 is emitted to the cathode 7013 side through the driving TFT 7011 as indicated by an arrow.
Next, a light-emitting element having a dual emission structure is described with reference to FIG. 17C. In FIG. 17C, a cathode 7023 of a light-emitting element 7022 is formed over a conductive film 7027 having a light transmitting property which is electrically connected to the driving TFT 7021, and a light-emitting layer 7024 and an anode 7025 are stacked in this order over the cathode 7023. As in the case of FIG. 17A, the cathode 7023 can be formed using any of a variety of materials as long as the cathode 7023 is formed using a conductive material having a low work function. The cathode 7023 is formed to have a thickness that enables transmission of light. For example, an Al film having a thickness of 20 nm can be used as the cathode 7023. The light-emitting layer 7024 may be formed using a single layer or a plurality of layers stacked as in the case of FIG. 17A. As in the case of FIG. 17A, the anode 7025 can be formed using a conductive material having a light transmitting property.
The cathode 7023 is insulated from a cathode 7028 of an adjacent pixel by a partition wall 7029. The cathode 7028 of the adjacent pixel overlaps with an oxide semiconductor layer and a gate insulating layer of the driving TFT 7021. In the case where a bias-temperature stress test (hereinafter, referred to as a BT test) for examining reliability of a thin film transistor is carried out, by forming the cathode 7028 of the adjacent pixel which overlaps with a channel formation region of the driving TFT 7021, the amount of change in threshold voltage of the driving TFT 7021 between before and after the BT test can be reduced.
A region where the cathode 7023, the light-emitting layer 7024, and the anode 7025 overlap with one another corresponds to the light-emitting element 7022. In the case of the pixel illustrated in FIG. 17C, light is emitted from the light-emitting element 7022 to both the anode 7025 side and the cathode 7023 side as indicated by arrows.
Further, since the driving TFT 7021 has a light transmitting property, light emitted from a light-emitting element of the pixel adjacent to the light-emitting element 7022 is emitted to a cathode 7023 side through the driving TFT 7021 as indicated by an arrow.
Although an example in which the cathode which is a pixel electrode layer overlaps with the channel formation region of the TFT of the adjacent pixel is described in this embodiment, the present invention is not particularly limited to this example, and a structure in which the cathode overlaps with the channel formation region of the TFT to which the cathode is electrically connected may be employed.
Although an organic EL element is described here as a light-emitting element, an inorganic EL element can also be provided as a light-emitting element.
Note that the example is described in which a thin film transistor (a driving TFT) which controls the driving of a light-emitting element is electrically connected to the light-emitting element; however, a structure may be employed in which a TFT for current control is connected between the driving TFT and the light-emitting element.
Note that the structure of the semiconductor device is not limited to those illustrated in FIGS. 17A to 17C and can be modified in various ways based on techniques disclosed in this specification.
Through the above steps, a highly reliable light-emitting display device (display panel) can be manufactured as a semiconductor device.
This embodiment can be implemented in appropriate combination with the structures described in the other embodiments.
Embodiment 8
A semiconductor device which has a thin film transistor manufactured by the process described in any of Embodiments 1 to 7 disclosed in this specification can be applied to a variety of electronic appliances (including amusement machines). Examples of electronic appliances include a television set (also referred to as a television or a television receiver), a monitor of a computer or the like, a camera such as a digital camera or a digital video camera, a digital photo frame, a mobile phone set (also referred to as a mobile phone or a mobile phone device), a portable game console, a portable information terminal, an audio reproducing device, a large-sized game machine such as a pachinko machine, and the like.
FIG. 18A illustrates an example of a mobile phone 1000. The mobile phone 1000 includes a display portion 1002 incorporated in a housing 1001, operation buttons 1003, an external connection port 1004, a speaker 1005, a microphone 1006 and the like.
When the display portion 1002 of the mobile phone 1000 illustrated in FIG. 18A is touched with a finger or the like, data can be input into the mobile phone 1000. Furthermore, operations such as making calls and composing mails can be performed by touching the display portion 1002 with a finger or the like.
There are mainly three screen modes of the display portion 1002. The first mode is a display mode mainly for displaying images. The second mode is an input mode mainly for inputting data such as text. The third mode is a display-and-input mode in which two modes of the display mode and the input mode are combined.
For example, in a case of making a call or composing a mail, a text input mode mainly for inputting text is selected for the display portion 1002 so that text displayed on a screen can be input. In that case, it is preferable to display a keyboard or number buttons on almost all area of the screen of the display portion 1002.
When a detection device including a sensor for detecting inclination, such as a gyroscope or an acceleration sensor, is provided inside the mobile phone 1000, display on the screen of the display portion 1002 can be automatically switched by determining the installation direction of the mobile phone 1000 (whether the mobile phone 1000 is placed horizontally or vertically for a landscape mode or a portrait mode).
The screen modes are switched by touching the display portion 1002 or operating the operation buttons 1003 of the housing 1001. Alternatively, the screen modes can be switched depending on the kind of the image displayed on the display portion 1002. For example, when a signal of an image displayed on the display portion is a signal of moving image data, the screen mode is switched to the display mode. When the signal is a signal of text data, the screen mode is switched to the input mode.
Further, in the input mode, when input by touching the display portion 1002 is not performed for a certain period while a signal detected by the optical sensor in the display portion 1002 is detected, the screen mode may be controlled so as to be switched from the input mode to the display mode.
The display portion 1002 can function as an image sensor. For example, an image of a palm print, a fingerprint, or the like is taken when the display portion 1002 is touched with a palm or a finger, whereby personal identification can be performed. Further, by providing a backlight which emits near-infrared light or a sensing light source which emits near-infrared light for the display portion, an image of a finger vein, a palm vein, or the like can be taken.
A plurality of thin film transistors which is described in Embodiment 1 is arranged in the display portion 1002. Since the thin film transistors and wirings have light transmitting properties, they do not block incident light in the case of providing an optical sensor for the display portion 1002 and thus are effective. In addition, also in the case of providing a backlight which emits near-infrared light or a sensing light source which emits near-infrared light for the display portion, the thin film transistors and the wirings do not block light and thus are effective.
FIG. 18B also illustrates an example of a mobile phone. A portable information terminal whose example is illustrated in FIG. 18B can have a plurality of functions. For example, in addition to a telephone function, such a portable information terminal can have a function of processing a variety of pieces of data by incorporating a computer.
The portable information terminal illustrated in FIG. 18B has a housing 1800 and a housing 1801. The housing 1800 includes a display panel 1802, a speaker 1803, a microphone 1804, a pointing device 1806, a camera lens 1807, an external connection terminal 1808, and the like. The housing 1801 includes a keyboard 1810, an external memory slot 1811, and the like. In addition, an antenna is incorporated in the housing 1801.
The display panel 1802 is provided with a touch panel. A plurality of operation keys 1805 which is displayed as images is illustrated by dashed lines in FIG. 18B.
Further, in addition to the above structure, a contactless IC chip, a small memory device, or the like may be incorporated.
The display device of the present invention can be used for the display panel 1802 and the direction of display is changed appropriately depending on an application mode. Further, the display device is provided with the camera lens 1807 on the same surface as the display panel 1802, and thus it can be used as a video phone. The speaker 1803 and the microphone 1804 can be used for videophone calls, recording, and playing sound, etc. as well as voice calls. Moreover, the housings 1800 and 1801 in a state where they are developed as illustrated in FIG. 18B can shift so that one is lapped over the other by sliding; therefore, the size of the portable information terminal can be reduced, which makes the portable information terminal suitable for being carried.
The external connection terminal 1808 can be connected to an AC adapter and various types of cables such as a USB cable, and charging and data communication with a personal computer are possible. Moreover, a storage medium can be inserted into the external memory slot 1811 so that a large amount of data can be stored and can be moved.
Further, in addition to the above functions, an infrared communication function, a television reception function, or the like may be provided.
FIG. 19A illustrates an example of a television set 9600. In the television set 9600, a display portion 9603 is incorporated in a housing 9601. Images can be displayed on the display portion 9603. Here, the housing 9601 is supported by a stand 9605.
The television set 9600 can be operated with an operation switch of the housing 9601 or a separate remote controller 9610. Channels and volume can be controlled with an operation key 9609 of the remote controller 9610 so that an image displayed on the display portion 9603 can be controlled. Furthermore, the remote controller 9610 may be provided with a display portion 9607 for displaying data output from the remote controller 9610.
Note that the television set 9600 is provided with a receiver, a modem, and the like. With the receiver, a general television broadcast can be received. Furthermore, when the television set 9600 is connected to a communication network by wired or wireless connection via the modem, one-way (from a transmitter to a receiver) or two-way (between a transmitter and a receiver, between receivers, or the like) data communication can be performed.
Since a plurality of thin film transistors having light transmitting properties which are described in Embodiment 1 is arranged in the display portion 9603, an aperture ratio can be high also in the case of realizing an image with high definition by increasing the number of scan lines, for example, to 2000 (considering so-called 4 k2 k images with 4096×2160 pixels, 3840×2160 pixels, or the like). However, when the size of the display portion 9603 is 60 inches, 120 inches, or the like, which exceeds 10 inches, there is a concern that the wiring resistance of a wiring having a light transmitting property becomes problematic; therefore, a scan line or source line is preferably provided with a low-resistance metal wiring as an auxiliary wiring.
FIG. 19B illustrates an example of a digital photo frame 9700. For example, in the digital photo frame 9700, a display portion 9703 is incorporated in a housing 9701. Various images can be displayed on the display portion 9703. For example, the display portion 9703 can display data of an image shot by a digital camera or the like to function as a normal photo frame.
Note that the digital photo frame 9700 is provided with an operation portion, an external connection terminal (a USB terminal, a terminal that can be connected to various cables such as a USB cable, or the like), a recording medium insertion portion, and the like. Although they may be provided on the same surface as the display portion, it is preferable to provide them on the side surface or the back surface for the design of the digital photo frame 9700. For example, a memory storing data of an image shot by a digital camera is inserted into the recording medium insertion portion of the digital photo frame, whereby the image data can be transferred and displayed on the display portion 9703.
The digital photo frame 9700 may have a configuration capable of wirelessly transmitting and receiving data. Through wireless communication, desired image data can be transferred to be displayed.
FIG. 20 illustrates a portable amusement machine including two housings: a housing 9881 and a housing 9891. The housings 9881 and 9891 are connected with a connection portion 9893 so as to be opened and closed. A display portion 9882 and a display portion 9883 are incorporated in the housing 9881 and the housing 9891, respectively. In addition, the portable amusement machine illustrated in FIG. 20 includes a speaker portion 9884, a recording medium insertion portion 9886, an LED lamp 9890, an input means (an operation key 9885, a connection terminal 9887, a sensor 9888 (a sensor having a function of measuring force, displacement, position, speed, acceleration, angular velocity, rotational frequency, distance, light, liquid, magnetism, temperature, chemical substance, sound, time, hardness, electric field, current, voltage, electric power, radiation, flow rate, humidity, gradient, oscillation, odor, or infrared rays), or a microphone 9889), and the like. It is needless to say that the structure of the portable amusement machine is not limited to the above and other structures provided with at least a semiconductor device disclosed in this specification can be employed. The portable amusement machine may include other accessory equipment as appropriate. The portable amusement machine illustrated in FIG. 20 has a function of reading a program or data stored in a recording medium to display it on the display portion, and a function of sharing information with another portable amusement machine by wireless communication. The portable amusement machine illustrated in FIG. 20 can have various functions without limitation to the above.
As described above, the thin film transistor having a light transmitting property can be arranged in a display portion or a display panel of a variety of electronic appliances such as the above ones. A highly reliable electronic appliance having a display portion with a high aperture ratio can be provided by using the thin film transistor having a light transmitting property as a switching element of the display panel.
This embodiment can be implemented in appropriate combination with the structures described in the other embodiments.
This application is based on Japanese Patent Application serial no. 2009-164265 filed with Japan Patent Office on Jul. 10, 2009, the entire contents of which are hereby incorporated by reference.

Claims (9)

The invention claimed is:
1. A semiconductor device comprising:
a substrate;
a base film having a stacked-layer structure, the base film being provided over the substrate;
a first conductive layer over the base film;
a first insulating layer over the first conductive layer;
a second conductive layer, a third conductive layer, and an oxide semiconductor layer over and in contact with the first insulating layer; and
a second insulating layer over the oxide semiconductor layer,
wherein the base film comprises a silicon oxide film and a silicon nitride film,
wherein, in a cross-sectional view, a length of the first conductive layer is larger than a length of the oxide semiconductor layer,
wherein a part of the oxide semiconductor layer is provided over a top surface of the second conductive layer,
wherein the first conductive layer comprises a region functioning as a gate electrode of a transistor,
wherein the second conductive layer comprises a region functioning as one of a source electrode and a drain electrode of the transistor,
wherein the third conductive layer comprises a region functioning as the other of the source electrode and the drain electrode of the transistor,
wherein, in a top view, the second conductive layer comprises a first region extending in a first direction and a second region extending in a second direction perpendicular to the first direction,
wherein the second region comprises a third region overlapping with the first conductive layer without the oxide semiconductor layer provided therebetween and a fourth region overlapping with the first conductive layer with the oxide semiconductor layer provided therebetween, and
wherein, in the top view, the oxide semiconductor layer extends beyond a first side surface of the fourth region and a second side surface of the fourth region opposite of the first side surface.
2. A semiconductor device comprising:
a substrate;
a base film having a stacked-layer structure, the base film being provided over the substrate;
a first conductive layer over the base film;
a first insulating layer over the first conductive layer;
a second conductive layer, a third conductive layer, and an oxide semiconductor layer over and in contact with the first insulating layer; and
a second insulating layer over the oxide semiconductor layer,
wherein the oxide semiconductor layer is in contact with a top surface and a side surface of the second conductive layer and in contact with a top surface and a side surface of the third conductive layer,
wherein the base film comprises a silicon oxide film and a silicon nitride film,
wherein, in a cross-sectional view, a length of the first conductive layer is larger than a length of the oxide semiconductor layer,
wherein the first conductive layer comprises a region functioning as a gate electrode of a transistor,
wherein the second conductive layer comprises a region functioning as one of a source electrode and a drain electrode of the transistor,
wherein the third conductive layer comprises a region functioning as the other of the source electrode and the drain electrode of the transistor,
wherein, in a top view, the second conductive layer comprises a first region extending in a first direction and a second region extending in a second direction perpendicular to the first direction,
wherein the second region comprises a third region overlapping with the first conductive layer without the oxide semiconductor layer provided therebetween and a fourth region overlapping with the first conductive layer with the oxide semiconductor layer provided therebetween, and
wherein, in the top view, the oxide semiconductor layer extends beyond a first side surface of the second conductive layer and a second side surface of the second conductive layer opposite of the first side surface.
3. A semiconductor device comprising:
a substrate;
a base film having a stacked-layer structure, the base film being provided over the substrate;
a first conductive layer over the base film;
a first insulating layer over the first conductive layer;
a second conductive layer, a third conductive layer, and an oxide semiconductor layer over and in contact with the first insulating layer; and
a second insulating layer over the oxide semiconductor layer,
wherein the oxide semiconductor layer is in contact with a top surface and a side surface of the second conductive layer and in contact with a top surface and a side surface of the third conductive layer,
wherein the oxide semiconductor layer comprises indium, gallium, and zinc,
wherein the oxide semiconductor layer comprises a plurality of nanocrystals,
wherein the base film comprises a silicon oxide film and a silicon nitride film,
wherein, in a cross-sectional view, a length of the first conductive layer is larger than a length of the oxide semiconductor layer,
wherein a thickness of the oxide semiconductor layer is less than or equal to 50 nm,
wherein the first conductive layer comprises a region functioning as a gate electrode of a transistor,
wherein the second conductive layer comprises a region functioning as one of a source electrode and a drain electrode of the transistor,
wherein the third conductive layer comprises a region functioning as the other of the source electrode and the drain electrode of the transistor,
wherein, in a top view, the second conductive layer comprises a first region extending in a first direction and a second region extending in a second direction perpendicular to the first direction,
wherein the second region comprises a third region overlapping with the first conductive layer without the oxide semiconductor layer provided therebetween and a fourth region overlapping with the first conductive layer with the oxide semiconductor layer provided therebetween, and
wherein, in the top view, a distance between a first side surface of the oxide semiconductor layer and a second side surface of the oxide semiconductor layer in the first direction is larger than a distance between a first side surface of the second conductive layer and a second side surface of the second conductive layer in the first direction.
4. The semiconductor device according to claim 1, wherein the oxide semiconductor layer overlaps with the first conductive layer with the second conductive layer provided therebetween.
5. The semiconductor device according to claim 2, wherein the oxide semiconductor layer overlaps with the first conductive layer with the second conductive layer provided therebetween.
6. The semiconductor device according to claim 3, wherein the oxide semiconductor layer overlaps with the first conductive layer with the second conductive layer provided therebetween.
7. The semiconductor device according to claim 1,
wherein the oxide semiconductor layer is formed with a target comprising In:Ga:Zn=1:1:1,
wherein the oxide semiconductor layer comprises a channel formation region of the transistor, and
wherein a thickness of the channel formation region is less than or equal to 30 nm.
8. The semiconductor device according to claim 2,
wherein the oxide semiconductor layer is formed with a target comprising In:Ga:Zn=1:1:1,
wherein the oxide semiconductor layer comprises a channel formation region of the transistor, and
wherein a thickness of the channel formation region is less than or equal to 30 nm.
9. The semiconductor device according to claim 3,
wherein the oxide semiconductor layer is formed with a target comprising In:Ga:Zn=1:1:1,
wherein the oxide semiconductor layer comprises a channel formation region of the transistor, and
wherein a thickness of the channel formation region is less than or equal to 30 nm.
US17/742,432 2009-07-10 2022-05-12 Semiconductor device and method for manufacturing the same Active 2030-09-23 US12057453B2 (en)

Priority Applications (1)

Application Number Priority Date Filing Date Title
US17/742,432 US12057453B2 (en) 2009-07-10 2022-05-12 Semiconductor device and method for manufacturing the same

Applications Claiming Priority (13)

Application Number Priority Date Filing Date Title
JP2009164265 2009-07-10
JP2009-164265 2009-07-10
US12/832,334 US8324027B2 (en) 2009-07-10 2010-07-08 Semiconductor device and method for manufacturing the same
US13/658,201 US8441011B2 (en) 2009-07-10 2012-10-23 Semiconductor device and method for manufacturing the same
US13/856,590 US8835920B2 (en) 2009-07-10 2013-04-04 Semiconductor device and method for manufacturing the same
US14/486,187 US9054138B2 (en) 2009-07-10 2014-09-15 Semiconductor device and method for manufacturing the same
US14/730,259 US9490277B2 (en) 2009-07-10 2015-06-04 Semiconductor device and method for manufacturing the same
US15/342,373 US9754974B2 (en) 2009-07-10 2016-11-03 Semiconductor device and method for manufacturing the same
US15/695,162 US10157936B2 (en) 2009-07-10 2017-09-05 Semiconductor device and method for manufacturing the same
US16/191,952 US10522568B2 (en) 2009-07-10 2018-11-15 Semiconductor device and method for manufacturing the same
US16/674,161 US10916566B2 (en) 2009-07-10 2019-11-05 Semiconductor device and method for manufacturing the same
US17/123,321 US11374029B2 (en) 2009-07-10 2020-12-16 Semiconductor device and method for manufacturing the same
US17/742,432 US12057453B2 (en) 2009-07-10 2022-05-12 Semiconductor device and method for manufacturing the same

Related Parent Applications (1)

Application Number Title Priority Date Filing Date
US17/123,321 Continuation US11374029B2 (en) 2009-07-10 2020-12-16 Semiconductor device and method for manufacturing the same

Publications (2)

Publication Number Publication Date
US20220278136A1 US20220278136A1 (en) 2022-09-01
US12057453B2 true US12057453B2 (en) 2024-08-06

Family

ID=43426798

Family Applications (11)

Application Number Title Priority Date Filing Date
US12/832,334 Expired - Fee Related US8324027B2 (en) 2009-07-10 2010-07-08 Semiconductor device and method for manufacturing the same
US13/658,201 Active US8441011B2 (en) 2009-07-10 2012-10-23 Semiconductor device and method for manufacturing the same
US13/856,590 Active US8835920B2 (en) 2009-07-10 2013-04-04 Semiconductor device and method for manufacturing the same
US14/486,187 Active US9054138B2 (en) 2009-07-10 2014-09-15 Semiconductor device and method for manufacturing the same
US14/730,259 Active US9490277B2 (en) 2009-07-10 2015-06-04 Semiconductor device and method for manufacturing the same
US15/342,373 Active US9754974B2 (en) 2009-07-10 2016-11-03 Semiconductor device and method for manufacturing the same
US15/695,162 Active US10157936B2 (en) 2009-07-10 2017-09-05 Semiconductor device and method for manufacturing the same
US16/191,952 Active US10522568B2 (en) 2009-07-10 2018-11-15 Semiconductor device and method for manufacturing the same
US16/674,161 Active US10916566B2 (en) 2009-07-10 2019-11-05 Semiconductor device and method for manufacturing the same
US17/123,321 Active US11374029B2 (en) 2009-07-10 2020-12-16 Semiconductor device and method for manufacturing the same
US17/742,432 Active 2030-09-23 US12057453B2 (en) 2009-07-10 2022-05-12 Semiconductor device and method for manufacturing the same

Family Applications Before (10)

Application Number Title Priority Date Filing Date
US12/832,334 Expired - Fee Related US8324027B2 (en) 2009-07-10 2010-07-08 Semiconductor device and method for manufacturing the same
US13/658,201 Active US8441011B2 (en) 2009-07-10 2012-10-23 Semiconductor device and method for manufacturing the same
US13/856,590 Active US8835920B2 (en) 2009-07-10 2013-04-04 Semiconductor device and method for manufacturing the same
US14/486,187 Active US9054138B2 (en) 2009-07-10 2014-09-15 Semiconductor device and method for manufacturing the same
US14/730,259 Active US9490277B2 (en) 2009-07-10 2015-06-04 Semiconductor device and method for manufacturing the same
US15/342,373 Active US9754974B2 (en) 2009-07-10 2016-11-03 Semiconductor device and method for manufacturing the same
US15/695,162 Active US10157936B2 (en) 2009-07-10 2017-09-05 Semiconductor device and method for manufacturing the same
US16/191,952 Active US10522568B2 (en) 2009-07-10 2018-11-15 Semiconductor device and method for manufacturing the same
US16/674,161 Active US10916566B2 (en) 2009-07-10 2019-11-05 Semiconductor device and method for manufacturing the same
US17/123,321 Active US11374029B2 (en) 2009-07-10 2020-12-16 Semiconductor device and method for manufacturing the same

Country Status (5)

Country Link
US (11) US8324027B2 (en)
JP (9) JP5681401B2 (en)
KR (10) KR101422362B1 (en)
TW (8) TWI679706B (en)
WO (1) WO2011004755A1 (en)

Cited By (1)

* Cited by examiner, † Cited by third party
Publication number Priority date Publication date Assignee Title
US12376335B2 (en) 2011-10-19 2025-07-29 Semiconductor Energy Laboratory Co., Ltd. Semiconductor device and manufacturing method thereof

Families Citing this family (77)

* Cited by examiner, † Cited by third party
Publication number Priority date Publication date Assignee Title
KR101944656B1 (en) * 2009-06-30 2019-04-17 가부시키가이샤 한도오따이 에네루기 켄큐쇼 Method for manufacturing semiconductor device
KR101903930B1 (en) 2009-06-30 2018-10-02 가부시키가이샤 한도오따이 에네루기 켄큐쇼 Method for manufacturing semiconductor device
WO2011002046A1 (en) 2009-06-30 2011-01-06 Semiconductor Energy Laboratory Co., Ltd. Method for manufacturing semiconductor device
KR101422362B1 (en) 2009-07-10 2014-07-22 가부시키가이샤 한도오따이 에네루기 켄큐쇼 Display device, display panel and electronic appliance
KR101739154B1 (en) * 2009-07-17 2017-05-23 가부시키가이샤 한도오따이 에네루기 켄큐쇼 Semiconductor device and manufacturing method thereof
WO2011007677A1 (en) 2009-07-17 2011-01-20 Semiconductor Energy Laboratory Co., Ltd. Semiconductor device and method for manufacturing the same
WO2011010542A1 (en) 2009-07-23 2011-01-27 Semiconductor Energy Laboratory Co., Ltd. Semiconductor device and method for manufacturing the same
WO2011027656A1 (en) * 2009-09-04 2011-03-10 Semiconductor Energy Laboratory Co., Ltd. Transistor and display device
CN107195328B (en) 2009-10-09 2020-11-10 株式会社半导体能源研究所 Shift register, display device and method of driving the same
WO2011043164A1 (en) 2009-10-09 2011-04-14 Semiconductor Energy Laboratory Co., Ltd. Semiconductor device and method for manufacturing the semiconductor device
WO2011048925A1 (en) * 2009-10-21 2011-04-28 Semiconductor Energy Laboratory Co., Ltd. Method for manufacturing semiconductor device
WO2011055668A1 (en) * 2009-11-06 2011-05-12 Semiconductor Energy Laboratory Co., Ltd. Semiconductor device
KR102066532B1 (en) * 2009-11-06 2020-01-15 가부시키가이샤 한도오따이 에네루기 켄큐쇼 Semiconductor device
CN103151266B (en) 2009-11-20 2016-08-03 株式会社半导体能源研究所 The method being used for producing the semiconductor devices
KR20190093705A (en) 2009-11-27 2019-08-09 가부시키가이샤 한도오따이 에네루기 켄큐쇼 Semiconductor device and method for manufacturing the same
JP6126775B2 (en) 2010-06-25 2017-05-10 株式会社半導体エネルギー研究所 Display device
US8835917B2 (en) 2010-09-13 2014-09-16 Semiconductor Energy Laboratory Co., Ltd. Semiconductor device, power diode, and rectifier
US8569754B2 (en) 2010-11-05 2013-10-29 Semiconductor Energy Laboratory Co., Ltd. Semiconductor device and manufacturing method thereof
KR101731047B1 (en) * 2010-12-01 2017-05-12 삼성디스플레이 주식회사 Ir sensing transistor and manufacturing method of display device including thesame
WO2012087065A2 (en) * 2010-12-24 2012-06-28 성균관대학교산학협력단 Touch sensor using graphin for simultaneously detecting pressure and position
US9799773B2 (en) * 2011-02-02 2017-10-24 Semiconductor Energy Laboratory Co., Ltd. Transistor and semiconductor device
JP5616252B2 (en) * 2011-02-23 2014-10-29 太平洋セメント株式会社 Sputtering target and manufacturing method thereof
WO2012117439A1 (en) * 2011-02-28 2012-09-07 パナソニック株式会社 Thin-film semiconductor device and manufacturing method therefor
TWI541904B (en) 2011-03-11 2016-07-11 半導體能源研究所股份有限公司 Semiconductor device manufacturing method
KR101781532B1 (en) * 2011-03-14 2017-10-24 삼성디스플레이 주식회사 An organic light emitting display device and the manufacturing method thereof
US9082860B2 (en) * 2011-03-31 2015-07-14 Semiconductor Energy Laboratory Co., Ltd. Semiconductor device
TWI605590B (en) 2011-09-29 2017-11-11 半導體能源研究所股份有限公司 Semiconductor device and method of manufacturing same
WO2013061895A1 (en) * 2011-10-28 2013-05-02 Semiconductor Energy Laboratory Co., Ltd. Semiconductor device and manufacturing method thereof
US8829528B2 (en) * 2011-11-25 2014-09-09 Semiconductor Energy Laboratory Co., Ltd. Semiconductor device including groove portion extending beyond pixel electrode
KR20250175003A (en) 2012-07-20 2025-12-15 가부시키가이샤 한도오따이 에네루기 켄큐쇼 Display device
KR102004398B1 (en) 2012-07-24 2019-07-29 삼성디스플레이 주식회사 Display device and method of manufacturing the same
JP2014042004A (en) * 2012-07-26 2014-03-06 Semiconductor Energy Lab Co Ltd Semiconductor device and manufacturing method of the same
CN104508549B (en) 2012-08-03 2018-02-06 株式会社半导体能源研究所 Semiconductor device
DE102013216824B4 (en) 2012-08-28 2024-10-17 Semiconductor Energy Laboratory Co., Ltd. semiconductor device
TWI575663B (en) 2012-08-31 2017-03-21 半導體能源研究所股份有限公司 Semiconductor device
KR102400509B1 (en) 2012-09-13 2022-05-20 가부시키가이샤 한도오따이 에네루기 켄큐쇼 Display device
TWI467301B (en) * 2012-10-24 2015-01-01 友達光電股份有限公司 Display panel
KR102209871B1 (en) 2012-12-25 2021-02-01 가부시키가이샤 한도오따이 에네루기 켄큐쇼 Semiconductor device
KR102241249B1 (en) 2012-12-25 2021-04-15 가부시키가이샤 한도오따이 에네루기 켄큐쇼 Resistor, display device, and electronic device
US9905585B2 (en) 2012-12-25 2018-02-27 Semiconductor Energy Laboratory Co., Ltd. Semiconductor device comprising capacitor
US9915848B2 (en) 2013-04-19 2018-03-13 Semiconductor Energy Laboratory Co., Ltd. Display device and electronic device
US9231002B2 (en) 2013-05-03 2016-01-05 Semiconductor Energy Laboratory Co., Ltd. Display device and electronic device
US9704894B2 (en) 2013-05-10 2017-07-11 Semiconductor Energy Laboratory Co., Ltd. Display device including pixel electrode including oxide
TW202535182A (en) 2013-05-16 2025-09-01 日商半導體能源研究所股份有限公司 Semiconductor device
KR102264971B1 (en) * 2013-05-20 2021-06-16 가부시키가이샤 한도오따이 에네루기 켄큐쇼 Semiconductor device
TWI687748B (en) 2013-06-05 2020-03-11 日商半導體能源研究所股份有限公司 Display device and electronic device
KR102100880B1 (en) * 2013-06-26 2020-04-14 엘지디스플레이 주식회사 Organic Light Emitting Diode Display Device
KR102244553B1 (en) 2013-08-23 2021-04-23 가부시키가이샤 한도오따이 에네루기 켄큐쇼 Capacitor and semiconductor device
JP6086150B2 (en) * 2014-01-08 2017-03-01 三菱マテリアル株式会社 Resistor and manufacturing method of resistor
WO2016063169A1 (en) 2014-10-23 2016-04-28 Semiconductor Energy Laboratory Co., Ltd. Light-emitting element
US10680017B2 (en) 2014-11-07 2020-06-09 Semiconductor Energy Laboratory Co., Ltd. Light-emitting element including EL layer, electrode which has high reflectance and a high work function, display device, electronic device, and lighting device
JP6558007B2 (en) * 2015-03-20 2019-08-14 大日本印刷株式会社 Antireflection film, display device using the antireflection film, and method for selecting antireflection film
JP6986831B2 (en) * 2015-07-17 2021-12-22 株式会社半導体エネルギー研究所 Semiconductor devices and electronic devices
JP6351868B2 (en) * 2015-10-29 2018-07-04 三菱電機株式会社 Thin film transistor substrate
WO2017098376A1 (en) * 2015-12-11 2017-06-15 Semiconductor Energy Laboratory Co., Ltd. Display device and separation method
JP6802701B2 (en) 2015-12-18 2020-12-16 株式会社半導体エネルギー研究所 Display devices, modules and electronic devices
JP2017162852A (en) * 2016-03-07 2017-09-14 株式会社ジャパンディスプレイ Semiconductor device and display device
JP6888318B2 (en) * 2016-03-23 2021-06-16 三菱マテリアル株式会社 Method for manufacturing laminated transparent conductive film, laminated wiring film and laminated wiring film
JP6776931B2 (en) * 2016-03-23 2020-10-28 三菱マテリアル株式会社 Manufacturing method of laminated reflective electrode film, laminated reflective electrode pattern, laminated reflective electrode pattern
US10866472B2 (en) * 2016-09-14 2020-12-15 Sharp Kabushiki Kaisha Mounting substrate and display panel
KR101980780B1 (en) * 2016-10-31 2019-05-21 엘지디스플레이 주식회사 Organic light emitting display device and method of manufacturing the same
US11171161B2 (en) * 2017-04-07 2021-11-09 Sharp Kabushiki Kaisha TFT substrate, scanning antenna provided with TFT substrate, and method for producing TFT substrate
CN107275339B (en) * 2017-04-20 2020-06-12 惠科股份有限公司 Active switch array substrate and manufacturing method and applied display panel
US20180308876A1 (en) * 2017-04-20 2018-10-25 HKC Corporation Limited Active switch array substrate, manufacturing method therefor, and display panel using the same
KR102516699B1 (en) * 2017-11-29 2023-03-30 엘지디스플레이 주식회사 Oled panel for lighting device and method of manufacturing the same
CN108154863B (en) * 2018-02-28 2019-09-17 深圳市华星光电技术有限公司 Pixel-driving circuit, image element driving method and liquid crystal display device
CN108807423B (en) * 2018-06-13 2020-11-10 京东方科技集团股份有限公司 Flexible electronic device and manufacturing method thereof, and flexible display device
TWI662353B (en) 2018-07-13 2019-06-11 松翰科技股份有限公司 Optical image sensing module
KR20250024132A (en) * 2018-09-07 2025-02-18 가부시키가이샤 한도오따이 에네루기 켄큐쇼 Display device, display module, and electronic device
US11189763B2 (en) * 2018-09-07 2021-11-30 Wuhan China Star Optoelectronics Technology Co., Ltd. Backlight structure
US20220416124A1 (en) * 2019-12-20 2022-12-29 Semiconductor Energy Laboratory Co., Ltd. Inorganic light-emitting element and semiconductor device including inorganic light-emitting element
JP7479164B2 (en) * 2020-02-27 2024-05-08 株式会社ジャパンディスプレイ Display device
US11387213B2 (en) 2020-06-05 2022-07-12 Advanced Semiconductor Engineering, Inc. Method for manufacturing a semiconductor package
US11646262B2 (en) * 2021-06-21 2023-05-09 Nanya Technology Corporation Semiconductor device with horizontally arranged capacitor and method for fabricating the same
CN115058695B (en) * 2022-08-11 2022-11-04 广州粤芯半导体技术有限公司 Sputtering method and manufacturing method of semiconductor device
CN116435417B (en) * 2023-06-13 2023-08-29 安徽大学 Gallium nitride device with grid self-luminous function and preparation method
TWI854833B (en) * 2023-09-14 2024-09-01 速博思股份有限公司 Electrophoresis display with vacuum-filled micro partition structure

Citations (255)

* Cited by examiner, † Cited by third party
Publication number Priority date Publication date Assignee Title
JPS60198861A (en) 1984-03-23 1985-10-08 Fujitsu Ltd Thin film transistor
JPS63210024A (en) 1987-02-24 1988-08-31 Natl Inst For Res In Inorg Mater Compound having a hexagonal layered structure represented by InGaZn↓5O↓8 and its manufacturing method
JPS63210023A (en) 1987-02-24 1988-08-31 Natl Inst For Res In Inorg Mater Compound having a hexagonal layered structure represented by InGaZn↓4O↓7 and its manufacturing method
JPS63210022A (en) 1987-02-24 1988-08-31 Natl Inst For Res In Inorg Mater Compound having hexagonal layered structure represented by InGaZn↓3O↓6 and method for producing the same
JPS63215519A (en) 1987-02-27 1988-09-08 Natl Inst For Res In Inorg Mater Compound having hexagonal layered structure represented by InGaZn↓6O↓9 and method for producing the same
JPS63239117A (en) 1987-01-28 1988-10-05 Natl Inst For Res In Inorg Mater Compound having hexagonal layered structure represented by InGaZn↓2O↓5 and method for producing the same
JPS63265818A (en) 1987-04-22 1988-11-02 Natl Inst For Res In Inorg Mater Compound having a hexagonal layered structure represented by InGaZn↓7O↓1↓0 and its manufacturing method
JPH0282221A (en) 1988-09-20 1990-03-22 Seiko Epson Corp Wiring method for electro-optical elements
EP0399846A2 (en) 1989-05-26 1990-11-28 Sharp Kabushiki Kaisha An active-matrix display device and a method for the production of the same
JPH02310536A (en) 1989-05-26 1990-12-26 Sharp Corp Active matrix substrate
JPH05251705A (en) 1992-03-04 1993-09-28 Fuji Xerox Co Ltd Thin-film transistor
US5299041A (en) 1991-07-11 1994-03-29 France Telecom Etablissement Autonome De Droit Public Active matrix, high definition, liquid crystal display structure
JPH06202153A (en) 1992-12-28 1994-07-22 Fujitsu Ltd Thin-film transistor matrix device and its production
JPH08264794A (en) 1995-03-27 1996-10-11 Res Dev Corp Of Japan Metal oxide semiconductor device in which a pn junction is formed with a thin film transistor made of a metal oxide semiconductor such as cuprous oxide, and methods for manufacturing the same
JPH09160076A (en) 1995-10-05 1997-06-20 Toshiba Corp Array substrate for display device and method of manufacturing the same
US5731856A (en) 1995-12-30 1998-03-24 Samsung Electronics Co., Ltd. Methods for forming liquid crystal displays including thin film transistors and gate pads having a particular structure
US5744864A (en) 1995-08-03 1998-04-28 U.S. Philips Corporation Semiconductor device having a transparent switching element
JPH10293321A (en) 1997-04-17 1998-11-04 Mitsubishi Electric Corp Liquid crystal display device and manufacturing method thereof
US5835177A (en) 1995-10-05 1998-11-10 Kabushiki Kaisha Toshiba Array substrate with bus lines takeout/terminal sections having multiple conductive layers
US5895027A (en) 1996-05-09 1999-04-20 Yazaki Corporation Solenoid unit for an automatic transmission unit
JPH11119237A (en) 1997-10-16 1999-04-30 Mitsubishi Electric Corp In-plane switching type liquid crystal display
JPH11326942A (en) 1998-05-07 1999-11-26 Mitsubishi Electric Corp Liquid crystal display device and liquid crystal display device using the device, parallel electric field type liquid crystal display device and reflection type liquid crystal display device
JP2000044236A (en) 1998-07-24 2000-02-15 Hoya Corp Article having transparent conductive oxide thin film and method for producing the same
JP2000131720A (en) 1998-10-29 2000-05-12 Hyundai Electronics Ind Co Ltd Production of liquid crystal display device
JP2000150900A (en) 1998-11-17 2000-05-30 Japan Science & Technology Corp Transistor and semiconductor device
EP1037095A2 (en) 1999-03-11 2000-09-20 Sharp Kabushiki Kaisha Active matrix substrate, method of manufacturing the same, and image sensor incorporating the same
JP2000357586A (en) 1999-06-15 2000-12-26 Sharp Corp Method of manufacturing thin film EL element and thin film EL element
JP2001053283A (en) 1999-08-12 2001-02-23 Semiconductor Energy Lab Co Ltd Semiconductor device and manufacturing method thereof
US6255130B1 (en) 1998-11-19 2001-07-03 Samsung Electronics Co., Ltd. Thin film transistor array panel and a method for manufacturing the same
US6294274B1 (en) 1998-11-16 2001-09-25 Tdk Corporation Oxide thin film
JP2001324725A (en) 2000-05-12 2001-11-22 Hitachi Ltd Liquid crystal display device and manufacturing method thereof
US20010046027A1 (en) 1999-09-03 2001-11-29 Ya-Hsiang Tai Liquid crystal display having stripe-shaped common electrodes formed above plate-shaped pixel electrodes
US20010054991A1 (en) 1996-09-26 2001-12-27 Mutsumi Kimura Display apparatus
JP2002006773A (en) 2000-06-19 2002-01-11 Advanced Display Inc Array substrate, display device using the same, and method of manufacturing array substrate
JP2002076356A (en) 2000-09-01 2002-03-15 Japan Science & Technology Corp Semiconductor device
US20020056838A1 (en) 2000-11-15 2002-05-16 Matsushita Electric Industrial Co., Ltd. Thin film transistor array, method of producing the same, and display panel using the same
US6421101B1 (en) 1996-09-04 2002-07-16 Semiconductor Energy Laboratory Co., Ltd. Display device including a transparent electrode pattern covering and extending along gate & source lines
JP2002214638A (en) 2000-10-31 2002-07-31 Samsung Electronics Co Ltd Control signal unit, method of manufacturing the same, liquid crystal display device including the same, and method of manufacturing the same
JP2002258319A (en) 2001-02-28 2002-09-11 Advanced Display Inc Liquid crystal display
US20020132454A1 (en) 2001-03-19 2002-09-19 Fuji Xerox Co., Ltd. Method of forming crystalline semiconductor thin film on base substrate, lamination formed with crystalline semiconductor thin film and color filter
JP2002289859A (en) 2001-03-23 2002-10-04 Minolta Co Ltd Thin film transistor
JP2003086808A (en) 2001-09-10 2003-03-20 Masashi Kawasaki Thin film transistor and matrix display device
JP2003086000A (en) 2001-09-10 2003-03-20 Sharp Corp Semiconductor memory device and test method therefor
JP2003140189A (en) 2001-10-25 2003-05-14 Lg Phillips Lcd Co Ltd Array substrate for liquid crystal display device and method of manufacturing the same
US20030096463A1 (en) 2000-04-04 2003-05-22 Mikio Nishio Thin-film semiconductor element and method of producing same
US20030111663A1 (en) 2001-12-13 2003-06-19 Fuji Xerox Co., Ltd. Thin film transistor and display device having the same
US20030189401A1 (en) 2002-03-26 2003-10-09 International Manufacturing And Engineering Services Co., Ltd. Organic electroluminescent device
US20030197208A1 (en) 2000-04-27 2003-10-23 Semiconductor Energy Laboratory Co., Ltd., A Japan Corporation Semiconductor device and method of fabricating the same
WO2003097897A1 (en) 2002-05-17 2003-11-27 Samsung Electronics Co., Ltd. Vapor deposition method of low dielectric insulating film, thin film transistor using the same and preparation method thereof
US20030218222A1 (en) 2002-05-21 2003-11-27 The State Of Oregon Acting And Through The Oregon State Board Of Higher Education On Behalf Of Transistor structures and methods for making the same
TW200307893A (en) 2002-06-03 2003-12-16 Lg Philips Lcd Co Ltd Active matrix organic electroluminescent display device and fabricating method thereof
US20040038446A1 (en) 2002-03-15 2004-02-26 Sanyo Electric Co., Ltd.- Method for forming ZnO film, method for forming ZnO semiconductor layer, method for fabricating semiconductor device, and semiconductor device
US20040056587A1 (en) 2002-09-19 2004-03-25 Samsung Nec Mobile Display Co., Ltd. Dual-type organic electroluminescence display and manufacturing method thereof
JP2004103957A (en) 2002-09-11 2004-04-02 Japan Science & Technology Corp Transparent thin film field effect transistor using homologous thin film as active layer
US20040066637A1 (en) 2002-10-03 2004-04-08 Hajime Imai Wiring substrate and method for manufacturing the same
US20040127038A1 (en) 2002-10-11 2004-07-01 Carcia Peter Francis Transparent oxide semiconductor thin film transistors
US6777887B2 (en) 1999-06-23 2004-08-17 Semiconductor Energy Laboratory Co., Ltd. EL display device and electronic device
US20040164668A1 (en) 2003-02-20 2004-08-26 Hiroshi Kanno Color light emitting display device
JP2004247533A (en) 2003-02-14 2004-09-02 Casio Comput Co Ltd Active matrix panel
JP2004273614A (en) 2003-03-06 2004-09-30 Sharp Corp Semiconductor device and method of manufacturing the same
JP2004273732A (en) 2003-03-07 2004-09-30 Sharp Corp Active matrix substrate and manufacturing method thereof
US20040189919A1 (en) 2003-03-29 2004-09-30 Ahn Byung Chul Liquid crystal display of horizontal electric field applying type and fabricating method thereof
US20040245525A1 (en) 2003-03-24 2004-12-09 Shunpei Yamazaki Thin film integrated circuit device
US6835954B2 (en) 2001-12-29 2004-12-28 Lg.Philips Lcd Co., Ltd. Active matrix organic electroluminescent display device
WO2004114391A1 (en) 2003-06-20 2004-12-29 Sharp Kabushiki Kaisha Semiconductor device, its manufacturing method, and electronic device
US20050017302A1 (en) 2003-07-25 2005-01-27 Randy Hoffman Transistor including a deposited channel region having a doped portion
US20050110930A1 (en) 2003-11-26 2005-05-26 Lg.Philips Lcd Co., Ltd. Lower substrate, IPS mode liquid crystal display device and method for manufacturing the same
JP2005178363A (en) 2003-10-28 2005-07-07 Semiconductor Energy Lab Co Ltd Method for manufacturing semiconductor device and method for manufacturing substrate
US6921918B2 (en) 2001-12-29 2005-07-26 Lg.Philips Lcd Co., Ltd. Active matrix organic electroluminescent display device simplifying fabricating process
US20050199959A1 (en) 2004-03-12 2005-09-15 Chiang Hai Q. Semiconductor device
JP2005303220A (en) 2004-04-16 2005-10-27 Mitsubishi Electric Corp TFT array substrate
US20050243148A1 (en) 2002-10-23 2005-11-03 Yoshio Miyazawa Liquid containing bag and liquid ejector
US20050253148A1 (en) 1999-01-11 2005-11-17 Semiconductor Energy Laboratory Co., Ltd. Semiconductor device and manufacturing method thereof
JP2005338855A (en) 2004-05-27 2005-12-08 Lg Phillips Lcd Co Ltd Liquid crystal display device and manufacturing method thereof
US20050275038A1 (en) 2004-06-14 2005-12-15 Yi-Chi Shih Indium oxide-based thin film transistors and circuits
WO2005121884A1 (en) 2004-06-11 2005-12-22 Sharp Kabushiki Kaisha Active matrix board and liquid crystal display device
US20060022201A1 (en) 2004-07-27 2006-02-02 Samsung Electronics Co., Ltd. Thin film transistor array panel and display device including the same
US20060027813A1 (en) 2004-07-08 2006-02-09 Samsung Electronics Co., Ltd. Thin film transistor array panel and a liquid crystal display including the same
US20060043377A1 (en) 2004-03-12 2006-03-02 Hewlett-Packard Development Company, L.P. Semiconductor device
US20060077324A1 (en) 2004-10-11 2006-04-13 Lg.Philips Lcd Co., Ltd. In-plane switching mode liquid crystal display device
WO2006041027A1 (en) 2004-10-13 2006-04-20 Sharp Kabushiki Kaisha Functional substrate
US20060091793A1 (en) 2004-11-02 2006-05-04 3M Innovative Properties Company Methods and displays utilizing integrated zinc oxide row and column drivers in conjunction with organic light emitting diodes
JP2006133762A (en) 2004-10-08 2006-05-25 Semiconductor Energy Lab Co Ltd Method for manufacturing display device
US20060108529A1 (en) 2004-11-10 2006-05-25 Canon Kabushiki Kaisha Sensor and image pickup device
US20060110867A1 (en) 2004-11-10 2006-05-25 Canon Kabushiki Kaisha Field effect transistor manufacturing method
US20060108636A1 (en) 2004-11-10 2006-05-25 Canon Kabushiki Kaisha Amorphous oxide and field effect transistor
US20060113536A1 (en) 2004-11-10 2006-06-01 Canon Kabushiki Kaisha Display
US20060113539A1 (en) 2004-11-10 2006-06-01 Canon Kabushiki Kaisha Field effect transistor
US20060113565A1 (en) 2004-11-10 2006-06-01 Canon Kabushiki Kaisha Electric elements and circuits utilizing amorphous oxides
US20060113549A1 (en) 2004-11-10 2006-06-01 Canon Kabushiki Kaisha Light-emitting device
JP2006148040A (en) 2004-11-17 2006-06-08 Samsung Electronics Co Ltd Thin film transistor array panel and manufacturing method thereof
US7061014B2 (en) 2001-11-05 2006-06-13 Japan Science And Technology Agency Natural-superlattice homologous single crystal thin film, method for preparation thereof, and device using said single crystal thin film
KR20060077719A (en) 2004-12-30 2006-07-05 엘지.필립스 엘시디 주식회사 Thin film transistor array substrate and manufacturing method thereof
US20060170111A1 (en) 2005-01-28 2006-08-03 Semiconductor Energy Laboratory Co., Ltd. Semiconductor device, electronic device, and method of manufacturing semiconductor device
US20060169973A1 (en) 2005-01-28 2006-08-03 Semiconductor Energy Laboratory Co., Ltd. Semiconductor device, electronic device, and method of manufacturing semiconductor device
JP2006206372A (en) 2005-01-27 2006-08-10 Sharp Corp Glass substrate repair method
US20060192204A1 (en) 2005-02-28 2006-08-31 Casio Computer Co., Ltd. Thin film transistor panel
JP2006237586A (en) 2005-01-28 2006-09-07 Semiconductor Energy Lab Co Ltd Semiconductor device, electronic device, and method for manufacturing semiconductor device
US20060197092A1 (en) 2005-03-03 2006-09-07 Randy Hoffman System and method for forming conductive material on a substrate
WO2006093029A1 (en) 2005-02-28 2006-09-08 Casio Computer Co., Ltd. Thin film transistor panel
US7105868B2 (en) 2002-06-24 2006-09-12 Cermet, Inc. High-electron mobility transistor with zinc oxide
KR20060100872A (en) 2005-03-18 2006-09-21 삼성전자주식회사 Transflective liquid crystal display panel and its manufacturing method
US20060208977A1 (en) 2005-03-18 2006-09-21 Semiconductor Energy Laboratory Co., Ltd. Semiconductor device, and display device, driving method and electronic apparatus thereof
US20060228974A1 (en) 2005-03-31 2006-10-12 Theiss Steven D Methods of making displays
US20060231882A1 (en) 2005-03-28 2006-10-19 Il-Doo Kim Low voltage flexible organic/transparent transistor for selective gas sensing, photodetecting and CMOS device applications
US20060238135A1 (en) 2005-04-20 2006-10-26 Semiconductor Energy Laboratory Co., Ltd. Semiconductor device and display device
US7129523B2 (en) 2001-11-16 2006-10-31 Semiconductor Energy Laboratories Co., Ltd. Light-emitting device
US7142260B2 (en) 2003-12-05 2006-11-28 Au Optronics Corporation Pixel structure having electrical field shielding layer and transparent capacitor electrodes
US20060284171A1 (en) 2005-06-16 2006-12-21 Levy David H Methods of making thin film transistors comprising zinc-oxide-based semiconductor materials and transistors made thereby
US20060284172A1 (en) 2005-06-10 2006-12-21 Casio Computer Co., Ltd. Thin film transistor having oxide semiconductor layer and manufacturing method thereof
EP1737044A1 (en) 2004-03-12 2006-12-27 Japan Science and Technology Agency Amorphous oxide and thin film transistor
US20060292777A1 (en) 2005-06-27 2006-12-28 3M Innovative Properties Company Method for making electronic devices using metal oxide nanoparticles
US20070024187A1 (en) 2005-07-28 2007-02-01 Shin Hyun S Organic light emitting display (OLED) and its method of fabrication
KR20070015656A (en) 2005-08-01 2007-02-06 삼성전자주식회사 Manufacturing method of flat panel display and flat panel display
JP2007033760A (en) 2005-07-26 2007-02-08 Casio Comput Co Ltd Transistor array panel
US20070034954A1 (en) 2005-08-12 2007-02-15 Samsung Electronics Co., Ltd. Thin film conductor and method of fabrication
US20070045636A1 (en) 2005-08-05 2007-03-01 Shin-Tack Kang Display substrate, method of manufacturing the same and display device having the same
US20070046191A1 (en) 2005-08-23 2007-03-01 Canon Kabushiki Kaisha Organic electroluminescent display device and manufacturing method thereof
US20070052025A1 (en) 2005-09-06 2007-03-08 Canon Kabushiki Kaisha Oxide semiconductor thin film transistor and method of manufacturing the same
US20070054507A1 (en) 2005-09-06 2007-03-08 Canon Kabushiki Kaisha Method of fabricating oxide semiconductor device
JP2007073703A (en) 2005-09-06 2007-03-22 Canon Inc Thin film transistor and thin film diode
US20070072439A1 (en) 2005-09-29 2007-03-29 Semiconductor Energy Laboratory Co., Ltd. Semiconductor device and manufacturing method thereof
JP2007096055A (en) 2005-09-29 2007-04-12 Semiconductor Energy Lab Co Ltd Semiconductor device and manufacturing method of semiconductor device
US20070090365A1 (en) 2005-10-20 2007-04-26 Canon Kabushiki Kaisha Field-effect transistor including transparent oxide and light-shielding member, and display utilizing the transistor
JP2007109918A (en) 2005-10-14 2007-04-26 Toppan Printing Co Ltd Transistor and manufacturing method thereof
JP2007115807A (en) 2005-10-19 2007-05-10 Toppan Printing Co Ltd Transistor
US20070108446A1 (en) 2005-11-15 2007-05-17 Semiconductor Energy Laboratory Co., Ltd. Semiconductor device and manufacturing method thereof
JP2007123861A (en) 2005-09-29 2007-05-17 Semiconductor Energy Lab Co Ltd Semiconductor device and manufacturing method thereof
US7229900B2 (en) 2003-10-28 2007-06-12 Semiconductor Energy Laboratory Co., Ltd. Semiconductor device, method of manufacturing thereof, and method of manufacturing base material
JP2007150158A (en) 2005-11-30 2007-06-14 Toppan Printing Co Ltd Transistor and manufacturing method thereof
JP2007155962A (en) 2005-12-02 2007-06-21 Casio Comput Co Ltd Liquid crystal display
US20070152217A1 (en) 2005-12-29 2007-07-05 Chih-Ming Lai Pixel structure of active matrix organic light-emitting diode and method for fabricating the same
US20070158729A1 (en) 2005-12-29 2007-07-12 Young-Chol Yang Thin film transistor array panel and method of manufacture
US20070172591A1 (en) 2006-01-21 2007-07-26 Samsung Electronics Co., Ltd. METHOD OF FABRICATING ZnO FILM AND THIN FILM TRANSISTOR ADOPTING THE ZnO FILM
US20070187760A1 (en) 2006-02-02 2007-08-16 Kochi Industrial Promotion Center Thin film transistor including low resistance conductive thin films and manufacturing method thereof
US20070187678A1 (en) 2006-02-15 2007-08-16 Kochi Industrial Promotion Center Semiconductor device including active layer made of zinc oxide with controlled orientations and manufacturing method thereof
US20070216280A1 (en) 2006-03-14 2007-09-20 Seiko Epson Corporation Organic electroluminescent device and electronic apparatus
US20070224791A1 (en) 1999-06-29 2007-09-27 Semiconductor Energy Laboratory Co., Ltd. Wiring material, semiconductor device provided with a wiring using the wiring material and method of manufacturing thereof
US20070252928A1 (en) 2006-04-28 2007-11-01 Toppan Printing Co., Ltd. Structure, transmission type liquid crystal display, reflection type display and manufacturing method thereof
JP2007293071A (en) 2006-04-26 2007-11-08 Epson Imaging Devices Corp Electro-optical device and electronic apparatus
JP2007298627A (en) 2006-04-28 2007-11-15 Toppan Printing Co Ltd Display device and manufacturing method thereof
JP2007299833A (en) 2006-04-28 2007-11-15 Toppan Printing Co Ltd Structure, transmissive liquid crystal display device, semiconductor circuit manufacturing method, and transmissive liquid crystal display device manufacturing method
US20070263130A1 (en) 2006-05-10 2007-11-15 Epson Imaging Devices Corporation Liquid crystal display and manufacturing method therefor
US7297977B2 (en) 2004-03-12 2007-11-20 Hewlett-Packard Development Company, L.P. Semiconductor device
US20070272922A1 (en) 2006-04-11 2007-11-29 Samsung Electronics Co. Ltd. ZnO thin film transistor and method of forming the same
US20070272982A1 (en) 2006-05-23 2007-11-29 Epson Imaging Devices Corporation Electro-optical apparatus, electronic apparatus, and method of manufacturing electro-optical apparatus
US20070287296A1 (en) 2006-06-13 2007-12-13 Canon Kabushiki Kaisha Dry etching method for oxide semiconductor film
CN101097340A (en) 2006-06-30 2008-01-02 Lg.菲利浦Lcd株式会社 Backlight assembly and liquid crystal display device with backlight assembly
US20080006877A1 (en) 2004-09-17 2008-01-10 Peter Mardilovich Method of Forming a Solution Processed Device
JP2008015226A (en) 2006-07-06 2008-01-24 Epson Imaging Devices Corp Electro-optical device, method of manufacturing electro-optical device, and electronic apparatus
US7323356B2 (en) 2002-02-21 2008-01-29 Japan Science And Technology Agency LnCuO(S,Se,Te)monocrystalline thin film, its manufacturing method, and optical device or electronic device using the monocrystalline thin film
US20080024416A1 (en) 2006-07-27 2008-01-31 Epson Imaging Devices Corporation Liquid crystal display device
US20080038882A1 (en) 2006-08-09 2008-02-14 Kazushige Takechi Thin-film device and method of fabricating the same
US20080038929A1 (en) 2006-08-09 2008-02-14 Canon Kabushiki Kaisha Method of dry etching oxide semiconductor film
US20080050595A1 (en) 2006-01-11 2008-02-28 Murata Manufacturing Co., Ltd. Transparent conductive film and method for manufacturing the same
US20080073653A1 (en) 2006-09-27 2008-03-27 Canon Kabushiki Kaisha Semiconductor apparatus and method of manufacturing the same
US20080073649A1 (en) 2006-09-26 2008-03-27 Kim Young I Thin film transistor substrate and manufacturing method thereof
US20080083950A1 (en) 2006-10-10 2008-04-10 Alfred I-Tsung Pan Fused nanocrystal thin film semiconductor and method
US20080106191A1 (en) 2006-09-27 2008-05-08 Seiko Epson Corporation Electronic device, organic electroluminescence device, and organic thin film semiconductor device
US7382421B2 (en) 2004-10-12 2008-06-03 Hewlett-Packard Development Company, L.P. Thin film transistor with a passivation layer
US20080128689A1 (en) 2006-11-29 2008-06-05 Je-Hun Lee Flat panel displays comprising a thin-film transistor having a semiconductive oxide in its channel and methods of fabricating the same for use in flat panel displays
US20080129195A1 (en) 2006-12-04 2008-06-05 Toppan Printing Co., Ltd. Color el display and method for producing the same
US7385224B2 (en) 2004-09-02 2008-06-10 Casio Computer Co., Ltd. Thin film transistor having an etching protection film and manufacturing method thereof
US20080166834A1 (en) 2007-01-05 2008-07-10 Samsung Electronics Co., Ltd. Thin film etching method
US7402506B2 (en) 2005-06-16 2008-07-22 Eastman Kodak Company Methods of making thin film transistors comprising zinc-oxide-based semiconductor materials and transistors made thereby
US20080176364A1 (en) 2007-01-18 2008-07-24 Samsung Electronics Co., Ltd. Method of manufacturing thin film transistor substrate
US20080182358A1 (en) 2007-01-26 2008-07-31 Cowdery-Corvan Peter J Process for atomic layer deposition
KR20080071521A (en) 2007-01-30 2008-08-04 가부시키가이샤 한도오따이 에네루기 켄큐쇼 Semiconductor device and manufacturing method thereof
WO2008093583A1 (en) 2007-01-29 2008-08-07 Canon Kabushiki Kaisha Active matrix display apparatus
US7411209B2 (en) 2006-09-15 2008-08-12 Canon Kabushiki Kaisha Field-effect transistor and method for manufacturing the same
WO2008105250A1 (en) 2007-02-28 2008-09-04 Canon Kabushiki Kaisha Thin-film transistor and method of manufacturing same
US20080224133A1 (en) 2007-03-14 2008-09-18 Jin-Seong Park Thin film transistor and organic light-emitting display device having the thin film transistor
JP2008227316A (en) 2007-03-14 2008-09-25 Seiko Epson Corp SEMICONDUCTOR DEVICE, SEMICONDUCTOR DEVICE MANUFACTURING METHOD, AND ELECTRONIC DEVICE
WO2008117739A1 (en) 2007-03-23 2008-10-02 Idemitsu Kosan Co., Ltd. Semiconductor device, polycrystalline semiconductor thin film, process for producing polycrystalline semiconductor thin film, field effect transistor, and process for producing field effect transistor
US7432529B2 (en) 2001-11-09 2008-10-07 Semiconductor Energy Laboratory Co., Ltd. Light emitting apparatus and method for manufacturing the same
JP2008243928A (en) 2007-03-26 2008-10-09 Idemitsu Kosan Co Ltd Amorphous oxide semiconductor thin film, manufacturing method thereof, thin film transistor manufacturing method, field effect transistor, light emitting device, display device, and sputtering target
US7435633B2 (en) 2006-03-14 2008-10-14 Seiko Epson Corporation Electroluminescence device, manufacturing method thereof, and electronic apparatus
US20080258143A1 (en) 2007-04-18 2008-10-23 Samsung Electronics Co., Ltd. Thin film transitor substrate and method of manufacturing the same
US20080258139A1 (en) 2007-04-17 2008-10-23 Toppan Printing Co., Ltd. Structure with transistor
WO2008126879A1 (en) 2007-04-09 2008-10-23 Canon Kabushiki Kaisha Light-emitting apparatus and production method thereof
US20080258141A1 (en) 2007-04-19 2008-10-23 Samsung Electronics Co., Ltd. Thin film transistor, method of manufacturing the same, and flat panel display having the same
US20080258140A1 (en) 2007-04-20 2008-10-23 Samsung Electronics Co., Ltd. Thin film transistor including selectively crystallized channel layer and method of manufacturing the thin film transistor
US20080284932A1 (en) 2007-05-16 2008-11-20 Samsung Electronics Co., Ltd. Thin film transistor substrate and liquid crystal display device comprising the same
JP2008281988A (en) 2007-04-09 2008-11-20 Canon Inc Light emitting device and manufacturing method thereof
JP2008286911A (en) 2007-05-16 2008-11-27 Toppan Printing Co Ltd Image display device
US20080296568A1 (en) 2007-05-29 2008-12-04 Samsung Electronics Co., Ltd Thin film transistors and methods of manufacturing the same
US7470604B2 (en) 2004-10-08 2008-12-30 Semiconductor Energy Laboratory Co., Ltd. Method for manufacturing display device
US20090008638A1 (en) 2007-07-04 2009-01-08 Samsung Electronics Co., Ltd. Oxide semiconductor, thin film transistor including the same and method of manufacturing a thin film transistor
US20090023236A1 (en) 2007-07-20 2009-01-22 Semiconductor Energy Laboratory Co., Ltd. Method for manufacturing display device
US7501293B2 (en) 2002-06-13 2009-03-10 Murata Manufacturing Co., Ltd. Semiconductor device in which zinc oxide is used as a semiconductor material and method for manufacturing the semiconductor device
US20090073325A1 (en) 2005-01-21 2009-03-19 Semiconductor Energy Laboratory Co., Ltd. Semiconductor device and method for manufacturing the same, and electric device
JP2009076894A (en) 2007-08-31 2009-04-09 Semiconductor Energy Lab Co Ltd Display device and method for manufacturing display device
US20090114910A1 (en) 2005-09-06 2009-05-07 Canon Kabushiki Kaisha Semiconductor device
JP2009099847A (en) 2007-10-18 2009-05-07 Canon Inc THIN FILM TRANSISTOR, ITS MANUFACTURING METHOD, AND DISPLAY DEVICE
US20090134399A1 (en) 2005-02-18 2009-05-28 Semiconductor Energy Laboratory Co., Ltd. Semiconductor Device and Method for Manufacturing the Same
US20090140438A1 (en) 2007-12-03 2009-06-04 Semiconductor Energy Laboratory Co., Ltd. Semiconductor device and manufacturing method thereof
US20090152541A1 (en) 2005-02-03 2009-06-18 Semiconductor Energy Laboratory Co., Ltd. Electronic device, semiconductor device and manufacturing method thereof
US20090152506A1 (en) 2007-12-17 2009-06-18 Fujifilm Corporation Process for producing oriented inorganic crystalline film, and semiconductor device using the oriented inorganic crystalline film
US20090224245A1 (en) 2006-09-29 2009-09-10 Semiconductor Energy Laboratory Co., Ltd. Display device
US20090283762A1 (en) 2008-05-16 2009-11-19 Semiconductor Energy Laboratory Co., Ltd. Semiconductor device and manufacturing method of the same
US20100025678A1 (en) 2008-07-31 2010-02-04 Shunpei Yamazaki Semiconductor device and method for manufacturing the same
US20100025675A1 (en) 2008-07-31 2010-02-04 Semiconductor Energy Laboratory Co., Ltd. Semiconductor device and method for manufacturing the same
US20100032665A1 (en) 2008-08-08 2010-02-11 Semiconductor Energy Laboratory Co., Ltd. Semiconductor device and method for manufacturing the same
US20100044711A1 (en) 2008-08-19 2010-02-25 Fujifilm Corporation Thin film transistor, active matrix substrate, and image pickup device
US20100051949A1 (en) 2008-09-01 2010-03-04 Semiconductor Energy Laboratory Co., Ltd. Semiconductor device and method for manufacturing the same
US20100051938A1 (en) 2008-08-28 2010-03-04 Canon Kabushiki Kaisha Amorphous oxide semiconductor and thin film transistor using the same
US20100065840A1 (en) 2008-09-12 2010-03-18 Semiconductor Energy Laboratory Co., Ltd. Display device
US20100072468A1 (en) 2008-09-19 2010-03-25 Semiconductor Energy Laboratory Co., Ltd. Display device
US20100078633A1 (en) 2007-05-11 2010-04-01 Canon Kabushiki Kaisha Insulated gate type transistor and display device
US20100084652A1 (en) 2008-10-03 2010-04-08 Semiconductor Energy Laboratory Co., Ltd. Display device
US20100084651A1 (en) 2008-10-03 2010-04-08 Semiconductor Energy Laboratory Co., Ltd. Display device
US20100123136A1 (en) 2008-05-13 2010-05-20 Samsung Electronics Co., Ltd. Semiconductor device and manufacturing method thereof
US7745798B2 (en) 2005-11-15 2010-06-29 Fujifilm Corporation Dual-phosphor flat panel radiation detector
US20100163867A1 (en) 2008-12-26 2010-07-01 Shunpei Yamazaki Semiconductor device, method for manufacturing the same, and electronic device having the same
US7773167B2 (en) 2007-09-11 2010-08-10 Au Optronics Corp. Pixel structure comprising two first conductive regions, a second conductive region and two first channel regions, wherein the first transparent electrode is located between the reflective electrode and second transparent electrode
US7847289B2 (en) 2006-06-30 2010-12-07 Lg Display Co., Ltd Array substrate for liquid crystal display device and method of manufacturing the same
US20110008930A1 (en) 2009-06-30 2011-01-13 Semiconductor Energy Laboratory Co., Ltd. Method for manufacturing semiconductor device
US20110024750A1 (en) 2009-07-31 2011-02-03 Semiconductor Energy Laboratory Co., Ltd. Semiconductor device and method for manufacturing the same
US20110024751A1 (en) 2009-07-31 2011-02-03 Semiconductor Energy Laboratory Co., Ltd. Semiconductor device and manufacturing method thereof
US20110031491A1 (en) 2009-07-31 2011-02-10 Semiconductor Energy Laboratory Co., Ltd. Semiconductor device and manufacturing method thereof
US20110037068A1 (en) 2009-07-31 2011-02-17 Semiconductor Energy Laboratory Co., Ltd. Semiconductor device and method for manufacturing the same
US20110049510A1 (en) 2009-08-27 2011-03-03 Semiconductor Energy Laboratory Co., Ltd. Display device and method for manufacturing the same
US7902740B2 (en) 2001-03-19 2011-03-08 Semiconductor Energy Laboratory Co., Ltd. Light emitting apparatus
US20110084271A1 (en) 2009-10-14 2011-04-14 Semiconductor Energy Laboratory Co., Ltd. Semiconductor device and manufacturing method thereof
US7927991B2 (en) * 2006-08-25 2011-04-19 Semiconductor Energy Laboratory Co., Ltd. Method for manufacturing semiconductor device
US7952274B2 (en) 2002-09-20 2011-05-31 Yazaki Corporation Dial module and process for manufacturing the same, LED display element, display module, movement module, connector module and meter employing the same
US20110136301A1 (en) 2009-12-04 2011-06-09 Semiconductor Energy Laboratory Co., Ltd. Semiconductor device and manufacturing method thereof
US20110215331A1 (en) 2010-03-05 2011-09-08 Semiconductor Energy Laboratory Co., Ltd. Semiconductor device and manufacturing method thereof
US8049206B2 (en) * 2006-01-26 2011-11-01 Semiconductor Energy Laboratory Co., Ltd. Organic field effect transistor and semiconductor device
US20110269266A1 (en) 2010-04-28 2011-11-03 Semiconductor Energy Laboratory Co., Ltd. Method for manufacturing semiconductor device
US8174029B2 (en) 2001-11-09 2012-05-08 Semiconductor Energy Laboratory Co., Ltd. Light emitting apparatus and method for manufacturing the same
US20120120334A1 (en) 2010-11-11 2012-05-17 Samsung Electronics Co., Ltd. Liquid crystal display and manufacturing method thereof
US8247965B2 (en) * 2003-11-14 2012-08-21 Semiconductor Energy Laboratory Co., Ltd. Light emitting display device and method for manufacturing the same
US20120258575A1 (en) 2011-04-06 2012-10-11 Semiconductor Energy Laboratory Co., Ltd. Manufacturing method of semiconductor device
US20120274869A1 (en) 2010-11-26 2012-11-01 Shenzhen China Star Optoelectronics Technology Co Ltd Lcd panel and method for forming the same
US20130087794A1 (en) 2011-10-06 2013-04-11 Lg Display Co., Ltd. Thin Film Transistor Substrate and Method of Fabricating the Same
US8427595B2 (en) 2008-09-19 2013-04-23 Semiconductor Energy Laboratory Co., Ltd. Display device with pixel portion and common connection portion having oxide semiconductor layers
US8441011B2 (en) 2009-07-10 2013-05-14 Semiconductor Energy Laboratory Co., Ltd. Semiconductor device and method for manufacturing the same
US20130175536A1 (en) 1999-06-21 2013-07-11 Semiconductor Energy Laboratory Co., Ltd. El display device, driving method thereof, and electronic equipment provided with the el display device
US8570468B2 (en) * 2006-06-30 2013-10-29 Lg Display Co., Ltd. Liquid crystal display device and method of fabricating the same
US20140070239A1 (en) 2012-03-13 2014-03-13 Boe Technology Group Co., Ltd. Array Substrate And Method For Fabricating The Same
US8742421B2 (en) * 2003-12-02 2014-06-03 Semiconductor Energy Laboratory Co., Ltd. Display device, method for manufacturing the same, and television apparatus
US20140197414A1 (en) 2013-01-11 2014-07-17 Beijing Boe Optoelectronics Technology Co., Ltd. Array substrate and manufacturing method thereof
US8890167B2 (en) 2011-08-19 2014-11-18 Lg Display Co., Ltd. Array substrate for display device including signal lines with reduced resistance
US8928010B2 (en) 2011-02-25 2015-01-06 Semiconductor Energy Laboratory Co., Ltd. Display device
US8988625B2 (en) 2011-11-11 2015-03-24 Semiconductor Energy Laboratory Co., Ltd. Display device and manufacturing method thereof
US9915843B2 (en) 2008-10-08 2018-03-13 Semiconductor Energy Laboratory Co., Ltd. Display device with pixel including capacitor
US20210351224A1 (en) 2018-09-07 2021-11-11 Semiconductor Energy Laboratory Co., Ltd. Imaging Device and Electronic Device
US20210399106A1 (en) 2018-11-02 2021-12-23 Semiconductor Energy Laboratory Co., Ltd. Semiconductor device
US20210408081A1 (en) 2018-04-26 2021-12-30 Ordos Yuansheng Optoelectronics Co., Ltd. Array substrate and manufacturing method thereof, display panel and electronic device
US20220005790A1 (en) 2018-09-07 2022-01-06 Semiconductor Energy Laboratory Co., Ltd. Display device, display module, and electronic device
US20220013667A1 (en) 2018-11-02 2022-01-13 Semiconductor Energy Laboratory Co., Ltd. Semiconductor device
US20220026623A1 (en) 2018-12-14 2022-01-27 Semiconductor Energy Laboratory Co., Ltd. Display device and data processing device
US20220208923A1 (en) * 2020-12-28 2022-06-30 Samsung Display Co., Ltd. Display device and method of providing the same
US20230157071A1 (en) * 2021-11-18 2023-05-18 Samsung Display Co., Ltd. Display panel and method of manufacturing the same

Family Cites Families (8)

* Cited by examiner, † Cited by third party
Publication number Priority date Publication date Assignee Title
US2008100A (en) 1933-05-16 1935-07-16 Ford Henry Pipe cleaning apparatus
US6403980B1 (en) * 1999-11-05 2002-06-11 Samsung Electronics Co., Ltd. Thin film transistor array panel for liquid crystal display
JP4211250B2 (en) * 2000-10-12 2009-01-21 セイコーエプソン株式会社 Transistor and display device including the same
JP2002289589A (en) 2001-03-27 2002-10-04 Fujitsu Ltd Etching method
WO2003036374A1 (en) * 2001-09-26 2003-05-01 Samsung Electronics Co., Ltd. Thin film transistor array panel for liquid crystal display and method for manufacturing the same
JP4693501B2 (en) * 2005-05-27 2011-06-01 シャープ株式会社 Liquid crystal display
JP5435907B2 (en) * 2007-08-17 2014-03-05 株式会社半導体エネルギー研究所 Method for manufacturing display device
US8133773B2 (en) * 2007-10-17 2012-03-13 Au Optronics Corporation Apparatus and method for reducing photo leakage current for TFT LCD

Patent Citations (408)

* Cited by examiner, † Cited by third party
Publication number Priority date Publication date Assignee Title
JPS60198861A (en) 1984-03-23 1985-10-08 Fujitsu Ltd Thin film transistor
JPS63239117A (en) 1987-01-28 1988-10-05 Natl Inst For Res In Inorg Mater Compound having hexagonal layered structure represented by InGaZn↓2O↓5 and method for producing the same
JPS63210024A (en) 1987-02-24 1988-08-31 Natl Inst For Res In Inorg Mater Compound having a hexagonal layered structure represented by InGaZn↓5O↓8 and its manufacturing method
JPS63210023A (en) 1987-02-24 1988-08-31 Natl Inst For Res In Inorg Mater Compound having a hexagonal layered structure represented by InGaZn↓4O↓7 and its manufacturing method
JPS63210022A (en) 1987-02-24 1988-08-31 Natl Inst For Res In Inorg Mater Compound having hexagonal layered structure represented by InGaZn↓3O↓6 and method for producing the same
JPS63215519A (en) 1987-02-27 1988-09-08 Natl Inst For Res In Inorg Mater Compound having hexagonal layered structure represented by InGaZn↓6O↓9 and method for producing the same
JPS63265818A (en) 1987-04-22 1988-11-02 Natl Inst For Res In Inorg Mater Compound having a hexagonal layered structure represented by InGaZn↓7O↓1↓0 and its manufacturing method
JPH0282221A (en) 1988-09-20 1990-03-22 Seiko Epson Corp Wiring method for electro-optical elements
EP0399846A2 (en) 1989-05-26 1990-11-28 Sharp Kabushiki Kaisha An active-matrix display device and a method for the production of the same
JPH02310536A (en) 1989-05-26 1990-12-26 Sharp Corp Active matrix substrate
US5162901A (en) 1989-05-26 1992-11-10 Sharp Kabushiki Kaisha Active-matrix display device with added capacitance electrode wire and secondary wire connected thereto
US5299041A (en) 1991-07-11 1994-03-29 France Telecom Etablissement Autonome De Droit Public Active matrix, high definition, liquid crystal display structure
JPH05251705A (en) 1992-03-04 1993-09-28 Fuji Xerox Co Ltd Thin-film transistor
JPH06202153A (en) 1992-12-28 1994-07-22 Fujitsu Ltd Thin-film transistor matrix device and its production
US5483082A (en) 1992-12-28 1996-01-09 Fujitsu Limited Thin film transistor matrix device
US5580796A (en) 1992-12-28 1996-12-03 Fujitsu Limited Method for fabricating thin film transistor matrix device
JPH08264794A (en) 1995-03-27 1996-10-11 Res Dev Corp Of Japan Metal oxide semiconductor device in which a pn junction is formed with a thin film transistor made of a metal oxide semiconductor such as cuprous oxide, and methods for manufacturing the same
US5744864A (en) 1995-08-03 1998-04-28 U.S. Philips Corporation Semiconductor device having a transparent switching element
JPH11505377A (en) 1995-08-03 1999-05-18 フィリップス エレクトロニクス ネムローゼ フェンノートシャップ Semiconductor device
US5835177A (en) 1995-10-05 1998-11-10 Kabushiki Kaisha Toshiba Array substrate with bus lines takeout/terminal sections having multiple conductive layers
US5966190A (en) 1995-10-05 1999-10-12 Kabushiki Kaisha Toshiba Array substrate for displaying device with capacitor lines having particular connections
US6078366A (en) 1995-10-05 2000-06-20 Kabushiki Kaisha Toshiba Array substrate comprising semiconductor contact layers having same outline as signal lines
US6028652A (en) 1995-10-05 2000-02-22 Kabushiki Kaisha Toshiba Array substrate for display device and manufacturing method thereof
JPH09160076A (en) 1995-10-05 1997-06-20 Toshiba Corp Array substrate for display device and method of manufacturing the same
US5731856A (en) 1995-12-30 1998-03-24 Samsung Electronics Co., Ltd. Methods for forming liquid crystal displays including thin film transistors and gate pads having a particular structure
US5895027A (en) 1996-05-09 1999-04-20 Yazaki Corporation Solenoid unit for an automatic transmission unit
US6421101B1 (en) 1996-09-04 2002-07-16 Semiconductor Energy Laboratory Co., Ltd. Display device including a transparent electrode pattern covering and extending along gate & source lines
US20010054991A1 (en) 1996-09-26 2001-12-27 Mutsumi Kimura Display apparatus
JPH10293321A (en) 1997-04-17 1998-11-04 Mitsubishi Electric Corp Liquid crystal display device and manufacturing method thereof
US20020186338A1 (en) 1997-10-16 2002-12-12 Mitsubishi Denki Kabushiki Kaisha In plane switching liquid crystal displaying apparatus for improving luminance
JPH11119237A (en) 1997-10-16 1999-04-30 Mitsubishi Electric Corp In-plane switching type liquid crystal display
US6864939B2 (en) 1997-10-16 2005-03-08 Mitsubishi Denki Kabushiki Kaisha In plane switching liquid crystal displaying apparatus for improved luminance
US6452656B2 (en) 1997-10-16 2002-09-17 Mitsubishi Denki Kabushiki Kaisha Plane switching liquid crystal displaying apparatus for improved luminance
US7362401B2 (en) 1997-10-16 2008-04-22 Mitsubishi Denki Kabushiki Kaisha In plane switching liquid crystal displaying apparatus for improved luminance including a thin film transistor array substrate
US6686986B2 (en) 1997-10-16 2004-02-03 Mitsubishi Denki Kabushiki Kaisha In plane switching liquid crystal displaying apparatus for improving luminance
JPH11326942A (en) 1998-05-07 1999-11-26 Mitsubishi Electric Corp Liquid crystal display device and liquid crystal display device using the device, parallel electric field type liquid crystal display device and reflection type liquid crystal display device
JP2000044236A (en) 1998-07-24 2000-02-15 Hoya Corp Article having transparent conductive oxide thin film and method for producing the same
JP2000131720A (en) 1998-10-29 2000-05-12 Hyundai Electronics Ind Co Ltd Production of liquid crystal display device
US6388726B1 (en) 1998-10-29 2002-05-14 Hyundai Display Technology Inc. Method of manufacturing liquid crystal display device
US6294274B1 (en) 1998-11-16 2001-09-25 Tdk Corporation Oxide thin film
US7064346B2 (en) 1998-11-17 2006-06-20 Japan Science And Technology Agency Transistor and semiconductor device
US6727522B1 (en) 1998-11-17 2004-04-27 Japan Science And Technology Corporation Transistor and semiconductor device
JP2000150900A (en) 1998-11-17 2000-05-30 Japan Science & Technology Corp Transistor and semiconductor device
US6255130B1 (en) 1998-11-19 2001-07-03 Samsung Electronics Co., Ltd. Thin film transistor array panel and a method for manufacturing the same
JP2005277428A (en) 1998-11-19 2005-10-06 Samsung Electronics Co Ltd Thin film transistor substrate and manufacturing method thereof
US20050253148A1 (en) 1999-01-11 2005-11-17 Semiconductor Energy Laboratory Co., Ltd. Semiconductor device and manufacturing method thereof
EP1037095A2 (en) 1999-03-11 2000-09-20 Sharp Kabushiki Kaisha Active matrix substrate, method of manufacturing the same, and image sensor incorporating the same
US6784949B1 (en) 1999-03-11 2004-08-31 Sharp Kabushiki Kaisha Active matrix substrate, method of manufacturing the same, and image sensor incorporating the same
US7250991B2 (en) 1999-03-11 2007-07-31 Sharp Kabushiki Kaisha Active matrix substrate, method of manufacturing the same, and image sensor incorporating the same
EP2192441A2 (en) 1999-03-11 2010-06-02 Sharp Kabushiki Kaisha Active matrix substrate, method of manufacturing the same, and image sensor incorporation the same
TWI258626B (en) 1999-03-11 2006-07-21 Sharp Kk Active matrix substrate, method of manufacturing the same, and image sensor incorporating the same
JP2000357586A (en) 1999-06-15 2000-12-26 Sharp Corp Method of manufacturing thin film EL element and thin film EL element
US20130175536A1 (en) 1999-06-21 2013-07-11 Semiconductor Energy Laboratory Co., Ltd. El display device, driving method thereof, and electronic equipment provided with the el display device
US6777887B2 (en) 1999-06-23 2004-08-17 Semiconductor Energy Laboratory Co., Ltd. EL display device and electronic device
US20070224791A1 (en) 1999-06-29 2007-09-27 Semiconductor Energy Laboratory Co., Ltd. Wiring material, semiconductor device provided with a wiring using the wiring material and method of manufacturing thereof
US9041875B2 (en) 1999-08-12 2015-05-26 Semiconductor Energy Laboratory Co., Ltd. Semiconductor device and method of manufacturing the semiconductor device
US8003989B2 (en) 1999-08-12 2011-08-23 Semiconductor Energy Laboratory Co., Ltd. Thin film semiconductor device having a terminal portion
US8654270B2 (en) 1999-08-12 2014-02-18 Semiconductor Energy Laboratory Co., Ltd. Semiconductor device and method of manufacturing the semiconductor device
US8023055B2 (en) 1999-08-12 2011-09-20 Semiconductor Energy Laboratory Co., Ltd. Semiconductor device and method of manufacturing the semiconductor device
US20150255562A1 (en) 1999-08-12 2015-09-10 Semiconductor Energy Laboratory Co., Ltd. Semiconductor Device and Method of Manufacturing the Semiconductor Device
JP2001053283A (en) 1999-08-12 2001-02-23 Semiconductor Energy Lab Co Ltd Semiconductor device and manufacturing method thereof
US20090033818A1 (en) 1999-08-12 2009-02-05 Semiconductor Energy Laboratory Co., Ltd. Semiconductor Device and Method of Manufacturing the Semiconductor Device
US20010046027A1 (en) 1999-09-03 2001-11-29 Ya-Hsiang Tai Liquid crystal display having stripe-shaped common electrodes formed above plate-shaped pixel electrodes
US20030096463A1 (en) 2000-04-04 2003-05-22 Mikio Nishio Thin-film semiconductor element and method of producing same
US20030197208A1 (en) 2000-04-27 2003-10-23 Semiconductor Energy Laboratory Co., Ltd., A Japan Corporation Semiconductor device and method of fabricating the same
US20040232421A1 (en) 2000-05-12 2004-11-25 Hitachi, Ltd. Liquid crystal display device and fabrication method thereof
JP2001324725A (en) 2000-05-12 2001-11-22 Hitachi Ltd Liquid crystal display device and manufacturing method thereof
US20050007507A1 (en) 2000-05-12 2005-01-13 Hitachi, Ltd. Liquid crystal display device and fabrication method thereof
US6762802B2 (en) 2000-05-12 2004-07-13 Renesas Technology Corp. Liquid crystal display device and fabrication method thereof
US20070159568A1 (en) 2000-05-12 2007-07-12 Hitachi, Ltd. Liquid crystal display device and fabrication method thereof
US20080198108A1 (en) 2000-06-19 2008-08-21 Mitsubishi Electric Corporation Array substrate and display unit using it and production method for array substrate
JP2002006773A (en) 2000-06-19 2002-01-11 Advanced Display Inc Array substrate, display device using the same, and method of manufacturing array substrate
US20020113934A1 (en) 2000-06-19 2002-08-22 Hironori Aoki Array substrate and display unit using it and production method for array substrate
JP2002076356A (en) 2000-09-01 2002-03-15 Japan Science & Technology Corp Semiconductor device
US7081939B2 (en) 2000-10-31 2006-07-25 Samsung Electronics Ltd. Display device having a black matrix overlapping a gate control signal line formed on substrate
JP2008186025A (en) 2000-10-31 2008-08-14 Samsung Electronics Co Ltd Control signal unit, method for manufacturing the same, liquid crystal display device including the same, and method for manufacturing the same
JP2002214638A (en) 2000-10-31 2002-07-31 Samsung Electronics Co Ltd Control signal unit, method of manufacturing the same, liquid crystal display device including the same, and method of manufacturing the same
US7583328B2 (en) 2000-10-31 2009-09-01 Samsung Electronics Co., Ltd. Control signal unit for a liquid crystal display and a method for fabricating the same
US6888585B2 (en) 2000-10-31 2005-05-03 Samsung Electronics Co., Ltd. Control signal unit for a liquid crystal display
US20020056838A1 (en) 2000-11-15 2002-05-16 Matsushita Electric Industrial Co., Ltd. Thin film transistor array, method of producing the same, and display panel using the same
US7872698B2 (en) 2001-02-28 2011-01-18 Mitsubishi Electric Corporation Liquid crystal display with structure resistant to exfoliation during fabrication
JP2002258319A (en) 2001-02-28 2002-09-11 Advanced Display Inc Liquid crystal display
US20020132454A1 (en) 2001-03-19 2002-09-19 Fuji Xerox Co., Ltd. Method of forming crystalline semiconductor thin film on base substrate, lamination formed with crystalline semiconductor thin film and color filter
US7902740B2 (en) 2001-03-19 2011-03-08 Semiconductor Energy Laboratory Co., Ltd. Light emitting apparatus
JP2002289859A (en) 2001-03-23 2002-10-04 Minolta Co Ltd Thin film transistor
US6563174B2 (en) 2001-09-10 2003-05-13 Sharp Kabushiki Kaisha Thin film transistor and matrix display device
JP2003086000A (en) 2001-09-10 2003-03-20 Sharp Corp Semiconductor memory device and test method therefor
JP2003086808A (en) 2001-09-10 2003-03-20 Masashi Kawasaki Thin film transistor and matrix display device
JP2003140189A (en) 2001-10-25 2003-05-14 Lg Phillips Lcd Co Ltd Array substrate for liquid crystal display device and method of manufacturing the same
US6882376B2 (en) 2001-10-25 2005-04-19 Lg. Philips Lcd Co., Ltd. Array panel for liquid crystal display device and method of manufacturing the same
US7375778B2 (en) 2001-10-25 2008-05-20 Lg.Philips Lcd Co., Ltd. Array panel for liquid crystal display device and method of manufacturing the same
US7847892B2 (en) 2001-10-25 2010-12-07 Lg Display Co., Ltd. Array panel for liquid crystal display device with light shielding and method of manufacturing the same
US7061014B2 (en) 2001-11-05 2006-06-13 Japan Science And Technology Agency Natural-superlattice homologous single crystal thin film, method for preparation thereof, and device using said single crystal thin film
US8174029B2 (en) 2001-11-09 2012-05-08 Semiconductor Energy Laboratory Co., Ltd. Light emitting apparatus and method for manufacturing the same
US7432529B2 (en) 2001-11-09 2008-10-07 Semiconductor Energy Laboratory Co., Ltd. Light emitting apparatus and method for manufacturing the same
US7129523B2 (en) 2001-11-16 2006-10-31 Semiconductor Energy Laboratories Co., Ltd. Light-emitting device
US20030111663A1 (en) 2001-12-13 2003-06-19 Fuji Xerox Co., Ltd. Thin film transistor and display device having the same
US7094624B2 (en) 2001-12-29 2006-08-22 Lg.Philips Lcd Co., Ltd. Active matrix organic electroluminescent display device and fabricating method thereof
US6835954B2 (en) 2001-12-29 2004-12-28 Lg.Philips Lcd Co., Ltd. Active matrix organic electroluminescent display device
US6921918B2 (en) 2001-12-29 2005-07-26 Lg.Philips Lcd Co., Ltd. Active matrix organic electroluminescent display device simplifying fabricating process
US7052930B2 (en) 2001-12-29 2006-05-30 Lg.Philips Lcd Co., Ltd. Active matrix organic electroluminescent display device and fabricating method thereof
US7323356B2 (en) 2002-02-21 2008-01-29 Japan Science And Technology Agency LnCuO(S,Se,Te)monocrystalline thin film, its manufacturing method, and optical device or electronic device using the monocrystalline thin film
US7049190B2 (en) 2002-03-15 2006-05-23 Sanyo Electric Co., Ltd. Method for forming ZnO film, method for forming ZnO semiconductor layer, method for fabricating semiconductor device, and semiconductor device
US20040038446A1 (en) 2002-03-15 2004-02-26 Sanyo Electric Co., Ltd.- Method for forming ZnO film, method for forming ZnO semiconductor layer, method for fabricating semiconductor device, and semiconductor device
US20030189401A1 (en) 2002-03-26 2003-10-09 International Manufacturing And Engineering Services Co., Ltd. Organic electroluminescent device
US6933568B2 (en) 2002-05-17 2005-08-23 Samsung Electronics Co., Ltd. Deposition method of insulating layers having low dielectric constant of semiconductor device, a thin film transistor substrate using the same and a method of manufacturing the same
US7902549B2 (en) 2002-05-17 2011-03-08 Samsung Electronics Co., Ltd. Deposition method of insulating layers having low dielectric constant of semiconductor device, a thin film transistor substrate using the same and a method of manufacturing the same
WO2003097897A1 (en) 2002-05-17 2003-11-27 Samsung Electronics Co., Ltd. Vapor deposition method of low dielectric insulating film, thin film transistor using the same and preparation method thereof
US7323371B2 (en) 2002-05-17 2008-01-29 Samsung Electronics Co., Ltd. Deposition method of insulating layers having low dielectric constant of semiconductor device, a thin film transistor substrate using the same and a method of manufacturing the same
JP2005526387A (en) 2002-05-17 2005-09-02 サムスン エレクトロニクス カンパニー リミテッド Low dielectric constant insulating film deposition method, thin film transistor using the same, and method of manufacturing the same
US20030218222A1 (en) 2002-05-21 2003-11-27 The State Of Oregon Acting And Through The Oregon State Board Of Higher Education On Behalf Of Transistor structures and methods for making the same
TW200307893A (en) 2002-06-03 2003-12-16 Lg Philips Lcd Co Ltd Active matrix organic electroluminescent display device and fabricating method thereof
US7501293B2 (en) 2002-06-13 2009-03-10 Murata Manufacturing Co., Ltd. Semiconductor device in which zinc oxide is used as a semiconductor material and method for manufacturing the semiconductor device
US7105868B2 (en) 2002-06-24 2006-09-12 Cermet, Inc. High-electron mobility transistor with zinc oxide
JP2004103957A (en) 2002-09-11 2004-04-02 Japan Science & Technology Corp Transparent thin film field effect transistor using homologous thin film as active layer
US20040056587A1 (en) 2002-09-19 2004-03-25 Samsung Nec Mobile Display Co., Ltd. Dual-type organic electroluminescence display and manufacturing method thereof
US7952274B2 (en) 2002-09-20 2011-05-31 Yazaki Corporation Dial module and process for manufacturing the same, LED display element, display module, movement module, connector module and meter employing the same
US20040066637A1 (en) 2002-10-03 2004-04-08 Hajime Imai Wiring substrate and method for manufacturing the same
US20040127038A1 (en) 2002-10-11 2004-07-01 Carcia Peter Francis Transparent oxide semiconductor thin film transistors
US20060035452A1 (en) 2002-10-11 2006-02-16 Carcia Peter F Transparent oxide semiconductor thin film transistor
US20050243148A1 (en) 2002-10-23 2005-11-03 Yoshio Miyazawa Liquid containing bag and liquid ejector
JP2004247533A (en) 2003-02-14 2004-09-02 Casio Comput Co Ltd Active matrix panel
US20040164668A1 (en) 2003-02-20 2004-08-26 Hiroshi Kanno Color light emitting display device
JP2004273614A (en) 2003-03-06 2004-09-30 Sharp Corp Semiconductor device and method of manufacturing the same
JP2004273732A (en) 2003-03-07 2004-09-30 Sharp Corp Active matrix substrate and manufacturing method thereof
US20040245525A1 (en) 2003-03-24 2004-12-09 Shunpei Yamazaki Thin film integrated circuit device
US20040189919A1 (en) 2003-03-29 2004-09-30 Ahn Byung Chul Liquid crystal display of horizontal electric field applying type and fabricating method thereof
WO2004114391A1 (en) 2003-06-20 2004-12-29 Sharp Kabushiki Kaisha Semiconductor device, its manufacturing method, and electronic device
US20060244107A1 (en) 2003-06-20 2006-11-02 Toshinori Sugihara Semiconductor device, manufacturing method, and electronic device
US20050017302A1 (en) 2003-07-25 2005-01-27 Randy Hoffman Transistor including a deposited channel region having a doped portion
US7595256B2 (en) 2003-10-28 2009-09-29 Semiconductor Energy Laboratory Co., Ltd. Semiconductor device, method of manufacturing thereof, and method of manufacturing base material
US8067294B2 (en) 2003-10-28 2011-11-29 Semiconductor Energy Laboratory Co., Ltd. Method of manufacturing semiconductor device including protective film
JP2005178363A (en) 2003-10-28 2005-07-07 Semiconductor Energy Lab Co Ltd Method for manufacturing semiconductor device and method for manufacturing substrate
US8673739B2 (en) 2003-10-28 2014-03-18 Semiconductor Energy Laboratory Co., Ltd. Method of manufacturing semiconductor device
US7229900B2 (en) 2003-10-28 2007-06-12 Semiconductor Energy Laboratory Co., Ltd. Semiconductor device, method of manufacturing thereof, and method of manufacturing base material
US8247965B2 (en) * 2003-11-14 2012-08-21 Semiconductor Energy Laboratory Co., Ltd. Light emitting display device and method for manufacturing the same
US20050110930A1 (en) 2003-11-26 2005-05-26 Lg.Philips Lcd Co., Ltd. Lower substrate, IPS mode liquid crystal display device and method for manufacturing the same
US8742421B2 (en) * 2003-12-02 2014-06-03 Semiconductor Energy Laboratory Co., Ltd. Display device, method for manufacturing the same, and television apparatus
US7142260B2 (en) 2003-12-05 2006-11-28 Au Optronics Corporation Pixel structure having electrical field shielding layer and transparent capacitor electrodes
US7515217B2 (en) 2003-12-05 2009-04-07 Au Optronics Corporation Fabricating method of a pixel structure having electrical field shielding layer and storage capacitor with three transparent electrodes
US20090278122A1 (en) 2004-03-12 2009-11-12 Japan Science And Technology Agency Amorphous oxide and thin film transistor
US20060043377A1 (en) 2004-03-12 2006-03-02 Hewlett-Packard Development Company, L.P. Semiconductor device
US7297977B2 (en) 2004-03-12 2007-11-20 Hewlett-Packard Development Company, L.P. Semiconductor device
US20050199959A1 (en) 2004-03-12 2005-09-15 Chiang Hai Q. Semiconductor device
US20090280600A1 (en) 2004-03-12 2009-11-12 Japan Science And Technology Agency Amorphous oxide and thin film transistor
EP1737044A1 (en) 2004-03-12 2006-12-27 Japan Science and Technology Agency Amorphous oxide and thin film transistor
US7282782B2 (en) 2004-03-12 2007-10-16 Hewlett-Packard Development Company, L.P. Combined binary oxide semiconductor device
US7462862B2 (en) 2004-03-12 2008-12-09 Hewlett-Packard Development Company, L.P. Transistor using an isovalent semiconductor oxide as the active channel layer
US20070194379A1 (en) 2004-03-12 2007-08-23 Japan Science And Technology Agency Amorphous Oxide And Thin Film Transistor
US20080254569A1 (en) 2004-03-12 2008-10-16 Hoffman Randy L Semiconductor Device
EP2226847A2 (en) 2004-03-12 2010-09-08 Japan Science And Technology Agency Amorphous oxide and thin film transistor
JP2005303220A (en) 2004-04-16 2005-10-27 Mitsubishi Electric Corp TFT array substrate
US7351623B2 (en) 2004-05-27 2008-04-01 Lg.Philips Lcd Co., Ltd. Liquid crystal display device and fabricating method thereof
JP2005338855A (en) 2004-05-27 2005-12-08 Lg Phillips Lcd Co Ltd Liquid crystal display device and manufacturing method thereof
US8045072B2 (en) 2004-05-27 2011-10-25 Lg Display Co., Ltd. Liquid crystal display device
WO2005121884A1 (en) 2004-06-11 2005-12-22 Sharp Kabushiki Kaisha Active matrix board and liquid crystal display device
US7834948B2 (en) 2004-06-11 2010-11-16 Sharp Kabushiki Kaisha Active matrix substrate and liquid crystal display device
US20050275038A1 (en) 2004-06-14 2005-12-15 Yi-Chi Shih Indium oxide-based thin film transistors and circuits
US7211825B2 (en) 2004-06-14 2007-05-01 Yi-Chi Shih Indium oxide-based thin film transistors and circuits
US20060027813A1 (en) 2004-07-08 2006-02-09 Samsung Electronics Co., Ltd. Thin film transistor array panel and a liquid crystal display including the same
US20060022201A1 (en) 2004-07-27 2006-02-02 Samsung Electronics Co., Ltd. Thin film transistor array panel and display device including the same
US7385224B2 (en) 2004-09-02 2008-06-10 Casio Computer Co., Ltd. Thin film transistor having an etching protection film and manufacturing method thereof
US20080006877A1 (en) 2004-09-17 2008-01-10 Peter Mardilovich Method of Forming a Solution Processed Device
US7470604B2 (en) 2004-10-08 2008-12-30 Semiconductor Energy Laboratory Co., Ltd. Method for manufacturing display device
JP2006133762A (en) 2004-10-08 2006-05-25 Semiconductor Energy Lab Co Ltd Method for manufacturing display device
US20060077324A1 (en) 2004-10-11 2006-04-13 Lg.Philips Lcd Co., Ltd. In-plane switching mode liquid crystal display device
US8542338B2 (en) 2004-10-11 2013-09-24 Lg Display Co., Ltd. In-plane switching mode liquid crystal display device including multi-layer electrode
US7382421B2 (en) 2004-10-12 2008-06-03 Hewlett-Packard Development Company, L.P. Thin film transistor with a passivation layer
US7910271B2 (en) 2004-10-13 2011-03-22 Sharp Kabushiki Kaisha Functional substrate
WO2006041027A1 (en) 2004-10-13 2006-04-20 Sharp Kabushiki Kaisha Functional substrate
US20060091793A1 (en) 2004-11-02 2006-05-04 3M Innovative Properties Company Methods and displays utilizing integrated zinc oxide row and column drivers in conjunction with organic light emitting diodes
US20060110867A1 (en) 2004-11-10 2006-05-25 Canon Kabushiki Kaisha Field effect transistor manufacturing method
US20060113565A1 (en) 2004-11-10 2006-06-01 Canon Kabushiki Kaisha Electric elements and circuits utilizing amorphous oxides
US20060108529A1 (en) 2004-11-10 2006-05-25 Canon Kabushiki Kaisha Sensor and image pickup device
US20060108636A1 (en) 2004-11-10 2006-05-25 Canon Kabushiki Kaisha Amorphous oxide and field effect transistor
US20060113536A1 (en) 2004-11-10 2006-06-01 Canon Kabushiki Kaisha Display
US7453065B2 (en) 2004-11-10 2008-11-18 Canon Kabushiki Kaisha Sensor and image pickup device
US7601984B2 (en) 2004-11-10 2009-10-13 Canon Kabushiki Kaisha Field effect transistor with amorphous oxide active layer containing microcrystals and gate electrode opposed to active layer through gate insulator
US20060113539A1 (en) 2004-11-10 2006-06-01 Canon Kabushiki Kaisha Field effect transistor
US20060113549A1 (en) 2004-11-10 2006-06-01 Canon Kabushiki Kaisha Light-emitting device
US8637869B2 (en) 2004-11-17 2014-01-28 Samsung Display Co., Ltd. Thin film transistor array panel including layered line structure and method for manufacturing the same
US9111802B2 (en) 2004-11-17 2015-08-18 Samsung Display Co., Ltd. Thin film transistor array panel including layered line structure and method for manufacturing the same
US8372701B2 (en) 2004-11-17 2013-02-12 Samsung Display Co., Ltd. Thin film transistor array panel including layered line structure and method for manufacturing the same
JP2006148040A (en) 2004-11-17 2006-06-08 Samsung Electronics Co Ltd Thin film transistor array panel and manufacturing method thereof
US7619254B2 (en) 2004-11-17 2009-11-17 Samsung Electronics Co., Ltd. Thin film transistor array panel including layered line structure and method for manufacturing the same
US9431426B2 (en) 2004-11-17 2016-08-30 Samsung Display Co., Ltd. Thin film transistor array panel including layered line structure and method for manufacturing the same
US20100323482A1 (en) 2004-12-30 2010-12-23 Young Seok Choi Tft array substrate and the fabrication method thereof
US7804089B2 (en) 2004-12-30 2010-09-28 Lg Display Co., Ltd. TFT array substrate and the fabrication method thereof
KR20060077719A (en) 2004-12-30 2006-07-05 엘지.필립스 엘시디 주식회사 Thin film transistor array substrate and manufacturing method thereof
US20090073325A1 (en) 2005-01-21 2009-03-19 Semiconductor Energy Laboratory Co., Ltd. Semiconductor device and method for manufacturing the same, and electric device
JP2006206372A (en) 2005-01-27 2006-08-10 Sharp Corp Glass substrate repair method
US20060170111A1 (en) 2005-01-28 2006-08-03 Semiconductor Energy Laboratory Co., Ltd. Semiconductor device, electronic device, and method of manufacturing semiconductor device
US8324018B2 (en) 2005-01-28 2012-12-04 Semiconductor Energy Laboratory Co., Ltd. Semiconductor device, electronic device, and method of manufacturing semiconductor device
US20060169973A1 (en) 2005-01-28 2006-08-03 Semiconductor Energy Laboratory Co., Ltd. Semiconductor device, electronic device, and method of manufacturing semiconductor device
US7635889B2 (en) 2005-01-28 2009-12-22 Semiconductor Energy Laboratory Co., Ltd. Semiconductor device, electronic device, and method of manufacturing semiconductor device
JP2006237586A (en) 2005-01-28 2006-09-07 Semiconductor Energy Lab Co Ltd Semiconductor device, electronic device, and method for manufacturing semiconductor device
US20090152541A1 (en) 2005-02-03 2009-06-18 Semiconductor Energy Laboratory Co., Ltd. Electronic device, semiconductor device and manufacturing method thereof
US20090134399A1 (en) 2005-02-18 2009-05-28 Semiconductor Energy Laboratory Co., Ltd. Semiconductor Device and Method for Manufacturing the Same
JP2006245031A (en) 2005-02-28 2006-09-14 Casio Comput Co Ltd Thin film transistor panel
WO2006093029A1 (en) 2005-02-28 2006-09-08 Casio Computer Co., Ltd. Thin film transistor panel
WO2006093028A1 (en) 2005-02-28 2006-09-08 Casio Computer Co., Ltd. Thin film transistor panel
JP2006242987A (en) 2005-02-28 2006-09-14 Casio Comput Co Ltd Thin film transistor panel
US20060192204A1 (en) 2005-02-28 2006-08-31 Casio Computer Co., Ltd. Thin film transistor panel
US7633090B2 (en) 2005-02-28 2009-12-15 Casio Computer Co., Ltd. Thin film transistor panel
US7795621B2 (en) 2005-02-28 2010-09-14 Casio Computer Co., Ltd. Thin film transistor panel
US20060197092A1 (en) 2005-03-03 2006-09-07 Randy Hoffman System and method for forming conductive material on a substrate
US20060208977A1 (en) 2005-03-18 2006-09-21 Semiconductor Energy Laboratory Co., Ltd. Semiconductor device, and display device, driving method and electronic apparatus thereof
KR20060100872A (en) 2005-03-18 2006-09-21 삼성전자주식회사 Transflective liquid crystal display panel and its manufacturing method
US7405428B2 (en) 2005-03-18 2008-07-29 Samsung Electronics Co., Ltd. Transflective liquid crystal display panel and manufacturing method thereof
JP2006259745A (en) 2005-03-18 2006-09-28 Samsung Electronics Co Ltd Transflective liquid crystal display panel and manufacturing method thereof
US20060231882A1 (en) 2005-03-28 2006-10-19 Il-Doo Kim Low voltage flexible organic/transparent transistor for selective gas sensing, photodetecting and CMOS device applications
US20060228974A1 (en) 2005-03-31 2006-10-12 Theiss Steven D Methods of making displays
US20060238135A1 (en) 2005-04-20 2006-10-26 Semiconductor Energy Laboratory Co., Ltd. Semiconductor device and display device
US20060284172A1 (en) 2005-06-10 2006-12-21 Casio Computer Co., Ltd. Thin film transistor having oxide semiconductor layer and manufacturing method thereof
US7402506B2 (en) 2005-06-16 2008-07-22 Eastman Kodak Company Methods of making thin film transistors comprising zinc-oxide-based semiconductor materials and transistors made thereby
US20060284171A1 (en) 2005-06-16 2006-12-21 Levy David H Methods of making thin film transistors comprising zinc-oxide-based semiconductor materials and transistors made thereby
US20060292777A1 (en) 2005-06-27 2006-12-28 3M Innovative Properties Company Method for making electronic devices using metal oxide nanoparticles
US7491971B2 (en) 2005-07-26 2009-02-17 Casio Computer Co., Ltd. Transistor array panel, liquid crystal display panel, and method of manufacturing liquid crystal display panel
US7781769B2 (en) 2005-07-26 2010-08-24 Casio Computer Co., Ltd. Transistor array panel, liquid crystal display panel, and method of manufacturing liquid crystal display panel
JP2007033760A (en) 2005-07-26 2007-02-08 Casio Comput Co Ltd Transistor array panel
US20070024187A1 (en) 2005-07-28 2007-02-01 Shin Hyun S Organic light emitting display (OLED) and its method of fabrication
US7682886B2 (en) 2005-08-01 2010-03-23 Samsung Electronics Co., Ltd. Flat panel display and manufacturing method of flat panel display
US7619245B2 (en) 2005-08-01 2009-11-17 Samsung Electronics Co., Ltd. Flat panel display and manufacturing method of flat panel display
KR20070015656A (en) 2005-08-01 2007-02-06 삼성전자주식회사 Manufacturing method of flat panel display and flat panel display
US20070045636A1 (en) 2005-08-05 2007-03-01 Shin-Tack Kang Display substrate, method of manufacturing the same and display device having the same
US7808108B2 (en) 2005-08-12 2010-10-05 Samsung Electronics Co., Ltd. Thin film conductor and method of fabrication
US20070034954A1 (en) 2005-08-12 2007-02-15 Samsung Electronics Co., Ltd. Thin film conductor and method of fabrication
JP2007053363A (en) 2005-08-12 2007-03-01 Samsung Electronics Co Ltd Wiring, method for forming the same, thin film transistor substrate, and method for manufacturing the same
US20070046191A1 (en) 2005-08-23 2007-03-01 Canon Kabushiki Kaisha Organic electroluminescent display device and manufacturing method thereof
US7453087B2 (en) 2005-09-06 2008-11-18 Canon Kabushiki Kaisha Thin-film transistor and thin-film diode having amorphous-oxide semiconductor layer
US20070054507A1 (en) 2005-09-06 2007-03-08 Canon Kabushiki Kaisha Method of fabricating oxide semiconductor device
US20070052025A1 (en) 2005-09-06 2007-03-08 Canon Kabushiki Kaisha Oxide semiconductor thin film transistor and method of manufacturing the same
JP2007073703A (en) 2005-09-06 2007-03-22 Canon Inc Thin film transistor and thin film diode
US8716711B2 (en) 2005-09-06 2014-05-06 Canon Kabushiki Kaisha Thin-film transistor and thin-film diode having amorphous-oxide semiconductor layer
US7468304B2 (en) 2005-09-06 2008-12-23 Canon Kabushiki Kaisha Method of fabricating oxide semiconductor device
US7964871B2 (en) 2005-09-06 2011-06-21 Canon Kabushiki Kaisha Thin-film transistor and thin-film diode having amorphous-oxide semiconductor layer
US20090114910A1 (en) 2005-09-06 2009-05-07 Canon Kabushiki Kaisha Semiconductor device
US20090008639A1 (en) 2005-09-29 2009-01-08 Semiconductor Energy Laboratory Co., Ltd. Semiconductor Device and Manufacturing Method Thereof
US7674650B2 (en) 2005-09-29 2010-03-09 Semiconductor Energy Laboratory Co., Ltd. Semiconductor device and manufacturing method thereof
US20070072439A1 (en) 2005-09-29 2007-03-29 Semiconductor Energy Laboratory Co., Ltd. Semiconductor device and manufacturing method thereof
US7732819B2 (en) 2005-09-29 2010-06-08 Semiconductor Energy Laboratory Co., Ltd. Semiconductor device and manufacturing method thereof
JP2007096055A (en) 2005-09-29 2007-04-12 Semiconductor Energy Lab Co Ltd Semiconductor device and manufacturing method of semiconductor device
US20080308804A1 (en) 2005-09-29 2008-12-18 Semiconductor Energy Laboratory Co., Ltd. Semiconductor Device and Manufacturing Method Thereof
US20080308796A1 (en) 2005-09-29 2008-12-18 Semiconductor Energy Laboratory Co., Ltd. Semiconductor Device and Manufacturing Method Thereof
JP2007123861A (en) 2005-09-29 2007-05-17 Semiconductor Energy Lab Co Ltd Semiconductor device and manufacturing method thereof
US20080308797A1 (en) 2005-09-29 2008-12-18 Semiconductor Energy Laboratory Co., Ltd. Semiconductor Device and Manufacturing Method Thereof
US20080308806A1 (en) 2005-09-29 2008-12-18 Semiconductor Energy Laboratory Co., Ltd. Semiconductor Device and Manufacturing Method Thereof
US20080308805A1 (en) 2005-09-29 2008-12-18 Semiconductor Energy Laboratory Co., Ltd. Semiconductor Device and Manufacturing Method Thereof
JP2007109918A (en) 2005-10-14 2007-04-26 Toppan Printing Co Ltd Transistor and manufacturing method thereof
JP2007115807A (en) 2005-10-19 2007-05-10 Toppan Printing Co Ltd Transistor
US20070090365A1 (en) 2005-10-20 2007-04-26 Canon Kabushiki Kaisha Field-effect transistor including transparent oxide and light-shielding member, and display utilizing the transistor
US20090186445A1 (en) 2005-11-15 2009-07-23 Semiconductor Energy Laboratory Co., Ltd. Semiconductor device and manufacturing method thereof
KR20090051125A (en) 2005-11-15 2009-05-20 가부시키가이샤 한도오따이 에네루기 켄큐쇼 Semiconductor device manufacturing method
US20100003783A1 (en) 2005-11-15 2010-01-07 Semiconductor Energy Laboratory Co., Ltd. Semiconductor device and manufacturing method thereof
US8158464B2 (en) 2005-11-15 2012-04-17 Semiconductor Energy Laboratory Co., Ltd. Method of manufacturing a liquid crystal display device with a semiconductor film including zinc oxide
US8368079B2 (en) 2005-11-15 2013-02-05 Semicondutor Energy Laboratory Co., Ltd. Semiconductor device including common potential line
US8525165B2 (en) 2005-11-15 2013-09-03 Semiconductor Energy Laboratory Co., Ltd. Active matrix display device with bottom gate zinc oxide thin film transistor
US8134156B2 (en) 2005-11-15 2012-03-13 Semiconductor Energy Laboratory Co., Ltd. Semiconductor device including zinc oxide containing semiconductor film
US20090189156A1 (en) 2005-11-15 2009-07-30 Semiconductor Energy Laboratory Co., Ltd. Semiconductor device and manufacturing method thereof
US20090189155A1 (en) 2005-11-15 2009-07-30 Semiconductor Energy Laboratory Co., Ltd. Semiconductor device and manufacturing method thereof
US7745798B2 (en) 2005-11-15 2010-06-29 Fujifilm Corporation Dual-phosphor flat panel radiation detector
US20070108446A1 (en) 2005-11-15 2007-05-17 Semiconductor Energy Laboratory Co., Ltd. Semiconductor device and manufacturing method thereof
WO2007058329A1 (en) 2005-11-15 2007-05-24 Semiconductor Energy Laboratory Co., Ltd. Semiconductor device and manufacturing method thereof
JP2007150158A (en) 2005-11-30 2007-06-14 Toppan Printing Co Ltd Transistor and manufacturing method thereof
JP2007155962A (en) 2005-12-02 2007-06-21 Casio Comput Co Ltd Liquid crystal display
US7554618B2 (en) 2005-12-02 2009-06-30 Casio Computer Co., Ltd. Liquid crystal display device having crosstalk preventing structure
US20070152217A1 (en) 2005-12-29 2007-07-05 Chih-Ming Lai Pixel structure of active matrix organic light-emitting diode and method for fabricating the same
US20090068773A1 (en) 2005-12-29 2009-03-12 Industrial Technology Research Institute Method for fabricating pixel structure of active matrix organic light-emitting diode
JP2007183629A (en) 2005-12-29 2007-07-19 Samsung Electronics Co Ltd Thin film transistor display substrate and manufacturing method thereof
US20070158729A1 (en) 2005-12-29 2007-07-12 Young-Chol Yang Thin film transistor array panel and method of manufacture
US20080050595A1 (en) 2006-01-11 2008-02-28 Murata Manufacturing Co., Ltd. Transparent conductive film and method for manufacturing the same
US20070172591A1 (en) 2006-01-21 2007-07-26 Samsung Electronics Co., Ltd. METHOD OF FABRICATING ZnO FILM AND THIN FILM TRANSISTOR ADOPTING THE ZnO FILM
US8049206B2 (en) * 2006-01-26 2011-11-01 Semiconductor Energy Laboratory Co., Ltd. Organic field effect transistor and semiconductor device
US20070187760A1 (en) 2006-02-02 2007-08-16 Kochi Industrial Promotion Center Thin film transistor including low resistance conductive thin films and manufacturing method thereof
US20070187678A1 (en) 2006-02-15 2007-08-16 Kochi Industrial Promotion Center Semiconductor device including active layer made of zinc oxide with controlled orientations and manufacturing method thereof
JP2007310352A (en) 2006-03-14 2007-11-29 Seiko Epson Corp Organic electroluminescence device and electronic device
US20070216280A1 (en) 2006-03-14 2007-09-20 Seiko Epson Corporation Organic electroluminescent device and electronic apparatus
US7781964B2 (en) 2006-03-14 2010-08-24 Seiko Epson Corporation Organic electroluminescent device and electronic apparatus
US7435633B2 (en) 2006-03-14 2008-10-14 Seiko Epson Corporation Electroluminescence device, manufacturing method thereof, and electronic apparatus
US20070272922A1 (en) 2006-04-11 2007-11-29 Samsung Electronics Co. Ltd. ZnO thin film transistor and method of forming the same
JP2007293071A (en) 2006-04-26 2007-11-08 Epson Imaging Devices Corp Electro-optical device and electronic apparatus
US7619256B2 (en) 2006-04-26 2009-11-17 Epson Imaging Devices Corporation Electro-optical device and electronic apparatus
US20070252928A1 (en) 2006-04-28 2007-11-01 Toppan Printing Co., Ltd. Structure, transmission type liquid crystal display, reflection type display and manufacturing method thereof
JP2007299833A (en) 2006-04-28 2007-11-15 Toppan Printing Co Ltd Structure, transmissive liquid crystal display device, semiconductor circuit manufacturing method, and transmissive liquid crystal display device manufacturing method
JP2007298627A (en) 2006-04-28 2007-11-15 Toppan Printing Co Ltd Display device and manufacturing method thereof
US20070263130A1 (en) 2006-05-10 2007-11-15 Epson Imaging Devices Corporation Liquid crystal display and manufacturing method therefor
JP2007316110A (en) 2006-05-23 2007-12-06 Epson Imaging Devices Corp Electro-optical device, electronic apparatus, and method of manufacturing electro-optical device
US20070272982A1 (en) 2006-05-23 2007-11-29 Epson Imaging Devices Corporation Electro-optical apparatus, electronic apparatus, and method of manufacturing electro-optical apparatus
US7704859B2 (en) 2006-05-23 2010-04-27 Epson Imaging Devices Corporation Electro-optical apparatus, electronic apparatus, and method of manufacturing electro-optical apparatus
US20070287296A1 (en) 2006-06-13 2007-12-13 Canon Kabushiki Kaisha Dry etching method for oxide semiconductor film
US7847289B2 (en) 2006-06-30 2010-12-07 Lg Display Co., Ltd Array substrate for liquid crystal display device and method of manufacturing the same
US8570468B2 (en) * 2006-06-30 2013-10-29 Lg Display Co., Ltd. Liquid crystal display device and method of fabricating the same
CN101097340A (en) 2006-06-30 2008-01-02 Lg.菲利浦Lcd株式会社 Backlight assembly and liquid crystal display device with backlight assembly
US7548287B2 (en) 2006-06-30 2009-06-16 Lg. Display Co., Ltd. Backlight assembly comprising guide grooves and adhesive tapes formed therein for attaching flexible printed circuit to light guide plate
JP2008015226A (en) 2006-07-06 2008-01-24 Epson Imaging Devices Corp Electro-optical device, method of manufacturing electro-optical device, and electronic apparatus
US7459753B2 (en) 2006-07-06 2008-12-02 Epson Imaging Devices Corporation Electro-optical device, method for manufacturing electro-optical device, and electronic apparatus
US20080042137A1 (en) 2006-07-06 2008-02-21 Epson Imaging Devices Corporation Electro-optical device, method for manufacturing electro-optical device, and electronic apparatus
US10606133B2 (en) 2006-07-27 2020-03-31 Japan Display Inc. Liquid crystal display device
US9291863B2 (en) 2006-07-27 2016-03-22 Japan Display Inc. Liquid crystal display device
US20080024416A1 (en) 2006-07-27 2008-01-31 Epson Imaging Devices Corporation Liquid crystal display device
TW200807122A (en) 2006-07-27 2008-02-01 Epson Imaging Devices Corp Liquid crystal display device
US20190346724A1 (en) 2006-07-27 2019-11-14 Japan Display Inc. Liquid crystal display device
US20190049800A1 (en) 2006-07-27 2019-02-14 Japan Display Inc. Liquid crystal display device
US10126609B2 (en) 2006-07-27 2018-11-13 Japan Display Inc. Liquid crystal display device
US10126608B2 (en) 2006-07-27 2018-11-13 Japan Display Inc. Liquid crystal display device
US9946125B2 (en) 2006-07-27 2018-04-17 Japan Display Inc. Liquid crystal display device
US20080038929A1 (en) 2006-08-09 2008-02-14 Canon Kabushiki Kaisha Method of dry etching oxide semiconductor film
US20080038882A1 (en) 2006-08-09 2008-02-14 Kazushige Takechi Thin-film device and method of fabricating the same
US7927991B2 (en) * 2006-08-25 2011-04-19 Semiconductor Energy Laboratory Co., Ltd. Method for manufacturing semiconductor device
US7411209B2 (en) 2006-09-15 2008-08-12 Canon Kabushiki Kaisha Field-effect transistor and method for manufacturing the same
US20080073649A1 (en) 2006-09-26 2008-03-27 Kim Young I Thin film transistor substrate and manufacturing method thereof
US20080073653A1 (en) 2006-09-27 2008-03-27 Canon Kabushiki Kaisha Semiconductor apparatus and method of manufacturing the same
US20080106191A1 (en) 2006-09-27 2008-05-08 Seiko Epson Corporation Electronic device, organic electroluminescence device, and organic thin film semiconductor device
US20090224245A1 (en) 2006-09-29 2009-09-10 Semiconductor Energy Laboratory Co., Ltd. Display device
US20080083950A1 (en) 2006-10-10 2008-04-10 Alfred I-Tsung Pan Fused nanocrystal thin film semiconductor and method
US20080128689A1 (en) 2006-11-29 2008-06-05 Je-Hun Lee Flat panel displays comprising a thin-film transistor having a semiconductive oxide in its channel and methods of fabricating the same for use in flat panel displays
US20080129195A1 (en) 2006-12-04 2008-06-05 Toppan Printing Co., Ltd. Color el display and method for producing the same
US20080166834A1 (en) 2007-01-05 2008-07-10 Samsung Electronics Co., Ltd. Thin film etching method
US20080176364A1 (en) 2007-01-18 2008-07-24 Samsung Electronics Co., Ltd. Method of manufacturing thin film transistor substrate
US20080182358A1 (en) 2007-01-26 2008-07-31 Cowdery-Corvan Peter J Process for atomic layer deposition
WO2008093583A1 (en) 2007-01-29 2008-08-07 Canon Kabushiki Kaisha Active matrix display apparatus
US8507910B2 (en) 2007-01-29 2013-08-13 Canon Kabushiki Kaisha Active matrix display apparatus
TW200845377A (en) 2007-01-29 2008-11-16 Canon Kk Active matrix display apparatus
US7777224B2 (en) 2007-01-30 2010-08-17 Semiconductor Energy Laboratory Co., Ltd. Semiconductor device and method of manufacturing the same
KR20080071521A (en) 2007-01-30 2008-08-04 가부시키가이샤 한도오따이 에네루기 켄큐쇼 Semiconductor device and manufacturing method thereof
US8273614B2 (en) 2007-01-30 2012-09-25 Semiconductor Energy Laboratory Co., Ltd. Semiconductor device and method of manufacturing the same
EP1953813A2 (en) 2007-01-30 2008-08-06 Semiconductor Energy Laboratory Co., Ltd. Semiconductor device and method of manufacturing the same
US9153703B2 (en) 2007-02-28 2015-10-06 Canon Kabushiki Kaisha Thin-film transistor and method of manufacturing same
WO2008105250A1 (en) 2007-02-28 2008-09-04 Canon Kabushiki Kaisha Thin-film transistor and method of manufacturing same
JP2008218495A (en) 2007-02-28 2008-09-18 Canon Inc Thin film transistor and manufacturing method thereof
US20080224133A1 (en) 2007-03-14 2008-09-18 Jin-Seong Park Thin film transistor and organic light-emitting display device having the thin film transistor
JP2008227316A (en) 2007-03-14 2008-09-25 Seiko Epson Corp SEMICONDUCTOR DEVICE, SEMICONDUCTOR DEVICE MANUFACTURING METHOD, AND ELECTRONIC DEVICE
US8779419B2 (en) 2007-03-23 2014-07-15 Idemitsu Kosan Co., Ltd. Semiconductor device, polycrystalline semiconductor thin film, process for producing polycrystalline semiconductor thin film, field effect transistor, and process for producing field effect transistor
WO2008117739A1 (en) 2007-03-23 2008-10-02 Idemitsu Kosan Co., Ltd. Semiconductor device, polycrystalline semiconductor thin film, process for producing polycrystalline semiconductor thin film, field effect transistor, and process for producing field effect transistor
US8158974B2 (en) 2007-03-23 2012-04-17 Idemitsu Kosan Co., Ltd. Semiconductor device, polycrystalline semiconductor thin film, process for producing polycrystalline semiconductor thin film, field effect transistor, and process for producing field effect transistor
JP2008243928A (en) 2007-03-26 2008-10-09 Idemitsu Kosan Co Ltd Amorphous oxide semiconductor thin film, manufacturing method thereof, thin film transistor manufacturing method, field effect transistor, light emitting device, display device, and sputtering target
TW200910468A (en) 2007-04-09 2009-03-01 Canon Kk Light-emitting apparatus and production method thereof
WO2008126879A1 (en) 2007-04-09 2008-10-23 Canon Kabushiki Kaisha Light-emitting apparatus and production method thereof
US8785240B2 (en) 2007-04-09 2014-07-22 Canon Kabushiki Kaisha Light-emitting apparatus and production method thereof
US20100084648A1 (en) 2007-04-09 2010-04-08 Canon Kabushiki Kaisha Light-emitting apparatus and production method thereof
JP2008281988A (en) 2007-04-09 2008-11-20 Canon Inc Light emitting device and manufacturing method thereof
US20080258139A1 (en) 2007-04-17 2008-10-23 Toppan Printing Co., Ltd. Structure with transistor
US20080258143A1 (en) 2007-04-18 2008-10-23 Samsung Electronics Co., Ltd. Thin film transitor substrate and method of manufacturing the same
US20080258141A1 (en) 2007-04-19 2008-10-23 Samsung Electronics Co., Ltd. Thin film transistor, method of manufacturing the same, and flat panel display having the same
US20080258140A1 (en) 2007-04-20 2008-10-23 Samsung Electronics Co., Ltd. Thin film transistor including selectively crystallized channel layer and method of manufacturing the thin film transistor
US20100078633A1 (en) 2007-05-11 2010-04-01 Canon Kabushiki Kaisha Insulated gate type transistor and display device
JP2008286911A (en) 2007-05-16 2008-11-27 Toppan Printing Co Ltd Image display device
US7907224B2 (en) 2007-05-16 2011-03-15 Toppan Printing Co., Ltd. Image display device
US20080284932A1 (en) 2007-05-16 2008-11-20 Samsung Electronics Co., Ltd. Thin film transistor substrate and liquid crystal display device comprising the same
US20080296568A1 (en) 2007-05-29 2008-12-04 Samsung Electronics Co., Ltd Thin film transistors and methods of manufacturing the same
US20090008638A1 (en) 2007-07-04 2009-01-08 Samsung Electronics Co., Ltd. Oxide semiconductor, thin film transistor including the same and method of manufacturing a thin film transistor
KR20090002841A (en) 2007-07-04 2009-01-09 삼성전자주식회사 Oxide semiconductor, thin film transistor comprising same, and method of manufacturing
US20090023236A1 (en) 2007-07-20 2009-01-22 Semiconductor Energy Laboratory Co., Ltd. Method for manufacturing display device
US8389993B2 (en) 2007-08-31 2013-03-05 Semiconductor Energy Laboratory Co., Ltd. Display device having a buffer layer formed over a channel protective layer
US8133771B2 (en) 2007-08-31 2012-03-13 Semiconductor Energy Laboratory Co., Ltd. Display device and manufacturing method of the same
US7768009B2 (en) 2007-08-31 2010-08-03 Semiconductor Energy Laboratory Co., Ltd. Display device and manufacturing method of the same
TW200926417A (en) 2007-08-31 2009-06-16 Semiconductor Energy Lab Display device and manufacturing method of the same
JP2009076894A (en) 2007-08-31 2009-04-09 Semiconductor Energy Lab Co Ltd Display device and method for manufacturing display device
US7773167B2 (en) 2007-09-11 2010-08-10 Au Optronics Corp. Pixel structure comprising two first conductive regions, a second conductive region and two first channel regions, wherein the first transparent electrode is located between the reflective electrode and second transparent electrode
JP2009099847A (en) 2007-10-18 2009-05-07 Canon Inc THIN FILM TRANSISTOR, ITS MANUFACTURING METHOD, AND DISPLAY DEVICE
US20090140438A1 (en) 2007-12-03 2009-06-04 Semiconductor Energy Laboratory Co., Ltd. Semiconductor device and manufacturing method thereof
US20090152506A1 (en) 2007-12-17 2009-06-18 Fujifilm Corporation Process for producing oriented inorganic crystalline film, and semiconductor device using the oriented inorganic crystalline film
US20100123136A1 (en) 2008-05-13 2010-05-20 Samsung Electronics Co., Ltd. Semiconductor device and manufacturing method thereof
US9041202B2 (en) * 2008-05-16 2015-05-26 Semiconductor Energy Laboratory Co., Ltd. Semiconductor device and manufacturing method of the same
US20090283762A1 (en) 2008-05-16 2009-11-19 Semiconductor Energy Laboratory Co., Ltd. Semiconductor device and manufacturing method of the same
US20100025678A1 (en) 2008-07-31 2010-02-04 Shunpei Yamazaki Semiconductor device and method for manufacturing the same
US20100025675A1 (en) 2008-07-31 2010-02-04 Semiconductor Energy Laboratory Co., Ltd. Semiconductor device and method for manufacturing the same
US20100032665A1 (en) 2008-08-08 2010-02-11 Semiconductor Energy Laboratory Co., Ltd. Semiconductor device and method for manufacturing the same
US20100044711A1 (en) 2008-08-19 2010-02-25 Fujifilm Corporation Thin film transistor, active matrix substrate, and image pickup device
US20100051938A1 (en) 2008-08-28 2010-03-04 Canon Kabushiki Kaisha Amorphous oxide semiconductor and thin film transistor using the same
US20100051949A1 (en) 2008-09-01 2010-03-04 Semiconductor Energy Laboratory Co., Ltd. Semiconductor device and method for manufacturing the same
US20100065840A1 (en) 2008-09-12 2010-03-18 Semiconductor Energy Laboratory Co., Ltd. Display device
US8427595B2 (en) 2008-09-19 2013-04-23 Semiconductor Energy Laboratory Co., Ltd. Display device with pixel portion and common connection portion having oxide semiconductor layers
US20100072468A1 (en) 2008-09-19 2010-03-25 Semiconductor Energy Laboratory Co., Ltd. Display device
US20100084651A1 (en) 2008-10-03 2010-04-08 Semiconductor Energy Laboratory Co., Ltd. Display device
US20100084652A1 (en) 2008-10-03 2010-04-08 Semiconductor Energy Laboratory Co., Ltd. Display device
US9915843B2 (en) 2008-10-08 2018-03-13 Semiconductor Energy Laboratory Co., Ltd. Display device with pixel including capacitor
US20100163867A1 (en) 2008-12-26 2010-07-01 Shunpei Yamazaki Semiconductor device, method for manufacturing the same, and electronic device having the same
US20110008930A1 (en) 2009-06-30 2011-01-13 Semiconductor Energy Laboratory Co., Ltd. Method for manufacturing semiconductor device
US8835920B2 (en) 2009-07-10 2014-09-16 Semiconductor Energy Laboratory Co., Ltd. Semiconductor device and method for manufacturing the same
US8441011B2 (en) 2009-07-10 2013-05-14 Semiconductor Energy Laboratory Co., Ltd. Semiconductor device and method for manufacturing the same
US20110024751A1 (en) 2009-07-31 2011-02-03 Semiconductor Energy Laboratory Co., Ltd. Semiconductor device and manufacturing method thereof
US20170084750A1 (en) 2009-07-31 2017-03-23 Semiconductor Energy Laboratory Co., Ltd. Semiconductor device and manufacturing method thereof
US20110037068A1 (en) 2009-07-31 2011-02-17 Semiconductor Energy Laboratory Co., Ltd. Semiconductor device and method for manufacturing the same
US20110031491A1 (en) 2009-07-31 2011-02-10 Semiconductor Energy Laboratory Co., Ltd. Semiconductor device and manufacturing method thereof
US20110024750A1 (en) 2009-07-31 2011-02-03 Semiconductor Energy Laboratory Co., Ltd. Semiconductor device and method for manufacturing the same
US20110049510A1 (en) 2009-08-27 2011-03-03 Semiconductor Energy Laboratory Co., Ltd. Display device and method for manufacturing the same
US20110084271A1 (en) 2009-10-14 2011-04-14 Semiconductor Energy Laboratory Co., Ltd. Semiconductor device and manufacturing method thereof
US20110136301A1 (en) 2009-12-04 2011-06-09 Semiconductor Energy Laboratory Co., Ltd. Semiconductor device and manufacturing method thereof
US20110215331A1 (en) 2010-03-05 2011-09-08 Semiconductor Energy Laboratory Co., Ltd. Semiconductor device and manufacturing method thereof
US20110269266A1 (en) 2010-04-28 2011-11-03 Semiconductor Energy Laboratory Co., Ltd. Method for manufacturing semiconductor device
US20120120334A1 (en) 2010-11-11 2012-05-17 Samsung Electronics Co., Ltd. Liquid crystal display and manufacturing method thereof
US20120274869A1 (en) 2010-11-26 2012-11-01 Shenzhen China Star Optoelectronics Technology Co Ltd Lcd panel and method for forming the same
US8928010B2 (en) 2011-02-25 2015-01-06 Semiconductor Energy Laboratory Co., Ltd. Display device
US20120258575A1 (en) 2011-04-06 2012-10-11 Semiconductor Energy Laboratory Co., Ltd. Manufacturing method of semiconductor device
US8890167B2 (en) 2011-08-19 2014-11-18 Lg Display Co., Ltd. Array substrate for display device including signal lines with reduced resistance
US20130087794A1 (en) 2011-10-06 2013-04-11 Lg Display Co., Ltd. Thin Film Transistor Substrate and Method of Fabricating the Same
US8988625B2 (en) 2011-11-11 2015-03-24 Semiconductor Energy Laboratory Co., Ltd. Display device and manufacturing method thereof
US20140070239A1 (en) 2012-03-13 2014-03-13 Boe Technology Group Co., Ltd. Array Substrate And Method For Fabricating The Same
US20140197414A1 (en) 2013-01-11 2014-07-17 Beijing Boe Optoelectronics Technology Co., Ltd. Array substrate and manufacturing method thereof
US20210408081A1 (en) 2018-04-26 2021-12-30 Ordos Yuansheng Optoelectronics Co., Ltd. Array substrate and manufacturing method thereof, display panel and electronic device
US20210351224A1 (en) 2018-09-07 2021-11-11 Semiconductor Energy Laboratory Co., Ltd. Imaging Device and Electronic Device
US20220005790A1 (en) 2018-09-07 2022-01-06 Semiconductor Energy Laboratory Co., Ltd. Display device, display module, and electronic device
US20210399106A1 (en) 2018-11-02 2021-12-23 Semiconductor Energy Laboratory Co., Ltd. Semiconductor device
US20220013667A1 (en) 2018-11-02 2022-01-13 Semiconductor Energy Laboratory Co., Ltd. Semiconductor device
US20220026623A1 (en) 2018-12-14 2022-01-27 Semiconductor Energy Laboratory Co., Ltd. Display device and data processing device
US20220208923A1 (en) * 2020-12-28 2022-06-30 Samsung Display Co., Ltd. Display device and method of providing the same
US20230157071A1 (en) * 2021-11-18 2023-05-18 Samsung Display Co., Ltd. Display panel and method of manufacturing the same

Non-Patent Citations (74)

* Cited by examiner, † Cited by third party
Title
Asakuma.N et al., "Crystallization and Reduction of Sol-Gel-Derived Zinc Oxide Films by Irradiation With Ultraviolet Lamp", Journal of Sol-Gel Science and Technology, 2003, vol. 26, pp. 181-184.
Asaoka.Y et al., "29.1:Polarizer-Free Reflective LCD Combined With Ultra Low-Power Driving Technology", SID Digest '09 : SID International Symposium Digest of Technical Papers, May 31, 2009, pp. 395-398.
Chern.H et al., "An Analytical Model for the Above-Threshold Characteristics of Polysilicon Thin-Film Transistors", IEEE Transactions on Electron Devices, Jul. 1, 1995, vol. 42, No. 7, pp. 1240-1246.
Cho.D et al., "21.2:Al and Sn-Doped Zinc Indium Oxide Thin Film Transistors for AMOLED Back-Plane", SID Digest '09 : SID International Symposium Digest of Technical Papers, May 31, 2009, pp. 280-283.
Clark.S et al., "First Principles Methods Using CASTEP", Zeitschrift fur Kristallographie, 2005, vol. 220, pp. 567-570.
Coates.D et al., "Optical Studies of the Amorphous Liquid-Cholesteric Liquid Crystal Transition: The "Blue Phase"", Physics Letters, Sep. 10, 1973, vol. 45A, No. 2, pp. 115-116.
Costello.M et al., "Electron Microscopy of a Cholesteric Liquid Crystal and Its Blue Phase", Phys. Rev. A (Physical Review. A), May 1, 1984, vol. 29, No. 5, pp. 2957-2959.
Dembo.H et al., "RFCPUS on Glass and Plastic Substrates Fabricated by TFT Transfer Technology", IEDM 05: Technical Digest of International Electron Devices Meeting, Dec. 5, 2005, pp. 1067-1069.
Fortunato.E et al., "Wide-Bandgap High-Mobility ZnO Thin-Film Transistors Produced at Room Temperature", Appl. Phys. Lett. (Applied Physics Letters) , Sep. 27, 2004, vol. 85, No. 13, pp. 2541-2543.
Fung.T et al., "2-D Numerical Simulation of High Performance Amorphous In—Ga—Zn—O TFTs for Flat Panel Displays", AM-FPD '08 Digest of Technical Papers, Jul. 2, 2008, pp. 251-252, The Japan Society of Applied Physics.
Godo.H et al., "P-9:Numerical Analysis on Temperature Dependence of Characteristics of Amorphous In—Ga—Zn-Oxide TFT", SID Digest '09 : SID International Symposium Digest of Technical Papers, May 31, 2009, pp. 1110-1112.
Godo.H et al., "Temperature Dependence of Characteristics and Electronic Structure for Amorphous In—Ga—Zn-Oxide TFT", AM-FPD '09 Digest of Technical Papers, Jul. 1, 2009, pp. 41-44.
Hayashi.R et al., "42.1: Invited Paper: Improved Amorphous In—Ga—Zn—O TFTs", SID Digest '08 : SID International Symposium Digest of Technical Papers, May 20, 2008, vol. 39, pp. 621-624.
Hirao.T et al., "Novel Top-Gate Zinc Oxide Thin-Film Transistors (ZnO TFTs) for AMLCDs", J. Soc. Inf. Display (Journal of the Society for Information Display), 2007, vol. 15, No. 1, pp. 17-22.
Hosono.H et al., "Working hypothesis to explore novel wide band gap electrically conducting amorphous oxides and examples", J. Non-Cryst. Solids (Journal of Non-Crystalline Solids), 1996, vol. 198-200, pp. 165-169.
Hosono.H, "68.3:Invited Paper:Transparent Amorphous Oxide Semiconductors for High Performance TFT", SID Digest '07 : SID International Symposium Digest of Technical Papers, 2007, vol. 38, pp. 1830-1833.
Hsieh.H et al., "P-29:Modeling of Amorphous Oxide Semiconductor Thin Film Transistors and Subgap Density of States", SID Digest '08 : SID International Symposium Digest of Technical Papers, May 20, 2008, vol. 39, pp. 1277-1280.
Ikeda.T et al., "Full-Functional System Liquid Crystal Display Using CG-Silicon Technology", SID Digest '04 : SID International Symposium Digest of Technical Papers, 2004, vol. 35, pp. 860-863.
International Search Report (Application No. PCT/JP2010/061221) Dated Aug. 3, 2010.
Janotti.A et al., "Native Point Defects in ZnO", Phys. Rev. B (Physical Review. B), Oct. 4, 2007, vol. 76, No. 16, pp. 165202-1-165202-22.
Janotti.A et al., "Oxygen Vacancies in ZnO", Appl. Phys. Lett. (Applied Physics Letters) , 2005, vol. 87, pp. 122102-1-122102-3.
Jeong.J et al., "3.1: Distinguished Paper: 12.1-Inch WXGA AMOLED Display Driven by Indium-Gallium-Zinc Oxide TFTs Array", SID Digest '08 : SID International Symposium Digest of Technical Papers, May 20, 2008, vol. 39, No. 1, pp. 1-4.
Jin.D et al., "65.2:Distinguished Paper: World-Largest (6.5″) Flexible Full Color Top Emission AMOLED Display on Plastic Film and Its Bending Properties", SID Digest '09 : SID International Symposium Digest of Technical Papers, May 31, 2009, pp. 983-985.
Kanno.H et al., "White Stacked Electrophosphorecent Organic Light-Emitting Devices Employing MoO3 as a Charge-Generation Layer", Adv. Mater. (Advanced Materials), 2006, vol. 18, No. 3, pp. 339-342.
Kikuchi.H et al., "39.1:Invited Paper:Optically Isotropic Nano-Structured Liquid Crystal Composites for Display Applications", SID Digest '09 : SID International Symposium Digest of Technical Papers, May 31, 2009, pp. 578-581.
Kikuchi.H et al., "62.2:Invited Paper:Fast Electro-Optical Switching in Polymer-Stabilized Liquid Crystalline Blue Phases for Display Application", SID Digest '07 : SID International Symposium Digest of Technical Papers, 2007, vol. 38, pp. 1737-1740.
Kikuchi.H et al., "Polymer-Stabilized Liquid Crystal Blue Phases", Nature Materials, Sep. 2, 2002, vol. 1, pp. 64-68.
Kim.S et al., "High-Performance oxide thin film transistors passivated by various gas plasmas", 214th ECS Meeting, 2008, No. 2317, ECS.
Kimizuka.N et al., "Spinel, YbFe2O4, and Yb2Fe3O7 Types of Structures for Compounds in the In2O3 and Sc2O3—A2O3—BO Systems [A; Fe, Ga, or Al; B: Mg, Mn, Fe, Ni, Cu, or Zn] at Temperatures Over 1000° C", Journal of Solid State Chemistry, 1985, vol. 60, pp. 382-384.
Kimizuka.N et al., "Syntheses and Single-Crystal Data of Homologous Compounds, In2O3(ZnO)m (m=3, 4, and 5), InGaO3(ZnO)3, and Ga2O3(ZnO)m (m=7, 8, 9, and 16) in the In2O3—ZnGa2O4—ZnO System", Journal of Solid State Chemistry, Apr. 1, 1995, vol. 116, No. 1, pp. 170-178.
Kitzerow.H et al., "Observation of Blue Phases in Chiral Networks", Liquid Crystals, 1993, vol. 14, No. 3, pp. 911-916.
Kurokawa.Y et al., "UHF RFCPUS on Flexible and Glass Substrates for Secure RFID Systems", Journal of Solid-State Circuits , 2008, vol. 43, No. 1, pp. 292-299.
Lany.S et al., "Dopability, Intrinsic Conductivity, and Nonstoichiometry of Transparent Conducting Oxides", Phys. Rev. Lett. (Physical Review Letters), Jan. 26, 2007, vol. 98, pp. 045501-1-045501-4.
Lee.H et al., "Current Status of, Challenges to, and Perspective View of AM-OLED ", IDW '06 : Proceedings of the 13th International Display Workshops, Dec. 7, 2006, pp. 663-666.
Lee.J et al., "World's Largest (15-Inch) XGA AMLCD Panel Using IGZO Oxide TFT", SID Digest '08 : SID International Symposium Digest of Technical Papers, May 20, 2008, vol. 39, pp. 625-628.
Lee.M et al., "15.4:Excellent Performance of Indium-Oxide-Based Thin-Film Transistors by DC Sputtering", SID Digest '09 : SID International Symposium Digest of Technical Papers, May 31, 2009, pp. 191-193.
Li.C et al., "Modulated Structures of Homologous Compounds InMo3(ZnO)m (M=In,Ga; m=Integer) Described by Four-Dimensional Superspace Group", Journal of Solid State Chemistry, 1998, vol. 139, pp. 347-355.
Masuda.S et al., "Transparent thin film transistors using ZnO as an active channel layer and their electrical properties", J. Appl. Phys. (Journal of Applied Physics) , Feb. 1, 2003, vol. 93, No. 3, pp. 1624-1630.
Meiboom.S et al., "Theory of the Blue Phase of Cholesteric Liquid Crystals", Phys. Rev. Lett. (Physical Review Letters), May 4, 1981, vol. 46, No. 18, pp. 1216-1219.
Miyasaka.M, "SUFTLA Flexible Microelectronics on Their Way to Business", SID Digest '07 : SID International Symposium Digest of Technical Papers, 2007, vol. 38, pp. 1673-1676.
Mo.Y et al., "Amorphous Oxide TFT Backplanes for Large Size AMOLED Displays", IDW '08 : Proceedings of the 6th International Display Workshops, Dec. 3, 2008, pp. 581-584.
Nakamura.M et al., "The phase relations in the In2O3—Ga2ZnO4—ZnO system at 1350° C", Journal of Solid State Chemistry, Aug. 1, 1991, vol. 93, No. 2, pp. 298-315.
Nakamura.M, "Synthesis of Homologous Compound with New Long-Period Structure", Nirim Newsletter, Mar. 1, 1995, vol. 150, pp. 1-4.
Nomura.K et al., "Amorphous Oxide Semiconductors for High-Performance Flexible Thin-Film Transistors", Jpn. J. Appl. Phys. (Japanese Journal of Applied Physics) , 2006, vol. 45, No. 5B, pp. 4303-4308.
Nomura.K et al., "Carrier transport in transparent oxide semiconductor with intrinsic structural randomness probed using single-crystalline InGaO3(ZnO)5 films", Appl. Phys. Lett. (Applied Physics Letters) , Sep. 13, 2004, vol. 85, No. 11, pp. 1993-1995.
Nomura.K et al., "Room-Temperature Fabrication of Transparent Flexible Thin-Film Transistors Using Amorphous Oxide Semiconductors", Nature, Nov. 25, 2004, vol. 432, pp. 488-492.
Nomura.K et al., "Thin-Film Transistor Fabricated in Single-Crystalline Transparent Oxide Semiconductor", Science, May 23, 2003, vol. 300, No. 5623, pp. 1269-1272.
Nowatari.H et al., "60.2: Intermediate Connector With Suppressed Voltage Loss for White Tandem OLEDs", SID Digest '09 : SID International Symposium Digest of Technical Papers, May 31, 2009, vol. 40, pp. 899-902.
Oba.F et al., "Defect energetics in ZnO: A hybrid Hartree-Fock density functional study", Phys. Rev. B (Physical Review. B), 2008, vol. 77, pp. 245202-1-245202-6.
Oh.M et al., "Improving the Gate Stability of ZnO Thin-Film Transistors With Aluminum Oxide Dielectric Layers", J. Electrochem. Soc. (Journal of the Electrochemical Society), 2008, vol. 155, No. 12, pp. H1009-H1014.
Ohara.H et al., "21.3:4.0 In. QVGA AMOLED Display Using In—Ga—Zn-Oxide TFTs With a Novel Passivation Layer", SID Digest '09 : SID International Symposium Digest of Technical Papers, May 31, 2009, pp. 284-287.
Ohara.H et al., "Amorphous In—Ga—Zn-Oxide TFTs with Suppressed Variation for 4.0 inch QVGA AMOLED Display", AM-FPD '09 Digest of Technical Papers, Jul. 1, 2009, pp. 227-230, The Japan Society of Applied Physics.
Orita.M et al., "Amorphous transparent conductive oxide InGaO3(ZnO)m (m<4):A Zn4s conductor", Philosophical Magazine, 2001, vol. 81, No. 5, pp. 501-515.
Orita.M et al., "Mechanism of Electrical Conductivity of Transparent InGaZnO4", Phys. Rev. B (Physical Review. B), Jan. 15, 2000, vol. 61, No. 3, pp. 1811-1816.
Osada.T et al., "15.2: Development of Driver-Integrated Panel using Amorphous In—Ga—Zn-Oxide TFT", SID Digest '09 : SID International Symposium Digest of Technical Papers, May 31, 2009, vol. 40, pp. 184-187.
Osada.T et al., "Development of Driver-Integrated Panel Using Amorphous In—Ga—Zn-Oxide TFT", AM-FPD '09 Digest of Technical Papers, Jul. 1, 2009, pp. 33-36.
Park.J et al., "Amorphous Indium-Gallium-Zinc Oxide TFTs and Their Application for Large Size AMOLED", AM-FPD '08 Digest of Technical Papers, Jul. 2, 2008, pp. 275-278.
Park.J et al., "Dry etching of ZnO films and plasma-induced damage to optical properties", J. Vac. Sci. Technol. B (Journal of Vacuum Science & Technology B), Mar. 1, 2003, vol. 21, No. 2, pp. 800-803.
Park.J et al., "Electronic Transport Properties of Amorphous Indium-Gallium-Zinc Oxide Semiconductor Upon Exposure to Water", Appl. Phys. Lett. (Applied Physics Letters) 2008, vol. 92, pp. 072104-1-072104-3.
Park.J et al., "High performance amorphous oxide thin film transistors with self-aligned top-gate structure", IEDM 09: Technical Digest of International Electron Devices Meeting, Dec. 7, 2009, pp. 191-194.
Park.J et al., "Improvements in the Device Characteristics of Amorphous Indium Gallium Zinc Oxide Thin-Film Transistors by Ar Plasma Treatment", Appl. Phys. Lett. (Applied Physics Letters) , Jun. 26, 2007, vol. 90, No. 26, pp. 262106-1-262106-3.
Park.S et al., "42.3: Transparent ZnO Thin Film Transistor for the Application of High Aperture Ratio Bottom Emission AM-OLED Display", SID Digest '08 : SID International Symposium Digest of Technical Papers, May 20, 2008, vol. 39, pp. 629-632.
Park.S et al., "Challenge to Future Displays: Transparent AM-OLED Driven By PEALD Grown ZnO TFT", IMID '07 Digest, 2007, pp. 1249-1252.
Prins.M et al., "A Ferroelectric Transparent Thin-Film Transistor", Appl. Phys. Lett. (Applied Physics Letters) , Jun. 17, 1996, vol. 68, No. 25, pp. 3650-3652.
Sakata.J et al., "Development of 4.0-In. AMOLED Display With Driver Circuit Using Amorphous In—Ga—Zn-Oxide TFTs", IDW '09 : Proceedings of the 16th International Display Workshops, 2009, pp. 689-692.
Son.K et al., "42.4L: Late-News Paper: 4 Inch QVGA AMOLED Driven by the Threshold Voltage Controlled Amorphous GIZO (Ga2O3—In2O3—ZnO) TFT", SID Digest '08 : SID International Symposium Digest of Technical Papers, May 20, 2008, vol. 39, pp. 633-636.
Taiwanese Office Action (Application No. 102119752) Dated Feb. 12, 2015.
Taiwanese Office Action (Application No. 106114308) Dated Mar. 23, 2018.
Taiwanese Office Action (Application No. 108134100) Dated Mar. 31, 2020.
Takahashi.M et al., "Theoretical Analysis of IGZO Transparent Amorphous Oxide Semiconductor", IDW '08 : Proceedings of the 15th International Display Workshops, Dec. 3, 2008, pp. 1637-1640.
Tsuda.K et al., "Ultra Low Power Consumption Technologies for Mobile TFT-LCDs ", IDW '02 : Proceedings of the 9th International Display Workshops, Dec. 4, 2002, pp. 295-298.
Ueno.K et al., "Field-Effect Transistor on SiTiO3 With Sputtered Al2O3 Gate Insulator", Appl. Phys. Lett. (Applied Physics Letters) , Sep. 1, 2003, vol. 83, No. 9, pp. 1755-1757.
Van de Walle.C, "Hydrogen as a Cause of Doping in Zinc Oxide", Phys. Rev. Lett. (Physical Review Letters), Jul. 31, 2000, vol. 85, No. 5, pp. 1012-1015.
Written Opinion (Application No. PCT/JP2010/061221) Dated Aug. 3, 2010.

Cited By (1)

* Cited by examiner, † Cited by third party
Publication number Priority date Publication date Assignee Title
US12376335B2 (en) 2011-10-19 2025-07-29 Semiconductor Energy Laboratory Co., Ltd. Semiconductor device and manufacturing method thereof

Also Published As

Publication number Publication date
KR20210018551A (en) 2021-02-17
TWI861536B (en) 2024-11-11
TW201611126A (en) 2016-03-16
WO2011004755A1 (en) 2011-01-13
US20200075635A1 (en) 2020-03-05
JP2019140409A (en) 2019-08-22
TWI679706B (en) 2019-12-11
US10522568B2 (en) 2019-12-31
TWI772680B (en) 2022-08-01
US20130221350A1 (en) 2013-08-29
JP5973004B2 (en) 2016-08-17
TW201338056A (en) 2013-09-16
KR101900653B1 (en) 2018-09-19
US8835920B2 (en) 2014-09-16
JP7511611B2 (en) 2024-07-05
TWI521605B (en) 2016-02-11
KR20140148483A (en) 2014-12-31
US8441011B2 (en) 2013-05-14
TWI591732B (en) 2017-07-11
KR20190096445A (en) 2019-08-19
TWI502650B (en) 2015-10-01
US10916566B2 (en) 2021-02-09
US20220278136A1 (en) 2022-09-01
US20150270294A1 (en) 2015-09-24
JP2016192573A (en) 2016-11-10
US20170148824A1 (en) 2017-05-25
KR20180105263A (en) 2018-09-27
US8324027B2 (en) 2012-12-04
US20170365626A1 (en) 2017-12-21
TWI644366B (en) 2018-12-11
TWI487040B (en) 2015-06-01
US11374029B2 (en) 2022-06-28
US10157936B2 (en) 2018-12-18
KR20170130621A (en) 2017-11-28
JP5651769B2 (en) 2015-01-14
JP2024147575A (en) 2024-10-16
US20210104556A1 (en) 2021-04-08
TW201338055A (en) 2013-09-16
JP2018046296A (en) 2018-03-22
KR20220100086A (en) 2022-07-14
KR102011614B1 (en) 2019-08-16
US20110006302A1 (en) 2011-01-13
JP6525443B2 (en) 2019-06-05
KR101857405B1 (en) 2018-05-11
US20150004745A1 (en) 2015-01-01
KR102416978B1 (en) 2022-07-05
JP2022184860A (en) 2022-12-13
KR20180045058A (en) 2018-05-03
TW201730983A (en) 2017-09-01
KR101643835B1 (en) 2016-07-28
JP2011035388A (en) 2011-02-17
JP2014102512A (en) 2014-06-05
KR101422362B1 (en) 2014-07-22
JP5681401B2 (en) 2015-03-11
KR20120031059A (en) 2012-03-29
KR101493662B1 (en) 2015-02-13
US20190088687A1 (en) 2019-03-21
US9054138B2 (en) 2015-06-09
KR20140054458A (en) 2014-05-08
KR102216028B1 (en) 2021-02-16
TW201133640A (en) 2011-10-01
JP2015135493A (en) 2015-07-27
US20130049001A1 (en) 2013-02-28
KR20160087401A (en) 2016-07-21
TW201907487A (en) 2019-02-16
TW201947670A (en) 2019-12-16
US9754974B2 (en) 2017-09-05
TW202247297A (en) 2022-12-01
JP2021015983A (en) 2021-02-12
KR101801500B1 (en) 2017-11-24
US9490277B2 (en) 2016-11-08

Similar Documents

Publication Publication Date Title
US12057453B2 (en) Semiconductor device and method for manufacturing the same

Legal Events

Date Code Title Description
FEPP Fee payment procedure

Free format text: ENTITY STATUS SET TO UNDISCOUNTED (ORIGINAL EVENT CODE: BIG.); ENTITY STATUS OF PATENT OWNER: LARGE ENTITY

STPP Information on status: patent application and granting procedure in general

Free format text: DOCKETED NEW CASE - READY FOR EXAMINATION

STPP Information on status: patent application and granting procedure in general

Free format text: NON FINAL ACTION MAILED

STPP Information on status: patent application and granting procedure in general

Free format text: RESPONSE TO NON-FINAL OFFICE ACTION ENTERED AND FORWARDED TO EXAMINER

STPP Information on status: patent application and granting procedure in general

Free format text: NOTICE OF ALLOWANCE MAILED -- APPLICATION RECEIVED IN OFFICE OF PUBLICATIONS

ZAAA Notice of allowance and fees due

Free format text: ORIGINAL CODE: NOA

ZAAB Notice of allowance mailed

Free format text: ORIGINAL CODE: MN/=.

STPP Information on status: patent application and granting procedure in general

Free format text: PUBLICATIONS -- ISSUE FEE PAYMENT VERIFIED

STCF Information on status: patent grant

Free format text: PATENTED CASE