[go: up one dir, main page]

US10882683B2 - Methods of forming repulpable containers - Google Patents

Methods of forming repulpable containers Download PDF

Info

Publication number
US10882683B2
US10882683B2 US16/414,310 US201916414310A US10882683B2 US 10882683 B2 US10882683 B2 US 10882683B2 US 201916414310 A US201916414310 A US 201916414310A US 10882683 B2 US10882683 B2 US 10882683B2
Authority
US
United States
Prior art keywords
paper
fiber
batt
pad
paper layer
Prior art date
Legal status (The legal status is an assumption and is not a legal conclusion. Google has not performed a legal analysis and makes no representation as to the accuracy of the status listed.)
Active
Application number
US16/414,310
Other versions
US20190270573A1 (en
Inventor
Alan B. Collison
Reid Borgman
Current Assignee (The listed assignees may be inaccurate. Google has not performed a legal analysis and makes no representation or warranty as to the accuracy of the list.)
Pratt Retail Specialties LLC
Original Assignee
Pratt Retail Specialties LLC
Priority date (The priority date is an assumption and is not a legal conclusion. Google has not performed a legal analysis and makes no representation as to the accuracy of the date listed.)
Filing date
Publication date
Application filed by Pratt Retail Specialties LLC filed Critical Pratt Retail Specialties LLC
Priority to US16/414,310 priority Critical patent/US10882683B2/en
Publication of US20190270573A1 publication Critical patent/US20190270573A1/en
Assigned to PRATT RETAIL SPECIALTIES, LLC reassignment PRATT RETAIL SPECIALTIES, LLC ASSIGNMENT OF ASSIGNORS INTEREST (SEE DOCUMENT FOR DETAILS). Assignors: MP GLOBAL PRODUCTS, L.L.C.
Priority to US17/123,676 priority patent/US11148870B2/en
Application granted granted Critical
Publication of US10882683B2 publication Critical patent/US10882683B2/en
Assigned to WELLS FARGO BANK, NATIONAL ASSOCIATION, AS ADMINISTRATIVE AGENT reassignment WELLS FARGO BANK, NATIONAL ASSOCIATION, AS ADMINISTRATIVE AGENT AMENDED AND RESTATED GRANT OF SECURITY INTEREST Assignors: PRATT RETAIL SPECIALTIES, LLC
Active legal-status Critical Current
Anticipated expiration legal-status Critical

Links

Images

Classifications

    • DTEXTILES; PAPER
    • D21PAPER-MAKING; PRODUCTION OF CELLULOSE
    • D21HPULP COMPOSITIONS; PREPARATION THEREOF NOT COVERED BY SUBCLASSES D21C OR D21D; IMPREGNATING OR COATING OF PAPER; TREATMENT OF FINISHED PAPER NOT COVERED BY CLASS B31 OR SUBCLASS D21G; PAPER NOT OTHERWISE PROVIDED FOR
    • D21H27/00Special paper not otherwise provided for, e.g. made by multi-step processes
    • D21H27/10Packing paper
    • BPERFORMING OPERATIONS; TRANSPORTING
    • B65CONVEYING; PACKING; STORING; HANDLING THIN OR FILAMENTARY MATERIAL
    • B65DCONTAINERS FOR STORAGE OR TRANSPORT OF ARTICLES OR MATERIALS, e.g. BAGS, BARRELS, BOTTLES, BOXES, CANS, CARTONS, CRATES, DRUMS, JARS, TANKS, HOPPERS, FORWARDING CONTAINERS; ACCESSORIES, CLOSURES, OR FITTINGS THEREFOR; PACKAGING ELEMENTS; PACKAGES
    • B65D81/00Containers, packaging elements, or packages, for contents presenting particular transport or storage problems, or adapted to be used for non-packaging purposes after removal of contents
    • B65D81/38Containers, packaging elements, or packages, for contents presenting particular transport or storage problems, or adapted to be used for non-packaging purposes after removal of contents with thermal insulation
    • B65D81/3813Containers, packaging elements, or packages, for contents presenting particular transport or storage problems, or adapted to be used for non-packaging purposes after removal of contents with thermal insulation rigid container being in the form of a box, tray or like container
    • B65D81/3823Containers, packaging elements, or packages, for contents presenting particular transport or storage problems, or adapted to be used for non-packaging purposes after removal of contents with thermal insulation rigid container being in the form of a box, tray or like container formed of different materials, e.g. laminated or foam filling between walls
    • BPERFORMING OPERATIONS; TRANSPORTING
    • B32LAYERED PRODUCTS
    • B32BLAYERED PRODUCTS, i.e. PRODUCTS BUILT-UP OF STRATA OF FLAT OR NON-FLAT, e.g. CELLULAR OR HONEYCOMB, FORM
    • B32B5/00Layered products characterised by the non- homogeneity or physical structure, i.e. comprising a fibrous, filamentary, particulate or foam layer; Layered products characterised by having a layer differing constitutionally or physically in different parts
    • B32B5/02Layered products characterised by the non- homogeneity or physical structure, i.e. comprising a fibrous, filamentary, particulate or foam layer; Layered products characterised by having a layer differing constitutionally or physically in different parts characterised by structural features of a fibrous or filamentary layer
    • B32B5/08Layered products characterised by the non- homogeneity or physical structure, i.e. comprising a fibrous, filamentary, particulate or foam layer; Layered products characterised by having a layer differing constitutionally or physically in different parts characterised by structural features of a fibrous or filamentary layer the fibres or filaments of a layer being of different substances, e.g. conjugate fibres, mixture of different fibres
    • BPERFORMING OPERATIONS; TRANSPORTING
    • B29WORKING OF PLASTICS; WORKING OF SUBSTANCES IN A PLASTIC STATE IN GENERAL
    • B29CSHAPING OR JOINING OF PLASTICS; SHAPING OF MATERIAL IN A PLASTIC STATE, NOT OTHERWISE PROVIDED FOR; AFTER-TREATMENT OF THE SHAPED PRODUCTS, e.g. REPAIRING
    • B29C70/00Shaping composites, i.e. plastics material comprising reinforcements, fillers or preformed parts, e.g. inserts
    • B29C70/04Shaping composites, i.e. plastics material comprising reinforcements, fillers or preformed parts, e.g. inserts comprising reinforcements only, e.g. self-reinforcing plastics
    • B29C70/06Fibrous reinforcements only
    • B29C70/08Fibrous reinforcements only comprising combinations of different forms of fibrous reinforcements incorporated in matrix material, forming one or more layers, and with or without non-reinforced layers
    • BPERFORMING OPERATIONS; TRANSPORTING
    • B29WORKING OF PLASTICS; WORKING OF SUBSTANCES IN A PLASTIC STATE IN GENERAL
    • B29CSHAPING OR JOINING OF PLASTICS; SHAPING OF MATERIAL IN A PLASTIC STATE, NOT OTHERWISE PROVIDED FOR; AFTER-TREATMENT OF THE SHAPED PRODUCTS, e.g. REPAIRING
    • B29C70/00Shaping composites, i.e. plastics material comprising reinforcements, fillers or preformed parts, e.g. inserts
    • B29C70/04Shaping composites, i.e. plastics material comprising reinforcements, fillers or preformed parts, e.g. inserts comprising reinforcements only, e.g. self-reinforcing plastics
    • B29C70/06Fibrous reinforcements only
    • B29C70/10Fibrous reinforcements only characterised by the structure of fibrous reinforcements, e.g. hollow fibres
    • B29C70/12Fibrous reinforcements only characterised by the structure of fibrous reinforcements, e.g. hollow fibres using fibres of short length, e.g. in the form of a mat
    • BPERFORMING OPERATIONS; TRANSPORTING
    • B29WORKING OF PLASTICS; WORKING OF SUBSTANCES IN A PLASTIC STATE IN GENERAL
    • B29CSHAPING OR JOINING OF PLASTICS; SHAPING OF MATERIAL IN A PLASTIC STATE, NOT OTHERWISE PROVIDED FOR; AFTER-TREATMENT OF THE SHAPED PRODUCTS, e.g. REPAIRING
    • B29C70/00Shaping composites, i.e. plastics material comprising reinforcements, fillers or preformed parts, e.g. inserts
    • B29C70/04Shaping composites, i.e. plastics material comprising reinforcements, fillers or preformed parts, e.g. inserts comprising reinforcements only, e.g. self-reinforcing plastics
    • B29C70/28Shaping operations therefor
    • B29C70/40Shaping or impregnating by compression not applied
    • B29C70/50Shaping or impregnating by compression not applied for producing articles of indefinite length, e.g. prepregs, sheet moulding compounds [SMC] or cross moulding compounds [XMC]
    • B29C70/504Shaping or impregnating by compression not applied for producing articles of indefinite length, e.g. prepregs, sheet moulding compounds [SMC] or cross moulding compounds [XMC] using rollers or pressure bands
    • B29C70/508Shaping or impregnating by compression not applied for producing articles of indefinite length, e.g. prepregs, sheet moulding compounds [SMC] or cross moulding compounds [XMC] using rollers or pressure bands and first forming a mat composed of short fibres
    • BPERFORMING OPERATIONS; TRANSPORTING
    • B29WORKING OF PLASTICS; WORKING OF SUBSTANCES IN A PLASTIC STATE IN GENERAL
    • B29CSHAPING OR JOINING OF PLASTICS; SHAPING OF MATERIAL IN A PLASTIC STATE, NOT OTHERWISE PROVIDED FOR; AFTER-TREATMENT OF THE SHAPED PRODUCTS, e.g. REPAIRING
    • B29C70/00Shaping composites, i.e. plastics material comprising reinforcements, fillers or preformed parts, e.g. inserts
    • B29C70/04Shaping composites, i.e. plastics material comprising reinforcements, fillers or preformed parts, e.g. inserts comprising reinforcements only, e.g. self-reinforcing plastics
    • B29C70/28Shaping operations therefor
    • B29C70/54Component parts, details or accessories; Auxiliary operations, e.g. feeding or storage of prepregs or SMC after impregnation or during ageing
    • B29C70/545Perforating, cutting or machining during or after moulding
    • BPERFORMING OPERATIONS; TRANSPORTING
    • B32LAYERED PRODUCTS
    • B32BLAYERED PRODUCTS, i.e. PRODUCTS BUILT-UP OF STRATA OF FLAT OR NON-FLAT, e.g. CELLULAR OR HONEYCOMB, FORM
    • B32B27/00Layered products comprising a layer of synthetic resin
    • B32B27/32Layered products comprising a layer of synthetic resin comprising polyolefins
    • BPERFORMING OPERATIONS; TRANSPORTING
    • B32LAYERED PRODUCTS
    • B32BLAYERED PRODUCTS, i.e. PRODUCTS BUILT-UP OF STRATA OF FLAT OR NON-FLAT, e.g. CELLULAR OR HONEYCOMB, FORM
    • B32B29/00Layered products comprising a layer of paper or cardboard
    • B32B29/002Layered products comprising a layer of paper or cardboard as the main or only constituent of a layer, which is next to another layer of the same or of a different material
    • B32B29/005Layered products comprising a layer of paper or cardboard as the main or only constituent of a layer, which is next to another layer of the same or of a different material next to another layer of paper or cardboard layer
    • BPERFORMING OPERATIONS; TRANSPORTING
    • B32LAYERED PRODUCTS
    • B32BLAYERED PRODUCTS, i.e. PRODUCTS BUILT-UP OF STRATA OF FLAT OR NON-FLAT, e.g. CELLULAR OR HONEYCOMB, FORM
    • B32B29/00Layered products comprising a layer of paper or cardboard
    • B32B29/02Layered products comprising a layer of paper or cardboard next to a fibrous or filamentary layer
    • BPERFORMING OPERATIONS; TRANSPORTING
    • B32LAYERED PRODUCTS
    • B32BLAYERED PRODUCTS, i.e. PRODUCTS BUILT-UP OF STRATA OF FLAT OR NON-FLAT, e.g. CELLULAR OR HONEYCOMB, FORM
    • B32B29/00Layered products comprising a layer of paper or cardboard
    • B32B29/08Corrugated paper or cardboard
    • BPERFORMING OPERATIONS; TRANSPORTING
    • B32LAYERED PRODUCTS
    • B32BLAYERED PRODUCTS, i.e. PRODUCTS BUILT-UP OF STRATA OF FLAT OR NON-FLAT, e.g. CELLULAR OR HONEYCOMB, FORM
    • B32B3/00Layered products comprising a layer with external or internal discontinuities or unevennesses, or a layer of non-planar shape; Layered products comprising a layer having particular features of form
    • B32B3/02Layered products comprising a layer with external or internal discontinuities or unevennesses, or a layer of non-planar shape; Layered products comprising a layer having particular features of form characterised by features of form at particular places, e.g. in edge regions
    • B32B3/04Layered products comprising a layer with external or internal discontinuities or unevennesses, or a layer of non-planar shape; Layered products comprising a layer having particular features of form characterised by features of form at particular places, e.g. in edge regions characterised by at least one layer folded at the edge, e.g. over another layer ; characterised by at least one layer enveloping or enclosing a material
    • BPERFORMING OPERATIONS; TRANSPORTING
    • B32LAYERED PRODUCTS
    • B32BLAYERED PRODUCTS, i.e. PRODUCTS BUILT-UP OF STRATA OF FLAT OR NON-FLAT, e.g. CELLULAR OR HONEYCOMB, FORM
    • B32B5/00Layered products characterised by the non- homogeneity or physical structure, i.e. comprising a fibrous, filamentary, particulate or foam layer; Layered products characterised by having a layer differing constitutionally or physically in different parts
    • B32B5/02Layered products characterised by the non- homogeneity or physical structure, i.e. comprising a fibrous, filamentary, particulate or foam layer; Layered products characterised by having a layer differing constitutionally or physically in different parts characterised by structural features of a fibrous or filamentary layer
    • BPERFORMING OPERATIONS; TRANSPORTING
    • B32LAYERED PRODUCTS
    • B32BLAYERED PRODUCTS, i.e. PRODUCTS BUILT-UP OF STRATA OF FLAT OR NON-FLAT, e.g. CELLULAR OR HONEYCOMB, FORM
    • B32B5/00Layered products characterised by the non- homogeneity or physical structure, i.e. comprising a fibrous, filamentary, particulate or foam layer; Layered products characterised by having a layer differing constitutionally or physically in different parts
    • B32B5/02Layered products characterised by the non- homogeneity or physical structure, i.e. comprising a fibrous, filamentary, particulate or foam layer; Layered products characterised by having a layer differing constitutionally or physically in different parts characterised by structural features of a fibrous or filamentary layer
    • B32B5/06Layered products characterised by the non- homogeneity or physical structure, i.e. comprising a fibrous, filamentary, particulate or foam layer; Layered products characterised by having a layer differing constitutionally or physically in different parts characterised by structural features of a fibrous or filamentary layer characterised by a fibrous or filamentary layer mechanically connected, e.g. by needling to another layer, e.g. of fibres, of paper
    • BPERFORMING OPERATIONS; TRANSPORTING
    • B32LAYERED PRODUCTS
    • B32BLAYERED PRODUCTS, i.e. PRODUCTS BUILT-UP OF STRATA OF FLAT OR NON-FLAT, e.g. CELLULAR OR HONEYCOMB, FORM
    • B32B7/00Layered products characterised by the relation between layers; Layered products characterised by the relative orientation of features between layers, or by the relative values of a measurable parameter between layers, i.e. products comprising layers having different physical, chemical or physicochemical properties; Layered products characterised by the interconnection of layers
    • B32B7/04Interconnection of layers
    • B32B7/08Interconnection of layers by mechanical means
    • B32B7/09Interconnection of layers by mechanical means by stitching, needling or sewing
    • BPERFORMING OPERATIONS; TRANSPORTING
    • B32LAYERED PRODUCTS
    • B32BLAYERED PRODUCTS, i.e. PRODUCTS BUILT-UP OF STRATA OF FLAT OR NON-FLAT, e.g. CELLULAR OR HONEYCOMB, FORM
    • B32B7/00Layered products characterised by the relation between layers; Layered products characterised by the relative orientation of features between layers, or by the relative values of a measurable parameter between layers, i.e. products comprising layers having different physical, chemical or physicochemical properties; Layered products characterised by the interconnection of layers
    • B32B7/04Interconnection of layers
    • B32B7/12Interconnection of layers using interposed adhesives or interposed materials with bonding properties
    • BPERFORMING OPERATIONS; TRANSPORTING
    • B32LAYERED PRODUCTS
    • B32BLAYERED PRODUCTS, i.e. PRODUCTS BUILT-UP OF STRATA OF FLAT OR NON-FLAT, e.g. CELLULAR OR HONEYCOMB, FORM
    • B32B7/00Layered products characterised by the relation between layers; Layered products characterised by the relative orientation of features between layers, or by the relative values of a measurable parameter between layers, i.e. products comprising layers having different physical, chemical or physicochemical properties; Layered products characterised by the interconnection of layers
    • B32B7/04Interconnection of layers
    • B32B7/12Interconnection of layers using interposed adhesives or interposed materials with bonding properties
    • B32B7/14Interconnection of layers using interposed adhesives or interposed materials with bonding properties applied in spaced arrangements, e.g. in stripes
    • BPERFORMING OPERATIONS; TRANSPORTING
    • B65CONVEYING; PACKING; STORING; HANDLING THIN OR FILAMENTARY MATERIAL
    • B65BMACHINES, APPARATUS OR DEVICES FOR, OR METHODS OF, PACKAGING ARTICLES OR MATERIALS; UNPACKING
    • B65B11/00Wrapping, e.g. partially or wholly enclosing, articles or quantities of material, in strips, sheets or blanks, of flexible material
    • B65B11/06Wrapping articles, or quantities of material, by conveying wrapper and contents in common defined paths
    • B65B11/08Wrapping articles, or quantities of material, by conveying wrapper and contents in common defined paths in a single straight path
    • BPERFORMING OPERATIONS; TRANSPORTING
    • B65CONVEYING; PACKING; STORING; HANDLING THIN OR FILAMENTARY MATERIAL
    • B65DCONTAINERS FOR STORAGE OR TRANSPORT OF ARTICLES OR MATERIALS, e.g. BAGS, BARRELS, BOTTLES, BOXES, CANS, CARTONS, CRATES, DRUMS, JARS, TANKS, HOPPERS, FORWARDING CONTAINERS; ACCESSORIES, CLOSURES, OR FITTINGS THEREFOR; PACKAGING ELEMENTS; PACKAGES
    • B65D27/00Envelopes or like essentially-rectangular flexible containers for postal or other purposes having no structural provision for thickness of contents
    • BPERFORMING OPERATIONS; TRANSPORTING
    • B65CONVEYING; PACKING; STORING; HANDLING THIN OR FILAMENTARY MATERIAL
    • B65DCONTAINERS FOR STORAGE OR TRANSPORT OF ARTICLES OR MATERIALS, e.g. BAGS, BARRELS, BOTTLES, BOXES, CANS, CARTONS, CRATES, DRUMS, JARS, TANKS, HOPPERS, FORWARDING CONTAINERS; ACCESSORIES, CLOSURES, OR FITTINGS THEREFOR; PACKAGING ELEMENTS; PACKAGES
    • B65D27/00Envelopes or like essentially-rectangular flexible containers for postal or other purposes having no structural provision for thickness of contents
    • B65D27/005Linings
    • BPERFORMING OPERATIONS; TRANSPORTING
    • B65CONVEYING; PACKING; STORING; HANDLING THIN OR FILAMENTARY MATERIAL
    • B65DCONTAINERS FOR STORAGE OR TRANSPORT OF ARTICLES OR MATERIALS, e.g. BAGS, BARRELS, BOTTLES, BOXES, CANS, CARTONS, CRATES, DRUMS, JARS, TANKS, HOPPERS, FORWARDING CONTAINERS; ACCESSORIES, CLOSURES, OR FITTINGS THEREFOR; PACKAGING ELEMENTS; PACKAGES
    • B65D5/00Rigid or semi-rigid containers of polygonal cross-section, e.g. boxes, cartons or trays, formed by folding or erecting one or more blanks made of paper
    • B65D5/02Rigid or semi-rigid containers of polygonal cross-section, e.g. boxes, cartons or trays, formed by folding or erecting one or more blanks made of paper by folding or erecting a single blank to form a tubular body with or without subsequent folding operations, or the addition of separate elements, to close the ends of the body
    • B65D5/0227Rigid or semi-rigid containers of polygonal cross-section, e.g. boxes, cartons or trays, formed by folding or erecting one or more blanks made of paper by folding or erecting a single blank to form a tubular body with or without subsequent folding operations, or the addition of separate elements, to close the ends of the body with end closures formed by inward folding of flaps and securing them by heat-sealing, by applying adhesive to the flaps or by staples
    • BPERFORMING OPERATIONS; TRANSPORTING
    • B65CONVEYING; PACKING; STORING; HANDLING THIN OR FILAMENTARY MATERIAL
    • B65DCONTAINERS FOR STORAGE OR TRANSPORT OF ARTICLES OR MATERIALS, e.g. BAGS, BARRELS, BOTTLES, BOXES, CANS, CARTONS, CRATES, DRUMS, JARS, TANKS, HOPPERS, FORWARDING CONTAINERS; ACCESSORIES, CLOSURES, OR FITTINGS THEREFOR; PACKAGING ELEMENTS; PACKAGES
    • B65D81/00Containers, packaging elements, or packages, for contents presenting particular transport or storage problems, or adapted to be used for non-packaging purposes after removal of contents
    • B65D81/38Containers, packaging elements, or packages, for contents presenting particular transport or storage problems, or adapted to be used for non-packaging purposes after removal of contents with thermal insulation
    • B65D81/3848Containers, packaging elements, or packages, for contents presenting particular transport or storage problems, or adapted to be used for non-packaging purposes after removal of contents with thermal insulation semi-rigid container folded up from one or more blanks
    • B65D81/3858Containers, packaging elements, or packages, for contents presenting particular transport or storage problems, or adapted to be used for non-packaging purposes after removal of contents with thermal insulation semi-rigid container folded up from one or more blanks formed of different materials, e.g. laminated or foam filling between walls
    • BPERFORMING OPERATIONS; TRANSPORTING
    • B65CONVEYING; PACKING; STORING; HANDLING THIN OR FILAMENTARY MATERIAL
    • B65HHANDLING THIN OR FILAMENTARY MATERIAL, e.g. SHEETS, WEBS, CABLES
    • B65H5/00Feeding articles separated from piles; Feeding articles to machines
    • B65H5/02Feeding articles separated from piles; Feeding articles to machines by belts or chains, e.g. between belts or chains
    • B65H5/021Feeding articles separated from piles; Feeding articles to machines by belts or chains, e.g. between belts or chains by belts
    • BPERFORMING OPERATIONS; TRANSPORTING
    • B65CONVEYING; PACKING; STORING; HANDLING THIN OR FILAMENTARY MATERIAL
    • B65HHANDLING THIN OR FILAMENTARY MATERIAL, e.g. SHEETS, WEBS, CABLES
    • B65H5/00Feeding articles separated from piles; Feeding articles to machines
    • B65H5/06Feeding articles separated from piles; Feeding articles to machines by rollers or balls, e.g. between rollers
    • DTEXTILES; PAPER
    • D21PAPER-MAKING; PRODUCTION OF CELLULOSE
    • D21HPULP COMPOSITIONS; PREPARATION THEREOF NOT COVERED BY SUBCLASSES D21C OR D21D; IMPREGNATING OR COATING OF PAPER; TREATMENT OF FINISHED PAPER NOT COVERED BY CLASS B31 OR SUBCLASS D21G; PAPER NOT OTHERWISE PROVIDED FOR
    • D21H13/00Pulp or paper, comprising synthetic cellulose or non-cellulose fibres or web-forming material
    • D21H13/10Organic non-cellulose fibres
    • D21H13/12Organic non-cellulose fibres from macromolecular compounds obtained by reactions only involving carbon-to-carbon unsaturated bonds
    • D21H13/14Polyalkenes, e.g. polystyrene polyethylene
    • DTEXTILES; PAPER
    • D21PAPER-MAKING; PRODUCTION OF CELLULOSE
    • D21HPULP COMPOSITIONS; PREPARATION THEREOF NOT COVERED BY SUBCLASSES D21C OR D21D; IMPREGNATING OR COATING OF PAPER; TREATMENT OF FINISHED PAPER NOT COVERED BY CLASS B31 OR SUBCLASS D21G; PAPER NOT OTHERWISE PROVIDED FOR
    • D21H15/00Pulp or paper, comprising fibres or web-forming material characterised by features other than their chemical constitution
    • D21H15/02Pulp or paper, comprising fibres or web-forming material characterised by features other than their chemical constitution characterised by configuration
    • D21H15/10Composite fibres
    • DTEXTILES; PAPER
    • D21PAPER-MAKING; PRODUCTION OF CELLULOSE
    • D21HPULP COMPOSITIONS; PREPARATION THEREOF NOT COVERED BY SUBCLASSES D21C OR D21D; IMPREGNATING OR COATING OF PAPER; TREATMENT OF FINISHED PAPER NOT COVERED BY CLASS B31 OR SUBCLASS D21G; PAPER NOT OTHERWISE PROVIDED FOR
    • D21H21/00Non-fibrous material added to the pulp, characterised by its function, form or properties; Paper-impregnating or coating material, characterised by its function, form or properties
    • D21H21/50Non-fibrous material added to the pulp, characterised by its function, form or properties; Paper-impregnating or coating material, characterised by its function, form or properties characterised by form
    • D21H21/52Additives of definite length or shape
    • DTEXTILES; PAPER
    • D21PAPER-MAKING; PRODUCTION OF CELLULOSE
    • D21HPULP COMPOSITIONS; PREPARATION THEREOF NOT COVERED BY SUBCLASSES D21C OR D21D; IMPREGNATING OR COATING OF PAPER; TREATMENT OF FINISHED PAPER NOT COVERED BY CLASS B31 OR SUBCLASS D21G; PAPER NOT OTHERWISE PROVIDED FOR
    • D21H27/00Special paper not otherwise provided for, e.g. made by multi-step processes
    • D21H27/30Multi-ply
    • D21H27/40Multi-ply at least one of the sheets being non-planar, e.g. crêped
    • BPERFORMING OPERATIONS; TRANSPORTING
    • B29WORKING OF PLASTICS; WORKING OF SUBSTANCES IN A PLASTIC STATE IN GENERAL
    • B29KINDEXING SCHEME ASSOCIATED WITH SUBCLASSES B29B, B29C OR B29D, RELATING TO MOULDING MATERIALS OR TO MATERIALS FOR MOULDS, REINFORCEMENTS, FILLERS OR PREFORMED PARTS, e.g. INSERTS
    • B29K2301/00Use of unspecified macromolecular compounds as reinforcement
    • B29K2301/12Thermoplastic materials
    • BPERFORMING OPERATIONS; TRANSPORTING
    • B29WORKING OF PLASTICS; WORKING OF SUBSTANCES IN A PLASTIC STATE IN GENERAL
    • B29KINDEXING SCHEME ASSOCIATED WITH SUBCLASSES B29B, B29C OR B29D, RELATING TO MOULDING MATERIALS OR TO MATERIALS FOR MOULDS, REINFORCEMENTS, FILLERS OR PREFORMED PARTS, e.g. INSERTS
    • B29K2311/00Use of natural products or their composites, not provided for in groups B29K2201/00 - B29K2309/00, as reinforcement
    • B29K2311/12Paper, e.g. cardboard
    • BPERFORMING OPERATIONS; TRANSPORTING
    • B29WORKING OF PLASTICS; WORKING OF SUBSTANCES IN A PLASTIC STATE IN GENERAL
    • B29LINDEXING SCHEME ASSOCIATED WITH SUBCLASS B29C, RELATING TO PARTICULAR ARTICLES
    • B29L2031/00Other particular articles
    • B29L2031/712Containers; Packaging elements or accessories, Packages
    • BPERFORMING OPERATIONS; TRANSPORTING
    • B32LAYERED PRODUCTS
    • B32BLAYERED PRODUCTS, i.e. PRODUCTS BUILT-UP OF STRATA OF FLAT OR NON-FLAT, e.g. CELLULAR OR HONEYCOMB, FORM
    • B32B2250/00Layers arrangement
    • B32B2250/26All layers being made of paper or paperboard
    • BPERFORMING OPERATIONS; TRANSPORTING
    • B32LAYERED PRODUCTS
    • B32BLAYERED PRODUCTS, i.e. PRODUCTS BUILT-UP OF STRATA OF FLAT OR NON-FLAT, e.g. CELLULAR OR HONEYCOMB, FORM
    • B32B2260/00Layered product comprising an impregnated, embedded, or bonded layer wherein the layer comprises an impregnation, embedding, or binder material
    • B32B2260/02Composition of the impregnated, bonded or embedded layer
    • B32B2260/028Paper layer
    • BPERFORMING OPERATIONS; TRANSPORTING
    • B32LAYERED PRODUCTS
    • B32BLAYERED PRODUCTS, i.e. PRODUCTS BUILT-UP OF STRATA OF FLAT OR NON-FLAT, e.g. CELLULAR OR HONEYCOMB, FORM
    • B32B2260/00Layered product comprising an impregnated, embedded, or bonded layer wherein the layer comprises an impregnation, embedding, or binder material
    • B32B2260/04Impregnation, embedding, or binder material
    • B32B2260/046Synthetic resin
    • BPERFORMING OPERATIONS; TRANSPORTING
    • B32LAYERED PRODUCTS
    • B32BLAYERED PRODUCTS, i.e. PRODUCTS BUILT-UP OF STRATA OF FLAT OR NON-FLAT, e.g. CELLULAR OR HONEYCOMB, FORM
    • B32B2262/00Composition or structural features of fibres which form a fibrous or filamentary layer or are present as additives
    • B32B2262/02Synthetic macromolecular fibres
    • B32B2262/0223Vinyl resin fibres
    • BPERFORMING OPERATIONS; TRANSPORTING
    • B32LAYERED PRODUCTS
    • B32BLAYERED PRODUCTS, i.e. PRODUCTS BUILT-UP OF STRATA OF FLAT OR NON-FLAT, e.g. CELLULAR OR HONEYCOMB, FORM
    • B32B2262/00Composition or structural features of fibres which form a fibrous or filamentary layer or are present as additives
    • B32B2262/02Synthetic macromolecular fibres
    • B32B2262/0253Polyolefin fibres
    • BPERFORMING OPERATIONS; TRANSPORTING
    • B32LAYERED PRODUCTS
    • B32BLAYERED PRODUCTS, i.e. PRODUCTS BUILT-UP OF STRATA OF FLAT OR NON-FLAT, e.g. CELLULAR OR HONEYCOMB, FORM
    • B32B2262/00Composition or structural features of fibres which form a fibrous or filamentary layer or are present as additives
    • B32B2262/02Synthetic macromolecular fibres
    • B32B2262/0276Polyester fibres
    • BPERFORMING OPERATIONS; TRANSPORTING
    • B32LAYERED PRODUCTS
    • B32BLAYERED PRODUCTS, i.e. PRODUCTS BUILT-UP OF STRATA OF FLAT OR NON-FLAT, e.g. CELLULAR OR HONEYCOMB, FORM
    • B32B2262/00Composition or structural features of fibres which form a fibrous or filamentary layer or are present as additives
    • B32B2262/06Vegetal fibres
    • B32B2262/062Cellulose fibres, e.g. cotton
    • BPERFORMING OPERATIONS; TRANSPORTING
    • B32LAYERED PRODUCTS
    • B32BLAYERED PRODUCTS, i.e. PRODUCTS BUILT-UP OF STRATA OF FLAT OR NON-FLAT, e.g. CELLULAR OR HONEYCOMB, FORM
    • B32B2262/00Composition or structural features of fibres which form a fibrous or filamentary layer or are present as additives
    • B32B2262/12Conjugate fibres, e.g. core/sheath or side-by-side
    • BPERFORMING OPERATIONS; TRANSPORTING
    • B32LAYERED PRODUCTS
    • B32BLAYERED PRODUCTS, i.e. PRODUCTS BUILT-UP OF STRATA OF FLAT OR NON-FLAT, e.g. CELLULAR OR HONEYCOMB, FORM
    • B32B2262/00Composition or structural features of fibres which form a fibrous or filamentary layer or are present as additives
    • B32B2262/14Mixture of at least two fibres made of different materials
    • BPERFORMING OPERATIONS; TRANSPORTING
    • B32LAYERED PRODUCTS
    • B32BLAYERED PRODUCTS, i.e. PRODUCTS BUILT-UP OF STRATA OF FLAT OR NON-FLAT, e.g. CELLULAR OR HONEYCOMB, FORM
    • B32B2307/00Properties of the layers or laminate
    • B32B2307/30Properties of the layers or laminate having particular thermal properties
    • B32B2307/304Insulating
    • BPERFORMING OPERATIONS; TRANSPORTING
    • B32LAYERED PRODUCTS
    • B32BLAYERED PRODUCTS, i.e. PRODUCTS BUILT-UP OF STRATA OF FLAT OR NON-FLAT, e.g. CELLULAR OR HONEYCOMB, FORM
    • B32B2307/00Properties of the layers or laminate
    • B32B2307/30Properties of the layers or laminate having particular thermal properties
    • B32B2307/31Heat sealable
    • BPERFORMING OPERATIONS; TRANSPORTING
    • B32LAYERED PRODUCTS
    • B32BLAYERED PRODUCTS, i.e. PRODUCTS BUILT-UP OF STRATA OF FLAT OR NON-FLAT, e.g. CELLULAR OR HONEYCOMB, FORM
    • B32B2307/00Properties of the layers or laminate
    • B32B2307/50Properties of the layers or laminate having particular mechanical properties
    • BPERFORMING OPERATIONS; TRANSPORTING
    • B32LAYERED PRODUCTS
    • B32BLAYERED PRODUCTS, i.e. PRODUCTS BUILT-UP OF STRATA OF FLAT OR NON-FLAT, e.g. CELLULAR OR HONEYCOMB, FORM
    • B32B2307/00Properties of the layers or laminate
    • B32B2307/70Other properties
    • B32B2307/72Density
    • BPERFORMING OPERATIONS; TRANSPORTING
    • B32LAYERED PRODUCTS
    • B32BLAYERED PRODUCTS, i.e. PRODUCTS BUILT-UP OF STRATA OF FLAT OR NON-FLAT, e.g. CELLULAR OR HONEYCOMB, FORM
    • B32B2307/00Properties of the layers or laminate
    • B32B2307/70Other properties
    • B32B2307/726Permeability to liquids, absorption
    • B32B2307/7265Non-permeable
    • BPERFORMING OPERATIONS; TRANSPORTING
    • B32LAYERED PRODUCTS
    • B32BLAYERED PRODUCTS, i.e. PRODUCTS BUILT-UP OF STRATA OF FLAT OR NON-FLAT, e.g. CELLULAR OR HONEYCOMB, FORM
    • B32B2307/00Properties of the layers or laminate
    • B32B2307/70Other properties
    • B32B2307/732Dimensional properties
    • BPERFORMING OPERATIONS; TRANSPORTING
    • B32LAYERED PRODUCTS
    • B32BLAYERED PRODUCTS, i.e. PRODUCTS BUILT-UP OF STRATA OF FLAT OR NON-FLAT, e.g. CELLULAR OR HONEYCOMB, FORM
    • B32B2398/00Unspecified macromolecular compounds
    • B32B2398/20Thermoplastics
    • BPERFORMING OPERATIONS; TRANSPORTING
    • B32LAYERED PRODUCTS
    • B32BLAYERED PRODUCTS, i.e. PRODUCTS BUILT-UP OF STRATA OF FLAT OR NON-FLAT, e.g. CELLULAR OR HONEYCOMB, FORM
    • B32B2439/00Containers; Receptacles
    • B32B2439/40Closed containers
    • B32B2439/62Boxes, cartons, cases
    • BPERFORMING OPERATIONS; TRANSPORTING
    • B65CONVEYING; PACKING; STORING; HANDLING THIN OR FILAMENTARY MATERIAL
    • B65DCONTAINERS FOR STORAGE OR TRANSPORT OF ARTICLES OR MATERIALS, e.g. BAGS, BARRELS, BOTTLES, BOXES, CANS, CARTONS, CRATES, DRUMS, JARS, TANKS, HOPPERS, FORWARDING CONTAINERS; ACCESSORIES, CLOSURES, OR FITTINGS THEREFOR; PACKAGING ELEMENTS; PACKAGES
    • B65D2565/00Wrappers or flexible covers; Packaging materials of special type or form
    • B65D2565/38Packaging materials of special type or form
    • B65D2565/381Details of packaging materials of special type or form
    • B65D2565/384Details of packaging materials of special type or form made of recycled material
    • BPERFORMING OPERATIONS; TRANSPORTING
    • B65CONVEYING; PACKING; STORING; HANDLING THIN OR FILAMENTARY MATERIAL
    • B65DCONTAINERS FOR STORAGE OR TRANSPORT OF ARTICLES OR MATERIALS, e.g. BAGS, BARRELS, BOTTLES, BOXES, CANS, CARTONS, CRATES, DRUMS, JARS, TANKS, HOPPERS, FORWARDING CONTAINERS; ACCESSORIES, CLOSURES, OR FITTINGS THEREFOR; PACKAGING ELEMENTS; PACKAGES
    • B65D2565/00Wrappers or flexible covers; Packaging materials of special type or form
    • B65D2565/38Packaging materials of special type or form
    • B65D2565/381Details of packaging materials of special type or form
    • B65D2565/385Details of packaging materials of special type or form especially suited for or with means facilitating recycling
    • YGENERAL TAGGING OF NEW TECHNOLOGICAL DEVELOPMENTS; GENERAL TAGGING OF CROSS-SECTIONAL TECHNOLOGIES SPANNING OVER SEVERAL SECTIONS OF THE IPC; TECHNICAL SUBJECTS COVERED BY FORMER USPC CROSS-REFERENCE ART COLLECTIONS [XRACs] AND DIGESTS
    • Y02TECHNOLOGIES OR APPLICATIONS FOR MITIGATION OR ADAPTATION AGAINST CLIMATE CHANGE
    • Y02WCLIMATE CHANGE MITIGATION TECHNOLOGIES RELATED TO WASTEWATER TREATMENT OR WASTE MANAGEMENT
    • Y02W30/00Technologies for solid waste management
    • Y02W30/50Reuse, recycling or recovery technologies
    • Y02W30/80Packaging reuse or recycling, e.g. of multilayer packaging
    • YGENERAL TAGGING OF NEW TECHNOLOGICAL DEVELOPMENTS; GENERAL TAGGING OF CROSS-SECTIONAL TECHNOLOGIES SPANNING OVER SEVERAL SECTIONS OF THE IPC; TECHNICAL SUBJECTS COVERED BY FORMER USPC CROSS-REFERENCE ART COLLECTIONS [XRACs] AND DIGESTS
    • Y02TECHNOLOGIES OR APPLICATIONS FOR MITIGATION OR ADAPTATION AGAINST CLIMATE CHANGE
    • Y02WCLIMATE CHANGE MITIGATION TECHNOLOGIES RELATED TO WASTEWATER TREATMENT OR WASTE MANAGEMENT
    • Y02W90/00Enabling technologies or technologies with a potential or indirect contribution to greenhouse gas [GHG] emissions mitigation
    • Y02W90/10Bio-packaging, e.g. packing containers made from renewable resources or bio-plastics

Definitions

  • the present invention relates to a method and system for producing insulation materials and containers using the insulation materials as well as the insulation material and containers using the insulation material and more particularly to a method and system for producing repulpable insulation materials, and recyclable containers using repulpable insulation material.
  • Insulated boxes are widely used in many shipping applications. An insulated box is desirable when shipping materials need to be shipped at reduced or elevated temperatures and to help with impact. Similarly, insulated boxes are desirable when shipping materials need to avoid large temperature swings. Such boxes may also lessen impact stresses on the product and thereby lengthen the life of the product being shipped and/or make the product appear to be more durable and of a higher quality. Unfortunately, insulated materials are typically made of disparate materials from those used to form boxes thereby making recycling impossible.
  • a method of forming a repulpable container includes mixing paper fibers with a recycling-compatible fiber to form a mixture of material.
  • the mixture is disposed onto a surface to form a layer of the mixture.
  • At least one of heat and heat and pressure is applied to the layer of the mixture forming a paper fiber batt.
  • the paper fiber batt is then trimmed so it has a fixed width and fixed length.
  • the paper fiber batt is positioned adjacent to a corrugated box, with the shipping container having a repulpability of greater than 85%.
  • the methods described above or below include mixing paper fibers with a meltable polyethylene and polypropylene (“PE/PP”) bi-component thermoplastic fiber.
  • PE/PP polypropylene
  • a method for producing an insulation material includes mixing paper reinforcement fibers with between about 0.5% to about 25% by weight meltable PE/PP bi-component thermoplastic binder fiber having a length less than about 16 mm.
  • the PE/PP bi-component thermoplastic binder fibers are distributed substantially randomly within the paper reinforcement fibers to form a mixture.
  • Heat is applied to the mixture to melt the PE/PP bi-component thermoplastic binder fiber to bind the PE/PP bi-component thermoplastic binder fiber to the paper reinforcement fibers to form a batt.
  • the insulation material has the physical property of being repulpable at a rate greater than 85%.
  • the methods include coupling a repulpable paper layer to the batt to form an insulative batt assembly.
  • the methods include forming a repulpable paper fiber pad having a compression resistance of between about 0.3 psi and about 1.4 psi at compressions of between about 25% and about 50%.
  • the methods include forming a repulpable paper fiber pad having a compression set at about 25% of between about 5% and about 18%.
  • the methods include forming disposing a water soluble adhesive layer between the paper fiber pad and the first paper layer.
  • a mixture of paper fiber with between 0.5% and 25% thermoplastic binder fiber distributed substantially randomly within the paper fiber is formed.
  • the mixture is heated to bring the thermoplastic binder fiber above a fiber's glass transition temperature or melting point, thus binding the thermoplastic binder fiber to the paper fiber to form a batt having a density of less than 5 pound per cubic foot.
  • the fibrous web of paper fibers are interlocked with the thermoplastic binder fiber while the batt is subsequently brought to a temperature below the glass transition temperature of the thermoplastic fiber to form an insulative pad that is greater than 85% repulpable.
  • This pad is disposed within one of an interior surface of a repulpable corrugated cardboard box or a repulpable envelope, to form an assembly that is greater than 85% repulpable.
  • thermoplastic binder is forming a mixture of paper fiber with between about 0.5% and about 25% PE/PP bi-component thermoplastic fiber having a length of less than about 24 mm.
  • thermoplastic binder fiber is forming an mixture of paper fiber with between about 5% and about 10% PE/PP bi-component thermoplastic binder fiber having varying lengths and having an average length of less than about 16 mm.
  • containers, shipping containers, insulative materials, and insulative constructions described above or below or produced using the methods described above and below are greater than 85% repulpable and have a repulpable paper layer and a repulpable paper fiber pad coupled to the paper layer.
  • the paper fiber pad has paper reinforcement fibers interlocked with about 2% to about 25% by weight meltable PE/PP bi-component thermoplastic binder fiber distributed substantially randomly therein.
  • the meltable thermoplastic fiber is a chopped fiber having lengths between about 0.5 mm to about 16 mm.
  • the meltable thermoplastic fiber in the containers, shipping containers, insulative materials, and insulative constructions described above or below or produced using the methods described above and below, can be a chopped fiber PE/PP bi-component having lengths between about 0.5 mm to about 16 mm.
  • the containers, shipping containers, insulative materials, and insulative constructions described above or below or produced using the methods described above and below further have a repulpable corrugated cardboard disposed adjacent to the paper layer.
  • the containers, shipping containers, insulative materials, and insulative constructions described above or below or produced using the methods described above and below further have a recycling-compatible or water soluble adhesive layer disposed between the paper layer and the corrugated cardboard.
  • the methods include placing lose ground-up fibrous cellulous paper or ground-up cardboard material onto a moving conveyor.
  • the fibers in the fibrous paper or cellulous material can be interlocked by methods such a needling or by use of a melted binder fiber, a bioresorbable adhesive, recycling-compatible, water soluble adhesive, plant based (sugar or pectin) adhesive from, for example, sugar beet, corn, or sugar cane, or starch.
  • the ground up cellulous paper or cardboard material is formed into a slab or batt by passing the continuous layer of material between a pair of tapered edge plates which forms the batt width and thickness of the uncompressed batt. This material can have its thickness and density adjusted using a compression roller which can apply heat.
  • the methods include, after compression, the batt being cut into individual pieces using a slicing knife.
  • the batt can be cut in half along its thickness using a moving slicing knife or blade. Once the batt is formed into a rectangular shape and thickness, the material is then ready for coupling to or disposing in an inner corrugated box or envelope.
  • the methods include taking an inner corrugated box surface off of a roll of appropriate material.
  • the inner corrugated box surface material is cut into specific lengths and widths.
  • the cardboard box inner surface material can have a width and length larger than the width and length of the fibrous batt.
  • containers, shipping containers, insulative materials, and insulative constructions described above or below or produced using the methods described above and below include a paper layer that can be disposed over the batt, overlapping the expanded portions of the batt underneath all four sides. The ends of the paper layer can be wrapped about and tucked under the ends of the batt. Heat or recycling-compatible or water soluble adhesive can be applied to fix the inner paper layer to the batt.
  • the methods include adhering an inner paper layer to the batt on an outside surface of the inner paper layer which can be folded to form a pocket.
  • the folded batt is then placed through an end closure apparatus which closes the side of the inner paper layer, thus forming a pocket.
  • the edges of the folded batt can be sewn shut using an industrial sewing machine.
  • the methods include positioning another paper layer about the outside of the folded batt.
  • the outer paper layer can be positioned about the batt on the inner paper layer in a manner which forms a closable flap.
  • This closable flap can include a recycling-compatible or water soluble adhesive in the form of dual sided tape.
  • the methods include encapsulating the insulative batt material between the inner and outer paper layer.
  • the edge of the outer paper layer can be coupled to the inner paper layer using heat or recycling-compatible or water soluble adhesive, or stitching. Excess material along the edges can be removed.
  • insulative materials, and insulative constructions described above or below or produced using the methods described above and below can include forming cellulous fibers by passing recycled cardboard through a hammer mill. These fibers are mixed with paper and with one of a recycling-compatible fiber.
  • the recycling-compatible fiber can be a meltable thermoplastic fiber.
  • An insulative paper fiber batt having a first width and first length is formed from the recycled paper fibers. A first paper layer is coupled to the paper fiber batt. The paper fiber batt is coupled to a corrugated box.
  • FIG. 1 represents the formation of an insulative batt or pad for an insulative mailer
  • FIG. 2 represents positioning a recyclable paper layer over the insulative pad shown in FIG. 1 ;
  • FIG. 3 represents the cutting of the recyclable paper layer positioned over the pad as shown in FIG. 2 ;
  • FIG. 4 represents positioning the paper layer about the edges of the pad
  • FIG. 5 represents the application of heat to bind the paper layer to the pad
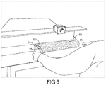
  • FIG. 6 represents folding the construction of FIG. 5 into a pocket
  • FIG. 7 represents sewing the sides of the construction of FIG. 6 to form a pocket
  • FIG. 8 represents the application of an adhesive
  • FIG. 9 represents the application of an outer paper layer about the construction of FIG. 8 ;
  • FIG. 10 represents heat sealing and cutting the inner and outer paper layer of the constructions of FIG. 9 ;
  • FIG. 11 represents the mailer formed using the methods and systems of FIGS. 1-10 ;
  • FIG. 12 represents a system to form a box liner according to another teaching of the present invention.
  • FIGS. 13 a -13 b represent the cutting of and formation of an insulative batt or pad
  • FIGS. 14 a -14 c represent the application of an upper paper layer according to the present teachings.
  • FIGS. 15 a -15 b represents the application of an optional bottom paper layer
  • FIGS. 16 a and 16 b represent side sealing of the paper layers about the insulative member
  • FIG. 17 represents a heat tunnel used to form the insulative member according to the present teachings.
  • FIGS. 18 a -18 b represent the insulative batt coupled to a corrugated box.
  • fibrous paper or cellulous material 2 is placed onto a moving conveyor 4 .
  • the fibers can be interlocked by methods such a needling or by use of a melted binder which represents about 2% to about 25% of the fiber by weight which is mixed within the fibrous paper or cellulous material.
  • the fibers can be bound using recycling-compatible or water soluble adhesive.
  • the fibrous paper or cellulous material 2 is formed into a slab 10 by passing the continuous layer of material 2 between a pair of tapered edge plates 11 (only one shown) that form the batt width.
  • the thickness of the uncompressed slab 10 can be defined by an upper rake or block 14 . This material can then have its thickness and density adjusted using a compression roller 16 ( FIG. 3 ).
  • the slab 10 is converted to a paper fiber insulative batt 22 ( FIG. 2 ), which can be manufactured fiber compositions formed by passing recycled cardboard through a mill such as a hammer mill.
  • the batt 22 can contain small amounts of water soluble adhesive or meltable fibers such a polypropylene fiber.
  • randomly distributed natural fibers such as cotton and binder fibers having lengths between about 1/16 inch to about 1.5 inches and a denier of between about 5 and about 12 are used to form the paper fiber batt 22 , which is processed to form the insulative pad 46 ( FIG. 3 ).
  • the binder fibers can be a water soluble PVOH fiber which can have a denier of about 0.02 to about 3.0, a water temperature at more than about 100 degrees C., and a cut length of about 2 mm to about 8 mm.
  • the binder fiber can be, for example, a KURALONTM brand short cut fibers.
  • the recyclable PVOH fiber used in the insulation can be about a 0.4 denier to about a 1.0 denier fiber having a length of about 3.0 to about 4.0 mm.
  • the insulative material 22 is continuously fed on the conveyor 4 between a pair of side guides which define a pair of sides for a continuous strip of insulative material.
  • the side guides define a predetermined width for the pad. Once aligned, the continuous strip of material is positioned under a slicing mechanism which cuts the continuous batt 22 into predefined lengths thus forming the insulative pad 46 .
  • the batt 22 is transported via the conveyor 4 to a second location where an inner paper layer 25 is draped over the pad 46 .
  • the inner paper layer 25 has a length and a width larger than the length and width of the pad 46 .
  • First and second ends 26 of the inner paper layer 25 can be tucked under first and second ends 28 of the pad 46 .
  • the batt 22 can then be cut into individual pieces using a slicing knife 12 which can be a rotating band or circular blade.
  • a slicing knife 12 which can be a rotating band or circular blade.
  • the batt 22 can be cut in half along its thickness using the slicing knife 12 .
  • the inner paper layer 25 is taken off of a roll of appropriate material that can for instance be pre-perforated or water proofed. As shown in FIGS. 3 and 4 , the paper box inner surface material is positioned over the insulated layer and is cut into specific lengths and widths. For example, the paper box inner surface material can have a width and length larger than the width and length of the fibrous pad 46 .
  • the inner paper layer 25 is disposed over the pad 46 , overlapping the pad 46 on all four sides.
  • the ends 26 of the inner paper layer 25 are wrapped about and tucked under the ends 28 of the pad 46 .
  • heat or recycling-compatible or water soluble adhesive can be applied to fix the inner paper layer 25 to the pad 46 .
  • the inner paper layer 25 is then folded in half, placing the pad 46 on an outside surface of the inner paper layer 25 which is disposed against itself, thus forming a subassembly.
  • the folded pad 46 is then placed through an end closure apparatus which closes the sides of the inner paper layer 25 , thus forming a pocket 31 .
  • the edges can be sewn shut using an industrial sewing machine 80 or can be heat staked as appropriate.
  • a row of smaller stitches 84 extend from top to bottom of the subassembly along each side thereof juxtaposed adjacent to the lateral edges 82 of pad 46 .
  • Spaced slightly inwardly of stitches 84 is a second row of larger stitches 86 that encompass the pad 46 and the paper layer 25 on the inside of the pad 46 and include portions 78 on the outside of the pad 46 .
  • the second rows of stitches 86 only extend longitudinally from the top of the subassembly downwardly and terminate with the portions 78 .
  • FIG. 8 represents the application of the recycling-compatible or water soluble adhesive to assist binding an outer sheet or paper layer 32 to the inner paper layer 25 .
  • the outer paper layer 32 can then be positioned about the outside of the folded pad 46 .
  • the outer paper layer 32 can be positioned about the pad 46 on the inner paper layer 25 in a manner which forms a closable flap 56 .
  • This closable flap 56 can take a recycling-compatible or water soluble adhesive 36 in the form of dual sided tape.
  • the outer paper layer 32 is then coupled to the inner paper layer 25 , encapsulating the insulative material or pad 46 between the inner and outer paper layers 25 and 32 to form a shipping container or mailer 40 ( FIG. 11 ).
  • the edge of the outer paper layer 32 can be coupled to the inner paper layer 25 using heat, recycling-compatible or water soluble adhesive, or stitching. Excess material along the edges can be removed.
  • the outer paper layer 32 forming the outer surface of the mailer or shipping container 40 can be recyclable and can be finished so as to be waterproof or water resistant.
  • the outer paper layer 32 extends laterally so its lateral edges or margins 44 can be heat sealed together as shown in FIG. 10 .
  • the paper layer 32 is folded at 52 .
  • the front top edge 58 terminates at the mailer opening 54 , and the back continues upwardly to form flap 56 to enable the mailer 40 to be sealed by folding the flap 56 over the front top edge 58 of the mailer 40 closing off the opening 54 .
  • the flap 56 has a lateral stripe of recyclable or recycling-compatible or water soluble adhesive 30 covered with a removable protecting paper 62 .
  • the pad 46 is covered by the inner paper layer 25 on the inside with the inner paper layer 25 extending laterally beyond the pad 46 to lie coextensive with the marginal edges 44 of the outer paper layer 32 so all marginal edges can be heat sealed together.
  • the inner paper layer 25 extends around the longitudinal extremities of the pad 46 so that the end portions 82 of the inner paper layer 25 lie between the pad 46 and the outer paper layer 32 when the pad 46 is located in the mailer 40 . These portions 82 enable the inner paper layer 25 to be heat sealed together with the outer paper layer 32 around the mailer opening 54 , thereby entrapping the pad 46 .
  • the portion of the opening 54 that lies with the flap 56 has pressure-sensitive, biodegradable tape 59 (covered with a protective strip 64 ) in order to seal the top edges of the inner paper layer 25 together before the flap 56 is sealed to the front of the mailer 40 .
  • the pad 46 is not attached to the outer paper layer 32 .
  • the fibers of the pad 46 can, for example, be about 75% recyclable cardboard and paper fiber and about 25% binder fiber having a weight of about 1600 grams per square (GSM) i.e., (75/25).
  • Additional fiber material construction can be about 80/20 recyclable cardboard/paper fiber and binder fiber at about 1500 GSM; about 80/20 recyclable cardboard/paper fiber and binder fiber at about 1400 GSM; about 85/15 recyclable cardboard/paper fiber and binder fiber at about 1600 GSM; about 85/15 recyclable cardboard/paper fiber and binder fiber at about 1500 GSM; about 85/15 recyclable cardboard/paper fiber and binder fiber at about 1400 GSM; and about 90/10 recyclable cardboard/paper fiber and binder fiber at about 1500 GSM, with the first number being the paper cardboard fiber fraction and second number being the bi-component binder fiber fraction (80/20 is about 80% paper fiber and about 20% bi-component).
  • the cardboard/paper fiber component is made of about 50/50 fiberized cardboard/paper up to about 75/25 fiberized cardboard/paper mix.
  • the batt material can have a density can be about 25 to about 40 grams per cubic meter (kg/m3), a thickness of about 12.5 to about 75 mm, and have fibers (cardboard and binder) with a denier range of about 1 den to about 3 den.
  • the density of the pad 46 is related to the amount of compression of the batt 22 and the percentage of bonding fibers.
  • the material can be formed of about 10% bi-component fiber and about 90% recycled cardboard fiber.
  • the bi-component fiber can be chopped and have a length of less than about 24 mm, less than about 16 mm, or a length between about 0.5 mm to about 16 mm, and can be mixtures of two or more lengths, preferably between about 1 mm to about 16 mm.
  • the mixtures of two or more lengths can have ratios of from about 10% to about 90% of one fiber length to another fiber length and can have an average length of less than about 16 mm.
  • the bi-component fibers can be between about 0.5 mm and about 16 mm polyethylene and polypropylene (“PE/PP”) bi-component; and can be formed of about a 65/35 percent PE/PP mixture.
  • PE/PP ratio can be between about 65/35 and about 50/50.
  • Fibers can be, by way of non-limiting example, ES FIBERVISIONS® Polyethylene/polypropylene fiber, including EAC, EPS, ESC, ESE, EDC, Herculon T426 and Herculon T457 versions of fibers.
  • insulation material when tested for repulpability is repulpable and therefore recyclable.
  • the insulation material can be repulpable in accordance with the requirements of the Aug. 16, 2013, revision of the “Voluntary Standard For Repulping and Recycling Corrugated Fiberboard Treated to Improve Its Performance in the Presence of Water and Water Vapor” provided by the Fibre Box Association of Elk Grove Village, Ill. which is hereby incorporated in its entirety.
  • the insulation material can be recyclable in accordance with the requirements of the Aug.
  • Containers that include the insulation material can be single-stream recyclable wherein all materials comprised by the container can be recycled by a single processing train without requiring separation of any materials or components of the container.
  • the repulpability test results were as follows:
  • Thermoplastic binder fibers are provided having a weight of less than about 0.2 pounds per square foot and, more particularly, preferably about 0.1875 pounds per square foot.
  • the remaining reinforcement fiber is greater than about 0.8 pounds per square foot, and preferably about 1.0625 pounds per square foot.
  • the binder fibers are preferably a mixture of fibers and paper components passed through a hammer mill.
  • the materials according to the present teaching can have a compression resistance of between about 0.3 psi and about 1.4 psi for compression thickness between about 25% and about 50%.
  • a 1 ⁇ 8′′ insulation pad has a compression resistance at about 25% thickness of about 0.451 psi.
  • the same 1 ⁇ 8′′ pad has a compression resistance at about 30% of about 0.564 psi.
  • the same 1 ⁇ 8′′ pad has a compression resistance at about 50% of about 1.81 psi.
  • a 1 ⁇ 4′′ pad has a compression resistance at about 25% of about 0.425 psi.
  • the same 1 ⁇ 4′′ pad has a compression resistance at about 30% of about 0.547 psi.
  • the same 1 ⁇ 4′′ pad has a compression resistance at about 50% of about 1.566 psi.
  • a 1 ⁇ 2′′ pad has a compression resistance at about 25% of about 0.356 psi.
  • the same 1 ⁇ 2′′ pad has a compression resistance at about 30% of about 0.458 psi.
  • the same 1 ⁇ 2′′ pad has a compression resistance at about 50% of about 1.36 psi.
  • the same 1 ⁇ 2′′ insulation pad can have a tear resistance of between about 8.4 and about 8.8 lbs.
  • the material When an insulated pad of the present disclosure is tested according to ASTM Specification C165-07 about 50% relative humidity, the material has a modulus of elasticity of about 2.64 psi. With a load of about 0.020 psi, it sees about a 5% strain. With a load of about 0.29 psi it sees about a 10% strain, and with a load of about 0.4 psi it sees about a 15% strain.
  • the density of the material can be less than about 5 pounds per cubic foot and preferably about 3.5 pounds per cubic foot.
  • the thermal conductivity of the material can be about 0.254 (BTU in/h ft′′2 Temp F), the thermal resistance can be about 1.577 (Temp F Ft′′2 H/BTU), and the thermal resistivity can be about 3.943 (Temp F Ft′′2 h/BTU in).
  • the tested pad When tested according to ASTM Specification C165-07, the tested pad also has an R value of about 1.577.
  • the insulative pad 46 is formed by heating the paper fiber batt 22 in the oven to a temperature greater than about 350° F. and, more preferably, to a temperature of about 362° F. Such heating causes the binder fibers to melt and couple to the non-binder fibers, thus causing fibers to adhere to each other and solidify during cooling. Upon cooling, the binder fibers solidify and function to couple the non-binder reinforcement fibers together as well as function as reinforcement themselves.
  • the insulative paper fiber batt 22 is heated to form the insulative pad 46 so it has a density of less than about 10 pounds per cubic foot.
  • the insulative pad 46 preferably has a density of less than about 10 pounds per cubic foot and, more preferably, about 8.3 pounds per cubic foot with a thickness of about 1 ⁇ 4 inch.
  • FIG. 12 represents a system 140 to form an insulation liner 142 for a folded box according to another teaching of the present teachings.
  • the system 140 utilizes a plurality of linked conveyors 144 to move an insulated pad 46 as described above through a series of processes to form the insulation liner 142 .
  • the system 140 uses a cutting apparatus 150 to separate the insulated pad 46 from a continuous batt 22 .
  • a series of rollers 152 are then used to position an upper paper layer 154 and a lower paper layer 156 about the insulated pad 46 .
  • a second cutting apparatus 185 can be used to separate the upper paper layer 154 and a lower paper layer 156 from the continuous paper layer supply.
  • a sealing and cutting apparatus 186 can be used to cut and seal the edges of the upper and lower paper layers about the insulated pad 46 .
  • a heat tunnel can be positioned about a conveyor to couple the paper layers 154 , 156 about the insulated pad 46 to form the insulation liner 142 .
  • FIGS. 13 a -13 b represents the cutting of and formation of an insulative pad 46 from the continuous batt 22 .
  • the batt 22 and pad 46 are transported along the plurality of linked conveyors 144 .
  • the cutting apparatus 150 can be a circular blade. Additionally, the cutting apparatus 150 can be a belt blade.
  • the pad 46 can be sliced cross-wise to form two batts having a partial thickness pad that may be of equal thickness (i.e., the textile insulative pad is split in half), or that may be of unequal thickness.
  • the present invention is capable of forming a partial thickness batt of about 1/16 of an inch or greater.
  • the starting insulative pad may be split longitudinally to provide two, three, or more partial thickness batts.
  • the insulative pad 46 may be controllably and accurately split if the feed rollers are positioned within a predetermined distance from the splitting knife.
  • the distance is important because of the compressible and pliable nature of the insulative pad.
  • the predetermined distance is from about zero to about two millimeters.
  • thermoplastic binder fibers and reinforcement fibers are laid randomly yet consistently in x-y-z axes.
  • the reinforcement fibers are generally bound together by heating the binder fibers above their glass transition temperature. Typically, less than about 20% by weight binder fiber is used, and preferably about 10% binder fiber is used to form the insulative pad.
  • Thermoplastic binder fibers are provided having a weight of less than about 0.2 pounds per square foot and, more particularly, preferably about 0.1875 pounds per square foot.
  • the remaining reinforcement fiber is greater than about 0.8 pounds per square foot, and preferably about 1.0625 pounds per square foot.
  • the binder fibers are preferably a mixture of thermoplastic polymers which comprise polyethylene/polyester or polypropylene/polyester or combinations thereof.
  • FIGS. 14 a -14 c represents the application of an upper paper layer according to the present teachings.
  • the series of rollers 152 are then used to position the upper paper layer 154 and the bottom paper layer 156 about the insulated pad 46 .
  • the roller 152 can be positioned at an angle which is non-perpendicular to the direction of the moving conveyor. Preferably, this angle can be about 45 degrees to the direction of flow of the conveyor.
  • FIGS. 15 a -15 b represents the application of the bottom paper layer 156 .
  • the rollers 152 can position the lower paper layer 156 below the pad 46 at the intersection of two conveyors 144 .
  • the second cutting apparatus 185 is used to separate the upper paper layer 154 and the lower paper layer 156 from the continuous paper layer supply.
  • FIGS. 16 a and 16 b represent side sealing of the paper layers 154 , 156 about the insulative member.
  • a series of cutting and sealing rollers 186 both cut and seal the sides of the paper layers 154 , 156 using recycling-compatible or water soluble adhesive.
  • the cutting and sealing rollers 186 are biased onto the paper layers 154 , 156 using a load such as a spring.
  • FIG. 17 represents the heat tunnel 110 optionally used to form the box insulative member or insulative batt according to the present teachings should a heat sensitive recycling-compatible or water soluble adhesive be used.
  • the insulative batt 22 is coupled to a corrugated box 158 .
  • the insulating batt 22 can be directly coupled to the box or to an intermediary paper layer 160 prior to the box being cut into its form for a folded box 142 .
  • the binder material in the form of recycling-compatible or water soluble adhesive or meltable fibers, can be preferably recyclable or biodegradable and can be preferably selected from the group containing polyethylene, polyester, polypropylene, and mixtures thereof.
  • the insulation batt 22 can be used in containers having a polymer bladder for holding liquids or storing gases, or packaging for photosensitive or like materials. In the regard, the insulation batt 22 can be used to hold the temperature of the materials described above or below ambient.
  • the box 158 can be, for example, a flat box with thermal insulation on the top and bottom surfaces (for example a pizza box).
  • the containers can be used to regulate the change of temperature within the box.
  • the container can contain a device such as a recyclable cold pack which will provide a specific environment for contents, e.g. temperature above or below ambient with thermal insulation.
  • the cold pack can be a recyclable member which is perforated and holds, for example, dry ice.
  • the containers can be formed by folding or erecting paper blanks. Incorporated into the containers can be removable or non-permanently secured closure members.
  • the containers can include the insulation layer that includes shock-absorbing properties.
  • the containers, packaging elements, or packages using the insulation according to the present teachings can be adapted to protect organisms, articles, or materials presenting particular transport environment challenges.
  • the insulated box can be used to transport live plants or animals.
  • the container can include an integral coupling or dispensing feature to allow the filling or dispensing of carried materials into the insulated container.
  • the paper, insulation construction is specially adapted to protect contents from mechanical damage.
  • the container can have a polygonal cross-section provided with internal protecting layers for contents.
  • Containers or packages can have a special mechanism such as a foldable member or a funnel for dispensing contents, including formed pouring spouts, or dispensing means incorporated in removable or non-permanently secured container closures.
  • a method of forming an insulated box includes, forming paper fibers by passing recycled cardboard through a hammer mill, and mixing paper fibers with a recyclable compatible binder fibers to form mixtures of between 2% and 25% recycling compatible fibers and the balance paper and cardboard fibers.
  • This material is then formed into a paper fiber batt from the recycled paper fibers and having a first width and first length having a weight between 1000 and 1600 gsm.
  • a recyclable first paper layer is coupled to the paper fiber batt on a first side of the batt.
  • the fiber batt can be placed within or coupled to a corrugated box.
  • the paper layer can be coupled to the corrugated paper element, or the batt can be directly coupled to a surface layer of the cardboard.
  • a recyclable second paper layer can be coupled to the paper fiber batt on a second side of the batt.
  • the batt can be formed by melting the binder fibers described above.
  • the first paper layer can be coupled to the paper fiber batt by heating the paper layer or disposing one of a recycling-compatible or water soluble adhesive between the first paper layer and the batt.
  • the first and second layers of recyclable paper can be disposed about the insulation to form a pocket.
  • the first and second layers can be coupled to opposed sides of fiber paper layer by sewing or adhering with one of recycling-compatible or water soluble adhesive the pair of opposed sides.
  • the binder fibers are selected from the group consisting of PVOH, polyethylene, polyester, polypropylene, bi-component and mixtures thereof.
  • the insulative pad is about 1 ⁇ 4 to about 1 inch thick.
  • An insulative mailer can be formed by cutting a first paper sheet, and coupling a first side of a paper fiber pad having a fibrous web of paper fibers distributed substantially randomly to the first paper sheet.
  • the fibrous web of paper fibers can be interlocked to the first paper sheet.
  • the insulative pad is coupled to a portion of an interior surface of a corrugated cardboard box. After coupling the fibrous web to the interior surface of the box, the process includes stamping an exterior perimeter of the box and folding the corrugated box.
  • the fibers can be interlocked to the paper and cardboard fiber using heat, be it radiant through rollers or steam, to have a density of less than about 10 pounds per cubic foot.
  • insulated corrugated containers are collected, in many instances as part of a mixed recyclables stream such as single-stream recycling.
  • containers should be free of contaminants such as food, metal foil, wax, etc.
  • the collected insulated corrugated containers are sorted, compacted, and baled with non-insulated corrugated containers for space-efficient storage and handling, either at the point of end-use (store or business) or at the recycling center. Bales are broken open, and the insulated corrugated containers are put into a repulper.
  • the repulper is a huge tub having an agitatable member which agitates the containers with heated water.
  • the water can preferably have a temperature above about 100 degrees F. They are agitated to form a slushy pulp (slurry) of fiber and water.
  • the repulper can have a chain or rope which hangs down into the swirling tub of material used to remove larger contaminates such as twine and long pieces of rope, string or tape, plastic and metal bands that will wrap around the chain and can then be pulled out of the repulper.
  • the remaining pulp slurry goes through different filters where additional metal falls to the bottom for removal, screens, cyclones, and even big tanks where the contaminants float to the top and can be scraped off.
  • the cleaned pulp is then sent to the paper machine.
  • the highly diluted fiber solution is poured out on to a moving screen which allows water to drain away, forming a continuous fiber mat.
  • the continuous fiber matt is pressed between rollers to remove more water.
  • the wet, continuous fiber web is then passed through the dryer where the top and bottom of the web alternately contact the heated surfaces of the drying cylinders, removing the remaining moisture from the paper.
  • paper is rolled up on a large reel spool.
  • Corrugated board is formed from this material using three or more pieces of paper containerboard.
  • the outer surfaces are linerboard and the inner, fluted paper is called medium.
  • a sheet of paper which will become the corrugated medium can be softened with steam, and then fed through a machine called a single facer.
  • the medium passes between two huge metal rolls with teeth which give it wavy ridges or “flutes”.
  • Starch adhesive is applied to the fluted medium, which is then sandwiched between two flat sheets of paper (linerboard).
  • the insulated material as described above, can be coupled to the cardboard to form a recycled insulated construction. In this regard, the insulating material can be directly coupled to the box, or recyclable paper disposed about the insulation.
  • the combined, 3 ⁇ layer board with associated insulation is then passed through curing sections in a continuous web, and then is scored, cut into proper size blanks (sheets), and stacked.
  • the corrugated sheets are passed through machines that print, score, die cut, and fold them.
  • the side seam of the box (manufacturer's joint) is fastened by gluing, taping, or stitching.
  • Example embodiments are provided so that this disclosure will be thorough, and will fully convey the scope to those who are skilled in the art. Numerous specific details are set forth such as examples of specific components, devices, and methods, to provide a thorough understanding of embodiments of the present disclosure. It will be apparent to those skilled in the art that specific details need not be employed, that example embodiments may be embodied in many different forms and that neither should be construed to limit the scope of the disclosure. In some example embodiments, well-known processes, well-known device structures, and well-known technologies are not described in detail.
  • first, second, third, etc. may be used herein to describe various elements, components, regions, layers and/or sections, these elements, components, regions, layers and/or sections should not be limited by these terms. These terms may be only used to distinguish one element, component, region, layer or section from another region, layer or section. Terms such as “first,” “second,” and other numerical terms when used herein do not imply a sequence or order unless clearly indicated by the context. Thus, a first element, component, region, layer or section discussed below could be termed a second element, component, region, layer or section without departing from the teachings of the example embodiments.
  • Spatially relative terms such as “inner,” “outer,” “beneath,” “below,” “lower,” “above,” “upper,” and the like, may be used herein for ease of description to describe one element or feature's relationship to another element(s) or feature(s) as illustrated in the figures. Spatially relative terms may be intended to encompass different orientations of the device in use or operation in addition to the orientation depicted in the figures. For example, if the device in the figures is turned over, elements described as “below” or “beneath” other elements or features would then be oriented “above” the other elements or features. Thus, the example term “below” can encompass both an orientation of above and below. The device may be otherwise oriented (rotated 90 degrees or at other orientations) and the spatially relative descriptors used herein interpreted accordingly.

Landscapes

  • Engineering & Computer Science (AREA)
  • Mechanical Engineering (AREA)
  • Chemical & Material Sciences (AREA)
  • Composite Materials (AREA)
  • Chemical Kinetics & Catalysis (AREA)
  • Textile Engineering (AREA)
  • Paper (AREA)
  • Insulating Bodies (AREA)
  • Laminated Bodies (AREA)
  • Insulation, Fastening Of Motor, Generator Windings (AREA)
  • Buffer Packaging (AREA)
  • Packages (AREA)
  • Nonwoven Fabrics (AREA)

Abstract

A method of forming a shipping container includes mixing paper fibers with a binder fiber to form a mixture; disposing the mixture onto a surface to form a layer of the mixture; applying heat to form a paper fiber batt from the mixture having a fixed width and fixed length; and inserting the paper fiber batt within an interior of a corrugated box.

Description

CROSS-REFERENCE TO RELATED APPLICATIONS
This application is a divisional application of U.S. patent application Ser. No. 15/677,738, filed Aug. 15, 2017, which claims the benefit of U.S. Provisional Application No. 62/375,555, filed on Aug. 16, 2016, U.S. Provisional Application No. 62/419,894, filed on Nov. 9, 2016, U.S. Provisional Application No. 62/437,365, filed on Dec. 21, 2016. The entire disclosures of the above applications are incorporated herein by reference.
JOINT RESEARCH AGREEMENT
The subject matter disclosed was developed and the claimed invention was made by, or on behalf of, one or more parties to a joint research agreement between MP Global Products LLC of Norfolk, Nebr. and Pratt Retail Specialties, LLC of Conyers, Ga., that was in effect on or before the effective filing date of the claimed invention, and the claimed invention was made as a result of activities undertaken within the scope of the joint research agreement.
FIELD
The present invention relates to a method and system for producing insulation materials and containers using the insulation materials as well as the insulation material and containers using the insulation material and more particularly to a method and system for producing repulpable insulation materials, and recyclable containers using repulpable insulation material.
BACKGROUND
Insulated boxes are widely used in many shipping applications. An insulated box is desirable when shipping materials need to be shipped at reduced or elevated temperatures and to help with impact. Similarly, insulated boxes are desirable when shipping materials need to avoid large temperature swings. Such boxes may also lessen impact stresses on the product and thereby lengthen the life of the product being shipped and/or make the product appear to be more durable and of a higher quality. Unfortunately, insulated materials are typically made of disparate materials from those used to form boxes thereby making recycling impossible.
SUMMARY
This section provides a general summary of the disclosure, and is not a comprehensive disclosure of its full scope or all of its features.
According to the present teachings, disclosed is a method of forming a repulpable container. The method includes mixing paper fibers with a recycling-compatible fiber to form a mixture of material. The mixture is disposed onto a surface to form a layer of the mixture. At least one of heat and heat and pressure is applied to the layer of the mixture forming a paper fiber batt. The paper fiber batt is then trimmed so it has a fixed width and fixed length. The paper fiber batt is positioned adjacent to a corrugated box, with the shipping container having a repulpability of greater than 85%.
According to an alternate teaching, the methods described above or below, include mixing paper fibers with a meltable polyethylene and polypropylene (“PE/PP”) bi-component thermoplastic fiber.
According to the present teachings, disclosed is a method for producing an insulation material. The method includes mixing paper reinforcement fibers with between about 0.5% to about 25% by weight meltable PE/PP bi-component thermoplastic binder fiber having a length less than about 16 mm. The PE/PP bi-component thermoplastic binder fibers are distributed substantially randomly within the paper reinforcement fibers to form a mixture. Heat is applied to the mixture to melt the PE/PP bi-component thermoplastic binder fiber to bind the PE/PP bi-component thermoplastic binder fiber to the paper reinforcement fibers to form a batt. The insulation material has the physical property of being repulpable at a rate greater than 85%.
According to an alternate teaching, in the methods described above or below, the methods include coupling a repulpable paper layer to the batt to form an insulative batt assembly.
According to an alternate teaching, in the methods described above or below, the methods include forming a repulpable paper fiber pad having a compression resistance of between about 0.3 psi and about 1.4 psi at compressions of between about 25% and about 50%.
According to an alternate teaching, in the methods described above or below, the methods include forming a repulpable paper fiber pad having a compression set at about 25% of between about 5% and about 18%.
According to an alternate teaching, in the methods described above or below, the methods include forming disposing a water soluble adhesive layer between the paper fiber pad and the first paper layer.
According to the present teachings, disclosed is method for producing an insulation material. A mixture of paper fiber with between 0.5% and 25% thermoplastic binder fiber distributed substantially randomly within the paper fiber is formed. The mixture is heated to bring the thermoplastic binder fiber above a fiber's glass transition temperature or melting point, thus binding the thermoplastic binder fiber to the paper fiber to form a batt having a density of less than 5 pound per cubic foot. The fibrous web of paper fibers are interlocked with the thermoplastic binder fiber while the batt is subsequently brought to a temperature below the glass transition temperature of the thermoplastic fiber to form an insulative pad that is greater than 85% repulpable. This pad is disposed within one of an interior surface of a repulpable corrugated cardboard box or a repulpable envelope, to form an assembly that is greater than 85% repulpable.
According to an alternate teaching, in the methods described above or below, forming a mixture of paper fiber and thermoplastic binder is forming a mixture of paper fiber with between about 0.5% and about 25% PE/PP bi-component thermoplastic fiber having a length of less than about 24 mm.
According to an alternate teaching, in the methods described above or below, forming a mixture of paper fiber with thermoplastic binder fiber is forming an mixture of paper fiber with between about 5% and about 10% PE/PP bi-component thermoplastic binder fiber having varying lengths and having an average length of less than about 16 mm.
According to the present teachings, containers, shipping containers, insulative materials, and insulative constructions described above or below or produced using the methods described above and below, are greater than 85% repulpable and have a repulpable paper layer and a repulpable paper fiber pad coupled to the paper layer. The paper fiber pad has paper reinforcement fibers interlocked with about 2% to about 25% by weight meltable PE/PP bi-component thermoplastic binder fiber distributed substantially randomly therein.
According to the present teachings in the containers, shipping containers, insulative materials, and insulative constructions described above or below or produced using the methods described above and below, the meltable thermoplastic fiber is a chopped fiber having lengths between about 0.5 mm to about 16 mm.
According to the present teachings, in the containers, shipping containers, insulative materials, and insulative constructions described above or below or produced using the methods described above and below, the meltable thermoplastic fiber can be a chopped fiber PE/PP bi-component having lengths between about 0.5 mm to about 16 mm.
According to the present teachings, the containers, shipping containers, insulative materials, and insulative constructions described above or below or produced using the methods described above and below, further have a repulpable corrugated cardboard disposed adjacent to the paper layer.
According to the present teachings, the containers, shipping containers, insulative materials, and insulative constructions described above or below or produced using the methods described above and below, further have a recycling-compatible or water soluble adhesive layer disposed between the paper layer and the corrugated cardboard.
According to an alternate teaching, in the methods described above or below, the methods include placing lose ground-up fibrous cellulous paper or ground-up cardboard material onto a moving conveyor. The fibers in the fibrous paper or cellulous material can be interlocked by methods such a needling or by use of a melted binder fiber, a bioresorbable adhesive, recycling-compatible, water soluble adhesive, plant based (sugar or pectin) adhesive from, for example, sugar beet, corn, or sugar cane, or starch. The ground up cellulous paper or cardboard material is formed into a slab or batt by passing the continuous layer of material between a pair of tapered edge plates which forms the batt width and thickness of the uncompressed batt. This material can have its thickness and density adjusted using a compression roller which can apply heat.
According to an alternate teaching, in the methods described above or below, the methods include, after compression, the batt being cut into individual pieces using a slicing knife. Optionally, the batt can be cut in half along its thickness using a moving slicing knife or blade. Once the batt is formed into a rectangular shape and thickness, the material is then ready for coupling to or disposing in an inner corrugated box or envelope.
According to an alternate teaching, in the methods described above or below, the methods include taking an inner corrugated box surface off of a roll of appropriate material. The inner corrugated box surface material is cut into specific lengths and widths. For example, the cardboard box inner surface material can have a width and length larger than the width and length of the fibrous batt.
According to the present teachings, containers, shipping containers, insulative materials, and insulative constructions described above or below or produced using the methods described above and below, include a paper layer that can be disposed over the batt, overlapping the expanded portions of the batt underneath all four sides. The ends of the paper layer can be wrapped about and tucked under the ends of the batt. Heat or recycling-compatible or water soluble adhesive can be applied to fix the inner paper layer to the batt.
According to an alternate teaching, in the methods described above or below, the methods include adhering an inner paper layer to the batt on an outside surface of the inner paper layer which can be folded to form a pocket. The folded batt is then placed through an end closure apparatus which closes the side of the inner paper layer, thus forming a pocket. The edges of the folded batt can be sewn shut using an industrial sewing machine.
According to an alternate teaching, in the methods described above or below, the methods include positioning another paper layer about the outside of the folded batt. The outer paper layer can be positioned about the batt on the inner paper layer in a manner which forms a closable flap. This closable flap can include a recycling-compatible or water soluble adhesive in the form of dual sided tape.
According to an alternate teaching, in the methods described above or below, the methods include encapsulating the insulative batt material between the inner and outer paper layer. In this regard, the edge of the outer paper layer can be coupled to the inner paper layer using heat or recycling-compatible or water soluble adhesive, or stitching. Excess material along the edges can be removed.
According to the present teachings, insulative materials, and insulative constructions described above or below or produced using the methods described above and below, can include forming cellulous fibers by passing recycled cardboard through a hammer mill. These fibers are mixed with paper and with one of a recycling-compatible fiber. The recycling-compatible fiber can be a meltable thermoplastic fiber. An insulative paper fiber batt having a first width and first length is formed from the recycled paper fibers. A first paper layer is coupled to the paper fiber batt. The paper fiber batt is coupled to a corrugated box.
Further areas of applicability will become apparent from the description provided herein. The description and specific examples in this summary are intended for purposes of illustration only and are not intended to limit the scope of the present disclosure.
DRAWINGS
The drawings described herein are for illustrative purposes only of selected embodiments and not all possible implementations, and are not intended to limit the scope of the present disclosure.
FIG. 1 represents the formation of an insulative batt or pad for an insulative mailer;
FIG. 2 represents positioning a recyclable paper layer over the insulative pad shown in FIG. 1;
FIG. 3 represents the cutting of the recyclable paper layer positioned over the pad as shown in FIG. 2;
FIG. 4 represents positioning the paper layer about the edges of the pad;
FIG. 5 represents the application of heat to bind the paper layer to the pad;
FIG. 6 represents folding the construction of FIG. 5 into a pocket;
FIG. 7 represents sewing the sides of the construction of FIG. 6 to form a pocket;
FIG. 8 represents the application of an adhesive;
FIG. 9 represents the application of an outer paper layer about the construction of FIG. 8;
FIG. 10 represents heat sealing and cutting the inner and outer paper layer of the constructions of FIG. 9;
FIG. 11 represents the mailer formed using the methods and systems of FIGS. 1-10;
FIG. 12 represents a system to form a box liner according to another teaching of the present invention;
FIGS. 13a-13b represent the cutting of and formation of an insulative batt or pad;
FIGS. 14a-14c represent the application of an upper paper layer according to the present teachings;
FIGS. 15a-15b represents the application of an optional bottom paper layer;
FIGS. 16a and 16b represent side sealing of the paper layers about the insulative member;
FIG. 17 represents a heat tunnel used to form the insulative member according to the present teachings; and
FIGS. 18a-18b represent the insulative batt coupled to a corrugated box.
Corresponding reference numerals indicate corresponding parts throughout the several views of the drawings.
DETAILED DESCRIPTION
Example embodiments will now be described more fully with reference to the accompanying drawings.
The formation of an insulated material and an insulated mailer or a shipping container will be described in the description of FIGS. 1-12. As shown in FIG. 1, fibrous paper or cellulous material 2 is placed onto a moving conveyor 4. The fibers can be interlocked by methods such a needling or by use of a melted binder which represents about 2% to about 25% of the fiber by weight which is mixed within the fibrous paper or cellulous material. Alternatively, the fibers can be bound using recycling-compatible or water soluble adhesive. The fibrous paper or cellulous material 2 is formed into a slab 10 by passing the continuous layer of material 2 between a pair of tapered edge plates 11 (only one shown) that form the batt width. The thickness of the uncompressed slab 10 can be defined by an upper rake or block 14. This material can then have its thickness and density adjusted using a compression roller 16 (FIG. 3).
After compression, the slab 10 is converted to a paper fiber insulative batt 22 (FIG. 2), which can be manufactured fiber compositions formed by passing recycled cardboard through a mill such as a hammer mill. The batt 22 can contain small amounts of water soluble adhesive or meltable fibers such a polypropylene fiber. Optionally, randomly distributed natural fibers such as cotton and binder fibers having lengths between about 1/16 inch to about 1.5 inches and a denier of between about 5 and about 12 are used to form the paper fiber batt 22, which is processed to form the insulative pad 46 (FIG. 3).
Additionally, the binder fibers can be a water soluble PVOH fiber which can have a denier of about 0.02 to about 3.0, a water temperature at more than about 100 degrees C., and a cut length of about 2 mm to about 8 mm. The binder fiber can be, for example, a KURALON™ brand short cut fibers. As a binder fiber, the recyclable PVOH fiber used in the insulation can be about a 0.4 denier to about a 1.0 denier fiber having a length of about 3.0 to about 4.0 mm.
The insulative material 22 is continuously fed on the conveyor 4 between a pair of side guides which define a pair of sides for a continuous strip of insulative material. The side guides define a predetermined width for the pad. Once aligned, the continuous strip of material is positioned under a slicing mechanism which cuts the continuous batt 22 into predefined lengths thus forming the insulative pad 46.
As seen in FIG. 2, the batt 22 is transported via the conveyor 4 to a second location where an inner paper layer 25 is draped over the pad 46. The inner paper layer 25 has a length and a width larger than the length and width of the pad 46. First and second ends 26 of the inner paper layer 25 can be tucked under first and second ends 28 of the pad 46.
As shown in FIG. 3, the batt 22 can then be cut into individual pieces using a slicing knife 12 which can be a rotating band or circular blade. Optionally, the batt 22 can be cut in half along its thickness using the slicing knife 12. Once the batt 22 is formed into a rectangular shape and thickness, the material is then ready for coupling to or placed adjacent an inner corrugated box inner surface.
The inner paper layer 25 is taken off of a roll of appropriate material that can for instance be pre-perforated or water proofed. As shown in FIGS. 3 and 4, the paper box inner surface material is positioned over the insulated layer and is cut into specific lengths and widths. For example, the paper box inner surface material can have a width and length larger than the width and length of the fibrous pad 46.
As shown in FIG. 4, the inner paper layer 25 is disposed over the pad 46, overlapping the pad 46 on all four sides. The ends 26 of the inner paper layer 25 are wrapped about and tucked under the ends 28 of the pad 46. As shown in FIG. 5, heat or recycling-compatible or water soluble adhesive can be applied to fix the inner paper layer 25 to the pad 46. The inner paper layer 25 is then folded in half, placing the pad 46 on an outside surface of the inner paper layer 25 which is disposed against itself, thus forming a subassembly.
As shown in FIG. 6, the folded pad 46 is then placed through an end closure apparatus which closes the sides of the inner paper layer 25, thus forming a pocket 31. As shown in FIG. 7, the edges can be sewn shut using an industrial sewing machine 80 or can be heat staked as appropriate. A row of smaller stitches 84 extend from top to bottom of the subassembly along each side thereof juxtaposed adjacent to the lateral edges 82 of pad 46. Spaced slightly inwardly of stitches 84 is a second row of larger stitches 86 that encompass the pad 46 and the paper layer 25 on the inside of the pad 46 and include portions 78 on the outside of the pad 46. The second rows of stitches 86 only extend longitudinally from the top of the subassembly downwardly and terminate with the portions 78.
FIG. 8 represents the application of the recycling-compatible or water soluble adhesive to assist binding an outer sheet or paper layer 32 to the inner paper layer 25. Shown in FIG. 9, the outer paper layer 32 can then be positioned about the outside of the folded pad 46. The outer paper layer 32 can be positioned about the pad 46 on the inner paper layer 25 in a manner which forms a closable flap 56. This closable flap 56 can take a recycling-compatible or water soluble adhesive 36 in the form of dual sided tape.
The outer paper layer 32 is then coupled to the inner paper layer 25, encapsulating the insulative material or pad 46 between the inner and outer paper layers 25 and 32 to form a shipping container or mailer 40 (FIG. 11). In this regard, the edge of the outer paper layer 32 can be coupled to the inner paper layer 25 using heat, recycling-compatible or water soluble adhesive, or stitching. Excess material along the edges can be removed.
The outer paper layer 32 forming the outer surface of the mailer or shipping container 40 can be recyclable and can be finished so as to be waterproof or water resistant. Optionally, the outer paper layer 32 extends laterally so its lateral edges or margins 44 can be heat sealed together as shown in FIG. 10. At the bottom of the mailer 40, the paper layer 32 is folded at 52. At the top of the mailer 40 the front top edge 58 terminates at the mailer opening 54, and the back continues upwardly to form flap 56 to enable the mailer 40 to be sealed by folding the flap 56 over the front top edge 58 of the mailer 40 closing off the opening 54. The flap 56 has a lateral stripe of recyclable or recycling-compatible or water soluble adhesive 30 covered with a removable protecting paper 62.
As evident from the above description, the pad 46 is covered by the inner paper layer 25 on the inside with the inner paper layer 25 extending laterally beyond the pad 46 to lie coextensive with the marginal edges 44 of the outer paper layer 32 so all marginal edges can be heat sealed together. The inner paper layer 25 extends around the longitudinal extremities of the pad 46 so that the end portions 82 of the inner paper layer 25 lie between the pad 46 and the outer paper layer 32 when the pad 46 is located in the mailer 40. These portions 82 enable the inner paper layer 25 to be heat sealed together with the outer paper layer 32 around the mailer opening 54, thereby entrapping the pad 46. The portion of the opening 54 that lies with the flap 56 has pressure-sensitive, biodegradable tape 59 (covered with a protective strip 64) in order to seal the top edges of the inner paper layer 25 together before the flap 56 is sealed to the front of the mailer 40. Apart from the stitching and heat sealing of the outer paper layer 32 to the inner paper layer 25, the pad 46 is not attached to the outer paper layer 32.
The fibers of the pad 46 can, for example, be about 75% recyclable cardboard and paper fiber and about 25% binder fiber having a weight of about 1600 grams per square (GSM) i.e., (75/25). Additional fiber material construction can be about 80/20 recyclable cardboard/paper fiber and binder fiber at about 1500 GSM; about 80/20 recyclable cardboard/paper fiber and binder fiber at about 1400 GSM; about 85/15 recyclable cardboard/paper fiber and binder fiber at about 1600 GSM; about 85/15 recyclable cardboard/paper fiber and binder fiber at about 1500 GSM; about 85/15 recyclable cardboard/paper fiber and binder fiber at about 1400 GSM; and about 90/10 recyclable cardboard/paper fiber and binder fiber at about 1500 GSM, with the first number being the paper cardboard fiber fraction and second number being the bi-component binder fiber fraction (80/20 is about 80% paper fiber and about 20% bi-component). The cardboard/paper fiber component is made of about 50/50 fiberized cardboard/paper up to about 75/25 fiberized cardboard/paper mix.
The batt material can have a density can be about 25 to about 40 grams per cubic meter (kg/m3), a thickness of about 12.5 to about 75 mm, and have fibers (cardboard and binder) with a denier range of about 1 den to about 3 den. The density of the pad 46 is related to the amount of compression of the batt 22 and the percentage of bonding fibers.
Preferably, the material can be formed of about 10% bi-component fiber and about 90% recycled cardboard fiber. The bi-component fiber can be chopped and have a length of less than about 24 mm, less than about 16 mm, or a length between about 0.5 mm to about 16 mm, and can be mixtures of two or more lengths, preferably between about 1 mm to about 16 mm. The mixtures of two or more lengths can have ratios of from about 10% to about 90% of one fiber length to another fiber length and can have an average length of less than about 16 mm.
It was found that for a batt sample of about 1300 GSM, about 90% cardboard with the binder being about 10% (with about 50% 1 mm length bi-component fiber and about 50% 6 mm length bi-component fiber), over 93% of the material is repulpable and therefore recyclable. It should be noted that greater than 85% repulpability is a “passing grade” for recyclability. The bi-component fibers can be between about 0.5 mm and about 16 mm polyethylene and polypropylene (“PE/PP”) bi-component; and can be formed of about a 65/35 percent PE/PP mixture. Optionally, the PE/PP ratio can be between about 65/35 and about 50/50. These fibers can be, by way of non-limiting example, ES FIBERVISIONS® Polyethylene/polypropylene fiber, including EAC, EPS, ESC, ESE, EDC, Herculon T426 and Herculon T457 versions of fibers.
It was found that a sample of insulation material according to the present teachings, when tested for repulpability is repulpable and therefore recyclable. The insulation material can be repulpable in accordance with the requirements of the Aug. 16, 2013, revision of the “Voluntary Standard For Repulping and Recycling Corrugated Fiberboard Treated to Improve Its Performance in the Presence of Water and Water Vapor” provided by the Fibre Box Association of Elk Grove Village, Ill. which is hereby incorporated in its entirety. In the present aspect, the insulation material can be recyclable in accordance with the requirements of the Aug. 16, 2013, revision of the “Voluntary Standard For Repulping and Recycling Corrugated Fiberboard Treated to Improve Its Performance in the Presence of Water and Water Vapor” provided by the Fibre Box Association of Elk Grove Village, Ill. Containers that include the insulation material can be single-stream recyclable wherein all materials comprised by the container can be recycled by a single processing train without requiring separation of any materials or components of the container. The repulpability test results were as follows:
Is sample representative of the material Y Y
as a whole? (Y/N)
STARTING SAMPLE
Moisture Content  7.3%  7.3%
Temperature Range 128° F. 128° F.
Amount of Fiber in Charge 25 g 25 g
Temp & pH Maintained? (Y/N) Y Y
Hot Slurry Charged to Flat Screen, as Y Y
Instructed? (Y/N)
FINISHED SAMPLE: Oven dry mass
Amount of Fiber Rejects 1.246 g 1.261 g
Amount of Fiber Accepts 17.84 g 17.27 g
Yield of Sample (% Accepts) 93.5% 93.2%
Observe and note deposition on vessel walls, screens, moving parts, etc.
Deposition Observed? If yes, detail N N
(Y/N) below.
It was found that for a batt sample of about 1300 GSM, about 90% cardboard with the binder being about 10% 1 mm bi-component fiber, over about 98% of the material is repulpable and therefore recyclable. The insulations and shipping containers of the present teachings are more than 85% repulpable with 85% repulpability being a “passing grade” for recyclability. The repulpability test results were as follows:
Is sample representative of the Y Y
material as a whole? (Y/N)
STARTING SAMPLE
Moisture Content  7.3%  7.3%
Temperature Range 128° F. 128° F.
Amount of Fiber in Charge 25 g 25 g
Temp & pH Maintained? (Y/N) Y Y
Hot Slurry Charged to Flat Screen, as Y Y
Instructed? (Y/N)
FINISHED SAMPLE: Oven dry mass
Amount of Fiber Rejects 0.391 g 0.296 g
Amount of Fiber Accepts 17.83 g 19.28 g
Yield of Sample (% Accepts) 97.9% 98.5%
Observe and note deposition on vessel walls, screens, moving parts, etc.
Deposition observed? (Y/N) N N
If yes, detail below
Thermoplastic binder fibers are provided having a weight of less than about 0.2 pounds per square foot and, more particularly, preferably about 0.1875 pounds per square foot. The remaining reinforcement fiber is greater than about 0.8 pounds per square foot, and preferably about 1.0625 pounds per square foot. The binder fibers are preferably a mixture of fibers and paper components passed through a hammer mill.
The materials according to the present teaching can have a compression resistance of between about 0.3 psi and about 1.4 psi for compression thickness between about 25% and about 50%. For example, a ⅛″ insulation pad has a compression resistance at about 25% thickness of about 0.451 psi. The same ⅛″ pad has a compression resistance at about 30% of about 0.564 psi. The same ⅛″ pad has a compression resistance at about 50% of about 1.81 psi. A ¼″ pad has a compression resistance at about 25% of about 0.425 psi. The same ¼″ pad has a compression resistance at about 30% of about 0.547 psi. The same ¼″ pad has a compression resistance at about 50% of about 1.566 psi. A ½″ pad has a compression resistance at about 25% of about 0.356 psi. The same ½″ pad has a compression resistance at about 30% of about 0.458 psi. The same ½″ pad has a compression resistance at about 50% of about 1.36 psi. The same ½″ insulation pad can have a tear resistance of between about 8.4 and about 8.8 lbs.
When an insulated pad of the present disclosure is tested according to ASTM Specification C165-07 about 50% relative humidity, the material has a modulus of elasticity of about 2.64 psi. With a load of about 0.020 psi, it sees about a 5% strain. With a load of about 0.29 psi it sees about a 10% strain, and with a load of about 0.4 psi it sees about a 15% strain. The density of the material can be less than about 5 pounds per cubic foot and preferably about 3.5 pounds per cubic foot. The thermal conductivity of the material can be about 0.254 (BTU in/h ft″2 Temp F), the thermal resistance can be about 1.577 (Temp F Ft″2 H/BTU), and the thermal resistivity can be about 3.943 (Temp F Ft″2 h/BTU in). When tested according to ASTM Specification C165-07, the tested pad also has an R value of about 1.577.
The insulative pad 46 is formed by heating the paper fiber batt 22 in the oven to a temperature greater than about 350° F. and, more preferably, to a temperature of about 362° F. Such heating causes the binder fibers to melt and couple to the non-binder fibers, thus causing fibers to adhere to each other and solidify during cooling. Upon cooling, the binder fibers solidify and function to couple the non-binder reinforcement fibers together as well as function as reinforcement themselves.
The insulative paper fiber batt 22 is heated to form the insulative pad 46 so it has a density of less than about 10 pounds per cubic foot. The insulative pad 46 preferably has a density of less than about 10 pounds per cubic foot and, more preferably, about 8.3 pounds per cubic foot with a thickness of about ¼ inch.
FIG. 12 represents a system 140 to form an insulation liner 142 for a folded box according to another teaching of the present teachings. Generally, the system 140 utilizes a plurality of linked conveyors 144 to move an insulated pad 46 as described above through a series of processes to form the insulation liner 142. The system 140 uses a cutting apparatus 150 to separate the insulated pad 46 from a continuous batt 22. A series of rollers 152 are then used to position an upper paper layer 154 and a lower paper layer 156 about the insulated pad 46. A second cutting apparatus 185 can be used to separate the upper paper layer 154 and a lower paper layer 156 from the continuous paper layer supply. Additionally or alternatively, a sealing and cutting apparatus 186 can be used to cut and seal the edges of the upper and lower paper layers about the insulated pad 46. A heat tunnel can be positioned about a conveyor to couple the paper layers 154, 156 about the insulated pad 46 to form the insulation liner 142.
FIGS. 13a-13b represents the cutting of and formation of an insulative pad 46 from the continuous batt 22. As shown, the batt 22 and pad 46 are transported along the plurality of linked conveyors 144. The cutting apparatus 150 can be a circular blade. Additionally, the cutting apparatus 150 can be a belt blade.
Optionally, the pad 46 can be sliced cross-wise to form two batts having a partial thickness pad that may be of equal thickness (i.e., the textile insulative pad is split in half), or that may be of unequal thickness. The present invention is capable of forming a partial thickness batt of about 1/16 of an inch or greater. The starting insulative pad may be split longitudinally to provide two, three, or more partial thickness batts.
In the present invention, it has been found that the insulative pad 46 may be controllably and accurately split if the feed rollers are positioned within a predetermined distance from the splitting knife. The distance is important because of the compressible and pliable nature of the insulative pad. In the preferred embodiment, the predetermined distance is from about zero to about two millimeters.
The thermoplastic binder fibers and reinforcement fibers are laid randomly yet consistently in x-y-z axes. The reinforcement fibers are generally bound together by heating the binder fibers above their glass transition temperature. Typically, less than about 20% by weight binder fiber is used, and preferably about 10% binder fiber is used to form the insulative pad.
Thermoplastic binder fibers are provided having a weight of less than about 0.2 pounds per square foot and, more particularly, preferably about 0.1875 pounds per square foot. The remaining reinforcement fiber is greater than about 0.8 pounds per square foot, and preferably about 1.0625 pounds per square foot. The binder fibers are preferably a mixture of thermoplastic polymers which comprise polyethylene/polyester or polypropylene/polyester or combinations thereof.
FIGS. 14a-14c represents the application of an upper paper layer according to the present teachings. The series of rollers 152 are then used to position the upper paper layer 154 and the bottom paper layer 156 about the insulated pad 46. As shown, the roller 152 can be positioned at an angle which is non-perpendicular to the direction of the moving conveyor. Preferably, this angle can be about 45 degrees to the direction of flow of the conveyor.
FIGS. 15a-15b represents the application of the bottom paper layer 156. Once the upper paper layer 154 is positioned above the pad 46, the rollers 152 can position the lower paper layer 156 below the pad 46 at the intersection of two conveyors 144. The second cutting apparatus 185 is used to separate the upper paper layer 154 and the lower paper layer 156 from the continuous paper layer supply.
FIGS. 16a and 16b represent side sealing of the paper layers 154, 156 about the insulative member. In this regard a series of cutting and sealing rollers 186 both cut and seal the sides of the paper layers 154, 156 using recycling-compatible or water soluble adhesive. The cutting and sealing rollers 186 are biased onto the paper layers 154, 156 using a load such as a spring.
FIG. 17 represents the heat tunnel 110 optionally used to form the box insulative member or insulative batt according to the present teachings should a heat sensitive recycling-compatible or water soluble adhesive be used. Once the construction is sealed on all sides, the subassembly is passed through the heat tunnel 110 which seals the upper and lower paper layers 154 and 156 about the insulative pad 46.
As shown in FIGS. 18a and 18b , the insulative batt 22 is coupled to a corrugated box 158. Optionally, the insulating batt 22 can be directly coupled to the box or to an intermediary paper layer 160 prior to the box being cut into its form for a folded box 142. When used to form the pad 46, the binder material, in the form of recycling-compatible or water soluble adhesive or meltable fibers, can be preferably recyclable or biodegradable and can be preferably selected from the group containing polyethylene, polyester, polypropylene, and mixtures thereof.
The insulation batt 22 can be used in containers having a polymer bladder for holding liquids or storing gases, or packaging for photosensitive or like materials. In the regard, the insulation batt 22 can be used to hold the temperature of the materials described above or below ambient.
Optionally, the box 158 can be, for example, a flat box with thermal insulation on the top and bottom surfaces (for example a pizza box). It is envisioned the containers can be used to regulate the change of temperature within the box. For example, the container can contain a device such as a recyclable cold pack which will provide a specific environment for contents, e.g. temperature above or below ambient with thermal insulation. In this regard the cold pack can be a recyclable member which is perforated and holds, for example, dry ice. The containers can be formed by folding or erecting paper blanks. Incorporated into the containers can be removable or non-permanently secured closure members. The containers can include the insulation layer that includes shock-absorbing properties.
The containers, packaging elements, or packages using the insulation according to the present teachings can be adapted to protect organisms, articles, or materials presenting particular transport environment challenges. In this regard, the insulated box can be used to transport live plants or animals. The container can include an integral coupling or dispensing feature to allow the filling or dispensing of carried materials into the insulated container.
The paper, insulation construction is specially adapted to protect contents from mechanical damage. In this regard, the container can have a polygonal cross-section provided with internal protecting layers for contents. Containers or packages can have a special mechanism such as a foldable member or a funnel for dispensing contents, including formed pouring spouts, or dispensing means incorporated in removable or non-permanently secured container closures.
According to the present teachings, a method of forming an insulated box is presented. The method includes, forming paper fibers by passing recycled cardboard through a hammer mill, and mixing paper fibers with a recyclable compatible binder fibers to form mixtures of between 2% and 25% recycling compatible fibers and the balance paper and cardboard fibers.
This material is then formed into a paper fiber batt from the recycled paper fibers and having a first width and first length having a weight between 1000 and 1600 gsm. Optionally, a recyclable first paper layer is coupled to the paper fiber batt on a first side of the batt. The fiber batt can be placed within or coupled to a corrugated box. The paper layer can be coupled to the corrugated paper element, or the batt can be directly coupled to a surface layer of the cardboard. Optionally, a recyclable second paper layer can be coupled to the paper fiber batt on a second side of the batt.
The batt can be formed by melting the binder fibers described above. The first paper layer can be coupled to the paper fiber batt by heating the paper layer or disposing one of a recycling-compatible or water soluble adhesive between the first paper layer and the batt. The first and second layers of recyclable paper can be disposed about the insulation to form a pocket. The first and second layers can be coupled to opposed sides of fiber paper layer by sewing or adhering with one of recycling-compatible or water soluble adhesive the pair of opposed sides. The binder fibers are selected from the group consisting of PVOH, polyethylene, polyester, polypropylene, bi-component and mixtures thereof. The insulative pad is about ¼ to about 1 inch thick.
An insulative mailer can be formed by cutting a first paper sheet, and coupling a first side of a paper fiber pad having a fibrous web of paper fibers distributed substantially randomly to the first paper sheet. The fibrous web of paper fibers can be interlocked to the first paper sheet. The insulative pad is coupled to a portion of an interior surface of a corrugated cardboard box. After coupling the fibrous web to the interior surface of the box, the process includes stamping an exterior perimeter of the box and folding the corrugated box. The fibers can be interlocked to the paper and cardboard fiber using heat, be it radiant through rollers or steam, to have a density of less than about 10 pounds per cubic foot.
To recycle the insulated containers according to the present teachings, clean, used insulated corrugated containers are collected, in many instances as part of a mixed recyclables stream such as single-stream recycling. To optimize recyclability, containers should be free of contaminants such as food, metal foil, wax, etc. The collected insulated corrugated containers are sorted, compacted, and baled with non-insulated corrugated containers for space-efficient storage and handling, either at the point of end-use (store or business) or at the recycling center. Bales are broken open, and the insulated corrugated containers are put into a repulper. The repulper is a huge tub having an agitatable member which agitates the containers with heated water. The water can preferably have a temperature above about 100 degrees F. They are agitated to form a slushy pulp (slurry) of fiber and water.
The repulper can have a chain or rope which hangs down into the swirling tub of material used to remove larger contaminates such as twine and long pieces of rope, string or tape, plastic and metal bands that will wrap around the chain and can then be pulled out of the repulper. The remaining pulp slurry goes through different filters where additional metal falls to the bottom for removal, screens, cyclones, and even big tanks where the contaminants float to the top and can be scraped off. The cleaned pulp is then sent to the paper machine.
In the typical paper machine the highly diluted fiber solution is poured out on to a moving screen which allows water to drain away, forming a continuous fiber mat. The continuous fiber matt is pressed between rollers to remove more water. The wet, continuous fiber web is then passed through the dryer where the top and bottom of the web alternately contact the heated surfaces of the drying cylinders, removing the remaining moisture from the paper. At the end of the paper machine, paper is rolled up on a large reel spool.
Corrugated board is formed from this material using three or more pieces of paper containerboard. The outer surfaces are linerboard and the inner, fluted paper is called medium. A sheet of paper which will become the corrugated medium can be softened with steam, and then fed through a machine called a single facer. The medium passes between two huge metal rolls with teeth which give it wavy ridges or “flutes”. Starch adhesive is applied to the fluted medium, which is then sandwiched between two flat sheets of paper (linerboard). The insulated material, as described above, can be coupled to the cardboard to form a recycled insulated construction. In this regard, the insulating material can be directly coupled to the box, or recyclable paper disposed about the insulation.
The combined, 3±layer board with associated insulation is then passed through curing sections in a continuous web, and then is scored, cut into proper size blanks (sheets), and stacked. To manufacture a new box, the corrugated sheets are passed through machines that print, score, die cut, and fold them. The side seam of the box (manufacturer's joint) is fastened by gluing, taping, or stitching.
Example embodiments are provided so that this disclosure will be thorough, and will fully convey the scope to those who are skilled in the art. Numerous specific details are set forth such as examples of specific components, devices, and methods, to provide a thorough understanding of embodiments of the present disclosure. It will be apparent to those skilled in the art that specific details need not be employed, that example embodiments may be embodied in many different forms and that neither should be construed to limit the scope of the disclosure. In some example embodiments, well-known processes, well-known device structures, and well-known technologies are not described in detail.
The terminology used herein is for the purpose of describing particular example embodiments only and is not intended to be limiting. As used herein, the singular forms “a,” “an,” and “the” may be intended to include the plural forms as well, unless the context clearly indicates otherwise. The terms “comprises,” “comprising,” “including,” and “having,” are inclusive and therefore specify the presence of stated features, integers, steps, operations, elements, and/or components, but do not preclude the presence or addition of one or more other features, integers, steps, operations, elements, components, and/or groups thereof. The method steps, processes, and operations described herein are not to be construed as necessarily requiring their performance in the particular order discussed or illustrated, unless specifically identified as an order of performance. It is also to be understood that additional or alternative steps may be employed.
When an element or layer is referred to as being “on,” “engaged to,” “connected to,” or “coupled to” another element or layer, it may be directly on, engaged, connected or coupled to the other element or layer, or intervening elements or layers may be present. In contrast, when an element is referred to as being “directly on,” “directly engaged to,” “directly connected to,” or “directly coupled to” another element or layer, there may be no intervening elements or layers present. Other words used to describe the relationship between elements should be interpreted in a like fashion (e.g., “between” versus “directly between,” “adjacent” versus “directly adjacent,” etc.). As used herein, the term “and/or” includes any and all combinations of one or more of the associated listed items.
Although the terms first, second, third, etc. may be used herein to describe various elements, components, regions, layers and/or sections, these elements, components, regions, layers and/or sections should not be limited by these terms. These terms may be only used to distinguish one element, component, region, layer or section from another region, layer or section. Terms such as “first,” “second,” and other numerical terms when used herein do not imply a sequence or order unless clearly indicated by the context. Thus, a first element, component, region, layer or section discussed below could be termed a second element, component, region, layer or section without departing from the teachings of the example embodiments.
Spatially relative terms, such as “inner,” “outer,” “beneath,” “below,” “lower,” “above,” “upper,” and the like, may be used herein for ease of description to describe one element or feature's relationship to another element(s) or feature(s) as illustrated in the figures. Spatially relative terms may be intended to encompass different orientations of the device in use or operation in addition to the orientation depicted in the figures. For example, if the device in the figures is turned over, elements described as “below” or “beneath” other elements or features would then be oriented “above” the other elements or features. Thus, the example term “below” can encompass both an orientation of above and below. The device may be otherwise oriented (rotated 90 degrees or at other orientations) and the spatially relative descriptors used herein interpreted accordingly.
The foregoing description of the embodiments has been provided for purposes of illustration and description. It is not intended to be exhaustive or to limit the disclosure. Individual elements or features of a particular embodiment are generally not limited to that particular embodiment, but, where applicable, are interchangeable and can be used in a selected embodiment, even if not specifically shown or described. The same may also be varied in many ways. Such variations are not to be regarded as a departure from the disclosure, and all such modifications are intended to be included within the scope of the disclosure.

Claims (10)

That which is claimed is:
1. A method of forming a shipping container, the method comprising:
mixing paper fibers with about 0.5% to 25% by weight meltable PE/PP bi-component binder fiber to form a mixture, the binder fibers being of a length of less than about 24 millimeters;
disposing the mixture onto a surface to form a layer of the mixture, the mixture having a density of 1300 to 1600 grams per square meter;
applying heat to form a paper fiber batt from the mixture having a fixed width and fixed length;
forming a shipping container from a paper medium, the shipping container defining an interior;
securing a paper layer to the paper fiber batt; and
surrounding the interior of the shipping container with the paper fiber batt,
wherein subjecting the shipping container to a repulpability test produces a fiber yield of greater than 85%.
2. The method of claim 1, wherein the step of securing the paper layer to the paper fiber batt comprises encapsulating the paper fiber batt within the paper layer.
3. The method of claim 2, wherein the step of forming the shipping container from the paper medium comprises folding the encapsulated paper fiber batt to form a bottom of the shipping container along the fold and also to define lateral edges adjacent to the bottom and a top arranged opposite to the bottom, the top defining an opening.
4. The method of claim 1, wherein the thermoplastic binder fiber has a length of between about 0.5 mm to about 16 mm.
5. The method of claim 1, wherein the step of forming the shipping container from the paper medium comprises forming a corrugated box, and wherein the step of securing the paper layer to the paper fiber batt comprises coupling the paper fiber batt to the corrugated box.
6. The method of claim 1, wherein the PE/PP bi-component binder fiber makes up less than 10% by weight of the paper fiber batt.
7. The method of claim 1, wherein about 50% of the PE/PP bi-component binder fiber has a length of about 1 millimeter and about 50% of the PE/PP bi-component binder fiber has a length of about 6 millimeters.
8. The method according to claim 1, wherein applying heat to form a paper fiber batt further comprises applying pressure with the heat to form the paper fiber batt.
9. The method according to claim 1, further comprising the step of sealing at least two lateral edges of the paper layer.
10. The method according to claim 9, wherein the lateral edges are sealed by heat sealing.
US16/414,310 2016-08-16 2019-05-16 Methods of forming repulpable containers Active US10882683B2 (en)

Priority Applications (2)

Application Number Priority Date Filing Date Title
US16/414,310 US10882683B2 (en) 2016-08-16 2019-05-16 Methods of forming repulpable containers
US17/123,676 US11148870B2 (en) 2016-08-16 2020-12-16 Methods of forming repulpable containers

Applications Claiming Priority (5)

Application Number Priority Date Filing Date Title
US201662375555P 2016-08-16 2016-08-16
US201662419894P 2016-11-09 2016-11-09
US201662437365P 2016-12-21 2016-12-21
US15/677,738 US10583977B2 (en) 2016-08-16 2017-08-15 Method of making an insulation material and an insulated mailer
US16/414,310 US10882683B2 (en) 2016-08-16 2019-05-16 Methods of forming repulpable containers

Related Parent Applications (1)

Application Number Title Priority Date Filing Date
US15/677,738 Division US10583977B2 (en) 2016-08-16 2017-08-15 Method of making an insulation material and an insulated mailer

Related Child Applications (1)

Application Number Title Priority Date Filing Date
US17/123,676 Continuation US11148870B2 (en) 2016-08-16 2020-12-16 Methods of forming repulpable containers

Publications (2)

Publication Number Publication Date
US20190270573A1 US20190270573A1 (en) 2019-09-05
US10882683B2 true US10882683B2 (en) 2021-01-05

Family

ID=62109959

Family Applications (12)

Application Number Title Priority Date Filing Date
US15/677,738 Active US10583977B2 (en) 2016-08-16 2017-08-15 Method of making an insulation material and an insulated mailer
US16/414,309 Active US10882682B2 (en) 2016-08-16 2019-05-16 Repulpable container
US16/414,310 Active US10882683B2 (en) 2016-08-16 2019-05-16 Methods of forming repulpable containers
US16/658,756 Active US10926939B2 (en) 2016-08-16 2019-10-21 Method of making an insulation material and an insulated mailer
US17/123,676 Active US11148870B2 (en) 2016-08-16 2020-12-16 Methods of forming repulpable containers
US17/123,673 Active US11214427B2 (en) 2016-08-16 2020-12-16 Repulpable container
US17/181,377 Active US11267641B2 (en) 2016-08-16 2021-02-22 Method of making an insulation material and an insulated mailer
US17/502,599 Active US11634265B2 (en) 2016-08-16 2021-10-15 Repulpable container
US17/688,356 Abandoned US20220288870A1 (en) 2016-08-16 2022-03-07 Method Of Making An Insulation Material And An Insulated Mailer
US17/834,999 Active US11780666B2 (en) 2016-08-16 2022-06-08 Repulpable container
US18/234,425 Active US12365529B2 (en) 2016-08-16 2023-08-16 Repulpable container
US18/612,835 Pending US20240262600A1 (en) 2016-08-16 2024-03-21 Insulation material and method of making insulation material

Family Applications Before (2)

Application Number Title Priority Date Filing Date
US15/677,738 Active US10583977B2 (en) 2016-08-16 2017-08-15 Method of making an insulation material and an insulated mailer
US16/414,309 Active US10882682B2 (en) 2016-08-16 2019-05-16 Repulpable container

Family Applications After (9)

Application Number Title Priority Date Filing Date
US16/658,756 Active US10926939B2 (en) 2016-08-16 2019-10-21 Method of making an insulation material and an insulated mailer
US17/123,676 Active US11148870B2 (en) 2016-08-16 2020-12-16 Methods of forming repulpable containers
US17/123,673 Active US11214427B2 (en) 2016-08-16 2020-12-16 Repulpable container
US17/181,377 Active US11267641B2 (en) 2016-08-16 2021-02-22 Method of making an insulation material and an insulated mailer
US17/502,599 Active US11634265B2 (en) 2016-08-16 2021-10-15 Repulpable container
US17/688,356 Abandoned US20220288870A1 (en) 2016-08-16 2022-03-07 Method Of Making An Insulation Material And An Insulated Mailer
US17/834,999 Active US11780666B2 (en) 2016-08-16 2022-06-08 Repulpable container
US18/234,425 Active US12365529B2 (en) 2016-08-16 2023-08-16 Repulpable container
US18/612,835 Pending US20240262600A1 (en) 2016-08-16 2024-03-21 Insulation material and method of making insulation material

Country Status (7)

Country Link
US (12) US10583977B2 (en)
EP (5) EP4071298B1 (en)
CN (4) CN110121579A (en)
AU (5) AU2017359035B2 (en)
CA (3) CA3218319A1 (en)
MX (1) MX394653B (en)
WO (1) WO2018089365A1 (en)

Cited By (17)

* Cited by examiner, † Cited by third party
Publication number Priority date Publication date Assignee Title
US20200148453A1 (en) 2018-11-13 2020-05-14 Pratt Retail Specialties, Llc Insulated box assembly and temperature-regulating lid therefor
US10941977B2 (en) 2017-07-31 2021-03-09 Pratt Retail Specialties, Llc Modular box assembly
US10947025B2 (en) 2017-12-18 2021-03-16 Pratt Corrugated Holdings, Inc. Insulated block packaging assembly
US10954058B2 (en) 2017-12-18 2021-03-23 Pratt Retail Specialties, Llc Modular box assembly
US10954057B2 (en) 2017-05-09 2021-03-23 Pratt Retail Specialties, Llc Insulated box
US11027875B2 (en) 2019-05-02 2021-06-08 Pratt Retail Specialties, Llc Telescoping insulated boxes
US11059652B2 (en) 2018-05-24 2021-07-13 Pratt Corrugated Holdings, Inc. Liner
US11124354B2 (en) 2017-04-07 2021-09-21 Pratt Retail Specialties, Llc Insulated bag
US11148870B2 (en) 2016-08-16 2021-10-19 Pratt Retail Specialties, Llc Methods of forming repulpable containers
US11203458B2 (en) 2018-11-13 2021-12-21 Pratt Retail Specialties, Llc Insulated box assembly with overlapping panels
US11230404B2 (en) 2019-11-26 2022-01-25 Pratt Corrugated Holdings, Inc. Perforated collapsible box
US11286099B2 (en) 2019-05-02 2022-03-29 Pratt Retail Specialties, Llc Box defining walls with insulation cavities
US11485566B2 (en) 2017-04-07 2022-11-01 Pratt Retail Specialties, Llc Box liner
USD968950S1 (en) 2020-08-10 2022-11-08 Pratt Corrugated Holdings, Inc. Perforated collapsible box
US11628978B2 (en) 2017-05-09 2023-04-18 Pratt Retail Specialties, Llc Insulated bag with handles
US11718464B2 (en) 2020-05-05 2023-08-08 Pratt Retail Specialties, Llc Hinged wrap insulated container
US12270153B2 (en) 2021-02-11 2025-04-08 Pratt Corrugated Holdings, Inc. Starch-cellulose composite material

Families Citing this family (24)

* Cited by examiner, † Cited by third party
Publication number Priority date Publication date Assignee Title
US11046500B2 (en) 2013-04-30 2021-06-29 Mp Global Products, L.L.C. Insulated shipping system including one-piece insulative insert with strengthening inner layer
US11731826B2 (en) 2021-10-22 2023-08-22 Packaging Technology Group, Llc Recyclable, thermally insulated shipping container with packed, loose-fill organic insulation
US11953262B2 (en) 2013-05-10 2024-04-09 Packaging Technology Group, Llc Recyclable, thermally insulated shipping container with packed, loose-fill organic insulation and PCM bladder insert
US20250091792A1 (en) * 2016-05-18 2025-03-20 Airlite Plastics Co. Insulated container
US20240083660A9 (en) * 2016-05-18 2024-03-14 Airlite Plastics Co. Insulated container
US11338985B2 (en) * 2018-08-28 2022-05-24 Cellulose Material Solutions, LLC Repulpable container insulation products and methods of making and using same
CN120942707A (en) * 2018-11-02 2025-11-14 生命科技股份有限公司 Insulated Packaging Systems and Related Methods
CA3087961A1 (en) * 2019-07-24 2021-01-24 Yashar Shams Coconut-based compostable dog waste collecting system
US12297032B2 (en) * 2019-08-14 2025-05-13 Pratt Corrugated Holdings, Inc. Insulated panels
CA3186624A1 (en) * 2020-07-09 2022-01-13 Stora Enso Oyj Recyclable 3d shaped product from an air-laid blank
SE545563C2 (en) * 2020-07-09 2023-10-24 Stora Enso Oyj Recyclable 3D shaped product for cushioning and/or thermal insulation of packaged goods
WO2022031473A1 (en) * 2020-08-04 2022-02-10 Raymond Columbus Simmons Container and method of manufacturing the same
GB2599930B (en) * 2020-10-14 2023-11-01 John Cotton Group Ltd Thermally insulating packaging
AU2021209340A1 (en) * 2021-07-30 2023-02-16 Visy R & D Pty Ltd Insulated Packaging
AT525089B1 (en) * 2021-08-12 2022-12-15 Ecopax E U THERMAL INSULATION CONTAINER
US12304168B2 (en) 2021-10-22 2025-05-20 Packaging Technology Group, Llc Method of filling an insulated shipping container with loose-fill organic insulation
US12415653B2 (en) 2021-10-26 2025-09-16 Illinois Tool Works Inc. Reclosable bag having a repulpable zipper
WO2023086425A2 (en) * 2021-11-09 2023-05-19 Cleanfiber Inc. Products, equipment, and methods for field fabrication, use, and installation of skinned cellulose assemblies
DE102022119517B4 (en) * 2022-08-03 2024-12-05 easy2cool GmbH Method for producing an insulating packaging, insulating packaging, plant for producing an insulating packaging, packaging box
US12304706B2 (en) 2023-01-30 2025-05-20 Pratt Corrugated Holdings, Inc. Collapsible tray and methods therefor
US12264006B1 (en) 2023-12-21 2025-04-01 Pratt Corrugated Holdings, Inc. Insulated packaging liner
USD1083588S1 (en) 2023-12-28 2025-07-15 Pratt Corrugated Holdings, Inc. Packaging insert
US12497229B2 (en) 2024-01-29 2025-12-16 Pratt Corrugated Holdings, Inc. Packaging assembly
WO2025254977A1 (en) * 2024-06-03 2025-12-11 Pratt Corrugated Holdings, Inc. Insulated shipping assembly

Citations (340)

* Cited by examiner, † Cited by third party
Publication number Priority date Publication date Assignee Title
US265985A (en) 1882-10-17 Charles b
GB217683A (en) 1923-04-05 1924-06-26 Diamond George Improvements in cardboard or the like boxes
US1527167A (en) 1922-10-07 1925-02-24 Fort Wayne Corrugated Paper Co Heat-insulated shipping container
GB235673A (en) 1924-04-03 1925-06-25 Thompson And Norris Mfg Co Ltd Improvements in or relating to corrugated fibre board boxes
US1677565A (en) 1924-09-10 1928-07-17 Ferdinand S Oppenheim Container
US1682410A (en) 1925-08-01 1928-08-28 Ferdinand S Oppenheim Container
US1747980A (en) 1925-12-28 1930-02-18 Henry E Kondolf Folded paper package
US1753813A (en) 1926-10-25 1930-04-08 Montgomery Washburn Company Heat-insulating jacket
US1868996A (en) 1930-04-14 1932-07-26 Sharp Paul Francis Method of egg preservation
US1896393A (en) 1929-01-17 1933-02-07 Dev Insular Company Lunch box
US1899892A (en) 1931-08-27 1933-02-28 Jiffy Pad & Excelsior Inc Heat-insulated paper bag and method of making the same
US1930680A (en) 1931-09-18 1933-10-17 Menasha Wooden Ware Corp Container
US1935923A (en) 1931-08-08 1933-11-21 Rudolph G Thoke Container
US1937263A (en) 1931-08-17 1933-11-28 Home Food Company Inc Insulated container
US1942917A (en) 1931-07-25 1934-01-09 Jiffy Pad And Excelsior Inc Heat-insulated paper bag and method of making the same
US1954013A (en) 1931-11-14 1934-04-10 Lilienfield Bros & Company Cigar container
US2018519A (en) 1934-06-02 1935-10-22 Harper M Hall Package or container for candy and similar merchandise
US2070747A (en) 1933-02-02 1937-02-16 Gerh Arehns Mek Verkst Ab Receptacle
US2116513A (en) 1936-02-13 1938-05-10 William P Frankenstein Collapsible carton
US2148454A (en) 1935-06-19 1939-02-28 Jiffy Mfg Company Container
US2165327A (en) 1936-04-20 1939-07-11 Zalkind Philip Set-up insulation box
GB528289A (en) 1939-05-03 1940-10-25 Eburite Corrugated Containers Improvements relating to boxes or containers principally for transporting chicks
US2289060A (en) 1940-03-12 1942-07-07 Merkle Corp Method of and apparatus for utilizing dry ice
US2293361A (en) 1940-04-23 1942-08-18 Californis Container Corp Container
US2360806A (en) 1944-02-02 1944-10-17 Makowsky Corp J Carton
US2386905A (en) 1942-12-26 1945-10-16 Curt J Meltzen Carton and carton blank
US2389601A (en) 1943-08-06 1945-11-27 Shoe Form Co Inc Receptacle and method of making it
US2554004A (en) 1944-05-18 1951-05-22 Bergstein Samuel Mechanism and method for making boxes with attached handles and the like
US2632311A (en) 1947-07-25 1953-03-24 Frozen Food Foundation Inc Insulated container for delivery of frozen foods
US2650016A (en) 1949-03-31 1953-08-25 Cohoes Envelope Company Inc Parcel bag
GB713640A (en) 1950-04-14 1954-08-18 Alois Vonarburg Improvements in or relating to insulating boxes particularly for keeping ice cream cool
US2753102A (en) 1951-12-05 1956-07-03 Richard E Paige Cardboard container and carrier
US2899103A (en) 1959-08-11 Bait container
US2927720A (en) 1958-11-28 1960-03-08 Robert K Adams Portable insulated container
FR1241878A (en) 1959-08-14 1960-09-23 Crate for transporting chicks or similar animals
US2987239A (en) 1959-11-18 1961-06-06 Hudson Pulp & Paper Corp Bag handle and the like
US3029008A (en) 1958-05-29 1962-04-10 Membrino Herman Composite container for shipping and packaging
US3031121A (en) 1960-11-01 1962-04-24 Chase Herbert Insulated carrier
US3065895A (en) 1961-04-25 1962-11-27 Chemical Sales Inc Multiple unit container
US3096879A (en) 1957-12-12 1963-07-09 Stanley P Schumacher Packaging material and package
US3097782A (en) 1961-05-22 1963-07-16 Koropatkin Stephen Convertible and disposable picnic basket and table top device
DE1897846U (en) 1964-05-08 1964-07-30 Schroeder & Wagner INSULATED BAG IN THE FORM OF A BLOCK BOTTOM OR CROSS BOTTOM BAG.
US3182913A (en) 1963-03-04 1965-05-11 Crown Zellerbach Corp Carton
US3193176A (en) 1961-03-17 1965-07-06 Weyerhaeuser Co Collapsible reusable carton
US3222843A (en) 1961-11-20 1965-12-14 Pyles Ind Inc Foam packaging method and construction
US3236206A (en) 1964-01-03 1966-02-22 Aquariums Inc Package for shipping tropical fish
US3282411A (en) 1963-03-01 1966-11-01 W N Jardine Co Flexible plastic container
US3286825A (en) 1964-09-28 1966-11-22 Robert F Laas Article of manufacture and the method of packaging
US3335941A (en) 1964-04-20 1967-08-15 Coloroll Ltd Carrier bags and handles for use therewith
US3371462A (en) 1963-12-10 1968-03-05 Nordkvist Allan Method of packing a number of containers in one unit
US3375934A (en) 1965-10-13 1968-04-02 Smith Kline French Lab Disposable test tube rack
US3420363A (en) 1966-04-13 1969-01-07 Us Plywood Champ Papers Inc Foams demonstrating thermal memory and products made therefrom
US3435736A (en) 1965-10-11 1969-04-01 Erwin W P Reiche Method of making a square bottom bag
US3503550A (en) 1968-03-08 1970-03-31 Container Corp Multipiece paperboard container
GB1204058A (en) 1967-11-03 1970-09-03 Danpak Mejeribrugets Emballage Packing of cardboard for products in bulk
US3551945A (en) 1966-10-18 1971-01-05 Papierfabrik Gmbh Apparatus for producing hot and cold insulating sheet
US3670948A (en) 1969-09-24 1972-06-20 Peter Berg & Co Inc Collapsible carton
US3703383A (en) 1971-05-17 1972-11-21 American Can Co Food product package
GB1305212A (en) 1969-02-04 1973-01-31
US3734336A (en) 1970-05-19 1973-05-22 J Sloane Thermally insulated portable chest
US3747743A (en) 1971-04-07 1973-07-24 Certain Teed St Gobain Insulation package
US3749299A (en) 1971-10-26 1973-07-31 Hoerner Waldorf Corp Compartmented containers
US3836044A (en) 1972-07-28 1974-09-17 Rapid American Corp Bulk package incorporating movable dispenser insert for individual dispensing of substantially wet sheets from stack
US3843038A (en) 1973-07-23 1974-10-22 Redi Container Corp Corner protector construction
GB1372054A (en) 1971-12-15 1974-10-30 Drg Packaging Ltd Tray box or package
US3880341A (en) 1974-05-28 1975-04-29 Olinkraft Inc Bulk material container
US3887743A (en) 1972-11-09 1975-06-03 Mead Corp Unitary plastic laminate
US3890762A (en) 1973-08-20 1975-06-24 Day Star Corp Produce shipping container and packing method
US3980005A (en) 1974-11-20 1976-09-14 Buonaiuto Robert B Synthetic plastic foam carton liners
US4030227A (en) 1976-05-28 1977-06-21 Oftedahl Everett J Bait bucket
US4050264A (en) 1975-08-04 1977-09-27 Makoto Takugyo Kabushikikaisha Refrigerating container
US4068779A (en) 1975-12-01 1978-01-17 Canfield Michael P Foamed plastic cooler and handle combination
US4091852A (en) 1977-04-11 1978-05-30 Jordan Charles P Inflatable box
US4169540A (en) 1976-04-28 1979-10-02 Aktiebolaget Platmanufaktur Packaging container
US4211267A (en) 1977-09-23 1980-07-08 Skovgaard Leif O Thermal insulating and cushioned bag, especially a carrying bag
US4213310A (en) 1979-04-03 1980-07-22 Igloo Corporation Thermal container with quick-release lid-mounted flask
US4335844A (en) 1978-01-02 1982-06-22 Platmanufaktur Ab Container with lid
US4342416A (en) 1981-01-15 1982-08-03 Container Corporation Of America Two-piece reclosable container
US4380314A (en) 1981-06-04 1983-04-19 Federal Paper Board Co., Inc. Box type carton with hinged lid and one piece reinforced insert
US4396144A (en) 1982-04-22 1983-08-02 Container Corporation Of America Telescoped container
US4418864A (en) 1981-12-21 1983-12-06 Visymonde Investment Pte Ltd. Carton with handle
US4488623A (en) 1983-10-06 1984-12-18 Linnell Ii William S Canoe travel box
EP0133539A2 (en) 1983-08-01 1985-02-27 Stangl & Vogt GmbH & Co. KG Storage and/or transport container for sensitive goods
US4509645A (en) 1982-09-22 1985-04-09 Shimano Industrial Company Limited Portable constant temperature box
US4679242A (en) 1984-10-17 1987-07-07 Brockhaus Peter B Convertible cooler and cushion
US4682708A (en) 1981-10-15 1987-07-28 Leggett & Platt, Incorporated Insulated shipping container
WO1988007476A1 (en) 1987-03-23 1988-10-06 Patrick Carr A cuboid packing box
US4819793A (en) 1987-10-13 1989-04-11 Charles, Fong And Associates Beverage carrier
US4828133A (en) 1984-11-07 1989-05-09 American Greetings Corporation Display carton with adjustable divider
US4830282A (en) 1988-06-13 1989-05-16 Container Corporation Of America Container top closure arrangement
JPH01254557A (en) 1988-03-31 1989-10-11 Sugitani Shoji:Kk Commodity carrying bag
US4889252A (en) 1988-11-18 1989-12-26 Allpak Container, Inc. Insulated container
US4930903A (en) 1988-08-15 1990-06-05 William-Maher, Inc. Gift wrapping package
US4989780A (en) 1984-08-06 1991-02-05 Owens-Illinois Plastic Products Inc. Blank for sealed carton with integral reclosable pour-out spout
US5016813A (en) 1990-03-01 1991-05-21 Simons Einar L E Fold-up container and construction method
US5020481A (en) 1989-02-13 1991-06-04 Nelson Thomas E Thermal insulation jacket
US5062527A (en) 1990-05-21 1991-11-05 Westerman Frank E Foldable, leakproof multi-mode carton construction
CA2019104A1 (en) 1990-06-15 1991-12-15 Avi-Pac Inc. Cardboard box for garbage compactor
US5094547A (en) 1988-08-25 1992-03-10 Graham Mark S Integrated container for meat products
US5102004A (en) 1988-06-08 1992-04-07 Transtech Service Network, Inc. Method and apparatus for packaging refrigerated goods
US5154309A (en) 1991-01-07 1992-10-13 Rock-Tenn Company Insulating blanket for shipping container having scored mineral wool
US5158371A (en) 1990-05-29 1992-10-27 Moravek Lawrence R Self-supporting polymer bag and method of manufacture
US5165583A (en) 1990-03-15 1992-11-24 Kouwenberg Robert J C Invertable thermally insulating carriers
US5185904A (en) 1991-11-27 1993-02-16 Teewee, Inc. Plastic carrying handles
EP0537058A1 (en) 1991-10-08 1993-04-14 PASCAL, Christian Package for transportation, especially of infectious substances
US5263339A (en) 1992-07-31 1993-11-23 Scott Evans Portable cooler
US5358757A (en) 1990-01-03 1994-10-25 National Gypsum Company Wallboard bundling tape and method
FR2705317A1 (en) 1993-05-19 1994-11-25 Dadourian Henri Composite box with padded walls for the packaging of fragile objects and/or of dangerous substances
US5372429A (en) 1992-10-13 1994-12-13 Dow Corning Corporation Sealable and reusable pouch
US5418031A (en) 1993-11-22 1995-05-23 The United States Of America As Represented By The Secretary Of Agriculture Combination cellulosic/thermoplastic batt insulation and a method of production for such insulation
US5417342A (en) 1994-02-04 1995-05-23 Miriam M. Benson Packaging for fragile articles
US5441170A (en) 1994-02-16 1995-08-15 Bane, Iii; William W. Shipping container with multiple insulated compartments
US5454471A (en) 1993-03-24 1995-10-03 W. L. Gore & Associates, Inc. Insulative food container employing breathable polymer laminate
US5491186A (en) 1995-01-18 1996-02-13 Kean; James H. Bonded insulating batt
US5493874A (en) 1994-03-10 1996-02-27 Landgrebe; Mark A. Compartmented heating and cooling chest
US5499473A (en) 1994-11-16 1996-03-19 Ramberg; Clifford F. Divided bait container
US5505810A (en) 1994-12-06 1996-04-09 Whirlpool Corporation Getter system for vacuum insulation panel
US5512345A (en) 1994-03-28 1996-04-30 Kabushiki Kaisha Toshiba Vacuum insulator casing and method of making vacuum insulator panel
US5511667A (en) 1994-04-18 1996-04-30 Hexacomb Corporation Honeycomb corner protector
US5516580A (en) 1995-04-05 1996-05-14 Groupe Laperriere Et Verreault Inc. Cellulosic fiber insulation material
US5562228A (en) 1994-06-06 1996-10-08 Ericson; John C. Collapsible cooler apparatus
US5573119A (en) 1993-07-15 1996-11-12 Luray; Howard L. Shock absorbing shipping package
US5596880A (en) 1994-02-14 1997-01-28 Decision Point Marketing Chilled beverage display container
US5613610A (en) 1988-05-04 1997-03-25 Bradford Company Naturally degradable and recyclable static-dissipative packaging material
US5615795A (en) 1995-01-03 1997-04-01 Tipps; Steven V. Hazardous materials container
US5638978A (en) 1996-01-19 1997-06-17 Sambrailo Paper Company Shipping container
US5775576A (en) 1996-07-19 1998-07-07 Tenneco Packaging Flip-top reclosable carton with reduced-weight liner
US5842571A (en) 1997-05-27 1998-12-01 Rubbermaid Incorporated Compartmentalized soft-sided container
US5906290A (en) 1996-01-29 1999-05-25 Haberkorn; Robert W. Insulated container
WO1999032374A1 (en) 1997-12-19 1999-07-01 Federal Express Corporation Insulated shipping container
US5996366A (en) 1995-07-05 1999-12-07 Renard; Andre Refrigerated cabinet for displaying food or the like
US6003719A (en) 1998-10-09 1999-12-21 Stewart, Iii; John R. Cooling container that includes a radiant heat barrier
US6041958A (en) 1994-01-12 2000-03-28 Enthalpy S.A. Insulating foldable box for transportation and packaging purposes
US6050412A (en) 1998-08-13 2000-04-18 The Sunblush Technologies Corporation Method and apparatus for packaging and shipping horticultural products including cut flowers
US6138902A (en) 1998-08-14 2000-10-31 Weekend 2000, Inc. Insulated foldable receptacle for containers
US6164526A (en) 1994-10-13 2000-12-26 Jodi A. Dalvey Paper-based cooler
US6168040B1 (en) 1998-09-05 2001-01-02 Isovac Gmbh Double-wall insulated container
US6220473B1 (en) 1999-07-14 2001-04-24 Thermo Solutions, Inc. Collapsible vacuum panel container
US6223551B1 (en) 1996-01-29 2001-05-01 Instar Pty. Ltd. Portable flexible container for keeping articles cold
US6238091B1 (en) 1998-11-25 2001-05-29 California Innovations Inc. Insulated container and liner
US6244458B1 (en) 1998-07-09 2001-06-12 Thermo Solutions, Inc. Thermally insulated container
US6247328B1 (en) 1998-11-25 2001-06-19 California Innovations Inc. Divided insulated container
WO2001070592A1 (en) 2000-03-17 2001-09-27 Sealed Air Corporation (Us) Packaging cushion and packaging assemblies incorporating same
US6295830B1 (en) 2001-02-28 2001-10-02 The Boc Group, Inc. Portable container for refrigerated or frozen goods
US6295860B1 (en) 1998-07-08 2001-10-02 Hitachi, Ltd. Explosive detection system and sample collecting device
US6308850B1 (en) 1998-06-19 2001-10-30 Visy R & D Pty Ltd. Liner for container
US6325281B1 (en) 2000-03-30 2001-12-04 Polyfoam Packers Corporation Thermally insulating shipping system
US20020020188A1 (en) 2000-01-04 2002-02-21 Igal Sharon Temperature controlling apparatus and method
FR2820718A1 (en) 2001-02-15 2002-08-16 Smurfit Socar Sa Carton comprises conventional box, forming base, and lid with flaps attached to its end walls, double-sided adhesive tape applied to these serving both to hold lid together and to fix it on to base
US6443309B1 (en) 2000-05-15 2002-09-03 Victory Packaging, Inc. Apparatus for packaging goods
FR2821786A1 (en) 2001-03-07 2002-09-13 Enthalpy Sa Isothermal packaging and its manufacturing method comprises insulating panels cut so that their edge surfaces are inclined and fixed together in pairs to form monobloc assembly
US6453682B1 (en) 1998-12-28 2002-09-24 Cold-Sell Systems, L.L.C. Point-of-sale chilled product housing
US20020162767A1 (en) 2001-05-02 2002-11-07 Aru Corporation Compression storage bag
US6478268B1 (en) 1999-12-17 2002-11-12 Paul Flum Ideas, Inc. Display stand for merchandising chilled products and the like
US6510705B1 (en) 2002-04-10 2003-01-28 Steven Ray Jackson Wild game head and cape cooler
US20030145561A1 (en) 2000-05-24 2003-08-07 Cals Hubertus Y.M. Packing product and apparatus and method for manufacturing same
US6618868B2 (en) 2001-02-12 2003-09-16 Jeff F. Minnick Lightweight insulated spa cover and method therefor
US20040004111A1 (en) 2002-07-08 2004-01-08 Cardinale Salvatore J. Insulated water-tight container
US6688133B1 (en) 2003-04-07 2004-02-10 Edward Donefrio Cooling container including a built in drain
US20040031842A1 (en) 2001-11-16 2004-02-19 Stephen D. Carver Foldable portable cooler with enhanced over-center locking handle
US6725783B2 (en) 2000-11-10 2004-04-27 Fuji Photo Film Co., Ltd. Pallet for stacking planographic printing plates thereon
US6726017B2 (en) 2001-10-17 2004-04-27 International Business Machines Corporation Packaging system for a component including a compressive and shock-absorbent packing insert
US20040079794A1 (en) 2002-10-23 2004-04-29 Mayer William N. Container having passive controlled temperature interior
US6736309B1 (en) 2001-11-16 2004-05-18 Wes-Pak, Inc. Quick erecting foldable portable cooler
US6771183B2 (en) 2000-07-03 2004-08-03 Kodiak Technologies, Inc. Advanced thermal container
GB2400096A (en) 2003-03-31 2004-10-06 Ds Smith Cool box of folded material
US6821019B2 (en) 1998-11-25 2004-11-23 California Innovations Inc. Divided insulated container
US6868982B2 (en) 2001-12-05 2005-03-22 Cold Chain Technologies, Inc. Insulated shipping container and method of making the same
US6875486B2 (en) 2003-02-03 2005-04-05 Drayton Miller Package system and method
US20050109655A1 (en) 2003-11-21 2005-05-26 Vershum Raymond G. Packaging apparatus and method
US6899229B2 (en) 2003-07-18 2005-05-31 Sealed Air Corporation (Us) Packaging container with integrated sheet for retention of packaged article
JP2005139582A (en) 2003-11-07 2005-06-02 Toppan Printing Co Ltd Pulp molded body and method for producing the same
US6910582B2 (en) 2002-05-22 2005-06-28 Gary W. Lantz Shock absorbing insulated shipping container especially for breakable glass bottles
US20050189404A1 (en) 2003-11-26 2005-09-01 Mao Xiaohai Insulated panels and shipping container incorporating said panels
JP2005247329A (en) 2004-03-01 2005-09-15 Ulvac Japan Ltd Frying oil delivery/recovery box
US20050214512A1 (en) 2002-03-19 2005-09-29 Carlo Fascio Corrugated packaging and insulation material
US20050224501A1 (en) 2004-04-09 2005-10-13 Rod Folkert Thermal storage container
US6971539B1 (en) 2001-04-27 2005-12-06 Saber-Com, Inc. Apparatus for storing food
US20050279963A1 (en) 2004-05-20 2005-12-22 Guardian Fiberglass, Inc. Insulation with mixture of fiberglass and cellulose
US7000962B2 (en) 2002-10-26 2006-02-21 Andrew Dung The Le Stick-on handle for boxes and containers
US20060053828A1 (en) 2004-09-15 2006-03-16 Shallman Richard W Low temperature cooler
US7019271B2 (en) 2002-02-08 2006-03-28 Graphic Packaging International, Inc. Insulating microwave interactive packaging
US20060078720A1 (en) 2004-10-12 2006-04-13 Toas Murray A Fibrous insulation with fungicide
US20060096978A1 (en) 2004-11-10 2006-05-11 Graphic Packaging International, Inc Insulated packages for microwaveable foods
US7094192B2 (en) 2003-12-30 2006-08-22 Drayton Miller Knockdown corrugated box for temperature control and method of making
US20060193541A1 (en) 2005-02-28 2006-08-31 Norcom John D Container including removable integral upper portion
US7140773B2 (en) 1996-07-30 2006-11-28 Frontier Paper & Packaging, Inc. Method and apparatus for packaging perishable goods
US20070000932A1 (en) 2005-06-30 2007-01-04 Cron Frank F Apparatus for enhancing temperature stabilization of a cooler
US20070000983A1 (en) 2005-06-29 2007-01-04 Spurrell Robert M Container with freestanding insulating encapsulated cellulose-based substrate
US20070051782A1 (en) 2005-09-07 2007-03-08 Gary Lantz Variable-volume insulated shipping container
US7225970B2 (en) 2005-03-30 2007-06-05 Weyerhaeuser Company Self-locking container and container blank
US7225632B2 (en) 2003-07-07 2007-06-05 Rodney Derifield Insulated shipping containers
US7229677B2 (en) 2003-12-30 2007-06-12 Drayton Miller Knockdown corrugated box for temperature control and method of making
US7264147B1 (en) 2004-03-09 2007-09-04 Miriam M. Benson Shock resistant box
US20070209307A1 (en) 2003-10-30 2007-09-13 Carsten Andersen Cellulose Fibre Based Insulation Material
US20070257040A1 (en) 2006-04-20 2007-11-08 Price Franklin R Jr Packaging for perishable goods
US20080095959A1 (en) 2006-10-20 2008-04-24 The Republic Of Tea Infusion package
US20080135564A1 (en) 2006-12-12 2008-06-12 Benjamin Romero Container for shipping products, which controls temperature of products
US7392931B2 (en) 2004-11-12 2008-07-01 Columbia Insurance Company Shoe box
US20080173703A1 (en) 2007-01-19 2008-07-24 Westerman Frank E Folded corrugated container with reinforced quick-locking handles
US20080190940A1 (en) 2007-02-13 2008-08-14 Peter Henry Scott Insulated container
US20080203090A1 (en) 2004-03-18 2008-08-28 Eggs Overnight, Inc. Shipping container, system and packing method, along with reusable packing accessory for use therewith
US20080289302A1 (en) * 2007-05-22 2008-11-27 Brian Vulpitta Packaging compression wrap
US20080296356A1 (en) 2007-05-30 2008-12-04 John August Hatcher Insulated food crate
USD582676S1 (en) 2005-01-28 2008-12-16 International Holdings Llc Convertible storage bin with lid
US20080308616A1 (en) 2004-11-01 2008-12-18 Rapid Action Packaging Limited Packs for Holding Food Items
US20080314794A1 (en) 2007-06-21 2008-12-25 The Lindy Bowman Company Product Display Carton
US20090034883A1 (en) 2005-06-01 2009-02-05 Nicola Giuliani Thermal bag for foods and the like
US20090114311A1 (en) 2005-02-01 2009-05-07 Menasha Corporation Cartridge and method for filling a bulk container with a flowable substance
US20090193765A1 (en) 2005-09-07 2009-08-06 Gary Lantz Variable-volume insulated shipping container
US20090214142A1 (en) 2006-05-12 2009-08-27 Daniel Bossel Packing bag
US7597209B2 (en) 2005-01-28 2009-10-06 International Holdings, Llc Multipurpose storage device and method
US7607563B2 (en) 2006-08-28 2009-10-27 Arvco Container Corporation Pizza container
US20090283578A1 (en) 2008-05-14 2009-11-19 Drayton Miller "green" temperature- controlled mailer
US20090288791A1 (en) 2004-10-20 2009-11-26 Klaus-Dieter Hammer Nonwoven having improved wet fastness and alkali resistance and cellulose hydrate-based food casing from said nonwoven
US20100001056A1 (en) 2007-12-13 2010-01-07 Kitaru Innovations Inc. Method and apparatus for making, shipping and erecting boxes
US20100006630A1 (en) 2008-07-10 2010-01-14 Humphries Gary W Thermal container
US20100062921A1 (en) 2008-09-11 2010-03-11 Simple Container Solutions, Inc. Expandable insulated packaging
US7677406B2 (en) 2006-02-16 2010-03-16 Maxson Floyd S Insulating container
US7681405B2 (en) 2005-04-14 2010-03-23 Alton Williams Insulated shipping container systems and methods thereof
US20100072105A1 (en) 2005-05-02 2010-03-25 Fisher Scientific Company L.L.C. Corrugated container
US20100139878A1 (en) 2007-01-05 2010-06-10 Lecce Pen Company Spa Method for Manufacturing Reduced-Weight Paper, Thin Cardboard and Cardboard, and Compounds Obtained Therewith
US20100151164A1 (en) 2005-06-28 2010-06-17 International Paper Company Moisture resistant container
US7784301B2 (en) 2004-01-30 2010-08-31 Panasonic Corporation Foldable heat insulating container and distribution method
US7807773B2 (en) 2004-03-04 2010-10-05 Unitika Ltd. Biodegradable polyester resin composition, preparation method therefor, and foamed article and molded article produced therefrom
US20100258574A1 (en) 2009-04-13 2010-10-14 Kevin William Bentley Cellulose based recyclable container
US20100282827A1 (en) 2009-05-11 2010-11-11 Padovani Mario Cardboard tank packaging
US20100284634A1 (en) 2009-05-11 2010-11-11 Bob Hadley Container insert apparatus and method
US7845508B2 (en) 2005-01-28 2010-12-07 Rothschild Wayne H Multipurpose storage device and method
US20100314437A1 (en) 2009-06-10 2010-12-16 Fred Dowd High Vertical Load Box
US20100314397A1 (en) * 2009-05-13 2010-12-16 Preston Noel Williams Thermal Containment System Providing Temperature Maintaining Shipping Package with Segmented Flexible PCM Panels
US7870992B2 (en) 2005-06-29 2011-01-18 International Paper Co. Container with freestanding insulating encapsulated cellulose-based substrate
US20110042449A1 (en) 2009-08-19 2011-02-24 Copenhaver Scott E Recyclable thermally insulated container
US7909806B2 (en) 2004-09-23 2011-03-22 Anthrogenesis Corporation Cord blood and placenta collection kit
US20110100868A1 (en) 2009-10-29 2011-05-05 Gary Lantz "Green" insulated shipping container, and method of making
US20110114513A1 (en) 2008-05-14 2011-05-19 Miller Drayton Granville "green" temperature-controlled mailer
US7971720B2 (en) 2009-06-24 2011-07-05 The Clorox Company Vertically stacking litter bag with handle
US20110235950A1 (en) 2010-03-29 2011-09-29 Chien-Pang Lin Foldable Bag
US20110284556A1 (en) 2010-05-19 2011-11-24 Plymouth Foam, Inc. Insulated Shipping Container
US20110311758A1 (en) 2010-05-24 2011-12-22 Jim Burns Fiber-based carpet cushion with added resilience from vertically oriented fiber construction
US20110317944A1 (en) 2010-06-29 2011-12-29 Liu Chun-Chi Backing plate for storage bags as well as storage bag and storage box with the same
US20120031957A1 (en) 2010-08-09 2012-02-09 PackagingPrice.com, Inc. Vacuum insulation panel
US8118177B2 (en) 2006-10-04 2012-02-21 Sellars Absorbent Materials, Inc. Non-woven webs and methods of manufacturing the same
US20120074823A1 (en) 2010-09-23 2012-03-29 Lara Bezich Hybrid modular furniture and storage container unit
US20120145568A1 (en) 2008-05-14 2012-06-14 Collison Chad A Insulative packaging system
JP2012126440A (en) 2010-12-17 2012-07-05 Fuji Shiko Kk Carrier bag
US20120243808A1 (en) 2007-04-23 2012-09-27 Coldkeepers, Llc Insulated liners and containers
US20120251818A1 (en) 2009-12-21 2012-10-04 Stora Enso Oyj Paper or paperboard substrate, a process for production of the substrate and a package formed of the substrate
US20120248101A1 (en) 2005-04-14 2012-10-04 Tumber James William Howard Insulated shipping container systems, kits and methods
DE102011016500A1 (en) 2011-04-09 2012-10-11 Jan Edgar Juraschek Thermal insulated bag for transporting or storing e.g. food products, has thermally insulated filling unit made of paper-containing material or cellulose-containing material and consists of spacer between inner and outer enclosures and air
US20120279896A1 (en) 2011-05-05 2012-11-08 Gary Lantz Insulated shipping container, and method of making
US8343024B1 (en) 2011-03-14 2013-01-01 Thatbox Design, Llc Apparatus and methods relating to corrugated materials, containers, and packaging
US20130112694A1 (en) 2009-04-13 2013-05-09 Kevin William Bentley Cellulose Based Recyclable Container
US20130112695A1 (en) 2011-11-09 2013-05-09 Alpine Thermal Technologies, Inc. Insulating Shipping System
US20130140317A1 (en) 2011-12-05 2013-06-06 Dgp Intelsius Ltd. Combination insulation system
US8579183B2 (en) 2010-08-05 2013-11-12 Call2Recycle, Inc. Lid assembly for shipping container
US8596520B2 (en) 2012-04-16 2013-12-03 International Paper Co. Waterproof and anti-wicking corrugated container
US20140000306A1 (en) 2012-05-03 2014-01-02 Learmond A. Chapman, Jr. Box system
US20140021208A1 (en) 2012-07-18 2014-01-23 Alex N. Anti High-performance extended target temperature containers
US20140093697A1 (en) 2012-10-01 2014-04-03 Sellars Absorbent Materials, Inc. Hydrophobic industrial absorbent with dual-layer, slip-resistant scrim
US8795470B2 (en) 2006-12-05 2014-08-05 Mark J. Henderson System and method for producing bonded fiber/cellulose products
US20140248003A1 (en) 2013-03-01 2014-09-04 Melvin S. Mogil Soft-sided insulated container with inflatable wall structure
WO2014147425A2 (en) 2013-03-22 2014-09-25 Peli Cool Logistics Limited Packaging
US20140319018A1 (en) * 2013-04-30 2014-10-30 Chad A. Collison Insulative bottle shipping system
US20140367393A1 (en) 2013-06-17 2014-12-18 Sonoco Development, Inc. Thermally insulated polyurethane shipper and method of making same
US8919082B1 (en) 2009-06-15 2014-12-30 Iowa E. P. S. Products, Inc. Collapsible foam shipping cooler for perishables and method of making
GB2516490A (en) 2013-07-24 2015-01-28 Dgp Intelsius Ltd Insulated container
US8960528B2 (en) 2004-04-22 2015-02-24 Dixie Consumer Products Llc Insulating cup wrapper and insulated container formed with wrapper
US20150110423A1 (en) 2013-10-17 2015-04-23 Kenneth Fox Supply Company Produce Container
US20150166244A1 (en) 2013-12-13 2015-06-18 Peli BioThermal Limited Thermally insulated package
US20150175338A1 (en) 2011-03-11 2015-06-25 The Coleman Company Rigid collapsible liner for insulated container
FR3016352A1 (en) 2014-01-14 2015-07-17 Isoprod France ISOTHERMAL PACKAGING
US20150238033A1 (en) 2014-02-26 2015-08-27 Marcos Zavitsanos Thermally insulative container
US20150239639A1 (en) 2012-10-31 2015-08-27 Hewlett-Packard Development Company, L.P. Thermal stabilization shipping system and method
US20150259126A1 (en) 2014-01-10 2015-09-17 James MCGOFF Insulated apparatus for shipping and storage and process for fabricating thereof
US20150284131A1 (en) 2014-04-08 2015-10-08 Medline Industries, Inc. Container having improved compression strength
US20150345853A1 (en) 2013-01-16 2015-12-03 Bellivo, Société Anonyme Lid for insulated box and method for storing products
US20160015039A1 (en) 2013-03-14 2016-01-21 Georgia State University Research Foundation, Inc. Preventing or delaying chill injury response in plants
US20160052696A1 (en) 2014-08-22 2016-02-25 Owens Corning Intellectual Capital, Llc General purpose insulation bag
US9272475B2 (en) 2013-06-03 2016-03-01 Sonoco Development, Inc. Thermally insulated VIP sandwich shipper and method of making same
EP2990196A1 (en) 2011-07-20 2016-03-02 Walki Group Oy Coated paper or cardboard
US20160060017A1 (en) 2007-04-23 2016-03-03 Coldkeepers, Llc Insulated shipping bags
US9290313B2 (en) 2007-04-23 2016-03-22 Coldkeepers, Llc Insulated shipping bags
US9322136B2 (en) 2013-12-19 2016-04-26 The Procter & Gamble Company Sanitary tissue products
USD758182S1 (en) 2015-05-15 2016-06-07 Na Pali Coast Frozen Organics LLC Ice cream packaging kit
US20160304267A1 (en) 2015-04-20 2016-10-20 Pratt Industries, Inc. Nested insulated packaging
US20160325915A1 (en) 2015-05-04 2016-11-10 Pratt Industries, Inc. Adjustable insulation packaging
US9499294B1 (en) 2014-04-29 2016-11-22 Thatbox Design, Llc Dual handle cooler box design, blank and methods
WO2016187435A2 (en) 2015-05-20 2016-11-24 Temperpak Technologies Inc. Thermal insulation liners
US20170015080A1 (en) 2015-07-15 2017-01-19 Mp Global Products, L.L.C. Method of making an insulated mailer
US9550618B1 (en) * 2016-04-01 2017-01-24 Vericool, Inc. Shipping container with compostable insulation
US20170043937A1 (en) 2015-08-10 2017-02-16 Gary W. Lantz Insulated shipping container and method of making
US9605382B2 (en) 2013-03-26 2017-03-28 Kemira Oyj Process for production of paper or board
US9701437B2 (en) 2009-01-26 2017-07-11 Indevco Plastics, Inc. Repulpable corrugated box with styrene-acrylic copolymer and hydrogenated triglyceride coating
US20170198959A1 (en) 2016-01-08 2017-07-13 The Wool Packaging Company Limited Temperature Controlled Packaging and Transportation Method
DE202017103230U1 (en) 2017-05-30 2017-07-31 Teccom Arzneimittel Vertriebs Gmbh Packaging arrangement for transporting temperature-sensitive goods
US20170233134A9 (en) 2015-03-19 2017-08-17 Iron Mountain Incorporated Tamper resistant box
US9738432B1 (en) 2015-05-29 2017-08-22 Animal Cell Therapics, Inc. Systems, methods, and apparatuses for securing cell-based products for transport in thermal isolation
DE202017003908U1 (en) 2017-07-26 2017-09-05 Kreiter GmbH Transport box for professional transporting a tempered and / or shock-sensitive goods, such as refrigerated goods
CN206494316U (en) 2016-11-14 2017-09-15 上海万戈工贸发展有限公司 The package paper and Packaging Box of frozen food
US20170283157A1 (en) 2016-04-01 2017-10-05 Vericool, Inc. Shipping container with compostable insulation
US20170305639A1 (en) 2014-10-27 2017-10-26 Va-Q-Tec Ag Box-Type Transport Container
US20170320653A1 (en) 2016-05-06 2017-11-09 Melvin Mogil Insulated container with thermal storage liner
US20170334622A1 (en) 2016-05-18 2017-11-23 Menzel Diversified Enterprises, LLC Insulated container
US20170341847A1 (en) 2016-05-29 2017-11-30 Cellulose Material Solutions, LLC Packaging insulation products and methods of making and using same
US20170369226A1 (en) 2016-06-27 2017-12-28 Cellulose Material Solutions, LLC Thermoplastic packaging insulation products and methods of making and using same
US20180050857A1 (en) 2016-08-16 2018-02-22 Mp Global Products, L.L.C. Method of making an insulation material and an insulated mailer
US20180051460A1 (en) 2016-08-17 2018-02-22 Pratt Corrugated Holdings, Inc. Insulation batt
US9908680B2 (en) 2012-09-28 2018-03-06 Kimberly-Clark Worldwide, Inc. Tree-free fiber compositions and uses in containerboard packaging
CN108001787A (en) 2017-11-28 2018-05-08 慈溪市奇超科技有限公司 A kind of double casing carton
WO2018093586A1 (en) 2016-11-17 2018-05-24 Westrock Shared Services, Llc Food packaging insert and system
US20180148246A1 (en) 2016-11-30 2018-05-31 Lbp Manufacturing Llc Insulated laminates and methods for making same
US20180215525A1 (en) 2015-09-08 2018-08-02 Ekopak, Inc. Insulated Shipping System
US10046901B1 (en) 2017-02-16 2018-08-14 Vericool, Inc. Thermally insulating packaging
US20180229917A1 (en) 2017-02-16 2018-08-16 Vericool, Inc. Compostable insulation for shipping container
US20180274837A1 (en) 2017-03-21 2018-09-27 Nodak Coolers, Inc. Food and Beverage Cooler System
US10094126B2 (en) 2011-11-23 2018-10-09 Mp Global Products, L.L.C. System for forming floor underlayment
US20180290813A1 (en) 2017-04-07 2018-10-11 Pratt Retail Specialties, Llc Box liner
US20180290815A1 (en) 2017-04-07 2018-10-11 Pratt Retail Specialties, Llc Insulated bag
US20180327172A1 (en) 2017-05-09 2018-11-15 Pratt Retail Specialties, Llc Insulated bag with handles
US20180327171A1 (en) 2017-05-09 2018-11-15 Pratt Retail Specialties, Llc Insulated box
US20180334308A1 (en) 2017-05-16 2018-11-22 tForm, Inc. Fully recyclable insulated shipping container
US20180335241A1 (en) 2017-05-18 2018-11-22 Otter Products, Llc Configurable insulated storage container
WO2018227047A1 (en) 2017-06-09 2018-12-13 Yeti Coolers, Llc Insulating device
US20190032991A1 (en) 2017-07-31 2019-01-31 Pratt Retail Specialties, Llc Modular box assembly
US10226909B2 (en) 2016-06-20 2019-03-12 Indevco Plastics, Inc. Laminated moisture resistant poultry box and process
US20190185246A1 (en) 2017-12-18 2019-06-20 Pratt Corrugated Holdings, Inc. Insulated block packaging assembly
US20190185247A1 (en) 2017-12-18 2019-06-20 Pratt Retail Specialties, Llc Modular box assembly
US20190210790A1 (en) 2017-05-09 2019-07-11 Cold Chain Technologies, Inc. Shipping system for storing and/or transporting temperature-sensitive materials
US10357936B1 (en) 2017-04-28 2019-07-23 TemperPack Technologies, Inc. Insulation panel
US20190248573A1 (en) 2013-04-30 2019-08-15 Mp Global Products, L.L.C. Insulated Shipping System Including One-Piece Insulative Insert With Strengthening Inner Layer
US20190359414A1 (en) 2018-05-24 2019-11-28 Pratt Corrugated Holdings, Inc. Liner
US20190367209A1 (en) 2018-05-29 2019-12-05 Vericool, Inc. Thermal insulation article with compostable panel and paper film
US20190376636A1 (en) 2018-06-06 2019-12-12 Johns Manville Methods and materials to universally fit duct liner insulation for oval hvac duct systems
US20200148409A1 (en) 2018-11-13 2020-05-14 Pratt Retail Specialties, Llc Insulated box assembly with overlapping panels
US20200148453A1 (en) 2018-11-13 2020-05-14 Pratt Retail Specialties, Llc Insulated box assembly and temperature-regulating lid therefor
WO2020122921A1 (en) 2018-12-13 2020-06-18 Pratt Retail Specialties, Llc Modular box assembly
US20200346816A1 (en) 2019-05-02 2020-11-05 Pratt Retail Specialties, Llc Telescoping insulated boxes
US20200346841A1 (en) 2019-05-02 2020-11-05 Pratt Retail Specialties, Llc Box defining walls with insulation cavities
WO2020222943A1 (en) 2019-05-02 2020-11-05 Pratt Retail Specialties, Llc Telescoping insulated boxes

Family Cites Families (258)

* Cited by examiner, † Cited by third party
Publication number Priority date Publication date Assignee Title
US1061531A (en) 1911-04-20 1913-05-13 Hinde & Dauch Paper Co Package.
US1150105A (en) 1911-12-07 1915-08-17 Hinde & Dauch Paper Co Carton.
US1601547A (en) 1926-04-22 1926-09-28 Wofford James Carroll Packing and shipping device
US1792627A (en) 1928-10-20 1931-02-17 Rochester Folding Box Company Packing case
US2326817A (en) 1936-04-20 1943-08-17 Zalkind Philip Collapsible insulating casing
US2485643A (en) 1944-10-03 1949-10-25 Glenn H Norquist Metal-clad panel
GB628289A (en) 1946-05-02 1949-08-25 Bendix Aviat Corp Improvements in or relating to the heat treatment of magnesium alloy castings
US2717114A (en) 1950-04-27 1955-09-06 Jr Charles L Parham Thermal container
US2867035A (en) 1951-09-25 1959-01-06 Gen Electric Thermal insulation
US2761610A (en) 1953-07-10 1956-09-04 Hinde & Dauch Paper Co High strength paperboard containers
US3003622A (en) 1953-08-26 1961-10-10 James S Hardigg Cushioned container unit
US2950225A (en) 1955-01-21 1960-08-23 Eagle Picher Co Method of making insulation blocks and shapes
US2979246A (en) 1956-05-07 1961-04-11 Lord Baltimore Press Inc Foam plastic coated carton
US3065514A (en) * 1957-03-04 1962-11-27 Internat Ytong Stabalite Compa Method for dividing bodies of lightweight concrete or similar material
US2954913A (en) 1957-07-19 1960-10-04 Norton L Rossman Insulating container
US2986324A (en) 1958-01-23 1961-05-30 American Box Board Co Receptacle having a handle
US3003680A (en) 1959-05-22 1961-10-10 Jr Thomas L Wilcox Folding and collapsible carton
US3024935A (en) 1960-02-25 1962-03-13 Vinick George Banana packing means
US3194471A (en) 1964-06-04 1965-07-13 Inland Container Corp Bulk container device
US3206103A (en) 1964-07-17 1965-09-14 Diamond Int Corp Reclosable tamper-proof carton
US3349984A (en) 1965-05-21 1967-10-31 Riv Kap Inc Corner protectors
US3399818A (en) 1966-05-17 1968-09-03 Douglass M. Stegner Container
US3465948A (en) 1967-10-03 1969-09-09 Hoerner Waldorf Corp Disposable cooler
US3919372A (en) 1971-02-20 1975-11-11 Hebel Gasbetonwerk Gmbh Process for the production of building elements from porous concrete
US3736221A (en) * 1971-07-29 1973-05-29 K Evers Structural shape based on waste paper and method of providing the same
US3850362A (en) 1972-10-13 1974-11-26 Crown Zellerbach Corp Container construction and method therefor
US3883065A (en) 1973-06-28 1975-05-13 Michael C Presnick Collapsible shipping container
NL7409627A (en) 1973-10-01 1975-04-03 Cartonneries De La Lys Lys Sa FOLDABLE PACKAGING AND APPARATUS FOR SETTING AND FOLDING THEM.
US3976605A (en) 1974-03-28 1976-08-24 Sumitomo Chemical Company, Limited Foamed plastics of resin compositions comprising pullulan type resins and thermoplastic resins and process for producing the same
GB1578063A (en) 1977-05-26 1980-10-29 British Cellophane Ltd Wrapping film
US4146660A (en) * 1977-11-14 1979-03-27 Hall David M Corrugated cardboard chip insulation
MX153234A (en) * 1978-08-04 1986-08-29 Owens Corning Fiberglass Corp IMPROVED METHOD FOR PRODUCING A GLASS WOOL THERMAL INSULATION STRUCTURE FOR BLOWING IN PENTHOUSES
US4339039A (en) 1980-07-25 1982-07-13 First National Packaging Co., Inc. Impact resistant foam cushioned packages
USD270041S (en) 1980-11-03 1983-08-09 Union Carbide Corporation Packaging container
US4351165A (en) 1981-01-07 1982-09-28 Marten Gottsegen Portable cooler
US4411373A (en) 1982-10-15 1983-10-25 Kupersmit Julius B Foldable reinforcing element for shipping containers
US4613627A (en) 1982-12-13 1986-09-23 Usg Acoustical Products Company Process for the manufacture of shaped fibrous products and the resultant product
US4536145A (en) * 1984-05-07 1985-08-20 Tom Sawyer Supply & Equipment Apparatus for forming an expanded foam form liner including a contoured surface
US4711390A (en) 1984-07-27 1987-12-08 A.K.G.S. Collapsible box for trash compacting system
US4602971A (en) 1985-02-11 1986-07-29 Adhesives Research Incorporated Paper patch and method for patching holes in paper webs
US4797010A (en) 1987-09-22 1989-01-10 Nabisco Brands, Inc. Reheatable, resealable package for fried food
US4805776A (en) 1987-10-21 1989-02-21 Tenba, Inc. Air case
GB2199564B (en) 1988-01-22 1991-10-23 Bettaboxes Improvements in packaging materials
US4988216A (en) 1989-04-21 1991-01-29 Lyman Philip C Insulated container insertable into a backpack
AT393272B (en) 1989-06-07 1991-09-25 Rettenbacher Markus Dipl Ing METHOD FOR PRODUCING EXTRUDED, DIRECTLY EXPANDED BIOPOLYMER PRODUCTS AND WOOD FIBER PANELS, PACKAGING AND INSULATING MATERIALS
US5230450A (en) 1989-10-13 1993-07-27 Mahvi A Pascal Infant care bag
US5100016A (en) 1989-12-12 1992-03-31 Rock-Tenn Company Insulating blanket for shipping container
US5018663A (en) 1989-12-18 1991-05-28 Corso Bros., Inc. Hand carryable resh produce container
US5226542A (en) 1990-06-18 1993-07-13 Ade, Inc. Suspension package
US5201868A (en) 1991-01-22 1993-04-13 Rock-Tenn Company Insulated shipping container
JPH0641504A (en) 1991-07-12 1994-02-15 Saiden Kagaku Kk Alkali soluble type tacky agent composition
US5225242A (en) * 1991-11-27 1993-07-06 E. I. Du Pont De Nemours And Company Method of making a bonded batt with low fiber leakage
US5981011A (en) 1992-01-22 1999-11-09 A*Ware Technologies, L.C. Coated sheet material
DK170503B1 (en) 1992-02-20 1995-10-02 All Ways Aps Open container or beverage cup that is folded flat before use
US5637368A (en) 1992-06-04 1997-06-10 Minnesota Mining And Manufacturing Company Adhesive tape having antistatic properties
JP3263435B2 (en) 1992-07-13 2002-03-04 日世株式会社 Biodegradable foam molded container and method for producing the same
US5683772A (en) 1992-08-11 1997-11-04 E. Khashoggi Industries Articles having a starch-bound cellular matrix reinforced with uniformly dispersed fibers
JPH06135487A (en) 1992-10-30 1994-05-17 Nissei Kk Biodegradable foamed item and manufacture thereof
US5989724A (en) 1993-05-10 1999-11-23 International Paper Company Recyclable and repulpable ream wrap and related methods of manufacture
CA2097735A1 (en) 1993-06-04 1994-12-05 C. J. David Nettleton Insulated box for shipping medicinal specimens
US6083586A (en) 1993-11-19 2000-07-04 E. Khashoggi Industries, Llc Sheets having a starch-based binding matrix
US5804024A (en) 1993-12-20 1998-09-08 Bloch; Gilbert Paper-film laminate sealing tape
US5562980A (en) 1994-11-02 1996-10-08 Cartons St-Laurent Inc. Multi-layer wrapper construction
CA2145953C (en) * 1995-03-30 2006-06-20 Daniel Frenette Cellulosic fiber insulation material
CA2149939C (en) * 1995-05-23 2003-12-02 Joel P. Hutchison Packaging for fragile articles
US5601232A (en) 1995-09-08 1997-02-11 Stone Container Corporation Bottom closure restrainment apparatus for palletized bulk bin container
US5507429A (en) 1995-09-18 1996-04-16 Arlin; Edward M. Tamper-evident shrink band for containers
WO1997036050A1 (en) 1996-03-26 1997-10-02 The International Group, Inc. Repulpable moisture resistant coated articles and methods of making and repulping the same
JP2786841B2 (en) 1996-03-29 1998-08-13 日立電子サービス株式会社 Laminated paper for cushioning material
US6168857B1 (en) 1996-04-09 2001-01-02 E. Khashoggi Industries, Llc Compositions and methods for manufacturing starch-based compositions
US5820268A (en) 1996-07-30 1998-10-13 Jotan, Inc. Insulated container for packaging perishable goods
US5857778A (en) 1996-09-25 1999-01-12 Ells; James R. Collapsible thermal insulating container
JP3876491B2 (en) 1997-02-27 2007-01-31 三菱電機株式会社 Vacuum insulation panel, method for manufacturing the same, and refrigerator using the same
KR100232121B1 (en) 1997-06-10 1999-12-01 허방욱 A new manufacturing method of adiabatic material
US6364199B1 (en) 1997-09-30 2002-04-02 Harold J. Rose Container having a plurality of selectable volumes
US6598783B2 (en) 1997-10-24 2003-07-29 Tom Brinkman Parcel and object marking and method
US6090027A (en) 1997-10-24 2000-07-18 Brinkman; Tom Method for parcel marking and three dimensional label thereof
WO1999024327A1 (en) 1997-11-12 1999-05-20 Thermo Solutions, Inc. Soft-sided insulated container
NL1007945C2 (en) 1997-12-31 1999-07-01 Vertis Bv Process for the manufacture of a product with a blown, foam-like structure starting from a mass comprising at least natural polymers and water.
US6050410A (en) 1998-01-11 2000-04-18 Quirion; M. Yvan Foldable pallet-mounted container
US5922379A (en) 1998-05-05 1999-07-13 Natural Polymer International Corporation Biodegradable protein/starch-based thermoplastic composition
US6261679B1 (en) 1998-05-22 2001-07-17 Kimberly-Clark Worldwide, Inc. Fibrous absorbent material and methods of making the same
US6253993B1 (en) 1998-06-03 2001-07-03 Stone Container Corporation Self-erecting container apparatus
US6513974B2 (en) 1998-09-17 2003-02-04 Thomas G. Malone Inflatable insulating liners for shipping containers
US20030199218A1 (en) 1998-10-23 2003-10-23 Mueller Louann S. Ream wrap comprising PLA resin
US6068402A (en) 1998-10-27 2000-05-30 Outer Circle Products, Ltd. Foldable cooler
US6179025B1 (en) 1999-01-26 2001-01-30 Alice B. Sutton Carry bag with pouch insert and cover
NZ503232A (en) 1999-03-08 2001-11-30 Humatro Corp Melt processable starch compositions comprising amylopectin and a high polymer (such as polyacrylamide)
JP2001009949A (en) 1999-07-02 2001-01-16 Nippo Kk Foamed sheet and cold insulation container using it
US6723200B1 (en) 1999-08-18 2004-04-20 Meadwestvaco Corporation Method for releasing laminated materials
USD421457S (en) 1999-08-23 2000-03-07 Creative Versetility, LLC Greeting card
CA2386216C (en) 1999-10-06 2006-06-13 Gregory J. Hardy Overpack carton
US6296134B1 (en) 1999-11-05 2001-10-02 Salvatore J. Cardinale Insulated water-tight container
US6406649B1 (en) 1999-11-09 2002-06-18 Donald Fisk Method for forming a biodegradable foamed product from starch
JP2001254557A (en) 2000-03-08 2001-09-21 Okuda Seisakusho:Kk Auxiliary locking apparatus for sliding door
US20020056500A1 (en) * 2000-03-28 2002-05-16 Collison Alan B. Insulating floor underlayment
US6893528B2 (en) 2000-11-01 2005-05-17 Adalis Corporation Web material advance system for web material applicator
US6631803B2 (en) 2001-03-21 2003-10-14 Coors Brewing Company Beverage cooler box
JP3609384B2 (en) 2001-04-04 2005-01-12 トキワ印刷株式会社 Foam manufacturing method and foam
US7070841B2 (en) * 2001-04-11 2006-07-04 E. I. Du Pont De Nemours And Company Insulating label stock
US7170040B1 (en) 2001-04-11 2007-01-30 E. I. Du Pont De Nemours And Company Microwave susceptible insulated label and packaging material
GB0109956D0 (en) 2001-04-23 2001-06-13 K Pow Ltd Unitary-sheet articles
EP1384564B1 (en) 2001-04-23 2006-06-28 Sekisui Chemical Co., Ltd. Method and apparatus for producing laminated composite
DE10153408A1 (en) 2001-09-20 2003-04-17 Benecke Kaliko Ag High-frequency weldable and cold-flexible polymer mixture and its use
US6884321B2 (en) 2001-09-20 2005-04-26 Tex Tech Industries, Inc. Fireblocking/insulating paper
DE10214327A1 (en) 2001-10-23 2003-05-22 Innogel Ag Zug Polysaccharide-based network and process for its manufacture
US6863940B2 (en) 2001-12-17 2005-03-08 J.L. Darling Corporation Weatherproof sheets for copying, printing and writing and methods related thereto
CN100402593C (en) 2002-01-11 2008-07-16 新冰有限公司 Biodegradable or compostable vessel
CA2443885A1 (en) 2002-10-02 2004-04-02 Fort James Corporation Paper products including surface treated thermally bondable fibers and methods of making the same
US6913389B2 (en) 2002-12-20 2005-07-05 Sealed Air Corporation (Us) Metallic laminated gusseted insulated bag
US7445736B2 (en) 2002-12-23 2008-11-04 Eastman Kodak Company Embossed indicia on foam core imaging media
US20050117817A1 (en) 2003-01-13 2005-06-02 Mogil Melvin S. Foldable insulated bag
US7086534B2 (en) 2003-01-21 2006-08-08 Sealed Air Verpackungen Gmbh Suspension and retention packaging structures and methods for forming same
NZ541812A (en) 2003-03-19 2007-05-31 United States Gypsum Co Acoustical panel comprising interlocking matrix of set gypsum and method for making same
WO2004085482A2 (en) 2003-03-28 2004-10-07 Innogel Ag Method for producing starch networks and initial products
US7255261B2 (en) 2003-04-14 2007-08-14 Olivier Denys Andre Mesly Foldable storage container
JP4069255B2 (en) 2003-05-28 2008-04-02 ミサワホーム株式会社 Insulation
US7235308B2 (en) 2003-10-31 2007-06-26 Appleton Papers Inc. Recyclable repulpable coated paper stock
WO2005042355A2 (en) 2003-11-03 2005-05-12 David Goodrich Corrugated shipping container system
US20050186417A1 (en) 2004-02-25 2005-08-25 Rodriguez Peter A. Self-adhering paper strapping band
US20070151685A1 (en) * 2004-06-29 2007-07-05 Weyerhaeuser Co. Cellulose-based substrates encapsulated with polymeric films and adhesive
WO2006009146A1 (en) 2004-07-20 2006-01-26 Kurashiki Boseki Kabushiki Kaisha Vacuum heat insulation material
US20060055192A1 (en) 2004-09-14 2006-03-16 Jessica Hirsch Device for carrying objects
JP4561343B2 (en) 2004-12-06 2010-10-13 大成建設株式会社 Smoke shielding / smoke exhaust system
US20070012414A1 (en) 2005-07-12 2007-01-18 Kajander Richard E Multilayer nonwoven fibrous mats with good hiding properties, laminates and method
GB2428628A (en) 2005-07-14 2007-02-07 Green Light Products Ltd Multilayer material useful for packaging
USD546177S1 (en) 2005-09-22 2007-07-10 General Mills Marketing, Inc. Combined tear strip and access perforations on packaging
USD534798S1 (en) 2005-09-22 2007-01-09 General Mills, Inc. Tear strip access on packaging
US20100168260A1 (en) 2006-01-12 2010-07-01 Basf Se Porous materials and process for their production
TW200821227A (en) 2006-11-06 2008-05-16 Aopen Inc Fully flattenable buffering member and combination thereof
US7487904B2 (en) 2007-03-30 2009-02-10 International Paper Co. Reusable pop-up container and associated container blank
US7659316B2 (en) 2007-04-13 2010-02-09 Rusmar Incorporated Foam composition
US20080268220A1 (en) 2007-04-25 2008-10-30 Paul Olliges Thermal insulative product and related methods
EP2142431A4 (en) 2007-05-04 2014-06-18 Entropy Solutions Inc Package having phase change materials and method of use in transport of temperature sensitive payload
WO2009015228A1 (en) 2007-07-23 2009-01-29 Sunrez Corporation Sandwich panel end effectors
US20090045093A1 (en) 2007-08-18 2009-02-19 Tilton Christopher R Reverse blister ground calcium carbonates packaging and method of making same
US20090078708A1 (en) 2007-09-20 2009-03-26 Preston Noel Williams Temperature Maintaining Package Having Corner Discontinuities
JP4077026B1 (en) 2007-11-02 2008-04-16 株式会社原子力エンジニアリング Biodegradable composition, biodegradable processed product such as food container, and production method thereof
JP4077027B1 (en) 2007-12-13 2008-04-16 株式会社原子力エンジニアリング Biodegradable film or sheet, production method thereof, and composition for biodegradable film or sheet
KR20100134573A (en) 2008-01-31 2010-12-23 텔로 카르멘 트리스탄조 Thermal container
US8575478B2 (en) * 2008-03-07 2013-11-05 Showa Shell Sekiyu K.K. Integrated structure of CIS based solar cell
US8827142B2 (en) 2008-05-07 2014-09-09 Rock-Tenn Shared Services, Llc Reinforced polygonal containers and blanks of sheet material for making the same
FR2935693B1 (en) 2008-09-05 2010-09-24 Cie Europ VACUUM STORAGE COVER AND STORAGE AND / OR TRANSPORT BAG INTEGRATING SUCH A COVER
US8003032B2 (en) 2008-10-30 2011-08-23 Al-Sabih Adel K System and method for processing material
US8006839B2 (en) 2008-12-09 2011-08-30 Zimmer, Inc. Method and apparatus for packaging medical devices
JP5396855B2 (en) * 2008-12-26 2014-01-22 Esファイバービジョンズ株式会社 Fiber bundle
US8209995B2 (en) 2009-04-23 2012-07-03 Packit, Llc Collapsible insulated container
US20100291822A1 (en) 2009-05-18 2010-11-18 Anil Netravali Starch based composites and process of manufacture
CA2670216A1 (en) 2009-06-22 2010-12-22 Carlo Fascio Biodegradable packaging of starch and fiber made by extrusion
AU2009351085A1 (en) 2009-08-14 2012-04-12 Fresh Bailiwick Inc. Thermal container, liner therefor, and liner forming dies
AT508721B1 (en) 2009-09-03 2014-07-15 Chemiefaser Lenzing Ag CELLULOSE FIBERS WITH IMPROVED DOSAGE ABILITY, METHOD FOR THE PRODUCTION THEREOF, AND THEIR USE FOR THE REINFORCEMENT OF COMPOSITE MATERIALS
WO2011038416A2 (en) 2009-09-28 2011-03-31 Life Technologies Packaging systems and methods for cold chain shipments
GB201004042D0 (en) 2009-10-26 2010-04-28 Grimes Shaun An insulation device
WO2011054694A1 (en) 2009-10-26 2011-05-12 Basf Se Method for recycling paper products glued and/or coated with biodegradable polymers
SE0950819A1 (en) 2009-11-03 2011-05-04 Stora Enso Oyj A coated substrate, a process for producing a coated substrate, a package and a dispersion coating
WO2011109783A1 (en) 2010-03-05 2011-09-09 Eco-Friendly Solutions, LLC Methods for manufacturing recyclable and repulpable packaging materials
US8714357B2 (en) 2010-04-06 2014-05-06 Sealed Air Corporation (Us) Packaging system
IT1400247B1 (en) 2010-05-14 2013-05-24 Novamont Spa EXPANDABLE BIODEGRADABLE GRANULES FOR IRRADIATION
US9358576B2 (en) 2010-11-05 2016-06-07 International Paper Company Packaging material having moisture barrier and methods for preparing same
US8389110B2 (en) 2011-02-01 2013-03-05 Hsien-Cheng Liu Compositions for preparing plant fiber composites and plant fiber composites prepared from the same
CN102206361B (en) 2011-04-27 2013-03-27 广东益德环保科技有限公司 Fully-degradable foam material using starch as base material and preparation method for fully-degradable foam material
KR101307108B1 (en) 2011-05-17 2013-09-11 율촌화학 주식회사 Composition for starch bowl, starch bowl using the same and method for preparing starch bowl using the same
US8741443B2 (en) 2011-05-18 2014-06-03 Powertray, LLC Disposable food tray
US20120309246A1 (en) 2011-06-03 2012-12-06 Alexander Tseitlin Curable biopolymer nanoparticle latex binder for mineral, natural organic, or synthetic fiber products and non-woven mats
US8567662B2 (en) 2011-07-15 2013-10-29 Thatbox Design, Llc Methods and apparatus relating to lock-top box
US9457929B2 (en) 2011-07-26 2016-10-04 Pratt Corrugated Holdings, Inc. Leakage-resistant packaging
EP2736816B1 (en) 2011-07-27 2017-10-18 Driessen Aircraft Interior Systems Inc. Self-sealing box for trash compactors
US20130101855A1 (en) 2011-10-20 2013-04-25 Frito-Lay North America, Inc. Barrier paper packaging and process for its production
US9834365B2 (en) 2011-10-24 2017-12-05 Eco-Pim Technologies Temperature stabilizing cargo compartment, including a freeze and heat barrier, for transport container constructed with thermal resistant materials
US8875885B2 (en) 2011-12-01 2014-11-04 Honey Cell, Inc. Package for shipping hazardous material bottles and method of forming same
CA2861664A1 (en) 2011-12-30 2013-07-04 Raymond Taccolini Biodegradable beverage carrier
NL2008240C2 (en) 2012-02-06 2013-08-08 Synbra Tech Bv METHOD FOR MANUFACTURING FOAM MOLDINGS
EP2870288A2 (en) 2012-07-03 2015-05-13 Huhtamäki Oyj A recyclable sheet material and a container thereof
NZ707368A (en) 2012-11-08 2018-06-29 Solenis Technologies Cayman Lp Composition and use of hydrogenated alkyl ketene dimers
US20140274633A1 (en) 2013-03-14 2014-09-18 Smart Planet Technologies, Inc. Composite structures for packaging articles and related methods
EP3747650B1 (en) 2013-03-14 2022-07-27 Smart Planet Technologies, Inc. Repulpable and recyclable composite packaging articles and related methods
USD710692S1 (en) 2013-03-15 2014-08-12 Medline Industries, Inc. Packaging blank
FR3003580B1 (en) 2013-03-20 2015-07-03 Ahlstroem Oy WET-NON-WOVEN COMPRISING CELLULOSE NANOFIBRILLES
US9574701B2 (en) 2013-04-05 2017-02-21 Mitsubishi Electric Corporation Vacuum heat insulator, heat retaining tank including same, heat retaining structure, and heat pump water heater
US20140312107A1 (en) 2013-04-22 2014-10-23 H.B. Fuller Company Handle for paper board article
US9217253B2 (en) 2013-06-25 2015-12-22 Chad A. Collison Floor underlayment having self-sealing vapor barrier
US8801899B1 (en) 2013-09-06 2014-08-12 International Paper Company Paperboards having improved bending stiffness and method for making same
US9199782B1 (en) 2013-09-25 2015-12-01 Larry Cliatt Portable cooler
EP3055350B1 (en) 2013-10-09 2021-04-14 Teknologian tutkimuskeskus VTT Oy Production of high performance thermoplastic composites
JP6082714B2 (en) 2014-01-22 2017-02-15 耕太郎 國信 Device for easy opening of box and easily openable box
KR101865869B1 (en) 2014-02-21 2018-06-08 크래프트 푸즈 그룹 브랜즈 엘엘씨 Convertible case with deployable ventilation panels for shipping and displaying food products
AU2015227248B2 (en) 2014-03-04 2018-03-22 Avery Dennison Corporation Tamper evident films
WO2015189984A1 (en) 2014-06-13 2015-12-17 楽天株式会社 Corrugated fiberboard box
US9850035B2 (en) 2014-06-18 2017-12-26 Gpcp Ip Holdings Llc Package with a multi-piece handle
TWI547377B (en) 2014-06-25 2016-09-01 Simulated wood with pores and fibers and its preparation method
GB2528289A (en) 2014-07-16 2016-01-20 Kraft Foods R&D Inc A die-cut lid and associated container and method
US9688454B2 (en) 2014-08-05 2017-06-27 Sonoco Development, Inc. Double bag vacuum insulation panel for steam chest molding
MX382315B (en) 2014-09-10 2025-03-13 Graphic Packaging Int Canada Ulc CARDBOARD BOXES AND CARDBOARD PIECES WITH FOLDS NEAR THE CORNERS, AND ASSOCIATED METHODS.
DE202014008814U1 (en) 2014-11-07 2016-02-11 Va-Q-Tec Ag transport container
KR101730461B1 (en) 2014-11-10 2017-04-28 김남섭 Heat and cold insulation function having packing box
BR112017013539A2 (en) 2014-12-22 2018-03-06 Basf Se anisotropic foam fiber reinforcement
GB2534912B (en) 2015-02-05 2021-05-26 Laminar Medica Ltd An insulation panel assembly
US9771688B2 (en) 2015-02-11 2017-09-26 Westrock Mwv, Llc Oil, grease, and moisture resistant paperboard
US20160264294A1 (en) 2015-03-12 2016-09-15 Aerick Bacon Pallet cap
US11845851B2 (en) 2015-04-21 2023-12-19 Johns Manville Formaldehyde free composites made with carbohydrate and alpha-carbon nucleophile binder compositions
US11841106B2 (en) 2015-04-21 2023-12-12 Johns Manville Formaldehyde free composites made with carbohydrate and alpha-carbon nucleophile binder compositions
US10093437B2 (en) 2015-05-20 2018-10-09 David Charles LODA High performance insulation packaging and disbursement system
US10400105B2 (en) 2015-06-19 2019-09-03 The Research Foundation For The State University Of New York Extruded starch-lignin foams
USD764903S1 (en) 2015-06-25 2016-08-30 Clear Lam Packaging, Inc. Package
US10144656B2 (en) * 2015-08-07 2018-12-04 Kimball & Sons, Inc. Water filtration and purification system and method using activated charcoal and barley straw
US10662301B2 (en) 2015-09-14 2020-05-26 Universitaet Hamburg Method for producing a lignocellulose plastic composite material
EP3144248A1 (en) 2015-09-21 2017-03-22 Dinkhauser Kartonagen Swiss AG Packaging
JP2017079632A (en) 2015-10-27 2017-05-18 荒城 慶作 Foam insulation bed for plant cultivation
WO2017078587A2 (en) 2015-11-06 2017-05-11 Ifoodbag Ab A grocery transport packaging system
US20180319569A1 (en) 2015-11-12 2018-11-08 Temperpak Technologies Inc. Insulated bag and sleeve for carrying groceries and other objects
US9938035B2 (en) 2015-11-25 2018-04-10 The C.W. Zumbiel Company Expandable beverage container carton adapted to receive ice therein
US10065779B2 (en) 2016-02-03 2018-09-04 Indevco Plastics, Inc. Food tray and process for making same
US20180002451A1 (en) 2016-02-10 2018-01-04 Sweetwater Energy, Inc. Starch Foams Using Specialized Lignin
EP3208299B1 (en) 2016-02-19 2018-04-11 STO SE & Co. KGaA Method for producing a noise and/or heat insulation element and noise and/or heat insulation element
GB2551115B (en) 2016-05-31 2021-02-10 Laminar Medica Ltd A thermally insulated container
US20170361973A1 (en) 2016-06-17 2017-12-21 Jesus A. Padilla Flexible Carton Liner
US9856069B1 (en) 2016-10-13 2018-01-02 Xiamen Kingqueen Industrial Co., Ltd. Thermal insulation bag
US20180148245A1 (en) 2016-11-30 2018-05-31 Google Inc. Four-piece nestable cooler
US20180178965A1 (en) 2016-12-22 2018-06-28 Arris Enterprises Llc Packaging
ES1175358Y (en) 2017-01-17 2017-04-21 The Grand Wines Premium S L U THERMAL CONTAINER FOR BOTTLES
RU2736350C1 (en) 2017-03-21 2020-11-16 Кооперати Авебе Ю.А. Gelatine-free aerated confectionary products, foam structuring compositions and methods for production thereof
PL3601673T3 (en) 2017-03-24 2022-03-28 Tetra Laval Holdings & Finance S.A. Method of manufacturing of a foam-formed cellulosic fibre-material, a bulk sheet and a laminated packaging material comprising the cellulosic fibre-material
US10392156B2 (en) 2017-04-10 2019-08-27 John McDonald Return shipping system
CA3065758C (en) 2017-05-09 2022-10-18 Cold Chain Technologies, Llc Shipping system for storing and/or transporting temperature-sensitive materials
ES2896175T3 (en) 2017-05-10 2022-02-24 Moelnlycke Health Care Ab Composite foam in wound treatment
CA2999492A1 (en) 2017-07-10 2019-01-10 Mid-Atlantic Packaging & Specialties, Inc. Display container having deformable removable panel
US10875979B2 (en) 2017-09-05 2020-12-29 Rochester Institute Of Technology Formation and properties of cellular foam fibrous material
US10435194B2 (en) 2017-09-08 2019-10-08 Pratt Corrugated Holdings, Inc. Reinforced collapsible box
US10920043B2 (en) 2017-09-19 2021-02-16 NewStarch Solutions, LLC Sheets of starch based packing material, starch pellets for sheet extrusion and methods for forming the pellets and sheets
CA3079269A1 (en) 2017-11-16 2019-05-23 The Procter & Gamble Company Finger tab
WO2019113453A1 (en) 2017-12-08 2019-06-13 Ranpak Corp. Insulated package and method
DE202018101998U1 (en) 2018-04-12 2019-07-17 Hans Kolb Wellpappe Gmbh & Co. Kg Climatebox
USD876951S1 (en) 2018-04-20 2020-03-03 Inno-Pak, Llc Food carton
WO2020011587A1 (en) 2018-07-10 2020-01-16 Cellutech Ab Porous material of cellulose fibres and gluten
MY207612A (en) 2018-07-24 2025-03-06 Vericool Inc Compostable or recyclable packaging wrap
US10975213B2 (en) 2018-08-13 2021-04-13 Erthos Inc. Composition and method of making biodegradable pellets
US11338985B2 (en) 2018-08-28 2022-05-24 Cellulose Material Solutions, LLC Repulpable container insulation products and methods of making and using same
US11214428B2 (en) 2018-11-05 2022-01-04 Brrr Box, Llc Cooler apparatus and method of making from folding single sheet of corrugated material
AU2018260911B2 (en) 2018-11-08 2024-08-08 Pratt Retail Specialties, Llc Insulated Bag
AU2018260914B2 (en) 2018-11-08 2024-08-22 Pratt Retail Specialties, Llc Insulated Bag with Handles
AU2018260915B2 (en) 2018-11-08 2024-11-28 Pratt Retail Specialties, Llc Insulated Box
AU2018260920B2 (en) 2018-11-08 2024-08-29 Pratt Retail Specialties, Llc Modular Box Assembly
AU2018260901B2 (en) 2018-11-08 2025-01-23 Pratt Retail Specialties, Llc Box Liner
USD881690S1 (en) 2018-12-31 2020-04-21 Graphic Packaging International, Llc Carton
USD944639S1 (en) 2019-02-28 2022-03-01 Persephone Biosciences, Inc. Collection container
US20200308359A1 (en) 2019-03-29 2020-10-01 The United States Of America, As Represented By The Secretary Of Agriculture Compositions and processes for renewable rigid foam
US11312563B2 (en) 2019-05-24 2022-04-26 Steven Howard Smith Insulation box liner and system with methods of production and use
CN110204794B (en) 2019-06-21 2021-05-07 赣州臻丰科技有限公司 Low-cost high-resilience biodegradable damping packaging material and preparation method thereof
DE202019003407U1 (en) 2019-08-19 2019-11-25 THlMM Verpackung GmbH + Co. KG Packaging for receiving and / or transporting temperature-sensitive products and cutting set therefor
US10981692B2 (en) 2019-09-12 2021-04-20 Pratt Corrugated Holdings, Inc. Dual use box
US11230404B2 (en) 2019-11-26 2022-01-25 Pratt Corrugated Holdings, Inc. Perforated collapsible box
USD934064S1 (en) 2020-02-07 2021-10-26 Kobert & Company, Inc. Container with perforated punch out dispenser
US11718464B2 (en) 2020-05-05 2023-08-08 Pratt Retail Specialties, Llc Hinged wrap insulated container
US11472596B2 (en) 2020-06-17 2022-10-18 Pratt Corrugated Holdings, Inc. One- and two-pack beverage box
USD968950S1 (en) 2020-08-10 2022-11-08 Pratt Corrugated Holdings, Inc. Perforated collapsible box
USD957936S1 (en) 2021-01-20 2022-07-19 MDT Micro Diamond Technologies, LTD Box
US12270153B2 (en) 2021-02-11 2025-04-08 Pratt Corrugated Holdings, Inc. Starch-cellulose composite material
US11820579B1 (en) 2022-11-22 2023-11-21 Gary W. Lantz Insulated packaging for use with dry ice

Patent Citations (397)

* Cited by examiner, † Cited by third party
Publication number Priority date Publication date Assignee Title
US2899103A (en) 1959-08-11 Bait container
US265985A (en) 1882-10-17 Charles b
US1527167A (en) 1922-10-07 1925-02-24 Fort Wayne Corrugated Paper Co Heat-insulated shipping container
GB217683A (en) 1923-04-05 1924-06-26 Diamond George Improvements in cardboard or the like boxes
GB235673A (en) 1924-04-03 1925-06-25 Thompson And Norris Mfg Co Ltd Improvements in or relating to corrugated fibre board boxes
US1677565A (en) 1924-09-10 1928-07-17 Ferdinand S Oppenheim Container
US1682410A (en) 1925-08-01 1928-08-28 Ferdinand S Oppenheim Container
US1747980A (en) 1925-12-28 1930-02-18 Henry E Kondolf Folded paper package
US1753813A (en) 1926-10-25 1930-04-08 Montgomery Washburn Company Heat-insulating jacket
US1896393A (en) 1929-01-17 1933-02-07 Dev Insular Company Lunch box
US1868996A (en) 1930-04-14 1932-07-26 Sharp Paul Francis Method of egg preservation
US1942917A (en) 1931-07-25 1934-01-09 Jiffy Pad And Excelsior Inc Heat-insulated paper bag and method of making the same
US1935923A (en) 1931-08-08 1933-11-21 Rudolph G Thoke Container
US1937263A (en) 1931-08-17 1933-11-28 Home Food Company Inc Insulated container
US1899892A (en) 1931-08-27 1933-02-28 Jiffy Pad & Excelsior Inc Heat-insulated paper bag and method of making the same
US1930680A (en) 1931-09-18 1933-10-17 Menasha Wooden Ware Corp Container
US1954013A (en) 1931-11-14 1934-04-10 Lilienfield Bros & Company Cigar container
US2070747A (en) 1933-02-02 1937-02-16 Gerh Arehns Mek Verkst Ab Receptacle
US2018519A (en) 1934-06-02 1935-10-22 Harper M Hall Package or container for candy and similar merchandise
US2148454A (en) 1935-06-19 1939-02-28 Jiffy Mfg Company Container
US2116513A (en) 1936-02-13 1938-05-10 William P Frankenstein Collapsible carton
US2165327A (en) 1936-04-20 1939-07-11 Zalkind Philip Set-up insulation box
GB528289A (en) 1939-05-03 1940-10-25 Eburite Corrugated Containers Improvements relating to boxes or containers principally for transporting chicks
US2289060A (en) 1940-03-12 1942-07-07 Merkle Corp Method of and apparatus for utilizing dry ice
US2293361A (en) 1940-04-23 1942-08-18 Californis Container Corp Container
US2386905A (en) 1942-12-26 1945-10-16 Curt J Meltzen Carton and carton blank
US2389601A (en) 1943-08-06 1945-11-27 Shoe Form Co Inc Receptacle and method of making it
US2360806A (en) 1944-02-02 1944-10-17 Makowsky Corp J Carton
US2554004A (en) 1944-05-18 1951-05-22 Bergstein Samuel Mechanism and method for making boxes with attached handles and the like
US2632311A (en) 1947-07-25 1953-03-24 Frozen Food Foundation Inc Insulated container for delivery of frozen foods
US2650016A (en) 1949-03-31 1953-08-25 Cohoes Envelope Company Inc Parcel bag
GB713640A (en) 1950-04-14 1954-08-18 Alois Vonarburg Improvements in or relating to insulating boxes particularly for keeping ice cream cool
US2753102A (en) 1951-12-05 1956-07-03 Richard E Paige Cardboard container and carrier
US3096879A (en) 1957-12-12 1963-07-09 Stanley P Schumacher Packaging material and package
US3029008A (en) 1958-05-29 1962-04-10 Membrino Herman Composite container for shipping and packaging
US2927720A (en) 1958-11-28 1960-03-08 Robert K Adams Portable insulated container
FR1241878A (en) 1959-08-14 1960-09-23 Crate for transporting chicks or similar animals
US2987239A (en) 1959-11-18 1961-06-06 Hudson Pulp & Paper Corp Bag handle and the like
US3031121A (en) 1960-11-01 1962-04-24 Chase Herbert Insulated carrier
US3193176A (en) 1961-03-17 1965-07-06 Weyerhaeuser Co Collapsible reusable carton
US3065895A (en) 1961-04-25 1962-11-27 Chemical Sales Inc Multiple unit container
US3097782A (en) 1961-05-22 1963-07-16 Koropatkin Stephen Convertible and disposable picnic basket and table top device
US3222843A (en) 1961-11-20 1965-12-14 Pyles Ind Inc Foam packaging method and construction
US3282411A (en) 1963-03-01 1966-11-01 W N Jardine Co Flexible plastic container
US3182913A (en) 1963-03-04 1965-05-11 Crown Zellerbach Corp Carton
US3371462A (en) 1963-12-10 1968-03-05 Nordkvist Allan Method of packing a number of containers in one unit
US3236206A (en) 1964-01-03 1966-02-22 Aquariums Inc Package for shipping tropical fish
US3335941A (en) 1964-04-20 1967-08-15 Coloroll Ltd Carrier bags and handles for use therewith
DE1897846U (en) 1964-05-08 1964-07-30 Schroeder & Wagner INSULATED BAG IN THE FORM OF A BLOCK BOTTOM OR CROSS BOTTOM BAG.
US3286825A (en) 1964-09-28 1966-11-22 Robert F Laas Article of manufacture and the method of packaging
US3435736A (en) 1965-10-11 1969-04-01 Erwin W P Reiche Method of making a square bottom bag
US3375934A (en) 1965-10-13 1968-04-02 Smith Kline French Lab Disposable test tube rack
US3420363A (en) 1966-04-13 1969-01-07 Us Plywood Champ Papers Inc Foams demonstrating thermal memory and products made therefrom
US3551945A (en) 1966-10-18 1971-01-05 Papierfabrik Gmbh Apparatus for producing hot and cold insulating sheet
GB1204058A (en) 1967-11-03 1970-09-03 Danpak Mejeribrugets Emballage Packing of cardboard for products in bulk
US3503550A (en) 1968-03-08 1970-03-31 Container Corp Multipiece paperboard container
GB1305212A (en) 1969-02-04 1973-01-31
US3670948A (en) 1969-09-24 1972-06-20 Peter Berg & Co Inc Collapsible carton
US3734336A (en) 1970-05-19 1973-05-22 J Sloane Thermally insulated portable chest
US3747743A (en) 1971-04-07 1973-07-24 Certain Teed St Gobain Insulation package
US3703383A (en) 1971-05-17 1972-11-21 American Can Co Food product package
US3749299A (en) 1971-10-26 1973-07-31 Hoerner Waldorf Corp Compartmented containers
GB1372054A (en) 1971-12-15 1974-10-30 Drg Packaging Ltd Tray box or package
US3836044A (en) 1972-07-28 1974-09-17 Rapid American Corp Bulk package incorporating movable dispenser insert for individual dispensing of substantially wet sheets from stack
US3887743A (en) 1972-11-09 1975-06-03 Mead Corp Unitary plastic laminate
US3843038A (en) 1973-07-23 1974-10-22 Redi Container Corp Corner protector construction
US3890762A (en) 1973-08-20 1975-06-24 Day Star Corp Produce shipping container and packing method
US3880341A (en) 1974-05-28 1975-04-29 Olinkraft Inc Bulk material container
US3980005A (en) 1974-11-20 1976-09-14 Buonaiuto Robert B Synthetic plastic foam carton liners
US4050264A (en) 1975-08-04 1977-09-27 Makoto Takugyo Kabushikikaisha Refrigerating container
US4068779A (en) 1975-12-01 1978-01-17 Canfield Michael P Foamed plastic cooler and handle combination
US4169540A (en) 1976-04-28 1979-10-02 Aktiebolaget Platmanufaktur Packaging container
US4030227A (en) 1976-05-28 1977-06-21 Oftedahl Everett J Bait bucket
US4091852A (en) 1977-04-11 1978-05-30 Jordan Charles P Inflatable box
US4211267A (en) 1977-09-23 1980-07-08 Skovgaard Leif O Thermal insulating and cushioned bag, especially a carrying bag
US4335844A (en) 1978-01-02 1982-06-22 Platmanufaktur Ab Container with lid
US4213310A (en) 1979-04-03 1980-07-22 Igloo Corporation Thermal container with quick-release lid-mounted flask
US4342416A (en) 1981-01-15 1982-08-03 Container Corporation Of America Two-piece reclosable container
US4380314A (en) 1981-06-04 1983-04-19 Federal Paper Board Co., Inc. Box type carton with hinged lid and one piece reinforced insert
US4682708A (en) 1981-10-15 1987-07-28 Leggett & Platt, Incorporated Insulated shipping container
US4418864A (en) 1981-12-21 1983-12-06 Visymonde Investment Pte Ltd. Carton with handle
US4396144A (en) 1982-04-22 1983-08-02 Container Corporation Of America Telescoped container
US4509645A (en) 1982-09-22 1985-04-09 Shimano Industrial Company Limited Portable constant temperature box
EP0133539A2 (en) 1983-08-01 1985-02-27 Stangl & Vogt GmbH & Co. KG Storage and/or transport container for sensitive goods
US4488623A (en) 1983-10-06 1984-12-18 Linnell Ii William S Canoe travel box
US4989780A (en) 1984-08-06 1991-02-05 Owens-Illinois Plastic Products Inc. Blank for sealed carton with integral reclosable pour-out spout
US4679242A (en) 1984-10-17 1987-07-07 Brockhaus Peter B Convertible cooler and cushion
US4828133A (en) 1984-11-07 1989-05-09 American Greetings Corporation Display carton with adjustable divider
WO1988007476A1 (en) 1987-03-23 1988-10-06 Patrick Carr A cuboid packing box
US4819793A (en) 1987-10-13 1989-04-11 Charles, Fong And Associates Beverage carrier
JPH01254557A (en) 1988-03-31 1989-10-11 Sugitani Shoji:Kk Commodity carrying bag
US5613610A (en) 1988-05-04 1997-03-25 Bradford Company Naturally degradable and recyclable static-dissipative packaging material
US5102004A (en) 1988-06-08 1992-04-07 Transtech Service Network, Inc. Method and apparatus for packaging refrigerated goods
US4830282A (en) 1988-06-13 1989-05-16 Container Corporation Of America Container top closure arrangement
US4930903A (en) 1988-08-15 1990-06-05 William-Maher, Inc. Gift wrapping package
US5094547A (en) 1988-08-25 1992-03-10 Graham Mark S Integrated container for meat products
US4889252A (en) 1988-11-18 1989-12-26 Allpak Container, Inc. Insulated container
US5020481A (en) 1989-02-13 1991-06-04 Nelson Thomas E Thermal insulation jacket
US5358757A (en) 1990-01-03 1994-10-25 National Gypsum Company Wallboard bundling tape and method
US5016813A (en) 1990-03-01 1991-05-21 Simons Einar L E Fold-up container and construction method
US5165583A (en) 1990-03-15 1992-11-24 Kouwenberg Robert J C Invertable thermally insulating carriers
US5062527A (en) 1990-05-21 1991-11-05 Westerman Frank E Foldable, leakproof multi-mode carton construction
US5158371A (en) 1990-05-29 1992-10-27 Moravek Lawrence R Self-supporting polymer bag and method of manufacture
CA2019104A1 (en) 1990-06-15 1991-12-15 Avi-Pac Inc. Cardboard box for garbage compactor
US5154309A (en) 1991-01-07 1992-10-13 Rock-Tenn Company Insulating blanket for shipping container having scored mineral wool
EP0537058A1 (en) 1991-10-08 1993-04-14 PASCAL, Christian Package for transportation, especially of infectious substances
US5185904A (en) 1991-11-27 1993-02-16 Teewee, Inc. Plastic carrying handles
US5263339A (en) 1992-07-31 1993-11-23 Scott Evans Portable cooler
US5372429A (en) 1992-10-13 1994-12-13 Dow Corning Corporation Sealable and reusable pouch
US5454471A (en) 1993-03-24 1995-10-03 W. L. Gore & Associates, Inc. Insulative food container employing breathable polymer laminate
FR2705317A1 (en) 1993-05-19 1994-11-25 Dadourian Henri Composite box with padded walls for the packaging of fragile objects and/or of dangerous substances
US5573119A (en) 1993-07-15 1996-11-12 Luray; Howard L. Shock absorbing shipping package
US5418031A (en) 1993-11-22 1995-05-23 The United States Of America As Represented By The Secretary Of Agriculture Combination cellulosic/thermoplastic batt insulation and a method of production for such insulation
US6041958A (en) 1994-01-12 2000-03-28 Enthalpy S.A. Insulating foldable box for transportation and packaging purposes
US5417342A (en) 1994-02-04 1995-05-23 Miriam M. Benson Packaging for fragile articles
US5596880A (en) 1994-02-14 1997-01-28 Decision Point Marketing Chilled beverage display container
US5441170A (en) 1994-02-16 1995-08-15 Bane, Iii; William W. Shipping container with multiple insulated compartments
US5493874A (en) 1994-03-10 1996-02-27 Landgrebe; Mark A. Compartmented heating and cooling chest
US5512345A (en) 1994-03-28 1996-04-30 Kabushiki Kaisha Toshiba Vacuum insulator casing and method of making vacuum insulator panel
US5511667A (en) 1994-04-18 1996-04-30 Hexacomb Corporation Honeycomb corner protector
US5562228A (en) 1994-06-06 1996-10-08 Ericson; John C. Collapsible cooler apparatus
US6164526A (en) 1994-10-13 2000-12-26 Jodi A. Dalvey Paper-based cooler
US5499473A (en) 1994-11-16 1996-03-19 Ramberg; Clifford F. Divided bait container
US5505810A (en) 1994-12-06 1996-04-09 Whirlpool Corporation Getter system for vacuum insulation panel
US5615795A (en) 1995-01-03 1997-04-01 Tipps; Steven V. Hazardous materials container
US5491186A (en) 1995-01-18 1996-02-13 Kean; James H. Bonded insulating batt
US5516580A (en) 1995-04-05 1996-05-14 Groupe Laperriere Et Verreault Inc. Cellulosic fiber insulation material
US5996366A (en) 1995-07-05 1999-12-07 Renard; Andre Refrigerated cabinet for displaying food or the like
US5638978A (en) 1996-01-19 1997-06-17 Sambrailo Paper Company Shipping container
WO1997026192A1 (en) 1996-01-19 1997-07-24 Chas Sambrailo Paper Company Shipping container
US5906290A (en) 1996-01-29 1999-05-25 Haberkorn; Robert W. Insulated container
US6223551B1 (en) 1996-01-29 2001-05-01 Instar Pty. Ltd. Portable flexible container for keeping articles cold
US5775576A (en) 1996-07-19 1998-07-07 Tenneco Packaging Flip-top reclosable carton with reduced-weight liner
US7140773B2 (en) 1996-07-30 2006-11-28 Frontier Paper & Packaging, Inc. Method and apparatus for packaging perishable goods
US5842571A (en) 1997-05-27 1998-12-01 Rubbermaid Incorporated Compartmentalized soft-sided container
WO1999032374A1 (en) 1997-12-19 1999-07-01 Federal Express Corporation Insulated shipping container
US6308850B1 (en) 1998-06-19 2001-10-30 Visy R & D Pty Ltd. Liner for container
US6295860B1 (en) 1998-07-08 2001-10-02 Hitachi, Ltd. Explosive detection system and sample collecting device
US6244458B1 (en) 1998-07-09 2001-06-12 Thermo Solutions, Inc. Thermally insulated container
US6050412A (en) 1998-08-13 2000-04-18 The Sunblush Technologies Corporation Method and apparatus for packaging and shipping horticultural products including cut flowers
US6138902A (en) 1998-08-14 2000-10-31 Weekend 2000, Inc. Insulated foldable receptacle for containers
US6168040B1 (en) 1998-09-05 2001-01-02 Isovac Gmbh Double-wall insulated container
US6003719A (en) 1998-10-09 1999-12-21 Stewart, Iii; John R. Cooling container that includes a radiant heat barrier
US20010010312A1 (en) 1998-11-25 2001-08-02 California Innovations Inc. Insulated container and liner
US6821019B2 (en) 1998-11-25 2004-11-23 California Innovations Inc. Divided insulated container
US6238091B1 (en) 1998-11-25 2001-05-29 California Innovations Inc. Insulated container and liner
US6247328B1 (en) 1998-11-25 2001-06-19 California Innovations Inc. Divided insulated container
US6582124B2 (en) 1998-11-25 2003-06-24 California Innovations Inc. Insulated container and liner
US6453682B1 (en) 1998-12-28 2002-09-24 Cold-Sell Systems, L.L.C. Point-of-sale chilled product housing
US6220473B1 (en) 1999-07-14 2001-04-24 Thermo Solutions, Inc. Collapsible vacuum panel container
US6478268B1 (en) 1999-12-17 2002-11-12 Paul Flum Ideas, Inc. Display stand for merchandising chilled products and the like
US20020020188A1 (en) 2000-01-04 2002-02-21 Igal Sharon Temperature controlling apparatus and method
WO2001070592A1 (en) 2000-03-17 2001-09-27 Sealed Air Corporation (Us) Packaging cushion and packaging assemblies incorporating same
US6325281B1 (en) 2000-03-30 2001-12-04 Polyfoam Packers Corporation Thermally insulating shipping system
US6443309B1 (en) 2000-05-15 2002-09-03 Victory Packaging, Inc. Apparatus for packaging goods
US20030145561A1 (en) 2000-05-24 2003-08-07 Cals Hubertus Y.M. Packing product and apparatus and method for manufacturing same
US7452316B2 (en) 2000-05-24 2008-11-18 Ranpak Corp. Packing product and apparatus and method for manufacturing same
US6771183B2 (en) 2000-07-03 2004-08-03 Kodiak Technologies, Inc. Advanced thermal container
US6725783B2 (en) 2000-11-10 2004-04-27 Fuji Photo Film Co., Ltd. Pallet for stacking planographic printing plates thereon
US6618868B2 (en) 2001-02-12 2003-09-16 Jeff F. Minnick Lightweight insulated spa cover and method therefor
FR2820718A1 (en) 2001-02-15 2002-08-16 Smurfit Socar Sa Carton comprises conventional box, forming base, and lid with flaps attached to its end walls, double-sided adhesive tape applied to these serving both to hold lid together and to fix it on to base
US6295830B1 (en) 2001-02-28 2001-10-02 The Boc Group, Inc. Portable container for refrigerated or frozen goods
FR2821786A1 (en) 2001-03-07 2002-09-13 Enthalpy Sa Isothermal packaging and its manufacturing method comprises insulating panels cut so that their edge surfaces are inclined and fixed together in pairs to form monobloc assembly
US6971539B1 (en) 2001-04-27 2005-12-06 Saber-Com, Inc. Apparatus for storing food
US20020162767A1 (en) 2001-05-02 2002-11-07 Aru Corporation Compression storage bag
US6726017B2 (en) 2001-10-17 2004-04-27 International Business Machines Corporation Packaging system for a component including a compressive and shock-absorbent packing insert
US20040031842A1 (en) 2001-11-16 2004-02-19 Stephen D. Carver Foldable portable cooler with enhanced over-center locking handle
US6736309B1 (en) 2001-11-16 2004-05-18 Wes-Pak, Inc. Quick erecting foldable portable cooler
US6837420B2 (en) 2001-11-16 2005-01-04 Wes Pak, Inc. Foldable portable cooler with enhanced over-center locking handle
US6868982B2 (en) 2001-12-05 2005-03-22 Cold Chain Technologies, Inc. Insulated shipping container and method of making the same
US7019271B2 (en) 2002-02-08 2006-03-28 Graphic Packaging International, Inc. Insulating microwave interactive packaging
US20050214512A1 (en) 2002-03-19 2005-09-29 Carlo Fascio Corrugated packaging and insulation material
US6510705B1 (en) 2002-04-10 2003-01-28 Steven Ray Jackson Wild game head and cape cooler
US6910582B2 (en) 2002-05-22 2005-06-28 Gary W. Lantz Shock absorbing insulated shipping container especially for breakable glass bottles
US20040004111A1 (en) 2002-07-08 2004-01-08 Cardinale Salvatore J. Insulated water-tight container
US20040079794A1 (en) 2002-10-23 2004-04-29 Mayer William N. Container having passive controlled temperature interior
US7000962B2 (en) 2002-10-26 2006-02-21 Andrew Dung The Le Stick-on handle for boxes and containers
US6875486B2 (en) 2003-02-03 2005-04-05 Drayton Miller Package system and method
GB2400096A (en) 2003-03-31 2004-10-06 Ds Smith Cool box of folded material
US6688133B1 (en) 2003-04-07 2004-02-10 Edward Donefrio Cooling container including a built in drain
US20070193298A1 (en) 2003-07-07 2007-08-23 Rodney Derifield Insulated Shipping Container
US7225632B2 (en) 2003-07-07 2007-06-05 Rodney Derifield Insulated shipping containers
US6899229B2 (en) 2003-07-18 2005-05-31 Sealed Air Corporation (Us) Packaging container with integrated sheet for retention of packaged article
US20070209307A1 (en) 2003-10-30 2007-09-13 Carsten Andersen Cellulose Fibre Based Insulation Material
JP2005139582A (en) 2003-11-07 2005-06-02 Toppan Printing Co Ltd Pulp molded body and method for producing the same
US20050109655A1 (en) 2003-11-21 2005-05-26 Vershum Raymond G. Packaging apparatus and method
US20050189404A1 (en) 2003-11-26 2005-09-01 Mao Xiaohai Insulated panels and shipping container incorporating said panels
US7094192B2 (en) 2003-12-30 2006-08-22 Drayton Miller Knockdown corrugated box for temperature control and method of making
US7229677B2 (en) 2003-12-30 2007-06-12 Drayton Miller Knockdown corrugated box for temperature control and method of making
US7784301B2 (en) 2004-01-30 2010-08-31 Panasonic Corporation Foldable heat insulating container and distribution method
JP2005247329A (en) 2004-03-01 2005-09-15 Ulvac Japan Ltd Frying oil delivery/recovery box
US7807773B2 (en) 2004-03-04 2010-10-05 Unitika Ltd. Biodegradable polyester resin composition, preparation method therefor, and foamed article and molded article produced therefrom
US7264147B1 (en) 2004-03-09 2007-09-04 Miriam M. Benson Shock resistant box
US20080203090A1 (en) 2004-03-18 2008-08-28 Eggs Overnight, Inc. Shipping container, system and packing method, along with reusable packing accessory for use therewith
US20050224501A1 (en) 2004-04-09 2005-10-13 Rod Folkert Thermal storage container
US8960528B2 (en) 2004-04-22 2015-02-24 Dixie Consumer Products Llc Insulating cup wrapper and insulated container formed with wrapper
US20050279963A1 (en) 2004-05-20 2005-12-22 Guardian Fiberglass, Inc. Insulation with mixture of fiberglass and cellulose
US20060053828A1 (en) 2004-09-15 2006-03-16 Shallman Richard W Low temperature cooler
US7909806B2 (en) 2004-09-23 2011-03-22 Anthrogenesis Corporation Cord blood and placenta collection kit
US20060078720A1 (en) 2004-10-12 2006-04-13 Toas Murray A Fibrous insulation with fungicide
US20090288791A1 (en) 2004-10-20 2009-11-26 Klaus-Dieter Hammer Nonwoven having improved wet fastness and alkali resistance and cellulose hydrate-based food casing from said nonwoven
US20080308616A1 (en) 2004-11-01 2008-12-18 Rapid Action Packaging Limited Packs for Holding Food Items
US20060096978A1 (en) 2004-11-10 2006-05-11 Graphic Packaging International, Inc Insulated packages for microwaveable foods
US7392931B2 (en) 2004-11-12 2008-07-01 Columbia Insurance Company Shoe box
US7597209B2 (en) 2005-01-28 2009-10-06 International Holdings, Llc Multipurpose storage device and method
USD582676S1 (en) 2005-01-28 2008-12-16 International Holdings Llc Convertible storage bin with lid
US7845508B2 (en) 2005-01-28 2010-12-07 Rothschild Wayne H Multipurpose storage device and method
US20090114311A1 (en) 2005-02-01 2009-05-07 Menasha Corporation Cartridge and method for filling a bulk container with a flowable substance
US20060193541A1 (en) 2005-02-28 2006-08-31 Norcom John D Container including removable integral upper portion
US7225970B2 (en) 2005-03-30 2007-06-05 Weyerhaeuser Company Self-locking container and container blank
US8613202B2 (en) 2005-04-14 2013-12-24 Alton Williams Insulated shipping container systems and methods thereof
US7681405B2 (en) 2005-04-14 2010-03-23 Alton Williams Insulated shipping container systems and methods thereof
US20120248101A1 (en) 2005-04-14 2012-10-04 Tumber James William Howard Insulated shipping container systems, kits and methods
US20100072105A1 (en) 2005-05-02 2010-03-25 Fisher Scientific Company L.L.C. Corrugated container
US20090034883A1 (en) 2005-06-01 2009-02-05 Nicola Giuliani Thermal bag for foods and the like
US9834366B2 (en) 2005-06-01 2017-12-05 IM-BALL-CENTER S.r.L. Thermal bag for foods and the like
US20100151164A1 (en) 2005-06-28 2010-06-17 International Paper Company Moisture resistant container
US7870992B2 (en) 2005-06-29 2011-01-18 International Paper Co. Container with freestanding insulating encapsulated cellulose-based substrate
US20070000983A1 (en) 2005-06-29 2007-01-04 Spurrell Robert M Container with freestanding insulating encapsulated cellulose-based substrate
US20070000932A1 (en) 2005-06-30 2007-01-04 Cron Frank F Apparatus for enhancing temperature stabilization of a cooler
US20090193765A1 (en) 2005-09-07 2009-08-06 Gary Lantz Variable-volume insulated shipping container
US20070051782A1 (en) 2005-09-07 2007-03-08 Gary Lantz Variable-volume insulated shipping container
US7677406B2 (en) 2006-02-16 2010-03-16 Maxson Floyd S Insulating container
US20070257040A1 (en) 2006-04-20 2007-11-08 Price Franklin R Jr Packaging for perishable goods
US20090214142A1 (en) 2006-05-12 2009-08-27 Daniel Bossel Packing bag
US7607563B2 (en) 2006-08-28 2009-10-27 Arvco Container Corporation Pizza container
US8118177B2 (en) 2006-10-04 2012-02-21 Sellars Absorbent Materials, Inc. Non-woven webs and methods of manufacturing the same
US20080095959A1 (en) 2006-10-20 2008-04-24 The Republic Of Tea Infusion package
US8795470B2 (en) 2006-12-05 2014-08-05 Mark J. Henderson System and method for producing bonded fiber/cellulose products
US20080135564A1 (en) 2006-12-12 2008-06-12 Benjamin Romero Container for shipping products, which controls temperature of products
US20100139878A1 (en) 2007-01-05 2010-06-10 Lecce Pen Company Spa Method for Manufacturing Reduced-Weight Paper, Thin Cardboard and Cardboard, and Compounds Obtained Therewith
US7841512B2 (en) 2007-01-19 2010-11-30 Wes Pak, Inc. Folded corrugated container with reinforced quick-locking handles
US20080173703A1 (en) 2007-01-19 2008-07-24 Westerman Frank E Folded corrugated container with reinforced quick-locking handles
US20080190940A1 (en) 2007-02-13 2008-08-14 Peter Henry Scott Insulated container
US9950830B2 (en) 2007-04-23 2018-04-24 Coldkeepers, Llc Insulated liners and containers
US20160060017A1 (en) 2007-04-23 2016-03-03 Coldkeepers, Llc Insulated shipping bags
US20120243808A1 (en) 2007-04-23 2012-09-27 Coldkeepers, Llc Insulated liners and containers
US9290313B2 (en) 2007-04-23 2016-03-22 Coldkeepers, Llc Insulated shipping bags
US20080289302A1 (en) * 2007-05-22 2008-11-27 Brian Vulpitta Packaging compression wrap
US20080296356A1 (en) 2007-05-30 2008-12-04 John August Hatcher Insulated food crate
US20080314794A1 (en) 2007-06-21 2008-12-25 The Lindy Bowman Company Product Display Carton
US20100001056A1 (en) 2007-12-13 2010-01-07 Kitaru Innovations Inc. Method and apparatus for making, shipping and erecting boxes
US9738420B2 (en) 2008-05-14 2017-08-22 Drayton Granville MILLER “Green” temperature-controlled mailer
US20110114513A1 (en) 2008-05-14 2011-05-19 Miller Drayton Granville "green" temperature-controlled mailer
US20090283578A1 (en) 2008-05-14 2009-11-19 Drayton Miller "green" temperature- controlled mailer
US20120145568A1 (en) 2008-05-14 2012-06-14 Collison Chad A Insulative packaging system
US20100006630A1 (en) 2008-07-10 2010-01-14 Humphries Gary W Thermal container
US20100062921A1 (en) 2008-09-11 2010-03-11 Simple Container Solutions, Inc. Expandable insulated packaging
US9701437B2 (en) 2009-01-26 2017-07-11 Indevco Plastics, Inc. Repulpable corrugated box with styrene-acrylic copolymer and hydrogenated triglyceride coating
US20130112694A1 (en) 2009-04-13 2013-05-09 Kevin William Bentley Cellulose Based Recyclable Container
US8365943B2 (en) 2009-04-13 2013-02-05 Recycool, Inc. Cellulose based recyclable container
US20100258574A1 (en) 2009-04-13 2010-10-14 Kevin William Bentley Cellulose based recyclable container
US20100284634A1 (en) 2009-05-11 2010-11-11 Bob Hadley Container insert apparatus and method
US8465404B2 (en) 2009-05-11 2013-06-18 Cutting Edge Converted Products, Inc. Container insert apparatus and method
US20100282827A1 (en) 2009-05-11 2010-11-11 Padovani Mario Cardboard tank packaging
US20100314397A1 (en) * 2009-05-13 2010-12-16 Preston Noel Williams Thermal Containment System Providing Temperature Maintaining Shipping Package with Segmented Flexible PCM Panels
US20100314437A1 (en) 2009-06-10 2010-12-16 Fred Dowd High Vertical Load Box
US8919082B1 (en) 2009-06-15 2014-12-30 Iowa E. P. S. Products, Inc. Collapsible foam shipping cooler for perishables and method of making
US7971720B2 (en) 2009-06-24 2011-07-05 The Clorox Company Vertically stacking litter bag with handle
US20110042449A1 (en) 2009-08-19 2011-02-24 Copenhaver Scott E Recyclable thermally insulated container
US20110100868A1 (en) 2009-10-29 2011-05-05 Gary Lantz "Green" insulated shipping container, and method of making
US20120251818A1 (en) 2009-12-21 2012-10-04 Stora Enso Oyj Paper or paperboard substrate, a process for production of the substrate and a package formed of the substrate
US20110235950A1 (en) 2010-03-29 2011-09-29 Chien-Pang Lin Foldable Bag
US20110284556A1 (en) 2010-05-19 2011-11-24 Plymouth Foam, Inc. Insulated Shipping Container
US20110311758A1 (en) 2010-05-24 2011-12-22 Jim Burns Fiber-based carpet cushion with added resilience from vertically oriented fiber construction
US20110317944A1 (en) 2010-06-29 2011-12-29 Liu Chun-Chi Backing plate for storage bags as well as storage bag and storage box with the same
US8579183B2 (en) 2010-08-05 2013-11-12 Call2Recycle, Inc. Lid assembly for shipping container
US20120031957A1 (en) 2010-08-09 2012-02-09 PackagingPrice.com, Inc. Vacuum insulation panel
US20120074823A1 (en) 2010-09-23 2012-03-29 Lara Bezich Hybrid modular furniture and storage container unit
US8651593B2 (en) 2010-09-23 2014-02-18 Lara Bezich Hybrid modular furniture and storage container unit
US9635916B2 (en) 2010-09-23 2017-05-02 Muvo, Llc Hybrid modular furniture and storage container unit
JP2012126440A (en) 2010-12-17 2012-07-05 Fuji Shiko Kk Carrier bag
US20150175338A1 (en) 2011-03-11 2015-06-25 The Coleman Company Rigid collapsible liner for insulated container
US8343024B1 (en) 2011-03-14 2013-01-01 Thatbox Design, Llc Apparatus and methods relating to corrugated materials, containers, and packaging
DE102011016500A1 (en) 2011-04-09 2012-10-11 Jan Edgar Juraschek Thermal insulated bag for transporting or storing e.g. food products, has thermally insulated filling unit made of paper-containing material or cellulose-containing material and consists of spacer between inner and outer enclosures and air
US8763811B2 (en) 2011-05-05 2014-07-01 Gary Lantz Insulated shipping container, and method of making
US20120279896A1 (en) 2011-05-05 2012-11-08 Gary Lantz Insulated shipping container, and method of making
EP2990196A1 (en) 2011-07-20 2016-03-02 Walki Group Oy Coated paper or cardboard
US8763886B2 (en) 2011-11-09 2014-07-01 Alpine Thermal Technologies, Inc. Insulating shipping system
US20130112695A1 (en) 2011-11-09 2013-05-09 Alpine Thermal Technologies, Inc. Insulating Shipping System
US10094126B2 (en) 2011-11-23 2018-10-09 Mp Global Products, L.L.C. System for forming floor underlayment
US20130140317A1 (en) 2011-12-05 2013-06-06 Dgp Intelsius Ltd. Combination insulation system
US8596520B2 (en) 2012-04-16 2013-12-03 International Paper Co. Waterproof and anti-wicking corrugated container
US9429350B2 (en) 2012-05-03 2016-08-30 Efp Llc Shipping box system with multiple insulation layers
US20140000306A1 (en) 2012-05-03 2014-01-02 Learmond A. Chapman, Jr. Box system
US20140021208A1 (en) 2012-07-18 2014-01-23 Alex N. Anti High-performance extended target temperature containers
US9908680B2 (en) 2012-09-28 2018-03-06 Kimberly-Clark Worldwide, Inc. Tree-free fiber compositions and uses in containerboard packaging
US20140093697A1 (en) 2012-10-01 2014-04-03 Sellars Absorbent Materials, Inc. Hydrophobic industrial absorbent with dual-layer, slip-resistant scrim
US20150239639A1 (en) 2012-10-31 2015-08-27 Hewlett-Packard Development Company, L.P. Thermal stabilization shipping system and method
US20150345853A1 (en) 2013-01-16 2015-12-03 Bellivo, Société Anonyme Lid for insulated box and method for storing products
US20140248003A1 (en) 2013-03-01 2014-09-04 Melvin S. Mogil Soft-sided insulated container with inflatable wall structure
US9408445B2 (en) 2013-03-01 2016-08-09 California Innovations Inc. Soft-sided insulated container with inflatable wall structure
US20160015039A1 (en) 2013-03-14 2016-01-21 Georgia State University Research Foundation, Inc. Preventing or delaying chill injury response in plants
WO2014147425A2 (en) 2013-03-22 2014-09-25 Peli Cool Logistics Limited Packaging
US9605382B2 (en) 2013-03-26 2017-03-28 Kemira Oyj Process for production of paper or board
US20170225870A1 (en) 2013-04-30 2017-08-10 Chad A. Collison Insulated shipping system
US9908684B2 (en) 2013-04-30 2018-03-06 Chad A. Collison Insulated shipping system
US9611067B2 (en) 2013-04-30 2017-04-04 Chad A. Collison Insulative bottle shipping system
US20190248573A1 (en) 2013-04-30 2019-08-15 Mp Global Products, L.L.C. Insulated Shipping System Including One-Piece Insulative Insert With Strengthening Inner Layer
US20140319018A1 (en) * 2013-04-30 2014-10-30 Chad A. Collison Insulative bottle shipping system
US9272475B2 (en) 2013-06-03 2016-03-01 Sonoco Development, Inc. Thermally insulated VIP sandwich shipper and method of making same
US20140367393A1 (en) 2013-06-17 2014-12-18 Sonoco Development, Inc. Thermally insulated polyurethane shipper and method of making same
GB2516490A (en) 2013-07-24 2015-01-28 Dgp Intelsius Ltd Insulated container
US20150110423A1 (en) 2013-10-17 2015-04-23 Kenneth Fox Supply Company Produce Container
US20150166244A1 (en) 2013-12-13 2015-06-18 Peli BioThermal Limited Thermally insulated package
US9322136B2 (en) 2013-12-19 2016-04-26 The Procter & Gamble Company Sanitary tissue products
US20150259126A1 (en) 2014-01-10 2015-09-17 James MCGOFF Insulated apparatus for shipping and storage and process for fabricating thereof
FR3016352A1 (en) 2014-01-14 2015-07-17 Isoprod France ISOTHERMAL PACKAGING
US20150238033A1 (en) 2014-02-26 2015-08-27 Marcos Zavitsanos Thermally insulative container
US20150284131A1 (en) 2014-04-08 2015-10-08 Medline Industries, Inc. Container having improved compression strength
US9499294B1 (en) 2014-04-29 2016-11-22 Thatbox Design, Llc Dual handle cooler box design, blank and methods
US20160052696A1 (en) 2014-08-22 2016-02-25 Owens Corning Intellectual Capital, Llc General purpose insulation bag
US20170305639A1 (en) 2014-10-27 2017-10-26 Va-Q-Tec Ag Box-Type Transport Container
US20170233134A9 (en) 2015-03-19 2017-08-17 Iron Mountain Incorporated Tamper resistant box
US9981797B2 (en) 2015-04-20 2018-05-29 Pratt Corrugated Holdings, Inc. Nested insulated packaging
US20160304267A1 (en) 2015-04-20 2016-10-20 Pratt Industries, Inc. Nested insulated packaging
US20180237207A1 (en) 2015-04-20 2018-08-23 Pratt Corrugated Holdings, Inc. Nested insulated packaging
US20160325915A1 (en) 2015-05-04 2016-11-10 Pratt Industries, Inc. Adjustable insulation packaging
US10266332B2 (en) 2015-05-04 2019-04-23 Pratt Corrugated Holdings, Inc. Adjustable insulation packaging
USD758182S1 (en) 2015-05-15 2016-06-07 Na Pali Coast Frozen Organics LLC Ice cream packaging kit
US20180299059A1 (en) 2015-05-20 2018-10-18 Temperpak Technologies Inc. Thermal insulation liners
WO2016187435A3 (en) 2015-05-20 2016-12-29 Temperpak Technologies Inc. Thermal insulation liners
WO2016187435A2 (en) 2015-05-20 2016-11-24 Temperpak Technologies Inc. Thermal insulation liners
US9738432B1 (en) 2015-05-29 2017-08-22 Animal Cell Therapics, Inc. Systems, methods, and apparatuses for securing cell-based products for transport in thermal isolation
US20170015080A1 (en) 2015-07-15 2017-01-19 Mp Global Products, L.L.C. Method of making an insulated mailer
US20170043937A1 (en) 2015-08-10 2017-02-16 Gary W. Lantz Insulated shipping container and method of making
US20180215525A1 (en) 2015-09-08 2018-08-02 Ekopak, Inc. Insulated Shipping System
US20170198959A1 (en) 2016-01-08 2017-07-13 The Wool Packaging Company Limited Temperature Controlled Packaging and Transportation Method
US20170283157A1 (en) 2016-04-01 2017-10-05 Vericool, Inc. Shipping container with compostable insulation
US9550618B1 (en) * 2016-04-01 2017-01-24 Vericool, Inc. Shipping container with compostable insulation
US20180194534A1 (en) 2016-04-01 2018-07-12 Vericool, Inc. Recyclable insert for shipping container
US20170320653A1 (en) 2016-05-06 2017-11-09 Melvin Mogil Insulated container with thermal storage liner
US10112756B2 (en) 2016-05-18 2018-10-30 Menzel Diversified Enterprises, LLC Insulated container
US20170334622A1 (en) 2016-05-18 2017-11-23 Menzel Diversified Enterprises, LLC Insulated container
US20170341847A1 (en) 2016-05-29 2017-11-30 Cellulose Material Solutions, LLC Packaging insulation products and methods of making and using same
US10226909B2 (en) 2016-06-20 2019-03-12 Indevco Plastics, Inc. Laminated moisture resistant poultry box and process
US20170369226A1 (en) 2016-06-27 2017-12-28 Cellulose Material Solutions, LLC Thermoplastic packaging insulation products and methods of making and using same
US20180050857A1 (en) 2016-08-16 2018-02-22 Mp Global Products, L.L.C. Method of making an insulation material and an insulated mailer
US10583977B2 (en) 2016-08-16 2020-03-10 Mp Global Products, L.L.C. Method of making an insulation material and an insulated mailer
US20190270572A1 (en) 2016-08-16 2019-09-05 Pratt Retail Specialties, Llc Repulpable container
US20180051460A1 (en) 2016-08-17 2018-02-22 Pratt Corrugated Holdings, Inc. Insulation batt
US9920517B2 (en) 2016-08-17 2018-03-20 Pratt Corrugated Holdings, Inc. Insulation batt
WO2018089365A1 (en) 2016-11-09 2018-05-17 Mp Global Products, L.L.C. Method of making an insulation material and an insulated mailer
CN206494316U (en) 2016-11-14 2017-09-15 上海万戈工贸发展有限公司 The package paper and Packaging Box of frozen food
WO2018093586A1 (en) 2016-11-17 2018-05-24 Westrock Shared Services, Llc Food packaging insert and system
US20180148246A1 (en) 2016-11-30 2018-05-31 Lbp Manufacturing Llc Insulated laminates and methods for making same
US20180229917A1 (en) 2017-02-16 2018-08-16 Vericool, Inc. Compostable insulation for shipping container
US10046901B1 (en) 2017-02-16 2018-08-14 Vericool, Inc. Thermally insulating packaging
US20180274837A1 (en) 2017-03-21 2018-09-27 Nodak Coolers, Inc. Food and Beverage Cooler System
US20180290813A1 (en) 2017-04-07 2018-10-11 Pratt Retail Specialties, Llc Box liner
US20180290815A1 (en) 2017-04-07 2018-10-11 Pratt Retail Specialties, Llc Insulated bag
US20190352080A1 (en) 2017-04-07 2019-11-21 Pratt Retail Specialties, Llc Insulated container
US20190352075A1 (en) 2017-04-07 2019-11-21 Pratt Retail Specialties, Llc Box liner
US10442600B2 (en) 2017-04-07 2019-10-15 Pratt Retail Specialties, Llc Insulated bag
US20190047775A1 (en) 2017-04-07 2019-02-14 Pratt Retail Specialties, Llc Insulated bag
US10800595B2 (en) 2017-04-07 2020-10-13 Pratt Retail Specialties, Llc Box liner
US10357936B1 (en) 2017-04-28 2019-07-23 TemperPack Technologies, Inc. Insulation panel
US20180327172A1 (en) 2017-05-09 2018-11-15 Pratt Retail Specialties, Llc Insulated bag with handles
US20190210790A1 (en) 2017-05-09 2019-07-11 Cold Chain Technologies, Inc. Shipping system for storing and/or transporting temperature-sensitive materials
US20200122896A1 (en) 2017-05-09 2020-04-23 Pratt Retail Specialties, Llc Insulated bag with handles
US20190352076A1 (en) 2017-05-09 2019-11-21 Pratt Retail Specialties, Llc Insulated box
US20180327171A1 (en) 2017-05-09 2018-11-15 Pratt Retail Specialties, Llc Insulated box
US20190193916A1 (en) 2017-05-09 2019-06-27 Pratt Retail Specialties, Llc Insulated box
US20180334308A1 (en) 2017-05-16 2018-11-22 tForm, Inc. Fully recyclable insulated shipping container
US20180335241A1 (en) 2017-05-18 2018-11-22 Otter Products, Llc Configurable insulated storage container
DE202017103230U1 (en) 2017-05-30 2017-07-31 Teccom Arzneimittel Vertriebs Gmbh Packaging arrangement for transporting temperature-sensitive goods
WO2018227047A1 (en) 2017-06-09 2018-12-13 Yeti Coolers, Llc Insulating device
DE202017003908U1 (en) 2017-07-26 2017-09-05 Kreiter GmbH Transport box for professional transporting a tempered and / or shock-sensitive goods, such as refrigerated goods
US20190032991A1 (en) 2017-07-31 2019-01-31 Pratt Retail Specialties, Llc Modular box assembly
US20190234679A1 (en) 2017-07-31 2019-08-01 Pratt Retail Specialties, Llc Modular box assembly
US20190390892A1 (en) 2017-07-31 2019-12-26 Pratt Retail Specialties, Llc Modular box assembly
US20200103159A1 (en) 2017-07-31 2020-04-02 Pratt Retail Specialties, Llc Modular box assembly
US20200088458A1 (en) 2017-07-31 2020-03-19 Pratt Retail Specialties, Llc Modular box assembly
US10551110B2 (en) 2017-07-31 2020-02-04 Pratt Retail Specialties, Llc Modular box assembly
CN108001787A (en) 2017-11-28 2018-05-08 慈溪市奇超科技有限公司 A kind of double casing carton
WO2019125906A1 (en) 2017-12-18 2019-06-27 Pratt Corrugated Holdings, Inc. Insulated block packaging assembly
US20190185246A1 (en) 2017-12-18 2019-06-20 Pratt Corrugated Holdings, Inc. Insulated block packaging assembly
US10507968B2 (en) 2017-12-18 2019-12-17 Pratt Retail Specialties, Llc Modular box assembly
US20190382186A1 (en) 2017-12-18 2019-12-19 Pratt Retail Specialties, Llc Modular box assembly
WO2019125904A1 (en) 2017-12-18 2019-06-27 Pratt Retail Specialties, Llc Modular box assembly
US20190185247A1 (en) 2017-12-18 2019-06-20 Pratt Retail Specialties, Llc Modular box assembly
US20190359412A1 (en) 2018-05-24 2019-11-28 Pratt Corrugated Holdings, Inc. Liner
WO2019226199A1 (en) 2018-05-24 2019-11-28 Pratt Corrugated Holdings, Inc. Liner
US20190359413A1 (en) 2018-05-24 2019-11-28 Pratt Corrugated Holdings, Inc. Liner
US20190359414A1 (en) 2018-05-24 2019-11-28 Pratt Corrugated Holdings, Inc. Liner
US20190367209A1 (en) 2018-05-29 2019-12-05 Vericool, Inc. Thermal insulation article with compostable panel and paper film
US20190376636A1 (en) 2018-06-06 2019-12-12 Johns Manville Methods and materials to universally fit duct liner insulation for oval hvac duct systems
US20200148409A1 (en) 2018-11-13 2020-05-14 Pratt Retail Specialties, Llc Insulated box assembly with overlapping panels
US20200148410A1 (en) 2018-11-13 2020-05-14 Pratt Retail Specialties, Llc Insulated box assembly with overlapping panels
WO2020102023A1 (en) 2018-11-13 2020-05-22 Pratt Retail Specialties, Llc Insulated box assembly with overlapping panels
WO2020101939A2 (en) 2018-11-13 2020-05-22 Pratt Retail Specialties, Llc Insulated box assembly and temperature-regulating lid therefor
US20200283188A1 (en) 2018-11-13 2020-09-10 Pratt Retail Specialties, Llc Insulated box assembly with overlapping panels
US20200148453A1 (en) 2018-11-13 2020-05-14 Pratt Retail Specialties, Llc Insulated box assembly and temperature-regulating lid therefor
WO2020122921A1 (en) 2018-12-13 2020-06-18 Pratt Retail Specialties, Llc Modular box assembly
US20200346816A1 (en) 2019-05-02 2020-11-05 Pratt Retail Specialties, Llc Telescoping insulated boxes
US20200346841A1 (en) 2019-05-02 2020-11-05 Pratt Retail Specialties, Llc Box defining walls with insulation cavities
WO2020222943A1 (en) 2019-05-02 2020-11-05 Pratt Retail Specialties, Llc Telescoping insulated boxes

Non-Patent Citations (173)

* Cited by examiner, † Cited by third party
Title
"Green Cell Foam Shipping Coolers", located at <https://www.greencellfoam.com/shipping-coolers>, accessed on Oct. 18, 2019, 4 pgs.
American Bag Company; Article entitled: "Cool Green Bag, Small", located at <http://hotcoldbags.com/items/Cool%20Green%20Bag,%20Small>, accessed on Mar. 20, 2017, 2 pgs.
Cellulose Material Solutions, LLC; Brochure for Infinity Care Thermal Liner, accessed on Oct. 22, 2018, 2 pgs.
Cold Keepers; Article entitled: "Insulated Shipping Boxes—Coldkeepers, Thermal Shipping Solutions", located at <https://www.coldkeepers.com/product-category/shipping/>, (Accessed: Jan. 12, 2017), 3 pgs.
Collison, Alan B.; Advisory Action for U.S. Appl. No. 16/658,756, filed Oct. 21, 2019, dated Sep. 25, 2020, 4 pgs.
Collison, Alan B.; Applicant Interview Summary for U.S. Appl. No. 15/677,738, filed Aug. 15, 2017, dated Apr. 22, 2019, 4 pgs.
Collison, Alan B.; Applicant Interview Summary for U.S. Appl. No. 15/677,738, filed Aug. 15, 2017, dated Dec. 5, 2018, 4 pgs.
Collison, Alan B.; Applicant Interview Summary for U.S. Appl. No. 16/658,756, filed Oct. 21, 2019, dated Jun. 29, 2020, 3 pgs.
Collison, Alan B.; Applicant Interview Summary for U.S. Appl. No. 16/658,756, filed Oct. 21, 2019, dated May 6, 2020, 3 pgs.
Collison, Alan B.; Applicant-Initiated Interview Summary for U.S. Appl. No. 16/414,309, filed May 16, 2019, dated Aug. 21, 2020, 3 pgs.
Collison, Alan B.; Applicant-Initiated Interview Summary for U.S. Appl. No. 16/414/309, filed May 16, 2019, dated Oct. 15, 2020, 3 pgs.
Collison, Alan B.; Corrected Notice of Allowance for U.S. Appl. No. 15/677,738, filed Aug. 15, 2017, dated Jul. 15, 2019, 7 pgs.
Collison, Alan B.; Corrected Notice of Allowance for U.S. Appl. No. 16/414,309, filed May 16, 2019, dated Nov. 16, 2020, 10 pgs.
Collison, Alan B.; Final Office ACtion for U.S. Appl. No. 15/677,738, filed Aug. 15, 2017, dated Feb. 28, 2019, 14 pgs.
Collison, Alan B.; Final Office Action for U.S. Appl. No. 16/414,309, filed May 16, 2019, dated Oct. 8, 2020, 15 pgs.
Collison, Alan B.; Final Office Action for U.S. Appl. No. 16/658,756, filed Oct. 21, 2019, dated Jun. 17, 2020, 10 pgs.
Collison, Alan B.; Non-Final Office Action for U.S. Appl. No. 15/677,738, filed Aug. 15, 2017, dated Oct. 23, 2018, 11 pgs.
Collison, Alan B.; Non-Final Office Action for U.S. Appl. No. 16/414,309, filed May 16, 2019, dated Jul. 17, 2020, 77 pgs.
Collison, Alan B.; Non-Final Office Action for U.S. Appl. No. 16/658,756, filed Oct. 21, 2019, dated Feb. 4, 2020, 14 pgs.
Collison, Alan B.; Notice of Allowance for U.S. Appl. No. 15/677,738, filed Aug. 15, 2017, dated Jun. 19, 2019, 10 pgs.
Collison, Alan B.; Notice of Allowance for U.S. Appl. No. 15/677,738, filed Aug. 15, 2017, dated Oct. 29, 2019, 14 pgs.
Collison, Alan B.; Notice of Allowance for U.S. Appl. No. 16/414/309, filed May 16, 2019, dated Oct. 21, 2020, 6 pgs.
Collison, Alan B.; Notice of Allowance for U.S. Appl. No. 16/658,756, filed Oct. 21, 2019, dated Oct. 23, 2020, 10 pgs.
Collison, Alan B.; Requirement for Restriction/Election for U.S. Appl. No. 15/677,738, filed Aug. 15, 2017, dated Jul. 3, 2018, 8 pgs.
Collison, Alan B.; Requirement for Restriction/Election for U.S. Appl. No. 15/677,738, filed Aug. 15, 2017, dated Jul. 31, 2018, 8 pgs.
Collison, Alan B.; Requirement for Restriction/Election for U.S. Appl. No. 16/414,309, filed May 16, 2019, dated Jun. 16, 2020, 5 pgs.
Collison, Alan B.; Supplemental Notice of Allowance for U.S. Appl. No. 15/677,738, filed Aug. 15, 2017, dated Dec. 10, 2019, 4 pgs.
CooLiner® Insulated Shipping Bags, available at <http://www/chem-tran.com/packaging/supplies/cooliner-insulated-shipping-bags.php>, accessed on Oct. 18, 2019, 4 pgs.
DHL Express; Brochure for Dry Ice Shipping Guidelines, accessed on Oct. 26, 2018, 12 pgs.
Duro Bag; Article entitled: "The Load and Fold Bag", accessed on May 24, 2017, copyrighted Apr. 2017, 3 pgs.
GREENBLUE; "Environmental Technical Briefs of Common Packaging Materials—Fiber-Based Materials", Sustainable Packaging Solution, 2009, 19 pgs.
Images of Novolex bag, including an outer paper bag, a corrugated cardboard insert, and an inner foil-covered bubble-wrap bag, publicly available prior to May 9, 2017, 7 pgs.
MP Global Products LLC: European Search Report for serial No. 17868605.1, dated Mar. 16, 2020, 7 pgs.
MP Global Products LLC: European Search Report Response for serial No. 17868605.1, filed Oct. 2, 2020, 15 pgs.
MP Global Products, LLC; International Search Report and Written Opinion of the International Searching Authority for PCT/US2017/060403, filed Nov. 7, 2017, dated Feb. 19, 2018, 15 pgs.
MP Global Products; Article entitled: "Thermopod mailer envelopes and Thermokeeper insulated box liners", located at < http://www.mhpn.com/product/thermopod_mailer_envelopes_and_thermokeeper_insulated_box_liners/packaging>, accessed on Aug. 30, 2017, 2 pgs.
Needles 'N' Knowledge; Article entitled: "Tall Box With Lid", located at <http://needlesnknowledge.blogspot.com/2017/10/tall-box-with-lid.html> (Accessed: Jan. 12, 2017), 10 pgs.
PERIWRAP; Article entitled: "Insulated Solutions", located at <https://www.peri-wrap.com/insulation/>, accessed on Dec. 3, 2018, 5 pgs.
PERIWRAP; Article entitled: "Insulated Solutions", located at <https://www.peri-wrap.com/insulation/>, accessed on Dec. 3, 2018, 9 pgs.
Salazar Packaging; Article entitle: "Custom Packaging and Design", located at <https://salazarpackaging.com/custom-packaging-and-design/>, accessed on Sep. 28, 2017, 2 pgs.
Singh, et al; Article entitled: "Performance Comparison of Thermal Insulated Packaging Boxes, Bags and Refrigerants for Single-parcel Shipments", published Mar. 13, 2007, 19 pgs.
Sollie, Greg; Advisory Action for U.S. Appl. No. 16/280,595, filed Feb. 20, 2019, dated Jul. 6, 2020, 3 pgs.
Sollie, Greg; Applicant Initiated Interview Summary for U.S. Appl. No. 15/988,550, filed May 24, 2018, dated Dec. 27, 2019, 3 pgs.
Sollie, Greg; Applicant-Initiated Interview Summary for U.S. Appl. No. 16/280,595, filed Feb. 20, 2019 dated May 6, 2020, 3 pgs.
Sollie, Greg; Applicant-Initiated Interview Summary for U.S. Appl. No. 16/401,603, filed May 2, 2019, dated May 15, 2020, 3 pgs.
Sollie, Greg; Applicant-Initiated Interview Summary for U.S. Appl. No. 16/530,052, filed Aug. 2, 2019, dated Feb. 5, 2020, 2 pgs.
Sollie, Greg; Corrected Notice of Allowance for U.S. Appl. No. 15/845,545, filed Dec. 18, 2017, dated Oct. 1, 2019, 7 pgs.
Sollie, Greg; Corrected Notice of Allowance for U.S. Appl. No. 15/845,545, filed Dec. 18, 2017, dated Oct. 31, 2019, 12 pgs.
Sollie, Greg; Corrected Notice of Allowance for U.S. Appl. No. 16/382,710, filed Apr. 12, 2019, dated Sep. 24, 2020, 9 pgs.
Sollie, Greg; Corrected Notice of Allowance for U.S. Appl. No. 16/401,603, filed May 2, 2019, dated Nov. 3, 2020, 9 pgs.
Sollie, Greg; Corrected Notice of Allowance for U.S. Appl. No. 16/552,277, filed Aug. 27, 2019, dated Nov. 5, 2020, 9 pgs.
Sollie, Greg; Corrected Notice of Allowance for U.S. Appl. No. 16/567,192, filed Sep. 11, 2019, dated Oct. 20, 2020, 8 pgs.
Sollie, Greg; Final Office Action for U.S. Appl. No. 15/845,540, filed Dec. 18, 2017, dated Oct. 30, 2019, 56 pgs.
Sollie, Greg; Final Office Action for U.S. Appl. No. 15/845,540, filed Dec. 18, 2017, dated Sep. 2, 2020, 28 pgs.
Sollie, Greg; Final Office Action for U.S. Appl. No. 15/988,550, filed May 24, 2018, dated Aug. 14, 2019, 19 pgs.
Sollie, Greg; Final Office Action for U.S. Appl. No. 15/988,550, filed May 24, 2018, dated Aug. 27, 2020, 27 pgs.
Sollie, Greg; Final Office Action for U.S. Appl. No. 16/280,595, filed Feb. 20, 2019, dated Mar. 24, 2020, 20 pgs.
Sollie, Greg; Final Office Action for U.S. Appl. No. 16/280,595, filed Feb. 20, 2019, dated Oct. 3, 2019, 19 pgs.
Sollie, Greg; Final Office Action for U.S. Appl. No. 16/382,710, filed Apr. 12, 2019, dated Apr. 6, 2020, 33 pgs.
Sollie, Greg; Final Office Action for U.S. Appl. No. 16/401,603, filed May 2, 2019, dated Jun. 30, 2020, 13 pgs.
Sollie, Greg; Final Office Action for U.S. Appl. No. 16/408,981, filed May 10, 2019, dated Feb. 24, 2020, 29 pgs.
Sollie, Greg; Final Office Action for U.S. Appl. No. 16/530,052, filed Aug. 2, 2019, dated Aug. 28, 2020, 29 pgs.
Sollie, Greg; Final Office Action for U.S. Appl. No. 16/530,052, filed Aug. 2, 2019, dated Dec. 27, 2019, 49 pgs.
Sollie, Greg; Final Office Action for U.S. Appl. No. 16/552,277, filed Aug. 27, 2019, dated Aug. 7, 2020, 19 pgs.
Sollie, Greg; Final Office Action for U.S. Appl. No. 16/567,192, filed Sep. 11, 2019, dated Jun. 8, 2020, 20 pgs.
Sollie, Greg; International Preliminary Report on Patentability for PCT Application No. PCT/US18/65459, filed Dec. 13, 2018, dated Jul. 2, 2020, 11 pgs.
Sollie, Greg; International Preliminary Report on Patentability for PCT Application No. PCT/US18/65461, filed Dec. 13, 2018, dated Jul. 2, 2020, 12 pgs.
Sollie, Greg; International Search Report and Written Opinion for PCT Application No. PCT/US18/65459, filed Dec. 13, 2018, dated May 1, 2019, 15 pgs.
Sollie, Greg; International Search Report and Written Opinion for PCT Application No. PCT/US18/65461, filed Dec. 13, 2018, dated Mar. 21, 2019, 13 pgs.
Sollie, Greg; International Search Report and Written Opinion for PCT Application No. PCT/US19/59764, filed Nov. 5, 2019, dated Jul. 1, 2020, 13 pgs.
Sollie, Greg; International Search Report and Written Opinion for PCT Application No. PCT/US19/60486, filed Nov. 18, 2019, dated Jan. 13, 2020, 10 pgs.
Sollie, Greg; International Search Report and Written Opinion for PCT Application No. PCT/US20/24820, filed Mar. 26, 2020, dated Jul. 2, 2020, 14 pgs.
Sollie, Greg; International Search Report and Written Opinion for PCT/US18/65463, filed Dec. 13, 2018, dated Mar. 25, 2019, 11 pgs.
Sollie, Greg; Invitation to Pay Additional Fees for PCT/US19/59764, filed Nov. 5, 2019, dated Jan. 2, 2020, 2 pgs.
Sollie, Greg; Non-Final Office Action for U.S. Appl. No. 15/845,540, filed Dec. 18, 2017, dated Apr. 2, 2019, 50 pgs.
Sollie, Greg; Non-Final Office Action for U.S. Appl. No. 15/845,540, filed Dec. 18, 2017, dated Feb. 19, 2020, 32 pgs.
Sollie, Greg; Non-Final Office Action for U.S. Appl. No. 15/845,545, filed Dec. 18, 2017, dated Mar. 5, 2019, 41 pgs.
Sollie, Greg; Non-Final Office Action for U.S. Appl. No. 15/988,550, filed May 24, 2018, dated Mar. 11, 2020, 35 pgs.
Sollie, Greg; Non-Final Office Action for U.S. Appl. No. 15/988,550, filed May 24, 2018, dated May 29, 2019, 48 pgs.
Sollie, Greg; Non-Final Office Action for U.S. Appl. No. 15/988,550, filed May 24, 2018, dated Oct. 9, 2019, 17 pgs.
Sollie, Greg; Non-Final Office Action for U.S. Appl. No. 16/280,595, filed Feb. 20, 2019, dated Aug. 28, 2020, 26 pgs.
Sollie, Greg; Non-Final Office Action for U.S. Appl. No. 16/280,595, filed Feb. 20, 2019, dated Dec. 19, 2019, 23 pgs.
Sollie, Greg; Non-Final Office Action for U.S. Appl. No. 16/280,595, filed Feb. 20, 2019, dated May 29, 2019, 60 pgs.
Sollie, Greg; Non-Final Office Action for U.S. Appl. No. 16/382,710, filed Apr. 12, 2019, dated Oct. 10, 2019, 49 pgs.
Sollie, Greg; Non-Final Office Action for U.S. Appl. No. 16/401,603, filed May 2, 2019, dated Mar. 10, 2020, 67 pgs.
Sollie, Greg; Non-Final Office Action for U.S. Appl. No. 16/401,607, filed May 2, 2019, dated Aug. 19, 2020, 88 pgs.
Sollie, Greg; Non-Final Office Action for U.S. Appl. No. 16/408,981, filed May 10, 2019, dated Aug. 20, 2019, 50 pgs.
Sollie, Greg; Non-Final Office Action for U.S. Appl. No. 16/408,981, filed May 10, 2019, dated Sep. 16, 2020, 40 pgs.
Sollie, Greg; Non-Final Office Action for U.S. Appl. No. 16/530,052, filed Aug. 2, 2019, dated Mar. 3, 2020, 24 pgs.
Sollie, Greg; Non-Final Office Action for U.S. Appl. No. 16/530,052, filed Aug. 2, 2019, dated Oct. 2, 2019, 12 pgs.
Sollie, Greg; Non-Final Office Action for U.S. Appl. No. 16/552,277, filed Aug. 27, 2019, dated Jun. 3, 2020, 68 pgs.
Sollie, Greg; Non-Final Office Action for U.S. Appl. No. 16/567,192, filed Sep. 11, 2019, dated Dec. 10, 2019, 49 pgs.
Sollie, Greg; Notice of Allowance for U.S. Appl. No. 15/845,540, filed Dec. 18, 2017, dated Sep. 17, 2020, 5 pgs.
Sollie, Greg; Notice of Allowance for U.S. Appl. No. 15/845,545, filed Dec. 18, 2017, dated Jun. 19, 2019, 20 pgs.
Sollie, Greg; Notice of Allowance for U.S. Appl. No. 16/382,710, filed Apr. 12, 2019, dated Jun. 3, 2020, 12 pgs.
Sollie, Greg; Notice of Allowance for U.S. Appl. No. 16/382,710, filed Apr. 12, 2019, dated Oct. 21, 2020, 5 pgs.
Sollie, Greg; Notice of Allowance for U.S. Appl. No. 16/401,603, filed May 2, 2019, dated Aug. 31, 2020, 14 pgs.
Sollie, Greg; Notice of Allowance for U.S. Appl. No. 16/552,277, filed Aug. 27, 2019, dated Aug. 31, 2020, 6 pgs.
Sollie, Greg; Notice of Allowance for U.S. Appl. No. 16/567,192, filed Sep. 11, 2019, dated Aug. 7, 2020, 14 pgs.
Sollie, Greg; Requirement for Restriction/Election for U.S. Appl. No. 16/382,710, filed Apr. 12, 2019, dated Jul. 15, 2019, 6 pgs.
Sollie, Greg; Requirement for Restriction/Election for U.S. Appl. No. 16/401,603, filed May 2, 2019, dated Feb. 18, 2020, 6 pgs.
Sollie, Greg; Restriction Requirement for U.S. Appl. No. 16/552,277, filed Aug. 27, 2019, dated Apr. 20, 2020, 7 pgs.
Stinson, Elizabeth; Article entitled: "A Pizza Geek Discovers the World's Smartest Pizza Box", published Jan. 17, 2014, 8 pgs.
Tera-Pak; Article entitled: "Insulated Shipping Containers", located at <http://www.tera-pak.com/>, accessed on Mar. 20, 2017, 3 pgs.
Thomas Scientific; Article entitled: "Thermosafe: Test Tube Shipper/Rack", accessed on Oct. 26, 2018, 2 pgs.
Uline; Article entitled: Corrugated Corner Protectors—4 ×4, accessed on Oct. 25, 2018, 1 pg.
UN Packaging; Article entitled: "CooLiner® Insulated Shipping Bags", available at <http://www.chem-tran.com/packaging/supplies/cooliner-insulated-shipping-bags.php>, accessed on Aug. 30, 2017, 2 pgs.
US 10,562,676 B2, 02/2020, Waltermire et al. (withdrawn)
Voluntary Standard for Repulping and Recycling Corrugated Fiberboard Treated to Improve Its Performance in the Presence of Water and Water Vapor. (revises Aug. 16, 2013) Fibre Box Association (FBA), Elk Grove Village, IL, 1-23, Retrieved from http://www.corrugated.org/wp-content/uploads/PDFs/Recycling/Vol_Std_Protocol_2013. pdf, 23 pgs.
Waltermire, Jamie; Advisory Action for U.S. Appl. No. 16/381,678, filed Apr. 11, 2019, dated Feb. 26, 2020, 3 pgs.
Waltermire, Jamie; Applicant-Initiated Interview Summary for U.S. Appl. No. 15/590,349, filed May 9, 2017, dated Dec. 3, 2019, 3 pgs.
Waltermire, Jamie; Applicant-Initiated Interview Summary for U.S. Appl. No. 16/526,511, filed Jul. 30, 2019, dated Jun. 12, 2020, 5 pgs.
Waltermire, Jamie; Applicant-Initiated Interview Summary for U.S. Appl. No. 16/530,045, filed Aug. 2, 2019, dated Jun. 15, 2020, 3 pgs.
Waltermire, Jamie; Corrected Notice of Allowance for U.S. Appl. No. 15/482,186, filed Apr. 7, 2017, dated Jun. 2, 2020, 10 pgs.
Waltermire, Jamie; Corrected Notice of Allowance for U.S. Appl. No. 15/482,186, filed Apr. 7, 2017, dated Sep. 2, 2020, 12 pgs.
Waltermire, Jamie; Corrected Notice of Allowance for U.S. Appl. No. 15/590,345, filed May 9, 2017, dated Feb. 18, 2020, 9 pgs.
Waltermire, Jamie; Corrected Notice of Allowance for U.S. Appl. No. 15/590,349, filed May 9, 2017, dated Nov. 2, 2020, 9 pgs.
Waltermire, Jamie; Corrected Notice of Allowance for U.S. Appl. No. 15/663,905, filed Jul. 31, 2017, dated Dec. 26, 2019, 7 pgs.
Waltermire, Jamie; Corrected Notice of Allowance for U.S. Appl. No. 15/663,905, filed Jul. 31, 2017, dated Nov. 18, 2019, 6 pgs.
Waltermire, Jamie; Corrected Notice of Allowance for U.S. Appl. No. 16/526,511, filed Jul. 30, 2019, dated Oct. 30, 2020, 14 pgs.
Waltermire, Jamie; Final Office Action for U.S. Appl. No. 15/482,200, filed Apr. 7, 2017, dated Jan. 2, 2019, 23 pgs.
Waltermire, Jamie; Final Office Action for U.S. Appl. No. 15/590,345, filed May 9, 2017, dated Mar. 19, 2019, 42 pgs.
Waltermire, Jamie; Final Office Action for U.S. Appl. No. 15/590,349, filed May 9, 2017, dated Jan. 6, 2020, 26 pgs.
Waltermire, Jamie; Final Office Action for U.S. Appl. No. 15/590,349, filed May 9, 2017, dated May 9, 2019, 31 pgs.
Waltermire, Jamie; Final Office Action for U.S. Appl. No. 15/663,905, filed Jul. 31, 2017, dated Aug. 22, 2019, 23 pgs.
Waltermire, Jamie; Final Office Action for U.S. Appl. No. 16/293,716, filed Mar. 6, 2019, dated Oct. 29, 2020, 19 pgs.
Waltermire, Jamie; Final Office Action for U.S. Appl. No. 16/293,716, filed Mar. 6, 2019, dated Sep. 10, 2020, 24 pgs.
Waltermire, Jamie; Final Office Action for U.S. Appl. No. 16/381,678, filed Apr. 11, 2019, dated Aug. 20, 2020, 21 pgs.
Waltermire, Jamie; Final Office Action for U.S. Appl. No. 16/381,678, filed Apr. 11, 2019, dated Dec. 30, 2019, 17 pgs.
Waltermire, Jamie; Final Office Action for U.S. Appl. No. 16/381,678, filed Apr. 11, 2019, dated Jun. 16, 2020, 8 pgs.
Waltermire, Jamie; Final Office Action for U.S. Appl. No. 16/381,678, filed Apr. 11, 2019, dated Oct. 19, 2020, 24 pgs.
Waltermire, Jamie; Final Office Action for U.S. Appl. No. 16/526,511, filed Jul. 30, 2019, dated May 19, 2020, 39 pgs.
Waltermire, Jamie; Final Office Action for U.S. Appl. No. 16/561,203, filed Sep. 5, 2019, dated Sep. 10, 2020, 25 pgs.
Waltermire, Jamie; International Search Report and Written Opinion for PCT Application No. PCT/US18/65464, Filed Dec. 13, 2018, dated Mar. 11, 2019, 9 pgs.
Waltermire, Jamie; Non-Final Office Action for U.S. Appl. No. 15/482,186, filed Apr. 7, 2017, dated Aug. 20, 2019, 81 pgs.
Waltermire, Jamie; Non-Final Office Action for U.S. Appl. No. 15/482,200, filed Apr. 7, 2017, dated Jun. 11, 2018, 36 pgs.
Waltermire, Jamie; Non-Final Office Action for U.S. Appl. No. 15/590,345, filed May 9, 2017, dated Aug. 24, 2018, 41 pgs.
Waltermire, Jamie; Non-Final Office Action for U.S. Appl. No. 15/590,349, filed May 9, 2017, dated Jun. 12, 2020, 30 pgs.
Waltermire, Jamie; Non-Final Office Action for U.S. Appl. No. 15/590,349, filed May 9, 2017, dated Nov. 5, 2018, 41 pgs.
Waltermire, Jamie; Non-Final Office Action for U.S. Appl. No. 15/590,349, filed May 9, 2017, dated Sep. 5, 2019, 25 pgs.
Waltermire, Jamie; Non-Final Office Action for U.S. Appl. No. 15/663,905, filed Jul. 31, 2017, dated Jun. 25, 2019, 66 pgs.
Waltermire, Jamie; Non-Final Office Action for U.S. Appl. No. 16/293,716, filed Mar. 6, 2019, dated May 5, 2020, 70 pgs.
Waltermire, Jamie; Non-Final Office Action for U.S. Appl. No. 16/381,678, filed Apr. 11, 2019, dated Apr. 17, 2020, 30 pgs.
Waltermire, Jamie; Non-Final Office Action for U.S. Appl. No. 16/381,678, filed Apr. 11, 2019, dated Sep. 9, 2019, 50 pgs.
Waltermire, Jamie; Non-Final Office Action for U.S. Appl. No. 16/526,511, filed Jul. 30, 2019, dated Dec. 9, 2019, 55 pgs.
Waltermire, Jamie; Non-Final Office Action for U.S. Appl. No. 16/526,511, filed Jul. 30, 2019, dated Jul. 10, 2020, 23 pgs.
Waltermire, Jamie; Non-Final Office Action for U.S. Appl. No. 16/526,555, filed Jul. 30, 2019, dated Apr. 2, 2020, 63 pgs.
Waltermire, Jamie; Non-Final Office Action for U.S. Appl. No. 16/526,555, filed Jul. 30, 2019, dated Oct. 27, 2020, 39 pgs.
Waltermire, Jamie; Non-Final Office Action for U.S. Appl. No. 16/530,045, filed Aug. 2, 2019, dated Dec. 20, 2019, 61 pgs.
Waltermire, Jamie; Non-Final Office Action for U.S. Appl. No. 16/530,045, filed Aug. 2, 2019, dated May 27, 2020, 38 pgs.
Waltermire, Jamie; Non-Final Office Action for U.S. Appl. No. 16/561,203, filed Sep. 5, 2019, dated May 6, 2020, 59 pgs.
Waltermire, Jamie; Notice of Allowance for U.S. Appl. No. 15/482,186, filed Apr. 7, 2017, dated Mar. 5, 2020, 29 pgs.
Waltermire, Jamie; Notice of Allowance for U.S. Appl. No. 15/482,200, filed Apr. 7, 2017, dated May 14, 2019, 25 pgs.
Waltermire, Jamie; Notice of Allowance for U.S. Appl. No. 15/590,345, filed May 9, 2017, dated Oct. 1, 2019, 28 pgs.
Waltermire, Jamie; Notice of Allowance for U.S. Appl. No. 15/590,349, filed May 9, 2017, dated Oct. 20, 2020, 20 pgs.
Waltermire, Jamie; Notice of Allowance for U.S. Appl. No. 15/663,905, filed Jul. 31, 2017, dated Nov. 4, 2019, 18 pgs.
Waltermire, Jamie; Notice of Allowance for U.S. Appl. No. 16/381,678, filed Apr. 11, 2019, dated Jul. 30, 2020, 15 pgs.
Waltermire, Jamie; Notice of Allowance for U.S. Appl. No. 16/526,511, filed Jul. 30, 2019, dated Sep. 14, 2020, 18 pgs.
Waltermire, Jamie; Notice of Allowance for U.S. Appl. No. 16/561,203, filed Sep. 5, 2019, dated Nov. 3, 2020, 14 pgs.
Waltermire, Jamie; Requirement for Restriction/Election for U.S. Appl. No. 15/482,186, filed Apr. 7, 2017, dated Apr. 17, 2019, 7 pgs.
Waltermire, Jamie; Requirement for Restriction/Election for U.S. Appl. No. 15/590,349, filed May 9, 2017, dated Aug. 30, 2018, 10 pgs.
Waltermire, Jamie; Requirement for Restriction/Election for U.S. Appl. No. 15/663,905, filed Jul. 31, 2017, dated Mar. 21, 2019, 8 pgs.
Waltermire, Jamie; Requirement for Restriction/Election for U.S. Appl. No. 16/293,716, filed Mar. 6, 2019, dated Feb. 26, 2020, 6 pgs.
Waltermire, Jamie; Requirement for Restriction/Election for U.S. Appl. No. 16/526,555, filed Jul. 30, 2019, dated Jan. 17, 2020, 7 pgs.
Waltermire, Jamie; Requirement for Restriction/Election for U.S. Appl. No. 16/561,203, filed Sep. 5, 2019, dated Feb. 26, 2020, 5 pgs.
Waltermire, Jamie; Requirement for Restriction/Election for U.S. Appl. No. 16/689,407, filed Nov. 20, 2019, dated Oct. 29, 2020, 6 pgs.
Waltermire, Jamie; Requirement for Restriction/Election for U.S. Appl. No. 16/689,433, filed Nov. 20, 2019, dated Oct. 16, 2020, 6 pgs.
Waltermire, Jamie; Supplemental Notice of Allowance for U.S. Appl. No. 15/482,200, filed Apr. 7, 2017, dated Aug. 12, 2019, 7 pgs.
Waltermire, Jamie; Supplemental Notice of Allowance for U.S. Appl. No. 15/482,200, filed Apr. 7, 2017, dated Jul. 26, 2019, 9 pgs.
Waltermire, Jamie; Supplemental Notice of Allowance for U.S. Appl. No. 15/482,200, filed Apr. 7, 2017, dated Sep. 10, 2019, 8 pgs.
Waltermire, Jamie; Supplemental Notice of Allowance for U.S. Appl. No. 15/590,345, filed May 9, 2017, dated Dec. 3, 2019, 14 pgs.
Waltermire, Jamie; Supplemental Notice of Allowance for U.S. Appl. No. 15/590,345, filed May 9, 2017, dated Jan. 9, 2020, 8 pgs.
Weiku.com; Article entitled: "100% Biodegradable Packing materials Green Cell Foam Stock Coolers", located at <http://www.weiku.com/roducts/18248504/100_Biodegradable_Packing_materials_Green_Cell_Foam_Stock_Coolers.html>, accessed on Sep. 28, 2017, 7 pgs.

Cited By (61)

* Cited by examiner, † Cited by third party
Publication number Priority date Publication date Assignee Title
US11634265B2 (en) 2016-08-16 2023-04-25 Pratt Retail Specialties, Llc Repulpable container
US11148870B2 (en) 2016-08-16 2021-10-19 Pratt Retail Specialties, Llc Methods of forming repulpable containers
US11780666B2 (en) 2016-08-16 2023-10-10 Pratt Retail Specialties, Llc Repulpable container
US12365529B2 (en) 2016-08-16 2025-07-22 Pratt Retail Specialties, Llc Repulpable container
US11267641B2 (en) 2016-08-16 2022-03-08 Mp Global Products, L.L.C. Method of making an insulation material and an insulated mailer
US11214427B2 (en) 2016-08-16 2022-01-04 Pratt Retail Specialties, Llc Repulpable container
US11485566B2 (en) 2017-04-07 2022-11-01 Pratt Retail Specialties, Llc Box liner
US11124354B2 (en) 2017-04-07 2021-09-21 Pratt Retail Specialties, Llc Insulated bag
US11565871B2 (en) 2017-04-07 2023-01-31 Pratt Retail Specialties, Llc Insulated container
US12060214B2 (en) 2017-04-07 2024-08-13 Pratt Retail Specialties, Llc Insulated container
US12286285B2 (en) 2017-04-07 2025-04-29 Pratt Retail Specialties, Llc Box liner
US11261017B2 (en) 2017-05-09 2022-03-01 Pratt Retail Specialties, Llc Insulated box
US11117731B2 (en) 2017-05-09 2021-09-14 Pratt Retail Specialties, Llc Insulated box
US11628978B2 (en) 2017-05-09 2023-04-18 Pratt Retail Specialties, Llc Insulated bag with handles
US11858717B2 (en) 2017-05-09 2024-01-02 Pratt Retail Specialties, Llc Insulated box
US20230227210A1 (en) * 2017-05-09 2023-07-20 Pratt Retail Specialties, Llc Insulated bag with handles
US12515870B2 (en) 2017-05-09 2026-01-06 Pratt Retail Specialties, Llc Insulated box
US10954057B2 (en) 2017-05-09 2021-03-23 Pratt Retail Specialties, Llc Insulated box
US12305911B2 (en) 2017-07-31 2025-05-20 Pratt Retail Specialties, Llc Modular box assembly
US12504220B2 (en) 2017-07-31 2025-12-23 Pratt Retail Specialties, Llc Modular box assembly
US10941977B2 (en) 2017-07-31 2021-03-09 Pratt Retail Specialties, Llc Modular box assembly
US11215393B2 (en) 2017-07-31 2022-01-04 Pratt Retail Specialties, Llc Modular box assembly
US11255596B2 (en) 2017-07-31 2022-02-22 Pratt Retail Specialties, Llc Modular box assembly
US12298060B2 (en) 2017-07-31 2025-05-13 Pratt Retail Specialties, Llc Modular box assembly
US11692762B2 (en) 2017-07-31 2023-07-04 Pratt Retail Specialties, Llc Modular box assembly
US11940204B2 (en) 2017-07-31 2024-03-26 Pratt Retail Specialties, Llc Modular box assembly
US12038227B2 (en) 2017-07-31 2024-07-16 Pratt Retail Specialties, Llc Modular box assembly
US11137198B2 (en) 2017-07-31 2021-10-05 Pratt Retail Specialties, Llc Modular box assembly
US11542092B2 (en) 2017-12-18 2023-01-03 Pratt Corrugated Holdings, Inc. Insulated block packaging assembly
US10954058B2 (en) 2017-12-18 2021-03-23 Pratt Retail Specialties, Llc Modular box assembly
US12179990B2 (en) 2017-12-18 2024-12-31 Pratt Retail Specialties, Llc Modular box assembly
US11679925B2 (en) 2017-12-18 2023-06-20 Pratt Retail Specialties, Llc Modular box assembly
US10947025B2 (en) 2017-12-18 2021-03-16 Pratt Corrugated Holdings, Inc. Insulated block packaging assembly
US11697542B2 (en) 2017-12-18 2023-07-11 Pratt Retail Specialties, Llc Modular box assembly
US11713180B2 (en) 2018-05-24 2023-08-01 Pratt Corrugated Holdings, Inc. Liner
US11059652B2 (en) 2018-05-24 2021-07-13 Pratt Corrugated Holdings, Inc. Liner
US12297016B2 (en) 2018-11-13 2025-05-13 Pratt Retail Specialties, Llc Insulated box assembly with overlapping panels
US12195266B2 (en) 2018-11-13 2025-01-14 Pratt Retail Specialties, Llc Insulated box assembly
US11724851B2 (en) 2018-11-13 2023-08-15 Pratt Retail Specialties, Llc Insulated box assembly with overlapping panels
US11524832B2 (en) 2018-11-13 2022-12-13 Pratt Retail Specialties, Llc Insulated box assembly and temperature-regulating lid therefor
US11066228B2 (en) 2018-11-13 2021-07-20 Pratt Retail Specialties, Llc Insulated box assembly and temperature-regulating lid therefor
US20200148453A1 (en) 2018-11-13 2020-05-14 Pratt Retail Specialties, Llc Insulated box assembly and temperature-regulating lid therefor
US11203458B2 (en) 2018-11-13 2021-12-21 Pratt Retail Specialties, Llc Insulated box assembly with overlapping panels
US11247806B2 (en) 2019-05-02 2022-02-15 Pratt Retail Specialties, Llc Telescoping insulated boxes
US11325772B2 (en) 2019-05-02 2022-05-10 Pratt Retail Specialties, Llc Box defining walls with insulation cavities
US11027875B2 (en) 2019-05-02 2021-06-08 Pratt Retail Specialties, Llc Telescoping insulated boxes
US11919699B2 (en) 2019-05-02 2024-03-05 Pratt Retail Specialties, Llc Box defining walls with insulation cavities
US12415649B2 (en) 2019-05-02 2025-09-16 Pratt Retail Specialties, Llc Telescoping insulated boxes
US11286099B2 (en) 2019-05-02 2022-03-29 Pratt Retail Specialties, Llc Box defining walls with insulation cavities
US12344454B2 (en) 2019-05-02 2025-07-01 Pratt Retail Specialties, Llc Box defining walls with insulation cavities
US11780635B2 (en) 2019-11-26 2023-10-10 Pratt Corrugated Holdings, Inc. Perforated collapsible box
US11623783B2 (en) 2019-11-26 2023-04-11 Pratt Corrugated Holdings, Inc. Perforated collapsible box
US11618608B2 (en) 2019-11-26 2023-04-04 Pratt Corrugated Holdings, Inc. Perforated collapsible box
US11780636B2 (en) 2019-11-26 2023-10-10 Pratt Corrugated Holdings, Inc Perforated collapsible box
US11230404B2 (en) 2019-11-26 2022-01-25 Pratt Corrugated Holdings, Inc. Perforated collapsible box
US12286286B2 (en) 2020-05-05 2025-04-29 Pratt Retail Specialties, Llc Hinged wrap insulated container
US11718464B2 (en) 2020-05-05 2023-08-08 Pratt Retail Specialties, Llc Hinged wrap insulated container
US11975910B2 (en) 2020-05-05 2024-05-07 Pratt Retail Specialties, Llc Hinged wrap insulated container
US11999553B2 (en) 2020-05-05 2024-06-04 Pratt Retail Specialties, Llc Hinged wrap insulated container
USD968950S1 (en) 2020-08-10 2022-11-08 Pratt Corrugated Holdings, Inc. Perforated collapsible box
US12270153B2 (en) 2021-02-11 2025-04-08 Pratt Corrugated Holdings, Inc. Starch-cellulose composite material

Also Published As

Publication number Publication date
CA3176052A1 (en) 2018-05-17
CA3043192A1 (en) 2018-05-17
EP4043639B1 (en) 2025-01-01
EP3848505B1 (en) 2022-07-06
US20210171271A1 (en) 2021-06-10
CN110121579A (en) 2019-08-13
US20190270572A1 (en) 2019-09-05
EP4321681A2 (en) 2024-02-14
EP3848505A1 (en) 2021-07-14
AU2024201654A1 (en) 2024-04-04
US10882682B2 (en) 2021-01-05
WO2018089365A1 (en) 2018-05-17
CN121321436A (en) 2026-01-13
AU2023203006B2 (en) 2025-11-27
EP3538708A1 (en) 2019-09-18
AU2023203006A1 (en) 2023-06-01
US11780666B2 (en) 2023-10-10
CN113584941B (en) 2023-09-12
CA3043192C (en) 2023-12-19
US20230382627A1 (en) 2023-11-30
EP4043639C0 (en) 2025-01-01
AU2017359035A1 (en) 2019-05-30
CN117071332A (en) 2023-11-17
AU2021245201A1 (en) 2021-11-04
US20220297918A1 (en) 2022-09-22
US11214427B2 (en) 2022-01-04
US20220033167A1 (en) 2022-02-03
EP4071298A1 (en) 2022-10-12
CA3176052C (en) 2025-09-09
AU2021204424A1 (en) 2021-07-29
US20190270573A1 (en) 2019-09-05
US20180050857A1 (en) 2018-02-22
US20240262600A1 (en) 2024-08-08
EP4043639A1 (en) 2022-08-17
CN113584941A (en) 2021-11-02
AU2021245201B2 (en) 2023-12-21
EP4071298B1 (en) 2024-01-03
US12365529B2 (en) 2025-07-22
EP4321681B1 (en) 2025-12-24
US10926939B2 (en) 2021-02-23
MX394653B (en) 2025-03-21
EP3538708A4 (en) 2020-04-15
EP4321681A3 (en) 2024-04-10
MX2019005376A (en) 2019-10-02
AU2017359035B2 (en) 2021-07-08
US11148870B2 (en) 2021-10-19
US11634265B2 (en) 2023-04-25
US20220288870A1 (en) 2022-09-15
US10583977B2 (en) 2020-03-10
US20210101734A1 (en) 2021-04-08
US20200047976A1 (en) 2020-02-13
EP3538708B1 (en) 2022-01-19
AU2021204424B2 (en) 2023-04-06
US20210101735A1 (en) 2021-04-08
US11267641B2 (en) 2022-03-08
CA3218319A1 (en) 2018-05-17
EP3848505B8 (en) 2022-09-21

Similar Documents

Publication Publication Date Title
US12365529B2 (en) Repulpable container

Legal Events

Date Code Title Description
FEPP Fee payment procedure

Free format text: ENTITY STATUS SET TO UNDISCOUNTED (ORIGINAL EVENT CODE: BIG.); ENTITY STATUS OF PATENT OWNER: LARGE ENTITY

STPP Information on status: patent application and granting procedure in general

Free format text: DOCKETED NEW CASE - READY FOR EXAMINATION

AS Assignment

Owner name: PRATT RETAIL SPECIALTIES, LLC, GEORGIA

Free format text: ASSIGNMENT OF ASSIGNORS INTEREST;ASSIGNOR:MP GLOBAL PRODUCTS, L.L.C.;REEL/FRAME:053106/0304

Effective date: 20200629

STPP Information on status: patent application and granting procedure in general

Free format text: RESPONSE TO NON-FINAL OFFICE ACTION ENTERED AND FORWARDED TO EXAMINER

STPP Information on status: patent application and granting procedure in general

Free format text: RESPONSE AFTER FINAL ACTION FORWARDED TO EXAMINER

STPP Information on status: patent application and granting procedure in general

Free format text: NOTICE OF ALLOWANCE MAILED -- APPLICATION RECEIVED IN OFFICE OF PUBLICATIONS

STPP Information on status: patent application and granting procedure in general

Free format text: PUBLICATIONS -- ISSUE FEE PAYMENT RECEIVED

STCF Information on status: patent grant

Free format text: PATENTED CASE

AS Assignment

Owner name: WELLS FARGO BANK, NATIONAL ASSOCIATION, AS ADMINISTRATIVE AGENT, NORTH CAROLINA

Free format text: AMENDED AND RESTATED GRANT OF SECURITY INTEREST;ASSIGNOR:PRATT RETAIL SPECIALTIES, LLC;REEL/FRAME:058535/0927

Effective date: 20211217