RU67864U1 - INJECTOR - Google Patents
INJECTOR Download PDFInfo
- Publication number
- RU67864U1 RU67864U1 RU2007114458/22U RU2007114458U RU67864U1 RU 67864 U1 RU67864 U1 RU 67864U1 RU 2007114458/22 U RU2007114458/22 U RU 2007114458/22U RU 2007114458 U RU2007114458 U RU 2007114458U RU 67864 U1 RU67864 U1 RU 67864U1
- Authority
- RU
- Russia
- Prior art keywords
- ampoule
- rod
- dispenser
- piston
- injector
- Prior art date
Links
- 239000003708 ampul Substances 0.000 claims abstract description 15
- 238000002347 injection Methods 0.000 claims abstract description 8
- 239000007924 injection Substances 0.000 claims abstract description 8
- 239000003814 drug Substances 0.000 abstract description 16
- 229940079593 drug Drugs 0.000 abstract description 9
- 206010012601 diabetes mellitus Diseases 0.000 abstract description 3
- 239000000243 solution Substances 0.000 abstract description 3
- 208000027866 inflammatory disease Diseases 0.000 abstract description 2
- 239000007929 subcutaneous injection Substances 0.000 abstract description 2
- 238000010254 subcutaneous injection Methods 0.000 abstract description 2
- 239000000126 substance Substances 0.000 description 3
- 230000006378 damage Effects 0.000 description 2
- NOESYZHRGYRDHS-UHFFFAOYSA-N insulin Chemical compound N1C(=O)C(NC(=O)C(CCC(N)=O)NC(=O)C(CCC(O)=O)NC(=O)C(C(C)C)NC(=O)C(NC(=O)CN)C(C)CC)CSSCC(C(NC(CO)C(=O)NC(CC(C)C)C(=O)NC(CC=2C=CC(O)=CC=2)C(=O)NC(CCC(N)=O)C(=O)NC(CC(C)C)C(=O)NC(CCC(O)=O)C(=O)NC(CC(N)=O)C(=O)NC(CC=2C=CC(O)=CC=2)C(=O)NC(CSSCC(NC(=O)C(C(C)C)NC(=O)C(CC(C)C)NC(=O)C(CC=2C=CC(O)=CC=2)NC(=O)C(CC(C)C)NC(=O)C(C)NC(=O)C(CCC(O)=O)NC(=O)C(C(C)C)NC(=O)C(CC(C)C)NC(=O)C(CC=2NC=NC=2)NC(=O)C(CO)NC(=O)CNC2=O)C(=O)NCC(=O)NC(CCC(O)=O)C(=O)NC(CCCNC(N)=N)C(=O)NCC(=O)NC(CC=3C=CC=CC=3)C(=O)NC(CC=3C=CC=CC=3)C(=O)NC(CC=3C=CC(O)=CC=3)C(=O)NC(C(C)O)C(=O)N3C(CCC3)C(=O)NC(CCCCN)C(=O)NC(C)C(O)=O)C(=O)NC(CC(N)=O)C(O)=O)=O)NC(=O)C(C(C)CC)NC(=O)C(CO)NC(=O)C(C(C)O)NC(=O)C1CSSCC2NC(=O)C(CC(C)C)NC(=O)C(NC(=O)C(CCC(N)=O)NC(=O)C(CC(N)=O)NC(=O)C(NC(=O)C(N)CC=1C=CC=CC=1)C(C)C)CC1=CN=CN1 NOESYZHRGYRDHS-UHFFFAOYSA-N 0.000 description 2
- 238000000034 method Methods 0.000 description 2
- BQJCRHHNABKAKU-KBQPJGBKSA-N morphine Chemical compound O([C@H]1[C@H](C=C[C@H]23)O)C4=C5[C@@]12CCN(C)[C@@H]3CC5=CC=C4O BQJCRHHNABKAKU-KBQPJGBKSA-N 0.000 description 2
- 102000004877 Insulin Human genes 0.000 description 1
- 108090001061 Insulin Proteins 0.000 description 1
- 206010028980 Neoplasm Diseases 0.000 description 1
- 208000027418 Wounds and injury Diseases 0.000 description 1
- 230000001154 acute effect Effects 0.000 description 1
- 201000011510 cancer Diseases 0.000 description 1
- 201000010099 disease Diseases 0.000 description 1
- 208000037265 diseases, disorders, signs and symptoms Diseases 0.000 description 1
- 238000012377 drug delivery Methods 0.000 description 1
- 239000012530 fluid Substances 0.000 description 1
- 208000014674 injury Diseases 0.000 description 1
- 229940125396 insulin Drugs 0.000 description 1
- 238000004519 manufacturing process Methods 0.000 description 1
- 229960005181 morphine Drugs 0.000 description 1
- 230000000474 nursing effect Effects 0.000 description 1
- 230000000737 periodic effect Effects 0.000 description 1
- 230000001681 protective effect Effects 0.000 description 1
- 230000001105 regulatory effect Effects 0.000 description 1
- 238000009120 supportive therapy Methods 0.000 description 1
- 230000000007 visual effect Effects 0.000 description 1
Landscapes
- Infusion, Injection, And Reservoir Apparatuses (AREA)
Abstract
Полезная модель относится к медицине, а именно к медицинскому инструментарию, и может быть использовано для подкожных инъекций для лечения различных воспалительных заболеваний, сахарного диабета и др.The utility model relates to medicine, namely to medical instruments, and can be used for subcutaneous injections for the treatment of various inflammatory diseases, diabetes mellitus, etc.
Цель предлагаемого технического решения - простота и удобство введения лекарства, обеспечение точного дозирования препарата.The purpose of the proposed technical solution is the simplicity and convenience of administering the drug, ensuring accurate dosage of the drug.
Цель достигается за счет использования инъектора Сеид-Гусейнова А.А., содержащего ампулу со штоком и поршнем на нем внутри полости ампулы, инъекционную иглу, механический дозатор, связанный с штоком. Дозатор выполнен в виде цилиндра с внутренней резьбой, снабженного крышкой, на внутренней поверхности которой жестко закреплен шток поршня, при этом дозатор установлен с помощью резьбового соединения на наружной поверхности ампулы.The goal is achieved through the use of the Seid-Huseynov AA injector containing an ampoule with a rod and a piston on it inside the ampoule cavity, an injection needle, and a mechanical dispenser connected to the rod. The dispenser is made in the form of a cylinder with an internal thread, equipped with a cover, on the inner surface of which the piston rod is rigidly fixed, while the dispenser is installed using a threaded connection on the outer surface of the ampoule.
Description
Полезная модель относится к медицине, а именно к медицинскому инструментарию, и может быть использовано для подкожных инъекций для лечения различных воспалительных заболеваний, сахарного диабета и др.The utility model relates to medicine, namely to medical instruments, and can be used for subcutaneous injections for the treatment of various inflammatory diseases, diabetes mellitus, etc.
Одним из самых распространенных способов, как в острый период, так и в период ремиссии в качестве поддерживающей терапии является инъекционное введение различных лекарственных препаратов. В настоящее время в медицинской технике наиболее часто используется шприц, состоящий из корпуса-ампулы, иглы и поршня со штоком (С.А.Мухина, И.И.Терновская «Атлас по манипуляционной технике сестринского ухода» М. 1995, с 167-169). В ампуле размещается лекарство и с помощью поршня и иглы производится инъекция. Шприцы обычно снабжены защитным колпачком, надеваемый на верхний конец иглы для предотвращения случайного повреждения кожного покрова.One of the most common methods, both in the acute period and in the period of remission, as a supportive therapy is the injection of various drugs. Currently, the most commonly used syringe in medical equipment is a syringe consisting of an ampoule body, a needle and a piston with a rod (S. A. Mukhina, I. I. Ternovskaya “Atlas on the manipulation technique of nursing care” M. 1995, 167-169 ) The medicine is placed in the ampoule and an injection is made using the piston and needle. Syringes are usually equipped with a protective cap worn on the upper end of the needle to prevent accidental damage to the skin.
Однако существующие на сегодняшний день инструменты не удовлетворяют требованиям ученых и клиницистов, прежде всего своей травматичностью и невозможностью контроля подачи лекарства.However, the existing instruments today do not meet the requirements of scientists and clinicians, primarily due to their invasiveness and the inability to control the flow of drugs.
Известны дозирующие устройства для системы подачи лекарства, которые используются в конструкциях длительного действия, и в которых только заменяют пустую ампулу новой (пат. РФ 2200588, пат. ЕР 327910). Лекарство дозируется за счет возможности приводить в движение поршень. Данные устройства стационарные, сложные и дорогостоящие.Known dispensing devices for the drug delivery system, which are used in long-acting designs, and which only replace the empty ampoule with a new one (US Pat. RF 2200588, US Pat. EP 327910). The medicine is dosed due to the ability to set the piston in motion. These devices are stationary, complex and expensive.
Многие лекарственные вещества необходимо вводить в микродозах (например, при сахарном диабете), а т.к. количество вводимой жидкости регулируется путем давления пальцем врача или пациента, то объем вещества и степень давления могут не соответствовать требованиям. Визуальный контроль за шкалой на цилиндре очень субъективен, т.к. угол зрения доктора может изменяться и искажать показатели, а иногда в труднодоступных дистальных областях доктор совсем не может визуально контролировать количество вводимого вещества.Many medicinal substances must be administered in microdoses (for example, with diabetes mellitus), and since the amount of fluid injected is regulated by pressure with the finger of a doctor or patient, the volume of the substance and the degree of pressure may not meet the requirements. Visual control of the scale on the cylinder is very subjective, because the doctor’s angle of view can change and distort indicators, and sometimes in hard-to-reach distal areas the doctor can’t visually control the amount of substance administered.
В последние годы встречаются сообщения об успешном использовании электронных дозирующих систем для лечения онкологических и хирургических заболеваний. Эти дозаторы позволяют непрерывно и с большой точностью вводить лекарственные препараты. Однако дозаторы очень дороги, сложно введение нескольких препаратов, что требует последовательного и параллельного подключения дозирующих устройств.In recent years, there have been reports of the successful use of electronic metering systems for the treatment of cancer and surgical diseases. These dispensers allow you to continuously and accurately inject drugs. However, dispensers are very expensive, it is difficult to administer several drugs, which requires a serial and parallel connection of metering devices.
Наиболее близким техническим решением к предлагаемому устройству является инъектор, содержащий рабочий корпус со штоком и поршнем на нем внутри полости, инъекционную иглу (пат. РФ 2234882). Инъектор снабжен механическим дозатором, имеющим рычажный привод, цилиндрический корпус и шток с шаговой насечкой на нем, связанный с помощью упора с толкателем поршня инъектора. Недостаток данной конструкции: громоздкость, сложность устройства, невозможность закрепления устройства на теле пациента.The closest technical solution to the proposed device is an injector containing a working body with a rod and a piston on it inside the cavity, an injection needle (US Pat. RF 2234882). The injector is equipped with a mechanical dispenser having a lever drive, a cylindrical body and a rod with a stepped notch on it, connected with an emphasis to the plunger of the injector piston. The disadvantage of this design: bulkiness, complexity of the device, the inability to fix the device on the patient’s body.
Цель предлагаемого технического решения - простота и удобство введения лекарства, обеспечение точного дозирования препарата.The purpose of the proposed technical solution is the simplicity and convenience of administering the drug, ensuring accurate dosage of the drug.
Цель достигается за счет использования инъектора, содержащего ампулу со штоком и поршнем на нем внутри полости ампулы, инъекционную иглу, механический дозатор, связанный с штоком. Дозатор выполнен в виде цилиндра с внутренней резьбой, снабженного крышкой, на внутренней поверхности которой жестко закреплен шток поршня, при этом дозатор установлен с помощью резьбового соединения на наружной поверхности ампулы.The goal is achieved through the use of an injector containing an ampoule with a rod and a piston on it inside the cavity of the ampoule, an injection needle, a mechanical dispenser associated with the rod. The dispenser is made in the form of a cylinder with an internal thread, equipped with a cover, on the inner surface of which the piston rod is rigidly fixed, while the dispenser is installed using a threaded connection on the outer surface of the ampoule.
Предлагаемый инъектор для периодического и непрерывного введения лекарственных веществ, например инсулина или морфина позволяет провести инъекции без травмы с высокой точностью дозирования. Эффективность эксплуатации инъектора повышается. Появляется возможность самому пациенту регулировать подачу лекарства.The proposed injector for periodic and continuous administration of drugs, such as insulin or morphine, allows injections without injury with high precision dosing. The efficiency of the injector is increased. There is an opportunity for the patient himself to regulate the flow of medicine.
Сущность изобретения выражается в совокупности существенных признаков, достаточной для достижения обеспечиваемого изобретением технического результата.The invention is expressed in the aggregate of essential features sufficient to achieve the technical result provided by the invention.
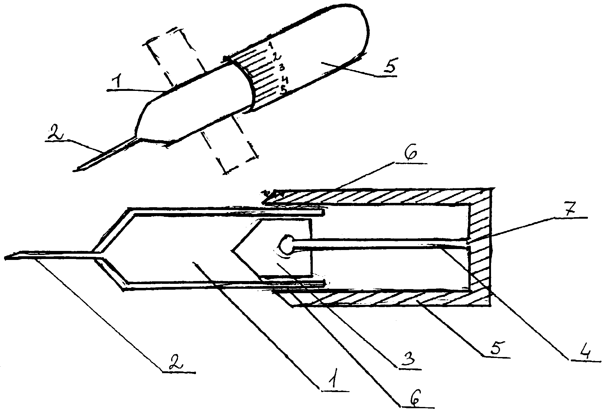
На фиг.1 изображен инъектор, содержащий ампулу (1), иглу (2) на ее конце, поршень (3) со штоком (4). Шприц снабжен дозатором (5), изготовленным в виде цилиндра с внутренней резьбой с крышкой (7). Дозатор установлен с помощью резьбового соединения (6) на наружной поверхности ампулы. На внутренней стороне крышки (7) дозатора закреплен шток (4).Figure 1 shows an injector containing an ampoule (1), a needle (2) at its end, a piston (3) with a rod (4). The syringe is equipped with a dispenser (5), made in the form of a cylinder with an internal thread with a cap (7). The dispenser is installed using the threaded connection (6) on the outer surface of the ampoule. A rod (4) is fixed on the inside of the dispenser cover (7).
Инъектор работает следующим образом. С помощью иглы ампула заполняется лекарством. При проведении инъекции необходимо поворачивать дозатор по часовой стрелке за счет резьбового соединения. При необходимости введения дополнительной порции лекарства необходимо еще раз повернуть дозатор по часовой стрелке.The injector operates as follows. Using a needle, the ampoule is filled with medicine. During the injection, it is necessary to turn the dispenser clockwise due to the threaded connection. If it is necessary to introduce an additional dose of medicine, turn the dispenser again clockwise.
Такой инъектор удобен для использования одной рукой, надежен в работе и отличается высокой технологичностью и дешевизной при изготовлении. Инъектор может быть использован для различных целей и иметь различные диаметры и длину.Such an injector is convenient for use with one hand, reliable in operation and is characterized by high manufacturability and low cost in manufacturing. The injector can be used for various purposes and have different diameters and lengths.
Claims (1)
Priority Applications (1)
| Application Number | Priority Date | Filing Date | Title |
|---|---|---|---|
| RU2007114458/22U RU67864U1 (en) | 2007-04-18 | 2007-04-18 | INJECTOR |
Applications Claiming Priority (1)
| Application Number | Priority Date | Filing Date | Title |
|---|---|---|---|
| RU2007114458/22U RU67864U1 (en) | 2007-04-18 | 2007-04-18 | INJECTOR |
Publications (1)
| Publication Number | Publication Date |
|---|---|
| RU67864U1 true RU67864U1 (en) | 2007-11-10 |
Family
ID=38958463
Family Applications (1)
| Application Number | Title | Priority Date | Filing Date |
|---|---|---|---|
| RU2007114458/22U RU67864U1 (en) | 2007-04-18 | 2007-04-18 | INJECTOR |
Country Status (1)
| Country | Link |
|---|---|
| RU (1) | RU67864U1 (en) |
Cited By (2)
| Publication number | Priority date | Publication date | Assignee | Title |
|---|---|---|---|---|
| RU2457868C1 (en) * | 2011-03-17 | 2012-08-10 | Федеральное государственное бюджетное учреждение "Медицинский радиологический научный центр" Министерства здравоохранения и социального развития РФ (ФГБУ МРНЦ Минздравсоцразвития России) | Drug injector |
| EA032537B1 (en) * | 2010-06-07 | 2019-06-28 | Эмджен Инк. | Method of operation of a drug delivery device |
-
2007
- 2007-04-18 RU RU2007114458/22U patent/RU67864U1/en not_active IP Right Cessation
Cited By (2)
| Publication number | Priority date | Publication date | Assignee | Title |
|---|---|---|---|---|
| EA032537B1 (en) * | 2010-06-07 | 2019-06-28 | Эмджен Инк. | Method of operation of a drug delivery device |
| RU2457868C1 (en) * | 2011-03-17 | 2012-08-10 | Федеральное государственное бюджетное учреждение "Медицинский радиологический научный центр" Министерства здравоохранения и социального развития РФ (ФГБУ МРНЦ Минздравсоцразвития России) | Drug injector |
Similar Documents
| Publication | Publication Date | Title |
|---|---|---|
| US4475905A (en) | Injection device | |
| CA2833570C (en) | Dose guides for injection syringe | |
| AU760070B2 (en) | Syringe with detachable syringe barrel | |
| CA2494314A1 (en) | Color-coded medical dosing container | |
| CN103341228B (en) | A kind of prefilled syringe | |
| HUP0102525A2 (en) | A medical delivery device and a cartridge assembly for use in the same | |
| BRPI0817907B1 (en) | Apparatus for administering a substance to an individual | |
| CN110237358A (en) | A high-precision insulin syringe and its application | |
| RU67864U1 (en) | INJECTOR | |
| RU87915U1 (en) | DRUG SYSTEM | |
| KR20240067897A (en) | medical delivery device | |
| JP7071377B2 (en) | Syringe-connector device that administers at least two formulations individually in controlled doses by a single injection | |
| US20080119797A1 (en) | System with a syringe device and a needle device | |
| RU98920U1 (en) | SYSTEM FOR REPEATED SCREEN INTRODUCTION OF SOLUTION OF MEDICINES | |
| RU2234882C1 (en) | Injection device | |
| CN215653120U (en) | A regulated liquid medicine continuous quantitative syringe | |
| CN211705500U (en) | High-precision insulin syringe | |
| RU96485U1 (en) | DEVICE FOR DOSING A MEDICINAL PRODUCT | |
| RU219704U1 (en) | DISPOSABLE INJECTION SYRINGE WITH MEDICATION | |
| RU97638U1 (en) | RESERVOIR FOR INSULIN | |
| RU2535601C1 (en) | Syringe handle device | |
| CN219921734U (en) | A precisely metered injection structure for autologous repair | |
| RU96005U1 (en) | DRUG SYSTEM | |
| RU187682U1 (en) | Subcutaneous device for subcutaneous administration of a drug solution | |
| RU134431U1 (en) | SYRINGE HANDLE |
Legal Events
| Date | Code | Title | Description |
|---|---|---|---|
| MM1K | Utility model has become invalid (non-payment of fees) |
Effective date: 20080419 |
