[go: up one dir, main page]

RU2511802C2 - Integrated fuel igniters for use in large engines and related methods of use and manufacturing - Google Patents

Integrated fuel igniters for use in large engines and related methods of use and manufacturing Download PDF

Info

Publication number
RU2511802C2
RU2511802C2 RU2012128571/06A RU2012128571A RU2511802C2 RU 2511802 C2 RU2511802 C2 RU 2511802C2 RU 2012128571/06 A RU2012128571/06 A RU 2012128571/06A RU 2012128571 A RU2012128571 A RU 2012128571A RU 2511802 C2 RU2511802 C2 RU 2511802C2
Authority
RU
Russia
Prior art keywords
valve
ignition
fuel
end portion
combustion chamber
Prior art date
Application number
RU2012128571/06A
Other languages
Russian (ru)
Other versions
RU2012128571A (en
Inventor
Рой Е. МАКЭЛИСТЭР
Original Assignee
МАКЭЛИСТЭР ТЕКНОЛОДЖИЗ, ЭлЭлСи
Priority date (The priority date is an assumption and is not a legal conclusion. Google has not performed a legal analysis and makes no representation as to the accuracy of the date listed.)
Filing date
Publication date
Priority claimed from US12/653,085 external-priority patent/US8635985B2/en
Priority claimed from US12/804,510 external-priority patent/US8074625B2/en
Priority claimed from US12/804,509 external-priority patent/US8561598B2/en
Priority claimed from US12/841,149 external-priority patent/US8365700B2/en
Priority claimed from US12/804,508 external-priority patent/US8387599B2/en
Priority claimed from US12/841,135 external-priority patent/US8192852B2/en
Priority claimed from US12/841,146 external-priority patent/US8413634B2/en
Application filed by МАКЭЛИСТЭР ТЕКНОЛОДЖИЗ, ЭлЭлСи filed Critical МАКЭЛИСТЭР ТЕКНОЛОДЖИЗ, ЭлЭлСи
Priority claimed from PCT/US2010/054361 external-priority patent/WO2011071607A2/en
Publication of RU2012128571A publication Critical patent/RU2012128571A/en
Application granted granted Critical
Publication of RU2511802C2 publication Critical patent/RU2511802C2/en

Links

Images

Classifications

    • YGENERAL TAGGING OF NEW TECHNOLOGICAL DEVELOPMENTS; GENERAL TAGGING OF CROSS-SECTIONAL TECHNOLOGIES SPANNING OVER SEVERAL SECTIONS OF THE IPC; TECHNICAL SUBJECTS COVERED BY FORMER USPC CROSS-REFERENCE ART COLLECTIONS [XRACs] AND DIGESTS
    • Y02TECHNOLOGIES OR APPLICATIONS FOR MITIGATION OR ADAPTATION AGAINST CLIMATE CHANGE
    • Y02TCLIMATE CHANGE MITIGATION TECHNOLOGIES RELATED TO TRANSPORTATION
    • Y02T10/00Road transport of goods or passengers
    • Y02T10/10Internal combustion engine [ICE] based vehicles
    • Y02T10/30Use of alternative fuels, e.g. biofuels

Landscapes

  • Ignition Installations For Internal Combustion Engines (AREA)
  • Fuel-Injection Apparatus (AREA)
  • Spark Plugs (AREA)
  • Electrical Control Of Air Or Fuel Supplied To Internal-Combustion Engine (AREA)
  • Combined Controls Of Internal Combustion Engines (AREA)
  • Combustion Methods Of Internal-Combustion Engines (AREA)

Abstract

FIELD: engines and pumps.SUBSTANCE: invention relates to engine building industry, particularly to fuel equipment of internal combustion engines. According to the proposed version, an injector includes a housing with the first tail-piece opposite to the second tail-piece. The second tail-piece is designed with possibility of location near the combustion chamber, and the first one - with possibility of location at a distance from the combustion chamber. The injector also includes an igniting conductor, passing through the housing from the first tail-part to the second tail-part, and an isolation passing along the igniting conductor and embracing at least a part of igniting conductor. The injector also includes a valve passing along the isolation from the first tail-part to the second tail-part. The valve includes a sealing tail-part, and the valve is designed with possibility of movement along the isolation between open and closed position. The injector also involves a valve seat in the second tail-part of the housing or near the second tail-part of the housing. When the valve is in open position, the sealing tail-part is at a distance of the valve seat, and when the valve is in closed position, the sealing tail-part contacts with at least a part of the valve seat.EFFECT: proposed are the versions for implementation of injectors for injection passages with relatively small diameters.36 cl, 15 dwg

Description

ОБЛАСТЬ ТЕХНИКИFIELD OF TECHNOLOGY

Нижеследующее раскрытие в целом относится к интегрированным топливным воспламенителям для использования в крупных двигателях и двигателях других размеров, для впрыска и воспламенения различных топлив в камере сгорания.The following disclosure generally relates to integrated fuel igniters for use in large engines and engines of other sizes, for injection and ignition of various fuels in a combustion chamber.

УРОВЕНЬ ТЕХНИКИBACKGROUND

Системы впрыска топлива обычно используются для впрыска струи топлива внутрь впускного трубопровода или камеры сгорания двигателя. Системы впрыска топлива стали основной системой доставки топлива, используемой в автомобильных двигателях, почти полностью заменив карбюраторы с конца 1980-х годов. Стандартные системы впрыска топлива обычно соединены с источником находящегося под давлением топлива, и топливные инжекторы, используемые в этих системах впрыска топлива, обычно впрыскивают или иным образом подают находящееся под давлением топливо внутрь камеры сгорания в определенное время относительно рабочего хода двигателя. Во многих двигателях и, в частности, в крупных двигателях размер канала или прохода, через который топливный инжектор входит в камеру сгорания, является небольшим. Этот небольшой проход, соответственно, ограничивает размер компонентов, которые могут использоваться для приведения в движение, или, иначе, впрыска топлива из инжектора. Кроме того, такие двигатели также обычно имеют содержащие много элементов механизмы впускного и выпускного клапанов, что еще больше ограничивает пространство, имеющееся для компонентов этих топливных инжекторов.Fuel injection systems are typically used to inject a jet of fuel into the intake manifold or engine combustion chamber. Fuel injection systems have become the main fuel delivery system used in automotive engines, almost completely replacing carburetors since the late 1980s. Standard fuel injection systems are usually connected to a source of pressurized fuel, and the fuel injectors used in these fuel injection systems typically inject or otherwise deliver pressurized fuel into the combustion chamber at a certain time relative to the engine's stroke. In many engines, and in particular in large engines, the size of the channel or passage through which the fuel injector enters the combustion chamber is small. This small passage, accordingly, limits the size of the components that can be used to propel, or, otherwise, inject fuel from the injector. In addition, such engines also typically have multi-element intake and exhaust valve mechanisms, which further limits the space available for the components of these fuel injectors.

КРАТКОЕ ОПИСАНИЕ ЧЕРТЕЖЕЙBRIEF DESCRIPTION OF THE DRAWINGS

Фиг.1 показывает схематичный вид сбоку в разрезе интегрированного инжектора/воспламенителя («инжектора»), сконфигурированного согласно одному варианту реализации.Figure 1 shows a schematic cross-sectional side view of an integrated injector / igniter (“injector") configured in accordance with one embodiment.

Фиг.2A показывает вид сбоку в разрезе в частично разобранном состоянии инжектора, сконфигурированного согласно другому варианту реализации.Fig. 2A shows a sectional side view of a partially exploded state of an injector configured in accordance with another embodiment.

Фиг.2B показывает вид сбоку в разрезе клапана подачи, сконфигурированного согласно одному из вариантов реализации.2B shows a cross-sectional side view of a feed valve configured according to one embodiment.

Фиг.3A-5A показывают последовательность видов сбоку в разрезе инжекторов, сконфигурированных согласно другим вариантам реализации.Figa-5A show a sequence of side views in section of injectors configured according to other variants of implementation.

Фиг.5B показывает вид поперечного сечения по линии 5B-5B из фиг.5A, иллюстрирующий первую секцию течения топлива, а фиг.5C показывает вид поперечного сечения по линии 5C-5C из фиг.5A, иллюстрирующий вторую секцию течения топлива. Фиг.5D показывает вид поперечного сечения по линии 5B-5B из фиг.5A, иллюстрирующий альтернативный вариант реализации первой секции течения топлива, а Фиг.5E показывает вид поперечного сечения по линии 5C-5C из фиг.5A, иллюстрирующий альтернативный вариант реализации второй секции течения топлива.Fig. 5B shows a cross-sectional view along line 5B-5B of Fig. 5A illustrating the first fuel flow section, and Fig. 5C shows a cross-sectional view along line 5C-5C of Fig. 5A illustrating the second fuel flow section. Fig. 5D shows a cross-sectional view along line 5B-5B of Fig. 5A illustrating an alternative embodiment of the first fuel flow section, and Fig. 5E shows a cross-sectional view along line 5C-5C of Fig. 5A illustrating an alternative embodiment of the second section. fuel flow.

Фиг.5F и 5G показывают виды сбоку клапанов подачи, сконфигурированных согласно приведенным вариантам реализации.5F and 5G show side views of supply valves configured according to the above embodiments.

Фиг.6 показывает вид сбоку в разрезе инжектора, сконфигурированного согласно дополнительному варианту реализации.6 shows a sectional side view of an injector configured according to a further embodiment.

ПОДРОБНОЕ ОПИСАНИЕDETAILED DESCRIPTION

В настоящее изобретение полностью включены посредством ссылки следующие документы:The following documents are fully incorporated by reference into the present invention:

заявка на патент США № 12/841170, поданная 21 июля 2010 года и названная «ИНТЕГРИРОВАННЫЕ ТОПЛИВНЫЕ ИНЖЕКТОРЫ И ВОСПЛАМЕНИТЕЛИ И СООТВЕТСТВУЮЩИЕ СПОСОБЫ ИСПОЛЬЗОВАНИЯ И ИЗГОТОВЛЕНИЯ»,US Patent Application No. 12/841170, filed July 21, 2010, entitled "INTEGRATED FUEL INJECTORS AND IGNITORS AND APPROPRIATE USES AND MANUFACTURING METHODS",

заявка на патент США № 12/804510, поданная 21 июля 2010 года и названная «УЗЛЫ ПРИВЕДЕНИЯ В ДЕЙСТВИЕ ТОПЛИВНОГО ИНЖЕКТОРА И СООТВЕТСТВУЮЩИЕ СПОСОБЫ ИСПОЛЬЗОВАНИЯ И ИЗГОТОВЛЕНИЯ»,US Patent Application No. 12/804510, filed July 21, 2010, entitled "KITS FOR OPERATING A FUEL INJECTOR AND APPROPRIATE METHODS FOR USE AND MANUFACTURE",

заявка на патент США № 12/841/146, поданная 21 июля 2010 года и названная «ВОСПЛАМЕНИТЕЛИ ИНТЕГРИРОВАННОГО ТОПЛИВНОГО ИНЖЕКТОРА С БЛОКАМИ ПРОВОДЯЩИХ КАБЕЛЕЙ»,US Patent Application Serial No. 12/841/146, filed July 21, 2010, entitled “IGNITORS OF AN INTEGRATED FUEL INJECTOR WITH CONDUCTOR CABLE BLOCKS”,

заявка на патент США № 12/841149, поданная 21 июля 2010 года и названная «ФОРМИРОВАНИЕ ДОЗЫ ТОПЛИВА В КАМЕРЕ СГОРАНИЯ С НЕСКОЛЬКИМИ ПРИВОДНЫМИ МЕХАНИЗМАМИ И/ИЛИ КОНТРОЛЕМ ИОНИЗАЦИИ»,US Patent Application No. 12/841149, filed July 21, 2010, entitled "FORMING A FUEL DOSE IN A COMBUSTION CAMERA WITH MULTIPLE DRIVE MECHANISMS AND / OR IONIZATION CONTROL",

заявка на патент США № 12/841135, поданная 21 июля 2010 года и названная «КЕРАМИЧЕСКИЙ ИЗОЛЯТОР И СПОСОБЫ ЕГО ИСПОЛЬЗОВАНИЯ И ИЗГОТОВЛЕНИЯ»,application for US patent No. 12/841135, filed July 21, 2010 and titled "CERAMIC INSULATOR AND METHODS OF ITS USE AND MANUFACTURE",

заявка на патент США № 12/804509, поданная 21 июля 2010 года и названная «СПОСОБ И СИСТЕМА ТЕРМОХИМИЧЕСКОЙ РЕГЕНЕРАЦИИ ДЛЯ ОБЕСПЕЧЕНИЯ КИСЛОРОДОСОДЕРЖАЩЕГО ТОПЛИВА, НАПРИМЕР, В ОХЛАЖДАЕМЫХ ТОПЛИВОМ ТОПЛИВНЫХ ИНЖЕКТОРАХ»,US Patent Application No. 12/804509, filed July 21, 2010, entitled "METHOD AND SYSTEM OF THERMOCHEMICAL REGENERATION FOR PROVIDING OXYGEN-CONTAINING FUEL, FOR EXAMPLE, IN COOLED FUEL, FUEL INJECTORS"

заявка на патент США № 12/804508, поданная 21 июля 2010 года и названная «СПОСОБЫ И СИСТЕМЫ ДЛЯ УМЕНЬШЕНИЯ ФОРМИРОВАНИЯ ОКСИДОВ АЗОТА ВО ВРЕМЯ ГОРЕНИЯ В ДВИГАТЕЛЯХ»,application for US patent No. 12/804508, filed July 21, 2010 and titled "METHODS AND SYSTEMS FOR REDUCING THE FORMATION OF NITROGEN OXIDES DURING BURNING IN ENGINES",

заявка на патент США № 12/581825, поданная 19 октября 2009 года и названная «СИСТЕМА ДЛЯ ХРАНЕНИЯ, ДОЗИРОВАНИЯ И ВОСПЛАМЕНЕНИЯ НЕСКОЛЬКИХ ТОПЛИВ»,US Patent Application No. 12/581825, filed October 19, 2009 and entitled "SYSTEM FOR STORAGE, DOSING AND IGNITION OF MULTI FUELS",

заявка на патент США № 12/653085, поданная 7 декабря 2009 года и названная «ИНТЕГРИРОВАННЫЕ ТОПЛИВНЫЕ ИНЖЕКТОРЫ И ВОСПЛАМЕНИТЕЛИ И СООТВЕТСТВУЮЩИЕ СПОСОБЫ ИСПОЛЬЗОВАНИЯ И ИЗГОТОВЛЕНИЯ»,US Patent Application No. 12/653085, filed December 7, 2009, entitled "INTEGRATED FUEL INJECTORS AND IGNITORS AND APPROPRIATE METHODS FOR USE AND MANUFACTURE",

заявка на патент США № 12/006774 (на которую получен патент США № 7628137), поданная 7 января 2008 года и названная «СИСТЕМА ДЛЯ ХРАНЕНИЯ, ДОЗИРОВАНИЯ И ВОСПЛАМЕНЕНИЯ НЕСКОЛЬКИХ ТОПЛИВ»,Application for US patent No. 12/006774 (for which US patent No. 7628137 was obtained), filed January 7, 2008 and entitled "SYSTEM FOR STORAGE, DOSING AND IGNITION OF MULTI FUELS",

заявка PCT № PCT/US09/67044, поданная 7 декабря 2009 года и названная «ИНТЕГРИРОВАННЫЕ ТОПЛИВНЫЕ ИНЖЕКТОРЫ И ВОСПЛАМЕНИТЕЛИ И СООТВЕТСТВУЮЩИЕ СПОСОБЫ ИСПОЛЬЗОВАНИЯ И ИЗГОТОВЛЕНИЯ»,PCT Application No. PCT / US09 / 67044, filed December 7, 2009 and entitled "INTEGRATED FUEL INJECTORS AND IGNITORS AND APPROPRIATE METHODS FOR USE AND MANUFACTURE",

предварительная заявка на патент США № 61/237425, поданная 27 августа 2009 года и названная «ПРОИЗВОДСТВО КИСЛОРОДОСОДЕРЖАЩЕГО ТОПЛИВА»,provisional application for US patent No. 61/237425, filed August 27, 2009 and titled "PRODUCTION OF OXYGEN-CONTAINING FUEL",

предварительная заявка на патент США № 61/237466, поданная 27 августа 2009 года и названная «СЖИГАТЕЛЬ НЕСКОЛЬКИХ ВИДОВ ТОПЛИВА»,provisional application for US patent No. 61/237466, filed August 27, 2009 and titled "BURNER OF MULTIPLE FUEL SPECIES",

предварительная заявка на патент США № 61/237479, поданная 27 августа 2009 года и названная «ЭНЕРГИЯ ПОЛНОГО СПЕКТРА»,provisional application for US patent No. 61/237479, filed August 27, 2009 and titled "ENERGY FULL SPECTRUM",

предварительная заявка на патент США № 61/304403, поданная 13 февраля 2010 года и названная «ЭНЕРГИЯ ПОЛНОГО СПЕКТРА И РЕСУРСНАЯ НЕЗАВИСИМОСТЬ», иprovisional application for US patent No. 61/304403, filed February 13, 2010 and entitled "ENERGY OF THE FULL SPECTRUM AND RESOURCE INDEPENDENCE", and

предварительная заявка на патент США № 61/312100, поданная 9 марта 2010 года и названная «СИСТЕМА И СПОСОБ ДЛЯ ОБЕСПЕЧЕНИЯ ЗАЩИТЫ ОТ ВЫСОКОГО НАПРЯЖЕНИЯ ВЫСОКОЙ ЧАСТОТЫ, НАПРИМЕР, ДЛЯ ИСПОЛЬЗОВАНИЯ С ТОПЛИВНЫМ ИНЖЕКТОРОМ».provisional application for US patent No. 61/312100, filed March 9, 2010 and entitled "SYSTEM AND METHOD FOR PROTECTING HIGH VOLTAGE PROTECTION, FOR EXAMPLE, FOR USE WITH A FUEL INJECTOR."

В настоящую заявку полностью включены посредством ссылки заявки на патент США, поданные одновременно с настоящей заявкой 27 октября 2010 года и названные «АДАПТИВНАЯ СИСТЕМА УПРАВЛЕНИЯ ДЛЯ ТОПЛИВНЫХ ИНЖЕКТОРОВ И ВОСПЛАМЕНИТЕЛЕЙ» (номер, присвоенный патентным поверенным 69545-8059US) и «ТОПЛИВНЫЙ ИНЖЕКТОР, ПОДХОДЯЩИЙ ДЛЯ ВПРЫСКА НЕСКОЛЬКИХ РАЗНЫХ ТОПЛИВ ВНУТРЬ КАМЕРЫ СГОРАНИЯ» (номер, присвоенный патентным поверенным 69545-8054US).This application is fully incorporated by reference, the US patent application filed simultaneously with this application on October 27, 2010 and called “ADAPTIVE CONTROL SYSTEM FOR FUEL INJECTORS AND Igniters” (number assigned by patent attorney 69545-8059US) and “FUEL INJECTOR FOR APPROACH INJECTION OF SEVERAL DIFFERENT FUELS INSIDE THE COMBUSTION CHAMBER ”(number assigned to patent attorney 69545-8054US).

A. Общее представлениеA. General view

Настоящее раскрытие описывает интегрированные устройства впрыска и воспламенения топлива для использования с двигателями внутреннего сгорания, а также соответствующие системы, узлы, компоненты и способы, относящиеся к ним. Например, несколько вариантов реализации, описанных ниже, относятся в целом к выполненным с возможностью адаптации инжекторам/воспламенителям топлива, которые могут оптимизировать впрыск и сжигание различных топлив на основании условий в камере сгорания. В некоторых вариантах реализации эти инжекторы/воспламенители топлива также конкретно предназначены для применения в крупных двигателях, таких как модернизированные узлы и новые узлы, имеющих ограниченное пространство для таких инжекторов/воспламенителей. Некоторые подробности изложены в нижеследующем описании и на Фиг.1-6 для обеспечения полного понимания различных вариантов реализации раскрытия. Однако другие подробности, описывающие хорошо известные структуры и системы, часто относящиеся к двигателям внутреннего сгорания, инжекторам, воспламенителям и/или другим аспектам систем сжигания топлива, не излагаются ниже, чтобы избежать чрезмерного усложнения описания различных приведенных вариантов реализации. Таким образом, необходимо понимать, что подробности, изложенные ниже, предоставлены для описания нижеследующих вариантов реализации таким способом, который достаточен для того, чтобы специалист в соответствующей области мог изготовить и использовать описанные варианты реализации. Подробности и преимущества, описываемые ниже, однако, могут не быть необходимыми для практического воплощения некоторых вариантов реализации.The present disclosure describes integrated fuel injection and ignition devices for use with internal combustion engines, as well as related systems, components, components and methods related thereto. For example, several embodiments described below relate generally to adaptable fuel injectors / igniters that can optimize the injection and combustion of various fuels based on conditions in the combustion chamber. In some embodiments, these fuel injectors / igniters are also specifically intended for use in large engines, such as retrofit assemblies and new assemblies having limited space for such injectors / igniters. Some details are set forth in the following description and in FIGS. 1-6 to provide a thorough understanding of various embodiments of the disclosure. However, other details describing well-known structures and systems, often related to internal combustion engines, injectors, ignitors, and / or other aspects of fuel combustion systems, are not set forth below to avoid overly complicating the description of the various embodiments given. Thus, it must be understood that the details set forth below are provided to describe the following embodiments in a manner that is sufficient for one skilled in the art to make and use the described embodiments. The details and advantages described below, however, may not be necessary for the practical implementation of certain implementation options.

Многие из подробностей, размеров, углов, форм и других признаков, показанных на фигурах, являются лишь признаками конкретных приведенных вариантов реализации. Соответственно, другие варианты реализации могут иметь другие подробности, размеры, углы и признаки без выхода за рамки сущности или объема настоящего раскрытия. Кроме того, специалисты, обладающие средним уровнем знаний в данной области, должны понимать, что другие приведенные варианты реализации могут быть воплощены на практике без некоторых из подробностей, описанных ниже.Many of the details, sizes, angles, shapes, and other features shown in the figures are merely features of the specific embodiments given. Accordingly, other embodiments may have other details, dimensions, angles, and features without departing from the spirit or scope of the present disclosure. In addition, specialists with an average level of knowledge in this field should understand that the other options for implementation can be put into practice without some of the details described below.

Ссылка в настоящем документе на «один вариант реализации» или «вариант реализации» означает, что конкретные признак, структура или характеристика, описанные применительно к этому варианту реализации, включены по меньшей мере в один приведенный вариант реализации. Таким образом, использование выражений «в одном варианте реализации» или «в варианте реализации» в различных местах в настоящем документе не обязательно означает, что все они относятся к одному и тому же варианту реализации. Далее, конкретные признаки, структуры или характеристики, описываемые со ссылкой на конкретный вариант реализации, могут быть скомбинированы любым подходящим способом по меньшей мере в одном другом варианте реализации. Кроме того, заголовки, имеющиеся в настоящем документе, приведены лишь для удобства и не дают интерпретацию объема или значения заявленного раскрытия.The reference in this document to “one implementation option” or “implementation option” means that a specific feature, structure or characteristic described in relation to this implementation option is included in at least one given implementation option. Thus, the use of the expressions “in one embodiment” or “in an embodiment” in various places in this document does not necessarily mean that they all refer to the same embodiment. Further, specific features, structures, or characteristics described with reference to a particular embodiment may be combined in any suitable manner in at least one other embodiment. In addition, the headings provided herein are for convenience only and do not provide an interpretation of the scope or meaning of the disclosure disclosed.

Фиг.1 показывает схематичный вид сбоку в разрезе интегрированного инжектора/воспламенителя 100 («инжектора» 100), сконфигурированного согласно одному варианту реализации. Инжектор 100, показанный на фиг.1, предназначен для схематичной иллюстрации нескольких из признаков инжекторов и узлов, описываемых ниже. Соответственно, эти признаки, описываемые со ссылкой на фиг.1, не предназначены для ограничения каких-либо из признаков инжекторов и узлов, описываемых ниже. Как показано на фиг.1, инжектор 100 включает корпус 102, имеющий среднюю часть 104, проходящую между первой концевой частью, или базовой частью, 106 и второй концевой частью, или выпускной частью, 108. Базовая часть 106, соответственно, находится на расстоянии от выпускной части 108.FIG. 1 shows a schematic cross-sectional side view of an integrated injector / igniter 100 (“injector” 100) configured in accordance with one embodiment. The injector 100 shown in FIG. 1 is intended to schematically illustrate several of the features of the injectors and assemblies described below. Accordingly, these features described with reference to FIG. 1 are not intended to limit any of the features of the injectors and assemblies described below. As shown in FIG. 1, the injector 100 includes a housing 102 having a middle portion 104 extending between a first end portion or a base portion 106 and a second end portion or an outlet portion 108. The base portion 106, respectively, is spaced from graduation part 108.

Выпускная часть 108 сконфигурирована с возможностью по меньшей мере частично проходить сквозь головку 110 цилиндра, чтобы впрыскивать и воспламенять топливо на границе 111 или вблизи границы 111 камеры 112 сгорания. В некоторых вариантах реализации выпускная часть 108 может включать компоненты, которые сконфигурированы с возможностью умещаться внутри относительно малого прохода для впрыска, часто используемого в крупных двигателях, таких как, например, корабельные двигатели. В изображенном варианте реализации, например, проход 107 для впрыска, такой как проход для впрыска современного дизельного двигателя, может иметь диаметр D приблизительно 8,4 мм (0,33 дюйма) или меньше. В других вариантах реализации, однако, диаметр D может быть больше чем приблизительно 8,4 мм. Как описано подробно ниже, инжектор 100 выполнен таким образом, чтобы обеспечивать адаптивное и быстрое приведение в движение при высоком давлении подачи топлива и при этом устранять нежелательную утечку топлива внутрь камеры 112 сгорания даже в таких относительно малых проходах 107 для впрыска. Кроме того, как тоже описано подробно ниже, инжектор 100 также сконфигурирован таким образом, чтобы учитывалось относительно большое расстояние или относительно большая длина L между границей 111 камеры сгорания и несколькими приводимыми в движение компонентами, которые несет корпус 102, и которые находятся на расстоянии от головки 110 цилиндра. В современных дизельных двигателях или других крупных двигателях, например, содержащие много элементов механизмы впускного и выпускного клапанов на головке 110 цилиндра могут требовать расстояний L 12-36 дюймов или больше.The exhaust portion 108 is configured to at least partially pass through the cylinder head 110 to inject and ignite fuel at a boundary 111 or close to a boundary 111 of the combustion chamber 112. In some embodiments, the exhaust portion 108 may include components that are configured to fit within a relatively small injection passage, often used in large engines, such as, for example, ship engines. In the depicted embodiment, for example, an injection passage 107, such as the injection passage of a modern diesel engine, may have a diameter D of approximately 8.4 mm (0.33 inches) or less. In other embodiments, however, the diameter D may be greater than about 8.4 mm. As described in detail below, the injector 100 is configured to provide adaptive and quick propulsion at high pressure of the fuel supply while eliminating undesired fuel leakage into the combustion chamber 112 even in such relatively small injection passages 107. In addition, as also described in detail below, the injector 100 is also configured to take into account the relatively large distance or relatively large length L between the boundary 111 of the combustion chamber and several driven components carried by the housing 102 and which are located at a distance from the head 110 cylinder. In modern diesel engines or other large engines, for example, multi-element intake and exhaust valve mechanisms on cylinder head 110 may require distances L of 12-36 inches or more.

В варианте реализации, показанном на фиг.1, инжектор 100 включает центральный узел 113, проходящий от базовой части 106 к выпускной части 108. Инжектор 100 также включает изоляцию 142 корпуса, концентрично расположенную поверх по меньшей мере части центрального узла 113. Центральный узел 113 включает воспламеняющий стержень, или проводник, 114, изоляцию 116 воспламеняющего проводника и клапан 118. Воспламеняющий проводник 114 функционально соединен с источником напряжения в базовой части 106 и проходит от базовой части 106 до выпускной части 108. Воспламеняющий проводник 114 включает концевую часть 115, находящуюся вблизи границы 111 камеры 112 сгорания, которая (концевая часть 115) включает по меньшей мере один воспламеняющий элемент, который сконфигурирован с возможностью генерации акта воспламенения с головкой 110. Изоляция 116 воспламеняющего проводника концентрично расположена поверх по меньшей мере части воспламеняющего проводника 114 и проходит от базовой части 106 по меньшей мере частично внутрь выпускной части 108. Клапан 118 концентрично расположен поверх по меньшей мере части изоляции 116. В изображенном варианте реализации клапан 118 имеет первую длину, изоляция 116 воспламеняющего проводника имеет вторую длину, большую, чем первая длина, а воспламеняющий проводник 114 имеет третью длину, большую, чем вторая длина. Клапан 118 сконфигурирован с возможностью перемещения между открытой позицией (как показано на фиг.1) и закрытой позицией. В частности, клапан 118 включает герметизирующую концевую часть 119, которая прижата к соответствующему клапанному седлу 121, когда клапан 118 находится в закрытой позиции. Клапанное седло 121 может поддерживаться изоляцией 142 корпуса. Когда клапан 118 перемещается в открытую позицию, концевая часть 119 отходит от клапанного седла 121, с тем чтобы позволить топливу течь или иным образом проходить мимо клапанного седла 121.In the embodiment shown in FIG. 1, the injector 100 includes a central assembly 113 extending from the base portion 106 to the exhaust portion 108. The injector 100 also includes housing insulation 142 concentrically located over at least a portion of the central assembly 113. The central assembly 113 includes the ignition rod or conductor 114, the ignition conductor insulation 116 and the valve 118. The ignition conductor 114 is operatively connected to a voltage source in the base portion 106 and extends from the base portion 106 to the outlet portion 108. The igniter the conductor 114 includes an end portion 115 located near the boundary 111 of the combustion chamber 112, which (end portion 115) includes at least one ignition element that is configured to generate an ignition act with the head 110. The insulation of the ignition conductor 116 is concentrically located on top of at least part of the igniter conductor 114 and extends from the base portion 106 at least partially into the outlet portion 108. The valve 118 is concentrically arranged over at least a portion of the insulation 116. In the image Hinnom embodiment, the valve 118 has a first length, an ignition conductor insulation 116 has a second length greater than the first length, and flammable conductor 114 has a third length greater than the second length. Valve 118 is configured to move between an open position (as shown in FIG. 1) and a closed position. In particular, valve 118 includes a sealing end portion 119 that is pressed against the corresponding valve seat 121 when valve 118 is in the closed position. Valve seat 121 may be supported by housing insulation 142. When valve 118 moves to an open position, end portion 119 moves away from valve seat 121 to allow fuel to flow or otherwise pass past valve seat 121.

Инжектор 100 также включает управляющий клапаном узел 125, который поддерживается базовой частью 106. Управляющий клапаном узел 125 включает по меньшей мере приводящее средство или привод 120 и процессор или контроллер 122. В частности, привод 120 расположен в базовой части 106 и функционально соединен с клапаном 118. Привод 120 также функционально соединен с контроллером 122. Привод 120 может приводиться в движение с помощью любого подходящего генерирующего усилие механизма (например, электрического, электромеханического, магнитного и т.д.) для взаимодействия с клапаном 118 и перемещения клапана 118. Контроллер 122 может также быть функционально соединен с по меньшей мере одним датчиком, который поддерживается инжектором 100 или расположен в ином месте в двигателе, в котором инжектор 100 установлен. Эти датчики могут определять данные камеры сгорания или иные относящиеся к двигателю данные, которые могут находиться в некотором соотношении с данными камеры сгорания. В одном варианте реализации, например, контроллер 122 может быть функционально соединен с датчиками, которые представляют собой оптические волокна, которые поддерживаются воспламеняющим проводником 114. Соответственно, контроллер 122 может направлять или иным образом контролировать привод 120 для приведения в движение клапана в ответ на по меньшей мере одно свойство камеры сгорания.The injector 100 also includes a valve control assembly 125, which is supported by the base portion 106. The valve control assembly 125 includes at least a drive means or actuator 120 and a processor or controller 122. In particular, the actuator 120 is located in the base portion 106 and is operatively connected to the valve 118 The drive 120 is also operatively connected to the controller 122. The drive 120 may be driven by any suitable force generating mechanism (eg, electrical, electromechanical, magnetic, etc.) for interactions tviya with the valve 118 and moving the valve 118. The controller 122 may also be operatively connected to the at least one sensor, which is supported by the injector 100, or located elsewhere in the engine, wherein the injector 100 is mounted. These sensors can detect combustion chamber data or other engine related data, which may be in some proportion to combustion chamber data. In one embodiment, for example, controller 122 may be operatively connected to sensors that are optical fibers that are supported by ignition conductor 114. Accordingly, controller 122 may direct or otherwise control actuator 120 to actuate valve in response to at least at least one property of the combustion chamber.

Во время работы топливо вводится в базовой части 106 внутрь пути или канала 124 течения топлива. Канал 124 течения топлива проходит между корпусом 102 и клапаном 118 от базовой части 106 через среднюю часть 104 к выпускной части 108. Точно дозированные количества топлива могут выборочно и адаптивно вводиться внутрь камеры 112 сгорания инжектором 100. Например, привод 120 приводит в движение клапан 118 таким образом, чтобы тот скользил или иным образом перемещался продольно вдоль изоляции 116, с тем, чтобы отвести герметизирующую концевую часть 119 клапана 118 от клапанного седла 121. Когда клапан 118 перемещается между открытой и закрытой позициями в направлениях, в целом параллельных продольной оси инжектора 100, воспламеняющий проводник 114 и изоляция 116 остаются неподвижными внутри корпуса 102. Изоляция 116, таким образом, действует в качестве центрального подшипника скольжения для клапана 118 и может, соответственно, иметь наружную поверхность с низким коэффициентом трения, контактирующую с клапаном 118. Кроме того, как описано подробно ниже, воспламеняющий проводник 114 может создавать акт воспламенения с целью воспламенения топлива до или во время вхождения топлива в камеру 112 сгорания. Как также описано подробно ниже, герметизирующая концевая часть 119 клапана 118 может быть расположена в разных местах внутри инжектора 100, в том числе, например, внутри прохода 107 для впрыска и/или вблизи границы 111 камеры 112 сгорания.During operation, fuel is introduced into the base portion 106 into the path or passage 124 of the fuel flow. A fuel flow passage 124 extends between the housing 102 and the valve 118 from the base portion 106 through the middle portion 104 to the exhaust portion 108. Accurately metered amounts of fuel can be selectively and adaptively introduced into the combustion chamber 112 by the injector 100. For example, the actuator 120 drives valve 118 so so that it slides or otherwise moves longitudinally along the insulation 116 so as to divert the sealing end portion 119 of the valve 118 from the valve seat 121. When the valve 118 is moved between open and closed positions In general, parallel to the longitudinal axis of the injector 100, the igniter conductor 114 and the insulation 116 remain stationary inside the housing 102. The insulation 116 thus acts as a central sliding bearing for the valve 118 and may accordingly have an outer surface with a low coefficient of friction, in contact with the valve 118. In addition, as described in detail below, the ignition conductor 114 may create an act of ignition to ignite the fuel before or during the entry of fuel into the combustion chamber 112. As also described in detail below, the sealing end portion 119 of the valve 118 may be located at various places inside the injector 100, including, for example, inside the injection passage 107 and / or near the boundary 111 of the combustion chamber 112.

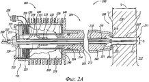
Фиг.2A показывает вид сбоку в разрезе интегрированного инжектора/воспламенителя 200 («инжектора 200»), сконфигурированного согласно другому варианту реализации. Вариант реализации, изображенный на фиг.2A, включает несколько признаков, которые в целом подобны по структуре и функции соответствующим признакам инжектора 100, описанного выше со ссылкой на фиг.1. Например, инжектор 200, изображенный на фиг.2, включает корпус 202, имеющий среднюю часть 204, проходящую между первой концевой частью, или базовой частью, 206 и второй концевой частью, или выпускной частью, 208. Выпускная часть 208 сконфигурирована с возможностью по меньшей мере частичного введения внутрь прохода 207 для впрыска в головке 210 цилиндра. Как описано подробно ниже, инжектор 200 сконфигурирован с возможностью решать сложную проблему многих современных дизельных двигателей или иных крупных двигателей, которые ограничивают размер прохода 207 для впрыска диаметром приблизительно 8,4 мм (0,33 дюйма) или меньше, и которые также ограничивают доступное пространство содержащими много элементов механизмами впускного и выпускного клапанов, из-за чего нередко требуется расстояние длиной L, равной приблизительно 12-36 дюймов, между границей 211 камеры 212 сгорания и управляющими клапаном компонентами инжектора 200.FIG. 2A shows a sectional side view of an integrated injector / igniter 200 (“injector 200”) configured in accordance with another embodiment. The embodiment depicted in FIG. 2A includes several features that are generally similar in structure and function to the corresponding features of the injector 100 described above with reference to FIG. For example, the injector 200 shown in FIG. 2 includes a housing 202 having a middle portion 204 extending between a first end portion or a base portion 206 and a second end portion or an outlet portion 208. The outlet portion 208 is configured to at least as it is partially inserted into the passage 207 for injection in the cylinder head 210. As described in detail below, the injector 200 is configured to solve the complex problem of many modern diesel engines or other large engines that limit the size of the injection passage 207 with a diameter of approximately 8.4 mm (0.33 inches) or less, and which also limit the available space containing many elements of the mechanisms of the intake and exhaust valves, which often requires a distance of length L of approximately 12-36 inches between the boundary 211 of the combustion chamber 212 and the control valve comp nents of the injector 200.

Согласно признакам изображенного варианта реализации, инжектор 200 также включает центральный узел 213, проходящий через корпус 202 от базовой части 206 по меньшей мере частично внутрь выпускной части 208. Центральный узел 213 обеспечивает впрыск и воспламенение топлива. В частности, центральный узел 213 включает изоляцию 216 воспламеняющего проводника или стержня, расположенную поверх воспламеняющего стержня, или проводника, 214. Центральный узел 213 также включает выполненный с возможностью перемещения трубчатый клапан 218, концентрично расположенный поверх изоляции 216 воспламеняющего стержня. В изображенном варианте реализации воспламеняющий проводник 214 представляет собой неподвижный воспламеняющий элемент, который может представлять собой электропроводящий стержень или многожильный провод. Воспламеняющий проводник 214 соединен с воспламеняющим разъемом 227 в базовой части для приема электроэнергии. В частности, воспламеняющий разъем 227 соединен с проводником 209 источника электроэнергии, который, в свою очередь, соединен с подходящим источником электроэнергии. В одном варианте реализации, например, воспламеняющий разъем 227 может подавать по меньшей мере приблизительно 80 кВ (постоянного или переменного тока) в воспламеняющий проводник 214. В других вариантах реализации, однако, воспламеняющий разъем 227 может подавать большее или меньшее напряжение в воспламеняющий проводник 214.According to the features of the illustrated embodiment, the injector 200 also includes a central assembly 213 extending through the housing 202 from the base portion 206 at least partially into the exhaust portion 208. The central assembly 213 provides fuel injection and ignition. In particular, the central assembly 213 includes an ignition conductor or rod insulation 216 located on top of the ignition rod or conductor 214. The central assembly 213 also includes a movable tubular valve 218 concentrically arranged over the ignition rod insulation 216. In the illustrated embodiment, the ignition conductor 214 is a fixed ignition element, which may be an electrically conductive rod or a stranded wire. The ignition conductor 214 is connected to the ignition connector 227 in the base portion for receiving electric power. In particular, the ignition plug 227 is connected to a power source conductor 209, which, in turn, is connected to a suitable power source. In one embodiment, for example, the ignition connector 227 can supply at least about 80 kV (direct or alternating current) to the ignition conductor 214. In other embodiments, however, the ignition connector 227 can supply more or less voltage to the ignition conductor 214.

Воспламеняющий проводник 214 также включает по меньшей мере один воспламеняющий элемент 234, расположенный у выпускной части 208. В изображенном варианте реализации воспламеняющие элементы 234 могут представлять собой треугольные витки или другие типы выступов, отходящих в окружном направлении от воспламеняющего проводника 214. Воспламеняющие элементы 234 остаются неподвижными и действуют в качестве первого электрода. Внутренний диаметр прохода 207 для впрыска действует в качестве соответствующего второго электрода для создания акта воспламенения, такого как акт воспламенения плазмой. В некоторых вариантах реализации, например, как показано на Фиг.2A, выпускная часть 208 может включать тонкую проводящую втулку-электрод, или тонкое проводящее покрытие-электрод, 235 на по меньшей мере части внутренней поверхности или внутреннего диаметра прохода 207 для впрыска. Втулка-электрод 235 может использоваться для защиты внутренней поверхности прохода 207 для впрыска от эрозии плазмой. В вариантах реализации без втулки-электрода 235, однако, высокочастотный переменный ток может использоваться для устранения эрозии плазмой на внутренней поверхности прохода 207 для впрыска.The ignition conductor 214 also includes at least one ignition element 234 located at the outlet portion 208. In the illustrated embodiment, the ignition elements 234 may be triangular turns or other types of protrusions extending in a circumferential direction from the ignition conductor 214. The ignition elements 234 remain stationary and act as the first electrode. The inner diameter of the injection passage 207 acts as the corresponding second electrode to create an ignition act, such as a plasma ignition act. In some embodiments, for example, as shown in FIG. 2A, the outlet portion 208 may include a thin conductive electrode sleeve, or a thin conductive electrode coating, 235 on at least a portion of the inner surface or inner diameter of the injection passage 207. The electrode sleeve 235 can be used to protect the inner surface of the injection passage 207 from plasma erosion. In embodiments without the electrode sleeve 235, however, high frequency alternating current can be used to eliminate plasma erosion on the inner surface of the injection passage 207.

В изображенном варианте реализации воспламеняющий проводник 214 также включает по меньшей мере один датчик, такой как одно или более оптическое волокно 217, расположенный внутри воспламеняющего проводника 214. Оптические волокна 217 могут проходить продольно через воспламеняющий проводник 214 и сконфигурированы с возможностью передачи данных из камеры 212 сгорания по меньшей мере одному компоненту в инжекторе 200 или в двигателе, использующем инжектор 200.In the illustrated embodiment, the ignition conductor 214 also includes at least one sensor, such as one or more optical fibers 217, located inside the ignition conductor 214. The optical fibers 217 can extend longitudinally through the ignition conductor 214 and are configured to transmit data from the combustion chamber 212 at least one component in the injector 200 or in an engine using the injector 200.

Согласно некоторым признакам изображенного варианта реализации, изоляция 216 воспламеняющего проводника остается неподвижной на воспламеняющем проводнике 214 и может быть выполнена из керамического изолятора, как раскрыто в находящихся одновременно на рассмотрении заявках, перечисленных выше, ссылка на которые означает их полное включение в описание настоящей заявки. В одном варианте реализации, например, изоляция 216 воспламеняющего проводника может быть выполнена из винтообразного изделия с крупным шагом, изготовленного из мононити политетрафторэтилена или полиэфирэфиркетона. В других вариантах реализации, однако, изоляция 216 воспламеняющего проводника может быть выполнена из других материалов, подходящих для сдерживания напряжения, подаваемого в инжектор 200 и/или генерируемого внутри инжектора 200. Например, изоляция 216 воспламеняющего проводника может быть выполнена из изолирующих материалов, подходящих для сдерживания 80 кВ (постоянный ток или переменный ток) при температурах до приблизительно 1000°F. В других вариантах реализации изоляция 216 может быть сконфигурирована с возможностью сдерживания большего или меньшего напряжения, а также для работы в более высоких или более низких температурах. Как также описано подробно ниже, изоляция 216 воспламеняющего проводника может также служить в качестве центрального подшипника скольжения, имеющего поверхности с низким коэффициентом трения, для клапана 218, когда клапан 218 перемещается между открытой и закрытой позициями вдоль изоляции 216 воспламеняющего проводника.According to some features of the illustrated embodiment, the ignition conductor insulation 216 remains stationary on the ignition conductor 214 and can be made of ceramic insulator, as disclosed in the pending applications listed above, the reference to which means their full inclusion in the description of this application. In one embodiment, for example, the ignition conductor insulation 216 may be made of a large pitch helical product made of monofilament of polytetrafluoroethylene or polyetheretherketone. In other embodiments, however, the ignition conductor insulation 216 may be made of other materials suitable for containing voltage supplied to the injector 200 and / or generated within the injector 200. For example, the ignition conductor insulation 216 may be made of insulating materials suitable for containment of 80 kV (direct current or alternating current) at temperatures up to approximately 1000 ° F. In other embodiments, insulation 216 may be configured to contain more or less voltage, as well as to operate at higher or lower temperatures. As also described in detail below, the ignition conductor insulation 216 can also serve as a central sliding bearing having low friction surfaces for the valve 218 when the valve 218 moves between open and closed positions along the ignition conductor insulation 216.

Как показано в изображенном варианте реализации, клапан 218 представляет собой открывающийся наружу клапан (например, открывающийся в направлении к камере 212 сгорания), который выполнен с возможностью перемещения вдоль изоляции 216 для выборочного введения топлива из выпускной части 208 внутрь камеры 212 сгорания. В частности, клапан 218 сконфигурирован с возможностью скользить вдоль изоляции 216 между открытой и закрытой позициями и в направлениях, которые в целом параллельны продольной оси инжектора 200. Клапан 218 включает первую концевую часть 223, противоположную второй, или герметизирующей, концевой части 219. Герметизирующая концевая часть 219 формирует непроницаемую для текучей среды герметизацию с соответствующим клапанным седлом 221, когда клапан 218 находится в закрытой позиции. Другие подробности клапана 218 описаны ниже со ссылкой на фиг.2B.As shown in the illustrated embodiment, the valve 218 is an outward opening valve (for example, opening toward the combustion chamber 212) that is movable along the insulation 216 to selectively introduce fuel from the exhaust portion 208 into the combustion chamber 212. In particular, the valve 218 is configured to slide along the insulation 216 between the open and closed positions and in directions that are generally parallel to the longitudinal axis of the injector 200. The valve 218 includes a first end portion 223 opposite the second or sealing end portion 219. The sealing end a portion 219 forms a fluid tight seal with a corresponding valve seat 221 when the valve 218 is in the closed position. Other details of valve 218 are described below with reference to FIG.

Фиг.2B показывает вид сбоку в разрезе в частично разобранном состоянии клапана 218, показанного на фиг.2A. Как видно на фиг.2B, клапан 218 включает полый стержень, или корпус, 244, имеющий внутреннюю поверхность 246, противоположную наружной поверхности 248. Корпус 244 может быть выполнен из армированных конструкционных композитов, как раскрыто в заявке на патент США № 12/857461, поданной 16 августа 2010 года и названной «КОНСТРУКЦИОННЫЕ КОМПОЗИТЫ С ВНУТРЕННИМ АРМИРОВАНИЕМ И СООТВЕТСТВУЮЩИЕ СПОСОБЫ ИЗГОТОВЛЕНИЯ», ссылка на которую означает ее полное включение в настоящий документ. Например, корпус 244 может быть выполнен из имеющих относительно низкую плотность разнесенных графитовой или графеновой структур, что обеспечивает преимущества уменьшения инерции, достижения высоких прочности и жесткости и обеспечения высокой усталостной прочности. В частности, корпус 244 может быть выполнен из легкого, но прочного стержня из графитовой структуры, который армирован по меньшей мере одним углерод-углеродным слоем. По меньшей мере один углерод-углеродный слой может быть подготовлен из подходящего источника углерода, прошедшего первичную обработку (например, из нефтяного пека или термопластика, такого как полиолефин или полиакрилонитрил). По меньшей мере один углерод-углеродный слой может также обеспечивать экранирование и защиту от электромагнитного излучения. Дополнительная защита может быть образована путем покрытия наружной поверхности 248 подходящим сплавом, таким как никелевый сплав, который может быть напаян на корпус 244 с помощью подходящего тугоплавкого припоя. Внутренняя поверхность 246 сконфигурирована с возможностью скользить или иным образом перемещаться вдоль изоляции 216 воспламеняющего проводника (фиг.2A). Соответственно, по меньшей мере часть внутренней поверхности 246 может включать подходящее покрытие с низким коэффициентом трения, например, покрытие из полиимида, полиэфирэфиркетона, парилена H или сополимера политетрафторэтилена, для облегчения перемещения клапана 218 вдоль изоляции 216 воспламеняющего проводника (фиг.2A). Кроме того, наружная поверхность 248 может также включать материалы высокой прочности, такие как армированный графитовым волокном полиимид или графитовая пленка с термоотверждающимся связующим.FIG. 2B shows a sectional side view in a partially exploded state of the valve 218 shown in FIG. 2A. As seen in FIG. 2B, the valve 218 includes a hollow shaft, or body, 244 having an inner surface 246 opposite to the outer surface 248. The body 244 may be made of reinforced structural composites, as disclosed in US patent application No. 12/857461, filed on August 16, 2010 and entitled "CONSTRUCTION COMPOSITES WITH INTERNAL REINFORCEMENT AND RELATED METHODS OF MANUFACTURE", the reference to which means its full inclusion in this document. For example, the housing 244 may be made of spaced graphite or graphene structures having a relatively low density, which provides the benefits of reducing inertia, achieving high strength and stiffness, and providing high fatigue strength. In particular, the housing 244 may be made of a lightweight but strong rod of graphite structure, which is reinforced with at least one carbon-carbon layer. At least one carbon-carbon layer may be prepared from a suitable carbon source that has undergone a primary treatment (e.g., from oil pitch or thermoplastic, such as polyolefin or polyacrylonitrile). At least one carbon-carbon layer may also provide shielding and protection against electromagnetic radiation. Additional protection can be formed by coating the outer surface 248 with a suitable alloy, such as nickel, which can be soldered to the housing 244 using a suitable refractory solder. The inner surface 246 is configured to slide or otherwise move along the ignition conductor insulation 216 (FIG. 2A). Accordingly, at least part of the inner surface 246 may include a suitable coating with a low coefficient of friction, for example, a coating of polyimide, polyetheretherketone, parylene H or a polytetrafluoroethylene copolymer, to facilitate the movement of valve 218 along the ignition conductor insulation 216 (FIG. 2A). In addition, the outer surface 248 may also include high strength materials such as graphite fiber reinforced polyimide or a graphite film with a thermosetting binder.

Согласно другим признакам изображенного варианта реализации, клапан 218 включает увеличенную герметизирующую концевую часть 219, которая сконфигурирована с возможностью герметизации с клапанным седлом 221 или, иначе, для прижатия к клапанному седлу 221 (фиг.2A), когда клапан 218 находится в закрытой позиции. Герметизирующая концевая часть 219 имеет в целом воронкообразную форму или в целом кольцеобразно расширяющуюся форму, имея диаметр, который больше, чем диаметр корпуса 244. В частности, герметизирующая концевая часть 219 представляет собой концевую часть корпуса 244, которая имеет постепенно увеличивающийся диаметр. В некоторых вариантах реализации герметизирующая концевая часть 219 может включать эластомерное покрытие или эластомерную часть для улучшения герметизации с соответствующим клапанным седлом 221 (Фиг.2A). В изображенном варианте реализации, например, наружная поверхность 248 герметизирующей концевой части 219 может включать эластомерное кольцо или покрытие, такое как покрытие из фторосиликона, перфторэластомера или других фторэластомеров, с тем, чтобы по меньшей мере частично соответствовать форме соответствующего клапанного седла. В других вариантах реализации, таких как открывающиеся внутрь клапаны, как описано подробно ниже, внутренняя поверхность 246 может включать эластомерное кольцо или покрытие для улучшения герметизации с соответствующим клапанным седлом. Кроме того, в других вариантах реализации клапанное седло, которое контактирует с герметизирующей концевой частью 219, может включать эластомерное покрытие или эластомерную часть для улучшения герметизации.According to other features of the illustrated embodiment, the valve 218 includes an enlarged sealing end portion 219 that is configured to seal with the valve seat 221 or, alternatively, to press against the valve seat 221 (FIG. 2A) when the valve 218 is in the closed position. The sealing end portion 219 has a generally funnel-shaped or generally annularly expanding shape, having a diameter that is larger than the diameter of the casing 244. In particular, the sealing end part 219 is an end part of the casing 244, which has a gradually increasing diameter. In some embodiments, the sealing end portion 219 may include an elastomeric coating or an elastomeric portion to improve sealing with a corresponding valve seat 221 (FIG. 2A). In the depicted embodiment, for example, the outer surface 248 of the sealing end portion 219 may include an elastomeric ring or coating, such as a coating of fluorosilicone, perfluoroelastomer or other fluoroelastomers, so as to at least partially correspond to the shape of the corresponding valve seat. In other embodiments, such as inward opening valves, as described in detail below, the inner surface 246 may include an elastomeric ring or coating to improve sealing with a corresponding valve seat. In addition, in other embodiments, a valve seat that is in contact with the sealing end portion 219 may include an elastomeric coating or an elastomeric portion to improve sealing.

В изображенном варианте реализации клапан 218 также включает по меньшей мере один упорный элемент, или по меньшей мере одно упорное кольцо, 230 (идентифицированные по отдельности как первое упорное кольцо 230a и второе упорное кольцо 230b), который или которое может быть прикреплен или прикреплено к наружной поверхности 248 первой концевой части 223. Хотя упорные кольца 230 на фиг.2B показаны как отдельные от клапана 218 компоненты, в других вариантах реализации упорные кольца 230 могут быть сформированы за одно целое с наружной поверхностью 248 клапана 218. Как подробно описано ниже, упорные кольца 230 сконфигурированы с возможностью контакта или иного вхождения во взаимодействия с приводящим средством или приводом в инжекторе 200 для перемещения клапана 218 между открытой и закрытой позициями.In the illustrated embodiment, the valve 218 also includes at least one thrust element, or at least one thrust ring 230 (individually identified as the first thrust ring 230a and the second thrust ring 230b), which either can be attached or attached to the outer surfaces 248 of the first end portion 223. Although the snap rings 230 in FIG. 2B are shown as separate components from the valve 218, in other embodiments, the snap rings 230 may be integral with the outer surface 248 of the valve 218. As described in detail below, the thrust washers 230 are configured to contact or otherwise engage with the driving means or actuator in the injector 200 to move the valve 218 between the open and closed positions.

Как показано на фиг.2A, и как подробно описано ниже, когда клапан 218 приводится в движение в открытую позицию, герметизирующая концевая часть 219 клапана 218 становится отделенной от клапанного седла 221 для выборочного введения топлива внутрь прохода 207 для впрыска. Как показано в изображенном варианте реализации, клапанное седло 221 расположено вблизи конца изоляции 216 воспламеняющего проводника. Клапанное седло 221 также расположено вблизи электрода 235, взаимодействующего с воспламеняющим проводником 214. В других вариантах реализации, однако, электрод 235 может быть расположен в других местах относительно клапанного седла 221, включая, например, место, находящееся на расстоянии от клапанного седла и вблизи границы 211 камеры 212 сгорания.As shown in FIG. 2A, and as described in detail below, when the valve 218 is moved to the open position, the sealing end portion 219 of the valve 218 becomes separated from the valve seat 221 for selectively introducing fuel into the injection passage 207. As shown in the illustrated embodiment, the valve seat 221 is located near the end of the ignition conductor insulation 216. The valve seat 221 is also located near the electrode 235, which interacts with the ignition conductor 214. In other embodiments, however, the electrode 235 may be located in other places relative to the valve seat 221, including, for example, a place located at a distance from the valve seat and near the boundary 211 of the combustion chamber 212.

Первая концевая часть 223 клапана 218 функционально соединена с управляющим клапаном узлом 225. Управляющий клапаном узел 225 сконфигурирован с возможностью выборочного перемещения клапана 218 между открытой и закрытой позициями. В частности, управляющий клапаном узел 225 включает привод 220, функционально соединенный с клапаном 218, генератор 226 усилия (показанный схематично), сконфигурированный с возможностью вызывания перемещения привода 220, и процессор или контроллер 222, функционально соединенный с генератором 226 усилия. Генератор 226 усилия может представлять собой генератор усилия любого типа для вызывания перемещения привода 220, в том числе, например, электрический, электромагнитный, магнитный и другой генератор усилия, как раскрыто в любом из патентов и заявок на патент, перечисленных выше и включенных в настоящий документ. Кроме того, контроллер 222 может также быть соединен с одним или более датчиком, расположенным в инжекторе 200.The first end portion 223 of the valve 218 is operatively connected to the control valve assembly 225. The valve control assembly 225 is configured to selectively move the valve 218 between open and closed positions. In particular, the valve control assembly 225 includes an actuator 220 operatively coupled to the valve 218, a force generator 226 (shown schematically) configured to cause movement of the actuator 220, and a processor or controller 222 operably connected to the force generator 226. The force generator 226 may be any type of force generator for causing movement of the actuator 220, including, for example, an electric, electromagnetic, magnetic and other force generator, as disclosed in any of the patents and patent applications listed above and incorporated herein . In addition, the controller 222 may also be connected to one or more sensors located in the injector 200.

Привод 220 концентрично расположен поверх первой концевой части 223 клапана 218 и включает упорную полость 228, имеющую первую контактную поверхность 229, которая входит во взаимодействие с по меньшей мере одним упорным кольцом 230 на первой концевой части 223 клапана 218. Смещающий элемент, или пружина, 232 входит во взаимодействие со второй контактной поверхностью 231 привода 220, противоположной первой контактной поверхности 229. Пружина 232 расположена внутри полости 233 для пружины в базовой части 206. Соответственно, пружина 232 вынуждает привод 220 перемещаться в направлении от выпускной части 208 (например, к базовой части 206). Когда пружина 232 вынуждает привод 220 перемещаться к базовой части 206, первая контактная поверхность 229 входит во взаимодействие с упорным кольцом 230 на клапане 218, с тем, чтобы растянуть клапан 218, иначе, вынудить клапан 218 переместиться к базовой части 206 для удержания герметизирующей концевой части 219 клапана 218 прижатой к клапанному седлу 221 в закрытой при нормальных условиях позиции. В некоторых вариантах реализации управляющий клапаном узел 225 может также включать по меньшей мере один дополнительный смещающий элемент 236, такой как электромагниты или постоянные магниты, который может выборочно смещать привод 220 к базовой части 206, с тем, чтобы растягивать клапан 218 в закрытой при нормальных условиях позиции между актами впрыска.The actuator 220 is concentrically located over the first end portion 223 of the valve 218 and includes a thrust cavity 228 having a first contact surface 229 that engages with at least one thrust ring 230 on the first end portion 223 of the valve 218. The biasing element, or spring, 232 interacts with the second contact surface 231 of the actuator 220 opposite the first contact surface 229. The spring 232 is located inside the cavity 233 for the spring in the base part 206. Accordingly, the spring 232 forces the actuator 220 to move be directed in the direction from the outlet portion 208 (e.g., to the base portion 206). When the spring 232 forces the actuator 220 to move to the base portion 206, the first contact surface 229 engages with the thrust ring 230 on the valve 218 so as to stretch the valve 218, otherwise, force the valve 218 to move to the base portion 206 to hold the sealing end portion 219 of the valve 218 is pressed against the valve seat 221 in a closed position under normal conditions. In some embodiments, the valve control assembly 225 may also include at least one additional biasing element 236, such as electromagnets or permanent magnets, that can selectively bias the actuator 220 to the base portion 206 so as to stretch the valve 218 when closed under normal conditions positions between acts of injection.

Базовая часть 206 также включает топливный фитинг, или впуск, 238, сконфигурированный с возможностью введения топлива внутрь инжектора 200. Топливо может проходить от топливного впуска 238 через генератор 226 усилия, как показано путем 239 топлива в базовой части. Топливо выходит из генератора 226 усилия через множество выходных каналов 240, с возможностью обмена текучей средой соединенных с путем или каналом 224 течения топлива, проходящим продольно вблизи центрального узла 213. В частности, путь 224 течения топлива проходит между клапаном 218, внутренней поверхностью изоляции 242 корпуса средней части 204 и выпускной частью 208. Электрическая изоляция 242 корпуса может быть выполнена из керамического или полимерного изолятора, подходящего для удержания высокого напряжения, развиваемого в инжекторе 200, как раскрыто в заявках на патент, перечисленных выше и включенных в настоящий документ. Когда герметизирующая концевая часть 219 клапана 218 находится в контакте с клапанным седлом 221, герметизирующая концевая часть 219 герметизирует или, иначе, закрывает путь 224 течения топлива. Однако, когда привод 220 открывает клапан 218, топливо течет к камере 212 сгорания через клапанное седло 221 и герметизирующую концевую часть 219. Когда топливо течет к камере 212 сгорания, воспламеняющий проводник 214 передает напряжение постоянного тока и/или переменного тока от проводника 209 источника электроэнергии воспламеняющим элементам 234 для ионизации, быстрого распространения (ионизации) и толкания топлива к камере сгорания. В некоторых вариантах реализации, например, когда генератор 226 усилия приводит в движение привод 220, с тем чтобы тот, в свою очередь, переместил клапан 218, топливо течет мимо воспламеняющих элементов 234 воспламеняющего проводника 214. Когда топливо течет мимо воспламеняющих элементов 234, воспламеняющие элементы 234 выполняют акт воспламенения, с тем чтобы частично или существенно ионизировать топливо, путем приложения ионизирующего напряжения к воспламеняющему разъему 227 через проводник 209 источника электроэнергии. В частности, воспламеняющее напряжение, прикладываемое к воспламеняющим элементам 234, развивает струи плазменного разряда в ионизированном топливе, которое быстро ускоряется и впрыскивается внутрь камеры 212 сгорания. Генерация такого высокого напряжения на воспламеняющих элементах 234 инициирует ионизацию, которая затем быстро распространяется по мере того, как все большее количество ионов в плазме образуется и перемещается наружу для толкания топлива через границу 211 внутрь камеры 212 сгорания внутри избыточного воздуха для обеспечения изоляции более или менее адиабатного расслоенного сгорания в камере. Как таковой, инжектор 200, а также другие инжекторы, описываемые в настоящем документе, способен ионизировать воздух внутри инжектора перед введением топлива внутрь ионизированного воздуха, ионизировать топливо в сочетании с воздухом, а также ионизировать слои воздуха без топлива и ионизировать сочетания ионизированных топлива и воздуха, как раскрыто в заявках на патент, перечисленных выше и включенных в настоящий документ.The base portion 206 also includes a fuel fitting, or inlet, 238, configured to introduce fuel into the injector 200. Fuel can pass from the fuel inlet 238 through a force generator 226, as shown by fuel 239 in the base portion. The fuel exits the force generator 226 through a plurality of outlet channels 240, with the possibility of fluid exchange connected to the path or channel 224 of the fuel flow extending longitudinally near the central node 213. In particular, the path 224 of the fuel flow passes between the valve 218, the inner surface of the insulation 242 of the housing the middle part 204 and the exhaust part 208. The electrical insulation 242 of the housing can be made of ceramic or polymer insulator, suitable for holding the high voltage developed in the injector 200, as covered in patent applications listed above and incorporated herein. When the sealing end portion 219 of the valve 218 is in contact with the valve seat 221, the sealing end portion 219 seals or otherwise closes the fuel flow path 224. However, when actuator 220 opens valve 218, fuel flows to combustion chamber 212 through valve seat 221 and sealing end portion 219. When fuel flows to combustion chamber 212, ignition conductor 214 transmits DC and / or AC voltage from power source conductor 209. flammable elements 234 for ionization, rapid spread (ionization) and pushing fuel to the combustion chamber. In some embodiments, for example, when the force generator 226 drives the actuator 220 so that it, in turn, moves the valve 218, the fuel flows past the ignition elements 234 of the ignition conductor 214. When the fuel flows past the ignition elements 234, the ignition elements 234 perform an ignition act so as to partially or substantially ionize the fuel by applying an ionizing voltage to the ignition connector 227 through an electric power source conductor 209. In particular, a flammable voltage applied to the flammable elements 234 develops a plasma discharge jet in ionized fuel, which is rapidly accelerated and injected into the combustion chamber 212. Generating such a high voltage on the ignition elements 234 initiates ionization, which then rapidly spreads as more and more ions in the plasma form and move outward to push the fuel through the boundary 211 into the combustion chamber 212 inside the excess air to provide more or less adiabatic insulation layered combustion in the chamber. As such, the injector 200, as well as the other injectors described herein, is able to ionize the air inside the injector before introducing the fuel into the ionized air, ionize the fuel in combination with air, and ionize the layers of air without fuel and ionize the combination of ionized fuel and air, as disclosed in the patent applications listed above and incorporated herein.

Фиг. 3A показывает вид сбоку в разрезе интегрированного инжектора/воспламенителя 300a («инжектора 300a»), сконфигурированного согласно еще одному варианту реализации. Инжектор 300a, изображенный на фиг.3A, включает несколько признаков, которые в целом подобны по структуре и функции соответствующим признакам инжекторов, описанных выше со ссылкой на фиг.1-2B. Например, как показано на фиг.3A, инжектор 300a включает корпус 302, имеющий среднюю часть 304, проходящую между первой концевой частью, или базовой частью 306 и второй концевой частью, или выпускной частью 308. Выпускная часть 308 по меньшей мере частично проходит внутрь прохода 307 для впрыска в головке 310 цилиндра. В некоторых вариантах реализации выпускная часть 308 сконфигурирована с возможностью входить внутрь прохода 307 для впрыска, имеющего диаметр D приблизительно 8,4 мм (0,33 дюйма) или меньше, как, например, в современных дизельных проходах для впрыска. В других вариантах реализации, однако, выпускная часть 308 может входить внутрь большего диаметра D. Инжектор 300a также включает управляющий клапаном узел 325, который поддерживается базовой частью 306. Управляющий клапаном узел 325 функционально соединен с центральным узлом 313 для впрыска и воспламенения топлива внутри камеры 312 сгорания.FIG. 3A shows a cross-sectional side view of an integrated injector / igniter 300a (“injector 300a") configured according to yet another embodiment. The injector 300a depicted in FIG. 3A includes several features that are generally similar in structure and function to the corresponding features of the injectors described above with reference to FIGS. 1-2B. For example, as shown in FIG. 3A, injector 300a includes a housing 302 having a middle portion 304 extending between a first end portion, or a base portion 306, and a second end portion, or an outlet portion 308. The outlet portion 308 at least partially extends into the passage 307 for injection in cylinder head 310. In some embodiments, the exhaust portion 308 is configured to extend into an injection passage 307 having a diameter D of approximately 8.4 mm (0.33 inches) or less, as, for example, in modern diesel injection passages. In other implementations, however, the exhaust portion 308 may extend into a larger diameter D. The injector 300a also includes a valve control assembly 325, which is supported by the base part 306. The valve control assembly 325 is operatively connected to a central fuel injection and ignition assembly 313 inside the chamber 312 combustion.

Центральный узел 313 включает неподвижную изоляцию 316 воспламеняющего проводника, концентрично расположенную поверх неподвижного воспламеняющего стержня, или проводника 314. Воспламеняющий проводник 314 может включать по меньшей мере один датчик, или по меньшей мере одно оптоволокно, 317, проходящий или проходящее продольно через него для передачи данных из камеры 312 сгорания в управляющий клапаном узел 325 или иной контроллер. Центральный узел 313 также включает трубчатый клапан 318, концентрично расположенный поверх изоляции 316 воспламеняющего проводника. Клапан 318 включает первую концевую часть 323 у базовой части 306, которая взаимодействует с управляющим клапаном узлом 325. Клапан 318 также включает вторую, или герметизирующую, концевую часть 319, которая входит во взаимодействие или, иначе, контактирует с клапанным седлом 321, которое поддерживается изоляцией 342 корпуса. Управляющий клапаном узел 325 приводит в движение или перемещает клапан 318 вдоль изоляции 316 воспламеняющего проводника между открытой позицией (как показано на фиг.3A) и закрытой позицией. В открытой позиции герметизирующая концевая часть 319 клапана 318 находится на расстоянии от клапанного седла 321, с тем, чтобы позволить топливу течь из пути или канала 324 течения топлива через клапанное седло 321 внутрь выпускной части 308. Канал 324 течения топлива проходит через корпус 302 в кольцеобразном пространстве между клапаном 318 и изоляцией 342 корпуса.The central assembly 313 includes a fixed ignition conductor insulation 316 concentrically arranged over a fixed ignition rod or conductor 314. The ignition conductor 314 may include at least one sensor or at least one optical fiber 317 extending or longitudinally passing through it to transmit data from the combustion chamber 312 to the valve control assembly 325 or another controller. The central assembly 313 also includes a tubular valve 318 concentrically located over the ignition conductor insulation 316. The valve 318 includes a first end portion 323 at the base portion 306, which cooperates with the control valve assembly 325. The valve 318 also includes a second, or sealing, end portion 319 that engages or otherwise contacts the valve seat 321, which is supported by insulation 342 buildings. The valve control assembly 325 drives or moves the valve 318 along the ignition conductor insulation 316 between the open position (as shown in FIG. 3A) and the closed position. In the open position, the sealing end portion 319 of the valve 318 is located at a distance from the valve seat 321 so as to allow fuel to flow out of the path or channel 324 of the fuel flow through the valve seat 321 into the exhaust portion 308. The channel 324 of the fuel flow passes through the body 302 in an annular the space between the valve 318 and the housing insulation 342.

В варианте реализации, показанном на фиг.3A, герметизирующая концевая часть 319 клапана 318 меньше, чем проход 307 для впрыска. В частности, герметизирующая концевая часть 319 имеет максимальный наружный диаметр, который меньше, чем диаметр D прохода 307 для впрыска. Как также показано в изображенном варианте реализации, герметизирующая концевая часть 319 находится на расстоянии от границы 311 камеры сгорания, которое относительно велико и имеет длину L. В частности, в изображенном варианте реализации длина L приблизительно равна толщине головки 310 цилиндра, которая в некоторых случаях может составлять 12 или более дюймов. В других вариантах реализации, однако, как описано подробно ниже со ссылкой на фиг.3B, например, герметизирующая концевая часть 319 клапана 318 может быть расположена в других местах относительно границы 311. Соответственно, инжектор 300a, изображенный на фиг.3A, сконфигурирован с возможностью учитывать относительно большую длину L между границей 311 камеры сгорания и герметизирующей концевой частью 319 клапана 318. В современных дизельных двигателях или других крупных двигателях, например, содержащие много элементов механизмы впускного и выпускного клапанов могут требовать длины L 12-36 дюймов или больше.In the embodiment shown in FIG. 3A, the sealing end portion 319 of the valve 318 is smaller than the injection passage 307. In particular, the sealing end portion 319 has a maximum outer diameter that is smaller than the diameter D of the injection passage 307. As also shown in the depicted embodiment, the sealing end portion 319 is located at a distance from the boundary 311 of the combustion chamber, which is relatively large and has a length L. In particular, in the depicted embodiment, the length L is approximately equal to the thickness of the cylinder head 310, which in some cases may be 12 or more inches. In other embodiments, however, as described in detail below with reference to FIG. 3B, for example, the sealing end portion 319 of the valve 318 may be located elsewhere relative to the boundary 311. Accordingly, the injector 300a of FIG. 3A is configured to take into account the relatively large length L between the boundary 311 of the combustion chamber and the sealing end portion 319 of the valve 318. In modern diesel engines or other large engines, for example, intake and exhaust mechanisms containing many elements valves may require a length of L 12-36 inches or more.

Согласно дополнительным признакам изображенного варианта реализации, инжектор 300a также включает по меньшей мере один воспламеняющий элемент 334, проходящий вдоль части воспламеняющего проводника 314. Воспламеняющие элементы 334 сконфигурированы с возможностью обеспечения ионизации, проталкивающего усилия и/или акта воспламенения с головкой 310. В частности, как показано на фиг.3A, воспламеняющие элементы 334 могут быть выполнены из проводящего материала, который навит вокруг воспламеняющего проводника 314 наподобие винта или сверла, включая щеткообразные ворсинки или стержнеобразные проводники. Воспламеняющие элементы 334, соответственно, проходят от воспламеняющего проводника 314 к внутренней поверхности прохода 307 для впрыска. Когда воспламеняющая энергия прикладывается к воспламеняющим элементам 334 через воспламеняющий проводник 314, воспламеняющие элементы 334 генерируют акт воспламенения (например, создают плазменную искру) для воспламенения или ионизации топлива, воздуха и/или смесей воздуха и топлива. В варианте реализации, где акт воспламенения представляет собой акт генерации плазмы, воспламенение струей плазмы ионизирует топливо и ускоряет ионизированное топливо внутрь камеры 312 сгорания.According to additional features of the illustrated embodiment, the injector 300a also includes at least one ignition element 334 extending along part of the ignition conductor 314. The ignition elements 334 are configured to provide ionization, pushing force and / or ignition to the head 310. In particular, as 3A, the ignition elements 334 may be made of a conductive material that is wound around the ignition conductor 314 like a screw or drill, including Coarse villi or rod-shaped conductors. The ignition elements 334, respectively, extend from the ignition conductor 314 to the inner surface of the injection passage 307. When flammable energy is applied to the ignition elements 334 through the ignition conductor 314, the ignition elements 334 generate an ignition act (for example, create a plasma spark) to ignite or ionize the fuel, air and / or air and fuel mixtures. In an embodiment where the act of ignition is the act of generating a plasma, ignition by a plasma jet ionizes the fuel and accelerates the ionized fuel into the combustion chamber 312.

Фиг.3B показывает вид сбоку в разрезе интегрированного инжектора/воспламенителя 300b («инжектора 300b»), сконфигурированного согласно еще одному варианту реализации. Изображенный инжектор 300b включает несколько таких же признаков, что и инжектор 300a, изображенный на фиг.3A. Например, инжектор 300b, изображенный на фиг.3B, включает центральный узел 313, функционально соединенный с управляющим клапаном узлом 325. Центральный узел 313 включает воспламеняющий проводник 314, изоляцию 316 воспламеняющего проводника и клапан 318 и проходит от базовой части 306 по меньшей мере частично внутрь выпускной части 308. В изображенном варианте реализации, однако, герметизирующая концевая часть 319 клапана 318 расположена вблизи или немного заглублена относительно границы 311 камеры 312 сгорания. В частности, клапанное седло 321 и герметизирующая концевая часть 319 клапана 318 расположены в проходе 307 для впрыска в месте, которое является близким или смежным относительно границы 311 камеры сгорания. Соответственно, воспламеняющий проводник 314 включает по меньшей мере один воспламеняющий элемент ниже по течению относительно герметизирующей концевой части 319 клапана 318 и вблизи границы 311 камеры сгорания для генерации акта воспламенения у границы 311 камеры сгорания.FIG. 3B shows a cross-sectional side view of an integrated injector / igniter 300b (“injector 300b”) configured according to yet another embodiment. The illustrated injector 300b includes several of the same features as the injector 300a shown in FIG. 3A. For example, the injector 300b shown in FIG. 3B includes a central assembly 313 operably connected to a control valve assembly 325. The central assembly 313 includes a flame conductor 314, a flame conductor insulation 316, and a valve 318 and extends from the base portion 306 at least partially inwardly exhaust portion 308. In the illustrated embodiment, however, the sealing end portion 319 of the valve 318 is located near or slightly recessed relative to the boundary 311 of the combustion chamber 312. In particular, the valve seat 321 and the sealing end portion 319 of the valve 318 are located in the injection passage 307 at a location that is close to or adjacent to the boundary 311 of the combustion chamber. Accordingly, the ignition conductor 314 includes at least one ignition element downstream of the sealing end portion 319 of the valve 318 and near the boundary of the combustion chamber 311 to generate an ignition act at the boundary 311 of the combustion chamber.

Фиг.4 показывает вид сбоку в разрезе интегрированного инжектора/воспламенителя 400 («инжектор 400»), сконфигурированного согласно еще одному варианту реализации. Инжектор 400, изображенный на фиг.4, включает несколько признаков, которые в целом подобны по структуре и функции соответствующим признакам инжекторов, описанных выше со ссылкой на фиг.1-3B. Например, как показано на фиг.4, инжектор 400 включает корпус 402, имеющий среднюю часть 404, проходящую между первой концевой частью, или базовой частью, 406 и второй концевой частью, или выпускной частью 408. Выпускная часть 408 сконфигурирована с возможностью проходить внутрь резьбового отверстия диаметром 14 мм свечи зажигания в головке цилиндра, или она может иметь выпуск, такой как показан на фиг.1, 3A, 3B или 6, вводимый внутрь отверстия, имеющего диаметр приблизительно 8,4 мм (0,33 дюйма) или меньше, такого как, например, проход для впрыска многих современных дизельных двигателей. В других вариантах реализации, однако, выпускная часть 408 может быть сконфигурирована для проходов для впрыска иных размеров. Выпускная часть 408 может также включать наружную поверхность 409 с другой резьбой, с тем, чтобы она подходила для надежного взаимодействия с камерой сгорания.FIG. 4 shows a cross-sectional side view of an integrated injector / igniter 400 (“injector 400”) configured in accordance with yet another embodiment. The injector 400 shown in FIG. 4 includes several features that are generally similar in structure and function to the corresponding features of the injectors described above with reference to FIGS. 1-3-3. For example, as shown in FIG. 4, the injector 400 includes a housing 402 having a middle portion 404 extending between a first end portion or a base portion 406 and a second end portion or an outlet portion 408. The outlet portion 408 is configured to extend into a threaded holes with a diameter of 14 mm of the spark plug in the cylinder head, or it may have an outlet, such as shown in FIGS. 1, 3A, 3B or 6, inserted into an opening having a diameter of approximately 8.4 mm (0.33 in) or less, such as, for example, the passage for the injection of many lies nnyh diesel engines. In other implementations, however, the outlet 408 may be configured for different sized injection passages. The exhaust portion 408 may also include an external surface 409 with a different thread so that it is suitable for reliable interaction with the combustion chamber.

Инжектор 400 также включает управляющий клапаном узел 425, который поддерживается базовой частью 406. Управляющий клапаном узел 425 функционально соединен с центральным узлом 413 для впрыска и воспламенения топлива в камеру сгорания. Центральный узел 413 включает неподвижную изоляцию 416 воспламеняющего проводника, концентрично расположенную поверх неподвижного воспламеняющего стержня, или проводника 414. Воспламеняющий проводник 414 может включать по меньшей мере один датчик, или по меньшей мере одно оптическое волокно 417, проходящий или проходящее продольно через него для передачи данных из камеры сгорания в управляющий клапаном узел 425, который может включать контроллер или процессор 422 или блок беспроводной либо проводной связи с подходящей ЭВМ, подходящим контроллером или подходящим процессором. В изображенном варианте реализации воспламеняющий проводник 414 включает увеличенную, или расширенную, концевую часть 433, сконфигурированную с возможностью находиться вблизи границы с камерой сгорания. Расширенная концевая часть 433 обеспечивает увеличенную площадь для оптического волокна 417 у границы с камерой сгорания. Расширенная концевая часть 433 также несет по меньшей мере один воспламеняющий элемент 434, который сконфигурирован с возможностью генерации акта воспламенения с внутренней поверхностью 437 выпускной части 408. В частности, в изображенном варианте реализации воспламеняющие элементы 434 могут включать множество витков или треугольных выступов, проходящих в окружном направлении вокруг расширенной концевой части 433 воспламеняющего проводника 414. Расширенная концевая часть 433 также включает клапанное седло 421, как описано более подробно ниже.The injector 400 also includes a valve control assembly 425, which is supported by the base portion 406. The valve control assembly 425 is operatively connected to a central assembly 413 for injecting and igniting fuel into the combustion chamber. The center assembly 413 includes a fixed ignition conductor insulation 416 concentrically arranged over a fixed ignition rod or conductor 414. The ignition conductor 414 may include at least one sensor or at least one optical fiber 417 extending or longitudinally passing through it for data transmission from the combustion chamber to the valve control unit 425, which may include a controller or processor 422 or a wireless or wired communication unit with a suitable computer, a suitable controller rum or a suitable processor. In the illustrated embodiment, the ignition conductor 414 includes an enlarged, or expanded, end portion 433 configured to be close to the boundary with the combustion chamber. The expanded end portion 433 provides an increased area for the optical fiber 417 at the boundary with the combustion chamber. The expanded end portion 433 also carries at least one flammable element 434, which is configured to generate an act of ignition with the inner surface 437 of the exhaust portion 408. In particular, in the depicted embodiment, the flammable elements 434 may include multiple turns or triangular protrusions extending in the circumferential the direction around the expanded end portion 433 of the ignition conductor 414. The expanded end portion 433 also includes a valve seat 421, as described in more detail below.

Центральный узел 413 проходит через изоляцию 442 корпуса 402. Изоляция 442 корпуса может быть выполнена из керамического или полимерного изолятора, подходящего для удержания высокого напряжения, развиваемого в инжекторе 400. Центральный узел 413 также включает трубчатый клапан 418, концентрично расположенный поверх изоляции 416 воспламеняющего проводника. В варианте реализации, изображенном на фиг.4, однако, клапан 418 представляет собой открывающийся внутрь клапан (например, открывающийся в направлении от камеры сгорания) и выполнен с возможностью перемещения относительно изоляции 416 воспламеняющего проводника для выборочного введения топлива из выпускной части 408 внутрь камеры сгорания. В частности, клапан 418 сконфигурирован с возможностью скольжения, или, иначе, перемещения, относительно изоляции 416 воспламеняющего проводника в направлениях, которые в целом параллельны продольной оси инжектора 400. Клапан 418 может быть подобен по структуре клапану, описанному выше и может включать, например, легкий, но прочный графитовый структурный сердечник, армированный углерод-углеродным слоем. Клапан 418 включает первую концевую часть 423 в базовой части 406, которая взаимодействует с управляющим клапаном узлом 425. Клапан 418 также включает вторую, или герметизирующую, концевую часть 419, которая входит во взаимодействие или иным образом контактирует с клапанным седлом 421 в выпускной части 408, которое несет воспламеняющий проводник 414. Герметизирующая концевая часть 419 и/или клапанное седло 421 могут включать по меньшей мере одну эластомерную часть, как описано подробно выше. Управляющий клапаном узел 425 приводит в движение клапан 418 относительно изоляции 416 воспламеняющего проводника между открытой позицией (как показано на фиг.4) и закрытой позицией. В открытой позиции герметизирующая концевая часть 419 клапана 418 находится на расстоянии от клапанного седла 421 для обеспечения возможности протекания топлива из пути или канала 424 течения топлива мимо клапанного седла 421 и из выпускной части 408. Канал 424 течения топлива проходит через среднюю часть 404 между клапаном 418 и изоляцией 416 воспламеняющего проводника.The central assembly 413 passes through the insulation 442 of the housing 402. The insulation 442 of the housing may be made of a ceramic or polymer insulator suitable for holding the high voltage developed in the injector 400. The central assembly 413 also includes a tubular valve 418 concentrically located on top of the insulation of the ignition conductor 416. In the embodiment shown in FIG. 4, however, the valve 418 is an inward opening valve (eg, opening away from the combustion chamber) and is configured to move relative to the ignition conductor insulation 416 to selectively introduce fuel from the exhaust portion 408 into the combustion chamber . In particular, the valve 418 is configured to slide, or otherwise move, relative to the insulation of the ignition conductor 416 in directions that are generally parallel to the longitudinal axis of the injector 400. The valve 418 may be similar in structure to the valve described above and may include, for example, Lightweight but strong graphite structural core reinforced with carbon-carbon layer. The valve 418 includes a first end portion 423 in the base portion 406, which interacts with the control valve assembly 425. The valve 418 also includes a second, or sealing, end portion 419, which engages or otherwise contacts the valve seat 421 in the exhaust portion 408, which carries a flammable conductor 414. The sealing end portion 419 and / or valve seat 421 may include at least one elastomeric portion, as described in detail above. The valve control assembly 425 drives the valve 418 relative to the ignition conductor insulation 416 between the open position (as shown in FIG. 4) and the closed position. In the open position, the sealing end portion 419 of the valve 418 is located at a distance from the valve seat 421 to allow fuel to flow from the path or channel 424 of the fuel flow past the valve seat 421 and from the exhaust portion 408. The channel 424 of the fuel flow passes through the middle part 404 between the valve 418 and an ignition conductor insulation 416.

Управляющий клапаном узел 425 включает генератор 426 усилия (например, электрический, электромагнитный, магнитный и т.д. генератор усилия), который вызывает перемещение привода 420. Генератор 426 усилия может также быть функционально соединен с процессором или контроллером 422, который может, в свою очередь, быть соединен с по меньшей мере одним оптическим волокном 417, проходящим через воспламеняющий проводник 414. Как таковой, контроллер 422 может выборочно питать энергией или иначе активировать генератор 426 усилия, например, в ответ на по меньшей мере одно условие камеры сгорания или по меньшей мере один параметр двигателя. Привод 420 входит во взаимодействие с одним или более упором 430, сформированным за одно целое с первой концевой частью 423 клапана 418 или иначе присоединенным к концевой части 423 клапана 418, для перемещения клапана 418 между открытой и закрытой позициями. Управляющий клапаном узел 425 может также включать первый смещающий элемент 432, который контактирует с клапаном 418 и по меньшей мере частично вынуждает клапан 418 перемещаться в закрытую позицию в направлении к выпускной части 408. Управляющий клапаном узел 425 может также включать второй смещающий элемент 435, который по меньшей мере частично вынуждает привод 420 перемещаться к выпускной части 408. В некоторых вариантах реализации первый смещающий элемент 432 может представлять собой пружину, такую как цилиндрическая винтовая пружина, а второй смещающий элемент 435 может представлять собой магнит или постоянный магнит. В других вариантах реализации, однако, первый смещающий элемент 432 и второй смещающий элемент 435 могут включать другие компоненты, подходящие для приложения смещающего усилия к клапану 418 и приводу 420.The valve control assembly 425 includes a force generator 426 (eg, an electric, electromagnetic, magnetic, etc. force generator) that causes the actuator 420 to move. The force generator 426 may also be operatively connected to a processor or controller 422, which may, in its in turn, to be connected to at least one optical fiber 417 passing through the ignition conductor 414. As such, the controller 422 can selectively energize or otherwise activate the force generator 426, for example, in response to at least more than one combustion chamber condition or at least one engine parameter. The actuator 420 engages with one or more stops 430 integrally formed with the first end portion 423 of the valve 418 or otherwise attached to the end portion 423 of the valve 418 to move the valve 418 between open and closed positions. The valve control assembly 425 may also include a first biasing element 432, which contacts the valve 418 and at least partially forces the valve 418 to move to a closed position toward the outlet 408. The valve control assembly 425 may also include a second biasing element 435, which at least partially forces the actuator 420 to move toward the outlet 408. In some embodiments, the first biasing member 432 may be a spring, such as a coil spring, and a second ayuschy element 435 may be a magnet or a permanent magnet. In other embodiments, however, the first biasing element 432 and the second biasing element 435 may include other components suitable for applying biasing force to the valve 418 and actuator 420.

Согласно дополнительным признакам варианта реализации, изображенного на фиг.4, выпускная часть 408 может включать дополнительные признаки для выявления или, иначе, сбора, и передачи данных из камеры сгорания в по меньшей мере один контроллер через инжектор 400. Например, выпускная часть 408 может включать по меньшей мере одно отверстие 491 в герметизирующей концевой части 419 клапана 418 для возможности по меньшей мере частично передавать релевантные данные из камеры сгорания через инжектор 400. Выпускная часть 408 может также включать прижимное уплотнение 493, которое поддерживается клапанным седлом 421, а также по меньшей мере один температурный датчик 495, который поддерживается оптическим волокном 417. Эти регистрирующие элементы могут быть сконфигурированы с возможностью регистрации, измерения или иной передачи релевантных данных камеры сгорания, таких как температурные данные, оптические данные, данные о давлении, термические данные, акустические данные и/или любые другие данные, из камеры сгорания.According to additional features of the embodiment depicted in FIG. 4, the outlet 408 may include further features for detecting or otherwise collecting and transmitting data from the combustion chamber to at least one controller via the injector 400. For example, the outlet 408 may include at least one hole 491 in the sealing end portion 419 of the valve 418 to enable at least partially transmitting relevant data from the combustion chamber through the injector 400. The outlet portion 408 may also include a pressure seal a reference 493, which is supported by the valve seat 421, as well as at least one temperature sensor 495, which is supported by the optical fiber 417. These recording elements can be configured to record, measure or otherwise transmit relevant combustion chamber data, such as temperature data, optical data, pressure data, thermal data, acoustic data and / or any other data from the combustion chamber.

Во время работы топливо входит в базовую часть 406 через топливный фитинг, или впуск 438. Топливный впуск 438 вводит топливо внутрь генератора 426 усилия, и топливо выходит из генератора 426 усилия через множество выходных каналов 440, с возможностью обмена текучей средой соединенных с путем 424 течения топлива, проходящим продольно вблизи центрального узла 413. Когда управляющий клапаном узел 425 перемещает клапан 418 из закрытой позиции в открытую позицию (например, в направлении от камеры сгорания), выпускная часть 408 впрыскивает и воспламеняет топливо. В частности, когда генератор 426 усилия вызывает перемещение привода 420, привод 420 проходит первое расстояние D1 перед входом в контакт с упором 430, который поддерживается клапаном 418. Как таковой, привод 420 может приобрести импульс или кинетическую энергию перед взаимодействием с клапаном 418. После того, как привод 420 вошел в контакт с упором 430, привод 420 продолжает перемещение на расстояние D2 во взаимодействии с клапаном 418 для приложения растягивающего усилия к клапану 418 и перемещения клапана 418 в открытую позицию. Когда клапан находится в открытой позиции (как изображено на фиг.4), герметизирующая концевая часть 419 клапана 418 находится на расстоянии от клапанного седла 421, в целом равном второму расстоянию D2 за вычетом первого расстояния D1. Когда топливо течет через открытую герметизирующую концевую часть 419 клапана 418, по меньшей мере один воспламеняющий элемент 434 может выполнять акт ионизации топлива, ионизации воздуха и/или ионизации смешанных топлива и воздуха для воспламенения топлива в качестве послойного заряда в камере сгорания. Приводы или приводящие средства любого из инжекторов, описанных в настоящем документе, могут, соответственно, перемещаться на предварительно определенное расстояние для по меньшей мере незначительного приобретения импульса перед взаимодействием с соответствующим клапаном.During operation, fuel enters the base portion 406 through the fuel fitting or inlet 438. The fuel inlet 438 introduces fuel into the force generator 426, and the fuel exits the force generator 426 through a plurality of outlet channels 440, with the possibility of fluid exchange connected to flow path 424 of fuel extending longitudinally near the central assembly 413. When the valve control assembly 425 moves the valve 418 from a closed position to an open position (for example, away from the combustion chamber), the exhaust portion 408 injects and ignites the fuel about. In particular, when the force generator 426 causes the actuator 420 to move, the actuator 420 travels a first distance D1 before it comes into contact with an abutment 430, which is supported by the valve 418. As such, the actuator 420 may acquire momentum or kinetic energy before interacting with the valve 418. Thereafter as the actuator 420 comes into contact with the stop 430, the actuator 420 continues to move a distance D2 in conjunction with the valve 418 to exert a tensile force on the valve 418 and move the valve 418 to the open position. When the valve is in the open position (as shown in FIG. 4), the sealing end portion 419 of the valve 418 is at a distance from the valve seat 421, generally equal to the second distance D2 minus the first distance D1. When fuel flows through the open sealing end portion 419 of the valve 418, at least one ignition element 434 can perform the act of ionizing the fuel, ionizing the air and / or ionizing the mixed fuel and air to ignite the fuel as a charge in the combustion chamber. The actuators or driving means of any of the injectors described herein can, respectively, travel a predetermined distance to at least slightly acquire a pulse before interacting with the corresponding valve.

Фиг.5A показывает вид сбоку в разрезе интегрированного инжектора/воспламенителя 500 («инжектора 500»), сконфигурированного согласно еще одному варианту реализации. Инжектор 500, изображенный на фиг.5, включает несколько признаков, которые в целом подобны по структуре и функции соответствующим признакам инжекторов, описанных выше со ссылкой на фиг.1-4. Например, как показано на фиг.5, инжектор 500 включает корпус 502, имеющий среднюю часть 504, проходящую между первой концевой частью, или базовой частью, 506 и второй концевой частью, или выпускной частью, 508. Выпускная часть 508 сконфигурирована с возможностью проходить внутрь резьбового прохода для впрыска в головке цилиндра, как показано, или она может быть сконфигурирована, как показано на фиг.1, 3A или 3B или 6, с возможностью входить внутрь отверстия, имеющего диаметр приблизительно 8,4 мм (0,33 дюйма) или меньше, как, например, в проходах для впрыска многих современных дизельных двигателей. В других вариантах реализации, однако, выпускная часть 508 может быть сконфигурирована для проходов для впрыска иных размеров. Выпускная часть 508 может также включать наружную поверхность 509 для подходящего взаимодействия с камерой сгорания.FIG. 5A shows a cross-sectional side view of an integrated injector / igniter 500 (“injector 500”) configured according to yet another embodiment. The injector 500 shown in FIG. 5 includes several features that are generally similar in structure and function to the corresponding features of the injectors described above with reference to FIGS. 1-4. For example, as shown in FIG. 5, the injector 500 includes a housing 502 having a middle portion 504 extending between a first end portion or a base portion 506 and a second end portion or an outlet portion 508. The outlet portion 508 is configured to extend inwardly a threaded injection passage in the cylinder head, as shown, or it may be configured as shown in FIGS. 1, 3A or 3B or 6, with the ability to enter an opening having a diameter of approximately 8.4 mm (0.33 in) or less, as, for example, in the injection passages pl Many modern diesel engines. In other implementations, however, the exhaust portion 508 may be configured for different size injection passages. The exhaust portion 508 may also include an outer surface 509 for suitable interaction with the combustion chamber.

Инжектор 500 также включает управляющий клапаном узел 525 в базовой части 506. Управляющий клапаном узел 525 сконфигурирован с возможностью приведения в движение множества клапанов, расположенных в корпусе 502 инжектора 500. В частности, управляющий клапаном узел 525 включает генератор 526 усилия (например, пьезоэлектрический, электромагнитный, магнитный и т.д. генератор усилия), который вызывает перемещение привода 520. Генератор 526 усилия может также быть функционально соединен с процессором или контроллером для выборочного перемещения или выборочной активации генератора 526 усилия, например, в ответ на по меньшей мере одно условие камеры сгорания или по меньшей мере один параметр двигателя. Привод 520 взаимодействует с первым обратным клапаном, или базовым клапаном, 554 в базовой части 506. В частности, базовый клапан 554 может включать по меньшей мере один упор 530, который входит во взаимодействие с приводом 520 таким образом, что привод 520 перемещает базовый клапан 554 между открытой и закрытой позициями (базовый клапан 554 показан в закрытой позиции на фиг.5A). По меньшей мере один упор 530 может быть прикреплен к первой концевой части 555 базового клапана 554 или, иначе, быть сформирован за одно целое с первой концевой частью 555 базового клапана 554. Базовый клапан 554 также включает головку, или герметизирующую часть, 556 базового клапана, противоположную первой концевой части 558 первой секции 562 течения топлива, как показано на чертежах. Таким образом, головка 556 базового клапана входит во взаимодействие с соответствующим клапанным седлом 558 при переходе из базовой части 506 в среднюю часть 504 инжектора 500.The injector 500 also includes a valve control assembly 525 in the base portion 506. The valve control assembly 525 is configured to drive a plurality of valves located in the injector housing 502 502. In particular, the valve control assembly 525 includes a force generator 526 (eg, piezoelectric, electromagnetic , magnetic, etc. force generator) that causes the drive 520 to move. The force generator 526 can also be operatively connected to a processor or controller for selectively moving or selectively activation of the force generator 526, for example, in response to at least one condition of the combustion chamber or at least one engine parameter. The actuator 520 interacts with the first non-return valve, or base valve 554, in the base portion 506. In particular, the base valve 554 may include at least one stop 530 that engages with the actuator 520 so that the actuator 520 moves the base valve 554 between open and closed positions (base valve 554 is shown in the closed position in FIG. 5A). At least one stop 530 may be attached to the first end portion 555 of the base valve 554 or, alternatively, be integral with the first end portion 555 of the base valve 554. The base valve 554 also includes a head, or a sealing portion, 556 of the base valve, opposite the first end portion 558 of the first fuel flow section 562, as shown in the drawings. Thus, the base valve head 556 interacts with the corresponding valve seat 558 when moving from the base portion 506 to the middle portion 504 of the injector 500.

Согласно дополнительным признакам изображенного варианта реализации, инжектор 500 также включает изоляцию 542 корпуса, проходящую через по меньшей мере среднюю часть 504 и выпускную часть 508. Изоляция 542 корпуса может быть выполнена из керамического или полимерного изолятора, подходящего для удержания высокого напряжения, развиваемого в инжекторе 500. Инжектор 500 также включает путь течения топлива, проходящий через изоляцию 542 корпуса. В частности, инжектор 500 имеет первую секцию 562 течения топлива, проходящую от обратного клапана 554 внутрь средней части 504. Первая секция 562 течения топлива с возможностью обмена текучей средой соединена со второй секцией 564 течения топлива и проходит от средней части 504 внутрь выпускной части 508.According to additional features of the illustrated embodiment, the injector 500 also includes a housing insulation 542 passing through at least the middle portion 504 and the outlet portion 508. The housing insulation 542 may be made of a ceramic or polymer insulator suitable for holding the high voltage developed in the injector 500 The injector 500 also includes a fuel flow path through the housing insulation 542. In particular, the injector 500 has a first fuel flow section 562 extending from a non-return valve 554 to the inside of the middle portion 504. A first fluid exchange fuel section 562 is connected to the second fuel flow section 564 and extends from the middle portion 504 to the inside of the exhaust portion 508.

В некоторых вариантах реализации первая секция 562 течения топлива и вторая секция 564 течения топлива могут быть выполнены из материалов, которые приспосабливаются к расширению и сжатию топлива для того, чтобы по меньшей мере частично предотвращать утечку топлива из выпускной части 508 на границе камеры сгорания. В частности, каждая из первой секции 562 течения топлива и второй секции 564 течения топлива может включать по меньшей мере один канал, проходящий сквозь пружину с закрытыми ячейками, такую как губчатая пружина с закрытыми ячейками, имеющий подходящее поперечное сечение для возможности течения топлива через него. В некоторых вариантах реализации первая и вторая секции 562, 564 течения топлива могут быть выполнены из материалов с подходящими тепловой стойкостью и химической стойкостью, а также усталостной прочностью. В частности, эти материалы могут включать силикон, фторсиликон и различные фторполимеры, в том числе, например, пенополиуретан, политетрафторэтилен, поливинилиденфторид и другие сополимеры. Эти компоненты могут изготавливаться экструдированием или литьем под давлением с множеством открытых или закрытых ячеек или закрытых объемов, которые заполнены газом или рабочей текучей средой. Например, такой газ может включать аргон, диоксид углерода, азот и т.д., а такая рабочая текучая среда может включать аммиак, пропан, бутан, фторированный метан, этан или бутан. Кроме того, этот газ или эта рабочая текучая среда выполняет переход в жидкую или газовую фазу, так что может служить испаряемым веществом при добавлении тепла и конденсирующимся веществом при уменьшении тепла, с тем чтобы служить одновременно пружиной и «термическим амортизатором» или барьером против неблагоприятного расширения и утечки топлива у границы камеры сгорания.In some embodiments, the first fuel flow section 562 and the second fuel flow section 564 may be made of materials that are adapted to expand and contract fuel in order to at least partially prevent fuel leakage from the exhaust portion 508 at the boundary of the combustion chamber. In particular, each of the first fuel flow section 562 and the second fuel flow section 564 may include at least one channel extending through the closed-cell spring, such as a closed-cell sponge spring having a suitable cross section for allowing fuel to flow through it. In some embodiments, the first and second sections 562, 564 of the flow of fuel can be made of materials with suitable heat resistance and chemical resistance, as well as fatigue resistance. In particular, these materials may include silicone, fluorosilicon and various fluoropolymers, including, for example, polyurethane foam, polytetrafluoroethylene, polyvinylidene fluoride and other copolymers. These components can be made by extrusion or injection molding with a variety of open or closed cells or closed volumes, which are filled with gas or working fluid. For example, such a gas may include argon, carbon dioxide, nitrogen, etc., and such a working fluid may include ammonia, propane, butane, fluorinated methane, ethane or butane. In addition, this gas or this working fluid makes a transition to the liquid or gas phase, so that it can serve as an evaporated substance when heat is added and as a condensed substance when heat is reduced, in order to serve simultaneously as a spring and a “thermal shock absorber” or a barrier against adverse expansion and fuel leaks at the border of the combustion chamber.

Фиг.5B и 5D иллюстрируют различные варианты реализации подходящих форм поперечного сечения первой секции 562 течения топлива, а фиг.5C и 5E иллюстрируют различные варианты реализации подходящих форм поперечного сечения второй секции 564 течения топлива. В частности, фиг.5B показывает вид в поперечном сечении первой секции 562 течения топлива по существу по линии 5B-5B, показанной на фиг.5A. В варианте реализации, изображенном на фиг.5B, первая секция 562 течения топлива включает первую направляющую 565 секции течения топлива, включающую множество первых проходов или каналов 567 течения. Первая направляющая 565 может быть выполнена из пружинного материала с закрытыми ячейками, а каналы 567 проходят продольно через первую направляющую 565. Фиг.5C показывает вид в поперечном сечении второй секции 564 течения топлива по существу по линии 5C-5C, показанной на фиг.5A. В варианте реализации, изображенном на фиг.5C, вторая секция 564 течения топлива включает вторую направляющую 569 секции течения топлива, включающую множество отдельных участков или секций 563 с соответствующими вторыми проходами или каналами 571 течения. Хотя шесть участков 563 показано в изображенном варианте реализации, в других вариантах реализации вторая направляющая 569 может включать большее или меньшее количество вторых каналов 571. Вторые каналы течения проходят продольно через вторую направляющую 569. Фиг.5D показывает вид в поперечном сечении альтернативного варианта реализации первой секции 562 течения топлива по существу по линии 5B-5B, показанной на фиг.5A. В варианте реализации, изображенном на фиг.5D, первая секция 562 течения топлива включает первую направляющую 565 секции течения топлива, включающую крестообразный первый проход или канал 567 течения. Первая направляющая 565 может быть выполнена из пружинного материала с закрытыми ячейками, а канал 567 проходит продольно через первую направляющую 565. Фиг.5E показывает вид в поперечном сечении второй секции 564 течения топлива по существу по линии 5C-5C, показанной на фиг.5A. В варианте реализации, изображенном на фиг.5E, вторая секция 564 течения топлива включает вторую направляющую 569 секции течения топлива, включающую звездообразный второй проход или канал 571 течения. Второй канал 571 течения проходит продольно через вторую направляющую 569.FIGS. 5B and 5D illustrate various embodiments of suitable cross-sectional shapes of a first fuel flow section 562, and FIGS. 5C and 5E illustrate various embodiments of suitable cross-sectional shapes of a second fuel flow section 564. In particular, FIG. 5B shows a cross-sectional view of a first fuel flow section 562 essentially along line 5B-5B shown in FIG. 5A. In the embodiment shown in FIG. 5B, the first fuel flow section 562 includes a first fuel flow section section guide 565 including a plurality of first flow passages or channels 567. The first guide 565 may be made of closed-cell spring material, and the channels 567 extend longitudinally through the first guide 565. FIG. 5C shows a cross-sectional view of the second fuel flow section 564 essentially along line 5C-5C shown in FIG. 5A. In the embodiment depicted in FIG. 5C, the second fuel flow section 564 includes a second fuel flow section section guide 569 including a plurality of separate sections or sections 563 with corresponding second flow passages or channels 571. Although six sections 563 are shown in the illustrated embodiment, in other embodiments, the second guide 569 may include more or fewer second channels 571. The second flow channels extend longitudinally through the second guide 569. FIG. 5D shows a cross-sectional view of an alternative embodiment of the first section 562 fuel flow substantially along line 5B-5B shown in FIG. 5A. In the embodiment depicted in FIG. 5D, the first fuel flow section 562 includes a first fuel flow section section guide 565 including a cross-shaped first passage or flow channel 567. The first guide 565 may be made of closed-cell spring material, and the channel 567 extends longitudinally through the first guide 565. FIG. 5E shows a cross-sectional view of the second fuel flow section 564 essentially along line 5C-5C shown in FIG. 5A. In the embodiment shown in FIG. 5E, the second fuel flow section 564 includes a second fuel flow section section guide 569 including a star-shaped second passage or flow channel 571. The second flow channel 571 extends longitudinally through the second guide 569.

Вернемся к рассмотрению фиг.5A. У выпускной части 508 инжектор 500 также включает радиально расширяющуюся трубку 566, или клапан подачи 566, функционально соединенную или соединенный с центральным, или воспламеняющим, узлом 575. Воспламеняющий узел 575 включает неподвижный воспламеняющий проводник 576, концентрично расположенный поверх по меньшей мере части второй секции 564 течения топлива. В некоторых вариантах реализации воспламеняющий проводник 576 может представлять собой проводящую оболочку или проводящее покрытие, например, металлическую оболочку или покрытую металлом керамику, расположенную или расположенное поверх второй секции 564 течения топлива. Воспламеняющий проводник 576 соединен с подающим напряжение проводником 509 через воспламеняющий разъем 574. Подающий напряжение проводник 509, в свою очередь, соединен с подходящим источником напряжения. В одном варианте реализации воспламеняющий разъем 574 может подавать по меньшей мере приблизительно 80 кВ (постоянный ток или переменный ток) на воспламеняющий проводник 576. В других вариантах реализации, однако, воспламеняющий разъем 574 может подавать большее или меньшее напряжение на воспламеняющий проводник 576. Воспламеняющий узел 575 также включает воспламеняющий переходник 578, соединенный с воспламеняющим проводником 576. Воспламеняющий переходник 578 предоставляет по меньшей мере один проход 578H для топлива, и соединен с выходным воспламеняющим проводником, или стержнем, 580. Воспламеняющий стержень 580 с помощью резьбового соединения введен внутрь воспламеняющего переходника 578 и проходит от воспламеняющего переходника 578 к дальней концевой части выпускной части 508, подлежащей расположению у границы с камерой сгорания. В изображенном варианте реализации воспламеняющий стержень 580 включает воспламеняющий элемент, или электрод, 584, расположенный в выпускной части 508. Воспламеняющий электрод 584 может представлять собой отдельный компонент, который прикреплен к воспламеняющему стержню 580. В других вариантах реализации, однако, воспламеняющий электрод 584 может быть сформирован за одно целое с воспламеняющим стержнем 580. Кроме того, воспламеняющие элементы 586 могут включать плавные неровности и/или треугольные витки или другие типы выступов, отходящих в окружном направлении от воспламеняющего электрода 584. Воспламеняющий электрод 584 и соответствующие воспламеняющие элементы 586 остаются неподвижными и действуют в качестве первого электрода. Внутренний диаметр выпускной части 508 действует в качестве соответствующего второго электрода для создания акта воспламенения, такого как акт воспламенения плазмой, с воспламеняющими элементами 586.Returning to FIG. 5A. At the outlet portion 508, the injector 500 also includes a radially expanding tube 566, or a supply valve 566 operatively connected to or connected to a central or igniting unit 575. The igniting unit 575 includes a stationary igniting conductor 576 concentrically located over at least part of the second section 564 fuel flow. In some embodiments, the igniter conductor 576 may be a conductive sheath or conductive coating, for example, a metal sheath or metal-coated ceramic, located or located on top of the second fuel flow section 564. The ignition conductor 576 is connected to the voltage supply conductor 509 via the ignition connector 574. The voltage supply conductor 509, in turn, is connected to a suitable voltage source. In one embodiment, the ignition connector 574 may supply at least about 80 kV (direct current or alternating current) to the ignition conductor 576. In other embodiments, however, the ignition connector 574 may supply more or less voltage to the ignition conductor 576. The ignition assembly 575 also includes an ignition adapter 578 connected to the ignition conductor 576. The ignition adapter 578 provides at least one fuel passage 578H, and is connected to the output ignition with a lead conductor, or rod, 580. The ignition rod 580 is threadedly inserted into the ignition adapter 578 and extends from the ignition adapter 578 to the distal end portion of the exhaust portion 508 to be located at the boundary with the combustion chamber. In the illustrated embodiment, the ignition rod 580 includes a ignition element, or electrode, 584 located in the outlet portion 508. The ignition electrode 584 may be a separate component that is attached to the ignition rod 580. In other embodiments, however, the ignition electrode 584 may be formed integrally with the ignition rod 580. In addition, the ignition elements 586 may include smooth irregularities and / or triangular turns or other types of protrusions extending into the surrounding the direction from the ignition electrode 584. The ignition electrode 584 and the corresponding ignition elements 586 remain stationary and act as the first electrode. The inner diameter of the outlet portion 508 acts as the corresponding second electrode to create an ignition act, such as a plasma ignition act, with ignition elements 586.

Воспламеняющий узел 575 также включает изоляцию 582 воспламеняющего электрода, концентрично расположенную поверх по меньшей мере части воспламеняющего электрода 584. Изоляция 582 воспламеняющего электрода может быть выполнена из подходящего изоляционного или диэлектрического материала и, соответственно, изолирует воспламеняющий стержень 580 от внутренней стороны выпускной части 508. Изоляция 582 воспламеняющего электрода включает увеличенную концевую часть 583, имеющую больший размер поперечного сечения (например, диаметр) вблизи воспламеняющего электрода 584. Увеличенная концевая часть 583 сконфигурирована с возможностью контактировать с клапаном 566 подачи, как показано, в закрытой при нормальных условиях позиции. Согласно дополнительным признакам изображенного варианта реализации, выпускная часть 508 может также включать по меньшей мере один смещающий элемент 581, сконфигурированный с возможностью смещения, или, иначе, притягивания, частей клапана 566 подачи.The igniter assembly 575 also includes an ignition electrode insulation 582 concentrically arranged over at least a portion of the ignition electrode 584. The ignition electrode insulation 582 may be made of a suitable insulating or dielectric material and, accordingly, isolates the ignition rod 580 from the inside of the outlet portion 508. Insulation The flammable electrode 582 includes an enlarged end portion 583 having a larger cross-sectional size (e.g., diameter) near the flammable the lead electrode 584. The enlarged end portion 583 is configured to contact the feed valve 566, as shown, in a closed position under normal conditions. According to additional features of the illustrated embodiment, the outlet portion 508 may also include at least one biasing member 581 configured to bias, or otherwise attract, portions of the feed valve 566.

В изображенном варианте реализации клапан 566 подачи представляет собой радиально открывающийся или расширяющийся клапан подачи. В частности, клапан 566 подачи представляет собой клапан, выполненный с возможностью деформации или представляющий собой эластомерную трубку, который концентрично расположен поверх по меньшей мере части второй секции 564 течения топлива, воспламеняющего проводника 576, воспламеняющего переходника 578, воспламеняющего стержня 580 и изоляции 582 воспламеняющего электрода, как показано на чертежах. Клапан 566 подачи включает первую, или неподвижную, концевую часть 568, которая закреплена, приклеена или иным образом присоединена к воспламеняющему проводнику 576 в месте ниже по потоку изоляции 582 воспламеняющего электрода. Например, первая концевая часть 568 может быть приклеена к воспламеняющему проводнику 576 подходящим клеем, термополимером, термоотверждающимся составом или другим подходящим связующим. Клапан 566 подачи также включает вторую деформируемую, или подвижную, концевую часть 570, противоположную неподвижной концевой части 568. Подвижная концевая часть 570 контактирует с увеличенной концевой частью 583 изоляции 582 воспламеняющего электрода и сконфигурирована с возможностью по меньшей мере частично радиально расширяться, увеличиваться или иным образом деформироваться, с тем, чтобы позволять топливу выходить из выпускной части 508 инжектора 500. Другие подробности вариантов реализации клапана 566 подачи описаны ниже со ссылкой на фиг.5F и 5G.In the illustrated embodiment, the supply valve 566 is a radially opening or expanding supply valve. In particular, the supply valve 566 is a deformable valve or an elastomeric tube that is concentrically arranged over at least a portion of the second fuel flow section 564, the ignition conductor 576, the ignition adapter 578, the ignition rod 580, and the ignition electrode insulation 582 as shown in the drawings. The supply valve 566 includes a first, or fixed, end portion 568 that is secured, glued, or otherwise attached to the ignition conductor 576 at a location downstream of the ignition electrode insulation 582. For example, the first end portion 568 may be glued to the igniter conductor 576 with a suitable adhesive, thermopolymer, thermosetting composition, or other suitable binder. The supply valve 566 also includes a second deformable, or movable, end portion 570 opposite the stationary end portion 568. The movable end portion 570 is in contact with the enlarged end portion 583 of the ignition electrode insulation 582 and configured to at least partially radially expand, expand, or otherwise deform in order to allow fuel to exit the outlet portion 508 of the injector 500. Other details of embodiments of the supply valve 566 are described below with reference to FIG. 5F 5G.

Фиг.5F показывает вид сбоку одного варианта реализации первого клапана 566a, сконфигурированного согласно варианту реализации, который может быть использован в выпускной части 508 инжектора 500 из фиг.5A. В варианте реализации, показанном на фиг.5F, первый клапан 566a подачи имеет в целом форму цилиндра или трубки, который или которая включает первую, или неподвижную, концевую часть 568, противоположную второй деформируемой, или подвижной, концевой части 570. Первый клапан 566a подачи может включать крепежное кольцо, или крепежный фиксатор, 569, проходящее или проходящий вокруг по меньшей мере части неподвижной концевой части 568. Крепежный фиксатор 569 сконфигурирован с возможностью помогать удерживать неподвижную концевую часть 568 в желаемом месте на воспламеняющем проводнике 576 посредством по меньшей мере частичного взаимодействия с изоляцией 542 корпуса (фиг.5A). Согласно дополнительным признакам изображенного варианта реализации, деформируемая, или подвижная, концевая часть 570 может включать множество расположенных на расстоянии друг от друга деформируемых выступающих частей или пластин 571. Пластины 571 расположены в выпускной части 508 таким образом, что по меньшей мере частично накрывают увеличенную концевую часть 583 изоляции 582 воспламеняющего электрода и контактируют с этой увеличенной концевой частью. Кроме того, пластины 571 сконфигурированы с возможностью деформироваться, или, иначе, расширяться радиально наружу, что показано пластинами 571, изображенными пунктирными линиями. Как таковое находящееся под давлением топливо и/или одно или более приводящее средство может отклонять или деформировать одну или более из пластин 571, с тем, чтобы позволить топливу выходить через накрытые и закрытые при нормальных условиях проходы для обеспечения впрыска топлива из выпускной части 508 инжектора 500. В одном варианте реализации первый клапан 566a подачи может быть выполнен из металлического материала, такого как пружинная сталь. В других вариантах реализации, однако, первый клапан подачи может быть выполнен из подходящего эластомера.FIG. 5F shows a side view of one embodiment of a first valve 566a configured according to an embodiment that can be used in the outlet portion 508 of the injector 500 of FIG. 5A. In the embodiment shown in FIG. 5F, the first feed valve 566a is generally in the form of a cylinder or tube that either includes a first or fixed end portion 568 opposite the second deformable or movable end portion 570. First feed valve 566a may include a mounting ring, or a fixing latch, 569 extending or passing around at least a portion of the fixed end portion 568. The fixing latch 569 is configured to help hold the fixed end portion 568 in a desired location on flammable conductor 576 by at least partial interaction with the insulation 542 of the housing (figa). According to additional features of the illustrated embodiment, the deformable, or movable, end portion 570 may include a plurality of spaced apart deformable protruding portions or plates 571. The plates 571 are located in the outlet portion 508 such that at least partially cover the enlarged end portion 583 of the ignition electrode insulation 582 and are in contact with this enlarged end portion. In addition, the plates 571 are configured to deform, or otherwise expand radially outward, as shown by the plates 571 shown in dashed lines. As such, pressurized fuel and / or one or more driving means can deflect or deform one or more of the plates 571 so as to allow the fuel to exit through covered and closed under normal conditions passages to allow fuel to be injected from the outlet portion 508 of the injector 500 In one embodiment, the first feed valve 566a may be made of a metal material, such as spring steel. In other embodiments, however, the first supply valve may be made of a suitable elastomer.

Фиг.5G показывает вид сбоку второго клапана 566b подачи, сконфигурированного согласно варианту реализации, который может тоже быть использован в выпускной части 508 инжектора 500 (фиг.5A). Второй клапан 566b подачи в целом подобен по структуре и функции первому клапану 566a подачи, показанному на фиг.5B. Второй клапан 566b подачи, однако, не включает отдельные деформируемые части или пластины. Вместо этого второй клапан 566b подачи включает вторую деформируемую или подвижную концевую часть 570, которая имеет в целом форму цилиндра или трубки. Деформируемая концевая часть включает множество расположенных на расстоянии друг от друга деформируемых секций 573, которые нанесены на второй клапан 566b подачи. В частности, в одном варианте реализации второй клапан 566b подачи может быть выполнен из подходящего эластомера или иного деформируемого материала, а деформируемые секции 573 могут включать отдельные секции или сегменты нанесенного ферромагнитного материала, например, металлическое покрытие. Например, деформируемые секции 573 могут включать металлическое покрытие, состоящее из таких материалов, как окрашенное железом стекло, сплав кобальта и железа (например, приблизительно 48% кобальта и 52% железа), железо-хромо-кремниевый сплав или другой подходящий сплав железа. Как таковые, деформируемые секции 573 могут выборочно деформировать вторую концевую часть 570 второго клапана 566b подачи в ответ на магнитное усилие, прикладываемое ко второму клапану 566b подачи.FIG. 5G shows a side view of a second feed valve 566b configured according to an embodiment that can also be used in the outlet portion 508 of the injector 500 (FIG. 5A). The second feed valve 566b is generally similar in structure and function to the first feed valve 566a shown in FIG. 5B. The second feed valve 566b, however, does not include individual deformable parts or plates. Instead, the second feed valve 566b includes a second deformable or movable end portion 570, which is generally in the form of a cylinder or tube. The deformable end portion includes a plurality of spaced apart deformable sections 573 that are supported on a second feed valve 566b. In particular, in one embodiment, the second feed valve 566b may be made of a suitable elastomer or other deformable material, and the deformable sections 573 may include separate sections or segments of the applied ferromagnetic material, for example, a metal coating. For example, deformable sections 573 may include a metal coating consisting of materials such as iron-stained glass, an alloy of cobalt and iron (e.g., approximately 48% cobalt and 52% iron), an iron-chromium-silicon alloy, or other suitable iron alloy. As such, deformable sections 573 can selectively deform the second end portion 570 of the second feed valve 566b in response to the magnetic force applied to the second feed valve 566b.

Вернемся к рассмотрению фиг.5A. Согласно дополнительным признакам изображенного варианта реализации, инжектор 500 также включает проход 572 для выхода топлива в выпускной части 508, расположенный между клапаном 566 подачи и изоляцией 582 воспламеняющего электрода. Проход 572 для выхода топлива с возможностью обмена текучей средой соединен со второй секцией 564 течения топлива через воспламеняющий переходник 578. Во время работы топливо вводится внутрь прохода 572 для выхода топлива и выборочно рассеивается из выпускной части 508 путем приведения в движение клапана 566 подачи. В частности, во время работы топливо входит в инжектор 500 внутрь базовой части 506 через первый топливный фитинг или впуск 538a. Первый топливный фитинг или впуск 538a вводит топливо внутрь генератора 526 усилия, и топливо выходит из генератора 526 усилия через множество выходных каналов 540. Выходные каналы 540 с возможностью обмена текучей средой соединены с путем или каналом 524 течения топлива. В других вариантах реализации, однако, базовая часть 506 может включать необязательный второй впуск 538b топлива (показан пунктирными линиями) для введения топлива непосредственно внутрь пути 524 течения топлива, а не через генератор 526 усилия. Привод 520 включает множество каналов или проходов течения топлива, проходящих через него, с тем, чтобы позволить топливу течь в промежуточный объем 560 течения топлива. Когда головка 556 базового клапана прижата к клапанному седлу 558, головка базового клапана закрывает промежуточный объем 560 течения топлива.Returning to FIG. 5A. According to additional features of the illustrated embodiment, the injector 500 also includes a fuel exit passage 572 in the exhaust portion 508 located between the supply valve 566 and the ignition electrode insulation 582. A fluid exit passage 572 is coupled to a second fuel flow section 564 through a flammable adapter 578. During operation, fuel is introduced into the fuel exit passage 572 and selectively dispersed from the outlet portion 508 by driving a supply valve 566. In particular, during operation, fuel enters the injector 500 inside the base portion 506 through the first fuel fitting or inlet 538a. The first fuel fitting or inlet 538a introduces fuel into the force generator 526, and the fuel exits the force generator 526 through a plurality of output channels 540. The fluid exchange channels 540 are connected to a fuel flow path or channel 524. In other embodiments, however, the base portion 506 may include an optional second fuel inlet 538b (shown in dashed lines) for introducing fuel directly into the fuel flow path 524, rather than through a force generator 526. The drive 520 includes a plurality of fuel flow channels or passages passing therethrough so as to allow fuel to flow into the intermediate fuel flow volume 560. When the base valve head 556 is pressed against the valve seat 558, the base valve head closes the intermediate fuel flow volume 560.

Когда управляющий клапаном узел 525 перемещает обратный клапан, или базовый клапан, 554 в открытую позицию путем подъема головки 556 базового клапана от клапанного седла 558, находящееся под давлением топливо вводится внутрь первой секции 562 течения топлива. В некоторых вариантах реализации, например, генератор 526 усилия может приводить в движение привод 520 для его перемещения на первое расстояние перед контактом с упором 530 на базовом клапане 554. После приобретения импульса и входа в контакт с упором 530 привод 520 может перемещаться на второе расстояние вместе с базовым клапаном 554 для открытия головки 556 базового клапана. Находящееся под давлением топливо затем течет из первой секции 562 течения топлива через вторую секцию 564 течения топлива и через воспламеняющий переходник 578 внутрь прохода 572 для выхода топлива. В одном варианте реализации давление топлива в проходе 572 для выхода топлива является достаточным для по меньшей мере частичного радиального расширения или иного деформирования подвижной концевой части 570 клапана 566 подачи, с тем, чтобы позволить топливу течь через увеличенную концевую часть 583 изоляции 582 воспламеняющего электрода. Размещение клапана 566 подачи в выпускной части 508, соответственно, предотвращает утечку или нежелательное вытекание топлива из выпускной части 508. В других вариантах реализации по меньшей мере одно приводящее средство, по меньшей мере один привод, по меньшей мере один выборочно смещающий элемент или другой подходящий генератор усилия может по меньшей мере частично радиально расширять или иным образом деформировать подвижную концевую часть 570 клапана 566 подачи. Когда клапан 566 подачи выборочно дозирует топливо из прохода 572 для выхода топлива, топливо течет через по меньшей мере один воспламеняющий элемент 586, который может генерировать акт воспламенения для воспламенения и впрыска топлива внутрь камеры сгорания.When the valve control assembly 525 moves the non-return valve, or base valve, 554 to an open position by lifting the base valve head 556 from the valve seat 558, pressurized fuel is introduced into the first fuel flow section 562. In some embodiments, for example, the force generator 526 can drive the actuator 520 to move it a first distance before it contacts the stop 530 on the base valve 554. After acquiring a pulse and makes contact with the stop 530, the actuator 520 can move a second distance together with a base valve 554 to open the base valve head 556. The pressurized fuel then flows from the first fuel flow section 562 through the second fuel flow section 564 and through the ignition adapter 578 into the fuel exit passage 572. In one embodiment, the fuel pressure in the fuel exit passage 572 is sufficient to at least partially radially expand or otherwise deform the movable end portion 570 of the supply valve 566 to allow fuel to flow through the enlarged end portion 583 of the ignition electrode 582. Placing the supply valve 566 in the exhaust portion 508, respectively, prevents leakage or undesired leakage of fuel from the exhaust portion 508. In other embodiments, at least one driving means, at least one actuator, at least one selectively biasing element, or other suitable generator forces can at least partially radially expand or otherwise deform the movable end portion 570 of the supply valve 566. When the supply valve 566 selectively dispenses fuel from the fuel exit passage 572, the fuel flows through at least one ignition member 586, which can generate an ignition act to ignite and inject fuel into the combustion chamber.

Фиг.6 показывает вид сбоку в разрезе интегрированного инжектора/воспламенителя 600 («инжектора 600»), сконфигурированного согласно еще одному варианту реализации. Как описано подробно ниже, инжектор 600 в особенности предназначен для крупных двигателей, в том числе, например, газовых турбин и различных высокоскоростных вращающихся двигателей сгорания, для выполнения выбора из нескольких топлив и/или сжигания сразу нескольких топлив. Инжектор 600 также в особенности предназначен для устройств, включающих относительно малые проходы для впрыска, как описано выше. Инжектор 600, изображенный на фиг.6, включает несколько признаков, которые в целом подобны по структуре и функции соответствующим признакам инжекторов, описанных выше со ссылкой на фиг.1-5G. Например, как показано на фиг.6, инжектор 600 включает корпус 602, имеющий среднюю часть 604, проходящую между первой, или базовой, частью 606 и второй, или выпускной, частью 608. Выпускная часть 608 сконфигурирована с возможностью проходить внутрь прохода для впрыска в головке цилиндра, например, прохода, имеющего диаметр приблизительно 8,4 мм (0,33) дюйма или меньше, как, например, в проходах для впрыска многих современных дизельных двигателей. В других вариантах реализации, однако, выпускная часть 608 может быть сконфигурирована для проходов для впрыска иных размеров.6 shows a cross-sectional side view of an integrated injector / igniter 600 (“injector 600”) configured in accordance with yet another embodiment. As described in detail below, the injector 600 is particularly designed for large engines, including, for example, gas turbines and various high-speed rotary combustion engines, to select from multiple fuels and / or to burn multiple fuels at once. The injector 600 is also particularly designed for devices comprising relatively small injection passages, as described above. The injector 600 shown in FIG. 6 includes several features that are generally similar in structure and function to the corresponding features of the injectors described above with reference to FIGS. 1-5G. For example, as shown in FIG. 6, the injector 600 includes a housing 602 having a middle portion 604 extending between a first or base portion 606 and a second or exhaust portion 608. The exhaust portion 608 is configured to extend into an injection passage in a cylinder head, for example, a passage having a diameter of approximately 8.4 mm (0.33) inches or less, as, for example, in the injection passages of many modern diesel engines. In other implementations, however, the outlet 608 may be configured for other sizes of injection passages.

Инжектор 600 также включает по меньшей мере один базовый узел 629 (идентифицированы по отдельности первый базовый узел 629a и второй базовый узел 629b), сконфигурированный с возможностью приема топлива внутрь базовой части 606 инжектора и выборочного дозирования топлива в выпускную часть 608. В частности, каждый базовый узел 629 включает управляющий клапаном узел 625, сконфигурированный с возможностью приведения в движение соответствующего тарельчатого клапана, или базового клапана 654. В частности, управляющий клапаном узел 625 включает генератор 626 усилия (например, электрический, электромагнитный, магнитный и т.д. генератор усилия), который вызывает перемещение привода 620. Генератор 626 усилия может также быть функционально соединен с соответствующим контроллером или процессором 622 (идентифицированы по отдельности первый контроллер 622a и второй контроллер 622b) для выборочного перемещения или выборочной активации генератора 626 усилия, например, в ответ на по меньшей мере одно условие камеры сгорания либо другие параметры двигателя. Привод 620 взаимодействует с первым обратным клапаном, или базовым клапаном, 654 в базовой части 606. В частности, базовый клапан 654 включает по меньшей мере один упор 630, который взаимодействует со смещающим элементом 619 (например, цилиндрической пружиной), расположенным в полости для смещающего элемента 619 и предназначенным для смещения базового клапана в закрытую позицию, как показано на фиг.6 (например, в направлении к выпускной части 608). Упор 630 базового клапана также входит во взаимодействие с приводом 620, так что привод 620 перемещает базовый клапан 654 между открытой и закрытой позициями. Базовый клапан 654 также включает головку, или герметизирующую часть 656 базового клапана, которая входит во взаимодействие с соответствующим клапанным седлом 658 в закрытой при нормальных условиях позиции, как показано на чертежах.The injector 600 also includes at least one base unit 629 (the first base unit 629a and the second base unit 629b are individually identified) configured to receive fuel inside the injector base portion 606 and selectively dispense the fuel to the exhaust portion 608. In particular, each base unit 629 includes a valve control unit 625 configured to drive a corresponding poppet valve or base valve 654. In particular, the valve control unit 625 includes a generator 626 force (eg, an electric, electromagnetic, magnetic, etc. force generator) that causes the drive 620 to move. Force generator 626 can also be functionally connected to a corresponding controller or processor 622 (the first controller 622a and the second controller 622b are individually identified) for selectively moving or selectively activating the force generator 626, for example, in response to at least one condition of the combustion chamber or other engine parameters. The actuator 620 interacts with a first non-return valve, or base valve, 654 in the base portion 606. In particular, the base valve 654 includes at least one stop 630, which interacts with a biasing element 619 (for example, a coil spring) located in the cavity for biasing element 619 and designed to bias the base valve in a closed position, as shown in Fig.6 (for example, in the direction of the exhaust part 608). The stop valve 630 of the base valve also engages with the actuator 620, so that the actuator 620 moves the base valve 654 between the open and closed positions. The base valve 654 also includes a head, or a sealing portion 656 of the base valve, which engages with the corresponding valve seat 658 in a closed position under normal conditions, as shown in the drawings.

Согласно дополнительным признакам изображенного варианта реализации, инжектор 600 также включает топливовпускной фитинг 638 (идентифицированы по отдельности первый топливовпускной фитинг 638a и второй топливовпускной фитинг 638b), функционально соединенный с соответствующим базовым узлом 629 для введения топлива внутрь базового узла 629. В каждом базовом узле 629 топливо течет через генераторы 626 усилия и привод 620 с целью прохождения через головку 656 базового клапана, когда базовый клапан находится в открытой позиции. Инжектор 600 также включает топливные соединительные трубопроводы 657 (идентифицированы по отдельности первый топливный соединительный трубопровод 657a и второй топливный соединительный трубопровод 657b) для транспортировки топлива из базовой части 606 к пути или каналу 624 течения топлива, проходящему через среднюю часть 604 и выпускную часть 608 корпуса 602. Канал 624 течения топлива проходит продольно вблизи центрального узла 613, который проходит через корпус 602 от базовой части 606 по меньшей мере частично внутрь выпускной части 608. Центральный узел 613 также включает цилиндрический или трубчатый охватывающий элемент 688, который по меньшей мере частично определяет канал 624 течения топлива с изоляцией 616 воспламеняющего проводника. Центральный узел 613 проходит через изоляцию 642 корпуса 602. Воспламеняющий проводник 614 функционально соединен с воспламеняющим разъемом 627 для подачи воспламеняющего напряжения на воспламеняющий электрод 684, имеющий по меньшей мере один воспламеняющий элемент 686. Воспламеняющий электрод 684 представляет собой первый электрод, который может генерировать акт воспламенения со вторым электродом 685, который может представлять собой электропроводящую часть дальнего конца выпускной части 608. Изоляция 616 воспламеняющего проводника включает увеличенную концевую часть 683, имеющую больший размер поперечного сечения (например, больший диаметр поперечного сечения) вблизи воспламеняющего электрода 684.According to additional features of the illustrated embodiment, the injector 600 also includes a fuel inlet fitting 638 (individually identified the first fuel inlet fitting 638a and the second fuel inlet fitting 638b) operably connected to a corresponding base unit 629 for introducing fuel into the base unit 629. In each base unit 629, fuel flows through force generators 626 and actuator 620 to pass through the base valve head 656 when the base valve is in an open position. The injector 600 also includes fuel connecting pipes 657 (individually identified the first fuel connecting pipe 657a and the second fuel connecting pipe 657b) for transporting fuel from the base portion 606 to a path or channel 624 of the fuel flow passing through the middle portion 604 and the exhaust portion 608 of the housing 602 The channel 624 of the flow of fuel runs longitudinally near the Central node 613, which passes through the housing 602 from the base part 606 at least partially inward of the exhaust part 608. The Central node 613 also includes a cylindrical or tubular female element 688, which at least partially defines a fuel flow path 624 with an ignition conductor insulation 616. The central assembly 613 passes through the insulation 642 of the housing 602. The ignition conductor 614 is operatively connected to the ignition connector 627 for supplying the ignition voltage to the ignition electrode 684 having at least one ignition element 686. The ignition electrode 684 is a first electrode that can generate an ignition act with a second electrode 685, which may be the electrically conductive portion of the distal end of the outlet portion 608. Insulation 616 of the ignition conductor includes an enlarged chennuyu end portion 683 having a larger cross-sectional size (e.g., larger diameter cross-section) near the ignition electrode 684.

Увеличенная концевая часть 683 изоляции 616 воспламеняющего проводника сконфигурирована с возможностью контакта с клапаном 666 подачи, который поддерживается выпускной частью 608. Клапан 666 подачи представляет собой радиально расширяющийся клапан, который включает первую, или неподвижную, концевую часть 668 в месте ниже по потоку увеличенной концевой части 683 изоляции 616 воспламеняющего проводника. Например, первая концевая часть 668 может быть приклеена к наружной поверхности охватывающего элемента 688 подходящим клеем, термополимером, термоотверждающимся составом или иным подходящим связующим. Клапан 666 подачи также включает вторую деформируемую, или подвижную, концевую часть 670, противоположную неподвижной концевой части 668. Подвижная концевая часть 670 контактирует с увеличенной концевой частью 683 изоляции 616 воспламеняющего проводника и сконфигурирована с возможностью по меньшей мере частично радиально расширяться, увеличиваться или иным образом деформироваться, с тем чтобы позволить топливу выходить из выпускной части 608 инжектора 600. В частности, охватывающий элемент 688 включает множество отверстий 669 для выхода топлива вблизи подвижной концевой части 670 клапана 666 подачи.The enlarged end portion 683 of the ignition conductor insulation 616 is configured to contact a supply valve 666, which is supported by an exhaust portion 608. The supply valve 666 is a radially expanding valve that includes a first, or fixed, end part 668 at a location downstream of the enlarged end part 683 insulation 616 flammable conductor. For example, the first end portion 668 may be glued to the outer surface of the enclosing member 688 with a suitable adhesive, thermopolymer, thermosetting composition, or other suitable binder. The supply valve 666 also includes a second deformable, or movable, end portion 670 opposite the stationary end portion 668. The movable end portion 670 contacts the enlarged end portion 683 of the ignition conductor insulation 616 and is configured to at least partially radially expand, expand, or otherwise deform in order to allow the fuel to exit the outlet 608 of the injector 600. In particular, the female member 688 includes a plurality of fuel outlet openings 669 for of the movable end portion 670 of the supply valve 666.

Во время работы топливо вводится внутрь базового узла 629 через топливовпускной фитинг 638. Топливо течет через генератор 626 усилия и привод 620, с тем, чтобы прибыть к головке 656 базового клапана. Когда управляющий клапаном узел 625 перемещает клапан 654 в открытую позицию путем отведения головки 656 базового клапана от клапанного седла 658, топливо течет через головку 656 базового клапана внутрь топливных соединительных трубопроводов 657. Из топливных соединительных трубопроводов 657 находящееся под давлением топливо течет внутрь канала 624 течения топлива. В одном варианте реализации давление топлива в канале 624 течения топлива является достаточным для того, чтобы по меньшей мере частично радиально расширять или иным образом деформировать подвижную концевую часть 670 клапана 666 подачи, с тем чтобы позволить топливу течь через увеличенную концевую часть 683 изоляции 616 воспламеняющего проводника. В других вариантах реализации, однако, по меньшей мере одно приводящее средство, по меньшей мере один привод, по меньшей мере один элемент выборочного смещения либо по меньшей мере один иной подходящий генератор усилия может по меньшей мере частично радиально расширять или иным образом деформировать подвижную концевую часть 670 клапана 666 подачи. Когда клапан 666 подачи выборочно дозирует топливо из отверстий 669 для выхода топлива, топливо течет через по меньшей мере один воспламеняющий элемент 686, который может генерировать акт воспламенения для воспламенения и впрыска топлива внутрь камеры сгорания.During operation, fuel is introduced into the base assembly 629 through a fuel inlet fitting 638. Fuel flows through a force generator 626 and an actuator 620 so as to arrive at the base valve head 656. When the valve control assembly 625 moves the valve 654 to the open position by diverting the base valve head 656 from the valve seat 658, fuel flows through the base valve head 656 into the fuel connecting pipes 657. From the fuel connecting pipes 657, pressurized fuel flows into the fuel flow passage 624 . In one embodiment, the fuel pressure in the fuel flow passage 624 is sufficient to at least partially radially expand or otherwise deform the movable end portion 670 of the supply valve 666 to allow fuel to flow through the enlarged end portion 683 of the ignition conductor insulation 616 . In other embodiments, however, at least one driving means, at least one drive, at least one selective biasing element, or at least one other suitable force generator can at least partially radially expand or otherwise deform the movable end portion 670 feed valve 666. When the supply valve 666 selectively dispenses fuel from the fuel outlet 669, the fuel flows through at least one ignition element 686 that can generate an ignition act to ignite and inject fuel into the combustion chamber.

В некоторых вариантах реализации каждый базовый узел 629, а также другие регуляторы расхода топлива могут быть сконфигурированы с возможностью выполнения: 1) регулировки расхода топлива путем открытия любого из клапанных узлов и 2) производства ионизирующего напряжения при завершении функции открытия клапана. Для выполнения обеих из этих функций в некоторых вариантах реализации, например, каждый генератор 626 усилия может представлять собой обмотку электромагнита, включающую первую, или первичную, обмотку и вторичную обмотку. Вторичная обмотка может включать больше витков, чем первичная обмотка. Каждая обмотка может также включать по меньшей мере один слой изоляции (например, из лака или другого подходящего изолятора), однако вторичная обмотка может включать больше изолирующих слоев, чем первая обмотка. Генератор 626 усилия может также быть электрически соединен с проводником 614. За счет намотки генератора 626 усилия или соленоида по принципу трансформатора с первичной обмоткой и вторичной обмоткой, причем вторичная обмотка содержит гораздо большее число витков, первичная обмотка может нести высокий ток при приложении напряжения для производства тяги, или, иначе, вызывания перемещения привода 620 базового клапана. При открытии реле к первичной обмотке привод 620 активируется, и очень высокое напряжение будет производиться вторичной обмоткой. Высокое напряжение вторичной обмотки может быть применено для акта воспламенения плазмой, а именно для обеспечения начальной ионизации, после чего разряд относительно более низкого напряжения конденсатора, который был заряжен любым подходящим источником (включая энергию, собранную из камеры сгорания фотоэлектрическим, термоэлектрическим и пьезоэлектрическим генераторами), продолжает подавать ионизирующий ток и проталкивать топливо внутрь камеры сгорания.In some embodiments, each base assembly 629, as well as other fuel flow controllers, may be configured to: 1) adjust fuel consumption by opening any of the valve assemblies; and 2) produce ionizing voltage when the valve open function is complete. To perform both of these functions, in some implementations, for example, each force generator 626 may be an electromagnet winding including a first or primary winding and a secondary winding. The secondary winding may include more turns than the primary winding. Each winding may also include at least one layer of insulation (for example, from varnish or another suitable insulator), however, the secondary winding may include more insulating layers than the first winding. The force generator 626 can also be electrically connected to the conductor 614. By winding the force generator 626 or a solenoid according to the principle of a transformer with a primary winding and a secondary winding, the secondary winding containing a much larger number of turns, the primary winding can carry a high current when voltage is applied to produce traction, or, otherwise, causing movement of the actuator 620 of the base valve. When the relay is opened to the primary winding, the 620 actuator is activated, and a very high voltage will be produced by the secondary winding. A high voltage of the secondary winding can be used to ignite the plasma, namely to provide initial ionization, after which the discharge of a relatively lower voltage of the capacitor, which was charged by any suitable source (including energy collected from the combustion chamber by photoelectric, thermoelectric and piezoelectric generators), continues to supply ionizing current and push fuel into the combustion chamber.

Варианты реализации интегрированных инжекторов/воспламенителей и, в частности, клапанов подачи, описанные подробно в настоящем документе, обеспечивают несколько преимуществ перед стандартными инжекторами и воспламенителями. Одним преимуществом, например, является то, что эти клапаны подачи имеют радиально компактную форму и конфигурацию, которые в особенности подходят для помещения в выпускную часть инжектора, используемого в современных дизельных двигателях или других крупных двигателях с очень ограниченным размером прохода для впрыска. Как отмечено выше, например, отверстие для впрыска современного дизельного двигателя зачастую имеет диаметр приблизительно 8,4 мм (0,33 дюйма). Как раскрыто в настоящем документе, эти клапаны подачи и соответствующие приводящие в движение, изолирующие и воспламеняющие компоненты могут работать внутри такого ограниченного имеющегося пространства. Кроме того, расположение этих клапанов подачи вблизи границы камеры сгорания может по меньшей мере частично предотвращать нежелательную утечку топлива. В случаях, когда прирост тепла может вызвать расширение топлива с созданием давления между актами впрыска, варианты реализации, подобные тем, что показаны на фиг.5B, 5C, 5D и/или 5E, могут быть использованы для предотвращения утечки топлива внутрь камеры сгорания в нежелательные моменты. Кроме того, варианты реализации клапанов подачи, раскрытые в настоящем документе, в особенности подходят для резонирования, тем самым достигая очень высокого уровня эксплуатационных возможностей. Кроме того, варианты реализации, раскрытые в настоящем документе, способны обеспечивать жесткое соединение управляющего клапаном узла, такого как привод или толкатель, с соответствующим клапаном как при открывающейся внутрь, так и при открывающейся наружу конфигурациях. Кроме того, эти варианты реализации обеспечивают возможность работы при высокой температуре для применения в адиабатических двигателях и других применений, которые требуют приема относительно большого количества тепла от камеры сгорания. Кроме того, эти варианты реализации могут обеспечивать стабильный подвод воспламеняющего напряжения, чтобы тем самым обеспечивать доставку очень высокого напряжения и, как следствие, обеспечивать очень высокие токи в межэлектронном зазоре для быстрого преобразования жидких топлив при их впрыске в высокоскоростные струи ионизированных паров и плазм. Эти варианты реализации могут также обеспечивать гораздо большее количество лошадиных сил, например, 10000 л.с. на инжектор, для выбранной газовой турбины и крупного поршневого двигателя, в которой или котором может происходить чрезвычайно быстрое сгорание, за счет чего устранена необходимость в камерах предварительного сгорания и жаровых трубах. Кроме того, эти варианты реализации могут также обеспечивать то, что центральный воспламеняющий или электродный узел включает разные компоненты и имеет разные функции, в том числе измерительную функцию, обеспечиваемую волокнами 617, такими как оптические волокна, функцию проведения электрического тока и напряжения, а также функцию неподвижного клапанного седла для закрытого в нормальных условиях клапана. Далее, эти варианты реализации могут иметь весьма высокую диэлектрическую прочность, способную выдерживать ионизирующее напряжение в 50-150 кВ при токовых импульсах с мгновенным током в 1000 А и более в воспламеняющих электродах, как показано.Embodiments of integrated injectors / igniters, and in particular feed valves, described in detail herein, provide several advantages over standard injectors and igniters. One advantage, for example, is that these supply valves have a radially compact shape and configuration, which are particularly suitable for placement in the outlet of the injector used in modern diesel engines or other large engines with a very limited size of the passage for injection. As noted above, for example, the injection hole of a modern diesel engine often has a diameter of approximately 8.4 mm (0.33 inches). As disclosed herein, these supply valves and associated propelling, insulating and igniting components can operate within such limited available space. In addition, the location of these supply valves near the boundary of the combustion chamber can at least partially prevent unwanted fuel leakage. In cases where a heat gain can cause fuel expansion to create pressure between the injection acts, embodiments similar to those shown in FIGS. 5B, 5C, 5D and / or 5E can be used to prevent fuel from leaking into the combustion chamber into undesired moments. In addition, the embodiments of the supply valves disclosed herein are particularly suitable for resonance, thereby achieving a very high level of operational capability. In addition, the embodiments disclosed herein are capable of providing a rigid connection to a valve control assembly, such as an actuator or pusher, with a corresponding valve, both inwardly opening and outwardly opening configurations. In addition, these embodiments provide the possibility of operating at high temperature for use in adiabatic engines and other applications that require the reception of a relatively large amount of heat from the combustion chamber. In addition, these implementation options can provide a stable supply of flammable voltage, thereby ensuring the delivery of very high voltage and, as a result, provide very high currents in the interelectronic gap for the rapid conversion of liquid fuels when they are injected into high-speed jets of ionized vapors and plasmas. These options for implementation can also provide a much larger amount of horsepower, for example, 10,000 hp. to the injector, for the selected gas turbine and large piston engine, in which or which can occur extremely fast combustion, thereby eliminating the need for pre-combustion chambers and flame tubes. In addition, these embodiments may also ensure that the central igniter or electrode assembly includes different components and has different functions, including the measuring function provided by fibers 617, such as optical fibers, the function of conducting electric current and voltage, and also the function fixed valve seat for a normally closed valve. Further, these embodiments can have a very high dielectric strength, capable of withstanding an ionizing voltage of 50-150 kV at current pulses with an instantaneous current of 1000 A or more in igniting electrodes, as shown.

Кроме того, несколько из вариантов реализации, описанных подробно выше, топливных инжекторов могут быть использованы в двигателях, которые сконфигурированы с возможностью сжигания водородсодержащего топлива (например, аммиака) или других топлив с низкой удельной энергией (например, монооксида углерода и водорода), которые могут иметь в 3000 раз меньшую удельную энергию, чем дизельное топливо. Например, двигатели океанских танкеров, которые транспортируют жидкие метан, пропан, аммиак, метанол и/или другие вещества, могут иметь экономию эксплуатационных расходов, когда они оборудованы несколькими вариантами реализации инжекторов, раскрытыми в настоящем документе. В одном варианте реализации, например, перевозимое вещество может преобразовываться с использованием теплоотходов от двигателей следующим образом:In addition, several of the embodiments described in detail above, fuel injectors can be used in engines that are configured to burn hydrogen-containing fuel (e.g., ammonia) or other low specific energy fuels (e.g., carbon monoxide and hydrogen) that can have 3000 times less specific energy than diesel. For example, the engines of ocean tankers that transport liquid methane, propane, ammonia, methanol and / or other substances can have a cost-savings when they are equipped with several options for the implementation of the injectors disclosed in this document. In one embodiment, for example, the transported substance can be converted using heat from engines as follows:

2NH3 → 3H2+N2 2NH 3 → 3H 2 + N 2

CH3OH → CO+H2 CH 3 OH → CO + H 2

Это обеспечивается путем преобразования маршевых двигателей (к числу которых относятся тепловые двигатели, такие как дизельные двигатели с воспламенением от сжатия, различные ротационные двигатели сгорания и газовые турбины) таким образом, чтобы они работали на топливах, которые могут быть получены преобразованием из указанных грузов с помощью эндотермических реакций, в которых тепло, отводимое от таких тепловых двигателей, используется для приведения в действие таких реакций. В других вариантах реализации инжектор может также быть использован в энергетических установках, химических установках и/или других подходящих областях с производящими тепло двигателями.This is achieved by converting marching engines (which include heat engines such as compression ignition diesel engines, various rotary combustion engines, and gas turbines) so that they run on fuels that can be obtained by converting from these loads using endothermic reactions in which the heat removed from such heat engines is used to drive such reactions. In other embodiments, the injector may also be used in power plants, chemical plants and / or other suitable areas with heat generating engines.

В этих типах вариантов реализации термо-химическая регенерация с использованием тепла, отводимого от двигателя, обеспечивает привлекательную экономию топлива, поскольку водородсодержащие топлива, которые производятся, выдают на 15-30% больше энергии при их сжигании, чем сырье, из которого их получают. Кроме того, варианты реализации инжекторов, раскрытые в настоящем документе, могут позволять водородсодержащим топливам сгорать до 12 раз быстрее, чем дизельные или бункерные топлива, тем самым значительно повышая КПД двигателя и устраняя твердые частицы в выхлопе двигателя.In these types of embodiments, thermo-chemical regeneration using heat removed from the engine provides attractive fuel savings, since the hydrogen-containing fuels that are produced produce 15-30% more energy when they are burned than the raw materials from which they are obtained. In addition, the injector embodiments disclosed herein may allow hydrogen-containing fuels to burn up to 12 times faster than diesel or bunker fuels, thereby significantly increasing engine efficiency and eliminating particulate matter in the engine exhaust.

После изучения вышесказанного необходимо понимать, что конкретные варианты реализации были описаны в настоящем документе лишь в целях пояснения, и что различные модификации могут быть получены без выхода за рамки сущности и объема изобретения. Например, диэлектрическую прочность изоляций, раскрытых в настоящем документе, можно изменять или варьировать путем использования альтернативных материалов и способов обработки. Приводящие средства и приводы могут варьироваться в зависимости от топлива и/или области применения соответствующих инжекторов. Кроме того, компоненты инжектора могут варьироваться, в том числе, например, электроды, оптика, приводящие средства, клапаны и выпускные части корпусов могут выполняться из альтернативных материалов или могут включать альтернативные конфигурации, отличные от тех, что показаны и описаны, без выхода за рамки сущности раскрытия.After studying the foregoing, it must be understood that specific embodiments have been described herein for purposes of explanation only and that various modifications may be made without departing from the spirit and scope of the invention. For example, the dielectric strength of the insulation disclosed herein can be changed or varied by using alternative materials and processing methods. The driving means and drives may vary depending on the fuel and / or the application of the respective injectors. In addition, the components of the injector may vary, including, for example, electrodes, optics, driving means, valves and exhaust parts of the housings may be made of alternative materials or may include alternative configurations other than those shown and described, without going beyond essence of disclosure.

Если контекст явным образом не требует иного, в описании и формуле изобретения слова «содержит», «содержащий» и подобные следует истолковывать во включительном смысле, а не исключительном или исчерпывающем смысле; иными словами, в смысле «включает следующее, но не ограничен этим». Использование слов в единственном или множественном числе также подразумевает возможность множественного или единственного числа, соответственно. Когда используется союз «или» в списке из двух или более элементов, этот союз охватывает следующие интерпретации: любой из элементов в списке, все из элементов в списке и любое сочетание элементов в списке. Кроме того, различные варианты реализации, описанные выше, могут сочетаться для обеспечения других вариантов реализации. Все патенты США, публикации заявок на патент США, заявки на патент США, иностранные патенты, иностранные заявки на патент и непатентные публикации, упоминаемые в настоящем документе и/или перечисленные в листе данных заявки, считаются полностью включенными в настоящий документ. Аспекты раскрытия могут быть модифицированы, если это необходимо, для использования топливных инжекторов и воспламенителей с различными конфигурациями и концепциями различных патентов, заявок и публикаций с целью получения других вариантов реализации раскрытия.Unless the context explicitly requires otherwise, in the description and claims, the words “comprise,” “comprising,” and the like should be construed in an inclusive sense, and not in an exclusive or exhaustive sense; in other words, in the sense of "includes the following, but is not limited to this." The use of words in the singular or plural also implies the possibility of the plural or singular, respectively. When using the union “or” in a list of two or more elements, this union covers the following interpretations: any of the elements in the list, all of the elements in the list, and any combination of elements in the list. In addition, the various implementations described above may be combined to provide other implementations. All US patents, publications of US patent applications, US patent applications, foreign patents, foreign patent applications and non-patent publications referred to in this document and / or listed in the application data sheet are considered to be fully included in this document. Aspects of the disclosure may be modified, if necessary, to use fuel injectors and ignitors with various configurations and concepts of various patents, applications and publications in order to obtain other options for implementing the disclosure.

Эти и другие изменения могут быть внесены в раскрытие в свете приведенного выше подробного описания. В целом, в нижеприведенной формуле изобретения используемые термины не следует истолковывать таким образом, что они ограничивают раскрытие конкретными вариантами реализации, раскрываемыми в описании и формуле изобретения, а следует истолковывать таким образом, чтобы обеспечивалось включение всех систем и способов, которые работают согласно формуле изобретения. Соответственно, изобретение не ограничено раскрытием, а, напротив, его объем определен широко нижеследующей формулой изобретения.These and other changes may be made to the disclosure in light of the above detailed description. In general, in the following claims, the terms used should not be construed in such a way that they limit the disclosure to the specific embodiments disclosed in the description and claims, but should be construed so that all systems and methods that operate according to the claims are included. Accordingly, the invention is not limited by the disclosure, but, on the contrary, its scope is defined broadly by the following claims.

Claims (36)

1. Инжектор для введения и воспламенения топлива на границе камеры сгорания, содержащий
корпус инжектора, включающий
базовую часть, сконфигурированную с возможностью приема топлива внутрь корпуса инжектора;
выпускную часть, противоположную базовой части, причем выпускная часть сконфигурирована с возможностью ее расположения вблизи камеры сгорания для впрыска топлива в камеру сгорания;
изоляцию корпуса, проходящую через по меньшей мере часть корпуса; и
клапанное седло, которое поддерживается изоляцией корпуса, причем клапанное седло расположено у выпускной части или вблизи выпускной части;
путь течения топлива, проходящий через корпус; и
центральный узел, проходящий через корпус концентрично с по меньшей мере частью пути течения топлива, причем центральный узел включает
воспламеняющий стержень, проходящий от базовой части к выпускной части;
изоляцию воспламеняющего стержня, концентрично расположенную поверх воспламеняющего стержня, причем изоляция воспламеняющего стержня проходит от базовой части по меньшей мере частично внутрь выпускной части; и
клапан, концентрично расположенный поверх изоляции воспламеняющего стержня, причем клапан включает герметизирующую головку вблизи клапанного седла, и причем клапан перемещается вдоль изоляции воспламеняющего стержня между открытой позицией, в которой герметизирующая головка находится на расстоянии от клапанного седла, с тем чтобы позволить топливу выходить из пути течения топлива, и закрытой позицией, в которой герметизирующая головка по меньшей мере частично контактирует с клапанным седлом для закрытия пути течения топлива.
1. An injector for introducing and igniting fuel at the boundary of the combustion chamber, comprising
injector body including
a base part configured to receive fuel inside the injector body;
an outlet portion opposite the base portion, the outlet portion configured to be located close to the combustion chamber to inject fuel into the combustion chamber;
housing insulation passing through at least a portion of the housing; and
a valve seat, which is supported by the insulation of the housing, the valve seat being located at or near the outlet;
fuel flow path through the housing; and
a Central node passing through the housing concentrically with at least part of the flow path of the fuel, and the Central node includes
flammable rod extending from the base to the outlet;
an ignition rod insulation concentrically arranged over the ignition rod, wherein the insulation of the ignition rod extends from the base portion at least partially into the outlet portion; and
a valve concentrically located over the insulation of the ignition rod, the valve including a sealing head near the valve seat, and the valve moving along the insulation of the ignition rod between the open position in which the sealing head is located at a distance from the valve seat so as to allow fuel to exit the flow path fuel, and a closed position in which the sealing head is at least partially in contact with the valve seat to close the fuel flow path.
2. Инжектор по п.1, в котором выпускная часть имеет диаметр приблизительно 0,33 дюйма или меньше.2. The injector according to claim 1, in which the outlet part has a diameter of approximately 0.33 inches or less. 3. Инжектор по п.1, в котором выпускная часть имеет длину приблизительно 12 дюймов или больше.3. The injector according to claim 1, in which the exhaust part has a length of approximately 12 inches or more. 4. Инжектор по п.1, дополнительно содержащий управляющий клапаном узел, который поддерживается базовой частью, причем управляющий клапаном узел содержит
привод, окружающий по меньшей мере часть клапана и выполненный с возможностью перемещения между первой позицией и второй позицией, причем, когда привод находится в первой позиции, клапан удерживается в закрытой позиции, а когда привод перемещается во вторую позицию, привод входит во взаимодействие с клапаном и перемещает клапан в открытую позицию;
генератор усилия, сконфигурированный для приведения в движение привода для его перемещения между первой и второй позициями; и
контроллер, сконфигурированный с возможностью выборочно активировать генератор усилия.
4. The injector according to claim 1, further comprising a valve control assembly that is supported by a base portion, the valve control assembly comprising
an actuator surrounding at least a portion of the valve and movable between the first position and the second position, wherein when the actuator is in the first position, the valve is held in a closed position, and when the actuator is moved to the second position, the actuator engages with the valve and moves the valve to an open position;
a force generator configured to drive the drive to move it between the first and second positions; and
a controller configured to selectively activate a force generator.
5. Инжектор по п.4, дополнительно содержащий впуск топлива, с возможностью обмена текучей средой соединенный с генератором усилия для введения топлива внутрь базовой части через генератор усилия.5. The injector according to claim 4, further comprising a fuel inlet, fluidly coupled to the force generator for introducing fuel into the base portion through the force generator. 6. Инжектор по п.1, в котором клапан включает первую концевую часть, противоположную герметизирующей головке, и который дополнительно содержит привод, расположенный в базовой части с возможностью перемещения между первой позицией и второй позицией, причем, когда привод находится в первой позиции, клапан удерживается в открытой позиции, а когда привод перемещается во вторую позицию, привод входит во взаимодействие с первой концевой частью клапана и перемещает клапан в открытую позицию.6. The injector according to claim 1, in which the valve includes a first end portion opposite the sealing head, and which further comprises an actuator located in the base part with the possibility of movement between the first position and the second position, and when the actuator is in the first position, the valve held in the open position, and when the actuator moves to the second position, the actuator interacts with the first end part of the valve and moves the valve to the open position. 7. Инжектор по п.6, в котором первая концевая часть клапана включает упор, и в котором привод контактирует с упором, когда привод входит во взаимодействие с первой концевой частью клапана.7. The injector according to claim 6, in which the first end part of the valve includes a stop, and in which the actuator contacts the stop when the actuator interacts with the first end part of the valve. 8. Инжектор по п.6, в котором привод при перемещении ко второй позиции перед сопряжением с первой концевой частью клапана перемещается на предварительно определенное расстояние.8. The injector according to claim 6, in which the actuator moves to a predetermined distance when moving to the second position before pairing with the first end portion of the valve. 9. Инжектор по п.1, дополнительно содержащий по меньшей мере одно оптическое волокно, проходящее через воспламеняющий стержень, причем по меньшей мере одно оптическое волокно сконфигурировано с возможностью передавать данные о камере сгорания из камеры сгорания в контроллер, функционально соединенный с инжектором.9. The injector according to claim 1, additionally containing at least one optical fiber passing through the ignition rod, and at least one optical fiber is configured to transmit data about the combustion chamber from the combustion chamber to a controller operably connected to the injector. 10. Инжектор по п.1, в котором воспламеняющий стержень включает по меньшей мере один воспламеняющий элемент, расположенный в выпускной части между герметизирующей головкой клапана и камерой сгорания, и в котором по меньшей мере один воспламеняющий элемент сконфигурирован для генерации акта воспламенения для воспламенения топлива, выходящего из выпускной части.10. The injector according to claim 1, in which the ignition rod includes at least one ignition element located in the outlet between the sealing head of the valve and the combustion chamber, and in which at least one ignition element is configured to generate an ignition act for igniting the fuel, coming out of the outlet. 11. Инжектор по п.10, в котором по меньшей мере один воспламеняющий элемент навит вокруг по меньшей мере части воспламеняющего стержня.11. The injector according to claim 10, in which at least one ignition element is wound around at least a portion of the ignition rod. 12. Инжектор по п.1, в котором герметизирующая головка клапана находится на расстоянии от границы с камерой сгорания, равном по меньшей мере приблизительно 12 дюймов или больше.12. The injector according to claim 1, in which the sealing head of the valve is located at a distance from the boundary with the combustion chamber equal to at least about 12 inches or more. 13. Инжектор по п.1, в котором герметизирующая головка клапана сконфигурирована с возможностью ее расположения в выпускной части вблизи границы камеры сгорания.13. The injector according to claim 1, in which the sealing head of the valve is configured to be located in the exhaust part near the boundary of the combustion chamber. 14. Инжектор по п.1, дополнительно содержащий контроллер для
выборочного управления перемещением клапана относительно изоляции воспламеняющего стержня; и
выборочного управления актом воспламенения, генерируемым воспламеняющим стержнем.
14. The injector according to claim 1, further comprising a controller for
selective control of valve movement relative to the insulation of the ignition rod; and
selective control of the ignition act generated by the igniting rod.
15. Инжектор по п.1, в котором клапан имеет первую длину; изоляция воспламеняющего стержня имеет вторую длину, большую, чем первая длина; а воспламеняющий стержень имеет третью длину, большую, чем вторая длина.15. The injector according to claim 1, in which the valve has a first length; the insulation of the flammable rod has a second length greater than the first length; and the ignition rod has a third length greater than the second length. 16. Инжектор по п.1, в котором клапан представляет собой открывающийся наружу клапан, перемещающийся в направлении к камере сгорания, когда клапан перемещается из закрытой позиции в открытую позицию.16. The injector according to claim 1, wherein the valve is an outward opening valve moving toward the combustion chamber when the valve moves from a closed position to an open position. 17. Инжектор по п.1, в котором клапан представляет собой открывающийся внутрь клапан, перемещающийся в направлении от камеры сгорания, когда клапан перемещается из закрытой позиции в открытую позицию.17. The injector according to claim 1, wherein the valve is an inward opening valve that moves away from the combustion chamber when the valve moves from a closed position to an open position. 18. Инжектор по п.1, в котором путь течения топлива проходит через корпус между клапаном и изоляцией корпуса.18. The injector according to claim 1, in which the flow path of the fuel passes through the housing between the valve and the insulation of the housing. 19. Инжектор для введения топлива внутрь камеры сгорания, содержащий
корпус, имеющий первую концевую часть, противоположную второй концевой части, причем вторая концевая часть сконфигурирована с возможностью находиться вблизи границы камеры сгорания, а первая концевая часть сконфигурирована с возможностью находиться на расстоянии от камеры сгорания;
воспламеняющий проводник, проходящий через корпус от первой концевой части ко второй концевой части, причем воспламеняющий проводник сконфигурирован с возможностью передавать воспламеняющую энергию от первой концевой части ко второй концевой части и генерировать акт воспламенения вблизи границы камеры сгорания;
изоляцию, проходящую продольно вдоль воспламеняющего проводника и окружающую по меньшей мере часть воспламеняющего проводника;
клапан, проходящий продольно вдоль изоляции от первой концевой части ко второй концевой части, причем клапан включает герметизирующую концевую часть, и причем клапан выполнен с возможностью перемещения вдоль изоляции между открытой позицией и закрытой позицией; и
клапанное седло во второй концевой части корпуса или вблизи второй концевой части корпуса, причем, когда клапан находится в открытой позиции, герметизирующая концевая часть находится на расстоянии от клапанного седла, а когда клапан находится в закрытой позиции, герметизирующая концевая часть контактирует по меньшей мере с частью клапанного седла.
19. An injector for introducing fuel into the combustion chamber, comprising
a housing having a first end portion opposite the second end portion, the second end portion configured to be near the boundary of the combustion chamber, and the first end portion configured to be located at a distance from the combustion chamber;
an ignition conductor passing through the housing from the first end portion to the second end portion, wherein the ignition conductor is configured to transmit ignition energy from the first end portion to the second end portion and generate an ignition act near the boundary of the combustion chamber;
insulation extending longitudinally along the igniting conductor and surrounding at least a portion of the igniting conductor;
a valve extending longitudinally along the insulation from the first end part to the second end part, wherein the valve includes a sealing end part, and wherein the valve is arranged to move along the insulation between the open position and the closed position; and
a valve seat in the second end portion of the housing or near the second end portion of the housing, wherein when the valve is in the open position, the sealing end portion is at a distance from the valve seat, and when the valve is in the closed position, the sealing end portion contacts at least a portion valve seat.
20. Инжектор по п.19, в котором изоляция представляет собой первую изоляцию, и который дополнительно содержит
вторую изоляцию, проходящую продольно вдоль корпуса и находящуюся в радиальном направлении на расстоянии от клапана; и
кольцеобразный проход для течения топлива, проходящий от первой концевой части ко второй концевой части между второй изоляцией и клапаном.
20. The injector according to claim 19, in which the insulation is a first insulation, and which further comprises
a second insulation extending longitudinally along the body and located radially at a distance from the valve; and
an annular passage for fuel flow extending from the first end portion to the second end portion between the second insulation and the valve.
21. Инжектор по п.19, дополнительно содержащий проход для течения топлива, концентрично расположенный вокруг клапана и окружающий его.21. The injector according to claim 19, further comprising a passage for fuel flow, concentrically located around the valve and surrounding it. 22. Инжектор по п.19, в котором герметизирующая концевая часть клапана содержит увеличенную концевую часть клапана, имеющую первый диаметр, который больше, чем второй диаметр клапана.22. The injector according to claim 19, in which the sealing end portion of the valve comprises an enlarged end portion of the valve having a first diameter that is larger than the second diameter of the valve. 23. Инжектор по п.19, дополнительно содержащий по меньшей мере один оптический датчик, проходящий от первой концевой части ко второй концевой части, в котором по меньшей мере одно оптическое волокно сконфигурировано с возможностью определения или передачи данных камеры сгорания из камеры сгорания.23. The injector according to claim 19, further comprising at least one optical sensor extending from the first end portion to the second end portion, in which at least one optical fiber is configured to detect or transmit data of the combustion chamber from the combustion chamber. 24. Инжектор по п.23, в котором по меньшей мере один оптический датчик проходит продольно через воспламеняющий проводник.24. The injector according to item 23, in which at least one optical sensor passes longitudinally through the igniting conductor. 25. Инжектор по п.19, в котором клапан дополнительно содержит базовую часть, противоположную герметизирующей концевой части, а инжектор дополнительно содержит
приводящее средство, расположенное в первой концевой части, причем приводящее средство выполнено с возможностью перемещения между первой позицией и второй позицией, причем, когда приводящее средство перемещается из первой позиции во вторую позицию, оно контактирует с базовой частью клапана и перемещает клапан из закрытой позиции к открытой позиции; и
генератор усилия, расположенный в первой концевой части вблизи приводящего средства, причем генератор усилия сконфигурирован с возможностью активации приводящего средства для перемещения приводящего средства между первой и второй позициями.
25. The injector according to claim 19, in which the valve further comprises a base portion opposite the sealing end portion, and the injector further comprises
a driving means located in the first end portion, the driving means being movable between the first position and the second position, and when the driving means moves from the first position to the second position, it contacts the valve body and moves the valve from the closed position to the open position and
a force generator located in a first end portion close to the driving means, the force generator being configured to activate the driving means to move the driving means between the first and second positions.
26. Инжектор по п.19, в котором клапан проходит, по меньшей мере частично, через вторую концевую часть корпуса, а герметизирующая концевая часть клапана расположена вблизи границы камеры сгорания.26. The injector according to claim 19, in which the valve passes, at least partially, through the second end part of the housing, and the sealing end part of the valve is located near the boundary of the combustion chamber. 27. Инжектор по п.19, дополнительно содержащий по меньшей мере один воспламеняющий элемент, который поддерживается воспламеняющим проводником, причем по меньшей мере один воспламеняющий элемент расположен между герметизирующей концевой частью клапана и границей камеры сгорания, и причем по меньшей мере один воспламеняющий элемент сконфигурирован с возможностью генерировать акт воспламенения с целью воспламенения топлива, которое проходит за герметизирующую концевую часть клапана.27. The injector according to claim 19, further comprising at least one ignition element supported by the ignition conductor, at least one ignition element located between the sealing end portion of the valve and the boundary of the combustion chamber, and wherein at least one ignition element is configured with the ability to generate an act of ignition to ignite the fuel that extends beyond the sealing end portion of the valve. 28. Инжектор по п.19, в котором вторая концевая часть корпуса имеет диаметр приблизительно 0,33 дюйма или меньше.28. The injector according to claim 19, in which the second end portion of the housing has a diameter of approximately 0.33 inches or less. 29. Инжектор для введения топлива внутрь камеры сгорания, содержащий
выпускную часть, сконфигурированную с возможностью быть расположенной вблизи границы с камерой сгорания;
базовую часть, противоположную выпускной части и сконфигурированную с возможностью находиться на расстоянии от выпускной части;
воспламеняющий проводник, по меньшей мере частично проходящий через выпускную часть;
изоляцию воспламеняющего проводника, концентрично расположенную поверх по меньшей мере части воспламеняющего проводника; и
клапан, расположенный в выпускной части и концентрично расположенный поверх по меньшей мере части изоляции воспламеняющего проводника и находящийся в радиальном направлении на расстоянии от по меньшей мере части изоляции воспламеняющего проводника, причем клапан включает
первую концевую часть, которая остается в целом неподвижной относительно изоляции воспламеняющего проводника; и
вторую герметизирующую концевую часть, расположенную между первой концевой частью и камерой сгорания, причем вторая герметизирующая концевая часть является по меньшей мере частично деформируемой в направлении радиально от изоляции воспламеняющего проводника для перемещения из закрытой позиции в открытую позицию с целью впрыска топлива из выпускной части внутрь камеры сгорания.
29. An injector for introducing fuel into the combustion chamber, comprising
an outlet configured to be located near the boundary with the combustion chamber;
a base part opposite the outlet and configured to be spaced from the outlet;
a flammable conductor at least partially passing through the outlet;
an ignition conductor insulation concentrically arranged over at least a portion of the ignition conductor; and
a valve located in the outlet portion and concentrically located on top of at least a portion of the insulation of the igniting conductor and located radially at a distance from at least a portion of the insulation of the igniting conductor, the valve including
a first end portion that remains generally stationary relative to the insulation of the combustible conductor; and
a second sealing end part located between the first end part and the combustion chamber, the second sealing end part being at least partially deformable in the direction radially from the insulation of the igniting conductor to move from a closed position to an open position in order to inject fuel from the exhaust part into the combustion chamber .
30. Инжектор по п.29, в котором клапан представляет собой первый клапан, и который дополнительно содержит второй клапан, расположенный в базовой части, причем второй клапан перемещается в направлении, в целом параллельном продольной оси инжектора, из закрытой позиции в открытую позицию, для обеспечения протекания топлива из базовой части к выпускной части.30. The injector according to clause 29, in which the valve is a first valve, and which further comprises a second valve located in the base part, the second valve moving in a direction generally parallel to the longitudinal axis of the injector, from a closed position to an open position, for ensure the flow of fuel from the base part to the exhaust part. 31. Инжектор по п.30, в котором второй клапан выполнен с возможностью перемещения независимо от первого клапана.31. The injector according to claim 30, wherein the second valve is movable independently of the first valve. 32. Инжектор по п.29, дополнительно содержащий привод, с возможностью перемещения расположенный в базовой части и концентрично окружающий по меньшей мере часть второго клапана, причем привод выполнен с возможностью перемещения между первой позицией и второй позицией, причем, когда привод перемещается из первой позиции ко второй позиции, он входит во взаимодействие со вторым клапаном и перемещает второй клапан из закрытой позиции к открытой позиции.32. The injector according to clause 29, further comprising a actuator movably located in the base portion and concentrically surrounding at least a portion of the second valve, the actuator being movable between the first position and the second position, wherein when the actuator moves from the first position to the second position, it interacts with the second valve and moves the second valve from the closed position to the open position. 33. Инжектор по п.29, в котором воспламеняющий проводник представляет собой первый воспламеняющий проводник, и который дополнительно содержит второй воспламеняющий проводник, электрически соединенный с первым воспламеняющим проводником, причем второй воспламеняющий проводник проходит от выпускной части к базовой части и по меньшей мере частично вмещает проход для течения топлива, проходящий продольно через инжектор.33. The injector according to clause 29, in which the ignition conductor is a first ignition conductor, and which further comprises a second ignition conductor electrically connected to the first ignition conductor, the second ignition conductor extending from the outlet to the base part and at least partially accommodates a passage for the flow of fuel passing longitudinally through the injector. 34. Инжектор по п.29, дополнительно содержащий воспламеняющий разъем у базовой части, причем воспламеняющий разъем сконфигурирован с возможностью быть функционально соединенным с воспламеняющим источником энергии, и причем воспламеняющий проводник проходит от воспламеняющего разъема в базовой части к выпускной части.34. The injector according to clause 29, further comprising a flammable connector at the base part, the flammable connector configured to be operatively connected to the flammable energy source, and the flammable conductor extending from the flammable connector in the base portion to the exhaust portion. 35. Инжектор по п.34, в котором изоляция воспламеняющего проводника концентрично расположена поверх воспламеняющего проводника и проходит от базовой части по меньшей мере частично внутрь выпускной части.35. The injector according to clause 34, in which the insulation of the igniting conductor is concentrically located on top of the igniting conductor and extends from the base part at least partially into the outlet part. 36. Инжектор по п.29, в котором изоляция воспламеняющего проводника включает увеличенную концевую часть, расположенную вблизи границы с камерой сгорания, и в котором вторая герметизирующая концевая часть клапана расположена вблизи увеличенной концевой части изоляции воспламеняющего проводника. 36. The injector according to clause 29, in which the insulation of the combustible conductor includes an enlarged end portion located near the boundary with the combustion chamber, and in which the second sealing end portion of the valve is located near the enlarged end portion of the insulation of the combustible conductor.
RU2012128571/06A 2009-12-07 2010-10-27 Integrated fuel igniters for use in large engines and related methods of use and manufacturing RU2511802C2 (en)

Applications Claiming Priority (21)

Application Number Priority Date Filing Date Title
US12/653,085 2009-12-07
US12/653,085 US8635985B2 (en) 2008-01-07 2009-12-07 Integrated fuel injectors and igniters and associated methods of use and manufacture
US30440310P 2010-02-13 2010-02-13
US61/304,403 2010-02-13
US31210010P 2010-03-09 2010-03-09
US61/312,100 2010-03-09
US12/841,149 2010-07-21
US12/804,508 2010-07-21
US12/804,509 2010-07-21
US12/804,510 US8074625B2 (en) 2008-01-07 2010-07-21 Fuel injector actuator assemblies and associated methods of use and manufacture
US12/804,510 2010-07-21
US12/841,146 2010-07-21
US12/804,509 US8561598B2 (en) 2008-01-07 2010-07-21 Method and system of thermochemical regeneration to provide oxygenated fuel, for example, with fuel-cooled fuel injectors
US12/841,149 US8365700B2 (en) 2008-01-07 2010-07-21 Shaping a fuel charge in a combustion chamber with multiple drivers and/or ionization control
US12/804,508 US8387599B2 (en) 2008-01-07 2010-07-21 Methods and systems for reducing the formation of oxides of nitrogen during combustion in engines
US12/841,170 2010-07-21
US12/841,135 US8192852B2 (en) 2008-01-07 2010-07-21 Ceramic insulator and methods of use and manufacture thereof
US12/841,170 US8555860B2 (en) 2008-01-07 2010-07-21 Integrated fuel injectors and igniters and associated methods of use and manufacture
US12/841,135 2010-07-21
US12/841,146 US8413634B2 (en) 2008-01-07 2010-07-21 Integrated fuel injector igniters with conductive cable assemblies
PCT/US2010/054361 WO2011071607A2 (en) 2009-12-07 2010-10-27 Integrated fuel injector igniters suitable for large engine applications and associated methods of use and manufacture

Publications (2)

Publication Number Publication Date
RU2012128571A RU2012128571A (en) 2014-01-20
RU2511802C2 true RU2511802C2 (en) 2014-04-10

Family

ID=48189385

Family Applications (1)

Application Number Title Priority Date Filing Date
RU2012128571/06A RU2511802C2 (en) 2009-12-07 2010-10-27 Integrated fuel igniters for use in large engines and related methods of use and manufacturing

Country Status (5)

Country Link
JP (3) JP5175409B1 (en)
CA (1) CA2810500A1 (en)
IL (1) IL235755A0 (en)
MY (1) MY152807A (en)
RU (1) RU2511802C2 (en)

Cited By (1)

* Cited by examiner, † Cited by third party
Publication number Priority date Publication date Assignee Title
RU2726451C2 (en) * 2016-04-15 2020-07-14 Соулар Тёрбинз Инкорпорейтед Fuel injector and fuel system for internal combustion engine

Families Citing this family (4)

* Cited by examiner, † Cited by third party
Publication number Priority date Publication date Assignee Title
JP2014500932A (en) * 2010-12-06 2014-01-16 マクアリスター テクノロジーズ エルエルシー Integrated fuel injection and ignition device configured to inject a plurality of fuels and / or coolants and associated methods for use and manufacture
WO2015182775A1 (en) * 2014-05-29 2015-12-03 イマジニアリング株式会社 Injector having in-built ignition system
KR101905759B1 (en) * 2016-09-12 2018-10-10 주식회사 포스코 Temperature measuring apparatus of combustion chamber of gas turbine
CN118011822B (en) * 2024-02-18 2024-10-15 深圳市卡卓无线信息技术有限公司 Scene self-adaptive switch control method for exploder

Citations (3)

* Cited by examiner, † Cited by third party
Publication number Priority date Publication date Assignee Title
US4448160A (en) * 1982-03-15 1984-05-15 Vosper George W Fuel injector
US5377633A (en) * 1993-07-12 1995-01-03 Siemens Automotive L.P. Railplug direct injector/ignitor assembly
RU2000124388A (en) * 2000-09-25 2002-08-10 ООО НПК "Базальт" CONTROLLED INJECTOR WITH CENTRAL IGNITION

Family Cites Families (14)

* Cited by examiner, † Cited by third party
Publication number Priority date Publication date Assignee Title
JPS63154760U (en) * 1987-03-27 1988-10-11
GB9210115D0 (en) * 1992-05-11 1992-06-24 United Fuels Ltd Improvements in or relating to internal combustion engines
JP2897620B2 (en) * 1993-11-29 1999-05-31 トヨタ自動車株式会社 In-cylinder direct injection injector with integrated spark plug
JP3368687B2 (en) * 1994-09-29 2003-01-20 日産自動車株式会社 Air-fuel ratio detection device for internal combustion engine
JPH08334077A (en) * 1995-06-08 1996-12-17 Aisan Ind Co Ltd Fuel injection device
JPH0921372A (en) * 1995-07-04 1997-01-21 Aisan Ind Co Ltd Fuel injection device
CN1411535A (en) * 1999-10-18 2003-04-16 轨道发动机公司(澳大利亚)有限公司 Direct injection of fuels in internal combustion engine
JP2001248445A (en) * 2000-03-08 2001-09-14 Nissan Motor Co Ltd Compression self-ignition internal combustion engine
JP2002061556A (en) * 2000-08-22 2002-02-28 Shigeru Nagano Gasoline engine
JP3918761B2 (en) * 2003-04-02 2007-05-23 株式会社デンソー Abnormal diagnosis of internal combustion engine
JP4243600B2 (en) * 2005-09-13 2009-03-25 本田技研工業株式会社 Combustion state determination device for internal combustion engine
JP2007262937A (en) * 2006-03-28 2007-10-11 Toyota Central Res & Dev Lab Inc Control unit for direct injection gasoline engine
DE102006037040B4 (en) * 2006-08-08 2008-07-24 Siemens Ag Fuel injector with ignition
JP2008255848A (en) * 2007-04-03 2008-10-23 Tomoki Yamazaki Injector spark plug

Patent Citations (3)

* Cited by examiner, † Cited by third party
Publication number Priority date Publication date Assignee Title
US4448160A (en) * 1982-03-15 1984-05-15 Vosper George W Fuel injector
US5377633A (en) * 1993-07-12 1995-01-03 Siemens Automotive L.P. Railplug direct injector/ignitor assembly
RU2000124388A (en) * 2000-09-25 2002-08-10 ООО НПК "Базальт" CONTROLLED INJECTOR WITH CENTRAL IGNITION

Cited By (1)

* Cited by examiner, † Cited by third party
Publication number Priority date Publication date Assignee Title
RU2726451C2 (en) * 2016-04-15 2020-07-14 Соулар Тёрбинз Инкорпорейтед Fuel injector and fuel system for internal combustion engine

Also Published As

Publication number Publication date
JP5175409B1 (en) 2013-04-03
MY152807A (en) 2014-11-28
RU2012128571A (en) 2014-01-20
JP2013513070A (en) 2013-04-18
CA2810500A1 (en) 2011-06-16
JP2015052323A (en) 2015-03-19
IL235755A0 (en) 2014-12-31
JP5685607B2 (en) 2015-03-18
JP2013092153A (en) 2013-05-16

Similar Documents

Publication Publication Date Title
US8225768B2 (en) Integrated fuel injector igniters suitable for large engine applications and associated methods of use and manufacture
US8800527B2 (en) Method and apparatus for providing adaptive swirl injection and ignition
US8074625B2 (en) Fuel injector actuator assemblies and associated methods of use and manufacture
CN102859176B (en) Integrated fuel injector igniter for large engine applications and related methods of use and manufacture
US9410474B2 (en) Integrated fuel injector igniters configured to inject multiple fuels and/or coolants and associated methods of use and manufacture
US9175654B2 (en) Integrated fuel injector igniters suitable for large engine applications and associated methods of use and manufacture
US8091528B2 (en) Integrated fuel injector igniters having force generating assemblies for injecting and igniting fuel and associated methods of use and manufacture
RU2511802C2 (en) Integrated fuel igniters for use in large engines and related methods of use and manufacturing
EP2649293A1 (en) Integrated fuel injector igniters configured to inject multiple fuels and/or coolants and associated methods of use and manufacture
JP5734294B2 (en) Fuel injector
CN102713236B (en) Fuel injector actuator assembly and related methods of use and manufacture
JP5901806B2 (en) Fuel injector actuator assembly and related uses and manufacturing methods
EP2470770A2 (en) Fuel injector actuator assemblies and associated methods of use and manufacture
AU2015201098A1 (en) An injector for introducing and igniting fuel at an interface with a combustion chamber
CN103403336A (en) Integrated fuel injector igniters having force generating assemblies for injecting and igniting fuel and associated methods of use and manufacture

Legal Events

Date Code Title Description
MM4A The patent is invalid due to non-payment of fees

Effective date: 20171028