RU19796U1 - MONITORING SYSTEM FOR CARS - Google Patents
MONITORING SYSTEM FOR CARS Download PDFInfo
- Publication number
- RU19796U1 RU19796U1 RU2001113475/20U RU2001113475U RU19796U1 RU 19796 U1 RU19796 U1 RU 19796U1 RU 2001113475/20 U RU2001113475/20 U RU 2001113475/20U RU 2001113475 U RU2001113475 U RU 2001113475U RU 19796 U1 RU19796 U1 RU 19796U1
- Authority
- RU
- Russia
- Prior art keywords
- switch
- video
- recording device
- recording
- vehicle
- Prior art date
Links
- 238000012544 monitoring process Methods 0.000 title description 2
- 238000005352 clarification Methods 0.000 description 1
- 238000010586 diagram Methods 0.000 description 1
- 230000005236 sound signal Effects 0.000 description 1
Landscapes
- Closed-Circuit Television Systems (AREA)
Description
CHCTEI dA НАБЛЮДЕНИЯ ДЛЯ АВТОМОБИЛЕЙCHCTEI dA OBSERVATIONS FOR CARS
Настоящая полезная модель относится к транспортным средствам и предназначена для наблюдения дорожной обстановки вокруг автомобиля и записи информации о ней.This utility model relates to vehicles and is intended to monitor the traffic situation around the vehicle and record information about it.
Известна система для наблюдения пространства вокруг автомобиля, которое не просматривается водителем непосредственно или через зеркало (DE, А1, 19801884). Изображение наблюдаемого пространства создается с помощью, например, видеокамер, которые размещены в фарах автомобиля, и отображается для водителя на мониторах. Система содержит также микропроцессор, к которому подключены мониторы и видеокамеры и который позволяет редактировать изображение и извлекать из него информацию.A known system for observing the space around the car, which is not visible to the driver directly or through a mirror (DE, A1, 19801884). The image of the observed space is created using, for example, video cameras that are located in the headlights of the car, and is displayed to the driver on the monitors. The system also contains a microprocessor to which monitors and video cameras are connected and which allows you to edit the image and extract information from it.
Известно проекционное устройство для автомобилей {DE, А1, 19638140), содержащее установленные снаружи на шасси автомобиля две миниатюрные камеры, с помощью которых производят съемку дорожной обстановки, и установленный внутри салона плоский монитор, на котором отображаются в виде комбинированного изображения видеосигналы, поступающие от камер.A projection device for automobiles is known (DE, A1, 19638140), comprising two miniature cameras mounted externally on a car chassis, with the aid of which a traffic picture is taken, and a flat monitor installed inside the cabin, on which video signals from cameras are displayed as a combined image .
Известна система наблюдения для автомобиля (WO, А2, 9638319), содержащая несколько приборов, создающих изображения наблюдаемого пространства вокруг автомобиля, и диоплейная система, формирующая единую картину, а1нтезированную на основе выходных данных этих приборов и приближенную к общему виду местности как сзади, так и спереди автомобиля.A known observation system for a car (WO, A2, 9638319), containing several devices that create images of the observed space around the car, and a dioplay system that forms a single picture, a1 synthesized based on the output of these devices and close to the general view of the terrain both from behind and in front of the car.
Основным недостатком известных систем для наблюдения пространства вокруг автомобиля является то, что они обеспечивают просмотр на установленном в салоне мониторе дорожной обстановки непосредственно в момент нахождения автомобиля в данном месте и не позволяютThe main disadvantage of the known systems for observing the space around the car is that they provide viewing on a traffic monitor installed in the passenger compartment immediately at the time the car is in this place and do not allow
МКИ; B60R1/00 MKI; B60R1 / 00
сохранить информацию о ней для последующего в случае необходимости воспроизведения.save information about it for later reproduction if necessary.
В основу настоящей полезной модели поставлена задача создать систему наблюдения для автомобилей, обеспечивающую сохранение информации о дорожной обстановки вокруг автомобиля, полученной в реальном масштабе времени, и воспроизведение ее в любой момент времени.The basis of this utility model is the task of creating a monitoring system for cars, which ensures the storage of information about the traffic situation around the car, obtained in real time, and its reproduction at any time.
Поставленная задача решается тем, что система наблюдения для автомобилей, содержащая группу миниатюрных видеокамер наблюдения, установленных на автомобиле для получения изображений наблюдаемого вокруг автомобиля пространства, и микрофон для записи звуковой информации, согласно полезной модели, дополнительно содержит размещенные в автомобиле записывающее устройство и видеокоммутатор, предназначенный для поочередного подключения видеокамер наблюдения к записывающему устройству с последующим воспроизведением на индикаторном устройстве записанной информации.The problem is solved in that the surveillance system for cars, containing a group of miniature surveillance cameras installed on the vehicle to obtain images of the space observed around the vehicle, and a microphone for recording audio information, according to the utility model, further comprises a recording device and a video switch located in the vehicle for alternately connecting surveillance cameras to a recording device with subsequent playback on the indicator device ystve recorded information.
Записывающим устройством может быть видеокамера или видеомагнитофон, или система цифровой записи аудио/видеоизображения, а индикаторным устройством может служить, например, телевизор.The recording device may be a video camera or VCR, or a digital audio / video recording system, and the indicator device may be, for example, a television.
Видеокоммутатор содержит блок питания, подключенный к бортовой сети автомобиля, и подсоединенные к блоку питания коммутатор, ко входам которого подключены видеокамеры наблюдения, генератор управляющих сигналов, выход которого подсоединен к соответствующему входу коммутатора, и блок смешения видеосигналов и управляющих сигналов, входы которого подключены к соответствующим выходам коммутатора, генератора и записывающего устройства, а его выходы - к соответствующим выходам коммутатора и записывающего устройства.The video switch contains a power supply connected to the vehicle’s on-board network, and a switch connected to the power supply, to the inputs of which surveillance cameras are connected, a control signal generator, the output of which is connected to the corresponding input of the switch, and a mixing block of video signals and control signals, the inputs of which are connected to the corresponding the outputs of the switch, the generator and the recording device, and its outputs to the corresponding outputs of the switch and the recording device.
Предлагаемая система позволяет обеспечить полный контроль и фиксацию дорожной обстановки вокруг автомобиля, что, например, при аварии дает 100% независимое свидетельствование о произошедшем и,The proposed system allows full control and fixing of the traffic situation around the car, which, for example, in case of an accident gives 100% independent evidence of what happened and,
следовательно, облегчит ситуацию выяснения обстоятельств данной аварии.consequently, it will facilitate the clarification of the circumstances of the accident.
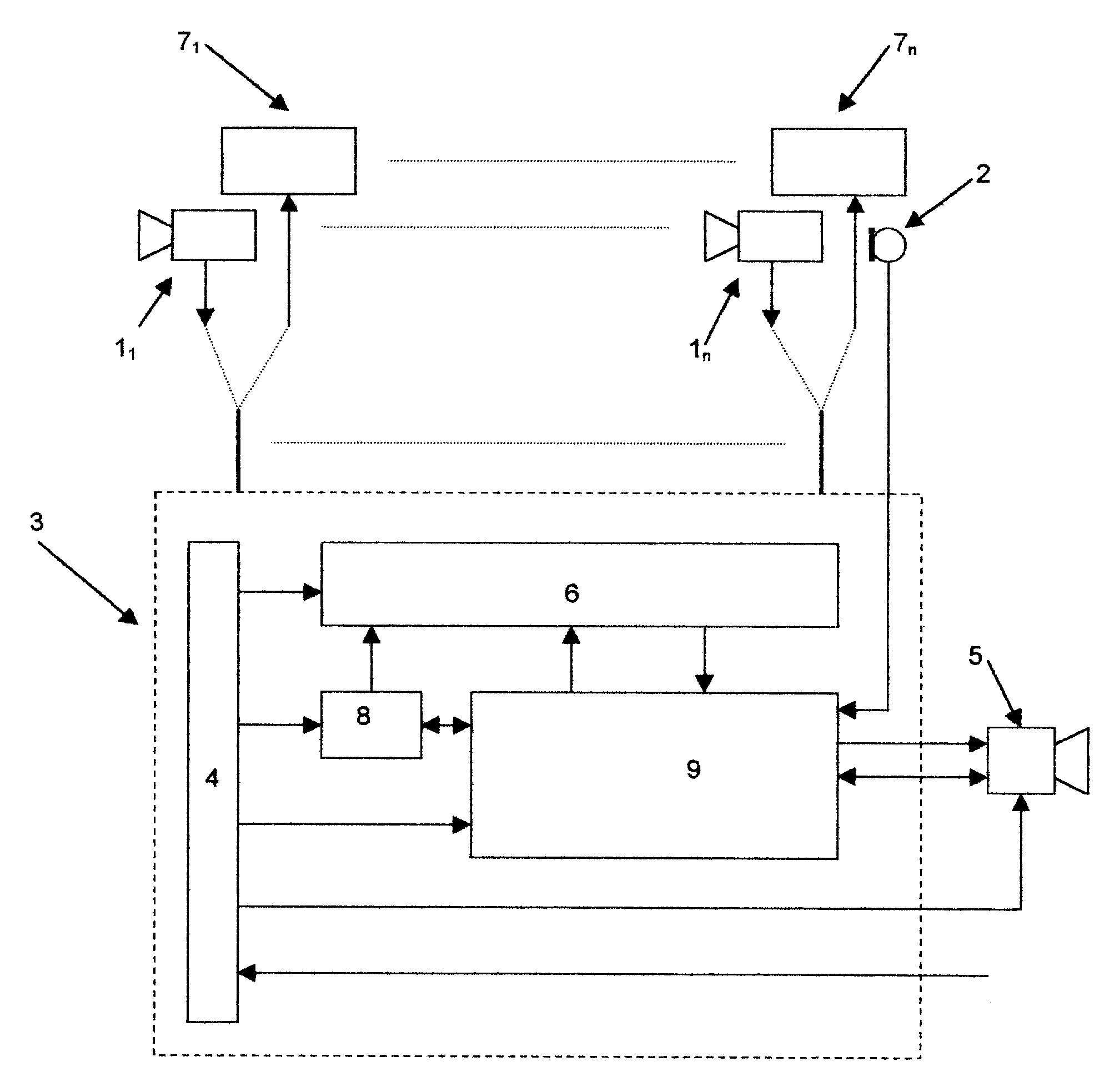
В дальнейшем предлагаемая полезная модель поясняется конкретным примером его выполнения и сопровождающим чертежом, на котором представлена структурная блок-схема системы наблюдения для автомобилей.In the future, the proposed utility model is illustrated by a specific example of its implementation and the accompanying drawing, which shows a structural block diagram of a surveillance system for cars.
Система наблюдения для автомобилей, согласно полезной модели, содержит группу миниатюрных видеокамер 1i,, 1п наблюдения и микрофон 2, которые установлены на автомобиле и подключены к видеокоммутатору 3. Количество видеокамер 1i,, 1п наблюдения может бытьA surveillance system for cars, according to a utility model, contains a group of miniature video cameras 1i ,, 1p surveillance and a microphone 2 that are installed on the car and connected to the video switch 3. The number of cameras 1i ,, 1p surveillance can be
различным, но наиболее целесообразно устанавливать на автомобиле от двух до восьми видеокамер. Видеокоммутатор 3 содержит блок 4 питания, который может быть подключен к бортовой сети автомобиля и к которому может подключаться записывающее устройство 5, размещенное на автомобиле. В качестве записывающего устройства 5 может быть использована видеокамера, как показано на фиг., или видеомагнитофон, или система цифровой записи аудио/видеоинформации.different, but most appropriate to install on a car from two to eight cameras. The video switch 3 contains a power supply 4, which can be connected to the on-board network of the car and to which a recording device 5 located on the car can be connected. As a recording device 5, a video camera can be used, as shown in Fig., Or a VCR, or a digital audio / video recording system.
Видеокоммутатор 3 содержит также подключенный к блоку 4 питания коммутатор 6, ко входам которого в режиме запио подключены видеокамеры 1i,, 1п В режиме воспроизведения к коммутатору 6 подключаются индикаторные устройства 1i,, 1п, например телевизоры илиThe video switch 3 also contains a switch 6 connected to the power supply unit 4, to the inputs of which the video cameras 1i ,, 1p are connected in the recording mode in the playback mode, the indicator devices 1i ,, 1p are connected to the switch 6, for example, TVs or
видеомагнитофоны. Кроме того, к блоку 4 питания подключен генератор 8 управляющих сигналов, один выход которого подсоединен к соответствующему входу коммутатора 6, и блок 9 смешения видео/аудиосигналов и управляющих сигналов, подсоединенный к генератору 8, коммутатору 6 и к записывающему устройству 5.VCRs. In addition, a control signal generator 8 is connected to the power supply unit 4, one output of which is connected to the corresponding input of the switch 6, and a video / audio signal and control signal mixing unit 9 connected to the generator 8, the switch 6, and the recording device 5.
В соответствии с выбранным количеством видеокамер 1i,, 1п, сIn accordance with the selected number of cameras 1i ,, 1p, s
помощью которых осуществляют съемку наблюдаемого пространства вокруг автомобиля, происходит их поочередное подключение через коммутатор 6 к блоку 9. При работе системы в режиме запись блок 9 суммирует сигналы, поступающие с видеокамер 1i,, 1п, и управляющие сигналы.with the help of which the observed space around the car is taken, they are connected in turn through the switch 6 to block 9. When the system is in recording mode, block 9 summarizes the signals from the cameras 1i ,, 1p and control signals.
сформированные в генераторе 8, которые выводятся для записи на записывающее устройство 5, например видеокамера, или видеомагнитофон, или система цифровой записи аудио/видеоинформации.formed in the generator 8, which are output for recording on a recording device 5, for example, a video camera, or a VCR, or a digital audio / video recording system.
В случае необходимости просмотра зафиксированной информации о дорожной обстановке коммутатор 6 работает в режиме воспроизведение, при котором с помощью него по управляющим сигналам, записаннымIf you need to view the recorded information about the traffic situation, the switch 6 operates in the playback mode, in which using it according to the control signals recorded
на видеоленте, происходит вывод сигналов с одной из видеокамер 1i,,on a video tape, signals are output from one of the cameras 1i ,,
In на соответствующий выход, к которому может быть подключено одно изIn to the corresponding output to which one of
индикаторных устройств 7i,,7п, например телевизор, если требуетсяindicator devices 7i ,, 7p, for example a TV, if required
произвести только просмотр информации, или видеомагнитофон, если необходимо произвести запись информации. Кроме того, с помощью блока 9 осуществляют выбор включения любого количества видеокамер или телевизоров (видеомагнитофонов), выбор времени подачи звукового сигнала предупреждения об окончании ленты в видеокассете, переключение режимов запись и воспроизведениеonly view information, or a VCR, if necessary, record information. In addition, using block 9, you can select the inclusion of any number of cameras or TVs (VCRs), select the time for the audible warning signal to end the tape in the video cassette, switch recording and playback modes
Блок 4 питания, подключаемый к бортовой сети автомобиля, помимо питания электронной схемы видеокоммутатора 3 обеспечивает возможность питания записывающей видеокамеры 5 независимо от состояния зарядки ее собственных аккумуляторов путем подключения к блоку 4 линии питания записывающей видеокамерыThe power supply unit 4 connected to the vehicle’s on-board network, in addition to supplying the electronic circuitry of the video switch 3, makes it possible to power the recording video camera 5 regardless of the charging state of its own batteries by connecting the recording video camera's power line to unit 4
W)/ //J l)W) / // J l)
Claims (6)
Priority Applications (1)
| Application Number | Priority Date | Filing Date | Title |
|---|---|---|---|
| RU2001113475/20U RU19796U1 (en) | 2001-05-22 | 2001-05-22 | MONITORING SYSTEM FOR CARS |
Applications Claiming Priority (1)
| Application Number | Priority Date | Filing Date | Title |
|---|---|---|---|
| RU2001113475/20U RU19796U1 (en) | 2001-05-22 | 2001-05-22 | MONITORING SYSTEM FOR CARS |
Publications (1)
| Publication Number | Publication Date |
|---|---|
| RU19796U1 true RU19796U1 (en) | 2001-10-10 |
Family
ID=36714834
Family Applications (1)
| Application Number | Title | Priority Date | Filing Date |
|---|---|---|---|
| RU2001113475/20U RU19796U1 (en) | 2001-05-22 | 2001-05-22 | MONITORING SYSTEM FOR CARS |
Country Status (1)
| Country | Link |
|---|---|
| RU (1) | RU19796U1 (en) |
Cited By (6)
| Publication number | Priority date | Publication date | Assignee | Title |
|---|---|---|---|---|
| RU2259288C2 (en) * | 2003-07-23 | 2005-08-27 | Производственно-торговое частное унитарное предприятие "Минотор-Сервис" (УП "Минотор-Сервис") | Fighting vehicle observation system |
| WO2005102779A1 (en) * | 2004-04-20 | 2005-11-03 | Osman Mirzaevich Mirza | Scanning-increasing method third eye |
| RU2270111C1 (en) * | 2004-09-06 | 2006-02-20 | Александр Владимирович Калмаков | Tele-observation system for motor-vehicle |
| RU2381629C2 (en) * | 2002-08-26 | 2010-02-10 | Джозеф Дж. МАДЗИЛЛИ | Automobile video camera system with 360° field of view |
| RU2451609C1 (en) * | 2011-02-21 | 2012-05-27 | Владимир Иванович Винокуров | Automotive onboard data system |
| WO2012142026A1 (en) * | 2011-04-11 | 2012-10-18 | Gentex Corporation | Image synchronization for a multiple imager system and method thereof |
-
2001
- 2001-05-22 RU RU2001113475/20U patent/RU19796U1/en not_active IP Right Cessation
Cited By (7)
| Publication number | Priority date | Publication date | Assignee | Title |
|---|---|---|---|---|
| RU2381629C2 (en) * | 2002-08-26 | 2010-02-10 | Джозеф Дж. МАДЗИЛЛИ | Automobile video camera system with 360° field of view |
| RU2259288C2 (en) * | 2003-07-23 | 2005-08-27 | Производственно-торговое частное унитарное предприятие "Минотор-Сервис" (УП "Минотор-Сервис") | Fighting vehicle observation system |
| WO2005102779A1 (en) * | 2004-04-20 | 2005-11-03 | Osman Mirzaevich Mirza | Scanning-increasing method third eye |
| RU2270111C1 (en) * | 2004-09-06 | 2006-02-20 | Александр Владимирович Калмаков | Tele-observation system for motor-vehicle |
| RU2451609C1 (en) * | 2011-02-21 | 2012-05-27 | Владимир Иванович Винокуров | Automotive onboard data system |
| WO2012142026A1 (en) * | 2011-04-11 | 2012-10-18 | Gentex Corporation | Image synchronization for a multiple imager system and method thereof |
| US8717433B2 (en) | 2011-04-11 | 2014-05-06 | Gentex Corporation | Image synchronization for a multiple imager system and method thereof |
Similar Documents
| Publication | Publication Date | Title |
|---|---|---|
| JP4043439B2 (en) | 360 degree video camera for automobile | |
| JP5177821B2 (en) | Vehicle video recording device, playback device, and program | |
| JP2000225970A (en) | Image recording system loaded on vehicle | |
| US20100259373A1 (en) | Storage device of car event data recorder | |
| US20080309762A1 (en) | In-vehicle mobile digital video surveillance recorder system with GPS visual mapping and navigation | |
| KR20020010498A (en) | Surveillance apparatus for a vehicle | |
| JPS6291092A (en) | On-vehicle status recording device | |
| JPH04245886A (en) | Vehicle | |
| JPH04257189A (en) | Vehicle | |
| RU19796U1 (en) | MONITORING SYSTEM FOR CARS | |
| JPH10166943A (en) | External monitoring device for vehicle | |
| JP2000247265A (en) | On-vehicle image recording system | |
| JP5604722B2 (en) | Vehicle video recording device, playback device, and program | |
| JP2000309288A (en) | Stored picture operating device of on-board picture image recording system | |
| KR20180095359A (en) | Driving video recorder and car to transport passengers having the same | |
| JP2002321664A (en) | On-vehicle image recording system | |
| JP6002975B2 (en) | Vehicle video recording device, playback device, and program | |
| JP2018045580A (en) | Operation recording system | |
| EP1280681B1 (en) | A device for recording image of driving circumstances around automobile | |
| WO1998052358A1 (en) | Transportation surveillance system | |
| KR20000035617A (en) | Image recording system mounted in a vehicle | |
| RU2270111C1 (en) | Tele-observation system for motor-vehicle | |
| JP2000092420A (en) | Image information recording device | |
| CN209879583U (en) | Vehicle-mounted traveling data recorder | |
| JP7706176B2 (en) | Vehicle image recording device, playback device, and program |
Legal Events
| Date | Code | Title | Description |
|---|---|---|---|
| MM1K | Utility model has become invalid (non-payment of fees) |
Effective date: 20050523 |
