RU143459U1 - DEED FOR PROCESSING SEEDS - Google Patents
DEED FOR PROCESSING SEEDS Download PDFInfo
- Publication number
- RU143459U1 RU143459U1 RU2014114289/13U RU2014114289U RU143459U1 RU 143459 U1 RU143459 U1 RU 143459U1 RU 2014114289/13 U RU2014114289/13 U RU 2014114289/13U RU 2014114289 U RU2014114289 U RU 2014114289U RU 143459 U1 RU143459 U1 RU 143459U1
- Authority
- RU
- Russia
- Prior art keywords
- seed
- guides
- seeds
- distribution cone
- chamber
- Prior art date
Links
- 238000005554 pickling Methods 0.000 claims abstract description 3
- 239000012530 fluid Substances 0.000 description 4
- 238000005530 etching Methods 0.000 description 3
- 239000007921 spray Substances 0.000 description 3
- 238000010586 diagram Methods 0.000 description 2
- 239000006185 dispersion Substances 0.000 description 2
- 239000003814 drug Substances 0.000 description 2
- 229940079593 drug Drugs 0.000 description 2
- 230000005484 gravity Effects 0.000 description 1
- 239000007788 liquid Substances 0.000 description 1
- 238000000034 method Methods 0.000 description 1
- 230000001681 protective effect Effects 0.000 description 1
- 238000005096 rolling process Methods 0.000 description 1
- 239000000021 stimulant Substances 0.000 description 1
Landscapes
- Pretreatment Of Seeds And Plants (AREA)
Abstract
Устройство для обработки семян, включающее бункер для семян с дозатором, камеру протравливания семян, в которой установлены распределительный конус с делителями потока семян в виде направляющих и распылители эжекционно-щелевого типа, расположенные попарно, противоположно друг другу, отличающееся тем, что распылители расположены по касательной к поверхности камеры протравливания, распределительный конус имеет направляющие в виде интегральной кривой и установлен с возможностью вращения посредством электродвигателя, расположенного над бункером.A device for treating seeds, including a seed hopper with a metering unit, a seed dressing chamber, in which a distribution cone with seed flow dividers in the form of guides and ejection-slot type sprayers are installed, arranged in pairs opposite to each other, characterized in that the sprayers are tangent to the surface of the pickling chamber, the distribution cone has guides in the form of an integral curve and is mounted for rotation by an electric motor located on Dr. bin.
Description
Полезная модель относится к сельскохозяйственному машиностроению, в частности к машинам для обработки семян защитно-стимулирующими веществами.The utility model relates to agricultural machinery, in particular to machines for treating seeds with protective stimulants.
Известны устройства для обработки семян [1, 2] (патент РФ 2246195, патент ФРГ 1974 г. №1907269), включающий бункер семян с дозатором, распределитель семян и установленный под ним распылитель жидких препаратов. В этих устройствах семена, поступающие из бункера в определенной дозе, распределителем рассеиваются тонким слоем и ссыпаются вниз. При этом семена пересекают факел капельного потока препаратов, создаваемых распылителем, установленным под распределителем семян, и покрываются ими.Known devices for treating seeds [1, 2] (RF patent 2246195, FRG patent 1974 No. 1907269), including a seed hopper with a dispenser, a seed dispenser and a liquid sprayer mounted underneath. In these devices, seeds coming from the hopper in a certain dose are scattered by a distributor in a thin layer and poured down. In this case, the seeds cross the torch of the droplet stream of drugs created by the sprayer installed under the seed distributor, and are covered with them.
Недостатком таких устройств является низкое качество обработки семян, т.к. распределитель не обеспечивает оптимальной скважности потока семян в зоне пересечения их с капельным потоком препаратов.The disadvantage of such devices is the low quality of seed treatment, because the dispenser does not provide optimal duty cycle of the seed flow in the zone of their intersection with the drip flow of drugs.
Известно устройство (патент РФ 2227455), включающее эжекционно-щелевой распылитель с турбодиффузором, который обеспечивает круглый факел распыла, высокую надежность, но недостаток его состоит в том, что при использовании такого распылителя в опрыскивателе мелко распыленные капли рабочей жидкости сносятся ветром даже при скорости 3 м/с.A device is known (RF patent 2227455), including an ejection slot nozzle with a turbodiffuser, which provides a round spray torch, high reliability, but its disadvantage is that when using such a sprayer in a sprayer, finely sprayed drops of the working fluid are carried away by the wind even at a speed of 3 m / s
Известно также устройство (патент РФ 2250589), принятое авторами за прототип. Устройство содержит камеру протравливания с распределительным конусом. По всей боковой поверхности конус имеет делители потока семян в виде направляющих. Под конусом установлены распылители эжекционно-щелевого типа, расположенные попарно, противоположно друг другу по касательной к проекции окружности основания распределительного конуса.A device is also known (RF patent 2250589), adopted by the authors as a prototype. The device comprises an etching chamber with a distribution cone. Along the entire lateral surface, the cone has dividers of seed flow in the form of guides. Ejection-slotted type nebulizers are arranged under the cone, arranged in pairs opposite to each other tangentially to the projection of the circumference of the base of the distribution cone.
Недостатком прототипа является недостаточность скважности потока семян, стекающих с распылительного конуса и неравномерность распределения семян и капель рабочей жидкости в смесительной камере.The disadvantage of the prototype is the lack of duty cycle of the flow of seeds flowing from the spray cone and the uneven distribution of seeds and drops of the working fluid in the mixing chamber.
Техническим решением задачи является устранение указанных недостатков и повышение эффективности обработки семян.The technical solution to the problem is to eliminate these shortcomings and increase the efficiency of seed treatment.
Технический результат достигается тем, что устройство для обработки семян, включающее бункер для семян с дозатором, камеру протравливания семян, в которой установлен распределительный конус с делителями потока семян в виде направляющих и распылители эжекцонно-щелевого типа, расположенные попарно, противоположно друг другу, при этом распылители расположены по касательной к поверхности камеры протравливания, распределительный конус имеет направляющие в виде интегральной кривой и установлен с возможностью вращения посредством электродвигателя, расположенного над бункером.The technical result is achieved by the fact that the device for seed treatment, comprising a seed hopper with a metering unit, a seed dressing chamber, in which a distribution cone with seed flow dividers in the form of guides and ejection-slot type sprayers arranged in pairs, opposite each other, is installed the nozzles are tangent to the surface of the pickling chamber, the distribution cone has guides in the form of an integral curve and is mounted rotatably by means of an electric engine located above the hopper.
Новизна заявленного предложения обусловлена тем, что распределительный конус с направляющими в виде интегральной кривой вращается в подшипниках центрального вала посредством электродвигателя, в результате повышается равномерность распределения семян и улучшается качество их обработки за счет приобретения семенами дополнительной кинетической энергии, кроме того, возникает вращающийся воздушный поток за счет вращения распределителя, который увлекает капли рабочей жидкости, сформированные эжекционно-щелевыми распылителями, что повышает качество обработки семян.The novelty of the proposed proposal is due to the fact that the distribution cone with guides in the form of an integral curve rotates in the bearings of the central shaft by means of an electric motor, as a result, the distribution of seeds is increased and their processing quality is improved due to the acquisition of additional kinetic energy by the seeds, in addition, a rotating air flow occurs due to the rotation of the dispenser, which captures the droplets of the working fluid formed by ejection-slot nozzles, which improves the quality of seed treatment.
По данным научно-технической и патентной информации не выявлена заявленная совокупность признаков, с очевидностью вытекающая из существующего уровня техники, что позволяет сделать вывод об изобретательном уровне предлагаемой полезной модели.According to the scientific, technical and patent information, the claimed combination of features has not been identified, which clearly follows from the existing level of technology, which allows us to conclude about the inventive level of the proposed utility model.
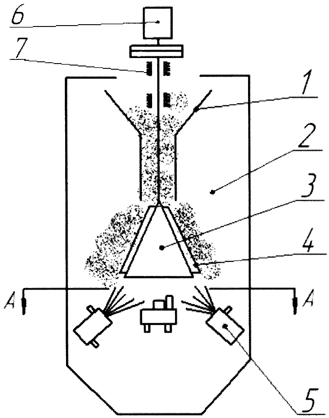
Сущность изобретения поясняется чертежом, где на фиг. 1 представлена технологическая схема устройства, на фиг. 2 - схема расположения распылителей.The invention is illustrated in the drawing, where in FIG. 1 shows a technological diagram of the device, in FIG. 2 - arrangement of nozzles.
Устройство для обработки семян имеет бункер 1 для семян с дозатором, камеру протравливания 2, в которой установлен распределительный конус 3 с делителями потока семян в виде интегральных кривых 4 и четыре эжекционно-щелевых распылителя, расположенных попарно, противоположно друг другу по касательной к поверхности камеры протравливания цилиндрического типа. Электродвигатель 6 установлен над бункером и вращает рспределительный конус 3 с помощью центрального вала в подшипниках 7.The seed treatment device has a seed hopper 1 with a metering unit, an etching chamber 2, in which a distribution cone 3 is installed with seed flow dividers in the form of integral curves 4 and four ejection-slot nozzles arranged in pairs opposite each other tangentially to the surface of the etching chamber cylindrical type. The electric motor 6 is mounted above the hopper and rotates the distribution cone 3 with the help of the central shaft in the bearings 7.
Устройство работает следующим образом. Семена из бункера 1 самотеком поступают на поверхность вращающегося распределительного конуса 3 и, скатываясь по направляющим 4 в виде интегральных кривых, приобретают скорость, направленную под действием центробежной силы к стенкам камеры протравливания 2, что увеличивает скваженность потока семян и экспозицию их в камере протравливания за счет снижения скорости падения семян. Вращение распределительного конуса 3 обеспечивается электродвигателем 6, установленным над бункером семян 1, вал которого вращается в подшипниках 7.The device operates as follows. Seeds from the hopper 1 by gravity arrive at the surface of the rotating distribution cone 3 and, rolling along the guides 4 in the form of integral curves, acquire a speed directed by centrifugal force to the walls of the dressing chamber 2, which increases the flow rate of the seeds and exposure in the dressing chamber due to reducing the rate of fall of seeds. The rotation of the distribution cone 3 is provided by an electric motor 6 mounted above the seed hopper 1, the shaft of which rotates in the bearings 7.
Эжекционно-щелевые распылители 5 создают воздушно-капельную высокодисперсную струю, капли струй захватываются вихревым воздушным потоком от вращающегося распределительного конуса 3 и эффективно обрабатывают семена, направленные от конуса к вихревой воздушно-капельной струе.Ejection-slot nozzles 5 create an airborne droplet fine dispersion jet, droplets of jets are captured by a swirling air stream from a rotating distribution cone 3 and effectively process seeds directed from a cone to a vortex airborne droplet.
Эжекционно-щелевые распылители работают за счет давления воздуха, нагнетаемого компрессором через кран и редуктор (на схеме не показаны). Рабочая жидкость поступает из бака через уравнительную емкость и кран в распылитель для диспергирования и направления на семена в виде воздушно-капельной струи.Ejection-slot nozzles operate due to the air pressure pumped by the compressor through a valve and gearbox (not shown in the diagram). The working fluid flows from the tank through an equalization tank and a tap into a spray bottle for dispersion and direction to the seeds in the form of an airborne droplet.
Claims (1)
Priority Applications (1)
| Application Number | Priority Date | Filing Date | Title |
|---|---|---|---|
| RU2014114289/13U RU143459U1 (en) | 2014-04-10 | 2014-04-10 | DEED FOR PROCESSING SEEDS |
Applications Claiming Priority (1)
| Application Number | Priority Date | Filing Date | Title |
|---|---|---|---|
| RU2014114289/13U RU143459U1 (en) | 2014-04-10 | 2014-04-10 | DEED FOR PROCESSING SEEDS |
Publications (1)
| Publication Number | Publication Date |
|---|---|
| RU143459U1 true RU143459U1 (en) | 2014-07-20 |
Family
ID=51220342
Family Applications (1)
| Application Number | Title | Priority Date | Filing Date |
|---|---|---|---|
| RU2014114289/13U RU143459U1 (en) | 2014-04-10 | 2014-04-10 | DEED FOR PROCESSING SEEDS |
Country Status (1)
| Country | Link |
|---|---|
| RU (1) | RU143459U1 (en) |
Cited By (4)
| Publication number | Priority date | Publication date | Assignee | Title |
|---|---|---|---|---|
| CN104521375A (en) * | 2014-12-08 | 2015-04-22 | 重庆利贞元农林科技有限公司 | Crop seed disinfection method |
| CN104521376A (en) * | 2014-12-08 | 2015-04-22 | 重庆利贞元农林科技有限公司 | Crop seed disinfection method |
| CN108024499A (en) * | 2015-07-10 | 2018-05-11 | 精密种植有限责任公司 | Crop puts into selection system, the method and apparatus of kind |
| RU2693258C1 (en) * | 2018-08-02 | 2019-07-01 | Федеральное государственное бюджетное образовательное учреждение высшего образования "Кубанский государственный аграрный университет им. И.Т. Трубилина" | Potato tubers treatment appliance by protective stimulating liquids during planting |
-
2014
- 2014-04-10 RU RU2014114289/13U patent/RU143459U1/en not_active IP Right Cessation
Cited By (6)
| Publication number | Priority date | Publication date | Assignee | Title |
|---|---|---|---|---|
| CN104521375A (en) * | 2014-12-08 | 2015-04-22 | 重庆利贞元农林科技有限公司 | Crop seed disinfection method |
| CN104521376A (en) * | 2014-12-08 | 2015-04-22 | 重庆利贞元农林科技有限公司 | Crop seed disinfection method |
| CN104521375B (en) * | 2014-12-08 | 2016-07-06 | 重庆利贞元农林科技有限公司 | A kind of crop seeds sterilization method |
| CN104521376B (en) * | 2014-12-08 | 2016-08-24 | 重庆利贞元农林科技有限公司 | Crop seeds sterilization method |
| CN108024499A (en) * | 2015-07-10 | 2018-05-11 | 精密种植有限责任公司 | Crop puts into selection system, the method and apparatus of kind |
| RU2693258C1 (en) * | 2018-08-02 | 2019-07-01 | Федеральное государственное бюджетное образовательное учреждение высшего образования "Кубанский государственный аграрный университет им. И.Т. Трубилина" | Potato tubers treatment appliance by protective stimulating liquids during planting |
Similar Documents
| Publication | Publication Date | Title |
|---|---|---|
| RU143459U1 (en) | DEED FOR PROCESSING SEEDS | |
| CN107771104A (en) | Spraying unit, compact spraying module comprising such a unit, and spraying and control system comprising a plurality of such modules | |
| CN204816962U (en) | Atomizing device | |
| KR101348892B1 (en) | Device for spraying ultrafined liquid in facility house | |
| CN205815976U (en) | A kind of aviation atomizer | |
| JP6670701B2 (en) | Filament stretching type atomizer | |
| RU2370937C1 (en) | Seed treater | |
| CN106621637A (en) | Dry fog box | |
| TWI702089B (en) | Atomization device and method of atomizing a feed fluid | |
| CN206508793U (en) | A kind of following current tower flue gas dust arrester | |
| CN111530648A (en) | Cone Mist Centrifugal Atomization Discs and Components | |
| CN104923424A (en) | Rotational flow atomizing nozzle | |
| RU2373677C1 (en) | Seed treater | |
| CN207261283U (en) | A kind of centrifugal spraying wind turbine | |
| RU2380876C1 (en) | Seed treater of pneumatic-mechanical type | |
| JP6580858B2 (en) | Mist generating device, mist generating mechanism and mist generating method | |
| RU2250589C1 (en) | Apparatus for treating seeds with protecting-stimulating substances | |
| RU2682885C1 (en) | Seed dresser | |
| CN204122274U (en) | Acetone tank spray device | |
| CN203750728U (en) | Multilayer atomizer | |
| CN206508705U (en) | A kind of dry fog case | |
| RU2316164C1 (en) | Seed treatment apparatus | |
| RU130191U1 (en) | SEED MANAGER | |
| CN206508704U (en) | A kind of suppressing dust with dry mist equipment | |
| RU2446657C1 (en) | Device for seed treatment |
Legal Events
| Date | Code | Title | Description |
|---|---|---|---|
| MM1K | Utility model has become invalid (non-payment of fees) |
Effective date: 20150411 |
