RU122000U1 - VARIABLE TASTE ELECTRONIC CIGARETTE - Google Patents
VARIABLE TASTE ELECTRONIC CIGARETTE Download PDFInfo
- Publication number
- RU122000U1 RU122000U1 RU2012130467/12U RU2012130467U RU122000U1 RU 122000 U1 RU122000 U1 RU 122000U1 RU 2012130467/12 U RU2012130467/12 U RU 2012130467/12U RU 2012130467 U RU2012130467 U RU 2012130467U RU 122000 U1 RU122000 U1 RU 122000U1
- Authority
- RU
- Russia
- Prior art keywords
- cylindrical
- cylindrical body
- impregnated
- microcontroller
- led
- Prior art date
Links
- 239000003571 electronic cigarette Substances 0.000 title claims abstract description 18
- 239000000463 material Substances 0.000 claims abstract description 32
- 238000005485 electric heating Methods 0.000 claims abstract description 17
- 239000002657 fibrous material Substances 0.000 claims abstract description 10
- 239000002184 metal Substances 0.000 claims abstract description 5
- 239000011810 insulating material Substances 0.000 claims abstract description 4
- 239000002775 capsule Substances 0.000 claims description 18
- 125000003118 aryl group Chemical group 0.000 claims description 16
- 239000000126 substance Substances 0.000 claims description 11
- 229920006395 saturated elastomer Polymers 0.000 claims description 4
- 230000015572 biosynthetic process Effects 0.000 claims description 3
- 239000010409 thin film Substances 0.000 claims description 2
- 239000000796 flavoring agent Substances 0.000 claims 1
- 235000019634 flavors Nutrition 0.000 claims 1
- 239000003205 fragrance Substances 0.000 abstract 1
- SNICXCGAKADSCV-JTQLQIEISA-N (-)-Nicotine Chemical compound CN1CCC[C@H]1C1=CC=CN=C1 SNICXCGAKADSCV-JTQLQIEISA-N 0.000 description 7
- 230000000391 smoking effect Effects 0.000 description 7
- 239000000203 mixture Substances 0.000 description 6
- SNICXCGAKADSCV-UHFFFAOYSA-N nicotine Natural products CN1CCCC1C1=CC=CN=C1 SNICXCGAKADSCV-UHFFFAOYSA-N 0.000 description 5
- 229960002715 nicotine Drugs 0.000 description 5
- 235000019613 sensory perceptions of taste Nutrition 0.000 description 5
- 230000035923 taste sensation Effects 0.000 description 5
- 230000008020 evaporation Effects 0.000 description 4
- 238000001704 evaporation Methods 0.000 description 4
- 208000006545 Chronic Obstructive Pulmonary Disease Diseases 0.000 description 2
- 241000208202 Linaceae Species 0.000 description 1
- 235000004431 Linum usitatissimum Nutrition 0.000 description 1
- 235000006679 Mentha X verticillata Nutrition 0.000 description 1
- 235000002899 Mentha suaveolens Nutrition 0.000 description 1
- 235000001636 Mentha x rotundifolia Nutrition 0.000 description 1
- 229930013930 alkaloid Natural products 0.000 description 1
- 150000003797 alkaloid derivatives Chemical class 0.000 description 1
- 235000019504 cigarettes Nutrition 0.000 description 1
- 230000002650 habitual effect Effects 0.000 description 1
- 230000009931 harmful effect Effects 0.000 description 1
- 210000004072 lung Anatomy 0.000 description 1
- 238000000034 method Methods 0.000 description 1
- 238000013021 overheating Methods 0.000 description 1
- 230000001960 triggered effect Effects 0.000 description 1
- 239000012808 vapor phase Substances 0.000 description 1
Landscapes
- Disinfection, Sterilisation Or Deodorisation Of Air (AREA)
Abstract
Электронная сигарета, содержащая расположенные в металлическом цилиндрическом корпусе светодиод, микроконтроллер, датчик, источник электрического тока и пропитанный ароматизированным раствором материал, в котором расположена соединенная с источником электрического тока через микроконтроллер электронагревательная спираль, со стороны светодиода корпус закрыт заглушкой, а со стороны пропитанного ароматизированным раствором материала корпус закрыт заглушкой с осевым отверстием, отличающаяся тем, что светодиод, микроконтроллер и датчик смонтированы на цилиндрической плате, закрепленной в цилиндрическом корпусе и выполненной из электроизоляционного материала, в качестве датчика установлен датчик потока воздуха, светодиод расположен на торцевой стороне цилиндрической платы, обращенной к закрытому заглушкой, выполненной из полупрозрачного пластика, концу цилиндрического корпуса, причем в заглушке вдоль внутренней стенки цилиндрического корпуса выполнен, по меньшей мере, один паз, образующий с внутренней стенкой цилиндрического корпуса сквозной канал, пропитанный ароматизированным раствором материал выполнен в виде пористого цилиндрического волокнистого материала, расположенного в цилиндрическом корпусе, внутри пропитанного ароматизированным раствором материала расположена трубка, и электронагревательная спираль размещена в последней, концы электронагревательной спирали, соединенные через микроконтроллер с источником электрического тока, например цилиндрической электрической батарейкой или аккумулятором, закреплены в пластиковом кольце, расположенном между пропитанным ароматизиров An electronic cigarette containing an LED, a microcontroller, a sensor, a source of electric current and a material impregnated with a flavored solution located in a metal cylindrical case, in which an electric heating coil connected to a source of electric current through a microcontroller is located, from the side of the LED the case is closed with a plug, and from the side impregnated with a flavored solution material, the housing is closed with a plug with an axial hole, characterized in that the LED, the microcontroller and the sensor are mounted on a cylindrical board fixed in the cylindrical housing and made of electrical insulating material, an air flow sensor is installed as a sensor, the LED is located on the end side of the cylindrical board facing closed with a plug made of translucent plastic, the end of the cylindrical body, and in the plug along the inner wall of the cylindrical body, at least one groove is made, forming with The inner wall of the cylindrical body is a through channel impregnated with a flavored solution, the material is made in the form of a porous cylindrical fibrous material located in a cylindrical body, a tube is located inside the material impregnated with a flavored solution, and an electric heating coil is placed in the latter, the ends of an electric heating coil connected through a microcontroller to an electric current source , for example, a cylindrical electric battery or rechargeable battery, secured in a plastic ring located between the impregnated fragrances
Description
Полезная модель относится к области удовлетворения жизненных потребностей человека, а именно к курительным принадлежностям в виде беспламенной электронной сигареты и предназначена для уменьшения вредного влияния курения на состояние здоровья человека.The utility model relates to the field of satisfying a person’s vital needs, namely to smoking accessories in the form of a flameless electronic cigarette and is intended to reduce the harmful effects of smoking on human health.
Известна электронная сигарета, содержащая оболочку с размещенными в ней и электрически соединенными между собой электрическим источником энергии, индикаторной лампой, пневматическим выключателем и электротепловым элементом с нагревателем, который соединен с оболочкой, заполненной ароматизированным раствором, при этом нагреватель размещен в картридже частично для обеспечения возможности испарения ароматизированного раствора (см. заявку СА №2729601, кл. A24F 47/00, 03.09.2009).Known electronic cigarette containing a shell with placed in it and electrically interconnected with an electric energy source, indicator lamp, pneumatic switch and an electrothermal element with a heater that is connected to a shell filled with a flavored solution, while the heater is partially placed in the cartridge to allow evaporation flavored solution (see application CA No. 2729601, class A24F 47/00, 09/03/2009).
Данная электронная сигарета имеет сложную систему испарения ароматизированного раствора, что усложняет конструкцию и, как результат сужает область ее использования.This electronic cigarette has a complex flavored solution evaporation system, which complicates the design and, as a result, narrows its use.
Наиболее близкой к полезной модели по технической сущности и достигаемому результату является электронная сигарета, содержащая расположенные в металлическом цилиндрическом корпусе светодиод, электронное управляющее устройство (микроконтроллер), датчик и источник электрического тока и пропитанный ароматизированным раствором материал, в котором расположена соединенная с источником электрического тока через микроконтроллер электронагревательная спираль, со стороны светодиода корпус закрыт заглушкой, а со стороны пропитанного ароматизированным раствором материала корпус закрыт заглушкой с осевым отверстием (см. патент CN №101366554, кл. A24F 47/00, 18.02.2009).The closest to the utility model in terms of technical nature and the achieved result is an electronic cigarette containing an LED located in a metal cylindrical body, an electronic control device (microcontroller), a sensor and an electric current source and a material saturated with a flavored solution, in which there is a material connected to the electric current source through microcontroller electric heating coil, on the LED side the casing is closed by a plug, and on the soaked aroma side solution and enshrined material housing is closed plug with an axial hole (see. patent CN №101366554, Cl. A24F 47/00, 18.02.2009).
Размещение электронного управляющего устройства около нагревателя приводит к снижению надежности его работы, поскольку оно расположено около нагревателя и места формирования паровой фазы ароматизированного раствора.Placing the electronic control device near the heater leads to a decrease in the reliability of its operation, since it is located near the heater and the place of formation of the vapor phase of the flavored solution.
Задачей, на решение которой направлена настоящая полезная модель, является оптимизация конструкции электронной сигареты.The task to which the real utility model is directed is to optimize the design of the electronic cigarette.
Технический результат заключается в повышении надежности ее работы при одновременной возможности изменения вкусовых ощущений без снижения надежности работы электронной сигареты.The technical result is to increase the reliability of its work while at the same time changing the taste without affecting the reliability of the electronic cigarette.
Указанная задача решается, а технический результат достигается за счет того, что электронная сигарета содержит расположенные в металлическом цилиндрическом корпусе светодиод, микроконтроллер, датчик, источник электрического тока и пропитанный ароматизированным раствором материал, в котором расположена соединенная с источником электрического тока через микроконтроллер электронагревательная спираль, со стороны светодиода корпус закрыт заглушкой, а со стороны пропитанного ароматизированным раствором материала корпус закрыт заглушкой с осевым отверстием, светодиод, микроконтроллер и датчик смонтированы на цилиндрической плате, закрепленной в цилиндрическом корпусе и выполненной из электроизоляционного материала, в качестве датчика установлен датчик потока воздуха, светодиод расположен на торцевой стороне цилиндрической платы, обращенной к закрытому заглушкой, выполненной из полупрозрачного пластика, концу цилиндрического корпуса, причем в заглушке вдоль внутренней стенки цилиндрического корпуса выполнен, по меньшей мере один паз, образующий с внутренней стенкой цилиндрического корпуса сквозной канал, пропитанный ароматизированным раствором материал выполнен в виде пористого цилиндрического волокнистого материала, расположенного в цилиндрическом корпусе, внутри пропитанного ароматизированным раствором материала расположена трубка и электронагревательная спираль размещена в последней, концы электронагревательной спирали, соединенные через микроконтроллер с источником электрического тока, например, цилиндрической электрической батарейкой или аккумулятором, закреплены в пластиковом кольце, расположенном между пропитанным ароматизированным раствором материалом и источником электрического тока, который расположен между пластиковым кольцом и цилиндрической платой, в которой выполнено, по меньшей мере, одно сквозное отверстие продольное оси цилиндрического корпуса, источник электрического тока установлен с образованием зазора с внутренней цилиндрической стенкой цилиндрического корпуса, в пропитанном ароматизированным раствором материале размещена капсула из легко разрушаемого материала, например из тонкой пленки, заполненная ароматизированным раствором, который включает в себя одно или, по меньшей мере два взаимно растворимых друг в друге ароматических вещества, в стенке корпуса выполнено отверстие напротив капсулы в которое вставлена, закрепленная относительно стенки корпуса с возможностью перемещения кнопка, шляпка которой расположена в отверстии стенки корпуса, а острие кнопки уперто в капсулу. В результате достигается повышение надежности работы электронной сигареты.This problem is solved, and the technical result is achieved due to the fact that the electronic cigarette contains a LED located in a metal cylindrical body, a microcontroller, a sensor, an electric current source and a material saturated with a flavored solution, in which an electric heating spiral connected to the electric current source through the microcontroller is located, with on the LED side the housing is closed by a plug, and on the side of the material impregnated with a flavored solution, the housing is closed by a plug Ohm with an axial hole, the LED, the microcontroller and the sensor are mounted on a cylindrical board mounted in a cylindrical body and made of insulating material, an air flow sensor is installed as a sensor, the LED is located on the end side of the cylindrical board facing the closed plug made of translucent plastic at the end of the cylindrical body, moreover, in the plug along the inner wall of the cylindrical body, at least one groove is formed, forming with the inner wall in a cylindrical body, the through channel impregnated with the aromatized solution is made in the form of a porous cylindrical fibrous material located in a cylindrical body, a tube is located inside the material impregnated with the aromatic solution, and the electric heating coil is located in the latter, the ends of the electric heating spiral connected through a microcontroller to an electric current source, for example , cylindrical electric battery or battery, secured in plastic m ring, located between the material impregnated with the aromatic solution and the electric current source, which is located between the plastic ring and the cylindrical plate, in which at least one through hole is made along the longitudinal axis of the cylindrical body, the electric current source is installed to form a gap with the inner cylindrical wall a cylindrical body, in a material impregnated with a flavored solution, a capsule of easily destructible material, for example, of thin plastic a wreath filled with a flavored solution, which includes one or at least two mutually soluble aromatic substances in each other, a hole is made in the wall of the case opposite the capsule into which a button is mounted, movable relative to the wall of the body, the hat of which is located in the hole the walls of the case, and the tip of the button is pressed into the capsule. The result is increased reliability of the electronic cigarette.
В ходе проведенной работы удалось создать надежное в работе устройство за счет того, что цилиндрическая плата с микроконтроллером, светодиодом и датчиком расположена около заглушки из полупрозрачного пластика, через который внутрь корпуса поступает свежий, относительно холодный воздух, что предотвращает перегрев микроконтроллера и светодиода.In the course of the work, it was possible to create a reliable device due to the fact that the cylindrical board with the microcontroller, LED and sensor is located near the plug made of translucent plastic, through which fresh, relatively cold air enters the case, which prevents the microcontroller and the LED from overheating.
Наличие капсулы, заполненной ароматизированным раствором, который включает в себя одно или, по меньшей мере два взаимно растворимых друг в друге ароматических вещества обеспечивает поступление в пористый цилиндрический волокнистый материал дополнительного ароматизированного вещества или раствора веществ, например в пористом цилиндрическом волокнистом материале предварительно содержался алкалоид никотина, а в капсуле находился раствор мяты. В этом случае возможны два варианта. Курящий выкуривает до конца пары алкалоида никотина, а затем, прокалывая капсулу, т.е. разрушая целостность капсулы, вызывает поступление паров ароматизированного вещества из капсулы и таким образом, заменяет одни вкусовые ощущения на другие. Либо в процессе курения прокалывает капсулу и таким образом получает смесь паров и новые вкусовые ощущения. Наличие взаимно растворимых друг в друге ароматических веществ обеспечивает независимо от количества ароматизированного раствора в материале из пористого цилиндрического волокнистого материала возможность подавать потребителю парообразные ароматические вещества стабильного состава и, как следствие, стабильного вкуса. Закрепление концов электронагревательной спирали, соединенных через микроконтроллер с источником электрического тока, в пластиковом кольце позволяет разделить цилиндрический корпус на «горячую» и «холодную зоны», что способствует более полному поступлению паров потребителю, и, соответственно, потребителю будет необходимо делать затяжку менее глубокую для удовлетворения вкусового ощущения и одновременно источник электрического тока меньше нагревается. Кроме того, закрепление концов электронагревательной спирали предотвращается возможность короткого замыкания и, как следствие, выхода из строя электронной сигареты. Таким образом, все конструктивные особенности электронной сигареты направлены на достижение одного технического результата - повышение надежности и возможности изменения вкусовых ощущений в процессе курения.The presence of a capsule filled with a flavored solution, which includes one or at least two mutually soluble aromatic substances in each other, allows the additional flavored substance or solution of substances to enter into the porous cylindrical fibrous material, for example, nicotine alkaloid was previously contained in the porous cylindrical fibrous material, and in the capsule was a solution of mint. In this case, two options are possible. The smoker smokes to the end of the nicotine alkaloid pair, and then, piercing the capsule, i.e. destroying the integrity of the capsule, causes the flow of flavored vapors from the capsule and thus replaces some taste sensations with others. Or, during smoking, pierces the capsule and thus receives a mixture of vapors and new taste sensations. The presence of mutually soluble aromatic substances in each other, regardless of the amount of flavored solution in the material of the porous cylindrical fibrous material, provides the consumer with the option to deliver vaporous aromatic substances of a stable composition and, as a result, a stable taste. The fastening of the ends of the electric heating spiral connected through a microcontroller to an electric current source in a plastic ring allows the cylindrical body to be divided into “hot” and “cold zones”, which contributes to a more complete flow of vapor to the consumer, and, accordingly, the consumer will need to take a less deep puff for satisfy the taste sensation and at the same time the source of electric current is less heated. In addition, the fixing of the ends of the electric heating spiral prevents the possibility of a short circuit and, as a result, failure of the electronic cigarette. Thus, all the design features of an electronic cigarette are aimed at achieving one technical result - improving the reliability and ability to change taste sensations during smoking.
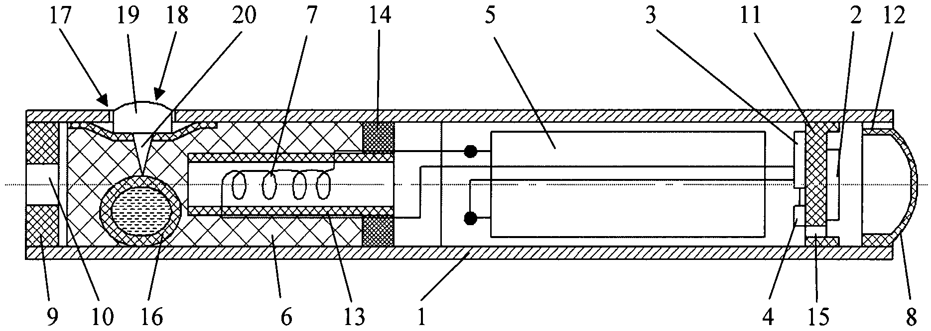
На чертеже представлен продольный разрез электронной сигареты.The drawing shows a longitudinal section of an electronic cigarette.
Электронная сигарета содержит расположенные в металлическом цилиндрическом корпусе 1 светодиод 2, микроконтроллер 3, датчик 4, источник электрического тока 5 и пропитанный ароматизированным раствором материал 6, в котором расположена соединенная с источником электрического тока 5 через микроконтроллер 3 электронагревательная спираль 7. Со стороны светодиода 2 корпус 1 закрыт заглушкой 8, а со стороны пропитанного ароматизированным раствором материала 6 корпус 1 закрыт заглушкой 9 с осевым отверстием 10. Светодиод 2, микроконтроллер 3 и датчик 4 смонтированы на цилиндрической плате 11, закрепленной в цилиндрическом корпусе 1 и выполненной из электроизоляционного материала. В качестве датчика 4 установлен датчик потока воздуха. Светодиод 2 расположен на торцевой стороне цилиндрической платы 11, обращенной к закрытому заглушкой 8, выполненной из полупрозрачного пластика, концу цилиндрического корпуса 1, причем в заглушке 8 вдоль внутренней стенки цилиндрического корпуса 1 выполнен, по меньшей мере один паз 12, образующий с внутренней стенкой цилиндрического корпуса 1 сквозной канал. Пропитанный ароматизированным раствором материал 6 выполнен в виде пористого цилиндрического волокнистого материала расположенного в цилиндрическом корпусе 1, причем внутри пропитанного ароматизированным раствором материала 6 расположена трубка 13 и электронагревательная спираль 7 размещена в последней (трубке 13). Концы электронагревательной спирали 7, соединенные через микроконтроллер 3 с источником электрического тока 5, например цилиндрической электрической батарейкой или аккумулятором, закреплены в пластиковом кольце 14, расположенном между пропитанным ароматизированным раствором материалом 6 и источником электрического тока 5, который расположен между пластиковым кольцом 14 и цилиндрической платой 11, в которой выполнено, по меньшей мере, одно сквозное отверстие 15 продольное оси цилиндрического корпуса 1. Источник электрического тока 5 установлен с образованием зазора с внутренней цилиндрической стенкой цилиндрического корпуса 1. В пропитанном ароматизированным раствором материале 6 размещена капсула 16 из легко разрушаемого материала, например из тонкой пленки, заполненная ароматизированным раствором, который включает в себя одно или, по меньшей мере два взаимно растворимых друг в друге ароматических вещества. В стенке корпуса 1 выполнено отверстие 17 напротив капсулы 16 в которое вставлена, закрепленная относительно стенки корпуса 1 с возможностью перемещения кнопка 18, шляпка 19 которой расположена в отверстии 17 стенки корпуса 1, а острие 20 кнопки 18 уперто в капсулу 16.The electronic cigarette contains a light emitting diode 2, a microcontroller 3, a sensor 4, an electric current source 5 and a material 6 impregnated with a flavored solution located in a metal cylindrical case 1, in which an electric heating coil 7 is connected to the electric current source 5 through a microcontroller 3. From the side of the LED 2, the case 1 is closed by a plug 8, and on the side of the material 6 impregnated with a flavored solution, the housing 1 is closed by a plug 9 with an axial hole 10. LED 2, microcontroller 3 and sensor 4 mounted on a cylindrical plate 11, mounted in a cylindrical housing 1 and made of insulating material. As a sensor 4, an air flow sensor is installed. The LED 2 is located on the end side of the cylindrical board 11, facing the closed plug 8 made of translucent plastic, the end of the cylindrical body 1, and in the plug 8 along the inner wall of the cylindrical body 1 is made at least one groove 12, forming with the inner wall of the cylindrical housing 1 through channel. The material 6 impregnated with a flavored solution is made in the form of a porous cylindrical fibrous material located in a cylindrical body 1, and inside the material 6 impregnated with a flavored solution there is a tube 13 and an electric heating coil 7 is placed in the latter (tube 13). The ends of the electric heating coil 7, connected through a microcontroller 3 to an electric current source 5, for example, a cylindrical electric battery or battery, are fixed in a plastic ring 14 located between the material 6 impregnated with a flavored solution and an electric current source 5, which is located between the plastic ring 14 and the cylindrical plate 11, in which at least one through hole 15 is made longitudinal to the axis of the cylindrical body 1. An electric current source 5 is installed flax with the formation of a gap with the inner cylindrical wall of the cylindrical body 1. In the material 6 impregnated with a flavored solution, a capsule 16 of easily degradable material, for example, a thin film filled with a flavored solution, which includes one or at least two mutually soluble in each other, is placed other aromatic substances. A hole 17 is made in the wall of the housing 1 opposite the capsule 16 into which a button 18 is inserted, movably fixed relative to the wall of the housing 1, the hat 19 of which is located in the hole 17 of the wall of the housing 1, and the tip 20 of the button 18 is rested in the capsule 16.
Электронная сигарета функционирует следующим образом.An electronic cigarette operates as follows.
При втягивании ртом воздуха через осевое отверстие 9 срабатывает датчик 4 потока воздуха, по сигналу которого микроконтроллер 3 подключает источник электрического тока 5 к электронагревательной спирали 7 и светодиоду 2. При этом светодиод 2 загорается, а электронагревательная спираль 7 нагревается, вызывая испарение ароматизированного раствора из материала 6. Пар, получившийся при испарении, подхватывается воздушным потоком и через осевое отверстие 10 переносятся в легкие курящего.When the air is drawn in through the axial hole 9, the air flow sensor 4 is triggered, by the signal of which the microcontroller 3 connects the electric current source 5 to the electric heating coil 7 and LED 2. In this case, the LED 2 lights up and the electric heating coil 7 heats up, causing the flavored solution to evaporate from the material 6. The vapor resulting from evaporation is caught in the air stream and transferred through the axial hole 10 to the smoker's lungs.
При включении устройства светодиод 2 горит оранжевым цветом, что сигнализирует о работоспособности и одновременно вызывает у курящего привычные ассоциации.When the device is turned on, LED 2 lights up in orange, which signals a working capacity and at the same time causes habitual associations in the smoker.
При желании курящего изменить вкус вдыхаемых паров или при окончании поступления пара из пропитанного ароматизированным раствором материала 6, курящий надавливает на шляпку 19 кнопки 18 и острием 20 прокалывает капсулу 16, вызывая тем самым поступление в материал 6 ароматизированного раствора, который впитывается пористым цилиндрическим волокнистым материалом 6, что позволяет добавить и таким образом изменить вкусовые ощущения у курящего или продолжить курение, но уже с другими вкусовыми ощущениями, в зависимости от того в какой момент была проколота капсула 16 с ароматизированным раствором.If the smoker wants to change the taste of the inhaled vapor or at the end of the steam supply from the material 6 saturated with the aromatic solution, the smoker presses the buttons 18 on the hat 19 and pierces the capsule 16 with the tip 20, thereby causing the aromatic solution to enter into the material 6, which is absorbed by the porous cylindrical fibrous material 6 , which allows you to add and thus change the taste of the smoker or continue smoking, but with different taste sensations, depending on what moment was pierced capsule 16 with flavored solution.
Наличие в ароматизированном растворе взаимно растворимых друг в друге ароматических веществ обеспечивает возможность, как отмечалось выше, независимо от количества ароматизированного раствора в материале из пористого цилиндрического волокнистого материала подавать потребителю парообразные ароматические вещества стабильного состава и, как следствие, стабильного вкуса. Кроме того, это позволяет избежать увеличения подачи никотина в легкие курящего, что возможно при неравномерном испарении компонентов ароматизированного раствора. При этом представляется возможность добавлять в ароматизированный раствор смесь сильно пахнущих ароматических (не содержащих табака) веществ, что способствует быстрому удовлетворению курящего, и, следовательно, сокращает время курения и постепенно, за счет этого уменьшает поступление в легкие никотина, способствуя таким образом отвыканию от никотиновой зависимости и в дальнейшем к использованию электронной сигареты только для имитации курения без употребления никотина за счет использования ароматизированного раствора без алкалоида никотина. Кроме того, при желании электронная сигарета может быть использована для ингаляционных процедур при условии заполнения пористого цилиндрического волокнистого материала раствором требуемой ингаляционной смесью, а наличие капсулы позволяет увеличить количество ингаляционной смеси в сигарете.The presence in a flavored solution of mutually soluble aromatic substances in each other makes it possible, as noted above, irrespective of the amount of flavored solution in the material of a porous cylindrical fibrous material, to supply the consumer with vaporous aromatic substances of a stable composition and, as a consequence, a stable taste. In addition, this avoids an increase in the supply of nicotine to the smoker's lungs, which is possible with uneven evaporation of the components of the flavored solution. At the same time, it is possible to add a mixture of strongly smelling aromatic (tobacco-free) substances to the flavored solution, which contributes to the rapid satisfaction of smokers, and, consequently, reduces smoking time and gradually, due to this, reduces nicotine into the lungs, thus contributing to nicotine weaning dependence on the future use of an electronic cigarette only to simulate smoking without the use of nicotine through the use of a flavored solution without alkaloid nicotine. In addition, if desired, the electronic cigarette can be used for inhalation procedures provided that the porous cylindrical fibrous material is filled with a solution of the required inhalation mixture, and the presence of a capsule allows you to increase the amount of inhalation mixture in the cigarette.
Claims (1)
Priority Applications (1)
| Application Number | Priority Date | Filing Date | Title |
|---|---|---|---|
| RU2012130467/12U RU122000U1 (en) | 2012-07-18 | 2012-07-18 | VARIABLE TASTE ELECTRONIC CIGARETTE |
Applications Claiming Priority (1)
| Application Number | Priority Date | Filing Date | Title |
|---|---|---|---|
| RU2012130467/12U RU122000U1 (en) | 2012-07-18 | 2012-07-18 | VARIABLE TASTE ELECTRONIC CIGARETTE |
Publications (1)
| Publication Number | Publication Date |
|---|---|
| RU122000U1 true RU122000U1 (en) | 2012-11-20 |
Family
ID=47323439
Family Applications (1)
| Application Number | Title | Priority Date | Filing Date |
|---|---|---|---|
| RU2012130467/12U RU122000U1 (en) | 2012-07-18 | 2012-07-18 | VARIABLE TASTE ELECTRONIC CIGARETTE |
Country Status (1)
| Country | Link |
|---|---|
| RU (1) | RU122000U1 (en) |
Cited By (40)
| Publication number | Priority date | Publication date | Assignee | Title |
|---|---|---|---|---|
| RU2639978C2 (en) * | 2013-05-02 | 2017-12-25 | Никовентчерс Холдингс Лимитед | Electronic cigarette |
| RU2640987C2 (en) * | 2012-12-07 | 2018-01-12 | Р. Дж. Рейнолдс Тобакко Компани | Device and method for winding of essentially continuous heating element around essentially continuous wick |
| US9961939B2 (en) | 2013-05-02 | 2018-05-08 | Nicoventures Holdings Limited | Electronic cigarette |
| CN108323802A (en) * | 2018-03-21 | 2018-07-27 | 深圳市凯神科技股份有限公司 | Cigarette holder |
| US10045562B2 (en) | 2011-10-21 | 2018-08-14 | Batmark Limited | Inhaler component |
| RU2665438C1 (en) * | 2013-12-16 | 2018-08-29 | Филип Моррис Продактс С.А. | Aerosol-generating device comprising heat exchanger |
| RU2675086C2 (en) * | 2014-05-21 | 2018-12-14 | Филип Моррис Продактс С.А. | Electrically heated aerosol-generating system with end heater |
| US10314335B2 (en) | 2013-05-02 | 2019-06-11 | Nicoventures Holdings Limited | Electronic cigarette |
| RU2696407C1 (en) * | 2016-03-24 | 2019-08-01 | Никовенчерс Холдингз Лимитед | Steam generation system |
| RU2697103C2 (en) * | 2015-02-06 | 2019-08-12 | Эсмоукинг Инститьют Сп. З О.О. | Electronic device for aerosol generation |
| US10426193B2 (en) | 2013-06-04 | 2019-10-01 | Nicoventures Holdings Limited | Container |
| RU2706839C2 (en) * | 2015-09-18 | 2019-11-21 | Филип Моррис Продактс С.А. | Liquid composition for electronic device for hovering |
| US10543323B2 (en) | 2008-10-23 | 2020-01-28 | Batmark Limited | Inhaler |
| US10602777B2 (en) | 2014-07-25 | 2020-03-31 | Nicoventures Holdings Limited | Aerosol provision system |
| RU2721088C2 (en) * | 2016-02-19 | 2020-05-15 | Филип Моррис Продактс С.А. | Aerosol-generating system with determination of frequency of use |
| US10765147B2 (en) | 2014-04-28 | 2020-09-08 | Batmark Limited | Aerosol forming component |
| US10881138B2 (en) | 2012-04-23 | 2021-01-05 | British American Tobacco (Investments) Limited | Heating smokeable material |
| RU2741282C1 (en) * | 2017-11-08 | 2021-01-25 | Никовенчерс Трейдинг Лимитед | Steam generation systems |
| US10918820B2 (en) | 2011-02-11 | 2021-02-16 | Batmark Limited | Inhaler component |
| US11051551B2 (en) | 2011-09-06 | 2021-07-06 | Nicoventures Trading Limited | Heating smokable material |
| US11083856B2 (en) | 2014-12-11 | 2021-08-10 | Nicoventures Trading Limited | Aerosol provision systems |
| US11123501B2 (en) | 2016-03-24 | 2021-09-21 | Nicoventures Holdings Limited | Electronic vapor provision system |
| RU2761039C1 (en) * | 2018-03-02 | 2021-12-02 | Никовенчерс Трейдинг Лимитед | Aerosol production |
| US11241043B2 (en) | 2016-03-24 | 2022-02-08 | Nicoventures Trading Limited | Vapor provision apparatus |
| US11253671B2 (en) | 2011-07-27 | 2022-02-22 | Nicoventures Trading Limited | Inhaler component |
| US11272740B2 (en) | 2012-07-16 | 2022-03-15 | Nicoventures Holdings Limited | Electronic vapor provision device |
| US11452826B2 (en) | 2016-03-24 | 2022-09-27 | Nicoventures Trading Limited | Mechanical connector for electronic vapor provision system |
| US11659863B2 (en) | 2015-08-31 | 2023-05-30 | Nicoventures Trading Limited | Article for use with apparatus for heating smokable material |
| US11672279B2 (en) | 2011-09-06 | 2023-06-13 | Nicoventures Trading Limited | Heating smokeable material |
| US11744964B2 (en) | 2016-04-27 | 2023-09-05 | Nicoventures Trading Limited | Electronic aerosol provision system and vaporizer therefor |
| RU2812327C2 (en) * | 2019-05-30 | 2024-01-29 | Никовенчерс Трейдинг Лимитед | Aerosol production |
| US11896055B2 (en) | 2015-06-29 | 2024-02-13 | Nicoventures Trading Limited | Electronic aerosol provision systems |
| US11924930B2 (en) | 2015-08-31 | 2024-03-05 | Nicoventures Trading Limited | Article for use with apparatus for heating smokable material |
| US12016393B2 (en) | 2015-10-30 | 2024-06-25 | Nicoventures Trading Limited | Apparatus for heating smokable material |
| US12070070B2 (en) | 2015-06-29 | 2024-08-27 | Nicoventures Trading Limited | Electronic vapor provision system |
| US12082604B2 (en) | 2015-03-31 | 2024-09-10 | Nicoventures Trading Limited | Article for use with apparatus for heating smokable material |
| US12225927B2 (en) | 2015-03-31 | 2025-02-18 | Nicoventures Trading Limited | Cartridge, pouch and method of manufacture of pouch for use with apparatus for heating smokable material |
| EP4166019B1 (en) | 2013-08-06 | 2025-03-19 | Fontem Ventures B.V. | Electronic smoking device and process of manufacturing thereof |
| US12274824B2 (en) | 2015-10-01 | 2025-04-15 | Nicoventures Trading Limited | Aerosol provision system |
| US12408700B2 (en) | 2012-07-16 | 2025-09-09 | Nicoventures Trading Limited | Electronic vapor provision device |
-
2012
- 2012-07-18 RU RU2012130467/12U patent/RU122000U1/en not_active IP Right Cessation
Cited By (56)
| Publication number | Priority date | Publication date | Assignee | Title |
|---|---|---|---|---|
| US10543323B2 (en) | 2008-10-23 | 2020-01-28 | Batmark Limited | Inhaler |
| US12447290B2 (en) | 2008-10-23 | 2025-10-21 | Nicoventures Trading Limited | Inhaler |
| US12089640B2 (en) | 2011-02-11 | 2024-09-17 | Nicoventures Trading Limited | Inhaler component |
| US10918820B2 (en) | 2011-02-11 | 2021-02-16 | Batmark Limited | Inhaler component |
| US11253671B2 (en) | 2011-07-27 | 2022-02-22 | Nicoventures Trading Limited | Inhaler component |
| US12041968B2 (en) | 2011-09-06 | 2024-07-23 | Nicoventures Trading Limited | Heating smokeable material |
| US11051551B2 (en) | 2011-09-06 | 2021-07-06 | Nicoventures Trading Limited | Heating smokable material |
| US11672279B2 (en) | 2011-09-06 | 2023-06-13 | Nicoventures Trading Limited | Heating smokeable material |
| US10045562B2 (en) | 2011-10-21 | 2018-08-14 | Batmark Limited | Inhaler component |
| US10881138B2 (en) | 2012-04-23 | 2021-01-05 | British American Tobacco (Investments) Limited | Heating smokeable material |
| US12408700B2 (en) | 2012-07-16 | 2025-09-09 | Nicoventures Trading Limited | Electronic vapor provision device |
| US11272740B2 (en) | 2012-07-16 | 2022-03-15 | Nicoventures Holdings Limited | Electronic vapor provision device |
| RU2640987C2 (en) * | 2012-12-07 | 2018-01-12 | Р. Дж. Рейнолдс Тобакко Компани | Device and method for winding of essentially continuous heating element around essentially continuous wick |
| US10314335B2 (en) | 2013-05-02 | 2019-06-11 | Nicoventures Holdings Limited | Electronic cigarette |
| US10111466B2 (en) | 2013-05-02 | 2018-10-30 | Nicoventures Holdings Limited | Electronic cigarette |
| US9961939B2 (en) | 2013-05-02 | 2018-05-08 | Nicoventures Holdings Limited | Electronic cigarette |
| RU2639978C2 (en) * | 2013-05-02 | 2017-12-25 | Никовентчерс Холдингс Лимитед | Electronic cigarette |
| US12059028B2 (en) | 2013-06-04 | 2024-08-13 | Nicoventures Trading Limited | Container |
| US10426193B2 (en) | 2013-06-04 | 2019-10-01 | Nicoventures Holdings Limited | Container |
| EP4166019B1 (en) | 2013-08-06 | 2025-03-19 | Fontem Ventures B.V. | Electronic smoking device and process of manufacturing thereof |
| EP4179891B1 (en) | 2013-08-06 | 2025-04-30 | Fontem Ventures B.V. | Electronic smoking device and process of manufacturing thereof |
| US11384743B2 (en) | 2013-12-16 | 2022-07-12 | Philip Morris Products S.A. | Aerosol-generating device comprising a heat exchanger |
| RU2665438C1 (en) * | 2013-12-16 | 2018-08-29 | Филип Моррис Продактс С.А. | Aerosol-generating device comprising heat exchanger |
| US10765147B2 (en) | 2014-04-28 | 2020-09-08 | Batmark Limited | Aerosol forming component |
| US11779718B2 (en) | 2014-04-28 | 2023-10-10 | Nicoventures Trading Limited | Aerosol forming component |
| US11930566B2 (en) | 2014-05-21 | 2024-03-12 | Philip Morris Products S.A. | Electrically heated aerosol-generating system with end heater |
| RU2675086C2 (en) * | 2014-05-21 | 2018-12-14 | Филип Моррис Продактс С.А. | Electrically heated aerosol-generating system with end heater |
| US10602777B2 (en) | 2014-07-25 | 2020-03-31 | Nicoventures Holdings Limited | Aerosol provision system |
| US12357777B2 (en) | 2014-12-11 | 2025-07-15 | Nicoventures Trading Limited | Aerosol provision systems |
| US11083856B2 (en) | 2014-12-11 | 2021-08-10 | Nicoventures Trading Limited | Aerosol provision systems |
| US11910830B2 (en) | 2015-02-06 | 2024-02-27 | Esmoking Institute Sp. Z O.O. | Electronic device for generating aerosol, and a method of generating aerosol |
| US12478102B2 (en) | 2015-02-06 | 2025-11-25 | Esmoking Institute Sp. Z.O.O. | Electronic device for generating aerosol, and a method of generating aerosol |
| RU2697103C2 (en) * | 2015-02-06 | 2019-08-12 | Эсмоукинг Инститьют Сп. З О.О. | Electronic device for aerosol generation |
| US12225927B2 (en) | 2015-03-31 | 2025-02-18 | Nicoventures Trading Limited | Cartridge, pouch and method of manufacture of pouch for use with apparatus for heating smokable material |
| US12082604B2 (en) | 2015-03-31 | 2024-09-10 | Nicoventures Trading Limited | Article for use with apparatus for heating smokable material |
| US11896055B2 (en) | 2015-06-29 | 2024-02-13 | Nicoventures Trading Limited | Electronic aerosol provision systems |
| US12070070B2 (en) | 2015-06-29 | 2024-08-27 | Nicoventures Trading Limited | Electronic vapor provision system |
| US11924930B2 (en) | 2015-08-31 | 2024-03-05 | Nicoventures Trading Limited | Article for use with apparatus for heating smokable material |
| US11659863B2 (en) | 2015-08-31 | 2023-05-30 | Nicoventures Trading Limited | Article for use with apparatus for heating smokable material |
| RU2706839C2 (en) * | 2015-09-18 | 2019-11-21 | Филип Моррис Продактс С.А. | Liquid composition for electronic device for hovering |
| US12274824B2 (en) | 2015-10-01 | 2025-04-15 | Nicoventures Trading Limited | Aerosol provision system |
| US12016393B2 (en) | 2015-10-30 | 2024-06-25 | Nicoventures Trading Limited | Apparatus for heating smokable material |
| RU2721088C2 (en) * | 2016-02-19 | 2020-05-15 | Филип Моррис Продактс С.А. | Aerosol-generating system with determination of frequency of use |
| US12059040B2 (en) | 2016-02-19 | 2024-08-13 | Altria Client Services Llc | Aerosol-generating systems with usage determination |
| US11213638B2 (en) | 2016-03-24 | 2022-01-04 | Nicoventures Trading Limited | Vapor provision system |
| US11241043B2 (en) | 2016-03-24 | 2022-02-08 | Nicoventures Trading Limited | Vapor provision apparatus |
| US11123501B2 (en) | 2016-03-24 | 2021-09-21 | Nicoventures Holdings Limited | Electronic vapor provision system |
| RU2696407C1 (en) * | 2016-03-24 | 2019-08-01 | Никовенчерс Холдингз Лимитед | Steam generation system |
| US11452826B2 (en) | 2016-03-24 | 2022-09-27 | Nicoventures Trading Limited | Mechanical connector for electronic vapor provision system |
| US11744964B2 (en) | 2016-04-27 | 2023-09-05 | Nicoventures Trading Limited | Electronic aerosol provision system and vaporizer therefor |
| RU2741282C1 (en) * | 2017-11-08 | 2021-01-25 | Никовенчерс Трейдинг Лимитед | Steam generation systems |
| US11944743B2 (en) | 2017-11-08 | 2024-04-02 | Nicoventures Trading Limited | Vapor provision systems |
| RU2761039C1 (en) * | 2018-03-02 | 2021-12-02 | Никовенчерс Трейдинг Лимитед | Aerosol production |
| CN108323802A (en) * | 2018-03-21 | 2018-07-27 | 深圳市凯神科技股份有限公司 | Cigarette holder |
| RU2812327C2 (en) * | 2019-05-30 | 2024-01-29 | Никовенчерс Трейдинг Лимитед | Aerosol production |
| RU2816367C2 (en) * | 2019-07-29 | 2024-03-28 | Филип Моррис Продактс С.А. | Method of making sheet current-collecting material containing aerosol-forming gel, and dispensing system |
Similar Documents
| Publication | Publication Date | Title |
|---|---|---|
| RU122000U1 (en) | VARIABLE TASTE ELECTRONIC CIGARETTE | |
| JP7350025B2 (en) | Reservoir and heating system for controllable delivery of multiple aerosolizable materials in electronic smoking articles | |
| US10667562B2 (en) | Carbon conductive substrate for electronic smoking article | |
| CN101822420B (en) | Combined type multifunctional electronic simulated cigarette | |
| JP6737849B2 (en) | Electronic devices for cigarettes | |
| US4947874A (en) | Smoking articles utilizing electrical energy | |
| JP6938832B2 (en) | Aerosol supplies | |
| RU116018U1 (en) | DISPOSABLE ELECTRONIC CIGARETTE | |
| US20140230835A1 (en) | Disposable electronic cigarette with power shut off protection | |
| CN107743365A (en) | electrical smoking device | |
| JP2025038133A (en) | Smoking Substitution System | |
| UA78167U (en) | Disposable electronic cigarette | |
| RU111765U1 (en) | PERSONAL INHALATOR | |
| CN114554887A (en) | Smoking substitute system | |
| CN114126427A (en) | Smoking substitute system | |
| RU129368U1 (en) | PORTABLE ELECTRONIC INHALER | |
| RU121703U1 (en) | ELECTRONIC CIGARETTE | |
| RU121426U1 (en) | MULTIVUS ELECTRONIC CIGARETTE | |
| KR101824063B1 (en) | Suction device and cartridge for non-smoking | |
| TWI851686B (en) | Smoking substitute system, smoking substitute device, and method of operating smoking substitute device | |
| RU125433U1 (en) | PORTABLE ELECTRONIC INHALER | |
| JP2024524818A (en) | Aerosol generating article and aerosol generating system | |
| JP2024545622A (en) | Smoking Substitution System | |
| RU211934U1 (en) | DISPOSABLE ELECTRONIC CIGARETTE | |
| WO2019211337A1 (en) | A consumable for a smoking substitute device |
Legal Events
| Date | Code | Title | Description |
|---|---|---|---|
| PD1K | Correction of name of utility model owner | ||
| MM9K | Utility model has become invalid (non-payment of fees) |
Effective date: 20190719 |
