NL2021432B1 - FOLDABLE HOLDER, COMPOSITION AND / OR TRANSPORT CAR WITH SUCH HOLDER AND METHOD FOR STORING AND / OR TRANSPORTING GOODS AND / OR MATERIALS - Google Patents
FOLDABLE HOLDER, COMPOSITION AND / OR TRANSPORT CAR WITH SUCH HOLDER AND METHOD FOR STORING AND / OR TRANSPORTING GOODS AND / OR MATERIALS Download PDFInfo
- Publication number
- NL2021432B1 NL2021432B1 NL2021432A NL2021432A NL2021432B1 NL 2021432 B1 NL2021432 B1 NL 2021432B1 NL 2021432 A NL2021432 A NL 2021432A NL 2021432 A NL2021432 A NL 2021432A NL 2021432 B1 NL2021432 B1 NL 2021432B1
- Authority
- NL
- Netherlands
- Prior art keywords
- holder
- circumferential wall
- foldable
- lifting
- meters
- Prior art date
Links
- 239000000463 material Substances 0.000 title claims abstract description 45
- 238000000034 method Methods 0.000 title claims abstract description 13
- 239000000203 mixture Substances 0.000 title description 3
- 230000002093 peripheral effect Effects 0.000 claims abstract description 32
- 239000004743 Polypropylene Substances 0.000 claims description 11
- 229920001155 polypropylene Polymers 0.000 claims description 11
- 239000002699 waste material Substances 0.000 claims description 10
- 238000010276 construction Methods 0.000 claims description 9
- 239000013590 bulk material Substances 0.000 claims description 8
- -1 polypropylene Polymers 0.000 claims description 5
- 239000004576 sand Substances 0.000 claims description 5
- 239000003086 colorant Substances 0.000 claims description 4
- 239000004033 plastic Substances 0.000 claims description 4
- 125000006850 spacer group Chemical group 0.000 description 13
- 239000002994 raw material Substances 0.000 description 6
- 239000002184 metal Substances 0.000 description 3
- 238000005452 bending Methods 0.000 description 2
- 230000007423 decrease Effects 0.000 description 2
- 230000000694 effects Effects 0.000 description 2
- 238000011160 research Methods 0.000 description 2
- 238000012360 testing method Methods 0.000 description 2
- 101100160821 Bacillus subtilis (strain 168) yxdJ gene Proteins 0.000 description 1
- 239000002390 adhesive tape Substances 0.000 description 1
- 238000007664 blowing Methods 0.000 description 1
- 239000004566 building material Substances 0.000 description 1
- 230000015556 catabolic process Effects 0.000 description 1
- 239000012141 concentrate Substances 0.000 description 1
- 238000005336 cracking Methods 0.000 description 1
- 238000000151 deposition Methods 0.000 description 1
- 238000007599 discharging Methods 0.000 description 1
- 238000009826 distribution Methods 0.000 description 1
- 238000009434 installation Methods 0.000 description 1
- 238000005304 joining Methods 0.000 description 1
- 238000004519 manufacturing process Methods 0.000 description 1
- 238000012986 modification Methods 0.000 description 1
- 230000004048 modification Effects 0.000 description 1
- 238000005096 rolling process Methods 0.000 description 1
- 239000002689 soil Substances 0.000 description 1
- 238000003860 storage Methods 0.000 description 1
- 238000012546 transfer Methods 0.000 description 1
Classifications
-
- B—PERFORMING OPERATIONS; TRANSPORTING
- B65—CONVEYING; PACKING; STORING; HANDLING THIN OR FILAMENTARY MATERIAL
- B65D—CONTAINERS FOR STORAGE OR TRANSPORT OF ARTICLES OR MATERIALS, e.g. BAGS, BARRELS, BOTTLES, BOXES, CANS, CARTONS, CRATES, DRUMS, JARS, TANKS, HOPPERS, FORWARDING CONTAINERS; ACCESSORIES, CLOSURES, OR FITTINGS THEREFOR; PACKAGING ELEMENTS; PACKAGES
- B65D88/00—Large containers
- B65D88/16—Large containers flexible
- B65D88/1612—Flexible intermediate bulk containers [FIBC]
- B65D88/1675—Lifting fittings
- B65D88/1681—Flexible, e.g. loops, or reinforcements therefor
-
- B—PERFORMING OPERATIONS; TRANSPORTING
- B65—CONVEYING; PACKING; STORING; HANDLING THIN OR FILAMENTARY MATERIAL
- B65D—CONTAINERS FOR STORAGE OR TRANSPORT OF ARTICLES OR MATERIALS, e.g. BAGS, BARRELS, BOTTLES, BOXES, CANS, CARTONS, CRATES, DRUMS, JARS, TANKS, HOPPERS, FORWARDING CONTAINERS; ACCESSORIES, CLOSURES, OR FITTINGS THEREFOR; PACKAGING ELEMENTS; PACKAGES
- B65D88/00—Large containers
- B65D88/16—Large containers flexible
- B65D88/1612—Flexible intermediate bulk containers [FIBC]
- B65D88/1668—Flexible intermediate bulk containers [FIBC] closures for top or bottom openings
Landscapes
- Engineering & Computer Science (AREA)
- Mechanical Engineering (AREA)
- Packages (AREA)
Abstract
De uitvinding relateert aan een opvouwbare houder, zoals een big-bag, omvattende een bodem, een omtrekswand die zich in een uitgevouwen toestand van de houder vanaf de omtrek van de bodem in in hoofdzaak een eerste richting uitstrekt naar een omtrekswand-uiteinde, waarbij de 5 bodem en de omtrekswand een houder-binnenruimte definiëren, en ten minste één tilelement dat zich uitstrekt van een eerste aangrijpdeel via ten minste één daartussen gelegen middendeel naar een tweede aangrijpdeel, waarbij in althans de uitgevouwen toestand elk van het eerste en het tweede aangrijpdeel zich aan of nabij het omtrekswand-uiteinde bevindt, en waarbij het ten minste ene middendeel zich over ten minste een deel van de omtrekswand en de bodem uitstrekt, en 10 waarbij het middendeel over een in hoofdzaak volledig gedeelte van zijn lengte dat zich over de omtrekswand uitstrekt met de omtrekswand is verbonden. De uitvinding relateert verder aan samenstel en transportwagen voorzien van een dergelijke houder alsmede een werkwijze voor het opslaan en/of transporteren van materialen met het gebruik van een dergelijke houder. 15The invention relates to a foldable holder, such as a big-bag, comprising a bottom, a circumferential wall which, in an unfolded condition of the holder, extends from the circumference of the bottom in substantially a first direction to a circumferential wall end, the 5 and a circumferential wall define a container inner space, and at least one lifting element extending from a first engagement part via at least one intermediate part located therebetween to a second engagement part, wherein in at least the unfolded state each of the first and the second engagement part is located at or near the peripheral wall end, and wherein the at least one central part extends over at least a part of the peripheral wall and the bottom, and wherein the central part extends over a substantially complete part of its length that extends over the peripheral wall is connected to the peripheral wall. The invention further relates to assembly and transport trolley provided with such a holder as well as a method for storing and / or transporting materials with the use of such a holder. 15
Description
© 2021432 © B1 OCTROOI (2?) Aanvraagnummer: 2021432 © Int. Cl.:© 2021432 © B1 PATENT (2?) Request number: 2021432 © Int. Cl .:
B65D 88/16(2018.01) © Aanvraag ingediend: 6 augustus 2018 © Voorrang:B65D 88/16 (2018.01) © Application submitted: 6 August 2018 © Priority:
maart 2018 NL 2020537 © Octrooihouder(s):March 2018 NL 2020537 © Patent holder (s):
Mike Nijhoff te Nijverdal.Mike Nijhoff in Nijverdal.
3Ï) Aanvraag ingeschreven:3Ï) Application registered:
september 2019 © Uitvinder(s):September 2019 © Inventor (s):
Mike Nijhoff te Nijverdal.Mike Nijhoff in Nijverdal.
(43) Aanvraag gepubliceerd:(43) Application published:
© Octrooi verleend:© Patent granted:
september 2019 © Gemachtigde:September 2019 © Authorized representative:
ir. P.J. Hylarides c.s. te Den Haag.ir. P.J. Hylarides et al. In The Hague.
© Octrooischrift uitgegeven:© Patent issued:
september 2019 @ OPVOUWBARE HOUDER, SAMENSTEL EN/OF TRANSPORTWAGEN MET DERGELIJKE HOUDER EN WERKWIJZE VOOR HET OPSLAAN EN/OF TRANSPORTEREN VAN GOEDEREN EN/OF MATERIALEN (57) De uitvinding relateert aan een opvouwbare houder, zoals een big-bag, omvattende een bodem, een omtrekswand die zich in een uitgevouwen toestand van de houder vanaf de omtrek van de bodem in in hoofdzaak een eerste richting uitstrekt naar een omtrekswand-uiteinde, waarbij de bodem en de omtrekswand een houder-binnenruimte definiëren, en ten minste één tilelement dat zich uitstrekt van een eerste aangrijpdeel via ten minste één daartussen gelegen middendeel naar een tweede aangrijpdeel, waarbij in althans de uitgevouwen toestand elk van het eerste en het tweede aangrijpdeel zich aan of nabij het omtrekswand-uiteinde bevindt, en waarbij het ten minste ene middendeel zich over ten minste een deel van de omtrekswand en de bodem uitstrekt, en waarbij het middendeel over een in hoofdzaak volledig gedeelte van zijn lengte dat zich over de omtrekswand uitstrekt met de omtrekswand is verbonden.September 2019 @ FOLDABLE HOLDER, COMPOSITION AND / OR TRANSPORT CAR WITH SUCH HOLDER AND METHOD FOR STORING AND / OR TRANSPORTING GOODS AND / OR MATERIALS (57) The invention relates to a foldable holder, such as a big-bag, comprising a bottom, a circumferential wall which, in an unfolded state of the container, extends from the circumference of the bottom in substantially a first direction to a circumferential wall end, the bottom and the circumferential wall defining a container interior space, and at least one lifting element that extends from a first engaging part via at least one intermediate part located therebetween to a second engaging part, wherein in at least the unfolded state each of the first and the second engaging part is situated at or near the circumferential wall end, and wherein the at least one central part is over at least a part of the circumferential wall and the bottom, and wherein the middle part extends over a substantially complete part of its 1 narrow that extends over the circumferential wall is connected to the circumferential wall.
De uitvinding relateert verder aan samenstel en transportwagen voorzien van een dergelijke houder alsmede een werkwijze voor het opslaan en/of transporteren van materialen met het gebruik van een dergelijke houder.The invention further relates to assembly and transport trolley provided with such a holder as well as a method for storing and / or transporting materials with the use of such a holder.
NL B1 2021432NL B1 2021432
Dit octrooi is verleend ongeacht het bijgevoegde resultaat van het onderzoek naar de stand van de techniek en schriftelijke opinie. Het octrooischrift wijkt af van de oorspronkelijk ingediende stukken. Alle ingediende stukken kunnen bij Octrooicentrum Nederland worden ingezien.This patent has been granted regardless of the attached result of the research into the state of the art and written opinion. The patent differs from the documents originally submitted. All submitted documents can be viewed at the Netherlands Patent Office.
OP VOUWBARE HOUDER, SAMENSTEL EN/OF TRANSPORTWAGEN METON FOLDABLE HOLDER, COMPOSITION AND / OR TRANSPORT CAR WITH
DERGELIJKE HOUDER EN WERKWIJZE VOOR HET OPSLAAN EN/OFSUCH HOLDER AND METHOD FOR STORING AND / OR
TRANSPORTEREN VAN GOEDEREN EN/OF MATERIALENTRANSPORTATION OF GOODS AND / OR MATERIALS
De uitvinding relateert aan een opvouwbare houder, zoals een big-bag, een samenstel van een dergelijke opvouwbare houder en een hijselement, een transportwagen voorzien van een dergelijke opvouwbare houder en een werkwijze voor het opslaan en/of transporteren van goederen en/of materialen met gebruik van een dergelijke opvouwbare houder.The invention relates to a foldable holder, such as a big-bag, an assembly of such a foldable holder and a hoisting element, a transport trolley provided with such a foldable holder and a method for storing and / or transporting goods and / or materials with use of such a foldable holder.
Opvouwbare houders zijn bekend in de vorm van zogenoemde big-bags. Dergelijke houders worden bijvoorbeeld door een gebruiker in een opgevouwen toestand gekocht en naar een gebruikslocatie gebracht. Daar wordt de houder uitgevouwen en vervolgens gevuld wordt met bijvoorbeeld (bouw)afval, zand, grind en dergelijke of een willekeurige combinatie daarvan. Daarna wordt de houder, veelal door een professional, met de daarvoor bestemde hulpmiddelen afgevoerd. Daarbij wordt de gevulde big-bag vaak op een transportwagen gehesen.Foldable holders are known in the form of so-called big bags. Such holders are, for example, purchased by a user in a folded state and taken to a location of use. There the container is unfolded and subsequently filled with, for example, (construction) waste, sand, gravel and the like or any combination thereof. The holder is then removed, often by a professional, with the appropriate aids. In addition, the filled big-bag is often hoisted on a transport trolley.
De laadcapaciteit, dat wil zeggen het maximale gewicht dat een dergelijke bekende big-bag kan bevatten zonder (bijvoorbeeld tijdens het hijsen) te scheuren, is beperkt. Het overschrijden van de laadcapaciteit kan resulteren in beschadiging van de big-bag, die bijvoorbeeld door scheuren onbruikbaar kan worden. Om te voorkomen dat een gebruiker de laadcapaciteit overschrijdt of meerdere big-bags nodig heeft voor een relatief grote hoeveelheid (bouw)afval, zand, grind, en dergelijke of een willekeurige combinatie daarvan , is het dus wenselijk een big-bag te verschaffen met een grotere laadcapaciteit. De in de markt bekende big-bags hebben een lengte-, breedte-, en hoogteafmeting van elk ongeveer 1 meter. Daarmee bieden deze big-bags niet genoeg ruimte voor een typische hoeveelheid (bouw)afval.The loading capacity, that is to say the maximum weight that such a known big-bag can contain without tearing (for example during hoisting), is limited. Exceeding the loading capacity can result in damage to the big-bag, which, for example, can become unusable due to cracks. To prevent a user from exceeding the loading capacity or needing several big bags for a relatively large amount of (construction) waste, sand, gravel, and the like or any combination thereof, it is therefore desirable to provide a big bag with a larger loading capacity. The big bags known in the market have a length, width and height dimension of approximately 1 meter each. This means that these big bags do not offer enough space for a typical amount of (construction) waste.
Een oplossing in de vorm van het met grotere afmetingen uitvoeren van de bekende bigbags biedt hiervoor geen oplossing. Uit onderzoek door de aanvrager blijkt dat de toename van de volume-hoeveelheid die de big-bag kan bevatten niet gepaaid gaat met een toename van het gewicht dat de big-bag kan dragen.A solution in the form of carrying out the known big bags with larger dimensions offers no solution for this. Research by the applicant shows that the increase in the volume amount that the big-bag can hold does not spoil an increase in the weight that the big-bag can carry.
De uitvinding is gericht op het oplossen of verminderen van het bovengenoemde probleem.The invention is directed to solving or reducing the above problem.
Daartoe vóórziet de uitvinding in een opvouwbare houder, zoals een big-bag, de opvouwbare houder omvattende:To this end, the invention provides a foldable holder, such as a big-bag, the foldable holder comprising:
een bodem;a bottom;
een omtrekswand die zich in een uitgevouwen toestand van de houder vanaf de omtrek van de bodem in in hoofdzaak een eerste richting uitstrekt naar een omtrekswand-uiteinde, waarbij de bodem en de omtrekswand een houder-binnenruimte definiëren, en ten minste één tiielement dat zich uitstrekt van een eerste aangrijpdeel via ten minste één daartussen gelegen middendeel naar een tweede aangrijpdeel, waarbij in althans de uitgevouwen toestand elk van het eerste en het tweede aangrijpdeel zich aan of nabij het omtrekswand-uiteinde bevindt, en waarbij het ten minste ene middendeel zich over ten minste een deel van de omtrekswand en de bodem uitstrekt, en waarbij het middendeel over een in hoofdzaak volledig gedeelte van zijn lengte dat zich over de omtrekswand uitstrekt met de omtrekswand is verbonden, waarbij het ten minste ene tilelement is vervaardigd uit één stuk, zodanig dat het tilelement een ononderbroken monolitisch element vormt, waarbij de aangrijpdelen in hoofdzaak lusvormig zijn en waarbij het tilelement twee tussen de aangrijpdelen gelegen middendelen omvat die zich elk vanaf het eerste aangrijpelement naar het tweede aangrijpelement uitstrekken, waarbij de twee middendelen zich in hoofdzaak evenwijdig langs de omtrekswand en/of de bodem van de houder uitstrekken.a circumferential wall which, in an unfolded state of the container, extends from the circumference of the bottom in substantially a first direction to a circumferential wall end, the bottom and the circumferential wall defining a container interior space, and at least one tiling element that extends from a first engaging part via at least one intermediate part located therebetween to a second engaging part, wherein in at least the unfolded state each of the first and the second engaging part is situated at or near the circumferential wall end, and wherein the at least one central part is over at least a part of the circumferential wall and the bottom, and wherein the central part is connected to the circumferential wall over a substantially complete part of its length that extends over the circumferential wall, the at least one lifting element being made of one piece, such that the lifting element forms a continuous monolithic element, the engaging parts being substantially loop-shaped and wherein the lifting element comprises two middle parts located between the engaging parts, each extending from the first engaging element to the second engaging element, the two middle parts extending substantially parallel along the circumferential wall and / or the bottom of the holder.
Bij het hijsen van de houder aan de aangrijpdelen, wanneer de houder gevuld is, ontstaat een vrij grote hijskracht op de aangrijpdelen die moet worden overgebracht naar de bodem en de omtrekswand. De hijskracht wordt door middel van het ten minste ene tilelement via het middendeel naar de bodem en de omtrekswand overgebracht. Doordat het middendeel zich over een deel van de omtrekswand en de bodem uitstrekt, en over een gedeelte van zijn lengte dat zich over de omtrekswand uitstrekt met de omtrekswand is verbonden, kan het middendeel de hijskracht met een hoge gelijkmatigheid verdelen over de omtrekswand. Dat de hijskracht zo gelijkmatig wordt verdeeld heeft als gevolg dat er geen, minder en/of minder sterke krachtconcentraties in de bodem en/of de omtrekswand voorkomen. Omdat juist deze krachtconcentraties kunnen leiden tot scheuren van de bodem en/of de omtrekswand, kan de houder volgens de uitvinding een grotere kracht weerstaan zonder te scheuren. Daarmee wordt met de houder volgens de uitvinding dus een grotere laadcapaciteit gerealiseerd, die zich uit in grotere afmetingen en een hoger beschikbaar draaggewicht van de opvouwbare houder.When the holder is hoisted on the engaging parts, when the holder is filled, a relatively great hoisting force is created on the engaging parts that must be transferred to the bottom and the peripheral wall. The hoisting force is transferred by means of the at least one lifting element via the middle part to the bottom and the peripheral wall. Because the middle part extends over a part of the circumferential wall and the bottom, and is connected over a part of its length that extends over the circumferential wall to the circumferential wall, the middle part can distribute the hoisting force with a high uniformity over the circumferential wall. The fact that the hoisting force is distributed so evenly means that there are no, fewer and / or less strong force concentrations in the soil and / or the peripheral wall. Because it is precisely these force concentrations that can lead to cracks in the bottom and / or the peripheral wall, the container according to the invention can withstand a greater force without tearing. Thus, with the holder according to the invention, a larger loading capacity is realized, which manifests itself in larger dimensions and a higher available carrying weight of the foldable holder.
Uit tests is naar voren gekomen dat een draaggewicht van 6 - 13 ton haalbaar is, waarbij de 25 voorkeursuitvoering ongeveer 10 ton kan dragen. Het verhoogde draaggewicht komt ook naar voren uit een testlabel IBE-BVI België.Tests have shown that a carrying weight of 6-13 tonnes is achievable, the preferred embodiment being able to carry approximately 10 tonnes. The increased carrying weight is also reflected in a test label IBE-BVI Belgium.
Bij voorkeur zijn de aangrijpdelen ingericht voor het hijsen en/of optillen van de opvouwbare houder in uitgevouwen toestand daarvan, teneinde de houder, bij voorkeur als de houder-binnenruimte althans gedeeltelijk gevuld is, te kunnen transporteren.The engaging parts are preferably adapted to hoist and / or lift the foldable holder in the unfolded state thereof, in order to be able to transport the holder, preferably if the holder inner space is at least partially filled.
Hierbij wordt opgemerkt dat het eerste aangrijpdeel, het tweede aangrijpdeel en het ten minste ene middendeel vast met elkaar zijn verbonden en één stuk bestaan. In het bijzonder is daardoor het ten minste ene tilelement een monolithisch element.It is noted here that the first engagement part, the second engagement part and the at least one middle part are fixedly connected to each other and exist in one piece. In particular, the at least one lifting element is therefore a monolithic element.
Het tilelement kan een flexibele band, strook, riem of dergelijke zijn van een geschikt materiaal zijn. Bij voorkeur wordt het tilelement uitgevoerd als een dubbele band, strook, riem of 35 dergelijke. In het bijzonder is het ten minste ene tilelement van hetzelfde materiaal vervaardigd als de omtrekswand en/of de bodem.The lifting element can be a flexible belt, strip, belt or the like of a suitable material. The lifting element is preferably designed as a double belt, strip, belt or the like. In particular, the at least one lifting element is made of the same material as the peripheral wall and / or the bottom.
jj
De eerste lichting kan in het bijzonder in hoofdzaak haaks op een door de bodem bepaald vlak staan. De omtrekswand kan zich althans in de uitgevouwen toestand in hoofdzaak in die richti ng uitstrekken, of kan zich onder een hoek ten opzichte van de eerste richting uitstrekken, waarbij de betreffende hoek bij voorkeur 90° of minder is.The first lift can in particular be substantially perpendicular to a plane defined by the bottom. The circumferential wall can extend substantially in that direction, at least in the unfolded state, or can extend at an angle with respect to the first direction, wherein the angle in question is preferably 90 ° or less.
In althans de uitgevouwen toestand van de opvouwbare houder, kan de houder vulbaar zijn met bijvoorbeeld (bouw)afval, zand, grind, en dergelijke of een willekeurige combinatie daarvan. In gebruik van de opvouwbare houder is voorzien dat de bodem van de houder op een bodemoppen'lak worden geplaatst, zodanig dat de eerste richting verticaal naar boven gericht is en materialen en/of grondstoffen via de vulopening in de houder gebracht kunnen worden.In at least the unfolded state of the foldable holder, the holder can be fillable with, for example, (construction) waste, sand, gravel, and the like or any combination thereof. In use of the foldable holder, it is provided that the bottom of the holder is placed on a bottom surface, such that the first direction is vertically directed upwards and materials and / or raw materials can be introduced into the holder via the filling opening.
Het ten minste ene tilelement kan op willekeurig welke manier met de bodem verbonden zijn. In het bijzonder kan het tilelement door middel van één of meer stiknaden zijn bevestigd. Bij voorkeur zijn de één of meer stiknaden dubbele stiknaden en/of strekken de stiknaden zich in hoofdzaak evenwijdig aan het tilelement uit.The at least one lifting element can be connected to the ground in any way. In particular, the lifting element can be attached by means of one or more stitching seams. The one or more stitching seams are preferably double stitching seams and / or the stitching seams extend substantially parallel to the lifting element.
In een voorkeui suitvoeringsvonn is de opvouwbare houder voorzien van een vulopening, waarbij de vulopening wordt bepaald door het omtrekswand-uiteinde en daardoor wordt omsloten. De vulopening vormt daarmee een vlak dat zich in hoofdzaak evenwijdig aan de bodem uitstrekt en dat zich tussen het omtrekswand-uiteinde ten opzichte van de bodem boven de houderbinnenruimte uitstrekt. Bij voorkeur bevinden de aangnjpdelen zich in de nabijheid van de vulopeningen aan een tegenover de houder-binnenruimte gelegen zijde van de omtrekswand.In a preferred embodiment, the foldable holder is provided with a filling opening, the filling opening being defined by the peripheral wall end and being enclosed thereby. The filling opening thus forms a surface which extends substantially parallel to the bottom and which extends between the circumferential wall end relative to the bottom above the container inner space. The engaging parts are preferably located in the vicinity of the filling openings on a side of the circumferential wall opposite the container interior.
In een uitvoeringsvorm volgens de uitvinding kan de opvouwbare houder zijn voorzien van een afdekking die is ingericht voor het verwijderbaar ten minste gedeeltelijk afdekken van de vulopening en/of de in de houder opgenomen materialen en/of grondstoffen.In an embodiment according to the invention, the foldable holder can be provided with a cover which is arranged for removably at least partially covering the filling opening and / or the materials and / or raw materials included in the holder.
Door de houder te voorzien van een afdekking wordt het mogelijk om ook losse en lichte materialen., waaronder grondstoffen, puin en bouwafval, te vervoeren. Door het gebruik van de afdekking wordt in hoofdzaak voorkomen dat de materialen tijdens het transport uit de houder waaien of vallen. Hiermee w ordt het gebruik van een afzonderlijke afdekking ti jdens het transport overbodig.By providing the holder with a cover, it is also possible to transport loose and light materials, including raw materials, debris and construction waste. The use of the cover essentially prevents the materials from blowing or falling out of the holder during transport. This makes the use of a separate cover during transport superfluous.
In een uitvoeringsvorm volgens de uitvinding kan de afdekking over ten minste een deel van de omtrekswand vast verbonden zijn aan of nabij het omtrekswand-uiteinde. In het geval van een rechthoekige houder wordt de afdekking bij voorkeur verbonden met de omtrekswand aan een smalle zijde daarvan.In an embodiment according to the invention the cover can be fixedly connected over at least a part of the circumferential wall at or near the circumferential wall end. In the case of a rectangular holder, the cover is preferably connected to the peripheral wall on a narrow side thereof.
Door ten minste één zijde van de afdekking vast te verbinden met de omtrekswand van de houder, bij voorkeur met het omtrekswand-uiteinde wordt bereikt dat de afdekking niet zoek raakt. Een verder voordeel is dat de afdekking oprolbaar is aangebracht en makkelijk op- en afgerold kan worden, bijvoorbeeld om aan het einde van een werkdag het materiaal in de houder af te dekken tegen vocht, zoals regen.By firmly connecting at least one side of the cover to the circumferential wall of the container, preferably with the circumferential wall end, it is achieved that the cover is not lost. A further advantage is that the cover is arranged to be rolled up and can easily be rolled up and down, for example to cover the material in the container against moisture, such as rain, at the end of a working day.
In een verdere voorkeursuitvoeringsvorm is één zijde van de afdekking vast verbonden met de omtrekswand en zijn de andere zijden van de afdekking ingericht om verbindbaar te zijn met de omtrekswand van de houder.In a further preferred embodiment, one side of the cover is fixedly connected to the circumferential wall and the other sides of the cover are adapted to be connectable to the circumferential wall of the holder.
Met deze uitvoeringsvorm wordt een afdekking gevormd die naar believen te openen en te sluiten is, terwijl de vaste verbinding zorgt dat de afdekking met van de houder wordt gescheiden en zoek raakt.With this embodiment, a cover is formed which can be opened and closed as desired, while the fixed connection ensures that the cover is separated from the holder and is lost.
In een uitvoeringsvorm volgens de uitvinding kunnen de afmetingen van de afdekking aangepast zijn aan de afmetingen van de houder, waarbij de afmetingen van de afdekking bij voorkeur groter zijn dan de afmetingen van de houder.In an embodiment according to the invention, the dimensions of the cover can be adapted to the dimensions of the holder, the dimensions of the cover preferably being larger than the dimensions of the holder.
Door de afdekking groter te maken dan de afmetingen van de houder kan worden bereikt dat de afdekking oversteekt ten opzichte van het omtrekswand-uiteinde. Hiermee wordt het mogeiijk om de afdekking ook sluitend met de omtrekswand of het omtrekswand-uiteinde te verbinden als de houder is gevuld met materiaal, waarbij het materiaal tot boven het omtrekswanduiteinde steekt. De benodigde oversteeklengte en -breedte worden daarbij zo gekozen dat deze passend zijn voor de eerste lengte en eerste breedte van de houder.By making the cover larger than the dimensions of the holder, it can be achieved that the cover protrudes relative to the peripheral wall end. This makes it possible to also connect the cover tightly to the circumferential wall or the circumferential wall end when the container is filled with material, the material protruding above the circumferential wall end. The required overhang length and width are thereby chosen such that they are suitable for the first length and first width of the holder.
In een uitvoeringsvorm volgens de uitvinding kunnen de afdekking en de omtrekswand. bij voorkeur aan of nabij het omtrekswand-uiteinde, zijn voorzien van samenwerkende verbindingsmiddelen voor het losmaakbaar aan elkaar verbinden van de afdekking en de omtreksw-and van de houder, w aarbij de verbindingsmiddelen bij voorkeur een lus- en touwverbinding, een ritsverbinding en/of een oog- en touwverbinding omvatten.In an embodiment according to the invention, the cover and the peripheral wall can. preferably at or near the circumferential wall end, are provided with cooperating connecting means for releasably joining together the cover and the circumferential wall of the container, with the connecting means preferably a loop and rope connection, a zipper connection and / or include an eye and rope connection.
Om de afdekking te kunnen zekeren aan de houder om zo flapperen van de afdekking en/of verlies van de materialen in de houder tijdens het transport te voorkomen, is het voordelig om verbindingsmiddelen toe te passen om de afdekking te verbinden met de omtrekswand van de houder. Hierbij kan bijvoorbeeld gedacht aan het op regelmatige afstand met vaste verbinding aanbrengen van touwen nabij de rand van de afdekking en het voorzien van lussen op de omtrekswand aan of'nabij het omtrekswand-uiteinde, waarbij de touwen en de lussen losmaakbaar met elkaar te verbinden zijn om de afdekking aan de houder te zekeren, bij voorkeur tijdens het transport van de houder.In order to be able to secure the cover to the holder so as to prevent flapping of the cover and / or loss of materials in the holder during transport, it is advantageous to use connecting means to connect the cover to the peripheral wall of the holder . In this context, consideration may be given, for example, to arranging ropes near the edge of the cover at a regular distance with a fixed connection and providing loops on the circumferential wall at or near the circumferential wall end, wherein the ropes and the loops can be releasably connected to each other to secure the cover to the container, preferably during the transport of the container.
In een uitvoeringsvorm worden de samenw erkende verbindingsmiddelen gekozen uit een groep van touwen, klittenband, spanbanden, plakband, knoopverbindingen, pen-engatverbindingen, bajonetsluitingen en/of schroefverbindingen.In one embodiment, the jointed connecting means are selected from a group of ropes, Velcro, tensioning tapes, adhesive tape, knot joints, pin-engat connections, bayonet closures and / or screw connections.
In een uitvoeringsvorm volgens de uitvinding kan de afdekking van hetzelfde materiaal zijn vervaardigd als de houder.In an embodiment according to the invention, the cover can be made of the same material as the holder.
In een uitvoeringsvorm van de opvouwbare houder volgens de uitvinding is het middendeel over een in hoof'dzaak volledig gedeelte van zijn lengte dat zich over de bodem uitstrekt, met de bodem verbonden.In an embodiment of the foldable holder according to the invention, the middle part is connected to the bottom over a substantially complete part of its length that extends over the bottom.
Doordat het middendeel met de bodem is verbonden, kan de hijskracht effectiever worden verdeeld over de bodem van de houder. Daardoor worden wederom krachtconcentraties verminderd, wat zoals hierboven staat omschreven scheuren tegen kan gaan en de laadcapaciteit kan vergroten.Because the middle part is connected to the bottom, the lifting force can be distributed more effectively over the bottom of the holder. This in turn reduces power concentrations, which, as described above, can prevent cracks and increase the loading capacity.
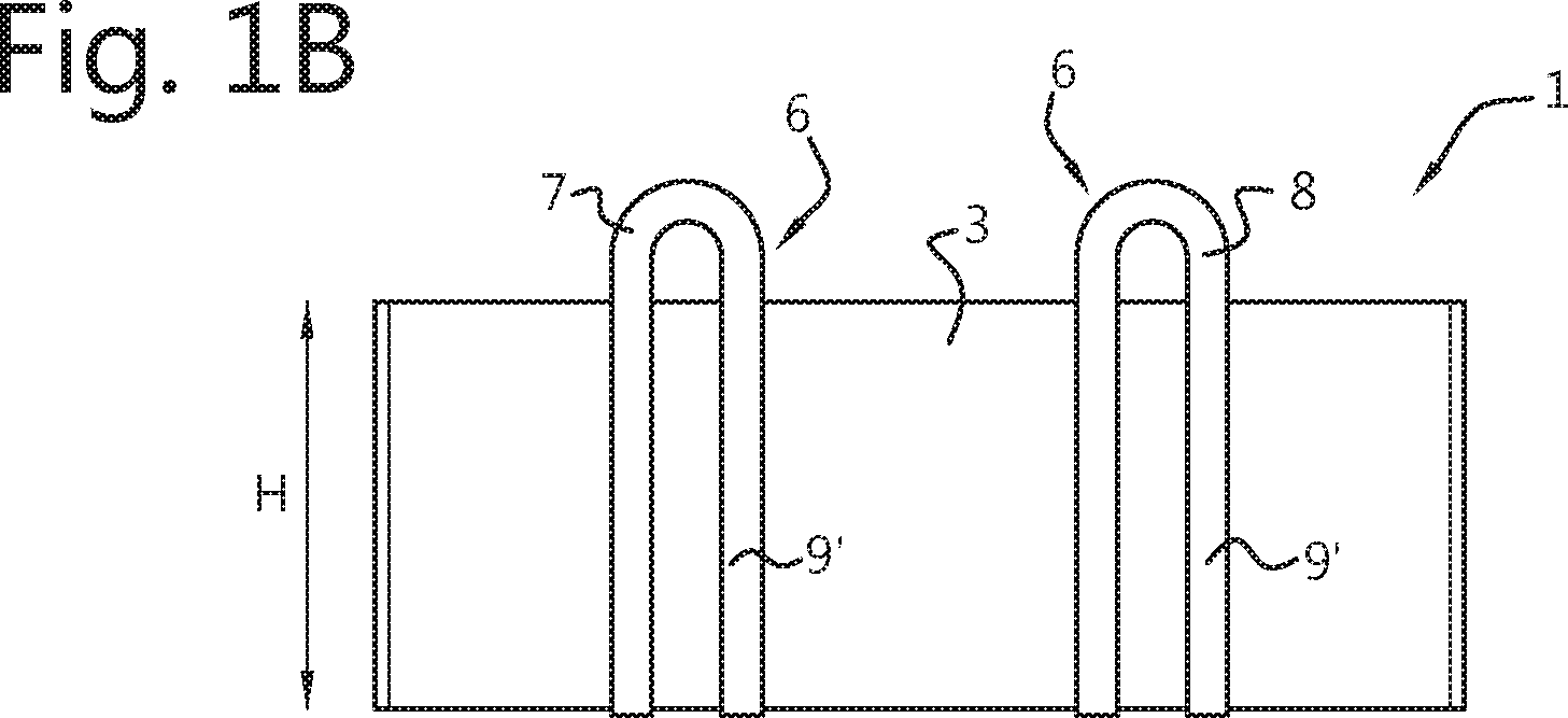
In een andere uitvoeringsvorm van de opvouwbare houder volgens de uitvinding is de bodem in hoofdzaak een regelmatige veelhoek, zoals een rechthoek, en is de omtrekswand voorzien van ribben die zich in uitgevouwen toestand van de houder vanaf de hoeken van de bodem in hoofdzaak in de eerste richting naar het omtrekswand-uiteinde uitstrekken, en waarbij de aangrijpdelen op een vooraf bepaalde afstand van de ribben aan of nabij het omtreks wand-uiteinde van de omtrekswand zijn gepositioneerd.In another embodiment of the foldable holder according to the invention, the bottom is substantially a regular polygon, such as a rectangle, and the circumferential wall is provided with ribs which, in the unfolded state of the holder, extend substantially from the corners of the bottom into the first extend toward the circumferential wall end, and wherein the engaging members are positioned at a predetermined distance from the ribs at or near the circumferential wall end of the circumferential wall.
Doordat de aangrijpdelen op een afstand van de ribben zijn gepositioneerd, wordt de hijskracht door de aangrijpdelen beter verdeeld over de omtrekswand en/of de bodem. Alternatief of daarbij kan he t verder van de hoeken af positioneren van de aangrijpelementen inhouden dat de aangrijpdelen dichter bij een centraal gedeelte van de houder zijn aangebracht. Daardoor wordt het 15 centrale gedeelte beter ondersteund tijdens het hijsen via het tilelement, wat in het bijzonder voordelig kan zijn omdat juist het centrale gedeelte vatbaar is voor scheuren en/of lading zich vaak daar concentreert. De ribben kunnen daarbij als integraal onderdeel van de omtrekswand en/of de bodem zijn gevormd of worden gevormd door afzonderlijke elementen die zijn verbonden met de omtrekswand en/of de bodem. De ribben kunnen ook worden uitgevoerd als flexibele ribben en/of 20 ribben van flexibel materiaal.Because the engaging parts are positioned at a distance from the ribs, the lifting force is better distributed by the engaging parts over the circumferential wall and / or the bottom. Alternatively or in addition, the positioning of the engaging elements further away from the corners may mean that the engaging parts are arranged closer to a central part of the holder. As a result, the central part is better supported during hoisting via the lifting element, which can be particularly advantageous because it is precisely the central part that is prone to cracking and / or loading often concentrates there. The ribs can be formed as an integral part of the circumferential wall and / or the bottom or can be formed by separate elements which are connected to the circumferential wall and / or the bottom. The ribs can also be designed as flexible ribs and / or ribs of flexible material.
De aangrijpelementen kunnen in principe aan elk van de zijden worden aangebracht. In geval van een rechthoekige houder worden de aangrijpelementen bij voorkeur aangebracht aan de lange zijde, hoewel het ook mogelijk is om deze aan de korte zijden aan te brengen.The engagement elements can in principle be arranged on any of the sides. In the case of a rectangular holder, the engaging elements are preferably arranged on the long side, although it is also possible to arrange them on the short sides.
In nog een andere uitvoeringsvorm van de opvouwbare houder volgens de uitvinding, w orden de ribben gevormd doordat materiaal van de omtrekswand ten minste één maal dubbel is gevouwen en is gefixeerd, waarbij het fixeren bij voorkeur met ten minste één stiknaad en bij meer voorkeur met ten minste twee stiknaden is uitgevoerd.In yet another embodiment of the foldable holder according to the invention, the ribs are formed in that material of the circumferential wall is at least once doubled and fixed, the fixing being preferably with at least one stitching seam and more preferably with at least one seam. least two stitching seams.
Doordat de ribben, die zich bij de hoeken van de omtrekswanden uitstrekken, worden gevormd doordat materiaal van de omtrekswand is dubbel gevouwen, ontstaan relatief stevige en 30 buigstijve ribben. Wanneer de houder in de uitgevouwen toestand wordt gebracht, houden kunnen de ribben daardoor de omtrekswand overeind houden, zelfs wanneer die op zichzelf anders in zou zakken of om zou vallen. Een voordeel van deze constructie is dat de houder-binnenruimte toegankelijk is door het buigen van een omtrekswand zonder dat deze scheurt en/of beschadigd. Hierdoor kan de houder-binnenruimte gemakkelijk althans voor een deel gevuld worden. Dit 35 voordeel is met name groot ten opzichte van bekende grotere opslaghouders, zoals metalen containers. Dergelijke metalen containers zijn slechts toegankelijk door op een rand van de container een loopplank aan te brengen, waarbij alle materialen onder hoek tegen de onder een hoek geplaatste loopplank moet worden opgeduwd alvorens deze in de metalen container op te slaan. Een verder voordeel van deze uitvoeringsvorm is dat de ribben integraal onderdeel vormen van de constructie van de opvouwbare houder. Het losraken en/of kwijtraken van de ribben van het overige deel van de constructie wordt daarmee in hoofdzaak voorkomen. Het met twee stiknaden fixeren van het dubbel gevouwen materiaal van de omtrekswand kan de stevigheid en/of buigstijfheid vergroten, en daardoor bijdragen aan het hierboven genoemde voordeel.Because the ribs which extend at the corners of the circumferential walls are formed by material of the circumferential wall being folded double, relatively sturdy and bending-rigid ribs are formed. When the container is brought into the unfolded state, the ribs can thereby keep the peripheral wall upright, even if it would otherwise collapse or fall over. An advantage of this construction is that the container interior space is accessible by bending a circumferential wall without it tearing and / or being damaged. As a result, the container inner space can easily be filled, at least in part. This advantage is particularly large compared to known larger storage holders, such as metal containers. Such metal containers are only accessible by arranging a gangway on an edge of the container, wherein all materials must be pushed at an angle against the angled gangway before storing it in the metal container. A further advantage of this embodiment is that the ribs form an integral part of the structure of the foldable holder. The loosening and / or loosening of the ribs of the remaining part of the construction is thus substantially prevented. Fixing the doubly folded material of the circumferential wall with two stitching seams can increase the strength and / or bending stiffness, and thereby contribute to the above-mentioned advantage.
Alternatief of daarbij kunnen verschillende zijdes van de omtrekswand bij of met de verstevigde ribben aan elkaar worden verbonden. Daardoor ontstaat een bijzonder stevige verbinding tussen die zijdes, waardoor de kans op scheuren van de houder afheemt en/of een grotere laadcapaciteit wordt verkregen.Alternatively or in addition, different sides of the circumferential wall at or with the reinforced ribs can be connected to each other. This results in a particularly strong connection between those sides, whereby the risk of tearing of the holder decreases and / or a greater loading capacity is obtained.
In nog een andere uitvoeringsvorm van de opvouwbare houder volgens de uitvinding zijn de bodem en/of de omtrekswand en/of het tilelement van een geweven kunststof, bij voorkeur polypropyleen (PP), vervaardigd.In yet another embodiment of the foldable holder according to the invention, the bottom and / or the peripheral wall and / or the lifting element are made of a woven plastic, preferably polypropylene (PP).
Het is de aanvrager gebleken dat een geweven materiaal, in het bijzonder PP, voldoende structurele integriteit kan bieden, terwijl de houder toch opvouwbaar kan worden uitgevoerd. Daarnaast kan door middel van PP een relatief lichte houder worden verkregen, die daardoor althans in de opgevouwen toestand gemakkelijk kan worden getransporteerd. Een verder voordeel is dat een geweven materiaal, en in het bijzonder PP, zeer geschikt is voor het aanbrengen van (stevige) stiknaden, bijvoorbeeld om de bovengenoemde integraal gevormde ribben te kunnen aanbrengen.The applicant has found that a woven material, in particular PP, can offer sufficient structural integrity, while the container can nevertheless be made foldable. In addition, a relatively light holder can be obtained by means of PP, which can thereby be easily transported, at least in the folded state. A further advantage is that a woven material, and in particular PP, is very suitable for applying (firm) stitching seams, for example in order to be able to apply the aforementioned integrally formed ribs.
In een nadere uitvoeringsvorm zijn de bodem en/of de omtrekswand en/of het tilelement van een geweven kunststof, bij voorkeur polypropyleen (PP), vervaardigd dat een gramsgewicht heeft in het bereik van 100 gram/m tot 1000 gram/m2, en dat bij voorkeur een gramsgewicht heeft in het bereik van 170 gram/m tot 500 gram/m.In a further embodiment, the bottom and / or the peripheral wall and / or the lifting element are made of a woven plastic, preferably polypropylene (PP), which has a grammage in the range of 100 grams / m to 1000 grams / m 2 , and which preferably has a grammage in the range of 170 gram / m to 500 gram / m.
In nog een andere uitvoeringsvorm van de opvouwbare houder volgens de uitvinding strekt in althans de uitgevouwen toestand van de opvouwbare houder elk van het eerste en het tweede aangrijpdeel zich vanaf het omtrekswand-uiteinde uit. bij voorkeur in hoofdzaak in de eerste richting.In yet another embodiment of the foldable holder according to the invention, each of the first and the second engaging part extends in at least the folded-out state of the foldable holder from the circumferential wall end. preferably substantially in the first direction.
Wanneer de aangrijpdelen zich uitstrekken vanaf het omtrekswand-uiteinde kunnen zij gemakkelijk aan te grijpen zijn voor bijvoorbeeld een automatische hijsinrichting van een transportwagen. In het bijzonder is het voordelig wanneer de aangrijpdelen zich in hoofdzaak in de eerste richting uitstrekken, omdat zij zich op die manier niet of nauwelijks een obstructie vormen voor het vullen van de houder.When the engaging parts extend from the circumferential wall end, they can easily be engaged for, for example, an automatic hoisting device of a transport trolley. In particular, it is advantageous if the engaging parts extend substantially in the first direction, because in that way they do not or hardly form an obstruction for filling the container.
In nog een andere uitvoeringsvorm van de opvouwbare houder volgens de uitvinding bevinden het eerste en het tweede aangrijpdeel van het ten minste ene tilelement zich in de uitgevouwen toestand van de houder in hoofdzaak tegenover elkaar en aan weerszijden van de houder-binnenruimte.In yet another embodiment of the foldable holder according to the invention, the first and the second engaging part of the at least one lifting element are, in the unfolded state of the holder, substantially opposite each other and on either side of the holder inner space.
Doordat de aangrijpdelen zich aan weerszijden van de houder-binnenruimte bevinden kan een hijskracht op elk van de aangrijpdelen bijzonder goed verdeeld worden, wat door het voorkomen van krachtconcentraties tot een hogere laadcapaciteit kan leiden. Daarbij kan in het bijzonder het met de aangrijpdelen overeenkomstige middendeel zich in het vlak van de bodem beschouwd in een rechte lijn tussen de aangrijpdelen uitstrekken. Het genoemde middendeel zal in dat geval een centraal gedeelte van de bodem snijden, en dus daar steun leveren voor de bodem, met als gevolg dat de houder uiteindelijk een grotere laadcapaciteit kan hebben.Because the engaging parts are located on either side of the container inner space, a hoisting force on each of the engaging parts can be distributed particularly well, which can lead to a higher loading capacity by preventing force concentrations. In this case, in particular, the middle part corresponding to the engaging parts can, viewed in the plane of the bottom, extend in a straight line between the engaging parts. The said middle part will in that case cut a central part of the bottom, and thus provide support for the bottom there, with the result that the holder may ultimately have a larger loading capacity.
In nog een andere uitvoeringsvorm van de opvouwbare houder volgens de uitvinding strekt in de uitgevouwen toestand van de houder het ten minste één middendeel van het ten minste één tilelement zich onder een hoek ten opzichte van de bodem over de omtrekswand in hoofdzaak in de eerste richting uit, waarbij de hoek groter dan 0°, bij voorkeur onge veer 45° is. en bij meer voorkeur ongeveer 90° is.In yet another embodiment of the foldable holder according to the invention, in the folded-out state of the holder, the at least one central part of the at least one lifting element extends over the circumferential wall at an angle with respect to the bottom, substantially in the first direction wherein the angle is greater than 0 °, preferably about 45 °. and more preferably is about 90 °.
Wanneer het middendeel zich in een hoek van ongeveer 90° met de bodem uitstrekt, strekt het middendeel zich althans in normaal gebruik van de houder in de uitgevouwen toestand in hoofdzaak verticaal uit. Daardoor kan het middendeel een hijskracht, omdat die ook in hoofdzaak verticaal is gericht, op de aangrijpdelen gemakkelijk doorvoeren naar de bodem van de houder. Daardoor wordt de omtrekswand althans gedeeltelijk ontzien van de hijskracht, waardoor de kans dat deze scheurt kan afnemen en de uiteindelijke laadcapaciteit van de houder kan worden vergroot. Wanneer het middendeel zich in een hoek van ongeveer 45° met de bodem uitstrekt, strekt het middendeel zich over een relatief groot deel van de omtrekswand uit waardoor de hijskrachten over een relatief groot oppervlak worden verdeeld. Tegelijkertijd wordt met een dergelijke hoek bereikt dat vouwen van de houder tijdens het hijsen wordt voorkomen.When the middle part extends at an angle of about 90 ° with the bottom, the middle part extends substantially vertically at least in normal use of the holder in the unfolded state. As a result, the middle part can easily carry a lifting force, because it is also directed substantially vertically, onto the engaging parts to the bottom of the holder. As a result, the circumferential wall is at least partially relieved of the hoisting force, whereby the chance of it tearing can decrease and the final loading capacity of the holder can be increased. When the middle part extends at an angle of about 45 ° with the bottom, the middle part extends over a relatively large part of the circumferential wall, whereby the lifting forces are distributed over a relatively large surface. At the same time it is achieved with such an angle that folding of the holder during hoisting is prevented.
Li nog een andere uitvoeringsvorm van de opvouwbare houder volgens de uitvinding strekt het tilelement zich uit over een aan een van de houder-binnenruimte afgekeerde zijde van de bodem en/of de omtrekswand.In yet another embodiment of the foldable holder according to the invention, the lifting element extends over a side of the bottom and / or the circumferential wall remote from the holder inner space.
Wanneer de houder-binnenruimte althans gedeeltelijk wordt gevuld en eventueel gehesen wordt ontstaat door de in de houder-binnenruimte aanwezige vulling een naar buiten de houder gerichte kracht. Doordat het tilelement zich aan een van de houder-binnenruimte afgekeerde zijde van de omtrekswand uitstrekt, neigt deze kracht de bodem en/of omtrekswand tegen het tilelement aan. Daardoor wordt de verbinding tussen de bodem en/of de omtrekswand en het tilelement niet of minder aan deze kracht blootgesteld. Daardoor kan de verbinding niet of minder snel breken, waardoor de laadcapaciteit van de houder kan worden vergroot. Hiermee wordt het mogelijk om bij grotere afmetingen van de houder ook grotere gewichten toe te passen.When the container interior space is at least partially filled and possibly lifted, the filling present in the container interior space creates a force directed outwardly of the container. Because the lifting element extends on a side of the circumferential wall remote from the container inner space, this force tends the bottom and / or circumferential wall against the lifting element. As a result, the connection between the bottom and / or the peripheral wall and the lifting element is not or less exposed to this force. As a result, the connection cannot break or will break less rapidly, whereby the loading capacity of the container can be increased. This makes it possible to use larger weights for larger dimensions of the holder.
Volgens de uitvinding is ten minste ene tilelement vervaardigd uit één stuk, zodanig dat het tilelement een ononderbroken element vormt.According to the invention, at least one lifting element is made from one piece, such that the lifting element forms a continuous element.
Door de tileiementen uit één stuk te vervaardigen., wordt de stevigheid van het tilelement vergroot. Dit wordt met name veroorzaakt door het feit dat extra verbindingen tussen de aangrijpelementen en de middendelen overbodig wordt en afbreekrisico wordt verminderd. Daarnaast wordt een betere overdracht van op de aangrijpelementen uitgeoefende krachten bereikt.By manufacturing the tile elements from one piece, the strength of the lifting element is increased. This is mainly caused by the fact that additional connections between the engaging elements and the middle parts become superfluous and the risk of breakdown is reduced. In addition, a better transfer of forces exerted on the engagement elements is achieved.
Volgens de uitvinding is het ten minste één tilelement vervaardigd uit één stuk, en zijn de aangrijpdelen in hoofdzaak lusvormig en omvat het tilelement twee tussen de aangrijpdelen gelegen middendelen, die zich elk vanaf het eerste aangrijpelement naar het tweede aangrijpelement uitstrekken, waarbij de twee middendelen zich in hoofdzaak evenwijdig langs de omtrekswand en/of de bodem van de houder uitstrekken.According to the invention, the at least one lifting element is made of one piece, and the engaging parts are substantially loop-shaped and the lifting element comprises two middle parts located between the engaging parts, each extending from the first engaging element to the second engaging element, the two middle parts extending extend substantially parallel along the peripheral wall and / or the bottom of the container.
Een tilelement uit één stuk wordt bij voorkeur 'uitgerekt’ in een langwerpige vorm met twee lusvonnige uiteinden. De lusvormige uiteinden vormen daarbij de aangrijpelementen en de daartussen gelegen delen vormen de middendelen die verbonden worden met de omtrekswand en/of bodem.A one-piece lifting element is preferably "stretched" into an elongated shape with two loop-shaped ends. The loop-shaped ends thereby form the engaging elements and the parts situated between them form the middle parts which are connected to the circumferential wall and / or bottom.
In nog een andere uitvoeringsvorm van de houder volgens de uitvinding kan deze ten minste twee tilelemeiiteii omvatten, waarvan de middendelen zich in de uitgevouwen toestand van de houder in hoofdzaak evenwijdig aan elkaar over de omtrekswand en de bodem uitstrekken.In yet another embodiment of the holder according to the invention, it can comprise at least two lifting elements, the middle parts of which, in the unfolded state of the holder, extend substantially parallel to each other over the circumferential wall and the bottom.
Door de houder volgens de uitvinding te voorzien van twee tileiementen kunnen de gewichten en krachten uitgeoefend op de houder, met name tijdens het (op)tillen, in hoofdzaak evenredig over de omtrekswand en bodem worden verdeeld. Dit wordt verder versterkt door de middendelen van de tileiementen in hoofdzaak evenwijdig aan elkaar en bij voorkeur op enige afstand van elkaar te laten uitstrekken. Dit leidt tot een uitstekende krachtenverdeling over de verschillende delen van de houder gedurende het gebruik ervan, Daarmee wordt een hogere belasting (i.e. laadcapaciteit) mogelijk dan bij de bekende big-bags.By providing the holder according to the invention with two tile elements, the weights and forces exerted on the holder, in particular during lifting (up), can be distributed substantially proportionally over the circumferential wall and bottom. This is further enhanced by having the middle parts of the tile elements extend substantially parallel to each other and preferably at some distance from each other. This leads to an excellent distribution of forces over the various parts of the container during its use, thus enabling a higher load (i.e. loading capacity) than with the known big bags.
In nog een andere uitvoeringsvorm van de houder volgens de uitvinding kan deze ten minste twee tileiementen omvatten, waarvan de middendelen elkaar bij of op de bodem van de houder kruisen.In yet another embodiment of the holder according to the invention, it can comprise at least two elements, the middle parts of which cross each other at or on the bottom of the holder.
In deze uitvoeringsvorm, bijvoorbeeld in geval een in hoofdzaak vierkante of cirkelvormige houder wordt voorzien, kan er voor gekozen worden om de middendelen van de twee tileiementen elkaar te laten kruisen op de bodem. Hierdoor wordt additionele stevigheid bereikt in het midden van het bodemdeel, waarop, zeker in geval van een vierkante of cirkelvormige houder, grote krachten op worden uitgeoefend . Dit wordt vooral gerealiseerd gedurende het hijsen van een (vol)geladen houder.In this embodiment, for example in the case that a substantially square or circular holder is provided, it is possible to choose to have the middle parts of the two elements cross each other on the bottom. As a result, additional sturdiness is achieved in the middle of the bottom part, on which, certainly in the case of a square or circular holder, great forces are exerted. This is mainly achieved during the lifting of a (fully) loaded container.
In nog een andere uitvoeringsvorm van de houder volgens de uitvinding kan de houder in de uitgevouwen toestand een eerste lengte, een eerste breedte en een eerste hoogte vertonen.In yet another embodiment of the holder according to the invention, the holder can have a first length, a first width and a first height in the unfolded state.
waarbij de eerste breedte tussen 1,6 meter en 1,8 meter, bij voorkeur ongeveer 1,8 meter is, en/of de eerste lengte tussen 2,0 meter en 4,0 meter, bij voorkeur tussen 2,5 meter en 4,0 meter, ligt en meer bij voorkeur ongeveer 3,20 meter is, en/of de eerste hoogte tussen 1,0 meter en 2,0 meter, bij voorkeur tussen 1,0 meter en 1,8 meter, ligt en meer bij voorkeur ongeveer 1,0 meter is.wherein the first width is between 1.6 meters and 1.8 meters, preferably about 1.8 meters, and / or the first length between 2.0 meters and 4.0 meters, preferably between 2.5 meters and 4 , 0 meters, and more preferably about 3.20 meters, and / or the first height is between 1.0 meters and 2.0 meters, preferably between 1.0 meters and 1.8 meters, and more at is preferably about 1.0 meter.
De afmetingen van de houder volgens de uitvinding kunnen zo worden gekozen dat de laadcapaciteit kan worden aangepast. Het heeft de voorkeur dat bij grotere afmetingen wordt gekozen voor meerdere tilelementen die verdeeld zijn over de omtrekswand van de houder, zodat de (hijs)krachten goed verdeeld worden. In een voorkeursuitvoering heeft de houder volgens de uitvinding een lengte van 3,2 meter, een breedte van 1,8 m en een hoogte van 1,0 m. Deze afmeting is bij uitstek geschikt voor het laden op een vrachtwagen of aanhanger die is ingericht voor het vervoer van puincontainers. Bij deze afmetingen worden bij voorkeur twee tilelementen voorzien die op enige afstand van elkaar geplaatst zijn. Andere afmetingen zijn echter ook denkbaar en vallen ook binnen de reikwijdte van de houder volgens de uitvinding.The dimensions of the container according to the invention can be chosen such that the loading capacity can be adjusted. It is preferable that for larger dimensions, a choice is made for several lifting elements that are distributed over the circumferential wall of the holder, so that the (lifting) forces are well distributed. In a preferred embodiment, the holder according to the invention has a length of 3.2 meters, a width of 1.8 m and a height of 1.0 m. This dimension is ideally suited for loading onto a truck or trailer that is arranged for the transport of rubble containers. With these dimensions, two lifting elements are preferably provided which are placed at some distance from each other. However, other dimensions are also conceivable and also fall within the scope of the container according to the invention.
In een voorkeursuitvoering waarin de houder een eerste lengte, een eerste breedte en een eerste hoogte heeft, kan de afdekking een afdeklengte hebben die groter is dan de eerste lengte van de houder en een afdekbreedte hebben die groter is dan de eerste breedte van de houder.In a preferred embodiment wherein the container has a first length, a first width and a first height, the cover may have a cover length that is greater than the first length of the container and have a cover width that is greater than the first width of the container.
Door de afdekking groter te maken dan de afmetingen van de houder kan worden bereikt dat de afdekking oversteekt ten opzichte van het omtrekswand-uiteinde. Hiermee wordt het mogelijk om de afdekking ook sluitend met de omtrekswand of het omtrekswand-uiteinde te verbinden als de houder is gevuld met materiaal, waarbij het materiaal tot boven het omtrekswanduiteinde steekt. De benodigde oversteeklengte en -breedte worden daarbij zo gekozen dat deze passend zijn voor de eerste lengte en eerste breedte van de houder.By making the cover larger than the dimensions of the holder, it can be achieved that the cover protrudes relative to the peripheral wall end. This makes it possible to also connect the cover to the circumferential wall or the circumferential wall end when the container is filled with material, the material protruding above the circumferential wall end. The required overhang length and width are thereby chosen such that they are suitable for the first length and first width of the holder.
In nog een andere uitvoeringsvorm van de houder volgens de uitvinding heeft de houder in de opgevouwen toestand een tweede lengte, een tweede breedte en een tweede hoogte, waarbij de tweede lengte, breedte en hoogte kleiner zijn dan de eerste lengte, breedte en hoogte, en waarbij de tweede lengte in het bereik van 0,4 meter tot 1,0 meter ligt, de tweede breedte in het bereik van 0,4 meter tot 1,0 meter ligt en de tweede hoogte in het bereik van 0,1 meter tot 0,5 meter ligt.In yet another embodiment of the holder according to the invention, in the folded state, the holder has a second length, a second width and a second height, the second length, width and height being smaller than the first length, width and height, and the second length being in the range of 0.4 meters to 1.0 meters, the second width being in the range of 0.4 meters to 1.0 meters and the second height being in the range of 0.1 meters to 0 meters , 5 meters.
Doordat de houder in de opgevouwen toestand kleinere afmetingen heeft dan in de uitgevouwen toestand, is de houder gemakkelijk te vervoeren en/of op te skian in de opgevouwen toestand, terwijl de houder in de uitgevouwen toestand een groot volume kan houden. Een voordeel hiervan is dat de houder in opgevouwen toestand zonder groot ruimtebeslag in een vervoermiddel, zoals de laadruimte van een personenauto of bestelwagen, vervoerd kan worden. De directe beschikbaarheid van een houder voor het daarin deponeren van materiaal en/of grondstoffen wordt daarmee aanzienlijk vergroot. Zo is het bijvoorbeeld mogelijk voor installatie- en/of (verjbouwbedrijven om één of meerdere houders in opgevouwen toestand in de bedrijfsbus ofbestelwagen aanwezig te hebben zonder dat deze veel ruimte in beslag nemen. Indien bij werkzaamheden blijkt dat (een aanzienlijke hoeveelheid) afval en/of puin afgevoerd moet worden, kan de opvouwbare houder makkelijk worden uitgevouwen en gevuld, waarna deze doorliet bedrijf of een externe partij kan worden opgehaald en/of afgevoerd. Hierdoor wordt het apart aanvoeren van een houder overbodig, terwijl tegelijkertijd een houder beschikbaar wordt voor grotere afval- en/of grondstofhoeveelheden.Because the holder in the folded state has smaller dimensions than in the unfolded state, the holder is easy to transport and / or to ski in the folded state, while the holder can hold a large volume in the unfolded state. An advantage hereof is that the container can be transported in a folded state without large space requirement in a means of transport, such as the loading space of a passenger car or delivery van. The immediate availability of a holder for depositing material and / or raw materials therein is thus considerably increased. For example, it is possible for installation and / or (rehabilitation companies) to have one or more containers present in the company bus or van in the folded state without these taking up a lot of space. If debris needs to be discharged, the foldable container can easily be unfolded and filled, after which it can be picked up and / or discharged by a company or an external party, making the separate supply of a container superfluous, while at the same time making a container available for larger containers. waste and / or raw material quantities.
In een uitvoeringsvorm van de houder volgens de uitvinding zijn verbindingsmiddelen aangebracht tussen de omtrekswand en de bodem, waarbij de verbindingsmiddelen bij voorkeur hersluitbare verbindingsmiddelen zijn.In an embodiment of the holder according to the invention, connecting means are arranged between the circumferential wall and the bottom, the connecting means being preferably reclosable connecting means.
Door het aanbrengen van bij voorkeur hersluitbare verbindingsmiddelen tussen de bodem en de omtrekswand kan de houder makkelijker worden gevuld. Zo kan ten minste een eerste laag met lading op de bodem worden geplaatst, waarna de omtrekswand over de lading heen wordt gebracht en de omtrekswand met de bodem wordt verbonden . Daarnaast heeft het aanbrengen van hersluitbare verbindingsmiddelen tussen de bodem en de omtrekswand het voordeel dat de houder, bijvoorbeeld in gehesen toestand, kan worden geleegd. Dit is bijvoorbeeld voordelig als de houder geleegd wordt in een (grotere) container, waarbij de bodem (gedeeltelijk) losgekoppeld wordt van de omtrekswand, waarna de lading in de onderliggende container kan storten. Hiermee wordt tijdwinst geboekt, omdat de houder volgens de uitvinding niet los gemaakt hoeft te worden van het transportmiddel, maar direct geleegd kan worden en naar een volgende gebruiker getransporteerd kan worden.The container can be filled more easily by providing preferably reclosable connecting means between the bottom and the circumferential wall. At least a first layer of charge can thus be placed on the bottom, whereafter the circumferential wall is brought over the charge and the circumferential wall is connected to the bottom. In addition, the provision of reclosable connecting means between the bottom and the circumferential wall has the advantage that the holder can be emptied, for example in the hoisted state. This is advantageous, for example, if the container is emptied into a (larger) container, wherein the bottom is (partially) disconnected from the circumferential wall, after which the load can collapse into the underlying container. This saves time, because the container according to the invention does not have to be detached from the means of transport, but can be emptied directly and can be transported to a next user.
In een uitvoeringsvorm van de houder volgens de ui tvinding kan deze in één of meerdere kleuren worden uitgevoerd, waarbij de kleuren bij voorkeur een kleurcodering omvatten voor het draaggewicht en/of het te bevatten materiaal en/of de bestemming van het materiaal.In an embodiment of the container according to the invention, it can be designed in one or more colors, the colors preferably comprising a color coding for the carrying weight and / or the material to be contained and / or the destination of the material.
De uitvinding heeft ook betrekking op een samenstel omvattende:The invention also relates to an assembly comprising:
een houder volgens de uitvinding zoals hierboven omschreven in de uitgevouwen toestand; en een hijsinrichting voorzien van ten minste één hijselement dat losmaakbaar verbindbaar is met ten minste twee aangrijpdelen, en waarbij het hijseiement is ingericht om de genoemde aangrijpdelen tijdens hijsen en/of optillen van de houder op een vooraf bepaalde afstand viin elkaar te houden.a holder according to the invention as described above in the unfolded state; and a hoisting device provided with at least one hoisting element that can be releasably connected to at least two engaging parts, and wherein the hoisting element is adapted to keep said engaging parts mutually at a predetermined distance during hoisting and / or lifting of the holder.
Het samenstel volgens de uitvinding heeft dezelfde effecten en voordelen als de opvouwbare houder volgens de uitvinding. Een voordeel van de hijsinrichting is dat, wanneer de houder aan het hijselement of de hijselementen wordt gehesen, deze de aangrijpdelen op de vooraf bepaalde afstand houdt. Daardoor wordt voorkomen dat de aangrijpdelen onder invloed van de hijskracht naar elkaar toe bewegen. Hierdoor zou de hijskracht minder goed over de omtrekswand worden verdeeld, en minder effectief worden doorgevoerd naar de bodem. In het bijzonder kan door het op afstand houden van de aangrijpdelen de hijskracht door de aangrijpdelen in een in hoofdzaak verticale richting, die overeen kan komen met de eerste richting, tijdens het hijsen naaide bodem doorgevoerd. Daardoor wordt de omtrekswand althans voor een deel vrij gehouden van horizontale krachten tijdens het hijsen, die de kunnen leiden tot het scheuren van de omtrekswand.The assembly according to the invention has the same effects and advantages as the foldable holder according to the invention. An advantage of the hoisting device is that when the holder is hoisted on the hoisting element or the hoisting elements, it keeps the engaging parts at the predetermined distance. This prevents the engaging parts from moving towards each other under the influence of the hoisting force. As a result, the lifting force would be distributed less well over the circumferential wall, and less effectively transferred to the bottom. In particular, by keeping the engaging parts at a distance, the hoisting force can be transmitted through the engaging parts in a substantially vertical direction, which may correspond to the first direction, during the hoisting of sewn bottom. As a result, the circumferential wall is at least partially kept free of horizontal forces during hoisting, which can lead to the tearing of the circumferential wall.
De houder kan de hierboven omschreven kenmerken hebben, en de daarbij behorende voordelen bieden, in willekeurig welke geschikte combinatie.The holder may have the characteristics described above and offer the associated advantages in any suitable combination.
In een uitvoeringsvorm van het samenstel kan de houder zijn voorzien van één tilelementen met twee aangrijpelementen die aan tegenovergelegen zijden van de houderbinnenruimte gepositioneerd zijn. In een dergelijke uitvoeringsvorm is het samenstel bij voorkeur voorzien van één hijselement dat verbindbaar is met beide aangrijpelementen en dat is ingericht voor het op een bepaalde afstand, bij voorkeur in hoofdzaak de binnen-ruimteafstand tussen de aangrijpelementen, houden van de aangrijpelementen tijdens een hijsoperatie.In an embodiment of the assembly, the holder can be provided with one lifting elements with two engaging elements which are positioned on opposite sides of the holder inner space. In such an embodiment, the assembly is preferably provided with one hoisting element which can be connected to both engagement elements and which is adapted to keep the engagement elements at a certain distance, preferably substantially the inner space distance between the engagement elements, during a hoisting operation.
In een uitvoeringsvorm van het samenstel volgens de uitvinding omvat de houder ten minste twee tilelementen die elk zijn voorzien van twee aangrijpelementen, waarbij de tilelementen, gezien in een richting in hoofdzaak haaks op de eerste richting, op een bepaalde afstand van elkaar geplaatst zijn aan of nabij het omtrekswand-uiteinde, en waarbij het hijselement is ingericht om zich in hoofdzaak evenwijdig aan en in de eerste richting gezien boven het omtrekswand-uiteinde van de omtrekswand uit te strekken, en waarbij het hijselement met ten minste twee aangrijpdelen van verschillende tilelementen losmaakbaar verbindbaar is voor het op de bepaalde afstand van elkaar houden daarvan tijdens een hijsoperatie.In an embodiment of the assembly according to the invention, the holder comprises at least two lifting elements which are each provided with two engaging elements, wherein the lifting elements, viewed in a direction substantially perpendicular to the first direction, are placed at a certain distance from each other on or near the circumferential wall end, and wherein the hoisting element is arranged to extend substantially parallel to and seen in the first direction above the circumferential wall end of the circumferential wall, and wherein the hoisting element can be releasably connectable to at least two engagement parts of different lifting elements is for keeping it at a certain distance from each other during a lifting operation.
Doordat het hijselement zich evenwijdig aan de omtrekswand uitstrekt, worden twee aangrijpdelen aan eenzelfde zijde van de houder-binnenruimte daardoor met elkaar verbonden. Hierdoor strekt de houder zich niet uit over de houder-binnenruimte. Hierdoor kan het hijselement ook met de genoemde aangrijpdelen worden verbonden als de houder-binnenruimte zo ver is gevuld dat een bult of hoop materiaal in de eerste richting boven de om trekswand uitsteekt. Hierdoor kan de houder zelfs wanneer die zo ver is gevuld worden gehesen met behulp van het hijselement, waardoor de effectieve maximale vulhoeveelheid van de houder toeneemt.Because the hoisting element extends parallel to the circumferential wall, two engaging parts on the same side of the container inner space are thereby connected to each other. As a result, the holder does not extend over the holder inner space. As a result, the hoisting element can also be connected to said engaging parts if the container interior space is filled to such an extent that a bump or pile of material protrudes above the circumferential wall in the first direction. As a result, the container can be hoisted even when it is filled so far with the aid of the hoisting element, whereby the effective maximum filling quantity of the container increases.
Bij voorkeur wordt het hijselement gevormd door of voorzien van een afstandhouder, bijvoorbeeld een staaf of pijp met een vooraf bepaalde lengte, met twee tegenovergelegen uiteinden, waarbij elk uiteinde is voorzien van een verbindingselement, en waarbij elk verbindingselement is ingericht om verbindbaar te zijn met een daarmee geassocieerd aangrijpelement, zodanig dat, na het verbinden van de verbindingselementen met de aangrijpelementen, de met die afstandhouder geassocieerde aangrijpdelen op een bepaalde afstand van elkaar worden gehouden.The hoisting element is preferably formed by or provided with a spacer, for example a rod or pipe with a predetermined length, with two opposite ends, wherein each end is provided with a connecting element, and wherein each connecting element is adapted to be connectable to a engaging element associated with it, such that, after connecting the connecting elements to the engaging elements, the engaging parts associated with said spacer are kept at a certain distance from each other.
Het hijselement kan worden gevormd door een (rigide) afstandhouder zoals een staaf of pijp die aan de uiteinden is voorzien van verbindingsmiddelen, zoals kettingen en/of haken en/of ogen, die kunnen worden verbonden met de aangrijpdelen van de tilelementen. Elk verbindingsmiddel wordt verbonden met een (daarmee geassocieerd) aangrijpdeel, waarbij de afstandhouder er voor zorg draagt dat de aangrijpdelen op de bepaalde afstand worden gehouden. Hierdoor wordt voorkomen dat de houder dubbelklapt of anderszins opstroopt tijdens het transporteren en/of hij sen.The hoisting element can be formed by a (rigid) spacer such as a rod or pipe that is provided at the ends with connecting means, such as chains and / or hooks and / or eyes, which can be connected to the engaging parts of the lifting elements. Each connecting means is connected to an (associated with) engagement part, wherein the spacer ensures that the engagement parts are kept at the determined distance. This prevents the container from double folding or otherwise rolling up during transport and / or lifting.
In een nadere uitvoeringsvorm kan de afstandhouder ook een in lengte verstelbare afstandhouder, bijvoorbeeld een telescopische afstandhouder of een afstandhouder voorzien van een telescopisch element zijn.In a further embodiment, the spacer can also be a length-adjustable spacer, for example a telescopic spacer or a spacer provided with a telescopic element.
Een voordeel van een dergelijke in lengte verstelbare afstandhouder is dat deze toepasbaar is voor het transporteren en/of hijsen van opvouwbare houders van verschillende afmetingen en/of houders waan an de tilelementen op verschillende afstanden zijn gepositioneerd. Een dergelijk hijselement kan, doordat deze in lengte verstelbaar is, zelfs worden toegepast om bestaande bigbags en/of containers mee te hijsen en/of transporteren.An advantage of such a length-adjustable spacer is that it can be used for transporting and / or hoisting foldable holders of different sizes and / or holders whose lifting elements are positioned at different distances. Such a hoisting element can, because it is adjustable in length, even be used to hoist and / or transport existing big bags and / or containers.
De uitvinding heeft ook betrekking op een transportwagen, zoals een vrachtwagen, pick-up of aanhangwagen, voorzien van een opvouwbare houder volgens de uitvinding zoals hierboven omschreven in de uitgevouwen toestand, waarbij bij voorkeur de transportwagen het samenstel volgens de uitvinding zoals hierboven omschreven omvat.The invention also relates to a transport truck, such as a truck, pick-up or trailer, provided with a foldable holder according to the invention as described above in the unfolded state, wherein preferably the transport truck comprises the assembly according to the invention as described above.
Met een dergelijke transportwagen kan met behulp van de houder gemakkelijk een relatief grote hoeveelheid materiaal worden vervoerd. Wanneer de transportwagen niet alleen de houder maar juist het samenstel omvat, dus ook een hijselement heeft, kan met behulp van het hijselement de houder bijvoorbeeld op en/of van de wagen worden gehesen.With such a transport trolley a relatively large amount of material can easily be transported with the aid of the holder. When the transport trolley comprises not only the holder but precisely the assembly, so also has a hoisting element, the holder can for instance be hoisted onto and / or from the trolley with the aid of the hoisting element.
De houder en het samenstel kunnen alle hierboven omschreven kenmerken hebben, en de daarbij behorende voordelen bieden, in willekeurig welke geschikte combinatie.The holder and the assembly can have all the characteristics described above, and offer the associated advantages, in any suitable combination.
De uitvinding heeft ook betrekking op een werkwijze voor het opslaan en/of transporteren van goederen en/of materialen, bij voorkeur bulkmateriaal, zoals (bouw)afval. zand, grind, en dergelijke of een w illekeurige combinatie daarvan, omvattende de stappen van:The invention also relates to a method for storing and / or transporting goods and / or materials, preferably bulk material, such as (construction) waste. sand, gravel, and the like or any combination thereof, comprising the steps of:
het verschaffen van een opvouw bare houder volgens de uitvinding zoals hierboven omschreven in een opgevouwen toestand:providing a foldable holder according to the invention as described above in a folded state:
het uitvouwen van de opvouwbare houder naar de uitgevouwen toestand; en het vullen van de opvouwbare houder met de goederen en/of de materialen.unfolding the foldable holder to the unfolded state; and filling the foldable container with the goods and / or materials.
Volgens de werkwijze kan relatief eenvoudig een vrij grote hoeveelheid bulkmateriaal worden vervoerd of opgeslagen. Met name door het gebniik van de opvouwbare houder is het voor bijvoorbeeld een consument mogelijk om de opgevouwen houder te verkrijgen en naar een gebruikslocatie te brengen. Hiervoor zijn, omdat de houder zich dan nog in de opgevouwen toestand bevind, geen speciale middelen nodig. Alom veelgebruikte transportmiddelen zoals een auto, bestelwagen en/of fiets zijn hiervoor bijvoorbeeld al geschikt. Eenmaal op de gebruikslocatie wordt de houder uitgevouwen waarna die gevuld kan worden met een grote hoeveelheid materiaal.According to the method, a relatively large amount of bulk material can be transported or stored relatively easily. Particularly due to the use of the foldable holder, it is possible for a consumer, for example, to obtain the folded holder and take it to a location of use. For this purpose, because the holder is still in the folded state, no special means are required. For example, widely used means of transport such as a car, delivery van and / or bicycle are already suitable for this. Once at the location of use, the container is unfolded, after which it can be filled with a large amount of material.
Daarna kan de houder met bulkmateriaal worden verplaatst met een speciaal daarvoor ingerichte uitrusting. Volgens de werkwijze is het dus slechts eenmaal nodig om over de speciaal ingerichte uitrusting te beschikken.The container with bulk material can then be moved with specially equipped equipment. According to the method, it is therefore only necessary once to have the specially equipped equipment.
De houder kan alle hierboven omschreven kenmerken hebben, en de daarbij behorende voordelen bieden, in willekeurig welke geschikte combinatie.The holder can have all the characteristics described above, and offer the associated advantages, in any suitable combination.
In een uitvoeringsvorm van de werkwijze volgens de uitvinding, omvat de werkwijze het op, in, van of uit een transportwagen volgens de u itvinding iaden van de houder, bij voorkeur met gebruik van het hijselement van het samenstel volgens de uitvinding.In an embodiment of the method according to the invention, the method comprises placing the container on, in, from or out of a transport trolley according to the invention, preferably using the hoisting element of the assembly according to the invention.
Door de houder op, in van of uit een transportwagen te iaden kan het door de houder gehouden bulkmateriaal getnakkelijk worden vervoerd door middel van de transportwagen. Daarnaast kan de transportwagen en/of het hijselement alle hierboven ontschreven kenmerken hebben, en de daarbij behorende voordelen bieden, in willekeurig welke geschikte combinatie.By placing the container on, in or from a transport trolley, the bulk material held by the container can be easily transported by means of the transport trolley. In addition, the transport trolley and / or the hoisting element can have all the characteristics described above, and offer the associated advantages, in any suitable combination.
Verdere voordelen, kenmerken en details van de uitvinding worden toegelicht op basis van de voorkeursuitvoeringsvormen daarvan, waarbij wordt gerefereerd aan de bijgesloten tekeningen waarin:Further advantages, features and details of the invention are explained on the basis of the preferred embodiments thereof, wherein reference is made to the enclosed drawings in which:
Figuur IA schematisch een perspectivisch aanzicht van een voorbeeld van de houder volgens de uitvinding in de uitgevouwen toestand toont:Figure 1A schematically shows a perspective view of an example of the holder according to the invention in the unfolded state:
Figuren 1B en IC schematisch een zij- en onderaanzicht van de houder van figuur IA tonen;Figures 1B and IC schematically show a side and bottom view of the holder of figure IA;
Figuur 2 schematisch een perspectivisch aanzicht van de houder van figuren IA. - IC in de opgevouwen toestand toont;Figure 2 schematically shows a perspective view of the holder of figures IA. - shows IC in the folded state;
Figuur 3 schematisch een perspectivisch aanzicht van een ander voorbeeld van de houder volgens de uitvinding toont;Figure 3 schematically shows a perspective view of another example of the holder according to the invention;
Figuur 4 schematisch een vergroot perspectivisch aanzicht van een hoek van de houder van figuren IA - IC toont;Figure 4 schematically shows an enlarged perspective view of a corner of the holder of figures IA - IC;
Figuur 5 schematisch een vergroot zijaanzicht van een onderste deel van de omtrekswand van de houder van figuren I A - IC toont:Figure 5 shows diagrammatically an enlarged side view of a lower part of the circumferential wall of the holder of Figures 1A - IC:
Figuur 6 schematisch een zijaanzicht toont van een voorbeeld van het samenstel volgens de uitvinding; enFigure 6 schematically shows a side view of an example of the assembly according to the invention; and
Figuur 7 schematisch een zijaanzicht van een voorbeeld van de transportwagen volgens de uitvinding toont.Figure 7 schematically shows a side view of an example of the transport trolley according to the invention.
Figuren I A - IC tonen een houder 1 volgens de uitvinding, die opvouwbaar is en is getoond in een uitgevouwen toestand. In dit specifieke voorbeeld is de houder 1 een zogenoemde big-bag I. De houder 1 heeft een bodem 2 en een, uit meerdere met elkaar verbonden delen bestaande, omtrekswand 3. In een uitgevouwen toestand, zoals in dit voorbeeld getoond, heeft houder 1 een lengte LI van 3,2 m, een breedte BI van 1,8 m en een hoogte Hl in de richting R1 van 1,0 m. De omtrekswand 3 en de bodem 2 zijn hier van een geweven kunststof, in dit geval polypropyleen, vervaardigd. In een ingevouwen toestand van de houder 1 heeft deze in dit voorbeeld (zie figuur 2) een lengte L2 van rond de 50 - 55 cm., een breedte B2 van 50 - 55 cm en een hoogte H2 van tussen de 15 en 25 cm.Figures 1A - IC show a holder 1 according to the invention, which is foldable and is shown in an unfolded state. In this specific example, the holder 1 is a so-called big-bag I. The holder 1 has a bottom 2 and a peripheral wall 3 consisting of several parts connected to each other. In an unfolded condition, as shown in this example, holder 1 has a length L1 of 3.2 m, a width B1 of 1.8 m and a height H1 in the direction R1 of 1.0 m. The circumferential wall 3 and the bottom 2 are here of a woven plastic, in this case polypropylene, manufactured. In a folded state of the holder 1, in this example (see Figure 2), it has a length L2 of around 50 - 55 cm., A width B2 of 50 - 55 cm. And a height H2 of between 15 and 25 cm.
Omdat de houder 1 zich in de uitgevouwen toestand bevindt, strekt de omtrekswand 3 zich in een eerste richting R1 uit naar een omtrekswand-uiteinde 4. In het getoonde voorbeeld is de eerste richting R1 haaks op het vlak van de bodem 2. Bij normaal gebruik van de houder 1 in de uitgevouwen toestand rust de bodem 2 op een ondergrond, waardoor de eerste richting R1 zich verticaal in bovenwaartse richting uitstrekt. In het getoonde voorbeeld strekt de omtrekswand 3 zich evenwijdig aan de eerste richting R1 uit. De omtrekswand 3 en de bodem 2 definiëren samen een houder-binnenruimte 5 die is voorzien van een vulopening 5a. De houder 1 heeft tw-ee tilelementen 6, die zich elk uitstrekken van een eerste aangrijpdeel 7 naar een tweede aangrijpdeel 8 via een middendeel 9. De aangrijpdelen 7, 8 liggen in dit voorbeeld tegenover elkaar aan weerszijden van de houder-binnenruimte 5. Het middendeel 9, dat hier bestaat uit twee parallel aan elkaar over de omtrekswand 3 en bodem 2 verlopende delen, is dus tussen het eerste aangrijpdeel 7 en het tw eede aangrijpdeel 8 gelegen en verbindt deze met elkaar. In dit voorbeeld zijn de aangrijpdelen 7, 8 en het middendeel 9 telkens uit één stuk vervaardigd, waardoor elk tilelement 6 een monolithisch element is. De tilelementen 6 vormen daarmee een ononderbroken band, waarvan de aangrijpdelen 7,8 zijn gevormd tot lusvormige uiteinden w'aar een verbindingselement mee verbonden kan worden om het hijsen van de houder 1 te bewerkstelligen. Zoals hierboven beschreven verbindt het middendeel 9 de beide aangrijpdelen 7,8 met elkaar. Tilelementen 6 zijn tevens elk een flexibele band, waarbij flexibel in dit voorbeeld betekent dat de band een beperkte rek heeft en opvouwbaar en/of oprolbaar is. De aangrijpdelen 7, 8 bevinden zich nabij het omtrekswand-uiteinde 4. in dit voorbeeld strekken zij zich namelijk daarvanaf uit in de eerste richting. Het middendeel 9 strekt zich uit over de omtrekswand 3 en over de bodem 2. Het middendeel strekt zich met een gedeelte van zijn lengte 9’ over de omtrekswand 3 uit, en is over de volledige lengte van dat gedeelte van zijn lengte 9' met de omtrekswand 3 verbonden. De tilelementen 6 zijn hier ook van geweven polypropyleen vervaardigd. In een tweede voorbeeld van de houder 1 volgens de uitvinding is de houder 1 over de lengterichting voorzien van een steunband 9a, die zich haaks uitstrekt ten opzichte van de middendelen 9 van de tilelementen 6 om additionele stevigheid voor de bodem 2 en/of omtrekswand 3 te verkrijgen. Dit is vooral van belang bij houders 1 volgens de uitvinding die bedoeld zijn voor gewichten in de orde van 6 - 13 ton. De getoonde houder is bijvoorbeeld ingericht voor een gewicht van ongeveer 10 ton. In het getoonde voorbeeld (figuur 3) is de steunband 9a vast verbonden met omtrekswand 3 en bodem 2.Because the holder 1 is in the unfolded state, the circumferential wall 3 extends in a first direction R1 to a circumferential wall end 4. In the example shown, the first direction R1 is perpendicular to the surface of the bottom 2. In normal use of the holder 1 in the unfolded state, the bottom 2 rests on a surface, as a result of which the first direction R1 extends vertically upwards. In the example shown, the circumferential wall 3 extends parallel to the first direction R1. The circumferential wall 3 and the bottom 2 together define a container inner space 5 which is provided with a filling opening 5a. The holder 1 has two lifting elements 6, each of which extends from a first engagement part 7 to a second engagement part 8 via a middle part 9. In this example, the engagement parts 7, 8 lie opposite each other on either side of the container inner space 5. The holder 1 middle part 9, which here consists of two parts running parallel to each other over peripheral wall 3 and bottom 2, is therefore situated between the first engagement part 7 and the second engagement part 8 and connects them to each other. In this example, the engaging parts 7, 8 and the middle part 9 are each made from one piece, so that each lifting element 6 is a monolithic element. The lifting elements 6 thus form a continuous belt, the engagement parts 7,8 of which are formed into loop-shaped ends to which a connecting element can be connected to effect the lifting of the holder 1. As described above, the middle part 9 connects the two engagement parts 7,8 with each other. Lifting elements 6 are also each a flexible belt, wherein flexible in this example means that the belt has a limited elongation and is foldable and / or rollable. The engaging parts 7, 8 are located near the circumferential wall end 4. in this example, they extend in the first direction therefrom. The middle part 9 extends over the circumferential wall 3 and over the bottom 2. The middle part extends over the circumferential wall 3 with a part of its length 9 ', and is over the full length of that part of its length 9' with the circumferential wall 3. Here, the lifting elements 6 are also made of woven polypropylene. In a second example of the holder 1 according to the invention, the holder 1 is provided along the longitudinal direction with a support band 9a, which extends perpendicularly to the middle parts 9 of the lifting elements 6 to provide additional strength for the bottom 2 and / or circumferential wall 3. to obtain. This is of particular importance with containers 1 according to the invention which are intended for weights in the order of 6-13 tonnes. The holder shown is for example designed for a weight of approximately 10 tons. In the example shown (Figure 3), the support band 9a is fixedly connected to peripheral wall 3 and bottom 2.
De houder 1 van de in figuren IA - IC en figuur 3 getoonde voorbeelden is in de uitgevouwen toestand vulbaar, met bijvoorbeeld een bulkmateriaal. Nadat de houder 1 is gevuld.The holder 1 of the examples shown in Figs. 1A-IC and Fig. 3 can be filled in the unfolded state, for example with a bulk material. After the container 1 has been filled.
bijvoorbeeld door bulkmateriaal in de houder-binnenruimte 5 te plaatsen, kan het bulkmateriaal gemakkelijk worden verplaatst door middel van de houder 1. Daartoe zijn de aangrijpdelen 8 ingericht voor het hijsen en/of optillen van de opvouwbare houder 1. De hijskracht op de aangrijpdelen 8 die daardoor ontstaat wordt vanaf de aangrij pdelen 8 via het middendeel 9 aan de omtrekswand 3 doorgegeven. Daarbij wordt de hijskracht in grote mate van gelijkmatigheid verdeeld over de omtrekswand 3. Hierdoor ontstaan geen of minder krachtconcentraties, waardoor de omtrekswand 3 minder snel scheurt. Het middendeel 9 van elk van de tileiementen 6 is in dit specifieke voorbeeld ook over de volledige lengte van een gedeelte dat zich over de bodem 2 uitstrekt met de bodem 2 verbonden. Hierdoor wordt de genoemde hijskracht ook beter over de bodem 2 verdeeld. Verder is houder 1 voorzien van afdekking 1 l(figuur 3) die oprolbaar is aangebracht aan omtrekswand-uiteinde 4. Afdekking 11 heeft een breedte die groter is dan breedte BI en een lengte die groter is dan lengte LI.for example by placing bulk material in the container inner space 5, the bulk material can easily be moved by means of the container 1. To that end, the engaging parts 8 are adapted to hoist and / or lift the foldable holder 1. The hoisting force on the engaging parts 8 that is created as a result is transmitted from the engaging parts 8 via the middle part 9 to the peripheral wall 3. The hoisting force is herein distributed to a great extent of uniformity over the circumferential wall 3. As a result, no or fewer force concentrations are created, as a result of which the circumferential wall 3 tears less rapidly. In this specific example, the middle part 9 of each of the tile elements 6 is also connected along the full length of a part that extends over the bottom 2 to the bottom 2. As a result, the said lifting force is also better distributed over the bottom 2. Furthermore, holder 1 is provided with cover 11 (Fig. 3) which is arranged to be rolled up on circumferential wall end 4. Cover 11 has a width that is greater than width B1 and a length that is greater than length L1.
Zoals in figuren IA - IC en figuur 3 is getoond heeft de bodem 2 van de houder in de uitgevouwen toestand in hoofdzaak de vorm van een regelmatige veelhoek, in dit geval een rechthoek. In elk van de hoeken van de rechthoek vormt de omtrekswand 3 daardoor een ribbe 10 die zich vanaf de bodem 2 naar het omtrekswand-uiteinde 4 uitstrekt. De aangrijpdelen 7, 8 zijn op een vooraf bepaalde afstand dl van de ribben geplaatst. Daardoor bevinden de aangrijpdelen 7, 8 zich relatief dicht bij een centraal deel van de houder I. In dit voorbeeld worden de ribben 10 gevormd doordat materiaal van de omtrekswand 3 dubbel is gevouwen (zie figuur 4).As shown in Figs. 1A-IC and Fig. 3, the bottom 2 of the holder in the unfolded state is substantially in the form of a regular polygon, in this case a rectangle. The circumferential wall 3 therefore forms a rib 10 in each of the corners of the rectangle and extends from the bottom 2 to the circumferential wall end 4. The engaging parts 7, 8 are placed at a predetermined distance d1 from the ribs. As a result, the engaging parts 7, 8 are relatively close to a central part of the holder I. In this example, the ribs 10 are formed because material of the circumferential wall 3 is folded double (see Figure 4).
In de getoonde voorbeelden (zie figuur I A-1C en 3) is de dubbelgevouwen omtrekswand 3 dubbel gestikt met stiknaad 12 voor additionele stevigheid (zie ook figuur 4). Het middendeel 9 bestaat in dit voorbeeld uit twee delen die zich parallel over een deel van de omtrekswand 3 uitstrekken in de eerste richting R1 en is eveneens voorzien van dubbeigestikte naden 14 (zie figuur 5).In the examples shown (see Figs. 1A-1C and 3), the double-folded peripheral wall 3 is double-stitched with stitching seam 12 for additional strength (see also Fig. 4). The middle part 9 in this example consists of two parts which extend parallel over a part of the circumferential wall 3 in the first direction R1 and is also provided with double stitched seams 14 (see figure 5).
In een voorbeeld van de hijsinrichting 16 (zie figuur 6) is deze voorzien van een afstandhouder 18, die aan de uiteinden 18a, 18b is voorzien van twee verbindingselementen 20, 22, die in dit voorbeeld verbonden zijn met aangrijpdelen 7, 8. De beide uiteinden 18a, 18b zijn verder gekoppeld aan respectievelijke hijskettingen 24a, 24b, die aangrijpen op een verbindingspunt 26 van de hijsarm 28.In an example of the hoisting device 16 (see Figure 6), it is provided with a spacer 18, which is provided at the ends 18a, 18b with two connecting elements 20, 22, which in this example are connected to engaging parts 7, 8. The two ends 18a, 18b are further coupled to respective hoisting chains 24a, 24b, which engage on a connecting point 26 of the hoisting arm 28.
In een voorbeeld van een transportwagen 130 volgens de uitvinding is deze uitgevoerd als vrachtwagen 130 die is voorzien van wielen 130a en een laadvloer of laadopperviak 132 waarop een houder 101 is gepositioneerd. Tijdens transport en hijsen van houder 101 van en naar de transportwagen 130 wordt gebruik gemaakt van de hijsinrichting 116 die koppelbaar is met de houder 101 die in de uitgevouwen positie op de transportwagen 130 staat. Houder 101 is met bodemdeel 102 (met getoond) geplaatst op laadvloer 132, zodat omtrekswand 103 van houder 101 in de richting R1 (in dit geval naar boven) wijst. Tijdens transport zijn tileiementen 106 van houderIn an example of a transport trolley 130 according to the invention, it is designed as a truck 130 which is provided with wheels 130a and a loading floor or loading surface 132 on which a holder 101 is positioned. During transport and hoisting of container 101 to and from the transport trolley 130, use is made of the hoisting device 116 which can be coupled to the container 101 which stands on the transport trolley 130 in the unfolded position. Holder 101 is placed on the loading floor 132 with bottom part 102 (with shown), so that circumferential wall 103 of holder 101 points in the direction R1 (in this case upwards). During transport, tile elements 106 are of holder
101 verbonden met verbindingselementen 120, 122 van hijsinrichting 116 zodat de houder mede door middel van hijsinrichting 116 op zijn plaats wordt gehouden. Krachten die worden uitgeoefend op tilelementen 106 via de verbindingselementen 120, 122 worden door aangrijpelementen 108 en middendeel 109, 109’ verdeeld over de gehele oppervlakte van de omtrekswand 103 en bodem 102. Hijsinrichting 116 is in dit voorbeeld voorzien van afstandhouder 118 met uiteinden 118a, 118b, waar verbindingselementen 120, 122 mee verbonden zijn. Verder zijn hijskettingen 124a, 124b voorzien die aan een eerste uiteinde zijn verbonden met respectievelijke uiteinden 118a, 118b en aan het andere uiteinde zijn verbonden met verbindingspunt 126 van hijsarm 128. Hijsarm 128 is beweegbaar schamierbaar om een scharnierpunt101 is connected to connecting elements 120, 122 of hoisting device 116 so that the holder is also held in place by means of hoisting device 116. Forces exerted on lifting elements 106 via the connecting elements 120, 122 are distributed by engaging elements 108 and middle part 109, 109 'over the entire surface of the peripheral wall 103 and bottom 102. In this example, hoisting device 116 is provided with spacer 118 with ends 118a, 118b, to which connecting elements 120, 122 are connected. Furthermore, hoisting chains 124a, 124b are provided which are connected at one end to respective ends 118a, 118b and are connected at the other end to connecting point 126 of hoisting arm 128. Hoisting arm 128 is movably pivotable about a pivot point
In gebruik wordt de houder 1 in ingevouwen toestand in een transportmiddel vervoerd. Voor gebruik wordt houder 1 op een ondergrond, zoals de bodem, geplaatst en vervolgens uitgevouwen. Het openvouwen van de houder 1 geschiedt door de omtrekswand 3 omhoog te vouwen van de bodem 2. Door ópstaande ribben 10 blijft de omtrekswand 3 van de houder 1 overeind staan in de uitgevouwen toestand en is de houder 1 klaar voor gebruik. Een gebruiker kan, om bijvoorbeeld afval of puin in de houder te storten, een aan de zijkant gelegen deel van omtrekswand 3, bijvoorbeeld zijkant 3a, naar beneden duwen om zo toegang te krijgen tot de houder-binnenruimte 5. In geval van lichter materiaal is het ook mogelijk om via vulopening 5a het materiaal in de houder-binnenruimte 5 te brengen zonder zijwand 3 naar beneden te duwen of brengen. In gebruik van houder 1 wordt deze door een gebruiker gevuld met het gewenste materiaal, dat kan worden gevormd door grondstoffen, zoals grind, andere bouwmaterialen, of puin en/of bouwafval kan zijn. Bij aanvang van het vullen van de houder 1 kan een gebruiker, indien gewenst, een plank op zijwand 3a. leggen, waardoor deze in neergedrukte toestand blijft staan en deze makkelijk te overbruggen is met bijvoorbeeld een kruiwagen. Zodra het vulniveau van de houder-binnenruimte 5 toeneemt, kan een gebruiker er ook voor kiezen om zijwand 3a terug te brengen en een loopplank op het in houder-binnenruimte 5 aan te brengen om zo van bovenaf materiaal bij te storten. Als de houder-binnenruimte 5 vol is of al het te storten of transporteren materiaal in de houder 1 is ingébracht, kan de houder 1 worden verplaatst naar een andere locatie.In use, the container 1 is transported in a transported state in the folded state. For use, holder 1 is placed on a surface, such as the bottom, and then unfolded. Unfolding the holder 1 is effected by folding the circumferential wall 3 upwards from the bottom 2. The circumferential wall 3 of the holder 1 remains upright in the unfolded condition by standing ribs 10 and the holder 1 is ready for use. To dump waste or debris into the container, for example, a user can push a side part of circumferential wall 3, for example side 3a, downwards in order to gain access to the container inner space 5. In the case of lighter material it is also possible to introduce the material into the container inner space 5 via filling opening 5a without pushing or bringing down side wall 3. In use of container 1, it is filled by a user with the desired material, which can be formed by raw materials, such as gravel, other building materials, or debris and / or building waste. At the start of the filling of the holder 1, a user can, if desired, place a shelf on side wall 3a. so that it remains in the pressed-down state and is easy to bridge with, for example, a wheelbarrow. As soon as the filling level of the container inner space 5 increases, a user can also choose to return the side wall 3a and to place a gangplank on the container inner space 5 in order to deposit material from above. When the container inner space 5 is full or all the material to be dumped or transported has been introduced into the container 1, the container 1 can be moved to another location.
Hierbij wordt bij voorkeur gebruik gemaakt van hijsinrichting 16, 116 (figuur 6, figuur 7), die bij voorkeur op een transportwagen 130 is aangebracht. Transportwagen 130 wordt met de hijsinrichting 116 nabij de (gevulde) houder 101 gepositioneerd, waarna elk van de twee armen 128 rond scharnierpunt 134 wordt geroteerd, zodat de armen 128 aan weerszijden van houder 101 worden gepositioneerd, zodat houder 101 tussen de armen 128 staat. Om verbindingselementen 120, 122 te kunnen koppelen met de aangrijpelementen 108 worden kettingen 124a, 124b gevierd en wordt afstandhouder 118 naar beneden gebracht, zodat deze nabij omtrekswand-uiteinde 104 gepositioneerd wordt. Hierdoor wordt het mogelijk om verbindingselementen 120, 122 met aangrijpelementen 108 te verbinden. Elk verbindingselement 120, 122 is daarbij geassocieerd met één enkel aangrijpelement 108 waarmee het verbonden wordt. Verder geldt dat elk van de armen 128 is voorzien van een afstandhouder 118 en de daarbij behorende verbindingselementen 120, 12 en kettingen 124a, 124b. Na het verbinden van alle aangrijpelementen 108 met het geassocieerde verbindingselement 120, 122, is de houder 101 klaar om opgehesen te worden en op de transportwagen 130 geplaatst te worden. Daartoe wordt hijsinrichting 116 in werking gesteld en wordt houder 101 met de bodem 102 op laadbodem 132 geplaatst, waarna houder 101 kan worden getransporteerd naar een locatie waar deze ontladen kan worden. Na ontladen is de houder 101 klaar om opgevouwen te worden om voor een volgend gebruik ingezet te worden.Use is herein preferably made of hoisting device 16, 116 (figure 6, figure 7), which is preferably arranged on a transport trolley 130. Transport trolley 130 is positioned with the hoisting device 116 near the (filled) holder 101, whereafter each of the two arms 128 is rotated around pivot point 134, so that the arms 128 are positioned on either side of holder 101, so that holder 101 stands between the arms 128. In order to be able to connect connecting elements 120, 122 to the engaging elements 108, chains 124a, 124b are celebrated and spacer 118 is lowered so that it is positioned near peripheral wall end 104. This makes it possible to connect connecting elements 120, 122 to engaging elements 108. Each connecting element 120, 122 is thereby associated with a single engaging element 108 with which it is connected. Furthermore, it holds that each of the arms 128 is provided with a spacer 118 and the associated connecting elements 120, 12 and chains 124a, 124b. After connecting all engaging elements 108 with the associated connecting element 120, 122, the holder 101 is ready to be lifted and placed on the transport trolley 130. To this end, hoisting device 116 is put into operation and holder 101 with the bottom 102 is placed on loading floor 132, whereafter holder 101 can be transported to a location where it can be unloaded. After discharging, the holder 101 is ready to be folded to be used for a subsequent use.
De onderhavige uitvinding is geenszins beperkt tot de bovenbeschreven voorkeursuitvoeringsvormen daarvan. De gevraagde rechten worden bepaald door de navolgende conclusies binnen de strekking waarvan velerlei modificaties denkbaar zijn.The present invention is by no means limited to the above described preferred embodiments thereof. The requested rights are determined by the following claims within the scope of which many modifications are conceivable.
Claims (19)
Priority Applications (1)
| Application Number | Priority Date | Filing Date | Title |
|---|---|---|---|
| DE202019101253.6U DE202019101253U1 (en) | 2018-03-06 | 2019-03-06 | Foldable container, assembly and / or trolley with such a container and operation for the storage and / or transport of goods and / or materials |
Applications Claiming Priority (1)
| Application Number | Priority Date | Filing Date | Title |
|---|---|---|---|
| NL2020537 | 2018-03-06 |
Publications (1)
| Publication Number | Publication Date |
|---|---|
| NL2021432B1 true NL2021432B1 (en) | 2019-09-16 |
Family
ID=63722732
Family Applications (1)
| Application Number | Title | Priority Date | Filing Date |
|---|---|---|---|
| NL2021432A NL2021432B1 (en) | 2018-03-06 | 2018-08-06 | FOLDABLE HOLDER, COMPOSITION AND / OR TRANSPORT CAR WITH SUCH HOLDER AND METHOD FOR STORING AND / OR TRANSPORTING GOODS AND / OR MATERIALS |
Country Status (1)
| Country | Link |
|---|---|
| NL (1) | NL2021432B1 (en) |
Citations (8)
| Publication number | Priority date | Publication date | Assignee | Title |
|---|---|---|---|---|
| GB1590943A (en) * | 1978-01-05 | 1981-06-10 | Miller Weblift Ltd | Containers |
| GB2078200A (en) * | 1980-06-16 | 1982-01-06 | Nattrass Peter Johnson | Bulk material transport bag |
| DE7900454U1 (en) * | 1978-01-11 | 1988-05-26 | Société Anonyme des Imprimerie et Papeterie de l'Est, Chaumont, Haute-Marne | Container with foldable emptying chute |
| US6155772A (en) * | 1997-11-14 | 2000-12-05 | Beale; Aldon Evans | Lift-liner apparatus with improved weight-carrying capacity |
| US20020114542A1 (en) * | 2001-02-21 | 2002-08-22 | William Shackleton | Seam configuration for a flexible container |
| US20080031550A1 (en) * | 2005-02-28 | 2008-02-07 | Troy Town | Lifting Bag Device |
| GB2448074A (en) * | 2007-03-28 | 2008-10-01 | John James Monaghan | A removable liner for a waste skip |
| US20110229063A1 (en) * | 2007-07-05 | 2011-09-22 | Jianyi Sun | Super air permeability and reinforced seams of peanuts bag (APC BAG-SBA) |
-
2018
- 2018-08-06 NL NL2021432A patent/NL2021432B1/en active
Patent Citations (8)
| Publication number | Priority date | Publication date | Assignee | Title |
|---|---|---|---|---|
| GB1590943A (en) * | 1978-01-05 | 1981-06-10 | Miller Weblift Ltd | Containers |
| DE7900454U1 (en) * | 1978-01-11 | 1988-05-26 | Société Anonyme des Imprimerie et Papeterie de l'Est, Chaumont, Haute-Marne | Container with foldable emptying chute |
| GB2078200A (en) * | 1980-06-16 | 1982-01-06 | Nattrass Peter Johnson | Bulk material transport bag |
| US6155772A (en) * | 1997-11-14 | 2000-12-05 | Beale; Aldon Evans | Lift-liner apparatus with improved weight-carrying capacity |
| US20020114542A1 (en) * | 2001-02-21 | 2002-08-22 | William Shackleton | Seam configuration for a flexible container |
| US20080031550A1 (en) * | 2005-02-28 | 2008-02-07 | Troy Town | Lifting Bag Device |
| GB2448074A (en) * | 2007-03-28 | 2008-10-01 | John James Monaghan | A removable liner for a waste skip |
| US20110229063A1 (en) * | 2007-07-05 | 2011-09-22 | Jianyi Sun | Super air permeability and reinforced seams of peanuts bag (APC BAG-SBA) |
Similar Documents
| Publication | Publication Date | Title |
|---|---|---|
| CA2831470C (en) | Container | |
| US9028194B2 (en) | Shuttle bin | |
| US9120620B2 (en) | Flexible bulk container and detachable support structure therefor | |
| US20140027395A1 (en) | Modular pipe basket | |
| JP2001502282A (en) | Stackable pallets | |
| AU2018212935C1 (en) | A container | |
| US12043474B2 (en) | Container | |
| CN111727157A (en) | Lightweight Transportation, Storage and Conveying Systems | |
| NL2002251C2 (en) | BAG FOR MASSAGE, AND A METHOD OF USE FOR STORING AND / OR TRANSPORTING MASSAGE. | |
| US9586754B1 (en) | Dumpster bag with stand | |
| NL2021432B1 (en) | FOLDABLE HOLDER, COMPOSITION AND / OR TRANSPORT CAR WITH SUCH HOLDER AND METHOD FOR STORING AND / OR TRANSPORTING GOODS AND / OR MATERIALS | |
| US20130058744A1 (en) | Bulk Material Handling System and Carrier Therefor | |
| WO2008097110A1 (en) | Container system for transporting bulk materials | |
| US20230019163A1 (en) | Systems and methods for employing a bulkhead bag in intermodal shipping of dry flowable commodities | |
| US20130330023A1 (en) | Reusable, Multi-Purpose Dumpster Bag | |
| US11059663B2 (en) | Shipping cargo container with a removable shell that exposes cargo for safe and easy loading and unloading of the cargo | |
| CN202080621U (en) | Device for transporting bulk flexible large containers | |
| JP2022014179A (en) | container | |
| WO2007108833A2 (en) | Bulk material handling system and apparatus | |
| NL2037287B1 (en) | FOLDABLE HOLDER AND HOW IT WORKS | |
| WO2007097968A2 (en) | Equipment and supplies lift accessory | |
| US20110232520A1 (en) | Transfer Device | |
| US20230249904A1 (en) | Portable waste disposal bag | |
| US20040118983A1 (en) | Apparatus for supporting a material bag | |
| AU2022203349B1 (en) | A container |




