[go: up one dir, main page]

KR20210089540A - Manufacturing method of refrigerator - Google Patents

Manufacturing method of refrigerator Download PDF

Info

Publication number
KR20210089540A
KR20210089540A KR1020200002790A KR20200002790A KR20210089540A KR 20210089540 A KR20210089540 A KR 20210089540A KR 1020200002790 A KR1020200002790 A KR 1020200002790A KR 20200002790 A KR20200002790 A KR 20200002790A KR 20210089540 A KR20210089540 A KR 20210089540A
Authority
KR
South Korea
Prior art keywords
inner case
space
compartment
insulating material
ice
Prior art date
Legal status (The legal status is an assumption and is not a legal conclusion. Google has not performed a legal analysis and makes no representation as to the accuracy of the status listed.)
Pending
Application number
KR1020200002790A
Other languages
Korean (ko)
Inventor
김창민
장성익
주광진
Original Assignee
주식회사 위니아전자
Priority date (The priority date is an assumption and is not a legal conclusion. Google has not performed a legal analysis and makes no representation as to the accuracy of the date listed.)
Filing date
Publication date
Application filed by 주식회사 위니아전자 filed Critical 주식회사 위니아전자
Priority to KR1020200002790A priority Critical patent/KR20210089540A/en
Priority to PCT/KR2021/000198 priority patent/WO2021141409A1/en
Publication of KR20210089540A publication Critical patent/KR20210089540A/en
Pending legal-status Critical Current

Links

Images

Classifications

    • FMECHANICAL ENGINEERING; LIGHTING; HEATING; WEAPONS; BLASTING
    • F25REFRIGERATION OR COOLING; COMBINED HEATING AND REFRIGERATION SYSTEMS; HEAT PUMP SYSTEMS; MANUFACTURE OR STORAGE OF ICE; LIQUEFACTION SOLIDIFICATION OF GASES
    • F25DREFRIGERATORS; COLD ROOMS; ICE-BOXES; COOLING OR FREEZING APPARATUS NOT OTHERWISE PROVIDED FOR
    • F25D23/00General constructional features
    • F25D23/06Walls
    • F25D23/062Walls defining a cabinet
    • F25D23/064Walls defining a cabinet formed by moulding, e.g. moulding in situ
    • BPERFORMING OPERATIONS; TRANSPORTING
    • B29WORKING OF PLASTICS; WORKING OF SUBSTANCES IN A PLASTIC STATE IN GENERAL
    • B29CSHAPING OR JOINING OF PLASTICS; SHAPING OF MATERIAL IN A PLASTIC STATE, NOT OTHERWISE PROVIDED FOR; AFTER-TREATMENT OF THE SHAPED PRODUCTS, e.g. REPAIRING
    • B29C44/00Shaping by internal pressure generated in the material, e.g. swelling or foaming ; Producing porous or cellular expanded plastics articles
    • B29C44/02Shaping by internal pressure generated in the material, e.g. swelling or foaming ; Producing porous or cellular expanded plastics articles for articles of definite length, i.e. discrete articles
    • B29C44/12Incorporating or moulding on preformed parts, e.g. inserts or reinforcements
    • B29C44/18Filling preformed cavities
    • BPERFORMING OPERATIONS; TRANSPORTING
    • B29WORKING OF PLASTICS; WORKING OF SUBSTANCES IN A PLASTIC STATE IN GENERAL
    • B29CSHAPING OR JOINING OF PLASTICS; SHAPING OF MATERIAL IN A PLASTIC STATE, NOT OTHERWISE PROVIDED FOR; AFTER-TREATMENT OF THE SHAPED PRODUCTS, e.g. REPAIRING
    • B29C44/00Shaping by internal pressure generated in the material, e.g. swelling or foaming ; Producing porous or cellular expanded plastics articles
    • B29C44/34Auxiliary operations
    • BPERFORMING OPERATIONS; TRANSPORTING
    • B29WORKING OF PLASTICS; WORKING OF SUBSTANCES IN A PLASTIC STATE IN GENERAL
    • B29CSHAPING OR JOINING OF PLASTICS; SHAPING OF MATERIAL IN A PLASTIC STATE, NOT OTHERWISE PROVIDED FOR; AFTER-TREATMENT OF THE SHAPED PRODUCTS, e.g. REPAIRING
    • B29C44/00Shaping by internal pressure generated in the material, e.g. swelling or foaming ; Producing porous or cellular expanded plastics articles
    • B29C44/34Auxiliary operations
    • B29C44/35Component parts; Details or accessories
    • FMECHANICAL ENGINEERING; LIGHTING; HEATING; WEAPONS; BLASTING
    • F25REFRIGERATION OR COOLING; COMBINED HEATING AND REFRIGERATION SYSTEMS; HEAT PUMP SYSTEMS; MANUFACTURE OR STORAGE OF ICE; LIQUEFACTION SOLIDIFICATION OF GASES
    • F25DREFRIGERATORS; COLD ROOMS; ICE-BOXES; COOLING OR FREEZING APPARATUS NOT OTHERWISE PROVIDED FOR
    • F25D11/00Self-contained movable devices, e.g. domestic refrigerators
    • F25D11/02Self-contained movable devices, e.g. domestic refrigerators with cooling compartments at different temperatures
    • FMECHANICAL ENGINEERING; LIGHTING; HEATING; WEAPONS; BLASTING
    • F25REFRIGERATION OR COOLING; COMBINED HEATING AND REFRIGERATION SYSTEMS; HEAT PUMP SYSTEMS; MANUFACTURE OR STORAGE OF ICE; LIQUEFACTION SOLIDIFICATION OF GASES
    • F25DREFRIGERATORS; COLD ROOMS; ICE-BOXES; COOLING OR FREEZING APPARATUS NOT OTHERWISE PROVIDED FOR
    • F25D23/00General constructional features
    • F25D23/06Walls
    • BPERFORMING OPERATIONS; TRANSPORTING
    • B29WORKING OF PLASTICS; WORKING OF SUBSTANCES IN A PLASTIC STATE IN GENERAL
    • B29LINDEXING SCHEME ASSOCIATED WITH SUBCLASS B29C, RELATING TO PARTICULAR ARTICLES
    • B29L2031/00Other particular articles
    • B29L2031/762Household appliances
    • B29L2031/7622Refrigerators
    • FMECHANICAL ENGINEERING; LIGHTING; HEATING; WEAPONS; BLASTING
    • F25REFRIGERATION OR COOLING; COMBINED HEATING AND REFRIGERATION SYSTEMS; HEAT PUMP SYSTEMS; MANUFACTURE OR STORAGE OF ICE; LIQUEFACTION SOLIDIFICATION OF GASES
    • F25DREFRIGERATORS; COLD ROOMS; ICE-BOXES; COOLING OR FREEZING APPARATUS NOT OTHERWISE PROVIDED FOR
    • F25D2201/00Insulation
    • F25D2201/10Insulation with respect to heat
    • F25D2201/12Insulation with respect to heat using an insulating packing material
    • F25D2201/126Insulation with respect to heat using an insulating packing material of cellular type

Landscapes

  • Engineering & Computer Science (AREA)
  • Chemical & Material Sciences (AREA)
  • Combustion & Propulsion (AREA)
  • Physics & Mathematics (AREA)
  • Mechanical Engineering (AREA)
  • Thermal Sciences (AREA)
  • General Engineering & Computer Science (AREA)
  • Refrigerator Housings (AREA)

Abstract

The present invention relates to a refrigerator manufacturing method and, more particularly, to a refrigerator manufacturing method comprising: a partitioning step of dividing a storage space of a main body into a refrigerating chamber, a freezing chamber, and an ice-making chamber; and an integral foaming step of injecting an insulating material into the main body and integrally foaming the same, thereby simultaneously forming the refrigerating chamber and the ice-making chamber insulation spaces independent from each other. Therefore, the insulating material is injected and then integrally foamed in a state in which the storage space of the main body is divided into the refrigerating chamber, the freezing chamber, and the ice-making chamber at first so as to simultaneously form the refrigerating chamber, the freezing chamber, and the ice-making chamber as insulation spaces independent from each other and reduce entire manufacturing processes for manufacturing the refrigerator.

Description

냉장고 제조방법 {MANUFACTURING METHOD OF REFRIGERATOR}Refrigerator manufacturing method {MANUFACTURING METHOD OF REFRIGERATOR}

본 발명은 냉장고 제조방법에 관한 것으로서, 보다 상세하게는 처음부터 본체의 저장공간을 냉장실, 냉동실 및 제빙실로 구획한 상태로 단열재를 주입하여 일체발포함으로써 냉장실, 냉동실 및 제빙실을 동시에 서로 독립적인 단열공간으로 형성할 수 있고, 냉장고 제작에 있어서의 전체적인 제작공수를 단축시킬 수 있는 냉장고 제조방법에 관한 것이다.The present invention relates to a method for manufacturing a refrigerator, and more particularly, by injecting a thermal insulation material into a state in which the storage space of the main body is partitioned from the beginning into a refrigerating room, a freezing room and an ice making room, and foaming it together, the refrigerating room, the freezing room and the ice making room are insulated independently of each other at the same time It relates to a method of manufacturing a refrigerator that can be formed into a space and can shorten the overall manufacturing man-hours in manufacturing the refrigerator.

일반적으로 냉장고는 도어에 의해 개폐되는 저장실에 식품을 냉장 또는 냉동 상태로 보관하기 위한 가전기기로서, 통상적으로 식품을 저온의 냉장상태로 보관하기 위한 냉장실과 식품을 얼려서 냉동상태로 보관하기 위한 냉동실을 구비한다.BACKGROUND ART In general, a refrigerator is a home appliance for storing food in a refrigerated or frozen state in a storage compartment opened and closed by a door, and typically includes a refrigerator compartment for storing food in a low-temperature refrigerated state and a freezer compartment for freezing food and storing it in a frozen state. be prepared

또한, 냉장고에는 사용자의 편의를 위해 얼음을 생성하여 저장하는 제빙실이 추가적으로 구성될 수 있고, 사용자가 제빙실에 저장된 얼음을 외부로 취출할 수 있도록 디스펜서가 마련될 수 있다.In addition, the refrigerator may additionally include an ice-making chamber for generating and storing ice for the convenience of the user, and a dispenser may be provided so that the user can take out the ice stored in the ice-making chamber to the outside.

최근에 출시되는 냉장고는 냉동실보다 비교적 자주 사용하는 냉장실을 본체의 상부에 제공하고, 상대적으로 냉장실보다 덜 사용하는 냉동실을 본체의 하부에 제공하는 추세이며, 특히, 최근에는 본체의 좌우측에 각각 힌지결합되어 좌우로 나란히 배치된 두 개의 회동형 도어에 의해 냉장실이 개폐되고, 슬라이딩 가능하게 설치된 서랍형 도어에 의해 냉동실이 개폐되는 프렌치도어 타입의 냉장고가 각광받고 있다.Recently released refrigerators tend to provide a refrigerating compartment, which is used relatively more frequently than the freezer compartment, on the upper part of the main body, and provide a freezer compartment that is used relatively less than the refrigerating chamber on the lower part of the main body. A French door type refrigerator in which the refrigerating compartment is opened and closed by two rotatable doors arranged side by side and the freezer compartment is opened and closed by a slidably installed drawer-type door is in the spotlight.

이러한 프렌치도어 타입의 냉장고는 소비자의 요구에 따라 점점 대형화가 이루어지고 있는 추세인데, 이와 관련된 종래기술로서 대한민국 등록특허공보 제10-0674573호에 게재된 것이 있다.Such a French door type refrigerator is gradually increasing in size according to the needs of consumers. As a related art, there is one disclosed in Korean Patent No. 10-0674573.

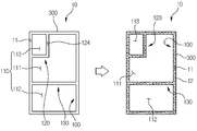
통상적으로 종래의 냉장고 제조방법은, 도 1에 도시된 바와 같이, 격벽(6)에 의해 저장공간(1a)이 냉장실(4) 및 냉동실(5)로 구획된 내부케이스(2)가 외부케이스(3)와 조립되어 본체(1)를 이루고, 내부케이스(2)와 외부케이스(3) 사이의 공간부(7)에 단열재(8)가 주입되어 발포됨으로써 냉장실(4) 및 냉동실(5)이 먼저 단열공간으로 형성된다.In general, in the conventional refrigerator manufacturing method, as shown in FIG. 1 , an inner case 2 in which a storage space 1a is divided into a refrigerating chamber 4 and a freezing chamber 5 by a partition wall 6 is an outer case ( 3) is assembled to form the main body 1, and the heat insulating material 8 is injected and foamed into the space 7 between the inner case 2 and the outer case 3, so that the refrigerating compartment 4 and the freezing compartment 5 are separated. First, it is formed as an insulated space.

이후, 내부케이스(2)에는 별도의 단열벽(9)이 더 조립되어 이미 단열공간으로 형성된 냉장실(4)의 내부에 제빙실(9a)이 단열공간으로 형성되어진다.Thereafter, a separate insulating wall 9 is further assembled to the inner case 2 so that the ice-making chamber 9a is formed as an insulating space in the refrigerating chamber 4 already formed as an insulating space.

즉, 종래의 냉장고 제조방법은, 저장공간(1a)을 냉장실(4) 및 냉동실(5)으로 구획하여 단열재(8)의 발포에 의해 먼저 단열공간으로 형성한 후, 별도 단열벽(9)의 조립에 의해 제빙실(9a)을 순차적으로 냉장실(4)의 내부에 단열공간으로 형성하는 것이다.That is, in the conventional refrigerator manufacturing method, the storage space 1a is divided into the refrigerating chamber 4 and the freezing chamber 5, first formed as a thermal insulation space by foaming of the insulation material 8, and then the separate insulation wall 9 is formed. By assembling, the ice making chamber 9a is sequentially formed as an insulating space inside the refrigerating chamber 4 .

하지만, 이러한 종래의 냉장고 제조방법은 냉장실 및 냉동실만을 구획하여 단열재의 발포를 통해 냉장실 및 냉동실을 먼저 단열공간으로 형성하고, 이후, 이러한 상태에서 별도의 단열벽을 더 조립하여 냉장실의 내부에 제빙실을 단열공간으로 형성하므로 냉장고의 제작에 있어서 전체적인 제작공수가 불필요하게 늘어난다는 문제점이 있다.However, in this conventional refrigerator manufacturing method, only the refrigerating compartment and the freezing compartment are partitioned, the refrigerating compartment and the freezing compartment are first formed as insulating spaces through foaming of an insulating material, and then, a separate insulating wall is further assembled in this state to form an ice-making compartment inside the refrigerating compartment. There is a problem in that the overall manufacturing man-hours are unnecessarily increased in the manufacture of the refrigerator because the space is formed as an insulating space.

또한, 종래의 냉장고 제조방법은 본체와 단열벽 간의 이음부의 존재로 인해 제빙실의 단열능력이 저하된다는 문제점이 있다. In addition, the conventional method of manufacturing a refrigerator has a problem in that the insulation ability of the ice-making chamber is deteriorated due to the presence of a joint between the body and the insulation wall.

또한, 종래의 냉장고 제조방법은 냉장실의 내부에 별도의 단열벽이 단순히 조립되어 제빙실을 형성하므로 제빙실에 외력이 가해질 경우 불필요하게 단열벽이 본체에서 이탈될 수 있다는 문제점이 있다.In addition, the conventional method of manufacturing a refrigerator has a problem in that, since a separate insulating wall is simply assembled inside the refrigerating compartment to form the ice-making chamber, the insulating wall may unnecessarily detach from the body when an external force is applied to the ice-making chamber.

KRUS 10-067457310-0674573 B1B1

본 발명은 전술한 문제를 해결하기 위해 안출된 것으로서, 처음부터 본체의 저장공간을 냉장실, 냉동실 및 제빙실로 구획한 상태로 단열재를 주입하여 일체발포함으로써 냉장실, 냉동실 및 제빙실을 동시에 서로 독립적인 단열공간으로 형성할 수 있고, 냉장고 제작에 있어서의 전체적인 제작공수를 단축시킬 수 있는 냉장고 제조방법을 제공하는데 그 목적이 있다.The present invention has been devised to solve the above problem, and from the beginning, in a state in which the storage space of the main body is divided into a refrigerating room, a freezing room, and an ice making room, by injecting an insulating material and foaming it in one piece, the refrigerating room, the freezing room and the ice making room are insulated independently of each other at the same time An object of the present invention is to provide a refrigerator manufacturing method that can be formed into a space and can shorten the overall manufacturing man-hours in the refrigerator manufacturing.

상기와 같은 과제를 해결하기 위한 본 발명의 냉장고 제조방법은, 본체의 저장공간을 냉장실, 냉동실 및 제빙실로 구획하는 구획단계;와, 상기 본체에 단열재를 주입하여 일체발포함으로써 상기 냉장실 및 상기 제빙실을 동시에 서로 독립적인 단열공간으로 형성하는 일체발포단계;를 포함하는 것을 특징으로 한다.The refrigerator manufacturing method of the present invention for solving the above problems includes a partitioning step of dividing a storage space of a main body into a refrigerating chamber, a freezing chamber and an ice-making chamber; and injecting an insulating material into the main body and foaming it integrally to form the refrigerator compartment and the ice-making chamber. and an integral foaming step of simultaneously forming an insulating space independent of each other.

또한, 상기 일체발포단계에서는, 상기 냉동실이 상기 단열재의 일체발포를 통해 상기 냉장실 및 상기 제빙실과 동시에 서로 독립적인 단열공간으로 형성되는 것을 특징으로 한다.In addition, in the integral foaming step, the freezing compartment is formed as an insulating space independent of each other at the same time as the refrigerating chamber and the ice making chamber through the integral foaming of the insulating material.

또한, 상기 구획단계는, 상기 저장공간이 마련되고, 단열재수용공간이 마련되는 구획부를 포함하는 상기 본체의 내부케이스를 형성하는 내부케이스 형성단계;와, 상기 내부케이스와의 사이에 상기 단열재수용공간과 연통되는 공간부가 마련되도록 상기 내부케이스와 상기 본체의 외부케이스를 결합하는 외부케이스 결합단계;를 포함하되, 상기 내부케이스 형성단계에서, 상기 저장공간은 상기 구획부에 의해 상기 냉장실 및 상기 제빙실로 구획되고, 상기 일체발포단계에서, 상기 본체에 주입되는 상기 단열재는 상기 공간부와 상기 단열재수용공간으로 주입되어 일체발포됨에 따라 상기 냉장실 및 상기 제빙실이 동시에 서로 독립적인 단열공간으로 형성되는 것을 특징으로 한다.In addition, the partitioning step includes an inner case forming step of forming an inner case of the main body including a partition in which the storage space is provided and a heat insulating material accommodating space is provided; and the heat insulating material accommodating space between the inner case and the inner case. and an outer case coupling step of coupling the inner case and the outer case of the main body to provide a space communicating with the inner case, wherein in the inner case forming step, the storage space is divided into the refrigerating compartment and the ice making compartment by the partition unit. In the unitary foaming step, the heat insulating material injected into the main body is injected into the space portion and the heat insulating material receiving space and is integrally foamed, so that the refrigerating chamber and the ice making chamber are simultaneously formed as an insulating space independent of each other. do it with

또한, 상기 구획단계는, 상기 저장공간이 마련되고, 단열재수용공간이 마련되는 구획부 및 상기 구획부와 이격되는 격벽을 포함하는 상기 본체의 내부케이스를 형성하는 내부케이스 형성단계;와, 상기 내부케이스와의 사이에 상기 단열재수용공간과 연통되는 공간부가 마련되도록 상기 내부케이스와 상기 본체의 외부케이스를 결합하는 외부케이스 결합단계;를 포함하되, 상기 내부케이스 형성단계에서, 상기 저장공간은 상기 구획부 및 상기 격벽에 의해 상기 냉장실, 상기 냉동실 및 상기 제빙실로 구획되고, 상기 일체발포단계에서, 상기 본체에 주입되는 상기 단열재는 상기 공간부와 상기 단열재수용공간으로 주입되어 일체발포됨에 따라 상기 냉장실, 상기 냉동실 및 상기 제빙실이 동시에 서로 독립적인 단열공간으로 형성되는 것을 특징으로 한다.In addition, the partitioning step includes an inner case forming step of forming an inner case of the main body including a partition in which the storage space is provided and a heat insulating material accommodating space is provided, and a partition wall spaced apart from the partitioning part; and, the interior and an outer case coupling step of coupling the inner case and the outer case of the main body to provide a space portion communicating with the heat insulating material accommodating space between the case and the case, but in the inner case forming step, the storage space is divided into the partition The refrigerating compartment, the freezing compartment, and the ice-making compartment are partitioned by the part and the partition wall, and in the integral foaming step, the heat insulating material injected into the main body is injected into the space part and the heat insulating material accommodating space and foamed as one piece, the refrigerating compartment; It is characterized in that the freezing chamber and the ice-making chamber are formed as mutually independent insulating spaces at the same time.

또한, 상기 내부케이스 형성단계에서, 상기 내부케이스에 포함되는 증발기케이스가 상기 내부케이스의 후방부에 결합되는 것을 특징으로 한다.In addition, in the inner case forming step, the evaporator case included in the inner case is characterized in that coupled to the rear portion of the inner case.

또한, 상기 내부케이스 형성단계에서, 상기 내부케이스에 포함되는 보강브라켓이 상기 내부케이스의 상부 외면에 결합되는 것을 특징으로 한다.In addition, in the inner case forming step, a reinforcement bracket included in the inner case is characterized in that it is coupled to the upper outer surface of the inner case.

또한, 상기 내부케이스 형성단계에서는, 상기 내부케이스에 형성된 비드부와 상기 구획부에 형성된 오목부가 형합되는 것을 특징으로 한다.In addition, in the inner case forming step, the bead portion formed in the inner case and the concave portion formed in the partition portion is characterized in that the mating.

또한, 상기 내부케이스 형성단계에서, 상기 구획부는 상기 비드부의 주입구에 상기 오목부의 돌출부가 끼워져 상기 내부케이스에 가고정되고, 상기 증발기케이스가 상기 구획부의 후단부에 체결부재로 체결되어 고정되는 것을 특징으로 한다.In addition, in the inner case forming step, the partition part is fixed to the protrusion of the concave part into the injection port of the bead part to be temporarily fixed to the inner case, and the evaporator case is fastened to the rear end of the partition part with a fastening member and fixed. do it with

또한, 상기 일체발포단계에서, 상기 단열재는 상기 돌출부에 형성된 관통공을 통해 상기 공간부에서 상기 단열재수용공간으로 주입되는 것을 특징으로 한다.In addition, in the integral foaming step, the heat insulating material is characterized in that it is injected into the insulating material accommodating space from the space portion through the through hole formed in the protrusion.

또한, 상기 일체발포단계 이후, 상기 구획부는 상기 본체에서 분리 불가능한 것을 특징으로 한다.In addition, after the integral foaming step, the compartment is characterized in that it cannot be separated from the main body.

본 발명에 따른 냉장고 제조방법은 다음과 같은 장점이 있다.The refrigerator manufacturing method according to the present invention has the following advantages.

본 발명에 따른 냉장고 제조방법은 처음부터 본체의 저장공간을 냉장실, 냉동실 및 제빙실로 구획한 상태로 단열재를 주입하여 일체발포함으로써 냉장실, 냉동실 및 제빙실을 동시에 서로 독립적인 단열공간으로 형성할 수 있다는 장점이 있다.In the refrigerator manufacturing method according to the present invention, the refrigerator compartment, the freezing compartment and the ice-making compartment can be formed as independent insulating spaces at the same time by injecting and integrally foaming the heat insulating material in a state in which the storage space of the main body is divided into the refrigerating compartment, the freezing compartment and the ice-making compartment from the beginning. There are advantages.

본 발명에 따른 냉장고 제조방법은 냉장실, 냉동실 및 제빙실을 동시에 독립적인 단열공간으로 형성할 수 있으므로 냉장고 제작에 있어서의 전체적인 제작공수를 단축시킬 수 있다는 장점이 있다.The refrigerator manufacturing method according to the present invention has an advantage in that it is possible to simultaneously form the refrigerating compartment, the freezing compartment, and the ice-making compartment as independent insulating spaces, thereby reducing the overall manufacturing man-hours in manufacturing the refrigerator.

본 발명에 따른 냉장고 제조방법은 본체의 공간부 및 구획부의 단열재수용공간에 주입된 단열재가 일체 발포되어 제빙실의 단열능력을 향상시킬 수 있다는 장점이 있다.The refrigerator manufacturing method according to the present invention has an advantage that the insulating material injected into the space portion of the main body and the heat insulating material accommodating space of the partition portion is integrally foamed to improve the insulation ability of the ice-making chamber.

본 발명에 따른 냉장고 제조방법은 본체의 공간부 및 구획부의 단열재수용공간에 주입된 단열재가 일체 발포되어 구획부가 본체에서 분리 불가능하게 고정되므로 외력에 의해 구획부가 본체에서 이탈하는 것을 방지할 수 있다는 장점이 있다.In the refrigerator manufacturing method according to the present invention, since the insulating material injected into the space of the main body and the insulating material accommodating space of the compartment is integrally foamed and the compartment is non-separably fixed from the main body, it is possible to prevent the compartment from separating from the main body by external force There is this.

도 1은 종래의 냉장고 제조방법에 따라 냉장실, 냉동실 및 제빙실이 순차적으로 단열공간으로 형성되는 과정을 개략적으로 도시한 단면도.
도 2는 본 발명의 바람직한 실시예에 따른 냉장고 제조방법을 도시한 순서도.
도 3은 본 발명의 바람직한 실시예에 따른 냉장고 제조방법의 구획단계를 세부적으로 도시한 순서도.
도 4는 본 발명의 바람직한 실시예에 따른 냉장고의 내부케이스에 구획부가 결합되는 상태를 확대하여 도시한 사시도(내부케이스는 올려본 상태이고, 구획부는 내려본 상태로 도시함).
도 5는 도 4에서 증발기케이스가 결합되는 상태를 확대하여 도시한 사시도.
도 6은 도 5에서 보강브라켓이 결합되는 상태를 확대하여 도시한 사시도.
도 7은 도 6에서 외부케이스가 결합되는 상태를 확대하여 도시한 배면사시도.
도 8은 도 7에서 가이드부, 증발기케이스 및 단열커버가 조립되는 상태를 확대하여 도시한 배면사시도.
도 9는 본 발명의 바람직한 실시예에 따른 냉장고 제조방법에 따라 냉장실, 냉동실 및 제빙실이 동시에 서로 독립적인 단열공간으로 형성되는 과정을 개략적으로 도시한 단면도.
1 is a cross-sectional view schematically illustrating a process in which a refrigerating compartment, a freezing compartment, and an ice-making compartment are sequentially formed into an insulating space according to a conventional refrigerator manufacturing method;
2 is a flowchart illustrating a method for manufacturing a refrigerator according to a preferred embodiment of the present invention.
3 is a flowchart illustrating in detail the partitioning steps of a method for manufacturing a refrigerator according to a preferred embodiment of the present invention.
4 is an enlarged perspective view illustrating a state in which a compartment is coupled to an inner case of a refrigerator according to a preferred embodiment of the present invention (the inner case is in a raised state and the compartment is shown in a lowered state).
5 is an enlarged perspective view of a state in which the evaporator case is coupled in FIG. 4;
Figure 6 is an enlarged perspective view showing the state in which the reinforcement bracket is coupled in Figure 5;
7 is a rear perspective view showing an enlarged state in which the outer case is coupled in FIG.
FIG. 8 is an enlarged rear perspective view of a state in which the guide part, the evaporator case, and the heat insulating cover are assembled in FIG. 7 .
9 is a cross-sectional view schematically illustrating a process in which a refrigerating compartment, a freezing compartment, and an ice-making compartment are simultaneously formed into independent insulating spaces according to a method of manufacturing a refrigerator according to a preferred embodiment of the present invention.

이하에서는 도면을 참조하여 본 발명의 바람직한 실시예에 대하여 상세히 설명한다.Hereinafter, a preferred embodiment of the present invention will be described in detail with reference to the drawings.

참고적으로 이하에서 설명될 본 발명의 구성들 중 종래기술과 동일한 구성에 대해서는 전술한 종래기술을 참조하기로 하고 별도의 상세한 설명은 생략한다.For reference, among the components of the present invention that will be described below, reference will be made to the above-described prior art for the same components as in the prior art, and a separate detailed description thereof will be omitted.

여기서 사용되는 전문용어는 단지 특정 실시 예를 언급하기 위한 것이며, 본 발명을 한정하는 것을 의도하지 않는다. 여기서 사용되는 단수 형상들은 문구들이 이와 명백히 반대의 의미를 나타내지 않는 한 복수 형상들도 포함한다. 명세서에서 사용되는 "포함하는"의 의미는 특정 특성, 영역, 정수, 단계, 동작, 요소 및/또는 성분을 구체화하며, 다른 특정 특성, 영역, 정수, 단계, 동작, 요소, 성분 및/또는 군의 존재나 부가를 제외시키는 것은 아니다.The terminology used herein is for the purpose of referring to specific embodiments only, and is not intended to limit the present invention. As used herein, singular forms also include plural forms unless the phrases expressly imply the opposite. The meaning of "comprising," as used herein, specifies a particular characteristic, region, integer, step, operation, element and/or component, and other specific characteristic, region, integer, step, operation, element, component, and/or group. It does not exclude the existence or addition of

어떤 구성요소가 다른 구성요소에 "연결되어" 있다나 "접촉되어" 있다고 언급된 때에는, 그 다른 구성요소에 직접적으로 연결되어 있거나 또는 접촉되어 있을 수도 있지만, 중간에 다른 구성요소가 존재할 수도 있다고 이해되어야 할 것이다.When a component is referred to as being “connected” or “contacted” to another component, it may be directly connected or in contact with the other component, but it is understood that other components may exist in between. it should be

본 발명의 바람직한 실시예에 따른 냉장고 제조방법은 구획단계(S10)와 일체발포단계(S20)를 포함하며, 이하에서는 도 2 내지 도 9를 참조하여 이에 대해 설명한다.The refrigerator manufacturing method according to a preferred embodiment of the present invention includes a partitioning step (S10) and an integral foaming step (S20), which will be described below with reference to FIGS. 2 to 9 .

먼저, 구획단계(S10)가 실시된다.First, the partitioning step (S10) is carried out.

구획단계(S10)는 본체(10)의 내부에 형성된 저장공간(110)을 처음부터 냉장실(111), 냉동실(112) 및 제빙실(113)로 구획하는 단계로서, 일체발포단계(S20) 전에 내부케이스(100)에 포함되는 구성들을 내부케이스(100)에 형성 또는 결합하게 되며, 도 3 내지 도 7에 도시된 바와 같이, 내부케이스 형성단계(S11) 및 외부케이스 결합단계(S12)를 포함한다.The partitioning step (S10) is a step of partitioning the storage space 110 formed inside the main body 10 into the refrigerating chamber 111, the freezing chamber 112 and the ice-making chamber 113 from the beginning, before the integral foaming step (S20). The components included in the inner case 100 are formed or coupled to the inner case 100, and as shown in FIGS. 3 to 7, an inner case forming step (S11) and an outer case combining step (S12) are included. do.

내부케이스 형성단계(S11)는 도 3에 도시된 바와 같이, 저장공간(110)이 마련되고, 단열재수용공간(124)이 마련된 구획부(120)를 포함하는 본체(10)의 내부케이스(100)를 형성하는 단계이다.In the inner case forming step (S11), as shown in FIG. 3 , the inner case 100 of the body 10 is provided with a storage space 110 and includes a partition 120 provided with a heat insulating material accommodating space 124 . ) is formed.

여기서 내부케이스(100)를 형성한다는 것은 내부케이스(100)에 포함되는 구성들을 내부케이스(100)에 형성 또는 결합시키는 것이다.Here, to form the inner case 100 means to form or combine the components included in the inner case 100 to the inner case 100 .

구획부(120)는 내부케이스(100)에 결합되어 얼음의 생성 및 보관이 이루어지는 제빙실(113)을 형성하기 위한 구성으로서, 하부와 우측부가 반시계 방향으로 90도 회전한 L자형을 이루는 벽의 형태로 상부와 좌측부가 개방되게 형성되고, 전면부가 사각링 형상으로 이루어지며, 내부에 단열재수용공간(124)이 마련되어 있다.The partition unit 120 is coupled to the inner case 100 to form an ice-making chamber 113 in which ice is generated and stored, and a wall forming an L-shape in which the lower part and the right part are rotated by 90 degrees counterclockwise. The upper part and the left part are formed to be open in the form of , the front part is made in the shape of a square ring, and a heat insulating material accommodating space 124 is provided therein.

이러한 구획부(120)는 도 4에 도시된 바와 같이, 본체(10)의 내부를 이루는 내부케이스(100)에 일측과 타측이 결합되어 내부케이스(100)에 결합된 상태가 된다.As shown in FIG. 4 , the compartment 120 has one side and the other side coupled to the inner case 100 constituting the inside of the body 10 to be coupled to the inner case 100 .

보다 구체적으로 내부케이스 형성단계(S11)에서, 구획부(120)는 일측에 형성된 제1오목부(미도시)가 내부케이스(100)의 일측 내면에 돌출형성된 제1비드부(114)에 형합되고, 타측에 형성된 제2오목부(미도시)가 내부케이스(100)의 타측 내면에 돌출형성된 제2비드부(115)에 형합되는 형태로 내부케이스(100)에 결합된다.More specifically, in the inner case forming step (S11), the partitioning unit 120 is formed with a first concave portion (not shown) formed on one side of the inner case 100 and the first bead portion 114 protruding from the inner surface of the inner case 100 . and a second concave portion (not shown) formed on the other side is coupled to the inner case 100 in a form that is fitted to the second bead portion 115 protruding from the inner surface of the other side of the inner case 100 .

구획부(120)에는 구획부(120)의 개방된 상부와 좌측부를 덮는 별도의 설치벽(200) 일측과 타측이 구획부(120)의 일측과 타측에 결합되어 구획부(120)와 설치벽(200)이 사각박스타입을 이룬 상태로 내부케이스(100)에 결합되는 것이 바람직하며, 이때, 설치벽(200)의 일측은 제1오목부(미도시)에 형성된 제1돌출부(121a)에 끼워진 채 제1비드부(114)와 제1오목부(미도시) 사이에 형합되도록 개재되고, 설치벽(200)의 타측은 제2오목부(미도시)에 형성된 제2돌출부(122a)에 끼워진 채 제2비드부(115)와 제2오목부(미도시) 사이에 형합되도록 개재된 상태가 된다.In the partition 120, one side and the other side of the separate installation wall 200 covering the open upper part and the left side of the partition 120 are coupled to one side and the other side of the partition 120, and the partition 120 and the installation wall It is preferable that 200 is coupled to the inner case 100 in a rectangular box-type state, and at this time, one side of the installation wall 200 is in the first protrusion 121a formed in the first concave portion (not shown). It is interposed so as to be fitted between the first bead part 114 and the first concave part (not shown) while being fitted, and the other side of the installation wall 200 is in the second protrusion part 122a formed in the second concave part (not shown). It is in a state interposed so as to be fitted between the second bead portion 115 and the second concave portion (not shown) while being fitted.

또한, 내부케이스 형성단계(S11)에서, 제1오목부(미도시)에 형성된 제1돌출부(121a)는 제1비드부(114)에 형성된 제1주입구(114a)에 끼워지고, 제2오목부(미도시)에 형성된 제2돌출부(122a)는 제2비드부(115)에 형성된 제2주입구(115a)에 끼워짐으로써 구획부(120)는 내부케이스(100)에 가고정된 상태가 된 채 내부케이스(100)에 결합되며, 저장공간(110)은 구획부(120)에 의해 냉장실(111) 및 제빙실(113)으로 구획된다.In addition, in the inner case forming step (S11), the first protrusion 121a formed in the first concave portion (not shown) is fitted into the first inlet 114a formed in the first bead portion 114, and the second concave The second protrusion 122a formed in the part (not shown) is inserted into the second inlet 115a formed in the second bead part 115 , so that the partition 120 is temporarily fixed to the inner case 100 . is coupled to the inner case 100 , and the storage space 110 is divided into a refrigerating chamber 111 and an ice-making chamber 113 by a partition unit 120 .

본 실시예에서 구획부(120)는 내부케이스(100)와 별도로 형성되어 내부케이스(100)에 결합됨으로써 저장공간(110)을 구획하나, 구획부(120)는 일체사출을 통해 내부케이스(100)와 일체로 형성되어 저장공간(110)을 구획할 수도 있다.In this embodiment, the compartment 120 is formed separately from the inner case 100 and is coupled to the inner case 100 to partition the storage space 110 , but the compartment 120 is integrally formed with the inner case 100 through injection. ) and may be integrally formed to partition the storage space 110 .

한편, 내부케이스 형성단계(S11)에서, 내부케이스(100)는 격벽(130)을 더 포함할 수 있다.Meanwhile, in the inner case forming step S11 , the inner case 100 may further include a partition wall 130 .

격벽(130)은 구획부(120)와 더불어 내부케이스(100)에 마련된 저장공간(110)을 구획하는 구성으로서, 저장공간(110) 내에 배치되도록 내부케이스(100)의 내측에 형성되며, 구획부(120)와 이격되게 형성된다.The partition wall 130 is a component that partitions the storage space 110 provided in the inner case 100 together with the partition unit 120 , and is formed inside the inner case 100 to be disposed in the storage space 110 , It is formed to be spaced apart from the part 120 .

본 실시예에서 격벽(130)은 일체사출을 통해 내부케이스(100)와 일체로 형성되어 저장공간(110)을 구획하나, 격벽(130)은 내부케이스(100)와 별도로 형성되어 내부케이스(100)에 결합됨으로써 저장공간(110)을 구획할 수도 있다.In this embodiment, the partition wall 130 is formed integrally with the inner case 100 through integral injection to partition the storage space 110 , but the partition wall 130 is formed separately from the inner case 100 to form the inner case 100 . ) by being coupled to the storage space 110 may be partitioned.

격벽(130)은 일체사출을 통해 내부케이스(100)와 일체로 형성될 경우, 당연히 내부케이스(100)에 구획부(120)가 결합되기 전에 형성되고, 내부케이스(100)와 별도로 형성되어 내부케이스(100)에 결합될 경우, 내부케이스(100)에 구획부(120)가 형성되기 전 또는 후 중 어느 때에 결합되어도 무방하다.When the partition wall 130 is integrally formed with the inner case 100 through integral injection, of course, it is formed before the compartment 120 is coupled to the inner case 100, and is formed separately from the inner case 100. When coupled to the case 100 , it may be coupled at any time before or after the compartment 120 is formed in the inner case 100 .

내부케이스(100)의 내부에 배치되도록 구획부(120)와 격벽(130)이 형성 또는 결합되면, 본체(10)의 저장공간(110), 즉, 내부케이스(100)의 내부에 형성된 저장공간(110)은 구획부(120) 및 격벽(130)에 의해 단열공간으로 형성되기 전, 처음부터 냉장실(111), 냉동실(112) 및 제빙실(113)로 서로 구획된 상태가 된다.When the partition part 120 and the partition wall 130 are formed or combined to be disposed inside the inner case 100 , the storage space 110 of the main body 10 , that is, the storage space formed inside the inner case 100 . Before being formed as an insulating space by the partitioning part 120 and the partition wall 130 , 110 is a state in which the refrigerating chamber 111 , the freezing chamber 112 and the ice making chamber 113 are partitioned from each other from the beginning.

이때, 냉장실(111)과 냉동실(112)은 격벽(130)을 경계로 서로 구획되고, 제빙실(113)과 냉장실(111)은 구획부(120)를 경계로 서로 구획되며, 냉장실(111), 냉동실(112) 및 제빙실(113)은 서로 구획만 되어 있는 상태일 뿐, 서로 독립적인 단열공간으로 형성되기 전의 상태를 이룬다.At this time, the refrigerating compartment 111 and the freezing compartment 112 are partitioned from each other by the partition wall 130 , the ice-making chamber 113 and the refrigerating chamber 111 are partitioned from each other by the partitioning part 120 , and the refrigerating chamber 111 is partitioned from each other. , the freezing chamber 112 and the ice making chamber 113 are only in a state in which they are partitioned from each other, and form a state before being formed as independent insulating spaces.

한편, 내부케이스 형성단계(S11)에서는, 내부케이스(100)에 포함되는 증발기케이스(140)가 내부케이스(100)에 더 결합된다.Meanwhile, in the inner case forming step S11 , the evaporator case 140 included in the inner case 100 is further coupled to the inner case 100 .

증발기케이스(140)는 제빙실(113)에 냉기를 공급하기 위해 마련되는 냉각유닛인 증발기조립체(410)와 팬조립체(미도시)가 내부에 수용되어 설치되는 구성으로서, 내부에 후면이 개방된 설치공간(141)과 전면이 개방된 팬수용부(142)가 형성되어 있다.The evaporator case 140 is a configuration in which an evaporator assembly 410 and a fan assembly (not shown), which are cooling units provided to supply cold air to the ice-making chamber 113, are accommodated therein and installed, and the rear is opened inside. An installation space 141 and a fan accommodating part 142 with an open front are formed.

또한, 증발기케이스(140)의 전면측에는 내부케이스(100)의 후측벽에 형성된 연통홀(116a)을 통해 제빙실(113)과 연통되는 냉기토출구(141a)와 냉기흡입구(142a)가 형성된다. 냉기토출구(141a)는 증발기케이스(140)의 전면측 상부에 전후 방향으로 관통형성되어 설치공간(141)과 제빙실(113)을 연통시키고, 냉기흡입구(142a)는 증발기케이스(140)의 전면측 중앙부의 경사면, 즉, 팬수용부(142) 내부의 경사진 하면에 상하로 관통형성되어 설치공간(141)과 제빙실(113)을 연통시킨다.In addition, a cold air outlet 141a and a cold air intake 142a are formed on the front side of the evaporator case 140 to communicate with the ice-making chamber 113 through the communication hole 116a formed in the rear wall of the inner case 100 . The cold air outlet 141a is formed through the front side upper portion of the evaporator case 140 in the front-rear direction to communicate the installation space 141 and the ice-making chamber 113, and the cold air inlet 142a is the front surface of the evaporator case 140. The side central portion of the inclined surface, that is, the fan accommodating portion 142 is formed vertically through the inclined lower surface inside the installation space 141 and the ice-making chamber 113 to communicate.

이러한 증발기케이스(140)는 도 5에 도시된 바와 같이, 제빙실(113)의 직후방에 배치되도록 내부케이스(100)에 결합되어 내부케이스(100)의 후방부에 게재된 상태가 된다.As shown in FIG. 5 , the evaporator case 140 is coupled to the inner case 100 so as to be disposed immediately behind the ice-making chamber 113 and is placed on the rear portion of the inner case 100 .

보다 구체적으로 증발기케이스(140)는 내부케이스(100)의 상부벽, 후측벽 및 좌측벽에 걸쳐 내측으로 오목하게 함몰형성된 장착부(116)에 수용되어 장착됨으로써 내부케이스(100)에 결합되고, 내부케이스(100)에 결합된 증발기케이스(140)는 장착부(116) 내부 전면에 형성된 연통홀(116a)을 통해 제빙실(113)과 연통되며, 증발기케이스(140)는 앞서 내부케이스(100)에 결합된 구획부(120)의 후단부에 체결부재로 체결되어 내부케이스(100) 및 구획부(120)와 함께 고정된다.More specifically, the evaporator case 140 is accommodated in the mounting portion 116 concavely recessed inwardly over the upper wall, the rear wall, and the left wall of the inner case 100 and is coupled to the inner case 100 and is coupled to the inner case. The evaporator case 140 coupled to the case 100 communicates with the ice-making chamber 113 through the communication hole 116a formed on the inner front surface of the mounting unit 116 , and the evaporator case 140 is previously connected to the inner case 100 . It is fastened to the rear end of the coupled compartment 120 with a fastening member and is fixed together with the inner case 100 and the compartment 120 .

증발기케이스(140)는 구획부(120)가 내부케이스(100)에 결합되고 난 후, 내부케이스(100)에 결합되는 것이 바람직하다.The evaporator case 140 is preferably coupled to the inner case 100 after the compartment 120 is coupled to the inner case 100 .

한편, 내부케이스 형성단계(S11)에서, 내부케이스(100)는 보강브라켓(150)을 더 포함할 수 있다.On the other hand, in the inner case forming step (S11), the inner case 100 may further include a reinforcing bracket (150).

보강브라켓(150)은 제빙실(113) 내에 탑재된 제빙기(미도시)에 물을 공급하기 위한 급수구의 설치, 도어에 연결되는 급수호스의 통과 및 하네스의 정리와 안내 등을 위한 구성인 동시에, 후술할 일체발포단계(S20)로 인해 제빙실(113) 천장이 변형되는 것을 최소화하기 위한 구성이다.The reinforcement bracket 150 is configured for installation of a water supply port for supplying water to an ice maker (not shown) mounted in the ice making chamber 113, passage of a water supply hose connected to the door, and arrangement and guidance of the harness, etc. It is a configuration for minimizing deformation of the ceiling of the ice-making chamber 113 due to the integral foaming step (S20) to be described later.

이러한 보강브라켓(150)은 도 6에 도시된 바와 같이, 내부케이스(100)의 상부 외면에 결합된다.This reinforcing bracket 150 is coupled to the upper outer surface of the inner case 100, as shown in FIG.

보다 구체적으로 보강브라켓(150)은 제빙실(113)의 상부에 배치되도록 내부케이스(100)의 상측벽 외면에 올려지며, 내부케이스(100)에 체결부재로 체결되어 고정됨으로써 내부케이스(100)에 결합된다.More specifically, the reinforcing bracket 150 is mounted on the outer surface of the upper wall of the inner case 100 so as to be disposed on the upper portion of the ice-making chamber 113 , and is fastened to the inner case 100 with a fastening member to be fixed to the inner case 100 . is coupled to

보강브라켓(150)은 증발기케이스(140)가 내부케이스(100)에 결합되고 난 후, 내부케이스(100)에 결합되는 것이 바람직하며, 보강브라켓(150)까지 내부케이스(100)에 결합됨으로써 내부케이스 형성단계(S11)가 완료된다.The reinforcing bracket 150 is preferably coupled to the inner case 100 after the evaporator case 140 is coupled to the inner case 100. The case forming step (S11) is completed.

다음, 외부케이스 결합단계(S12)가 실시된다.Next, the outer case coupling step (S12) is carried out.

외부케이스 결합단계(S12)는 도 3에서와 같이, 내부케이스 형성단계(S11) 후, 내부케이스(100)와 외부케이스(300)를 결합하는 단계이다.The outer case coupling step (S12) is a step of coupling the inner case 100 and the outer case 300 after the inner case forming step (S11), as shown in FIG. 3 .

외부케이스(300)는 본체(10)의 외관을 이루는 구성으로서, 증발기케이스(140)의 설치공간(141)과 연통되고 단열커버(440)에 의해 개폐 가능한 개구(301)가 후측벽에 형성되고, 내부에 공간이 마련된다.The outer case 300 is a configuration constituting the exterior of the main body 10, and communicates with the installation space 141 of the evaporator case 140, and an opening 301 that can be opened and closed by the heat insulating cover 440 is formed in the rear wall, , space is provided inside.

이러한 외부케이스(300)는 도 7에 도시된 바와 같이, 내부케이스(100)를 수용하여 감싼 채 내부케이스(100)와 결합된다.As shown in FIG. 7 , the outer case 300 is coupled to the inner case 100 while accommodating and wrapping the inner case 100 .

보다 구체적으로 외부케이스 결합단계(S12)에서, 외부케이스(300)는 내부케이스 형성단계(S11)를 통해 내부케이스(100)에 포함되는 구획부(120), 격벽(130), 증발기케이스(140) 및 보강브라켓(150)이 형성 또는 결합된 상태의 내부케이스(100)를 내부에 마련된 공간에 수용하여 감싼 채 내부케이스(100)와의 사이에 단열재수용공간(124)과 연통되는 공간부(11)가 마련되도록 내부케이스(100)와 결합되며, 체결부재로 체결되어 고정됨으로써 외부케이스 결합단계(S12)가 완료된다.More specifically, in the outer case coupling step (S12), the outer case 300 is the partition portion 120, the partition wall 130, the evaporator case 140 included in the inner case 100 through the inner case forming step (S11). ) and the reinforcing bracket 150, the inner case 100 in a formed or coupled state is accommodated in the space provided therein and is wrapped around the inner case 100, and the space portion 11 communicating with the insulating material accommodating space 124 between the inner case 100 and the inner case 100. ) is coupled to the inner case 100 so as to be provided, and the outer case coupling step (S12) is completed by being fastened and fixed with a fastening member.

이때, 공간부(11)는 제1돌출부(121a)에 형성된 제1관통공(121b) 및 제2돌출부(122a)에 형성된 제2관통공(122b)을 통해 단열재수용공간(124)과 연통되고, 공간부(11)는 격벽(130) 내에도 형성된다.At this time, the space 11 communicates with the insulating material accommodating space 124 through the first through-hole 121b formed in the first protrusion 121a and the second through-hole 122b formed in the second protrusion 122a, and , the space 11 is also formed in the partition wall 130 .

외부케이스 결합단계(S12)가 완료됨에 따라 구획단계(S10)가 마무리되어 도 9의 왼쪽에 도시된 본체(10)와 같이, 본체(10)의 저장공간(110)은 냉장실(111), 냉동실(112) 및 제빙실(113)로 처음부터 서로 구획된 상태가 되는 것이다.As the outer case coupling step (S12) is completed, the partitioning step (S10) is completed, and as shown in the main body 10 shown on the left of FIG. 9 , the storage space 110 of the main body 10 is a refrigerator compartment 111 and a freezer compartment. 112 and the ice-making chamber 113 are partitioned from each other from the beginning.

다음, 일체발포단계(S20)가 실시된다.Next, the integral foaming step (S20) is carried out.

일체발포단계(S20)는 도 2에 도시된 바와 같이, 본체(10)에 액상의 우레탄폼과 같은 단열재(12)를 주입하여 일체발포함으로써 냉장실(111), 냉동실(112) 및 제빙실(113)을 동시에 서로 독립적인 단열공간으로 형성하는 단계이다.In the integral foaming step (S20), as shown in FIG. 2 , the refrigerating chamber 111, the freezing chamber 112 and the ice-making chamber 113 are integrally foamed by injecting an insulating material 12 such as liquid urethane foam into the body 10. ) at the same time as an insulating space independent of each other.

보다 구체적으로 일체발포단계(S20)는 별도의 일체발포장비(예를 들면, 일체발포지그)를 통해 행해지며, 이와 같은 일체발포장비를 이용해 본체(10)에 주입되는 단열재(12)는 공간부(11)에서 제1관통공(121b)을 통해 단열재수용공간(124)의 상부로 주입되는 동시에 공간부(11)에서 제2관통공(122b)을 통해 단열재수용공간(124)의 하부로 주입되어 공간부(11) 및 단열재수용공간(124)에 걸쳐 단열재(12)가 주입된 상태로 일체발포됨에 따라 구획단계(S10)에 의해 처음부터 구획만 되어 있던 냉장실(111), 냉동실(112) 및 제빙실(113)이 도 9의 오른쪽에 도시된 바와 같이, 동시에 서로 독립적인 단열공간으로 형성되어 일체발포단계(S20)가 완료된다.More specifically, the integral foaming step (S20) is performed through a separate integral foaming equipment (eg, an integral foaming jig), and the insulating material 12 injected into the body 10 using such an integral foaming equipment 12 is a space part In (11), it is injected into the upper portion of the insulating material accommodating space 124 through the first through-hole 121b, and at the same time is injected into the lower portion of the insulating material accommodating space 124 through the second through-hole 122b in the space 11 The refrigerating chamber 111 and the freezing chamber 112, which were only partitioned from the beginning by the partitioning step (S10), as the insulation 12 is integrally foamed over the space 11 and the insulation accommodating space 124. and the ice-making chamber 113 is formed as an insulating space independent of each other at the same time as shown on the right side of FIG. 9, and the integral foaming step (S20) is completed.

일체발포단계(S20) 후, 증발기케이스(140)에 형성된 설치공간(141)에는 도 8에 도시된 바와 같이, 외부케이스(300)의 후측벽에 형성된 개구(301)를 통해 가이드부(430) 및 증발기조립체(410)가 수용되어 조립되고, 가이드부(430) 및 증발기조립체(410)의 조립이 완료되면 단열커버(440)로 개구(301)를 폐쇄한다.After the integral foaming step (S20), in the installation space 141 formed in the evaporator case 140, as shown in FIG. 8, the guide part 430 through the opening 301 formed in the rear wall of the outer case 300. and the evaporator assembly 410 is accommodated and assembled, and when the assembly of the guide part 430 and the evaporator assembly 410 is completed, the opening 301 is closed with the heat insulating cover 440 .

이때, 도 8에 도시된 상태는 일체발포단계(S20)가 이루어진 후의 상태이므로, 내부케이스(100)와 외부케이스(300) 사이의 공간부(11) 및 구획부(120)의 단열재수용공간(124)에는 단열재(12)가 주입되어 일체발포되어 있다.At this time, since the state shown in FIG. 8 is the state after the integral foaming step (S20) is made, the space 11 between the inner case 100 and the outer case 300 and the insulating material accommodating space of the partition unit 120 ( The heat insulating material 12 is injected into the 124 and is integrally foamed.

또한, 일체발포단계(S20) 후, 제빙실(113)의 상부에는 얼음을 생성하는 제빙기(미도시)가 탑재되고, 제빙기(미도시)의 하부에는 얼음의 저장 및 제빙실(113)의 개방된 전면을 개폐하기 위한 얼음저장용 버킷(미도시)이 탑재되며, 구획부(120)는 본체(10)에서 분리 불가능한 상태가 된다.In addition, after the integral foaming step ( S20 ), an ice maker (not shown) for generating ice is mounted on the upper portion of the ice maker 113 , and storage of ice and opening of the ice maker 113 on the lower portion of the ice maker (not shown) An ice storage bucket (not shown) is mounted to open and close the front side, and the compartment 120 is in a state in which it cannot be separated from the main body 10 .

이상과 같이, 본 발명은 비록 한정된 실시예와 도면에 의해 설명되었으나, 본 발명은 이것에 의해 한정되지 않으며 본 발명이 속하는 기술분야에서 통상의 지식을 가진 자에 의해 본 발명의 기술 사상과 아래에 기재될 청구범위의 균등 범위 내에서 다양한 수정 및 변형 가능함은 물론이다.As described above, although the present invention has been described with reference to limited embodiments and drawings, the present invention is not limited thereto, and the technical spirit of the present invention and the following by those of ordinary skill in the art to which the present invention pertains. It goes without saying that various modifications and variations are possible within the scope of equivalents of the claims to be described.

10 : 본체 11 : 공간부
12 : 단열재 100 : 내부케이스
110 : 저장공간 111 : 냉장실
112 : 냉동실 113 : 제빙실
120 : 구획부 124 : 단열재수용공간
130 : 격벽 140 : 증발기케이스
200 : 설치벽 300 : 외부케이스
10: body 11: space part
12: insulation material 100: inner case
110: storage space 111: refrigerator compartment
112: freezer compartment 113: ice-making compartment
120: compartment 124: insulation accommodating space
130: bulkhead 140: evaporator case
200: installation wall 300: outer case

Claims (10)

본체의 저장공간을 냉장실, 냉동실 및 제빙실로 구획하는 구획단계;
상기 본체에 단열재를 주입하여 일체발포함으로써 상기 냉장실 및 상기 제빙실을 동시에 서로 독립적인 단열공간으로 형성하는 일체발포단계;를 포함하는 것을 특징으로 하는 냉장고 제조방법.
dividing the storage space of the main body into a refrigerating compartment, a freezing compartment and an ice making compartment;
and an integral foaming step of simultaneously forming the refrigerating chamber and the ice-making chamber as independent insulation spaces by injecting a thermal insulation material into the body and foaming it integrally.
청구항 1에 있어서,
상기 일체발포단계에서는, 상기 냉동실이 상기 단열재의 일체발포를 통해 상기 냉장실 및 상기 제빙실과 동시에 서로 독립적인 단열공간으로 형성되는 것을 특징으로 하는 냉장고 냉장고 제조방법.
The method according to claim 1,
In the integral foaming step, the freezing chamber is formed as an insulating space independent of each other at the same time as the refrigerating chamber and the ice-making chamber through the integral foaming of the heat insulating material.
청구항 1에 있어서,
상기 구획단계는,
상기 저장공간이 마련되고, 단열재수용공간이 마련되는 구획부를 포함하는 상기 본체의 내부케이스를 형성하는 내부케이스 형성단계;
상기 내부케이스와의 사이에 상기 단열재수용공간과 연통되는 공간부가 마련되도록 상기 내부케이스와 상기 본체의 외부케이스를 결합하는 외부케이스 결합단계;를 포함하되,
상기 내부케이스 형성단계에서, 상기 저장공간은 상기 구획부에 의해 상기 냉장실 및 상기 제빙실로 구획되고,
상기 일체발포단계에서, 상기 본체에 주입되는 상기 단열재는 상기 공간부와 상기 단열재수용공간으로 주입되어 일체발포됨에 따라 상기 냉장실 및 상기 제빙실이 동시에 서로 독립적인 단열공간으로 형성되는 것을 특징으로 하는 냉장고 제조방법.
The method according to claim 1,
The partitioning step is
an inner case forming step of forming an inner case of the main body including a partition in which the storage space is provided and a heat insulating material accommodating space is provided;
An outer case coupling step of coupling the inner case and the outer case of the main body so that a space portion communicating with the insulating material accommodating space is provided between the inner case and the outer case;
In the inner case forming step, the storage space is divided into the refrigerating compartment and the ice-making compartment by the compartment,
In the integral foaming step, the heat insulating material injected into the main body is injected into the space portion and the heat insulating material accommodating space and is integrally foamed, so that the refrigerating chamber and the ice making chamber are simultaneously formed as independent heat insulating spaces. manufacturing method.
청구항 1에 있어서,
상기 구획단계는,
상기 저장공간이 마련되고, 단열재수용공간이 마련되는 구획부 및 상기 구획부와 이격되는 격벽을 포함하는 상기 본체의 내부케이스를 형성하는 내부케이스 형성단계;
상기 내부케이스와의 사이에 상기 단열재수용공간과 연통되는 공간부가 마련되도록 상기 내부케이스와 상기 본체의 외부케이스를 결합하는 외부케이스 결합단계;를 포함하되,
상기 내부케이스 형성단계에서, 상기 저장공간은 상기 구획부 및 상기 격벽에 의해 상기 냉장실, 상기 냉동실 및 상기 제빙실로 구획되고,
상기 일체발포단계에서, 상기 본체에 주입되는 상기 단열재는 상기 공간부와 상기 단열재수용공간으로 주입되어 일체발포됨에 따라 상기 냉장실, 상기 냉동실 및 상기 제빙실이 동시에 서로 독립적인 단열공간으로 형성되는 것을 특징으로 하는 냉장고 제조방법.
The method according to claim 1,
The partitioning step is
an inner case forming step of forming an inner case of the main body including a partition in which the storage space is provided and a heat insulating material accommodating space is provided, and a partition wall spaced apart from the partition;
An outer case coupling step of coupling the inner case and the outer case of the main body so that a space portion communicating with the insulating material accommodating space is provided between the inner case and the outer case;
In the step of forming the inner case, the storage space is divided into the refrigerating compartment, the freezing compartment and the ice making compartment by the partition part and the partition wall,
In the integral foaming step, the heat insulating material injected into the main body is injected into the space portion and the heat insulating material accommodating space and is integrally foamed, so that the refrigerating chamber, the freezing chamber and the ice making chamber are simultaneously formed as an insulating space independent of each other. A method for manufacturing a refrigerator.
청구항 4에 있어서,
상기 내부케이스 형성단계에서, 상기 내부케이스에 포함되는 증발기케이스가 상기 내부케이스의 후방부에 결합되는 것을 특징으로 하는 냉장고 제조방법.
5. The method according to claim 4,
In the inner case forming step, an evaporator case included in the inner case is coupled to a rear portion of the inner case.
청구항 5에 있어서,
상기 내부케이스 형성단계에서, 상기 내부케이스에 포함되는 보강브라켓이 상기 내부케이스의 상부 외면에 결합되는 것을 특징으로 하는 냉장고 제조방법.
6. The method of claim 5,
In the inner case forming step, a reinforcing bracket included in the inner case is coupled to an upper outer surface of the inner case.
청구항 5에 있어서,
상기 내부케이스 형성단계에서는, 상기 내부케이스에 형성된 비드부와 상기 구획부에 형성된 오목부가 형합되는 것을 특징으로 하는 냉장고 제조방법.
6. The method of claim 5,
In the inner case forming step, the bead portion formed in the inner case and the concave portion formed in the partition portion are joined together.
청구항 7에 있어서,
상기 내부케이스 형성단계에서, 상기 구획부는 상기 비드부의 주입구에 상기 오목부의 돌출부가 끼워져 상기 내부케이스에 가고정되고, 상기 증발기케이스가 상기 구획부의 후단부에 체결부재로 체결되어 고정되는 것을 특징으로 하는 냉장고 제조방법.
8. The method of claim 7,
In the step of forming the inner case, the partition part is temporarily fixed to the inner case by inserting the protrusion of the concave part into the injection port of the bead part, and the evaporator case is fastened to the rear end of the partition part with a fastening member to be fixed. How to make a refrigerator.
청구항 8에 있어서,
상기 일체발포단계에서, 상기 단열재는 상기 돌출부에 형성된 관통공을 통해 상기 공간부에서 상기 단열재수용공간으로 주입되는 것을 특징으로 하는 냉장고 제조방법.
9. The method of claim 8,
In the integral foaming step, the heat insulating material is injected into the heat insulating material accommodating space from the space part through a through hole formed in the protrusion part.
청구항 4에 있어서,
상기 일체발포단계 이후, 상기 구획부는 상기 본체에서 분리 불가능한 것을 특징으로 하는 냉장고 제조방법.
5. The method according to claim 4,
After the integral foaming step, the refrigerator manufacturing method, characterized in that the compartment is not detachable from the main body.
KR1020200002790A 2020-01-08 2020-01-08 Manufacturing method of refrigerator Pending KR20210089540A (en)

Priority Applications (2)

Application Number Priority Date Filing Date Title
KR1020200002790A KR20210089540A (en) 2020-01-08 2020-01-08 Manufacturing method of refrigerator
PCT/KR2021/000198 WO2021141409A1 (en) 2020-01-08 2021-01-07 Refrigerator manufacturing method

Applications Claiming Priority (1)

Application Number Priority Date Filing Date Title
KR1020200002790A KR20210089540A (en) 2020-01-08 2020-01-08 Manufacturing method of refrigerator

Publications (1)

Publication Number Publication Date
KR20210089540A true KR20210089540A (en) 2021-07-16

Family

ID=76788185

Family Applications (1)

Application Number Title Priority Date Filing Date
KR1020200002790A Pending KR20210089540A (en) 2020-01-08 2020-01-08 Manufacturing method of refrigerator

Country Status (2)

Country Link
KR (1) KR20210089540A (en)
WO (1) WO2021141409A1 (en)

Families Citing this family (2)

* Cited by examiner, † Cited by third party
Publication number Priority date Publication date Assignee Title
WO2025167688A1 (en) * 2024-02-06 2025-08-14 青岛海尔电冰箱有限公司 Refrigeration apparatus
WO2025167648A1 (en) * 2024-02-06 2025-08-14 青岛海尔电冰箱有限公司 Refrigeration apparatus

Citations (1)

* Cited by examiner, † Cited by third party
Publication number Priority date Publication date Assignee Title
KR100674573B1 (en) 2003-03-28 2007-01-29 엘지전자 주식회사 Refrigerator

Family Cites Families (5)

* Cited by examiner, † Cited by third party
Publication number Priority date Publication date Assignee Title
KR100531298B1 (en) * 2003-09-03 2005-11-28 엘지전자 주식회사 refrigerator having freezer in lower part
JP2006250421A (en) * 2005-03-10 2006-09-21 Matsushita Electric Ind Co Ltd refrigerator
US8820110B2 (en) * 2010-02-25 2014-09-02 Electrolux Home Products, Inc. Ice and water system in refrigerator with stirring fan in ice chamber
KR101502112B1 (en) * 2012-04-10 2015-03-13 삼성전자 주식회사 Refrigerator And Manufacturing Method Thereof
KR20160148990A (en) * 2015-06-17 2016-12-27 동부대우전자 주식회사 Refrigerator having depth adjustable ice room and method for manufacturing thereof

Patent Citations (1)

* Cited by examiner, † Cited by third party
Publication number Priority date Publication date Assignee Title
KR100674573B1 (en) 2003-03-28 2007-01-29 엘지전자 주식회사 Refrigerator

Also Published As

Publication number Publication date
WO2021141409A1 (en) 2021-07-15

Similar Documents

Publication Publication Date Title
KR101502112B1 (en) Refrigerator And Manufacturing Method Thereof
EP2679938B1 (en) Refrigerator and manufacturing method thereof
KR101540662B1 (en) Refrigerator with ice making room
KR20120011273A (en) Refrigerator
CN108955029B (en) Refrigerator with ice-making water storage box
KR20210089540A (en) Manufacturing method of refrigerator
KR20090000168U (en) Refrigerator
KR20110072774A (en) How to assemble the refrigerator and freezer mullion
KR20210089544A (en) Manufacturing method of refrigerator
KR20210089545A (en) Refrigerator
JP3243180B2 (en) Insulated box
KR100299369B1 (en) Refrigerator
KR100308090B1 (en) Refrigerator
KR20210089539A (en) Refrigerator
KR20210089543A (en) Refrigerator
KR20210089546A (en) Refrigerator
KR100751106B1 (en) Cold room door with ice tray
KR20210089547A (en) Refrigerator
JP7181578B2 (en) Refrigerator manufacturing method
KR20210089541A (en) Refrigerator
KR20210089542A (en) Refrigerator
KR20210089549A (en) Refrigerator
US20220396014A1 (en) Refrigerator foaming jig and foaming method using same
KR20200141878A (en) Refrigerator
KR100846902B1 (en) Refrigerator door

Legal Events

Date Code Title Description
PA0109 Patent application

Patent event code: PA01091R01D

Comment text: Patent Application

Patent event date: 20200108

PG1501 Laying open of application
E902 Notification of reason for refusal
PE0902 Notice of grounds for rejection

Comment text: Notification of reason for refusal

Patent event date: 20250623

Patent event code: PE09021S01D