[go: up one dir, main page]

KR20190041515A - A hair styling device having an operation starting device of the counting unit - Google Patents

A hair styling device having an operation starting device of the counting unit Download PDF

Info

Publication number
KR20190041515A
KR20190041515A KR1020197008784A KR20197008784A KR20190041515A KR 20190041515 A KR20190041515 A KR 20190041515A KR 1020197008784 A KR1020197008784 A KR 1020197008784A KR 20197008784 A KR20197008784 A KR 20197008784A KR 20190041515 A KR20190041515 A KR 20190041515A
Authority
KR
South Korea
Prior art keywords
wick
reservoir
mandrel
hair styling
active position
Prior art date
Legal status (The legal status is an assumption and is not a legal conclusion. Google has not performed a legal analysis and makes no representation as to the accuracy of the status listed.)
Granted
Application number
KR1020197008784A
Other languages
Korean (ko)
Other versions
KR102322367B1 (en
Inventor
재키 쉘
밥띠스뜨 본느메르
레지스 페레이레
Original Assignee
세브 에스.아.
Priority date (The priority date is an assumption and is not a legal conclusion. Google has not performed a legal analysis and makes no representation as to the accuracy of the date listed.)
Filing date
Publication date
Application filed by 세브 에스.아. filed Critical 세브 에스.아.
Publication of KR20190041515A publication Critical patent/KR20190041515A/en
Application granted granted Critical
Publication of KR102322367B1 publication Critical patent/KR102322367B1/en
Active legal-status Critical Current
Anticipated expiration legal-status Critical

Links

Images

Classifications

    • AHUMAN NECESSITIES
    • A45HAND OR TRAVELLING ARTICLES
    • A45DHAIRDRESSING OR SHAVING EQUIPMENT; EQUIPMENT FOR COSMETICS OR COSMETIC TREATMENTS, e.g. FOR MANICURING OR PEDICURING
    • A45D2/00Hair-curling or hair-waving appliances ; Appliances for hair dressing treatment not otherwise provided for
    • A45D2/36Hair curlers or hair winders with incorporated heating or drying means, e.g. electric, using chemical reaction
    • A45D2/367Hair curlers or hair winders with incorporated heating or drying means, e.g. electric, using chemical reaction with electrical heating means
    • AHUMAN NECESSITIES
    • A45HAND OR TRAVELLING ARTICLES
    • A45DHAIRDRESSING OR SHAVING EQUIPMENT; EQUIPMENT FOR COSMETICS OR COSMETIC TREATMENTS, e.g. FOR MANICURING OR PEDICURING
    • A45D1/00Curling-tongs, i.e. tongs for use when hot; Curling-irons, i.e. irons for use when hot; Accessories therefor
    • A45D1/02Curling-tongs, i.e. tongs for use when hot; Curling-irons, i.e. irons for use when hot; Accessories therefor with means for internal heating, e.g. by liquid fuel
    • A45D1/04Curling-tongs, i.e. tongs for use when hot; Curling-irons, i.e. irons for use when hot; Accessories therefor with means for internal heating, e.g. by liquid fuel by electricity
    • AHUMAN NECESSITIES
    • A45HAND OR TRAVELLING ARTICLES
    • A45DHAIRDRESSING OR SHAVING EQUIPMENT; EQUIPMENT FOR COSMETICS OR COSMETIC TREATMENTS, e.g. FOR MANICURING OR PEDICURING
    • A45D1/00Curling-tongs, i.e. tongs for use when hot; Curling-irons, i.e. irons for use when hot; Accessories therefor
    • AHUMAN NECESSITIES
    • A45HAND OR TRAVELLING ARTICLES
    • A45DHAIRDRESSING OR SHAVING EQUIPMENT; EQUIPMENT FOR COSMETICS OR COSMETIC TREATMENTS, e.g. FOR MANICURING OR PEDICURING
    • A45D1/00Curling-tongs, i.e. tongs for use when hot; Curling-irons, i.e. irons for use when hot; Accessories therefor
    • A45D1/28Curling-tongs, i.e. tongs for use when hot; Curling-irons, i.e. irons for use when hot; Accessories therefor with means for controlling or indicating the temperature
    • AHUMAN NECESSITIES
    • A45HAND OR TRAVELLING ARTICLES
    • A45DHAIRDRESSING OR SHAVING EQUIPMENT; EQUIPMENT FOR COSMETICS OR COSMETIC TREATMENTS, e.g. FOR MANICURING OR PEDICURING
    • A45D2/00Hair-curling or hair-waving appliances ; Appliances for hair dressing treatment not otherwise provided for
    • A45D2/12Hair winders or hair curlers for use parallel to the scalp, i.e. flat-curlers
    • GPHYSICS
    • G08SIGNALLING
    • G08BSIGNALLING OR CALLING SYSTEMS; ORDER TELEGRAPHS; ALARM SYSTEMS
    • G08B21/00Alarms responsive to a single specified undesired or abnormal condition and not otherwise provided for
    • G08B21/18Status alarms
    • G08B21/182Level alarms, e.g. alarms responsive to variables exceeding a threshold
    • AHUMAN NECESSITIES
    • A45HAND OR TRAVELLING ARTICLES
    • A45DHAIRDRESSING OR SHAVING EQUIPMENT; EQUIPMENT FOR COSMETICS OR COSMETIC TREATMENTS, e.g. FOR MANICURING OR PEDICURING
    • A45D1/00Curling-tongs, i.e. tongs for use when hot; Curling-irons, i.e. irons for use when hot; Accessories therefor
    • A45D2001/008Curling-tongs, i.e. tongs for use when hot; Curling-irons, i.e. irons for use when hot; Accessories therefor with vapor generation, e.g. steam

Landscapes

  • Business, Economics & Management (AREA)
  • Emergency Management (AREA)
  • Physics & Mathematics (AREA)
  • General Physics & Mathematics (AREA)
  • Hair Curling (AREA)

Abstract

본 발명은 맨드릴(3), 액체 저장조(10), 액체에 의해 적셔지도록 저장조와 연통하는 심지(13), 맨드릴 내에 내장된 가열 요소(21) 및 심지를 수동 위치로부터 증기생성을 위하여 상기 심지가 가열 요소(21)와 접촉하는 능동 위치로 이동시킬 수 있도록 구성된 심지(13) 가이딩 수단을 포함하는 헤어 컬링용 헤어 스타일링 기기(1)에 관한 것이다. 기기(1)는, 시간 카운팅 유닛, 능동 위치로 전환되는 즉시 카운팅 유닛을 작동개시하도록 구성된 심지(13)의 능동 위치 감지 시스템(33, 38) 및 카운팅 유닛이 소정의 지속 시간에 도달할 때 사용자에게 신호를 발신하도록 구성된 신호 시스템을 포함한다.The invention comprises a mandrel (3), a liquid reservoir (10), a wick (13) communicating with the reservoir to be wetted by the liquid, a heating element (21) embedded in the mandrel and a wick To a hair styling appliance (1) for hair culling comprising a wick (13) guiding means adapted to move to an active position in contact with a heating element (21). The device 1 comprises a time counting unit 33, an active position sensing system 33, 38 of the wick 13 configured to activate the counting unit as soon as it is switched to the active position, Lt; RTI ID = 0.0 > a < / RTI >

Description

카운팅 유닛의 작동개시 장치를 구비한 헤어 스타일링 기기A hair styling device having an operation starting device of the counting unit

본 발명은 "컬링기(curler)" 유형의 헤어 컬링을 구현하기 위한 헤어 스타일링 기기 분야에 관한 것으로서, 특히 액체 저장조 및 액체로 적셔지는 심지 및 상기 심지가 접촉하게 되는 가열 요소를 포함하는 증기생성 시스템을 구비한 그러한 헤어 스타일링 기기에 관한 것이다.The present invention relates to the field of hair styling devices for implementing hair curling of the type of " curler " type, and more particularly to a hair styling device for producing hair curling, The present invention relates to such a hair styling device.

그 외에, 그러한 헤어 스타일링 기기는 맨드릴 및 기와형 커버(tuile)를 포함하고, 이 요소들은 헤어 한 타래를 맨드릴 둘레로 롤링하고 따라서 그것을 컬링하기 위해 헤어 타래를 클램핑할 수 있게 클램프를 형성하도록 관절연결된다.In addition, such hair styling appliances include a mandrel and a tile-like element, which are connected by a joint to form a clamp so that the hair tuft can be clamped by rolling a tuft of hair around the mandrel, do.

헤어 타래의 컬링을 구현하는 동안 증기를 발생할 수 있게 하는, 상술한 특성들을 포함하는 그러한 헤어 스타일링 기기와 관련된 특허출원 WO0167915A2 및 EP1894488A1이 공지되어 있다.Patent applications WO0167915A2 and EP1894488A1 relating to such hair styling devices, including the above-mentioned characteristics, are known which allow to generate steam during the implementation of hair curling.

액체 저장조는 맨드릴의 단부에 배치되고 액체로 적셔진 심지는 저장조와 결속되어 있으며 상기 액체에 의해 적셔지도록 저장조와 연통한다. 가열 요소는 맨드릴 내에 위치한다. 가이딩 수단은 저장조 및 심지가 증기생성을 위하여 심지가 가열 요소와 접촉하는 능동 위치와 수동 위치 사이에서 이동 가능하도록 저장조와 맨드릴 사이에 배치된다. 증기는 저장조 및 심지를 수동으로 이동시킴으로써 발생된다.The liquid reservoir is disposed at the end of the mandrel and the wick soaked with liquid is bound to the reservoir and communicates with the reservoir to be wetted by the liquid. The heating element is located within the mandrel. The guiding means is disposed between the reservoir and the mandrel such that the reservoir and the wick are movable between an active position and a manual position where the wick contacts the heating element for steam generation. The steam is generated by manually moving the reservoir and the wick.

헤어 타래의 컬링 작업 동안, 사용자는 헤어 타래를 클램핑하고 맨드릴 둘레로 롤링한 후, 연속적으로 증기를 발생시키기 위하여 액체로 적셔진 심지가 가열 요소와 접촉하여 유지되도록 저장조를 가압하여 유지해야 한다. 그러한 특성들이 있는 현존하는 헤어 스타일링 기기는 별로 인체공학적이지 않다.During the curling operation of the hair tuft, the user must clamp the hair tuft and roll it around the mandrel, then pressurize and maintain the reservoir so that the liquid wicked wick is kept in contact with the heating element to continuously generate the steam. Existing hair styling devices with such characteristics are not very ergonomic.

나아가, 사용자는 적정시간 동안 증기에 의해 컬링된 헤어 타래의 손질을 구현하기 위하여 헤어 타래의 증기생성 시간을 스스로 카운팅해야 하는데, 그 시간은 손질이 효율적이려면 너무 짧아도 안 되고, 헤어를 손상시키지 않으려면 너무 길어서도 안 된다. 이는 헤어 스타일링 동안 사용자의 추가 주의력을 요한다. 나아가, 사용자의 카운팅 속도에 따라, 증기를 가하는 시간은 매우 가변적이다.In addition, the user must self-count the steam generation time of the hair tufts in order to realize the care of the hair tufts curled by steam during the appropriate time, which time should not be too short to be effective, It should not be too long. This requires additional attention of the user during hair styling. Further, depending on the user's counting speed, the time to apply steam is highly variable.

본 발명은 전술한 단점들을 완화하는 것을 목적으로 한다.The present invention aims at alleviating the above-mentioned disadvantages.

제1 목적은 컬링 작업 동안 증기를 가하는 시간을 사용자가 카운팅해야 하는 것을 면하게 함으로써 기기 사용을 용이하게 하는 것이다.The first purpose is to facilitate the use of the appliance by avoiding the user having to count the time to apply steam during the curling operation.

그러한 목적으로, 본 발명은 맨드릴, 액체 저장조, 액체로 적셔지도록 저장조와 연통하는 심지, 맨드릴 내에 내장된 가열 요소 및 심지가 수동 위치로부터 상기 심지가 증기생성을 위하여 가열 요소와 접촉하는 능동 위치로 이동할 수 있게 하도록 구성된 심지 가이딩 수단을 포함한다. 전기 수단이 상기 가열 요소를 작동할 수 있게 한다.For that purpose, the present invention is directed to a method of making a wick, comprising: a mandrel, a liquid reservoir, a wick communicating with the reservoir to be wetted with liquid, a heating element embedded within the mandrel and a wick moving from the passive position to an active position wherein the wick contacts the heating element Gt; and / or < / RTI > Electric means enable the heating element to operate.

그 외에, 헤어 스타일링 기기는 지속시간 카운팅 유닛, 능동 위치로 전환되는 즉시 카운팅 유닛을 작동개시하도록 구성된 심지의 능동 위치 감지 시스템 및 카운팅 유닛이 소정의 시간에 도달할 때 사용자에게 신호를 발신하도록 구성된 신호 시스템을 포함한다.In addition, the hair styling device includes a duration counting unit, a wrist active position sensing system configured to activate the counting unit as soon as it is switched to the active position, and a signal configured to signal the user when the counting unit reaches a predetermined time System.

따라서, 본 발명에 따른 헤어 스타일링 기기의 설계는 심지가 능동 위치로 전환되는 즉시 지속시간 카운팅을 개시할 수 있게 하고, 이로써 사용자가 증기 적용 시간을 카운팅해야 하는 것을 면하게 하고, 상기 카운팅을 개시하기 위하여 추가 버튼을 작동시켜야 하는 것을 면하게 하는데, 사용자가 액체로 적셔진 심지를 능동 위치로 이동시키기 위하여 헤어 스타일링 기기를 핸들링할 때 그 모든 기능이 자동으로 개시되기 때문이다.Thus, the design of the hair styling device according to the present invention allows initiation of the duration counting as soon as the wick is switched to the active position, thereby avoiding the user having to count the steam application time, Eliminating the need to activate additional buttons because all of the functions are automatically initiated when the user handles the hair styling device to move the liquid wicked wick to the active position.

본 발명에 따른 헤어 스타일링 기기의 바람직한 일 실시예에서, 액체로 적셔진 심지는 저장조와 결속된다. 그 외에, 가이딩 수단은 저장조 및 심지를 수동 위치에서 능동 위치로 이동시키도록 구성된다. 바람직하게는, 저장조는 맨드릴의 말단부에 위치된다. 따라서, 사용자는 심지를 능동 위치로 이동시키도록 저장조를 작동한다.In a preferred embodiment of the hair styling appliance according to the invention, the wick soaked with liquid is bound to the reservoir. In addition, the guiding means is configured to move the reservoir and the wick from the passive position to the active position. Preferably, the reservoir is located at the distal end of the mandrel. Thus, the user operates the reservoir to move the wick to the active position.

본 발명이 목적하는 헤어 스타일링 기기의 제1 변형예에 따르면, 가열 요소는 심지가 능동 위치에서 맞닿게 되는 증기생성 판을 포함한다. 그 외에, 감지 시스템은 상기 증기생성 판의 온도 급감 감지 수단을 포함하며, 상기 온도 급감은 증기생성 단계의 시작을 나타낸다.According to a first variant of the desired hair styling appliance of the invention, the heating element comprises a vapor generating plate in which the wick is brought into contact in the active position. In addition, the sensing system includes a means for sensing the temperature drop of the vapor generating plate, the temperature drop indicating the beginning of the vapor generating step.

본 발명이 목적하는 헤어 스타일링 기기의 제2 변형예에 따르면, 감지 시스템은 맨드릴 내에 배치된 스위치 및 카운팅 유닛에 스위치를 연결하는 수단을 포함한다. 그 외에, 헤어 스타일링 기기는 능동 위치로의 전환으로써 스위치를 직접 작동할 수 있게 하도록 구성된다.According to a second variant of the desired hair styling appliance of the present invention, the sensing system comprises a switch disposed in the mandrel and means for connecting the switch to the counting unit. In addition, the hair styling device is configured to allow direct operation of the switch by switching to the active position.

본 발명이 목적하는 헤어 스타일링 기기의 제3 변형예에 따르면, 헤어 스타일링 기기는 본체, 맨드릴 내부로 연장되는 적어도 하나의 로드를 포함하는 감지 시스템 및 상기 기기의 핸들링을 가능하게 하는 본체 내에 배치된 스위치를 포함하고, 본체는 맨드릴에 의해 연장된다. 그 외에, 헤어 스타일링 기기는 능동 위치로의 전환으로써 적어도 하나의 로드를 통하여 스위치를 작동할 수 있게 하도록 구성된다.According to a third variant of the hair styling appliance of the present invention, the hair styling appliance comprises a body, a sensing system comprising at least one rod extending into the mandrel, and a switch arranged in the body enabling the handling of the appliance And the body is extended by the mandrel. In addition, the hair styling device is configured to enable the switch to be actuated via at least one rod by switching to the active position.

본 발명이 목적하는 헤어 스타일링 기기에 따르면, 기기는 맨드릴과 함께 클램프를 형성하기 위하여 기기 상에 관절연결된 기와형 커버를 포함하여, 기와형 커버를, 헤어 타래를 위치시킬 수 있게 하는 맨드릴로부터의 릴리스 위치와 그 후 컬링 작업 실시를 위하여 헤어 타래를 클램핑할 수 있게 하는 맨드릴과 맞닿는 가압 위치 사이에서 이동하게 한다.According to an aimed hair styling device of the present invention, the device includes a tilted cover articulated on the device for forming a clamp with the mandrel, so that the tilted cover can be released from the mandrel, Position and a pushing position in contact with the mandrel allowing the hair tuft to be clamped for subsequent curling operations.

본 발명이 목적하는 헤어 스타일링 기기에 따르면, 기기는 기와형 커버가 맨드릴과 맞닿는 가압 위치에 있을 때는 심지의 능동 위치 유지를 보장하도록, 그리고 기와형 커버가 맨드릴로부터의 릴리스 위치에 있을 때는 수동 위치로의 심지의 릴리스를 허용하도록 구성된 잠금/잠금 해제 시스템을 포함한다. 이로써 증기생성 단계 동안 내내 기기를 추가 핸들링할 필요없이 심지를 능동 위치로 유지할 수 있다.According to the desired hair styling device of the present invention, the device is arranged so as to ensure the active position of the wick when the tilted cover is in the pressing position in contact with the mandrel, and to the manual position when the tilted cover is in the release position from the mandrel Lt; RTI ID = 0.0 > lock / unlock system < / RTI > This allows the wick to remain in the active position without having to further handle the device throughout the steam generation step.

헤어 스타일링 기기의 일 실시예에서, 저장조는 심지와 결속되고 심지와 함께 수동 위치에서 능동 위치로 이동한다. 그 외에, 잠금/잠금 해제 시스템은 저장조 상에 마련되고 기와형 커버의 말단부에 마련된 제2 잠금 요소와 연동하도록 배치되는 제1 잠금 요소를 포함한다. 잠금 요소들은 상기 기와형 커버가 맨드릴과 맞닿는 가압 위치에 있을 때 그리고 상기 저장조가 능동 위치로 이동할 때 기와형 커버에 대한 저장조의 위치를 유지하도록 보장한다. 바람직하게는, 헤어 스타일링 기기의 실시예에 따르면, 제1 잠금 요소 및 제2 잠금 요소는 서로 스냅식으로 고정되도록 구성된다. 그러나 본 발명의 범위를 벗어나지 않고, 제1 잠금 요소 및 제2 잠금 요소의 변형예들을 고려할 수 있을 것이다. 바람직하게는, 제1 잠금 요소는 축소부를 구비한 U형의 탄성 부품을 포함하고 제2 잠금 요소는 기와형 커버의 내면 상에 배치된 스터드를 포함한다. 축소부는 스터드 상에 삽입된 탄성 부품의 유지를 보장한다.In one embodiment of the hair styling appliance, the reservoir is bound with the wick and moves from the passive position to the active position with the wick. In addition, the locking / unlocking system comprises a first locking element provided on the reservoir and arranged to cooperate with a second locking element provided at the distal end of the tapered cover. The locking elements ensure that the tile-shaped cover maintains the position of the reservoir with respect to the tile-like cover when in the depressed position in contact with the mandrel and when the reservoir is moved to the active position. Preferably, according to the embodiment of the hair styling appliance, the first locking element and the second locking element are configured to be snapped together. However, variations of the first locking element and the second locking element may be considered without departing from the scope of the present invention. Preferably, the first locking element comprises a U-shaped elastic part with a reduced portion and the second locking element comprises a stud disposed on the inner surface of the tiled cover. The shrinking portion ensures the retention of the elastic part inserted on the stud.

헤어 스타일링 기기에 따르면, 잠금/잠금해제 시스템은 상기 수동 위치로의 심지의 복원 수단을 포함한다. 그것은 헤어 스타일링 기기를 추가적으로 핸들링할 필요없이, 증기의 자동 중지를 보장한다. 바람직하게는, 복원 수단은 용수철을 포함한다.According to the hair styling appliance, the locking / unlocking system comprises means for restoring the wick to said passive position. It ensures automatic stopping of the steam without the need to further handle the hair styling device. Preferably, the restoration means comprises a spring.

본 발명이 목적하는 헤어 스타일링 기기에 따르면, 기기는 가열 요소의 온도 제어 유닛을 포함한다. 그 외에, 감지 시스템은 심지의 능동 위치로의 전환시에 제어 유닛을 작동개시하도록 구성된다.According to the hair styling apparatus of the present invention, the apparatus includes a temperature control unit of the heating element. In addition, the sensing system is configured to actuate the control unit upon switching to the active position of the wick.

헤어 스타일링 기기의 일 실시예에서, 신호 시스템은 소리 신호를 발신하도록 구성된다. 그러나 시각 신호를 발신하도록 구성된 신호 시스템을 갖는 변형예들을 고려할 수 있다.In one embodiment of the hair styling appliance, the signaling system is configured to emit a sound signal. However, variations may be envisaged that have a signaling system configured to originate a visual signal.

헤어 스타일링 기기의 비한정적인 바람직한 실시예들 및 변형예들의 이하 상세한 설명은 첨부 도면을 참조하여 본 발명이 목적하는 특성들을 명시한다.The following detailed description of non-limiting preferred embodiments of the hair styling device and variations thereof sets out the intended characteristics of the present invention with reference to the accompanying drawings.

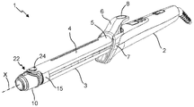
도 1은 맨드릴과 맞닿은 기와형 커버를 갖는 헤어 스타일링 기기의 조립체를 도시한다.
도 2는 도 1의 헤어 스타일링 기기의 종단면도이다.
도 3은 도 1의 헤어 스타일링 기기의 말단부의 종단면도이다.
도 4는 암형 잠금 요소를 명시하며, 맨드릴 단부에서 액체 저장조를 도시한다.
도 5는 수형 잠금 요소를 명시하며, 기와형 커버의 단부를 도시한다.
도 6 내지 도 8은 심지의 능동 위치 감지 시스템의 3개의 변형예를 도시한다.
Figure 1 shows an assembly of a hair styling appliance having a tilted cover abutting a mandrel.
FIG. 2 is a longitudinal sectional view of the hair styling appliance of FIG. 1. FIG.
3 is a longitudinal sectional view of a distal end portion of the hair styling appliance of FIG.
Figure 4 illustrates the female locking element, showing the liquid reservoir at the end of the mandrel.
Figure 5 shows the male locking element and shows the end of the tiled cover.
Figures 6-8 illustrate three variations of the active position sensing system in the wing.

도 1 및 도 2에 도시된 바와 같이, 헤어 스타일링 기기(1)는 본체(2), 맨드릴(3) 및 기와형 커버(4)를 포함한다. 본체(2)는 상기 헤어 스타일링 기기(1)의 사용시에 그것을 핸들링하도록 구성된다. 맨드릴(3)은 원통형이고 종축(X)을 따라 본체(2)를 연장한다. 기와형 커버(4)는 맨드릴(3)의 형태에 적용된 원형이다. 기와형 커버(4)의 기단부(5)는 본체(2)의 말단부(7)에 대하여 관절연결된 핸들링 핑거(6)에 고정된다. 핸들링 핑거(6)의 후방부(8) 상에 압력을 가함으로써, 맨드릴(3)과 기와형 커버(4) 사이에 헤어 한 타래를 삽입할 수 있도록, 기와형 커버(4)를 맨드릴(3)로부터 릴리스된 위치로 이동시킬 수 있다. 본체(2)의 말단부(7)와 핸들링 핑거(6) 사이에 배치된 용수철(9)은 상기 조작용 핑거(6)에 대한 가압을 중단할 때, 도 1에 도시된 바와 같이 기와형 커버(4)가 맨드릴(3)에 맞닿는 가압 위치로 이동할 수 있게 하고, 이로써 상기 맨드릴(3)과 상기 기와형 커버(4) 사이에 위치한 헤어 타래(도시되지 않음)를 클램핑할 수 있다.1 and 2, the hair styling appliance 1 includes a main body 2, a mandrel 3, and a tiled cover 4. The main body 2 is configured to handle it when the hair styling appliance 1 is used. The mandrel 3 is cylindrical and extends the body 2 along the longitudinal axis X. The tile-shaped cover 4 is a circular shape applied to the shape of the mandrel 3. The proximal end 5 of the tilted cover 4 is fixed to a handling finger 6 jointed to the distal end 7 of the main body 2. [ The tilted cover 4 is attached to the mandrel 3 by inserting pressure on the rear portion 8 of the handling finger 6 so as to insert a split thread between the mandrel 3 and the tiled cover 4. [ To the released position. The spring 9 disposed between the distal end 7 of the main body 2 and the handling finger 6 is in contact with the tilting cover 6 as shown in Fig. 4 can be moved to a pressing position in which it abuts against the mandrel 3, thereby clamping a hair tuft (not shown) located between the mandrel 3 and the tiled cover 4.

도 1 내지 도 3에 도시된 바와 같이, 헤어 스타일링 기기(1)는 기단부(12) 위치에 개방부(11)를 포함하는 저장조(10)를 포함한다. 개방부(11)는 저장조(10)에 액체를 충전할 수 있게 한다. 심지(13)는 기단부(12) 위치에서 저장조(10)와 고정된 관형 부품(14) 내에 장착되고, 상기 심지(13)는 개방부(11)와 연통하며, 이는 액체로 심지를 적실 수 있게 한다. 저장조(10) 및 관형 부품(14)은 맨드릴(3)의 말단부(15) 상으로 슬라이딩 연결로 장착되고, 이는 상기 맨드릴(3)에 대면하여 종축(X)을 따라 상기 요소들과 심지(13)가 평행이동할 수 있게 하여, 조립체[저장조(10), 관형 부품(14) 및 심지(13)]를 도 3에 도시된 바와 같이 심지(13)의 기단부(16)가 증기생성 판(17)과 맞닿게 되어 증기를 생성할 수 있게 하는 능동 위치로부터, 심지(13)의 기단부(16)가 상기 증기생성 판(17)에서 릴리스되는 수동 위치로 이동하게 한다. 관형 부품(14)의 바닥부(19) 내에 배치된 용수철(18)은 상기 능동 위치에서 증기생성 판(17)과 적절히 맞닿아 유지되도록 심지(13)의 말단부(20)와 맞닿아 작용한다. 증기생성 판(17)은 가열 요소(21), 예를 들어 정온도 계수 서미스터(PTC)와 접촉하고, 이로써 상기 증기생성 판(17)을 열전도에 의해 가열할 수 있게 한다. 추가로, 가열 요소(21)는 맨드릴(3)을 가열할 수 있다.1 to 3, the hair styling appliance 1 includes a reservoir 10 including an opening 11 at the proximal end 12 thereof. The opening (11) allows the reservoir (10) to be filled with liquid. The wick 13 is mounted in the tubular part 14 fixed to the reservoir 10 at the proximal end 12 position and the wick 13 communicates with the opening 11 which is capable of wetting the wick with liquid do. The reservoir 10 and the tubular element 14 are mounted in sliding connection on the distal end 15 of the mandrel 3 which is connected to the mandrel 3 along the longitudinal axis X with the elements and the wings 13 So that the proximal end 16 of the wick 13 can be moved to the side of the steam generating plate 17 as shown in Figure 3. The assembled body (reservoir 10, tubular part 14 and wick 13) From the active position, which allows the base end (16) of the wick (13) to move to the manual position where it is released from the vapor producing plate (17). The spring 18 disposed within the bottom 19 of the tubular component 14 abuts against the distal end 20 of the wick 13 to maintain proper abutment with the vapor producing plate 17 in the active position. The steam generating plate 17 is in contact with the heating element 21, for example a constant temperature coefficient thermistor (PTC), thereby enabling the steam generating plate 17 to be heated by heat conduction. In addition, the heating element 21 can heat the mandrel 3.

잠금/잠금 해제 시스템(22)은 저장조(10), 관형 부품(14) 및 심지(13)를 전술한 능동 위치에서 유지할 수 있도록 헤어 스타일링 기기(1)상에 배치된다. 도 1 내지 도 5에 도시된 바와 같이, 잠금/잠금해제 시스템(22)은 저장조(10)의 둘레 벽(23)과 기와형 커버(4)의 말단부(24) 사이에 구현된다. 둘레 벽(23)은 도 4에 도시된 바와 같이 그것의 기단부(26)로 개방되는 그루브(25)를 포함한다. 그루브(25)는 U형 탄성 부품(27)을 수용하고 상기 탄성 부품(27)은 도 4에 도시된 바와 같이, 축소부(28)를 포함한다. 탄성 부품(27)은 제1 잠금 요소를 구성한다. 도 5에 도시된 바와 같이, 스터드(29)는 기와형 커버(4)의 내면(30) 측으로부터 그것의 말단부(24) 위치에서 연장된다. 스터드(29)는 탄성 부품(27) 내에 수용되게 되도록 구성된 제2 잠금 요소를 구성한다. 모발 한 타래를 클램핑하는 위치에서 기와형 커버(4)가 맨드릴(3)을 가압할 때, 그리고 저장조(10)가 수동 위치에 있을 때, 스터드(29)는 탄성 부품(27)의 외부에서 그루브(25) 내에 위치하게 된다. 그 후 저장조(10)가 능동 위치로 이동하면, 상기 탄성 부품(27)은 축소부(28)가 상기 스터드(29)를 통과할 때까지 스터드(29) 상으로 삽입되게 되고, 따라서 스터드(29) 상에서의 탄성 부품(27)의, 또는 그 역으로의 스냅식 결합이 가능해지고, 이로써 능동 위치에서 저장조(10)가 유지되는 것이 보장되고, 그 결과 액체로 적셔진 심지(13)를 증기생성 판(17)에 맞대어 유지하는 것이 보장된다.The locking / unlocking system 22 is disposed on the hair styling appliance 1 so as to maintain the storage vessel 10, the tubular part 14 and the wick 13 in the above-described active position. 1 to 5, a lock / unlock system 22 is implemented between the peripheral wall 23 of the reservoir 10 and the distal end 24 of the tiled cover 4. The peripheral wall 23 includes a groove 25 that opens into its proximal end 26 as shown in FIG. The groove 25 receives the U-shaped elastic part 27 and the elastic part 27 includes the shrinkage part 28, as shown in Fig. The elastic part 27 constitutes the first locking element. As shown in Fig. 5, the stud 29 extends from the inner surface 30 side of the tapered cover 4 at its distal end 24 position. The stud 29 constitutes a second locking element adapted to be received within the elastic part 27. [ When the tile-shaped cover 4 presses the mandrel 3 in the position of clamping the hair tuft and the reservoir 10 is in the manual position, the stud 29 is moved from the outside of the elastic part 27 to the groove (25). Thereafter, when the reservoir 10 moves to the active position, the resilient piece 27 is inserted onto the stud 29 until the shrinkage portion 28 passes through the stud 29, , It is ensured that the storage tank 10 is kept in the active position and the result is that the wick 13 which is wetted with the liquid is made into steam It is ensured to keep it against the plate 17.

도 3에 도시된 바와 같이, 용수철 등의 복원 수단(31)이 증기생성 판(17)과 관형 부품(14) 사이에 배치되고, 용수철은 화살표(32) 방향으로 상기 관형 부품(14)에 힘을 가할 수 있게 한다. 스터드(29)가 탄성 부품(27) 내로 스냅식 결합함으로써 상기 용수철에 의해 힘이 가해지더라도 저장조(10)의 기와형 커버(4)에 대한 위치 유지를 보장한다. 그와 반대로, 기와형 커버(4)가 사용자에 의해 맨드릴(3)에 대하여 릴리스된 위치로 이동하면, 스터드(29)는 탄성 부품(27)에서 릴리스되고, 이로써 용수철이 관형 부품(14) 및 저장조(10)[및 심지(13)]를 수동 위치로 밀어낼 수 있게 하여, 증기생성을 중지할 수 있다.3, a restoring means 31 such as a spring is disposed between the steam generating plate 17 and the tubular part 14 and the spring is urged against the tubular part 14 in the direction of arrow 32, . The stud 29 is snapped into the elastic part 27 to ensure the position of the reservoir 10 with respect to the tilted cover 4 even if the spring 29 is forced by the spring. On the contrary, when the tilted cover 4 is moved by the user to the released position relative to the mandrel 3, the stud 29 is released from the elastic part 27, Allowing the reservoir 10 (and the wick 13) to be pushed to the passive position, thereby stopping steam generation.

유리하게도, 헤어 스타일링 기기(1)는, 증기가 생성되는 위치인, 저장조(10), 관형 부품(14) 및 심지(13)의 능동 위치를 감지하는 시스템을 포함한다. 도 6에 도시된 제1 실시예에서, 감지 시스템은 상기 증기생성 판(17)의 온도 급감을 감지하는 수단(33)을 포함하고, 감지 수단(33)은 그 자체로 온도 센서를, 바람직하게는 부온도계수(NTC) 서미스터를 포함한다. 온도 센서는 도 6에 개략적으로 도시된 바와 같이, 증기생성 판(17)의 내면(34)과 접촉하여 위치된다. 심지(13)의 기단부(16)가 증기생성 판(17)의 외면(35)과 접촉하게 되면, 상기 증기생성 판(17)에서는 온도가 급감하고, 이는 온도 센서에 의해 감지된다. 온도 센서는 일단 모발 타래가 상기 맨드릴(3)의 둘레로 롤링 되면, 온도 저하에 대한 정보를, 증기생성 및 맨드릴(3)의 가열을 유지하기에 적합한 시간, 예를 들어 10초의 시간을 카운팅하는 카운팅 유닛을 내장하는, 도 2에 도시된 전자제어 박스(36)로 전송한다. 지속시간은 증기에 대한 노출시간의 인덱스 값, 예를 들어 5, 8, 또는 10초의 값에 따라 사용자에 의해 조절될 수 있고, 조절은 헤어 스타일링 기기(1) 상에 마련된 사용자 인터페이스에 의해 가능하다. 일단 시간이 경과되면, 카운팅 유닛은 컬링된 헤어 타래를 릴리스하기 전에 저장조(10) 및 심지(13)를 수동 위치로 릴리스하고 따라서 증기생성을 중지하기 위하여, 사용자가 맨드릴(3)에 대하여 기와형 커버(4)를 릴리스하게 하도록 알려주는 소리 신호 시스템, 예를 들어 삐 신호음 발신기, 또는 나아가 광신호 발신기를 작동개시하는 전자제어 박스(36)로 정보를 전송한다. 그러한 전자제어 박스(36)는 당업자의 이해 범위 내에 있으므로 본 명세서에서는 상술하지 않는다.Advantageously, the hair styling appliance 1 comprises a system for sensing the active position of the reservoir 10, the tubular part 14 and the wick 13, where the steam is produced. In the first embodiment shown in Fig. 6, the sensing system comprises means 33 for sensing the temperature drop of the vapor producing plate 17, and the sensing means 33 itself, Includes a negative temperature coefficient (NTC) thermistor. The temperature sensor is positioned in contact with the inner surface 34 of the vapor generating plate 17, as schematically shown in Fig. When the proximal end portion 16 of the wick 13 comes into contact with the outer surface 35 of the steam generating plate 17, the temperature of the steam generating plate 17 is rapidly reduced and this is sensed by the temperature sensor. The temperature sensor is configured to count the time at which it is appropriate to maintain steam production and heating of the mandrel 3, for example 10 seconds, once the hair tuft is rolled around the mandrel 3 To the electronic control box 36 shown in Fig. 2, which incorporates the counting unit. The duration can be adjusted by the user according to the value of the index of the exposure time for steam, for example, 5, 8, or 10 seconds, and adjustment is possible by means of a user interface provided on the hair styling appliance 1 . Once the time has elapsed, the counting unit will release the reservoir 10 and the wick 13 to the passive position before releasing the curled hair tufts, and thus allow the user to tilt the mandrel 3 To the electronic control box 36, which activates a sound signal system, for example a beep tone emitter, or even an optical signal transmitter, which signals to let the cover 4 release. Such an electronic control box 36 is within the scope of a person skilled in the art and is not described here in detail.

저장조(10)는 맨드릴의 말단부(15)에서 탈부착 가능하며, 이로써 저장조에 액체를 충전하기 위하여 상기 저장조(10) 상에서 개방부(11)에 접근하는 것이 가능하다. 그러한 이유로, 저장조(10)의 기단부(12)는, 특히 관형 부품(14)의 바닥부(19)와의 스냅식 결합으로써 탈부착 가능하게 조립된다. 저장조(10) 충전의 다른 변형예들이 본 발명의 범위를 벗어나지 않고 고려될 수 있다. 예를 들어, 상기 저장조(10)를 맨드릴(3)의 말단부(15)에 대하여 분해할 필요없이 액체 충전을 실행하기 위하여 저장조(10)의 말단부(37)를 개방할 수 있게 하는 덮개(도시되지 않음)를 고려할 수 있을 것이다.The reservoir 10 is removable at the distal end 15 of the mandrel so that it is possible to access the opening 11 on the reservoir 10 to fill the reservoir with liquid. For that reason, the proximal end 12 of the reservoir 10 is removably assembled, in particular by snap coupling with the bottom 19 of the tubular part 14. Other variations of reservoir 10 charging are contemplated without departing from the scope of the present invention. A lid (not shown) that allows opening of the distal end 37 of the reservoir 10 to perform liquid filling, for example, without having to disassemble the reservoir 10 with respect to the distal end 15 of the mandrel 3 Can be considered.

도 7은 저장조(10), 관형 부품(14) 및 증기생성 판(17)과 접촉하는 심지(13)의 능동 위치를 감지하는 시스템의 제2 변형 실시예를 개략적으로 도시한다. 변형예에 따르면, 감지 시스템은 맨드릴(3) 내부에서 말단부(15) 위치에 배치된 스위치(38)를 포함한다. 스위치(38)는 케이블 등의 연결 수단(39)에 의하여 카운팅 유닛을 내장하고 헤어 스타일링 기기(1)의 본체(2) 내에 수용된 전자제어 박스(36)에 접속되고, 상기 케이블은 맨드릴(3)의 총장에 걸쳐 맨드릴을 관통한다. 저장조(10)의 일부분(40)은 저장조(10), 관형 부품(14) 및 심지(13)가 능동 위치로 이동할 때 스위치(38)의 푸시 버튼(41)을 작동하도록 구성되고, 그에 따라 스위치는 전자제어 박스(36) 내에 위치한 카운팅 유닛(도시되지 않음)을 작동개시한다.Figure 7 schematically shows a second variant embodiment of a system for sensing the active position of the wick 13 in contact with the reservoir 10, the tubular part 14 and the vapor producing plate 17. [ According to a variant, the sensing system comprises a switch 38 arranged at the distal end 15 position within the mandrel 3. The switch 38 is connected to an electronic control box 36 housed in the main body 2 of the hair styling appliance 1 and incorporating a counting unit by a connecting means 39 such as a cable, Through the mandril. A portion 40 of the reservoir 10 is configured to actuate the push button 41 of the switch 38 when the reservoir 10, the tubular component 14 and the wick 13 move to the active position, (Not shown) located in the electronic control box 36.

도 8은 저장조(10), 관형 부품(14) 및 증기생성 판(17)과 접촉하는 심지(13)의 능동 위치를 감지하는 시스템의 제3 변형 실시예를 개략적으로 도시한다. 변형예에 따르면, 감지 시스템은 헤어 스타일링 기기(1)의 본체(2) 내부에서 말단부(7) 위치에 배치된 스위치(38)를 포함한다. 스위치(38)는 케이블 등의 연결 수단(39)에 의하여 카운팅 유닛을 내장하고 헤어 스타일링 기기(1)의 본체(2) 내에 수용된 전자제어 박스(36)에 접속된다. 로드(42)는 맨드릴(3) 내에 배치되고 총장 상으로 연장되며, 로드(42)는 맨드릴(3)의 말단부(15) 위치에 마련된 제1 단부에 헤드(43)를 포함하고, 스위치(38)의 푸시 버튼(41) 근방에서 본체(2) 내에 마련된 제2 단부에 핑거부(44)를 포함한다. 로드(42)는 맨드릴(3)의 종방향으로 평행이동하도록 장착되고, 복원 용수철(45)은 상기 로드(42)를 초기 위치로 복귀할 수 있게 한다. 저장조(10)의 일부분(40)은 능동 위치에서 저장조(10), 관형 부품(14) 및 심지(13)의 이동시에 헤드(43)를 밀도록 구성되고 따라서 핑거부(44)가 스위치(38)의 푸시 버튼(41)을 작동하게 되고, 그에 따라 스위치(38)는 전자제어 박스(36) 내에 위치한 카운팅 유닛(도시되지 않음)을 작동개시한다. 또한, 맨드릴(3) 둘레로 균일하게 분포하는 1개 초과의 로드(42), 예를 들어 2개 또는 3개의 로드를 가짐으로써, 저장조(10) 상에 적절하게 힘을 분배하고 저장조가 능동 위치로 이동하는 동안 저장조의 가이딩을 저해하지 않도록 하는, 도 8의 변형예와 유사한 변형예들도 고려할 수 있다.Figure 8 schematically shows a third alternative embodiment of a system for sensing the active position of the wick 13 in contact with the reservoir 10, the tubular part 14 and the steam generating plate 17. According to a variant, the sensing system comprises a switch 38 arranged at the distal end 7 position within the body 2 of the hair styling appliance 1. The switch 38 is connected to the electronic control box 36 accommodated in the main body 2 of the hair styling appliance 1 by the connecting means 39 such as a cable and incorporating a counting unit. The rod 42 is disposed within the mandrel 3 and extends over the total length of the rod 42. The rod 42 includes a head 43 at a first end provided at the distal end 15 of the mandrel 3, (44) at the second end provided in the main body (2) in the vicinity of the push button (41) of the push button (41). The rod 42 is mounted for translation in the longitudinal direction of the mandrel 3, and the restoring spring 45 allows the rod 42 to return to its initial position. A portion 40 of the reservoir 10 is configured to push the head 43 upon movement of the reservoir 10, the tubular component 14 and the wick 13 in the active position, The push button 41 of the electronic control box 36 is operated so that the switch 38 starts the counting unit (not shown) located in the electronic control box 36. [ In addition, by having more than one rod 42, for example two or three rods uniformly distributed around the mandrel 3, it is possible to distribute the force appropriately on the reservoir 10, Variations similar to the variation of Fig. 8 are also contemplated, which do not hinder guiding of the reservoir during movement to the reservoir.

도 6 내지 도 8과 비교하여, 전술한 맨드릴(13)의 능동 위치 감지 시스템의 다양한 변형예들, 나아가 다른 모든 변형예는, 그와 같이 소정의 지속시간, 예를 들어 10초로 고정된 시간 경과 후, 신호 시스템을 작동개시하기 위하여, 전자제어 박스(36) 내에 배치된 카운팅 유닛(도시되지 않음)을 작동개시할 수 있게 한다. 그 기능 이외에, 헤어 스타일링 기기(1)는 가열 요소(21)의 온도 제어 유닛(도시되지 않음)을 포함하고, 유닛은 전자제어 박스(36) 내에 내장된다. 심지(13)의 능동 위치 감지 시스템은 또한 능동 위치로의 전환 시 카운팅 유닛의 작동개시와 동시에 제어 유닛을 작동개시할 수 있게 한다. 상기 제어 유닛은 따라서 가열 요소(21)의 온도를 상승시키고 따라서 증기생성 판(17)의 온도를 증가시키고, 그에 따라 심지(13)의 상기 증기생성 판(17)과의 접촉시 다소 저하된 온도를 보상할 수 있게 하고, 이로써 상기 심지(13)가 능동 위치로 전환되는 즉시 적절한 증기생성을 보장한다.6 to 8, the various variants of the active position sensing system of the mandrel 13 described above, as well as all other variants, thus have a fixed time duration such as a fixed duration of, for example, 10 seconds (Not shown) disposed in the electronic control box 36 to start operating the signaling system. In addition to its function, the hair styling appliance 1 includes a temperature control unit (not shown) of the heating element 21, and the unit is embedded in the electronic control box 36. The active position sensing system of the wick 13 also enables the control unit to be actuated at the same time when the counting unit is activated upon switching to the active position. The control unit thus raises the temperature of the heating element 21 and thus increases the temperature of the vapor generating plate 17 so that upon contact with the vapor producing plate 17 of the wick 13, So as to ensure proper steam generation as soon as the wick 13 is switched to the active position.

전술한 상세한 설명은 본 발명의 범위를 한정하지 않고, 본 발명 자체의 본질을 취할 수 있게 한다. 그러므로 특히 저장조(10), 관형 부품(14) 및 심지(13)를 능동 위치에서 유지하도록 보장하는 잠금/잠금 해제 시스템을 구현하는 것에 관하여 다른 변형예들을 고려할 수 있다. 잠금/잠금 해제 시스템은 예를 들어 한편으로는 저장조(10) 또는 관형 부품(14) 및 다른 한편으로 맨드릴(3)의 말단부(15) 사이에 기와형 커버(4)의 위치와 독립적으로 고안될 수 있을 것이다.The foregoing detailed description is not intended to limit the scope of the invention, but to enable it to take the essence of the invention itself. Therefore, other variations may be envisaged with regard to implementing a locking / unlocking system that specifically ensures that the reservoir 10, tubular part 14 and wick 13 are kept in the active position. The locking / unlocking system may be designed independently of the position of the tilted cover 4, for example between the reservoir 10 or the tubular part 14 and, on the other hand, the end 15 of the mandrel 3 It will be possible.

또한 심지(13)만 단독으로 증기생성 판(17)과 접촉하게 되고, 저장조(10)는 헤어 스타일링 기기(1) 상에 고정되어 있는 변형예들도 고려할 수 있을 것이다. 그 경우 헤어 스타일링 기기(1)는 증기생성 판(17)과 접촉하게 되도록 적용된 심지(13)의 이동 수단(도시되지 않음)을 포함할 것이다. 그 경우, 도 6에 도시된 것과 유사한 감지 시스템, 나아가 상기 심지(13)의 이동 수단에 의해 작동될 푸시 버튼(41)을 갖는 도 7 및 도 8에 도시된 것과 유사한 스위치(38)를 고려할 수 있을 것이다.It is also contemplated that only the wick 13 may be in contact with the steam generating plate 17 alone and the storage tank 10 may be fixed on the hair styling appliance 1. [ In which case the hair styling appliance 1 will comprise a moving means (not shown) of the wick 13 adapted to come into contact with the steam generating plate 17. In that case, a switch 38 similar to that shown in Figs. 7 and 8 with a push button 41 to be actuated by a sensing system similar to that shown in Fig. 6, There will be.

또한, 소리 신호 시스템을, 예를 들어 삐 신호음 방출기를 시각 신호 시스템으로, 예를 들어 영구 또는 점멸식 광신호 시스템으로, 나아가 다른 신호 시스템들로 대체할 수 있을 것이다.It will also be possible to replace the sound signal system, for example beep sound emitter, with a visual signal system, for example a permanent or flashing optical signal system, and then with other signal systems.

본 발명의 범위를 벗어나지 않고 다른 변형예들을 고려할 수 있다. 특히 전술한 바와 같은 잠금/잠금 해제 시스템(22)이 없는 헤어 스타일링 기기(1)를 고려할 수 있을 것인데, 그 경우 사용자는 소정의 시간이 경과되지 않은 한 증기생성 판(17)과 맞닿은 심지(13)의 능동 위치를 보존하기 위하여 핑거로 저장조(10)를 가압하여 유지해야 한다. 일단 소리 신호가 작동개시되면, 사용자는 복원 용수철 덕분으로 증기생성 판(17)에서 릴리스되는 심지(13)와 함께 자동으로 수동 위치로 복귀하는 저장조(10)를 릴리스할 수 있다.Other variations may be contemplated without departing from the scope of the present invention. In particular, a hair styling appliance 1 without a locking / unlocking system 22 as described above may be considered, in which case the user may use a wick 13 abutting the steam generating plate 17, The reservoir 10 must be pressurized and maintained with fingers to preserve the active position of the reservoir. Once the sound signal is activated, the user can release the reservoir 10, which automatically returns to the manual position with the wick 13 released from the steam generating plate 17 by virtue of the restoring spring.

Claims (13)

맨드릴(3), 액체 저장조(10), 액체로 적셔지도록 저장조와 연통하는 심지(13), 맨드릴 내에 내장된 가열 요소(21) 및 심지를 수동 위치로부터, 증기생성을 위하여 상기 심지가 가열 요소(21)와 접촉하는 능동 위치로 이동시킬 수 있도록 구성된 심지(13) 가이딩 수단을 포함하는, 헤어 컬링용 헤어 스타일링 기기(1)에 있어서,
기기는 지속시간 카운팅 유닛, 능동 위치로 전환 즉시 카운팅 유닛의 작동을 개시하도록 구성된 심지(13)의 능동 위치 감지 시스템(33, 38) 및 카운팅 유닛이 소정의 시간에 도달할 때 사용자에게 신호를 발신하도록 구성된 신호 시스템을 포함하는 것을 특징으로 하는, 헤어 스타일링 기기(1).
A wick 13 communicating with the reservoir to be immersed in liquid, a heating element 21 embedded in the mandrel and a wick from a manual position to a heating element 21. A hair styling appliance (1) for hair curling comprising a wicking means (13) adapted to be moved to an active position in contact with an abutting surface (21)
The apparatus includes a duration counting unit 33, an active position sensing system 33, 38 of the wick 13 configured to initiate operation of the counting unit immediately upon switching to the active position, (1), characterized in that it comprises a signaling system (1) configured to carry out the following steps.
제1항에 있어서, 심지(13)는 저장조(10)에 결속되고, 가이딩 수단은 저장조 및 심지를 수동 위치에서 능동 위치로 이동시키도록 구성되는, 헤어 스타일링 기기(1).2. A hair styling appliance (1) according to claim 1, wherein the wick (13) is bound to a reservoir (10) and the guiding means is configured to move the reservoir and the wick from a passive position to an active position. 제1항 또는 제2항에 있어서, 가열 요소(21)는 심지(13)가 능동 위치에서 대향하여 접촉하게 되는 증기생성 판(17)을 포함하고, 감지 시스템(33, 38)은 상기 증기생성 판의 온도 급감 감지 수단(33)을 포함하는, 헤어 스타일링 기기(1).3. A method according to claim 1 or 2, characterized in that the heating element (21) comprises a vapor generating plate (17) in which the wick (13) And a temperature drop detecting means (33) of the plate. 제1항 또는 제2항에 있어서, 감지 시스템(33, 38)은 맨드릴(3) 내에 배치된 스위치(38) 및 스위치를 카운팅 유닛에 연결하는 수단(39)을 포함하고, 상기 기기(1)는 능동 위치로의 전환으로써 스위치(38)를 직접 작동할 수 있게 하도록 구성되는, 헤어 스타일링 기기(1).A system according to any one of the preceding claims, wherein the sensing system (33, 38) comprises a switch (38) arranged in the mandrel (3) and means (39) for connecting the switch to the counting unit, Is configured to be able to operate the switch (38) directly by switching to the active position. 제1항 또는 제2항에 있어서, 기기는 맨드릴(3)에 의해 연장되는 본체(2)를 포함하고, 감지 시스템(33, 38)은 맨드릴(3) 내부로 연장되는 적어도 하나의 로드(42) 및 본체(2) 내에 배치된 스위치(38)를 포함하고, 상기 기기(1)는 능동 위치로의 전환으로써 적어도 하나의 로드(42)를 통하여 스위치(38)를 작동할 수 있게 하도록 구성되는, 헤어 스타일링 기기(1).A device according to claim 1 or 2, characterized in that the device comprises a body (2) extended by a mandrel (3) and the sensing system (33, 38) comprises at least one rod And a switch 38 disposed within the body 2 and configured to enable the switch 38 to be actuated via at least one rod 42 by switching to an active position , Hair styling appliance (1). 제1항 내지 제5항 중 어느 한 항에 있어서, 기기는 기와형 덮개(4)를 포함하고, 기와형 덮개는 기와형 덮개를 맨드릴로부터의 릴리스 위치에서 맨드릴과 맞닿은 가압 위치로 이동하게 하도록 맨드릴(3)과 클램프를 형성하기 위하여 기기 상에 관절연결되는, 헤어 스타일링 기기(1).6. A device according to any one of claims 1 to 5, wherein the device comprises a tiled roof (4), the tiled roof being adapted to move the tiled roof from its mandrel to a pressure position in abutment with the mandrel (3) and articulated on the device to form a clamp. 제6항에 있어서, 기기는 기와형 덮개(4)가 맨드릴(3)과 맞닿은 가압 위치에 있을 때, 심지(13)를 능동 위치에 유지하는 것을 보장하도록, 그리고 기와형 덮개(4)가 맨드릴(3)로부터 릴리스된 위치에 있을 때, 심지의 수동 위치를 향하여 심지가 릴리스되는 것을 허용하도록 구성된 잠금/잠금 해제 시스템(22)을 포함하는, 헤어 스타일링 기기(1).7. A device according to claim 6, characterized in that the device is arranged to ensure that the wick (13) is kept in the active position when the tilted cover (4) is in the pressing position in contact with the mandrel (3) Lock system (22) configured to allow a wick to be released towards a manual position of the wick when in a position released from the wrist (3). 제7항에 있어서, 저장조(10)는 심지(13)와 결속되고 잠금/잠금 해제 시스템(22)은 제1 잠금 요소(27)를 포함하고, 제1 잠금 요소는 저장조(10) 상에 마련되며, 기와형 덮개(4)의 말단부(24)에 위치된 제2 잠금 요소(29)와 연동하도록 마련되고, 상기 잠금 요소들(27, 29)은 상기 기와형 덮개가 맨드릴(3)과 맞닿은 가압 위치에 있을 때 그리고 상기 저장조가 능동 위치로 이동할 때 기와형 덮개(4)에 대하여 저장조(10) 위치의 유지를 보장하는, 헤어 스타일링 기기(1).8. A method according to claim 7, characterized in that the reservoir (10) is bound to the wick (13) and the locking / unlocking system (22) comprises a first locking element (27) And the locking elements (27, 29) are arranged to engage with the second locking element (29) located at the distal end (24) of the tiled cap (4) To ensure maintenance of the reservoir (10) position with respect to the tiled lid (4) when in the pressurized position and when the reservoir is moved to the active position. 제8항에 있어서, 상기 제1 잠금 요소(27) 및 제2 잠금 요소(29)는 서로 스냅식으로 고정되도록 구성되는, 헤어 스타일링 기기(1).9. The hair styling appliance (1) according to claim 8, wherein the first locking element (27) and the second locking element (29) are configured to be snapped together. 제9항에 있어서, 제1 잠금 요소(27)는 축소부(28)를 구비한 U형의 탄성 부품을 포함하고, 제2 잠금 요소(29)는 기와형 덮개(4)의 내면(30) 상에 배치된 스터드를 포함하고, 축소부(28)는 스터드 상에 삽입된 탄성 부품의 유지를 보장하는, 헤어 스타일링 기기(1).10. The locking device according to claim 9, wherein the first locking element comprises a U-shaped elastic part with a reduced portion and the second locking element comprises an inner surface of the tiled cover, And the shrinking portion (28) ensures the retention of the elastic part inserted on the stud. 제7항 내지 제10항 중 어느 한 항에 있어서, 잠금/잠금 해제 시스템(22)은 상기 수동 위치로의 심지(13)의 복원 수단(31)을 포함하는, 헤어 스타일링 기기(1).11. A hair styling appliance (1) according to any one of claims 7 to 10, wherein the locking / unlocking system (22) comprises a restoration means (31) of the wick (13) to the manual position. 제1항 내지 제11항 중 어느 한 항에 있어서, 기기는 가열 요소(21)의 온도 제어 유닛을 포함하고, 감지 시스템(33, 38)은 심지(13)가 능동 위치로 전환될 때 제어 유닛을 작동개시하도록 구성되는, 헤어 스타일링 기기(1).12. Device according to any one of the preceding claims, characterized in that the device comprises a temperature control unit of the heating element (21), and the sensing system (33, 38) is arranged such that when the wick (13) (1). ≪ / RTI > 제1항 내지 제12항 중 어느 한 항에 있어서, 신호 시스템은 소리 신호를 발신하도록 구성된, 헤어 스타일링 기기(1).13. A hair styling appliance (1) according to any one of claims 1 to 12, wherein the signaling system is configured to emit a sound signal.
KR1020197008784A 2016-09-01 2017-08-11 Hair styling device having a device for starting the counting unit Active KR102322367B1 (en)

Applications Claiming Priority (3)

Application Number Priority Date Filing Date Title
FR1658151 2016-09-01
FR1658151A FR3055195B1 (en) 2016-09-01 2016-09-01 HAIRING APPARATUS EQUIPPED WITH A DEVICE FOR RELEASING A COUNTER UNIT
PCT/FR2017/052226 WO2018042101A1 (en) 2016-09-01 2017-08-11 Hairstyling apparatus equipped with a device for triggering a counting unit

Publications (2)

Publication Number Publication Date
KR20190041515A true KR20190041515A (en) 2019-04-22
KR102322367B1 KR102322367B1 (en) 2021-11-05

Family

ID=57121425

Family Applications (1)

Application Number Title Priority Date Filing Date
KR1020197008784A Active KR102322367B1 (en) 2016-09-01 2017-08-11 Hair styling device having a device for starting the counting unit

Country Status (6)

Country Link
EP (1) EP3506789B1 (en)
KR (1) KR102322367B1 (en)
CN (2) CN207837025U (en)
FR (1) FR3055195B1 (en)
RU (1) RU2734816C2 (en)
WO (1) WO2018042101A1 (en)

Families Citing this family (2)

* Cited by examiner, † Cited by third party
Publication number Priority date Publication date Assignee Title
FR3055195B1 (en) * 2016-09-01 2018-08-10 Seb S.A. HAIRING APPARATUS EQUIPPED WITH A DEVICE FOR RELEASING A COUNTER UNIT
FR3082106B1 (en) * 2018-06-12 2020-05-08 Seb S.A. HAIRDRESSING APPARATUS FOR HAIR SMOOTHING PROVIDED WITH AN ELASTIC GUIDE DEVICE FOR A WICK

Citations (5)

* Cited by examiner, † Cited by third party
Publication number Priority date Publication date Assignee Title
CH597786A5 (en) * 1975-09-09 1978-04-14 Celmo Ag
JPH05228017A (en) * 1991-06-28 1993-09-07 Matsushita Electric Works Ltd Hair curler
KR200242058Y1 (en) * 2001-03-22 2001-10-08 이만택 A humidifier apparatus of hair iron
KR20140058494A (en) * 2011-06-13 2014-05-14 쿨웨이 인코포레이티드 Method and hair care tool for dynamic and optimum hair styling temperature control
US20150196105A1 (en) * 2014-01-16 2015-07-16 Conair Corporation Automatic hair curling appliance with fluid vapor emission

Family Cites Families (10)

* Cited by examiner, † Cited by third party
Publication number Priority date Publication date Assignee Title
US3835292A (en) * 1973-02-28 1974-09-10 Clairol Inc Steam curling iron
DE2634972C2 (en) * 1976-08-04 1986-07-17 Braun Ag, 6000 Frankfurt Device for the dosed dispensing of liquid with a steam curling iron
SU1687241A2 (en) * 1989-08-22 1991-10-30 Я.С. Гринберг, С.И. Лебедев и А.А. Гринберг Electrical curling tongs
DE10012194A1 (en) 2000-03-13 2001-09-27 Braun Gmbh Steam hair curling tong has excess liquid returned from evaporation chamber to liquid container after each operating of dosing device
RU2403839C2 (en) * 2006-06-30 2010-11-20 Байари Холдингс С.А. Curling tongs - flat iron for hair with ioniser
DE202006013468U1 (en) 2006-09-01 2008-01-10 Wik Far East Ltd. The hair styling appliance
FR2967019B1 (en) * 2010-11-05 2014-05-23 Seb Sa AUTOMATIC CONTROL HAIRSTUFFING APPARATUS
FR2981252B1 (en) * 2011-10-14 2013-12-20 Seb Sa APPARATUS FOR STEAM HAIR WITH CONTROLLED PUMP
FR2993438B1 (en) * 2012-07-20 2014-08-22 Seb Sa HAIRSTANDING APPARATUS EQUIPPED WITH A COMBINATION LOCKING SYSTEM
FR3055195B1 (en) * 2016-09-01 2018-08-10 Seb S.A. HAIRING APPARATUS EQUIPPED WITH A DEVICE FOR RELEASING A COUNTER UNIT

Patent Citations (5)

* Cited by examiner, † Cited by third party
Publication number Priority date Publication date Assignee Title
CH597786A5 (en) * 1975-09-09 1978-04-14 Celmo Ag
JPH05228017A (en) * 1991-06-28 1993-09-07 Matsushita Electric Works Ltd Hair curler
KR200242058Y1 (en) * 2001-03-22 2001-10-08 이만택 A humidifier apparatus of hair iron
KR20140058494A (en) * 2011-06-13 2014-05-14 쿨웨이 인코포레이티드 Method and hair care tool for dynamic and optimum hair styling temperature control
US20150196105A1 (en) * 2014-01-16 2015-07-16 Conair Corporation Automatic hair curling appliance with fluid vapor emission

Also Published As

Publication number Publication date
EP3506789B1 (en) 2020-09-09
CN107811388B (en) 2022-04-01
CN207837025U (en) 2018-09-11
CN107811388A (en) 2018-03-20
WO2018042101A1 (en) 2018-03-08
RU2019107118A (en) 2020-10-01
FR3055195A1 (en) 2018-03-02
KR102322367B1 (en) 2021-11-05
RU2019107118A3 (en) 2020-10-01
RU2734816C2 (en) 2020-10-23
EP3506789A1 (en) 2019-07-10
FR3055195B1 (en) 2018-08-10

Similar Documents

Publication Publication Date Title
KR102448776B1 (en) Hair styling device with elastic guiding device of wick
EP2583709B1 (en) Medicament delivery device comprising feedback signalling means
KR20200097700A (en) Heating assembly for steam generator
EP3968799B1 (en) Device assembly method and device manufactured according to such method
KR20190041515A (en) A hair styling device having an operation starting device of the counting unit
WO2018232342A1 (en) Curling iron with adjustable heating rod
US20190110569A1 (en) Device for treating the hair having push-release cartridge locking
US11304490B2 (en) Shaving brush device and system for holding and heating a shave cream cannister and dispensing shave cream therefrom
KR102322372B1 (en) Hair styling device with a system that locks the water tank and wick at the steam generating position
US7475690B2 (en) Mechanical eyelash curler
JP2021512750A (en) Hair styling device
JP3111102U (en) Auxiliary use of suppositories in the anus
JPH05345100A (en) Necktie presser

Legal Events

Date Code Title Description
PA0105 International application

Patent event date: 20190327

Patent event code: PA01051R01D

Comment text: International Patent Application

PG1501 Laying open of application
PA0201 Request for examination

Patent event code: PA02012R01D

Patent event date: 20200729

Comment text: Request for Examination of Application

E701 Decision to grant or registration of patent right
PE0701 Decision of registration

Patent event code: PE07011S01D

Comment text: Decision to Grant Registration

Patent event date: 20210914

GRNT Written decision to grant
PR0701 Registration of establishment

Comment text: Registration of Establishment

Patent event date: 20211101

Patent event code: PR07011E01D

PR1002 Payment of registration fee

Payment date: 20211102

End annual number: 3

Start annual number: 1

PG1601 Publication of registration
PR1001 Payment of annual fee

Payment date: 20241029

Start annual number: 4

End annual number: 4