KR20150124068A - Apparatus for fabricating vacuum glass panel - Google Patents
Apparatus for fabricating vacuum glass panel Download PDFInfo
- Publication number
- KR20150124068A KR20150124068A KR1020140050282A KR20140050282A KR20150124068A KR 20150124068 A KR20150124068 A KR 20150124068A KR 1020140050282 A KR1020140050282 A KR 1020140050282A KR 20140050282 A KR20140050282 A KR 20140050282A KR 20150124068 A KR20150124068 A KR 20150124068A
- Authority
- KR
- South Korea
- Prior art keywords
- vacuum
- glass panel
- vacuum glass
- support
- capping
- Prior art date
- Legal status (The legal status is an assumption and is not a legal conclusion. Google has not performed a legal analysis and makes no representation as to the accuracy of the status listed.)
- Granted
Links
- 239000011521 glass Substances 0.000 title claims abstract description 113
- 238000010438 heat treatment Methods 0.000 claims abstract description 41
- 238000007789 sealing Methods 0.000 claims abstract description 25
- 238000004519 manufacturing process Methods 0.000 claims abstract description 12
- 238000000034 method Methods 0.000 claims description 13
- 238000009423 ventilation Methods 0.000 claims description 2
- 125000006850 spacer group Chemical group 0.000 description 7
- 238000002844 melting Methods 0.000 description 4
- 230000008018 melting Effects 0.000 description 4
- 238000005452 bending Methods 0.000 description 3
- 238000001816 cooling Methods 0.000 description 3
- 230000000694 effects Effects 0.000 description 3
- 230000000903 blocking effect Effects 0.000 description 1
- 230000003028 elevating effect Effects 0.000 description 1
- 239000000155 melt Substances 0.000 description 1
- 238000012986 modification Methods 0.000 description 1
- 230000004048 modification Effects 0.000 description 1
- 239000010453 quartz Substances 0.000 description 1
- VYPSYNLAJGMNEJ-UHFFFAOYSA-N silicon dioxide Inorganic materials O=[Si]=O VYPSYNLAJGMNEJ-UHFFFAOYSA-N 0.000 description 1
Images
Classifications
-
- C—CHEMISTRY; METALLURGY
- C03—GLASS; MINERAL OR SLAG WOOL
- C03C—CHEMICAL COMPOSITION OF GLASSES, GLAZES OR VITREOUS ENAMELS; SURFACE TREATMENT OF GLASS; SURFACE TREATMENT OF FIBRES OR FILAMENTS MADE FROM GLASS, MINERALS OR SLAGS; JOINING GLASS TO GLASS OR OTHER MATERIALS
- C03C27/00—Joining pieces of glass to pieces of other inorganic material; Joining glass to glass other than by fusing
- C03C27/06—Joining glass to glass by processes other than fusing
Landscapes
- Chemical & Material Sciences (AREA)
- Engineering & Computer Science (AREA)
- Ceramic Engineering (AREA)
- Life Sciences & Earth Sciences (AREA)
- Chemical Kinetics & Catalysis (AREA)
- General Chemical & Material Sciences (AREA)
- Geochemistry & Mineralogy (AREA)
- Materials Engineering (AREA)
- Organic Chemistry (AREA)
- Joining Of Glass To Other Materials (AREA)
Abstract
본 기술에 따른 진공유리패널 제조장치는, 진공 챔버와, 진공 챔버의 내부에 적층 배치되고, 각각의 내부에 상기 진공유리패널이 개별적으로 지지되는 다수의 지지박스와, 각 지지박스 내부에 설치되어 진공유리패널의 프릿 실링부재를 가열 용융시키는 가열장치를 포함할 수 있다.A vacuum glass panel manufacturing apparatus according to the present invention comprises a vacuum chamber, a plurality of support boxes stacked in the vacuum chamber, each vacuum glass panel being individually supported inside the vacuum box, And a heating device for heating and fusing the frit sealing member of the vacuum glass panel.
Description
본 발명은 다수의 진공유리패널을 제조할 수 있는 진공유리패널 제조장치에 관한 것이다. The present invention relates to a vacuum glass panel manufacturing apparatus capable of manufacturing a plurality of vacuum glass panels.
일반적으로, 진공유리패널은 서로 대향되게 배치되고 스페이서에 의해 상호 이격되는 제1,2유리판 사이에 프릿 실링부재(Frit seal)을 용융시켜 제1,2유리판을 접합시키고, 제1,2유리판 중 하나에 형성되어 있는 배기홀을 통해 접합된 제1,2유리판 내부의 공기 및 가스를 배기시킨 후 배기홀을 캡핑부재를 이용하여 밀봉하는 과정을 통해 제조된다.Generally, vacuum glass panels are formed by melting a frit seal between first and second glass plates which are arranged to face each other and are spaced apart from each other by spacers to bond the first and second glass plates, And exhausting air and gas in the first and second glass plates bonded through the exhaust holes formed in one of the first and second glass plates, and then sealing the exhaust holes with a capping member.
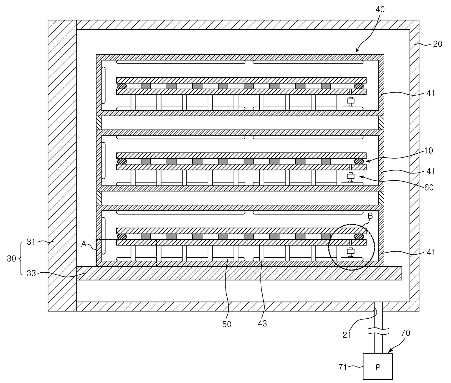
상기의 진공유리패널은, 진공 챔버와, 진공 챔버에 인입 가능하게 설치되는 트레이와, 트레이에 지지되는 다수의 진공유리패널의 프릿 실링부재를 용융시키는 가열장치와, 진공 챔버의 내부를 진공 배기시켜 각 진공유리패널의 내부를 진공으로 형성하는 진공장치와, 각 진공유리패널에 형성되는 배기홀을 캡핑하는 캡핑장치를 포함하는 진공유리패널 제조장치에 의해 제조될 수 있다.The vacuum glass panel includes a vacuum chamber, a tray provided in a vacuum chamber, a heating device for melting a frit sealing member of a plurality of vacuum glass panels supported by the tray, and a vacuum chamber A vacuum apparatus for forming the inside of each vacuum glass panel in a vacuum state, and a capping apparatus for capping an exhaust hole formed in each vacuum glass panel.
한편, 각 진공유리패널의 프릿 실링부재는 다수의 진공유리패널이 트레이에 지지된 상태에서 가열장치에 의해 용융된다. 이때 각 진공유리패널은 트레이에 상하로 이격된 형태로 지지된다. 그리고 가열장치는 트레이에 지지된 각 진공유리패널의 전,후,좌,우 방향에 일정 간격으로 떨어진 상태로 설치되어 각 진공유리패털의 프릿 실링부재를 용융시킨다. 바람직하게 가열장치는 진공 챔버의 내벽면에 설치될 수 있다.On the other hand, the frit sealing members of each vacuum glass panel are melted by a heating device in a state in which a plurality of vacuum glass panels are supported on the tray. At this time, each vacuum glass panel is supported on the tray in a vertically spaced manner. The heating device is installed at a predetermined distance in the front, back, left, and right directions of each vacuum glass panel supported on the tray to melt the frit sealing member of each vacuum glass pane. Preferably, the heating device can be installed on the inner wall surface of the vacuum chamber.
그러나, 종래에는 다수의 진공유리패널이 상하로 이격된 형태로 트레이에 배치된 상태에서 가열장치로부터 열이 전달됨에 따라, 각각의 진공유리패널의 각 부분들로 전달되는 열의 온도가 상이한 문제점이 있다. 그리고 상기와 같이 각 진공유리패널로 전달되는 열의 온도가 상이하면 각 진공유리패널에 온도편차가 발생되고, 각 진공유리패널에 온도편차가 발생되면 각 진공유리패널에 휨이 발생될 수 있다.However, conventionally, as heat is transferred from the heating device in a state where a plurality of vacuum glass panels are vertically spaced apart from each other, there is a problem that the temperature of heat transmitted to each part of each vacuum glass panel is different . When the temperatures of the heat transferred to the respective vacuum glass panels are different from each other as described above, temperature deviations occur in the vacuum glass panels, and when temperature deviations occur in the respective vacuum glass panels, warpage may occur in the respective vacuum glass panels.
따라서, 본 발명은 상기의 문제점을 해결하기 위하여 안출된 것으로서, 본 발명의 목적은 다수의 진공유리패널을 휨 없이 원활하게 제조할 수 있는 진공유리패널 제조장치를 제공함에 있다.Accordingly, it is an object of the present invention to provide a vacuum glass panel manufacturing apparatus capable of smoothly manufacturing a plurality of vacuum glass panels without bending.
상기와 같은 목적을 달성하기 위하여 제1,2유리판과, 상기 제1유리판의 가장자리에 배치되어 상기 제1,2유리판을 접합 가능하게 하는 프릿 실링부재와, 상기 제1,2유리판 중 하나에 형성되는 배기홀을 막는 캡핑부재를 포함하는 진공유리패널을 제조하는 제조장치는, 진공 챔버와, 상기 진공 챔버의 내부에 적층 배치되고, 각각의 내부에 상기 진공유리패널이 개별적으로 지지되는 다수의 지지박스와, 상기 각 지지박스 내부에 설치되어 상기 진공유리패널의 프릿 실링부재를 가열 용융시키는 가열장치를 포함한다.A frit sealing member disposed on an edge of the first glass plate to allow the first and second glass plates to be bonded together; and a second sealing member formed on one of the first and second glass sheets, And a capping member for blocking an exhaust hole formed in the vacuum glass panel, the apparatus comprising: a vacuum chamber; a plurality of support members, which are stacked inside the vacuum chamber and in which the vacuum glass panel is individually supported, And a heating device installed inside each of the support boxes for heating and fusing the frit sealing member of the vacuum glass panel.
이상에서 살펴본 바와 같이 본 발명의 진공유리패널 제조장치는 다수의 진공유리패널의 프릿 실링부재를 가열 용융시키는 과정에서 진공유리패널의 휨이 발생되는 것을 방지할 수 있다.As described above, the vacuum glass panel manufacturing apparatus of the present invention can prevent the warp of the vacuum glass panel from occurring in the process of heating and fusing the frit sealing members of a plurality of vacuum glass panels.
도 1은 본 발명의 실시예에 따른 진공유리패널을 도시한 도면이다.
도 2는 본 발명의 실시예에 따른 진공유리패널 제조장치를 개략적으로 도시한 도면이다.
도 3은 도 2의 A 부분을 확대 도시한 도면이다.
도 4는 도 2에 도시된 지지박스의 절개 사시도이다.
도 5는 도 4의 C 부분을 확대 도시한 도면이다.
도 6은 도 2의 B 부분을 확대 도시한 도면이다.1 is a view showing a vacuum glass panel according to an embodiment of the present invention.
2 is a schematic view of a vacuum glass panel manufacturing apparatus according to an embodiment of the present invention.
3 is an enlarged view of a portion A in Fig.
4 is an exploded perspective view of the support box shown in Fig.
5 is an enlarged view of a portion C in Fig.
6 is an enlarged view of a portion B in Fig.
본 발명의 이점 및 특징, 그리고 그것들을 달성하는 방법은 첨부되는 도면과 함께 상세하게 후술되어 있는 실시예들을 참조하면 명확해질 것이다. 그러나 본 발명은 이하에서 개시되는 실시예들에 한정되는 것이 아니라 서로 다른 다양한 형태로 구현될 것이며, 단지 본 실시예들은 본 발명의 개시가 완전하도록 하며, 본 발명이 속하는 기술분야에서 통상의 지식을 가진 자에게 발명의 범주를 완전하게 알려주기 위해 제공되는 것이다. 또한 설명의 편의를 위하여 도면에서는 구성요소들의 크기가 과장 또는 축소될 수 있고, 명세서 전체에 걸쳐 동일 참조 부호는 동일 구성 요소를 지칭한다.
BRIEF DESCRIPTION OF THE DRAWINGS The advantages and features of the present invention and the manner of achieving them will become apparent with reference to the embodiments described in detail below with reference to the accompanying drawings. The present invention may, however, be embodied in many different forms and should not be construed as being limited to the embodiments set forth herein. Rather, these embodiments are provided so that this disclosure will be thorough and complete, and will fully convey the scope of the invention to those skilled in the art. It is provided to fully inform the owner of the scope of the invention. Also, for convenience of description, the size of components may be exaggerated or reduced in the drawings, and like reference numerals refer to like elements throughout the specification.
도 1을 참조하면, 본 발명의 실시예에 따른 진공유리패널(10)는 상호 대향하여 배치되는 제1,2유리판(11,12)과, 제1,2유리판(11,12)을 이격시키는 다수의 스페이서(14)와, 제1,2유리판(11,12)을 상호 접합시켜 제1,2유리판(11,12) 사이의 공간을 밀봉시키는 프릿 실링부재(13)를 포함한다.Referring to FIG. 1, a
제1유리판(11)과 제2유리판(12)은 상술한 바와 같이 상호 대향하여 배치되는데, 제1,2유리판(11,12) 사이에 마련되는 다수의 스페이서(14)에 의해 일정 간격으로 이격된다. 제1,2유리판(11,12) 중 적어도 실내공간 쪽에 배치되는 제1유리판(11)은 단열효과가 뛰어난 로이(Low-e) 유리일 수 있다. The
그리고 제1,2유리판(11,12) 중 적어도 하나에는 제1,2유리판(11,12) 사이의 공간을 진공층으로 만들기 위한 배기홀(15)이 형성될 수 있다. 이러한 배기홀(15)에는 캡핑부재(16)가 장착될 수 있다.At least one of the first and
다수의 스페이서(14)는 제1,2유리판(11,12) 사이에 배치되어 제1,2유리판(11,12)을 상호 이격시키는 역할을 한다. 이러한 각 스페이서(14)는 상호 동일한 크기 및 형상일 수 있으며, 상호간에 일정한 거리를 두고 규칙적으로 배열될 수 있다.The plurality of
프릿 실링부재(13)는 제1유리판(11)의 가장자리에 배치되어 다수의 스페이서(14)에 의해 상호 이격된 제1,2유리판(11,12)을 상호 접합시키는 역할을 한다. 이러한 프릿 실링부재(13)는 후술할 진공 챔버(20, 도 2 참조) 내부에 설치되는 가열장치(40, 도 2 참조)에 의해 용융되어 제1,2유리판(11,12)을 밀봉시키게 된다.
The
도 2 내지 도 6을 참조하면, 본 발명의 실시예에 따른 진공유리패널 제조장치는, 진공 챔버(20)와, 도어 트레이장치(30)와, 지지장치(40)와, 가열장치(50)와, 캡핑장치(60)와, 진공장치(70)를 포함할 수 있다.2 to 6, an apparatus for manufacturing a vacuum glass panel according to an embodiment of the present invention includes a
도 2에 도시된 바와 같이, 진공 챔버(20)는 진공유리패널(10)이 제조되는 장소로써, 도어 트레이장치(30)가 인입 가능하도록 일측이 개방된 형상으로 마련될 수 있다. 여기서 미설명부호 21은 진공 챔버(20)의 진공 배기를 위해 형성되는 배기포트이다.As shown in FIG. 2, the
도어 트레이장치(30)는 진공 챔버(20)의 개방된 일측을 개폐하는 도어(31)와, 이 도어(31)에 연결되어 지지장치(40)가 적층되는 트레이(33)를 포함할 수 있다. 이때의 트레이(33)는 도어(31)와 직교하는 방향으로 연결되되, 진공 챔버(20)의 바닥면과 평행을 이루는 것이 바람직하다.The
지지장치(40)은 트레이(33) 상에서 상하방향으로 적층된 형태로 배치되는 다수의 지지박스(41)를 포함할 수 있다. 이러한 각 지지박스(41)는 각각의 진공유리패널(10)을 지지하되, 가조립된 상태의 진공유리패널을 지지할 수 있다. 여기서, 가조립된 상태의 진공유리패널은 제1,2유리판(11,12, 도 1 참조) 사이에 다수의 스페이서(14, 도 1 참조)가 배치되고, 제1,2유리판(11,12) 사이의 공간의 가장자리에 프릿 실링부재(13, 도 1 참조)가 도포된 상태를 말한다. The
지지박스(41)의 내부에는 진공유리패널(10)을 실질적으로 지지하는 지지핀유닛(43)이 설치된다. 지지핀유닛(43)은 도 2 및 도 3에 도시된 바와 같이, 지지박스(41)의 바닥면에 수직하는 방향으로 설치되는 몸체(431)와, 몸체(431) 내부에 수용되되 상단이 몸체(431)를 관통하도록 배치되는 지지핀(433)과, 몸체(431)의 내부에서 지지핀(433)을 탄성 지지하는 탄성부재(435)를 포함할 수 있다.Inside the
상기의 지지핀(433)의 상단에는 진공유리패널(10)과 접촉 시 진공유리패널(10)의 손상을 방지하기 위해 쿼츠 재질의 접촉부재(437)가 마련될 수 있다.A
상기와 같은 구성을 갖는 지지핀유닛(43)의 작용효과를 설명하면 다음과 같다. The operation and effect of the
통상의 진공유리패널(10)은 그 크기가 클 경우 진공유리패널(10)의 하중에 의해 벤딩된 상태로 다수의 지지핀유닛(43)에 지지될 수 있다. 이 경우 각각의 지지핀유닛(43)이 일정 높이로 고정된 상태에서는 진공유리패널(10)의 벤딩된 부분의 지지핀유닛(43)에 허용치 이상의 힘이 가해져 진공유리패널(10)의 손상이 발생될 수 있다. 다시 말하면 진공유리패널(10)의 벤딩이 심화되는 중앙 부분에서는 가장자리 부분 보다 큰 하중이 가해져 손상될 수 있다.The conventional
하지만 본 발명의 지지핀유닛(43)은 진공유리패널(10)의 각 부분을 개별적으로 탄성 지지함에 따라, 진공유리패널(10)의 벤딩에 의해 각 부분에서 다른 힘이 가해지더라도 진공유리패널(10)의 손상을 방지할 수 있게 된다.However, since the
또한, 지지박스(41)는 진공유리패널(10)의 프릿 실링부재(13, 도 1 참조)를 용융시키는 과정에서 발생되는 열이 지지박스(41)의 외부로 빠져나가는 것을 방지하면서도 진공유리패널(10)의 내부를 진공 배기시키는 과정에서 용이하게 지지박스(41) 내부의 공기가 외부로 배기될 수 있는 구조를 갖는다.The
구체적으로, 지지박스(41)는 도 2, 도 4 및 도 5에 도시된 바와 같이 직육면체 형상으로 이루어져 6개의 벽면을 갖는다. 이 중 적어도 하나의 벽면은 서로 이격된 다중벽(410a,410b,410c)으로 구성되는 쉴드벽(410)으로 이루어질 수 있다. 예를 들면, 쉴드벽(410)은 다른 지지박스와 대향하는 벽이 아닌 진공 챔버(20)의 벽면과 대향하는 벽에 마련될 수 있다. 이때, 도 2 및 도 4에서는 도시의 편의를 위해 쉴드벽의 상세 구조를 생략하여 도시하였다.Specifically, the
쉴드벽(410)을 구성하는 다중벽(410a,410b,410c)에는 지지박스(41) 내부와 진공 챔버(20) 내부 사이에서 공기가 유동되는 통기공(415a,415b,415c)이 각각 형성되어 있다. 이때, 다중벽(410a,410b,410c)의 통기공(415a,415b,415c) 중 적어도 하나는 나머지와 동일 선상에 배치되지 않는 것이 바람직하다.
예를 들면, 쉴드벽(410)이 세 개의 벽(410a,410b,410c)으로 구성될 경우, 제1벽(410a)과 제3벽(410c)의 통기공(415a,415c)은 제1,3벽(410a,410c)의 상측에 배치되고, 제2벽(410b)의 통기공(415b)은 제2벽(410b)의 하측에 배치될 수 있다. 이와 같이 배치되면, 지지박스(41) 내부의 공기가 지그재그 형태로 유동되어 지지박스(41)의 외부로 빠져나가게 된다. 반면에 지지박스(41)의 내부에 배치되는 가열장치(40)에서 발생되는 열은 쉴드벽(410)이 다중벽(410a,410b,410c)으로 구성되므로 지지박스(41)의 외부로 빠져나가지 못하게 된다. 즉, 지지박스(41) 내부의 열이 제1벽(410a)의 통기공(415a)을 통해 빠져나가더라도 제2벽(410b)에 의해 유동이 방지될 수 있다.For example, when the
가열장치(40)는 각 지지박스(41)에 지지되어 있는 각각의 진공유리패널(10)의 프릿 실링부재(13, 도 1 참조)를 가열 용융시켜 제1,2유리판(11,12, 도 1 참조)을 밀봉시키기 위해 마련된다. 상기의 가열장치(40)는 IR 램프일 수 있으며, 프릿 실링부재(13)를 진공의 환경에서 원활하게 가열 용융시킬 수 있으면 다양한 다른 수단들이 채용되는 것도 무방하다.The
상기의 가열장치(40)는 다수의 가열부재(410)를 포함할 수 있는데, 다수의 가열부재(410)는 지지박스(41)의 내면 전체 즉, 전, 후, 좌, 우, 상, 하면 각각에 설치될 수 있다. 다수의 가열부재(410)는 지지박스(41)의 각 내면 중 적어도 하나에서 동심원 또는 동심 다각형 형상으로 배치될 수 있다. 그리고 다수의 가열부재(410)는 지지박스의 각 내면 중 적어도 하나에서 다수의 행과 열을 이루도록 배치될 수도 있다.The
또, 상기의 가열장치(40) 중 지지박스(41)의 상면에 설치되는 다수의 가열부재와, 지지박스(41)의 하면에 설치되는 다수의 가열부재는 서로 다른 열전달량을 가질 수 있다. A plurality of the heating members provided on the upper surface of the
이는 진공유리패널(10)을 구성하는 제1,2유리판(11,12. 도 1 참조) 중 하나가 낮은 방사율을 갖는 로이(Low-e) 유리로 구성될 경우에도 진공유리패널(10)에 전달되는 열의 온도편차가 발생되는 것을 방지하기 위함이다.This is because even if one of the first and
한편, 상기와 같은 구성을 갖는 가열장치(40)는 다음과 같은 작용효과를 갖는다.On the other hand, the
다수의 가열부재(410)는 각 지지박스(41)에 지지되어 있는 진공유리패널(10)을 기준으로 전, 후, 좌, 우, 상, 하측 방향 전체에 설치된다. 이와 같이 진공유리패널(10)의 전 방향에 걸쳐 다수의 가열부재(410)가 설치되면, 다수의 가열부재(410)로부터 발생된 열이 진공유리패널(10)의 각 부분에 온도편차 없이 균일하게 전달된다. The plurality of
다시 말하면, 본 발명의 실시예에서는 다수의 진공유리패널(10)의 프릿 실링부재(13, 도 1 참조)를 동시에 가열 용융시키되, 각 진공유리패널(10)의 각 부분에 온도편차 없이 열이 전달되므로 각 진공유리패널(10)의 휨이 발생되는 것을 방지할 수 있다. In other words, in the embodiment of the present invention, the frit sealing members 13 (see Fig. 1) of a plurality of
또, 본 발명의 실시예에서는 각 지지박스(41)의 내면 전체에 설치되는 가열장치(40)로부터 열이 각 진공유리패널(10)에 전달됨에 따라, 각 진공유리패널(10)의 프릿 실링부재(13)를 가열 용융시키는데 소요되는 시간이 단축될 수도 있다.In the embodiment of the present invention, as heat is transferred from the
진공장치(70)는 도 2에 도시된 바와 같이, 진공 챔버(20) 내부의 공기를 외부로 배기시킴으로써 진공 챔버(20) 내부를 진공의 환경으로 만드는 진공펌프(71)를 포함할 수 있다. The
캡핑장치(60)는 도 2 및 도 6에 도시된 바와 같이, 진공장치(70)에 의해 진공 챔버(20) 내부를 진공의 환경으로 만든 상태에서 각 진공유리패널(10)의 배기홀(15, 도 1 참조)을 캡핑시켜 각 진공유리패널(10)의 내부 공간, 예를 들면, 제1,2유리판(11,12, 도 1참조) 사이의 공간을 진공층으로 만들기 위해 사용된다.2 and 6, the
상기의 캡핑장치(60)는 각 지지박스(41)의 내부에 개별적으로 배치되는데, 이러한 캡핑장치(60)는 각 진공유리패널(10)의 하측에서 각 진공유리패널(10)의 배기홀(15)에 대응되는 위치에 배치되는 캡핑모듈(61)과, 각 캡핑모듈(61)을 승강시키는 승강모듈(63)을 포함할 수 있다. The
또, 본 발명의 실시예에서는 가열장치(40)에 의해 가열 용융된 프릿 실링부재(13)를 냉각시키기 위한 냉각장치(미도시)를 더 포함할 수 있다. 이러한 냉각장치는 가열장치(40)와 마찬가지로 지지박스(41)의 내부에 설치될 수 있다.In the embodiment of the present invention, a cooling device (not shown) for cooling the
따라서 본 발명의 실시예에서는 진공유리패널을 개별적으로 지지하는 각 지지박스의 내부에 가열장치가 마련됨에 따라, 다수의 진공유리패널의 프릿 실링부재를 동시에 가열 용융시키더라도 각 진공유리패널에 균일하게 열을 전달할 수 있으므로 진공유리패널의 휨 등 손상을 방지할 수 있다. 동시에 각 진공유리패널의 프릿 실링부재를 가열 용융시키는데 소요되는 시간이 단축될 수 있다. Therefore, according to the embodiment of the present invention, since the heating device is provided inside each support box for individually supporting the vacuum glass panel, even if the frit sealing members of the plurality of vacuum glass panels are heated and melted at the same time, Heat can be transmitted, so that damage such as warpage of the vacuum glass panel can be prevented. The time required for heating and fusing the frit sealing members of each vacuum glass panel can be shortened.
또, 본 발명의 실시예에서는 각 지지박스에 상기와 같은 구성을 갖는 쉴드벽을 구성함에 따라, 각 지지박스의 가열장치에서 발생되는 열을 단열시키면서도 각 지지박스 내부의 공기를 진공 챔버로 유동시킬 수 있으므로 진공 챔버를 배기시키는 하나의 진공장치를 구비하여도 된다.Further, in the embodiment of the present invention, the shield wall having the above-described configuration is formed in each support box, so that the heat generated in the heating device of each support box is insulated, and the air inside each support box is flowed into the vacuum chamber A single vacuum device for evacuating the vacuum chamber may be provided.
한편, 본 발명은 도면에 도시된 일 실시예를 참고로 설명되었으나 이는 예시적인 것에 불과하며, 본 기술 분야의 통상의 지식을 가진 자라면 이로부터 다양한 변형 및 균등한 타 실시예가 가능하다는 점을 이해할 것이다. 따라서 본 발명의 진정한 기술적 보호 범위는 첨부된 특허청구범위의 기술적 사상에 의해 정해져야 할 것이다.While the present invention has been particularly shown and described with reference to exemplary embodiments thereof, it is to be understood that the invention is not limited to the disclosed embodiments, but, on the contrary, is intended to cover various modifications and equivalent arrangements included within the spirit and scope of the appended claims. will be. Accordingly, the true scope of the present invention should be determined by the technical idea of the appended claims.
10: 진공유리패널 11: 제1유리판
12: 제2유리판 13: 프릿 실링부재
14: 스페이서 15: 배기홀
16: 캡핑부재 20: 진공 챔버
30: 도어 트레이장치 40: 지지장치
41: 지지박스 43: 지지핀유닛
50: 가열장치 60: 캡핑장치
70: 진공장치10: vacuum glass panel 11: first glass plate
12: second glass plate 13: frit sealing member
14: Spacer 15: Exhaust hole
16: capping member 20: vacuum chamber
30: door tray device 40: support device
41: support box 43: support pin unit
50: heating device 60: capping device
70: Vacuum device
Claims (11)
상기 진공유리패널 제조장치는,
진공 챔버와,
상기 진공 챔버의 내부에 적층 배치되고, 각각의 내부에 상기 진공유리패널이 개별적으로 지지되는 다수의 지지박스와,
상기 각 지지박스 내부에 설치되어 상기 진공유리패널의 프릿 실링부재를 가열 용융시키는 가열장치를 포함하는 진공유리패널 제조장치.A frit sealing member disposed at an edge of the first glass plate to allow the first and second glass plates to be bonded together; and a capping member for closing an exhaust hole formed in one of the first and second glass plates, A vacuum glass panel manufacturing apparatus for manufacturing a vacuum glass panel,
In the vacuum glass panel manufacturing apparatus,
A vacuum chamber,
A plurality of support boxes stacked in the vacuum chamber and each of which is individually supported by the vacuum glass panel;
And a heating device installed inside each of the support boxes for heating and fusing the frit sealing member of the vacuum glass panel.
상기 가열장치는 상기 지지박스의 내부에서 상기 지지된 진공유리패널의 전, 후, 좌, 우, 상, 하측 방향에 이격 설치된 것을 특징으로 하는 진공유리패널 제조장치.The method according to claim 1,
Wherein the heating device is spaced apart from the support box in the front, rear, left, right, upper, and lower directions of the supported vacuum glass panel.
상기 가열장치는 상기 지지박스의 내면 전체에 설치된 것을 특징으로 하는 진공유리패널 제조장치.3. The method of claim 2,
Wherein the heating device is installed on the entire inner surface of the support box.
상기 가열장치는 상기 지지박스의 내면에서 동심원 또는 동심 다각형 형상으로 배치된 것을 특징으로 하는 진공유리패널 제조장치.The method of claim 3,
Wherein the heating device is arranged concentrically or concentrically on the inner surface of the support box.
상기 가열장치는 상기 지지박스의 내면에서 다수의 행과 다수의 열을 이루도록 배치된 것을 특징으로 하는 진공유리패널 제조장치.The method of claim 3,
Wherein the heating device is arranged to form a plurality of rows and a plurality of rows in the inner surface of the support box.
상기 각 지지박스에는 상기 각 진공유리패널을 지지하는 다수의 지지핀유닛이 설치되고,
상기 각 지지핀유닛은, 상기 지지박스의 바닥면에 설치되는 몸체와, 상기 몸체의 상면을 관통하여 돌출되도록 상기 몸체의 내부에 수용되는 지지핀과, 상기 지지핀의 상단에 마련되는 접촉부재와, 상기 몸체의 내부에서 상기 지지핀을 탄성 지지하는 탄성부재를 포함하는 진공유리패널 제조장치.The method according to claim 1,
Wherein each support box is provided with a plurality of support pin units for supporting the respective vacuum glass panels,
Each of the support pin units includes a body provided on a bottom surface of the support box, a support pin received in the body so as to protrude through an upper surface of the body, a contact member provided on an upper end of the support pin, And an elastic member for elastically supporting the support pin inside the body.
상기 진공유리패널 제조장치는, 상기 진공 챔버의 내부의 공기를 외부로 배기시키는 진공장치와, 상기 진공장치에 의해 상기 진공 챔버 내부의 공기를 배기시킨 상태에서 상기 각 지지박스에 지지된 상기 진공유리패널의 배기홀을 캡핑하는 캡핑장치를 더 포함하는 진공유리패널 제조장치.The method according to claim 1,
The vacuum glass panel manufacturing apparatus includes a vacuum apparatus for exhausting air inside the vacuum chamber to the outside, and a vacuum apparatus for vacuuming the vacuum glass supported on the vacuum box, And a capping device for capping an exhaust hole of the panel.
상기 지지박스를 형성하는 벽 중 적어도 하나는 쉴드벽을 포함하고,
상기 쉴드벽은 상호 이격되는 다수의 벽으로 구성되는 것을 특징으로 하는 진공유리패널 제조장치.8. The method of claim 7,
Wherein at least one of the walls forming the support box comprises a shield wall,
Wherein the shield wall comprises a plurality of walls spaced apart from each other.
상기 쉴드벽의 각 벽은 상기 지지박스 내부의 공기가 상기 진공 챔버로 유동될 수 있도록 통기공이 각각 형성된 것을 특징으로 하는 진공유리패널 제조장치.9. The method of claim 8,
Wherein each wall of the shield wall is formed with ventilation holes so that air in the support box can flow into the vacuum chamber.
상기 쉴드벽의 각 벽 중 적어도 하나에 형성되는 통기공은 나머지 통기공과 동일선 상에 배치되지 않는 것을 특징으로 하는 진공유리패널 제조장치.10. The method of claim 9,
Wherein the vent holes formed in at least one of the walls of the shield wall are not arranged on the same line as the remaining vent holes.
상기 캡핑장치는 상기 배기홀을 캡핑하는 캡핑부재를 지지하는 캡핑모듈과, 상기 캡핑장치를 승강시키는 승강모듈을 포함하는 진공유리패널 제조장치.8. The method of claim 7,
Wherein the capping device includes a capping module for supporting a capping member for capping the exhaust hole, and a lifting module for lifting and lowering the capping device.
Priority Applications (1)
| Application Number | Priority Date | Filing Date | Title |
|---|---|---|---|
| KR1020140050282A KR101611530B1 (en) | 2014-04-25 | 2014-04-25 | Apparatus for fabricating vacuum glass panel |
Applications Claiming Priority (1)
| Application Number | Priority Date | Filing Date | Title |
|---|---|---|---|
| KR1020140050282A KR101611530B1 (en) | 2014-04-25 | 2014-04-25 | Apparatus for fabricating vacuum glass panel |
Publications (2)
| Publication Number | Publication Date |
|---|---|
| KR20150124068A true KR20150124068A (en) | 2015-11-05 |
| KR101611530B1 KR101611530B1 (en) | 2016-04-12 |
Family
ID=54600345
Family Applications (1)
| Application Number | Title | Priority Date | Filing Date |
|---|---|---|---|
| KR1020140050282A Active KR101611530B1 (en) | 2014-04-25 | 2014-04-25 | Apparatus for fabricating vacuum glass panel |
Country Status (1)
| Country | Link |
|---|---|
| KR (1) | KR101611530B1 (en) |
Cited By (4)
| Publication number | Priority date | Publication date | Assignee | Title |
|---|---|---|---|---|
| KR20180016816A (en) * | 2016-08-08 | 2018-02-20 | 지티엔이(주) | The method for manufacturing a vacuum glass |
| WO2019160263A1 (en) | 2018-02-19 | 2019-08-22 | 엘지전자 주식회사 | Apparatus for manufacturing vacuum glass |
| WO2019190043A1 (en) | 2018-03-26 | 2019-10-03 | 엘지전자 주식회사 | Apparatus for manufacturing vacuum glass |
| KR20220129801A (en) * | 2021-03-17 | 2022-09-26 | 주식회사 자산유리 | Apparatus for pressing thin plate stone and glass and pressing method using the same |
Families Citing this family (4)
| Publication number | Priority date | Publication date | Assignee | Title |
|---|---|---|---|---|
| WO2018008958A1 (en) * | 2016-07-06 | 2018-01-11 | 박재일 | Method for manufacturing vacuum insulation glass panel and device for closing sealing cap |
| KR102408937B1 (en) | 2019-08-28 | 2022-06-14 | 주식회사 신도기연 | Method for manufacturing vacuum glass panel |
| KR20210158712A (en) | 2020-06-24 | 2021-12-31 | 주식회사 신도기연 | Vacuum glass panel and method for manufacturing the same |
| KR20210158713A (en) | 2020-06-24 | 2021-12-31 | 주식회사 신도기연 | Vertical apparatus for manufacturing vacuum glass panel |
-
2014
- 2014-04-25 KR KR1020140050282A patent/KR101611530B1/en active Active
Cited By (6)
| Publication number | Priority date | Publication date | Assignee | Title |
|---|---|---|---|---|
| KR20180016816A (en) * | 2016-08-08 | 2018-02-20 | 지티엔이(주) | The method for manufacturing a vacuum glass |
| WO2019160263A1 (en) | 2018-02-19 | 2019-08-22 | 엘지전자 주식회사 | Apparatus for manufacturing vacuum glass |
| US12084910B2 (en) | 2018-02-19 | 2024-09-10 | Lg Electronics Inc. | Apparatus for manufacturing vacuum glazing |
| WO2019190043A1 (en) | 2018-03-26 | 2019-10-03 | 엘지전자 주식회사 | Apparatus for manufacturing vacuum glass |
| EP4464678A1 (en) | 2018-03-26 | 2024-11-20 | LG Electronics Inc. | Apparatus for manufacturing vacuum glass |
| KR20220129801A (en) * | 2021-03-17 | 2022-09-26 | 주식회사 자산유리 | Apparatus for pressing thin plate stone and glass and pressing method using the same |
Also Published As
| Publication number | Publication date |
|---|---|
| KR101611530B1 (en) | 2016-04-12 |
Similar Documents
| Publication | Publication Date | Title |
|---|---|---|
| KR101611530B1 (en) | Apparatus for fabricating vacuum glass panel | |
| KR101902058B1 (en) | Method for producing vacuum insulation glass panel and supporting device of sealing cap | |
| JP6601781B2 (en) | Manufacturing method of glass panel unit and manufacturing method of glass window | |
| KR101412512B1 (en) | Apparatus for manufacturing vacuum glass panel and method for manufacturing thereof | |
| JPWO2017056419A1 (en) | Manufacturing method of glass panel unit and manufacturing method of glass window | |
| JP5301816B2 (en) | Heat resistant vacuum insulation | |
| KR101378043B1 (en) | Apparatus for manufacturing vacuum glass panel with high vacuum pressure and method for manufacturing thereof | |
| JPWO2019207971A1 (en) | Glass panel unit, work-in-process of glass panel unit, assembly of glass panel unit, manufacturing method of glass panel unit | |
| JP6425174B2 (en) | Method of manufacturing vacuum glass panel | |
| KR20150001049A (en) | Apparatus for manufacturing vacuum pair glass | |
| KR101708530B1 (en) | Precess for producting vacuum glass panel and vacuum glass panet produced thereby | |
| KR101500558B1 (en) | Apparatus for manufacturing vacuum pair glass | |
| KR101604802B1 (en) | Apparatus for fabricating a vacuum glass panel and method for fabricating the vacuum glass panel using the same | |
| CA2666719A1 (en) | Insulating glass element | |
| EP3438397B1 (en) | Method for manufacturing glass panel unit, and method for manufacturing building component including the glass panel unit | |
| KR101963374B1 (en) | Substrate Heat Treatment Apparatus having Function to Preventing Air Flow by Natural Convection | |
| JP5991949B2 (en) | Heating device | |
| KR20200074530A (en) | Apparatus for processing substrate | |
| US20240410221A1 (en) | Apparatus for manufacturing vacuum glazing | |
| KR101500556B1 (en) | Apparatus for manufacturing vacuum pair glass | |
| KR102472145B1 (en) | Vacuum glazing | |
| KR102349196B1 (en) | Vacuum glazing | |
| KR102647837B1 (en) | Reactor of apparatus for processing substrate and apparatus for processing substrate comprising thereof | |
| WO2005015597A1 (en) | Glass chip tube seal-cutting method | |
| CN106431018A (en) | Vacuum insulating glass sealing and air extraction method |
Legal Events
| Date | Code | Title | Description |
|---|---|---|---|
| A201 | Request for examination | ||
| PA0109 | Patent application |
Patent event code: PA01091R01D Comment text: Patent Application Patent event date: 20140425 |
|
| PA0201 | Request for examination | ||
| E902 | Notification of reason for refusal | ||
| PE0902 | Notice of grounds for rejection |
Comment text: Notification of reason for refusal Patent event date: 20150819 Patent event code: PE09021S01D |
|
| PG1501 | Laying open of application | ||
| E701 | Decision to grant or registration of patent right | ||
| PE0701 | Decision of registration |
Patent event code: PE07011S01D Comment text: Decision to Grant Registration Patent event date: 20160128 |
|
| GRNT | Written decision to grant | ||
| PR0701 | Registration of establishment |
Comment text: Registration of Establishment Patent event date: 20160405 Patent event code: PR07011E01D |
|
| PR1002 | Payment of registration fee |
Payment date: 20160406 End annual number: 3 Start annual number: 1 |
|
| PG1601 | Publication of registration | ||
| FPAY | Annual fee payment |
Payment date: 20190401 Year of fee payment: 4 |
|
| PR1001 | Payment of annual fee |
Payment date: 20190401 Start annual number: 4 End annual number: 4 |
|
| PR1001 | Payment of annual fee |
Payment date: 20200331 Start annual number: 5 End annual number: 5 |
|
| PR1001 | Payment of annual fee |
Payment date: 20210331 Start annual number: 6 End annual number: 6 |
|
| PR1001 | Payment of annual fee |
Payment date: 20220308 Start annual number: 7 End annual number: 7 |
|
| PR1001 | Payment of annual fee |
Payment date: 20240308 Start annual number: 9 End annual number: 9 |
