KR20140136721A - System for managing old man living alone - Google Patents
System for managing old man living alone Download PDFInfo
- Publication number
- KR20140136721A KR20140136721A KR20130057138A KR20130057138A KR20140136721A KR 20140136721 A KR20140136721 A KR 20140136721A KR 20130057138 A KR20130057138 A KR 20130057138A KR 20130057138 A KR20130057138 A KR 20130057138A KR 20140136721 A KR20140136721 A KR 20140136721A
- Authority
- KR
- South Korea
- Prior art keywords
- elderly
- living alone
- connection terminal
- terminal portion
- main body
- Prior art date
- Legal status (The legal status is an assumption and is not a legal conclusion. Google has not performed a legal analysis and makes no representation as to the accuracy of the status listed.)
- Ceased
Links
Images
Classifications
-
- G—PHYSICS
- G06—COMPUTING OR CALCULATING; COUNTING
- G06Q—INFORMATION AND COMMUNICATION TECHNOLOGY [ICT] SPECIALLY ADAPTED FOR ADMINISTRATIVE, COMMERCIAL, FINANCIAL, MANAGERIAL OR SUPERVISORY PURPOSES; SYSTEMS OR METHODS SPECIALLY ADAPTED FOR ADMINISTRATIVE, COMMERCIAL, FINANCIAL, MANAGERIAL OR SUPERVISORY PURPOSES, NOT OTHERWISE PROVIDED FOR
- G06Q50/00—Information and communication technology [ICT] specially adapted for implementation of business processes of specific business sectors, e.g. utilities or tourism
- G06Q50/10—Services
- G06Q50/22—Social work or social welfare, e.g. community support activities or counselling services
-
- A—HUMAN NECESSITIES
- A41—WEARING APPAREL
- A41D—OUTERWEAR; PROTECTIVE GARMENTS; ACCESSORIES
- A41D1/00—Garments
- A41D1/002—Garments adapted to accommodate electronic equipment
- A41D1/005—Garments adapted to accommodate electronic equipment with embedded cable or connector
-
- A—HUMAN NECESSITIES
- A41—WEARING APPAREL
- A41D—OUTERWEAR; PROTECTIVE GARMENTS; ACCESSORIES
- A41D13/00—Professional, industrial or sporting protective garments, e.g. surgeons' gowns or garments protecting against blows or punches
- A41D13/12—Surgeons' or patients' gowns or dresses
- A41D13/1236—Patients' garments
- A41D13/1281—Patients' garments with incorporated means for medical monitoring
-
- A—HUMAN NECESSITIES
- A41—WEARING APPAREL
- A41D—OUTERWEAR; PROTECTIVE GARMENTS; ACCESSORIES
- A41D27/00—Details of garments or of their making
- A41D27/20—Pockets; Making or setting-in pockets
- A41D27/205—Pockets adapted to receive a mobile phone or other electronic equipment
-
- A—HUMAN NECESSITIES
- A61—MEDICAL OR VETERINARY SCIENCE; HYGIENE
- A61B—DIAGNOSIS; SURGERY; IDENTIFICATION
- A61B5/00—Measuring for diagnostic purposes; Identification of persons
- A61B5/02—Detecting, measuring or recording for evaluating the cardiovascular system, e.g. pulse, heart rate, blood pressure or blood flow
- A61B5/024—Measuring pulse rate or heart rate
-
- A—HUMAN NECESSITIES
- A61—MEDICAL OR VETERINARY SCIENCE; HYGIENE
- A61B—DIAGNOSIS; SURGERY; IDENTIFICATION
- A61B5/00—Measuring for diagnostic purposes; Identification of persons
- A61B5/08—Measuring devices for evaluating the respiratory organs
- A61B5/082—Evaluation by breath analysis, e.g. determination of the chemical composition of exhaled breath
-
- A—HUMAN NECESSITIES
- A61—MEDICAL OR VETERINARY SCIENCE; HYGIENE
- A61B—DIAGNOSIS; SURGERY; IDENTIFICATION
- A61B5/00—Measuring for diagnostic purposes; Identification of persons
- A61B5/24—Detecting, measuring or recording bioelectric or biomagnetic signals of the body or parts thereof
- A61B5/316—Modalities, i.e. specific diagnostic methods
- A61B5/318—Heart-related electrical modalities, e.g. electrocardiography [ECG]
-
- G—PHYSICS
- G08—SIGNALLING
- G08B—SIGNALLING OR CALLING SYSTEMS; ORDER TELEGRAPHS; ALARM SYSTEMS
- G08B21/00—Alarms responsive to a single specified undesired or abnormal condition and not otherwise provided for
- G08B21/02—Alarms for ensuring the safety of persons
- G08B21/04—Alarms for ensuring the safety of persons responsive to non-activity, e.g. of elderly persons
- G08B21/0438—Sensor means for detecting
- G08B21/0453—Sensor means for detecting worn on the body to detect health condition by physiological monitoring, e.g. electrocardiogram, temperature, breathing
-
- G—PHYSICS
- G16—INFORMATION AND COMMUNICATION TECHNOLOGY [ICT] SPECIALLY ADAPTED FOR SPECIFIC APPLICATION FIELDS
- G16H—HEALTHCARE INFORMATICS, i.e. INFORMATION AND COMMUNICATION TECHNOLOGY [ICT] SPECIALLY ADAPTED FOR THE HANDLING OR PROCESSING OF MEDICAL OR HEALTHCARE DATA
- G16H50/00—ICT specially adapted for medical diagnosis, medical simulation or medical data mining; ICT specially adapted for detecting, monitoring or modelling epidemics or pandemics
- G16H50/30—ICT specially adapted for medical diagnosis, medical simulation or medical data mining; ICT specially adapted for detecting, monitoring or modelling epidemics or pandemics for calculating health indices; for individual health risk assessment
Landscapes
- Health & Medical Sciences (AREA)
- Life Sciences & Earth Sciences (AREA)
- Engineering & Computer Science (AREA)
- General Health & Medical Sciences (AREA)
- Physics & Mathematics (AREA)
- Public Health (AREA)
- Medical Informatics (AREA)
- Biophysics (AREA)
- Cardiology (AREA)
- Business, Economics & Management (AREA)
- Heart & Thoracic Surgery (AREA)
- Pathology (AREA)
- Biomedical Technology (AREA)
- Veterinary Medicine (AREA)
- Animal Behavior & Ethology (AREA)
- Molecular Biology (AREA)
- Surgery (AREA)
- Textile Engineering (AREA)
- Physiology (AREA)
- Primary Health Care (AREA)
- Physical Education & Sports Medicine (AREA)
- Tourism & Hospitality (AREA)
- General Physics & Mathematics (AREA)
- Pulmonology (AREA)
- Child & Adolescent Psychology (AREA)
- Databases & Information Systems (AREA)
- Epidemiology (AREA)
- Data Mining & Analysis (AREA)
- Gerontology & Geriatric Medicine (AREA)
- Emergency Management (AREA)
- Economics (AREA)
- Human Resources & Organizations (AREA)
- Marketing (AREA)
- Strategic Management (AREA)
- General Business, Economics & Management (AREA)
- Theoretical Computer Science (AREA)
- Measuring And Recording Apparatus For Diagnosis (AREA)
Abstract
건강 관리용 디지털 의류와 중앙관제센터 및 응급센터가 통신망을 통해 연결된 시스템을 제공함으로써, 독거노인의 건강 상태에 대한 보다 정밀한 데이터를 획득할 수 있고, 독거노인이 갑작스럽게 쓰러지는 경우에도 독거노인의 정확한 상태 정보를 얻을 수 있는 독거노인 관리 시스템을 제공한다.It is possible to obtain more precise data on the health status of the elderly living alone by providing a system in which digital garments for health care, a central control center and an emergency center are connected through a communication network, and even when the elderly living alone loses suddenly, Provides a living alone elderly management system that can obtain status information.
Description
본 발명은 독거노인 관리 시스템에 관한 것으로, 보다 상세하게는 노인의 건강 상태를 원격으로 체크할 수 있고, 긴급상황 발생시 신속한 대처가 이루어질 수 있도록 하는 독거노인 관리 시스템에 관한 것이다.The present invention relates to a living alone elderly management system, and more particularly, to a living alone elderly management system that can remotely check a health status of an elderly person and promptly cope with an emergency situation.
현재 의학의 발달로 인하여 노령인구가 크게 증가하면서, 점차 고령화 사회로 진입하고 있는 추세이다.Due to the current medical advancement, the elderly population has increased greatly, and it is gradually entering the aging society.
특히, 노령인구 즉 실버세대에게 주로 발병하게 되는 뇌졸증, 고혈압, 당뇨병 및 심장질환을 포함하는 노인성 질병은 발병시 합병증까지 유발할 수 있어 그 치료가 매우 어렵기 때문에 정기적으로 검진을 함으로써 발병 전에 예방하는 것이 바람직하다.In particular, geriatric diseases such as stroke, hypertension, diabetes and heart disease that are mainly caused by the elderly population, that is, the silver generation, can cause complications upon onset and are very difficult to treat. Therefore, desirable.
그러나, 독거노인의 경우, 도움을 청할 곳이 마땅치 않을 뿐 아니라 거동이 불편한 경우에는 건강 검진을 받기 위해 매번 정기적으로 병원을 방문하는 일에 어려움이 따른다.However, in the case of the elderly living alone, it is difficult not only to ask for help but also to visit the hospital regularly every time in order to receive a health checkup if the behavior is uncomfortable.
이러한 독거노인의 건강 관리를 위해 독거노인에게 손목형 관리 단말기를 휴대토록 하고, 통신을 통해 중앙관제센터에서 독거노인의 상태를 모니터링하는 기술이 대한민국 공개특허 10-2011-0053815에 제안된바 있다.A Korean Patent Laid-Open No. 10-2011-0053815 discloses a technology for allowing a single elderly person to carry a wrist-type management terminal for monitoring the health of the elderly living alone, and monitoring the elderly living alone in a central control center through communication.
하지만 손목형 관리 단말기로서는 독거노인의 건강 상태에 대한 정확한 측정이 어려워 중앙관제센터에서 필요로하는 독거노인에 대한 정확한 데이터를 획득하기 어려웠고, 이러한 문제점으로 독거노인에 대한 정확한 모니터링이 쉽지 않아 독거노인의 건강 악화를 미리 파악하지 못할 우려가 있었다.However, it is difficult to obtain precise data on the elderly living alone, which is needed by the central control center, because it is difficult to accurately measure the health status of the elderly living alone as a wrist-type management terminal. There was a concern that the deterioration of health could not be grasped in advance.
또한, 심장질환 등에 의한 갑작스런 쇼크로 독거노인이 쓰러졌을 경우 독거노인의 정확한 상태 정보가 중앙관제센터로 전송되기는 어려운 실정이었다.In addition, when the elderly living alone is knocked down by a sudden shock caused by heart disease, accurate state information of the elderly living alone can not be transmitted to the central control center.
본 발명은 상기와 같은 문제점을 해결하기 위해 제안된 것으로, 건강 관리용 디지털 의류와 중앙관제센터 및 응급센터가 통신망을 통해 연결된 시스템을 제공함으로써, 독거노인의 건강 상태에 대한 보다 정밀한 데이터를 획득할 수 있고, 독거노인이 갑작스럽게 쓰러지는 경우에도 독거노인의 정확한 상태 정보를 얻을 수 있는 독거노인 관리 시스템을 제공하는 것을 목적으로 한다.SUMMARY OF THE INVENTION The present invention has been proposed in order to solve the above problems, and it is an object of the present invention to provide a system in which a digital garment for health care, a central control center and an emergency center are connected via a communication network, The present invention aims to provide a system for elderly people living alone who can obtain accurate state information of elderly living alone even when the elderly living alone suffers a sudden collapse.
상기의 목적을 달성하기 위한 본 발명에 따른 독거노인 관리 시스템은, 독거노인의 건강상태를 파악할 수 있는 건강 관리용 디지털 의류와, 상기 건강 관리용 디지털 의류로부터 독거노인의 건강상태 정보 신호를 수신받고, 수신된 독거노인의 건강상태 정보 신호를 다시금 원격지로 송출하는 중간 제어장치와, 상기 중간 제어장치로부터 수신받은 건강상태 정보 신호를 데이터베이스화하여 관리하고, 관리된 데이터베이스를 토대로 독거노인의 건강상태를 분석판단하며, 분석판단이 완료된 독거노인의 건강상태 분석 정보 신호를 원격지로 송출하는 중앙관제센터와, 상기 중앙관제센터로부터 수신받은 독거노인의 건강상태 분석 정보 신호에 긴급상황 정보 신호가 포함된 경우 독거노인의 구호를 실시하는 응급센터를 포함하는 것을 특징으로 한다.In order to accomplish the above object, according to the present invention, there is provided a system for managing elderly persons living alone, comprising: a digital garment for health management capable of grasping the health state of the elderly living alone; An intermediate control device for transmitting the received health state information signal of the elderly person living alone to a remote place, and a database for managing the health state information signal received from the intermediate control device and managing the health state of the living alone A central control center for analyzing and analyzing the health state information signal of an elderly person who has been analyzed and judged, and an emergency situation information signal is included in the health state analysis information signal of the elderly living alone received from the central control center And an emergency center for relieving the elderly living alone.
상기 중간 제어장치는 독거노인이 거주하는 집안에 거치되는 거치형 단말기인 것이 바람직하다.Preferably, the intermediate control device is a stationary terminal stationed in a house where the elderly living alone resides.
상기 중간 제어장치는 독거노인이 휴대할 수 있는 휴대형 단말기인 것이 바람직하다.Preferably, the intermediate control device is a portable terminal that can be carried by the elderly living alone.
상기 건강 관리용 디지털 의류는, 독거노인의 신체에 밀착될 수 있도록 형성된 본체와, 상기 본체의 내측에 설치되어 독거노인의 생체정보를 측정하는 생체정보 감지체와, 상기 본체에 설치되어 상기 생체정보 감지체로부터 측정된 생체정보를 수신하는 수신체와, 상기 생체정보 감지체와 상기 수신체를 전기적으로 연결하도록 상기 본체에 설치되되, 본체와 일체화되도록 본체에 설치되는 섬유형 전송매체를 포함하는 것이 바람직하다.The digital garment for health care comprises a body formed to be in close contact with the body of the elderly living alone, a living body information sensing body provided inside the body for measuring living body information of the living elderly person, And a fiber type transmission medium installed in the main body to electrically connect the biometric information sensing body and the receiving body and installed in the main body so as to be integrated with the main body, desirable.
상기 섬유형 전송매체는 전류가 흐를 수 있는 디지털 실인 것이 바람직하다.The fiber-type transmission medium is preferably a digital chamber through which electric current can flow.
상기 생체정보 감지체는 심전도를 측정하는 심전도 센서, 호흡을 측정하는 호흡 센서, 심박을 측정하는 심박 센서, 거동 여부를 측정하는 모션센서 중 적어도 하나를 포함하는 것이 바람직하다.Preferably, the biometric information sensing body includes at least one of an electrocardiogram sensor for measuring an electrocardiogram, a breathing sensor for measuring respiration, a heartbeat sensor for measuring a heartbeat, and a motion sensor for measuring a motion.
상기 생체정보 감지체는 전도성 섬유를 포함하도록 직조된 섬유형 센서를 적어도 하나 이상 포함하는 것이 바람직하다.It is preferable that the biometric information sensing body includes at least one fiber-type sensor woven to include conductive fibers.
상기 전도성 섬유는 폴리에스터사의 외주에 니켈, 구리, 은, 금, 보호 코팅막이 차례로 코팅되어 이루어지는 것이 바람직하다.The conductive fiber is preferably formed by sequentially coating nickel, copper, silver, gold, and a protective coating on the outer periphery of the polyester yarn.
상기 생체정보 감지체는 상기 섬유형 전송매체에 의해서 상기 본체의 내측에 자수나 재봉되어 설치되는 것이 바람직하다.It is preferable that the biometric information sensing body is embroidered or sewn on the inside of the main body by the fibrous transmission medium.
상기 수신체는 상기 본체에 착탈 가능하게 설치되고, 상기 수신체와 상기 섬유형 전송매체는 연결 커넥터에 의해 착탈 가능하게 연결되는 것이 바람직하다.Preferably, the receiving body is detachably attached to the main body, and the receiving body and the fiber type transmission medium are detachably connected by a connecting connector.
상기 연결 커넥터는 섬유형 전송매체의 일 단부에 설치되는 제1 접속 단자부와, 상기 수신체에 연결되는 제2 접속 단자부를 포함하고, 상기 제1 접속 단자부와 상기 제2 접속 단자부는 전도성 섬유를 포함하도록 직조된 섬유형 단자를 포함하는 것이 바람직하다.Wherein the connection connector includes a first connection terminal portion provided at one end of the fiber type transmission medium and a second connection terminal portion connected to the receiving body, wherein the first connection terminal portion and the second connection terminal portion include conductive fibers Shaped terminals that are woven to form a woven fabric.
상기 전도성 섬유는 폴리에스터사의 외주에 니켈, 구리, 은, 금이 차례로 코팅되어 이루어지는 것이 바람직하다.It is preferable that the conductive fiber is formed by sequentially coating nickel, copper, silver and gold on the outer periphery of the polyester yarn.
상기 제1 접속 단자부와 상기 제2 접속 단자부는 각각 밸크로 부재를 포함하고, 밸크로 결합에 의해 착탈 가능하게 연결되는 것이 바람직하다.It is preferable that the first connection terminal portion and the second connection terminal portion each include a ballast member and are detachably connected by a ballast coupling.
상기 본체에는 상기 제1 접속 단자부와 상기 제2 접속 단자부 및 상기 수신체가 수용될 수 있는 수용 주머니가 설치되는 것이 바람직하다.The main body is preferably provided with the first connection terminal portion, the second connection terminal portion, and a receiving bag accommodating the receiving body.
상술한 바와 같은 독거노인 관리 시스템에 따르면, 건강 관리용 디지털 의류와 중앙관제센터 및 응급센터가 통신망을 통해 연결된 시스템을 제공함으로써, 독거노인의 건강 상태에 대한 보다 정밀한 데이터를 획득할 수 있고, 독거노인이 갑작스럽게 쓰러지는 경우에도 독거노인의 정확한 상태 정보를 얻을 수 있게 되어 독거노인에 대한 관리가 충실히 이루어질 수 있게 된다.According to the elderly elderly management system as described above, it is possible to obtain more precise data on the health status of the elderly living alone by providing the digital apparel for health care, the central control center and the emergency center connected through a communication network, Even if the elderly fall down suddenly, accurate information about the elderly living alone can be obtained, so that the elderly living alone can be managed properly.
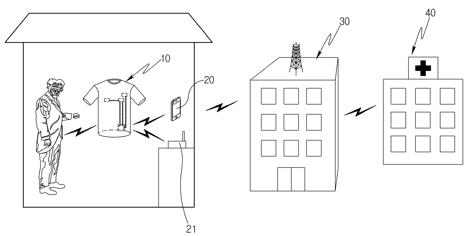
도 1은 본 발명에 따른 독거노인 관리 시스템을 나타낸 도면.
도 2는 본 발명에 따른 독거노인 관리 시스템에 적용된 건강 관리용 디지털 의류를 나타낸 도면.
도 3은 본 발명에 따른 독거노인 관리 시스템에 적용된 건강 관리용 디지털 의류의 본체의 내측 전방부에 생체정보 감지체가 설치된 일례를 나타낸 도면.
도 4는 본 발명에 따른 독거노인 관리 시스템에 적용된 건강 관리용 디지털 의류의 본체의 내측 후방부에 생체정보 감지체가 설치된 일례를 나타낸 도면.
도 5는 본 발명에 따른 독거노인 관리 시스템에 적용된 건강 관리용 디지털 의류의 생체정보 감지체의 세부 구조를 나타낸 도면.
도 6은 본 발명에 따른 독거노인 관리 시스템에 적용된 건강 관리용 디지털 의류의 본체에 생체정보 감지체가 설치된 일례를 나타낸 도면.
도 7은 본 발명에 따른 독거노인 관리 시스템에 적용된 건강 관리용 디지털 의류의 수신체와 섬유형 전송매체를 착탈 가능하게 연결하는 연결 커넥터를 나타낸 도면.1 shows a single-lived elderly care system in accordance with the present invention;
2 is a view illustrating a digital garment for health care applied to a single-loner management system according to the present invention;
3 is a view showing an example in which a bio-information sensor is installed on an inner front part of a main body of a digital garment for health care applied to the elderly man managing system according to the present invention.
4 is a view showing an example in which a bio-information sensor is installed in an inner rear portion of a main body of a digital garment for health care applied to a single elderly man management system according to the present invention.
FIG. 5 is a view showing the detailed structure of a biometric information sensing body of a digital garment for health care applied to a single elderly care management system according to the present invention. FIG.
FIG. 6 is a view showing an example in which a biometric information sensor is installed on a main body of a digital garment for health care applied to a single elderly care management system according to the present invention. FIG.
FIG. 7 is a view showing a connection connector detachably connecting a receiving body of a digital garment for health care and a fiber-type transmission medium applied to a single elderly management system according to the present invention;
본 발명의 목적, 특정한 장점들 및 신규한 특징들은 첨부된 도면들과 연관되어지는 이하의 상세한 설명과 바람직한 실시예들로부터 더욱 명백해질 것이다. 본 발명을 설명함에 있어서, 관련된 공지 기술에 대한 구체적인 설명이 본 발명의 요지를 불필요하게 흐릴 수 있다고 판단되는 경우 그 상세한 설명은 생략한다. 또한, 도면에 도시된 선들의 두께나 구성요소의 크기 등은 설명의 명료성과 편의상 과장되게 도시되어 있을 수 있다. 또한, 사용된 용어들은 본 발명에서의 기능을 고려하여 정의된 용어들로서, 이는 사용자, 운용자의 의도 또는 관례에 따라 달라질 수 있다. 그러므로 이러한 용어들에 대한 정의는 본 명세서의 전반에 걸친 내용을 토대로 내려져야 할 것이다.
BRIEF DESCRIPTION OF THE DRAWINGS The objectives, specific advantages and novel features of the present invention will become more apparent from the following detailed description taken in conjunction with the accompanying drawings, in which: FIG. In the following description of the present invention, detailed description of known related arts will be omitted when it is determined that the gist of the present invention may be unnecessarily obscured by the present invention. In addition, the thickness of the lines and the size of the constituent elements shown in the drawings may be exaggerated for clarity and convenience of explanation. In addition, terms used are terms defined in consideration of functions in the present invention, which may vary depending on the intention or custom of the user, the operator. Therefore, definitions of these terms should be based on the entire contents of the present specification.
이하, 첨부된 도면을 참조하여 본 발명의 바람직한 실시예를 상세히 설명하기로 한다.Hereinafter, preferred embodiments of the present invention will be described in detail with reference to the accompanying drawings.
도 1은 본 발명에 따른 독거노인 관리 시스템을 나타낸 도면이고 도 2는 본 발명에 따른 독거노인 관리 시스템에 적용된 건강 관리용 디지털 의류를 나타낸 도면이며, 도 3은 본 발명에 따른 독거노인 관리 시스템에 적용된 건강 관리용 디지털 의류의 본체의 내측 전방부에 생체정보 감지체가 설치된 일례를 나타낸 도면이고, 도 4는 본 발명에 따른 독거노인 관리 시스템에 적용된 건강 관리용 디지털 의류의 본체의 내측 후방부에 생체정보 감지체가 설치된 일례를 나타낸 도면이며, 도 5는 본 발명에 따른 독거노인 관리 시스템에 적용된 건강 관리용 디지털 의류의 생체정보 감지체의 세부 구조를 나타낸 도면이고, 도 6은 본 발명에 따른 독거노인 관리 시스템에 적용된 건강 관리용 디지털 의류의 본체에 생체정보 감지체가 설치된 일례를 나타낸 도면이며, 도 7은 본 발명에 따른 독거노인 관리 시스템에 적용된 건강 관리용 디지털 의류의 수신체와 섬유형 전송매체를 착탈 가능하게 연결하는 연결 커넥터를 나타낸 도면이다.FIG. 1 is a diagram illustrating a system for managing elderly persons living alone according to the present invention. FIG. 2 is a diagram illustrating a digital garment for health management applied to a living alone elderly management system according to the present invention. FIG. 4 is a view showing an example in which a bio-information sensor is installed on the inner front part of the body of the digital garment for health care applied. FIG. 4 is a cross- FIG. 5 is a view showing a detailed structure of a biometric information sensing body of a digital garment for health care applied to a living alone elderly management system according to the present invention, and FIG. A diagram showing an example in which a biometric information sensor is installed on the body of the digital garment for health care applied to the management system It said, Figure 7 is a view of the connector for detachably connecting the can body and the fiber-like transmission medium of a digital clothes Healthcare applied to seniors management system of the present invention.
도 1 내지 도 7을 참조하면, 본 발명의 실시예에 따른 독거노인 관리 시스템은 건강 관리용 디지털 의류(10)와, 건강 관리용 디지털 의류(10)로부터 독거노인의 건강상태 정보 신호를 수신받고, 수신된 독거노인의 건강상태 정보 신호를 다시금 원격지로 송출하는 중간 제어장치(20)와, 중간 제어장치(20)로부터 수신받은 건강상태 정보 신호를 데이터베이스화하여 관리하고, 관리된 데이터베이스를 토대로 독거노인의 건강상태를 분석판단하며, 분석판단이 완료된 독거노인의 건강상태 분석 정보 신호를 원격지로 송출하는 중앙관제센터(30)와, 중앙관제센터(30)로부터 수신받은 독거노인의 건강상태 분석 정보 신호에 긴급상황 정보 신호가 포함된 경우 독거노인의 구호를 실시하는 응급센터(40)를 포함한다.1 to 7, the living alone elderly management system according to an embodiment of the present invention receives a health status information signal of a living elderly person from a
상기 건강 관리용 디지털 의류(10)는 독거노인의 건강상태를 정밀하게 파악할 수 있도록 하는 핵심적 구성으로서, 본체(100)와, 생체정보 감지체(200)와, 수신체(300)와, 섬유형 전송매체(400)를 포함한다.The digital garment for
상기 본체(100)는 착용자의 신체에 밀착될 수 있도록 탄력성 있는 재질로 형성되는 것이 바람직하다.The
또한, 상기 본체(100)는 하나의 몸통(110)과, 이 몸통(110)의 양측에 각각 팔(120)이 형성된 형태일 수 있으나, 본 발명의 본체(100)는 도시된 형태로 한정되는 것은 아니다. 즉, 스웨터(sweater), 카디건(cardigan), 셔츠(shirt), 조끼(waistcoat) 등의 의류 제품 등에 적용 가능하다.The
상기 생체정보 감지체(200)는 본 발명에 따른 건강 관리용 디지털 의류를 착용하는 착용자의 다양한 생체정보를 측정하기 위한 것으로서, 심전도를 측정하는 심전도 센서, 호흡을 측정하는 호흡 센서, 심박을 측정하는 심박 센서, 거동 여부를 측정하는 모션센서 중 적어도 하나를 포함할 수 있으며, 생체정보의 효과적인 측정을 위해 착용자의 피부에 접촉될 수 있도록 상기 본체(100)의 내측에 결합된다.The
상기 생체정보 감지체(200)를 상기 본체(100)에 설치하는 방법은 접착제를 사용하거나 가능한 다양한 고정부재 중 어느 하나를 선택할 수 있으나, 상기 생체정보 감지체(200)와 상기 본체(100) 간의 일체감을 높여 착용자에게 거부감을 덜 주고 편안한 활동감을 주기 위해 상기 섬유형 전송매체(400)에 의해 자수나 재봉되어 설치되는 것이 바람직하다. 이때, 상기 섬유형 전송매체(400)는 전류가 흐르는 디지털 실로 구성되어 상기 생체정보 감지체(200)를 상기 본체(100)에 설치함은 물론 상기 섬유형 전송매체(400)로부터 측정된 생체정보가 상기 수신체(300)로 전달될 수 있도록 상기 생체정보 감지체(200)와 상기 수신체(300)를 전기적으로 연결하는 역할을 한다.The method of installing the biometric information sensing
한편, 상기 생체정보 감지체(200)와 상기 본체(100) 간의 자수나 재봉의 편의성을 향상킴은 물론 상기 생체정보 감지체(200)가 착용자의 피부에 접촉될 때의 거부감을 최소화하기 위하여 상기 생체정보 감지체(200)는 전도성 섬유를 포함하도록 직조된 섬유형 센서로 구성되는 것이 바람직하다. 물론 호흡 센서와 같은 경우에는 피에조 필름을 적용하여야 하기에 섬유형 센서로 구성되지 않을 수 있다.Meanwhile, in order to improve the embroidery and sewing convenience between the
도 5를 참조하면, 상기 생체정보 감지체(200)가 섬유형 센서로 구성될 경우, 섬유형 센서에 포함되는 전도성 섬유(210)는 폴리에스터사(211)의 외주에 니켈(212), 구리(213), 은(214), 금(215)이 차례로 코팅되어 이루어지도록 구성되는 것이 바람직하며, 최외곽에는 보호 코팅막(216)이 더 형성되는 것이 바람직하다. 섬유형 센서에 포함되는 전도성 섬유(210)가 위와 같은 구조로 구성될 때 생체정보 감지체(200)와 착용자의 피부 사이의 효과적인 전기신호 전달이 이루어질 수 있게 된다.5, when the
상기 수신체(300)는 상기 본체(100)에 설치되어 상기 생체정보 감지체(200)로부터 측정된 생체정보를 수신하기 위한 것으로서, 전류가 흐르는 디지털 실로 구성된 섬유형 전송매체(400)에 의해 상기 생체정보 감지체(200)와 전기적으로 연결된다.The
한편, 공간의 제약 없이 이동중이나 외부 활동 중에도 계속적으로 생체정보들에 대한 관리가 이루어질 수 있고, 세탁편의성이 보장될 수 있도록 하기 위해, 상기 수신체(300)는 상기 본체(100)에 착탈 가능하게 설치되는 것이 바람직하고, 이와 더불어 상기 수신체(300)와 상기 섬유형 전송매체(400)는 연결 커넥터(500)에 의해 착탈 가능하게 연결되도록 구성되는 것이 바람직하다.Meanwhile, the
상기 연결 커넥터(500)는 섬유형 전송매체(400)의 일 단부에 설치되는 제1 접속 단자부(510)와, 상기 수신체(300)에 연결되는 제2 접속 단자부(520)를 포함하도록 구성된다.The
상기 제1 접속 단자부(510)와 상기 제2 접속 단자부(520)는 전도성 섬유를 포함하도록 직조된 섬유형 단자(511,521)를 포함하도록 구성되는 것이 바람직하며, 이때, 상기 제1 접속 단자부(510)와 상기 제2 접속 단자부(520) 사이의 신호 전달은 상기 섬유형 단자(511,521)간의 접촉에 의해 이루어지게 된다.The first
상기 제1 접속 단자부(510) 및 제2 접속 단자부(520)가 섬유형 단자(511,521)로 구성될 경우, 섬유형 단자(511,521)에 포함되는 전도성 섬유는 앞서 살펴 본 생체정보 감지체(200)를 구성하는 전도성 섬유(210)와 동일한 구조로 형성된다. When the first
또한, 상기 연결 커넥터(500)는 다양한 방식에 의해 착탈 가능하게 구성될 수 있으나, 섬유형 단자(511,521)간의 접촉성 향상과 착탈시의 편리성 향상을 위해 밸크로 방식으로 착탈 가능하게 구성되는 것이 바람직하다.The
따라서 상기 제1 접속 단자부(510)와 상기 제2 접속 단자부(520)는 도 7에 도시된 것처럼 각각 밸크로 부재(512,522)를 포함하게 된다. 이때, 상기 섬유형 단자(511,521)는 밸크로 부재(512,522)보다 더 작은 크기로 형성되어 밸크로 부재(512,522) 상에 일정 모양으로 배열되되, 상기 제1 접속 단자부(510)와 상기 제2 접속 단자부(520)가 결합되었을때, 대응하는 섬유형 단자(511,521)끼리 서로 맞닿을 수 있도록 배열된다.Accordingly, the first
한편, 상기 본체(100)에는 상기 제1 접속 단자부(510)와 상기 제2 접속 단자부(520) 및 상기 수신체(300)가 수용될 수 있는 수용 주머니(600)가 더 설치되는 것이 바람직하다.The
이때, 상기 수용 주머니(600)는 상기 기 제1 접속 단자부(510)와 상기 제2 접속 단자부(520) 및 상기 수신체(300)가 수용된 상태일 때, 그 입구가 항상 닫혀있는 상태가 되도록 입구 주변에 탄성부재가 부가적으로 설치되는 것이 바람직하다.At this time, when the first
한편, 상기 수신체(300)는 그 자체로서, 수신 기능과 제어 및 표시 기능을 수행하도록 구성될 수도 있으나, 본체(100)에 형성된 수용 주머니(600)에 수용되어야 하는 점을 고려할 때, 부피와 무게가 최소화될 필요가 있다.Considering that the receiving
따라서 상기 수신체(300)는 생체정보의 수신 및 수신된 생체정보를 별도의 제어기나 제어기능을 포함한 표시기로 송신하는 기능을 갖도록 구성되는 것이 바람직하다.Therefore, the receiving
한편, 상기 중간 제어장치(20)는 독거노인이 거주하는 집안에 거치되는 거치형 단말기일 수 있으며, 중간 제어장치(20)가 거치형 단말기인 경우 중간 제어장치(20)는 근거리 무선통신 기술을 통해 상기 수신체(300)로부터 독거노인의 건강상태 정보 신호를 수신받고, 수신된 독거노인의 건강상태 정보 신호를 다시금 원격지로 송출한다.Meanwhile, when the
따라서 상기 중간 제어장치(20)는 근거리 무선 통신을 위한 무선 통신모듈을 구비할 수 있으며, 이러한 근거리 무선 통신모듈로는 예컨대, 지그비(zigbee), 블루투스(bluetooth), RFID(Radio Frequency Identification) 및 IrDA(Infrared Data Association) 등이 사용될 수 있다.Accordingly, the
또한, 상기 중간 제어장치(20)는 독거노인의 건강상태 정보를 원격지로 송출하기 위해 원거리 무선 통신모듈 또는 전력선 통신모듈을 포함할 수 있다.In addition, the
위와 같은 중간 제어장치(20)는 독거노인이 휴대할 수 있는 핸드폰(스마트폰을 포함함) 등의 휴대형 단말기일 수 있고, 집안에 거치되는 거치형 단말기일 수 있다.The
한편, 상기 중앙관제센터(30)는 도 1에 도시된 것처럼, 의료기관과는 분리 구성되되, 통신망을 통해 의료기관과 서로 연결될 수 있도록 구성될 수 있으며, 이와 달리 의료기관을 부속기구로 포함하도록 구성될 수도 있다.1, the
또한, 상기 중앙관제센터(30)는 상기 중간 제어장치(20)로부터 독거노인의 건강상태 분석 정보 신호를 수신할 수 있도록 원거리 무선 통신모듈 또는 전력선 통신모듈을 포함할 수 있다.In addition, the
또한, 상기 중앙관제센터(30)는 독거노인이 자신의 건강상태를 틈틈이 체크할 수 있도록 독거노인의 건강상태 분석 정보 신호를 다시금 상기 중간 제어장치(20)로 송출할 수 있다.In addition, the
한편, 상기 응급센터(40)는 상기 중앙관제센터(30)로부터 독립된 또는 상기 중앙관제센터(30)에 부속된 의료기관일 수 있으며, 119와 같은 별도의 긴급출동기관일 수 있다.The
또한, 상기 응급센터(40)는 상기 중앙관제센터(30)로부터 수신받은 독거노인의 건강상태 분석 정보 신호에 긴급상황 정보 신호가 포함된 경우 독거노인의 구호를 실시하게 되는데, 여기서 긴급상황 정보 신호는 독거노인이 착용한 건강 관리용 디지털 의류(10)에 포함된 모션센서를 비롯한 각종 센서로부터 측정된 신호에 근거하여 발생한다. 즉, 독거노인이 심장질환 등에 의한 갑작스런 쇼크로 쓰러졌을 경우 모션센서, 심전도 센서, 호흡 센서에 의해 측정된 독거노인의 정확한 건강상태 정보 신호가 중앙관제센터(30)로 전송되고, 이때, 중앙관제센터(30)는 모션센서에 의해 측정된 독거노인의 건강상태 정보 신호로 인해 보다 정확하게 긴급상황에 대처할 수 있는 판단을 내릴 수 있게 된다.In addition, when the emergency state information signal is included in the health state analysis information signal of the elderly living alone received from the
상술한 바와 같은 본 발명의 실시예에 따른 독거노인 관리 시스템에 따르면, 건강 관리용 디지털 의류와 중앙관제센터 및 응급센터가 통신망을 통해 연결된 시스템을 제공함으로써, 독거노인의 건강 상태에 대한 보다 정밀한 데이터를 획득할 수 있고, 독거노인이 갑작스럽게 쓰러지는 경우에도 독거노인의 정확한 상태 정보를 얻을 수 있게 되어 독거노인에 대한 관리가 충실히 이루어질 수 있게 된다.According to the elderly elderly care management system according to the present invention as described above, the digital clothing for health care, the central control center, and the emergency center are connected through a communication network to provide more precise data on the health status of the elderly living alone The elderly living alone will be able to obtain the accurate status information of the elderly living alone even if they fall suddenly, so that the management of the elderly living alone can be performed faithfully.
이상, 본 발명의 특정 실시예에 관하여 도시하고 설명하였지만, 본 발명의 기술분야에서 통상의 지식을 가진 자라면 하기의 특허 청구의 범위에 기재된 본 발명의 사상 및 영역으로부터 벗어나지 않는 범위 내에서 본 발명을 다양하게 수정 및 변경시킬 수 있음이 이해될 필요가 있다.While the present invention has been particularly shown and described with reference to exemplary embodiments thereof, it will be understood by those of ordinary skill in the art that various changes in form and details may be made therein without departing from the spirit and scope of the invention as defined by the appended claims. It is to be understood that the invention may be variously modified and changed.
10 : 건강 관리용 디지털 의류 20 : 중간 제어장치
30 : 중앙관제센터 40 : 응급센터
100 : 본체 200 : 생체정보 감지체
210 : 전도성 섬유 211 : 폴리에스터 사
212 : 니켈 213 : 구리
214 : 은 215 : 금
300 : 수신체 400 : 섬유형 전송매체
500 : 연결 커넥터 510 : 제1 접속 단자부
520 : 제2 접속 단자부 600 : 수용 주머니10: Digital clothing for health care 20: Intermediate control device
30: central control center 40: emergency center
100: Body 200: Biometric information sensing body
210: Conductive fiber 211: Polyester yarn
212: Nickel 213: Copper
214: silver 215: gold
300: Receiving body 400: Fiber type transmission medium
500: connection connector 510: first connection terminal portion
520: second connection terminal part 600:
Claims (14)
상기 건강 관리용 디지털 의류(10)로부터 독거노인의 건강상태 정보 신호를 수신받고, 수신된 독거노인의 건강상태 정보 신호를 다시금 원격지로 송출하는 중간 제어장치(20);
상기 중간 제어장치(20)로부터 수신받은 건강상태 정보 신호를 데이터베이스화하여 관리하고, 관리된 데이터베이스를 토대로 독거노인의 건강상태를 분석판단하며, 분석판단이 완료된 독거노인의 건강상태 분석 정보 신호를 원격지로 송출하는 중앙관제센터(30);
상기 중앙관제센터(30)로부터 수신받은 독거노인의 건강상태 분석 정보 신호에 긴급상황 정보 신호가 포함된 경우 독거노인의 구호를 실시하는 응급센터(40);
를 포함하는 것을 특징으로 하는 독거노인 관리 시스템.A digital garment for health care (10) which can grasp the health status of the elderly living alone;
An intermediate control device (20) for receiving a health status information signal of the elderly person living alone from the healthcare digital garment (10) and transmitting the received health status information signal of the elderly person living alone to a remote place;
The health state information signal received from the intermediate control device 20 is databaseized and managed, the health state of the elderly living alone is analyzed and determined on the basis of the managed database, and the health state analysis information signal of the elderly living alone, To a central control center (30);
An emergency center (40) for relieving the elderly living alone if the emergency state information signal is included in the health state analysis information signal of the elderly living alone received from the central control center (30);
Wherein the elderly management system comprises:
상기 중간 제어장치(20)는 독거노인이 거주하는 집안에 거치되는 거치형 단말기인 것을 특징으로 하는 독거노인 관리 시스템.The method according to claim 1,
Wherein the intermediate control device (20) is a stationary terminal stationed in a house where the elderly living alone resides.
상기 중간 제어장치(20)는 독거노인이 휴대할 수 있는 휴대형 단말기인 것을 특징으로 하는 독거노인 관리 시스템.The method according to claim 1,
Wherein the intermediate control device (20) is a portable terminal capable of being carried by an elderly living alone.
상기 건강 관리용 디지털 의류(10)는,
독거노인의 신체에 밀착될 수 있도록 형성된 본체(100);
상기 본체(100)의 내측에 설치되어 독거노인의 생체정보를 측정하는 생체정보 감지체(200);
상기 본체(100)에 설치되어 상기 생체정보 감지체(200)로부터 측정된 생체정보를 수신하는 수신체(300); 및
상기 생체정보 감지체(200)와 상기 수신체(300)를 전기적으로 연결하도록 상기 본체(100)에 설치되되, 본체(100)와 일체화되도록 본체(100)에 설치되는 섬유형 전송매체(400);
를 포함하는 것을 특징으로 하는 독거노인 관리 시스템.The method according to claim 1,
The digital garment for health care (10)
A body 100 formed to be in contact with the body of the elderly living alone;
A biometric information sensing unit 200 installed inside the main body 100 for measuring biometric information of the elderly living alone;
A receiving body (300) installed in the main body (100) and receiving biometric information measured from the biometric information sensing body (200); And
A fiber type transmission medium 400 mounted on the main body 100 to be integrated with the main body 100 and electrically connected to the main body 100 to electrically connect the biometric information sensing body 200 and the receiving body 300, ;
Wherein the elderly management system comprises:
상기 섬유형 전송매체(400)는 전류가 흐를 수 있는 디지털 실인 것을 특징으로 하는 독거노인 관리 시스템.The method of claim 4,
Wherein the fiber-type transmission medium (400) is a digital room through which electric current can flow.
상기 생체정보 감지체(200)는 심전도를 측정하는 심전도 센서, 호흡을 측정하는 호흡 센서, 심박을 측정하는 심박 센서, 거동 여부를 측정하는 모션센서 중 적어도 하나를 포함하는 것을 특징으로 하는 독거노인 관리 시스템.The method of claim 5,
Wherein the bio-information sensing body 200 includes at least one of an electrocardiogram sensor for measuring an electrocardiogram, a breathing sensor for measuring respiration, a heartbeat sensor for measuring a heartbeat, and a motion sensor for measuring a motion of the elderly person system.
상기 생체정보 감지체(200)는 전도성 섬유를 포함하도록 직조된 섬유형 센서를 적어도 하나 이상 포함하는 것을 특징으로 하는 독거노인 관리 시스템.The method of claim 6,
Wherein the bio-information sensing body (200) comprises at least one fiber-type sensor woven to include conductive fibers.
상기 전도성 섬유(210)는 폴리에스터사(211)의 외주에 니켈(212), 구리(213), 은(214), 금(215), 보호 코팅막(216)이 차례로 코팅되어 이루어지는 것을 특징으로 하는 독거노인 관리 시스템.The method of claim 7,
The conductive fiber 210 is characterized in that nickel 212, copper 213, silver 214, gold 215 and a protective coating 216 are sequentially coated on the outer periphery of the polyester yarn 211 Alone elderly management system.
상기 생체정보 감지체(200)는 상기 섬유형 전송매체(400)에 의해서 상기 본체(100)의 내측에 자수나 재봉되어 설치되는 것을 특징으로 하는 독거노인 관리 시스템.The method of claim 8,
Wherein the bio-information sensing body (200) is embroidered or sewn on the inside of the main body (100) by the fiber type transmission medium (400).
상기 수신체(300)는 상기 본체(100)에 착탈 가능하게 설치되고, 상기 수신체(300)와 상기 섬유형 전송매체(400)는 연결 커넥터(500)에 의해 착탈 가능하게 연결되는 것을 특징으로 하는 독거노인 관리 시스템.The method according to any one of claims 4 to 9,
The receiving body 300 is detachably installed in the main body 100 and the receiving body 300 and the fiber type transmission medium 400 are detachably connected by a connecting connector 500 A living alone senior management system.
상기 연결 커넥터(500)는 섬유형 전송매체(400)의 일 단부에 설치되는 제1 접속 단자부(510)와, 상기 수신체(300)에 연결되는 제2 접속 단자부(520)를 포함하고, 상기 제1 접속 단자부(510)와 상기 제2 접속 단자부(520)는 전도성 섬유(210)를 포함하도록 직조된 섬유형 단자를 포함하는 것을 특징으로 하는 독거노인 관리 시스템.The method of claim 10,
The connection connector 500 includes a first connection terminal portion 510 provided at one end of the fiber type transmission medium 400 and a second connection terminal portion 520 connected to the reception body 300, Wherein the first connection terminal portion (510) and the second connection terminal portion (520) comprise fibrous terminals woven to include the conductive fibers (210).
상기 전도성 섬유(210)는 폴리에스터사(211)의 외주에 니켈(212), 구리(213), 은(214), 금(215)이 차례로 코팅되어 이루어지는 것을 특징으로 하는 독거노인 관리 시스템.The method of claim 11,
Wherein the conductive fibers 210 are formed by sequentially coating nickel 212, copper 213, silver 214 and gold 215 on the outer periphery of the polyester yarn 211.
상기 제1 접속 단자부(510)와 상기 제2 접속 단자부(520)는 각각 밸크로 부재를 포함하고, 밸크로 결합에 의해 착탈 가능하게 연결되는 것을 특징으로 하는 독거노인 관리 시스템.The method of claim 12,
Wherein the first connection terminal portion (510) and the second connection terminal portion (520) each include a valve member and are detachably connected by a valve coupling.
상기 본체(100)에는 상기 제1 접속 단자부(510)와 상기 제2 접속 단자부(520) 및 상기 수신체(300)가 수용될 수 있는 수용 주머니가 설치되는 것을 특징으로 하는 독거노인 관리 시스템.14. The method of claim 13,
Wherein the main body (100) is provided with a receptacle for accommodating the first connection terminal portion (510), the second connection terminal portion (520), and the receiving body (300).
Priority Applications (2)
| Application Number | Priority Date | Filing Date | Title |
|---|---|---|---|
| KR20130057138A KR20140136721A (en) | 2013-05-21 | 2013-05-21 | System for managing old man living alone |
| PCT/KR2014/004465 WO2014189242A1 (en) | 2013-05-21 | 2014-05-19 | Digital garment for health management and system for managing elderly people living alone using same |
Applications Claiming Priority (1)
| Application Number | Priority Date | Filing Date | Title |
|---|---|---|---|
| KR20130057138A KR20140136721A (en) | 2013-05-21 | 2013-05-21 | System for managing old man living alone |
Publications (1)
| Publication Number | Publication Date |
|---|---|
| KR20140136721A true KR20140136721A (en) | 2014-12-01 |
Family
ID=52456881
Family Applications (1)
| Application Number | Title | Priority Date | Filing Date |
|---|---|---|---|
| KR20130057138A Ceased KR20140136721A (en) | 2013-05-21 | 2013-05-21 | System for managing old man living alone |
Country Status (1)
| Country | Link |
|---|---|
| KR (1) | KR20140136721A (en) |
-
2013
- 2013-05-21 KR KR20130057138A patent/KR20140136721A/en not_active Ceased
Similar Documents
| Publication | Publication Date | Title |
|---|---|---|
| EP2809232B1 (en) | Sensors, interfaces and sensor systems for data collection and integrated remote monitoring of conditions at or near body surfaces | |
| US7783334B2 (en) | Garment for measuring physiological signal | |
| US20070299325A1 (en) | Physiological status monitoring system | |
| EP3791777B1 (en) | Tubular compression garment for monitoring the therapy and physiological activity of a person | |
| EP4099891B1 (en) | Wearable assembly comprising a wearable article and an electronics module arranged to be removably coupled to the wearable article | |
| US12419576B2 (en) | Wearable article | |
| GB2593433A (en) | Electronics arrangement for a wearable article | |
| GB2593434A (en) | Electronics arrangement for a wearable article | |
| GB2590986A (en) | Electronics arrangement for a wearable article | |
| KR20110131661A (en) | Clothing capable of collecting bio signals and system using same | |
| CN106994018A (en) | A kind of physiology signal harvester based on wisdom clothing | |
| GB2591821A (en) | Wearable article | |
| Paradiso et al. | Electronic textile platforms for monitoring in a natural environment | |
| TWM463109U (en) | Physiology detecting textile | |
| WO2014189242A1 (en) | Digital garment for health management and system for managing elderly people living alone using same | |
| KR20130109607A (en) | Garment for measuring vital signals | |
| KR101418080B1 (en) | Digital garment for health care | |
| US12008429B2 (en) | Wearable assembly | |
| KR102431172B1 (en) | Multi- functional cloth manufacturing method and multi-functional cloth manufactured using the same | |
| CN206151438U (en) | Physiological signal collection system | |
| CN213030630U (en) | Wearable acquisition equipment and wearable acquisition system | |
| KR101465471B1 (en) | Digital garment for soldier | |
| KR20140136721A (en) | System for managing old man living alone | |
| CN111920383B (en) | Wearable data collection equipment and wearable data collection system | |
| GB2592900A (en) | Electronics module for a wearable article |
Legal Events
| Date | Code | Title | Description |
|---|---|---|---|
| A201 | Request for examination | ||
| PA0109 | Patent application |
Patent event code: PA01091R01D Comment text: Patent Application Patent event date: 20130521 |
|
| PA0201 | Request for examination | ||
| E902 | Notification of reason for refusal | ||
| PE0902 | Notice of grounds for rejection |
Comment text: Notification of reason for refusal Patent event date: 20140828 Patent event code: PE09021S01D |
|
| PG1501 | Laying open of application | ||
| E601 | Decision to refuse application | ||
| PE0601 | Decision on rejection of patent |
Patent event date: 20150227 Comment text: Decision to Refuse Application Patent event code: PE06012S01D Patent event date: 20140828 Comment text: Notification of reason for refusal Patent event code: PE06011S01I |
|
| PX0901 | Re-examination |
Patent event code: PX09011S01I Patent event date: 20150227 Comment text: Decision to Refuse Application Patent event code: PX09012R01I Patent event date: 20141017 Comment text: Amendment to Specification, etc. |
|
| PX0601 | Decision of rejection after re-examination |
Comment text: Decision to Refuse Application Patent event code: PX06014S01D Patent event date: 20150428 Comment text: Amendment to Specification, etc. Patent event code: PX06012R01I Patent event date: 20150327 Comment text: Decision to Refuse Application Patent event code: PX06011S01I Patent event date: 20150227 Comment text: Amendment to Specification, etc. Patent event code: PX06012R01I Patent event date: 20141017 Comment text: Notification of reason for refusal Patent event code: PX06013S01I Patent event date: 20140828 |
|
| X601 | Decision of rejection after re-examination |
