[go: up one dir, main page]

KR20060120318A - Mobile communication terminal with autofocus camera device - Google Patents

Mobile communication terminal with autofocus camera device Download PDF

Info

Publication number
KR20060120318A
KR20060120318A KR1020050042098A KR20050042098A KR20060120318A KR 20060120318 A KR20060120318 A KR 20060120318A KR 1020050042098 A KR1020050042098 A KR 1020050042098A KR 20050042098 A KR20050042098 A KR 20050042098A KR 20060120318 A KR20060120318 A KR 20060120318A
Authority
KR
South Korea
Prior art keywords
light emitting
emitting diode
infrared light
diode chip
autofocus
Prior art date
Legal status (The legal status is an assumption and is not a legal conclusion. Google has not performed a legal analysis and makes no representation as to the accuracy of the status listed.)
Granted
Application number
KR1020050042098A
Other languages
Korean (ko)
Other versions
KR101121716B1 (en
Inventor
이상민
조재호
류승렬
강석진
Original Assignee
서울반도체 주식회사
Priority date (The priority date is an assumption and is not a legal conclusion. Google has not performed a legal analysis and makes no representation as to the accuracy of the date listed.)
Filing date
Publication date
Application filed by 서울반도체 주식회사 filed Critical 서울반도체 주식회사
Priority to KR1020050042098A priority Critical patent/KR101121716B1/en
Publication of KR20060120318A publication Critical patent/KR20060120318A/en
Application granted granted Critical
Publication of KR101121716B1 publication Critical patent/KR101121716B1/en
Anticipated expiration legal-status Critical
Expired - Fee Related legal-status Critical Current

Links

Images

Classifications

    • GPHYSICS
    • G03PHOTOGRAPHY; CINEMATOGRAPHY; ANALOGOUS TECHNIQUES USING WAVES OTHER THAN OPTICAL WAVES; ELECTROGRAPHY; HOLOGRAPHY
    • G03BAPPARATUS OR ARRANGEMENTS FOR TAKING PHOTOGRAPHS OR FOR PROJECTING OR VIEWING THEM; APPARATUS OR ARRANGEMENTS EMPLOYING ANALOGOUS TECHNIQUES USING WAVES OTHER THAN OPTICAL WAVES; ACCESSORIES THEREFOR
    • G03B13/00Viewfinders; Focusing aids for cameras; Means for focusing for cameras; Autofocus systems for cameras
    • G03B13/32Means for focusing
    • G03B13/34Power focusing
    • G03B13/36Autofocus systems
    • GPHYSICS
    • G02OPTICS
    • G02BOPTICAL ELEMENTS, SYSTEMS OR APPARATUS
    • G02B7/00Mountings, adjusting means, or light-tight connections, for optical elements
    • G02B7/02Mountings, adjusting means, or light-tight connections, for optical elements for lenses
    • G02B7/04Mountings, adjusting means, or light-tight connections, for optical elements for lenses with mechanism for focusing or varying magnification
    • G02B7/09Mountings, adjusting means, or light-tight connections, for optical elements for lenses with mechanism for focusing or varying magnification adapted for automatic focusing or varying magnification
    • GPHYSICS
    • G02OPTICS
    • G02BOPTICAL ELEMENTS, SYSTEMS OR APPARATUS
    • G02B7/00Mountings, adjusting means, or light-tight connections, for optical elements
    • G02B7/28Systems for automatic generation of focusing signals
    • GPHYSICS
    • G03PHOTOGRAPHY; CINEMATOGRAPHY; ANALOGOUS TECHNIQUES USING WAVES OTHER THAN OPTICAL WAVES; ELECTROGRAPHY; HOLOGRAPHY
    • G03BAPPARATUS OR ARRANGEMENTS FOR TAKING PHOTOGRAPHS OR FOR PROJECTING OR VIEWING THEM; APPARATUS OR ARRANGEMENTS EMPLOYING ANALOGOUS TECHNIQUES USING WAVES OTHER THAN OPTICAL WAVES; ACCESSORIES THEREFOR
    • G03B30/00Camera modules comprising integrated lens units and imaging units, specially adapted for being embedded in other devices, e.g. mobile phones or vehicles
    • HELECTRICITY
    • H04ELECTRIC COMMUNICATION TECHNIQUE
    • H04MTELEPHONIC COMMUNICATION
    • H04M1/00Substation equipment, e.g. for use by subscribers
    • H04M1/02Constructional features of telephone sets
    • H04M1/0202Portable telephone sets, e.g. cordless phones, mobile phones or bar type handsets
    • H04M1/026Details of the structure or mounting of specific components
    • H04M1/0264Details of the structure or mounting of specific components for a camera module assembly

Landscapes

  • Physics & Mathematics (AREA)
  • General Physics & Mathematics (AREA)
  • Optics & Photonics (AREA)
  • Engineering & Computer Science (AREA)
  • Signal Processing (AREA)
  • Studio Devices (AREA)
  • Led Device Packages (AREA)

Abstract

자동초점 카메라 장치를 갖는 이동통신 단말기가 개시된다. 이 이동통신 단말기는 피사체를 향해 적외선 광을 방출하는 자동초점용 적외선 발광다이오드를 포함한다. 렌즈부가, 적외선 발광다이오드에서 방출된 후 피사체에서 반사된 적외선 광을 포커싱하고, 촬상소자가 렌즈부를 통해 입사된 적외선 광을 전기적 신호로 변환한다. 한편, 연산처리부가 촬상소자에 의해 변환된 전기적 신호를 이용하여 피사체의 초점위치를 연산한다. 자동초점 구동부는 제어부의 제어에 의해 연산처리부에 의해 연산된 초점위치로 렌즈부의 초점위치를 변화시킨다. 적외선 발광다이오드를 채택하여 자동초점 기능을 수행하므로, 어두운 곳에서도 신속하게 자동초점 조절을 수행할 수 있는 카메라 장치를 갖는 이동통신 단말기를 제공할 수 있다.A mobile communication terminal having an autofocus camera device is disclosed. The mobile communication terminal includes an autofocus infrared light emitting diode that emits infrared light toward a subject. The lens unit focuses the infrared light reflected from the subject after being emitted from the infrared light emitting diode, and the image pickup device converts the infrared light incident through the lens unit into an electrical signal. On the other hand, the calculation processing unit calculates the focus position of the subject using the electrical signal converted by the image pickup device. The autofocus driving unit changes the focusing position of the lens unit to the focusing position calculated by the arithmetic processing unit under control of the control unit. By adopting an infrared light emitting diode to perform an autofocus function, it is possible to provide a mobile communication terminal having a camera device that can perform autofocus control quickly even in a dark place.

Description

자동초점 카메라 장치를 갖는 이동통신 단말기{MOBILE TERMINAL HAVING AN AUTO-FOCUSING CAMERA}Mobile communication terminal with autofocus camera device {MOBILE TERMINAL HAVING AN AUTO-FOCUSING CAMERA}

도 1은 본 발명의 일 실시예에 따른 이동통신 단말기를 설명하기 위한 사시도이다.1 is a perspective view illustrating a mobile communication terminal according to an embodiment of the present invention.

도 2는 도 1의 이동통신 단말기를 설명하기 위한 개략적인 블록도이다.FIG. 2 is a schematic block diagram illustrating the mobile communication terminal of FIG. 1.

도 3 내지 도 8은 본 발명의 실시예들에 따른 복합 발광다이오드를 설명하기 위한 단면도들이다.3 to 8 are cross-sectional views for describing a composite light emitting diode according to embodiments of the present invention.

본 발명은 카메라 장치를 갖는 이동통신 단말기에 관한 것으로, 더욱 상세하게는 자동초점용 적외선 발광다이오드를 구비하여 자동초점 성능을 향상시킴과 아울러 자동초점 조절시간을 단축할 수 있는 자동초점 카메라 장치를 갖는 휴대용 이동통신 단말기에 관한 것이다.The present invention relates to a mobile communication terminal having a camera device, and more particularly, having an autofocus infrared light emitting diode for improving the autofocus performance and reducing the autofocus adjustment time. It relates to a portable mobile communication terminal.

사용자들이 항상 휴대하기 때문에, 다양한 기능을 복합화한 휴대용 이동통신 단말기가 선호되어 널리 보급되고 있다. 특히, 언제 어디서든 이미지를 촬영할 수 있는 카메라 기능 및 촬영된 이미지를 전송할 수 있는 화상 기능을 갖는 휴대용 이 동통신 단말기가 널리 보급되고 있다. Since users always carry, portable mobile communication terminals combining various functions are preferred and are widely used. In particular, a portable mobile communication terminal having a camera function capable of capturing an image anytime and anywhere and an image function capable of transmitting a captured image is widely used.

일반적으로, 이동통신 단말기에 장착된 카메라 장치는 전하결합소자(charge coupled device; CCD) 또는 시모스(complementary metal oxide semiconductor; CMOS) 촬상소자를 구비한다. 이러한 촬상소자는 피사체의 이미지에 대한 광신호를 받아 아날로그 영상신호를 생성하며, 이 아날로그 영상신호는 아날로그/디지털 변환부를 거쳐 디지털 신호로 변환된다. 이 디지털 신호가 신호처리부를 거쳐 영상 이미지로 출력된다.In general, a camera device mounted on a mobile communication terminal includes a charge coupled device (CCD) or a complementary metal oxide semiconductor (CMOS) imaging device. The image pickup device receives an optical signal for an image of a subject to generate an analog image signal, which is converted into a digital signal through an analog / digital converter. This digital signal is output as a video image via a signal processor.

한편, 선명한 영상 이미지를 얻기 위해서는, 피사체의 이미지가 촬상소자에 정확하게 맺혀야 하고, 미세한 이미지 차이를 구별하기 위한 많은 화소가 제공되어야 한다. 이와 관련하여, 최근 출시된 이동통신 단말기는 일반 디지털 카메라에 버금가는 화소를 구비하여 선명한 화상을 제공할 수 있다. 따라서, 선명한 영상 이미지를 얻기 위해 피사체의 이미지를 촬상소자에 정확하게 맺게하는 카메라의 자동초점 기능이 더욱 중요하다.On the other hand, in order to obtain a clear video image, the image of the subject must be accurately bound to the image pickup device, and a large number of pixels must be provided to distinguish minute image differences. In this regard, recently released mobile communication terminals can provide a clear image by including pixels comparable to a general digital camera. Therefore, in order to obtain a clear image of the image, the camera's autofocus function for accurately concatenating the image of the subject to the image pickup device is more important.

종래의 이동통신 단말기에 내장된 카메라는 렌즈의 초점을 변화시키어, 각 초점에서 촬상소자에 의해 영상신호들을 생성하고, 생성된 영상신호들의 명암을 대비하여 가장 선명한 명암을 나타내는 초점위치를 결정하여 자동초점 기능을 수행한다. 즉, 영상신호들 중 피사체와 그 주변의 명암차이가 가장 큰 초점위치를 결정하는 방식으로 자동초점 기능이 수행된다.The camera embedded in the conventional mobile communication terminal changes the focus of the lens, generates image signals by the image pickup device at each focus, and determines the focus position that shows the sharpest contrast in contrast with the contrast of the generated image signals. Perform the focus function. That is, the autofocus function is performed in such a manner as to determine a focus position having the largest contrast difference between the subject and the surroundings among the image signals.

그러나, 이러한 자동초점 방식은 피사체와 그 주변의 명암차이가 적은 경우, 예컨대 어두운 곳이나 야간에 피사체에 초점을 맞추기 어려우며, 자동초점 조절 시 간이 오래 걸리는 문제점이 있다.However, such an autofocus method has a problem in that it is difficult to focus on a subject in a dark place or at night when the contrast between the subject and the surrounding is small, and it takes a long time to adjust the autofocus.

본 발명이 이루고자 하는 기술적 과제는, 종래의 이동통신 단말기에 비해 크기가 증가하지 않으면서, 피사체와 그 주변의 명암차이가 적은 경우에도 신속하고 정확하게 자동초점 조절을 할 수 있는 자동초점 카메라 장치를 갖는 이동통신 단말기를 제공하는 것이다.The technical problem to be achieved by the present invention is to have an autofocus camera device capable of quick and accurate autofocus control even when the contrast difference between a subject and its surroundings is small, without increasing its size compared to a conventional mobile communication terminal. It is to provide a mobile communication terminal.

상기 기술적 과제를 달성하기 위하여, 본 발명은 자동초점 카메라 장치를 갖는 이동통신 단말기를 제공한다. 본 발명의 일 실시예에 따른 상기 이동통신 단말기는 피사체를 향해 적외선 광을 방출하는 자동초점용 적외선 발광다이오드를 구비한다. 렌즈부가 상기 적외선 발광다이오드에서 방출되어 피사체에서 반사된 상기 적외선 광을 포커싱한다. 한편, 촬상소자가 상기 렌즈부를 통해 입사된 상기 적외선 광을 전기적 신호로 변환한다. 또한, 연산처리부가 상기 촬상소자에 의해 생성된 전기적 신호를 이용하여 피사체의 초점위치를 연산한다. 한편, 자동초점 구동부가 상기 렌즈부의 초점위치를 변화시키며, 제어부는 상기 연산처리부 및 상기 자동초점 구동부를 제어한다. 따라서, 적외선 발광다이오드에서 방출된 적외선을 이용하여 카메라 장치의 자동초점 기능을 수행할 수 있어, 어두운 곳에서도 신속하게 자동초점 조절을 수행할 수 있다.In order to achieve the above technical problem, the present invention provides a mobile communication terminal having an autofocus camera device. The mobile communication terminal according to an embodiment of the present invention includes an infrared light emitting diode for auto focus that emits infrared light toward a subject. A lens unit focuses the infrared light emitted from the infrared light emitting diode and reflected from a subject. On the other hand, the imaging device converts the infrared light incident through the lens unit into an electrical signal. In addition, the calculation processing unit calculates the focus position of the subject by using the electrical signal generated by the imaging device. On the other hand, the autofocus driving unit changes the focus position of the lens unit, the control unit controls the calculation processing unit and the autofocus driving unit. Therefore, the autofocus function of the camera apparatus can be performed by using the infrared light emitted from the infrared light emitting diode, so that the autofocus control can be performed quickly even in a dark place.

상기 적외선 발광다이오드는 리드전극들을 갖는 본체를 포함한다. 적외선을 방출하는 적외선 발광다이오드 칩이 상기 본체에 탑재된다. 또한, 몰딩부재가 상기 적외선 발광다이오드 칩을 밀봉한다.The infrared light emitting diode includes a body having lead electrodes. An infrared light emitting diode chip emitting infrared light is mounted on the main body. In addition, a molding member seals the infrared light emitting diode chip.

여기서, 상기 본체는 리드전극들이 인쇄된 인쇄회로기판일 수 있으며, 리드프레임을 삽입몰딩한 열가소성 또는 열경화성 수지일 수 있다.The main body may be a printed circuit board on which lead electrodes are printed, and may be a thermoplastic or thermosetting resin in which a lead frame is inserted and molded.

상기 이동통신 단말기는 백색광을 방출하는 플래시 발광다이오드를 더 포함할 수 있다. 한편, 상기 플래시 발광다이오드와 상기 적외선 발광다이오드는 하나의 패키지로 통합된 복합 발광다이오드일 수 있다.The mobile communication terminal may further include a flash light emitting diode emitting white light. The flash light emitting diode and the infrared light emitting diode may be a composite light emitting diode integrated into one package.

이하, 첨부된 도면들을 참조하여 본 발명의 실시예들을 상세히 설명한다. 다음에 소개되는 실시예들은 당업자에게 본 발명의 사상이 충분히 전달될 수 있도록 하기 위해 예로서 제공되어지는 것이다. 따라서, 본 발명은 이하 설명되어지는 실시예들에 한정되지 않고 다른 형태로 구체화될 수도 있다. 그리고, 도면들에 있어서, 구성요소의 폭, 길이, 두께 등은 편의를 위하여 과장되어 표현될 수도 있다. 명세서 전체에 걸쳐서 동일한 참조번호들은 동일한 구성요소들을 나타낸다.Hereinafter, with reference to the accompanying drawings will be described embodiments of the present invention; The following embodiments are provided as examples to sufficiently convey the spirit of the present invention to those skilled in the art. Accordingly, the invention is not limited to the embodiments described below and may be embodied in other forms. And, in the drawings, the width, length, thickness, etc. of the components may be exaggerated for convenience. Like numbers refer to like elements throughout.

도 1은 본 발명의 일 실시예에 따른 자동초점 카메라장치를 갖는 이동통신 단말기(10)를 설명하기 위한 사시도이고, 도 2는 상기 이동통신 단말기(10)를 설명하기 위한 개략적인 블록도이다. 여기서, 상기 단말기(10)는 폴더형 이동통신 단말기를 나타내나, 이에 한정되지 않으며, 슬라이드형 이동통신 단말기 등 다른 종류의 이동통신 단말기에 동일하게 적용가능하다.1 is a perspective view for explaining a mobile communication terminal 10 having an autofocus camera apparatus according to an embodiment of the present invention, Figure 2 is a schematic block diagram for explaining the mobile communication terminal 10. Here, the terminal 10 represents a folder type mobile communication terminal, but is not limited thereto. The terminal 10 may be equally applicable to other types of mobile communication terminals such as a slide type mobile communication terminal.

도 1 및 도 2를 참조하면, 상기 단말기(10)는 키패드와 같이 사용자가 단말기의 동작모드를 선택하거나, 데이터를 입력할 수 있는 입력부와 단말기의 동작상태 등의 화면을 표시하는 표시부로 구성된 입출력부(13)를 갖는다. 또한, 제어부 (11)가 상기 단말기(10)의 각 구성부품들의 동작을 제어하여 단말기(10)의 기능을 수행한다.Referring to FIGS. 1 and 2, the terminal 10 is an input / output unit including a display unit for displaying a screen such as an input unit capable of selecting an operation mode of a terminal or inputting data and an operation state of the terminal such as a keypad It has a portion 13. In addition, the controller 11 controls the operation of each component of the terminal 10 to perform a function of the terminal 10.

한편, 상기 단말기(10)는 렌즈부(17)를 포함한다. 상기 렌즈부(17)는 피사체에서 반사된 광이 입사될 수 있도록 상기 단말기(10)의 일면에 배치된다. 상기 렌즈부(17)는 하나 이상의 렌즈들로 구성될 수 있으며, 경통 내에 배치될 수 있다. 한편, 상기 렌즈부(17)를 보호하기 위해 상기 렌즈부 상부에 투명한 수광창(16)이 마련될 수 있다.Meanwhile, the terminal 10 includes a lens unit 17. The lens unit 17 is disposed on one surface of the terminal 10 to allow the light reflected from the subject to be incident. The lens unit 17 may be composed of one or more lenses, and may be disposed in the barrel. Meanwhile, a transparent light receiving window 16 may be provided on the lens unit to protect the lens unit 17.

일반적으로, 상기 렌즈부(17)와 동일면에 플래시 발광부(29)가 배치된다. 상기 플래시 발광부(29)는 백색 발광다이오드를 포함하며, 어두운 곳에서 사진 촬영시 주위를 밝게 하기 위해 사용된다. 한편, 적외선 발광부(15)가 상기 렌즈부(17)와 동일면에 배치된다. 상기 적외선 발광부(15)는 적외선 발광다이오드를 포함하며, 피사체를 향해 적외선을 방출한다. 상기 플래시 발광부(29)와 적외선 발광부(15)는 서로 분리되어 개별적으로 배치되거나, 하나로 통합하여 배치될 수 있다. 상기 플래시 발광부와 상기 적외선 발광부가 하나로 통합되면, 상기 적외선 발광부(15)를 설치하기 위한 공간을 절약할 수 있다.In general, the flash light emitting unit 29 is disposed on the same surface as the lens unit 17. The flash emitter 29 includes a white light emitting diode and is used to brighten the surroundings when taking a picture in a dark place. Meanwhile, the infrared light emitting unit 15 is disposed on the same plane as the lens unit 17. The infrared light emitting unit 15 includes an infrared light emitting diode and emits infrared light toward a subject. The flash light emitter 29 and the infrared light emitter 15 may be separated from each other and individually disposed or may be integrated into one. When the flash light emitter and the infrared light emitter are integrated into one, it is possible to save space for installing the infrared light emitter 15.

자동초점 구동부(25)는 상기 제어부(11)의 제어 신호에 따라 상기 렌즈부(17)의 초점위치를 변화시킨다. 예컨대, 상기 자동초점 구동부(25)는 모터일 수 있으며, 제어신호에 따라 상기 렌즈부(17)의 렌즈들을 이동시킨다.The autofocus driver 25 changes the focus position of the lens unit 17 according to the control signal of the controller 11. For example, the autofocus driving unit 25 may be a motor and moves the lenses of the lens unit 17 according to a control signal.

한편, 상기 렌즈부(17)를 통해 입사된 광은 CCD 또는 CMOS와 같은 촬상소자(19)에 의해 전기적 신호로 변환된다. 즉, 상기 촬상소자(19)는 복수개의 화소로 구성되며, 각 화소별로 입력된 광의 세기를 전기적 신호로 변환시킨다. 상기 전기적 신호는 아날로그 형태로 변환되며, 이러한 아날로그 신호는 아날로그-디지털 변환부(21, A/D 변환부)에 의해 디지털 영상신호로 변환된다. 디지털 영상신호는 신호처리기(도시하지 않음)를 거쳐 저장부(27)에 저장되거나, 표시부를 통해 사용자가 볼 수 있도록 화면으로 출력된다. 또한, 디지털 영상신호는 통신 신호로 변환되어 기지국을 통해 다른 단말기로 전송될 수 있다.On the other hand, light incident through the lens unit 17 is converted into an electrical signal by an imaging device 19 such as a CCD or a CMOS. That is, the imaging device 19 is composed of a plurality of pixels, and converts the intensity of light input for each pixel into an electrical signal. The electrical signal is converted into an analog form, and the analog signal is converted into a digital video signal by the analog-digital converter 21 (A / D converter). The digital video signal is stored in the storage unit 27 through a signal processor (not shown) or output to the screen for viewing by the user through the display unit. In addition, the digital video signal may be converted into a communication signal and transmitted to another terminal through the base station.

한편, A/D 변환부(21)를 통해 변환된 디지털 신호는 연산처리부(23)로 전달될 수 있으며, 상기 연산처리부는 전달된 디지털 신호를 연산하여 이미지의 선명도 등을 연산한다.Meanwhile, the digital signal converted by the A / D converter 21 may be transferred to the operation processor 23, and the operation processor calculates the transmitted digital signal to calculate the sharpness of the image.

이하, 상기 이동통신 단말기(10)의 자동초점 동작에 대해 설명한다.Hereinafter, the autofocus operation of the mobile communication terminal 10 will be described.

렌즈부(17)가 피사체를 향하도록 하고 사용자가 입력부, 예컨대 셔터를 누르면, 적외선 발광부(15)는 제어부(11)의 제어신호에 따라 피사체를 향해 적외선을 방출한다. 상기 적외선은 피사체에서 반사되며, 그 일부는 상기 렌즈부(17)로 입사된다. 렌즈부(17)를 통해 입사된 적외선은 촬상소자(19)에 의해 전기적 신호로 변환되며, 이 신호는 A/D 변환부(21)를 거쳐 연산처리부(23)로 전달된다. 이때, 상기 자동초점 구동부(25)는 제어부(11)의 제어신호에 따라 렌즈부(17)의 초점위치를 변화시킨다. 따라서, 다수의 초점위치에 대한 디지털 신호들이 연산처리부(23)로 전달된다.When the lens unit 17 faces the subject and the user presses the input unit, for example, the shutter, the infrared emitter 15 emits infrared rays toward the subject according to the control signal of the controller 11. The infrared rays are reflected from the subject, and a part of them is incident on the lens unit 17. The infrared rays incident through the lens unit 17 are converted into electrical signals by the image pickup device 19, and the signals are transferred to the arithmetic processing unit 23 via the A / D converter 21. In this case, the autofocus driver 25 changes the focus position of the lens unit 17 according to the control signal of the controller 11. Therefore, the digital signals for the plurality of focus positions are transmitted to the operation processor 23.

상기 연산처리부(23)는 전달된 디지털 신호들을 연산하여 피사체에서 반사된 적외선의 선명도가 가장 양호한 초점위치를 찾아낸다. 제어부(11)는 상기 연산처리 부(23)의 연산결과를 기초로 하여 자동초점 구동부(25)에 제어신호를 보내고, 상기 자동초점 구동부(25)는 상기 제어신호에 따라 적외선의 선명도가 가장 양호한 초점위치로 상기 렌즈부(17)의 초점위치를 변경한다.The operation processor 23 calculates the transmitted digital signals to find a focus position having the best definition of the infrared rays reflected from the subject. The control unit 11 transmits a control signal to the autofocus driver 25 based on the calculation result of the calculation processor 23, and the autofocus driver 25 has the best definition of the infrared rays according to the control signal. The focus position of the lens unit 17 is changed to the focus position.

상기 렌즈부(17)의 초점위치가 변경된 후, 피사체에 대한 사진촬영이 이루어진다. 이때, 상기 제어부(11)는 플래시 발광부(29)를 제어하여 플래시를 통해 백색광을 방출할 수 있다.After the focus position of the lens unit 17 is changed, photographing of the subject is performed. In this case, the controller 11 may control the flash light emitter 29 to emit white light through the flash.

본 실시예에 따르면, 적외선 발광다이오드를 채택하여 적외선을 피사체에 방출하고, 피사체에서 반사된 적외선을 이용하여 자동초점 기능을 수행한다. 따라서, 종래의 가시광선을 이용한 자동초점 방식과 대비하여, 어두운 곳에서도 피사체에 대한 초점위치를 신속하고 정확하게 찾을 수 있는 이동통신 단말기를 제공할 수 있다.According to the present embodiment, an infrared light emitting diode is adopted to emit infrared rays to a subject, and an autofocus function is performed by using infrared rays reflected from the subject. Accordingly, in contrast to the conventional auto focus method using visible light, it is possible to provide a mobile communication terminal capable of quickly and accurately finding a focus position of a subject even in a dark place.

이하에서는, 도 3 내지 도 8을 참조하여, 상기 적외선 발광부(15)를 구성하는 적외선 발광다이오드에 대해 설명한다. 한편, 앞에서 설명한 바와 같이, 상기 적외선 발광부(15)와 상기 플래시 발광부(29)는 하나로 통합될 수 있으며, 이때 적외선 발광다이오드와 플래시 발광다이오드가 하나의 패키지로 통합되어 복합 발광다이오드를 구성한다. 일반적으로, 플래시 발광다이오드는 백색 발광다이오드이며, 이러한 백색 발광다이오드는 청색, 녹색 및 적색 다이오드 칩들을 동시에 포함하거나, 자외선 또는 청색 발광다이오드 칩과 자외선 또는 청색광의 일부를 파장변환시키는 형광체를 포함할 수 있다. 이러한 플래시 발광다이오드는 적외선 발광다이오드와 함께 동일한 패키지 내에 통합될 수 있다. 다만, 이들을 동작하기 위한 외부 회로는 별개로 구성되는 것이 바람직하다.Hereinafter, an infrared light emitting diode constituting the infrared light emitting unit 15 will be described with reference to FIGS. 3 to 8. On the other hand, as described above, the infrared light emitting unit 15 and the flash light emitting unit 29 may be integrated into one, wherein the infrared light emitting diode and the flash light emitting diode are integrated into one package to form a composite light emitting diode. . In general, a flash light emitting diode is a white light emitting diode, and the white light emitting diode may include blue, green, and red diode chips simultaneously, or may include a phosphor for wavelength converting an ultraviolet or blue light emitting diode chip and a portion of the ultraviolet or blue light. have. Such flash light emitting diodes can be integrated in the same package with infrared light emitting diodes. However, it is preferable that the external circuit for operating them be configured separately.

도 3 내지 도 8은 본 발명의 실시예들에 따른 이동통신 단말기(10)에 사용될 수 있는 복합 발광다이오드들을 설명하기 위한 단면도들이다.3 to 8 are cross-sectional views illustrating complex light emitting diodes that may be used in the mobile communication terminal 10 according to embodiments of the present invention.

도 3을 참조하면, 상기 복합 발광다이오드는 리드전극들(33a, 33b)을 갖는 인쇄회로기판(31)을 포함한다. 여기서는 두개의 리드전극들이 도시되어 있으나, 더 많은 리드전극들이 상기 인쇄회로기판(31) 상에 형성될 수 있다.Referring to FIG. 3, the composite light emitting diode includes a printed circuit board 31 having lead electrodes 33a and 33b. Although two lead electrodes are shown here, more lead electrodes may be formed on the printed circuit board 31.

청색 또는 자외선 발광다이오드 칩(35) 및 적외선 발광다이오드 칩(37)이 상기 인쇄회로기판(31) 상에 탑재된다. 도시된 바와 같이, 상기 발광다이오드 칩들(37)은 리드전극(33a) 상에 전기적으로 접착되고, 본딩와이어를 통해 다른 전극(33b)에 전기적으로 연결될 수 있다. 또한, 상기 적외선 발광다이오드 칩(37)은 인쇄회로기판(31) 상에 접착되고, 두개의 본딩와이어들을 통해 상기 리드전극들(33a, 33b)에 전기적으로 연결될 수 있다.A blue or ultraviolet light emitting diode chip 35 and an infrared light emitting diode chip 37 are mounted on the printed circuit board 31. As shown, the light emitting diode chips 37 may be electrically bonded to the lead electrode 33a and electrically connected to the other electrode 33b through a bonding wire. In addition, the infrared light emitting diode chip 37 may be adhered to the printed circuit board 31 and electrically connected to the lead electrodes 33a and 33b through two bonding wires.

여기서, 상기 자외선 또는 청색 발광다이오드 칩(35) 및 적외선 발광다이오드 칩(37)은 동일한 리드전극들(33a, 33b)에 전기적으로 연결된 것으로 도시되어 있으나, 이에 한정되는 것은 아니며, 이들 발광다이오드 칩들(35, 37)은 본딩와이어를 통해 서로 다른 리드전극들에 전기적으로 연결될 수 있다. 이에 따라, 적외선 발광다이오드 칩(37)과 자외선 또는 청색 발광다이오드 칩(35)은 각각 별개의 회로를 통해 구동될 수 있다.Here, the ultraviolet or blue light emitting diode chip 35 and the infrared light emitting diode chip 37 are illustrated as being electrically connected to the same lead electrodes 33a and 33b, but are not limited thereto. 35 and 37 may be electrically connected to different lead electrodes through bonding wires. Accordingly, the infrared light emitting diode chip 37 and the ultraviolet or blue light emitting diode chip 35 may be driven through separate circuits, respectively.

한편, 몰딩부재(39)가 상기 발광다이오드 칩들(35, 37)을 밀봉한다. 상기 몰딩부재(39)는 에폭시 수지 또는 실리콘 수지와 같은 투명수지로 트랜스퍼 몰딩 기 술을 사용하여 형성될 수 있다. 한편, 상기 자외선 또는 청색 발광다이오드 칩(35) 상부에 형광체(41)가 위치한다. 상기 형광체는 자외선 또는 청색 발광다이오드 칩(35)에서 방출된 청색광의 일부를 황색광 또는 녹색광 및 적색광으로 변환시키거나, 자외선 발광다이오드 칩에서 방출된 자외선의 일부를 청색광, 녹색광 및 적색광으로 변환시킨다. 따라서, 상기 자외선/청색 발광다이오드 칩(35)에 방출된 광은 형광체(41)에서 변환된 광과 혼합되어 백색광을 방출한다.Meanwhile, the molding member 39 seals the light emitting diode chips 35 and 37. The molding member 39 may be formed using a transfer molding technique with a transparent resin such as an epoxy resin or a silicone resin. On the other hand, the phosphor 41 is positioned on the ultraviolet or blue light emitting diode chip 35. The phosphor converts a part of the blue light emitted from the ultraviolet or blue light emitting diode chip 35 into yellow light or green light and red light, or converts a part of the ultraviolet light emitted from the ultraviolet light emitting diode chip into blue light, green light, and red light. Therefore, the light emitted to the ultraviolet / blue LED chip 35 is mixed with the light converted by the phosphor 41 to emit white light.

상기 형광체(41)는 상기 몰딩부재(39) 내에 균일하게 분산될 수 있으나, 상기 청색 발광다이오드 칩 상부에 제한적으로 분산될 수도 있다.The phosphor 41 may be uniformly dispersed in the molding member 39, but may be limitedly distributed on the blue light emitting diode chip.

본 실시예에 따르면, 플래시 발광다이오드와 적외선 발광다이오드를 하나의 패키지로 통합함에 따라, 적외선 발광다이오드를 설치하기 위한 공간을 절약할 수 있다. According to the present embodiment, by integrating the flash light emitting diodes and the infrared light emitting diodes into one package, it is possible to save space for installing the infrared light emitting diodes.

도 4를 참조하면, 본 실시예에 따른 복합 발광다이오드는, 도 3을 참조하여 설명한 바와 같이, 리드전극들(33a, 33b)을 갖는 인쇄회로기판(31), 발광다이오드 칩들(35, 37), 몰딩부재(39) 및 형광체(41)를 포함한다.Referring to FIG. 4, the composite light emitting diode according to the present embodiment, as described with reference to FIG. 3, the printed circuit board 31 having the lead electrodes 33a and 33b and the light emitting diode chips 35 and 37. , The molding member 39 and the phosphor 41.

다만, 상기 적외선 발광다이오드 칩(39) 상부에 위치하는 상기 몰딩부재(39)의 상부면이 렌즈형상(45)으로 형성된다. 이에 따라, 상기 적외선 발광다이오드 칩(39)에서 피사체를 향해 방출되는 적외선의 양을 증가시킬 수 있다. 피사체를 향해 방출된 적외선 양의 증가는 피사체에서 반사되어 렌즈부(도 1의 17)로 입사되는 적외선의 양의 증가로 이어져, 촬상소자에 의한 이미지 검출능력을 증가시킨다.However, an upper surface of the molding member 39 positioned above the infrared light emitting diode chip 39 is formed in a lens shape 45. Accordingly, the amount of infrared radiation emitted from the infrared light emitting diode chip 39 toward the subject may be increased. The increase in the amount of infrared rays emitted toward the subject leads to an increase in the amount of infrared rays reflected from the subject and incident on the lens portion 17 (Fig. 1), thereby increasing the image detection capability by the image pickup device.

또한, 상기 자외선 또는 청색 발광 다이오드 칩(35) 상부에 위치하는 상기 몰딩부재(39)의 상부면도 렌즈 형상으로 형성될 수도 있다.In addition, an upper surface of the molding member 39 positioned on the ultraviolet or blue light emitting diode chip 35 may also be formed in a lens shape.

한편, 형광체(41)는 자외선 또는 청색 발광다이오드 칩(35) 상부에 제한적으로 분산될 수 있다. 따라서, 상기 적외선 발광다이오드 칩(37)에서 방출된 적외선은 형광체(41)에 의해 손실되지 않으므로, 피사체를 향해 방출되는 적외선 양을 더욱 증가시킬 수 있다.On the other hand, the phosphor 41 may be limitedly dispersed above the ultraviolet or blue light emitting diode chip 35. Accordingly, since the infrared rays emitted from the infrared light emitting diode chip 37 are not lost by the phosphor 41, the amount of infrared rays emitted toward the subject can be further increased.

도 5를 참조하면, 본 실시예에 따른 복합 발광다이오드는, 도 3을 참조하여 설명한 바와 같이, 리드전극들(33a, 33b)을 갖는 인쇄회로기판(31), 청색 및 적외선 발광다이오드 칩들(35, 37) 및 몰딩부재(39)를 포함한다.Referring to FIG. 5, the composite light emitting diode according to the present embodiment, as described with reference to FIG. 3, a printed circuit board 31 having lead electrodes 33a and 33b, and blue and infrared light emitting diode chips 35. , 37) and the molding member 39.

다만, 상기 복합 발광다이오드는 녹색 발광다이오드 칩(51) 및 적색 발광다이오드 칩(55)을 더 포함한다. 상기 청색, 녹색 및 적색 발광다이오드 칩들(35, 51, 55)은 본딩와이어들(도시하지 않음)을 통해 리드전극들에 전기적으로 연결된다. 상기 청색, 녹색 및 적색 발광다이오드 칩들(35, 51, 55)에서 방출된 광들이 혼합되어 백색광이 외부로 방출된다. 따라서, 본 실시예에 있어서, 도 3의 형광체(41)는 생략된다.However, the composite light emitting diode further includes a green light emitting diode chip 51 and a red light emitting diode chip 55. The blue, green, and red LED chips 35, 51, and 55 are electrically connected to lead electrodes through bonding wires (not shown). The light emitted from the blue, green, and red LED chips 35, 51, and 55 are mixed to emit white light to the outside. Therefore, in this embodiment, the phosphor 41 in FIG. 3 is omitted.

한편, 상기 적외선 발광다이오드 칩(37) 상부에 위치하는 상기 몰딩부재(39)의 상부면은, 도 4에 도시된 바와 같이, 렌즈형상으로 형성될 수 있다.Meanwhile, an upper surface of the molding member 39 positioned on the infrared light emitting diode chip 37 may be formed in a lens shape as shown in FIG. 4.

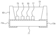
도 6을 참조하면, 본 실시예에 따른 복합 발광다이오드는, 도 3을 참조하여 설명한 바와 같이, 리드전극들(73a, 73b)을 갖는 인쇄회로기판(71), 자외선 또는 청색 및 적외선 발광다이오드 칩들(75, 77), 몰딩부재(79) 및 형광체(81)를 포함한다. 상기 발광다이오드 칩들(75, 77)은 본딩와이어들을 통해 상기 리드전극들에 전 기적으로 연결된다. 이때, 상기 발광다이오드 칩들(75, 77)은 서로 다른 리드전극들에 연결될 수 있다.Referring to FIG. 6, the composite light emitting diode according to the present embodiment, as described with reference to FIG. 3, is a printed circuit board 71 having lead electrodes 73a and 73b, ultraviolet or blue and infrared light emitting diode chips. (75, 77), the molding member 79 and the phosphor 81. The light emitting diode chips 75 and 77 are electrically connected to the lead electrodes through bonding wires. In this case, the LED chips 75 and 77 may be connected to different lead electrodes.

이에 더하여, 반사컵(83)이 상기 발광다이오드 칩들(35, 37)을 둘러싼다. 상기 반사컵(83)은 상기 발광다이오드 칩들(35, 37)에서 방출된 광을 반사시키는 반사면을 갖는다. 따라서, 상기 복합 발광다이오드는 일정한 지향각 내로 백색광 및 적외선을 방출할 수 있어 방출효율을 증가시킬 수 있다.In addition, a reflective cup 83 surrounds the light emitting diode chips 35 and 37. The reflective cup 83 has a reflective surface for reflecting light emitted from the light emitting diode chips 35 and 37. Therefore, the composite light emitting diode can emit white light and infrared rays within a certain direction angle, thereby increasing the emission efficiency.

상기 몰딩부재(79)는 상기 반사컵(83) 내에 형성된다. 한편, 상기 적외선 발광다이오드 칩(77) 상부에 위치하는 상기 몰딩부재(79)의 상부면은 앞에서 설명한 바와 같이 렌즈형상(도시하지 않음)으로 형성될 수 있다.The molding member 79 is formed in the reflective cup 83. Meanwhile, the upper surface of the molding member 79 positioned above the infrared light emitting diode chip 77 may be formed in a lens shape (not shown) as described above.

한편, 본 실시예에 따른 복합 발광 다이오드 패키지는 리드프레임을 열가소성 또는 열경화성 수지를 사용하여 삽입 몰딩하여 형성할 수 있다. 그 결과, 상기 인쇄회로기판(71)과 상기 반사컵(83)이 일체로 형성된 본체가 제공될 수 있으며, 리드프레임이 최종적으로 상기 리드전극들(73a, 73b)이 된다. 이러한 본체를 사용하는 예는 이하의 실시예들에 공통적으로 적용가능하다.On the other hand, the composite light emitting diode package according to the present embodiment can be formed by insert molding the lead frame using a thermoplastic or thermosetting resin. As a result, a main body in which the printed circuit board 71 and the reflective cup 83 are integrally formed may be provided, and the lead frame may finally become the lead electrodes 73a and 73b. An example of using such a body is commonly applicable to the following embodiments.

도 7을 참조하면, 본 실시예에 따른 복합 발광다이오드는, 도 6을 참조하여 설명한 바와 같이, 리드전극들(73a, 73b)을 갖는 인쇄회로기판(71), 청색 및 적외선 발광다이오드 칩들(75, 77), 몰딩부재(79a, 79b) 및 형광체(81)를 포함하며, 반사컵(83)을 포함한다.Referring to FIG. 7, the composite light emitting diode according to the present embodiment, as described with reference to FIG. 6, a printed circuit board 71 having lead electrodes 73a and 73b, and blue and infrared light emitting diode chips 75. , 77), molding members 79a and 79b, and phosphor 81, and a reflecting cup 83.

다만, 상기 반사컵(83)을 분할하는 격벽(85)이 마련된다. 상기 격벽(85)에 의해 두개로 분할된 반사컵 내의 영역들에 자외선 또는 청색 발광다이오드 칩(75) 및 적외선 발광다이오드 칩(77)이 각각 위치하며, 몰딩부재(79a, 79b)도 두 영역으로 분할된다. 이에 따라, 상기 자외선 또는 청색 발광다이오드 칩(75)이 위치하는 반사컵 영역 내에 제한적으로 형광체(81)가 분산된 몰딩부재(79a)를 형성하는 것이 용이하다. 즉, 상기 적외선 발광다이오드 칩(77)이 위치하는 영역의 몰딩부재(79b)는 형광체를 함유하지 않는 수지를 사용하여 형성하고, 상기 자외선 또는 청색 발광다이오드 칩(75)이 위치하는 영역의 몰딩부재(79a)는 형광체(81)를 함유하는 수지를 사용하여 형성할 수 있다.However, the partition wall 85 for dividing the reflective cup 83 is provided. An ultraviolet or blue light emitting diode chip 75 and an infrared light emitting diode chip 77 are positioned in the regions in the reflection cup divided into two by the partition wall 85, and the molding members 79a and 79b are also divided into two regions. Divided. Accordingly, it is easy to form the molding member 79a in which the phosphor 81 is limited in the reflection cup region in which the ultraviolet or blue LED chip 75 is located. That is, the molding member 79b in the region where the infrared light emitting diode chip 77 is located is formed using a resin that does not contain a phosphor, and the molding member in the region where the ultraviolet or blue light emitting diode chip 75 is located. 79a can be formed using a resin containing the phosphor 81.

도 8을 참조하면, 본 실시예에 따른 복합 발광다이오드는, 도 6을 참조하여 설명한 바와 같이, 리드전극들(73a, 73b)을 갖는 인쇄회로기판(71), 청색 및 적외선 발광다이오드 칩들(75, 77) 및 몰딩부재(79a, 79b)를 포함하며, 반사컵(83)을 포함한다.Referring to FIG. 8, the composite light emitting diode according to the present embodiment, as described with reference to FIG. 6, a printed circuit board 71 having lead electrodes 73a and 73b, and blue and infrared light emitting diode chips 75. And 77, and molding members 79a and 79b, and includes a reflective cup 83.

다만, 상기 복합 발광다이오드는 녹색 발광다이오드 칩(91) 및 적색 발광다이오드 칩(95)을 더 포함한다. 상기 청색, 녹색 및 적색 발광다이오드 칩들(75, 91, 95)은 본딩와이어들(도시하지 않음)을 통해 리드전극들에 전기적으로 연결된다. 상기 청색, 녹색 및 적색 발광다이오드 칩들(75, 91, 95)에서 방출된 광들이 혼합되어 백색광이 외부로 방출된다. 따라서, 본 실시예에 있어서, 도 6의 형광체(81)는 생략된다.However, the composite light emitting diode further includes a green light emitting diode chip 91 and a red light emitting diode chip 95. The blue, green, and red LED chips 75, 91, and 95 are electrically connected to lead electrodes through bonding wires (not shown). The light emitted from the blue, green, and red LED chips 75, 91, and 95 are mixed to emit white light to the outside. Therefore, in the present embodiment, the phosphor 81 in FIG. 6 is omitted.

앞에서 설명한 실시예들은 플래시 발광다이오드와 적외선 발광다이오드가 통합된 복합 발광다이오드를 채택한다. 그러나, 본 발명은 복합 발광다이오드를 사용하는 것에 한정되는 것은 아니며, 플래시 발광다이오드와 적외선 발광다이오드를 서로 별개로 마련하여 도 1에 도시한 바와 같이 배치할 수도 있다.The embodiments described above employ a complex light emitting diode in which a flash light emitting diode and an infrared light emitting diode are integrated. However, the present invention is not limited to the use of a composite light emitting diode, and the flash light emitting diode and the infrared light emitting diode may be separately provided and arranged as shown in FIG. 1.

본 실시예들에 따르면, 복합 발광다이오드를 채택하여 종래의 이동통신 단말기에 비해 크기를 증가시키지 않으면서, 어두운 곳에서도 신속하고 정확하게 자동초점 조절을 할 수 있는 자동초점 카메라 장치를 갖는 이동통신 단말기를 제공할 수 있다.According to the embodiments of the present invention, a mobile communication terminal having an autofocus camera device capable of quickly and accurately autofocusing in a dark place without increasing the size by adopting a composite light emitting diode compared to a conventional mobile communication terminal. Can provide.

Claims (12)

피사체를 향해 적외선 광을 방출하는 자동초점용 적외선 발광다이오드; 및An autofocus infrared light emitting diode for emitting infrared light toward a subject; And 상기 적외선 발광다이오드에서 방출되어 피사체에서 반사된 상기 적외선 광을 포커싱하는 렌즈부를 포함하는 자동초점 카메라 장치를 갖는 이동통신 단말기.And a lens unit for focusing the infrared light emitted from the infrared light emitting diode and reflected from a subject. 청구항 1에 있어서,The method according to claim 1, 상기 렌즈부를 통해 입사된 상기 적외선 광을 전기적 신호로 변환하는 촬상소자;An imaging device for converting the infrared light incident through the lens unit into an electrical signal; 상기 촬상소자에 의해 생성된 전기적 신호를 이용하여 피사체의 초점위치를 연산하는 연산처리부;A calculation processor configured to calculate a focus position of the subject by using the electrical signal generated by the imaging device; 상기 렌즈부의 초점위치를 변화시키는 자동초점 구동부; 및An autofocus driving unit for changing a focus position of the lens unit; And 상기 연산처리부 및 상기 자동초점 구동부를 제어하는 제어부를 더 포함하는 자동초점 카메라 장치를 갖는 이동통신 단말기.And a control unit for controlling the operation processing unit and the autofocus driving unit. 청구항 2에 있어서,The method according to claim 2, 상기 적외선 발광다이오드는The infrared light emitting diode 리드전극들을 갖는 본체;A main body having lead electrodes; 상기 본체에 탑재되어 적외선을 방출하는 적외선 발광다이오드 칩; 및An infrared light emitting diode chip mounted on the main body to emit infrared rays; And 상기 적외선 발광다이오드 칩을 밀봉하는 몰딩부재를 포함하는 자동초점 카 메라 장치를 갖는 이동통신 단말기.A mobile communication terminal having an autofocus camera device including a molding member for sealing the infrared light emitting diode chip. 청구항 3에 있어서,The method according to claim 3, 백색광을 방출하는 플래시 발광다이오드를 더 포함하되, 상기 플래시 발광다이오드와 상기 적외선 발광다이오드는 하나의 패키지로 통합된 복합 발광다이오드인 것을 특징으로 하는 자동초점 카메라 장치를 갖는 이동통신 단말기.And a flash light emitting diode emitting white light, wherein the flash light emitting diode and the infrared light emitting diode are composite light emitting diodes integrated into one package. 청구항 4에 있어서,The method according to claim 4, 상기 복합 발광다이오드는The composite light emitting diode 상기 본체;The main body; 상기 본체에 탑재된 자외선 또는 청색 발광다이오드 칩과 상기 적외선 발광다이오드 칩;An ultraviolet or blue light emitting diode chip mounted on the main body and the infrared light emitting diode chip; 상기 자외선 또는 청색 및 적외선 발광다이오드 칩들을 밀봉하는 상기 몰딩부재; 및The molding member sealing the ultraviolet or blue and infrared light emitting diode chips; And 상기 자외선 또는 청색 발광다이오드 칩 상부에 위치하여 상기 자외선 또는 청색 발광다이오드 칩에서 방출된 자외선 또는 청색광의 일부를 파장변환시키는 형광체를 포함하는 자동초점 카메라 장치를 갖는 이동통신 단말기.A mobile communication terminal having an autofocus camera device including a phosphor positioned on the ultraviolet light or blue light emitting diode chip and converting a portion of the ultraviolet light or blue light emitted from the ultraviolet light or blue light emitting diode chip. 청구항 5에 있어서,The method according to claim 5, 상기 형광체는 상기 몰딩부재 내에 분산된 것을 특징으로 하는 자동초점 카 메라 장치를 갖는 이동통신 단말기.And the phosphor is dispersed in the molding member. 청구항 6에 있어서,The method according to claim 6, 상기 적외선 발광다이오드 칩 상부에 위치하는 상기 몰딩부재의 상부면은 상기 적외선 발광다이오드 칩에서 방출된 광을 집광하도록 렌즈형상으로 형성된 자동초점 카메라 장치를 갖는 이동통신 단말기.And an upper surface of the molding member positioned above the infrared light emitting diode chip having an autofocus camera device formed in a lens shape to collect light emitted from the infrared light emitting diode chip. 청구항 6에 있어서,The method according to claim 6, 상기 복합 발광다이오드는 상기 적외선 및 상기 자외선 또는 청색 발광 다이오드 칩을 둘러싸는 반사컵을 더 포함하고, 상기 몰딩부재는 상기 반사컵 내에 형성된 자동초점 카메라 장치를 갖는 이동통신 단말기.The composite light emitting diode further comprises a reflective cup surrounding the infrared light and the ultraviolet or blue light emitting diode chip, wherein the molding member has an autofocus camera device formed in the reflective cup. 청구항 8에 있어서,The method according to claim 8, 상기 복합 발광다이오드는 상기 반사컵 내에서 상기 적외선 발광다이오드 칩과 상기 자외선 또는 청색 발광다이오드 칩을 분리시키는 격벽을 더 포함하는 자동초점 카메라 장치를 갖는 이동통신 단말기.And the composite light emitting diode further comprises a partition wall separating the infrared light emitting diode chip and the ultraviolet or blue light emitting diode chip in the reflective cup. 청구항 9에 있어서,The method according to claim 9, 상기 형광체는 상기 격벽으로 분리된 상기 몰딩부재 중 상기 자외선 또는 청색 발광다이오드 칩 측의 몰딩부재 내에 제한적으로 분산된 것을 특징으로 하는 자 동초점 카메라 장치를 갖는 이동통신 단말기.The phosphor has a self-focusing camera device, characterized in that dispersed in the molding member of the UV light emitting diode chip side of the molding member separated by the partition wall. 청구항 4에 있어서,The method according to claim 4, 상기 복합 발광다이오드는The composite light emitting diode 상기 본체;The main body; 상기 본체에 탑재된 청색 발광다이오드 칩, 녹색 발광다이오드 칩, 적색 발광다이오드 칩과 상기 적외선 발광다이오드 칩;A blue light emitting diode chip, a green light emitting diode chip, a red light emitting diode chip and the infrared light emitting diode chip mounted on the main body; 상기 발광다이오드 칩들을 밀봉하는 상기 몰딩부재를 포함하는 자동초점 카메라 장치를 갖는 이동통신 단말기.A mobile communication terminal having an autofocus camera device comprising the molding member for sealing the light emitting diode chips. 청구항 11에 있어서,The method according to claim 11, 상기 복합 발광다이오드는 상기 발광 다이오드 칩들을 둘러싸는 반사컵을 더 포함하고, 상기 몰딩부재는 상기 반사컵 내에 형성된 자동초점 카메라 장치를 갖는 이동통신 단말기.The composite light emitting diode further comprises a reflective cup surrounding the light emitting diode chips, wherein the molding member has an autofocus camera device formed in the reflective cup.
KR1020050042098A 2005-05-19 2005-05-19 Mobile terminal having an auto-focusing camera Expired - Fee Related KR101121716B1 (en)

Priority Applications (1)

Application Number Priority Date Filing Date Title
KR1020050042098A KR101121716B1 (en) 2005-05-19 2005-05-19 Mobile terminal having an auto-focusing camera

Applications Claiming Priority (1)

Application Number Priority Date Filing Date Title
KR1020050042098A KR101121716B1 (en) 2005-05-19 2005-05-19 Mobile terminal having an auto-focusing camera

Publications (2)

Publication Number Publication Date
KR20060120318A true KR20060120318A (en) 2006-11-27
KR101121716B1 KR101121716B1 (en) 2012-03-09

Family

ID=37706585

Family Applications (1)

Application Number Title Priority Date Filing Date
KR1020050042098A Expired - Fee Related KR101121716B1 (en) 2005-05-19 2005-05-19 Mobile terminal having an auto-focusing camera

Country Status (1)

Country Link
KR (1) KR101121716B1 (en)

Cited By (44)

* Cited by examiner, † Cited by third party
Publication number Priority date Publication date Assignee Title
US9058653B1 (en) 2011-06-10 2015-06-16 Flir Systems, Inc. Alignment of visible light sources based on thermal images
US9143703B2 (en) 2011-06-10 2015-09-22 Flir Systems, Inc. Infrared camera calibration techniques
US9208542B2 (en) 2009-03-02 2015-12-08 Flir Systems, Inc. Pixel-wise noise reduction in thermal images
US9207708B2 (en) 2010-04-23 2015-12-08 Flir Systems, Inc. Abnormal clock rate detection in imaging sensor arrays
US9235023B2 (en) 2011-06-10 2016-01-12 Flir Systems, Inc. Variable lens sleeve spacer
US9235876B2 (en) 2009-03-02 2016-01-12 Flir Systems, Inc. Row and column noise reduction in thermal images
US9292909B2 (en) 2009-06-03 2016-03-22 Flir Systems, Inc. Selective image correction for infrared imaging devices
USD765081S1 (en) 2012-05-25 2016-08-30 Flir Systems, Inc. Mobile communications device attachment with camera
US9451183B2 (en) 2009-03-02 2016-09-20 Flir Systems, Inc. Time spaced infrared image enhancement
US9473681B2 (en) 2011-06-10 2016-10-18 Flir Systems, Inc. Infrared camera system housing with metalized surface
US9509924B2 (en) 2011-06-10 2016-11-29 Flir Systems, Inc. Wearable apparatus with integrated infrared imaging module
US9521289B2 (en) 2011-06-10 2016-12-13 Flir Systems, Inc. Line based image processing and flexible memory system
US9517679B2 (en) 2009-03-02 2016-12-13 Flir Systems, Inc. Systems and methods for monitoring vehicle occupants
US9635285B2 (en) 2009-03-02 2017-04-25 Flir Systems, Inc. Infrared imaging enhancement with fusion
US9635220B2 (en) 2012-07-16 2017-04-25 Flir Systems, Inc. Methods and systems for suppressing noise in images
US9674458B2 (en) 2009-06-03 2017-06-06 Flir Systems, Inc. Smart surveillance camera systems and methods
US9706138B2 (en) 2010-04-23 2017-07-11 Flir Systems, Inc. Hybrid infrared sensor array having heterogeneous infrared sensors
US9706139B2 (en) 2011-06-10 2017-07-11 Flir Systems, Inc. Low power and small form factor infrared imaging
US9706137B2 (en) 2011-06-10 2017-07-11 Flir Systems, Inc. Electrical cabinet infrared monitor
US9716843B2 (en) 2009-06-03 2017-07-25 Flir Systems, Inc. Measurement device for electrical installations and related methods
US9723227B2 (en) 2011-06-10 2017-08-01 Flir Systems, Inc. Non-uniformity correction techniques for infrared imaging devices
US9756262B2 (en) 2009-06-03 2017-09-05 Flir Systems, Inc. Systems and methods for monitoring power systems
US9756264B2 (en) 2009-03-02 2017-09-05 Flir Systems, Inc. Anomalous pixel detection
US9807319B2 (en) 2009-06-03 2017-10-31 Flir Systems, Inc. Wearable imaging devices, systems, and methods
US9811884B2 (en) 2012-07-16 2017-11-07 Flir Systems, Inc. Methods and systems for suppressing atmospheric turbulence in images
US9819880B2 (en) 2009-06-03 2017-11-14 Flir Systems, Inc. Systems and methods of suppressing sky regions in images
US9843742B2 (en) 2009-03-02 2017-12-12 Flir Systems, Inc. Thermal image frame capture using de-aligned sensor array
US9848134B2 (en) 2010-04-23 2017-12-19 Flir Systems, Inc. Infrared imager with integrated metal layers
US9900526B2 (en) 2011-06-10 2018-02-20 Flir Systems, Inc. Techniques to compensate for calibration drifts in infrared imaging devices
US9918023B2 (en) 2010-04-23 2018-03-13 Flir Systems, Inc. Segmented focal plane array architecture
US9948872B2 (en) 2009-03-02 2018-04-17 Flir Systems, Inc. Monitor and control systems and methods for occupant safety and energy efficiency of structures
US9961277B2 (en) 2011-06-10 2018-05-01 Flir Systems, Inc. Infrared focal plane array heat spreaders
US9973692B2 (en) 2013-10-03 2018-05-15 Flir Systems, Inc. Situational awareness by compressed display of panoramic views
US9986175B2 (en) 2009-03-02 2018-05-29 Flir Systems, Inc. Device attachment with infrared imaging sensor
US9998697B2 (en) 2009-03-02 2018-06-12 Flir Systems, Inc. Systems and methods for monitoring vehicle occupants
US10051210B2 (en) 2011-06-10 2018-08-14 Flir Systems, Inc. Infrared detector array with selectable pixel binning systems and methods
US10079982B2 (en) 2011-06-10 2018-09-18 Flir Systems, Inc. Determination of an absolute radiometric value using blocked infrared sensors
US10091439B2 (en) 2009-06-03 2018-10-02 Flir Systems, Inc. Imager with array of multiple infrared imaging modules
US10169666B2 (en) 2011-06-10 2019-01-01 Flir Systems, Inc. Image-assisted remote control vehicle systems and methods
US10244190B2 (en) 2009-03-02 2019-03-26 Flir Systems, Inc. Compact multi-spectrum imaging with fusion
US10389953B2 (en) 2011-06-10 2019-08-20 Flir Systems, Inc. Infrared imaging device having a shutter
US10757308B2 (en) 2009-03-02 2020-08-25 Flir Systems, Inc. Techniques for device attachment with dual band imaging sensor
US10841508B2 (en) 2011-06-10 2020-11-17 Flir Systems, Inc. Electrical cabinet infrared monitor systems and methods
US11297264B2 (en) 2014-01-05 2022-04-05 Teledyne Fur, Llc Device attachment with dual band imaging sensor

Family Cites Families (1)

* Cited by examiner, † Cited by third party
Publication number Priority date Publication date Assignee Title
KR100245006B1 (en) * 1995-07-27 2000-03-02 유무성 Auto focusing device based on multiple measurement data and its method

Cited By (51)

* Cited by examiner, † Cited by third party
Publication number Priority date Publication date Assignee Title
US9756264B2 (en) 2009-03-02 2017-09-05 Flir Systems, Inc. Anomalous pixel detection
US10757308B2 (en) 2009-03-02 2020-08-25 Flir Systems, Inc. Techniques for device attachment with dual band imaging sensor
US9208542B2 (en) 2009-03-02 2015-12-08 Flir Systems, Inc. Pixel-wise noise reduction in thermal images
US9843742B2 (en) 2009-03-02 2017-12-12 Flir Systems, Inc. Thermal image frame capture using de-aligned sensor array
US10244190B2 (en) 2009-03-02 2019-03-26 Flir Systems, Inc. Compact multi-spectrum imaging with fusion
US9235876B2 (en) 2009-03-02 2016-01-12 Flir Systems, Inc. Row and column noise reduction in thermal images
US9948872B2 (en) 2009-03-02 2018-04-17 Flir Systems, Inc. Monitor and control systems and methods for occupant safety and energy efficiency of structures
US9635285B2 (en) 2009-03-02 2017-04-25 Flir Systems, Inc. Infrared imaging enhancement with fusion
US9451183B2 (en) 2009-03-02 2016-09-20 Flir Systems, Inc. Time spaced infrared image enhancement
US10033944B2 (en) 2009-03-02 2018-07-24 Flir Systems, Inc. Time spaced infrared image enhancement
US9998697B2 (en) 2009-03-02 2018-06-12 Flir Systems, Inc. Systems and methods for monitoring vehicle occupants
US9986175B2 (en) 2009-03-02 2018-05-29 Flir Systems, Inc. Device attachment with infrared imaging sensor
US9517679B2 (en) 2009-03-02 2016-12-13 Flir Systems, Inc. Systems and methods for monitoring vehicle occupants
US9292909B2 (en) 2009-06-03 2016-03-22 Flir Systems, Inc. Selective image correction for infrared imaging devices
US10091439B2 (en) 2009-06-03 2018-10-02 Flir Systems, Inc. Imager with array of multiple infrared imaging modules
US9674458B2 (en) 2009-06-03 2017-06-06 Flir Systems, Inc. Smart surveillance camera systems and methods
US9716843B2 (en) 2009-06-03 2017-07-25 Flir Systems, Inc. Measurement device for electrical installations and related methods
US9843743B2 (en) 2009-06-03 2017-12-12 Flir Systems, Inc. Infant monitoring systems and methods using thermal imaging
US9819880B2 (en) 2009-06-03 2017-11-14 Flir Systems, Inc. Systems and methods of suppressing sky regions in images
US9807319B2 (en) 2009-06-03 2017-10-31 Flir Systems, Inc. Wearable imaging devices, systems, and methods
US9756262B2 (en) 2009-06-03 2017-09-05 Flir Systems, Inc. Systems and methods for monitoring power systems
US9918023B2 (en) 2010-04-23 2018-03-13 Flir Systems, Inc. Segmented focal plane array architecture
US9706138B2 (en) 2010-04-23 2017-07-11 Flir Systems, Inc. Hybrid infrared sensor array having heterogeneous infrared sensors
US9848134B2 (en) 2010-04-23 2017-12-19 Flir Systems, Inc. Infrared imager with integrated metal layers
US9207708B2 (en) 2010-04-23 2015-12-08 Flir Systems, Inc. Abnormal clock rate detection in imaging sensor arrays
US9521289B2 (en) 2011-06-10 2016-12-13 Flir Systems, Inc. Line based image processing and flexible memory system
US9509924B2 (en) 2011-06-10 2016-11-29 Flir Systems, Inc. Wearable apparatus with integrated infrared imaging module
US10841508B2 (en) 2011-06-10 2020-11-17 Flir Systems, Inc. Electrical cabinet infrared monitor systems and methods
US9723228B2 (en) 2011-06-10 2017-08-01 Flir Systems, Inc. Infrared camera system architectures
US9716844B2 (en) 2011-06-10 2017-07-25 Flir Systems, Inc. Low power and small form factor infrared imaging
US9706137B2 (en) 2011-06-10 2017-07-11 Flir Systems, Inc. Electrical cabinet infrared monitor
US9706139B2 (en) 2011-06-10 2017-07-11 Flir Systems, Inc. Low power and small form factor infrared imaging
US9900526B2 (en) 2011-06-10 2018-02-20 Flir Systems, Inc. Techniques to compensate for calibration drifts in infrared imaging devices
US9143703B2 (en) 2011-06-10 2015-09-22 Flir Systems, Inc. Infrared camera calibration techniques
US9538038B2 (en) 2011-06-10 2017-01-03 Flir Systems, Inc. Flexible memory systems and methods
US9961277B2 (en) 2011-06-10 2018-05-01 Flir Systems, Inc. Infrared focal plane array heat spreaders
US10389953B2 (en) 2011-06-10 2019-08-20 Flir Systems, Inc. Infrared imaging device having a shutter
US9058653B1 (en) 2011-06-10 2015-06-16 Flir Systems, Inc. Alignment of visible light sources based on thermal images
US9723227B2 (en) 2011-06-10 2017-08-01 Flir Systems, Inc. Non-uniformity correction techniques for infrared imaging devices
US9473681B2 (en) 2011-06-10 2016-10-18 Flir Systems, Inc. Infrared camera system housing with metalized surface
US10051210B2 (en) 2011-06-10 2018-08-14 Flir Systems, Inc. Infrared detector array with selectable pixel binning systems and methods
US10079982B2 (en) 2011-06-10 2018-09-18 Flir Systems, Inc. Determination of an absolute radiometric value using blocked infrared sensors
US10250822B2 (en) 2011-06-10 2019-04-02 Flir Systems, Inc. Wearable apparatus with integrated infrared imaging module
US10169666B2 (en) 2011-06-10 2019-01-01 Flir Systems, Inc. Image-assisted remote control vehicle systems and methods
US10230910B2 (en) 2011-06-10 2019-03-12 Flir Systems, Inc. Infrared camera system architectures
US9235023B2 (en) 2011-06-10 2016-01-12 Flir Systems, Inc. Variable lens sleeve spacer
USD765081S1 (en) 2012-05-25 2016-08-30 Flir Systems, Inc. Mobile communications device attachment with camera
US9635220B2 (en) 2012-07-16 2017-04-25 Flir Systems, Inc. Methods and systems for suppressing noise in images
US9811884B2 (en) 2012-07-16 2017-11-07 Flir Systems, Inc. Methods and systems for suppressing atmospheric turbulence in images
US9973692B2 (en) 2013-10-03 2018-05-15 Flir Systems, Inc. Situational awareness by compressed display of panoramic views
US11297264B2 (en) 2014-01-05 2022-04-05 Teledyne Fur, Llc Device attachment with dual band imaging sensor

Also Published As

Publication number Publication date
KR101121716B1 (en) 2012-03-09

Similar Documents

Publication Publication Date Title
KR101121716B1 (en) Mobile terminal having an auto-focusing camera
CN1913151B (en) LED Modules for Flash and Auto Focus Applications
US11163216B2 (en) Array imaging module and molded photosensitive assembly, circuit board assembly and manufacturing methods thereof for electronic device
EP2227899B1 (en) Reflowable camera module with integrated flash
US7502559B2 (en) Camera lens assembly for mobile phone
CN1233190C (en) Portable telephone set
US20210099618A1 (en) Camera for measuring depth information and optical device including same
US20160006913A1 (en) Optical imaging apparatus, in particular for computational imaging, having further functionality
US7221864B2 (en) Lighting apparatus for photographing
JP4659414B2 (en) Light emitting diode and light emission control system using the same
KR20060108549A (en) Light emitting device
KR20140022224A (en) Mobile device
CN108140655A (en) Capturing element and filming apparatus
JPWO2009104415A1 (en) Imaging device
JP2015119010A (en) Illumination apparatus and photographing apparatus
WO2022121879A1 (en) Tof apparatus and electronic device
CN115247758A (en) Light emitting device
JP2007140170A (en) Liquid crystal lens and photographing device
JP5061572B2 (en) Illumination device and imaging device
KR20180037557A (en) Iris scan camera module and mobile device including the same
US8150256B2 (en) Electronic apparatus, imaging apparatus, and grip structure
KR101316266B1 (en) Camera module with voice coil motor
KR100713179B1 (en) Light emitting device of camera module
KR102362730B1 (en) Mobile terminal including liquid lens
KR200408502Y1 (en) Light emitting device of camera module

Legal Events

Date Code Title Description
PA0109 Patent application

St.27 status event code: A-0-1-A10-A12-nap-PA0109

PN2301 Change of applicant

St.27 status event code: A-3-3-R10-R13-asn-PN2301

St.27 status event code: A-3-3-R10-R11-asn-PN2301

PG1501 Laying open of application

St.27 status event code: A-1-1-Q10-Q12-nap-PG1501

R17-X000 Change to representative recorded

St.27 status event code: A-3-3-R10-R17-oth-X000

A201 Request for examination
PA0201 Request for examination

St.27 status event code: A-1-2-D10-D11-exm-PA0201

D13-X000 Search requested

St.27 status event code: A-1-2-D10-D13-srh-X000

D14-X000 Search report completed

St.27 status event code: A-1-2-D10-D14-srh-X000

E902 Notification of reason for refusal
PE0902 Notice of grounds for rejection

St.27 status event code: A-1-2-D10-D21-exm-PE0902

E13-X000 Pre-grant limitation requested

St.27 status event code: A-2-3-E10-E13-lim-X000

P11-X000 Amendment of application requested

St.27 status event code: A-2-2-P10-P11-nap-X000

P13-X000 Application amended

St.27 status event code: A-2-2-P10-P13-nap-X000

E701 Decision to grant or registration of patent right
PE0701 Decision of registration

St.27 status event code: A-1-2-D10-D22-exm-PE0701

GRNT Written decision to grant
PR0701 Registration of establishment

St.27 status event code: A-2-4-F10-F11-exm-PR0701

PR1002 Payment of registration fee

St.27 status event code: A-2-2-U10-U11-oth-PR1002

Fee payment year number: 1

PG1601 Publication of registration

St.27 status event code: A-4-4-Q10-Q13-nap-PG1601

FPAY Annual fee payment

Payment date: 20141211

Year of fee payment: 4

PR1001 Payment of annual fee

St.27 status event code: A-4-4-U10-U11-oth-PR1001

Fee payment year number: 4

PN2301 Change of applicant

St.27 status event code: A-5-5-R10-R13-asn-PN2301

St.27 status event code: A-5-5-R10-R11-asn-PN2301

R18-X000 Changes to party contact information recorded

St.27 status event code: A-5-5-R10-R18-oth-X000

FPAY Annual fee payment

Payment date: 20151201

Year of fee payment: 5

PR1001 Payment of annual fee

St.27 status event code: A-4-4-U10-U11-oth-PR1001

Fee payment year number: 5

FPAY Annual fee payment

Payment date: 20161212

Year of fee payment: 6

PR1001 Payment of annual fee

St.27 status event code: A-4-4-U10-U11-oth-PR1001

Fee payment year number: 6

PR1001 Payment of annual fee

St.27 status event code: A-4-4-U10-U11-oth-PR1001

Fee payment year number: 7

P22-X000 Classification modified

St.27 status event code: A-4-4-P10-P22-nap-X000

PR1001 Payment of annual fee

St.27 status event code: A-4-4-U10-U11-oth-PR1001

Fee payment year number: 8

PC1903 Unpaid annual fee

St.27 status event code: A-4-4-U10-U13-oth-PC1903

Not in force date: 20200223

Payment event data comment text: Termination Category : DEFAULT_OF_REGISTRATION_FEE

PC1903 Unpaid annual fee

St.27 status event code: N-4-6-H10-H13-oth-PC1903

Ip right cessation event data comment text: Termination Category : DEFAULT_OF_REGISTRATION_FEE

Not in force date: 20200223

P22-X000 Classification modified

St.27 status event code: A-4-4-P10-P22-nap-X000

P22-X000 Classification modified

St.27 status event code: A-4-4-P10-P22-nap-X000