KR102708950B1 - Air conditioning apparatus for car seat - Google Patents
Air conditioning apparatus for car seat Download PDFInfo
- Publication number
- KR102708950B1 KR102708950B1 KR1020240072598A KR20240072598A KR102708950B1 KR 102708950 B1 KR102708950 B1 KR 102708950B1 KR 1020240072598 A KR1020240072598 A KR 1020240072598A KR 20240072598 A KR20240072598 A KR 20240072598A KR 102708950 B1 KR102708950 B1 KR 102708950B1
- Authority
- KR
- South Korea
- Prior art keywords
- seat
- duct
- air
- passenger
- control means
- Prior art date
- Legal status (The legal status is an assumption and is not a legal conclusion. Google has not performed a legal analysis and makes no representation as to the accuracy of the status listed.)
- Active
Links
Images
Classifications
-
- B—PERFORMING OPERATIONS; TRANSPORTING
- B60—VEHICLES IN GENERAL
- B60N—SEATS SPECIALLY ADAPTED FOR VEHICLES; VEHICLE PASSENGER ACCOMMODATION NOT OTHERWISE PROVIDED FOR
- B60N2/00—Seats specially adapted for vehicles; Arrangement or mounting of seats in vehicles
- B60N2/56—Heating or ventilating devices
- B60N2/5607—Heating or ventilating devices characterised by convection
- B60N2/5621—Heating or ventilating devices characterised by convection by air
- B60N2/5642—Heating or ventilating devices characterised by convection by air with circulation of air through a layer inside the seat
-
- B—PERFORMING OPERATIONS; TRANSPORTING
- B60—VEHICLES IN GENERAL
- B60N—SEATS SPECIALLY ADAPTED FOR VEHICLES; VEHICLE PASSENGER ACCOMMODATION NOT OTHERWISE PROVIDED FOR
- B60N2/00—Seats specially adapted for vehicles; Arrangement or mounting of seats in vehicles
- B60N2/56—Heating or ventilating devices
- B60N2/5607—Heating or ventilating devices characterised by convection
- B60N2/5621—Heating or ventilating devices characterised by convection by air
- B60N2/565—Heating or ventilating devices characterised by convection by air sucked from the seat surface
-
- B—PERFORMING OPERATIONS; TRANSPORTING
- B60—VEHICLES IN GENERAL
- B60N—SEATS SPECIALLY ADAPTED FOR VEHICLES; VEHICLE PASSENGER ACCOMMODATION NOT OTHERWISE PROVIDED FOR
- B60N2/00—Seats specially adapted for vehicles; Arrangement or mounting of seats in vehicles
- B60N2/56—Heating or ventilating devices
- B60N2/5607—Heating or ventilating devices characterised by convection
- B60N2/5621—Heating or ventilating devices characterised by convection by air
- B60N2/5657—Heating or ventilating devices characterised by convection by air blown towards the seat surface
-
- B—PERFORMING OPERATIONS; TRANSPORTING
- B60—VEHICLES IN GENERAL
- B60N—SEATS SPECIALLY ADAPTED FOR VEHICLES; VEHICLE PASSENGER ACCOMMODATION NOT OTHERWISE PROVIDED FOR
- B60N2/00—Seats specially adapted for vehicles; Arrangement or mounting of seats in vehicles
- B60N2/56—Heating or ventilating devices
- B60N2/5678—Heating or ventilating devices characterised by electrical systems
Landscapes
- Engineering & Computer Science (AREA)
- Aviation & Aerospace Engineering (AREA)
- Transportation (AREA)
- Mechanical Engineering (AREA)
- Air-Conditioning For Vehicles (AREA)
- Chair Legs, Seat Parts, And Backrests (AREA)
Abstract
본 발명은 차량 시트 공조장치에 관한 것으로서, 차량의 시트에 형성되는 시트 덕트;를 포함하고, 상기 시트 덕트는, 차량의 승객실의 공기를 상기 시트 덕트로 흡입하는 흡입구; 및 상기 시트 덕트의 공기를 상기 승객실로 토출하는 토출구;를 포함하고, 상기 흡입구는 상기 시트에 착석하는 승객을 기준으로 일측에 형성되고, 상기 토출구는 상기 승객을 기준으로 타측에 형성될 수 있다. 이에 의하여, 상기 토출구로 토출되는 공조풍이 승객에게 공급된 후 다시 상기 흡입구로 흡입됨에 따라, 속효성 향상 등 공조 성능 및 효율을 향상시킬 수 있다. 그리고, 승객의 각 신체 부위별로 최적의 온도를 제공할 수 있다. 그리고, 폐열이 승객실로 배출되는 것을 방지할 수 있다. 그리고, 냉방 및 난방을 제공할 수 있다.The present invention relates to a vehicle seat air conditioning device, and includes a seat duct formed on a seat of a vehicle, wherein the seat duct includes an intake port for sucking air from a passenger compartment of the vehicle into the seat duct; and an exhaust port for discharging air from the seat duct into the passenger compartment, wherein the intake port may be formed on one side based on a passenger seated on the seat, and the exhaust port may be formed on the other side based on the passenger. Accordingly, since air conditioning air discharged through the exhaust port is supplied to the passenger and then sucked back into the intake port, air conditioning performance and efficiency, such as improved fast-acting properties, can be improved. In addition, the optimum temperature can be provided for each body part of the passenger. In addition, waste heat can be prevented from being discharged into the passenger compartment. In addition, cooling and heating can be provided.
Description
본 발명은, 차량 시트 공조장치에 관한 것으로서, 더욱 상세하게는, 차량의 시트를 통해 그 시트에 착석하는 승객에게 공조풍을 공급할 수 있도록 한 차량 시트 공조장치에 관한 것이다.The present invention relates to a vehicle seat air conditioning device, and more specifically, to a vehicle seat air conditioning device capable of supplying air conditioning air to a passenger seated in a vehicle seat through the seat.
일반적으로, 공기조화장치(이하, 공조장치)는 공기의 온도, 습도 등의 조건을 그 장소의 사용 목적에 적합한 상태로 유지하는 장치로서, 차량, 건물 등 다양한 분야에 활용되고 있고, 특히 차량용 공조장치의 경우 차량의 승객실을 냉, 난방하거나 윈드실드에 끼게 되는 성에 등을 제거하는데 활용되고 있다.In general, an air conditioning device (hereinafter, “air conditioning device”) is a device that maintains the temperature, humidity, and other conditions of the air to a state suitable for the intended use of the location, and is utilized in various fields such as vehicles and buildings. In particular, air conditioning devices for vehicles are utilized to cool or heat the passenger compartment of a vehicle or to remove frost that forms on the windshield.
한편, 차량용 공조장치의 경우, 통상적으로 엔진의 열을 이용한 냉난방 유닛 및 송풍 유닛을 승객실의 전방 측에 구비하여 구성됨으로써, 내기나 외기를 선택적으로 도입한 후 이 공기를 가열 또는 냉각시켜 승객실에 송풍하는 구조로 형성된다.Meanwhile, in the case of vehicle air conditioning systems, a cooling and heating unit and a blower unit that utilize engine heat are usually installed on the front side of the passenger compartment, thereby forming a structure that selectively introduces internal or external air, heats or cools the air, and blows it into the passenger compartment.
그러나, 최근에는 전기 차량과 같이 엔진의 열을 사용하지 않는 차량이 등장함에 따라 구조, 설치 위치 등이 상이한 차량용 공조장치에 대한 필요성이 부각되어 왔고, 일본 공개특허공보 특개2016-145015호에 개시된 바와 같이, 차량의 시트를 통해 그 시트에 착석하는 승객에게 공조풍을 공급할 수 있도록 한 차량 시트 공조장치가 개시된 바 있다.However, recently, with the appearance of vehicles that do not use engine heat, such as electric vehicles, the need for vehicle air conditioning devices with different structures, installation locations, etc. has been highlighted, and as disclosed in Japanese Patent Application Laid-Open No. 2016-145015, a vehicle seat air conditioning device capable of supplying air conditioning air to a passenger seated in a vehicle seat has been disclosed.
일본 공개특허공보 특개2016-145015호를 참조하면, 종래의 차량 시트 공조장치는, 증기 압축 냉동 사이클 기구를 포함하고, 그 증기 압축 냉동 사이클 기구의 증발기와 응축기를 시트의 하부에 장착하며, 증발기를 관류하는 냉풍을 시트의 내부로 송풍하여 시트에 착석하는 승객에게 냉풍을 공급하도록 형성된다. 이때, 상기 시트에 형성되는 시트 덕트는 그 시트 덕트의 입구가 상기 시트의 비착좌면(승객과 접촉되지 않는 면) 측에 형성되고, 그 시트 덕트의 출구가 상기 시트의 착좌면(승객과 접촉되는 면) 측에 형성된다. With reference to Japanese Patent Application Laid-Open No. 2016-145015, a conventional vehicle seat air conditioning device includes a vapor compression refrigeration cycle mechanism, and an evaporator and a condenser of the vapor compression refrigeration cycle mechanism are mounted at the lower portion of a seat, and cool air flowing through the evaporator is blown into the interior of the seat to supply cool air to a passenger seated on the seat. At this time, a seat duct formed in the seat has an inlet of the seat duct formed on a non-seating surface (a surface that does not come into contact with a passenger) side of the seat, and an outlet of the seat duct formed on a seating surface (a surface that comes into contact with a passenger) side of the seat.
한편, 폐열인 응축기를 관류한 온풍은 시트의 후방 측으로 배출되도록 형성된다.Meanwhile, the warm air flowing through the condenser, which is a waste heat condenser, is formed to be discharged to the rear side of the sheet.
그러나, 이러한 종래의 차량 시트 공조장치에 있어서는, 공조풍 중 일부만이 승객에게 공급될 뿐 공조풍 중 대부분이 승객실로 공급되고, 토출된 공조풍이 승객실을 순환한 후 그 차량 시트 공조장치로 재유입됨에 따라, 속효성이 저하되는 등 공조 성능 및 효율이 저하되는 문제점이 있었다.However, in these conventional vehicle seat air conditioners, only a portion of the air-conditioned air is supplied to passengers, and most of the air-conditioned air is supplied to the passenger compartment. Since the discharged air-conditioned air circulates through the passenger compartment and then re-enters the vehicle seat air conditioner, there is a problem in that the air-conditioning performance and efficiency are lowered, such as a decrease in effectiveness.
한편, 모든 시트 덕트의 출구로 토출되는 공조풍의 온도가 서로 동일하여, 승객의 각 신체 부위별로 최적의 온도를 제공하지 못하는 문제점이 있었다.Meanwhile, there was a problem that the temperature of the air conditioning air discharged from the exit of all seat ducts was the same, so it could not provide the optimal temperature for each body part of the passengers.
또한, 폐열이 승객실로 배출되는 문제점이 있었다. 구체적으로, 냉방 모드에서, 응축기를 관류한 온풍이 승객실로 배출됨에 따라, 승객실 전체 온도가 상승되는 문제점이 있었다. 그리고, 냉방 모드에서, 응축기를 관류한 온풍이 시트 후방으로 배출됨에 따라, 후방 시트에 착석한 승객에게 의도치 않은 난방을 제공하는 문제점이 있었다.In addition, there was a problem of waste heat being discharged into the passenger compartment. Specifically, in cooling mode, there was a problem of the overall passenger compartment temperature rising as the warm air flowing through the condenser was discharged into the passenger compartment. In addition, in cooling mode, there was a problem of unintentionally providing heating to passengers seated in the rear seats as the warm air flowing through the condenser was discharged to the rear of the seat.
또한, 냉방만 제공할 수 있을 뿐, 난방을 제공할 수 없는 문제점이 있었다.Additionally, there was a problem that it could only provide cooling and not heating.
따라서, 본 발명은, 공조 성능 및 효율을 향상시킬 수 있는 차량 시트 공조장치를 제공하는 것을 그 목적으로 한다. Accordingly, the purpose of the present invention is to provide a vehicle seat air conditioning device capable of improving air conditioning performance and efficiency.
또한, 본 발명은, 승객의 각 신체 부위별로 최적의 온도를 제공할 수 있는 차량 시트 공조장치를 제공하는 것을 다른 목적으로 한다.In addition, another purpose of the present invention is to provide a vehicle seat air conditioning device capable of providing an optimal temperature for each body part of a passenger.
또한, 본 발명은, 폐열이 승객실로 배출되는 것을 방지할 수 있는 차량 시트 공조장치를 제공하는 것을 또 다른 목적으로 한다.In addition, another object of the present invention is to provide a vehicle seat air conditioning device capable of preventing waste heat from being discharged into a passenger compartment.
또한, 본 발명은, 냉방 및 난방을 제공할 수 있는 차량 시트 공조장치를 제공하는 것을 또 다른 목적으로 한다.In addition, another object of the present invention is to provide a vehicle seat air conditioning device capable of providing cooling and heating.
본 발명은, 상기한 바와 같은 목적 달성을 위해, 차량의 시트에 형성되는 시트 덕트;를 포함하고, 상기 시트 덕트는, 차량의 승객실의 공기를 상기 시트 덕트로 흡입하는 흡입구; 및 상기 시트 덕트의 공기를 상기 승객실로 토출하는 토출구;를 포함하고, 상기 흡입구는 상기 시트에 착석하는 승객을 기준으로 일측에 형성되고, 상기 토출구는 상기 승객을 기준으로 타측에 형성되는 차량 시트 공조장치를 제공한다.The present invention, in order to achieve the above-mentioned object, provides a vehicle seat air conditioning device including a seat duct formed on a seat of a vehicle, wherein the seat duct includes an intake port for sucking air from a passenger compartment of the vehicle into the seat duct; and an exhaust port for discharging air from the seat duct into the passenger compartment, wherein the intake port is formed on one side based on a passenger seated on the seat, and the exhaust port is formed on the other side based on the passenger.
상기 흡입구와 상기 토출구는 상기 토출구로부터 토출되는 공기가 상기 흡입구로 흡입되게 형성될 수 있다.상기 토출구로부터 토출되는 공기가 상기 흡입구로 안내되도록, 상기 흡입구와 상기 토출구는 각각 승객을 향하여 일정 각도 기울기를 갖도록 형성될 수 있다.The above suction port and the above discharge port may be formed so that air discharged from the above discharge port is sucked into the above suction port. In order for the air discharged from the above discharge port to be guided to the above suction port, the above suction port and the above discharge port may be formed so as to have a predetermined angle of inclination toward the passenger.
상기 시트는, 상기 승객을 기준으로 일측에서 돌출되는 제1 돌출부; 및 상기 승객을 기준으로 타측에서 돌출되는 제2 돌출부;를 포함하고, 상기 흡입구는 상기 제1 돌출부에 형성되고, 상기 토출구는 제2 돌출부에 형성될 수 있다. The above sheet includes a first protrusion protruding from one side with respect to the passenger; and a second protrusion protruding from the other side with respect to the passenger; and the suction port may be formed in the first protrusion, and the discharge port may be formed in the second protrusion.
상기 흡입구는 상기 제1 돌출부의 선단부에 형성되고, 상기 토출구는 상기 제2 돌출부의 선단부에 형성될 수 있다. The above suction port may be formed at the tip end of the first protrusion, and the above discharge port may be formed at the tip end of the second protrusion.
상기 흡입구는 상기 토출구 측을 향해 개구되게 형성되고, 상기 토출구는 상기 흡입구 측을 향해 개구되게 형성될 수 있다. The above suction port may be formed to open toward the discharge port side, and the discharge port may be formed to open toward the suction port side.
상기 제1 돌출부에는 상기 흡입구의 개구 방향을 조절하는 제1 풍향 조절기가 형성되고, 상기 제2 돌출부에는 상기 토출구의 개구 방향을 조절하는 제2 풍향 조절기가 형성될 수 있다. A first wind direction controller for controlling the opening direction of the suction port may be formed on the first protrusion, and a second wind direction controller for controlling the opening direction of the discharge port may be formed on the second protrusion.
상기 시트 덕트의 공기를 가열 또는 냉각하는 온도조절수단;이 구비될 수 있다.A temperature control means for heating or cooling the air in the above sheet duct may be provided.
상기 온도조절수단은 열전소자 또는 증기 압축 냉동 사이클 기구로 형성될 수 있다.The above temperature control means may be formed by a thermoelectric element or a vapor compression refrigeration cycle mechanism.
상기 온도조절수단은 상기 시트에 장착되게 형성될 수 있다.The above temperature control means can be formed to be mounted on the sheet.
상기 시트는 복수의 부위로 구획되고, 상기 시트 덕트 및 상기 온도조절수단은 각각 상기 복수의 부위마다 형성될 수 있다. The above sheet is divided into a plurality of sections, and the sheet duct and the temperature control means can be formed in each of the plurality of sections.
상기 시트는, 승객의 두부를 지지하는 헤드레스트; 승객의 등을 지지하는 시트 백; 승객의 둔부를 지지하는 시트 쿠션; 및 승객의 다리를 지지하는 레그레스트;를 포함하고, 상기 헤드레스트에는 제1 시트 덕트 및 그 제1 시트 덕트의 공기를 가열 또는 냉각하는 제1 온도조절수단이 형성되고, 상기 시트 백에는 제2 시트 덕트 및 그 제2 시트 덕트의 공기를 가열 또는 냉각하는 제2 온도조절수단이 형성되고, 상기 시트 쿠션에는 제3 시트 덕트 및 그 제3 시트 덕트의 공기를 가열 또는 냉각하는 제3 온도조절수단이 형성되며, 상기 레그레스트에는 제4 시트 덕트 및 그 제4 시트 덕트의 공기를 가열 또는 냉각하는 제4 온도조절수단이 형성될 수 있다. The above seat includes a headrest supporting the head of a passenger; a seat back supporting the back of the passenger; a seat cushion supporting the buttocks of the passenger; and a leg rest supporting the legs of the passenger; wherein the headrest may be formed with a first seat duct and a first temperature control means for heating or cooling air in the first seat duct, the seat back may be formed with a second seat duct and a second temperature control means for heating or cooling air in the second seat duct, the seat cushion may be formed with a third seat duct and a third temperature control means for heating or cooling air in the third seat duct, and the leg rest may be formed with a fourth seat duct and a fourth temperature control means for heating or cooling air in the fourth seat duct.
상기 제1 시트 덕트의 흡입구, 상기 제2 시트 덕트의 흡입구, 상기 제3 시트 덕트의 흡입구 및 상기 제4 시트 덕트의 흡입구는 상기 시트에 착석하는 승객을 기준으로 일측에 형성되고, 상기 제1 시트 덕트의 토출구, 상기 제2 시트 덕트의 토출구, 상기 제3 시트 덕트의 토출구 및 상기 제4 시트 덕트의 토출구는 상기 승객을 기준으로 타측에 형성될 수 있다. The intake port of the first seat duct, the intake port of the second seat duct, the intake port of the third seat duct, and the intake port of the fourth seat duct may be formed on one side with respect to a passenger seated on the seat, and the discharge port of the first seat duct, the discharge port of the second seat duct, the discharge port of the third seat duct, and the discharge port of the fourth seat duct may be formed on the other side with respect to the passenger.
상기 제1 온도조절수단은 사전에 결정된 조건에 따라 상기 제1 시트 덕트의 공기를 제1 온도로 조절하고, 상기 제2 온도조절수단은 상기 조건에 따라 상기 제2 시트 덕트의 공기를 제2 온도로 조절하고, 상기 제3 온도조절수단은 상기 조건에 따라 상기 제3 시트 덕트의 공기를 제3 온도로 조절하며, 상기 제4 온도조절수단은 상기 조건에 따라 상기 제4 시트 덕트의 공기를 제4 온도로 조절할 수 있다. The first temperature control means can control the air of the first sheet duct to a first temperature according to a pre-determined condition, the second temperature control means can control the air of the second sheet duct to a second temperature according to the condition, the third temperature control means can control the air of the third sheet duct to a third temperature according to the condition, and the fourth temperature control means can control the air of the fourth sheet duct to a fourth temperature according to the condition.
상기 제1 온도는 상기 제4 온도보다 낮게 설정될 수 있다. The above first temperature can be set lower than the above fourth temperature.
상기 제1 온도조절수단, 상기 제2 온도조절수단, 상기 제3 온도조절수단 및 상기 제4 온도조절수단은 제어유닛에 의해 서로 독립적으로 제어될 수 있다. The first temperature control means, the second temperature control means, the third temperature control means and the fourth temperature control means can be independently controlled by a control unit.
상기 시트 덕트의 내부에는 상기 흡입구 측으로부터 상기 토출구 측으로 송풍하는 송풍기가 형성되고, 상기 송풍기는 제어유닛에 의해 풍속 및 풍량이 조절될 수 있다. A blower is formed inside the above sheet duct to blow air from the intake side to the discharge side, and the blower can have its wind speed and air volume controlled by a control unit.
본 발명에 의한 차량 시트 공조장치는, 차량의 시트에 형성되는 시트 덕트를 포함하고, 상기 시트 덕트는, 차량의 승객실의 공기를 상기 시트 덕트로 흡입하는 흡입구; 및 상기 시트 덕트의 공기를 상기 승객실로 토출하는 토출구;를 포함하고, 상기 흡입구는 상기 시트(100)에 착석하는 승객을 기준으로 일측에 형성되고, 상기 토출구는 상기 승객을 기준으로 타측에 형성될 수 있다. 이에 의하여, 상기 토출구로 토출되는 공조풍의 대부분이 승객에게 공급된 후 다시 상기 흡입구로 흡입됨에 따라, 속효성 향상 등 공조 성능 및 효율을 향상시킬 수 있다. A vehicle seat air conditioning device according to the present invention includes a seat duct formed on a seat of a vehicle, wherein the seat duct includes an intake port for sucking air from a passenger compartment of the vehicle into the seat duct; and an exhaust port for discharging air from the seat duct into the passenger compartment. The intake port may be formed on one side based on a passenger seated on the seat (100), and the exhaust port may be formed on the other side based on the passenger. Accordingly, since most of the air conditioning air discharged through the exhaust port is supplied to the passenger and then sucked back into the intake port, the air conditioning performance and efficiency, such as improved fast-acting properties, can be improved.
또한, 상기 시트 덕트의 공기를 가열 또는 냉각하는 온도조절수단이 구비되고, 상기 시트는 복수의 부위로 구획되고, 상기 복수의 부위에는 각각 서로 독립된 상기 시트 덕트 및 상기 온도조절수단이 형성됨에 따라, 각 토출구로 토출되는 공조풍의 온도를 상이하게 조절할 수 있다. 이에 의하여, 승객의 각 신체 부위별로 최적의 온도를 제공할 수 있다.In addition, a temperature control means for heating or cooling the air of the seat duct is provided, and the seat is divided into a plurality of sections, and the seat duct and the temperature control means are formed independently in each of the plurality of sections, so that the temperature of the air conditioning air discharged through each discharge port can be controlled differently. As a result, the optimum temperature can be provided for each body part of the passenger.
또한, 상기 온도조절수단은 폐열을 차량의 외부로 배출할 수 있는 구조의 열전소자 또는 증기 압축 냉동 사이클 기구로 형성됨에 따라, 폐열이 승객실로 배출되는 것을 방지할 수 있다. In addition, since the temperature control means is formed of a thermoelectric element or a vapor compression refrigeration cycle mechanism having a structure capable of discharging waste heat to the outside of the vehicle, it can prevent waste heat from being discharged into the passenger compartment.
또한, 냉방 및 난방을 제공할 수 있다.Additionally, it can provide cooling and heating.
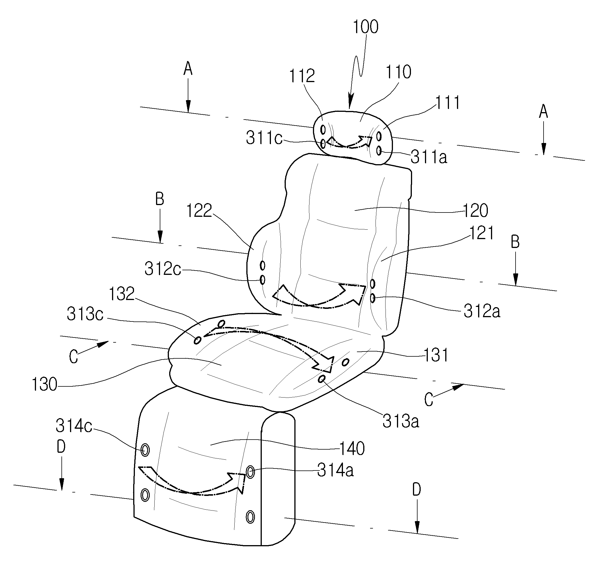
도 1은 본 발명의 일 실시예에 따른 차량 시트 공조장치를 도시한 사시도,
도 2는 도 1의 A-A선 단면도,
도 3은 도 1의 B-B선 단면도,
도 4는 도 1의 C-C선 단면도,
도 5는 도 1의 D-D선 단면도이다.Figure 1 is a perspective view illustrating a vehicle seat air conditioning device according to one embodiment of the present invention.
Figure 2 is a cross-sectional view taken along line AA of Figure 1.
Figure 3 is a cross-sectional view taken along line BB of Figure 1.
Fig. 4 is a cross-sectional view taken along line CC of Fig. 1.
Figure 5 is a cross-sectional view taken along line DD of Figure 1.
이하, 본 발명에 의한 차량 시트 공조장치를 첨부된 도면을 참조하여 상세히 설명한다.Hereinafter, a vehicle seat air conditioning device according to the present invention will be described in detail with reference to the attached drawings.
도 1은 본 발명의 일 실시예에 따른 차량 시트 공조장치를 도시한 사시도이고, 도 2는 도 1의 A-A선 단면도이고, 도 3은 도 1의 B-B선 단면도이고, 도 4는 도 1의 C-C선 단면도이며, 도 5는 도 1의 D-D선 단면도이다.FIG. 1 is a perspective view illustrating a vehicle seat air conditioning device according to one embodiment of the present invention, FIG. 2 is a cross-sectional view taken along line A-A of FIG. 1, FIG. 3 is a cross-sectional view taken along line B-B of FIG. 1, FIG. 4 is a cross-sectional view taken along line C-C of FIG. 1, and FIG. 5 is a cross-sectional view taken along line D-D of FIG. 1.
첨부된 도 1 내지 도 5를 참조하면, 본 발명의 일 실시예에 따른 차량 시트 공조장치는, 차량의 시트(100)에 형성되는 시트 덕트(311, 312, 313, 314) 및 상기 시트 덕트(311, 312, 313, 314)의 공기를 가열 또는 냉각하는 온도조절수단(321, 322, 323, 324)을 포함할 수 있다.Referring to the attached drawings 1 to 5, a vehicle seat air conditioning device according to one embodiment of the present invention may include a seat duct (311, 312, 313, 314) formed in a seat (100) of a vehicle and a temperature control means (321, 322, 323, 324) for heating or cooling air in the seat duct (311, 312, 313, 314).
상기 시트 덕트(311, 312, 313, 314)는 상기 시트(100)에 착석한 승객에게 공조풍을 공급하기 위해 그 시트(100)의 내부에 구비되는 공기 유로로서, 차량의 승객실의 공기를 후술할 열교환공간(311b, 312b, 313b, 314b)으로 흡입하는 흡입구(311a, 312a, 313a, 314a), 상기 흡입구(311a, 312a, 313a, 314a)와 연통되고 상기 온도조절수단(321, 322, 323, 324)을 수용하여 상기 흡입구(311a, 312a, 313a, 314a)로 흡입된 공기를 가열 또는 냉각하는 열교환공간(311b, 312b, 313b, 314b) 및 상기 열교환공간(311b, 312b, 313b, 314b)과 연통되어 상기 열교환공간(311b, 312b, 313b, 314b)의 공기를 상기 승객실로 토출하는 토출구(311c, 312c, 313c, 314c)를 포함할 수 있다.The above seat duct (311, 312, 313, 314) is an air passage provided inside the seat (100) to supply air conditioning to a passenger seated on the seat (100), and includes an intake port (311a, 312a, 313a, 314a) that sucks air from a passenger compartment of the vehicle into a heat exchange space (311b, 312b, 313b, 314b) to be described later, a heat exchange space (311b, 312b, 313a, 314a) that is connected to the intake port (311a, 312a, 313a, 314a) and receives the temperature control means (321, 322, 323, 324) to heat or cool the air sucked into the intake port (311a, 312a, 313a, 314a). 314b) and a discharge port (311c, 312c, 313c, 314c) that is connected to the heat exchange space (311b, 312b, 313b, 314b) and discharges air of the heat exchange space (311b, 312b, 313b, 314b) to the passenger compartment.
상기 흡입구(311a, 312a, 313a, 314a)와 상기 토출구(311c, 312c, 313c, 314c)는, 상기 토출구(311c, 312c, 313c, 314c)로 토출되는 공조풍이 상기 시트(100)에 착석하는 승객을 에워싸면서 상기 흡입구(311a, 312a, 313a, 314a)로 안내되도록, 상기 흡입구(311a, 312a, 313a, 314a)가 상기 승객을 기준으로 일측에서 상기 시트(100)의 착좌면 측에 형성되고, 상기 토출구(311c, 312c, 313c, 314c)가 상기 승객을 기준으로 타측에서 상기 시트(100)의 착좌면 측에 형성될 수 있다. 그리고, 상기 토출구(311c, 312c, 313c, 314c)로부터 토출되는 공기가 상기 흡입구(311a, 312a, 313a, 314a)로 효과적으로 안내되도록, 상기 흡입구(311a, 312a, 313a, 314a)와 상기 토출구(311c, 312c, 313c, 314c)는 각각 승객을 향하여 일정 각도 기울기를 갖도록 형성되는데 이에 대한 상세한 설명은 후술한다.The above suction ports (311a, 312a, 313a, 314a) and the above discharge ports (311c, 312c, 313c, 314c) are formed on the seating surface side of the seat (100) on one side with respect to the passenger so that the air conditioning air discharged through the discharge ports (311c, 312c, 313c, 314c) surrounds the passenger seated on the seat (100) and is guided to the suction ports (311a, 312a, 313a, 314a), and the above discharge ports (311c, 312c, 313c, 314c) are formed on the seating surface side of the seat (100) on the other side with respect to the passenger. Can be formed. And, so that the air discharged from the discharge port (311c, 312c, 313c, 314c) is effectively guided to the suction port (311a, 312a, 313a, 314a), the suction port (311a, 312a, 313a, 314a) and the discharge port (311c, 312c, 313c, 314c) are formed to have a certain angle of inclination toward the passenger, which will be described in detail later.
상기 온도조절수단(321, 322, 323, 324)은 인가되는 전류의 방향에 따라 제1 부위에서 흡열 반응이 발생될 때 제2 부위에서 발열 반응이 발생되고, 상기 제1 부위에서 발열 반응이 발생될 때 상기 제2 부위에서 흡열 반응이 발생되는 열전소자로 형성될 수 있다.The above temperature control means (321, 322, 323, 324) may be formed as a thermoelectric element in which, depending on the direction of the applied current, an endothermic reaction occurs in a second portion when an endothermic reaction occurs in a first portion, and an endothermic reaction occurs in a second portion when an exothermic reaction occurs in the first portion.
그리고, 상기 온도조절수단(321, 322, 323, 324)은 상기 시트(100)의 이동성을 향상시키기 위해 상기 시트(100)에 장착되어 그 시트(100)와 일체로 형성되되, 상기 제1 부위가 상기 열교환공간(311b, 312b, 313b, 314b)에 노출되고, 상기 제2 부위가 차량의 외부 측에 노출되도록 형성될 수 있다. 즉, 상기 온도조절수단(321, 322, 323, 324)은 상기 제1 부위를 통해 상기 열교환공간(311b, 312b, 313b, 314b)의 공기를 가열 또는 냉각시키고, 이때 발생되는 폐열을 상기 제2 부위를 통해 상기 차량의 외부로 배출하도록 형성될 수 있다.And, the temperature control means (321, 322, 323, 324) may be formed integrally with the seat (100) and mounted on the seat (100) to improve the mobility of the seat (100), and may be formed such that the first portion is exposed to the heat exchange space (311b, 312b, 313b, 314b) and the second portion is exposed to the outside of the vehicle. That is, the temperature control means (321, 322, 323, 324) may be formed such that it heats or cools the air of the heat exchange space (311b, 312b, 313b, 314b) through the first portion and discharges the waste heat generated at this time to the outside of the vehicle through the second portion.
그리고, 상기 열교환공간(311b, 312b, 313b, 314b)에는 상기 시트 덕트(311, 312, 313, 314) 내부의 공기를 상기 흡입구(311a, 312a, 313a, 314a) 측으로부터 상기 토출구(311c, 312c, 313c, 314c) 측으로 송풍하는 송풍기(331, 332, 333, 334)가 형성될 수 있다.And, in the heat exchange space (311b, 312b, 313b, 314b), a blower (331, 332, 333, 334) that blows air inside the sheet duct (311, 312, 313, 314) from the intake port (311a, 312a, 313a, 314a) side to the discharge port (311c, 312c, 313c, 314c) side can be formed.
여기서, 본 실시예에 따른 차량 시트 공조장치는 승객에게 최적의 온도를 제공하도록 형성될 수 있다.Here, the vehicle seat air conditioning device according to the present embodiment can be configured to provide an optimal temperature to passengers.
구체적으로, 상기 시트(100)는 복수의 부위로 구획될 수 있다. 즉, 상기 시트(100)는, 승객의 두부를 지지하는 헤드레스트(headrest)(110), 승객의 등을 지지하는 시트 백(seat back)(120), 승객의 둔부를 지지하는 시트 쿠션(seat cushion)(130) 및 승객의 다리를 지지하는 레그레스트(legrest)(140)를 포함할 수 있다. Specifically, the seat (100) may be divided into a plurality of sections. That is, the seat (100) may include a headrest (110) that supports the head of the passenger, a seat back (120) that supports the back of the passenger, a seat cushion (130) that supports the buttocks of the passenger, and a legrest (140) that supports the legs of the passenger.
이때, 상기 시트 덕트(311, 312, 313, 314), 상기 온도조절수단(321, 322, 323, 324) 및 상기 송풍기(331, 332, 333, 334)는 각각 상기 복수의 부위마다 형성되고, 각각 독립적으로 작동되도록 형성될 수 있다.At this time, the sheet ducts (311, 312, 313, 314), the temperature control means (321, 322, 323, 324) and the blowers (331, 332, 333, 334) are formed at each of the plurality of sections, and can be formed to operate independently.
먼저, 도 2를 참조하면, 상기 헤드레스트(110)에는 제1 시트 덕트(311), 그 제1 시트 덕트(311)의 공기를 가열 또는 냉각하는 제1 온도조절수단(321) 및 그 제1 시트 덕트(311)의 공기를 송풍하는 제1 송풍기(331)가 형성될 수 있다.First, referring to FIG. 2, the headrest (110) may be formed with a first seat duct (311), a first temperature control means (321) for heating or cooling air in the first seat duct (311), and a first blower (331) for blowing air in the first seat duct (311).
여기서, 상기 헤드레스트(110)는, 그 헤드레스트(110)가 상기 승객을 감싸 승차감을 향상시키도록, 상기 승객을 기준으로 일측에서 상기 착좌면 측으로 돌출되는 헤드레스트 제1 돌출부(111) 및 상기 승객을 기준으로 타측에서 상기 착좌면 측으로 돌출되는 헤드레스트 제2 돌출부(112)를 포함할 수 있다. Here, the headrest (110) may include a headrest first protrusion (111) that protrudes toward the seating surface from one side relative to the passenger and a headrest second protrusion (112) that protrudes toward the seating surface from the other side relative to the passenger so that the headrest (110) wraps around the passenger to improve riding comfort.
이때, 상기 제1 시트 덕트(311)는, 상기 제1 시트 덕트의 토출구(이하, 제1 시트 덕트 토출구)(311c)로 토출되는 공조풍이 효과적으로 상기 승객을 에워싸면서 상기 제1 시트 덕트의 흡입구(이하, 제1 시트 덕트 흡입구)(311a)로 안내되도록, 상기 제1 시트 덕트 흡입구(311a)가 상기 헤드레스트 제1 돌출부(111)에 형성되고, 상기 제1 시트 덕트 토출구(311c)가 상기 헤드레스트 제2 돌출부(112)에 형성될 수 있다. At this time, the first seat duct (311) may be formed in the first protrusion (111) of the headrest, and the first seat duct discharge port (311c) may be formed in the second protrusion (112) of the headrest, so that the air conditioning air discharged through the discharge port (hereinafter, the first seat duct discharge port) (311c) of the first seat duct effectively surrounds the passenger and is guided to the suction port (hereinafter, the first seat duct suction port) (311a) of the first seat duct.
또한, 상기 제1 시트 덕트(311)는, 상기 제1 시트 덕트 토출구(311c)로 토출되는 공조풍이 더욱 효과적으로 상기 승객을 에워싸면서 상기 제1 시트 덕트 흡입구(311a)로 안내되도록, 상기 제1 시트 덕트 흡입구(311a)가 상기 헤드레스트 제1 돌출부(111)의 선단부에 형성되고, 상기 제1 시트 덕트 토출구(311c)가 상기 헤드레스트 제2 돌출부(112)의 선단부에 형성될 수 있다. In addition, the first seat duct (311) may be formed at the front end of the headrest first protrusion (111) and the first seat duct discharge port (311c) may be formed at the front end of the headrest second protrusion (112) so that the air conditioning air discharged through the first seat duct discharge port (311c) surrounds the passenger more effectively and is guided to the first seat duct suction port (311a).
또한, 상기 제1 시트 덕트(311)는, 상기 제1 시트 덕트 토출구(311c)로 토출되는 공조풍이 더욱 더 효과적으로 상기 승객을 에워싸면서 상기 제1 시트 덕트 흡입구(311a)로 안내되도록, 상기 제1 시트 덕트 흡입구(311a)가 상기 제1 시트 덕트 토출구(311c) 측을 향해 경사지게 개구되도록 형성되고, 상기 제1 시트 덕트 토출구(311c)가 상기 제1 시트 덕트 흡입구(311a) 측을 향해 경사지게 개구되도록 형성될 수 있다.In addition, the first seat duct (311) may be formed so that the first seat duct intake port (311a) opens at an angle toward the first seat duct outlet port (311c) so that the air conditioning air discharged through the first seat duct outlet port (311c) more effectively surrounds the passenger and is guided to the first seat duct intake port (311a), and the first seat duct outlet port (311c) may be formed so that the first seat duct intake port (311a) opens at an angle toward the first seat duct outlet port (311a).
상기 제1 온도조절수단(321)과 상기 제1 송풍기(331)는, 제어유닛(미도시)에 의해, 상기 제1 온도조절수단(321)이 상기 제1 시트 덕트(311)의 공기의 온도를 사전에 결정된 조건(예를 들어, 계절, 승객의 상태)에 따라 설정되는 제1 온도로 조절하고, 상기 제1 송풍기(331)가 상기 제1 시트 덕트(311)의 공기의 풍속과 풍량을 상기 조건에 따라 설정되는 제1 풍속과 제1 풍량으로 송풍하도록 형성될 수 있다.The first temperature control means (321) and the first blower (331) may be configured so that the first temperature control means (321) controls the temperature of the air in the first seat duct (311) to a first temperature set according to a pre-determined condition (e.g., season, passenger condition), and the first blower (331) blows the air in the first seat duct (311) at a first wind speed and a first wind volume set according to the conditions, by a control unit (not shown).
여기서, 상기 제어유닛(미도시)은 상기 제1 온도조절수단(321), 상기 제1 송풍기(331), 후술할 제2 온도조절수단(322), 후술할 제2 송풍기(332), 후술할 제3 온도조절수단(323), 후술할 제3 송풍기(333), 후술할 제4 온도조절수단(324) 및 후술할 제4 송풍기(334)를 각각 독립적으로 제어하는 구성요소이다.Here, the control unit (not shown) is a component that independently controls the first temperature control means (321), the first blower (331), the second temperature control means (322) to be described later, the second blower (332) to be described later, the third temperature control means (323) to be described later, the third blower (333) to be described later, the fourth temperature control means (324) to be described later, and the fourth blower (334) to be described later.
다음으로, 도 3을 참조하면, 상기 시트 백(120)에는 상기 제1 시트 덕트(311)와 독립된 제2 시트 덕트(312), 그 제2 시트 덕트(312)의 공기를 가열 또는 냉각하는 제2 온도조절수단(322) 및 그 제2 시트 덕트(312)의 공기를 송풍하는 제2 송풍기(332)가 형성될 수 있다.Next, referring to FIG. 3, the seat back (120) may be formed with a second seat duct (312) independent of the first seat duct (311), a second temperature control means (322) for heating or cooling the air of the second seat duct (312), and a second blower (332) for blowing the air of the second seat duct (312).
여기서, 상기 시트 백(120)은, 그 시트 백(120)이 상기 승객을 감싸 승차감을 향상시키도록, 상기 승객을 기준으로 일측에서 상기 착좌면 측으로 돌출되는 시트 백 제1 돌출부(121) 및 상기 승객을 기준으로 타측에서 상기 착좌면 측으로 돌출되는 시트 백 제2 돌출부(122)를 포함할 수 있다. Here, the seat back (120) may include a seat back first protrusion (121) that protrudes toward the seating surface from one side based on the passenger and a seat back second protrusion (122) that protrudes toward the seating surface from the other side based on the passenger so that the seat back (120) wraps around the passenger to improve riding comfort.
이때, 상기 제2 시트 덕트(312)는, 상기 제2 시트 덕트의 토출구(이하, 제2 시트 덕트 토출구)(312c)로 토출되는 공조풍이 효과적으로 상기 승객을 에워싸면서 상기 제2 시트 덕트의 흡입구(이하, 제2 시트 덕트 흡입구)(312a)로 안내되도록, 상기 제2 시트 덕트 흡입구(312a)가 상기 시트 백 제1 돌출부(121)에 형성되고, 상기 제2 시트 덕트 토출구(312c)가 상기 시트 백 제2 돌출부(122)에 형성될 수 있다. At this time, the second seat duct (312) may be formed in the first protrusion (121) of the seat back, and the second seat duct discharge port (312c) may be formed in the second protrusion (122) of the seat back, so that the air conditioning air discharged through the discharge port (hereinafter, the second seat duct discharge port) (312c) of the second seat duct effectively surrounds the passenger and is guided to the suction port (hereinafter, the second seat duct suction port) (312a) of the second seat duct.
또한, 상기 제2 시트 덕트(312)는, 상기 제2 시트 덕트 토출구(312c)로 토출되는 공조풍이 더욱 효과적으로 상기 승객을 에워싸면서 상기 제2 시트 덕트 흡입구(312a)로 안내되도록, 상기 제2 시트 덕트 흡입구(312a)가 상기 시트 백 제1 돌출부(121)의 선단부에 형성되고, 상기 제2 시트 덕트 토출구(312c)가 상기 시트 백 제2 돌출부(122)의 선단부에 형성될 수 있다. In addition, the second seat duct (312) may be formed at the front end of the seat back first protrusion (121) and the second seat duct discharge port (312c) may be formed at the front end of the seat back second protrusion (122) so that the air conditioning air discharged through the second seat duct discharge port (312c) more effectively surrounds the passenger and is guided to the second seat duct suction port (312a).
또한, 상기 제2 시트 덕트(312)는, 상기 제2 시트 덕트 토출구(312c)로 토출되는 공조풍이 더욱 더 효과적으로 상기 승객을 에워싸면서 상기 제2 시트 덕트 흡입구(312a)로 안내되도록, 상기 제2 시트 덕트 흡입구(312a)가 상기 제2 시트 덕트 토출구(312c) 측을 향해 경사지게 개구되도록 형성되고, 상기 제2 시트 덕트 토출구(312c)가 상기 제2 시트 덕트 흡입구(312a) 측을 향해 경사지게 개구되도록 형성될 수 있다.In addition, the second seat duct (312) may be formed so that the second seat duct intake port (312a) opens at an angle toward the second seat duct outlet port (312c) so that the air conditioning air discharged through the second seat duct outlet port (312c) more effectively surrounds the passenger and is guided to the second seat duct intake port (312a), and the second seat duct outlet port (312c) may be formed so that the second seat duct intake port (312a) opens at an angle toward the second seat duct outlet port (312a).
한편, 상기 제2 시트 덕트(312)는, 상기 제2 시트 덕트 토출구(312c)로 토출되는 공조풍이 훨씬 더 효과적으로 상기 승객을 에워싸면서 상기 제2 시트 덕트 흡입구(312a)로 안내되도록, 상기 제2 시트 덕트 흡입구(312a)와 상기 제2 시트 덕트 토출구(312c)의 개구 방향을 최적 상태로 조절하도록 형성될 수 있다. 즉, 상기 제2 시트 덕트(312)는 상기 제2 시트 덕트 흡입구(312a)의 개구 방향을 조절하는 제1 풍향 조절기(312d) 및 상기 제2 시트 덕트 토출구(312c)의 개구 방향을 조절하는 제2 풍향 조절기(312e)를 포함할 수 있다.Meanwhile, the second seat duct (312) may be formed to optimally adjust the opening directions of the second seat duct intake (312a) and the second seat duct outlet (312c) so that the air conditioning wind discharged through the second seat duct outlet (312c) surrounds the passenger more effectively and is guided to the second seat duct intake (312a). That is, the second seat duct (312) may include a first wind direction controller (312d) that adjusts the opening direction of the second seat duct intake (312a) and a second wind direction controller (312e) that adjusts the opening direction of the second seat duct outlet (312c).
상기 제1 풍향 조절기(312d)는, 상기 제2 시트 덕트 흡입구(312a)를 상기 제2 시트 덕트의 열교환공간(이하, 제2 시트 덕트 열교환공간)(312b)과 절곡 가능하게 연통시키는 제1 플렉시블 관 및 상기 제2 시트 덕트 흡입구(312a)의 개구 방향을 조절하는 제1 액추에이터를 포함할 수 있다. The above first wind direction controller (312d) may include a first flexible pipe that foldably connects the second sheet duct intake (312a) with the heat exchange space of the second sheet duct (hereinafter, referred to as the second sheet duct heat exchange space) (312b) and a first actuator that adjusts the opening direction of the second sheet duct intake (312a).
상기 제2 풍향 조절기(312e)는, 상기 제2 시트 덕트 토출구(312c)를 상기 제2 시트 덕트 열교환공간(312b)과 절곡 가능하게 연통시키는 제2 플렉시블 관 및 상기 제2 시트 덕트 토출구(312c)의 개구 방향을 조절하는 제2 액추에이터를 포함할 수 있다. The second wind direction controller (312e) may include a second flexible pipe that flexibly connects the second sheet duct outlet (312c) with the second sheet duct heat exchange space (312b) and a second actuator that adjusts the opening direction of the second sheet duct outlet (312c).
상기 제2 온도조절수단(322)과 상기 제2 송풍기(332)는, 상기 제어유닛(미도시)에 의해, 상기 제2 온도조절수단(322)이 상기 제2 시트 덕트(312)의 공기의 온도를 상기 조건에 따라 설정되는 제2 온도로 조절하고, 상기 제2 송풍기(332)가 상기 제2 시트 덕트(312)의 공기의 풍속과 풍량을 상기 조건에 따라 설정되는 제2 풍속과 제2 풍량으로 송풍하도록 형성될 수 있다. 여기서, 상기 제2 온도, 상기 제2 풍속 및 상기 제2 풍량은 상기 조건에서 상기 제1 온도, 상기 제1 풍속 및 상기 제1 풍량과 함께 설정되나, 상기 제2 온도는 상기 제1 온도와 상이한 온도이고, 상기 제2 풍속은 상기 제1 풍속과 상이한 풍속이며, 상기 제2 풍량은 상기 제1 풍량과 상이한 풍량이다.The second temperature control means (322) and the second blower (332) may be configured such that the second temperature control means (322) controls the temperature of the air of the second sheet duct (312) to a second temperature set according to the conditions by the control unit (not shown), and the second blower (332) blows the wind speed and wind volume of the air of the second sheet duct (312) at a second wind speed and a second wind volume set according to the conditions. Here, the second temperature, the second wind speed, and the second wind volume are set together with the first temperature, the first wind speed, and the first wind volume under the conditions, but the second temperature is a temperature different from the first temperature, the second wind speed is a wind speed different from the first wind speed, and the second wind volume is a wind volume different from the first wind volume.
다음으로, 도 4를 참조하면, 상기 시트 쿠션(130)에는 상기 제1 시트 덕트(311) 및 상기 제2 시트 덕트(312)와 독립된 제3 시트 덕트(313), 그 제3 시트 덕트(313)의 공기를 가열 또는 냉각하는 제3 온도조절수단(323) 및 그 제3 시트 덕트(313)의 공기를 송풍하는 제3 송풍기(333)가 형성될 수 있다.Next, referring to FIG. 4, the seat cushion (130) may be formed with a third seat duct (313) independent of the first seat duct (311) and the second seat duct (312), a third temperature control means (323) for heating or cooling the air of the third seat duct (313), and a third blower (333) for blowing the air of the third seat duct (313).
여기서, 상기 시트 쿠션(130)은, 그 시트 쿠션(130)이 상기 승객을 감싸 승차감을 향상시키도록, 상기 승객을 기준으로 일측에서 상기 착좌면 측으로 돌출되는 시트 쿠션 제1 돌출부(131) 및 상기 승객을 기준으로 타측에서 상기 착좌면 측으로 돌출되는 시트 쿠션 제2 돌출부(132)를 포함할 수 있다. Here, the seat cushion (130) may include a seat cushion first protrusion (131) that protrudes toward the seating surface from one side relative to the passenger and a seat cushion second protrusion (132) that protrudes toward the seating surface from the other side relative to the passenger so that the seat cushion (130) wraps around the passenger to improve riding comfort.
이때, 상기 제3 시트 덕트(313)는, 상기 제3 시트 덕트의 토출구(이하, 제3 시트 덕트 토출구)(313c)로 토출되는 공조풍이 효과적으로 상기 승객을 에워싸면서 상기 제3 시트 덕트의 흡입구(이하, 제3 시트 덕트흡입구)(313a)로 안내되도록, 상기 제3 시트 덕트 흡입구(313a)가 상기 시트 쿠션 제1 돌출부(131)에 형성되고, 상기 제3 시트 덕트 토출구(313c)가 상기 시트 쿠션 제2 돌출부(132)에 형성될 수 있다. At this time, the third seat duct (313) may be formed in the first protrusion (131) of the seat cushion, and the third seat duct discharge port (313c) may be formed in the second protrusion (132) of the seat cushion, so that the air conditioning air discharged through the discharge port (hereinafter, the third seat duct discharge port) (313c) of the third seat duct effectively surrounds the passenger and is guided to the suction port (hereinafter, the third seat duct suction port) (313a) of the third seat duct.
또한, 상기 제3 시트 덕트(313)는, 상기 제3 시트 덕트 토출구(313c)로 토출되는 공조풍이 더욱 효과적으로 상기 승객을 에워싸면서 상기 제3 시트 덕트 흡입구(313a)로 안내되도록, 상기 제3 시트 덕트 흡입구(313a)가 상기 시트 쿠션 제1 돌출부(131)의 선단부에 형성되고, 상기 제3 시트 덕트 토출구(313c)가 상기 시트 쿠션 제2 돌출부(132)의 선단부에 형성될 수 있다. In addition, the third seat duct (313) may be formed at the front end of the first protrusion (131) of the seat cushion, and the third seat duct outlet (313c) may be formed at the front end of the second protrusion (132) of the seat cushion, so that the air conditioning air discharged through the third seat duct outlet (313c) may be guided to the third seat duct outlet (313a) while more effectively surrounding the passenger.
한편, 상기 제3 시트 덕트(313)는, 그 제3 시트 덕트(313)의 구조 단순화를 위해, 상기 제3 시트 덕트 흡입구(313a)와 상기 제3 시트 덕트 토출구(313c)가 각각 상방을 향해 개구되도록 형성될 수 있다. 즉, 상기 제3 시트 덕트 흡입구(313a)와 상기 제3 시트 덕트 토출구(313c)가 서로 마주보지 않게 형성될 수 있다. 이 경우, 상기 제3 시트 덕트 흡입구(313a)와 상기 제3 시트 덕트 토출구(313c)가 서로 마주보는 경우에 비해서 상기 제3 시트 덕트 토출구(313c)로 토출되는 공조풍이 상기 제3 시트 덕트 흡입구(313a)로 안내되는 효과가 감소되나, 상기 제3 시트 덕트 흡입구(313a)와 상기 제3 시트 덕트 토출구(313c)가 모두 착좌면 측에 형성되므로 여전히 상기 제3 시트 덕트 토출구(313c)로 토출되는 공조풍이 효과적으로 상기 제3 시트 덕트 흡입구(313a)로 안내될 수 있다. 그리고, 상기 제2 시트 덕트 토출구(312c)로부터 상기 제2 시트 덕트 흡입구(312a)로 순환되는 공조풍이 일종의 에어 커튼 역할을 하고 있기 때문에, 상기 제3 시트 덕트 흡입구(313a)와 상기 제3 시트 덕트 토출구(313c)가 각각 상방을 향해 개구되게 형성되더라도, 상기 제3 시트 덕트 토출구(313c)에서 토출되는 공조풍의 대부분이 상기 에어커튼에 의해 상기 제3 시트 덕트 흡입구(313a)로 안내될 수 있다. 즉, 제3 시트 덕트 토출구(313c)에서 토출되는 공조풍이 상기 승객실로 분산되는 것이 방지될 수 있다.Meanwhile, in order to simplify the structure of the third sheet duct (313), the third sheet duct (313) may be formed such that the third sheet duct intake port (313a) and the third sheet duct outlet port (313c) are each opened upward. That is, the third sheet duct intake port (313a) and the third sheet duct outlet port (313c) may be formed so as not to face each other. In this case, compared to a case where the third seat duct intake (313a) and the third seat duct outlet (313c) face each other, the effect of guiding the air-conditioned air discharged through the third seat duct outlet (313c) to the third seat duct intake (313a) is reduced. However, since both the third seat duct intake (313a) and the third seat duct outlet (313c) are formed on the seating surface side, the air-conditioned air discharged through the third seat duct outlet (313c) can still be effectively guided to the third seat duct intake (313a). And, since the air conditioning air circulated from the second seat duct outlet (312c) to the second seat duct inlet (312a) functions as a kind of air curtain, even if the third seat duct inlet (313a) and the third seat duct outlet (313c) are each formed to open upward, most of the air conditioning air discharged from the third seat duct outlet (313c) can be guided to the third seat duct inlet (313a) by the air curtain. In other words, the air conditioning air discharged from the third seat duct outlet (313c) can be prevented from being dispersed into the passenger compartment.
상기 제3 온도조절수단(323)과 상기 제3 송풍기(333)는, 상기 제어유닛(미도시)에 의해, 상기 제3 온도조절수단(323)이 상기 제3 시트 덕트(313)의 공기의 온도를 상기 조건에 따라 설정되는 제3 온도로 조절하고, 상기 제3 송풍기(333)가 상기 제3 시트 덕트(313)의 공기의 풍속과 풍량을 상기 조건에 따라 설정되는 제3 풍속과 제3 풍량으로 송풍하도록 형성될 수 있다. 여기서, 상기 제3 온도, 상기 제3 풍속 및 상기 제3 풍량은 상기 조건에서 상기 제1 내지 제2 온도, 상기 제1 내지 제2 풍속 및 상기 제1 내지 제2 풍량과 함께 설정되나, 상기 제3 온도는 상기 제1 온도 및 상기 제2 온도와 상이한 온도이고, 상기 제3 풍속은 상기 제1 풍속 및 상기 제2 풍속과 상이한 풍속이며, 상기 제3 풍량은 상기 제1 풍량 및 상기 제2 풍량과 상이한 풍량이다.The third temperature control means (323) and the third blower (333) can be configured so that the third temperature control means (323) controls the temperature of the air in the third sheet duct (313) to a third temperature set according to the conditions, and the third blower (333) blows the air in the third sheet duct (313) at a third wind speed and a third wind volume set according to the conditions, by the control unit (not shown). Here, the third temperature, the third wind speed and the third wind volume are set together with the first and second temperatures, the first and second wind speeds and the first and second wind volumes under the conditions, but the third temperature is a temperature different from the first temperature and the second temperature, the third wind speed is a wind speed different from the first wind speed and the second wind speed, and the third wind volume is a wind volume different from the first wind volume and the second wind volume.
다음으로, 도 5를 참조하면, 상기 레그레스트(140)에는 상기 제1 시트 덕트(311), 상기 제2 시트 덕트(312) 및 상기 제3 시트 덕트(313)와 독립된 제4 시트 덕트(314), 그 제4 시트 덕트(314)의 공기를 가열 또는 냉각하는 제4 온도조절수단(324) 및 그 제4 시트 덕트(314)의 공기를 송풍하는 제4 송풍기(334)가 형성될 수 있다.Next, referring to FIG. 5, the leg rest (140) may be formed with a fourth sheet duct (314) independent of the first sheet duct (311), the second sheet duct (312), and the third sheet duct (313), a fourth temperature control means (324) for heating or cooling the air of the fourth sheet duct (314), and a fourth blower (334) for blowing the air of the fourth sheet duct (314).
여기서, 상기 레그레스트(140)는 승객의 다리 움직임을 편히 하기 위해 별도의 돌출부를 구비하지 않고 형성되고, 이에 따라 상기 제4 시트 덕트의 흡입구(이하, 제4 시트 덕트 흡입구)(314a)와 상기 제4 시트 덕트의 토출구(이하, 제4 시트 덕트 토출구)(314c)는 평평한 착좌면에서 각각 전방을 향해 개구되도록 형성될 수 있다. 즉, 상기 제4 시트 덕트 흡입구(314a)와 상기 제4 시트 덕트 토출구(314c)가 서로 마주보지 않게 형성될 수 있다. 이 경우, 상기 제4 시트 덕트 흡입구(314a)와 상기 제4 시트 덕트 토출구(314c)가 돌출부의 선단부에서 서로 마주보게 형성되는 경우에 비해서 상기 제4 시트 덕트 토출구(314c)로 토출되는 공조풍이 상기 제4 시트 덕트 흡입구(314a)로 안내되는 효과가 감소될 수 있다. 하지만, 상기 제4 시트 덕트 흡입구(314a)와 상기 제4 시트 덕트 토출구(314c)가 모두 착좌면 측에 형성되므로 그 효과 감소는 미미할 수 있다. 대신, 이 경우, 상기 제4 시트 덕트(314)의 구조가 단순화되어 그 제4 시트 덕트(314)를 형성하는데 소요되는 시간과 비용이 절감될 수 있다. Here, the leg rest (140) is formed without a separate protrusion to facilitate the movement of the passenger's legs, and accordingly, the intake port of the fourth seat duct (hereinafter, the fourth seat duct intake port) (314a) and the discharge port of the fourth seat duct (hereinafter, the fourth seat duct discharge port) (314c) can be formed to open toward the front, respectively, on a flat seating surface. That is, the fourth seat duct intake port (314a) and the fourth seat duct discharge port (314c) can be formed so as not to face each other. In this case, compared to a case where the fourth seat duct intake port (314a) and the fourth seat duct discharge port (314c) are formed to face each other at the leading ends of the protrusions, the effect of guiding the air conditioning air discharged through the fourth seat duct discharge port (314c) to the fourth seat duct intake port (314a) can be reduced. However, since both the fourth sheet duct intake port (314a) and the fourth sheet duct discharge port (314c) are formed on the seating surface side, the reduction in effect may be minimal. Instead, in this case, the structure of the fourth sheet duct (314) may be simplified, so that the time and cost required to form the fourth sheet duct (314) may be reduced.
상기 제4 온도조절수단(324)과 상기 제4 송풍기(334)는, 상기 제어유닛(미도시)에 의해, 상기 제4 온도조절수단(324)이 상기 제4 시트 덕트(314)의 공기의 온도를 상기 조건에 따라 설정되는 제4 온도로 조절하고, 상기 제4 송풍기(334)가 상기 제4 시트 덕트(314)의 공기의 풍속과 풍량을 상기 조건에 따라 설정되는 제4 풍속과 제4 풍량으로 송풍하도록 형성될 수 있다. 여기서, 상기 제4 온도, 상기 제4 풍속 및 상기 제4 풍량은 상기 조건에서 상기 제1 내지 제3 온도, 상기 제1 내지 제3 풍속 및 상기 제1 내지 제3 풍량과 함께 설정되나, 상기 제4 온도는 상기 제1 온도, 상기 제2 온도 및 상기 제3 온도와 상이한 온도이고, 상기 제4 풍속은 상기 제1 풍속, 상기 제2 풍속 및 상기 제3 풍속과 상이한 풍속이며, 상기 제4 풍량은 상기 제1 풍량, 상기 제2 풍량 및 상기 제3 풍량과 상이한 풍량이다. The fourth temperature control means (324) and the fourth blower (334) may be configured so that the fourth temperature control means (324) controls the temperature of the air in the fourth sheet duct (314) to a fourth temperature set according to the conditions, and the fourth blower (334) blows the air in the fourth sheet duct (314) at a fourth wind speed and fourth wind volume set according to the conditions, by the control unit (not shown). Here, the fourth temperature, the fourth wind speed, and the fourth wind volume are set together with the first to third temperatures, the first to third wind speeds, and the first to third wind volumes under the conditions, but the fourth temperature is a temperature different from the first temperature, the second temperature, and the third temperature, the fourth wind speed is a wind speed different from the first wind speed, the second wind speed, and the third wind speed, and the fourth wind volume is a wind volume different from the first wind volume, the second wind volume, and the third wind volume.
여기서, 승객의 두부 측이 다리 측보다 서늘하고 풍속이 낮으며 풍량이 적은 것이 쾌적함을 증가시키므로, 상기 제4 온도로부터 상기 제1 온도로 갈수록 온도가 점진적으로 낮아지게 설정되고, 상기 제4 풍속으로부터 상기 제1 풍속으로 갈수록 풍속이 점진적으로 감소되게 설정되며, 상기 제4 풍량으로부터 상기 제1 풍량으로 갈수록 풍량이 점진적으로 감소되게 설정되는 것이 바람직할 수 있다.Here, since the passenger's head side is cooler than the leg side and the wind speed and wind volume are lower, which increases comfort, it may be preferable that the temperature be set to gradually decrease from the fourth temperature to the first temperature, the wind speed be set to gradually decrease from the fourth wind speed to the first wind speed, and the wind volume be set to gradually decrease from the fourth wind volume to the first wind volume.
한편, 상기 제1 시트 덕트(311), 상기 제2 시트 덕트(312), 상기 제3 시트 덕트(313) 및 상기 제4 시트 덕트(314)는, 상기 제1 시트 덕트(311), 상기 제2 시트 덕트(312), 상기 제3 시트 덕트(313) 및 상기 제4 시트 덕트(314) 중 어느 하나로부터 토출되는 공조풍이 상기 제1 시트 덕트(311), 상기 제2 시트 덕트(312), 상기 제3 시트 덕트(313) 및 상기 제4 시트 덕트(314) 중 다른 하나로 흡입되는 것을 방지하도록, 상기 제1 시트 덕트 흡입구(311a), 상기 제2 시트 덕트 흡입구(312a), 상기 제3 시트 덕트 흡입구(313a) 및 상기 제4 시트 덕트 흡입구(314a)가 모두 상기 승객을 기준으로 일측에 형성되고, 상기 제1 시트 덕트 토출구(311c), 상기 제2 시트 덕트 토출구(312c), 상기 제3 시트 덕트 토출구(313c) 및 상기 제4 시트 덕트 토출구(314c)가 모두 상기 승객을 기준으로 타측에 형성될 수 있다. Meanwhile, the first seat duct (311), the second seat duct (312), the third seat duct (313), and the fourth seat duct (314) are formed so that the air conditioning air discharged from any one of the first seat duct (311), the second seat duct (312), the third seat duct (313), and the fourth seat duct (314) is prevented from being sucked into the other one of the first seat duct (311), the second seat duct (312), the third seat duct (313), and the fourth seat duct (314), and the first seat duct discharge port (311c), The above second seat duct outlet (312c), the above third seat duct outlet (313c), and the above fourth seat duct outlet (314c) can all be formed on the other side with respect to the passenger.
이하, 본 실시예에 따른 차량 시트 공조장치의 작용효과에 대해 설명한다.Below, the operation and effect of the vehicle seat air conditioning device according to the present embodiment will be described.
즉, 차량 시트 공조장치가 작동되면, 상기 제어유닛(미도시)은 계절 상태(예를 들어, 봄, 여름, 가을, 겨울)나 승객의 상태(예를 들어, 운전, 휴식, 수면)에 따라 상기 제1 내지 제4 온도, 상기 제1 내지 제4 풍속 및 상기 제1 내지 제4 풍량을 각각 설정할 수 있다.That is, when the vehicle seat air conditioning device is operated, the control unit (not shown) can set the first to fourth temperatures, the first to fourth wind speeds, and the first to fourth wind volumes, respectively, according to the seasonal condition (e.g., spring, summer, fall, winter) or the passenger condition (e.g., driving, resting, sleeping).
그리고, 상기 제어유닛(미도시)은 상기 제1 송풍기(331)가 상기 제1 시트 덕트(311)의 공기를 상기 제1 풍속 및 상기 제1 풍량으로 송풍하도록 그 제1 송풍기(331)를 운전하고, 상기 제1 온도조절수단(321)의 제1 부위가 상기 제1 시트 덕트(311)의 공기를 상기 제1 온도로 가열 또는 냉각시키도록 그 제1 온도조절수단(321)을 운전할 수 있다. 이때, 폐열은 상기 제1 온도조절수단(321)의 제2 부위를 통해 차량의 외부로 배출될 수 있다. 이에 의하여, 상기 제1 시트 덕트 흡입구(311a)로 흡입되는 공기가 상기 제1 온도로 가열 또는 냉각되고 상기 제1 풍속 및 상기 제1 풍량으로 송풍되어 상기 제1 시트 덕트 토출구(311c)로 토출되고, 상기 제1 시트 덕트 토출구(311c)로 토출된 공기는 상기 승객의 두부를 에워싸면서 그 승객의 두부에 난방 또는 냉방을 제공한 뒤 상기 제1 시트 덕트 흡입구(311a)로 재유입될 수 있다.And, the control unit (not shown) can drive the first blower (331) so that the first blower (331) blows the air of the first seat duct (311) at the first wind speed and the first wind volume, and drive the first temperature control means (321) so that the first part of the first temperature control means (321) heats or cools the air of the first seat duct (311) to the first temperature. At this time, the waste heat can be discharged to the outside of the vehicle through the second part of the first temperature control means (321). Accordingly, air sucked into the first seat duct intake port (311a) is heated or cooled to the first temperature and blown at the first wind speed and the first wind volume to be discharged to the first seat duct outlet port (311c), and the air discharged to the first seat duct outlet port (311c) can surround the head of the passenger, provide heating or cooling to the head of the passenger, and then be re-introduced into the first seat duct intake port (311a).
그리고, 상기 제어유닛(미도시)은 상기 제2 송풍기(332)가 상기 제2 시트 덕트(312)의 공기를 상기 제2 풍속 및 상기 제2 풍량으로 송풍하도록 그 제2 송풍기(332)를 운전하고, 상기 제2 온도조절수단(322)의 제1 부위가 상기 제2 시트 덕트(312)의 공기를 상기 제2 온도로 가열 또는 냉각시키도록 그 제2 온도조절수단(322)을 운전할 수 있다. 이때, 폐열은 상기 제2 온도조절수단(322)의 제2 부위를 통해 차량의 외부로 배출될 수 있다. 이에 의하여, 상기 제2 시트 덕트 흡입구(312a)로 흡입되는 공기가 상기 제2 온도로 가열 또는 냉각되고 상기 제2 풍속 및 상기 제2 풍량으로 송풍되어 상기 제2 시트 덕트 토출구(312c)로 토출되고, 상기 제2 시트 덕트 토출구(312c)로 토출된 공기는 상기 승객의 가슴 부위를 에워싸면서 그 승객의 가슴 부위에 난방 또는 냉방을 제공한 뒤 상기 제2 시트 덕트 흡입구(312a)로 재유입될 수 있다.And, the control unit (not shown) can drive the second blower (332) so that the second blower (332) blows the air of the second seat duct (312) at the second wind speed and the second wind volume, and drive the second temperature control means (322) so that the first part of the second temperature control means (322) heats or cools the air of the second seat duct (312) to the second temperature. At this time, the waste heat can be discharged to the outside of the vehicle through the second part of the second temperature control means (322). Accordingly, air sucked into the second seat duct intake port (312a) is heated or cooled to the second temperature and blown at the second wind speed and the second wind volume to be discharged to the second seat duct outlet port (312c), and the air discharged to the second seat duct outlet port (312c) can surround the chest area of the passenger, provide heating or cooling to the chest area of the passenger, and then be re-introduced into the second seat duct intake port (312a).
그리고, 상기 제어유닛(미도시)은 상기 제3 송풍기(333)가 상기 제3 시트 덕트(313)의 공기를 상기 제3 풍속 및 상기 제3 풍량으로 송풍하도록 그 제3 송풍기(333)를 운전하고, 상기 제3 온도조절수단(323)의 제1 부위가 상기 제3 시트 덕트(313)의 공기를 상기 제3 온도로 가열 또는 냉각시키도록 그 제3 온도조절수단(323)을 운전할 수 있다. 이때, 폐열은 상기 제3 온도조절수단(323)의 제2 부위를 통해 차량의 외부로 배출될 수 있다. 이에 의하여, 상기 제3 시트 덕트 흡입구(313a)로 흡입되는 공기가 상기 제3 온도로 가열 또는 냉각되고 상기 제3 풍속 및 상기 제3 풍량으로 송풍되어 상기 제3 시트 덕트 토출구(313c)로 토출되고, 상기 제3 시트 덕트 토출구(313c)로 토출된 공기는 상기 승객의 허벅지 부위를 에워싸면서 그 승객의 허벅지 부위에 난방 또는 냉방을 제공한 뒤 상기 제3 시트 덕트 흡입구(313a)로 재유입될 수 있다.And, the control unit (not shown) can drive the third blower (333) so that the third blower (333) blows the air of the third seat duct (313) at the third wind speed and the third wind volume, and drive the third temperature control means (323) so that the first part of the third temperature control means (323) heats or cools the air of the third seat duct (313) to the third temperature. At this time, the waste heat can be discharged to the outside of the vehicle through the second part of the third temperature control means (323). Accordingly, air sucked into the third seat duct intake port (313a) is heated or cooled to the third temperature and blown at the third wind speed and the third wind volume to be discharged to the third seat duct outlet port (313c), and the air discharged to the third seat duct outlet port (313c) can surround the thigh area of the passenger and provide heating or cooling to the thigh area of the passenger before being re-introduced into the third seat duct intake port (313a).
그리고, 상기 제어유닛(미도시)은 상기 제4 송풍기(334)가 상기 제4 시트 덕트(314)의 공기를 상기 제4 풍속 및 상기 제4 풍량으로 송풍하도록 그 제4 송풍기(334)를 운전하고, 상기 제4 온도조절수단(324)의 제1 부위가 상기 제4 시트 덕트(314)의 공기를 상기 제4 온도로 가열 또는 냉각시키도록 그 제4 온도조절수단(324)을 운전할 수 있다. 이때, 폐열은 상기 제4 온도조절수단(324)의 제2 부위를 통해 차량의 외부로 배출될 수 있다. 이에 의하여, 상기 제4 시트 덕트 흡입구(314a)로 흡입되는 공기가 상기 제4 온도로 가열 또는 냉각되고 상기 제4 풍속 및 상기 제4 풍량으로 송풍되어 상기 제4 시트 덕트 토출구(314c)로 토출되고, 상기 제4 시트 덕트 토출구(314c)로 토출된 공기는 상기 승객의 종아리 부위를 에워싸면서 그 승객의 종아리 부위에 난방 또는 냉방을 제공한 뒤 상기 제4 시트 덕트 흡입구(314a)로 재유입될 수 있다.And, the control unit (not shown) can drive the fourth blower (334) so that the fourth blower (334) blows the air of the fourth seat duct (314) at the fourth wind speed and the fourth wind volume, and can drive the fourth temperature control means (324) so that the first part of the fourth temperature control means (324) heats or cools the air of the fourth seat duct (314) to the fourth temperature. At this time, the waste heat can be discharged to the outside of the vehicle through the second part of the fourth temperature control means (324). Accordingly, air sucked into the fourth seat duct intake port (314a) is heated or cooled to the fourth temperature and blown at the fourth wind speed and fourth wind volume to be discharged to the fourth seat duct outlet port (314c), and the air discharged to the fourth seat duct outlet port (314c) can surround the passenger's calf area and provide heating or cooling to the passenger's calf area before being re-introduced into the fourth seat duct intake port (314a).
여기서, 본 실시예에 따른 차량 시트 공조장치는, 상기 흡입구(311a, 312a, 313a, 314a) 및 상기 토출구(311c, 312c, 313c, 314c)가 상기 시트(100)의 착좌면 측에 형성될 수 있다. 이에 의하여, 상기 토출구(311c, 312c, 313c, 314c)로부터 토출되는 공조풍이 승객을 에워싸며 난방 또는 냉방을 제공한 뒤 다시 상기 흡입구(311a, 312a, 313a, 314a)로 흡입됨에 따라, 속효성 향상 등 공조 성능 및 효율이 향상될 수 있다. Here, in the vehicle seat air conditioning device according to the present embodiment, the intake ports (311a, 312a, 313a, 314a) and the discharge ports (311c, 312c, 313c, 314c) can be formed on the seating surface side of the seat (100). Accordingly, as the air conditioning wind discharged from the discharge ports (311c, 312c, 313c, 314c) surrounds the passenger and provides heating or cooling, and then is sucked back into the suction ports (311a, 312a, 313a, 314a), the air conditioning performance and efficiency, such as the improvement of fast-acting properties, can be improved.
그리고, 상기 제1 시트 덕트(311), 상기 제2 시트 덕트(312) 및 제3 시트 덕트(313)와 같이, 상기 흡입구(311a, 312a, 313a)가 제1 돌출부(111, 121, 131)에 형성되고, 상기 토출구(311c, 312c, 313c)가 제2 돌출부(112, 122, 132)에 형성됨에 따라, 상기 토출구(311c, 312c, 313c)로부터 토출되는 공조풍이 효과적으로 상기 흡입구(311a, 312a, 313a)로 안내될 수 있다.And, as in the first sheet duct (311), the second sheet duct (312), and the third sheet duct (313), the suction ports (311a, 312a, 313a) are formed in the first protrusion (111, 121, 131), and the discharge ports (311c, 312c, 313c) are formed in the second protrusion (112, 122, 132), the air conditioning wind discharged from the discharge ports (311c, 312c, 313c) can be effectively guided to the suction ports (311a, 312a, 313a).
그리고, 상기 제1 시트 덕트(311), 상기 제2 시트 덕트(312) 및 제3 시트 덕트(313)와 같이, 상기 흡입구(311a, 312a, 313a)가 상기 제1 돌출부(111, 121, 131)의 선단부에 형성되고, 상기 토출구(311c, 312c, 313c)가 상기 제2 돌출부(112, 122, 132)의 선단부에 형성됨에 따라, 상기 토출구(311c, 312c, 313c)로부터 토출되는 공조풍이 더욱 효과적으로 상기 흡입구(311a, 312a, 313a)로 안내될 수 있다.And, as in the case of the first sheet duct (311), the second sheet duct (312), and the third sheet duct (313), the suction ports (311a, 312a, 313a) are formed at the tip end of the first protrusion (111, 121, 131), and the discharge ports (311c, 312c, 313c) are formed at the tip end of the second protrusion (112, 122, 132), the air conditioning wind discharged from the discharge ports (311c, 312c, 313c) can be more effectively guided to the suction ports (311a, 312a, 313a).
그리고, 상기 제1 시트 덕트(311) 및 제2 시트 덕트(312)와 같이, 상기 흡입구(311a, 312a)와 상기 토출구(311c, 312c)가 서로 마주보는 방향으로 개구됨에 따라, 상기 토출구(311c, 312c)로부터 토출되는 공조풍이 더욱 더 효과적으로 상기 흡입구(311a, 312a)로 안내될 수 있다.And, as in the first sheet duct (311) and the second sheet duct (312), since the suction ports (311a, 312a) and the discharge ports (311c, 312c) are opened in a direction facing each other, the air conditioning wind discharged from the discharge ports (311c, 312c) can be guided to the suction ports (311a, 312a) more effectively.
그리고, 상기 제2 시트 덕트(312)와 같이, 상기 흡입구(312a)의 개구 방향과 상기 토출구(312c)의 개구 방향이 조절 가능하게 형성됨에 따라, 상기 토출구(312c)로부터 토출되는 공조풍이 훨씬 효과적으로 상기 흡입구(312a)로 안내될 수 있다.And, as in the second sheet duct (312), since the opening direction of the suction port (312a) and the opening direction of the discharge port (312c) are formed to be adjustable, the air conditioning wind discharged from the discharge port (312c) can be guided to the suction port (312a) much more effectively.
그리고, 상기 시트(100)의 부위별로 각각 서로 독립 제어되는 상기 제1 시트 덕트(311)와 상기 제1 온도조절수단(321), 상기 제2 시트 덕트(312)와 상기 제2 온도조절수단(322), 상기 제3 시트 덕트(313)와 상기 제3 온도조절수단(323) 및 상기 제4 시트 덕트(314)와 상기 제4 온도조절수단(324)을 포함함에 따라, 각 토출구(311c, 312c, 313c, 314c)로 토출되는 공조풍의 온도를 상이하게 조절할 수 있다. 이에 의하여, 승객의 각 신체 부위별로 최적의 온도를 제공하여 쾌적성을 향상시킬 수 있다.And, since the first seat duct (311) and the first temperature control means (321), the second seat duct (312) and the second temperature control means (322), the third seat duct (313) and the third temperature control means (323), and the fourth seat duct (314) and the fourth temperature control means (324) are each independently controlled for each part of the seat (100), the temperature of the air-conditioning air discharged through each discharge port (311c, 312c, 313c, 314c) can be controlled differently. As a result, the optimum temperature can be provided for each body part of the passenger, thereby improving comfort.
그리고, 상기 시트(100)의 부위별로 각각 서로 독립 제어되는 제1 송풍기(331), 상기 제2 송풍기(332), 상기 제3 송풍기(333) 및 상기 제4 송풍기(334)를 포함함에 따라, 각 토출구(311c, 312c, 313c, 314c)로 토출되는 공조풍의 풍속과 풍량을 상이하게 조절할 수 있다. 이에 의하여, 승객의 각 신체 부위별로 최적의 풍속과 풍량을 제공하여 쾌적성을 더욱 향상시킬 수 있다.And, since the first blower (331), the second blower (332), the third blower (333), and the fourth blower (334) are each independently controlled for each part of the seat (100), the wind speed and wind volume of the air-conditioned air discharged through each discharge port (311c, 312c, 313c, 314c) can be adjusted differently. Accordingly, the optimal wind speed and wind volume can be provided for each body part of the passenger, thereby further improving comfort.
그리고, 상기 온도조절수단(321, 322, 323, 324)은, 상기 제1 부위로 냉방을 제공할 때 상기 제2 부위를 통해 폐열(온열)을 차량의 외부로 배출하고, 상기 제1 부위로 난방을 제공할 때 상기 제2 부위를 통해 폐열(냉열)을 차량의 외부로 배출하도록 형성됨에 따라, 냉방 및 난방을 제공하면서, 폐열이 승객실로 배출되는 것을 방지할 수 있다. And, the temperature control means (321, 322, 323, 324) is formed to discharge waste heat (heat) to the outside of the vehicle through the second portion when providing cooling to the first portion, and to discharge waste heat (cold heat) to the outside of the vehicle through the second portion when providing heating to the first portion, thereby preventing waste heat from being discharged into the passenger compartment while providing cooling and heating.
한편, 돌출부의 유무, 개구 방향, 개구 방향의 조절 가능 여부 측면에서, 본 실시예의 경우 상기 제1 시트 덕트(311), 상기 제2 시트 덕트(312), 상기 제3 시트 덕트(313) 및 상기 제4 시트 덕트(314)는 서로 상이한 방식으로 형성되나, 상기 제1 시트 덕트(311), 상기 제2 시트 덕트(312), 상기 제3 덕트 및 상기 제4 덕트 중 어느 하나의 방식으로 공통되게 형성될 수도 있다. Meanwhile, in terms of the presence or absence of a protrusion, the opening direction, and whether the opening direction can be adjusted, in the present embodiment, the first sheet duct (311), the second sheet duct (312), the third sheet duct (313), and the fourth sheet duct (314) are formed in different ways, but may be formed in common in any one of the ways of the first sheet duct (311), the second sheet duct (312), the third duct, and the fourth duct.
한편, 본 실시예의 경우, 상기 온도조절수단(321, 322, 323, 324)은 열전소자로 형성되나, 압축기, 응축기, 팽창수단 및 증발기를 갖는 증기 압축 냉동 사이클 기구로도 형성될 수 있다. 다만, 이 경우에도, 상기 증기 압축 냉동 사이클 기구는 상기 시트(100)에 장착 가능하고, 폐열을 차량의 외부로 배출할 수 있는 방식으로 형성될 수 있다.Meanwhile, in the case of the present embodiment, the temperature control means (321, 322, 323, 324) is formed as a thermoelectric element, but may also be formed as a vapor compression refrigeration cycle mechanism having a compressor, a condenser, an expansion means, and an evaporator. However, even in this case, the vapor compression refrigeration cycle mechanism may be formed in a manner that can be mounted on the seat (100) and discharge waste heat to the outside of the vehicle.
100: 시트 110: 헤드레스트
111: 헤드레스트 제1 돌출부 112: 헤드레스트 제2 돌출부
120: 시트 백 121: 시트 백 제1 돌출부
122: 시트 백 제2 돌출부 130: 시트 쿠션
131: 시트 쿠션 제1 돌출부 132: 시트 쿠션 제2 돌출부
140: 레그레스트 311: 제1 시트 덕트
311a: 제1 시트 덕트 흡입구 311b: 제1 시트 덕트 열교환공간
311c: 제1 시트 덕트 토출구 312: 제2 시트 덕트
312a: 제2 시트 덕트 흡입구 312b: 제2 시트 덕트 열교환공간
312c: 제2 시트 덕트 토출구 312d: 제1 풍향 조절기
312e: 제2 풍향 조절기 313: 제3 시트 덕트
313a: 제3 시트 덕트 흡입구 313b: 제3 시트 덕트 열교환공간
313c: 제3 시트 덕트 토출구 314: 제4 시트 덕트
314a: 제4 시트 덕트 흡입구 314b: 제4 시트 덕트 열교환공간
314c: 제4 시트 덕트 토출구 321: 제1 온도조절수단
322: 제2 온도조절수단 323: 제3 온도조절수단
324: 제4 온도조절수단 331: 제1 송풍기
332: 제2 송풍기 333: 제3 송풍기
334: 제4 송풍기100: seat 110: headrest
111: Headrest first protrusion 112: Headrest second protrusion
120: Seat back 121: Seat back first projection
122: Seat back 2nd protrusion 130: Seat cushion
131: Seat cushion first protrusion 132: Seat cushion second protrusion
140: Legrest 311: First sheet duct
311a: First
311c: First sheet duct outlet 312: Second sheet duct
312a: Second
312c: Second
312e: Second wind direction controller 313: Third sheet duct
313a: Third
313c: 3rd sheet duct outlet 314: 4th sheet duct
314a: 4th
314c: 4th sheet duct outlet 321: 1st temperature control means
322: Second temperature control means 323: Third temperature control means
324: 4th temperature control means 331: 1st blower
332: Second blower 333: Third blower
334: 4th blower
Claims (14)
상기 시트 덕트는,
차량의 승객실의 공기를 상기 시트 덕트로 흡입하는 흡입구;
상기 시트 덕트의 공기를 상기 승객실로 토출하는 토출구; 및
상기 시트 덕트의 공기를 가열 또는 냉각하는 온도조절수단;을 포함하고,
상기 흡입구는 상기 시트에 착석하는 승객을 기준으로 일측에 형성되고,
상기 토출구는 상기 승객을 기준으로 타측에 형성되고,
상기 시트는 승객의 두부를 지지하는 헤드레스트, 승객의 등을 지지하는 시트 백, 승객의 둔부를 지지하는 시트 쿠션 및 승객의 다리를 지지하는 레그레스트를 포함하고,
상기 헤드레스트에는 제1 시트 덕트 및 그 제1 시트 덕트의 공기를 가열 또는 냉각하는 제1 온도조절수단이 형성되고,
상기 시트 백에는 제2 시트 덕트 및 그 제2 시트 덕트의 공기를 가열 또는 냉각하는 제2 온도조절수단이 형성되고,
상기 시트 쿠션에는 제3 시트 덕트 및 그 제3 시트 덕트의 공기를 가열 또는 냉각하는 제3 온도조절수단이 형성되며,
상기 레그레스트에는 제4 시트 덕트 및 그 제4 시트 덕트의 공기를 가열 또는 냉각하는 제4 온도조절수단이 형성되는 차량 시트 공조장치.A seat duct formed on a seat of a vehicle;
The above sheet duct,
An intake for drawing air from the passenger compartment of a vehicle into the seat duct;
An outlet for discharging air from the above seat duct into the passenger compartment; and
A temperature control means for heating or cooling the air of the above sheet duct;
The above suction port is formed on one side based on the passenger sitting on the seat,
The above discharge port is formed on the other side based on the passenger,
The above seat includes a headrest that supports the passenger's head, a seat back that supports the passenger's back, a seat cushion that supports the passenger's buttocks, and a leg rest that supports the passenger's legs.
The above headrest is formed with a first seat duct and a first temperature control means for heating or cooling the air in the first seat duct.
The above seat back is formed with a second seat duct and a second temperature control means for heating or cooling the air in the second seat duct.
The above seat cushion is formed with a third seat duct and a third temperature control means for heating or cooling the air in the third seat duct.
A vehicle seat air conditioning device in which a fourth seat duct and a fourth temperature control means for heating or cooling air in the fourth seat duct are formed in the above leg rest.
상기 흡입구와 상기 토출구는 상기 토출구로부터 토출되는 공기가 상기 흡입구로 흡입되게 형성되는 차량 시트 공조장치.In the first paragraph,
A vehicle seat air conditioning device in which the above-mentioned intake port and the above-mentioned exhaust port are formed so that air discharged from the above-mentioned exhaust port is sucked into the above-mentioned intake port.
상기 토출구로부터 토출되는 공기가 상기 흡입구로 안내되도록, 상기 흡입구와 상기 토출구는 각각 승객을 향하여 일정 각도 기울기를 갖도록 형성되는 차량 시트 공조장치.In the second paragraph,
A vehicle seat air conditioning device in which the intake port and the exhaust port are each formed to have a certain angle of inclination toward the passenger so that air discharged from the exhaust port is guided to the intake port.
상기 시트는,
상기 승객을 기준으로 일측에서 돌출되는 제1 돌출부; 및
상기 승객을 기준으로 타측에서 돌출되는 제2 돌출부;를 포함하고,
상기 흡입구는 상기 제1 돌출부에 형성되고,
상기 토출구는 제2 돌출부에 형성되는 차량 시트 공조장치.In the first paragraph,
The above sheet,
A first protrusion protruding from one side based on the above passenger; and
Including a second protrusion protruding from the other side based on the above passenger;
The above suction port is formed in the first protrusion,
A vehicle seat air conditioning device in which the above discharge port is formed in the second protrusion.
상기 흡입구는 상기 제1 돌출부의 선단부에 형성되고,
상기 토출구는 상기 제2 돌출부의 선단부에 형성되는 차량 시트 공조장치.In paragraph 4,
The above suction port is formed at the tip end of the first protrusion,
A vehicle seat air conditioning device in which the above discharge port is formed at the tip of the second protrusion.
상기 흡입구는 상기 토출구 측을 향해 개구되게 형성되고,
상기 토출구는 상기 흡입구 측을 향해 개구되게 형성되는 차량 시트 공조장치.In paragraph 4,
The above suction port is formed to open toward the discharge port side,
A vehicle seat air conditioning device in which the above discharge port is formed to open toward the above suction port.
상기 제1 돌출부에는 상기 흡입구의 개구 방향을 조절하는 제1 풍향 조절기가 형성되고,
상기 제2 돌출부에는 상기 토출구의 개구 방향을 조절하는 제2 풍향 조절기가 형성되는 차량 시트 공조장치.In paragraph 4,
A first wind direction controller for controlling the opening direction of the suction port is formed on the first protrusion.
A vehicle seat air conditioning device, wherein a second wind direction controller for controlling the opening direction of the discharge port is formed on the second protrusion.
상기 온도조절수단은 열전소자 또는 증기 압축 냉동 사이클 기구로 형성되는 차량 시트 공조장치.In the first paragraph,
A vehicle seat air conditioning device in which the above temperature control means is formed by a thermoelectric element or a vapor compression refrigeration cycle mechanism.
상기 온도조절수단은 상기 시트에 장착되는 것을 특징으로 하는 차량 시트 공조장치.In Article 8,
A vehicle seat air conditioning device characterized in that the temperature control means is mounted on the seat.
상기 제1 시트 덕트의 흡입구, 상기 제2 시트 덕트의 흡입구, 상기 제3 시트 덕트의 흡입구 및 상기 제4 시트 덕트의 흡입구는 상기 시트에 착석하는 승객을 기준으로 일측에 형성되고,
상기 제1 시트 덕트의 토출구, 상기 제2 시트 덕트의 토출구, 상기 제3 시트 덕트의 토출구 및 상기 제4 시트 덕트의 토출구는 상기 승객을 기준으로 타측에 형성되는 차량 시트 공조장치.In the first paragraph,
The intake port of the first seat duct, the intake port of the second seat duct, the intake port of the third seat duct, and the intake port of the fourth seat duct are formed on one side based on the passenger seated on the seat.
A vehicle seat air conditioning device in which the outlet of the first seat duct, the outlet of the second seat duct, the outlet of the third seat duct, and the outlet of the fourth seat duct are formed on the other side with respect to the passenger.
상기 제1 온도조절수단은 사전에 결정된 조건에 따라 상기 제1 시트 덕트의 공기를 제1 온도로 조절하고,
상기 제2 온도조절수단은 상기 조건에 따라 상기 제2 시트 덕트의 공기를 제2 온도로 조절하고,
상기 제3 온도조절수단은 상기 조건에 따라 상기 제3 시트 덕트의 공기를 제3 온도로 조절하며,
상기 제4 온도조절수단은 상기 조건에 따라 상기 제4 시트 덕트의 공기를 제4 온도로 조절하는 차량 시트 공조장치.In the first paragraph,
The above first temperature control means controls the air in the first sheet duct to a first temperature according to a pre-determined condition,
The above second temperature control means controls the air in the second sheet duct to a second temperature according to the above conditions,
The third temperature control means controls the air in the third sheet duct to a third temperature according to the above conditions.
The fourth temperature control means is a vehicle seat air conditioning device that controls the air in the fourth seat duct to a fourth temperature according to the above conditions.
상기 제1 온도는 상기 제4 온도보다 낮게 설정되는 것을 특징으로 하는 차량 시트 공조장치.In Article 11,
A vehicle seat air conditioning device, characterized in that the first temperature is set lower than the fourth temperature.
상기 제1 온도조절수단, 상기 제2 온도조절수단, 상기 제3 온도조절수단 및 상기 제4 온도조절수단은 제어유닛에 의해 서로 독립적으로 제어되는 것을 특징으로 하는 차량 시트 공조장치.In Article 11,
A vehicle seat air conditioning device, characterized in that the first temperature control means, the second temperature control means, the third temperature control means, and the fourth temperature control means are independently controlled by a control unit.
상기 시트 덕트의 내부에는 상기 흡입구 측으로부터 상기 토출구 측으로 송풍하는 송풍기가 형성되고,
상기 송풍기는 제어유닛에 의해 풍속 및 풍량이 조절되는 것을 특징으로 하는 차량 시트 공조장치.In the first paragraph,
A blower is formed inside the above sheet duct to blow air from the intake side to the discharge side.
A vehicle seat air conditioning device, characterized in that the above blower has wind speed and wind volume controlled by a control unit.
Priority Applications (1)
| Application Number | Priority Date | Filing Date | Title |
|---|---|---|---|
| KR1020240072598A KR102708950B1 (en) | 2017-01-20 | 2024-06-03 | Air conditioning apparatus for car seat |
Applications Claiming Priority (2)
| Application Number | Priority Date | Filing Date | Title |
|---|---|---|---|
| KR1020170009855A KR20180086014A (en) | 2017-01-20 | 2017-01-20 | Air conditioning apparatus for car seat |
| KR1020240072598A KR102708950B1 (en) | 2017-01-20 | 2024-06-03 | Air conditioning apparatus for car seat |
Related Parent Applications (1)
| Application Number | Title | Priority Date | Filing Date |
|---|---|---|---|
| KR1020170009855A Division KR20180086014A (en) | 2017-01-20 | 2017-01-20 | Air conditioning apparatus for car seat |
Publications (2)
| Publication Number | Publication Date |
|---|---|
| KR20240085905A KR20240085905A (en) | 2024-06-17 |
| KR102708950B1 true KR102708950B1 (en) | 2024-09-25 |
Family
ID=63048563
Family Applications (2)
| Application Number | Title | Priority Date | Filing Date |
|---|---|---|---|
| KR1020170009855A Ceased KR20180086014A (en) | 2017-01-20 | 2017-01-20 | Air conditioning apparatus for car seat |
| KR1020240072598A Active KR102708950B1 (en) | 2017-01-20 | 2024-06-03 | Air conditioning apparatus for car seat |
Family Applications Before (1)
| Application Number | Title | Priority Date | Filing Date |
|---|---|---|---|
| KR1020170009855A Ceased KR20180086014A (en) | 2017-01-20 | 2017-01-20 | Air conditioning apparatus for car seat |
Country Status (1)
| Country | Link |
|---|---|
| KR (2) | KR20180086014A (en) |
Families Citing this family (3)
| Publication number | Priority date | Publication date | Assignee | Title |
|---|---|---|---|---|
| JP7614483B2 (en) * | 2019-05-30 | 2025-01-16 | テイ・エス テック株式会社 | Sheet |
| KR102464748B1 (en) * | 2020-10-29 | 2022-11-09 | 주식회사 토드비 | A droplet suction device for a car-seat |
| JP7741359B2 (en) * | 2021-03-11 | 2025-09-18 | テイ・エス テック株式会社 | Sheet |
Citations (3)
| Publication number | Priority date | Publication date | Assignee | Title |
|---|---|---|---|---|
| US20130165033A1 (en) * | 2011-12-23 | 2013-06-27 | Faurecia Automotive Seating, Llc | Airflow management system for vehicle seat |
| JP2015083407A (en) | 2013-10-25 | 2015-04-30 | 株式会社デンソー | Vehicular seat air-conditioning device |
| JP2016132448A (en) | 2015-01-22 | 2016-07-25 | トヨタ紡織株式会社 | Air-conditioning sheet for vehicle |
Family Cites Families (2)
| Publication number | Priority date | Publication date | Assignee | Title |
|---|---|---|---|---|
| JP3186164B2 (en) * | 1992-02-03 | 2001-07-11 | 株式会社デンソー | Air conditioner for seat |
| JP6439476B2 (en) | 2015-02-09 | 2018-12-19 | 株式会社デンソー | Seat air conditioner |
-
2017
- 2017-01-20 KR KR1020170009855A patent/KR20180086014A/en not_active Ceased
-
2024
- 2024-06-03 KR KR1020240072598A patent/KR102708950B1/en active Active
Patent Citations (3)
| Publication number | Priority date | Publication date | Assignee | Title |
|---|---|---|---|---|
| US20130165033A1 (en) * | 2011-12-23 | 2013-06-27 | Faurecia Automotive Seating, Llc | Airflow management system for vehicle seat |
| JP2015083407A (en) | 2013-10-25 | 2015-04-30 | 株式会社デンソー | Vehicular seat air-conditioning device |
| JP2016132448A (en) | 2015-01-22 | 2016-07-25 | トヨタ紡織株式会社 | Air-conditioning sheet for vehicle |
Also Published As
| Publication number | Publication date |
|---|---|
| KR20180086014A (en) | 2018-07-30 |
| KR20240085905A (en) | 2024-06-17 |
Similar Documents
| Publication | Publication Date | Title |
|---|---|---|
| KR102708950B1 (en) | Air conditioning apparatus for car seat | |
| US11325441B2 (en) | Seat air conditioner | |
| KR101745139B1 (en) | Seat device using HVAC | |
| JP4224939B2 (en) | Air conditioner for vehicles | |
| US6478369B1 (en) | Seat air conditioner having mechanism following passenger seat | |
| JP3633777B2 (en) | Vehicle seat air conditioner | |
| US11511651B2 (en) | Vehicular air conditioner | |
| KR20220093000A (en) | Vehicle zonal microclimate system | |
| CN101842254A (en) | Vehicle-mounted temperature adjusting device | |
| JP2000289436A (en) | Air conditioning system for vehicle | |
| JP2011189764A (en) | Air conditioner for vehicle | |
| JP2011195078A (en) | Vehicle air conditioner | |
| US20190366890A1 (en) | Air conditioning device for vehicle seat | |
| JP2019006198A (en) | Seat air-conditioning system | |
| JP2020199990A (en) | Vehicle seat air conditioner | |
| JP2003252041A (en) | Temperature control device | |
| KR20100006962A (en) | Apparatus for cooling and heating seat of air conditioner for vehicles | |
| CN107953740B (en) | air conditioning unit | |
| KR101648226B1 (en) | Rear type air conditioner for vehicles | |
| KR20090036370A (en) | Air Conditioning Device of Car Seat | |
| JP4609216B2 (en) | Air conditioner for vehicles | |
| JP3680442B2 (en) | Air conditioning system for rear seats of vehicles | |
| JP7309324B2 (en) | vehicle air conditioning system | |
| JP2003025826A (en) | Air conditioner for vehicle | |
| JP2770531B2 (en) | Bus air conditioning duct |
Legal Events
| Date | Code | Title | Description |
|---|---|---|---|
| A107 | Divisional application of patent | ||
| PA0107 | Divisional application |
St.27 status event code: A-0-1-A10-A16-div-PA0107 St.27 status event code: A-0-1-A10-A18-div-PA0107 |
|
| PA0201 | Request for examination |
St.27 status event code: A-1-2-D10-D11-exm-PA0201 |
|
| PG1501 | Laying open of application |
St.27 status event code: A-1-1-Q10-Q12-nap-PG1501 |
|
| E701 | Decision to grant or registration of patent right | ||
| PE0701 | Decision of registration |
St.27 status event code: A-1-2-D10-D22-exm-PE0701 |
|
| PR0701 | Registration of establishment |
St.27 status event code: A-2-4-F10-F11-exm-PR0701 |
|
| PR1002 | Payment of registration fee |
Fee payment year number: 1 St.27 status event code: A-2-2-U10-U11-oth-PR1002 |
|
| PG1601 | Publication of registration |
St.27 status event code: A-4-4-Q10-Q13-nap-PG1601 |
|
| PN2301 | Change of applicant |
St.27 status event code: A-5-5-R10-R13-asn-PN2301 St.27 status event code: A-5-5-R10-R11-asn-PN2301 |
|
| R11 | Change to the name of applicant or owner or transfer of ownership requested |
Free format text: ST27 STATUS EVENT CODE: A-5-5-R10-R11-ASN-PN2301 (AS PROVIDED BY THE NATIONAL OFFICE) |
|
| R13 | Change to the name of applicant or owner recorded |
Free format text: ST27 STATUS EVENT CODE: A-5-5-R10-R13-ASN-PN2301 (AS PROVIDED BY THE NATIONAL OFFICE) |
