KR102683609B1 - valve for fermented product packaging container and lid assembly of fermented product packaging container including the same - Google Patents
valve for fermented product packaging container and lid assembly of fermented product packaging container including the same Download PDFInfo
- Publication number
- KR102683609B1 KR102683609B1 KR1020220105998A KR20220105998A KR102683609B1 KR 102683609 B1 KR102683609 B1 KR 102683609B1 KR 1020220105998 A KR1020220105998 A KR 1020220105998A KR 20220105998 A KR20220105998 A KR 20220105998A KR 102683609 B1 KR102683609 B1 KR 102683609B1
- Authority
- KR
- South Korea
- Prior art keywords
- communication hole
- packaging container
- filter
- fermented product
- product packaging
- Prior art date
- Legal status (The legal status is an assumption and is not a legal conclusion. Google has not performed a legal analysis and makes no representation as to the accuracy of the status listed.)
- Active
Links
Images
Classifications
-
- B—PERFORMING OPERATIONS; TRANSPORTING
- B65—CONVEYING; PACKING; STORING; HANDLING THIN OR FILAMENTARY MATERIAL
- B65D—CONTAINERS FOR STORAGE OR TRANSPORT OF ARTICLES OR MATERIALS, e.g. BAGS, BARRELS, BOTTLES, BOXES, CANS, CARTONS, CRATES, DRUMS, JARS, TANKS, HOPPERS, FORWARDING CONTAINERS; ACCESSORIES, CLOSURES, OR FITTINGS THEREFOR; PACKAGING ELEMENTS; PACKAGES
- B65D51/00—Closures not otherwise provided for
- B65D51/16—Closures not otherwise provided for with means for venting air or gas
- B65D51/1605—Closures not otherwise provided for with means for venting air or gas whereby the interior of the container is maintained in permanent gaseous communication with the exterior
- B65D51/1616—Closures not otherwise provided for with means for venting air or gas whereby the interior of the container is maintained in permanent gaseous communication with the exterior by means of a filter
-
- B—PERFORMING OPERATIONS; TRANSPORTING
- B65—CONVEYING; PACKING; STORING; HANDLING THIN OR FILAMENTARY MATERIAL
- B65D—CONTAINERS FOR STORAGE OR TRANSPORT OF ARTICLES OR MATERIALS, e.g. BAGS, BARRELS, BOTTLES, BOXES, CANS, CARTONS, CRATES, DRUMS, JARS, TANKS, HOPPERS, FORWARDING CONTAINERS; ACCESSORIES, CLOSURES, OR FITTINGS THEREFOR; PACKAGING ELEMENTS; PACKAGES
- B65D47/00—Closures with filling and discharging, or with discharging, devices
- B65D47/04—Closures with discharging devices other than pumps
- B65D47/20—Closures with discharging devices other than pumps comprising hand-operated members for controlling discharge
- B65D47/24—Closures with discharging devices other than pumps comprising hand-operated members for controlling discharge with poppet valves or lift valves, i.e. valves opening or closing a passageway by a relative motion substantially perpendicular to the plane of the seat
- B65D47/241—Closures with discharging devices other than pumps comprising hand-operated members for controlling discharge with poppet valves or lift valves, i.e. valves opening or closing a passageway by a relative motion substantially perpendicular to the plane of the seat the valve being opened or closed by actuating a cap-like element
-
- B—PERFORMING OPERATIONS; TRANSPORTING
- B65—CONVEYING; PACKING; STORING; HANDLING THIN OR FILAMENTARY MATERIAL
- B65D—CONTAINERS FOR STORAGE OR TRANSPORT OF ARTICLES OR MATERIALS, e.g. BAGS, BARRELS, BOTTLES, BOXES, CANS, CARTONS, CRATES, DRUMS, JARS, TANKS, HOPPERS, FORWARDING CONTAINERS; ACCESSORIES, CLOSURES, OR FITTINGS THEREFOR; PACKAGING ELEMENTS; PACKAGES
- B65D47/00—Closures with filling and discharging, or with discharging, devices
- B65D47/04—Closures with discharging devices other than pumps
- B65D47/32—Closures with discharging devices other than pumps with means for venting
Landscapes
- Engineering & Computer Science (AREA)
- Mechanical Engineering (AREA)
- Closures For Containers (AREA)
Abstract
발효제품 포장용기용 밸브가 개시된다. 본 발명의 발효제품 포장용기용 밸브는, 발효제품 포장용기의 뚜껑에 결합되는 것으로서, 상기 뚜껑에 형성된 가스배출공에 강제 압입되어 고정되며 내측에 상기 포장용기의 내부공간과 외부공간을 연통시킬 수 있도록 연통홀이 마련되는 본체; 및 상기 포장용기 내에서 발생한 발효가스만 상기 연통홀을 통해 외부로 배출하도록 상기 연통홀을 폐쇄하는 형태로 상기 본체에 결합되는 필터를 포함하는 것을 특징으로 한다. 본 발명에 의하면, 식품제조업체에서 발효제품 제조시 적용할 수 있을 뿐만 아니라 일반 소비자들이 일반 발효제품에 간단한 설치동작을 통해 쉽게 적용할 수 있도록 실제 적용범위를 확대할 수 있다.A valve for packaging containers for fermented products is disclosed. The valve for fermented product packaging container of the present invention is coupled to the lid of the fermented product packaging container, is forcibly press-fitted and fixed to the gas discharge hole formed in the lid, and is configured to communicate the internal space and external space of the packaging container on the inside. A main body provided with a communication hole; and a filter coupled to the main body in a form that closes the communication hole so that only the fermentation gas generated in the packaging container is discharged to the outside through the communication hole. According to the present invention, not only can food manufacturers apply it when manufacturing fermented products, but the actual scope of application can be expanded so that general consumers can easily apply it to general fermented products through a simple installation operation.
Description
본 발명은 발효제품이 수용된 용기에 설치되어 발효제품에서 발생하는 가스를 용기 외부로 배출할 수 있는 발효제품 포장용기용 밸브 및 이를 포함하는 발효제품 포장용기의 뚜껑 조립체에 관한 것이다.The present invention relates to a valve for a fermented product packaging container that is installed in a container containing a fermented product and can discharge gas generated from the fermented product to the outside of the container, and a lid assembly for the fermented product packaging container including the same.
일반적으로 막걸리와 김치와 같은 발효제품은 플라스틱 용기에 담겨져서 유통되며, 용기가 완전히 포장된 상태에서도 계속 발효가 이루어짐에 따라 용기 내에서는 발효가스가 발생하게 된다.In general, fermented products such as makgeolli and kimchi are distributed in plastic containers, and fermentation gas is generated within the container as fermentation continues even when the container is fully packaged.
이러한 발효가스는 외부로 발산되지 못하게 되면 용기의 형상이 변형되기도 하고 막걸리 또는 발효제품의 맛이 변하게 됨에 따라 막걸리 또는 발효제품 용기에 사용되는 마개 또는 뚜껑에는 발효가스가 배출되는 배출구를 형성하여야만 하였다.If these fermentation gases cannot be released to the outside, the shape of the container may be deformed and the taste of makgeolli or fermented products may change, so the stopper or lid used in the makgeolli or fermented product container must have an outlet through which the fermentation gas is discharged.
따라서, 종래의 막걸리 병마개 중에서 일 예로 알루미늄으로 제작된 병마개는, 공기는 빠져나갈 수 있으나 내용물과 같은 액체는 빠져나가지 못하도록 하는 부직포를 내삽하여 사용하였다. 그러나 이 경우 병목과 병마개의 잠금상태가 과도하여 병목의 상단이 부직포를 강하게 누르게 되면 최초 부직포의 기능을 발휘하지 못하는 문제점이 있었다.Therefore, among the conventional makgeolli bottle caps, for example, a bottle cap made of aluminum was used by interpolating a non-woven fabric that allows air to escape but prevents liquid, such as the contents, from escaping. However, in this case, the locking state of the bottle neck and the bottle cap was excessive, and if the top of the bottle neck pressed strongly against the non-woven fabric, there was a problem in that the original non-woven fabric could not function.
또한, 이와 같은 종래 병마개 구조는 일반 소비자가 발효가스만 인위적으로 배출시키도록 할 수 있는 구조를 제공하지 못하는바, 본 출원인은 일반 소비자가 손쉽게 발효가스만 배출시키도록 할 수 있는 구조를 제안하는 바이다.In addition, since this conventional bottle cap structure does not provide a structure that allows general consumers to artificially discharge only fermentation gas, the present applicant proposes a structure that allows general consumers to easily discharge only fermentation gas. .
본 발명은 상술한 종래의 문제점을 해결하기 위하여 안출된 것으로서, 발효제품이 수용된 용기에 설치되어 발효제품에서 발생하는 발효가스를 용기 외부로 배출할 수 있도록 이루어지는 것으로 식품제조업체에서 발효제품 제조시 적용할 수 있을 뿐만 아니라 일반 소비자들이 일반 발효제품에 간단한 설치동작을 통해 쉽게 적용할 수 있도록 적용범위를 확대한 발효제품 포장용기용 밸브 및 이를 포함하는 발효제품 포장용기의 뚜껑 조립체를 제공하는 것을 목적으로 한다.The present invention was developed to solve the above-described conventional problems. It is installed in a container containing a fermented product to discharge the fermentation gas generated from the fermented product to the outside of the container, and can be applied by food manufacturers when manufacturing fermented products. The purpose is to provide a valve for a fermented product packaging container with an expanded scope of application so that general consumers can easily apply it to general fermented products through a simple installation operation, and a lid assembly for a fermented product packaging container including the valve.
또한, 본 발명은 발효제품 내용물의 외부 배출을 제한하면서 발효제품에서 발생하는 발효가스를 용기 외부로 배출할 수 있도록 하는 기능 외에 추가적으로 외기가 포장용기 내측으로 유입되는 것을 차단할 수 있는 구조를 통해, 발효제품 내용물과 산소의 접촉으로 인해 발효제품 내용물이 부패하거나 부패가 촉진되는 현상이 발생하는 것을 방지함과 더불어 발효시간을 상대적으로 길게 지속시킬 수 있는 발효제품 포장용기용 밸브 및 이를 포함하는 발효제품 포장용기의 뚜껑 조립체를 제공하는 것을 다른 목적으로 한다.In addition, the present invention has a structure that can block external air from flowing into the inside of the packaging container in addition to the function of allowing fermentation gas generated from the fermented product to be discharged to the outside of the container while limiting the external discharge of the contents of the fermented product. A valve for a fermented product packaging container that prevents the contents of the fermented product from decaying or promoting decay due to contact between the product contents and oxygen and can sustain the fermentation time for a relatively long time, and a fermented product packaging container containing the same Another purpose is to provide a lid assembly.
본 발명의 일 측면에 따르면, 발효제품 포장용기의 뚜껑에 결합되는 것으로서, 상기 뚜껑에 형성된 가스배출공에 강제 압입되어 고정되며 내측에 상기 포장용기의 내부공간과 외부공간을 연통시킬 수 있도록 연통홀이 마련되는 본체; 및 상기 포장용기 내에서 발생한 발효가스만 상기 연통홀을 통해 외부로 배출하도록 상기 연통홀을 폐쇄하는 형태로 상기 본체에 결합되는 필터를 포함하는 발효제품 포장용기용 밸브가 제공된다.According to one aspect of the present invention, it is coupled to the lid of a fermented product packaging container, is fixed by being forced into the gas discharge hole formed in the lid, and has a communication hole on the inside to communicate the internal space and external space of the packaging container. A main body provided; And a valve for a fermented product packaging container is provided, including a filter coupled to the main body in a form that closes the communication hole so that only the fermentation gas generated in the packaging container is discharged to the outside through the communication hole.
상기 본체에는, 상기 연통홀과 연결되면서 상기 연통홀보다 큰 단면적을 갖는 필터고정홈이 마련되고, 상기 필터는 상기 필터고정홈 내측에 배치될 수 있다.A filter fixing groove connected to the communication hole and having a larger cross-sectional area than the communication hole is provided in the main body, and the filter may be placed inside the filter fixing groove.
상기 필터는 상기 연통홀보다 큰 단면적을 갖는 플레이트 형상으로 이루어지고, 상기 필터고정홈을 형성하는 내벽에 걸림되어 상기 필터고정홈으로부터의 이탈이 방지될 수 있다.The filter has a plate shape with a larger cross-sectional area than the communication hole, and can be caught on the inner wall forming the filter fixing groove to prevent it from leaving the filter fixing groove.
상기 필터고정홈과 상기 필터고정홈 근방의 상기 연통홀 내에 마련되어 상기 필터를 상기 필터고정홈을 형성하는 내벽으로 가압하여 고정하는 필터흔들림방지부를 더 포함할 수 있다.It may further include a filter shake prevention unit provided in the communication hole near the filter fixing groove and the filter fixing groove to press and secure the filter to an inner wall forming the filter fixing groove.
상기 연통홀의 내주면과 접촉하도록 상기 연통홀 내측으로 삽입되며, 상기 본체보다 일정이상 큰 강성을 갖는 재질로 이루어지는 삽입파이프를 더 포함할 수 있다.It is inserted into the communication hole so as to contact the inner peripheral surface of the communication hole, and may further include an insertion pipe made of a material having a rigidity that is at least a certain level greater than that of the main body.
상기 본체는, 상기 뚜껑의 외측에 배치 가능한 상부 본체; 상기 상부 본체와 일체로 연결되고, 상기 뚜껑의 가스배출공 내측에 배치 가능한 중앙 본체; 및 상기 중앙 본체와 일체로 연결되고, 상기 뚜껑의 내측에 배치 가능하며 상기 가스배출공의 직경보다 큰 단면적을 갖도록 이루어져 상기 뚜껑의 내측면에 걸림 가능한 하부 본체를 포함하고, 상기 삽입파이프는 상기 중앙 본체 및 하부 본체에 형성된 연통홀의 내주면과 접촉하도록 마련될 수 있다.The main body includes an upper body that can be placed outside the lid; a central body integrally connected with the upper body and disposed inside the gas discharge hole of the lid; and a lower body integrally connected with the central body, disposed on the inside of the lid, and having a cross-sectional area larger than the diameter of the gas discharge hole, so as to be caught on the inner surface of the lid, wherein the insert pipe is connected to the central body. It may be provided to contact the inner peripheral surface of the communication hole formed in the main body and the lower main body.
상기 본체는, 상기 뚜껑의 외측에 배치 가능하며, 서로간에 분리되게 이루어지는 제1 및 제2 상부 본체; 상기 제1 및 제2 상부 본체 중 어느 하나와 일체로 연결되고, 상기 뚜껑의 가스배출공 내측에 배치 가능한 중앙 본체; 및 상기 중앙 본체와 일체로 연결되고, 상기 뚜껑의 내측에 배치 가능하며 상기 가스배출공의 직경보다 큰 단면적을 갖도록 이루어져 상기 뚜껑의 내측면에 걸림 가능한 하부 본체를 포함하고, 상기 필터는 상기 연통홀보다 큰 단면적을 갖는 플레이트 형상으로 이루어지고, 상기 제1 및 제2 상부 본체 사이에 개재된 상태에서 상기 제1 및 제2 상부 본체 간의 접합을 통해 고정될 수 있다.The main body includes first and second upper bodies that can be placed outside the lid and are separated from each other; a central body integrally connected to one of the first and second upper bodies and disposed inside the gas discharge hole of the lid; and a lower body that is integrally connected with the central body, can be placed on the inside of the lid, and has a cross-sectional area larger than the diameter of the gas discharge hole, so that it can be caught on the inner surface of the lid, and the filter is installed in the communication hole. It has a plate shape with a larger cross-sectional area, and can be fixed through bonding between the first and second upper bodies while interposed between the first and second upper bodies.
상기 본체는 탄성적으로 압축 및 팽창 가능한 고무, 실리콘, 스폰지 중 적어도 하나의 재질을 포함하며, 상기 필터는 나노 멤브레인필터일 수 있다.The main body includes at least one material selected from elastically compressible and expandable rubber, silicone, and sponge, and the filter may be a nanomembrane filter.
상기 본체의 연통홀에 삽입되며, 상기 포장용기 내에서 발생한 발효가스는 상기 연통홀을 통해 외부로 배출하도록 하되, 상기 포장용기 외측의 외기는 상기 연통홀을 통해 상기 발효제품 포장용기 내부로 유입되는 것을 차단 가능하도록 탄성 변형 및 복원가능한 형태로 이루어지는 외기유입 방지캡을 더 포함할 수 있다.It is inserted into the communication hole of the main body, and the fermentation gas generated within the packaging container is discharged to the outside through the communication hole, and the outdoor air outside the packaging container flows into the fermented product packaging container through the communication hole. It may further include an external air inflow prevention cap made of an elastically deformable and restorable form to block it.
상기 본체에는, 상기 연통홀과 연결되면서 상기 연통홀보다 큰 단면적을 갖는 필터고정홈이 마련되고, 상기 필터는 상기 필터고정홈 내측에 배치되며, 상기 외기유입 방지캡은, 상기 연통홀에 압입되어 고정되며 내측에 상기 본체의 외부공간과 상기 연통홀을 연통시킬 수 있도록 보조 연통홀이 마련될 수 있다.A filter fixing groove connected to the communication hole and having a larger cross-sectional area than the communication hole is provided in the main body, the filter is disposed inside the filter fixing groove, and the outside air inflow prevention cap is press-fitted into the communication hole. It is fixed, and an auxiliary communication hole may be provided on the inside to communicate the communication hole with the external space of the main body.
상기 외기유입 방지캡은, 그 가장자리 단부가 상기 본체의 상부면에 탄성적으로 접촉 가능한 외기유입방지 상부본체; 상기 외기유입방지 상부본체와 일체로 연결되고, 상기 연통홀 내측에 배치 가능한 외기유입방지 중앙본체; 및 상기 외기유입방지 중앙본체와 일체로 연결되고, 상기 필터고정홈 내측에 배치 가능하며 상기 연통홀보다 큰 단면적을 갖도록 이루어져 상기 필터고정홈의 내측면에 걸림 가능한 외기유입방지 하부본체를 포함할 수 있다.The outside air inflow prevention cap includes an outside air inflow prevention upper body whose edge end is elastically contactable with the upper surface of the main body; A central body to prevent outside air inflow, which is integrally connected to the upper body to prevent outside air inflow, and which can be placed inside the communication hole; and an outside air inflow prevention lower body that is integrally connected to the outside air inflow prevention central body, can be placed inside the filter fixing groove, and has a cross-sectional area larger than the communication hole, so that it can be caught on the inner surface of the filter fixing groove. there is.
상기 외기유입방지 하부본체는 상기 필터의 상부면에 접촉하여 상기 필터를 상기 필터고정홈의 하부 바닥면측으로 가압하여 고정할 수 있다.The outer air inflow prevention lower body may contact the upper surface of the filter and press and fix the filter toward the lower bottom surface of the filter fixing groove.
상기 보조 연통홀은, 상기 외기유입방지 하부본체를 상하방향으로 관통함과 더불어 상기 외기유입방지 중앙본체의 길이방향을 따라 일정이상 연장되는 제1 보조 연통홀; 및 상기 제1 보조 연통홀의 상단에 방사상으로 분기된 상태로 연통되어 상기 제1 보조 연통홀 내부를 상기 본체의 상부면측 외부공간과 연통시키는 복수의 제2 보조 연통홀을 포함하는 것을 특징으로 하는 발효제품 포장용기용 밸브.The auxiliary communication hole includes a first auxiliary communication hole that penetrates the lower body to prevent external air inflow in a vertical direction and extends by a certain length along the longitudinal direction of the central body to prevent external air inflow; and a plurality of second auxiliary communication holes that communicate in a radially branched state at the upper end of the first auxiliary communication hole to communicate the inside of the first auxiliary communication hole with the external space on the upper surface of the main body. Valve for product packaging containers.
상기 외기유입방지 상부본체는 내측이 오목한 반원 또는 타원의 단면형상을 가질 수 있다.The upper body to prevent external air inflow may have a cross-sectional shape of a semicircle or ellipse with a concave inner side.
본 발명의 다른 측면에 따르면, 가스배출공이 형성된 발효제품 포장용기의 뚜껑; 및 상기 가스배출공에 강제 압입되어 고정되는 발효제품 포장용기용 밸브를 포함하는 발효제품 포장용기의 뚜껑 조립체가 제공된다.According to another aspect of the present invention, a lid of a fermented product packaging container having a gas discharge hole formed; And a lid assembly for a fermented product packaging container including a valve for a fermented product packaging container that is forcibly pressurized and fixed to the gas discharge hole is provided.
상기에서 설명한 본 발명의 발효제품 포장용기용 밸브 및 이를 포함하는 발효제품 포장용기의 뚜껑 조립체에 의하면, 식품제조업체에서 발효제품 제조시 적용할 수 있을 뿐만 아니라 일반 소비자들이 일반 발효제품에 간단한 설치동작을 통해 쉽게 적용할 수 있도록 실제 적용범위를 확대할 수 있다.According to the valve for a fermented product packaging container of the present invention described above and the lid assembly of a fermented product packaging container including the same, not only can it be applied by food manufacturers when manufacturing fermented products, but also general consumers can install it on general fermented products through a simple operation. The actual scope of application can be expanded for easy application.
또한, 발효음식 포장용기가 아닌 일반 음식 포장용기의 뚜껑에 홀을 형성하고 본 발명의 발효제품 포장용기용 밸브를 홀에 삽입함으로써, 일반 음식 포장용기를 발효음식 보관을 위한 발효음식 포장용기 용도로 대체할 수 있는 이점도 있다.In addition, by forming a hole in the lid of a general food packaging container rather than a fermented food packaging container and inserting the valve for a fermented product packaging container of the present invention into the hole, a general food packaging container is replaced with a fermented food packaging container for storing fermented food. There are also benefits to doing this.
도 1은 본 발명의 실시예에 따른 발효제품 포장용기의 뚜껑 조립체가 장착된 상태를 나타내는 도면,
도 2는 본 발명의 실시예에 따른 발효제품 포장용기용 밸브를 나타내는 단면도,
도 3은 본 발명의 실시예에 따른 발효제품 포장용기용 밸브가 뚜껑에 장착된 상태를 나타내는 단면도,
도 4는 본 발명의 실시예에 따른 발효제품 포장용기용 밸브의 변형 예를 나타내는 단면도,
도 5 및 도 6은 본 발명의 실시예에 따른 발효제품 포장용기용 밸브를 제조하는 방법을 나타내는 도면,
도 7은 본 발명의 실시예에 따른 발효제품 포장용기용 밸브의 변형 예를 나타내는 단면도,
도 8 및 도 9는 본 발명의 다른 실시예에 따른 발효제품 포장용기용 밸브를 나타내는 도면이다.1 is a view showing a state in which the lid assembly of a fermented product packaging container is mounted according to an embodiment of the present invention;
Figure 2 is a cross-sectional view showing a valve for packaging a fermented product according to an embodiment of the present invention;
Figure 3 is a cross-sectional view showing a state in which the valve for a fermented product packaging container is mounted on a lid according to an embodiment of the present invention;
Figure 4 is a cross-sectional view showing a modified example of a valve for a fermented product packaging container according to an embodiment of the present invention;
5 and 6 are diagrams showing a method of manufacturing a valve for packaging a fermented product according to an embodiment of the present invention;
Figure 7 is a cross-sectional view showing a modified example of a valve for packaging a fermented product according to an embodiment of the present invention;
Figures 8 and 9 are views showing a valve for a fermented product packaging container according to another embodiment of the present invention.
이하, 첨부된 도면을 참조하여 본 발명의 실시예를 더욱 상세히 설명하기로 한다. 그러나 본 발명은 이하에서 개시되는 실시예에 한정되는 것이 아니라 서로 다른 다양한 형태로 구현될 것이며, 단지 본 실시예들은 본 발명의 개시가 완전하도록 하며, 통상의 지식을 가진 자에게 발명의 범주를 완전하게 알려주기 위해 제공되는 것이다. 도면상에서 동일 부호는 동일한 요소를 지칭한다.Hereinafter, embodiments of the present invention will be described in more detail with reference to the attached drawings. However, the present invention is not limited to the embodiments disclosed below and will be implemented in various different forms. These embodiments only serve to ensure that the disclosure of the present invention is complete and to fully convey the scope of the invention to those skilled in the art. This is provided to inform you. In the drawings, like symbols refer to like elements.
본 발명의 바람직한 실시예에 따른 발효제품 포장용기용 밸브 및 이를 포함하는 발효제품 포장용기의 뚜껑 조립체는 발효제품이 수용된 용기에 설치되어 발효제품에서 발생하는 발효가스를 용기 외부로 배출할 수 있도록 이루어지는 것으로서, 식품제조업체에서 적용할 수 있을 뿐만 아니라 일반 소비자들도 쉽게 적용할 수 있도록 적용범위를 확대한 것이다.The valve for the fermented product packaging container according to a preferred embodiment of the present invention and the lid assembly of the fermented product packaging container including the same are installed in the container containing the fermented product to discharge the fermentation gas generated from the fermented product to the outside of the container. , the scope of application has been expanded so that not only food manufacturers can apply it, but also general consumers can easily apply it.
이하, 실시예를 참조하여 본 발명을 상세히 설명한다.Hereinafter, the present invention will be described in detail with reference to examples.
도 1 내지 도 3에 도시한 바와 같이, 본 발명의 실시예에 따른 발효제품 포장용기의 뚜껑 조립체(100)는 가스배출공(111)이 형성된 발효제품 포장용기의 뚜껑(110)과 가스배출공(111)에 강제 압입되어 고정되는 발효제품 포장용기용 밸브(300)를 포함한다.As shown in Figures 1 to 3, the
여기서, 가스배출공(111)은 예를 들어 생막걸리, 김치 등의 발효제품을 제조하는 식품제조업체의 생산공정 중에 뚜껑(110)에 형성될 수 있으며, 이와 달리 일반 소비자가 가스배출공(111)이 형성되어 있지 않은 일반 생막걸리 제품 등을 구매한 후 뾰족한 도구를 이용하여 형성할 수도 있다. 후자의 경우, 일반 소비자들도 기존 발효제품에 본 발명의 포장용기용 밸브(300)를 손쉽게 적용할 수 있게 된다. Here, the
또한, 포장용기(10)가 발효음식 포장용기가 아닌 일반 음식 포장용기인 경우, 사용자는 뚜껑(110)에 도구를 이용하여 가스배출공을 인위적으로 형성한 후, 이러한 가스배출공에 발효제품 포장용기용 밸브(300)를 삽입함으로써, 일반 음식 포장용기를 발효음식 보관을 위한 발효음식 포장용기로 용도 변경하여 사용할 수도 있다.In addition, if the
구체적으로, 일반 발효제품, 예를 들면 생막걸리 포장용기의 뚜껑에 송곳 등을 이용하여 가스배출공(111)을 형성한 후 후술하는 밸브(300)를 강제 압입하는 간단한 동작을 통해 손쉽게 적용할 수 있다.Specifically, it can be easily applied through a simple operation of forming a
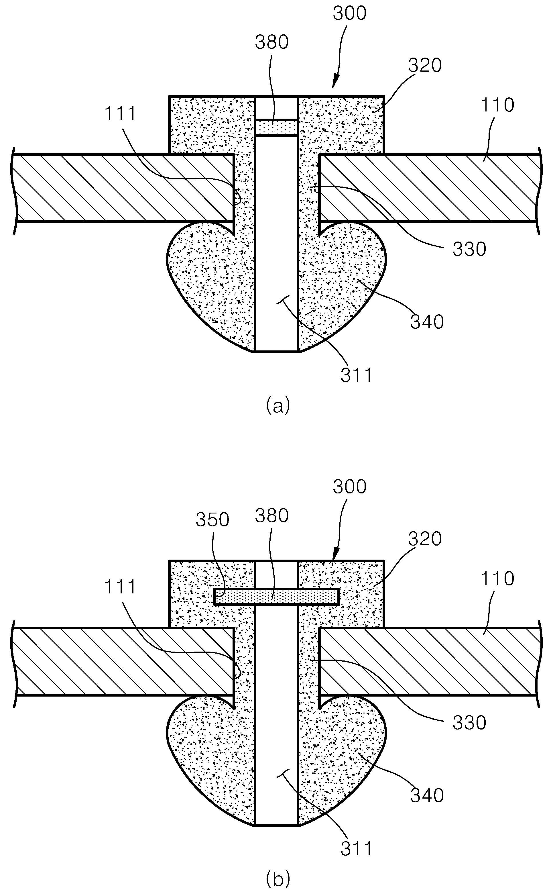
본 발명의 실시예에서, 발효제품 포장용기용 밸브(300, 이하 '밸브')는 발효제품 포장용기의 뚜껑(110)에 결합되는 것으로서, 본체(310)와 필터(380)를 포함한다.In an embodiment of the present invention, the valve 300 (hereinafter referred to as 'valve') for a fermented product packaging container is coupled to the
도 2 및 도 3에 도시한 바와 같이, 본체(310)는 뚜껑(110)에 형성된 가스배출공(111)에 강제 압입되어 고정되며 내측에 포장용기(10)의 내부공간과 외부공간을 연통시킬 수 있도록 연통홀(311)이 마련된다.As shown in Figures 2 and 3, the
필터(380)는 포장용기 내에서 발생한 발효가스만 연통홀(311)을 통해 외부로 배출하도록 연통홀(311)을 폐쇄하는 형태로 본체(310)에 결합된다. 즉, 필터(380)는 발효가스만 외부 배출시키고 액상의 발효제품은 외부 배출되지 않도록 필터링 가능한 형태로 이루어진다. The
본 발명의 실시예에서, 필터(380)는 미세 기공이 다수로 형성된 형태로 이루어지고 가스는 통과시키되 액체는 통과하지 못하도록 나노 멤브레인필터로 적용될 수 있다.In an embodiment of the present invention, the
여기서, 필터(380)는 일정 이상의 두께를 갖는 플레이트 형태로 이루어지며, 도 2에 도시한 바와 같이 다양한 형태로 본체(310)에 결합될 수 있다. Here, the
일 예로 필터(380)는 연통홀(311) 내측으로 강제 압입되어 연통홀 내주면에 접촉 지지되는 상태로 배치될 수 있으며, 이를 위해 사용자는 길이가 긴 도구를 이용하여 연통홀 내측의 적절한 위치로 필터(380)를 강제 삽입할 수 있다. 또한, 변형 예로 후술하는 바와 같이 필터는 필터고정홈 내측에 그 가장자리 영역이 배치된 상태로 마련될 수 있다.As an example, the
본 발명의 실시예에서, 본체(310)가 뚜껑(110)의 가스배출공(111)으로 강제 압입된 상태에서 발효제품의 내용물(액체)이 가스배출공(111)을 통해 외부로 배출되지 않도록 본체(310)는 가스배출공(111) 내주면과 빈틈없이 밀착되는 것이 바람직하다.In an embodiment of the present invention, while the
이를 위해, 본체(310)는 탄성적으로 압축 및 팽창 가능한 고무, 실리콘, 스폰지 중 적어도 하나의 재질을 포함할 수 있다.To this end, the
도 2 및 도 3에 도시한 바와 같이, 본체(310)는 상부 본체(320), 중앙 본체(330) 및 하부 본체(340)를 포함한다. As shown in Figures 2 and 3, the
상부 본체(320)는 뚜껑(110)의 외측에 배치 가능하고, 중앙 본체(330)는 상부 본체(320)와 일체로 연결되고 뚜껑(110)의 가스배출공(111) 내측에 배치 가능하며, 하부 본체(340)는 중앙 본체(330)와 일체로 연결되고 뚜껑(110)의 내측에 배치 가능하다.The
하부 본체(340)는 가스배출공(111)의 직경보다 큰 단면적을 갖도록 이루어지고, 가스배출공(111)으로 삽입시에는 급격하게 압축되다가 가스배출공(111)을 통과한 후에는 초기 사이즈로 팽창하여 뚜껑(110)의 내측면에 걸림 가능하게 된다. 여기서, 하부 본체(340)는 팽창한 후 뚜껑의 내측면(용기 내부공간을 향하는 면)에 밀착되어 액상 내용물의 유출을 방지할 수 있다. 마찬가지로, 중앙 본체(330)도 가스배출공(111) 내주면과의 사이에 빈틈이 발생하지 않도록 밀착되어 액상 내용물의 유출을 방지할 수 있다.The
본 발명의 실시예에서, 본체(310)에는 연통홀(311)과 연결되면서 연통홀(311)보다 큰 단면적을 갖는 필터고정홈(350)이 마련될 수 있다. 이 경우, 필터(380)는 필터고정홈(350) 내측에 그 가장자리가 배치된 상태로 연통홀(311)을 폐쇄할 수 있다. In an embodiment of the present invention, the
덧붙여, 필터(380)의 가장자리는 필터고정홈(350)의 둘레면에 밀착 접촉되어 액상 내용물이 필터와 필터고정홈의 둘레면과의 사이틈을 통해 외부로 배출되는 것을 방지할 수 있다.In addition, the edge of the
필터(380)는 연통홀(311)보다 큰 단면적을 갖는 플레이트 형상으로 이루어지고, 필터고정홈(350)을 형성하는 내벽에 걸림되어 필터고정홈(350)으로부터의 이탈이 방지될 수 있다. The
본 발명의 실시예에서, 발효제품 포장용기내 액상 내용물의 유출을 안정적으로 방지하도록, 도 2 및 도 3을 기준으로 필터(380)의 가장자리 영역 상면은 필터고정홈(350)의 상측 내면에 밀착하는 것이 바람직하고, 필터(380)의 가장자리 영역 하면은 필터고정홈(350)의 하측 내면에 밀착하는 것이 바람직하고, 필터(380)의 가장자리 영역 측면은 필터고정홈(350)의 내주면에 밀착하는 것이 바람직하다.In an embodiment of the present invention, the upper surface of the edge area of the
한편, 본체(310)에 성형된 필터고정홈(350)과 필터(380) 간의 결합 오차가 발생하는 경우, 즉 전술한 바와 같이 필터의 가장자리 영역의 상면, 하면 및 측면이 대응하는 필터고정홈의 면에 밀착하지 못하는 경우, 필터고정홈(350) 내에 배치된 필터(380)는 도면을 기준으로 상하방향으로 미동하는 현상이 발생할 수 있다.On the other hand, when a coupling error occurs between the
본 발명은 이러한 필터의 상하 미동을 제한하여 필터(380)가 항시 고정된 상태로 본체(310)와의 결합상태를 유지하도록 하는 추가 구조를 제안한다.The present invention proposes an additional structure that limits the slight upward and downward movement of the filter so that the
구체적으로, 도 4에 도시한 바와 같이, 필터고정홈(350)과 필터고정홈(350) 근방의 연통홀(311) 내에 마련되어 필터(380)를 필터고정홈(350)을 형성하는 내벽(구체적으로, 상기 필터고정홈의 상측 내면 또는 하측 내면)으로 가압하여 고정하는 필터흔들림방지부(360)가 더 마련된다.Specifically, as shown in FIG. 4, the
필터흔들림방지부(360)는 중앙에 통공(361)이 형성된 원판 디스크(362)와, 원판 디스크(362)의 외주면에 상하방향으로 각각 경사지게 연결되는 플랩(363, flap)을 포함한다.The filter
여기서, 도 4에 도시한 바와 같이, 필터흔들림방지부(360)는 플랩(363)의 상단이 필터고정홈(350)의 상측 내면에 접촉 지지되고 플랩(363)의 하단이 필터(380)의 상면에 접촉되어 필터(380)를 하방으로 가압할 수 있으며, 이에 따라 필터(380)는 흔들림이 억제된 상태에서 필터고정홈(350)의 하측 내면에 안정적으로 밀착되어 액상 내용물의 유출을 안정적으로 방지할 수 있다.Here, as shown in FIG. 4, the upper end of the
본 발명의 실시예에서, 도 5에 도시한 바와 같이, 상부 본체(320)는 서로간에 분리된 제1 및 제2 상부 본체(321,322)가 서로 접합된 상태로 이루어질 수 있고, 제1 상부 본체(321)에 필터고정홈(350)이 형성될 수 있다.In an embodiment of the present invention, as shown in FIG. 5, the
사용자(제조자)는 제1 상부 본체(321)의 필터고정홈(350) 내에 필터(380) 또는, 필터(380)와 필터흔들림방지부(360)를 배치한 후 제1 상부 본체(321)와 제2 상부 본체(322)를 서로 접합하여 본체(310)에 필터(380) 또는, 필터(380)와 필터흔들림방지부(360)를 결합할 수 있다. 여기서, 제1 상부 본체와 제2 상부 본체는 상호간에 융착 등을 통해 일체로 접합 가능하다.The user (manufacturer) places the
이와 달리, 도 6에 도시한 바와 같이, 서로 마주보는 제1 상부 본체(321)와 제2 상부 본체(322)의 대응하는 면이 평평하도록 제1 상부 본체(321)와 제2 상부 본체(322)에 필터고정홈(350)을 형성하지 않은 상태에서, 필터(380)를 제1 및 제2 상부 본체(321,322) 사이에 개재시키고 제1 및 제2 상부 본체(321,322)를 접합함으로써 필터(380)를 본체(310)에 고정할 수도 있다. 이 경우, 필터(380)의 가장자리 상하면이 각각 제1 상부 본체(321)와 제2 하부 본체(340)의 서로 마주보는 면에 각각 밀착되게 접촉함으로써 액상 내용물의 유출을 방지할 수 있다.In contrast, as shown in FIG. 6, the first
한편, 전술한 바와 같이 사용자가 밸브(300)를 뚜껑(110)의 가스배출공(111) 내로 강제 압입하는 동안, 탄성재질로 이루어지는 본체(310)는 급격하게 압축되고 가스배출공(111)을 통과한 후에는 초기상태로 팽창하여 발효가스가 연통홀(311)을 통해 필터(380) 측으로 유도되록 연통홀(311)이 설정 형상을 유지하는 것이 바람직하다. 그러나, 경우에 따라서는 본체(310)가 급격하게 형상 압축되어 특히 연통홀(311)의 하측 개구부분이 하부 본체(340)에 의해 폐쇄되는 현상이 발생할 수도 있다.Meanwhile, as described above, while the user forcibly presses the
이러한 문제 발생을 방지하도록, 도 7에 도시한 바와 같이, 연통홀(311)의 내주면과 접촉하도록 연통홀(311) 내측으로 삽입되며, 본체(310)보다 일정이상 큰 강성을 갖는 재질로 이루어지는 삽입파이프(370)가 더 마련된다.To prevent such problems from occurring, as shown in FIG. 7, an insert is inserted into the
삽입파이프(370)는 일정이상의 길이를 갖는 관 형상으로 이루어지고 플라스틱 또는 스테인레스스틸 계열의 재질로 이루어질 수 있다.The
여기서, 삽입파이프(370)는 중앙 본체(330) 및 하부 본체(340)에 형성된 연통홀(311)의 내주면과 접촉하도록 삽입되며, 전술한 바와 같이 본체(310)의 급격한 압축 형상변형이 발생하더라도 연통홀(311) 내주면을 지지하여 연통홀(311)이 폐쇄되는 것을 방지할 수 있다.Here, the
이하, 본 발명의 다른 실시예에 따른 발효제품 포장용기용 밸브 및 이를 포함하는 발효제품 포장용기의 뚜껑 조립체를 설명하며, 전술한 실시예와 동일한 구성에 대한 중복 설명은 생략하기로 하고, 동일 구성에 대해서는 동일한 도면부호를 사용하기로 한다.Hereinafter, a valve for a fermented product packaging container according to another embodiment of the present invention and a lid assembly for a fermented product packaging container including the same will be described. Redundant description of the same configuration as the above-described embodiment will be omitted, and the same configuration will be described. The same reference numerals will be used.
본 발명의 다른 실시예에 따른 발효제품 포장용기의 뚜껑 조립체는 발효제품 포장용기용 밸브가 상술한 실시예와 상이하고, 뚜껑은 동일하게 적용되는바, 이하에서는 발효제품 포장용기용 밸브를 중심으로 설명한다.In the lid assembly of the fermented product packaging container according to another embodiment of the present invention, the valve for the fermented product packaging container is different from the above-described embodiment, and the lid is applied in the same way, and the following description will focus on the valve for the fermented product packaging container. .
본 발명의 다른 실시예에 따른 발효제품 포장용기용 밸브는 발효제품 내용물의 외부 배출을 제한하면서 발효제품에서 발생하는 발효가스를 용기 외부로 배출할 수 있도록 하는 기능 외에 추가적으로 외기가 포장용기 내측으로 유입되는 것을 차단하기 위한 것이다.The valve for a fermented product packaging container according to another embodiment of the present invention has the function of discharging fermentation gas generated from the fermented product to the outside of the container while limiting the external discharge of the contents of the fermented product, and additionally prevents external air from flowing into the packaging container. This is to block it.
덧붙이자면, 발효제품 내용물로 외기유입을 차단할 수 있는 구조를 통해 발효제품 내용물과 산소의 접촉으로 인해 발효제품 내용물이 부패하거나 부패가 촉진되는 현상이 발생하는 것을 방지함과 더불어 발효시간을 상대적으로 길게 지속시킬 수 있는 장점이 있다. 이와 같은 발효시간의 증가는 발효제품의 맛, 향 등의 특성을 향상시킬 수 있다.In addition, through a structure that blocks the inflow of external air into the fermented product contents, it prevents the fermented product contents from decaying or promoting decay due to contact between the fermented product contents and oxygen, and also allows the fermentation time to be relatively long. It has the advantage of being sustainable. This increase in fermentation time can improve characteristics such as taste and aroma of fermented products.
도 8 및 도 9에 도시한 바와 같이, 본 발명의 다른 실시예에 따는 발효제품 포장용기용 밸브(600)는 발효제품 포장용기의 뚜껑에 결합되는 것으로서, 본체(310), 필터(380) 및 외기유입 방지캡(610)을 포함한다. 여기서, 본체(310)와 필터(380)는 전술한 실시예와 동일하다. 다만, 본체(310)의 필터고정홈(350)의 높이는 필터 두께보다 일정이상 크게 형성된다.As shown in Figures 8 and 9, the
외기유입 방지캡(610)은 본체(310)의 연통홀(311)에 삽입되어 고정될 수 있다. 예를 들어, 외기유입 방지캡(610)은 연통홀(311)에 강제 압입을 통해 고정 가능하다.The external air
본 발명의 다른 실시예에서, 외기유입 방지캡(610)은 포장용기(10) 내에서 발생한 발효가스는 연통홀(311)과 필터(380)를 통해 외부로 배출하도록 하되, 포장용기 외측의 외기는 연통홀(311)을 통해 발효제품 포장용기 내부로 유입되는 것을 차단하게 된다.In another embodiment of the present invention, the outside air
부연하자면, 포장용기(10) 내에서 내용물의 발효가 진행되어 생성된 발효가스는 연통홀(311)과 외기유입 방지캡(610) 내부 홀을 통과한 후 외기유입 방지캡(610)과 본체(310) 사이의 틈을 통해 외부로 배출될 수 있다. 이때 외기는 발효가스 배출압에 의해 외기유입 방지캡(610)과 본체(310) 사이의 틈을 통해 역으로 포장용기 내부를 향해 유입되지 않게 된다. To elaborate, the fermentation gas generated as fermentation of the contents proceeds in the
여기서, 외기유입 방지캡(610)과 본체(310) 사이의 틈은 항시 생성되어 있는 것이 아니라, 발효가스의 배출압에 의해서만 순간적으로 생성되는 것이며, 발효가스의 외부 배출이 이루어지지 않을때에는 외기유입 방지캡의 가장자리 단부와 본체 사이의 틈은 발생하지 않는다. 이에 따라, 발효가스의 외부 배출이 발생하지 않을 때에는 외기가 외기유입 방지캡(610)에 의해 차단되어 연통홀(311) 측으로 유입되는 것이 안정적으로 차단될 수 있다.Here, the gap between the outside air
도 8 및 도 9에 도시한 바와 같이, 본 발명의 다른 실시예에서, 외기유입 방지캡(610)은 본체(310)의 연통홀(311)에 압입되어 고정되며 그 내측에 본체(310)의 외부공간과 연통홀(311)을 연통시킬 수 있도록 보조 연통홀(630)이 마련된다.As shown in Figures 8 and 9, in another embodiment of the present invention, the external air
따라서, 도 9에 도시한 바와 같이, 발효제품 포장용기 내의 발효가스는 연통홀(311), 필터(380), 보조 연통홀(630)을 순차적으로 통과한 후 외기유입 방지캡(610)과 본체(310) 사이의 틈을 통해 최종적으로 외부 배출된다.Therefore, as shown in Figure 9, the fermentation gas in the fermented product packaging container sequentially passes through the
외기유입 방지캡(610)은 전술한 실시예와 마찬가지로 탄성 변형 및 복원이 용이한 탄성 재질로 이루어지고, 외기유입방지 상부본체(611), 외기유입방지 중앙본체(612) 및 외기유입방지 하부본체(613)를 포함한다.As in the above-described embodiment, the outside air
외기유입방지 상부본체(611)는 본체(310)의 외측에 배치 가능하고, 그 가장자리 단부가 본체(310)의 상부면에 탄성적으로 접촉 가능하도록 이루어진다.The external air inflow prevention
여기서, 탄성적으로 접촉 가능하다는 의미는, 전술한 바와 같이 발효가스의 외부 배출이 이루어질때에는 외기유입 방지캡(610)과 본체(310) 사이의 틈, 즉 외기유입방지 상부본체(611)의 가장자리 단부와 본체(310)의 상부면 사이의 틈이 생성될 수 있도록 탄성적으로 형상 변형되고, 발효가스의 외부 배출이 이루어지지 않을때에는 외기유입방지 상부본체(611)의 가장자리 단부와 본체(310)의 상부면 사이의 틈이 생성되지 않도록 외기유입방지 상부본체(611)의 가장자리 단부가 본체(310)의 상부면에 밀착되도록 탄성적으로 형상 복원되는 것을 의미한다.Here, elastically contactable means that, as described above, when the fermentation gas is discharged to the outside, there is a gap between the outside air
이와 같이 외기유입방지 상부본체(611)가 탄성적으로 형상변형 및 복원이 용이하도록, 도 8 및 도 9에 도시한 바와 같이, 외기유입방지 상부본체(611)는 내측이 오목한 반원 또는 타원의 단면형상을 가질 수 있다.In this way, so that the outside air inflow prevention
다음, 외기유입방지 중앙본체(612)는 외기유입방지 상부본체(611)와 일체로 연결되고 연통홀(311) 내측에 삽입된 상태로 배치 가능하다. 또한, 외기유입방지 하부본체(613)는 외기유입방지 중앙본체(612)의 하부에 일체로 연결되고 필터고정홈(350) 내측에 배치 가능하다.Next, the
여기서, 외기유입방지 하부본체(613)는 연통홀(311)보다 큰 단면적을 갖도록 이루어져 필터고정홈(350)의 내측면에 걸림 가능한 상태로 배치된다.Here, the outside air inflow prevention
덧붙이자면, 외기유입방지 하부본체(613)는 연통홀(311)로 삽입시에는 급격하게 압축되다가 연통홀(311)을 통과한 후에는 초기 사이즈로 팽창하여 필터고정홈(350)의 내측 상부면에 접촉하여 걸림 가능하게 된다. 마찬가지로, 외기유입방지 중앙본체(612)는 연통홀(311) 내주면과의 사이에 빈틈이 발생하지 않도록 밀착될 수 있다.In addition, the outer air inflow prevention
한편, 필터 고정홈(350)의 높이는 필터(380)의 두께보다 크게 형성되어 필터가 상하방향으로 미동할 수 있는데, 외기유입방지 하부본체(613)는 필터(380)의 상부면에 접촉하여 필터를 필터고정홈(350)의 하부 바닥면측으로 가압하여 밀착되게 고정함으로써 필터의 움직임을 방지할 수 있다.Meanwhile, the height of the
본 발명의 다른 실시예에서, 보조 연통홀(630)은 제1 보조 연통홀(631)과 제2 보조 연통홀(632)을 포함한다.In another embodiment of the present invention, the
제1 보조 연통홀(631)은 외기유입방지 하부본체(613)를 상하방향으로 관통함과 더불어 외기유입방지 중앙본체(612)의 길이방향을 따라 일정이상 연장된다.The first
제2 보조 연통홀(632)은 다수로 이루어지고, 제1 보조 연통홀(631)의 상단에 방사상으로 분기된 상태로 연통되어 제1 보조 연통홀(631) 내부를 본체(310)의 상부면측 외부공간(반원 또는 타원형태의 외기유입방지 상부본체의 내측공간과 본체의 상부면 사이의 공간)과 연통시킨다.The second
따라서, 도 9에 도시한 바와 같이, 발효제품 포장용기 내에서 발생한 발효가스는 연통홀(311), 필터(380), 제1 보조 연통홀(631), 제2 보조 연통홀(632)을 순차적으로 거쳐 반원 또는 타원형태의 외기유입방지 상부본체의 내측공간과 본체의 상부면 사이의 공간으로 유입된다. 이후, 발효가스 배출압에 의해 외기유입방지 상부본체(611)의 가장자리 단부가 상측으로 들리면서 외기유입방지 상부본체(611)의 가장자리 단부와 본체(310)의 상부면 사이에 틈이 발생하고, 이러한 틈을 통해 발효가스의 배출이 이루어진다. 한편, 발효가스가 배출하는 동안에는 발효가스의 배출에 의해 상기 틈을 통해 역으로 외기가 포장용기 내부 측으로 유입되는 것이 차단된다.Therefore, as shown in Figure 9, the fermentation gas generated within the fermented product packaging container sequentially passes through the
반면, 도 8에 도시한 바와 같이, 발효가스의 배출이 이루어지지 않을때에는 외기유입방지 상부본체(611)의 가장자리 단부가 탄성적으로 형상 복원하여 본체(310)의 상부면에 밀착됨으로써, 외기가 내측으로 유입되는 것을 차단할 수 있다.On the other hand, as shown in Figure 8, when the fermentation gas is not discharged, the edge end of the outside air inflow prevention
이상, 본 발명을 본 발명의 원리를 예시하기 위한 바람직한 실시예와 관련하여 도시하고 설명하였으나, 본 발명은 그와 같이 도시되고 설명된 그대로의 구성 및 작용으로 한정되는 것이 아니다. 오히려 첨부된 청구범위의 사상 및 범위를 일탈함이 없이 본 발명에 대한 다수의 변경 및 수정이 가능함을 당업자들은 잘 이해할 수 있을 것이다.Although the present invention has been shown and described in connection with preferred embodiments for illustrating the principles of the invention, the invention is not limited to the construction and operation as shown and described. Rather, those skilled in the art will understand that numerous changes and modifications can be made to the present invention without departing from the spirit and scope of the appended claims.
100: 뚜껑 조립체 111: 가스배출공
300,600: 발효제품 포장용기용 밸브 310: 본체
311: 연통홀 320: 상부 본체
330: 중앙 본체 340: 하부 본체
350: 필터고정홈 360: 필터흔들림방지부
361: 통공 362: 원판 디스크
363: 플랩 370: 삽입파이프
380: 필터 610: 외기유입 방지캡
611: 외기유입방지 상부본체 612: 외기유입방지 중앙본체
613: 외기유입방지 하부본체 630: 보조 연통홀
631: 제1 보조 연통홀 632: 제2 보조 연통홀100: Lid assembly 111: Gas discharge hole
300,600: Valve for fermented product packaging container 310: Main body
311: communication hole 320: upper body
330: central body 340: lower body
350: Filter fixing groove 360: Filter shaking prevention part
361: through hole 362: circular disk
363: flap 370: insertion pipe
380: Filter 610: Cap to prevent external air inflow
611: Upper body to prevent outside air inflow 612: Central body to prevent outside air inflow
613: Lower body to prevent external air inflow 630: Auxiliary communication hole
631: 1st auxiliary communication hole 632: 2nd auxiliary communication hole
Claims (16)
상기 뚜껑에 형성된 가스배출공에 강제 압입되어 고정되며 내측에 상기 포장용기의 내부공간과 외부공간을 연통시킬 수 있도록 연통홀이 마련되는 본체;
상기 포장용기 내에서 발생한 발효가스만 상기 연통홀을 통해 외부로 배출하도록 상기 연통홀을 폐쇄하는 형태로 상기 본체에 결합되는 필터; 및
상기 연통홀의 내주면과 접촉하도록 상기 연통홀 내측으로 삽입되며, 상기 본체보다 일정이상 큰 강성을 갖는 재질로 이루어지는 삽입파이프를 포함하는 것을 특징으로 하는 발효제품 포장용기용 밸브.It is attached to the lid of the fermented product packaging container,
a main body that is forcibly press-fitted and fixed to a gas discharge hole formed in the lid, and is provided with a communication hole on the inside to communicate between the internal space and the external space of the packaging container;
A filter coupled to the main body to close the communication hole so that only the fermentation gas generated in the packaging container is discharged to the outside through the communication hole; and
A valve for a fermented product packaging container, characterized in that it is inserted into the communication hole so as to contact the inner peripheral surface of the communication hole, and includes an insertion pipe made of a material having a certain rigidity greater than that of the main body.
상기 본체에는, 상기 연통홀과 연결되면서 상기 연통홀보다 큰 단면적을 갖는 필터고정홈이 마련되고, 상기 필터는 상기 필터고정홈 내측에 배치되는 것을 특징으로 하는 발효제품 포장용기용 밸브.According to paragraph 1,
A valve for a fermented product packaging container, characterized in that the main body is provided with a filter fixing groove connected to the communication hole and having a larger cross-sectional area than the communication hole, and the filter is disposed inside the filter fixing groove.
상기 필터는 상기 연통홀보다 큰 단면적을 갖는 플레이트 형상으로 이루어지고, 상기 필터고정홈을 형성하는 내벽에 걸림되어 상기 필터고정홈으로부터의 이탈이 방지되는 것을 특징으로 하는 발효제품 포장용기용 밸브.According to paragraph 2,
The valve for a fermented product packaging container, characterized in that the filter has a plate shape with a cross-sectional area larger than the communication hole, and is caught on an inner wall forming the filter fixing groove to prevent separation from the filter fixing groove.
상기 필터고정홈과 상기 필터고정홈 근방의 상기 연통홀 내에 마련되어 상기 필터를 상기 필터고정홈을 형성하는 내벽으로 가압하여 고정하는 필터흔들림방지부를 더 포함하는 것을 특징으로 하는 발효제품 포장용기용 밸브.According to paragraph 2,
A valve for a fermented product packaging container, characterized in that it further comprises a filter shaking prevention part provided in the communication hole near the filter fixing groove and the filter fixing groove by pressing and fixing the filter to an inner wall forming the filter fixing groove.
상기 본체는,
상기 뚜껑의 외측에 배치 가능한 상부 본체;
상기 상부 본체와 일체로 연결되고, 상기 뚜껑의 가스배출공 내측에 배치 가능한 중앙 본체; 및
상기 중앙 본체와 일체로 연결되고, 상기 뚜껑의 내측에 배치 가능하며 상기 가스배출공의 직경보다 큰 단면적을 갖도록 이루어져 상기 뚜껑의 내측면에 걸림 가능한 하부 본체를 포함하고,
상기 삽입파이프는 상기 중앙 본체 및 하부 본체에 형성된 연통홀의 내주면과 접촉하도록 마련되는 것을 특징으로 하는 발효제품 포장용기용 밸브.According to paragraph 1,
The main body is,
an upper body that can be placed outside the lid;
a central body integrally connected with the upper body and disposed inside the gas discharge hole of the lid; and
A lower body is integrally connected to the central body, can be placed on the inside of the lid, and has a cross-sectional area larger than the diameter of the gas discharge hole, so that it can be hung on the inner surface of the lid,
A valve for a fermented product packaging container, characterized in that the insertion pipe is provided to contact the inner peripheral surface of the communication hole formed in the central body and the lower body.
상기 본체는,
상기 뚜껑의 외측에 배치 가능하며, 서로간에 분리되게 이루어지는 제1 및 제2 상부 본체;
상기 제1 및 제2 상부 본체 중 어느 하나와 일체로 연결되고, 상기 뚜껑의 가스배출공 내측에 배치 가능한 중앙 본체; 및
상기 중앙 본체와 일체로 연결되고, 상기 뚜껑의 내측에 배치 가능하며 상기 가스배출공의 직경보다 큰 단면적을 갖도록 이루어져 상기 뚜껑의 내측면에 걸림 가능한 하부 본체를 포함하고,
상기 필터는 상기 연통홀보다 큰 단면적을 갖는 플레이트 형상으로 이루어지고, 상기 제1 및 제2 상부 본체 사이에 개재된 상태에서 상기 제1 및 제2 상부 본체 간의 접합을 통해 고정되는 것을 특징으로 하는 발효제품 포장용기용 밸브.According to paragraph 1,
The main body is,
first and second upper bodies that can be placed outside the lid and are separated from each other;
a central body integrally connected to one of the first and second upper bodies and disposed inside the gas discharge hole of the lid; and
A lower body is integrally connected to the central body, can be placed on the inside of the lid, and has a cross-sectional area larger than the diameter of the gas discharge hole, so that it can be hung on the inner surface of the lid,
Fermentation, characterized in that the filter is formed in the shape of a plate having a larger cross-sectional area than the communication hole, and is fixed through joining between the first and second upper bodies in a state sandwiched between the first and second upper bodies. Valve for product packaging containers.
상기 본체는 탄성적으로 압축 및 팽창 가능한 고무, 실리콘, 스폰지 중 적어도 하나의 재질을 포함하며,
상기 필터는 나노 멤브레인필터인 것을 특징으로 하는 발효제품 포장용기용 밸브.According to paragraph 1,
The body includes at least one material selected from the group consisting of elastically compressible and expandable rubber, silicone, and sponge,
A valve for a fermented product packaging container, characterized in that the filter is a nano membrane filter.
상기 본체의 연통홀에 삽입되며, 상기 포장용기 내에서 발생한 발효가스는 상기 연통홀을 통해 외부로 배출하도록 하되, 상기 포장용기 외측의 외기는 상기 연통홀을 통해 상기 발효제품 포장용기 내부로 유입되는 것을 차단 가능하도록 탄성 변형 및 복원가능한 형태로 이루어지는 외기유입 방지캡을 더 포함하는 것을 특징으로 하는 발효제품 포장용기용 밸브.According to paragraph 1,
It is inserted into the communication hole of the main body, and the fermentation gas generated within the packaging container is discharged to the outside through the communication hole, and the outdoor air outside the packaging container flows into the fermented product packaging container through the communication hole. A valve for a fermented product packaging container, characterized in that it further includes an external air inflow prevention cap made of an elastically deformable and restorable form to block the fermentation product.
상기 본체에는, 상기 연통홀과 연결되면서 상기 연통홀보다 큰 단면적을 갖는 필터고정홈이 마련되고, 상기 필터는 상기 필터고정홈 내측에 배치되며,
상기 외기유입 방지캡은, 상기 연통홀에 압입되어 고정되며 내측에 상기 본체의 외부공간과 상기 연통홀을 연통시킬 수 있도록 보조 연통홀이 마련되는 것을 특징으로 하는 발효제품 포장용기용 밸브.According to clause 9,
In the main body, a filter fixing groove is provided that is connected to the communication hole and has a cross-sectional area larger than the communication hole, and the filter is disposed inside the filter fixing groove,
The external air inflow prevention cap is press-fitted and fixed to the communication hole, and an auxiliary communication hole is provided on the inside to communicate the communication hole with the external space of the main body.
상기 외기유입 방지캡은,
그 가장자리 단부가 상기 본체의 상부면에 탄성적으로 접촉 가능한 외기유입방지 상부본체;
상기 외기유입방지 상부본체와 일체로 연결되고, 상기 연통홀 내측에 배치 가능한 외기유입방지 중앙본체; 및
상기 외기유입방지 중앙본체와 일체로 연결되고, 상기 필터고정홈 내측에 배치 가능하며 상기 연통홀보다 큰 단면적을 갖도록 이루어져 상기 필터고정홈의 내측면에 걸림 가능한 외기유입방지 하부본체를 포함하는 것을 특징으로 하는 발효제품 포장용기용 밸브.According to clause 10,
The outside air inflow prevention cap is,
an upper body to prevent external air inflow, the edge of which can be elastically contacted with the upper surface of the body;
A central body to prevent outside air inflow, which is integrally connected to the upper body to prevent outside air inflow, and which can be placed inside the communication hole; and
It is integrally connected with the outside air inflow prevention central body, can be placed inside the filter fixing groove, and has a cross-sectional area larger than the communication hole, and includes a outside air inflow prevention lower body that can be caught on the inner surface of the filter fixing groove. A valve for packaging containers for fermented products.
상기 외기유입방지 하부본체는 상기 필터의 상부면에 접촉하여 상기 필터를 상기 필터고정홈의 하부 바닥면측으로 가압하여 고정하는 것을 특징으로 하는 발효제품 포장용기용 밸브.According to clause 11,
The valve for a fermented product packaging container, characterized in that the lower body for preventing external air inflow contacts the upper surface of the filter and presses and fixes the filter to the lower bottom surface of the filter fixing groove.
상기 보조 연통홀은,
상기 외기유입방지 하부본체를 상하방향으로 관통함과 더불어 상기 외기유입방지 중앙본체의 길이방향을 따라 일정이상 연장되는 제1 보조 연통홀; 및
상기 제1 보조 연통홀의 상단에 방사상으로 분기된 상태로 연통되어 상기 제1 보조 연통홀 내부를 상기 본체의 상부면측 외부공간과 연통시키는 복수의 제2 보조 연통홀을 포함하는 것을 특징으로 하는 발효제품 포장용기용 밸브.According to clause 11,
The auxiliary communication hole is,
a first auxiliary communication hole that penetrates the lower body to prevent outside air inflow in a vertical direction and extends by a certain length along the longitudinal direction of the central body to prevent outside air inflow; and
A fermentation product comprising a plurality of second auxiliary communication holes that communicate in a radially branched state at the upper end of the first auxiliary communication hole to communicate the inside of the first auxiliary communication hole with the external space on the upper surface of the main body. Valves for packaging containers.
상기 외기유입방지 상부본체는 내측이 오목한 반원 또는 타원의 단면형상을 갖는 것을 특징으로 하는 발효제품 포장용기용 밸브.According to clause 11,
A valve for a fermented product packaging container, characterized in that the upper body for preventing external air inflow has a cross-sectional shape of a semicircle or ellipse with a concave interior.
상기 가스배출공에 강제 압입되어 고정되는 제1항의 발효제품 포장용기용 밸브를 포함하는 발효제품 포장용기의 뚜껑 조립체.
A lid of a fermented product packaging container with a gas discharge hole; and
A lid assembly for a fermented product packaging container including the valve for the fermented product packaging container of claim 1, which is forcibly pressurized and fixed to the gas discharge hole.
Applications Claiming Priority (2)
| Application Number | Priority Date | Filing Date | Title |
|---|---|---|---|
| KR20220071242 | 2022-06-13 | ||
| KR1020220071242 | 2022-06-13 |
Publications (2)
| Publication Number | Publication Date |
|---|---|
| KR20230171356A KR20230171356A (en) | 2023-12-20 |
| KR102683609B1 true KR102683609B1 (en) | 2024-07-10 |
Family
ID=89376948
Family Applications (1)
| Application Number | Title | Priority Date | Filing Date |
|---|---|---|---|
| KR1020220105998A Active KR102683609B1 (en) | 2022-06-13 | 2022-08-24 | valve for fermented product packaging container and lid assembly of fermented product packaging container including the same |
Country Status (1)
| Country | Link |
|---|---|
| KR (1) | KR102683609B1 (en) |
Citations (2)
| Publication number | Priority date | Publication date | Assignee | Title |
|---|---|---|---|---|
| KR101353694B1 (en) * | 2013-09-16 | 2014-01-21 | 주식회사 지웰코리아 | Valve device for vacuum containers |
| KR102249852B1 (en) * | 2019-06-28 | 2021-05-10 | (주)착한음식 | Vapor-sealed container |
Family Cites Families (3)
| Publication number | Priority date | Publication date | Assignee | Title |
|---|---|---|---|---|
| DE2403244C3 (en) * | 1974-01-24 | 1980-12-04 | Riedel-De Haen Ag, 3016 Seelze | For gases permeable, liquid-tight shut-off device |
| US5522769A (en) * | 1994-11-17 | 1996-06-04 | W. L. Gore & Associates, Inc. | Gas-permeable, liquid-impermeable vent cover |
| KR100428848B1 (en) | 2000-07-10 | 2004-04-28 | 주식회사 한진피앤씨 | Fermentation food packing container |
-
2022
- 2022-08-24 KR KR1020220105998A patent/KR102683609B1/en active Active
Patent Citations (2)
| Publication number | Priority date | Publication date | Assignee | Title |
|---|---|---|---|---|
| KR101353694B1 (en) * | 2013-09-16 | 2014-01-21 | 주식회사 지웰코리아 | Valve device for vacuum containers |
| KR102249852B1 (en) * | 2019-06-28 | 2021-05-10 | (주)착한음식 | Vapor-sealed container |
Also Published As
| Publication number | Publication date |
|---|---|
| KR20230171356A (en) | 2023-12-20 |
Similar Documents
| Publication | Publication Date | Title |
|---|---|---|
| CN103442996B (en) | For the valve of aerosol container | |
| RU2529082C2 (en) | Set of container and lid | |
| KR101881612B1 (en) | Resilient closure for pressure driven dispensing container | |
| CN101043835B (en) | capsule with sealing device | |
| CA2725255C (en) | Closure device for a container | |
| US10689167B2 (en) | Container and cap | |
| JP7411571B2 (en) | beverage container valve assembly | |
| CN106794757B (en) | Installation structure of valve box | |
| CN114174185A (en) | Container cover and container combined with same | |
| WO2016014099A1 (en) | Bottle valve insert | |
| KR200449700Y1 (en) | Spout Structure | |
| KR102683609B1 (en) | valve for fermented product packaging container and lid assembly of fermented product packaging container including the same | |
| US5806705A (en) | Sealing technique for hydropneumatic pressure vessel | |
| JP2742315B2 (en) | Container lid with internal pressure limiting device | |
| CN103228551A (en) | Sealing member and fluid-product dispenser including such a member | |
| JP4931293B2 (en) | Pressure vessel seal structure | |
| KR102729997B1 (en) | valve for fermented product packaging container and lid assembly of fermented product packaging container including the same | |
| JP5001680B2 (en) | Pressurized container for tube container and pressurized tube product using the same | |
| JP6636853B2 (en) | Double container | |
| KR20110061754A (en) | Makgeolli bottle cap | |
| KR100456042B1 (en) | A gas-vessel having a sleeve, and a manufacturing process of the vessel’s body | |
| KR102695721B1 (en) | Refillable cosmetic container and refill container | |
| WO2020209734A1 (en) | Container closing unit, intended particularly for beverage containers | |
| JP4781958B2 (en) | Pressing head | |
| US889500A (en) | Bottle. |
Legal Events
| Date | Code | Title | Description |
|---|---|---|---|
| PA0109 | Patent application |
St.27 status event code: A-0-1-A10-A12-nap-PA0109 |
|
| PA0201 | Request for examination |
St.27 status event code: A-1-2-D10-D11-exm-PA0201 |
|
| PG1501 | Laying open of application |
St.27 status event code: A-1-1-Q10-Q12-nap-PG1501 |
|
| D13-X000 | Search requested |
St.27 status event code: A-1-2-D10-D13-srh-X000 |
|
| D14-X000 | Search report completed |
St.27 status event code: A-1-2-D10-D14-srh-X000 |
|
| E902 | Notification of reason for refusal | ||
| PE0902 | Notice of grounds for rejection |
St.27 status event code: A-1-2-D10-D21-exm-PE0902 |
|
| E13-X000 | Pre-grant limitation requested |
St.27 status event code: A-2-3-E10-E13-lim-X000 |
|
| P11-X000 | Amendment of application requested |
St.27 status event code: A-2-2-P10-P11-nap-X000 |
|
| P13-X000 | Application amended |
St.27 status event code: A-2-2-P10-P13-nap-X000 |
|
| R17-X000 | Change to representative recorded |
St.27 status event code: A-3-3-R10-R17-oth-X000 |
|
| E701 | Decision to grant or registration of patent right | ||
| PE0701 | Decision of registration |
St.27 status event code: A-1-2-D10-D22-exm-PE0701 |
|
| PR0701 | Registration of establishment |
St.27 status event code: A-2-4-F10-F11-exm-PR0701 |
|
| PR1002 | Payment of registration fee |
St.27 status event code: A-2-2-U10-U11-oth-PR1002 Fee payment year number: 1 |
|
| PG1601 | Publication of registration |
St.27 status event code: A-4-4-Q10-Q13-nap-PG1601 |
|
| R18 | Changes to party contact information recorded |
Free format text: ST27 STATUS EVENT CODE: A-5-5-R10-R18-OTH-X000 (AS PROVIDED BY THE NATIONAL OFFICE) |
|
| R18-X000 | Changes to party contact information recorded |
St.27 status event code: A-5-5-R10-R18-oth-X000 |
