KR102522891B1 - Height adjusting device of armrest for seat - Google Patents
Height adjusting device of armrest for seat Download PDFInfo
- Publication number
- KR102522891B1 KR102522891B1 KR1020160139882A KR20160139882A KR102522891B1 KR 102522891 B1 KR102522891 B1 KR 102522891B1 KR 1020160139882 A KR1020160139882 A KR 1020160139882A KR 20160139882 A KR20160139882 A KR 20160139882A KR 102522891 B1 KR102522891 B1 KR 102522891B1
- Authority
- KR
- South Korea
- Prior art keywords
- armrest
- body portion
- fixed
- locking mechanism
- seat
- Prior art date
- Legal status (The legal status is an assumption and is not a legal conclusion. Google has not performed a legal analysis and makes no representation as to the accuracy of the status listed.)
- Active
Links
- 230000007246 mechanism Effects 0.000 claims abstract description 83
- 238000000034 method Methods 0.000 claims description 7
- 230000037237 body shape Effects 0.000 abstract description 5
- 230000008878 coupling Effects 0.000 description 1
- 238000010168 coupling process Methods 0.000 description 1
- 238000005859 coupling reaction Methods 0.000 description 1
- 238000009434 installation Methods 0.000 description 1
- 238000004519 manufacturing process Methods 0.000 description 1
- 238000012986 modification Methods 0.000 description 1
- 230000004048 modification Effects 0.000 description 1
Images
Classifications
-
- B—PERFORMING OPERATIONS; TRANSPORTING
- B60—VEHICLES IN GENERAL
- B60N—SEATS SPECIALLY ADAPTED FOR VEHICLES; VEHICLE PASSENGER ACCOMMODATION NOT OTHERWISE PROVIDED FOR
- B60N2/00—Seats specially adapted for vehicles; Arrangement or mounting of seats in vehicles
- B60N2/75—Arm-rests
- B60N2/763—Arm-rests adjustable
- B60N2/77—Height adjustment
Landscapes
- Engineering & Computer Science (AREA)
- Aviation & Aerospace Engineering (AREA)
- Transportation (AREA)
- Mechanical Engineering (AREA)
- Seats For Vehicles (AREA)
Abstract
본 발명은 암레스트의 수직방향 높이를 탑승자의 체형에 맞춰 다단의 위치로 조절하고, 암레스트의 수직방향 높이를 다단의 위치로 조절함에 있어, 록킹기구의 해제를 릴리스 레버에 대한 조작과 연동되게 하면서 암레스트에 가해지는 하중에 따라 암레스트의 수직방향 높이가 결정되게 함으로써 조작의 편의성을 향상시킬 수 있는 시트용 암레스트의 높이 조절장치를 개시한다.
전술한 시트용 암레스트의 높이 조절장치는 시트의 백 프레임(10a)에 설치되는 고정 본체부(22), 상기 고정 본체부(22)에 대해 선회 가능하게 설치되는 가동 본체부(24), 상기 고정 본체부(22)와 상기 가동 본체부(24) 사이를 연결하고 래치(14c)를 갖춘 링크기구(14), 상기 고정 본체부(22)와의 힌지지점에 설치되어 상기 링크기구(14)를 상방향으로 선회되도록 가압하는 제1토션 스프링(26), 상기 가동 본체부(24)에 선회 가능하게 설치되고 상기 래치(14c)와 선택적으로 치결합되는 록킹기구(16), 상기 록킹기구(16)를 가압하여 상기 래치(14c)와의 치결합 상태를 유지하는 제2토션 스프링(28), 상기 가동 본체부(24)에 설치되고 상기 래치(14c)와 상기 록킹기구(16) 사이의 치결합을 해제하는 릴리스 레버(18), 및 상기 록킹기구(16)와 상기 릴리스 레버(18) 사이를 연결하는 릴리스 케이블(20)을 구비한다. In the present invention, in adjusting the vertical height of the armrest to a multi-stage position according to the body shape of the occupant, and adjusting the vertical height of the armrest to a multi-stage position, the release of the locking mechanism is interlocked with the operation of the release lever. Disclosed is a device for adjusting the height of an armrest for a seat, which can improve the convenience of operation by determining the height of the armrest in the vertical direction according to the load applied to the armrest while doing so.
The above-mentioned device for adjusting the height of the armrest for a seat includes a fixed main body 22 installed on the back frame 10a of the seat, a movable main body 24 installed to be able to pivot with respect to the fixed main body 22, the A link mechanism 14 connecting between the fixed body portion 22 and the movable body portion 24 and having a latch 14c, installed at a hinge point with the fixed body portion 22 to secure the link mechanism 14 A first torsion spring 26 for biasing upward to pivot, a locking mechanism 16 installed pivotally on the movable body 24 and selectively tooth-coupled with the latch 14c, the locking mechanism 16 The second torsion spring 28, which maintains a tooth-engaged state with the latch 14c by pressing ), is installed on the movable body 24 and engages between the latch 14c and the locking mechanism 16. It is provided with a release lever 18 for releasing, and a release cable 20 connecting between the locking mechanism 16 and the release lever 18.
Description
본 발명은 시트용 암레스트의 높이 조절장치에 관한 것으로, 더욱 상세하게는 1열 시트의 측부에 설치되는 암레스트의 수직방향 높이를 탑승자의 체형에 맞춰 자유롭게 조절할 수 있는 시트용 암레스트의 높이 조절장치에 관한 것이다. The present invention relates to a device for adjusting the height of an armrest for a seat, and more particularly, to adjust the height of an armrest for a seat that can freely adjust the vertical height of an armrest installed on the side of a first-row seat according to the body shape of an occupant. It's about the device.
일반적으로 시트에 구비되는 암레스트는 백 프레임의 측부에 대해 선회 가능하게 설치되어 필요시 전방으로 선회됨으로써 탑승자가 팔을 거치하여 활용할 수 있게 된다. 즉, 시트의 암레스트 장치는 탑승자의 편의를 위해 시트 백과 대체로 나란한 방향의 격납상태의 위치에서 전방을 향해 선회하여 사용상태의 위치로 전환 가능한 구조로 이루어진다. 이 경우, 암레스트의 선회는 주로 사용자의 조작에 의한 수동 방식으로 구현된다. In general, an armrest provided on a seat is installed to be pivotable with respect to the side of the back frame, and is pivoted forward when necessary, so that the occupant can use the arm rest. That is, the armrest device of the seat has a structure that can be switched to a position in a use state by turning toward the front from a storage position generally parallel to the seat back for the convenience of the occupant. In this case, the rotation of the armrest is mainly implemented manually by a user's manipulation.
이와 같은 종래 시트의 암레스트 장치는 리클라이닝시 암레스트의 설치상태가 시트 백과 연동할 수밖에 없는 구조이므로 경사각도를 보다 자유롭게 조절하여 사용자의 편의를 도모할 수 없다는 문제를 안고 있다. Such a conventional seat armrest device has a problem in that the user's convenience cannot be promoted by more freely adjusting the inclination angle because the armrest installation state is inevitably interlocked with the seat back during reclining.
즉, 종래 암레스트 장치는 시트 백에 고정된 힌지를 기준으로 선회운동을 하는 것이므로, 신장이 큰 탑승자의 경우 암레스트의 사용에 많은 불편함을 느낄 수밖에 없었고, 간혹 틸트 기능의 추가로 인해 암레스트를 다단의 높이로 위치 조절할 수 있었으나, 이 또한 힌지부위를 기준으로 이루어지는 선회운동의 일환이었으며, 단수를 조절하여 높낮이를 조절할 경우, 암레스트가 수평 위치를 벗어나게 되므로 불편함을 해소하는 데 한계가 있게 된다. 이에 따라, 수직방향 높이를 자유롭게 조절할 수 암레스트의 개발 요구가 대두되는 실정이다That is, since the conventional armrest device performs a pivoting motion based on a hinge fixed to the seat back, tall occupants inevitably feel a lot of inconvenience in using the armrest, and sometimes the armrest is added due to the addition of a tilt function. It was possible to adjust the position with multiple heights, but this was also part of the pivoting movement based on the hinge part, and when the height is adjusted by adjusting the number of steps, the armrest moves out of the horizontal position, so there is a limit to relieving discomfort. do. Accordingly, there is a demand for the development of an armrest capable of freely adjusting the height in the vertical direction.
일례로, 종래 공개특허 제10-2005-0006821호의 "리어시트 암레스트 각도조절장치"에서는 리어시트의 암레스트에 대한 각도를 인위적으로 조절하여 탑승자의 안락성과 편의성을 향상시킨 구조를 개시하고 있다. 이를 위해 종래 리어시트 암레스트 각도조절장치는 리어시트의 등받이에 형성된 오목홈에 설치된 암레스트, 상기 암레스트의 뒤쪽에 형성된 종동기어, 상기 종동기어와 결합된 구동기어를 회전시키는 모터, 및 상기 모터의 회전을 제어하는 스위칭회로를 포함하고서, 리어시트에 대해 암레스트의 사용 각도를 자동으로 조절할 수 있도록 구성된다.For example, prior art Patent Publication No. 10-2005-0006821 entitled "Rear seat armrest angle adjusting device" discloses a structure in which the comfort and convenience of the occupant are improved by artificially adjusting the angle of the armrest of the rear seat. To this end, a conventional rear seat armrest angle adjusting device includes an armrest installed in a concave groove formed in a backrest of a rear seat, a driven gear formed at the back of the armrest, a motor that rotates a drive gear coupled to the driven gear, and the motor. It includes a switching circuit that controls the rotation of the armrest and is configured to automatically adjust the use angle of the armrest with respect to the rear seat.
그러나 상기와 같은 종래 암레스트의 구조에서는 리어시트에 대한 암레스트의 선회각도를 사용자의 임의대로 조절하기 위해 모터와 구동기어, 종동기어, 및 모터의 회전을 제어하기 위한 스위칭회로 등이 함께 구비되어야 하므로 제조비용이 과다하게 소요되는 문제를 야기하게 된다.However, in the structure of the conventional armrest as described above, a motor, a drive gear, a driven gear, and a switching circuit for controlling the rotation of the motor must be provided together to adjust the turning angle of the armrest relative to the rear seat at the user's discretion. This causes a problem of excessive manufacturing cost.
본 발명이 해결하고자 하는 기술적 과제는 시트 백의 측부에 설치되는 암레스트의 수직방향 높이를 링크기구와 록킹기구를 이용하여 탑승자의 체형에 맞춰 다단의 위치로 자유롭게 조절함으로써 편의성을 도모할 수 있는 시트용 암레스트의 높이 조절장치를 제공하는 것이다.A technical problem to be solved by the present invention is for a seat that can promote convenience by freely adjusting the vertical height of an armrest installed on the side of a seat back to a multi-stage position according to the body shape of an occupant using a link mechanism and a locking mechanism. It is to provide a device for adjusting the height of the armrest.
본 발명이 해결하고자 하는 또 다른 기술적 과제는 링크기구와 록킹기구를 매개로 암레스트의 수직방향 높이를 다단의 위치로 조절함에 있어, 록킹기구의 해제를 릴리스 레버에 대한 조작과 연동되게 하고 암레스트에 가해지는 하중에 따라 암레스트의 수직방향 높이가 결정되게 함으로써 조작의 편의성을 향상시킬 수 있는 시트용 암레스트의 높이 조절장치를 제공하는 것이다.Another technical problem to be solved by the present invention is to adjust the vertical height of the armrest to a multi-stage position via the link mechanism and the locking mechanism, making the release of the locking mechanism interlocked with the operation of the release lever and the armrest It is to provide a height adjusting device for an armrest for a seat that can improve the convenience of operation by allowing the vertical height of the armrest to be determined according to the load applied to the seat.
상기와 같은 기술적 과제를 해결하기 위한 본 발명은 시트의 백 프레임에 설치되는 고정 본체부, 상기 고정 본체부에 대해 선회 가능하게 설치되는 가동 본체부, 상기 고정 본체부와 상기 가동 본체부 사이를 연결하고 래치를 갖춘 링크기구, 상기 고정 본체부와의 고정측 힌지지점에 설치되어 상기 링크기구를 상방향으로 선회되도록 가압하는 제1토션 스프링, 상기 가동 본체부에 선회 가능하게 설치되고 상기 래치와 선택적으로 치결합되는 록킹기구, 상기 록킹기구를 가압하여 상기 래치와의 치결합 상태를 유지하는 제2토션 스프링, 상기 가동 본체부에 대해 선회 가능하게 설치되고 상기 래치와 상기 록킹기구 사이의 치결합을 해제하는 릴리스 레버, 및 상기 록킹기구와 상기 릴리스 레버 사이를 연결하는 릴리스 케이블을 구비하는 것을 특징으로 한다.The present invention for solving the above technical problem is a fixed main body installed on the back frame of the seat, a movable main body rotatably installed with respect to the fixed main body, and a connection between the fixed main body and the movable main body. and a link mechanism having a latch, a first torsion spring installed at a fixed-side hinge point with the fixed body portion and urging the link mechanism to rotate upward, and a pivotally installed in the movable body portion and selectively with the latch A locking mechanism that is teeth-engaged, a second torsion spring that presses the locking mechanism and maintains a tooth-engaged state with the latch, is installed to be pivotable with respect to the movable body and engages teeth between the latch and the locking mechanism. A release lever for release, and a release cable for connecting between the locking mechanism and the release lever.
본 발명은 상기 록킹기구와 상기 릴리스 케이블에 복원력을 제공하고, 상기 록킹기구를 가압하여 상기 래치와의 치결합 상태를 유지하는 리턴 스프링을 더 포함하는 것을 특징으로 한다.The present invention is characterized in that it further comprises a return spring for providing a restoring force to the locking mechanism and the release cable, and pressurizing the locking mechanism to maintain a tooth-engaged state with the latch.
본 발명은 상기 릴리스 케이블을 이동 가능하게 지지하는 서포트 브라켓을 더 포함하고, 상기 리턴 스프링은 상기 록킹기구와 상기 서포트 브라켓 사이에서 상기 릴리스 케이블의 외부에 끼워지도록 설치되는 것을 특징으로 한다.The present invention further includes a support bracket for movably supporting the release cable, and the return spring is installed to be fitted to the outside of the release cable between the locking mechanism and the support bracket.
본 발명에 있어, 상기 링크기구는 상기 고정 본체부와 상기 가동 본체부를 사이를 연결하는 상부 링크, 및 상기 상부 링크의 하부에서 상기 고정 본체부와 상기 가동 본체부 사이를 연결하고 상기 가동 본체부를 향한 일단부에 상기 래치를 형성하는 하부 링크로 이루어지는 것을 특징으로 한다.In the present invention, the link mechanism is an upper link that connects between the fixed body and the movable body, and connects between the fixed body and the movable body at the lower part of the upper link and faces the movable body. Characterized in that it consists of a lower link forming the latch at one end.
본 발명은 상기 고정 본체부와 결합되는 고정본체 커버부를 더 포함하고, 상기 제1토션 스프링은 일단부가 상기 하부 링크에 고정되고 타단부가 상기 고정본체 커버부에 고정되도록 설치되는 것을 특징으로 한다.The present invention further includes a fixed body cover coupled to the fixed body, and the first torsion spring is installed such that one end is fixed to the lower link and the other end is fixed to the fixed body cover.
본 발명에 있어, 상기 제2토션 스프링은 상기 록킹기구의 힌지지점에 설치되고, 일단부가 상기 록킹기구에 고정되며 타단부가 상기 가동 본체부에 결합되는 가동본체 커버부에 고정되도록 설치되는 것을 특징으로 한다.In the present invention, the second torsion spring is installed at the hinge point of the locking mechanism, one end is fixed to the locking mechanism and the other end is installed to be fixed to the movable body cover coupled to the movable body. to be
본 발명은 상기 링크기구에 대한 상하방향으로의 선회 위치를 제한하는 스토퍼 브라켓을 더 포함하고, 상기 스토퍼 브라켓은 상기 링크기구 중 상기 하부 링크의 선회 위치를 제한하도록 상기 고정 본체부에 설치되는 것을 특징으로 한다.The present invention further includes a stopper bracket for limiting the pivoting position of the link mechanism in the vertical direction, and the stopper bracket is installed on the fixing main body to limit the pivoting position of the lower link of the link mechanism. to be
본 발명은 시트의 백 프레임에 설치되는 고정 본체부와 이에 대해 링크기구를 매개로 선회 가능하게 설치되는 가동 본체부의 수직방향 높이를 릴리스 레버의 조작과 연동되는 록킹기구를 매개로 탑승자의 체형에 맞춰 다단의 위치로 자유롭게 조절할 수 있으므로, 암레스트의 상품성을 향상시킴과 동시에 탑승자에 의한 사용의 편의성을 증진시킬 수 있게 된다.According to the present invention, the vertical height of the fixed body part installed on the back frame of the seat and the movable body part rotatably installed through the link mechanism with respect thereto is adjusted to the body shape of the occupant through the medium of the locking mechanism interlocked with the operation of the release lever. Since the armrest can be freely adjusted to multiple positions, it is possible to improve the merchantability of the armrest and at the same time increase the convenience of use by the occupant.
또한, 본 발명은 고정 본체부에 대해 가동 본체부의 수직방향 높이를 릴리스 레버의 조작에 따른 록킹기구의 선행적인 해제와 함께 암레스트에 가해지는 하중의 정도에 따라 다단으로 조절할 수 있으므로, 조작의 편의성을 향상시킬 수 있게 된다.In addition, the present invention can adjust the vertical height of the movable body part with respect to the fixed body part in multiple stages according to the degree of load applied to the armrest together with the precedent release of the locking mechanism according to the operation of the release lever, thus providing convenience in operation can improve.
도 1은 본 발명의 실시예에 따라 높이 조절장치가 적용된 시트용 암레스트를 도시한 측면도이다.
도 2는 본 발명의 실시예에 따른 시트용 암레스트의 높이 조절장치에 대한 구성을 도시한 분해 사시도이다.
도 3은 본 발명의 실시예에 따른 시트용 암레스트의 높이 조절장치에 대한 구성을 도시한 측면도로서, 최상단 위치로 높이 조절이 이루어진 상태를 도시한 것이다.
도 4는 본 발명의 실시예에 따른 시트용 암레스트의 높이 조절장치에 대한 구성을 도시한 측면도로서, 중간 위치로 높이 조절이 이루어진 상태를 도시한 것이다.
도 5는 본 발명의 실시예에 따른 시트용 암레스트의 높이 조절장치에 대한 구성을 도시한 측면도로서, 최하단 위치로 높이 조절이 이루어진 상태를 도시한 것이다.1 is a side view showing an armrest for a seat to which a height adjusting device is applied according to an embodiment of the present invention.
2 is an exploded perspective view showing the configuration of a height adjusting device for an armrest for a seat according to an embodiment of the present invention.
Figure 3 is a side view showing the configuration of the height adjusting device for the armrest for a seat according to an embodiment of the present invention, showing a state in which the height is adjusted to the top position.
Figure 4 is a side view showing the configuration of the height adjusting device of the armrest for a seat according to an embodiment of the present invention, showing a state in which the height is adjusted to an intermediate position.
Figure 5 is a side view showing the configuration of the height adjusting device of the armrest for a seat according to an embodiment of the present invention, showing a state in which the height is adjusted to the lowest position.
이하, 본 발명에 대한 바람직한 실시예를 첨부된 예시도면을 참조로 하여 상세하게 설명한다. Hereinafter, preferred embodiments of the present invention will be described in detail with reference to the accompanying drawings.
도 1은 본 발명의 실시예에 따라 높이 조절장치가 적용된 시트용 암레스트를 도시한 측면도이고, 도 2는 본 발명의 실시예에 따른 시트용 암레스트의 높이 조절장치에 대한 구성을 도시한 분해 사시도이며, 도 3은 본 발명의 실시예에 따른 시트용 암레스트의 높이 조절장치에 대한 구성을 도시한 측면도로서, 최상단 위치로 높이 조절이 이루어진 상태를 도시한 것으로, 본 발명은 시트 백에 대해 선회 가능하게 설치되는 암레스트의 수직방향 높이를 조절 가능하게 하는 장치에 관한 것이다.1 is a side view showing an armrest for a seat to which a height adjusting device is applied according to an embodiment of the present invention, and FIG. 2 is an exploded view showing the configuration of a height adjusting device for a seat armrest according to an embodiment of the present invention. Figure 3 is a side view showing the configuration of the height adjusting device of the armrest for a seat according to an embodiment of the present invention, showing a state in which the height is adjusted to the top position, and the present invention relates to the seat back It relates to a device capable of adjusting the vertical height of an armrest installed to be pivotable.
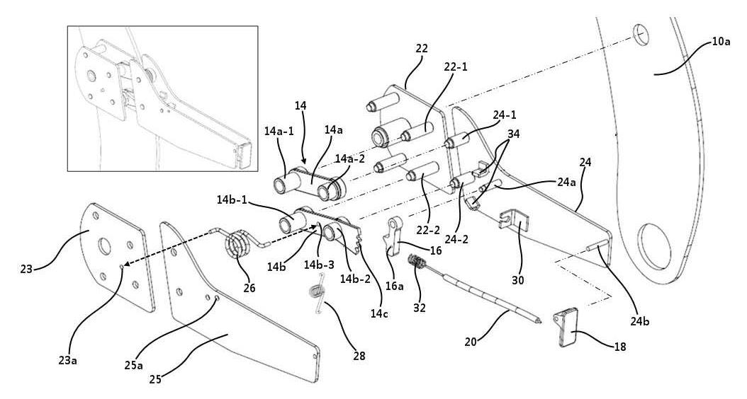
도 1 내지 도 3을 참조로 하면, 본 발명은 시트 백(10)에 설치되는 암레스트(12), 상기 시트 백(10)에 대해 상기 암레스트(12)의 수직방향 높이를 조절 가능하게 지지하는 링크기구(14), 상기 시트 백(10)에 대해 상기 암레스트(12)의 수직방향 높이를 원하는 위치로 고정하는 록킹기구(16), 상기 록킹기구(16)의 해제를 위해 사용자에 의해 조작되는 릴리스 레버(18), 및 상기 록킹기구(16)와 상기 릴리스 레버 사이를 연결하여 조작력을 전달하는 릴리스 케이블(20)을 포함하여 구성된다.Referring to FIGS. 1 to 3 , the present invention supports an
상기 암레스트(12)는 팔걸이의 형태로 이루어지는 것으로, 상기 시트 백(10)의 백 프레임(10a)에 대해 고정되도록 설치되는 고정 본체부(22), 및 상기 고정 본체부(22)에 대해 상기 링크기구(14)를 매개로 선회 가능하게 설치되어 탑승자의 팔 부위를 안착시켜 지지하는 가동 본체부(24)를 구비한다. 이 경우, 상기 고정 본체부(22)는 상기 링크기구(14)를 내장하기 위해 고정본체 커버부(23)와 조립되고, 상기 가동 본체부(24)도 역시 상기 링크기구(14)를 내장하기 위해 가동본체 커버부(25)와 조립된다. 아울러, 상기 고정 본체부(22)와 상기 고정본체 커버부(23), 상기 가동 본체부(24), 및 상기 가동본체 커버부(25)는 모두 외장재인 트림이나 패드가 제거된 상태를 의미하는 것이다.The
상기 링크기구(14)는 상기 고정 본체부(22)에 대해 상기 가동 본체부(24)를 상하방향으로 높이 조절이 가능하게 지지하는 2절 링크형태의 부재로서, 상기 고정 본체부(22)와 상기 가동 본체부(24)를 사이를 연결하는 상부 링크(14a), 및 상기 상부 링크(14a)의 하부에서 상기 고정 본체부(22)와 상기 가동 본체부(24) 사이를 연결하는 하부 링크(14b)로 이루어진다. 특히, 상기 하부 링크(14b)는 상기 가동 본체부(24)를 향한 일단부에 상기 록킹기구(16)와의 치결합을 위한 래치(14c)를 일체로 형성한다. The
이를 위해, 상기 상부 링크(14a)와 상기 하부 링크(14b)의 양단부에 상기 고정 본체부(22) 및 상기 가동 본체부(24)와의 링크 결합을 위한 보스부(14a-1,14a-2,14b-1,14b-2)를 구비하고, 상기 고정 본체부(22)는 상기 상부 링크(14a)와 상기 하부 링크(14b)의 일단부에 위치하는 보스부(14a-1,14b-1)를 각각 선회 가능하게 설치하기 위한 지지축(22-1,22-2)을 구비하며, 상기 가동 본체부(24)는 상기 상부 링크(14a)와 상기 하부 링크(14b)의 타단부에 위치하는 보스부(14a-2,14b-2)를 각각 선회 가능하게 설치하기 위한 지지축(24-1,24-2)을 구비한다.To this end,
또한, 상기 링크기구(14)는 상기 고정 본체부(22)와의 고정측 힌지지점에 설치되는 제1토션 스프링(26)을 매개로 상방향으로 가압되어 선회될 수 있도록 구성되는 바, 이는 상기 가동 본체부(24)에 대한 상하방향 높이를 조절하기 위함인 것이다. 이 경우, 상기 제1토션 스프링(26)은 보스부(14a-1)에 끼워진 상태에서 일단부가 상기 하부 링크(14b)의 체결홀(14b-3)에 삽입되어 고정되고 타단부가 상기 고정본체 커버부(23)의 체결홀(23a)에 삽입되어 고정되도록 설치된다.In addition, the
상기 록킹기구(16)는 상기 고정 본체부(22)에 대한 상기 가동 본체부(24)의 수직방향 높이를 원하는 위치로 고정하기 위한 것으로, 상기 가동 본체부(24)에 선회 가능하게 설치되어 상기 래치(14c)와 선택적으로 치결합되는 폴의 형태로 이루어진다. 즉, 상기 록킹기구(16)는 상기 가동 본체부(24)의 지지축(24a)에 선회 가능하게 설치되어 상기 링크기구(14)의 선회를 구속하는 역할을 수행한다.The
또한, 상기 록킹기구(16)는 상기 래치(14c)와의 치결합 상태를 지속적으로 유지하기 위한 제2토션 스프링(28)을 구비하는 바, 상기 제2토션 스프링(28)은 상기 록킹기구(16)의 힌지지점에 설치된다. 이 경우, 상기 제2토션 스프링(28)은 상기 록킹기구(16)의 힌지지점에 해당하는 상기 가동 본체부(24)의 지지축(24a)에 끼워지도록 설치되고, 일단부가 록킹기구(16)의 체결홀(16a)에 삽입되어 고정되며 타단부가 상기 가동본체 커버부(25)의 체결홀(25a)에 삽입되어 고정되도록 설치된다.In addition, the
상기 릴리스 레버(18)는 상기 암레스트(12)의 수직방향 높이를 조절할 때 사용자에 의한 조작에 따라 상기 록킹기구(16)의 잠금상태를 해제하는 것으로, 상기 가동 본체부(24)의 자유단부에 구비되는 지지축(24b)에 대해 선회 가능하게 설치된다.The release lever 18 releases the locking state of the
상기 릴리스 케이블(20)은 상기 록킹기구(16)와 상기 릴리스 레버(18) 사이를 연결하는 것으로, 상기 릴리스 레버(18)를 통해 제공되는 조작력을 상기 록킹기구(16)에 전달함으로써 록킹기구(16)의 잠금상태를 해제하는 역할을 수행한다. 또한, 상기 가동 본체부(24)는 상기 릴리스 케이블(20)의 이동을 가이드하기 위해 일측이 개구된 형태의 서포트 브라켓(30)을 구비한다. The
이 경우, 상기 서포트 브라켓(30)은 상기 록킹기구(16)와의 사이에 탄성력의 제공을 위해 리턴 스프링(32)을 설치한다. 즉, 상기 리턴 스프링(32)은 상기 록킹기구(16)와 상기 서포트 브라켓(30) 사이에서 상기 릴리스 케이블(20)의 외부에 끼워지도록 설치됨으로써 상기 링크기구(14)의 래치(14c)와 상기 록킹기구(16) 사이의 치결합을 유도할 수 있게 된다. 또한, 상기 리턴 스프링(32)은 상기 릴리스 케이블(20)을 통해 상기 릴리스 레버(18)에 대해서도 복원력을 제공할 수 있게 된다.In this case, a
한편, 본 발명에 따른 시트용 암레스트의 높이 조절장치는 상기 링크기구(14)에 대한 상하방향으로의 선회 위치를 제한하기 위해 스토퍼 브라켓(34)을 더 포함하는 바, 상기 스토퍼 브라켓(34)은 상기 고정 본체부(22)에 대해 상하방향으로 이격되게 설치되어 상기 링크기구(14) 중 상기 하부 링크(14b)에 대한 상하방향으로의 선회 위치를 제한함으로써, 상기 암레스트(12)의 수직방향 높이를 최상단 위치와 최하단 위치로 각각 한정하는 역할을 수행한다. 이 경우, 상기 스토퍼 브라켓(34)은 상기와 달리 상기 상부 링크(14a)에 대한 상하방향으로의 선회 위치를 제한할 수 있는 부위로 설치되어도 무방할 것이다.On the other hand, the device for adjusting the height of the armrest for a seat according to the present invention further includes a
따라서 상기와 같이 구성된 본 발명은 상기 릴리스 레버(18)의 조작을 통해 상기 링크기구(14)의 래치(14c)와 상기 록킹기구(16) 사이의 치결합을 해제하면, 상기 가동 본체부(24)에 가해지는 하중에 의해 상기 링크기구(14)는 하방향으로 선회하게 되고, 상기 가동 본체부(24)에 가해진 하중이 제거될 경우 상기 링크기구(14)는 상기 제1토션 스프링(26)에 의한 복원력에 의해 상방향으로 선회하게 되므로, 상기 고정 본체부(22)에 대한 상기 가동 본체부(24)의 상하방향 위치를 자유롭게 조절할 수 있게 된다. Therefore, in the present invention configured as described above, when the tooth engagement between the
즉, 도 3에 도시된 바와 같이 상기 고정 본체부(22)에 대해 상기 가동 본체부(24)가 최상단의 위치에서는 상기 링크기구(14) 중 하부 링크(14b)가 상측에 위치한 스토퍼 브라켓(34)에 의해 상방향으로의 선회가 제한된 상태를 유지할 수 있게 된다. That is, as shown in FIG. 3, the
이 상태에서, 상기 릴리스 레버(18)를 조작하여 상기 릴리스 케이블(20)을 매개로 상기 록킹기구(16)를 선회시키게 되면, 상기 하부 링크(14b)의 래치(14c)와의 치결합이 해제되고, 이어 상기 가동 본체부(24)에 대해 하방향으로 하중을 가하게 되면, 상기 가동 본체부(24)는 도 4에 도시된 바와 같이 수직한 방향으로 하향 변위할 수 있게 되고, 이 상태에서 상기 릴리스 레버(18)의 조작을 해제하면, 상기 록킹기구(16)는 제2토션 스프링(28)에 의한 복원력에 의해 상기 하부 링크(14b)의 래치(14c)와 치결합하게 되므로 설정된 높이를 유지할 수 있게 된다.In this state, when the
또한, 상기 릴리스 레버(18)를 다시 조작하여 상기 가동 본체부(24)에 대해 하방향으로 하중을 더 가하게 되면, 상기 가동 본체부(24)는 도 5에 도시된 바와 같이 최하단의 위치로 변위할 수 있게 되고, 이와 같이 상기 가동 본체부(24)가 최하단의 위치에서는 상기 링크기구(14) 중 상부 링크(14a)가 하측에 위치한 스토퍼 브라켓(34)에 의해 하방향으로의 선회가 제한된 상태를 유지할 수 있게 된다. 또한, 이 상태에서 상기 릴리스 레버(18)의 조작을 해제하면, 상기 가동 본체부(24)는 상기 하부 링크(14b)의 래치(14c)와 상기 록킹기구(16) 사이의 치결합을 통해 설정된 높이를 유지할 수 있게 된다.In addition, when the
이와 반대로, 상기 릴리스 레버(18)의 조작을 통해 상기 하부 링크(14b)의 래치(14c)와 상기 록킹기구(16) 사이의 치결합을 해제한 상태에서 상기 가동 본체부(24)에 대해 하중을 가하지 않게 되면, 상기 제1토션 스프링(26)에 의한 복원력에 의해 상기 링크기구(14)는 상방향으로 선회하게 되므로 도 3에 도시된 바와 같이 최상단의 위치에 이르기까지 상승할 수 있게 된다.Conversely, in a state in which the tooth engagement between the
아울러, 본 발명은 상기와 같은 일련의 과정에서 상기 고정 본체부(22)에 대한 상기 가동 본체부(24)의 수직방향 높이를 탑승자의 체형에 맞는 최적의 다단 위치로 조절할 수 있으므로, 상기 암레스트(12)의 상품성을 향상시킴과 동시에 탑승자의 편의를 도울 수 있게 된다.In addition, the present invention can adjust the vertical height of the
이상의 설명은 본 발명의 기술적 사상을 예시적으로 설명한 것에 불과한 것으로서, 본 발명이 속하는 기술분야에서 통상의 지식을 가진 자라면 본 발명의 본질적인 특성에서 벗어나지 않는 범위에서 다양한 수정 및 변형이 가능할 것이다. 따라서, 본 발명에 개시된 실시예들은 본 발명의 기술적 사상을 한정하기 위한 것이 아니라 설명하기 위한 것이고, 이러한 실시예에 의하여 본 발명의 기술적 사상의 범위가 한정되는 것은 아니다. 그러므로, 본 발명의 보호범위는 아래의 청구범위에 의하여 해석되어야 하며, 그와 동등한 범위 내에 있는 모든 기술적 사상은 본 발명의 권리범위에 포함되는 것으로 해석되어야 할 것이다.The above description is merely an example of the technical idea of the present invention, and various modifications and variations can be made to those skilled in the art without departing from the essential characteristics of the present invention. Therefore, the embodiments disclosed in the present invention are not intended to limit the technical idea of the present invention, but to explain, and the scope of the technical idea of the present invention is not limited by these embodiments. Therefore, the protection scope of the present invention should be construed according to the following claims, and all technical ideas within the equivalent range should be construed as being included in the scope of the present invention.
10-시트 백 12-암레스트
14-링크기구 14a-상부 링크
14b-하부 링크 14c-래치
16-록킹기구 18-릴리스 레버
20-릴리스 케이블 22-고정 본체부
23-고정본체 커버부 24-가동 본체부
25-가동본체 커버부 26-제1토션 스프링
28-제2토션 스프링 30-서포트 브라켓
32-리턴 스프링 34-스토퍼 브라켓10-seat back 12-armrest
14-
14b -
16 - locking mechanism 18 - release lever
20-release cable 22-fixed body part
23-fixed body cover part 24-movable body part
25-movable body cover part 26-first torsion spring
28-second torsion spring 30-support bracket
32-return spring 34-stopper bracket
Claims (7)
상기 고정 본체부(22)에 대해 선회 가능하게 설치되는 가동 본체부(24);
상기 고정 본체부(22)와 상기 가동 본체부(24) 사이를 연결하고 래치(14c)를 갖춘 링크기구(14);
상기 고정 본체부(22)와의 힌지지점에 설치되어 상기 링크기구(14)를 상방향으로 선회되도록 가압하는 제1토션 스프링(26);
상기 가동 본체부(24)에 선회 가능하게 설치되고 상기 래치(14c)와 선택적으로 치결합되는 록킹기구(16);
상기 록킹기구(16)를 가압하여 상기 래치(14c)와의 치결합 상태를 유지하는 제2토션 스프링(28);
상기 가동 본체부(24)에 설치되고 상기 래치(14c)와 상기 록킹기구(16) 사이의 치결합을 해제하는 릴리스 레버(18); 및
상기 록킹기구(16)와 상기 릴리스 레버(18) 사이를 연결하는 릴리스 케이블(20)을 구비하는 것을 특징으로 하는 시트용 암레스트의 높이 조절장치.
a fixed body portion 22 installed on the back frame 10a of the seat;
a movable body portion 24 installed to be pivotable with respect to the fixed body portion 22;
a link mechanism (14) connecting between the fixed body portion (22) and the movable body portion (24) and having a latch (14c);
a first torsion spring 26 installed at a hinge point with the fixed main body 22 and urging the link mechanism 14 to rotate upward;
a locking mechanism (16) installed pivotably on the movable body portion (24) and selectively tooth-engaged with the latch (14c);
a second torsion spring 28 pressurizing the locking mechanism 16 to maintain a tooth-engaged state with the latch 14c;
a release lever (18) installed on the movable body portion (24) and releasing the engagement between the latch (14c) and the locking mechanism (16); and
A height adjusting device for an armrest for a seat, characterized in that it comprises a release cable 20 connecting between the locking mechanism 16 and the release lever 18.
상기 릴리스 레버(18)와 상기 릴리스 케이블(20)에 복원력을 제공하고, 상기 록킹기구(16)를 가압하여 상기 래치(14c)와의 치결합 상태를 유지하는 리턴 스프링(32)을 더 포함하는 것을 특징으로 하는 시트용 암레스트의 높이 조절장치.
The method of claim 1,
Further comprising a return spring 32 providing restoring force to the release lever 18 and the release cable 20 and pressurizing the locking mechanism 16 to maintain a tooth engagement state with the latch 14c. Characterized by the height adjustment device of the armrest for the seat.
상기 릴리스 케이블(20)을 이동 가능하게 지지하는 서포트 브라켓(30)을 더 포함하고, 상기 리턴 스프링(32)은 상기 록킹기구(16)와 상기 서포트 브라켓(30) 사이에서 상기 릴리스 케이블(20)의 외부에 끼워지도록 설치되는 것을 특징으로 하는 시트용 암레스트의 높이 조절장치.
The method of claim 2,
A support bracket 30 for movably supporting the release cable 20 is further included, and the return spring 32 is interposed between the locking mechanism 16 and the support bracket 30 to release the cable 20. The height adjustment device of the armrest for the seat, characterized in that installed to be fitted to the outside of the.
상기 링크기구(14)는 상기 고정 본체부(22)와 상기 가동 본체부(24)를 사이를 연결하는 상부 링크(14a), 및 상기 상부 링크(14a)의 하부에서 상기 고정 본체부(22)와 상기 가동 본체부(24) 사이를 연결하고 상기 가동 본체부(24)를 향한 일단부에 상기 래치(14c)를 형성하는 하부 링크(14b)로 이루어지는 것을 특징으로 하는 시트용 암레스트의 높이 조절장치.
The method of claim 1,
The link mechanism 14 includes an upper link 14a connecting the fixed body portion 22 and the movable body portion 24, and the fixed body portion 22 at the bottom of the upper link 14a. Height adjustment of the armrest for a seat, characterized in that consisting of a lower link (14b) connecting between the movable body portion (24) and forming the latch (14c) at one end toward the movable body portion (24) Device.
상기 고정 본체부(22)와 결합되는 고정본체 커버부(23)를 더 포함하고, 상기 제1토션 스프링(26)은 일단부가 상기 하부 링크(14b)에 고정되고 타단부가 상기 고정본체 커버부(23)에 고정되도록 설치되는 것을 특징으로 하는 시트용 암레스트의 높이 조절장치.
The method of claim 4,
A fixed body cover part 23 coupled to the fixed body part 22 is further included, and one end of the first torsion spring 26 is fixed to the lower link 14b and the other end is fixed to the fixed body cover part. (23) Height adjustment device for the armrest for the seat, characterized in that installed so as to be fixed.
상기 제2토션 스프링(28)은 상기 록킹기구(16)의 힌지지점에 설치되고, 일단부가 상기 록킹기구(16)에 고정되며 타단부가 상기 가동 본체부(24)에 결합되는 가동본체 커버부(25)에 고정되도록 설치되는 것을 특징으로 하는 시트용 암레스트의 높이 조절장치.
The method of claim 1,
The second torsion spring 28 is installed at the hinge point of the locking mechanism 16, one end is fixed to the locking mechanism 16 and the other end is coupled to the movable body portion 24 A movable body cover portion (25) Height adjustment device for the armrest for the seat, characterized in that installed so as to be fixed.
상기 링크기구(14)에 대한 상하방향으로의 선회 위치를 제한하는 스토퍼 브라켓(34)을 더 포함하고, 상기 스토퍼 브라켓(34)은 상기 링크기구(14) 중 상기 하부 링크(14b)의 선회 위치를 제한하도록 상기 고정 본체부(22)에 설치되는 것을 특징으로 하는 시트용 암레스트의 높이 조절장치. The method of claim 4,
It further includes a stopper bracket 34 that limits the pivoting position of the link mechanism 14 in the vertical direction, and the stopper bracket 34 is the pivoting position of the lower link 14b of the link mechanism 14 The height adjusting device of the armrest for a seat, characterized in that installed in the fixing body portion 22 to limit.
Priority Applications (1)
| Application Number | Priority Date | Filing Date | Title |
|---|---|---|---|
| KR1020160139882A KR102522891B1 (en) | 2016-10-26 | 2016-10-26 | Height adjusting device of armrest for seat |
Applications Claiming Priority (1)
| Application Number | Priority Date | Filing Date | Title |
|---|---|---|---|
| KR1020160139882A KR102522891B1 (en) | 2016-10-26 | 2016-10-26 | Height adjusting device of armrest for seat |
Publications (2)
| Publication Number | Publication Date |
|---|---|
| KR20180045482A KR20180045482A (en) | 2018-05-04 |
| KR102522891B1 true KR102522891B1 (en) | 2023-04-18 |
Family
ID=62199901
Family Applications (1)
| Application Number | Title | Priority Date | Filing Date |
|---|---|---|---|
| KR1020160139882A Active KR102522891B1 (en) | 2016-10-26 | 2016-10-26 | Height adjusting device of armrest for seat |
Country Status (1)
| Country | Link |
|---|---|
| KR (1) | KR102522891B1 (en) |
Families Citing this family (2)
| Publication number | Priority date | Publication date | Assignee | Title |
|---|---|---|---|---|
| KR102230108B1 (en) * | 2019-05-28 | 2021-03-19 | 이득우 | Sliding locking armrest for vehicle |
| CN112009687A (en) * | 2020-09-30 | 2020-12-01 | 河北科技大学 | Locking-unlocking mechanism of unmanned aerial vehicle carrying information acquisition device |
Citations (2)
| Publication number | Priority date | Publication date | Assignee | Title |
|---|---|---|---|---|
| JP2009274646A (en) | 2008-05-16 | 2009-11-26 | Toyota Boshoku Corp | Armrest support structure |
| JP2016101844A (en) | 2014-11-28 | 2016-06-02 | 株式会社タチエス | Seating device |
Family Cites Families (3)
| Publication number | Priority date | Publication date | Assignee | Title |
|---|---|---|---|---|
| JPH0898741A (en) * | 1994-09-30 | 1996-04-16 | Tachi S Co Ltd | Armrest angle adjustment device |
| KR20050006821A (en) | 2003-07-10 | 2005-01-17 | 현대모비스 주식회사 | Device of adjusting rear seat's arm rest |
| KR20100030428A (en) * | 2008-09-10 | 2010-03-18 | 다이모스(주) | Lever typed seat arm rest angle adjusting device |
-
2016
- 2016-10-26 KR KR1020160139882A patent/KR102522891B1/en active Active
Patent Citations (2)
| Publication number | Priority date | Publication date | Assignee | Title |
|---|---|---|---|---|
| JP2009274646A (en) | 2008-05-16 | 2009-11-26 | Toyota Boshoku Corp | Armrest support structure |
| JP2016101844A (en) | 2014-11-28 | 2016-06-02 | 株式会社タチエス | Seating device |
Also Published As
| Publication number | Publication date |
|---|---|
| KR20180045482A (en) | 2018-05-04 |
Similar Documents
| Publication | Publication Date | Title |
|---|---|---|
| JP5172702B2 (en) | Vehicle seat having a height adjustable region and a lowered position | |
| US5664841A (en) | Motor-vehicle seat | |
| US10239419B2 (en) | Anthropomorphic pivotable upper seatback support | |
| US6860564B2 (en) | Vehicular seat assembly having a cam driven self positioning head restraint | |
| US8414055B2 (en) | Vehicle seat | |
| JP3113656U (en) | Child seat for automobile | |
| KR20180108955A (en) | Seat position adjustment apparatus for vehicle | |
| JPH037528B2 (en) | ||
| US7497517B2 (en) | Vehicle seat with lowered position | |
| CN109070774A (en) | Change child's automotive seat of position | |
| JP5690970B2 (en) | Vehicle seat | |
| US7942479B2 (en) | Combined manual recline and manual lumbar adjustment mechanism | |
| CN107020990A (en) | Outriggers for vehicle seats | |
| KR20160027599A (en) | Seat cushion extension apparatus | |
| JP7579045B2 (en) | Chair arm rest device | |
| US10675996B2 (en) | Vehicle seat easy-entry system | |
| JP4583613B2 (en) | Vehicle seat support mechanism | |
| KR102287978B1 (en) | Armrest of car seat | |
| KR102522891B1 (en) | Height adjusting device of armrest for seat | |
| KR101994880B1 (en) | Seat cushion dual extension apparatus | |
| KR102287977B1 (en) | Armrest of car seat | |
| JP5589833B2 (en) | Vehicle seat | |
| KR101925458B1 (en) | Seat supporting device for heavy vehicle | |
| KR20220056372A (en) | Console armrest with displacement adjustable | |
| KR102122800B1 (en) | Multi functional chair |
Legal Events
| Date | Code | Title | Description |
|---|---|---|---|
| PA0109 | Patent application |
Patent event code: PA01091R01D Comment text: Patent Application Patent event date: 20161026 |
|
| PG1501 | Laying open of application | ||
| PA0201 | Request for examination |
Patent event code: PA02012R01D Patent event date: 20211001 Comment text: Request for Examination of Application Patent event code: PA02011R01I Patent event date: 20161026 Comment text: Patent Application |
|
| E902 | Notification of reason for refusal | ||
| PE0902 | Notice of grounds for rejection |
Comment text: Notification of reason for refusal Patent event date: 20230308 Patent event code: PE09021S01D |
|
| E701 | Decision to grant or registration of patent right | ||
| PE0701 | Decision of registration |
Patent event code: PE07011S01D Comment text: Decision to Grant Registration Patent event date: 20230412 |
|
| GRNT | Written decision to grant | ||
| PR0701 | Registration of establishment |
Comment text: Registration of Establishment Patent event date: 20230413 Patent event code: PR07011E01D |
|
| PR1002 | Payment of registration fee |
Payment date: 20230413 End annual number: 3 Start annual number: 1 |
|
| PG1601 | Publication of registration |
