[go: up one dir, main page]

KR102281271B1 - Air Filter with low pressure drop - Google Patents

Air Filter with low pressure drop Download PDF

Info

Publication number
KR102281271B1
KR102281271B1 KR1020200157406A KR20200157406A KR102281271B1 KR 102281271 B1 KR102281271 B1 KR 102281271B1 KR 1020200157406 A KR1020200157406 A KR 1020200157406A KR 20200157406 A KR20200157406 A KR 20200157406A KR 102281271 B1 KR102281271 B1 KR 102281271B1
Authority
KR
South Korea
Prior art keywords
filter
layer
filter media
media
media layer
Prior art date
Legal status (The legal status is an assumption and is not a legal conclusion. Google has not performed a legal analysis and makes no representation as to the accuracy of the status listed.)
Active
Application number
KR1020200157406A
Other languages
Korean (ko)
Other versions
KR20210035766A (en
Inventor
조광형
Original Assignee
조광형
Priority date (The priority date is an assumption and is not a legal conclusion. Google has not performed a legal analysis and makes no representation as to the accuracy of the date listed.)
Filing date
Publication date
Application filed by 조광형 filed Critical 조광형
Publication of KR20210035766A publication Critical patent/KR20210035766A/en
Application granted granted Critical
Publication of KR102281271B1 publication Critical patent/KR102281271B1/en
Active legal-status Critical Current
Anticipated expiration legal-status Critical

Links

Images

Classifications

    • BPERFORMING OPERATIONS; TRANSPORTING
    • B01PHYSICAL OR CHEMICAL PROCESSES OR APPARATUS IN GENERAL
    • B01DSEPARATION
    • B01D39/00Filtering material for liquid or gaseous fluids
    • B01D39/14Other self-supporting filtering material ; Other filtering material
    • B01D39/16Other self-supporting filtering material ; Other filtering material of organic material, e.g. synthetic fibres
    • B01D39/1607Other self-supporting filtering material ; Other filtering material of organic material, e.g. synthetic fibres the material being fibrous
    • B01D39/1623Other self-supporting filtering material ; Other filtering material of organic material, e.g. synthetic fibres the material being fibrous of synthetic origin
    • BPERFORMING OPERATIONS; TRANSPORTING
    • B01PHYSICAL OR CHEMICAL PROCESSES OR APPARATUS IN GENERAL
    • B01DSEPARATION
    • B01D2239/00Aspects relating to filtering material for liquid or gaseous fluids
    • B01D2239/06Filter cloth, e.g. knitted, woven non-woven; self-supported material
    • B01D2239/0604Arrangement of the fibres in the filtering material
    • B01D2239/0618Non-woven
    • BPERFORMING OPERATIONS; TRANSPORTING
    • B01PHYSICAL OR CHEMICAL PROCESSES OR APPARATUS IN GENERAL
    • B01DSEPARATION
    • B01D2239/00Aspects relating to filtering material for liquid or gaseous fluids
    • B01D2239/06Filter cloth, e.g. knitted, woven non-woven; self-supported material
    • B01D2239/065More than one layer present in the filtering material
    • BPERFORMING OPERATIONS; TRANSPORTING
    • B01PHYSICAL OR CHEMICAL PROCESSES OR APPARATUS IN GENERAL
    • B01DSEPARATION
    • B01D2239/00Aspects relating to filtering material for liquid or gaseous fluids
    • B01D2239/12Special parameters characterising the filtering material
    • B01D2239/1233Fibre diameter

Landscapes

  • Chemical & Material Sciences (AREA)
  • Chemical Kinetics & Catalysis (AREA)
  • Filtering Materials (AREA)

Abstract

본 발명은 반도체 공장이나 디스플레이 장치 제조 공장 또는 클린룸에 설치되어 반도체 또는 LCD제조 공정에서 발생되거나 외부로부터 유입될 수 있는 오염 물질을 제거하는 여재로서, 섬유상 제1 여재층, 제1 여재층의 합성섬유 보다 평균 직경이 작은 제2 여재층이 합체된 저차압 여재에 대한 것이다.
또한, 본 발명은, 제1 여재층과 제2 여재층을 포함하는 여재에 있어서, 상기 제1 여재층에 포함되는 합성섬유의 평균 직경이 상기 제2 여재층에 포함되는 합성섬유의 평균 직경보다 크고, 상기 섬유상 제 1여재층과 제2 여재층 사이에 부직포 여재층이 추가로 합체된 반도체 크린룸용 저차압 여재에 관한 것으로서, 포집량 향상을 통하여 여재의 교체 주기를 연장시킨 다층상 구조의 저차압 여재에 관한 것이다.
The present invention is a filter medium installed in a semiconductor factory, a display device manufacturing factory, or a clean room to remove contaminants that may be generated in a semiconductor or LCD manufacturing process or may be introduced from the outside, and a fibrous first filter media layer and a first filter media layer are synthesized It relates to a low differential pressure filter media in which a second media layer having an average diameter smaller than that of the fibers is incorporated.
In addition, in the present invention, in the filter media including the first filter media layer and the second media layer, the average diameter of the synthetic fibers included in the first media layer is greater than the average diameter of the synthetic fibers included in the second media layer. It relates to a low differential pressure filter medium for a semiconductor clean room in which a non-woven filter medium layer is additionally incorporated between the fibrous first filter medium layer and the second filter medium layer, and has a multi-layered structure that extends the replacement cycle of the filter medium through the improvement of the collection amount It is about the differential pressure media.

Description

저차압 여재{Air Filter with low pressure drop}Low differential pressure media {Air Filter with low pressure drop}

본 발명은 반도체 공장이나 디스플레이 장치 제조 공장 또는 클린룸에 설치되어 반도체 또는 LCD제조 공정에서 발생되거나 외부로부터 유입될 수 있는 오염 물질을 제거하는 여재로서, 불소수지 멤브레인 필터 및/또는 제1 여재층, 제1 여재층의 섬유보다 평균 직경이 더 작은 제2 여재층을 하나로 합체시킨 여재에 관한 것이다.
또한, 본 발명은 제1 여재층과 제2 여재층을 포함하는 여재에 있어서, 상기 제1 여재층에 포함되는 합성섬유의 평균 직경이 상기 제2 여재층에 포함되는 합성섬유의 평균 직경보다 크다는 점을 특징으로 하는, 여재에 관한 것이다.
The present invention is a filter medium installed in a semiconductor factory, a display device manufacturing factory, or a clean room to remove contaminants that may be generated in a semiconductor or LCD manufacturing process or may be introduced from the outside, a fluororesin membrane filter and/or a first media layer, It relates to a filter media in which a second media layer having an average diameter smaller than that of the fibers of the first media layer is incorporated into one.
In addition, in the present invention, in the filter media including the first filter media layer and the second media layer, the average diameter of the synthetic fibers included in the first media layer is greater than the average diameter of the synthetic fibers included in the second media layer. It relates to a mediator, characterized by dots.

삭제delete

보다 구체적으로, 본 발명은 불소수지 멤브레인 필터 및/또는 섬유상 제1 여재층과 제2 여재층 사이에 여과물 포집용 여재층이 추가로 합체된 반도체 클린룸용 여재에 관한 것으로서, 여과물 포집량 향상을 통하여 여재의 교체 주기를 연장시킨, 다층상 구조의 여재에 관한 것이다. More specifically, the present invention relates to a filter medium for a semiconductor clean room in which a fluororesin membrane filter and/or a filter medium layer for collecting filtrates is further incorporated between the fibrous first and second filter media layers, and the amount of filtrates collected is improved It relates to a filter medium with a multi-layered structure that extends the replacement cycle of the filter medium through

고도화되는 산업 환경에 따라 인간이 오염된 공기를 흡입하거나 이에 노출되는 빈도가 매우 높아지고 있으며, 건강상의 이유뿐만 아니라, 산업현장에서 공기오염으로 인한 생산품의 불량률 등을 낮추기 위해 안전관리 등이 부각되고 있는 실정이다.The frequency of human inhalation or exposure to polluted air is very high according to the advanced industrial environment. In addition to health reasons, safety management is being emphasized to reduce the defective rate of products due to air pollution in industrial sites. the current situation.

따라서, 산업현장에서는 생산품의 불량률을 낮추기 위한 고청정 공기 환경이 필요하게 되어, 막대한 비용을 투자하여 클린룸을 설치하고 있고, 이러한 클린룸에는 고기능성 여재가 다양한 방식으로 설치된다. Therefore, a high clean air environment is needed to reduce the defect rate of products in industrial sites, and a clean room is installed by investing a huge amount of money, and high functional filter media is installed in the clean room in various ways.

클린룸의 기류 흐름 방식은 일반적으로 수직층류 방식, 수평층류 방식 및 비층류 방식으로 3가지 방식으로 나뉘어져 있는데, 수직층류 방식은 천정면의 80% 이상을 고기능성 여재를 장착하여 기류를 아래로 취출시켜 바닥으로 순환하고, 천정으로 순환된 천정공기는 최단거리로 환기되기 때문에 청정도 클래스 10 내지 1,000 이 요구되는 시설에 적합한 방식이다. The airflow method in a clean room is generally divided into three types: vertical laminar flow, horizontal laminar flow, and non-laminar flow. In the vertical laminar flow method, more than 80% of the ceiling surface is equipped with high-functional filter media, and airflow is blown down. This method is suitable for facilities requiring cleanliness class 10 to 1,000 because the ceiling air circulated to the floor and circulated to the ceiling is ventilated in the shortest distance.

수평층류 방식은 벽면의 한쪽에 고기능성 여재를 설치하여 층류를 형성하여 취출시키고, 반대측의 벽면으로 환기시켜 순화하는 방식으로 청정도 클래스 100 내지 10,000이 요구되는 시설에 적합한 방식이다. The horizontal laminar flow method is a method suitable for facilities requiring cleanliness class 100 to 10,000, in which a high-functional filter is installed on one side of the wall to form a laminar flow, and then ventilated to the opposite wall to purify.

비층류 방식은 천정의 일부에 고기능성 여재를 설치하고, 취출되는 공기를 가능한 한 바닥쪽의 벽면을 통하여 순환시키는 방식으로 공조 닥트의 취출구에 필터 유닛을 설치하는 것이 가능하여 청정도 클래스 100 내지 100,000이 요구되는 시설에 적합한 방식이다.In the non-laminar flow method, a high-functional filter is installed on a part of the ceiling and the air blown out is circulated through the wall as far as possible. It is possible to install a filter unit at the outlet of the air conditioning duct, so cleanliness class 100 to 100,000 This is a suitable method for the required facility.

상기와 같이 다양한 방식으로 설치되는 클린룸은 현장에서의 클래스 기준이 엄격하여 외부에서 공급되는 공기 내의 잔류분진을 0.3㎛ 이하까지 차단하여 청정도를 유지하며, 생산품의 하자율을 낮추고, 양압을 유지하여 외부로부터 공기유입을 차단하는 클린룸의 특성상 많은 양의 공기공급을 필요로 하고 있다. Clean rooms installed in various ways as described above have strict class standards in the field, so they block residual dust in the air supplied from the outside to 0.3㎛ or less to maintain cleanliness, lower the defect rate of products, and maintain positive pressure. Due to the nature of the clean room, which blocks the inflow of air from the air, a large amount of air is required.

현재까지 여재 제조에 사용되고 있는 유리섬유의 경우, 초기 정압이 높고 단섬유로 구성되므로 수분을 흡수하여 풍압에 의해 파손될 수 있다. 또한 내화학성이 약하여 불산 등의 강산을 사용하는 환경에서 사용이 불가능하며, 인장 강도가 약하여 불량률이 높은데다 깨지기 쉽고 소각이 불가능하다는 단점이 있다. In the case of glass fibers used in the production of filter media so far, since they have a high initial static pressure and are composed of short fibers, they may absorb moisture and be damaged by wind pressure. In addition, the chemical resistance is weak, so it cannot be used in an environment where strong acids such as hydrofluoric acid are used, and the defect rate is high due to the weak tensile strength, and there are disadvantages in that it is easy to break and cannot be incinerated.

그런데 유리섬유 대체 재료로 사용될 수 있는 용융 분사 공법으로 제조되는 멜트블로운 극세사 섬유 필터(Melt Blown섬유상 필터, MB필터)의 경우 역시 초기 정압이 높아 풍량을 유지하기 위하여 효율을 낮춰야 하는 어려움이 있으며, 이로 인한 유지비용과 관리비용이 크게 상승하는 문제점이 있다. However, in the case of a melt blown microfiber filter (Melt Blown fibrous filter, MB filter) manufactured by a melt spraying method that can be used as an alternative material for glass fiber, the initial static pressure is also high, so there is a difficulty in lowering the efficiency to maintain the air volume. As a result, there is a problem in that the maintenance cost and the management cost are greatly increased.

현재 널리 사용중인 멜트블로운(MB)필터는 인체에 무해하고 내열성이 우수한 한 폴리프로필렌 수지 또는 폴리에틸렌 또는 폴리에스테르 수지를 극세사로 용융 방사하여 제조하는 3차원 섬유 구조의 필터로서, 포집 공간이 크고 기계적 강도가 우수하여 불순물 포집량이 증가하여 여재의 사용 효율이 증가된다. Melt blown (MB) filter, which is currently widely used, is a three-dimensional fiber structure filter manufactured by melt spinning polypropylene resin or polyethylene or polyester resin into microfiber as long as it is harmless to the human body and has excellent heat resistance. Due to its excellent strength, the amount of impurity captured increases, thereby increasing the efficiency of use of the filter media.

폴리프로필렌이나 폴리에스테르는 기계적 화학적으로 매우 안정한 소재이므로 필터 분해 물질에 의한 2차 오염도 발생하지 아니한다. 또한 멜트블로운 필터를 형성하는 섬유 굵기와 길이를 균일하게 조절할 수 있어서 여과 정밀도를 상승시킬 수도 있고 풍압의 변화에도 불구하고 여과 정밀도가 유지할 수 있다는 장점도 있다.Polypropylene or polyester is a material that is mechanically and chemically very stable, so secondary contamination by filter decomposition substances does not occur. In addition, since the thickness and length of the fibers forming the melt blown filter can be uniformly adjusted, the filtration precision can be increased, and there is an advantage that the filtration precision can be maintained despite changes in wind pressure.

헤파(HEPA, High Efficiency Particulate Arrestor)필터는 공기에서 미세한 입자를 제거하는 고성능 필터로, 미국 원자력위원회에서 방사능 물질 제거용으로 개발됐다. 헤파필터는 0.3μm(마이크로미터)보다 크거나 같은 입자를 흡착시키는 역할로, H10에서 H14 단계로 구분한다. The HEPA (High Efficiency Particulate Arrestor) filter is a high-performance filter that removes fine particles from the air, and was developed by the U.S. Atomic Energy Commission to remove radioactive materials. The HEPA filter is responsible for adsorbing particles larger than or equal to 0.3 μm (micrometer), and it is divided into H10 to H14 stages.

이러한 등급들 중에서, H12등급은 99.5%를, H13등급(의료용)은 99.95%를 여과하여 불순물을 포집할 수 있어야 한다. 가장 높은 H14등급은 99.995%를 흡착하여 제거할 수 있어야 한다.Among these grades, H12 grade should be able to filter 99.5% and H13 grade (medical use) 99.95% to collect impurities. The highest H14 grade should be able to adsorb and remove 99.995% of it.

고성능 헤파H12필터와 4단계 이상의 밀폐 여과 시스템을 통하여 헤파 필터가 제거할 수 있는 0.3μm보다 더 작은 0.05μm의 유해 입자도 99.95%이상 흡착 가능하다. 알레르기, 천식 등을 유발하는 미세먼지, 세균, 집먼지 진드기부터 100나노 이하의 일부 바이러스까지도 비말 또는 응집 상태라면 여과할 수있다. Through the high-performance H12 filter and the sealed filtration system of 4 or more stages, it is possible to adsorb more than 99.95% of harmful particles of 0.05μm smaller than 0.3μm that the HEPA filter can remove. From fine dust, bacteria, and house dust mites that cause allergies and asthma to some viruses with a size of 100 nanometers or less, it can be filtered if it is in the form of droplets or agglomeration.

그러나 헤파 필터는 특성상 세척이 어려워서, 여과물이 헤파 필터에 누적되는 구조이므로 장기간 필터 사용시에는 여과 압력 증가에 의한 제품 성능의 저하 현상이 발생한다는 단점이 있다. 따라서 헤파 필터의 여과물 포집용량을 증가시켜 수명을 연장함으로써 헤파 필터의 교체 주기를 확대하려는 새로운 기술의 개발이 절실하게 필요한 상황이다. However, since the HEPA filter is difficult to clean due to its characteristics, the filtrate is accumulated in the HEPA filter, so that when the filter is used for a long period of time, product performance is deteriorated due to an increase in filtration pressure. Therefore, there is an urgent need to develop a new technology to extend the replacement cycle of the HEPA filter by increasing the filtrate collection capacity of the HEPA filter to extend the lifespan.

멜트블로운(meltblown) 부직포는 열가소성 섬유를 형성할 수 있는 고분자를 수백개의 작은 방사구을 통해 방사하고, 방사노즐로부터 압출된 고분자는 용융상태에서 방사구의 양옆에서 고속으로 분사되는 열풍에 의해 초세화된 극세섬유가 수집체에 무질서하게 적층되는 자기결합형 부직포이다. Meltblown nonwoven fabric spun polymers capable of forming thermoplastic fibers through hundreds of small spinnerets, and the polymer extruded from the spinneret in a molten state is superfine by hot air sprayed from both sides of the spinneret at high speed. It is a self-bonding nonwoven fabric in which microfibers are randomly stacked on a collector.

이러한 멜트블로운 부직포가 미국 공기필터규격 ANSI/ASHRAE 522(1999)의 MERV 7 내지 16 수준에 해당하는 성능을 나타내며 MERV 수치가 올라갈수록 필터효율이 우수하고 보다 높은 등급의 필터를 의미한다.This melt blown nonwoven fabric exhibits performance corresponding to the MERV 7 to 16 level of the American air filter standard ANSI/ASHRAE 522 (1999), and the higher the MERV value, the better the filter efficiency and the higher grade filter.

멜트블로운 부직포는 유연한 특성으로 인하여 절곡 후의 형태안정성이 낮아서 절곡후 절곡가공 형태를 유지하지 못하고 원래 형태로 복귀하기 때문에 공기와 필터의 접촉능력이 떨어지면서 필터효율이 떨어지고, 압력손실이 커지는 문제점이발생한다. 따라서, 필터의 형태유지 능력이 필수적으로 요구되며, 특히 작은 필터면적에 많은 공기유량이 인입되는 자동차용 캐빈필터나 고효율 미디엄 필터에서는 더욱 그러하다.Meltblown nonwoven fabric has low shape stability after bending due to its flexible nature, so it cannot maintain the bending shape after bending and returns to its original shape. Occurs. Therefore, the filter's ability to maintain shape is essential, especially in a cabin filter for automobiles or a high-efficiency medium filter in which a large amount of air flow is introduced into a small filter area.

이러한 헤파 필터의 주요 소재로 사용되는 멜트블로운(MB) 필터는 1 내지 10마이크론 범위의 3차원 기공을 기류가 통과하면서 유해한 먼지 및 분진을 차단하는 필터링을 하는데, 장시간 필터링시 에어 플로우 인(air flow in) 부분의 필터 미디어(midia)가 막히는 현상이 나타나, 이로 인하여 필터 면에서 차압이 상승하는 문제점이 발생한다. The melt blown (MB) filter used as the main material of such a HEPA filter performs filtering to block harmful dust and dust while airflow passes through three-dimensional pores in the range of 1 to 10 microns. A phenomenon in which the filter media (midia) in the flow in part is clogged occurs, which causes a problem in that the differential pressure rises on the filter surface.

본 발명의 여재로 사용되는 것은 주로 멜트 블로운 부직포이다. 멜트 블로운 부직포는 압축 공기를 이용하여 용융 상태의 수지를 1마이크로미터 내외의 직경을 갖는 극세 섬유로 방사함으로써 무질서하게 포집시킨 부직포로서 복합 방사, 분할 방사, 전기 방사 방법이 동원되어 제작되기도 한다. It is mainly melt blown nonwoven fabric used as the filter material of the present invention. Melt-blown non-woven fabric is a non-woven fabric that is disorderly collected by spinning a molten resin into microfibers having a diameter of about 1 micrometer using compressed air. It is also produced by mobilizing complex spinning, split spinning, and electrospinning methods.

듀퐁사나 국내의 효성에서 단성분 방사로 제조되는 멜트블로운 여재는 0.3데니어 내지 0.2데니어의 극세사로 제조된다. 일본의 도레이가 다성분 방사법으로 제조하는 0.0001데니어 급의 초극세사로 제조되는 멜트 블로운 여재가 본 발명의 필터층으로 사용될 수 있다. 이러한 멜트 블로운 나노 섬유 부직포는 멤브레인 수준의 선택적 투과성을 나타내는 여재가 제조된다. Meltblown media produced by single-component spinning by DuPont or Hyosung in Korea is manufactured from microfibers of 0.3 denier to 0.2 denier. A melt blown filter medium made of 0.0001 denier grade ultra-microfibers manufactured by Toray Corporation of Japan by a multi-component spinning method may be used as the filter layer of the present invention. These melt blown nanofiber nonwoven fabrics are fabricated with a filter media that exhibits membrane-level selective permeability.

본 발명에서는 2개층의 여재층들을 형성하는 멜트 블로운 여재의 섬유 직경을 서로 달리하여 헤파13이상의 여과 능력을 유지하면서, 여재층 사이에 스펀 본드 여재층을 복합시켜서 여과물을 포집하면서도 여재 전체의 기계적 강도를 보강하여 상당한 풍압에도 여재의 물리적 왜곡을 방지하도록 하였다. In the present invention, the fiber diameter of the melt blown media forming the two layers of media is different from each other to maintain the filtration ability of HEPA 13 or higher, and the spunbond media layers are combined between the media layers to collect the filtrate while capturing the entire filter media. The mechanical strength was reinforced to prevent the physical distortion of the filter media even under considerable wind pressure.

삭제delete

삭제delete

삭제delete

삭제delete

삭제delete

삭제delete

삭제delete

대한민국 특허 제10-0731791호에서는 복합방사 멜트블로운 부직포를 이용한 필터의 제조방법 및 그로부터 형성된 필터를 공개하고 있다. 이 선행기술의 필터 제조방법은 (S1) 소정 융점을 갖는 제1 열가소성 고분자와 상기 제1 열가소성 고분자보다 저융점을 갖는 제2 열가소성 고분자의 2성분계 복합방사섬유로 이루어진 2성분계 복합방사 멜트블로운 부직포를 준비하는 단계; (S2) 상기 2성분계 복합방사 멜트블로운 부직포를 상기 제2 열가소성 고분자의 융점보다 고융점을 갖는 제3 열가소성 고분자로 된 1성분계 멜트블로운 부직포의 일면 또는 양면에 적층하는 단계; 및 (S3) 상기 적층된 부직포에 제2 열가소성 고분자만을 용융시킬 수 있는 온도로 열을 가하여 2성분계 복합방사 멜트블로운 부직포와 1성분계 멜트블로운 부직포를 상호 열접착시키는 단계를 포함한다.Korean Patent No. 10-0731791 discloses a method for manufacturing a filter using a composite spinning melt blown nonwoven fabric and a filter formed therefrom. This prior art filter manufacturing method is (S1) a two-component composite spun meltblown nonwoven fabric comprising two-component composite spun fibers of a first thermoplastic polymer having a predetermined melting point and a second thermoplastic polymer having a lower melting point than the first thermoplastic polymer. preparing; (S2) laminating the two-component composite spun meltblown nonwoven fabric on one or both surfaces of the one-component meltblown nonwoven fabric made of a third thermoplastic polymer having a higher melting point than that of the second thermoplastic polymer; and (S3) heat bonding the two-component composite spun meltblown nonwoven fabric and the one-component meltblown nonwoven fabric to each other by applying heat to the laminated nonwoven fabric at a temperature capable of melting only the second thermoplastic polymer. 미합중국 3M이 출원한 국제특허PCT/US2000/02458호에서는 본 발명은 신규한 플루오로케미컬 소중합체, 및 플루오로케미컬 소중합체 화합물과 열가소성 중합체 또는 열경화성 중합체를 포함하는 중합체 조성물을 제공한다. 중합체 조성물은 바람직한 발유성 및 발수성을 가진 섬유 및 필름과 같은 성형품을 제조하는 데 유용하다.In International Patent No. PCT/US2000/02458, filed by US 3M, the present invention provides a novel fluorochemical oligomer and a polymer composition comprising a fluorochemical oligomer compound and a thermoplastic or thermosetting polymer. The polymer composition is useful for making molded articles such as fibers and films having desirable oil and water repellency properties. 한편 미합중국의 도날드슨 컴퍼니는 국제특허출원 PCT/US2005/039971호를 통하여, 높은 강도와 우수한 여과 특성을 결합한 열융착 시트(thermally bonded sheet), 필터 매체 또는 성형된(shaped) 또는 형성된 매체를 포함하는 필터를 포함한다. 형성된 층 내에 상당한 비율의 유기 또는 무기 유리 섬유, 이성분 (bicomponent) 열가소성 바인더 섬유, 및 임의로 수지 바인더, 2차 섬유 또는 기타 여과 소재를 결합한 복합 필터를 개시하고 있다. 이성분 섬유의 사용은, 바인더 수지로부터 필름 형성을 상당히 감소시키거나 방지하고 또한 매체층의 특정 위치로의 수지의 이동에 기인한 매체 또는 요소 내의 균일성의 결여를, 별개의 수지 바인더 없이 또는 최소한의 양의 레지 바인더로 매체층 또는 필터 요소를 형성하는 것을 가능하게 한다. 이성분 섬유의 사용은 감소된 압축을 허용하고, 고형성(solidity)을 향상시키고, 인장 강도를 증가시키고, 매체층 또는 필터 요소에 첨가된 유리 섬유 및 기타 미세 섬유 물질과 같은 매체 섬유의 이용을 향상시킨다. 또한 이성분 섬유는 퍼니시(furnish) 형성, 시트 또는 층 형성 및 두께 조정, 건조, 절단, 및 필터 요소 형성과 같은 하류 공정 동안에 향상된 공정성을 제공한다. 이들 이성분은 다양한 비율로 결합하여 상당한 여과 능력, 투과성 및 여과 수명을 갖는 고강도 물질을 형성한다.On the other hand, the Donaldson Company of the United States of America, through International Patent Application No. PCT/US2005/039971, a thermally bonded sheet combining high strength and excellent filtration properties, a filter medium or a filter comprising a shaped or formed medium includes Composite filters are disclosed in which a significant proportion of organic or inorganic glass fibers, bicomponent thermoplastic binder fibers, and optionally resin binders, secondary fibers or other filtration materials are combined in the formed layer. The use of bicomponent fibers significantly reduces or prevents film formation from the binder resin and also reduces the lack of uniformity within the medium or element due to migration of the resin to a specific location in the media layer, without a separate resin binder or at a minimum. It makes it possible to form a media layer or filter element with a positive ledge binder. The use of bicomponent fibers allows for reduced compression, improves solidity, increases tensile strength, and reduces the use of media fibers such as glass fibers and other fine fiber materials added to media layers or filter elements. improve Bicomponent fibers also provide improved processability during downstream processes such as furnish formation, sheet or layer formation and thickness adjustment, drying, cutting, and filter element formation. These two components combine in various proportions to form a high strength material with significant filtration capacity, permeability and filtration life. 2019년 2월 7일에 대한민국특허출원 공개 제10-2019-0011838호를 통해서 미합중국 이엠디 밀리포어 코포레이션은, 제1 및 제2 고분자 섬유 함유 필터 매트들 사이에 위치된 거친 다공성 고분자 부직포 내부층을 갖는 복합 필터 매체를 포함하는 유체 여과 장치. 제1 및 제2 필터 매트들에 있어서의 섬유들의 직경은 서로 다르고, 각각의 필터 매트는 상이한 구멍 크기 정격을 가지며, 필터 매트들에 있어서의 제1 및 제2 고분자 섬유는 전기방사 나노섬유일 수 있고, 상기 내부층은, 제1 또는 제2 필터 매트에 비교했을 때 더 거친 구멍 크기를 가지며, 이에 따른 복합 매체는 그 사이의 거친 내부층의 존재 없이 서로 위에 직접 적층되는 필터층에 비해 증대된 먼지 포집 능력을 나타내는 기술을 공개한 바 있다.EMD Millipore Corporation of the United States through Republic of Korea Patent Application Publication No. 10-2019-0011838 on February 7, 2019 disclosed a rough porous polymer nonwoven inner layer positioned between the first and second polymer fiber-containing filter mats. A fluid filtration device comprising a composite filter medium having The diameters of the fibers in the first and second filter mats are different, each filter mat has a different pore size rating, and the first and second polymer fibers in the filter mats can be electrospun nanofibers. wherein the inner layer has a coarser pore size as compared to the first or second filter mat, and thus the composite media has increased dust compared to filter layers laminated directly on top of each other without the presence of a coarse inner layer therebetween. It has revealed a technology that shows its capture ability. 한편 일본의 아사히 가세이 셍이 가부시키가이샤는 국제특허출원 PCT/JP2007/051091을 통하여, 열압착에 의해 일체화된 적층 부직포로서, (a)층: 열가소성 수지로 이루어지는 장섬유 부직포층을 1개 이상 가지고;(b)층: (a)층과 같은 계열의 열가소성 수지로 이루어지는 극세섬유 부직포층을 1개 이상 가지며;(c)층: 열가소성 수지로 이루어지는 복합 장섬유 부직포층을 1개 이상 가지고;(1) (a) 층의 부직포를 구성하는 섬유와 (b)층의 부직포를 구성하는 섬유의 융점차가 30℃ 이하이며; (2) (c)층의 부직포를 구성하는 열가소성 수지로 이루어지는 복합 장섬유가 저융점 성분을 함유하고, 상기 저융점 성분의 융점이, (a)층의 부직포를 구성하는 섬유의 융점보다 40∼150℃ 낮은 것을 것을 특징으로 하는 열접착성 적층 부직포를 공개한 바 있다.On the other hand, Japan's Asahi Kasei Sengi Co., Ltd., through the international patent application PCT/JP2007/051091, as a laminated nonwoven fabric integrated by thermocompression bonding, (a) layer: having one or more long fiber nonwoven layers made of a thermoplastic resin ; (b) layer: having at least one ultrafine fiber nonwoven fabric layer made of a thermoplastic resin of the same series as layer (a); (c) layer: having at least one composite long fiber nonwoven fabric layer made of a thermoplastic resin; (1) ) the melting point difference between the fibers constituting the nonwoven fabric of the layer (a) and the fibers constituting the nonwoven fabric of the layer (b) is 30° C. or less; (2) The long composite fiber made of a thermoplastic resin constituting the nonwoven fabric of layer (c) contains a low-melting component, and the melting point of the low-melting component is 40 to greater than the melting point of the fibers constituting the nonwoven fabric of layer (a). A heat-adhesive laminated nonwoven fabric characterized in that it is low at 150°C has been disclosed.

따라서, 본 발명은 상기와 같은 선행기술들이 문제점을 해결하기 위한 것으로서, 포집 용량이 확대되어 여재의 교체 주기가 길어지고 수분에 강하며, 기존의 HEPA필터의 기체 여과 효율을 유지하면서 사용 수명이 길어진 고성능 여재를 제공하는 것을 목적으로 한다.Therefore, the present invention is to solve the problems of the prior art as described above, the collection capacity is expanded, the replacement cycle of the filter medium is longer, is resistant to moisture, and the service life is prolonged while maintaining the gas filtration efficiency of the existing HEPA filter. An object of the present invention is to provide high-performance media.

삭제delete

또한 본 발명은, 여재를 형성하는 멜트 블로운 여재의 섬유의 직경을 서로 달리하는 제1 여재층 및 제1 여재층을 복합시키고, 스펀 본드 여재층을 상기 제1 및 제2 여재층 사이에 배치하여 여과물질 포집 용량을 증가시켜서 고가의 여재의 교체 주기를 연장할 수 있는 고성능 여재를 제공하는 것을 목적으로 한다.In addition, the present invention provides a composite of a first filter media layer and a first filter media layer having different diameters of fibers of the melt blown media forming the filter media, and a spun-bonded media layer is disposed between the first and second media layers. An object of the present invention is to provide a high-performance filter media that can extend the replacement cycle of expensive media by increasing the filter material collection capacity.

본 발명에 따른 저차압 여재는 각각 합성섬유를 포함하는 제1 여재층과 제2 여재층을 포함하되, 상기 제1 여재층에 포함되는 합성섬유의 평균 직경이 상기 제2 여재층에 포함되는 합성섬유의 평균 직경보다 크며, 처리 용량이 32ℓ/min일 때, 차압이 5.5mmaq 미만이고, 여과 효율이 99.98% 이상일 수 있다.The low differential pressure filter material according to the present invention includes a first filter media layer and a second filter media layer each including synthetic fibers, wherein the average diameter of the synthetic fibers included in the first filter media layer is included in the second filter media layer. It is larger than the average diameter of the fibers, and when the treatment capacity is 32 L/min, the differential pressure is less than 5.5 mmaq, and the filtration efficiency can be greater than 99.98%.

상기 제1 및 제2 여재층 중 어느 하나에 포함되는 합성섬유는 용융 취입 방식으로 제조될 수 있다. 상기 제1 여재층과 상기 제2 여재층 사이에 스펀 본드 부직포 여재층이 더 포함될 수 있다. The synthetic fiber included in any one of the first and second filter media layers may be manufactured by a melt blowing method. A spun-bonded nonwoven fabric media layer may be further included between the first media layer and the second media layer.

상기 제1 여재층에 포함되는 멜트 블로운 섬유의 평균 섬유 직경은 1.0㎛ 내지 10㎛일 수 있다. 상기 제2 여재층에 포함되는 멜트 블로운 섬유의 평균 섬유 직경은 0.1㎛ 내지 1.0㎛일 수 있다.The average fiber diameter of the melt blown fibers included in the first filter media layer may be 1.0㎛ to 10㎛. The average fiber diameter of the melt blown fibers included in the second filter media layer may be 0.1 μm to 1.0 μm.

상기 제1 및 제2 여재층 중에서 어느 하나의 섬유는 폴리올레핀, 폴리에스테르, 폴리아미드, 및 폴리페닐렌설파이드로 구성되는 군에서 선택되는 하나 이상의 소재로 제조될 수 있다. 바람직하게, 상기 합성 섬유는 각각 폴리프로필렌과 폴리에틸렌테레프탈레이트로부터 제조된 것일 수 있다.Any one of the fibers of the first and second media layers may be made of one or more materials selected from the group consisting of polyolefin, polyester, polyamide, and polyphenylene sulfide. Preferably, the synthetic fibers may be prepared from polypropylene and polyethylene terephthalate, respectively.

그리고, 상기 제1 여재층과 상기 제2 여재층, 또는 상기 제1 여재층, 상기 부직포 여재층 및 상기 제2 여재층은 초음파 합지 방식으로 접합될 수 있다.In addition, the first filter media layer and the second media layer, or the first media layer, the non-woven fabric media layer, and the second media layer may be bonded to each other by an ultrasonic lamination method.

삭제delete

삭제delete

본 발명에 따른 저차압 여재는 압력 손실이 적어 에너지를 절약할 수 있고, 여재의 파손 우려가 없어 시공이 간편하며, 수분에 강하여 가습과 냉각시 유리하다. 또, 소음이 적고 설치와 폐기가 용이하며, 기존의 HEPA 효율(H13, 99.97%)을 유지하면서 좁은 공간에서도 풍량을 유지할 수 있다는 장점이 있다.The low differential pressure filter material according to the present invention can save energy due to low pressure loss, is easy to construct because there is no fear of damage to the filter material, and is strong against moisture, which is advantageous for humidification and cooling. In addition, it has the advantage of low noise, easy installation and disposal, and the ability to maintain the air volume in a narrow space while maintaining the existing HEPA efficiency (H13, 99.97%).

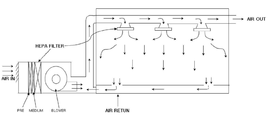
도 1은 본 발명에 따른 여재가 설치되는 클린룸의 내부 공기 순환도이다.
도 2는 본 발명에 따른 여재를 개략적으로 나타낸 도면이다.
도 3과 도 4는 본 발명에 따른 여재의 시험 성적서이다.
도 5와 도 6은 본 발명에 따른 여재의 최종 제품 사진이다.
1 is an internal air circulation diagram of a clean room in which a filter medium according to the present invention is installed.
2 is a view schematically showing a filter medium according to the present invention.
3 and 4 are test results of the filter media according to the present invention.
5 and 6 are pictures of the final product of the filter material according to the present invention.

본 발명의 이점 및 특징, 그리고 그것들을 달성하는 방법은 첨부되는 도면과 함께 상세하게 후술되어 있는 실시예들을 참조하면 명확해질 것이다. 그러나 본 발명은 이하에서 개시되는 실시예들에 한정되는 것이 아니라 서로 다른 다양한 형태로 구현될 수 있으며, 단지 본 실시예들은 본 발명의 개시가 완전하도록 하고, 본 발명이 속하는 기술분야에서 통상의 지식을 가진 자에게 발명의 범주를 완전하게 알려주기 위해 제공되는 것이며, 본 발명은 청구항의 범주에 의해 정의될 뿐이다.Advantages and features of the present invention and methods of achieving them will become apparent with reference to the embodiments described below in detail in conjunction with the accompanying drawings. However, the present invention is not limited to the embodiments disclosed below, but may be implemented in various different forms, and only these embodiments allow the disclosure of the present invention to be complete, and common knowledge in the art to which the present invention pertains It is provided to fully inform those who have the scope of the invention, and the present invention is only defined by the scope of the claims.

다른 정의가 없다면, 본 명세서에서 사용되는 모든 용어(기술 및 과학적 용어를 포함)는 본 발명이 속하는 기술분야에서 통상의 지식을 가진 자에게 공통적으로 이해될 수 있는 의미로 사용될 수 있을 것이다. Unless otherwise defined, all terms (including technical and scientific terms) used herein may be used with the meaning commonly understood by those of ordinary skill in the art to which the present invention belongs.

또 일반적으로 사용되는 사전에 정의되어 있는 용어들은 명백하게 특별히 정의되어 있지 않은 한 이상적으로 또는 과도하게 해석되지 않는다.In addition, terms defined in a commonly used dictionary are not to be interpreted ideally or excessively unless clearly specifically defined.

이하, 본 발명에 따른 여재에 대하여 보다 상세히 설명한다.Hereinafter, the filter medium according to the present invention will be described in more detail.

본 발명의 일 실시예에서, 도 2에 도시한 바와 같이, 본 발명에 따른 여재는 각각 합성섬유를 포함하는 제1 여재층과 제2 여재층을 포함하되, 상기 제1 여재층의 평균 섬유 직경이 상기 제2 여재층의 평균 섬유 직경과 상이할 수 있다.In one embodiment of the present invention, as shown in FIG. 2 , the filter media according to the present invention includes a first filter media layer and a second media layer each including synthetic fibers, and the average fiber diameter of the first media layer This may be different from the average fiber diameter of the second filter media layer.

본 발명에 따른 여재의 제1 및 제2 여재층들은 서로 다른 평균 섬유 직경을 가지는 합성섬유를 각각 포함함으로써 압력 손실을 줄임과 동시에 집진 효율을 높이는 효과를 가지게 된다. 게다가, 서로 다른 평균 섬유 직경을 가지는 합성섬유를 포함하는 구조로 인하여, 상기 고기능성 여재가 코로나 대전 방식을 이용하는 필터 장치에 사용되는 경우, 여재 수명이 줄어드는 것을 방지할 수 있다. The first and second filter media layers of the filter media according to the present invention each include synthetic fibers having different average fiber diameters, thereby reducing pressure loss and increasing dust collection efficiency. In addition, due to the structure including synthetic fibers having different average fiber diameters, when the high-functional filter media is used in a filter device using a corona charging method, it is possible to prevent the filter media from being shortened.

상기 여재층들의 섬유 직경이 유사할 경우 코로나 대전 방식의 에너지가 일정 시간 흐르면 빠른 속도로 차압이 상승하고, 효율이 떨어지게 된다. 본 발명에서는 제1 및 제2 여재층들의 평균 섬유 직경을 상이하게 함으로써 제1 및 제2 여재층의 섬유간 공극 크기를 달리 하여 서로 다른 직경을 가지는 입자를 포집할 수 있으며, 따라서 각 여재의 사용 수명을 연장할 수 있다는 장점이 있다.When the fiber diameters of the filter media layers are similar, when the energy of the corona charging method flows for a predetermined time, the differential pressure rises rapidly, and the efficiency decreases. In the present invention, by differentiating the average fiber diameters of the first and second filter media layers, it is possible to collect particles having different diameters by varying the pore sizes between the fibers of the first and second media layers. It has the advantage of extending the lifespan.

본 발명에 따른 여재는 처리 용량이 32ℓ/min일 때, 차압이 5.5mmaq 미만이고, 여과 효율이 99.98% 이상일 수 있다.The filter media according to the present invention may have a differential pressure of less than 5.5 mmaq and a filtration efficiency of 99.98% or more when the treatment capacity is 32 L/min.

일반적으로 사용되는 여재의 차압은 32ℓ/min의 처리 용량에서 25~30mmaq정도 범위가 된다. 따라서 처리 용량을 더 늘리게 되면 차압이 너무 커져 사용이 어려워지고, 여재의 수명이 급격하게 단축되거나 파손되는 등 심각한 문제를 발생시킬 수 있다. The differential pressure of the commonly used filter media is in the range of 25 to 30 mmaq at a processing capacity of 32 ℓ/min. Therefore, if the processing capacity is further increased, the differential pressure becomes too large, which makes it difficult to use, and may cause serious problems such as abruptly shortening or breaking the life of the filter media.

그러나 본 발명에 따른 여재는 32ℓ/min의 처리 용량에서 차압이 5.5mmaq에 불과하며, 처리 용량을 56ℓ/min까지 높여도 차압은 14.8mmaq정도로 기존 여재의 차압에 비해 현저하게 낮아, 사용시 전력 소모가 적고 공기 순환이 원활하게 이루어져 클린룸 내부의 청정도를 손쉽게 유지할 수 있다는 장점이 있다.However, the differential pressure of the filter media according to the present invention is only 5.5mmaq at a processing capacity of 32ℓ/min, and even if the processing capacity is increased to 56ℓ/min, the differential pressure is 14.8mmaq, which is significantly lower than the differential pressure of the existing filter media, so power consumption is reduced It has the advantage of being able to easily maintain the cleanliness inside the clean room because it is small and the air circulation is smooth.

본 발명에 따른 여재의 하나의 실시예에서, 상기 제1 여재층 및 상기 제2 여재층 중 적어도 하나에 포함되는 합성섬유는 용융 취입(melt-blown) 방식으로 형성될 수 있다. 용융 취입 방식은 열가소성 고분자를 수백 개의 작은 오리피스로 형성된 방사구에서 고속으로 분사되는 열풍에 의해 극세화된 극세 섬유를 수집체에 적층시키는 방식으로 섬유 직경이 0.3-5㎛인 초극세 섬유를 제조할 수 있어 유연성, 비투과성, 절연성, 차단성이 뛰어나며, 정전성능을 부여하면 여과 성능이 우수하다는 장점이 있다. In one embodiment of the filter media according to the present invention, the synthetic fibers included in at least one of the first filter media layer and the second filter media layer may be formed by a melt-blown method. In the melt blowing method, ultra-fine fibers with a fiber diameter of 0.3-5 μm can be manufactured by laminating micro-fine fibers that are micro-fine fibers by hot air sprayed at high speed from a spinnerette formed of hundreds of small orifices. It has excellent flexibility, impermeability, insulation, and barrier properties, and has the advantage of excellent filtration performance when electrostatic performance is given.

또한, 선택할 수 있는 재료의 폭이 넓으므로 소각능, 분해능, 인장강도, 성형성, 발수능 등 원하는 물성을 구현하기가 용이하다.In addition, since the range of materials that can be selected is wide, it is easy to implement desired physical properties such as incineration capacity, resolution, tensile strength, formability, and water repellency.

본 발명에 따른 여재의 하나의 실시예에서, 도 2에 도시된 바와 같이, 상기 제1 여재층과 상기 제2 여재층 사이에 부직포 여재층을 더 포함할 수 있다. 상기 여재층들 사이에 부직포 여재층을 더 포함함으로써, 포집 용량을 강화하고 성형성과 내구성을 향상시키는 효과를 가질 수 있다. 또한 상기 부직포 여재층은 종래의 양전하 코팅 처리된 부직포 및/또는 폴리프로필렌 부직포로서 평균기공 1㎛~2㎛를, 바람직하게는 평균기공 1㎛~1.8㎛를 갖는 것을 사용할 수 있다. In one embodiment of the filter media according to the present invention, as shown in FIG. 2 , a nonwoven fabric media layer may be further included between the first media layer and the second media layer. By further including a non-woven filter media layer between the filter media layers, it may have the effect of enhancing the collecting capacity and improving the moldability and durability. In addition, the nonwoven fabric filter media layer may be a conventional positive charge coating-treated nonwoven fabric and/or polypropylene nonwoven fabric having an average pore size of 1 μm to 2 μm, preferably an average pore size of 1 μm to 1.8 μm.

이때, 평균기공이 1㎛ 미만이면 여과량이 줄어들어서 충분한 누적여과량을 확보하지 못할 수 있고, 평균기공이 2㎛를 초과하면 여과량은 증가하나, 여과 성능이 떨어질 수 있다. 그리고, 본 발명의 폴리프로필렌 멜트블로운-캘린더링 부직포는 평균두께 100㎛ ~ 250㎛, 바람직하게는 평균두께 120㎛ ~ 220㎛, 더욱 바람직하게는 150㎛ ~ 175㎛일 수 있다. At this time, if the average pore size is less than 1㎛, the filtration amount may decrease and it may not be possible to secure a sufficient cumulative filtration amount. If the average pore size exceeds 2㎛, the filtration amount may increase but the filtration performance may be deteriorated. And, the polypropylene melt blown nonwoven fabric of the present invention may have an average thickness of 100 μm to 250 μm, preferably an average thickness of 120 μm to 220 μm, and more preferably 150 μm to 175 μm.

폴리프로필렌 멜트블로운-캘린더링 부직포의 평균두께가 100㎛ 미만이면 여과 성능이 떨어질 수 있고, 평균두께가 250㎛를 초과하면 여과량이 감소하고, 더 이상의 여과 성능 향상이 없으며, 누적여과량이 오히려 줄어들어서 사용주기가 짧아지는 문제가 있을 수 있다.If the average thickness of the polypropylene melt blown-calendaring nonwoven fabric is less than 100 μm, the filtration performance may decrease, and if the average thickness exceeds 250 μm, the filtration amount is reduced, there is no further improvement in filtration performance, and the cumulative filtration amount is rather reduced. Therefore, there may be a problem that the use cycle is shortened.

상기 양전하 코팅 처리된 부직포는 개질된 부직포; 및 상기 부직포의 내부 및 표면에 양전하 코팅층;을 포함하며, 상기 양전하 코팅처리된 부직포는 표면전하가 10 mV ~ 40 mV을, 바람직하게는 20 mV ~ 40 mV을 가질 수 있다.The positive charge coating-treated nonwoven fabric may include a modified nonwoven fabric; and a positive charge coating layer on the inside and the surface of the nonwoven fabric, wherein the positive charge coating-treated nonwoven fabric may have a surface charge of 10 mV to 40 mV, preferably 20 mV to 40 mV.

양전하 코팅처리된 부직포의 상기 개질된 부직포는 부직포의 내부 및/또는 표면을 개질시킨 것으로서, 상기 부직포는 통상적으로 사용하는 것이면 적용가능하며, 바람직하게는 케미컬본딩부직포(Chemical Bonding), 써멀본딩부직포(Thermal Bonding), 에어레이부직포(Air Ray), 습식부직포(Wet Ray), 니들펀칭부직포(Needle Punching), 스판레스(수류결합법-Water zet), 스펀본드(Spun Bond), 용융 취입(Melt Blown), 스티치본드(Stitch Bond) 및 전기방사(electro spinning) 부직포 중에서 선택되는 어느 하나의 형태일 수 있다.The modified nonwoven fabric of the positive charge coating-treated nonwoven fabric is a modified nonwoven fabric inside and/or on the surface, and the nonwoven fabric is applicable as long as it is commonly used, and preferably a chemical bonding nonwoven fabric (Chemical Bonding), a thermal bonding nonwoven fabric ( Thermal Bonding), Air Ray, Wet Ray, Needle Punching, Spanless (Water zet), Spun Bond, Melt Blown ), stitch bond (Stitch Bond) and electro spinning (electro spinning) may be in any one form selected from nonwoven fabric.

또한, 상기 부직포를 구성하는 섬유는 폴리프로필렌 섬유, 폴리에틸렌테레프탈레이트 섬유, 폴리에틸렌 섬유, 폴리에스테르 섬유, 나일론 섬유 및 셀룰로오스 섬유 중에서 선택된 1종 이상을, 바람직하게는 폴리프로필렌 섬유, 폴리에틸렌테레프탈레이트 섬유, 폴리에틸렌 섬유, 및 폴리에스테르 섬유 중에서 선택된 1종 또는 2종 이상을, 더욱 바람직하게는 폴리프로필렌 섬유 및 폴리에틸렌테레프탈레이트 섬유 중에서 선택된 1종 또는 2종을 포함할 수 있다.In addition, the fibers constituting the nonwoven fabric include at least one selected from polypropylene fibers, polyethylene terephthalate fibers, polyethylene fibers, polyester fibers, nylon fibers and cellulose fibers, preferably polypropylene fibers, polyethylene terephthalate fibers, polyethylene It may include one or two or more types selected from fibers and polyester fibers, and more preferably one or two types selected from polypropylene fibers and polyethylene terephthalate fibers.

그리고, 상기 개질된 부직포는 평균두께 0.1㎜ ~ 2㎜ 인 것이, 바람직하게는 0.2㎜ ~ 1㎜ 인 것이 좋으며, 이때, 평균두께 0.1 만약 평균두께가 0.1㎜ 미만이면, 흡착 경로가 짧아서 제거효율이 감소한 문제가 있으며, 2㎜를 초과하면, 여과시 차압발생으로 여과량이 감소하는 문제가 있을 수 있다.In addition, the modified nonwoven fabric has an average thickness of 0.1 mm to 2 mm, preferably 0.2 mm to 1 mm, and at this time, the average thickness 0.1 If the average thickness is less than 0.1 mm, the removal efficiency is reduced because the adsorption path is short. There is a reduced problem, and if it exceeds 2 mm, there may be a problem in that the filtration amount is reduced due to the generation of a differential pressure during filtration.

그리고, 상기 개질된 부직포를 구성하는 섬유의 평균 섬유 지름은 0.5㎛ ~ 10㎛ 및 평균기공 1㎛ ~ 30㎛일 수 있으며, 바람직하게는 평균 섬유 지름 0.5㎛ ~ 8㎛ 및 평균기공 1㎛ ~ 10㎛ 일 수 있으며, 더욱 바람직하게는 평균 섬유 지름 0.5㎛ ~ 5㎛ 및 평균기공 1㎛ ~ 8㎛일 수 있다. In addition, the average fiber diameter of the fibers constituting the modified nonwoven fabric may be 0.5 μm to 10 μm and an average pore of 1 μm to 30 μm, preferably an average fiber diameter of 0.5 μm to 8 μm and an average pore of 1 μm to 10 ㎛ may be, and more preferably, the average fiber diameter may be 0.5㎛ ~ 5㎛, and the average pores 1㎛ ~ 8㎛.

이때, 부직포를 구성하는 섬유의 평균 섬유 지름이 0.5㎛ 미만이면, 여과시 차압발생에 따른 여과량 감소하는 문제가 있을 수 있고, 10㎛를 초과하면, 다공도가 떨어져 여과 성능이 감소하는 문제가 있을 수 있다. 또한, 평균기공이 1㎛ 미만이면, 유량이 감소할 수 있으며, 30㎛를 초과하면, 여과 성능이 감소하는 문제가 있을 수 있다.At this time, if the average fiber diameter of the fibers constituting the nonwoven fabric is less than 0.5 μm, there may be a problem in that the filtration amount decreases due to the generation of differential pressure during filtration, and if it exceeds 10 μm, there may be a problem in that the porosity decreases and the filtration performance decreases can In addition, if the average pore size is less than 1 μm, the flow rate may decrease, and if it exceeds 30 μm, there may be a problem in that the filtration performance is reduced.

또한, 양전하 코팅처리된 부직포를 구성하는 상기 양전하 코팅층은 다관능성 아민 화합물을 포함하며, 상기 다관능성 아민 화합물은 개질된 부직포의 내부 및 외부에 양전하를 나타내는 정전기적 성질을 부여하는 역할을 하며, 폴리에틸렌이민, 디에틸렌트리아민, 피페라진, 디메틸렌피페라진 및 디페닐아민 중에서 선택된 1종 또는 2종 이상을 혼합하여 사용할 수 있으며, 바람직하게는 디에틸렌트리아민 및 디페닐아민 중에서 선택된 1종 또는 2종 이상을 혼합하여 사용할 수 있다. In addition, the positive charge coating layer constituting the positive charge coating-treated nonwoven fabric includes a polyfunctional amine compound, and the polyfunctional amine compound serves to impart an electrostatic property showing a positive charge to the inside and outside of the modified nonwoven fabric, and polyethylene One or two or more selected from imine, diethylenetriamine, piperazine, dimethylenepiperazine and diphenylamine may be mixed and used, preferably one or two selected from diethylenetriamine and diphenylamine More than one species can be mixed and used.

그리고, 상기 양전하 코팅층은 평균두께 0.01㎛ ~ 3㎛으로, 바람직하게는 0.05㎛ ~ 1㎛으로 형성되어 있는 것이 바람직하며, 이때 양전하 코팅층의 평균두께가 0.05㎛ 코팅층의 균일도 감소로 인한 물성편차 문제가 있을 수 있고, 평균두께가 3㎛을 초과하면 코팅층의 내구성이 떨어져 코팅물이 박리되는 문제가 발생할 수 있고, 더 이상의 여과 성능 상승이 없으므로 상기 범위 내의 평균두께를 갖도록 양전하 코팅층을 형성시키는 것이 좋다.In addition, the positive charge coating layer is preferably formed with an average thickness of 0.01 μm to 3 μm, preferably 0.05 μm to 1 μm, in this case, the average thickness of the positive charge coating layer is 0.05 μm The problem of physical property deviation due to a decrease in the uniformity of the coating layer There may be, and if the average thickness exceeds 3 μm, the durability of the coating layer may deteriorate and the coating may peel off, and since there is no further increase in filtration performance, it is better to form a positively charged coating layer to have an average thickness within the above range.

본 발명에 따른 여재는 여재 단면의 형상이 산과 골을 가지도록 다수회로 굴절된 형상을 가질 수 있으나, 여재의 형상은 본 발명이 속하는 기술분야에서 통상의 지식을 가진 자에 의해 융통성 있게 결정될 수 있다.The filter media according to the present invention may have a shape that is bent multiple times so that the cross-section of the filter media has mountains and valleys, but the shape of the filter media can be flexibly determined by a person skilled in the art to which the present invention belongs .

또, 본 발명에 따른 여재의 일 실시예에서, 상기 제1 여재층에 포함되는 합성섬유의 평균 섬유 직경인 제1 평균 섬유 직경은 1.0㎛ 내지 10㎛일 수 있고, 상기 제2 여재층에 포함되는 합성섬유의 평균 섬유 직경인 제2 평균 섬유 직경은 0.1㎛ 내지 1.0㎛일 수 있다.In addition, in one embodiment of the filter media according to the present invention, the first average fiber diameter, which is the average fiber diameter of the synthetic fibers included in the first filter media layer, may be 1.0 μm to 10 μm, and is included in the second filter media layer. The second average fiber diameter, which is the average fiber diameter of the synthetic fibers to be used, may be 0.1 μm to 1.0 μm.

상기 제1 평균 섬유 직경이 1.0㎛미만인 경우 압력 손실이 커질 우려가 있고, 10㎛보다 크면 여재의 효율 및/또는 성형성이 떨어질 수 있다. 상기 제2 평균 섬유 직경은 압력 손실과 필터링 효율 면에서 0.1㎛ 내지 1.0㎛의 범위에 속하는 것이 가장 바람직하며, 상기한 범위에 속하더라도 상기 제1 평균 섬유 직경과 같지 않은 것이 바람직하다. When the first average fiber diameter is less than 1.0 μm, there is a risk that the pressure loss may increase, and if it is greater than 10 μm, the efficiency and/or moldability of the filter medium may be deteriorated. The second average fiber diameter is most preferably in the range of 0.1 μm to 1.0 μm in terms of pressure loss and filtering efficiency, and is preferably not the same as the first average fiber diameter even within the above range.

예컨대, 상기 제1 평균 섬유 직경과 제2 평균 섬유 직경이 모두 1.0㎛인 경우는 바람직하지 않다. 두 여재의 평균 섬유 직경이 유사할 경우 차압이 더욱 낮아질 수는 있으나 다양한 입경의 이물질을 제거할 수 없고, 따라서 여과 성능에 문제가 생길 수 있다. 또한, 코로나 대전 방식의 에너지가 일정 시간이 흐르면 차압이 상승하고 효율이 떨어진다.For example, it is not preferable that both the first average fiber diameter and the second average fiber diameter are 1.0 μm. If the average fiber diameter of the two filter media is similar, the differential pressure may be lowered, but foreign substances of various particle diameters cannot be removed, and thus a problem in filtration performance may occur. In addition, when the energy of the corona charging method passes for a certain period of time, the differential pressure increases and the efficiency decreases.

본 발명에 따른 여재의 일 실시예에서, 상기 여재층들을 각각 구성하는 합성 섬유는 폴리에틸렌, 폴리프로필렌, 폴리부틸렌, 폴리이소부틸렌 등을 포함하는 폴리올레핀; 폴리글리콜리드, 폴리락트산, 폴리카프롤락톤, 폴리히드록시알카노에이트, 폴리히드록시부틸레이트, 폴리에틸렌 아디페이트, 폴리부틸렌 숙시네이트, 폴리에틸렌 테레프탈레이트, 폴리부틸렌 테레프탈레이트, 폴리트리메틸렌 테레프탈레이트, 폴리에틸렌 나프탈레이트 등을 포함하는 폴리에스테르; 지방족 폴리아미드(예: 나일론), 폴리프탈아미드, 아라미드 등을 포함하는 폴리아미드; 및 선형, 가교형 등의 폴리페닐렌설파이드로 구성되는 군에서 선택되는 하나 이상을 포함할 수 있으나, 이들에 한정되는 것은 아니다. In one embodiment of the filter media according to the present invention, the synthetic fibers constituting each of the filter media layers include polyolefins including polyethylene, polypropylene, polybutylene, polyisobutylene, and the like; Polyglycolide, polylactic acid, polycaprolactone, polyhydroxyalkanoate, polyhydroxybutylate, polyethylene adipate, polybutylene succinate, polyethylene terephthalate, polybutylene terephthalate, polytrimethylene terephthalate , polyester including polyethylene naphthalate and the like; polyamides, including aliphatic polyamides (eg, nylon), polyphthalamides, aramids, and the like; And it may include one or more selected from the group consisting of polyphenylene sulfide, such as linear, cross-linked, but is not limited thereto.

바람직하게는, 상기 합성섬유는 폴리프로필렌과 폴리에틸렌테레프탈레이트를 포함할 수 있다. 용융 취입 방식으로 형성된 합성 섬유는 압력 손실이 적고 효율이 높다는 장점이 있다. 특히 폴리 프로필렌과 폴리에틸렌테레프탈레이트를 원료로 하는 합성섬유는 고유의 정전기력을 가져 대전 및 여과 효율을 개선하고, 코로나 방식을 사용하는 여재 장치에 사용되었을 때 여재 수명을 향상시킬 수 있다.Preferably, the synthetic fiber may include polypropylene and polyethylene terephthalate. Synthetic fibers formed by melt blowing have the advantage of low pressure loss and high efficiency. In particular, synthetic fibers made from polypropylene and polyethylene terephthalate have intrinsic electrostatic force to improve charging and filtration efficiency, and can improve the life of the filter media when used in a filter media device using a corona method.

본 발명의 일 실시예에서, 상기 제1 여재층과 상기 제2 여재층, 또는 상기 제1 여재층, 상기 부직포 여재층, 및 상기 제2 여재층은 초음파 합지 방식으로 접합될 수 있다.In an embodiment of the present invention, the first filter media layer and the second media layer, or the first media layer, the non-woven fabric media layer, and the second media layer may be bonded to each other by an ultrasonic lamination method.

초음파 합지 방식을 사용함으로써 상기 여재층들 사이 및/또는 상기 여재층들과 부직포 사이의 결합이 보다 견고하고 여재 성능에 미치는 바람직하지 않은 영향을 최소화하며, 접착제 등의 이물질 사용으로 인한 추가적인 압력 손실을 방지할 수 있다. 또한 이로 인한 소재 수명 증가와 에너지 절감 효과를 기대할 수 있다.By using the ultrasonic lamination method, the bond between the filter media layers and/or between the filter media layers and the nonwoven fabric is stronger and the undesirable effect on the filter media performance is minimized, and additional pressure loss due to the use of foreign substances such as adhesives is reduced. can be prevented In addition, it can be expected to increase the life of the material and reduce energy.

이하에서는, 실시예 및 비교예를 통하여 본 발명에 의한 저차압 고기능성 여재에 대하여 더욱 상세히 설명하나, 본 발명이 하기 실시예에 한정되는 것은 아니다.Hereinafter, the low differential pressure high functional filter material according to the present invention will be described in more detail through Examples and Comparative Examples, but the present invention is not limited to the following Examples.

하기 실시예와 비교예들은 모두 동일한 조건(두께 0.3㎜, 610*610*292T, 60Pleate 등) 하에서 실험을 진행하였다.All of the following Examples and Comparative Examples were tested under the same conditions (thickness 0.3 mm, 610*610*292T, 60Pleate, etc.).

실시예 1Example 1

용융 취입 방식으로 평균 섬유 직경이 5㎛가 되도록 제조된 폴리프로필렌 및 폴리에틸렌 테레프탈레이트 합성섬유층(제1 여재층)과 부직포 여재층, 및 용융 취입 방식으로 평균 섬유 직경이 0.5㎛가 되도록 제조된 폴리프로필렌 및 폴리에틸렌 테레프탈레이트 합성섬유층(제2 여재층)을 초음파 합지하여 610*610*292T 규격의 고기능성 여재를 제조(도 3 및 도 4)하고, 성능을 측정하여 하기 표 1 및 도면 5 내지 도면 6에 나타내었다.Polypropylene and polyethylene terephthalate synthetic fiber layer (first filter media layer) and non-woven fabric media layer prepared to have an average fiber diameter of 5 μm by melt blowing method, and polypropylene manufactured to have an average fiber diameter of 0.5 μm by melt blowing method And a polyethylene terephthalate synthetic fiber layer (second filter media layer) was ultrasonically laminated to prepare a 610 * 610 * 292T high-functional filter media ( FIGS. 3 and 4 ), and by measuring the performance, Table 1 and Figures 5 to 6 shown in

비교예 1Comparative Example 1

유리 섬유를 이용하여 610*610*292T 규격의 고기능성 여재를 제조하고, 성능을 측정하여 하기 표 1에 나타내었다.A high-functional filter medium of 610 * 610 * 292T standard was prepared using glass fibers, and performance was measured and shown in Table 1 below.

비교예 2Comparative Example 2

일반 폴리프로필렌 합성 섬유를 이용하여 610*610*292T 규격의 고기능성 여재를 제조하고, 성능을 측정하여 하기 표 1에 나타내었다.A high-functionality filter media of 610 * 610 * 292T standard was prepared using general polypropylene synthetic fibers, and the performance was measured and shown in Table 1 below.

비교예 3Comparative Example 3

실시예 1에서, 제1 여재층의 합성섬유의 평균 직경과 제2 여재층의 합성섬유의 평균 직경이 동일하게 5㎛인 것을 제외하고는, 실시예 1과 동일하게 610*610*292T 규격의 고기능성 여재를 제조하고, 성능을 측정하여 하기 표 1에 나타내었다.Except that in Example 1, the average diameter of the synthetic fibers of the first filter media layer and the average diameter of the synthetic fibers of the second filter media layer were identically 5 μm, 610 * 610 * 292T specifications were used in the same manner as in Example 1 A high-functionality filter medium was prepared, and performance was measured and shown in Table 1 below.

HEPA FILTER 610*610*292T (60Pleate)HEPA FILTER 610*610*292T (60Pleate) 비교예 1Comparative Example 1 비교예 2Comparative Example 2 비교예 3Comparative Example 3 실시예 1Example 1 여 과 효 율Filtration Efficiency 99.97%99.97% 99.97%99.97% 99.91%99.91% 99.98%99.98% 차 압foreclosure 25.4 mmaq25.4 mmaq 27.0 mmaq27.0 mmaq 5.0 mmaq5.0 mmaq 5.1 mmaq5.1 mmaq 처 리 용 량processing capacity 32ℓ/min32ℓ/min 32ℓ/min32ℓ/min 32ℓ/min32ℓ/min 32ℓ/min32ℓ/min

상기 표 1에 나타낸 바와 같이, 실시예 1의 여재는 비교예들의 여재에 비해 압력 손실이 적고 초기 정압이 낮아 저차압 고기능성 여재가 요구하는 조건들을 고루 갖추고 있음을 확인할 수 있다. 즉, 여과 효율은 99.97%(H13 등급, True HEPA 효율)를 초과하고, 차압은 약 5mmaq로 매우 낮아 클린룸에서 소모되는 전력량이 낮음에도 높은 효율로 이물질을 걸러낼 수 있으므로, 실제 클린룸에 적용하였을 때 처리량을 높이더라도 이물질의 인입을 효과적으로 방지하면서 큰 차압에 의한 여재 파손 또는 막힘에 의한 여재 수명 단축의 문제를 일으키지 않는다. 실제로, 상기 실시예 1의 여재의 처리 용량을 56ℓ/min까지 높여도 차압은 14.8mmaq정도로 기존 여재의 차압에 비해 현저하게 낮은 값을 나타냈다. As shown in Table 1, it can be confirmed that the filter media of Example 1 has less pressure loss and lower initial static pressure than the filter media of Comparative Examples, so that it meets the conditions required for a low differential pressure and high-functionality filter media. In other words, the filtration efficiency exceeds 99.97% (H13 grade, True HEPA efficiency), and the differential pressure is very low, about 5mmaq, so it can filter out foreign substances with high efficiency even though the amount of power consumed in the cleanroom is low. Even if the throughput is increased, it effectively prevents the entry of foreign substances and does not cause the problem of media breakage due to large differential pressure or shortening of the filter media lifespan due to clogging. In fact, even when the processing capacity of the filter medium of Example 1 was increased to 56 l/min, the differential pressure was about 14.8 mmaq, which was significantly lower than the differential pressure of the conventional filter medium.

구체적으로, 종래의 유리섬유를 이용하여 제조된 여재인 비교예 1의 경우, 유리섬유를 사용하여 여과 효율은 99.97%을 만족하나, 차압이 25.4mmaq로 높은 편이다. 이는 종래의 용융 취입 섬유를 이용하여 제조된 여재인 비교예 2의 경우도 마찬가지인데, 차압이 높아 여재 파손 또는 막힘에 의한 수명 단축의 가능성이 매우 클 것으로 예상할 수 있다.Specifically, in the case of Comparative Example 1, which is a filter material prepared using conventional glass fibers, the filtration efficiency using glass fibers satisfies 99.97%, but the differential pressure is high at 25.4 mmaq. This is also the same for Comparative Example 2, which is a filter medium manufactured using conventional melt blown fibers, but the high differential pressure can be expected to have a very high possibility of shortening the life of the filter medium due to breakage or clogging.

비교예 3은 본 발명의 실시예와 같이 용융 취입 섬유를 2개의 층으로 합지하여 제조한 여재로, 두 층의 섬유 직경이 동일하다는 것을 제외하면 본 발명의 실시예 1과 같은 여재이다. 상기 비교예 3의 여재는 두 층의 섬유 직경이 동일하고 본 발명의 제1 여재층보다 섬유 직경이 큰 미디어를 사용하여 차압은 본 발명의 실시예보다 낮으나 여과 효율이 99.91%로, H13급 헤파 효율을 만족하지 못하는 것을 알 수 있다.Comparative Example 3 is a filter material prepared by laminating melt-blown fibers in two layers as in the example of the present invention, and is the same as that of Example 1 of the present invention, except that the fiber diameters of the two layers are the same. The filter media of Comparative Example 3 used a media having the same fiber diameter in both layers and having a fiber diameter larger than that of the first filter media layer of the present invention, so that the differential pressure was lower than that of the embodiment of the present invention, but the filtration efficiency was 99.91%, It can be seen that the efficiency is not satisfied.

Claims (10)

멜트블로운 헤파 필터층인 제1 여재층; 및
멜트블로운 헤파 필터층인 제2 여재층을 포함하는 저차압 여재로서,
상기 제1 여재층에 포함되는 합성 섬유의 평균 섬유 직경이
상기 제2 여재층에 포함되는 합성 섬유의 평균 섬유 직경 보다 크고,
상기 제1 여재층과 상기 제2 여재층 사이에 부직포 필터층을 더 포함하고,
제1 여재층에 포함되는 합성 섬유의 평균 섬유 직경인 제1 평균 섬유 직경이 1.0㎛ 내지 5㎛이고, 상기 제2 여재층에 포함되는 합성 섬유의 평균 섬유 직경인 제2 평균 섬유 직경이 0.1㎛ 내지 1.0㎛이고,
처리 용량이 32ℓ/min일 때, 차압이 5.5mmaq 미만이고, 여과 효율이 99.98% 이상이고,
상기 제1 여재층, 상기 부직포 필터층, 및 상기 제2 여재층은 초음파 합지 방식으로 접합되는 것을 특징으로 하는 저차압 여재.
a first filter media layer that is a melt blown HEPA filter layer; and
A low differential pressure filter material comprising a second filter medium layer that is a melt blown HEPA filter layer,
The average fiber diameter of the synthetic fibers included in the first filter media layer is
Larger than the average fiber diameter of the synthetic fibers included in the second filter media layer,
Further comprising a nonwoven filter layer between the first filter media layer and the second filter media layer,
The first average fiber diameter, which is the average fiber diameter of the synthetic fibers included in the first filter media layer, is 1.0 μm to 5 μm, and the second average fiber diameter, which is the average fiber diameter of the synthetic fibers included in the second filter media layer, is 0.1 μm. to 1.0 μm,
When the processing capacity is 32ℓ/min, the differential pressure is less than 5.5mmaq, the filtration efficiency is 99.98% or more,
The first filter media layer, the non-woven filter layer, and the second filter media layer are low differential pressure filter media, characterized in that bonded by an ultrasonic lamination method.
제1항에 있어서, 상기 제1 여재층 및 제2 여재층에 포함되는 합성섬유는 폴리올레핀, 폴리에스테르, 폴리아미드, 및 폴리페닐렌설파이드로 구성되는 군에서 선택되는 하나 이상의 소재로 제조되는 것을 특징으로 하는 저차압 여재. The method of claim 1, wherein the synthetic fibers included in the first and second filter media layers are made of one or more materials selected from the group consisting of polyolefin, polyester, polyamide, and polyphenylene sulfide. low differential pressure media. 제1항에 있어서, 상기 제1 여재층 및 제2 여재층에 포함되는 합성섬유는 각각 폴리프로필렌과 폴리에틸렌테레프탈레이트로부터 제조되는 것을 특징으로 하는 저차압 여재.The low differential pressure filter media according to claim 1, wherein the synthetic fibers included in the first and second filter media layers are each made from polypropylene and polyethylene terephthalate. 제1항에 있어서, 불소수지 멤브레인 필터를 추가로 포함하는 저차압 여재.[Claim 2] The low differential pressure filter of claim 1, further comprising a fluororesin membrane filter. 삭제delete 삭제delete 삭제delete 삭제delete 삭제delete 삭제delete
KR1020200157406A 2019-09-24 2020-11-23 Air Filter with low pressure drop Active KR102281271B1 (en)

Applications Claiming Priority (3)

Application Number Priority Date Filing Date Title
KR20190117217 2019-09-24
KR1020190117217 2019-09-24
KR1020200040007A KR20210035708A (en) 2019-09-24 2020-04-01 Composite Hepa Filter Based on Fluoro Polymer Membrane Filter

Related Parent Applications (1)

Application Number Title Priority Date Filing Date
KR1020200040007A Division KR20210035708A (en) 2019-09-24 2020-04-01 Composite Hepa Filter Based on Fluoro Polymer Membrane Filter

Publications (2)

Publication Number Publication Date
KR20210035766A KR20210035766A (en) 2021-04-01
KR102281271B1 true KR102281271B1 (en) 2021-07-23

Family

ID=75441445

Family Applications (2)

Application Number Title Priority Date Filing Date
KR1020200040007A Withdrawn KR20210035708A (en) 2019-09-24 2020-04-01 Composite Hepa Filter Based on Fluoro Polymer Membrane Filter
KR1020200157406A Active KR102281271B1 (en) 2019-09-24 2020-11-23 Air Filter with low pressure drop

Family Applications Before (1)

Application Number Title Priority Date Filing Date
KR1020200040007A Withdrawn KR20210035708A (en) 2019-09-24 2020-04-01 Composite Hepa Filter Based on Fluoro Polymer Membrane Filter

Country Status (1)

Country Link
KR (2) KR20210035708A (en)

Families Citing this family (3)

* Cited by examiner, † Cited by third party
Publication number Priority date Publication date Assignee Title
KR102822176B1 (en) * 2023-11-24 2025-06-19 아이스링커 주식회사 Apparatus for reducing humidity in a livestock house based on metal organic framework
KR102823298B1 (en) * 2023-11-24 2025-06-20 이상대 Apparatus for removing livestock manure particles in a livestock house using multiple filters
CN119754032B (en) * 2024-12-31 2025-09-19 中国矿业大学 Preparation method of fine-particle efficient purifying composite magnetic filter material

Citations (1)

* Cited by examiner, † Cited by third party
Publication number Priority date Publication date Assignee Title
JP2013500150A (en) * 2009-07-22 2013-01-07 ドナルドソン カンパニー,インコーポレイティド Filter media construction using PTFE film and carbon web for HEPA efficiency and odor control

Family Cites Families (6)

* Cited by examiner, † Cited by third party
Publication number Priority date Publication date Assignee Title
US5507847A (en) * 1994-07-29 1996-04-16 W. L. Gore & Associates, Inc. ULPA filter
US6156357A (en) 1998-07-13 2000-12-05 Franklin; Peter B. Frozen confection type food product and method for making same
KR100731791B1 (en) 2005-09-27 2007-06-25 (주) 성진 Manufacturing method of filter using composite spinning melt blown nonwoven fabric
KR100985515B1 (en) * 2008-04-16 2010-10-05 (주)두람 Multi-layered Air Filtration Membrane
CN102470302B (en) * 2009-07-08 2015-03-11 Jnc株式会社 Air filter material using multilayer electret nonwoven fabric
US12059644B2 (en) 2014-06-26 2024-08-13 Emd Millipore Corporation Filter structure with enhanced dirt holding capacity

Patent Citations (1)

* Cited by examiner, † Cited by third party
Publication number Priority date Publication date Assignee Title
JP2013500150A (en) * 2009-07-22 2013-01-07 ドナルドソン カンパニー,インコーポレイティド Filter media construction using PTFE film and carbon web for HEPA efficiency and odor control

Also Published As

Publication number Publication date
KR20210035766A (en) 2021-04-01
KR20210035708A (en) 2021-04-01

Similar Documents

Publication Publication Date Title
US12220659B2 (en) Electret-containing filter media
CN101983097B (en) Air filtration medium with improved dust loading capacity and improved resistance to high humidity environment
US8679217B2 (en) Pleated nanoweb structures
Mao Nonwoven fabric filters
CN103717796B (en) Blended filament nonwoven fabric, filter using same and air filter
TWI758722B (en) Filter media comprising polyamide nanofiber layer
KR102281271B1 (en) Air Filter with low pressure drop
US20220054961A1 (en) Electret-containing filter media
KR20100015854A (en) Filter medium and filter unit
KR20200033669A (en) Filter media for electret filter comprising nano fiber sheet and manufacturing methode of the same
KR101905563B1 (en) Nonwoven fabric laminate, method for producing the same and cabin air filter comprising the same
KR100946981B1 (en) Filter material for air cleaning
JP2017113670A (en) Filter medium for air filter and air filter
JP4737039B2 (en) Filter nonwoven fabric for air intake
KR102755377B1 (en) Antibacterial and deodorizing composite nonwoven fabric for air purification and manufacturing method thereof
JPH06205915A (en) Composite sheet and its production
KR102621800B1 (en) Nanofiber filter and preparation method thereof
HK40059077A (en) Filter media comprising polyamide nanofiber layer
KR20200093314A (en) Air purification material enhanced static electricity durability and the manufacturing method thereof

Legal Events

Date Code Title Description
E13-X000 Pre-grant limitation requested

St.27 status event code: A-2-3-E10-E13-lim-X000

P11-X000 Amendment of application requested

St.27 status event code: A-2-2-P10-P11-nap-X000

P13-X000 Application amended

St.27 status event code: A-2-2-P10-P13-nap-X000

PA0107 Divisional application

St.27 status event code: A-0-1-A10-A18-div-PA0107

St.27 status event code: A-0-1-A10-A16-div-PA0107

PA0201 Request for examination

St.27 status event code: A-1-2-D10-D11-exm-PA0201

PA0302 Request for accelerated examination

St.27 status event code: A-1-2-D10-D17-exm-PA0302

St.27 status event code: A-1-2-D10-D16-exm-PA0302

D13-X000 Search requested

St.27 status event code: A-1-2-D10-D13-srh-X000

D14-X000 Search report completed

St.27 status event code: A-1-2-D10-D14-srh-X000

E902 Notification of reason for refusal
PE0902 Notice of grounds for rejection

St.27 status event code: A-1-2-D10-D21-exm-PE0902

PG1501 Laying open of application

St.27 status event code: A-1-1-Q10-Q12-nap-PG1501

E13-X000 Pre-grant limitation requested

St.27 status event code: A-2-3-E10-E13-lim-X000

P11-X000 Amendment of application requested

St.27 status event code: A-2-2-P10-P11-nap-X000

P13-X000 Application amended

St.27 status event code: A-2-2-P10-P13-nap-X000

E701 Decision to grant or registration of patent right
PE0701 Decision of registration

St.27 status event code: A-1-2-D10-D22-exm-PE0701

GRNT Written decision to grant
PR0701 Registration of establishment

St.27 status event code: A-2-4-F10-F11-exm-PR0701

PR1002 Payment of registration fee

St.27 status event code: A-2-2-U10-U11-oth-PR1002

Fee payment year number: 1

PG1601 Publication of registration

St.27 status event code: A-4-4-Q10-Q13-nap-PG1601

PN2301 Change of applicant

St.27 status event code: A-5-5-R10-R11-asn-PN2301

R18-X000 Changes to party contact information recorded

St.27 status event code: A-5-5-R10-R18-oth-X000

PN2301 Change of applicant

St.27 status event code: A-5-5-R10-R14-asn-PN2301

PR1001 Payment of annual fee

St.27 status event code: A-4-4-U10-U11-oth-PR1001

Fee payment year number: 4

PR1001 Payment of annual fee

St.27 status event code: A-4-4-U10-U11-oth-PR1001

Fee payment year number: 5

U11 Full renewal or maintenance fee paid

Free format text: ST27 STATUS EVENT CODE: A-4-4-U10-U11-OTH-PR1001 (AS PROVIDED BY THE NATIONAL OFFICE)

Year of fee payment: 5