[go: up one dir, main page]

KR102240032B1 - 리니어 압축기 - Google Patents

리니어 압축기 Download PDF

Info

Publication number
KR102240032B1
KR102240032B1 KR1020140091879A KR20140091879A KR102240032B1 KR 102240032 B1 KR102240032 B1 KR 102240032B1 KR 1020140091879 A KR1020140091879 A KR 1020140091879A KR 20140091879 A KR20140091879 A KR 20140091879A KR 102240032 B1 KR102240032 B1 KR 102240032B1
Authority
KR
South Korea
Prior art keywords
valve
spring
stopper
cylinder
discharge
Prior art date
Legal status (The legal status is an assumption and is not a legal conclusion. Google has not performed a legal analysis and makes no representation as to the accuracy of the status listed.)
Active
Application number
KR1020140091879A
Other languages
English (en)
Other versions
KR20160011007A (ko
Inventor
노기원
이경민
김지현
Original Assignee
엘지전자 주식회사
Priority date (The priority date is an assumption and is not a legal conclusion. Google has not performed a legal analysis and makes no representation as to the accuracy of the date listed.)
Filing date
Publication date
Application filed by 엘지전자 주식회사 filed Critical 엘지전자 주식회사
Priority to KR1020140091879A priority Critical patent/KR102240032B1/ko
Priority to CN201510405815.2A priority patent/CN105275783B/zh
Priority to EP15177506.1A priority patent/EP2977611B1/en
Priority to US14/804,640 priority patent/US9989051B2/en
Publication of KR20160011007A publication Critical patent/KR20160011007A/ko
Application granted granted Critical
Publication of KR102240032B1 publication Critical patent/KR102240032B1/ko
Active legal-status Critical Current
Anticipated expiration legal-status Critical

Links

Images

Classifications

    • FMECHANICAL ENGINEERING; LIGHTING; HEATING; WEAPONS; BLASTING
    • F04POSITIVE - DISPLACEMENT MACHINES FOR LIQUIDS; PUMPS FOR LIQUIDS OR ELASTIC FLUIDS
    • F04BPOSITIVE-DISPLACEMENT MACHINES FOR LIQUIDS; PUMPS
    • F04B53/00Component parts, details or accessories not provided for in, or of interest apart from, groups F04B1/00 - F04B23/00 or F04B39/00 - F04B47/00
    • F04B53/10Valves; Arrangement of valves
    • F04B53/102Disc valves
    • F04B53/1035Disc valves with means for limiting the opening height
    • FMECHANICAL ENGINEERING; LIGHTING; HEATING; WEAPONS; BLASTING
    • F04POSITIVE - DISPLACEMENT MACHINES FOR LIQUIDS; PUMPS FOR LIQUIDS OR ELASTIC FLUIDS
    • F04BPOSITIVE-DISPLACEMENT MACHINES FOR LIQUIDS; PUMPS
    • F04B35/00Piston pumps specially adapted for elastic fluids and characterised by the driving means to their working members, or by combination with, or adaptation to, specific driving engines or motors, not otherwise provided for
    • F04B35/04Piston pumps specially adapted for elastic fluids and characterised by the driving means to their working members, or by combination with, or adaptation to, specific driving engines or motors, not otherwise provided for the means being electric
    • F04B35/045Piston pumps specially adapted for elastic fluids and characterised by the driving means to their working members, or by combination with, or adaptation to, specific driving engines or motors, not otherwise provided for the means being electric using solenoids
    • FMECHANICAL ENGINEERING; LIGHTING; HEATING; WEAPONS; BLASTING
    • F04POSITIVE - DISPLACEMENT MACHINES FOR LIQUIDS; PUMPS FOR LIQUIDS OR ELASTIC FLUIDS
    • F04BPOSITIVE-DISPLACEMENT MACHINES FOR LIQUIDS; PUMPS
    • F04B39/00Component parts, details, or accessories, of pumps or pumping systems specially adapted for elastic fluids, not otherwise provided for in, or of interest apart from, groups F04B25/00 - F04B37/00
    • F04B39/08Actuation of distribution members
    • FMECHANICAL ENGINEERING; LIGHTING; HEATING; WEAPONS; BLASTING
    • F04POSITIVE - DISPLACEMENT MACHINES FOR LIQUIDS; PUMPS FOR LIQUIDS OR ELASTIC FLUIDS
    • F04BPOSITIVE-DISPLACEMENT MACHINES FOR LIQUIDS; PUMPS
    • F04B39/00Component parts, details, or accessories, of pumps or pumping systems specially adapted for elastic fluids, not otherwise provided for in, or of interest apart from, groups F04B25/00 - F04B37/00
    • F04B39/10Adaptations or arrangements of distribution members
    • F04B39/102Adaptations or arrangements of distribution members the members being disc valves
    • FMECHANICAL ENGINEERING; LIGHTING; HEATING; WEAPONS; BLASTING
    • F04POSITIVE - DISPLACEMENT MACHINES FOR LIQUIDS; PUMPS FOR LIQUIDS OR ELASTIC FLUIDS
    • F04BPOSITIVE-DISPLACEMENT MACHINES FOR LIQUIDS; PUMPS
    • F04B39/00Component parts, details, or accessories, of pumps or pumping systems specially adapted for elastic fluids, not otherwise provided for in, or of interest apart from, groups F04B25/00 - F04B37/00
    • F04B39/10Adaptations or arrangements of distribution members
    • F04B39/102Adaptations or arrangements of distribution members the members being disc valves
    • F04B39/1033Adaptations or arrangements of distribution members the members being disc valves annular disc valves
    • FMECHANICAL ENGINEERING; LIGHTING; HEATING; WEAPONS; BLASTING
    • F04POSITIVE - DISPLACEMENT MACHINES FOR LIQUIDS; PUMPS FOR LIQUIDS OR ELASTIC FLUIDS
    • F04BPOSITIVE-DISPLACEMENT MACHINES FOR LIQUIDS; PUMPS
    • F04B39/00Component parts, details, or accessories, of pumps or pumping systems specially adapted for elastic fluids, not otherwise provided for in, or of interest apart from, groups F04B25/00 - F04B37/00
    • F04B39/12Casings; Cylinders; Cylinder heads; Fluid connections
    • F04B39/121Casings
    • FMECHANICAL ENGINEERING; LIGHTING; HEATING; WEAPONS; BLASTING
    • F04POSITIVE - DISPLACEMENT MACHINES FOR LIQUIDS; PUMPS FOR LIQUIDS OR ELASTIC FLUIDS
    • F04BPOSITIVE-DISPLACEMENT MACHINES FOR LIQUIDS; PUMPS
    • F04B53/00Component parts, details or accessories not provided for in, or of interest apart from, groups F04B1/00 - F04B23/00 or F04B39/00 - F04B47/00
    • F04B53/10Valves; Arrangement of valves
    • F04B53/102Disc valves
    • F04B53/1022Disc valves having means for guiding the closure member axially
    • FMECHANICAL ENGINEERING; LIGHTING; HEATING; WEAPONS; BLASTING
    • F04POSITIVE - DISPLACEMENT MACHINES FOR LIQUIDS; PUMPS FOR LIQUIDS OR ELASTIC FLUIDS
    • F04BPOSITIVE-DISPLACEMENT MACHINES FOR LIQUIDS; PUMPS
    • F04B53/00Component parts, details or accessories not provided for in, or of interest apart from, groups F04B1/00 - F04B23/00 or F04B39/00 - F04B47/00
    • F04B53/10Valves; Arrangement of valves
    • F04B53/102Disc valves
    • F04B53/1032Spring-actuated disc valves
    • YGENERAL TAGGING OF NEW TECHNOLOGICAL DEVELOPMENTS; GENERAL TAGGING OF CROSS-SECTIONAL TECHNOLOGIES SPANNING OVER SEVERAL SECTIONS OF THE IPC; TECHNICAL SUBJECTS COVERED BY FORMER USPC CROSS-REFERENCE ART COLLECTIONS [XRACs] AND DIGESTS
    • Y10TECHNICAL SUBJECTS COVERED BY FORMER USPC
    • Y10TTECHNICAL SUBJECTS COVERED BY FORMER US CLASSIFICATION
    • Y10T137/00Fluid handling
    • Y10T137/7722Line condition change responsive valves
    • Y10T137/7837Direct response valves [i.e., check valve type]
    • Y10T137/7904Reciprocating valves
    • Y10T137/7922Spring biased
    • YGENERAL TAGGING OF NEW TECHNOLOGICAL DEVELOPMENTS; GENERAL TAGGING OF CROSS-SECTIONAL TECHNOLOGIES SPANNING OVER SEVERAL SECTIONS OF THE IPC; TECHNICAL SUBJECTS COVERED BY FORMER USPC CROSS-REFERENCE ART COLLECTIONS [XRACs] AND DIGESTS
    • Y10TECHNICAL SUBJECTS COVERED BY FORMER USPC
    • Y10TTECHNICAL SUBJECTS COVERED BY FORMER US CLASSIFICATION
    • Y10T137/00Fluid handling
    • Y10T137/7722Line condition change responsive valves
    • Y10T137/7837Direct response valves [i.e., check valve type]
    • Y10T137/7904Reciprocating valves
    • Y10T137/7922Spring biased
    • Y10T137/7929Spring coaxial with valve
    • Y10T137/7932Valve stem extends through fixed spring abutment
    • YGENERAL TAGGING OF NEW TECHNOLOGICAL DEVELOPMENTS; GENERAL TAGGING OF CROSS-SECTIONAL TECHNOLOGIES SPANNING OVER SEVERAL SECTIONS OF THE IPC; TECHNICAL SUBJECTS COVERED BY FORMER USPC CROSS-REFERENCE ART COLLECTIONS [XRACs] AND DIGESTS
    • Y10TECHNICAL SUBJECTS COVERED BY FORMER USPC
    • Y10TTECHNICAL SUBJECTS COVERED BY FORMER US CLASSIFICATION
    • Y10T137/00Fluid handling
    • Y10T137/7722Line condition change responsive valves
    • Y10T137/7837Direct response valves [i.e., check valve type]
    • Y10T137/7904Reciprocating valves
    • Y10T137/7922Spring biased
    • Y10T137/7929Spring coaxial with valve
    • Y10T137/7934Spring abuts removable valve stem guide
    • YGENERAL TAGGING OF NEW TECHNOLOGICAL DEVELOPMENTS; GENERAL TAGGING OF CROSS-SECTIONAL TECHNOLOGIES SPANNING OVER SEVERAL SECTIONS OF THE IPC; TECHNICAL SUBJECTS COVERED BY FORMER USPC CROSS-REFERENCE ART COLLECTIONS [XRACs] AND DIGESTS
    • Y10TECHNICAL SUBJECTS COVERED BY FORMER USPC
    • Y10TTECHNICAL SUBJECTS COVERED BY FORMER US CLASSIFICATION
    • Y10T137/00Fluid handling
    • Y10T137/7722Line condition change responsive valves
    • Y10T137/7837Direct response valves [i.e., check valve type]
    • Y10T137/7904Reciprocating valves
    • Y10T137/7922Spring biased
    • Y10T137/7929Spring coaxial with valve
    • Y10T137/7936Spring guides valve head

Landscapes

  • Engineering & Computer Science (AREA)
  • Mechanical Engineering (AREA)
  • General Engineering & Computer Science (AREA)
  • Compressor (AREA)
  • Compressors, Vaccum Pumps And Other Relevant Systems (AREA)

Abstract

본 발명은 리니어 압축기에 관한 것이다.
본 발명의 실시예에 따른 리니어 압축기에는, 토출부가 제공되는 쉘; 상기 쉘의 내부에 구비되며, 냉매의 압축공간을 형성하는 실린더; 상기 실린더의 내부에서 축방향으로 왕복운동 가능하게 제공되는 피스톤; 상기 실린더의 일측에 제공되며, 상기 냉매의 압축공간에서 압축된 냉매를 선택적으로 배출시키는 토출 밸브; 상기 토출 밸브에 결합되어, 복원력을 제공하는 밸브 스프링; 및 상기 밸브 스프링에 결합되며, 상기 밸브 스프링의 변형량을 제한하는 스토퍼가 포함되며, 상기 스토퍼에는, 상기 밸브 스프링이 변형되는 방향으로 함몰되어, 상기 스토퍼와 상기 밸브 스프링의 충격량을 감소시키는 가이드 장치가 포함된다.

Description

리니어 압축기 {A linear compressor}
본 발명은 리니어 압축기에 관한 것이다.
냉각 시스템이란, 냉매를 순환하여 냉기를 발생시키는 시스템으로서, 냉매의 압축, 응축, 팽창 및 증발과정을 반복하여 수행한다. 이를 위하여, 상기 냉각 시스템에는, 압축기, 응축기, 팽창장치 및 증발기가 포함된다. 그리고, 상기 냉각 시스템은, 가전제품으로서 냉장고 또는 에어컨에 설치될 수 있다.
일반적으로 압축기(Compressor)는 전기모터나 터빈 등의 동력발생장치로부터 동력을 전달받아 공기나 냉매 또는 그 밖의 다양한 작동가스를 압축하여 압력을 높여주는 기계장치로서, 상기 가전제품 또는 산업전반에 걸쳐 널리 사용되고 있다.
이러한 압축기를 크게 분류하면, 피스톤(Piston)과 실린더(Cylinder) 사이에 작동가스가 흡, 토출되는 압축공간이 형성되도록 하여 피스톤이 실린더 내부에서 직선 왕복 운동하면서 냉매를 압축시키는 왕복동식 압축기(Reciprocating compressor)와, 편심 회전되는 롤러(Roller)와 실린더 사이에 작동가스가 흡, 토출되는 압축공간이 형성되고 롤러가 실린더 내벽을 따라 편심 회전되면서 냉매를 압축시키는 회전식 압축기(Rotary compressor) 및 선회 스크롤(Orbiting scroll)과 고정 스크롤(Fixed scroll) 사이에 작동가스가 흡, 토출되는 압축공간이 형성되고 상기 선회 스크롤이 고정 스크롤을 따라 회전하면서 냉매를 압축시키는 스크롤식 압축기(Scroll compressor)로 구분될 수 있다.
최근에는 상기 왕복동식 압축기 중에서 특히 피스톤이 왕복 직선 운동하는 구동모터에 직접 연결되도록 하여 운동전환에 의한 기계적인 손실이 없이 압축효율을 향상시킬 수 있고 간단한 구조로 구성되는 리니어 압축기가 많이 개발되고 있다.
보통, 리니어 압축기는 밀폐된 쉘 내부에서 피스톤이 리니어 모터에 의해 실린더 내부에서 왕복 직선 운동하도록 움직이면서 냉매를 흡입하여 압축시킨 다음 토출시키도록 구성된다.
상기 리니어 모터는 이너 스테이터 및 아우터 스테이터 사이에 영구자석이 위치되도록 구성되며, 영구자석은 영구자석과 이너(또는 아우터) 스테이터 간의 상호 전자기력에 의해 직선 왕복 운동하도록 구동된다. 그리고, 상기 영구자석이 피스톤과 연결된 상태에서 구동됨에 따라, 피스톤이 실린더 내부에서 왕복 직선운동하면서 냉매를 흡입하여 압축시킨 다음, 토출시키도록 한다.
종래의 리니어 압축기와 관련하여, 본 출원인은 특허출원(이하, 선행문헌)을 실시하여 등록받은 바 있다.
[선행문헌]
1. 등록번호 10-1307688호, 등록일자 : 2013년 9월 5일, 발명의 명칭 : 리니어 압축기
상기 선행문헌에 따른 리니어 압축기에는, 다수의 부품을 수용하는 쉘(110)이 포함된다. 상기 쉘(110)의 상하 방향으로의 높이는, 선행문헌의 도 2에 도시되는 바와 같이, 다소 높게 형성된다.
그리고, 상기 쉘(110)의 내부에는 실린더(200)와 피스톤(300) 사이로 오일을 공급할 수 있는 급유 어셈블리(900)가 제공된다.
한편, 리니어 압축기가 냉장고에 제공되는 경우, 상기 리니어 압축기는 냉장고의 후방 하측에 구비되는 기계실에 설치될 수 있다.
최근, 냉장고의 내부 저장공간을 증대하는 것이 소비자의 주요 관심사가 되고 있다. 상기 냉장고의 내부 저장공간을 증대하기 위하여는, 상기 기계실의 용적을 줄일 필요가 있고, 상기 기계실의 용적을 줄이기 위하여 상기 리니어 압축기의 크기를 줄이는 것이 주요 이슈가 되고 있다.
그러나, 선행문헌에 개시된 리니어 압축기는 상대적으로 큰 부피를 차지하고 있어, 내부 저장공간을 증대하기 위한 냉장고에는 적합하지 않은 문제점이 있다.
상기 리니어 압축기의 크기를 줄이기 위하여 압축기의 주요 부품을 작게 만들 필요가 있으나, 이 경우 압축기의 성능이 약화되는 문제점이 발생될 수 있다.
상기 압축기의 성능이 약화되는 문제점을 보상하기 위하여, 압축기의 운전 주파수를 증가하는 것을 고려할 수 있다. 다만, 압축기의 운전 주파수가 증가할수록 압축기의 내부에서 순환되는 오일에 의한 마찰력이 증가하여 압축기의 성능이 저하되는 문제점이 나타난다.
한편, 상기 선행문헌에는 토출밸브를 지지하는 토출밸브 스프링이 코일 스프링으로 구성되는 사상이 개시된다. 상기 토출밸브 스프링에 코일 스프링이 적용되는 경우, 토출밸브가 상기 코일 스프링에 대하여 자전(自轉)하는 현상이 나타나며 이에 따라 토출밸브의 마모가 발생되는 문제점이 있었다.
본 발명은 이러한 문제점을 해결하기 위하여 제안된 것으로서, 토출 밸브의 마모를 줄일 수 있는 리니어 압축기를 제공하는 것을 목적으로 한다.
본 발명의 실시예에 따른 리니어 압축기에는, 토출부가 제공되는 쉘; 상기 쉘의 내부에 구비되며, 냉매의 압축공간을 형성하는 실린더; 상기 실린더의 내부에서 축방향으로 왕복운동 가능하게 제공되는 피스톤; 상기 실린더의 일측에 제공되며, 상기 냉매의 압축공간에서 압축된 냉매를 선택적으로 배출시키는 토출 밸브; 상기 토출 밸브에 결합되어, 복원력을 제공하는 밸브 스프링; 및 상기 밸브 스프링에 결합되며, 상기 밸브 스프링의 변형량을 제한하는 스토퍼가 포함되며, 상기 스토퍼에는, 상기 밸브 스프링이 변형되는 방향으로 함몰되어, 상기 스토퍼와 상기 밸브 스프링의 충격량을 감소시키는 가이드 장치가 포함된다.
또한, 상기 가이드 장치에는, 상기 밸브 스프링과 접촉하는 접촉면이 포함된다.
또한, 상기 접촉면에는, 라운드지게 연장되는 면이 포함된다.
또한, 상기 접촉면에는, 상기 축방향에 수직한 반경방향으로, 경사지게 연장되는 면이 포함된다.
또한, 상기 스토퍼에는, 상기 밸브 스프링을 지지하는 스토퍼 본체; 상기 스토퍼 본체의 테두리부에 제공되며, 상기 밸브 스프링을 지지하는 스프링 지지부; 및 상기 스토퍼 본체의 중앙부에 제공되며, 상기 토출 밸브와의 간섭을 방지하기 위한 밸브 회피홈이 포함된다.
또한, 상기 가이드 장치는, 상기 스프링 지지부로부터 상기 밸브 회피홈을 향하여 연장되는 것을 특징으로 한다.
또한, 상기 스프링 지지부는 상기 스토퍼 본체로부터 상기 밸브 스프링을 향하여 돌출되며, 상기 밸브 스프링이 안착될 수 있도록 구성된다.
또한, 상기 스토퍼에는, 상기 스프링 지지부로부터 상기 밸브 스프링을 향하여 돌출되며, 상기 밸브 스프링의 스프링 함몰부에 결합되는 가이드 돌기가 더 포함된다.
또한, 상기 가이드 장치의 함몰된 형상은, 상기 토출 밸브가 개방될 때 상기 밸브 스프링이 변형되는 형상에 대응하는 형상을 가지는 것을 특징으로 한다.
또한, 상기 실린더를 상기 쉘에 고정하는 프레임; 상기 프레임에 결합되며, 상기 토출 밸브를 통하여 배출된 냉매의 맥동을 저감하기 위한 공명실을 가지는 토출 커버; 및 상기 토출 커버에 설치되어, 상기 스토퍼를 지지하는 스페이서가 포함된다.
또한, 상기 밸브 스프링에는, 다수의 절개부를 가지는 스프링 본체; 및 상기 스프링 본체에 형성되며, 상기 토출 밸브의 삽입 돌기에 결합되는 삽입공이 포함되며, 상기 밸브 회피홈은 상기 삽입 돌기와 대응하는 위치에 형성되는 것을 특징으로 한다.
또한, 상기 실린더를 상기 쉘에 고정하는 프레임; 상기 프레임에 결합되며, 상기 토출 밸브를 통하여 배출된 냉매의 맥동을 저감하기 위한 공명실을 가지는 토출 커버; 상기 밸브 스프링과 상기 스토퍼의 사이에 개재되어, 상기 밸브 스프링을 상기 스토퍼로부터 이격시키는 제 1 스페이서; 및 상기 커버 본체에 설치되어, 상기 스토퍼를 지지하는 제 2 스페이서가 포함된다.
또한, 상기 가이드 장치는, 상기 제 1 스페이서의 내주면으로부터 상기 스토퍼의 중심부를 향하여 연장되는 것을 특징으로 한다.
또한, 상기 실린더에는, 상기 토출 밸브를 통하여 배출된 냉매를 상기 실린더의 내부로 도입하기 위한 노즐부가 포함된다.
다른 측면에 따른 리니어 압축기에는, 토출부가 제공되는 쉘; 상기 쉘의 내부에 구비되며, 냉매의 압축공간을 형성하는 실린더; 상기 실린더를 상기 쉘에 고정하는 프레임; 상기 실린더의 내부에서 축방향으로 왕복운동 가능하게 제공되는 피스톤; 상기 실린더의 일측에 제공되며, 상기 냉매의 압축공간에서 압축된 냉매를 선택적으로 배출시키는 토출 밸브; 상기 프레임에 결합되며, 상기 토출 밸브를 통하여 배출된 냉매의 맥동을 저감하기 위한 공명실을 가지는 토출 커버; 상기 토출 커버에 설치되는 밸브 스프링; 및 상기 밸브 스프링에 결합되며, 상기 밸브 스프링이 변형되는 방향으로 함몰된 일면을 가지는 스토퍼가 포함된다.
또한, 상기 스토퍼의 함몰된 일면에는, 상기 밸브 스프링이 접촉하는 라운드 면이 포함된다.
또한, 상기 스토퍼의 함몰된 일면에는, 상기 밸브 스프링이 접촉하는 경사면이 포함된다.
이러한 본 발명에 의하면, 내부 부품을 포함한 압축기의 크기를 작게 함으로써, 냉장고의 기계실의 크기를 줄일 수 있고 이에 따라 냉장고의 내부 저장공간을 증대시킬 수 있다는 장점이 있다.
또한, 압축기의 운전 주파수를 증가함으로써 작아진 내부 부품에 의한 성능 저하를 방지할 수 있으며, 실린더와 피스톤 사이에 가스 베어링을 적용함으로써 오일에 의하여 발생할 수 있는 마찰력을 감소시킬 수 있다는 장점이 있다.
또한, 압축실에서 압축된 고압 가스를 선택적으로 배출하는 토출 밸브의 작동이 안정적으로 이루어질 수 있고 토출 밸브의 작동간 발생할 수 있는 충격량을 감소시킴으로써 토출 밸브의 마모를 줄일 수 있게 된다. 결국, 토출 밸브의 마모에 따라 발생할 수 있는 이물이 가스 베어링에 작용하는 것을 방지할 수 있다.
또한, 스토퍼에 의하여 토출 밸브의 열림량이 제한되어 상기 토출 밸브가 닫혀지는 시간이 단축됨으로써, 토출 밸브의 작동을 위한 응답성이 개선될 수 있다는 효과가 있다.
그리고, 스토퍼의 일면이 경사지게 구성되어 상기 토출 밸브가 개방될 때 상기 토출 밸브를 지지하는 밸브 스프링이 스토퍼의 경사진 면에 접촉될 수 있으므로, 스토퍼와 밸브 스프링의 접촉면적이 증가될 수 있다. 결국, 상기 토출 밸브 또는 밸브 스프링과, 상기 스토퍼 간에 발생하는 충격량이 저감되고, 상기 토출 밸브이 마모를 줄일 수 있다.
또한, 토출 커버에 공명실을 구성함으로써, 토출 가스의 맥동을 저감할 수 있으며 소음 발생을 저감할 수 있다.
또한, 압축기의 내부에 다수의 필터장치를 구비함으로써, 실린더의 노즐부로부터 피스톤의 외측으로 유입되는 압축 가스(또는 토출 가스) 중에 이물 또는 유분이 포함되는 것을 방지할 수 있다는 장점이 있다.
결국, 상기 실린더의 노즐부가 막히는 현상을 방지함으로서, 실린더와 피스톤 사이에서 가스 베어링의 작용이 효과적으로 이루어질 수 있으며, 이에 따라 실린더와 피스톤의 마모를 방지할 수 있게 된다.
도 1은 본 발명의 제 1 실시예에 따른 리니어 압축기의 구성을 보여주는 단면도이다.
도 2는 본 발명의 제 1 실시예에 따른 흡입 머플러의 구성을 보여주는 단면도이다.
도 3은 본 발명의 제 1 실시예에 따른 토출 커버 및 토출 밸브의 주변 구성을 보여주는 단면도이다.
도 4는 본 발명의 제 1 실시예에 따른 실린더와 프레임의 구성을 보여주는 분해 사시도이다.
도 5는 본 발명의 제 1 실시예에 따른 실린더와 피스톤의 결합모습을 보여주는 단면도이다.
도 6은 본 발명의 제 1 실시예에 따른 실린더의 구성을 보여주는 분해 사시도이다.
도 7은 도 5의 "A"를 확대한 단면도이다.
도 8은 본 발명의 제 1 실시예에 따른 토출 커버에 결합된 토출밸브 어셈블리를 보여주는 사시도이다.
도 9는 본 발명의 제 1 실시예에 따른 토출 커버와 토출밸브 어셈블리의 분해 사시도이다.
도 10은 도 9의 I-I'를 따라 절개한 단면도이다.
도 11은 본 발명의 제 1 실시예에 따른 밸브 스프링과 스토퍼의 작용모습을 보여주는 단면도이다.
도 12는 본 발명의 제 1 실시예에 따른 리니어 압축기의 냉매 유동을 보여주는 단면도이다.
도 13은 본 발명의 제 1 실시예에 따른 리니어 압축기가 작동할 때, 개방되는 토출 밸브의 모습을 보여주는 단면도이다.
도 14는 본 발명의 제 2 실시예에 따른 토출 커버와 토출밸브 어셈블리의 분해 사시도이다.
도 15는 본 발명의 제 3 실시예에 따른 스토퍼의 구성을 보여주는 단면도이다.
이하에서는 도면을 참조하여, 본 발명의 구체적인 실시예를 설명한다. 다만, 본 발명의 사상은 제시되는 실시예에 제한되지 아니하며, 본 발명의 사상을 이해하는 당업자는 동일한 사상의 범위 내에서 다른 실시예를 용이하게 제안할 수 있을 것이다.
도 1은 본 발명의 제 1 실시예에 따른 리니어 압축기의 구성을 보여주는 단면도이다.
도 1을 참조하면, 본 발명의 제 1 실시예에 따른 리니어 압축기(100)에는, 대략 원통 형상의 쉘(101)과, 상기 쉘(101)의 일측에 결합되는 제 1 커버(102) 및 타측에 결합되는 제 2 커버(103)가 포함된다. 일례로, 상기 리니어 압축기(100)는 가로 방향으로 누워져 있으며, 상기 제 1 커버(102)는 상기 쉘(101)의 우측에, 상기 제 2 커버(103)는 상기 쉘(101)의 좌측에 결합될 수 있다.
넓은 의미에서, 상기 제 1 커버(102)와 제 2 커버(103)는 상기 쉘(101)의 일 구성으로서 이해될 수 있다.
상기 리니어 압축기(100)에는, 상기 쉘(101)의 내부에 제공되는 실린더(120)와, 상기 실린더(120)의 내부에서 왕복 직선운동하는 피스톤(130) 및 상기 피스톤(130)에 구동력을 부여하는 리니어 모터로서 모터 어셈블리(140)가 포함된다.
상기 모터 어셈블리(140)가 구동하면, 상기 피스톤(130)은 고속으로 왕복 운동할 수 있다. 본 실시예에 따른 리니어 압축기(100)의 운전 주파수는 대략 100Hz를 형성한다.
상세히, 상기 리니어 압축기(100)에는, 냉매가 유입되는 흡입부(104) 및 상기 실린더(120)의 내부에서 압축된 냉매가 배출되는 토출부(105)가 포함된다. 상기 흡입부(104)는 상기 제 1 커버(102)에 결합되고, 상기 토출부(105)는 상기 제 2 커버(103)에 결합될 수 있다.
상기 흡입부(104)를 통하여 흡입된 냉매는 흡입 머플러(150)를 거쳐 상기 피스톤(130)의 내부로 유동한다. 냉매가 상기 흡입 머플러(150)를 통과하는 과정에서, 소음이 저감될 수 있다. 상기 흡입 머플러(150)는, 제 1 머플러(151)와 제 2 머플러(153)가 결합되어 구성된다. 상기 흡입 머플러(150)의 적어도 일부분은 상기 피스톤(130)의 내부에 위치된다.
상기 피스톤(130)에는, 대략 원통형상의 피스톤 본체(131) 및 상기 피스톤 본체(131)로부터 반경 방향으로 연장되는 피스톤 플랜지부(132)가 포함된다. 상기 피스톤 본체(131)는 상기 실린더(120)의 내부에서 왕복 운동하며, 상기 피스톤 플랜지부(132)는 상기 실린더(120)의 외측에서 왕복 운동할 수 있다.
상기 피스톤(130)은 비자성체인 알루미늄 소재(알루미늄 또는 알루미늄 합금)로 구성될 수 있다. 상기 피스톤(130)이 알루미늄 소재로 구성됨으로써, 상기 모터 어셈블리(140)에서 발생된 자속이 상기 피스톤(130)에 전달되어 상기 피스톤(130)의 외부로 누설되는 현상을 방지할 수 있다. 그리고, 상기 피스톤(130)은 단조 방법에 의하여 형성될 수 있다.
한편, 상기 실린더(120)는 비자성체인 알루미늄 소재(알루미늄 또는 알루미늄 합금)로 구성될 수 있다. 그리고, 상기 실린더(120)와 피스톤(130)의 소재 구성비, 즉 종류 및 성분비는 동일할 수 있다.
상기 실린더(120)가 알루미늄 소재로 구성됨으로써, 상기 모터 어셈블리(140)에서 발생된 자속이 상기 실린더(120)에 전달되어 상기 실린더(120)의 외부로 누설되는 현상을 방지할 수 있다. 그리고, 상기 실린더(120)는 압출봉 가공방법에 의하여 형성될 수 있다.
그리고, 상기 피스톤(130)과 실린더(120)가 동일한 소재(알루미늄)로 구성됨으로써 열팽창 계수가 서로 같게 된다. 리니어 압축기(100)의 운전간, 상기 쉘(100) 내부는 고온(약 100℃)의 환경이 조성되는데, 상기 피스톤(130)과 실린더(120)의 열팽창 계수가 동일하므로, 상기 피스톤(130)과 실린더(120)는 동일한 양만큼 열변형 될 수 있다.
결국, 피스톤(130)과 실린더(120)가 서로 다른 크기 또는 방향으로 열변형 됨으로써, 피스톤과(130)의 운동간에 상기 실린더(120)와 간섭이 발생되는 것을 방지할 수 있다.
상기 실린더(120)는, 상기 흡입 머플러(150)의 적어도 일부분과, 상기 피스톤(130)의 적어도 일부분을 수용하도록 구성된다.
상기 실린더(120)의 내부에는, 상기 피스톤(130)에 의하여 냉매가 압축되는 압축 공간(P)이 형성된다. 그리고, 상기 피스톤(130)의 전방부에는, 상기 압축 공간(P)으로 냉매를 유입시키는 흡입공(133)이 형성되며, 상기 흡입공(133)의 전방에는 상기 흡입공(133)을 선택적으로 개방하는 흡입 밸브(135)가 제공된다. 상기 흡입 밸브(135)의 대략 중심부에는, 소정의 체결부재가 결합되는 체결공이 형성된다.
상기 압축 공간(P)의 전방에는, 상기 압축 공간(P)에서 배출된 냉매의 토출공간 또는 토출 유로를 형성하는 토출 커버(200) 및 상기 토출 커버(200)에 결합되며 상기 압축 공간(P)에서 압축된 냉매를 선택적으로 배출시키기 위한 토출밸브 어셈블리가 제공된다.
상기 토출밸브 어셈블리에는, 상기 압축 공간(P)의 압력이 토출압력 이상이 되면 개방되어 냉매를 상기 토출 커버(200)의 토출 공간으로 유입시키는 토출 밸브(220)와, 상기 토출 밸브(220)와 토출 커버(200)의 사이에 제공되어 축 방향으로 탄성력을 부여하는 밸브 스프링(230) 및 상기 밸브 스프링(230)의 변형량을 제한하는 스토퍼(240)가 포함된다.
여기서, 상기 압축 공간(P)은 상기 흡입 밸브(135)와 상기 토출 밸브(220)의 사이에 형성되는 공간으로서 이해된다. 그리고, 상기 흡입 밸브(135)는 상기 압축 공간(P)의 일측에 형성되고, 상기 토출 밸브(220)는 상기 압축 공간(P)의 타측, 즉 상기 흡입 밸브(135)의 반대측에 제공될 수 있다.
그리고, 상기 "축 방향"이라 함은, 상기 피스톤(130)이 왕복운동 하는 방향, 즉 도 1에서 가로 방향으로 이해될 수 있다. 그리고, 상기 "축 방향" 중에서, 상기 흡입부(104)로부터 상기 토출부(105)를 향하는 방향, 즉 냉매가 유동하는 방향을 "전방"이라 하고, 그 반대방향을 "후방"이라 정의한다.
반면에, "반경 방향"이라 함은 상기 피스톤(130)이 왕복운동 하는 방향에 수직한 방향으로서, 도 1의 세로 방향으로 이해될 수 있다.
상기 스토퍼(240)는 상기 토출 커버(200)에 안착되고, 상기 밸브 스프링(230)은 상기 스토퍼(240)의 후방에 안착될 수 있다. 그리고, 상기 토출 밸브(220)는 상기 밸브 스프링(230)에 결합되며, 상기 토출 밸브(220)의 후방부 또는 후면은 상기 실린더(120)의 전면에 지지되도록 위치된다.
상기 밸브 스프링(230)에는, 일례로 판 스프링(plate spring)이 포함될 수 있다.
상기 피스톤(130)이 상기 실린더(120)의 내부에서 왕복 직선운동 하는 과정에서, 상기 압축공간(P)의 압력이 상기 토출압력보다 낮고 흡입압력 이하가 되면 상기 흡입 밸브(135)가 개방되어 냉매는 상기 압축 공간(P)으로 흡입된다. 반면에, 상기 압축공간(P)의 압력이 상기 흡입압력 이상이 되면 상기 흡입 밸브(135)가 닫힌 상태에서 상기 압축공간(P)의 냉매가 압축된다.
한편, 상기 압축공간(P)의 압력이 상기 토출압력 이상이 되면, 상기 밸브 스프링(230)이 변형하여 상기 토출 밸브(220)를 개방시키고, 냉매는 상기 압축공간(P)으로부터 토출되어, 토출 커버(200)의 토출공간으로 배출된다. 상기 냉매의 배출이 완료되면, 상기 밸브 스프링(230)은 상기 토출 밸브(220)에 복원력을 제공하여, 상기 토출 밸브(220)가 닫혀지도록 한다.
그리고, 상기 토출 커버(200)의 토출 공간을 유동하는 냉매는 루프 파이프(165)로 유입된다. 상기 루프 파이프(165)는 상기 토출 커버(200)에 결합되어 상기 토출부(105)로 연장되며, 상기 토출 공간의 압축 냉매를 상기 토출부(105)로 가이드 한다. 일례로, 상기 루프 파이프(165)는 소정 방향으로 감겨진 형상을 가지고 라운드지게 연장되며, 상기 토출부(105)에 결합된다.
상기 리니어 압축기(100)에는, 프레임(110)이 더 포함된다. 상기 프레임(110)은 상기 실린더(120)를 고정시키는 구성으로서, 별도의 체결부재에 의하여 상기 실린더(120)에 체결될 수 있다. 상기 프레임(110)은 상기 실린더(120)를 둘러싸도록 배치된다. 즉, 상기 실린더(120)는 상기 프레임(110)의 내측에 수용되도록 위치될 수 있다. 그리고, 상기 토출 커버(200)는 상기 프레임(110)의 전면에 결합될 수 있다.
한편, 개방된 토출 밸브(220)를 통하여 배출된 고압의 가스 냉매 중 적어도 일부의 가스 냉매는 상기 실린더(120)와 프레임(110)이 결합된 부분의 공간을 통하여 상기 실린더(120)의 외주면 측으로 유동될 수 있다.
그리고, 냉매는 상기 실린더(120)에 형성된 가스 유입부(122, 도 7 참조) 및 노즐부(123, 도 7 참조)를 통하여 상기 실린더(120)의 내부로 유입된다. 유입된 냉매는 상기 피스톤(130)과 실린더(120) 사이의 공간으로 유동되어 상기 피스톤(130)의 외주면이 상기 실린더(120)의 내주면으로부터 이격되도록 할 수 있다. 따라서, 상기 유입된 냉매는 상기 피스톤(130)의 왕복 운동간 실린더(120)와의 마찰을 감소시키는 "가스 베어링"으로서 기능할 수 있다. 즉, 본 실시예는 오일에 의한 베어링을 채택하지 않는다.
상기 모터 어셈블리(140)에는, 상기 프레임(110)에 고정되어 상기 실린더(120)를 둘러싸도록 배치되는 아우터 스테이터(141,143,145)와, 상기 아우터 스테이터(141,143,145)의 내측으로 이격되어 배치되는 이너 스테이터(148) 및 상기 아우터 스테이터(141,143,145)와 이너 스테이터(148)의 사이 공간에 위치하는 영구자석(146)이 포함된다.
상기 영구자석(146)은, 상기 아우터 스테이터(141,143,145) 및 이너 스테이터(148)와의 상호 전자기력에 의하여 직선 왕복 운동할 수 있다. 그리고, 상기 영구자석(146)은 1개의 극을 가지는 단일 자석으로 구성되거나, 3개의 극을 가지는 다수의 자석이 결합되어 구성될 수 있다.
상기 영구자석(146)은 연결부재(138)에 의하여 상기 피스톤(130)에 결합될 수 있다. 상세히, 상기 연결부재(138)는 상기 피스톤 플랜지부(132)에 결합되어 상기 영구자석(146)을 향하여 절곡하여 연장될 수 있다. 상기 영구자석(146)이 왕복 운동함에 따라, 상기 피스톤(130)은 상기 영구자석(146)과 함께 축 방향으로 왕복 운동할 수 있다.
그리고, 상기 모터 어셈블리(140)에는, 상기 영구자석(146)을 상기 연결부재(138)에 고정하기 위한 고정부재(147)가 더 포함된다. 상기 고정부재(147)에는, 유리 섬유 또는 탄소 섬유와 수지(resin)가 혼합되어 구성될 수 있다. 상기 고정부재(147)는 상기 영구자석(146)의 내측 및 외측을 감싸도록 제공되어, 상기 영구자석(146)과 상기 연결부재(138)의 결합상태를 견고하게 유지시킬 수 있다.
상기 아우터 스테이터(141,143,145)에는, 코일 권선체(143,145) 및 스테이터 코어(141)가 포함된다.
상기 코일 권선체(143,145)에는, 보빈(143) 및 상기 보빈(143)의 원주 방향으로 권선된 코일(145)이 포함된다. 상기 코일(145)의 단면은 다각형 형상을 가질 수 있으며, 일례로 육각형의 형상을 가질 수 있다.
상기 스테이터 코어(141)는 복수 개의 라미네이션(lamination)이 원주 방향으로 적층되어 구성되며, 상기 코일 권선체(143,145)를 둘러싸도록 배치될 수 있다.
상기 아우터 스테이터(141,143,145)의 일측에는 스테이터 커버(149)가 제공된다. 상기 아우터 스테이터(141,143,145)의 일측부는 상기 프레임(110)에 의하여 지지되며, 타측부는 상기 스테이터 커버(149)에 의하여 지지될 수 있다.
상기 이너 스테이터(148)는 상기 프레임(110)의 외주에 고정된다. 그리고, 상기 이너 스테이터(148)는 복수 개의 라미네이션이 상기 프레임(110)의 외측에서 원주 방향으로 적층되어 구성된다.
상기 리니어 압축기(100)에는, 상기 피스톤(130)을 지지하는 서포터(137) 및 상기 서포터(137)에 스프링 결합되는 백 커버(170)가 더 포함된다.
상기 서포터(137)는 소정의 체결부재에 의하여, 상기 피스톤 플랜지부(132) 및 상기 연결부재(138)에 결합된다.
상기 백 커버(170)의 전방에는, 흡입 가이드부(155)가 결합된다. 상기 흡입 가이드부(155)는 상기 흡입부(104)를 통하여 흡입된 냉매가 상기 흡입 머플러(150)에 유입되도록 안내한다.
상기 리니어 압축기(100)에는, 상기 피스톤(130)이 공진 운동할 수 있도록 각 고유 진동수가 조절된 복수의 스프링(176)이 포함된다.
상기 복수의 스프링(176)에는, 상기 서포터(137)와 스테이터 커버(149)의 사이에 지지되는 제 1 스프링 및 상기 서포터(137)와 백 커버(170)의 사이에 지지되는 제 2 스프링이 포함된다.
상기 리니어 압축기(100)에는, 상기 쉘(101)의 양측에 제공되어 상기 압축기(100)의 내부 부품이 상기 쉘(101)에 지지되도록 하는 판 스프링(172,174)이 더 포함된다.
상기 판 스프링(172,174)에는, 상기 제 1 커버(102)에 결합되는 제 1 판 스프링(172) 및 상기 제 2 커버(103)에 결합되는 제 2 판 스프링(174)이 포함된다. 일례로, 상기 제 1 판 스프링(172)은 상기 쉘(101)과 제 1 커버(102)가 결합되는 부분에 끼워질 수 있으며, 상기 제 2 판 스프링(174)은 상기 쉘(101)과 제 2 커버(103)가 결합되는 부분에 끼워지도록 배치될 수 있다.
도 2는 본 발명의 제 1 실시예에 따른 흡입 머플러의 구성을 보여주는 단면도이다.
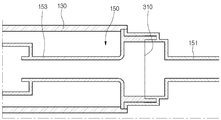
도 2를 참조하면, 본 발명의 실시예에 따른 흡입 머플러(150)에는, 제 1 머플러(151)와, 상기 제 1 머플러(151)에 결합되는 제 2 머플러(153) 및 상기 제 1 머플러(151)와 제 2 머플러(153)에 의하여 지지되는 제 1 필터(310)가 포함된다.
상기 제 1 머플러(151) 및 제 2 머플러(153)는, 그 내부에 냉매가 유동하는 유동 공간부가 형성된다. 상세히, 상기 제 1 머플러(151)는 상기 흡입부(104)의 내측에서 상기 토출부(105) 방향으로 연장되며, 상기 제 1 머플러(151)의 적어도 일부분은 상기 흡입 가이드부(155)의 내부로 연장된다. 그리고, 상기 제 2 머플러(153)는 상기 제 1 머플러(151)로부터 상기 피스톤 본체(131)의 내부로 연장된다.
상기 제 1 필터(310)는, 상기 유동 공간부에 설치되어 이물을 필터링 하는 구성으로서 이해된다. 상기 제 1 필터(310)는 자성을 가지는 물질로 구성되어, 냉매 중에 포함된 이물, 특히 금속 오물의 필터링이 용이해질 수 있다. 일례로, 상기 제 1 필터(310)는 스테인리스 스틸(stainless steel) 재질로 구성되어, 소정의 자성을 가질 수 있고 녹스는 현상이 방지될 수 있다.
다른 예로서, 상기 제 1 필터(310)에는 자성을 가지는 물질이 코팅되거나, 상기 제 1 필터(310)의 표면에 자석이 부착되도록 구성될 수 있다.
상기 제 1 필터(310)는 다수의 필터공을 가지는 메쉬(mesh) 타입으로 구성될 수 있으며, 대략 원판형의 형상을 가질 수 있다. 그리고, 상기 필터공은 소정 크기 이하의 직경 또는 폭을 가질 수 있다. 일례로, 상기 소정 크기는 약 25μm일 수 있다.
상기 제 1 머플러(151)와 제 2 머플러(153)는 압입 방식으로 조립될 수 있다. 그리고, 상기 제 1 필터(310)는 상기 제 1 머플러(151)와 제 2 머플러(153)의 압입되는 부분에 끼워져서 조립될 수 있다.
일례로, 상기 제 1 머플러(151) 및 제 2 머플러(153) 중 어느 하나에는, 홈부가 형성되고, 다른 하나에는 상기 홈부가 삽입되는 돌기부가 포함될 수 있다. 상기 제 1 필터(310)의 양측부가, 상기 홈부와 돌기부의 사이에 개재된 상태에서, 상기 제 1 필터(310)는 상기 제 1,2 머플러(151,153)에 의하여 지지될 수 있다.
상세히, 상기 제 1 필터(310)가 상기 제 1,2 머플러(151,153)의 사이에 위치된 상태에서, 상기 제 1 머플러(151)와 제 2 머플러(153)가 서로 가까워지는 방향으로 이동하여 압입되면, 상기 제 1 필터(310)의 양측부는 상기 홈부와 돌기부의 사이에 끼워져서 고정될 수 있다.
이와 같이, 상기 흡입 머플러(150)에 제 1 필터(310)가 제공됨으로써, 상기 흡입부(104)를 통하여 흡입된 냉매 중 소정 크기 이상의 이물은 상기 제 1 필터(310)에 의하여 필터링 될 수 있다. 따라서, 피스톤(130)과 실린더(120) 사이의 가스 베어링으로 작용하는 냉매에 이물이 포함되어, 상기 실린더(120)에 유입되는 것을 방지할 수 있다.
또한, 상기 제 1 필터(310)가 상기 제 1,2 머플러(151,153)의 압입되는 부분에 견고하게 고정되므로 상기 흡입 머플러(150)로부터 분리되는 현상을 방지할 수있다.
도 3은 본 발명의 제 1 실시예에 따른 토출 커버 및 토출 밸브의 주변 구성을 보여주는 단면도이고, 도 4는 본 발명의 제 1 실시예에 따른 실린더와 프레임의 구성을 보여주는 분해 사시도이다.
도 3 및 도 4를 참조하면, 본 발명의 제 1 실시예에 따른 리니어 압축기(100)에는, 상기 압축 공간(P)에서 압축된 냉매를 배출하기 위하여 선택적으로 개방되는 토출 밸브(220)가 더 포함된다.
상기 토출 밸브(220)의 후면은 상기 실린더(120)의 전방부에 접촉 가능하게 설치될 수 있다. 상기 토출 밸브(220)의 후면이 상기 실린더(120)의 전방부에 접촉된 상태에서, 상기 압축공간(P)의 냉매가 압축된다. 그리고, 상기 압축공간(P)의 압력이 상기 토출압력 이상이 되면, 상기 토출 밸브(220)의 후면이 상기 실린더(120)의 전방부로부터 이격되어 상기 토출 밸브(220)의 개방이 이루어지며, 이격된 공간을 통하여 압축된 냉매가 배출된다.
상기 리니어 압축기(100)에는, 상기 토출 밸브(220)의 전방에 결합되어 상기 토출 밸브(220)를 탄성 지지하는 밸브 스프링(230) 및 상기 밸브 스프링(230)의 변형량을 설정량 이하로 제한하는 스토퍼(240)가 더 포함된다.
상기 토출 밸브(220)가 개방될 때, 상기 밸브 스프링(230)은 전방으로 변형되는 움직임을 가지며, 이 과정에서 상기 스토퍼(240)는 상기 밸브 스프링(230)의 전방에서 상기 밸브 스프링(230)에 간섭되어 상기 밸브 스프링(230)의 과도한 변형을 방지한다.
상기 리니어 압축기(100)에는, 상기 스토퍼(240)의 전방에 설치되어 상기 스토퍼(240)를 지지하는 스페이서(260)가 포함된다. 상기 스페이서(260)는 토출 커버(200)에 안착될 수 있다.
상기 스페이서(260)는 상기 스토퍼(240)와 토출 커버(200)의 사이에 위치하여, 상기 스토퍼(240)를 상기 토출 커버(220)에 안정적으로 지지시킬 수 있다. 따라서, 상기 밸브 스프링(230)과 스토퍼(240)간에 반복적인 충격이 발생할 때, 상기 스토퍼(240)가 상기 토출 커버(200)에 의하여 파손되는 현상, 특히, 상기 토출 커버(200)의 경도가 상기 스토퍼(240)의 경도보다 클 때 발생될 수 있는 현상을 방지할 수 있다.
상기 리니어 압축기(100)에는, 프레임(110)과 실린더(120)의 사이에 구비되어 토출 밸브(220)를 통하여 배출된 고압의 가스 냉매를 필터링 하기 위한 제 2 필터(320)가 포함된다. 상기 제 2 필터(320)는 상기 프레임(110)과 실린더(120)가 결합되는 부분 또는 결합면에 위치될 수 있다.
상세히, 상기 실린더(120)에는, 대략 원통 형상의 실린더 본체(121) 및 상기 실린더 본체(121)로부터 반경 방향으로 연장되는 실린더 플랜지부(125)가 포함된다.
상기 실린더 본체(121)에는, 토출된 가스 냉매가 유입되는 가스 유입부(122)가 포함된다. 상기 가스 유입부(122)는 상기 실린더 본체(121)의 외주면을 따라 대략 원형의 형상으로 함몰되도록 형성될 수 있다.
그리고, 상기 가스 유입부(122)는 복수 개가 구비될 수 있다. 복수의 가스 유입부(122)에는, 상기 실린더 본체(121)의 축 방향 중심부로부터 일측에 위치하는 가스 유입부(122a,122b, 도 6 참조) 및 상기 축 방향 중심부로부터 타측에 위치하는 가스 유입부(122c, 도 6 참조)가 포함된다.
상기 실린더 플랜지부(125)에는, 상기 프레임(110)과 결합되는 체결부(126)가 구비된다. 상기 체결부(126)는 상기 실린더 플랜지부(125)의 외주면으로부터 외부 방향으로 돌출되도록 구성될 수 있다. 상기 체결부(126)는, 소정의 체결부재에 의하여 상기 프레임(110)의 실린더 체결공(118)에 결합될 수 있다.
상기 실린더 플랜지부(125)에는, 상기 프레임(110)에 안착되는 안착면(127)이 포함된다. 상기 안착면(127)은 상기 실린더 본체(121)로부터 반경 방향으로 연장되는 실린더 플랜지부(125)의 후면부일 수 있다.
상기 프레임(110)에는, 상기 실린더 본체(121)를 둘러싸는 프레임 본체(111)와, 상기 프레임 본체(111)의 반경 방향으로 연장되어 상기 토출 커버(200)에 결합되는 커버 결합부(115)가 포함된다.
상기 커버 결합부(115)에는, 상기 토출 커버(200)에 결합되는 체결부재가 삽입되는 다수의 커버 체결공(116) 및 상기 실린더 플랜지부(125)에 결합되는 체결부재가 삽입되는 다수의 실린더 체결공(118)이 형성된다. 상기 실린더 체결공(118)은 상기 커버 결합부(115)로부터 다소 함몰된 위치에 형성된다.
상기 프레임(110)에는, 상기 커버 결합부(115)로부터 후방으로 함몰되어 상기 실린더 플랜지부(125)가 삽입되는 함몰부(117)가 구비된다. 즉, 상기 함몰부(117)는 상기 실린더 플랜지부(125)의 외주면을 둘러싸도록 배치될 수 있다. 상기 함몰부(117)의 함몰된 깊이는, 상기 실린더 플랜지부(125)의 전후방 폭에 대응될 수 있다.
상기 함몰부(117)의 내주면과, 상기 실린더 플랜지부(125)의 외주면 사이에는, 소정의 냉매 유동공간이 형성될 수 있다. 상기 토출 밸브(220)에서 토출된 고압의 가스 냉매는 상기 냉매 유동공간을 경유하여, 상기 실린더 본체(121)의 외주면을 향하여 유동될 수 있다. 상기 제 2 필터(320)는 상기 냉매 유동공간에 설치되어, 냉매를 필터링 할 수 있다.
상세히, 상기 함몰부(117)의 후단부에는 단차지게 구비되는 안착부가 형성되며, 상기 안착부에는, 링 형상의 제 2 필터(320)가 안착될 수 있다.
상기 안착부에 상기 제 2 필터(320)가 안착된 상태에서, 상기 실린더(120)가 상기 프레임(110)에 결합되면, 상기 실린더 플랜지부(125)는 상기 제 2 필터(320)의 전방에서 상기 제 2 필터(320)를 누르게 된다. 즉, 상기 제 2 필터(320)는 상기 프레임(110)의 안착부와 상기 실린더 플랜지부(125)의 안착면(127)의 사이에 개재되어 고정될 수 있다.
상기 제 2 필터(320)는 개방된 토출 밸브(220)를 통하여 배출된 고압의 가스 냉매 중 이물이 상기 실린더(120)의 가스 유입부(122)로 유입되는 것을 차단하며, 냉매 중에 포함된 유분을 흡착하도록 구성될 수 있다.
일례로, 상기 제 2 필터(320)에는, PET(Polyethylene Terephthalate) 섬유로 이루어진 부직포 또는 흡착포가 포함될 수 있다. 상기 PET는 내열성 및 기계적 강도가 우수하다는 장점이 있다. 그리고, 냉매 중 2μm 이상의 이물을 차단할 수 있다.
상기 함몰부(117)의 내주면과, 상기 실린더 플랜지부(125)의 외주면 사이의 유동공간을 통과한 고압의 가스 냉매는 상기 제 2 필터(320)를 통과하게 되며, 이 과정에서 냉매는 필터링 될 수 있다.
도 5는 본 발명의 제 1 실시예에 따른 실린더와 피스톤의 결합모습을 보여주는 단면도이고, 도 6은 본 발명의 제 1 실시예에 따른 실린더의 구성을 보여주는 분해 사시도이고, 도 7은 도 5의 "A"를 확대한 단면도이다.
도 5 내지 도 7을 참조하면, 본 발명의 제 1 실시예에 따른 실린더(120)에는, 대략 원통 형상을 가지며 제 1 본체단부(121a) 및 제 2 본체단부(121b)를 형성하는 실린더 본체(121) 및 상기 실린더 본체(121)의 제 2 본체단부(121b)로부터 반경 방향 외측으로 연장되는 실린더 플랜지부(125)가 포함된다.
상기 제 1 본체단부(121a) 및 제 2 본체단부(121b)는 상기 실린더 본체(121)의 축방향 중심부(121c)를 기준으로 상기 실린더 본체(121)의 양측 단부를 형성한다.
상기 실린더 본체(121)에는, 상기 토출밸브(220)를 통하여 배출된 고압의 가스 냉매 중 적어도 일부의 냉매가 유동하는 복수의 가스 유입부(122)가 형성된다. 상기 복수의 가스 유입부(122)에는, "필터부재"로서의 제 3 필터(330)가 배치될 수 있다.
상기 복수의 가스 유입부(122)는 상기 실린더 본체(121)의 외주면으로부터 소정 깊이 및 폭만큼 함몰되도록 구성된다. 상기 냉매는 상기 복수의 가스 유입부(122) 및 노즐부(123)를 통하여, 상기 실린더 본체(121)의 내부로 유입될 수 있다.
그리고, 유입된 냉매는 상기 피스톤(130)의 외주면과 실린더(120)의 내주면 사이에 위치하여, 상기 피스톤(130)의 움직임에 대한 가스 베어링으로서 기능한다. 즉, 상기 유입된 냉매의 압력에 의하여, 상기 피스톤(130)의 외주면은 상기 실린더(120)의 내주면으로부터 이격된 상태를 유지하게 된다.
상기 복수의 가스 유입부(122)에는, 상기 실린더 본체(121)의 축방향 중심부(121c)로부터 일측에 위치하는 제 1 가스 유입부(122a) 및 제 2 가스 유입부(122b)와, 상기 축방향 중심부(121c)로부터 타측에 위치하는 제 3 가스 유입부(122c)가 포함된다.
상기 제 1,2 가스 유입부(122a,122b)는 상기 실린더 본체(121)의 축방향 중심부(121c)를 기준으로 상기 제 2 본체단부(121b)에 더 가깝게 위치되고, 상기 제 3 가스 유입부(122c)는 상기 실린더 본체(121)의 축방향 중심부(121c)를 기준으로 상기 제 1 본체단부(121a)에 더 가깝게 위치될 수 있다.
즉, 상기 복수의 가스 유입부(122)는 상기 실린더 본체(121)의 축방향 중심부(121c)를 기준으로 비대칭 되는 개수로 배치된다.
도 1을 참조하면, 상기 실린더(120)의 내부 압력은, 냉매의 흡입측에 가까운 제 1 본체단부(121a)측에 비하여, 압축된 냉매의 토출측에 가까운 제 2 본체단부(121b)측에서 더 높게 형성되므로, 상기 제 2 본체단부(121b)측에 더 많은 가스 유입부(122)를 형성하여 가스 베어링의 기능을 강화하고, 상기 제 1 본체단부(121a)측에는 상대적으로 적은 가스 유입부(122)를 형성할 수 있다.
상기 실린더 본체(121)에는, 상기 복수의 가스 유입부(122)로부터 상기 실린더 본체(121)의 내주면 방향으로 연장되는 노즐부(123)가 더 포함된다. 상기 노즐부(123)는 상기 가스 유입부(122)보다 작은 폭 또는 크기를 가지도록 형성된다.
상기 노즐부(123)는 원형으로 연장된 가스 유입부(122)를 따라 복수 개가 형성될 수 있다. 그리고, 복수의 노즐부(123)는 서로 이격되어 배치된다.
상기 노즐부(123)에는, 상기 가스 유입부(122)에 연결되는 입구부(123a) 및 상기 실린더 본체(121)의 내주면에 연결되는 출구부(123b)가 포함된다. 상기 노즐부(123)는 입구부(123a)로부터 상기 출구부(123b)를 향하여 소정 길이를 가지도록 형성된다.
상기 가스 유입부(122)로 유입된 냉매는 상기 제 3 필터(330)에서 필터링 된 후, 상기 노즐부(123)의 입구부(123a)로 유동하며, 상기 노즐부(123)를 따라 상기 실린더(120)의 내주면 방향으로 유동한다. 그리고, 냉매는 상기 출구부(123b)를 통하여 상기 실린더(120)의 내부 공간으로 유입된다.
상기 피스톤(130)은 상기 출구부(123b)에서 배출된 냉매의 압력에 의하여, 상기 실린더(120)의 내주면으로부터 이격되는 동작, 즉 상기 실린더(120)의 내주면으로부터 부상하게 된다. 즉, 상기 실린더(120)의 내측으로 공급되는 냉매의 압력은 상기 피스톤(130)에 부상력 또는 부상압을 제공하게 된다.
상기 복수의 가스 유입부(122)의 함몰된 깊이 및 폭과, 상기 노즐부(123)의 길이(L)는, 상기 실린더(120)의 강성, 상기 제 3 필터(330)의 양 또는 상기 노즐부(123)를 통과하는 냉매의 압력 강하의 크기등을 고려하여 적절한 크기로 결정될 수 있다.
일례로, 상기 상기 복수의 가스 유입부(122)의 함몰된 깊이 및 폭이 너무 크거나, 상기 노즐부(123)의 길이가 너무 작아지면, 상기 실린더(120)의 강성이 약해질 수 있다. 반면에, 상기 복수의 가스 유입부(122)의 함몰된 깊이 및 폭이 너무 작으면, 상기 가스 유입부(122)에 설치될 수 있는 제 3 필터(330)의 양이 너무 적어질 수 있다.
그리고, 상기 노즐부(123)의 길이가 너무 커지면, 상기 노즐부(123)를 통과하는 냉매의 압력 강하가 너무 커지게 되어, 가스 베어링으로서의 충분한 기능을 수행할 수 없게 된다.
상기 노즐부(123)의 입구부(123a)의 직경은 상기 출구부(123b)의 직경보다 크게 형성된다. 냉매의 유동방향을 기준으로, 상기 노즐부(123)에서의 유동 단면적은 상기 입구부(123a)로부터 상기 출구부(123b)로 갈수록 점점 작게 형성된다.
상세히, 상기 노즐부(123)의 직경이 너무 커지는 경우, 상기 토출 밸브(220)를 통하여 배출된 고압의 가스 냉매 중 상기 노즐부(123)로 유입되는 냉매의 양이 너무 많게 되어 압축기의 유량 손실이 크게 되는 문제점이 있다. 반면에, 상기 노즐부(123)의 직경이 너무 작게 되면, 상기 노즐부(123)에서의 압력 강하가 크게 되어 가스 베어링으로서의 성능이 감소하는 문제점이 있다.
따라서, 본 실시예에서는 상기 노즐부(123)의 입구부(123a)의 직경을 상대적으로 크게 형성하여 상기 노즐부(123)로 유입되는 냉매의 압력 강하를 줄이고, 상기 출구부(123b)의 직경을 상대적으로 작게 형성하여 상기 노즐부(123)를 통한 가스 베어링의 유입량을 소정값 이하로 조절할 수 있는 것을 특징으로 한다.
상기 제 3 필터(330)는 상기 실린더(120)의 내부로 소정 크기 이상의 이물이 유입되는 것을 차단하고 냉매 중에 포함된 유분을 흡착하는 기능을 수행한다. 여기서, 상기 소정 크기는 1μm 일 수 있다.
상기 제 3 필터(330)에는, 상기 가스 유입부(122)에 감겨진 실(thread)이 포함된다. 상세히, 상기 실(thread)은, PET(Polyethylene Terephthalate) 재질로 구성되어 소정의 두께 또는 직경을 가질 수 있다.
상기 실(thread)의 두께 또는 직경은 상기 실(thread)의 강도를 고려하여 적절한 값으로 결정될 수 있다. 만약, 상기 실(thread)의 두께 또는 직경이 너무 작게 되면 상기 실(thread)의 강도가 너무 약해져 쉽게 끊어질 수 있으며, 상기 실(thread)의 두께 또는 직경이 너무 크게 되면 실(thread)을 감았을 때 상기 가스 유입부(122)에서의 공극이 너무 커져 이물의 필터링 효과가 낮아지는 문제점이 있다.
일례로, 상기 실(thread)의 두께 또는 직경은 수백 μm 단위로 형성되며, 상기 실(thread)은 수십 μm 단위의 원사(spun thread)가 다수의 가닥으로 결합되어 구성될 수 있다.
상기 실(thread)은 다수 회 감겨지고 그 단부가 매듭으로 고정되도록 구성된다. 상기 실(thread)의 감겨지는 횟수는 가스 냉매의 압력 강하정도 및 이물의 필터링 효과를 고려하여 적절하게 선택될 수 있다. 만약, 상기 감겨지는 횟수가 너무 크면 가스 냉매의 압력강하가 너무 커지게 되고, 상기 감겨지는 횟수가 너무 적게 되면 이물의 필터링이 잘 되지 않을 수 있다.
그리고, 상기 실(thread)의 감겨지는 장력(tension force)은 실린더(120)의 변형도 및 실의 고정력을 고려하여, 적절한 크기로 형성된다. 만약, 상기 장력이 너무 커지게 되면 실린더(120)의 변형이 유발될 수 있으며 상기 장력이 너무 작아지게 되면 실(thread)이 상기 가스 유입부(122)에 잘 고정되지 않을 수 있다.
도 8은 본 발명의 제 1 실시예에 따른 토출 커버에 결합된 토출밸브 어셈블리를 보여주는 사시도이고, 도 9는 본 발명의 제 1 실시예에 따른 토출 커버와 토출밸브 어셈블리의 분해 사시도이고, 도 10은 도 9의 I-I'를 따라 절개한 단면도이고, 도 11은 본 발명의 제 1 실시예에 따른 밸브 스프링과 스토퍼의 작용모습을 보여주는 단면도이다.
도 8 내지 도 11을 참조하면, 본 발명의 제 1 실시예에 따른 리니어 압축기(100)에는, 상기 프레임(110)의 전방에 결합되며 상기 압축공간(P)에서 배출된 냉매의 토출 유로를 형성하는 토출 커버(200)가 포함된다.
상기 토출 커버(200)에는, 상기 토출 밸브(220)를 통하여 배출된 냉매의 토출 유로를 형성하는 커버 본체(200a)와, 상기 커버 본체(200a)로부터 반경방향 외측으로 연장되며 상기 프레임(110)에 결합되는 프레임 결합부(201) 및 상기 토출 본체(200a)의 토출 유로를 경유한 냉매가 상기 토출 커버(200)의 외부로 배출되도록 하는 파이프 연결부(202)가 포함된다. 상기 프레임 결합부(201)는 상기 토출 커버(200)의 후면을 형성하며, 상기 파이프 연결부(202)는 상기 루프 파이프(165)에 연결될 수 있다.
상기 토출 커버(200)에는, 토출 밸브 어셈블리가 설치될 수 있다. 상기 토출밸브 어셈블리에는, 토출 밸브(220), 밸브 스프링(230), 스토퍼(240) 및 스페이서(260)가 포함된다.
상세히, 상기 토출 커버(200)의 커버 본체(200a)에는, 상기 프레임 결합부(201)로부터 전방으로 단차지게 형성되는 복수의 단차부(203,205)가 포함된다. 상기 복수의 단차부(203,205)에는, 상기 프레임 결합부(201)로부터 후방으로 함몰되도록 형성되는 제 1 단차부(203) 및 상기 제 1 단차부(203)로부터 공명실(212)을 향하여 후방으로 더 함몰되도록 형성되는 제 2 단차부(205)가 포함된다.
상기 커버 본체(200a)에는, 상기 제 1 단차부(203)로부터 반경방향 내측으로 연장되어 상기 제 2 단차부(205)에 연결되는 단차 연결부(203a)가 더 포함된다. 즉, 상기 커버 본체(200a)는, 상기 제 1 단차부(203)로부터 내측 반경방향으로 연장된 후 후방으로 더 함몰되어 상기 제 2 단차부(205)를 형성하도록, 구성된다.
상기 제 1 단차부(203)에는, 상기 커버 본체(200a)의 토출 유로를 경유한 냉매를 상기 파이프 연결부(202)로 가이드 하여 상기 토출 커버(200)로부터 배출하기 위한 토출공(204)이 포함된다. 상기 토출공(204)은 상기 제 1 단차부(203)의 적어도 일부분이 관통되어 형성된다. 상기 토출 밸브(220)를 통하여 배출된 냉매는 상기 토출공(204)을 경유하여, 상기 파이프 연결부(202)로 유동할 수 있다.
상기 커버 본체(200a)에는, 상기 제 2 단차부(205)로부터 더 함몰되며, 냉매의 맥동을 저감하기 위한 공간부를 형성하는 공명실(212)이 더 포함된다. 상기 공명실(212)은 다수 개가 형성될 수 있다. 그리고, 상기 공명실(212)의 공간부에는, 상기 토출밸브(220)를 통하여 배출된 냉매의 적어도 일부분이 유동할 수 있다.
상기 커버 본체(200a)에는, 상기 다수의 공명실(212)을 구획하며 상기 제 2 스페이서(260)가 지지될 수 있는 안착부(210)가 더 포함된다. 상기 다수의 공명실(212)은 상기 안착부(210)로부터 전방으로 더 함몰되며, 상기 안착부(210)에 의하여 서로 이격된 위치에 형성될 수 있다.
상기 커버 본체(200a)에는, 상기 토출 밸브(220)를 통하여 배출된 냉매의 적어도 일부분을 상기 다수의 공명실(212)로 가이드 하는 "가이드 유로"로서 제 1 가이드 홈(206)이 형성된다. 상기 제 1 가이드 홈(206)은 상기 단차 연결부(203a)로부터 상기 제 2 단차부(205)를 향하여 전방으로 연장된다. 그리고, 상기 제 1 가이드 홈(206)은 상기 단차 연결부(203a) 및 제 2 단차부(205)의 적어도 일부분이 절개되어 형성될 수있다.
상기 제 1 가이드 홈(206)은, 상기 다수의 공명실(212)의 수에 대응하여, 다수 개가 형성될 수 있다. 상기 다수의 제 1 가이드 홈(206)은 서로 이격되어 형성될 수 있다.
상기 개방된 토출 밸브(220)를 통하여 배출된 냉매 중 적어도 일부의 냉매가 상기 제 1 가이드 홈(206)을 따라 상기 다수의 공명실(212)로 유입됨으로써, 압축기의 작동간 냉매유동 과정에서 발생하는 맥동을 저감시킬 수 있다.
상기 커버 본체(200a)에는, 상기 스토퍼(240)의 결합을 가이드 하는 제 2 가이드 홈(207)이 형성된다. 상기 제 2 가이드 홈(207)은 상기 스토퍼(240)의 가이드 돌기(243)의 결합을 가이드 한다. 그리고, 상기 제 2 가이드 홈(207)은 상기 단차 연결부(203a) 및 제 2 단차부(205)의 적어도 일부분이 절개되어 형성될 수있다.
상기 제 2 가이드 홈(207)은, 상기 스토퍼(240)의 가이드 돌기(243)의 수에 대응하여, 다수 개가 형성될 수 있다. 상기 다수의 제 2 가이드 홈(207)은 서로 이격되어 형성될 수 있다.
상기 토출 밸브(220)에는, 상기 실린더(120)의 실린더 플랜지부(125)의 전면에 선택적으로 밀착되는 밸브 본체(221) 및 상기 밸브 본체(221)로부터 전방으로 함몰되는 밸브 함몰부(223)가 포함된다. 상기 밸브 함몰부(223)는, 냉매를 압축하기 위하여 상기 피스톤(130)이 전방으로 이동되는 과정에서 상기 피스톤(130)의 적어도 일부분이 상기 토출 밸브(220)가 간섭되는 것을 방지하는 "간섭방지 홈"으로서 이해된다. 여기서, 상기 피스톤(130)의 적어도 일부분에는, 상기 흡입밸브(135)를 피스톤(130)에 체결하기 위한 체결부재가 포함된다.
상기 토출 밸브(220)에는, 상기 밸브 본체(221)로부터 전방으로 돌출되어 상기 밸브 스프링(230)에 결합되는 삽입 돌기(222)가 더 포함된다. 상기 삽입 돌기(222)는 상기 밸브 스프링(230)에 형성되는 삽입공(232)에 결합될 수 있다.
상기 삽입 돌기(222) 및 삽입공(232)의 단면 형상은 비원형 형상을 가질 수 있다. 일례로, 상기 단면 형상은 다각형일 수 있다. 따라서, 상기 삽입 돌기(222)가 상기 삽입공(232)에 삽입된 상태에서 상기 토출 밸브(220)가 개폐 작용을 수행할 때, 상기 토출 밸브(220)가 자체 회전하는 현상을 방지할 수 있다. 결국, 토출 밸브(220)가 불안정하게 거동하는 현상을 방지할 수 있으며, 특히 본 실시예와 같이 오일 베어링이 아닌, 가스 베어링을 사용하는 리니어 압축기의 경우, 오일에 의한 토출 밸브의 윤활작용을 기대하기 어려우므로 불안정한 거동에 의한 토출 밸브의 마모를 줄일 수 있다는 효과가 나타난다.
상기 밸브 스프링(230)에는, 판 스프링(plate spring)이 포함되며, 대략 원판의 형상을 가질 수 있다.
상세히, 상기 밸브 스프링(230)은, 상기 토출 밸브(220)의 전방에 결합되어 상기 토출 밸브(220)의 탄성 이동이 가능하도록, 구성된다. 상기 밸브 스프링(230)에는, 다수의 절개부를 가지는 스프링 본체(231) 및 상기 스프링 본체(231)의 대략 중심부에 형성되어, 상기 토출 밸브(220)의 삽입 돌기(222)가 삽입되는 삽입공(232)이 포함된다.
상기 다수의 절개부는 나선형을 가지도록 구성되며, 상기 다수의 절개부에 의하여 상기 밸브 스프링(230)은 탄성 변형이 이루어질 수 있다.
상기 밸브 스프링(230)에는, 상기 스프링 본체(231)의 외주면으로부터 함몰되는 스프링 함몰부(233)가 포함된다. 상기 스프링 함몰부(233)는, 상기 스토퍼(240)의 가이드 돌기(243)의 위치를 가이드 한다.
상기 밸브 스프링(230)의 전방에는, 상기 스토퍼(240)가 설치된다.
상세히, 상기 스토퍼(240)에는, 상기 밸브 스프링(230)의 변형 과정에서 상기 밸브 스프링(230)의 변형량을 제한하는 스토퍼 본체(241)가 포함된다. 상기 스토퍼 본체(241)는 대략 원판 형상을 가지며, 상기 밸브 스프링(230)이 설정량 이상 변형될 경우, 상기 밸브 스프링(230)에 간섭될 수 있는 위치에 설치될 수 있다.
상기 스토퍼(240)에는, 상기 스토퍼 본체(241)로부터 전방으로 함몰되는 밸브 회피홈(242)이 더 포함된다. 상기 밸브 회피홈(242)은 상기 스토퍼 본체(241)의 대략 중심부로부터 함몰되어, 상기 스토퍼 본체(241)가 상기 토출 밸브(220)의 삽입 돌기(222)에 간섭되는 것을 방지한다.
즉, 상기 토출 밸브(220)가 개방되는 과정에서 상기 삽입 돌기(222)가 전방으로 이동할 때, 상기 스토퍼 본체(241)가 상기 삽입 돌기(222)에 간섭되지 않도록, 상기 밸브 회피홈(242)은 간섭회피 공간을 제공한다. 상기 밸브 회피홈(242)은 상기 삽입 돌기(222)와 대응하는 위치, 즉 상기 삽입 돌기(222)가 이동하는 경로상에 위치될 수 있다.
상기 스토퍼(240)에는, 상기 스토퍼 본체(241)의 테두리부를 따라 제공되며, 상기 밸브 스프링(230)을 향하여 돌출되는 스프링 지지부(245)가 더 포함된다. 즉, 상기 스프링 지지부(245)는 후방으로 돌출될 수 있다.
상기 스프링 지지부(245)는 상기 밸브 스프링(230)을 지지하며, 상기 밸브 스프링(230)은 상기 스프링 지지부(245)에 안착될 수 있다. 상기 스프링 지지부(245)에 의하여, 상기 스토퍼 본체(241)는 상기 밸브 스프링(230)으로부터 이격된 상태에 있게 된다.
그리고, 상기 토출 밸브(220)가 개방되어 상기 밸브 스프링(230)이 전방으로 변형될 때, 상기 스토퍼 본체(241)는 상기 밸브 스프링(230)에 간섭될 수 있다. 일례로, 상기 스토퍼 본체(241)는 상기 밸브 스프링(230)에 접촉될 수 있다.
상기 스토퍼 본체(241)에는, 상기 밸브 스프링(230)이 변형할 때 상기 밸브 스프링(230)과의 접촉 면적을 증대하기 위한 가이드 장치(246)가 포함된다. 상기 가이드 장치(246)는 상기 스토퍼 본체(241)의 후면으로부터 상기 밸브 스프링(230)이 변형하는 방향, 즉 전방으로 함몰되도록 구성한다.
상기 가이드 장치(246)는 상기 스프링 지지부(245)로부터 상기 밸브 회피홈(242)을 향하여 함몰된다. 일례로, 상기 가이드 장치(246)는 상기 스프링 지지부(245)로부터 상기 밸브 회피홈(242)을 향하여 라운드지게 연장될 수 있다. 즉, 상기 가이드 장치(246)는 라운드지게 연장되어, 상기 밸브 스프링(230)에 접촉하는 접촉면을 포함한다.
상기 밸브 스프링(230)은, 상기 토출 밸브(220)가 개방될 때 상기 토출 밸브(220)로부터 힘을 받는 상기 삽입공(232)을 중심으로 전방으로 변형될 수 있다. 즉, 상기 밸브 스프링(230)은, 상기 삽입공(232)으로부터 상기 밸브 스프링(230)의 외주측을 향하여 경사지게 변형될 수 있다.
상기 가이드 장치(246)의 라운드진 면의 형상은, 상기 밸브 스프링(230)의 변형된 형상에 대응할 수 있다.
만약, 상기 가이드 장치(246)가 반경방향으로 직면을 구성한다면, 상기 밸브 스프링(230)이 변형할 때, 상기 스토퍼(240)는, 상기 밸브 회피홈(242) 주변의 일정 부분만 상기 밸브 스프링(230)에 접촉하도록 구성될 것이다. 이 경우, 상기 스토퍼(240)의 일부분에만 하중이 가해지므로 상기 밸브 스프링(230) 또는 스토퍼(240)에 충격량이 커지게 될 수 있다. 본 실시예는 이러한 문제점의 발생을 방지하고자 한다.
도 11을 참조하면, 상기 압축 공간(P)의 압력이 토출 압력 이상이 되면, 상기 토출 밸브(220)의 후면에는 소정의 힘(F)이 작용하며, 상기 힘(F)에 의하여 상기 토출 밸브(220)는 전방으로 이동하여 상기 압축 공간(P)을 개방하게 된다.
이 때, 상기 밸브 스프링(230)에는 상기 토출 밸브(220)로부터 힘을 전달받아 전방으로 변형하게 된다. 특히, 상기 밸브 스프링(230)은 상기 삽입돌기(222)가 결합되는 삽입공(232)을 중심으로 전방으로 변형하는 힘을 받게 되고, 이에 따라 상기 상기 삽입공(232)으로부터 외측 반경방향으로 경사지도록 변형될 수 있다.
상기한 바와 같이, 상기 스토퍼(240)에는 상기 밸브 스프링(230)의 변형에 대응하는 형상으로 함몰되도록 구성된 가이드 장치(246)가 포함되므로, 상기 가이드 장치(246)는 상기 밸브 스프링(230)을 안정적으로 지지하게 된다. 즉, 상기 가이드 장치(246)를 통하여, 상기 스토퍼(240)와 밸브 스프링(230)의 접촉 면적은 증대될 수 있다.
결국, 상기 토출 밸브(220)가 변형되는 과정에서, 상기 스토퍼(240)와 밸브 스프링(230)의 충격량을 저감시킬 수 있다.
상기 스토퍼(240)에는, 상기 스토퍼 본체(241)의 후면으로부터 후방으로 돌출되어 상기 토출 커버(200)와의 결합을 가이드 하는 가이드 돌기(243)가 더 포함된다. 상기 가이드 돌기(243)는 상기 스프링 지지부(245)가 형성되는 상기 스토퍼 본체(241)의 테두리부로부터 돌출될 수 있다. 상기 가이드 돌기(243)는 복수 개가 제공되며, 복수 개의 가이드 돌기(243)는 서로 이격되어 배치될 수 있다.
상기 스토퍼(240)가 상기 토출 커버(200)에 결합될 때, 상기 가이드 돌기(243)는 상기 제 2 가이드 홈(207)을 따라 상기 커버 본체(200a)의 내부로 이동한다.
상기 가이드 돌기(243)는 상기 밸브 스프링(230)의 스프링 함몰부(233)에 결합될 수 있다. 따라서, 상기 밸브 스프링(230) 및 스토퍼(240)가 안정적으로 결합될 수 있다.
일례로, 상기 스토퍼(240)는, 상기 가이드 돌기(243)가 상기 스프링 함몰부(233)에 결합된 상태에서, 상기 제 2 가이드 홈(207)에 압입하여 고정될 수 있다. 따라서, 상기 스토퍼(240)는 별도의 체결부재 없이도, 상기 토출 커버(200)에 안정적으로 결합될 수 있다.
상기 스페이서(260)는 상기 커버 본체(200a)의 안착부(210)에 안착되어 상기 스토퍼(240)를 지지하도록 구성된다. 즉, 상기 스페이서(260)는 상기 안착부(210)와 상기 스토퍼(240)의 사이에 위치되어, 상기 스토퍼(240)가 상기 토출 커버(200)에 의하여 직접 충격되는 것을 방지할 수 있다.
도 12는 본 발명의 제 1 실시예에 따른 리니어 압축기의 냉매 유동을 보여주는 단면도이고, 도 13은 본 발명의 제 1 실시예에 따른 리니어 압축기가 작동할 때, 개방되는 토출 밸브의 모습을 보여주는 단면도이다.
도 12를 참조하면, 냉매는 흡입부(104)를 통하여 쉘(101)의 내부로 유입되며, 흡입 가이드부(155)를 통하여 흡입 머플러(150)의 내부로 유동한다.
그리고, 냉매는 상기 흡입 머플러(150)의 제 1 머플러(151)를 경유하여 제 2 머플러(153)로 유입되며, 피스톤(130)의 내부로 유동한다. 이 과정에서, 냉매의 흡입 소음이 저감될 수 있다.
한편, 냉매는 상기 흡입 머플러(150)에 제공되는 제 1 필터(310)를 경유하면서 소정 크기(25μm) 이상의 이물이 필터링 될 수 있다.
상기 흡입 머플러(150)를 통과하여 상기 피스톤(130)의 내부에 존재하는 냉매는 흡입 밸브(135)가 개방되면, 흡입공(133)을 통하여 압축공간(P)으로 흡입된다.
상기 압축공간(P)에서의 냉매 압력이 토출 압력 이상이 되면 토출 밸브(220)는 개방되며, 냉매는 개방된 토출 밸브(220)를 통하여 토출 커버(200)의 토출 공간으로 배출되며 상기 토출 커버(200)에 결합된 루프 파이프(165)를 통하여 토출부(105)로 유동하며, 압축기(100)의 외부로 배출된다.
상기 토출 밸브(220)가 개방될 때, 상기 밸브 스프링(230)은 전방으로 탄성 변형될 수 있고, 상기 스토퍼(240)는 상기 밸브 스프링(230)이 설정량 이상 변형되는 것을 방지할 수 있다.
특히, 본 실시예와 같이, 리니어 압축기(100)가 고주파수로 운전될 경우 토출 밸브(220)의 개방정도, 즉 상기 토출 밸브(220)의 움직임 거리가 커지게 된다. 이에 따라, 토출 밸브(220)가 닫혀질 때 상기 토출 밸브(220)에 가해지는 충격량이 커져서 상기 토출 밸브(220)의 마모량이 증가되는 문제점이 발생할 수 있다. 특히, 오일이 사용되지 않고 가스 베어링이 적용될 때 이러한 마모 현상은 증가될 수 있다.
따라서, 본 실시예는 상기 토출 밸브(220)가 밸브 스프링(230)에 의하여 탄성 지지되고, 상기 밸브 스프링(230)의 일측에 스토퍼(240)를 설치함으로써 상기 토출 밸브(220)의 열림량 또는 개도를 제한할 수 있다.
그리고, 상기 스토퍼(240)에는 상기 밸브 스프링(230)이 변형되는 방향으로 함몰되는 가이드 장치(246)가 포함되고, 상기 가이드 장치(246)는 상기 밸브 스프링(230)의 변형에 대응하는 형상으로 라운드지게 형성되므로, 상기 스토퍼(240)와 밸브 스프링(230)의 접촉 면적을 증대시킬 수 있다. 따라서, 상기 스토퍼(240)와 밸브 스프링(230)간의 충격량을 감소시킬 수 있다.
한편, 상기 토출 커버(200)의 토출 공간에 존재하는 냉매 중 적어도 일부의 냉매는 실린더(120)와 프레임(110) 사이에 존재하는 공간, 즉 프레임(110)의 함몰부(117) 내주면과, 상기 실린더(120)의 실린더 플랜지부(125)의 외주면 사이에 형성되는 유동공간을 경유하여, 실린더 본체(121)의 외주면을 향하여 유동될 수 있다.
이 때, 냉매는 상기 실린더 플랜지부(125)의 안착면(127)과 프레임(110)의 안착부(113) 사이에 개재되는 제 2 필터(320)를 통과할 수 있으며, 이 과정에서 소정 크기(2μm) 이상의 이물이 필터링 될 수 있다. 그리고, 냉매 중 유분은 상기 제 2 필터(320)에 흡착될 수 있다.
상기 제 2 필터(320)를 통과한 냉매는 실린더 본체(121)의 외주면에 형성된 복수의 가스 유입부(122)로 유입된다. 그리고, 냉매는 상기 가스 유입부(122)에 구비되는 제 3 필터(330)를 통과하면서, 냉매 중 포함된 소정 크기(1μm) 이상의 이물이 필터링 될 수 있고, 냉매 중 포함된 유분이 흡착될 수 있다.
상기 제 3 필터(330)를 통과한 냉매는 노즐부(123)를 통하여 실린더(120)의 내부로 유입되어 상기 실린더(120)의 내주면과 피스톤(130)의 외주면 사이에 위치하며, 상기 피스톤(130)을 상기 실린더(120)의 내주면으로부터 이격시킬 수 있도록 작용한다 (가스 베어링).
이 때, 상기 노즐부(123)의 입구부(123a) 직경은 출구부(123b)의 직경보다 크게 형성되며, 이에 따라 냉매의 유동방향을 기준으로 상기 노즐부(123)에서의 냉매 유동단면적은 점점 감소하게 된다. 일례로, 상기 입구부(123a)의 직경은 출구부(123b)의 직경의 2배 이상의 값을 가질 수 있다.
이와 같이, 고압의 가스 냉매가 상기 실린더(120)의 내부로 바이패스 되어 왕복 운동하는 피스톤(130)에 대한 베어링으로 작용하고 이에 따라 피스톤(130)과 실린더(120) 사이의 마모를 줄일 수 있다. 그리고, 베어링을 위한 오일을 사용하지 않음으로써, 상기 압축기(100)가 고속으로 운전되더라도 오일에 의한 마찰 손실을 발생시키지 않을 수 있다.
또한, 압축기(100)의 내부를 유동하는 냉매의 경로상에, 다수의 필터를 구비함으로써 냉매 중에 포함된 이물을 제거할 수 있고, 이에 따라 가스 베어링으로서 작용할 냉매의 신뢰성이 향상될 수 있다. 따라서, 냉매에 포함된 이물에 의하여 피스톤(130) 또는 실린더(120)에 마모가 발생되는 현상을 방지할 수 있다.
그리고, 상기 다수의 필터에 의하여 냉매 중에 포함된 유분을 제거함으로써, 유분에 의한 마찰 손실이 발생하는 것을 방지할 수 있다. 상기 제 1 필터(310), 제 2 필터(320) 및 제 3 필터(330)는 가스 베어링으로 작용할 냉매를 필터링 하는 점에서, 이들을 합하여 "냉매 필터장치"라 이름할 수 있다.
이하에서는, 본 발명의 제 2 실시예에 대하여 설명한다. 본 실시예는 제 1 실시예와 비교하여 토출밸브 어셈블리의 구조에 있어서 차이가 있으므로 차이점을 위주로 설명하며, 그 외의 부분에 대하여는 제 1 실시예의 설명과 도면부호를 원용한다.
도 14는 본 발명의 제 2 실시예에 따른 토출 커버와 토출밸브 어셈블리의 분해 사시도이다.
도 14를 참조하면, 본 발명의 제 2 실시예에 따른 토출밸브 어셈블리에는, 상기 스토퍼(240)의 일측 및 타측에 제공되는 복수의 스페이서(350,360)가 포함된다.
상기 복수의 스페이서(350,360)에는, 상기 밸브 스프링(230)과 상기 스토퍼(240)의 사이에 설치되는 제 1 스페이서(350) 및 상기 밸브 스프링(230)의 전방에 설치되는 제 2 스페이서(360)가 포함된다.
상기 제 1 스페이서(350)는 상기 밸브 스프링(230)과 상기 스토퍼(240)를 설정거리 만큼 이격시켜, 상기 밸브 스프링(230)이 변형될 수 있는 공간을 확보할 수 있다. 상기 설정거리는, 상기 제 1 스페이서(250)의 조정 가능한 두께에 의하여 결정될 수 있다.
상기 제 2 스페이서(360)는 상기 스토퍼(240)와 토출 커버(200)의 사이에 위치하여, 상기 스토퍼(240)를 상기 토출 커버(220)에 안정적으로 지지시킬 수 있다.
제 1 실시예와 비교하면, 상기 제 2 스페이서(360)는 제 1 실시예의 스페이서(260)에 대응되는 구성이며, 상기 제 1 스페이서(350)는 제 1 실시예의 스프링 지지부(245)가 분리된 구성으로서 제공되는 것으로 이해될 수 있다.
상기 제 1 스페이서(350)는 상기 스토퍼 본체(241)의 테두리부에 분리 가능하게 결합될 수 있다.
상기 제 1 스페이서(350)에는, 대략 링 형상을 가지는 스페이서 본체(351) 및 상기 스페이서 본체(351)의 외주면으로부터 함몰되어 상기 스토퍼(240)의 가이드 돌기(243)의 위치를 가이드 하는 스페이서 홈(352)이 포함된다.
상기 가이드 장치(246)는 상기 제 1 스페이서(350)의 내주면으로부터 상기 밸브 회피홈(242)까지 연장되며, 제 1 실시예에서 설명된 바와 같이, 상기 밸브 스프링(230)의 변형에 대응하는 형상으로 함몰된 라운드진 면을 포함한다.
도 15는 본 발명의 제 3 실시예에 따른 스토퍼의 구성을 보여주는 단면도이다.
도 15를 참조하면, 본 발명의 제 3 실시예에 따른 스토퍼(240)에는, 스토퍼 본체(241)로부터 상기 밸브 스프링(230)이 변형되는 방향, 즉 전방으로 함몰되도록 구성되는 가이드 장치(246a)가 포함된다.
상기 가이드 장치(246a)는 상기 스프링 지지부(245)로부터 반경방향 내측으로 경사지게 연장될 수 있다. 즉, 상기 가이드 장치(246a)는 상기 제 1 실시예의 가이드 장치(246)와 비교할 때 라운드진 접촉면이 아니라, 경사진 접촉면을 형성하는 점에서 차이가 있다.
상기 스토퍼(240)에 가이드 장치(246a)가 형성됨으로써, 상기 토출 밸브(220)가 개방되는 과정에서, 상기 스토퍼(240)와 밸브 스프링(230)의 접촉 면적을 증대시킬 수 있다. 따라서, 상기 스토퍼(240)와 밸브 스프링(230)간의 충격량을 감소시킬 수 있다.
100 : 리니어 압축기 101 : 쉘
110 : 프레임 111 : 프레임 본체
115 : 커버 결합부 117 : 함몰부
120 : 실린더 121 : 실린더 본체
122 : 가스 유입부 123 : 노즐부
123a : 입구부 123b : 출구부
125 : 실린더 플랜지부 127 : 안착면
130 : 피스톤 140 : 모터 어셈블리
150 : 흡입 머플러 165 : 루프 파이프
171,172 : 판 스프링 200 : 토출 커버
204 : 토출공 210 : 안착부
212 : 공명실 220 : 토출 밸브
230 : 밸브 스프링 240 : 스토퍼
241 : 스토퍼 본체 246,246a : 가이드 장치
260 : 스페이서 310 : 제 1 필터
320 : 제 2 필터 330 : 제 3 필터
350 : 제 1 스페이서 360 : 제 2 스페이서

Claims (17)

  1. 토출부가 제공되는 쉘;
    상기 쉘의 내부에 구비되며, 냉매의 압축공간을 형성하는 실린더;
    상기 실린더의 내부에서 축방향으로 왕복운동 가능하게 제공되는 피스톤;
    상기 실린더의 일측에 제공되며, 상기 냉매의 압축공간에서 압축된 냉매를 선택적으로 배출시키고 삽입 돌기가 구비되는 토출 밸브;
    상기 토출 밸브에 결합되어, 복원력을 제공하며 판 스프링을 포함하는 밸브 스프링; 및
    상기 밸브 스프링의 판 스프링에 결합되며, 상기 밸브 스프링의 변형량을 제한하는 스토퍼가 포함되며,
    상기 판 스프링은,
    복수 개의 절개부가 형성되는 스프링 본체와,
    상기 스프링 본체의 중앙에 형성되며, 상기 토출 밸브의 삽입돌기가 삽입되는 삽입공을 포함하고,
    상기 스토퍼에는,
    상기 밸브 스프링이 변형되는 방향으로 함몰되어, 상기 스토퍼와 상기 밸브 스프링의 충격량을 감소시키도록 상기 밸브 스프링의 변형 시 상기 판 스프링을 지지하는 접촉면이 구비되는 가이드 장치가 포함되고,
    상기 스토퍼는, 상기 가이드 장치의 접촉면이 형성되는 스토퍼 본체와,
    상기 스토퍼 본체가 상기 밸브 스프링과 이격되도록, 상기 스토퍼 본체의 테두리부를 따라 형성되는 스프링 지지부와,
    상기 삽입 돌기의 간섭이 방지되도록 상기 스토퍼 본체로부터 상기 밸브 스프링이 변형되는 방향으로 함몰되는 밸브 회피홈을 포함하고,
    상기 가이드 장치의 접촉면은, 상기 스프링 지지부로부터 상기 밸브 회피홈을 향하여 라운드지게 연장되거나, 경사지게 연장되어 형성되는 리니어 압축기.
  2. 삭제
  3. 삭제
  4. 제 1 항에 있어서,
    상기 접촉면은,
    상기 축방향에 수직한 반경방향으로 경사지게 연장되는 리니어 압축기.
  5. 제 1 항에 있어서,
    상기 밸브 회피홈은, 상기 스토퍼 본체의 중앙부에 형성되는 리니어 압축기.
  6. 제 5 항에 있어서,
    상기 판 스프링은,
    상기 스프링 본체의 외주면으로부터 함몰되는 스프링 함몰부를 더 포함하는 리니어 압축기.
  7. 제 6 항에 있어서,
    상기 스프링 지지부는 상기 스토퍼 본체로부터 상기 밸브 스프링을 향하여 돌출되며, 상기 밸브 스프링이 안착될 수 있도록 구성되는 리니어 압축기.
  8. 제 7 항에 있어서,
    상기 스토퍼에는,
    상기 스프링 지지부로부터 상기 밸브 스프링을 향하여 돌출되며, 상기 밸브 스프링의 스프링 함몰부에 결합되는 가이드 돌기가 더 포함되는 리니어 압축기.
  9. 제 1 항에 있어서,
    상기 가이드 장치의 함몰된 접촉면의 형상은,
    상기 토출 밸브가 개방될 때 상기 밸브 스프링이 변형되는 형상에 대응하는 형상을 가지는 것을 특징으로 하는 리니어 압축기.
  10. 제 5 항에 있어서,
    상기 실린더를 상기 쉘에 고정하는 프레임;
    상기 프레임에 결합되며, 상기 토출 밸브를 통하여 배출된 냉매의 맥동을 저감하기 위한 공명실을 가지는 토출 커버; 및
    상기 토출 커버에 설치되어, 상기 스토퍼를 지지하는 스페이서가 포함되는 리니어 압축기.
  11. 제 5 항에 있어서,
    상기 밸브 회피홈은 상기 삽입 돌기와 대응하는 위치에 형성되는 것을 특징으로 하는 리니어 압축기.
  12. 제 1 항에 있어서,
    상기 실린더를 상기 쉘에 고정하는 프레임;
    상기 프레임에 결합되며, 상기 토출 밸브를 통하여 배출된 냉매의 맥동을 저감하기 위한 공명실을 가지는 토출 커버;
    상기 밸브 스프링과 상기 스토퍼의 사이에 개재되어, 상기 밸브 스프링을 상기 스토퍼로부터 이격시키는 제 1 스페이서; 및
    상기 커버 본체에 설치되어, 상기 스토퍼를 지지하는 제 2 스페이서가 포함되는 리니어 압축기.
  13. 제 12 항에 있어서,
    상기 가이드 장치는,
    상기 제 1 스페이서의 내주면으로부터 상기 스토퍼의 중심부를 향하여 연장되는 것을 특징으로 하는 리니어 압축기.
  14. 제 1 항에 있어서,
    상기 실린더에는,
    상기 토출 밸브를 통하여 배출된 냉매를 상기 실린더의 내부로 도입하기 위한 노즐부가 포함되는 리니어 압축기.
  15. 제 8 항에 있어서,
    상기 실린더를 상기 쉘에 고정하는 프레임;
    상기 프레임에 결합되며, 상기 토출 밸브를 통하여 배출된 냉매의 맥동을 저감하기 위한 공명실을 가지는 토출 커버를 더 포함하고,
    상기 토출 커버의 내측에는, 상기 스토퍼의 결합을 가이드 하는 가이드 홈이 형성되고,
    상기 가이드 돌기는, 상기 스프링 함몰부에 결합된 상태에서 상기 가이드 홈에 압입되어 고정되는 리니어 압축기.
  16. 삭제
  17. 삭제
KR1020140091879A 2014-07-21 2014-07-21 리니어 압축기 Active KR102240032B1 (ko)

Priority Applications (4)

Application Number Priority Date Filing Date Title
KR1020140091879A KR102240032B1 (ko) 2014-07-21 2014-07-21 리니어 압축기
CN201510405815.2A CN105275783B (zh) 2014-07-21 2015-07-10 线性压缩机
EP15177506.1A EP2977611B1 (en) 2014-07-21 2015-07-20 Linear compressor
US14/804,640 US9989051B2 (en) 2014-07-21 2015-07-21 Linear compressor

Applications Claiming Priority (1)

Application Number Priority Date Filing Date Title
KR1020140091879A KR102240032B1 (ko) 2014-07-21 2014-07-21 리니어 압축기

Publications (2)

Publication Number Publication Date
KR20160011007A KR20160011007A (ko) 2016-01-29
KR102240032B1 true KR102240032B1 (ko) 2021-04-14

Family

ID=53716386

Family Applications (1)

Application Number Title Priority Date Filing Date
KR1020140091879A Active KR102240032B1 (ko) 2014-07-21 2014-07-21 리니어 압축기

Country Status (4)

Country Link
US (1) US9989051B2 (ko)
EP (1) EP2977611B1 (ko)
KR (1) KR102240032B1 (ko)
CN (1) CN105275783B (ko)

Families Citing this family (8)

* Cited by examiner, † Cited by third party
Publication number Priority date Publication date Assignee Title
KR102259650B1 (ko) 2016-05-03 2021-06-02 엘지전자 주식회사 리니어 압축기
KR102606142B1 (ko) * 2016-12-30 2023-11-24 엘지전자 주식회사 리니어 압축기
KR102300214B1 (ko) * 2017-06-27 2021-09-10 엘지전자 주식회사 리니어 압축기
CN109989903A (zh) * 2017-12-30 2019-07-09 王毅 具有独立减震弹簧支撑结构的压缩机
EP3511571B1 (en) * 2018-01-12 2021-06-02 LG Electronics Inc. Linear compressor and refrigerator including same
KR102209340B1 (ko) 2019-08-23 2021-01-29 엘지전자 주식회사 리니어 압축기
KR102443707B1 (ko) * 2021-01-04 2022-09-15 엘지전자 주식회사 리니어 압축기
KR102687563B1 (ko) 2022-09-30 2024-07-24 엘지전자 주식회사 리니어 압축기

Citations (3)

* Cited by examiner, † Cited by third party
Publication number Priority date Publication date Assignee Title
US4450860A (en) * 1981-02-13 1984-05-29 Copeland Corporation Discharge valve guide
US5346373A (en) * 1993-06-17 1994-09-13 White Consolidated Industries, Inc. Refrigeration compressor having a spherical discharge valve
EP2700816A1 (en) * 2012-08-24 2014-02-26 LG Electronics, Inc. Reciprocating compressor

Family Cites Families (28)

* Cited by examiner, † Cited by third party
Publication number Priority date Publication date Assignee Title
US1892711A (en) 1925-05-25 1933-01-03 Frigidaire Corp Refrigerating apparatus
US1852033A (en) 1925-11-25 1932-04-05 Frigidaire Corp Check valve
US3077899A (en) * 1960-06-27 1963-02-19 Ingersoll Rand Co High pressure valve assembly
US3039487A (en) * 1960-09-26 1962-06-19 American Motors Corp Refrigerating apparatus
US3878861A (en) 1973-09-10 1975-04-22 Lear Siegler Inc Unitized valve assembly
DE7513261U (de) 1975-04-25 1976-10-28 Robert Bosch Gmbh, 7000 Stuttgart Auslassventil eines kompressors
US4385872A (en) * 1980-01-22 1983-05-31 Copeland Corporation Compressor
EP0346285B1 (de) * 1988-06-09 1992-04-29 GebràœDer Sulzer Aktiengesellschaft Ventilanordnung
US4964423A (en) * 1988-09-01 1990-10-23 Nupro Company Check valve
US5203857A (en) * 1990-06-01 1993-04-20 Bristol Compressors, Inc. Gas compressor head and discharge valve construction
US5232354A (en) * 1992-07-02 1993-08-03 Tecumseh Products Company Compressor discharge valve assembly having plural wave ring biasing means
US5469884A (en) * 1994-05-20 1995-11-28 Durabla Pump Components, Inc. Check valve for meter run
US5584676A (en) * 1994-10-27 1996-12-17 Tecumseh Products Company Compressor discharge valve having a guided spherical head
JP2002039070A (ja) 2000-07-26 2002-02-06 Hitachi Ltd 圧縮機
US6932584B2 (en) * 2002-12-26 2005-08-23 Medtronic Minimed, Inc. Infusion device and driving mechanism and process for same with actuator for multiple infusion uses
US7275561B2 (en) 2003-10-31 2007-10-02 Lg Electronics Inc. Discharging valve assembly of reciprocating compressor
KR100600761B1 (ko) * 2004-10-07 2006-07-18 엘지전자 주식회사 리니어 압축기의 토출부 구조
KR100714578B1 (ko) * 2006-01-16 2007-05-07 엘지전자 주식회사 리니어 압축기용 냉매토출구조
WO2008079961A1 (en) 2006-12-22 2008-07-03 Swagelok Company Valve
KR101334487B1 (ko) * 2007-10-24 2013-11-29 엘지전자 주식회사 리니어 압축기
WO2009054629A1 (en) * 2007-10-24 2009-04-30 Lg Electronics, Inc. Linear compressor
KR101307688B1 (ko) 2007-11-01 2013-09-12 엘지전자 주식회사 리니어 압축기
US8136547B2 (en) * 2008-07-31 2012-03-20 Nuovo Pignones, P.A. Poppet valve with diverging-converging flow passage and method to reduce total pressure loss
CN201502501U (zh) * 2009-09-30 2010-06-09 浙江鸿友压缩机制造有限公司 直线往复活塞式压缩机
BRPI1105473B1 (pt) * 2011-11-16 2020-12-01 Embraco Indústria De Compressores E Soluções Em Refrigeração Ltda. compressor de gás compreendendo uma mancalização aerostática
CN202991397U (zh) * 2012-11-22 2013-06-12 广东美芝制冷设备有限公司 压缩机的消音器及具有其的压缩机
KR102233610B1 (ko) * 2014-07-21 2021-03-30 엘지전자 주식회사 리니어 압축기
KR102178092B1 (ko) * 2014-07-21 2020-11-12 엘지전자 주식회사 리니어 압축기

Patent Citations (3)

* Cited by examiner, † Cited by third party
Publication number Priority date Publication date Assignee Title
US4450860A (en) * 1981-02-13 1984-05-29 Copeland Corporation Discharge valve guide
US5346373A (en) * 1993-06-17 1994-09-13 White Consolidated Industries, Inc. Refrigeration compressor having a spherical discharge valve
EP2700816A1 (en) * 2012-08-24 2014-02-26 LG Electronics, Inc. Reciprocating compressor

Also Published As

Publication number Publication date
KR20160011007A (ko) 2016-01-29
US9989051B2 (en) 2018-06-05
US20160017875A1 (en) 2016-01-21
CN105275783B (zh) 2018-01-02
EP2977611A1 (en) 2016-01-27
CN105275783A (zh) 2016-01-27
EP2977611B1 (en) 2018-03-21

Similar Documents

Publication Publication Date Title
KR102233610B1 (ko) 리니어 압축기
KR102178092B1 (ko) 리니어 압축기
KR102234726B1 (ko) 리니어 압축기
KR102278769B1 (ko) 리니어 압축기
KR102240032B1 (ko) 리니어 압축기
KR102201629B1 (ko) 리니어 압축기 및 이를 포함하는 냉장고
JP6594650B2 (ja) リニア圧縮機
KR102306857B1 (ko) 리니어 압축기
KR102178065B1 (ko) 리니어 압축기
KR102233621B1 (ko) 리니어 압축기
KR20170074527A (ko) 리니어 압축기
KR102178051B1 (ko) 리니어 압축기 및 그 제조방법

Legal Events

Date Code Title Description
PA0109 Patent application

Patent event code: PA01091R01D

Comment text: Patent Application

Patent event date: 20140721

PG1501 Laying open of application
A201 Request for examination
PA0201 Request for examination

Patent event code: PA02012R01D

Patent event date: 20190716

Comment text: Request for Examination of Application

Patent event code: PA02011R01I

Patent event date: 20140721

Comment text: Patent Application

E902 Notification of reason for refusal
PE0902 Notice of grounds for rejection

Comment text: Notification of reason for refusal

Patent event date: 20200824

Patent event code: PE09021S01D

E701 Decision to grant or registration of patent right
PE0701 Decision of registration

Patent event code: PE07011S01D

Comment text: Decision to Grant Registration

Patent event date: 20210115

GRNT Written decision to grant
PR0701 Registration of establishment

Comment text: Registration of Establishment

Patent event date: 20210408

Patent event code: PR07011E01D

PR1002 Payment of registration fee

Payment date: 20210409

End annual number: 3

Start annual number: 1

PG1601 Publication of registration
PR1001 Payment of annual fee

Payment date: 20240308

Start annual number: 4

End annual number: 4

PR1001 Payment of annual fee

Payment date: 20250324

Start annual number: 5

End annual number: 5