[go: up one dir, main page]

KR102202227B1 - Face wrinkle improvement utensil - Google Patents

Face wrinkle improvement utensil Download PDF

Info

Publication number
KR102202227B1
KR102202227B1 KR1020200026917A KR20200026917A KR102202227B1 KR 102202227 B1 KR102202227 B1 KR 102202227B1 KR 1020200026917 A KR1020200026917 A KR 1020200026917A KR 20200026917 A KR20200026917 A KR 20200026917A KR 102202227 B1 KR102202227 B1 KR 102202227B1
Authority
KR
South Korea
Prior art keywords
tooth
teeth
tooth cover
lip
folds
Prior art date
Legal status (The legal status is an assumption and is not a legal conclusion. Google has not performed a legal analysis and makes no representation as to the accuracy of the status listed.)
Active
Application number
KR1020200026917A
Other languages
Korean (ko)
Inventor
손진희
김민정
Original Assignee
손진희
김민정
Priority date (The priority date is an assumption and is not a legal conclusion. Google has not performed a legal analysis and makes no representation as to the accuracy of the date listed.)
Filing date
Publication date
Application filed by 손진희, 김민정 filed Critical 손진희
Priority to KR1020200026917A priority Critical patent/KR102202227B1/en
Application granted granted Critical
Publication of KR102202227B1 publication Critical patent/KR102202227B1/en
Active legal-status Critical Current
Anticipated expiration legal-status Critical

Links

Images

Classifications

    • AHUMAN NECESSITIES
    • A45HAND OR TRAVELLING ARTICLES
    • A45DHAIRDRESSING OR SHAVING EQUIPMENT; EQUIPMENT FOR COSMETICS OR COSMETIC TREATMENTS, e.g. FOR MANICURING OR PEDICURING
    • A45D44/00Other cosmetic or toiletry articles, e.g. for hairdressers' rooms
    • A45D44/22Face shaping devices, e.g. chin straps; Wrinkle removers, e.g. stretching the skin
    • AHUMAN NECESSITIES
    • A61MEDICAL OR VETERINARY SCIENCE; HYGIENE
    • A61CDENTISTRY; APPARATUS OR METHODS FOR ORAL OR DENTAL HYGIENE
    • A61C19/00Dental auxiliary appliances
    • A61C19/06Implements for therapeutic treatment
    • A61C19/063Medicament applicators for teeth or gums, e.g. treatment with fluorides
    • A61C19/066Bleaching devices; Whitening agent applicators for teeth, e.g. trays or strips

Landscapes

  • Health & Medical Sciences (AREA)
  • Oral & Maxillofacial Surgery (AREA)
  • Dentistry (AREA)
  • Epidemiology (AREA)
  • Life Sciences & Earth Sciences (AREA)
  • Animal Behavior & Ethology (AREA)
  • General Health & Medical Sciences (AREA)
  • Public Health (AREA)
  • Veterinary Medicine (AREA)
  • Orthopedics, Nursing, And Contraception (AREA)

Abstract

본 발명은 안면주름 교정기구에 관한 것으로서, 복수의 위 이빨과 복수의 아래 이빨의 앞면을 따라 배치되어, 복수의 상기 위 이빨과 복수의 상기 아래 이빨을 감싸는 치아 커버부; 상기 치아 커버부로부터 구강을 향해 돌출되어, 복수의 상기 위 이빨과 복수의 상기 아래 이빨이 맞물리는 치아 물림부; 및 팔자주름, 마리오네트주름, 입가주름에 대응하여 상기 치아 커버부의 양측에 마련되어, 구강전정을 이격시키는 한 쌍의 이격체를 포함하는 것을 특징으로 한다.The present invention relates to a facial wrinkle correction mechanism, comprising: a tooth cover portion disposed along the front surface of a plurality of upper teeth and a plurality of lower teeth, and surrounding a plurality of the upper teeth and the plurality of lower teeth; A tooth engaging portion protruding from the tooth cover portion toward the oral cavity and engaging the plurality of upper teeth and the plurality of lower teeth; And a pair of spacers provided on both sides of the tooth cover portion corresponding to the nasolabial folds, marionette folds, and lip wrinkles to separate the oral vestibule.

Description

안면주름 교정기구{FACE WRINKLE IMPROVEMENT UTENSIL}Facial wrinkle correction equipment {FACE WRINKLE IMPROVEMENT UTENSIL}

본 발명은 안면주름 교정기구에 관한 것이다.The present invention relates to a facial wrinkle correction mechanism.

생활수준이 향상되면서 사람들은 자신의 삶을 보다 아름답게 가꾸기 위해, 자신의 외적인 모습을 아름답게 변화시키고자 노력한다.As the standard of living improves, people strive to make their life more beautiful and to change their external appearance beautifully.

특히, 피부는 연령, 환경, 계절 등에 의해 영향을 받아서 그 상태가 일정하지 않으며, 땀과 피지에 의한 자연 방어 작용으로 영양분이 빠져나가게 된다. 따라서, 화장품으로 그 영양분을 보충하게 된다.In particular, the skin is affected by age, environment, season, etc., so that the condition is not constant, and nutrients are lost due to natural defense action by sweat and sebum. Therefore, the nutrients are supplemented with cosmetics.

나이가 들수록 안면의 경우 기미, 주근깨, 잔주름이 많아지고 색상도 검게 변하게 된다. 또한 노화가 시작되는 중년부터의 피부는 부드러움과 탄력성, 윤택성을 잃어가면서 피부가 거칠어진다.As you get older, spots, freckles, and fine lines on your face increase, and the color turns black. In addition, the skin from middle age, when aging begins, loses its softness, elasticity, and moisture, and the skin becomes rough.

특히, 얼굴에서 나이를 들어보이게 하는 가장 큰 요인은 팔자주름과 시간이 흐름과 함께 중력방향으로 처지게 되는 피부의 처짐과 탄력을 잃은 피부이다.In particular, the biggest factor that makes you look older on your face is the wrinkles of the nasolabial folds and the sagging skin that sags in the direction of gravity as time passes and the skin has lost its elasticity.

이에 따라, 일반적으로 안면의 피부 보습이나 피부 개선을 위해 안면에 주름개선 화장품을 고르게 바르거나, 팩을 이용하여 화장품이 피부로 침투하도록 하여 주름을 개선하려는 노력이 시도되고 있다.Accordingly, in general, efforts have been made to improve wrinkles by evenly applying wrinkle-improving cosmetics on the face to moisturize the skin or improving skin, or by allowing the cosmetics to penetrate into the skin using a pack.

그러나, 주름 개선 화장품을 이용한 주름 개선에는 한계가 있으며, 이에 리프팅이라는 성형수술을 통해 안면주름을 교정하고자 하는 시도가 시행되고 있다.However, there is a limit to wrinkle improvement using wrinkle-improving cosmetics, and thus, attempts to correct facial wrinkles through a cosmetic surgery called lifting are being conducted.

흔히 리프팅이라고 알려진 이 수술은 광대뼈 아래부터 관자놀이까지의 피부 속에 실을 삽입하여 외과적으로 끌어올려주는 수술로서, 사람들의 만족도가 높은 수술이다.This surgery, commonly known as lifting, is a surgery in which a thread is inserted into the skin from under the cheekbones to the temple and is surgically pulled up, and it is a surgery with high satisfaction of people.

그러나, 이러한 리프팅 성형수술은 과도한 비용을 요구하게 되며, 수술 후 지속적인 관리의 어려움과 예상치 못한 부작용을 초래하는 문제점이 있다.However, such lifting plastic surgery requires excessive cost, and there is a problem of causing difficulty in continuous management and unexpected side effects after surgery.

따라서, 이러한 문제점을 해결하기 위해 선행기술로서 국내등록특허 제10-1127118호의 얼굴주름 방지장치가 알려져 있다.Accordingly, in order to solve this problem, a device for preventing facial wrinkles of Korean Patent No. 10-1127118 is known as a prior art.

상기 선행기술로 개시된 얼굴주름 방지장치는 사용자의 얼굴을 압박하여 탄성지지대의 탄성력을 이용하여 안면의 주름을 개선 및 방지할 수 있도록 하고 있지만, 착용 후 탄성지지대를 고정시키지 못하는 구조이므로, 지속적인 지지 작용이 곤란하여 안면의 주름을 개선하는 효과를 기대할 수 없는 문제점이 있다.The device for preventing wrinkles on the face disclosed in the prior art can improve and prevent facial wrinkles by using the elastic force of the elastic support by pressing the user's face, but since it is a structure that cannot fix the elastic support after wearing, it has a continuous support function. Due to this difficulty, there is a problem that the effect of improving facial wrinkles cannot be expected.

또한, 미용패치에 의해 압박되는 안면 부분이 국소적이라 전체적으로 끌어올려지는 효과를 기대하기 힘들고, 통증 문제가 발생할 뿐만 아니라 착용 후 얼굴에 패드의 자국이 남는 문제점이 있다.In addition, since the facial portion pressed by the cosmetic patch is local, it is difficult to expect an overall lifting effect, and there is a problem that not only a pain problem occurs, but also a mark of the pad remains on the face after wearing.

국내등록특허 제10-1127118호Domestic registered patent No. 10-1127118

본 발명은 상기한 문제점을 해결하기 위한 것으로서, 본 발명의 목적은, 고가의 비용 부담없이, 일상생활에서 간편하게 입에 착용한 상태에서, 안면에 통증 및 자국을 유발하지 않고 코 라인 옆으로 형성되는 팔자주름, 마리오네트주름, 입가주름 부위를 물리적으로 팽창시켜 완화 제거할 수 있는 안면주름 교정기구를 제공하는 것이다.The present invention is to solve the above problems, and the object of the present invention is to be formed next to the nose line without causing pain and marks on the face in a state that is easily worn on the mouth in daily life It is to provide a facial wrinkle correction device that can relieve and remove nasolabial wrinkles, marionette wrinkles, and wrinkles around the mouth by physically expanding them.

또한, 본 발명의 다른 목적은, 착용자의 안면에 형성된 팔자주름, 마리오네트주름, 입가주름의 다양한 위치에 대응하여 사용할 수 있을 뿐만 아니라 세척이 용이하며 위생적으로 사용할 수 있는 안면주름 교정기구를 제공하는 것이다.In addition, another object of the present invention is to provide a facial wrinkle correction mechanism that can be used not only in correspondence with various positions of nasolabial folds, marionette wrinkles, and lip wrinkles formed on the wearer's face, but also that can be easily cleaned and used hygienically. .

본 발명의 목적은, 복수의 위 이빨과 복수의 아래 이빨의 앞면을 따라 배치되어, 복수의 상기 위 이빨과 복수의 상기 아래 이빨을 동시에 감싸는 치아 커버부; 상기 치아 커버부로부터 구강을 향해 돌출되어, 복수의 상기 위 이빨과 복수의 상기 아래 이빨이 동시에 맞물리는 치아 물림부; 및 상부 입술의 내측과 하부 입술의 내측에 밀착하는 복수의 밀착 돌기를 가지며, 팔자주름, 마리오네트주름, 입가주름에 대응하여 상기 치아 커버부의 양측에 마련되어, 구강전정을 이격시키는 한 쌍의 이격체;를 포함하되, 상기 치아 물림부의 둘레를 따라 마련되어, 혀가 상기 치아 물림부로 넘어 오는 것을 저지하는 스토퍼; 및 상기 치아 커버부와 스토퍼 사이에 위치하면서 상기 치아 물림부에 마련되어, 상기 위 이빨의 일부와 상기 아래 이빨의 일부를 상기 치아 커버부에 밀착시켜, 복수의 상기 위 이빨과 복수의 상기 아래 이빨이 상기 치아 커버부에 밀착하도록 정렬하는 치아 정렬부; 상기 치아 물림부에 관통 형성되어, 구강에서 발생하는 타액이 배출되는 복수의 타액 배출공을 포함하는 안면주름 교정기구에 의해 달성될 수 있다.An object of the present invention, is disposed along the front surface of a plurality of upper teeth and a plurality of lower teeth, a tooth cover portion for simultaneously enclosing the plurality of upper teeth and the plurality of lower teeth; A tooth engaging portion protruding from the tooth cover portion toward the oral cavity, wherein the plurality of upper teeth and the plurality of lower teeth are simultaneously engaged; And a pair of spacers having a plurality of contact protrusions in close contact with the inner side of the upper lip and the inner side of the lower lip, provided on both sides of the tooth cover part in correspondence with nasolabial folds, marionette folds, and lateral folds of the mouth, and spaced apart the oral vestibule; Including, but provided along the circumference of the tooth bite, a stopper for preventing the tongue from passing over to the tooth bite; And disposed between the tooth cover part and the stopper and provided in the tooth engagement part, by bringing a part of the upper tooth and a part of the lower tooth into close contact with the tooth cover part, so that the plurality of upper teeth and the plurality of lower teeth A tooth alignment portion arranged to be in close contact with the tooth cover portion; It is formed through the tooth bite portion, it may be achieved by a facial wrinkle correction mechanism including a plurality of saliva discharge holes through which saliva generated from the oral cavity is discharged.

삭제delete

삭제delete

삭제delete

삭제delete

삭제delete

상기 치아 커버부는 상부 입술의 내측과 하부 입술의 내측을 향해 돌출 형성된 복수의 돌기를 더 포함할 수 있다.The tooth cover portion may further include a plurality of protrusions protruding toward the inner side of the upper lip and the inner side of the lower lip.

상기 상부 입술의 내측을 향해 돌출된 돌기와 상기 하부 입술의 내측을 향해 돌출된 돌기의 수량은 각각 상이하게 마련될 수 있다.The number of protrusions protruding toward the inner side of the upper lip and protrusions protruding toward the inner side of the lower lip may be provided differently.

상기 치아 커버부를 파지하는 손잡이를 더 포함할 수 있다.It may further include a handle for gripping the tooth cover.

한 쌍의 상기 이격체를 상기 치아 커버부에 착탈 결합하는 착탈 결합부를 포함할 수 있다.It may include a detachable coupling portion for attaching and detaching the pair of spacers to the tooth cover portion.

상기 착탈 결합부는, 일 실시예로서, 상기 팔자주름, 상기 마리오네트주름, 상기 입가주름에 대응하여 상기 치아 커버부의 양측에 일정 길이로 마련되는 한 쌍의 가이드 레일; 및 상기 이격체에 돌출 형성되어, 상기 가이드 레일을 따라 이동가능하게 결합되는 가이드 돌기를 포함할 수 있다.The detachable coupling unit may include, as an embodiment, a pair of guide rails provided with a predetermined length on both sides of the tooth cover portion corresponding to the nasolabial folds, the marionette folds, and the lip wrinkles; And a guide protrusion protruding from the spacer and movably coupled along the guide rail.

상기 치아 커버부는, 상기 가이드 레일이 착탈되는 레일 착탈홈; 및 상기 레일 착탈홈에 마련되어, 상기 가이드 레일이 후크 결합되는 후크를 포함할 수 있다.The tooth cover portion, a rail attachment and detachment groove through which the guide rail is attached; And a hook provided in the rail attachment/detachment groove, to which the guide rail is hooked.

상기 착탈 결합부는, 다른 실시예로서, 상기 팔자주름, 상기 마리오네트주름, 상기 입가주름에 대응하여 상기 치아 커버부의 양측에 간격을 두고 관통 형성된 복수의 결합공; 및 상기 이격체에 돌출 형성되어, 상기 복수의 결합공 중 적어도 어느 하나의 결합공에 선택적으로 끼움 결합되는 결합돌기를 포함할 수 있다.In another embodiment, the detachable coupling unit may include a plurality of coupling holes formed through at intervals on both sides of the tooth cover corresponding to the nasolabial folds, the marionette folds, and the lip folds; And a coupling protrusion formed protruding from the spacer and selectively fitted into at least one coupling hole among the plurality of coupling holes.

상기 이격체는 상부 입술의 내측과 하부 입술의 내측을 향해 돌출되어, 상기 상부 입술의 내측과 상기 하부 입술의 내측에 밀착하는 복수의 밀착 돌기를 더 포함할 수 있다.The spacer may further include a plurality of contact protrusions protruding toward the inner side of the upper lip and the inner side of the lower lip and contacting the inner side of the upper lip and the inner side of the lower lip.

본 발명에 따르면, 고가의 비용 부담없이, 일상생활에서 간편하게 입에 착용한 상태에서, 안면에 통증 및 자국을 유발하지 않고 코 라인 옆으로 형성되는 팔자주름, 마리오네트주름, 입가주름 부위를 물리적으로 팽창시켜 완화 제거할 수 있다.According to the present invention, physically expand the nasolabial folds, marionette folds, and lip wrinkles formed next to the nose line without causing pain and marks on the face in a state of being easily worn on the mouth in daily life without burdening the high cost. It can be relieved and removed.

또한, 착용자의 안면에 형성된 팔자주름, 마리오네트주름, 입가주름의 다양한 위치에 대응하여 사용할 수 있을 뿐만 아니라 세척이 용이하며 위생적으로 사용할 수 있다.In addition, it can be used not only in correspondence with various positions of the nasolabial folds, marionette wrinkles, and lip wrinkles formed on the wearer's face, but also is easy to clean and hygienic.

도 1은 본 발명의 제1실시예에 따른 안면주름 교정기구의 사시도,
도 2는 도 1의 요부 분해 사시도,
도 3은 도 1의 이격체가 분리된 상태의 저부 사시도,
도 4는 도 3의 배면 사시도,
도 5는 도 2의 가이드 레일과 가이드 돌기의 결합 관계를 도시한 요부 확대도,
도 6은 본 발명의 제2실시예에 따른 안면주름 교정기구의 요부 분해 사시도,
도 7은 본 발명의 제3실시예에 따른 안면주름 교정기구의 요부 분해 사시도,
도 8은 본 발명의 제4실시예에 따른 안면주름 교정기구의 사시도,
도 9의 (a) 및 (b)는 이격체의 제1실시예에 따른 정면 사시도 및 배면 사시도,
도 10의 (a) 및 (b)는 이격체의 제2실시예에 따른 정면 사시도 및 배면 사시도,
도 11의 (a) 및 (b)는 이격체의 제3실시예에 따른 정면 사시도 및 배면 사시도,
도 12의 (a) 및 (b)는 이격체의 제4실시예에 따른 정면 사시도 및 배면 사시도,
도 13은 본 발명의 제1실시예에 따른 안면주름 교정기구를 입에 착용하고 있는 상태를 개략적으로 도시한 도면이다.
1 is a perspective view of a facial wrinkle correction mechanism according to a first embodiment of the present invention,
Figure 2 is an exploded perspective view of the main part of Figure 1,
3 is a bottom perspective view of the spacer of FIG. 1 in a separated state;
Figure 4 is a rear perspective view of Figure 3,
5 is an enlarged view of a main part showing a coupling relationship between the guide rail and the guide protrusion of FIG. 2;
6 is an exploded perspective view of a main part of a facial wrinkle correcting device according to a second embodiment of the present invention,
7 is an exploded perspective view of a main part of a facial wrinkle correcting device according to a third embodiment of the present invention,
8 is a perspective view of a facial wrinkle correcting device according to a fourth embodiment of the present invention,
9A and 9B are a front perspective view and a rear perspective view according to a first embodiment of a spacer,
10A and 10B are a front perspective view and a rear perspective view according to a second embodiment of a spacer,
11 (a) and (b) are a front perspective view and a rear perspective view according to a third embodiment of a spacer,
12 (a) and (b) are a front perspective view and a rear perspective view according to a fourth embodiment of a spacer,
13 is a view schematically showing a state in which the facial wrinkle correcting device according to the first embodiment of the present invention is worn on the mouth.

본 발명의 이점 및 특징, 그리고 그것들을 달성하는 방법은 첨부되는 도면과 함께 상세하게 후술되어 있는 실시예들을 참조하면 명확해질 것이다. 그러나, 본 발명은 이하에서 개시되는 실시예들에 제한되는 것이 아니라 서로 다른 다양한 형태로 구현될 수 있으며, 단지 본 실시예들은 본 발명의 개시가 완전하도록 하고, 본 발명이 속하는 기술 분야의 통상의 기술자에게 본 발명의 범주를 완전하게 알려주기 위해 제공되는 것이며, 본 발명은 청구항의 범주에 의해 정의될 뿐이다. Advantages and features of the present invention, and a method of achieving them will become apparent with reference to the embodiments described below in detail together with the accompanying drawings. However, the present invention is not limited to the embodiments disclosed below, but may be implemented in a variety of different forms, only the present embodiments are intended to complete the disclosure of the present invention, It is provided to fully inform the technician of the scope of the present invention, and the present invention is only defined by the scope of the claims.

본 명세서에서 사용된 용어는 실시예들을 설명하기 위한 것이며 본 발명을 제한하고자 하는 것은 아니다. 본 명세서에서, 단수형은 문구에서 특별히 언급하지 않는 한 복수형도 포함한다. 명세서에서 사용되는 "포함한다(comprises)" 및/또는 "포함하는(comprising)"은 언급된 구성요소 외에 하나 이상의 다른 구성요소의 존재 또는 추가를 배제하지 않는다. 명세서 전체에 걸쳐 동일한 도면 부호는 동일한 구성 요소를 지칭하며, "및/또는"은 언급된 구성요소들의 각각 및 하나 이상의 모든 조합을 포함한다. 비록 "제1", "제2" 등이 다양한 구성요소들을 서술하기 위해서 사용되나, 이들 구성요소들은 이들 용어에 의해 제한되지 않음은 물론이다. 이들 용어들은 단지 하나의 구성요소를 다른 구성요소와 구별하기 위하여 사용하는 것이다. 따라서, 이하에서 언급되는 제1 구성요소는 본 발명의 기술적 사상 내에서 제2 구성요소일 수도 있음은 물론이다.The terms used in the present specification are for describing exemplary embodiments and are not intended to limit the present invention. In this specification, the singular form also includes the plural form unless specifically stated in the phrase. As used in the specification, “comprises” and/or “comprising” do not exclude the presence or addition of one or more other elements other than the mentioned elements. Throughout the specification, the same reference numerals refer to the same elements, and “and/or” includes each and all combinations of one or more of the mentioned elements. Although "first", "second", and the like are used to describe various elements, it goes without saying that these elements are not limited by these terms. These terms are only used to distinguish one component from another component. Therefore, it goes without saying that the first component mentioned below may be the second component within the technical idea of the present invention.

다른 정의가 없다면, 본 명세서에서 사용되는 모든 용어(기술 및 과학적 용어를 포함)는 본 발명이 속하는 기술분야의 통상의 기술자에게 공통적으로 이해될 수 있는 의미로 사용될 수 있을 것이다. 또한, 일반적으로 사용되는 사전에 정의되어 있는 용어들은 명백하게 특별히 정의되어 있지 않는 한 이상적으로 또는 과도하게 해석되지 않는다.Unless otherwise defined, all terms (including technical and scientific terms) used in the present specification may be used as meanings that can be commonly understood by those of ordinary skill in the art to which the present invention belongs. In addition, terms defined in a commonly used dictionary are not interpreted ideally or excessively unless explicitly defined specifically.

이하, 첨부된 도면을 참조하여 본 발명의 실시예를 상세하게 설명한다.Hereinafter, exemplary embodiments of the present invention will be described in detail with reference to the accompanying drawings.

설명에 앞서, 여러 실시예에 있어서, 동일한 구성을 가지는 구성요소에 대해서는 동일 부호를 사용하여 대표적으로 제1실시예에서 설명하고, 그 외의 실시예에서는 제1실시예와 다른 구성에 대해 설명하기로 한다.Prior to the description, in various embodiments, components having the same configuration are representatively described in the first embodiment by using the same reference numerals, and in other embodiments, configurations different from the first embodiment will be described. do.

도 1 내지 도 4에는 본 발명의 제1실시예에 따른 안면주름 교정기구가 도시되어 있다.1 to 4 illustrate a facial wrinkle correcting device according to a first embodiment of the present invention.

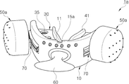
이들 도면에 도시된 바와 같이, 본 발명의 제1실시예에 따른 안면주름 교정기구(1a)는 치아 커버부(10)와, 치아 물림부(30)와, 이격체(50a)를 포함한다.As shown in these drawings, the facial wrinkle correcting mechanism 1a according to the first embodiment of the present invention includes a tooth cover portion 10, a tooth bite portion 30, and a spacer 50a.

치아 커버부(10)는 아치 형상을 가지며, 복수의 위 이빨(100a, 도 13 참조)과 복수의 아래 이빨(100b, 도 13 참조)을 감싸도록 복수의 위 이빨(100a)과 복수의 아래 이빨(100b)의 앞면을 따라 배치된다.The tooth cover portion 10 has an arch shape, and a plurality of upper teeth 100a and a plurality of lower teeth to surround a plurality of upper teeth (100a, see FIG. 13) and a plurality of lower teeth (100b, see FIG. 13) It is placed along the front side of (100b).

위 이빨(100a)과 아래 이빨(100b)의 각 앞니가 배치되는 치아 커버부(10)의 상단 중앙 영역에는 'V'자 형태의 거치홈(11)이 함몰 형성되어 있다. 거치홈(11)에는 윗입술소대가 거치된다.A'V'-shaped mounting groove 11 is recessed in the upper central region of the tooth cover 10 in which the front teeth of the upper teeth 100a and the lower teeth 100b are disposed. The upper lip platoon is mounted in the mounting groove 11.

또한, 치아 커버부(10)의 앞면의 일 영역에는 복수의 돌기(15a,15b)가 마련되어 있다. 복수의 돌기(15a,15b)는 상부 입술의 내측과 하부 입술의 내측을 향해 돌출 형성되어 있다.In addition, a plurality of protrusions 15a and 15b are provided in one area of the front surface of the tooth cover 10. The plurality of protrusions 15a and 15b are formed to protrude toward the inner side of the upper lip and the inner side of the lower lip.

이와 같이, 치아 커버부(10)가 복수의 돌기(15a,15b)를 포함함으로써, 본 발명의 제1실시예에 따른 안면주름 교정기구(1a)를 입에 착용할 때 각 돌기(15a,15b)들이 상부 입술의 내측과 하부 입술의 내측에 밀착하여, 착용감을 향상시키고 착용자에게 안정감을 제공할 수 있게 된다.In this way, since the tooth cover portion 10 includes a plurality of protrusions (15a, 15b), each protrusion (15a, 15b) when wearing the facial wrinkle correcting device (1a) according to the first embodiment of the present invention in the mouth. ) Are in close contact with the inner side of the upper lip and the inner side of the lower lip, thereby improving the fit and providing a sense of stability to the wearer.

한편, 상부 입술의 내측을 향해 돌출된 돌기(15a)와 하부 입술의 내측을 향해 돌출된 돌기(15b)의 수량은 각각 상이하게 마련될 수 있다. 이와 같이, 상부 입술의 내측을 향해 돌출된 돌기(15a)와 하부 입술의 내측을 향해 돌출된 돌기(15b)의 수량을 각각 달리함으로써, 본 발명의 제1실시예에 따른 안면주름 교정기구(1a)를 입에 착용할 때 위 이빨(100a)과 아래 이빨(100b)의 착용 위치를 간편하게 식별할 수 있게 된다.Meanwhile, the number of the protrusions 15a protruding toward the inner side of the upper lip and the protrusion 15b protruding toward the inner side of the lower lip may be provided differently. In this way, by varying the quantity of the protrusions 15a protruding toward the inner side of the upper lip and the protrusions 15b protruding toward the inner side of the lower lip, the facial wrinkle correction mechanism 1a according to the first embodiment of the present invention ) When worn in the mouth, it is possible to easily identify the wearing positions of the upper teeth (100a) and the lower teeth (100b).

또한, 치아 커버부(10)의 배면의 일 영역 예컨대, 구강을 향해 배치된 치아 커버부(10)의 일 영역에는 미백용 겔(25)이 도포되는 포켓(21)이 함몰 형성되어 있다.In addition, a pocket 21 to which the whitening gel 25 is applied is formed in a region of the rear surface of the tooth cover portion 10, for example, in one region of the tooth cover portion 10 disposed toward the oral cavity.

본 실시예에서는 포켓(21)이 위 이빨(100a)과 아래 이빨(100b)의 각 앞니와 대응하는 위치에 마련되어 있지만, 포켓(21)은 위 이빨(100a)과 아래 이빨(100b)의 각 앞니 이외에, 나머지 일부 이빨과 대응하는 위치에 마련될 수도 있다.In this embodiment, the pocket 21 is provided in a position corresponding to each incisor of the upper teeth 100a and the lower teeth 100b, but the pocket 21 is each incisors of the upper teeth 100a and the lower teeth 100b In addition, it may be provided in a position corresponding to the rest of the teeth.

이와 같이, 치아 커버부(10)에 미백용 겔(25)이 도포되는 포켓(21)을 포함함으로써, 본 발명의 제1실시예에 따른 안면주름 교정기구(1a)를 입에 착용하고 있는 도중에, 포켓(21) 영역에 대응하며 대향 배치된 이빨들은 미백 겔(25)에 함유된 미백성분에 의해 이빨에 침착된 착색성분을 미백시킬 수 있게 된다.In this way, by including the pocket 21 to which the whitening gel 25 is applied to the tooth cover part 10, while wearing the facial wrinkle correcting device 1a according to the first embodiment of the present invention The teeth corresponding to the area of the pocket 21 and disposed opposite to each other can whiten the colored component deposited on the teeth by the whitening component contained in the whitening gel 25.

치아 물림부(30)는 고리 형태의 판 형상을 가지며, 치아 커버부(10)의 내측 둘레를 따라 치아 커버부(10)로부터 구강을 향해 돌출되게 마련된다. The tooth engaging portion 30 has a plate shape in a ring shape, and is provided to protrude from the tooth cover portion 10 toward the oral cavity along the inner circumference of the tooth cover portion 10.

치아 물림부(30)에는 복수의 위 이빨(100a)과 복수의 아래 이빨(100b)이 맞물리게 된다.A plurality of upper teeth (100a) and a plurality of lower teeth (100b) are meshed with the tooth engaging portion (30).

한편, 치아 물림부(30)는 위 이빨(100a)의 일부와 아래 이빨(100b)의 일부를 치아 커버부(10)에 밀착시키는 치아 정렬부(31)를 더 포함한다.On the other hand, the tooth engagement portion 30 further includes a tooth alignment portion 31 for in close contact with a portion of the upper teeth (100a) and a portion of the lower teeth (100b) to the tooth cover (10).

치아 정렬부(31)는 치아 커버부(10)의 배면으로부터 간격을 두고, 치아 커버부(10)의 둘레를 따라 일정 길이의 원호 형상으로 마련된다.The tooth alignment portion 31 is provided in an arc shape of a predetermined length along the circumference of the tooth cover portion 10 at intervals from the rear surface of the tooth cover portion 10.

본 실시예에서는 치아 정렬부(31)가 위 이빨(100a)과 아래 이빨(100b)의 각 앞니와 대응하는 위치 예컨대, 포켓(21)과 대향하는 위치에 마련되어 있지만 이에 한정되지 않고, 치아 정렬부(31)는 위 이빨(100a)과 아래 이빨(100b)의 각 앞니 이외에, 나머지 일부 이빨과 대응하는 위치에 마련될 수도 있다.In this embodiment, the tooth alignment unit 31 is provided at a position corresponding to each incisor of the upper teeth 100a and the lower teeth 100b, for example, at a position facing the pocket 21, but is not limited thereto, and the tooth alignment unit In addition to the front teeth of the upper teeth 100a and the lower teeth 100b, 31 may be provided at positions corresponding to some of the remaining teeth.

이와 같이, 치아 물림부(30)에 치아 정렬부(31)를 더 포함함으로써, 본 발명의 제1실시예에 따른 안면주름 교정기구(1a)를 입에 착용하고 있을 때 위 이빨(100a)과 아래 이빨(100b)의 각 앞니가 치아 커버의 배면에 밀착되어, 치아 물림부(30)에 맞물리는 복수의 위 이빨(100a)과 복수의 아래 이빨(100b)이 치아 커버의 배면을 따라 밀착하며 정렬된다.In this way, by further including the tooth alignment unit 31 in the tooth engaging portion 30, the upper teeth 100a and the upper teeth 100a when the facial wrinkle correcting device 1a according to the first embodiment of the present invention is worn in the mouth Each front tooth of the lower teeth (100b) is in close contact with the rear surface of the tooth cover, and a plurality of upper teeth (100a) and a plurality of lower teeth (100b) meshing with the tooth bite part (30) are in close contact along the rear surface of the tooth cover. Are aligned.

또한, 치아 물림부(30)는 복수의 타액 배출공(35)을 더 포함한다. 복수의 타액 배출공(35)은 치아 물림부(30)의 판면에 관통 형성되어 있다.In addition, the tooth bite portion 30 further includes a plurality of saliva discharge holes 35. The plurality of saliva discharge holes 35 are formed through the plate surface of the tooth bite part 30.

이로써, 본 발명의 제1실시예에 따른 안면주름 교정기구(1a)를 입에 착용하고 있을 때, 구강에서 발생하는 타액은 복수의 타액 배출공(35)을 통해 원활하게 목구멍을 향해 배출할 수 있게 된다.Thus, when the facial wrinkle correction device 1a according to the first embodiment of the present invention is worn on the mouth, saliva generated in the oral cavity can be smoothly discharged toward the throat through the plurality of saliva discharge holes 35 There will be.

그리고, 치아 물림부(30)는 혀가 치아 물림부(30)로 넘어오는 것을 저지하는 스토퍼(41)를 더 포함한다.In addition, the tooth bite unit 30 further includes a stopper 41 that prevents the tongue from passing to the tooth bite unit 30.

스토퍼(41)는 치아 물림부(30)의 둘레를 따라 치아 물림부(30)에 대해 수직하게 돌출 형성된다.The stopper 41 is formed to protrude perpendicularly to the tooth engaging portion 30 along the circumference of the tooth engaging portion 30.

이와 같이, 치아 커버부(10)와 치아 물림부(30)를 포함함으로써, 간편하게 입에 물고 사용할 수 있게 된다.In this way, by including the tooth cover portion 10 and the tooth bite portion 30, it is possible to use it by simply biting it in the mouth.

한 쌍의 이격체(50a)는 안면의 팔자(八字)주름, 마리오네트주름, 입가주름에 대응하여 치아 커버부(10)의 양측에 각각 마련되어, 구강전정(200a,200b, 도 13 참조, vestibule of mouth)을 이격시킨다. 즉, 한 쌍의 이격체(50a)는 포켓(21)을 사이에 두고 치아 커버부(10)의 양측에 대칭되게 마련된다.A pair of spacers (50a) are provided on both sides of the tooth cover part 10, respectively, corresponding to the facial nasolabial folds, marionette wrinkles, and mouth wrinkles, and oral vestibular (200a, 200b, see Fig. 13, vestibule of mouth) apart. That is, a pair of spacers 50a are provided to be symmetrical on both sides of the tooth cover 10 with the pocket 21 interposed therebetween.

또한, 이격체(50a)는 상부 입술의 내측과 하부 입술의 내측에 밀착하는 복수의 밀착 돌기(51)를 더 포함한다. 복수의 밀착 돌기(51)는 이격체(50a)의 일측 판면으로부터 상부 입술의 내측과 하부 입술의 내측을 향해 돌출 형성되어 있다. In addition, the spacer 50a further includes a plurality of contact protrusions 51 in close contact with the inner side of the upper lip and the inner side of the lower lip. The plurality of contact protrusions 51 are formed to protrude from the side plate surface of the spacer 50a toward the inner side of the upper lip and the inner side of the lower lip.

이격체는 주름의 위치 및 용도에 따라 도 9 및 도 10에 도시된 바와 같이 타원형의 단면형상을 갖거나, 또는 도 11 및 도 12에 도시된 바와 같이 일측으로 편심되게 유선형으로 돌출 형성된 비원호의 단면형상을 가질 수 있다. 특히, 비원호의 단면형상을 갖는 한 쌍의 이격체(50c,50d)의 경우, 한 쌍의 이격체(50c,50d)가 치아 커버부(10)의 양측에 장착되는 점을 고려하여 상호 대칭되게 형성된다.The spacer has an elliptical cross-sectional shape as shown in FIGS. 9 and 10 depending on the location and use of the corrugation, or a cross section of a non-circular arc formed eccentrically protruding to one side as shown in FIGS. It can have a shape. In particular, in the case of a pair of spacers (50c, 50d) having a cross-sectional shape of a non-circular arc, a pair of spacers (50c, 50d) are mounted on both sides of the tooth cover 10 so that they are symmetrical to each other. Is formed.

한편, 타원형의 단면형상을 갖는 이격체(50a,50b)는 치아 커버부(10)에 상하로 대칭되게 장착되어 안면의 팔자주름, 마리오네트주름, 입가주름을 동시에 교정하는데 사용할 수 있다. 또한, 일측으로 편심되게 유선형으로 돌출 형성된 비원호 단면형상의 이격체(50c,50d)는 치아 커버부(10)의 일측에 편심되게 장착되어, 안면의 팔자주름, 마리오네트주름, 입가주름을 교정하는데 사용할 수 있다.On the other hand, the spacers 50a and 50b having an elliptical cross-sectional shape are mounted symmetrically up and down on the tooth cover 10 and can be used to simultaneously correct the nasolabial folds, marionette folds, and lip wrinkles of the face. In addition, spacers (50c, 50d) having a non-arc cross-sectional shape protruding in a streamlined form eccentrically to one side are mounted eccentrically on one side of the tooth cover part 10 to correct nasolabial folds, marionette folds, and lip folds of the face. Can be used.

이와 같이, 이격체(50a)를 더 포함함으로써, 본 발명의 제1실시예에 따른 안면주름 교정기구(1a)를 입에 착용할 때 각 밀착 돌기(51)들이 상부 입술의 내측과 하부 입술의 내측에 밀착하여, 착용감을 향상시키고 착용자에게 안정감을 제공할 수 있게 된다.In this way, by further including the spacer (50a), when wearing the facial wrinkle correction device (1a) according to the first embodiment of the present invention to the mouth, each of the contact protrusions (51) of the inner and lower lips In close contact with the inside, it is possible to improve the fit and provide a sense of stability to the wearer.

이러한 이격체(50a)는 후술할 착탈 결합부(70)에 의해 치아 커버부(10)에 착탈 결합된다.This spacer (50a) is detachably coupled to the tooth cover portion 10 by a detachable coupling portion 70 to be described later.

착탈 결합부(70)의 구성에 대해서는 후술하기로 한다.The configuration of the detachable coupling portion 70 will be described later.

또한, 본 발명의 제1실시예에 따른 안면주름 교정기구(1a)는 손잡이(60)를 더 포함한다.In addition, the facial wrinkle correction mechanism 1a according to the first embodiment of the present invention further includes a handle 60.

손잡이(60)는 치아 커버부(10)의 앞면 중앙으로부터 돌출되게 마련되어, 착용자가 본 발명의 제1실시예에 따른 안면주름 교정기구(1a)를 간편하게 파지할 수 있게 된다.The handle 60 is provided so as to protrude from the center of the front surface of the tooth cover 10, so that the wearer can easily grip the facial wrinkle correcting device 1a according to the first embodiment of the present invention.

이와 같이, 손잡이(60)를 더 포함함으로써, 본 발명의 제1실시예에 따른 안면주름 교정기구(1a)를 입에 착용하거나 입으로부터 뺄 때, 간편하게 착탈할 수 있게 된다.In this way, by further including the handle 60, when the facial wrinkle correction mechanism 1a according to the first embodiment of the present invention is worn on the mouth or removed from the mouth, it can be easily attached and detached.

또한, 본 발명의 제1실시예에 따른 안면주름 교정기구(1a)는 이격체(50a)를 치아 커버부(10)에 착탈 결합하는 착탈 결합부(70)를 포함한다.In addition, the facial wrinkle correcting mechanism 1a according to the first embodiment of the present invention includes a detachable coupling part 70 for attaching and detaching the spacer 50a to the tooth cover part 10.

착탈 결합부(70)는 가이드 레일(71)과 가이드 돌기(75)를 포함한다.The detachable coupling part 70 includes a guide rail 71 and a guide protrusion 75.

가이드 레일(71)은 한 쌍으로 마련되며, 팔자, 마리오네트주름, 입가주름에 대응하여 치아 커버부(10)의 양측에 치아 커버부(10)의 길이방향을 따라 일정 길이로 마련된다.The guide rails 71 are provided in a pair, and are provided with a predetermined length along the length direction of the tooth cover portion 10 on both sides of the tooth cover portion 10 corresponding to the nasolabial folds, marionette wrinkles, and mouth wrinkles.

상부 입술의 내측과 하부 입술의 내측을 향해 배치되는 가이드 레일(71)의 판면에는, 가이드 돌기(75)가 이동가능하게 끼움 결합되는 레일홈(73)이 가이드 레일(71)의 길이방향을 따라 형성되어 있다.On the plate surface of the guide rail 71 disposed toward the inner side of the upper lip and the inner side of the lower lip, a rail groove 73 into which the guide protrusion 75 is movably fitted is formed along the length direction of the guide rail 71. Is formed.

한편, 가이드 레일(71)은, 치아의 양측 어금니 영역에 대응하여 치아 커버부(10)에 형성된 레일 착탈홈(27)에 착탈될 수 있다.Meanwhile, the guide rail 71 may be attached to and detached from the rail attachment/detachment groove 27 formed in the tooth cover 10 corresponding to the molar regions on both sides of the tooth.

레일 착탈홈(27)에는 가이드 레일(71)을 후크 결합하여 고정하기 위한 후크(29)가 형성되어 있다.The rail attachment and detachment groove 27 is formed with a hook 29 for fixing the guide rail 71 by hooking it.

또한, 가이드 레일(71)의 레일홈(73)에는 도 5에 도시된 바와 같이, 복수의 위치고정홈(74)이 레일홈(73)의 길이방향을 따라 간격을 두고 형성되어 있다. 복수의 위치고정홈(74)에는 가이드 레일(71)을 따라 이동하는 이격체(50a)에 마련된 가이드 돌기(75)가 선택적으로 결합되어, 이격체(50a)를 가이드 레일(71)에 위치 고정할 수 있게 된다.In addition, as shown in FIG. 5, in the rail groove 73 of the guide rail 71, a plurality of position fixing grooves 74 are formed at intervals along the length direction of the rail groove 73. Guide protrusions 75 provided on the spacer 50a moving along the guide rail 71 are selectively coupled to the plurality of position fixing grooves 74 to fix the position of the spacer 50a to the guide rail 71 You can do it.

가이드 돌기(75)는 이격체(50a)로부터 돌출되어, 각 가이드 레일(71)의 레일홈(73)을 따라 이동가능하게 결합된다.The guide protrusion 75 protrudes from the spacer 50a and is movably coupled along the rail groove 73 of each guide rail 71.

이와 같이, 이격체(50a)에 형성된 가이드 돌기(75)를 가이드 레일(71)에 이동가능하게 결합하고, 가이드 레일(71)을 치아 커버부(10)에 착탈함으로써, 본 발명의 제1실시예에 따른 안면주름 교정기구(1a)를 입에 착용하는 착용자의 안면에 형성된 팔자주름, 마리오네트주름, 입가주름의 다양한 위치에 대응하여 치아 커버부(10)에서의 이격체(50a)의 위치를 자유로이 조절하며 사용할 수 있을 뿐만 아니라 이격체(50a)와 가이드 레일(71)과 치아 커버부(10)를 간편하게 분리할 수 있게 되어, 세척이 용이하며 위생적으로 사용할 수 있게 된다.In this way, by movably coupling the guide protrusion 75 formed on the spacer 50a to the guide rail 71, and attaching and detaching the guide rail 71 to the tooth cover portion 10, the first embodiment of the present invention The position of the spacer 50a in the tooth cover part 10 corresponding to various positions of the nasolabial folds, marionette folds, and rim wrinkles formed on the face of the wearer who wears the facial wrinkle correction device 1a according to the example Not only can it be freely adjusted and used, but also the spacer 50a, the guide rail 71, and the tooth cover part 10 can be easily separated, so that cleaning is easy and hygienic use is possible.

이러한 구성에 의하여, 본 발명의 제1실시예에 따른 안면주름 교정기구(1a)의 사용에 대해 간략하게 설명하면 다음과 같다.With this configuration, a brief description of the use of the facial wrinkle correcting device 1a according to the first embodiment of the present invention is as follows.

본 발명의 제1실시예에 따른 안면주름 교정기구(1a)의 손잡이(60)를 잡고, 도 13에 도시된 바와 같이 입에 착용한다.Holding the handle 60 of the facial wrinkle correcting device 1a according to the first embodiment of the present invention, it is worn on the mouth as shown in FIG.

그리고, 위 이빨(100a)과 아래 이빨(100b)의 각 앞니가 치아 커버부(10)의 배면과 치아 정렬부(31) 사이에 배치하여, 치아 물림부(30)를 물고 있는 복수의 위 이빨(100a)과 복수의 아래 이빨(100b)을 치아 커버부(10)의 배면을 따라 정렬 배치한다.And, each front tooth of the upper teeth (100a) and the lower teeth (100b) is disposed between the rear surface of the tooth cover portion (10) and the tooth alignment portion (31), and a plurality of upper teeth biting the tooth bite portion (30) The (100a) and a plurality of lower teeth (100b) are aligned and arranged along the rear surface of the tooth cover (10).

동시에, 치아 맞물림부(30)가 복수의 위 이빨(100a)과 복수의 아래 이빨(100b)에 의해 맞물린 상태에서, 입에 착용하는 착용자의 안면에 형성된 팔자주름, 마리오네트주름, 입가주름의 위치에 대응하여 치아 커버부(10)의 가이드 레일(71)을 따라 이격체(50a)를 위치 조절한다.At the same time, in a state in which the tooth engaging portion 30 is engaged by the plurality of upper teeth 100a and the plurality of lower teeth 100b, the position of the nasolabial folds, marionette folds, and lip wrinkles formed on the face of the wearer worn on the mouth Correspondingly, the spacer 50a is positioned along the guide rail 71 of the tooth cover part 10.

즉, 이격체(50a)를 구강전정(200a,200b)의 팔자주름, 마리오네트주름, 입가주름에 대응하는 영역 즉, 상부 구강전정 영역(200a,위 입술과 위 잇몸 사이의 공간) 및 하부 구강전정(200b, 아래 입술과 아래 잇몸 사이의 공간)의 팔자주름, 마리오네트주름, 입가주름에 대응하는 영역으로 위치시킨다.That is, the spacer 50a is a region corresponding to the nasolabial folds, marionette folds, and lateral folds of the oral vestibule (200a, 200b), that is, the upper oral vestibular region (200a, the space between the upper lip and the upper gum) and the lower oral vestibule. (200b, the space between the lower lip and the lower gum), the nasolabial folds, marionette folds, and mouth rims are located in the corresponding regions.

이격체(50a)의 위치가 세팅되어 이격체(50a)가 구강전정(200a,200b)을 이격시킴에 따라, 코 라인 옆으로 형성되는 팔자주름 부위, 마리오네트주름 부위 및 입가주름 부위는 안면에 통증 및 자국을 유발하지 않으며 물리적으로 팽창되고, 이에 본 발명의 제1실시예에 따른 안면주름 교정기구(1a)를 일정 시간동안 이상 입에 착용하면, 팔자주름 부위, 마리오네트주름 부위 및 입가주름 부위가 자연적으로 완화 제거된다.As the location of the spacer 50a is set and the spacer 50a separates the oral vestibule 200a, 200b, the nasolabial folds, marionette folds, and lip folds formed next to the nose line are painful on the face. And it does not cause a mark and is physically expanded. Accordingly, when the facial wrinkle correcting device 1a according to the first embodiment of the present invention is worn on the mouth for a certain period of time or longer, the nasolabial folds, marionette wrinkles, and lip wrinkles It is naturally relieved and removed.

또한, 포켓(21)에 미백 겔(25)이 도포된 경우, 위 이빨(100a)과 아래 이빨(100b)의 각 앞니는 미백 겔(25)에 함유된 미백성분에 의해 이빨에 침착된 착색성분을 미백시킬 수 있게 된다.In addition, when the whitening gel 25 is applied to the pocket 21, the front teeth of the upper teeth 100a and the lower teeth 100b are colored components deposited on the teeth by the whitening ingredients contained in the whitening gel 25 It becomes possible to whiten.

도 6에는 본 발명의 제2실시예에 따른 안면주름 교정기구가 도시되어 있다.6 shows a facial wrinkle correcting mechanism according to a second embodiment of the present invention.

본 발명의 제2실시예에 따른 안면주름 교정기구(1b)는 전술한 제1실시예와 달리, 도 11에 도시된 바와 같이 가이드 돌기(75)가 형성된 비원호 단면형상의 이격체(50c)가 치아 커버부(10)의 가이드 레일(71)에 착탈가능하게 결합된다.The facial wrinkle correcting mechanism 1b according to the second embodiment of the present invention is a spacer 50c having a non-circular cross-sectional shape in which the guide protrusion 75 is formed as shown in FIG. 11, unlike the first embodiment described above. Is detachably coupled to the guide rail 71 of the tooth cover part 10.

도 7에는 본 발명의 제3실시예에 따른 안면주름 교정기구가 도시되어 있다.7 shows a facial wrinkle correction mechanism according to a third embodiment of the present invention.

본 발명의 제3실시예에 따른 안면주름 교정기구(1c)의 착탈 결합부(70)는 전술한 제1실시예와 달리, 복수의 결합공(81)과 결합돌기(85)를 포함한다.The detachable coupling part 70 of the facial wrinkle correcting mechanism 1c according to the third embodiment of the present invention includes a plurality of coupling holes 81 and coupling protrusions 85, unlike the first embodiment described above.

본 발명의 제3실시예에 따른 안면주름 교정기구(1c)는 도 10에 도시된 이격체(50b)가 착탈된다.In the facial wrinkle correction mechanism 1c according to the third embodiment of the present invention, the spacer 50b shown in FIG. 10 is attached and detached.

복수의 결합공(81)은 안면의 팔자주름, 마리오네트주름, 입가주름에 대응하여 치아 커버부(10)의 양측에, 치아 커버부(10)의 길이방향을 따라 간격을 두고 관통 형성되어 있다.The plurality of coupling holes 81 are formed penetrating at intervals along the length direction of the tooth cover portion 10 on both sides of the tooth cover portion 10 in correspondence with the nasolabial folds, marionette wrinkles, and lip wrinkles of the face.

결합돌기(85)는 이격체(50b)에 한 쌍의 돌출 형성되어, 복수의 결합공(81)에 선택적으로 끼움 결합된다. 여기서, 결합돌기(85)는 본 실시예에서와 같이 한 쌍으로 마련될 수 있지만 이에 한정되지 않고, 결합돌기(85)는 하나만 마련되어 복수의 결합공(81) 중 적어도 어느 하나에 선택적으로 끼움 결합될 수도 있다.The coupling protrusion 85 is formed in a pair of protrusions on the spacer 50b, and is selectively fitted into the plurality of coupling holes 81. Here, the coupling protrusions 85 may be provided in a pair as in this embodiment, but the present invention is not limited thereto, and only one coupling protrusion 85 is provided to selectively fit into at least one of the plurality of coupling holes 81 It could be.

이와 같이, 이격체(50b)에 형성된 결합돌기(85)를 치아 커버부(10)에 형성된 복수의 결합공(81)에 선택적으로 끼움 결합함으로써, 본 발명의 제3실시예에 따른 안면주름 교정기구(1c)를 입에 착용하는 착용자의 안면에 형성된 팔자주름, 마리오네트주름, 입가주름의 다양한 위치에 대응하여 치아 커버부(10)에서의 이격체(격체(50a))의 위치를 자유로이 조절하며 사용할 수 있게 된다.In this way, by selectively fitting the coupling protrusions 85 formed in the spacer 50b into the plurality of coupling holes 81 formed in the tooth cover 10, facial wrinkle correction according to the third embodiment of the present invention Freely adjust the position of the spacer (the partition 50a) in the tooth cover 10 in response to various positions of the nasolabial folds, marionette folds, and lip folds formed on the face of the wearer who wears the instrument 1c on the mouth, and It becomes available.

여기서, 도시되어 있지 않지만, 본 발명의 제3실시예에 따른 안면주름 교정기구는 도 12에 도시된 바와 같이 결합돌기(85)가 형성된 비원호 단면형상의 이격체(50d)가 복수의 결합공(81)에 선택적으로 끼움 결합될 수도 있다.Here, although not shown, the facial wrinkle correcting device according to the third embodiment of the present invention includes a non-arc cross-sectional spacer 50d having a coupling protrusion 85 formed thereon as shown in FIG. 12. It may be selectively fitted to 81.

또한, 도 8에는 본 발명의 제4실시예에 따른 안면주름 교정기구가 도시되어 있다.In addition, Fig. 8 shows a facial wrinkle correcting device according to a fourth embodiment of the present invention.

본 발명의 제4실시예에 따른 안면주름 교정기구(1d)는, 전술한 실시예들과 달리, 한 쌍의 이격체(50)가 안면의 팔자주름, 마리오네트주름, 입가주름에 대응하여 치아 커버부(10)의 양측 앞면에 위치 고정될 수도 있다.In the facial wrinkle correcting device 1d according to the fourth embodiment of the present invention, unlike the above-described embodiments, a pair of spacers 50 covers the teeth in response to the nasolabial folds, marionette wrinkles, and lip wrinkles of the face. Positions may be fixed on both sides of the part 10.

이상, 첨부된 도면을 참조로 하여 본 발명의 실시예를 설명하였지만, 본 발명이 속하는 기술 분야의 통상의 기술자는 본 발명이 그 기술적 사상이나 필수적인 특징을 변경하지 않고서 다른 구체적인 형태로 실시될 수 있다는 것을 이해할 수 있을 것이다. 그러므로, 이상에서 기술한 실시예들은 모든 면에서 예시적인 것이며, 제한적이 아닌 것으로 이해해야만 한다.In the above, embodiments of the present invention have been described with reference to the accompanying drawings, but those of ordinary skill in the art to which the present invention pertains can be implemented in other specific forms without changing the technical spirit or essential features. You can understand. Therefore, the embodiments described above are illustrative in all respects, and should be understood as non-limiting.

1a,1b.1c.1d: 안면주름 교정기구
10: 치아 커버부
11: 거치홈
15a,15b: 돌기
21: 포켓
30: 치아 물림부
31: 치아 정렬부
35: 타액 배출공
41: 스토퍼
50,50a,50b,50c,50d: 이격체
51: 밀착 돌기
60: 손잡이
70: 착탈 결합부
71: 가이드 레일
75: 가이드 돌기
1a,1b.1c.1d: facial wrinkle correction device
10: tooth cover part
11: Mounting groove
15a,15b: protrusion
21: pocket
30: tooth bite
31: tooth alignment
35: saliva discharge hole
41: stopper
50,50a,50b,50c,50d: spacer
51: contact projection
60: handle
70: detachable coupling portion
71: guide rail
75: guide protrusion

Claims (14)

복수의 위 이빨과 복수의 아래 이빨의 앞면을 따라 배치되어, 복수의 상기 위 이빨과 복수의 상기 아래 이빨을 동시에 감싸는 치아 커버부(10);
상기 치아 커버부로부터 구강을 향해 돌출되어, 복수의 상기 위 이빨과 복수
의 상기 아래 이빨이 동시에 맞물리는 치아 물림부(30); 및
상부 입술의 내측과 하부 입술의 내측에 밀착하는 복수의 밀착 돌기를 가지며, 팔자주름, 마리오네트주름, 입가주름에 대응하여 상기 치아 커버부(10)의 양측에 마련되어, 구강전정을 이격시키는 한 쌍의 이격체(50);를 포함하되,
상기 치아 물림부(30)의 둘레를 따라 마련되어, 혀가 상기 치아 물림부(30)로 넘어 오는 것을 저지하는 스토퍼(41); 및 상기 치아 커버부(10)와 스토퍼(41) 사이에 위치하면서 상기 치아 물림부(30)에 마련되어, 상기 위 이빨의 일부와 상기 아래 이빨의 일부를 상기 치아 커버부(10)에 밀착시켜, 복수의 상기 위 이빨과 복수의 상기 아래 이빨이 상기 치아 커버부(10)에 밀착하도록 정렬하는 치아 정렬부(31);
상기 치아 물림부(30)에 관통 형성되어, 구강에서 발생하는 타액이 배출되는 복수의 타액 배출공(35)을 포함하는, 안면주름 교정기구.
A tooth cover portion 10 disposed along the front surface of the plurality of upper teeth and the plurality of lower teeth, and simultaneously enclosing the plurality of upper teeth and the plurality of lower teeth;
Protruding from the tooth cover portion toward the oral cavity, a plurality of the upper teeth and a plurality
The lower teeth of the teeth engaging portion 30 at the same time; And
It has a plurality of contact protrusions in close contact with the inner side of the upper lip and the inner side of the lower lip, and is provided on both sides of the tooth cover part 10 in correspondence with nasolabial folds, marionette folds, and lip folds, Including; spacer 50;
A stopper 41 provided along the circumference of the tooth engaging portion 30 to prevent the tongue from passing over the tooth engaging portion 30; And located between the tooth cover part 10 and the stopper 41 and provided in the tooth engagement part 30, to make a part of the upper tooth and a part of the lower tooth in close contact with the tooth cover part 10, A tooth alignment unit 31 for aligning the plurality of upper teeth and the plurality of lower teeth to be in close contact with the tooth cover unit 10;
It is formed through the tooth bite portion 30, including a plurality of saliva discharge holes 35 through which saliva generated from the oral cavity is discharged, facial wrinkle correction mechanism.
삭제delete 삭제delete 삭제delete 삭제delete 삭제delete 제1항에 있어서,
상기 치아 커버부는 상부 입술의 내측과 하부 입술의 내측을 향해 돌출 형성된 복수의 돌기를 더 포함하는, 안면주름 교정기구.
The method of claim 1,
The tooth cover portion further comprises a plurality of protrusions protruding toward the inner side of the upper lip and the inner side of the lower lip, facial wrinkle correction mechanism.
삭제delete 삭제delete 제1항에 있어서,
한 쌍의 상기 이격체를 상기 치아 커버부에 착탈 결합하는 착탈 결합부를 포함하는, 안면주름 교정기구.
The method of claim 1,
Facial wrinkle correction mechanism comprising a detachable coupling portion for detachably coupling a pair of the spacer to the tooth cover portion.
삭제delete 삭제delete 삭제delete 삭제delete
KR1020200026917A 2020-03-04 2020-03-04 Face wrinkle improvement utensil Active KR102202227B1 (en)

Priority Applications (1)

Application Number Priority Date Filing Date Title
KR1020200026917A KR102202227B1 (en) 2020-03-04 2020-03-04 Face wrinkle improvement utensil

Applications Claiming Priority (1)

Application Number Priority Date Filing Date Title
KR1020200026917A KR102202227B1 (en) 2020-03-04 2020-03-04 Face wrinkle improvement utensil

Related Parent Applications (1)

Application Number Title Priority Date Filing Date
KR1020190133426A Division KR102087087B1 (en) 2019-10-25 2019-10-25 Face wrinkle improvement utensil

Publications (1)

Publication Number Publication Date
KR102202227B1 true KR102202227B1 (en) 2021-01-13

Family

ID=74142523

Family Applications (1)

Application Number Title Priority Date Filing Date
KR1020200026917A Active KR102202227B1 (en) 2020-03-04 2020-03-04 Face wrinkle improvement utensil

Country Status (1)

Country Link
KR (1) KR102202227B1 (en)

Citations (5)

* Cited by examiner, † Cited by third party
Publication number Priority date Publication date Assignee Title
KR20110105330A (en) * 2010-03-18 2011-09-26 비. 조나단 레빈 Mouthpieces adjusted to user arch size and sealed from oxygen exposure and having oral therapeutic effects
KR101127118B1 (en) 2009-05-19 2012-03-23 장도환 Apparatus for preventing wrinkles of face
JP2014104330A (en) * 2012-11-30 2014-06-09 Yuichiro Irie Mouth piece for facial treatment
KR101731892B1 (en) * 2016-05-18 2017-05-08 김석길 Apparatus For Shaping Bulging Cheek
JP2019063336A (en) * 2017-10-03 2019-04-25 株式会社Gs商事 Intraoral fitting

Patent Citations (5)

* Cited by examiner, † Cited by third party
Publication number Priority date Publication date Assignee Title
KR101127118B1 (en) 2009-05-19 2012-03-23 장도환 Apparatus for preventing wrinkles of face
KR20110105330A (en) * 2010-03-18 2011-09-26 비. 조나단 레빈 Mouthpieces adjusted to user arch size and sealed from oxygen exposure and having oral therapeutic effects
JP2014104330A (en) * 2012-11-30 2014-06-09 Yuichiro Irie Mouth piece for facial treatment
KR101731892B1 (en) * 2016-05-18 2017-05-08 김석길 Apparatus For Shaping Bulging Cheek
JP2019063336A (en) * 2017-10-03 2019-04-25 株式会社Gs商事 Intraoral fitting

Similar Documents

Publication Publication Date Title
JP7296370B2 (en) oral training equipment
US6295988B1 (en) Tongue lift and lip seal mouthpiece
KR101235888B1 (en) Device for snoring prevention
KR200443403Y1 (en) Tooth protection devices
KR102087087B1 (en) Face wrinkle improvement utensil
US8646454B1 (en) Oral appliances and methods of making oral appliances
KR200443404Y1 (en) Intraoral Device for Mandibular Joint Correction
KR20080103287A (en) Jaw protection device
KR20180116089A (en) Apparatus For Preventing Bruxism
KR102202227B1 (en) Face wrinkle improvement utensil
KR102219475B1 (en) Mouth piece for preventing laugh lines
KR101443247B1 (en) Face wrinkles exclusion utensil
CN217853385U (en) Head cap lip support soft lining mouth outer bow applied to invisible tooth socket
US20160242872A1 (en) Oral insert
JP2006015001A (en) Lip implement
KR200495875Y1 (en) Glasses Mask Frame
KR102551228B1 (en) Sleep apnea and snoring prevention device using negative pressure
CN213821773U (en) Anti-bite oral pads
RU2773363C2 (en) Intraoral training device
JPH0421528Y2 (en)
KR20240126579A (en) Gum massage apparatus
JP2023056210A (en) mouthpiece
JPH0647454Y2 (en) Tooth greasing reduction device
JPH1071169A (en) Cordless eye mask
JPS5855394Y2 (en) tooth jaw occlusal model

Legal Events

Date Code Title Description
PA0107 Divisional application

St.27 status event code: A-0-1-A10-A18-div-PA0107

St.27 status event code: A-0-1-A10-A16-div-PA0107

PA0201 Request for examination

St.27 status event code: A-1-2-D10-D11-exm-PA0201

PE0902 Notice of grounds for rejection

St.27 status event code: A-1-2-D10-D21-exm-PE0902

AMND Amendment
P11-X000 Amendment of application requested

St.27 status event code: A-2-2-P10-P11-nap-X000

P13-X000 Application amended

St.27 status event code: A-2-2-P10-P13-nap-X000

R17-X000 Change to representative recorded

St.27 status event code: A-3-3-R10-R17-oth-X000

PE0601 Decision on rejection of patent

St.27 status event code: N-2-6-B10-B15-exm-PE0601

T11-X000 Administrative time limit extension requested

St.27 status event code: U-3-3-T10-T11-oth-X000

T13-X000 Administrative time limit extension granted

St.27 status event code: U-3-3-T10-T13-oth-X000

R17-X000 Change to representative recorded

St.27 status event code: A-3-3-R10-R17-oth-X000

AMND Amendment
E13-X000 Pre-grant limitation requested

St.27 status event code: A-2-3-E10-E13-lim-X000

P11-X000 Amendment of application requested

St.27 status event code: A-2-2-P10-P11-nap-X000

P13-X000 Application amended

St.27 status event code: A-2-2-P10-P13-nap-X000

PX0901 Re-examination

St.27 status event code: A-2-3-E10-E12-rex-PX0901

R17-X000 Change to representative recorded

St.27 status event code: A-3-3-R10-R17-oth-X000

PX0701 Decision of registration after re-examination

St.27 status event code: A-3-4-F10-F13-rex-PX0701

X701 Decision to grant (after re-examination)
GRNT Written decision to grant
PR0701 Registration of establishment

St.27 status event code: A-2-4-F10-F11-exm-PR0701

PR1002 Payment of registration fee

St.27 status event code: A-2-2-U10-U11-oth-PR1002

Fee payment year number: 1

PG1601 Publication of registration

St.27 status event code: A-4-4-Q10-Q13-nap-PG1601

R18-X000 Changes to party contact information recorded

St.27 status event code: A-5-5-R10-R18-oth-X000

R18-X000 Changes to party contact information recorded

St.27 status event code: A-5-5-R10-R18-oth-X000

P14-X000 Amendment of ip right document requested

St.27 status event code: A-5-5-P10-P14-nap-X000

R18-X000 Changes to party contact information recorded

St.27 status event code: A-5-5-R10-R18-oth-X000

PR1001 Payment of annual fee

St.27 status event code: A-4-4-U10-U11-oth-PR1001

Fee payment year number: 4

R18-X000 Changes to party contact information recorded

St.27 status event code: A-5-5-R10-R18-oth-X000

PR1001 Payment of annual fee

St.27 status event code: A-4-4-U10-U11-oth-PR1001

Fee payment year number: 5

U11 Full renewal or maintenance fee paid

Free format text: ST27 STATUS EVENT CODE: A-4-4-U10-U11-OTH-PR1001 (AS PROVIDED BY THE NATIONAL OFFICE)

Year of fee payment: 5