[go: up one dir, main page]

KR102118034B1 - Surgical curette - Google Patents

Surgical curette Download PDF

Info

Publication number
KR102118034B1
KR102118034B1 KR1020180050475A KR20180050475A KR102118034B1 KR 102118034 B1 KR102118034 B1 KR 102118034B1 KR 1020180050475 A KR1020180050475 A KR 1020180050475A KR 20180050475 A KR20180050475 A KR 20180050475A KR 102118034 B1 KR102118034 B1 KR 102118034B1
Authority
KR
South Korea
Prior art keywords
header
shaft
handle
dial
main shaft
Prior art date
Legal status (The legal status is an assumption and is not a legal conclusion. Google has not performed a legal analysis and makes no representation as to the accuracy of the status listed.)
Active
Application number
KR1020180050475A
Other languages
Korean (ko)
Other versions
KR20190126511A (en
Inventor
장우영
이진혁
이순혁
김학준
최기원
Original Assignee
고려대학교 산학협력단
Priority date (The priority date is an assumption and is not a legal conclusion. Google has not performed a legal analysis and makes no representation as to the accuracy of the date listed.)
Filing date
Publication date
Application filed by 고려대학교 산학협력단 filed Critical 고려대학교 산학협력단
Priority to KR1020180050475A priority Critical patent/KR102118034B1/en
Publication of KR20190126511A publication Critical patent/KR20190126511A/en
Application granted granted Critical
Publication of KR102118034B1 publication Critical patent/KR102118034B1/en
Active legal-status Critical Current
Anticipated expiration legal-status Critical

Links

Images

Classifications

    • AHUMAN NECESSITIES
    • A61MEDICAL OR VETERINARY SCIENCE; HYGIENE
    • A61BDIAGNOSIS; SURGERY; IDENTIFICATION
    • A61B17/00Surgical instruments, devices or methods
    • A61B17/32Surgical cutting instruments
    • A61B17/3205Excision instruments
    • A61B17/3207Atherectomy devices working by cutting or abrading; Similar devices specially adapted for non-vascular obstructions
    • A61B17/320708Curettes, e.g. hollow scraping instruments
    • AHUMAN NECESSITIES
    • A61MEDICAL OR VETERINARY SCIENCE; HYGIENE
    • A61BDIAGNOSIS; SURGERY; IDENTIFICATION
    • A61B17/00Surgical instruments, devices or methods
    • A61B17/22Implements for squeezing-off ulcers or the like on inner organs of the body; Implements for scraping-out cavities of body organs, e.g. bones; for invasive removal or destruction of calculus using mechanical vibrations; for removing obstructions in blood vessels, not otherwise provided for
    • A61B17/22031Gripping instruments, e.g. forceps, for removing or smashing calculi
    • AHUMAN NECESSITIES
    • A61MEDICAL OR VETERINARY SCIENCE; HYGIENE
    • A61BDIAGNOSIS; SURGERY; IDENTIFICATION
    • A61B17/00Surgical instruments, devices or methods
    • A61B17/50Instruments, other than pincettes or toothpicks, for removing foreign bodies from the human body
    • AHUMAN NECESSITIES
    • A61MEDICAL OR VETERINARY SCIENCE; HYGIENE
    • A61BDIAGNOSIS; SURGERY; IDENTIFICATION
    • A61B17/00Surgical instruments, devices or methods
    • A61B17/00234Surgical instruments, devices or methods for minimally invasive surgery
    • A61B2017/00292Surgical instruments, devices or methods for minimally invasive surgery mounted on or guided by flexible, e.g. catheter-like, means
    • A61B2017/003Steerable
    • A61B2017/00318Steering mechanisms
    • AHUMAN NECESSITIES
    • A61MEDICAL OR VETERINARY SCIENCE; HYGIENE
    • A61BDIAGNOSIS; SURGERY; IDENTIFICATION
    • A61B17/00Surgical instruments, devices or methods
    • A61B2017/00367Details of actuation of instruments, e.g. relations between pushing buttons, or the like, and activation of the tool, working tip, or the like
    • A61B2017/00389Button or wheel for performing multiple functions, e.g. rotation of shaft and end effector
    • AHUMAN NECESSITIES
    • A61MEDICAL OR VETERINARY SCIENCE; HYGIENE
    • A61BDIAGNOSIS; SURGERY; IDENTIFICATION
    • A61B17/00Surgical instruments, devices or methods
    • A61B2017/0042Surgical instruments, devices or methods with special provisions for gripping

Landscapes

  • Health & Medical Sciences (AREA)
  • Surgery (AREA)
  • Life Sciences & Earth Sciences (AREA)
  • Medical Informatics (AREA)
  • Nuclear Medicine, Radiotherapy & Molecular Imaging (AREA)
  • Engineering & Computer Science (AREA)
  • Biomedical Technology (AREA)
  • Heart & Thoracic Surgery (AREA)
  • Molecular Biology (AREA)
  • Animal Behavior & Ethology (AREA)
  • General Health & Medical Sciences (AREA)
  • Public Health (AREA)
  • Veterinary Medicine (AREA)
  • Vascular Medicine (AREA)
  • Orthopedic Medicine & Surgery (AREA)
  • Surgical Instruments (AREA)

Abstract

일 실시예에 따른 외과적 큐렛은 핸들; 회전축을 구비하고 상기 회전축에 대하여 회전 가능하게 상기 핸들에 설치된 다이얼; 상기 다이얼과 맞물리고 상기 회전축을 공유하며 상기 다이얼의 회전에 의해 상기 회전축에 대하여 회전하는 메인 샤프트; 및 상기 메인 샤프트와 맞물리고 생체 물질을 포획하도록 구성된 헤더로서, 상기 메인 샤프트의 회전에 의하여 상기 메인 샤프트에 대하여 이루는 각도가 조절되도록 구성된 헤더를 포함할 수 있다.A surgical curette according to one embodiment includes a handle; A dial provided on the handle to be rotatable with respect to the rotating shaft; A main shaft engaged with the dial, sharing the rotation axis, and rotating about the rotation axis by rotation of the dial; And a header configured to engage with the main shaft and capture biological material, and may include a header configured to adjust an angle formed with respect to the main shaft by rotation of the main shaft.

Description

외과적 큐렛{SURGICAL CURETTE}Surgical Curet{SURGICAL CURETTE}

이하, 실시예들은 외과적 큐렛에 관한 것이다.Hereinafter, the embodiments relate to surgical curettes.

큐렛은 의료 분야, 특히 외과 분야에서 주로 사용되는 수술 도구로서, 관절경(arthroscope)과 함께 사용되어 골연골 손상(osteochondral defect), 골 이식(bone graft) 등의 수술에서 발생하는 인체의 불순물을 제거하는 데 사용된다. 이러한 큐렛은 핸들에 대하여 헤더가 미리 설정된 각도 - 예를 들어, 정형외과적 분야에서 주로 사용되는 0도, 15도, 30도 등 - 를 가지도록 기성품으로 제작되는 것이 일반적이다. 예를 들어, 미국공개특허공보 제2007/0060933호는 큐렛 헤드를 개시한다. 그러나, 인체의 관절의 형태는 개개인마다 다르기 때문에, 수술 시 사용자는 서로 다른 각도를 가지는 큐렛들을 교체해야 하는 불편함이 있다. 또한, 헤더의 각도가 설정 각도 이상인 경우, 어떤 특정 분야의 시술 또는 수술에서는 기성품인 큐렛의 불순물의 제거 효율이 현저하게 감소한다.Curette is a surgical tool mainly used in the medical field, especially in the surgical field. It is used in conjunction with an arthroscope to remove impurities in the human body caused by surgery such as osteochondral defect and bone graft. Is used to Such curettes are generally made of ready-made products so that the header has a predetermined angle with respect to the handle, for example, 0 degrees, 15 degrees, 30 degrees, etc., which are mainly used in orthopedic applications. For example, US Publication No. 2007/0060933 discloses a curette head. However, since the shape of the joints of the human body is different for each individual, the user has the inconvenience of replacing the curettes having different angles during surgery. In addition, when the angle of the header is greater than or equal to the set angle, the efficiency of removing impurities of the ready-made curette is significantly reduced in a certain field of procedure or surgery.

일 실시예에 따른 목적은 인체의 해부학적 구조에 맞게 각도 조절이 가능한 헤더를 포함하는 외과적 큐렛을 제공하는 것이다.An object according to one embodiment is to provide a surgical curette comprising an angle-adjustable header according to the anatomy of the human body.

일 실시예에 따른 목적은 헤더를 포함하는 헤더 어셈블리의 교체가 쉬운 외과적 큐렛을 제공하는 것이다.An object according to one embodiment is to provide a surgical curette that is easy to replace the header assembly including the header.

일 실시예에 따른 외과적 큐렛은 핸들; 상기 핸들에 설치된 기계적 메커니즘; 및 상기 기계적 메커니즘에 작동 가능하게 연결되고 생체 물질을 포획하도록 구성된 헤더로서, 상기 기계적 메커니즘의 작동에 의하여 상기 핸들에 대하여 이루는 각도가 조절되도록 구성된 헤더를 포함할 수 있다.A surgical curette according to one embodiment includes a handle; A mechanical mechanism installed on the handle; And a header operatively connected to the mechanical mechanism and configured to capture biological material, and may include a header configured to adjust an angle formed with respect to the handle by operation of the mechanical mechanism.

상기 기계적 메커니즘은 회전축을 구비하고 상기 회전축에 대하여 회전 가능하게 상기 핸들에 설치된 다이얼; 및 상기 다이얼과 맞물리고 상기 회전축을 공유하며 상기 다이얼의 회전에 의해 상기 회전축에 대해 회전하도록 구성된 메인 샤프트를 포함하고, 상기 메인 샤프트의 회전에 의해 상기 헤더가 상기 메인 샤프트에 대해 이루는 각도가 조절될 수 있다.The mechanical mechanism includes a dial provided on the handle to be rotatable with respect to the rotating shaft; And a main shaft engaged with the dial, sharing the rotation axis, and configured to rotate relative to the rotation axis by rotation of the dial, wherein the angle formed by the header relative to the main shaft by rotation of the main shaft is adjusted. Can be.

상기 외과적 큐렛은 상기 메인 샤프트의 내부에 배치되는 헤더 샤프트로서, 상기 헤더 샤프트의 일 단은 상기 핸들에 고정되고, 상기 헤더 샤프트의 타 단은 상기 회전축에 대하여 회전 가능하게 상기 헤더가 커플링되는 헤더 샤프트를 더 포함하고, 상기 헤더가 상기 메인 샤프트에 대하여 이루는 각도가 조절되는 동안, 상기 헤더 샤프트는 상기 회전축에 대하여 회전이 고정되도록 구성될 수 있다.The surgical curette is a header shaft disposed inside the main shaft, wherein one end of the header shaft is fixed to the handle, and the other end of the header shaft is coupled to the header so as to be rotatable relative to the rotation axis. The header shaft may further include a header shaft, and while the angle formed by the header with respect to the main shaft is adjusted, the header shaft may be configured to fix rotation with respect to the rotation shaft.

상기 메인 샤프트와 상기 헤더는 상기 회전축에 대하여 경사진 빗면을 각각 포함하고, 상기 헤더의 빗면과 상기 메인 샤프트의 빗면이 서로 마주보도록 상기 헤더가 커플링된 상기 헤더 샤프트의 타 단을 기준으로 회전할 수 있다.The main shaft and the header each include an inclined inclined surface with respect to the rotation axis, and the header is coupled to the other end of the header shaft in which the header is coupled so that the inclined surface of the header and the inclined surface of the main shaft face each other. You can.

상기 헤더는 상기 헤더 샤프트의 타 단을 기준으로 일 방향으로 회전할 수 있다.The header may rotate in one direction based on the other end of the header shaft.

상기 외과적 큐렛은 상기 핸들에 대한 상기 다이얼과 상기 메인 샤프트의 장력을 조절하도록 구성되고, 일 단이 상기 핸들에 연결되고 타 단이 상기 다이얼에 연결되는 탄성 부재를 더 포함할 수 있다.The surgical curette may further include an elastic member configured to adjust tension of the dial and the main shaft with respect to the handle, one end connected to the handle, and the other end connected to the dial.

상기 기계적 메커니즘은 상기 다이얼과 해제 가능하게 커플링 되는 스토퍼를 더 포함하고, 상기 스토퍼가 상기 다이얼과 커플링 되면 상기 메인 샤프트의 회전이 고정되고, 상기 스토퍼가 상기 다이얼과 디-커플링 되면 상기 메인 샤프트의 회전이 허용될 수 있다.The mechanical mechanism further includes a stopper releasably coupled with the dial, when the stopper is coupled with the dial, rotation of the main shaft is fixed, and when the stopper is de-coupled with the dial, the main The rotation of the shaft can be allowed.

상기 기계적 메커니즘은 길이 방향의 축을 구비하며 상기 길이 방향의 축을 따라 이동하도록 구성되는 헤더 샤프트로서, 상기 헤더 샤프트의 일 단은 상기 핸들에 연결되고 상기 헤더 샤프트의 타 단은 상기 헤더에 연결되고, 상기 헤더 샤프트가 상기 길이 방향의 축을 따라 이동하는 동안 상기 헤더가 상기 헤더 샤프트에 대해 이루는 각도가 조절될 수 있다.The mechanical mechanism is a header shaft having a longitudinal axis and configured to move along the longitudinal axis, wherein one end of the header shaft is connected to the handle and the other end of the header shaft is connected to the header, and the The angle that the header makes relative to the header shaft can be adjusted while the header shaft moves along the longitudinal axis.

일 실시예에 따른 외과적 큐렛은 핸들; 및 상기 핸들에 분리 가능하게 커플링되는 헤더 샤프트와, 상기 헤더 샤프트를 둘러싸고 상기 핸들에 대하여 회전하도록 구성된 메인 샤프트와, 상기 메인 샤프트와 맞물리고 상기 메인 샤프트의 회전에 의하여 상기 메인 샤프트에 대하여 이루는 각도가 조절되며 생체 물질을 포획하도록 구성된 헤더를 포함하는 헤더 어셈블리를 포함할 수 있다.A surgical curette according to one embodiment includes a handle; And a header shaft detachably coupled to the handle, a main shaft surrounding the header shaft and configured to rotate relative to the handle, and an angle formed with respect to the main shaft by engaging the main shaft and rotating the main shaft. It can be regulated and can include a header assembly that includes a header configured to capture biomaterial.

상기 헤더 샤프트는 관통 홀을 구비하고, 상기 헤더 샤프트는 상기 관통 홀을 통과하는 로킹 부재에 의하여 상기 핸들에 분리 가능하게 고정될 수 있다.The header shaft has a through hole, and the header shaft can be detachably fixed to the handle by a locking member passing through the through hole.

일 실시예에 따른 외과적 큐렛은 헤더가 인체의 해부학적 구조에 맞게 각도 조절이 가능하므로, 사용자의 편의성을 향상시키고 사용자의 시술/수술 시간을 단축시키며 인체의 빠른 회복을 달성할 수 있다.In the surgical curette according to an embodiment, since the header can adjust the angle to fit the anatomical structure of the human body, it is possible to improve the user's convenience, shorten the user's procedure/surgery time, and achieve rapid recovery of the human body.

일 실시예에 따른 외과적 큐렛은 사용자가 큐렛의 핸들을 쥐는 방향을 바꾸지 않더라도 불순물을 쉽게 제거할 수 있다.The surgical curette according to an embodiment can easily remove impurities even if the user does not change the direction in which the handle of the curette is held.

일 실시예에 따른 외과적 큐렛은 헤더의 마모에 따른 헤더의 교체가 쉬운 구조를 가질 수 있다.The surgical curette according to an embodiment may have a structure in which the header can be easily replaced due to wear of the header.

일 실시예에 따른 외과적 큐렛의 효과는 이상에서 언급된 것들에 한정되지 않으며, 언급되지 아니한 다른 효과들은 아래의 기재로부터 통상의 기술자에게 명확하게 이해될 수 있을 것이다.The effects of the surgical curette according to an embodiment are not limited to those mentioned above, and other effects not mentioned will be clearly understood by those skilled in the art from the following description.

도 1은 일 실시예에 따른 외과적 큐렛을 개략적으로 나타낸 사시도이다.
도 2는 일 실시예에 따른 외과적 큐렛의 내부 구조를 개략적으로 나타낸 단면도이다.
도 3은 도 1의 A 부분을 확대한 확대도이다.
도 4는 도 2의 B 부분을 확대한 확대도이다.
도 5는 도 2의 B 부분을 다른 방향에서 바라본 확대도이다.
도 6은 일 실시예에 따른 외과적 큐렛의 헤더 어셈블리의 조립을 개략적으로 나타낸 분해 사시도이다.
도 7은 일 실시예에 따른 외과적 큐렛의 핸들의 내부 구조의 일부를 개략적으로 나타낸 사시도이다.
도 8은 도 2의 C 부분의 제1상태를 나타낸 확대도이다.
도 9는 도 2의 C 부분의 제2상태를 나타낸 확대도이다.
도 10은 일 실시예에 따른 외과적 큐렛의 헤더의 각도가 제1각도일 때를 개략적으로 나타낸 정면도이다.
도 11은 일 실시예에 따른 외과적 큐렛의 헤더의 각도가 제2각도일 때를 개략적으로 나타낸 정면도이다.
도 12는 일 실시예에 따른 외과적 큐렛의 헤더의 각도가 제3각도일 때를 개략적으로 나타낸 정면도이다.
도 13은 일 실시예에 따른 외과적 큐렛을 개략적으로 나타낸 사시도이다.
도 14는 일 실시예에 따른 외과적 큐렛의 헤더의 각도가 제1각도일 때를 개략적으로 나타낸 측면도이다.
도 15는 일 실시예에 따른 외과적 큐렛의 헤더의 각도가 제2각도일 때를 개략적으로 나타낸 측면도이다.
도 16은 일 실시예에 따른 외과적 큐렛의 헤더의 각도가 제3각도일 때를 개략적으로 나타낸 측면도이다.
1 is a perspective view schematically showing a surgical curette according to an embodiment.
2 is a cross-sectional view schematically showing the internal structure of a surgical curette according to an embodiment.
FIG. 3 is an enlarged view of part A of FIG. 1.
FIG. 4 is an enlarged view of a portion B of FIG. 2.
5 is an enlarged view of the portion B of FIG. 2 as viewed from another direction.
6 is an exploded perspective view schematically showing an assembly of a header assembly of a surgical curette according to an embodiment.
7 is a perspective view schematically showing a part of the internal structure of the handle of the surgical curette according to an embodiment.
8 is an enlarged view showing a first state of part C of FIG. 2.
9 is an enlarged view showing a second state of part C of FIG. 2.
10 is a front view schematically showing when the angle of the header of the surgical curette according to an embodiment is the first angle.
11 is a front view schematically showing when the angle of the header of the surgical curette is a second angle according to an embodiment.
12 is a front view schematically showing when the angle of the header of the surgical curette is a third angle according to an embodiment.
13 is a perspective view schematically showing a surgical curette according to an embodiment.
14 is a side view schematically showing when the angle of the header of the surgical curette according to an embodiment is the first angle.
15 is a side view schematically showing when the angle of the header of the surgical curette is a second angle according to an embodiment.
16 is a side view schematically showing when the angle of the header of the surgical curette is a third angle according to an embodiment.

이하, 실시예들을 예시적인 도면을 통해 상세하게 설명한다. 각 도면의 구성요소들에 참조부호를 부가함에 있어서, 동일한 구성요소들에 대해서는 비록 다른 도면상에 표시되더라도 가능한 한 동일한 부호를 가지도록 하고 있음에 유의해야 한다. 또한, 실시예를 설명함에 있어, 관련된 공지 구성 또는 기능에 대한 구체적인 설명이 실시예에 대한 이해를 방해한다고 판단되는 경우에는 그 상세한 설명은 생략한다.Hereinafter, embodiments will be described in detail through exemplary drawings. It should be noted that in adding reference numerals to the components of each drawing, the same components have the same reference numerals as possible even though they are displayed on different drawings. In addition, in describing the embodiments, when it is determined that detailed descriptions of related well-known configurations or functions interfere with understanding of the embodiments, detailed descriptions thereof will be omitted.

또한, 실시예의 구성 요소를 설명하는 데 있어서, 제 1, 제 2, A, B, (a), (b) 등의 용어를 사용할 수 있다. 이러한 용어는 그 구성 요소를 다른 구성 요소와 구별하기 위한 것일 뿐, 그 용어에 의해 해당 구성 요소의 본질이나 차례 또는 순서 등이 한정되지 않는다. 어떤 구성 요소가 다른 구성요소에 "연결", "결합" 또는 "접속"된다고 기재된 경우, 그 구성 요소는 그 다른 구성요소에 직접적으로 연결되거나 접속될 수 있지만, 각 구성 요소 사이에 또 다른 구성 요소가 "연결", "결합" 또는 "접속"될 수도 있다고 이해되어야 할 것이다.In addition, in describing the components of the embodiment, terms such as first, second, A, B, (a), (b), and the like can be used. These terms are only for distinguishing the component from other components, and the nature, order, or order of the component is not limited by the term. When a component is described as being "connected", "coupled" or "connected" to another component, that component may be directly connected to or connected to the other component, but another component between each component It should be understood that may be "connected", "coupled" or "connected".

어느 하나의 실시예에 포함된 구성요소와, 공통적인 기능을 포함하는 구성요소는, 다른 실시예에서 동일한 명칭을 사용하여 설명하기로 한다. 반대되는 기재가 없는 이상, 어느 하나의 실시예에 기재한 설명은 다른 실시예에도 적용될 수 있으며, 중복되는 범위에서 구체적인 설명은 생략하기로 한다.Components included in any one embodiment and components including a common function will be described using the same name in other embodiments. Unless there is an objection to the contrary, the description in any one embodiment may be applied to other embodiments, and a detailed description will be omitted in the overlapping range.

도 1은 일 실시예에 따른 외과적 큐렛을 개략적으로 나타낸 사시도이고, 도 2는 일 실시예에 따른 외과적 큐렛의 내부 구조를 개략적으로 나타낸 단면도이다.1 is a perspective view schematically showing a surgical curette according to an embodiment, and FIG. 2 is a cross-sectional view schematically showing the internal structure of a surgical curette according to an embodiment.

도 1 및 도 2를 참조하면, 일 실시예에 따른 외과적 큐렛(100)은 외과 분야의 수술에서 내시경과 함께 사용되는 도구로서, 대상체의 생체 물질을 제거할 수 있다. 일 예에서, 대상체는 인체, 동물 등을 포함할 수 있다. 일 예에서, 생체 물질은 대상체의 불순물을 포함할 수 있다. 외과적 큐렛(100)은 사용자가 그립(grip)하도록 구성된 핸들(110) 및 생체 물질을 포획하도록 구성된 헤더(150)를 구비하며, 헤더(150)가 핸들(110)에 대해 이루는 각도가 조절되도록 구성된다. 일 예에서, 사용자는 외과 의사, 정형외과 의사 등의 임상의를 포함할 수 있다.Referring to FIGS. 1 and 2, the surgical curette 100 according to an embodiment is a tool used with an endoscope in surgery in a surgical field, and may remove a biological material of a subject. In one example, the subject may include a human body, an animal, and the like. In one example, the biological material may include impurities of the subject. The surgical curette 100 includes a handle 110 configured to grip the user and a header 150 configured to capture biological material, so that the angle formed by the header 150 relative to the handle 110 is adjusted. It is composed. In one example, the user may include a surgeon, an orthopedic surgeon, and the like.

외과적 큐렛(100)은 핸들(110), 기계적 메커니즘 및 헤더(150)를 포함할 수 있다.The surgical curette 100 can include a handle 110, a mechanical mechanism and a header 150.

핸들(110)은 사용자가 그립하기에 적합한 형상을 구비할 수 있다. 예를 들어, 핸들(110)은 실질적으로 원통형이거나, 그 단면이 다각형일 수 있다.The handle 110 may have a shape suitable for a user to grip. For example, the handle 110 may be substantially cylindrical, or its cross section may be polygonal.

일 실시예에서, 핸들(110)은 2개의 부분들인 제1부분(112) 및 제2부분(114)을 구비할 수 있다. 핸들(110)의 제1부분(112) 및 제2부분(114)은 서로에 대하여 분리 가능하게 커플링 될 수 있다.In one embodiment, the handle 110 may include two parts, a first part 112 and a second part 114. The first portion 112 and the second portion 114 of the handle 110 may be detachably coupled to each other.

일 실시예에서, 핸들(110)의 제1부분(112) 및 제2부분(114)은 고정 부재(116)에 의해 서로 커플링 될 수 있다. 일 예에서, 고정 부재(116)는 복수 개로서 핸들(110)의 길이 방향을 따라 서로 이격되고 핸들(110)의 내부로 삽입되며 핸들(110)의 제1부분(112)과 제2부분(114)을 서로에 대하여 고정되게 할 수 있다. 예를 들어, 고정 부재(116)는 고정 볼트를 포함할 수 있다. 이 경우, 핸들(110)의 제1부분(112) 또는 제2부분(114) 중 적어도 하나 이상의 부분에 고정 부재(116)가 삽입되는 삽입 홀이 형성될 수 있다. 핸들(110)의 제1부분(112)과 제2부분(114)이 고정 부재(116)에 의해 서로에 대해 고정됨에 따라 핸들(110)의 강성이 향상될 수 있다.In one embodiment, the first portion 112 and the second portion 114 of the handle 110 may be coupled to each other by a fastening member 116. In one example, the fixing member 116 is a plurality of spaced apart from each other along the longitudinal direction of the handle 110 and is inserted into the interior of the handle 110, the first portion 112 and the second portion of the handle 110 ( 114) can be fixed relative to each other. For example, the fixing member 116 may include a fixing bolt. In this case, an insertion hole into which the fixing member 116 is inserted may be formed in at least one of the first portion 112 or the second portion 114 of the handle 110. The rigidity of the handle 110 can be improved as the first part 112 and the second part 114 of the handle 110 are fixed to each other by the fixing member 116.

헤더(150)는 대상체의 생체 물질을 포획하도록 구성된다. 일 예에서, 헤더(150)는 스푼 형상의 테두리와, 그 테두리에 의해 규정되는 관통 홀을 포함할 수 있다.The header 150 is configured to capture the biological material of the object. In one example, the header 150 may include a spoon-shaped rim and a through hole defined by the rim.

기계적 메커니즘은 핸들(110)에 대해 헤더(150)가 이루는 각도를 조절하도록 작동된다. 일 실시예에서, 기계적 메커니즘은 다이얼(120), 메인 샤프트(130), 헤더 샤프트(140) 및 탄성 부재(160)를 포함할 수 있다.The mechanical mechanism is operated to adjust the angle formed by the header 150 relative to the handle 110. In one embodiment, the mechanical mechanism may include a dial 120, a main shaft 130, a header shaft 140 and an elastic member 160.

다이얼(120)은 회전축(X-X)을 구비하며 회전축(X-X)에 대하여 회전하도록 구성된다. 다이얼(120)은 핸들(110)의 내부에 회전 가능하도록 설치될 수 있다. 다이얼(120)은 사용자에 의해 조작 가능하게 핸들(110)에 설치될 수 있다.The dial 120 has a rotation axis (X-X) and is configured to rotate relative to the rotation axis (X-X). The dial 120 may be installed to be rotatable inside the handle 110. The dial 120 may be installed on the handle 110 to be operable by a user.

메인 샤프트(130)는 다이얼(120)의 회전축(X-X)을 공유하며 회전축(X-X)에 대해 회전하도록 구성된다. 메인 샤프트(130)는 길이 방향으로 연장하도록 구성될 수 있다. 메인 샤프트(130)의 일 단은 다이얼(120)과 맞물리도록 구성되는 한편, 메인 샤프트(130)의 타 단은 헤더(150)와 맞물리도록 구성될 수 있다. 사용자가 다이얼(120)을 조작하여 다이얼(120)을 회전축(X-X)에 대하여 회전시킴에 따라, 다이얼(120)에 맞물린 메인 샤프트(130)가 회전축(X-X)에 대하여 다이얼(120)과 함께 회전할 수 있다.The main shaft 130 shares the axis of rotation (X-X) of the dial 120 and is configured to rotate about the axis of rotation (X-X). The main shaft 130 may be configured to extend in the longitudinal direction. One end of the main shaft 130 is configured to mesh with the dial 120, while the other end of the main shaft 130 can be configured to mesh with the header 150. As the user rotates the dial 120 with respect to the rotation axis XX by manipulating the dial 120, the main shaft 130 engaged with the dial 120 rotates with the dial 120 with respect to the rotation axis XX can do.

일 실시예에서, 메인 샤프트(130)의 일 단에는 돌출부(132)가 형성되고, 다이얼(120)은 메인 샤프트(130)의 돌출부(132)가 맞물리도록 구성된 중공(1203)을 구비할 수 있다. 일 예에서, 돌출부(132)의 직경은 메인 샤프트(130)의 직경보다 작을 수 있다.In one embodiment, a protruding portion 132 is formed at one end of the main shaft 130, and the dial 120 may include a hollow 1203 configured to engage the protruding portion 132 of the main shaft 130. . In one example, the diameter of the protrusion 132 may be smaller than the diameter of the main shaft 130.

헤더 샤프트(140)는 메인 샤프트(130)의 내부에 배치되고, 메인 샤프트(130)를 따라 길이 방향으로 연장할 수 있다. 헤더 샤프트(140)의 일 단은 핸들(110)에 고정되도록 구성되는 한편, 헤더 샤프트(140)의 타 단은 헤더(150)와 커플링 되도록 구성될 수 있다.The header shaft 140 is disposed inside the main shaft 130 and may extend in the longitudinal direction along the main shaft 130. One end of the header shaft 140 is configured to be fixed to the handle 110, while the other end of the header shaft 140 may be configured to be coupled to the header 150.

일 실시예에서, 다이얼(120)의 조작에 의해 메인 샤프트(130)가 회전축(X-X)에 대해 회전하는 동안 헤더 샤프트(140)는 회전축(X-X)에 대해 회전하지 않도록 구성된다. 이에 따라, 헤더 샤프트(140)는 헤더 샤프트(140)의 일 단에 연결된 헤더(150)를 지지하며 헤더(150)가 헤더 샤프트(140)와 헤더(150)가 커플링 된 부분을 기준으로 하여 메인 샤프트(140)에 대해 회전하게 할 수 있다.In one embodiment, the header shaft 140 is configured not to rotate about the rotational axis X-X while the main shaft 130 rotates about the rotational axis X-X by manipulation of the dial 120. Accordingly, the header shaft 140 supports the header 150 connected to one end of the header shaft 140, and the header 150 is based on a portion where the header shaft 140 and the header 150 are coupled. It can be made to rotate relative to the main shaft 140.

탄성 부재(160)는 다이얼(120)과 메인 샤프트(130)의 핸들(110)에 대한 장력을 조절하도록 구성된다. 일 예에서, 핸들(110)은 탄성 부재(160)를 수용하는 내부 공간(118)을 포함할 수 있다. 내부 공간(118) 내에서, 탄성 부재(160)의 일 단은 다이얼(120)에 연결되고, 탄성 부재(160)의 타 단은 핸들(110)에 연결되도록 구성될 수 있다.The elastic member 160 is configured to adjust the tension of the dial 120 and the handle 110 of the main shaft 130. In one example, the handle 110 may include an interior space 118 for receiving the elastic member 160. Within the interior space 118, one end of the elastic member 160 may be connected to the dial 120 and the other end of the elastic member 160 may be configured to be connected to the handle 110.

한편, 헤더(150)는 메인 샤프트(130)와 맞물리도록 구성된다. 사용자가 다이얼(120)을 조작하면, 다이얼(120)이 회전축(X-X)에 대해 회전하고, 다이얼(120)에 맞물린 메인 샤프트(130)가 회전축(X-X)에 대해 회전하며, 메인 샤프트(130)에 맞물린 헤더(150)가 메인 샤프트(130)의 회전축(X-X)에 대하여 이루는 각도가 조절될 수 있다.Meanwhile, the header 150 is configured to mesh with the main shaft 130. When the user operates the dial 120, the dial 120 rotates about the rotation axis XX, the main shaft 130 engaged with the dial 120 rotates about the rotation axis XX, and the main shaft 130 The angle formed by the header 150 engaged with respect to the rotation axis XX of the main shaft 130 may be adjusted.

도 3은 도 1의 A 부분을 확대한 확대도이다.FIG. 3 is an enlarged view of part A of FIG. 1.

도 3을 참조하면, 다이얼(120)은 원형의 플레이트 형상을 구비할 수 있다. 다이얼(120)의 외주면은 곡면으로 이루어질 수 있다. 다이얼(120)의 외주면에는 다이얼(120)의 원주 방향을 따라 서로 이격되며 복수 개의 리브(1201)들이 형성되고, 복수 개의 리브(1201)들 중 인접한 리브(1201)들 사이에 곡면의 리세스(1202)들이 각각 형성될 수 있다. 복수 개의 곡면의 리세스(1202)들에는 헤더(150)가 핸들(110)에 대하여 이루는 각도값이 표시될 수 있다. 일 예에서, 복수 개의 리브(1201)들 및 복수 개의 곡면의 리세스(1202)들 중 일부가 핸들(110)에 형성된 홀(111)을 통해 외부로 노출될 수 있다. 핸들(110)의 홀(111)의 주변에는 사용자의 손가락이 터치하기에 적합한 형상의 오목부(1111)가 형성될 수 있다. 한편, 핸들(110)은 다이얼(120)의 복수 개의 곡면의 리세스(1202)들의 각각에 표시된 각도값을 가리키도록 구성된 인디케이터(122)를 포함할 수 있다. 일 예에서, 인디케이터(122)는 화살촉 형상을 구비할 수 있다.Referring to FIG. 3, the dial 120 may have a circular plate shape. The outer peripheral surface of the dial 120 may be formed of a curved surface. The outer circumferential surface of the dial 120 is spaced apart from each other along the circumferential direction of the dial 120, a plurality of ribs 1201 are formed, and a curved recess (between adjacent ribs 1201) among the plurality of ribs 1201 1202) may be formed, respectively. An angle value formed by the header 150 with respect to the handle 110 may be displayed on the plurality of curved recesses 1202. In one example, some of the plurality of ribs 1201 and the plurality of curved recesses 1202 may be exposed to the outside through the hole 111 formed in the handle 110. A concave portion 1111 of a shape suitable for a user's finger to touch may be formed around the hole 111 of the handle 110. Meanwhile, the handle 110 may include an indicator 122 configured to indicate an angular value displayed on each of the plurality of curved recesses 1202 of the dial 120. In one example, the indicator 122 may have an arrowhead shape.

도 4는 도 2의 B 부분을 확대한 확대도이고, 도 5는 도 2의 B 부분을 다른 방향에서 바라본 확대도이다.FIG. 4 is an enlarged view of part B of FIG. 2, and FIG. 5 is an enlarged view of part B of FIG. 2 when viewed from another direction.

도 4 및 도 5를 참조하면, 헤더 샤프트(140)와 헤더(150)가 커플링 되는 헤더 샤프트(140)의 타 단(142)에는 제1결속홀(144)이 형성되고, 헤더 샤프트(140)와 헤더(150)가 커플링 되는 헤더(150)의 부분에는 제2결속홀(154)이 형성될 수 있다. 헤더 샤프트(140)와 헤더(150)가 커플링 되도록 결속 부재(미도시)가 제1결속홀(144) 및 제2결속홀(154)을 통과할 수 있다. 일 예에서, 결속 부재는 핀을 포함할 수 있다. 결속 부재에 의해 헤더 샤프트(140)와 헤더(150)가 커플링 됨에 따라, 헤더(150)가 제1결속홀(144)과 제2결속홀(154)을 기준으로 메인 샤프트(130)에 대해 회전할 수 있다. 제1결속홀(144)과 제2결속홀(154)은 회전축(X-X)(도 2 참조)에 대하여 교차하도록 형성될 수 있다.4 and 5, the first binding hole 144 is formed at the other end 142 of the header shaft 140 where the header shaft 140 and the header 150 are coupled, and the header shaft 140 ) And a second binding hole 154 may be formed in a portion of the header 150 where the header 150 is coupled. The binding member (not shown) may pass through the first binding hole 144 and the second binding hole 154 so that the header shaft 140 and the header 150 are coupled. In one example, the binding member can include a pin. As the header shaft 140 and the header 150 are coupled by the binding member, the header 150 is relative to the main shaft 130 based on the first binding hole 144 and the second binding hole 154. Can rotate. The first binding hole 144 and the second binding hole 154 may be formed to intersect with respect to the rotation axis X-X (see FIG. 2 ).

일 실시예에서, 메인 샤프트(130)와 헤더(150)가 맞물리는 메인 샤프트(130)의 일 단에는 메인 샤프트(130)에 대해 경사진 제1빗면(134)이 형성되고, 메인 샤프트(130)와 헤더(150)가 맞물리는 헤더(150)의 일 단에는 헤더(150)에 대해 경사진 제2빗면(152)이 형성될 수 있다. 일 예에서, 제1빗면(134) 및 제2빗면(152)은 회전축(X-X)(도 2 참조)에 대해 경사지도록 구성될 수 있다.In one embodiment, the first shaft 134 inclined with respect to the main shaft 130 is formed at one end of the main shaft 130 where the main shaft 130 and the header 150 are engaged, and the main shaft 130 ) And a second comb surface 152 inclined with respect to the header 150 may be formed at one end of the header 150 in which the header 150 engages. In one example, the first comb surface 134 and the second comb surface 152 may be configured to be inclined with respect to the rotation axis X-X (see FIG. 2 ).

헤더(150)가 메인 샤프트(130)에 대하여 회전하는 동안 제1빗면(134)과 제2빗면(152)은 서로 마주보도록 구성될 수 있다. 헤더 샤프트(140)가 헤더(150)를 결속하고 있는 상태에서 메인 샤프트(130)가 회전축(X-X)에 대해 회전하면, 메인 샤프트(130)에 맞물린 헤더(150)가 메인 샤프트(130)의 회전축(X-X)에 대해 일 방향으로 회전할 수 있다.The first comb surface 134 and the second comb surface 152 may be configured to face each other while the header 150 rotates with respect to the main shaft 130. When the main shaft 130 rotates with respect to the rotating shaft XX while the header shaft 140 is engaged with the header 150, the header 150 engaged with the main shaft 130 rotates with the rotating shaft of the main shaft 130 It can rotate in one direction with respect to (XX).

한편, 메인 샤프트(130)의 제1빗면(134)과 헤더(150)의 제2빗면(152)은 외과적 큐렛(10)의 강성을 향상시킬 수도 있다. 예를 들어, 외과적 큐렛(10)에 상당한 크기의 외력이 인가되면, 제1빗면(134)과 제2빗면(152)에 의해 메인 샤프트(130)로부터 헤더(150)의 이탈이 방지될 수 있다.Meanwhile, the first comb surface 134 of the main shaft 130 and the second comb surface 152 of the header 150 may improve the rigidity of the surgical curette 10. For example, when a considerable amount of external force is applied to the surgical curette 10, the departure of the header 150 from the main shaft 130 may be prevented by the first comb surface 134 and the second comb surface 152. have.

도 6은 일 실시예에 따른 외과적 큐렛의 헤더 어셈블리의 조립을 개략적으로 나타낸 분해 사시도이고, 도 7은 일 실시예에 따른 외과적 큐렛의 핸들의 내부 구조의 일부를 개략적으로 나타낸 사시도이다.6 is an exploded perspective view schematically showing the assembly of the header assembly of the surgical curette according to an embodiment, and FIG. 7 is a perspective view schematically showing a part of the internal structure of the handle of the surgical curette according to an embodiment.

일 실시예에서, 메인 샤프트(130)와, 헤더 샤프트(140)와, 헤더(150)를 포함하는 헤더 어셈블리가 핸들(110)에 대해 분리 가능하게 핸들(110)에 설치될 수 있다.In one embodiment, a header assembly including a main shaft 130, a header shaft 140, and a header 150 may be detachably installed on the handle 110 relative to the handle 110.

도 6 및 도 7을 참조하면, 헤더 샤프트(140)는 커플러(146)를 포함할 수 있다. 커플러(146)는 핸들(110)과 헤더 샤프트(140)가 커플링 되는 헤더 샤프트(140)의 일 단에 형성될 수 있다. 커플러(146)는 핸들(110)에 형성된 중공(115)으로 삽입되어 핸들(110)에 커플링 되도록 구성될 수 있다.6 and 7, the header shaft 140 may include a coupler 146. The coupler 146 may be formed at one end of the header shaft 140 to which the handle 110 and the header shaft 140 are coupled. The coupler 146 may be configured to be inserted into the hollow 115 formed in the handle 110 and coupled to the handle 110.

헤더 샤프트(140)는 커플러(146)에 형성된 관통 홀(148) 및 관통 홀(148)을 통과하며 헤더 샤프트(140)를 핸들(110)에 고정하도록 구성된 로킹 부재(149)를 포함할 수 있다. 일 예에서, 로킹 부재(149)는 드라이버와 같은 체결 수단에 의해 로킹/언로킹 가능한 핀을 포함할 수 있다.The header shaft 140 may include a through hole 148 formed in the coupler 146 and a locking member 149 that passes through the through hole 148 and is configured to secure the header shaft 140 to the handle 110. . In one example, the locking member 149 may include a pin that can be locked/unlocked by a fastening means such as a screwdriver.

핸들(110)은 헤더 샤프트(140)를 지지하도록 구성된 탭(1171) 및 탭(1171)에 의해 둘러싸이며 헤더 샤프트(140)를 수용하도록 구성된 리세스(1172)를 포함할 수 있다. 탭(1171)은 헤더 샤프트(140)가 핸들(110)에 대하여 어느 일 방향으로 향하게 하도록 일 측은 개방되고 나머지 타 측들은 폐쇄된 구조를 가질 수 있다. 다시 말하면, 핸들(110)은 헤더 샤프트(140)가 역방향으로 핸들(110)에 삽입되지 않게 하는 구조를 가질 수 있다. 헤더 샤프트(140)의 커플러(146)는 탭(1171)의 개방된 일 측으로 삽입되어 리세스(1172)에 안정적으로 위치될 수 있다.The handle 110 may include a tab 1171 configured to support the header shaft 140 and a recess 1172 surrounded by the tab 1171 and configured to receive the header shaft 140. The tab 1171 may have a structure in which one side is open and the other side is closed so that the header shaft 140 faces in one direction with respect to the handle 110. In other words, the handle 110 may have a structure such that the header shaft 140 is not inserted into the handle 110 in the reverse direction. The coupler 146 of the header shaft 140 may be inserted into one open side of the tab 1171 and stably positioned in the recess 1172.

도 8은 도 2의 C 부분의 제1상태를 나타낸 확대도이고, 도 9는 도 2의 C 부분의 제2상태를 나타낸 확대도이다.FIG. 8 is an enlarged view showing a first state of part C of FIG. 2, and FIG. 9 is an enlarged view showing a second state of part C of FIG. 2.

도 8 및 도 9를 참조하면, 일 실시예에서, 기계적 메커니즘은 스토퍼(170)를 더 포함할 수 있다. 스토퍼(170)는 다이얼(120)과 해제 가능하게 커플링 될 수 있다. 스토퍼(170)가 다이얼(120)과 커플링 되면, 스토퍼(170)가 다이얼(120)을 푸쉬(push)하면서 다이얼(120)의 회전이 고정되고, 다이얼(120)과 맞물린 메인 샤프트(130)의 회전이 고정되면서 헤더(150)(도 2 참조)의 이동이 중지된다. 한편, 스토퍼(170)가 다이얼(120)과 디-커플링 되면, 스토퍼(170)가 다이얼(120)을 푸쉬하지 않으면서 다이얼(120)의 회전이 허용되고, 다이얼(120)과 맞물린 메인 샤프트(130)의 회전 및 헤더(150)의 이동이 허용된다.8 and 9, in one embodiment, the mechanical mechanism may further include a stopper 170. The stopper 170 may be releasably coupled to the dial 120. When the stopper 170 is coupled to the dial 120, the rotation of the dial 120 is fixed while the stopper 170 pushes the dial 120, and the main shaft 130 engaged with the dial 120 The rotation of the header 150 is stopped while the movement of the header 150 (see FIG. 2) is stopped. On the other hand, when the stopper 170 is de-coupled with the dial 120, the stopper 170 is allowed to rotate the dial 120 without pushing the dial 120, and the main shaft engaged with the dial 120 The rotation of 130 and the movement of header 150 are allowed.

일 예에서, 스토퍼(170)는 핸들(110)(도 2 참조)의 내부에 삽입될 수 있다. 스토퍼(170)와 다이얼(120)이 커플링 되는 제1상태에서, 스토퍼(170)는 핸들(110)의 내측으로 들어가는(retracting) 제1위치에 있을 수 있다. 이 때, 탄성 부재(160)는 다이얼(120), 메인 샤프트(130) 및 헤더 샤프트(140)를 푸쉬할 수 있다. 한편, 스토퍼(170)와 다이얼(120)이 디-커플링 되는 제2상태에서, 스토퍼(170)는 핸들(110)의 외측으로 돌출하는(protruding) 제2위치에 있을 수 있다.In one example, the stopper 170 can be inserted into the handle 110 (see FIG. 2). In the first state in which the stopper 170 and the dial 120 are coupled, the stopper 170 may be in a first position that retracts inside the handle 110. At this time, the elastic member 160 may push the dial 120, the main shaft 130 and the header shaft 140. On the other hand, in the second state in which the stopper 170 and the dial 120 are de-coupled, the stopper 170 may be in a second position protruding outward of the handle 110.

일 예에서, 다이얼(120)은 스토퍼(170)와 커플링 되는 다이얼-커플러(1204)를 포함할 수 있다. 다이얼-커플러(1204)는 다이얼(120)의 축 방향으로 돌출하며 다이얼(120)에 접촉하도록 구성될 수 있다.In one example, the dial 120 can include a dial-coupler 1204 coupled with the stopper 170. The dial-coupler 1204 protrudes in the axial direction of the dial 120 and may be configured to contact the dial 120.

도 10은 일 실시예에 따른 외과적 큐렛의 헤더의 각도가 제1각도일 때를 개략적으로 나타낸 정면도이고, 도 11은 일 실시예에 따른 외과적 큐렛의 헤더의 각도가 제2각도일 때를 개략적으로 나타낸 정면도이고, 도 12는 일 실시예에 따른 외과적 큐렛의 헤더의 각도가 제3각도일 때를 개략적으로 나타낸 정면도이다.10 is a front view schematically showing when the angle of the header of the surgical curette according to an embodiment is the first angle, and FIG. 11 is when the angle of the header of the surgical curette according to an embodiment is the second angle It is a schematic front view, and FIG. 12 is a schematic front view when the angle of the header of the surgical curette is a third angle.

도 1 및 도 2와 함께 도 10 내지 도 12를 차례로 참조하면, 사용자는 헤더(150)가 핸들(110) 및 메인 샤프트(130)에 대하여 이루는 각도가 조절되도록 다이얼(120)을 조작할 수 있다. 다이얼(120)은 사용자의 편의를 위해 헤더(150)의 각도값이 표시될 수 있다. 헤더(150)는 헤더 샤프트(140)와 헤더(150)가 커플링 된 부분을 기준으로 메인 샤프트(130)에 대하여 일 방향으로 회전하도록 구성된다. 도 8은 헤더(150)가 핸들(110)에 대해 약 0도의 각도를 이루는 모습을 나타내고, 도 9는 헤더(150)가 핸들(110)에 대해 약 50도의 각도를 이루는 모습을 나타내고, 도 10은 헤더(150)가 핸들(110)에 대해 약 90도의 각도를 이루는 모습을 나타낸다. 사용자는 수술 전 뿐만 아니라 수술 중에도 대상체의 해부학적 구조에 의한 방해물과 무관하게 다이얼(120)을 조작하며 헤더(150)의 각도를 조절할 수 있다.Referring to FIGS. 10 to 12 together with FIGS. 1 and 2, the user can operate the dial 120 so that the angle formed by the header 150 with respect to the handle 110 and the main shaft 130 is adjusted. . The dial 120 may display an angle value of the header 150 for user convenience. The header 150 is configured to rotate in one direction with respect to the main shaft 130 based on a portion where the header shaft 140 and the header 150 are coupled. 8 shows that the header 150 forms an angle of about 0 degrees with respect to the handle 110, and FIG. 9 shows that the header 150 forms an angle of about 50 degrees with respect to the handle 110, and FIG. 10 Shows that the header 150 forms an angle of about 90 degrees with respect to the handle 110. The user can adjust the angle of the header 150 while manipulating the dial 120 irrespective of an obstacle caused by the anatomical structure of the object, both before and during surgery.

도시되지 않은 실시예에서, 메인 샤프트(130) 및/또는 헤더 샤프트(140)는 대상체의 해부학적 구조에 맞게 적어도 일 부분이 굴곡된 지점(curved point)을 구비할 수 있다.In an embodiment not shown, the main shaft 130 and/or the header shaft 140 may have a curved point at least a portion of which is adapted to the anatomical structure of the object.

도 13은 일 실시예에 따른 외과적 큐렛을 개략적으로 나타낸 사시도이고, 도 14는 일 실시예에 따른 외과적 큐렛의 헤더의 각도가 제1각도일 때를 개략적으로 나타낸 측면도이고, 도 15는 일 실시예에 따른 외과적 큐렛의 헤더의 각도가 제2각도일 때를 개략적으로 나타낸 측면도이고, 도 16은 일 실시예에 따른 외과적 큐렛의 헤더의 각도가 제3각도일 때를 개략적으로 나타낸 측면도이다.13 is a perspective view schematically showing a surgical curette according to one embodiment, FIG. 14 is a side view schematically showing when the angle of the header of the surgical curette according to an embodiment is the first angle, and FIG. 15 is one A side view schematically showing when the angle of the header of the surgical curette according to the embodiment is a second angle, and FIG. 16 is a side view schematically showing when the angle of the header of the surgical curette is the third angle. to be.

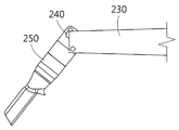
도 13 내지 도 16을 참조하면, 일 실시예에 따른 외과적 큐렛(200)은 핸들(210), 기계적 메커니즘 및 헤더(250)를 포함할 수 있다.13 to 16, the surgical curette 200 according to an embodiment may include a handle 210, a mechanical mechanism, and a header 250.

일 실시예에서, 기계적 메커니즘은 다이얼(220), 메인 샤프트(230) 및 헤더 샤프트(240)를 포함할 수 있다.In one embodiment, the mechanical mechanism may include a dial 220, a main shaft 230, and a header shaft 240.

다이얼(220)은 핸들(210)에 대해 슬라이드 하도록 구성될 수 있다. 일 예에서, 다이얼(220)은 핸들(210)에 형성된 슬롯(211)을 따라 슬라이드 할 수 있다.The dial 220 may be configured to slide relative to the handle 210. In one example, the dial 220 can slide along the slot 211 formed in the handle 210.

메인 샤프트(230)는 핸들(210)로부터 연장하고 헤더 샤프트(240)와 헤더(250)를 지지하도록 구성된다. 메인 샤프트(230)의 일 단은 헤더(250)에 연결될 수 있다.The main shaft 230 extends from the handle 210 and is configured to support the header shaft 240 and the header 250. One end of the main shaft 230 may be connected to the header 250.

헤더 샤프트(240)는 다이얼(220)에 연결된다. 헤더 샤프트(240)는 길이 방향의 축을 구비하며 상기 길이 방향의 축을 따라 연장하며 메인 샤프트(230)의 내부에 배치될 수 있다. 다이얼(220)이 핸들(210)에 대해 슬라이드 함에 따라 헤더 샤프트(240)는 다이얼(220)과 함께 슬라이드 하도록 구성된다. 헤더 샤프트(240)의 일 단은 헤더(250)에 연결될 수 있다.The header shaft 240 is connected to the dial 220. The header shaft 240 has a longitudinal axis, extends along the longitudinal axis, and may be disposed inside the main shaft 230. The header shaft 240 is configured to slide with the dial 220 as the dial 220 slides against the handle 210. One end of the header shaft 240 may be connected to the header 250.

헤더 샤프트(240)와 헤더(250)가 연결된 부분은 메인 샤프트(230)와 헤더(250)가 연결된 부분으로부터 이격될 수 있다. 다이얼(220)이 핸들(210)에 대해 슬라이드 함에 따라 헤더 샤프트(240)가 헤더 샤프트(240)의 길이 방향의 축을 따라 이동하고, 헤더 샤프트(240)와 헤더(250)가 연결된 부분이 메인 샤프트(230)와 헤더(250)가 연결된 부분을 기준으로 선회할 수 있다. 이와 같은 방식으로, 헤더(250)가 핸들(210)에 대해 이루는 각도가 조절될 수 있다. 도 14는 헤더(250)가 핸들(210)에 대해 약 0도의 각도를 이루는 모습을 나타내고, 도 15는 헤더(250)가 핸들(210)에 대해 약 50도의 각도를 이루는 모습을 나타내고, 도 16은 헤더(250)가 핸들(210)에 대해 약 90도의 각도를 이루는 모습을 나타낸다.The part where the header shaft 240 and the header 250 are connected may be spaced apart from the part where the main shaft 230 and the header 250 are connected. As the dial 220 slides with respect to the handle 210, the header shaft 240 moves along the longitudinal axis of the header shaft 240, and the portion where the header shaft 240 and the header 250 are connected is the main shaft. It is possible to rotate based on the portion where the 230 and the header 250 are connected. In this way, the angle formed by the header 250 relative to the handle 210 can be adjusted. 14 shows that the header 250 forms an angle of about 0 degrees with respect to the handle 210, and FIG. 15 shows that the header 250 forms an angle of about 50 degrees with respect to the handle 210, and FIG. 16 Indicates that the header 250 forms an angle of about 90 degrees with respect to the handle 210.

이상과 같이 실시예들이 비록 한정된 실시예와 도면에 의해 설명되었으나, 해당 기술분야에서 통상의 지식을 가진 자라면 상기의 기재로부터 다양한 수정 및 변형이 가능하다. 예를 들어, 설명된 기술들이 설명된 방법과 다른 순서로 수행되거나, 및/또는 설명된 시스템, 구조, 장치, 회로 등의 구성요소들이 설명된 방법과 다른 형태로 결합 또는 조합되거나, 다른 구성요소 또는 균등물에 의하여 대치되거나 치환되더라도 적절한 결과가 달성될 수 있다.As described above, although the embodiments have been described by a limited embodiment and drawings, those skilled in the art can make various modifications and variations from the above description. For example, the described techniques are performed in a different order than the described method, and/or the components of the described system, structure, device, circuit, etc. are combined or combined in a different form from the described method, or other components Alternatively, even if replaced or substituted by equivalents, appropriate results can be achieved.

Claims (10)

핸들;
상기 핸들에 설치된 기계적 메커니즘; 및
상기 기계적 메커니즘에 작동 가능하게 연결되고 생체 물질을 포획하도록 구성된 헤더로서, 상기 기계적 메커니즘의 작동에 의해 상기 핸들에 대해 이루는 각도가 조절되도록 구성된 헤더;
를 포함하고,
상기 기계적 메커니즘은
회전축을 구비하고 상기 회전축에 대하여 회전 가능하게 상기 핸들에 설치된 다이얼;
상기 다이얼과 맞물리고 상기 회전축을 공유하며 상기 다이얼의 회전에 의해 상기 회전축에 대해 회전하도록 구성된 메인 샤프트; 및
상기 메인 샤프트의 내부에 배치되는 헤더 샤프트로서, 상기 헤더 샤프트의 일 단은 상기 핸들에 고정되고, 상기 헤더 샤프트의 타 단은 상기 회전축에 대하여 회전 가능하게 상기 헤더가 커플링되는 헤더 샤프트;
를 포함하고,
상기 메인 샤프트의 회전에 의해 상기 헤더가 상기 메인 샤프트에 대해 이루는 각도가 조절되고, 상기 헤더가 상기 메인 샤프트에 대하여 이루는 각도가 조절되는 동안, 상기 헤더 샤프트는 상기 회전축에 대해 회전하지 않으면서 상기 헤더가 상기 헤더 샤프트와 상기 헤더가 커플링 된 부분을 기준으로 상기 메인 샤프트에 대해 회전하게 하도록 구성되는 외과적 큐렛.
handle;
A mechanical mechanism installed on the handle; And
A header operatively connected to the mechanical mechanism and configured to capture biological material, the header configured to adjust an angle formed relative to the handle by operation of the mechanical mechanism;
Including,
The mechanical mechanism
A dial provided on the handle to be rotatable with respect to the rotating shaft;
A main shaft engaged with the dial, sharing the axis of rotation, and configured to rotate about the axis of rotation by rotation of the dial; And
A header shaft disposed inside the main shaft, wherein one end of the header shaft is fixed to the handle, and the other end of the header shaft is coupled to the header so that the header is rotatably coupled to the rotation shaft;
Including,
While the angle formed by the header with respect to the main shaft is adjusted by the rotation of the main shaft, and the angle formed by the header with respect to the main shaft is adjusted, the header shaft does not rotate with respect to the rotation axis, and the header A surgical curette configured to cause the header shaft and the header to rotate relative to the main shaft relative to the coupled portion.
제1항에 있어서,
상기 메인 샤프트와 상기 헤더는 상기 회전축에 대하여 경사진 빗면을 각각 포함하고, 상기 헤더의 빗면과 상기 메인 샤프트의 빗면이 서로 마주보도록 상기 헤더가 커플링된 상기 헤더 샤프트의 타 단을 기준으로 회전하는 외과적 큐렛.
According to claim 1,
The main shaft and the header each include an inclined plane inclined with respect to the rotation axis, and the header is coupled to the other end of the header shaft coupled with the header so that the inclined plane of the header and the main shaft face each other. Surgical curette.
제1항에 있어서,
상기 헤더 샤프트는 그 타 단에 형성된 제1결속홀을 포함하고, 상기 헤더는 상기 제1결속홀과 결속되는 제2결속홀을 포함하고,
상기 헤더는 상기 제1결속홀 및 상기 제2결속홀을 기준으로 상기 메인 샤프트에 대해 회전하도록 구성된 외과적 큐렛.
According to claim 1,
The header shaft includes a first binding hole formed at the other end, and the header includes a second binding hole engaged with the first binding hole,
The header is a surgical curette configured to rotate relative to the main shaft based on the first binding hole and the second binding hole.
제3항에 있어서,
상기 제1결속홀 및 상기 제2결속홀은 상기 회전축에 대해 교차하도록 형성된 외과적 큐렛.
According to claim 3,
The first binding hole and the second binding hole is a surgical curette formed to intersect with the rotation axis.
제1항에 있어서,
상기 헤더는 상기 헤더 샤프트의 타 단을 기준으로 일 방향으로 회전하는 외과적 큐렛.
According to claim 1,
The header is a surgical curette that rotates in one direction relative to the other end of the header shaft.
제1항에 있어서,
상기 핸들에 대한 상기 다이얼과 상기 메인 샤프트의 장력을 조절하도록 구성되고, 일 단이 상기 핸들에 연결되고 타 단이 상기 다이얼에 연결되는 탄성 부재를 더 포함하는 외과적 큐렛.
According to claim 1,
A surgical curette further comprising an elastic member configured to adjust the tension of the dial and the main shaft with respect to the handle, one end connected to the handle and the other end connected to the dial.
제1항에 있어서,
상기 기계적 메커니즘은 상기 다이얼과 해제 가능하게 커플링 되는 스토퍼를 더 포함하고, 상기 스토퍼가 상기 다이얼과 커플링 되면 상기 메인 샤프트의 회전이 고정되고, 상기 스토퍼가 상기 다이얼과 디-커플링 되면 상기 메인 샤프트의 회전이 허용되는 외과적 큐렛.
According to claim 1,
The mechanical mechanism further includes a stopper releasably coupled with the dial, when the stopper is coupled with the dial, rotation of the main shaft is fixed, and when the stopper is de-coupled with the dial, the main Surgical curette that allows rotation of the shaft.
제1항에 있어서,
상기 기계적 메커니즘은 길이 방향의 축을 구비하며 상기 길이 방향의 축을 따라 이동하도록 구성되는 헤더 샤프트로서, 상기 헤더 샤프트의 일 단은 상기 핸들에 연결되고 상기 헤더 샤프트의 타 단은 상기 헤더에 연결되고,
상기 헤더 샤프트가 상기 길이 방향의 축을 따라 이동하는 동안 상기 헤더가 상기 헤더 샤프트에 대해 이루는 각도가 조절되는 외과적 큐렛.
According to claim 1,
The mechanical mechanism is a header shaft having a longitudinal axis and configured to move along the longitudinal axis, wherein one end of the header shaft is connected to the handle and the other end of the header shaft is connected to the header,
A surgical curette in which the angle the header makes with respect to the header shaft is adjusted while the header shaft moves along the longitudinal axis.
제1항에 있어서,
상기 헤더 샤프트는 상기 핸들에 분리 가능하게 커플링되는 외과적 큐렛.
According to claim 1,
The header shaft is a surgical curette detachably coupled to the handle.
제9항에 있어서,
상기 헤더 샤프트는 관통 홀을 구비하고, 상기 헤더 샤프트는 상기 관통 홀을 통과하는 로킹 부재에 의하여 상기 핸들에 분리 가능하게 고정되는 외과적 큐렛.
The method of claim 9,
The header shaft has a through hole, and the header shaft is a surgical curette that is detachably fixed to the handle by a locking member passing through the through hole.
KR1020180050475A 2018-05-02 2018-05-02 Surgical curette Active KR102118034B1 (en)

Priority Applications (1)

Application Number Priority Date Filing Date Title
KR1020180050475A KR102118034B1 (en) 2018-05-02 2018-05-02 Surgical curette

Applications Claiming Priority (1)

Application Number Priority Date Filing Date Title
KR1020180050475A KR102118034B1 (en) 2018-05-02 2018-05-02 Surgical curette

Publications (2)

Publication Number Publication Date
KR20190126511A KR20190126511A (en) 2019-11-12
KR102118034B1 true KR102118034B1 (en) 2020-06-02

Family

ID=68577259

Family Applications (1)

Application Number Title Priority Date Filing Date
KR1020180050475A Active KR102118034B1 (en) 2018-05-02 2018-05-02 Surgical curette

Country Status (1)

Country Link
KR (1) KR102118034B1 (en)

Cited By (1)

* Cited by examiner, † Cited by third party
Publication number Priority date Publication date Assignee Title
KR20220081050A (en) 2020-12-08 2022-06-15 가톨릭대학교 산학협력단 endplate preparation tool for anterior cervical interbody fusion

Families Citing this family (3)

* Cited by examiner, † Cited by third party
Publication number Priority date Publication date Assignee Title
CN115553894A (en) * 2022-11-02 2023-01-03 李彦霞 A controllable uterine cavity curette device under hysteroscopy
CN117159109B (en) * 2023-11-02 2024-02-02 安徽宇度生物科技有限责任公司 Controllable uterine cavity curet device under hysteroscope
CN119112305A (en) * 2024-10-24 2024-12-13 上海凯利泰医疗科技股份有限公司 A medical scraper

Citations (4)

* Cited by examiner, † Cited by third party
Publication number Priority date Publication date Assignee Title
JP2005253632A (en) 2004-03-10 2005-09-22 Olympus Medical Systems Corp Surgical instrument
KR101020247B1 (en) 2010-10-28 2011-03-07 주식회사 디오메디칼 Screwdriver for pedicle screw
WO2015057195A1 (en) 2013-10-15 2015-04-23 Stryker Corporation Device for creating a void space in a living tissue, the device including a handle with a control knob that can be set regardless of the orientation of the handle
KR101852973B1 (en) 2017-01-31 2018-05-02 주식회사 솔고 바이오메디칼 Inserting device of cage for disc space between vertebrae

Family Cites Families (2)

* Cited by examiner, † Cited by third party
Publication number Priority date Publication date Assignee Title
JP2009500145A (en) * 2005-07-11 2009-01-08 メドトロニック スパイン エルエルシー Culet system
US9011429B2 (en) * 2012-06-07 2015-04-21 Smith & Nephew, Inc. Flexible probe with adjustable tip

Patent Citations (4)

* Cited by examiner, † Cited by third party
Publication number Priority date Publication date Assignee Title
JP2005253632A (en) 2004-03-10 2005-09-22 Olympus Medical Systems Corp Surgical instrument
KR101020247B1 (en) 2010-10-28 2011-03-07 주식회사 디오메디칼 Screwdriver for pedicle screw
WO2015057195A1 (en) 2013-10-15 2015-04-23 Stryker Corporation Device for creating a void space in a living tissue, the device including a handle with a control knob that can be set regardless of the orientation of the handle
KR101852973B1 (en) 2017-01-31 2018-05-02 주식회사 솔고 바이오메디칼 Inserting device of cage for disc space between vertebrae

Cited By (1)

* Cited by examiner, † Cited by third party
Publication number Priority date Publication date Assignee Title
KR20220081050A (en) 2020-12-08 2022-06-15 가톨릭대학교 산학협력단 endplate preparation tool for anterior cervical interbody fusion

Also Published As

Publication number Publication date
KR20190126511A (en) 2019-11-12

Similar Documents

Publication Publication Date Title
KR102118034B1 (en) Surgical curette
CN111093540B (en) Modular surgical instruments and related methods
US9820766B2 (en) Dual directional articulation hand instrument
US9387003B2 (en) Handling device for a micro-invasive surgical instrument
US12369948B2 (en) Strut attachments for external fixation frame
KR101753504B1 (en) End effector connection and actuation systems
US11376135B2 (en) Insertion instrument with articulating wrist
US11344351B2 (en) Surgical instrument
US20160106463A1 (en) Medical instrument, and coupling mechanism for connecting two structural parts of a medical instrument
CN111801059B (en) Acetabular reaming drill handle and method for reaming an acetabulum
EP2906132B1 (en) Fixing means for fixation of bone fragments at bone fractures
US20240285310A1 (en) Modular, assembled surgical instrument
ES2979234T3 (en) Cannulated screwdriver with T-handle
US10758248B2 (en) Direction adjustable surgical tissue removal device
KR102089782B1 (en) Surgical awl
EP3485821B1 (en) Orthopaedic reamer system
US6962590B2 (en) Medical instrument, in particular a resectoscope
JP7317950B2 (en) Cannulated T-Handle Driver and Double Latch Cannulated Obturator
JP7470692B2 (en) Surgical screwdriver
JP7239976B2 (en) Surgical instruments and bone fixation systems
JP5952953B1 (en) Bending mechanism for treatment instrument and treatment instrument
US20240245408A1 (en) Tool holder for modular tool
KR20220086510A (en) Shaft of surgical shaver and surgical shaver including the same

Legal Events

Date Code Title Description
A201 Request for examination
PA0109 Patent application

Patent event code: PA01091R01D

Comment text: Patent Application

Patent event date: 20180502

PA0201 Request for examination
PG1501 Laying open of application
E902 Notification of reason for refusal
PE0902 Notice of grounds for rejection

Comment text: Notification of reason for refusal

Patent event date: 20191126

Patent event code: PE09021S01D

PN2301 Change of applicant

Patent event date: 20191209

Comment text: Notification of Change of Applicant

Patent event code: PN23011R01D

E701 Decision to grant or registration of patent right
PE0701 Decision of registration

Patent event code: PE07011S01D

Comment text: Decision to Grant Registration

Patent event date: 20200526

GRNT Written decision to grant
PR0701 Registration of establishment

Comment text: Registration of Establishment

Patent event date: 20200527

Patent event code: PR07011E01D

PR1002 Payment of registration fee

Payment date: 20200528

End annual number: 3

Start annual number: 1

PG1601 Publication of registration
PR1001 Payment of annual fee

Payment date: 20230509

Start annual number: 4

End annual number: 4

PR1001 Payment of annual fee

Payment date: 20240527

Start annual number: 5

End annual number: 5

PR1001 Payment of annual fee

Payment date: 20250527

Start annual number: 6

End annual number: 6