[go: up one dir, main page]

KR102076615B1 - 네로우 베젤을 갖는 표시장치 - Google Patents

네로우 베젤을 갖는 표시장치 Download PDF

Info

Publication number
KR102076615B1
KR102076615B1 KR1020130091067A KR20130091067A KR102076615B1 KR 102076615 B1 KR102076615 B1 KR 102076615B1 KR 1020130091067 A KR1020130091067 A KR 1020130091067A KR 20130091067 A KR20130091067 A KR 20130091067A KR 102076615 B1 KR102076615 B1 KR 102076615B1
Authority
KR
South Korea
Prior art keywords
polarizer
display panel
polarizing plate
base film
film
Prior art date
Legal status (The legal status is an assumption and is not a legal conclusion. Google has not performed a legal analysis and makes no representation as to the accuracy of the status listed.)
Active
Application number
KR1020130091067A
Other languages
English (en)
Other versions
KR20150015243A (ko
Inventor
박미경
조원종
이수민
Original Assignee
엘지디스플레이 주식회사
Priority date (The priority date is an assumption and is not a legal conclusion. Google has not performed a legal analysis and makes no representation as to the accuracy of the date listed.)
Filing date
Publication date
Application filed by 엘지디스플레이 주식회사 filed Critical 엘지디스플레이 주식회사
Priority to KR1020130091067A priority Critical patent/KR102076615B1/ko
Priority to EP14176683.2A priority patent/EP2833197B1/en
Priority to US14/444,703 priority patent/US9557589B2/en
Priority to CN201410369644.8A priority patent/CN104345492B/zh
Publication of KR20150015243A publication Critical patent/KR20150015243A/ko
Application granted granted Critical
Publication of KR102076615B1 publication Critical patent/KR102076615B1/ko
Active legal-status Critical Current
Anticipated expiration legal-status Critical

Links

Images

Classifications

    • GPHYSICS
    • G02OPTICS
    • G02FOPTICAL DEVICES OR ARRANGEMENTS FOR THE CONTROL OF LIGHT BY MODIFICATION OF THE OPTICAL PROPERTIES OF THE MEDIA OF THE ELEMENTS INVOLVED THEREIN; NON-LINEAR OPTICS; FREQUENCY-CHANGING OF LIGHT; OPTICAL LOGIC ELEMENTS; OPTICAL ANALOGUE/DIGITAL CONVERTERS
    • G02F1/00Devices or arrangements for the control of the intensity, colour, phase, polarisation or direction of light arriving from an independent light source, e.g. switching, gating or modulating; Non-linear optics
    • G02F1/01Devices or arrangements for the control of the intensity, colour, phase, polarisation or direction of light arriving from an independent light source, e.g. switching, gating or modulating; Non-linear optics for the control of the intensity, phase, polarisation or colour 
    • G02F1/13Devices or arrangements for the control of the intensity, colour, phase, polarisation or direction of light arriving from an independent light source, e.g. switching, gating or modulating; Non-linear optics for the control of the intensity, phase, polarisation or colour  based on liquid crystals, e.g. single liquid crystal display cells
    • G02F1/133Constructional arrangements; Operation of liquid crystal cells; Circuit arrangements
    • G02F1/1333Constructional arrangements; Manufacturing methods
    • G02F1/133308Support structures for LCD panels, e.g. frames or bezels
    • GPHYSICS
    • G09EDUCATION; CRYPTOGRAPHY; DISPLAY; ADVERTISING; SEALS
    • G09FDISPLAYING; ADVERTISING; SIGNS; LABELS OR NAME-PLATES; SEALS
    • G09F9/00Indicating arrangements for variable information in which the information is built-up on a support by selection or combination of individual elements
    • G09F9/30Indicating arrangements for variable information in which the information is built-up on a support by selection or combination of individual elements in which the desired character or characters are formed by combining individual elements
    • G09F9/35Indicating arrangements for variable information in which the information is built-up on a support by selection or combination of individual elements in which the desired character or characters are formed by combining individual elements being liquid crystals
    • GPHYSICS
    • G02OPTICS
    • G02BOPTICAL ELEMENTS, SYSTEMS OR APPARATUS
    • G02B5/00Optical elements other than lenses
    • G02B5/30Polarising elements
    • GPHYSICS
    • G02OPTICS
    • G02FOPTICAL DEVICES OR ARRANGEMENTS FOR THE CONTROL OF LIGHT BY MODIFICATION OF THE OPTICAL PROPERTIES OF THE MEDIA OF THE ELEMENTS INVOLVED THEREIN; NON-LINEAR OPTICS; FREQUENCY-CHANGING OF LIGHT; OPTICAL LOGIC ELEMENTS; OPTICAL ANALOGUE/DIGITAL CONVERTERS
    • G02F1/00Devices or arrangements for the control of the intensity, colour, phase, polarisation or direction of light arriving from an independent light source, e.g. switching, gating or modulating; Non-linear optics
    • G02F1/01Devices or arrangements for the control of the intensity, colour, phase, polarisation or direction of light arriving from an independent light source, e.g. switching, gating or modulating; Non-linear optics for the control of the intensity, phase, polarisation or colour 
    • G02F1/13Devices or arrangements for the control of the intensity, colour, phase, polarisation or direction of light arriving from an independent light source, e.g. switching, gating or modulating; Non-linear optics for the control of the intensity, phase, polarisation or colour  based on liquid crystals, e.g. single liquid crystal display cells
    • G02F1/133Constructional arrangements; Operation of liquid crystal cells; Circuit arrangements
    • G02F1/1333Constructional arrangements; Manufacturing methods
    • GPHYSICS
    • G02OPTICS
    • G02FOPTICAL DEVICES OR ARRANGEMENTS FOR THE CONTROL OF LIGHT BY MODIFICATION OF THE OPTICAL PROPERTIES OF THE MEDIA OF THE ELEMENTS INVOLVED THEREIN; NON-LINEAR OPTICS; FREQUENCY-CHANGING OF LIGHT; OPTICAL LOGIC ELEMENTS; OPTICAL ANALOGUE/DIGITAL CONVERTERS
    • G02F1/00Devices or arrangements for the control of the intensity, colour, phase, polarisation or direction of light arriving from an independent light source, e.g. switching, gating or modulating; Non-linear optics
    • G02F1/01Devices or arrangements for the control of the intensity, colour, phase, polarisation or direction of light arriving from an independent light source, e.g. switching, gating or modulating; Non-linear optics for the control of the intensity, phase, polarisation or colour 
    • G02F1/13Devices or arrangements for the control of the intensity, colour, phase, polarisation or direction of light arriving from an independent light source, e.g. switching, gating or modulating; Non-linear optics for the control of the intensity, phase, polarisation or colour  based on liquid crystals, e.g. single liquid crystal display cells
    • G02F1/133Constructional arrangements; Operation of liquid crystal cells; Circuit arrangements
    • G02F1/1333Constructional arrangements; Manufacturing methods
    • G02F1/1335Structural association of cells with optical devices, e.g. polarisers or reflectors
    • G02F1/133528Polarisers
    • HELECTRICITY
    • H10SEMICONDUCTOR DEVICES; ELECTRIC SOLID-STATE DEVICES NOT OTHERWISE PROVIDED FOR
    • H10KORGANIC ELECTRIC SOLID-STATE DEVICES
    • H10K59/00Integrated devices, or assemblies of multiple devices, comprising at least one organic light-emitting element covered by group H10K50/00
    • H10K59/50OLEDs integrated with light modulating elements, e.g. with electrochromic elements, photochromic elements or liquid crystal elements
    • GPHYSICS
    • G02OPTICS
    • G02FOPTICAL DEVICES OR ARRANGEMENTS FOR THE CONTROL OF LIGHT BY MODIFICATION OF THE OPTICAL PROPERTIES OF THE MEDIA OF THE ELEMENTS INVOLVED THEREIN; NON-LINEAR OPTICS; FREQUENCY-CHANGING OF LIGHT; OPTICAL LOGIC ELEMENTS; OPTICAL ANALOGUE/DIGITAL CONVERTERS
    • G02F1/00Devices or arrangements for the control of the intensity, colour, phase, polarisation or direction of light arriving from an independent light source, e.g. switching, gating or modulating; Non-linear optics
    • G02F1/01Devices or arrangements for the control of the intensity, colour, phase, polarisation or direction of light arriving from an independent light source, e.g. switching, gating or modulating; Non-linear optics for the control of the intensity, phase, polarisation or colour 
    • G02F1/13Devices or arrangements for the control of the intensity, colour, phase, polarisation or direction of light arriving from an independent light source, e.g. switching, gating or modulating; Non-linear optics for the control of the intensity, phase, polarisation or colour  based on liquid crystals, e.g. single liquid crystal display cells
    • G02F1/133Constructional arrangements; Operation of liquid crystal cells; Circuit arrangements
    • G02F1/1333Constructional arrangements; Manufacturing methods
    • G02F1/133308Support structures for LCD panels, e.g. frames or bezels
    • G02F1/13332Front frames
    • GPHYSICS
    • G02OPTICS
    • G02FOPTICAL DEVICES OR ARRANGEMENTS FOR THE CONTROL OF LIGHT BY MODIFICATION OF THE OPTICAL PROPERTIES OF THE MEDIA OF THE ELEMENTS INVOLVED THEREIN; NON-LINEAR OPTICS; FREQUENCY-CHANGING OF LIGHT; OPTICAL LOGIC ELEMENTS; OPTICAL ANALOGUE/DIGITAL CONVERTERS
    • G02F1/00Devices or arrangements for the control of the intensity, colour, phase, polarisation or direction of light arriving from an independent light source, e.g. switching, gating or modulating; Non-linear optics
    • G02F1/01Devices or arrangements for the control of the intensity, colour, phase, polarisation or direction of light arriving from an independent light source, e.g. switching, gating or modulating; Non-linear optics for the control of the intensity, phase, polarisation or colour 
    • G02F1/13Devices or arrangements for the control of the intensity, colour, phase, polarisation or direction of light arriving from an independent light source, e.g. switching, gating or modulating; Non-linear optics for the control of the intensity, phase, polarisation or colour  based on liquid crystals, e.g. single liquid crystal display cells
    • G02F1/133Constructional arrangements; Operation of liquid crystal cells; Circuit arrangements
    • G02F1/1333Constructional arrangements; Manufacturing methods
    • G02F1/133308Support structures for LCD panels, e.g. frames or bezels
    • G02F1/133331Cover glasses
    • GPHYSICS
    • G02OPTICS
    • G02FOPTICAL DEVICES OR ARRANGEMENTS FOR THE CONTROL OF LIGHT BY MODIFICATION OF THE OPTICAL PROPERTIES OF THE MEDIA OF THE ELEMENTS INVOLVED THEREIN; NON-LINEAR OPTICS; FREQUENCY-CHANGING OF LIGHT; OPTICAL LOGIC ELEMENTS; OPTICAL ANALOGUE/DIGITAL CONVERTERS
    • G02F1/00Devices or arrangements for the control of the intensity, colour, phase, polarisation or direction of light arriving from an independent light source, e.g. switching, gating or modulating; Non-linear optics
    • G02F1/01Devices or arrangements for the control of the intensity, colour, phase, polarisation or direction of light arriving from an independent light source, e.g. switching, gating or modulating; Non-linear optics for the control of the intensity, phase, polarisation or colour 
    • G02F1/13Devices or arrangements for the control of the intensity, colour, phase, polarisation or direction of light arriving from an independent light source, e.g. switching, gating or modulating; Non-linear optics for the control of the intensity, phase, polarisation or colour  based on liquid crystals, e.g. single liquid crystal display cells
    • G02F1/133Constructional arrangements; Operation of liquid crystal cells; Circuit arrangements
    • G02F1/1333Constructional arrangements; Manufacturing methods
    • G02F1/133388Constructional arrangements; Manufacturing methods with constructional differences between the display region and the peripheral region
    • GPHYSICS
    • G02OPTICS
    • G02FOPTICAL DEVICES OR ARRANGEMENTS FOR THE CONTROL OF LIGHT BY MODIFICATION OF THE OPTICAL PROPERTIES OF THE MEDIA OF THE ELEMENTS INVOLVED THEREIN; NON-LINEAR OPTICS; FREQUENCY-CHANGING OF LIGHT; OPTICAL LOGIC ELEMENTS; OPTICAL ANALOGUE/DIGITAL CONVERTERS
    • G02F1/00Devices or arrangements for the control of the intensity, colour, phase, polarisation or direction of light arriving from an independent light source, e.g. switching, gating or modulating; Non-linear optics
    • G02F1/01Devices or arrangements for the control of the intensity, colour, phase, polarisation or direction of light arriving from an independent light source, e.g. switching, gating or modulating; Non-linear optics for the control of the intensity, phase, polarisation or colour 
    • G02F1/13Devices or arrangements for the control of the intensity, colour, phase, polarisation or direction of light arriving from an independent light source, e.g. switching, gating or modulating; Non-linear optics for the control of the intensity, phase, polarisation or colour  based on liquid crystals, e.g. single liquid crystal display cells
    • G02F1/133Constructional arrangements; Operation of liquid crystal cells; Circuit arrangements
    • G02F1/1333Constructional arrangements; Manufacturing methods
    • G02F1/1335Structural association of cells with optical devices, e.g. polarisers or reflectors
    • G02F1/133528Polarisers
    • G02F1/133531Polarisers characterised by the arrangement of polariser or analyser axes
    • GPHYSICS
    • G02OPTICS
    • G02FOPTICAL DEVICES OR ARRANGEMENTS FOR THE CONTROL OF LIGHT BY MODIFICATION OF THE OPTICAL PROPERTIES OF THE MEDIA OF THE ELEMENTS INVOLVED THEREIN; NON-LINEAR OPTICS; FREQUENCY-CHANGING OF LIGHT; OPTICAL LOGIC ELEMENTS; OPTICAL ANALOGUE/DIGITAL CONVERTERS
    • G02F2201/00Constructional arrangements not provided for in groups G02F1/00 - G02F7/00
    • G02F2201/50Protective arrangements
    • GPHYSICS
    • G02OPTICS
    • G02FOPTICAL DEVICES OR ARRANGEMENTS FOR THE CONTROL OF LIGHT BY MODIFICATION OF THE OPTICAL PROPERTIES OF THE MEDIA OF THE ELEMENTS INVOLVED THEREIN; NON-LINEAR OPTICS; FREQUENCY-CHANGING OF LIGHT; OPTICAL LOGIC ELEMENTS; OPTICAL ANALOGUE/DIGITAL CONVERTERS
    • G02F2202/00Materials and properties
    • G02F2202/28Adhesive materials or arrangements
    • GPHYSICS
    • G02OPTICS
    • G02FOPTICAL DEVICES OR ARRANGEMENTS FOR THE CONTROL OF LIGHT BY MODIFICATION OF THE OPTICAL PROPERTIES OF THE MEDIA OF THE ELEMENTS INVOLVED THEREIN; NON-LINEAR OPTICS; FREQUENCY-CHANGING OF LIGHT; OPTICAL LOGIC ELEMENTS; OPTICAL ANALOGUE/DIGITAL CONVERTERS
    • G02F2203/00Function characteristic
    • G02F2203/60Temperature independent

Landscapes

  • Physics & Mathematics (AREA)
  • Nonlinear Science (AREA)
  • General Physics & Mathematics (AREA)
  • Optics & Photonics (AREA)
  • Chemical & Material Sciences (AREA)
  • Crystallography & Structural Chemistry (AREA)
  • Mathematical Physics (AREA)
  • Devices For Indicating Variable Information By Combining Individual Elements (AREA)
  • Engineering & Computer Science (AREA)
  • Theoretical Computer Science (AREA)
  • Liquid Crystal (AREA)
  • Polarising Elements (AREA)

Abstract

본 발명은 같은 소재로 정면과 측면이 연결된 표시장치에 관한 것으로, 이 표시장치는 표시패널; 상기 표시패널의 측면을 감싸는 케이스 부재; 및 상기 표시패널의 전면에 접착되고 상기 표시패널과 상기 케이스 부재를 연결하는 편광판을 포함한다. 상기 편광판은 상기 표시패널의 전면에 정의된 편광자, 상기 편광자와 접착되고 상기 표시패널의 전면과 상기 케이스 부재를 연결하는 기재 필름을 포함한다.

Description

네로우 베젤을 갖는 표시장치{LIQUID CRYSTAL DISPLAY HAVING A NARROW BEZEL}
본 발명은 같은 소재로 정면과 측면이 연결된 표시장치에 관한 것이다.
평판 표시장치에는 액정표시장치(Liquid Crystal Display Device: LCD), 플라즈마 디스플레이 패널(Plasma Display Panel: PDP), 유기발광 표시장치(Organic Light Emitting Display Device: OLED), 전기영동 표시장치(Electrophoretic Display Device: EPD) 등이 있다. 액정표시장치는 액정 분자에 인가되는 전계를 데이터 전압에 따라 제어하여 화상을 표시한다. 액티브 매트릭스 타입의 액정표시장치는 공정 기술과 구동 기술의 발달에 힘입어 가격이 낮아지고 성능이 높아져 소형 모바일 기기부터 대형 텔레비젼까지 거의 모든 표시장치에 적용되어 가장 널리 이용되고 있다.
평판 표시장치의 제조사들은 네로우 베젤(Narrow bezel)을 구현하기 위한 다양한 시도를 하고 있다. 네로우 베젤 기술은 표시패널의 가장자리에서 영상이 표시되지 않는 베젤(bezel)을 줄여 같은 크기의 표시패널에서 영상이 표시되는 유효 화면의 크기를 상대적으로 더 크게 할 수 있다. 일반적으로, 표시패널의 좌우 가장자리에 게이트 드라이브 IC(Integrated Circuit)가 배치되기 때문에 표시패널의 좌우측 베젤을 줄이기가 어렵다. 또한, 도 1과 같이 표시패널의 가장자리에는 표시패널을 감싸는 케이스 부재들이 설치되기 때문에 케이스 부재들로 인하여 표시패널의 좌우측 베젤을 줄이기가 어렵다.
도 1은 액정모듈의 가장자리 단면을 보여 주는 단면도이다.
도 1을 참조하면, 액정모듈은 표시패널(10)과 도시하지 않은 백라이트 유닛(Back Light Unit, BLU)을 하나의 모듈로 조립하기 위한 케이스 부재들(20, 21)을 포함한다. 표시패널(10)의 상판과 하판에는 편광판(11, 12)이 접착된다.
케이스 부재들(20, 21)은 표시패널(10)을 아래에서 지지하는 가이드 패널(Guide panel, 20), 도시하지 않은 보텀 커버(bottom cover), 탑 케이스(21) 등을 포함한다. 탑 케이스(21)는 표시패널(10)의 상면 가장자리, 가이드 패널(20), 및 보텀 커버(bottom cover)의 가장자리를 감싼다.
가이드 패널(20)은 플라스틱 사출물로 제작될 수 있다. 탑 케이스(21)와 보텀 커버(20)는 금속 소재로 제작될 수 있다. 액정모듈의 전면에는 도 2와 같이 편광판(11)이 노출되고 측면에는 탑 케이스(21)가 노출된다. 디자인 측면에서 볼 때, 도 2와 같이 액정모듈의 전면과 측면이 다른 재질로 분리되면 베젤 영역이 더 두드러져 보인다.
본 발명은 정면과 측면이 같은 소재로 연결되어 네로우 베젤을 구현한 표시장치를 제공한다.
본 발명의 표시장치는 표시패널; 상기 표시패널의 측면을 감싸는 케이스 부재; 및 상기 표시패널의 전면에 접착되고 상기 표시패널과 상기 케이스 부재를 연결하는 편광판을 포함한다.
상기 편광판은 상기 표시패널의 전면에 정의된 편광자, 상기 편광자와 접착되고 상기 표시패널의 전면과 상기 케이스 부재를 연결하는 기재 필름을 포함한다.
본 발명의 표시장치는 표시패널; 상기 표시패널의 측면을 감싸는 케이스 부재; 상기 표시패널의 전면에 접착되고 상기 표시패널과 상기 케이스 부재를 연결하는 제1 편광판; 및 상기 표시패널의 배면에 접착되는 제2 편광판을 포함한다. 상기 제1 편광판은 상기 표시패널의 전면에 정의된 편광자, 상기 편광자와 접착되고 상기 표시패널의 전면과 상기 케이스 부재를 연결하는 기재 필름을 포함한다. 상기 제1 편광판과 상기 제2 편광판 중 하나 이상의 편광판에서 기재 필름이 연신된다.
본 발명은 케이스 부재에서 베젤을 증가시키는 요소를 삭제하고 편광판으로 표시장치의 전면과 측면을 연결하되 편광자 없이 편광판의 기재 필름으로 표시장치의 정면과 측면을 연결한다. 그 결과, 본 발명의 표시장치는 네로우 베젤을 구현할 수 있음은 물론, 편광판의 손상과 빛샘을 방지할 수 있다.
도 1은 액정모듈의 일부를 보여 주는 단면도이다.
도 2는 정면과 측면이 다른 소재로 분리된 액정모듈을 보여 주는 사시도이다.
도 3은 표시장치의 정면과 측면을 편광판으로 연결한 예를 보여 주는 단면도이다.
도 4는 표시장치의 정면과 측면을 편광판으로 연결한 예를 보여 주는 사시도이다.
도 5 내지 도 7은 표시장치의 정면과 측면을 편광판으로 연결할 때 편광판의 손상을 보여 주는 단면도들이다.
도 8 및 도 9는 본 발명의 실시예에 따른 편광판을 보여 주는 단면도들이다.
도 10은 도 8에 도시된 편광판이 표시장치에 접착된 예를 보여 주는 단면도이다.
도 11은 도 9에 도시된 편광판이 표시장치에 접착된 예를 보여 주는 단면도이다.
도 12는 본 발명의 실시예에 따른 액정모듈을 보여 주는 단면도이다.
도 13은 본 발명의 실시예에 따른 편광판의 제조 방법을 보여 주는 사시도이다.
도 14는 본 발명의 편광판을 표시패널에 접착할 때 편광판과 표시패널을 정렬하고 편광판에서 액티브 영역의 이형 필름을 제거한 상태를 보여 주는 사시도이다.
도 15는 본 발명의 편광판 상에 터치 스크린이 접착되는 예를 보여 주는 도면이다.
도 16은 표시장치의 고온 신뢰성 테스트 시에 편광판으로 인한 표시패널의 변형을 보여 주는 사시도이다.
도 17 내지 도 19는 본 발명의 편광판에서 기재 필름의 연신 방향을 보여 주는 사시도이다.
이하 첨부된 도면을 참조하여 본 발명에 따른 바람직한 실시예들을 상세히 설명한다. 명세서 전체에 걸쳐서 동일한 참조번호들은 실질적으로 동일한 구성요소들을 의미한다. 이하의 설명에서, 본 발명과 관련된 공지 기능 혹은 구성에 대한 구체적인 설명이 본 발명의 요지를 불필요하게 흐릴 수 있다고 판단되는 경우, 그 상세한 설명을 생략한다.
본 발명의 표시장치는 편광판을 가지는 표시장치 예를 들면, 액정표시장치(LCD), 유기발광 표시장치(OLED) 등의 표시패널에서 정면과 측면을 편광판의 기재 필름으로 연결한다. 이하의 실시예에서, 액정표시장치를 예로 들어 설명하지만, 본 발명은 액정표시장치에 한정되지 않고 편광판을 가지는 모든 표시장치에 적용될 수 있다는 것에 주의하여야 한다.
본 발명의 표시장치는 도 8 내지 도 19와 같이 표시패널(100), 상기 표시패널(100)의 측면을 감싸는 케이스 부재, 상기 표시패널(200)의 전면에 접착되고 상기 표시패널(100)과 상기 케이스 부재를 연결하는 편광판(110)을 포함한다. 상기 편광판(110)은 상기 표시패널(100)의 전면에 정의된 편광자(111), 상기 편광자(111)와 접착되고 상기 표시패널(100)의 전면과 상기 케이스 부재를 연결하는 하나 이상의 기재 필름(112, 113)을 포함한다. 상기 케이스 부재는 실시예 설명에서 가이드 패널(200)을 포함한다.
상기 기재 필름(112, 113)은 상기 편광자(111) 보다 넓은 크기로 재단된다. 상기 기재 필름(112, 113)은 상기 편광자(111)의 일면 또는 양면을 감싸는 형태로 상기 편광자(111)에 접착된다. 상기 기재 필름(112, 113)은 상기 표시패널(100)의 양측 끝단으로부터 구부러져 상기 케이스 부재의 측면이나 저면에 접착되는 연장부(EA)를 포함한다.
상기 편광자(111)는 소정의 연신 방향(111a)을 가진다. 상기 기재 필름은 상기 편광자의 전면에 접착된 제1 기재 필름(112); 및 상기 편광자의 배면에 접착된 제2 기재 필름(113)을 포함한다. 상기 제1 및 제2 기재 필름들(112, 113) 중 하나 이상이 상기 연장부(EA)를 포함한다. 상기 연장부(EA)는 블랙 매트릭스(BM)를 포함한다.
상기 기재 필름(112, 113)은 연신된다. 상기 기재 필름(112, 113)의 연신 방향은 상기 표시패널(100)의 배면에 접착된 편광판(120)의 연신 방향과 같은 연신 방향을 갖는다.
이와 같은 본 발명의 특징에 대하여 후술하는 실시예들에서 상세히 설명하기로 한다.
도 3 및 도 4는 표시장치의 정면과 측면을 편광판으로 연결한 예를 보여 주는 도면들이다.
도 3 및 도 4를 참조하면, 표시장치는 표시패널(100)과, 표시패널(100)의 가장자리를 지지하는 가이드 패널(200)을 포함한다.
표시패널(100)은 액정층을 사이에 두고 합착된 상판과 하판을 포함한다. 상판과 하판 각각에는 편광판(13, 14)이 접착될 수 있다. 상판에 접착된 상부 편광판(13)은 가이드 패널(200)을 감싸는 형태로 연장된다. 가이드 배널(200)에서 상면은 편광판(13)이 접착되는 곡면(200a)이 형성된다. 이 표시장치에서 탑 케이스는 생략된다. 그 결과, 표시장치의 베젤을 줄일 수 있고 표시장치의 전면과 측면을 편광판(13)으로 부드럽게 연결할 수 있다.
편광판(13)은 탄성계수(modulus)가 크고 부러지기 쉬운(brittle) 특성 때문에 도 3 및 도 4와 같이 연장부가 가이드 패널(200)에 구부러져 접합될 때 손상되거나 심하면 파단될 수도 있다.
도 5는 편광판(13)의 연장부가 가이드 패널(200)에 구부러져 접합될 때 편광판(13)의 구부러진 부분이 파단(13a)되거나 크랙(crack)이 발생된 예를 보여 주는 도면이다. 편광판(13)이 파단(13a)되거나 크랙된 부분에서는 빛이 누설된다.
도 6 및 도 7은 편광판(13)의 연장부가 가이드 패널(200)에 구부러져 접합될 때 편광판(13)의 일부에서 들뜸(13b, 13c)이 발생된 예를 보여 주는 도면들이다. 편광판(13)은 탄성 계수가 크고 두껍기 때문에 구부러지는 부분에서 접착력이 떨어져 들뜸(13b, 13b)이 발생할 수 있다. 편광판(13)에서 들뜸(13a)이 발생하면 표시패널(100)과 가이드 패널(20) 및 편광판(13) 사이의 틈에서 들뜸이 확대되어 편광판(13)의 연장부가 가이드 패널(20)로부터 분리될 수 있다.
편광판(13, 14)은 특정 편광의 빛만을 투과시키고 그 이외의 빛을 차단한다. 편광판을 제작하는 방법은 편광자로 사용되는 필름을 연신(stretching)시켜 편광자의 고분자 사슬을 연신방향으로 배향시키고, 요오드(I2)와 이색성 염료가 혼합된 용액에 담구어 요오드 분자와 이색성 염료 분자를 연신 방향으로 나란하게 배열함으로서 연신된 편광자를 얻는다. 편광자는 PVA(Poly Vinyl Alcohol) 필름으로 제작될 수 있다. 요오드 분자와 염료 분자는 이색성을 가지기 때문에 편광판의 연신방향으로 진동하는 빛을 흡수하고, 수직방향(또는 광 투과축)으로 진동하는 빛을 투과하여 특정 편광의 빛을 투과시킨다. 액정표시장치에서 사용되는 상부 편광판(13)과 하부 편광판(14)은 일반적으로 연신 방향이 서로 직교하고 또한, 광 투과축이 서로 직교한다.
본 발명은 도 3 및 도 4와 같이 편광판을 연장하여 그 연장부를 구부려 표시장치의 측면에 접합할 때 편광판의 손상과 빛샘을 방지하기 위하여, 도 8 및 도 9와 같이 편광판의 구조를 변경한다.
도 8 및 도 9는 본 발명의 실시예에 따른 편광판을 보여 주는 단면도들이다.
도 8 및 도 9를 참조하면, 본 발명의 편광판은 편광자(111), 제1 및 제2 기재 필름(112, 113) 등을 포함한다.
편광자(111)는 액티브 영역(AA)의 크기에 맞게 재단된다. 액티브 영역은 표시패널(100)에서 영상이 표시되는 전면의 픽셀 어레이 영역이다. 따라서, 편광자(111)는 표시패널(100)의 전면에만 정의되어 있으므로 구부러지지 않는다. 편광자(111)로 사용되는 필름은 PVA 필름이 가능하지만 이에 한정되지 않는다. 편광자(111)는 접착제(Adhesive)(115, 116)로 제1 및 제2 기재 필름(112, 113) 사이에 접착된다. 제1 기재 필름(112)의 저면은 편광자(111)의 상면에 접착된다. 제2 기재 필름(113)의 상면은 편광자(111)의 저면에 접착된다. 기재 필름(112, 113)은 1 장 또는 2 장으로 구성될 수 있다. 두 장의 기재 필름(112, 113)이 도 8의 (a)와 같이 편광자(111)를 양면으로 감싸는 형태로 편광자(111)를 사이에 두고 접착되거나, 하나의 기재 필름(112)이 도 8의 (b)와 같이 편광자(111)의 일면에 접착될 수도 있다.
제1 및 제2 기재 필름(112, 113)은 액티브 영역(AA)에 좌우측 끝단으로부터 소정의 연장부(EA) 만큼 더 크게 재단되어 편광자(111)를 보호한다. 연장부(EA)의 폭은 기재 필름(112, 113)이 표시장치의 측면을 덮을 수 있는 폭이나, 표시장치의 측면과 저면 가장자리를 덮을 수 있는 폭으로 설정된다. 제1 및 제2 기재 필름(112, 113) 중 하나 이상은 액티브 영역(AA)의 좌우 양측 끝단 밖으로 연장된 연장부(EA)를 포함한다. 기재 필름(112, 113)의 양측 연장부(EA)는 표시장치의 측면이나 저면까지 연장되어 점착제(Pressure Sensitive Adhesive : PSA)(118)로 표시장치의 측면 또는 저면에 접착된다. 제1 및 제2 기재 필름(112, 113)으로는 TAC(Triacetyl Cellulose) 필름이나 아크릴 필름이 사용될 수 있으나 이에 한정되지 않는다. 예를 들어, 제1 및 제2 기재 필름(112, 113)은 투명한 광학 필름이면 적용 가능하고 일 예로, 셀룰로오스 에스테르 필름, 폴리에스테르 필름(폴리에틸렌테레프탈레이트 필름, 폴리에틸렌나프탈레이트 필름), 폴리카보네이트 필름, 폴리아릴레이트 필름, 폴리술폰(폴리에테르술폰 포함) 필름, 노르보르넨 수지 필름, 폴리올레핀 필름(폴리에틸렌 필름, 폴리프로필렌 필름), 셀로판, 셀룰로오스디아세테이트 필름, 셀룰로오스 아세테이트부틸레이트 필름, 폴리염화비닐리덴 필름, 폴리비닐알코올 필름, 에틸렌비닐알코올 필름, 폴리스티렌 필름, 폴리카르보네이트 필름, 시클로올레핀 중합체 필름, 폴리메틸펜텐 필름, 폴리에테르케톤 필름, 폴리에테르케톤이미드 필름, 폴리아미드계 필름, 불소 수지 필름, 나일론 필름, 폴리메틸메타크릴레이트 필름, 폴리아세테이트 필름, 폴리아크릴 필름 등이 기재 필름으로 사용될 수 있다.
제1 기재 필름(112)의 상면에는 점착제로 보호 필름(114)에 접착된다. 보호 필름(114)은 편광판(110)을 일시적으로 보호하는 필름으로서 사용자에 의해 제거될 수 있다. 제2 기재 필름(113)의 저면에는 점착제(118)가 도포되고, 그 점착제(118) 위에 이형 필름(119)이 접착된다. 이형 필름(119)은 점착제(118)가 오염되지 않도록 일시적으로 점착제(118)에 접착된다. 편광판(110)이 표시장치의 전면과 측면에 접착될 때 이형 필름(119)은 제거된다. 보호 필름(114)과 이형 필름(119)은 PET(Poly-ethylene terephthalate) 필름으로 제작될 수 있으나 이에 한정되지 않는다.
이형 필름(119)은 액티브 영역(AA)과 연장부(EA) 사이의 경계에서 레이저(Laser)로 하프 커팅(Half-cutting)된다. 하프 커팅 라인(119a)으로 인하여, 이형 필름(119)은 액티브 영역(AA)과 연장부(EA) 사이의 경계에서 분리될 수 있다. 편광판(110)을 표시패널(100)의 상판에 접착할 때 액티브 영역(AA)의 점착제(118)는 노출되지만 연장부(EA)의 점착제는 이형 필름(119)에 의해 덮여질 수 있다. 따라서, 편광판(110)을 표시패널(100)의 상판에 접착할 때 이형 필름(119)의 일부는 도 14와 같이 연장부(EA)의 점착제가 이물에 의해 오염되는 것을 방지할 수 있다.
편광판(110)의 연장부(EA)에는 블랙 매트릭스(BM)가 형성될 수 있 수 있다. 블랙 매트릭스(BM)는 편광판(110)이 도 10 및 도 11과 같이 표시장치의 정면과 측면을 연결할 때 측면에서 케이스 부재가 보이지 않도록 가리는 역할을 한다. 블랙 매트릭스(BM)는 흑색 안료가 첨가된 수지로 형성될 수 있으며 편광판(110)의 연장부(EA) 내에서 어떤 위치에도 형성될 수 있다. 예를 들어, 블랙 매트릭스(BM)는 도 8 및 도 9와 같이 기재 필름(112, 113)이나 접착제(115, 116), 혹은 점착제(118) 상에 형성될 수 있다.
본 발명의 편광판(110)은 도 10 및 도 12와 같이 표시장치의 상판에 접착되는 상부 편광판일 수 있다. 도 10은 도 8에 도시된 상부 편광판(110)이 표시장치에 접착된 예를 보여 주는 단면도이다. 도 11은 도 9에 도시된 상부 편광판(110)이 표시장치에 접착된 예를 보여 주는 단면도이다. 도 10 및 도 11은 표시장치의 상단 모서리 일부를 보여 주는 도면들이다.
도 10을 참조하면, 상부 편광판(110)의 제1 기재 필름(112)이 표시장치의 전면과 측면을 연결하여 표시장치의 측면 또는 저면에 점착제로 접착된다. 편광자(111)는 표시장치의 전면에만 정의되어 있고 표시장치의 측면 또는 저면까지 연장되지 않는다. 상부 편광판(110)에서 구부러지는 연장부(EA)는 편광자(111)와 제2 기재 필름(113)을 포함하고 있지 않으므로 그 두께가 대폭 작아진다. 따라서, 상부 편광판(110)의 연장부(EA)는 쉽게 구부러져 표시장치의 측면이나 저면에 파단, 크랙 또는 들뜸 없이 접착될 수 있다. 도 10 (a)는 도 8 (a)와 같은 구조의 상부 편광판(110)이 표시장치의 전면과 측면을 연결할 때 표시장치(110)의 일측 모서리 부분을 상세히 보여 주는 단면도이다. 도 10 (b)는 도 8 (b)와 같은 구조의 상부 편광판(110)이 표시장치의 전면과 측면을 연결할 때 표시장치(110)의 일측 모서리 부분을 상세히 보여 주는 단면도이다.
도 11을 참조하면, 상부 편광판(110)의 제1 및 제2 기재 필름(112, 113)이 표시장치의 전면과 측면을 연결하여 표시장치의 측면 또는 저면에 점착제로 접착된다. 편광자(111)는 표시장치의 전면에만 정의되어 있고 표시장치의 측면 또는 저면까지 연장되지 않는다. 상부 편광판(110)에서 구부러지는 연장부(EA)는 편광자(111)를 포함하고 있지 않으므로 그 두께가 대폭 작아진다. 따라서, 상부 편광판(110)의 연장부(EA)는 쉽게 구부러져 표시장치의 측면이나 저면에 파단, 크랙 또는 들뜸 없이 접착될 수 있다.
표시장치의 측면은 상단이 곡면 처리된 가이드 패널(200)로 이루어진다. 가이드 패널(200)의 바깥쪽 면에 상부 편광판(110)의 기재 필름(112, 113)이 접착된다. 가이드 패널(200)의 안쪽 면에는 표시패널(100)을 지지하기 위한 단턱부를 포함한다. 가이드 패널(200)의 단턱부와 표시패널(100) 사이에는 완충 패드(200a)가 형성될 수 있다. 완충 패드(200a)는 실리콘 패드로 제작될 수 있다.
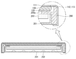
도 10 및 도 11과 같은 표시장치의 전면과 측면을 편광판으로 연결하는 방법은 액정표시장치에 적용될 수 있다. 도 12는 본 발명의 실시예에 따른 액정표시장치의 액정모듈을 보여 주는 단면도이다.
도 12를 참조하면, 액정모듈은 표시패널(100)과, 표시패널(100)에 빛을 조사하는 백라이트 유닛과, 표시패널(100)과 백라이트 유닛을 일체로 조립하기 위한 케이스 부재들을 포함한다.
표시패널(100)은 TN(Twisted Nematic) 모드, VA(Vertical Alignment) 모드, IPS(In Plane Switching) 모드, FFS(Fringe Field Switching) 등 알려져 있는 어떠한 구조의 액정모드로도 구현될 수 있다. 백라이트 유닛은 직하형(direct type)과 에지형(edge type)으로 대별된다. 에지형 백라이트 유닛은 도광판의 측면에 대향되도록 광원이 배치되고 액정표시패널과 도광판 사이에 다수의 광학시트들이 배치되는 구조를 갖는다. 에지형 백라이트 유닛은 광원이 도광판의 일측에 빛을 조사하고 도광판이 선광원 또는 점광원을 면광원으로 변환한다. 직하형 백라이트 유닛은 액정표시패널의 아래에 다수의 광원들이 배치되는 구조를 갖는다. 직하형 백라이트 유닛의 경우에 LED(Light Emintting Diode)와 같은 광원들(202)을 수용한 보텀 커버(201), 보텀 커버(201) 위에 배치된 확산판(203), 환산판(203)과 표시패널(100) 사이에 배치된 다수의 광학 시트들을 포함한다. 광학 시트들(14)은 1 매 이상의 프리즘 시트와 1 매 이상의 확산시트를 포함하여 확산판으로부터 입사되는 빛을 확산하고 표시패널(100)의 광입사면에 대하여 실질적으로 수직인 각도로 빛의 진행경로를 굴절시킨다.
케이스 부재들은 표시패널(100)을 지지하는 가이드 패널(200), 및 백라이트 유닛을 지지하는 보텀 커버(201)를 포함한다. 본 발명의 액정 모듈에서 베젤을 줄이기 위하여 탑 케이스는 생략된다.
유기발광 표시장치(OLED)는 자발광 소자이기 때문에 도 12에서 백라이트 유닛이 필요 없다.
도 13은 본 발명의 실시예에 따른 편광판의 제조 방법을 보여 주는 사시도이다.
도 13을 참조하면, 편광자(111)용 필름의 폭은 액티브 영역(AA)에 맞게 설정된다. 편광자(111)용 필름에서 화살표는 연신 방향을 나타낸다. 기재 필름(112, 113)은 편광자(111)에 비하여 연장부(EA) 만큼 더 넓은 폭으로 편광자(111)의 상면과 저면에 접착된다. 기재 필름(112, 113)은 편광자(111)의 좌우측 끝단 각각으로부터 연장부(EA)의 폭만큼 더 넓다. 기재 필름(112, 113)의 폭은 편광자(111)의 폭 + 2EA 만큼 크다.
도 14는 본 발명의 편광판을 표시패널에 접착할 때 편광판과 표시패널을 정렬하고 편광판에서 액티브 영역의 이형 필름을 제거한 상태를 보여 주는 사시도이다.
본 발명의 표시장치는 터치 스크린을 포함할 수 있다. 터치 스크린의 센서는 표시장치의 픽셀 어레이 내에 내장되거나 표시장치 상에 접합될 수 있다. 도 15와 같이 터치 스크린(300)이 표시패널(100) 상에 접착될 때 터치 스크린(300)을 구성하는 적어도 하나의 필름은 편광판(110)과 마찬가지로 연장부(EA)를 포함한다. 편광판(110)과 터치 스크린(300)의 연장부(EA)는 일부분이 구부러져 표시장치의 전면과 측면을 연결하고 표시장치의 측면이나 저면에 접착된다.
표시패널(100)에 편광판(110, 120)을 접착한 후에 표시패널(100)을 고온 챔버에 투입하여 고온 신뢰성 테스트를 실시하면, 도 16과 같이 편광판(110, 120)으로 인하여 표시패널이 변형되는 경향이 있다. 이는 표시패널(100)에 접착된 편광판(110, 120)이 고온에서 연신 방향으로 수축되기 때문이다. IPS 모드의 경우에, 상부 편광판(110)의 연신 방향 즉, 편광자(111)의 연신 방향은 표시패널(100)의 가로 방향(x)이고, 하부 편광판(120)의 연신 방향은 표시패널(100)의 세로 방향(y)이다. 따라서, 고온 신뢰성 테스트 후에 표시패널(100)을 전면에서 바라 보면 표시패널(100)이 가로 방향을 따라 앞으로 구부러지고 세로 방향을 따라 뒤로 구부러져 마치 말 안장과 같은 형태로 변형될 수 있다.
이러한 표시패널(100)의 변형을 방지하기 위하여, 본 발명은 도 17 내지 도 19와 같이 편광판(110, 120)의 기재 필름을 연신하여 고온 신뢰성 테스트 후에 표시패널(100)의 변형을 억제하고 빛 샘을 방지한다. 표시패널(100)의 일면에 접착된 편광판이 수축하는 힘이 표시패널의 타면에 형성된 기재 필름이 수축하는 힘에 의해 상쇄되기 때문이다.
도 17 및 도 18은 표시장치의 전면과 측면을 연결하는 기재 필름의 연신을 보여 주는 사시도들이다.
도 17 및 도 18을 참조하면, IPS 모드 또는 FFS 모드의 표시패널에서, 상부 편광판(110)의 기재 필름(112)은 하부 편광판(120)의 편광자 연신 방향(120a)과 같은 방향(112a)으로 연신된다. 따라서, 상부 편광판(110)의 기재 필름(112)은 연신 방향(112a)을 가지며 고온 신뢰성 테스트에서 하부 편광판(120)이 수축되는 힘을 자신의 연신 방향 수축으로 상쇄한다. 한편, 상부 편광판(110)의 편광자 연신 방향(111a)은 하부 편광판(120)의 편광자 연신 방향(120a)과 직교된다.
도 17 내지 도 19는 본 발명의 편광판(110, 120)에서 기재 필름의 연신 방향을 보여 주는 사시도들이다.
도 17 및 도 18을 참조하면, IPS 모드 또는 FFS 모드의 표시패널에서, 상부 편광판(110)의 기재 필름(112)은 하부 편광판(120)의 편광자 연신 방향(120a)과 같은 방향(112a)으로 연신된다. 따라서, 상부 편광판(110)의 기재 필름(112)은 연신 방향(112a)을 가진다. 고온 신뢰성 테스트에서 상부 편광판(110)의 기재 필름(112)에 연신 방향을 따라 작용하는 힘은 하부 편광판(120)이 수축되는 힘을 상쇄한다. 한편, 상부 편광판(110)의 편광자 연신 방향(111a)은 하부 편광판(120)의 편광자 연신 방향(120a)과 직교된다.
도 19를 참조하면, 하부 편광판(120)은 백라이트 유닛을 감싸고 커버 보텀에 접착되도록 연장된 기재 필름(122)을 포함한다. 기재 필름(122)은 도 12에서 백라이트 유닛을 구성하는 보텀 커버(201)의 측면과 저면을 감싸 보텀 커버(201)의 저면에 접착된다. 하부 편광판(120)의 기재 필름(122)은 고온 신뢰성 테스트에 의해 표시패널(100)이 변형되는 것을 방지하기 위하여 연신된다. 기재 필름(122)의 연신 방향(122a)은 상부 편광판(110)의 편광자 연신 방향(111a)과 같다. 따라서, 고온 신뢰성 테스트에서 하부 편광판(120)의 기재 필름 연신 방향(122a)에 연신 방향을 따라 작용하는 힘은 상부 편광판(110)이 수축되는 힘을 상쇄한다. 한편, 상부 편광판(110)의 편광자 연신 방향(111a)은 도 17 및 도 18과 같이 하부 편광판(120)의 편광자 연신 방향(120a)과 직교된다.
이상 설명한 내용을 통해 당업자라면 본 발명의 기술사상을 일탈하지 아니하는 범위에서 다양한 변경 및 수정이 가능함을 알 수 있을 것이다. 따라서, 본 발명의 기술적 범위는 명세서의 상세한 설명에 기재된 내용으로 한정되는 것이 아니라 특허 청구의 범위에 의해 정하여져야만 할 것이다.
100 : 표시패널 110, 120 : 편광판
200 : 가이드 패널 111 : 편광자
112, 113 : 기재 필름 AA : 편광판의 액티브 영역
EA : 편광판의 연장부

Claims (9)

  1. 표시패널;
    상기 표시패널의 측면을 감싸는 케이스 부재; 및
    상기 표시패널의 전면에 접착되고 상기 표시패널과 상기 케이스 부재를 연결하는 편광판을 포함하고,
    상기 편광판은, 상기 표시패널의 전면에 정의된 편광자, 상기 편광자와 접착되고 상기 표시패널의 전면과 상기 케이스 부재를 연결하는 기재 필름을 포함하고,
    상기 기재 필름은 상기 표시패널의 배면에 접착된 제2 편광판의 연신 방향과 같은 방향으로 연신되는 것을 특징으로 하는 표시장치.
  2. 제 1 항에 있어서,
    상기 기재 필름은,
    상기 편광자 보다 넓은 크기로 재단되고,
    상기 편광자의 일면 또는 양면을 감싸는 형태로 상기 편광자에 접착되며,
    상기 기재 필름은 상기 표시패널의 양측 끝단으로부터 구부러져 상기 케이스 부재의 측면이나 저면에 접착되는 연장부를 포함하는 것을 특징으로 하는 표시장치.
  3. 제 2 항에 있어서,
    상기 편광자는 소정의 연신 방향을 가지며,
    상기 기재 필름은,
    상기 편광자의 전면에 접착된 제1 기재 필름; 및
    상기 편광자의 배면에 접착된 제2 기재 필름을 포함하고,
    상기 제1 및 제2 기재 필름들 중 하나 이상이 상기 연장부를 포함하는 것을 특징으로 하는 표시장치.
  4. 제 2 항 또는 제 3 항에 있어서,
    상기 연장부는 블랙 매트릭스를 포함하는 것을 특징으로 하는 표시장치.
  5. 삭제
  6. 삭제
  7. 표시패널;
    상기 표시패널의 측면을 감싸는 케이스 부재;
    상기 표시패널의 전면에 접착되고 상기 표시패널과 상기 케이스 부재를 연결하는 제1 편광판; 및
    상기 표시패널의 배면에 접착되는 제2 편광판을 포함하고,
    상기 제1 편광판은, 상기 표시패널의 전면에 정의된 편광자, 상기 편광자와 접착되고 상기 표시패널의 전면과 상기 케이스 부재를 연결하는 기재 필름을 포함하고,
    상기 제1 편광판과 상기 제2 편광판 중 하나 이상의 편광판에서 기재 필름이 연신되고,
    상기 제1 편광판의 기재 필름은 상기 제2 편광판의 편광자 연신 방향과 같은 연신 방향을 갖는 것을 특징으로 하는 표시장치.
  8. 삭제
  9. 제 7 항에 있어서,
    상기 제2 편광판의 기재 필름은 상기 제1 편광판의 편광자 연신 방향과 같은 연신 방향을 갖는 것을 특징으로 하는 표시장치.
KR1020130091067A 2013-07-31 2013-07-31 네로우 베젤을 갖는 표시장치 Active KR102076615B1 (ko)

Priority Applications (4)

Application Number Priority Date Filing Date Title
KR1020130091067A KR102076615B1 (ko) 2013-07-31 2013-07-31 네로우 베젤을 갖는 표시장치
EP14176683.2A EP2833197B1 (en) 2013-07-31 2014-07-11 Display device
US14/444,703 US9557589B2 (en) 2013-07-31 2014-07-28 Display device
CN201410369644.8A CN104345492B (zh) 2013-07-31 2014-07-30 显示设备

Applications Claiming Priority (1)

Application Number Priority Date Filing Date Title
KR1020130091067A KR102076615B1 (ko) 2013-07-31 2013-07-31 네로우 베젤을 갖는 표시장치

Publications (2)

Publication Number Publication Date
KR20150015243A KR20150015243A (ko) 2015-02-10
KR102076615B1 true KR102076615B1 (ko) 2020-02-12

Family

ID=51301116

Family Applications (1)

Application Number Title Priority Date Filing Date
KR1020130091067A Active KR102076615B1 (ko) 2013-07-31 2013-07-31 네로우 베젤을 갖는 표시장치

Country Status (4)

Country Link
US (1) US9557589B2 (ko)
EP (1) EP2833197B1 (ko)
KR (1) KR102076615B1 (ko)
CN (1) CN104345492B (ko)

Families Citing this family (35)

* Cited by examiner, † Cited by third party
Publication number Priority date Publication date Assignee Title
KR102096554B1 (ko) * 2013-02-28 2020-04-02 엘지디스플레이 주식회사 디스플레이 장치
KR102353621B1 (ko) * 2015-01-27 2022-01-20 삼성디스플레이 주식회사 편광판 및 이를 포함하는 표시장치
JP2016139006A (ja) * 2015-01-27 2016-08-04 富士フイルム株式会社 偏光板、表示素子の前面板、表示装置、タッチパネルの基板、抵抗膜式タッチパネルおよび静電容量式タッチパネル
CN104865720B (zh) * 2015-04-20 2019-06-28 Oppo广东移动通信有限公司 显示屏、显示屏组件及终端
CN114911090A (zh) 2015-06-09 2022-08-16 小米科技有限责任公司 液晶显示屏模组和移动设备
CN104965332B (zh) * 2015-07-14 2019-03-12 武汉华星光电技术有限公司 显示模组及显示装置
KR102348956B1 (ko) * 2015-07-31 2022-01-10 엘지디스플레이 주식회사 플렉서블 표시패널을 이용한 멀티비젼 표시장치
CN106383414A (zh) * 2015-08-06 2017-02-08 扬升照明股份有限公司 显示装置
WO2017126883A1 (ko) 2016-01-19 2017-07-27 삼성에스디아이 주식회사 편광판 및 이를 포함하는 광학 표시 장치
US10191577B2 (en) * 2016-02-16 2019-01-29 Samsung Electronics Co., Ltd. Electronic device
JP6826376B2 (ja) 2016-04-28 2021-02-03 エルジー ディスプレイ カンパニー リミテッド 電気光学パネル
KR102515715B1 (ko) 2016-06-10 2023-03-30 엘지전자 주식회사 디스플레이 장치
EP3264147B1 (en) * 2016-06-30 2024-05-08 LG Display Co., Ltd. Method of fabricating a polarizer
KR102720611B1 (ko) 2016-10-24 2024-10-24 삼성디스플레이 주식회사 디스플레이 장치
KR102744865B1 (ko) * 2016-12-01 2024-12-23 삼성디스플레이 주식회사 표시 장치 및 표시 장치 제조 방법
KR102112864B1 (ko) 2016-12-21 2020-05-19 삼성에스디아이 주식회사 편광판 및 이를 포함하는 광학 표시 장치
CN107015397B (zh) * 2017-03-24 2020-08-11 惠科股份有限公司 显示面板及显示装置
JP6926199B2 (ja) * 2017-04-13 2021-08-25 日東電工株式会社 偏光板、画像表示装置および該画像表示装置の製造方法
TWI646376B (zh) * 2017-06-13 2019-01-01 友達光電股份有限公司 顯示裝置
KR102577059B1 (ko) * 2017-07-07 2023-09-11 엘지디스플레이 주식회사 편광판 및 이를 구비하는 유기 발광 표시 장치
KR102301279B1 (ko) 2017-07-18 2021-09-13 삼성에스디아이 주식회사 편광판 및 이를 포함하는 광학표시장치
CN109270618B (zh) * 2017-07-18 2021-05-18 三星Sdi株式会社 偏光板以及包括偏光板的光学显示器
KR102063206B1 (ko) * 2017-09-14 2020-01-07 삼성에스디아이 주식회사 편광판 및 이를 포함하는 광학표시장치
CN107918219A (zh) * 2017-11-14 2018-04-17 武汉华星光电技术有限公司 一种显示模组及显示装置
KR102126054B1 (ko) 2017-12-21 2020-06-23 삼성에스디아이 주식회사 편광판 및 이를 포함하는 광학표시장치
KR102112869B1 (ko) 2017-12-21 2020-05-19 삼성에스디아이 주식회사 광학표시장치
KR102112870B1 (ko) * 2017-12-21 2020-05-19 삼성에스디아이 주식회사 광학표시장치
KR102126057B1 (ko) 2017-12-28 2020-06-23 삼성에스디아이 주식회사 편광판 및 이를 포함하는 광학표시장치
CN109547589A (zh) * 2018-09-25 2019-03-29 维沃移动通信有限公司 一种显示屏及终端设备
EP3757670B1 (en) * 2019-06-25 2025-09-24 Panasonic Intellectual Property Management Co., Ltd. Film-wrapped display
CN113888995B (zh) * 2020-07-03 2023-08-29 深圳市万普拉斯科技有限公司 防偏振漏光的显示装置和电子设备
CN115885508B (zh) 2020-08-28 2025-04-04 谷歌有限责任公司 用于减轻后盖开口区中的暗点可见性的oled显示模块结构
US20220155634A1 (en) * 2020-11-19 2022-05-19 Dell Products, Lp System and method to secure a narrow borderless display panel without cover glass
KR102824666B1 (ko) * 2020-12-29 2025-06-23 엘지디스플레이 주식회사 표시 장치
KR102888574B1 (ko) * 2021-12-14 2025-11-19 엘지디스플레이 주식회사 표시장치

Family Cites Families (12)

* Cited by examiner, † Cited by third party
Publication number Priority date Publication date Assignee Title
US6840635B2 (en) * 2001-05-14 2005-01-11 Nitto Denko Corporation Polarizer and method of producing the same
JP4759317B2 (ja) * 2005-05-26 2011-08-31 富士フイルム株式会社 偏光板及びこれを用いた液晶表示装置
JP5104955B2 (ja) * 2008-09-10 2012-12-19 コニカミノルタアドバンストレイヤー株式会社 液晶表示装置
KR101529556B1 (ko) * 2008-12-26 2015-06-17 엘지디스플레이 주식회사 방열이 용이한 액정표시소자
KR101730499B1 (ko) * 2010-11-25 2017-04-27 삼성디스플레이 주식회사 액정 표시 장치 및 그 제조방법
KR20120076071A (ko) 2010-12-29 2012-07-09 삼성모바일디스플레이주식회사 액정 표시 장치
KR101776189B1 (ko) * 2011-03-18 2017-09-08 삼성디스플레이 주식회사 평판 표시 장치 및 그 제조방법
CN102122095A (zh) 2011-03-22 2011-07-13 友达光电股份有限公司 一种液晶显示装置
CN102393579A (zh) 2011-11-29 2012-03-28 友达光电股份有限公司 一种液晶显示装置
TWI451170B (zh) 2012-04-10 2014-09-01 Au Optronics Corp 邊框窄化顯示裝置及其製造方法
US20140133174A1 (en) * 2012-11-09 2014-05-15 Apple Inc. Displays and Display Chassis Structures
KR102033623B1 (ko) * 2013-03-15 2019-10-17 엘지디스플레이 주식회사 디스플레이 장치

Also Published As

Publication number Publication date
CN104345492A (zh) 2015-02-11
EP2833197B1 (en) 2018-09-05
CN104345492B (zh) 2017-07-04
US9557589B2 (en) 2017-01-31
EP2833197A1 (en) 2015-02-04
US20150036074A1 (en) 2015-02-05
KR20150015243A (ko) 2015-02-10

Similar Documents

Publication Publication Date Title
KR102076615B1 (ko) 네로우 베젤을 갖는 표시장치
KR102272216B1 (ko) 타일드 표시 장치
TWI588547B (zh) 偏光片、顯示模組、觸控式顯示裝置及其製造方法
JP5254857B2 (ja) 液晶表示装置
US9304344B2 (en) Display device
CN101520562B (zh) 液晶显示装置
US10101605B2 (en) Display device and manufacturing method of the same
CN101718918B (zh) 液晶显示装置
CN103676271A (zh) 显示装置以及罩部件
TWI408445B (zh) 觸控顯示裝置及其防護鏡片與組裝方法
US9146343B2 (en) Display device, multi-display system and method for manufacturing display device
KR20110094395A (ko) 표시장치
JP2010224081A (ja) 表示装置
CN110646964A (zh) 液晶显示装置
KR20150025975A (ko) 액정 디스플레이 장치
KR20180047552A (ko) 액정표시장치
JP2024057027A (ja) 表示装置
KR102376312B1 (ko) 액정표시장치
KR102192474B1 (ko) 액정 표시 장치
KR102229390B1 (ko) 액정 표시 패널 및 그를 가지는 액정 표시 장치
KR101461366B1 (ko) 액정표시장치
KR20190035156A (ko) 광학 필름 및 액정 디스플레이
KR101820285B1 (ko) 액정 표시 패널 및 이를 포함하는 액정 표시 장치
KR102429117B1 (ko) 백라이트유니트 및 표시장치
KR20180049372A (ko) 액정표시장치

Legal Events

Date Code Title Description
PA0109 Patent application

Patent event code: PA01091R01D

Comment text: Patent Application

Patent event date: 20130731

PG1501 Laying open of application
A201 Request for examination
PA0201 Request for examination

Patent event code: PA02012R01D

Patent event date: 20180626

Comment text: Request for Examination of Application

Patent event code: PA02011R01I

Patent event date: 20130731

Comment text: Patent Application

E902 Notification of reason for refusal
PE0902 Notice of grounds for rejection

Comment text: Notification of reason for refusal

Patent event date: 20190719

Patent event code: PE09021S01D

E701 Decision to grant or registration of patent right
PE0701 Decision of registration

Patent event code: PE07011S01D

Comment text: Decision to Grant Registration

Patent event date: 20200110

GRNT Written decision to grant
PR0701 Registration of establishment

Comment text: Registration of Establishment

Patent event date: 20200206

Patent event code: PR07011E01D

PR1002 Payment of registration fee

Payment date: 20200207

End annual number: 3

Start annual number: 1

PG1601 Publication of registration
PR1001 Payment of annual fee

Payment date: 20230116

Start annual number: 4

End annual number: 4

PR1001 Payment of annual fee

Payment date: 20240115

Start annual number: 5

End annual number: 5

PR1001 Payment of annual fee

Payment date: 20250115

Start annual number: 6

End annual number: 6