[go: up one dir, main page]

KR102034676B1 - Air cleaning apparatus - Google Patents

Air cleaning apparatus Download PDF

Info

Publication number
KR102034676B1
KR102034676B1 KR1020190051056A KR20190051056A KR102034676B1 KR 102034676 B1 KR102034676 B1 KR 102034676B1 KR 1020190051056 A KR1020190051056 A KR 1020190051056A KR 20190051056 A KR20190051056 A KR 20190051056A KR 102034676 B1 KR102034676 B1 KR 102034676B1
Authority
KR
South Korea
Prior art keywords
air
discharge
guide
fan
flow
Prior art date
Legal status (The legal status is an assumption and is not a legal conclusion. Google has not performed a legal analysis and makes no representation as to the accuracy of the status listed.)
Active
Application number
KR1020190051056A
Other languages
Korean (ko)
Other versions
KR20190049674A (en
Inventor
박재균
문영철
배수현
정순기
하현필
Original Assignee
엘지전자 주식회사
Priority date (The priority date is an assumption and is not a legal conclusion. Google has not performed a legal analysis and makes no representation as to the accuracy of the date listed.)
Filing date
Publication date
Application filed by 엘지전자 주식회사 filed Critical 엘지전자 주식회사
Priority to KR1020190051056A priority Critical patent/KR102034676B1/en
Publication of KR20190049674A publication Critical patent/KR20190049674A/en
Application granted granted Critical
Publication of KR102034676B1 publication Critical patent/KR102034676B1/en
Active legal-status Critical Current
Anticipated expiration legal-status Critical

Links

Images

Classifications

    • FMECHANICAL ENGINEERING; LIGHTING; HEATING; WEAPONS; BLASTING
    • F24HEATING; RANGES; VENTILATING
    • F24FAIR-CONDITIONING; AIR-HUMIDIFICATION; VENTILATION; USE OF AIR CURRENTS FOR SCREENING
    • F24F8/00Treatment, e.g. purification, of air supplied to human living or working spaces otherwise than by heating, cooling, humidifying or drying
    • F24F8/10Treatment, e.g. purification, of air supplied to human living or working spaces otherwise than by heating, cooling, humidifying or drying by separation, e.g. by filtering
    • F24F3/1603
    • BPERFORMING OPERATIONS; TRANSPORTING
    • B01PHYSICAL OR CHEMICAL PROCESSES OR APPARATUS IN GENERAL
    • B01DSEPARATION
    • B01D46/00Filters or filtering processes specially modified for separating dispersed particles from gases or vapours
    • B01D46/0039Filters or filtering processes specially modified for separating dispersed particles from gases or vapours with flow guiding by feed or discharge devices
    • BPERFORMING OPERATIONS; TRANSPORTING
    • B01PHYSICAL OR CHEMICAL PROCESSES OR APPARATUS IN GENERAL
    • B01DSEPARATION
    • B01D46/00Filters or filtering processes specially modified for separating dispersed particles from gases or vapours
    • B01D46/42Auxiliary equipment or operation thereof
    • FMECHANICAL ENGINEERING; LIGHTING; HEATING; WEAPONS; BLASTING
    • F24HEATING; RANGES; VENTILATING
    • F24FAIR-CONDITIONING; AIR-HUMIDIFICATION; VENTILATION; USE OF AIR CURRENTS FOR SCREENING
    • F24F11/00Control or safety arrangements
    • F24F11/50Control or safety arrangements characterised by user interfaces or communication
    • F24F11/52Indication arrangements, e.g. displays
    • FMECHANICAL ENGINEERING; LIGHTING; HEATING; WEAPONS; BLASTING
    • F24HEATING; RANGES; VENTILATING
    • F24FAIR-CONDITIONING; AIR-HUMIDIFICATION; VENTILATION; USE OF AIR CURRENTS FOR SCREENING
    • F24F13/00Details common to, or for air-conditioning, air-humidification, ventilation or use of air currents for screening
    • F24F13/08Air-flow control members, e.g. louvres, grilles, flaps or guide plates

Landscapes

  • Engineering & Computer Science (AREA)
  • Chemical & Material Sciences (AREA)
  • Combustion & Propulsion (AREA)
  • Mechanical Engineering (AREA)
  • General Engineering & Computer Science (AREA)
  • Chemical Kinetics & Catalysis (AREA)
  • Human Computer Interaction (AREA)
  • Filtering Of Dispersed Particles In Gases (AREA)

Abstract

본 발명은 공기 청정기에 관한 것이다.
본 발명의 실시예에 따른 공기 청정기에는, 공기 유동을 발생시키는 메인 팬; 상기 메인 팬의 출구측에 형성되는 토출부; 및 상기 메인 팬의 출구측에 배치되며, 상기 토출부를 향하는 공기유로를 형성하는 에어가이드 장치가 포함된다.
The present invention relates to an air purifier.
Air purifier according to an embodiment of the present invention, the main fan for generating an air flow; A discharge part formed at an outlet side of the main fan; And an air guide device disposed at an outlet side of the main fan and forming an air passage toward the discharge unit.

Description

공기 청정기 {Air cleaning apparatus}Air Cleaner {Air cleaning apparatus}

본 발명은 공기 청정기에 관한 것이다. The present invention relates to an air purifier.

공기 청정기는 오염된 공기를 흡입하여 정화한 후, 정화된 공기를 배출시키는 장치로서 이해된다. 일례로, 공기 청정기에는, 외부의 공기를 공기 청정기의 내부로 유입시키기 위한 송풍장치 및 공기 중 먼지나 세균등을 필터링 할 수 있는 필터가 포함될 수 있다.An air purifier is understood as a device for inhaling and purifying contaminated air and then discharging the purified air. For example, the air purifier may include a blower for introducing external air into the air cleaner and a filter capable of filtering dust or bacteria in the air.

일반적으로, 공기 청정기는 가정이나 사무실과 같은 실내공간을 정화하도록 구성된다. 종래의 공기 청정기에 의하면, 그 용량이 제한되어 실내공간 전체의 공기를 정화시키는 것이 제한되는 문제점이 있었다. 따라서, 상기 공기 청정기의 주변의 공기는 정화될 수 있는 반면, 상기 공기 청정기로부터 멀리 떨어진 공간의 공기는 정화되는 것이 어려운 문제점이 있었다.Generally, air purifiers are configured to purify indoor spaces such as homes or offices. According to the conventional air purifier, there is a problem that the capacity thereof is limited and the purification of the air of the entire indoor space is limited. Therefore, while the air around the air cleaner can be purified, air in a space far from the air cleaner is difficult to be purified.

이를 해결하기 위하여, 공기 청정기에 구비되는 팬의 성능을 개선시키는 노력이 있어 왔으나, 팬의 송풍량이 커질수록 팬으로부터 발생되는 소음이 커져 제품에 대한 신뢰성이 저하되는 문제점이 있었다.In order to solve this problem, efforts have been made to improve the performance of the fan provided in the air purifier, but as the air blowing amount of the fan increases, the noise generated from the fan increases, thereby reducing the reliability of the product.

결국, 공기 청정기의 제한된 용량에 의하여, 사용자는 공기 청정기를 이동시켜 가면서, 원하는 공간의 공기를 정화시켜야 하는 불편함이 있었다.As a result, due to the limited capacity of the air purifier, there is an inconvenience in that the user needs to purify the air in a desired space while moving the air purifier.

종래의 공기청정기와 관련하여, 본 출원인은 아래와 같은 선행문헌을 개시한 바 있다.In relation to the conventional air purifier, the applicant has disclosed the following prior documents.

1. 공개번호 (공개일자) : KR10-2012-0071992 (2012년 7월 3일)1.Publication number (published date): KR10-2012-0071992 (July 3, 2012)

2. 발명의 명칭 : 공기청정기2. Name of invention: Air purifier

상기 선행문헌에 의하면, 공기 청정기의 본체는 대략 직육면체 형상의 케이스 내부에, 팬과 필터와 같은 공기청정 부품이 설치된다. 그리고, 공기 흡입구는 공기청정기의 본체의 측방부 및 하부에 형성되고, 공기 토출구는 본체의 상부에 형성된다. According to the above prior document, the main body of the air purifier is provided with an air cleaning component such as a fan and a filter in a case of a substantially rectangular parallelepiped shape. And, the air intake port is formed in the side and the bottom of the main body of the air cleaner, the air discharge port is formed in the upper portion of the main body.

이러한 구성에 의하면, 공기청정기를 기준으로, 제한된 방향, 즉 측방 및 하방으로부터 오염된 공기가 흡입되므로, 흡입용량이 적어지게 되는 문제점이 있었다. 그리고, 직육면체 형상을 가지는 케이스의 모서리부는 공기의 흡입을 방해하는 구조적인 저항으로서 작용하게 된다.According to this configuration, since the air contaminated from the limited direction, that is, the side and the bottom is sucked based on the air cleaner, there is a problem that the suction capacity is reduced. And, the corner portion of the case having a rectangular parallelepiped shape acts as a structural resistance that prevents intake of air.

또한, 상기 공기 청정기의 내부에서 정화된 공기는 일방향, 즉 상방으로만 토출됨으로써, 공기 청정기 주변의 공기는 정화될 수 있는 반면, 상기 공기 청정기로부터 멀리 떨어진 공간까지는 상기 정화된 공기를 유동시키지 못하여, 공기청정 기능이 제한되는 문제점이 있었다.In addition, the purified air in the interior of the air purifier is discharged only in one direction, that is, upward, so that the air around the air cleaner can be purified, while the purified air does not flow to the space far from the air cleaner, There was a problem that the air cleaning function is limited.

또한, 상기 공기 청정기의 본체의 내부에는 하나의 송풍팬만이 제공됨으로써, 송풍용량이 제한되는 문제점이 있었다.In addition, since only one blowing fan is provided inside the main body of the air cleaner, there is a problem that the blowing capacity is limited.

본 실시예는, 상기한 문제점을 해결하기 위하여, 공기 청정기로 흡입되는 공기의 흡입용량을 개선할 수 있는 공기 청정기를 제공하는 것을 목적으로 한다.The present embodiment, in order to solve the above problems, an object of the present invention is to provide an air cleaner that can improve the suction capacity of the air sucked into the air cleaner.

특히, 공기 청정기의 원주방향으로부터 공기 청정기의 내부로 향하는 흡입유로와, 공기 청정기의 상부 및 하부를 통하여 유입되는 흡입유로가 포함되어, 내실자가 앉아있거나 서 있더라도 그 주변의 공기를 충분히 흡입할 수 있는 공기 청정기를 제공하는 것을 목적으로 한다. In particular, it includes a suction flow passage flowing from the circumferential direction of the air cleaner to the inside of the air cleaner and a suction flow passage flowing through the upper and lower parts of the air cleaner, so that the air around the inside of the air purifier can be sufficiently sucked even if the in-room is sitting or standing. An object of the present invention is to provide an air cleaner.

또한, 본 실시예는, 공기 청정기로부터 토출되는 공기가 다양한 방향으로 토출되고, 먼 거리까지 도달할 수 있도록 하는 공기 청정기를 제공하는 것을 목적으로 한다. 특히, 공기 청정기를 중심으로 상방, 전방 및 좌우 방향을 향하여 토출기류가 용이하게 발생되어, 내실자가 앉아있거나 서 있더라도 그 주변공간을 향하여 공기를 용이하게 토출할 수 있는 공기 청정기를 제공하는 것을 목적으로 한다. In addition, the present embodiment has an object to provide an air cleaner that allows the air discharged from the air cleaner to be discharged in various directions and can reach a long distance. In particular, it is an object of the present invention to provide an air purifier that can easily discharge air toward the upper, front and left and right directions around the air cleaner, so that the air can be easily discharged toward the surrounding space even when the insider is sitting or standing. do.

또한, 공기 청정기의 운전정보를 외부에 용이하게 표시할 수 있는 디스플레이 장치가 구비되는 공기 청정기를 제공하는 것을 목적으로 한다.In addition, an object of the present invention is to provide an air cleaner provided with a display device that can easily display operation information of the air cleaner.

또한, 상기 디스플레이 장치가 회전 가능한 유동전환 장치에 구비되도록 하여, 유동전환 장치의 회전된 위치에 관계없이 공기 청정기의 운전정보를 쉽게 확인할 수 있는 공기 청정기를 제공하는 것을 목적으로 한다. In addition, an object of the present invention is to provide an air cleaner that can be provided in the rotatable flow switching device so that the operation information of the air cleaner can be easily checked regardless of the rotated position of the flow switching device.

또한, 송풍용량이 증가된 공기 청정기를 제공하는 것을 목적으로 한다.It is also an object to provide an air cleaner with increased blowing capacity.

또한, 송풍용량을 증가시키기 위하여, 원심팬을 채용하는 경우, 상기 원심팬을 통과한 공기가 토출부를 향하여 상방으로 용이하게 유동될 수 있도록 에어가이드 장치가 구비되는 공기 청정기를 제공하는 것을 목적으로 한다. In addition, in order to increase the blowing capacity, when the centrifugal fan is employed, an object of the present invention is to provide an air cleaner equipped with an air guide device so that the air passing through the centrifugal fan can be easily flowed upward toward the discharge portion. .

또한, 본 실시예는 필터의 정화능력을 개선하고, 필터의 교체가 용이한 공기 청정기를 제공하는 것을 목적으로 한다.In addition, the present embodiment aims to improve the purification ability of the filter and to provide an air purifier in which the filter is easily replaced.

또한, 필터를 공기 청정기의 내부에 설치하기 위한 설치공간을 별도로 마련하지 않고도 필터의 설치가 용이한 공기 청정기를 제공하는 것을 목적으로 한다.In addition, an object of the present invention is to provide an air cleaner in which the filter can be easily installed without providing an installation space for installing the filter inside the air cleaner.

본 발명의 실시예에 따른 공기 청정기에는, 공기 유동을 발생시키는 메인 팬; 상기 메인 팬의 출구측에 형성되는 토출부; 및 상기 메인 팬의 출구측에 배치되며, 상기 토출부를 향하는 공기유로를 형성하는 에어가이드 장치가 포함된다.Air purifier according to an embodiment of the present invention, the main fan for generating an air flow; A discharge part formed at an outlet side of the main fan; And an air guide device disposed at an outlet side of the main fan and forming an air passage toward the discharge unit.

상기 에어가이드 장치에는, 상기 에어가이드 장치의 외주면을 형성하는 외벽; 및 상기 외벽의 내측에 위치되며, 상기 에어가이드 장치의 내주면을 형성하는 내벽이 포함되며, 상기 공기유로는, 상기 외벽의 내주면과, 상기 내벽의 외주면의 사이에 형성된다.The air guide device includes an outer wall forming an outer circumferential surface of the air guide device; And an inner wall positioned inside the outer wall and forming an inner circumferential surface of the air guide device, wherein the air flow path is formed between an inner circumferential surface of the outer wall and an outer circumferential surface of the inner wall.

상기 메인 팬에는, 원심 팬이 포함된다.The main fan includes a centrifugal fan.

상기 에어가이드 장치에는, 상기 공기 유로에 배치되며, 상기 내벽의 외주면으로부터 상기 외벽의 내주면으로 연장되는 다수의 가이드 리브가 더 포함된다.The air guide device further includes a plurality of guide ribs disposed in the air flow path and extending from the outer circumferential surface of the inner wall to the inner circumferential surface of the outer wall.

상기 에어가이드 장치에는, 상기 내벽으로부터 하방으로 연장되어 상기 메인 팬의 팬모터를 수용하는 모터 수용부가 더 포함된다.The air guide device further includes a motor accommodating part extending downward from the inner wall to accommodate the fan motor of the main fan.

상기 에어가이드 장치의 상측에 좌우회전 가능하게 구비되며, 서브 팬 및 제 1 기어를 가지는 유동전환 장치가 더 포함된다.It is provided to the left and right to rotate the upper side of the air guide device, and further includes a flow switching device having a sub fan and the first gear.

상기 에어가이드 장치에는, 상기 모터 수용부에 구비되며, 상기 제 1 기어에 연동하여 상기 유동전환 장치의 좌우회전을 가이드 하는 제 1 랙이 더 포함된다.The air guide device further includes a first rack provided in the motor accommodating part and guiding the left and right rotation of the flow switching device in conjunction with the first gear.

상기 에어가이드 장치에는, 원호의 형상을 가지며, 상기 제 1 기어의 기어축이 삽입되는 축가이드 홈이 더 포함된다.The air guide device further includes a shaft guide groove having a circular arc shape and into which the gear shaft of the first gear is inserted.

상기 유동전환 장치의 하측에 구비되며, 상기 공기유로를 통과한 공기를 상기 유동전환 장치로 가이드 하는 토출유로를 형성하는 토출가이드 장치가 더 포함된다. A discharge guide device is provided below the flow switching device and forms a discharge flow path for guiding the air passing through the air flow path to the flow switching device.

상기 토출가이드 장치에는, 원통형상의 내주면을 가지는 토출내벽 및 상기 토출내벽을 둘러싸는 토출외벽이 포함되며, 상기 토출유로는 상기 토출내벽과 상기 토출외벽 사이에 형성된다. The discharge guide device includes a discharge inner wall having a cylindrical inner circumferential surface and a discharge outer wall surrounding the discharge inner wall, and the discharge flow path is formed between the discharge inner wall and the discharge outer wall.

상기 토출가이드 장치에는, 상기 토출내벽에 결합되며, 축삽입부를 가지는 회전가이드 판이 더 포함된다. The discharge guide device further includes a rotation guide plate coupled to the discharge inner wall and having a shaft insertion portion.

상기 유동전환 장치에는, 상기 유동전환 장치의 좌우회전 중심을 형성하며 상기 축삽입부에 삽입되는 회전축이 포함된다. The flow diverting device includes a rotation shaft which forms a left and right rotation center of the flow diverting device and is inserted into the shaft insertion unit.

본 실시예에 따르면, 원통형의 케이스의 외주면을 따라 흡입부가 형성되므로 흡입용량이 개선될 수 있고, 공기의 흡입과정에서 케이스의 구조적인 저항이 발생되지 않는다는 효과가 있다.According to this embodiment, since the suction part is formed along the outer circumferential surface of the cylindrical case, the suction capacity can be improved, and there is an effect that the structural resistance of the case does not occur during the suction of air.

특히, 상기 흡입부에는 다수의 통공이 포함되고, 상기 다수의 통공은 케이스의 전체 외주면에 걸쳐 고르게 형성될 수 있으므로, 공기 청정기를 기준으로 360도 방향에서, 상기 공기 청정기의 내부를 향하는 흡입유로가 형성될 수 있게 된다. 결국, 공기의 흡입면적이 증가될 수 있으며, 내실자가 앉아있거나 서 있더라도 그 주변의 공기를 충분히 흡입할 수 있다는 효과가 나타난다.In particular, the suction part includes a plurality of through holes, the plurality of through holes can be formed evenly over the entire outer circumferential surface of the case, the suction flow path toward the inside of the air cleaner in a 360 degree direction relative to the air cleaner Can be formed. As a result, the intake area of the air can be increased, and the effect of being able to sufficiently inhale the air in the surroundings even when the insider is sitting or standing.

그리고, 상기 흡입부에는, 제 1 케이스에 구비되는 제 1 흡입부, 제 2 케이스에 구비되는 제 3 흡입부 및 베이스측에 구비되는 제 2 흡입부가 포함되어 케이스의 하부로부터 상부에 이르기까지 축방향으로 길게 형성될 수 있다. 따라서, 공기 청정기를 기준으로, 실내공간의 하부에 존재하는 공기와, 상대적으로 높은 위치에 존재하는 실내공간의 공기가 상기 공기 청정기로 흡입될 수 있으므로, 실내공간의 흡입용량이 커질 수 있다. The suction part includes a first suction part provided in the first case, a third suction part provided in the second case, and a second suction part provided in the base side, and includes an axial direction from the lower part of the case to the upper part. It can be formed long. Accordingly, since the air present in the lower part of the indoor space and the air in the indoor space located at a relatively high position can be sucked into the air cleaner, the suction capacity of the indoor space can be increased.

또한, 제 2 송풍장치를 통하여 공기의 상방 토출이 가이드 될 수 있고, 상기 제 2 송풍장치의 상측에 구비되는 유동전환 장치에 의하여 공기의 전방 토출이 가이드 될 수 있다. 그리고, 상기 유동전환 장치가 회전하는 과정에서, 공기의 좌우방향으로의 토출이 가이드 될 수 있다. 결국, 공기 청정기를 기준으로 다양한 방향으로 공기 토출이 가이드 되고, 공기 청정기로부터 먼 거리까지 토출기류가 형성될 수 있으므로, 실내공간의 공기청정 기능이 개선될 수 있다. 그리고, 내실자가 앉아있거나 서 있더라도 그 주변공간을 향하여 토출기류를 용이하게 발생시킬 수 있다는 장점이 있다. In addition, upward discharge of air may be guided through the second blower, and forward discharge of air may be guided by the flow switching device provided above the second blower. And, in the process of rotating the flow switching device, the discharge in the left and right directions can be guided. As a result, the air discharge is guided in various directions based on the air cleaner, and since the discharge airflow can be formed from a distance from the air cleaner, the air cleaning function of the indoor space can be improved. In addition, there is an advantage that the discharge airflow can be easily generated toward the surrounding space even when the indoor room is sitting or standing.

또한, 유동전환 장치에는, 좌우방향 회전을 가이드 하는 제 1 가이드기구 및 상하방향 회전을 가이드 하는 제 2 가이드기구가 구비되므로, 상기 유동전환 장치는 상기 제 2 가이드기구의 작동에 의하여 누워져 있는 제 1 위치 또는 세워져 있는 제 2 위치에 있는 상태에서, 상기 제 1 가이드기구의 작동에 의하여 좌우 방향으로 회전하면서 토출기류를 조절할 수 있다는 장점이 있다.In addition, the flow switching device is provided with a first guide mechanism for guiding the left and right rotation and a second guide mechanism for guiding the up and down rotation, so that the flow switching device is laid by the operation of the second guide mechanism. In the state of being in the first position or the second position standing up, there is an advantage that the discharge airflow can be adjusted while rotating in the left and right directions by the operation of the first guide mechanism.

또한, 상기 유동전환 장치에는 제 3 팬이 구비되므로, 제 2 송풍장치를 통하여 유동하는 공기에 상기 제 3 팬에 의한 유동력을 더하여 공기를 토출시킬 수 있다. 따라서, 강한 토출기류가 발생될 수 있으므로, 공기 청정기로부터 멀리 떨어진 위치까지 기류가 도달될 수 있다는 효과가 나타난다.In addition, the flow switching device is provided with a third fan, it is possible to discharge the air by adding the flow force by the third fan to the air flowing through the second blower. Therefore, since a strong discharge airflow can be generated, the effect that the airflow can be reached to a position far from the air purifier.

또한, 상기 제 1 가이드기구 또는 상기 제 2 가이드기구에는, 각각 기어모터 및 기어가 포함되므로, 유동전환 장치의 상하방향 회전 또는 좌우방향 회전이 용이하게 이루어질 수 있다는 장점이 있다.In addition, since the gear motor and the gear are included in the first guide mechanism or the second guide mechanism, respectively, there is an advantage that the up-down rotation or the left-right rotation of the flow switching device can be easily performed.

또한, 상기 유동전환 장치의 상부에 디스플레이 장치가 구비되어, 공기 청정기의 운전정보가 외부에 쉽게 인식될 수 있다는 효과가 나타난다. 특히, 유동전환 장치가 축방향을 기준으로 경사지게 세워진 상태(제 2 위치)에 있는 경우는 물론, 누워있는 상태(제 1 위치)에 있더라도, 디스플레이 장치가 외부에 잘 노출되어 공기 청정기의 운전정보가 쉽게 확인될 수 있다는 장점이 있다.In addition, the display device is provided on the flow switching device, the operation information of the air cleaner can be easily recognized to the outside. In particular, even when the flow switching device is in an inclined state (second position) with respect to the axial direction, as well as in a lying state (first position), the display device is well exposed to the outside so that the operation information of the air cleaner is The advantage is that it can be easily identified.

또한, 유동전환 장치에는 토출그릴이 구비되며, 상기 토출그릴의 중심부에는 함몰부가 구비되어 디스플레이 장치가 설치될 수 있고 상기 함몰부의 둘레를 따라 공기가 배출되는 토출부가 형성될 수 있으므로, 공기 청정기의 공간 활용성이 개선될 수 있다. 그리고, 상기 디스플레이 장치에 의하여 상기 토출부를 통하여 배출되는 공기유동에 방해가 발생되는 것을 방지할 수 있다.In addition, the flow switching device is provided with a discharge grill, the center of the discharge grill is provided with a depression can be installed in the display device and the discharge portion through which air is discharged along the periphery of the depression can be formed, the space of the air cleaner Usability can be improved. In addition, it is possible to prevent the interference of the air flow discharged through the discharge unit by the display device.

또한, 디스플레이 장치에는, PCB 어셈블리, 즉 제 1 조명원이 구비되는 디스플레이 PCB 및 상기 디스플레이 PCB에 결합되는 리플렉터가 구비되어, 공기 청정기의 운전에 관한 다양한 문자, 숫자 또는 기호에 관한 형상이 용이하게 구현될 수 있다는 장점이 있다.In addition, the display device is provided with a PCB assembly, that is, a display PCB equipped with a first lighting source and a reflector coupled to the display PCB, so that shapes of various letters, numbers, or symbols related to the operation of the air cleaner are easily realized. The advantage is that it can be.

또한, 상기 디스플레이 PCB의 저면에 제 2 조명원이 구비되며, 상기 디스플레이 PCB의 하측에는 상기 조명원을 수용하는 조명수용부를 가지는 확산판이 구비되므로, 상기 조명원에서 조사되는 빛이 상기 확산판을 통하여 굴절되어 디스플레이 장치의 전면 테두리부로 용이하게 이동될 수 있다. 결국, 디스플레이 장치를 통하여 표시되는 정보에 대한, 시각적인 강조 효과를 얻을 수 있으며 이에 따라 다소 먼거리에서도 상기 정보를 쉽게 확인할 수 있다는 장점이 있다. In addition, since a second illumination source is provided on the bottom of the display PCB, and a diffuser plate having an illumination accommodating portion for accommodating the illumination source is provided below the display PCB, the light irradiated from the illumination source passes through the diffusion plate. It may be refracted and easily moved to the front edge of the display device. As a result, a visual emphasis effect can be obtained on the information displayed through the display device, and thus, the information can be easily confirmed even at a distance.

또한, 다수의 송풍장치가 제공되므로, 공기 청정기의 송풍용량이 개선될 수 있다는 장점이 있다.In addition, since a plurality of blowers are provided, there is an advantage that the blowing capacity of the air cleaner can be improved.

또한, 공기 청정기의 송풍용량을 증가시키기 위한 원심팬 및 상기 원심팬의 출구측에 배치되는 에어가이드 장치가 구비되므로, 원심팬을 통과하여 반경방향으로 유동하는 공기가 토출부를 향하여 상방으로 용이하게 가이드 될 수 있다.In addition, since a centrifugal fan for increasing the blowing capacity of the air cleaner and an air guide device disposed on the outlet side of the centrifugal fan are provided, air flowing radially through the centrifugal fan is easily guided upward toward the discharge portion. Can be.

또한, 상기 제 1,2 송풍장치를 통하여 서로 독립된 공기유동이 발생되어, 공기유동 상호간에 서로 방해가 되는 현상을 방지할 수 있고, 이에 따라 공기 유동성능이 개선되는 효과가 나타난다.In addition, the air flows are independent of each other through the first and second blowers, thereby preventing the air flows from interfering with each other, thereby improving the air flow performance.

또한, 필터부재는 원통형으로 구비되어, 공기가 필터부재 외측의 전 방향에서 필터부재의 내부로 유입될 수 있으므로, 흡입면적이 증대될 수 있고, 이에 따라 필터의 공기청정 능력이 개선될 수 있다는 장점이 있다.In addition, the filter member is provided in a cylindrical shape, the air can be introduced into the filter member from all directions outside the filter member, the suction area can be increased, and thus the air cleaning ability of the filter can be improved There is this.

또한, 필터부재는 필터 프레임을 향하여 반경 방향으로 슬라이딩 될 수 있으므로, 상기 필터부재의 결합 또는 분리가 용이하다는 장점이 있다.In addition, the filter member can be slid in the radial direction toward the filter frame, there is an advantage that the coupling or separation of the filter member is easy.

또한, 송풍팬에는 공기를 축방향으로 흡입하여 반경방향으로 토출하는 터보 팬이 포함되므로, 풍량이 증가될 수 있다는 장점이 있다.In addition, since the blower fan includes a turbo fan that sucks air in the axial direction and discharges it in the radial direction, there is an advantage that the air volume can be increased.

도 1은 본 발명의 실시예에 따른 공기 청정기의 외관을 보여주는 사시도이다.
도 2는 본 발명의 실시예에 따른 공기 청정기의 내부 구성을 보여주는 사시도이다.
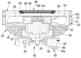
도 3은 도 2의 III-III'를 따라 절개한 단면도이다.
도 4는 본 발명의 실시예에 따른 제 2 송풍장치의 구성을 보여주는 분해 사시도이다.
도 5는 본 발명의 실시예에 따른 제 3 에어가이드 장치 및 제 2 토출가이드 장치의 구성을 보여주는 분해 사시도이다.
도 6은 본 발명의 실시예에 따른 유동 전환장치 및 상기 유동 전환장치가 결합되는 부품의 구성을 보여주는 분해 사시도이다.
도 7은 본 발명의 실시예에 따른 유동 전환장치의 구성을 보여주는 사시도이다.
도 8은 본 발명의 실시예에 따른 제 3 에어가이드 장치 및 제 2 토출가이드 장치의 결합모습을 보여주는 도면이다.
도 9는 본 발명의 실시예에 따른 유동 전환장치의 좌우방향 회전을 위하여 제 1 가이드기구가 작용하는 모습을 보여주는 도면이다.
도 10은 본 발명의 실시예에 따른 유동 전환장치의 구성을 보여주는 단면도이다.
도 11은 본 발명의 실시예에 따른 유동 전환장치의 구성을 보여주는 분해 사시도이다.
도 12는 본 발명의 실시예에 따른 유동 전환장치의 구동부 및 고정부의 구성을 보여주는 분해 사시도이다.
도 13은 본 발명의 실시예에 따른 유동 전환장치에 구비되는 제 2 랙 및 제 2 기어의 연동모습을 보여주는 도면이다.
도 14 및 도 15는 본 발명의 실시예에 따른 유동 전환장치가 제 2 위치에 있는 모습을 보여주는 도면이다.
도 16은, 도 14의 유동 전환장치가 A 방향으로 회전한 모습을 보여주는 도면이다.
도 17은 본 발명의 실시예에 따른 토출그릴에 결합되는 디스플레이 장치의 구성을 보여주는 분해 사시도이다.
도 18은 본 발명의 실시예에 따른 토출그릴에 PCB 어셈블리가 결합되는 모습을 보여주는 도면이다.
도 19는 본 발명의 실시예에 따른 PCB 어셈블리의 구성을 보여주는 분해 사시도이다.
도 20은 본 발명의 실시예에 따른 디스플레이 장치의 상면 구성을 보여주는 도면이다.
도 21은 본 발명의 실시예에 따른 PCB 어셈블리의 저면 구성을 보여주는 도면이다.
도 22 내지 도 24는 본 발명의 실시예에 따른 공기 청정기에서의 공기유동 모습을 보여주는 도면이다.
1 is a perspective view showing the appearance of an air purifier according to an embodiment of the present invention.
2 is a perspective view showing the internal configuration of an air purifier according to an embodiment of the present invention.
3 is a cross-sectional view taken along line III-III ′ of FIG. 2.
4 is an exploded perspective view showing the configuration of a second blower according to an embodiment of the present invention.
5 is an exploded perspective view showing the configuration of the third air guide device and the second discharge guide device according to an embodiment of the present invention.
Figure 6 is an exploded perspective view showing the configuration of the flow diverter and the component to which the flow diverter is coupled in accordance with an embodiment of the present invention.
7 is a perspective view showing the configuration of a flow diverter according to an embodiment of the present invention.
8 is a view showing a combination of the third air guide device and the second discharge guide device according to an embodiment of the present invention.
9 is a view showing the first guide mechanism for the left and right rotation of the flow switching device according to an embodiment of the present invention.
10 is a cross-sectional view showing the configuration of a flow diverter according to an embodiment of the present invention.
11 is an exploded perspective view showing the configuration of a flow diverter according to an embodiment of the present invention.
12 is an exploded perspective view showing the configuration of the drive unit and the fixing unit of the flow switching device according to an embodiment of the present invention.
13 is a view showing an interlocking view of the second rack and the second gear provided in the flow switching device according to an embodiment of the present invention.
14 and 15 are views showing a state in which the flow diverter according to an embodiment of the present invention in the second position.
FIG. 16 is a view illustrating a state in which the flow diverter of FIG. 14 is rotated in the A direction.
17 is an exploded perspective view showing the configuration of a display device coupled to a discharge grill according to an embodiment of the present invention.
18 is a view showing a PCB assembly coupled to the discharge grill according to an embodiment of the present invention.
19 is an exploded perspective view showing the configuration of a PCB assembly according to an embodiment of the present invention.
20 is a diagram illustrating a top configuration of a display device according to an embodiment of the present invention.
21 is a view showing a bottom configuration of a PCB assembly according to an embodiment of the present invention.
22 to 24 are views showing the state of air flow in the air purifier according to the embodiment of the present invention.

이하, 본 발명의 일부 실시 예들을 예시적인 도면을 통해 상세하게 설명한다. 각 도면의 구성요소들에 참조부호를 부가함에 있어서, 동일한 구성요소들에 대해서는 비록 다른 도면상에 표시되더라도 가능한 한 동일한 부호를 가지도록 하고 있음에 유의해야 한다. 또한, 본 발명의 실시 예를 설명함에 있어, 관련된 공지 구성 또는 기능에 대한 구체적인 설명이 본 발명의 실시 예에 대한 이해를 방해한다고 판단되는 경우에는 그 상세한 설명은 생략한다. Hereinafter, some embodiments of the present invention will be described in detail with reference to the accompanying drawings. In adding reference numerals to the components of each drawing, it should be noted that the same reference numerals are assigned to the same components as much as possible even though they are shown in different drawings. In addition, in describing the embodiments of the present invention, when it is determined that a detailed description of a related well-known configuration or function interferes with the understanding of the embodiments of the present invention, the detailed description thereof will be omitted.

또한, 본 발명의 실시 예의 구성 요소를 설명하는 데 있어서, 제 1, 제 2, A, B, (a), (b) 등의 용어를 사용할 수 있다. 이러한 용어는 그 구성 요소를 다른 구성 요소와 구별하기 위한 것일 뿐, 그 용어에 의해 해당 구성 요소의 본질이나 차례 또는 순서 등이 한정되지 않는다. 어떤 구성 요소가 다른 구성요소에 "연결", "결합" 또는 "접속"된다고 기재된 경우, 그 구성 요소는 그 다른 구성요소에 직접적으로 연결되거나 접속될 수 있지만, 각 구성 요소 사이에 또 다른 구성 요소가 "연결", "결합" 또는 "접속"될 수도 있다고 이해되어야 할 것이다. In addition, in describing the components of the embodiment of the present invention, terms such as first, second, A, B, (a), and (b) may be used. These terms are only for distinguishing the components from other components, and the nature, order or order of the components are not limited by the terms. If a component is described as being "connected", "coupled" or "connected" to another component, that component may be directly connected or connected to that other component, but between components It will be understood that may be "connected", "coupled" or "connected".

도 1은 본 발명의 실시예에 따른 공기 청정기의 외관을 보여주는 사시도이다.1 is a perspective view showing the appearance of an air purifier according to an embodiment of the present invention.

도 1을 참조하면, 본 발명의 실시예에 따른 공기 청정기(10)에는, 공기유동을 발생시키는 송풍장치(100,200) 및 상기 송풍장치(100,200)에서 발생된 공기유동의 토출방향을 전환시키는 유동 전환장치(300)가 포함된다.Referring to FIG. 1, in the air cleaner 10 according to an embodiment of the present invention, a flow switch for switching a discharge direction of an air flow generated in the blower 100 and 200 and an air flow generated in the blower 100 and 200 is provided. Apparatus 300 is included.

상기 송풍장치(100,200)에는, 제 1 공기유동을 발생시키는 제 1 송풍장치(100) 및 제 2 공기유동을 발생시키는 제 2 송풍장치(200)가 포함된다. The blowers 100 and 200 include a first blower 100 for generating a first air flow and a second blower 200 for generating a second air flow.

상기 제 1 송풍장치(100)와 제 2 송풍장치(200)는 상하 방향으로 배열될 수 있다. 일례로, 상기 제 2 송풍장치(200)는 상기 제 1 송풍장치(100)의 상측에 배치될 수 있다. 이 경우, 상기 제 1 공기유동은, 상기 공기 청정기(10)의 하부측에 존재하는 실내공기를 흡입하는 유동을 형성하며, 상기 제 2 공기유동은, 상기 공기 청정기(10)의 상부측에 존재하는 실내공기를 흡입하는 유동을 형성한다. The first blower 100 and the second blower 200 may be arranged in the vertical direction. For example, the second blower 200 may be disposed above the first blower 100. In this case, the first air flow forms a flow for sucking indoor air existing on the lower side of the air cleaner 10, and the second air flow is located on the upper side of the air cleaner 10. It forms a flow to suck the indoor air.

상기 공기 청정기(10)에는, 외관을 형성하는 케이스(101,201)가 포함된다.The air cleaner 10 includes cases 101 and 201 that form an exterior.

상세히, 상기 케이스(101,201)에는, 상기 제 1 송풍장치(100)의 외관을 형성하는 제 1 케이스(101)가 포함된다. 상기 제 1 케이스(101)는 원통형을 가질 수 있다. 그리고, 상기 제 1 케이스(101)의 상부는 하부보다 작은 직경을 가지도록 구성될 수 있다. 즉, 상기 제 1 케이스(101)는 끝부분이 잘린 원뿔형 형상을 가질 수 있다. In detail, the cases 101 and 201 include a first case 101 forming an outer appearance of the first blower 100. The first case 101 may have a cylindrical shape. In addition, an upper portion of the first case 101 may be configured to have a smaller diameter than the lower portion. That is, the first case 101 may have a conical shape with a truncated end portion.

상기 제 1 케이스(101)에는, 상기 제 1 케이스(101)를 구성하는 2개의 파트가 결합 또는 분리되는 제 1 분리부(101a)가 포함된다. 그리고, 상기 제 1 케이스(101)에는, 상기 제 1 분리부(101a)의 맞은편에 구비되는 힌지부(미도시)가 더 포함된다. 상기 2개의 파트는 상기 힌지부를 중심으로 상대 회전할 수 있다.The first case 101 includes a first separating part 101a in which two parts constituting the first case 101 are combined or separated. In addition, the first case 101 further includes a hinge part (not shown) provided on the opposite side of the first separation part 101a. The two parts may rotate relative to the hinge portion.

상기 2개의 파트 중 적어도 어느 하나의 파트가 회전하면, 상기 제 1 케이스(101)는 개방되며, 상기 공기 청정기(10)로부터 분리될 수 있다. 상기 제 2 개의 파트가 결합되는 부분, 즉 상기 힌지부의 맞은편 측에는, 걸림장치가 구비될 수 있다. 상기 걸림장치에는, 걸림돌기 또는 자석부재가 포함될 수 있다. 상기 제 1 케이스(101)를 개방하여, 상기 제 1 송풍장치(100)의 내부 부품을 교체 또는 수리할 수 있다. When at least one of the two parts rotates, the first case 101 is opened and can be separated from the air cleaner 10. A locking device may be provided at a portion at which the second parts are coupled, that is, at a side opposite to the hinge portion. The locking device may include a locking protrusion or a magnet member. The first case 101 may be opened to replace or repair internal parts of the first blower 100.

상기 제 1 케이스(101)에는, 공기가 흡입되는 제 1 흡입부(102)가 형성된다. 상기 제 1 흡입부(102)는 상기 제 1 케이스(101)의 적어도 일부분이 관통되어 형성되는 관통공을 포함한다. 상기 제 1 흡입부(102)는 다수 개가 형성된다.In the first case 101, a first suction part 102 through which air is sucked is formed. The first suction part 102 includes a through hole formed through at least a portion of the first case 101. The first suction part 102 is formed of a plurality.

상기 다수의 제 1 흡입부(102)는, 상기 제 1 케이스(101)를 기준으로 어느 방향에서라도 공기 흡입이 가능하도록, 상기 제 1 케이스(101)의 외주면을 따라 원주 방향으로 고르게 형성된다. 즉, 상기 제 1 케이스(101)의 내부중심을 지나는 상하방향의 중심선을 기준으로, 360도 방향에서 공기가 흡입될 수 있다. The plurality of first suction parts 102 are formed evenly in the circumferential direction along the outer circumferential surface of the first case 101 to enable air suction in any direction with respect to the first case 101. That is, air may be sucked in a 360 degree direction based on the vertical line passing through the inner center of the first case 101.

이와 같이, 상기 제 1 케이스(101)가 원통형으로 구성되고, 상기 제 1 흡입부(102)가 상기 제 1 케이스(101)의 외주면을 따라 다수 개 형성됨으로써, 공기의 흡입량이 증가할 수 있다. 그리고, 종래의 공기 청정기의 케이스와 같이, 모서리부를 가지는 육면체 형상을 회피함으로써, 흡입되는 공기에 대한 유동저항을 감소시킬 수 있다는 효과가 나타난다.As described above, since the first case 101 is formed in a cylindrical shape and a plurality of first suction parts 102 are formed along the outer circumferential surface of the first case 101, the intake amount of air may increase. And, as in the case of a conventional air purifier, by avoiding the shape of the cube having a corner portion, the effect that the flow resistance to the air to be sucked can be reduced.

상기 제 1 흡입부(102)를 통하여 흡입되는 공기는 상기 제 1 케이스(101)의 외주면으로부터 대략 반경방향으로 유동될 수 있다. 방향을 정의한다. 도 1을 기준으로, 상하 방향을 축방향이라 이름하고, 가로 방향으로 반경방향으로 이름한다. 상기 축방향은, 후술할 제 1 팬(160) 및 제 2 팬(260)의 중심축 방향, 즉 팬의 모터축 방향에 대응될 수 있다. 그리고, 상기 반경방향은 상기 축방향의 수직한 방향으로서 이해될 수 있다.Air sucked through the first suction part 102 may flow in a substantially radial direction from an outer circumferential surface of the first case 101. Define the direction. Referring to FIG. 1, the vertical direction is called an axial direction, and the horizontal direction is called a radial direction. The axial direction may correspond to the central axis direction of the first fan 160 and the second fan 260 which will be described later, that is, the motor shaft direction of the fan. And, the radial direction can be understood as a vertical direction in the axial direction.

그리고, 원주방향이란, 상기 축방향을 중심으로 하고 상기 반경방향의 거리를 회전반경으로 하여 회전할 때 형성되는 가상의 원 방향으로서 이해된다.The circumferential direction is understood as an imaginary circular direction formed when the circumferential direction is rotated about the axial direction and the radial distance is rotated.

상기 제 1 송풍장치(100)에는, 상기 제 1 케이스(101)의 하측에 제공되며 지면에 놓여지는 베이스(20)가 더 포함된다. 상기 베이스(20)는, 상기 제 1 케이스(101)의 하단부로부터 하방으로 이격되어 위치된다. 그리고, 상기 제 1 케이스(101)와 상기 베이스(20) 사이의 이격 공간에는, 베이스흡입부(103)가 형성된다.The first blower 100 further includes a base 20 provided below the first case 101 and placed on the ground. The base 20 is spaced downward from the lower end of the first case 101. In addition, a base suction unit 103 is formed in the space between the first case 101 and the base 20.

상기 베이스흡입부(103)를 통하여 흡입되는 공기는 상기 베이스(20)의 상측에 구비되는 흡입그릴(110, 도 2 참조)의 흡입구(112)를 통하여 상방으로 유동될 수 있다.The air sucked through the base suction unit 103 may flow upward through the suction port 112 of the suction grill 110 (see FIG. 2) provided above the base 20.

즉, 상기 제 1 송풍장치(100)에는, 복수의 흡입부(102,103)가 포함된다. 실내공간의 하부에 존재하는 공기는 상기 복수의 흡입부(102,103)를 통하여 상기 제 1 송풍장치(100)로 용이하게 유입될 수 있다. 따라서, 공기의 흡입량이 증가될 수 있다.That is, the first blower 100 includes a plurality of suction parts 102 and 103. Air existing in the lower part of the indoor space may be easily introduced into the first blower 100 through the plurality of suction units 102 and 103. Thus, the intake amount of air can be increased.

상기 제 1 송풍장치(100)의 상부에는, 제 1 토출부(105)가 형성된다. 상기 제 1 토출부(105)는, 상기 제 1 송풍장치(100)에 구비되는 제 1 토출가이드 장치(190, 도 2 참조)의 제 1 토출그릴(195)에 형성될 수 있다. 상기 제 1 토출가이드 장치(190)는 상기 제 1 송풍장치(100)의 상단부 외관을 형성한다. 상기 제 1 토출부(105)를 통하여 배출되는 공기는 축방향 상방으로 유동될 수 있다. The first discharge part 105 is formed on the first blower 100. The first discharge part 105 may be formed in the first discharge grill 195 of the first discharge guide device 190 (refer to FIG. 2) provided in the first blower 100. The first discharge guide device 190 forms an upper appearance of the upper end of the first blower 100. The air discharged through the first discharge part 105 may flow upward in the axial direction.

상기 케이스(101,201)에는, 상기 제 2 송풍장치(200)의 외관을 형성하는 제 2 케이스(201)가 포함된다. 상기 제 2 케이스(201)는 원통형을 가질 수 있다. 그리고, 상기 제 2 케이스(201)의 상부는 하부보다 작은 직경을 가지도록 구성될 수 있다. 즉, 상기 제 2 케이스(201)는 끝부분이 잘린 원뿔형 형상을 가질 수 있다. The cases 101 and 201 include a second case 201 forming an exterior of the second blower 200. The second case 201 may have a cylindrical shape. In addition, an upper portion of the second case 201 may be configured to have a smaller diameter than the lower portion. That is, the second case 201 may have a conical shape with a truncated end portion.

상기 제 2 케이스(201)에는, 제 2 분리부(201a)를 통하여 분리 또는 결합될 수 있는 2개의 파트 및 힌지부가 포함된다. 상기 제 2 케이스(201)는, 상기 제 1 케이스(101)와 마찬가지로 개방 가능하게 구성될 수 있다. 자세한 설명은, 상기 제 1 케이스(101)에 관한 설명을 원용한다. 상기 제 2 케이스(201)를 개방하여, 상기 제 2 송풍장치(200)의 내부 부품을 교체 또는 수리할 수 있다. The second case 201 includes two parts and a hinge part that can be separated or combined through the second separating part 201a. The second case 201 may be configured to be openable similarly to the first case 101. Detailed description uses the description regarding the first case 101. The second case 201 may be opened to replace or repair internal parts of the second blower 200.

상기 제 2 케이스(201)의 하단부 직경은, 상기 제 1 케이스(101)의 상단부 직경보다 작게 형성될 수 있다. 따라서, 상기 케이스(101,201)의 전체적인 형상 관점에서, 케이스(101,201)의 하부 단면적은 상부 단면적 보다 크게 형성되며, 이에 따라 상기 공기 청정기(10)는 지면에 안정적으로 지지될 수 있다.The lower end diameter of the second case 201 may be smaller than the upper end diameter of the first case 101. Therefore, in view of the overall shape of the case (101,201), the lower cross-sectional area of the case (101,201) is formed larger than the upper cross-sectional area, whereby the air cleaner 10 can be stably supported on the ground.

상기 제 2 케이스(201)에는, 공기가 흡입되는 제 2 흡입부(202)가 형성된다. 상기 제 2 흡입부(202)는 상기 제 2 케이스(201)의 적어도 일부분이 관통되어 형성되는 관통공을 포함한다. 상기 제 2 흡입부(202)는 다수 개가 형성된다.The second case 201 is formed with a second suction part 202 through which air is sucked. The second suction part 202 includes a through hole formed through at least a portion of the second case 201. A plurality of second suction units 202 are formed.

상기 다수의 제 2 흡입부(202)는, 상기 제 2 케이스(201)를 기준으로 어느 방향에서라도 공기 흡입이 가능하도록, 상기 제 2 케이스(201)의 외주면을 따라, 원주 방향으로 고르게 형성된다. 즉, 상기 제 2 케이스(201)의 내부중심을 지나는 상하방향의 중심선을 기준으로, 360도 방향에서 공기가 흡입될 수 있다. The plurality of second suction units 202 are formed evenly in the circumferential direction along the outer circumferential surface of the second case 201 to allow air suction in any direction with respect to the second case 201. That is, air may be sucked in a 360 degree direction based on the vertical line passing through the inner center of the second case 201.

이와 같이, 상기 제 2 케이스(201)가 원통형으로 구성되고, 상기 제 2 흡입부(202)가 상기 제 2 케이스(201)의 외주면을 따라 다수 개 형성됨으로써, 공기의 흡입량이 증가할 수 있다. 그리고, 종래의 공기 청정기의 케이스와 같이, 모서리부를 가지는 육면체 형상을 회피함으로써, 흡입되는 공기에 대한 유동저항을 감소시킬 수 있다는 효과가 나타난다.As described above, since the second case 201 is formed in a cylindrical shape and a plurality of the second suction parts 202 are formed along the outer circumferential surface of the second case 201, the intake amount of air may increase. And, as in the case of a conventional air purifier, by avoiding the shape of the cube having a corner portion, the effect that the flow resistance to the air to be sucked can be reduced.

상기 제 2 흡입부(202)를 통하여 흡입되는 공기는 상기 제 2 케이스(201)의 외주면으로부터 대략 반경방향으로 유동될 수 있다. Air sucked through the second suction unit 202 may flow in a substantially radial direction from an outer circumferential surface of the second case 201.

상기 공기 청정기(10)에는, 상기 제 1 송풍장치(100)와 상기 제 2 송풍장치(200)의 사이에 구비되는 구획장치(400)가 포함된다. 상기 구획장치(400)에 의하여, 상기 제 2 송풍장치(200)는 상기 제 1 송풍장치(100)의 상측으로 이격되어 위치될 수 있다. 상기 구획장치(400)와 관련된 설명은, 도면을 참조하여 후술한다. The air purifier 10 includes a partition device 400 provided between the first blower 100 and the second blower 200. The second blower 200 may be spaced apart from the upper side of the first blower 100 by the partition device 400. Descriptions related to the partition device 400 will be described later with reference to the drawings.

상기 유동 전환장치(300)는 상기 제 2 송풍장치(200)의 상측에 설치될 수 있다. 공기 유동을 기준으로, 상기 제 2 송풍장치(200)의 공기유로는, 상기 유동 전환장치(300)의 공기유로와 연통될 수 있다. 상기 제 2 송풍장치(200)를 통과한 공기는 상기 유동 전환장치(300)의 공기유로를 경유하며, 제 2 토출부(305)를 통하여 외부로 배출될 수 있다. 상기 제 2 토출부(305)는 상기 유동 전환장치(300)의 상단부에 형성된다. The flow diverter 300 may be installed above the second blower 200. Based on the air flow, the air flow path of the second blower 200 may be in communication with the air flow path of the flow switching device 300. Air passing through the second blower 200 may be discharged to the outside through the second air outlet 305 via the air flow path of the flow switching device 300. The second discharge part 305 is formed at an upper end of the flow diverter 300.

상기 유동 전환장치(300)는 움직임 가능하게 구비될 수 있다. 상세히, 상기 유동 전환장치(300)는, 도 1에 도시되어 있는 바와 같이, 누워있는 상태(제 1 위치)에 있거나, 도 24에 도시되는 바와 같이, 경사지게 세워진 상태(제 2 위치)에 있을 수 있다. The flow switching device 300 may be provided to be movable. In detail, the flow diverter 300 may be in a lying state (first position), as shown in FIG. 1, or in an inclined state (second position), as shown in FIG. 24. have.

그리고, 상기 유동 전환장치(300)의 상부에는, 공기 청정기(10)의 운전 정보를 표시하는 디스플레이 장치(600)가 구비된다. 상기 디스플레이 장치(600)는 상기 유동 전환장치(300)와 함께 움직일 수 있다.In addition, a display device 600 that displays operation information of the air cleaner 10 is provided above the flow switching device 300. The display device 600 may move together with the flow diverter 300.

도 2는 본 발명의 실시예에 따른 공기 청정기의 내부 구성을 보여주는 사시도이고, 도 3은 도 2의 III-III'를 따라 절개한 단면도이다.2 is a perspective view illustrating an internal configuration of an air cleaner according to an embodiment of the present invention, and FIG. 3 is a cross-sectional view taken along line III-III 'of FIG. 2.

도 2 및 도 3을 참조하면, 본 발명의 실시예에 따른 제 1 송풍장치(100)에는, 베이스(20) 및 상기 베이스(20)의 상측에 배치되는 흡입그릴(110)이 포함된다. 2 and 3, the first blower 100 according to the embodiment of the present invention includes a base 20 and a suction grill 110 disposed above the base 20.

상기 베이스(20)에는, 지면에 놓여지는 베이스본체(21) 및 상기 베이스본체(21)로부터 상방으로 돌출되어 상기 흡입그릴(110)이 놓여지는 베이스돌출부(22)가 포함된다. 상기 베이스돌출부(22)는 상기 베이스(20)의 양측에 구비될 수 있다.The base 20 includes a base main body 21 placed on the ground and a base protrusion 22 protruding upward from the base main body 21 on which the suction grill 110 is placed. The base protrusion 22 may be provided at both sides of the base 20.

상기 베이스돌출부(22)에 의하여, 상기 베이스본체(21)와 상기 흡입그릴(110)은 서로 이격된다. 상기 베이스(20)와 상기 흡입그릴(110)의 사이에는, 공기의 흡입공간을 형성하는 베이스흡입부(103)가 형성된다.By the base protrusion 22, the base body 21 and the suction grill 110 is spaced apart from each other. A base suction part 103 is formed between the base 20 and the suction grill 110 to form an air suction space.

상기 흡입그릴(110)에는, 대략 링 형상의 그릴본체(111) 및 상기 그릴본체(111)의 외주면으로부터 상방으로 돌출되는 테두리부가 포함된다. 상기 그릴본체(111) 및 테두리부의 구성에 의하여, 상기 흡입그릴(110)은 단차진 구성을 가질 수 있다.The suction grill 110 includes a substantially ring-shaped grill body 111 and an edge portion projecting upward from an outer circumferential surface of the grill body 111. By the configuration of the grill body 111 and the edge portion, the suction grill 110 may have a stepped configuration.

상기 흡입그릴(110)에는, 상기 테두리부에 형성되는 흡입부(112)가 포함된다. 상기 흡입부(112)는 상기 테두리부의 둘레를 따라 상방으로 돌출되도록 구성되며, 원주 방향으로 연장되도록 구성될 수 있다. 그리고, 상기 흡입부(112)의 내부에는, 다수 개의 흡입공(112a)이 형성된다. 상기 다수 개의 흡입공(112a)은 상기 베이스흡입부(103)와 연통될 수 있다.The suction grill 110 includes a suction unit 112 formed at the edge portion. The suction part 112 is configured to protrude upward along the circumference of the edge portion, and may be configured to extend in the circumferential direction. In addition, a plurality of suction holes 112a are formed in the suction part 112. The plurality of suction holes 112a may be in communication with the base suction part 103.

상기 다수 개의 흡입공(112a) 및 상기 베이스흡입부(103)를 통하여 흡입된 공기는 제 1 펄터부재(120)를 통과할 수 있다. 상기 제 1 필터부재(120)는 원통형으로 구비되며, 공기를 필터링 하는 필터면을 가질 수 있다. 상기 다수 개의 흡입공(112a)을 통과한 공기는 원통형인 제 1 필터부재(120)의 외주면을 관통하여 그 내부로 유입될 수 있다. Air sucked through the plurality of suction holes 112a and the base suction part 103 may pass through the first pulp member 120. The first filter member 120 may have a cylindrical shape and may have a filter surface for filtering air. Air passing through the plurality of suction holes 112a may pass through the outer circumferential surface of the first filter member 120 having a cylindrical shape and be introduced therein.

상기 제 1 송풍장치(100)에는, 상기 제 1 필터부재(120)의 장착공간을 형성하는 제 1 필터프레임(130)이 더 포함된다. 상세히, 상기 제 1 필터프레임(130)에는, 상기 제 1 필터프레임(130)의 하부를 형성하는 제 1 프레임(131) 및 상기 제 1 필터프레임(130)의 상부를 형성하는 제 2 프레임(132)이 포함된다. 상기 제 1,2 프레임(131,132)는 대략 링 형상을 가질 수 있다. The first blower 100 further includes a first filter frame 130 forming a mounting space of the first filter member 120. In detail, the first filter frame 130 has a first frame 131 forming a lower portion of the first filter frame 130 and a second frame 132 forming an upper portion of the first filter frame 130. ) Is included. The first and second frames 131 and 132 may have a substantially ring shape.

상기 제 1 필터프레임(130)에는, 상기 제 1 프레임(131)으로부터 상기 제 2 프레임(132)을 향하여 상방으로 연장되는 제 1 필터지지부(135)가 더 포함된다. 상기 제 1 필터지지부(135)는 다수 개가 제공되며, 상기 다수 개의 제 1 필터지지부(135)는 원주 방향으로 배열되어 상기 제 1,2 프레임(131,132)의 테두리부에 연결될 수 있다.The first filter frame 130 further includes a first filter support part 135 extending upward from the first frame 131 toward the second frame 132. A plurality of first filter supports 135 may be provided, and the plurality of first filter supports 135 may be arranged in a circumferential direction and connected to edge portions of the first and second frames 131 and 132.

상기 제 1,2 프레임(131,132) 및 상기 다수의 제 1 필터지지부(135)에 의하여, 상기 제 1 필터부재(120)의 장착공간이 규정된다. 그리고, 상기 제 1 필터지지부(135)의 외측에는, 제 1 지지부커버(136)가 결합될 수 있다.The mounting space of the first filter member 120 is defined by the first and second frames 131 and 132 and the plurality of first filter supports 135. In addition, a first support part cover 136 may be coupled to an outer side of the first filter support part 135.

상기 제 1 필터프레임(130)에는, 센서장치(137)가 설치될 수 있다. 상기 센서장치(137)에는, 공기 중 먼지의 양을 감지하는 먼지센서 및 공기 중 가스의 양을 감지하는 가스센서가 포함될 수 있다. 상기 먼지센서 및 가스센서는 상기 제 1 필터프레임(130)의 제 2 프레임(132)에 지지되도록 배치될 수 있다.The sensor device 137 may be installed in the first filter frame 130. The sensor device 137 may include a dust sensor for detecting the amount of dust in the air and a gas sensor for detecting the amount of gas in the air. The dust sensor and the gas sensor may be disposed to be supported by the second frame 132 of the first filter frame 130.

상기 장착공간에는, 상기 제 1 필터부재(120)가 분리 가능하게 장착될 수 있다. 상기 제 1 필터부재(120)는 원통형의 형상을 가지며, 상기 제 1 필터부재(120)의 외주면을 통하여 공기가 유입될 수 있다. 상기 제 1 필터부재(120)를 통과하는 과정에서, 공기 중 미세먼지와 같은 불순물이 걸러질 수 있다. In the mounting space, the first filter member 120 may be detachably mounted. The first filter member 120 may have a cylindrical shape, and air may be introduced through an outer circumferential surface of the first filter member 120. In the process of passing through the first filter member 120, impurities such as fine dust in the air may be filtered out.

상기 제 1 필터부재(120)가 원통형의 형상을 가짐으로써, 상기 제 1 필터부재(120)를 기준으로, 어느 방향에서나 공기의 유입이 가능하다. 따라서, 공기의 필터링 면적이 증가할 수 있다.Since the first filter member 120 has a cylindrical shape, air can be introduced in any direction based on the first filter member 120. Thus, the filtering area of the air can be increased.

상기 장착공간은 상기 제 1 필터부재(120)의 형상에 대응하여 원통형으로 구비될 수 있다. 상기 제 1 필터부재(120)는 장착과정에서, 상기 장착공간을 향하여 슬라이딩 가능하게 인입될 수 있다. 반대로, 상기 제 1 필터부재(120)는 분리 과정에서, 상기 장착공간으로부터 슬라이딩 가능하게 인출될 수 있다. The mounting space may be provided in a cylindrical shape corresponding to the shape of the first filter member 120. The first filter member 120 may be slidably inserted into the mounting space in the mounting process. On the contrary, the first filter member 120 may be slidably withdrawn from the mounting space in a separation process.

상기 제 1 송풍장치(100)에는, 상기 제 1 필터부재(120)의 출구측에 설치되는 제 1 팬하우징(150)이 더 포함된다. 상기 제 1 팬하우징(150)에는, 제 1 팬(160)이 수용되는 하우징공간부(152)가 형성된다. 그리고, 상기 제 1 팬하우징(150)은 상기 제 1 필터프레임(130)에 의하여 지지될 수 있다.The first blower 100 further includes a first fan housing 150 installed at an outlet side of the first filter member 120. The first fan housing 150 is provided with a housing space part 152 in which the first fan 160 is accommodated. In addition, the first fan housing 150 may be supported by the first filter frame 130.

상기 제 1 팬하우징(150)의 하부에는, 상기 제 1 팬하우징(150)의 내부로 공기의 유입을 가이드 하는 제 1 팬유입부(151)가 포함된다. 상기 제 1 팬유입부(151)에는 그릴이 제공되어, 상기 제 1 필터부재(150)가 분리되었을 때, 사용자가 상기 제 1 팬하우징(150)의 내부로 손가락등을 집어 넣는 것을 방지할 수 있다.A lower part of the first fan housing 150 includes a first fan inlet 151 for guiding the inflow of air into the first fan housing 150. The first fan inlet 151 is provided with a grill, and when the first filter member 150 is separated, the user can be prevented from inserting a finger, etc. into the first fan housing 150. have.

상기 제 1 송풍장치(100)에는, 공기 중 냄새입자를 제거하거나 살균하기 위한 이오나이저가 더 포함된다. 상기 이오나이저는 상기 제 1 팬하우징(150)에 결합되며, 상기 제 1 팬하우징(150)의 내부를 유동하는 공기에 작용할 수 있다.The first blower 100 further includes an ionizer for removing or sterilizing odor particles in the air. The ionizer may be coupled to the first fan housing 150 and act on air flowing through the inside of the first fan housing 150.

상기 센서장치(137)와 상기 이오나이저는 후술할 제 2 송풍장치(200)에도 설치될 수 있다. 다른 예로서, 상기 센서장치(137)와 상기 이오나이저는 상기 제 1 송풍장치(100) 및 제 2 송풍장치(200) 중 하나의 송풍장치에 설치될 수도 있다.The sensor device 137 and the ionizer may be installed in the second blower 200 to be described later. As another example, the sensor device 137 and the ionizer may be installed in one blower of the first blower 100 and the second blower 200.

상기 제 1 팬(160)은 상기 제 1 팬유입부(151)의 상측에 놓여진다. 일례로, 상기 제 1 팬(160)에는, 축방향으로 공기를 유입하여 반경방향 상측으로 공기를 배출시키는 원심팬이 포함된다.The first fan 160 is disposed above the first fan inlet 151. For example, the first fan 160 includes a centrifugal fan that introduces air in the axial direction and discharges the air upward in the radial direction.

상세히, 상기 제 1 팬(160)에는, 원심팬 모터인 제 1 팬모터(165)의 회전축(165a)이 결합되는 허브(161)와, 상기 허브(161)와 이격되어 배치되는 쉬라우드(162) 및 상기 허브(161)와 상기 쉬라우드(162)의 사이에 배치되는 다수의 블레이드(163)가 포함된다. 상기 제 1 팬모터(165)는 상기 제 1 팬(160)의 상측에 결합될 수 있다.In detail, the first fan 160 includes a hub 161 to which the rotation shaft 165a of the first fan motor 165, which is a centrifugal fan motor, is coupled, and a shroud 162 spaced apart from the hub 161. And a plurality of blades 163 disposed between the hub 161 and the shroud 162. The first fan motor 165 may be coupled to an upper side of the first fan 160.

상기 허브(161)는 하방으로 갈수록 직경이 좁아지는 보울(bowl) 형상을 가질 수 있다. 그리고, 상기 허브(161)에는, 상기 회전축(165a)이 결합되는 축 결합부 및 상기 축 결합부로부터 상방을 향햐여 경사지게 연장되는 제 1 블레이드결합부가 포함된다. The hub 161 may have a bowl shape of which diameter is narrowed downward. In addition, the hub 161 includes a shaft coupling portion to which the rotation shaft 165a is coupled and a first blade coupling portion extending inclined upwardly from the shaft coupling portion.

상기 쉬라우드(162)에는, 상기 제 1 팬유입부(151)를 통과한 공기가 흡입되는 쉬라우드흡입구가 형성되는 하단부 및 상기 하단부로부터 상방을 향하여 연장되는 제 2 블레이드결합부가 포함된다. The shroud 162 may include a lower end of the shroud suction port through which the air passing through the first fan inlet 151 is sucked and a second blade coupling part extending upward from the lower end.

상기 블레이드(163)의 일면은 상기 허브(161)의 제 1 블레이드결합부에 결합되며, 타면은 상기 쉬라우드(162)의 제 2 블레이드결합부에 결합될 수 있다. 그리고, 상기 다수의 블레이드(163)는 상기 허브(161)의 원주 방향으로 이격되어 배치될 수 있다.One surface of the blade 163 may be coupled to the first blade coupling portion of the hub 161, and the other surface may be coupled to the second blade coupling portion of the shroud 162. The plurality of blades 163 may be spaced apart in the circumferential direction of the hub 161.

상기 제 1 송풍장치(100)에는, 상기 제 1 팬(160)의 상측에 결합되어 상기 제 1 팬(160)을 통과한 공기의 유동을 가이드 하는 제 1 에어가이드장치(170)가 더 포함된다. The first blower 100 further includes a first air guide device 170 coupled to an upper side of the first fan 160 to guide the flow of air passing through the first fan 160. .

상기 제 1 에어가이드 장치(170)에는, 원통형의 형상을 가지는 외벽(171) 및 상기 외벽(171)의 내측에 위치되며 원통형의 형상을 가지는 내벽(172)이 포함된다. 상기 외벽(171)은 상기 내벽(172)을 둘러싸도록 배치된다. 상기 외벽(171)의 내주면과, 상기 내벽(172)의 외주면의 사이에는, 공기가 유동하는 제 1 공기유로가 형성된다. The first air guide device 170 includes an outer wall 171 having a cylindrical shape and an inner wall 172 positioned inside the outer wall 171 and having a cylindrical shape. The outer wall 171 is disposed to surround the inner wall 172. A first air passage through which air flows is formed between the inner circumferential surface of the outer wall 171 and the outer circumferential surface of the inner wall 172.

상기 제 1 에어가이드 장치(170)에는, 상기 제 1 공기유로에 배치되는 가이드 리브(175)가 포함된다. 상기 가이드 리브(175)는 상기 내벽(172)의 외주면으로부터 상기 외벽(171)의 내주면으로 연장된다. 상기 가이드 리브(175)는 다수 개가 이격되어 배치될 수 있다. 상기 다수의 가이드 리브(175)는 상기 제 1 팬(160)을 거쳐 상기 제 1 에어가이드 장치(170)의 제 1 공기유로로 유입된 공기를 상방으로 안내하는 기능을 수행한다.The first air guide device 170 includes a guide rib 175 disposed in the first air passage. The guide rib 175 extends from the outer circumferential surface of the inner wall 172 to the inner circumferential surface of the outer wall 171. A plurality of guide ribs 175 may be disposed spaced apart from each other. The plurality of guide ribs 175 guides the air introduced into the first air passage of the first air guide device 170 upward through the first fan 160.

상기 가이드 리브(175)는, 상기 외벽(171) 및 내벽(172)의 하부로부터 상방을 향하여 경사지게 연장될 수 있다. 일례로, 상기 가이드 리브(175)는 라운드지게 형성되어, 공기가 상방으로 경사지게 유동할 수 있도록 가이드 한다. The guide rib 175 may extend inclined upward from a lower portion of the outer wall 171 and the inner wall 172. In one example, the guide rib 175 is formed to be round, to guide the air to flow inclined upward.

상기 제 1 에어가이드 장치(170)에는, 상기 내벽(172)으로부터 하방으로 연장되어 상기 제 1 팬모터(165)를 수용하는 모터 수용부(173)가 더 포함된다. 상기 모터 수용부(173)는 하부로 갈수록 직경이 작아지는 보울(bowl)의 형상을 가질 수 있다. 상기 모터 수용부(173)의 형상은, 상기 허브(161)의 형상에 대응될 수 있다. 그리고, 상기 모터 수용부(173)는 상기 허브(161)의 내측에 삽입될 수 있다.The first air guide device 170 further includes a motor accommodating part 173 extending downward from the inner wall 172 to accommodate the first fan motor 165. The motor accommodating part 173 may have a shape of a bowl whose diameter decreases toward the lower side. The shape of the motor accommodating part 173 may correspond to the shape of the hub 161. The motor accommodating part 173 may be inserted into the hub 161.

싱기 제 1 팬모터(165)는 상기 모터 수용부(173)의 상측에 지지될 수 있다. 그리고, 상기 제 1 팬모터(165)의 회전축(165a)은 상기 제 1 팬모터(165)로부터 하방으로 연장되며, 상기 모터 수용부(173)의 저면부을 관통하여 상기 허브(161)의 축 결합부에 결합될 수 있다.The first fan motor 165 may be supported above the motor accommodating part 173. In addition, the rotation shaft 165a of the first fan motor 165 extends downwardly from the first fan motor 165 and penetrates the bottom of the motor accommodating part 173 to engage the shaft of the hub 161. Can be coupled to the part.

상기 제 1 송풍장치(100)에는, 상기 제 1 에어가이드 장치(170)의 상측에 결합되며 상기 제 1 에어가이드 장치(170)를 통과한 공기를 제 1 토출가이드 장치(190)로 가이드 하는 제 2 에어가이드 장치(180)가 더 포함된다.The first blower 100 is coupled to an upper side of the first air guide device 170 and guides the air passing through the first air guide device 170 to the first discharge guide device 190. The air guide device 180 is further included.

상기 제 2 에어가이드 장치(180)에는, 대략 원통형의 형상을 가지는 제 1 가이드벽(181)과, 상기 제 1 가이드벽(181)의 내측에 위치되며 대략 원통형의 형상을 가지는 제 2 가이드벽(182)이 포함된다. 상기 제 1 가이드벽(181)은 상기 제 2 가이드 벽(182)을 둘러싸도록 배치될 수 있다.The second air guide device 180 may include a first guide wall 181 having a substantially cylindrical shape, and a second guide wall positioned inside the first guide wall 181 and having a substantially cylindrical shape ( 182). The first guide wall 181 may be arranged to surround the second guide wall 182.

상기 제 1 가이드벽(181)의 내주면과 상기 제 2 가이드벽(182)의 외주면 사이에는, 공기가 유동하는 제 2 공기유로가 형성된다. 상기 제 1 에어가이드 장치(170)의 제 1 공기유로를 유동하는 공기는 상기 제 2 공기유로를 거쳐 통과하여 상방으로 유동한다. 상기 제 2 공기유로(185)를 "토출유로"라 이름할 수 있다. 그리고, 상기 제 2 공기유로의 상측에는, 제 1 토출부(105)가 배치된다.A second air passage through which air flows is formed between the inner circumferential surface of the first guide wall 181 and the outer circumferential surface of the second guide wall 182. Air flowing through the first air passage of the first air guide device 170 passes through the second air passage and flows upward. The second air channel 185 may be referred to as a "discharge channel." The first discharge part 105 is disposed above the second air flow path.

원통형의 형상을 가지는 제 2 가이드벽(182)의 내측에는, PCB 장치(500)의 적어도 일부분이 수용되는 제 1 공간부가 형성된다. 상기 PCB 장치에는, 전원 공급부(520) 및 메인 PCB(511)가 포함된다. Inside the second guide wall 182 having a cylindrical shape, a first space portion in which at least a portion of the PCB device 500 is accommodated is formed. The PCB device includes a power supply unit 520 and a main PCB 511.

상기 전원 공급부(520)는, 공기 청정기(10)에 연결되는 전원선으로부터 공급되는 상용전원을 인가받아, 상기 메인 PCB(511) 및 공기 청청기(10) 내의 다수의 부품에 전원을 공급하는 장치로서 이해된다. 상기 전원 공급부(520)에는, AC전원용 PCB(파워 PCB)가 포함될 수 있다.The power supply unit 520 is supplied with commercial power supplied from a power line connected to the air cleaner 10, and supplies power to a plurality of components in the main PCB 511 and the air cleaner 10. Is understood as. The power supply unit 520 may include an AC power PCB (power PCB).

상기 메인 PCB(511)에는, 상기 AC전원용 PCB에서 변환된 직류 전압에 의하여 구동되는 DC전원용 PCB가 포함될 수 있다.The main PCB 511 may include a DC power PCB driven by a DC voltage converted from the AC power PCB.

상기 PCB 장치(500)에는, 상기 전원 공급부(520) 및 메인 PCB(511)를 지지하는 위한 PCB지지판(525)이 더 포함된다. 상기 메인 PCB(511)는 상기 PCB지지판(525)의 일면에 지지되고, 상기 전원 공급부(520)는 상기 PCB지지판(525)의 타면에 지지될 수 있다.The PCB device 500 further includes a PCB support plate 525 for supporting the power supply unit 520 and the main PCB 511. The main PCB 511 may be supported on one surface of the PCB support plate 525, and the power supply 520 may be supported on the other surface of the PCB support plate 525.

상기 PCB 장치에는, 공기 청정기(10)가 외부 장치와 통신할 수 있는 통신모듈(515)이 포함된다. 일례로, 상기 통신모듈(515)에는, 와이파이 모듈이 포함될 수 있다. 상기 통신모듈(515)은 상기 PCB지지판(525)에 지지되며, 상기 메인 PCB(511)의 하측에 배치될 수 있다.The PCB device includes a communication module 515 through which the air cleaner 10 can communicate with an external device. For example, the communication module 515 may include a Wi-Fi module. The communication module 515 may be supported by the PCB support plate 525 and disposed below the main PCB 511.

상기 제 1 송풍장치(100)에는, 상기 제 2 에어가이드장치(180)의 상측, 즉 공기유로를 기준으로, 상기 제 2 에어가이드장치(180)를 통과하는 공기유동의 출구측에 배치되며, 공기 청정기(10) 외부로의 공기 토출을 가이드 하는 제 1 토출가이드 장치(190)가 더 포함된다. 상기 제 1 토출가이드 장치(190)에는, 공기가 배출되는 제 1 토출부(105)가 형성된다. The first blower 100 is disposed above the second air guide device 180, that is, at the outlet side of the air flow passing through the second air guide device 180 based on the air flow path. A first discharge guide device 190 for guiding the discharge of air to the outside of the air cleaner 10 is further included. In the first discharge guide device 190, a first discharge part 105 through which air is discharged is formed.

상기 제 2 송풍장치(200)에는, 제 2 필터부재(220)와, 상기 제 2 필터부재(220)의 하부를 지지하는 지지장치(240) 및 상기 지지장치(240)의 하측에 제공되어 상기 제 2 필터부재(220) 및 상기 지지장치(240)를 지지하는 레버장치(242)가 포함된다(도 4 참조).The second blower 200 is provided at a lower side of the second filter member 220, a support device 240 for supporting a lower portion of the second filter member 220, and the support device 240. A lever device 242 supporting the second filter member 220 and the support device 240 is included (see FIG. 4).

상기 제 2 송풍장치에는, 상기 레버장치(242)를 지지하는 레버 지지장치(560)가 더 포함된다. 상기 레버 지지장치(560)는 대략 환형의 형상을 가진다. 상기 레버 지지장치(560)에는, 상기 PCB 장치(500)가 위치될 수 있는 설치공간을 정의하는 제 3 공간부가 포함된다. 상기 제 3 공간부는 상기 레버 지지장치(560)의 대략 중앙부에 형성된다.The second blower further includes a lever support device 560 for supporting the lever device 242. The lever support device 560 has a substantially annular shape. The lever support device 560 includes a third space portion defining an installation space in which the PCB device 500 can be located. The third space portion is formed at an approximately center portion of the lever support device 560.

상기 제 1 송풍장치(100)와 상기 제 2 송풍장치(200)의 사이에는, 구획장치(400)가 구비된다. 상기 구획장치(400)에는, 상기 제 1 송풍장치(100)에서 발생되는 공기유동과, 상기 제 2 송풍장치(200)에서 발생되는 공기유동을 분리 또는 차단하기 위한 구획판(430)이 포함된다. 상기 구획판(430)에 의하여, 상기 제 1,2 송풍장치(100,200)는 상하 방향으로 이격되어 배치될 수 있다. A partition device 400 is provided between the first blower 100 and the second blower 200. The partition device 400 includes a partition plate 430 for separating or blocking the air flow generated in the first blower 100 and the air flow generated in the second blower 200. . By the partition plate 430, the first and second blowers 100 and 200 may be spaced apart in the vertical direction.

즉, 상기 제 1,2 송풍장치(100,200)의 사이에는, 상기 구획판(430)이 위치하는 이격공간이 형성된다. 상기 이격공간의 하단부에는 상기 제 1 송풍장치(100)의 제 1 토출가이드 장치(190)가 위치하며, 상기 이격공간의 상단부에는 상기 제 2 송풍장치(200)의 레버 지지장치(560)가 위치될 수 있다.That is, the separation space in which the partition plate 430 is located is formed between the first and second blowers 100 and 200. The first discharge guide device 190 of the first blower 100 is located at the lower end of the separation space, and the lever support device 560 of the second blower 200 is located at the upper end of the separation space. Can be.

상기 이격공간은, 상기 구획판(430)에 의하여, 상부공간 및 하부공간으로 구획될 수 있다. 상기 하부공간은, 상기 제 1 토출가이드 장치(190)의 제 1 토출부(105)에서 배출되는 공기가 공기 청정기(10)의 외부로 유동되는 과정에서 경유되는 제 1 공간부(448)으로서 이해된다. 그리고, 상기 상부공간은, 사용자가 공기 청정기(10)를 이동할 때 손을 집어 넣을 수 있는 파지공간으로서 제 2 공간부(458)를 구성한다. The separation space may be partitioned into an upper space and a lower space by the partition plate 430. The lower space is understood as the first space portion 448 through which air discharged from the first discharge portion 105 of the first discharge guide device 190 flows out of the air cleaner 10. do. The upper space constitutes a second space portion 458 as a holding space into which a user can put his hand when moving the air cleaner 10.

상기 제 1 토출부(105)에서 배출되는 공기는 상기 구획판(430)에 의하여 가이드 되어 상기 공기 청정기(10)의 외부로 유동하며, 상기 제 2 송풍장치(200)측으로 유입되는 것이 방지될 수 있다.Air discharged from the first discharge unit 105 may be guided by the partition plate 430 to flow out of the air cleaner 10, and may be prevented from flowing into the second blower 200. have.

도 4는 본 발명의 실시예에 따른 제 2 송풍장치의 구성을 보여주는 분해 사시도이다.4 is an exploded perspective view showing the configuration of a second blower according to an embodiment of the present invention.

도 4를 참조하면, 본 발명의 실시예에 따른 제 2 송풍장치(200)에는, 레버 지지장치(560), 레버장치(242), 지지장치(240), 제 2 필터부재(220), 제 2 필터프레임(230), 제 2 팬하우징(250) 및 제 2 팬(260)이 포함된다. Referring to FIG. 4, the second blower 200 according to the embodiment of the present invention includes a lever support device 560, a lever device 242, a support device 240, a second filter member 220, and a second filter device 220. The second filter frame 230, the second fan housing 250 and the second fan 260 are included.

상기 제 2 필터부재(220)는 상부가 개구된 원통 형상을 가질 수 있다. 상기 제 2 필터부재(220)에는, 내부가 비어 있는 원통 형상의 필터부를 가지는 필터본체(221) 및 상기 필터본체(221)의 상단부에 개구되어 형성되는 필터공(222)이 포함된다. 상기 필터본체(221)의 상부 또는 하부에는, 필터파지부(221a)가 구비된다. 공기는 상기 필터본체(221)의 외주면을 통하여 상기 필터본체(221)의 내측으로 유입되며, 상기 필터공(222)을 통하여 상기 제 2 필터부재(220)로부터 배출될 수 있다. 상기 제 2 필터부재(220)의 구성은, 상기 제 1 필터부재(120)에도 원용될 수 있다.The second filter member 220 may have a cylindrical shape with an open upper portion. The second filter member 220 includes a filter main body 221 having a cylindrical filter part having an empty inside, and a filter hole 222 formed by being opened at an upper end of the filter main body 221. The upper and lower portions of the filter main body 221, the filter holding portion 221a is provided. Air may be introduced into the filter body 221 through the outer circumferential surface of the filter body 221 and may be discharged from the second filter member 220 through the filter hole 222. The configuration of the second filter member 220 may be used in the first filter member 120 as well.

상기 레버 지지장치(560)에는, 환형의 형상을 가지는 레버 지지본체(561)가 포함된다. 상기 레버 지지본체(561)는, 그 내주면으로부터 외주면을 향하여 축방향에 대하여, 상방으로 약간 경사지게 연장된다. 즉, 상기 레버 지지본체(561)를 구성하는 면은 경사면을 구성한다. 상기 경사면과, 상기 구획판(430)의 상면 사이의 공간은, 사용자의 손이 위치할 수 있는 제 2 공간부(458)를 제공한다.The lever support device 560 includes a lever support body 561 having an annular shape. The lever supporting body 561 extends slightly inclined upward with respect to the axial direction from the inner circumferential surface toward the outer circumferential surface. That is, the surface constituting the lever support body 561 constitutes an inclined surface. The space between the inclined surface and the upper surface of the partition plate 430 provides a second space portion 458 in which the user's hand can be located.

한편, 상기 레버 지지본체(561)는, 상기 제 1 송풍장치(100)의 제 1 토출부(105)를 통하여 배출된 공기가 상기 제 2 송풍장치(200)로 유입되는 것을 차단하는 점에서, "차단부"라 이름할 수도 있다.On the other hand, the lever support body 561, in that the air discharged through the first discharge unit 105 of the first blower 100 to block the flow into the second blower 200, It may also be called a "block".

상기 레버 지지장치(560)에는, 상기 레버 지지본체(561)로부터 상방으로 돌출되는 이동 가이드부(565)가 더 포함된다. 상기 이동 가이드부(565)는 상기 레버 지지본체(561)의 원주 방향으로 다수 개가 이격되어 배치될 수 있다. 그리고, 상기 레버 지지장치(560)에는, 상기 레버 지지본체(5610의 내주면으로부터 상방으로 돌출되는 지지턱(566)이 더 포함된다. 상기 지지턱(566)은, 상기 제 2 송풍장치(200)의 레버장치를 지지한다.The lever support device 560 further includes a movement guide part 565 protruding upward from the lever support body 561. A plurality of the movement guide part 565 may be spaced apart in the circumferential direction of the lever support body 561. The lever support device 560 further includes a support jaw 566 protruding upward from an inner circumferential surface of the lever support body 5610. The support jaw 566 includes the second blower 200. Support the lever device.

상기 레버장치(242)는, 사용자의 조작이 가능하도록 구비될 수 있다. 일례로, 상기 레버장치(242)는 원주 방향으로 회전 가능하도록 구비될 수 있다. The lever device 242 may be provided to enable a user's operation. For example, the lever device 242 may be provided to be rotatable in the circumferential direction.

상기 레버장치(242)에는, 대략 링 형상을 가지며 회전 가능하게 구비되는 레버본체(243)가 포함된다. 그리고, 상기 레버본체(243)에는, 상기 다수의 이동 가이드부(565)에 대응되는 위치에 배치되는 다수의 절개부(145)가 형성된다. 상기 다수의 절개부(145)는, 상기 레버본체(243)에 형성되는 관통공으로서 이해될 수 있다.The lever device 242 includes a lever body 243 having a substantially ring shape and rotatably provided. The lever body 243 has a plurality of cutouts 145 disposed at positions corresponding to the plurality of movement guides 565. The plurality of cutouts 145 may be understood as through holes formed in the lever body 243.

상기 다수의 절개부(245)는 서로 이격되어, 상기 레버본체(243)의 원주 방향으로 배열된다. 그리고, 각 절개부(245)는 레버본체(243)의 외주면 곡률에 대응하여, 원주 방향으로 소정의 곡률을 가지도록 라운드지게 형성될 수 있다. The plurality of cutouts 245 are spaced apart from each other and arranged in the circumferential direction of the lever body 243. The cutouts 245 may be rounded to have a predetermined curvature in the circumferential direction, corresponding to the curvature of the outer circumferential surface of the lever body 243.

상기 레버장치(142)는 상기 레버 지지본체(561)의 상면에 지지된다. 상기 레버장치(242)가 상기 레버 지지본체(561)에 지지되면, 상기 다수 개의 이동 가이드부(565)는 상기 다수 개의 절개부(245)에 삽입되도록 배치될 수 있다. 상세히, 상기 다수 개의 이동 가이드부(565)는 상기 다수 개의 절개부(245)를 관통하여, 상기 다수 개의 절개부(245)의 상측으로 돌출될 수 있다.The lever device 142 is supported on the upper surface of the lever support body 561. When the lever device 242 is supported by the lever support body 561, the plurality of moving guide parts 565 may be arranged to be inserted into the plurality of cutouts 245. In detail, the plurality of moving guide parts 565 may protrude upward of the plurality of cutouts 245 through the plurality of cutouts 245.

상기 각 절개부(245)의 길이는, 상기 이동 가이드부(565)의 길이보다 길게 형성될 수 있다. 따라서, 상기 이동 가이드부(565)가 상기 절개부(245)에 삽입된 상태에서, 상기 레버장치(242)는 회전될 수 있다. 그리고, 상기 레버장치(242)가 일방향으로 회전하는 과정에서 상기 이동 가이드부(565)의 일측 단부는 상기 절개부(245)의 일측 단부에 간섭될 수 있고, 타방향으로 회전되는 과정에서 상기 이동 가이드부(565)의 타측 단부는 상기 절개부(245)의 타측 단부에 간섭될 수 있다. The length of each cutout 245 may be longer than the length of the movement guide 565. Therefore, the lever device 242 may be rotated while the movement guide part 565 is inserted into the cutout 245. In addition, one end of the movement guide part 565 may interfere with one end of the cutout 245 in the process of rotating the lever device 242 in one direction, and the movement in the process of rotating in the other direction. The other end of the guide part 565 may interfere with the other end of the cutout 245.

상기 레버본체(243)의 외주면에는, 제 2 핸들(244)이 구비된다. On the outer circumferential surface of the lever body 243, a second handle 244 is provided.

상기 레버장치(242)의 상측에는, 상기 제 2 필터부재(220)를 지지하는 지지장치(240)가 제공된다. 상기 지지장치(240)에는, 상기 제 2 핸들(244)에 결합되는 제 1 핸들(241)이 포함된다. 사용자는, 상기 제 1,2 핸들(241,244)을 파지하여 상기 레버본체(143) 및 지지장치(140)를 시계방향 또는 반시계 방향으로 회전시킬 수 있다. On the upper side of the lever device 242, a support device 240 for supporting the second filter member 220 is provided. The support device 240 includes a first handle 241 coupled to the second handle 244. The user may grip the first and second handles 241 and 244 to rotate the lever body 143 and the support device 140 in a clockwise or counterclockwise direction.

상기 레버장치(242)는 상기 지지장치(240)의 하면을 지지한다. 상기 지지장치(240)에는, 상기 이동 가이드부(565)와 접촉하는 지지 돌출부(미도시)가 구비될 수 있다. 상기 지지 돌출부는 상기 지지장치(240)의 하면으로부터 하방으로 돌출되며, 상기 이동 가이드부(565)에 대응하는 위치에 구비될 수 있다. 그리고, 상기 지지 돌출부의 형상은 상기 이동 가이드부(565)의 형상에 대응되며, 원주 방향으로 점점 돌출되도록 형성되는 경사면이 포함된다.The lever device 242 supports the lower surface of the support device 240. The support device 240 may be provided with a support protrusion (not shown) in contact with the movement guide part 565. The support protrusion may protrude downward from the lower surface of the support device 240 and may be provided at a position corresponding to the movement guide 565. In addition, the shape of the support protrusion corresponds to the shape of the movement guide part 565, and includes an inclined surface formed to gradually protrude in the circumferential direction.

상기 이동 가이드부(565)가 점점 돌출되도록 형성되는 방향과, 상기 지지 돌출부가 점점 돌출되도록 형성되는 방향은 서로 반대일 수 있다. 일례로, 상기 이동 가이드부(565)가 점점 돌출되도록 구성되는 방향이 반시계방향이라면, 상기 지지 돌출부가 점점 돌출되도록 구성되는 방향은 시계방향일 수 있다.The direction in which the movement guide part 565 is formed to gradually protrude and the direction in which the support protrusion is gradually protruded may be opposite to each other. For example, if the direction in which the movement guide part 565 is configured to gradually protrude is counterclockwise, the direction in which the support protrusion is gradually protruded may be clockwise.

상기 지지 돌출부는 상기 절개부(245)와 대응되는 위치에 배치될 수 있다. 즉, 상기 이동 가이드부(565)와 상기 지지 돌출부는 상기 절개부(145)에 삽입되는 위치에 배치될 수 있다. The support protrusion may be disposed at a position corresponding to the cutout 245. That is, the movement guide 565 and the support protrusion may be disposed at a position inserted into the cutout 145.

상기 레버장치(242)와 상기 지지장치(240)는 함께 회전될 수 있다. 이 회전 과정에서, 상기 이동 가이드부(565)와 상기 지지 돌출부는 간섭될 수 있다. 상세히, 상기 지지 돌출부의 하부와 상기 이동 가이드부(565)의 상부가 맞닿으면, 상기 레버장치(242)와 상기 지지장치(240)는 상방으로 들어올려진다. 그리고, 상기 지지장치(240)에 의하여 지지되는 제 1 필터부재(220)는 상방으로 이동하면서 상기 제 1 송풍장치(200)에 결합된 상태에 있게 된다.The lever device 242 and the support device 240 may be rotated together. In this rotation process, the movement guide 565 and the support protrusion may interfere. In detail, when the lower part of the support protrusion and the upper part of the movement guide part 565 abut, the lever device 242 and the support device 240 are lifted upward. In addition, the first filter member 220 supported by the support device 240 is in a state coupled to the first blower 200 while moving upward.

반면에, 상기 지지 돌출부의 상부와 상기 이동 가이드부(565)의 하부가 맞닿거나 상기 지지 돌출부와 이동 가이드부(565)의 간섭이 해제되면, 상기 레버장치(242)와 상기 지지장치(240)는 하방으로 내려온다. 그리고, 상기 지지장치(240)에 의하여 지지되는 제 1 필터부재(220)는 상기 제 1 송풍장치(100)로부터 분리 가능한 상태(해제 상태)에 있게 된다. On the other hand, when the upper portion of the support protrusion and the lower portion of the movement guide 565 abut or the interference between the support protrusion and the movement guide 565 is released, the lever device 242 and the support device 240 Comes down. In addition, the first filter member 220 supported by the support device 240 is in a state in which it can be separated from the first blower device 100 (release state).

상기 제 2 송풍장치(200)에는, 상기 제 2 필터부재(220)의 장착공간을 형성하는 제 2 필터프레임(230)이 더 포함된다. 상세히, 상기 제 2 필터프레임(230)에는, 상기 제 1 필터프레임(230)의 하부를 형성하는 제 1 프레임(231) 및 상기 제 2 필터프레임(230)의 상부를 형성하는 제 2 프레임(232)이 포함된다.The second blower 200 further includes a second filter frame 230 forming a mounting space of the second filter member 220. In detail, the second filter frame 230 includes a first frame 231 forming a lower portion of the first filter frame 230 and a second frame 232 forming an upper portion of the second filter frame 230. ) Is included.

상기 제 1 프레임(231)에는, 하방으로 함몰되는 형상을 가지는 프레임함몰부(231a)가 포함된다. 상기 프레임함몰부(231a)는 상기 제 1 프레임(231)의 적어도 일부분이 함몰되도록 구성될 수 있다. 상기 홈부(114)는, 상기 제 1,2 핸들(241,244)이 움직일 수 있는 공간부를 제공한다. 상기 제 1,2 핸들(241,244)은 상기 공간부에 위치하여, 시계방향 또는 반시계 방향으로 회전될 수 있다.The first frame 231 includes a frame recess 231a having a shape recessed downward. The frame recess 231a may be configured to recess at least a portion of the first frame 231. The groove 114 provides a space in which the first and second handles 241 and 244 can move. The first and second handles 241 and 244 may be located in the space part and rotate in a clockwise or counterclockwise direction.

상기 제 2 프레임(232)은 상기 제 1 프레임(231)으로부터 상방으로 이격되어 위치된다. 상기 제 2 프레임(232)은 대략 링 형상을 가진다. 상기 제 2 프레임(232)의 링 형상의 내부 공간은, 상기 제 2 필터프레임(230)을 통과하는 공기유로의 적어도 일부분을 형성한다. 그리고, 상기 제 2 프레임(232)의 상부는 제 2 팬하우징(250)을 지지할 수 있다. The second frame 232 is spaced upwardly from the first frame 231. The second frame 232 has an approximately ring shape. The ring-shaped inner space of the second frame 232 forms at least a portion of the air passage passing through the second filter frame 230. In addition, an upper portion of the second frame 232 may support the second fan housing 250.

상기 제 2 필터프레임(230)에는, 상기 제 1 프레임(231)으로부터 상기 제 2 프레임(232)을 향하여 상방으로 연장되는 제 2 필터지지부(235)가 더 포함된다. 상기 제 2 필터지지부(235)에 의하여, 상기 제 1,2 프레임(231,232)은 서로 이격될 수 있다. 상기 제 2 필터지지부(235)는 다수 개가 제공되며, 상기 다수 개의 제 2 필터지지부(235)는 원주 방향으로 배열되어 상기 제 1,2 프레임(231,232)의 테두리부에 연결될 수 있다.The second filter frame 230 further includes a second filter support part 235 extending upward from the first frame 231 toward the second frame 232. The second and second frames 231 and 232 may be spaced apart from each other by the second filter support part 235. A plurality of second filter supports 235 may be provided, and the plurality of second filter supports 235 may be arranged in the circumferential direction and connected to edge portions of the first and second frames 231 and 232.

상기 제 1,2 프레임(231,232) 및 상기 다수의 제 2 필터지지부(235)에 의하여, 상기 제 2 필터부재(220)의 장착공간이 규정된다. 그리고, 상기 제 2 필터지지부(235)의 외측에는, 제 1 지지부커버(236)가 결합될 수 있다.The mounting space of the second filter member 220 is defined by the first and second frames 231 and 232 and the plurality of second filter supports 235. The first support part cover 236 may be coupled to the outside of the second filter support part 235.

상기 제 2 필터프레임(230)에는, 제 2 센서장치(237)가 설치될 수 있다. 상기 센서장치(237)에는, 공기 중 먼지의 양을 감지하는 먼지센서(237a) 및 공기 중 가스의 양을 감지하는 가스센서(237b)가 포함될 수 있다. 상기 먼지센서(237a) 및 가스센서(237b)는 상기 제 2 필터프레임(230)의 제 2 프레임(232)에 지지되도록 배치될 수 있다. 상기 제 2 센서장치(237)의 구성에 관한 설명은, 상기 제 1 센서장치(137)에도 적용될 수 있다. The second sensor frame 237 may be installed in the second filter frame 230. The sensor device 237 may include a dust sensor 237a for detecting the amount of dust in the air and a gas sensor 237b for detecting the amount of gas in the air. The dust sensor 237a and the gas sensor 237b may be disposed to be supported by the second frame 232 of the second filter frame 230. A description of the configuration of the second sensor device 237 may also be applied to the first sensor device 137.

상기 장착공간에는, 상기 제 2 필터부재(220)가 분리 가능하게 장착될 수 있다. 상기 제 1 필터부재(220)는 원통형의 형상을 가지며, 상기 제 2 필터부재(220)의 외주면을 통하여 공기가 유입될 수 있다. 상기 제 2 필터부재(220)를 통과하는 과정에서, 공기 중 미세먼지와 같은 불순물이 걸러질 수 있다. The second filter member 220 may be detachably mounted in the mounting space. The first filter member 220 may have a cylindrical shape, and air may be introduced through an outer circumferential surface of the second filter member 220. In the process of passing through the second filter member 220, impurities such as fine dust in the air may be filtered out.

상기 제 1 필터부재(220)가 원통형의 형상을 가짐으로써, 상기 제 1 필터부재(220)를 기준으로, 어느 방향에서나 공기의 유입이 가능하다. 따라서, 공기의 필터링 면적이 증가할 수 있다.Since the first filter member 220 has a cylindrical shape, air can be introduced in any direction based on the first filter member 220. Thus, the filtering area of the air can be increased.

상기 장착공간은 상기 제 1 필터부재(220)의 형상에 대응하여 원통형으로 구비될 수 있다. 상기 제 1 필터부재(220)는 장착과정에서, 상기 장착공간을 향하여 슬라이딩 가능하게 인입될 수 있다. 반대로, 상기 제 2 필터부재(220)는 분리 과정에서, 상기 장착공간으로부터 슬라이딩 가능하게 인출될 수 있다. The mounting space may be provided in a cylindrical shape corresponding to the shape of the first filter member 220. The first filter member 220 may be slidably introduced toward the mounting space in the mounting process. On the contrary, the second filter member 220 may be slidably withdrawn from the mounting space in a separation process.

달리 말하면, 상기 제 1 필터부재(220)가 상기 지지장치(240)의 상면에 놓여진 상태에서 상기 제 1,2 핸들(241,244)이 조작되면, 상기 제 2 필터부재(220)는 하방으로 이동하면서 해제위치에 있게 된다. 그리고, 상기 제 2 필터부재(220)는 반경방향 외측으로 슬라이딩 되어, 상기 장착공간으로부터 분리될 수 있다. In other words, when the first and second handles 241 and 244 are operated while the first filter member 220 is placed on the upper surface of the support device 240, the second filter member 220 moves downward. It is in the release position. In addition, the second filter member 220 may be slid outward in a radial direction to be separated from the mounting space.

반면에, 상기 제 2 필터부재(220)는 상기 장착공간으로부터 분리된 상태에서, 상기 장착공간을 향하여 반경방향 내측으로 슬라이딩 되어 상기 지지장치(240)의 상면에 지지되며, 상기 제 1,2 핸들(241,244)의 조작에 의하여 상방으로 밀착될 수 있다. 이 때, 상기 제 1 필터부재(220)는 상기 제 1 송풍장치(200)로의 결합위치에 있게 된다. On the other hand, in the state in which the second filter member 220 is separated from the mounting space, the second filter member 220 slides radially inward toward the mounting space and is supported on the upper surface of the support device 240, and the first and second handles It can be in close contact with the operation of (241,244). At this time, the first filter member 220 is in a coupling position to the first blower 200.

상기 제 2 송풍장치(200)에는, 상기 제 2 필터부재(220)의 출구측에 설치되는 제 2 팬하우징(250)이 더 포함된다. 상기 제 2 팬하우징(250)에는, 제 2 팬(260)이 수용되는 하우징공간부(252)가 형성된다. 상기 제 2 팬하우징(250) 및 상기 제 2 팬(260)의 구성은 상기 제 1 팬하우징(150) 및 제 1 팬(160)의 구성과 동일하므로, 상기 제 2 팬하우징(250) 및 상기 제 2 팬(260)에 관한 설명은 상기 제 1 팬하우징(150) 및 제 1 팬(160)에 관한 설명을 원용한다.The second blower 200 further includes a second fan housing 250 installed at the outlet side of the second filter member 220. The second fan housing 250 is provided with a housing space part 252 in which the second fan 260 is accommodated. Since the configuration of the second fan housing 250 and the second fan 260 is the same as the configuration of the first fan housing 150 and the first fan 160, the second fan housing 250 and the The description of the second fan 260 uses the description of the first fan housing 150 and the first fan 160.

상기 제 2 송풍장치(200)에는, 공기 중 냄새입자를 제거하거나 살균하기 위한 이오나이저(258)가 더 포함된다. 상기 이오나이저(258)는 상기 제 1 팬하우징(250)에 결합되며, 상기 제 2 팬하우징(250)의 내부를 유동하는 공기에 작용할 수 있다. 상기 이오나이저(258)은 상기 제 1 송풍장치(100)의 이오나이저와 동일한 구성을 가질 수 있다.The second blower 200 further includes an ionizer 258 for removing or sterilizing odor particles in the air. The ionizer 258 is coupled to the first fan housing 250 and may act on air flowing through the inside of the second fan housing 250. The ionizer 258 may have the same configuration as the ionizer of the first blower 100.

도 5는 본 발명의 실시예에 따른 제 3 에어가이드 장치 및 제 2 토출가이드 장치의 구성을 보여주는 분해 사시도이고, 도 6은 본 발명의 실시예에 따른 유동 전환장치 및 상기 유동 전환장치가 결합되는 부품의 구성을 보여주는 분해 사시도이고, 도 7은 본 발명의 실시예에 따른 유동 전환장치의 구성을 보여주는 사시도이고, 도 8은 본 발명의 실시예에 따른 제 3 에어가이드 장치 및 제 2 토출가이드 장치의 결합모습을 보여주는 도면이고, 도 9는 본 발명의 실시예에 따른 유동 전환장치의 좌우방향 회전을 위하여 제 1 가이드기구가 작용하는 모습을 보여주는 도면이고, 도 10은 본 발명의 실시예에 따른 유동 전환장치의 구성을 보여주는 단면도이다.5 is an exploded perspective view showing the configuration of the third air guide device and the second discharge guide device according to an embodiment of the present invention, Figure 6 is a flow switching device and the flow switching device according to an embodiment of the present invention is coupled 7 is an exploded perspective view showing a configuration of a component, and FIG. 7 is a perspective view showing a configuration of a flow switching device according to an embodiment of the present invention, and FIG. 8 is a third air guide device and a second discharge guide device according to an embodiment of the present invention. 9 is a view showing a combined view, Figure 9 is a view showing the first guide mechanism for the left and right rotation of the flow switching device according to an embodiment of the present invention, Figure 10 is according to an embodiment of the present invention Sectional drawing showing the configuration of the flow diverter.

도 5 내지 도 10을 참조하면, 본 발명의 실시예에 따른 제 2 송풍장치(220)에는, 상기 제 2 팬(260)의 상측에 결합되어 상기 제 2 팬(260)을 통과한 공기의 유동을 가이드 하는 제 3 에어가이드 장치(270)가 더 포함된다. 5 to 10, in the second blower 220 according to the exemplary embodiment of the present invention, the air is coupled to the upper side of the second fan 260 and passed through the second fan 260. A third air guide device 270 for guiding is further included.

상기 제 3 에어가이드 장치(270)에는, 상기 제 3 에어가이드 장치(270)의 외주면을 형성하는 외벽(271) 및 상기 외벽(271)의 내측에 위치되며 상기 제 3 에어가이드 장치(270)의 내주면을 형성하는 내벽(272)이 포함된다. 상기 외벽(271)의 내주면과, 상기 내벽(272)의 외주면의 사이에는, 공기가 유동하는 제 1 공기유로(272a)가 형성된다. In the third air guide device 270, an outer wall 271 and an outer wall 271 forming an outer circumferential surface of the third air guide device 270 are located inside the outer wall 271. An inner wall 272 forming an inner circumferential surface is included. A first air passage 272a through which air flows is formed between the inner circumferential surface of the outer wall 271 and the outer circumferential surface of the inner wall 272.

그리고, 상기 제 3 에어가이드 장치(270)에는, 상기 제 1 공기유로(272a)에 배치되는 가이드 리브(275)가 포함된다. 상기 가이드 리브(275)는 상기 내벽(272)의 외주면으로부터 상기 외벽(271)의 내주면으로 연장된다. The third air guide device 270 includes a guide rib 275 disposed in the first air passage 272a. The guide rib 275 extends from the outer circumferential surface of the inner wall 272 to the inner circumferential surface of the outer wall 271.

상기 제 3 에어가이드 장치(270)에는, 상기 내벽(272)으로부터 하방으로 연장되어 제 2 팬모터(265)를 수용하는 모터 수용부(273)가 더 포함된다. 상기 모터 수용부(273)는 하부로 갈수록 직경이 작아지는 보울(bowl)의 형상을 가질 수 있다. The third air guide device 270 further includes a motor accommodating part 273 extending downward from the inner wall 272 to accommodate the second fan motor 265. The motor accommodating part 273 may have a shape of a bowl whose diameter decreases toward the lower side.

상기 제 2 팬모터(265)는 상기 제 2 팬(260)의 상측에 결합되어 상기 제 2 팬(260)에 구동력을 제공한다. 그리고, 상기 제 2 팬모터(265)의 일측에는 모터결합부(266)가 구비되며, 상기 모터결합부(266)는 상기 제 2 팬모터(265)를 상기 제 3 에어가이드 장치(270)에 고정되도록 가이드 한다.The second fan motor 265 is coupled to an upper side of the second fan 260 to provide a driving force to the second fan 260. In addition, a motor coupling part 266 is provided at one side of the second fan motor 265, and the motor coupling part 266 connects the second fan motor 265 to the third air guide device 270. Guide to fix.

상기 제 3 에어가이드 장치(270)에는, 상기 유동 전환장치(300)의 움직임을 가이드 하기 위한 가이드 장치(276,277)가 포함된다. 상기 가이드 장치(276,277)에는, 상기 모터수용부(273)에 구비되는 제 1 랙(276) 및 축가이드 홈(277)이 포함된다. The third air guide device 270 includes guide devices 276 and 277 for guiding the movement of the flow switching device 300. The guide devices 276 and 277 include a first rack 276 and a shaft guide groove 277 provided in the motor accommodating part 273.

상기 제 1 랙(276)은, 상기 유동 전환장치(300)의 제 1 기어(360)에 연동하여 상기 유동 전환장치(300)의 좌우방향 회전을 가이드 하는 구성으로서 이해된다. 상기 제 1 랙(276)은 상기 모터수용부(273)의 내주면에 구비되며, 설정된 곡률에 따라 원주방향으로 연장될 수 있다. 그리고, 상기 제 1 랙(276)의 길이는, 상기 제 1 기어(360)에 연동되는 거리에 기초하여 설정된 길이로 형성될 수 있다. The first rack 276 is understood as a configuration for guiding the left and right rotation of the flow diverter 300 in conjunction with the first gear 360 of the flow diverter 300. The first rack 276 is provided on the inner circumferential surface of the motor accommodating part 273 and may extend in the circumferential direction according to a set curvature. In addition, the length of the first rack 276 may be formed to have a length set based on a distance interlocked with the first gear 360.

상기 유동전환장치(300)는 좌우방향으로 회전될 수 있다. 여기서, "좌우방향"으로의 회전이라 함은, 상하방향을 기준으로 시계 방향 또는 반시계 방향으로 회전되는 것을 의미할 수 있다. 이 과정에서, 상기 제 1 기어(360)는 상기 유동전환장치(300)의 회전축(354)을 중심으로 소정된 회전반경을 가지고 회전할 수 있다.The flow switching device 300 may be rotated in the left and right directions. Here, the rotation in the "left and right directions" may mean that the rotation in the clockwise or counterclockwise direction based on the vertical direction. In this process, the first gear 360 may rotate with a predetermined rotation radius about the rotation shaft 354 of the flow switching device 300.

상기 축가이드 홈(277)은, 상기 제 1 기어(360)의 회전을 가이드 하는 홈으로서 소정의 곡률로 라운드지게 연장되는 구성으로서 이해된다. 일례로, 상기 축가이드 홈(277)는 원주 방향으로 라운드지도록 형성될 수 있다. 즉, 상기 축가이드 홈(277)는 원호의 형상을 가질 수 있다.The shaft guide groove 277 is understood as a configuration extending round with a predetermined curvature as a groove for guiding the rotation of the first gear 360. For example, the shaft guide groove 277 may be formed to be rounded in the circumferential direction. That is, the shaft guide groove 277 may have a circular arc shape.

상기 축가이드 홈(277)에는, 상기 제 1 기어(360)의 제 1 기어축(362)이 삽입될 수 있다. 상기 제 1 기어(360)가 회전하는 과정에서, 상기 제 1 기어축(362)은 상기 축가이드 홈(277)을 따라 이동될 수 있다.The first gear shaft 362 of the first gear 360 may be inserted into the shaft guide groove 277. In the process of rotating the first gear 360, the first gear shaft 362 may be moved along the shaft guide groove 277.

상기 제 2 송풍장치(200)에는, 상기 제 3 에어가이드 장치(270)의 상측에 설치되며, 상기 제 3 에어가이드 장치(270)를 통과한 공기의 유동을 가이드 하는 제 2 토출가이드 장치(280)가 구비된다. The second blower device 200 is installed above the third air guide device 270, and the second discharge guide device 280 guides the flow of air passing through the third air guide device 270. ) Is provided.

상기 제 2 토출가이드 장치(280)는 대략 환형의 형상을 가질 수 있다. 상세히, 상기 제 2 토출가이드 장치(280)에는, 상기 제 2 토출가이드 장치(280)의 외주면을 형성하며 원통형의 형상을 가지는 토출외벽(281) 및 상기 토출외벽(281)의 내측에 위치하여 상기 제 2 토출가이드 장치(280)의 내주면을 형성하며 원통형의 형상을 가지는 토출내벽(282)이 포함된다. The second discharge guide device 280 may have a substantially annular shape. In detail, the second discharge guide device 280 is formed inside the discharge outer wall 281 and the discharge outer wall 281, which form an outer circumferential surface of the second discharge guide device 280 and have a cylindrical shape. A discharge inner wall 282 forming an inner circumferential surface of the second discharge guide device 280 and having a cylindrical shape is included.

상기 토출외벽(281)은 상기 토출내벽(282)을 둘러싸도록 배치된다. 상기 토출외벽(281)의 내주면과, 상기 토출내벽(282)의 외주면의 사이에는, 공기가 유동하는 상기 제 3 에어가이드 장치(270)를 통과한 공기의 유동이 이루어지는 제 2 공기유로(282a), 즉 토출유로가 형성된다. 상기 토출유로는, 상기 가이드 리브(275)가 구비되는 제 1 공기유로(272a)의 상측에 위치될 수 있다.The discharge outer wall 281 is disposed to surround the discharge inner wall 282. A second air flow path 282a is formed between the inner circumferential surface of the discharge outer wall 281 and the outer circumferential surface of the discharge inner wall 282 through which the air passed through the third air guide device 270 through which air flows. That is, a discharge flow path is formed. The discharge passage may be located above the first air passage 272a provided with the guide rib 275.

상기 제 2 토출가이드 장치(280)에는, 상기 토출유로(282a)에 배치되는 제 2 토출그릴(288)이 더 포함된다. 상기 제 2 토출그릴(288)은 상기 토출내벽(282)의 외주면으로부터 상기 토출외벽(281)의 내주면으로 연장된다. 상기 제 2 토출그릴(288)에 의하여, 사용자가 상기 토출유로(282a)의 하측으로 손가락을 집어넣는 것이 방지될 수 있다.The second discharge guide device 280 further includes a second discharge grill 288 disposed in the discharge passage 282a. The second discharge grill 288 extends from the outer circumferential surface of the discharge inner wall 282 to the inner circumferential surface of the discharge outer wall 281. By the second discharge grill 288, a user may be prevented from inserting a finger into the lower side of the discharge passage 282a.

상기 제 2 토출가이드 장치(280)에는, 상기 토출내벽(282)에 결합되는 회전가이드 판(283)이 더 포함된다. 상기 회전가이드 판(283)은, 상기 토출내벽(282)의 내주면으로부터 상기 제 2 토출가이드 장치(280)의 내부 중심을 향하여 연장될 수 있다.The second discharge guide device 280 further includes a rotation guide plate 283 coupled to the discharge inner wall 282. The rotation guide plate 283 may extend from the inner circumferential surface of the discharge inner wall 282 toward the inner center of the second discharge guide device 280.

상기 회전가이드 판(283)에는, 상기 유동전환 장치(300)의 좌우방향 회전중심을 제공하는 축삽입부(284)가 포함된다. 상기 축삽입부(284)에는, 상기 회전축(354)이 삽입될 수 있다. 상기 축삽입부(284)는 상기 제 2 토출가이드 장치(280)의 내부 중심부에 위치될 수 있다. 상기 회전가이드 판(283)은 상기 축삽입부(284)를 지지하기 위한 지지판으로 이해될 수도 있다.The rotation guide plate 283 includes a shaft insertion portion 284 that provides a left and right rotation center of the flow switching device 300. The rotation shaft 354 may be inserted into the shaft inserting portion 284. The shaft insertion unit 284 may be located at an inner center of the second discharge guide device 280. The rotation guide plate 283 may be understood as a support plate for supporting the shaft insertion portion 284.

상기 회전가이드 판(283)에는, 베어링 홈(285)이 더 포함된다. 상기 베어링 홈(285)에는, 상기 유동전환 장치(300)에 구비되는 제 1 베어링(353)이 삽입될 수 있다. 상기 베어링 홈(285)은, 상기 제 1 베어링(353)의 이동을 가이드 하는 홈으로서 설정된 곡률로 라운드지게 연장되는 구성으로서 이해된다. 일례로, 상기 베어링 홈(285)은 원주 방향으로 라운드지도록 형성될 수 있다. 즉, 상기 베어링 홈(285)은 원호의 형상을 가질 수 있다.The rotation guide plate 283 further includes a bearing groove 285. In the bearing groove 285, a first bearing 353 provided in the flow switching device 300 may be inserted. The bearing groove 285 is understood as a configuration extending round with a curvature set as a groove for guiding the movement of the first bearing 353. In one example, the bearing groove 285 may be formed to be rounded in the circumferential direction. That is, the bearing groove 285 may have a circular arc shape.

상기 유동전환 장치(300)의 좌우방향 회전과정에서, 상기 제 1 베어링(353)은 상기 베어링 홈(285)에 삽입되어 이동할 수 있고, 이에 따라 상기 유동전환 장치(300)의 회전과정에서 발생되는 마찰력을 감소시킬 수 있다. In the left and right rotation process of the flow switching device 300, the first bearing 353 is inserted into the bearing groove 285 and can be moved, and thus is generated during the rotation of the flow switching device 300 It can reduce the frictional force.

상기 유동전환 장치(300)에는, 제 3 팬(330)이 수용되는 제 3 팬하우징(310)이 포함된다. 상기 제 3 팬하우징(310)은 대략 환형의 형상을 가진다. 상세히, 상기 제 3 팬하우징(310)에는, 외관을 형성하는 하우징 커버(312)가 포함된다. The flow switching device 300 includes a third fan housing 310 in which the third fan 330 is accommodated. The third fan housing 310 has a substantially annular shape. In detail, the third fan housing 310 includes a housing cover 312 forming an appearance.

상기 하우징 커버(312)의 내측에는, 환형의 형상을 가지는 하우징 본체(311)가 구비된다. 즉, 상기 하우징 커버(312)는 상기 하우징 본체(311)의 외주면에 결합되며, 상기 하우징 본체(311)에 의하여 지지될 수 있다. Inside the housing cover 312, a housing main body 311 having an annular shape is provided. That is, the housing cover 312 may be coupled to the outer circumferential surface of the housing body 311 and supported by the housing body 311.

설명의 편의를 위하여, 상기 제 1 팬(160) 및 상기 제 2 팬(260)을 "메인 팬"이라 이름하고, 상기 제 3 팬(330)을 "서브 팬"이라 이름할 수 있다. 달리 말하면, 상기 제 1,2 팬(160,260)을 "송풍팬", 상기 제 3 팬(330)을 "유동전환 팬"이라 이름할 수 있다.For convenience of description, the first fan 160 and the second fan 260 may be referred to as a "main fan," and the third fan 330 may be referred to as a "sub fan." In other words, the first and second fans 160 and 260 may be referred to as a "blowing fan," and the third fan 330 may be referred to as a "flow switching fan."

상기 하우징 본체(311)에는, 상기 하우징 본체(311)의 외주면으로부터 돌출되어 상기 하우징 커버(312)의 내측을 지지하는 커버지지부(311a)가 포함된다. 상기 커버지지부(311a)는 절곡된 형상을 가지며, 상기 커버지지부(311a)의 외면은 상기 하우징 커버(312)의 내면에 결합될 수 있다.The housing main body 311 includes a cover support part 311a that protrudes from an outer circumferential surface of the housing main body 311 and supports the inside of the housing cover 312. The cover support 311a may have a bent shape, and an outer surface of the cover support 311a may be coupled to an inner surface of the housing cover 312.

상기 하우징 커버(312)는 상기 하우징본체(311)를 둘러싸도록 배치되며, 상기 하우징본체(311) 및 상기 하우징 커버(312)는 함께 회전 또는 이동될 수 있다. 상기 하우징 본체(311)의 내부에는 상기 제 3 팬(330)이 수용된다. 그리고, 상기 하우징 본체(311)의 내부공간에는, 상기 제 3 팬(330)의 구동에 의하여 공기가 유동하는 하우징유로(314)가 형성된다. 상기 하우징유로(314)에는, 상기 제 3 팬(330)의 블레이드(333)가 위치될 수 있다. 상기 블레이드(333)의 회전에 의하여, 공기는 상기 하우징유로(314)를 거쳐 상방으로 유동될 수 있다. 상기 하우징유로(314)는 상기 블레이드(333)가 위치한 공간으로부터 상기 블레이드(333)의 상측 공간까지 연장될 있다. The housing cover 312 is disposed to surround the housing body 311, and the housing body 311 and the housing cover 312 may be rotated or moved together. The third fan 330 is accommodated in the housing body 311. In addition, a housing flow path 314 through which air flows by driving the third fan 330 is formed in the inner space of the housing main body 311. The blade 333 of the third fan 330 may be located in the housing channel 314. By the rotation of the blade 333, air may flow upward through the housing passage 314. The housing passage 314 may extend from a space in which the blade 333 is located to an upper space of the blade 333.

상기 제 3 팬하우징(310)의 상측에는, 상기 제 3 팬(330)을 통과한 공기가 배출되는 제 2 토출부(305)를 형성하는 토출그릴(315)이 구비된다. 상세히, 도 17을 참조하면, 상기 토출그릴(315)에는, 그릴외벽(316)과, 상기 그릴외벽(316)의 내측에 구비되는 그릴내벽(317) 및 상기 그릴외벽(316)으로부터 상기 그릴내벽(317)으로 연장되는 다수의 그릴부(315a)가 포함된다. 상기 다수의 그릴부(315a)의 사이의 공간은 상기 제 2 토출부(305)를 형성한다.An upper part of the third fan housing 310 is provided with a discharge grill 315 for forming a second discharge unit 305 through which the air passing through the third fan 330 is discharged. In detail, referring to FIG. 17, the discharge grill 315 includes a grill outer wall 316, a grill inner wall 317 provided inside the grill outer wall 316, and a grill inner wall from the grill outer wall 316. A plurality of grille portions 315a extending to 317 are included. Spaces between the plurality of grill parts 315a form the second discharge part 305.

상기 공기 청정기(10)에는, 상기 제 1 송풍장치(100)의 제 1 토출부(105)와 함께 상기 제 2 토출부(305)가 구비되므로, 토출풍량이 개선되고 다양한 방향으로 공기가 토출되는 효과가 나타난다.Since the air cleaner 10 includes the second discharge unit 305 together with the first discharge unit 105 of the first blower 100, the discharge air volume is improved and air is discharged in various directions. Effect.

상기 그릴외벽(316) 및 상기 그릴내벽(317)은 각각 원통형의 형상을 가지며, 상기 그릴외벽(316)은 상기 그릴내벽(317)을 둘러싸도록 배치될 수 있다. 그리고, 상기 제 2 토출부(305)는 상기 하우징유로(314)의 상측에 형성될 수 있다. 따라서, 상기 하우징유로(314)를 통과한 공기는 상기 토출그릴(315)의 제 2 토출부(305)를 경유하여 공기 청정기(10)의 외부로 배출될 수 있다.The grill outer wall 316 and the grill inner wall 317 may each have a cylindrical shape, and the grill outer wall 316 may be disposed to surround the grill inner wall 317. The second discharge part 305 may be formed above the housing flow path 314. Therefore, the air passing through the housing passage 314 may be discharged to the outside of the air cleaner 10 via the second discharge part 305 of the discharge grill 315.

상기 토출그릴(315)에는, 상기 토출그릴(315)의 대략 중앙부에 함몰되는 형상을 가지며, 상기 디스플레이 장치(600)를 지지하는 함몰부(318)가 더 포함된다. 상기 함몰부(318)는 상기 그릴내벽(317)의 하단부에 구비될 수 있다. The discharge grill 315 may further include a recess 318 having a shape recessed in an approximately central portion of the discharge grill 315 and supporting the display apparatus 600. The depression 318 may be provided at a lower end of the grill inner wall 317.

상기 함몰부(318)에는, 상기 디스플레이 장치(600)의 디스플레이PCB(610)를 지지하는 지지리브(318a)가 구비된다. 상기 지지리브(318a)는 상기 함몰부(318)의 상면으로부터 상방으로 돌출될 수 있다. 그리고, 상기 그릴내벽(317)은 상기 디스플레이PCB(610)의 하측을 지지할 수 있다.The depression 318 is provided with a support rib 318a for supporting the display PCB 610 of the display apparatus 600. The support rib 318a may protrude upward from an upper surface of the depression 318. In addition, the grill inner wall 317 may support the lower side of the display PCB 610.

상기 디스플레이 장치(600)에는, PCB어셈블리(601)가 포함된다. 상기 PCB어셈블리(601)에는, 조명원이 구비되는 디스플레이PCB(610)와, 상기 디스플레이PCB(610)의 상측에 결합되며 디스플레이 되는 정보가 다양한 문자, 숫자 또는 기호등으로 표시될 수 있도록 상기 조명원에서 조사되는 빛을 상방을 향하여 집중시켜 주는 리플렉터(620) 및 상기 토출그릴(315)에 지지되며 상기 조명원에서 조사되는 빛을 굴절시켜 상기 디스플레이 장치(600)의 상면, 즉 디스플레이 화면(602)의 테두리부(650)를 향하도록 가이드 하는 확산판(630)이 포함된다. The display apparatus 600 includes a PCB assembly 601. The PCB assembly 601, the display PCB 610 is provided with an illumination source, the illumination source is coupled to the upper side of the display PCB 610 and the information to be displayed in a variety of letters, numbers or symbols, etc. The upper surface of the display device 600, that is, the display screen 602, is supported by the reflector 620 and the discharge grill 315, which concentrates the light irradiated from the upward direction, and is discharged from the illumination source. The diffusion plate 630 is guided to the edge portion 650 of the.

상기 제 3 팬(330)에는, 축류팬이 포함될 수 있다. 상세히, 상기 제 3 팬(330)은 축방향으로 유입된 공기를 축방향으로 배출시키도록 작동될 수 있다. 즉, 상기 제 2 팬(260), 상기 제 3 에어가이드 장치(270)의 제 1 공기유로(272a) 및 제 2 토출가이드 장치(280)의 토출유로(282a)를 거쳐 상기 제 3 팬(330)을 향하여 상방으로 유동된 공기는, 상기 제 3 팬(330)에서 토출되어, 상기 제 3 팬(330)의 상측에 위치하는 제 2 토출부(305)를 통하여 외부로 배출될 수 있다. The third fan 330 may include an axial fan. In detail, the third fan 330 may be operated to discharge the air introduced in the axial direction in the axial direction. That is, the third fan 330 passes through the second fan 260, the first air passage 272a of the third air guide device 270, and the discharge passage 282a of the second discharge guide device 280. The air flowing upward toward) may be discharged from the third fan 330 and discharged to the outside through the second discharge unit 305 positioned above the third fan 330.

상기 제 3 팬(330)에는, 축류팬 모터인 제 3 팬모터(335)의 회전축(336)이 결합되는 축결합부를 가지는 허브(331) 및 상기 허브(331)에 원주 방향으로 결합되는 다수의 블레이드(333)가 포함된다. 상기 제 3 팬모터(335)는 상기 제 3 팬(330)의 하측에 결합되며, 제 3 모터하우징(337)의 내측에 배치될 수 있다.The third fan 330 has a hub 331 having an axial coupling portion to which the rotation shaft 336 of the third fan motor 335, which is an axial fan motor, and a plurality of circumferentially coupled to the hub 331. A blade 333 is included. The third fan motor 335 may be coupled to the lower side of the third fan 330 and disposed inside the third motor housing 337.

상기 제 1 팬모터(165) 및 제 2 팬모터(265)는 상기 공기 청정기(10)의 세로 방향을 기준으로, 일렬로 배치될 수 있다. 그리고, 상기 제 2 팬모터(265) 및 상기 제 3 팬모터(335)는 상기 공기 청정기(10)의 세로 방향을 기준으로, 일렬로 배치될 수 있다.The first fan motor 165 and the second fan motor 265 may be arranged in a line with respect to the longitudinal direction of the air cleaner 10. The second fan motor 265 and the third fan motor 335 may be arranged in a line with respect to the longitudinal direction of the air cleaner 10.

상기 유동전환 장치(300)에는, 상기 제 3 팬하우징(310)의 하측에 결합되어 상기 제 2 토출가이드 장치(280)를 거친 공기를 상기 제 3 팬하우징(310)으로 가이드 하는 유동 가이드부(320)가 더 포함된다. 상기 유동 가이드부(320)에는, 상기 제 3 팬하우징(310)으로의 공기 유입을 가이드 하는 유입그릴(325)이 포함된다. 상기 유입그릴(325)은 하방으로 오목한 형상을 가질 수 있다. In the flow switching device 300, a flow guide unit coupled to the lower side of the third fan housing 310 to guide the air passing through the second discharge guide device 280 to the third fan housing 310 ( 320 is further included. The flow guide part 320 includes an inlet grill 325 for guiding air inflow into the third fan housing 310. The inlet grill 325 may have a concave shape downward.

그리고, 상기 제 2 토출가이드 장치(280)의 제 2 토출그릴(288)의 형상은, 상기 유입그릴(325)의 형상에 대응하여 하방으로 오목하게 형성된다. 상기 유입그릴(325)은 상기 제 2 토출그릴(288)의 상측에 안착될 수 있다. 이와 같은 구성에 의하여, 상기 유입그릴(325)은 상기 제 2 토출그릴(288)에 안정적으로 지지될 수 있다.The shape of the second discharge grill 288 of the second discharge guide device 280 is concave downward to correspond to the shape of the inflow grill 325. The inlet grill 325 may be seated on an upper side of the second discharge grill 288. By such a configuration, the inlet grill 325 may be stably supported by the second discharge grill 288.

상기 유동전환 장치(300)에는, 상기 유동 가이드부(320)의 하측에 설치되어 상기 유동전환 장치(300)의 좌우방향으로의 회전 및 상하방향으로의 회전을 가이드 하는 회전가이드 장치(350)가 더 포함된다. 상기 좌우방향으로의 회전이라 함은, 축방향을 기준으로 시계방향 또는 반시계 방향으로 회전하는 것을 의미할 수 있다. 상기 좌우방향으로의 회전을 "제 1 방향 회전", 상기 상하방향으로의 회전을 "제 2 방향 회전"이라 이름할 수 있다.The flow switching device 300, the rotation guide device 350 is installed on the lower side of the flow guide unit 320 to guide the rotation in the left and right direction and the vertical direction of the flow switching device (300) It is included more. The rotation in the left and right directions may mean rotation in a clockwise or counterclockwise direction with respect to the axial direction. The rotation in the horizontal direction may be referred to as "first rotation" and the rotation in the vertical direction may be referred to as "second rotation".

상기 회전가이드 장치(350)에는, 상기 유동 가이드부(320)에 결합되는 가이드 본체(351)가 포함된다. 상기 가이드 본체(351)에는, 상기 제 1,2 가이드 기구가 설치되는 하면부(351a) 및 상기 하면부(351a)의 테두리에 구비되며 하방으로 돌출되도록 구성되는 테두리부(351b)가 포함된다. The rotation guide device 350 includes a guide body 351 coupled to the flow guide part 320. The guide body 351 includes a lower surface portion 351a on which the first and second guide mechanisms are installed, and an edge portion 351b provided at an edge of the lower surface portion 351a and configured to protrude downward.

그리고, 상기 회전가이드 장치(350)에는, 상기 유동전환 장치(300)의 제 1 방향 회전을 가이드 하기 위한 제 1 가이드 기구 및 상기 유동전환 장치(300)의 제 2 방향 회전을 가이드 하기 위한 제 2 가이드 기구가 포함된다.The rotation guide device 350 includes a first guide mechanism for guiding the first direction rotation of the flow switching device 300 and a second for guiding the second direction rotation of the flow switching device 300. Guide mechanisms are included.

상세히, 상기 제 1 가이드 기구에는, 구동력을 발생시키는 제 1 기어모터(363) 및 상기 제 1 기어모터(363)에 결합되어 회전될 수 있는 제 1 기어(360)가 포함된다. 일례로, 상기 제 1 기어모터(363)에는, 회전각도의 제어가 용이한 스텝 모터(step motor)가 포함될 수 있다. 그리고, 상기 제 1 기어모터(363)에는, 양방향 회전이 가능한 모터가 포함될 수 있다.In detail, the first guide mechanism includes a first gear motor 363 that generates a driving force and a first gear 360 that can be rotated by being coupled to the first gear motor 363. For example, the first gear motor 363 may include a step motor for easily controlling the rotation angle. In addition, the first gear motor 363 may include a motor capable of bidirectional rotation.

상기 제 1 기어(360)는 상기 제 1 기어모터(363)의 모터 축(363a)에 결합된다. 상기 제 1 가이드 기구에는, 상기 제 1 기어(360)로부터 하방으로, 즉 상기 제 3 에어가이드 장치(270) 또는 상기 제 2 토출가이드 장치(280)를 향하여 연장되는 제 1 기어축(362)이 더 포함된다.The first gear 360 is coupled to the motor shaft 363a of the first gear motor 363. The first guide mechanism includes a first gear shaft 362 extending downward from the first gear 360, that is, toward the third air guide device 270 or the second discharge guide device 280. It is included more.

상기 제 1 기어(360)는 상기 제 3 에어가이드 장치(270)의 제 1 랙(276)에 기어 결합된다. 상기 제 1 기어(360) 및 상기 제 1 랙(276)에는, 다수의 기어 이가 형성된다. 그리고, 상기 제 1 기어모터(363)가 구동되면, 상기 제 1 기어(360)는 회전하여, 상기 제 1 랙(276)에 연동한다. 이 때, 상기 제 3 에어가이드 장치(270)는 고정된 구성이므로, 상기 제 1 기어(360)는 상기 제 1 랙(276)을 따라 이동될 수 있다.The first gear 360 is gear coupled to the first rack 276 of the third air guide device 270. A plurality of gear teeth are formed in the first gear 360 and the first rack 276. When the first gear motor 363 is driven, the first gear 360 rotates to interlock with the first rack 276. At this time, since the third air guide device 270 is a fixed configuration, the first gear 360 may be moved along the first rack 276.

상기 제 3 에어가이드 장치(270)의 축 가이드홈(277)은 상기 제 1 기어(360)의 이동을 가이드 할 수 있다. 상세히, 상기 제 1 기어축(362)은, 상기 축 가이드홈(277)에 삽입될 수 있다. 그리고, 상기 제 1 기어축(362)은, 상기 제 1 기어(360)가 회전하는 과정에서 상기 축 가이드홈(277)을 따라 원주 방향으로 이동될 수 있다. The shaft guide groove 277 of the third air guide device 270 may guide the movement of the first gear 360. In detail, the first gear shaft 362 may be inserted into the shaft guide groove 277. In addition, the first gear shaft 362 may move in the circumferential direction along the shaft guide groove 277 while the first gear 360 rotates.

상기 제 1 가이드 기구에는, 상기 유동전환 장치(300)의 회전중심을 구성하는 회전축(354)이 더 포함된다. 상기 제 1 기어(360) 및 상기 제 1 기어축(362)은, 회전축(354)을 중심으로 설정된 회전반경을 가지고 회전될 수 있다. 이 때, 상기 설정된 회전반경을 "제 1 회전반경"이라 이름한다. The first guide mechanism further includes a rotation shaft 354 constituting a rotation center of the flow switching device 300. The first gear 360 and the first gear shaft 362 may be rotated with a rotation radius set around the rotation shaft 354. At this time, the set rotation radius is referred to as "first rotation radius".

상기 제 1 랙(276) 및 상기 축 가이드홈(277)은 상기 유동전환 장치(300)의 회전량 또는 회전각도에 대응하는 길이로 형성될 수 있다. 상세히, 상기 제 1 랙(276) 및 상기 축 가이드홈(277)의 원주방향 길이는, 상기 유동전환 장치(300)가 회전하는 원주방향 거리보다 약간 크게 형성될 수 있다. 이를 통하여, 상기 제 1 기어(360)가 이동하는 과정에서, 상기 제 1 랙(276)으로부터 이탈되는 것을 방지할 수 있다. 그리고, 상기 제 1 기어축(362)이 이동하는 과정에서, 상기 축 가이드 홈(277)의 단부에 간섭되는 것을 방지할 수 있다.The first rack 276 and the shaft guide groove 277 may be formed in a length corresponding to the rotation amount or rotation angle of the flow switching device 300. In detail, the circumferential length of the first rack 276 and the shaft guide groove 277 may be formed slightly larger than the circumferential distance at which the flow switching device 300 rotates. Through this, in the process of moving the first gear 360, it can be prevented from being separated from the first rack 276. In addition, the first gear shaft 362 may be prevented from interfering with an end of the shaft guide groove 277 during the movement of the first gear shaft 362.

상기 회전축(354)은 상기 가이드 본체(351)의 하면부(351a)에 구비될 수 있다. 상세히, 상기 회전축(354)은 상기 하면부(351a)로부터 하방으로 돌출될 수 있다. 상기 회전축(354)은, 상기 제 2 토출가이드 장치(280)의 축 삽입부(284)에 삽입되며, 상기 축 삽입부(284) 내에서 회전될 수 있다.The rotation shaft 354 may be provided at the lower surface portion 351a of the guide body 351. In detail, the rotation shaft 354 may protrude downward from the lower surface portion 351a. The rotating shaft 354 is inserted into the shaft inserting portion 284 of the second discharge guide device 280, and may be rotated in the shaft inserting portion 284.

즉, 상기 제 1 기어(360)가 회전하면, 상기 제 1 기어축(362) 및 제 1 기어(360)는 상기 회전축(354)을 중심으로 원주 방향으로 회전한다. 그리고, 상기 회전축(354)은 상기 축 삽입부(284) 내에서 자전하게 된다. 따라서, 상기 유동전환 장치(300)는 세로방향을 축 방향으로 하여, 제 1 방향, 즉 시계방향 또는 반시계 방향으로 회전될 수 있다.That is, when the first gear 360 rotates, the first gear shaft 362 and the first gear 360 rotate in the circumferential direction about the rotation shaft 354. In addition, the rotating shaft 354 is rotated in the shaft inserting portion 284. Therefore, the flow switching device 300 may be rotated in the first direction, that is, clockwise or counterclockwise, with the longitudinal direction as the axial direction.

상기 제 1 가이드 기구에는, 상기 유동전환 장치(300)의 제 1 방향 회전을 용이하게 하기 위한 베어링(353,355)이 더 포함된다. 상기 베어링(353,355)은, 상기 유동전환 장치(300)의 회전과정에서 발생되는 마찰력을 감소시킬 수 있다.The first guide mechanism further includes bearings 353 and 355 for facilitating rotation of the flow direction device 300 in the first direction. The bearings 353 and 355 may reduce the frictional force generated during the rotation of the flow switching device 300.

상기 베어링(353,355)에는, 상기 가이드 본체(351)의 하면부(351a)에 구비되는 제 1 베어링(353)이 포함된다. 일례로, 상기 제 1 베어링(353)에는, 볼 베어링(ball bearing)이 포함될 수 있다. 그리고, 상기 제 1 가이드 기구에는, 상기 하면부(351a)로부터 하방으로 돌출되어 상기 제 1 베어링(353)을 지지하는 베어링지지부(354)가 더 포함된다.The bearings 353 and 355 include a first bearing 353 provided in the lower surface portion 351a of the guide body 351. For example, a ball bearing may be included in the first bearing 353. The first guide mechanism further includes a bearing support portion 354 protruding downward from the lower surface portion 351a to support the first bearing 353.

상기 베어링지지부(354)는 설정길이로 형성되어, 상기 제 1 베어링(353)이 상기 회전가이드 판(283)에 접촉할 수 있는 위치에 배치될 수 있도록 가이드 한다.The bearing support part 354 is formed to have a set length, and guides the first bearing 353 to be disposed at a position where it can contact the rotation guide plate 283.

상기 회전가이드 판(283)에는, 상기 제 1 베어링(353)이 삽입되는 베어링홈(285)이 포함된다. 상기 유동전환 장치(300)가 제 1 방향 회전하는 과정에서, 상기 제 1 베어링(353)은 상기 베어링 홈(285)에 삽입되어 이동될 수 있다. The rotation guide plate 283 includes a bearing groove 285 into which the first bearing 353 is inserted. In the process of rotating the flow switching device 300 in the first direction, the first bearing 353 may be inserted into the bearing groove 285 and moved.

이 때, 상기 제 1 베어링(353)은 상기 회전축(354)을 중심으로 설정된 회전반경으로 회전될 수 있다. 이 때, 상기 설정된 회전반경을 "제 2 회전반경"이라 한다. 상기 제 2 회전반경은, 상기 제 1 회전반경보다 작게 형성될 수 있다. 즉, 상기 회전축(354)으로부터 상기 제 1 베어링(353)까지의 거리는, 상기 회전축(354)으로부터 상기 제 1 기어축(362)까지의 거리보다 짧게 형성될 수 있다. 이와 같은 구성에 의하면, 상기 하면부(351a)가 상기 제 3 에어가이드 장치(270) 및 상기 제 2 토출가이드 장치(280)에 안정적으로 지지되어 회전될 수 있다.At this time, the first bearing 353 may be rotated at a rotation radius set around the rotation shaft 354. At this time, the set rotation radius is referred to as "second rotation radius". The second rotation radius may be smaller than the first rotation radius. That is, the distance from the rotation shaft 354 to the first bearing 353 may be shorter than the distance from the rotation shaft 354 to the first gear shaft 362. According to this configuration, the lower surface portion 351a may be stably supported and rotated by the third air guide device 270 and the second discharge guide device 280.

상기 제 1 기어축(362)이 상기 축가이드 홈(277)을 따라 이동할 때, 상기 제 1 베어링(353)은 상기 베어링 홈(285)을 따라 이동될 수 있다. 상기 제 1 기어축(362)과 상기 제 1 베어링(353)의 원활한 이동을 위하여, 상기 축가이드 홈(277)의 설정된 곡률과, 상기 베어링 홈(285)의 설정된 곡률은 동일할 수 있다.When the first gear shaft 362 moves along the shaft guide groove 277, the first bearing 353 may move along the bearing groove 285. In order to smoothly move the first gear shaft 362 and the first bearing 353, the set curvature of the shaft guide groove 277 and the set curvature of the bearing groove 285 may be the same.

상기 베어링(353,355)에는, 상기 제 2 베어링(355)이 더 포함된다. 상기 제 2 베어링(355)은, 상기 테두리부(351b)에 회전 가능하게 설치될 수 있다. 상기 테두리부(351b)에는, 상기 제 2 베어링(355)이 결합되는 베어링삽입부(351c)가 형성될 수 있다. 상기 베어링삽입부(351c)는 상기 테두리부(351b)의 저면으로부터 상방으로 함몰되도록 구성될 수 있다. 그리고, 상기 제 2 베어링(355)은 다수 개가 구비될 수 있다.The second bearing 355 is further included in the bearings 353 and 355. The second bearing 355 may be rotatably installed on the edge portion 351b. In the edge portion 351b, a bearing insertion portion 351c may be formed to which the second bearing 355 is coupled. The bearing insertion portion 351c may be configured to be recessed upward from the bottom surface of the edge portion 351b. In addition, a plurality of second bearings 355 may be provided.

상기 제 2 베어링(355)은 상기 제 2 토출가이드 장치(280)의 토출 내벽(282)에 접촉 가능하게 구비될 수 있다, 즉, 상기 토출 내벽(282)의 내주면은, 상기 제 2 베어링(355)의 접촉면을 형성할 수 있다. 상기 제 2 베어링(355)이 상기 회전축(354)을 중심으로 상기 토출 내벽(282)의 내주면을 따라 회전함으로써, 상기 유동전환 장치(300)의 제 1 방향 회전이 용이하게 이루어질 수 있다.The second bearing 355 may be provided to be in contact with the discharge inner wall 282 of the second discharge guide device 280, that is, the inner circumferential surface of the discharge inner wall 282 is the second bearing 355. ) Can be formed into contact surfaces. As the second bearing 355 rotates along the inner circumferential surface of the discharge inner wall 282 about the rotation shaft 354, the first direction rotation of the flow switching device 300 may be easily performed.

도 9를 참조하여, 유동전환 장치(300)의 제 1방향 회전에 대하여 간단하게 설명한다.With reference to FIG. 9, the 1st direction rotation of the flow switching apparatus 300 is demonstrated easily.

상기 제 1 기어모터(363)가 작동하면 상기 제 1 기어(360)가 회전할 수 있다. 상기 제 1 기어모터(363)는 위에서 바라보았을 때, 시계방향 또는 반시계 방향으로 회전하며, 이에 대응하여 상기 제 1 기어(360)는 상기 시계방향 또는 반시계 방향으로 회전할 수 있다.When the first gear motor 363 operates, the first gear 360 may rotate. When viewed from above, the first gear motor 363 rotates in a clockwise or counterclockwise direction, and correspondingly, the first gear 360 may rotate in the clockwise or counterclockwise direction.

일례로, 상기 제 1 기어모터(363)가 시계방향으로 회전하면, 상기 제 1 기어(360) 및 제 1 기어축(362)은 상기 축가이드 홈(277)을 따라 반시계 방향으로 이동할 수 있다. 반면에, 상기 제 1 기어모터(363)가 반시계 방향으로 회전하면, 상기 제 1 기어(360) 및 제 1 기어축(362)은 상기 축가이드 홈(277)을 따라 시계 방향으로 이동할 수 있다.For example, when the first gear motor 363 rotates clockwise, the first gear 360 and the first gear shaft 362 may move counterclockwise along the shaft guide groove 277. . On the other hand, when the first gear motor 363 rotates in the counterclockwise direction, the first gear 360 and the first gear shaft 362 may move in the clockwise direction along the shaft guide groove 277. .

상기 제 1 기어(360)의 시계방향 또는 반시계 방향으로의 이동에 따라, 상기 유동전환 장치(300)는 상기 제 1 기어(360)의 이동방향과 동일한 방향으로 회전할 수 있다. 이 과정에서, 상기 제 1 베어링(353)은 베어링 홈(285)을 따라 이동하며, 상기 제 2 베어링(355)은 상기 토출 내벽(282)의 내주면을 따라 이동할 수 있다.As the first gear 360 moves in the clockwise or counterclockwise direction, the flow switching device 300 may rotate in the same direction as the moving direction of the first gear 360. In this process, the first bearing 353 may move along the bearing groove 285, and the second bearing 355 may move along the inner circumferential surface of the discharge inner wall 282.

이러한 작용에 의하여, 상기 유동전환 장치(300)는 좌우 방향으로의 설정된 경로를 따라 안정적으로 회전될 수 있다.By this action, the flow switching device 300 can be stably rotated along the set path in the left and right directions.

도 11은 본 발명의 실시예에 따른 유동 전환장치의 구성을 보여주는 분해 사시도이고, 도 12는 본 발명의 실시예에 따른 유동 전환장치의 구동부 및 고정부의 구성을 보여주는 분해 사시도이고, 도 13은 본 발명의 실시예에 따른 유동 전환장치에 구비되는 제 2 랙 및 제 2 기어의 연동모습을 보여주는 도면이다.11 is an exploded perspective view showing the configuration of the flow diverter according to an embodiment of the present invention, Figure 12 is an exploded perspective view showing the configuration of the drive unit and the fixing portion of the flow diverter according to an embodiment of the present invention, Figure 13 is 2 is a view showing the interlocking view of the second rack and the second gear provided in the flow switching device according to an embodiment of the present invention.

도 7, 도 11 및 도 12를 참조하면, 본 발명의 실시예에 따른 유동 전환장치(300)에는, 상기 유동 전환장치(300)의 상하방향 회전을 가이드 하는 제 2 가이드 기구가 포함된다. 7, 11, and 12, the flow diverter 300 according to the embodiment of the present invention includes a second guide mechanism for guiding the up and down rotation of the flow diverter 300.

상세히, 상기 제 2 가이드 기구에는, 상기 가이드 본체(351)에 고정되는 고정가이드 부재(352)가 포함된다. 상기 고정가이드 부재(352)의 하면에, 상기 중심축(354)이 구비될 수 있다.In detail, the second guide mechanism includes a fixed guide member 352 fixed to the guide body 351. The central axis 354 may be provided on a lower surface of the fixed guide member 352.

상기 고정가이드 부재(352)에는, 회전가이드 부재(370)의 하측를 지지하며, 상기 회전가이드 부재(370)의 제 2 방향 회전을 가이드 하는 제 1 가이드면(352a)이 포함된다. 상기 제 1 가이드면(352a)은 상기 고정가이드 부재(352)의 상면 중 적어도 일부분을 형성하며, 상기 회전가이드 부재(370)의 회전 경로에 대응하여, 상방으로 라운드지게 연장될 수 있다.The fixed guide member 352 includes a first guide surface 352a that supports the lower side of the rotation guide member 370 and guides rotation of the rotation guide member 370 in a second direction. The first guide surface 352a forms at least a portion of an upper surface of the fixed guide member 352, and may extend upwardly in a round direction corresponding to the rotation path of the rotation guide member 370.

상기 고정가이드 부재(352)에는, 상기 회전가이드 부재(370)에 접촉 가능하게 구비되어, 상기 회전가이드 부재(370)의 회전운동시 발생되는 마찰력을 저감시킬 수 있는 제 1 가이드베어링(359)이 더 포함된다. 상기 제 1 가이드베어링(359)은 상기 제 1 가이드면(352a)의 측방에 위치될 수 있다.The fixed guide member 352 is provided to be in contact with the rotation guide member 370, the first guide bearing 359 that can reduce the friction force generated during the rotational movement of the rotation guide member 370 is It is included more. The first guide bearing 359 may be located on the side of the first guide surface 352a.

상기 고정가이드 부재(352)에는, 상기 회전가이드 부재(370)의 회전을 위하여, 제 2 기어(365)가 삽입될 수 있는 제 2 기어삽입부(352b)가 더 포함된다. 상기 제 2 기어삽입부(352b)는 상기 제 1 가이드면(352a)의 일측에 형성된다. 일례로, 상기 제 2 기어삽입부(352b)는, 상기 제 1 가이드면(352a)의 적어도 일부분이 절개되어 형성될 수 있다.The fixed guide member 352 further includes a second gear insertion portion 352b into which the second gear 365 may be inserted to rotate the rotation guide member 370. The second gear insertion portion 352b is formed at one side of the first guide surface 352a. For example, the second gear inserting portion 352b may be formed by cutting at least a portion of the first guide surface 352a.

상기 제 2 기어(365)는 상기 제 1 가이드면(352a)의 하측에 위치되며, 상기 제 2 기어(365)의 적어도 일부분은 상기 제 2 기어삽입부(352b)를 관통하여 상기 제 2 기어삽입부(352b)의 상측으로 돌출되도록 구성될 수 있다.The second gear 365 is positioned below the first guide surface 352a, and at least a portion of the second gear 365 passes through the second gear insertion portion 352b to insert the second gear. It may be configured to protrude above the portion 352b.

상기 제 2 가이드 기구에는, 상기 제 2 기어(365)에 결합되어 구동력을 제공하는 제 2 기어모터(367)가 더 포함된다. 일례로, 상기 제 2 기어모터(367)에는, 스텝 모터가 포함될 수 있다. 그리고, 상기 제 2 기어모터(367)에는, 양방향 회전이 가능한 모터가 포함될 수 있다.The second guide mechanism further includes a second gear motor 367 coupled to the second gear 365 to provide a driving force. For example, the second gear motor 367 may include a step motor. The second gear motor 367 may include a motor capable of bidirectional rotation.

상기 제 2 가이드 기구에는, 상기 제 2 기어모터(367)로부터 상기 제 2 기어(365)로 연장되는 제 2 기어축(366)이 더 포함된다. 상기 제 2 기어축(366)은 상기 제 2 기어모터(367)의 측방으로 돌출될 수 있다. 상기 제 2 기어모터(367)가 구동되면, 상기 제 2 기어축(366)과 상기 제 2 기어(365)는 함께 회전될 수 있다.The second guide mechanism further includes a second gear shaft 366 extending from the second gear motor 367 to the second gear 365. The second gear shaft 366 may protrude to the side of the second gear motor 367. When the second gear motor 367 is driven, the second gear shaft 366 and the second gear 365 may be rotated together.

상기 제 2 가이드 기구에는, 상기 고정가이드 부재(352)의 상측에 배치되며, 상하 방향으로 회전 가능하게 구비되는 회전가이드 부재(370)가 더 포함된다. 상기 회전가이드 부재(370)는 상기 유동 가이드부(320)의 하측에 결합될 수 있다. The second guide mechanism further includes a rotation guide member 370 disposed above the fixed guide member 352 and rotatably provided in a vertical direction. The rotation guide member 370 may be coupled to the lower side of the flow guide part 320.

상세히, 상기 회전가이드 부재(370)에는, 상기 고정가이드 부재(352)에 의하여 지지되는 본체부(371)가 포함된다. 그리고, 상기 본체부(371)에는, 상기 제 1 가이드면(352a)을 따라 이동하는 제 2 가이드면(372)이 포함된다. 상기 제 2 가이드면(372)는 상기 제 1 가이면(352a)의 곡률에 대응하여 하방으로 라운드지게 형성될 수 있다.In detail, the rotation guide member 370 includes a main body 371 supported by the fixed guide member 352. The main body 371 includes a second guide surface 372 moving along the first guide surface 352a. The second guide surface 372 may be formed to be rounded downward to correspond to the curvature of the first false surface 352a.

상기 회전가이드 부재(370)에는, 상기 고정가이드 부재(352)에 접촉 가능하게 구비되어, 상기 회전가이드 부재(370)의 회전운동시 발생되는 마찰력을 저감시킬 수 있는 제 2 가이드베어링(375)이 더 포함된다. 상기 제 2 가이드베어링(375)은 상기 제 2 가이드면(372)의 측방에 위치되며, 상기 회전가이드 부재(370)가 회전하는 과정에서, 상기 제 1 가이드면(352a)을 따라 이동할 수 있다.The rotation guide member 370, the second guide bearing 375 is provided to be in contact with the fixed guide member 352, which can reduce the friction force generated during the rotational movement of the rotation guide member 370 is More included. The second guide bearing 375 is positioned on the side of the second guide surface 372, and may move along the first guide surface 352a while the rotation guide member 370 rotates.

상기 회전가이드 부재(370)에는, 상기 제 2 기어(365)에 연동하는 제 2 랙(374)이 더 포함된다. 상기 제 2 기어(365) 및 상기 제 2 랙(374)에는, 다수의 기어 이가 형성되며, 상기 다수의 기어 이를 통하여, 상기 제 2 기어(365)와 상기 제 2 랙(374)은 기어 결합될 수 있다.The rotation guide member 370 further includes a second rack 374 interlocked with the second gear 365. A plurality of gear teeth are formed in the second gear 365 and the second rack 374, and the second gear 365 and the second rack 374 are gear-coupled through the plurality of gear teeth. Can be.

상기 제 2 기어모터(367)가 구동하면, 상기 제 2 기어(365)와 상기 제 2 랙(374)의 연동에 의하여, 상기 회전가이드 부재(370)는 상하 방향으로 회전하는 움직임을 수행할 수 있다. 따라서, 상기 유동전환 장치(300)는 상기 회전가이드 부재(370)의 움직임에 따라, 제 2 방향 회전을 수행할 수 있다. When the second gear motor 367 is driven, the rotation guide member 370 rotates in the vertical direction by interlocking the second gear 365 and the second rack 374. have. Thus, the flow switching device 300 may perform a second direction rotation in accordance with the movement of the rotation guide member 370.

도 13을 참조하여, 유동전환 장치(300)의 제 2방향 회전에 대하여 간단하게 설명한다.With reference to FIG. 13, the 2nd direction rotation of the flow switching apparatus 300 is demonstrated easily.

상기 제 2 기어모터(367)가 작동하면 상기 제 2 기어(365)가 회전할 수 있다. 상기 제 2 기어모터(367)는 반경방향을 기준으로 시계방향 또는 반시계 방향으로 회전하며, 이에 대응하여 상기 제 2 기어(365)는 상기 시계방향 또는 반시계 방향으로 회전할 수 있다.When the second gear motor 367 is operated, the second gear 365 may rotate. The second gear motor 367 rotates in a clockwise or counterclockwise direction with respect to the radial direction, and the second gear 365 may rotate in the clockwise or counterclockwise direction.

일례로, 상기 제 2 기어모터(367)가 시계방향으로 회전하면, 상기 제 2 기어(365)는 시계 방향으로 회전하며 상기 제 2 랙(374)은 상기 제 2 기어(365)에 연동하여 반시계 방향으로 회전할 수 있다. 상기 제 2 랙(374)의 회전에 따라, 상기 회전가이드 부재(370) 및 상기 유동 가이드부(320)는 함께 회전할 수 있다. 결국, 상기 팬 하우징(310)은 반시계 방향으로 회전할 수 있다.For example, when the second gear motor 367 is rotated in the clockwise direction, the second gear 365 is rotated in the clockwise direction and the second rack 374 is interlocked with the second gear 365 in half. Can rotate clockwise. As the second rack 374 rotates, the rotation guide member 370 and the flow guide part 320 may rotate together. As a result, the fan housing 310 may rotate in a counterclockwise direction.

반면에, 상기 제 2 기어모터(367)가 반시계 방향으로 회전하면, 상기 제 2 기어(365)는 반시계 방향으로 회전하며 상기 제 2 랙(374)은 상기 제 2 기어(365)에 연동하여 시계 방향으로 회전할 수 있다. 상기 제 2 랙(374)의 회전에 따라, 상기 회전가이드 부재(370) 및 상기 유동 가이드부(320)는 함께 회전할 수 있다. 결국, 상기 팬 하우징(310)은 시계 방향으로 회전할 수 있다.On the other hand, when the second gear motor 367 rotates in the counterclockwise direction, the second gear 365 rotates in the counterclockwise direction and the second rack 374 is interlocked with the second gear 365. Can be rotated clockwise. As the second rack 374 rotates, the rotation guide member 370 and the flow guide part 320 may rotate together. As a result, the fan housing 310 may rotate in a clockwise direction.

이러한 작용에 의하여, 상기 유동전환 장치(300)는 상하방향으로의 설정된 경로를 따라 안정적으로 회전될 수 있다.By this action, the flow switching device 300 can be stably rotated along the set path in the vertical direction.

도 14 및 도 15는 본 발명의 실시예에 따른 유동 전환장치가 제 2 위치에 있는 모습을 보여주는 도면이고, 도 16은, 도 14의 유동 전환장치가 A 방향으로 회전한 모습을 보여주는 도면이다.14 and 15 are views showing a state in which the flow diverter according to an embodiment of the present invention in the second position, and FIG. 16 is a view showing the state in which the flow diverter of FIG. 14 is rotated in the A direction.

도 14 및 도 15는 상기 유동전환 장치(300)가 상기 제 2 토출가이드 장치(280)의 상측으로 돌출된 상태, 즉 상기 회전가이드 부재(370)가 상방으로 회전하여 상기 팬 하우징(310)이 상방으로 세워진 상태(제 2 위치)의 모습을 보여준다. 반면에, 도 1 및 도 2는 상기 유동전환 장치(300)가 누워있는 상태(제 1 위치)의 모습을 보여준다.14 and 15 illustrate the state in which the flow switching device 300 protrudes upward of the second discharge guide device 280, that is, the rotation guide member 370 rotates upwards so that the fan housing 310 is rotated upward. It shows the state of the upright position (second position). On the other hand, Figures 1 and 2 show the state of the flow conversion device 300 lying down (first position).

즉, 상기 유동전환 장치(300)는 도 14에 표시된 "B"의 방향으로 상하 회전 가능하게 작동하여, 상기 제 1 위치 또는 상기 제 2 위치에 있을 수 있다. 상기 유동전환 장치(300)가 상기 제 1 위치에 있을 때, 상기 유입그릴(325)은 상기 제 2 토출그릴(288)의 상면에 안착된다. 반면에, 상기 유동전환 장치(300)가 상기 제 2 위치에 있을 때, 상기 유입그릴(325)은 상기 제 2 토출그릴(288)의 상면으로부터 상방으로 이격될 수 있다. That is, the flow switching device 300 may be operated in the vertical direction in the direction of "B" shown in Figure 14, it may be in the first position or the second position. When the flow switching device 300 is in the first position, the inlet grill 325 is seated on an upper surface of the second discharge grill 288. On the other hand, when the flow switching device 300 is in the second position, the inlet grill 325 may be spaced upwardly from the upper surface of the second discharge grill (288).

상기 제 3 팬(330)은 상기 유동전환 장치(300)가 상기 제 1 위치 또는 상기 제 2 위치에 있는지 여부에 따라, 선택적으로 작동할 수 있다.The third fan 330 may selectively operate depending on whether the flow diverting device 300 is in the first position or the second position.

상세히, 상기 유동전환 장치(300)가 상기 제 1 위치에 있는 상태에서, 상기 제 1,2 팬(160,260)은 회전하여 공기 유동을 발생시킬 수 있다. 상기 제 1 팬(160)의 작동에 의하여, 상기 공기 청정기(10)의 하부에서의 공기 흡입 및 토출(제 1 유동)이 발생될 수 있다. 그리고, 상기 제 2 팬(260)의 작동에 의하여, 상기 공기 청정기(10)의 상부에서의 공기 흡입 및 토출(제 2 유동)이 발생될 수 있다. 상기 제 1 유동과 제 2 유동은 상기 구획장치(400)에 의하여 분리될 수 있다.In detail, while the flow switching device 300 is in the first position, the first and second fans 160 and 260 may rotate to generate air flow. By operation of the first fan 160, air intake and discharge (first flow) may be generated in the lower portion of the air cleaner 10. In addition, by the operation of the second fan 260, air intake and discharge (second flow) in the upper portion of the air cleaner 10 may be generated. The first flow and the second flow may be separated by the partition device 400.

그리고, 상기 제 3 팬(330)은 선택적으로 작동할 수 있다. 상기 제 3 팬(330)이 작동하면, 상기 제 2 유동은 더욱 강력하게 발생될 수 있다. 즉, 상기 제 2 팬(260) 및 제 3 팬(330)에 의하여, 공기 청정기(10)의 상부에서의 강한 토출기류가 발생되며, 제 2 토출부(305)를 통하여 토출될 수 있다. 물론, 상기 제 3 팬(330)은 작동하지 않을 수도 있을 것이다. In addition, the third fan 330 may be selectively operated. When the third fan 330 is operated, the second flow can be generated more strongly. That is, by the second fan 260 and the third fan 330, a strong discharge air flow in the upper portion of the air cleaner 10 may be generated, and may be discharged through the second discharge unit 305. Of course, the third fan 330 may not operate.

한편, 상기 유동전환 장치(300)가 상기 제 2 위치에 있는 상태에서, 상기 제 1,2 팬(160,260)은 회전하여 상기 제 1,2 유동을 발생시킬 수 있다. 그리고, 상기 제 3 팬(330)은 작동할 수 있다. On the other hand, while the flow switching device 300 is in the second position, the first and second fans 160 and 260 may rotate to generate the first and second flows. In addition, the third fan 330 may operate.

상기 제 3 팬(330)의 작동에 의하여, 상기 제 2 토출가이드 장치(280)의 토출유로(282a)를 통하여 토출되는 공기 중 적어도 일부의 공기는 상기 제 3 팬하우징(310)의 내부로 유입되며, 상기 제 3 팬(330)을 거쳐 상기 제 2 토출부(305)에서 토출될 수 있다. 이와 같은 작용에 의하여, 정화된 공기는 공기 청정기(10)로부터 멀리 떨어진 위치까지 도달될 수 있다(도 24 참조).By operation of the third fan 330, air of at least some of the air discharged through the discharge passage 282a of the second discharge guide device 280 flows into the third fan housing 310. And may be discharged from the second discharge unit 305 via the third fan 330. By this action, the purified air can be reached to a position far from the air cleaner 10 (see FIG. 24).

그리고, 상기 유동전환 장치(300)는, 상기 제 2 위치에 있는 상태에서, 축방향을 기준으로 좌우 방향으로 회전될 수 있다. 도 14는, 상기 유동전환 장치(300)가 상기 제 2 위치에 있는 상태에서 일방향(도 14 기준, 좌측방향)을 바라보도록 위치된 모습을 보여주고 도 16은 타방향(도 14 기준, 우측방향)을 바라보도록 위치된 모습을 보여준다.In addition, the flow switching device 300 may be rotated in the left and right directions with respect to the axial direction while in the second position. FIG. 14 shows a state in which the flow switching device 300 is positioned to face in one direction (refer to FIG. 14 and to the left) while in the second position, and FIG. 16 is in the other direction (as to FIG. 14 and to the right). Shows the position of looking at

그리고, 상기 일방향은 공기 청정기(10)의 전방을 중심으로 좌측 45도를 향하는 방향이며, 상기 타방향은 공기 청정기(10)의 전방을 중심으로 우측 45도를 향하는 방향일 수 있다. 즉, 상기 유동전환 장치(300)의 회전각도는 약 90도를 형성할 수 있다.The one direction may be a direction toward 45 degrees to the left of the front of the air cleaner 10, and the other direction may be a direction toward 45 degrees to the right of the front of the air cleaner 10. That is, the rotation angle of the flow switching device 300 may form about 90 degrees.

이와 같이, 상기 유동전환 장치(300)가 축방향을 기준으로 좌우 방향으로 회전될 수 있으므로, 공기 청정기(10)를 중심으로 다양한 방향으로 원거리까지 토출기류를 보낼 수 있다는 효과가 나타난다.As such, since the flow switching device 300 may be rotated in the left and right directions based on the axial direction, an effect of sending a discharge air stream to a distance in various directions with respect to the air cleaner 10 is shown.

도 17은 본 발명의 실시예에 따른 토출그릴에 결합되는 디스플레이 장치의 구성을 보여주는 분해 사시도이고, 도 18은 본 발명의 실시예에 따른 토출그릴에 PCB 어셈블리가 결합되는 모습을 보여주는 도면이고, 도 19는 본 발명의 실시예에 따른 PCB 어셈블리의 구성을 보여주는 분해 사시도이고, 도 20은 본 발명의 실시예에 따른 디스플레이 장치의 상면 구성을 보여주는 도면이고, 도 21은 본 발명의 실시예에 따른 PCB 어셈블리의 저면 구성을 보여주는 도면이다.17 is an exploded perspective view illustrating a configuration of a display apparatus coupled to a discharge grill according to an embodiment of the present invention, and FIG. 18 is a view illustrating a PCB assembly coupled to a discharge grill according to an embodiment of the present invention. 19 is an exploded perspective view showing the configuration of a PCB assembly according to an embodiment of the present invention, Figure 20 is a view showing the top configuration of a display device according to an embodiment of the present invention, Figure 21 is a PCB according to an embodiment of the present invention Figure showing the bottom configuration of the assembly.

도 17 내지 도 21을 참조하면, 본 발명의 실시예에 따른 디스플레이 장치(600)는 상기 공기 청정기(10)의 상부에 설치될 수 있다. 상기 디스플레이 장치(600)의 디스플레이 화면(602)은 상기 공기 청정기(10)의 상면 중 적어도 일부를 구성할 수 있다.17 to 21, the display apparatus 600 according to the exemplary embodiment of the present invention may be installed on the air cleaner 10. The display screen 602 of the display device 600 may constitute at least a part of an upper surface of the air cleaner 10.

상기 디스플레이 장치(600)는 상기 토출그릴(315)에 설치될 수 있다. 상기 토출그릴(315)의 대략 중앙부에는 하방으로 함몰된 형상을 가지는 함몰부(318)가 구비되며, 상기 함몰부(318)로부터 반경방향 외측을 향하여 다수의 그릴부(315a)가 연장될 수 있다. 그리고, 상기 디스플레이 장치(600)는 상기 함몰부(318)의 상측에 배치될 수 있다.The display device 600 may be installed in the discharge grill 315. An approximate center portion of the discharge grill 315 is provided with a recessed portion 318 having a shape recessed downward, and a plurality of grill portions 315a may extend from the recessed portion 318 toward the radially outer side. . The display apparatus 600 may be disposed above the depression 318.

상기 디스플레이 장치(600)에는, PCB 어셈블리(601)가 포함된다. 상기 PCB 어셈블리(601)에는, 다수의 조명원(651,655)이 구비되는 디스플레이PCB(610) 및 상기 디스플레이PCB(610)의 상측에 결합되어 상기 다수의 조명원(651)으로부터 조사된 빛을 상기 디스플레이 화면(602)을 향하여 집중시켜 주는 리플렉터(620)가 포함된다. The display device 600 includes a PCB assembly 601. The PCB assembly 601 includes a display PCB 610 having a plurality of illumination sources 651 and 655, and coupled to an upper side of the display PCB 610 to radiate light emitted from the plurality of illumination sources 651 to the display. A reflector 620 is included that concentrates toward the screen 602.

상기 다수의 조명원(651,655)에는, 공기 청정기(10)의 운전정보를 표시하기 위한 제 1 조명원(651) 및 상기 디스플레이 장치(600)의 디스플레이 화면(602)의 테두리를 표시하기 위한 제 2 조명원(655)이 포함된다. 상기 디스플레이 화면(602)은 상기 정보가 표시될 수 있는 설정된 영역(이하, 표시영역)으로서, 상기 디스플레이 장치(600)의 상면에 형성된다. 그리고, 상기 디스플레이 화면(602)의 테두리는 상기 표시영역의 경계를 형성할 수 있다.The plurality of illumination sources 651 and 655 may include a first illumination source 651 for displaying driving information of the air cleaner 10 and a second edge for displaying the edges of the display screen 602 of the display device 600. An illumination source 655 is included. The display screen 602 is a set area (hereinafter, a display area) in which the information can be displayed and is formed on an upper surface of the display device 600. The edge of the display screen 602 may form a boundary of the display area.

상기 디스플레이PCB(610)에는, 대략 원형의 기판본체(611)가 포함된다. 상기 기판본체(611)에는, 상기 제 1 조명원(651)이 설치되는 본체전면부(611a) 및 상기 제 2 조명원(655)이 설치되는 본체후면부(611b)가 포함된다. The display PCB 610 includes a substantially circular substrate body 611. The substrate body 611 includes a main body front part 611a on which the first illumination source 651 is installed and a main body rear part 611b on which the second illumination source 655 is installed.

상기 제 1 조명원(651)은 디스플레이 되는 내용의 형상에 대응하여 상기 본체전면부(611a)에 다수 개가 구비될 수 있다. 그리고, 상기 제 2 조명원(655)은 다수 개가 구비되며, 상기 다수 개의 제 2 조명원(655)은 상기 본체후면부(611b)의 테두리를 따라 배치될 수 있다. 일례로, 상기 다수 개의 제 2 조명원(655)은 원형의 형상으로 배치될 수 있다.A plurality of first illumination sources 651 may be provided on the main body front portion 611a to correspond to the shape of the displayed contents. The second lighting source 655 may be provided in plural, and the plurality of second lighting sources 655 may be disposed along the edge of the main body rear part 611b. For example, the plurality of second illumination sources 655 may be arranged in a circular shape.

상기 리플렉터(620)에는, 리플렉터 본체(621) 및 상기 리플렉터 본체(621)에 형성되며, 상기 제 1 조명원(651)에서 조사되는 빛을 상방으로 집중시키는 관통홀(623)이 포함된다. 상기 리플렉터 본체(621)는 빛의 투과가 제한되는 불투명한 재질로 구성되거나, 상기 불투명한 재질이 코팅되도록 구성된다. The reflector 620 includes a reflector main body 621 and a through hole 623 formed in the reflector main body 621 to concentrate the light emitted from the first illumination source 651 upward. The reflector body 621 is made of an opaque material in which light transmission is limited, or is configured to coat the opaque material.

상기 리플렉터(620)의 상측에는, 리플렉터 필름(625)이 구비된다. 상기 리플렉터 필름(625)에는, 디스플레이 되는 정보의 내용, 즉 소정의 문자, 숫자 또는 기호등이 표시되는 문양표시부(626)가 포함된다. 상기 리플렉터(620)를 통하여 집중된 빛은 상기 문양표시부(625)에 작용하여, 소정의 정보를 구현할 수 있다. 상기 문양표시부(626)는 투명한 재질로 구성될 수 있다.The reflector film 625 is provided above the reflector 620. The reflector film 625 includes a pattern display unit 626 in which the contents of the displayed information, that is, predetermined characters, numbers, or symbols, are displayed. Light concentrated through the reflector 620 may act on the pattern display unit 625 to implement predetermined information. The pattern display unit 626 may be made of a transparent material.

일례로, 도 19에 도시되는 바와 같이, 상기 문양표시부(626)에는, "냄새", "먼지", "미세먼지", "필터교체"와 같은 문자, 숫자를 표시할 수 있는 888 문양, 송풍량의 강도를 나타내는 기호등이 포함될 수 있다.For example, as illustrated in FIG. 19, the glyph display unit 626 may display a character, a number such as "odor", "dust", "fine dust", or "replacement filter", and a 888 pattern and airflow amount. Symbols indicating the strength of the may be included.

상기 제 1 조명원(651)은 상기 문양표시부(626)와 대응되는 위치에 배치될 수 있다. 일례로, 상기 제 1 조명원(651)은 상기 문양표시부(626)의 하측에 배치될 수 있다. 상기 문양표시부(626)는 다수가 구비되어 다양한 문양을 구성하므로, 상기 제 1 조명원(651)은 상기 다수의 문양표시부(626)에 대응하여 다수 개가 구비될 수 있다. 상기 제 1 조명원(651)에서 조사되는 빛은 상기 문양표시부(626)를 투과하여 외부에 드러날 수 있다. 그리고, 상기 다수의 제 1 조명원(651)의 온/오프 제어에 의하여 다양한 정보가 표시될 수 있다.The first illumination source 651 may be disposed at a position corresponding to the pattern display unit 626. For example, the first illumination source 651 may be disposed below the pattern display unit 626. Since the pattern display unit 626 is provided with a plurality of patterns to form a variety of patterns, a plurality of first lighting sources 651 may be provided corresponding to the plurality of pattern display unit 626. Light irradiated from the first illumination source 651 may pass through the pattern display unit 626 and be exposed to the outside. In addition, various information may be displayed by on / off control of the plurality of first illumination sources 651.

상기 디스플레이 장치(600)에는, 상기 PCB 어셈블리(601)의 외측을 둘러싸는 확산판(630)이 포함된다. 상기 확산판(630)은, 상기 제 2 조명원(655)에서 조사되는 빛을 확산하여 디스플레이 화면(622)의 테두리부(650)를 형성하는 구성으로서 이해될 수 있다.The display device 600 includes a diffusion plate 630 surrounding the outside of the PCB assembly 601. The diffusion plate 630 may be understood as a configuration in which the edge portion 650 of the display screen 622 is formed by diffusing light emitted from the second illumination source 655.

상기 확산판(630)은 상기 함몰부(318)의 테두리를 따라 배치될 수 있다. 상세히, 상기 확산판(630)에는, 상기 디스플레이PCB(610)를 둘러싸도록 배치되는 판 본체(631) 및 상기 판 본체(631)의 내주면으로부터 돌출되어 상기 제 2 조명원(655)이 설치되는 조명수용부(635)가 포함된다. 상기 판 본체(631)는 링 형상을 가질 수 있으며, 상기 토출그릴(315)에 지지될 수 있다. 그리고, 상기 판 본체(631) 및 조명수용부(635)는 일체로 이루어질 수 있다. The diffusion plate 630 may be disposed along an edge of the depression 318. In detail, the diffuser plate 630 includes a plate main body 631 disposed to surround the display PCB 610 and a light projecting from the inner circumferential surface of the plate main body 631 to install the second illumination source 655. A receptacle 635 is included. The plate body 631 may have a ring shape and may be supported by the discharge grill 315. The plate body 631 and the light receiving portion 635 may be integrally formed.

상기 판 본체(631) 및 상기 조명수용부(635)는 빛의 굴절 또는 확산이 가능한 반투명 재질로 구성될 수 있다. 일례로, 상기 판 본체(631) 및 조명수용부(635)는 아크릴 재질로 구성될 수 있다.The plate body 631 and the light receiving portion 635 may be made of a translucent material capable of refraction or diffusion of light. For example, the plate body 631 and the light receiving portion 635 may be made of an acrylic material.

상기 판 본체(631)는 상기 디스플레이 화면(622)의 테두리부(650)를 구성할 수 있다. 상세히, 상기 판 본체(631)의 상부는 상기 공기 청정기(10)의 상면에 노출된 상태에 있을 수 있으며, 상기 제 2 조명원(655)에서 조사되는 빛은 상기 조명수용부(635) 및 판 본체(631)를 통하여 확산된다. 그리고, 상기 확산된 빛은 상기 공기 청정기(10)의 상부로 이동하여, 상기 테두리부(650)를 구성할 수 있다.The plate body 631 may configure an edge portion 650 of the display screen 622. In detail, the upper portion of the plate body 631 may be in a state exposed to the upper surface of the air cleaner 10, the light irradiated from the second illumination source 655 is the illumination receiving portion 635 and the plate It spreads through the main body 631. In addition, the diffused light may move to the upper portion of the air cleaner 10 to form the edge portion 650.

상기 판 본체(631) 및 조명수용부(635)는 반투명 재질로 구성되므로, 상기 테두리부(650)는 은은한 빛으로 구현될 수 있다. 따라서, 편안한 느낌의 디스플레이 화면을 구성할 수 있다. Since the plate body 631 and the light receiving portion 635 are made of a translucent material, the edge portion 650 may be implemented with soft light. Therefore, a comfortable display screen can be configured.

상기 디스플레이 장치(600)에는, 상기 PCB어셈블리(601)의 상측에 구비되는 디스플레이 커버(600)가 더 포함된다. 상기 디스플레이 커버(640)는 상기 디스플레이PCB(610)의 외측을 지지하고 커버필름(645)를 편평하게 유지하기 위한 구성으로서 이해될 수 있다. 상기 디스플레이 커버(640)는 빛의 투과를 방지하는 불투명 재질로 구성될 수 있다.The display apparatus 600 further includes a display cover 600 provided on an upper side of the PCB assembly 601. The display cover 640 may be understood as a configuration for supporting the outside of the display PCB 610 and keeping the cover film 645 flat. The display cover 640 may be made of an opaque material to prevent the transmission of light.

상기 디스플레이 커버(640)에는, 상기 리플렉터 필름(625)에 대응되는 형상을 가지는 커버홀(641)이 형성된다. 상기 커버홀(641)의 구성에 의하여, 상기 리플렉터(620)에 상기 디스플레이 커버(640)가 결합되더라도, 상기 리플렉터 필름(625)는 상방을 향하여 노출될 수 있다. A cover hole 641 having a shape corresponding to the reflector film 625 is formed in the display cover 640. By the configuration of the cover hole 641, even if the display cover 640 is coupled to the reflector 620, the reflector film 625 may be exposed upward.

상기 디스플레이 커버(640)의 상측에는, 커버필름(645)이 구비된다. 일례로, 상기 커버필름(645)은 상기 디스플레이 커버(640)의 상면에 부착될 수 있다. 상기 커버필름(645)은, 상기 PCB어셈블리(601)에서 전달되는 빛 중 일부만을 투과시키기 위하여 반투명 재질로 구성될 수 있다. 일례로, 상기 반투명 재질에는, 아크릴 또는 폴리메타크릴산 메틸수지(PMMA)가 포함될 수 있다. 상기 커버필름(645)이 구비됨으로써, 상기 디스플레이 장치(600)를 통하여 표시되는 정보가 너무 눈부시게 구현되는 것을 방지할 수 있다.The cover film 645 is provided on an upper side of the display cover 640. For example, the cover film 645 may be attached to an upper surface of the display cover 640. The cover film 645 may be made of a translucent material to transmit only a part of the light transmitted from the PCB assembly 601. For example, the translucent material may include acrylic or polymethyl methacrylate (PMMA). By providing the cover film 645, it is possible to prevent the information displayed through the display apparatus 600 from being implemented so dazzlingly.

상기 커버필름(645)에는, 사용자가 소정의 명령을 입력하거나 공기 청정기(10)의 다수의 운전정보 중 일부 운전정보를 디스플레이 하는 필름표시부(646)가 구비된다. The cover film 645 is provided with a film display unit 646 for a user to input a predetermined command or to display some driving information among a plurality of driving information of the air cleaner 10.

도 22 내지 도 24는 본 발명의 실시예에 따른 공기 청정기에서의 공기유동 모습을 보여주는 도면이다.22 to 24 are views showing the state of air flow in the air purifier according to the embodiment of the present invention.

먼저, 제 1 송풍장치(100)의 구동에 따른 공기의 흐름을 설명한다. 제 1 팬(160)이 구동하면, 제 1 흡입부(102) 및 베이스흡입부(103)를 통하여 실내공기가 제 1 케이스(101)의 내부로 흡입된다. 흡입된 공기는 제 1 필터부재(120)를 통과하며, 이 과정에서 공기 중 이물이 필터링 될 수 있다. 그리고, 공기가 제 1 필터부재(120)를 통과하는 과정에서, 공기는 제 1 필터부재(120)의 반경방향으로 흡입하여 필터링 된 후, 상방으로 유동한다. First, the flow of air according to the driving of the first blower 100 will be described. When the first fan 160 is driven, indoor air is sucked into the first case 101 through the first suction part 102 and the base suction part 103. The sucked air passes through the first filter member 120, and foreign substances in the air may be filtered in this process. In the process of passing the air through the first filter member 120, the air is sucked in the radial direction of the first filter member 120 and filtered, and then flows upward.

상기 제 1 필터부재(120)를 통과한 공기는 제 1 팬(160)을 통과하면서 반경방향 상측으로 유동하며, 제 1,2 에어가이드 장치(170,180)를 통과하면서 안정적인 상방 유동이 이루어진다. 상기 제 1,2 에어가이드 장치(170,180)를 통과한 공기는 제 1 토출가이드 장치(190)를 지나며, 제 1 토출부(105)를 통하여 상방으로 유동한다.Air passing through the first filter member 120 flows radially upward while passing through the first fan 160, and stable upward flow is achieved while passing through the first and second air guide devices 170 and 180. The air passing through the first and second air guide devices 170 and 180 passes through the first discharge guide device 190 and flows upward through the first discharge part 105.

상기 제 1 토출부(105)를 통하여 배출된 공기는 상기 제 1 토출가이드 장치(190)의 상측에 위치한 구획판(430)에 의하여 가이드 되어 상기 공기 청정기(10)의 외부로 배출된다. The air discharged through the first discharge unit 105 is guided by a partition plate 430 located above the first discharge guide device 190 and discharged to the outside of the air cleaner 10.

한편, 제 2 팬(260)이 구동하면, 제 2 흡입부(202)를 통하여 실내공기가 제 2 케이스(201)의 내부로 흡입된다. 흡입된 공기는 제 2 필터부재(220)를 통과하며, 이 과정에서 공기 중 이물이 필터링 될 수 있다. 그리고, 공기가 제 2 필터부재(220)를 통과하는 과정에서, 공기는 제 1 필터부재(120)의 반경방향으로 흡입하여 필터링 된 후, 상방으로 유동한다. On the other hand, when the second fan 260 is driven, the indoor air is sucked into the second case 201 through the second suction unit 202. The sucked air passes through the second filter member 220, and foreign matters in the air may be filtered in this process. In the process of passing the air through the second filter member 220, the air is sucked in the radial direction of the first filter member 120 and filtered, and then flows upward.

상기 제 2 필터부재(220)를 통과한 공기는 제 2 팬(160)을 통과하면서 반경방향 상측으로 유동하며, 제 3 에어가이드 장치(270) 및 제 2 토출가이드 장치(280)를 통과하면서 안정적인 상방 유동이 이루어진다. 상기 제 3 에어가이드 장치(270) 및 제 2 토출가이드 장치(280)를 통과한 공기는 유동전환 장치(300)를 경유하여 제 2 토출부(305)를 통하여 배출될 수 있다.Air passing through the second filter member 220 flows upward in the radial direction while passing through the second fan 160 and is stable while passing through the third air guide device 270 and the second discharge guide device 280. Upstream is achieved. The air passing through the third air guide device 270 and the second discharge guide device 280 may be discharged through the second discharge part 305 via the flow switching device 300.

상기 유동전환 장치(300)는 제 2 가이드 기구에 의하여 상하 방향으로 회전 가능하게 구비될 수 있다. 일례로, 도 22 내지 도 24에 도시되는 바와 같이, 상기 유동전환 장치(300)가 제 1 위치에 있으면, 상기 유동전환 장치(300)에서 배출된 공기는 상방으로 유동된다.The flow switching device 300 may be provided to be rotatable in the vertical direction by the second guide mechanism. For example, as shown in FIGS. 22 to 24, when the flow switching device 300 is in the first position, the air discharged from the flow switching device 300 flows upward.

반면에, 상기 유동전환 장치(300)가 제 2 위치에 있으면, 상기 유동전환 장치(300)에서 배출된 공기는 전방 상측을 향하여 유동될 수 있다. 상기 유동전환 장치(300)에 의하여, 공기 청정기(10)에서 배출되는 공기의 풍량은 증가되고, 공기 청정기(10)로부터 멀리 떨어진 위치까지 정화된 공기가 공급될 수 있다는 장점이 있다. On the other hand, when the flow diverting device 300 is in the second position, the air discharged from the flow diverting device 300 may flow toward the front upper side. By the flow switching device 300, the air volume of the air discharged from the air cleaner 10 is increased, the purified air can be supplied to a position far from the air cleaner 10.

상세히, 상기 유동전환 장치(300)의 제 3 팬(330)이 구동하면, 상기 제 2 토출가이드 장치(280)에서 배출된 공기 중 적어도 일부의 공기가 상기 제 3 팬하우징(310)의 내부로 유입될 수 있다. 그리고, 상기 유입된 공기는 상기 제 3 팬(330)을 통과하고, 상기 제 2 토출부(305)를 통하여 외부로 배출될 수 있다. In detail, when the third fan 330 of the flow switching device 300 is driven, at least some of the air discharged from the second discharge guide device 280 is introduced into the third fan housing 310. Can be introduced. In addition, the introduced air may pass through the third fan 330 and be discharged to the outside through the second discharge unit 305.

한편, 상기 유동전환 장치(300)는 상기 제 2 위치에 있는 상태에서, 제 1 가이드 기구에 의하여 좌우 방향으로 회전될 수 있다. 일례로, 도 14 및 도 15에 도시되는 바와 같이, 상기 유동전환 장치(300)가 전방 상측을 향하는 경우, 상기 제 2 토출부(305)를 통하여 배출되는 공기는 전방 상측으로 유동될 수 있다. 반면에, 도 16에 도시되는 바와 같이, 상기 유동전환 장치(300)가 후방 상측을 향하는 경우, 상기 제 2 토출부(305)를 통하여 배출되는 공기는 후방 상측으로 유동될 수 있다.On the other hand, the flow switching device 300 may be rotated in the left and right directions by the first guide mechanism in a state in the second position. For example, as illustrated in FIGS. 14 and 15, when the flow switching device 300 faces the front upper side, air discharged through the second discharge part 305 may flow upward. On the other hand, as shown in FIG. 16, when the flow switching device 300 faces the rear upper side, air discharged through the second discharge part 305 may flow upward rear side.

이러한 작용에 의하면, 공기 청정기(10)로부터 토출되는 공기가 단순히 상방을 향하는 것이 아니라, 전방을 향할 수 있으므로, 공기 청정기(10)로부터 상대적으로 멀리 떨어진 공간을 향하는 기류가 발생할 수 있다. 그리고, 상기 유동전환 장치(300)에는 별도의 제 3 팬(330)이 구비되므로, 토출되는 공기의 송풍력이 증가될 수 있다.According to this action, since the air discharged from the air cleaner 10 may face forward rather than simply upward, airflow toward the space relatively far from the air cleaner 10 may occur. In addition, since the third fan 330 is provided in the flow switching device 300, the blowing force of the discharged air may be increased.

또한, 상기 유동전환 장치(300)는 상기 제 1 방향 회전을 수행할 수 있으므로, 상기 공기 청정기(10)의 전방 양측으로 공기를 토출할 수 있고, 이에 따라 상대적으로 넓은 실내공간을 향하여 기류를 제공할 수 있다는 효과가 나타난다.In addition, since the flow switching device 300 may perform the first direction rotation, air may be discharged to both front sides of the air cleaner 10, thereby providing airflow toward a relatively large indoor space. You can do it.

공기 청정기(10)의 운전모드에 따라, 상기 유동전환 장치(300)는 선택적으로 작용할 수 있다. 공기 청정기(10)가 일반운전 모드(제 1 운전모드)로 운전되는 경우, 도 22 및 도 23에 도시되는 바와 같이, 상기 유동전환 장치(300)는 누워져 있는 제 1 위치에 있게 된다. 그리고, 상기 제 1,2 송풍장치(100,200)가 구동하여, 독립된 다수의 기류가 형성될 수 있다. According to the operation mode of the air cleaner 10, the flow switching device 300 may selectively operate. When the air cleaner 10 is operated in the normal operation mode (first operation mode), as shown in FIGS. 22 and 23, the flow switching device 300 is in the first position lying down. In addition, the first and second blowers 100 and 200 may be driven to form a plurality of independent air flows.

즉, 상기 제 1 송풍장치(100)가 구동하면, 상기 제 1 흡입부(102) 및 베이스흡입부(103)를 통한 공기의 흡입이 이루어지고, 제 1 필터부재(120) 및 제 1 팬(160)을 통과하여 상기 제 1 토출부(105)를 통하여 배출될 수 있다. 그리고, 상기 제 2 송풍장치(200)가 구동되면, 상기 제 2 흡입부(202)를 통한 공기의 흡입이 이루어지고, 제 2 필터부재(220) 및 제 2 팬(260)을 통과하며, 상기 제 3 팬(330)을 경유할 수 있다. 그리고, 상기 제 2 토출부(305)를 통하여 상방을 향하여 배출될 수 있다. 이 때, 상기 제 3 팬(330)은 오프될 수 있다. 물론, 상기 제 2 토출부(305)를 향한 토출기류를 강하게 형성하기 위하여, 상기 제 3 팬(330)이 구동될 수 있음은 물론이다.That is, when the first blower 100 is driven, the air is sucked through the first suction unit 102 and the base suction unit 103, and the first filter member 120 and the first fan ( Pass through 160 may be discharged through the first discharge unit 105. Then, when the second blower 200 is driven, the suction of air through the second suction unit 202 is made, passes through the second filter member 220 and the second fan 260, the It may be via the third fan 330. And, it may be discharged upward through the second discharge unit 305. At this time, the third fan 330 may be turned off. Of course, the third fan 330 may be driven to strongly form the discharge air flow toward the second discharge unit 305.

한편, 상기 유동전환 장치(300)는 제 1 위치에 있는 상태에서, 제 1 방향 회전을 하면서, 상기 공기 청정기(10)의 전방 양측 방향으로 기류를 변화시킬 수도 있을 것이다.On the other hand, while the flow switching device 300 is in the first position, while rotating in the first direction, it may be possible to change the air flow in both the front direction of the air cleaner 10.

반면에, 상기 공기 청정기(10)가 유동전환 모드(제 2 운전모드)로 운전되는 경우, 도 24에 도시되는 바와 같이, 상기 유동전환 장치(300)는 상방으로 회전하여, 공기 청정기(10)의 상단부로부터 돌출될 수 있다. 한편, 유동전환 모드에서, 상기 제 1,2 송풍장치(100,200)의 구동은 일반운전 모드에서의 제 1,2 송풍장치(100,200)의 구동모습과 동일할 수 있다. On the other hand, when the air cleaner 10 is operated in the flow switching mode (second operation mode), as shown in Figure 24, the flow switching device 300 is rotated upwards, the air cleaner 10 It can protrude from the upper end of the. On the other hand, in the flow switching mode, the driving of the first and second blowers (100,200) may be the same as the driving appearance of the first and second blowers (100,200) in the normal operation mode.

그리고, 상기 제 3 팬(330)은 구동되며, 이에 따라 상기 제 2 팬(260) 및 제 2 토출가이드 장치(280)의 토출유로(282a)을 통과한 공기 중, 적어도 일부의 공기는 상기 제 3 팬하우징(310)으로 유입된다. 그리고, 상기 유입된 공기 중 적어도 일부의 공기는 상기 제 3 팬(330)을 통과하면서, 상기 공기 청정기(10)의 전방 상측 또는 후방 상측을 향하여 토출될 수 있다.In addition, the third fan 330 is driven so that at least part of the air passing through the discharge passage 282a of the second fan 260 and the second discharge guide device 280 is at least partially discharged. 3 is introduced into the fan housing 310. In addition, at least some of the introduced air may be discharged toward the front upper side or the rear upper side of the air cleaner 10 while passing through the third fan 330.

10 : 공기 청정기 20 : 베이스
100 : 송풍장치 100 : 제 1 송풍장치
101 : 제 1 케이스 110 : 흡입그릴
120 : 제 1 필터부재 130 : 제 1 필터프레임
140 : 지지장치 142 : 레버장치
150 : 제 1 팬하우징 160 : 제 1 팬
170 : 제 1 에어가이드 장치 180 : 제 2 에어가이드 장치
190 : 제 1 토출가이드 장치 200 : 제 2 송풍장치
201 : 제 2 케이스 220 : 제 2 필터부재
230 : 제 2 필터프레임 250 : 제 2 팬하우징
260 : 제 2 팬 270 : 제 3 에어가이드 장치
280 : 제 2 토출가이드 장치 300 : 유동전환 장치
310 : 제 3 팬하우징 320 : 유동 가이드부
330 : 제 3 팬 350 : 회전 가이드장치
400 : 구획장치 430 : 구획판
600 : 디스플레이 장치 610 : 디스플레이PCB
620 : 리플렉터 630 : 반사판
10: air cleaner 20: base
100: blower 100: first blower
101: first case 110: suction grill
120: first filter member 130: first filter frame
140: support device 142: lever device
150: first fan housing 160: first fan
170: first air guide device 180: second air guide device
190: first discharge guide device 200: second blower
201: second case 220: second filter member
230: second filter frame 250: second fan housing
260: second fan 270: third air guide device
280: second discharge guide device 300: flow switching device
310: third fan housing 320: flow guide portion
330: third fan 350: rotation guide device
400: partition device 430: partition plate
600: display device 610: display PCB
620: reflector 630: reflector

Claims (23)

원통 형상을 가지며, 외주면을 따라 다수의 흡입공이 형성되는 케이스;
상기 케이스의 내부에 제공되며, 상기 흡입공을 통하여 흡입된 공기가 통과하는 원통 형상의 필터면 및 상 방향으로 관통되어 형성되는 개구를 갖는 필터부재;
상하방향의 중심축을 기준으로 회전하는 원심팬;
상기 원심팬의 중심축과 동일한 축선상에 배치되는 회전축을 가지며, 상기 원심팬을 통과한 공기를 토출하는 유동 전환장치;
상기 유동 전환장치의 회전축에서 이격되어 원주 방향으로 연장되는 원호 형상의 랙; 및
상기 랙에 회전 가능하게 결합되는 기어가 포함되며,
상기 필터부재의 중심과, 상기 원심팬의 중심축 및 상기 유동 전환장치의 회전축은 동일한 축선상에 배치되고, 상기 유동 전환장치는 상기 회전축을 중심으로 좌우 방향으로 회전하며,
상기 랙의 곡률중심은 상기 필터부재의 중심과, 상기 원심팬의 중심축 및 상기 유동 전환장치의 회전축과 함께 동일한 축선상에 배치되고,
상기 기어의 중심과, 상기 유동 전환장치의 회전축의 중심은 편심되는 공기 청정기.
A case having a cylindrical shape and having a plurality of suction holes formed along an outer circumferential surface thereof;
A filter member provided inside the case, the filter member having a cylindrical filter surface through which air sucked through the suction hole passes, and an opening penetrating upwardly;
A centrifugal fan that rotates about a central axis in the vertical direction;
A flow switching device having a rotating shaft disposed on the same axis as the central axis of the centrifugal fan and discharging air passing through the centrifugal fan;
An arc-shaped rack spaced apart from the rotational axis of the flow diverter in a circumferential direction; And
Gears rotatably coupled to the rack,
The center of the filter member, the central axis of the centrifugal fan and the rotation axis of the flow diverter are arranged on the same axis, the flow diverter rotates in the left and right direction about the rotation shaft,
The center of curvature of the rack is disposed on the same axis along with the center of the filter member, the center axis of the centrifugal fan and the rotation axis of the flow diverter,
The center of the gear and the center of the rotation axis of the flow diverter is eccentric.
제 1항에 있어서,
상기 케이스 내에서 상기 랙이 형성된 위치에서의 평단면을 기준으로,
상기 원심팬에 의하여 형성되는 공기유로의 중심은,
상기 필터부재의 중심과, 상기 원심팬의 중심축 및 상기 유동 전환장치의 회전축과 동일한 축선상에 배치되는 공기 청정기.
The method of claim 1,
On the basis of the planar cross section at the position where the rack is formed in the case,
The center of the air flow path formed by the centrifugal fan,
And an air cleaner disposed on the same axis as the center of the filter member, the center axis of the centrifugal fan, and the rotation axis of the flow diverter.
제 1항에 있어서,
상기 케이스의 내벽을 따라 원주 방향으로 상향 공기유로를 형성하는 에어 가이드부가 더 포함되며,
상기 에어 가이드부의 중심과, 상기 랙의 곡률중심은 동일한 축선상에 배치되는 공기 청정기.
The method of claim 1,
Further comprising an air guide portion for forming an upward air passage in the circumferential direction along the inner wall of the case,
And a center of curvature of the air guide portion and a center of curvature of the rack are disposed on the same axis.
제 1항에 있어서,
상기 랙의 원주 방향으로의 길이는 상기 유동 전환장치가 회전하는 원주방향 거리보다 크게 형성되는 공기 청정기.
The method of claim 1,
And a length in the circumferential direction of the rack is greater than a circumferential distance at which the flow diverter rotates.
제 4항에 있어서,
상기 랙의 양측 단부가 상기 유동 전환장치의 회전축에 대하여 이루는 중심각도는 90도 보다 크고, 180도보다 작은 것을 특징으로 하는 공기 청정기.
The method of claim 4, wherein
The central angle formed by both ends of the rack with respect to the rotation axis of the flow diverter is greater than 90 degrees and smaller than 180 degrees. Air purifier characterized by the above.
제 5항에 있어서,
상기 유동 전환장치가 상기 회전축을 중심으로 좌우 방향으로 회전하는 각도는 90도 보다 작은 것을 특징으로 하는 공기 청정기.
The method of claim 5,
And the angle at which the flow diverter rotates in the horizontal direction about the rotation axis is smaller than 90 degrees.
제 1항에 있어서,
상기 유동 전환장치의 회전축과 상기 랙의 양측 단부를 각각 잇는 2개의 연장선 및 상기 랙은, 부채꼴 형상을 이루는 공기 청정기.
The method of claim 1,
And two extension lines connecting the rotary shaft of the flow diverter and both ends of the rack, respectively, and the rack has a fan shape.
삭제delete 삭제delete 제 1항에 있어서,
상기 유동 전환장치는 상기 원심팬의 상측에 배치되어, 상기 원심팬을 통과한 공기를 상방으로 배출하는 공기 청정기.
The method of claim 1,
The flow diverter is disposed above the centrifugal fan, and discharges the air passing through the centrifugal fan upwards.
제 1항에 있어서,
상기 유동 전환장치의 좌우 회전을 안내하는 가이드 기구가 더 포함되는 공기청정기.
The method of claim 1,
Air cleaner comprising a guide mechanism for guiding the left and right rotation of the flow diverter.
제 11항에 있어서,
상기 가이드 기구에는, 상기 랙과 대향되는 위치에 구비되며 원호 형상을 가지는 홈이 포함되고,
상기 유동 전환장치에는, 상기 홈에 삽입되어 이동하는 돌출물이 포함되는 공기 청정기.
The method of claim 11,
The guide mechanism includes a groove provided at a position opposite to the rack and having an arc shape.
The flow diverter, the air purifier includes a projection which is inserted into the groove to move.
제 12항에 있어서,
상기 돌출물에는 베어링이 포함되는 공기 청정기.
The method of claim 12,
The protrusion includes a bearing.
제 12항에 있어서,
상기 원호 형상을 가지는 홈의 곡률 중심은,
상기 필터부재의 중심과, 상기 원심팬의 중심축 및 상기 유동 전환장치의 회전축과 동일한 축선상에 배치되는 공기 청정기.
The method of claim 12,
The center of curvature of the groove having the arc shape is,
And an air cleaner disposed on the same axis as the center of the filter member, the center axis of the centrifugal fan, and the rotation axis of the flow diverter.
제 1항에 있어서,
상기 유동 전환장치에는, 공기의 토출부가 형성되는 상면을 가지는 하우징이 포함되는 공기 청정기.
The method of claim 1,
And a housing having a top surface on which the discharge portion of air is formed.
제 15항에 있어서,
상기 하우징의 상면은, 상기 회전축의 축선에 대하여 비스듬한 방향을 바라도록 배치되는 공기 청정기.
The method of claim 15,
An upper surface of the housing is disposed so as to face a direction oblique to the axis of the rotation axis.
제 15항에 있어서,
상기 유동 전환장치의 토출부는 상기 케이스의 상단부보다 높은 위치에 형성되는 공기 청정기.
The method of claim 15,
The air cleaner of the flow diverter is formed at a position higher than the upper end of the case.
제 15항에 있어서,
상기 토출부는 상기 하우징의 상면에서 원주 방향으로 형성되는 공기 청정기.
The method of claim 15,
The discharge unit is formed in the circumferential direction on the upper surface of the housing.
제 15항에 있어서,
상기 회전축은 상기 하우징의 하부 중심부로부터 하방으로 돌출되는 공기 청정기.
The method of claim 15,
The rotating shaft is projected downward from the lower center of the housing.
제 1항에 있어서,
상기 원심팬과 상기 유동 전환장치의 사이에 구비되며, 상기 원심팬을 통과한 공기를 상기 유동 전환장치로 전달하는 토출유로를 형성하는 토출가이드 장치가 더 포함되는 공기 청정기.
The method of claim 1,
And a discharge guide device provided between the centrifugal fan and the flow diverter, the discharge guide device configured to form a discharge passage for transferring the air passing through the centrifugal fan to the flow diverter.
제 20항에 있어서,
상기 토출가이드 장치의 중심부에 구비되며, 상기 회전축이 삽입되는 축 삽입부가 더 포함되는 공기 청정기.
The method of claim 20,
The air purifier is provided in the central portion of the discharge guide device, the shaft insertion portion is inserted into the rotation shaft.
제 21항에 있어서,
상기 토출가이드 장치에는,
상기 토출유로에 구비되며, 상기 토출가이드 장치의 상면을 형성하는 토출그릴이 더 포함되는 공기 청정기.
The method of claim 21,
The discharge guide device,
The air purifier is provided in the discharge passage, and further comprises a discharge grill to form an upper surface of the discharge guide device.
제 22항에 있어서,
상기 토출그릴은, 상기 축 삽입부의 원주 방향으로 환형의 유로를 형성하는 공기 청정기.
The method of claim 22,
And the discharge grill forms an annular flow path in the circumferential direction of the shaft insertion portion.
KR1020190051056A 2019-04-30 2019-04-30 Air cleaning apparatus Active KR102034676B1 (en)

Priority Applications (1)

Application Number Priority Date Filing Date Title
KR1020190051056A KR102034676B1 (en) 2019-04-30 2019-04-30 Air cleaning apparatus

Applications Claiming Priority (1)

Application Number Priority Date Filing Date Title
KR1020190051056A KR102034676B1 (en) 2019-04-30 2019-04-30 Air cleaning apparatus

Related Parent Applications (1)

Application Number Title Priority Date Filing Date
KR1020180045552A Division KR102127919B1 (en) 2018-04-19 2018-04-19 Air cleaning apparatus

Publications (2)

Publication Number Publication Date
KR20190049674A KR20190049674A (en) 2019-05-09
KR102034676B1 true KR102034676B1 (en) 2019-10-21

Family

ID=66545819

Family Applications (1)

Application Number Title Priority Date Filing Date
KR1020190051056A Active KR102034676B1 (en) 2019-04-30 2019-04-30 Air cleaning apparatus

Country Status (1)

Country Link
KR (1) KR102034676B1 (en)

Cited By (1)

* Cited by examiner, † Cited by third party
Publication number Priority date Publication date Assignee Title
KR20210051764A (en) 2019-10-31 2021-05-10 씨디에스 주식회사 Smart ventilation system

Families Citing this family (1)

* Cited by examiner, † Cited by third party
Publication number Priority date Publication date Assignee Title
CN115899910B (en) * 2022-10-31 2023-07-18 浙江展诚建设集团股份有限公司 Ventilating system assembly applied to green building

Family Cites Families (2)

* Cited by examiner, † Cited by third party
Publication number Priority date Publication date Assignee Title
KR20140096964A (en) * 2013-01-29 2014-08-06 코웨이 주식회사 Dryer having circular structure
KR102220214B1 (en) * 2014-07-25 2021-02-25 엘지전자 주식회사 Air purifier

Cited By (1)

* Cited by examiner, † Cited by third party
Publication number Priority date Publication date Assignee Title
KR20210051764A (en) 2019-10-31 2021-05-10 씨디에스 주식회사 Smart ventilation system

Also Published As

Publication number Publication date
KR20190049674A (en) 2019-05-09

Similar Documents

Publication Publication Date Title
KR102026194B1 (en) Air cleaning apparatus
KR102503863B1 (en) Air cleaning apparatus
KR101809410B1 (en) Air cleaning apparatus
KR101809411B1 (en) Air cleaning apparatus
KR20190119564A (en) Air cleaning apparatus
KR20190120126A (en) Air cleaning apparatus
KR20190119565A (en) Air cleaning apparatus
KR102024171B1 (en) Air cleaning apparatus
KR20180000285A (en) Air cleaning apparatus
KR102034676B1 (en) Air cleaning apparatus
KR102034683B1 (en) Air cleaning apparatus
KR102044163B1 (en) Air cleaning apparatus
KR102067814B1 (en) Air cleaning apparatus
KR102044175B1 (en) Air cleaning apparatus
KR102446867B1 (en) Air cleaning apparatus
KR102127919B1 (en) Air cleaning apparatus
KR102127936B1 (en) Air cleaning apparatus
KR102034695B1 (en) Air cleaning apparatus
KR102044167B1 (en) Air cleaning apparatus
KR102024175B1 (en) Air cleaning apparatus
KR102060745B1 (en) Air cleaning apparatus
KR102447440B1 (en) air cleaner
KR102445947B1 (en) Air cleaning apparatus
KR20190124684A (en) Air cleaning apparatus
KR102128421B1 (en) Air cleaning apparatus

Legal Events

Date Code Title Description
A107 Divisional application of patent
A201 Request for examination
A302 Request for accelerated examination
PA0107 Divisional application

St.27 status event code: A-0-1-A10-A18-div-PA0107

St.27 status event code: A-0-1-A10-A16-div-PA0107

PA0201 Request for examination

St.27 status event code: A-1-2-D10-D11-exm-PA0201

PA0302 Request for accelerated examination

St.27 status event code: A-1-2-D10-D17-exm-PA0302

St.27 status event code: A-1-2-D10-D16-exm-PA0302

D13-X000 Search requested

St.27 status event code: A-1-2-D10-D13-srh-X000

D14-X000 Search report completed

St.27 status event code: A-1-2-D10-D14-srh-X000

PG1501 Laying open of application

St.27 status event code: A-1-1-Q10-Q12-nap-PG1501

E902 Notification of reason for refusal
PE0902 Notice of grounds for rejection

St.27 status event code: A-1-2-D10-D21-exm-PE0902

E13-X000 Pre-grant limitation requested

St.27 status event code: A-2-3-E10-E13-lim-X000

P11-X000 Amendment of application requested

St.27 status event code: A-2-2-P10-P11-nap-X000

P13-X000 Application amended

St.27 status event code: A-2-2-P10-P13-nap-X000

E701 Decision to grant or registration of patent right
PE0701 Decision of registration

St.27 status event code: A-1-2-D10-D22-exm-PE0701

GRNT Written decision to grant
PR0701 Registration of establishment

St.27 status event code: A-2-4-F10-F11-exm-PR0701

PR1002 Payment of registration fee

St.27 status event code: A-2-2-U10-U11-oth-PR1002

Fee payment year number: 1

PG1601 Publication of registration

St.27 status event code: A-4-4-Q10-Q13-nap-PG1601

PN2301 Change of applicant

St.27 status event code: A-5-5-R10-R13-asn-PN2301

St.27 status event code: A-5-5-R10-R11-asn-PN2301

P22-X000 Classification modified

St.27 status event code: A-4-4-P10-P22-nap-X000

P22-X000 Classification modified

St.27 status event code: A-4-4-P10-P22-nap-X000

PR1001 Payment of annual fee

St.27 status event code: A-4-4-U10-U11-oth-PR1001

Fee payment year number: 4

PR1001 Payment of annual fee

St.27 status event code: A-4-4-U10-U11-oth-PR1001

Fee payment year number: 5

PR1001 Payment of annual fee

St.27 status event code: A-4-4-U10-U11-oth-PR1001

Fee payment year number: 6

PR1001 Payment of annual fee

St.27 status event code: A-4-4-U10-U11-oth-PR1001

Fee payment year number: 7

U11 Full renewal or maintenance fee paid

Free format text: ST27 STATUS EVENT CODE: A-4-4-U10-U11-OTH-PR1001 (AS PROVIDED BY THE NATIONAL OFFICE)

Year of fee payment: 7