KR102033533B1 - Test Apparatus and Method for Drilling Equipment - Google Patents
Test Apparatus and Method for Drilling Equipment Download PDFInfo
- Publication number
- KR102033533B1 KR102033533B1 KR1020130038350A KR20130038350A KR102033533B1 KR 102033533 B1 KR102033533 B1 KR 102033533B1 KR 1020130038350 A KR1020130038350 A KR 1020130038350A KR 20130038350 A KR20130038350 A KR 20130038350A KR 102033533 B1 KR102033533 B1 KR 102033533B1
- Authority
- KR
- South Korea
- Prior art keywords
- test
- pressure
- equipment
- bop
- drilling equipment
- Prior art date
- Legal status (The legal status is an assumption and is not a legal conclusion. Google has not performed a legal analysis and makes no representation as to the accuracy of the status listed.)
- Active
Links
Images
Classifications
-
- E—FIXED CONSTRUCTIONS
- E21—EARTH OR ROCK DRILLING; MINING
- E21B—EARTH OR ROCK DRILLING; OBTAINING OIL, GAS, WATER, SOLUBLE OR MELTABLE MATERIALS OR A SLURRY OF MINERALS FROM WELLS
- E21B41/00—Equipment or details not covered by groups E21B15/00 - E21B40/00
-
- E—FIXED CONSTRUCTIONS
- E21—EARTH OR ROCK DRILLING; MINING
- E21B—EARTH OR ROCK DRILLING; OBTAINING OIL, GAS, WATER, SOLUBLE OR MELTABLE MATERIALS OR A SLURRY OF MINERALS FROM WELLS
- E21B33/00—Sealing or packing boreholes or wells
- E21B33/02—Surface sealing or packing
- E21B33/03—Well heads; Setting-up thereof
- E21B33/035—Well heads; Setting-up thereof specially adapted for underwater installations
- E21B33/038—Connectors used on well heads, e.g. for connecting blow-out preventer and riser
-
- E—FIXED CONSTRUCTIONS
- E21—EARTH OR ROCK DRILLING; MINING
- E21B—EARTH OR ROCK DRILLING; OBTAINING OIL, GAS, WATER, SOLUBLE OR MELTABLE MATERIALS OR A SLURRY OF MINERALS FROM WELLS
- E21B33/00—Sealing or packing boreholes or wells
- E21B33/02—Surface sealing or packing
- E21B33/03—Well heads; Setting-up thereof
- E21B33/06—Blow-out preventers, i.e. apparatus closing around a drill pipe, e.g. annular blow-out preventers
- E21B33/061—Ram-type blow-out preventers, e.g. with pivoting rams
-
- E—FIXED CONSTRUCTIONS
- E21—EARTH OR ROCK DRILLING; MINING
- E21B—EARTH OR ROCK DRILLING; OBTAINING OIL, GAS, WATER, SOLUBLE OR MELTABLE MATERIALS OR A SLURRY OF MINERALS FROM WELLS
- E21B33/00—Sealing or packing boreholes or wells
- E21B33/02—Surface sealing or packing
- E21B33/03—Well heads; Setting-up thereof
- E21B33/06—Blow-out preventers, i.e. apparatus closing around a drill pipe, e.g. annular blow-out preventers
- E21B33/064—Blow-out preventers, i.e. apparatus closing around a drill pipe, e.g. annular blow-out preventers specially adapted for underwater well heads
-
- G—PHYSICS
- G01—MEASURING; TESTING
- G01M—TESTING STATIC OR DYNAMIC BALANCE OF MACHINES OR STRUCTURES; TESTING OF STRUCTURES OR APPARATUS, NOT OTHERWISE PROVIDED FOR
- G01M99/00—Subject matter not provided for in other groups of this subclass
- G01M99/005—Testing of complete machines, e.g. washing-machines or mobile phones
-
- G—PHYSICS
- G01—MEASURING; TESTING
- G01M—TESTING STATIC OR DYNAMIC BALANCE OF MACHINES OR STRUCTURES; TESTING OF STRUCTURES OR APPARATUS, NOT OTHERWISE PROVIDED FOR
- G01M99/00—Subject matter not provided for in other groups of this subclass
- G01M99/008—Subject matter not provided for in other groups of this subclass by doing functionality tests
Landscapes
- Life Sciences & Earth Sciences (AREA)
- Engineering & Computer Science (AREA)
- Geology (AREA)
- Mining & Mineral Resources (AREA)
- Physics & Mathematics (AREA)
- Environmental & Geological Engineering (AREA)
- Fluid Mechanics (AREA)
- General Life Sciences & Earth Sciences (AREA)
- Geochemistry & Mineralogy (AREA)
- General Physics & Mathematics (AREA)
- Earth Drilling (AREA)
Abstract
본 발명은 시추 장비 테스트 장치 및 방법에 관한 것으로, BOP 장비와 같은 심해 환경에서 사용되는 시추 장비들을 심해 환경과 유사한 조건에 노출시켜 각종 테스트를 수행할 수 있도록 함으로써, 시추 장비에 대한 문제를 사전에 예방 및 관리할 수 있어 심해와 같은 실제 설치 현장에서 시추 장비의 설치 및 작동 과정을 원활하고 신속하게 수행할 수 있고, 시추 장비가 투입되는 테스트용 압력 용기를 해저에 위치시킴으로써, 시추 장비에 대한 실제 설치 작업과 동일한 방식으로 시추 장비를 설치할 수 있고, 이에 따라 시추 장비에 대한 다양한 테스트를 더욱 정확하게 수행할 수 있는 시추 장비 테스트 장치 및 방법을 제공한다.The present invention relates to a drilling apparatus test apparatus and method, by exposing the drilling equipment used in a deep sea environment, such as BOP equipment to conditions similar to the deep sea environment, it is possible to perform a variety of tests, the problem with the drilling equipment in advance Preventive and controllable enables smooth and fast installation and operation of drilling equipment at actual installation sites such as deep seas, and by placing test pressure vessels into which the drilling equipment is placed, Drilling equipment can be installed in the same manner as the installation work, thereby providing a drilling equipment test apparatus and method that can more accurately perform a variety of tests on the drilling equipment.
Description
본 발명은 시추 장비 테스트 장치 및 방법에 관한 것이다. 보다 상세하게는 BOP 장비와 같은 심해 환경에서 사용되는 시추 장비들을 심해 환경과 유사한 조건에 노출시켜 각종 테스트를 수행할 수 있도록 함으로써, 시추 장비에 대한 문제를 사전에 예방 및 관리할 수 있어 심해와 같은 실제 설치 현장에서 시추 장비의 설치 및 작동 과정을 원활하고 신속하게 수행할 수 있고, 시추 장비가 투입되는 테스트용 압력 용기를 해저에 위치시킴으로써, 시추 장비에 대한 실제 설치 작업과 동일한 방식으로 시추 장비를 설치할 수 있고, 이에 따라 시추 장비에 대한 다양한 테스트를 더욱 정확하게 수행할 수 있는 시추 장비 테스트 장치 및 방법에 관한 것이다.The present invention relates to drilling equipment testing apparatus and methods. More specifically, the drilling equipment used in the deep sea environment such as the BOP equipment can be exposed to the conditions similar to the deep sea environment, so that various tests can be performed to prevent and manage problems with the drilling equipment in advance. The installation and operation of the drilling rig can be performed smoothly and quickly at the actual installation site, and by placing the test pressure vessel where the drilling rig is placed on the sea floor, the drilling rig can be installed in the same manner as the actual installation work on the drilling rig. Drilling equipment test apparatus and method that can be installed, and thus can more accurately perform a variety of tests on the drilling equipment.
국제적인 급격한 산업화 현상과 공업이 발전함에 따라 석유와 같은 자원의 사용량은 점차 증가하고 있으며, 이에 따라 오일의 안정적인 생산과 공급이 전 지구적인 차원에서 대단히 중요한 문제로 떠오르고 있다.As the international rapid industrialization and industry develop, the use of resources such as petroleum is gradually increasing. Therefore, stable production and supply of oil is becoming a very important problem at the global level.
이러한 이유로 최근에는 지금까지 경제성이 없어 무시되어 왔던 군소의 한계 유전(marginal field)이나 심해 유전의 개발이 경제성을 가지게 되었다. 따라서, 해저 채굴 기술의 발달과 더불어 이러한 유전의 개발에 적합한 시추설비를 구비한 시추선이 개발되어 있다.For this reason, the development of marginal or deep sea oil fields, which have been neglected in recent years due to lack of economy, has become economic. Therefore, along with the development of seabed mining technology, a drilling vessel equipped with drilling equipment suitable for the development of such an oil field has been developed.
종래의 해저 시추에는 근해의 일 지점에 정박하여 시추 작업을 하는 고정식 플랫폼이 주로 사용되었으나, 최근에는 3,000m 이상의 심해에서 시추 작업이 가능한 부유식 시추 설비가 개발되어 해저 시추에 이용되고 있다.In the conventional subsea drilling, a fixed platform anchored at a point in the offshore was mainly used, but recently, a floating drilling facility capable of drilling in a deep sea of 3,000 m or more has been developed and used for subsea drilling.
이러한 시추 설비에는 해저의 지하에 존재하는 석유나 가스 등을 시추할 수 있도록 데릭 시스템, 라이저, 드릴 스트링 등의 각종 시추 관련 장비들이 설치되어 있다.These drilling facilities are equipped with various drilling-related equipment such as derrick system, riser, drill string to drill oil or gas existing in the basement of the seabed.
최근에는 심해 유전의 개발이 활발하게 진행됨에 따라 각종 시추 장비들에 대한 안전성이 특히 중요하게 요구되는데, 시추 장비들 중 시추 과정에서의 안전과 가장 관련이 깊은 장비로서, BOP(Blow out Preventer, 분출 방지기)를 들 수 있다.In recent years, as the development of deep sea oil fields is actively progressed, safety of various drilling equipments is particularly important. Among the drilling equipments, the most out-of-the-box safety equipment is the BOP (Blow out Preventer) Preventer).
BOP 장비는 시추 과정에서 발생하는 고압의 가스를 안전하게 제거하여 해저 유정의 가스 폭발을 방지하기 위한 장치로서, 해상의 시추 설비로부터 라이저를 통해 연결되어 해저 유정의 상단 웰헤드에 결합되는 형태로 설치된다. BOP equipment is a device to prevent the explosion of gas in the oil well by safely removing the high-pressure gas generated during the drilling process, it is installed in the form of being connected to the upper wellhead of the sea well by the riser from the offshore drilling equipment .
이러한 BOP 장비는 심해 환경에 적합한 형태로 수심 3,000 m (4,300 psi) 이상의 고압의 환경에서 내압으로는 15,000 psi 압력을 견디도록 설계된다. 그러나, 실제 심해 유정에 설치되기 전까지 실제와 같은 환경에서의 테스트 과정을 거치지 않기 때문에, 실제 설치 현장 작업시 여러가지 문제가 발생한다.These BOP equipment are designed to withstand 15,000 psi pressure at high pressures of over 3,000 m (4,300 psi) in a form suitable for deep sea environments. However, since they are not tested in the actual environment until they are installed in a deep sea well, various problems arise in actual installation site work.
일반적으로 BOP 장비에 대한 테스트는 BOP 장비를 이루는 각 부품에 대해 각각 별도로 외압을 가하거나 내압을 가하는 방식으로 부분적인 테스트가 이루어지고 있으며, 전체 조립된 상태에서는 이러한 테스트를 수행할 수 있는 장치가 전무한 상태로서, 실제 환경과 같은 조건에서 다양한 방식의 테스트를 수행할 수 있는 장치가 절실히 요구되고 있다.In general, the BOP equipment is partially tested by applying external pressure or internal pressure separately for each component of the BOP equipment, and there is no device capable of performing such a test in a fully assembled state. As a condition, there is an urgent need for a device capable of performing various types of tests under conditions such as a real environment.
본 발명은 종래 기술의 문제점을 해결하기 위해 발명한 것으로서, 본 발명의 목적은 BOP 장비와 같은 심해 환경에서 사용되는 시추 장비들을 심해 환경과 유사한 조건에 노출시켜 각종 테스트를 수행할 수 있도록 함으로써, 시추 장비에 대한 문제를 사전에 예방 및 관리할 수 있어 심해와 같은 실제 설치 현장에서 시추 장비의 설치 및 작동 과정을 원활하고 신속하게 수행할 수 있도록 하는 시추 장비 테스트 장치 및 방법을 제공하는 것이다.The present invention has been invented to solve the problems of the prior art, an object of the present invention is to drill drilling equipment used in a deep sea environment, such as BOP equipment by performing a variety of tests by exposing to conditions similar to the deep sea environment, drilling It provides drilling equipment test equipment and methods that can prevent and manage the problems of the equipment in advance, so that the installation and operation of the drilling equipment can be performed smoothly and quickly at actual installation sites such as the deep sea.
본 발명의 다른 목적은 시추 장비가 투입되는 압력 용기를 해저에 위치시킴으로써, 시추 장비에 대한 실제 설치 작업과 동일한 방식으로 시추 장비를 설치할 수 있고, 이에 따라 시추 장비에 대한 다양한 테스트를 더욱 정확하게 수행할 수 있는 시추 장비 테스트 장치 및 방법을 제공하는 것이다.Another object of the present invention is to place the pressure vessel into which the drilling equipment is put on the seabed, so that the drilling equipment can be installed in the same manner as the actual installation work on the drilling equipment, thereby more accurately performing various tests on the drilling equipment. It is to provide a drilling apparatus test apparatus and method that can be.
본 발명은, 심해 환경에서 사용되는 시추 장비를 테스트하는 시추 장비 테스트 장치에 있어서, 내부에 테스트 대상 장비가 투입될 수 있도록 테스트 챔버가 형성되고, 상기 테스트 챔버에는 상기 테스트 대상 장비가 잠기도록 액체가 저장되는 압력 용기; 및 상기 테스트 챔버에 저장된 액체의 압력이 심해 압력에 도달하도록 액체의 압력을 상승시키는 외압 공급 유닛을 포함하는 것을 특징으로 하는 시추 장비 테스트 장치를 제공한다.The present invention is a drilling equipment test apparatus for testing drilling equipment used in a deep sea environment, the test chamber is formed so that the test target equipment can be inserted therein, the test chamber is a liquid so that the test target equipment is locked A pressure vessel stored; And an external pressure supply unit for raising the pressure of the liquid such that the pressure of the liquid stored in the test chamber reaches a deep sea pressure.
이때, 상기 압력 용기는 해저에 배치될 수 있다.At this time, the pressure vessel may be disposed on the seabed.
또한, 상기 테스트 대상 장비는 BOP 장비로 적용될 수 있다.In addition, the test target equipment may be applied as a BOP equipment.
또한, 상기 압력 용기의 내부 공간 하부에는 상기 BOP 장비가 안착 결합되도록 테스트 웰헤드가 고정 장착될 수 있다.In addition, a test well head may be fixedly mounted under the inner space of the pressure vessel so that the BOP equipment is seated and coupled.
또한, 상기 시추 장비 테스트 장치는, 상기 테스트 웰헤드를 통해 상기 BOP 장비에 내압이 전달되도록 상기 테스트 웰헤드에 고압의 유체를 공급하는 내압 공급 유닛을 더 포함하여 구성될 수 있다.The drilling rig test apparatus may further include a pressure resistant supply unit supplying a high pressure fluid to the test wellhead such that the internal pressure is transmitted to the BOP equipment through the test wellhead.
또한, 상기 압력 용기는 해저 바닥에 일부 매립되어 고정되거나 또는 별도의 해저 구조물에 장착되어 고정되거나 또는 별도의 계류 장치를 통해 해저에 계류되는 형태로 고정될 수 있다.In addition, the pressure vessel may be fixed in part embedded in the bottom of the seabed fixed or mounted to a separate seabed structure fixed or mooring to the seabed through a separate mooring device.
또한, 상기 압력 용기의 내부에는 상기 테스트 챔버에 고정 장착된 테스트 대상 장비에 대한 테스트 보조 작업이 가능하도록 로봇암이 장착될 수 있다.In addition, the robot arm may be mounted inside the pressure vessel to enable a test assistant to the test target equipment fixed to the test chamber.
또한, 상기 압력 용기의 내측면에는 가이드 레일이 장착되고, 상기 로봇암은 상기 가이드 레일을 따라 이동 가능하게 결합될 수 있다.In addition, a guide rail is mounted on an inner surface of the pressure vessel, and the robot arm may be coupled to be movable along the guide rail.
또한, 상기 시추 장비 테스트 장치는, 상기 BOP 장비, 외압 공급 유닛 및 내압 공급 유닛의 동작을 제어하고 상기 BOP 장비의 작동 상태를 모니터링할 수 있는 별도의 제어실을 더 포함하여 구성될 수 있다.In addition, the drilling equipment test apparatus may be configured to further include a separate control room for controlling the operation of the BOP equipment, the external pressure supply unit and the internal pressure supply unit and monitor the operating state of the BOP equipment.
또한, 상기 BOP 장비는 해상에 배치되는 별도의 시추 설비로부터 해저로 연장되는 라이저의 하단에 연결된 상태로 상기 압력 용기 내부로 투입되어 상기 테스트 웰헤드에 결합될 수 있다.In addition, the BOP equipment may be introduced into the pressure vessel while being connected to the lower end of the riser extending to the seabed from a separate drilling facility disposed on the sea and coupled to the test wellhead.
또한, 상기 내압 공급 유닛은 해상에 설치되는 별도의 해상 구조물에 장착되어 상기 테스트 웰헤드에 해수를 고압으로 공급하는 내압 공급 펌프를 포함하여 구성될 수 있다.In addition, the pressure-resistant supply unit may be configured to include a pressure-resistant supply pump is mounted on a separate offshore structure is installed on the sea to supply high-pressure seawater to the test wellhead.
또한, 상기 외압 공급 유닛은 해상에 설치되는 별도의 해상 구조물에 장착되어 상기 압력 용기의 테스트 챔버에 해수를 고압으로 공급하는 외압 공급 펌프를 포함하여 구성될 수 있다.In addition, the external pressure supply unit may be configured to include an external pressure supply pump mounted on a separate offshore structure installed on the sea to supply sea water at a high pressure to the test chamber of the pressure vessel.
한편, 본 발명은, 심해 환경에서 사용되는 시추 장비를 테스트하는 시추 장비 테스트 방법에 있어서, 내부에 테스트 챔버가 형성되는 압력 용기를 해저에 배치하는 단계; 상기 테스트 챔버에 액체를 저장하는 단계; 상기 테스트 챔버에 저장된 액체에 잠기도록 테스트 대상 장비를 투입하는 단계; 및 상기 테스트 챔버에 저장된 액체의 압력이 심해 압력에 도달하도록 외압 공급 유닛을 통해 액체의 압력을 상승시키는 단계를 포함하는 것을 특징으로 하는 시추 장비 테스트 방법을 제공한다.On the other hand, the present invention, drilling equipment test method for testing drilling equipment used in a deep sea environment, comprising the steps of: arranging a pressure vessel in which a test chamber is formed on the seabed; Storing liquid in the test chamber; Introducing a device under test to be immersed in the liquid stored in the test chamber; And raising the pressure of the liquid through the external pressure supply unit such that the pressure of the liquid stored in the test chamber reaches a deep sea pressure.
이때, 상기 테스트 대상 장비를 BOP 장비로 적용하고, 상기 압력 용기의 내부 공간 하부에는 상기 BOP 장비가 안착 결합되도록 테스트 웰헤드가 고정 장착될 수 있다.In this case, the test target equipment may be applied as a BOP equipment, and a test well head may be fixedly mounted so that the BOP equipment is seated and coupled to an inner space of the pressure vessel.
또한, 상기 시추 장비 테스트 방법은, 상기 테스트 웰헤드를 통해 상기 BOP 장비에 내압이 전달되도록 별도의 내압 공급 유닛을 통해 상기 테스트 웰헤드에 고압의 유체를 공급하는 단계를 더 포함하여 구성될 수 있다.The drilling rig test method may further include supplying a high pressure fluid to the test wellhead through a separate internal pressure supply unit such that internal pressure is transmitted to the BOP equipment through the test wellhead. .
또한, 상기 BOP 장비, 외압 공급 유닛 및 내압 공급 유닛의 동작을 제어하고 상기 BOP 장비의 작동 상태를 모니터링할 수 있는 별도의 제어실을 구비하고, 상기 제어실을 통해 상기 BOP 장비가 상기 테스트 웰헤드에 결합되는 결합 테스트, 상기 BOP 장비에 대한 외압 테스트 및 내압 테스트를 포함하는 통합 운용 테스트를 수행할 수 있다.In addition, there is a separate control room for controlling the operation of the BOP equipment, the external pressure supply unit and the internal pressure supply unit and monitor the operating state of the BOP equipment, through which the BOP equipment is coupled to the test wellhead The combined operation test, the integrated operation test including the external pressure test and the internal pressure test for the BOP equipment can be performed.
또한, 상기 BOP 장비는 해상에 배치되는 별도의 시추 설비로부터 해저로 연장되는 라이저의 하단에 연결되고, 상기 라이저와 함께 하향 이동하여 상기 압력 용기 내부로 투입되어 상기 테스트 웰헤드에 결합될 수 있다.
In addition, the BOP equipment may be connected to the lower end of the riser extending to the seabed from a separate drilling facility disposed on the sea, moved downward with the riser and introduced into the pressure vessel may be coupled to the test wellhead.
본 발명에 의하면, BOP 장비와 같은 심해 환경에서 사용되는 시추 장비들을 심해 환경과 유사한 조건에 노출시켜 각종 테스트를 수행할 수 있도록 함으로써, 시추 장비에 대한 문제를 사전에 예방 및 관리할 수 있어 심해와 같은 실제 설치 현장에서 시추 장비의 설치 및 작동 과정을 원활하고 신속하게 수행할 수 있도록 하는 효과가 있다.According to the present invention, the drilling equipment used in the deep sea environment, such as BOP equipment to be exposed to conditions similar to the deep sea environment to perform a variety of tests, to prevent and manage problems with the drilling equipment in advance to deep sea and The effect is to make the installation and operation of the drilling rig smooth and fast at the same actual installation site.
또한, 시추 장비가 투입되는 압력 용기를 해저에 위치시킴으로써, 시추 장비에 대한 실제 설치 작업과 동일한 방식으로 시추 장비를 설치할 수 있고, 이에 따라 시추 장비에 대한 다양한 테스트를 더욱 정확하게 수행할 수 있는 효과가 있다.In addition, by placing the pressure vessel in which the drilling equipment is put on the seabed, the drilling equipment can be installed in the same manner as the actual installation work on the drilling equipment, and thus the effect of performing various tests on the drilling equipment more accurately can be achieved. have.
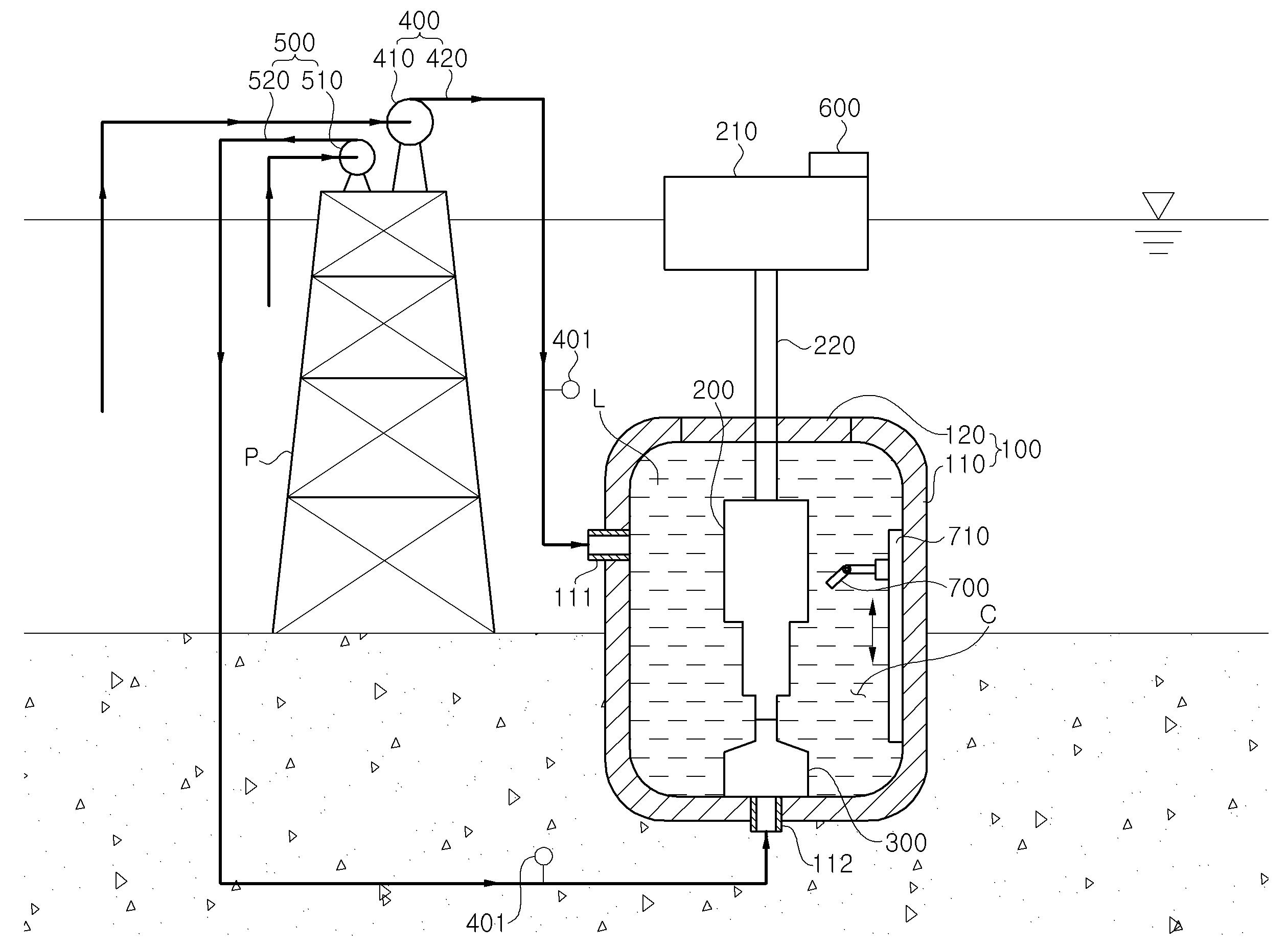
도 1은 본 발명의 일 실시예에 따른 시추 장비 테스트 장치의 구성을 개략적으로 도시한 개념도,
도 2는 본 발명의 일 실시예에 따른 압력 용기의 내부 구성 및 시추 장비 투입 과정을 개략적으로 도시한 동작 상태도,
도 3은 본 발명의 일 실시예에 따른 시추 장비 테스트 방법의 구성을 개략적으로 도시한 동작 흐름도이다.1 is a conceptual diagram schematically showing the configuration of a drilling rig test apparatus according to an embodiment of the present invention,
2 is an operating state diagram schematically showing the internal configuration of the pressure vessel and the drilling equipment input process according to an embodiment of the present invention,
3 is an operation flowchart schematically showing the configuration of a drilling equipment test method according to an embodiment of the present invention.
이하, 본 발명의 바람직한 실시예를 첨부된 도면들을 참조하여 상세히 설명한다. 우선 각 도면의 구성요소들에 참조부호를 부가함에 있어서, 동일한 구성요소들에 대해서는 비록 다른 도면상에 표시되더라도 가능한 한 동일한 부호를 가지도록 하고 있음에 유의해야 한다. 또한, 본 발명을 설명함에 있어, 관련된 공지 구성 또는 기능에 대한 구체적인 설명이 본 발명의 요지를 흐릴 수 있다고 판단되는 경우에는 그 상세한 설명은 생략한다.
Hereinafter, exemplary embodiments of the present invention will be described in detail with reference to the accompanying drawings. First of all, in adding reference numerals to the components of each drawing, it should be noted that the same reference numerals are used as much as possible even if displayed on different drawings. In addition, in describing the present invention, when it is determined that the detailed description of the related well-known configuration or function may obscure the gist of the present invention, the detailed description thereof will be omitted.
도 1은 본 발명의 일 실시예에 따른 시추 장비 테스트 장치의 구성을 개략적으로 도시한 개념도이고, 도 2는 본 발명의 일 실시예에 따른 압력 용기의 내부 구성 및 시추 장비 투입 과정을 개략적으로 도시한 동작 상태도이다.1 is a conceptual diagram schematically showing the configuration of the drilling equipment test apparatus according to an embodiment of the present invention, Figure 2 is a schematic diagram showing the internal configuration of the pressure vessel and the drilling equipment input process according to an embodiment of the present invention One operation state diagram.
본 발명의 일 실시예에 따른 시추 장비 테스트 장치는 심해 환경에서 사용되는 시추 장비를 심해 환경과 유사한 환경 조건에 노출시켜 다양한 방식의 테스트를 수행할 수 있는 장치로서, 압력 용기(100)와, 외압 공급 유닛(400)을 포함하여 구성된다.Drilling equipment test apparatus according to an embodiment of the present invention is a device capable of performing a variety of tests by exposing the drilling equipment used in a deep sea environment to environmental conditions similar to the deep sea environment, the
압력 용기(100)는 내부에 테스트 대상 장비가 투입될 수 있도록 내부 공간에 테스트 챔버(C)가 형성되고, 테스트 챔버(C)에는 테스트 대상 장비가 잠기도록 액체(L)가 저장된다. 이때, 테스트 대상 장비는 심해 환경에서 사용되는 장비로서, 예를 들면, 해저 유정의 내부 가스 폭발을 방지하기 위해 해저 유정의 상단 웰헤드에 래칭(Latching) 결합되는 BOP 장비(200)가 적용될 수 있다. 이하에서는 설명의 편의를 위해 테스트 대상 장비로서 BOP 장비(200)가 적용된 경우를 예로 들어 설명한다.The
이러한 압력 용기(100)는 내부에 테스트 챔버(C)가 형성된 다양한 형상의 용기 형태로 형성될 수 있는데, 압력 용기(100)의 내부 압력에 대한 지지 강도를 고려할 때 원통 형상으로 형성되는 것이 바람직하다. 또한, 압력 용기(100)는 부식 방지를 위해 음극 전원에 연결되는 방식으로 구성될 수 있다.The
또한, 압력 용기(100)는 도 1에 도시된 바와 같이 내부 공간에 테스트 챔버(C)가 형성되도록 상단면 일부가 개방된 용기 본체(110)와, 용기 본체(110)의 개방된 부분에 밀봉 결합되는 용기 커버(120)로 분리 형성될 수 있다. 이러한 구조를 통해 용기 커버(120)를 개방한 상태로 용기 본체(110)의 테스트 챔버(C)에 액체(L)를 투입하여 저장할 수 있고, 용기 커버(120)를 개방한 상태에서 BOP 장비(200)를 액체(L)에 잠기도록 테스트 챔버(C)에 투입할 수 있다. 용기 본체(110)에는 후술하는 외압 공급 유닛(400)과 내압 공급 유닛(500)으로부터 압력을 제공받을 수 있도록 외압 공급 포트(111)와 내압 공급 포트(112)가 형성될 수 있다. 또한, 용기 본체(110)와 용기 커버(120)는 내부 테스트 챔버(C)에 저장된 액체(L)가 외압 공급 유닛(400)에 의한 압력 공급을 통해 고압 상태로 유지될 수 있도록 상호 밀봉되게 결합되는 것이 바람직하다.In addition, the
외압 공급 유닛(400)은 압력 용기(100)의 테스트 챔버(C)에 저장된 액체(L)의 압력이 심해 조건에서의 압력, 예를 들면 4,300 psi 이상의 압력에 도달하도록 액체의 압력을 상승시키도록 구성된다.The external
이러한 외압 공급 유닛(400)은 압력 용기(100)의 테스트 챔버(C)에 유체를 고압으로 공급하도록 작동하는 외압 공급 펌프(410)와, 고압의 유체가 외압 공급 펌프(410)로부터 테스트 챔버(C)로 공급되도록 외압 공급 펌프(410)와 테스트 챔버(C)를 연결하는 외압 연결 라인(420)을 포함하여 구성될 수 있다. 외압 공급 펌프(410)는 일반적으로 액체를 공급하며, 가스를 공급하는 컴프레셔 형태로 적용될 수도 있다. 외압 연결 라인(420)은 외압 공급 펌프(410)로부터 압력 용기(100)의 외압 공급 포트(111)에 연결되도록 설치될 수 있다. 압력 용기(100)의 내부 공간 또는 외압 연결 라인(420)의 내부 유로에 너무 높은 고압이 형성되는 경우, 압력을 조절할 수 있도록 별도의 압력 안전 장치가 구비될 수 있는데, 예를 들면, 도 1에 도시된 바와 같이 외압 연결 라인(420)에 별도의 릴리프 밸브(401)가 장착되는 형태로 구성될 수 있다. 물론, 릴리프 밸브(401)는 압력 용기(100)의 일측에 장착될 수도 있다.The external
이때, 압력 용기(100)는 본 발명의 일 실시예에 따라 해저에 배치되는데, 테스트가 용이하도록 천해 영역, 예를 들면 수심이 20 m 내지 40 m 정도의 해저 영역에 배치될 수 있다. 이 경우, 압력 용기(100)는 도 1에 도시된 바와 같이 해저 바닥에 일부 매립되어 고정된 형태로 설치될 수 있다. 물론, 도시되지는 않았으나, 별도의 해저 구조물에 장착되어 고정되거나 또는 별도의 계류 장치를 통해 해저에 계류되는 형태로 고정될 수도 있다.At this time, the
이와 같이 압력 용기(100)가 해저에 배치되면, 압력 용기(100)의 용기 본체(110)를 먼저 해저에 위치시킴으로써 테스트 챔버(C)에 액체인 해수를 가득 채울 수 있고, 이 상태에서 BOP 장비(200)를 테스트 챔버(C)에 투입한 후 용기 커버(120)를 밀봉 결합시킬 수 있다. 또한, 외압 공급 유닛(400)의 외압 공급 펌프(410) 또한 도 1에 도시된 바와 같이 해수를 고압 상태로 공급하는 방식으로 구성될 수 있으며, 이 경우 외압 공급 펌프(410)는 별도의 해상 구조물(P)에 고정 설치될 수 있다.As such, when the
한편, 압력 용기(100)의 내부 공간 하부에는 BOP 장비(200)가 테스트 챔버(C)에 투입된 상태에서 BOP 장비(200)의 하단이 안착 결합되도록 도 1에 도시된 바와 같이 테스트 웰헤드(300)가 고정 장착되며, 이러한 테스트 웰헤드(300)는 전술한 내압 공급 포트(112)와 연통되도록 장착될 수 있다. 테스트 웰헤드(300)는 해저 유정의 상단에 결합되는 웰헤드와 동일한 것으로, 본 발명의 일 실시예에서는 BOP 장비(200)에 대한 테스트를 위해 압력 용기(100) 내부에 고정 장착된다. 따라서, BOP 장비(200)와 테스트 웰헤드(300)는 상호 래칭 결합한 상태에서 내부 공간이 서로 연통되게 결합된다.On the other hand, the
이 경우, 테스트 웰헤드(300)를 통해 BOP 장비(200)에 내압이 전달되도록 테스트 웰헤드(300)에 고압의 유체를 공급하는 내압 공급 유닛(500)이 더 구비되는 것이 바람직하다. 내압 공급 유닛(500)은 BOP 장비(200)에 대한 내압이 심해 유정에서 가스 폭발시 발생하는 압력, 예를 들면 15,000 psi 이상의 압력에 도달하도록 고압 유체를 공급하는 형태로 구성된다.In this case, the internal
이러한 내압 공급 유닛(500)은 테스트 웰헤드(300)에 고압의 유체를 공급하도록 작동하는 내압 공급 펌프(510)와, 고압의 유체가 내압 공급 펌프(510)로부터 테스트 챔버(C)로 공급되도록 내압 공급 펌프(510)와 테스트 웰헤드(300)를 연결하는 내압 연결 라인(520)을 포함하여 구성될 수 있다. 내압 공급 펌프(510)는 액체를 공급하는 펌프의 형태로 적용될 수도 있고, 유정 내 고압의 가스 발생 상황을 재현하기 위해 액체와 가스를 동시에 공급할 수 있는 다상 펌프(multi-phase pump) 형태로 적용될 수도 있다. 이때, 테스트 웰헤드(300)의 내부 공간 또는 내압 연결 라인(520)의 내부 유로에 너무 높은 고압이 형성되는 경우, 압력을 조절할 수 있도록 별도의 압력 안전 장치가 구비될 수 있는데, 예를 들면, 도 1에 도시된 바와 같이 내압 연결 라인(520)에 별도의 릴리프 밸브(401)가 장착되는 형태로 구성될 수 있다.The internal
도 1에서는 압력 용기(100)의 용기 본체(110)에 내압 공급 포트(112)가 형성되고, 테스트 웰헤드(300)가 압력 용기(100)의 바닥면에 고정 장착되어 내압 공급 포트(112)에 직접 연통 결합되는 형태가 도시되는바, 이 경우, 내압 연결 라인(520)은 내압 공급 포트(112)와 연결될 수 있다. In FIG. 1, the internal
이때, 테스트 웰헤드(300)는 도 2에 도시된 바와 같이 별도의 웰헤드 서포트(310)를 통해 지지되거나 또는 별도의 프레임(미도시)에 의해 압력 용기(100)의 내부 바닥면으로부터 이격되게 고정 배치될 수도 있는바, 이와 같이 배치되는 테스트 웰헤드(300)에는 내압 공급 유닛(500)으로부터 고압의 유체가 공급될 수 있도록 내압 공급 포트(112)와 테스트 웰헤드(300)를 연결하는 별도의 플렉서블 유압 호스(미도시)가 구비될 수 있다. 플렉서블 유압 호스는 도 2에 도시된 바와 같이 테스트 웰헤드(300)의 상하 위치가 변경됨에 따라 곡선 형태로 벤딩될 수 있도록 유연성을 갖도록 형성될 뿐만 아니라 내압 공급 유닛(500)으로부터 공급된 15,000 psi 압력을 견딜 수 있도록 형성된다.At this time, the
또한, 내압 공급 유닛(500)의 내압 공급 펌프(510)는 외압 공급 펌프(410)와 같이 해수를 고압 상태로 공급하는 방식으로 구성될 수 있으며, 이 경우 내압 공급 펌프(510)는 별도의 해상 구조물(P)에 고정 설치될 수 있다.In addition, the internal
이와 같은 구성에 따라 본 발명의 일 실시예에 따른 시추 장비 테스트 장치는 별도의 압력 용기(100) 내부 액체(L)의 압력을 외압 공급 유닛(400)에 의해 해저 3,000 m 이상의 심해 압력 상태로 상승시킴으로써, BOP 장비(200)에 대한 외압 테스트를 수행할 수 있다. 즉, BOP 장비(200)가 심해 압력에 노출된 경우 구조적으로 안정적인지 여부 또는 정상적으로 작동하는지 여부 또는 누출(Leakage)이 발생하는지 여부 등을 테스트할 수 있다.According to this configuration, the drilling apparatus test apparatus according to an embodiment of the present invention raises the pressure of the liquid L inside the
또한, 내압 공급 유닛(500)을 통해 BOP 장비(200)에 15,000 psi 이상의 내부 압력을 제공함으로써, BOP 장비(200)에 대한 심해 환경의 내압 테스트를 수행할 수 있다. 예를 들면, BOP 장비(200)를 구성하는 램(Ram), 애뉼라(Annular) 및 각종 밸브 등에 대한 내부 압력 테스트를 수행할 수 있다.In addition, by providing an internal pressure of 15,000 psi or more to the
한편, 이상에서 설명한 바와 같이 압력 용기(100)가 해저에 위치하는 경우, BOP 장비(200)를 실제 시추 현장에서 설치하는 것과 마찬가지 방식으로 압력 용기(100) 내부에 설치할 수 있다. 즉, BOP 장비(200)는 도 1에 도시된 바와 같이 리그선과 같은 별도의 시추 설비(210)로부터 해저로 연장되는 라이저(220)의 하단에 연결되고, 라이저(220)와 함께 하향 이동하여 압력 용기(100) 내부로 투입되며, 압력 용기(100) 내부에서 테스트 웰헤드(300)에 결합되는 방식으로 설치될 수 있다.On the other hand, as described above, when the
이때, BOP 장비(200)는 도 2에 도시된 바와 같이 용기 커버(120)의 하단에 결합된 상태로 장착되어 용기 커버(120)를 용기 본체(110)의 상면에 밀봉 결합하는 과정에서 이와 동시에 테스트 챔버(C)에 투입되도록 구성될 수 있다. 즉, 용기 커버(120)와 BOP 장비(200)가 일체로 운반되도록 상호 결합되고, 이러한 용기 커버(120)와 BOP 장비(200)를 라이저(220)에 의해 하향 이동시킴으로써 용기 커버(120)가 용기 본체(110)에 밀봉 결합되고 이와 동시에 BOP 장비(200)가 테스트 챔버(C)에 투입되도록 구성될 수 있다. 또한, 이때 BOP 장비(200)는 테스트 챔버(C)로 투입됨과 동시에 용기 본체(110)의 내부 공간 하부에 위치한 테스트 웰헤드(300)에 안착 결합되도록 구성될 수 있다. 따라서, 용기 커버(120)를 용기 본체(110)에 밀봉 결합시키는 작업, BOP 장비(200)의 투입 작업 및 테스트 웰헤드(300)와의 결합 작업이 동시에 이루어질 수 있으며, 이를 통해 작업이 단순화되어 편리하고 신속하게 수행될 수 있다.At this time, the
이 경우, 용기 커버(120)와 함께 BOP 장비(200)를 압력 용기(100)의 내부 공간으로 투입시키는 과정에서, BOP 장비(200)의 상하 이동 경로를 가이드할 수 있도록 압력 용기(100)의 내부 공간에는 도 2에 도시된 바와 같이 별도의 이동 가이드부(130)가 장착될 수 있다.In this case, in the process of injecting the
또한, 테스트 웰헤드(300)는 도 2에 도시된 바와 같이 별도의 웰헤드 서포트(310)에 의해 지지되는 형태로 배치될 수도 있는데, 웰헤드 서포트(310)는 테스트 웰헤드(300)를 상향 지지할 수 있도록 유압에 의해 작동하는 실린더 형태 또는 탄성 스프링 형태로 구성될 수 있다. 따라서, 도 2의 (a)에 도시된 바와 같이 BOP 장비(200)가 테스트 웰헤드(300)에 안착되지 않은 상태에서는 테스트 웰헤드(300)가 웰헤드 서포트(310)에 의해 상향 이동한 상태로 유지되고, 도 2의 (b)에 도시된 바와 같이 BOP 장비(200)가 압력 용기(100) 내부로 투입되어 테스트 웰헤드(300)에 안착됨에 따라 테스트 웰헤드(300)가 웰헤드 서포트(310)에 의해 지지된 상태로 하향 이동하게 된다. 이러한 구조에 따라 BOP 장비(200)와 테스트 웰헤드(300)와의 결합 과정이 더욱 정확하고 안정적으로 이루어질 수 있다.In addition, the
또한, 시추 설비(210)에는 BOP 장비(200), 외압 공급 유닛(400) 및 내압 공급 유닛(500)의 동작을 제어함과 동시에 BOP 장비(200)의 작동 상태를 모니터링할 수 있는 별도의 제어실(600)이 구비될 수 있다. 이러한 제어실(600)은 라이저(220)를 통해 BOP 장비(200) 및 압력 용기(100)와 연결될 수 있으며, 별도의 케이블 라인을 통해 외압 공급 유닛(400) 및 내압 공급 유닛(500)과 연결될 수 있다. 이때, 제어실(600)은 시추 설비(210)에 배치될 수도 있으나, 별도의 해상 구조물 또는 해상에 인접한 육상 등 다양한 곳에 배치될 수 있다.In addition, the
제어실(600)에서 BOP 장비(200)를 제어하기 위해, 전기 신호를 공급하는 먹스 케이블(Mux Cable)이 제어실로부터 BOP 장비로 2개 연결되며, HPU(Hydraulic Power Unit)와 같은 유압 공급 장치로부터 BOP 장비에 구비된 2개의 유압 라인(conduit line)을 통해 BOP 장비로 유압을 공급할 수 있도록 구성된다. 즉, 먹스 케이블을 통해 전력 및 밸브 조작 신호가 전달되며, BOP 장비의 램 및 에뉼라는 공급된 유압을 사용하여 닫히고 열리는 동작이 수행된다.In order to control the
이와 같은 구조에 따라 BOP 장비(200)에 대한 외압 및 내압 테스트 이외에도 BOP 장비(200)의 설치 과정이 정상적으로 이루어지는지 여부 등을 테스트할 수 있다. 예를 들면, BOP 장비(200)가 테스트 웰헤드(300)에 정상적으로 래칭 결합하는지 여부를 테스트할 수 있다. 또한, BOP 장비(200)를 동작 제어할 수 있는 제어실(600)을 통해 BOP 장비(200)에 대한 각종 제어 테스트 및 실제 해저 유정에서 일어나는 모든 동작에 대한 테스트가 가능하다. According to the structure as described above, in addition to the external pressure and internal pressure test for the
이때, 압력 용기(100) 내부에는 압력 용기(100)의 내부 상태 및 BOP 장비(200)의 작동 상태 등을 모니터링할 수 있도록 다양한 센서 및 영상 장비 등이 추가로 장착될 수 있으며, 이러한 센서 및 영상 장비들이 제어실(600)과 연결되어 제어실(600)을 통해 BOP 장비(200)에 대한 작동 상태를 모니터링하도록 할 수 있다. At this time, the inside of the
예를 들면, 도 2에 도시된 바와 같이 압력 용기(100)의 내부 상태를 관찰할 수 있도록 수중 카메라(150) 및 조명(미도시)이 압력 용기(100) 내부에 장착될 수 있으며, 압력 용기(100)의 내부 상태를 측정할 수 있도록 센서 모듈(140)이 압력 용기(100)의 내부에 장착될 수 있다. 센서 모듈(140)은 압력 센서, 온도 센서, 스트레인 게이지, 수평계 등을 포함할 수 있다. 스트레인 게이지를 통해 BOP 장비(200)의 램 장치에 대한 변형량을 계측할 수 있고, 압력 센서 및 온도 센서를 통해 압력 용기(100)의 내부 공간에 대한 압력 및 온도 등의 환경 조건을 계측할 수 있다. 또한, 수중 카메라(150)를 통해 BOP 장비와 테스트 웰헤드의 래칭 결합 과정을 관찰할 수 있고, 장비의 파손 여부 등을 확인할 수 있다.For example, an
한편, 압력 용기(100) 내부에는 도 2에 도시된 바와 같이 제어실(600)과 정보를 송수신하는 어쿠스틱 제어부(160)가 장착될 수 있으며, 어쿠스틱 제어부(160)는 어쿠스틱 제어명령 유닛, 트랜스듀서, 트랜시버 등으로 구성된다. 어쿠스틱 제어명령 유닛을 통해 BOP 장비의 동작 제어 기능을 수행할 수 있고, 트랜스듀서 및 트랜시버를 통해 BOP 장비 제어 정보의 수신 및 모니터링 정보의 송신을 수행할 수 있다. Meanwhile, as illustrated in FIG. 2, the
한편, 압력 용기(100) 내부에는 테스트 챔버(C) 내부에 고정 장착된 BOP 장비(200)에 대한 테스트 보조 작업이 가능하도록 별도의 로봇암(700)이 장착될 수 있다. 로봇암(700)은 다양한 형태로 제작될 수 있는데, 일반적인 ROV(Remotely Operated Vehicle)에 사용되는 로봇암이 적용될 수 있다. 이러한 로봇암(700)은 BOP 장비(200)와 테스트 웰헤드(300)와의 결합 과정을 보조하거나 또는 BOP 장비에 대한 작동 테스트 기능, 압력 테스트 보조 기능, 유지 보수 기능 등 다양한 작업을 수행하도록 구성될 수 있으며, 이에 대한 동작 제어는 제어실(600)을 통해 수행될 수 있다.Meanwhile, a
또한, 로봇암(700)의 위치 이동을 위해 압력 용기(100)의 내측면에는 가이드 레일(710)이 장착되고, 로봇암(700)은 가이드 레일(710)을 따라 이동 가능하도록 결합될 수 있다. 이때, 가이드 레일(710)은 도 1에 도시된 바와 같이 압력 용기(100)의 내측면에 상하 방향으로 길게 형성될 수도 있고, 이에 더하여 압력 용기(100)의 내측면에 원주 방향을 따라 길게 형성될 수도 있는 등 다양한 형태로 형성될 수 있다.In addition, the
이상에서는 테스트 대상 장비로서 BOP 장비(200)만을 대상으로 설명하였으나, BOP 장비(200) 이외에도 크리스마스 트리 등 심해 환경에서 사용되는 다양한 시추 장비가 적용될 수 있으며, 다양한 시추 장비들을 적용하는 방식으로 확장하여 머드 이송 및 머드 순환 테스트, 크리스마스 트리 장비 시험 등을 포함한 통합 운용 테스트 또한 할 수 있을 것이다. 여기서, 통합 운용 테스트는 출항부터 미션 수행후 복귀까지의 모든 시스템 운용을 포함한다. 또한, 테스트 대상 장비는 시추 장비 뿐만 아니라 심해에서 작업하거나 설치되는 모든 종류의 장비가 적용될 수 있으며, 이들에 대한 외압 테스트 및 내압 테스트가 가능하다.
In the above description, only the
도 3은 본 발명의 일 실시예에 따른 시추 장비 테스트 방법의 구성을 개략적으로 도시한 동작 흐름도이다.3 is an operation flowchart schematically showing the configuration of a drilling equipment test method according to an embodiment of the present invention.
본 발명은 도 1 및 도 2에서 설명한 시추 장비 테스트 장치를 이용한 시추 장비 테스트 방법을 제공하는데, 이러한 시추 장비 테스트 방법은 전술한 방식으로 수행될 수 있으므로, 여기서는 간략히 살펴본다.The present invention provides a drilling rig test method using the drilling rig test apparatus described in Figures 1 and 2, this drilling rig test method can be performed in the manner described above, a brief look here.
본 발명의 일 실시예에 따른 시추 장비 테스트 방법은, 내부에 테스트 챔버(C)가 형성되는 압력 용기(100)을 해저에 배치하는 단계(S1)와, 테스트 챔버(C)에 액체(L)를 저장하는 단계(S2)와, 테스트 챔버(C)에 저장된 액체(L)에 잠기도록 테스트 대상 장비를 투입하는 단계(S3)와, 테스트 챔버(C)에 저장된 액체(L)의 압력이 심해 압력에 도달하도록 외압 공급 유닛(400)을 통해 액체의 압력을 상승시키는 단계(S4)를 포함하여 구성된다.Drilling equipment test method according to an embodiment of the present invention, the step (S1) for placing the
테스트 대상 장비는 전술한 바와 같이 BOP 장비(200)로 적용되고, 압력 용기(100)의 내부 공간 하부에는 BOP 장비(200)가 안착 결합되도록 테스트 웰헤드(300)가 고정 장착된다. 이때, 본 발명의 일 실시예에 따른 시추 장비 테스트 방법은, 테스트 웰헤드(300)를 통해 BOP 장비(200)에 내압이 전달되도록 별도의 내압 공급 유닛(500)을 통해 테스트 웰헤드(300)에 고압의 유체를 공급하는 단계(S5)를 더 포함하여 구성된다.The test target equipment is applied to the
BOP 장비(200)는 해상에 배치되는 별도의 시추 설비(210)로부터 해저로 연장되는 라이저(220)의 하단에 연결되고, 라이저(220)와 함께 하향 이동하여 압력 용기(100) 내부로 투입되며 테스트 웰헤드(300)에 안착 결합된다.
이러한 과정을 통해 BOP 장비(200)에 대한 외압 테스트 및 내압 테스트를 수행할 수 있고, BOP 장비(200)가 테스트 웰헤드(300)에 결합되는 결합 테스트 또한 수행할 수 있으며, 이러한 테스트 및 BOP 장비에 대한 모니터링은 별도의 제어실(600)을 통해 수행할 수 있다. 아울러, 테스트 대상 장비를 심해에서 사용하는 다양한 심해 장비들로 확대 적용하여 머드 이송 및 머드 순환 테스트, 크리스마스 트리 장비 시험 등을 포함한 통합 운용 테스트 또한 수행할 수 있다.
Through this process, the external pressure test and the internal pressure test of the
이상의 설명은 본 발명의 기술 사상을 예시적으로 설명한 것에 불과한 것으로서, 본 발명이 속하는 기술 분야에서 통상의 지식을 가진 자라면 본 발명의 본질적인 특성에서 벗어나지 않는 범위에서 다양한 수정 및 변형이 가능할 것이다. 따라서, 본 발명에 개시된 실시예들은 본 발명의 기술 사상을 한정하기 위한 것이 아니라 설명하기 위한 것이고, 이러한 실시예에 의하여 본 발명의 기술 사상의 범위가 한정되는 것은 아니다. 본 발명의 보호 범위는 아래의 청구범위에 의하여 해석되어야 하며, 그와 동등한 범위 내에 있는 모든 기술 사상은 본 발명의 권리범위에 포함되는 것으로 해석되어야 할 것이다.The above description is merely illustrative of the technical idea of the present invention, and those skilled in the art to which the present invention pertains may make various modifications and changes without departing from the essential characteristics of the present invention. Therefore, the embodiments disclosed in the present invention are not intended to limit the technical idea of the present invention but to describe the present invention, and the scope of the technical idea of the present invention is not limited by these embodiments. The protection scope of the present invention should be interpreted by the following claims, and all technical ideas within the scope equivalent thereto should be construed as being included in the scope of the present invention.
100: 압력 용기 110: 용기 본체
111: 외압 공급 포트 112: 내압 공급 포트
120: 용기 커버 130: 이동 가이드부
140: 센서 모듈 150: 수중 카메라
160: 어쿠스틱 제어부 200: BOP 장비
210: 시추 설비 220: 라이저
300: 테스트 웰헤드 400: 외압 공급 유닛
500: 내압 공급 유닛 600: 제어실
700: 로봇암 710: 가이드 레일100: pressure vessel 110: vessel body
111: external pressure supply port 112: internal pressure supply port
120: container cover 130: moving guide portion
140: sensor module 150: underwater camera
160: acoustic control unit 200: BOP equipment
210: drilling rig 220: riser
300: test well head 400: external pressure supply unit
500: pressure supply unit 600: control room
700: robot arm 710: guide rail
Claims (18)
내부에 테스트 대상 장비가 투입될 수 있도록 테스트 챔버가 형성되고, 상기 테스트 챔버에는 상기 테스트 대상 장비가 잠기도록 액체가 저장되는 압력 용기; 및
상기 테스트 챔버에 저장된 액체의 압력이 심해 압력에 도달하도록 액체의 압력을 상승시키는 외압 공급 유닛을 포함하고,
상기 테스트 대상 장비는 BOP 장비이고,
상기 압력 용기는 내부 공간에 상기 테스트 챔버가 형성되도록 상단면 일부가 개방된 용기 본체와, 상기 용기 본체의 개방된 부분에 밀봉 결합되는 용기 커버로 분리 형성되고,
상기 압력 용기의 내부 공간 하부에는 상기 BOP 장비가 안착 결합되도록 테스트 웰헤드가 고정 장착되고,
상기 BOP 장비는 상기 용기 커버의 하단에 결합된 상태로 장착되어 상기 용기 커버를 상기 용기 본체의 상면에 밀봉 결합하는 과정에서 상기 테스트 챔버에 투입됨과 동시에 상기 용기 본체의 내부 공간 하부에 위치한 상기 테스트 웰헤드에 안착 결합되고,
상기 테스트 웰헤드를 통해 상기 BOP 장비에 내압이 전달되도록 상기 테스트 웰헤드에 고압의 유체를 공급하는 내압 공급 유닛을 더 포함하고,
상기 내압 공급 유닛은 상기 BOP 장비에 대한 내압이 심해 유정에서 가스 폭발시 발생하는 15,000 psi 이상의 압력에 도달하도록 고압 유체를 공급하는 것을 특징으로 하는 시추 장비 테스트 장치.In the drilling equipment test apparatus for testing drilling equipment used in a deep sea environment,
A test chamber is formed therein to allow the test target equipment to be inserted into the test chamber, and the test chamber includes a pressure container configured to store a liquid to lock the test target equipment; And
An external pressure supply unit for raising a pressure of the liquid such that the pressure of the liquid stored in the test chamber reaches a deep sea pressure,
The test target equipment is a BOP equipment,
The pressure vessel is separated into a container body having a portion of an upper surface opened so that the test chamber is formed in an inner space, and a container cover sealingly coupled to an open portion of the container body.
A test well head is fixedly mounted to the bottom of the inner space of the pressure vessel so that the BOP equipment is seated and coupled.
The BOP device is mounted in a state coupled to a lower end of the container cover to be inserted into the test chamber in the process of sealingly coupling the container cover to the upper surface of the container body and at the same time the test well located under the inner space of the container body. Seated on the head,
Further comprising a pressure-resistant supply unit for supplying a high pressure fluid to the test wellhead so that the internal pressure is transmitted to the BOP equipment through the test wellhead,
The internal pressure supply unit is a drilling equipment test apparatus, characterized in that for supplying a high-pressure fluid to reach the pressure of 15,000 psi or more generated when the gas explosion in the oil well to the BOP equipment is severe.
상기 압력 용기는 해저에 배치되는 것을 특징으로 하는 시추 장비 테스트 장치.The method of claim 1,
Drilling equipment test apparatus, characterized in that the pressure vessel is disposed on the seabed.
상기 압력 용기는 해저 바닥에 일부 매립되어 고정되거나 또는 별도의 해저 구조물에 장착되어 고정되거나 또는 별도의 계류 장치를 통해 해저에 계류되는 형태로 고정되는 것을 특징으로 하는 시추 장비 테스트 장치.The method according to any one of claims 1 to 2,
The pressure vessel is partially embedded in the bottom of the seabed fixed or mounted to a separate subsea structure fixed or fixed to the form of mooring to the seabed through a separate mooring device.
상기 압력 용기의 내부에는 상기 테스트 챔버에 고정 장착된 테스트 대상 장비에 대한 테스트 보조 작업이 가능하도록 로봇암이 장착되는 것을 특징으로 하는 시추 장비 테스트 장치.The method according to any one of claims 1 to 2,
Drilling equipment test apparatus, characterized in that the robot arm is mounted to the inside of the pressure vessel to enable the test assistant operation for the test target equipment fixed to the test chamber.
상기 압력 용기의 내측면에는 가이드 레일이 장착되고, 상기 로봇암은 상기 가이드 레일을 따라 이동 가능하게 결합되는 것을 특징으로 하는 시추 장비 테스트 장치.The method of claim 7, wherein
A guide rail is mounted on an inner side of the pressure vessel, and the robot arm is coupled to the guide rail so as to be movable.
상기 BOP 장비, 외압 공급 유닛 및 내압 공급 유닛의 동작을 제어하고 상기 BOP 장비의 작동 상태를 모니터링할 수 있는 별도의 제어실을 더 포함하는 것을 특징으로 하는 시추 장비 테스트 장치.The method of claim 1,
Drilling equipment test apparatus further comprises a separate control room for controlling the operation of the BOP equipment, the external pressure supply unit and the internal pressure supply unit and monitor the operating state of the BOP equipment.
상기 BOP 장비는 해상에 배치되는 별도의 시추 설비로부터 해저로 연장되는 라이저의 하단에 연결된 상태로 상기 압력 용기 내부로 투입되어 상기 테스트 웰헤드에 결합되는 것을 특징으로 하는 시추 장비 테스트 장치.The method of claim 1,
The BOP equipment is drilling equipment test apparatus, characterized in that coupled to the test wellhead is introduced into the pressure vessel in a state connected to the bottom of the riser extending to the seabed from a separate drilling equipment disposed on the sea.
상기 내압 공급 유닛은
해상에 설치되는 별도의 해상 구조물에 장착되어 상기 테스트 웰헤드에 해수를 고압으로 공급하는 내압 공급 펌프를 포함하는 것을 특징으로 하는 시추 장비 테스트 장치.The method of claim 1,
The pressure resistant supply unit
Drilling equipment test apparatus comprising a pressure-resistant supply pump mounted to a separate offshore structure to be installed at sea to supply the seawater to the test wellhead at high pressure.
상기 외압 공급 유닛은
해상에 설치되는 별도의 해상 구조물에 장착되어 상기 압력 용기의 테스트 챔버에 해수를 고압으로 공급하는 외압 공급 펌프를 포함하는 것을 특징으로 하는 시추 장비 테스트 장치.The method of claim 1,
The external pressure supply unit
Drilling equipment test apparatus characterized in that it comprises an external pressure supply pump mounted on a separate offshore structure to be installed on the sea to supply the seawater at a high pressure to the test chamber of the pressure vessel.
상기 압력 용기는 부식 방지를 위해 음극 전원에 연결되는 것을 특징으로 하는 시추 장비 테스트 장치.The method according to any one of claims 1 to 2,
Drilling equipment test apparatus, characterized in that the pressure vessel is connected to a negative power source to prevent corrosion.
내부에 테스트 챔버가 형성되는 압력 용기를 해저에 배치하는 단계;
상기 테스트 챔버에 액체를 저장하는 단계;
상기 테스트 챔버에 저장된 액체에 잠기도록 테스트 대상 장비를 투입하는 단계; 및
상기 테스트 챔버에 저장된 액체의 압력이 심해 압력에 도달하도록 외압 공급 유닛을 통해 액체의 압력을 상승시키는 단계를 포함하고,
상기 압력 용기는 내부 공간에 상기 테스트 챔버가 형성되도록 상단면 일부가 개방된 용기 본체와, 상기 용기 본체의 개방된 부분에 밀봉 결합되는 용기 커버로 분리 형성되고,
상기 테스트 대상 장비를 BOP 장비로 적용하고, 상기 압력 용기의 내부 공간 하부에는 상기 BOP 장비가 안착 결합되도록 테스트 웰헤드가 고정 장착되고,
상기 BOP 장비는 상기 용기 커버의 하단에 결합된 상태로 장착되어 상기 용기 커버를 상기 용기 본체의 상면에 밀봉 결합하는 과정에서 상기 테스트 챔버에 투입됨과 동시에 상기 용기 본체의 내부 공간 하부에 위치한 상기 테스트 웰헤드에 안착 결합되고,
상기 테스트 웰헤드를 통해 상기 BOP 장비에 내압이 전달되도록 별도의 내압 공급 유닛을 통해 상기 테스트 웰헤드에 고압의 유체를 공급하는 단계를 더 포함하고,
상기 내압 공급 유닛은 상기 BOP 장비에 대한 내압이 심해 유정에서 가스 폭발시 발생하는 15,000 psi 이상의 압력에 도달하도록 고압 유체를 공급하는 것을 특징으로 하는 시추 장비 테스트 방법.In the drilling equipment test method for testing drilling equipment used in a deep sea environment,
Disposing a pressure vessel on the seabed, in which a test chamber is formed;
Storing liquid in the test chamber;
Introducing a device under test to be immersed in the liquid stored in the test chamber; And
Raising the pressure of the liquid through the external pressure supply unit such that the pressure of the liquid stored in the test chamber reaches a deep sea pressure,
The pressure vessel is separated into a container body having a portion of an upper surface opened so that the test chamber is formed in an inner space, and a container cover sealingly coupled to an open portion of the container body.
The test target device is applied as a BOP device, and a test well head is fixedly mounted to the BOP device to be seated and coupled to the inner space of the pressure vessel.
The BOP device is mounted in a state coupled to a lower end of the container cover to be inserted into the test chamber in the process of sealingly coupling the container cover to the upper surface of the container body and at the same time the test well located under the inner space of the container body Seated on the head,
Supplying a high pressure fluid to the test wellhead through a separate internal pressure supply unit such that internal pressure is transmitted to the BOP equipment through the test wellhead,
The internal pressure supply unit is a drilling equipment test method, characterized in that for supplying high-pressure fluid to reach the pressure of 15,000 psi or more generated when the gas explosion in the oil well to the BOP equipment is severe.
상기 BOP 장비, 외압 공급 유닛 및 내압 공급 유닛의 동작을 제어하고 상기 BOP 장비의 작동 상태를 모니터링할 수 있는 별도의 제어실을 구비하고,
상기 제어실을 통해 상기 BOP 장비가 상기 테스트 웰헤드에 결합되는 결합 테스트, 상기 BOP 장비에 대한 외압 테스트 및 내압 테스트를 포함하는 통합 운용 테스트를 수행하는 것을 특징으로 하는 시추 장비 테스트 방법.The method of claim 14,
It is provided with a separate control room for controlling the operation of the BOP equipment, external pressure supply unit and internal pressure supply unit and monitor the operating state of the BOP equipment,
Drilling equipment test method, characterized in that for performing an integrated operation test including a coupling test, the external pressure test and the internal pressure test for the BOP equipment coupled to the test wellhead through the control room.
상기 BOP 장비는 해상에 배치되는 별도의 시추 설비로부터 해저로 연장되는 라이저의 하단에 연결되고, 상기 라이저와 함께 하향 이동하여 상기 압력 용기 내부로 투입되어 상기 테스트 웰헤드에 결합되는 것을 특징으로 하는 시추 장비 테스트 방법.The method of claim 14,
The BOP equipment is connected to the lower end of the riser extending to the seabed from a separate drilling facility disposed on the sea, moved downward with the riser is introduced into the pressure vessel is coupled to the test wellhead Equipment test method.
Priority Applications (2)
| Application Number | Priority Date | Filing Date | Title |
|---|---|---|---|
| KR1020130038350A KR102033533B1 (en) | 2013-04-08 | 2013-04-08 | Test Apparatus and Method for Drilling Equipment |
| PCT/KR2013/003884 WO2014168284A1 (en) | 2013-04-08 | 2013-05-03 | Apparatus for testing drilling rig and method therefor |
Applications Claiming Priority (1)
| Application Number | Priority Date | Filing Date | Title |
|---|---|---|---|
| KR1020130038350A KR102033533B1 (en) | 2013-04-08 | 2013-04-08 | Test Apparatus and Method for Drilling Equipment |
Publications (2)
| Publication Number | Publication Date |
|---|---|
| KR20140121974A KR20140121974A (en) | 2014-10-17 |
| KR102033533B1 true KR102033533B1 (en) | 2019-12-02 |
Family
ID=51993242
Family Applications (1)
| Application Number | Title | Priority Date | Filing Date |
|---|---|---|---|
| KR1020130038350A Active KR102033533B1 (en) | 2013-04-08 | 2013-04-08 | Test Apparatus and Method for Drilling Equipment |
Country Status (1)
| Country | Link |
|---|---|
| KR (1) | KR102033533B1 (en) |
Cited By (1)
| Publication number | Priority date | Publication date | Assignee | Title |
|---|---|---|---|---|
| KR20210077921A (en) | 2019-12-18 | 2021-06-28 | 대우조선해양 주식회사 | Portable water supplying system for mixing bop fluid of drilling vessels and supplying method |
Families Citing this family (1)
| Publication number | Priority date | Publication date | Assignee | Title |
|---|---|---|---|---|
| CN116698180A (en) * | 2023-03-30 | 2023-09-05 | 中国舰船研究设计中心 | System and method for testing direct radiation component of noise of sea pipe orifice flow |
Citations (3)
| Publication number | Priority date | Publication date | Assignee | Title |
|---|---|---|---|---|
| JP2002068076A (en) | 2000-08-25 | 2002-03-08 | Mitsubishi Heavy Ind Ltd | Storing device and method for uncontrollable jet preventing device |
| KR200269540Y1 (en) * | 2001-12-31 | 2002-03-22 | 한국수자원공사 | Large Cyclic Triaxial Testing Apparatus |
| US20110311311A1 (en) * | 2010-06-22 | 2011-12-22 | Brey Arden L | Method and system for confining and salvaging oil and methane leakage from offshore locations and extraction operations |
Family Cites Families (5)
| Publication number | Priority date | Publication date | Assignee | Title |
|---|---|---|---|---|
| US4323118A (en) * | 1980-02-04 | 1982-04-06 | Bergmann Conrad E | Apparatus for controlling and preventing oil blowouts |
| JP3358925B2 (en) * | 1995-10-27 | 2002-12-24 | 三菱重工業株式会社 | Anticorrosion and antifouling equipment for seawater intake channels |
| US8403053B2 (en) * | 2010-12-17 | 2013-03-26 | Hydril Usa Manufacturing Llc | Circuit functional test system and method |
| KR101205315B1 (en) * | 2011-02-15 | 2012-11-28 | 삼성중공업 주식회사 | Drillship |
| KR101185286B1 (en) | 2011-04-04 | 2012-09-26 | 현대중공업 주식회사 | Apparatus and method for handling bop of drillship |
-
2013
- 2013-04-08 KR KR1020130038350A patent/KR102033533B1/en active Active
Patent Citations (3)
| Publication number | Priority date | Publication date | Assignee | Title |
|---|---|---|---|---|
| JP2002068076A (en) | 2000-08-25 | 2002-03-08 | Mitsubishi Heavy Ind Ltd | Storing device and method for uncontrollable jet preventing device |
| KR200269540Y1 (en) * | 2001-12-31 | 2002-03-22 | 한국수자원공사 | Large Cyclic Triaxial Testing Apparatus |
| US20110311311A1 (en) * | 2010-06-22 | 2011-12-22 | Brey Arden L | Method and system for confining and salvaging oil and methane leakage from offshore locations and extraction operations |
Cited By (1)
| Publication number | Priority date | Publication date | Assignee | Title |
|---|---|---|---|---|
| KR20210077921A (en) | 2019-12-18 | 2021-06-28 | 대우조선해양 주식회사 | Portable water supplying system for mixing bop fluid of drilling vessels and supplying method |
Also Published As
| Publication number | Publication date |
|---|---|
| KR20140121974A (en) | 2014-10-17 |
Similar Documents
| Publication | Publication Date | Title |
|---|---|---|
| KR200484764Y1 (en) | Test Apparatus of Drilling Equipment | |
| KR102033533B1 (en) | Test Apparatus and Method for Drilling Equipment | |
| KR20150040516A (en) | Pressure Vessel for Testing Drilling Equipment and Test Apparatus Using The Same | |
| KR20140126650A (en) | Test Apparatus and Method for Drilling Equipment | |
| KR200484979Y1 (en) | Test Apparatus for Drilling Equipment | |
| KR20150040519A (en) | Pressure Vessel for Testing Drilling Equipment and Test Apparatus Using The Same | |
| KR20150002089A (en) | Pressure Vessel and Test Apparatus for Drilling Equipment Using The Same | |
| KR102033532B1 (en) | Test Apparatus and Method for Drilling Equipment | |
| KR20150063752A (en) | Pressure Vessel and Test Apparatus for Drilling Equipment Using The Same | |
| KR101599315B1 (en) | Test Wellhead Assembly and BOP Test Apparatus Using The Same | |
| KR102066626B1 (en) | Test Apparatus and Method for Drilling Equipment | |
| KR200483819Y1 (en) | Test Apparatus for Testing Drilling Equipment | |
| KR20140129586A (en) | Test Apparatus and Method for Drilling Equipment | |
| KR20150000167A (en) | BOP Test Apparatus and Method | |
| KR102075969B1 (en) | BOP Test Control System | |
| KR20140129588A (en) | Test Apparatus and Method for Drilling Equipment | |
| KR102087176B1 (en) | Test Apparatus and Method for Drilling Equipment | |
| KR20150002088A (en) | Universal blowout preventer equipment control system for test of blowout preventer equipment and control method thereof | |
| KR20150000168A (en) | BOP Test Apparatus and Method | |
| KR20150040515A (en) | Pressure Vessel for Testing Drilling Equipment and Test Apparatus Using The Same | |
| KR20150041528A (en) | Drilling Equipment Test System and Method | |
| KR20150097964A (en) | Test Apparatus and Method for Drilling Equipment | |
| KR20150000163A (en) | Test Apparatus and Method for Drilling Equipment | |
| KR20140121760A (en) | Test Apparatus and Method for Drilling Equipment | |
| KR20150040514A (en) | BOP Test Control System |
Legal Events
| Date | Code | Title | Description |
|---|---|---|---|
| PA0109 | Patent application |
St.27 status event code: A-0-1-A10-A12-nap-PA0109 |
|
| PG1501 | Laying open of application |
St.27 status event code: A-1-1-Q10-Q12-nap-PG1501 |
|
| R18-X000 | Changes to party contact information recorded |
St.27 status event code: A-3-3-R10-R18-oth-X000 |
|
| P22-X000 | Classification modified |
St.27 status event code: A-2-2-P10-P22-nap-X000 |
|
| A201 | Request for examination | ||
| PA0201 | Request for examination |
St.27 status event code: A-1-2-D10-D11-exm-PA0201 |
|
| E902 | Notification of reason for refusal | ||
| PE0902 | Notice of grounds for rejection |
St.27 status event code: A-1-2-D10-D21-exm-PE0902 |
|
| E13-X000 | Pre-grant limitation requested |
St.27 status event code: A-2-3-E10-E13-lim-X000 |
|
| P11-X000 | Amendment of application requested |
St.27 status event code: A-2-2-P10-P11-nap-X000 |
|
| P13-X000 | Application amended |
St.27 status event code: A-2-2-P10-P13-nap-X000 |
|
| E701 | Decision to grant or registration of patent right | ||
| PE0701 | Decision of registration |
St.27 status event code: A-1-2-D10-D22-exm-PE0701 |
|
| PR0701 | Registration of establishment |
St.27 status event code: A-2-4-F10-F11-exm-PR0701 |
|
| PR1002 | Payment of registration fee |
St.27 status event code: A-2-2-U10-U11-oth-PR1002 Fee payment year number: 1 |
|
| PG1601 | Publication of registration |
St.27 status event code: A-4-4-Q10-Q13-nap-PG1601 |
|
| P22-X000 | Classification modified |
St.27 status event code: A-4-4-P10-P22-nap-X000 |
|
| R18-X000 | Changes to party contact information recorded |
St.27 status event code: A-5-5-R10-R18-oth-X000 |
|
| PR1001 | Payment of annual fee |
St.27 status event code: A-4-4-U10-U11-oth-PR1001 Fee payment year number: 4 |
|
| PN2301 | Change of applicant |
St.27 status event code: A-5-5-R10-R13-asn-PN2301 St.27 status event code: A-5-5-R10-R11-asn-PN2301 |
|
| PR1001 | Payment of annual fee |
St.27 status event code: A-4-4-U10-U11-oth-PR1001 Fee payment year number: 5 |
|
| L13-X000 | Limitation or reissue of ip right requested |
St.27 status event code: A-2-3-L10-L13-lim-X000 |
|
| PR1001 | Payment of annual fee |
St.27 status event code: A-4-4-U10-U11-oth-PR1001 Fee payment year number: 6 |
|
| PR1001 | Payment of annual fee |
St.27 status event code: A-4-4-U10-U11-oth-PR1001 Fee payment year number: 7 |
|
| U11 | Full renewal or maintenance fee paid |
Free format text: ST27 STATUS EVENT CODE: A-4-4-U10-U11-OTH-PR1001 (AS PROVIDED BY THE NATIONAL OFFICE) Year of fee payment: 7 |
