[go: up one dir, main page]

KR102030138B1 - A sign board using solar generating - Google Patents

A sign board using solar generating Download PDF

Info

Publication number
KR102030138B1
KR102030138B1 KR1020170165401A KR20170165401A KR102030138B1 KR 102030138 B1 KR102030138 B1 KR 102030138B1 KR 1020170165401 A KR1020170165401 A KR 1020170165401A KR 20170165401 A KR20170165401 A KR 20170165401A KR 102030138 B1 KR102030138 B1 KR 102030138B1
Authority
KR
South Korea
Prior art keywords
light source
illumination
light sources
unit
signboard
Prior art date
Legal status (The legal status is an assumption and is not a legal conclusion. Google has not performed a legal analysis and makes no representation as to the accuracy of the status listed.)
Active
Application number
KR1020170165401A
Other languages
Korean (ko)
Other versions
KR20190065845A (en
Inventor
김상일
Original Assignee
주식회사 꿈꾸는사람들
Priority date (The priority date is an assumption and is not a legal conclusion. Google has not performed a legal analysis and makes no representation as to the accuracy of the date listed.)
Filing date
Publication date
Application filed by 주식회사 꿈꾸는사람들 filed Critical 주식회사 꿈꾸는사람들
Priority to KR1020170165401A priority Critical patent/KR102030138B1/en
Publication of KR20190065845A publication Critical patent/KR20190065845A/en
Application granted granted Critical
Publication of KR102030138B1 publication Critical patent/KR102030138B1/en
Active legal-status Critical Current
Anticipated expiration legal-status Critical

Links

Images

Classifications

    • GPHYSICS
    • G09EDUCATION; CRYPTOGRAPHY; DISPLAY; ADVERTISING; SEALS
    • G09FDISPLAYING; ADVERTISING; SIGNS; LABELS OR NAME-PLATES; SEALS
    • G09F13/00Illuminated signs; Luminous advertising
    • G09F13/04Signs, boards or panels, illuminated from behind the insignia
    • G09F13/0404Signs, boards or panels, illuminated from behind the insignia the light source being enclosed in a box forming the character of the sign
    • GPHYSICS
    • G09EDUCATION; CRYPTOGRAPHY; DISPLAY; ADVERTISING; SEALS
    • G09FDISPLAYING; ADVERTISING; SIGNS; LABELS OR NAME-PLATES; SEALS
    • G09F13/00Illuminated signs; Luminous advertising
    • G09F13/005Illumination controller or illuminated signs including an illumination control system
    • GPHYSICS
    • G09EDUCATION; CRYPTOGRAPHY; DISPLAY; ADVERTISING; SEALS
    • G09FDISPLAYING; ADVERTISING; SIGNS; LABELS OR NAME-PLATES; SEALS
    • G09F27/00Combined visual and audible advertising or displaying, e.g. for public address
    • G09F27/007Displays with power supply provided by solar cells or photocells

Landscapes

  • Physics & Mathematics (AREA)
  • General Physics & Mathematics (AREA)
  • Engineering & Computer Science (AREA)
  • Theoretical Computer Science (AREA)
  • Life Sciences & Earth Sciences (AREA)
  • Sustainable Development (AREA)
  • Illuminated Signs And Luminous Advertising (AREA)

Abstract

본 발명은 태양광 발전을 이용한 간판에 관한 것으로서, 더욱 상세하게는 태양광을 이용하여 발전하고, 발전된 전력을 저장하며, 저장된 전력량에 따라 광고판에 조명을 제공하는 광원의 점멸을 제어하여 에너지를 절감하고, 내부의 조명 조도값에 따라 보조 광원을 점등시킴으로써 지속적인 광고효과를 기대할 수 있는 태양광 발전을 이용한 간판에 관한 것이다.
본 발명에 따른 태양광 발전을 이용한 간판은 태양전지모듈에서 발전된 전원으로 빛을 발광시키는 복수의 조명을 충전량에 따라 개별적으로 제어함으로써 전기에너지를 효율적으로 사용할 수 있다.
또한, 태양광 발전을 이용한 자가발전을 통해 자체적인 전력공급을 하여 안전적으로 전력을 공급할 수 있음은 물론 상용전력의 소모량을 최소화할 수 있다.
The present invention relates to a signboard using photovoltaic power generation, and more particularly, to generate energy using solar light, to store the generated power, and to control the blinking of the light source that provides lighting to the billboard according to the amount of stored power to save energy. And, it relates to a signboard using photovoltaic power generation that can expect a continuous advertising effect by lighting the auxiliary light source in accordance with the internal illumination illuminance value.
Signage using solar power generation according to the present invention can efficiently use the electrical energy by individually controlling a plurality of lights for emitting light with the power generated in the solar cell module according to the amount of charge.
In addition, it is possible to supply power safely through self-power generation using solar power generation as well as to minimize the consumption of commercial power.

Description

태양광 발전을 이용한 간판{A sign board using solar generating}Sign board using solar generating

본 발명은 태양광 발전을 이용한 간판에 관한 것으로서, 더욱 상세하게는 태양광을 이용하여 발전하고, 발전된 전력을 저장하며, 저장된 전력량에 따라 광고판에 조명을 제공하는 광원의 점멸을 제어하여 에너지를 절감하고, 내부의 조명 조도값에 따라 보조 광원을 점등시킴으로써 지속적인 광고효과를 기대할 수 있는 태양광 발전을 이용한 간판에 관한 것이다.The present invention relates to a signboard using photovoltaic power generation, and more particularly, to generate energy using solar light, to store the generated power, and to control the blinking of the light source that provides lighting to the billboard according to the amount of stored power to save energy. And, it relates to a signboard using photovoltaic power generation that can expect a continuous advertising effect by lighting the auxiliary light source in accordance with the internal illumination illuminance value.

간판이란 상점, 회사, 영업소, 기관 등에서 이름, 판매 상품, 영업 종목 등을 표시하여 사람 눈에 잘 띄도록 걸거나 붙이는 등의 표지로서, 동서양을 막론하고 간판은 오랜 옛날부터 있었다. 처음에는 자가상품을 그대로 내놓아 간판으로 삼았으나 차차 글씨와 그림을 사용하여 여러 취향을 나타내게 되었다. 또 간판을 광고판이라고도 하여 그 종류도 상업활동이 복잡해지면서 다양해졌다.A signboard is a sign that displays names, sales items, and business items in shops, companies, sales offices, and institutions, and hangs or puts them on people's eyes. At first, they used their own products as a signboard, but gradually expressed their tastes using letters and pictures. Also, signboards are also called billboards, and their types have been diversified due to the complexity of commercial activities.

이러한 간판은 설치장소에 따라 옥상간판·벽면간판·돌출간판·점두간판·지주간판(입간판)·빌보드(들판, 산, 고속도로변에 세우는 간판) 등이 있고, 구조상의 종류로는 네온사인, 광고탑, 조명광고간판, 그림간판, 플라스틱간판, 시네사인 등이 있다. These signs include rooftop signs, wall signs, protrusion signs, store signboards, holding signs (signboards), billboards (fields, mountains, highway signs, etc.). , Lighting advertising signs, painting signs, plastic signs and cine signs.

여기서 조명광고간판은 형광등, 또는 네온등을 이용하여 왔으나, 최근 LED의 발전으로 조명광고간판에 널리 이용되어 왔던 형광등, 또는 네온등이 점차적으로 고휘도 LED로 대체되고 있는 추세이다.Here, the lighting advertisement sign has been using a fluorescent lamp or a neon light, but recently, the development of LED, the fluorescent or neon lamp that has been widely used in the lighting advertising signage is gradually replaced by high-brightness LED.

한편, 이러한 간판 중 지주간판은 벽에 기대어 놓거나 길에 세워 둔 간판으로써, 주로 교외의 전원카페, 펜션 및 연수원 등이나, 과수원 등을 알리는데 사용되며, 통상적으로 업체의 상호명 등이 새겨진 직사면체로 이루어진 케이스와, 상기 케이스의 내부에 구비되는 형광등 및 상기 형광등에 전원을 공급하는 전원부로 구성된다. On the other hand, the signboard of the signboard is a sign leaning against the wall or standing on the road, mainly used to inform the suburban power cafes, pensions and training centers, orchards, etc. And a power supply unit for supplying power to the fluorescent lamp and the fluorescent lamp provided inside the case.

그러나 지주간판의 대부분은 해당 펜션이나, 카페 등으로부터 멀리 떨어진 곳에 설치되기 때문에 상당히 긴 전선을 요구하게 되고, 감전사고를 예방하기 위해 설치시 전선을 매설해야 하지만 대부분의 업체는 번거로움을 이유로 지면에 그대로 방치한채 설치하는 것이 보통이다.However, most of the signboards are located far away from the pensions or cafes, so they require quite long wires. To prevent electric shocks, wires must be buried at the time of installation. It is common to install it as it is.

대한민국 공개특허 제10-2013-0038739호Republic of Korea Patent Publication No. 10-2013-0038739 대한민국 등록특허 제10-1164073호Republic of Korea Patent No. 10-1164073

본 발명은 상기와 같은 종래의 문제를 해결하기 위한 것으로서, 간판에 인쇄된 광고 문안에 대응되게 설치되어 태양광 발전 시스템으로부터 공급된 전원으로 빛을 발광시키는 복수의 조명을 태양광 발전 시스템의 충전량에 따라 개별적으로 제어함으로써 전기에너지를 효율적으로 사용할 수 있는 태양광을 이용한 간판을 제공하는 데 그 목적이 있다.The present invention is to solve the above-mentioned conventional problems, a plurality of lights installed to correspond to the advertising text printed on the signboard to emit light with the power supplied from the photovoltaic system to the amount of charge of the photovoltaic system Accordingly, the purpose of the present invention is to provide a signboard using solar light that can efficiently use electric energy by controlling it individually.

태양광 발전을 이용한 자가발전을 통해 자체적인 전력공급을 하여 안전적으로 전력을 공급할 수 있음은 물론 상용전력의 소모량을 최소화할 수 있는 태양광을 이용한 간판을 제공하는 데 그 목적이 있다.Its purpose is to provide a signboard using solar power that can safely supply power through its own power supply through solar power generation and minimize the consumption of commercial power.

상기와 같은 목적을 달성하기 위한 본 발명에 따른 태양광 발전을 이용한 간판은 광고문구가 표시된 광고판과, 상기 광고판을 지지하는 지지프레임을 포함하며 내부에 공간부가 형성된 간판본체와; 상기 간판본체 내부의 공간부를 독립된 복수의 조명공간부로 구획하는 구획벽과; 상기 조명공간부 각각에 적어도 둘 이상 설치되는 복수의 광원을 포함하는 조명부와; 상기 조명공간부 각각의 조도를 검출하는 조도검출부와; 상기 간판본체 외부에 설치되는 태양전지모듈과; 상기 태양전지모듈에서 발전된 전기를 저장하는 배터리와; 상기 배터리에 충전된 충전량을 검출하는 충전량검출부와; 상기 광원과 일대일 대응되게 설치되어 상기 배터리로부터 상기 광원으로 각각 공급되는 전원을 개별적으로 단속하는 개별제어스위치와; 상기 각 조명공간부의 조도정보 또는 상기 배터리의 충전량에 따라 상기 개별제어스위치의 동작을 제어하는 제어부;를 구비하는 것을 특징으로 한다.Signage using the solar power generation according to the present invention for achieving the above object includes a signboard body with an advertising phrase, the signboard body including a support frame for supporting the billboard and the space portion therein; A partition wall partitioning the space part inside the signboard body into a plurality of independent lighting space parts; An illumination unit including a plurality of light sources installed in each of the illumination space units at least two; An illuminance detection unit detecting illuminance of each of the illumination space units; A solar cell module installed outside the sign body; A battery for storing electricity generated in the solar cell module; A charge amount detecting unit detecting a charge amount charged in the battery; An individual control switch installed in one-to-one correspondence with the light source and separately controlling power supplied from the battery to the light source; And a control unit for controlling the operation of the individual control switch according to the illumination information of each of the lighting space units or the amount of charge of the battery.

상기 각 조명공간부에는 메인광원과, 상기 메인광원보다 소비전력이 작고 서로 다른 소비전력을 갖는 복수의 서브광원이 설치되고, 상기 제어부는 메인광원에 연결된 개별제어스위치를 단락시킨 상태에서, 상기 조도검출부에서 검출되는 상기 각 조명공간부의 조도값이 설정된 기준조도값보다 작으면, 상기 서브광원과 연결된 모든 개별제어스위치를 단락시키는 것을 특징으로 한다.Each of the illumination spaces includes a main light source and a plurality of sub light sources having different power consumption and smaller power consumption than the main light source, and the control unit short-circuits the individual control switches connected to the main light source. When the illuminance value of each illumination space portion detected by the detection unit is smaller than the set reference illuminance value, all the individual control switches connected to the sub light source are short-circuited.

상기 각 조명공간부에는 메인광원과, 상기 메인광원보다 소비전력이 작고 서로 다른 소비전력을 갖는 복수의 서브광원이 설치되고, 상기 제어부는 상기 메인광원과, 상기 서브광원에 연결된 모든 개별제어스위치를 단락시킨 상태에서, 상기 배터리의 충전량이 감소할수록 상기 각 조명공간부에 설치된 광원들 중 소비전력이 큰 순서대로 광원에 연결된 개별제어스위치를 우선적으로 개방시키는 것을 특징으로 한다.Each of the lighting space units includes a main light source and a plurality of sub light sources having different power consumption and smaller power consumption than the main light source, and the controller controls the main light source and all individual control switches connected to the sub light source. In the short-circuit state, as the charge amount of the battery decreases, the individual control switches connected to the light sources are preferentially opened in order of increasing power consumption among the light sources installed in the respective lighting space units.

상기 각 조명공간부에는 메인광원과, 상기 메인광원보다 소비전력이 작고 서로 다른 소비전력을 갖는 복수의 서브광원이 설치되고, 상기 제어부는 메인광원에 연결된 개별제어스위치를 단락시킨 상태에서, 상기 조도검출부에서 검출되는 상기 각 조명공간부의 조도값이 설정된 기준조도값보다 작으면, 상기 서브광원들과 연결된 모든 개별제어스위치를 단락시키되, 상기 배터리의 충전량이 감소할수록 상기 각 조명공간부에 설치된 서브광원들 중 소비전력이 큰 순서대로 서브광원에 연결된 개별제어스위치를 우선적으로 개방시키는 것을 특징으로 한다.Each of the illumination spaces includes a main light source and a plurality of sub light sources having different power consumption and smaller power consumption than the main light source, and the control unit short-circuits the individual control switches connected to the main light source. When the illuminance value of each illumination space portion detected by the detection unit is smaller than the set reference illuminance value, all individual control switches connected to the sub light sources are short-circuited, and as the amount of charge of the battery decreases, the sub light sources installed in the respective illumination space portions are reduced. Among them, the individual control switch connected to the sub light source is preferentially opened in order of increasing power consumption.

상기 광원과 상기 광고판 사이에는 상기 광원에서 방사되는 빛을 상기 광고판을 향하도록 집속하는 집속렌즈부가 더 구비된 것을 특징으로 한다.A focusing lens unit may be further provided between the light source and the billboard to focus the light emitted from the light source toward the billboard.

본 발명에 따른 태양광 발전을 이용한 간판은 태양전지모듈에서 발전된 전원으로 빛을 발광시키는 복수의 조명을 충전량에 따라 개별적으로 제어함으로써 전기에너지를 효율적으로 사용할 수 있다.Signage using solar power generation according to the present invention can efficiently use the electrical energy by individually controlling a plurality of lights for emitting light with the power generated in the solar cell module according to the amount of charge.

또한, 태양광 발전을 이용한 자가발전을 통해 자체적인 전력공급을 하여 안전적으로 전력을 공급할 수 있음은 물론 상용전력의 소모량을 최소화할 수 있다.In addition, it is possible to supply power safely through self-power generation using solar power generation as well as to minimize the consumption of commercial power.

도 1은 본 발명에 따른 태양광 발전을 이용한 간판을 나타낸 사시도.
도 2는 본 발명에 따른 태양광 발전을 이용한 간판의 단면도.
도 3은 본 발명에 따른 태양광 발전을 이용한 간판의 제어계통을 나타낸 회로도.
도 4는 본 발명에 따른 태양광 발전을 이용한 간판의 다른 실시 예를 나타낸 단면도.
1 is a perspective view showing a signboard using photovoltaic power generation according to the present invention.
2 is a cross-sectional view of a signboard using solar power generation according to the present invention.
Figure 3 is a circuit diagram showing a control system of the signboard using the photovoltaic power generation according to the present invention.
4 is a cross-sectional view showing another embodiment of a signboard using solar power generation according to the present invention.

이하, 첨부된 도면을 참조하면서 본 발명의 바람직한 실시 예에 따른 태양광 발전을 이용한 간판(1)에 대하여 상세하게 설명한다. Hereinafter, a signboard 1 using photovoltaic power generation according to a preferred embodiment of the present invention with reference to the accompanying drawings will be described in detail.

도 1 내지 도 4에는 본 발명에 따른 태양광 발전을 이용한 간판(1)이 도시되어 있다. 도 1 내지 도 4를 참조하면, 본 발명에 따른 태양광 발전을 이용한 간판(1)은 간판본체(10)와, 구획벽(20)과, 조명부(30)와, 조도검출부(40)와, 태양전지모듈(50)과, 배터리(60)와, 충전량검출부(70)와, 개별제어스위치(81)와, 제어부(90)를 구비한다.1 to 4 show a signboard 1 using photovoltaic power generation according to the present invention. 1 to 4, the signboard 1 using solar power generation according to the present invention includes a signboard body 10, a partition wall 20, an illumination unit 30, an illuminance detection unit 40, A solar cell module 50, a battery 60, a charge amount detecting unit 70, an individual control switch 81, and a control unit 90 are provided.

간판본체(10)는 광고문구(11) 또는 문양이 표시된 광고판(12)과, 광고판(12)을 지지하며 내측에 공간부를 형성하는 지지프레임(13)과, 광고판(12)과 대향되는 지지프레임(13)의 타 측에 설치되는 장착판(14)을 구비한다. 광고판(12)은 지지프레임(13)의 내측 또는 외측에서 고정피스 또는 접착제 등을 통해 고정될 수 있으며, 간판본체(10)의 후방 측에 배치되는 장착판(14)에는 후술하는 조명부(30)를 설치하기 위한 전등소켓(15)이 복수 설치된다. The signboard body 10 includes an advertisement board 11 or a billboard 12 in which a pattern is displayed, a support frame 13 supporting the billboard 12 and forming a space therein, and a support frame facing the billboard 12. The mounting plate 14 provided in the other side of 13 is provided. The billboard 12 may be fixed through a fixing piece or an adhesive on the inside or the outside of the support frame 13, the mounting plate 14 disposed on the rear side of the signboard body 10, the lighting unit 30 to be described later A plurality of light sockets 15 for installing the lamps are installed.

구획벽(20)은 간판본체(10) 내에 간판본체(10)의 폭 방향과 나란한 방향으로 배치되고, 간판본체(10)의 길이방향을 따라 복수가 이격되게 배치되어 간판본체(10) 내의 공간부를 독립된 복수의 조명공간부(10a, 10b, 10c, 10d)로 각각 구획한다. 구획벽(20)은 각 조명공간부(10a, 10b, 10c, 10d) 측에서 인접하는 조명공간부 측으로 빛이 투과되는 것을 방지하도록 불투명한 소재로 형성하는 것이 바람직하다. The partition wall 20 is disposed in the signboard body 10 in a direction parallel to the width direction of the signboard body 10, and a plurality of partition walls are disposed along the longitudinal direction of the signboard body 10 so as to be spaced in the signboard body 10. The section is divided into a plurality of independent lighting space sections 10a, 10b, 10c, and 10d, respectively. The partition wall 20 is preferably formed of an opaque material so as to prevent light from being transmitted from the illumination space portions 10a, 10b, 10c, and 10d to the adjacent illumination space portions.

본 실시 예에서 구획벽(20)은 간판본체(10) 내의 공간부를 제1조명공간부(10a) 내지 제4조명공간부(10d)로 구획하도록 3개가 적용되었다.In the present embodiment, three partition walls 20 are applied to partition the space in the signboard body 10 into the first lighting space portion 10a to the fourth lighting space portion 10d.

조명부(30)는 각 조명공간부(10a, 10b, 10c, 10d)에 적어도 둘 이상 설치되는 복수의 광원을 포함한다. 본 실시 예에서 각 조명공간부(10a, 10b, 10c, 10d)에는 하나의 메인광원(31)과 둘 이상의 서브광원(32, 33)을 설치하였다. 그리고, 조명부(30)의 메인광원(31)은 가장 큰 밝기 즉, 소모전력을 갖고, 서브광원(32, 33)은 메인광원(31)보다 밝기가 떨어지는 즉, 메인광원(31)보다 소모전력이 작으면서 서로 다른 소모전력을 가지는 것을 적용한다. 본 실시 예에서 조명부(30)는 형광등과 같은 방전등을 적용하였으나, 이와 다르게 LED램프를 적용할 수 있음은 물론이다.The lighting unit 30 includes a plurality of light sources installed in at least two of the lighting space units 10a, 10b, 10c, and 10d. In the present embodiment, each of the illumination spaces 10a, 10b, 10c, and 10d is provided with one main light source 31 and two or more sub light sources 32 and 33. The main light source 31 of the lighting unit 30 has the greatest brightness, that is, the power consumption, and the sub light sources 32 and 33 have lower brightness than the main light source 31, that is, the power consumption of the main light source 31. This small and different power consumption is applied. In the present embodiment, the lighting unit 30 is applied to a discharge lamp, such as a fluorescent lamp, it can be applied to the LED lamp differently.

조도검출부(40)는 조명공간부 각각의 조도를 검출하는 것으로서, 제1조명공간부(10a) 내지 제4조명공간부(10d)에 각각 설치되는 제1조도센서 내지 제4조도센서(41, 42, 43, 44)를 포함하여 구성된다. 조도검출부(40)는 각 조명공간부(10a, 10b, 10c, 10d)의 조도정보를 검출하여 후술하는 제어부(90)로 전송한다.The illuminance detection unit 40 detects illuminance of each of the illumination space units, and includes the first and fourth illumination sensors 41 and 4 installed in the first and fourth illumination space units 10a to 10d, respectively. 42, 43, 44). The illuminance detection unit 40 detects illuminance information of each of the illumination space units 10a, 10b, 10c, and 10d and transmits the illuminance information to the control unit 90 described later.

태양전지모듈(50)은 간판본체(10) 외부에 설치되어 태양광을 이용하여 전기에너지를 생산하며, 생산된 전기에너지는 간판본체(10) 내부에 설치된 배터리(60)에 저장된다. 태양전지모듈(50)은 간판본체(10)의 외부 즉, 지지프레임(13)의 상부 및 지지프레임(13)의 좌우 측면에 각각 설치된다. The solar cell module 50 is installed outside the signboard body 10 to produce electrical energy using sunlight, and the produced electrical energy is stored in the battery 60 installed inside the signboard body 10. The solar cell module 50 is installed outside the signboard body 10, that is, the upper side of the support frame 13 and the left and right sides of the support frame 13.

도면에 도시되어 있지 않지만, 태양전지모듈(50)은 염료감응형 태양전지를 적용하여 광고판(12)의 전면 및 후면에 설치될 수도 있다. 이 경우에는 태양전지모듈(50) 자체가 표시하고자 하는 광고문구(11)나 광고문양을 형성하도록 광고문구(11)나 광고문양 형태로 형성된 태양전지모듈(50)을 광고판(12)에 부착할 수도 있다.Although not shown in the figure, the solar cell module 50 may be installed on the front and rear of the billboard 12 by applying a dye-sensitized solar cell. In this case, the solar cell module 50 may be attached to the billboard 12 to form the advertisement phrase 11 or advertisement pattern to form the advertisement phrase 11 or advertisement pattern to be displayed by the solar cell module 50 itself. It may be.

배터리(60)는 태양전지모듈(50)에서 발전된 전기에너지를 저장하며, 전원공급부(65)를 통해 조명부(30)로 전원을 공급한다.The battery 60 stores electric energy generated by the solar cell module 50 and supplies power to the lighting unit 30 through the power supply unit 65.

충전량검출부(70)는 배터리(60)에 충전된 충전량을 검출하여 배터리(60) 잔량 정보를 제어부(90)로 송출한다.The charge detection unit 70 detects a charge amount charged in the battery 60 and transmits the remaining amount of battery 60 information to the controller 90.

개별제어스위치(81)는 광원과 일대일 대응되게 설치되어 배터리(60)로부터 광원으로 각각 공급되는 전원을 개별적으로 단속하는 것으로서, 조명부(30)의 광원 개수와 대응되는 개수가 구비된다. 개별제어스위치(81) 각각은 제어부(90)의 제어신호에 따라 단락 또는 개방되는 스위칭소자를 적용할 수 있다. The individual control switch 81 is installed in one-to-one correspondence with the light source to individually control the power supplied from the battery 60 to the light source, and the number corresponding to the number of light sources of the lighting unit 30 is provided. Each of the individual control switches 81 may apply a switching element that is shorted or opened according to the control signal of the controller 90.

또한, 전원공급부(65)와 개별제어스위치(81) 사이에는 각 조명공간부(10a, 10b, 10c, 10d)에 설치된 복수의 개별제어스위치(81)에 대한 전원 공급 및 차단을 위해 그룹제어스위치(85)가 설치된다. 그룹제어스위치(85)는 사용자의 조작에 의해 온/오프 가능한 토글 스위치 등의 수동조작 스위치를 적용할 수도 있고, 개별제어스위치(81)와 마찬가지로 제어부(90)의 제어신호에 따라 단락 또는 개방되는 스위칭소자를 적용할 수 있음은 물론이다.In addition, a group control switch is provided between the power supply unit 65 and the individual control switch 81 to supply and cut off power to a plurality of individual control switches 81 installed in each of the lighting spaces 10a, 10b, 10c, and 10d. 85 is installed. The group control switch 85 may apply a manual operation switch such as a toggle switch that can be turned on and off by a user's operation. Like the individual control switch 81, the group control switch 85 may be shorted or opened according to a control signal of the controller 90. Of course, the switching element can be applied.

제어부(90)는 조명공간부(10a, 10b, 10c, 10d)의 조도정보 또는 배터리(60)의 충전량에 따라 광원들의 온/오프 동작을 각각 제어할 수 있도록 조명공간부(10a, 10b, 10c, 10d)의 광원들과 연결된 개별제어스위치(81)들의 동작을 제어한다.The control unit 90 may control the on / off operation of the light sources according to the illumination information of the illumination space units 10a, 10b, 10c, and 10d or the amount of charge of the battery 60, respectively. , 10d) controls the operation of the individual control switches 81 connected with the light sources.

제어부(90)는 조도정보에 따라 광원들을 온/오프 제어할 수도 있고, 배터리(60)의 충전량에 따라 광원들을 온/오프 제어할 수도 있으며, 조도정보 및 배터리(60)의 충전량에 따라 광원들을 온/오프 제어할 수도 있다.The controller 90 may control the light sources on / off according to the illumination information, control the light sources on / off according to the charge amount of the battery 60, and control the light sources according to the illumination information and the charge amount of the battery 60. On / off control can also be performed.

일 예로, 제어부(90)는 일 측 조명공간부의 메인광원(31)에 연결된 개별제어스위치(81)를 단락시킨 상태에서, 조도검출부(40)에서 검출되는 해당 조명공간부의 조도값이 설정된 기준조도값보다 작으면, 즉, 메인광원(31)에 고장이 발생하여 해당 조명공간부에 조명이 제공되지 않을 때, 해당 조명공간부의 서브광원(32, 33)과 연결된 모든 개별제어스위치(81)를 단락시켜 해당 조명공간부에 조명을 제공할 수 있다.For example, the control unit 90 has a short circuit of the individual control switch 81 connected to the main light source 31 of the one illumination space portion, the reference illuminance is set the illumination value of the corresponding illumination space portion detected by the illumination intensity detection unit 40 If it is smaller than the value, that is, when a failure occurs in the main light source 31 so that no illumination is provided to the corresponding illumination space, all the individual control switches 81 connected to the sub-light sources 32 and 33 of the corresponding illumination space are turned off. It can be shorted to provide lighting to the corresponding illumination space.

다른 예로, 제어부(90)는 어느 일 측 조명공간부에 설치된 메인광원(31)과, 서브광원(32, 33)에 연결된 모든 개별제어스위치(81)를 단락시킨 상태에서, 배터리(60)의 충전량이 감소할수록 해당 조명공간부에 설치된 광원들 중 소비전력이 큰 순서대로 광원들에 각각 연결된 개별제어스위치(81)를 우선적으로 개방시킨다. 이 경우, 배터리(60)의 충전량이 설정된 기준충전량 이하가 되면, 소비전력이 가장 큰 메인광원(31)을 가장 먼저 소등시키고, 배터리(60) 충전량이 점차 감소하면 서브광원(32, 33)들 중 소비전력이 큰 것부터 작은 것 순으로 서브광원(32, 33)을 소등하되, 조명 상태를 유지시킬 수 있게 적어도 마지막 서브광원(32, 33)은 점등된 상태로 유지시킬 수 있다.As another example, the controller 90 may short-circuit the main light source 31 installed on one side of the lighting space and all of the individual control switches 81 connected to the sub light sources 32 and 33. As the amount of charge decreases, the individual control switches 81 respectively connected to the light sources are first opened in order of increasing power consumption among the light sources installed in the corresponding illumination space. In this case, when the charge amount of the battery 60 is less than or equal to the set reference charge amount, the main light source 31 having the largest power consumption is turned off first, and when the charge amount of the battery 60 gradually decreases, the sub light sources 32 and 33 are reduced. The sub light sources 32 and 33 may be turned off in the order of the low to high power consumption, and the at least the last sub light sources 32 and 33 may be kept in a lighted state so as to maintain the illumination state.

또 다른 예로, 제어부(90)는 어느 일 측의 조명공간부에 설치된 메인광원(31)과 연결된 개별제어스위치(81)를 단락시킨 상태에서, 조도검출부(40)에서 검출되는 각 조명공간부(10a, 10b, 10c, 10d)의 조도값이 설정된 기준조도값보다 작으면, 해당 조명공간부의 서브광원(32, 33)들과 연결된 모든 개별제어스위치(81)를 단락시키되, 배터리(60)의 충전량이 점차 감소하면 해당 조명공간부에 설치된 서브광원(32, 33)들 중 소비전력이 큰 순서대로 서브광원(32, 33)에 연결된 개별제어스위치(81)를 우선적으로 개방시킬 수도 있다. 이는 조명공간부에 조명이 제공되는 상태인지에 따라 서브광원(32, 33)을 점등시키되, 충전량에 따라 서브광원(32, 33)들의 점등 여부를 결정하여 조명을 위한 광원의 전력 소비를 감소 및 절약하는 데 그 목적이 있다.As another example, the controller 90 short-circuits the individual control switch 81 connected to the main light source 31 installed at one side of the illumination space unit, and the respective illumination space units detected by the illuminance detection unit 40 ( If the illuminance values of 10a, 10b, 10c, and 10d are smaller than the set reference illuminance values, the individual control switches 81 connected to the sub light sources 32 and 33 of the corresponding illumination space are shorted, and the battery 60 When the charging amount gradually decreases, the individual control switches 81 connected to the sub light sources 32 and 33 may be preferentially opened in the order of the higher power consumption among the sub light sources 32 and 33 installed in the corresponding illumination space. This turns on the sub light sources 32 and 33 according to whether illumination is provided in the illumination space, but determines whether the sub light sources 32 and 33 are turned on according to the amount of charge, thereby reducing the power consumption of the light source for illumination. The purpose is to save.

또한, 제어부는 개별제어스위치의 동작을 제어할 수 있을 뿐만 아니라, 그룹제어스위치의 동작을 제어할 수도 있다. 광고판의 원하는 부분(어느 하나 또는 그 이상의 조명공간부)만을 온/오프시키고자 할 때, 해당 조명공간부에 설치된 광원들과 연결된 개별제어스위치들에 전원을 공급 또는 차단할 수 있게 된 그룹제어스위치의 동작을 제어함으로써 해당 광원들을 온/오프시킬 수 있다.In addition, the control unit may not only control the operation of the individual control switch, but also control the operation of the group control switch. When the user wants to turn on / off only a desired part of the billboard (one or more lighting spaces), the group control switch can supply or cut off power to individual control switches connected to the light sources installed in the lighting spaces. By controlling the operation, the corresponding light sources can be turned on / off.

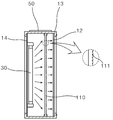
한편, 본 발명에 따른 태양광 발전을 이용한 간판(1)은 광원과 광고판(12) 사이에 광원에서 방사되는 빛을 광고판(12)을 향하도록 집속하는 집속렌즈부(110)가 더 구비된다.On the other hand, the signboard 1 using the photovoltaic power generation according to the present invention is further provided with a focusing lens unit 110 for focusing the light emitted from the light source toward the billboard 12 between the light source and the billboard 12.

집속렌즈부(110)는 지지프레임(13)의 상측 내주면과 하측 내주면에 각각 형성된 삽입부(17)에 상단과 하단이 각각 고정되게 설치된다. 집속렌즈부(110)는 볼록렌즈를 적용할 수 있으나 중량 감소를 위해 볼록렌즈보다 두께가 얇고 표면에 많은 동심원 홈(111)이 형성된 프레넬렌즈를 적용하는 것이 바람직하다.The focusing lens unit 110 is installed so that the upper end and the lower end are fixed to the insertion portions 17 respectively formed on the upper inner circumferential surface and the lower inner circumferential surface of the support frame 13. The focusing lens unit 110 may apply a convex lens, but it is preferable to apply a Fresnel lens having a thinner thickness than the convex lens and having many concentric grooves 111 formed on the surface for reducing the weight.

집속렌즈부(110)는 도시된 바와 같이 조명부에서 방사상으로 방출되는 빛을 받아 광고판(12)이 위치하는 전방 측으로 빛을 굴절시킴으로써 광고판(12)으로 빛이 모일 수 있도록 하여 광고문구(11) 또는 광고문양이 잘 식별될 수 있도록 한다.The focusing lens unit 110 receives the light emitted radially from the lighting unit and refracts the light toward the front side where the billboard 12 is located, so that the light may be collected on the billboard 12 so that the advertisement phrase 11 or Make sure the text is well identified.

이상에서 설명한 본 발명에 따른 태양광 발전을 이용한 간판(1)은 첨부된 도면을 참조로 설명하였으나 이는 예시적인 것에 불과하며, 당해 기술분야에서 통상의 지식을 가진 자라면 이로부터 다양한 변형 및 균등한 타 실시 예가 가능하다는 점을 이해할 것이다. Signage (1) using the photovoltaic power generation according to the present invention described above has been described with reference to the accompanying drawings, but this is only an example, those skilled in the art and various modifications and equivalents therefrom It will be appreciated that other embodiments are possible.

따라서, 본 발명의 진정한 기술적 보호의 범위는 첨부된 청구범위의 기술적 사상에 의해서만 정해져야 할 것이다.Therefore, the true technical protection scope of the present invention should be defined only by the technical spirit of the appended claims.

10 : 간판본체
20 : 구획벽
30 : 조명부
40 : 조도검출부
50 : 태양전지모듈
60 : 배터리
70 : 충전량검출부
81 : 개별제어스위치
85 : 그룹제어스위치
90 : 제어부
110 : 집속렌즈부
10: signboard
20: partition wall
30: lighting unit
40: illuminance detection unit
50: solar cell module
60: battery
70: charge detection unit
81: individual control switch
85: group control switch
90: control unit
110: focusing lens unit

Claims (5)

광고문구 또는 광고문양이 표시된 광고판과, 상기 광고판을 지지하는 지지프레임을 포함하며 내부에 공간부가 형성된 간판본체와;
상기 간판본체 내부의 공간부를 독립된 복수의 조명공간부로 구획하는 구획벽과;
상기 조명공간부 각각에 적어도 둘 이상 설치되는 복수의 광원을 포함하는 조명부와;
상기 조명공간부 각각의 조도를 검출하는 조도검출부와;
상기 간판본체 외부에 설치되는 태양전지모듈과;
상기 태양전지모듈에서 발전된 전기를 저장하는 배터리와;
상기 배터리에 충전된 충전량을 검출하는 충전량검출부와;
상기 광원과 일대일 대응되게 설치되어 상기 배터리로부터 상기 광원으로 각각 공급되는 전원을 개별적으로 단속하는 개별제어스위치와;
상기 각 조명공간부의 조도정보 또는 상기 배터리의 충전량에 따라 상기 개별제어스위치의 동작을 제어하는 제어부;를 구비하고,
상기 각 조명공간부에는 메인광원과, 상기 메인광원보다 소비전력이 작고 서로 다른 소비전력을 갖는 복수의 서브광원이 설치되고,
상기 제어부는 메인광원에 연결된 개별제어스위치를 단락시킨 상태에서, 상기 조도검출부에서 검출되는 상기 각 조명공간부의 조도값이 설정된 기준조도값보다 작으면, 상기 서브광원들과 연결된 모든 개별제어스위치를 단락시키되,
상기 배터리의 충전량이 감소할수록 상기 각 조명공간부에 설치된 서브광원들 중 소비전력이 큰 순서대로 서브광원에 연결된 개별제어스위치를 우선적으로 개방시키며,
상기 태양전지모듈은 상기 지지프레임의 상부 및 상기 지지프레임의 좌우 측면에 각각 설치되는 태양전지모듈과, 상기 광고판에 표시된 상기 광고문구나 상기 광고문양을 형성하도록 광고문구나 상기 광고문양 형태로 형성되며, 상기 광고판의 전면 및 후면에 각각 부착되는 염료 감응형 태양전지모듈을 포함하는 것을 특징으로 하는 태양광 발전을 이용한 간판.
A signboard body including an advertisement board or an advertisement board displaying an advertisement pattern and a support frame supporting the advertisement board and having a space formed therein;
A partition wall partitioning the space part inside the signboard body into a plurality of independent lighting space parts;
An illumination unit including a plurality of light sources installed in each of the illumination space units at least two;
An illuminance detection unit detecting illuminance of each of the illumination space units;
A solar cell module installed outside the sign body;
A battery for storing electricity generated in the solar cell module;
A charge amount detecting unit detecting a charge amount charged in the battery;
An individual control switch installed in one-to-one correspondence with the light source and separately controlling power supplied from the battery to the light source;
And a control unit for controlling the operation of the individual control switch according to the illumination information of each lighting space unit or the amount of charge of the battery.
Each of the lighting space units includes a main light source and a plurality of sub light sources having a smaller power consumption than the main light source and having different power consumption.
The control unit short-circuits all individual control switches connected to the sub light sources when the illuminance value of each illumination space unit detected by the illuminance detection unit is smaller than a set reference illuminance value while the individual control switches connected to the main light source are shorted. Let's say
As the amount of charge of the battery decreases, the individual control switches connected to the sub light sources are preferentially opened in order of increasing power consumption among the sub light sources installed in the respective lighting spaces.
The solar cell module is formed in the form of an advertisement or the advertisement pattern to form the advertisement or the advertisement displayed on the solar panel and the solar cell module respectively installed on the left and right sides of the support frame and the support frame, Signage using photovoltaic power generation, characterized in that it comprises a dye-sensitized solar cell module attached to the front and rear of the billboard.
삭제delete 삭제delete 삭제delete 제1항에 있어서,
상기 광원과 상기 광고판 사이에는 상기 광원에서 방사되는 빛을 상기 광고판을 향하도록 집속하는 집속렌즈부가 더 구비된 것을 특징으로 하는 태양광 발전을 이용한 간판.
The method of claim 1,
A signboard using photovoltaic power generation further comprising a focusing lens unit for focusing the light emitted from the light source toward the billboard between the light source and the billboard.
KR1020170165401A 2017-12-04 2017-12-04 A sign board using solar generating Active KR102030138B1 (en)

Priority Applications (1)

Application Number Priority Date Filing Date Title
KR1020170165401A KR102030138B1 (en) 2017-12-04 2017-12-04 A sign board using solar generating

Applications Claiming Priority (1)

Application Number Priority Date Filing Date Title
KR1020170165401A KR102030138B1 (en) 2017-12-04 2017-12-04 A sign board using solar generating

Publications (2)

Publication Number Publication Date
KR20190065845A KR20190065845A (en) 2019-06-12
KR102030138B1 true KR102030138B1 (en) 2019-10-08

Family

ID=66845774

Family Applications (1)

Application Number Title Priority Date Filing Date
KR1020170165401A Active KR102030138B1 (en) 2017-12-04 2017-12-04 A sign board using solar generating

Country Status (1)

Country Link
KR (1) KR102030138B1 (en)

Cited By (1)

* Cited by examiner, † Cited by third party
Publication number Priority date Publication date Assignee Title
KR20210057512A (en) 2019-11-12 2021-05-21 주식회사 아크로인 Electric charge saving device for interior lighting equipment

Families Citing this family (4)

* Cited by examiner, † Cited by third party
Publication number Priority date Publication date Assignee Title
KR102090728B1 (en) * 2019-07-15 2020-03-18 김동철 Apparatus for offering traffic safety information using electro luminescence panel
KR102437293B1 (en) * 2019-12-18 2022-08-26 이종찬 LED signs with improved manageability
KR102148458B1 (en) * 2020-03-10 2020-08-26 (주) 엠파워 Increased ease of maintenance and reduced power consumption lighting signs
KR102624990B1 (en) * 2023-08-07 2024-01-15 (주)엠파워 Road signs improving the lifetime of light sources by back-up control

Citations (3)

* Cited by examiner, † Cited by third party
Publication number Priority date Publication date Assignee Title
KR101119522B1 (en) * 2010-09-27 2012-02-28 지경운 Signage Power Distribution Device Using Solar Power System
JP2014013276A (en) 2012-07-03 2014-01-23 Keshion:Kk Independent internally irradiated-type signboard
KR101430208B1 (en) 2014-04-02 2014-08-14 주식회사 아시아지디 Lighting channel billboard system using multi power supply

Family Cites Families (4)

* Cited by examiner, † Cited by third party
Publication number Priority date Publication date Assignee Title
KR100840272B1 (en) * 2006-12-11 2008-06-20 이현우 Tunnel lighting control device and method
KR101164073B1 (en) 2011-09-26 2012-07-12 오경록 A led sign board powered by a solar generator
KR101305427B1 (en) 2011-10-10 2013-09-06 김효경 Signage using solar power
KR101349235B1 (en) * 2012-03-23 2014-01-10 김영각 LED Traffic Safety Sign Apparatus Using Solar Panel

Patent Citations (3)

* Cited by examiner, † Cited by third party
Publication number Priority date Publication date Assignee Title
KR101119522B1 (en) * 2010-09-27 2012-02-28 지경운 Signage Power Distribution Device Using Solar Power System
JP2014013276A (en) 2012-07-03 2014-01-23 Keshion:Kk Independent internally irradiated-type signboard
KR101430208B1 (en) 2014-04-02 2014-08-14 주식회사 아시아지디 Lighting channel billboard system using multi power supply

Cited By (1)

* Cited by examiner, † Cited by third party
Publication number Priority date Publication date Assignee Title
KR20210057512A (en) 2019-11-12 2021-05-21 주식회사 아크로인 Electric charge saving device for interior lighting equipment

Also Published As

Publication number Publication date
KR20190065845A (en) 2019-06-12

Similar Documents

Publication Publication Date Title
KR102030138B1 (en) A sign board using solar generating
US20050146874A1 (en) Using organic light emitting diodes (OLEDs) in landscape lighting applications
US20150269876A1 (en) Solar powered illuminated sign
KR101288533B1 (en) Advertising apparatus using solar light
KR101285608B1 (en) Signboard for using dye-sensitized solar cell
KR100913778B1 (en) Eco-friendly solar billboard
KR100972003B1 (en) Standing signboard by using solar battery module
KR100916212B1 (en) LED lighting device using sunlight and its lighting control system
KR20080041166A (en) Outdoor lighting
KR20150039914A (en) Solar cell advertising device
CA2479631C (en) Cold-cathode fluorescent lamp assembly for lighting applications
KR101884669B1 (en) LED sign board
KR102280915B1 (en) Window Frame-Install Type Display Apparatus of Building Outside Having Self-Generating and Charging
KR200363132Y1 (en) Signboard using flexible EL-sheet
KR102255869B1 (en) Self chargable led light
KR100320293B1 (en) advertisement apparatus to use silkprinting
KR200448173Y1 (en) Road signing device
KR20080024427A (en) Channel signage using the halo of LED light emitting means installed in the channel cap
KR200453520Y1 (en) EL billboard using solar cell
KR200448668Y1 (en) Advertising device using electroluminescent device
KR200260780Y1 (en) blinking billboard using EL sheet
KR101801368B1 (en) Self rechargeable signboard
KR200190626Y1 (en) Electro-luminescence advertisements by dynamic inverter display in automatic vending machine
KR950024137A (en) Billboard
JPH06348214A (en) Solar type advertisement display device

Legal Events

Date Code Title Description
A201 Request for examination
PA0109 Patent application

St.27 status event code: A-0-1-A10-A12-nap-PA0109

PA0201 Request for examination

St.27 status event code: A-1-2-D10-D11-exm-PA0201

E902 Notification of reason for refusal
PE0902 Notice of grounds for rejection

St.27 status event code: A-1-2-D10-D21-exm-PE0902

T11-X000 Administrative time limit extension requested

St.27 status event code: U-3-3-T10-T11-oth-X000

E13-X000 Pre-grant limitation requested

St.27 status event code: A-2-3-E10-E13-lim-X000

P11-X000 Amendment of application requested

St.27 status event code: A-2-2-P10-P11-nap-X000

P13-X000 Application amended

St.27 status event code: A-2-2-P10-P13-nap-X000

PG1501 Laying open of application

St.27 status event code: A-1-1-Q10-Q12-nap-PG1501

E701 Decision to grant or registration of patent right
PE0701 Decision of registration

St.27 status event code: A-1-2-D10-D22-exm-PE0701

GRNT Written decision to grant
PR0701 Registration of establishment

St.27 status event code: A-2-4-F10-F11-exm-PR0701

PR1002 Payment of registration fee

St.27 status event code: A-2-2-U10-U11-oth-PR1002

Fee payment year number: 1

PG1601 Publication of registration

St.27 status event code: A-4-4-Q10-Q13-nap-PG1601

PR1001 Payment of annual fee

St.27 status event code: A-4-4-U10-U11-oth-PR1001

Fee payment year number: 4

PR1001 Payment of annual fee

St.27 status event code: A-4-4-U10-U11-oth-PR1001

Fee payment year number: 5

K11-X000 Ip right revival requested

St.27 status event code: A-6-4-K10-K11-oth-X000

K12-X000 Request for ip right revival rejected

St.27 status event code: A-6-4-K10-K12-oth-X000

PR1001 Payment of annual fee

St.27 status event code: A-4-4-U10-U11-oth-PR1001

Fee payment year number: 6

U11 Full renewal or maintenance fee paid

Free format text: ST27 STATUS EVENT CODE: A-4-4-U10-U11-OTH-PR1001 (AS PROVIDED BY THE NATIONAL OFFICE)

Year of fee payment: 6