KR101893116B1 - Bone screw semi locking type bone fixation device - Google Patents
Bone screw semi locking type bone fixation device Download PDFInfo
- Publication number
- KR101893116B1 KR101893116B1 KR1020180047760A KR20180047760A KR101893116B1 KR 101893116 B1 KR101893116 B1 KR 101893116B1 KR 1020180047760 A KR1020180047760 A KR 1020180047760A KR 20180047760 A KR20180047760 A KR 20180047760A KR 101893116 B1 KR101893116 B1 KR 101893116B1
- Authority
- KR
- South Korea
- Prior art keywords
- bone
- screw
- head
- plate
- locking hole
- Prior art date
- Legal status (The legal status is an assumption and is not a legal conclusion. Google has not performed a legal analysis and makes no representation as to the accuracy of the status listed.)
- Expired - Fee Related
Links
Images
Classifications
-
- A—HUMAN NECESSITIES
- A61—MEDICAL OR VETERINARY SCIENCE; HYGIENE
- A61B—DIAGNOSIS; SURGERY; IDENTIFICATION
- A61B17/00—Surgical instruments, devices or methods
- A61B17/56—Surgical instruments or methods for treatment of bones or joints; Devices specially adapted therefor
- A61B17/58—Surgical instruments or methods for treatment of bones or joints; Devices specially adapted therefor for osteosynthesis, e.g. bone plates, screws or setting implements
- A61B17/68—Internal fixation devices, including fasteners and spinal fixators, even if a part thereof projects from the skin
- A61B17/84—Fasteners therefor or fasteners being internal fixation devices
- A61B17/86—Pins or screws or threaded wires; nuts therefor
- A61B17/8605—Heads, i.e. proximal ends projecting from bone
- A61B17/861—Heads, i.e. proximal ends projecting from bone specially shaped for gripping driver
- A61B17/862—Heads, i.e. proximal ends projecting from bone specially shaped for gripping driver at the periphery of the screw head
-
- A—HUMAN NECESSITIES
- A61—MEDICAL OR VETERINARY SCIENCE; HYGIENE
- A61B—DIAGNOSIS; SURGERY; IDENTIFICATION
- A61B17/00—Surgical instruments, devices or methods
- A61B17/56—Surgical instruments or methods for treatment of bones or joints; Devices specially adapted therefor
- A61B17/58—Surgical instruments or methods for treatment of bones or joints; Devices specially adapted therefor for osteosynthesis, e.g. bone plates, screws or setting implements
- A61B17/68—Internal fixation devices, including fasteners and spinal fixators, even if a part thereof projects from the skin
- A61B17/80—Cortical plates, i.e. bone plates; Instruments for holding or positioning cortical plates, or for compressing bones attached to cortical plates
-
- A—HUMAN NECESSITIES
- A61—MEDICAL OR VETERINARY SCIENCE; HYGIENE
- A61B—DIAGNOSIS; SURGERY; IDENTIFICATION
- A61B17/00—Surgical instruments, devices or methods
- A61B17/56—Surgical instruments or methods for treatment of bones or joints; Devices specially adapted therefor
- A61B17/58—Surgical instruments or methods for treatment of bones or joints; Devices specially adapted therefor for osteosynthesis, e.g. bone plates, screws or setting implements
- A61B17/68—Internal fixation devices, including fasteners and spinal fixators, even if a part thereof projects from the skin
- A61B17/80—Cortical plates, i.e. bone plates; Instruments for holding or positioning cortical plates, or for compressing bones attached to cortical plates
- A61B17/808—Instruments for holding or positioning bone plates, or for adjusting screw-to-plate locking mechanisms
-
- A—HUMAN NECESSITIES
- A61—MEDICAL OR VETERINARY SCIENCE; HYGIENE
- A61B—DIAGNOSIS; SURGERY; IDENTIFICATION
- A61B17/00—Surgical instruments, devices or methods
- A61B17/56—Surgical instruments or methods for treatment of bones or joints; Devices specially adapted therefor
- A61B17/58—Surgical instruments or methods for treatment of bones or joints; Devices specially adapted therefor for osteosynthesis, e.g. bone plates, screws or setting implements
- A61B17/68—Internal fixation devices, including fasteners and spinal fixators, even if a part thereof projects from the skin
- A61B17/80—Cortical plates, i.e. bone plates; Instruments for holding or positioning cortical plates, or for compressing bones attached to cortical plates
- A61B17/809—Cortical plates, i.e. bone plates; Instruments for holding or positioning cortical plates, or for compressing bones attached to cortical plates with bone-penetrating elements, e.g. blades or prongs
-
- A—HUMAN NECESSITIES
- A61—MEDICAL OR VETERINARY SCIENCE; HYGIENE
- A61B—DIAGNOSIS; SURGERY; IDENTIFICATION
- A61B17/00—Surgical instruments, devices or methods
- A61B17/56—Surgical instruments or methods for treatment of bones or joints; Devices specially adapted therefor
- A61B17/58—Surgical instruments or methods for treatment of bones or joints; Devices specially adapted therefor for osteosynthesis, e.g. bone plates, screws or setting implements
- A61B17/68—Internal fixation devices, including fasteners and spinal fixators, even if a part thereof projects from the skin
- A61B17/84—Fasteners therefor or fasteners being internal fixation devices
- A61B17/86—Pins or screws or threaded wires; nuts therefor
- A61B2017/8655—Pins or screws or threaded wires; nuts therefor with special features for locking in the bone
Landscapes
- Health & Medical Sciences (AREA)
- Orthopedic Medicine & Surgery (AREA)
- Surgery (AREA)
- Life Sciences & Earth Sciences (AREA)
- Heart & Thoracic Surgery (AREA)
- Nuclear Medicine, Radiotherapy & Molecular Imaging (AREA)
- Engineering & Computer Science (AREA)
- Biomedical Technology (AREA)
- Neurology (AREA)
- Medical Informatics (AREA)
- Molecular Biology (AREA)
- Animal Behavior & Ethology (AREA)
- General Health & Medical Sciences (AREA)
- Public Health (AREA)
- Veterinary Medicine (AREA)
- Surgical Instruments (AREA)
Abstract
본 발명은, 나사 반잠김식 뼈 고정 장치에 관한 것으로서, 보다 상세하게는, 외경을 따라 나사산이 형성된 몸체부와, 하면이 하향 만곡진 머리부로 구성된 뼈 나사 및 머리부의 하면 일부분이 안착되는 하향 만곡진 안착면과, 안착면 중앙에 형성된 관통홀로 이루어진 적어도 하나 이상의 반잠김 홀을 구비한 뼈 플레이트를 포함하며, 머리부의 하면에는, 하향 수직으로 제1 나사부가 형성되고, 반잠김 홀의 안착면에는, 제1 나사부에 대응하는 상향 수직의 제2 나사부가 형성되어 제1 나사부와 제2 나사부가 서로 수직방향으로 결합되는 것을 특징으로 하는 나사 반잠김식 뼈 고정 장치에 관한 것이다.
본 발명에 따르면, 뼈 나사의 머리부의 하면이 뼈 플레이트의 반잠김 홀에 수직방향의 결합력은 없으면서 수평방향의 결합력만 작용할 수 있도록 반잠김 나사결합됨으로써, 연부조직이 적은 부위의 골절치료시, 뼈 모양에 맞게 휨 가공이 용이한 얇은 뼈 플레이트를 사용할 수 있고, 추후 골유합이 다되어 뼈 나사를 역회전시켜 뽑을 때, 뼈 나사를 보다 쉽게 뽑아낼수 있는 효과가 있다.More particularly, the present invention relates to a screw fixation device for a screw-half-locking type bone screw, which comprises a bone screw having a thread formed along an outer diameter thereof, a bone screw composed of a downwardly curved head, And a bone plate having at least one half-locking hole formed at a center of the seating surface, wherein the first screw portion is formed downwardly and vertically on the lower surface of the head portion, and on the seating surface of the half- And a second threaded portion having an upright vertical direction corresponding to the first threaded portion is formed so that the first threaded portion and the second threaded portion are vertically coupled to each other.
According to the present invention, when the lower surface of the head of the bone screw is half-locked to the half-locking hole of the bone plate so that the coupling force in the vertical direction does not exist, It is possible to use a thin bone plate which is easy to bend according to the shape, and when the bone screw is rotated backward after the bone union is completed, the bone screw can be extracted more easily.
Description
본 발명은, 뼈 고정 장치에 관한 것으로, 특히 뼈 플레이트에 뼈 나사를 반잠김 체결할 수 있는 나사 반잠김식 뼈 고정 장치에 관한 것이다.BACKGROUND OF THE INVENTION 1. Field of the Invention The present invention relates to a bone fixation device, and more particularly, to a screw-and-semi-lock type bone fixation device capable of half-locking a bone screw to a bone plate.
일반적인 골절 치료의 경우, 골절 환자의 연부조직을 절개한 후, 골절된 뼈의 표면에 금속의 플레이트를 지지하고 스크류로 고정하여 치료하는 뼈 고정용 장치가 사용되고 있다. 이러한 뼈 고정용 장치는, 통상적으로 플레이트에 홀을 가공하고 스크류를 삽입하는 구조로 이루어진다.In the case of general fracture treatment, a bone fixation device is used in which a soft tissue of a fractured patient is incised, a plate of a metal is supported on the surface of the fractured bone, and the fixation is performed with a screw. Such a bone fixation device usually has a structure in which a hole is formed in a plate and a screw is inserted.
도 1은 종래의 잠김 나사 금속판 시스템을 나타낸 단면도이다. 도 1을 참조하면, 종래의 잠김 나사 금속판 시스템은, 플레이트에 형성된 홀을 통해 스크류가 관통되는데, 플레이트의 홀에는 내경을 따라 수평의 나사산이 형성되고, 이러한 나사산이 형성된 홀에 체결되기 위해 스크류의 헤드의 외경을 따라 수평의 나사산이 형성된다.1 is a cross-sectional view of a conventional locking screw plate system. Referring to FIG. 1, in a conventional locking screw metal plate system, a screw is passed through a hole formed in a plate. In the hole of the plate, a horizontal thread is formed along an inner diameter. In order to fasten the screw, A horizontal thread is formed along the outer diameter of the head.
이렇게 플레이트의 홀의 내경에 수평으로 형성된 나사산과 스크류 헤드의 외경에 수평으로 형성된 나사산이 서로 수평으로 나사결합하면서 스크류의 헤드가 플레이트의 홀 내측으로 하강하여 스크류의 헤드가 홀 내부에 완전 삽입됨으로써 플레이트와 스크류 간의 결합이 완료된다.In this way, the screw formed horizontally in the inner diameter of the hole of the plate and the screw formed horizontally in the outer diameter of the screw head are horizontally screwed to each other so that the head of the screw descends to the inside of the hole of the plate, The coupling between the screws is completed.
상술한 종래의 플레이트와 스크류 간의 나사결합방식은, 대퇴부 및 고관절 등과 같이 하중을 많이 받으면서 연부조직이 풍부하고 플레이트를 뼈 모양에 맞게 별도의 인위적인 휨 가공이 필요 없는 부위의 골절치료에 유리한 측면이 있었다.The conventional screw-coupling method between the plate and the screw has advantages in that it is rich in soft tissues while receiving a large load such as the thighs and hip joints, and is suitable for the treatment of fractures in a region where the plate is not required to be subjected to artificial bending .
부연하면, 종래의 플레이트는 골절부위를 되도록 강하게 지지하기 위한 비교적 두꺼운 두께를 가진 높은 경도의 금속재질로 이루어졌고, 이러한 플레이트에 스크류를 보다 견고히 체결하기 위해 스크류의 헤드가 플레이트에 형성된 홀에 완전히 잠기게끔 나사결합하였다.In addition, the conventional plate is made of a high-hardness metal material having a relatively large thickness for strongly supporting the fracture site, and in order to more firmly fasten the screw to such a plate, the head of the screw is completely immersed in the hole formed in the plate Screw together.
이러한 종래의 완전 잠김 스크류 체결방식은, 스크류의 헤드가 수평방향으로 플레이트에 완전히 체결되므로 서로 간의 체결력이 매우 높은 장점이 있다. 그러나, 이러한 체결방식으로는 플레이트의 두께가 매우 두꺼워야 하기 때문에 상대적으로 하중을 그렇게 많이 받지 않으면서 연부조직이 적어 피부에 플레이트가 바로 만져지는 비골 원위부 골절치료에는 적합하지 않은 단점이 있다. 또한, 이러한 부위에서는 뼈 모양에 맞게 플레이트를 인위적으로 휨 가공을 해야할 때가 많은데, 두께가 두껍고 경도가 높아 인위적인 휨 가공이 번거롭고 힘들며 많은 시간이 소요되는 문제가 있다.In the conventional fully locked screw fastening method, since the screw heads are completely fastened to the plate in the horizontal direction, there is an advantage that the fastening force between them is very high. However, such a fastening method is disadvantageous in that it is not suitable for the treatment of the distal femoral fracture in which the plate is directly touched to the skin because the plate thickness is very thick, so that the soft tissue is not so much received. In addition, in such a region, the plate is often artificially bent in accordance with the shape of the bone. However, since the plate is thick and has a high hardness, an artificial bending process is troublesome and difficult and time consuming.
그리고, 추후 골유합이 다되어 내고정물을 제거하기 위해 플레이트에 완전 잠김 체결된 스크류를 뽑을때, 스크류와 플레이트 간의 지나치게 높은 체결력으로 인해 스크류가 제대로 역회전되지 않아 스크류를 뽑아내는데 있어 매우 어려운 문제가 있다.In addition, when the screw which is completely locked to the plate is pulled out in order to remove the still life after completion of the union, the screw is not properly rotated due to an excessively high fastening force between the screw and the plate, which is a very difficult problem in pulling out the screw .
상술한 문제점을 해결하기 위해 안출된 본 발명의 과제는, 뼈 나사의 머리부의 하면이 뼈 플레이트의 반잠김 홀에 수직방향의 결합력은 없으면서 수평방향의 결합력만 작용할 수 있도록 반잠김 나사결합되는 나사 반잠김식 뼈 고정 장치를 제공하는 데 있다.In order to solve the above problems, it is an object of the present invention to solve the above-mentioned problems, and an object of the present invention is to provide a bone screw, in which a lower surface of a head of a bone screw is not half- And to provide a locking type bone fixation device.
또한, 본 발명의 부수적인 과제는, 뼈의 골막을 보존하면서 뼈 플레이트의 고정력을 향상할 수 있는 나사 반잠김식 뼈 고정 장치를 제공하는 데 있다.It is a further object of the present invention to provide a screw-and-half-locking type bone fixation device capable of improving the fixation force of a bone plate while preserving the periosteum of the bone.
상기 과제를 달성하기 위해 안출된 본 발명은, 나사 반잠김식 뼈 고정 장치로서, 외경을 따라 나사산이 형성된 몸체부와, 하면이 하향 만곡진 머리부로 구성된 뼈 나사 및 상기 머리부의 하면 일부분이 안착되는 하향 만곡진 안착면과, 상기 안착면 중앙에 형성된 관통홀로 이루어진 적어도 하나 이상의 반잠김 홀을 구비한 뼈 플레이트를 포함하며, 상기 머리부의 하면에는, 하향 수직으로 제1 나사부가 형성되고, 상기 반잠김 홀의 안착면에는, 상기 제1 나사부에 대응하는 상향 수직의 제2 나사부가 형성되어 제1 나사부와 제2 나사부가 서로 수직방향으로 결합되는 것을 특징으로 한다.In order to achieve the above object, the present invention provides a screw-half-locking type bone fixation device, comprising: a bone screw having a body portion formed with threads along an outer diameter, a bone screw composed of a downwardly curved head portion, and a bottom portion of the head portion And a bone plate having at least one half-locking hole formed by a downwardly curved seating surface and a through hole formed at the center of the seating surface, wherein a first screw portion is formed downwardly and vertically on a lower surface of the head portion, And a second thread portion upwardly perpendicular to the first thread portion is formed on the seating surface of the hole so that the first thread portion and the second thread portion are vertically coupled to each other.
상기 뼈 플레이트의 반잠김 홀 상단의 내경이 상기 뼈 나사의 머리부 상단의 외경 보다 더 작은 것을 특징으로 한다.And the inner diameter of the upper half of the bone plate is smaller than the outer diameter of the upper end of the head of the bone screw.
상기 뼈 플레이트는, 상기 반잠김 홀의 일측에 형성되며, 내경을 따라 수평의 나사산이 형성된 완전잠김 홀을 포함하는 것을 특징으로 한다.The bone plate is formed at one side of the half-locking hole and includes a complete locking hole formed with a horizontal thread along an inner diameter.
상기 완전잠김 홀에는, 외경을 따라 수평의 나사산이 형성된 뼈 나사의 머리가 나사결합되는 것을 특징으로 한다.And a head of a bone screw having a horizontal thread formed along the outer diameter is screwed to the fully locked hole.
상기 뼈 플레이트의 하면에는, 하방을 향해 돌출된 끝단이 뾰족한 쐐기형태로 이루어진 복수의 스파이크(spike)가 형성된 것을 특징으로 한다.And a plurality of spikes are formed on the lower surface of the bone plate, the wedge-shaped spikes protruding downward.
본 발명은, 뼈 나사의 머리부의 하면이 뼈 플레이트의 반잠김 홀에 수직방향의 결합력은 없으면서 수평방향의 결합력만 작용할 수 있도록 반잠김 나사결합됨으로써, 연부조직이 적은 부위의 골절치료시, 뼈 모양에 맞게 휨 가공이 용이한 얇은 뼈 플레이트를 사용할 수 있고, 추후 골유합이 다되어 뼈 나사를 역회전시켜 뽑을 때, 뼈 나사를 보다 쉽게 뽑아낼수 있는 효과가 있다.According to the present invention, when the lower surface of the head of the bone screw is half-locked to the half-locking hole of the bone plate so that the coupling force in the vertical direction does not exist, , It is possible to use a thin bone plate which is easy to bend, and when bone union is completed, bone screws can be pulled out more easily when the bone screw is pulled backward.
또한, 본 발명은, 뼈 플레이트의 하면에 복수의 스파이크가 형성되어 뼈의 골막을 보존하면서 마찰력의 증가로 인해 뼈 표면에서의 뼈 플레이트의 고정력이 향상되는 효과가 있다.In addition, the present invention has an effect that a plurality of spikes are formed on the lower surface of the bone plate, and the fixation force of the bone plate on the bone surface is improved due to the increase of frictional force while preserving the periosteum of the bone.
본 명세서에서 첨부되는 다음의 도면들은 본 발명의 바람직한 실시예를 예시하는 것이며, 발명의 상세한 설명과 함께 본 발명의 기술사상을 더욱 이해시키는 역할을 하는 것이므로, 본 발명은 그러한 도면에 기재된 사항에만 한정되어서 해석되어서는 아니 된다.
도 1은 종래의 잠김 나사 금속판 시스템을 나타낸 단면도,
도 2 및 도 3은 본 발명의 제1 실시예에 따른 나사 반잠김식 뼈 고정 장치를 나타낸 단면도,
도 4는 본 발명의 제2 실시예에 따른 나사 반잠김식 뼈 고정 장치를 나타낸 사시도,
도 5는 본 발명의 제2 실시예에 따른 나사 반잠김식 뼈 고정 장치를 나타낸 평면도,
도 6은 본 발명의 제3 실시예에 따른 나사 반잠김식 뼈 고정 장치를 나타낸 단면도이다.BRIEF DESCRIPTION OF THE DRAWINGS The accompanying drawings, which are incorporated in and constitute a part of the specification, illustrate preferred embodiments of the invention and, together with the description, serve to further the understanding of the technical idea of the invention, And shall not be construed as interpretation.
1 is a cross-sectional view of a conventional locking screw plate system,
FIG. 2 and FIG. 3 are cross-sectional views illustrating a screw half-lock type bone anchoring device according to a first embodiment of the present invention,
FIG. 4 is a perspective view showing a screw half-locking type bone fixation device according to a second embodiment of the present invention, FIG.
FIG. 5 is a plan view of a screw half-locking type bone fixation device according to a second embodiment of the present invention,
6 is a cross-sectional view of a screw half-locking type bone fixation device according to a third embodiment of the present invention.
이하, 첨부한 도면을 참조하여 본 발명에 따른 나사 반잠김식 뼈 고정 장치의 바람직한 실시예에 대해 상세하게 설명한다.DETAILED DESCRIPTION OF THE PREFERRED EMBODIMENTS Hereinafter, preferred embodiments of a screw-and-half-locking type bone fixation device according to the present invention will be described in detail with reference to the accompanying drawings.
도 2 및 도 3은 본 발명의 제1 실시예에 따른 나사 반잠김식 뼈 고정 장치를 나타낸 단면도이다.FIG. 2 and FIG. 3 are cross-sectional views illustrating a screw half-locking type bone fixation device according to a first embodiment of the present invention.
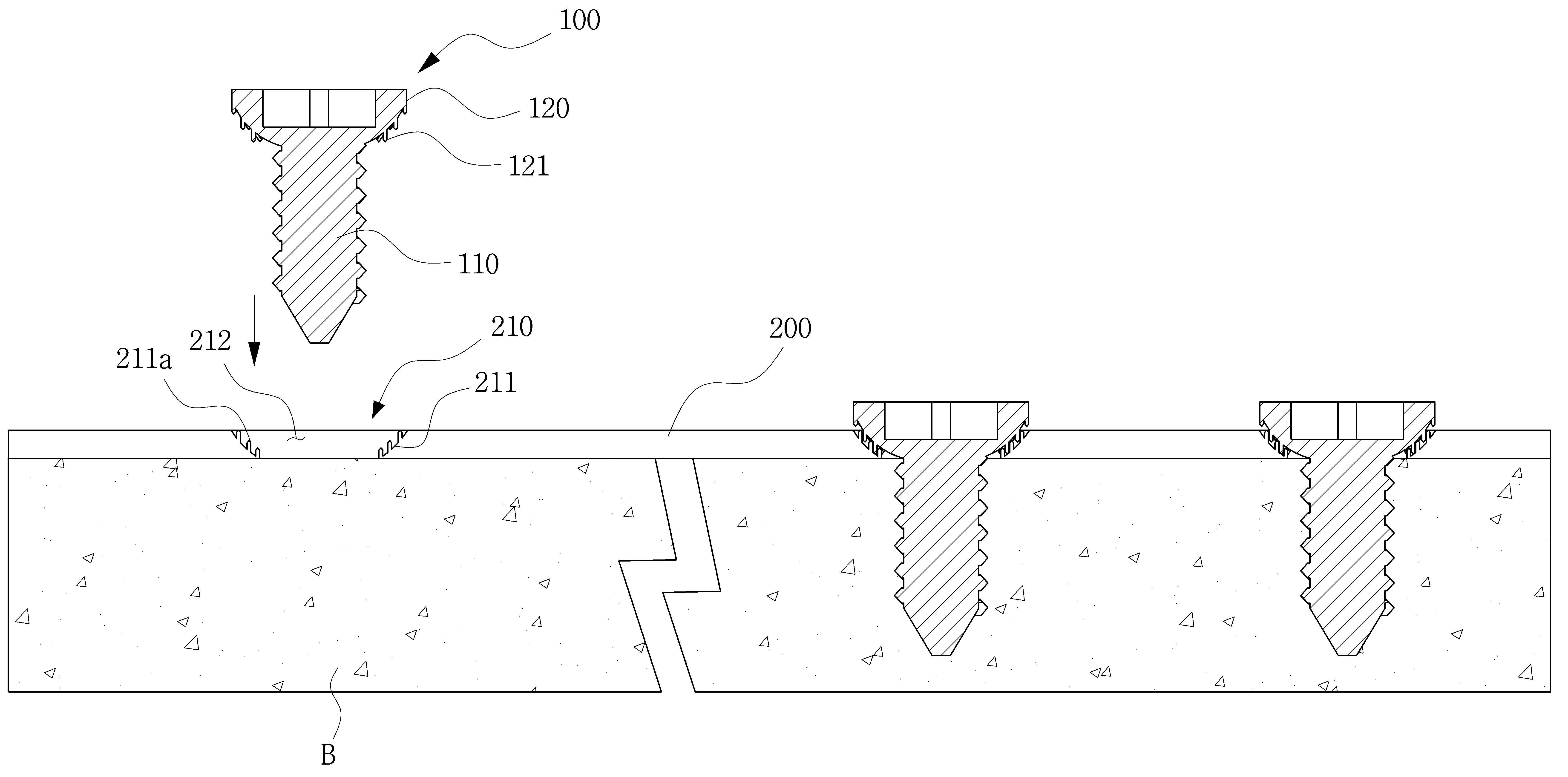
도 2 및 도 3을 참조하면, 본 발명의 바람직한 실시예에 따른 나사 반잠김식 뼈 고정 장치는, 뼈 나사(100) 및 뼈 플레이트(200)를 포함하는 구성요소로 이루어지며, 이를 상세히 설명하면 다음과 같다.Referring to FIGS. 2 and 3, a screw half-locking type bone fixation device according to a preferred embodiment of the present invention comprises a
뼈 나사(100)는, 몸체부(110)와 머리부(120)를 구비한다. 몸체부(110)는, 골절된 뼈(B) 부위에 직접 식립되는 부분으로써, 뼈(B) 속으로 회전되면서 뼈(B) 속에 고정되기 위해 외경을 따라 나사산이 형성된다.The
머리부(120)는, 드라이브 비트 등과 같은 소정의 회전도구에 맞물리는 회전 홈이 상면에 형성되고, 하면은 하측에 위치한 몸체부(110)를 향해 하향 만곡진 형태로 이루어진다. 이때, 머리부(120)의 하면에는, 제1 나사부(121)가 하향 수직으로 형성된다.The
뼈 플레이트(200)는, 골절부위를 지지하기 위해 골절된 뼈(B)의 표면에 하면이 접촉한다. 그리고, 뼈 나사(100)의 몸체부(110)가 관통하여 회전하면서 뼈(B) 속에 고정될 수 있도록 뼈 플레이트(200)에는 적어도 하나 이상의 반잠김 홀(210)이 형성된다. 여기서, 반잠김 홀(210)은, 안착면(211)과 관통홀(212)로 이루어진다.The
안착면(211)은, 뼈 나사(100)의 머리부(120)가 안착되는 부위로써, 하향 만곡진 머리부(120)의 하면에 대응되게 안착면(211) 또한 하향 만곡진 형태로 이루어진다. 이때, 안착면(211)에는 뼈 나사(100)의 머리부(120)의 하면에 형성된 제1 나사부(121)에 대응하는 제2 나사부(211a)가 형성되는데, 제2 나사부(211a)는 안착면(211)에서 상향 수직으로 형성되어 있어 제1 나사부(121)와 제2 나사부(211a)가 서로 수직방향으로 결합된다.The
그리고, 뼈 플레이트(200)의 반잠김 홀(210) 상단의 내경이 뼈 나사(100)의 머리부(120) 상단의 외경 보다 더 작기 때문에 뼈 나사(100)의 머리부(120)가 뼈 플레이트(200)의 반잠김 홀(210)에 완전 잠기지 않는다. 즉, 뼈 나사(100)의 머리부(120)의 하면 일부분만 안착면(211)에 안착되면서 제1 나사부(121)와 제2 나사부(211a)가 서로 수직방향으로 결합되는 것이다.Since the inner diameter of the upper end of the half-
이렇게 뼈 나사(100)의 머리부(120) 하면에 형성된 수직의 제1 나사부(121)와 뼈 플레이트(200)의 반잠김 홀(210)에 형성된 수직의 제2 나사부(211a) 서로 간의 수직방향 결합방식은, 뼈 나사(100)의 머리부(120)의 하면이 뼈 플레이트(200)의 반잠김 홀(210)에 수직방향의 결합력은 없으면서 오로지 수평방향의 결합력만이 작용되도록 함으로써 뼈 나사(100)의 머리부(120)가 뼈 플레이트(200)의 반잠김 홀(210)에 완전 잠기지 않기 때문에 추후 골유합이 다되어 내고정물을 제거하기 위해 뼈 나사(100)를 역회전시켜 뽑을 때, 뼈 플레이트(200)의 반잠김 홀(210)에서 뼈 나사(100)를 보다 쉽게 뽑아낼수 있는 장점이 있다.The vertical
또한, 비골 원위부와 같이 연부조직이 적은 부위의 골절치료 시, 피부에 뼈 플레이트(200)가 바로 만져지는 것을 방지하면서 뼈(B) 모양에 맞게 뼈 플레이트(200)의 인위적인 휨 가공이 필요한 비교적 두께가 얇은 뼈 플레이트(200)를 사용해야 하는데, 본 발명에서는, 뼈 나사(100)가 뼈 플레이트(200)에 반잠김되기 때문에 뼈 플레이트(200)에 형성된 반잠김 홀(210)에 뼈 나사(100)가 삽입될 때, 뼈 나사(100)의 머리부(120)가 수직방향으로 뼈 플레이트(200)를 압축시키면서, 오로지 수평방향의 결합력만이 작용되기 때문에 뼈 나사(100)의 삽입 시, 뼈 플레이트(200)가 뼈(B) 모양에 맞게 자연스럽게 휘어지게 되는 것이다.In the fracture treatment at a site where the soft tissue is small as in the distal portion of the fibula, it is possible to prevent the
아울러, 뼈 나사(100)를 반잠김 홀(210)에 삽입하여 회전시키기 전에 드릴 비트를 이용해 뼈(B)의 표면을 프리 드릴링하는데 있어 드릴 비트를 가이드하는 슬리브(미도시)를 반잠김 홀(210)의 형상에 대응되도록 슬리브를 고깔 모양으로 적용하여 뼈 나사(100)를 회전시켜 뼈에 박을 때, 수직이 아닌 소정의 가변각으로 뼈 나사(100)를 박아도 뼈 나사(100)가 뼈 플레이트(200)에 반잠김되면서 뼈 나사(100)가 뼈 플레이트(200)에 수직방향의 결합력은 없으면서 오로지 수평방향의 결합력만이 작용되도록 할 수 있다.A sleeve (not shown) for guiding the drill bit in pre-drilling the surface of the bone B using a drill bit is inserted into the half-locking hole (not shown) before the
도 4는 본 발명의 제2 실시예에 따른 나사 반잠김식 뼈 고정 장치를 나타낸 사시도이고, 도 5는 상기 도 4의 평면도이다.FIG. 4 is a perspective view of a screw half-locking type bone fixation device according to a second embodiment of the present invention, and FIG. 5 is a plan view of FIG.
도 4를 참조하면, 뼈 플레이트(200)는, 반잠김 홀(210)의 일측에 형성되는 완전잠김 홀(300)을 더 포함할 수 있다. 다른 실시예로서 도 5를 참조하면, 완전잠김 홀(300)이 반잠김 홀(210)의 일측으로 연장되어 형성될 수 있다.Referring to FIG. 4, the
여기서, 완전잠김 홀(300)의 내측으로는 내경을 따라 수평의 나사산이 형성된다. 이때, 완전잠김 홀(300)에는, 외경을 따라 수평의 나사산이 형성된 뼈 나사(100')의 머리(120')가 나사결합된다.Here, a horizontal thread is formed on the inner side of the fully-locking
이는 뼈 플레이트(200)의 형성된 반잠김 홀(210)에, 하면에 하향 수직의 제1 나사부(121)가 형성된 하향 만곡진 머리부(120)로 이루어진 뼈 나사(100)를 반잠김시켜 뼈 플레이트(200)가 뼈(B) 모양에 맞게 자연스럽게 휘어지게 함으로써 뼈 플레이트(200)와 뼈(B)의 윤곽을 어느정도 맞춘 후, 완전잠김 홀(300)에는 외경을 따라 수평의 나사산이 형성된 머리(120')로 이루어진 뼈 나사(100')를 완전잠김 체결하여 고정력을 더욱 향상시키는 효과를 얻을 수 있다.The
도 6은 본 발명의 제3 실시예에 따른 나사 반잠김식 뼈 고정 장치를 나타낸 단면도이다.6 is a cross-sectional view of a screw half-locking type bone fixation device according to a third embodiment of the present invention.
도 6을 참조하면, 뼈 플레이트(200)의 하면에는, 하방을 향해 돌출된 끝단이 뾰족한 쐐기형태로 이루어진 복수의 스파이크(220)가 더 형성될 수 있다.Referring to FIG. 6, a plurality of
이는, 뼈 플레이트(200)의 하면과 뼈(B) 간에는 면접촉이 이루어지는데, 이러한 상태에서 뼈 나사(100)가 회전삽입되어 뼈 플레이트(200)가 뼈를 가압하게 되면, 뼈(B)의 표면을 덮고 있는 골막(뼈막)이 뼈 플레이트(200)에 의해 짖눌려 골막이 손상되는 문제가 있다.In this state, when the
이러한 문제를 해결하기 위해 뼈 플레이트(200)의 하면에 복수의 스파이크(220)를 형성시킴으로써, 뼈 플레이트(200)의 하면과 뼈(B) 간이 점접촉되도록 하여 골막을 보존시킬 수 있는 효과를 얻을 수 있다.In order to solve such a problem, by forming a plurality of
또한, 뼈 나사(100) 체결시, 뼈 플레이트(200)의 가압으로 인해 스파이크(220)가 뼈(B)의 표면에 짧은 깊이로 박히게 되어 뼈 플레이트(200)와 뼈(B) 사이에 마찰 저항이 증가하게 되는데, 이러한 마찰력의 증대로 인해 뼈(B) 표면에서의 뼈 플레이트(200)의 고정력을 향상시킬 수 있다.When the
이상에서는 본 발명을 바람직한 실시예에 의거하여 설명하였으나, 본 발명의 기술적 사상은 이에 한정되지 아니하고 청구항에 기재된 범위 내에서 변형이나 변경 실시가 가능함은 본 발명이 속하는 기술 분야에서 통상의 지식을 가진 자에게 명백한 것이며, 그러한 변형이나 변경은 첨부된 특허청구범위에 속한다 할 것이다.While the present invention has been described in connection with what is presently considered to be practical exemplary embodiments, it is to be understood that the invention is not limited to the disclosed embodiments, but, on the contrary, And such variations and modifications are intended to fall within the scope of the appended claims.
100: 뼈 나사
110: 몸체부
120: 머리부
121: 제1 나사부
200: 뼈 플레이트
210: 반잠김 홀
211: 안착면
211a: 제2 나사부
212: 관통홀
220: 스파이크
300: 완전잠김 홀100: bone screw
110:
120: Head
121: first screw portion
200: bone plate
210: half-locking hole
211: seat face
211a: second thread portion
212: Through hole
220: Spike
300: Full locking hole
Claims (5)
상기 머리부(120)의 하면 일부분이 안착되는 하향 만곡진 안착면(211)과, 상기 안착면(211) 중앙에 형성된 관통홀(212)로 이루어진 적어도 하나 이상의 반잠김 홀(210)을 구비한 뼈 플레이트(200); 를 포함하며,
상기 뼈 플레이트(200)의 반잠김 홀(210) 상단의 내경이 상기 뼈 나사(100)의 머리부(120) 상단의 외경 보다 더 작으며,
상기 머리부(120)의 하면에는, 하향 수직으로 제1 나사부(121)가 형성되고, 상기 반잠김 홀(210)의 안착면(211)에는, 상기 제1 나사부(121)에 대응하는 상향 수직의 제2 나사부(211a)가 형성되어 제1 나사부(121)와 제2 나사부(211a)가 서로 수직방향으로 결합되는 것을 특징으로 하는 나사 반잠김식 뼈 고정 장치.A bone screw (100) comprising a body portion (110) with an external diameter and a downwardly curved head portion (120); And
And at least one half-locking hole 210 formed by a downwardly curved seating surface 211 on which a part of the lower surface of the head 120 is seated and a through hole 212 formed in the center of the seating surface 211 A bone plate 200; / RTI >
The inner diameter of the upper end of the half-locking hole 210 of the bone plate 200 is smaller than the outer diameter of the upper end of the head 120 of the bone screw 100,
A first screw portion 121 is formed downward and vertically on the lower surface of the head portion 120 and an upwardly facing vertical portion 121 corresponding to the first screw portion 121 is formed on the seating surface 211 of the half- Wherein the first screw part (121) and the second screw part (211a) are coupled to each other in the vertical direction by forming a second screw part (211a) of the second screw part (211a).
상기 반잠김 홀(210)의 일측에 형성되며, 내경을 따라 수평의 나사산이 형성된 완전잠김 홀(300); 을 더 포함하는 것을 특징으로 하는 나사 반잠김식 뼈 고정 장치.The bone plate according to claim 1, wherein the bone plate (200)
A full locking hole 300 formed at one side of the half-locking hole 210 and having a horizontal thread formed along an inner diameter thereof; Further comprising a second threaded portion and a second threaded portion.
상기 완전잠김 홀(300)에는, 외경을 따라 수평의 나사산이 형성된 뼈 나사(100')의 머리(120')가 나사결합되는 것을 특징으로 하는 나사 반잠김식 뼈 고정 장치.The method of claim 3,
Characterized in that the head (120 ') of a bone screw (100') with a horizontal thread formed along its outer diameter is screwed into the fully locking hole (300).
상기 뼈 플레이트(200)의 하면에는, 하방을 향해 돌출된 끝단이 뾰족한 쐐기형태로 이루어진 복수의 스파이크(spike)(220); 가 더 형성된 것을 특징으로 하는 나사 반잠김식 뼈 고정 장치.The method according to claim 1 or 3,
A plurality of spikes 220 protruding downward in the shape of a wedge with a pointed end; Is formed on the side of the bone.
Priority Applications (2)
| Application Number | Priority Date | Filing Date | Title |
|---|---|---|---|
| KR1020180047760A KR101893116B1 (en) | 2018-04-25 | 2018-04-25 | Bone screw semi locking type bone fixation device |
| PCT/KR2019/003282 WO2019208932A1 (en) | 2018-04-25 | 2019-03-21 | Bone fixing device having half-locked screw |
Applications Claiming Priority (1)
| Application Number | Priority Date | Filing Date | Title |
|---|---|---|---|
| KR1020180047760A KR101893116B1 (en) | 2018-04-25 | 2018-04-25 | Bone screw semi locking type bone fixation device |
Publications (1)
| Publication Number | Publication Date |
|---|---|
| KR101893116B1 true KR101893116B1 (en) | 2018-08-30 |
Family
ID=63453475
Family Applications (1)
| Application Number | Title | Priority Date | Filing Date |
|---|---|---|---|
| KR1020180047760A Expired - Fee Related KR101893116B1 (en) | 2018-04-25 | 2018-04-25 | Bone screw semi locking type bone fixation device |
Country Status (2)
| Country | Link |
|---|---|
| KR (1) | KR101893116B1 (en) |
| WO (1) | WO2019208932A1 (en) |
Cited By (1)
| Publication number | Priority date | Publication date | Assignee | Title |
|---|---|---|---|---|
| WO2019208932A1 (en) * | 2018-04-25 | 2019-10-31 | 의료법인 명지의료재단 | Bone fixing device having half-locked screw |
Families Citing this family (1)
| Publication number | Priority date | Publication date | Assignee | Title |
|---|---|---|---|---|
| CN113397677B (en) * | 2021-07-08 | 2025-08-08 | 天津正天医疗器械有限公司 | Fixing device |
Citations (4)
| Publication number | Priority date | Publication date | Assignee | Title |
|---|---|---|---|---|
| KR20120131153A (en) * | 2010-02-25 | 2012-12-04 | 신세스 게엠바하 | Bone plate screw holes convertible to hooks |
| KR101524518B1 (en) | 2007-08-27 | 2015-06-01 | 알더 메디이큅 프라이빗 리미티드 | Bone plates and bone plate assemblies |
| JP2015518742A (en) * | 2012-05-17 | 2015-07-06 | ブラックストーン メディカル,インコーポレイテッド | Anti-retraction mechanism for orthopedic instruments |
| JP2018047231A (en) * | 2016-08-17 | 2018-03-29 | グローバス メディカル インコーポレイティッド | Stabilization system |
Family Cites Families (3)
| Publication number | Priority date | Publication date | Assignee | Title |
|---|---|---|---|---|
| KR20130064870A (en) * | 2011-12-09 | 2013-06-19 | 주식회사 탑알앤디 | Bone plate system |
| KR20130097348A (en) * | 2012-02-24 | 2013-09-03 | 씨앤에스메디칼(주) | The neck bone isoscu the structure of the human body |
| KR101893116B1 (en) * | 2018-04-25 | 2018-08-30 | 의료법인 명지의료재단 | Bone screw semi locking type bone fixation device |
-
2018
- 2018-04-25 KR KR1020180047760A patent/KR101893116B1/en not_active Expired - Fee Related
-
2019
- 2019-03-21 WO PCT/KR2019/003282 patent/WO2019208932A1/en not_active Ceased
Patent Citations (4)
| Publication number | Priority date | Publication date | Assignee | Title |
|---|---|---|---|---|
| KR101524518B1 (en) | 2007-08-27 | 2015-06-01 | 알더 메디이큅 프라이빗 리미티드 | Bone plates and bone plate assemblies |
| KR20120131153A (en) * | 2010-02-25 | 2012-12-04 | 신세스 게엠바하 | Bone plate screw holes convertible to hooks |
| JP2015518742A (en) * | 2012-05-17 | 2015-07-06 | ブラックストーン メディカル,インコーポレイテッド | Anti-retraction mechanism for orthopedic instruments |
| JP2018047231A (en) * | 2016-08-17 | 2018-03-29 | グローバス メディカル インコーポレイティッド | Stabilization system |
Cited By (1)
| Publication number | Priority date | Publication date | Assignee | Title |
|---|---|---|---|---|
| WO2019208932A1 (en) * | 2018-04-25 | 2019-10-31 | 의료법인 명지의료재단 | Bone fixing device having half-locked screw |
Also Published As
| Publication number | Publication date |
|---|---|
| WO2019208932A1 (en) | 2019-10-31 |
Similar Documents
| Publication | Publication Date | Title |
|---|---|---|
| US8906076B2 (en) | Angulated locking plate and screw | |
| US8597334B2 (en) | Angulated locking plate/screw interface | |
| EP1764042A2 (en) | Compression staple | |
| US9700359B2 (en) | Locking plate with screw fixation from opposite cortex | |
| US5098433A (en) | Winged compression bolt orthopedic fastener | |
| US4988351A (en) | Washer for use with cancellous screw for attaching soft tissue to bone | |
| CN101835435B (en) | Bone plates and bone plate assemblies | |
| US7517350B2 (en) | Convertible threaded compression device and method of use | |
| US3939828A (en) | Method and clasp for internal osseous fixation | |
| EP2713918B1 (en) | Assemblies for aligning a bone fixation plate | |
| US20130079832A1 (en) | Bone screw for positive locking but flexible engagement to a bone | |
| US20040082956A1 (en) | Medical screw and method of installation | |
| WO1992020306A1 (en) | Bone fastening device | |
| US20030149436A1 (en) | Fixation and compression fastener assembly for bone fractures | |
| KR101893116B1 (en) | Bone screw semi locking type bone fixation device | |
| CN104822333A (en) | orthopedic external compression plate | |
| CN104224291A (en) | Novel combined-type calcaneal-fracture internal fixation steel plate | |
| US20130304133A1 (en) | Cable anchor systems and methods | |
| KR101981114B1 (en) | Compression locking type bone fixation device | |
| CN103720507A (en) | Pressurizing locking screw system | |
| KR101828357B1 (en) | Dynamic bone fixation using tension suture | |
| CN223311234U (en) | Fixator and fixing system | |
| CN202892065U (en) | Inflating locking screw system | |
| KR100925811B1 (en) | Spinal fixture | |
| KR101045229B1 (en) | Oscillating Device |
Legal Events
| Date | Code | Title | Description |
|---|---|---|---|
| PA0109 | Patent application |
St.27 status event code: A-0-1-A10-A12-nap-PA0109 |
|
| PA0201 | Request for examination |
St.27 status event code: A-1-2-D10-D11-exm-PA0201 |
|
| PA0302 | Request for accelerated examination |
St.27 status event code: A-1-2-D10-D17-exm-PA0302 St.27 status event code: A-1-2-D10-D16-exm-PA0302 |
|
| D13-X000 | Search requested |
St.27 status event code: A-1-2-D10-D13-srh-X000 |
|
| D14-X000 | Search report completed |
St.27 status event code: A-1-2-D10-D14-srh-X000 |
|
| PE0902 | Notice of grounds for rejection |
St.27 status event code: A-1-2-D10-D21-exm-PE0902 |
|
| E13-X000 | Pre-grant limitation requested |
St.27 status event code: A-2-3-E10-E13-lim-X000 |
|
| P11-X000 | Amendment of application requested |
St.27 status event code: A-2-2-P10-P11-nap-X000 |
|
| P13-X000 | Application amended |
St.27 status event code: A-2-2-P10-P13-nap-X000 |
|
| E701 | Decision to grant or registration of patent right | ||
| PE0701 | Decision of registration |
St.27 status event code: A-1-2-D10-D22-exm-PE0701 |
|
| GRNT | Written decision to grant | ||
| PR0701 | Registration of establishment |
St.27 status event code: A-2-4-F10-F11-exm-PR0701 |
|
| PR1002 | Payment of registration fee |
St.27 status event code: A-2-2-U10-U11-oth-PR1002 Fee payment year number: 1 |
|
| PG1601 | Publication of registration |
St.27 status event code: A-4-4-Q10-Q13-nap-PG1601 |
|
| PC1903 | Unpaid annual fee |
St.27 status event code: A-4-4-U10-U13-oth-PC1903 Not in force date: 20210824 Payment event data comment text: Termination Category : DEFAULT_OF_REGISTRATION_FEE |
|
| PC1903 | Unpaid annual fee |
St.27 status event code: N-4-6-H10-H13-oth-PC1903 Ip right cessation event data comment text: Termination Category : DEFAULT_OF_REGISTRATION_FEE Not in force date: 20210824 |
