KR101826970B1 - Raw material feeding apparatus for feeding raw material made of plastic formable materials, and three-dimensional product manufacturing robot having the same - Google Patents
Raw material feeding apparatus for feeding raw material made of plastic formable materials, and three-dimensional product manufacturing robot having the same Download PDFInfo
- Publication number
- KR101826970B1 KR101826970B1 KR1020160004908A KR20160004908A KR101826970B1 KR 101826970 B1 KR101826970 B1 KR 101826970B1 KR 1020160004908 A KR1020160004908 A KR 1020160004908A KR 20160004908 A KR20160004908 A KR 20160004908A KR 101826970 B1 KR101826970 B1 KR 101826970B1
- Authority
- KR
- South Korea
- Prior art keywords
- supply unit
- main tube
- unit
- joint part
- material supply
- Prior art date
- Legal status (The legal status is an assumption and is not a legal conclusion. Google has not performed a legal analysis and makes no representation as to the accuracy of the status listed.)
- Expired - Fee Related
Links
Images
Classifications
-
- B—PERFORMING OPERATIONS; TRANSPORTING
- B29—WORKING OF PLASTICS; WORKING OF SUBSTANCES IN A PLASTIC STATE IN GENERAL
- B29C—SHAPING OR JOINING OF PLASTICS; SHAPING OF MATERIAL IN A PLASTIC STATE, NOT OTHERWISE PROVIDED FOR; AFTER-TREATMENT OF THE SHAPED PRODUCTS, e.g. REPAIRING
- B29C64/00—Additive manufacturing, i.e. manufacturing of three-dimensional [3D] objects by additive deposition, additive agglomeration or additive layering, e.g. by 3D printing, stereolithography or selective laser sintering
- B29C64/20—Apparatus for additive manufacturing; Details thereof or accessories therefor
-
- B—PERFORMING OPERATIONS; TRANSPORTING
- B25—HAND TOOLS; PORTABLE POWER-DRIVEN TOOLS; MANIPULATORS
- B25J—MANIPULATORS; CHAMBERS PROVIDED WITH MANIPULATION DEVICES
- B25J11/00—Manipulators not otherwise provided for
-
- B—PERFORMING OPERATIONS; TRANSPORTING
- B25—HAND TOOLS; PORTABLE POWER-DRIVEN TOOLS; MANIPULATORS
- B25J—MANIPULATORS; CHAMBERS PROVIDED WITH MANIPULATION DEVICES
- B25J11/00—Manipulators not otherwise provided for
- B25J11/005—Manipulators for mechanical processing tasks
-
- B—PERFORMING OPERATIONS; TRANSPORTING
- B25—HAND TOOLS; PORTABLE POWER-DRIVEN TOOLS; MANIPULATORS
- B25J—MANIPULATORS; CHAMBERS PROVIDED WITH MANIPULATION DEVICES
- B25J15/00—Gripping heads and other end effectors
-
- B—PERFORMING OPERATIONS; TRANSPORTING
- B25—HAND TOOLS; PORTABLE POWER-DRIVEN TOOLS; MANIPULATORS
- B25J—MANIPULATORS; CHAMBERS PROVIDED WITH MANIPULATION DEVICES
- B25J15/00—Gripping heads and other end effectors
- B25J15/0019—End effectors other than grippers
-
- B—PERFORMING OPERATIONS; TRANSPORTING
- B29—WORKING OF PLASTICS; WORKING OF SUBSTANCES IN A PLASTIC STATE IN GENERAL
- B29C—SHAPING OR JOINING OF PLASTICS; SHAPING OF MATERIAL IN A PLASTIC STATE, NOT OTHERWISE PROVIDED FOR; AFTER-TREATMENT OF THE SHAPED PRODUCTS, e.g. REPAIRING
- B29C67/00—Shaping techniques not covered by groups B29C39/00 - B29C65/00, B29C70/00 or B29C73/00
-
- B—PERFORMING OPERATIONS; TRANSPORTING
- B33—ADDITIVE MANUFACTURING TECHNOLOGY
- B33Y—ADDITIVE MANUFACTURING, i.e. MANUFACTURING OF THREE-DIMENSIONAL [3-D] OBJECTS BY ADDITIVE DEPOSITION, ADDITIVE AGGLOMERATION OR ADDITIVE LAYERING, e.g. BY 3-D PRINTING, STEREOLITHOGRAPHY OR SELECTIVE LASER SINTERING
- B33Y30/00—Apparatus for additive manufacturing; Details thereof or accessories therefor
-
- B—PERFORMING OPERATIONS; TRANSPORTING
- B33—ADDITIVE MANUFACTURING TECHNOLOGY
- B33Y—ADDITIVE MANUFACTURING, i.e. MANUFACTURING OF THREE-DIMENSIONAL [3-D] OBJECTS BY ADDITIVE DEPOSITION, ADDITIVE AGGLOMERATION OR ADDITIVE LAYERING, e.g. BY 3-D PRINTING, STEREOLITHOGRAPHY OR SELECTIVE LASER SINTERING
- B33Y70/00—Materials specially adapted for additive manufacturing
Landscapes
- Engineering & Computer Science (AREA)
- Mechanical Engineering (AREA)
- Chemical & Material Sciences (AREA)
- Materials Engineering (AREA)
- Manufacturing & Machinery (AREA)
- Robotics (AREA)
- Physics & Mathematics (AREA)
- Optics & Photonics (AREA)
Abstract
형성 가능한 플라스틱 재료로 이루어진 소재를 공급하는 소재 공급 장치 및 이를 포함하는 3D 입체물 제조 로봇이 개시된다. 본 발명에 따른 소재 공급 장치는, 소재를 공급하는 소재 공급 유닛 및 소재 공급 유닛으로부터 공급된 소재를 제조 로봇으로 가이드하는 가이드 유닛을 포함하고, 가이드 유닛은, 내부를 통해 소재가 가이드되는 메인 튜브, 메인 튜브의 일단과 소재 공급 유닛을 연결하는 피봇 가능한 적어도 하나의 유입측 관절부 및 메인 튜브의 타단과 상기 제조 로봇을 연결하는 피봇 가능한 적어도 하나의 배출측 관절부를 포함한다. 이에 의하여, 3D 입체물 제조 로봇의 자유로운 움직임을 도모할 수 있을 뿐만 아니라, 소재의 공급을 원활히 하여, 정밀한 3D 입체물을 제조할 수 있게 된다.Disclosed is a material supply device for supplying a material made of a plastic material that can be formed and a 3D solid object manufacturing robot including the material supply device. The material supply apparatus according to the present invention includes a material supply unit for supplying a material and a guide unit for guiding the material supplied from the material supply unit to the manufacturing robot. The guide unit includes a main tube, At least one pivotable inlet joint connecting the one end of the main tube and the material supply unit, and at least one pivotable outlet joint connecting the other end of the main tube and the manufacturing robot. This makes it possible to freely move the 3D stereoscopic material manufacturing robot, to smoothly supply the material, and to produce a precise 3D solid object.
Description
본 발명은 형성 가능한 플라스틱 재료로 이루어진 소재를 공급하는 소재 공급 장치 및 이를 포함하는 3D 입체물 제조 로봇에 관한 것으로, 더욱 상세하게는, 3D 입체물 제조 로봇의 자유로운 움직임을 보장하고, 소재의 공급을 원활히 할 수 있는 소재 공급 장치 및 이를 포함하는 3D 입체물 제조 로봇에 관한 것이다.BACKGROUND OF THE INVENTION 1. Field of the Invention The present invention relates to a material supply device for supplying a material made of a plastic material which can be formed and a 3D stereoscopic material manufacturing robot including the same, and more particularly, And a 3D stereoscopic manufacturing robot including the same.
최근, 플라스틱 복합소재를 이용하여 강도와 내구성을 보강하기 위한 내부 보강재(reinforcement)를 제조하는 기술이 이용되고 있다. 적층 가공(additive manufacturing) 장치 및 폴리머/복합재의 내부 보강재와 같은 내부 골격 제조 기술에 대한 연구가 활발히 이루어지고 있다.Recently, a technique for manufacturing an internal reinforcement for reinforcing strength and durability using a plastic composite material has been used. Studies have been actively made on an inner skeleton manufacturing technique such as an additive manufacturing apparatus and an internal stiffener of a polymer / composite material.
이를 이용하면, 경량 복합 소재 입체물의 원재료 사용량은 줄이면서도 기계적 성능을 높일 수 있다는 점에서 3D 프린팅이나 3D 몰딩이 각광받고 있다. 특히, 적층 가공 속도도 개선되어 자동화 공정의 일부로서 기능할 수 있게 되었다.3D printing and 3D molding are attracting attention because it can increase the mechanical performance while reducing the amount of raw material of lightweight composite material. Particularly, the lamination processing speed is improved and it can function as a part of the automation process.
적층 가공 기술은 자동차 부품 시장뿐만 아니라, 항공기, 전자부품, 가전제품(consumer electronics), 스포츠 용품(sporting goods), 건축소재 등 다양한 분야로 확장될 수 있다는 점에서 잠재적 가치가 매우 높다. 하지만, 비용면에서 효율적인 방식으로 정교한 골격 구조를 제조하기 위해서는 더욱 많은 연구개발이 이루어져야 한다. Lamination technology is very valuable in that it can be extended to various fields such as aircraft, electronic parts, consumer electronics, sporting goods, building materials as well as automobile parts market. However, more research and development must be done to fabricate sophisticated framework structures in a cost-effective manner.
특히, 내부 골격을 제조하는 적층 가공 장치는, 가늘고 길게 이어진 스트랜드의 원재료를 사용하는데, 이 원재료는 대부분 쉽게 굳어지거나(solidified) 경화되거나(cured) 열화되는(degraded) 물질로 이루어지기 때문에, 원재료가 적층 가공 장치의 내부를 통과하여 외부로 토출될 때까지 원재료가 굳어지거나 경화되거나 열화되지 않도록 하기 위한 기술이 필요하다. Particularly, the lamination apparatus for manufacturing the internal framework uses the raw material of the elongated strands, since the raw material is composed of a material which is hardly easily solidified or cured or degraded, There is a need for a technique for preventing the raw material from hardening, hardening or deterioration until it is discharged to the outside through the inside of the lamination processing apparatus.
또한, 적층 가공 장치는 다양하고 복잡한 구조의 형상을 제조하기 위해, 자유로운 궤적 운동(예를 들어, 회전, 직선 또는 곡선 운동)을 하게 되는데, 이때, 형상적 특성 때문에, 광범위한 관절 운동을 하는 적층 가공 장치를 통과하는 동안 원재료의 텐션이 일정하게 유지되기 어렵다는 문제점이 있다. Further, the lamination apparatus is subjected to free locus motion (for example, rotation, straight line or curved movement) in order to produce various complicated shapes of structures. At this time, due to the shape characteristic, There is a problem that the tension of the raw material is hardly maintained constant while passing through the apparatus.
원재료의 텐션이 너무 강하면 적층 가공 장치의 고장을 가져올 수 있고, 원재료의 텐션이 너무 약하면 원재료의 토출 속도와 위치를 제어하기가 어려워진다. 또한, 원재료가 공급되는 과정이나 외부로 토출되는 과정에서, 원재료의 흐름이 원활하지 않는 경우, 정밀한 3D 입체물을 제조하는 것이 불가능해지거나, 제조 공정이 중단될 수 있게 된다. 즉, 원재료가 주입 속도가 빠르거나 너무 많은 양이 주입되는 경우, 혹은 원재료가 제조 장치 내에서 걸리거나 적체되는 것을 방지할 수 있어야 한다.If the tension of the raw material is too strong, it may lead to failure of the stacking apparatus, and if the tension of the raw material is too weak, it becomes difficult to control the discharge speed and position of the raw material. In addition, when the flow of the raw material is not smooth in the process of supplying the raw material or discharging the raw material to the outside, it becomes impossible to produce a precise 3D solid object, or the manufacturing process can be stopped. That is, the raw material should be able to prevent the feedstock from being injected too quickly or too much, or that the raw material will not get caught or stuck in the manufacturing apparatus.
한국등록특허공보 제10-1198621호(발명의 명칭: 자동차용 플라스틱 복합재 범퍼 빔)는 본체 내부에 인서트 보강재가 삽입된 범퍼 빔을 개시하고 있다. 하지만, 인서트 보강재가 삽입된 범퍼 빔을 제조하는 제조 장치와 관련한 설명이 충분한 개시가 이루어지지 않았고, 원재료의 원활한 흐름을 도모하기 위한 방안과 관련해서는 언급이 없어, 위에서 언급한 문제점을 극복할만한 단서를 찾을 수 없다. Korean Patent Registration No. 10-1198621 discloses a bumper beam in which an insert reinforcement is inserted into a main body of a plastic composite material bumper beam. However, there has been no sufficient disclosure of the manufacturing apparatus for manufacturing the bumper beam inserted with the insert reinforcement, and there is no mention of a method for smoothly flowing the raw materials, and a clue for overcoming the above-mentioned problem I can not find it.
본 발명은 상술한 문제점을 감안하여 안출된 것으로, 본 발명의 목적은, 3D 입체물 제조 로봇의 자유로운 움직임을 도모하고, 3D 입체물의 정교한 제작을 위하여 소재의 공급을 원활히 할 수 있는 소재 공급 장치 및 이를 포함하는 3D 입체물 제조 로봇에 관한 것이다. SUMMARY OF THE INVENTION The present invention has been made in view of the above-mentioned problems, and it is an object of the present invention to provide a material supply device capable of freely moving a 3D stereoscopic material manufacturing robot and smoothly supplying a material for 3D stereoscopic production, Dimensional stereoscopic image.
상기 목적을 달성하기 위한 본 발명에 따른 소재 공급 장치는, 소재를 공급하는 소재 공급 유닛; 및 상기 소재 공급 유닛으로부터 공급된 소재를 제조 로봇으로 가이드하는 가이드 유닛;을 포함하고, 상기 가이드 유닛은, 내부를 통해 상기 소재가 가이드되는 메인 튜브; 상기 메인 튜브의 일단과 상기 소재 공급 유닛을 연결하는 피봇 가능한 적어도 하나의 유입측 관절부; 및 상기 메인 튜브의 타단과 상기 제조 로봇을 연결하는 피봇 가능한 적어도 하나의 배출측 관절부;를 포함한다.According to an aspect of the present invention, there is provided a material supply apparatus including: a material supply unit for supplying a material; And a guide unit for guiding the material supplied from the material supply unit to the manufacturing robot, wherein the guide unit comprises: a main tube through which the material is guided; At least one inlet-side joint pivotable for connecting one end of the main tube to the material supply unit; And at least one pivotable discharge-side joint connecting the other end of the main tube and the manufacturing robot.
한편, 상기 목적을 달성하기 위한 본 발명에 따른 3D 입체물 제조 로봇은, 상기 소재 공급 장치; 상기 소재 공급 장치와 연결되어, 상기 소재가 유입되는 유입구를 구비하는 헤드 서플라이 유닛; 상기 헤드 서플라이 유닛으로부터 전달된 상기 소재의 이동을 가이드하는 복수의 롤러를 구비하는 트랜스포머 유닛; 및 상기 트랜스포머 유닛으로부터 전달된 상기 소재를 외부로 토출하는 헤드 유닛;을 포함한다. According to another aspect of the present invention, there is provided a 3D stereoscopic material manufacturing robot comprising: the material supply device; A head supply unit connected to the material supply device and having an inlet through which the material flows; A transformer unit having a plurality of rollers for guiding the movement of the material transferred from the head supply unit; And a head unit for discharging the material transferred from the transformer unit to the outside.
상기 구성에 따른 본 발명의 형성 가능한 플라스틱 재료로 이루어진 소재를 공급하는 소재 공급 장치 및 이를 포함하는 3D 입체물 제조 로봇에 의하면, 3D 입체물 제조 로봇의 자유로운 움직임을 도모할 수 있을 뿐만 아니라, 소재의 공급을 원활히 하여, 정밀한 3D 입체물을 제조할 수 있게 된다.According to the material supply apparatus for supplying the material made of the plastic material of the present invention according to the present invention and the 3D stereoscopic material manufacturing robot including the same, it is possible not only to freely move the 3D stereoscopic material manufacturing robot, So that a precise 3D solid object can be manufactured.
도 1은 본 발명에 따른 3D 입체물 제조 로봇은 사시도이다.
도 2는 본 발명에 따른 소재 공급 장치 및 3D 입체물 제조 로봇에서 토우가 이동하는 경로를 도시한다.
도 3은 본 발명에 따른 3D 입체물 제조 로봇과 연결된 소재 공급 장치를 나타내는 사시도이다.
도 4는 본 발명에 따른 소재 공급 장치의 내부 구성을 도시하는 단면도이다.1 is a perspective view of a 3D stereoscopic manufacturing robot according to the present invention.
FIG. 2 shows a path through which a tow moves in a material supply apparatus and a 3D solid body manufacturing robot according to the present invention.
3 is a perspective view showing a material supply device connected to a 3D stereoscopic material manufacturing robot according to the present invention.
4 is a cross-sectional view showing an internal configuration of a material supply apparatus according to the present invention.
본 발명이 실시될 수 있는 특정 실시예를 도시한 첨부 도면을 참조하면서, 본 발명을 상세히 설명한다. 첨부 도면에 도시된 특정 실시예에 대하여, 본 발명이 속하는 기술분야에서 통상의 지식을 가진 자가 본 발명을 실시하기에 충분하도록 상세히 설명된다. 특정 실시예 이외의 다른 실시예는 서로 상이하지만 상호배타적일 필요는 없다. 아울러, 후술의 상세한 설명은 한정적인 의미로서 취하려는 것이 아님을 이해해야 한다.The present invention will now be described in detail with reference to the accompanying drawings, which show specific embodiments in which the present invention may be practiced. For a specific embodiment shown in the accompanying drawings, those skilled in the art will be described in detail so as to be sufficient for practicing the present invention. Other embodiments than the particular embodiment need not be mutually exclusive but different from each other. It is to be understood that the following detailed description is not to be taken in a limiting sense.
첨부 도면에 도시된 특정 실시예에 대한 상세한 설명은, 그에 수반하는 도면들과 연관하여 읽히게 되며, 도면은 전체 발명의 설명에 대한 일부로 간주된다. 방향이나 지향성에 대한 언급은 설명의 편의를 위한 것일 뿐, 어떠한 방식으로도 본 발명의 권리범위를 제한하는 의도를 갖지 않는다. The detailed description of the specific embodiments shown in the accompanying drawings is read in conjunction with the accompanying drawings, which are considered a part of the description of the entire invention. The reference to direction or orientation is for convenience of description only and is not intended to limit the scope of the invention in any way.
구체적으로, "아래, 위, 수평, 수직, 상측, 하측, 상향, 하향, 상부, 하부" 등의 위치를 나타내는 용어나, 이들의 파생어(예를 들어, "수평으로, 아래쪽으로, 위쪽으로" 등)는, 설명되고 있는 도면과 관련 설명을 모두 참조하여 이해되어야 한다. 특히, 이러한 상대어는 설명의 편의를 위한 것일 뿐이므로, 본 발명의 장치가 특정 방향으로 구성되거나 동작해야 함을 요구하지는 않는다. Specifically, terms indicating positions such as "lower, upper, horizontal, vertical, upper, lower, upper, lower, upper, lower ", or their derivatives (e.g.," horizontally, Etc.) should be understood with reference to both the drawings and the associated description. In particular, such a peer is merely for convenience of description and does not require that the apparatus of the present invention be constructed or operated in a specific direction.
또한, "장착된, 부착된, 연결된, 이어진, 상호 연결된" 등의 구성 간의 상호 결합 관계를 나타내는 용어는, 별도의 언급이 없는 한, 개별 구성들이 직접적 혹은 간접적으로 부착 혹은 연결되거나 고정된 상태를 의미할 수 있고, 이는 이동 가능하게 부착, 연결, 고정된 상태뿐만 아니라, 이동 불가능한 상태까지 아우르는 용어로 이해되어야 한다.It should also be understood that the term " attached, attached, connected, connected, interconnected ", or the like, refers to a state in which the individual components are directly or indirectly attached, And it should be understood as a term that encompasses not only a movably attached, connected, fixed state but also a non-movable state.
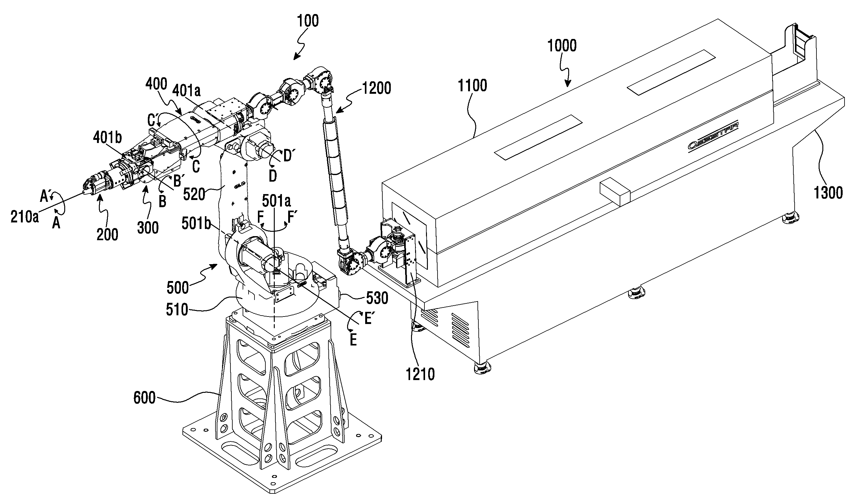
이하에서는, 도 1을 참조하면서, 본 발명에 따른 소재 공급 장치(1000)를 구비한 3D 입체물 제조 로봇(100)을 전체적으로 도시한 사시도이다. 본 발명에 따른 소재 공급 장치(1000)는 형성 가능한 플라스틱 재료로 이루어진 소재를 3D 입체물 제조 로봇(100)에 공급한다. Hereinafter, the 3D
먼저, 3D 입체물 제조 로봇(100)에 대해 설명하면, 본 발명에 따른 3D 입체물 제조 로봇(100)은, 헤드 유닛(head unit)(200), 트랜스포머 유닛(300), 헤드 서플라이 유닛(head supply)(400), 바디 유닛(body unit)(500), 고정부(530) 및 지지대(600)를 포함한다. A 3D
바디 유닛(500)은 회전 베이스(510)와 연결암(520)을 포함한다. 회전 베이스(510)는 회전축(501a)을 중심으로, 수평면상에서 회전 운동(F-F')을 한다. 연결암(520)의 일단은 회전 베이스(510)에 연결되고, 연결암(520)의 타단은 헤드 서플라이 유닛(400)에 연결된다. 이때, 회전 베이스(510)는 고정부(530)에 대하여 회전축(501a)을 중심으로 회전 가능하게 연결되고, 고정부(530)는 지지대(600) 위에 움직이지 못하게(immovably) 고정될 수 있다. The
연결암(520)과 헤드 서플라이 유닛(400), 그리고, 연결암(520)과 회전 베이스(510)는, 피봇힌지나 샤프트와 같이 축을 중심으로 회동 가능한 부재에 의해 연결될 수 있지만, 이에 한정되지 않는다.The connecting
더욱 구체적으로, 연결암(520)의 일단은 회전 베이스(510)에 대해 회동 가능하게 연결된다. 연결암(520)과 회전 베이스(510)가 상호 연결된 부위의 연결축(501b)을 중심으로, 연결암(520)은 회전 운동(E-E')을 한다. More specifically, one end of the
연결암(520)의 타단은 헤드 서플라이 유닛(400)에 대해 회동 가능하게 연결된다. 연결암(520)은 길이방향의 부재로서, 수평면에 대한 헤드 서플라이 유닛(400)의 높이를 조절한다.The other end of the
다시 말해, 연결암(520)과 헤드 서플라이 유닛(400)이 상호 연결된 부위의 연결축(401a)을 중심으로, 헤드 서플라이 유닛(400)은 회전 운동(D-D')을 한다.In other words, the
헤드 서플라이 유닛(400)은 길이방향의 축을 중심으로 회전 운동(C-C')을 한다. 이때, 헤드 서플라이 유닛(400)이 회전함에 따라, 헤드 서플라이 유닛(400)에 연결되어 있는 트랜스포머 유닛(300)과 헤드 유닛(200)도 연동하여 회전하게 된다.The
또한, 헤드 유닛(200)은 헤드 서플라이 유닛(400)에 대해 연결된다. 헤드 유닛(200)은 헤드 서플라이 유닛(400)에 구비된 헤드 체결부(440)에 연결된다. 헤드 유닛(200)과 헤드 체결부(440)가 상호 연결된 부위의 연결축(401b)을 중심으로, 헤드 유닛(200)은 회전 운동(B-B')을 한다.In addition, the
헤드 유닛(200)은 그의 길이 방향의 축(201a)을 중심으로, 360도 회전 운동(A-A')을 한다. 휠 어셈블리에 의하여 헤드 유닛(200)은 멀티플 360도 회전(360°,720°…)이 가능하다. 이때, 헤드 유닛(200)에 포함된 도선들이 헤드 유닛(200)의 회전에 영향을 받지 않도록, 헤드 유닛(200)에는 스페이서가 구비될 수 있다. The
상술한 바와 같이, 본 발명에 따른 3D 입체물 제조 로봇(100)은 다축 회전 운동을 할 수 있다. 위의 설명에서는, 6축 회전 운동이 가능한 것으로 설명했지만, 회전 베이스(510)가 결합되는, 틸팅 가능한 툴 테이블(tool table) 로봇을 포함하면, 8축 회전이 가능해진다. 더욱 상세하게, 본 발명에 따른 3D 입체물 제조 로봇(100)의 가능한 회전은 아래와 같다.As described above, the 3D stereoscopic
제1축 회전: 헤드 유닛(200)의 길이 방향축(201a)을 중심으로 한 회전(A-A').First axis rotation: A-A 'about the longitudinal axis 201a of the
제2축 회전: 트랜스포머 유닛(300)에 의해 조절되는 헤드 유닛(200)의 회전(B-B').Second axis rotation: rotation (B-B ') of the
제3축 회전: 헤드 서플라이 유닛(400)의 길이방향의 축을 중심으로 한 회전(C-C').Third axis rotation: rotation (C-C ') about the longitudinal axis of the
제4축 회전: 헤드 서플라이 유닛(400)에 연결된 연결암(520)과의 연결축(401a)을 중심으로 한 헤드 서플라이 유닛(400)의 회전(D-D').Fourth axis rotation: rotation (D-D ') of the
제5축 회전: 연결암(520)에 연결된 회전 베이스(510)의 연결축(501b)을 중심으로 한 연결암(520)의 회전(E-E').Fifth Axis Rotation: rotation (E-E ') of the
제6축 회전: 수평면에 수직인 회전축(501a)을 중심으로 한 회전 베이스(510)의 회전(F-F').Sixth axis rotation: rotation (F-F ') of the
제7축 및 제8축 회전: 회전 베이스(510)와 결합되는 2축 회전 가능한 툴 테이블(미도시)의 회전.Seventh and eighth axis rotations: rotation of a biaxially rotatable tool table (not shown) coupled with a
상기와 같이 다축 회전 운동을 하는 3D 입체물 제조 로봇(100)은, 소재를 토출하는 헤드 유닛(200)의 동작을 미세하게 조작할 수 있어, 더욱 복잡하고 정교한 형상의 3D 입체물을 제조하는 것이 가능해진다.As described above, the 3D
한편, 본 발명에 따른 소재 공급 장치(1000)는 형성 가능한 플라스틱 재료로 이루어진 소재를 상기 다축 회전 운동이 가능한 3D 입체물 제조 로봇(100)에 공급한다. 본 설명에 있어서는, 형성 가능한 플라스틱 재료로 이루어진 소재를 토우(50)로 일관하여 기재하기로 한다.Meanwhile, the
여기서, 토우(50)란, 고분자 재료(polymer material) 또는 복합 재료(composite material)의 연속적으로 이어진 스트랜드(strand), 얀(yarn), 토우(tow), 번들(bundle), 밴드(band), 테이프(tape) 등이다. 고분자 재료로는 PLA, PE, PP, PA, ABS, PC, PET, PEI, PEEK 등의 열가소성 수지(thermoplastics) 혹은 에폭시(epoxy), 불포화 폴리에스터 수지(unsaturated polyester), PI, PUR 등의 열경화성 수지(thermosetting resins)일 수 있다. Here, the
하지만, 고분자 물질은 이에 한정되지 않는다. 또한, 보강재(reinforcing fibers)는 는 GF(glass fiber), CF(carbon fiber), NF(natural fiber), AF(aramid fiber) 등일 수 있다. 또한, 3D 입체물 제조 로봇은 직물용 실(textile yarn)이나 로빙(roving)을 위해 이용될 수도 있다.However, the polymer material is not limited thereto. The reinforcing fibers may be GF (glass fiber), CF (carbon fiber), NF (natural fiber), AF (aramid fiber), or the like. Also, 3D stereoscopic manufacturing robots may be used for textile yarns or roving.
또한, 최종 복합재 재료는 상기 고분자 재료에 섬유를 혼합한 것으로, 상기 섬유는 유리 섬유, 탄소 섬유, 보론 섬유, 알루미나 섬유, 탄화규소 섬유, 아라미드 섬유, 각종 휘스커(whisker) 또는 이들의 조합일 수 있지만, 이에 한정되지 않는다.The final composite material may be fiberglass, carbon fiber, boron fiber, alumina fiber, silicon carbide fiber, aramid fiber, various whiskers, or a combination thereof, , But is not limited thereto.
3D 입체물 제조 로봇(100)에는 얀, 토우, 스트랜드, 밴드, 번들 또는 테이프가 주입될 수 있다. 개별적인 얀, 토우, 스트랜드, 밴드, 번들 또는 테이프는 오븐(oven)(수집기(collector), 히터(heater), 압축기(compactor) 등을 포함))에서 전체적으로 혹은 부분적으로 토우로 합쳐지게 된다. 헤드 서플라이 유닛(400), 트랜스포머 유닛(300) 및 헤드 유닛(200)은 최종적으로 토우(50)를 압밀(compaction)하고 합쳐지게 하는데 도움을 준다.The 3D
본 발명에 따른 소재 공급 장치(1000)로부터 공급된 토우(50)가 3D 입체물 제조 로봇(100)을 지나 외부로 배출되는 이동 경로가 도 2에 도시되어있다.A movement path through which the
도 2에 도시된 바와 같이, 소재 공급 장치(1000)의 소재 공급 유닛(1100)에서 생성된 토우(tow)(50)는 가이드 유닛(1200)에 의해 가이드되어 3D 입체물 제조 로봇(100)으로 유입된다. 3D 입체물 제조 로봇(100)으로 유입된 토우(50)는, 헤드 서플라이 유닛(400), 트랜스포머 유닛(300) 및 헤드 유닛(200)으로 이어지는 내부 통로를 지나 외부로 배출된다. 즉, 본 발명에 따른 3D 입체물 제조 로봇(100)은, 헤드 서플라이 유닛(400), 트랜스포머 유닛(300) 및 헤드 유닛(200)으로 연결되는 토우(50)의 이동 경로를 내부에 포함하는 빌트인(built-in)구조를 갖는다.2, the
이하에서는, 도 1, 3 및 4를 참조하면서, 본 발명에 따른 소재 공급 장치(1000)에 대해 더욱 상세하게 설명하기로 한다. 도 3은 3D 입체물 제조 로봇(100)과 연결된 본 발명에 따른 소재 공급 장치(1000)의 구성을 나타내는 도면이고, 도 4는 소재 공급 장치(1000)의 내부를 도시하는 단면도이다.Hereinafter, the
도 1에 도시된 바와 같이, 본 발명에 따른 소재 공급 장치(1000)는 소재 공급 유닛(1100), 가이드 유닛(1200), 가이드 고정부(1210) 및 베이스 유닛(1300)을 포함한다. 1, the
소재 공급 유닛(1100)은 상술한 토우(tow)를 형성시키거나 저장한다. 즉, 고분자 재료나 복합 재료 혹은 섬유 등을 혼합하여, 수집하고, 열처리하고, 압축하는 과정을 거치는데, 이를 위한 각종 장치(예: 수집기(collector), 히터(heater), 압축기(compactor) 등)가 구비될 수 있다. 또한, 형성된 토우(tow)가 굳어지거나 경화되는 것을 방지하기 위한 장치(예: 히터 등)가 더 구비되어도 좋다.The
소재 공급 유닛(1100)에서 형성된 토우(50)는 가이드 유닛(1200)으로 이동한다. 도 1에서는 소재 공급 유닛(1100)이 베이스 유닛(1300) 위에 올려져 있고, 베이스 유닛(1300)이 지면에 고정되어, 소재 공급 유닛(1100)을 고정시키지만, 소재 공급 유닛(1100)이 스스로 지면에 고정되어도 무방하다. 또한, 도 1에서는, 가이드 유닛(1200)이 가이드 고정부(1210)에 의해 베이스 유닛(1300)에 고정되고, 가이드 유닛(1200)의 유입측이 소재 공급 유닛(1100)과 연결되어 소재를 공급받는 것으로 도시되었지만, 다른 실시예에서는, 가이드 유닛(1200)의 유입측이 직접 소재 공급 유닛(1100)에 연결되는 방식으로 구현될 수 있다.The
한편, 가이드 유닛(1200)은 가이드 체결부(1221)에 의해서 상기 가이드 고정부(1210)와 연결되며, 가이드 체결부(1221)는 축(GA1)을 중심으로 회전 가능하게 설치되어, 가이드 유닛(1200)의 움직임을 자유롭게 한다. The
토우(50)를 가이드하는 가이드 유닛(1200)은 다관절 구조를 가진다. 도 3에 도시된 가이드 유닛(1200)은, 총 5개의 관절부(1221,1222,1223,1224,1225,1226)를 갖는 것으로 도시되었지만, 다른 실시예에서는 더 많거나 적은 관절부가 구비될 수 있다. 각 관절부를 구분하기 위하여, 소재의 이동 방향을 감안하여, 메인 튜브(1232)의 양단에 연결된 관절부 중 3D 입체물 제조 로봇(100) 측에 연결되는 관절부를 배출측 관절부(1224)로, 소재 공급 유닛(1100) 측에 연결되는 관절부를 유입측 관절부(1223)로 칭하기로 한다. 그리고, 배출측 관절부(1224)와 3D 입체물 제조 로봇(100) 사이에 구비된 관절부와, 유입측 관절부(1223)와 소재 공급 유닛(1100) 사이에 구비된 관절부는 회전 관절부(1222,1225,1226)로 통칭하기로 한다.The
유입측 관절부(1223), 배출측 관절부(1224) 및 회전 관절부(1222,1225,1226)는 피봇 가능하게 구비된다. The inflow side
도 3을 참조하면, 회전 관절부(1222)는 축(GA2)을 중심으로 상하 방향으로 회전 가능하고, 이때, 회전 각도는 대략 -45∼45°일 수 있다. 이는, 도 3에서 지지대(600)가 놓인 수평면을 기준으로 한 각도이다. Referring to FIG. 3, the rotary joint 1222 is vertically rotatable about the axis GA 2 , and the angle of rotation may be approximately -45 to 45 degrees. This is an angle with respect to the horizontal plane on which the support table 600 is placed in Fig.
유입측 관절부(1223)도 축(GA3)을 중심으로 상하 방향으로 회전 가능하고, 이때, 회전 각도는 대략 0∼90°일 수 있다. 마찬가지로, 배출측 관절부(1224)도 축(GA4)을 중심으로 상하 방향으로 회전 가능하고, 이때, 회전 각도는 0∼90°일 수 있다. 유입측 관절부(1223)와 배출측 관절부(1224)는 양의 방향으로 회전한다. 즉, 서브 튜브(1231)와 메인 튜브(1232) 사이가 수직으로 이루어진 도 3의 형상을 가이드 유닛(1200)의 기본적인 형상으로 보면, 서브 튜브(1231)와 메인 튜브(1232) 사이의 각이 90°보다 커지도록 회전하는 것이 바람직하다. 유입측 관절부(1223) 및 배출측 관절부(1224)의 회전 각도가 0∼90°이므로, 서브 튜브(1231)와 메인 튜브(1232) 사이의 각은 90∼180°사이일 수 있다.The inflow-side
마찬가지로, 회전 관절부(1225,1226)는 각각의 축(GA5,GA6)을 중심으로 상하 방향으로 회전 가능하고, 이때, 회전 각도는 양자 모두 대략 -45∼45°일 수 있다. Similarly, the
가이드 유닛(1200)은 복수의 튜브를 포함한다. 먼저, 메인 튜브(1232)는 길이 방향으로 형성된 직선 형태의 튜브이며, 길이 방향의 축을 중심으로 회전 가능하게 연결된다(도 3에서 화살표로 표시). 메인 튜브(1232)의 양단은 유입측 관절부(1223) 및 배출측 관절부(1224)와 연결된다. The
또한, 유입측 관절부(1223) 측에 구비된 회전 관절부(1222)는 서브 튜브(1231)에 의해 유입측 관절부(1223)와 연결되어, 토우(50)를 가이드하기 위한 내부 통로를 형성한다. 서브 튜브(1231) 역시 길이 방향의 축을 중심으로 회전 가능하게 연결된다(도 3에서 화살표로 표시).The rotary joint 1222 provided on the inlet side
아울러, 배출측 관절부(1224)와 회전 관절부(1225) 사이, 그리고, 회전 관절부(1225)와 회전 관절부(1226) 사이에도 각각 서브 튜브(1233,1234)가 구비되며, 각 서브 튜브(1233,1234)도 길이 방향의 축을 중심으로 회전 가능하게 연결된다. Further,
이렇게, 서로 다른 축을 가지고 회전하는 관절부(1222,1223,1224,1225,1226)와 튜브(1231,1232,1233,1234)에 의하여, 가이드 유닛(1200)의 자유로운 움직임이 보장된다. 다만, 메인 튜브(1232)가 매우 길고 견고할 뿐만 아니라, 각 관절부(1222,1223,1224,1225,1226)의 회전 허용 범위가 설정되어 있기 때문에, 내부를 통과하는 토우(50)가 자유로운 흐름이 방해되지는 않는다.Thus, free movement of the
각 관절부(1222,1223,1224,1225,1226)의 구성을 더욱 확대한 도 4에 도시된 바와 같이, 각 관절부(1222,1223,1224,1225,1226)의 내부에는 롤러가 장착될 수 있다. As shown in FIG. 4, which enlarges the configuration of each of the
더욱 구체적으로, 회전 관절부(1226)에는 한 쌍의 롤러(1246-1,1246-2)가, 회전 관절부(1225)에는 한 쌍의 롤러(1245-1,1245-2), 배출측 관절부(1224)에는 하나의 롤러(1244)가, 유입측 관절부(1223)에는 하나의 롤러(1243)가, 회전 관절부(1222)에는 한 쌍의 롤러(1242-1,1242-2)가 구비된다. More specifically, a pair of rollers 1246-1 and 1246-2 are provided on the rotary joint 1226, a pair of rollers 1245-1 and 1245-2 are provided on the rotary joint 1225, A pair of rollers 1242-1 and 1242-2 are provided at the rotary joint 1222 and one
즉, 회전 관절부(1222,1225,1226)에는 한 쌍의 롤러가 구비되고, 배출측 관절부(1224)와 유입측 관절부(1223)에는 하나의 롤러가 구비되는데, 이는 토우(50)의 흐름을 원활히 하기 위한 것이다. 도 2를 다시 참조하면, 토우(50)는 유입측 관절부(1223)와 배출측 관절부(1224)를 지나면서 이동 경로(방향)가 변경된다. 따라서, 유입측 관절부(1223)와 배출측 관절부(1224)에는 하나의 롤러가 구비되어, 토우(50)의 경로를 변경시키는 역할을 한다. That is, a pair of rollers is provided on the
회전 관절부(1222,1225,1226)에는 한 쌍의 롤러가 구비되어, 내부를 통과하는 토우(50)가 엉키거나 적체되는 등의 상황을 방지하고, 원활한 흐름을 도모한다. A pair of rollers is provided on the
정리하면, 각 관절부는, 토우(50)의 이동 방향 변경이 있으면 방향 변경을 위한 하나의 롤러가 내장되고, 이동 방향 변경이 없으면 한 쌍의 롤러가 내장된다. In short, each of the joints has a roller for changing directions when the direction of movement of the
도면에는 도시되지 않았지만, 각 롤러에는 모터(미도시)가 연결되어, 토우(50)의 이동 속도를 정밀하게 제어할 수 있다. Although not shown in the drawings, a motor (not shown) is connected to each roller, so that the moving speed of the
한편, 토우(50)가 가이드 유닛(1200)을 이동하면서 굳어지거나 경화되는 것을 방지하기 위한 가이드 히터(1250)를 포함할 수 있다. 가이드 히터(1250)는 도 3에서와 같이 메인 튜브(1232)를 둘러싸는 하나의 구성으로 구비될 수 있지만, 도 4에서와 같이 메인 튜브(1232)의 일부 영역을 둘러싸는 복수의 구성으로 구비되어도 무방하다. The
상술한 바와 같이, 회전 가능한 복수의 관절부와 복수의 튜브를 가지는 가이드 유닛(1200)을 포함하는 소재 공급 장치(1000)에 의하면, 3D 입체물 제조 로봇의 자유로운 움직임을 도모할 수 있을 뿐만 아니라, 소재의 공급을 원활히 하여 정밀한 3D 입체물을 제조할 수 있게 된다.As described above, according to the
본 발명에 따른 3D 입체물 제조 로봇(100)은 상술한 특징을 가지는 소재 공급 장치(1000)를 구비한다. 즉, 관절 운동이 매우 자유로운 소재 공급 장치(1000)와 8축 회전이 가능한 3D 입체물 제조 로봇(100)이 결합되어, 더욱 정밀한 움직임을 도모할 수 있게 되며, 이는 정교하고 복잡한 3D 입체물을 제조하는데 도움을 준다. The 3D
본 발명의 바람직한 실시 형태를 포함하는 특정 실시예의 관점에서 본 발명을 설명했지만, 본 발명이 속하는 기술분야에서 통상의 지식을 가진 자는 위에서 설명된 발명의 구성에 있어서, 다양한 치환이나 변형을 예측할 수 있을 것이다. 또한, 본 발명의 권리범위와 기술적 사상을 벗어나지 않는 한, 구조적이고 기능적인 변조가 다양하게 이루어질 수 있다. 따라서, 본 발명의 사상이나 권리범위는 본 명세서에 첨부된 청구범위에 기술된 바와 같이 광범위하게 이해될 수 있을 것이다.While the present invention has been described in terms of specific embodiments including the preferred embodiments thereof, those skilled in the art will appreciate that various modifications, additions and substitutions are possible, will be. In addition, various structural and functional modifications can be made without departing from the scope and spirit of the present invention. Accordingly, the spirit and scope of the present invention may be understood broadly as described in the claims appended hereto.
100‥‥‥‥‥‥‥‥‥‥3D 입체물 제조 로봇
200‥‥‥‥‥‥‥‥‥‥헤드 유닛
300‥‥‥‥‥‥‥‥‥‥트랜스포머 유닛
400‥‥‥‥‥‥‥‥‥‥헤드 서플라이 유닛
500‥‥‥‥‥‥‥‥‥‥바디 유닛
1000‥‥‥‥‥‥‥‥‥‥소재 공급 장치
1100‥‥‥‥‥‥‥‥‥‥소재 공급 유닛
1200‥‥‥‥‥‥‥‥‥‥가이드 유닛
1210‥‥‥‥‥‥‥‥‥‥가이드 고정부
1221‥‥‥‥‥‥‥‥‥‥가이드 체결부
1222,1225,1226‥‥‥‥‥회전 관절부
1223‥‥‥‥‥‥‥‥‥‥유입측 관절부
1224‥‥‥‥‥‥‥‥‥‥배출측 관절부
1231,1233,1234‥‥‥‥‥서브 튜브
1232‥‥‥‥‥‥‥‥‥‥메인 튜브
1242-1, 1242-1‥‥‥‥‥제2 관절부의 한 쌍의 롤러
1243‥‥‥‥‥‥‥‥‥‥제3 관절부의 롤러
1244‥‥‥‥‥‥‥‥‥‥제4 관절부의 롤러
1245-1, 1245-2‥‥‥‥‥제5 관절부의 한 쌍의 롤러
1246-1, 1246-2‥‥‥‥‥제6 관절부의 한 쌍의 롤러
1250‥‥‥‥‥‥‥‥‥‥가이드 히터
1300‥‥‥‥‥‥‥‥‥‥베이스 유닛100 ‥‥‥‥‥‥‥‥‥‥‥‥‥‥‥‥‥‥‥‥‥‥‥‥‥‥‥‥‥‥‥‥ 3D
200 ‥‥‥‥‥‥‥‥‥‥‥‥‥‥‥ Head unit
300 ......... Transformer unit
400 ‥‥‥‥‥‥‥‥‥‥‥‥‥‥‥‥ Head Supply Unit
500 ‥‥‥‥‥‥‥‥‥‥‥‥‥‥‥ Body unit
1000 ‥‥‥‥‥‥‥‥‥‥‥ Material supply device
1100 ‥‥‥‥‥‥‥‥‥‥ Material supply unit
1200 ‥‥‥‥‥‥‥‥‥‥‥‥‥‥‥‥‥‥‥‥‥‥‥ Guide unit
1210 ... ... ... ... ... ... ... ... Guide fixing portion
1221 ... ... ... ... ... ... ... ... Guide tightening portion
1222, 1225, 1226, ...,
1223 ... ‥‥‥‥‥‥‥‥‥‥‥‥‥‥‥‥‥‥‥‥‥‥‥‥‥‥‥‥‥‥‥‥‥‥
1224 ‥‥‥‥‥‥‥‥‥‥‥‥‥‥‥‥‥‥‥‥‥‥‥‥‥‥‥‥‥
1231, 1233, 1234 .... Sub tube
1232 ‥‥‥‥‥‥‥‥‥‥ Main tube
1242-1, 1242-1 ... A pair of rollers of the second joint part
1243 ‥‥‥‥‥‥‥‥‥‥‥‥‥‥‥‥‥‥‥‥‥‥‥‥‥‥‥‥‥‥‥‥‥‥‥‥‥
1244 ‥‥‥‥‥‥‥‥‥‥‥‥‥‥‥‥‥‥‥‥‥‥‥‥‥‥‥‥‥‥‥‥‥‥‥‥
1245-1, 1245-2 ... A pair of rollers of the fifth joint
1246-1, 1246-2 ... a pair of rollers of the sixth joint part
1250 ‥‥‥‥‥‥‥‥‥‥‥‥‥‥‥‥‥‥‥‥‥‥‥‥‥ Guide heater
1300 ......... Base unit
Claims (17)
상기 소재 공급 유닛으로부터 공급된 소재를 제조 로봇으로 가이드하는 가이드 유닛;을 포함하고,
상기 가이드 유닛은,
내부를 통해 상기 소재가 가이드되는 메인 튜브;
상기 메인 튜브의 일단과 상기 소재 공급 유닛을 연결하는 피봇 가능한 적어도 하나의 유입측 관절부;
상기 메인 튜브의 타단과 상기 제조 로봇을 연결하는 피봇 가능한 적어도 하나의 배출측 관절부;
상기 메인 튜브의 일단에 연결된 유입측 관절부와 상기 소재 공급 유닛 사이에 구비되는 회전 가능한 하나 이상의 제1 회전 관절부;
상기 메인 튜브의 타단에 연결된 배출측 관절부와 상기 제조 로봇 사이에 구비되는 회전 가능한 하나 이상의 제2 회전 관절부;
상기 제1 회전 관절부와 상기 유입측 관절부 사이에 구비되는 제1 서브 튜브; 및
상기 배출측 관절부와 상기 제2 회전 관절부 사이에 구비되는 제2 서브 튜브를 포함하는 소재 공급 장치.A material supply unit for supplying a material; And
And a guide unit for guiding the material supplied from the material supply unit to the manufacturing robot,
The guide unit includes:
A main tube through which the material is guided through the inside;
At least one inlet-side joint pivotable for connecting one end of the main tube to the material supply unit;
At least one pivotable discharge side joint connecting the other end of the main tube and the manufacturing robot;
At least one rotatable first rotary joint provided between an inlet joint part connected to one end of the main tube and the material supply unit;
At least one rotatable second rotary joint provided between a discharge side joint portion connected to the other end of the main tube and the manufacturing robot;
A first sub tube provided between the first rotary joint and the inlet joint; And
And a second sub tube provided between the discharge side joint part and the second rotary joint part.
상기 메인 튜브는, 길이방향의 축을 중심으로 회전 가능하게 상기 유입측 관절부 및 상기 배출측 관절부 중 적어도 하나와 연결되는 소재 공급 장치.The method according to claim 1,
Wherein the main tube is connected to at least one of the inflow side joint part and the discharge side joint part so as to be rotatable about a longitudinal axis.
상기 서브 튜브는, 길이 방향의 축을 중심으로 회전 가능한 소재 공급 장치.The method according to claim 1,
Wherein the sub tube is rotatable about a longitudinal axis.
상기 유입측 관절부 및 상기 배출측 관절부는 상기 소재의 이동을 위한 롤러;를 포함하는 소재 공급 장치.The method according to claim 1,
And the inflow-side joint portion and the discharge-side joint portion include rollers for moving the workpiece.
상기 메인 튜브와 연결된 유입측 관절부 및 배출측 관절부는 상기 소재의 이동 경로를 변경하는 하나의 롤러가 형성되는 소재 공급 장치.The method according to claim 1,
Wherein one of the rollers for changing the movement path of the material is formed on the inlet side joint part and the discharge side joint part connected to the main tube.
상기 소재 공급 유닛을 지지하고 고정시키는 베이스 유닛;를 더 포함하고,
상기 유입측 관절부는 상기 베이스 유닛에 고정된 가이드 고정부에 의해 상기 소재 공급 유닛과 연결되는 소재 공급 장치.The method according to claim 1,
And a base unit for supporting and fixing the material supply unit,
And the inlet joint portion is connected to the material supply unit by a guide fixing portion fixed to the base unit.
상기 소재가 굳어지거나 경화되는 것을 방지하기 위한 가이드 히터;를 더 포함하는 소재 공급 장치.The method according to claim 1,
And a guide heater for preventing the material from hardening or hardening.
상기 가이드 히터는 상기 메인 튜브의 적어도 일부 영역을 둘러싸는 형태로 구비되는 소재 공급 장치.8. The method of claim 7,
Wherein the guide heater is provided to surround at least a part of the main tube.
상기 메인 튜브의 일단과 상기 소재 공급 유닛 사이, 및 상기 메인 튜브의 타단과 상기 제조 로봇 사이 중 적어도 하나에 구비되는 회전 가능한 하나 이상의 회전 관절부;를 더 포함하는 소재 공급 장치.The method according to claim 1,
And at least one rotatable joint part provided at at least one of between one end of the main tube and the material supply unit, and between the other end of the main tube and the manufacturing robot.
상기 메인 튜브의 일단과 상기 소재 공급 유닛 사이에 구비된 회전 관절부를 체결하는 가이드 체결부;를 더 포함하는 소재 공급 장치.10. The method of claim 9,
And a guide fastening portion for fastening a rotary joint provided between one end of the main tube and the material supply unit.
상기 유입측 관절부, 상기 배출측 관절부 및 상기 회전 관절부 내부에는 상기 소재의 이동을 위한 롤러가 장착되는 소재 공급 장치.10. The method of claim 9,
And a roller for moving the material is mounted in the inflow-side joint part, the discharge-side joint part, and the inside of the rotary joint part.
상기 유입측 관절부, 상기 배출측 관절부 및 상기 회전 관절부는, 소재의 이동 방향 변경이 있으면 방향 변경을 위한 하나의 롤러가 내장되고, 이동 방향 변경이 없으면 한 쌍의 롤러가 내장되는 소재 공급 장치.10. The method of claim 9,
Wherein the inlet joint part, the discharge joint part, and the rotary joint part have one roller for changing directions when the material is changed in direction of movement, and a pair of rollers are built in if there is no change in the direction of movement.
상기 유입측 관절부 및 상기 배출측 관절부는 0∼90°의 범위 내에서 회전하고, 상기 회전 관절부는 -45∼45°의 범위 내에서 회전하는 소재 공급 장치.10. The method of claim 9,
Wherein the inlet joint portion and the outlet joint portion rotate within a range of 0 to 90 degrees and the rotary joint portion rotates within a range of -45 to 45 degrees.
상기 유입측 관절부 및 상기 소재 공급 유닛 사이에 구비된 서브 튜브와 상기 메인 튜브의 사이각, 또는, 상기 배출측 관절부 및 상기 제조 로봇 사이에 구비된 서브 튜브와 상기 메인 튜브의 사이각은, 90°∼180°의 범위를 갖는 소재 공급 장치.The method according to claim 1,
The angle between the main tube and the sub tube provided between the inlet side joint part and the material supply unit or the angle between the main tube and the sub tube provided between the discharge side joint part and the manufacturing robot is 90 ° To 180 [deg.].
상기 메인 튜브는 길이 방향으로 형성된 직선 형태의 튜브인 소재 공급 장치.The method according to claim 1,
Wherein the main tube is a straight tube formed in the longitudinal direction.
상기 소재 공급 유닛은, 상기 소재를 스트랜드(strand), 얀(yarn), 토우(tow), 번들(bundle), 밴드(band) 또는 테이프(tape)로 형성시키는 소재 공급 장치.The method according to claim 1,
Wherein the material supply unit forms the material into a strand, a yarn, a tow, a bundle, a band, or a tape.
상기 소재 공급 장치와 연결되어, 상기 소재가 유입되는 유입구를 구비하는 헤드 서플라이 유닛;
상기 헤드 서플라이 유닛으로부터 전달된 상기 소재의 이동을 가이드하는 복수의 롤러를 구비하는 트랜스포머 유닛; 및
상기 트랜스포머 유닛으로부터 전달된 상기 소재를 외부로 토출하는 헤드 유닛;을 포함하는 3D 입체물 제조 로봇.17. A material feeding apparatus according to any one of claims 1 to 16,
A head supply unit connected to the material supply device and having an inlet through which the material flows;
A transformer unit having a plurality of rollers for guiding the movement of the material transferred from the head supply unit; And
And a head unit for discharging the material transferred from the transformer unit to the outside.
Priority Applications (2)
| Application Number | Priority Date | Filing Date | Title |
|---|---|---|---|
| KR1020160004908A KR101826970B1 (en) | 2016-01-14 | 2016-01-14 | Raw material feeding apparatus for feeding raw material made of plastic formable materials, and three-dimensional product manufacturing robot having the same |
| PCT/KR2016/014971 WO2017122943A1 (en) | 2016-01-14 | 2016-12-21 | Material supply apparatus for supplying material comprising shapeable plastic material and 3d object manufacturing robot comprising same |
Applications Claiming Priority (1)
| Application Number | Priority Date | Filing Date | Title |
|---|---|---|---|
| KR1020160004908A KR101826970B1 (en) | 2016-01-14 | 2016-01-14 | Raw material feeding apparatus for feeding raw material made of plastic formable materials, and three-dimensional product manufacturing robot having the same |
Publications (2)
| Publication Number | Publication Date |
|---|---|
| KR20170085370A KR20170085370A (en) | 2017-07-24 |
| KR101826970B1 true KR101826970B1 (en) | 2018-02-07 |
Family
ID=59311899
Family Applications (1)
| Application Number | Title | Priority Date | Filing Date |
|---|---|---|---|
| KR1020160004908A Expired - Fee Related KR101826970B1 (en) | 2016-01-14 | 2016-01-14 | Raw material feeding apparatus for feeding raw material made of plastic formable materials, and three-dimensional product manufacturing robot having the same |
Country Status (2)
| Country | Link |
|---|---|
| KR (1) | KR101826970B1 (en) |
| WO (1) | WO2017122943A1 (en) |
Families Citing this family (39)
| Publication number | Priority date | Publication date | Assignee | Title |
|---|---|---|---|---|
| US9511543B2 (en) | 2012-08-29 | 2016-12-06 | Cc3D Llc | Method and apparatus for continuous composite three-dimensional printing |
| US20180065317A1 (en) | 2016-09-06 | 2018-03-08 | Cc3D Llc | Additive manufacturing system having in-situ fiber splicing |
| US10543640B2 (en) | 2016-09-06 | 2020-01-28 | Continuous Composites Inc. | Additive manufacturing system having in-head fiber teasing |
| US11029658B2 (en) | 2016-09-06 | 2021-06-08 | Continuous Composites Inc. | Systems and methods for controlling additive manufacturing |
| US10759113B2 (en) | 2016-09-06 | 2020-09-01 | Continuous Composites Inc. | Additive manufacturing system having trailing cure mechanism |
| US10625467B2 (en) | 2016-09-06 | 2020-04-21 | Continuous Composites Inc. | Additive manufacturing system having adjustable curing |
| US10773783B2 (en) | 2016-11-03 | 2020-09-15 | Continuous Composites Inc. | Composite vehicle body |
| US20210094230A9 (en) | 2016-11-04 | 2021-04-01 | Continuous Composites Inc. | System for additive manufacturing |
| US10953598B2 (en) | 2016-11-04 | 2021-03-23 | Continuous Composites Inc. | Additive manufacturing system having vibrating nozzle |
| US10857726B2 (en) | 2017-01-24 | 2020-12-08 | Continuous Composites Inc. | Additive manufacturing system implementing anchor curing |
| US10040240B1 (en) | 2017-01-24 | 2018-08-07 | Cc3D Llc | Additive manufacturing system having fiber-cutting mechanism |
| US20180229092A1 (en) | 2017-02-13 | 2018-08-16 | Cc3D Llc | Composite sporting equipment |
| US10798783B2 (en) | 2017-02-15 | 2020-10-06 | Continuous Composites Inc. | Additively manufactured composite heater |
| US10589463B2 (en) | 2017-06-29 | 2020-03-17 | Continuous Composites Inc. | Print head for additive manufacturing system |
| US10814569B2 (en) | 2017-06-29 | 2020-10-27 | Continuous Composites Inc. | Method and material for additive manufacturing |
| US10319499B1 (en) | 2017-11-30 | 2019-06-11 | Cc3D Llc | System and method for additively manufacturing composite wiring harness |
| US10131088B1 (en) | 2017-12-19 | 2018-11-20 | Cc3D Llc | Additive manufacturing method for discharging interlocking continuous reinforcement |
| US11167495B2 (en) | 2017-12-29 | 2021-11-09 | Continuous Composites Inc. | System and method for additively manufacturing functional elements into existing components |
| US10857729B2 (en) | 2017-12-29 | 2020-12-08 | Continuous Composites Inc. | System and method for additively manufacturing functional elements into existing components |
| US10081129B1 (en) | 2017-12-29 | 2018-09-25 | Cc3D Llc | Additive manufacturing system implementing hardener pre-impregnation |
| US10919222B2 (en) | 2017-12-29 | 2021-02-16 | Continuous Composites Inc. | System and method for additively manufacturing functional elements into existing components |
| US10759114B2 (en) | 2017-12-29 | 2020-09-01 | Continuous Composites Inc. | System and print head for continuously manufacturing composite structure |
| US11161300B2 (en) | 2018-04-11 | 2021-11-02 | Continuous Composites Inc. | System and print head for additive manufacturing system |
| US11110654B2 (en) | 2018-04-12 | 2021-09-07 | Continuous Composites Inc. | System and print head for continuously manufacturing composite structure |
| US11110656B2 (en) | 2018-04-12 | 2021-09-07 | Continuous Composites Inc. | System for continuously manufacturing composite structure |
| US11052603B2 (en) | 2018-06-07 | 2021-07-06 | Continuous Composites Inc. | Additive manufacturing system having stowable cutting mechanism |
| US20200086563A1 (en) | 2018-09-13 | 2020-03-19 | Cc3D Llc | System and head for continuously manufacturing composite structure |
| US11235522B2 (en) | 2018-10-04 | 2022-02-01 | Continuous Composites Inc. | System for additively manufacturing composite structures |
| US11325304B2 (en) | 2018-10-26 | 2022-05-10 | Continuous Composites Inc. | System and method for additive manufacturing |
| US11358331B2 (en) | 2018-11-19 | 2022-06-14 | Continuous Composites Inc. | System and head for continuously manufacturing composite structure |
| US11420390B2 (en) | 2018-11-19 | 2022-08-23 | Continuous Composites Inc. | System for additively manufacturing composite structure |
| US20200238603A1 (en) | 2019-01-25 | 2020-07-30 | Continuous Composites Inc. | System for additively manufacturing composite structure |
| US20200376758A1 (en) | 2019-05-28 | 2020-12-03 | Continuous Composites Inc. | System for additively manufacturing composite structure |
| US11840022B2 (en) | 2019-12-30 | 2023-12-12 | Continuous Composites Inc. | System and method for additive manufacturing |
| US11904534B2 (en) | 2020-02-25 | 2024-02-20 | Continuous Composites Inc. | Additive manufacturing system |
| US12128630B2 (en) | 2020-06-23 | 2024-10-29 | Continuous Composites Inc. | Systems and methods for controlling additive manufacturing |
| US11813793B2 (en) | 2020-09-11 | 2023-11-14 | Continuous Composites Inc. | Print head for additive manufacturing system |
| US11926099B2 (en) | 2021-04-27 | 2024-03-12 | Continuous Composites Inc. | Additive manufacturing system |
| US12128607B2 (en) | 2021-10-20 | 2024-10-29 | Continuous Composites Inc. | Systems and methods for additive manufacturing |
Citations (3)
| Publication number | Priority date | Publication date | Assignee | Title |
|---|---|---|---|---|
| JP2004358649A (en) * | 2003-05-12 | 2004-12-24 | Yaskawa Electric Corp | Industrial robot |
| CN103183111A (en) * | 2011-12-28 | 2013-07-03 | 中国科学院沈阳自动化研究所 | Draft gear for recovering underwater robot |
| US20140232035A1 (en) * | 2013-02-19 | 2014-08-21 | Hemant Bheda | Reinforced fused-deposition modeling |
Family Cites Families (2)
| Publication number | Priority date | Publication date | Assignee | Title |
|---|---|---|---|---|
| US20100105424A1 (en) * | 2008-10-23 | 2010-04-29 | Smuga Michael A | Mobile Communications Device User Interface |
| KR20150117723A (en) * | 2014-04-10 | 2015-10-21 | 주식회사 인스턴 | Three-dimensional printer having a smooth finishing tool device |
-
2016
- 2016-01-14 KR KR1020160004908A patent/KR101826970B1/en not_active Expired - Fee Related
- 2016-12-21 WO PCT/KR2016/014971 patent/WO2017122943A1/en not_active Ceased
Patent Citations (3)
| Publication number | Priority date | Publication date | Assignee | Title |
|---|---|---|---|---|
| JP2004358649A (en) * | 2003-05-12 | 2004-12-24 | Yaskawa Electric Corp | Industrial robot |
| CN103183111A (en) * | 2011-12-28 | 2013-07-03 | 中国科学院沈阳自动化研究所 | Draft gear for recovering underwater robot |
| US20140232035A1 (en) * | 2013-02-19 | 2014-08-21 | Hemant Bheda | Reinforced fused-deposition modeling |
Also Published As
| Publication number | Publication date |
|---|---|
| KR20170085370A (en) | 2017-07-24 |
| WO2017122943A1 (en) | 2017-07-20 |
Similar Documents
| Publication | Publication Date | Title |
|---|---|---|
| KR101826970B1 (en) | Raw material feeding apparatus for feeding raw material made of plastic formable materials, and three-dimensional product manufacturing robot having the same | |
| KR101755015B1 (en) | Transformer controlling movement of head unit and tension and temperature of plastic formable material | |
| KR101785703B1 (en) | Head unit and head supply unit for controlling discharge of raw material made of plastic formable materials | |
| KR101714772B1 (en) | Three-dimensional product manufacturing robot for plastic formable materials | |
| US12070895B2 (en) | Integrated robotic 3D printing system for printing of fiber reinforced parts | |
| US20230249415A1 (en) | Aligned fiber reinforced molding | |
| JP5551411B2 (en) | Case manufacturing method and case | |
| KR20130091648A (en) | Device and method for producing laid fibre fabrics | |
| CN105178878A (en) | Fiber-reinforced composite coiled sucker rod and production apparatus and method thereof | |
| JP7595484B2 (en) | Tape arrangement mechanism | |
| EP3281757B1 (en) | Reinforced thermoplastic products and methods of making the same | |
| CN101960202A (en) | Resin impregnated structural fiber rope | |
| JP2011098523A (en) | Method of manufacturing case and the case | |
| CA2878541C (en) | Placement of prepreg tows in high angle transition regions | |
| KR101879684B1 (en) | Head unit and head supply unit for controlling discharge of raw material made of plastic formable materials | |
| KR102041980B1 (en) | Head unit | |
| JPH06344450A (en) | Manufacture of fiber reinforced resin tube | |
| Wittig | In-mold-reinforcement of preforms by 3-dimensional tufting | |
| KR20190088104A (en) | Three-dimensional product manufacturing robot system | |
| KR20190088105A (en) | Three-dimensional product manufacturing robot system | |
| JP2953803B2 (en) | Method for producing fiber reinforced resin T-tube | |
| Li et al. | Towards direct deposition of continuous-fibers on curved surfaces | |
| WO2017151603A1 (en) | Methods for fabricating preforms for high performance ultra-long fiber reinforced thermoplastic tubing | |
| KR20180094435A (en) | Three-dimensional product manufacturing robot system using polymer composite material |
Legal Events
| Date | Code | Title | Description |
|---|---|---|---|
| A201 | Request for examination | ||
| PA0109 | Patent application |
St.27 status event code: A-0-1-A10-A12-nap-PA0109 |
|
| PA0201 | Request for examination |
St.27 status event code: A-1-2-D10-D11-exm-PA0201 |
|
| D13-X000 | Search requested |
St.27 status event code: A-1-2-D10-D13-srh-X000 |
|
| D14-X000 | Search report completed |
St.27 status event code: A-1-2-D10-D14-srh-X000 |
|
| E902 | Notification of reason for refusal | ||
| PE0902 | Notice of grounds for rejection |
St.27 status event code: A-1-2-D10-D21-exm-PE0902 |
|
| T11-X000 | Administrative time limit extension requested |
St.27 status event code: U-3-3-T10-T11-oth-X000 |
|
| T11-X000 | Administrative time limit extension requested |
St.27 status event code: U-3-3-T10-T11-oth-X000 |
|
| T11-X000 | Administrative time limit extension requested |
St.27 status event code: U-3-3-T10-T11-oth-X000 |
|
| PG1501 | Laying open of application |
St.27 status event code: A-1-1-Q10-Q12-nap-PG1501 |
|
| T11-X000 | Administrative time limit extension requested |
St.27 status event code: U-3-3-T10-T11-oth-X000 |
|
| P11-X000 | Amendment of application requested |
St.27 status event code: A-2-2-P10-P11-nap-X000 |
|
| P13-X000 | Application amended |
St.27 status event code: A-2-2-P10-P13-nap-X000 |
|
| E701 | Decision to grant or registration of patent right | ||
| PE0701 | Decision of registration |
St.27 status event code: A-1-2-D10-D22-exm-PE0701 |
|
| GRNT | Written decision to grant | ||
| PR0701 | Registration of establishment |
St.27 status event code: A-2-4-F10-F11-exm-PR0701 |
|
| PR1002 | Payment of registration fee |
St.27 status event code: A-2-2-U10-U11-oth-PR1002 Fee payment year number: 1 |
|
| PG1601 | Publication of registration |
St.27 status event code: A-4-4-Q10-Q13-nap-PG1601 |
|
| PN2301 | Change of applicant |
St.27 status event code: A-5-5-R10-R11-asn-PN2301 |
|
| R18-X000 | Changes to party contact information recorded |
St.27 status event code: A-5-5-R10-R18-oth-X000 |
|
| PN2301 | Change of applicant |
St.27 status event code: A-5-5-R10-R14-asn-PN2301 |
|
| P22-X000 | Classification modified |
St.27 status event code: A-4-4-P10-P22-nap-X000 |
|
| PR1001 | Payment of annual fee |
St.27 status event code: A-4-4-U10-U11-oth-PR1001 Fee payment year number: 4 |
|
| P22-X000 | Classification modified |
St.27 status event code: A-4-4-P10-P22-nap-X000 |
|
| PC1903 | Unpaid annual fee |
St.27 status event code: A-4-4-U10-U13-oth-PC1903 Not in force date: 20220202 Payment event data comment text: Termination Category : DEFAULT_OF_REGISTRATION_FEE |
|
| PC1903 | Unpaid annual fee |
St.27 status event code: N-4-6-H10-H13-oth-PC1903 Ip right cessation event data comment text: Termination Category : DEFAULT_OF_REGISTRATION_FEE Not in force date: 20220202 |
