KR101489004B1 - Methods and systems for enhancing solid fuel properties - Google Patents
Methods and systems for enhancing solid fuel properties Download PDFInfo
- Publication number
- KR101489004B1 KR101489004B1 KR20087026852A KR20087026852A KR101489004B1 KR 101489004 B1 KR101489004 B1 KR 101489004B1 KR 20087026852 A KR20087026852 A KR 20087026852A KR 20087026852 A KR20087026852 A KR 20087026852A KR 101489004 B1 KR101489004 B1 KR 101489004B1
- Authority
- KR
- South Korea
- Prior art keywords
- coal
- facility
- solid fuel
- microwave
- belt
- Prior art date
- Legal status (The legal status is an assumption and is not a legal conclusion. Google has not performed a legal analysis and makes no representation as to the accuracy of the status listed.)
- Expired - Fee Related
Links
Images
Classifications
-
- C—CHEMISTRY; METALLURGY
- C10—PETROLEUM, GAS OR COKE INDUSTRIES; TECHNICAL GASES CONTAINING CARBON MONOXIDE; FUELS; LUBRICANTS; PEAT
- C10L—FUELS NOT OTHERWISE PROVIDED FOR; NATURAL GAS; SYNTHETIC NATURAL GAS OBTAINED BY PROCESSES NOT COVERED BY SUBCLASSES C10G OR C10K; LIQUIFIED PETROLEUM GAS; USE OF ADDITIVES TO FUELS OR FIRES; FIRE-LIGHTERS
- C10L5/00—Solid fuels
- C10L5/02—Solid fuels such as briquettes consisting mainly of carbonaceous materials of mineral or non-mineral origin
- C10L5/34—Other details of the shaped fuels, e.g. briquettes
- C10L5/36—Shape
- C10L5/361—Briquettes
-
- C—CHEMISTRY; METALLURGY
- C10—PETROLEUM, GAS OR COKE INDUSTRIES; TECHNICAL GASES CONTAINING CARBON MONOXIDE; FUELS; LUBRICANTS; PEAT
- C10L—FUELS NOT OTHERWISE PROVIDED FOR; NATURAL GAS; SYNTHETIC NATURAL GAS OBTAINED BY PROCESSES NOT COVERED BY SUBCLASSES C10G OR C10K; LIQUIFIED PETROLEUM GAS; USE OF ADDITIVES TO FUELS OR FIRES; FIRE-LIGHTERS
- C10L5/00—Solid fuels
- C10L5/02—Solid fuels such as briquettes consisting mainly of carbonaceous materials of mineral or non-mineral origin
- C10L5/34—Other details of the shaped fuels, e.g. briquettes
- C10L5/36—Shape
- C10L5/363—Pellets or granulates
-
- C—CHEMISTRY; METALLURGY
- C10—PETROLEUM, GAS OR COKE INDUSTRIES; TECHNICAL GASES CONTAINING CARBON MONOXIDE; FUELS; LUBRICANTS; PEAT
- C10L—FUELS NOT OTHERWISE PROVIDED FOR; NATURAL GAS; SYNTHETIC NATURAL GAS OBTAINED BY PROCESSES NOT COVERED BY SUBCLASSES C10G OR C10K; LIQUIFIED PETROLEUM GAS; USE OF ADDITIVES TO FUELS OR FIRES; FIRE-LIGHTERS
- C10L9/00—Treating solid fuels to improve their combustion
-
- C—CHEMISTRY; METALLURGY
- C10—PETROLEUM, GAS OR COKE INDUSTRIES; TECHNICAL GASES CONTAINING CARBON MONOXIDE; FUELS; LUBRICANTS; PEAT
- C10L—FUELS NOT OTHERWISE PROVIDED FOR; NATURAL GAS; SYNTHETIC NATURAL GAS OBTAINED BY PROCESSES NOT COVERED BY SUBCLASSES C10G OR C10K; LIQUIFIED PETROLEUM GAS; USE OF ADDITIVES TO FUELS OR FIRES; FIRE-LIGHTERS
- C10L9/00—Treating solid fuels to improve their combustion
- C10L9/08—Treating solid fuels to improve their combustion by heat treatments, e.g. calcining
-
- F—MECHANICAL ENGINEERING; LIGHTING; HEATING; WEAPONS; BLASTING
- F23—COMBUSTION APPARATUS; COMBUSTION PROCESSES
- F23K—FEEDING FUEL TO COMBUSTION APPARATUS
- F23K1/00—Preparation of lump or pulverulent fuel in readiness for delivery to combustion apparatus
-
- C—CHEMISTRY; METALLURGY
- C10—PETROLEUM, GAS OR COKE INDUSTRIES; TECHNICAL GASES CONTAINING CARBON MONOXIDE; FUELS; LUBRICANTS; PEAT
- C10L—FUELS NOT OTHERWISE PROVIDED FOR; NATURAL GAS; SYNTHETIC NATURAL GAS OBTAINED BY PROCESSES NOT COVERED BY SUBCLASSES C10G OR C10K; LIQUIFIED PETROLEUM GAS; USE OF ADDITIVES TO FUELS OR FIRES; FIRE-LIGHTERS
- C10L2290/00—Fuel preparation or upgrading, processes or apparatus therefore, comprising specific process steps or apparatus units
- C10L2290/58—Control or regulation of the fuel preparation of upgrading process
-
- C—CHEMISTRY; METALLURGY
- C10—PETROLEUM, GAS OR COKE INDUSTRIES; TECHNICAL GASES CONTAINING CARBON MONOXIDE; FUELS; LUBRICANTS; PEAT
- C10L—FUELS NOT OTHERWISE PROVIDED FOR; NATURAL GAS; SYNTHETIC NATURAL GAS OBTAINED BY PROCESSES NOT COVERED BY SUBCLASSES C10G OR C10K; LIQUIFIED PETROLEUM GAS; USE OF ADDITIVES TO FUELS OR FIRES; FIRE-LIGHTERS
- C10L2290/00—Fuel preparation or upgrading, processes or apparatus therefore, comprising specific process steps or apparatus units
- C10L2290/60—Measuring or analysing fractions, components or impurities or process conditions during preparation or upgrading of a fuel
-
- F—MECHANICAL ENGINEERING; LIGHTING; HEATING; WEAPONS; BLASTING
- F23—COMBUSTION APPARATUS; COMBUSTION PROCESSES
- F23K—FEEDING FUEL TO COMBUSTION APPARATUS
- F23K2900/00—Special features of, or arrangements for fuel supplies
- F23K2900/01001—Cleaning solid fuel before combustion to achieve reduced emissions
Landscapes
- Chemical & Material Sciences (AREA)
- Engineering & Computer Science (AREA)
- Organic Chemistry (AREA)
- Oil, Petroleum & Natural Gas (AREA)
- Combustion & Propulsion (AREA)
- Geology (AREA)
- Geochemistry & Mineralogy (AREA)
- General Life Sciences & Earth Sciences (AREA)
- Environmental & Geological Engineering (AREA)
- Life Sciences & Earth Sciences (AREA)
- Mechanical Engineering (AREA)
- General Engineering & Computer Science (AREA)
- Physics & Mathematics (AREA)
- Thermal Sciences (AREA)
- Solid Fuels And Fuel-Associated Substances (AREA)
Abstract
본원 발명에서 개선된 성능은, 고체연료 처리 설비에 의하여 처리되는 고체연료의 하나 이상의 특성에 관계되는 최초 고체연료 샘플 데이터를 제공할 수 있고; 희망하는 고체연료 특성을 제공할 수 있고; 하나 이상의 특성에 관계되는 최초 고체연료 샘플 데이터를 희망하는 고체연료 특성과 비교하여 고체연료 조성 델타(delta)를 결정할 수 있고; 고체연료 처리 설비의 작동에 대한 작동 처리 파라미터를 결정하여, 적어도 부분적으로 고체연료 조성 델타에 기초하는 고체연료를 정제할 수 있고; 및 고체연료의 처리 동안 고체연료에서 배출되는 오염물질을 모니터하고, 이에 관하여 작동 처리 파라미터를 조절하여 정제된 고체연료를 생산할 수 있는 고체연료 정제 방법에 대하여 기술된다.
The improved performance in the present invention can provide initial solid fuel sample data related to one or more characteristics of the solid fuel being treated by the solid fuel treatment facility; Provide the desired solid fuel characteristics; Determine a solid fuel composition delta by comparing the initial solid fuel sample data related to the at least one characteristic with a desired solid fuel characteristic; Determine operational processing parameters for operation of the solid fuel processing facility to purify the solid fuel based at least in part on the solid fuel composition delta; And a solid fuel purification method capable of monitoring the pollutants discharged from the solid fuel during the treatment of the solid fuel and adjusting the operating process parameters thereof to produce a purified solid fuel.
Description
관련출원Related application
본 출원서는 다음의 예비출원을 우선권으로 주장하고, 이들 각각은 전체가 참고문헌으로 본원에 첨부된다: 2006년 3월 31에 출원된 미국 예비출원 번호 60/788,297, 2006년 7월 26일에 출원된 미국 예비출원 번호 60/820,482, 2006년 11월 3일에 출원된 미국 예비출원 번호, 및 2006년 11월 29일에 출원된 미국 예비출원 번호 60/867,749.This application claims priority from the following provisional applications, each of which is incorporated herein by reference in its entirety: U.S. Provisional Application No. 60 / 788,297, filed March 31, 2006, filed on July 26, 2006 U.S. Provisional Application No. 60 / 820,482, filed November 3, 2006, and U.S. Provisional Application No. 60 / 867,749, filed November 29, 2006.
기술분야Technical field
본원 발명은 오염 물질을 제거하기 위한 고체연료의 처리, 특히 극초단파 에너지를 사용하는 고체연료의 처리에 관한다.The present invention relates to the treatment of solid fuels for the removal of pollutants, in particular the treatment of solid fuels using microwave energy.
모든 고체연료에서 수분, 회분(ash), 황 및 다른 물질이 다양한 양으로 존재하는 것은 일반적으로 연료연소 파라미터 및 연소 공정에 의하여 발생하는 오염에 있어서 불일치를 야기한다. 고체연료의 연소는 질소산화물(NOx) 및 황산화물(SOx)과 같은 유독한 기체의 생성을 야기할 수 있다. 게다가, 고체연료의 연소는 부가 물질 들의 원소를 가지는 무기회분(inorganic ash)의 생성을 야기할 수 있다. 고체연료 연소의 결과로 생성된 다량의 이산화탄소(CO2)는 지구 온난화에 기여할 수 있다. 이들 각각의 부산물은 사용되는 고체연료의 품질에 따라 다양한 수준으로 생성될 것이다.The presence of varying amounts of moisture, ash, sulfur and other materials in all solid fuels generally results in inconsistencies in fuel combustion parameters and contamination caused by the combustion process. Combustion of solid fuels can lead to the generation of toxic gases such as nitrogen oxides (NO x ) and sulfur oxides (SO x ). In addition, the combustion of solid fuel can lead to the formation of inorganic ash with the elements of the additive materials. A large amount of carbon dioxide generated as a result of solid fuel combustion (CO 2) may contribute to global warming. Each of these by-products will be produced at various levels depending on the quality of the solid fuel used.
세척, 공기 건조, 텀블(tumble) 건조 및 가열과 같은 다양한 공정이 고체연료의 처리에서 사용되어, 고체연료에 존재하는 원하지 않는 일부 물질을 제거한다. 이들 공정은 고체연료가 최종-사용자에게 최적이 아닌 크기로 파쇄되고, 미분쇄되며, 또는 다르게 가공되는 것을 필요로 할 수 있다. 배기가스를 더욱 감소시키기 위하여, 배기 제진기(exhaust scrubber)가 연소 설비에서 사용될 수 있다. 고체연료 연소의 결과로 생성되는 해로운 배기가스를 더욱 감소시키고, 이러한 배기가스의 제어에 관한 비용을 감소시키고자 하는 필요성이 존재한다.Various processes such as cleaning, air drying, tumble drying and heating are used in the treatment of solid fuels to remove some undesired substances present in the solid fuels. These processes may require that the solid fuel be crushed, pulverized, or otherwise processed to a size that is not optimal for the end-user. In order to further reduce the exhaust gas, an exhaust scrubber may be used in the combustion plant. There is a need to further reduce the harmful exhaust gases produced as a result of solid fuel combustion and to reduce the costs associated with the control of such exhaust gases.
요약summary
본원 발명의 한 양태는 고체연료의 초기 조건에 적어도 부분적으로 기초하는 고체연료의 정제(cleaning)에 관한다. 구체예에서, 고체연료는 연료의 최초 특성에 관한 초기의 데이터 세트를 생성하기 위하여 테스트되거나 샘플화된다(sampled). 목표의 또는 최종의(처리된) 연료 특성이 알려질 수 있고, 처리 공정은 최초 특성 및 목표 특성과 관련하여 셋업(set up), 모니터 및/또는 조절될 수 있다. 본원에 기술된 방법과 시스템은, 생성물의 최초 및 완료 조성 델타(delta)를 결정하기 위하여, 인풋(input)으로서 최초 고체연료 샘플 데이터 및 희망하는 고체연료 특성(characteristics)을 제공하는 것; 희망하는 처리된 생성물을 생산하기 위한 작동처리(operational treatment) 파라미터의 결정을 위하여, 고체연료 처리 설비 성능에 관한 인풋을 비교 및 결합하는 것; 및 고체연료 처리 설비에서의 생성물 처리의 제어를 위하여, 모니터링 설비 및 컨트롤러(controller)로 작동파라미터를 전송하는 것을 포함할 수 있다.One aspect of the invention relates to the cleaning of solid fuel based at least in part on the initial conditions of the solid fuel. In embodiments, the solid fuel is sampled or tested to produce an initial set of data regarding the initial characteristics of the fuel. The target or final (processed) fuel properties can be known and the process can be set up, monitored and / or adjusted in relation to the initial and target characteristics. The methods and systems described herein provide initial solid fuel sample data and desired solid fuel characteristics as an input to determine the initial and finished composition delta of the product; Comparing and combining inputs relating to solid fuel treatment facility performance, for determining operational treatment parameters for producing the desired treated product; And transferring operating parameters to a monitoring facility and a controller for control of product processing in the solid fuel processing facility.
본원 발명의 어떤 양태는, 공정을 더욱 조절하기 위하여 처리된 고체연료를 고체연료 처리 설비로 되돌리는 것과 관련된, 공급 정보에 관한다. 본원에 개시된 어떤 방법과 시스템은 정제 처리에 이어지는 고체연료 테스트 및 이후 처리 설비로 되돌아가는 테스트에 관한 정보 공급을 포함할 수 있다. 고체연료 아웃풋(output) 파라미터 설비는 후처리(post treatment) 테스트설비로부터 최종의 처리된 고체연료 특성을 획득할 수 있고; 상기 특성은 최종의 생성된 처리된 고체연료를 대표할 수 있으며; 고체연료 아웃풋 파라미터는 최종의 처리된 고체연료 특성을 모니터링 설비에 전송할 수 있고; 모니터링 설비는 고체연료 처리 작동파라미터 조정의 결정을 위하여, 최종의 처리된 고체연료 특성을 희망하는 고체연료 특성과 비교할 수 있으며; 최종의 처리된 고체연료 특성에 대하여 이루어진 조정은 임의의 다른 고체연료 작동파라미터 조정에 추가될 수 있다.Some aspects of the present invention relate to supply information relating to returning a treated solid fuel to a solid fuel treatment facility to further regulate the process. Some of the methods and systems disclosed herein may include providing information regarding a test returning to a solid fuel test and subsequent processing facility subsequent to a refining process. The solid fuel output parameter facility is capable of obtaining the final processed solid fuel characteristics from a post treatment test facility; The characteristics may represent the final processed solid fuel produced; The solid fuel output parameter can transfer the final processed solid fuel characteristics to the monitoring facility; The monitoring facility can compare the final treated solid fuel characteristics with the desired solid fuel characteristics for the determination of the solid fuel treatment operating parameter adjustment; Adjustments made to the final treated solid fuel properties may be added to any other solid fuel operating parameter adjustment.
본원에 개시된 어떤 방법과 시스템은 작동 파라미터에 의하여 제어되는 고체연료 연속공급 처리 설비를 포함할 수 있다. 컨트롤러는 고체연료 처리 작동 파라미터를 수송 벨트, 마이크로파(microwave) 시스템, 센서(sensor), 수집 시스템, 예열 설비, 냉각 설비 등과 같은 연속공급 처리 설비 컴포넌트(component)에 제공할 수 있다. 연속공급 처리 설비 센서는 고체연료 처리 공정 결과, 컴포넌트 작동, 연속공급 처리 설비 환경조건을 측정하고, 측정된 정보를 컨트롤러 및 모니터링 설비로 전송할 수 있다. 모니터링 설비는 측정된 정보를 고체연료 처리 작동 파라미터와 비교하고 작동 파라미터를 조정할 수 있다. 조정된 작동 파라미터는 연속공급 처리 설비 컨트롤러에 제공될 수 있다.Some methods and systems disclosed herein may include a solid fuel continuous feed treatment facility controlled by operating parameters. The controller may provide solid fuel treatment operating parameters to a continuous feed treatment plant component such as a transport belt, a microwave system, a sensor, a collection system, a preheating facility, a cooling facility, and the like. Continuous feed processing facility sensors can measure the results of solid fuel processing operations, component operation, continuous feed processing facility environmental conditions, and transfer the measured information to the controller and monitoring facility. The monitoring facility can compare the measured information with the solid fuel treatment operating parameters and adjust the operating parameters. Adjusted operating parameters may be provided to the continuous feed process facility controller.
본원에 개시된 어떤 방법과 시스템은, 생성된 프로세싱(processing) 파라미터 및 센서 인풋을 사용하여, 고체연료의 처리를 모니터하고 조정하는 것을 포함할 수 있다. 상기 방법과 시스템은 연속공급 처리 설비 내의 고체연료 처리 제어를 위하여, 파라미터 생성 설비로부터 작동 처리 파라미터를 입수하는 것을 포함할 수 있다. 상기 방법과 시스템은 연속공급 처리 설비 센서로부터의 인풋에 기초하여 작동 처리 파라미터를 모니터하고 조정하는 것을 포함할 수 있다. 상기 방법과 시스템은 조정된 작동 처리 파라미터를 컨트롤러에 제공하는 것을 포함할 수 있는데, 컨트롤러는 작동 파라미터를 연속공급 처리 설비의 컴포넌트에 제공한다.Some methods and systems disclosed herein may include monitoring and adjusting the processing of the solid fuel using the resulting processing parameters and sensor inputs. The method and system may include obtaining operational process parameters from a parameter generating facility for solid fuel process control in a continuous feed process facility. The method and system may include monitoring and adjusting operational process parameters based on inputs from the continuous feed process facility sensor. The method and system may include providing the controller with the adjusted operating process parameters, wherein the controller provides operating parameters to the components of the continuous feed process facility.
본원에 개시된 어떤 방법과 시스템은 고체연료 벨트 설비의 작동성능 측정에 사용되는 센서를 포함할 수 있다. 고체연료 처리 벨트 설비의 센서는 수분, 황, 회분 등과 같은 고체연료에서 방출되는 생성물을 측정할 수 있다. 고체연료 연속공급 처리 설비의 센서는 고체연료 처리에 사용되는 연속공급 처리 설비 컴포넌트의 작동 파라미터를 측정할 수 있다. 센서는 측정된 정보를 연속공급 처리 설비 컨트롤러, 모니터링 설비, 및 가격 책정 트랜잭션 설비(pricing transactional facility)에 전송할 수 있다. 방출된 생성물 센서 정보는 벨트 설비 작동 파라미터를 조정하 기 위하여 모니터링 설비 및 컨트롤러에 의하여 사용될 수 있다. 컴포넌트 작동 센서 정보는 작동 비용의 결정을 위하여 가격 책정 트랜잭션 설비에 의하여 사용될 수 있다.Some methods and systems disclosed herein may include sensors used to measure the operating performance of a solid fuel belt facility. Sensors in solid fuel processing belt plants can measure the products emitted from solid fuels such as moisture, sulfur, ash and so on. The sensor of the solid fuel continuous feed treatment facility can measure the operating parameters of the continuous feed treatment facility component used for the solid fuel treatment. The sensor can send the measured information to a continuous feed process facility controller, monitoring facility, and pricing transactional facility. The emitted product sensor information can be used by the monitoring facility and the controller to adjust belt unit operating parameters. The component activity sensor information can be used by the pricing transaction facility to determine operating costs.
본원에 개시된 어떤 방법과 시스템은 연속적인 실시간 작동 파라미터 피드백 루프(feedback loop)를 사용하는 고체연료 처리 제어를 포함할 수 있다. 상기 방법과 시스템은 파라미터 생성 설비로부터의 컴포넌트 파라미터를 가지는 연속공급 처리 설비 컨트롤러를 제공하는 것을 포함할 수 있다. 연속공급 처리 설비 컨트롤러는 적합한 고체연료 처리를 위하여, 다양한 처리 컴포넌트를 작동시키기 위한 컴포넌트 파라미터를 적용할 수 있다. 벨트 설비 센서는 고체연료에서 방출된 다양한 작동 생성물을 측정하여, 모니터링 설비에 측정 정보를 전송할 수 있다. 모니터링 설비는 센서 측정치와 작동요건을 비교하여 고체연료 처리 파라미터를 조정할 수 있고; 모니터링 설비는 조정된 파라미터를 컨트롤러로 전송할 수 있다. 컨트롤러/센서/모니터 조정 루프는 실시간 피드백 루프에서 연속적이어서 희망하는 최종의 처리된 고체연료를 지속할 수 있다.Some methods and systems disclosed herein may include solid fuel processing controls using a continuous real-time operational parameter feedback loop. The method and system may include providing a continuous feed process facility controller having component parameters from a parameter generation facility. The continuous feed processing plant controller can apply the component parameters for operating the various processing components for proper solid fuel processing. Belt facility sensors can measure various operating products emitted from solid fuels and transmit measurement information to the monitoring facility. The monitoring facility can adjust the solid fuel treatment parameters by comparing the sensor measurements with the operating requirements; The monitoring facility can send the adjusted parameters to the controller. The controller / sensor / monitor coordination loop is continuous in the real-time feedback loop so that the desired final processed solid fuel can continue.
본원에 개시된 어떤 방법과 시스템은 고체연료 마이크로파 시스템 작동의 모니터와 제어를 포함할 수 있다. 주파수, 출력(power), 및 듀티 사이클(duty cycle)과 같은 작동 파라미터의 마이크로파 시스템 세트는 고체연료 처리 동안 벨트 설비 컨트롤러에 의하여 제어될 수 있다. 마이크로파 시스템 출력 및 고체연료에서 방출된 생성물은 마이크로파 파라미터의 효율성을 결정하기 위하여 센서에 의하여 측정될 수 있고; 측정치는 모니터링 설비에 전송될 수 있다. 모니터링 설비는 센서로 측정된 정보와 요구되는 작동요건(예를 들어 파라미터 생성 설비)의 비교에 기초하여, 마이크로파 시스템 작동 파라미터를 조정할 수 있다. 조정된 마이크로파 작동 파라미터는 연속공급 처리 설비 컨트롤러에 의하여 마이크로파 시스템으로 전송될 수 있다.Some of the methods and systems disclosed herein may include monitoring and control of solid fuel microwave system operation. A set of microwave systems of operating parameters such as frequency, power, and duty cycle can be controlled by a belt facility controller during solid fuel processing. The microwave system output and the product released from the solid fuel can be measured by the sensor to determine the efficiency of the microwave parameters; The measurements can be sent to the monitoring facility. The monitoring facility can adjust the microwave system operating parameters based on a comparison of the measured information with the sensor to the required operating requirements (e.g., parameter generating facility). The adjusted microwave operating parameters can be transmitted to the microwave system by the continuous feed process facility controller.
본원에 개시된 어떤 방법과 시스템은 고체연료 연속공급 처리 설비를 사용하는, 고체연료에서 방출된 생성물의 제어된 제거를 포함할 수 있다. 센서 세트는 고체연료에서 방출된 생성물의 부피 또는 방출 속도를 측정할 수 있다. 센서 세트는 방출된 생성물 정보를 컨트롤러 및 모니터링 설비에 전송하여 제거 속도 정보를 제공할 수 있다. 센서 세트는 방출된 생성물 제거 속도를 가격 책정 트랜잭션 설비에 전송할 수 있고; 가격 책정 트랜잭션 설비는 방출된 생성물의 가치나 방출된 생성물의 처분을 위한 비용을 결정할 수 있다.Some methods and systems disclosed herein may include controlled removal of the product discharged from the solid fuel using a solid fuel continuous feed treatment facility. The sensor set can measure the volume or rate of release of the product discharged from the solid fuel. The sensor set can send the released product information to the controller and monitoring facility to provide removal rate information. The sensor set can transmit the released product removal rate to the pricing transaction facility; The pricing transaction facility can determine the value of the released product or the cost of disposing of the released product.
본원 발명의 어떤 양태는 연속공급 처리 설비 내에서 작동하는 컨베이어(conveyor)에 관한다. 컨베이어는 고체연료가 처리(예를 들어 마이크로파 에너지장(energy field)을 통과하여 석탄을 운반)되는 동안 처리 설비를 통하여 고체연료를 운반할 수 있다. 컨베이어 설비를 제공하는 방법과 장치는, 그것을 처리 설비를 통하여 고체연료를 수송하기에 적합하게 하는 것을 포함할 수 있다. 컨베이어는 낮은 마이크로파 손실, 높은 마모저항성(abrasion resistance), 장기 상승 온도 저항성(prolonged elevated temperature resistance), 온도 전열(temperature insulation), 용락저항성(burn-through resistance), 고융점, 비-침투성(non-porous), 및 열폭주(thermal run-away)에 대한 저항성과 같은 특징의 조합을 포함 할 수 있다. 컨베이어 설비는 실질적으로 연속벨트일 수 있다. 컨베이어 설비는 유연하게 결합된 다수의 단단한 부분을 포함할 수 있다.Certain aspects of the invention relate to a conveyor that operates within a continuous feed treatment facility. The conveyor can transport the solid fuel through the treatment facility while the solid fuel is being treated (eg, carrying the coal through the microwave energy field). The method and apparatus for providing the conveyor facility may include making it suitable for transporting the solid fuel through the treatment facility. The conveyor can be used for a wide range of applications including low microwave loss, high abrasion resistance, prolonged elevated temperature resistance, temperature insulation, burn-through resistance, high melting point, non- porous, and resistance to thermal run-away. The conveyor arrangement may be substantially a continuous belt. The conveyor arrangement may include a plurality of rigid portions coupled together flexibly.
본원 발명의 어떤 양태는 고체연료 처리 방법과 시스템에 관한다. 본원 발명의 구체예는 처리 설비를 통하여 고체연료(예를 들어 석탄)를 이동시키기에 적합한 컨베이어 벨트에 관한다. 구체예에서, 고체연료 처리 설비는 마이크로파장(microwave field)을 통과하여 고체연료를 가공하여 고체연료를 처리하기에 적합하게 된다. 구체예에서 컨베이어 시스템은 고체연료 처리 공정과 함께 사용될 경우 탄력적인 성능(resilient performance)을 제공하기에 특별히 적합하게 된다.Some aspects of the invention relate to solid fuel processing methods and systems. Embodiments of the present invention relate to conveyor belts suitable for transferring solid fuel (e. G. Coal) through a treatment facility. In embodiments, the solid fuel processing facility is adapted to process the solid fuel through a microwave field to process the solid fuel. In an embodiment, the conveyor system is particularly suited to provide resilient performance when used in conjunction with a solid fuel treatment process.
본원 발명의 구체예는 고체연료 처리 설비를 통하여 고체연료를 수송하는 시스템과 방법에 관한다. 상기 시스템과 방법은 고체연료 마이크로파 가공 설비를 통하여 고체연료를 수송하기에 적합한 컨베이어 설비 제공을 포함할 수 있다. 구체예에서 컨베이어 설비는 낮은 마이크로파 손실, 높은 마모저항성, 장기 상승 온도 저항성, 국부화된(localized) 상승 온도 저항성, 온도 전열, 용락저항성, 고융점, 미립자에 대한 비-침투성, 수분에 대한 비-침투성, 열폭주에 대한 저항성과 같은 특징 또는 탄력적인 컨베이어 설비를 만드는 다른 특징 중의 적어도 하나 또는 이들의 조합을 가지기에 적합하게 된다.Embodiments of the present invention relate to a system and method for transporting solid fuel through a solid fuel treatment facility. The systems and methods may include providing a conveyor facility suitable for transporting solid fuel through a solid fuel microwave processing facility. In an embodiment, the conveyor arrangement may be a non-permeable, non-porous material having low microwave loss, high abrasion resistance, long term rise temperature resistance, localized rising temperature resistance, thermal conduction, Permeability, resistance to thermal runaway, or other features that create a resilient conveyor installation, or combinations thereof.
구체예에서 컨베이어 설비는 컨베이어 벨트이다. 컨베이어 벨트는 실질적으로 연속적인 벨트일 수 있다. 컨베이어 벨트는 서로 유연하게 결합된 다수의 단단한 부분을 포함할 수 있다. 다른 구체예에서, 컨베이어는 연속적이거나 실질적으로 연속적인 처리 공정을 통하여 고체연료를 수송하도록 된 다른 물리적 배열이다.In an embodiment, the conveyor arrangement is a conveyor belt. The conveyor belt may be a substantially continuous belt. The conveyor belt may include a plurality of rigid portions flexibly coupled to one another. In another embodiment, the conveyor is another physical arrangement for transporting the solid fuel through a continuous or substantially continuous treatment process.
구체예에서 고체연료 처리 설비는 마이크로파 처리 설비일 수 있고, 마이크로파 처리 설비는 또한 가열, 세척, 가스화, 연소, 및 스팀처리(steaming)와 같은 다른 시스템을 통하여 고체연료를 가공할 수 있다. 컨베이어 설비는 마이크로파 저손실 물질로 만들어질 수 있다. 예를 들어 컨베이어 설비는 대략 300 MHz 내지 대략 1 GHz의 마이크로파 주파수의 저손실을 가지기에 적합하게 될 수 있다. 컨베이어 설비는 고온에 대하여 장기 저항성일 수 있고, 예를 들어 컨베이어 설비는 대략 200℉ 이상 범위 이내의 고온에 대하여 장기(prolonged) 저항성일 수 있다. 컨베이어 설비는 국부화된 고온에 대하여 저항성일 수 있다. 예를 들어 컨베이어 설비는 600℉ 이상의 국부화된 온도에 대하여 저항성일 수 있다. 본원에 기술된 컨베이어 시스템을 다루기 위한 많은 다른 컨베이어 설비 속성과 재료 및 공정이 있다.In embodiments, the solid fuel treatment facility may be a microwave treatment facility, and the microwave treatment facility may also process the solid fuel through other systems such as heating, washing, gasifying, burning, and steaming. Conveyor installations can be made of microwave low-loss materials. For example, the conveyor facility may be adapted to have a low loss of microwave frequency of approximately 300 MHz to approximately 1 GHz. The conveyor facility may be long term resistant to high temperatures, for example the conveyor facility may be prolonged resistant to high temperatures within the range of approximately 200 ° F or above. The conveyor facility may be resistant to localized high temperatures. For example, the conveyor facility may be resistant to localized temperatures above 600 [deg.] F. There are many other conveyor facility attributes, materials, and processes for dealing with the conveyor systems described herein.
본원 발명의 어떤 양태는 연속공급 고체연료 처리 설비와 결합하는, 마이크로파를 생성하는 마그네트론(magnetron) 작동을 위한 개선된 방법과 시스템에 관한다. 본원에 개시된 방법과 시스템은 (예를 들어 변전소에서의) 계단식 전압강하 단계와 이후의 (예를 들어 마그네트론에서의 사용을 위한) 보조발전(back up) 단계를 피하기 위하여 직접 고압송전 공급기(direct utility high voltage transmission supply)를 통해 마그네트론에 전력을 공급하는 것을 포함할 수 있다. 전력 시스템은 고압교류(high voltage alternating current)를 수용하고 고압직류(high voltage direct current)를 전달하기에 적합할 수 있는 고압전력변환설비(high voltage power conversion facility)의 제공을 포함할 수 있다.Certain aspects of the present invention relate to an improved method and system for magnetron operation that generates microwaves, coupled with a continuous feed solid fuel treatment facility. The methods and systems disclosed herein may be used to directly control the step-down voltage step (e.g., at a substation) and the direct utility (to avoid back-up steps, e.g., for use in a magnetron) high voltage transmission supply to the magnetron. The power system may include providing a high voltage power conversion facility capable of accepting a high voltage alternating current and delivering a high voltage direct current.
본원에 개시된 어떤 방법과 시스템은 고압배전 설비(high power distribution facility)로부터 고압교류를 수용하고; 고압교류로부터 고압직류를 직접 생성하며; 연속공급 고체연료 처리 설비와 연결된 마그네트론에 고압직류를 인가하여 직접 고압(direct high voltage)을 사용하는 것을 포함할 수 있다.Some methods and systems disclosed herein accept high pressure alternating current from a high power distribution facility; Directly generates high-voltage direct current from the high-voltage alternating current; And direct high voltage application of high pressure direct current to the magnetron connected to the continuous feed solid fuel treatment facility.
본원에 개시된 어떤 방법과 시스템은 고압배전 설비로부터 고압교류를 수용하고; 고압교류를 고압직류로 전환하며; 연속공급 고체연료 처리 설비와 연결된 마그네트론에 고압직류를 인가하여 직류고압을 사용하는 것을 포함할 수 있고, 고압배전 설비는 고속 회로차단기(high speed circuit breaker)와 함께 비변압 인덕터(non-transforming inductor) 설비에 의하여 보호될 수 있다.Some methods and systems disclosed herein accept high pressure alternating current from a high voltage distribution facility; Converting high-voltage alternating current into high-voltage direct current; And may include using a direct current high voltage by applying a high voltage direct current to a magnetron connected to a continuous feed solid fuel treatment facility and the high voltage power distribution facility may include a non-transforming inductor with a high speed circuit breaker, It can be protected by equipment.
본원에 개시된 어떤 방법과 시스템은 프로세싱(processing) 피드백을 사용하는, 고체연료 처리를 위한 트랜잭션 가격 책정(transactional pricing)을 포함할 수 있다. 트랜잭션 설비(transactional facility)는 모니터링 설비, 센서, 제거 시스템, 고체연료 아웃풋 파라미터 설비 등과 같은 고체연료 설비 시스템으로부터 고체연료 처리 작동 정보를 입수할 수 있다. 트랜잭션 설비는 상기 시스템의 작동 정보를 사용하여 최종의 처리된 고체연료의 작동 비용을 결정할 수 있다. 비용은 다양한 고체 처리 벨트시설 컴포넌트를 위한 소요 전력(power requirement), 제거 시스템에 수집되는 고체연료에서 방출된 생성물, 사용된 비활성 기체 등을 포함할 수 있다. 트랜잭션 설비는 처리비용과 원료 고체연료의 최초비용을 더하여 처리된 고체연료의 최종 가치를 결정할 수 있다.Certain methods and systems disclosed herein may include transactional pricing for solid fuel processing, using processing feedback. The transactional facility can obtain solid fuel processing operational information from a solid fuel plant system, such as monitoring equipment, sensors, removal systems, solid fuel output parameter equipment, and the like. The transaction facility can use the operational information of the system to determine the operating cost of the final processed solid fuel. The cost may include the power requirement for the various solid treatment belt plant components, the product discharged from the solid fuel collected in the removal system, the inert gas used, and the like. The transaction facility can add the processing cost and the initial cost of the raw solid fuel to determine the final value of the treated solid fuel.
본원에 개시된 어떤 방법과 시스템은 특정한 최종-사용 설비를 위하여 고체연료를 가공하는 것과 관련된 비용 모델링(modeling)을 포함할 수 있다. 상기 방법 과 시스템은 다수의 고체연료 샘플에 대한 고체연료 특성의 세트를 포함하는 데이터베이스, 최종-사용자 설비의 세트에 의하여 사용되는 고체연료 기판(substrate)에 대한 명세사항(specification)의 세트, 고체연료 샘플을 최종-사용자에 의하여 사용되는 고체연료 기판으로 전환시키는 데에 사용되는 작동 파라미터의 세트 및 작동 파라미터 세트의 이행과 관련된 고체연료의 세트를 제공하는 것을 포함할 수 있다. 상기 방법과 시스템은 선정된 최초 고체연료 샘플에 대한 고체연료 특성 식별; 최종-사용자 설비에 의하여 사용되는 고체연료 기판에 대한 명세사항 식별; 데이터베이스로부터 최초 고체연료 샘플을 고체연료 기판으로 전환시키는 것과 관련된 작동 파라미터 세트 검색; 및 데이터베이스로부터 작동 파라미터의 세트와 관련된 비용의 세트 검색을 더욱 포함할 수 있다.Some methods and systems disclosed herein may include cost modeling related to processing solid fuel for a particular end-use installation. The method and system may include a database containing a set of solid fuel characteristics for a plurality of solid fuel samples, a set of specifications for a solid fuel substrate used by a set of end-user facilities, The set of operating parameters used to convert the sample into a solid fuel substrate used by the end-user, and providing a set of solid fuels associated with the implementation of the set of operating parameters. The method and system may include identifying solid fuel characteristics for a selected initial solid fuel sample; Identification of specifications for solid fuel substrates used by end-user equipment; Retrieving an operating parameter set associated with converting the initial solid fuel sample from the database to a solid fuel substrate; And retrieving a set of costs associated with the set of operational parameters from the database.
본원에 개시된 어떤 방법과 시스템은 선택된 최종 사용 설비에 적합하게 된 고체연료 생산을 포함하는 트랜잭션을 포함할 수 있다. 상기 방법과 시스템은 고체연료 기판을 위하여 선택된 최종 사용 설비로부터 명세사항을 수득; 최초 고체연료 샘플에 대한 특성 세트의 명세를 비교; 최초 고체연료 샘플을 가공하여 선택된 최종 사용 설비로부터의 명세를 충족시키는 고체연료 기판으로 전환하기 위한 작동 처리 파라미터의 결정; 작동 처리 파라미터와 관련된 최초 고체연료 샘플 가공, 고체연료 기판의 특성 측정; 및 고체연료 기판의 가격 추정을 포함할 수 있다.Certain methods and systems disclosed herein may include transactions involving the production of solid fuels adapted to a selected end use facility. The method and system obtain a specification from a selected end use facility for a solid fuel substrate; Comparing the specification of the characteristic set for the initial solid fuel sample; Determining an operating process parameter for processing the initial solid fuel sample to convert it to a solid fuel substrate that meets specifications from a selected end use facility; Processing of initial solid fuel samples related to operating process parameters, characterization of solid fuel substrates; And a cost estimate of the solid fuel substrate.
본원에 개시된 어떤 방법과 시스템은 고체연료 가공에 대한 데이터베이스; 다수의 고체연료 샘플에 대한 고체연료 특성의 세트; 최종-사용자 설비의 세트에 의하여 사용되는 고체연료 기판에 대한 명세사항의 세트; 고체연료 샘플을 최종-사 용자 설비에 의하여 사용되는 고체연료 기판으로 전환시키는 데에 사용되는 작동 파라미터의 세트를 포함할 수 있다.Some of the methods and systems disclosed herein include a database for solid fuel processing; A set of solid fuel characteristics for a plurality of solid fuel samples; A set of specifications for a solid fuel substrate used by a set of end-user facilities; And a set of operating parameters used to convert the solid fuel sample into a solid fuel substrate used by the end-user facility.
본원에 개시된 어떤 방법과 시스템은 고체연료 가공을 위한 데이터베이스 컴파일링(compiling)을 포함할 수 있다. 상기 방법과 시스템은 다수의 고체연료 샘플에 대한 고체연료 특성의 세트 취합(aggregating); 최종-사용자 시설의 세트에 의하여 사용되는 고체연료 기판에 대한 명세사항의 세트 취합; 및 고체연료 샘플을 최종-사용자에 의하여 사용되는 고체연료 기판으로 전환시키는 데에 사용되는 작동 파라미터의 세트 취합을 포함할 수 있다.Some methods and systems disclosed herein may include database compiling for solid fuel processing. The method and system may include aggregating solid fuel properties for a plurality of solid fuel samples; Set-up of specifications for solid fuel substrates used by a set of end-user facilities; And a set of operating parameters used to convert the solid fuel sample into a solid fuel substrate used by the end-user.
본원에 개시된 어떤 방법과 시스템은 희망하는 최종의 처리된 특성에 기초하여 고체연료 처리 파라미터를 생성하는 것을 포함할 수 있다. 상기 방법과 시스템은 인풋으로서, 최초 고체연료 샘플 데이터 및 선택된 최종-사용 설비에 대한 희망하는 고체연료 특성을 제공; 선택된 최종-사용 설비에 적합한 처리된 고체연료 생산을 위한 작동 처리 파라미터의 결정을 위한 고체연료 처리 설비 성능에 대한 인풋과 비교 및 결합; 및 고체연료 처리 설비에서 생성물의 처리 제어를 위한 모니터링 설비 및 컨트롤러에 작동 파라미터 전송을 포함할 수 있다.Certain methods and systems disclosed herein may include generating solid fuel processing parameters based on the desired final processed characteristics. The method and system, as inputs, provide initial solid fuel sample data and desired solid fuel characteristics for a selected end-use facility; Comparing and combining the inputs to the performance of a solid fuel processing plant to determine the operating process parameters for producing the processed solid fuel suitable for the selected end-use facility; And transmission of operating parameters to a monitoring facility and controller for controlling the treatment of the product at the solid fuel treatment facility.
본원에 개시된 어떤 방법과 시스템은 선택된 최종-사용 설비에 적합한 고체연료의 생산을 포함할 수 있다. 상기 방법과 시스템은 최초 고체연료 샘플에 대한 특성의 첫 번째 세트 결정; 선택된 최종-사용 설비에 적합한 아웃풋 고체연료에 대한 특성 세트 식별; 최초 고체연료 샘플을 가공하여 선택된 최종-사용 설비에 적합한 아웃풋 고체연료로 전환하기 위한 작동 처리 파라미터 결정; 및 작동 처리 파라 미터에 관련된 최초 고체연료 샘플 가공을 포함할 수 있고, 여기서 최초 고체연료 샘플은 선택된 최종-사용 설비에 적합한 아웃풋 고체연료로 전환될 수 있다.Some methods and systems disclosed herein may include the production of solid fuels suitable for a selected end-use facility. The method and system include determining a first set of characteristics for a first solid fuel sample; Identify the characteristic set for the output solid fuel suitable for the selected end-use equipment; Determining an operating process parameter for converting the initial solid fuel sample into an output solid fuel suitable for the selected end-use facility; And processing the initial solid fuel sample associated with the operational processing parameters, wherein the initial solid fuel sample can be converted to an output solid fuel suitable for the selected end-use facility.
어떤 방법과 시스템은 가스화(gasification)에 적합한 고체연료 선택; 가스화에 적합한 고체연료의 특성 식별; 가스화에 적합한 특성에 기초한 고체연료에 대한 고체연료 처리 작동 파라미터 결정; 가스를 방출하기 위하여 작동 파라미터를 사용하여 고체연료를 처리; 및 고체연료의 처리 동안 방출된 가스를 수집하는 것에 의한 고체연료 가스화를 포함할 수 있다. 고체연료는 마이크로파 기술, 가열 기술, 압력, 스팀 등을 사용하여 처리될 수 있다. 가스는 합성가스, 수소, 일산화탄소 등일 수 있다.Some methods and systems include solid fuel selection for gasification; Characterization of solid fuels suitable for gasification; Determining solid fuel processing operating parameters for the solid fuel based on characteristics suitable for gasification; Treating the solid fuel using operating parameters to release the gas; And solid fuel gasification by collecting the gases released during the processing of the solid fuel. Solid fuel can be processed using microwave technology, heating technology, pressure, steam, and the like. The gas may be syngas, hydrogen, carbon monoxide, or the like.
어떤 방법과 시스템은 가스화에 적합한 고체연료 선택; 최종-사용자로부터의 가스화 요건에 기초하여 고체연료 처리 작동 파라미터 결정; 가스를 방출시키기 위하여 작동 파라미터를 사용하여 고체연료를 처리; 및 고체연료의 처리 동안 방출되는 가스를 수집하는 것에 의한 고체연료 가스화를 포함할 수 있다. 최종-사용자는 발전 설비, 화학적 설비, 연료전지 설비 등일 수 있다. 고체연료는 마이크로파 기술, 가열 기술, 압력, 스팀 등을 사용하여 처리될 수 있다. 가스는 합성가스, 수소, 일산화탄소 등일 수 있다.Some methods and systems include solid fuel selection for gasification; Determining solid fuel treatment operating parameters based on gasification requirements from the end-user; Treating the solid fuel using operating parameters to release the gas; And solid fuel gasification by collecting the gases released during the processing of the solid fuel. The end-user may be a power plant, a chemical plant, a fuel cell plant, or the like. Solid fuel can be processed using microwave technology, heating technology, pressure, steam, and the like. The gas may be syngas, hydrogen, carbon monoxide, or the like.
어떤 방법과 시스템은 가스화에 적합한 고체연료 선택; 가스화 요건에 기초하여 고체연료 처리 작동 파라미터 결정; 가스를 방출시키기 위하여 작동 파라미터를 사용하여 고체연료를 처리; 및 고체연료의 처리 동안 방출되는 가스를 수집하는 것에 의한 고체연료 가스화를 포함할 수 있다. 가스화 요건은 예비선택된 양의 기 체를 수득하는 것을 포함할 수 있다. 가스화 요건은 예비선택된 가스를 수득하는 것을 포함할 수 있다. 고체연료는 마이크로파 기술, 가열 기술, 압력, 스팀 등을 사용하여 처리될 수 있다. 가스는 합성가스, 수소, 일산화탄소 등일 수 있다.Some methods and systems include solid fuel selection for gasification; Determining solid fuel processing operating parameters based on gasification requirements; Treating the solid fuel using operating parameters to release the gas; And solid fuel gasification by collecting the gases released during the processing of the solid fuel. Gasification requirements may include obtaining a preselected amount of gas. Gasification requirements may include obtaining a pre-selected gas. Solid fuel can be processed using microwave technology, heating technology, pressure, steam, and the like. The gas may be syngas, hydrogen, carbon monoxide, or the like.
어떤 방법과 시스템은 액화에 적합한 고체연료 선택; 액화에 적합한 고체연료의 특성 식별; 액화에 적합한 특성에 기초한, 고체연료에 대한 고체연료 처리 작동 파라미터 결정; 희망하는 액체를 생산하기 위하여 작동 파라미터를 사용하여 고체연료를 처리; 및 희망하는 액체를 수집하는 것에 의한 고체연료 액화를 포함할 수 있다. 작동 파라미터는 피셔-트롭쉬(Fischer-Tropsch) 공정, 베르기우스(Bergius) 공정, 직접 수소화 공정, 저온건류(low temperature carbonization(LTC)) 공정 등을 사용하느 것을 포함할 수 있다.Some methods and systems include solid fuel selection for liquefaction; Characterization of solid fuels suitable for liquefaction; Determining solid fuel processing operating parameters for the solid fuel based on characteristics suitable for liquefaction; Treating the solid fuel using operating parameters to produce the desired liquid; And solid fuel liquefaction by collecting the desired liquid. The operating parameters may include using a Fischer-Tropsch process, a Bergius process, a direct hydrogenation process, a low temperature carbonization (LTC) process, and the like.
어떤 방법과 시스템은 처리를 위한 고체연료 선택; 고체연료의 특성 식별; 특성에 기초한, 고체연료에 대한 고체연료 처리 작동 파라미터 결정; 및 작동 파라미터를 사용하는 고체연료 처리를 포함할 수 있고, 작동 파라미터는 고체연료를 예열하는 것을 포함할 수 있으며, 작동 파라미터는 고체연료를 추후 가열하는 것을 포함할 수 있다.Some methods and systems select solid fuels for processing; Characterization of solid fuels; Determining a solid fuel processing operating parameter for the solid fuel based on the characteristic; And a solid fuel treatment using operating parameters, the operating parameters may include preheating the solid fuel, and the operating parameters may include heating the solid fuel later.
통합된(integrated) 고체연료 처리를 위한 한 시스템은 고체연료에서 오염물질을 제거하여 정제된 고체연료 에너지원(예를 들어 연속공급 마이크로파 처리 설비를 사용하여 정제된 석탄)을 생산하는 고체연료 연속공급 처리 설비; 및 고체연료 처리 설비와 함께 위치한 고체연료 사용 설비(예를 들어 발전소, 제강소 등)을 포함할 수 있고, 여기서 정제된 고체연료 에너지원은 상기의 함께 위치한(co-located) 사용 설비에서 에너지원으로서 사용된다. 고체연료 처리 설비는 처리된 고체연료를 직접적으로 고체연료 사용 설비 등으로 제공할 수 있다. 고체연료 사용 설비는 고체연료 처리 설비에 특수한 고체연료 처리를 요청할 수 있다. 특수한 고체연료 처리는 고체연료 사용 설비를 위한 고체연료 유형 에너지원을 생산할 수 있다. 특수한 고체연료 처리는 고체연료 사용 설비를 위한 비-고체연료 생성물 유형을 생산할 수 있다. 특수한 고체연료 처리는 고체연료에서 특유의 성질을 생성할 수 있다. 고체연료 에너지원은 합성가스, 수소 등일 수 있다. 고체연료 에너지원은 고체연료 사용 설비에 최적화된 고체연료일 수 있다. 비-고체연료 생성물은 회분, 황, 물, 황, 일산화탄소, 이산화탄소, 합성가스, 수소 등일 수 있다. 고체연료 사용 설비는 발전 설비, 제강 공장, 화학적 설비, 매립지(매립지), 수분 처리 설비 등일 수 있다.One system for integrated solid fuel processing is a solid fuel continuous supply system that removes contaminants from solid fuel to produce purified solid fuel energy sources (for example, refined coal using continuous feed microwave processing equipment) Treatment facilities; And a solid fuel utilization facility (e. G., A power station, a steel mill, etc.) located with a solid fuel treatment facility where the refined solid fuel energy source is used as an energy source in co- Is used. The solid fuel treatment facility can provide the treated solid fuel directly to the solid fuel utilization facility or the like. The solid fuel service facility may request a solid fuel treatment for the solid fuel treatment facility. Specialized solid fuel processing can produce solid fuel type energy sources for solid fuel use plants. Special solid fuel treatments can produce non-solid fuel product types for solid fuel use plants. Specialized solid fuel treatments can produce unique properties in solid fuels. The solid fuel energy source may be syngas, hydrogen, or the like. The solid fuel source can be a solid fuel optimized for solid fuel plants. The non-solid fuel product may be ash, sulfur, water, sulfur, carbon monoxide, carbon dioxide, syngas, hydrogen, and the like. Solid fuel facilities can be power plants, steel mills, chemical plants, landfills, water treatment plants, and so on.
본원에 기술된 방법과 시스템은 고체연료 처리 설비에 의하여 처리되어야 하는 고체연료의 하나 이상의 특성에 관한 최초 고체연료 샘플 데이터 제공; 희망하는 고체연료 특성 제공; 하나 이상의 특성과 관련된 최초 고체연료 샘플 데이터를 희망하는 고체연료 특성과 비교하여 고체연료 조성 델타 결정; 고체연료 처리 설비의 작동에 대한 작동 처리 파라미터를 결정하여 적어도 부분적으로는 고체연료 조성 델타에 기초하는 고체연료 정제; 및 고체연료의 처리 동안 고체연료에서 방출되는 오염물질 모니터링 및 이에 관해서 작동 처리 파라미터를 조절하여 정제된 고체연료를 제조하는 것을 포함할 수 있다. 고체연료 처리 설비는 마이크로파 고체연료 처리 설비일 수 있다. 고체연료는 석탄일 수 있다. 고체연료 샘플 데이터는 데이터베이스일 수 있다.The methods and systems described herein provide initial solid fuel sample data on one or more characteristics of a solid fuel to be treated by a solid fuel treatment facility; Providing desired solid fuel characteristics; Determining a solid fuel composition delta by comparing the initial solid fuel sample data associated with the at least one characteristic with a desired solid fuel characteristic; A solid fuel refining that determines operating process parameters for operation of the solid fuel processing facility and is based, at least in part, on the solid fuel composition delta; And monitoring the pollutants emitted from the solid fuel during the treatment of the solid fuel and adjusting the operating process parameters therefor to produce the purified solid fuel. The solid fuel treatment facility may be a microwave solid fuel treatment facility. The solid fuel can be coal. The solid fuel sample data may be a database.
고체연료 특성은 수분 퍼센트, 회분 퍼센트, 황 퍼센트, 고체연료의 유형 등일 수 있다.Solid fuel properties can be percent moisture, percent ash, sulfur percent, type of solid fuel, and the like.
작동 처리 파라미터는 마이크로파 출력, 마이크로파 주파수, 마이크로파 적용 빈도(application frequency) 등일 수 있다.The operational processing parameters may be microwave power, microwave frequency, microwave application frequency, and the like.
오염물질은 물, 수소, 하이드록실, 황 기체, 액체 황, 회분 등을 포함할 수 있다.Contaminants may include water, hydrogen, hydroxyl, sulfur, liquid sulfur, ash, and the like.
방출된 오염물질은 고체연료 설비 센서로 모니터될 수 있다. 센서는 작동 처리 파라미터의 조절을 위한 피드백 정보를 제공할 수 있다.The emitted pollutants can be monitored by a solid fuel facility sensor. The sensor may provide feedback information for adjustment of the operating process parameters.
본 방법과 시스템은 고압전력을 유틸리티-보유 송전선(utility owned power transmission line)으로부터 처리 설비의 마이크로파 생성기에 직접 제공하는 단계를 더욱 포함할 수 있고, 여기서 유틸리티-보유 송전선은 높은 전압(예를 들어 15 kv 이상)을 수송하기에 적합할 수 있다.The method and system may further comprise providing the high voltage power directly from the utility-owned power transmission line to the microwave generator of the treatment facility, wherein the utility-maintained transmission line is at a high voltage (e.g., 15 kv or more).
본 방법과 시스템은 처리 설비를 통하여 고체연료를 수송하기 위한 다층식(multi-layered) 컨베이어 벨트를 제공하는 단계를 더욱 포함할 수 있고, 여기서 다층식 컨베이어 벨트는 마이크로파 에너지의 상당한 부분을 통과시키기에 적합할 수 있고, 벨트는 마모에 저항성일 수 있는 최상층(top layer) 및 고온에 저항성일 수 있는 제2 층을 가진다.The method and system may further comprise providing a multi-layered conveyor belt for transporting the solid fuel through the treatment facility, wherein the multi-layer conveyor belt is adapted to pass a substantial portion of the microwave energy And the belt has a top layer which may be resistant to abrasion and a second layer which may be resistant to high temperatures.
본원 발명의 이들 및 다른 시스템, 방법, 목적, 특징, 및 이점은 다음에 나오는 바람직한 구체예의 상세한 설명 및 도면으로부터 당업자에게 명백해질 것이 다. 본원에 언급된 모든 문서들은 전체가 참고문헌으로 본원에 첨부된다.These and other systems, methods, objects, features, and advantages of the present invention will become apparent to those skilled in the art from the following detailed description of the preferred embodiments and the drawings. All documents referred to herein are incorporated herein by reference in their entirety.
본원 발명 및 다음에 나오는 발명의 특정 구체예의 상세한 설명은 다음의 도면과 관련하여 이해될 것이다:The detailed description of the invention and the specific embodiments of the invention that follows is to be understood in connection with the following drawings:
도 1은 고체연료 처리 설비의 전체 시스템 구조의 구체예를 나타낸다.Figure 1 shows an embodiment of the overall system structure of a solid fuel treatment plant.
도 2는 고체연료 처리 설비와 처리된 고체연료의 최종 사용자의 관계의 구체예를 나타낸다.Figure 2 shows a specific example of the relationship between the solid fuel treatment facility and the end user of the treated solid fuel.
도 3은 다층 구성(configuration)을 가지는 컨베이어 벨트의 구체예를 나타낸다.Figure 3 shows a concrete example of a conveyor belt having a multi-layer configuration.
도 4는 덮개층(cover layer)이 없는 컨베이어 벨트의 구체예를 나타낸다.Figure 4 shows a concrete example of a conveyor belt without a cover layer.
도 5는 고온 저항성 물질의 중간층(middle layer)이 삽입되어 결합된 컨베이어 벨트를 나타낸다.5 shows a conveyor belt in which a middle layer of high temperature resistant material is inserted and bonded.
도 6은 고온 저항성 물질을 포함할 수 있는 다층 배치가 결합된 컨베이어 벨트의 구체예를 나타낸다.Figure 6 shows an embodiment of a conveyor belt incorporating a multi-layer arrangement which may comprise a high temperature resistant material.
도 7은 고체연료 처리 설비의 마이크로파 시스템의 일부로서 사용될 수 있는 마그네트론의 구체예를 나타낸다.Figure 7 shows an embodiment of a magnetron that can be used as part of a microwave system of a solid fuel processing plant.
도 8은 마그네트론을 위한 고압 공급설비(high voltage supply facility)의 구체예를 나타낸다.Figure 8 shows an embodiment of a high voltage supply facility for a magnetron.
도 9는 무변압기형(transformerless) 고압 인풋 송전 설비(transformerless high input transmission facility)의 구체예를 나타낸다.Figure 9 shows an embodiment of a transformerless high input transmission facility.
도 10은 변압기를 가지는 고압 인풋 송전 설비의 구체예를 나타낸다.Figure 10 shows a specific example of a high voltage input transmission facility with a transformer.
도 11은 변압기가 없고 인덕터를 가지는 고압 인풋 송전 설비의 구체예를 나타낸다.Figure 11 shows a specific example of a high voltage input transmission facility with no transformer and an inductor.
도 12는 변압기를 가지는 직류 DC 고압 인풋 송전 설비의 구체예를 나타낸다.12 shows a specific example of a DC-DC high-voltage input transmission facility having a transformer.
도 13은 변압기 절연(isolation)이 있는 고압 인풋 송전 설비의 구체예를 나타낸다.Figure 13 shows an embodiment of a high voltage input transmission facility with transformer isolation.
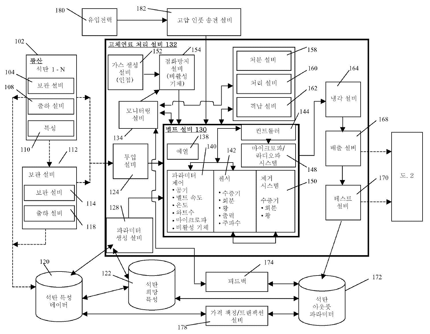
도 1은 고체연료 특성을 향상시키기 위하여, 고체연료 내에 함유된 생성물을 가열하여 고체연료로부터 생성물을 제거하기 위하여 전자기에너지를 사용하는 고체연료 처리 설비(132)에 관한 본원 발명의 양태를 도시한다. 한 구체예에서, 고체연료 처리 설비(132)는, 예를 들어 석탄, 코크스(coke), 목탄(charcoal), 이탄(peat), 목재, 및 연탄(briquette)을 포함하지만 이들로 한정되지는 않는 임의의 유형의 고체연료를 처리하기 위하여, 사용될 수 있다. 많은 본원 발명의 구체예들이 석탄 공정과 관련하여 개시될 것이지만, 이러한 구체예들은 코크스, 목탄, 이탄, 목재, 연탄 등과 같은 다른 형태의 고체연료에도 관할 수 있음이 이해되어야 한다.1 illustrates an aspect of the present invention relating to a solid
도 1에 나타나는 바와 같이, 고체연료 처리 설비(132)는 독립 설비로서 사용될 수 있거나, 석탄 광산(102), 석탄 보관 설비(112), 또는 그밖의 것과 연합하여 사용될 수 있다. 도 2에 더욱 자세히 나타나는 바와 같이, 고체연료 처리 설비(132)는 석탄 연소 설비(200), 석탄 전환 설비(210), 석탄 부산물 설비(212), 석탄 출하 설비(214), 석탄 보관 설비(218), 또는 그밖의 석탄 사용 설비와 결합될 수 있다.As shown in FIG. 1, the solid
구체예에서, 고체연료 처리 설비(132)는 특정 유형 석탄의 최적의 연소특성을 방해하는 비-석탄 생성물을 제거하여 석탄의 질을 높이기 위하여 사용될 수 있다. 비-석탄 생성물은 수분, 황, 회분, 물, 수소, 하이드록실, 휘발성 물질 등을 포함할 수 있다. 비-석탄 생성물은 석탄 연소가 가능하기 전에 비-석탄 생성물을 가열하고 제거하기 위하여 BTU를 필요로 해서 석탄의 BTU/lb 연소 특성을 감소시킬 수 있거나 (예를 들어 물), 연소하는 동안 석탄의 구조로의 기류(air flow)를 저해할 수 있다 (예를 들어 회분). 석탄은 석탄에서의 비-석탄 생성물(예를 들어 물, 황, 수소, 하이드록실 및 회분)의 양으로 평가될 수 있는 여러 품위(grade)를 가질 수 있다. 한 구체예에서, 고체연료 처리 설비(132)는 석탄으로부터 비-석탄 생성물을 제거하는 여러 공정 단계를 수행하여 석탄을 처리할 수 있다. 한 구체예에서, 석탄으로부터 비-석탄 생성물을 제거하는 방법은 석탄으로부터 비-석탄 생성물이 방출되도록 하는 석탄 내의 비-석탄 생성물 가열로 달성될 수 있다. 가열은 비-석탄 생성물을 가열하기 위한 마이크로파 또는 라디오파에너지(마이크로파) 형태의 전자기에너지 사용으로 달성될 수 있다. 구체예에서, 석탄은 적어도 하나의 마이크로파 시스템(148) 및/또는 다른 공정 단계를 지난 석탄을 이동시키기 위하여, 수송 시스템을 사용하여 처리될 수 있다. In an embodiment, the solid
도 1을 참조하면, 고체연료 처리 설비(132)의 양태는 다른 석탄 처리 컴포넌트와 연결된 고체연료 처리 설비(132)의 구체예로 나타난다. 고체연료 처리 설비(132)는 적어도 광산(102) 또는 석탄 보관 설비(112)로부터 석탄을 입수할 수 있다. 채굴된 원료석탄의 석탄 특성 및 특정 유형의 석탄 또는 특정 회분(batch)의 석탄의 희망하는 석탄 특성(122)을 추적하고 저장하는 다수의 데이터베이스가 있을 수 있다. 고체연료 처리 설비(132)는 작동 파라미터 결정, 작동 파라미터 모니터 및 변경, 석탄 처리를 위한 챔버(chamber)를 통하여 석탄 수송, 챔버로부터 비-석탄 생성물 제거, 비-석탄 생성물 수집 및 처분, 처리된 석탄 산출 등을 할 수 있는, 석탄 처리를 제공하는 다수의 시스템 및 설비를 가질 수 있다. 석탄이 본원에 개시된 시스템과 장치에 따라서 처리된 후, 석탄은 도 2에 나타나는 바와 같이 석탄 사용 설비로 수송될 수 있다. 게다가, 처리된 석탄의 테스트 동안 생성된 데이터 및 다른 관련 정보도 도 2에 나타나는 바와 같이 석탄 사용 설비로 전송될 수 있다.Referring to FIG. 1, aspects of the solid
도 2를 참조하면, 석탄의 고체연료 처리 설비(132) 처리 후의 석탄 사용 양태가 나타나있다. 고체연료 처리 설비(132)는, 다양한 석탄 사용 설비가 향상된 연소 속도 및 더 적은 부산물을 가지는 석탄을 사용하도록 비-석탄 생성물 제거하여, 석탄 품질을 향상시킬 수 있다. 석탄 사용 설비는 석탄 연소 설비(예를 들어 발전, 가열, 야금), 석탄 전환 설비(예를 들어 가스화), 석탄 부산물 설비, 석탄 출하 설비, 석탄 보관 설비 등을 포함하지만 이들로 한정되지는 않는다. 고체연료 처리 설비(132)로부터의 처리된 석탄을 사용함으로써, 석탄 사용 설비는 더 낮은 품위의 석탄을 사용할 수 있고, 더 적은 부산물을 가질 수 있으며, 더 적은 배기가스를 가질 수 있고, 더 높은 연소 속도(예를 들어 BTU/lb)를 가질 수 있다. 예를 들어 특정한 석탄 사용 설비에 의하여 요구되는 석탄 부피에 따라, 고체연료 처리 설비(132)가 석탄 사용 설비와 직접 연결되어 있거나, 고체연료 처리 설비(132)가 석탄 사용 설비에서 원거리에 있을 수 있다.Referring to Fig. 2, there is shown the use of coal after the treatment of solid
높은 수준에서, 고체연료 처리 설비(132)는 본원 발명의 양태를 제공할 수 있는 다수의 컴포넌트를 포함할 수 있고; 컴포넌트의 일부는 추가적인 컴포넌트, 모듈(module) 또는 시스템을 포함할 수 있다. 고체연료 처리 설비(132)의 컴포넌트는 파라미터 생성 설비(128), 투입(intake) 설비(124), 모니터링 설비(134), 기체 생성 설비(152), 점화방지(anti-ignition) 설비(154), 벨트 설비(130), 격납(containment) 설비(162), 처리 설비(160), 처분(disposal) 설비(158), 냉각 설비(164), 배출(out-take) 설비(168), 테스트 설비(170) 등을 포함할 수 있다. 벨트 설비(130)는 추가적으로 예열 설비(138), 컨트롤러(144), 마이크로파/라디오파 시스템(148), 파라미터 제어설비(140), 센서 시스템(142), 제거 시스템(150) 등을 포함할 수 있다. 고체연료 처리 설비(132)는 적어도 석탄 광산(102) 또는 석탄 보관 설비(112)로부터 석탄을 입수할 수 있고, 적어도 석탄 연소 설비(200), 석탄 전환 설비(210), 석탄 부산물 설비(212), 석탄 출하 설비(214), 석탄 보관 설비(218) 등으로 처리된 석탄을 제공할 수 있다.At a high level, the solid
도 1을 참조하면, 고체연료 처리 설비(132)는 석탄 광산(102) 또는 석탄 보관 설비(112)와 같은 수많은 여러 원료석탄 공급원으로부터 원료석탄을 입수할 수 있다. 고체연료 처리 설비(132)의 아웃풋은 석탄 연소 설비(200), 석탄 전환 설비(210), 석탄 부산물 설비(212), 석탄 출하 설비(214), 처리된 석탄 보관 설비(218) 등과 같은 수많은 여러 석탄 사용기업일 수 있다. 고체연료 처리 설비(132)에서의 석탄 처리는 공정의 초기에 원료석탄을 투입하고, 다수의 공정(가열, 냉각, 비-석탄 생성물 수집)을 수행하며, 분배를 위하여 처리된 석탄을 배출설비(168)로 배출할 수 있다. 고체연료 처리 설비(132)는 석탄 공급원(예를 들어 석탄 광산 또는 보관 설비)과 연결되거나, 단독 설비이거나, 석탄 사용 설비와 연결되거나 기타 등등일 수 있다.Referring to FIG. 1, the solid
구체예에서 고체연료 처리 설비(132)는, 석탄 공급원이 그것이 생산하는 석탄에 대하여 최적의 석탄 특성을 제공하도록 하기 위하여, 석탄 공급원에 위치할 수 있다. 예를 들어, 석탄 광산에서 높은 수분 함량을 가지는 낮은 품위의 석탄이 채굴될 수 있다. 석탄 광산에서는 같은 장소에서 석탄을 채굴하고 석탄을 처리할 수 있고, 따라서 특정 품위 석탄의 최고 품위를 제공할 수 있다. 다른 예는 석탄의 품위에 변화가 있는 석탄 광산(102)일 수 있고, 여기서 석탄 광산(102)은 고체연료 처리 설비(132)에서 석탄을 처리하여 유사한 특성을 가지도록 다양한 품위의 석탄을 처리할 수 있다. 이는 여러 위치에서 다양한 품위의 석탄을 저장하는 대신 단일한 품위의 석탄을 저장할 수 있으므로 석탄 광산(102)이 단순화된 보관 시스템을 가지도록 할 수 있다. 이러한 단일 품위의 석탄 보관은 또한 석탄 광산(102)이 고객에게 변함없는 고품질 단일 품위의 석탄을 제공할 수 있도록 한다. 이는 또한 단일한 품위 품질의 석탄 사용만을 관리하여 고객의 석탄 연소 요건을 단순화할 수 있다. 석탄 공급의 일관성은 하기의 도2와 관련하여 나타나는 바와 같이 석탄 사용의 효율성을 향상시킬 수 있다.In embodiments, the solid
구체예에서, 고체연료 처리 설비(132)는 다수의 개별적인 석탄 광산(102) 및 석탄 보관 설비(112)로부터 원료석탄을 입수하고, 재판매를 위하여 석탄을 고품질 품위의 석탄으로 가공할 수 있는 단독 설비일 수 있다. 단독의 고체연료 처리 설비(132)는 상이한 원료 및 처리된 석탄을 현지에서 보관할 수 있다. 예를 들어, 고객의 요구에 기초하여, 고체연료 처리 설비는 원료석탄의 품위를 선택하고 석탄을 고객에게 전달하기 위한 특정 규격으로 처리할 수 있다. 고체연료 처리 설비(132)는 또한 고객이 정규적으로 요청할 수 있는 유형과 품위의 석탄을 처리하고 보관할 수 있다.In an embodiment, the solid
석탄 사용기업과 연관된 고체연료 처리 설비(132)는 도 2에 관련하여 하기에 더욱 자세하게 기술되는 바와 같이, 그 자신의 목적을 위한 원료석탄의 처리를 위하여, 다수의 석탄 광산(102) 및 석탄 보관 설비(112)로부터 원료석탄을 받을 수 있다. 이러한 방식으로, 석탄 사용기업은 그것이 요구하는 규격으로 석탄을 처리할 수 있다. 석탄 사용기업은 또한, 예를 들어 상기 기업이 처리된 석탄의 큰 부피를 요구할 경우, 전용의 고체연료 처리 설비(132)를 가질 수 있다.The solid
도 1에 나타나는 바와 같이, 원료석탄은 석탄 광산(102)로부터 직접적으로 얻어질 수 있다. 석탄 광산(102)은 노천광산이거나 지하광산일 수 있다. 석탄 광산(102)은 다양한 품위의 동일한 유형의 석탄을 가지거나 단일 석탄 광산(102) 내의 다양한 유형의 석탄을 가질 수 있다. 채굴 후, 석탄 광산(102)은 상이한 유형의 석탄을 보관할 수 있고 및/또는 다양한 품위의 석탄을 보관할 수 있는 현지의 석탄 보관 설비(104)에 채굴된 원료석탄을 보관할 수 있다. 채굴 후, 원료석탄은 원료석탄의 특성(110)을 결정하기 위하여 테스트될 수 있다. 석탄 광산(102)은 석탄의 특성(110)을 결정하기 위하여 표준의 석탄 테스트 설비를 사용할 수 있다. 석탄 특성은 수분 퍼센트, 회분 퍼센트, 휘발성 물질 퍼센트, 고정된-탄소 퍼센트, BTU/lb, 수분과 회분이 없을 시(M-A Free) BTU/lb, 황의 형태, 분쇄성(Hardgrove grindability index(HGI)), 총 수은, 회분 용융온도(fusion temperature), 회분 무기물 분석, 전자기적 흡수/반사, 유전특성(dielectric properties) 등을 포함할 수 있다. 원료석탄은 ASTM 표준 D 388(등급(rank)에 의한 석탄 분류), ASTM 표준 D 2013(분석을 위한 석탄 샘플 제조 방법), ASTM 표준 D 3180(측정된 상태에서 다른 기준들까지 석탄 및 코크스 분석을 추정하기 위한 표준 실행), 미국 지질조사국 회보 1823(US Geological Survey Bulletin 1823)(석탄의 샘플링 및 무기분석 방법) 등과 같은 표준 테스트를 사용하여 테스트될 수 있다.As shown in FIG. 1, the raw coal can be obtained directly from the
석탄 보관 설비(104)는 또한 석탄 광산(102)에서 얻은 석탄을 선별하거나 크기 재조절(resize)할 수 있다. 채굴된 그대로의 원료석탄은 석탄 사용기업으로의 재판매를 위한 희망하는 크기나 형태가 아닐 수 있다. 크기 재조절이 바람직한 경우, 석탄 보관 설비(104)는 미분쇄기(pulverizer), 석탄 파쇄기(crusher), 볼 밀(ball mill), 분쇄기(grinder) 등을 사용하여 원료석탄을 크기 재조절할 수 있다. 원료석탄이 크기 재조절된 후, 석탄은 보관을 위하여 크기대로 선별되거나 크기 재조절 공정으로부터 입수한 대로 저장될 수 있다. 여러 석탄 사용기업들은 그들의 석탄 연소 공정에 유리한 여러 석탄 크기를 발견할 수 있는데; 고정층 석탄 연소(220)는 더 긴 연소시간을 가질 것인 더 큰 석탄을 필요로 할 수 있고, 미분탄 연소(222)는 빠른 연소를 위한 매우 작은 석탄 크기를 필요로 할 수 있다.The
원료석탄 특성(110)을 사용하여, 석탄 광산(102) 보관 설비(104)는 석탄 처리 시설 또는 석탄 사용기업으로의 출하를 위한 원료석탄 분류에 의하여 원료석탄을 저장할 수 있다. 출하 설비(108)는 고객에게 원료석탄을 출하하기 위하여 석탄 보관 설비(104)와 결합될 수 있다. 출하 설비(108)는 철도, 선박, 바지선(barge) 등일 수 있고; 이들은 고객에게 석탄을 운송하기 위하여 개별적으로 또는 조합으로 사용될 수 있다. 석탄 보관 설비(104)는 선별된 석탄을 출하 설비(108)로 이동시키기 위하여 컨베이어 벨트(300), 카트(cart), 철도차량(rail car), 트럭, 트랙터 등을 포함할 수 있는 수송 시스템을 사용할 수 있다. 한 구체예에서, 출하 설비(108)로 원료석탄을 수송하기 위하여 적어도 하나의 석탄 수송 시스템이 있을 수 있다.Using the
석탄 보관 설비(112)는 보관 및 재판매를 위하여 다수의 석탄 광산(102)으로부터 원료석탄을 입수할 수 있는 단독의 석탄 보관 기업일 수 있다. 석탄 광산(102)으로부터 얻은 원료석탄은 채굴된 대로의 석탄, 크기 재조절된 석탄, 선별된 석탄 등일 수 있다. 석탄 광산(102)은 특성(110)을 위하여 석탄을 사전 테스트할 수 있고, 석탄 보관 설비(112)에 석탄 특성을 제공할 수 있다. 석탄 보관 설비(112)는 다수의 고객에게 유통 및 재판매를 위하여 석탄 광산(102)으로부터 석탄을 구입하는 기업일 수 있거나, 보관 설비(112)에서 원거리 위치일 수 있는 석탄 광산(102)과 결합될 수 있다.The
석탄 보관 설비(112)의 일부로서, 원료석탄은 그것의 특성을 결정하기 위하여 테스트될 수 있다. 석탄 보관 설비(112)는 석탄의 특성을 결정하기 위하여 표준 석탄 테스트 설비를 사용할 수 있다. 석탄 특성은 수분 퍼센트, 회분 퍼센트, 휘발성 물질 퍼센트, 고정탄소 퍼센트, BTU/lb, 수분과 회분이 없을 시 BTU/lb, 황의 형태, 분쇄성(HGI), 총 수은, 회분 용융온도, 회분 무기물 분석, 전자기적 흡수/반사, 유전특성 등을 포함할 수 있다. 원료석탄은 ASTM 표준 D 388 (등급에 의한 석탄 분류), ASTM 표준 D 2013 (분석을 위한 석탄 샘플 제조 방법), ASTM 표준 D 3180 (측정된 상태에서 다른 기준들까지 석탄 및 코크스 분석을 추정하기 위한 표준 실행), 미국 지질조사국 회보 1823(석탄의 샘플링 및 무기분석 방법) 등과 같은 표준 테스트를 사용하여 테스트될 수 있다.As part of the
석탄 보관 설비(112)는 또한, 예를 들어 채굴된 그대로의 석탄이 석탄 사용기업으로의 재판매를 위한 적절한 크기 또는 형태가 아닐 경우, 석탄 광산(102)으로부터 입수되는 석탄을 선별하거나 크기 재조절할 수 있다. 석탄 보관 설비(112)는 미분쇄기, 석탄 파쇄기, 볼 밀, 분쇄기 등을 사용하여 원료석탄을 크기 재조절할 수 있다. 원료석탄이 크기 재조절된 후, 석탄은 보관을 위하여 크기별로 선별되거나 크기 재조절 공정으로부터 얻은대로 보관될 수 있다. 여러 석탄 사용기업들은 유리한 여러 석탄 크기를 발견할 수 있다. 예를 들어, 석탄 연소에서, 특정 고정층 석탄 연소(220) 시스템은 더 긴 연소시간을 가질 것인 더 큰 석탄을 필요로 할 수 있는 반면, 다른 것들은 빠른 연소를 위한 매우 작은 석탄 크기를 필요로 할 수 있다.The
원료석탄 특성을 사용하여, 보관 설비(104)는 석탄 처리 시설 또는 석탄 사용기업으로의 출하를 위한 원료석탄 분류에 의하여 원료석탄을 저장할 수 있다. 출하 설비(118)는 고객에게 원료석탄을 출하하기 위한 석탄 보관 설비(114)과 결합될 수 있다. 출하 설비(118)는 철도, 선박, 바지선 등일 수 있고; 이들은 이들은 고객에게 석탄을 운송하기 위하여 개별적으로 또는 조합으로 사용될 수 있다. 석탄 보관 설비(114)는 분류된 석탄을 출하 설비(108)로 이동시키기 위하여 컨베이어 벨트(300), 카트, 철도차량, 트럭, 트랙터 등을 포함할 수 있는 수송 시스템을 사용할 수 있다. 한 구체예에서, 원료석탄을 출하 설비(118)로 수송하기 위한 적어도 하나의 석탄 수송 시스템이 있을 수 있다.Using the raw coal characteristics, the
석탄 광산(102) 및 석탄 보관 설비(112) 양쪽 모두로부터의 석탄 특성(110)은 석탄 샘플 데이터 설비(120)에 저장될 수 있다. 석탄 샘플 데이터 설비(120)는 수분 퍼센트, 회분 퍼센트, 휘발성 물질 퍼센트, 고정탄소 퍼센트, BTU/lb, 수분과 회분이 없을 시 BTU/lb, 황의 형태, 분쇄성(HGI), 총 수은, 회분 용융온도, 회분 무기물 분석, 전자기적 흡수/반사, 유전특성 등을 포함할 수 있는 파라미터로 특징지어질 수 있는, 특정한 석탄 로트(lot), 배치(batch), 품위, 유형, 출하 등에 대한 모든 데이터를 포함할 수 있다.The
구체예에서, 석탄 샘플 데이터 설비(120)는 석탄 특성(110)을 저장하고 추적하기 위한 개별적인 컴퓨터 장치 또는 컴퓨터 장치의 세트일 수 있다. 컴퓨터 장치는 데스크탑 컴퓨터, 서버, 웹 서버, 랩탑 컴퓨터, CD 장치, DVD 장치, 하드 드라이브 시스템 등일 수 있다. 컴퓨터 장치는 모두 서로 로컬 위치일 수 있거나 다수의 컴퓨터 장치가 원격 위치에 분포되어 있을 수 있다. 컴퓨터 장치는 LAN, WAN, 인터넷, 인트라넷, P2P, 또는 유선이나 무선 기술을 사용하는 다른 유형의 네트워크에 의하여 연결될 수 있다. 석탄 샘플 데이터 설비(120)는 데이터베이스, 관계 데이터베이스, XML, RSS, ASCII 파일, 플랫(flat) 파일, 텍스트 파일 등일 수 있는 데이터의 모음을 포함할 수 있다. 한 구체예에서, 석탄 샘플 데이터 설비(120)는 석탄에 대하여 요구되는 데이터 특성의 검색에 대하여 검색이 가능할 수 있다.In an embodiment, the coal
석탄 샘플 데이터 설비(120)는 석탄 광산(102), 석탄 보관 설비(112), 고체연료 처리 설비(132)에 위치할 수 있거나, 이들 설비로부터 원거리에 위치할 수 있다. 한 구체예에서, 임의의 이들 시설은 네트워크 연결을 사용하여 석탄 특성 데이터에 액세스(access)할 수 있을 것이다. 업데이트 및 변경(modification) 액세스가 임의의 연결된 설비에 허가될 수 있다. 한 구체예에서, 석탄 샘플 데이터 설비(120)는 석탄 특성 데이터의 저장 및 분배를 위한 독립적인 기업일 수 있다.The coal
석탄 샘플 데이터 설비(120)는 기준(baseline) 정보를 파라미터 생성 설비(128), 석탄 희망 특성 설비(coal desired characteristics facility)(122), 및/또는 가격 책정/트랜잭션 설비(178)에 제공할 수 있다. 구체예에서, 기준 정보는 이들 설비에 의하여 변경되지는 않지만, 예를 들어 고체연료 처리 설비(132)에 대한 작동 파라미터 결정을 위해서나, 초기 석탄 특성을 기억하기 위해서, 또는 석탄 배치(batch)의 비용을 추정하기 위해서 사용될 수 있다.The coal
석탄에 대한 희망하는 특성은 석탄 희망-특성 설비(122)에서 결정될 수 있다. 석탄 희망-특성 설비(122)는 식별된(identified) 석탄에 대한 최종의 희망하는 석탄 특성을 저장하기 위한 개별적인 컴퓨터 장치 또는 컴퓨터 장치의 세트일 수 있다. 컴퓨터 장치는 데스크탑 컴퓨터, 서버, 웹 서버, 랩탑 컴퓨터, CD 장치, DVD 장치, 하드 드라이브 시스템 등일 수 있다. 컴퓨터 장치는 모두 서로 로컬 위치일 수 있거나 다수의 컴퓨터 장치가 원격 위치에 분포되어 있을 수 있다. 컴퓨터 장치는 LAN, WAN, 인터넷, 인트라넷, P2P, 또는 유선이나 무선 기술을 사용하는 다른 유형의 네트워크에 의하여 연결될 수 있다.The desired properties for the coal can be determined at the coal hop-
석탄 희망-특성 설비(122)는 데이터베이스, 관계 데이터베이스, XML, RSS, ASCII 파일, 플랫 파일, 텍스트 파일 등일 수 있는 데이터의 모음을 포함할 수 있다. 한 구체예에서, 석탄 희망 특성 설비(122)는 석탄에 대한 희망하는 데이터 특성의 검색에 대하여 검색이 가능할 수 있다.The coal hope-
한 구체예에서, 석탄 희망 특성(122)은 고체연료 처리 설비(132), 예를 들어 설비가 처리할 수 있는 석탄의 각 유형 및 품위에 대하여 최종의 처리된 석탄의 희망하는 특성에 의하여 결정되고 유지될 수 있다. 이들 특성은 석탄 희망 특성 설비(122)에 저장될 수 있고, 파라미터 생성 설비(128)에 의하여 석탄 샘플 데이터 설비(120)로부터의 정보에 관하여 사용되어 고체연료 처리 설비(132)에 대한 작동 파라미터를 생성할 수 있다.In one embodiment, the coal desired
한 구체예에서, 다수의 석탄 희망 특성(122) 데이터 기록이 있을 수 있고; 고체연료 처리 설비(132)가 처리하는 각각의 석탄 유형 및 석탄 품위에 대한 데이터 기록이 있을 수 있다.In one embodiment, there may be multiple coal desired
한 구체예에서, 고체연료 처리 설비에서 입수된 석탄의 각각의 출하에 대한 석탄 희망-특성(122) 데이터 기록이 있을 수 있다. 입수된 석탄의 품질 및 고체연료 처리 설비(132)에 의하여 영향받은 변화에 기초하여, 고체연료 처리 설비(132)에 의하여 조성된 석탄 희망 특성(122)이 있을 수 있다. 예를 들어, 고체연료 처리 설비(132)는 단지 황 또는 회분의 크기를 어느 정도의 퍼센트로 감소시킬 수 있고, 그러므로 석탄 희망 특성(122)은 고체연료 처리 설비(132)가 달성할 수 있는 변화의 관점에서, 최초의 황 및 회분 퍼센트에 기초하여 조성될 수 있다.In one embodiment, there may be a coal desired-characteristic (122) data record for each shipment of coal obtained from the solid fuel treatment facility. Based on the quality of the coal obtained and the changes effected by the solid
한 구체예에서, 석탄 희망 특성(122)은 고객의 요구에 기초하여 조성될 수 있다. 석탄 희망 특성(122)은 향상된 연소 특성, 배기가스의 확실한 감소 등을 제공하도록 조성될 수 있다.In one embodiment, the coal desired
희망-특성 설비(122)로부터의 석탄 샘플 및 데이터의 특성에 기초하여, 작동 파라미터는 고체연료 처리 설비(132)에서 석탄을 가공하기 위하여 결정될 수 있다. 작동 파라미터는 벨트 설비(130) 컨트롤러(144) 및 모니터링 설비(134)에 제공될 수 있다. 작동 파라미터는 벨트 설비(130) 가스 환경, 석탄의 투입 부피, 예열온도, 요구되는 센서 설정(setting), 마이크로파 주파수, 마이크로파 출력(power), 마이크로파 듀티 사이클(예를 들어 펄스 또는 연속), 배출 부피, 냉각 속도 등을 조절하기 위하여 사용될 수 있다.Based on the characteristics of the coal sample and data from the desired-
구체예에서, 파라미터 생성 설비(128)는 고체연료 처리 설비(132)의 다양한 설비 및 시스템에 대한 기저(base) 작동 파라미터를 생성할 수 있다. 파라미터 생성 설비(128)는 식별된 석탄에 대한 최종 석탄 희망 특성을 저장하기 위한 개별적인 컴퓨터 장치 또는 컴퓨터 장치의 세트일 수 있다. 컴퓨터 장치는 데스크탑 컴퓨터, 서버, 웹 서버, 랩탑 컴퓨터 등일 수 있다. 컴퓨터 장치는 모두 서로 로컬 위치일 수 있거나 다수의 컴퓨터 장치가 원격 위치에 분포되어 있을 수 있다. 컴퓨터 장치는 LAN, WAN, 인터넷, 인트라넷, P2P, 또는 유선이나 무선 기술을 사용하는 다른 유형의 네트워크에 의하여 연결될 수 있다. 파라미터 생성 설비(128)는 데이터베이스, 관계 데이터베이스, XML, RSS, ASCII 파일, 플랫 파일, 텍스트 파일 등과 같은 기저 작동 파라미터 저장이 가능할 수 있다. 한 구체예에서, 저장된 기저 작동 파라미터는, 석탄에 대한 희망하는 데이터 특성의 검색에 대하여, 검색이 가능할 수 있다.In an embodiment, the
파라미터 생성공정을 시작하기 위하여, 고체연료 처리 설비(132)는 진행될 수 있는 어떤 석탄 출하를 식별할 수 있고, 이러한 석탄 출하에 대한 작동 파라미터를 생성하도록 파라미터 생성 설비(128)에 요청할 수 있다. 고체연료 처리 설비(132)는 요구되는 최종의 처리된 석탄 파라미터를 더욱 나타낼 수 있다. 파라미터 생성 설비(128)는 작동 파라미터를 생성하기 위하여 요구되는 데이터를 검색하기 위하여, 석탄 샘플 데이터 설비(120) 및 석탄 희망 특성 설비(122) 양쪽 모두에 질의(query)할 수 있다.In order to begin the parameter generation process, the solid
석탄 샘플 데이터 설비(120)로부터, 원료석탄 특성(110)에 대한 데이터는 석탄의 최초 특성을 결정하기 위하여 요구될 수 있다. 한 구체예에서, 특정한 석탄 출하에 대한 하나 이상의 데이터 기록이 있을 수 있다. 파라미터 생성 설비(128)는 최근 특성, 평균 특성, 최초 특성 등을 선택할 수 있다. 석탄 샘플 데이터(120)로부터의 최초 석탄 특성에 대하여 사용하기에 적절한 데이터를 결정하기 위한 알고리즘이 있을 수 있다.From the coal
석탄 희망 특성(122)으로부터, 최종의 처리된 석탄에 대한 데이터가 선택될 수 있다. 한 구체예에서, 고체연료 처리 설비(132)는 선택된 특정한 석탄 희망 특성(122)을 가질 수 있다. 한 구체예에서, 파라미터 생성 설비(128)는 고체연료 처리 설비(132)에 의하여 요청된 최종의 처리된 석탄 파라미터에, 가장 잘 매치(match)할 수 있는 특성에 기초한, 석탄 희망 특성(122) 기록을 선택할 수 있다. 파라미터 생성 설비(128)는 작동 파라미터 생성을 계속하기 전의 승인을 위하여, 선택된 석탄 희망 특성(122)의 지표(indication)를 고체연료 처리 설비(132)에 제공할 수 있다.From the coal desired
한 구체예에서, 파라미터 생성 설비(128)는 원료석탄을 처리하여 최종의 처리된 석탄을 제조하기 위한 규칙(rule)을 적용할 수 있는 컴퓨터 어플리케이션(application)을 사용할 수 있다. 규칙은 어플리케이션의 일부이거나 데이터로서 저장될 수 있다. 어플리케이션에 의하여 적용되는 규칙은 석탄을 가공하기 위하여 고체연료 처리 설비(132)에 의하여 요구될 수 있는 작동 파라미터를 결정할 수 있다. 상기 결과의 데이터 세트가 생성될 수 있고, 이는 고체연료 처리 설비(132)의 기준 작동 파라미터를 포함할 수 있다.In one embodiment, the
한 구체예에서, 특정 석탄의 처리를 위한, 사전 결정된 기준 작동 파라미터의 세트가 있을 수 있다. 파라미터 생성 설비(128)는 기준 작동 파라미터 결정을 위하여, 석탄 샘플 데이터(120), 석탄 희망 특성(122), 및 사전 설정(preset) 파라미터 사이에서 최적의 매치를 수행할 수 있다.In one embodiment, there may be a set of predetermined reference operating parameters for the treatment of a particular coal. The
파라미터 생성 설비(128)는 또한, 요구되는 최종의 처리된 석탄 특성까지 석탄을 처리하도록 유지될 수 있는, 작동 파라미터 허용치(tolerance)를 결정할 수 있다.The
기준 작동 파라미터가 결정되면, 파라미터 생성 설비(128)는 고체연료 처리 설비(132)의 제어를 위하여, 작동 파라미터를 컨트롤러(144) 및 모니터링 설비(134)에 제공할 수 있다.Once the reference operating parameters are determined, the
도 1에 나타나는 바와 같이, 고체연료 처리 설비(132)에 의하여 가공되어야 하는 석탄은 투입(124), 벨트 설비(130)에서의 가공, 냉각 설비(164)에서의 가공, 및 외부로의 배출과 같은 원료석탄에서 최종의 처리된 석탄까지의 공정의 세트를 거칠 수 있다. 벨트 설비(130) 내에서, 석탄 예열, 석탄 마이크로파 처리, 비-석탄 생성물(예를 들어 물, 황, 수소, 하이드록실) 수집 등과 같은 다수의 석탄 처리 공정이 있을 수 있다. 한 구체예에서, 처리되어야 하는 석탄은 일부 또는 모든 가능한 공정에 의하여 가공될 수 있고, 일부 공정이 수차례 반복될 수 있는 반면, 다른 공정은 특정 유형의 석탄에 대하여 생략될 수 있다. 모든 공정 단계 및 공정 파라미터는 파라미터 생성 설비(128)에 의하여 결정되고 공정 제어를 위한 컨트롤러(144) 및 센서(142) 피드백에 기초한 작동 파라미터의 수정을 위한 모니터 설비(134)에 제공될 수 있다. 또한 모니터링 설비(134)는, 석탄 처리 공정이 요구되는 바와 같이 석탄을 처리하는지를 결정하는 데에 사용될 수 있는, 센서 파라미터의 세트를 전송받을 수 있다.As shown in Figure 1, the coal to be processed by the solid
본원에 나타난 바와 같이, 고체연료 처리 설비(132)는 벨트 설비(130)를 통하여 고체연료를 수송하기 위하여 컨베이어 벨트(300)(예를 들어, 본원의 도. 3-6과 관련하여 나타난 바와 같은 요소(300A, 300B, 300C 및 300D))를 사용할 수 있다. 벨트 설비(130) 내의 가공 단계는 RF 마이크로파 가열, 세척, 가스화, 연소, 스팀처리(steaming), 재포획(recapture) 등을 포함할 수 있다. 이들 고체연료 가공 단계는 고체연료가 컨베이어 벨트(300) 상에 있는 동안 수행될 수 있다. 가공 단계는 컨베이어 벨트(300)를 RF 마이크로파 방출, 고온, 마모 등과 같은 조건에 노출시킬 수 있고, 연장된 작동시간 프레임(frame)에서 이들 조건에 견뎌야 할 수 있다. 컨베이어 벨트(300)는 연속적인 유연 구조, 경첩으로 연결된 판 구조 또는 다른 컨베이어 구조일 수 있고, 구체예에서 벨트 설비(130)의 환경조건을 유지하기 위하여 독특한 설계를 요구할 수 있다. 이러한 컨베이어 벨트는 RF 마이크로파 방출, 고온, 마모 등과 같은 주위조건에 직면할 수 있다. 경첩으로 연결된 판 구조의 경우에 경첩으로 연결된 구조와 관계있을 수 있는, 경첩으로 연결된 공간에 메워지는 재료, 마이크로파 흡수 등과 같은 환경조건이 나타날 수 있다. 컨베이어 벨트(300)에서 이들 조건의 영향은 컨베이어 벨트(300)에 대한 재료와 구조의 적절한 선택으로 최소화될 수 있다.As indicated herein, solid
벨트 설비(130)의 환경조건은, 컨베이어 벨트(300)가 마이크로파 저손실, 높은 구조적 무결성, 고강도, 마모저항성, 일정한 승온 저항성, 국부화된 승온 저항성, 온도 전열, 용락저항성, 고융점, 미립자 및 수분에 대한 비-침투성, 열폭주에 대한 저항성, 유체 수송 가능성 등과 같은 다수의 특성과 연관되도록 요구할 수 있다.The environmental conditions of the belt installation 130 are such that the conveyor belt 300 is designed to have a low mechanical strength and a high mechanical strength such that the conveyor belt 300 has a low loss of microwaves, high structural integrity, high strength, abrasion resistance, constant elevated temperature resistance, localized elevated temperature resistance, Non-permeability to heat, resistance to thermal runaway, fluid transportability, and the like.
컨베이어 벨트(300)는 마이크로파 저손실을 가지도록 요구될 수 있다. 고체연료 처리 설비(132)는 고체연료를 가열하기 위하여 마이크로파를 이용할 수 있다. 컨베이어 벨트(300)는 마이크로파 에너지를 흡수하고 가열될 수 있다. 컨베이어 벨트(300)를 구성하는 재료가 마이크로파 저손실을 가지지 않을 경우, 컨베이어 벨트(300)는 가열되어 사용과 함께 파괴될 수 있다. 벨트 설비(130)의 마이크로파 시스템(148)인 RF 마이크로파 주파수는 300 MHz 내지 1 GHz일 수 있는 범위를 사용할 수 있고, 컨베이어가 마이크로파 저손실을 가질 수 있는 RF 주파수를 나타낼 수 있다. 벨트 설비(130) 내의 특정 작동조건은 컨베이어 벨트(300)에 의하여 흡수되는 마이크로파 에너지의 양을 더욱 크게 할 수 있다. 예를 들어, 고체연료가 건조할 경우나, 컨베이어 벨트(300)에서 고체연료 양의 감소가 있을 경우에, 마이크로파 에너지가 흡수되는 재료가 거의 없을 수 있다. 그 결과로서, 컨베이어 벨트(300)는 더 많은 마이크로파 에너지를 흡수할 수 있다.Conveyor belt 300 may be required to have a microwave low loss. The solid
컨베이어 벨트(300)는 벨트 설비(130)의 작동온도의 결과로서 일정한 고온을 견디도록 요구될 수 있다. 이들 일정 온도는 150℉, 200℉, 250℉ 등에 도달할 수 있다. 컨베이어 벨트(300)는 연장된 작동시간 프레임에 걸쳐 이들 고온에 견딜 수 있어야 할 수 있다. 게다가, 컨베이어 벨트(300)는 벨트 설비(130)의 일정한 작동온도를 초과하는 국부화된 고온을 견디도록 요구될 수 있다. 이들 국부화된 고온은 500℉, 600℉, 700℉ 등의 온도를 발생시키는 고체연료의 개별적 조각에 의한 것일 수 있다. 이들 국부화된 과열점(hot spot)은 컨베이어 벨트(300)를 통하여 연소할 수 있고, 이는 고체연료 처리 설비(132) 작동의 중단으로 이어질 수 있다.The conveyor belt 300 may be required to withstand a constant high temperature as a result of the operating temperature of the belt fixture 130. These constant temperatures can reach 150 ° F, 200 ° F, 250 ° F, and so on. The conveyor belt 300 may have to withstand these high temperatures over extended operating time frames. In addition, the conveyor belt 300 may be required to withstand the localized high temperatures exceeding the constant operating temperature of the belt facility 130. These localized high temperatures may be due to individual pieces of solid fuel generating temperatures such as 500 < 0 > F, 600 < 0 > F, 700 & These localized hot spots can burn through the conveyor belt 300, which can lead to the disruption of the operation of the solid
컨베이어 벨트(300)는 고체연료의 가공에서 일정한 마찰을 견디도록 요구될 수 있다. 예를 들어, 고체연료는 1피트, 2피트, 3피트 등의 높이에서 컨베이어 벨트(300)로 떨어질 수 있다. 다른 예는 컨베이어 벨트(300)를 미끄러져 가면서 컨베이어 벨트(300)을 마모시키는 고체연료일 수 있다. 컨베이어 벨트(300)는 연장된 작동시간 프레임에 걸쳐 일정한 마모를 견디도록 요구될 수 있다.Conveyor belt 300 may be required to withstand constant friction in the processing of solid fuel. For example, the solid fuel may fall to the conveyor belt 300 at a height of one foot, two feet, three feet, and so on. Another example may be a solid fuel which abrades the conveyor belt 300 while sliding the conveyor belt 300. Conveyor belt 300 may be required to withstand constant wear over extended operating time frames.
컨베이어 벨트(300)는 미립자, 수분 등에 대하여 비-침투성이도록 요구될 수 있다. 고체연료의 미립자가 컨베이어 벨트(300)를 통하여 떨어질 경우, 미립자는 컨베이어 벨트(300)의 성능을 저하시킬 수 있다. 예를 들어, 고체연료가 컨베이어 벨트(300)를 통하여 벨트 시스템(130)의 기계 부분으로 끊임없이 떨어질 경우, 벨트 시스템(130)의 기계 부분이 막히거나 메워질 수 있고, 이는 고체연료 처리 설비(132) 작동의 중단으로 이어질 수 있다. 게다가, 컨베이어 벨트(300)로 들어가는 흡수된 수분은 컨베이어 벨트(300)에 의하여 흡수될 수 있는 마이크로파 에너지의 양을 증가시킬 수 있다. 마이크로파 에너지의 흡수는 컨베이어 벨트(300)의 가열을 초래하여 컨베이어 벨트(300)의 수명을 감소를 야기할 수 있다.Conveyor belt 300 may be required to be non-permeable to particulates, moisture, and the like. When particulates of the solid fuel fall through the conveyor belt 300, the particulates may degrade the performance of the conveyor belt 300. For example, when solid fuel is constantly falling through the conveyor belt 300 to the machine portion of the belt system 130, the mechanical portion of the belt system 130 may become clogged or buried, ) Operation. In addition, the absorbed moisture entering the conveyor belt 300 can increase the amount of microwave energy that can be absorbed by the conveyor belt 300. Absorption of microwave energy can result in heating of the conveyor belt 300, resulting in reduced life of the conveyor belt 300.
컨베이어 벨트(300) 구성은 벨트 설비(130)의 환경조건에 의하여 발생되는 요건을 만족시키기 위하여 다수의 재료를 사용할 수 있다. 구체예에서, 이들 재료는 벨트 설비(130)의 환경조건에 견디기 위한 컨베이어 벨트(300)를 위하여, 벌크로, 혼합물로, 조성물로, 층(layer)으로, 폼(foam)으로, 코팅으로서, 첨가제로서, 또는 당해 분야에 공지된 임의의 다른 조합으로 사용될 수 있다. 재료는 백색 부틸고무, 직조된(woven) 폴리에스테르, 알루미나, 폴리에스테르, 유리섬유, 케블라(Kevlar), 노멕스(Nomex), 실리콘, 폴리우레탄, 멀티 플라이(multi-ply) 재료, 세라믹, 고온 플라스틱, 이들의 조합 등을 포함할 수 있다. 구체예에서, 컨베이어 벨트(300)는 최상층, 구조층(structural layer), 중간층, 플라이층(ply layer), 직조층(woven layer), 매트층(mat layer), 최하층, 열저항층, 마이크로파 저손실층, 비-침투성층 등과 같은 층으로 구성될 수 있다. 다른 구체예에서, 층은 설비 교체, 수리, 보충 등을 위하여 분리 가능할 수 있다.The construction of the conveyor belt 300 may utilize a number of materials to meet the requirements generated by the environmental conditions of the belt facility 130. In embodiments, these materials may be used in bulk, as a mixture, as a composition, as a layer, as a foam, as a coating, as a coating, for a conveyor belt 300 to withstand the environmental conditions of the belt facility 130, As an additive, or in any other combination known in the art. The material may be selected from the group consisting of white butyl rubber, woven polyester, alumina, polyester, glass fiber, Kevlar, Nomex, silicone, polyurethane, multi- Plastics, combinations thereof, and the like. In an embodiment, the conveyor belt 300 comprises a top layer, a structural layer, an intermediate layer, a ply layer, a woven layer, a mat layer, a bottom layer, a heat resistant layer, Layer, a non-permeable layer, and the like. In other embodiments, the layer may be separable for facility replacement, repair, replenishment, and the like.
구체예에서, 컨베이어 벨트(300A)는 도 3에 나타나는 바와 같은 다층 구성으로써 벨트 설비(130)의 환경조건을 견딜 수 있다. 이 구체예에서, 하층은 플라이(ply) 유사 구조에서의 구조코드(structural cord)(304)로 강화된 매트릭스 재료(302)로 만들어진 구조층(310)이다. 이러한 구조층(310)은 높은 구조적 무결성(integrity), 고강도 등과 같은 요건을 만족시킬 수 있다. 구조층(310)을 만들기 위하여 결합될 수 있는 재료들의 조합의 예는 구조코드(304)로서 직조된 폴리에스테르를 가지는 백색 부틸고무 매트릭스(302)일 수 있다. 매트릭스(302) 재료로서 사용될 수 있는 다른 재료는 천연고무, 합성고무, 탄화수소 고분자 등일 수 있다. 구조코드(304)에 사용될 수 있는 다른 재료는 케블라, 노멕스, 메탈, 플라스틱, 폴리카보네이트, 폴리에틸렌 테레프탈레이트, 나일론 등일 수 있다. 이 구체예에서, 상층은 매우 높은 온도에 견딜 수 있는 덮개층(308)이다. 덮개층(308)은 또한 뜨거운 하층으로부터 고체연료를 단열시키기 위하여 단열특성을 가질 수 있다. 덮개층(308)은 강도 특성을 요구하지 않을 수 있지만, 마모저항성 특징을 요구할 수 있고, 낮은 마이크로파 손실인자(loss factor)를 가질 수 있으며, 열폭주를 방지할 수 있는 열적특성을 가질 수 있거나 기타 등등일 수 있다. 이 상부 덮개층(308)의 예는 유리섬유, 알루미나와 같은 저손실 세라믹, 광섬유, 코런덤(corundum), 유기섬유, 탄소섬유, 조성물 재료 등일 수 있다. 구체예에서, 덮개층(308)은 단단하게 직조된 제품으로서, 또는 폼의 형태로 제공될 수 있다. 덮개층(308) 재료의 다른 예는 실리콘일 수 있다. 실리콘은 고온에서 취급 가능할 수 있지만, 마모저항성이지는 않을 것이다. 이러한 예에서, 폴리우레탄과 같은 실리콘의 윗면 코팅이나 실리콘으로의 첨가제가, 마모저항성을 증가시키기 위하여 추가될 수 있다.In an embodiment, the
구체예에서, 덮개층(308)은 쉽게 분리 가능하도록 설계될 수 있고, 이는 덮개층(308)의 교체, 수리, 보충 등을 가능하게 할 수 있다. 이 경우에 마모저항성 및 비-침투성인 것에 대한 요건이 완화될 수 있다. 한 구체예에서, 덮개층(308)은 컨베이어 벨트(300) 시스템의 한 면에서 공급 로울러(feeding roller)를 사용하고, 후면에서 권취 로울러(take up toller)를 사용하여, 롤 형태로 도포될 수 있다.In an embodiment, the
구체예에서, 도 4에 나타나는 것과 같은 컨베이어 벨트(300B)는 덮개층(308)이 없이 벨트 설비(130)의 환경조건에 견딜 수 있을 것이다. 이는 고온 재료 성분을 매트릭스(302) 재료에 도입하여 행해질 수 있고, 이는 벨트 설비(130)의 고온 환경조건에 더욱 저항성인, 백색 부틸고무와 같은 매트릭스 재료(302)를 만들 것이다. 구체예에서 구조층(310)은, 도 5에 나타나는 바와 같이 온도저항성 재료의 중간층(502)을 삽입하여, 고온 고체연료가 컨베이어 벨트(30℃)를 용락시키는 것을 방지할 수 있다. 이러한 중간층(502)의 예는 케블라, 노멕스, 금속, 세라믹, 유리섬유 등일 수 있다. 이 구성에서, 구조층(310)의 상부는 용융될 수 있지만, 컨베이어 벨트(30℃)는 구조층(310) 상부가 수리될 수 있을 때까지 여전히 사용 가능할 수 있다.In an embodiment, the
구체예에서, 컨베이어 벨트(300D)는 도 6에 나타나는 바와 같이, 여기서 층들의 조합은 앞서 기술된 바와 같이 반복되고, 다층 구성으로써 벨트 설비(130)의 환경조건에 견딜 수 있을 것이다. 추가적인 층들은 컨베이어 벨트(300D)에 강도를 더욱 부가하고, 고온 고체연료의 용락 가능성을 더욱 감소시킬 수 있다. 열저항성, 마모저항성, 분리 가능 등인 최상 덮개층(308)이 있을 수 있다. 중간층(502)을 가지는 구조층(310A)이 있을 수 있다. 이 조성층(composite layer)은 벨트에서 중간층으로서 나타나지만, 구체예에서 최상층, 중간층, 최하층 등일 수 있다. 구조층(310B)이 있을 수 있다. 구조층(310B)은 최하층으로서 나타나지만, 구체예에서 중간층이거나 최상층일 수 있다. 다층으로 구성된 다른 구체예는 도 6에 도시되는 조합으로 한정되지 않는다. 예를 들어, 구체예는 구조층(310A) 내의 중간층(502)이 부재하거나, 조성층에서 다수의 여러 층들이 있거나, 조성층이 다수의 하위층(sub-layer)으로 이루어져 있거나, 기타 등등인 층들의 조합으로 구성될 수 있다. 도 6이 다층 및 조성층을 가지는 구조를 도시하는 동안, 다른 다층 구조가 당업자에게 명백해질 것이고 본원 발명에 통합될 것이다.In an embodiment, the
구체예에서, 고온 고체연료가 용락하는 것을 방지하는 다른 방법들이 사용될 수 있다. 대안 방법의 예는 고체연료의 고온 부분 위치를 시각화하는 온도기록 카메라를 사용하는 것일 수 있다. 고체연료의 고온 부분 위치를 결정한 후, 냉각 스프레이가 사용되어 온도를 낮출 수 있거나, 스위퍼(sweeper)가 사용되어 고온 부분이 컨베이어 벨트(300)를 손상시킬 시간을 가지기 전에 그것을 제거할 수 있다. 대안 방법의 다른 예는 고체연료가 벨트 시스템(130)으로 들어감에 따라, 고체연료의 모든 부분의 유전특성을 측정하고, 이들이 고온인 것으로 결정될 경우에 제거하는 것일 수 있다. 대안 방법의 다른 예는 컨베이어 벨트(300) 상의 고체연료를 수송하는 것일 수 있고, 이는 유동층을 컨베이어 벨트의 구성에서 구현하며, 그로 인하여 모든 부분의 온도를 균일화하고, 컨베이어 벨트(300)에서 고립된(isolated) 고체연료의 고온 부분을 제거한다.In embodiments, other methods of preventing hot solids fuel from being released may be used. An example of an alternative method may be to use a temperature recording camera to visualize the location of the hot portion of the solid fuel. After determining the location of the hot portion of the solid fuel, a cooling spray can be used to lower the temperature, or a sweeper can be used to remove it before the hot portion has time to damage the conveyor belt 300. Other examples of alternative methods may be to measure the dielectric properties of all parts of the solid fuel as they enter the belt system 130 and to remove them when they are determined to be hot. Another example of an alternative method may be to transport the solid fuel on the conveyor belt 300, which implements the fluidized bed in the construction of the conveyor belt, thereby homogenizing the temperature of all parts, Remove the hot portion of the isolated solid fuel.
구체예에서, 컨트롤러(144) 및 모니터 설비(134)는, 작동 파라미터를 고체연료 처리 설비(132)와 벨트 설비(130)에 제공하는 컨트롤러, 및 작동 파라미터가 요구되는 처리된 석탄을 생산하기 위하여 조정을 필요로 하는지를 결정하기 위하여, 벨트 설비(130) 센서(142)로부터 데이터를 입수하는 모니터링 설비(134)를 가지는, 피드백 루프 시스템을 가질 수 있다. 석탄의 처리 동안, 고체연료 처리 설비(132) 및 벨트 설비(130)의 작동 파라미터의 계속적인 적용과 조정이 있을 수 있다.In an embodiment, the
컨트롤러(144)는 데스크탑 컴퓨터, 서버, 웹 서버, 랩탑 컴퓨터 등일 수 있는 컴퓨터 장치일 수 있다. 컴퓨터 장치는 모두 서로 로컬 위치일 수 있거나 다수의 컴퓨터 장치가 원격 위치에 분포되어 있을 수 있다. 컴퓨터 장치는 LAN, WAN, 인터넷, 인트라넷, P2P, 또는 유선이나 무선 기술을 사용하는 다른 유형의 네트워크에 의하여 연결될 수 있다. 컨트롤러(144)는 다양한 장치를 제어하도록 설계된, 상용의 기계식 제어기(machine control)이거나, 주문 설계된 컨트롤러(144)일 수 있다. 컨트롤러(144)는 완전히 자동일 수 있고, 작동 파라미터 오버라이드(override)를 가질 수 있고, 수동으로 제어될 수 있고, 로컬 제어될 수 있고, 원격 제어될 수 있고, 기타 등등이다. 컨트롤러(144)는 벨트 설비(130)의 일부로서 나타나지만, 벨트 설비(130)에 관하여 요구되는 위치를 가지지 않을 수 있고; 컨트롤러(144)는 벨트 설비(130)의 처음이나 끝 또는 사이의 어느 곳에나 위치할 수 있다. 컨트롤러(144)는 벨트 설비(130)에서 멀리 떨어져 위치할 수 있다. 컨트롤러(144)는 사용자 인터페이스(user interface)를 가질 수 있고; 사용자 인터페이스는 컨트롤러(144)에서 가시화될 수 있을 것이고, 컨트롤러(144) 네트워크에 연결된 컴퓨터 장치로 원격으로 가시화될 수 있다.The
컨트롤러(144)는 투입(124), 예열(138), 파라미터 제어(140), 센서 제어(142), 제거 시스템(150), 마이크로파 시스템(148), 냉각 설비(164), 배출설비(168) 등을 포함할 수 있는, 벨트 설비(130) 및 고체연료 처리 설비(132) 시스템에 작동 파라미터를 제공할 수 있다. 작동 파라미터를 전송하는 컨트롤러(144) 및 실제의 작동값을 전송하는 다양한 시스템과 설비를 가지는 양방향 통신 시스템이 있을 수 있다. 컨트롤러(144)는 작동 파라미터와 실제의 작동값 모두를 나타내기 위하여 사용자 인터페이스를 제공할 수 있다. 컨트롤러(144)는 자동화된 조정을 작동 파라미터에 제공 가능하지 않을 수 있고, 작동 파라미터 조정은 모니터링 설비(134)에 의하여 제공될 수 있다.The
모니터링 설비(134)는 데스크탑 컴퓨터, 서버, 웹 서버, 랩탑 컴퓨터 등일 수 있는 컴퓨터 장치일 수 있다. 컴퓨터 장치는 모두 서로 로컬 위치일 수 있거나 다수의 컴퓨터 장치가 원격 위치에 분포되어 있을 수 있다. 컴퓨터 장치는 LAN, WAN, 인터넷, 인트라넷, P2P, 또는 유선이나 무선 기술을 사용하는 다른 유형의 네트워크에 의하여 연결될 수 있다. 모니터링 설비(134)는 컨트롤러(144)와 동일한 작동 파라미터를 가질 수 있고, 다양한 설비 및 시스템으로부터 동일한 실제의 작동 파라미터를 입수할 수 있다. 모니터링 설비(134)는 파라미터 생성 설비(128)에 의하여 제공되는 요구 센서 파라미터와 센서(142)에 의하여 제공되는 실제의 작동값을 비교하고, 작동 파라미터의 변화가 필요한지를 결정하기 위하여 알고리즘을 가질 수 있다. 예를 들어, 모니터링 설비(134)는 벨트 설비(130)의 특정 위치에서의 실제의 증기 센서값을 요구되는 센서값과 비교하여 마이크로파 출력이 증가되거나 감소될 필요가 있는지를 결정할 수 있다. 작동 파라미터의 변화가 조정을 필요로 할 경우, 조정된 파라미터는 컨트롤러(144)에 전송되어 적절한 장치 또는 장치들에 적용될 수 있다. 모니터링 설비(134)는 파라미터 조정을 위하여 계속하여 고체연료 처리 설비(132) 및 벨트 설비(130) 시스템을 모니터할 수 있다.
더욱 복잡한 예로서, 컨트롤러(144)는 다양한 벨트 설비(130) 시스템의 작동을 위하여, 작동 파라미터를 벨트 설비 파라미터 제어(140)에 제공할 수 있다. 석탄 처리 공정으로서, 모니터 설비(134)는 처리된 석탄이 희망하는 처리된 석탄에 대한 센서 요건을 만족시키지를 결정하기 위하여 센서(142)를 모니터할 수 있다. 요구되는 센서 읽음(readings)과 수용 가능한 한계를 넘어서는 실제의 센서 읽음 사이에 델타가 있을 경우, 모니터링 설비(134)가 하나 이상의 작동 파라미터를 조정하고 새로운 작동 파라미터를 컨트롤러(144)에 전송할 수 있다. 컨트롤러(144)는 다양한 벨트 설비(130) 시스템을 제어하기 위하여, 새로운 작동 파라미터를 입수하여 새로운 파라미터를 파라미터 제어(140)로 전송할 수 있다.As a more complex example,
모니터링 설비(134)는 또한 피드백 설비(174) 및 석탄 아웃풋 파라미터 설비(172)로부터 석탄 처리 공정의 끝에서의 피드백 정보를 입수할 수 있다. 이들 두 설비는 가공 석탄의 최종 특성을 입수할 수 있고, 모니터링 설비(134)로 정보를 전송할 수 있다. 모니터링 설비(134)는 작동 파라미터가 조정을 필요로 하는지를 결정하기 위하여, 최종의 처리된 석탄 특성을 석탄 희망 특성(122)과 비교할 수 있다. 한 구체예에서, 모니터링 설비(134)는 작동 파라미터 조정의 결정을 위하여 실제의 작동값과 최종의 처리된 석탄 특성을 결합하는 알고리즘을 사용할 수 있다. 이후 조정은 고체연료 처리 설비(132) 시스템의 교정된 작동을 위하여 컨트롤러(144)로 전송될 수 있다.The
도 1에 나타나는 다양한 석탄 처리 시설(132) 시스템 및 설비의 기능과 상호작용이 고체연료 처리 설비(132)에 의하여 처리되는 석탄의 예를 통하여 설명될 수 있다.The functions and interactions of the various
이 예에서, 고체연료 처리 설비(132)의 작동은, 특정한 처리된 석탄을 고객에게 전달하기 위하여, 고체연료 처리 설비(132) 내에서 가공할 원료석탄을 선택할 수 있다. 고체연료 처리 설비(132)는 최종의 처리된 석탄에 대하여 최초 석탄 및 석탄 희망 특성(122)을 선택할 수 있다. 앞서 기술된 바와 같이, 파라미터 생성 설비(128)는 선택된 석탄의 처리를 위한 작동 파라미터를 생성할 수 있다. 파라미터는 처리하기 위한 석탄의 부피 속도(volume rate), 공기 환경, 벨트 속력, 석탄 온도, 마이크로파 출력, 마이크로파 주파수, 요구되는 비활성 기체, 요구되는 센서 읽음, 예열온도, 냉각온도 등을 포함할 수 있다. 파라미터 생성 설비(128)는 작동 파라미터 및 센서파라미터를 모니터링 설비(134) 및 컨트롤러(144)로 전송할 수 있고; 컨트롤러(144)는 작동 파라미터 및 센서파라미터를 파라미터 제어(140) 및 센서 시스템(142)으로 전송할 수 있다.In this example, the operation of the solid
이 예에 계속하여, 투입 설비(124)는 석탄을 고체연료 처리 설비(132)에 공급할 수 있는 석탄 광산(102)이나 석탄 보관 설비(112) 중의 하나로부터 원료석탄을 입수할 수 있다. 원료석탄은 고체연료 처리 설비(132)에 위치한 보관 지역으로부터 공급될 수 있다. 투입 설비(124)는 고체연료 처리 설비(132)에 들어갈 수 있는 석탄을 받아들이고 석탄의 흐름과 부피를 조절할 수 있는, 입력 부분(input section), 전이 부분(transition section) 및 어댑터 부분(adapter section)을 가질 수 있다. 투입 설비(124)는 원료석탄을 벨트 설비(130)에 공급할 수 있는 컨베이어 벨트(300), 오거(auger) 등과 같은 투입 시스템을 가질 수 있다.Following this example, the
대표적인 구체예에서, 투입 설비는, 컨트롤러(144)에 의하여 제공되는 작동 파라미터에 기초하여, 벨트 설비에 투입되는 원료석탄의 부피 속도를 제어할 수 있다. 투입 설비는, 컨트롤러(144)에서 공급되는 파라미터에 기초하여, 투입 시스템의 속도를 변화시키는 것이 가능할 수 있다. 한 구체예에서, 투입 설비(124)는 일정한 속도로 벨트 설비(130)에 원료석탄을 공급할 수 있거나, 원료석탄을 가변적이거나 펄스화된(pulsed) 속도로 공급할 수 있고, 이로 인해 원료석탄을 석탄 배치의 벨트 설비(130)로 공급할 수 있다; 석탄 배치는 석탄 배치들 사이에 사전 정의된 간격을 가질 수 있다.In an exemplary embodiment, the input facility can control the volume rate of the raw coal entering the belt facility, based on the operating parameters provided by the
이 예에서, 벨트 설비(130)는 원료석탄을 석탄 처리 공정을 통하여 수송하기 위하여, 투입 설비(124)로부터 원료석탄을 받을 수 있다. 석탄 처리 공정은 예열(138) 공정, 마이크로파 시스템(148) 공정, 냉각 공정(134) 등을 포함할 수 있다. 벨트 설비(130)는 석탄이 처리되고 공정이 수행될 수 있는 챔버를 만들기 위하여 에워싸질 수 있는 수송 시스템을 가질 수 있다.In this example, the belt facility 130 may receive the raw coal from the
구체예에서, 수송 시스템은 컨베이어 벨트(300), 일련의 개별적인 용기, 또는 처리 공정을 통하여 석탄을 이동시키는 데에 사용될 수 있는 다른 수송 방법일 수 있다. 수송 시스템은 고온 처리된 석탄을 견딜 수 있는 재료(예를 들어 금속 또는 고온 플라스틱)로 만들어질 수 있다. 수송 시스템은 비-석탄 생성물이 석탄으로부터 기체 또는 액체로서 방출되도록 할 수 있다; 방출된 비-석탄 생성물은 벨트 설비(130)에 의하여 수집될 필요가 있을 수 있다. 수송 시스템 속도는 컨트롤러(144) 작동 파라미터에 의하여 변동하기 쉽게 제어될 수 있다. 벨트 설비(130) 수송 시스템은 균형 잡힌 석탄 투입 부피를 유지하기 위하여 투입 설비(124)와 동일한 속도에서 가동(run)될 수 있다.In an embodiment, the transport system can be a conveyor belt 300, a series of individual containers, or other transport methods that can be used to move coal through a process. The transport system can be made of a material that can withstand the high temperature treated coal (e.g., metal or high temperature plastics). The transport system can cause the non-coal product to be released as gas or liquid from the coal; The discharged non-coal product may need to be collected by the belt facility 130. The transport system speed can be easily controlled by the
벨트 설비(130) 챔버 내에서 공기 환경이 유지되어, 비-석탄 생성물의 방출을 돕고, 조기의 석탄 점화를 방지하며, 기체의 흐름을 제공하여 비-석탄 생성물 기체를 적절한 제거 시스템(150)으로 이동시키도록 사용될 수 있다. 공기 환경은 석탄에서 수분을 제거하는 것을 돕는 건조 공기(습기가 낮거나 없음)이거나, 챔버 벽에 액체 수집 영역을 형성하는 임의의 응축된 수분 통제에 사용될 수 있다.The air environment in the belt facility 130 chamber is maintained to help release the non-coal product, prevent premature coal ignition, provide a flow of gas to provide the non-coal product gas to the
벨트 설비(130) 챔버는 비활성이거나 부분적으로 비활성인 대기를 가질 수 있고; 비활성 대기는 비-석탄 생성물(예를 들어 황)의 일부 제거에 필요할 수 있는 고온에서 석탄의 점화를 방지할 수 있다.The belt facility 130 chamber may have an inert or partially inactive atmosphere; An inert atmosphere can prevent the ignition of coal at high temperatures that may be needed to remove some of the non-coal product (e.g., sulfur).
비활성 기체는 벨트 설비(130) 챔버에 공급하기 위한 비활성 기체를 저장할 수 있는 점화방지 설비(154)에 의하여 공급될 수 있다. 비활성 기체는 질소, 아르곤, 헬륨, 네온, 크립톤, 제논 및 라돈을 포함할 수 있다. 질소와 아르곤은 비-연소 기체 대기 제공에 사용되는 가장 통상적인 비활성 기체일 수 있다. 점화방지 설비(154)는 챔버를 위한 비활성 기체를 보유할 수 있는 기체 공급 탱크를 가질 수 있다. 적절한 기체 환경을 조성하기 위한 비활성 기체의 투입은 컨트롤러(144) 작동 파라미터에 의하여 제어될 수 있다. 컨트롤러(144)는 실제의 비활성 기체 혼합물을 측정할 수 있는 챔버 내의 센서로부터의 피드백을 사용하여 비활성 기체 흐름을 조정할 수 있다. 센서(142)에 기초하여, 컨트롤러(144)는 컨트롤러(144) 및 파라미터 생성 설비(128)에 의하여 제공되는 대기 작동 파라미터를 유지하기 위하여 비활성 기체 흐름을 증가시키거나 감소시킬 수 있다.The inert gas may be supplied by an
벨트 설비(130) 챔버가 비활성 기체로서 질소를 사용하는 경우, 질소는 가스 생성 설비(152) 현장에서 생성될 수 있다. 예를 들어, 가스 생성 설비(152)는 벨트 설비(130) 챔버에 의하여 요구되는 질소를 공급하기 위하여 압력 순환식 흡착(pressure swing absorption(PSA)) 공정을 사용할 수 있다. 가스 생성 설비(152)는 챔버로의 주입을 위하여 점화방지 설비에 질소를 공급할 수 있다. 챔버로의 질소의 흐름은 앞서 논의된 바와 같이 컨트롤러(144)에 의하여 제어될 수 있다.If the belt facility 130 chamber uses nitrogen as the inert gas, nitrogen may be generated at the
임의의 공급된 가스 환경은 챔버 내에서 대기의 흐름을 제공하기 위하여 정압(positive pressure) 또는 부압(negative pressure)을 사용하여 적용될 수 있다. 가스는 챔버에 정압으로 유입되어 벨트 설비(130) 석탄을 걸쳐 흐르고 챔버의 출구 영역으로 빠져나올 수 있다. 유사한 방식으로, 부압은 가스를 챔버 및 석탄 상으로 끌어내기 위하여 공급될 수 있다. 어느 쪽의 공정이라도 방출된 비-석탄 생성물 가스를 제거 시스템(150)으로 수집하기 위하여 사용될 수 있다.Any supplied gas environment may be applied using positive pressure or negative pressure to provide atmospheric flow within the chamber. The gas may flow into the chamber at a constant pressure to flow over the belt facility 130 coal and exit into the exit area of the chamber. In a similar manner, the negative pressure can be supplied to draw the gas onto the chamber and onto the coal. Either process may be used to collect the released non-coal product gas into the
대표적인 구체예에서, 컨트롤러(144)는 가스 속도, 가스 방향, 입력 압력, 출력 압력 등을 측정하여 챔버에서의 가스의 흐름을 제어할 수 있다. 컨트롤러(144)는 벨트 설비 내의 팬(fan)과 블로어(blower)를 변화시켜 가스의 흐름에 대한 제어와 조정을 제공할 수 있다.In an exemplary embodiment, the
벨트 설비(130) 챔버 내에서 진공 또는 부분적 진공이 석탄의 가공을 위하여 유지될 수 있다. 진공 환경은 석탄에서 비-석탄 생성물을 제거하는 데에 추가적인 도움을 줄 수 있고, 또한 석탄 점화에 유리한 환경을 제거하여 석탄의 점화를 방지할 수 있다.Vacuum or partial vacuum within the belt facility 130 chamber can be maintained for processing of coal. The vacuum environment can provide additional help in removing non-coal products from the coal, and can also prevent the ignition of coal by eliminating favorable environments for coal ignition.
벨트 설비(130) 내의 석탄 가공을 계속하면서, 석탄은 우선 예열 설비(138)로 들어갈 수 있다. 예열 설비(138)는 석탄을 작동 파라미터에 의하여 명기된 온도까지 가열할 수 있고; 작동 파라미터는 컨트롤러(144)에 의하여 제공될 수 있다. 석탄은 표면 수분 및 석탄 표면의 바로 아래에 있을 수 있는 수분을 제거하기 위하여 예열될 수 있다. 이 초과 수분의 제거는 마이크로파 에너지를 흡수하는 표면 수분이 최소가 되도록 하므로, 나중에 사용될 것인 마이크로파 시스템(148)이 더욱 효율적이 되도록 할 수 있다.While continuing the coal processing in the belt facility 130, the coal may first enter the
예열 설비(138)는 벨트 설비(130)의 나머지와 동일한 압력을 포함할 수 있거나 다른 압력을 유지할 수 있다.The preheating
예열 설비(138)는 벨트 설비(130)의 나머지와 동일한 수송 설비를 사용할 수 있거나, 자체의 수송 설비를 가질 수 있다. 예열 설비가 그 자체의 수송 설비를 가질 경우, 수송 설비는 컨트롤러(144)에 의하여 제어될 수 있고, 적절한 수분이 예열 동안 제거되는 것을 보증하도록 속도가 변할 수 있다. 수분 제거는 수증기 센서에 의하여 감지될 수 있거나, 예열 설비(138)에 의하여 제거된 수분의 부피를 결정하기 위한 석탄의 전후 중량을 사용할 수 있다. 한 구체예에서, 센서(142)는 예열공정 전후에 공정 중 스케일(in-process scales)로써 석탄 중량을 측정할 수 있다. 석탄에서 제거된 효과적인 양의 수분에 대한 것으로서 컨트롤러(144)에 피드백이 있을 수 있고, 컨트롤러(144)는 예열 설비(138) 수송 시스템 속도를 조정하여 필요한 대로 보상할 수 있다.The preheating
예열 설비(138) 후의 석탄은 석탄 처리에 사용되는 적어도 하나의 마이크로파/라디오파 시스템(마이크로파 시스템)(148)을 가지는 벨트 설비(130) 석탄 처리 공정으로 계속될 수 있다. 마이크로파 시스템(148) 전자기에너지는 마그네트론, 클라이스트론(klystron), 자이로트론(gyrotron) 등과 같은 장치에 의하여 생성될 수 있다. 마이크로파 시스템(148)은 비-석탄 생성물을 가열하고 석탄으로부터 비-석탄 생성물을 방출시키기 위하여, 마이크로파 에너지를 석탄에 투입할 수 있다. 석탄의 비-석탄 생성물의 가열로 인하여, 석탄은 가열될 수 있다. 비-석탄 생성물의 방출은 고체에서 액체로, 액체에서 기체로, 고체에서 기체로의 물질의 상변화, 또는 비-석탄 생성물이 석탄으로부터 방출되도록 하는 다른 상변화가 있을 경우, 일어날 수 있다.The coal after the
하나 이상의 마이크로파 시스템(148)이 있을 수 있는 벨트시설(130)에서, 마이크로파 시스템(148)은 수송 시스템으로의 병렬 배향, 직렬 배향, 또는 병렬과 직렬의 조합인 배향일 수 있다.In a belt facility 130 where there may be more than one
하기에 더욱 자세하기 논의되는 바와 같이, 마이크로파 시스템(148)은 병렬일 수 있고, 여기서 함께 그룹을 이루어 단일한 마이크로파 시스템(148) 공정 스테이션(station)을 형성하는 하나 이상의 마이크로파 시스템(148)이 있을 수 있다. 이 단일 스테이션은, 여러 개의 더 작은 마이크로파 시스템(148)의 사용이, 단일 스테이션에서 여러 주파수가 사용됨, 여러 스테이션에서 여러 출력이 사용됨, 단일한 스테이션에서 여러 듀티 사이클이 사용됨 등을 허용하도록 할 수 있다.As will be discussed in more detail below, the
마이크로파 시스템(148)은 또한 직렬로 셋업(setup)될 수 있고, 여기서 벨트 설비(130)을 따라 셋업된 하나 이상의 마이크로파 시스템(148) 스테이션이 있을 수 있다. 직렬 마이크로파 시스템(148) 스테이션은 개별적인 마이크로파 시스템(148)이거나 병렬 마이크로파 시스템(148)의 그룹일 수 있다. 직렬 마이크로파 시스템(148) 스테이션은 석탄이 벨트 설비(130)를 따르는 여러 직렬 마이크로파 시스템(148) 스테이션에서 상이하게 처리되는 것을 허용할 수 있다. 예를 들어, 첫 번째 스테이션 마이크로파 시스템(148)은 석탄에서 수분을 제거하는 시도를 할 수 있고, 이는 특정한 출력, 주파수 및 듀티 사이클을 필요로 할 수 있다. 두 번째 스테이션에서, 마이크로파 시스템(148)은 석탄에서 황을 제거하는 시도를 할 수 있고, 이는 다른 출력, 주파수 및 듀티 사이클을 필요로 할 수 있다.The
직렬 마이크로파 시스템을 사용하는 것은 또한 비-석탄 생성물의 완전한 방출을 허용하는 대기(wait) 스테이션, 비-석탄 생성물 제거 시스템(150) 스테이션, 비-석탄 생성물 방출을 기록하는 센서 시스템(142) 등과 같은 마이크로파 시스템(148) 사이의 다른 공정 스테이션을 허용할 수 있다.The use of a series microwave system may also be used for a variety of applications, such as a wait station that allows complete release of the non-coal product, a non-coal
직렬 마이크로파 시스템(148) 스테이션은 상이한 비-석탄 생성물이 벨트 설비(130)의 상이한 단계에서 방출되고 제거되는 것을 허용할 수 있다. 이는 적절한 제거 시스템(150)에 의하여 분리되고 수집되는, 제거된 비-석탄 생성물을 유지하는 것을 더욱 쉽게 만들 수 있다. 이는 또한 하나의 마이크로파 시스템(148)을 공정 단계 또는 공정 단계의 세트에 배치하는 것을 허용할 수 있고, 따라서 특유한 마이크로파 시스템(148)은 특정 공정 단계 또는 공정 단계의 세트의 수행에 사용될 수 있다. 그러므로, 예를 들어 마이크로파 시스템(148)은 단지 수행될 필요가 있는 공정에 대해서만 활성화된다. 이 예에서, 공정 단계가 수행될 필요가 없을 경우, 상관 관계의 마이크로파 시스템(148)은 활성화 될 필요가 없고; 공정 단계가 반복될 필요가 없을 경우, 상관 관계에 있는 마이크로파 시스템(148)은, 예를 들어 첫 번째 활성화 후에 완전히 제거되지 않은 비-석탄 생성물을 제거하기 위하여, 다시 활성화될 수 있다.The
대표적인 구체예에서, 마이크로파 시스템(148)의 제어는 감지, 석탄 처리 공정의 상태 모니터링, 작동 파라미터 조정, 및 새로운 작동 파라미터를 적어도 하나의 마이크로파 시스템(148)에 적용하는 것과 같은, 일련의 제어 단계를 포함할 수 있다. 더욱 논의될 것과 같이, 제어, 조정, 및 작동 파라미터를 마이크로파 시스템(148)에 제공하기 위한 피드백 공정은 하나 이상의 마이크로파 시스템에 실질적으로 동시에 적용가능할 수 있다.In an exemplary embodiment, control of the
적어도 하나의 마이크로파 시스템(148)은 컨트롤러(144)에 의하여 제어될 수 있다. 구체예에서 컨트롤러(144)는 마이크로파 주파수, 마이크로파 출력, 마이크로파 듀티 사이클(예를 들어 펄스 또는 연속)을 제어하는 작동 파라미터를 제공할 수 있다. 컨트롤러(144)는 파라미터 생성 설비(128)로부터 초기의 작동 파라미터를 입수할 수 있다. 마이크로파 시스템(148)의 제어는, 예를 들어 마이크로파 시스템(148)에 적용되는 작동 파라미터, 프로세스 값(process value)을 제공하는 센서(142), 작동 파라미터를 받고 조정하는 모니터링 설비(134), 컨트롤러(144)에 공급되는 작동 파라미터의 피드백, 및 이후 필요한 만큼 반복되는 제어 사이클을 사용하여 실시간으로 일어날 수 있다.At least one
컨트롤러(144)는 작동 파라미터를 하나 이상의 마이크로파 시스템(148)에 적용할 수 있다. 마이크로파 시스템(148)은 컨트롤러(144)가 통솔하는 출력, 주파수, 및 듀티 사이클을 적용하여 응답할 수 있고, 이에 의하여 특정 스테이션에서 컨트롤러(144)가 통솔하는 것에 따라 석탄을 처리할 수 있다.The
마이크로파 시스템은 석탄을 처리하기 위하여 상당한 크기의 출력을 필요로 할 수 있다. 고체연료 처리 설비(132)의 마이크로파 시스템(148)의 특정 구체예에 대하여, 요구되는 마이크로파 출력은 928 MHz 이하의 주파수에서 적어도 15 kW일 수 있다; 다른 구체예에서, 요구되는 마이크로파 출력은 902 MHz의 주파수에서 적어도 75 kW일 수 있다. 마이크로파 시스템(148)의 출력은 고압 인풋 송전 설비(high voltage input trasmission facility)(182)에 의하여 공급될 수 있다. 이 설비(182)는 마이크로파 시스템(148)의 요건을 충족시키는 공급원으로부터의 전압을 올리거나 내릴 수 있다. 구체예에서, 마이크로파 시스템(148)은 하나 이상의 마이크로파 생성기를 가질 수 있다. 유입전력(power-in) 시스템(180)은 전압 요구사항을 위하여 고압 인풋 송전 설비(182)를 위한 연결을 제공할 수 있다. 고체연료 처리 설비(132)가 발전 설비(204)에 위치할 경우, 유입전력(180)은 발전 설비(204)에서 공급된 전력으로부터 직접 취해질 수 있다. 다른 구체예에서, 유입전력(180)은 지역 전력망(local power grid)으로부터 취해질 수 있다.Microwave systems may require a significant amount of power to process coal. For a particular embodiment of the
본원에 나타난 바와 같이, 고체연료 처리 설비(132)는 고체연료(예를 들어 석탄)를 처리하기 위한 마이크로파를 생성하기 위하여 마그네트론(700)을 이용할 수 있다. 도 7은 고체연료 처리 설비(132)의 마이크로파 시스템(148)의 일부로서 사용될 수 있는 마그네트론을 도시한다. 구체예에서, 마그네트론(700)은 가간섭성(coherent) 마이크로파를 생성하는 고출력(high-powered) 진공관일 수 있다. 공동(cavity) 마그네트론(700)은, 고압직류(DC)(802) 전원에 의하여 높은 음전위(negative potential)로 유지되는 음극(cathode)(714)으로서 작용하는, 뜨거운 필라멘트로 구성될 수 있다. 음극(714)은 비워져 있고, 로브형(lobed)이며, 원형인 챔버의 중심으로 만들어진다. 챔버의 외부의, 로브형 부분은 음극에서 방출되는 전자를 끌어당기는 양극(anode)(710)으로서 작용할 수 있다. 자기장은 음극(714)에서 방출된 전자가 원형 경로에서 나선형으로 밖으로 향하는 것을 야기하는 방식으로, 자석 또는 전자석에 의하여 인가될 수 있다. 로브형 공동(708)은 이들의 길이를 따라 열려서 공통(common) 공동(712) 공간에 연결되어 있다. 전자가 이러한 입구들을 지나쳐 감에 따라 공통 공동(712)에서 고주파 라디오장(radio field)을 유도할 수 있고, 그렇게 되면 전자들이 그룹으로 무리를 이루는 것을 야기할 수 있다. 이러한 장의 일부분은 도파관(wave-guide)에 연결된 짧은 안테나(702)를 사용하여 끌어낼 수 있다. 도파관은 마그네트론에서 나온 RF 에너지를 고체연료로 유도할 수 있고, 이로 인하여 본원의 어느 곳에선가 나타난 바와 같이 고체연료를 가열하고 처리할 수 있다. 대안으로, 마그네트론으로부터의 에너지는 도파관의 사용 없이, 안테나에서 고체연료로 직접 인도될 수 있다.As shown herein, the solid
도 8은 마그네트론(700)을 위한 고압 공급설비를 도시한다. 고체연료의 처리를 위하여 리드(lead)(718)를 통하여 공동 마그네트론(700)에 공급되는 고압 DC(802)는 5,000 VDC, 10,000 VDC, 20,000 VDC, 50,000 VDC 등과 같은 고압일 수 있다. 구체예에서, 전형적인 고압 범위는 20,000-30,000 VDC일 수 있다. 이러한 고압 DC(802)는 단상(single phase) 또는 다상(multi-phase) 교류(AC) 유입전력(180)일 수 있는 전압의 형태로 전력 유틸리티(electric power utility)에서 유도되어, 고압 인풋 송전(182) 설비를 통하여 고압 DC(802)로 변환될 수 있다. AC 전압 유입전력(180)을 공급하는 전력 유틸리티는 예를 들어 공적으로 작동되는 설비이거나 사적으로 작동되는 설비일 수 있다. 전력 유틸리티에 의하여 공급되는 AC 전압 유입전력(180)는 120 VAC, 240 VAC, 480 VAC, 1000 VAC, 14,600 VAC, 25,000 VAC 등일 수 있다. 구체예에서, 현장에서 사용되는 전형적인 전압은 160 kV AC일 수 있고, 전형적으로 3-상(three-phase)일 수 있다. 유틸리티 AC 전압 유입전력(180)을 마그네트론에 사용되는 고압 DC(802)로 변환하는 것이 필수일 수 있기 때문에, 일부의 전력 손실이 고압 인풋 송전(182) 설비의 전기적 비효율로부터 초래될 수 있다. 고체연료 처리 설비(132)와 연결된 설비의 작동 비용을 최소화하기 위하여, 고압 인풋 송전(182) 설비와 관련된 이러한 전력 손실을 감소시키는 것이 바람직할 수 있다. 다수의 구체예들이 고압 인풋 송전(182) 설비의 구성에서 이용될 수 있다.Figure 8 shows a high pressure feed arrangement for the
도 9는 무변압기형(transformerless) 고압 인풋 송전 설비(900)를 도시하고, 이는 고압 인풋 송전(182) 설비의 한 구체예이다. 무변압기형 고압 인풋 송전 설비(900)는, 구체예에서 14,600 VAC일 수 있는 고압 AC 유입전력(180)을, 구체예에서 20,000 VDC일 수 있는 마그네트론(700)에 의하여 요구되는 고압 DC(802)로 직접적으로 변환할 수 있다. 고압 AC 유입전력(180)을 고압 DC(802)로 직접 변환하는 것에 의하여, 일부의 중간 단계들이 생략될 수 있고, 이는 향상된 전력 효율과 이에 따른 감소된 고체연료 처리 설비(132)의 작동 비용을 허용할 수 있다. 구체예에서, 생략된 단계는 변압기를 사용하여 유틸리티 고압 AC 유입전력(180)을 저압 AC로 강압하는 공정, 저압 DC를 생성하기 위한 정류하는 것(rectifying), 이후 DC를 승압 변환기(boost converter)를 사용하여 마그네트론에 의하여 요구되는 고압 DC(802A)으로 다시 승압하는 것을 포함할 수 있다. 고압 인풋 송전(182) 설비 내에서 이러한 중간 단계들을 생략하여, 효율성과 신뢰성 모두 향상될 수 있고, 자본비용 및 유지비용을 감소시킬 수 있다.Figure 9 shows a transformerless high voltage
무변압기형 고압 인풋 송전 설비(900)의 제1 단계는 고압 AC 유입전력(180)을 받아들여, 때로는 차단기(interrupter)로 지칭되는, 고속, 고전류 회로차단기(high-speed, high-current circuit breaker)(902)를 통과시킨다. 회로차단기는 과부하 또는 단락(short-circuit)에 의하여 야기되는 손상으로부터 전기회로를 보호하도록 설계된, 자동으로 작동되는 전기 스위치이다. 유틸리티로부터의 인풋 고압 AC 유입전력(180)의 각각의 위상에 대하여 하나의 고속, 고전류 회로차단기(902)가 있다. 고속, 고전류 회로차단기(902)는 유틸리티의 배전(electrical distribution) 시스템을 보호하기 위하여, 무변압기형 고압 인풋 송전 설비(900) 내의 단락 조건의 경우에 회로를 개방하기에 충분하도록 빨라야 한다. 고속, 고전류 회로차단기는 유틸리티의 배전 시스템에 대한 전기적 절연(isolation) 및 보호를 제공할 수 있고, 그렇지 않을 경우 변압기(1002)와 같은 다른 컴포넌트에 의하여 제공될 것이다. 변압기(1002)는 비효율성으로 인한 전력 손실을 가지고, 고속, 고전류 회로차단기는 그렇지 않을 수 있기 때문에, 변압기(1002) 대신 고속, 고전류 회로차단기(902)를 사용하는 것은 더욱 큰 전력 효율을 허용할 수 있다. 고속, 고전류 회로차단기(902)는 또한 상기 시스템에서 마그네트론(700) 보호에 도움이 될 수 있다. 서지(surge), 또는 전압의 스파이크(spike)는 마그네트론(700)의 장(field)을 붕괴하 수 있다. 이는 시스템이, 고체연료에 전달되는 마이크로파 출력(power)을 손실하는 것을 야기할 수 있고, 마그네트론 손상을 야기할 수도 있다.The first stage of the transformerless high voltage input
무변압기형 고압 인풋 송전 설비(900)의 제2 단계는 고속, 고전류 회로차단기로부터의 고압 AC(910) 아웃풋을 취하여, 그것이 고압 DC(802)로 변환되는 정류기(rectifier) 단계(904)를 통하여 보낸다. 정류기(904)는 다이오드(diode), 사이리스터(thyristor), SCR, IGBT 등과 같은 하나 이상의 반도체 장치로 구성되고, AC 전압을 DC 전압으로 변환하기 위하여 준비된 전기 장치이다. 매우 단순한 정류기(904)의 아웃풋은 반(half-) AC 전류로서 기술될 수 있는데, 이는 DC로 필터(filter)된다. 실제의 정류기(904)는 반파(half-wave), 전파(full-wave), 단상 브리지(bridge), 3-상 3-펄스, 3-상 6-펄스 등일 수 있고, 이는 필터링(filtering)과 조합되었을 때 잔류 AC 리플(ripple)의 다양한 감소된 양을 야기할 수 있다. 이러한 결과의 정류기(904)의 아웃풋 고압 DC(802)은 또한, 예를 들어 SCR의 점호각(firing angle)을 변화시켜, 조정이 가능할 수 있다. 이러한 아웃풋 고압 DC(802)는 인풋 AC 전압 유입전력(180)의 피크값(peak value)의 이론적 최대치까지 조정될 수 있다. 예로서, 14,600 VAC의 인풋 AC 전압 유입전력(180)은 요구되는 20,000 VDC를 충족시키는 DC 전압을 이론적으로 산출할 수 있다. 고압 DC(802)가 마그네트론(700)으로의 인풋 고압 DC(802A)의 요건을 충족시킬 경우, 도 9에서 대쉬(dash)로 나타나는, 최종의 DC-DC 변환기(908) 단계가 필요하지 않을 수 있다. DC-DC 변환기(908)가 80%, 85%, 95% 등의 효율을 가질 수 있으므로, 이들에 대한 필요성을 제거하여, 고체연료 처리 설비(132)에 대한 한층 더한 전력 효율을 얻을 수 있다.The second stage of the transformerless high voltage input
필요한 경우, 무변압기형 고압 인풋 송전 설비(900)의 제3 단계는 DC-DC 변환기(908)이다. 이 구체예에서, 정류기로부터의 아웃풋 고압 DC(802)이 마그네트론(700)의 고압 DC(802A) 인풋의 요건을 충족시키기에 충분히 높지 않을 경우, 정류기(904) 단계와 마그네트론(700) 사이에 DC-DC 변환기(908)에 대한 필요성이 여전히 있을 수 있다. DC-DC 변환기(908)는 DC의 공급원을 어떤 전압에서 다른 전압으로 변환시키는 회로이다. 일반적으로, DC-DC 변환기는, 예를 들어 100 kHz 내지 5 MHz 범위에서, 일정 시간 동안 인덕터 또는 변압기를 가로질러 DC 전압을 인가하여 변환을 수행하고, 이는 전류가 DC-DC 변환기를 통하여 흐르는 것을 야기하고 에너지를 자기적으로 저장한다. 이후 이러한 전압은 저장된 에너지가 조절된 방식으로 전압 아웃풋으로 전송되는 것을 야기하며, 스위치 오프될 수 있다(switched off). 온-오프(on-to-off) 시간의 비를 조절하여, 아웃풋 전압은 마침 전류 요구가 변할 때, 조절될 수 있다. 이러한 구체예에서, DC-DC 변환기에 대한 필요성은 공급된 고압 AC 유입전력(180)의 전압 수준에 의존할 수 있다. 예를 들어, 12,740 VAC 유틸리티 배전 전압 유입전력(180)의 경우에서, 정류기(904)는 18,000 VDC 이하인 최대 고압 DC(802)을 제공할 수 있다. 마그네트론(700)에 의하여 요구되는 고압 DC(802A)가 20,000 VDC일 경우, 그렇다면 이러한 경우에서, DC-DC 변환기(908) 단계는 마그네트론(700)의 요건을 충족시키기 위하여 전압을 더 높은 전압 DC(802A)으로 승압시키기에 필요할 수 있다.If necessary, the third stage of the transformer type high voltage
무변압기형 전력 변환 설비(900)에서의 고속, 고전류 회로차단기의 포함(inclusion)은 또한 고체연료 처리 설비(132) 내의 비-전기적 고장(fault)으로부터 전력 유틸리티의 전기 시스템을 보호할 수 있다. 장비 고장으로 인한 전기 단락(electrical short)을 제외하고, 마그네트론(700)은 마그네트론(700) 내의 장의 붕괴로 인하여 아크-오프(arc-off) 할 수 있다. 이러한 아크-오프 조건은 유틸리티의 전기 시스템으로부터 전류의 다량 돌입(in-rush)을 야기할 수 있다. 구체예에서, 고속, 고전류 회로차단기는 이러한 높은 고장전류(fault current)로부터 유틸리티의 전기 시스템을 보호할 수 있다. 마그네트론(700) 아크-오프를 야기할 수 있는 조건의 예는 마그네트론(700)으로 되돌아가는 과도한 반사전력(reflected power)이다. 작동 동안 전형적으로, 마그네트론(700)으로 되돌아가는 반사전력이 있을 수 있고, 마그네트론(700)의 서큘레이터(circulator)(절연체(isolator))는 이러한 반사전력으로 인하여 초래된 손상으로부터 마그네트론(700)을 보호하도록 설계된다. 그러나, 서큘레이터의 고장은 마그네트론(700) 아크-오프를 야기할 수 있다. 따라서 비록 시스템이 반사전류를 허용하도록 설계되었을지라도, 시스템 내에서의 고장은 여전히 마그네트론(700) 아크-오프와 관련된 전류의 다량의 돌입을 일으킬 수 있다. 이것은 단지 유틸리티의 전기 시스템으로부터의 다량의 돌입 전류를 야기할 수 있는 조건의 한 예이다. 60 Hz의 두 사이클 이상 지속되는 임의의 고전류 조건에서, 설비에 급전하는(feeding) 배전 시스템은 유틸리티의 배전 및 송전 시스템을 통하여 되돌아가며, 어쩌면 유틸리티의 발전 설비로 다시 되돌아갈 수도 있는 차단기의 트리핑(tripping)을 잠재적으로 초래할 수 있는 고장을 겪을 수 있다. 심지어 고체연료 처리 설비(132) 내의 생성물 흐름에서의 변동 조차도 상당한 반사를 일으켜 아크-오프를 야기할 수 있다. 다량의 돌입 전류를 야기할 수 있는 다른 결함 조건은 당업자에게 명백할 것이다. 이러한 고전류 고장 조건 및 다른 모든 고전류 고장 조건은 고속, 고전류 회로차단기의 존재에 의하여 제거될 수 있다. 무변압기형 고압 인풋 송전 설비(900)는 고압 인풋 송전(182) 설비 내의 비효율의 제거나 감소로 인하여, 최대의 전력 효율 및 고장 보호를 제공할 수 있다.The inclusion of high-speed, high-current circuit breakers in the transformer-less
도 10은 변압기를 가지는 고압 인풋 송전 설비(1000)를 도시하고, 이는 고압 인풋 송전(182) 설비의 한 구체예이다. 고압 DC를 마그네트론에 전하기 위한 이러한 전력변환 구성은 세 단계로 수행된다. 제1 단계에서, 고압 AC 유입전력(180)은 변압기(1002)를 사용하여 저압 AC(910)로 변환된다. 변압기(1002)는 자기결합(magnetic coupling)에 의하여 한 전기회로에서 다른 전기회로로 에너지를 전달하는 전기장치일 수 있다. 변압기(1002)는 둘 이상의 결합된(coupled) 권선(winding)을 포함하고, 또한 자속(magnetic flux)을 집결시키기 위한 자기 코어(magnetic core)를 가질 수 있다. 도 10에서, 일차로 불리는, 하나의 권선에 인가되는 인풋 AC 전압 유입전력(180)은 코어에서, 시간 변화(time-varying) 자속을 발생시키고, 이는 이차로 불리는 다른 권선에서 AC 전압(910)을 유도한다. 변압기(1002)는 전압 간의 변환, 임피던스(impedance) 변화, 및 회로들 사이의 전기적 절연 제공에 사용된다. 예를 들어, 도 10에서의 고압 AC 유입전력(180) 인풋은 14,600 VAC일 수 있고, 저압 AC(910) 아웃풋은 480 VAC일 수 있다. 이러한 AC 전압이 상이함에 더하여, 이들은 또한 서로 전기적으로 절연되어 있을 수 있다. 변압기(1002)는 단상 변압기, 다중의 단상 변압기, 변압기의 뱅크 세트(banked set), 다상 변압기 등일 수 있다. 더욱이, 변압기는 전력 유틸리티에 의하여 제공될 수 있다. 변압기는 한 전압에서 다른 것으로 변환하는 것과 관련된 전력 비효율성을 가질 수 있고, 이러한 비효율성은 변압기(1002)의 인풋과 아웃풋의 전압과 전류에 관련될 수 있다.Figure 10 shows a high voltage input
변압기를 가지는 고압 인풋 송전 설비(1000) 구성의 제2 단계에서, 저압 AC(204A)는 정류기(904) 단계를 통과하여 상응하는 저압 DC(802)를 산출한다. 예로서, 480 VAC의 인풋 AC 전압(910)은 이론적으로 677 VDC 정도로 높은 아웃풋 DC 전압(802)을 산출할 수 있다. 677 VDC의 전압은 마그네트론이 필요로 하는 고압 DC(104)를 공급하기에 충분하지 않을 수 있다. 이러한 사건에서 제3 DC-DC 변환기(908) 단계가 요구될 수 있고, 여기서 정류기(904)로부터의 저압 DC(802)는 DC-DC 변환기(908)를 사용하여 요구되는 고압 DC(802A), 즉 20,000 VDC까지 승압된다.In the second stage of high voltage input
변압기를 가지는 고압 인풋 송전 설비(1000) 구체예는 표준의 3-상, 저압, 유틸리티에서 이용 가능한 변압기 장치를 이용할 수 있다. 이러한 장치의 한 예는 전형적으로 큰 빌딩 및 상업 중심지에 전력을 전하는 3-상, 4-와이어(wire), 480/277 V 변압기이다. 480 V는 모터 가동에 사용되는 반면, 277 V는 설비의 형광등 작동에 사용된다. 120 V 실내 콘센트에 대하여, 별개의 변압기들이 요구될 수 있고, 이는 480 V 선로(line)로부터 급전될 수 있다. 표준 3-상 전압의 다른 예는 480 V 보다는 575-600 V를 이용할 수 있고, 이는 제3 DC-DC 변환기(908) 단계에 대한 필요성을 감소시킬 수 있다. 이러한 예들은 제한되도록 의도되지는 않고, 다른 구성들이 당업자에게 명백할 것이다. 표준 유틸리티 변압기의 이용은 유틸리티로부터 특수한 장비에 대한 필요성을 제거할 수 있고, 그러므로 이러한 구체예의 초기 비용을 감소시킬 수 있다. 그러나, AC 전압이 낮아지도록 변압하고, 이후 DC 전압을 다시 승압시키는 전환과 관련있는 작동 전력 손실은, 고체연료 가공 설비의 작동 비용을 증가시킬 수 있기 때문에 바람직하지 않을 수 있다.The high voltage input transmission facility (1000) embodiment having a transformer may utilize a transformer device available in standard three-phase, low voltage, utility. One example of such a device is a 3-phase, 4-wire, 480/277 V transformer that typically powers large buildings and commercial centers. 480 V is used for motor operation, while 277 V is used for fluorescent lamp operation of the facility. For 120 V indoor receptacles, separate transformers may be required, which may be powered from a 480 V line. Other examples of standard three-phase voltages may utilize 575-600 V rather than 480 V, which may reduce the need for a third DC-
도 11은 인덕터를 가지는 무변압기형 고압 인풋 송전 설비(1100)를 도시하고, 이는 앞서 논의된 무변압기형 전력 변환 설비(900)의 변형이며, 고압 인풋 송전(182) 설비의 한 구체예이다. 이 구체예는 변압기(1002)를 가지지 않는다는 점에서 무변압기형 고압 인풋 송전 설비(900)와 유사하지만, 보호를 위한 고속, 고전류 회로차단기를 통하여 고압 AC 유입전력(180)을 급전하기 보다는, 고압 AC 유입전력(180)이 정류기(904)로 직접 급전된다. 무변압기형 전력 변환 설비(900)에서의 경우와 같이, 정류기(904) 아웃풋 고압 DC(802)가 충분할 수 있고, 따라서 DC-DC 변환기(908)가 요구되지 않을 수 있다. 무변압기형 고압 인풋 송전 설비(900)에서 고속, 고전류 회로차단기(902)의 목적은 고체연료 처리 설비(132) 내의 단락이 일어날 경우 유틸리티의 배전 시스템에 보호를 제공하는 것이었다. 고속, 고전류 회로차단기(902)는 전력 유틸리티가 보통 제공하는 것 보다 더 빠른 응답을 제공할 수 있다. 이러한 빠른 속도는 변압기 절연의 부재로 인하여 필요할 수 있다. 인덕터를 가지는 무변압기형 고압 인풋 송전 설비(1100)는 대안의 단락 보호 컴포넌트, 마그네트론(700)과 직렬인 고전류 인덕터(1102)를 제공한다. 인덕터(1102)는 표준 유틸리티 저속 유틸리티 회로차단기에 응답하고, 개방하고, 유틸리티의 배전 시스템을 보호하기 충분한 시간을 제공하면서, 단락 응답 시간을 늦춘다. DC 조건에서 인덕터는 회로에 영향을 미치지 않고, 선로에서 가상 단락으로서 작용한다. 그러나 단락 조건이 고체연료 처리 설비(132) 내에서 발생할 경우, 인덕터는 단락-회로의 영향을 지연시키면서, 전류 응답을 늦추도록 반응할 것이다. 이러한 지연은 충분한 시간을 허용하여 표준 유틸리티 회로차단기가 이용될 수 있고, 이는 고속, 회로차단기(902)에 대한 필요성을 제거할 수 있다.11 shows a transformerless high voltage
도 12는 직접 DC 변압기를 가지는 고압 인풋 송전 설비(1200)를 도시하고, 이는 고압 인풋 송전(182) 설비의 한 구체예이다. 고압 DC(802)를 마그네트론에 전달하기 위한 이러한 전력 변환 구성은 두 단계에서 수행된다. 제1단계에서, 고압 AC 유입전력(180)은 변압기(1002)를 사용하여, 요구되는 대로 전압이 올려지거나 내려질 수 있다. 변합기의 인풋-아웃풋 전압비는 이용 가능한 인풋 고압 AC 유입전력(180) 및 마그네트론(700)에 의하여 사용되는 요구된 아웃풋 고압 DC(802)에 의하여 결정될 수 있다. 제2단계에서, 변압기(1002)의 아웃풋에서의 고압 AC(910)는 정류기(904) 단계를 통하여 보내진다. 정류기(904)는 인풋 고압 AC(910)을 마그네트론(700)에 의하여 요구되는 고압 DC(802)로 변환한다. 변압기(1002)의 전압 비 및 정류기(904)의 아웃풋 조정은 양쪽 모두 인풋 고압 AC 유입전력(180)과 마그네트론(700)으로의 아웃풋 고압 DC(802)에 대한 요건에 기초하여 선택될 수 있다. 예를 들어, 고체연료 처리 설비(132)는 80,000 VAC의 유틸리티-공급된 고압 AC 유입전력(180) 배전 전압이 이용 가능한 지리구(geographic region)에 위치될 수 있다. 마그네트론(700)이 20,000 VDC의 고압 DC(802)을 요구한다면, 정류기(904)로의 고압 DC(910) 인풋은 최소의 아웃풋 전압 리플, 또는 정류기(904)에 대한 최대의 변환 효율을 산출할 것인 전압 수준이 되도록 선택될 수 있다. 이러한 선택된 인풋 고압 DC(910)는 예를 들어 16,000 VDC일 수 있다. 이러한 경우에, 변압기에 대한 전압 비는 5:1일 수 있고, 이는 변압기(1002)의 일차권선 대 이차권선의 비를 나타낸다. 80,000 VAC 고압 AC 유입전력(180) 인풋은 이후 16,000 VAC의 고압 AC(910)으로 강압될 것이다. 16,000 VAC 고압 AC(910)은 이후 정류기(904)에 의하여 고압 DC(802)로 변환될 것이고, 고체연료 처리 설비(132)의 마그네트론(700)에 공급될 것이다. 이 구체예는 변압기(1002)에 의하여 제공되는 고장 절연을 유지하는 동안, 전체적으로 고압을 유지하는 고압 인풋 송전(182) 설비와 관련된 더 높은 효율을 허용할 수 있다. 몇몇의 예시적인 구체예가 있지만, 당업자는 변형을 인식할 수 있고, 이러한 변형은 본원 발명에 의하여 포함되도록 의도된다.Figure 12 shows a high voltage
도 13은 변압기 고립이 있는 고압 인풋 송전 설비를 도시하고, 이는 고압 인풋 송전(182) 설비의 한 구체예이다. 고압 DC(802A)를 마그네트론(700)으로 전달하기 위한 이러한 전력변환 구성은 유틸리티의 고압 AC 유입전력(180) 배전 시스템으로부터 고압 인풋 송전(182) 설비를 전기적으로 고립시키기 위하여 변압기(1002)를 사용한다. 이러한 구성에서 변압기(1002)는 단지 전기적 아이솔레이터로서 작동할 수 있고 전압 함수(function)에서의 변화를 수행하지 않을 수 있다. 변압기(1002)로의 인풋 고압 AC 유입전력(180)은 변압기로부터의 아웃풋 고압 AC(1002A) 아웃풋과 동일한 전압일 수 있다. 변압기(1002)의 결과로서 변화되지 않은 고압 AC(910)로써, 마그네트론(700)에 의하여 요구되는 고압 DC(802A)까지의 전압 수준의 변화 함수는 주로 DC-DC 변환기(908)에 의하여 성취될 수 있다. 변압기의 아웃풋에서의 고압 AC(910)는 정류기(904)를 통하여 보내지고, 여기서 고압 AC(910)는 고압 DC(802)로 변환된다. 정류의 결과로, 고압 DC(802)의 전압 수준은 정류기의 인풋에서의 고압 AC(910)보다 다소 높을 수 있지만, 작은 퍼센트 증가로 제한될 수 있다. 고압 DC(802)가 마그네트론(700)에 의하여 요구되는 고압 DC(802A)를 충족시키지 않을 경우, DC-DC 변환기(908)는 대부분의 전압 변화 기능을 제공하는 고압 인풋 송전(182) 설비에서의 컴포넌트로서 작용할 수 있다. 구체예에서, 이러한 구성은 유틸리티의 고압 AC 유입전력(180)에 대하여 전기적 절연을 가지는 마그네트론(700)에 고압 DC(802A)를 제공하는 고압 인풋 송전(182) 설비에 대하여 수단을 제공할 수 있다. 변압기로 인한 전력 비효율의 감소는 이러한 구성으로써 실현될 수 있다.Figure 13 shows a high voltage input transmission facility with transformer isolation, which is one embodiment of the high
구체예에서, 고체연료 처리 설비(132)에 대한 소요 전력은 높을 수 있고, 고전압 선로, 예를 들어 160 kV 송전선을 요구할 수 있다. 소요 전력은 현장에서 고체연료 처리 설비(132)를 가지는 변전소의 설계와 건설을 정당화하기에 충분히 높을 수 있다. 이러한 변전소들은 고체연료 처리 설비(132)를 위하여 특별하게 설계될 수 있고, 그러한 것으로서, 마그네트론의 전압 요건에 가장 적합한 고압 수준의 선택을 허용할 수 있다. 이러한 경우에, DC-DC 변환기(908)에 대한 요구가 제거될 수 있다.In an embodiment, the required power for the solid
마이크로파 시스템(148)이 특정 석탄 공정 스테이션에 출력(power), 주파수 및 듀티 사이클을 적용함에 따라, 비-석탄 생성물이 석탄에서 방출될 수 있다. 센서 시스템은 비-석탄 생성물 제거 속도, 완전한 비-석탄 생성물 제거, 환경 설정, 실제의 마이크로파 시스템(148) 아웃풋 등을 결정하기 위하여 사용될 수 있다. 센서 시스템(142)은 수증기, 회분, 황, 휘발성 물질 또는 석탄에서 방출되는 다른 물질에 대한 센서를 포함할 수 있다. 게다가, 센서 시스템(142)은 마이크로파 출력, 마이크로파 주파수, 가스 환경, 석탄 온도, 챔버 온도, 벨트 속력, 비활성 기체 등에 대한 센서를 포함할 수 있다. 센서는 석탄 처리 공정을 정확하게 감지하기 위하여 필요한 대로, 서로 그룹을 이루거나 벨트 설비(130)를 따라 놓여질 수 있다. 동일한 측정값을 위하여 다중 센서가 있을 수 있다. 예를 들어, 수분 센서가 마이크로파 시스템(148) 스테이션에 위치하고, 다른 수분 센서가 마이크로파 시스템(148) 스테이션 이후에 위치할 수 있다. 이 예에서, 센서 장치는 마이크로파 스테이션(148) 자체에서 제거되는 수증기의 양 및 석탄이 마이크로파 시스템 스테이션(148)을 떠남에 따라 제거되는 잔류 수증기의 양의 감지를 허용할 수 있다. 이러한 것과 같은 셋업에서, 제1센서가 적절한 출력 수준, 주파수 및 듀티 사이클이 사용되는지를 결정하기 위하여 사용될 수 있고, 제2센서가 여분의 마이크로파 시스템(148) 공정이 석탄에서 물을 적절하게 제거하도록 실행되어야 하는지를 결정할 수 있다. 유사한 방법이 센서 시스템(142)의 임의의 다른 센서에 사용될 수 있다.As the
센서 읽음은 센서 시스템(142)에 의하여 사용되는 각 유형의 센서에 대한 센서 인터페이스를 가질 수 있는 파라미터 제어설비(140)에 의하여 입수될 수 있다. 파라미터 제어설비(140)는 디지털과 아날로그 센서 읽음 모두를 읽을 수 있다. 파라미터 제어설비(140)는 임의의 아날로그 읽음을 디지털 형식으로 변한하기 위하여 아날로그-디지털 변환기(ADC)를 사용할 수 있다. 센서 데이터를 입수한 후, 파라미터 제어설비(140)는 센서 읽음을 컨트롤러(144)와 모니터링 설비(134) 양쪽 모두에 전송할 수 있다. 컨트롤러(144)는 실제의 석탄 공정 데이터를, 사용자가 데이터 대 실제의 설정을 보는 것이 가능할 수 있고, 작동 파라미터에 대하여 수동 조작(manual override)을 적절하게 수행할 수 있는, 컨트롤러의 사용자 인터페이스 상에 나타내도록 센서 읽음을 사용할 수 있다.The sensor reading may be obtained by a
대표적인 구체예에서, 모니터 설비(134)는 석탄 처리 공정이 석탄 희망 특성(122)을 생성하고 있는지를 결정하기 위하여, 실제의 석탄 공정 데이터를 입수하여 이것을 요구되는 석탄 공정 파라미터와 비교할 수 있다. 모니터링 설비(134)는 적어도 두 세트의 석탄 처리 파라미터, 파라미터 생성 설비(128)에 의하여 제공될 수 있는 목표(target) 파라미터, 및 파라미터 제어(140)에 의하여 제공되는 실제의 석탄 공정 데이터를 유지할 수 있다. 모니터링 설비(134)는 석탄 처리 작동 파라미터가 석탄 희망 특성(122)을 생성하고 있는지를 결정하기 위하여, 요구되는 파라미터와 실제의 파라미터를 비교할 수 있다. 파라미터 생성 설비(128)는 또한, 석탄 희망 특성(122)을 생성하기 위하여 석탄 처리 공정에 의하여 유지되어야 하는 허용치의 세트를 가지는, 모니터링 설비(134)를 제공받을 수 있다. 모니터링 설비(134)는 임의의 작동 파라미터 조정이 될 필요가 있는지를 결정하기 위하여 알고리즘의 세트를 사용할 수 있다. 알고리즘은 작동 파라미터에 대한 임의의 조정의 결정에 있어서, 실제의 센서(142) 데이터를 기저(basic) 작동 파라미터 및 작동 파라미터 허용치와 비교할 수 있다.In an exemplary embodiment, the
게다가, 모니터링 설비(134)는 석탄 아웃풋 파라미터(172) 설비 및 테스트 설비(170)로부터의 데이터를 포함할 수 있는 피드백 설비(174)로부터, 최종의 처리된 석탄 데이터를 입수할 수 있다. 모니터링 설비(134) 알고리즘은 석탄 처리 작동 파라미터를 조정하기 위하여, 피드백 설비(174)에서 입수된 데이터를 센서 시스템(142)에서 입수된 공정 중(in-process) 데이터와 함께 사용할 수 있다.In addition, the
모니터링 설비(134)는 실시간에서 벨트 설비(130)의 하나 또는 모든 작동 파라미터를 조정하는 것이 가능할 수 있다.The
모니터링 설비(134)가 작동 파라미터를 조정한 후, 모니터링 설비(134)는 조정된 작동 파라미터를 새로운 작동 파라미터로서 저장한 다음 새로운 작동 파라미터를 컨트롤러(144)에 전송할 수 있다.After the
컨트롤러(144)는 모니터링 설비(134)에서 입수된 적어도 하나의 새로운 작동 파라미터를 결정할 수 있고, 새로운 작동 파라미터를 마이크로파 시스템(148)을 포함할 수 있는 다양한 벨트 설비(130) 장치에 전송할 수 있다.The
작동 파라미터 제공, 실제의 공정 값을 감지, 실제의 공정 값을 해석, 요구되는 바와 같은 작동 파라미터를 조정, 및 조정된 작동 파라미터를 벨트 설비(130)에 전송하는 상기 기술된 공정을 사용하여, 특정 구체예는 석탄 처리 공정 내에서 변화하는 조건에 대하여 계속하여 조정할 수 있는 실시간 피드백 시스템을 제공할 수 있다.Using the process described above for providing operating parameters, sensing actual process values, interpreting actual process values, adjusting operating parameters as required, and transferring the adjusted operating parameters to the belt facility 130, Embodiments can provide a real-time feedback system that can be continuously adjusted for changing conditions within a coal processing process.
상기 피드백 시스템이 벨트 설비(130)의 임의의 시스템 및 설비에 적용될 수 있다는 것이 당업자에게 이해될 것이다.It will be appreciated by those skilled in the art that the feedback system may be applied to any system and facility of the belt facility 130.
대표적인 석탄 처리 공정에서, 비-석탄 생성물은 가스 또는 액체의 형태로 석탄으로부터 방출될 수 있다. 제거 시스템(150)은 벨트 설비(130)로부터 비-석탄 생성물을 제거하는 것을 담당할 수 있고; 제거 시스템(150)은 수분, 회분, 황, 수소, 하이드록실 휘발성 물질 등과 같은 비-석탄 생성물을 제거할 수 있다. 제거 시스템(150) 및 컨트롤러(144)는 석탄 처리 공정에서 방출될 수 있는 비-석탄 생성물의 부피에 관한 센서 시스템(142)으로부터의 센터 정보를 입수할 수 있다.In a typical coal treatment process, the non-coal product may be released from coal in the form of a gas or a liquid.
가스 및/또는 액체를 제거하기 위하여 벨트 설비(130)에 하나 이상의 제거 시스템(150)이 있을 수 있다. 예를 들어, 마이크로파 시스템(148) 스테이션 후에 계속 방출될 수 있는 잔류 수증기를 수집하기 위하여, 마이크로파 시스템(148) 스테이션에 수증기 제거 시스템(150)이 있고, 마이크로파 시스템(148) 스테이션 후에 다른 제거 시스템(150)이 있을 수 있다. 또는 다른 예로서, 하나의 제거 시스템(150)이 수증기를 제거하는 동안 다른 제거 시스템(150)이 회분, 황, 또는 다른 물질을 제거할 수 있다.There may be one or
컨트롤러(144)는 팬(fan) 속도, 펌프(pump) 속도 등을 제어하기 위하여 제거 시스템(150)에 작동 파라미터를 제공할 수 있다. 제거 시스템(150)은 앞서 기술한 마이크로파 시스템(148) 피드백 시스템과 유사한 피드백 시스템을 이용할 수 있다. 이러한 피드백 시스템에서, 센서는 비-석탄 생성물의 효율적인 제거를 위하여, 정보를 파라미터 제어(140) 및 모니터링 설비(134)에 제공하여 실시간 피드백을 제거 시스템(150)에 제공할 수 있다.The
제거 시스템(150)은 벨트 설비(130)로부터의 석탄 처리에서 방출된 가스 및 액체를 수집하고, 수집된 비-석탄 생성물을 격납 설비(162)로 수송할 수 있다. 격납 설비(162)는 적어도 하나의 격납탱크 또는 격납용기에 벨트 설비(130)로부터의 비-석탄 생성물을 수집할 수 있다. 모니터링 설비(134)는 격납 설비(162)를 모니터하여 비-석탄 생성물의 수준을 결정할 수 있고, 이 정보를 고체연료 처리 설비(132)에 액세스하는 컴퓨터 장치에 의하여 가시화된 사용자 인터페이스에 제공할 수 있다. 모니터링 설비(134)는 또한 격납 설비(162)가 충분히 가득 찼을 경우 탱크 또는 용기의 내용물이 처리 설비(160)로 수송되어야 함을 결정할 수 있다.The
처리 설비(160)는 격납 설비(162) 탱크 및 용기 내에 공존할 수 있는 다양한 수집된 비-석탄 생성물의 분리를 담당할 수 있다. 한 구체예에서, 하나 이상의 비-석탄 생성물은 석탄 처리 공정 동안 격납 설비 탱크 또는 용기에 수집될 수 있다. 예를 들어, 회분은 마이크로파 시스템(148) 공정 중의 하나 동안 물 및 황과 함게 방출될 수 있고, 따라서 수집된 생성물은 물 및/또는 황과 혼합된 회분을 포함할 것이다.The
처리 설비(160)는 단일 생성물로 분리하기 위하여 격납 설비(162)로부터 비-석탄 생성물을 받을 수 있다. 처리 설비(160)는 침강(sedimentation), 응집(flocculation), 원심분리, 여과, 증류, 크로마토그래피, 전기영동, 추출, 액-액 추출, 침전(precipitation), 분별동결(fractional freezing), 체로 치기(sieving), 풍선(winnowing) 등을 포함할 수 있는 다수의 여과 및 분리 공정을 사용할 수 있다.The
모니터링 설비(134)는 적합한 작동과 분리를 위한 처리 설비(160) 공정을 모니터할 수 있다. 처리 설비(160)는 데이터를 모니터링 설비(134)에 보내는 센서를 가질 수 있거나, 처리 공정을 모니터하기 위하여 센서 시스템(142)을 사용할 수 있다.The
처리 설비(160)가 비-석탄 생성물을 개별적인 생성물로 분리하면, 이들은 고체연료 처리 설비(132)로부터 제거하기 위하여 처분 설비(158)로 수송된다. 모니터링 설비(132)는 생성물이 처분되어야 할 때를 결정하기 위하여 처분 설비(158) 생성물 수준을 모니터할 수 있다. 모니터링 설비(134)는 고체연료 처리 설비(132) 내에서 처분 설비로부터 사용자 인터페이스로 정보를 제공할 수 있다. 처분 설비(158)로부터의 처분은 무-독성 생성물(예를 들어 물과 수증기)의 방출, 매립지로 수송(예를 들어 회분), 생성물의 판매, 또는 상업적인 유료 처분을 포함할 수 있다. 한 구체예에서, 처분 설비(158)에서 수집된 비-석탄 생성물은 다른 기업에 유용할 수 있다(예를 들어 황).When the
석탄이 벨트 설비(130)에서 처리되는 것이 완료된 후, 석탄은 처리온도에서 주위온도로의 석탄 냉각이 제어될 수 냉각 설비(164)로 향할 수 있다. 벨트 설비(130)와 유사하게, 냉각 설비(164)는 대기, 수송 시스템, 센서 등을 사용하여 석탄의 냉각을 제어할 수 있다. 석탄의 냉각은, 예를 들어 수분의 재-흡수 방지 및/또는 냉각 공정 동안 일어날 수 있는 다른 화학적 반응을 방지하기 위하여 조절될 수 있다. 컨트롤러(144)는 수송 속도, 대기, 냉각 속도, 기류 등과 같은 냉각 설비(164) 시스템과 설비를 유지하기 위하여 사용될 수 있다. 냉각 설비(164)는 벨트 설비(130)에 의하여 사용되는 상기의 실시간 피드백 시스템을 사용하여 작동 파라미터를 제어할 수 있다.After the coal is finished being treated in the belt facility 130, the coal can be directed to the
배출 설비(168)는 냉각 설비(164) 및 벨트 설비(130)로부터 최종의 처리된 석탄을 입수할 수 있다. 배출 설비(168)는 고체연료 처리 설비(132)에 존재할 수 있는 석탄의 흐름과 부피를 받아들이고 제어할 수 있는 입력 부분, 전이 부분, 및 어댑터 부분을 가질 수 있다. 최종의 처리된 석탄은 고체연료 처리 설비(132)에서 석탄 연소 설비(200), 석탄 전환 설비(210), 석탄 부산물 설비(212), 출하 설비(214), 석탄 보관 설비(218) 등으로 나갈 수 있다. 배출 설비(168)는 최종의 처리된 석탄을 고체연료 처리 설비(132)의 외부 위치로 공급할 수 있는 컨베이어 벨트(300), 오거 등과 같은 투입 시스템을 가질 수 있다.The
컨트롤러(144)에 의하여 제공되는 작동 파라미터에 기초하여, 배출 설비(168)는 벨트 설비(130)로부터의 최종의 처리된 석탄 아웃풋의 부피 속도를 제어할 수 있다. 배출 설비(168)는 컨트롤러(144)에서 공급된 파라미터에 기초하여 배출 설비의 속도 변화가 가능할 수 있다.Based on the operating parameters provided by the
게다가, 배출 설비(168)는 최종의 처리된 석탄을 테스트하기 위한 테스트 설비(170)에 테스트 샘들을 제공할 수 있다. 석탄 샘플의 선택은 자동으로 또는 수동으로 선택될 수 있다; 석탄 선택은 사전 결정된 시간에서 행해지거나, 무작위로 선택되거나, 통계적으로 선택되거나, 기타 등등일 수 있다.In addition, the
석탄 테스트 설비(170)는 처리된 석탄의 최종 품질 테스트로서 석탄 희망 특성(122)과 비교하기 위하여, 최종의 처리된 석탄 특성을 테스트할 수 있다. 테스트 설비는 고체연료 처리 설비(132)에 근거리에 위치하거나, 원거리에 위치하거나, 또는 표준의 민간 석탄 테스트 연구소일 수 있다. 도 1에서 테스트 설비는 고체연료 처리 설비에 근거리인 것으로 나타난다. 최종의 처리된 석탄의 테스트는 수분 퍼센트, 회분 퍼센트, 휘발성 물질 퍼센트, 고정탄소 퍼센트, BTU/lb, 수분과 회분이 없을 시 BTU/lb, 황의 형태, 분쇄성(HGI), 총 수은, 회분 용융온도, 회분 무기물 분석, 전자기적 흡수/반사, 유전특성 등을 포함할 수 있는 석탄 특성을 제공할 수 있다. 최종의 처리된 석탄은 ASTM 표준 D 388 (등급에 의한 석탄 분류), ASTM 표준 D 2013 (분석을 위한 석탄 샘플 제조 방법), ASTM 표준 D 3180 (측정된 상태에서 다른 기준들까지 석탄 및 코크스 분석을 추정하기 위한 표준 실행), 미국 지질조사국 회보 1823 (석탄의 샘플링 및 무기분석 방법) 등과 같은 표준 테스트를 사용하여 테스트될 수 있다.The
최종의 처리된 석탄 특성이 테스트 설비(170)에 의하여 결정되면, 상기 특성은 석탄 아웃풋 파라미터 설비(172)로 전송될 수 있고 및/또는 최종의 처리된 석탄의 출하와 함께 공급될 수 있다. 출하와 함께 테스트 특성을 공급하는 것은 석탄 사용 설비가 석탄 특성을 아는 것을 허용하고, 석탄 사용 특성을 조정하여 최종의 처리된 석탄 특성에 부합할 수 있다.Once the final treated coal characteristics are determined by the
석탄 희망 특성 설비(122)와 유사하게, 석탄 아웃풋 파라미터 설비(172)는 석탄 특성 데이터, 이 경우에는 최종의 처리된 석탄 특성을 저장할 수 있다. 석탄 아웃풋 파라미터 설비(172)는 식별된 석탄에 대한 최종 석탄 희망 특성을 저장하기 위한 개별적인 컴퓨터 장치 또는 컴퓨터 장치의 세트일 수 있다. 컴퓨터 장치는 데스크탑 컴퓨터, 서버, 웹 서버, 랩탑 컴퓨터, CD 장치, DVD 장치, 하드 드라이브 시스템 등일 수 있다. 컴퓨터 장치는 모두 서로 로컬 위치일 수 있거나 다수의 컴퓨터 장치가 원격 위치에 분포되어 있을 수 있다. 컴퓨터 장치는 LAN, WAN, 인터넷, 인트라넷, P2P, 또는 유선이나 무선 기술을 사용하는 다른 유형의 네트워크에 의하여 연결될 수 있다.Similar to the coal desired
석탄 아웃풋 파라미터 설비(172)는 데이터베이스, 관계 데이터베이스, XML, RSS, ASCII 파일, 플랫 파일, 텍스트 파일 등일 수 있는 데이터의 모음을 포함할 수 있다. 한 구체예에서, 석탄 아웃풋 파라미터 설비(172)는 석탄에 대한 희망하는 데이터 특성의 검색에 대하여 검색이 가능할 수 있다.The coal
배출 설비(168) 및 테스트 설비(170)에 의하여 공급된 테스트 샘플의 개수에 기초하여, 석탄 아웃풋 파라미터 설비(172)에 저장된 다수의 석탄 아웃풋 파라미터 기록이 있을 수 있다.There may be a number of coal output parameter records stored in the coal
테스트 설비(170)로부터 입수된 모든 석탄 특성 데이터 기록을 사용하여, 석탄 아웃풋 파라미터 설비(172)는 입수된 데이터를 저장 및/또는 입수된 석탄 특성 데이터 기록을 피드백 설비(174)에 전송할 수 있다. 석탄 아웃풋 파라미터 설비(172)는 단지 새로운 입수된 석탄 특성 데이터 기록, 식별된 석탄(예를 들어 다중의 테스트 결과)에 대한 모든 데이터 기록, 식별된 석탄에 대한 모든 데이터 기록의 평균, 식별된 석탄의 통계적 데이터 등을 전송할 수 있다. 석탄 아웃풋 파라미터 설비(172)는 데이터 기록의 임의의 조합을 피드백 설비(174)에 전송할 수 있다.Using all of the coal characterization data records obtained from the
피드백 설비(174)는 석탄 아웃풋 파라미터 설비(172)로부터 석탄 아웃풋 파라미터 데이터를 입수할 수 있다. 피드백 설비(174)는 식별된 석탄에 대한 최종 석탄 희망 특성을 저장하기 위한 개별적인 컴퓨터 장치 또는 컴퓨터 장치의 세트일 수 있다. 컴퓨터 장치는 데스크탑 컴퓨터, 서버, 웹 서버, 랩탑 컴퓨터, CD 장치, DVD 장치, 하드 드라이브 시스템 등일 수 있다. 컴퓨터 장치는 모두 서로 로컬 위치일 수 있거나 다수의 컴퓨터 장치가 원격 위치에 분포되어 있을 수 있다. 컴퓨터 장치는 LAN, WAN, 인터넷, 인트라넷, P2P, 또는 유선이나 무선 기술을 사용하는 다른 유형의 네트워크에 의하여 연결될 수 있다.The
피드백 설비(174)는 고체연료 처리 설비(132)에서 처리되고 있는 식별된 석탄의 데이터에 대하여 석탄 아웃풋 파라미터 설비(172)에 질의(query)할 수 있다. 구체예에서, 피드백 설비(174)는 데이터가 모니터링 설비(134)에 의해서 요청될 때, 석탄 아웃풋 파라미터 설비(172)가 새로운 기록을 보낼 때 등에, 설정시간(set time) 주기에서 석탄 아웃풋 파라미터 설비(172)에 주기적으로 질의할 수 있다.The
피드백 설비(174)는 단지 새로운 입수된 석탄 특성 데이터 기록, 식별된 석탄(예를 들어 다중의 테스트 결과)에 대한 모든 데이터 기록, 식별된 석탄에 대한 모든 데이터 기록의 평균, 식별된 석탄의 통계적 데이터 등을 입수할 수 있다. 피드백 설비(174)는 모니터링 설비(134)로의 피드 포워드(feed forward)로서 입수된 최종 처리된 석탄 특성을 취합하기 위한 알고리즘을 가질 수 있다. 피드백 설비(174)는 최후의 석탄 특성 데이터 기록, 식별된 석탄(예를 들어 다중의 테스트 결과)에 대한 모든 데이터 기록, 식별된 석탄에 대한 모든 데이터 기록의 평균, 식별된 석탄의 통계적 데이터 등을 모니터링 설비(134)에 보낼 수 있다.The
석탄 아웃풋 파라미터 설비(172)는 석탄 특성을 가격 책정 트랜잭션 설비(178)로 전송할 수 있다. 가격 책정 트랜잭션 설비(178)는 입수한 그대로의 원료석탄에서 최종의 처리된 석탄까지의 석탄 처리 가격과 비용을 결정할 수 있다. 가격 책정 트랜잭션 설비(178)는 석탄 샘플 데이터 설비(120)에서 입수한 그대로의 석탄 데이터를 검색할 수 있고; 이 설비는 검색된 석탄의 비용(예를 들어 비용/석탄의 톤 수)을 저장할 수 있다. 가격 책정 트랜잭션 설비(178)는 석탄을 처리하는 비용과 관련된 데이터를 포함할 수 있는 석탄 아웃풋 파라미터 설비(172)에서 데이터를 검색할 수 있다. 가격 책정 트랜잭션 설비(178)는 석탄 샘플 데이터 설비(120) 및 석탄 아웃풋 파라미터 설비(172)에서 검색되고 파생된 비용 데이터에 기초하여 처리된 석탄의 최종 가격을 결정할 수 있는 응용 소프트웨어를 가질 수 있다.The coal
도 2에 나타나는 바와 같이, 석탄 사용의 어떤 양태는 고체연료 처리 설비(132)에서의 석탄의 처리와 일치한다. 상기 기술된 바와 같이, 고체연료 처리 설비(132)는 석탄 품질을 향상시켜, 다양한 용도에 더욱 적합한 석탄을 제공할 수 있다. 구체예에서, 고체연료 처리 설비(132)는 배출 설비(168)를 포함할 수 있고, 이것을 통하여 본원에 기술된 시스템과 방법에 따라 처리된 석탄이 도 2에 도시되는 것과 같은 사용 설비로 수송될 수 있다. 구체예에서, 고체연료 처리 설비(132)는 상기 더욱 자세하게 기술된 바와 같이 테스트 설비(170)를 포함할 수 있다. 앞서 기술된 바와 같이, 테스트 설비(170)에서 테스트된 석탄의 결과는 도 2에 도시된 것과 같은 사용 설비로 전송될 수 있으므로, 사용 설비는 본원에 기술된 시스템과 방법에 따라 처리된 석탄의 특유의 특성을 더욱 잘 활용할 수 있다.As shown in FIG. 2, certain aspects of coal use are consistent with the treatment of coal in the solid
도 2는 본원에 기술된 시스템과 방법으로 처리된 석탄을 사용할 수 있는 대표적인 설비를 나타내고, 이들은 가연성의 석탄을 위한 석탄 연소 설비(200) 및 석탄 보관 설비(202), 석탄 전환 설비(210), 석탄 부산물 설비(212), 배송 중인 석탄을 위한 석탄 출하 설비(214) 및 석탄 보관 설비(218)를 포함하지만 이들로 한정되지는 않는다. 구체예에서, 석탄은 배출 설비(168)로부터 석탄 사용을 위한 설비로 출하되거나 수송된다. 고체연료 처리 설비(132)가 석탄 사용 설비의 근처에 있을 수 있거나, 두 설비가 서로 멀리 떨어져 있을 수 있다는 것이 알려져 있다.FIG. 2 shows a representative facility in which coal treated with the systems and methods described herein may be used, including
도 2를 참조하면, 본원에 기술된 시스템과 방법으로 처리된 석탄의 연소는 석탄 연소 설비(200)에서 일어날 수 있다. 석탄 연소(200)는 산소의 존재와 고온에서 석탄을 연소하여 빛과 열을 발생시키는 것을 포함한다. 석탄은 연소가 일어나기 전에 그것의 점화온도로 가열되어야 한다. 석탄의 점화온도는 석탄에 함유된 고정탄소의 점화온도이다. 석탄의 휘발성 성분의 점화온도는 고정탄소의 점화온도보다 높다. 따라서 가스 생성물은 연소가 일어나는 동안 증류되어 나간다. 연소가 시작될 때, 가연성 탄소의 산화에 의하여 생성된 열은 적당한 조건에서 연소를 유지하기에 충분히 높은 온도를 유지할 수 있다. 석탄 연소(200) 설비에서 사용되어야 하는 석탄은 사용을 위하여 직접 상기 설비에 수송될 수 있거나, 석탄 연소(200) 설비와 관련된 보관 설비(202)에 저장될 수 있다.Referring to FIG. 2, the combustion of coal processed by the systems and methods described herein may occur at the
도 2에 나타나는 바와 같이, 석탄 연소(200)는 발전(204)에 제공될 수 있다. 발전을 위한 시스템은 고정층 연소 시스템(220), 미분탄 연소 시스템(222), 유동층 연소 시스템(224) 및 재생 가능한 에너지원을 석탄과 복합으로 연소에 사용하는 복합 연소 시스템(228)을 포함한다.As shown in FIG. 2, the
구체예에서, 고정층(220) 시스템은 본원에 기술된 시스템과 방법에 따라 처리된 석탄에 사용될 수 있다. 고정층(220) 시스템은 약 1-5 cm 범위의 입자 크기를 가지는 괴탄(lump coal) 공급을 사용할 수 있다. 고정층(220) 시스템에서, 석탄은 노에 들어가면서 가열되고, 따라서 수분과 휘발성 물질이 빠져나간다. 석탄이 점화될 영역으로 석탄이 이동함에 따라 석탄층에서 온도가 상승한다. 정지 화격자(static grate), 하부공급 스토커(underfeed stoker), 체인형 화격자(chain grate), 이동식 화격자(traveling grate) 및 살포식 스토커(spreader stoker) 시스템을 포함하는 다수의 상이한 유형의 고정층(220) 시스템이 존재한다. 체인형 및 이동식 화격자로(grate furnace)는 유사한 특성을 가진다. 공기가 화격자 및 석탄의 층을 통하는 동안, 석탄 덩어리가 움직이는 화격자나 체인에 공급된다. 살포식 스토커에서, 연료를 더욱 균일하게 분포시키기 위하여, 고속 회전자가 움직이는 화격자 상에서 석탄을 노에 던져넣는다. 스토커로(stoker furnace)는 일반적으로 1200-1300℃의 화염 온도와 상당히 긴 체류시간으로 특징지어진다.In an embodiment, the fixed
고정층(220) 시스템에서의 연소는 비교적 불규칙하여, 연소공정 동안 일산화탄소, 질소산화물("NOx") 및 휘발성 물질의 간헐적인 배기가 있을 수 있다. 연소 화학과 온도는 실질적으로 연소 화격자를 가로질러 변화할 수 있다. SO2의 배기는 공급 석탄의 황 함량에 의존할 것이다. 잔류 회분은 비교적 비효율적인 연소 및 석탄에 함유된 탄소와 산소의 접촉 제한으로 인하여, 높은 탄소 함량(4-5%)을 가질 것이다. 특유의 특성은 석탄이 고정층(220) 시스템에서 유리하게 연소되는 것을 허용한다는 것이 당업자에게 이해될 것이다. 따라서, 본원에 기술된 시스템과 방법에 따라 처리된 석탄은 고정층(220) 시스템에서의 연소를 위하여 더욱 특별하게 설계될 수 있다.The combustion in the fixed
구체예에서, 미분탄 연소(pulverized coal combustion("PCC"))(222)는 발전(204)을 위한 연소(200) 방법으로서 사용될 수 있다. 도 2에 나타나는 바와 같이, PCC(222)는 본원에 기술된 시스템과 방법에 따라 처리된 석탄에 사용될 수 있고, PCC를 위하여 석탄은 미세한 분말로 분쇄(미분쇄)될 수 있다. 미분탄은 일련의 버너 노즐을 통하여 연소를 위한 공기의 일부로써 보일러로 취입된다. 이차 또는 삼차 공기 또한 첨가될 수 있다. 유닛은 대기압 가까이에서 작동한다. 연소는 석탄 등급에 따라 1300-1700℃의 온도에서 일어난다. 역청탄에 대하여, 연소 온도는 1500-1700℃에서 고정된다. 더 낮은 등급의 석탄에 대하여, 범위는 1300-1600℃이다. 미분탄 공정에서 사용되는 석탄의 입자 크기는 약 10-100 미크론 범위이다. 입자 체류 시간은 전형적으로 1-5 초이고, 입자는 이 시간 동안 완전히 연소되도록 크기가 정해져야 한다. 발전(204)을 위하여, 스팀 생성기와 터빈을 가동할 수 있는 공정에 의하여 스팀이 생성된다. In an embodiment, pulverized coal combustion ("PCC") 222 can be used as a
미분탄 연소기(222)에는 벽면-연소식(wall-fired) 또는 접선 연소식(tangentially fired) 버너가 공급될 수 있다. 벽면-연소식 버너는 연소기의 벽에 설치되는 반면, 접선 연소식 버너는 화염이 보일러의 중앙을 향하도록 하여 모서리에 설치되어, 연소 동안 가스에 나선 운동(swirling motion)을 부여하고 따라서 공기와 연료가 더욱 효과적으로 혼합된다. 보일러는, 회분이 용융된 슬래그로서 바닥에 떨어지는지 건조 고체로서 제거되는지에 따라, 습식(wet-bottom) 또는 건식(dry-bottom)으로 불릴 수 있다. 유리하게, PCC(222)는 미세한 비산회분(fly ash)을 생성한다. 일반적으로, PCC(222)는 회분의 잔류물을 거친 바닥회분(건식 보일러에서) 또는 보일러 슬래그(습식 보일러)의 형태로 얻으면서, 65%-85% 비산회분을 야기할 수 있다.The pulverized
구체예에서, 연료로서 무연탄을 사용하는 PCC(222) 보일러는 다운샷(downshot) 버너 장치를 사용할 수 있고, 여기서 석탄-공기 혼합물은 보일러 기저(base)의 콘(cone)으로 보내진다. 이러한 장치는 더욱 완전한 탄소 연소를 보증하는 더욱 긴 체류 시간을 허용한다. 셀(cell) 버너라고 불리는 다른 장치는 밀집된, 강한 화염을 발생하는 단일한 수직 어셈블리(assembly)로 결합된 둘 또는 셋의 원형 버너를 포함한다. 그러나 이 버너로부터의 고온 화염은 더욱 많은 NOx 형성을 야기할 수 있어, 이 장치가 덜 유리하게 한다.In an embodiment, the
구체예에서, 사이클론-연소식(cyclone-fired) 보일러가 낮은 회분 용융온도를 가지는 석탄을 위하여 사용될 수 있고, 그렇지 않다면 PCC(222)를 사용하기 어려울 것이다. 사이클론로(cyclone furnace)는 차차 가늘어지는 주(main) 보일러의 외면에 설치된 연소 챔버를 가진다. 일차 연소 공기가 석탄 입자를 노로 수송하는 동안, 이차 공기는 더욱 큰 석탄 입자를 노벽을 향하여 던져넣는 강한 소용돌이(swirl)를 생성하며 사이클론으로 접선방향으로 주입된다. 삼차 공기는 중심의 진공 및 노 내의 연소 영역 위치를 제어하기 위하여 사이클론의 중심 와류(vortex)로 직접 들어간다. 큰 석탄 입자는 사이클론 내면을 덮는 용융층에 포획되고, 이후 더욱 완전한 연소를 위하여 재순환된다. 작은 석탄 입자는 연소를 위하여 와류의 중심으로 들어간다. 이러한 시스템은 노 내에서 강한 열 발생을 야기하고, 따라서 석탄이 극심한 고온에서 연소된다. 연소 가스, 잔류 숯 및 비산회분은 더욱 완전한 연소를 위하여 보일러 챔버로 들어간다. 용융된 회분은 제거를 위하여, 중력에 의해 노의 바닥으로 흐른다.In an embodiment, a cyclone-fired boiler may be used for coal having a low batch melt temperature, otherwise
사이클론 보일러에서, 회분의 80-90%가 용융된 슬래그로서 보일러의 바닥을 떠나고, 따라서 더 적은 비산회분이 보일러의 열교환 부분을 통과하여 방출된다. 이러한 보일러들은 고온(1650 내지 2000℃ 이상)에서 가동되고, 근접-대기압을 사용한다. 고온은 이러한 보일러 유형의 주된 단점인, 다량의 NOx 생성을 야기한다. 사이클론-연소식 보일러는 특정한 핵심 특성인, 15% 이상의 휘발성 물질(건량 기준), 역청탄에 대하여 6-25% 또는 아역청탄에 대하여 4-25%의 회분 함량, 역청탄에 대하여 20% 이하의 및 아역청탄에 대하여 30%의 수분 함량을 가지는 석탄을 사용할 수 있다. 회분은 특유한 슬래그 점성 특성을 가져야 한다; 회분 슬래그 거동은 이러한 보일러 유형의 기능에 특히 중요하다. 높은 수분의 연료가 이러한 유형의 보일러에서 연소될 수 있지만, 설계의 변형이 필요하다.In a cyclone boiler, 80-90% of the ash leaves the bottom of the boiler as molten slag, and thus less fly ash flows through the heat exchange section of the boiler. These boilers operate at high temperatures (above 1650 to 2000 ° C) and use near-atmospheric pressure. High temperatures cause a large amount of NOx production, which is a major disadvantage of these boiler types. Cyclone-fired boilers are characterized by specific core characteristics, such as volatile substances (based on dry weight) of 15% or more, ash content of 6-25% for bituminous coal or 4-25% for bituminous coal, less than 20% Coal having a moisture content of 30% with respect to bituminous coal can be used. The ash must have a characteristic slag viscous property; The ash slag behavior is particularly important for the functioning of these boiler types. Fuel of high moisture can be burned in this type of boiler, but a modification of the design is needed.
특유의 특성은 석탄이 PCC(222) 시스템에서 유리하게 연소되는 것을 허용한다는 것이 당업자에게 이해될 것이다. 따라서, 본원에 기술된 시스템과 방법에 따라 처리된 석탄은 PCC(222) 시스템에서의 연소를 위하여 더욱 특별하게 설계될 수 있다.It will be understood by those skilled in the art that peculiar characteristics allow the coal to be advantageously burned in the
PCC는 아임계(subcritical) 또는 초임계(supercritical) 스팀 사이클링(cycling)과 복합으로 사용될 수 있다. 초임계 스팀 사이클은 물의 기상과 액상이 존재하지 않는, 물의 임계온도(374℉) 및 임계압력(22.1 mPa) 위에서 작동하는 것이다. 아임계 시스템은 전형적으로 33-34%의 열효율을 달성한다. 초임계 시스템은 아임계 시스템보다 3 내지 5 퍼센트 더 높은 열효율을 달성할 수 있다.PCC can be used in combination with subcritical or supercritical steam cycling. The supercritical steam cycle operates at a critical temperature of water (374 ° F) and a critical pressure (22.1 mPa), where no gaseous and liquid phases of water are present. Subcritical systems typically achieve thermal efficiencies of 33-34%. Supercritical systems can achieve thermal efficiencies three to five percent higher than subcritical systems.
석탄 연소(200)의 열효율을 증가시키는 것은 더 적은 연료를 필요로 하므로 발전(204)를 위하여 더 낮은 비용을 야기한다는 것이 당업자에게 인지될 것이다. 증가된 열효율은 또한 SO2 및 NOx의 배기가스와 같은, 연소 동안 발생되는 다른 배기가스를 감소시킨다. 낮은 등급의 석탄을 연소시키는 노후하고, 작은 유닛(unit)은 30% 정도로 낮을 수 있는 열효율을 가진다. 높은 품질의 석탄을 연소시키는 아임계 스팀 보일러를 가지는 대규모의 플랜트에 대하여, 열효율은 35-36%의 범위일 수 있다. 초임계 스팀을 사용하는 시설은 43-45% 범위의 전체 열효율을 달성할 수 있다. 낮은 품위의 석탄과 낮은 등급의 석탄을 사용하여 달성가능한 최대 효율은 높은 품위 및 높은 등급의 석탄을 사용하여 달성할 최대 효율보다 더 작을 수 있다. 예를 들어, (예를 들어, 유럽에서 발견되는) 새로운 아탄-연소 플랜트에서 예상되는 최대 효율은 약 42%일 수 있고, 반면 상응하는(equivalent) 새로운 역청탄 플랜트는 약 45%의 최대 열효율을 달성할 수 있다. 역청탄 및 다른 최적의 건축 재료(construction material)를 사용하는 초임계 스팀 플랜트는 45-47%의 순열효율(net thermal efficiency)을 달성할 수 있다. 따라서, 본원에 기술된 시스템과 방법에 따라 처리된 석탄은 열효율을 최적화하기 위하여 유리하게 설계될 수 있다.It will be appreciated by those skilled in the art that increasing the thermal efficiency of the
구체예에서, 유동층 연소("FBC")(224) 시스템은 본원에 기술된 시스템과 방법에 따라 처리된 석탄과 같이 사용될 수 있다. FBC(224) 시스템은 유동화의 요지인, 고체 물질이 자유롭게 흐르는 유체-유사 거동으로 주어지는 조건에서 작동한다. 가스가 고체 입자의 층을 통하여 위로 통과함에 따라, 가스의 흐름은 입자을 서로 분리시키는 경향을 가지는 힘을 생성한다. FBC(224) 시스템에서, 석탄은 유동화 가스의 상향 흐름에 의하여 부유된 뜨거운 불연성 입자의 층에서 연소된다. 석탄 FBC(224) 시스템의 석탄은 석회석과 같은 흡수제, 연소공정 동안 완전한 연소 및 황 가스의 제거를 허용하는 유동화된 혼합물과 혼합된다. 특유의 특성은 석탄이 FBC(224) 시스템에서 유리하게 연소되는 것을 허용한다는 것이 당업자에게 이해될 것이다. 따라서, 본원에 기술된 시스템과 방법에 따라 처리된 석탄은 FBC(224) 시스템에서의 연소를 위하여 더욱 특별하게 설계될 수 있다. FBC(224) 시스템의 대표적인 구체예는 하기에 더욱 자세히 기술된다.In an embodiment, a fluid bed combustion ("FBC") 224 system may be used with the treated coal according to the systems and methods described herein. The
발전(204)을 위하여, FBC(224) 시스템은 주로 아임계 스팀 터빈과 함께 사용된다. 대기압 FBC(224) 시스템은 기포식(bubbling) 또는 순환식(circulating)일 수 있다. 가압 FBC(224) 시스템은, 현재 발달의 초기 단계에서, 주로 기포층(bubbling bed)을 사용하고, 가스 터빈 및 스팀 터빈을 가지는 사이클에서 전력을 생산할 수 있다. 약 3 mm 크기의 비교적 거친 석탄 입자가 사용될 수 있다. 대기압에서의 FBC(224)는 고-회분 석탄 및/또는 가변적인 특성의 석탄에 유용할 수 있다. 연소는 실질적으로 NOx 형성에 대한 한계치(threshold) 이하인 800-900℃의 온도에서 일어나고, 따라서 이러한 시스템은 PCC(222) 시스템에서보다 낮은 NOx 배기가스를 야기한다.For
기포층은 낮은 유동화 속도를 가지고, 따라서 석탄 입자가 확인 가능한 표면을 가지는 약 1 mm 깊이의 층(bed)에 붙들린다. 석탄 입자가 소실되어 작아짐에 따라, 석탄 입자는 궁극적으로 석탄가스와 함께 운반되어 비산회분으로서 제거된다. 순환층(circulating bed)은 높은 유동화 속도를 사용하고, 따라서 석탄 입자가 연도가스(flue gas)에 부유하고, 주 연소 챔버(main combustion chamber)를 통과하여 사이클론으로 향한다. 큰 석탄 입자는 가스에서 추출되어 연소 챔버로 재순환된다. 개별적인 입자들은 그들의 연소 특성에 따라, 10-50 회 재순환할 수 있다. 연소 조건은 연소기 전체에서 비교적 균일하고, 상당한 입자 혼합이 있다. 석탄 고체가 유닛 전체에 분포되어 있을지라도, 연소 동안 연료를 혼합하기 위하여 조밀층(dense bed)이 하부로(lower furnace)에서 요구될 수 있다. 역청탄을 연소시키는 층에 있어서, 층의 탄소 함량은 약 1%이고, 나머지는 회분 및 다른 광물로 되어 있다.The bubble layer has a low fluidization rate, so that the coal particles are held in a bed about 1 mm deep with an identifiable surface. As the coal particles disappear and become smaller, the coal particles are ultimately carried along with the coal gas and removed as fly ash. The circulating bed uses a high fluidization rate, so that the coal particles float in the flue gas and pass through the main combustion chamber to the cyclone. The large coal particles are extracted from the gas and recycled to the combustion chamber. Individual particles can be recirculated 10 to 50 times, depending on their combustion characteristics. The combustion conditions are relatively uniform throughout the combustor, and there is considerable particle mixing. Although the coal solids are distributed throughout the unit, a dense bed may be required in the lower furnace to mix the fuel during combustion. For the layer that burns bituminous coal, the carbon content of the layer is about 1% and the remainder is ash and other minerals.
순환 FBC(224) 시스템은 석탄의 특정 유형을 위하여 설계될 수 있다. 구체예에서 이러한 시스템은, 미세하게 미분쇄되기 어렵고 가변적인 연소 특성을 가질 수 있는, 낮은 품위, 높은 회분의 석탄을 위하여 특별히 유용하다. 구체예에서, 또한 이러한 시스템은 복합 연소(228) 시스템에서 석탄을 바이오매스(biomass) 또는 폐기물과 같은 다른 연료와 함께 동시연소(co-firing)하는 것에도 유용하다. FBC(224) 유닛이 건설되면, 상기 연료를 위하여 설계된 유닛은 이 연료를 사용하여 가장 효율적으로 작동될 수 있다. 다양한 설계가 사용될 수 있다. 순환 FBC(224)에 대한 열효율은 일반적으로 상응하는 PCC 시스템보다 다소 낮다. 가변적인 특성을 가지는 저품위 석탄의 사용은 열효율을 더욱 낮출 수 있다.The circulating
가압 시스템에서의 FBC(224)는 저품위 석탄과 가변적인 연소 특성을 가지는 석탄에 대하여 유용할 수 있다. 압력 경계를 가로질러 시스템으로 공급되는 석탄과 흡수제 및 압력 경계를 가로질러 제거되는 회분을 가지는 가압 시스템에서, 연소기와 가스 사이클론은 모두 압력용기로 에워싸진다. 무연탄(hard coal)이 사용될 경우, 석탄과 석회석은 25%의 물과 함께 혼합되어 페이스트(paste)로서 시스템에 공급될 수 있다. 시스템은 1-1.5 Mpa의 압력, 800-900℃의 연소 온도에서 작동할 수 있다. 연소는 상용의 보일러와 같이 스팀을 가열하고, 또한 가스 터빈을 구동하기 위한 뜨거운 가스를 생산할 수 있다. 가압 유닛은 낮은 배기가스와 함께, 40% 이상의 열효율을 가지도록 설계된다. 차세대 가압 FBC 시스템은 50% 이상의 열효율을 산출할 수 있는 개량을 포함할 수 있다.The
도 2에 나타나는 바와 같이, 석탄 연소(200)는 철 및 강철의 제련과 같은 야금 목적(208)에 사용될 수 있다. 어떤 구체예에서, 특정 특성을 가지는 역청탄은 사전 코킹(prior coking) 없는 제련에 적합할 수 있다. 예로서, 가융성(fusibility), 및 높은 고정탄소 함량, 낮은 회분 (<5%), 낮은 황, 및 낮은 방해석(calcite)(CaCO3) 함량을 포함하는 다른 인자의 조합과 같은 특성을 가지는 석탄은 야금 목적(208)에 적합할 수 있다. 야금 목적(208)에 적합한 특성을 가지는 석탄은 발전(204)에 사용되는 석탄보다 15-50% 더 가치가 있을 수 있다. 특유의 특성은 석탄이 야금(208) 시스템에서 유리하게 연소되는 것을 허용한다는 것이 당업자에게 이해될 것이다. 따라서, 본원에 기술된 시스템과 방법에 따라 처리된 석탄은 야금(208) 시스템에서의 연소를 위하여 더욱 특별하게 설계될 수 있다.As shown in FIG. 2, coal burning 200 may be used for
도 2를 참조하면, 본원에 기술된 시스템과 방법으로 처리된 석탄은 석탄 전환 설비(210)에서 사용될 수 있다. 도 2에 나타나는 바와 같이, 석탄 전환 설비(210)는, 예를 들어 가스화(230), 합성가스 생산 및 전환(234), 코크스와 정제된 탄소 형성(238), 및 탄화수소 형성(240)을 위한 시스템을 사용하여, 석탄의 복잡한 탄화수소를 다른 제품으로 전환할 수 있다. 특유의 특성은 석탄이 석탄 전환 설비(210)에서 유리하게 사용되는 것을 허용한다는 것이 당업자에게 이해될 것이다. 따라서, 본원에 기술된 시스템과 방법에 따라 처리된 석탄은 석탄 전환 설비(210)에서의 사용을 위하여 더욱 특별히 설계될 수 있다.Referring to FIG. 2, the coal treated in the systems and methods described herein may be used in the
구체예에서, 본원에 기술된 시스템과 방법으로 처리된 석탄은 가스화(230)를 위하여 사용될 수 있다. 가스화(230)는 석탄을 가연성의 가스, 휘발성 물질, 숯 및 광물(mineral) 잔류물(회분/슬래그)로 전환하는 것을 포함한다. 가스화(230) 시스템은 일반적으로 스팀의 존재에서, 가압에서 열을 가하여 석탄과 같은 탄화수소 연료 물질을 가스 성분으로 전환한다. 이 공정을 수행하는 장치는 가스화장치(gasifier)라고 불린다. 가스화(230)는 이용 가능한 공기나 산소가 제한된 상태로 일어나므로 연소와는 다르다. 그러므로, 단지 일부의 연료만이 완전히 연소한다. 연소하는 연료는 가스화(230) 공정의 나머지를 위한 열을 제공한다.In embodiments, the coal treated in the systems and methods described herein may be used for
가스화(230) 동안, 대부분의 탄화수소 공급원료(예를 들어, 석탄)는 총체적으로 "합성가스"로 명명된 다양한 다른 물질들로 화학적으로 분해된다. 합성가스는 주로 수소, 일산화탄소 및 다른 가스 화합물이다. 그러나 합성가스의 성분은 사용된 공급원료의 유형과 사용된 가스화 조건에 기초하여 변한다. 공급원료에 남아있는 광물은 탄소물질처럼 가스화되지 않으므로, 분리되고 제거될 수 있다. 석탄의 황 불순물은 황화수소를 형성할 수 있고, 그로부터 황 또는 황산이 생성될 수 있다. 가스화가 환원 조건에서 일어나기 때문에, 전형적으로 NOx가 형성되지 않고 대신 암모니아가 형성된다. 가스화(230) 동안 공기 대신 산소가 사용될 경우, 오염물질로서 대기가 들어가는 것이 격리되고 방지될 수 있는 농축된 가스 흐름에서, 이산화탄소가 생성된다.During
가스화(230)는 높은 황 함량 또는 높은 회분 함량을 가지는 석탄과 같은, 연소(200) 설비에서 사용하기 어려운 석탄을 사용할 수 있다. 가스화장치에서 사용되는 석탄의 회분 특성은 슬래그의 형성에 영향을 미치고, 합성가스 냉각기 또는 열교환기 내에서 고체의 증착(deposition)에 영향을 미치기 때문에, 공정의 효율에 영향을 미친다. 저온에서, 고정층 및 유동화 가스화장치에서 발견되는 것과 같은 타르 형성은 문제를 야기할 수 있다. 특유의 특성은 석탄이 가스화(230) 설비에서 유리하게 사용되는 것을 허용한다는 것이 당업자에게 이해될 것이다. 따라서, 본원에 기술된 시스템과 방법에 따라 처리된 석탄은 가스화(230) 설비에서의 사용을 위하여 더욱 특별히 설계될 수 있다.The
구체예에서, 세 가지 유형의 가스화장치 시스템이 이용 가능하다: 고정층, 유동층, 및 분류층(entrained flow). 일반적으로 발전을 위하여 사용되지 않는 고정층 유닛은 괴탄(lump coal)을 사용한다. 유동층은 3-6 mm 크기의 석탄을 사용한다. 분류층 유닛은 미분탄을 사용한다. 분류층 유닛은 유동층 시스템(약 900℃)보다 더 높은 작동온도(약 1600℃)에서 가동한다.In an embodiment, three types of gasifier system are available: a fixed bed, a fluidized bed, and an entrained flow. Fixed layer units, which are generally not used for power generation, use lump coal. The fluidized bed uses coal of 3-6 mm size. The classification layer unit uses pulverized coal. The fractionation layer unit operates at a higher operating temperature (about 1600 ° C) than the fluid bed system (about 900 ° C).
구체예에서, 가스화장치는 대기압에서 가동되거나 가압될 수 있다. 가압 가스화와 함께, 공급원료 석탄은 압력 장벽(pressure barrier)을 가로질러 넣어질 수 있다. 부피가 크고 값비싼 락 호퍼(lock hopper) 시스템이 석탄을 넣기 위하여 사용될 수 있거나, 석탄이 물-기초(water-based) 슬러리로서 공급될 수 있다. 이후 부산물 스팀은 감압되어 압력 장벽을 가로질러 제거된다. 내부적으로, 열교환기 및 합성가스를 위한 가스-정제 유닛 또한 가압된다.In an embodiment, the gasifier may be operated or pressurized at atmospheric pressure. With pressurized gasification, feedstock coal can be loaded across a pressure barrier. Bulky and expensive lock hopper systems can be used to load coal, or coal can be supplied as a water-based slurry. The byproduct steam is then depressurized and removed across the pressure barrier. Internally, the gas-purifying unit for the heat exchanger and syngas is also pressurized.
비록 가스화(230) 시설이 연소를 포함하지 않을 수 있다는 것이 알려져 있지만, 그럼에도 불구하고 가스화(230)는 어떤 구체예에서 발전에 사용될 수 있다. 예를 들어, 전력이 생산되는 가스화(230) 설비는 석탄가스화 복합발전(integrated gasification combined cycle("IGCC"))(232) 시스템을 사용할 수 있다. IGCC 시스템(232)에서, 가스화 동안 생산된 합성가스는 불순물(황화수소, 암모니아, 미립자 물질 등)이 정제되고, 가스 터빈을 가동하기 위하여 연소될 수 있다. 가스화로부터의 배기가스는 스팀 터빈을 가동하는 과열 스팀을 생성하기 위하여 물과 열교환된다. IGCC 시스템(232)은 두 가지의 터빈을 복합으로 사용하기 때문에 (가스연소 터빈과 스팀 터빈), 이러한 시스템은 "복합사이클(combined cycle)"로 불린다. 일반적으로, 전력의 대부분(60-70%)이 이 시스템의 가스 터빈으로부터 나온다. IGCC 시스템(232)은 석탄 연소 시스템보다 더 큰 열효율로 전력을 생산한다. 특유의 특성들이 석탄이 IGCC(232) 설비에서 유리하게 사용되는 것을 허용한다는 것이 당업자에게 이해될 것이다. 따라서, 본원에 기술된 시스템과 방법에 따라 처리된 석탄은 IGCC(232) 설비에서의 사용을 위하여 더욱 특별하게 설계될 수 있다.Although it is known that the
구체예에서, 본원에 기술된 시스템과 방법으로 처리된 석탄은 합성가스(234)의 생산 또는 다양한 다른 제품으로의 전환을 위하여 사용될 수 있다. 예를 들어, 일산화탄소 및 수소와 같은 합성가스의 성분은 당해 분야의 종사자에게 익숙한 공정을 사용하여, 광범위한 액체 또는 가스 연료, 또는 화학물질 생산에 사용될 수 있다. 다른 예로서, 가스화 동안 생산되는 수소가 연료전지의 연료로서 또는 잠재적으로 수소 터빈이나 하이브리드(hybrid) 연료전지-터빈 시스템을 위하여 사용될 수 있다. 가스 흐름에서 분리된 수소 역시, 품질을 높인 석유 제품 생산을 위하여 수소를 사용하는 정유소를 위한 공급원료로서 사용될 수 있다.In embodiments, the coal treated in the systems and methods described herein may be used for the production of
또한 합성가스(234)는 연료 또는 이후의 가공을 위하여 사용될 수 있는 다양한 탄화수소로 전환될 수 있다. 합성가스(234)는, 예를 들어 피셔-트롭쉬 촉매를 사용하여, 경질 탄화수소(light hydrocarbon)로 응축될 수 있다. 이후 경질 탄화수소는 가솔린 또는 디젤 연료로 더욱 전환될 수 있다. 합성가스(234)는 또한 연료로서 사용될 수 있는 메탄올, 연료 첨가제, 또는 가솔린 제품을 위한 빌딩블록(building block)으로 전환될 수 있다. 특유의 성질들이 석탄이 합성가스 생산 또는 전환(234) 설비에서 유리하게 사용되는 것을 허용한다는 것이 당업자에게 이해될 것이다. 따라서, 본원에 기술된 시스템과 방법에 따라서 처리된 석탄은 합성가스 생산 또는 전환(234) 설비에서의 사용을 위하여 더욱 특별하게 설계될 수 있다.
구체예에서, 본원에 기술된 시스템과 장치로 처리된 석탄은 코크스 또는 정제된 탄소로 전환(238)될 수 있다. 코크스(238)는 고온(1000℃ 정도)에서 오븐에서의 베이킹(baking)으로 휘발성 성분이 빠져나온 석탄에서 유도된 고체의 탄소질 잔류물이다. 이러한 온도에서, 고정탄소 및 잔류회분은 서로 융해된다. 코크스 형성을 위한 공급원료는 전형적으로 저-회분, 저-황 역청탄이다. 코크스는, 예를 들어 용광로에서 철을 제련하는 동안, 연료로서 사용될 수 있다. 또한 코크스는 이러한 공정 동안 환원제로 유용하다. 석탄을 코크스로 전환하는 것은 콜타르, 암모니아, 경유 및 석탄가스와 같은 부산물을 산출할 수 있다. 코킹공정(coking process)(238) 동안 석탄의 휘발성 성분이 빠져나오기 때문에, 코크스는 석탄 자체를 연소하기에 적합하지 않은 조건의 노에 대하여 바람직한 연료이다. 예를 들어, 코크스는 역청탄 자체가 사용되는 경우 대량의 배기가스를 야기할 수 있는 연소 조건에서 매연이 적거나 없도록 연소될 수 있다.In embodiments, the coal treated with the systems and apparatus described herein may be converted (238) to coke or purified carbon.
석탄은 코킹 석탄으로서 사용될 수 있기 전에, 수분 함량, 회분 함량, 황 함량, 휘발성 물질 함량, 타르 및 가소성(plasticity)에 관한 특정한 엄격한 기준을 바람직하게 충족시켜야 한다. 특유의 특성은 석탄이 코크스 생산 설비(238)에서 유리하게 사용되는 것을 허용한다는 것이 당업자에게 이해될 것이다. 따라서, 본원에 기술된 시스템과 방법에 따라 처리된 석탄은 코크스(238) 제조를 위한 사용을 위하여 더욱 특별하게 설계될 수 있다.Before coal can be used as caulking coal, it must suitably meet certain stringent criteria regarding moisture content, ash content, sulfur content, volatile matter content, tar and plasticity. It will be understood by those skilled in the art that the unique characteristics allow the coal to be advantageously used in the
구체예에서, 비결정성의 순수한 탄소(238)는 완전한 연소가 일어나지 않도록 제한된-공기 환경에서 약 650-980℃의 온도로 석탄을 가열하여 수득될 수 있다. 비결정성의 탄소(238)는 미시적 탄소 결정으로 구성된 탄소 동소체 흑연의 형태이다. 이와 같이 수득된 비결정성의 탄소(238)는 많은 공업적 용도를 가진다. 예를 들어, 흑연은 전기화학적 성분으로 사용될 수 있고, 활성탄은 물과 공기의 정화에 사용될 수 있으며, 카본블랙(carbon black)은 타이어 강화에 사용될 수 있다. 특유의 특성은 석탄이 정제된 탄소 생산 설비(238)에서 유리하게 사용되는 것을 허용한다는 것이 당업자에게 이해될 것이다. 따라서, 본원에 기술된 시스템과 방법에 따라 처리된 석탄은 정제된 탄소(238) 생산을 위한 사용을 위하여 더욱 특별하게 설계될 수 있다.In an embodiment, the amorphous
구체예에서, 코크스 생산(238)의 기초 공정은 연료("도시가스")로서 사용될 수 있는 탄화수소-함유(240) 가스 혼합물 제조를 위하여 사용될 수 있다. 도시가스는, 예를 들어 약 51%의 수소, 15%의 일산화탄소, 21%의 메탄, 10%의 이산화탄소 및 질소, 및 약 3%의 다른 알칸을 포함할 수 있다. 다른 공정에서, 예를 들어 루르(Lurgi) 공정 및 사바티에(Sabatier) 합성은 저품질의 석탄을 사용하여 메탄을 생산한다.In an embodiment, the base process of
구체예에서, 본원에 기술된 시스템과 방법으로 처리된 석탄은 탄화수소 생성물(240)로 전환될 수 있다. 예를 들어, 액화는 석탄을 연료로서 사용될 수 있는 액체 탄화수소(240) 생성물로 전환한다. 석탄은 직접 또는 간접 공정을 사용하여 액화될 수 있다. 석탄을 탄화수소(240) 연료로 전환하는 임의의 공정은 석탄을 포함하는 탄화수소에 수소를 첨가해야 한다. 네 가지 유형의 액화 방법이 이용 가능하다: (1) 열분해 및 탄화수소화, 여기서 석탄은 공기의 부재에서 또는 수소의 존재에서 가열된다; (2) 용매추출, 여기서 석탄 탄화수소는 석탄 덩어리로부터 선택적으로 용해되고 수소가 첨가된다; (3) 촉매액화, 여기서 촉매는 석탄 탄화수소의 수소화에 영향을 미친다; 및 (4) 간접액화, 여기서 일산화탄소와 수소는 촉매의 존재에서 결합된다. 예로서, 피셔-트롭쉬 공정은 일산화탄소와 수소가 액체 탄화수소(240)의 다양한 형태로 전환되는 촉매화된 화학반응이다. 이 공정으로 생산된 물질은 윤활유나 연료로서 사용 가능한 합성의 석유 대체물을 포함할 수 있다.In an embodiment, the coal treated in the systems and methods described herein may be converted to
다른 예로서, 저온건류가 석탄으로부터 액체 탄화수소(240)을 제조하기 위하여 사용될 수 있다. 이 공정에서, 석탄은 450 내지 700℃의 온도에서 코크스화된다(238) (야금 코크스에 대한 800 내지1000℃와 비교). 이들 온도는 보통의 콜타르보다 경질 탄화수소(240)가 풍부한 콜타르의 생산을 최적화한다. 이후 콜타르는 연료로 더욱 가공된다.As another example, low temperature carbonation can be used to produce
특유의 특성은 석탄이 탄화수소 생성물의 형성(240)에서 유리하게 사용되는 것을 허용한다는 것이 당업자에게 이해될 것이다. 따라서, 본원에 기술된 시스템과 방법에 따라 처리된 석탄은 탄화수소 생산(240)을 위한 사용을 위하여 더욱 특별하게 설계될 수 있다.It will be understood by those skilled in the art that the unique characteristics allow the coal to be advantageously used in the formation (240) of the hydrocarbon product. Thus, the coal treated according to the systems and methods described herein may be more specifically designed for use for
도 2를 참조하면, 본원에 기술된 시스템과 방법으로 처리된 석탄은 석탄 부산물 설비(212)에서 사용될 수 있다. 도 2에 나타나는 바와 같이, 석탄 부산물 설비(212)는 석탄을 석탄 연소 부산물(242) 및 석탄 증류 부산물(244)로 전환할 수 있다.Referring to FIG. 2, the coal treated in the systems and methods described herein may be used in the coal by-
구체예에서, 다양한 석탄 연소 부산물(242)이 수득될 수 있다. 예로서, 석탄 연소 부산물(242)은 휘발성 탄화수소, 회분, 황, 이산화탄소, 물 등을 포함할 수 있다. 이들 부산물을 더욱 가공하는 것이 경제적인 이익을 가지고 수행될 수 있다. 특유의 특성은 석탄이 경제적으로 이익인 연소 부산물을 유리하게 생산하는 것을 허용한다는 것이 당업자에게 이해될 것이다. 따라서, 본원에 기술된 시스템과 방법에 따라 처리된 석탄은 유용한 연소 부산물 생산에서의 사용을 위하여 더욱 특별하게 설계될 수 있다.In an embodiment, various coal combustion by-
예로서, 휘발성 물질은 석탄 연소 부산물(242)이다. 휘발성 물질은, 수분을 제외하고, 가열하는 동안 가스나 증기로 빠져나오는 생성물을 포함한다. 석탄에 대하여, 휘발성 물질의 퍼센트는 먼저 석탄을 105℃로 가열하여 수분을 배출시키고, 이후 석탄을 950℃로 가열하여 중량 손실을 측정하여 결정된다. 휘발성 물질은 짧은 가지 및 긴 가지 탄화수소의 혼합물에 더하여, 황을 포함하는 다른 가스를 포함할 수 있다. 따라서 휘발성 물질은 가스의 혼합물, 냉각하면 오일로 응축될 수 있는 저비점 유기 화합물, 및 타르로 구성될 수 있다. 석탄의 휘발성 물질은 등급(rank)이 감소함에 따라 증가한다. 게다가, 휘발성 물질 고함량의 석탄은 연소 동안 매우 반응성이고 쉽게 점화한다.By way of example, the volatile material is a coal combustion by-
다른 예로서, 석탄 회분은 석탄 연소 부산물(242)이다. 석탄 회분은 비산회분(굴뚝에서 제거된 폐기물) 및 (보일러 및 연소 챔버로부터의) 바닥회분(bottom ash)으로 되어있다. 거친 입자(바닥회분 및/또는 보일러 슬래그(slag))는 연소 챔버의 바닥에 가라앉고, 미세한 부분(비산회분)은 연도(flue)를 통하여 빠져나가 재생되고 재활용된다. 석탄 회분은 Al, As, Cd, Cr, Cu, Hg, Ni, Pb, Se, Sr, V, 및 Zn를 포함하는 많은 미량원소와 중금속의 농축물을 포함할 수 있다. 석탄 연소 후에 회수된 회분은 시멘트 제품의 첨가제, 굴착 또는 토목공사를 위한 충진제(fill), 토양 개선제(soil ameliorization agent), 및 페인트, 플라스틱, 코팅제, 접착제를 포함하는 다른 제품의 성분으로서 유용할 수 있다.As another example, the coal ash is a coal combustion by-
다른 예로서, 황은 석탄 연소 부산물(242)이다. 석탄의 황은 황산화물로서 연소 동안 방출되거나, 광물 불순물에 함유된 염기성 산화물과 반응(황 자가-보존(sulfur self-retention)으로 알려진 공정)하여 석탄 회분에 잔류할 수 있다. 황 자가-보존을 위한 가장 중요한 염기성 산화물은, CaCO3 분해와 칼슘-함유 유기기의 연소의 결과로서 형성된 CaO이다. 석탄 연소는 연속하는 두 단계에서 일어난다: 탈휘발화(devolatilization) 및 숯 연소. 탈휘발화 동안, 가연성의 황은 SO2로 전환된다. 숯 연소 동안, SO2 형성, 황산화(sulfation) 및 CaSO4 분해의 공정이 동시에 일어난다.As another example, sulfur is a coal combustion by-
구체예에서, 다양한 석탄 증류 생성물(244)이 수득될 수 있다. 석탄의 분해증류(destructive distillation)(244)는 야금 코크스 외에도 콜타르와 석탄가스를 산출한다. 석탄 변환의 생성물로서의 야금 코크스 및 석탄가스에 대한 용도는 앞서 논의되었다. 세 번째 부산물인 콜타르는 다른 다양한 상업적 용도를 가진다. 특유의 특성은 석탄이 경제적으로 이익인 증류 부산물(244)의 생산에 유리하게 사용되는 것을 허용한다는 것이 당업자에게 이해될 것이다. 따라서, 본원에 기술된 시스템과 방법에 따라 처리된 석탄은 유용한 증류 부산물(244) 생산에서의 사용을 위하여 더욱 특별하게 설계될 수 있다.In an embodiment, a variety of
콜타르는 석탄 증류 부산물(244)의 예이다. 콜타르는 탄화수소 물질의 복잡한 혼합물이다. 콜타르의 주성분은, 가장 단순하고 가장 휘발성인 것(벤젠)으로부터 큰 분자량의 다중-고리형의 비-휘발성 물질까지의, 조성과 휘발성이 달라지는 방향족 탄화수소이다. 콜타르의 탄화수소는 대부분 벤젠-기초, 나프탈렌-기초, 또는 안트라센- 또는 페난트렌-기초이다. 또한 가변적인 양의 지방족 탄화수소, 파라핀 및 올레핀이 있을 수 있다. 게다가, 콜타르는 석탄산(carbolic acid) 및 큐마론(cumarone)과 같은 소량의 단순한 페놀을 포함한다. 또한 황 화합물과 질소화된(nitrogenated) 유기화합물이 발견될 수 있다. 콜타르에 있는 대부분의 질소 화합물은 성질에 있어서 염기성이고, 피리딘 및 퀴놀린 계열, 예를 들어 아닐린에 속한다.Coal tar is an example of a coal distillation by-
구체예에서, 콜타르는 분별증류를 더욱 거쳐 벤젠, 톨루엔, 자일렌, 나프탈렌, 안트라센 및 페난트렌을 포함하는 다수의 유용한 유기화학물질을 산출한다. 이러한 물질들은 콜타르 미정제품(crude)으로 명명될 수 있다. 이들은 염료, 약물, 조미료, 향수, 합성수지, 페인트, 보존제, 및 폭약과 같은 여러 가지 제품의 합성을 위한 주성분을 형성할 수 있다. 콜타르 미정제품의 분별증류의 뒤에, 피치(pitch)의 잔류물이 남겨진다. 이 물질은 지붕 공사, 도로 포장, 절연, 및 방수 가공과 같은 목적을 위하여 사용될 수 있다.In embodiments, the coal tar further undergoes fractional distillation to yield a number of useful organic chemicals including benzene, toluene, xylene, naphthalene, anthracene, and phenanthrene. These materials can be named crude (crude) products. They can form a major component for the synthesis of various products such as dyes, drugs, seasonings, perfumes, synthetic resins, paints, preservatives, and explosives. After fractional distillation of crude tar crude product, the residue of pitch is left behind. This material may be used for purposes such as roofing, road paving, insulation, and waterproofing.
구체예에서, 콜타르는 또한 분별증류를 거치지 않고 천연상태로 사용될 수 있다. 예를 들어, 콜타르를 사용하기 전에 그것의 휘발성 성분을 제거하기 위하여 콜타르는 어느 정도까지 가열될 수 있다. 천연상태의 콜타르는 페인트, 방수제 또는 부식에 대한 보호제로서 사용될 수 있다. 콜타르는 또한 지붕 공사 재료로서 사용된다. 콜타르는 비록 연소 동안 유독한 가스를 산출하기는 하지만, 연료로서 연소될 수 있다. 타르를 연소하는 것은 램프블랙(lampblack)이라고 불리는 다량의 그을음을 생성한다. 그을음이 수집될 경우, 그것은 전기화학, 인쇄, 염료 등을 위한 탄소의 제조에 사용될 수 있다.In embodiments, the coal tar can also be used in its natural state without fractional distillation. For example, coal tar can be heated to some extent to remove its volatile constituents before it is used. Natural coal tar can be used as a protection against paint, waterproofing or corrosion. Coal tar is also used as roofing material. Coal tar can burn as fuel, although it produces toxic gases during combustion. Burning tar produces a large amount of soot called lampblack. When soot is collected, it can be used to make carbon for electrochemistry, printing, dyes, and so on.
도 2를 참조하면, 본원에 기술된 시스템과 방법에 의하여 처리된 석탄은 출하 설비(214)로 수송되거나 보관 설비(218)에 보관될 수 있다. 특유의 특성은 석탄이 안전하고 효율적으로 수송되고 보관되는 것을 허용한다는 것이 당업자에게 이해될 것이다. 따라서, 본원에 기술된 시스템과 방법에 따라 처리된 석탄은 석탄의 출하 및 보관 설비에 대하여 유리하게 설계될 수 있다.Referring to FIG. 2, the coal processed by the systems and methods described herein may be transported to
구체예에서, 석탄은 채굴된 곳에서 사용되는 곳으로 수송될 수 있다. 석탄 수송은 출하 설비(214)에서 행해질 수 있다. 석탄이 수송되기 전에, 석탄은 정제되고, 분류되고 및/또는 특정 크기로 파쇄될 수 있다. 특정 경우에, 발전소가 발전소에 석탄을 공급하는 광산 현지 또는 가까이에 위치할 수 있다. 이들 설비를 위하여, 석탄은 컨베이어 등에 의하여 수송될 수 있다. 그렇지만, 대부분의 경우에 발전소 및 석탄을 사용하는 다른 시설은 원거리에 위치한다. 광산에서 멀리 떨어진 설비로의 주된 수송 방법은 철도이다. 바지선 및 다른 원양 선박 또한 사용될 수 있다. 트럭의 고속도로 수송은 실현 가능하지만, 특히 50 마일 이상의 운전에 대하여, 비용-효율적이지 않다. 석탄 슬러리 수송관은 물에 현탁된 분말 석탄을 수송한다. 특유의 취급 특성이 출하 설비(214)에서의 석탄 수송을 용이하게 한다는 것이 당업자에게 이해될 것이다. 따라서, 본원에 기술된 시스템과 방법에 따라 처리된 석탄은 수송을 용이하게 하도록 더욱 특별하게 설계될 수 있다.In an embodiment, the coal can be transported to where it is used in the mining area. Coal transport can be done at
구체예에서, 석탄은 석탄이 사용될 장소 또는 원거리의 장소에서 보관 설비(218)에 보관될 수 있는데, 원거리의 장소에서 사용 지점으로 석탄이 수송된다. 석탄 연소 설비(200) 및 다른 석탄 이용 플랜트와 같은 구체예에서, 석탄은 현장에 보관될 수 있다. 예로서, 발전소(204)에 대하여, 연간 석탄 요구의 10% 이상이 보관될 수 있다. 그러나 보관된 석탄의 과잉 공급은 자발적인 연소, 휘발성 물질의 손실 및 발열량의 손실과 관련된 문제들을 야기할 수 있다. 무연탄은 다른 석탄 등급보다 더 적은 위험이 존재한다. 예를 들어 무연탄은 자발적으로 점화되지 않을 수 있고, 그러므로 석탄 더미(pile)당 무제한의 양으로 보관될 수 있다. 반면에 역청탄은 충분히 큰 더미로 두어질 경우 자발적으로 점화할 수 있고, 분해(disintegration)를 겪을 수 있다.In an embodiment, the coal may be stored in the
보관된 석탄에 두 가지 유형의 변화가 일어날 수 있다. 황철석과 같은 무기물질이 산화할 수 있고, 석탄 그 자체의 유기물질이 산화할 수 있다. 무기물질이 산화할 경우, 석탄의 부피 및/또는 중량은 증가할 수 있고, 무기물질은 분해될 수 있다. 석탄 물질 자체가 산화할 경우, 변화가를 즉시 감지할 수 없을 수도 있다. 석탄에서의 유기물질의 산화는 석탄에서의 탄소 및 수소의 산화 및 불포화 탄화수소에 의한 산소의 흡수를 포함하고, 발열량의 감소를 야기할 수 있는 변화를 일으킨다. 이러한 변화는 또한 자발적 연소를 야기할 수 있다. 석탄의 특유의 특성이 보관 설비(218)에 보관된 석탄에서 발생할 수 있는 해로운 변화를 최소한다는 것이 당업자에게 이해될 것이다. 따라서, 본원에 기술된 시스템과 방법에 따라 처리된 석탄은 보관 설비(218)에서의 석탄의 안전한 보관을 허용하도록 더욱 특별하게 설계될 것이다.Two types of changes can occur in stored coal. An inorganic material such as pyrite can be oxidized, and the organic matter of the coal itself can be oxidized. When the inorganic material is oxidized, the volume and / or weight of the coal may increase and the inorganic material may be decomposed. When the coal material itself is oxidized, the change may not be detected immediately. Oxidation of organic matter in coal involves oxidation of carbon and hydrogen in the coal and absorption of oxygen by unsaturated hydrocarbons and causes a change which may lead to a decrease in calorific value. These changes can also cause spontaneous combustion. It will be appreciated by those skilled in the art that the unique characteristics of the coal will minimize harmful changes that may occur in the coal stored in the
이제 더욱 상세한 기술이 고체연료 처리 설비의 개별 컴포넌트, 그것의 인풋, 아웃풋 및 관련 방법 및 시스템에 대하여 존재한다.Now more detailed techniques exist for the individual components of a solid fuel treatment plant, its inputs, outputs and related methods and systems.
석탄은 수분의 영향 하에서 공기와의 접촉 없이 분해되는 식물성 물질로부터 형성된다. 석탄 형성의 두 단계가 존재한다. 첫 번째 단계는 생물학적인 것으로, 여기서 셀룰로오스가 이탄(peat)으로 변한다. 두 번째 단계는 물리화학적인 것으로, 여기서 이탄이 석탄으로 변한다. 석탄을 형성하는 지질학적 과정은 석탄화(coalification)라고 불린다. 석탄화가 진행됨에 따라, 석탄의 화학적 조성은, 방향족 고리 구조로서 발견될 수 있는 높은 탄소 함량과 낮은 수소 함량의 화합물로 점차 변화한다.Coal is formed from plant material that is degraded without contact with air under the influence of moisture. There are two stages of coal formation. The first step is biological, where cellulose turns into peat. The second step is physico-chemical, where the peat turns into coal. The geological process that forms the coal is called coalification. As coalification progresses, the chemical composition of coal gradually changes to compounds of high carbon content and low hydrogen content, which can be found as aromatic ring structures.
석탄의 유형 또는 석탄 등급은, 발생한 석탄화의 정도를 나타낸다. 석탄의 등급은, 최고에서 최저까지의 범위로, 무연탄(anthracite), 역청탄(bituminous coal), 아역청탄(subbituminous coal), 및 갈탄(brown coal)/아탄(lignite)을 포함한다. 석탄화도의 증가와 함께, 휘발성 물질의 퍼센트는 감소하고 발열량은 증가한다. 따라서, 더 높은 등급의 석탄은 더 적은 휘발성 물질 및 더 큰 발열량을 가진다. 일반적으로, 또한 등급 증가에 따라, 석탄은 더 적은 수분, 더 적은 산소 및 더 많은 고정탄소, 더 많은 황 및 더 많은 회분을 가진다. 용어 "품위"는 회분 및 황 함량에 관하여 두 석탄을 구분한다.The type or coal grade of the coal represents the degree of coalification that has occurred. Coal grades range from top to bottom, including anthracite, bituminous coal, subbituminous coal, and brown coal / lignite. With increasing coalification, the percentage of volatiles decreases and the calorific value increases. Thus, higher grade coal has less volatiles and higher calorific value. Generally, also with increasing grade, coal has less moisture, less oxygen and more fixed carbon, more sulfur and more ash. The term "dignity " distinguishes two coal types with regard to ash and sulfur content.
모든 석탄은 광물(mineral)을 포함한다. 이들 광물은 석탄에서 발견되는 무기물질이다. 석탄 물질 자체로 통합된(integrated) 광물 구성요소는 포함된(included) 광물이라고 불린다. 석탄 매트릭스로부터 분리된 광물 구성요소는 배 재된(excluded) 광물이라고 불린다. 배재된 광물은 석탄 입자 사이에 분산되어 있거나, 인접한 광물층(mineral strata)으로부터 끌어내는(draw) 채굴 기술로 인하여 의도치 않게 존재할 수 있다. 석탄의 무기물질은 석탄 연소 또는 석탄 변형에 이어서 회분이 된다.All coal contains minerals. These minerals are inorganic substances found in coal. An integrated mineral component of the coal material itself is called an included mineral. Mineral components separated from the coal matrix are called excluded minerals. Dislocated minerals may be dispersed among coal particles or unintentionally due to mining techniques that draw from adjacent mineral strata. Inorganic materials of coal are ash after coal combustion or coal deformation.
석탄의 결합되지 않은 탄소는 고정탄소 함유물로 불린다. 총 탄소의 특정한 양은 수소와 결합되어 탄화수소로서 연소한다. 이는 석탄이 가열될 때 형성하는 다른 가스와 함께 석탄에서의 휘발성 물질의 형성한다. 고정탄소와 휘발성 물질은 가연물(combustible)을 형성한다. 휘발성 물질에 함유된 산소와 질소는 가연물의 일부로서 포함되고, 가연물은 수분과 회분이 없는 석탄의 양으로 알려져 있다. 가연물에 더하여, 석탄은 수분 및 회분을 형성하는 다양한 광물을 포함한다. 미국 석탄의 회분 함량은 대략 3% 내지 30%에서 변할 수 있다. 수분은 석탄 총 중량의 0.75% 내지 45%에서 변할 수 있다.The unconjugated carbon of the coal is called the fixed carbon content. Certain amounts of total carbon combine with hydrogen to burn as hydrocarbons. This forms volatiles in the coal together with other gases that form when the coal is heated. Fixed carbon and volatile materials form combustible. Oxygen and nitrogen contained in the volatiles are included as part of the combustible, and the combustible is known as the amount of moisture and ashless coal. In addition to combustibles, coal includes a variety of minerals that form moisture and ash. The ash content of US coal may vary from approximately 3% to 30%. Moisture can vary from 0.75% to 45% of the total weight of the coal.
석탄에서 큰 회분 함량은, 회분이 석탄의 발열량을 감소시키고 노의 공기통로를 막아 연소를 방해하므로, 바람직하지 않다. 석탄이 높은 황 함량을 가질 경우, 황은 회분과 결합하여 노에서의 효과적인 연소를 더욱 방해할 수 있는 가융성의(fusible) 슬래그를 형성할 수 있다. 석탄의 수분은 증발하면서 열을 흡수하고 따라서 노 온도를 감소시키므로, 연소 동안 어려움을 초래할 수 있다.The large ash content in coal is undesirable because the ash reduces the calorific value of coal and blocks the furnace airway to prevent combustion. When coal has a high sulfur content, sulfur can combine with ash to form a fusible slag that can further interfere with effective combustion in the furnace. Moisture in the coal evaporates and absorbs heat and therefore reduces the furnace temperature, which can cause difficulties during combustion.
본원에서 논의된 기술이 단일한 연료로서 석탄을 사용하는 예시적 목적을 위하여 적용되었지만, 상기 기술은 또한 석탄을 다른 연료, 예를 들어 바이오매스 또는 폐기물과 조합으로 사용하는 것, 당업자에게 익숙한 기술을 사용하는 것에도 적 용될 수 있는 것으로 생각된다.Although the techniques discussed herein have been applied for the illustrative purpose of using coal as a single fuel, the techniques may also include using coal in combination with other fuels, such as biomass or waste, techniques familiar to those skilled in the art It is also considered that it can be applied to use.
석탄 채굴(102)에는 노천채굴(surface mining) 및 갱내채굴(underground mining)의 두 가지 기본적 방법이 있을 수 있다. 노천채굴 방법은 노천채굴, 경사채굴(contour mining), 및 계단식채굴(open pit mining)을 포함할 수 있다.There are two basic methods of coal mining (102): surface mining and underground mining. Open-pit mining methods can include open-pit mining, contour mining, and open pit mining.
노천 석탄 광산은 표토라는 비-석탄 물질로 덮여있을 수 있고, 표토는 석탄 채굴 전에 제거될 수 있다. 노천채굴은 평지에서 발견될 수 있고, 경사채굴은 언덕이나 산을 따라서 있는 탄층(cola seam)에서 일어날 수 있으며, 계단식채굴은 탄층이 두껍고 수백 피트의 깊이인 곳에 있을 수 있다. 노천채굴에 사용되는 장비는 드래그라인(dragline), 셔블(shovel), 불도저(bulldozer), 정면 적재기(front-end loader), 버킷 휠 굴착기(bucket wheel excavator) 및 트럭을 포함할 수 있다.The open-pit coal mine can be covered with non-coal material called topsoil, and the topsoil can be removed before coal mining. Open-pit mining can be found in the plains, slope mining can take place in a cola seam along a hill or a mountain, and cascade mining can be at a depth of hundreds of feet and thick coal seams. Equipment used in open pit mining may include a dragline, a shovel, a bulldozer, a front-end loader, a bucket wheel excavator and a truck.
지하 석탄 광산(102)으로부터 석탄을 채취하는 방법에는 주방식(room-and-pillar), 장벽식(long wall), 및 표준 발파 및 석탄 제거(standard blasting and removal of coal)의 세 가지의 기본적 방법이 있다. 주방식 채굴은 채굴 기계에 의한 계속적인 석탄의 파괴, 및 제거를 위하여 석탄을 벨트로 정기적으로 운송하는 것으로 구성될 수 있다. 규정된 거리 뒤에서, 천장은 지지되고 공정은 반복된다. 장벽식 채굴은 석탄이 벨트 시스템에 의하여 제거되면서 석탄의 긴 연속적인 벽에 걸쳐 채굴 기계가 이동하는 것으로 구성될 수 있다. 천장은 장벽식 채굴 기계의 일부인 강철 빔(beam)에 의하여 지지될 수 있다. 표준 발파 및 제거 채굴법은 폭발물로 석탄을 발파시키고 이후 표준 장비(예를 들어 벨트 시스템, 철도, 트랙터)를 이용하여 석탄을 제거할 수 있다.Methods for collecting coal from an
석탄 광산(102)은 하나 이상의 탄층으로 구성될 수 있고, 탄층은 석탄의 연속적인 선일 수 있다. 석탄 광산(102)은 석탄 광산 및/또는 탄층 내에 알려진 특성(110)을 가지는 다수의 여러 석탄 유형을 포함할 수 있다. 정의된 석탄 유형의 일부는 이탄, 갈탄, 아탄, 아역청탄, 역청탄, 및 무연탄을 포함할 수 있다. 석탄 광산(102)은 광탄 및/또는 탄층 내의 석탄의 특성(110)을 테스트할 수 있다. 특성(110) 테스트는 샘플링, 주기적, 연속적 등에 의한 것일 수 있다. 석탄 광산은 석탄 특성(110) 결정을 위하여 현장에서 석탄을 테스트할 수 있거나, 석탄의 샘플을 외부의 테스트 설비에 보낼 수 있다. 채굴 작업은 광산에 포함된 석탄의 유형을 분류하고, 광산 내에서 어디에 어떤 유형의 석탄이 있는지를 결정하기 위하여, 광산을 조사할 수 있다. 여러 석탄 유형은 수분 함량, 광물, 및 황, 회분, 금속과 같은 물질에 의한 표준 분류(110)을 가질 수 있다. 석탄의 유형 내의 수분 및 다른 물질의 퍼센트는 석탄의 연소 특성 및 가열 성능(heating capability)(BTU/lb)에 영향을 미칠 수 있다. 석탄 광산(102) 오퍼레이터(operator)는 고객으로의 공급을 위한 석탄의 일정한 유형을 유지, 시장에 더욱 잘 수용되는 유형의 석탄을 채굴, 시장 또는 고객에게 가장 통상적인 석탄을 제공, 기타 등을 위하여, 석탄 광산에서 선택적으로 석탄을 채굴할 수 있다. 한 구체예에서, 역청탄 및 무연탄과 같이 수분이 거의 없는 석탄은 더욱 우수한 연소 및 가열 특성을 제공할 수 있다.The
한 구체예에서, 석탄 채굴(102) 설비는 석탄 크기 조절(sizing), 채굴된 석탄의 취급을 위한 보관(104) 및 출하 (108) 설비를 포함할 수 있다.In one embodiment, the
석탄 크기 조절 설비는 채굴된 원료석탄을 더욱 희망하는 형태와 크기의 석 탄으로 만들기 위하여 사용될 수 있다. 석탄은 미분쇄기, 석탄 파쇄기, 볼 밀, 분쇄기 등에 의하여 광산의 표면의 설비 내에서 크기 조절될(sized) 수 있다. 석탄은 광산으로부터의 벨트 시스템, 트럭 등에 의하여 석탄 크기 조절 설비에 제공될 수 있다. 석탄 크기 조절은 석탄을 크기 재조절하기 위하여 연속 공급 공정 상에 있거나, 배치 공정을 사용할 수 있다.The coal size control facility can be used to make mined raw coal into more desirable forms and sizes of coal. The coal can be sized in the facility of the surface of the mine by means of a pulverizer, a coal crusher, a ball mill, a crusher and the like. Coal can be provided to the coal size control facility by belt systems, trucks, etc. from mines. Coal sizing may be on a continuous feed process to size the coal, or use a batch process.
보관 설비(104)는 고객에게 석탄을 출하하기에 앞서, 원료을 일시적으로 보관하거나 석탄 크기 조절 설비로부터의 석탄을 크기 재조절하기 위하여 사용될 수 있다. 보관 설비(104)는 원료 또는 크기 재조절된 석탄이 석탄 크기에 따라 더욱 분류되는 부가적인 선별 설비를 포함할 수 있다. 보관 설비(104)는 건물, 창고(shed), 철도차량, 공지(open area) 등일 수 있다.The
보관 설비(104)는 석탄 수송 수단에 인접하여 출하 설비(108)와 연결되어 있을 수 있다. 출하 설비(108)는 석탄을 석탄 광산(102)으로부터 고객에게 이동시키기 위하여 철도, 트럭 등을 사용할 수 있다. 출하 설비(108)는 석탄을 석탄 수송 수단으로 이동시키기 위하여 컨베이어 벨트(300), 트럭, 적재기(loader) 등을 개별적으로 또는 복합으로 사용할 수 있다. 석탄 광산 크기에 따라서, 출하 설비(108)는 연속적인 적재 작업을 하거나 주문식(on-demand) 공정에서 석탄을 출하할 수 있다.The
석탄 보관 설비(112)는 적어도 하나의 원거리에 위치한 석탄 공급원에 대한 석탄 재판매자일 수 있고, 여러 가지 유형의 석탄을 구입하고 보관하여 다양한 고객에게 재판매할 수 있다. 석탄 보관 설비(112)에 대한 석탄 공급원은 석탄 광 산(102)이거나 다른 석탄 보관 설비(112)일 수 있다. 석탄 보관 설비(112)는 원거리에 위치한 다수의 석탄 공급원에서 여러 석탄 유형을 입수하고 보관할 수 있다. 한 구체예에서, 석탄 보관 설비(112)는 석탄 유형에 따라 석탄을 보관할 수 있다. 석탄 유형은 이탄, 갈탄, 아탄, 아역청탄, 역청탄, 및 무연탄을 포함하지만 이들로 한정되는 것은 아니다. 석탄 보관 설비는 보관 설비(114), 출하 설비(118), 또는 석탄을 취급, 보관 및 출하하기 위한 다른 설비를 포함할 수 있다. 한 구체예에서, 석탄 보관 설비(112)는 차후의 재판매를 위하여 원거리에 위치한 광산으로부터 석탄을 투기적으로 구입할 수 있다.The
석탄 보관 설비(112)는 원거리에 위치한 석탄 공급원에서 석탄을 입수할 수 있고; 석탄 유형 및 특성(110)은 석탄 공급원에 의하여 제공될 수 있다. 보관 설비(112)는 또한 입수된 석탄 특성을 검증하거나 석탄을 더욱 분류하기 위하여 추가적인 석탄 테스트를 수행할 수 있고; 석탄 보관 설비(112)는 여러 석탄 고객을 위한 하위-석탄 유형(sub-coal type)을 보관할 수 있다. 하위-석탄 유형은 석탄 특성(110)에 의한 석탄의 한층 더한 분류일 수 있다. 보관 설비(112)는 현장에서 석탄 테스트 설비를 가질 수 있거나, 표준의 석탄 테스트 연구소를 사용할 수 있다.The
보관 설비(114)는 고객에게 석탄을 출하하기에 앞서 원거리에 위치한 석탄 공급원으로부터의 석탄을 저장하기 위하여 사용될 수 있다. 보관 설비(114)는 석탄이 석탄 크기 또는 석탄 특성(110)에 의하여 더욱 분류될 수 있는 추가적인 분류설비를 포함할 수 있다. 추가적인 분류설비는 미분쇄기, 석탄 파쇄기, 볼 밀, 분쇄기 등을 사용하여 석탄을 더욱 크기 조절할 수 있다. 보관 설비(104)는 건물, 창 고(shed), 철도차량, 공지(open area) 등일 수 있다.The
보관 설비(104)는 석탄 수송 수단에 인접하여 출하 설비(108)와 연결되어 있을 수 있다. 출하 설비(118)는 석탄을 보관 설비(114)로부터 고객에게 이동시키기 위하여 철도, 트럭 등을 사용할 수 있다. 출하 설비(108)는 석탄을 석탄 수송 수단으로 이동시키기 위하여 컨베이어 벨트(300), 트럭, 적재기(loader) 등을 개별적으로 또는 복합으로 사용할 수 있다. 보관 설비(112) 크기에 따라서, 출하 설비(118)는 연속적인 적재 작업을 하거나 주문식 공정에서 석탄을 출하할 수 있다.The
석탄 샘플 데이터(120)는 석탄의 분류(110) 데이터를 위한 보관 장소일 수 있다. 석탄 샘플 데이터(120)는 석탄의 특성(110)을 저장할 수 있는 데이터베이스, 관계 데이터베이스, 테이블, 텍스트 파일, XML 파일, RSS, 플랫 파일 등일 수 있다. 데이터는 서버, 웹 서버, 데스크탑 컴퓨터, 랩탑 컴퓨터, 초소형(handheld) 컴퓨터, PDA, 플래쉬 메모리 등을 포함할 수 있는 컴퓨터 장치에 저장될 수 있다. 한 구체예에서, 석탄 특성(110) 데이터는 석탄 출하와 함께 종이 하드카피, 전자 포맷(electronic format), 데이터베이스 등으로 출하될 수 있다. 석탄 특성이 종이 하드카피로 출하될 경우, 특성 데이터는 컴퓨터 장치의 적절한 석탄 샘플 데이터 포맷으로 입력될 수 있다. 한 구체예에서, 석탄 특성(110) 데이터는 석탄 광산(102), 석탄 보관 설비(112) 등으로부터 전자우편, FTP, 인터넷 연결, WAN, LAN, P2P 등에 의하여 보내질 수 있다. 석탄 샘플 데이터(120)는 석탄 광산(102), 석탄 보관 설비(112), 입수 설비 등에 의하여 유지될 수 있다. 석탄 샘플 데이터(120)는 인터넷을 포함할 수 있는 네트워크 상에서 액세스 가능할 수 있다.The
석탄 샘플 데이터(120)는 석탄 광산 명칭, 보관 설비 명칭, 석탄의 최종 용도, 희망하는 특성, 가능한 최종 특성, 석탄 특성(예를 들어 수분), 사용된 석탄 테스트 설비, 석탄 테스트 데이터, 입수한 상태 또는 건조 상태에서의 테스트, 전자기적 흡수/반사, 테스트 설비 증명, 테스트 날짜 증명, 등을 보내는 것을 포함할 수 있다. 한 구체예에서, 석탄 샘플당 적어도 하나의 석탄 특성 테스트 데이터 및 테스트 날짜가 있을 수 있다.The
한 구체예에서, 석탄 샘플 데이터(120)에 저장된 석탄 특성은 미국, 웨스트버지니아주 사우스 찰스톤 소재의 스탠다드 래버러토리즈(Standard Laboratories)와 같은 표준 연구소에 의하여 제공될 수 있다. 표준 연구소는 수분 퍼센트, 회분 퍼센트, 휘발성 물질 퍼센트, 고정탄소 퍼센트, BTU/lb, 수분과 회분이 없을 시 BTU/lb, 황의 형태, 분쇄성(HGI), 총 수은, 회분 용융온도, 회분 무기물 분석, 전자기적 흡수/반사, 유전특성 등을 포함할 수 있는 석탄 특성을 제공할 수 있다. 한 구체예에서, 표준 연구소는 입수한 그대로의 또는 건조한 석탄을 테스트할 수 있다. 한 구체예에서, 입수한 그대로의 테스트는 원료석탄이 아무 처리도 없이 입수된 그대로일 수 있다. 한 구체예에서, 건조 테스트는 잔류 수분을 제거하기 위한 가공 후의 석탄일 수 있다. 표준 연구소는 ASTM 표준 D 388 (등급에 의한 석탄 분류), ASTM 표준 D 2013(분석을 위한 석탄 샘플 제조 방법), ASTM 표준 D 3180 (측정된 상태에서 다른 기준들까지 석탄 및 코크스 분석을 추정하기 위한 표준 실행), 미국 지질조사국 회보 1823 (석탄의 샘플링 및 무기분석 방법) 등과 같은 표준을 사용하여 석탄을 분류할 수 있다.In one embodiment, the coal characteristics stored in the
한 구체예에서, 각각의 석탄 출하에 대한 석탄 샘플 데이터에 저장되는 적어도 하나의 데이터 기록이 있을 수 있다. 석탄 출하가 채굴, 보관, 또는 출하 공정 동안 무작위의 또는 주기적인 체크를 거칠 경우, 하나 이상의 데이터 기록이 있을 수 있다. 한 구체예에서, 석탄 출하에서 수행된 각각의 테스트는 석탄 샘플 데이터(120)에 저장되는 석탄 특성을 가질 수 있다. 석탄 특성 테스트는 석탄 광산(102), 보관 설비(112), 입수 설비 등의 요구에 따라 수행될 수 있다.In one embodiment, there may be at least one data record stored in the coal sample data for each coal shipment. There may be more than one data record if coal shipments are subjected to random or periodic checks during the mining, storage, or shipment process. In one embodiment, each test performed in coal shipments may have coal characteristics stored in
석탄 희망 특성(122)은 특정 석탄 사용 설비에 의하여 요구되는 처리된 석탄 연소 특성의 데이터베이스일 수 있다. 석탄 희망 특성(122)은 특정한 석탄 사용 설비에 대한 석탄의 희망하는 연소특성을 저장할 수 있는 데이터베이스, 관계 데이터베이스, 테이블, 텍스트 파일, XML 파일, RSS, 플랫 파일 등일 수 있다. 석탄 희망 특성(122) 데이터는 서버, 웹 서버, 데스크탑 컴퓨터, 랩탑 컴퓨터, 초소형 컴퓨터, PDA, 플래쉬 메모리 등을 포함할 수 있는 컴퓨터 장치에 저장될 수 있다.The coal desired
한 구체예에서, 특정한 석탄 사용 설비에 대하여 적어도 하나의 석탄 희망 특성(122) 데이터가 있을 수 있다. 고체연료 처리 설비(132)에 의하여 입수되거나 보관된 각 유형의 석탄에 대한 석탄 희망 특성(122) 데이터가 있을 수 있다. 한 구체예에서, 고체연료 처리 설비(132)는 이탄, 갈탄, 아탄, 아역청탄, 역청탄, 및 무연탄을 포함할 수 있는 여러가지 석탄 유형을 입수하거나 저장할 수 있다. 석탄의 각 유형은 석탄 사용 설비에 대한 여러 희망하는 특성(122)을 가질 수 있고, 희망하는 특성(122)은 입수되거나 보관된 석탄 특성(110)을 변경시키는 능력에 기초할 수 있다. 한 구체예에서, 입수되거나 저장된 석탄 특성은 석탄 샘플 데이터(120)에 저장될 수 있다. In one embodiment, there may be at least one coal desired characteristic 122 data for a particular coal use facility. There may be coal desired
석탄 희망 특성(122)은 시스템 성능(capacity), 석탄 크기, 공정 챔버의 유형, 컨베이어 시스템 크기, 컨베이어 시스템 유량, 전자기적 주파수, 전자기적 출력(power) 수준, 전자기적 출력 지속, 석탄으로의 출력 침투 깊이, 등과 같은 고체연료 처리 설비(132)의 성능 파라미터에 기초할 수 있다. 이러한 파라미터 유형들 및 값들은 인풋 석탄 특성에 따라 변할 수 있다. 한 구체예에서, 고체연료 처리 설비(132)는 어떤 석탄 유형이 석탄 사용 설비에 의하여 사용될 수 있는지 알 수 있고, 적절한 파라미터가 석탄 희망 특성(122)에서 선택되어 석탄 사용 설비를 위한, 처리된 석탄을 생산할 수 있다.The desired
한 구체예에서, 효율성 또는 환경 요건을 충족시키기 위하여, 석탄 사용 설비는 BTU/lb, 황 퍼센트, 회분 퍼센트, 금속 퍼센트 등과 같은 특정 석탄 작동 파라미터를 요구할 수 있다. 석탄 희망 특성(122)은 이러한 파라미터들에 기초할 수 있고; 이러한 파라미터들을 유지하는 것은 석탄 사용 설비가 석탄 연소 배기가스 요건을 충족하는 것을 허용할 수 있다.In one embodiment, to meet efficiency or environmental requirements, coal-using plants may require certain coal operating parameters such as BTU / lb, sulfur percent, percent ash, percent metal, and the like. The coal desired
한 구체예에서, 석탄 희망 특성(122)은 BTU/lb, 수분, 황, 회분 등과 같은 구체적인 석탄 연소 특성을 목표로 할 수 있다. 한 구체예에서, 구체적인 석탄 연소 특성은 단지 석탄 처리 특성을 측정하는 석탄 처리 시설 능력에 의하여 제한될 수 있다. 예를 들어, 고체연료 처리 설비(132)가 단지 수분과 황 배기가스만을 측정할 수 있을 경우, 목표의 구체적인 석탄 연소 특성은 단지 수분과 황 목표치를 포함할 수 있다.In one embodiment, the coal desired
고체연료 처리 설비(132)(설비)는 석탄의 일부일 수 있는 수분, 황, 회분, 물, 수소, 하이드록실 등과 같은 비-석탄 생성물을 제거하여 석탄의 품위를 변화시키는 데에 사용될 수 있다. 고체연료 처리 설비(132)는 마이크로파 에너지 및/또는 석탄에서 비-석탄 생성물을 제거하는 다른 수단을 사용할 수 있다. 고체연료 처리 설비(132)는 석탄의 취급, 이동, 처리를 위한 다수의 장치, 모듈, 설비, 컴퓨터 장치 등을 포함할 수 있다. 고체연료 처리 설비(132)는 모듈형(modular), 확장형(scalable), 휴대형(portable), 고정형(fixed) 등일 수 있다.The solid fuel treatment facility 132 (facility) can be used to change the quality of coal by removing non-coal products such as moisture, sulfur, ash, water, hydrogen, hydroxyl, etc., which may be part of the coal. The solid
한 구체예에서, 고체연료 처리 설비(132)는 사전 결정된(predetermined) 방식 또는 비-사전 결정된(non-predetermined) 방식으로 서로 결합될 수 있는 개별적인 유닛을 완성하도록 설계된, 장치, 모듈, 설비, 컴퓨터 장치 등을 가지는 모듈형 설비일 수 있다.In one embodiment, the solid
한 구체예에서, 고체연료 처리 설비(132)는 연속흐름 및 배치 공정 양쪽에 대하여 확장형일 수 있다. 연속 흐름에 대하여, 고체연료 처리 설비(132)는 특수한 시설(installation)에 요구되는 부피에 부합하도록 인풋, 처리 챔버, 아웃풋 등을 확장할 수 있다. 예를 들어, 발전 설비는 야금 설비보다 더 큰 처리된 석탄의 부피를 필요로 할 수 있고, 따라서 고체연료 처리 설비(132)는 요구되는 부피의 석탄을 가공하도록 확장될 수 있다. 석탄의 연속흐름 가공은 특정 공정을 통과하여 석탄을 이동시키기 위한, 벨트를 가지는 챔버를 포함할 수 있다. 챔버 및 벨트 시스템은 시설에 대하여 시간당 요구되는 부피를 제공하도록 확장될 수 있다.In one embodiment, the solid
한 구체예에서, 고체연료 처리 설비(132)는 배치 공정을 사용할 수 있고, 배 치 처리 챔버, 인풋, 아웃풋, 등은 처리되도록 요구되는 석탄의 부피를 위하여 확장될 수 있다. 석탄의 배치 가공은 각 사이클에서 어느 정도의의 석탄을 처리할 수 있는 에워싸진 챔버를 포함할 수 있다.In one embodiment, the solid
고체연료 처리 설비(132)는 다수의 시설 사이에서 또는 시설 내의 다수의 위치로 이동되는 능력을 가진, 휴대형일 수 있다. 예를 들어, 단일 기업은, 처리된 석탄을 필요로 할 수 있고 석탄을 처리하기 위한 단일 고체연료 처리 설비(132)를 보유할 수 있는, 다수의 시설을 가질 수 있다. 고체연료 처리 설비(132)는 다음의 기업 시설로 이동시키기 전에 처리된 석탄의 비축을 제공하기 위하여, 각각의 기업 시설에서 일정 시간을 소모할 수 있다. 다른 예에서, 보관 설비(112)는 보관 설비(112)에 보관될 수 있는 다수의 석탄 유형을 처리하기 위한 보관 설비(112) 내의 여러 위치 사이에서 이동되는 단일 고체연료 처리 설비(132)를 가질 수 있다. 한 구체예에서, 휴대형인 것에 의하여, 고체연료 처리 설비(132)는 또한 설비(132)가 쉽게 재배치되도록 허용하는 모듈형일 수 있다.The solid
고체연료 처리 설비(132)는 특정 시설의 장소에 잔존하는 고정된 구조일 수 있다. 한 구체예에서, 시설은 처리된 석탄의 연속적인 흐름을 생성하기 위한 고체연료 처리 설비(132)를 필요로 하는 처리된 석탄의 부피를 요구할 수 있다. 예를 들어, 발전 설비는 특정 목적의 고체연료 처리 설비(132)를 필요로 할 수 있는 처리된 석탄의 연속적인 부피를 요구할 수 있다.The solid
한 구체예에서, 고체연료 처리 설비(132)는 시설에 인-라인(in-lind)이거나 오프-라인(off-line)일 수 있다. 고체연료 처리 설비(132)는 처리된 석탄의 연속 흐름을 석탄 사용 설비 내의 공정에 제공하는 시설을 가지는 인-라인일 수 있다. 예를 들어, 발전 시설은 스팀을 생산하는 보일러에 직접 공급하는 고체연료 처리 설비(132)를 가질 수 있다. 고체연료 처리 설비(132)는 적어도 하나의 보관 위치로의 아웃풋을 가지는 석탄 처리에 의하여 시설로부터 오프-라인일 수 있다. 예를 들어, 발전 시설은 석탄이 처리되는 대로 석탄의 여러 유형을 비축하는 고체연료 처리 설비(132)를 가질 수 있다. 처리된 석탄은 이후 필요한 대로, 발전 시설로의 컨베이어 벨트(300) 시스템에 공급될 수 있다.In one embodiment, the solid
고체연료 처리 설비(132)는 다수의 장치, 모듈, 설비, 컴퓨터 장치, 및 파라미터 생성 설비(128), 투입 설비(124), 모니터링 설비(134), 가스 생성 설비(152), 점화방지 설비(154), 처분설비(158), 처리 설비(160), 격납 설비(162), 벨트 설비(130), 냉각 설비(164), 배출 설비(168), 테스트 설비(170) 등과 같은 것들을 포함할 수 있다.The solid
파라미터 생성 설비(128)는 서버, 웹 서버, 데스크탑 컴퓨터, 랩탑 컴퓨터, 초소형 컴퓨터, PDA, 플래쉬 메모리 등과 같은 컴퓨터 장치일 수 있다. 파라미터 생성 설비(128)는 입수되거나 보관된 석탄의 처리를 위하여 작동 파라미터를 생성하고 고체연료 처리 설비(132)에 제공할 수 있다. 파라미터 생성 설비(128)는 설비에 대한 작동 파라미터를 추정하고 저장할 수 있을 것이다. 한 구체예에서, 파라미터 생성 설비(128)는 석탄 샘플 데이터(120) 및 석탄 희망 특성(122) 양쪽 모두로부터의 데이터를 사용하여 작동 파라미터를 생성할 수 있다. 한 구체예에서, 석탄 샘플 데이터(120) 및 석탄 희망 특성(122) 정보는 LAN, WAN, P2P, CD, DVD, 플래쉬 메모리 등에 의하여 이용 가능할 수 있다.The
한 구체예에서, 설비(132)에 의하여 처리되어야 하는 석탄은 고체연료 처리 설비(132) 오퍼레이터에 의하여 식별될 수 있다. 한 구체예에서, 석탄은 유형, 배치 번호, 테스트 번호, 식별 번호 등으로 식별될 수 있다. 파라미터 생성 설비(128)는 석탄 샘플 데이터(120)에 저장된 석탄 테스트 정보 및 식별된 석탄에 대한 석탄 희망 특성(122) 데이터에 액세스할 수 있다. 한 구체예에서, 파라미터 생성 설비(128)는 석탄 샘플 데이터(120)로부터 입수되거나 보관된 석탄의 테스트 데이터를 검색할 수 있다. 한 구체예에서, 파라미터 생성 설비(128)는 석탄 희망 특성(122)으로부터 희망하는 처리된 석탄 특성을 검색할 수 있다. 한 구체예에서, 각각의 입수되거나 보관된 석탄 테스트 데이터에 대한, 적어도 하나의 희망하는 처리된 석탄 특성의 세트가 있을 수 있다. 석탄 테스트 데이터 및 석탄 희망 특성을 위하여 이용 가능한 하나 이상의 데이터의 세트가 있을 수 있는 경우, 파라미터 생성 설비는 데이터를 평균하고, 최근 데이터를 사용하고, 최초 데이터를 사용하고, 데이터의 통계적 값을 사용하고, 기타 등등일 수 있다.In one embodiment, the coal to be treated by the
한 구체예에서, 석탄 테스트 정보 및 희망하는 처리된 석탄 특성에 기초하여, 파라미터 생성 설비는 설비에 대한 최초 작동 파라미터를 결정할 수 있다. 작동 파라미터는 석탄 희망 특성을 생성하기 위하여 고체연료 처리 설비(132)의 다양한 장치 및 설비를 설정하는 데에 사용될 수 있다. 파라미터 생성 설비(128)에서 결정된 파라미터는 벨트 속력, 시간당 석탄 부피, 마이크로파 주파수, 마이크로파 출력, 석탄 표면온도, 센서 기본(basic) 읽음, 기류 속도, 비활성 기체 사용, 투입 속도, 배출 속도, 예열온도, 예열시간, 냉각 속도 등을 포함할 수 있다. 한 구체예에서, 희망하는 석탄을 처리하기 위하여 설비에 의하여 요구될 수 있는 모든 파라미터는 파라미터 생성 설비에 의하여 결정될 수 있다.In one embodiment, based on the coal test information and the desired treated coal characteristics, the parameter generating facility may determine initial operating parameters for the facility. The operating parameters may be used to set various devices and facilities of the solid
한 구체예에서, 마이크로파 주파수 파라미터는 단일 주파수, 위상화 주파수(phased frequency)(예를 들어 어떤 주파수에서 다른 주파수로의 전이), 다수의 마이크로파에 대한 주파수, 연속 주파수, 펄스화(pulsed) 주파수, 펄스화 주파수 듀티 사이클 등을 포함할 수 있는 다수의 설정을 가질 수 있다.In one embodiment, the microwave frequency parameter may be a single frequency, a phased frequency (e.g., transition from one frequency to another), a frequency for multiple microwaves, a continuous frequency, a pulsed frequency, Pulsing frequency duty cycle, and so on.
한 구체예에서, 마이크로파 아웃풋 파라미터는 연속 출력(power), 펄스화 출력, 위상화 출력(예를 들어 한 출력에서 다른 출력으로의 전이), 다수의 마이크로파에 대한 출력 등을 포함할 수 있는 다수의 설정을 가질 수 있다.In one embodiment, the microwave output parameters include a plurality of microwave output parameters, which may include continuous power, pulsed output, phaseed output (e.g., transition from one output to another), output to multiple microwaves, You can have settings.
한 구체예에서, 석탄 유형과 석탄으로부터 제거되는 비-석탄 생성물에 따라, 석탄 표면온도가 모니터될 수 있다. 파라미터 생성 설비(128)는 석탄 처리 동안 모니터되는 석탄 표면온도를 결정할 수 있다. 한 구체예에서, 여러 가지의 석탄 표면온도는 비-석탄 생성물을 제거하기 위한 석탄 처리 공정에서 여러 차례 요구될 수 있다. 예를 들어, 어떤 온도가 석탄에서 수분을 제거하기 위하여 요구될 수 있는 반면, 다른 온도가 석탄에서 황을 제거하기 위하여 요구될 수 있다. 그러므로, 파라미터 생성 설비는 석탄 처리 공정 동안 모니터되는 다수의 석탄 표면온도를 결정할 수 있다. 한 구체예에서, 다양한 석탄 표면온도 파라미터가 센서 설비에 제공될 수 있고, 감지된 온도는 주위온도에서 250℃까지의 범위일 수 있다. 한 구체예에서, 석탄은 마이크로파 시스템(148)의 마이크로파 에너지에 의한 비-석탄 생성물의 가열로 인하여 특정한 내부온도 및 표면온도로 가열될 수 있다.In one embodiment, depending on the coal type and the non-coal product removed from the coal, the coal surface temperature can be monitored. The
투입 설비(124)는 석탄 광산(102) 또는 석탄 보관 설비(112)로부터 고체연료 처리 설비(132)로 석탄을 받을 수 있고, 석탄 보관 설비(112)는 고체연료 처리 설비(132)와 같은 장소에 있을 수 있거나, 석탄 보관 설비(112)에서 원거리에 있을 수 있다. 투입 설비(124)는 분진 수집 설비, 크기 조절 및 선별 설비, 입력 부분, 전이 부분, 어댑터 부분 등을 포함할 수 있다. 한 구체예에서, 투입 설비는 처리를 위하여 벨트(130)에 들어가는 석탄 부피를 제어할 수 있고, 예를 들어 투입 설비는 출입구를 제한하거나 개방함, 인풋 오거의 속도 등에 의하여, 투입 설비를 통과하는 석탄의 부피를 제어 가능할 수 있다.The
석탄은 컨베이어 벨트(300) 시스템, 트럭, 전면 적재기(front loader), 후면 적재기(back loader) 등에 의하여 투입 설비(124)로 제공될 수 있다.The coal may be provided to the
한 구체예에서, 투입 설비(124)로 석탄을 투입하는 행위는 허용될 수 없는 양의 석탄 분진을 생성할 수 있고, 그러므로 분진 수집 설비가 제공될 수 있다. 한 구체예에서, 석탄 분진은 용기로 수집되어 투입 설비에서 제거될 수 있다.In one embodiment, the act of injecting coal into the
고체연료 처리 설비(132)는 일정하게 크기 조절된 석탄이 벨트(130)에 공급될 경우 석탄을 더욱 효율적으로 처리할 수 있고; 일정한 석탄 크기는 석탄의 마이크로파 가열을 최적화할 수 있다. 투입 설비(124)는 여러 가지의 크기로 들어오는 석탄을 선별하거나 크기 조절할 수 있다. 한 구체예에서, 여러 크기의 석탄을 처리하기 위한 다수의 벨트가 있을 수 있다. 석탄을 다른 벨트로 우회시키기 위하여, 석탄은 선별 격자(sorting grate), 상이한 높이의 출입구 등을 사용하여 선별될 수 있다.The solid
한 구체예에서, 투입 설비(124)는 입력 부분, 전이 부분, 어댑터 부분 등을 포함할 수 있는 다수의 부분을 사용하여 석탄을 입력 공급원에서 벨트(130)로 이동시킬 수 있다. 한 구체예에서, 입력 부분은 원료석탄을 투입 설비로 받을 수 있고; 이 부분은 석탄 과다흐름(overflow) 또는 석탄의 고갈을 방지하기 위한 석탄의 완충(buffer)을 제공하기에 충분히 클 수 있다. 한 구체예에서, 전이 부분은 석탄을 입력 부분에서 어댑터 부분으로 이동시키는 채널(channel) 또는 덕트(duct)일 수 있고; 이 부분은 입력 부분 및 어댑터 부분의 상이한 크기에 적절하게 맞도록 점점 가늘어질 수 있다. 한 구체예에서, 어댑터 부분은 석탄을 전이 부분에서 가공 벨트(130)로 이동시킬 수 있고; 이 부분의 출구는 벨트와 같은 크기일 수 있다.In one embodiment, the
한 구체예에서, 석탄 선별이나 크기 조절이 있다면, 하나 이상의 입력 부분, 전이 부분, 및 어댑터 부분이 있을 수 있다.In one embodiment, if there is coal sorting or scaling, there may be more than one input portion, transition portion, and adapter portion.
모니터링 설비(134)는 여러 가지의 설비, 시스템 및 고체연료 처리 설비(132)의 센서를 모니터할 수 있다. 모니터링 설비(134)는 정보를 입수하여 센서, 컨트롤러, 처리 시설 등에 제공할 수 있다. 한 구체예에서, 모니터 설비는 다양한 센서 및 설비로부터의 인풋에 기초하여 석탄 처리 공정에 대한 공정 중 조정을 할 수 있고, 예를 들어 모니터는 적절한 양의 수분이 석탄에서 제거되는지를 결정하기 위하여 수분 센서 및 중량 센서로부터 정보를 입수할 수 있고; 작동 파라미터는 상기 정보에 기초하여 조정될 수 있다.The
한 구체예에서, 모니터링 설비(134)는 고체연료 처리 설비(132)에서의 석탄 의 처리를 조정하기 위하여 설비 작동 파라미터를 변화시킬 수 있다. 한 구체예에서, 작동 파라미터에 대한 변화는 벨트 컨트롤러(144), 처리 설비(160), 격납 설비(162), 피드백 설비(174), 점화방지 설비(154) 등을 포함할 수 있는 다른 설비에 제공될 수 있다.In one embodiment, the
한 구체예에서, 모니터링 설비(134)는 서버, 웹 서버, 데스크탑 컴퓨터, 랩탑 컴퓨터, 초소형 컴퓨터, PDA, 플래쉬 메모리 등과 같은 컴퓨터 장치를 포함할 수 있다. 한 구체예에서, 모니터링 설비(134)는 LAN, WAN, P2P, CD, DVD, 플래쉬 메모리 등을 사용하는 다양한 설비 및 센서와 통신할 수 있다. 한 구체예에서, 모니터링 설비는 고체연료 처리 설비(132)의 작동 파라미터에서의 변화를 결정하기 위하여 알고리즘을 사용할 수 있다.In one embodiment, the
점화방지 설비(154)는 석탄 처리 공정 동안 석탄의 점화를 방지하기 위한, 가스의 공급원일 수 있다. 비-석탄 생성물의 가열로 인하여, 석탄 처리 공정은 비-석탄 생성물을 제거하기 위하여 석탄 점화온도에 가까운 온도까지 석탄을 가열할 수 있다. 석탄 처리 공정 동안의 석탄의 이른 점화를 방지하기 위하여, 비활성 기체가 석탄 처리 챔버에 비활성 기체 대기를 공급하는 것에 사용될 수 있다. 비활성 기체는 질소, 아르곤, 헬륨, 네온, 크립톤, 제논 및 라돈을 포함할 수 있다. 질소와 아르곤은 비-연소 가스 대기 제공에 사용되는 가장 통상적인 비활성 기체일 수 있다.The
비활성 기체는 수송관, 트럭/탱커(tanker), 현장에서의 가스 생성 등에 의하여 점화방지 설비(154)로 공급될 수 있다. 한 구체예에서, 트럭/탱커 공급 시스템 이 사용될 경우, 가스 공급은 트럭/탱커에 의하여 현장의 가스 보관 탱크로 제공될 수 있거나, 트럭이 임시 가스 보관 탱크로서 사용되는 탱커 트레일러(trailer)를 떠날 수 있다.The inert gas may be supplied to the
한 구체예에서, 점화방지 설비(154)로부터의 비활성 기체는 공기 대기와 함께 사용될 수 있거나, 석탄 처리 챔버에서 전체 대기일 수 있다.In one embodiment, the inert gas from the
점화방지 설비(154)에 질소를 공급하기 위하여, 고체연료 처리 설비(132)는 석탄 처리 챔버를 위하여 요구되는 질소를 생성하기 위한 현장의 질소 생성 설비(152)를 사용할 수 있다. 한 구체예에서, 질소는 상업적으로 이용가능한 압력 순환식 흡착 (PSA) 공정을 사용하여 생성될 수 있다. 가스 생성 설비는 고체연료 처리 설비(132)를 위하여 요구되는 부피의 질소를 생산하도록 적절하게 크기 조절될 수 있다.In order to supply nitrogen to the
유입전력(180)은 고체연료 처리 설비(132)에 전력을 공급하기 위하여 사용되는 전력망(power grid)으로의 전력 연결일 수 있고; 고체연료 처리 설비(132) 소요 전력은 마이크로파 시스템(148)을 포함할 수 있다. 유입전력은 시설 외부의 전력망으로부터일 수 있거나, 시설이 발전 설비인 경우에 시설 내부의 전력망으로부터일 수 있다.The
고압 인풋 송전 설비(182)는 고체연료 처리 설비(132)에 의하여 요구되는 적절한 전력 수준을 공급하기 위한 적절한 전력 단계화(stepping)를 제공할 수 있다. 고압 인풋 송전 설비는 상기 설비(182)에서 사용되도록 강압될 필요가 있는 매우 높은 압력에서 유입전력(180)을 받을 수 있다. 한 구체예에서 고압 인풋 송전 설 비(182)는, 공급된 전력을 고체연료 처리 설비(132)를 위한 적절한 전력 수준으로 단계화하는, 요구되는 컴포넌트와 장치를 포함할 수 있다. 고압 인풋 송전 설비는 고체연료 처리 설비(132)를 유입전력(180)과 연결하기 위하여, 고체연료 처리 설비(132)에 송전선을 제공할 수 있다.The high pressure input
벨트 설비(130)는 비-석탄 생성물의 제거를 위하여 석탄 처리 공정을 통하여 석탄을 수송할 수 있고; 석탄의 수송은 연속 공급일 수 있다. 벨트 설비(130)는 투입 설비(124)에서 석탄을 입수할 수 있고, 적어도 하나의 석탄 처리 공정을 통하여 석탄을 수송할 수 있으며, 처리된 석탄을 냉각 설비(164)로 전달할 수 있다. 한 구체예에서, 벨트 설비(130)는 컨베이어, 다수의 개별적인 석탄 홀딩 버킷(holding bucket), 또는 적어도 하나의 석탄 처리 공정을 통하여 석탄을 이동시키기 위한 다른 홀딩 장치와 같은 수송 설비를 포함할 수 있다. 수송 설비는 금속, 고온 플라스틱 등과 같은, 처리된 석탄의 온도에 대하여 설계된 재료로 만들어질 수 있다.The belt facility 130 is capable of transporting coal through a coal treatment process for the removal of non-coal products; Transport of coal can be continuous supply. The belt facility 130 is capable of receiving coal at the
벨트 설비(130)는 예열 설비(138), 파라미터 제어 시스템(140), 센서 시스템(142), 제거 시스템(150), 컨트롤러(144), 마이크로파/라디오파 시스템(148) 등을 포함할 수 있는 다수의 설비 및 시스템을 포함할 수 있다. 모든 개별적인 설비와 시스템은 파라미터 생성 설비(128) 및/또는 모니터링 설비(134)의 작동 파라미터를 사용하여, 처리 공정 동안 석탄을 가공하기 위하여 조화될(coordinated) 수 있다. 벨트 설비(130)는 석탄 처리 공정 동안 작동 파라미터 조정이 가능할 수 있고; 작동 파라미터의 조정은 공정을 모니터링하는 오퍼레이터에 의하여 수동으로, 또는 컨트롤러(144)에 의하여 실시간에서 자동으로 행해질 수 있다.The belt facility 130 may include a
한 구체예에서, 벨트 설비(130)는 수송 설비 주위의 인클로저(enclosure)일 수 있고; 상기 인클로저는 챔버로 간주될 수 있다. 한 구체예에서, 챔버는 석탄 처리 공정, 챔버 가스 환경, 센서, 비-석탄 생성물 제거 시스템(150), 분진 억제 등을 포함할 수 있다. 챔버는 가스 환경 인풋, 비-석탄 생성물 아웃풋, 석탄 분진 아웃풋, 석탄 인풋, 석탄 아웃풋 등과 같은 석탄 처리 공정의 모든 인풋과 아웃풋을 서포트(support)할 수 있다.In one embodiment, the belt facility 130 may be an enclosure around the transportation facility; The enclosure may be considered as a chamber. In one embodiment, the chamber may include a coal treatment process, a chamber gas environment, a sensor, a non-coal
한 구체예에서, 수송 설비는 작동 파라미터에 응답하여 가변적인 속도가 가능할 수 있다. 예를 들어, 수송 설비는 큰 부피의 석탄이 즉시 가공되는 경우 또는 석탄이 큰 퍼센트의 비-석탄 생성물을 포함하는 더 적은 유형의 석탄(예를 들어 이탄)일 경우에 낮은 속도에서 가동될 수 있다. 수송 설비는 마이크로파 생성기에서 더 오랜 시간을 허용하도록 더 느리게 가동될 수 있다. 수송 설비는 일정한 속도에서 움직일 수 있거나, 공정의 여러 위치에서 속도가 변할 수 있다. 예를 들어, 수송 설비는 마이크로파 생성기에서 느리게 움직이지만 마이크로파 생성기 사이에서는 빠르게 움직일 수 있다. 석탄은 석탄 사이에 공간이 있도록 수송 설비에 놓여질 수 있고, 이는 수송 설비가 석탄을 조화된 단계들(coordinated stages)에서 석탄 처리 공정을 통하여 이동시키는 것을 허용할 수 있다. 예를 들어, 석탄은 마이크로파 생성기와 같은 동일한 간격에서 놓여질 수 있고, 이는 공정 동안 석탄이 각각의 마이크로파 생성기에서 석탄이 단계화(staged)되도록 허용할 수 있다.In one embodiment, the transport facility may be capable of varying speeds in response to operational parameters. For example, the transport facility can be operated at low speeds when large volumes of coal are processed immediately or when the coal is a less type of coal (e.g., peat) containing a large percentage of non-coal products . The transport facility can be operated more slowly to allow a longer time in the microwave generator. The transport equipment can move at a constant speed, or the speed can vary at various locations in the process. For example, transport equipment moves slowly in a microwave generator, but can move quickly between microwave generators. Coal can be placed in a transport facility so that there is space between the coals, which allows the transport facility to move the coal through the coal processing process in coordinated stages. For example, coal can be placed at equal intervals, such as a microwave generator, which allows the coal to be staged in each microwave generator during the process.
한 구체예에서, 수송 설비 동작과 속도는 마이크로파 생성기의 작동과 조화될 수 있다. 수송 설비는 마이크로파 생성기의 작동에 따라 속도를 올리거나 낮출 수 있다.In one embodiment, the transportation facility operation and speed can be matched to the operation of the microwave generator. Transport equipment can speed up or down depending on the operation of the microwave generator.
한 구체예에서, 수송 설비 작동은 파라미터 생성 설비(128)에 의하여 결정된 작동 파라미터, 및 모니터링 설비(134)의 모니터되거나 교정된 작동 파라미터에 의하여 제어될 수 있다.In one embodiment, the transportation facility operation can be controlled by the operating parameters determined by the
컨트롤러(144)는 파라미터 생성 설비(128)와 모니터링 설비(134)로부터의 작동 파라미터를 석탄 처리 공정에 적용할 수 있는 컴퓨터 장치일 수 있다. 한 구체예에서, 컨트롤러(144)는 서버, 웹 서버, 데스크탑 컴퓨터, 랩탑 컴퓨터, 초소형 컴퓨터, PDA, 플래쉬 메모리 등과 같은 컴퓨터 장치를 포함할 수 있다. 한 구체예에서, 컨트롤러(144)는 LAN, WAN, P2P, CD, DVD, 플래쉬 메모리 등을 사용하는 다양한 설비 및 센서와 통신할 수 있다. 한 구체예에서, 석탄 처리 챔버에 관한 컨트롤러(144)의 위치는 중요하지 않을 수 있고; 컨트롤러(144)는 인풋, 아웃풋, 또는 석탄 처리 챔버를 따라서 어느 위치에나 두어질 수 있다. 컨트롤러(144)가 오퍼레이터에 의하여 감독되고 제어되어야 할 경우, 컨트롤러는 오퍼레이터가 석탄 처리 공정 또는 석탄 처리 공정 센서의 결정적인 부분을 조망하는 것을 허용하는 위치에 두어질 수 있다.The
한 구체예에서, 컨트롤러(144)는 작동 파라미터를 적어도 수송 설비, 기류 제어, 비활성 기체, 마이크로파 주파수, 마이크로파 출력, 예열온도 등에 적용할 수 있다.In one embodiment, the
한 구체예에서, 컨트롤러(144)는 적어도 하나의 마이크로파 시스템(148)의 주파수를 제어할 수 있다. 마이크로파 시스템(148)은 단일 주파수 또는 펄스화 주 파수를 제공하도록 제어될 수 있다. 하나 이상의 마이크로파 시스템(148)이 벨트 설비(130)에 있을 경우, 컨트롤러(144)는 작동 파라미터를 하나 이상의 마이크로파 설비(148)에 제공할 수 있고; 하나 이상의 마이크로파 설비는 여러 주파수에서 작동할 수 있다.In one embodiment, the
한 구체예에서, 컨트롤러(144)는 적어도 하나의 마이크로파 시스템(148)의 출력을 제어할 수 있다. 마이크로파 시스템(148)은 단일 출력 또는 펄스화 출력을 제공하도록 제어될 수 있다. 하나 이상의 마이크로파 시스템(148)이 벨트 설비(130)에 있는 경우, 컨트롤러(144)는 하나 이상의 마이크로파 설비(148)에 작동 파라미터를 제공할 수 있다; 하나 이상의 마이크로파 설비는 여러 출력에서 작동할 수 있다.In one embodiment, the
한 구체예에서, 컨트롤러(144)는 기류, 비활성 기체 흐름, 수소 흐름, 정압, 부압, 진공 수준 등을 포함할 수 있는 벨트 설비(130) 가공 환경을 제어할 수 있다. 설비(130)에서의 기류는 석탄에서 방출된 가스를 제어하기 위하여 건조 공기, 비활성 기체, 수소, 및 압력 변화를 제공하는 것을 포함할 수 있다. 한 구체예에서, 건조 공기는 벨트 설비에서 석탄의 수분 감소를 촉진하기 위하여 사용될 수 있다. 한 구체예에서, 비활성 기체는 높은 석탄 온도 동안 석탄 점화를 저해하기 위하여 사용될 수 있고; 비활성 기체는 또한 다른 산화 과정을 방지하기 위하여 사용될 수 있다. 한 구체예에서, 수소는 황 환원 공정 동안 사용될 수 있다. 한 구체예에서, 벨트 설비(130)에서의 압력은 비-석탄 생성물이 석탄에서 가스로 방출됨에 따라 이들을 제거하기 위하여 사용될 수 있다.In one embodiment, the
한 구체예에서, 컨트롤러(144)는 상업적으로 이용 가능한 기계식 컨트롤러일 수 있거나, 벨트 설비(130)를 위하여 주문 설계된 컨트롤러일 수 있다. 한 구체예에서, 컨트롤러는 벨트 설비(130)의 시스템과 설비에서 작동 상태 피드백을 입수할 수 있다. 피드백은 현재 설정, 실제의 가동 파라미터, 성능의 퍼센트 등일 수 있고; 피드백은 컨트롤러(144) 또는 컨트롤러(144)와 연결된 임의의 컴퓨터 장치에서 가시화될 수 있다.In one embodiment, the
한 구체예에서, 컨트롤러는 오퍼레이터가 적어도 하나의 석탄 처리 공정의 작동 파라미터를 수동으로 변경시키는 것을 허용하는 오버라이드 제어기(override control)을 가질 수 있다. 작동 파라미터의 수동 변경은 석탄 처리 공정의 오버라이드 또는 완전한 수동 제어로 간주될 수 있다.In one embodiment, the controller may have an override control that allows the operator to manually change operating parameters of the at least one coal processing process. A manual change of operating parameters can be regarded as an override or a complete manual control of the coal processing process.
구체예에서, 가공시간(석탄이 마이크로파를 거치는 과정에 걸친)은 벨트 설비(130)의 크기와 구성, 이용 가능한 마이크로파 시스템(148) 출력, 및 처리되어야 하는 석탄의 부피에 따라, 전형적으로 5 초 내지 45 분이다. 작은 부피는 짧은 가공시간을 필요로 할 수 있다.In the embodiment, the processing time (over the course of the coal passing through the microwave) is typically 5 seconds, depending on the size and configuration of the belt installation 130, the
예열 설비(138)는 석탄이 마이크로파 시스템(148)에 도달하기에 앞서 석탄을 가열할 수 있다. 예열은 석탄에서 외부 수분을 제거하기 위하여 석탄을 가열하는 것일 수 있다. 과잉의 외부 수분 제거는 마이크로파 에너지를 흡수하는 수분을 제거하여, 마이크로파 시스템(148)이 내부의 비-석탄 생성물을 제거하는 것을 더욱 용이하게 한다.The preheating
한 구체예에서, 석탄은 전기, 가스, 오일 등에 의하여 전력이 공급될 수 있 는 열복사, 적외선복사 등을 사용하여 예열될 수 있다.In one embodiment, the coal may be preheated using thermal radiation, infrared radiation, etc., which may be powered by electricity, gas, oil, or the like.
한 구체예에서, 예열 설비(138)는 벨트 설비(130)의 내부에 있을 수 있거나, 벨트 설비(130)의 외부 및 앞에 있을 수 있다.In one embodiment, the preheating
한 구체예에서, 예열 설비는 건조 공기와 같은, 수분의 제거에 도움이 될 수 있는 공기 환경을 사용할 수 있다. 공기 환경은 석탄의 건조에 도움이 되도록 예열 설비를 통하여 흐를 수 있다.In one embodiment, the preheating facility may use an air environment, such as dry air, that may aid in the removal of moisture. The air environment can flow through the preheating facility to help dry the coal.
한 구체예에서, 예열 설비(138)는 제거된 수분을 수집하기 위한 수집 설비일 수 있다.In one embodiment, the preheating
마이크로파/라디오파 시스템(마이크로파 시스템)(148)은 비-석탄 생성물의 제거를 위하여 벨트 설비(130)의 석탄에 전자기파 에너지를 제공할 수 있다. 비-석탄 생성물은 수분, 황, 회분, 금속, 물, 수소, 하이드록실 등일 수 있다. 비-석탄 생성물은, 마이크로파 에너지를 사용하여 석탄으로부터 비-석탄 생성물을 방출하는 온도로 비-석탄 생성물을 가열하여, 석탄에서 제거될 수 있다. 상기 방출은 고체에서 액체, 액체에서 기체, 고체에서 기체로의 물질의 상변화 또는 비-석탄 생성물이 석탄에서 방출되도록 허용할 수 있는 다른 상변화가 있을 경우, 일어날 수 있다.A microwave / radio wave system (microwave system) 148 may provide electromagnetic energy to the coal of the belt facility 130 for removal of non-coal products. The non-coal product may be water, sulfur, ash, metal, water, hydrogen, hydroxyl, and the like. The non-coal product can be removed from the coal by heating the non-coal product to a temperature that releases the non-coal product from the coal using microwave energy. The release can occur when there is a phase change of the material from solid to liquid, from liquid to gas, from solid to gas, or any other phase change that can allow non-coal products to be released from the coal.
한 구체예에서, 여러 가지의 비-석탄 생성물이 여러 온도에서 석탄으로부터 방출될 수 있다; 석탄 표면온도는 70 내지 250℃ 범위일 수 있다. 한 구체예에서, 수분이 이러한 스케일(scale)의 낮은 쪽 끝에서 방출될 수 있는 반면, 황은 130 내지 240℃에서 방출될 수 있다; 회분은 물과 황의 온도 사이에서 방출될 수 있고, 물 및/또는 황과 함께 방출될 수 있다. 한 구체예에서, 석탄은 마이크로파 시스 템(148)의 마이크로파 에너지에 의한 비-석탄 생성물의 가열로 인하여 특정한 내부온도 및 표면온도까지 가열될 수 있다.In one embodiment, various non-coal products can be released from coal at various temperatures; The surface temperature of the coal may range from 70 to 250 ° C. In one embodiment, the water can be released at the lower end of this scale, whereas sulfur can be released at 130 to 240 캜; The ash can be released between the temperature of water and sulfur, and can be released with water and / or sulfur. In one embodiment, the coal can be heated to a specific internal temperature and surface temperature due to heating of the non-coal product by the microwave energy of the
한 구체예에서, 마이크로파 시스템(148) 전자기에너지는 마그네트론, 클라이스트론, 자이로트론 등과 같은 장치에 의하여 생성될 수 있다. 한 구체예에서, 벨트 설비(130)에 적어도 하나의 마이크로파 시스템(148)이 있을 수 있다. 구체예에서, 벨트 설비(130) 하나 이상의 마이크로파 시스템(148)이 있을 수 있다.In one embodiment, the
하나 이상의 마이크로파 시스템(148)이 있는 벨트 설비(130)에서, 마이크로파 시스템(148)은 수송 시스템으로의 병렬 배향, 직렬 배향, 또는 병력과 직렬의 조합인 배향일 수 있다.In the belt assembly 130 with one or
병렬 마이크로파 시스템(148) 배향은 벨트 설비(130)의 한쪽 또는 양쪽 모두에 늘어서 있는 하나 이상의 마이크로파 시스템(148) 셋업을 가질 수 있다. 한 구체예에서, 하나 이상의 마이크로파 시스템(148)은 서로 그룹을 이루어 벨트 설비(130)의 양쪽에 셋업될 수 있다. 예를 들어, 벨트 설비(130)를 따라서의 특정 위치에서 N/2개의 벨트 설비(130)의 양쪽에 N개의 마이크로파 시스템(148)이 있을 수 있다. 이러한 구성은 더 많은 마이크로파 출력이 벨트 설비의 특정 위치에 가해지도록 허용할 수 있고, 특정 위치 내에서 여러 수준의 마이크로파 출력을 가하는 것을 허용할 수 있고, 하나 이상의 작은 마이크로파 시스템을 사용하여 요구되는 출력을 발생시키는 것을 허용할 수 있고, 특정 위치에서 마이크로파 출력의 증가 또는 감소를 허용할 수 있고, 펄스 마이크로파 출력을 허용할 수 있고, 연속 마이크로파 출력을 허용할 수 있고, 펄스 및 연속 마이크로파 출력의 조합을 허용할 수 있고, 기타 등등이다. 한 구체예에서, 하나 이상의 병렬 마이크로파 시스템(148)은 독립적으로 또는 단일 유닛으로서 제어될 수 있다.The
병렬 마이크로파 시스템(148)이 석탄의 처리 요건을 충족시키는 다양한 출력, 주파수, 출력의 조합, 또는 주파수의 조합에서 마이크로파 에너지를 제공하도록 제어될 수 있다는 것이 당업자에게 명백할 것이다.It will be apparent to those skilled in the art that the
직렬 마이크로파 시스템(148) 배향은 벨트 설비(130)의 길이를 따라서 하나 이상의 마이크로파 시스템(148) 셋업을 가질 수 있다. 한 구체예에서, 각각의 개별적인 마이크로파 시스템(148) 셋업은 전체 석탄 처리 공정의 스테이션 또는 공정 요소로서 간주될 수 있다. 한 구체예에서, 벨트 설비(130)의 길이를 따라서의 하나 이상의 위치에 하나 이상의 단일하거나 그룹을 이루는 마이크로파 시스템(148)이 있을 수 있다. 직렬 마이크로파 시스템(148) 사이에, 다른 공정이 직렬 마이크로파 시스템(148) 사이에서 수행되도록 허용하는 간격이 있을 수 있다. 직렬 마이크로파 시스템(148)은 상이한 마이크로파 주파수가 상이한 위치에 가해짐, 상이한 마이크로파 출력이 상이한 위치에 가해짐, 상이한 마이크로파 듀티 사이클(펄스 또는 연속)이 상이한 위치에 가해짐 등을 허용할 수 있다.The orientation of the
한 구체예에서, 마이크로파 시스템(148) 사이의 간격은 비-석탄 생성물 제거, 석탄 냉각, 비-석탄 생성물이 방출 공정, 석탄 처리, 석탄 계량, 방출된 비-석탄 생성물 감지를 완료하기 위한 위치 선정 등과 같은 다른 공정이 사전 수행되는 것을 허용할 수 있다.In one embodiment, the spacing between the
한 구체예에서, 하나 이상의 직렬 마이크로파 시스템(148)은 필요한 경우 특 정 처리 공정을 반복할 수 있는 여분의 단일 또는 그룹의 마이크로파 시스템을 가질 수 있다. 예를 들어, 하나의 마이크로파 스테이션은 석탄에서 수분을 제거하기 위하여 마이크로파 출력을 적용할 수 있고, 제거된 수분의 양을 결정하기 위한 석탄 계량 스테이션이 뒤따른다. 석탄 중량에 따라, 석탄에 여전히 수분이 남아있는지 결정될 수 있고, 여분의 마이크로파 시스템(148)은 잔류 수분을 제거하기 위하여 마이크로마 출력을 재적용할 수 있는 다음 위치에 있을 수 있다. 한 구체예에서, 여분의 마이크로파 시스템(148)은 석탄을 더욱 가공하기 위하여 사용되거나 사용되지 않을 수 있다. 한 구체예에서, 여분의 마이크로파 시스템(148)은 앞선 마이크로파 시스템(148)과 같은 동일한 공정을 반복할 수 있거나, 앞선 마이크로파 시스템(148) 이후의 다른 공정을 위하여 사용될 수 있다.In one embodiment, one or more of the
다른 예에서, 수분 센서는 수분이 여전히 석탄에서 방출되고 있는지를 결정할 수 있고, 두 번째의 여분의 마이크로파 공정이 석탄에 적용될 수 있다. 한 구체예에서, 컨트롤러는 마이크로파 공정이 반복되는지를 결정할 수 있다.In another example, the moisture sensor can determine whether moisture is still being released from the coal, and a second extra microwave process can be applied to the coal. In one embodiment, the controller can determine whether the microwave process is repeated.
한 구체예에서, 마이크로파 시스템(148) 출력은 펄스 또는 연속일 수 있다. 석탄에 가해지는 마이크로파 에너지를 조절하기 위하여, 마이크로파 에너지 아웃풋은 일정한 주파수에서 규칙적인 시간 간격으로 펄스화될 수 있다. 한 구체예에서, 공급원(source)당 마이크로파 출력은 928 MHz 이하의 주파수에서 적어도 15 kW일 수 있고, 다른 구체예에서 902 MHz 이상의 주파수에서 적어도 75 kW일 수 있다.In one embodiment, the output of the
한 구체예에서, 마이크로파 에너지의 더 낮은 주파수는 높은 주파수보다 더 깊이 석탄에 침투할 수 있다. 마이크로파 시스템(148)은 100 MHz 내지 20 GHz의 주 파수 아웃풋을 생성할 수 있다. 파동에너지(wave energy)의 다른 주파수는 본원 발명의 구체예에 따라 사용될 수 있다.In one embodiment, the lower frequency of the microwave energy can penetrate deeper into the coal than the higher frequency. The
앞서 논의된 바와 같이, 마이크로파 시스템(148)은 조화된 단계들로서 셋업될 수 있다. 예를 들어, 벨트 설비(130)의 석탄은 마이크로파 시스템(148)과 같이 동일한 간격에서 놓여질 수 있고, 이는 석탄이 석탄 처리 공정 동안 각각의 마이크로파 생성기에서 단계화되는 것을 허용할 수 있다. 한 구체예에서, 석탄의 가공을 위한 각각의 마이크로파 시스템(148) 스테이션에서 벨트의 속도를 변화시키는 것에 있어서 석탄 처리 가공의 이점이 있을 수 있다. 한 구체예에서, 이는 연속 벨트 설비(130)에서의 배치 가공의 방법일 수 있다.As discussed above, the
구체예에서, 가공시간(석탄이 마이크로파를 거치는 과정에 걸친)은 벨트 설비(130)의 크기와 구성, 사용가능한 마이크로파 시스템(148) 출력, 및 처리되어야 하는 석탄의 부피에 따라, 전형적으로 5초 내지 45분이다. 작은 부피는 짧은 가공시간을 필요로 할 수 있다.In the embodiment, the processing time (over the course of the coal passing through the microwave) is typically 5 seconds (depending on the size and configuration of the belt facility 130, the
한 구체예에서, 100% 효율로, 1 kW의 전자기에너지는 주위온도에서 시간당 3.05 lb의 물을 증발시킬 수 있다. 잘 설계된 전자기적-복사 시스템에 대하여, 에너지의 98%가 흡수되어 열로 전환될 수 있다. 예를 들어, 가해지는 1 kW의 전자기에너지는 대략 1.15 kW의 전기를 필요로 하고, 2.989 lb의 물을 증발시킨다; 이것은 제거되는 수분 160 파운드당 61.6 kW의 전기를 필요로 할 수 있다.In one embodiment, with 100% efficiency, 1 kW of electromagnetic energy can vaporize 3.05 lbs of water per hour at ambient temperature. For a well-designed electromagnetic-radiation system, 98% of energy can be absorbed and converted to heat. For example, the applied 1 kW of electromagnetic energy requires approximately 1.15 kW of electricity and evaporates 2.989 lb of water; This may require 61.6 kW of electricity per 160 pounds of water to be removed.
파라미터 제어설비(140)는 센서 정보를 받고, 센서 정보를 피드백으로서 컨트롤러(144)에 제공할 수 있다. 한 구체예에서, 파라미터 제어설비(140)는 서버, 웹 서버, 데스크탑 컴퓨터, 랩탑 컴퓨터, 초소형 컴퓨터, PDA, 플래쉬 메모리 등과 같은 컴퓨터 장치를 포함할 수 있다. 한 구체예에서, 파라미터 제어설비(140)는 LAN, WAN, P2P, CD, DVD, 플래쉬 메모리 등을 사용하는 다양한 설비 및 센서와 통신을 할 수 있다. 한 구체예에서, 파라미터 제어설비(140)는 다양한 고체연료 처리 설비(132) 센서로부터 신호를 받는 인터페이스를 포함할 수 있다. 상기 인터페이스는 센서로부터 아날로그나 디지털 신호 어느 것이라도 입수 가능할 수 있다. 아날로그 데이터에 대하여, 파라미터 제어설비(140) 인터페이스는 데이터 보관을 위하여 아날로그 신호를 디지털 데이터로 변환하는 아날로그-디지털 변환기(ADC)를 사용할 수 있다.The
한 구체예에서, 파라미터 제어설비(140)는 벨트 설비(130) 기류, 벨트 속력, 온도, 마이크로파 출력, 마이크로파 주파수, 비활성 기체 수준, 수분 수준, 회분 수준, 황 수준 등을 포함할 수 있는 센서와 인터페이스할 수 있다. 측정된 온도는 가공 동안의 석탄 온도 또는 챔버 온도 양쪽 모두일 수 있다; 챔버 온도는 챔버에 화재가 일어나는지의 지표일 수 있다.In one embodiment, the
한 구체예에서, 파라미터 제어설비(140)는 센서 읽음을 저장할 수 있는, RAM, CD, DVD, 플래쉬 메모리 등과 같은 내부 메모리를 포함할 수 있다. 파라미터 제어설비(140)는 센서 정보를 저장하고, 실시간 피드백을 컨트롤러(144) 또는 다른 저장/피드백 수단에 제공할 수 있다. 한 구체예에서, 파라미터 제어설비(140)는 센서 읽음을 수집하여 저장된 데이터 피드백을 컨트롤러(144)에 제공할 수 있다. 수집된 센서 읽음은 경과적인(historic) 평균 센서 읽음, 시간 간격의(time period) 센서 읽음, 시간에 걸친 센서 읽음의 히스토그램(histogram), 실시간 센서 읽음 등을 컨트롤러(144)에 제공하기 위하여 사용될 수 있다.In one embodiment, the
한 구체예에서, 파라미터 제어설비(140)에 의하여 수집된 센서 데이터는 파라미터 제어설비(140) 또는 파라미터 제어설비(144)와 연결된 임의의 컴퓨터 장치에서 가시화될 수 있다.In one embodiment, the sensor data collected by the
벨트 설비(130) 센서(142)는 파라미터 제어설비(140) 및 컨트롤러(144)에 석탄 처리 공정 데이터를 제공할 수 있다. 센서로부터의 석탄 처리 공정에 대한 데이터는 수증기, 회분, 황, 마이크로파 출력, 마이크로파 주파수, 석탄 표면온도, 석탄 중량, 마이크로파 방출, 공기흐름 측정, 벨트 설비 온도 등을 포함할 수 있다. 한 구체예에서, 센서는 아날로그 또는 디지털 측정 장치일 수 있다.The belt facility 130
한 구체예에서, 벨트 설비(130)의 수증기는 수분 분석기(analyzer)에 의하여 측정될 수 있다. 수분 분석기는 공정 석탄으로부터 방출되는 수증기를 측정하기 위하여 마이크로파 시스템(148)에 관하여 두어질 수 있다. 한 구체예에서, 석탄 가공은 측정된 수증기의 수준이 미리 결정된 수준에 도달할 때까지 계속될 수 있다. 수증기 수준은 수분의 퍼센트, 백만분율(parts per million), 십억분율(parts per billion) 또는 다른 증기 측정 규모로서 측정될 수 있다.In one embodiment, the water vapor in the belt facility 130 can be measured by a moisture analyzer. The moisture analyzer may be placed relative to the
한 구체예에서, 회분과 황 양쪽 모두는 화학신호 수준 분석기(chemical signature level analyzer)에 의하여 측정될 수 있다. 회분과 황에 대한 별개의 화학신호 수준 분석기가 있을 수 있다. 한 구체예에서, 석탄 가공은 측정된 회분과 황의 수준이 미리 결정된 수준에 도달할 때까지 계속될 수 있다.In one embodiment, both ash and sulfur can be measured by a chemical signature level analyzer. There may be separate chemical signal level analyzers for ash and sulfur. In one embodiment, the coal processing can continue until the measured ash and sulfur levels reach a predetermined level.
한 구체예에서, 마이크로파 시스템(148) 출력 및 주파수 아웃풋은 설정 수준과 비교되어 실제 수준으로서 측정될 수 있다.In one embodiment, the
한 구체예에서, 석탄 표면온도는 적외선 온도 센서 또는 온도계와 같은 센서에 의하여 측정될 수 있다. 온도 센서는 석탄 처리 동안과 후에 석탄 표면온도를 측정하기 위하여 석탄 처리 공정에 관하여 두어질 수 있다: 석탄 처리 공정은 가열 또는 냉각일 수 있다. 한 구체예에서, 석탄 가공은 측정된 석탄 표면온도가 미리 결정된 수준에 도달할 때까지 계속될 수 있다. 한 구체예에서, 석탄은 마이크로파 시스템(148)의 마이크로파 에너지에 의한 비-석탄 생성물의 가열로 인하여, 특정한 내부 및 표면온도로 가열될 수 있다.In one embodiment, the coal surface temperature can be measured by a sensor such as an infrared temperature sensor or a thermometer. The temperature sensor can be placed in relation to the coal treatment process to measure the coal surface temperature during and after the coal treatment: the coal treatment process can be heating or cooling. In one embodiment, the coal processing may continue until the measured coal surface temperature reaches a predetermined level. In one embodiment, the coal can be heated to specific interior and surface temperatures due to heating of the non-coal product by the microwave energy of the
한 구체예에서, 석탄 중량은 상업적으로 구입가능한 저울을 사용하여 측정될 수 있다. 석탄 중량은 석탄으로부터 비-석탄 생성물의 제거를 결정하기 위하여 사용될 수 있다. 한 구체예에서, 석탄은 석탄의 감소된 중량을 결정하기 위하여 처리 스테이션의 전후에 측정될 수 있다. 석탄 중량 델타는 석탄에서 방출된 비-석탄 생성물 퍼센트의 표지(indicator)일 수 있다. 한 구체예에서, 중량은 석탄이 중량 스케일을 경과함에 따라 실시간으로 정해질 수 있다.In one embodiment, the coal weight can be measured using commercially available scales. The coal weight can be used to determine the removal of non-coal product from the coal. In one embodiment, the coal can be measured before and after the treatment station to determine the reduced weight of the coal. The coal weight delta may be an indicator of the percentage of non-coal product released from the coal. In one embodiment, the weight can be determined in real time as the coal passes the weight scale.
한 구체예에서, 벨트 설비(130)로부터의 마이크로파 방출은 안전 표지로서 측정될 수 있다. 마이크로파 방출 센서는 표준의 구입 가능한 센서일 수 있다. 한 구체예에서, 사전 결정된 수준을 넘어서는 마이크로파 방출이 벨트 설비(130)의 외부에서 측정되지 않음을 보증하는 안전상의 또는 환경적인 이유가 있을 수 있다.In one embodiment, the microwave emission from the belt facility 130 can be measured as a safety mark. The microwave emission sensor may be a standard commercially available sensor. In one embodiment, there may be safety or environmental reasons to ensure that microwave emissions beyond a predetermined level are not measured outside the belt facility 130.
한 구체예에서, 실제의 벨트 설비(130) 기류는 요구되는 기류와의 비교를 위 하여 측정될 수 있다. 기류는 속도, 방향, 유입 압력, 유출 압력 등으로서 측정될 수 있다.In one embodiment, the actual belt facility 130 airflow can be measured for comparison with the required airflow. Air flow can be measured as velocity, direction, inlet pressure, outlet pressure, and so on.
한 구체예에서, 벨트 설비(130) 챔버 온도는 표준 온도 센서를 사용하여 측정될 수 있다. 챔버 온도는 챔버 파일(file)을 탐지하기 위한 안전 특징으로서 측정될 수 있다.In one embodiment, the belt facility 130 chamber temperature can be measured using a standard temperature sensor. The chamber temperature can be measured as a safety feature for detecting a chamber file.
제거 시스템(150)은 비-석탄 생성물이 처리된 석탄에서 방출될 때, 벨트 설비(130)에서 비-석탄 생성물을 제거할 수 있다. 비-석탄 생성물은 석탄에서 가스 또는 액체로서 방출될 수 있다. 제거 시스템(150)은 공기 움직임에 의하여 가스가 수집되고 처리될 수 있는 집진기(collection duct)를 향하여 가스를 제거할 수 있다. 제거 시스템(150)은 벨트 설비(130)로부터 가스를 제거하기 위하여 공기의 정압이나 부압을 사용할 수 있다. 정압 시스템은 가스를 수집 영역으로 취입할 수 있는 반면 부압 시스템은 가스를 수집 영역으로 끌어낼 수 있다. 제거 시스템(150)은 벨트 설비(130)의 바닥의 수집 영역에서 액체를 수집할 수 있다.The
한 구체예에서, 일부의 비-석탄 생성물은 가스와 액체 양쪽 모두로서 수집될 수 있다(예를 들어 물). 한 구체예에서, 수증기가 석탄에서 방출됨에 따라, 증기의 일부가 가스 제거 시스템에 의하여 포획될 수 있다. 석탄으로부터의 수증기 제거 양과 속도에 따라, 수증기는 벨트 설비(130)의 벽에 액체 물로 응축될 수 있다. 한 구체예에서, 응축된 물은 벽을 따라 흘러내려 공기의 흐름과 함께 액체 수집 영역으로 가도록 강제될 수 있다.In one embodiment, some of the non-coal product may be collected as both gas and liquid (e.g., water). In one embodiment, as steam is released from the coal, some of the steam can be captured by the degassing system. Depending on the amount and rate of water vapor removal from the coal, the water vapor can condense into liquid water on the wall of the belt facility 130. In one embodiment, the condensed water can be forced to flow down the wall and into the liquid collection zone with the flow of air.
한 구체예에서, 석탄 온도에 따라, 황은 가스 또는 액체로서 방출되면서 수 분과 유사하게 행동할 수 있다.In one embodiment, depending on the coal temperature, the sulfur may behave like water as it is released as a gas or liquid.
한 구체예에서, 회분이 수분이나 황과 함께 제거될 수 있다.In one embodiment, ash can be removed with moisture or sulfur.
한 구체예에서, 가스 수집물은 처리된 석탄에서 방출되는, 단일 유형의 가스 또는 다양한 가스를 수집할 수 있다. 벨트 설비 내의 위치와 석탄의 온도에 따라, 적어도 한 가지의 가스가 석탄에서 방출될 수 있다. 석탄 온도에 따라, 벨트 설비의 특정 위치에서 방출된 가스는 특정 유형의 가스일 수 있다. 예를 들어, 석탄이 70 내지 100℃의 온도를 가지는 위치에서 가스는 실질적으로 수증기일 수 있고, 석탄 온도가 160 내지 240℃ 인 위치에서 가스는 실질적으로 황 증기일 수 있다.In one embodiment, the gas collection can collect a single type of gas or a variety of gases that are released from the treated coal. Depending on the location in the belt plant and the temperature of the coal, at least one gas may be released from the coal. Depending on the coal temperature, the gas released at a particular location in the belt plant may be a specific type of gas. For example, at a location where the coal has a temperature of 70 to 100 캜, the gas may be substantially water vapor, and at a location where the coal temperature is 160 to 240 캜, the gas may be substantially sulfur vapor.
한 구체예에서, 액체 수집은 처리된 석탄에서 방출되는, 단일 유형의 액체를 수집할 수 있거나, 여러 가지의 액체를 수집할 수 있다. 벨트 설비 내의 위치 및 석탄의 공정 온도에 따라, 적어도 한 가지의 액체가 석탄으로부터 방출될 수 있다.In one embodiment, the liquid collection can collect a single type of liquid, which is released from the treated coal, or can collect a variety of liquids. Depending on the location in the belt plant and the process temperature of the coal, at least one liquid may be released from the coal.
격납 설비(162)는 벨트 설비(130) 제거 시스템(150)에서 가스 및 액체 비-석탄 생성물을 입수할 수 있다. 제거된 비-석탄 생성물은 물, 황, 석탄 분진, 회분, 수소, 하이드록실 등을 포함할 수 있다.The
한 구체예에서, 격납 설비(162)는 벨트 설비(130)에서 제거되는 액체를 수용하기 위한 액체 격납탱크를 가질 수 있고; 다수의 액체 격납탱크가 있을 수 있다. 한 구체예에서, 액체 격납탱크는 액체가 어느 위치에서 벨트 설비로부터 제거되느냐에 따라 한 가지 이상의 액체를 포함할 수 있다. 한 구체예에서, 액체의 수집을 위한, 벨트 설비(130)의 여러 장소에 위치한 여러 액체 격납탱크가 있을 수 있다.In one embodiment, the
한 구체예에서, 격납 설비(162)는 벨트 설비(130)에서 제거되는 가스를 수용 하기 위한 가스 격납탱크를 가질 수 있고; 다수의 가스 격납탱크가 있을 수 있다. 한 구체예에서, 가스 격납탱크는 가스가 어느 위치에서 벨트 설비로부터 제거되느냐에 따라 한 가지 이상의 가스를 포함할 수 있다. 한 구체예에서, 가스의 수집을 위한, 벨트 설비(130)의 여러 장소에 위치한 여러 가스 격납탱크가 있을 수 있다.In one embodiment, the
한 구체예에서, 격납 설비는 또한 벨트 설비(130)에서 마이크로파 에너지를 보유하기 위한 차폐물을 포함할 수 있다.In one embodiment, the containment facility may also include a shield for retaining microwave energy in the belt facility 130.
처리 설비(160)는 격납 설비(162)의 가스와 액체를 입수해서 가스와 액체를 처분을 위한 개별적인 가스와 액체로 분리할 수 있다.The
한 구체예에서, 비-석탄 생성물은 침강, 응집, 원심분리, 여과, 증류, 크로마토그래피, 전기영동, 추출, 액-액 추출, 침전, 분별동결, 체로 치기, 풍선 등을 포함할 수 있는 공정을 사용하여 분리될 수 있다.In one embodiment, the non-coal product is subjected to a process that may include sedimentation, flocculation, centrifugation, filtration, distillation, chromatography, electrophoresis, extraction, liquid-liquid extraction, precipitation, fractional freezing, sieving, Can be used.
한 구체예에서, 가스와 액체가 분리된 후, 가스와 액체는 개별적인 용기나 탱크에 저장될 수 있다.In one embodiment, after the gas and liquid are separated, the gas and liquid may be stored in separate containers or tanks.
처분설비(158)는 처분을 위하여 처리 설비(160)로부터 개별화된 가스 및 액체를 입수할 수 있다. 한 구체예에서, 가스 및 액체의 처분은 매립지에서의 처분, 다른 기업에 가스 및 액체 판매, 비-독성 가스(예를 들어 수증기)의 방출 등을 포함할 수 있다. 한 구체예에서, 다른 기업은 개별화된 가스 또는 액체를 직접 사용하는 회사이거나, 재판매를 위하여 가스 또는 액체를 더욱 정제하는 기업일 수 있다.The
처분설비(158)는 개별화된 가스 및 액체 제거를 위하여, 철도, 트럭, 수송관 등에 의하여 출하 설비와 연결될 수 있다.The
처분설비(158)는 출하하기에 상업적으로 경제적인 부피까지 가스와 액체의 임시 보관을 허용할 수 있는 임시 보관 탱크를 포함할 수 있다. 한 구체예에서, 임시 보관 탱크는 근거리 또는 원거리에 위치할 수 있다.The
냉각 설비(164)는 벨트 설비(130) 이후에 위치할 수 있고, 처리된 석탄의 제어된 냉각을 위하여 제어된 대기를 제공할 수 있다. 한 구체예에서, 냉각 설비는 벨트 설비(130)에 통합되거나, 벨트 설비의 출구에서의 별개의 설비일 수 있다; 도 1은 분리된 설비로서 냉각 설비를 나타낸다.The
한 구체예에서, 냉각 설비(164)는 석탄의 냉각속도를 제어할 수 있고, 처리 공정으로부터의 석탄을 냉각하는 것에 따른 수분의 재-흡수를 방지하기 위하여 대기를 제어할 수 있다. 한 구체예에서, 냉각 설비(164)는 냉각 챔버를 만들 수 있는, 인클로저에 의하여 둘러싸인 컨베이어 벨트(300), 다수의 개별 용기 등으로 구성될 수 있는, 수송 시스템을 가질 수 있다.In one embodiment, the
한 구체예에서 제어된 냉각 공정은 주위온도로의 점진적 공기 냉각, 제어된 대기에서의 자연 냉각, 건조 공기를 사용한 강제 냉각, 비활성 기체를 사용한 강제 냉각 등을 포함할 수 있다. 한 구체예에서, 수송 시스템은 적당한 냉각속도를 유지하기 위하여 변화할 수 있다. 한 구체예에서, 가스, 석탄 온도, 벨트 속력 등을 모니터하기 위한 센서 시스템이 있을 수 있다. 센서 데이터는 냉각 설비(164) 컨트롤러에서 입수될 수 있거나 벨트(130) 컨트롤러(144)를 사용할 수 있고; 컨트롤러는 냉각 설비(164)의 작동 파라미터를 제공할 수 있다.In one embodiment, the controlled cooling process may include progressive air cooling to ambient temperature, natural cooling in a controlled atmosphere, forced cooling with dry air, forced cooling with inert gas, and the like. In one embodiment, the transport system may be varied to maintain an appropriate cooling rate. In one embodiment, there may be a sensor system for monitoring gas, coal temperature, belt speed, and the like. The sensor data may be obtained from the
한 구체예에서, 제어된 대기는 건조 공기 또는 비활성 기체일 수 있다.In one embodiment, the controlled atmosphere may be dry air or an inert gas.
배출 설비(168)는 최종의 냉각된 처리된 석탄을 벨트 설비(130)로부터 떨어진 위치로 이동시킬 수 있다. 한 구체예에서, 배출 설비(168)는 수송 시스템, 분진 수집 설비, 입력 부분, 전이 부분, 및 어댑터 부분 등을 포함할 수 있다. 한 구체예에서, 배출 설비는 완료된 석탄을 빈(bin), 철도차량, 보관 위치에 제공하고, 가공 설비에 직접 제공하고, 기타 등등일 수 있다.The
한 구체예에서, 입력 부분은 냉각 설비에서 처리된 석탄을 입수할 수 있고, 입구 말단은 들어오는(incoming) 냉각 설비(164) 수송 시스템에 맞도록 크기 조절될 수 있고, 출구 말단은 전이 부분에 맞도록 크기 조절될 수 있다.In one embodiment, the input portion can receive processed coal from the cooling facility, the inlet end can be scaled to fit the
한 구체예에서, 전이 부분은 처리된 석탄을 어댑터로 인도하는 채널일 수 있고; 전이 부분은 수송 시스템을 포함할 수 있다.In one embodiment, the transition portion can be a channel that directs the treated coal to the adapter; The transition portion may include a transport system.
한 구체예에서, 어댑터 부분은 전이 부분에 맞도록 크기 조절될 수 있고, 아웃풋 위치(예를 들어 철도차량, 보관, 설비로 직접)에 대한 형태로 요구될 수 있다.In one embodiment, the adapter portion may be sized to fit the transition portion and may be required in the form of an output position (e.g., railroad car, storage, facility).
한 구체예에서, 배출 설비(168)는 적어도 하나의 위치로 출력할 수 있다. 한 구체예에서, 하나 이상의 아웃풋 위치에 공급하는, 벨트 설비(130)당 하나 이상의 배출 설비(168)가 있을 수 있다.In one embodiment, the
테스트 설비(170)는 최종의 처리된 석탄의 샘플을 취하여 최종의 처리된 석탄 특성이 석탄 희망 특성(122)에 부합하는지를 결정하기 위하여, 석탄 샘플에 표준 테스트를 수행할 수 있다. 한 구체예에서, 테스트 설비는 설비(132)에서 근거리 이거나 원거리일 수 있다.The
한 구체예에서, 표준 테스트는 ASTM 표준 D 388 (등급에 의한 석탄 분류), ASTM 표준 D 2013(분석을 위한 석탄 샘플 제조 방법), ASTM 표준 D 3180 (측정된 상태에서 다른 기준들까지 석탄 및 코크스 분석을 추정하기 위한 표준 실행), 미국 지질조사국 회보 1823 (석탄의 샘플링 및 무기분석 방법) 등과 같은 표준일 수 있다. 표준 테스트는 수분 퍼센트, 회분 퍼센트, 휘발성 물질 퍼센트, 고정탄소 퍼센트, BTU/lb, 수분과 회분이 없을 시 BTU/lb, 황의 형태, 분쇄성(HGI), 총 수은, 회분 용융온도, 회분 무기물 분석, 전자기적 흡수/반사, 유전특성 등을 포함할 수 있는 석탄 특성을 제공할 수 있다.In one embodiment, the standard tests include ASTM Standard D 388 (Classification by Coal Classification), ASTM Standard D 2013 (Coal Sample Preparation Method for Analysis), ASTM Standard D 3180 (from the measured state to other standards coal and coke Standard practice to estimate the analysis), US Geological Survey Bulletin 1823 (coal sampling and weapons analysis method), and the like. Standard tests include analysis of percent ash, percentage of ash, percent volatile, percent of fixed carbon, BTU / lb, BTU / lb in the absence of moisture and ash, form of sulfur, grindability (HGI), total mercury, ash melt temperature, , Electromagnetic absorption / reflection, dielectric properties, and the like.
한 구체예에서, 최종의 처리된 석탄에서 취한 주기적 샘플이 있을 수 있고, 최초 샘플과 최종 샘플이 있을 수 있으며, 하나의 샘플이 있을 수 있거나 기타 등등이다. 한 구체예에서, 선택된 모든 샘플이 테스트되지 않을 수 있고, 통계적 샘플 비율은 통계적 샘플의 결과에 기초한 추가적 테스트를 사용하여, 최종의 처리된 석탄으로부터의 모든 샘플에 사용될 수 있다. 통계적 샘플링에 지식이 있는 자는, 테스트 결과에 따라 테스트하는 샘플의 수 및 다른 샘플로의 역추적(back tracking)의, 여러 파라미터를 이해할 수 있다.In one embodiment, there may be a periodic sample taken from the final treated coal, there may be an initial sample and a final sample, there may be one sample, or the like. In one embodiment, all selected samples may not be tested and the statistical sample rate may be used for all samples from the final treated coal, using additional testing based on the results of the statistical sample. Those who are knowledgeable in statistical sampling can understand the number of samples to be tested according to the test results and the various parameters of back tracking to other samples.
한 구체예에서, 최종의 처리된 석탄은 석탄 샘플 테스트가 수락 가능한 최종 처리된 석탄의 특성을 나타낼 때까지 사용되지 않을 수 있다.In one embodiment, the final treated coal may not be used until the coal sample test indicates the characteristics of the final treated coal acceptable.
석탄 아웃풋 파라미터(172)는 최종의 처리된 석탄에 대한 분류(110) 정보를 위한 보관 위치일 수 있다. 석탄 아웃풋 파라미터(172)는 최종의 처리된 석탄 특성 을 저장할 수 있는 데이터베이스, 관계 데이터베이스, 테이블, 텍스트 파일, XML 파일, RSS, 플랫 파일 등일 수 있다. 데이터는 서버, 웹 서버, 데스크탑 컴퓨터, 랩탑 컴퓨터, 초소형 컴퓨터, PDA, 플래쉬 메모리 등을 포함할 수 있는 컴퓨터 장치에 저장될 수 있다. 한 구체예에서, 최종의 처리된 석탄 특성 데이터는 종이 하드카피, 전자매체 형태, 데이터베이스 등으로 석탄 아웃풋 파라미터(172)로 전송될 수 있다. 최종의 처리된 석탄 특성이 종이 하드카피로 출하될 경우, 특성 데이터는 컴퓨터 장치의 적절한 석탄 아웃풋 파라미터(172) 포맷으로 입력될 수 있다. 한 구체예에서, 최종의 처리된 석탄 특성 데이터는 테스트 설비(170)로부터 전자우편, FTP, 인터넷 연결, WAN, LAN, P2P 등에 의하여 보내질 수 있다. 석탄 아웃풋 파라미터(172)는 인터넷을 포함할 수 있는 네트워크 상에서 액세스 가능할 수 있다.The
테스트 설비(170)는 수분 퍼센트, 회분 퍼센트, 휘발성 물질 퍼센트, 고정탄소 퍼센트, BTU/lb, 수분과 회분이 없을 시 BTU/lb, 황의 형태, 분쇄성(HGI), 총 수은, 회분 용융온도, 회분 무기물 분석, 전자기적 흡수/반사, 유전특성 등을 포함할 수 있는 석탄 특성을 제공할 수 있다.The
한 구체예에서, 각각의 최종 처리된 석탄에 대하여 석탄 아웃풋 파라미터(172)에 저장된 적어도 하나의 데이터 기록이 있을 수 있다. 최종의 처리된 석탄이 처리 공정 동안 무작위의 또는 주기적인 체크를 거쳤을 경우, 하나 이상의 데이터 기록이 있을 수 있다. 한 구체예에서, 최종 처리된 석탄에 행해진 각각의 테스트는 석탄 아웃풋 파라미터(172)에 저장되는 석탄 특성을 가질 수 있다.In one embodiment, there may be at least one data record stored in the
피드백 설비(174)는 최종의 처리된 석탄이 희망하는 특성의 허용치 내에 있 는지를 결정하기 위하여, 최종의 처리된 석탄 특성을 석탄 희망 특성(122)과 비교할 수 있다. 피드백 설비는 서버, 웹 서버, 데스크탑 컴퓨터, 랩탑 컴퓨터, 초소형 컴퓨터, PDA, 플래쉬 메모리 등을 포함할 수 있는 컴퓨터 장치일 수 있다.The
한 구체예에서, 피드백 설비(174)는 용인 가능한 최종의 처리된 석탄으로 간주될 수 있는 석탄 특성의 허용치를 유지할 수 있다. 허용치는 최종의 처리된 석탄의 특성을 저장할 수 있는 데이터베이스, 관계 데이터베이스, 테이블, 텍스트 파일, XML 파일, RSS, 플랫 파일 등에 저장될 수 있다. 한 구체예에서, 피드백 설비(174)는 인터넷 연결, WAN, LAN, P2P 등을 포함할 수 있는 네트워크에 연결될 수 있다. 한 구체예에서, 피드백 설비(174)는 최종의 처리된 석탄의 용인성을 결정하기 위하여 최종의 처리된 석탄 특성을 석탄 희망 특성(122)과 비교할 수 있다.In one embodiment, the
한 구체예에서, 최종의 처리된 석탄이 용인 가능한 허용치를 벗어날 경우, 모니터링 설비(134)에 의하여 작동 파라미터에 변경이 일어날 수 있다.In one embodiment, a change in operating parameters may occur by the
한 구체예에서, 최종의 처리된 석탄이 용인 가능한 허용치를 벗어날 경우, 리포트(report)가 생성될 수 있고; 상기 리포트는 피드백 설비 네트워크와 연결된 임의의 컴퓨터 장치에 대하여 이용 가능할 수 있다.In one embodiment, a report may be generated if the final treated coal is outside an acceptable tolerance; The report may be available for any computer device connected to the feedback facility network.
가격 책정/트랜잭션 설비(트랜잭션 설비)(178)는 최종의 처리된 석탄의 최종 가격을 결정할 수 있다. 트랜잭션 설비(178)는 서버, 웹 서버, 데스크탑 컴퓨터, 랩탑 컴퓨터, 초소형 컴퓨터, PDA, 플래쉬 메모리 등을 포함할 수 있는 컴퓨터 장치일 수 있다. 한 구체예에서, 트랜잭션 설비(178)는 인터넷 연결, WAN, LAN, P2P 등을 포함할 수 있는 네트워크에 연결될 수 있다.The pricing / transaction facility (transaction facility) 178 may determine the final price of the final processed coal. The
한 구체예에서, 트랜잭션 설비는 처리된 석탄의 최종 비용을 결정하기 위하여 들여오는 원료석탄 비용 및 설비(132)의 작동 비용을 입수할 수 있다. 설비(132)의 작동 비용은 처리된 석탄의 가공 동안 수집될 수 있다; 석탄은 유형, 배치 번호, 테스트 번호, 식별 번호 등에 의하여 식별될 수 있다. 한 구체예에서, 설비(132)의 작동 비용은 석탄 식별의 모든 가공에 대하여 기록될 수 있다. 작동 비용은 전기 비용, 사용된 비활성 기체, 사용된 석탄, 처분 요금, 테스트 비용 등을 포함할 수 있다.In one embodiment, the transaction facility is able to obtain raw coal costs and operating costs of the
한 구체예에서, 트랜잭션 리포트가 피드백 설비 네트워크에 연결된 임의의 컴퓨터 장치에 대하여 사용가능할 수 있다.In one embodiment, a transaction report may be available for any computer device connected to the feedback facility network.
석탄 연소(200)는 산소의 존재와 고온에서 석탄을 연소하여 빛과 열을 발생시키는 것을 포함한다. 석탄은 연소가 일어나기 전에 그것의 점화온도로 가열되어야 한다. 석탄의 점화온도는 석탄에 함유된 고정탄소의 점화온도이다. 석탄의 휘발성 성분의 점화온도는 고정탄소의 점화온도보다 높다. 따라서 가스 생성물은 연소가 일어나는 동안 증류되어 나간다. 연소가 시작될 때, 가연성 탄소의 산화에 의하여 생성된 열은 적당한 조건에서 연소를 지하기에 충분히 높은 온도를 유지할 수 있다. 직접 석탄 연소는, 예를 들어 고정층(220) 또는 스토커(stoker) 연소기, 미분탄 연소기(222), 유동층 연소기 (224) 등을 사용하여, 수행될 수 있다.The
고정층(220) 시스템은 한 세기에 걸쳐 분탄(small coal) 연소 보일러에 사용되어 왔다. 고정층 시스템은 약 1-5 cm 범위의 입자 크기를 가지는 괴탄(lump coal) 공급을 사용할 수 있다. 석탄은 노에 들어가면서 가열되고, 따라서 수분과 휘발성 물질이 빠져나간다. 석탄이 점화될 영역으로 석탄이 이동함에 따라 석탄층에서 온도가 상승한다. 정지 화격자(static grate), 하부공급 스토커(underfeed stoker), 체인형 화격자(chain grate), 이동식 화격자(traveling grate) 및 살포식 스토커(spreader stoker) 시스템을 포함하는 다수의 상이한 유형이 존재한다. 체인형 및 이동식 화격자로(grate furnace)는 유사한 특성을 가진다. 공기가 화격자 및 석탄의 층을 통하는 동안, 석탄 덩어리가 움직이는 화격자나 체인에 공급된다 살포식 스토커에서, 연료를 더욱 균일하게 분포시키기 위하여, 고속 회전자가 움직이는 화격자 상에서 석탄을 노에 던져넣는다. 스토커로(stoker furnace)는 일반적으로 1200-1300℃의 화염 온도와 상당히 긴 체류시간으로 특징지어진다.The fixed bed (220) system has been used in small coal fired boilers over a century. Fixed bed systems can use a lump coal feed with particle sizes ranging from about 1-5 cm. The coal is heated as it enters the furnace, and moisture and volatiles escape. As the coal moves into the area where the coal is to be ignited, the temperature in the coal layer rises. There are a number of different types including static grate, underfeed stoker, chain grate, traveling grate, and spreader stoker system. Chain type and movable grate furnace have similar characteristics. While the air passes through the layers of grate and coal, the coal is fed to a moving grate or chain. In a spreader, the coal is thrown into the furnace on a grate with a high speed rotor to distribute the fuel more evenly. The stoker furnace is typically characterized by a flame temperature of 1200-1300 ° C and a considerably longer residence time.
고정층(220) 시스템에서의 연소는 비교적 불규칙하여, 연소공정 동안 CO, NOx 및 휘발성 물질의 간헐적인 배기가 있을 수 있다. 연소 화학과 온도는 실질적으로 연소 화격자를 가로질러 변화할 수 있다. SO2의 배기는 공급 석탄의 황 함량에 의존할 것이다. 잔류 회분은 비교적 비효율적인 연소 및 석탄에 함유된 탄소와 산소의 접촉 제한으로 인하여, 높은 탄소 함량(4-5%)을 가질 것이다.The combustion in the fixed
미분탄 연소(pulverized coal combustion("PCC"))(222)는 석탄 화력 발전소(204)를 위하여 가장 통상적으로 사용되는 연소 방법이다. 사용 전에, 석탄은 미세한 분말로 분쇄(미분쇄)될 수 있다. 미분탄은 일련의 버너 노즐을 통하여 연소를 위한 공기의 일부로써 보일러로 취입된다. 이차 또는 삼차 공기 또한 첨가될 수 있다. 유닛은 대기압 가까이에서 작동한다. 연소는 석탄 등급에 따라 1300-1700℃의 온도에서 일어난다. 역청탄에 대하여, 연소 온도는 1500-1700℃에서 고정된다. 더 낮은 등급의 석탄에 대하여, 범위는 1300-1600℃이다. 미분탄 공정에서 사용되는 석탄의 입자 크기는 약 10-100 미크론 범위이다. 입자 체류 시간은 전형적으로 1-5 초이고, 입자는 이 시간 동안 완전히 연소되도록 크기 조절되어야 한다. 발전(204)을 위하여, 스팀 생성기와 터빈을 가동할 수 있는 공정에 의하여 스팀이 생성된다.A pulverized coal combustion ("PCC") 222 is the most commonly used combustion method for a coal fired
미분탄 연소기(222)에는 벽면-연소식(wall-fired) 또는 접선 연소식(tangentially fired) 버너가 공급될 수 있다. 벽면-연소식 버너는 연소기의 벽에 설치되는 반면, 접선 연소식 버너는 화염이 보일러의 중앙을 향하도록 하여 모서리에 설치되어, 연소 동안 가스에 나선 운동(swirling motion)을 부여하고 따라서 공기와 연료가 더욱 효과적으로 혼합된다. 보일러는, 회분이 용융된 슬래그로서 바닥에 떨어지는지 건조 고체로서 제거되는지에 따라, 습식(wet-bottom) 또는 건식(dry-bottom)으로 불릴 수 있다. 미분탄 연소(222)의 일차적 이점은 생성되는 비산회분이 미세하다는 특징이다. 일반적으로, PCC(222)는 거친 바닥회분(건식 보일러에서) 또는 보일러 슬래그(습식 보일러)인 잔류물과 함께, 65%-85% 비산회분을 야기한다.The pulverized
연료로서 무연탄을 사용하는 보일러는 다운샷(downshot) 버너 장치를 사용할 수 있고, 여기서 석탄-공기 혼합물은 보일러 기저의 콘(cone)으로 보내진다. 이러한 장치는 더욱 완전한 탄소 연소를 보증하는 더욱 긴 체류 시간을 허용한다. 셀(cell) 버너라고 불리는 다른 장치는 밀집된, 강한 화염을 발생하는 단일한 수직 어셈블리로 결합된 둘 또는 셋의 원형 버너를 포함한다. 그러나 이 버너로부터의 고온 화염은 더욱 많은 NOx 형성을 야기할 수 있어, 이 장치를 덜 유리하게 한다.Boilers that use anthracite coal as fuel can use a downshot burner unit, where the coal-air mixture is sent to the boiler base cone. These devices allow longer residence times to ensure more complete carbon burning. Another device, called a cell burner, includes two or three circular burners combined into a single vertical assembly producing a dense, strong flame. However, the high temperature flames from this burner can cause more NOx formation, making this device less advantageous.
사이클론-연소식(cyclone-fired) 보일러가 낮은 회분 용융온도를 가지는 석탄을 위하여 사용될 수 있고, 그렇지 않다면 PCC(222)를 사용하기 어려울 것이다. 사이클론로(cyclone furnace)는 차차 가늘어지는 주(main) 보일러의 외면에 설치된 연소 챔버를 가진다. 일차 연소 공기가 석탄 입자를 노로 수송하는 동안, 이차 공기는 더욱 큰 석탄 입자를 노벽을 향하여 던져넣는 강한 소용돌이(swirl)를 생성하며 사이클론으로 접선방향으로 주입된다. 삼차 공기는 중심의 진공 및 노 내의 연소 영역 위치를 제어하기 위하여 사이클론의 중심 와류(vortex)로 직접 들어간다. 큰 석탄 입자는 사이클론 내면을 덮는 용융층에 포획되고, 이후 더욱 완전한 연소를 위하여 재순환된다. 작은 석탄 입자는 연소를 위하여 와류의 중심으로 들어간다. 이러한 시스템은 노 내에서 강한 열 발생을 야기하고, 따라서 석탄이 극심한 고온에서 연소된다. 연소 가스, 잔류 숯 및 비산회분은 더욱 완전한 연소를 위하여 보일러 챔버로 들어간다. 용융된 회분은 제거를 위하여, 중력에 의해 노의 바닥으로 흐른다.Cyclone-fired boilers may be used for coal having a low batch melt temperature, otherwise
사이클론 보일러에서, 회분의 80-90%가 용융된 슬래그로서 보일러의 바닥을 떠나고, 따라서 더 적은 비산회분이 보일러의 열교환 부분을 통과하여 방출된다. 이러한 보일러들은 고온(1650 내지 2000℃ 이상)에서 가동되고, 근접-대기압을 사용한다. 고온은 이러한 보일러 유형의 주된 단점인, 다량의 NOx 생성을 야기한다. 사이클론-연소식 보일러는 특정한 핵심 특성인, 15% 이상의 휘발성 물질(건량 기준), 역청탄에 대하여 6-25% 또는 아역청탄에 대하여 4-25%의 회분 함량, 역청탄에 대하여 20% 이하의 및 아역청탄에 대하여 30%의 수분 함량을 가지는 석탄을 사용할 수 있다. 회분은 특유한 슬래그 점성 특성을 가져야 한다; 회분 슬래그 거동은 이러한 보일러 유형의 기능에 특히 중요하다. 고수분 연료가 이러한 유형의 보일러에서 연소될 수 있지만, 설계의 변형이 필요하다.In a cyclone boiler, 80-90% of the ash leaves the bottom of the boiler as molten slag, and thus less fly ash flows through the heat exchange section of the boiler. These boilers operate at high temperatures (above 1650 to 2000 ° C) and use near-atmospheric pressure. High temperatures cause a large amount of NOx production, which is a major disadvantage of these boiler types. Cyclone-fired boilers are characterized by specific core characteristics, such as volatile substances (based on dry weight) of 15% or more, ash content of 6-25% for bituminous coal or 4-25% for bituminous coal, less than 20% Coal having a moisture content of 30% with respect to bituminous coal can be used. The ash must have a characteristic slag viscous property; The ash slag behavior is particularly important for the functioning of these boiler types. High water fuels can be burned in this type of boiler, but a modification of the design is needed.
미국에 있는 미분탄 보일러(222)는 아임계 또는 초임계 스팀 사이클링을 사용한다. 초임계 스팀 사이클은 물의 기상과 액상이 존재하지 않는, 물의 임계온도(374℉) 및 임계압력(22.1 mPa) 위에서 작동하는 것이다. 아임계 시스템은 전형적으로 33-34%의 열효율을 달성한다. 초임계 시스템은 아임계 시스템보다 3 내지 5 퍼센트 더 높은 열효율을 달성할 수 있다.The pulverized
석탄 연소의 열효율을 증가시키는 것은 더 적은 연료를 필요로 하므로 발전(204)를 위하여 더 낮은 비용을 야기한다. 증가된 열효율은 또한 SO2 및 NOx의 배기가스와 같은, 연소 동안 발생되는 다른 배기가스를 감소시킨다. 더 낮은 등급의 석탄을 연소시키는 더 노후하고, 더 작은 유닛은 30% 정도로 낮을 수 있는 열효율을 가진다. 더 높은 품질의 석탄을 연소시키는 아임계 스팀 보일러를 가지는 더욱 대규모의 플랜트에 대하여, 열효율은 35-36%의 범위일 수 있다. 초임계 스팀을 사용하는 시설은 43-45% 범위의 전체 열효율을 달성할 수 있다. 더 낮은 품위의 석탄과 더 낮은 등급의 석탄을 사용하여 달성가능한 최대 효율은 더 높은 품위 및 더 높은 등급의 석탄을 사용하여 달성할 최대 효율보다 더 작을 수 있다. 예를 들어, (예를 들어, 유럽에서 발견되는) 새로운 아탄-화력 플랜트에서 예상되는 최대 효율 은 약 42%일 수 있고, 반면 상응하는(equivalent) 새로운 역청탄 플랜트는 약 45%의 최대 열효율을 달성할 수 있다. 역청탄 및 다른 최적의 건축 재료(construction material)를 사용하는 초임계 스팀 플랜트는 45-47%의 순열효율을 달성할 수 있다.Increasing the thermal efficiency of coal combustion requires less fuel and therefore lower costs for
유동층 연소("FBC")(224)는 석탄을 석회석과 같은 흡수제와 혼합하고, 연소공정 동안 완전한 연소 및 황 가스의 제거를 허용하는 혼합물을 유동화한다. "유동화"는 고체 물질이 자유롭게 흐르는 유체-유사 거동으로 주어지는 조건을 나타낸다. 가스가 고체 입자의 층을 위로 통과함에 따라, 가스의 흐름은 입자들을 서로 분리시키는 힘을 생성한다. 유동층 연소에서, 석탄은 유동화 가스의 상향 흐름에 의하여 부유된 뜨거운 불연성 입자의 층에서 연소된다.A fluid bed combustion ("FBC") 224 mixes coal with an absorbent such as limestone and fluidizes the mixture to allow complete combustion and removal of sulfur gas during the combustion process. "Fluidization" refers to a condition given by a fluid-like behavior in which a solid material flows freely. As the gas passes over the layer of solid particles, the flow of gas creates a force that separates the particles from each other. In fluidized bed combustion, coal is combusted in a layer of hot, incombustible particles suspended by the upward flow of fluidizing gas.
FBC(224) 시스템은 주로 아임계 스팀 터빈과 함께 사용된다. 대기압 FBC(224) 시스템은 기포식(bubbling) 또는 순환식(circulating)일 수 있다. 가압 FBC(224) 시스템은, 현재 발탈의 초기 단계에서, 주로 기포층(bubbling bed)을 사용하고, 가스 터빈 및 스팀 터빈을 가지는 조합된 사이클에서 전력을 생산할 수 있다. 대기압에서의 FBC(224)는 고-회분 석탄 및/또는 가변적인 특성의 석탄에 유용할 수 있다. 약 3 mm 크기의 비교적 거친 석탄 입자가 사용될 수 있다. 연소는 실질적으로 NOx 형성에 대한 임계치(threshold) 이하인 800-900℃에서 일어나고, 따라서 이러한 시스템은 PCC(222) 시스템에서보다 낮은 NOx 배기가스를 야기한다.The
기포층은 낮은 유동화 속도를 가지고, 따라서 석탄 입자가 확인 가능한 표면을 가지는 약 1 mm 깊이의 층(bed)에 붙들린다. 석탄 입자가 소실되어 작아짐에 따라, 석탄 입자는 궁극적으로 석탄가스와 함께 운반되어 비산회분으로서 제거된다. 순환층은 높은 유동화 속도를 사용하고, 따라서 석탄 입자가 연도가스(flue gas)에 부유하고, 주 연소 챔버(main combustion chamber)를 통과하여 사이클론으로 향한다. 큰 석탄 입자는 가스에서 추출되어 연소 챔버로 재순환된다. 개별적인 입자들은 그들의 연소 특성에 따라, 10-50 회 재순환할 수 있다. 연소 조건은 연소기 전체에서 비교적 균일하고, 상당한 입자 혼합이 있다. 석탄 고체가 유닛 전체에 분포되어 있을지라도, 연소 동안 연료를 혼합하기 위하여 조밀층(dense bed)이 하부로(lower furnace)에서 요구될 수 있다. 역청탄을 연소시키는 층에 있어서, 층의 탄소 함량은 약 1%이고, 나머지는 회분 및 다른 광물로 되어 있다.The bubble layer has a low fluidization rate, so that the coal particles are held in a bed about 1 mm deep with an identifiable surface. As the coal particles disappear and become smaller, the coal particles are ultimately carried along with the coal gas and removed as fly ash. The circulating layer uses a high fluidization rate, so that the coal particles float in the flue gas and pass through the main combustion chamber to the cyclone. The large coal particles are extracted from the gas and recycled to the combustion chamber. Individual particles can be recirculated 10 to 50 times, depending on their combustion characteristics. The combustion conditions are relatively uniform throughout the combustor, and there is considerable particle mixing. Although the coal solids are distributed throughout the unit, a dense bed may be required in the lower furnace to mix the fuel during combustion. For the layer that burns bituminous coal, the carbon content of the layer is about 1% and the remainder is ash and other minerals.
순환 FBC(224) 시스템은 석탄의 특정 유형을 위하여 설계될 수 있다. 이러한 시스템은 미세하게 미분쇄되기 어렵고 가변적인 연소 특성을 가질 수 있는, 낮은 품위, 높은 회분의 석탄을 위하여 특별히 유용하다. 또한 이러한 시스템은 석탄을 바이오매스 또는 폐기물과 같은 다른 연료와 함께 동시연소(co-firing)하는 것에도 유용하다. 유닛이 건설되면, 상기 연료를 위하여 설계된 유닛은 이 연료를 사용하여 가장 효율적으로 작동될 수 있다. 다양한 설계가 사용될 수 있다. 열효율은 일반적으로 상당하는 PCC 시스템보다 다소 낮다. 가변적인 특성을 가지는 저품위 석탄의 사용은 열효율을 더욱 낮출 수 있다.The circulating
가압 시스템에서의 FBC(224)는 저품위 석탄과 가변적인 특성을 가지는 석탄에 대하여 유용할 수 있다. 압력 경계를 가로질러 시스템으로 공급되는 석탄과 흡수제 및 압력 경계를 가로질러 제거되는 회분을 가지는 가압 시스템에서, 연소기와 가스 사이클론은 모두 압력용기로 에워싸진다. 무연탄(hard coal)이 사용될 경우, 석탄과 석회석은 25%의 물과 함께 혼합되어 페이스트(paste)로서 시스템에 공급될 수 있다. 시스템은 1-1.5 Mpa의 압력, 800-900℃의 연소 온도에서 작동한다. 연소는, 상용의 보일러와 같이 스팀을 가열하고, 또한 가스 터빈을 구동하기 위한 뜨거운 가스를 생산할 수 있다. 가압 유닛은 낮은 배기가스와 함께, 40% 이상의 열효율을 가지도록 설계된다. 차세대의 가압 FBC 시스템은 50% 이상의 열효율을 산출할 수 있는 개량을 포함할 수 있다.The
일부 역청탄은 그 자체로 사전 코킹 없는 철 및 강철의 제련에 적합하다. 이러한 목적을 위한 적합성은 가융성(fusibility)을 포함하는 석탄의 특정 성질 및 높은 고정탄소 함량, 낮은 회분 (<5%), 낮은 황, 및 낮은 방해석(CaCO3) 함량을 포함하는 다른 인자들의 조합에 의존한다. 야금 석탄은 발전용 석탄(thermal coal)보다 15-5-% 더 가치가 있을 수 있다.Some coals are themselves suitable for iron and steel smelting without pre-caulking. Suitability for this purpose is a combination of other factors including specific properties of coal including fusibility and high fixed carbon content, low ash (<5%), low sulfur, and low calcite (CaCO 3 ) content Lt; / RTI > Metallurgical coal may be 15-5% more valuable than thermal coal.
가스화(230)는 석탄을 가연성의 가스, 휘발성 물질, 숯 및 광물 잔류물(회분/슬래그)로 전환하는 것을 포함한다. 가스화(230) 시스템은 일반적으로 스팀의 존재에서, 가압에서 열을 가하여 석탄과 같은 탄화수소 연료 물질을 가스 성분으로 전환한다. 이 공정을 수행하는 장치는 가스화장치(gasifier)라고 불린다. 가스화(230)는 이용 가능한 공기나 산소가 제한된 상태로 일어나므로 연소와는 다르다. 그러므로, 단지 일부의 연료만이 완전히 연소한다. 연소하는 연료는 가스화(230) 공정의 나머지를 위한 열을 제공한다. 연소 대신, 대부분의 탄화수소 공급원료(예를 들어, 석탄)는 총체적으로 "합성가스"로 명명된 다양한 다른 물질들로 화학적으 로 분해된다. 합성가스는 주로 수소, 일산화탄소 및 다른 가스 화합물이다. 그러나 합성가스의 성분은 사용된 공급원료의 유형과 사용된 가스화 조건에 기초하여 변한다.
공급원료에 남아있는 광물은 탄소물질과 같이 가스화되지 않는다. 공급원료에 남아있는 광물은 분리되고 제거될 수 있다. 석탄의 황 불순물은 황화수소를 형성할 수 있고, 그로부터 황 또는 황산이 생성될 수 있다. 가스화가 환원 조건에서 일어나기 때문에, 전형적으로 NOx가 형성되지 않고 대신 암모니아가 형성된다. 가스화(230) 동안 공기 대신 산소가 사용될 경우, 오염물질로서 대기가 들어가는 것이 격리되고 방지될 수 있는 농축된 가스 흐름에서, 이산화탄소가 생성된다. 가스화(230)는 높은 황 함량 또는 높은 회분 함량을 가지는 석탄과 같은, 연소 설비에서 사용하기 어려운 석탄을 사용할 수 있다. 가스화장치에서 사용되는 석탄의 회분 특성은 슬래그의 형성에 영향을 미치고, 합성가스 냉각기 또는 열교환기 내에서 고체의 증착(deposition)에 영향을 미치기 때문에, 공정의 효율에 영향을 미친다. 저온에서, 고정층 및 유동화 가스화장치에서 발견되는 것과 같은 타르 형성은 문제를 야기할 수 있다.Minerals remaining in the feedstock are not gasified like carbonaceous materials. Minerals remaining in the feedstock can be separated and removed. Sulfur impurities of coal can form hydrogen sulphide, from which sulfur or sulfuric acid can be produced. Since gasification takes place under reducing conditions, NOx is typically not formed and instead ammonia is formed. When oxygen is used instead of air during
세 가지 유형의 가스화장치 시스템이 이용 가능하다: 고정층, 유동층, 및 분류층(entrained flow). 일반적으로 발전을 위하여 사용되지 않는 고정층 유닛은 괴탄(lump coal)을 사용한다. 유동층은 3-6 mm 크기의 석탄을 사용한다. 분류층 유닛은 미분탄을 사용한다. 분류층 유닛은 유동층 시스템(약 900℃)보다 더 높은 작동온도 (약 1600℃)에서 가동한다.Three types of gasifier systems are available: fixed bed, fluid bed, and entrained flow. Fixed layer units, which are generally not used for power generation, use lump coal. The fluidized bed uses coal of 3-6 mm size. The classification layer unit uses pulverized coal. The fractionation layer unit operates at a higher operating temperature (about 1600 ° C) than the fluid bed system (about 900 ° C).
가스화장치는 대기압에서 가동되거나 가압될 수 있다. 가압 가스화와 함께, 공급원료 석탄은 압력 장벽(pressure barrier)을 가로질러 넣어져야 한다. 부피가 크고 값비싼 락 호퍼(lock hopper) 시스템이 석탄을 넣기 위하여 사용될 수 있거나, 석탄이 물-기초(water-based) 슬러리로서 공급될 수 있다. 부산물 스팀은 감압되어 압력 장벽을 가로질러 제거되어야 한다. 내부적으로, 열교환기 및 합성가스를 위한 가스-정제 유닛 또한 가압되어야 한다.The gasifier may be operated or pressurized at atmospheric pressure. Along with pressurized gasification, feedstock coal must be loaded across the pressure barrier. Bulky and expensive lock hopper systems can be used to load coal, or coal can be supplied as a water-based slurry. The by-product steam must be depressurized and removed across the pressure barrier. Internally, the gas-purifying unit for heat exchanger and syngas must also be pressurized.
석탄가스화 복합발전(IGCC)(232) 시스템은 가스화 공정이 발전에 사용되도록 한다. IGCC 시스템(232)에서, 가스화 동안 생산된 합성가스는 불순물(황화수소, 암모니아, 미립자 물질 등)이 정제되고 가스 터빈을 가동하기 위하여 연소된다. 가스화로부터의 배기가스는 스팀 터빈을 가동하는 과열 스팀을 생성하기 위하여 물과 열교환된다. 두 가지의 터빈이 복합으로 사용되기 때문에 (가스연소 터빈과 스팀 터빈), 시스템은 "복합사이클(combined cycle)"로 불린다. 일반적으로, 전력의 대부분이(60-70%) 이 시스템의 가스 터빈으로부터 나온다. IGCC 시스템(232)은 석탄 연소 시스템보다 더 큰 열효율로 전력을 생산한다.The coal gasification combined cycle (IGCC) (232) system allows the gasification process to be used for power generation. In the
합성가스(234)는 광범위한 다른 제품으로 전환될 수 있다. 예를 들어, 일산화탄소 및 수소와 같은 합성가스의 성분은 당해 분야에서 익숙한 공정을 사용하여, 광범위한 액체 또는 가스 연료, 또는 화학물질 생산에 사용될 수 있다. 다른 예로서, 가스화 동안 생산되는 수소가 연료전지의 연료로서 또는 잠재적으로 수소 터빈이나 하이브리드(hybrid) 연료전지-터빈 시스템을 위하여 사용될 수 있다. 가스 흐름에서 분리된 수소 역시, 품질을 높인 석유 제품 생산을 위하여 수소를 사용하는 정유소를 위한 공급원료로서 사용될 수 있다.
또한 합성가스(234)는 연료 또는 이후의 가공을 위하여 사용될 수 있는 다양한 탄화수소로 전환될 수 있다. 합성가스(234)는, 예를 들어 피셔-트롭쉬 촉매를 사용하여, 경질 탄화수소로 응축될 수 있다. 이후 경질 탄화수소는 가솔린 또는 디젤 연료로 더욱 전환될 수 있다. 합성가스(234)는 또한 연료로서 사용될 수 있는 메탄올, 연료 첨가제, 또는 가솔린 제품을 위한 빌딩블록으로 전환될 수 있다.
코크스(238)는 고온(1000℃ 정도)에서 오븐에서의 베이킹(baking)으로 휘발성 성분이 빠져나온 석탄에서 유도된 고체의 탄소질 잔류물이다. 이러한 온도에서, 고정탄소 및 잔류회분은 서로 융해되고, 코크스 형성을 위한 공급원료는 전형적으로 저-회분, 저-황 역청탄이다. 코크스는, 예를 들어 용광로에서 철을 제련하는 동안, 연료로서 사용될 수 있다. 또한 코크스는 이러한 공정 동안 환원제로 유용하다. 석탄에서 코크스로의 전환의 부산물로서, 콜타르, 암모니아, 경유 및 석탄가스가 형성될 수 있다. 코킹공정(238) 동안 석탄의 휘발성 성분이 빠져나오기 때문에, 코크스는 석탄 자체를 연소하기에 적합하지 않은 조건의 노에 대하여 바람직한 연료이다. 예를 들어, 코크스는 역청탄 자체가 사용되는 경우 대량의 배기가스를 야기할 수 있는 연소 조건에서 매연이 적거나 없도록 연소될 수 있다. 석탄은 코킹 석탄으로서 사용될 수 있기 전에, 수분 함량, 회분 함량, 황 함량, 휘발성 물질 함량, 타르 및 가소성(plasticity)에 관해서 특정한 엄격한 기준을 바람직하게 충족시켜야 한다.
비결정성의 순수한 탄소(238)는 완전한 연소가 일어나지 않도록 제한된-공기 환경에서 약 650-980℃의 온도로 석탄을 가열하여 수득될 수 있다. 비결정성의 탄소(238)는 미시적 탄소 결정으로 구성된 탄소 동소체 흑연의 형태이다. 이와 같이 수득된 비결정성의 탄소(238)는 많은 공업적 용도를 가진다. 예를 들어, 흑연은 전기화학적 성분으로 사용될 수 있고, 활성탄은 물과 공기의 정화에 사용될 수 있으며, 카본블랙은 타이어 강화에 사용될 수 있다.Amorphous
구체예에서, 코크스 생산(238)의 기초 공정은 연료(“도시가스”)로서 사용될 수 있는 탄화수소-함유(240) 가스 혼합물 제조를 위하여 사용될 수 있다. 도시가스는, 예를 들어 약 51%의 수소, 15%의 일산화탄소, 21%의 메탄, 10%의 이산화탄소 및 질소, 및 약 3%의 다른 알칸을 포함할 수 있다. 다른 공정에서, 예를 들어 루르(Lurgi) 공정 및 사바티에(Sabatier) 합성은 저품질의 석탄을 사용하여 메탄을 생산한다.In an embodiment, the base process of
액화는 석탄을 연료로서 사용될 수 있는 액체 탄화수소(240) 생성물로 전환한다. 석탄은 직접 또는 간접 공정을 사용하여 액화될 수 있다. 석탄을 탄화수소(240) 연료로 전환하는 임의의 공정은 수소를 석탄을 포함하는 탄화수소에 첨가해야 한다. 네 가지 유형의 액화 방법이 이용 가능하다: (1) 열분해 및 탄화수소화, 여기서 석탄은 공기의 부재에서 또는 수소의 존재에서 가열된다; (2) 용매추출, 여기서 석탄 탄화수소는 석탄 덩어리로부터 선택적으로 용해되고 수소가 첨가된다; (3) 촉매액화, 여기서 촉매는 석탄 탄화수소의 수소화에 영향을 미친다; 및 (4) 간접액화, 여기서 일산화탄소와 수소는 촉매의 존재에서 결합된다. 예로서, 피셔-트롭쉬 공정은 일산화탄소와 수소가 액체 탄화수소(240)의 다양한 형태로 전환 되는 촉매화된 화학반응이다. 이 공정으로 생산된 물질은 윤활유나 연료로서 사용 가능한 합성의 석유 대체물을 포함할 수 있다.Liquefaction converts the coal to a
다른 예로서, 저온건류가 석탄으로부터 액체 탄화수소(240)을 제조하기 위하여 사용될 수 있다. 이 공정에서, 석탄은 450 내지 700℃의 온도에서 코크스화된다(238) (야금 코크스에 대한 800 내지1000℃와 비교). 이들 온도는 보통의 콜타르보다 경질 탄화수소(240)가 풍부한 콜타르의 생산을 최적화한다. 이후 콜타르는 연료로 더욱 가공된다.As another example, low temperature carbonation can be used to produce
석탄 연소는 휘발성 탄화수소, 회분, 황, 이산화탄소 및 물을 포함하는 다양한 부산물(242)를 산출한다. 이들 부산물을 더욱 가공하는 것이 경제적인 이익을 가지고 수행될 수 있다.Coal burning yields various by-
휘발성 물질은, 수분을 제외하고, 가열하는 동안 가스나 증기로 빠져나오는 생성물을 포함한다. 석탄에 대하여, 휘발성 물질의 퍼센트는 먼저 석탄을 105℃로 가열하여 수분을 배출시키고, 이후 석탄을 950℃로 가열하여 중량 손실을 측정하여 결정된다. 이들 물질은 짧은 가지 및 긴 가지 탄화수소의 혼합물에 더하여, 황을 포함하는 다른 가스를 포함할 수 있다. 따라서 휘발성 물질은 가스의 혼합물, 냉각하면 오일로 응축될 수 있는 저비점 유기 화합물, 및 타르로 구성될 수 있다. 석탄의 휘발성 물질은 등급이 감소함에 따라 증가한다. 게다가, 휘발성 물질 고함량의 석탄은 연소 동안 매우 반응석이고 쉽게 점화한다.Volatile materials include products that escape into gas or vapor during heating, except for moisture. For coal, the percentage of volatiles is determined by first heating the coal to 105 ° C to drain water, and then heating the coal to 950 ° C to measure weight loss. These materials may include other gases, including sulfur, in addition to mixtures of short branches and long branch hydrocarbons. The volatile material may thus consist of a mixture of gases, a low-boiling organic compound that can condense as an oil upon cooling, and tar. The volatiles of coal increase as the grade decreases. In addition, volatile high amounts of coal are highly reactive during burning and easily ignite.
석탄 연소의 폐기물인 석탄 회분은 석탄 회분은 비산회분(굴뚝에서 제거된 폐기물) 및 (보일러 및 연소 챔버로부터의) 바닥회분으로 구성되어있다. 거친 입 자(바닥회분 및/또는 보일러 슬래그)는 연소 챔버의 바닥에 가라앉고, 미세한 부분(비산회분)은 연도를 통하여 빠져나가 재생되고 재활용된다. 석탄 회분은 Al, As, Cd, Cr, Cu, Hg, Ni, Pb, Se, Sr, V, 및 Zn를 포함하는 많은 미량원소와 중금속의 농축물을 포함한다. 석탄 연소 후에 회수된 회분은 시멘트 제품의 첨가제, 굴착 또는 토목공사를 위한 충진제(fill), 토양 개선제, 및 페인트, 플라스틱, 코팅제, 접착제를 포함하는 다른 제품의 성분으로서 유용할 수 있다.Coal ash, which is a waste of coal combustion, consists of fly ash (waste removed from the chimney) and bottom ash (from the boiler and combustion chamber). The coarse particles (bottom ash and / or boiler slag) sink to the bottom of the combustion chamber and the fine portion (fly ash) escapes through the flue, is regenerated and recycled. Coal ash includes concentrates of many trace elements and heavy metals including Al, As, Cd, Cr, Cu, Hg, Ni, Pb, Se, Sr, V and Zn. The ash recovered after coal combustion may be useful as an additive for cement products, fillers for excavation or civil engineering, soil remediation, and other components of other products, including paints, plastics, coatings, adhesives.
다른 예로서, 황은 석탄 연소 부산물(242)이다. 석탄의 황은 황산화물로서 연소 동안 방출되거나, 광물 불순물에 함유된 염기성 산화물과 반응(황 자가-보존(sulfur self-retention)으로 알려진 공정)하여 석탄 회분에 잔류할 수 있다. 황 자가-보존을 위한 가장 중요한 염기성 산화물은, CaCO3 분해와 칼슘-함유 유기기의 연소의 결과로서 형성된 CaO이다. 석탄 연소는 연속하는 두 단계에서 일어난다: 탈휘발화(devolatilization) 및 숯 연소. 탈휘발화 동안, 가연성의 황은 SO2로 전환된다. 숯 연소 동안, SO2 형성, 황산화(sulfation) 및 CaSO4 분해의 공정이 동시에 일어난다.As another example, sulfur is a coal combustion by-
석탄의 분해증류(244)는 야금 코크스 외에도 콜타르와 석탄가스를 산출한다. 석탄 변환의 생성물로서의 야금 코크스 및 석탄가스에 대한 용도는 앞서 논의되었다. 세 번째 부산물인 콜타르는 다른 다양한 상업적 용도를 가진다.Decomposition distillation (244) of coal produces coal tar and coal gas in addition to metallurgical coke. The use for metallurgical coke and coal gas as a product of coal conversion has been discussed above. The third by-product, coal tar, has a variety of other commercial uses.
콜타르는 탄화수소 물질의 복잡한 혼합물이다. 콜타르의 주성분은, 가장 단순하고 가장 휘발성인 것(벤젠)으로부터 큰 분자량의 다중-고리형의 비-휘발성 물 질까지의, 조성과 휘발성이 달라지는 방향족 탄화수소이다. 콜타르의 탄화수소는 대부분 벤젠-기초, 나프탈렌-기초, 또는 안트라센- 또는 페난트렌-기초이다. 또한 가변적인 양의 지방족 탄화수소, 파라핀 및 올레핀이 있을 수 있다. 게다가, 콜타르는 석탄산(carbolic acid) 및 큐마론(cumarone)과 같은 소량의 단순한 페놀을 포함한다. 또한 황 화합물과 질소화된(nitrogenated) 유기화합물이 발견될 수 있다. 콜타르에 있는 대부분의 질소 화합물은 성질에 있어서 염기성이고, 피리딘 및 퀴놀린 계열, 예를 들어 아닐린에 속한다.Coal tar is a complex mixture of hydrocarbon materials. The main component of coal tar is aromatic hydrocarbons of varying composition and volatility, from the simplest and most volatile (benzene) to the higher molecular weight, multi-cyclic, non-volatile materials. The hydrocarbons of coal tar are mostly benzene-based, naphthalene-based, or anthracene- or phenanthrene-based. There may also be varying amounts of aliphatic hydrocarbons, paraffins and olefins. In addition, coal tar contains a small amount of simple phenols such as carbolic acid and cumarone. Sulfur compounds and nitrogenated organic compounds can also be found. Most nitrogen compounds in coal tar are basic in nature and belong to the pyridine and quinoline series, for example aniline.
구체예에서, 콜타르는 분별증류를 더욱 거쳐 벤젠, 톨루엔, 자일렌, 나프탈렌, 안트라센 및 페난트렌을 포함하는 다수의 유용한 유기화학물질을 산출한다. 이러한 물질들은 콜타르 미정제품(crude)으로 명명될 수 있다. 이들은 염료, 약물, 조미료, 향수, 합성수지, 페인트, 보존제, 및 폭약과 같은 여러가지 제품의 합성을 위한 주성분을 형성할 수 있다. 콜타르 미정제품의 분별증류의 뒤에, 피치(pitch)의 잔류물이 남겨진다. 이 물질은 지붕 공사, 도로 포장, 절연, 및 방수 가공과 같은 목적을 위하여 사용될 수 있다.In embodiments, the coal tar further undergoes fractional distillation to yield a number of useful organic chemicals including benzene, toluene, xylene, naphthalene, anthracene, and phenanthrene. These materials can be named crude (crude) products. They can form a major component for the synthesis of various products such as dyes, drugs, seasonings, perfumes, synthetic resins, paints, preservatives, and explosives. After fractional distillation of crude tar crude product, the residue of pitch is left behind. This material may be used for purposes such as roofing, road paving, insulation, and waterproofing.
콜타르는 또한 증류(244)를 거치지 않고 천연상태로 사용될 수 있다. 콜타르를 사용하기 전에 그것의 휘발성 성분을 제거하기 위하여 콜타르는 어느 정도까지 가열될 수 있다. 콜타르는 또한 페인트, 방수제 또는 부식에 대한 보호제로서 사용된다. 콜타르는 또한 지붕 공사 재료로서 사용된다. 콜타르는 비록 연소 동안 유독한 가스를 산출하기는 하지만, 연료로서 연소될 수 있다. 타르를 연소하는 것은 램프블랙(lampblack)이라고 불리는 다량의 그을음을 생성한다. 그을음이 수집될 경 우, 그것은 전기화학, 인쇄, 염료 등을 위한 탄소의 제조에 사용될 수 있다.Coal tar can also be used in its natural state without distillation (244). Before using a coal tar, the coal tar can be heated to some extent to remove its volatile constituents. Coal tar is also used as a protection against paint, waterproofing or corrosion. Coal tar is also used as roofing material. Coal tar can burn as fuel, although it produces toxic gases during combustion. Burning tar produces a large amount of soot called lampblack. If soot is collected, it can be used to make carbon for electrochemistry, printing, dyes, etc.
석탄 연소 설비(200) 및 다른 석탄 사용 플랜트에 대하여 현장에 석탄을 보관하는 것이 통상적이다. 발전소(204)에 대하여, 연간 석탄 요구의 10% 이상이 보관될 수 있다. 그러나 보관된 석탄의 과잉 공급은 자발적인 연소, 휘발성 물질의 손실 및 발열량의 손실과 관련된 문제들을 야기할 수 있다. 무연탄은 일반적으로 다른 석탄 등급보다 더 적은 위험이 존재한다. 예를 들어 무연탄은 자발적으로 점화되지 않고, 그러므로 석탄 더미당 무제한의 양으로 보관될 수 있다. 반면에 역청탄은 충분히 큰 더미로 두어질 경우 자발적으로 점화할 것이고, 붕괴를 겪을 수 있다.It is common to store coal on site for the
보관된 석탄에 두가지 유형의 변화가 일어날 수 있다. 황철석과 같은 무기물질이 산화할 수 있고, 석탄 그 자체의 유기물질이 산화할 수 있다. 무기물질이 산화할 경우, 석탄의 부피 및/또는 중량은 증가할 수 있고, 무기물질은 분해될 수 있다. 석탄 물질 자체가 산화할 경우, 변화는 즉시 감지할 수 없을 수도 있다. 석탄에서의 유기물질의 산화는 석탄에서의 탄소 및 수소의 산화 및 불포화 탄화수소에 의한 산소의 흡수를 포함하고, 발열량의 감소를 야기할 수 있는 변화를 일으킨다. 이러한 변화는 또한 자발적 연소를 야기할 수 있다.Two types of changes can occur in stored coal. An inorganic material such as pyrite can be oxidized, and the organic matter of the coal itself can be oxidized. When the inorganic material is oxidized, the volume and / or weight of the coal may increase and the inorganic material may be decomposed. If the coal material itself is oxidized, the change may not be immediately detectable. Oxidation of organic matter in coal involves oxidation of carbon and hydrogen in the coal and absorption of oxygen by unsaturated hydrocarbons and causes a change which may lead to a decrease in calorific value. These changes can also cause spontaneous combustion.
석탄은 채굴된 곳으로부터 사용될 곳으로 수송되어야 한다. 석탄이 수송되기 전에, 석탄은 정제되고, 선별되고 및/또는 특정 크기로 파쇄될 수 있다. 특정 경우에, 발전소가 발전소에 석탄을 공급하는 광산 현지 또는 가까이에 위치할 수 있다. 이들 설비를 위하여, 석탄은 컨베이어 등에 의하여 수송될 수 있다. 그렇지만, 대부분의 경우에 발전소 및 석탄을 사용하는 다른 시설은 원거리에 위치한다. 광산에서 멀리 떨어진 설비로의 주된 수송 방법은 철도이다. 바지선 및 다른 원양 선박 또한 사용될 수 있다. 트럭의 고속도로 수송은 실현 가능하지만, 특히 50 마일 이상의 운전에 대하여, 비용-효율적이지 않다. 석탄 슬러리 수송관은 물에 현탁된 분말 석탄을 수송한다.Coal must be transported from where it is mined to where it will be used. Before the coal is transported, the coal can be purified, screened and / or crushed to a certain size. In certain cases, the power plant may be located at or near the mine where coal is supplied to the power plant. For these facilities, coal can be transported by a conveyor or the like. However, in most cases power plants and other facilities that use coal are located remotely. The main method of transportation to facilities far from the mines is the railway. Barges and other ocean vessels may also be used. Highway transport of trucks is feasible, but not cost-effective, especially for driving over 50 miles. The coal slurry pipeline transports powder coal suspended in water.
한 구체예에서, 고체연료 연속공정, 배치공정, 또는 다른 공정에 대한 고체연료 처리 파라미터는, 고체연료 희망 특성 및 고체연료 처리 설비(132) 처리 성능에 기초하여, 파라미터 생성 설비(128)에 의하여 생성될 수 있다. 파라미터 생성 설비(128)로의 인풋으로서, 석탄 샘플 데이터(120)는 고체연료의 최초 특성을 제공할 수 있고, 석탄 희망 특성(122)은 고체연료의 희망하는 최종 특성을 제공할 수 있다.In one embodiment, the solid fuel process parameters for a solid fuel sequencing process, batch process, or other process are determined by the
한 구체예에서, 고체연료 프로세싱 파라미터를 결정하는 첫 번째 단계는 실제의 원료 고체연료 특성과 희망하는 최종의 가공된 특성 사이의 특성 델타(delta)를 결정하는 것일 수 있다.In one embodiment, the first step in determining the solid fuel processing parameters may be to determine the characteristic delta between the actual raw solid fuel characteristics and the desired final processed characteristic.
앞서 기술된 바와 같이, 석탄 샘플 데이터(120)에 저장된 고체연료 정보는 수분 퍼센트, 회분 퍼센트, 휘발성 물질 퍼센트, 고정탄소 퍼센트, BTU/lb, 수분과 회분이 없을 시 BTU/lb, 황의 형태, 분쇄성(HGI), 총 수은, 회분 용융온도, 회분 무기물 분석, 전자기적 흡수/반사, 유전특성 등과 같은 정보를 포함할 수 있다. 고체연료 특성은 석탄 광산(102), 고체연료 보관 설비(112), 고체연료 가공 설비 등과 같은 고체연료 공급지에 의하여 공급될 수 있다. 한 구체예에서, 고체연료 처리 설비(132)는 석탄 샘플 데이터(120)에 저장하기 위한 고체연료 특성을 테스트하고 결정할 수 있다.As previously described, the solid fuel information stored in the
한 구체예에서, 앞서 논의된 바와 같이, 석탄 희망 특성(122)은 고객으로의 운반, 고체연료 처리 설비(132) 위치에서의 사용 등을 위하여 최종의 희망하는 고체연료 특성을 저장할 수 있다. 예를 들어, 고체연료 처리 설비(132)는 더 큰 설비의 일부일 수 있고, 더 큰 설비를 위하여 최종의 처리된 고체연료를 생산할 수 있다. 한 구체예에서, 석탄 희망 특성(132)은 고객이 요청한 고체연료의 희망하는 특성, 사용 가능한 입수된 고체연료에서 생산될 수 있는 고체연료, 사전에 입수된 고체연료를 사용하여 생성되었을 수 있는 고체연료 특성 등을 저장할 수 있다.In one embodiment, as discussed above, the coal desired
한 구체예에서, 고체연료 처리 파라미터는 희망하는 최종의 처리된 고체연료 특성에 기초한 파라미터 생성 설비(128)에 의하여 생성될 수 있다. 희망하는 최종의 처리된 고체연료 특성은 연소를 위한 고객의 요구, 한층 더한 가공, 보관 및 재판매 등과 관련될 수 있다.In one embodiment, the solid fuel processing parameters may be generated by the
한 구체예에서, 고체연료 처리 파라미터는 희망하는 최종의 고체연료 특성 및 고체연료 처리 설비(132)의 처리 성능에 기초하여 생성될 수 있다. 한 구체예에서, 희망하는 최종 고체연료에 대한 요구에 기초하여, 파라미터 생성 설비(128)는 희망하는 최종의 처리된 고체연료에 대한 석탄 희망 특성(122)에서 고체연료 특성을 찾고 검색할 수 있다. 한 구체예에서, 파라미터 생성 설비(128)는 희망하는 최종의 처리된 고체연료 생산에 요구되는, 입수된 고체연료에 대한 바람직한 특성을 추정할 수 있다. 추정 후에, 파라미터 생성 설비(128)는 석탄 샘플 데이터(120)를 검색하여, 희망하는 최종의 처리된 고체연료를 생산하기 위하여 고체연료 처리 설비(132)에 의하여 처리될 수 있는 원료 고체연료를 식별할 수 있다.In one embodiment, the solid fuel processing parameters may be generated based on the desired final solid fuel characteristics and the processing performance of the solid
한 구체예에서, 파라미터 생성 설비(128)에 의하여 수행된 추정은 고체연료 처리 설비(132) 성능에 관계할 수 있다. 고체연료 처리 설비(132)의 구성에 따라, 고체연료 처리 설비(132)는 고체연료를 처리하기 위한 특정 성능을 가질 수 있다. 예를 들어, 고체연료 처리 설비(132)는 고체연료 처리의 단일 과정 동안 고체연료에서 어느 정도 퍼센트의 수분 제거가 가능할 수 있다. 석탄 샘플 데이터(120)에서 선택하는 적합한 원료 고체연료의 결정에 있어서, 파라미터 생성 설비(128)는, 최초 고체연료 수분 특성을 결정하기 위하여, 최종의 처리된 고체연료 수분의 희망하는 양 및 원료 고체연료에서 제거될 수 있는 수분의 추정된 양을 고려할 수 있다. 예를 들어, 희망하는 최종의 수분 퍼센트가 5%의 수분 함량이고, 고체연료 처리 설비(132)가 단일 처리 가동 동안 원료 고체연료에서 80%의 수분을 제거 가능할 수 있다면, 선택된 최초 고체연료는 25%의 수분 함량을 가지는 원료 고체연료의 그룹에서 선택될 수 있다. 대안으로, 파라미터 생성 설비(128)는 더 높은 수분 퍼센트를 가지는 원료 고체연료를 선택할 수 있고, 처리의 다중 과정이 가장 효율적이거나 비용-효과적인 처리 계획을 나타내는 것으로 판단할 수 있다. 고체연료 처리 설비(132)의 처리 성능이 고체연료의 여러 유형에 따라 변할 수 있고, 또한 고체연료의 다른 특성, 설비의 고체연료를 사용한 사전 경험 등에 따라 변할 수 있다는 것이 당업자에게 이해될 것이다.In one embodiment, the estimation performed by the
한 구체예에서, 파라미터 생성 설비(128)에 의하여 수행되는 추정은 희망하 는 고체연료의 각각의 특성에 대하여 수행될 수 있다. 한 구체예에서, 희망하는 최종의 고체연료 특성의 세트 상에서 수행되는 추정은 원료 고체연료 특성의 세트를 산출할 수 있다. 한 구체예에서, 파라미터 생성 설비(128)는 원료 고체연료 특성의 세트를 원료 고체연료와 매치(match)하는 시도를 할 수 있는데, 원료 고체연료에 대한 데이터가 석탄 샘플 데이터(120)에 저장되어 있다. 한 구체예에서, 파라미터 생성 설비(128)는 정확한 매치 기준, 최적의 매치 기준, 높은 매치 우선권을 가지는 어떤 특성에 기초한 매치, 매치 기준의 조합, 통계적 매치 기준 등을 사용하여 파라미터 세트의 매치를 시도할 수 있다.In one embodiment, the estimations performed by the
한 구체예에서, 매치 공정의 결과로서, 파라미터 생성 설비(128)는 매치 기준을 충족시키는 하나 이상의 원료 고체연료를 발견할 수 있다. 예를 들어, 석탄 샘플 데이터(120)의 검색은 최적의 매치 기준이 사용될 경우, 하나 이상의 원료 고체연료를 산출할 수 있다. 한 구체예에서, 최적의 매치 기준은 희망하는 고체연료 파라미터의 적어도 일부를 충족시키는 원료 고체연료의 식별을 필요로 할 수 있고; 최적의 매치는 대부분의 파라미터에 매치되는 원료 고체연료일 수 있다. 한 구체예에서, 파라미터 매치 공정으로부터의 결과의 세트는 원료 고체연료 매치의 등급이 매겨진 목록을 포함할 수 있다; 최고 등급을 가지는 고체연료는 정상에 있을 수 있고, 최저 등급은 목록의 최하에 있을 수 있다. 한 구체예에서, 등급이 매겨진 목록은 사용자에 의하여 희망하는 대로 선별될 수 있다.In one embodiment, as a result of the match process, the
한 구체예에서, 매치된 원료 고체연료의 목록은, 희망하는 최종의 처리된 고체연료를 생산하기 위한 사용을 위한 고체연료의 최종 선택을 위하여, 고체연료 처 리 설비(132)의 오퍼레이터에 제출될 수 있다. 한 구체예에서, 오퍼레이터는 원료 고체연료의 매치 목록을 제출받을 수 있고; 목록은 최적의 매치로 간주되는 원료 고체연료를 나타내는 등급(rating)을 포함할 수 있다. 매치가 다중의 특성에 대하여 수행되는 한 구체예에서, 파라미터 생성 설비(128)는 특유한 파라미터 매치의 중요성을 반영하는 우선순위결정(prioritization) 스케쥴(schedule)을 설정할 수 있다. 매치가 다중의 특성에 대하여 수행되는 한 구체예에서, 파라미터 생성 설비(128)는 모든 특성 사이의 매치의 정도를 나타내는 집합적(aggregate) 매치 인덱스(index)를 추정할 수 있다. 한 구체예에서, 우선순위결정 스케쥴은 집합적 매치 인덱스의 추정 목적을 위한 특정한 특성 매치에 중요성을 더욱 부여하기 위하여 사용될 수 있다. 구체예에서, 매치 근접도(closeness)를 평가하기 위한 파라미터는 사용자에 의하여 선택될 수 있고, 따라서 우선순위결정, 취합 또는 다른 매치 측정이 사용자의 명세사항과 조화되어 사용될 수 있다.In one embodiment, the list of matched raw solid fuels is submitted to the operator of the solid
한 구체예에서, 원료 고체연료가 선택된 후, 파라미터 생성 설비(128)는 선택된 원료 고체연료의 처리에 대한 파라미터의 세트를 생성할 수 있다.In one embodiment, after the feedstock solid fuel is selected, the
다른 구체예에서, 파라미터 생성 설비(128)는 이용 가능한 고체연료 및 고체연료 처리 설비(132)의 성능에 기초하여 고체연료 처리 파라미터를 추정할 수 있다. 한 구체예에서, 고체연료 처리 설비(132)에 이용 가능한, 적어도 하나의 입수된 고체연료가 있을 수 있다. 한 구체예에서, 파라미터 생성 설비(128)는 이용 가능한 원료 고체연료 중의 하나를 선택할 수 있고, 석탄 샘플 데이터(120)로부터의 원료 고체연료의 특성을 결정할 수 있으며, 고체연료 처리 설비(132)의 처리 성능 에 기초하여 생산될 수 있는 최종의 처리된 고체연료를 결정할 수 있다. 파라미터 생성 설비(128)는 또한 처리의 한 사이클 동안 및 처리의 여러 사이클 동안 원료 고체연료에서 일어날 것인 변화를 모델화할 수 있다. 고체연료 처리 설비의 성능 고려에 있어서, 파라미터 생성 설비(128)는 여러 상이한 처리 파라미터의 세트를 사용하여 원료 고체연료를 처리한 결과를 모델화할 수 있고, 따라서 가장 효율적이고 비용-효과적인 처리 스케쥴이 선택될 수 있다.In other embodiments, the
한 구체예에서, 단일한 원료 고체연료가 하나 이상의 유형의 최종의 처리된 고체연료를 생산하는 것이 가능할 수 있다. 예를 들어, 선택된 원료 고체연료는 30 퍼센트의 수분 함량을 가질 수 있고, 고체연료 처리 설비(132)는 각각의 처리 가동에서 3분의 1 내지 3분의 2의 수분 제거 능력이 있을 수 있다. 그러므로 고체연료 처리 설비는 한 번의 가동 동안 10 퍼센트 내지 20 퍼센트의 수분 함량을 가지는 최종의 고체 생성물 생산의 능력이 있을 수 있다. 두 번째 가동이 또한 3분의 1 내지 3분의 2의 수분을 제거한다면, 3.3% 내지 13.3%의 수분 함량을 가지는 최종의 고체 생성물이 얻어질 수 있다. 두 번째 가동 및 추후의 가동은 초기의 가동과 같은 동일한 처리 효율을 산출할 수 없고, 따라서 이들 가동은 초기의 가동과 같은 동일한 퍼센트의 수분을 제거하지 않을 수 있다. 게다가, 단일 가동에서의 처리는 다중 가동을 사용하여 처리하는 것 보다 더욱 효율적 및/또는 비용-효과적일 수 있고, 또는 반대일 수 있다. 단일 가동을 사용하여, 이후, 고체연료 처리 설비(132)는 10 퍼센트 내지 20 퍼센트의 수분을 함유하는 최종의 고체연료를 생산하는 능력이 있을 수 있다. 다중 가동을 사용하여, 고체연료 처리 설비는 3 퍼센트 내지 13 퍼센트의 수분을 함유하는 최종의 고체연료를 생산하는 능력이 있을 수 있다. 10 퍼센트의 수분을 함유하는 사용자가 바라는 최종의 고체연료는, 적어도 부분적으로 여러 파라미터와 여러 스케쥴을 사용하는 처리 가동의 경제성에 기초하여, 여러 상이한 유형의 처리 프로토콜(protocol)을 사용하여 이러한 결과를 산출 가능할 수 있다.In one embodiment, it may be possible for a single source solid fuel to produce one or more types of final processed solid fuel. For example, the selected feedstock solid fuel may have a moisture content of 30 percent and the solid
한 구체예에서, 파라미터 생성 설비(128)는 고체연료 처리 설비(132)의 성능에 기초하여, 모든 선택된 원료 고체연료 특성에 대하여 최종의 고체연료 특성을 결정할 수 있다. 최종의 고체연료의 특정한 특성을 최적화시키는 것은, 다른 특성을 최적화시키기에 이상적이지 않을 것인 처리 파라미터를 수반할 것임이 당업자에게 이해될 것이다. 따라서, 각각의 상이한 파라미터를 가지는 다중의 처리 가동이 선택될 수 있고, 따라서 최종의 고체연료 특성의 다중성(multiplicity)이 최적화될 수 있음이 예상된다.In one embodiment, the
한 구체예에서, 고체연료 처리 설비(132) 작동 파라미터를 생성할 때, 파라미터 생성 설비(128)는 희망하는 고체연료, 요청된 고체연료, 경과적으로(historically) 생산된 고체연료 등에 대한 최종의 고체연료 특성을 고려할 수 있다.In one embodiment, when generating the operating parameters of the solid
한 구체예에서, 고체연료 처리 설비(132) 작동 파라미터는 선택된 최종의 희망하는 고체연료로부터 결정될 수 있다.In one embodiment, the operating parameters of the solid
다른 구체예에서, 파라미터 생성 설비(128)는 고체연료 처리 설비(132)에서 처리된 이전의 고체연료에 기초하여 고체연료 처리 설비(132)에 대한 작동 파라미 터를 추정할 수 있다. 한 구체예에서, 파라미터 생성 설비(128)는 사전에 입수된 원료 고체연료 및 입수된 원료 고체연료로부터 생산된 최종의 처리된 고체연료에 대한 경과적인 정보를 저장할 수 있다. 이러한 공정을 사용하여, 어떤 원료 고체연료가 입수될 때, 파라미터 생성 설비(128)는 원료 고체연료를 사용하여 생성될 수 있는 처리된 고체연료 특성을 결정할 수 있다.게다가, 파라미터 생성 설비(128)는 고체연료 처리 설비(132) 작동 파라미터의 추정을 위하여 결정된 최종의 처리된 고체연료를 요구되는 최종의 처리된 고체연료와 매치시킬 수 있다.In another embodiment, the
한 구체예에서, 파라미터 생성 설비(128)는 사전에 입수된 원료 고체연료의 처리를 위하여 경과적인 작동 파라미터 데이터를 유지할 수 있다; 새로운 파라미터 추정을 대신하여 경과적인 작동 파라미터가 사용될 수 있다.In one embodiment, the
한 구체예에서, 고체연료 처리 설비(132) 작동 파라미터는 연속 공정, 배치 공정, 또는 다른 고체연료 처리 공정에 대하여 추정될 수 있다.In one embodiment, the operating parameters of the solid
한 구체예에서, 파라미터 생성 설비(128)가 고체연료의 처리를 위한 작동 파라미터를 결정한 후, 작동 파라미터는 모니터링 설비(134), 컨트롤러(144), 파라미터 제어(140) 등으로 전송될 수 있다.In one embodiment, after the
한 구체예에서, 연속 처리 공정, 배치 공정, 연속 공정과 배치 공정의 조합 등을 사용하는 고체연료의 처리는 모니터링 설비(134), 컨트롤러(144), 공정 센서(142) 등의 사이에서 피드백 루프를 사용하여 모니터될 수 있다.In one embodiment, treatment of the solid fuel using a continuous treatment process, a batch process, a combination of a continuous process and a batch process, etc. may be performed by a feedback loop between the
앞서 논의된 바와 같이, 파라미터 생성 설비(128)는 특정한 명세사항을 충족시키는 고체연료를 처리하기 위하여, 고체연료 처리 설비(132)의 다양한 컴포넌트 에 의하여 사용되는 고체연료 처리 파라미터를 추정할 수 있다. 특정한 명세사항은 고객의 요구, 고체연료 처리 설비(132) 성능, 이용 가능한 원료 고체연료 등에 기초할 수 있다.As discussed above, the
한 구체예에서, 고체연료 처리 설비(132)에서의 고체연료 처리 동안, 모니터 설비(134)는 공정 센서(142)로부터 가공 정보를 입수하여 처리 공정을 모니터할 수 있다. 한 구체예에서, 컨트롤러(144)는 고체연료의 처리를 위하여 다양한 컴포넌트(예를 들어 마이크로파 시스템(148))에 작동 지시를 제공할 수 있다. 한 구체예에서, 공정 센서(142)는 고체연료 처리 설비(132)의 작동을 측정할 수 있다. 센서(142)는 다양한 벨트 설비(130)의 컴포넌트의 인풋과 아웃풋, 처리 동안 고체연료에서 방출되는 비-고체연료 생성물, 비-컴포넌트 측정치(예를 들어 수분 수준) 등을 측정할 수 있다.In one embodiment, during solid fuel processing at the solid
한 구체예에서, 모니터링 설비(134)는 파라미터 생성 설비(128)로부터 고체연료 처리 파라미터를 입수할 수 있다. 고체연료 처리 모니터링에서, 모니터링 설비(134)는 허용치 구역(tolerance zone)을 제공된 파라미터에 적용할 수 있다. 한 구체예에서, 허용치 구역은 컴포넌트의 성능, 센서의 성능, 특정 고체연료 처리에 요구되는 최소 및 최대 파라미터, 사전의 고체연료 처리 등에 기초할 수 있다.In one embodiment, the
한 구체예에서, 파라미터 생성 설비(128)는 고체연료 처리 파라미터에 적용될 수 있는 허용치 구역을 결정할 수 있다.In one embodiment, the
한 구체예에서, 컨트롤러(144)는 허용치 구역이 없는 고체연료 파라미터를 입수할 수 있다. 컨트롤러는 허용치 구역이 없는 고체연료 파라미터에 기초하여 작 동 지시를 제공할 수 있다.In one embodiment, the
한 구체예에서, 처리 공정 모니터링과 피드백 루프는, 연속 고체연료 처리, 배치 고체연료 처리 등의 처리 파라미터의 연속적인 모니터링과 업데이트를 위하여, 모니터 설비(134), 컨트롤러(144) 및 센서(142) 사이에서 실시될 수 있다.In one embodiment, the process monitoring and feedback loop includes
한 구체예에서, 피드백 루프는 모니터링 설비(134)와 컨트롤러(144)에 작동 파라미터를 제공하는 파라미터 생성 설비(128)에서 시작할 수 있다. 한 구체예에서, 모니터링 설비(134)는 파라미터 허용치를 작동 파라미터에 적용할 수 있고; 파라미터 허용치는 센서(142) 읽음을 허용 가능한 처리 결과와 비교하는 데에 사용될 수 있다. 한 구체예에서, 작동 파라미터는 고체연료 처리 설비(132) 컴포넌트, 비-컴포넌트 처리 측정치(예를 들어 수분 제거 속도) 등을 제어하기 위한 파라미터를 포함할 수 있다. 한 구체예에서, 모니터링 설비(134)는 컴포넌트 파라미터에 대한 파라미터를 변경시키기 위하여, 비-컴포넌트 측정치에 대한 센서(142) 정보를 사용할 수 있다.In one embodiment, the feedback loop may be initiated in a
한 구체예에서, 컨트롤러(144)는 마이크로파 시스템(148), 수송 시스템, 예열(138), 파라미터 제어(140), 제거 시스템(150) 등과 같은 벨트 설비(130)의 컴포넌트에 작동 파라미터를 전송하여 고체연료 처리를 시작할 수 있다. 한 구체예에서, 컨트롤러(144)는 허용치가 없는 고체연료 처리 컴포넌트에 작동 파라미터를 전송할 수 있다. 작동 파라미터를 입수하여, 고체연료 처리 컴포넌트는 연속 공정, 배치 공정 등을 사용하여 고체연료 처리를 시작할 수 있다.In one embodiment, the
한 구체예에서, 고체연료의 처리가 시작되면, 센서(142)는 다양한 고체연료 처리 컴포넌트의 작동으로부터 아웃풋을 측정하는 것을 시작할 수 있다. 한 구체예에서, 처리 아웃풋은 마이크로파 출력, 마이크로파 주파수, 벨트 속력, 온도, 기류, 비활성 기체 수준 등과 같은 측정을 포함할 수 있다. 한 구체예에서, 처리 아웃풋은 수분 제거, 회분 제거, 황 제거, 고체연료 표면온도, 공기 온도 등과 같은 비-컴포넌트 아웃풋의 측정을 포함할 수 있다. 앞서 논의된 바와 같이, 센서(142)는 다양한 고체연료 처리 아웃풋을 측정하기 위하여 벨트 설비(130)를 따라서 여러 위치에 두어질 수 있다.In one embodiment, once treatment of the solid fuel begins, the
한 구체예에서, 센서(142)는 고체연료 처리 아웃풋의 센서 측정치를 모니터링 설비(134)에 제공할 수 있다. 모니터링 설비(134)는 고체연료의 처리 동안 실시간으로 센서(142) 측정치를 입수할 수 있다. 한 구체예에서, 모니터링 설비(134)는 센서(142) 측정치를 작동 파라미터의 허용치 구역에 비교할 수 있다.In one embodiment, the
한 구체예에서, 모니터링 설비(134)는 입수된 센서(142) 측정치에 기초하여 작동 파라미터를 변경시키기 위하여 다양한 알고리즘을 포함할 수 있다. 알고리즘은 측정치가 허용치 구역을 벗어날 경우, 작동 파라미터 센서(142)에 대한 변경의 크기를 결정할 수 있다. 예를 들어 센서(142) 측정치는 허용치 구역 내, 위, 아래의 어느 하나일 수 있다.In one embodiment, the
한 구체예에서, 모니터링 설비(134)는 실시간 센서(142) 측정치, 샘플 센서(142) 측정치, 평균 센서(142) 측정치, 통계적 센서(142) 측정치 등을 기초로 작동 파라미터 변경을 할 수 있다.In one embodiment, the
한 구체예에서, 작동 파라미터 변경은 수분 제거, 회분 제거, 황 제거, 고체 연료 표면온도, 고체연료 중량 등과 같은 비-컴포넌트 센서(142) 측정치에 기초하여 될 수 있다. 한 구체예에서, 변경 설비(134) 알고리즘은 어떤 비-컴포넌트 센서(142) 측정치를 고체연료 처리 설비(132) 컴포넌트 파라미터와 관련시켜 비-컴포넌트 센서(142) 읽음을 조정할 수 있다. 예를 들어, 벨트 설비 환경에서의 수분 수준의 비-컴포넌트 측정치는 마이크로파 시스템 출력, 마이크로파 주파수, 마이크로파 듀티 사이클, 활동 중인 마이크로파 시스템의 개수 등과 같은 파라미터를 증가시키거나 감소시키기 위하여 마이크로파 시스템(148)을 필요로 할 수 있다. 한 구체예에서, 모니터링 설비(134) 알고리즘은, 컴포넌트 파라미터에 대한 변경이 요구되는지를 결정하기 위하여, 컴포넌트 센서(142) 읽음을 관련된 센서(142) 읽음과 결합시킬 수 있다. 예를 들어, 마이크로파 시스템(148) 출력 수준에 대한 센서(142) 읽음은 마이크로파 시스템(148)의 영역에서 수분 수준과 결합될 수 있다. 그 결과는 마이크로파 시스템(148)의 현재 출력 수준 설정 및 환경에서의 수분의 양을 설명하는 마이크로파 시스템(148) 파라미터 변경일 수 있다. 이 예에서, 마이크로파 시스템(148) 출력 설정은 희망하는 파라미터 설정과 비교하여 높은 측정치를 가질 수 있지만, 수분 읽음은 희망하는 수분 수준과 비교하여 낮을 수 있다. 이 경우에서, 출력 설정 파라미터는, 비록 마이크로파 시스템의 출력 설정이 이미 희망하는 설정 이상이지만, 고체연료에서 더 많은 수분을 제거하기 위하여 증가될 수 있다.In one embodiment, the operating parameter changes may be based on
한 구체예에서, 비-컴포넌트 센서(142) 측정치는 하나 이상의 고체연료 처리 설비(132) 컴포넌트과 관련될 수 있다. 한 구체예에서, 컴포넌트에 관련된 다수의 비-컴포넌트 센서(142) 측정치가 있을 수 있다. 한 구체예에서, 모니터링 설비(134) 알고리즘은 파라미터 허용치 구역을 벗어나는 비-컴포넌트 센서(142) 측정치를 보상하기 위하여, 컴포넌트 작동 파라미터를 변경시키는 최선의 방법을 결정할 수 있다. 한 구체예에서, 모니터링 설비(134)는 사전 결정된 센서(142) 조정을 가질 수 있고, 파라미터 조정의 지식 베이스를 가질 수 있고, 사전 조정에 기초한 파라미터를 조정하기 위한 신경회로망(neural net)을 사용할 수 있고, 조정은 인간의 개입에 의하여 될 수 있고, 기타 등등이다. 한 구체예에서, 컴포넌트 작동 파라미터에 대한 안전 설정은 오버라이드 될 수 없는 시스템, 또는 오버라이드하기 위하여 관리자의 개입을 필요로 하는 시스템에 입력될 수 있다.In one embodiment, the
한 구체예에서, 모니터링 설비(134)는 고체연료의 처리 동안 만들어진 작동 파라미터 조정의 이력(history)을 유지할 수 있다. 모니터링 설비(134)는 다음의 파라미터 조정의 크기 결정에서 파라미터 조정 이력을 참조할 수 있다. 예를 들어, 마이크로파 시스템(148) 출력은 고체연료로부터 방출되는 수분의 양을 증가시키기 위하여 사전에 조정될 수 있다. 새로운 센서(142) 읽음에 기초하여 마이크로파 시스템(148) 출력 조정의 크기를 결정할 때, 모니터링 설비(132)는 다음의 파라미터 조정의 크기 결정에 이전의 파라미터 조정을 참조할 수 있다. 예를 들어, 파라미터 조정 이력은 5 퍼센트의 최후의 마이크로파 시스템(148) 조정이 수분 방출을 2 퍼센트 증가시켰음을 보일 수 있다. 이러한 정보는 고체연료에서 방출된 수분에서의 희망하는 변화를 얻기 위하여 마이크로파 시스템(148) 출력 조정을 결정하는 데에 사용될 수 있다. 구체예에서, 보정 곡선(calibration curve)은 파라미터 조정 이력 에서 측정치의 시퀀스(sequence)로부터 유도될 수 있고, 따라서 파라미터의 조정은 특정 센서(142) 읽음에 응답하여 더욱 정확하게 되어 희망하는 결과를 얻을 수 있다.In one embodiment, the
한 구체예에서, 모니터링 설비(134)가 고체연료 작동 파라미터에 조정을 하면, 조정된 파라미터는 다양한 고체 처리 설비(132) 컴포넌트로의 전송을 위하여, 컨트롤러(144)에 전송될 수 있다. 한 구체예에서, 조정된 파라미터는 실시간으로, 일정한 시간 간격에서, 연속 등으로 전송될 수 있다. In one embodiment, when the
한 구체예에서, 컨트롤러(144)가 조정된 파라미터를 입수하면, 컨트롤러는 조정된 파라미터를 다양한 컴포넌트에 실시간으로, 일정한 시간 간격에서, 연속 등으로 전송할 수 있다.In one embodiment, when the
이러한 방식으로, 모니터링 설비(134), 컨트롤러(144), 및 센서(142) 피드백 루프는 작동 파라미터를 고체연료 처리 설비(132) 컴포넌트에 연속으로 적용할 수 있고, 센서(142)를 사용하여 컴포넌트 및 비-컴포넌트 정보를 측정할 수 있고, 모니터링 설비(134)에 측정치를 전송할 수 있고, 작동 파라미터를 조정할 수 있고, 조정된 작동 파라미터를 컨트롤러에 전송할 수 있고, 기타 등등이다.In this manner, the
한 구체예에서, 연속 피드백 루프는 고체연료의 처리를 위한 연속 공정, 배치 공정 등을 위하여 작동 파라미터에 적용될 수 있다.In one embodiment, the continuous feedback loop may be applied to operating parameters for continuous processes, batch processes, etc., for the treatment of solid fuels.
한 구체예에서, 고체연료 벨트 설비(130) 컴포넌트는 파라미터 생성 설비(128)에 의하여 생성되고 모니터링 설비(134)에 의하여 변경되는 작동 파라미터에 의하여 제어될 수 있다. 앞서 논의된 바와 같이, 작동 파라미터는 모니터링 설 비(134)에 의하여 모니터되고 조정될 수 있고, 컨트롤러(144)는 작동 파라미터를 고체연료 벨트 설비(130) 컴포넌트에 전송할 수 있다.In one embodiment, the components of the solid fuel belt facility 130 may be controlled by operating parameters generated by the
구체예에서, 고체연료 벨트 설비(130)는 수송 벨트, 마이크로파 시스템, 센서, 수집 시스템, 예열 설비, 냉각 설비 등과 같은 컴포넌트를 포함할 수 있다. 한 구체예에서, 고체연료 벨트 설비(130)는 연속 처리 설비, 배치 설비 등일 수 있다.In an embodiment, the solid fuel belt facility 130 may include components such as a transport belt, a microwave system, a sensor, a collection system, a preheating facility, a cooling facility, and the like. In one embodiment, the solid fuel belt facility 130 may be a continuous treatment facility, a batch facility, and the like.
한 구체예에서, 희망하는 특성의 세트를 충족하는 최종의 처리된 고체연료를 산출하기 위한 고체연료의 처리는, 희망하는 고체연료 특성을 산출하기 위하여 선택된 작동 파라미터를 사용하는, 벨트 설비(130) 컴포넌트에 의하여 제어될 수 있다. 최종의 처리된 고체연료의 희망하는 특성은 하나 이상의 벨트 설비(130) 컴포넌트의 제어를 조정하여 산출될 수 있음이 당업자에게 이해될 것이다. 예를 들어, 처리 공정 동안 고체연료에서 방출되는 수분은 마이크로파 시스템(148) 출력, 마이크로파 시스템(148) 주파수, 마이크로파 시스템(148) 듀티 사이클, 예열온도, 벨트 속력, 대기 조성물(예를 들어 건조 공기 또는 비활성 기체) 등을 개별적으로 또는 복합으로 조정하여 제어될 수 있다. 벨트 설비(130) 컴포넌트 파라미터는 시간당 가공된 고체연료, 최초 원료 연료 특성, 최종의 처리연료 특성 등과 같은 다른 요건에 의하여 영향받을 수 있다.In one embodiment, the treatment of the solid fuel to produce the final treated solid fuel that meets the desired set of properties may be accomplished using the operating parameters selected to produce the desired solid fuel characteristics, Component. ≪ / RTI > It will be understood by those skilled in the art that the desired properties of the final treated solid fuel can be calculated by adjusting the control of one or more belt facility 130 components. For example, the moisture released from the solid fuel during the treatment process can be controlled by the
한 구체예에서, 컨트롤러(144)는 벨트 설비(130) 컴포넌트에 대한 작동 파라미터를 저장하고, 파라미터를 벨트 설비(130) 컴포넌트에 전송할 수 있다. 한 구체예에서, 컨트롤러(144)는 작동 파라미터를 벨트 설비(130) 컴포넌트에 의하여 이해되고 실행되는 기계적 명령(machine command)으로 전환할 수 있다.In one embodiment, the
한 구체예에서, 센서(142)는 벨트 설비(130) 컴포넌트의 작동을 측정하고 고체연료 처리와 관계있는 정보를 얻기 위하여 사용될 수 있다. 구체예에서, 센서(142)는 마이크로파 시스템(148)과 같은 벨트 설비(130) 컴포넌트에서 직접, 또는 고체연료에서 방출된 수분과 같은 고체연료의 처리에서 야기될 수 있는 환경조건에서 정보를 측정할 수 있다. 구체예에서, 환경조건은 수분 수준, 회분 수준, 황 수준, 공기 온도, 고체연료 표면온도, 비활성 기체 수준, 냉각 속도 등을 포함할 수 있다. 한 구체예에서, 여분을 제공하거나 처리의 진행을 따르는 여러 위치에서 측정을 하기 위하여, 벨트 설비(130) 내에서 동일한 환경조건을 측정하는 다수의 센서(142)가 있을 수 있다. 예를 들어, 마이크로파 시스템(148)에 위치하고, 마이크로파 시스템(148) 스테이션을 뒤따르는 등의 수분 센서(142)로써, 고체연료에서 방출된 수분을 측정하기 위한 다수의 센서(142)가 있을 수 있다. 게다가, 벨트 설비(130)의 물 수집 스테이션에서 수집된 액체 물의 부피를 측정하는 물 센서가 있을 수 있다. 한 구체예에서, 벨트 설비(130) 내에서 이루어진 각 유형의 측정을 위한, 다수의 센서가 있을 수 있다.In one embodiment, the
한 구체예에서, 센서(142)는 다양한 컴포넌트 및 비-컴포넌트 정보를 기록하고 상기 정보를 모니터링 설비(134)에 전송할 수 있다. 앞서 논의된 바와 같이, 모니터링 설비는 고체연료 처리 파라미터에 대한 조정을 하기 위하여 입수된 센서(142) 정보를 사용할 수 있다. 한 구체예에서, 모니터링 설비(134)는 고체연료의 처리를 변경시키기 위하여, 조정된 고체연료 처리 파라미터를 컨트롤러에 전송할 수 있다.In one embodiment, the
한 구체예에서, 고체연료의 처리는 최종의 처리된 고체연료 특성이 달성되었음을 보증하기 위하여 연속적으로 측정될 수 있다. 이러한 방식으로, 고체연료 처리 공정은 원료 고체연료 특성의 어떠한 변화에도 응답하여 계속적으로 조정될 수 있다. 예를 들어, 수분 함량과 같은 원료 고체연료 특성은 원료 고체연료가 처리되는 시간에 걸쳐 변할 수 있다. 이 예에서, 수분 함량은 처리 가동의 초기에서의 한 수준에서 시작하여, 처리 공정 동안 증가하거나 감소할 수 있다. 한 구체예에서, 임의의 측정 가능한 고체연료 특성은 고체연료의 공급 이내에서 변화할 수 있다. 고체연료가 처리되는 동안 벨트 설비(130) 내의 센서(142)를 사용하여, 작동 파라미터는 전체 고체연료 처리시간 동안 일정한 특성의 세트를 생성하도록 조정될 수 있다. 한 구체예에서, 벨트 설비(130) 작동 파라미터는 최종의 처리된 고체연료에서 일정한 특성의 세트를 얻기 위하여 조정될 수 있다.In one embodiment, the treatment of the solid fuel can be continuously measured to ensure that the final treated solid fuel properties have been achieved. In this way, the solid fuel treatment process can be continuously adjusted in response to any change in the raw solid fuel properties. For example, raw solid fuel properties such as moisture content can vary over time as raw solid fuel is processed. In this example, the moisture content starts at a level at the beginning of the processing operation and may increase or decrease during the processing process. In one embodiment, any measurable solid fuel characteristic can vary within a supply of solid fuel. Using the
구체예에서, 고체연료가 처리될 때, 조정될 수 있는 파라미터는 마이크로파 에너지, 공기 온도, 비활성 기체 수준, 기류 속도, 벨트 속도 등을 포함할 수 있다. 한 구체예에서, 벨트 설비(130) 작동 파라미터는 개별적으로, 그룹으로서, 연합된 그룹(예를 들어 벨트 속도 및 마이크로파 출력) 등으로 모니터되고 조정될 수 있다.In embodiments, parameters that can be adjusted when the solid fuel is being treated may include microwave energy, air temperature, inert gas level, airflow rate, belt speed, and the like. In one embodiment, the belt facility 130 operating parameters can be monitored and adjusted individually, in groups, as a group associated (e.g., belt speed and microwave output), and the like.
한 구체예에서, 작동 파라미터를 모니터링하고 조정하는 방법이 연속 처리 공정, 배치 처리 공정, 또는 다른 고체 처리 방법에 적용될 수 있다. 배치 공정에서, 들어오는 원료 고체연료 특성은 배치에서 배치까지 변할 수 있고, 처리 공정의 최종에서 일정한 처리된 고체연료를 생산하기 위하여 상이한 작동 파라미터를 요청 할 수 있다.In one embodiment, a method of monitoring and adjusting operating parameters may be applied to a continuous treatment process, a batch treatment process, or other solid treatment methods. In the batch process, incoming raw material solid fuel characteristics may vary from batch to batch and may require different operating parameters to produce a constant treated solid fuel at the end of the process.
한 구체예에서, 고체연료 벨트 설비(130) 센서(142)는 고체연료 처리의 결과로서 고체연료에서 방출된 생성물을 측정할 수 있고, 고체연료 벨트 설비(130) 컴포넌트의 작동 파라미터를 측정할 수 있고, 기타 등등이다. 그 후에, 센서(142)는 측정 정보를 컨트롤러(144)에 전송할 수 있고, 측정 정보를 모니터링 설비(134)에 전송할 수 있고, 측정 정보를 가격 책정/트랜잭션 설비에 전송할 수 있고, 측정 정보를 파라미터 제어(140)에 전송할 수 있고, 기타 등등이다. 한 구체예에서, 고체연료 벨트 설비(130)는 연속 처리 공정, 배치 공정 등에서 고체연료를 처리할 수 있고, 센서(142)는 이러한 공정들로부터의 고체연료 처리 정보를 기록할 수 있다.In one embodiment, the solid-fuel-belt facility 130
한 구체예에서, 센서(142)는 벨트 속력, 마이크로파 시스템(148) 출력, 마이크로파 시스템(148) 주파수, 마이크로파 시스템(148) 듀티 사이클, 공기 온도, 비활성 기체 흐름, 기류, 공기 압력, 비활성 기체 압력, 방출된 생성물 보관 탱크 높이, 가열 속도, 냉각 속도 등을 포함할 수 있는 벨트 설비(130) 컴포넌트 파라미터를 측정할 수 있다. 게다가, 센서(142)는 또한 방출된 수증기, 방출된 황 증기, 수집된 물 부피, 수집된 황 부피, 수집된 회분 부피, 고체연료 중량, 고체연료 표면온도, 예열온도, 냉각온도 등을 포함할 수 있는 비-작동 또는 환경 파라미터 정보를 측정할 수 있다. 한 구체예에서, 벨트 설비의 각각의 컴포넌트에 대하여 적어도 하나의 센서(142)가 있을 수 있다. 예를 들어, 마이크로파 시스템(148)은 전력 소비, 주파수, 출력(power) 아웃풋 등을 측정하기 위한 하나 이상의 센서(142)를 가질 수 있다. 한 구체예에서, 비-컴포넌트 파라미터를 측정하기 위한 하나 이상의 센서(142)가 있을 수 있다. 예를 들어, 고체연료 벨트 설비(130) 전체에서의 수분 방출을 측정하기 위한 하나 이상의 수분 수준 센서(142)가 있을 수 있다. 수분 센서(142)는 마이크로파 시스템(148) 스테이션에, 마이크로파 시스템(148) 스테이션의 바로 뒤에, 기타 등등에 있을 수 있다. 또한 하나 이상의 수분 센서(142)를 가질 수 있는 하나 이상의 마이크로파 시스템(148) 스테이션이 있을 수 있다.In one embodiment, the
한 구체예에서, 센서(142)는 소비된 전력, 사용된 비활성 기체, 사용된 가스, 사용된 오일 등과 같은, 고체연료 처리 설비(132)에 의한 자원의 소비를 측정하는 것이 가능할 수 있다. 한 구체예에서, 센서(142)는 물, 황, 회분, 또는 처리 동안 고체연료에서 방출된 다른 생성물과 같은, 고체연료 처리 설비(132)에 의하여 생성된 생성물을 측정하는 것이 가능할 수 있다.In one embodiment, the
한 구체예에서, 센서(142)는 컨트롤러(144), 모니터링 설비(134), 가격 책정/트랜잭션 설비(178) 등에 측정 정보를 전송할 수 있다. 한 구체예에서, 센서(142)는 선택적으로 전송할 수 있고, 예를 들어 모든 고체연료 처리 설비(132) 정보를 모든 정보-입수 설비에 전송하지 않는다.In one embodiment,
한 구체예에서, 컨트롤러(144)는 다양한 벨트 설비(130) 컴포넌트로부터 센서(142) 정보를 입수할 수 있다. 컨트롤러는 다양한 벨트 설비(130) 컴포넌트의 작동 파라미터 상태 유지를 담당할 수 있다. 예를 들어, 컨트롤러는 고체연료 연속 처리 공정에서의 벨트 속력 유지를 담당할 수 있다. 센서(142)는 벨트 속력 정보를 컨트롤러(144)에 제공할 수 있고, 이는 컨트롤러가 파라미터-요구된 속도를 유지하는 것을 허용할 수 있다. 예를 들어, 고체연료의 양이 벨트 설비(130)에 더해지거 나 제거됨에 따라, 균일한 벨트 속력을 유지하기 위하여 상이한 출력 수준이 요구될 수 있고, 컨트롤러(144)는 균일한 벨트 속력을 유지하기에 요구되는 출력으로 조정할 수 있다.In one embodiment, the
한 구체예에서, 모니터링 설비(134)는 원료 고체연료의 처리에 요구되는 작동 파라미터의 제어를 허가하는 센서(142) 정보를 입수할 수 있다. 한 구체예에서, 모니터링 설비(134)는 마이크로파 시스템(148) 주파수, 마이크로파 시스템(148) 출력, 마이크로파 시스템(148) 듀티 사이클, 벨트 속력, 비활성 기체 수준 등을 포함할 수 있는 컴포넌트 센서(142) 정보를 입수할 수 있다. 한 구체예에서, 모니터링 설비(134)는 방출된 수분, 방출된 황, 방출된 회분, 고체연료 표면온도, 공기 온도 등을 포함할 수 있는 비-컴포넌트 센서(142) 정보를 입수할 수 있다.In one embodiment, the
앞서 논의된 바와 같이, 모니터링 설비(134)는 알고리즘 고체연료를 처리하여 희망하는 최종의 처리된 고체연료를 생산하도록 요구되는 작동 파라미터를 달성 및/또는 유지하기 위하여 알고리즘을 사용하여, 컴포넌트와 비-컴포넌트 양쪽 모두에 대하여 입수된 센서(142) 정보를 조합할 수 있다. 한 구체예에서, 모니터링 설비(134)는 파라미터 생성 설비(128)로부터 기저 작동 파라미터의 세트를 입수할 수 있다. 모니터링 설비(134)는 입수된 센서(142) 정보에 기초한 기저 작동 파라미터를 그리하여 조정할 수 있다. 한 구체예에서, 모니터링 설비(134)는 고체연료 벨트 설비(130)의 제어를 위하여 조정된 작동 파라미터를 컨트롤러(144)에 전송할 수 있다.As discussed above, the
한 구체예에서, 가격 책정/트랜잭션 설비(178)는, 예를 들어 최종의 처리된 고체연료의 비용/이윤에 관계된, 센서(142) 정보를 입수할 수 있다. 한 구체예에서, 비용/이윤 관련 정보는 최종의 처리된 고체연료, 비활성 기체와 같은 소모물(consumable), 수집된 비-고체연료 생성물의 부피, 최종의 처리된 고체연료의 부피 등을 산출하는 비용의 추정을 포함하거나 허용할 수 있다.In one embodiment, the pricing /
한 구체예에서, 비용 관련 센서 정보는 사용된 동력(power), 사용된 비활성 기체, 고체연료 인풋 등을 포함할 수 있다. 한 구체예에서, 각각의 고체연료 처리 설비(132) 컴포넌트에 의하여 소비된 동력을 측정할 수 있는 센서(142)가 있을 수 있다. 한 구체예에서, 소비된 동력은 전기, 가스, 오일 등을 포함할 수 있다. 한 구체예에서, 사용되는 소모물은 비활성 기체 부피, 물 등을 포함할 수 있다.In one embodiment, the cost related sensor information may include the power used, the inert gas used, the solid fuel input, and the like. In one embodiment, there may be a
한 구체예에서, 이윤 관련 센서 정보는 수집된 물의 부피, 수집된 황의 부피, 수집된 회분의 부피, 최종의 처리된 고체연료의 부피 등을 포함할 수 있다.In one embodiment, the profit-related sensor information may include the volume of collected water, the volume of collected sulfur, the volume of collected ash, the volume of final processed solid fuel, and the like.
한 구체예에서, 가격 책정/트랜잭션 설비(178)는 센서(142) 정보를 실시간으로, 시간 증분(increment)에서, 요구에 따라서 등으로 입수할 수 있다. 한 구체예에서, 요구에 따라서의 정보는 가격 책정/트랜잭션 설비(178), 센서(142) 등의 요구에 의한 것일 수 있다.In one embodiment, pricing /
한 구체예에서, 가격 책정/트랜잭션 설비(178)는, 부피당 최초 원료 고체연료 비용, 부피당 고체연료 처리 설비(132) 비용, 고체연료 처리 설비(132) 이윤 물질(예를 들어 물, 황, 또는 회분), 부피당 고체연료 처리 설비(132) 소모물 등을 포함할 수 있는 정보를 사용하여 최종의 처리된 고체연료의 가치를 결정하기 위한, 알고리즘을 사용할 수 있다.In one embodiment, the pricing /
한 구체예에서, 센서(142)는 고체연료 투입 부피, 예열에 요구되는 에너지, 벨트에 요구되는 에너지, 비활성 기체 부피, 마이크로파 시스템(148)에 요구되는 에너지, 고체연료 냉각에 요구되는 에너지, 고체연료 배출의 부피, 수집된 물, 수집된 황, 수집된 회분, 등을 포함할 수 있는 비용/이윤 정보를 제공할 수 있다.In one embodiment, the
한 구체예에서, 가격 책정/트랜잭션 설비(178)는 전기, 가스, 오일, 고체연료 등의 단위당 비용에 액세스할 수 있다. 한 구체예에서, 가격 책정/트랜잭션 설비(178)는 물, 황, 회분, 고체연료 등과 같은 방출된 생성물의 시장 가치에의 액세스를 할 수 있다.In one embodiment, pricing /
한 구체예에서, 단위 비용, 비용 정보, 및 생성물 시장 가치를 사용하여, 가격 책정/트랜잭션 설비(178)는 최종의 완료된 고체연료, 방출된 생성물 등의 가치 결정이 가능할 수 있다. 한 구체예에서, 가격 책정/트랜잭션 설비(178)는 최종의 처리된 고체연료 값을 실시간으로, 평균(average), 평균값(mean value)으로서, 고체연료 가동의 끝에서, 점증하여(incrementally), 기타 등등으로 추정할 수 있다.In one embodiment, using the unit cost, cost information, and product market value, the pricing /
예를 들어, 가격 책정/트랜잭션 설비(178)는 석탄 샘플 데이터(120)로부터 초기의 원료 고체연료 비용 정보를 입수할 수 있다. 투입 설비(124) 센서는 처리를 위하여 고체연료 벨트 설비(130)에 들어가는 고체연료의 부피 속도(volume rate)를 제공할 수 있다. 고체연료 벨트 설비(130) 센서는 고체연료 예열에 요구되는 에너지, 고체연료 수송에 요구되는 에너지, 벨트 설비(130)에 유입되는 비활성 기체의 속도, 마이크로파 시스템(148)에 요구되는 에너지, 냉각 설비(164)에 요구되는 에너지, 고체연료 처리 설비(132)로부터 제거되는 완료된 처리된 고체연료의 부피 등 의 정보를 제공할 수 있다. 한 구체예에서, 가격 책정/트랜잭션 설비(178)는 처리되는 고체연료에 대한 비용 모델을 개발하기 위하여, 이러한 센서 측정치들을 각각의 비용 유형에 대한 단위비용(unit cost)과 결합할 수 있다. 한 구체예에서, 비용 모델은 고체연료를 처리하기 위한 개별적인 컴포넌트 비용을 최종의 처리된 고체연료 비용을 추정하기 위한 초기 원료 고체연료 비용에 점증적으로 추가하는 것을 포함할 수 있다.For example, the pricing /
한 구체예에서, 최종의 처리된 고체연료의 추정된 가치는 고체연료 처리 설비(132)를 위한 효율 모델을 창출하기 위하여 고체연료의 시장 가치와 비교될 수 있다.In one embodiment, the estimated value of the final treated solid fuel can be compared to the market value of the solid fuel to create an efficiency model for the solid
게다가, 가격 책정/트랜잭션 설비(178)는 고체연료 처리 설비(132)에 의하여 수집된, 물, 황, 회분, 고체연료에서 방출된 다른 생성물 등과 같은 시장 가치를 가질 수 있는, 비-고체연료 생성물의 부피에 관한 정보를 입수할 수 있다. 이러한 정보는, 다양한 고체연료 방출 생성물의 단위 시장 가치를 추정하여, 고체연료에서 방출된 생성물에 대한 이윤 모델을 제공하기 위하여 사용될 수 있다.In addition, the pricing /
한 구체예에서, 가격 책정/트랜잭션 설비(178)는 고체연료 처리 설비(132)의 작동에 대한 비용 모델, 이윤 모델, 효율성 모델, 및 다른 재정적인 모델을 추정할 수 있다.In one embodiment, the pricing /
구체예에서, 벨트 설비(130) 마이크로파 시스템(148)은, 고체연료에서 바람직하지 않은 생성물 제거하기 위하여 고체연료에 작용하는, 다수의 고체연료 처리 설비(132) 처리 컴포넌트 중의 하나일 수 있다. 마이크로파 시스템(148)은 단독으 로, 다수의 마이크로파 시스템(148)과 조합하여, 바람직하지 않은 생성물 제거를 위한 다른 공정과 조합하여, 기타 등으로 사용될 수 있다.In an embodiment, the belt facility 130
한 구체예에서, 마이크로파 시스템(148)에 의하여 생성된 마이크로파는 바람직하지 않은 고체연료 생성물이 고체연료에서 방출되는 것을 야기할 수 있는 온도까지, 바람직하지 않은 고체연료 생성물을 가열하기 위하여 사용될 수 있다. 한 구체예에서 바람직하지 않은 고체연료는 수분, 황, 회분 등일 수 있다. 한 구체예에서, 마이크로파 에너지가 고체연료에 가해짐에 따라, 바람직하지 않은 생성물은, 바람직하지 않은 생성물을 고체연료에서 가스, 액체, 가스와 액체의 조합 등으로서 방출시키는 것을 야기할 수 있는 온도까지 가열될 수 있다. 예를 들어, 물은 고체연료에 함유된 물이 물에서 스팀으로 전환되는 온도에 도달하면, 가스로서 방출될 수 있다. 그러나 황 온도에 따라, 황은 가스 또는 액체로서 방출될 수 있다. 한 구체예에서, 황이 가열됨에 따라, 황은 먼저 액체로서 방출된 다음 가스로서 방출될 수 있다. 한 구체예에서, 바람직하지 않은 생성물을 둘의 방출 단계에서 방출시키는 것에 있어서, 고체연료에서 바람직하지 않은 생성물의 완전한 방출을 촉진하는 이점이 있을 수 있다.In one embodiment, the microwave generated by the
한 구체예에서, 바람직하지 않은 고체연료 생성물의 제거를 위하여 하나 이상의 벨트 설비(130) 마이크로파 시스템(148)이 있을 수 있다. 한 구체예에서, 벨트 설비(130) 내에 하나 이상의 마이크로파 시스템(148)이 있을 수 있다. 하나 이상의 마이크로파 시스템(148)은 주파수, 출력, 듀티 사이클 등과 같은 여러 제어 파라미터를 고체연료에 적용할 수 있다. 한 구체예에서, 파라미터를 제어하는 여러 마이크로파 시스템(148)은 고체연료에서 특정한 바람직하지 않은 생성물을 제거를 목표로 할 수 있다. 게다가, 마이크로파 시스템(148)은, 바람직하지 않은 생성물을 가스로 전환하기 위하여 에너지를 가하는 것, 바람직하지 않은 생성물을 액체로 전환하기 위하여 에너지를 가하는 것 등과 같은, 바람직하지 않은 생성물 제거의 특정 방법을 목표로 할 수 있다.In one embodiment, there may be one or more belt facility 130
한 구체예에서, 마이크로파 시스템(148)은 하나 이상의 마이크로파 장치를 포함할 수 있고, 이들의 각각은 독립적으로, 일부의 그룹으로서, 기타 등으로 작동될 수 있다.In one embodiment, the
한 구체예에서, 마이크로파 시스템(148)은 독립적으로 작동할 수 있고; 그러므로 각각의 독립적인 마이크로파 장치에 대한 작동 파라미터의 세트가 있을 수 있다. 예를 들어, 마이크로파 시스템(148)은 하나 이상의 독립적인 마이크로파 장치를 가질 수 있고, 각각의 독립적인 마이크로파 장치는, 출력, 주파수, 듀티 사이클 등과 같은 제어 파라미터를 가질 수 있다. 한 구체예에서, 컨트롤러(144)와 모니터링 설비(134)는 각각의 독립적인 마이크로파 장치를 제어할 수 있다.In one embodiment, the
한 구체예에서, 독립적인 제어된 마이크로파 장치는 바람직하지 않은 고체연료 생성물 제거에 영향을 미치기 위한 여러 기능을 수행할 수 있다. 예를 들어, 제1 마이크로파 장치가 일정한 출력 설정을 가지는 특정 주파수에서 작동할 수 있는 반면, 제2 마이크로파 장치는 출력 설정이 시간에 따라 변할 수 있는 듀티 사이클 동안 여러 주파수에서 작동할 수 있다. 이들 두 마이크로파 장치의 복합 작동은, 특정한 물질의 상(예를 들어 기체 또는 액체)을 사용하는 특정한 바람직하지 않은 생성물을 제거하는 것을 목표로 할 수 있다.In one embodiment, the independent controlled microwave apparatus can perform various functions to influence undesired solid fuel product removal. For example, the first microwave apparatus may operate at a specific frequency with a constant output setting, while the second microwave apparatus may operate at multiple frequencies during a duty cycle such that the output setting may vary over time. The combined operation of these two microwave devices may aim to eliminate certain undesirable products using a phase of a particular material (e.g., gas or liquid).
한 구체예에서, 마이크로파 시스템(148)은 그룹으로서 작동하는 다수의 마이크로파 장치를 포함할 수 있고; 그러므로 마이크로파 시스템(148) 그룹에 속할 수 있는 마이크로마 장치의 수에 관계 없이, 전체의 마이크로파 그룹에 대한 작동 파라미터의 한 세트가 있을 수 있다. 예를 들어, 다수의 마이크로파 장치를 그룹으로 나누는 것 및 모든 마이크로파 장치에 동일한 주파수와 출력 설정을 제공하는 것은, 하나의 대형 마이크로파 장치 대신 다수의 소형 마이크로파 장치를 사용하여 고체연료에 높은 마이크로파 출력을 제공하는 방법일 수 있다. 다수의 소형 마이크로파 장치 사용은, 효과적인 바람직하지 않은 생성물 제거를 제공하는 마이크로파 장치의 구성을 허용할 수 있다.In one embodiment, the
한 구체예에서, 마이크로파 시스템(148)은 작동 파라미터에 대한 전송 방법에 의하여, 마이크로파 장치의 독립된 세트로서 작동하는 것으로부터 마이크로파 장치 그룹으로서 작동하는 것으로 변화될 수 있다. 예를 들어, 독립적인 파라미터가 각각의 마이크로파 장치에 대하여 전송될 경우, 마이크로파 시스템(148)은 독립적인 마이크로파 장치로서 작동할 수 있지만, 작동 파라미터의 한 그룹이 마이크로파 장치에 전송될 경우, 마이크로파 시스템(148)은 그룹으로서 작동할 수 있다. 한 구체예에서, 마이크로파 시스템(148)은 독립적인 마이크로파 장치, 마이크로파 장치의 그룹 등으로서 작동할 수 있다.In one embodiment, the
한 구체예에서, 마이크로파 시스템(148)은 희망하는 최종의 처리된 고체연료를 생산할 수 있는 마이크로파 시스템(148) 처리 조합을 제공하는 벨트 설비(130) 를 따라서 위치될 수 있다. 예를 들어, 하나 이상의 마이크로파 시스템(148)은 고체연료에서 수분의 제거를 목표로 하도록, 벨트 설비(130)를 따라서 위치될 수 있다. 제1 마이크로파 시스템(148)은 고체연료에서 특정량의 수분을 제거하도록 지시될 수 있고; 제2 마이크로파 시스템(148)은 고체연료에서 추가적인 수분을 제거하도록 제1 마이크로파 시스템(148)에서 떨어져서 위치될 수 있다. 추가적인 마이크로파 시스템(148)은 고체연료가 벨트 설비(130)를 따라서 이동함에 따라 수분의 감소를 계속하도록 벨트 설비(130)를 따라서 위치될 수 있다. 한 구체예에서, 바람직하지 않은 고체연료 생성물은 벨트 설비(130)를 따라서 있는 다수의 마이크로파 시스템(148)에 의하여 처리되는 점증적인(incremental) 방식으로 제거될 수 있다. 한 구체예에서, 바람직하지 않은 생성물의 방출을 허용하도록 마이크로파 시스템(148) 사이에 간격이 있을 수 있고; 상기 간격은 처리 단계 사이에 시간 간격(time period)을 제공할 수 있다. 한 구체예에서, 마이크로파 시스템은 서로 인접하여 위치될 수 있다. 이러한 처리 공정이 다른 바람직하지 않은 고체연료 생성물의 제거에, 독립적으로 또는 다른 바람직하지 않은 고체연료 생성물과 복합으로, 적용될 수 있음이 이해될 수 있다.In one embodiment, the
한 구체예에서, 마이크로파 시스템(148)으로부터의 에너지는, 고체연료를 처리하는 첫 번째 벨트 설비(130) 및 고체연료를 더욱 처리하는 적어도 하나 더의 벨트 설비(130)를 가지는, 별개의 벨트 설비(130)에 가해질 수 있다. 한 구체예에서, 각각의 벨트 설비(130)는 고체연료를 처리하고, 이후 그것의 생성물을 최종의 처리된 석탄 특성에 도달할 때까지 추가적인 벨트 설비(130)에 공급할 수 있다.In one embodiment, the energy from the
한 구체예에서, 배치 처리 설비는 바람직하지 않은 고체연료 생성물의 점증적인 제거를 제공할 수 있다. 한 구체예에서, 배치 처리 설비는 교체되는(alternating) 작동 파라미터로써 제어될 수 있는 적어도 하나의 마이크로파 설비(148)를 가질 수 있다. 예를 들어, 마이크로파 시스템(148)은 제1 처리 단계 동안 처음의 출력, 주파수 및 듀티 사이클로써 작동할 수 있고, 제2 처리 단계 동안 상이한 출력, 주파수 및 듀티 사이클이 적용될 수 있다. 한 구체예에서, 다른 처리 단계가 수행되기 전에 처리 단계의 결과로서 바람직하지 않은 생성물이 완전히 방출되는 것을 허용하도록, 단계들 사이에 시간 간격이 있을 수 있다. 한 구체예에서, 처리 단계들 사이에 시간 주기가 없을 수 있고, 연속 처리가 배치의 고체연료에 적용될 수 있다. 한 구체예에서, 배치 처리 설비는 최종의 처리된 고체연료를 생산하기에 필요한 많큼 많은 처리 단계로써 고체연료를 가공할 수 있다.In one embodiment, the batch processing facility can provide for the gradual removal of undesirable solid fuel products. In one embodiment, the batch processing facility may have at least one
한 구체예에서, 앞서 논의된 바와 같이, 마이크로파 시스템(148)은 센서(142), 모니터링 설비(134), 컨트롤러(144) 등을 포함할 수 있는 피드백 루프에 의하여 제어될 수 있다. 한 구체예에서, 센서(142)는 바람직하지 않은 고체연료 생성물의 제거에서 마이크로파 시스템(148)의 효율성을 측정하기 위하여, 배치 설비 내에 위치될 수 있거나, 벨트 설비(130)를 따라서 위치될 수 있다. 센서는 가스로 방출된 바람직하지 않은 생성물을 측정, 액체로 방출된 바람직하지 않은 생성물을 측정 등을 위하여, 마이크로파 시스템(148)에 또는 마이크로파 시스템(148) 후에 위치될 수 있다.In one embodiment, as discussed above, the
한 구체예에서, 센서(142)는 고체연료 처리 읽음을 여러 센서 위치로부터 모 니터링 설비(134)에 전송할 수 있다. 한 구체예에서, 모니터링 설비(134)는 처리 공정의 각각의 센서(142)에 대하여 목표 읽음을 가질 수 있다. 센서(142) 읽음이 센서(142)에서 입수됨에 따라, 모니터링 설비(134)는 고체연료 처리 공정이 고체연료를 요구되는 대로 처리하고 있는지를 결정하기 위하여, 입수된 센서(142) 읽음을 목표 센서 읽음과 비교할 수 있다. 한 구체예에서, 입수된 센서(142) 읽음에 기초하여, 모니터링 설비(134)는 조정된 작동 파라미터를 벨트 설비(130)의 컴포넌트에 전송할 수 있다. 한 구체예에서, 모니터링 설비(134)는 벨트 설비 내의 각각의 센서(142)를 벨트 설비(130)의 컴포넌트의 작동과 관련시킬 수 있다. 한 구체예에서, 각각의 센서(142) 읽음은 그것이 컴포넌트의 제어에 적용될 수 있음에 따라 비중을 가질 수 있다. 예를 들어, 마이크로파 시스템(148)의 센서와 동일한 장소에 위치된 제1 센서(142)는 마이크로파 시스템(148)에서 하부로 얼마간 떨어져 위치된 제2 센서보다 더 많은 비중이 주어질 수 있다. 한 구체예에서, 모니터링 설비(134)는 센서(142) 읽음에 주어져야 하는 비중을 구체화하는 센서 비중 테이블을 유지할 수 있다.In one embodiment, the
한 구체예에서 모니터링 설비(134)는, 모니터링 설비(134)가 순간적인(instantaneous) 센서 읽음, 평균 센서 읽음, 통계적 센서 읽음, 센서 읽음 경향, 센서 읽음 변화 속도 등을 추적하는 것을 허용할 수 있는, 이전의 센서(142) 읽음을 저장할 수 있다. 한 구체예에서, 모니터링 설비(134)는 컴포넌트 파라미터가 조정을 필요로 하는지를 결정하기 위하여, 임의의 센서 추적 방법을 사용할 수 있다.In one embodiment, the
한 구체예에서, 여러 센서 읽음(142)이 벨트 설비(130) 컴포넌트의 여러 파라미터 조정에 사용될 수 있다. 예를 들어, 제1 센서(142)는 마이크로파 시스템(148) 주파수의 모니터와 조정에 사용될 수 있고, 제2 센서(142)는 마이크로파 시스템(148) 출력의 모니터와 조정에 사용될 수 있다. 한 구체예에서, 마이크로파 시스템(148)과 연결될 수 있는 다수의 센서(142)는 마이크로파 시스템(148) 내의 개별적인 마이크로파 장치 조정에 사용될 수 있다. 예를 들어, 하나의 마이크로파 시스템(148) 내에 네 개의 마이크로파 장치가 있을 경우, 마이크로파 시스템(148)에 연결된 다수의 센서는 네 개의 마이크로파 장치를 개별적으로 조정하는 데에 사용될 수 있다. 게다가, 벨트 설비(130)를 따라서 있는 임의의 마이크로파 시스템(148)은 개별적으로나 그룹으로, 유사하게 제어될 수 있다.In one embodiment,
임의의 벨트 설비 컴포넌트가 동일한 방식으로 제어될 수 있다는 것이 이해될 수 있다.It will be appreciated that any belt component can be controlled in the same manner.
한 구체예에서, 벨트 설비(130) 컴포넌트는 최종의 처리된 고체연료 특성에 기초하여, 모니터링 설비(134) 조정된 파라미터를 입수할 수 있다. 한 구체예에서, 고체연료가 고체연료 처리 설비(132)에서 완전히 처리된 후에, 테스트 설비(170)는 최종의 고체연료 특성의 결정을 위하여, 최종의 처리된 고체연료의 샘플을 테스트할 수 있다. 한 구체예에서, 테스트 설비(170)는 고체연료 처리 설비(132)의 일부일 수 있고, 고체연료 처리 설비(132)의 외부의 테스트 설비일 수 있고, 기타 등등이다.In one embodiment, the belt facility 130 component is able to obtain the adjusted parameters of the
한 구체예에서, 테스트 설비(170)는 수분 퍼센트, 회분 퍼센트, 휘발성 물질 퍼센트, 고정탄소 퍼센트, BTU/lb, 수분과 회분이 없을 시 BTU/lb, 황의 형태, 분쇄성(HGI), 총 수은, 회분 용융온도, 회분 무기물 분석, 전자기적 흡수/반사, 유전특성 등에 대하여 고체연료를 테스트할 수 있다. 한 구체예에서 이러한 최종의 고체연료 특성은, 석탄 희망 특성(122), 피드백 설비(174), 모니터링 설비(134) 등에 이용 가능할 수 있는, 석탄 아웃풋 파라미터(172)에 저장될 수 있다.In one embodiment, the
한 구체예에서, 최종의 고체연료 특성은 동일한 고체연료 가동이 고체연료 처리 설비(132)에서 처리되는 동안 결정될 수 있다. 한 구체예에서, 최종의 고체연료 특성의 하위세트(subset)는 고체연료가 여전히 처리되고 있는 동안 이용 가능할 수 있다. 특성의 하위세트는 현장의 테스트 설비(170)에서 결정될 수 있고, 이는 피드백이 모니터링 설비(134)에 실시간으로 제공됨을 허용할 수 있다.In one embodiment, the final solid fuel properties can be determined while the same solid fuel operation is being processed in the solid
한 구체예에서, 석탄 아웃풋 파라미터(172)는 테스트 정보를 모니터링 설비(134)에 전송할 수 있고, 모니터링 설비(134)는 석탄 아웃풋 파라미터(172)에서 테스트 정보를 얻을 수 있고, 기타 등등이다.In one embodiment, the
한 구체예에서, 모니터링 설비(134)는 고체연료 처리 설비(132) 작동 파라미터의 조정에서 고려되는 추가된 인풋으로서, 입수된 고체연료 테스트 정보를 사용할 수 있다. 한 구체예에서, 파라미터 생성 설비(128)는 석탄 희망 특성(122)을 통하여 석탄 아웃풋 파라미터(172)에 저장된 테스트 정보에 액세스할 수 있고, 그러므로 초기의 작동 파라미터의 생성에서 경과적인 테스트 정보를 사용할 수 있다. 한 구체예에서, 파라미터 생성 설비(128)는 경과적인 테스트 정보를 모니터링 설비(134)에 전송할 수 있다. 한 구체예에서, 전송된 경과적인 테스트 정보는 정보 요약, 통계적 정보, 샘플 정보, 경향 정보, 테스트 정보 대 이전의 작동 파라미터 등일 수 있다.In one embodiment, the
한 구체예에서, 모니터링 설비(134)는 새로운 테스트 정보가 어떻게 경과적인 정보에 관계될 수 있는지를 결정하기 위하여, 파라미터 생성 설비(128)로부터의 경과적인 테스트 정보를 석탄 아웃풋 파라미터(172)로부터의 새로운 테스트 정보와 비교할 수 있다. 한 구체예에서, 모니터링 설비(134)는 테스트가 완결됨에 따라 새로운 테스트 정보를 저장할 수 있다. 한 구체예에서, 새로운 테스트 정보는 원료 고체연료의 특정 가동이 고체연료 처리 설비(132)에 의하여 처리되는 시간 주기 동안, 모니터링 설비(134)에 저장될 수 있다. 한 구체예에서, 저장된 테스트 정보는 현재의 원료 고체연료 처리 가동에 대한 경과적인 정보일 수 있다. 한 구체예에서, 저장된 정보는 고체연료 처리 가동의 경향 정보, 통계적 정보, 샘플 정보 등을 제공할 수 있다. 한 구체예에서, 저장된 정보는 테스트 정보가 입수됨에 따라 작동 파라미터와 함께 저장될 수 있다. 한 구체예에서 모니터링 설비는, 테스트 정보가 파라미터 경향 대 최종의 테스트 정보에 대하여 입수되는 시간에, 작동 파라미터의 관계를 분석할 수 있다.In one embodiment, the
한 구체예에서, 새로운 테스트 정보가 모니터링 설비(134)에 의하여 입수됨에 따라, 상기 정보는 경과적인 테스트 정보와 비교될 수 있고, 저장된 테스트 정보와 비교될 수 있고, 기타 등등이다. 한 구체예에서, 모니터링 설비(134)는 고체연료 처리 설비(132)의 작동 파라미터 조정에서 인자로서 테스트 정보 비교를 사용할 수 있다. 한 구체예에서, 테스트 정보는 파라미터 조정을 위한 직접 인자, 파라 미터 조정을 위한 간접 인자(예를 들어 멀티플라이어(multiplier)), 직접 인자와 간접 인자의 조합 등으로서 사용될 수 있다.In one embodiment, as new test information is obtained by the
한 구체예에서, 고체연료를 처리하기 위하여 사용되는 작동 파라미터가 희망하는 최종의 처리된 고체연료를 생산하고 있을 경우, 테스트 정보는 모니터링 설비(134)에 나타냄에 의하여 작동 파라미터의 조정에 영향을 미칠 수 있다. 예를 들어, 벨트 설비(130) 센서(142)는 가공 동안 고체연료에서 적당량의 수분이 제거되고 있음을 나타낼 수 있지만, 테스트 정보는 벨트 설비(130) 센서(142)로부터의 데이터를 사용하여 추정될 것이기 보다는, 고체연료에 잔류하고 있는 상이한 퍼센트의 수분을 나타내기 위하여 특성 데이터를 제공할 수 있다. 한 구체예에서, 테스트 정보는 작동 파라미터 조정에 사용될 수 있고, 고체연료의 처리를 교정하여 최종의 테스트 정보 특성에서의 변화에 영향을 미칠 수 있다.In one embodiment, when the operating parameters used to process the solid fuel are producing the desired final processed solid fuel, the test information will affect the adjustment of the operating parameters by indicating to the
한 구체예에서, 테스트 정보는 파라미터 비중 테이블에 대한 조정, 작동 파라미터 조정에 사용되는 알고리즘에서 인자를 조정, 추가적인 벨트 설비 컴포넌트 요구(예를 들어 더 많은 활동 중인 마이크로파 시스템(148))가 고체연료 처리에서 사용되어야 하는지를 결정, 처리 공정을 통하여 고체연료의 추가적인 가동(예를 들어 다중의 처리 경로)이 요구될 수 있는지를 결정 등을 위하여 모니터링 설비(134)에 의하여 사용될 수 있다.In one embodiment, the test information may include an adjustment to the parameter weight table, an adjustment of the factor in the algorithm used to adjust the operating parameters, an additional belt facility component requirement (e.g., more active microwave system 148) , To determine if additional operation of the solid fuel (e. G., Multiple treatment paths) may be required through the treatment process, or the like.
한 구체예에서, 처리 동안 고체연료에서 제거되는 비-연료 생성물은 고체연료 처리 설비(132)에 의하여 수집될 수 있다. 한 구체예에서, 센서(142)는 고체연료에서 가스, 액체 등으로서의 생성물의 방출을 측정할 수 있다. 한 구체예에서, 모니터링 설비(134) 및 컨트롤러(144)는 방출된 생성물 제거를 제어하기 위하여 센서(142)와 인터페이스 할 수 있다. 한 구체예에서, 센서(142), 모니터링 설비(134), 컨트롤러(144) 등은 방출된 생성물 정보를 가격 책정/트랜잭션 설비(178)에 제공할 수 있다. 한 구체예에서, 모니터링 설비(134) 및 컨트롤러(144)에서 입수된 센서(142) 정보는 순간 제거 속도, 평균 제거 속도, 총 방출된 생성물, 방출된 생성물의 유형 등의 추정을 허용할 수 있다.In one embodiment, the non-fuel products that are removed from the solid fuel during processing may be collected by the solid
한 구체예에서, 비-연료 생성물이 처리 동안 고체연료에서 방출될 때, 비-연료 생성물은 방출된 가스, 방출된 액체, 액체로 응축될 수 있는 방출된 가스 등을 제거할 능력이 있을 수 있는 제거 시스템(150)에 의하여 수집될 수 있다. 한 구체예에서, 고체연료 처리 설비(132)에 하나 이상의 제거 시스템(150)이 있을 수 있다. 한 구체예에서, 방출된 가스는 격납 설비(162), 처리 설비(160), 처분설비(158) 등으로 가스를 수송하기 위하여, 벤트(vent), 파이프 또는 용기에 수집될 수 있다. 한 구체예에서, 방출된 액체 및 액체로 응축되는 가스는 액체를 격납 설비(162), 처리 설비(160), 처분설비(158) 등으로 수송하기 위하여, 액체 저장소(cache), 파이프 또는 용기에 수집될 수 있다.In one embodiment, when the non-fuel product is released from the solid fuel during processing, the non-fuel product may be capable of removing the released gas, the discharged liquid, the released gas that may condense into the liquid,
한 구체예에서, 방출된 비-연료 생성물의 양을 측정하고, 측정치를 모니터링 설비(134), 컨트롤러(144) 등에 전송하는 센서(142)가 있을 수 있다. 한 구체예에서, 모니터링 설비(134)는 방출된 생성물의 양, 생성물 방출의 속도, 저장소에 수집되는 방출된 생성물의 양, 방출된 가스 제거 속도 등을 결정할 수 있다. 한 구체예에서, 모니터링 설비(134)는 비-연료 생성물에 대한 제거 속도가 고체연료 생성 물의 방출 속도와 일치하도록, 증가, 감소, 또는 다르게 변경될 필요가 있는지를 결정할 수 있다. 예를 들어, 모니터링 설비(134)는 방출된 액체 생성물이 액체 수집 저장소에 의하여 고체연료 처리 설비(132)에서 제거되는 것 보다 더 많이 형성된다는 센서(142) 정보를 입수할 수 있다. 이러한 정보에 응답하여, 모니터링 설비(134)는 액체 제거 속도를 증가시키도록 컨트롤러(144)에 지시할 수 있다. 한 구체예에서, 이는 제거 속도를 변경시키기 위하여 펌프 속도를 증가시키는 것, 제거 속도를 변경시키기 위하여 다른 펌프를 시동하는 것 등을 포함할 수 있다. 유사한 방식으로, 가스 센서(142)는 가스 방출 대기의 특성(압력, 온도, 가스 농도 등)이 방출된 가스가 적절한 속도로 제거되지 않음을 나타낸다는 것을 모니터링 설비(134)에 전송할 수 있다. 한 구체예에서, 모니터링 설비(134)는 팬 속도 조정, 다른 팬 시동, 팬 정지, 가스 격납 챔버에서의 압력 변경 등에 의하여 가스 제거 속도를 변경시키도록 컨트롤러(144)에 지시할 수 있다. 한 구체예에서, 고체연료 처리 설비(132)의 제거 시스템(150)은 개별적으로 또는 그룹의 부분으로서 제어될 수 있다.In one embodiment, there may be a
한 구체예에서, 센서(142)는 다양한 고체연료 처리의 결과를 측정하기 위하여 벨트 설비(130)를 따라서 다양한 위치에 두어질 수 있다. 한 구체예에서, 모니터링 설비(134)는, 예를 들어 방출된 생성물의 속도나 양을 나타내는 센서(142) 읽음에 기초하여, 방출 시스템(150)의 작동에 대한 조정을 할 수 있다. 모니터링 설비(134)는 센서(142) 읽음에 기초하여 비-연료 생성물 방출 속도를 추정할 수 있고, 생성물 방출 속도, 생성물 수준, 생성물 대기 읽음 등에 기초하여 제거 시스 템(150) 제거 속도를 조정할 수 있다. 한 구체예에서, 고체연료 처리(132)의 처리 위치에 대한 물, 황, 회분 등과 같은 방출 생성물을 측정하는 센서(142)가 있을 수 있다. 한 구체예에서, 모니터링 설비(134)는 제거 시스템(150)이 비-연료 생성물에 대한 적절한 제거 속도를 유지하도록, 처리 위치 조정이 가능할 수 있다.In one embodiment, the
한 구체예에서, 앞서 논의된 바와 같이, 수집된 방출 비-연료 생성물은 격납 설비(162), 처리 설비(160), 처분 설비(158) 등에 의하여 가공될 수 있다. 한 구체예에서, 이러한 설비들의 상태에 대하여 모니터링 설비(134)에 정보를 제공하는 센서(142)가 있을 수 있다. 한 구체예에서, 모니터링 설비(134), 컨트롤러(144), 제거 시스템(150) 등은 수집되는 방출된 비-연료 생성물이 수집되고, 분리되고, 처분되고, 또는 다르게 취급되는 속도를 제어할 수 있다. 한 구체예에서, 제거되는 방출된 비-연료 생성물의 수집은 한계량이 수집될 때까지 진행되고, 이 때 고체연료 처리 설비(132)의 오퍼레이터는 방출된 생성물이 수집 설비에서 제거될 필요가 있다는 신호를 받을 수 있다. 한 구체예에서, 물과 같은 방출 생성물은 달리 수집되거나 모아지지 않고 고체연료 처리 설비(132)에서 방출될 수 있다.In one embodiment, the collected release non-fuel product may be processed by
한 구체예에서, 센서(142), 모니터링 설비(134), 컨트롤러(144) 등은 방출된 생성물 정보를 가격 책정/트랜잭션 설비(178)로 전송할 수 있다. 한 구체예에서, 가격 책정/트랜잭션 설비(178)는 각각의 제거된 비-연료 생성물에 대하여 이용 가능한, 시장 가치 또는 처분 비용과 같은 시장-관련 정보를 가질 수 있다. 한 구체예에서, 제거되는 방출된 비-연료 생성물의 처분에 관련된 결정은 이들의 시장 가치, 이들의 처분 비용 등에 기초할 수 있다. 시장-관련 정보는 특정한 생성물의 규 정 양태, 예를 들어 특수한 물질의 발생 또는 처분에 적용할 수 있는 환경세금 또는 과징금에 관련된 정보를 포함할 수 있다. 한 구체예에서, 센서(142), 모니터링 설비(134), 컨트롤러(144) 등에 의하여 전송되는 정보에 기초하여, 가격 책정/트랜잭션 설비(178)는 방출된 비-연료 생성물의 가치, 방출된 생성물의 원가 등을 추정하는 것이 가능할 수 있다. 예를 들어, 수집된 액체 황은 공업에서의 용도에 대한 시장 가치를 가질 수 있는 반면, 수집된 회분은 시장 가치를 가지지 않을 수 있고, 매립지에서 처분하기 위한 비용이 들 수 있다.In one embodiment, the
시장-관련 정보가 다수의 여러 시장에 적용될 수 있음이 알려져 있다. 예를 들어, 수집된 회분은 음의 값(처분 비용으로 인한)에서 여러 공업적 적용에서의 그것에 대한 요구에 따른 양의 값의 세트까지의 범위로 시장 가치를 가질 수 있다. 한 구체예에서, 가격 책정/트랜잭션 설비(178)는 단위 시간당 방출된 비-연료 생성물 가치, 고체연료의 단위당 평균 가치, 제거 속도에 기초한 순간 가치 등을 추정할 수 있다. 한 구체예에서, 가격 책정/트랜잭션 설비(178)는 고체연료 가동으로부터 수집되는, 방출된 비-연료 생성물의 가치 또는 비용을 포함하는 처리된 고체연료의 가치를 추정할 수 있다. 예를 들어, 가격 책정/트랜잭션 설비(178)는 처리된 고체연료의 특정한 가동에 대한 방출된 생성물 정보를 입수할 수 있다. 가격 책정/트랜잭션 설비(178)는 고체연료를 처리하기 위한 비용 및 총 방출된 비-연료 생성물의 비용/가치를 추정하여, 고체연료 처리의 전체 비용 및 그 결과의 가치를 추정할 수 있다. It is known that market-related information can be applied to many different markets. For example, the collected ash may have a market value in a range from a negative value (due to disposal costs) to a set of positive values according to the demand for it in various industrial applications. In one embodiment, the pricing /
한 구체예에서, 가격 책정/트랜잭션 설비(178)는 최종의 처리된 고체연료 생산 비용, 최종의 처리된 고체연료의 가치, 방출된 생성물 물질의 처분 비용, 방출된 생성물 물질의 가치 등을 추정하기 위한 알고리즘을 포함할 수 있다. 한 구체예에서, 알고리즘은 석탄 샘플 데이터(120)에서 원료 고체연료 가치, 석탄 아웃풋 파라미터(172)에서 최종의 처리된 고체연료 비용, 고체연료 처리 설비(132)에서 공정 중 처리 비용 등을 입수하는 것을 포함할 수 있다. In one embodiment, the pricing /
한 구체예에서, 가격 책정/트랜잭션 설비(178)는 완전한 고체연료 처리 가동 또는 고체연료 처리 가동의 임의의 부분에 대하여, 비용 정보, 가치 정보 등을 취합할 수 있다. 한 구체예에서, 가격 책정/트랜잭션 설비(178)는 비용 및 정보를 주기적으로, 가동의 끝에서, 가동의 일부의 요구에 따라 등으로 취합할 수 있다.In one embodiment, the pricing /
한 구체예에서, 가격 책정/트랜잭션 설비(178)는 석탄 샘플 데이터(120)로부터 원료 고체연료의 가치 정보를 취합할 수 있다. 한 구체예에서, 원료 고체연료의 가치는 단위당 가치, 전체의 입수된 원료 고체연료의 총 가치 등일 수 있다. 한 구체예에서, 가격 책정/트랜잭션 설비(178)는 가동 또는 가동의 일부 동안 처리된 고체연료의 총 양을 결정하고 원료 고체연료의 단위당 가치를 사용하여, 처리 동안 사용된 원료 고체연료의 가치를 추정하여, 원료 고체연료의 총 가치를 추정할 수 있다. 한 구체예에서, 사용된 원료 고체연료의 가치는 고체연료 가치 알고리즘에 입력될 수 있다.In one embodiment, the pricing /
전술한 바와 같이, 한 구체예에서 작동 파라미터는 고체연료 처리의 가동에 걸쳐 가격 책정/트랜잭션 설비(178)로의 피드백으로서 제공될 수 있다. 한 구체예에서, 작동 파라미터는 사용된 전기, 사용된 가스, 사용된 오일, 사용된 비활성 기 체 등과 같은 고체연료 처리에 관련된 비용을 포함할 수 있다. 한 구체예에서, 가격 책정/트랜잭션 설비(178)는 고체연료 처리 가동으로부터 모든 작동 비용을 취합할 수 있다. 한 구체예에서, 가격 책정/트랜잭션 설비(178)는 모든 작동 파라미터에 대하여 유닛당 비용 정보를 저장할 수 있다. 한 구체예에서, 가격 책정/트랜잭션 설비(178)는 각각의 개별적인 유닛당 비용 및 사용된 작동 유닛의 양을 사용하여 고체연료 처리 가동에 대한 작동 파라미터 비용을 추정할 수 있다. 한 구체예에서, 작동 고체연료 처리 비용은 고체연료 가치 알고리즘에 입력될 수 있다. As discussed above, in one embodiment, the operating parameters may be provided as feedback to the pricing /
한 구체예에서, 가격 책정/트랜잭션 설비(178)는 고체연료에서 방출된 생성물의 시장 가치, 고체연료에서 방출된 생성물의 처분 비용 등을 취합할 수 있다. 한 구체예에서, 가격 책정/트랜잭션 설비(178)는 모든 고체연료에서 방출된 생성물에 대한 단위당 비용 정보, 단위당 시장 가치 정보 등을 저장할 수 있다. 한 구체예에서, 취합된 방출된 생성물 비용 및 시장 가치는 고체연료 가치 알고리즘에 입력될 수 있다.In one embodiment, the pricing /
한 구체예에서, 가격 책정/트랜잭션 설비(178)는 작동 이윤 정보를 저장할 수 있다. 한 구체예에서, 작동 이윤 정보는 처리되는 고체연료의 유형, 처리된 고체연료의 시장성(marketability), 요구되는 처리 고체연료의 양 등에 관계될 수 있다. 한 구체예에서, 작동 이윤은 고체연료 처리 비용의 퍼센트, 처리된 고체연료 단위당 고정 이윤, 고객에게 전달되는 고체연료의 단위당 고정 이윤 등일 수 있다. 한 구체예에서, 작동 이윤은 고체연료 가치 알고리즘에 입력될 수 있다. In one embodiment, the pricing /
한 구체예에서, 가격 책정/트랜잭션 설비(178)는 처리된 고체연료의 최종 시장 가치를 결정하기 위하여, 사용된 원료 고체연료의 가치, 작동 비용, 방출된 고체연료 생성물의 비용/시장 가치, 작동 비용 등을 조합할 수 있다. 한 구체예에서, 가격 책정/트랜잭션 설비(178)는 최종 시장 가치를 저장할 수 있고, 고체연료 처리 설비에 대한 최종 시장 가치를 리포트할 수 있고, 고객에 대한 최종 시장 가치를 리포트할 수 있고, 기타 등등이다. 한 구체예에서, 저장된 고체연료 시장 가치는 경과적인 취합, 질의(querying), 데이터 경향 등을 포함하는, 한층 더한 분석과 추정에 이용 가능할 수 있다. In one embodiment, the pricing /
한 구체예에서, 원료 고체연료는 특정한 최종-사용 설비를 위하여 처리될 수 있다. 구체예에서, 최종-사용 설비는 수많은 최종-사용 고객, 전용(dedicated) 고객, 고체연료 처리 설비(132)에 직접 연결된 최종-사용 설비 등 중의 하나일 수 있다. 구체예에서, 최종-사용 설비는 석탄 연소 설비(200), 석탄 전환 설비(210), 석탄 부산물 설비(212) 등일 수 있다. In one embodiment, the feedstock solid fuel may be treated for a particular end-use installation. In an embodiment, the end-use facility may be one of a number of end-use customers, a dedicated customer, a final-use facility directly connected to the solid
한 구체예에서, 석탄 연소 설비(200)는 발전 설비(204), 야금 설비(208) 등을 포함할 수 있다. 발전 설비(204)는 고정층 석탄 연소 설비(220), 미분탄 연소 설비(222), 유동층 연소 설비(224), 재생 가능한 에너지원을 사용하는 복합 연소 설비(228) 등을 포함할 수 있다.In one embodiment, the
한 구체예에서, 석탄 전환 설비는 가스화설비(230), 석탄가스화 복합발전 설비(232), 합성가스 생산 설비(234), 코크스 형성설비(238), 정제된 탄소 형성설비(238), 탄화수소 생성 설비(240) 등을 포함할 수 있다.In one embodiment, the coal conversion facility includes a
한 구체예에서, 석탄 부산물 설비(212)는 석탄 연소 부산물 설비(242), 석탄 증류 부산물 설비(244) 등을 포함할 수 있다.In one embodiment, the coal by-
한 구체예에서, 최종-사용 설비는 고체연료 처리 요건을 석탄 아웃풋 파라미터(172)에 위치시켜, 처리된 고체연료에 대한 요청을 전달할 수 있다. 상기 요건은 최종-사용 설비 고체연료의 희망하는 특성을 제공할 수 있다. 한 구체예에서, 고체연료 희망하는 특성은 수분 퍼센트, 회분 퍼센트, 휘발성 물질 퍼센트, 고정탄소 퍼센트, BTU/lb, 수분과 회분이 없을 시 BTU/lb, 황의 형태, 분쇄성(HGI), 총 수은, 회분 용융온도, 회분 무기물 분석, 전자기적 흡수/반사, 유전특성 등을 포함할 수 있다.In one embodiment, the end-use facility may place a solid fuel treatment requirement in a
한 구체예에서, 최종-사용자 설비는 처리하기 위한 특정한 원료 고체연료를 구체화할 수 있고, 고체연료 처리 설비(132)가 처리하기 위한 최적의 원료 고체연료를 선택하는 것을 허용할 수 있고, 또는 이들의 조합의 일부일 수 있다.In one embodiment, the end-user facility may embody a particular source solid fuel for processing and may allow the solid
한 구체예에서, 고체연료 처리 요건이 석탄 아웃풋 파라미터(172)로서 입력되면, 고체연료 처리 설비는 고체연료가 연속 처리 공정, 배치 공정, 또는 다른 가공 방법에 의하여 처리되어야 하는지를 결정할 수 있다. 한 구체예에서, 고체연료 처리 설비(132)는 요청되는 최종-사용자 고체연료의 부피, 요구되는 최종 사용자 설비 고체연료 특성, 이용 가능한 원료 고체연료, 여러 가공 방법의 성능 등을 포함하는 인자에 기초하여 가공 방법을 결정할 수 있다. 예를 들어, 배치 공정이 요구되는 처리된 고체연료의 소량에 유용할 수 있는 반면, 연속 처리 공정은 다량을 유리하게 산출할 수 있다. 처리 명세사항의 좁은 대역(narrow band)을 가지는 처리된 고체연료에 대하여, 고체연료 처리 설비(132)는 특성별(characteristic-by- characteristic) 기저(basis)에서의 아웃풋에 걸쳐 더 우수한 제어를 유지하기 위하여 배치 공정을 선택할 수 있다. 당업자는 최종-사용자로부터 요청된 고체연료를 처리하기 위한 배치 또는 연속 처리 공정 중 하나를 선택하는 다른 이유를 이해할 수 있다.In one embodiment, if the solid fuel treatment requirement is input as the
한 구체예에서, 최종-사용자 설비는 사용을 위한 특정 고체연료를 요청할 수 있거나, 특정한 특성을 가지는 원료 고체연료를 요청할 수 있거나, 인풋으로서 원료 고체연료의 범위를 요청할 수 있거나, 기타 등등이다. 한 구체예에서, 최종-사용자 설비는 고체연료 처리 설비(132)에서의 처리를 위하여 이용 가능한 수많은 특정한 원료 고체연료에 관한 정보를 가질 수 있고, 최종-사용자 설비는 이용 가능한 무더기로부터 하나의 원료 고체연료를 선택할 수 있다. 구체예에서, 고체연료 처리 설비(132)는 이용 가능한 원료 고체연료의 목록을 최종-사용자 설비에 제공할 수 있거나, 고체연료 처리 설비(132)는 생산될 수 있는 처리된 고체연료의 목록을 최종-사용자 설비에 제공할 수 있다. 최종-사용자가 원료 고체연료 인풋을 결정하도록 하는 다른 방법은 당업자에게 명백할 것이다. 한 구체예에서, 고체연료 처리 설비(132)는 원료 고체연료 인풋에 관한 최종 결정을 할 수 있다. 한 구체예에서, 원료 고체연료 선택의 결정은 고체연료 처리 설비(132) 성능, 특정 원료 고체연료의 경과적인 처리, 원료 고체연료의 특성 등에 기초할 수 있다.In one embodiment, the end-user facility can request a specific solid fuel for use, request a raw solid fuel having specific characteristics, request a range of raw solid fuel as input, or the like. In one embodiment, the end-user facility may have information about a number of specific raw solid fuels available for processing at the solid
한 구체예에서, 고체연료 처리 설비(132)가 최종-사용자 설비 요건을 입수하면, 고체연료 처리 설비(132)는 요청된 최종의 처리된 고체연료를 생산하기 위하여 최적의 매치(match) 원료 고체연료를 선택할 수 있다. 한 구체예에서, 석탄 샘플 데이터(120)는 최적의 매치 원료 고체연료를 결정하기 위하여 파라미터 생성 설비(128)에 의하여 검색될 수 있다. 한 구체예에서, 최적의 매치 고체연료는 최종-사용자로부터 요청된 최종의 처리된 고체연료의 특성, 연속 처리 설비의 성능, 배치 설비의 성능, 최종-사용자 설비 고체연료 요건의 허용치 등과 같은 기준에 따라 선택될 수 있다.In one embodiment, when the solid
한 구체예에서, 원료 고체연료가 선택되면, 파라미터 생성 설비(128)는 최종-사용자에 의하여 요청되는 특성을 달성하도록 원료 고체연료를 처리하는 데에 사용될 수 있는 파라미터를 결정할 수 있다. 앞서 기술된 바와 같이, 파라미터 생성 설비(128)는 석탄 희망 특성(122)에서 최종의 처리된 고체연료 특성을 얻을 수 있고, 여기서 석탄 희망 특성(122)은 최종-사용자에 의하여 정의될 수 있다. 한 구체예에서, 파라미터 생성 설비(128)는 원료 고체연료의 처리를 위한 작동 파라미터를 추정하기 위하여 알고리즘을 사용할 수 있다. 한 구체예에서, 알고리즘은 고체연료 처리 설비(132)의 성능, 선택된 원료 고체연료와 최종-사용자 설비에서 요구되는 고체연료 간의 차이, 유사한 원료 고체연료 처리에서의 경과적인 결과 등과 같은 변수를 고려할 수 있다. 한 구체예에서, 파라미터 생성 설비(128)는 벨트 설비(130) 컴포넌트(예를 들어 마이크로파 시스템(148))의 작동 파라미터, 원료 고체연료가 처리될 수 있는 횟수, 가열 속도, 냉각 속도, 고체연료의 처리, 원료 고체연료에서 방출된 생성물의 제거 동안 사용될 수 있는 대기 조건 등을 설정할 수 있다. 한 구체예에서, 파라미터 생성 설비(128)는 원료 고체연료의 처리를 제어하기 위하여, 작동 파라미터를 모니터링 설비(134)와 컨트롤러(144)에 전송할 수 있다.In one embodiment, when the feedstock solid fuel is selected, the
파라미터 생성 설비(128)는 당업자에게 명백할 것인 다양한 방법을 사용하여, 최종-사용 설비에서 요청되는 고체연료 생산을 위한 용도를 위하여 원료 고체연료를 선택할 수 있다. 한 구체예에서, 파라미터 생성 설비(128)는 석탄 희망 특성(122)에서 최종-사용 설비 고체연료 특성을 검색할 수 있다. 한 구체예에서, 파라미터 생성 설비(128)는 원료 고체연료를 선택하기 위하여, 최종-사용 설비 고체연료 특성으로부터의 핵심 특성을 사용할 수 있다. 한 구체예에서, 희망하는 최종 생성물의 핵심 특성은 최종-사용 설비에 의하여 제공되거나, 파라미터 생성 설비(128)에 의하여 결정되거나, 고체연료 처리 설비(132) 성능에 의하여 결정되거나, 기타 등등일 수 있다.The
핵심 특성은 원료 고체연료에 대한 처리 공정 결정에 사용될 수 있다. 한 구체예에서, 핵심 특성은 최종-사용 설비 고체연료 특성에 대한 중요성별로 등급이 정해질 수 있다. 대안으로, 랭킹(ranking)은 최종-사용 설비, 파라미터 생성 설비(128), 또는 임의의 다른 적절한 설비에 의하여 제공될 수 있다. 한 구체예에서, 랭킹은 고체연료의 최종 용도에 따라 정렬될 수 있다. 예를 들어, 최종-사용 설비는 최종의 처리된 고체연료에서 특정한 수분 수준이 요구되는 반면, 다른 특성은 덜 중요하다는 것을 나타낼 수 있다. 수분 수준이 희망하는 처리된 연료 특성의 최고 랭킹을 가질 것이기 때문에, 희망하는 수분 수준을 유지하기에 필요한 설정은 다른 설정보다 우선할 것이다.Core characteristics can be used to determine the treatment process for the raw solid fuel. In one embodiment, the core properties can be graded by importance to the end-use equipment solid fuel properties. Alternatively, ranking may be provided by the end-use facility, the
한 구체예에서, 파라미터 생성 설비(128)는 이용 가능한 원료 고체연료에서 원료 고체연료를 선택하기 위하여 핵심 특성을 사용할 수 있다. 한 구체예에서, 파 라미터 생성 설비(128)는 최종-사용 설비 고체연료를 생산하기 위한 원료 고체연료 처리를 위한 작동 파라미터를 결정하기 위하여 핵심 특성을 사용할 수 있다. 한 구체예에서, 파라미터 생성 설비(128)가 단지 핵심 특성에 기초하여 작동 파라미터를 설정할 수 있거나, 파라미터 생성 설비(128)가 작동 파라미터 결정을 위하여 다른 특성들과 함께 핵심 특성을 사용할 수 있다.In one embodiment, the
한 구체예에서, 결정된 작동 파라미터는 모니터링 설비(134), 컨트롤러(144) 등으로 전송될 수 있다. 한 구체예에서, 모니터링 설비(134)는 벨트 설비(130) 센서(142)를 사용하여 고체연료 처리 공정 동안 작동 파라미터를 모니터하고 조정할 수 있다. 한 구체예에서, 고체연료가 처리됨에 따라, 센서(142)는 핵심 특성에 대한 작동 파라미터를 측정할 수 있고, 센서(142) 읽음을 모니터링 설비(134)에 전송할 수 있다. 모니터링 설비가, 작동 파라미터가 고체연료 핵심 특성을 얻기 위한 조정을 요구하는 것으로 결정할 경우, 모니터링 설비(134)는 조정된 작동 파라미터를 컨트롤러(144)에 전송할 수 있다. 한 구체예에서, 컨트롤러(144)는 고체연료를 처리하기 위한 벨트 설비(130) 컴포넌트에 대한 제어를 작동 파라미터에 제공할 수 있다.In one embodiment, the determined operating parameters may be transmitted to
한 구체예에서, 모니터링 설비(134), 컨트롤러(144), 및 센서(142)의 처리 피드백 루프를 사용하여, 고체연료 처리 설비(132)는 원료 고체연료를 최종-사용 설비로부터 요청되는 고체연료로 가공한다. 한 구체예에서, 고체연료는 연속 처리 공정, 배치 공정, 연속 처리 및 배치 공정의 조합 등을 사용하여 가공될 수 있다.In one embodiment, using the process feedback loop of the
한 구체예에서, 처리 공정의 끝에서, 최종의 처리된 고체연료는 테스트 설 비(170)에서 테스트되어 최종의 처리된 고체연료의 특성을 결정할 수 있다. 한 구체예에서, 테스트된 고체연료의 특성은 본래의(original) 최종-사용 설비 고체연료 특성과 비교될 수 있다. 한 구체예에서, 비교된 특성은 핵심 특성, 모든 고체연료 특성, 또는 이들의 조합이나 하위세트일 수 있다. 한 구체예에서, 테스트 설비(170)는 최종의 처리된 고체연료가 최종-사용 설비로부터 요구되는 고체연료의, 요구되는 특성 내에 있는지를 결정할 수 있다. 한 구체예에서, 고체연료가 처리될 때, 테스트된 특성은 모니터링 설비(134)에 전송될 수 있다. 한 구체예에서, 모니터링 설비(134)는 테스트 설비(170)에 의하여 제공된 특성에 기초하여 작동 파라미터를 조정할 수 있다.In one embodiment, at the end of the treatment process, the final treated solid fuel may be tested in the
한 구체예에서, 최종의 처리된 고체연료가 최종-사용 설비의 요건을 충족시키지 않는 것으로 결정될 경우, 최종의 처리된 고체연료는 고체연료 처리 설비(132)에서 처리를 더욱 거칠 수 있다. 한 구체예에서, 고체연료가 처리될 때, 최종의 처리된 고체연료는 최종-사용 설비의 요건을 충족시키는 것으로 결정될 때까지 임시 보관 장소에 보관될 수 있다. 최종 고체연료가 최종-사용 설비 요건을 충족시키는 것으로 결정될 경우, 최종 고체연료는 최종-사용 설비로 수송될 수 있다.In one embodiment, if the final treated solid fuel is determined not to meet the requirements of the end-use facility, then the final treated solid fuel may be further processed in the solid
한 구체예에서, 최종의 처리된 고체연료의 테트스된 특성은 석탄 아웃풋 파라미터(172)와 함께 저장될 수 있다. 한 구체예에서, 저장된 최종의 처리된 고체연료 테스트 특성은 당업자에 의하여 구상될 것과 같이, 경과적인 목적을 위하여, 최종-사용 설비에 의한 장래의 선택을 위하여 희망하는 고체연료로서, 원료 고체연료에서 최종-사용 설비에서 요구되는 고체연료로의 완료된 처리의 최종 증명을 위하 여, 또는 다른 용도를 위하여 사용될 수 있다.In one embodiment, the tested characteristic of the final treated solid fuel may be stored along with the
한 구체예에서, 트랜잭션(transaction)이 특수한 최종-사용 설비에 대한 원료 고체연료 처리를 위하여 수행될 수 있다. 한 구체예에서, 트랜잭션은 최종-사용 설비에 대한 원료 고체연료 처리 비용의 추정일 수 있다. 한 구체예에서, 원료 고체연료 처리 비용은 전기, 가스, 오일, 비활성 기체, 방출된 고체연료 생성물의 처분, 원료 고체연료의 수송, 최종-사용 설비로 최종 처리된 고체연료의 수송 등에 관한 비용을 포함할 수 있다. 한 구체예에서, 트랜잭션은 방출된 고체연료 생성물 또는 최종의 처리된 고체연료의 판매로부터의 이익을 포함하여, 고체연료의 처리에서 얻은 수입을 포함할 수 있다.In one embodiment, a transaction may be performed for raw solid fuel treatment for a particular end-use facility. In one embodiment, the transaction may be an estimate of the raw solid fuel treatment cost for the end-use plant. In one embodiment, the cost of the raw solid fuel treatment is the cost of the electricity, gas, oil, inert gas, disposal of the discharged solid fuel product, transportation of the raw solid fuel, transportation of the final processed solid fuel to the end- . In one embodiment, the transaction may include revenue from the treatment of the solid fuel, including benefits from the sale of the discharged solid fuel product or the final treated solid fuel.
한 구체예에서, 처리된 고체연료에 대한 각각의 최종-사용 설비 요청은 트랜잭션으로서 처리될 수 있다. 한 구체예에서, 최종-사용 설비가 희망하는 최종의 처리된 고체연료에 대한 특성과 통신하면, 가격 책정/트랜잭션 설비(178)는 희망하는 특성을 달성하기 위한 원료 고체연료 처리의 재정 지표(financial metrics) 취합을 시작할 수 있다. 예를 들어, 가격 책정/트랜잭션 설비는 원료 고체연료의 처리에 관련된 재정 지표(예를 들어, 비용, 수익, 이윤과 손실)를 취합하기 위하여 비용 파일, 원장(ledger), 데이터베이스, 스프레드시트(spreadsheet) 등을 사용하기 시작할 수 있다.In one embodiment, each end-use facility request for the treated solid fuel can be processed as a transaction. In one embodiment, when the end-use facility communicates with the desired final processed solid fuel characteristics, the pricing /
한 구체예에서, 파라미터 생성 설비(128)가 원료 고체연료를 선택하면, 원료 고체연료 식별은 가격 책정/트랜잭션 설비(178)과 통신이 될 수 있다. 원료 고체연료 식별을 사용하여, 가격 책정/트랜잭션 설비(178)는 석탄 샘플 데이터(120)에서 원료 고체연료 비용 정보를 검색할 수 있다. 한 구체예에서, 가격 책정/트랜잭션 설비(178)는 원료 고체연료 비용 정보를 특유한 처리 가동에 대한 비용 파일에 저장할 수 있다. 비용 정보는 단위당 비용(예를 들어 비용/톤), 총 원료 고체연료의 비용, 총 사용 가능 유닛 개수 등을 포함할 수 있다. 최종-사용 설비에 의하여 요청되는 가공된 고체연료의 양에 기초하여, 가격 책정/트랜잭션 설비(178)는 최종-사용 설비에 의하여 요청되는 대로 고체연료를 생산하기에 요구되는 원료 고체연료의 비용 및 비용비(cost ratio)의 추정이 가능할 수 있다.In one embodiment, the raw material solid fuel identification can be communicated to the pricing /
앞서 기술된 바와 같이, 파라미터 생성 설비(128)는 원료 고체연료를 처리하기 위하여 작동 파라미터를 생성하고, 작동 파라미터를 모니터링 설비(134), 컨트롤러(144) 등에 전송할 수 있다. 모니터링 설비(134), 컨트롤러(144) 등은 가열기, 벨트, 마이크로파 시스템(148), 벤트, 펌프, 제거 시스템(150) 등과 같은 컴포넌트에 작동 정보를 제공하여 원료 고체연료의 처리를 제어할 수 있다. 원료 고체연료의 처리 동안, 에너지 비용이 전기, 가스, 오일 등을 소비할 수 있는 다양한 컴포넌트를 작동시키기 위하여 지출될 수 있다. 한 구체예에서, 고체연료 처리 설비(132)는 다양한 컴포넌트의 작동을 측정할 수 있는 센서(142)를 가질 수 있다. 한 구체예에서, 센서(142)는 또한 원료 고체연료의 처리 동안 각각의 컴포넌트가 소비하는 에너지를 측정할 수 있다.As described above, the
한 구체예에서, 센서는 원료 고체연료의 처리동안, 각각의 컴포넌트의 에너지 사용을 가격 책정/트랜잭션 설비(178)에 전송할 수 있다. 한 구체예에서, 가격 책정/트랜잭션 설비(178)는 다양한 에너지 유형에 대한 단위당 비용을 저장할 수 있고, 고체연료 처리 설비(132)의 에너지 사용을 비용가(cost value)로 전환 가능할 수 있다. 예를 들어, 센서는 마이크로파 시스템(148)에 의하여 사용되는 킬로와트 수에 대한 데이터를 가격 책정/트랜잭션 설비(178)에 전송할 수 있는데, 이는 킬로와트당 비용에 대한 정보에 액세스한다. 이러한 사용 데이터들과 이러한 가격 책정 정보를 사용하여, 가격 책정 트랜잭션 설비(178)는 주어진 많은 원료 고체연료를 처리하기 위한 마이크로파 시스템(148) 작동 비용을 추정할 수 있다. 한 구체예에서, 가격 책정/트랜잭션 설비(178)는 처리 가동 동안 원료 고체연료를 처리하는 비용을 취합할 수 있고, 이러한 취합된 비용을 최종-사용 설비 고체연료 처리에 대한 비용 파일에 저장할 수 있다. 한 구체예에서, 가격 책정/트랜잭션 설비(178)는 한층 더한 추정과 분석을 위하여 다수의 처리 가동에 관련된 비용을 취합할 수 있다.In one embodiment, the sensor may transmit the energy usage of each component to the pricing /
한 구체예에서, 추가비용 및 이윤/손실은 원료 고체연료의 가공 동안 수집된 비-연료 생성물과 관련될 수 있다. 한 구체예에서, 원료 고체연료의 처리 동안, 물, 황, 회분 등과 같은 비-연료 생성물이 수득될 수 있다. 이러한 수입된 비-연료 생성물들의 일부는 시장 가치를 가질 수 있고, 따라서 판매될 수 있다(예를 들어 황). 특정한 다른 비-연료 생성물에 대해서는 시장이 없을 수 있고, 따라서 이들은 비용이 드는 처분을 필요로 한다.In one embodiment, the additional cost and profit / loss may be related to the non-fuel product collected during processing of the raw solid fuel. In one embodiment, during the treatment of the raw solid fuel, non-fuel products such as water, sulfur, ash, etc. may be obtained. Some of these imported non-fuel products may have market value and may therefore be sold (e. G. Sulfur). There may be no market for certain other non-fuel products, and therefore they require costly disposal.
한 구체예에서, 센서(142)는 격납 설비(162), 처리 설비(160), 처분 설비(158) 등에 수집되어 있는 방출된 비-연료 생성물의 양을 측정할 수 있다. 이후 이들 센서(142)는 이러한 생성물의 양에 관한 데이터를 가격 책정/트랜잭션 설 비(178)로 전송할 수 있다. 한 구체예에서, 가격 책정/트랜잭션 설비(178)는 시장 가치, 처분 비용 및 다양한 비-연료 생성물과 같은 것에 관한 정보를 저장할 수 있고, 각각의 방출된 생성물의 각각의 이윤 또는 비용과 관련된 비용 및 이윤/손실을 추정할 수 있다. 예를 들어, 모니터링 설비(134), 컨트롤러(144), 센서(142) 등은 어느 정도의 황(비-연료 생성물)이 수집되고 판매되기에 가능한지를 가격 책정/트랜잭션 설비(178)에게 나타낼 수 있다. 가격 책정/트랜잭션 설비(178)는 수집된 황의 판매 및 그것의 황을 사용하는 기업으로의 추후의 수송을 준비할 수 있다. 그 후에, 가격 책정/트랜잭션 설비(178)는 석탄 처리 설비(132)의 황을 생산하는 비용을 추정할 수 있거나, 생산 비용의 함수로서 황 판매로부터의 수익을 추정할 수 있거나, 당업자에게 명백할 것인 다른 재정상의 추정을 수행할 수 있다.In one embodiment, the
비용, 이윤/손실, 기대수익 등에 대한 추정은 또한, 예를 들어 추적된 특정한 비-연료 생성물에 대한 시장 가격에 관한 실제의 데이터 또는 예상치를 사용하여, 비-연료 생성물이 수집됨에 따라 석탄 처리 동안의 임의의 시점에서 수행될 수 있고, 따라서 예상된 생산 비용, 수익, 이윤/손실 등의 세트가 얻어질 수 있다. 비-연료 생성물의 판매 및/또는 수송 후에 얻어진 실제의 수치는 예상치와 비교될 수 있거나, 또는 예상치가 경과적인 실제의 수치와 비교될 수 있다. 재정 정보에 대한 다른 용도 및 실시간, 예상된, 및 경과적인 재정 정보의 조합이 당업자에게 쉽게 명백해질 것이다. 한 구체예에서, 가격 책정/트랜잭션 설비(178)는 최종-사용 설비 고체연료 처리에 대한 비용 파일에 (생산 비용, 수익 등을 포함하는) 비-연료 생성물에 관한 재정 정보를 저장할 수 있다.Estimates of costs, profits / losses, expected returns, etc. may also be used to estimate the cost of a particular non-fuel product during the coal processing as the non-fuel product is collected, And thus a set of expected production costs, revenue, profit / loss, etc., can be obtained. The actual values obtained after the sale and / or transportation of the non-fuel product can be compared to an estimate, or the estimate can be compared with an actual number that is elapsed. Other uses for financial information and the combination of real-time, anticipated, and ongoing financial information will be readily apparent to those skilled in the art. In one embodiment, the pricing /
한 구체예에서, 최종-사용 설비 위치, 최종의 처리된 고체연료의 양, 고체연료를 수송하기 위한 수송 방법 등에 기초하여, 가격 책정/트랜잭션 설비(178)는 가공된 연료를 최종-사용 설비로 수송하기 위한 수송 비용을 추정할 수 있다. 한 구체예에서, 가격 책정/트랜잭션 설비(178)는 최종-사용 설비 고체연료에 대한 총 비용을 추정하기 위하여 수송 비용에 관한 데이터를 사용할 수 있다. 한 구체예에서, 가격 책정/트랜잭션 설비(178)는 수송 비용을 최종-사용 설비 고체연료 처리에 대한 비용 파일에 저장할 수 있다.In one embodiment, the pricing /
한 구체예에서, 가격 책정/트랜잭션 설비(178)는 원료 고체연료를 요청된 최종-사용 설비 고체연료로 처리하는 것에 대한 작동 이윤/손실을 결정할 수 있다. 당업자에게 이해될 것과 같이, 다수의 알고리즘이 이러한 작동 이윤/손실 결정에 이용 가능하다. 예를 들어, 작동 이윤/손실은 원료 고체연료 처리를 위한 총 비용의 퍼센트로서, 또는 처리된 고체연료의 단위당 이윤/손실 세트로서 결정될 수 있다. 한 구체예에서, 가격 책정/트랜잭션 설비(178)는 작동 이윤을 최종-사용 설비 고체연료 처리에 대한 비용 파일에 저장할 수 있다.In one embodiment, the pricing /
한 구체예에서, 가격 책정/트랜잭션 설비(178)는 모니터링 설비(134), 컨트롤러(144), 센서(142) 등으로부터 최종-사용 설비를 위한 원료 고체연료의 처리가 완료되었다는 지표(indication)를 입수할 수 있다. 한 구체예에서, 원료 고체연료 처리가 완료되었다는 지표에서, 가격 책정/트랜잭션 설비(178)는 모든 고체연료 처리 비용 및 최종의 최종-사용 설비 고체연료 가치에 대한 이윤/손실을 취합할 수 있다. 한 구체예에서, 비용과 이윤의 취합은 표준의 회계실무를 사용할 수 있다. 한 구체예에서, 최종의 최종-사용 고체연료 가치는 최종-사용 설비로 전송될 수 있다. 대안으로, 상기 기술된 바와 같이, 가격 책정/트랜잭션 설비는 최종-사용 설비가 가공 자체 동안 경제적 결정을 하도록 허용하면서, 처리의 과정 전체에 걸친 비용, 이윤/손실, 기대수익 등에 관한 예상치를 제공할 수 있다.In one embodiment, the pricing /
한 구체예에서, 고체연료 정보는 데이터베이스로서 적어도 하나의 저장 설비에 저장될 수 있다. 한 구체예에서 적어도 하나의 저장 설비는 하드 드라이브, CD 드라이브, DVD 드라이브, 플래시 드라이브, 집 드라이브(zip drive), 테이프 드라이브 등일 수 있다. 한 구체예에서, 적어도 하나의 저장 설비는 단일 저장 설비, 다수의 근접(local) 보관 설비, 다수의 광역(distributed) 보관 설비, 근접 및 광역 보관 설비의 조합 등일 수 있다. 한 구체예에서, 데이터베이스는 데이터베이스, 관계 데이터베이스, SQL 데이터베이스, 테이블, 파일, 플랫 파일, ASCII 파일, 문서(document), XML 파일 등일 수 있다.In one embodiment, the solid fuel information can be stored in at least one storage facility as a database. In one embodiment, at least one storage facility can be a hard drive, a CD drive, a DVD drive, a flash drive, a zip drive, a tape drive, and the like. In one embodiment, the at least one storage facility may be a single storage facility, a plurality of local storage facilities, a plurality of distributed storage facilities, a combination of proximity and wide area storage facilities, and the like. In one embodiment, the database may be a database, a relational database, an SQL database, a table, a file, a flat file, an ASCII file, a document, an XML file,
한 구체예에서, 고체연료 정보는 입수된 원료 고체연료, 최종-사용 설비 희망 고체연료 특성, 고체연료 처리 설비(132) 작동 파라미터, 최종의 처리된 고체연료 테스트 정보 등과 관련된 정보일 수 있다. 고체연료 정보는 석탄 샘플 데이터(120), 석탄 희망 특성(122), 석탄 아웃풋 파라미터(172), 파라미터 생성 설비(128), 모니터링 설비(134), 컨트롤러(144) 등과 같은 설비에 저장될 수 있다.In one embodiment, the solid fuel information may be information related to the raw solid fuel obtained, the end-use equipment desired solid fuel characteristics, the solid
한 구체예에서, 석탄 샘플 데이터(120)는, 파라미터 생성 설비(128), 석탄 희망 특성(122), 가격 책정/트랜잭션 설비(178) 등과 같은 등과 같은 시설에 의한 액세스를 위한 데이터베이스로서 원료 고체연료 특성을 저장할 수 있다. 한 구체예 에서, 석탄 특성은 수분 퍼센트, 회분 퍼센트, 휘발성 물질 퍼센트, 고정탄소 퍼센트, BTU/lb, 수분과 회분이 없을 시BTU/lb, 황의 형태, 분쇄성(HGI), 총 수은, 회분 용융온도, 회분 무기물 분석, 전자기적 흡수/반사, 유전특성 등을 포함할 수 있다. 이러한 고체연료 특성들은 광산(102), 보관 설비(112), 테스트 설비(170) 등에 의하여 제공될 수 있다. 한 구체예에서, 데이터베이스에서의 특성은 최종-사용 설비 고체연료로의 처리에 앞선 고체연료의 최초 조건을 기술할 수 있다.In one embodiment, the
한 구체예에서, 석탄 샘플 데이터(120) 데이터베이스는 원료 고체연료 정보의 검색을 허용하도록 검색 가능할 수 있다. 한 구체예에서, 원료 고체연료 정보는 최종-사용 설비 고체연료로 변환하는 처리에 사용하기 위한 원료 고체연료를 선택하기 위하여, 파라미터 생성 설비(128)에 의하여 검색될 수 있다. 한 구체예에서, 저장된 원료 고체연료 정보 데이터베이스는 각각의 원료 고체연료에 대한 단일 기록 또는 각각의 원료 고체연료에 대한 다수의 기록을 포함할 수 있다. 한 구체예에서, 원료 고체연료의 주기적 샘플, 통계적 샘플, 무작위 샘플 등의 결과로서 다수의 기록이 있을 수 있다. 한 구체예에서, 석탄 샘플 데이터(120)가 검색될 경우, 하나 이상의 매치하는 기록이 각각의 원료 고체연료에 대하여 되돌아갈 수 있다.In one embodiment, the
한 구체예에서, 석탄 희망 특성(122)은 최종-사용자 고체연료 특성, 이용 가능한 원료 고체연료에 기초한 처리된 고체연료 특성, 경과적인, 처리된 고체연료 특성 등을 파라미터 생성 설비(128), 석탄 샘플 데이터(120), 석탄 아웃풋 파라미터(172) 등에 의한 액세스를 위한 데이터베이스로서 저장할 수 있다. 한 구체예에서, 석탄 특성은 수분 퍼센트, 회분 퍼센트, 휘발성 물질 퍼센트, 고정탄소 퍼센 트, BTU/lb, 수분과 회분이 없을 시 BTU/lb, 황의 형태, 분쇄성(HGI), 총 수은, 회분 용융온도, 회분 무기물 분석, 전자기적 흡수/반사, 유전특성 등을 포함할 수 있다. 이러한 고체연료 특성들은 파라미터 생성 설비(128), 석탄 아웃풋 파라미터(172), 최종-사용 설비 등과 같은 설비에 의하여 제공될 수 있다. 한 구체예에서, 데이터베이스에서의 특성은 원료 고체연료 처리 후의 처리된 고체연료의 최종 조건을 기술할 수 있다.In one embodiment, the coal desired
한 구체예에서, 석탄 희망 특성(122) 데이터베이스는 최종의 처리된 고체연료 정보의 검색을 허용하도록 검색가능할 수 있다. 한 구체예에서, 최종의 처리된 고체연료 정보는 고체연료 처리 설비(132) 작동 파라미터의 생성에 대한 최종-사용 설비 고체연료 특성을 선택하기 위하여, 파라미터 생성 설비(128)에 의하여 검색될 수 있다. 한 구체예에서, 저장된 최종의 처리된 고체연료 정보 데이터베이스는 각각의 고체연료에 대한 단일한 기록 또는 각각의 고체연료에 대한 다수의 기록을 포함할 수 있다. 한 구체예에서, 주기적 샘플, 통계적 샘플, 무작위 샘플 등의 결과로서 다수의 기록이 있을 수 있다. 한 구체예에서, 석탄 희망 특성(122)이 검색될 때, 하나 이상의 부합하는 기록이 각각의 원료 고체연료에 대하여 되돌아갈 수 있다.In one embodiment, the coal desired
한 구체예에서, 석탄 샘플 데이터(120) 및 석탄 희망 특성(122)을 사용하여, 파라미터 생성 설비(128)는 고체연료 처리 설비(132) 작동 파라미터를 생성할 수 있다. 작동 파라미터는 원료 고체연료를 최종-사용 설비 고체연료로 처리하기 위한 고체연료 처리 설비(132)의 다양한 컴포넌트의 제어에 대한 데이터 세트일 수 있 다. 작동 파라미터는 파라미터 생성 설비(128), 모니터링 설비(134), 또는 컨트롤러(144) 등을 포함하는 임의의 관련 설비에서의 데이터베이스에 저장될 수 있다. 작동 파라미터에 더하여, 파라미터 생성 설비(128)는 각각의 기능성(functionality)에 대하여, 작동 파라미터와 동일한 데이터베이스에 저장될 수 있거나 개별적인 데이터베이스에 저장될 수 있는, 허용치의 세트를 생성할 수 있다. 한 구체예에서, 작동 파라미터와 허용치의 결합된 데이터 세트는 실질적으로 고체연료 처리의 제어에 대한 모든 요건을 제공할 수 있다.In one embodiment, using the
한 구체예에서, 처리 공정은 특유한 고체연료 처리 설비(132) 컴포넌트가 사전설정 허용치 내에서 기능하는지를 결정하기 위하여 사용되는 센서(142) 측정치를 가지는 작동 파라미터에 의하여 통제될 수 있다. 센서(142) 측정에 기초하여, 특유한 컴포넌트의 작동은 허용치 한계에 포함되도록 조정될 수 있다. 게다가, 작동 파라미터는 특유한 컴포넌트의 기능(function)이 사전설정 한계에 포함되도록 조정될 수 있다. 예를 들어, 마이크로파 시스템(148)에 대한 작동 파라미터는, 센서(142) 측정치가 마이크로파 시스템(148)에 대한 허용치의 하한이나 상한 어느 쪽이라도 넘어설 경우, 본래의 작동 파라미터로부터 조정될 수 있다. 한 구체예에서, 작동 파라미터 데이터베이스는 컴포넌트로 전송되는 작동 파라미터에 대한 조정에 매치하도록 변경될 수 있다.In one embodiment, the treatment process can be controlled by operating
한 구체예에서, 고체연료의 최종 처리가 완료된 후, 모니터링 설비(134)는 최종의 변경된 작동 파라미터 데이터베이스를 파라미터 생성 설비(128)에 전송할 수 있는데, 파라미터 생성 설비에는 변경된 작동 파라미터가 저장될 수 있다. 한 구체예에서, 저장된 변경 작동 파라미터는 변경된 작동 파라미터를 사용하여 처리된, 원료 고체연료의 저장된 특성과 결합될 수 있다. 이 구체예에 따라, 유사한 차후의 원료 고체연료가 처리되어야 할 때, 파라미터 생성 설비(128)는 초기 작동 파라미터로서 사용하기 위한 데이터 세트를 검색하기 위하여, 저장된 변경 작동 데이터베이스를 검색할 수 있다. 구체예에서, 단일 작동 파라미터 기록이 검색될 수 있고, 변경된 작동 파라미터의 범위가 검색될 수 있고, 또는 변경된 작동 파라미터의 세트가 검색될 수 있어, 새로운 원료 고체연료를 가공하기 위한 초기의 작동 파라미터가 변경된 작동 파라미터의 평균, 단일 작동 파라미터 기록, 변경된 작동 파일의 통계적 취합 등을 사용할 수 있다.In one embodiment, after the final treatment of the solid fuel is completed, the
상기 기술된 바와 같이, 고체연료가 고체연료 처리 설비(132)에서 처리된 후, 처리된 고체연료는 테스트 설비(170)에서 테스트되어 최종의 처리된 고체연료 처리 특성을 결정할 수 있다. 한 구체예에서, 최종의 처리 특성은 수분 퍼센트, 회분 퍼센트, 휘발성 물질 퍼센트, 고정탄소 퍼센트, BTU/lb, 수분과 회분이 없을 시 BTU/lb, 황의 형태, 분쇄성(HGI), 총 수은, 회분 용융온도, 회분 무기물 분석, 전자기적 흡수/반사, 유전특성 등을 포함할 수 있다. 한 구체예에서, 최종의 고체연료 특성은 석탄 아웃풋 파라미터(172)에 저장될 수 있다. 한 구체예에서, 특성 데이터는 고체연료 처리 공정의 제어를 위한 모니터링 설비(134)에 피드백을 제공하기 위하여 사용될 수 있고, 석탄 희망 특성(122)과 결합될 수 있고, 데이터를 가격 책정/트랜잭션 설비(178)에 제공할 수 있고, 기타 등등이다.As described above, after the solid fuel is treated in the solid
한 구체예에서, 고체연료 처리 가동 동안, 적어도 하나의 최종의 처리된 고 체연료 처리 특성 데이터의 세트가 석탄 아웃풋 파라미터(172)에 저장될 수 있다. 앞서 기술된 바와 같이, 최종의 처리된 고체연료 처리 특성은, 고체연료 처리 설비(132)의 작동 파라미터를 조정할 때 고려하기 위한 모니터링 설비(134)에 대한 추가된 데이터 세트로서, 모니터링 설비(134)에 전송될 수 있다. 한 구체예에서, 최종의 처리된 고체연료 처리 특성은 석탄 희망 특성(122)과 결합되어 특정 원료 고체연료에 대한 작동 파라미터를 결정할 수 있다.In one embodiment, during a solid fuel process run, a set of at least one final processed solid fuel process characteristic data may be stored in the
예를 들어, 파라미터 생성 설비(128)는 특정한 원료 고체연료를 가공하기 위한 작동 파라미터 결정을 위하여 요청될 수 있다. 파라미터 생성 설비(128)는 선택된 원료 고체연료의 사전 처리에서 야기된 최종의 처리된 고체연료에 대한 석탄 희망 특성(122)을 검색할 수 있다. 파라미터 생성 설비(128)는 또한 생산된 최종의 처리된 고체연료를 가질 수 있는 고체연료 가동으로부터 최종의 테스트된 특성을 검색할 수 있다. 파라미터 생성 설비(128)는 원료 고체연료 작동 파라미터를 결정할 때, 이러한 모든 정보들을 고려할 수 있다.For example, the
구체예에서, 파라미터 생성 설비(128)는 다수의 고체연료 샘플에 대한 고체연료 특성의 세트를 취합할 수 있고, 최종-사용자 설비의 세트에 의하여 사용되는 고체연료 기판에 대한 명세사항의 세트를 취합할 수 있고, 원료 고체연료를 최종-사용 설비에 의하여 사용되는 고체연료로 전환하는 데에 사용되는 작동 파라미터의 세트를 취합할 수 있고, 기타 등등이다. 한 구체예에서, 데이터베이스의 취합은 다수의 사전 결정된 고체연료 처리 설비(132) 작동 파라미터의 생성을 야기할 수 있다. 사전 결정된 다수의 작동 파라미터는 최종-사용 설비를 위한 원료 고체연료의 처리를 위한 고체연료 처리 설비(132)에 의한 추후의 선택에 사용될 수 있다. 한 구체예에서, 데이터베이스는 데이터베이스, 관계 데이터베이스, SQL 데이터베이스, 테이블, 파일, 플랫 파일, ASCII 파일, 문서, XML 파일 등일 수 있다. 상기 기술되고 도1 및 2에 나타나는 바와 같이, 최종-사용 설비는 석탄 연소 설비(200), 석탄 전환 설비(210), 석탄 부산물 설비(212) 등일 수 있다.In an embodiment, the
한 구체예에서, 파라미터 생성 설비(128)는 석탄 샘플 데이터(120)로부터의 다수의 고체연료 샘플에 대한 원료 고체연료 특성의 세트를 취합할 수 있다. 한 구체예에서, 석탄 샘플 데이터(120)는 고체연료 처리 설비(132)에 대하여 이용 가능한 원료 고체연료에 대한 정보를 포함할 수 있고, 고체연료 처리 설비(132)에 의하여 사용된 경과적인 원료 고체연료에 대한 정보를 포함할 수 있고, 기타 등등이다. 다수의 샘플 테스트 결과를 가지는 동일한 원료 고체연료에서 비롯한, 석탄 샘플 데이터(120)에서의 각각의 원료 고체연료에 대한 하나 이상의 데이터 기록이 있을 수 있다. 한 구체예에서, 파라미터 생성 설비(128)는 이용 가능한 원료 고체연료, 최근에 처리된 원료 고체연료에 기초한 원료 고체연료 특성의 세트, 고체연료 처리 설비(132)에 의하여 선택된 원료 고체연료의 세트 등을 취합할 수 있다.In one embodiment, the
한 구체예에서, 원료 고체연료 특성의 취합된 데이터베이스는 동일한 원료 고체연료로부터의 정보를 포함하는 다수의 복사된 기록을 포함할 수 있고; 다수의 복사된 기록은 동일한 원료 고체연료로부터 취해진 다수의 샘플의 결과일 수 있다. 한 구체예에서, 원료 고체연료 특성의 데이터베이스의 취합은 여러 단계를 가질 수 있다. 첫 번째 단계는 샘플 고체연료 데이터를 취합된 원료 고체연료 데이터베이스 로 전체 취합하는 것을 포함할 수 있다. 두 번째 단계에서, 파라미터 생성 설비(128)는 기록을 분류, 복사된 기록을 취급, 완성된 원료 고체연료 데이터베이스를 보관장치에 저장 등을 위하여 알고리즘을 사용할 수 있다. 구체예에서, 복사된 기록은 원료 고체연료 데이터베이스에서 삭제될 수 있고, 복사된 기록은 평균될 수 있고, 복사된 기록은 통계적으로 선택될 수 있고, 기타 등등이다. 한 구체예에서, 완성된 원료 고체연료 데이터베이스는 최종-사용 설비 고체연료 변환될 수 있는 원료 고체연료에 대한 모든 기록을 포함할 수 있다.In one embodiment, the collected database of raw solid fuel properties may include a plurality of replicated records containing information from the same raw solid fuel; A plurality of replicated records may be the result of multiple samples taken from the same source solid fuel. In one embodiment, the collection of the database of raw solid fuel characteristics may have several steps. The first step may include aggregating the sample solid fuel data into a collection of raw solid fuel databases. In a second step, the
유사한 방식으로, 최종-사용 설비 고체연료 정보는 최종의 처리된 고체연료 데이터베이스로 취합될 수 있다. 한 구체예에서, 최종-사용 설비 고체연료 정보는 석탄 희망 특성(122) 데이터베이스에 저장될 수 있다. 한 구체예에서, 석탄 희망 특성(122) 데이터베이스는 최종-사용 설비에 의하여 요청되는 최종의 처리된 고체연료 상의 특성 정보, 이전의 최종의 처리된 고체연료의 경과적인 특성 정보 등을 포함할 수 있다. 한 구체예에서, 취합된 최종의 처리된 고체연료 데이터베이스는 상기의 최종의 처리된 고체연료와 관련된 정포를 포함하는 다수의 기록을 포함할 수 있고; 다수의 복사된 기록은 고체연료의 처리 동안 얻은 동일한 최종의 처리된 고체연료에서 취해진 다수의 샘플의 결과일 수 있다.In a similar manner, the end-use equipment solid fuel information can be combined into a final processed solid fuel database. In one embodiment, the end-use equipment solid fuel information may be stored in the coal desired
한 구체예에서, 최종의 처리된 고체연료 데이터베이스의 취합은 여러 단계를 가질 수 있다. 첫 번째 단계는 샘플 고체연료 데이터를 최종의 처리된 고체연료 데이터베이스로 전체 취합하는 것을 포함할 수 있다. 두 번째 단계에서, 파라미터 생성 설비(128)는 기록을 분류, 복사된 기록을 취급, 완성된 원료 고체연료 데이터베 이스를 보관장치에 저장 등을 위하여 알고리즘을 사용할 수 있다. 한 구체예에서, 복사된 기록은 최종의 처리된 고체연료 데이터베이스에서 삭제될 수 있고, 복사된 기록은 평균화될 수 있으며, 복사된 기록은 통계적으로 선택될 수 있고, 기타 등등이다. 한 구체예에서, 완성된 최종의 처리된 고체연료 데이터베이스는 고체연료 처리 설비(132)에 의하여 처리될 수 있는 최종의 처리된 고체연료의 모든 기록을 포함할 수 있다.In one embodiment, the collection of the final processed solid fuel database may take several steps. The first step may include aggregating the sample solid fuel data into a final processed solid fuel database. In a second step, the
한 구체예에서, 파라미터 생성 설비(128)는 취합된 원료 고체연료 데이터베이스 및 취합된 최종의 처리된 데이터베이스를 사용하여, 원료 고체연료를 최종-사용 설비에 의하여 사용되는 최종의 처리된 고체연료로 전환하는 데에 사용되는 작동 파라미터의 세트를 얻을 수 있다.In one embodiment, the
한 구체예에서, 작동 파라미터는, 취합된 원료 고체연료 데이터베이스에서 고체연료 특성 기록을 선택하고 그것을 각각의 최종의 처리된 고체연료 취합된 데이터베이스 기록과 매치하여 각각의 매치된 기록에 대한 작동 파라미터를 추정하는, 파라미터 생성 설비(128)에 의하여 결정될 수 있다. 한 구체예에서, 작동 파라미터가 매치된 기록에 대하여 결정됨에 따라, 작동 파라미터가 취합된 작동 파라미터 데이터베이스에 저장될 수 있다. 예를 들어, 원료 고체연료 취합된 데이터베이스에 50 개의 원료 고체연료가 있고, 최종의 고체연료 취합된 데이터베이스에 100 개의 최종의 처리된 고체연료가 있을 경우, 50 개 원료 고체연료의 각각은 원료 고체연료를 희망하는 고체연료로 변환하는 데에 요구될 수 있는 작동 파라미터의 결정을 위하여 100 개의 최종의 고체연료 각각에 매치될 수 있다. 이 결과로 5,000 개의 취합된 작동 파라미터 기록이 생성될 수 있다.In one embodiment, the operating parameters are selected by selecting a solid fuel character record in the collected raw solid fuel database and matching it with each final processed solid fuel collected database record to estimate the operating parameters for each matched record , Which may be determined by the
한 구체예에서, 파라미터 생성 설비(128)는 어떤 원료 고체연료가 최종의 처리된 고체연료로 변환될 수 없고 따라서 고체연료의 특정 조합에 대한 작동 파라미터를 결정할 수 없음을 결정할 수 있다.In one embodiment, the
다른 구체예에서, 파라미터 생성 설비(128)는 취합된 원료 고체연료 데이터베이스에서 원료 고체연료 특성 기록을 선택하고, 고체연료 처리 설비(132)에 의하여 변환될 수 있는 최종의 처리된 고체연료를 결정할 수 있다. 한 구체예에서, 파라미터 생성 설비(128)는 취합된 원료 고체연료 데이터베이스에서의 각각의 원료 고체연료 특성 기록에 대한 작동 파라미터를 결정할 수 있다. 한 구체예에서, 작동 파라미터는 고체연료 처리 설비(132)의 작동 성능에 의하여 결정될 수 있다. 한 구체예에서, 각각의 원료 고체연료 특성 기록에 대한 작동 파라미터는 취합된 작동 파라미터 데이터베이스에 저장될 수 있다.In another embodiment, the
한 구체예에서, 파라미터 생성 설비(128)는 원료 고체연료 특성을 최종의 처리된 특성과 매치, 원료 고체연료 특성으로부터 작동 특성을 결정하기 위하여 고체연료 처리 설비(132) 성능을 사용, 등에 의하여 작동 파라미터를 결정할 수 있다. 한 구체예에서 작동 파라미터 결정 방법은 개별적으로 또는 복합으로 사용될 수 있다.In one embodiment, the
한 구체예에서, 취합된 작동 파라미터는, 원료 고체연료를 최종-사용 설비 고체연료로 처리하기 위하여, 추후에 선택되도록 저장될 수 있다. 한 구체예에서, 취합된 작동 파라미터 데이터베이스는 또한 작동 파라미터 생성에 사용되는 원료 고체연료 및 최종의 처리된 고체연료 정보를 저장할 수 있다. 그러므로 취합된 작동 파라미터 데이터베이스는 작동 파라미터, 원료 고체연료 특성, 최종의 처리된 고체연료 특성 등을 포함할 수 있다. 원료 고체연료 특성 및 최종의 처리된 고체연료 특성은 고체연료의 식별을 포함할 수 있다.In one embodiment, the collected operating parameters may be stored to be selected at a later time to process the raw solid fuel as a final-use installation solid fuel. In one embodiment, the collected operating parameter database may also store raw solid fuel and final processed solid fuel information used in operating parameter generation. The collected operating parameter database may thus include operating parameters, raw solid fuel characteristics, final processed solid fuel characteristics, and the like. The raw solid fuel properties and the final treated solid fuel properties may include the identification of the solid fuel.
한 구체예에서, 최종-사용 설비가 고체연료 처리 설비(132)로부터 어떤 최종의 고체연료를 요청할 경우, 파라미터 생성 설비(128)는 요청된 최종의 고체연료 특성을 최종의 처리된 고체연료 중의 하나와 매치할 수 있는데, 최종의 처리된 고체연료의 특성은 적절한 데이터베이스에 저장되어 있다. 한 구체예에서, 최종-사용 설비로부터 요청된 고체연료를 취합된 최종의 처리된 고체연료에 매치하는 것은 최적의 매치, 핵심 특성, 가장 중요한 고체연료 특성의 랭킹(ranking) 등에 의한 것일 수 있다.In one embodiment, when the end-use facility requests some final solid fuel from the solid
한 구체예에서, 최종-사용 설비로부터 요청된 고체연료에 대한 매치를 발견한 후, 파라미터 생성 설비(128)는 최종-사용 설비 고체연료 생산에 사용될 수 있는 모든 가능한 원료 고체연료를 선택할 수 있고, 최종-사용 고체연료 생산에 사용될 수 있는 모든 가능한 작동 파라미터를 선택할 수 있고, 기타 등등이다. 한 구체예에서, 최종-사용 설비 고체연료 생산에 사용될 수 있는 모든 가능한 원료 고체연료를 사용하여, 파라미터 생성 설비(128)는 가능한 원료 고체연료가 존재한다면 어느 것이 이용 가능한지를 결정하기 위하여, 석탄 샘플 데이터(120)를 결정할 수 있다. 한 구체예에서, 파라미터 생성 설비(128)는 요구되는 원료 고체연료의 어느 정도의 허용치 내에 있는 석탄 샘플 데이터(120)에서 원료 고체연료를 선택할 수 있 다. 적어도 하나의 원료 고체연료가 고체연료 처리 설비(132)에 대하여 이용 가능할 경우, 파라미터 생성 설비(128)는 선택된 원료 고체연료 및 최종-사용 설비 고체연료에 매치되는 저장된 작동 파라미터를 선택할 수 있다. 선택된 작동 파라미터는 선택된 원료 고체연료를 최종-사용 설비 고체연료로 처리하기 위하여, 모니터링 설비(134) 및 컨트롤러(144)에 전송될 수 있다.In one embodiment, after finding a match for the requested solid fuel from the end-use facility, the
한 구체예에서, 특정한 최종-사용 설비에 대한 고체연료를 가공하는 것과 관련된 비용을 모델링하는 방법은 다수의 고체연료 샘플에 대한 고체연료 특성의 세트, 최종-사용자 설비의 세트에 의하여 사용되는 고체연료 기판에 대한 명세사항의 세트, 최종-사용자에 의하여 고체연료 샘플을 고체연료 기판으로 변환하는 데에 사용되는 작동 파라미터 세트, 작동 파라미터 세트의 충족(implementation)에 관련된 비용의 세트 등을 포함하는 데이터베이스를 제공하여 수행될 수 있다. 한 구체예에서, 비용 모델링은 고체연료 처리에 대한 최종-사용 설비로의 청구서(invoice) 평가, 실제의 처리 비용에 비교하는 내부 비용 평가, 비용/가치 예상, 고체연료 처리 설비(132) 효율성 등과 같은 다양한 비용 리포트 제공에 사용될 수 있다. 한 구체예에서, 데이터베이스는 데이터베이스, 관계 데이터베이스, SQL 데이터베이스, 테이블, 파일, 플랫 파일, ASCII 파일, 문서, XML 파일 등일 수 있다.In one embodiment, a method for modeling the cost associated with processing a solid fuel for a particular end-use facility includes a set of solid fuel characteristics for a plurality of solid fuel samples, a set of solid fuel used for a set of end- A set of specifications for the substrate, a set of operating parameters used by the end-user to convert the solid fuel sample to a solid fuel substrate, a set of costs associated with the implementation of the set of operating parameters, . In one embodiment, the cost modeling includes an invoice evaluation to the end-use facility for solid fuel treatment, an internal cost assessment relative to the actual treatment cost, cost / value estimates, efficiency of the solid
구체예에서, 최종-사용 설비는 석탄 연소 설비(200), 석탄 전환 설비(210), 석탄 부산물 설비(212) 등일 수 있다.In an embodiment, the end-use facility may be a
고체연료 처리 설비(132)는 특정 최종-사용 설비를 위한 처리 고체연료의 가치 모델링의 방법을 이용할 수 있다. 한 구체예에서 최종-사용 설비는, 고체연료 처리 설비가 원료 고체연료를 특유의 특성을 가지는 최종의 고체연료로 처리하는 것을 요청할 수 있다. 최종-사용 설비는 사용을 위한 최초 원료 고체연료를 나타내지 않을 수 있고; 고체연료 처리 설비(132)는 최종-사용 설비 고체연료 특성에 기초하여 적절한 원료 고체연료를 선택할 수 있다.The solid
한 구체예에서, 최종-사용 설비 특성은 석탄 희망 특성(122)에 전송되고 저장될 수 있다. 가격 책정/트랜잭션 설비는 상기 특성이 석탄 희망 특성(122)에 전송되었다는 통지(notification)를 입수할 수 있다.In one embodiment, the end-use plant characteristics may be transferred and stored in coal desired
한 구체예에서, 고체연료 특성이 입수되었다는 통지가 있으면, 가격 책정/트랜잭션 설비(178)는 파라미터 생성 설비(128)가 최종-사용 설비 고체연료로 변환하기 위한 원료 고체연료를 식별하는 것을 요청할 수 있다. 앞서 기술된 바와 같이, 파라미터 생성 설비(128)는 요구되는 특성과 고체연료 처리 설비(132) 성능을 아는 것, 최초 원료 고체연료를 결정하기 위한 고체연료 처리 이력 검색, 사전 결정된 데이터베이스로부터 가능한 원료 고체연료와 작동 파라미터의 데이터베이스에 질의(querying), 등에 의하여 적절한 원료 고체연료를 결정할 수 있다.In one embodiment, if there is a notification that the solid fuel characteristics have been obtained, the pricing /
한 구체예에서, 파라미터 생성 설비(128)가 최종-사용 설비 고체연료로 전환하기에 적절한 이용 가능한 원료 고체연료를 선택하면, 파라미터 생성 설비(128)는 이용 가능한 원료 고체연료 특성에 대하여 석탄 샘플 데이터(120)에 질의할 수 있다.In one embodiment, if the
한 구체예에서, 파라미터 생성 설비(128)는 원료 고체연료에 대한 식별 및 특성 정보, 최종-사용자 설비 고체연료에 대한 식별 및 특성 정보, 원료 고체연료 를 최종-사용 설비 고체연료로 변환하기 위한 작동 파라미터 등을 가격 책정/트랜잭션 설비(178)에 전송할 수 있다. 한 구체예에서, 가격 책정/트랜잭션 설비(178)는 작동 비용을 특정한 고체연료의 세트에 대한 작동 파라미터와 연관시키는 데이터베이스를 가질 수 있다. 한 구체예에서, 가격 책정/트랜잭션 설비(178)는 파라미터 생성 설비(128)로부터의 작동 파라미터를 사용하여, 원료 고체연료를 최종-사용 고체연료로 가상 처리하는 것을 제공하여, 고체연료 처리 설비(132)의 작동을 모델화 가능할 수 있다. 작동 파라미터를 사용하여, 가격 책정/트랜잭션 설비(178)는 시간당 처리되는 고체연료의 부피, 사용되는 에너지의 양, 사용된 비활성 기체의 양, 방출된 고체연료 생성물의 양 등을 결정 가능할 수 있다. 예를 들어, 모델은 벨트 속력 또는 배치 설비의 크기에 대하여 주어진 작동 파라미터를 사용하여 시간당 생산된 고체연료 톤을 결정 가능할 수 있다. 다른 예에서, 모델은 작동 파라미터 설정에 기초하여 마이크로파 시스템(148)이 요구하는 전기의 양을 추정 가능할 수 있다.In one embodiment, the
한 구체예에서, 작동 파라미터를 사용하여, 가격 책정/트랜잭션 설비(178) 모델은 원료 고체연료에서 최종-사용 설비 고체연료로의 완료된 변환에 대한 가치(value), 고체연료 변환 동안의 임의의 시간에서의 순간적인 가치, 임의의 다양한 고체연료 처리 설비(132) 컴포넌트에 의하여 더해지는 점증하는(incremental) 가치, 등을 결정할 수 있다.In one embodiment, using the operating parameters, the pricing /
한 구체예에서, 가격 책정/트랜잭션 설비(178)는 고체연료 처리 설비(132)를 컴퓨터 장치의 사용자 인터페이스 상에서 모델화할 수 있다. 한 구체예에서, 사용 자 인터페이스는 사용자가 모델을 재생(run), 모델을 정지, 모델을 일시정시(pause), 모델을 재시작(resume), 모델을 되감기(reverse), 모델을 느린 속도로 재생, 모델을 빠른 속도로 재생, 특정 컴포넌트에 포거스 인(focus in) 등을 하는 것을 허용하는 도구(tool)를 보일 수 있다. 한 구체예에서, 특정 컴포넌트로의 포커스 온(focus on)은 사용자에게 추가적인 정보, 예를 들어 특정 컴포넌트에 대한 정보의 드릴 다운(drill down)을 제공할 수 있다. 한 구체예에서, 모델링으로부터 유도된 정보는 사용자에 의하여 요청될 것인, 그래픽 형태 또는 임의의 다른 아웃풋 형식에서 나타날 수 있다.In one embodiment, the pricing /
한 구체예에서, 가격 책정/트랜잭션 설비(178)는 원료 고체연료에서 최종-사용 설비 고체연료로의 완료된 변환에 대한 가치, 고체연료 변환 동안의 임의의 시간에서의 순간적인 가치, 임의의 다양한 고체연료 처리 설비(132) 컴포넌트에 의하여 더해지는 점증하는 가치 등에 대한 모델로부터 정보를 리포트(report) 가능할 수 있다. 한 구체예에서, 리포트는 인쇄된 리포트, 열람된(viewed) 리포트, 문서 리포트, 데이터베이스, 스프레드시트(spreadsheet), 파일 등일 수 있다. 리포트는 요약, 시간에 따른 세부사항, 컴포넌트에 따른 세부사항 등을 보일 수 있다.In one embodiment, the pricing /
한 구체예에서, 가격 책정/트랜잭션 설비(178)는 비용 가정 고체연료 처리 모델과 관련된 비용 가정을 포함할 수 있는, 적어도 하나의 데이터베이스를 가질 수 있다. 예를 들어, 데이터베이스는 마이크로파 시스템(148)에 대한 전기 요금(electrical rates), 비활성 기체의 세제곱 피트당 비용, 고체연료 처리 설비(132) 모니터링을 위한 인적 자원 비용, 제거 시스템(150)에 의하여 회수된 방출 된 고체연료 생성물의 비용/가치, 사용된 원료 고체연료의 비용/가치 등을 가질 수 있다. 이러한 비용들은 모델링에서 사용된 가정을 나타낼 수 있다. 한 구체예에서, 가격 책정/트랜잭션 설비(178)는 처리된 최종-사용 설비 고체연료의 비용/가치의 결정을 위한 모델에 비용 가정을 적용할 수 있다.In one embodiment, the pricing /
한 구체예에서, 가격 책정/트랜잭션 설비(178)는, 고체연료 처리 설비(132) 모델을 사용하여, 요청되는 처리된 고체연료의의 가격 책정 가치의 최종-사용 설비 평가를 제공할 수 있다. 상기 평가는 작동 파라미터, 작동 파라미터에 대한 비용 및 가격 책정 가치 등을 사용하는 모델에 기초할 수 있다. 한 구체예에서, 평가된 가격 책정 가치는 특정한 원료 고체연료를 사용하는, 특정한 최종-사용 설비에서 요구되는 고체연료에 대한 것일 수 있다.In one embodiment, the pricing /
비록 본원 발명이 자세하게 나타나고 기술된 바람직한 구체예와 관련사여 개시되었지만, 그들에 대한 다양한 변형과 개선이 당업자에게 쉽게 명백해질 것이다. 따라서, 본원 발명의 사상과 범위는 앞선 예들에 의하여 제한되지 않지만, 합법적인 넓은 의미에서 이해되어야 한다.Although the present invention has been disclosed in detail and with reference to the preferred embodiments described above, various modifications and improvements thereto will be readily apparent to those skilled in the art. Accordingly, the spirit and scope of the present invention should not be limited by the foregoing examples, but should be understood in a legal broad sense.
본원에 참조된 모든 문서는 참고문헌으로 본원에 첨부되었다.All documents referred to herein are incorporated herein by reference.
본원 발명에서 개선된 성능은, 고체연료 처리 설비에 의하여 처리되는 고체연료의 하나 이상의 특성에 관계되는 최초 고체연료 샘플 데이터를 제공할 수 있고; 희망하는 고체연료 특성을 제공할 수 있고; 하나 이상의 특성에 관계되는 최초 고체연료 샘플 데이터를 희망하는 고체연료 특성과 비교하여 고체연료 조성 델 타(delta)를 결정할 수 있고; 고체연료 처리 설비의 작동에 대한 작동 처리 파라미터를 결정하여, 적어도 부분적으로 고체연료 조성 델타에 기초하는 고체연료를 정제할 수 있고; 및 고체연료의 처리 동안 고체연료에서 배출되는 오염물질을 모니터하고, 이에 관하여 작동 처리 파라미터를 조절하여 정제된 고체연료를 생산할 수 있는 고체연료 정제 방법에 대하여 기술된다.The improved performance in the present invention can provide initial solid fuel sample data related to one or more characteristics of the solid fuel being treated by the solid fuel treatment facility; Provide the desired solid fuel characteristics; Determine a solid fuel composition delta by comparing the initial solid fuel sample data related to the at least one characteristic with a desired solid fuel characteristic; Determine operational processing parameters for operation of the solid fuel processing facility to purify the solid fuel based at least in part on the solid fuel composition delta; And a solid fuel purification method capable of monitoring the pollutants discharged from the solid fuel during the treatment of the solid fuel and adjusting the operating process parameters thereof to produce a purified solid fuel.
Claims (42)
Applications Claiming Priority (9)
| Application Number | Priority Date | Filing Date | Title |
|---|---|---|---|
| US78829706P | 2006-03-31 | 2006-03-31 | |
| US60/788,297 | 2006-03-31 | ||
| US82048206P | 2006-07-26 | 2006-07-26 | |
| US60/820,482 | 2006-07-26 | ||
| US82803106P | 2006-10-03 | 2006-10-03 | |
| US60/828,031 | 2006-10-03 | ||
| US86774906P | 2006-11-29 | 2006-11-29 | |
| US60/867,749 | 2006-11-29 | ||
| PCT/US2007/065801 WO2007115267A2 (en) | 2006-03-31 | 2007-04-02 | Methods and systems for enhancing solid fuel properties |
Publications (2)
| Publication Number | Publication Date |
|---|---|
| KR20090045147A KR20090045147A (en) | 2009-05-07 |
| KR101489004B1 true KR101489004B1 (en) | 2015-02-02 |
Family
ID=38564296
Family Applications (1)
| Application Number | Title | Priority Date | Filing Date |
|---|---|---|---|
| KR20087026852A Expired - Fee Related KR101489004B1 (en) | 2006-03-31 | 2007-04-02 | Methods and systems for enhancing solid fuel properties |
Country Status (11)
| Country | Link |
|---|---|
| US (1) | US20070295590A1 (en) |
| EP (2) | EP2511361A1 (en) |
| JP (1) | JP5329391B2 (en) |
| KR (1) | KR101489004B1 (en) |
| CN (1) | CN101522867B (en) |
| AU (1) | AU2007234453B2 (en) |
| CA (1) | CA2647698C (en) |
| MX (1) | MX2008012355A (en) |
| RU (1) | RU2561102C2 (en) |
| UA (1) | UA94090C2 (en) |
| WO (1) | WO2007115267A2 (en) |
Families Citing this family (33)
| Publication number | Priority date | Publication date | Assignee | Title |
|---|---|---|---|---|
| US7983929B2 (en) * | 2003-02-10 | 2011-07-19 | South Dakota School Of Mines And Technology | Technique for determining and reporting reduction in emissions of greenhouse gases at a site |
| US7901473B2 (en) | 2003-12-12 | 2011-03-08 | Coaltek, Inc. | Pre-burning, dry process methodology and systems for enhancing solid fuel properties |
| US8585786B2 (en) | 2006-03-31 | 2013-11-19 | Coaltek, Inc. | Methods and systems for briquetting solid fuel |
| US8585788B2 (en) | 2006-03-31 | 2013-11-19 | Coaltek, Inc. | Methods and systems for processing solid fuel |
| EP2209878A4 (en) * | 2007-10-08 | 2011-10-12 | Coaltek Inc | Methods and systems for briquetting solid fuel |
| US7988754B1 (en) * | 2008-01-04 | 2011-08-02 | Rich Jr John W | Process for producing clean liquid fuels from coal waste |
| CN102083950A (en) * | 2008-05-05 | 2011-06-01 | 煤炭技术公司 | Methods and systems for processing solid fuel |
| WO2009153796A1 (en) * | 2008-06-19 | 2009-12-23 | Microcoal, Inc. | System and method for treatment of materials by electromagnetic radiation (emr) |
| CA2728751A1 (en) * | 2008-09-11 | 2010-03-18 | Technological Resources Pty. Limited | Sorting mined material |
| CN102076431B (en) * | 2008-09-11 | 2014-07-23 | 技术资源有限公司 | Sorting mined material |
| US20110233067A1 (en) * | 2009-09-25 | 2011-09-29 | Conyers Technology Group, Llc | Electrochemical processing of fluids |
| US9621360B2 (en) * | 2010-01-22 | 2017-04-11 | Alcatel Lucent | System and method for analyzing network power consumption |
| US20120204482A1 (en) * | 2010-01-29 | 2012-08-16 | Enginuity Worldwide, LLC | Moisture resistant biomass fuel compact and method of manufacturing |
| CA2806887A1 (en) * | 2010-08-04 | 2012-02-09 | Grant Ashley Wellwood | Sorting mined material |
| CN102023572A (en) * | 2010-12-14 | 2011-04-20 | 陆金桂 | All-hydrogen hood-type furnace neural network control technology |
| WO2013001364A2 (en) | 2011-06-29 | 2013-01-03 | Minesense Technologies Ltd. | Extracting mined ore, minerals or other materials using sensor-based sorting |
| US11219927B2 (en) | 2011-06-29 | 2022-01-11 | Minesense Technologies Ltd. | Sorting materials using pattern recognition, such as upgrading nickel laterite ores through electromagnetic sensor-based methods |
| US9314823B2 (en) | 2011-06-29 | 2016-04-19 | Minesense Technologies Ltd. | High capacity cascade-type mineral sorting machine and method |
| US9184593B2 (en) | 2012-02-28 | 2015-11-10 | Microcoal Inc. | Method and apparatus for storing power from irregular and poorly controlled power sources |
| US9051127B2 (en) * | 2012-04-03 | 2015-06-09 | Scott Conroy | Grain auger protection system |
| AU2015292228B2 (en) * | 2014-07-21 | 2018-04-05 | Minesense Technologies Ltd. | High capacity separation of coarse ore minerals from waste minerals |
| EP4219843A1 (en) | 2014-07-21 | 2023-08-02 | Minesense Technologies Ltd. | Mining shovel with compositional sensors |
| US9810480B2 (en) | 2015-06-12 | 2017-11-07 | Targeted Microwave Solutions Inc. | Methods and apparatus for electromagnetic processing of phyllosilicate minerals |
| WO2017044945A1 (en) | 2015-09-10 | 2017-03-16 | ADA-ES, Inc. | Method and system to identify coal characteristics at the mine |
| CN105627329A (en) * | 2016-01-28 | 2016-06-01 | 浙江大学 | Control optimization method and device used for fire grate incinerator and based on flame radiation images |
| TWI805987B (en) * | 2020-01-15 | 2023-06-21 | 隆順綠能科技股份有限公司 | Solid recovery fuel manufacturing system and method |
| DE102020211469A1 (en) | 2020-09-14 | 2022-03-17 | Thyssenkrupp Ag | Plant and method for reducing the mercury content in the processing of waste for use as a substitute fuel |
| WO2022053430A1 (en) | 2020-09-14 | 2022-03-17 | Thyssenkrupp Industrial Solutions Ag | Plant and method for reducing the mercury fraction in the processing of refuse for use as a substitute fuel |
| BE1028604B1 (en) | 2020-09-14 | 2022-04-12 | Thyssenkrupp Ag | Plant and method for reducing the mercury content in the processing of waste for use as a substitute fuel |
| AU2022390822A1 (en) | 2021-11-22 | 2024-07-04 | Minesense Technologies Ltd. | Compositional multispectral and hyperspectral imaging systems for mining shovels and associated methods |
| IT202200019902A1 (en) * | 2022-09-28 | 2024-03-28 | Creactives S P A | SYSTEM AND METHOD FOR IDENTIFYING DUPLICATE ENTRIES, RELATING TO IDENTICAL OR EQUIVALENT MATERIALS, IN A REGISTER OF INDUSTRIAL MATERIALS. |
| CN117903824B (en) * | 2024-03-13 | 2024-05-28 | 北京大学 | An organic waste carbonization treatment system based on intelligent management |
| CN119028488B (en) * | 2024-10-25 | 2025-02-28 | 枣庄矿业(集团)付村煤业有限公司 | Prediction method of ash content of clean coal from dense medium separation based on multi-channel line graph of time series data |
Citations (1)
| Publication number | Priority date | Publication date | Assignee | Title |
|---|---|---|---|---|
| WO2005059064A1 (en) * | 2003-12-12 | 2005-06-30 | Coaltek Corporation | A pre-burning, dry process methodology and systems for enhancing solid fuel properties |
Family Cites Families (31)
| Publication number | Priority date | Publication date | Assignee | Title |
|---|---|---|---|---|
| US2164933A (en) * | 1934-11-07 | 1939-07-04 | Maurel Invest Corp | Process of baking fuel briquettes |
| US3356469A (en) * | 1966-07-29 | 1967-12-05 | Brown Co | Coated fuel bodies |
| FR2076405A5 (en) * | 1970-01-14 | 1971-10-15 | Materiel Telephonique | |
| US3884794A (en) * | 1974-03-04 | 1975-05-20 | Us Interior | Solvent refined coal process including recycle of coal minerals |
| CH612002A5 (en) * | 1977-04-27 | 1979-06-29 | Nestle Sa | |
| US4259560A (en) * | 1977-09-21 | 1981-03-31 | Rhodes George W | Process for drying coal and other conductive materials using microwaves |
| DE2812521B2 (en) * | 1978-03-22 | 1980-01-17 | Didier Engineering Gmbh, 4300 Essen | Process for the heat treatment of coal and apparatus for carrying out the process |
| US4148614A (en) * | 1978-04-13 | 1979-04-10 | Kirkbride Chalmer G | Process for removing sulfur from coal |
| US4268315A (en) * | 1980-03-31 | 1981-05-19 | Burke Michael T | Briquette forming process and composition |
| US4469156A (en) * | 1980-09-12 | 1984-09-04 | Misato Norimoto | Method and apparatus for shaping wood material into a predetermined configuration |
| US4567340A (en) * | 1985-01-09 | 1986-01-28 | Phillips Petroleum Company | Apparatus and method for drying solid materials |
| US4663507A (en) * | 1985-03-21 | 1987-05-05 | Trerice Douglas N | Method and apparatus for reduction of fly ash carbon by microwave |
| GB2248848A (en) * | 1990-10-19 | 1992-04-22 | David Edward Forder | A method of treating and using waste products |
| US5421450A (en) * | 1994-05-31 | 1995-06-06 | Chukoh Chemical Industries, Ltd. | Heat-resistant, laminated conveyer belt |
| CN1153813A (en) * | 1996-01-02 | 1997-07-09 | 陈波 | Stain and carbon deposit cleaner for internal combustion engine |
| CN1161369A (en) * | 1997-01-11 | 1997-10-08 | 覃戍文 | High efficiency agent for reducing smoke during fuel oil combustion |
| US7335246B2 (en) * | 1998-05-14 | 2008-02-26 | United States Of America Enviromental Protection Agency | Contaminant adsorption and oxidation via the fenton reaction |
| RU2166751C1 (en) * | 2000-03-09 | 2001-05-10 | Никитин Петр Иванович | Process of analysis of mixture of biologic and/or chemical components with use of magnetic particles and device for its implementation |
| US6325001B1 (en) * | 2000-10-20 | 2001-12-04 | Western Syncoal, Llc | Process to improve boiler operation by supplemental firing with thermally beneficiated low rank coal |
| CN1224684C (en) * | 2001-02-08 | 2005-10-26 | 金熙濬 | Biologically cleaning briquette as solid fuel |
| EP1371219A4 (en) * | 2001-02-14 | 2006-06-21 | Current Tech Llc | Data communication over a power line |
| AUPS037402A0 (en) * | 2002-02-07 | 2002-02-28 | Commonwealth Scientific And Industrial Research Organisation | A process for producing metallurgical coke |
| DE50313627D1 (en) * | 2003-01-28 | 2011-06-01 | Hans Werner | Process and apparatus for producing pressed biomass fuels and use thereof |
| DE10339609A1 (en) * | 2003-08-28 | 2005-03-24 | Forschungszentrum Karlsruhe Gmbh | Oligonucleotide, method and system for the detection of antibiotic resistance-mediating genes in microorganisms by means of real-time PCR |
| US20050082283A1 (en) * | 2003-10-17 | 2005-04-21 | William Hein | Microwave dryer |
| US7214254B2 (en) * | 2003-10-28 | 2007-05-08 | Hendrix Holding Company, Inc. | Method of removing mercury from mercury contaminated materials |
| US7523626B2 (en) * | 2004-10-01 | 2009-04-28 | Saint-Gobain Performance Plastics Corporation | Conveyor belt |
| US7666235B2 (en) * | 2005-11-30 | 2010-02-23 | Industrial Microwave Systems, L.L.C. | Microwave drying of coal |
| US8585786B2 (en) * | 2006-03-31 | 2013-11-19 | Coaltek, Inc. | Methods and systems for briquetting solid fuel |
| US8585788B2 (en) * | 2006-03-31 | 2013-11-19 | Coaltek, Inc. | Methods and systems for processing solid fuel |
| DE102007056533A1 (en) * | 2007-11-23 | 2009-05-28 | Clariant International Limited | Waxy ionomers |
-
2007
- 2007-04-02 KR KR20087026852A patent/KR101489004B1/en not_active Expired - Fee Related
- 2007-04-02 EP EP12174838A patent/EP2511361A1/en not_active Withdrawn
- 2007-04-02 AU AU2007234453A patent/AU2007234453B2/en not_active Ceased
- 2007-04-02 CN CN200780020196.9A patent/CN101522867B/en not_active Expired - Fee Related
- 2007-04-02 US US11/695,554 patent/US20070295590A1/en not_active Abandoned
- 2007-04-02 EP EP07759973A patent/EP2002179B1/en not_active Not-in-force
- 2007-04-02 RU RU2012118412/05A patent/RU2561102C2/en not_active IP Right Cessation
- 2007-04-02 WO PCT/US2007/065801 patent/WO2007115267A2/en not_active Ceased
- 2007-04-02 CA CA2647698A patent/CA2647698C/en not_active Expired - Fee Related
- 2007-04-02 MX MX2008012355A patent/MX2008012355A/en active IP Right Grant
- 2007-04-02 JP JP2009503337A patent/JP5329391B2/en not_active Expired - Fee Related
- 2007-04-02 UA UAA200811658A patent/UA94090C2/en unknown
Patent Citations (2)
| Publication number | Priority date | Publication date | Assignee | Title |
|---|---|---|---|---|
| WO2005059064A1 (en) * | 2003-12-12 | 2005-06-30 | Coaltek Corporation | A pre-burning, dry process methodology and systems for enhancing solid fuel properties |
| US20050160667A1 (en) * | 2003-12-12 | 2005-07-28 | Weinberg Jerry L. | Pre-burning, dry process methodology and systems for enhancing solid fuel properties |
Also Published As
| Publication number | Publication date |
|---|---|
| CA2647698A1 (en) | 2007-10-11 |
| UA94090C2 (en) | 2011-04-11 |
| US20070295590A1 (en) | 2007-12-27 |
| RU2012118412A (en) | 2013-11-10 |
| AU2007234453B2 (en) | 2011-05-19 |
| MX2008012355A (en) | 2009-02-16 |
| CN101522867B (en) | 2013-03-27 |
| WO2007115267A2 (en) | 2007-10-11 |
| EP2511361A1 (en) | 2012-10-17 |
| JP2009532533A (en) | 2009-09-10 |
| CN101522867A (en) | 2009-09-02 |
| RU2561102C2 (en) | 2015-08-20 |
| KR20090045147A (en) | 2009-05-07 |
| EP2002179B1 (en) | 2012-07-04 |
| EP2002179A4 (en) | 2010-04-07 |
| EP2002179A2 (en) | 2008-12-17 |
| WO2007115267A3 (en) | 2008-07-03 |
| AU2007234453A1 (en) | 2007-10-11 |
| JP5329391B2 (en) | 2013-10-30 |
| CA2647698C (en) | 2015-08-11 |
Similar Documents
| Publication | Publication Date | Title |
|---|---|---|
| KR101489004B1 (en) | Methods and systems for enhancing solid fuel properties | |
| US8585786B2 (en) | Methods and systems for briquetting solid fuel | |
| AU2008310990B2 (en) | Methods and systems for briquetting solid fuel | |
| US8585788B2 (en) | Methods and systems for processing solid fuel | |
| AU2009244461B2 (en) | Methods and systems for processing solid fuel | |
| EP2300575B1 (en) | Engineered fuel feed stock useful for displacement of coal in coal firing plants | |
| Mehdi et al. | Analyzing the combustion characteristics of Thar coal block XI: A comprehensive study | |
| RU2458975C2 (en) | Methods and apparatus for enhancing quality of solid fuel | |
| Granatstein | Case study on Lahden Lampovoima gasification project, Kymijarvi power station, Lahti, Finland | |
| Summers | Quality guidelines for energy system studies: Detailed coal specifications | |
| Harding | Cofiring tire-derived fuel with coal | |
| Nunes | Coal upgrading | |
| Kivela et al. | Biomass CFB gasifier connected to a 50 MWth steam boiler fired with coal and natural gas-THERMIE demonstration project in Lahti, Finland | |
| Shields et al. | Engineering development of advanced physical fine coal cleaning for premium fuel applications. Quarterly technical progress report 16, July--September, 1996 | |
| Kamshad | Demonstration of the Viability and Evaluation of Production Costs for Biomass-Infused Coal Briquettes | |
| Zapp et al. | Survey and conceptual flow sheets for coal conversion plant handling-preparation and ash/slag removal operations |
Legal Events
| Date | Code | Title | Description |
|---|---|---|---|
| PA0105 | International application |
St.27 status event code: A-0-1-A10-A15-nap-PA0105 |
|
| E13-X000 | Pre-grant limitation requested |
St.27 status event code: A-2-3-E10-E13-lim-X000 |
|
| P11-X000 | Amendment of application requested |
St.27 status event code: A-2-2-P10-P11-nap-X000 |
|
| P13-X000 | Application amended |
St.27 status event code: A-2-2-P10-P13-nap-X000 |
|
| T11-X000 | Administrative time limit extension requested |
St.27 status event code: U-3-3-T10-T11-oth-X000 |
|
| T11-X000 | Administrative time limit extension requested |
St.27 status event code: U-3-3-T10-T11-oth-X000 |
|
| P11-X000 | Amendment of application requested |
St.27 status event code: A-2-2-P10-P11-nap-X000 |
|
| P13-X000 | Application amended |
St.27 status event code: A-2-2-P10-P13-nap-X000 |
|
| R18-X000 | Changes to party contact information recorded |
St.27 status event code: A-3-3-R10-R18-oth-X000 |
|
| PG1501 | Laying open of application |
St.27 status event code: A-1-1-Q10-Q12-nap-PG1501 |
|
| A201 | Request for examination | ||
| E13-X000 | Pre-grant limitation requested |
St.27 status event code: A-2-3-E10-E13-lim-X000 |
|
| P11-X000 | Amendment of application requested |
St.27 status event code: A-2-2-P10-P11-nap-X000 |
|
| P13-X000 | Application amended |
St.27 status event code: A-2-2-P10-P13-nap-X000 |
|
| PA0201 | Request for examination |
St.27 status event code: A-1-2-D10-D11-exm-PA0201 |
|
| R17-X000 | Change to representative recorded |
St.27 status event code: A-3-3-R10-R17-oth-X000 |
|
| E902 | Notification of reason for refusal | ||
| PE0902 | Notice of grounds for rejection |
St.27 status event code: A-1-2-D10-D21-exm-PE0902 |
|
| E13-X000 | Pre-grant limitation requested |
St.27 status event code: A-2-3-E10-E13-lim-X000 |
|
| P11-X000 | Amendment of application requested |
St.27 status event code: A-2-2-P10-P11-nap-X000 |
|
| P13-X000 | Application amended |
St.27 status event code: A-2-2-P10-P13-nap-X000 |
|
| R17-X000 | Change to representative recorded |
St.27 status event code: A-3-3-R10-R17-oth-X000 |
|
| E902 | Notification of reason for refusal | ||
| PE0902 | Notice of grounds for rejection |
St.27 status event code: A-1-2-D10-D21-exm-PE0902 |
|
| T11-X000 | Administrative time limit extension requested |
St.27 status event code: U-3-3-T10-T11-oth-X000 |
|
| T11-X000 | Administrative time limit extension requested |
St.27 status event code: U-3-3-T10-T11-oth-X000 |
|
| T11-X000 | Administrative time limit extension requested |
St.27 status event code: U-3-3-T10-T11-oth-X000 |
|
| E13-X000 | Pre-grant limitation requested |
St.27 status event code: A-2-3-E10-E13-lim-X000 |
|
| P11-X000 | Amendment of application requested |
St.27 status event code: A-2-2-P10-P11-nap-X000 |
|
| P13-X000 | Application amended |
St.27 status event code: A-2-2-P10-P13-nap-X000 |
|
| N231 | Notification of change of applicant | ||
| PN2301 | Change of applicant |
St.27 status event code: A-3-3-R10-R13-asn-PN2301 St.27 status event code: A-3-3-R10-R11-asn-PN2301 |
|
| E701 | Decision to grant or registration of patent right | ||
| PE0701 | Decision of registration |
St.27 status event code: A-1-2-D10-D22-exm-PE0701 |
|
| PR0701 | Registration of establishment |
St.27 status event code: A-2-4-F10-F11-exm-PR0701 |
|
| PR1002 | Payment of registration fee |
St.27 status event code: A-2-2-U10-U12-oth-PR1002 Fee payment year number: 1 |
|
| PG1601 | Publication of registration |
St.27 status event code: A-4-4-Q10-Q13-nap-PG1601 |
|
| P22-X000 | Classification modified |
St.27 status event code: A-4-4-P10-P22-nap-X000 |
|
| LAPS | Lapse due to unpaid annual fee | ||
| PC1903 | Unpaid annual fee |
St.27 status event code: A-4-4-U10-U13-oth-PC1903 Not in force date: 20180128 Payment event data comment text: Termination Category : DEFAULT_OF_REGISTRATION_FEE |
|
| P22-X000 | Classification modified |
St.27 status event code: A-4-4-P10-P22-nap-X000 |
|
| PC1903 | Unpaid annual fee |
St.27 status event code: N-4-6-H10-H13-oth-PC1903 Ip right cessation event data comment text: Termination Category : DEFAULT_OF_REGISTRATION_FEE Not in force date: 20180128 |
