KR101459505B1 - Led lighting system - Google Patents
Led lighting system Download PDFInfo
- Publication number
- KR101459505B1 KR101459505B1 KR1020140030583A KR20140030583A KR101459505B1 KR 101459505 B1 KR101459505 B1 KR 101459505B1 KR 1020140030583 A KR1020140030583 A KR 1020140030583A KR 20140030583 A KR20140030583 A KR 20140030583A KR 101459505 B1 KR101459505 B1 KR 101459505B1
- Authority
- KR
- South Korea
- Prior art keywords
- voltage
- sensing
- current
- circuit
- light emitting
- Prior art date
- Legal status (The legal status is an assumption and is not a legal conclusion. Google has not performed a legal analysis and makes no representation as to the accuracy of the status listed.)
- Expired - Fee Related
Links
Images
Classifications
-
- H—ELECTRICITY
- H05—ELECTRIC TECHNIQUES NOT OTHERWISE PROVIDED FOR
- H05B—ELECTRIC HEATING; ELECTRIC LIGHT SOURCES NOT OTHERWISE PROVIDED FOR; CIRCUIT ARRANGEMENTS FOR ELECTRIC LIGHT SOURCES, IN GENERAL
- H05B47/00—Circuit arrangements for operating light sources in general, i.e. where the type of light source is not relevant
- H05B47/10—Controlling the light source
- H05B47/105—Controlling the light source in response to determined parameters
Landscapes
- Led Devices (AREA)
- Circuit Arrangement For Electric Light Sources In General (AREA)
Abstract
본 발명은 발광 다이오드 조명 장치를 개시하며, 상기 발광 다이오드 조명 장치는, 리플을 갖는 입력 전압을 제공하는 전원 회로; 발광 다이오드를 포함하는 채널들을 형성하고, 상기 입력 전압에 대응하여 발광하는 LED 어레이; 상기 LED 어레이에 전류 경로를 제공하는 정전류 제어 회로; 상기 전류 경로 상의 전류에 대응하는 센싱 전압을 제공하는 전류 센싱 저항; 및 상기 정전류 제어 회로에 상기 채널들에 대응하는 수의 비교 전압들을 제공하며, 상기 비교 전압들이 상기 센싱 전압의 변화에 대응하여 레벨이 조절되는 전압 센싱 회로;를 포함한다.The present invention discloses a light emitting diode lighting device, comprising: a power supply circuit for providing an input voltage having ripple; An LED array forming channels including a light emitting diode and emitting light corresponding to the input voltage; A constant current control circuit for providing a current path to said LED array; A current sensing resistor for providing a sensing voltage corresponding to the current on the current path; And a voltage sensing circuit for supplying the constant current control circuit with a number of comparison voltages corresponding to the channels, wherein the comparison voltages are adjusted in level corresponding to a change in the sensing voltage.
Description
본 발명은 발광 다이오드 조명 장치에 관한 것으로서, 보다 상세하게는 전류 레귤레이션을 수행하여 발광을 제어하는 발광 다이오드 조명 장치에 관한 것이다.BACKGROUND OF THE INVENTION 1. Field of the Invention [0001] The present invention relates to a light emitting diode lighting apparatus, and more particularly, to a light emitting diode lighting apparatus that performs current regulation to control light emission.
최근 발광 다이오드가 조명 장치의 광원으로 이용되고 있으며, 상기와 같이 발광 다이오드를 이용하는 조명 장치를 발광 다이오드 조명 장치라 한다.Recently, a light emitting diode is used as a light source of a lighting device, and an illumination device using the light emitting diode as described above is called a light emitting diode lighting device.
발광 다이오드는 에너지 소비량, 수명 및 광질 등과 같은 다양한 요소에서 다른 광원들과 차별화되는 이점을 갖는다. 그러나, 발광 다이오드는 정전류에 의하여 구동되는 특성이 있으며, 발광 다오드 조명 장치는 상기한 발광 다이오드의 정전류 특성을 해소하기 위하여 많은 회로의 추가적인 구성이 필요하다.Light emitting diodes have the advantage of being differentiated from other light sources in various factors such as energy consumption, lifetime and light quality. However, the light emitting diode is driven by a constant current, and the light emitting diode illumination device needs a further configuration of many circuits in order to overcome the constant current characteristics of the light emitting diode.
이를 해소하기 위하여, 상용 교류 전원을 이용할 수 있는 발광 다이오드 조명 장치가 개발되고 있으며, 대표적으로 한국 특허출원 10-2011-0146391호에 'LED 발광 장치'가 개시된 바 있다.In order to solve this problem, a light emitting diode lighting device capable of using a commercial AC power source has been developed and a 'LED light emitting device' has been disclosed in Korean Patent Application No. 10-2011-0146391.
본 발명은 적은 수의 부품과 간단한 구조를 갖는 발광 다이오드 조명 장치를 구성함을 목적으로 한다.An object of the present invention is to provide a light emitting diode lighting device having a small number of parts and a simple structure.
또한, 본 발명은 리플을 갖는 입력 전압의 변화를 따르는 센싱 전압을 이용하여 전류 레귤레이션을 수행함에 의하여 발광 다이오드 조명 장치의 발광을 제어함을 다른 목적으로 한다.Another object of the present invention is to control the light emission of a light emitting diode lighting device by performing current regulation using a sensing voltage following a change in input voltage having ripple.
또한, 본 발명은 리플을 갖는 입력 전압의 변화를 따르는 센싱 전압을 피드백하여 직렬로 연결된 발광 다이오드의 각 채널 별로 대응되는 비교 전압을 구하고 상기 채널 별로 비교 전압과 기준 전압을 비교하여 발광을 위한 전류 레귤레이션을 수행함을 또다른 목적으로 한다.The present invention also provides a method of driving a light emitting diode in which a sensing voltage corresponding to a change in input voltage having ripple is fed back to obtain a corresponding voltage for each channel of a series connected light emitting diode, As shown in FIG.
상기한 과제를 해결하기 위한 본 발명의 발광 다이오드 조명 장치는, 리플을 갖는 입력 전압을 제공하는 전원 회로; 발광 다이오드를 포함하는 채널들을 형성하고, 상기 입력 전압에 대응하여 발광하는 LED 어레이; 상기 LED 어레이에 전류 경로를 제공하는 정전류 제어 회로; 상기 전류 경로 상의 전류에 대응하는 센싱 전압을 제공하는 전류 센싱 저항; 및 상기 정전류 제어 회로에 상기 채널들에 대응하는 수의 비교 전압들을 제공하며, 상기 비교 전압들이 상기 센싱 전압의 변화에 대응하여 레벨이 조절되는 전압 센싱 회로;를 포함하며, 상기 정전류 제어 회로는 기준 전압과 상기 각 채널 별로 대응되는 상기 비교 전압을 비교한 결과에 의하여 상기 전류 경로를 상기 채널들 중 어느 하나에 제공함을 특징으로 한다.According to an aspect of the present invention, there is provided a light emitting diode lighting apparatus comprising: a power supply circuit for providing an input voltage having ripple; An LED array forming channels including a light emitting diode and emitting light corresponding to the input voltage; A constant current control circuit for providing a current path to said LED array; A current sensing resistor for providing a sensing voltage corresponding to the current on the current path; And a voltage sensing circuit for providing the constant current control circuit with a number of comparison voltages corresponding to the channels, wherein the comparison voltages are level-adjusted corresponding to a change in the sensing voltage, And the current path is provided to one of the channels according to a result of comparing the voltage with the comparison voltage corresponding to each channel.
또한, 리플을 갖는 입력 전압에 대응한 LED 어레이의 발광을 위한 전류 경로를 제공하는 본 발명의 발광 다이오드 조명 장치는, 상기 전류 경로 상의 전류에 대응하는 센싱 전압을 제공하는 전류 센싱 저항; 상기 LED 어레이에 포함된 채널들에 대응하는 수의 비교 전압들을 제공하며, 상기 비교 전압들이 상기 센싱 전압의 변화에 대응하여 레벨이 조절되는 전압 센싱 회로; 및 기준 전압과 상기 각 채널 별로 대응되는 상기 비교 전압을 비교한 결과에 의하여 상기 전류 경로를 상기 채널들 중 어느 하나에 제공하는 정전류 제어 회로;를 포함함을 특징으로 한다.Further, a light emitting diode illumination device of the present invention, which provides a current path for light emission of an LED array corresponding to an input voltage having ripple, comprises: a current sensing resistor for providing a sensing voltage corresponding to the current on the current path; A voltage sensing circuit providing a number of comparison voltages corresponding to the channels included in the LED array, the comparison voltages being adjusted in level corresponding to a change in the sensing voltage; And a constant current control circuit for providing the current path to any one of the channels based on a result of comparing the reference voltage with the comparison voltage corresponding to each channel.
본 발명에 의하면 적은 수의 부품과 간단한 구조를 갖도록 발광 다이오드 조명 장치를 구현할 수 있는 효과가 있다.According to the present invention, it is possible to realize a light emitting diode lighting device having a small number of parts and a simple structure.
또한, 본 발명에 의하면 리플을 갖는 입력 전압의 변화에 대응하여 발광 다이오드 조명 장치의 발광을 제어할 수 있으며, 특히 발광을 위한 전류 경로를 제공하기 위한 제어가 고정된 레벨의 기준 전압과 입력 전압의 변화를 따르는 센싱 전압을 이용하여 정확히 제어될 수 있는 효과가 있다.According to the present invention, it is possible to control the light emission of the LED lighting device in response to a change in the input voltage having ripple. Particularly, the control for providing the current path for light emission has a fixed reference voltage and an input voltage And can be accurately controlled by using the sensing voltage following the change.
도 1은 본 발명의 발광 다이오드 조명 장치의 바람직한 실시예를 나타내는 회로도.
도 2는 도 1의 실시예의 동작 특성을 설명하는 파형도.1 is a circuit diagram showing a preferred embodiment of a light-emitting diode lighting device of the present invention.
2 is a waveform diagram illustrating operational characteristics of the embodiment of FIG.
이하, 첨부된 도면을 참조하여 본 발명의 바람직한 실시예를 상세하게 설명한다. 본 명세서 및 특허청구범위에 사용된 용어는 통상적이거나 사전적 의미로 한정되어 해석되지 아니하며, 본 발명의 기술적 사항에 부합하는 의미와 개념으로 해석되어야 한다.Hereinafter, preferred embodiments of the present invention will be described in detail with reference to the accompanying drawings. It is to be understood that the terminology used herein is for the purpose of description and should not be interpreted as limiting the scope of the present invention.
본 명세서에 기재된 실시예와 도면에 도시된 구성은 본 발명의 바람직한 실시예이며, 본 발명의 기술적 사상을 모두 대변하는 것이 아니므로, 본 출원 시점에서 이들을 대체할 수 있는 다양한 균등물과 변형예들이 있을 수 있다.The embodiments described in the present specification and the configurations shown in the drawings are preferred embodiments of the present invention and are not intended to represent all of the technical ideas of the present invention and thus various equivalents and modifications Can be.
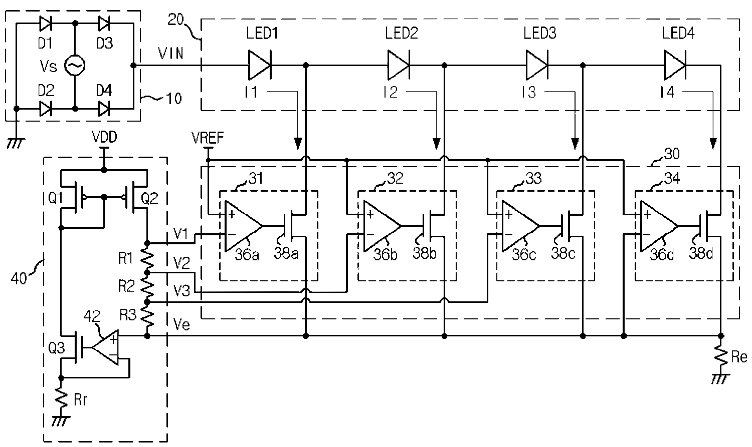
본 발명의 발광 다이오드 조명 장치는 교류 전원을 이용하여 발광 다이오드(LED) 어레이(Array)(20)를 발광시킨다. LED 어레이(20)의 발광은 교류 전원에 의한 교류 전압을 변환한 입력 전압(VIN)의 변화에 대응하여 제어될 수 있다. The light emitting diode lighting apparatus of the present invention emits a light emitting diode (LED) array (20) using an AC power source. The light emission of the
도 1을 참조하면, 본 발명의 실시예는 정류 회로(10), LED 어레이(20), 정전류 제어 회로(30), 전압 센싱 회로(40) 및 전류 센싱 저항(Rs)를 포함한다.Referring to FIG. 1, an embodiment of the present invention includes a
정류 회로(10)는 교류 전압을 공급하는 교류 전원(Vs)과 교류 전압을 정류한 입력 전압(VIN)을 제공하는 정류부를 포함한다. The rectifying
여기에서, 교류 전원(Vs)은 상용 교류 전원일 수 있다. 또한, 교류 전원(Vs)은 교류-교류(AC to AC) 컨버터(Converter)의 출력 전압일 수 있다. 정류부는 다이오드들(D1~D4)을 포함하며, 다이오드들(D1~D4)의 브릿지 결합에 의하여 정현파 파형을 갖는 교류 전압을 전파 정류한다. Here, the AC power supply Vs may be a commercial AC power supply. Also, the AC power supply Vs may be the output voltage of the AC to AC converter. The rectifying part includes diodes D1 to D4 and performs full-wave rectification of an AC voltage having a sinusoidal waveform by bridge coupling of the diodes D1 to D4.
정류 회로(10)에서 교류 전압을 전파 정류한 전압은 LED 어레이(20)의 입력 전압(VIN)으로 제공될 수 있으며, 입력 전압(VIN)은 교류 전압의 반 주기 단위로 승하강하는 리플을 갖는다. 본 발명의 실시예에서 입력 전압(VIN)의 레벨 변화는 리플의 변화를 의미한다.The voltage obtained by full-wave rectification of the AC voltage in the rectifying
LED 어레이(20)는 직렬 연결된 4 개의 발광 다이오드(LED1~LED4)를 포함한다. 본 발명의 실시예는 간략한 도시를 위하여 4 개의 발광 다이오드(LED1~LED4)를 각각 하나의 발광 다이오드로 표현하였으나, 이에 제한되지 않고 각 발광 다이오드에 대응하여 둘 이상의 직렬, 병렬 또는 직병렬 연결된 발광 다이오드를 포함할 수 있다. 그리고, LED 어레이(20)에 포함되는 발광 다이오드의 수도 4개로 제한되지 않고 제작자의 의도에 따라서 감소 또는 증가될 수 있다. 즉, LED 어레이(20)는 발광 다이오드를 포함하는 채널들을 형성하며, 각 채널은 도 1의 발광 다이오드(LED1, LED2~LED4)에 대응된다.The
입력 전압(VIN)이 상승하는 경우, LED 어레이(20)는 입력 전압(VIN)이 인가되는 쪽부터 먼저 발광하고, 입력 전압(VIN)이 인가되는 쪽부터 먼 곳의 발광 다이오드 순서로 발광이 순차적으로 진행되며, 발광하는 발광 다이오드의 수가 증가한다. 이와 반대로, 입력 전압(VIN)이 하강하는 경우, LED 어레이(20)는 상기한 발광의 역순으로 발광 다이오드의 소광이 순차적으로 진행되며, 발광하는 발광 다이오드의 수가 감소한다. 이때, 정전류 제어 회로(30)는 발광 다이오드들(LED1~LED4)의 출력단 중 어느 하나에 발광을 위한 전류 경로를 제공할 수 있다.When the input voltage VIN rises, the
상기한 LED 어레이(30)의 발광을 위하여 전류 경로가 제공되어야 하며, 상기한 LED 어레이(20)의 발광을 위한 전류 경로는 정전류 제어 회로(30)에 의하여 제공될 수 있다. 즉, 정전류 제어 회로(30)는 LED 어레이(20)의 발광을 제어하며, 입력 전압(VIN)의 변화에 대응한 전류 경로를 선택적으로 제공하는 기능을 갖는다. A current path must be provided for light emission of the
이를 위하여 정전류 제어 회로(30)는 4 개의 구동 회로(31~34)를 포함하며, 구동 회로들(31~34)은 발광 다이오드들(LED1~LED4)의 출력단에 일대일로 대응되도록 구성된다. 즉, 구동 회로(31)는 발광 다이오드(LED1)의 출력단과 전류 센싱 저항(Re) 간의 전류 경로를 형성하고, 구동 회로(32)는 발광 다이오드(LED2)의 출력단과 전류 센싱 저항(Re) 간의 전류 경로를 형성하며, 구동 회로(33)는 발광 다이오드(LED3)의 출력단과 전류 센싱 저항(Re) 간의 전류 경로를 형성하고, 구동 회로(34)는 발광 다이오드(LED4)의 출력단과 전류 센싱 저항(Re) 간의 전류 경로를 형성한다.The constant
각 구동 회로(31~34)는 연산 증폭기(Operational Amplifier)(36a~36d)와 구동 소자(38a~38d)를 포함한다. Each of the
여기에서, 연산 증폭기(36a~36d)의 포지티브 단자(+)에는 기준 전압(VREF)이 제공되고, 기준 전압(VREF)은 고정된 레벨을 가질 수 있다. 기준 전압(VREF)은 내부 전압 발생 회로(도시되지 않음)에서 제공되거나 외부에서 제공될 수 있다. Here, the positive terminal (+) of the
그리고, 연산 증폭기(36a~36d)의 네가티브 단자(-)에는 비교 전압이 제공될 수 있다. 비교 전압은 구동 회로(31~34) 별로 다른 레벨을 갖도록 제공될 수 있다. 각 구동 회로(31~34)의 연산 증폭기(36a~36d)에 제공되는 비교 전압은 각각 V1, V2, V3, Ve로 정의될 수 있으며 서로 다른 레벨을 가질 수 있다. 예시적으로 구동 회로(31)의 연산 증폭기(36a~36d)에 제공되는 비교 전압(V1)이 가장 높은 레벨을 가지며, 비교 전압(V2), 비교 전압(V3) 및 비교 전압(Ve)의 순으로 점차 낮은 레벨을 가질 수 있다.A comparison voltage may be provided to the negative terminal (-) of the
그리고, 구동 소자(38a~38d)는 NPN 혹은 NMOS 트랜지스터로 구성될 수 있다. 구동 소자(38a~38d)는 게이트에 연산 증폭기(36a~36d)의 출력이 인가되고 드레인과 소스가 각각 발광 다이오드의 출력단과 전류 센싱 저항(Re) 간의 전류 경로를 제공하도록 구성될 수 있다. 보다 구체적으로, 구동 소자(38a~38d)의 드레인에 발광 다이오드의 출력단이 연결되고 소스에 전류 센싱 저항(Re)이 연결될 수 있다.The
상기한 구성에서 전류 센싱 저항(Re)은 각 구동 회로(31~34)의 소스에 일단이 공통으로 연결되고 타단은 접지되도록 구성될 수 있다.In the above configuration, the current sensing resistor Re may be configured such that one ends thereof are commonly connected to the sources of the
그리고, 각 구동 회로(31~34)의 연산 증폭기(36a~36d)의 네가티브 단자에 비교 전압(V1, V2, V3, Ve)을 제공하기 위하여 전압 센싱 회로(40)가 구성된다. 여기에서, 비교 전압(Ve)은 전류 센싱 저항(Re)에 형성되는 전압을 공유하도록 구성될 수 있다.The voltage sensing circuit 40 is configured to provide the comparison voltages V1, V2, V3, and Ve to the negative terminals of the
상기한 전압 센싱 회로(40)는 트랜지스터들(Q1~Q3)과 연산 증폭기(42) 및 저항들(R1~R3, Rr)을 포함하며, 커런트 미러(Current Mirror) 회로를 이용하여 전류 센싱 저항(Re)의 센싱 전압에 대응하는 레벨을 갖는 비교 전압들(V1~V3, Ve)을 제공하도록 구성될 수 있다. 여기에서 트랜지스터들(Q1~Q3)는 바이폴라(Bipolar) 혹은 MOS 트랜지스터로 구성될 수 있다. Q1,Q2는 PNP혹은 PMOS트랜지스터, Q3은 NPN 혹은 NMOS트랜지스터로 구성될 수 있다.The voltage sensing circuit 40 includes a transistor Q1 to Q3, an operational amplifier 42 and resistors R1 to R3 and a current mirror circuit using a current sensing resistor (V1 to V3, Ve) having a level corresponding to the sensing voltage of the reference voltage (Vref, Re). Here, the transistors Q1 to Q3 may be composed of a bipolar transistor or a MOS transistor. Q1 and Q2 may be PNP or PMOS transistors, and Q3 may be NPN or NMOS transistors.
보다 상세한 전압 센싱 회로(40)의 구성을 살펴본다.The configuration of the voltage sensing circuit 40 will be described in detail.
트랜지스터(Q1), 트랜지스터(Q3) 및 저항(Rr)은 동작 전압(VDD)이 인가되는 단자와 접지 사이에 직렬로 연결된다. 그리고 연산 증폭기(42)는 출력단이 트랜지스터(Q3)의 게이트에 연결되고, 네가티브 단자(-)는 소스와 저항(Rr) 간의 노드에 연결되며, 포지티브 단자(+)는 전류 센싱 저항(Re)에 연결되도록 구성된다. 즉, 연산 증폭기(42)의 포지티브 단자(+)는 전류 센싱 저항(Re)의 센싱 전압이 입력되도록 구성된다. 본 발명의 실시예는 전류 센싱 저항(Re)의 센싱 전압은 구동 회로(34)의 연산 증폭기(34)의 네가티브 단자(-)에 제공되는 비교 전압(Ve)이 적용되도록 구성된다. The transistor Q1, the transistor Q3 and the resistor Rr are connected in series between the terminal to which the operating voltage VDD is applied and the ground. The output terminal of the operational amplifier 42 is connected to the gate of the transistor Q3 and the negative terminal thereof is connected to the node between the source and the resistor Rr and the positive terminal of the operational amplifier 42 is connected to the current sensing resistor Re Respectively. That is, the positive terminal (+) of the operational amplifier 42 is configured to receive the sensing voltage of the current sensing resistor Re. The embodiment of the present invention is configured such that the sensing voltage of the current sensing resistor Re is applied to the comparison voltage Ve provided to the negative terminal (-) of the
한편, 트랜지스터(Q1)와 트랜지스터(Q2)는 게이트가 커플링된 구조를 가지며, 드레인에 공통으로 동작 전압(VDD)이 인가되도록 구성된다. 트랜지스터(Q1)는 게이트가 소스에 공통으로 연결되도록 구성된다. 그리고, 트랜지스터(Q2)의 소스에는 저항들(R1, R2, R3)이 직렬로 연결되며, 마지막으로 직렬 연결된 저항(R3)은 전류 센싱 저항(Re)와 연산 증폭기(42)의 포지티브 단자(+) 간의 노드에 연결된다. On the other hand, the transistors Q1 and Q2 are configured such that gates are coupled to each other, and the operating voltage VDD is commonly applied to the drains. The transistor Q1 is configured such that the gate is connected in common to the source. The resistor R3 connected in series is connected between the current sensing resistor Re and the positive terminal of the operational amplifier 42. The resistor R3 is connected in series to the source of the transistor Q2, Lt; / RTI >
상기한 구성에서, 트랜지스터(R2)와 저항(R1) 간의 노드에서 비교 전압(V1)이 제공되고, 저항(R1)과 저항(R2) 간의 노드에서 비교 전압(V2)이 제공되며, 저항(R2)과 저항(R3) 간의 노드에서 비교 전압(V3)이 제공된다.In the above configuration, the comparison voltage V1 is provided at the node between the transistor R2 and the resistor R1, the comparison voltage V2 is provided at the node between the resistor R1 and the resistor R2, ) And the resistor R3 is provided with the comparison voltage V3.
상기한 구성에 의하여, 연산 증폭기(42)와 트랜지스터(Q3) 및 저항(Rr)은 전류 센싱 저항(Re)의 센싱 전압을 감지하여 전류의 양을 제어하는 센싱 회로로 작용하고, 저항들(R1, R2, R3)은 비교 전압들을 출력하는 분압 회로로 작용하며, 트랜지스터들(Q1, Q2)은 센싱 회로의 전류 양에 대응하는 전류를 저항들(R1, R2, R3)에 제공하는 커런트 미러 회로로 작용한다.The operational amplifier 42, the transistor Q3 and the resistor Rr function as a sensing circuit for sensing the sensing voltage of the current sensing resistor Re to control the amount of current, R2 and R3 function as a voltage dividing circuit for outputting comparison voltages and transistors Q1 and Q2 are connected to a current mirror circuit for providing a current corresponding to the amount of current of the sensing circuit to the resistors R1, Lt; / RTI >
상술한 바와 같이 구성된 본 발명의 실시예의 동작을 설명한다.The operation of the embodiment of the present invention configured as described above will be described.
발광 다이오드(LED1~LED4)를 각각 발광시키는 전압은 발광 전압으로 정의할 수 있다. 보다 구체적으로, 발광 다이오드(LED1)의 발광에 필요한 전압은 발광 다이오드(LED1)의 발광 전압이며, 발광 다이오드(LED1~LED2)의 발광에 필요한 전압은 발광 다이오드(LED2)의 발광 전압이고, 발광 다이오드(LED1~LED3)의 발광에 필요한 전압은 발광 다이오드(LED3)의 발광 전압이며, 발광 다이오드(LED1~LED4)의 발광에 필요한 전압은 발광 다이오드(LED4)의 발광 전압으로 정의할 수 있다.The voltage for causing the light emitting diodes LED1 to LED4 to emit light may be defined as a light emitting voltage. More specifically, a voltage required for light emission of the light emitting diode LED1 is a light emitting voltage of the light emitting diode LED1, a voltage required for light emission of the light emitting diodes LED1 to LED2 is a light emitting voltage of the light emitting diode LED2, A voltage required for light emission of the light emitting diodes LED1 to LED3 is a light emitting voltage of the light emitting diode LED3 and a voltage necessary for light emission of the light emitting diodes LED1 to LED4 is defined as a light emitting voltage of the light emitting diode LED4.
도 2는 4 개의 발광 다이오드(LED1~LED4)를 구동하는 경우를 예시한 파형도이며 입력 전압과 전류 경로 상의 전류(I1~I4)의 상관 관계를 설명하기 위한 것이다.Fig. 2 is a waveform diagram illustrating a case of driving four light emitting diodes (LED1 to LED4), and is for explaining the correlation between the input voltage and the currents I1 to I4 on the current path.
먼저, 정류 회로(10)는 도 2와 같이 교류 전압을 전파 정류한 파형을 갖도록 입력 전압(VIN)을 제공한다. 즉, 입력 전압(VIN)은 교류 전원(Vs)의 교류 전압의 반주기 단위로 상승 및 하강이 반복된다.First, the rectifying
그리고, 구동 회로(31~34)는 초기 상태에서 턴온을 유지한다. 즉, 여기에서 초기 상태는 발광 다이오드들(LED1~LED4)가 발광되지 않은 상태를 의미한다. 초기 상태에서, 전류 센싱 저항(Re)에 형성되는 센싱 전압은 낮고, 구동 회로(31~34)에 제공되는 비교 전압(V1~V3, Ve)의 레벨도 낮다. 즉, 기준 전압(VREF)보다 낮은 레벨의 비교 전압(V1~V3, Ve)이 연산 증폭기(36a~36d)의 네가티브 단자(-)에 인가되므로, 연산 증폭기(36a~36d)는 하이 레벨의 신호를 출력하고, 그에 대응하여 구동 소자(38a~38d)는 턴온 상태를 유지한다.Then, the
전압 센싱 회로(40)에서 전류 센싱 저항(Re)에 형성되는 센싱 전압이 상승하면, 연산 증폭기(42)의 출력이 상승하고, 그에 대응하여 트랜지스터(Q3)를 통하여 흐르는 전류의 양은 증가한다. When the sensing voltage formed in the current sensing resistor Re in the voltage sensing circuit 40 rises, the output of the operational amplifier 42 rises and the amount of current flowing through the transistor Q3 correspondingly increases.
트랜지스터들(Q1, Q2)은 커런트 미러 회로로 작용된다. 그러므로, 트랜지스터(Q1)과 트랜지스터(Q2)의 전류량은 채널 비에 비례한다. 즉, 트랜지스터(Q1)의 전류량이 증가하면 트랜지스터(Q2)의 전류량도 증가한다. The transistors Q1 and Q2 act as a current mirror circuit. Therefore, the amount of current flowing through the transistor Q1 and the transistor Q2 is proportional to the channel ratio. That is, when the amount of current of the transistor Q1 increases, the amount of current of the transistor Q2 also increases.
그러므로, 센싱 전압이 상승하여 트랜지스터(Q3)의 전류량이 증가하면, 트랜지스터(Q1)의 전류량이 증가하고, 결과적으로 트랜지스터(Q2)의 전류량이 증가한다. 트랜지스터(Q2)의 전류량의 증가는 저항들(R1~R33)의 양단에 형성된 각 노드의 비교 전압들(V1~V3, Ve)을 상승시킨다. Therefore, if the sensing voltage increases and the amount of current of the transistor Q3 increases, the amount of current of the transistor Q1 increases, and as a result, the amount of current of the transistor Q2 increases. The increase in the amount of current of the transistor Q2 raises the comparison voltages V1 to V3, Ve of the respective nodes formed at both ends of the resistors R1 to R33.
즉, 전류 센싱 저항(Re)의 센싱 전압이 상승하면 전압 센싱 회로(40)는 상승된 레벨의 비교 전압들(V1~V3, Ve)을 제공하고, 전류 센싱 저항(Re)의 센싱 전압이 하강하면 전압 센싱 회로(40)는 하강된 레벨의 비교 전압들(V1~V3, Ve)을 제공한다.That is, when the sensing voltage of the current sensing resistor Re rises, the voltage sensing circuit 40 provides the comparison voltages V1 to V3 and Ve of the increased level, and the sensing voltage of the current sensing resistor Re falls The lower voltage sensing circuit 40 provides the lowered comparison voltages V1 to V3, Ve.
구동 회로들(31~34)은 자신에게 인가되는 비교 전압이 기준 전압(VREF) 이하인 경우에 한하여 해당 발광 다이오드와 전류 센싱 저항(Re) 간의 전류 경로를 제공한다. 즉, 구동 회로들(31~34)은 자신에게 인가되는 비교 전압이 기준 전압(VREF)을 초과하면 해당 발광 다이오드와 전류 센싱 저항(Re) 간의 전류 경로를 차단한다.The driving
입력 전압(VIN)이 초기 상태에서 점차 상승하여 발광 다이오드(LED1)의 발광 전압에 도달하면, 발광 다이오드(LED1)는 발광하고, 이때 발광을 위한 전류 경로는 구동 회로(31)에 의하여 형성된다. 그리고, 전류(I1)가 전류 경로를 제공하는 구동 회로(31)를 경유하여 전류 센싱 저항(Re)으로 흐른다.When the input voltage VIN rises gradually in the initial state and reaches the light emitting voltage of the light emitting diode LED1, the light emitting diode LED1 emits light, and the current path for light emission is formed by the
구동 회로(31)에 의한 전류 경로는 입력 전압(VIN)이 발광 다이오드(LED2)의 발광 전압으로 상승할 때까지 유지된다. The current path by the driving
그 후 입력 전압(VIN)이 발광 다이오드(LED2)의 발광 전압에 도달하면, 발광 다이오드들(LED1, LED2)이 발광하고, 이때 발광을 위한 전류 경로는 구동 회로(32)에 의하여 형성된다. 그리고, 전류(I2)가 전류 경로를 제공하는 구동 회로(32)를 경유하여 전류 센싱 저항(Re)으로 흐른다.Then, when the input voltage VIN reaches the light emitting voltage of the light emitting diode LED2, the light emitting diodes LED1 and LED2 emit light, and a current path for light emission is formed by the
그리고, 전류 센싱 저항(Re)의 전류량이 도 2와 같이 변화되며, 그에 따라서, 전류 센싱 저항(Re)의 센싱 전압이 상승한다. 결과적으로, 비교 전압들(V1~V3, Ve)이 상승한다. 비교 전압들(V1~V3, Ve)의 상승폭은 도 2의 전류량 변화에 대응될 수 있다. 전류(I2)에 의해서 비교 전압(V1)은 기준전압(VREF) ㅂ보다 높아지고, 비교 전압(V2)은 기준 전압(VREF)과 같은 레벨이 되도록 상승하며, 나머지 비교 전압들(V3, Ve)은 기준 전압(VREF) 보다 낮은 레벨을 갖도록 상승한다.Then, the current amount of the current sensing resistance Re changes as shown in FIG. 2, and the sensing voltage of the current sensing resistance Re rises accordingly. As a result, the comparison voltages V1 to V3, Ve rise. The rising width of the comparison voltages V1 to V3, Ve may correspond to the change in the amount of current shown in Fig. The comparison voltage V1 is higher than the reference voltage VREF by the current I2 and the comparison voltage V2 rises to the same level as the reference voltage VREF and the remaining comparison voltages V3 and Ve are And is raised to have a level lower than the reference voltage VREF.
그러므로, 구동 회로(31)에서 연산 증폭기(36a)의 출력은 낮아지고 구동 소자(38a)는 턴오프된다. 결과적으로 구동 회로(31)에 의한 전류 경로는 차단되고, LED 어레이(20)의 발광을 위한 전류 경로는 구동 회로(32)에 의하여 형성된다.Therefore, in the driving
구동 회로(32)에 의한 전류 경로는 입력 전압(VIN)이 발광 다이오드(LED3)의 발광 전압으로 상승할 때까지 유지된다.The current path by the driving
그 후 입력 전압(VIN)이 발광 다이오드(LED3)의 발광 전압에 도달하면, 발광 다이오드들(LED1, LED2, LED3)이 발광하고, 이때 발광을 위한 전류 경로는 구동 회로(33)에 의하여 형성된다. 그리고, 전류(I3)가 전류 경로를 제공하는 구동 회로(33)를 경유하여 전류 센싱 저항(Re)로 흐른다.Then, when the input voltage VIN reaches the light emission voltage of the light emitting diode LED3, the light emitting diodes LED1, LED2, and LED3 emit light, and the current path for light emission is formed by the
그리고, 전류 센싱 저항(Re)의 전류량이 도 2와 같이 변화되며, 그에 따라서, 전류 센싱 저항(Re)의 센싱 전압이 상승한다. 결과적으로, 비교 전압들(V1~V3, Ve)이 상승한다. 비교 전압들(V1~V3, Ve)의 상승폭은 도 2의 전류량 변화에 대응될 수 있고, 전류(I3)에 의해서 비교 전압들(V1, V2)은 기준 전압(VREF) 보다 높아지고, 비교 전압(V3)은 기준 전압(VREF)과 같은 레벨이 되도록 상승하며, 나머지 비교 전압(Ve)은 기준 전압(VREF) 보다 낮은 레벨을 갖도록 상승한다.Then, the current amount of the current sensing resistance Re changes as shown in FIG. 2, and the sensing voltage of the current sensing resistance Re rises accordingly. As a result, the comparison voltages V1 to V3, Ve rise. The increase width of the comparison voltages V1 to V3 and Ve may correspond to the change in the amount of current in Fig. 2 and the comparison voltages V1 and V2 become higher than the reference voltage VREF by the current I3, V3 rise to be the same level as the reference voltage VREF and the remaining comparison voltage Ve rises to be lower than the reference voltage VREF.
그러므로, 구동 회로(32)에서 연산 증폭기(36b)의 출력은 낮아지고 구동 소자(38b)는 턴오프된다. 결과적으로 구동 회로(32)에 의한 전류 경로는 차단되고, LED 어레이(20)의 발광을 위한 전류 경로는 구동 회로(33)에 의하여 형성된다. Therefore, in the driving
구동 회로(33)에 의한 전류 경로는 입력 전압(VIN)이 발광 다이오드(LED4)의 발광 전압으로 상승할 때까지 유지된다.The current path by the driving
그 후 입력 전압(VIN)이 발광 다이오드(LED4)의 발광 전압에 도달하면, 발광 다이오드들(LED1, LED2, LED3, LED4)이 발광하고, 이때 발광을 위한 전류 경로는 구동 회로(34)에 의하여 형성된다. 그리고, 전류(I4)가 전류 경로를 제공하는 구동 회로(34)를 경유하여 전류 센싱 저항(Re)로 흐른다.Then, when the input voltage VIN reaches the light emitting voltage of the light emitting diode LED4, the light emitting diodes LED1, LED2, LED3, and LED4 emit light, . Then, the current I4 flows to the current sensing resistor Re via the
그리고, 전류 센싱 저항(Re)의 전류량이 도 2와 같이 변화되며, 그에 따라서, 전류 센싱 저항(Re)의 센싱 전압이 상승한다. 결과적으로, 비교 전압들(V1~V3, Ve)이 상승한다. 이때 비교 전압들(V1~V3, Ve)의 상승폭은 도 2의 전류량 변화에 대응될 수 있고, 전류(I4)에 의해서 비교 전압들(V1, V2, V3)은 기준 전압(VREF) 보다 높아지고, 비교 전압(Ve)은 기준 전압(VREF)과 같은 레벨이 되도록 상승한다.Then, the current amount of the current sensing resistance Re changes as shown in FIG. 2, and the sensing voltage of the current sensing resistance Re rises accordingly. As a result, the comparison voltages V1 to V3, Ve rise. At this time, the rising width of the comparison voltages V1 to V3 and Ve may correspond to the variation of the current amount of FIG. 2, and the comparison voltages V1, V2 and V3 are higher than the reference voltage VREF by the current I4, The comparison voltage Ve rises to the same level as the reference voltage VREF.
그러므로, 구동 회로(33)에서 연산 증폭기(36c)의 출력은 낮아지고 구동 소자(38c)는 턴오프된다. 결과적으로 구동 회로(33)에 의한 전류 경로는 차단되고, LED 어레이(20)의 발광을 위한 전류 경로는 구동 회로(34)에 의하여 형성된다. Therefore, in the driving
발광 다이오드들(LED1~LED4)이 모두 발광된 후 입력 전압(VIN)은 최고 레벨로 상승한 후 하강하기 시작한다. After all of the light emitting diodes LED1 to LED4 are lit, the input voltage VIN rises to the highest level and then begins to fall.
입력 전압(VIN)이 발광 다이오드(LED1~LED4)의 발광 전압 이하로 떨어지면 발광 다이오드(LED4)는 소광된다. 상기한 입력 전압(VIN)의 하강에 대응하여 전류 센싱 저항(Re)의 센싱 전압이 하강하고, 결과적으로 비교 전압들(V1~V3, Ve)이 구동 회로(33)에 의한 전류(I3)를 위한 전류 경로를 형성하는 수준으로 하강한다. 즉, LED 어레이(20)의 발광을 위한 전류 경로는 구동 회로(33)에 의하여 형성된다. When the input voltage VIN falls below the light emitting voltage of the light emitting diodes LED1 to LED4, the light emitting diode LED4 is extinguished. The sensing voltage of the current sensing resistor Re falls corresponding to the lowering of the input voltage VIN and as a result the comparison voltages V1 to V3 and Ve become the current I3 by the
입력 전압(VIN)이 점차적으로 하강하여서 발광 다이오드들(LED1~LED3, LED1~LED2, LED1)의 발광 전압 이하로 떨어지면 발광 다이오드들(LED3, LED2, LED1)은 순차적으로 소광된다. 상기한 입력 전압(VIN)의 하강에 대응하여 전류 센싱 저항(Re)의 센싱 전압이 하강하고, 결과적으로 비교 전압들(V1~V3, Ve)이 구동 회로들(33,32, 31)에 의한 전류(I3, I2, I1)를 위한 전류 경로를 형성하는 수준으로 하강한다. 즉, LED 어레이(20)의 발광을 위한 전류 경로는 발광에 대응하여 역순으로 시프트된다.The LEDs LED3, LED2 and LED1 are sequentially extinguished when the input voltage VIN gradually falls to fall below the light emitting voltage of the light emitting diodes LED1 to LED3, LED1 to LED2, and LED1. The sensing voltage of the current sensing resistor Re falls corresponding to the lowering of the input voltage VIN and as a result the comparison voltages V1 to V3 and Ve are generated by the driving
입력 전압(VIN)이 초기 상태의 수준으로 하강하면, 발광 다이오드들(LED1~LED4)이 모두 소광되며, 구동 회로들(31~34)은 턴온 상태로 전류 경로 형성을 위하여 대기한다.When the input voltage VIN falls to a level of the initial state, all of the light emitting diodes LED1 to LED4 are extinguished, and the driving
상술한 바와 같이 구성 및 동작되는 본 발명의 실시예는 한 개의 전류 센싱 저항을 이용하여 입력 전압(VIN)의 상승과 하강에 대응하는 전류 경로를 제공할 수 있다. 그러므로, 발광 다이오드 조명 장치가 적은 수의 부품과 간단한 구조로 구현될 수 있다.The embodiment of the present invention constructed and operated as described above can provide a current path corresponding to the rise and fall of the input voltage VIN using one current sensing resistor. Therefore, the light emitting diode illumination device can be realized with a small number of parts and a simple structure.
또한, 본 발명의 실시예는 리플을 갖는 입력 전압의 변화에 대응하여 발광 다이오드 조명 장치의 발광을 제어할 수 있으며, 특히 발광을 위한 전류 경로를 제공하기 위한 제어가 고정된 레벨의 기준 전압을 이용하여도 정확히 제어될 수 있는 효과가 있다.In addition, the embodiment of the present invention can control the light emission of the light emitting diode lighting device in response to the change of the input voltage having ripple. In particular, the control for providing the current path for light emission uses a fixed level reference voltage The effect can be accurately controlled.
또한, 본 발명의 실시예는 인덕터나 캐패시터 요소를 사용하지 않고 입력 전압을 따라가는 비교 전압을 적용함으로써 개선된 역률을 가질 수 있고 발광을 위한 전류 경로가 구동 회로의 전류 레귤레이션에 의하여 제공될 수 있는 효과가 있다.In addition, the embodiment of the present invention can provide an improved power factor by applying a comparison voltage that follows an input voltage without using an inductor or a capacitor element, and an effect that a current path for light emission can be provided by current regulation of a driving circuit .
10 : 정류 회로 20 : LED 어레이
30 : 정전류 제어 회로 31, 32, 33, 34 : 구동 회로
36a~36d, 42 : 연산 증폭기 38a~38d : 구동 소자
40 : 전압 센싱 회로10: rectifier circuit 20: LED array
30: constant
36a to 36d, 42:
40: Voltage sensing circuit
Claims (12)
발광 다이오드를 포함하는 채널들을 형성하고, 상기 입력 전압에 대응하여 발광하는 LED 어레이;
상기 LED 어레이에 전류 경로를 제공하는 정전류 제어 회로;
상기 전류 경로 상의 전류에 대응하는 센싱 전압을 제공하는 전류 센싱 저항; 및
상기 정전류 제어 회로에 상기 채널들에 대응하는 수의 비교 전압들을 제공하며, 상기 비교 전압들이 상기 센싱 전압의 변화에 대응하여 레벨이 조절되는 전압 센싱 회로;를 포함하며,
상기 정전류 제어 회로는 상기 각 채널 별로 동일한 레벨을 갖도록 제공되는 기준 전압과 상기 각 채널 별로 다른 레벨을 갖도록 제공되는 상기 비교 전압을 비교한 결과에 의하여 상기 전류 경로를 상기 채널들 중 어느 하나에 제공함을 특징으로 하는 발광 다이오드 조명 장치.A power supply circuit for providing an input voltage having ripple;
An LED array forming channels including a light emitting diode and emitting light corresponding to the input voltage;
A constant current control circuit for providing a current path to said LED array;
A current sensing resistor for providing a sensing voltage corresponding to the current on the current path; And
And a voltage sensing circuit that provides the constant current control circuit with a number of comparison voltages corresponding to the channels, and the comparison voltages are level-adjusted corresponding to the change in the sensing voltage,
Wherein the constant current control circuit provides the current path to any one of the channels according to a comparison result between a reference voltage provided to have the same level for each channel and a comparison voltage provided to have a different level for each channel Wherein the light emitting diode illuminating device is a light emitting diode.
상기 기준 전압과 상기 센싱 전압의 변화에 대응하여 레벨이 조절되는 상기 비교 전압을 비교하여 상기 전류 경로를 형성하는 구동 회로들을 포함하며, 상기 구동 회로들은 상기 각 채널 별로 대응하여 구성되는 발광 다이오드 조명 장치.2. The constant current control circuit according to claim 1,
And a driving circuit for comparing the reference voltage and the comparison voltage, the level of which is adjusted in correspondence with the variation of the sensing voltage, to form the current path, wherein the driving circuits comprise a light emitting diode .
상기 기준 전압과 상기 센싱 전압의 변화에 대응하여 레벨이 조절되는 상기 비교 전압을 비교하는 연산 증폭기; 및
상기 연산 증폭기에서 출력되는 신호에 의하여 상기 전류 경로를 형성하는 구동 소자;를 포함하는 발광 다이오드 조명 장치.The driving circuit according to claim 2,
An operational amplifier for comparing the reference voltage and the comparison voltage whose level is adjusted corresponding to a change of the sensing voltage; And
And a driving element for forming the current path by a signal output from the operational amplifier.
상기 구동 회로의 상기 기준 전압은 고정된 레벨을 가지는 발광 다이오드 조명 장치.The method of claim 3,
Wherein the reference voltage of the driving circuit has a fixed level.
상기 센싱 전압을 감지하여 전류의 양을 제어하는 센싱 회로;
상기 비교 전압들을 출력하는 분압 회로; 및
상기 센싱 회로의 전류의 양에 대응하는 전류를 상기 분압 회로에 제공하는 커런트 미러 회로;를 포함하며,
상기 비교 전압들은 상기 센싱 전압의 변화에 대응하여 레벨이 조절되는 발광 다이오드 조명 장치.The voltage sensing circuit according to claim 1,
A sensing circuit for sensing the sensing voltage and controlling an amount of current;
A voltage dividing circuit for outputting the comparison voltages; And
And a current mirror circuit for providing a current corresponding to an amount of current of the sensing circuit to the voltage divider circuit,
Wherein the comparison voltages are adjusted in response to a change in the sensing voltage.
상기 분압 회로는 상기 전류 센싱 저항에 직렬로 연결되는 복수 개의 저항들을 포함하며, 상기 전류 센싱 저항과 상기 복수 개의 저항들 사이에 형성된 노드들에서 상기 비교 전압들을 출력하는 발광 다이오드 조명 장치. 6. The method of claim 5,
Wherein the voltage divider circuit includes a plurality of resistors connected in series to the current sensing resistor and outputs the comparison voltages at the nodes formed between the current sensing resistor and the plurality of resistors.
상기 전류 경로 상의 전류에 대응하는 센싱 전압을 제공하는 전류 센싱 저항;
상기 LED 어레이에 포함된 채널들에 대응하는 수의 비교 전압들을 제공하며, 상기 비교 전압들이 상기 센싱 전압의 변화에 대응하여 레벨이 조절되는 전압 센싱 회로; 및
상기 각 채널 별로 동일한 레벨을 갖도록 제공되는 기준 전압과 상기 각 채널 별로 다른 레벨을 갖도록 제공되는 상기 비교 전압을 비교한 결과에 의하여 상기 전류 경로를 상기 채널들 중 어느 하나에 제공하는 정전류 제어 회로;를 포함함을 특징으로 하는 발광 다이오드 조명 장치.1. A light emitting diode lighting apparatus for providing a current path for light emission of an LED array corresponding to an input voltage having ripple,
A current sensing resistor for providing a sensing voltage corresponding to the current on the current path;
A voltage sensing circuit providing a number of comparison voltages corresponding to the channels included in the LED array, the comparison voltages being adjusted in level corresponding to a change in the sensing voltage; And
A constant current control circuit for providing the current path to any one of the channels according to a comparison result between a reference voltage provided to have the same level for each channel and a comparison voltage provided to have a different level for each channel, And a light emitting diode (LED)
상기 기준 전압과 상기 센싱 전압의 변화에 대응하여 레벨이 조절되는 상기 비교 전압을 비교하여 상기 전류 경로를 형성하는 구동 회로들을 포함하며, 상기 구동 회로들은 상기 각 채널 별로 대응하여 구성되는 발광 다이오드 조명 장치.8. The constant current control circuit according to claim 7,
And a driving circuit for comparing the reference voltage and the comparison voltage, the level of which is adjusted in correspondence with the variation of the sensing voltage, to form the current path, wherein the driving circuits comprise a light emitting diode .
상기 기준 전압과 상기 센싱 전압의 변화에 대응하여 레벨이 조절되는 상기 비교 전압을 비교하는 연산 증폭기; 및
상기 연산 증폭기에서 출력되는 신호에 의하여 상기 전류 경로를 형성하는 구동 소자;를 포함하는 발광 다이오드 조명 장치.9. The driving circuit according to claim 8,
An operational amplifier for comparing the reference voltage and the comparison voltage whose level is adjusted corresponding to a change of the sensing voltage; And
And a driving element for forming the current path by a signal output from the operational amplifier.
상기 구동 회로의 상기 기준 전압은 고정된 레벨을 가지는 발광 다이오드 조명 장치.10. The method of claim 9,
Wherein the reference voltage of the driving circuit has a fixed level.
상기 센싱 전압을 감지하여 전류의 양을 제어하는 센싱 회로;
상기 비교 전압들을 출력하는 분압 회로; 및
상기 센싱 회로의 전류의 양에 대응하는 전류를 상기 분압 회로에 제공하는 커런트 미러 회로;를 포함하며,
상기 비교 전압들은 상기 센싱 전압의 변화에 대응하여 레벨이 조절되는 발광 다이오드 조명 장치.8. The voltage sensing circuit of claim 7,
A sensing circuit for sensing the sensing voltage and controlling an amount of current;
A voltage dividing circuit for outputting the comparison voltages; And
And a current mirror circuit for providing a current corresponding to an amount of current of the sensing circuit to the voltage divider circuit,
Wherein the comparison voltages are adjusted in response to a change in the sensing voltage.
상기 분압 회로는 상기 전류 센싱 저항에 직렬로 연결되는 복수 개의 저항들을 포함하며, 상기 전류 센싱 저항과 상기 복수 개의 저항들 사이에 형성된 노드들에서 상기 비교 전압들을 출력하는 발광 다이오드 조명 장치. 12. The method of claim 11,
Wherein the voltage divider circuit includes a plurality of resistors connected in series to the current sensing resistor and outputs the comparison voltages at the nodes formed between the current sensing resistor and the plurality of resistors.
Priority Applications (1)
| Application Number | Priority Date | Filing Date | Title |
|---|---|---|---|
| KR1020140030583A KR101459505B1 (en) | 2014-03-14 | 2014-03-14 | Led lighting system |
Applications Claiming Priority (1)
| Application Number | Priority Date | Filing Date | Title |
|---|---|---|---|
| KR1020140030583A KR101459505B1 (en) | 2014-03-14 | 2014-03-14 | Led lighting system |
Publications (1)
| Publication Number | Publication Date |
|---|---|
| KR101459505B1 true KR101459505B1 (en) | 2014-11-07 |
Family
ID=52287447
Family Applications (1)
| Application Number | Title | Priority Date | Filing Date |
|---|---|---|---|
| KR1020140030583A Expired - Fee Related KR101459505B1 (en) | 2014-03-14 | 2014-03-14 | Led lighting system |
Country Status (1)
| Country | Link |
|---|---|
| KR (1) | KR101459505B1 (en) |
Cited By (2)
| Publication number | Priority date | Publication date | Assignee | Title |
|---|---|---|---|---|
| WO2016093486A1 (en) * | 2014-12-11 | 2016-06-16 | 류태하 | Universal ac led driver |
| KR20170111325A (en) | 2016-03-28 | 2017-10-12 | 주식회사 에이디텍 | Led lighting apparatus |
Citations (4)
| Publication number | Priority date | Publication date | Assignee | Title |
|---|---|---|---|---|
| KR20080112503A (en) * | 2007-06-21 | 2008-12-26 | 주식회사 동부하이텍 | LED drive circuit |
| KR101175934B1 (en) * | 2012-04-02 | 2012-08-22 | 주식회사 실리콘웍스 | Led driving circuit and led lighting system of ac direct type |
| KR101298486B1 (en) * | 2012-05-31 | 2013-08-21 | 주식회사 실리콘웍스 | Led lighting system and control circuit thereof |
| KR20130139125A (en) * | 2012-06-12 | 2013-12-20 | 엘지디스플레이 주식회사 | Driver for driving light emitting diode and liquid crystal display using the same |
-
2014
- 2014-03-14 KR KR1020140030583A patent/KR101459505B1/en not_active Expired - Fee Related
Patent Citations (4)
| Publication number | Priority date | Publication date | Assignee | Title |
|---|---|---|---|---|
| KR20080112503A (en) * | 2007-06-21 | 2008-12-26 | 주식회사 동부하이텍 | LED drive circuit |
| KR101175934B1 (en) * | 2012-04-02 | 2012-08-22 | 주식회사 실리콘웍스 | Led driving circuit and led lighting system of ac direct type |
| KR101298486B1 (en) * | 2012-05-31 | 2013-08-21 | 주식회사 실리콘웍스 | Led lighting system and control circuit thereof |
| KR20130139125A (en) * | 2012-06-12 | 2013-12-20 | 엘지디스플레이 주식회사 | Driver for driving light emitting diode and liquid crystal display using the same |
Cited By (4)
| Publication number | Priority date | Publication date | Assignee | Title |
|---|---|---|---|---|
| WO2016093486A1 (en) * | 2014-12-11 | 2016-06-16 | 류태하 | Universal ac led driver |
| KR20160071244A (en) * | 2014-12-11 | 2016-06-21 | 류태하 | Universal AC LED Driver |
| KR101663715B1 (en) * | 2014-12-11 | 2016-10-07 | 류태하 | Universal AC LED Driver |
| KR20170111325A (en) | 2016-03-28 | 2017-10-12 | 주식회사 에이디텍 | Led lighting apparatus |
Similar Documents
| Publication | Publication Date | Title |
|---|---|---|
| KR101175934B1 (en) | Led driving circuit and led lighting system of ac direct type | |
| US9018856B2 (en) | Light emitting diode driver having phase control mechanism | |
| US8179059B2 (en) | Circuit and method for controlling light emitting device, and integrated circuit therefor | |
| US9198242B2 (en) | Apparatus for driving LEDs using high voltage | |
| KR102085725B1 (en) | Led lighting system of ac direct type and control method thereof | |
| KR102286767B1 (en) | Control circuit for led lighting apparatus | |
| KR20170124948A (en) | Analog and digital dimming control for led driver | |
| US9538591B2 (en) | Lighting apparatus | |
| KR102125245B1 (en) | Led lighting apparatus and control circuit thereof | |
| KR20150002082A (en) | Led lighting apparatus and control circuit thereof | |
| US9173265B2 (en) | Light emitting diode driving apparatus and light emitting diode lighting apparatus | |
| US20170048944A1 (en) | Lighting apparatus | |
| KR101521608B1 (en) | Led lighting system and driving circuit thereof | |
| KR20160060350A (en) | Lighting apparatus | |
| KR101459505B1 (en) | Led lighting system | |
| KR102237030B1 (en) | Driving circuit of lighting apparatus | |
| US20170202072A1 (en) | Lighting apparatus | |
| JP6411261B2 (en) | LED drive circuit | |
| KR20160094020A (en) | Circuit and method to control led lighting apparatus | |
| KR20160122544A (en) | LED driving apparatus controling brightness based on resistance | |
| KR102305838B1 (en) | Apparatus of driving a light emitting device | |
| KR101555775B1 (en) | AC LED driving circuit | |
| KR20180054113A (en) | Led lighting apparatus | |
| KR20140107837A (en) | Led lighting system and control circuit thereof | |
| JP2018147605A (en) | Lighting device, lighting apparatus and electronic equipment |
Legal Events
| Date | Code | Title | Description |
|---|---|---|---|
| PA0109 | Patent application |
St.27 status event code: A-0-1-A10-A12-nap-PA0109 |
|
| PA0201 | Request for examination |
St.27 status event code: A-1-2-D10-D11-exm-PA0201 |
|
| P11-X000 | Amendment of application requested |
St.27 status event code: A-2-2-P10-P11-nap-X000 |
|
| P13-X000 | Application amended |
St.27 status event code: A-2-2-P10-P13-nap-X000 |
|
| R15-X000 | Change to inventor requested |
St.27 status event code: A-3-3-R10-R15-oth-X000 |
|
| R16-X000 | Change to inventor recorded |
St.27 status event code: A-3-3-R10-R16-oth-X000 |
|
| PA0302 | Request for accelerated examination |
St.27 status event code: A-1-2-D10-D17-exm-PA0302 St.27 status event code: A-1-2-D10-D16-exm-PA0302 |
|
| D13-X000 | Search requested |
St.27 status event code: A-1-2-D10-D13-srh-X000 |
|
| D14-X000 | Search report completed |
St.27 status event code: A-1-2-D10-D14-srh-X000 |
|
| PE0902 | Notice of grounds for rejection |
St.27 status event code: A-1-2-D10-D21-exm-PE0902 |
|
| P11-X000 | Amendment of application requested |
St.27 status event code: A-2-2-P10-P11-nap-X000 |
|
| P13-X000 | Application amended |
St.27 status event code: A-2-2-P10-P13-nap-X000 |
|
| E701 | Decision to grant or registration of patent right | ||
| PE0701 | Decision of registration |
St.27 status event code: A-1-2-D10-D22-exm-PE0701 |
|
| GRNT | Written decision to grant | ||
| PR0701 | Registration of establishment |
St.27 status event code: A-2-4-F10-F11-exm-PR0701 |
|
| PR1002 | Payment of registration fee |
St.27 status event code: A-2-2-U10-U11-oth-PR1002 Fee payment year number: 1 |
|
| PG1601 | Publication of registration |
St.27 status event code: A-4-4-Q10-Q13-nap-PG1601 |
|
| R18-X000 | Changes to party contact information recorded |
St.27 status event code: A-5-5-R10-R18-oth-X000 |
|
| PR1001 | Payment of annual fee |
St.27 status event code: A-4-4-U10-U11-oth-PR1001 Fee payment year number: 4 |
|
| FPAY | Annual fee payment |
Payment date: 20181029 Year of fee payment: 5 |
|
| PR1001 | Payment of annual fee |
St.27 status event code: A-4-4-U10-U11-oth-PR1001 Fee payment year number: 5 |
|
| PN2301 | Change of applicant |
St.27 status event code: A-5-5-R10-R11-asn-PN2301 |
|
| PN2301 | Change of applicant |
St.27 status event code: A-5-5-R10-R14-asn-PN2301 |
|
| PR1001 | Payment of annual fee |
St.27 status event code: A-4-4-U10-U11-oth-PR1001 Fee payment year number: 6 |
|
| P22-X000 | Classification modified |
St.27 status event code: A-4-4-P10-P22-nap-X000 |
|
| P22-X000 | Classification modified |
St.27 status event code: A-4-4-P10-P22-nap-X000 |
|
| PR1001 | Payment of annual fee |
St.27 status event code: A-4-4-U10-U11-oth-PR1001 Fee payment year number: 7 |
|
| PR1001 | Payment of annual fee |
St.27 status event code: A-4-4-U10-U11-oth-PR1001 Fee payment year number: 8 |
|
| PC1903 | Unpaid annual fee |
St.27 status event code: A-4-4-U10-U13-oth-PC1903 Not in force date: 20221104 Payment event data comment text: Termination Category : DEFAULT_OF_REGISTRATION_FEE |
|
| R18-X000 | Changes to party contact information recorded |
St.27 status event code: A-5-5-R10-R18-oth-X000 |
|
| PC1903 | Unpaid annual fee |
St.27 status event code: N-4-6-H10-H13-oth-PC1903 Ip right cessation event data comment text: Termination Category : DEFAULT_OF_REGISTRATION_FEE Not in force date: 20221104 |
