KR100954679B1 - Makeup remover - Google Patents
Makeup remover Download PDFInfo
- Publication number
- KR100954679B1 KR100954679B1 KR1020070135059A KR20070135059A KR100954679B1 KR 100954679 B1 KR100954679 B1 KR 100954679B1 KR 1020070135059 A KR1020070135059 A KR 1020070135059A KR 20070135059 A KR20070135059 A KR 20070135059A KR 100954679 B1 KR100954679 B1 KR 100954679B1
- Authority
- KR
- South Korea
- Prior art keywords
- sponge
- mascara
- present
- main body
- eyelashes
- Prior art date
- Legal status (The legal status is an assumption and is not a legal conclusion. Google has not performed a legal analysis and makes no representation as to the accuracy of the status listed.)
- Expired - Fee Related
Links
Images
Classifications
-
- A—HUMAN NECESSITIES
- A45—HAND OR TRAVELLING ARTICLES
- A45D—HAIRDRESSING OR SHAVING EQUIPMENT; EQUIPMENT FOR COSMETICS OR COSMETIC TREATMENTS, e.g. FOR MANICURING OR PEDICURING
- A45D40/00—Casings or accessories specially adapted for storing or handling solid or pasty toiletry or cosmetic substances, e.g. shaving soaps or lipsticks
- A45D40/26—Appliances specially adapted for applying pasty paint, e.g. using roller, using a ball
- A45D40/262—Appliances specially adapted for applying pasty paint, e.g. using roller, using a ball using a brush or the like
-
- A—HUMAN NECESSITIES
- A45—HAND OR TRAVELLING ARTICLES
- A45D—HAIRDRESSING OR SHAVING EQUIPMENT; EQUIPMENT FOR COSMETICS OR COSMETIC TREATMENTS, e.g. FOR MANICURING OR PEDICURING
- A45D2200/00—Details not otherwise provided for in A45D
- A45D2200/10—Details of applicators
- A45D2200/1009—Applicators comprising a pad, tissue, sponge, or the like
- A45D2200/1018—Applicators comprising a pad, tissue, sponge, or the like comprising a pad, i.e. a cushion-like mass of soft material, with or without gripping means
-
- A—HUMAN NECESSITIES
- A45—HAND OR TRAVELLING ARTICLES
- A45D—HAIRDRESSING OR SHAVING EQUIPMENT; EQUIPMENT FOR COSMETICS OR COSMETIC TREATMENTS, e.g. FOR MANICURING OR PEDICURING
- A45D2200/00—Details not otherwise provided for in A45D
- A45D2200/10—Details of applicators
- A45D2200/1063—Removing cosmetic substances, e.g. make-up
-
- A—HUMAN NECESSITIES
- A45—HAND OR TRAVELLING ARTICLES
- A45D—HAIRDRESSING OR SHAVING EQUIPMENT; EQUIPMENT FOR COSMETICS OR COSMETIC TREATMENTS, e.g. FOR MANICURING OR PEDICURING
- A45D34/00—Containers or accessories specially adapted for handling liquid toiletry or cosmetic substances, e.g. perfumes
Landscapes
- Cleaning Implements For Floors, Carpets, Furniture, Walls, And The Like (AREA)
- Cosmetics (AREA)
Abstract
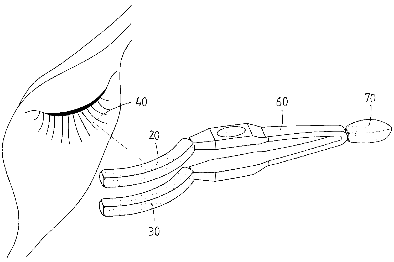
본 발명은 메이크업 제거기에 관한 것으로서, 본체(10)의 집게형 탄지부(12)로부터 연장형성되는 만곡된 상하가압부(14)(16)에 스폰지(20)(30)를 교체가능케 결합하여 속눈썹(40)에 칠해진 마스카라를 제거하는데 이용하도록 함으로서, 제거액의 손실없이 간단하고 신속하게 제거해 줄 수가 있게 됨은 물론 이 과정에서 마스카라와 제거액이 피부나 눈에 침투할 우려가 없어 안심하고 사용할 수가 있으며, 본체(60)의 타단에 지지부(64)를 형성하여 상기 지지부에 타원형의 스폰지(70)를 교체가능케 결합해 주게 되면 아이라인을 지우는데에도 이용할 수 있도록 하여 이용가치를 높여줄 수가 있도록 한 것이다.
The present invention relates to a make-up remover, and replaces the sponge (20, 30) to the curved upper and lower pressing portions (14, 16) extending from the forceps-shaped finger portion 12 of the body 10 to replace the eyelashes ( By using it to remove mascara painted on 40), it is possible to remove it simply and quickly without losing the removal liquid, and in this process, the mascara and the removal liquid do not penetrate the skin or eyes and can be used safely. The support 64 is formed at the other end of the 60 to replace the oval sponge 70 with the support so that it can be used to erase the eyeline, thereby increasing the value of use.
Description
본 발명은 메이크업 제거기에 관한 것으로서, 상세하게는 속눈썹 화장에 사용된 마스카라와 눈화장에 사용된 아이라인을 효과적으로 제거해 줄 수 있도록 한 것이다.The present invention relates to a make-up remover, and in particular, to effectively remove the mascara and eye line used in eyelashes makeup.
얼굴메이크업시 일반인들까지도 가장 민감하게 여기는 부위는 눈부위, 즉 속눈썹에 칠해지는 마스카라와 눈주위에 그려지는 아이라인으로서, 이들은 물에 잘 지워지지 않는 유화형 제품이 주류를 이루고 있어 그에 따라 유화형 제품을 쉽게 지울 수 있는 메이크업 전용 제거액이 제공되고 있다.The most sensitive areas for the face make-up even the general public are the eye areas, that is, the mascara painted on the eyelashes and the eye lines drawn around the eyes. Makeup remover that can be easily removed is provided.
다만 마스카라액은 유화성인만큼 메이크업 전용 제거액이 충분히 흡수되게 한 상태에서 수초간 방치해 주어야만 마스카라액이 분해되어 쉽게 지워지게 된다.However, the mascara liquid is emulsifiable, so make-up removal liquid is sufficiently absorbed and left for a few seconds before the mascara liquid is decomposed and easily erased.
그러나 이제껏 메이크업 전용 제거액만 제공되고 있을뿐 그에 따른 도구는 제공된바 없어 단순히 화장솜이나 또는 면봉등을 이용하여 제거해 주도록 함으로서 많은 문제점들이 지적되고 있다.However, only the makeup removal solution has been provided so far, there is no tool provided so many problems have been pointed out by simply using a cotton pad or cotton swab to remove.
예를 들어 화장솜을 이용할 경우 제거액의 손실이 매우 크고 또 넓게 분포한 속눈썹을 전체적으로 동시에 감싸줄 수가 없을 뿐 아니라 마스카라를 지우기 위하 여 속눈썹을 문지르는 과정에서 다량의 오일성분을 함유한 제거액과 마스카라가 속눈썹 주위의 피부와 눈에 침투하여 부작용을 야기시키게 됨은 물론 속눈썹을 빠지게 하는 주된 원인을 제공하게 되며, 그럼에도 불구하고 깨끗이 지워지지 않아 물티슈나 세안등을 통하여 잔여물을 제거해 주어야 하는 불편함까지 감수하여야 한다.For example, if you use a cotton ball, the removal fluid is very large and you cannot cover the widely distributed eyelashes at the same time, as well as a large amount of oil-based removal fluid and mascara around the eyelashes in the process of rubbing the eyelashes to remove the mascara. It penetrates into the skin and eyes and causes side effects as well as providing the main cause of the eyelashes falling out. Nevertheless, it is not cleared, so you must bear the inconvenience of removing residue through wet wipes or face wash.
또한 면봉이 이용될 경우에는 주의를 기울인다면 제거액이나 마스카라가 피부나 눈에 침투될 우려는 없다 하겠으나, 이는 면봉의 솜이 작은만큼 마스카라를 지우는데 시간이 많이 소요될 뿐 아니라 지지력 내지는 가압력을 얻기 어려워 잘 지워지지 않게 되므로 마스카라 제거용 도구로서는 부적합하다.In addition, if a swab is used, it may not penetrate the skin or eye if the care is taken, but as the cotton swab is small, it takes a lot of time to erase the mascara, and it is difficult to obtain the support force or pressure, so it cannot be erased well. It is not suitable for mascara removal tools.
그리고 아이라인의 경우에는 면봉과 같이 막대형 지지봉 양단부에 타원형의 스폰지를 고정형성하여서 된 아이라인 지우개가 제공되고 있고 또 그 스폰지에 메이크업 전용 제거액을 묻혀서 아이라인을 쉽게 지워줄 수 있도록 하고 있으나, 이는 마스카라를 제거하는 데에는 이용될 수가 없어 별도로 구입보관하여 사용하는데 번거로움이 따르고 또 1회용이라 구입비용은 차치하고라도 자원을 낭비하게 되는 등의 문제점들이 지적되고 있는 것이다.In the case of the eyeline, an eyeliner is provided by fixing an oval sponge at both ends of a rod-shaped support rod like a cotton swab, and the eyeliner can be easily removed by applying a make-up removal liquid to the sponge. It can not be used to remove mascara, so it is cumbersome to store and use it separately, and because it is a one-time use, it is pointed out problems such as wasting resources even if the purchase cost is excluded.
본 발명은 마스카라의 제거시 피부나 눈에 부작용을 가져올 우려없이 간단하고 신속하게 제거해 줄 수가 있는 메이크업 제거기를 제공하는데 그 목적이 있다.An object of the present invention is to provide a make-up remover that can be removed simply and quickly without fear of causing side effects on the skin or eyes when the mascara is removed.
본 발명의 또다른 목적은 마스카라 외에 아이라인을 지우는데에도 이용할 수가 있는 메이크업 제거기를 제공하는데 있다.Another object of the present invention to provide a make-up remover that can be used to erase the eye line in addition to mascara.
본 발명의 목적은 집게형의 탄지부로부터 연장형성되는 만곡된 상하가압부에 스폰지가 교체가능케 결합되고, 탄지부의 타단에 형성되는 지지부에는 타원형의 스폰지가 교체가능케 결합되는 메이크업 제거기에 의해 달성된다.An object of the present invention is achieved by a make-up remover in which a sponge is replaceably coupled to a curved upper and lower pressure portions extending from a forceps of a forceps, and an oval sponge is replaceably coupled to a support formed at the other end of the finger.
본 발명은 본체(10)가 갖는 만곡된 상하지지부(14)(16)에 스폰지(20)(30)를 교체가능케 결합하여 상기 스폰지(20)(30)에 메이크업 전용 제거액을 묻혀서 속눈썹(40)에 칠해진 마스카라를 제거하는데 이용하도록 함으로서, 메이크업 전용 제거액의 불필요한 손실을 없애줄 수가 있고 또 넓게 분포한 속눈썹(40)을 전체적으로 감싸 줄 수가 있어 마스카라를 간단하고 신속하게 제거해 줄 수가 있으며, 또한 그 스폰지(20)(30)는 지지부(14)(16)가 갖는 형상에 따라 속눈썩(40)과 같은 곡율을 갖게 되므로 마스카라를 지우는 과정에서 지워진 마스카라나 또는 다량의 오일성분을 함유한 메이크업 전용 제거액이 피부나 눈에 침투할 우려가 없어 부작용을 없애줄 수가 있게 되는 등의 효과가 있는 것이다.The present invention is to replace the sponge (20, 30) to the curved upper and lower limbs (14, 16) that the
더 나아가 본체(60)의 탄지부(62) 타단에 지지부(64)가 연장형성되게 하여 상기 지지부(64)에 타원형 스폰지(70)를 교체가능케 결합해 주게 되면 아이라인을 지우는데 이용할 수가 있어 이용가치를 더욱 높여줄 수가 있게 되는 등의 효과가 있는 것이다.Furthermore, when the
이하 본 발명의 바람직한 실시예를 첨부한 도면에 의거 상세히 설명하기로 하며, 다만 도면들 중 동일한 구성요소들 중 가능한 동일부호로 기재하고, 관련된 공지기술이나 기능에 대한 구체적인 설명은 본 발명의 요지가 모호해지지 않도록 하기 위하여 생략하기로 한다.DETAILED DESCRIPTION OF THE PREFERRED EMBODIMENTS Hereinafter, preferred embodiments of the present invention will be described in detail with reference to the accompanying drawings. However, the same reference numerals are used among the same elements in the drawings. In order not to be ambiguous, the description is omitted.
도 1은 본 발명의 사시도이고, 도 2는 본 발명의 분해사시도로서, 본 발명은 크게 본체(10)와 상기 본체(10)에 교체가능케 결합되는 스폰지(20)(30)로 구성된다.1 is a perspective view of the present invention, Figure 2 is an exploded perspective view of the present invention, the present invention is largely composed of a
본 발명에 이용되는 본체(10)는 탄성을 갖는 금속판재를 절곡형성하여 그 외면에 합성수지를 피복하여서 된 집게형 탄지부(12)와, 상기 탄지부의 상하단부에 연장형성되는 상하가압부(14)(16)로 구성되며, 상기 상하가압부(14)(16)를 통하여 상하스폰지(20)(30)가 교체가능케 결합되도록 구성된다.The
다만 본체(10)를 구성함에 있어 그 탄지부(12)는 파지부를 겸하는 것으로서 탄성을 갖는 금속재만으로 구성하거나 또는 탄성을 갖는 합성수지재만으로 구성하더라도 무방하며, 그 상하가압부(14)(16)는 탄지부(12)와 일체감을 갖고 충분한 가압력이 작용할 수 있도록 해 주어야 하므로 가급적 휨에 강한 금속재로 형성해 주 는 것이 바람직하다.However, in the construction of the
또한 본체(10)의 상하가압부(14)(16)가 갖는 곡율은 일반인의 속눈썹(40)이 갖는 곡율과 같은 곡율을 갖도록 하고 또 얇은 판형으로 형성하여 상하스폰지(20)(30)의 결합시 상기 스폰지(20)(30)의 불필요한 회전이 방지되게 하며, 그 단부에는 몸체보다 넓은 걸림돌부(14a)(16a)를 갖도록 하여 스폰지(20)(30)가 쉽게 이탈되지 않도록 하는 것이 바람직하다.In addition, the curvature of the upper and lower
한편 본 발명에 이용되는 스폰지(20)(30)는 가압부(14)(16)와 같은 곡율을 갖도록 형성되는데 그 일단으로부터는 상기 가압부(14)(16)가 삽입될 수 있는 삽입홈(20a)이 형성되어 있어 상기 삽입홈(20a)을 통하여 가압부(14)(16)에 교체가능케 결합되며, 그 형태를 불문하고 가압부(14)(16)에 의해 적절한 곡율을 갖는 것이면 모두 만족한다.Meanwhile, the
도 5 및 도 6은 본 발명의 다른 실시예로서, 본체(50)의 상하가압부(54)(56)는 탄지부(52)와 각도를 달리해 줄 수도 있음을 보여주고 있다.5 and 6 illustrate another embodiment of the present invention, in which the upper and lower
이는 상하가압부(54)(56)가 탄지부(52)로부터 후방으로 경사지게 형성되어 있어 사용시 탄지부(52)의 각도를 달리해 줄 수가 있으며, 이러한 탄지부(52)로부터 상하가압부(54)(56)의 각도변화시 그 탄지부(52)를 파지하는 팔의 각도가 변화되므로 사용하기 편한 다양한 형태로 제작해 줄 수가 있게 된다.The upper and lower
도 7 내지 도 10은 본 발명의 또다른 실시예로서, 본체(60)의 탄지부(62) 타측에 아이라인 제거기를 형성해 줄 수도 있음을 보여주고 있다.7 to 10 show that the eyeline remover may be formed on the other side of the
아이라인 제거기는 본체(60)의 탄지부(62) 타측에 연장형성되는 지지부(64) 와, 상기 지지부(64)에 교체가능케 결합되는 타원형 스폰지(70)로 구성되는데, 상기 지지부(64)는 스폰지(70)의 결합시 불필요한 회전을 방지하기 위하여 판형으로 형성하고 또 그 단부에는 몸체보다 넓은 걸림돌부(64a)를 갖도록 하여 결합된 스폰지(70)가 쉽게 분리되지 않도록 하는 것이 바람직하다.The eyeline remover includes a
또한 타원형의 스폰지(70)는 그 일단으로부터 지지부(64)가 삽입될 수 있는 삽입홈(72)이 형성되게 하여 상기 삽입홈(72)을 통하여 지지부(64)에 교체가능케 결합된다.In addition, the
본 발명에 이용되는 스폰지(20)(30)(70)들은 1회용으로서 하나의 본체에 여러개의 스폰지를 비치해 두고 사용하면 된다.
마스카라를 제거하는데 사용하고자 할 시에는 본체(10)가 갖는 상하가압부(14)(16)에 스폰지(20)(30)를 결합하여 사용하면 되는데, 이때 상하가압부(14)(16)는 판형으로 형성되어 있어 스폰지(20)(30)와의 결합시 상기 스폰지(20)(30)의 불필요한 회전이 방지되고 또 그 단부에는 몸체보다 폭이 넓은 걸림돌부(14a)(16a)가 형성되어 있어 스폰지(20)(30)의 삽입시 쉽게 이탈되지 않게 된다.When the mascara is to be used to remove the
도 4는 본 발명의 사용상태도로서, 본체(10)에 스폰지(20)(30)를 결합한 후에는 엄지와 검지를 이용하여 본체(10)의 탄지부(12)를 파지한 상태에서 상기 스폰지(20)(30)에 메이크업 전용 제거액을 충분히 묻힌후 상하스폰지(20)(30) 사이에 속눈썹(40)이 위치하도록 하여 탄지부(12)를 가압해 주게 되면 그 속눈썹(40)은 가압부(14)(16)에 의해 상하스폰지(20)(30) 사이에 끼어 상기 스폰지(20)(30)가 흡수 하고 있던 메이크업 전용 제거액이 속눈썹(40)에 칠해진 마스카라에 침투하게 되고 수초간 방치하여 제거약에 의해 마스카라가 충분히 분해되면 상하스폰지(20)(30)가 속눈썹(40)를 적절한 가압력으로 가압한 상태에서 외측으로 쓸어내려 주게 되면 속눈썹(40)에 칠해져 있던 마스카라가 제거된다.4 is a diagram illustrating a use state of the present invention, after the
이때 본체(10)의 상하가압부(14)(16)에 결합되는 스폰지(20)(30)는 가압부(14)(16)에 의해 주어진 곡율을 유지하고 또 그 곡율은 일반인들이 갖는 속눈썹과 같은 곡율로서 속눈썹(40)을 전체적으로 감싸줄 수가 있어 한번에 속눈썹(40)에 칠해져 있던 마스카라를 모두 제거해 줄 수가 있게 되며, 혹여 1회에 모두 제거해 줄 수가 없을 경우 같은 동작을 2~3회 반복해 주는 것으로 마스카라는 깨끗이 제거된다.At this time, the
또한 그 스폰지(20)(30)가 속눈썹(40)과 같은 곡율을 갖게 될 경우 약간의 주의만 기울인다면 마스카라를 제거할시 메이크업 전용 제거액을 흡수하고 있는 스폰지(20)(30)가 피부나 또는 눈에 닿을 우려가 전혀 없어 안심하고 사용할 수가 있게 된다.In addition, if the
마스카라를 제거한 후에는 본체(10)가 갖는 상하가압부(14)(16)로부터 사용된 스폰지를 간단히 분리제거한 후 새 스폰지를 결합하여 사용하면 되므로 스폰지(20)(30)의 교체만으로 반영구적으로 이용할 수가 있게 된다.After removing the mascara, it is possible to use semi-permanently by simply replacing the
도 5 및 도 6은 본 발명의 다른 실시예로서, 이는 스폰지(20)(30)를 결합하는 본체(50)의 가압부(54)(56)가 탄지부(52)로부터 후방으로 경사지게 형성되어 있어 마스카라를 지울시 그 탄지부(52)는 전방쪽에 위치하게 되므로 다른 각도에서 사용할 수가 있으며, 이와 같이 탄지부(52)로부터 가압부(54)(56)의 각도를 달리함에 따라 이를 파지하는 팔의 각도를 달리할 수가 있어 사용하기 편리한 다양한 각도를 갖도록 제작해 줄 수가 있게 된다.5 and 6 is another embodiment of the present invention, which is the
도 7 내지 도 10은 본 발명의 또다른 실시예로서, 본체(60)의 탄지부(62) 타단에 지지부(64)를 돌출형성하여 상기 지지부(64)에 타원형의 스폰지(70)를 삽입형성해 주게 되면 아이라인을 지우는 아이라인 제거기로 이용할 수가 있게 된다.7 to 10 is a further embodiment of the present invention, by protruding the
이역시 본체(60)의 탄지부(62)를 파지한 상태에서 그 타원형 스폰지(70)에 메이크업 전용 제거액을 충분히 묻혀서 눈주위에 그려진 아이라인을 지워주면 되며, 아이라인을 지운 후에는 사용된 스폰지(70)를 본체(60)의 지지부(64)로부터 쉽게 분리제거하여 재사용하면 되므로 마스카라는 물론 아이라인을 지우는데에도 이용할 수가 있게 되는 것이다.In this case, the oval sponge (70) is gripped with a make-up removal liquid on the oval sponge (70) in a state of gripping the main body (60), and erases the eye line drawn around the eyes. Since the 70 can be easily removed and reused from the
도 1 : 본 발명의 사시도1: perspective view of the present invention
도 2 : 본 발명의 분해사시도2 is an exploded perspective view of the present invention
도 3 : 본 발명의 단면구성도3 is a cross-sectional view of the present invention
도 4 : 본 발명의 사용상태도4 is a state diagram of use of the present invention
도 5 : 본 발명 다른 실시예의 사시도5 is a perspective view of another embodiment of the present invention
도 6 : 본 발명 다른 실시예의 분해사시도6 is an exploded perspective view of another embodiment of the present invention
도 7 : 본 발명 또다른 실시예의 사시도7 is a perspective view of another embodiment of the present invention
도 8 : 본 발명 또다른 실시예의 분해사시도8 is an exploded perspective view of another embodiment of the present invention
도 9 : 본 발명 또다른 실시예의 단면구성도9 is a cross-sectional view of another embodiment of the present invention
도 10 : 본 발명 또다른 실시예의 사용상태도10: state of use of another embodiment of the present invention
<도면의 주요부분에 대한 부호의 설명><Description of the symbols for the main parts of the drawings>
(10)(50)(60)--본체 (12)(52)(62)--탄지부(10) (50) (60)-Body (12) (52) (62)-Banji section
(14)(16)(54)(56)--가압부 (14a)(16a)--걸림돌부(14) (16) (54) (56)-Pressure unit (14a) (16a)-Jangdol
(20)(30)(70)--스폰지 (40)--속눈썹(20) (30) (70)-Sponge (40)-Eyelash
(64)--지지부 (64a)--걸림돌부(64)-support (64a)-locking protrusion
Claims (4)
Priority Applications (2)
| Application Number | Priority Date | Filing Date | Title |
|---|---|---|---|
| KR1020070135059A KR100954679B1 (en) | 2007-12-21 | 2007-12-21 | Makeup remover |
| PCT/KR2008/007184 WO2009082098A2 (en) | 2007-12-21 | 2008-12-05 | Makeup remover |
Applications Claiming Priority (1)
| Application Number | Priority Date | Filing Date | Title |
|---|---|---|---|
| KR1020070135059A KR100954679B1 (en) | 2007-12-21 | 2007-12-21 | Makeup remover |
Publications (2)
| Publication Number | Publication Date |
|---|---|
| KR20090067405A KR20090067405A (en) | 2009-06-25 |
| KR100954679B1 true KR100954679B1 (en) | 2010-04-27 |
Family
ID=40801654
Family Applications (1)
| Application Number | Title | Priority Date | Filing Date |
|---|---|---|---|
| KR1020070135059A Expired - Fee Related KR100954679B1 (en) | 2007-12-21 | 2007-12-21 | Makeup remover |
Country Status (2)
| Country | Link |
|---|---|
| KR (1) | KR100954679B1 (en) |
| WO (1) | WO2009082098A2 (en) |
Families Citing this family (14)
| Publication number | Priority date | Publication date | Assignee | Title |
|---|---|---|---|---|
| KR200459827Y1 (en) * | 2009-10-30 | 2012-04-19 | (주)아모레퍼시픽 | mascara remover |
| GB2503461A (en) * | 2012-06-26 | 2014-01-01 | Shabana Kauser | Eyeliner applicator |
| FR3033990B1 (en) * | 2015-03-27 | 2017-04-28 | Albea Services | DEVICE FOR DISPENSING ARTIFICIAL LASHES WITH RECHARGE AND RECHARGE FOR SAID DEVICE |
| WO2018119034A1 (en) | 2016-12-20 | 2018-06-28 | Lashify, Inc. | Applicators and cases for artificial lash extensions |
| CN118058546B (en) | 2016-07-28 | 2026-01-09 | 莱施菲公司 | artificial eyelash extensions |
| SG11202103842VA (en) | 2018-10-19 | 2021-05-28 | Lashify Inc | Cases for storing lash extensions and methods of use and manufacture thereof |
| JP1687380S (en) | 2018-10-19 | 2021-06-07 | ||
| USD863679S1 (en) | 2018-10-19 | 2019-10-15 | Lashify, Inc. | False eyelash applicator |
| AU2020209745B2 (en) * | 2019-01-14 | 2024-10-10 | Lashify, Inc. | Lash extensions and methods of manufacture and use thereof |
| KR102565636B1 (en) * | 2022-01-25 | 2023-08-10 | 성결대학교 산학협력단 | Apparatus for removing mascara on eyelash |
| USD980521S1 (en) | 2022-07-20 | 2023-03-07 | Lashify, Inc. | Artificial lash extension separating comb |
| USD995914S1 (en) | 2022-07-20 | 2023-08-15 | Lashify, Inc. | Combined tweezer and applicator for artificial lash extensions |
| USD984050S1 (en) | 2022-07-20 | 2023-04-18 | Lashify, Inc. | Combined curler and applicator for natural lashes and artificial lash extensions |
| USD1072354S1 (en) | 2024-01-08 | 2025-04-22 | Lashify, Inc. | Rounded tweezer and applicator for artificial lash extensions |
Citations (3)
| Publication number | Priority date | Publication date | Assignee | Title |
|---|---|---|---|---|
| KR20000006956U (en) * | 1998-09-24 | 2000-04-25 | 임설빈 | Cotton swab |
| KR200417147Y1 (en) * | 2005-12-29 | 2006-05-24 | 류연경 | Mascara Liquid Remover |
| JP2007301269A (en) * | 2006-05-15 | 2007-11-22 | Anti Aging Communication:Kk | Foldable cotton bud for eye makeup |
Family Cites Families (1)
| Publication number | Priority date | Publication date | Assignee | Title |
|---|---|---|---|---|
| JP2000270925A (en) * | 1999-03-26 | 2000-10-03 | Shiseido Co Ltd | Mascara comb |
-
2007
- 2007-12-21 KR KR1020070135059A patent/KR100954679B1/en not_active Expired - Fee Related
-
2008
- 2008-12-05 WO PCT/KR2008/007184 patent/WO2009082098A2/en not_active Ceased
Patent Citations (3)
| Publication number | Priority date | Publication date | Assignee | Title |
|---|---|---|---|---|
| KR20000006956U (en) * | 1998-09-24 | 2000-04-25 | 임설빈 | Cotton swab |
| KR200417147Y1 (en) * | 2005-12-29 | 2006-05-24 | 류연경 | Mascara Liquid Remover |
| JP2007301269A (en) * | 2006-05-15 | 2007-11-22 | Anti Aging Communication:Kk | Foldable cotton bud for eye makeup |
Also Published As
| Publication number | Publication date |
|---|---|
| WO2009082098A3 (en) | 2009-09-03 |
| WO2009082098A2 (en) | 2009-07-02 |
| KR20090067405A (en) | 2009-06-25 |
Similar Documents
| Publication | Publication Date | Title |
|---|---|---|
| KR100954679B1 (en) | Makeup remover | |
| US8925558B2 (en) | Device and method for applying makeup | |
| CN102791163B (en) | Skin-treatment device | |
| US20140133895A1 (en) | Nail polish removal device | |
| US20230255338A1 (en) | Tools for removing nail polish and buffing nails | |
| JP4603582B2 (en) | Mascara removal device | |
| US20190328107A1 (en) | Glove for facial treatment | |
| KR101472684B1 (en) | Nail tube for removal manicure | |
| KR200475953Y1 (en) | Mascara remover | |
| CA2588310A1 (en) | Make-up removal device | |
| US20120151701A1 (en) | Multifaceted scrubbing device | |
| JP5226298B2 (en) | Composite container for cosmetics | |
| CN110419850A (en) | A kind of civilian cleaning brush | |
| KR200417147Y1 (en) | Mascara Liquid Remover | |
| CN110123386A (en) | A kind of device for taking sample from uterus | |
| US5180243A (en) | Apparatus for cleaning sensitive surfaces, in particular optical glasses | |
| KR200436390Y1 (en) | Makeup remover container | |
| US20160095477A1 (en) | Skin-care device | |
| KR20160038188A (en) | A instrument for removing the horny substance | |
| CN220859630U (en) | Nail polish remover | |
| CN214966457U (en) | Umbrella-shaped sand saucer holder | |
| CN218999229U (en) | Animal depilation tool | |
| JP3066707U (en) | Cosmetic wipes | |
| KR200220246Y1 (en) | An auto Acetone liquid tissue | |
| KR100808804B1 (en) | Gripping device for nail buffer |
Legal Events
| Date | Code | Title | Description |
|---|---|---|---|
| A201 | Request for examination | ||
| PA0109 | Patent application |
St.27 status event code: A-0-1-A10-A12-nap-PA0109 |
|
| PA0201 | Request for examination |
St.27 status event code: A-1-2-D10-D11-exm-PA0201 |
|
| D13-X000 | Search requested |
St.27 status event code: A-1-2-D10-D13-srh-X000 |
|
| D14-X000 | Search report completed |
St.27 status event code: A-1-2-D10-D14-srh-X000 |
|
| PG1501 | Laying open of application |
St.27 status event code: A-1-1-Q10-Q12-nap-PG1501 |
|
| E902 | Notification of reason for refusal | ||
| PE0902 | Notice of grounds for rejection |
St.27 status event code: A-1-2-D10-D21-exm-PE0902 |
|
| R17-X000 | Change to representative recorded |
St.27 status event code: A-3-3-R10-R17-oth-X000 |
|
| E601 | Decision to refuse application | ||
| PE0601 | Decision on rejection of patent |
St.27 status event code: N-2-6-B10-B15-exm-PE0601 |
|
| AMND | Amendment | ||
| E13-X000 | Pre-grant limitation requested |
St.27 status event code: A-2-3-E10-E13-lim-X000 |
|
| J201 | Request for trial against refusal decision | ||
| P11-X000 | Amendment of application requested |
St.27 status event code: A-2-2-P10-P11-nap-X000 |
|
| P13-X000 | Application amended |
St.27 status event code: A-2-2-P10-P13-nap-X000 |
|
| PJ0201 | Trial against decision of rejection |
St.27 status event code: A-3-3-V10-V11-apl-PJ0201 |
|
| PB0901 | Examination by re-examination before a trial |
St.27 status event code: A-6-3-E10-E12-rex-PB0901 |
|
| B701 | Decision to grant | ||
| PB0701 | Decision of registration after re-examination before a trial |
St.27 status event code: A-3-4-F10-F13-rex-PB0701 |
|
| GRNT | Written decision to grant | ||
| PR0701 | Registration of establishment |
St.27 status event code: A-2-4-F10-F11-exm-PR0701 |
|
| PR1002 | Payment of registration fee |
St.27 status event code: A-2-2-U10-U11-oth-PR1002 Fee payment year number: 1 |
|
| PG1601 | Publication of registration |
St.27 status event code: A-4-4-Q10-Q13-nap-PG1601 |
|
| R18-X000 | Changes to party contact information recorded |
St.27 status event code: A-5-5-R10-R18-oth-X000 |
|
| FPAY | Annual fee payment |
Payment date: 20130206 Year of fee payment: 4 |
|
| PR1001 | Payment of annual fee |
St.27 status event code: A-4-4-U10-U11-oth-PR1001 Fee payment year number: 4 |
|
| FPAY | Annual fee payment |
Payment date: 20140211 Year of fee payment: 5 |
|
| PR1001 | Payment of annual fee |
St.27 status event code: A-4-4-U10-U11-oth-PR1001 Fee payment year number: 5 |
|
| FPAY | Annual fee payment |
Payment date: 20150202 Year of fee payment: 6 |
|
| PR1001 | Payment of annual fee |
St.27 status event code: A-4-4-U10-U11-oth-PR1001 Fee payment year number: 6 |
|
| PR1001 | Payment of annual fee |
St.27 status event code: A-4-4-U10-U11-oth-PR1001 Fee payment year number: 7 |
|
| P22-X000 | Classification modified |
St.27 status event code: A-4-4-P10-P22-nap-X000 |
|
| R18-X000 | Changes to party contact information recorded |
St.27 status event code: A-5-5-R10-R18-oth-X000 |
|
| FPAY | Annual fee payment |
Payment date: 20170304 Year of fee payment: 8 |
|
| PR1001 | Payment of annual fee |
St.27 status event code: A-4-4-U10-U11-oth-PR1001 Fee payment year number: 8 |
|
| FPAY | Annual fee payment |
Payment date: 20180209 Year of fee payment: 9 |
|
| PR1001 | Payment of annual fee |
St.27 status event code: A-4-4-U10-U11-oth-PR1001 Fee payment year number: 9 |
|
| P22-X000 | Classification modified |
St.27 status event code: A-4-4-P10-P22-nap-X000 |
|
| FPAY | Annual fee payment |
Payment date: 20190310 Year of fee payment: 10 |
|
| PR1001 | Payment of annual fee |
St.27 status event code: A-4-4-U10-U11-oth-PR1001 Fee payment year number: 10 |
|
| PC1903 | Unpaid annual fee |
St.27 status event code: A-4-4-U10-U13-oth-PC1903 Not in force date: 20200417 Payment event data comment text: Termination Category : DEFAULT_OF_REGISTRATION_FEE |
|
| PC1903 | Unpaid annual fee |
St.27 status event code: N-4-6-H10-H13-oth-PC1903 Ip right cessation event data comment text: Termination Category : DEFAULT_OF_REGISTRATION_FEE Not in force date: 20200417 |
