[go: up one dir, main page]

KR100764120B1 - Sim reader/writer - Google Patents

Sim reader/writer Download PDF

Info

Publication number
KR100764120B1
KR100764120B1 KR1020057014949A KR20057014949A KR100764120B1 KR 100764120 B1 KR100764120 B1 KR 100764120B1 KR 1020057014949 A KR1020057014949 A KR 1020057014949A KR 20057014949 A KR20057014949 A KR 20057014949A KR 100764120 B1 KR100764120 B1 KR 100764120B1
Authority
KR
South Korea
Prior art keywords
sim
case
writer
reader
chip
Prior art date
Legal status (The legal status is an assumption and is not a legal conclusion. Google has not performed a legal analysis and makes no representation as to the accuracy of the status listed.)
Expired - Fee Related
Application number
KR1020057014949A
Other languages
Korean (ko)
Other versions
KR20060038355A (en
Inventor
세이이치 니시카와
다카시 하기니와
히로오 사이토
나오히사 스즈키
Original Assignee
다이니폰 인사츠 가부시키가이샤
Priority date (The priority date is an assumption and is not a legal conclusion. Google has not performed a legal analysis and makes no representation as to the accuracy of the date listed.)
Filing date
Publication date
Priority claimed from JP2003046656A external-priority patent/JP4249506B2/en
Priority claimed from JP2003046657A external-priority patent/JP4249507B2/en
Priority claimed from JP2003389004A external-priority patent/JP2005149357A/en
Priority claimed from JP2003398333A external-priority patent/JP2005157927A/en
Priority claimed from JP2004009995A external-priority patent/JP2005204188A/en
Priority claimed from JP2004026216A external-priority patent/JP2005222097A/en
Application filed by 다이니폰 인사츠 가부시키가이샤 filed Critical 다이니폰 인사츠 가부시키가이샤
Publication of KR20060038355A publication Critical patent/KR20060038355A/en
Application granted granted Critical
Publication of KR100764120B1 publication Critical patent/KR100764120B1/en
Anticipated expiration legal-status Critical
Expired - Fee Related legal-status Critical Current

Links

Images

Classifications

    • GPHYSICS
    • G06COMPUTING OR CALCULATING; COUNTING
    • G06KGRAPHICAL DATA READING; PRESENTATION OF DATA; RECORD CARRIERS; HANDLING RECORD CARRIERS
    • G06K7/00Methods or arrangements for sensing record carriers, e.g. for reading patterns
    • G06K7/0004Hybrid readers
    • GPHYSICS
    • G06COMPUTING OR CALCULATING; COUNTING
    • G06KGRAPHICAL DATA READING; PRESENTATION OF DATA; RECORD CARRIERS; HANDLING RECORD CARRIERS
    • G06K19/00Record carriers for use with machines and with at least a part designed to carry digital markings
    • G06K19/06Record carriers for use with machines and with at least a part designed to carry digital markings characterised by the kind of the digital marking, e.g. shape, nature, code
    • G06K19/067Record carriers with conductive marks, printed circuits or semiconductor circuit elements, e.g. credit or identity cards also with resonating or responding marks without active components
    • G06K19/07Record carriers with conductive marks, printed circuits or semiconductor circuit elements, e.g. credit or identity cards also with resonating or responding marks without active components with integrated circuit chips
    • G06K19/077Constructional details, e.g. mounting of circuits in the carrier
    • G06K19/07737Constructional details, e.g. mounting of circuits in the carrier the record carrier consisting of two or more mechanically separable parts
    • G06K19/07741Constructional details, e.g. mounting of circuits in the carrier the record carrier consisting of two or more mechanically separable parts comprising a first part operating as a regular record carrier and a second attachable part that changes the functional appearance of said record carrier, e.g. a contact-based smart card with an adapter part which, when attached to the contact card makes the contact card function as a non-contact card
    • GPHYSICS
    • G06COMPUTING OR CALCULATING; COUNTING
    • G06KGRAPHICAL DATA READING; PRESENTATION OF DATA; RECORD CARRIERS; HANDLING RECORD CARRIERS
    • G06K7/00Methods or arrangements for sensing record carriers, e.g. for reading patterns
    • G06K7/0008General problems related to the reading of electronic memory record carriers, independent of its reading method, e.g. power transfer
    • GPHYSICS
    • G06COMPUTING OR CALCULATING; COUNTING
    • G06KGRAPHICAL DATA READING; PRESENTATION OF DATA; RECORD CARRIERS; HANDLING RECORD CARRIERS
    • G06K7/00Methods or arrangements for sensing record carriers, e.g. for reading patterns
    • G06K7/0013Methods or arrangements for sensing record carriers, e.g. for reading patterns by galvanic contacts, e.g. card connectors for ISO-7816 compliant smart cards or memory cards, e.g. SD card readers
    • G06K7/0021Methods or arrangements for sensing record carriers, e.g. for reading patterns by galvanic contacts, e.g. card connectors for ISO-7816 compliant smart cards or memory cards, e.g. SD card readers for reading/sensing record carriers having surface contacts
    • GPHYSICS
    • G06COMPUTING OR CALCULATING; COUNTING
    • G06KGRAPHICAL DATA READING; PRESENTATION OF DATA; RECORD CARRIERS; HANDLING RECORD CARRIERS
    • G06K7/00Methods or arrangements for sensing record carriers, e.g. for reading patterns
    • G06K7/10Methods or arrangements for sensing record carriers, e.g. for reading patterns by electromagnetic radiation, e.g. optical sensing; by corpuscular radiation
    • G06K7/10009Methods or arrangements for sensing record carriers, e.g. for reading patterns by electromagnetic radiation, e.g. optical sensing; by corpuscular radiation sensing by radiation using wavelengths larger than 0.1 mm, e.g. radio-waves or microwaves
    • G06K7/10366Methods or arrangements for sensing record carriers, e.g. for reading patterns by electromagnetic radiation, e.g. optical sensing; by corpuscular radiation sensing by radiation using wavelengths larger than 0.1 mm, e.g. radio-waves or microwaves the interrogation device being adapted for miscellaneous applications
    • G06K7/10376Methods or arrangements for sensing record carriers, e.g. for reading patterns by electromagnetic radiation, e.g. optical sensing; by corpuscular radiation sensing by radiation using wavelengths larger than 0.1 mm, e.g. radio-waves or microwaves the interrogation device being adapted for miscellaneous applications the interrogation device being adapted for being moveable
    • G06K7/10386Methods or arrangements for sensing record carriers, e.g. for reading patterns by electromagnetic radiation, e.g. optical sensing; by corpuscular radiation sensing by radiation using wavelengths larger than 0.1 mm, e.g. radio-waves or microwaves the interrogation device being adapted for miscellaneous applications the interrogation device being adapted for being moveable the interrogation device being of the portable or hand-handheld type, e.g. incorporated in ubiquitous hand-held devices such as PDA or mobile phone, or in the form of a portable dedicated RFID reader
    • GPHYSICS
    • G06COMPUTING OR CALCULATING; COUNTING
    • G06QINFORMATION AND COMMUNICATION TECHNOLOGY [ICT] SPECIALLY ADAPTED FOR ADMINISTRATIVE, COMMERCIAL, FINANCIAL, MANAGERIAL OR SUPERVISORY PURPOSES; SYSTEMS OR METHODS SPECIALLY ADAPTED FOR ADMINISTRATIVE, COMMERCIAL, FINANCIAL, MANAGERIAL OR SUPERVISORY PURPOSES, NOT OTHERWISE PROVIDED FOR
    • G06Q20/00Payment architectures, schemes or protocols
    • G06Q20/04Payment circuits
    • G06Q20/045Payment circuits using payment protocols involving tickets
    • GPHYSICS
    • G07CHECKING-DEVICES
    • G07FCOIN-FREED OR LIKE APPARATUS
    • G07F7/00Mechanisms actuated by objects other than coins to free or to actuate vending, hiring, coin or paper currency dispensing or refunding apparatus
    • G07F7/08Mechanisms actuated by objects other than coins to free or to actuate vending, hiring, coin or paper currency dispensing or refunding apparatus by coded identity card or credit card or other personal identification means
    • G07F7/0873Details of the card reader
    • HELECTRICITY
    • H04ELECTRIC COMMUNICATION TECHNIQUE
    • H04MTELEPHONIC COMMUNICATION
    • H04M2250/00Details of telephonic subscriber devices
    • H04M2250/14Details of telephonic subscriber devices including a card reading device

Landscapes

  • Engineering & Computer Science (AREA)
  • Physics & Mathematics (AREA)
  • General Physics & Mathematics (AREA)
  • Theoretical Computer Science (AREA)
  • Computer Vision & Pattern Recognition (AREA)
  • Artificial Intelligence (AREA)
  • Health & Medical Sciences (AREA)
  • Business, Economics & Management (AREA)
  • Toxicology (AREA)
  • Computer Hardware Design (AREA)
  • Microelectronics & Electronic Packaging (AREA)
  • General Business, Economics & Management (AREA)
  • Electromagnetism (AREA)
  • General Health & Medical Sciences (AREA)
  • Strategic Management (AREA)
  • Accounting & Taxation (AREA)
  • Telephone Function (AREA)
  • Credit Cards Or The Like (AREA)
  • Telephone Set Structure (AREA)

Abstract

본 발명의 SIM 리더라이터(1)는, SIM(2)을 착탈자재로 장착하는 SIM 리더라이터이다. 이 SIM 리더라이터(1)는 케이스(1a)와, 케이스(1a) 내에 설치된 제어용 IC칩(3), 케이스(1a) 내에 설치된 USB/ISO7816 변환 IC칩(10) 및, 케이스(1a) 내에 설치된 비접촉 교신을 위한 안테나코일(11a)를 구비하고 있다. 케이스(1a)에는 액정 디스플레이(4)와 지문센서(5) 및 근거리간 통신수단(11b)이 설치되어 있다.The SIM reader / writer 1 of the present invention is a SIM reader / writer for attaching the SIM 2 to a removable material. This SIM reader / writer 1 is provided in the case 1a, the control IC chip 3 installed in the case 1a, the USB / ISO7816 conversion IC chip 10 installed in the case 1a, and the case 1a. An antenna coil 11a for noncontact communication is provided. The case 1a is provided with a liquid crystal display 4, a fingerprint sensor 5, and near field communication means 11b.

Description

심 리더라이터 {SIM READER/WRITER}Sim Reader Writer {SIM READER / WRITER}

본 발명은, 접촉과 비접촉의 인터페이스를 구비하는 SIM을 착탈자재로 장착하고서, SIM이 보유하는 데이터 내용을 디스플레이에 표시할 수 있도록 된 SIM 리더라이터에 관한 것이다.BACKGROUND OF THE INVENTION 1. Field of the Invention The present invention relates to a SIM reader / writer in which a SIM having an interface of contact and non-contact is mounted as a detachable material and the data contents held by the SIM can be displayed on a display.

이와 같은 SIM 리더라이터는, 첫째로 퍼스널 컴퓨터(PC) 등의 액세스권한 인증 용도로 사용할 수 있고, 둘째로 시설이나 교통기관 등의 비접촉 게이트 관리나 비접촉 쇼핑 등의 결제거래에 적용할 수 있으며, 셋째로 디스플레이에 각종 정보를 표시시킬 수가 있기 때문에, 그와 같은 정보표시가 요구되는 매체, 예컨대 각종 거래의 기록표시, 정기권이나 승차권, 각종 시설 입장권 등에 알맞게 이용할 수 있는 것이다.Such a SIM reader / writer can be used for authentication of access rights such as personal computers (PCs) first, and secondly, it can be applied to payment transactions such as contactless gate management of facilities and transportation agencies, and contactless shopping. Since various types of information can be displayed on the display, it can be suitably used for media that require such information display, for example, recording of various transactions, commuter passes, tickets, and entrance tickets for various facilities.

따라서, 본 발명과 관련되는 기술분야는, SIM 리더라이터나 SIM의 제조이용분야, 또는 정기권이나 승차권, 입장권의 발권이나 취급 또는 이용분야 및 휴대전화에 관한 것이다.Accordingly, the technical field related to the present invention relates to the field of manufacture and use of a SIM reader / writer or a SIM, or to a field of issuing or handling or using a commuter pass or a ticket, an admission ticket, and a mobile phone.

근년, ISO7816-2, ISO7816-3으로 규정되는 접촉과 USB(유니버셜 시리얼 버 스) 접촉과의 듀얼 인터페이스의 IC카드가 개발되어 있다(특허문헌 1).In recent years, an IC card having a dual interface between a contact defined by ISO7816-2 and ISO7816-3 and a USB (Universal Serial Bus) contact has been developed (Patent Document 1).

USB 인터페이스를 가진 IC카드는, PC 등의 USB 대응 기기와의 접속이 쉬워, 사원증 카드 등에서 네트워크 액세스용 ID카드로서 주목되기 시작하고 있다.An IC card having a USB interface is easy to connect with a USB-compatible device such as a PC, and is beginning to attract attention as an ID card for network access in an employee ID card or the like.

한편, e-Token(이토큰)이라 불리는 IC칩을 내장한 네트워크 액세스용 ID모듈이 사용되고 있는 바, 이 ID모듈은 USB 접촉 인터페이스를 가지고서, PC의 USB 컨넥터에 콘센트 플러그 앤드 플레이, 즉 번거로운 조작을 필요로 하지 않고 네트워크 세큐리티를 확보한 시스템에 사용되고 있다. 동글이라 불리는 것도 있는 바, 이는 휴대전화의 스트랩이나 키홀더와 함께 갖고 다니기에 편리성이 있다.On the other hand, an ID module for network access using an IC chip called an e-Token is used. The ID module has a USB contact interface, which allows an outlet plug and play, that is, a cumbersome operation, to a USB connector of a PC. It is used for systems that do not require network security. There is also a dongle, which is convenient to carry with your phone's strap or key holder.

다른 한편, 휴대전화에는 소형의 SIM이나 UIM, USIM 카드라 불리는 세큐리티 ID모듈이 조립되어 있다. 일본에서도 최신의 휴대전화에는 조립되어 이미 실용화되어 있다.On the other hand, a mobile ID is assembled with a security ID module called a small SIM, UIM, or USIM card. In Japan, the latest mobile phones are already assembled and put into practical use.

UIM(User Identity Module)은, 휴대전화 회사가 발행하는 계약자 정보를 기록한 소형의 IC카드로서, 휴대전화기에 조립해서 이용자의 식별이나 서비스에 사용하고 있다.The UIM (User Identity Module) is a small IC card that records contractor information issued by a mobile phone company. The UIM is assembled to a mobile phone and used for identification and service of a user.

이는 마찬가지의 기능을 가진 SIM(Subscriber Identity Module)으로부터 기능이 확장된 것으로, 계약자 정보 이외에 전화번호부 등의 프라이빗 정보나 크레디트 결제용의 개인식별정보 등을 등록할 수가 있게 되어 있다.This is a function extended from a subscriber identity module (SIM) having the same function. In addition to the contractor information, private information such as a telephone book and personal identification information for credit settlement can be registered.

SIM을 베이스로 하고 있기 때문에 USIM(Universal SIM)이라 불리는 일도 있다. SIM은 GSM 휴대전화 서비스의 이용을 목적으로 하지만, UIM은 예컨대 미국의 cdma2000 휴대전화기에 꽂아 넣어 국제로밍서비스를 받는다고 하는 사용방법이 고 려되고 있다.Since it is based on SIM, it may be called USIM (Universal SIM). SIM is intended to use GSM mobile phone service, but UIM is considered to use international roaming service, for example, plugged into cdma2000 mobile phone in USA.

결국, 이러한 SIM 또는 UIM은 기존의 기술이 있기 때문에 제조나 발행처리가 용이하다.After all, such a SIM or UIM is easy to manufacture or issue because of the existing technology.

전술한 키홀더형 ID모듈이나 특허문헌 1에 기재된 휴대물품은 비접촉 통신기능을 갖고 있지 않기 때문에, 개찰 게이트나 도어 게이트를 비접촉으로 개폐하는 등의 용도로 겸용할 수가 없다고 하는 사용상의 불편함이 있다.Since the above described key holder-type ID module and the portable article described in Patent Document 1 do not have a non-contact communication function, there is an inconvenience in use that it cannot be used for a purpose such as opening or closing a wicket gate or a door gate in a non-contact manner.

그래서, 본 출원인은, 먼저 ISO7816으로 규정되는 접촉과, ISO14443으로 규정되는 비접촉의 인터페이스를 갖춘 USB 컨넥터 부착 SIM홀더에 대해 특허문헌 2에 있어서 제안하고 있다.Therefore, the present applicant proposes in the patent document 2 about the SIM holder with a USB connector which has the contact prescribed | regulated by ISO7816 and the non-contact interface prescribed | regulated to ISO14443 first.

또, ISO7816으로 규정되는 접촉과, ISO14443으로 규정되는 비접촉, USB 접촉의 3가지 인터페이스를 갖춘 IC모듈, SIM홀더, SIM 등에 대해서는 특허문헌 3에 있어서 제안하고 있다.In addition, Patent Document 3 proposes an IC module, a SIM holder, a SIM, and the like having three interfaces of a contact defined by ISO7816, a noncontact, a USB contact, and the like defined by ISO14443.

[특허문헌 1] 일본국 특표 2002-525720호 공보[Patent Document 1] Japanese Patent Application Laid-Open No. 2002-525720

[특허문헌 2] 일본국 특허출원 2002-284825호[Patent Document 2] Japanese Patent Application No. 2002-284825

[특허문헌 3] 일본국 특허출원 2002-300072호[Patent Document 3] Japanese Patent Application No. 2002-300072

상술한 키홀더형 ID모듈은 IC칩을 사출성형 등으로 수지성형하도록 되어 있기 때문에, 종래의 IC카드나 SIM과 같은 방식으로 제조하거나 발행처리할 수 없다고 하는 문제가 있다.Since the above described key holder ID module is formed by resin molding the IC chip by injection molding, there is a problem that it cannot be manufactured or issued in the same manner as a conventional IC card or SIM.

또, 특허문헌 2, 특허문헌 3에서 제안한 SIM홀더는 표시부를 갖고 있지 않기 때문에, SIM이 보유하는 정보내용을 가시적으로 표시할 수 없다고 하는 문제가 있 다.In addition, since the SIM holders proposed in Patent Documents 2 and 3 do not have a display unit, there is a problem that the information contents held by the SIM cannot be displayed visually.

그래서 본 발명은, 키홀더형 ID모듈에 비접촉통신기능을 갖게 하고, SIM 자체의 IC칩에 접촉, 비접촉 인터페이스를 갖추도록 하며, 또한 SIM을 장착하는 리더라이터에 안테나코일과 디스플레이를 갖춤과 더불어 근거리간 통신기능과 지문센서를 갖춤으로써, 한층 더 편리성을 부여할 수 있음을 연구하여 본 발명의 완성에 이른 것이다.Therefore, the present invention provides a non-contact communication function to the key holder type ID module, provides a contact and non-contact interface to the IC chip of the SIM itself, and also has an antenna coil and a display on a reader / writer equipped with a SIM, By having a communication function and a fingerprint sensor, the present invention has been completed to study the possibility of providing more convenience.

한편, 본원 명세서에 있어서, SIM이라 함은 UIM이나 USIM을 포함한 소형 IC카드를 총칭하는 것으로 한다.In addition, in this specification, SIM shall refer to the compact IC card containing UIM and USIM generically.

본 발명은, 내부에 정보를 가진 SIM을 착탈자재로 장착하는 SIM 리더라이터에 있어서,
케이스와,
이 케이스 내에 설치되어 SIM에 접속되는 단자판,
상기 케이스 내에 설치되어 상기 단자판에 접속된 안테나코일,
상기 케이스 내에 설치되어 상기 단자판에 접속된 제어용 IC칩 및,
상기 케이스의 표면에 설치되어 상기 제어용 IC칩에 의해 제어되는 디스플레이를 갖추어 구성되되,
단자판이 ISO14443에 준거한 비접촉통신을 수행하는 2개의 예비단자(C4, C8)와, 다른 5개의 단자(C1, C2, C3, C5, C7)을 갖고, 상기 예비단자(C4, C8)가 안테나 코일에 접속되며, 상기 다른 5개의 단자(C1, C2, C3, C5, C7)는 제어용 IC칩에 접속되고,
디스플레이가 SIM 내부의 정보를 표시하도록 된 것을 특징으로 한다.
The present invention provides a SIM reader / writer for attaching and detaching a SIM having information therein,
With the case,
A terminal plate installed in the case and connected to the SIM,
An antenna coil installed in the case and connected to the terminal plate;
A control IC chip installed in the case and connected to the terminal plate;
Installed on the surface of the case is configured to have a display controlled by the control IC chip,
The terminal plate has two preliminary terminals C4 and C8 for performing contactless communication in accordance with ISO14443, and five other terminals C1, C2, C3, C5 and C7, and the preliminary terminals C4 and C8 are antennas. The other five terminals C1, C2, C3, C5, and C7 are connected to a control IC chip,
The display is adapted to display information inside the SIM.

또 본 발명은, 상기 케이스에 제어용 IC칩에 접속된 지문센서를 설치한 것을 특징으로 하는 SIM 리더라이터이다.The present invention is a SIM reader / writer, characterized in that a fingerprint sensor connected to a control IC chip is provided in the case.

본 발명은, 케이스에 제어용 IC칩에 접속된 근거리간 통신수단을 설치한 것을 특징으로 하는 SIM 리더라이터이다.The present invention provides a SIM reader / writer, wherein a short-range communication means connected to a control IC chip is provided in a case.

본 발명은, 케이스에 USB용 컨넥터를 설치하고, 케이스 내에 USB용 컨넥터에 접속된 USB/접촉형 IC카드 통신 인터페이스 변환기능을 가진 IC칩을 설치한 것을 특징으로 하는 SIM 리더라이터이다.The present invention provides a SIM reader / writer, wherein a USB connector is provided in a case, and an IC chip having a USB / contact type IC card communication interface conversion function connected to the USB connector is provided in the case.

본 발명은, SIM이 접촉과 비접촉 인터페이스를 갖도록 된 것을 특징으로 하는 SIM 리더라이터이다.The present invention is a SIM reader / writer, characterized in that the SIM has a contact and a contactless interface.

본 발명은, SIM이 멀티 어플리케이션을 탑재할 수 있도록 된 것을 특징으로 하는 SIM 리더라이터이다.The present invention is a SIM reader / writer, wherein a SIM can be equipped with a multi-application.

본 발명은, 근거리간 통신수단이 블루투스(Bluetooth)로 이루어져 있는 것을 특징으로 하는 SIM 리더라이터이다.The present invention is a SIM reader / writer characterized in that the short-range communication means is made of Bluetooth.

본 발명은, 케이스에 제어용 IC칩에 접속된 적외선 발신부를 설치한 것을 특징으로 하는 SIM 리더라이터이다.The present invention is a SIM reader / writer, characterized in that an infrared ray transmitting unit connected to a control IC chip is provided in a case.

본 발명은, 케이스 내에 단자판을 보유하는 회로기판을 설치하고, 안테나코일의 전주(全周: 전체둘레)길이의 50% 이상이 평면으로부터 보아 회로기판과 겹치지 않도록 된 것을 특징으로 하는 SIM 리더라이터이다.The present invention provides a SIM reader / writer, in which a circuit board having a terminal plate is provided in a case, and 50% or more of the length of the entire length of the antenna coil does not overlap with the circuit board when viewed from a plane. .

본 발명은, 안테나코일 중 평면으로부터 보아 회로기판과 겹치지 않는 부분의 내주와 회로기판 외주 사이의 공간의 폭이 O.5mm∼3.0mm인 것을 특징으로 하는 SIM 리더라이터이다.The SIM reader / writer according to the present invention is characterized in that the width of the space between the inner circumference of the portion of the antenna coil that does not overlap the circuit board and the outer circumference of the circuit board is 0.5 mm to 3.0 mm.

본 발명은, 안테나코일이 배설된 평면과 회로기판이 배설된 평면 사이의 간극이 O.5mm∼3.0mm인 것을 특징으로 하는 SIM 리더라이터이다.The SIM reader / writer according to the present invention is characterized in that a gap between the plane on which the antenna coil is disposed and the plane on which the circuit board is disposed is 0.5 mm to 3.0 mm.

본 발명은, 케이스에 USB용 컨넥터를 설치하고, 케이스 내에 USB용 컨넥터에 접속된 USB 접촉형 IC카드 통신 인터페이스 변환기능을 가진 IC칩을 설치한 것을 특징으로 하는 SIM 리더라이터이다.The present invention provides a SIM reader / writer, wherein a USB connector is provided in a case, and an IC chip having a USB contact type IC card communication interface conversion function connected to the USB connector is provided in the case.

본 발명은, 케이스 중 디스플레이와는 반대측 면에 쿠션성 소재가 설치되어 있는 것을 특징으로 하는 SIM 리더라이터이다.The present invention is a SIM reader / writer, characterized in that a cushioning material is provided on a surface of the case opposite to the display.

본 발명은, 쿠션성 소재가 고무인 것을 특징으로 하는 SIM 리더라이터이다.The present invention is a SIM reader / writer, wherein the cushion material is rubber.

본 발명은, 쿠션성 소재가 폴리우레탄 수지인 것을 특징으로 하는 SIM 리더라이터이다.The present invention is a SIM reader / writer, wherein the cushion material is a polyurethane resin.

본 발명은, 디스플레이가 액정 디스플레이인 것을 특징으로 하는 SIM 리더라이터이다.The present invention is a SIM reader / writer, wherein the display is a liquid crystal display.

본 발명은, 케이스에 USB용 컨넥터를 설치하고, 케이스 내에 USB용 컨넥터에 접속된 USB/접촉형 IC카드 통신 인터페이스 변환기능을 가진 IC칩을 설치한 것을 특징으로 하는 SIM 리더라이터이다.The present invention provides a SIM reader / writer, wherein a USB connector is provided in a case, and an IC chip having a USB / contact type IC card communication interface conversion function connected to the USB connector is provided in the case.

삭제delete

삭제delete

삭제delete

삭제delete

본 발명은, 케이스 내에 디스플레이 구동용의 2차 전지가 설치되되, 이 2차 전지가 케이스에 설치된 USB 컨넥터를 매개로 외부로부터 충전될 수 있도록 되어 있는 것을 특징으로 하는 SIM 리더라이터이다.The present invention provides a SIM reader / writer, wherein a secondary battery for driving a display is installed in a case, and the secondary battery can be charged from the outside through a USB connector installed in the case.

본 발명은, 2차 전지가 리튬이온전지로 이루어진 것을 특징으로 하는 SIM 리더라이터이다.The present invention is a SIM reader / writer, wherein the secondary battery is made of a lithium ion battery.

본 발명은, 케이스 내에 비접촉통신 금지수단을 설치한 것을 특징으로 하는 SIM 리더라이터이다.The present invention provides a SIM reader / writer, wherein a contactless prohibiting means is provided in a case.

본 발명은, 비접촉통신 금지수단이 단자판과 안테나코일 사이에 설치된 스위치회로를 갖추도록 된 것을 특징으로 하는 SIM 리더라이터이다.The present invention provides a SIM reader / writer, wherein the non-contact communication prohibiting means is provided with a switch circuit provided between the terminal plate and the antenna coil.

본 발명은, 비접촉통신 금지수단이 단자판과 안테나코일 사이에 설치된 릴레이, 포토 릴레이, 솔리드스테이트 릴레이 중 어느 하나를 갖춘 것을 특징으로 하는 SIM 리더라이터이다.The present invention provides a SIM reader / writer, wherein the non-contact communication prohibiting means includes any one of a relay, a photo relay, and a solid state relay provided between the terminal plate and the antenna coil.

본 발명은, 비접촉통신 금지수단이 배리캡(varicap) 다이오드에 의해 안테나코일의 공진 주파수를 바꾸도록 된 것을 특징으로 하는 SIM 리더라이터이다.The present invention is a SIM reader / writer, characterized in that the non-contact communication inhibiting means changes the resonance frequency of the antenna coil by means of a varicap diode.

본 발명은, 비접촉통신 금지수단이 디지털 포텐션미터 또는 가변저항기에 의해 안테나코일의 Q값을 바꾸도록 된 것을 특징으로 하는 SIM 리더라이터이다.The present invention is a SIM reader / writer, characterized in that the contactless prohibiting means changes the Q value of the antenna coil by means of a digital potentiometer or a variable resistor.

본 발명은, 스위치회로가 기계적 조작스위치에 의해 조작되도록 된 것을 특징으로 하는 SIM 리더라이터이다.The present invention is a SIM reader / writer, wherein the switch circuit is operated by a mechanical operation switch.

본 발명은, 기계적 조작스위치가 푸쉬 스위치로 이루어져, 스위치가 눌러져 있는 상태에서 비접촉통신이 가능하게 되도록 된 것을 특징으로 하는 SIM 리더라이터이다.The present invention is a SIM reader / writer, characterized in that the mechanical operation switch is composed of a push switch, so that contactless communication is enabled while the switch is pressed.

본 발명은, 기계적 조작스위치가 슬라이드 스위치로 이루어져, 스위치를 조작할 때마다 비접촉통신의 온·오프상태가 절환되도록 된 것을 특징으로 하는 SIM 리더라이터이다.The present invention is a SIM reader / writer, wherein the mechanical operation switch is a slide switch, and the on / off state of non-contact communication is switched every time the switch is operated.

본 발명은, 케이스에 제어용 IC칩에 접속된 지문센서를 설치한 것을 특징으로 하는 SIM 리더라이터이다.The present invention provides a SIM reader / writer in which a fingerprint sensor connected to a control IC chip is provided in a case.

본 발명은, 케이스에 USB용 컨넥터를 설치하고, 케이스 내에 USB용 컨넥터에 접속된 USB/접촉형 IC카드 통신 인터페이스 변환기능을 가진 IC칩을 설치한 것을 특징으로 하는 SIM 리더라이터이다.The present invention provides a SIM reader / writer, wherein a USB connector is provided in a case, and an IC chip having a USB / contact type IC card communication interface conversion function connected to the USB connector is provided in the case.

도 1은 본 발명의 제1실시형태에 따른 SIM 리더라이터의 블럭구성을 나타낸 도면,1 is a block diagram showing a SIM reader / writer according to the first embodiment of the present invention;

도 2는 SIM 리더라이터의 외형을 나타낸 도면,2 is a view showing the appearance of the SIM reader writer,

도 3은 SIM의 접촉단자판 측의 사시도,3 is a perspective view of the contact terminal board side of the SIM;

도 4는 SIM의 평면도,4 is a plan view of the SIM,

도 5는 SIM의 접촉단자판과는 반대측의 사시도,5 is a perspective view of a side opposite to the contact terminal plate of the SIM;

도 6은 SIM의 이면도,6 is a rear view of the SIM,

도 7은 SIM을 나타낸 도면,7 is a view showing a SIM,

도 8은 본 발명의 제2실시형태에 따른 액정 디스플레이 부착 SIM 리더라이터의 블럭구성을 나타낸 도면,8 is a block diagram showing a SIM reader / writer with a liquid crystal display according to a second embodiment of the present invention;

도 9는 액정 디스플레이 부착 SIM 리더라이터의 외형을 나타낸 도면,9 is a view showing the appearance of a SIM reader / writer with a liquid crystal display;

도 10은 SIM 리더라이터 내에서 SIM의 접촉단자판 측을 나타낸 사시도,10 is a perspective view showing the contact terminal board side of the SIM in the SIM reader / writer;

도 11은 도 10에 도시된 SIM의 평면도,11 is a plan view of the SIM shown in FIG. 10;

도 12는 SIM 리더라이터 내에서 SIM의 접촉단자판과는 반대면 측을 나타낸 사시도,12 is a perspective view showing a side opposite to the contact terminal plate of the SIM in the SIM reader / writer;

도 13은 SIM의 이면도,13 is a rear view of the SIM,

도 14는 본 발명의 제3실시형태에 따른 UIM 어댑터의 예를 나타낸 블럭구성도,14 is a block diagram showing an example of a UIM adapter according to a third embodiment of the present invention;

도 15는 안테나코일의 외형을 나타낸 평면도,15 is a plan view showing the appearance of the antenna coil,

도 16은 도 15의 A-A선 단면도,16 is a cross-sectional view taken along the line A-A of FIG.

도 17은 본 발명의 실시예에서 제조한 UIM 어댑터를 나타낸 외관도,17 is an external view showing a UIM adapter manufactured in an embodiment of the present invention;

도 18은 UIM 어댑터의 회로기판과 안테나코일을 나타낸 도면,18 is a view showing a circuit board and the antenna coil of the UIM adapter,

도 19는 안테나코일 외형의 비교예를 나타낸 평면도,19 is a plan view showing a comparative example of the appearance of the antenna coil,

도 20은 비교예로서의 SIM홀더의 외관구성을 나타낸 도면,20 is a view showing an appearance configuration of a SIM holder as a comparative example;

도 21은 본 발명의 제4실시형태에 따른 휴대가능한 비접촉통신 디바이스의 예로서, 휴대전화형의 것을 나타낸 도면,Fig. 21 shows an example of a portable non-contact communication device according to the fourth embodiment of the present invention, showing a mobile phone type;

도 22는 비접촉통신 디바이스의 다른 예를 나타낸 도면으로서, 둘로 접히는 휴대전화형의 것을 나타낸 도면,Fig. 22 is a diagram showing another example of the contactless communication device, showing a cellular phone type folded in two;

도 23은 둘로 접히는 비접촉통신 디바이스를 절첩(折疊)한 상태의 예를 나타낸 도면,23 is a view showing an example of a state in which a non-contact communication device folded in two is folded;

도 24는 비접촉통신 디바이스의 다른 예를 나타낸 도면으로서, SIM 리더라이터형의 것을 나타낸 도면,24 is a view showing another example of the contactless communication device, showing the SIM reader / writer type;

도 25는 도 21의 비접촉통신 디바이스의 표시기능면과 반대측 면을 나타낸 도면,25 is a view showing a surface opposite to a display function surface of the contactless communication device of FIG. 21;

도 26은 도 24의 비접촉통신 디바이스의 표시기능면과 반대측 면을 나타낸 도면,26 is a view showing a surface opposite to a display function surface of the contactless communication device of FIG. 24;

도 27은 SIM의 형상을 나타낸 도면,27 is a view showing the shape of the SIM,

도 28은 개찰 게이트에서 비접촉통신 디바이스를 사용하는 상황을 나타낸 도면,28 is a view showing a situation of using a contactless communication device at the wicket gate;

도 29는 본 발명의 제5실시형태에 따른 UIM 리더라이터의 블럭도,29 is a block diagram of a UIM reader / writer according to a fifth embodiment of the present invention;

도 30은 UIM 리더라이터 내의 구성을 나타낸 도면,30 is a diagram showing a configuration in a UIM reader / writer;

도 31은 UIM 리더라이터의 평면도,31 is a plan view of a UIM reader / writer,

도 32는 2차 전지 충방전부의 제어회로 예를 나타낸 도면,32 shows an example of a control circuit of a secondary battery charge / discharge unit;

도 33은 액정 디스플레이의 표시 예를 나타낸 도면,33 is a diagram showing a display example of a liquid crystal display;

도 34는 액정 디스플레이 부착 SIM 리더라이터를 나타낸 도면,34 shows a SIM reader / writer with a liquid crystal display;

도 35는 본 발명의 제6실시형태에 따른 휴대기기의 실시예 6-1을 나타낸 도 면,35 is a diagram showing Example 6-1 of a mobile device according to a sixth embodiment of the present invention;

도 36은 휴대기기의 실시예 6-2를 나타낸 도면,36 is a view showing Example 6-2 of a mobile device;

도 37은 휴대기기의 실시예 6-3을 나타낸 도면,37 is a view showing Example 6-3 of a mobile device;

도 38은 휴대기기의 실시예 6-4를 나타낸 도면,38 is a view showing Example 6-4 of a mobile device;

도 39는 휴대기기의 전체 구성의 일례를 나타낸 도면,39 is a diagram showing an example of the overall configuration of a mobile device;

도 40은 실시예 6-1의 휴대기기의 블럭도,40 is a block diagram of a mobile device of Example 6-1;

도 41은 실시예 6-2, 6-3, 6-4의 휴대기기의 블럭도이다.Fig. 41 is a block diagram of a portable device of Embodiments 6-2, 6-3, and 6-4.

(제1실시형태)(First embodiment)

본 발명의 SIM 리더라이터에 대해 도면을 참조해서 설명한다. 도 1은 본 발명의 SIM 리더라이터의 블럭구성을 나타낸 도면이다. 도 2는 SIM 리더라이터의 외형을 나타낸 도면, 도 3∼도 6은 SIM 리더라이터 내의 구성을 나타낸 도면, 도 7은 SIM을 나타낸 평면도이다.The SIM reader / writer of the present invention will be described with reference to the drawings. 1 is a block diagram showing a SIM reader / writer of the present invention. 2 is a view showing the outline of the SIM reader / writer, FIGS. 3 to 6 are views showing the configuration of the SIM reader / writer, and FIG. 7 is a plan view of the SIM reader / writer.

도 1∼도 7에 도시된 바와 같이, 본 발명의 SIM 리더라이터(1)는 SIM(2)을 착탈자재로 장착하는 것으로, 이 SIM 리더라이터(1)는 케이스(1a)와, 이 케이스(1a) 내에 설치되어 SIM(2)에 접속되는 리더라이터 단자판(12), 상기 케이스(1a) 내에 설치되어 리더라이터 단자판(12)에 접속된 안테나코일(11a) 및, 케이스(1a) 내에 설치된 제어용 IC칩(3)을 구비하고 있다.As shown in Figs. 1 to 7, the SIM reader / writer 1 of the present invention mounts the SIM 2 as a detachable material. The SIM reader / writer 1 includes a case 1a and this case ( The reader / writer terminal board 12 installed in 1a and connected to the SIM 2, the antenna coil 11a installed in the case 1a and connected to the reader / writer terminal board 12, and the control unit installed in the case 1a. An IC chip 3 is provided.

또 케이스(1a)에는 제어용 IC칩(3)에 의해 제어되는 액정 디스플레이(4)가 설치되고, 또 케이스(1a)로부터 USB 컨넥터(20)가 돌출하도록 형성되어 있다. 또, 케이스(1a)에는 제어용 IC칩(3)에 접속된 지문센서(5) 및 블루투스(Bluetooth)용 칩안테나(근거리간 통신수단; 11b)가 설치되어 있다.The case 1a is provided with a liquid crystal display 4 controlled by the control IC chip 3, and is formed such that the USB connector 20 protrudes from the case 1a. Further, the case 1a is provided with a fingerprint sensor 5 and a Bluetooth chip antenna (near field communication means) 11b connected to the control IC chip 3.

이 중 제어용 IC칩(3)은 CPU와 메모리를 갖춤과 더불어, ISO7816 드라이버(31)와 액정 디스플레이 구동용 액정 드라이버(32), 블루투스 드라이버(33), 지문센서 드라이버(34) 및 지문화상 처리 소프트웨어(35)를 갖추고 있다. 단, 이들 모두가 일체로 IC칩화되어 있는 것으로는 한정되지 않는다.The control IC chip 3 includes a CPU and a memory, and also includes an ISO7816 driver 31, a liquid crystal driver 32 for driving a liquid crystal display, a Bluetooth driver 33, a fingerprint sensor driver 34, and a fingerprint image processing software. Equipped with 35. However, all of them are not limited to being integrated with an IC chip.

SIM(2)의 신호는, 리더라이터(R/W) 단자판(12)과 릴레이(8)를 매개로 제어용 IC칩(3)으로 보내진다. 또, USB 포트(25)로부터의 신호는 USB 허브(6)와 USB/ISO7816 변환 IC(10) 및 릴레이(8)를 매개로 제어용 IC칩(3)으로 보내진다.The signal of the SIM 2 is sent to the control IC chip 3 via the reader / writer (R / W) terminal board 12 and the relay 8. The signal from the USB port 25 is sent to the control IC chip 3 via the USB hub 6, the USB / ISO7816 converter IC 10, and the relay 8.

리더라이터 단자판(12)은 SIM(2)의 접촉단자판의 8개의 단자와 접속하는 구조를 가지고 있다. 접촉단자의 경우, 예비단자로 되어 있는 C4와 C8단자가 SIM 리더라이터의 케이스(1a) 내의 안테나코일(11a)에 접속하도록 되어 있다. 안테나코일(11a)은 ISO14443에 준거한 비접촉통신을 수행하기 위한 것이다.The reader / writer terminal board 12 has a structure for connecting with eight terminals of the contact terminal board of the SIM 2. In the case of the contact terminal, the C4 and C8 terminals, which are spare terminals, are connected to the antenna coil 11a in the case 1a of the SIM reader / writer. The antenna coil 11a is for performing contactless communication in accordance with ISO14443.

SIM 리더라이터(1)는, 지문센서(5)나 액정 디스플레이(4) 및 제어용 IC칩(3) 등의 구동전원으로서 배터리(2차 전지; 7)를 갖추는 것이 바람직하다. 배터리(7)는 케이스(1a) 내에 배치됨과 더불어, 배터리(7)로서 박형의 리튬이온전지를 바람직하게 사용할 수 있다.The SIM reader / writer 1 preferably includes a battery (secondary battery) 7 as a driving power source such as the fingerprint sensor 5, the liquid crystal display 4, the control IC chip 3, or the like. The battery 7 is disposed in the case 1a, and a thin lithium ion battery can be preferably used as the battery 7.

또 케이스(1a)에는 스위치 버튼(41, 42, 43)이 설치되어 있다. 그 중 스위치 버튼(41)은 전원의 온·오프, 스위치 버튼(42)은 블루투스통신 결정을 위해, 스 위치 버튼(43)은 표시선택이나 동작결정을 위해 사용된다.In addition, switch buttons 41, 42, and 43 are provided in the case 1a. Among them, the switch button 41 is used to turn the power on and off, the switch button 42 is used for determining the Bluetooth communication, and the switch button 43 is used for display selection or operation determination.

SIM 리더라이터(1)는, USB 컨넥터(20)가 퍼스널 컴퓨터(PC) 등 외부기기의 USB 포트에 삽입되어 있는 경우에는 배터리(7)가 접속되지 않도록 되어 있다. 따라서, 이 경우는 스위치 버튼(41)을 온하더라도 제어용 IC칩(3)의 CPU가 동작하지 않고 액정 디스플레이(4)도 표시되지 않게 된다. 지문센서(5)도 마찬가지로 동작하지 않게 된다.The SIM reader / writer 1 is such that the battery 7 is not connected when the USB connector 20 is inserted into a USB port of an external device such as a personal computer (PC). In this case, therefore, even if the switch button 41 is turned on, the CPU of the control IC chip 3 does not operate and the liquid crystal display 4 is not displayed. The fingerprint sensor 5 likewise does not operate.

액정 디스플레이(4)는, PC에 접속되어 있지 않은 경우에 있어서, 스위치 버튼(41)을 온한 경우에만 표시된다.The liquid crystal display 4 is displayed only when the switch button 41 is turned on when it is not connected to a PC.

이 경우(전원버튼 온일 때)에는, 릴레이(8)가 제어용 IC칩(3) 내의 CPU와 리더라이터 단자판(12)을 접속하게 된다. USB 컨넥터(20)가 PC의 USB 포트에 삽입되어 있는 USB를 구동할 때는, 릴레이(8)가 제어용 IC칩(3)의 CPU와 USB 포트(25)를 접속하게 된다.In this case (when the power button is on), the relay 8 connects the CPU in the control IC chip 3 with the reader / writer terminal board 12. When the USB connector 20 drives the USB inserted into the USB port of the PC, the relay 8 connects the CPU and the USB port 25 of the control IC chip 3 to each other.

또, 안테나코일(11a)에 의해 ISO14443 통신 중에 전원버튼이 오프되거나 USB 컨넥터(20)가 PC의 USB 포트에 삽입된 경우에는, 하드웨어 리셋이 걸려 SIM(2)은 ATR(answer to reset)을 리턴하게 된다. 즉, 비접촉통신이 강제적으로 중단되도록 되어 있다.In addition, when the power button is turned off during the ISO14443 communication by the antenna coil 11a or when the USB connector 20 is inserted into the USB port of the PC, hardware reset occurs and the SIM 2 returns an answer to reset (ATR). Done. That is, contactless communication is forcibly interrupted.

SIM 리더라이터(1)는, 상술한 바와 같이 근거리 통신수단(11b)을 갖추고 있다. 근거리 통신수단으로는, 블루투스통신이 바람직하게 이용되지만, 적외선통신이라도 좋다.The SIM reader / writer 1 is provided with the near field communication means 11b as mentioned above. Bluetooth communication is preferably used as the near field communication means, but may be infrared communication.

적외선통신은 지향성이 강하기 때문에, 주로 SIM 리더라이터(1)와 대상 기기 가 공간을 매개로 직선적으로 연결되는 경우의 통신에 이용되지만, 블루투스통신의 경우는 직선공간의 통신에 한정되지 않는다.Infrared communication is mainly used for communication when the SIM reader / writer 1 and the target device are linearly connected through space because of strong directivity, but Bluetooth communication is not limited to communication in a linear space.

ISO14443 비접촉통신의 경우는, 10∼20cm 정도의 거리로 제한되지만, 이들 근거리간 통신수단의 경우는 10m 정도의 통신을 확보할 수가 있다.In the case of ISO14443 contactless communication, the distance is limited to about 10 to 20 cm. In the case of these short-range communication means, communication of about 10 m can be secured.

따라서, 블루투스를 이용한 고액결제나 블루투스를 이용한 전자적 가치의 전전(轉轉)유통이 가능하게 된다. 복수의 블루투스 사이의 순간결제도 가능하게 된다.Therefore, it is possible to make a high value payment using Bluetooth or a distribution of electronic values using Bluetooth. Instant payment between a plurality of Bluetooth is possible.

근거리 통신수단은 블루투스용 칩안테나(11b)를 갖고, 블루투스 통신은 이 블루투스용 칩안테나(11b)와 제어용 IC칩(3) 내의 블루투스 드라이버(33)에 의해 이루어진다. 블루투스 드라이버(33)는 송수신용 모듈로서 1칩화된 것이 개발되어 있다. 블루투스용 칩안테나(11b)도, 길이 8mm 정도 이하의 소형 안테나가 개발되어 각 사에서 제품화되어 있다.The near field communication means has a Bluetooth chip antenna 11b, and Bluetooth communication is performed by the Bluetooth chip antenna 11b and the Bluetooth driver 33 in the control IC chip 3. The Bluetooth driver 33 has been developed with one chip as a transmission / reception module. The chip antenna 11b for Bluetooth also has a small antenna of about 8 mm in length and has been commercialized by each company.

적외선 통신수단의 경우는, 제어 IC칩(3)의 블루투스 드라이버나 칩안테나 대신 적외선 드라이버와 적외선 수신·발신부를 설치하여 행한다.In the case of infrared communication means, an infrared driver and an infrared receiver / transmitter are provided in place of the Bluetooth driver or chip antenna of the control IC chip 3.

적외선 수신·발신부는, 적외선 발광부와 수광부 및 필터 등을 갖추고서, 이와 마찬가지의 구성으로 수신·발신부를 구비하고 있는 외부 전자기기와 교신하여 데이터의 송수신을 실행할 수 있다.The infrared receiver / receiver includes an infrared light emitter, a light receiver, a filter, and the like, and can communicate with an external electronic device provided with the receiver / receiver in the same configuration to transmit and receive data.

이 경우, SIM(2)의 정보는 제어용 IC칩(3)에 의해 처리되고, 적외선 수신·발신부의 발광부에 의해 광전변환(光電變換)되어 외부 전자기기로 송신된다. 다른 한편, 외부 전자기기로부터의 신호는 수광부에 의해 광전변환되어 제어용 IC칩(3) 을 거쳐 SIM(2)로 송신된다.In this case, the information of the SIM 2 is processed by the control IC chip 3, photoelectrically converted by the light emitting unit of the infrared receiver and the transmitter, and transmitted to an external electronic device. On the other hand, the signal from the external electronic device is photoelectrically converted by the light receiving unit and transmitted to the SIM 2 via the control IC chip 3.

본 발명의 SIM 리더라이터(1)는, 더욱이 케이스(1a)에 설치된 지문센서(5)를 갖고 있다. 이는, PC 또는 SIM 리더라이터(1)를 취급하는 특정한 사람의 지문정보(바이오메트릭 데이터)를 SIM(2)에 기억시키고, 지문센서에 의해 판독한 데이터가 SIM(2)에 의해 인증되지 않는 한, SIM 리더라이터(1)가 동작하지 않거나 또는 SIM 자체가 그 후의 처리를 실행하지 않도록 하기 위함이다.The SIM reader / writer 1 of the present invention further has a fingerprint sensor 5 provided in the case 1a. This stores the fingerprint information (biometric data) of a specific person who handles the PC or the SIM reader / writer 1 in the SIM 2, and unless the data read by the fingerprint sensor is authenticated by the SIM 2. This is to ensure that the SIM reader / writer 1 does not operate or the SIM itself does not execute subsequent processing.

지문센서(5)로는, 손가락끝을 센서에 압압하는 평면형과, 센서면을 손가락끝으로 스치는 스위프형이 있으나, 어느 것이라도 좋다. 단, 스위프형인 경우는 접지면적이 작기 때문에 리더라이터의 소형화에 바람직하다.As the fingerprint sensor 5, there are a flat type that presses a fingertip against the sensor and a sweep type that sweeps the sensor surface with the fingertip. However, in the case of a swept type, since the ground area is small, it is desirable to miniaturize the reader / writer.

지문센서(5)로는, 정전용량형(靜電容量型) 지문센서를 사용하는 것이 바람직하다. 평면형 지문센서(5)는 지문(指紋)에 의한 요철(凹凸)을 전기신호로 검출하는 것으로, 지문에 의한 요철을 전기신호로 변환하는 센서회로를 다수 빈틈없이 깔아 손가락을 접촉시킴으로써 지문을 판독하는 것이다.As the fingerprint sensor 5, a capacitive fingerprint sensor is preferably used. The planar fingerprint sensor 5 detects irregularities caused by fingerprints as an electrical signal, and a plurality of sensor circuits for converting irregularities caused by fingerprints into electrical signals are used to read a fingerprint by contacting a finger. will be.

스위프형 지문센서(5)는, 수mm 폭의 대상(帶狀: 띠모양)의 센서면에 손가락을 스치는 것만으로 지문의 특징을 인식한다. 스치는 속도나 압압이 고르지 못하더라도 수정기능이 작용해서 바른 지문패턴이 얻어지게 된다. 스위프형 지문센서의 시판품(市販品)으로는, ATMEL사의 「FCD4B14」(FingerChip) 등이 있는데, 본 발명의 SIM 리더라이터에 이용할 수가 있다.The swept fingerprint sensor 5 recognizes the characteristics of the fingerprint only by swiping a finger on a sensor surface of a few mm width. Even if the speed or pressure is not uniform, the correction function is applied to obtain the correct fingerprint pattern. Commercially available products of the sweep type fingerprint sensor include "FCD4B14" (FingerChip) manufactured by ATMEL, which can be used for the SIM reader / writer of the present invention.

지문센서(5)에 의해 검출된 지문 데이터는 지문화상처리 소프트웨어(35)로 보내져 파라미터를 연산한다. 파라미터라 함은, 지문의 특징부분이나 릴레이션(relation)으로서, 예컨대 지문의 선이 끊어져 있는 부분(단점(端点))이라던가 분기점, 또는 지문의 선의 곡률, 특징점과 특징점을 연결하는 선을 가로지르는 융선(隆線)의 수를 릴레이션으로 선택하는 것이다.The fingerprint data detected by the fingerprint sensor 5 is sent to the fingerprint image processing software 35 to calculate the parameters. A parameter is a feature or relation of a fingerprint, for example, a portion where a line of a fingerprint is broken (end point) or a branch point, or a ridge that crosses the curvature of the fingerprint line, a line connecting the feature point and the feature point. Is to select the number of relations as a relation.

이와 같이 해서 얻어진 파라미터를, SIM(2) 내의 지문 템플릿(2c)에 축적되어 있는 화상처리가 끝난 이용자의 지문특징 데이터와 대조해서, SIM 리더라이터(1)를 조작하는 사람이 자격이 있는 사람인지 여부의 검증을 수행한다. 지문 템플릿(2c)은 지문의 화상처리데이터 그대로는 정보량이 너무 크므로, 미리 화상처리를 마쳐 축적시킨 것이다.The parameter obtained in this way is compared with the fingerprint feature data of the user who has processed the image stored in the fingerprint template 2c in the SIM 2 to determine whether the person who operates the SIM reader / writer 1 is a qualified person. Perform verification of whether or not. Since the fingerprint template 2c has a large amount of information as it is in the image processing data of the fingerprint, the fingerprint template 2c has been accumulated before the image processing.

다음으로, 전송되어 온 지문 파라미터와 지문 템플릿(2c)에 축적되어 있는 데이터의 대조를 지문대조엔진(2d)를 이용하여 실행한다. 지문센서(5)에서 얻어진 지문 데이터가, 미리 지문 템플릿(2c)에 등록된 허가된 등록이용자인 경우는, SIM 리더라이터(1) 또는 SIM 자체의 다음의 동작이 가능하게 된다.Next, matching between the transferred fingerprint parameters and the data accumulated in the fingerprint template 2c is performed using the fingerprint control engine 2d. When the fingerprint data obtained by the fingerprint sensor 5 is an authorized registered user registered in advance in the fingerprint template 2c, the following operations of the SIM reader / writer 1 or the SIM itself can be performed.

지문 템플릿(2c)은, 복수의 인간의 손가락 10개 정도의 지문의 등록을 쉽게 실행할 수가 있다. 시판품에 의해서도 단시간에 대조결과가 얻어질 수 있도록 되어 있다.The fingerprint template 2c can easily register fingerprints of about ten human fingers. Commercially available products are also able to obtain a contrast result in a short time.

한편, SIM 리더라이터(1)가 USB 포트(25) 및 USB 컨넥터(20)에 의해 PC 등에 접속되어 있을 때, 지문센서(5)는 릴레이(9), USB 허브(6)를 경유해서 PC에 접속된다.On the other hand, when the SIM reader / writer 1 is connected to a PC or the like by the USB port 25 and the USB connector 20, the fingerprint sensor 5 is connected to the PC via the relay 9 and the USB hub 6. Connected.

또, SIM 리더라이터(1)가 PC 등에 접속되어 있지 않고 단체(單體)로 배터리 구동되고 있을 때는, 지문센서(5)가 릴레이(9)를 경유해서 제어용 IC칩(3)에 접속 된다.In addition, when the SIM reader / writer 1 is not connected to a PC or the like and is battery driven by a single body, the fingerprint sensor 5 is connected to the control IC chip 3 via the relay 9.

SIM 리더라이터(1)의 케이스(1a)는 어떠한 외형이라도 상관이 없지만, 휴대 하기 쉬운 케이스(1a)의 형상으로는, 도 2와 같이 USB 컨넥터(20)의 삽입방향과 SIM(2)의 삽입방향이 직선모양으로 되어 있는 것이 바람직하다고 생각된다.The case 1a of the SIM reader / writer 1 may have any appearance, but the shape of the case 1a, which is easy to carry, includes the insertion direction of the USB connector 20 and the insertion of the SIM 2 as shown in FIG. It is thought that it is preferable that the direction is linear.

도 2a와 같이, SIM 리더라이터(1)는 케이스(1a)의 표면에 액정 디스플레이(4)를 갖고 있다. 케이스(1a)의 좌단부에는 USB 컨넥터(20)가 설치되고, 케이스(1a)의 우단부에는 SIM(2)의 삽입구(15)가 설치되어 있다.As shown in FIG. 2A, the SIM reader / writer 1 has a liquid crystal display 4 on the surface of the case 1a. The USB connector 20 is provided at the left end of the case 1a, and the insertion port 15 of the SIM 2 is provided at the right end of the case 1a.

케이스(1a) 중 삽입구(15)의 앞부분에, 액정 디스플레이(4)보다는 한 계단 낮은 계단부(16)가 형성되어 있다. SIM(2)의 삽입시에, 이 계단부(16)에 SIM(2)을 닿게 하면 SIM(2)의 삽입구(15)로의 삽입을 용이하게 할 수 있다. 케이스(1a) 표면 중 액정 디스플레이(4)와 삽입구(15) 사이에는 스위치 버튼(41, 42, 43)이 설치되어 있다. 부호 14는 전원용 LED 표시이다.Steps 16 which are one step lower than the liquid crystal display 4 are formed in front of the insertion opening 15 of the case 1a. At the time of insertion of the SIM 2, the step 2 is brought into contact with the SIM 2 to facilitate the insertion of the SIM 2 into the insertion port 15. The switch buttons 41, 42, 43 are provided between the liquid crystal display 4 and the insertion opening 15 among the surfaces of the case 1a. Reference numeral 14 denotes an LED for power supply.

SIM 리더라이터(1)를 휴대할 때는, 키부착구멍(17)에다 스트랩 등을 통과시키면 SIM(2)의 부주의한 탈락을 방지할 수 있게 된다.When carrying the SIM reader / writer 1, it is possible to prevent inadvertent fall-out of the SIM 2 by passing a strap or the like through the key attachment hole 17.

액정 디스플레이(4)는, SIM(2)의 IC칩(3)이 보유하는 정보를 스위치 버튼(43)을 조작하여 순차로 표시하도록 되어 있다.The liquid crystal display 4 sequentially displays the information held by the IC chip 3 of the SIM 2 by operating the switch button 43.

표시내용은, SIM(2)이 탑재하는 어플리케이션 소프트웨어에 따라 다른 바, 예컨대 전자머니(전자화폐; 2a)의 경우는 잔고, 지불명세 등이고, 전자티켓(2b)의 경우는 이용날짜나 회장(會場), 연주시간, 지정좌석 등의 표시이며, 정기권 용도의 경우는 통용구간이나 통용기간, 사용자 등의 표시로 된다. 이와 같이 SIM(2)은 복 수의 어플리케이션을 탑재할 수 있도록 된 것이 바람직하다.The contents of the display vary depending on the application software installed in the SIM 2, for example, the balance and payment details in the case of the electronic money (electronic money) 2a, and the date of use and the venue in the case of the electronic ticket 2b. ), Playing time, reserved seats, etc., for commuter passes, such as currency segment, currency duration, user, etc. Thus, it is preferable that the SIM 2 be able to mount a plurality of applications.

액정 디스플레이(4)에는, 도트 매트릭스 형식의 반사형 컬러액정표시를 채용할 수 있고, 도형표시도 가능하다. 액정 디스플레이(4)의 두께는 1.0mm∼1.5mm 정도로 된다. 표시면적은 폭 20∼30mm로부터 길이 50∼70mm 정도의 것으로 할 수 있다.In the liquid crystal display 4, a dot matrix type reflective color liquid crystal display can be adopted, and graphic display is also possible. The thickness of the liquid crystal display 4 is about 1.0 mm to 1.5 mm. The display area can be about 20 to 30 mm in width and 50 to 70 mm in length.

한편, 액정 디스플레이에 한정되지 않고, 유기EL 등 박형으로 소비전력이 적은 표시장치를 대체해서 이용할 수 있다.On the other hand, it is not limited to a liquid crystal display, It can replace and use the display apparatus with thin power consumption, such as organic EL, with little power.

도 2b는 도 2a의 A-A선 단면을 나타낸다. 이 경우는, SIM 리더라이터(1)에 SIM(2)이 장착되어 있는 상태를 나타내고 있다. SIM(2)과 액정 디스플레이(4) 사이에는, 리더라이터(R/W) 단자판(12)이 있어, SIM(2)의 접촉단자판(22)과의 접촉이 확보된다. 리더라이터 단자판(12)은 액정기판 아래의 전면에 설치하여 배선기판을 겸하도록 해도 좋다.FIG. 2B is a cross-sectional view taken along the line A-A of FIG. 2A. In this case, the SIM 2 is attached to the SIM reader / writer 1. The reader / writer (R / W) terminal plate 12 is provided between the SIM 2 and the liquid crystal display 4 to ensure contact with the contact terminal plate 22 of the SIM 2. The reader / writer terminal board 12 may be provided on the front surface under the liquid crystal substrate to serve as a wiring board.

SIM 리더라이터(1)의 케이스(1a)는, 액정 디스플레이(4)나 리더라이터 단자판(12)을 가진 윗덮개부(18)와 아래쪽 케이스부(19)를 분할해서 성형하고, 배선기판 등을 조립한 후에 조합하여 일체로 형성된다. 도시하지는 않았지만, 안테나코일(11a)은 단자판(12)의 주위에 배선하거나, 윗덮개부(18)나 아래쪽 케이스부(19)의 내면에 배선시킬 수가 있다.The case 1a of the SIM reader / writer 1 is formed by dividing the upper cover portion 18 and the lower case portion 19 having the liquid crystal display 4 or the reader / writer terminal plate 12 and forming a wiring board. After assembly, they are integrally formed. Although not shown, the antenna coil 11a can be wired around the terminal plate 12 or wired to the inner surface of the upper cover portion 18 or the lower case portion 19.

SIM 리더라이터(1)의 이면에는, 특별한 부품을 설치하지 않기 때문에, 도시하고 있지 않으나 전원충전을 위한 기구부 등을 설치할 수 있다.Since no special parts are provided on the back side of the SIM reader / writer 1, although not shown, a mechanism part for power supply charging or the like can be provided.

또, 아래쪽 케이스부(19)를 투명수지로 성형하면, 뒤에 설명되는 바와 같이 SIM(2)에 설치한 얼굴사진이나 네임 프린트를 투시할 수 있게 된다.If the lower case portion 19 is formed of a transparent resin, the face photograph and name print provided on the SIM 2 can be viewed as described later.

도 3∼도 6은, SIM 리더라이터(1) 내의 구성을 나타낸 도면으로, 액정 디스플레이(4)의 배면에 있어서의 리더라이터 단자판(12)과 안테나코일(11a)의 관계를 나타내고 있다.3 to 6 show the structure in the SIM reader / writer 1, and show the relationship between the reader / writer terminal plate 12 and the antenna coil 11a on the back of the liquid crystal display 4.

도 3은 SIM(2)의 접촉단자판(22) 면 측의 사시도, 도 4는 동 평면도, 도 5는 SIM(2)의 접촉단자판과는 반대면 측의 사시도, 도 6은 동 평면도이다.Fig. 3 is a perspective view of the contact terminal plate 22 surface side of the SIM 2, Fig. 4 is a plan view thereof, Fig. 5 is a perspective view of a side opposite to the contact terminal plate of the SIM 2, and Fig. 6 is a plan view thereof.

도 3, 도 4와 같이, 안테나코일(11a)은 케이스(1a)의 윗덮개부(18)의 내주 등에 따르도록 배선되고, 그 말단은 리더라이터 단자판(12)의 C4와 C8단자에 접속되어 있다. SIM(2)은, 도 3의 오른쪽으로부터 삽입되어 리더라이터 단자판(12)의 아래쪽으로 들어가 고정되도록 되어 있다.3 and 4, the antenna coil 11a is wired so as to conform to the inner circumference of the upper cover portion 18 of the case 1a, and the terminal thereof is connected to the C4 and C8 terminals of the reader / writer terminal plate 12. have. The SIM 2 is inserted from the right side of FIG. 3 and fixed to the bottom of the reader / writer terminal board 12.

도 3 및 도 4에 있어서, USB 컨넥터(20)로의 배선은 생략되어 있으나, C5(GND), C1(Vcc), C2(RST), C7(I/O)이 USB/ISO7816 변환 IC(10)로 인도되게 된다.3 and 4, although the wiring to the USB connector 20 is omitted, C5 (GND), C1 (Vcc), C2 (RST), and C7 (I / O) are the USB / ISO7816 conversion ICs 10 Led to.

상술한 특허문헌 1에는, USB 기능을 가진 IC칩이 기재되고, USB(D+)가 C4단자를, USB(D-)가 C8단자를 이용하는 예가 기재되어 있으나, 본 발명의 SIM 리더라이터(1)는 USB/ISO7816 변환 IC(10)를 사용하기 때문에, 종래기능의 듀얼 IC모듈을 사용할 수 있다.In Patent Document 1 described above, an IC chip having a USB function is described, and an example in which the USB (D +) uses the C4 terminal and the USB (D-) uses the C8 terminal is described. However, the SIM reader / writer 1 of the present invention is described. Since the USB / ISO7816 conversion IC 10 is used, a dual IC module having a conventional function can be used.

또, 안테나코일(11a)의 단자로는 C4와 C8단자를 이용하기 때문에, 8단자 이상의 특설단자판을 가진 단자를 SIM(2)이나 리더라이터에 사용하지 않게 되는 이점이 있다.In addition, since C4 and C8 terminals are used as the terminals of the antenna coil 11a, there is an advantage that the terminals having special terminal plates of 8 or more terminals are not used for the SIM 2 or the reader / writer.

도 5와 같이, 리더라이터 단자판(12)의 배면에는 8개의 컨택트핀(13)이 돌출 하여 SIM(2)의 접촉단자판(22)과 접촉하도록 되어 있다.As shown in FIG. 5, eight contact pins 13 protrude from the rear surface of the reader / writer terminal board 12 to be in contact with the contact terminal board 22 of the SIM 2.

도 6은 SIM(2)을 SIM 리더라이터(1)에 장착한 후의 상태이다. SIM(2)은 단자판(12)의 배면에서 아래쪽 케이스부(19)를 따라 삽입되기 때문에, 아래쪽 케이스(19)가 투명수지라면 SIM(2)의 얼굴사진 가공(27) 등을 눈으로 볼 수 있게 된다.6 is a state after the SIM 2 is attached to the SIM reader / writer 1. Since the SIM 2 is inserted along the lower case portion 19 from the back of the terminal plate 12, if the lower case 19 is a transparent resin, the face photo processing 27 and the like of the SIM 2 can be visually seen. Will be.

상기와 같이, SIM 리더라이터(1)가 PC에 접속되어 있을 때는, 비접촉통신기능은 차단되지만, 비접속시에는 비접촉 인터페이스를 써서 편의점이나 레스토랑에서의 지불이나 교통기관의 개찰이나 시설의 입퇴실 관리에 이용할 수 있다.As described above, when the SIM reader / writer 1 is connected to a PC, the contactless communication function is cut off, but at the time of non-connection, a contactless interface is used to manage payments at convenience stores and restaurants, ticket gates of transportation agencies, and entrance / exit management of facilities. Can be used for

근거리간 통신수단(11b)에 의해, ISO14443에 의한 비접촉통신보다 긴 거리 사이에서의 결제도 가능하게 된다.The short-range communication means 11b also enables payment between longer distances than contactless communication according to ISO14443.

한편, PC에 SIM 리더라이터(1)를 직접 접속할 수 있어, 주변기기로서 별도의 리더라이터를 필요로 하지 않게 되는 이점이 있다.On the other hand, since the SIM reader / writer 1 can be directly connected to a PC, there is an advantage that a separate reader / writer is not required as a peripheral device.

도 7은 본 발명에 사용하는 SIM을 나타낸 평면도로서, 도 7a는 접촉단자판(22)을 가진 표면측을, 도 7b는 그 반대측 면을 각각 나타낸다.Fig. 7 is a plan view showing a SIM for use in the present invention. Fig. 7A shows a surface side with a contact terminal plate 22 and Fig. 7B shows an opposite side thereof.

도 7a와 같이, SIM(2)은 장변(長邊; L1)이 25mm, 단변(短邊; L2)이 15mm 정도의 기판(21)으로 이루어진 것이다. 두께는 1.0mm 이내로서 통상적으로는 0.76mm의 균일한 박판(薄板)형상의 것이다.As shown in FIG. 7A, the SIM 2 is formed of a substrate 21 having a long side L1 of 25 mm and a short side L2 of about 15 mm. The thickness is less than 1.0 mm, and it is a uniform thin plate shape of 0.76 mm normally.

접촉단자판(22)의 배면기판 중에는, 접촉, 비접촉 듀얼모드의 IC모듈이 장착되어 있다. 사각형모양의 SIM의 한쪽단 모서리 각진 부분에 절결부(23)를 갖도록 한 것은, SIM(2)을 SIM 리더라이터(1)에 장착시킬 때의 위치맞춤을 쉽게 하기 위한 것이다.In the back substrate of the contact terminal board 22, an IC module of a contact or non-contact dual mode is mounted. The notch 23 is provided at one edge corner of the rectangular SIM to facilitate alignment when the SIM 2 is mounted on the SIM reader / writer 1.

도 7b와 같이, SIM(2)의 접촉단자판(22)과는 반대측 면에는, 얼굴사진 가공 (27)이나 네임 프린트(28), 번호 프린트(29)를 설치할 수 있어 소유자의 식별을 쉽게 할 수 있는 동시에, SIM 리더라이터(1)의 아래쪽 케이스부를 투명하게 하는 경우에는 SIM(2)을 장착한 상태에서 이용자를 시각적으로 식별할 수 있게 된다.As shown in FIG. 7B, the face photo processing 27, the name print 28, and the number print 29 can be provided on the side opposite to the contact terminal board 22 of the SIM 2, so that the owner can be easily identified. At the same time, when the lower case part of the SIM reader / writer 1 is made transparent, the user can be visually identified while the SIM 2 is mounted.

SIM(2)은, 멀티 어플리케이션을 탑재할 수 있는 IC카드에 대응하는 것으로 함으로써, 전자머니나 전자티켓, 지문 템플릿, 지문대조엔진, 사원증 등의 복수 어플리케이션을 탑재해서 사용할 수가 있다.The SIM 2 can be used by mounting a plurality of applications such as an electronic money, an electronic ticket, a fingerprint template, a fingerprint control engine, and an employee ID card by supporting an IC card capable of mounting multiple applications.

이상과 같이, 본 발명의 SIM 리더라이터에 대해 설명하였으나, 본 발명은 PC와의 조합에 한정되지 않고 이용할 수 있음은 당업자에게는 자명한 것으로, 퍼스널 컴퓨터와 마찬가지의 기능을 가진 장치, 예컨대 POS 레지스저터 또는 디지털 카메라 등과의 관계에 있어서도 적용할 수 있음은 물론이다.As described above, the SIM reader / writer of the present invention has been described, but the present invention can be used without being limited to a combination with a PC, and it is obvious to those skilled in the art, and a device having a function similar to that of a personal computer such as a POS register or Of course, the present invention can also be applied in relation to digital cameras.

본 발명의 SIM 리더라이터는, USB 인터페이스로서 PC 액세스권한 인증에 사용할 수 있는 외에, ISO14443 비접촉통신기능이나 블루투스통신 등에 의한 근거리간 통신수단을 갖추고 있기 때문에, 전자티켓, 전자머니결제 등 각종 비접촉거래의 용도로 사용할 수가 있다.The SIM reader / writer of the present invention can be used for PC access authority authentication as a USB interface, and has a short range communication means such as ISO14443 non-contact communication function or Bluetooth communication. Can be used for purposes.

또, 지문센서를 갖추고 있으므로, 이용자를 바이오메트릭 데이터에 기초해서 인증할 수 있기 때문에, PC 등의 부정이용을 고도로 방지할 수 있다.In addition, since the fingerprint sensor is provided, the user can be authenticated based on the biometric data, and thus, illegal use of a PC or the like can be highly prevented.

또, SIM의 메모리에 보유하는 정보내용을 액정 디스플레이에 표시할 수 있기 때문에, 정보내용을 퍼스널 컴퓨터나 전용의 단말 디스플레이로 확인하거나 프린터로 출력해서 확인하는 수고를 생략할 수 있게 된다.In addition, since the information contents held in the memory of the SIM can be displayed on the liquid crystal display, it is possible to omit the trouble of checking the information contents on a personal computer or a dedicated terminal display or outputting and confirming the information on a printer.

(제2실시형태)(2nd Embodiment)

다음에는 본 발명의 액정 디스플레이 부착 SIM 리더라이터에 대해 도면을 참조해서 설명한다. 도 8은 본 발명의 액정 디스플레이 부착 SIM 리더라이터의 블럭구성을 나타낸 도면이다. 도 9는 액정 디스플레이 부착 SIM 리더라이터의 외형을 나타낸 도면이고, 도 10∼도 13은 SIM 리더라이터 내의 구성을 나타낸 도면이다.Next, a SIM reader / writer with a liquid crystal display according to the present invention will be described with reference to the drawings. Fig. 8 is a block diagram showing a SIM reader / writer with a liquid crystal display of the present invention. Fig. 9 is a view showing the external appearance of a SIM reader / writer with a liquid crystal display, and Figs. 10 to 13 are views showing the structure of the SIM reader / writer.

도 8에 도시된 바와 같이, 본 발명의 액정 디스플레이 부착 SIM 리더라이터(이하, 「SIM 리더라이터」라 약칭함; 1)는, SIM(2)을 착탈자재로 장착하는 것으로, 이 SIM 리더라이터(1)는 케이스(1a)와, 이 케이스(1a) 내에 설치되어 SIM(2)에 접속되는 리더라이터 단자판(12), 상기 케이스(1a) 내에 설치되어 리더라이터 단자판(12)에 접속된 안테나코일(11a) 및, 상기 케이스(1a) 내에 설치된 제어용 IC칩(3)을 구비하고 있다. 또, 상기 케이스(1a)에 제어용 IC칩(3)에 의해 제어되는 액정 디스플레이(4)가 설치되고, 더욱이 상기 케이스(1a)로부터 USB 컨넥터(20)가 돌출하도록 설치되어 있다. 이 USB 컨넥터(20)는 숫 몰드에 한정되지 않고 암 몰드라도 좋다.As shown in Fig. 8, the SIM reader / writer with a liquid crystal display (hereinafter, abbreviated as " SIM reader / writer ") 1 of the present invention attaches the SIM 2 to a detachable material. 1) is a case 1a, a reader / writer terminal board 12 installed in the case 1a and connected to the SIM 2, and an antenna coil installed in the case 1a and connected to the reader / writer terminal board 12. 11a and the control IC chip 3 provided in the case 1a. In addition, the liquid crystal display 4 controlled by the control IC chip 3 is provided in the case 1a, and the USB connector 20 protrudes further from the case 1a. The USB connector 20 is not limited to the male mold but may be a female mold.

이 중 제어용 IC칩(3)은 CPU와 메모리를 갖춤과 더불어, ISO7816 드라이버(31)와 액정 디스플레이 구동용 액정 드라이버(32) 및 적외선 통신용 적외선 드라이버(33a)를 갖추고 있다. 단, 이들 모두가 일체로 IC칩화되어 있는 것으로는 한정되지 않는다.The control IC chip 3 includes a CPU and a memory, and also includes an ISO7816 driver 31, a liquid crystal driver 32 for driving a liquid crystal display, and an infrared driver 33a for infrared communication. However, all of them are not limited to being integrated with an IC chip.

SIM(2)의 신호는, 리더라이터( R/W) 단자판(12)과 릴레이(8)를 매개로 제어용 IC칩(3)으로 보내진다. 또, USB 컨넥터(20) 및 USB 포트(25)로부터의 신호는, USB/ISO7816 변환 IC(10)와 릴레이(8)을 매개로 제어용 IC칩(3)으로 보내진다.The signal of the SIM 2 is sent to the control IC chip 3 via the reader / writer (R / W) terminal board 12 and the relay 8. The signals from the USB connector 20 and the USB port 25 are sent to the control IC chip 3 via the USB / ISO7816 conversion IC 10 and the relay 8.

리더라이터 단자판(12)은, SIM(2)의 접촉단자판의 8개의 단자와 접속되는 구조를 갖고 있다. 접촉단자의 경우, 예비단자로 되어 있는 C4와 C8단자가, SIM 리더라이터의 케이스(1a) 내의 안테나코일(11)에 접속하도록 되어 있다. 안테나코일(11)은, ISO14443에 준거한 비접촉통신을 행하기 위한 것이다.The reader / writer terminal board 12 has a structure that is connected to eight terminals of the contact terminal board of the SIM 2. In the case of the contact terminal, the C4 and C8 terminals, which are spare terminals, are connected to the antenna coil 11 in the case 1a of the SIM reader / writer. The antenna coil 11 is for conducting contactless communication in accordance with ISO14443.

SIM 리더라이터(1)는, 액정 디스플레이(4)나 제어용 IC칩(3) 등의 구동전원으로서 배터리(2차 전지; 7)를 갖추도록 하는 것이 바람직하다. 배터리(7)는 케이스(1a) 내에 배치됨과 더불어, 배터리(7)로서는 박형의 리튬이온전지를 바람직하게 사용할 수 있다.It is preferable that the SIM reader / writer 1 include a battery (secondary battery) 7 as a driving power source such as the liquid crystal display 4 or the control IC chip 3. The battery 7 is disposed in the case 1a, and a thin lithium ion battery can be preferably used as the battery 7.

또 케이스(1a)에는 스위치 버튼(41, 43)이 설치되어 있다. 이 중 스위치 버튼(41)은 전원의 온·오프를, 스위치 버튼(43)은 표시선택이나 동작결정을 위해 사용된다.In addition, switch buttons 41 and 43 are provided in the case 1a. Among these, the switch button 41 is used to turn on / off the power supply, and the switch button 43 is used for display selection or operation determination.

SIM 리더라이터(1)는, USB 컨넥터(20)가 퍼스널 컴퓨터(PC)의 USB 포트에 삽입되어 있는 경우에는 배터리(7)가 접속되지 않도록 되어 있다. 따라서, 이 경우는, 스위치 버튼(41)을 온하더라도 제어용 IC칩(3)의 CPU는 동작하지 않고 액정 디스플레이(4)도 표시되지 않게 된다.The SIM reader / writer 1 is such that the battery 7 is not connected when the USB connector 20 is inserted into the USB port of a personal computer (PC). In this case, therefore, even if the switch button 41 is turned on, the CPU of the control IC chip 3 does not operate and the liquid crystal display 4 is not displayed.

액정 디스플레이(4)는, PC에 접속되어 있지 않은 경우에 있어서, 스위치 버튼(41)을 온한 경우에만 표시된다.The liquid crystal display 4 is displayed only when the switch button 41 is turned on when it is not connected to a PC.

이 경우(전원버튼을 온했을 때)에는, 릴레이(8)가 제어용 IC칩(3) 내의 CPU와 리더라이터 단자판(12)을 접속하게 된다. USB 컨넥터(20)가 PC의 USB 포트에 삽입되어 있는 USB 구동시에는, 릴레이(8)가 제어용 IC칩(3)의 CPU와 USB 포트(25)를 접속하게 된다.In this case (when the power button is turned on), the relay 8 connects the CPU in the control IC chip 3 with the reader / writer terminal board 12. At the time of USB drive in which the USB connector 20 is inserted into the USB port of the PC, the relay 8 connects the CPU and the USB port 25 of the control IC chip 3.

또, 안테나코일(11)에 의해 ISO14443 통신 중에 전원버튼이 오프되거나 USB 컨넥터(20)가 PC의 USB 포트에 삽입된 경우에는, 하드웨어 리셋이 걸려 SIM(2)이 ATR(answer to reset)을 리턴하게 된다. 즉, 비접촉통신이 강제적으로 중단되도록 되어 있다.In addition, when the power button is turned off during the ISO14443 communication by the antenna coil 11 or the USB connector 20 is inserted into the USB port of the PC, a hardware reset occurs and the SIM 2 returns an answer to reset (ATR). Done. That is, contactless communication is forcibly interrupted.

SIM 리더라이터(1)는 적외선 통신수단(5a)을 갖고 있다. 이 적외선 통신수단(5a)은 제어 IC칩(3)의 적외선 드라이버(33a)에 의해 제어된다. 적외선 수신·발신부(5a)는 적외선 발광부와 수광부 및 필터를 갖고서, 이와 마찬가지의 구성을 갖는 수신·발신부를 가진 외부전자기기와 교신하여 데이터의 송수신을 실행할 수가 있다.The SIM reader / writer 1 has infrared communication means 5a. This infrared communication means 5a is controlled by the infrared driver 33a of the control IC chip 3. The infrared receiver / receiver 5a has an infrared light emitter, a light receiver and a filter, and can communicate with an external electronic device having a receiver / receiver, which has the same configuration, to transmit and receive data.

이 경우, SIM(2)의 정보는 제어용 IC칩(3)에 의해 처리되고, 적외선 수신·발신부(5a)의 발광부에 의해 광전변환되어 외부 전자기기로 송신된다. 다른 한편, 외부 전자기기로부터의 신호는 적외선 수신부(5a)의 수광부가 광전변환하여 제어용 IC칩(3)을 거쳐 SIM(2)로 송신한다.In this case, the information of the SIM 2 is processed by the control IC chip 3, photoelectrically converted by the light emitting section of the infrared receiver / transmitting section 5a, and transmitted to an external electronic device. On the other hand, the signal from the external electronic device is photoelectrically converted by the light receiving unit of the infrared receiver 5a and transmitted to the SIM 2 via the control IC chip 3.

이에 따라, ISO14443 비접촉보다 긴 근거리 간에서의 비접촉통신이 가능하게 된다.This enables contactless communication between short distances longer than ISO14443 contactless.

SIM 리더라이터(1)의 케이스(1a)는 어떠한 외형이라도 상관없으나, 휴대하기 쉬운 형상으로는 도 9와 같이 USB 컨넥터(20)의 삽입방향과 SIM(2)의 삽입방향이 직선모양으로 되어 있는 것이 바람직하다고 생각된다.The case 1a of the SIM reader / writer 1 may have any external shape, but the shape of the SIM reader / writer 1 is easy to carry. As shown in FIG. 9, the insertion direction of the USB connector 20 and the insertion direction of the SIM 2 are linear. It is thought that it is preferable.

도 9a와 같이, SIM 리더라이터(1)는 케이스(1a)의 표면에 액정 디스플레이(4)를 갖고 있다. 케이스(1a)의 좌단부에는 USB 컨넥터(20)가 설치되고, 케이스(1a)의 우단부에는 SIM(2)의 삽입구(15)가 설치되어 있다.As shown in Fig. 9A, the SIM reader / writer 1 has a liquid crystal display 4 on the surface of the case 1a. The USB connector 20 is provided at the left end of the case 1a, and the insertion port 15 of the SIM 2 is provided at the right end of the case 1a.

케이스(1a) 중 삽입구(15) 앞부분에 액정 디스플레이(4)보다 한 계단 낮게 계단부(16)가 형성되어 있다. SIM(2)의 삽입시에, 이 계단부(16)에 SIM(2)을 닿게 하면 SIM(2)의 삽입구(15)로 삽입을 쉽게 할 수 있다. 케이스(1a) 표면 중 액정 디스플레이(4)와 삽입구(15) 사이에 스위치 버튼(41, 43)이 설치되어 있다. 부호 14는 전원용 LED 표시이다.The staircase portion 16 is formed at the front of the insertion hole 15 in the case 1a one step lower than the liquid crystal display 4. When the SIM 2 is inserted, the step portion 16 is brought into contact with the SIM 2 to facilitate insertion into the insertion opening 15 of the SIM 2. The switch buttons 41 and 43 are provided between the liquid crystal display 4 and the insertion opening 15 among the surfaces of the case 1a. Reference numeral 14 denotes an LED for power supply.

SIM 리더라이터(1)를 휴대할 때는, 키부착구멍(17)에 스트랩 등을 통과시키면 SIM(2)의 부주의한 탈락을 방지할 수 있게 된다.When carrying the SIM reader / writer 1, passing a strap or the like through the key attachment hole 17 can prevent inadvertent fall-out of the SIM 2.

액정 디스플레이(4)는, SIM(2)의 IC칩(3)이 보유하는 정보를 스위치버튼(43)의 조작으로 순차로 표시하도록 되어 있다.The liquid crystal display 4 is configured to sequentially display information held by the IC chip 3 of the SIM 2 by the operation of the switch button 43.

표시내용은, SIM(2)이 탑재하는 어플리케이션 소프트웨어에 따라 다른 바, 예컨대 전자머니(2a)의 경우는 잔고, 지불명세 등이고, 전자티켓(2b)의 경우는 이용날짜나 회장, 연주시간, 지정좌석 등의 표시이며, 정기권 용도의 경우는 통용구간이나 통용기간, 사용자 등의 표시로 된다. 이와 같이 SIM(2)은 복수의 어플리케이션을 탑재할 수 있도록 된 것이 바람직하다.The contents of the display vary depending on the application software loaded by the SIM 2, for example, the balance and payment details in the case of the electronic money 2a, and the date, venue, playing time, and designation in the case of the electronic ticket 2b. It is an indication of a seat or the like, and in the case of a commuter pass, it is an indication of a general section, a period of use, a user, and the like. Thus, it is preferable that the SIM 2 be able to mount a plurality of applications.

액정 디스플레이(4)에는, 도트 매트릭스 형식의 반사형 컬러 액정표시를 채용할 수 있고, 도형표시도 가능하다. 액정 디스플레이(4)의 두께는 1.0mm∼1.5mm 정도로 된다. 표시면적은 폭 20∼30mm로부터 길이 50∼70mm 정도의 것으로 할 수 있다.In the liquid crystal display 4, a reflective color liquid crystal display in the form of a dot matrix can be employed, and graphic display is also possible. The thickness of the liquid crystal display 4 is about 1.0 mm to 1.5 mm. The display area can be about 20 to 30 mm in width and 50 to 70 mm in length.

한편, 액정 디스플레이에 한정되지 않고, 유기 EL 등 박형으로 소비전력이 적은 표시장치를 대체해서 이용할 수가 있다.On the other hand, it is not limited to a liquid crystal display, It can replace and use the display apparatus with thin power consumption, such as organic EL, with little power consumption.

도 9b는 도 9a의 A-A선 단면을 나타낸다. 이 경우는, SIM 리더라이터(1)에 SIM(2)이 장착되어 있는 상태를 나타내고 있다. SIM(2)과 액정 디스플레이(4) 사이에는 리더라이터(R/W) 단자판(12)이 있어 SIM(2)의 접촉단자판(22)과의 접촉이 확보된다. 리더라이터 단자판(12)은 액정기판 하부의 전면에 설치하여 배선기판을 겸하도록 해도 좋다.9B is a cross-sectional view along the line A-A in FIG. 9A. In this case, the SIM 2 is attached to the SIM reader / writer 1. A reader / writer (R / W) terminal plate 12 is provided between the SIM 2 and the liquid crystal display 4 to ensure contact with the contact terminal plate 22 of the SIM 2. The reader / writer terminal board 12 may be provided on the entire surface of the lower portion of the liquid crystal substrate to serve as a wiring board.

SIM 리더라이터(1)의 케이스(1a)는, 액정 디스플레이(4)나 리더라이터 단자판(12)을 가진 윗덮개부(18)와 아래쪽 케이스부(19)를 분할해서 성형하고, 배선기판 등을 조립한 후에 조합하여 일체로 형성된다. 도시하지는 않았으나, 안테나코일(11)은 상기 단자판(12)의 주위에 배선하거나, 윗덮개부(18)나 아래쪽 케이스부(19)의 내면에 배선시킬 수가 있다.The case 1a of the SIM reader / writer 1 is formed by dividing the upper cover portion 18 and the lower case portion 19 having the liquid crystal display 4 or the reader / writer terminal plate 12 and forming a wiring board. After assembly, they are integrally formed. Although not shown, the antenna coil 11 may be wired around the terminal plate 12 or wired to the inner surface of the upper cover portion 18 or the lower case portion 19.

SIM 리더라이터(1)의 이면에는 특별한 부품을 설치하지 않기 때문에, 도시하고 있지는 않으나 전원충전을 위한 기구부 등을 설치할 수 있다.Since no special parts are provided on the back of the SIM reader / writer 1, although not shown, a mechanism part for power supply charging or the like can be provided.

또, 아래쪽 케이스부(19)를 투명수지로 성형하면, 뒤에 설명되는 바와 같이 SIM(2)에 설치한 얼굴사진이나 네임 프린트를 투시할 수 있게 된다.If the lower case portion 19 is formed of a transparent resin, the face photograph and name print provided on the SIM 2 can be viewed as described later.

도 10∼도 13은, SIM 리더라이터(1) 내의 구성을 나타낸 도면으로, 액정 디스플레이(4)의 배면에 있어서의 리더라이터 단자판(12)과 안테나코일(11)의 관계를 나타내고 있다.10-13 is a figure which shows the structure in SIM reader / writer 1, and shows the relationship between the reader / writer terminal board 12 and the antenna coil 11 in the back of the liquid crystal display 4. As shown in FIG.

도 10은 SIM 리더라이터(1) 내에서 SIM(2)의 접촉단자판(22)면 측을 나타낸 사시도, 도 11은 SIM 리더라이터(1) 내의 평면도, 도 12는 SIM 리더라이터(1) 내에서 SIM(2)의 접촉단자판(22)과는 반대면 측을 나타낸 사시도, 도 13은 SIM 리더라이터(1) 내의 평면도이다.FIG. 10 is a perspective view showing the contact terminal plate 22 surface side of the SIM 2 in the SIM reader / writer 1, FIG. 11 is a plan view in the SIM reader / writer 1, FIG. A perspective view showing a side opposite to the contact terminal plate 22 of the SIM 2, and FIG. 13 is a plan view in the SIM reader / writer 1.

도 10 및 도 11과 같이, 안테나코일(11)은 케이스(1a)의 윗덮개부(18)의 내주 등에 따르도록 배선되고, 그 말단은 리더라이터 단자판(12)의 C4 및 C8단자에 접속되어 있다. SIM(2)은 도 10의 오른쪽으로부터 삽입되어 리더라이터 단자판(12)의 아래쪽으로 들어가 고정되도록 되어 있다.10 and 11, the antenna coil 11 is wired so as to conform to the inner circumference of the top cover portion 18 of the case 1a, and the terminal thereof is connected to the terminals C4 and C8 of the reader / writer terminal plate 12. have. The SIM 2 is inserted from the right side in FIG. 10 to be fixed to the bottom of the reader / writer terminal board 12.

도 10 및 도 11에 있어서, USB 컨넥터(20)로의 배선은 생략되어 있으나, C5(GND), C1(Vcc), C2(RST), C7(I/O)이 USB/ISO7816 변환 IC(10)로 인도되게 된다.10 and 11, the wiring to the USB connector 20 is omitted, but C5 (GND), C1 (Vcc), C2 (RST), and C7 (I / O) are USB / ISO7816 conversion ICs 10 Led to.

상술한 특허문헌 1에는, USB 기능을 가진 IC칩이 기재되고, USB(D+)가 C4단자를, USB(D-)가 C8단자를 이용하는 예가 기재되어 있으나, 본 발명의 SIM 리더라이터(1)는 USB/ISO7816 변환 IC(10)를 사용하기 때문에 종래기능의 듀얼 IC 모듈을 사용할 수 있다.In Patent Document 1 described above, an IC chip having a USB function is described, and an example in which the USB (D +) uses the C4 terminal and the USB (D-) uses the C8 terminal is described. However, the SIM reader / writer 1 of the present invention is described. Since the USB / ISO7816 conversion IC 10 is used, a dual IC module having a conventional function can be used.

또, 안테나코일(11)의 단자로는 C4와 C8단자를 이용하기 때문에, 8단자 이상의 특설단자판을 가진 단자를 SIM(2)이나 리더라이터에 사용하지 않게 되는 이점이 있다.In addition, since C4 and C8 terminals are used as the terminals of the antenna coil 11, there is an advantage that a terminal having a special terminal plate of 8 or more terminals is not used for the SIM 2 or the reader / writer.

도 12와 같이, 리더라이터 단자판(12)의 배면에는 8개의 컨택트핀(13)이 돌출되어 있어 SIM(2)의 접촉단자판(22)과 접촉하도록 되어 있다.As shown in FIG. 12, eight contact pins 13 protrude from the rear surface of the reader / writer terminal board 12 so as to contact the contact terminal board 22 of the SIM 2.

도 13은 SIM(2)을 SIM 리더라이터(1)에 장착한 후의 상태를 나타낸다. SIM(2)은 단자판(12)의 배면에서 아래쪽 케이스부(19)를 따라 삽입되기 때문에, 아래쪽 케이스(19)가 투명수지라면 SIM(2)의 얼굴사진 가공(27) 등을 눈으로 볼 수 있게 된다.13 shows a state after the SIM 2 is attached to the SIM reader / writer 1. Since the SIM 2 is inserted along the lower case portion 19 from the back of the terminal plate 12, if the lower case 19 is a transparent resin, the face photo processing 27 and the like of the SIM 2 can be visually seen. Will be.

상기와 같이, SIM 리더라이터(1)가 PC에 접속되어 있을 때는, 비접촉통신기능은 차단되지만, 비접속시에는 비접촉 인터페이스를 써서 편의점이나 레스토랑에서의 지불이나 교통기관의 개찰이나 시설의 입퇴실 관리에 이용할 수 있다.As described above, when the SIM reader / writer 1 is connected to a PC, the contactless communication function is cut off, but at the time of non-connection, a contactless interface is used to manage payments at convenience stores and restaurants, ticket gates of transportation agencies, and entrance / exit management of facilities. Can be used for

적외선 통신수단(5a)을 이용한 경우, ISO14443에 의한 비접촉통신보다 긴 거리에서의 통신이 가능하게 된다.When the infrared communication means 5a is used, communication at a longer distance than the contactless communication according to ISO14443 becomes possible.

한편, PC에 SIM 리더라이터(1)를 직접 접속할 수 있어, 주변기기로서 별도의 리더라이터를 필요로 하지 않게 되는 이점이 있다.On the other hand, since the SIM reader / writer 1 can be directly connected to a PC, there is an advantage that a separate reader / writer is not required as a peripheral device.

도 7은 본 발명에 사용하는 SIM을 나타낸 평면도이다. 도 7a는 접촉단자판(22)을 가진 표면측을 나타내고, 도 7b는 그 반대측 면을 나타낸다.7 is a plan view showing a SIM used in the present invention. FIG. 7A shows the surface side with the contact terminal plate 22, and FIG. 7B shows the opposite side.

도 7a와 같이, SIM(2)은 장변(L1)이 25mm, 단변(L2)이 15mm 정도의 기판(21)으로 이루어진 것이다. 두께는 1.0mm 이내로서 통상적으로는 O.76mm의 균일한 박판형상의 것이다.As shown in FIG. 7A, the SIM 2 is formed of a substrate 21 having a long side L1 of about 25 mm and a short side L2 of about 15 mm. The thickness is less than 1.0 mm, and is usually in the form of a uniform thin plate of 0.7 mm.

접촉단자판(22)의 배면기판 중에는, 접촉, 비접촉 듀얼모드의 IC모듈이 장착되어 있다. 사각형모양의 SIM의 한쪽단 모서리 각진 부분에 절결부(23)를 갖도록 한 것은, SIM(2)을 SIM 리더라이터(1)에 장착시킬 때의 위치맞춤을 쉽게 하기 위한 것이다.In the back substrate of the contact terminal board 22, an IC module of a contact or non-contact dual mode is mounted. The notch 23 is provided at one edge corner of the rectangular SIM to facilitate alignment when the SIM 2 is mounted on the SIM reader / writer 1.

도 7b와 같이, SIM(2)의 접촉단자판(22)과는 반대측 면에는, 얼굴사진 가공 (27)이나 네임 프린트(28), 번호 프린트(29)를 설치할 수 있어 소유자의 식별을 쉽게 할 수 있는 동시에, SIM 리더라이터(1)의 아래쪽 케이스부를 투명하게 하는 경우에는 SIM을 장착한 상태에서 이용자를 시각적으로 식별할 수 있게 된다.As shown in FIG. 7B, the face photo processing 27, the name print 28, and the number print 29 can be provided on the side opposite to the contact terminal board 22 of the SIM 2, so that the owner can be easily identified. At the same time, when the lower case part of the SIM reader / writer 1 is made transparent, the user can be visually identified while the SIM is mounted.

SIM(2)은, 멀티 어플리케이션의 탑재가 가능한 IC카드에 대응하는 것으로 함으로써, 전자머니나 전자티켓, 사원증 등의 복수의 어플리케이션을 탑재해서 사용할 수가 있다.The SIM 2 can be used by mounting a plurality of applications such as an electronic money, an electronic ticket, an employee card, etc. by supporting an IC card capable of mounting multiple applications.

이상과 같이, 본 발명의 SIM 리더라이터에 대해 설명하였으나, 본 발명은 PC와의 조합에 한정되지 않고 이용할 수 있음은 당업자에는 자명한 것으로, 퍼스널 컴퓨터와 마찬가지의 기능을 가진 장치, 예컨대 POS 레지스터, 또는 디지털카메라 등과의 관계에 있어서도 적용할 수 있음은 물론이다.As described above, the SIM reader / writer of the present invention has been described, but the present invention can be used without being limited to a combination with a PC, and it is obvious to those skilled in the art, and a device having a function similar to that of a personal computer, such as a POS register, or Of course, the present invention can also be applied in relation to digital cameras.

본 발명의 액정 디스플레이 부착 SIM 리더라이터는, USB 인터페이스로서 PC 액세스권한 인증에 사용할 수 있는 외에, ISO14443 비접촉통신기능을 갖고 있기 때문에, 전자티켓이나 전자머니결제 등의 각종 비접촉거래의 용도로 사용할 수가 있다.The SIM reader / writer with liquid crystal display of the present invention can be used for PC access authority authentication as a USB interface, and has an ISO14443 non-contact communication function, so that it can be used for various non-contact transactions such as electronic tickets and electronic money payment. .

또, SIM의 메모리에 보유하는 정보내용을 액정 디스플레이에 표시할 수가 있기 때문에, 정보내용을 퍼스널 컴퓨터나 전용단말의 디스플레이에서 확인하거나 프린터로 출력해서 확인하는 수고를 생략할 수 있게 된다.In addition, since the information contents held in the SIM memory can be displayed on the liquid crystal display, the trouble of checking the information contents on the display of the personal computer or the dedicated terminal or outputting to the printer can be omitted.

(제3실시형태)(Third Embodiment)

다음에는 본 발명의 UIM 어댑터(SIM 리더라이터)에 대해 도면을 참조해서 설명한다.Next, the UIM adapter (SIM reader / writer) of the present invention will be described with reference to the drawings.

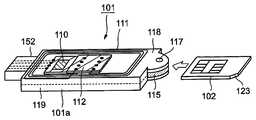
도 14는 본 발명에 따른 UIM 어댑터의 예를 나타낸 블럭 구성도이고, 도 15는 본 발명의 안테나코일의 외형을 나타낸 평면도, 도 16은 도 15의 A-A선 단면도, 도 17은 실시예에서 제조한 UIM 어댑터를 나타낸 외관도, 도 18은 그 회로기판과 안테나코일을 나타낸 도면, 도 19는 종래의 안테나코일의 외형을 나타낸 평면도이다.Figure 14 is a block diagram showing an example of a UIM adapter according to the present invention, Figure 15 is a plan view showing the appearance of the antenna coil of the present invention, Figure 16 is a cross-sectional view taken along line AA of Figure 15, Figure 17 is manufactured in the embodiment 18 is an external view showing a UIM adapter, FIG. 18 is a view showing a circuit board and an antenna coil, and FIG. 19 is a plan view showing an appearance of a conventional antenna coil.

본 발명의 UIM 어댑터(SIM 리더라이터(101))는 UIM(SIM; 102)를 착탈자재로 장착하는 것으로, 이 UIM 어댑터(101)는 케이스(101a)와, 케이스(101a) 내에 설치되어 UIM(102)에 접속되는 단자판(112), 케이스(101a) 내에 설치되어 단자판(112)에 접속된 안테나코일(111) 및, 케이스(101a) 내에 설치된 IC칩(110)을 구비하고 있다. 또, 케이스(101a)의 표면에는 IC칩(110)에 접속된 액정 디스플레이(4; 도 2 참조)가 설치되어 있다.The UIM adapter (SIM reader / writer 101) of the present invention mounts the UIM (SIM) 102 as a detachable material. The UIM adapter 101 is installed in the case 101a and the case 101a, and is provided with a UIM ( A terminal plate 112 connected to 102, an antenna coil 111 provided in the case 101a and connected to the terminal plate 112, and an IC chip 110 provided in the case 101a are provided. In addition, a liquid crystal display 4 (see FIG. 2) connected to the IC chip 110 is provided on the surface of the case 101a.

도 14에 도시된 바와 같이, UIM 어댑터(101)는 상술한 바와 같이 회로기판(114)과, 이 회로기판(114)에 보유된 접촉단자판(112) 및, 상기 회로기판(114)의 주위에 설치된 안테나코일(111)을 구비하고 있다. 도 14의 예에서는, 케이스(101a) 내에는 I/F(인터페이스) 변환 IC칩(110)과 USB 컨넥터(120)가 설치되어 있다.As shown in FIG. 14, the UIM adapter 101 has a circuit board 114, a contact terminal board 112 held by the circuit board 114, and a circumference of the circuit board 114 as described above. The antenna coil 111 provided is provided. In the example of FIG. 14, the I / F (interface) conversion IC chip 110 and the USB connector 120 are provided in the case 101a.

UIM(102)의 C4, C8단자에는 안테나코일(111)과 UIM(102)의 안테나코일(UIM에 안테나코일이 없는 경우는, 안테나코일(11)만)이 접속되고, I/F 변환 IC칩(110)의 ISO7816의 인터페이스(110a)에는 UIM(102)의 C5, C1, C2, C7, C3의 5단자가 접속하도록 되어 있다.The antenna coil 111 and the antenna coil of the UIM 102 (only the antenna coil 11 when the UIM does not have an antenna coil) are connected to the C4 and C8 terminals of the UIM 102, and the I / F conversion IC chip Five terminals of C5, C1, C2, C7, and C3 of the UIM 102 are connected to the interface 110a of the ISO7816 of (110).

I/F 변환 IC칩(110)은, UIM(102)로부터의 신호를 USB 컨넥터(120)에 적합하도록 프로토콜 및 포맷변환을 실행하는 IC칩으로서, ISO7816 인터페이스(110a)와, I/F 변환 프로세서(110b) 및, USB I/F(110c)를 갖추고 있다.The I / F conversion IC chip 110 is an IC chip that performs protocol and format conversion for the signal from the UIM 102 to the USB connector 120. The I / F conversion IC chip 110 includes an ISO7816 interface 110a and an I / F conversion processor. 110b and USB I / F 110c.

I/F 변환 IC칩(110)이나 접촉단자판(112)은 회로기판(114)에 실장(實裝)되어 있다. 단, 본 발명의 UIM 어댑터(101)는 I/F 변환 IC칩(110)이나 USB 컨넥터(120)를 갖추는 것은 필수가 아니고, 접촉단자판(112)을 포함한 회로기판(114)과 안테나코일(111)을 갖추는 것이 요건으로 된다.The I / F conversion IC chip 110 and the contact terminal board 112 are mounted on the circuit board 114. However, the UIM adapter 101 of the present invention is not required to include the I / F conversion IC chip 110 or the USB connector 120, but the circuit board 114 and the antenna coil 111 including the contact terminal board 112 are provided. ) Is required.

도 15는 안테나코일(111)의 평면 외형을 나타낸 것이다. 안테나코일(111)은 예컨대 세경(細徑: 가는 직경)의 동권선 다발로 이루어져, 회로기판(114)이나 접촉단자판(112)의 주위를 수차례 감도록 형성되어 있다. 사각형 모양의 UIM 어댑터(101)의 케이스(101a) 내에 실장하기 위해서는, 권선 다발은 4각형 링모양의 평면으로 형성되는 것이 바람직하지만, UIM 어댑터(101)의 케이스(101a)의 외형이나 내부구조에 맞추어 변형시키는 것은 가능하다.15 shows the planar appearance of the antenna coil 111. The antenna coil 111 is made of, for example, a copper wire bundle having a narrow diameter, and is formed to be wound several times around the circuit board 114 or the contact terminal board 112. In order to be mounted in the case 101a of the rectangular UIM adapter 101, the winding bundle is preferably formed in a quadrangular ring-shaped plane, but the winding bundle is formed on the outer shape or internal structure of the case 101a of the UIM adapter 101. It is possible to modify to fit.

경험적으로 보아, 안테나코일(111)의 동선(銅線)의 굵기(직경)는 0.28∼0.3Omm의 범위에서 좋은 결과가 얻어진다는 것이 확인되어 있고, 권수(卷數)는 8턴 정도로 된다. 본 발명의 UIM 어댑터(101) 정도의 안테나 사이즈라면, 더 이상 권수를 늘리면 공진주파수가 작아져서 통신불가능으로 되게 된다.Experience has shown that a good result can be obtained in the range of 0.28 to 0.3Omm in the thickness of the copper wire of the antenna coil 111, and the number of turns is about 8 turns. If the antenna size is about the size of the UIM adapter 101 of the present invention, increasing the number of turns further decreases the resonant frequency and makes communication impossible.

도 15와 같이, 안테나코일(111)은 회로기판(114)이나 접촉단자판(112)의 평면 외관으로부터 보아, 그 대부분이 회로기판(114)의 영역에 들어가지 않도록 형성되어 있다. 즉 안테나코일(111)의 전주(全周)길이의 대부분은 회로기판(114)과 겹 치는 일은 없다. 바람직하게는, 회로기판(114)이나 접촉단자판(112)의 영역으로부터 입체적으로 보아도(측면으로부터 보아도) 일정한 공간을 가지고 떨어져 있도록 안테나코일(111)을 형성한다.As shown in Fig. 15, the antenna coil 111 is formed such that most of the antenna coil 111 does not enter the area of the circuit board 114 from the planar appearance of the circuit board 114 or the contact terminal board 112. As shown in FIG. That is, most of the entire length of the electric pole of the antenna coil 111 does not overlap with the circuit board 114. Preferably, the antenna coil 111 is formed so as to be spaced apart from the area of the circuit board 114 or the contact terminal board 112 in a three-dimensional view (as seen from the side surface).

도 16과 같이, 안테나코일(111)는 윗덮개부(118)와 아래쪽 케이스부(119)로 이루어진 케이스(101a)의 내부에 있다. 도 16의 예에서는, 회로기판(114)의 하부면에서 아래쪽 케이스부(119) 측에 권선(卷線) 안테나코일(111)이 설치되어 있다. 단, 회로기판(114)으로부터 일정한 공간거리를 두고 안테나코일(111)이 떨어져 있으면 좋은데, 아래쪽에 위치하는 것으로는 한정되지 않는다.As shown in FIG. 16, the antenna coil 111 is inside the case 101a including the upper cover part 118 and the lower case part 119. In the example of FIG. 16, the winding antenna coil 111 is provided in the lower case part 119 side from the lower surface of the circuit board 114. As shown in FIG. However, the antenna coil 111 may be spaced apart from the circuit board 114 at a predetermined clearance distance, but is not limited thereto.

도 15 및 도 16에 있어서, 도시의 형편상 안테나코일(111)이 분산된 권선상태로 되어 있으나, 실제는 수평 또는 수직으로 선(線) 사이를 밀착시켜 감아놓은 것이다. 한편, 피복동선이기 때문에 단락은 일어나지 않는다.In Figs. 15 and 16, the antenna coil 111 is in a distributed winding state for the sake of illustration, but in practice, the antenna coil 111 is wound in a close or horizontal manner between the lines. On the other hand, a short circuit does not occur because it is a covered copper wire.

도 14의 예와 같이, UIM(102)으로부터의 신호를 USB 컨넥터(120)에 접속하는 경우는, 안테나코일(111)이 당해 컨넥터(120) 부분을 통과하기 때문에, 안테나코일(111)의 전주길이가 회로기판(114)이나 USB 컨넥터(120) 부분을 통과하지 않도록 할 수는 없으나, 적어도 안테나코일(111)의 전주길이의 50% 이상의 영역이 당해 회로기판(114)이나 컨넥터(120)로부터 떨어져 있으면 소정의 비접촉통신효과를 갖는다는 것이 확인되어 있다.As shown in the example of FIG. 14, when the signal from the UIM 102 is connected to the USB connector 120, since the antenna coil 111 passes through the connector 120, the pole of the antenna coil 111 is used. It is not possible to prevent the length from passing through the portion of the circuit board 114 or the USB connector 120, but at least 50% of the pole length of the pole length of the antenna coil 111 is separated from the circuit board 114 or the connector 120. It is confirmed that it has a predetermined contactless communication effect when it is separated.

안테나코일(111)과 회로기판(114) 및 접촉단자판(112) 사이의 거리(d1; 도 2 참조)는 0.2mm 정도 있으면 효과를 발생시키지만, 충분한 효과를 갖기 위해서는 0.5mm∼3.0mm 정도 떨어지는 것이 바람직하다. 이 거리(d1)는 3.0mm를 넘더라도 본래는 상관없으나, 통신거리의 그 이상의 확대는 거의 없고, 또 UIM 어댑터(101) 자체의 외형이 커지게 되는 문제가 생긴다. 측면으로부터 본 경우의 안테나코일(111)과 회로기판(114) 및 접촉단자판(112) 사이의 수직거리도 마찬가지로 0.5mm∼3.0mm 정도 떨어져 있다.The distance d1 (see FIG. 2) between the antenna coil 111, the circuit board 114, and the contact terminal board 112 generates an effect if it is about 0.2 mm, but in order to have a sufficient effect, the distance dmm is about 0.5 mm to 3.0 mm. desirable. Although the distance d1 may be inherent even if it exceeds 3.0 mm, there is little problem of further increase in the communication distance, and the appearance of the UIM adapter 101 itself becomes large. Similarly, the vertical distance between the antenna coil 111, the circuit board 114, and the contact terminal board 112 in the case viewed from the side is also about 0.5 mm to 3.0 mm apart.

안테나코일(111)을 회로기판(114)이나 접촉단자판(112)으로부터 떨어지도록 하기 위해서는, 안테나코일(111)을 지지하는 폴(pole)이나 현가하는 부재를 회로기판(114)이나 케이싱의 코너부 등에 설치하는 것이 바람직하다. 이는, 플라스틱재료에 의한 봉상체나 돌기부 등이어도 좋다.In order to separate the antenna coil 111 from the circuit board 114 or the contact terminal board 112, a pole or a suspended member supporting the antenna coil 111 may be formed at a corner of the circuit board 114 or the casing. It is preferable to install on a back. This may be a rod-like body, a protrusion or the like made of a plastic material.

회로기판(114)이나 접촉단자판(112)이 순수하게 유전체인 플라스틱재료만이라면, 안테나코일(111)이 회로기판(114)이나 접촉단자판(112)으로부터의 영향을 받는 이유는 명확하지 않지만, 이러한 효과를 발생시키는 것은 회로기판(114)이나 접촉단자판(112)에 함유된 배선재료나 금속부품 등의 영향으로 안테나코일(111)이 받는 전자파의 차단을 최소로 할 수 있기 때문이라고 풀이된다.If the circuit board 114 or the contact terminal board 112 is purely a dielectric material, the reason why the antenna coil 111 is affected from the circuit board 114 or the contact terminal board 112 is not clear. The effect can be attributed to the fact that the electromagnetic coil 111 can minimize the blocking of electromagnetic waves under the influence of the wiring material and metal parts contained in the circuit board 114 and the contact terminal board 112.

뒤에 설명되는 실시예에 있어서는, 이와 같이 회로기판이나 접촉단자판으로부터 일정한 거리를 확보함으로써, 통신거리가 현저히 확대되는 것이 확인되고 있다.In the embodiments described later, it is confirmed that the communication distance is remarkably enlarged by securing a constant distance from the circuit board and the contact terminal board in this way.

도 14의 예에 있어서는, 접촉단자판(112)의 C5(GND), C1(Vcc), C2(RST), C7(I/0), C3(CLK)가 USB/ISO7816 변환 IC칩(110)으로 인도되고, IC칩(110)으로부터 USB 컨넥터(120)로는 GND, Vcc, D+, D-에 의해 접속되어 있다.In the example of FIG. 14, C5 (GND), C1 (Vcc), C2 (RST), C7 (I / 0), and C3 (CLK) of the contact terminal board 112 are connected to the USB / ISO7816 conversion IC chip 110. It is delivered and connected from the IC chip 110 to the USB connector 120 by GND, Vcc, D +, and D-.

종래의 UIM 어댑터는, USB 기능을 가진 IC칩을 갖고, USB(D+)가 C4단자를, USB(D-)가 C8단자를 이용하고 있다. 도 14에 예시된 UIM 어댑터(101)는, USB/ISO7816 변환 IC칩(110)을 사용하기 때문에, 종래기능의 듀얼 IC모듈을 사용할 수 있다.The conventional UIM adapter has an IC chip having a USB function, and USB (D +) uses the C4 terminal, and USB (D-) uses the C8 terminal. Since the UIM adapter 101 illustrated in FIG. 14 uses the USB / ISO7816 conversion IC chip 110, a dual IC module having a conventional function can be used.

또, 본 발명에 의하면, 안테나코일(111)의 단자로 C4와 C8단자를 이용하기 때문에, 8단자 이상의 특설단자판을 가진 UIM(2)를 사용할 필요는 없다.In addition, according to the present invention, since the terminals C4 and C8 are used as the terminals of the antenna coil 111, it is not necessary to use the UIM 2 having the special terminal plate of 8 terminals or more.

USB 컨넥터(120)가 PC에 접속되어 있을 때는, 비접촉통신기능은 차단되지만, 비접속시에는 비접촉 인터페이스를 사용해서 편의점이나 레스토랑에서의 지불이나 교통기관의 개찰이나 시설의 입퇴실 관리에 이용할 수가 있다.When the USB connector 120 is connected to a PC, the contactless communication function is cut off. However, when the USB connector 120 is disconnected, the contactless interface can be used for payment at convenience stores and restaurants, ticket gates of transportation agencies, and entrance management of facilities. .

본 발명에 사용되는 UIM(102)은 ISO7816-2, ISO7816-3으로 규정하는 접촉, ISO14443으로 규정하는 비접촉 인터페이스를 갖고 있다. UIM(102)의 접촉단자판 배면에는, 접촉·비접촉 듀얼모드의 IC모듈이 장착되어 있다. UIM(102)의 형상은, GSM(Gloval System for Mobile communication) 및 3GPP(3rd Generation Partnership Project)로 규정되는 것으로, 장변이 25mm, 단변이 15mm의 기판으로 이루어진 것이다. 두께는 O.76mm의 균일한 박판형상의 것이다.The UIM 102 used for this invention has the contact prescribed | regulated by ISO7816-2 and ISO7816-3, and the contactless interface prescribed | regulated by ISO14443. On the back of the contact terminal board of the UIM 102, an IC module of a contact / non-contact dual mode is mounted. The shape of the UIM 102 is defined by Global System for Mobile Communication (GSM) and 3rd Generation Partnership Project (3GPP), and is made of a substrate having a long side of 25 mm and a short side of 15 mm. The thickness is a uniform thin plate of 0.76 mm.

실시예 1Example 1

도 17에 도시된 바와 같은 UIM 어댑터로, 도 18의 회로기판과 안테나 구조의 UIM 어댑터(1)을 제조하였다.The UIM adapter 1 of the circuit board and antenna structure of FIG. 18 was manufactured using the UIM adapter as shown in FIG. 17.

도 17a는 UIM 어댑터의 상면도, 도 17b는 UIM 어댑터의 배면도, 도 17c는 도 17a의 A-A선 단면도이다. 도 18은 회로기판과 안테나코일을 나타낸 평면도이다.17A is a top view of the UIM adapter, FIG. 17B is a rear view of the UIM adapter, and FIG. 17C is a cross-sectional view taken along the line A-A of FIG. 17A. 18 is a plan view illustrating a circuit board and an antenna coil.

한편, UIM 어댑터(101)의 어느 면 측을 상부면으로 해도 상관없으나, 도 17 에서는 UIM(102)의 얼굴사진(121)이 보이는 측을 상부면으로 하고 있다.On the other hand, although any surface side of the UIM adapter 101 may be used as the upper surface, the side where the face photograph 121 of the UIM 102 is visible is shown as the upper surface in FIG.

도 17에 도시된 UIM 어댑터(101)의 케이스(101a)는, 폴리카보네이트수지를 사출성형한 윗덮개부(118)와 아래쪽 케이스부(119)로 이루어지고, 그 아래쪽 케이스부(119)가 형성하는 공간 내부에 접촉단자판(112)이나 회로기판(114), 안테나코일(111)이 내장되어 있다. 단, 윗덮개부(118)의 UIM 삽입구(115) 측과, UIM(102)의 정지단부(停止端部)까지는 두께를 얇게 성형하여 UIM(102)를 삽입해서 고정할 수 있도록 하였다. 또, UIM(102)의 정지위치에서는 UIM(102) 부분을 투명하게 해서 UIM(102)의 얼굴사진이 투시될 수 있도록 하였으나, 그 밖의 부분은 반투명 상태로 되도록 하였다. 윗덮개부(118)에는 UIM 취출 슬라이드(116)나 키부착구멍(117)도 설치되어 있다.The case 101a of the UIM adapter 101 shown in FIG. 17 includes a top cover portion 118 and a lower case portion 119 formed by injection molding polycarbonate resin, and a lower case portion 119 is formed. The contact terminal board 112, the circuit board 114, and the antenna coil 111 are built in the space. However, the thickness of the upper lid portion 118 to the UIM insertion port 115 side and the stop end portion of the UIM 102 was molded thin so that the UIM 102 could be inserted and fixed. In the stationary position of the UIM 102, the UIM 102 portion is made transparent so that the face photograph of the UIM 102 can be viewed, but the other portions are made to be translucent. The upper cover 118 is also provided with a UIM take-out slide 116 and a key attachment hole 117.

케이스(101a)에 USB 컨넥터(120)의 삽입방향과 UIM(102)의 삽입방향이 직선모양으로 되도록 USB 컨넥터(120)와 UIM 삽입구(115)가 설치되고, 우단의 UIM 삽입구(115)로부터 삽입된 UIM(102)가 접촉단자판(112)의 상부면 측으로 들어가 고정되도록 되어 있다.The USB connector 120 and the UIM insertion hole 115 are installed in the case 101a so that the insertion direction of the USB connector 120 and the insertion direction of the UIM 102 are straight, and are inserted from the UIM insertion hole 115 at the right end. The UIM 102 enters the upper surface side of the contact terminal plate 112 and is fixed.

USB 컨넥터(120)의 돌출부를 포함하지 않는 케이스(101a)의 성형부 전장은 55mm, 폭은 21mm, 중앙부 두께는 11mm로 되었다. USB 컨넥터(120)의 돌출길이는 12mm이다.The overall length of the molded part of the case 101a, which does not include the protrusion of the USB connector 120, was 55 mm, the width was 21 mm, and the center part thickness was 11 mm. The protruding length of the USB connector 120 is 12 mm.

도 17a∼도 17c와 같이, UIM 어댑터(101)는 회로기판(114)의 상부면 측에 접촉단자판(112)를 갖고, 더욱이 배면 측에는 안테나코일(111)과 USB/ISO7816 변환 IC칩(110)을 갖고 있다. 접촉단자판(112)은 두께 2.6mm로 된 ABS 수지제의 것으로 하고, UIM(102)의 접촉단자판의 8단자와 접촉하는 8개의 금도금한 컨택트핀(113; 도 18 참조)을 갖고 있다. 각 컨택트핀(113)과 I/F 변환 IC칩(110) 또는 안테나코일(111) 사이에는 필요한 배선이 되어 있다.As shown in Figs. 17A to 17C, the UIM adapter 101 has a contact terminal 112 on the upper surface side of the circuit board 114, and furthermore an antenna coil 111 and a USB / ISO7816 conversion IC chip 110 on the rear side. Have The contact terminal plate 112 is made of ABS resin having a thickness of 2.6 mm, and has eight gold-plated contact pins 113 (see Fig. 18) in contact with the eight terminals of the contact terminal plate of the UIM 102. Necessary wiring is provided between each contact pin 113 and the I / F conversion IC chip 110 or the antenna coil 111.

도 18과 같이, 회로기판(114)의 주위에는 사각형 링모양으로 감은 안테나코일(111)을 배치하되, 그 양단을 접촉단자판(112)의 C4, C8단자에 접속하고, 당해 단자를 매개로 UIM(102)에 접속할 수 있도록 하였다.As shown in FIG. 18, an antenna coil 111 wound around a circuit board 114 is disposed in a rectangular ring shape, and both ends thereof are connected to terminals C4 and C8 of the contact terminal board 112, and the UIM is connected to the terminal through the terminal. (102) can be connected.

안테나선으로는 직경 O.3mm의 피복동선을 이용하고, 8회 감겨지도록 해서 그 외형이 대략 38mm×16mm인 4각형 링모양 평면으로 되도록 하였다.As the antenna wire, a sheathed copper wire having a diameter of 0.3 mm was used, and the wire was wound eight times so as to have a quadrangular ring-shaped plane with an outline of approximately 38 mm x 16 mm.

회로기판(114)에는, 두께 O.8mm의 에폭시수지제 기판을 이용하고, 그 외형을 도 18과 같이 4모서리가 돌출한 실패형상으로 되도록 하였다. 당해 4모서리에 대면하는 부분의 아래쪽 케이스부(119)에는, 높이 2.5mm, 직경 1.0mm의 폴리카보네이트수지로 이루어진 폴(111P)을 세워 당해 4개의 폴부분에서 권선의 방향이 90°굴곡하도록 해서, 폴(111P)의 주위에 동선이 감겨지도록 하였다.As the circuit board 114, a substrate made of epoxy resin having a thickness of 0.8 mm was used, and its outer shape was made to have a failure shape in which four corners protruded as shown in FIG. A pole 111P made of a polycarbonate resin having a height of 2.5 mm and a diameter of 1.0 mm is placed on the lower case portion 119 of the portion facing the four corners so that the winding direction is bent by 90 degrees at the four pole portions. The copper wire was wound around the pole 111P.

한편, 회로기판(114)의 협폭부(L1)는 11mm, 2개의 폴의 외면간 거리(L2)는 14mm, 2개의 폴의 외면간 거리(L3)는 37mm, 회로기판(114)의 협폭으로 되어 있는 부분의 길이(L4)는 25mm로 되도록 하였다.On the other hand, the narrow portion L1 of the circuit board 114 is 11 mm, the distance L2 between the outer surfaces of the two poles is 14 mm, the distance L3 between the outer surfaces of the two poles is 37 mm and the narrow width of the circuit board 114. The length L4 of the part to be made was set to 25 mm.

따라서, 회로기판(114)과 안테나코일(111)의 권선다발 사이에는, 계산상 1.5mm의 간격(d2)이 비는 것으로 되어, 안테나코일(111)의 전주길이 중 회로기판(114)과 겹치지 않는 부분은 전체의 50% 이상으로 된다.Therefore, a gap d2 of 1.5 mm is calculated between the circuit board 114 and the winding bundle of the antenna coil 111 so that it does not overlap with the circuit board 114 among the pole lengths of the antenna coil 111. The part which does not become more than 50% of the whole.

회로기판(114) 자체의 길이는 35mm로 되도록 하고, 회로기판(114)의 한쪽 단 부 측에는 USB 컨넥터(120)를 접속하였다. USB 컨넥터(120) 측과 UIM(102)의 삽입구(115) 측은 회로기판(114)의 길이를 부분적으로 협폭으로 하는 가공을 하지 않았다. 단, 안테나코일(111)은 회로기판에 접근하고 있으나, 그 바깥쪽을 통과하도록 하였다.The length of the circuit board 114 itself was set to 35 mm, and the USB connector 120 was connected to one end side of the circuit board 114. The USB connector 120 side and the insertion port 115 side of the UIM 102 were not processed to partially narrow the length of the circuit board 114. However, the antenna coil 111 is approaching the circuit board, but passed through the outside thereof.

UIM(102)에는 접촉형·비접촉형 겸용의 IC모듈을 장착하였으나, UIM(102) 자체에는 안테나코일을 형성하지 않았다. UIM(102)의 접촉형·비접촉형 겸용 IC모듈에는, 특성이 다른 IC칩(A)에 의한 모듈과, IC칩(B)에 의한 모듈을 장착하였다.The UIM 102 was equipped with an IC module of both contact and non-contact types, but the antenna coil was not formed on the UIM 102 itself. In the contact-type and non-contact type IC module of the UIM 102, a module by an IC chip A having different characteristics and a module by an IC chip B were mounted.

한편, IC칩(A)과 IC칩(B)이라 함은, IC칩의 제조 메이커가 다른 외에, 각종의 전기적 특성도 다른 것이다. 구체적으로는, C4∼C8 사이의 용량이나 리더라이터에 필요한 전력에도 차이가 있는 것이다 On the other hand, the IC chip A and the IC chip B are not only different manufacturers of IC chips but also various electrical characteristics. Specifically, there is a difference in the capacity between C4 and C8 and the power required for the reader / writer.

실시예Example 2 2

회로기판(114) 이외의 조건을 실시예 1과 동일하게 하고서, 실시예 2를 이하의 회로기판의 조건 하에서 실행하였다.The conditions other than the circuit board 114 were made the same as Example 1, and Example 2 was performed on condition of the following circuit boards.

회로기판(114)의 두께 및 재질은 실시예 1과 동일한 조건으로 하고, 폴(111P)의 형성이나 피복동선의 굵기나 권회수(턴수)의 조건도 동일하게 하였다.The thickness and the material of the circuit board 114 were the same as in Example 1, and the conditions of the formation of the pole 111P, the thickness of the coated copper wire, and the number of turns (turns) were also the same.

회로기판(114)의 협폭부(L1)는 13mm, 2개 폴의 외면간 거리(L2)는 14mm, 2개 폴의 외면간 거리(L3)는 37mm, 회로기판(114)의 협폭으로 되어 있는 부분의 길이(L4)는 25mm로 되도록 하였다.The narrow portion L1 of the circuit board 114 is 13 mm, the distance L2 between the outer surfaces of the two poles is 14 mm, the distance L3 between the outer surfaces of the two poles is 37 mm, and the narrow width of the circuit board 114. The length L4 of the part was made to be 25 mm.

따라서, 회로기판(114)과 안테나코일(111)의 권선다발 사이에는, 계산상 O.5mm의 간격(d2)이 비는 것으로 되어, 안테나코일(111)의 전장 중 회로기판(114) 과 겹치지 않는 부분은 전체의 50% 이상으로 된다.Therefore, a gap d2 of 0.5 mm is calculated between the circuit board 114 and the winding bundle of the antenna coil 111 so as not to overlap the circuit board 114 in the overall length of the antenna coil 111. The part which does not become more than 50% of the whole.

UIM(102)에는, 접촉형·비접촉형 겸용의 IC모듈을 장착하였으나, UIM(102) 자체에는 안테나코일을 형성하지 않았다. UIM(102)의 접촉형·비접촉형 겸용 IC모듈에는 실시예 1과 동일하게 해서 특성이 다른 IC칩(A)에 의한 모듈와 IC칩(B)에 의한 모듈을 장착하였다.The UIM 102 was equipped with a contact / non-contact IC module, but the antenna coil was not formed in the UIM 102 itself. In the contact type and non-contact type combined IC module of the UIM 102, a module by the IC chip A and a module by the IC chip B having different characteristics were mounted in the same manner as in the first embodiment.

(비교예)(Comparative Example)

실시예와 동일한 조건으로 동일 구조에, UIM 어댑터(101)의 케이스(101a)의 윗덮개부(118)와 아래쪽 케이스부(119)를 수지성형하였다. 회로기판(114)과 접촉단자판(112)도 마찬가지로 했지만, 회로기판(114)의 형상은 14mm×35mm의 사각형모양으로 하고, 그 4모서리에 대면하는 부분의 아래쪽 케이스부(119)에는 높이 1.5mm, 직경 1.0mm의 폴리카보네이트수지로 된 폴을 세워 당해 4개의 폴부분에서 권선의 방향이 90°굴곡하도록 해서, 폴의 주위에 동선이 감겨지도록 하였다. 권선에는 직경 O.3mm의 피복동선을 8회 감도록 해서 안테나코일(111)을 형성하였다. 그 결과, 안테나코일(111)의 외주는, 회로기판(114)의 외주선과 거의 일치하는 위치로 되었다.The upper lid part 118 and the lower case part 119 of the case 101a of the UIM adapter 101 were resin-molded on the same structure as the Example. Although the circuit board 114 and the contact terminal board 112 were similarly formed, the shape of the circuit board 114 was 14 mm x 35 mm square shape, and the height of 1.5 mm was provided in the lower case part 119 of the part facing the four edges. The poles made of polycarbonate resin having a diameter of 1.0 mm were erected so that the winding direction was bent by 90 degrees in the four pole portions so that the copper wire was wound around the poles. An antenna coil 111 was formed on the winding by winding a coated copper wire having a diameter of 0.3 mm eight times. As a result, the outer circumference of the antenna coil 111 became a position substantially coincident with the outer circumferential line of the circuit board 114.

한편, 비교예의 UIM(102)에도, 실시예 1 및 실시예 2와 동일하게 해서, IC칩(A)과 IC칩(B)의 2종류의 IC칩을 장착한 UIM를 사용해서 시험을 하였다(도 19 및 도 20).On the other hand, the UIM 102 of the comparative example was also tested in the same manner as in Example 1 and Example 2 using a UIM equipped with two types of IC chips, an IC chip A and an IC chip B. 19 and 20).

표 1은 각 실시예와 비교예의 비접촉통신거리를 비교한 표이고, 표 2는 실시예의 향상율을 나타낸 표이다. 표 1의 수치는 비접촉형 리더라이터(덴소웨이브 가 부시키가이샤 제품인 「PR-100PK」)를 써서, UIM 어댑터(101)가 교신하는 한계로 되는 리더라이터 표면으로부터의 거리를 측정한 것이다.Table 1 is a table comparing the contactless communication distances of the Examples and Comparative Examples, Table 2 is a table showing the improvement rate of the Examples. The numerical value of Table 1 measured the distance from the reader / writer surface which becomes the limit which the UIM adapter 101 communicates using the non-contact reader / writer ("PR-100PK" by Denso Wave Co., Ltd.).

표 1과 같이, IC칩(A)도 IC칩(B)도, 실시예는 비교예보다 통신거리가 크게 되어 있다.As shown in Table 1, both the IC chip A and the IC chip B have a larger communication distance than the comparative example.

또, 표 2와 같이, 실시예 1에 있어서 IC칩(A)을 이용한 경우는, 종래형의 비교예에 비해, 본 발명의 UIM 어댑터(101)는 약 70% 통신거리가 확대되었고, IC칩(B)을 이용한 경우는 약 43% 통신거리가 확대되었음이 확인되었다.In addition, as shown in Table 2, when the IC chip A is used in Example 1, the communication distance of the UIM adapter 101 of the present invention is increased by about 70% compared to the conventional comparative example, and the IC chip In the case of using (B), it was confirmed that the communication distance was extended by about 43%.

실시예 2의 경우에 있어도, IC칩(A)을 이용한 경우는, 종래형의 비교예에 비해, 본 발명의 UIM 어댑터(101)는 약 41% 통신거리가 확대되었고, IC칩(B)을 이용한 경우는 약 21% 통신거리가 확대되었음이 확인되었다.Even in the case of Example 2, when the IC chip A was used, the UIM adapter 101 of the present invention had an enlarged communication distance of about 41% compared to the conventional comparative example, and the IC chip B was extended. In the case of the use, the communication distance was increased by about 21%.

한편, 향상율(%)의 산출은,On the other hand, the calculation of the improvement rate (%) is

[(실시예의 통신거리 - 비교예의 통신거리) / 비교예의 통신거리]×100[(Communication distance of embodiment-Communication distance of comparative example) / Communication distance of comparative example] × 100

에 의한 것이다.It is by.

실시예 1 Example 1 실시예 2Example 2 비교예Comparative example IC칩(A)IC chip (A) 29mm29 mm 24mm24 mm 17mm17 mm IC칩(B)IC chip (B) 33mm33 mm 28mm28 mm 23mm 23 mm

실시예 1 Example 1 실시예 2Example 2 IC칩(A)IC chip (A) 70%70% 41%41% IC칩(B)IC chip (B) 43%43% 21%21%

본 발명의 UIM 어댑터는, ISO14443 비접촉통신기능을 갖추고, 안정된 충분한 통신거리를 갖기 때문에, 전자티켓, 전자머니결제 등의 각종 비접촉통신거래 용도로 사용할 수가 있다.Since the UIM adapter of the present invention has an ISO14443 non-contact communication function and a stable sufficient communication distance, it can be used for various non-contact communication transactions such as electronic tickets and electronic money payment.

본 발명의 UIM 어댑터는, 안테나코일이 회로기판의 외주로부터 공간을 갖는 위치를 주회하도록 되어 있기 때문에, 전자파가 회로기판에 의해 차단되지 않아 통신거리를 크게 할 수 있게 된다.In the UIM adapter of the present invention, since the antenna coil is wound around a position having a space from the outer periphery of the circuit board, electromagnetic waves are not blocked by the circuit board, thereby increasing the communication distance.

(제4실시형태)(4th Embodiment)

다음에는 본 발명의 제4실시형태를 도면을 참조해서 설명하기로 한다.Next, a fourth embodiment of the present invention will be described with reference to the drawings.

도 21은 휴대가능한 비접촉통신 디바이스의 예로서 휴대전화를 나타낸 도면이고, 도 22는 비접촉통신 디바이스의 다른 예를 나타낸 도면으로서 둘로 접히는 휴대전화를 나타낸 도면, 도 23은 도 22의 비접촉통신 디바이스를 둘로 접은 상태를 나타낸 도면, 도 24는 비접촉통신 디바이스의 다른 예를 나타낸 도면으로서 SIM 리더라이터를 나타낸 도면, 도 25는 도 21의 비접촉통신 디바이스의 표시기능면과는 반대측 면을 나타낸 도면, 도 26은 도 24의 비접촉통신 디바이스의 표시기능면과는 반대측 면을 나타낸 도면, 도 27은 SIM의 형상을 나타낸 도면, 도 28은 개찰 게이트에서 비접촉통신 디바이스를 사용하는 상황을 나타낸 도면이다.21 is a view showing a mobile phone as an example of a portable contactless communication device, and FIG. 22 is a view showing another example of a contactless communication device, showing a cellular phone folded in two, and FIG. 23 is a view of the contactless communication device of FIG. FIG. 24 is a view showing a folded state, and FIG. 24 is a view showing another example of a non-contact communication device, showing a SIM reader / writer, FIG. 25 is a view opposite to the display function surface of the non-contact communication device of FIG. 21, and FIG. FIG. 24 is a view showing a surface opposite to the display function surface of the non-contact communication device of FIG. 24, FIG. 27 is a view showing the shape of a SIM, and FIG. 28 is a view showing a situation of using a non-contact communication device at an open gate.

본 발명의 휴대가능한 비접촉통신 디바이스의 예는, 도 21과 같이 통상의 휴대전화기의 형상을 하고 있다. 비접촉통신 디바이스(201A)에는, 접촉, 비접촉 양용 SIM(202)을 착탈자재로 장착할 수 있다. 이 비접촉통신 디바이스(201A)는 케이스(함체; 213)와, 이 케이스(213) 내에 배치된 안테나코일(211)을 갖추되, SIM(202)은 케이스(213) 내에 삽입되어 상기 안테나코일(211)에 접속된다.An example of the portable non-contact communication device of the present invention is in the shape of a normal cellular phone as shown in FIG. The contactless and non-contact two-way SIM 202 can be attached to or detached from the non-contact communication device 201A. The non-contact communication device 201A has a case (enclosure) 213 and an antenna coil 211 disposed in the case 213, and the SIM 202 is inserted into the case 213 to insert the antenna coil 211. ) Is connected.

비접촉통신 디바이스(201A)의 함체(函體; 213)의 한쪽 면은 표시기능면(204)를 갖되, 이 표시기능면(204)은 컬러 등의 액정 디스플레이면으로 되어 있다. 표시기능면(204)과 동일 평면에는 키패드나 동작선택버튼 등이 배열되어 있어, 전원의 온·오프, 표시선택이나 동작결정 또는 문자입력 등이 가능하게 되어 있다. 이들은 통상의 휴대전화기의 기능과 마찬가지의 것이다.One side of the enclosure 213 of the non-contact communication device 201A has a display function surface 204, which is a liquid crystal display surface such as color. A keypad, an operation selection button, and the like are arranged on the same plane as the display function surface 204, so that power on / off, display selection, operation determination, character input, or the like can be performed. These are the same as the functions of a normal cell phone.

안테나코일(211)은, 도 21과 같이 비접촉통신 디바이스의 함체(213)의 내부 주위에 배선되거나, SIM(202)의 장착부 주위에 배선될 수가 있다. 안테나코일 (211)의 말단은 SIM(202)의 비접촉통신 단자(A1, A2)에 접속되어 있다. SIM(202)의 비접촉통신 단자와의 접속은, SIM(202)의 접촉단자판(202t)의 RFU단자인 C4, C8단자에 접속하도록 해도 좋다. 당해 안테나코일(211)에 의해, 휴대전화의 통상의 무선통신과는 다른 대역(13.56MHz)에 의한 근접 비접촉통신을 하게 된다.The antenna coil 211 can be wired around the inside of the enclosure 213 of the non-contact communication device as shown in FIG. 21 or can be wired around the mounting portion of the SIM 202. The terminal of the antenna coil 211 is connected to the non-contact communication terminals A1 and A2 of the SIM 202. The connection with the non-contact communication terminal of the SIM 202 may be connected to the C4 and C8 terminals, which are RFU terminals of the contact terminal plate 202t of the SIM 202. The antenna coil 211 allows close contactless communication in a band (13.56 MHz) different from the normal wireless communication of the cellular phone.

이 비접촉통신에 의해, 운임정산이나 거래결제처리를 실시하는 것이다. 청산액이나 결제액에 기초해서, SIM(2) 내의 제어용 IC칩이 메모리의 기록내용을 변경하도록 되어 있다.By this non-contact communication, freight settlement and transaction settlement processing are performed. Based on the amount of liquidation and the amount of settlement, the control IC chip in the SIM 2 changes the contents of recording in the memory.

함체(213)에는 로드 안테나(216)가 설치되는데, 이 로드 안테나(216)는 무선전화에 사용되는 안테나로서, 통상의 휴대전화기가 구비하는 것이기 때문에, SIM(2)의 비접촉통신에는 사용되지 않는다.A rod antenna 216 is provided in the enclosure 213. The rod antenna 216 is an antenna used for a wireless telephone and is used for a non-contact communication of the SIM 2 because it is provided with a normal cellular phone. .

비접촉통신 디바이스(201A)의 함체(213)는, 표시기능부(204)와 키패드부 사이에서 표시기능면(204)을 내면으로 해서 둘로 접힐 수 있도록 되어 있어도 좋다.The enclosure 213 of the non-contact communication device 201A may be folded between the display function section 204 and the keypad section with the display function surface 204 as the inner surface.

도 22는 비접촉통신 디바이스의 다른 예를 나타낸 도면으로서, 둘로 접히는 폴더형 휴대전화의 것을 나타내고 있다. 이 예에서는, 둘로 접힌 휴대전화기의 키패드나 동작선택버튼 등이 배열된 쪽의 함체(213) 내에 안테나코일(111)이 설치된다. 안테나코일(111)의 말단은, 마찬가지로 SIM(202)의 비접촉통신 단자(A1, A2)에 접속해서 사용할 수가 있다.Fig. 22 is a diagram showing another example of the contactless communication device, showing a folding cellular phone folded in two. In this example, the antenna coil 111 is provided in the housing 213 on the side where the keypad, operation selection button, etc. of the cellular phone folded in two are arranged. The terminal of the antenna coil 111 can be connected to the contactless communication terminals A1 and A2 of the SIM 202 in a similar manner.

비접촉통신 디바이스(201B)에는 접촉, 비접촉 양용 SIM(202)이 착탈가능하게 장착될 수 있고, 비접촉통신 디바이스(201B)는 함체(213)와, 이 함체(213) 내에 설치된 안테나코일(211)을 갖되, SIM(202)은 이 안테나코일(211)에 접속되어 있다.The contactless and noncontact contact SIM 202 can be detachably mounted to the contactless communication device 201B, and the contactless communication device 201B includes an enclosure 213 and an antenna coil 211 provided in the enclosure 213. The SIM 202 is connected to the antenna coil 211.

도 23은 둘로 접히는 폴더형 비접촉통신 디바이스(201B)를 절첩한 상태(접은 상태)의 예를 나타내고 있다.Fig. 23 shows an example of the folded state (folded state) of the folding contactless communication device 201B folded in two.

둘로 접히는 폴더형 휴대전화에서는, 2개의 표시기능면을 가진 경우가 있는데, 그 경우에는 통상적으로 키패드나 동작선택버튼 등이 배열되어 있는 면을 내면으로 해서 절첩되고, 그 안쪽에 사이즈가 큰 주표시기능면(204a)을 설치하고, 절첩했을 때에 외면으로 되어 주표시기능면(204a)의 반대 측으로 되는 면에 보다 작은 사이즈의 보조표시기능면(204b)을 설치하는 일이 많다. 함체(213)에 카메라용 렌즈(206)를 설치하는 경우도, 보조표시기능면(204b)이 있는 측에 렌즈(206)를 설치하게 된다.In a folding cellular phone which is folded in two, two display functions may be provided. In this case, a keypad or an operation selection button or the like is usually folded on the inside, and a large main display is shown therein. The functional surface 204a is provided, and a smaller size of the auxiliary display functional surface 204b is often provided on the surface that becomes the outer surface when folded and is opposite to the main display functional surface 204a. Even when the camera lens 206 is provided in the housing 213, the lens 206 is provided on the side where the sub display function surface 204b is located.

그 밖의 기능은, 도 21의 비접촉통신 디바이스(201A)와 마찬가지로, 통상의 휴대전화기의 기능과 마찬가지의 것이다.The other functions are the same as those of the normal cellular phone, similarly to the non-contact communication device 201A of FIG. 21.

도 24는 비접촉통신 디바이스의 다른 예를 나타낸 도면으로서, 도 24a는 그 상면 사시도이고, 도 24b는 도 24a의 A-A선 단면도, 도 24c는 SIM(202)을 장착한 상태의 투시도이다.Fig. 24 is a diagram showing another example of the non-contact communication device, Fig. 24A is a top perspective view thereof, Fig. 24B is a sectional view taken along the line A-A of Fig. 24A, and Fig. 24C is a perspective view with the SIM 202 mounted.

본 발명의 휴대가능한 비접촉통신 디바이스(201C)의 다른 예는, 도 24a와 같이 휴대형 SIM 리더라이터의 형상을 하고, 접촉, 비접촉 양용 SIM(202)이 장착가능하게 되어 있다.Another example of the portable non-contact communication device 201C of the present invention has the shape of a portable SIM reader / writer as shown in Fig. 24A, and the contact and non-contact dual-use SIM 202 can be mounted.

비접촉통신 디바이스(201C)는, 함체(213)와 이 함체(213)에 설치된 액정 디스플레이(204)를 갖추고서 교통요금 등을 표시할 수 있도록 되어 있다. 함체(213)에는 버튼(210)이 설치되어 있다. 이 버튼(210)은 전원의 온·오프, 표시선택이나 동작결정을 위한 것이다. 또, 전원의 온상태를 나타내는 LED 표시(214)가 설치되어 있다.The non-contact communication device 201C includes a housing 213 and a liquid crystal display 204 provided in the housing 213 so as to display traffic charges and the like. The enclosure 213 is provided with a button 210. This button 210 is for on / off of a power supply, display selection or operation determination. Moreover, the LED display 214 which shows the ON state of a power supply is provided.

더욱이, 비접촉통신 디바이스(201C)는, USB 컨넥터(220)을 구비하고 있는 것이 바람직하다.Furthermore, it is preferable that the non-contact communication device 201C be provided with the USB connector 220.

이에 따라, 퍼스널 컴퓨터(PC)나 USB기기와의 접속이 가능하게 되어, PC에 접속한 경우는 SIM(202)과의 사이에서 본인 인증을 실행하여 정보 세큐리티로 유용하게 쓸 수 있기 때문이다.This allows connection with a personal computer (PC) or a USB device, and when connected to a personal computer (PC), identity authentication can be performed between the SIM 202 and useful information security.

도 24b와 같이, 비접촉통신 디바이스(201C)의 함체(213)는, 많은 경우 윗덮개부(218)와 아래쪽 케이스부(219)로 이루어지고, 그 접합부에 있는 삽입구(215)로부터 SIM(202)을 삽입하도록 되어 있다. 삽입구(215)에 접근해서 계단부(216)를 설치하면, SIM(202)을 삽입하기에 편리하다.As shown in Fig. 24B, the housing 213 of the non-contact communication device 201C is composed of the upper lid portion 218 and the lower case portion 219 in many cases, and the SIM 202 is inserted from the insertion opening 215 at the junction thereof. It is supposed to insert If the step portion 216 is provided near the insertion port 215, it is convenient to insert the SIM 202.

케이스(213)의 내부에는 단자판(212)이 설치되고, SIM(202)은 단자판(212)의 아래쪽에서 정지해서 접촉단자판(202t)이 단자판(212)의 컨택트핀(도시되지 않음)에 접촉하도록 되어 있다.A terminal plate 212 is provided inside the case 213, and the SIM 202 stops at the bottom of the terminal plate 212 so that the contact terminal plate 202t contacts the contact pin (not shown) of the terminal plate 212. It is.

도 24c와 같이, 비접촉통신 디바이스(201C)의 케이스(213) 내에는 권선 등으로 된 안테나코일(211)이 설치되고, 그 양 단부가 C4, C8단자에 접속되어 있다. SIM(202)은 그 비접촉통신기능부가 단자판(212)의 컨택트핀을 매개로 케이스(213) 내의 안테나코일(211)에 접속된다. 이 경우도, SIM(202)의 접촉단자판(202t)의 RFU단자인 C4, C8단자에 안테나코일(211)이 접속되도록 할 수가 있고, 그에 따라 외부기기와의 사이에서 비접촉통신을 실행할 수가 있다.As shown in Fig. 24C, an antenna coil 211 made of a winding or the like is provided in the case 213 of the non-contact communication device 201C, and both ends thereof are connected to the terminals C4 and C8. The SIM 202 is connected to the antenna coil 211 in the case 213 through a contact pin of the terminal plate 212 having a non-contact communication function. Also in this case, the antenna coil 211 can be connected to C4 and C8 terminals, which are RFU terminals of the contact terminal plate 202t of the SIM 202, and thus non-contact communication can be performed between external devices.

이 비접촉통신이라 함은, ISO14443의 IC카드의 통신대역인 13.56MHz를 이용하는 것으로, 운임정산이나 거래결제처리를 실시하고, 마찬가지로 청산액이나 결제액에 기초해서 SIM(2) 내의 제어용 IC칩이 메모리의 기록내용을 변경하도록 되어 있다.This non-contact communication uses 13.56 MHz, which is the communication band of the IC card of ISO14443, and performs payment settlement or transaction settlement. Similarly, the control IC chip in the SIM 2 is based on The contents of the record are to be changed.

본 발명에 있어서는, 도 25, 도 26, 또는 도 23b와 같이, 비접촉통신 디바이스(201)의 표시기능면(204)과는 반대측 면에 쿠션성 소재(205a, 205b)가 설치되어 있다. 이 쿠션성 소재(205a, 205b)는 표시기능면(204)과는 반대측 면에 설치되어 있다. 비접촉통신 디바이스(101A, 101B, 101C)를 개찰 게이트 등에 꽂는 경우에는, 표시면을 눈으로 볼 수 있도록 판독기 측에 접촉시키는 것이 보통이기 때문이다.In the present invention, as shown in Fig. 25, Fig. 26, or 23B, cushioning materials 205a and 205b are provided on the surface opposite to the display function surface 204 of the non-contact communication device 201. The cushioning materials 205a and 205b are provided on the side opposite to the display function surface 204. This is because when the non-contact communication devices 101A, 101B, and 101C are plugged into the wicket gate or the like, it is common to bring the display surface into contact with the reader side so that the display surface can be visually seen.

쿠션성 소재(205a, 205b)는 표시기능면의 반대측의 전면에 부여하는 것이 바람직하지만, 도 25 및 도 26과 같이 부분적으로 설치해도 좋다. 단, 둘로 접히도록 되어 있지 않은 경우에 있어서 부분적으로 설치하는 경우에는, 케이스(213)의 상하 양단부에 최저 2곳의 쿠션성 소재(205a, 205b)를 단부 가장자리까지 접근시켜 설치하는 것이 바람직하다. 비접촉통신 디바이스(201A, 201B, 201C)를 판독기 측에 접촉시키는 경우에는, 상단 또는 하단의 어느 한쪽이 먼저 접촉해서 강한 충격력을 주거나 또 받기 때문이다.The cushioning materials 205a and 205b are preferably provided on the entire surface on the opposite side of the display function surface, but may be partially provided as shown in FIGS. 25 and 26. However, in the case where it is not supposed to be folded in two, it is preferable to install at least two cushioning materials 205a and 205b near the end edges of the upper and lower ends of the case 213. This is because when the non-contact communication devices 201A, 201B and 201C are brought into contact with the reader side, either one of the upper end or the lower end contacts first to give or receive a strong impact force.

케이스(213)를 둘로 접었을 때의 한쪽 외면 측에 보조표시기능면(204b)을 갖는 휴대전화기(213)의 경우는, 둘로 접었을 때의 액정 디스플레이 등의 보조표시기능면(204b)이 있는 면과는 반대측의 면에 쿠션성 소재(205a, 205b)를 설치한다. 보조표시기능면(204b)에도 교통운임이나 거래 데이터를 표시할 수가 있는데, 이는 가시정보가 있는 면을 상부면으로 해서 게이트의 수신부(8)에 비접촉통신매체(1B)를 접촉시키는 것이 통상적이기 때문이다. 부분적으로 설치하는 경우는, 케이스(213)를 둘로 접은 상태에서의 상하 양단부(205a, 205b) 외에 케이스(213)의 평면부분에 대해 부풀어 오른 부분에도 쿠션성 소재(205c)를 부여하는 것이 바람직하다. 도 23b의 경우는, 로드 안테나(216)가 붙어 있는 부분에도 쿠션성 소재(205c)를 설치하고 있다.In the case of the cellular phone 213 having the auxiliary display function surface 204b on one outer surface side when the case 213 is folded in two, the surface with the auxiliary display function surface 204b such as a liquid crystal display when folded in two and a case. Installs cushioning materials 205a and 205b on the opposite side. Traffic fare or transaction data can also be displayed on the auxiliary display function surface 204b, since it is common to bring the non-contact communication medium 1B into contact with the receiving part 8 of the gate with the upper surface of the visible information. to be. In the case of partial installation, it is preferable to provide the cushioning material 205c to the part which swells with respect to the planar part of the case 213 besides the upper and lower both ends 205a and 205b in the case 213 folded in two. In the case of FIG. 23B, the cushioning material 205c is also provided in the portion where the rod antenna 216 is attached.

쿠션성 소재(205a, 205b, 205c)는, 다소의 쿠션성을 가지고서 통상의 반복사용조건에 견디는 것이면 특별히 재질은 한정되지 않는다. 바람직한 재질의 하나로서, 스티렌부타디엔고무(SBR)를 들 수 있다. 이 균일한 두께의 시트의 한쪽 면에 접착제를 부여한 것을 비접촉통신 디바이스의 함체 또는 케이싱에 첩착(貼着)할 수가 있다.The cushioning materials 205a, 205b, and 205c are not particularly limited as long as they have some cushioning properties and withstand normal repeated use conditions. As one of the preferable materials, styrene butadiene rubber (SBR) is mentioned. What provided the adhesive agent to one surface of this uniform thickness sheet can be stuck to the enclosure or casing of a non-contact communication device.

쿠션성 소재(205a, 205b, 205c)의 두께는, 두꺼울수록 충격을 적게 할 수 있으나, 손에 쥐는 감촉면에서는 O.5∼5mm 정도, 바람직하게는 O.8∼1.2mm 정도의 두께가 최적이다.The thicker the cushion material (205a, 205b, 205c), the smaller the impact can be.However, in terms of hand-held texture, the thickness is about 0.5 to 5 mm, preferably about 0.8 to 1.2 mm. .

다른 재질로서는 폴리우레탄 수지를 들 수 있다. 이 우레탄 수지의 피막을 함체 등의 이면 전면에 내뿜는 형태로서, 두께는 예컨대 O.2mm 정도로 할 수가 있다. 그 이상의 두께로 해도 물론 상관없다.Polyurethane resin is mentioned as another material. The urethane resin film is sprayed on the entire rear surface of the enclosure or the like, and the thickness can be, for example, about 0.2 mm. Of course, it does not matter even if it is larger than that.

휴대전화기(201A)의 함체(213)는 상기와 같이 ABS수지의 사출성형으로 이루어지고, 도장이 되어 있는 것이 많다. 휴대형 SIM 리더라이터(201C)의 케이스(213)는, 폴리카보네이트 수지나 폴리프로필렌 수지, 아크릴수지 등의 사출성형품으로 이루어진 것이 많다.The housing 213 of the cellular phone 201A is formed by injection molding of ABS resin as described above, and is often coated. The case 213 of the portable SIM reader / writer 201C is made of injection molded articles such as polycarbonate resin, polypropylene resin, and acrylic resin.

한편, 참고를 위해 SIM(202)의 형상을 도 27에 도시한다.Meanwhile, the shape of the SIM 202 is shown in FIG. 27 for reference.

도 27과 같이, SIM(202)은 길이(L1)가 25mm, 폭(L2)이 15mm 정도의 형상으로 되고, 두께는 1.0mm 이내의 균일한 박판형상의 것이다. 절결부(223)는 장착시의 위치맞춤을 위한 것이다. 외관은 일반적인 SIM과 다른 것이 아니라, 표면에 접촉단자판(202t)을 갖고 접촉단자판(202t)의 배면에는 모듈화된 IC칩이 장착되어 있다.As shown in FIG. 27, the SIM 202 has a shape of about 25 mm in length L1 and about 15 mm in width L2, and has a uniform thin plate shape of 1.0 mm or less. The notch 223 is for alignment at the time of mounting. The appearance is not different from the general SIM, but has a contact terminal plate 202t on its surface and a modular IC chip is mounted on the back of the contact terminal plate 202t.

IC칩은 적어도 비접촉통신기능을 갖고 있어, 비접촉·접촉 양용 기능을 가진 것을 알맞게 사용할 수 있다. SIM(202) 자체가 안테나코일을 갖고 있어도 좋다. 단자판의 단자배치나 크기는 일반의 IC카드 규격 및 GSM 규격에 준한 것이다.The IC chip has at least a non-contact communication function, so that one having a non-contact and contact function can be suitably used. The SIM 202 itself may have an antenna coil. The terminal arrangement and size of the terminal board is based on the general IC card standard and GSM standard.

SIM(202)의 접촉단자판(202t) 표면은 통상 ISO7816 규격에 준거한 단자기능이 되어 있는 바, 도 27과 같이 C1∼C8의 8단자를 가지고 있다.The surface of the contact terminal plate 202t of the SIM 202 normally functions as a terminal in conformity with the ISO7816 standard, and has eight terminals C1 to C8 as shown in FIG.

C1은 Vcc, C2는 RST, C3는 CLK, C5는 GND, C6는 Vpp, C7는 I/O용이다. C4, C8단자는 RFU(리저브)단자로 되어 있으나, 안테나코일을 당해 단자를 이용해서 SIM 내의 IC칩에 접속할 수가 있다. Vpp도 실제로는 사용하고 있지 않다.C1 is Vcc, C2 is RST, C3 is CLK, C5 is GND, C6 is Vpp and C7 is for I / O. The C4 and C8 terminals are RFU (reserved) terminals, but the antenna coil can be connected to the IC chip in the SIM using the terminal. Vpp is not actually used either.

도 28은 개찰 게이트에서 비접촉통신 디바이스를 사용하는 상황을 나타낸 도면이다.Fig. 28 is a diagram illustrating a situation where a contactless communication device is used at the wicket gate.

IC카드 대체기능을 가진 비접촉통신 디바이스(201)를 교통기관의 개찰 게이트(207)의 수신부(208)에 화살표 Y와 같이 접촉시키면, 개찰 게이트의 수신부(208)가 비접촉통신 디바이스(201)의 전파를 수신해서 게이트(209)의 개폐가 이루어지게 된다.When the non-contact communication device 201 having the IC card replacement function is brought into contact with the receiving unit 208 of the ticket gate 207 of the traffic engine as shown by the arrow Y, the receiving unit 208 of the ticket gate becomes the radio wave of the non-contact communication device 201. The gate 209 is opened and closed by receiving the signal.

수신부(208)의 표면은 경질플라스틱판 면이지만, 다수의 사람이 통과하는 게이트에서는 접촉에 의한 손상이 많아진다. 따라서, 당해 수신부(208) 면에도 쿠션성 소재를 부여하는 것이 바람직하다.Although the surface of the receiver 208 is a hard plastic plate surface, damage caused by contact is increased in the gate through which many people pass. Therefore, it is preferable to give a cushioning material also to the said receiving part 208 surface.

기업 내의 도어 게이트 시설의 입장구 등의 경우에도 마찬가지로 사용할 수가 있다.The same can be used for entrance doors of a door gate facility in an enterprise.

본 발명의 휴대가능한 비접촉통신 디바이스는, 외부기기와 접촉하는 함체 또는 케이싱면의 일부 또는 전면에 쿠션성 소재가 부여되어 있기 때문에, 외부기기와 접촉 또는 충돌했을 때 그 충격을 완화할 수가 있다. 따라서, 비접촉통신 디바이스와 외부 판독기가 접촉하는 취급을 하더라도, 비접촉통신 디바이스 자체 또는 외부기기의 파손을 방지할 수 있게 된다.Since the portable non-contact communication device of the present invention is provided with a cushioning material on a part or the entire surface of the housing or casing surface in contact with the external device, the impact can be alleviated when it comes into contact with or collides with the external device. Therefore, even when handling the contactless communication device and the external reader contact, it is possible to prevent damage to the contactless communication device itself or the external device.

(제5실시형태)(5th Embodiment)

도 34는 본 발명에 따른 액정 디스플레이 부착 SIM 리더라이터를 나타낸 도면으로서, 도 34a는 그 사시도이고, 도 34b는 도 34a의 A-A선 단면도이다.Fig. 34 is a view showing a SIM reader / writer with a liquid crystal display according to the present invention, Fig. 34A is a perspective view thereof, and Fig. 34B is a sectional view taken along the line A-A of Fig. 34A.

도 34a에 도시된 바와 같이, 액정 디스플레이 부착 SIM 리더라이터(1S)는 SIM을 장착하는 것으로, 케이스(1a)와, 이 케이스(1a)의 표면에 설치된 액정 디스플레이(4)를 갖고서, SIM(2)이 보유하는 각종의 정보표시를 할 수 있도록 되어 있다. 케이스(1a)의 왼쪽에 USB 컨넥터(20)가 설치되고, 케이스(1a)의 오른쪽에는 SIM(2)의 삽입구(15)가 설치되어 있다. SIM(2)은 케이스(1a)의 계단부(16)를 따라 삽입구(15)로부터 끼워 넣어지게 된다. 키부착구멍(17)에 스트랩 등을 통과시키면 SIM(2)의 탈락을 방지할 수 있다.As shown in Fig. 34A, the SIM reader / writer 1S with a liquid crystal display is equipped with a SIM. The SIM 2 includes a case 1a and a liquid crystal display 4 provided on the surface of the case 1a. It is possible to display various kinds of information possessed by). The USB connector 20 is provided on the left side of the case 1a, and the insertion opening 15 of the SIM 2 is provided on the right side of the case 1a. The SIM 2 is fitted from the insertion hole 15 along the step 16 of the case 1a. Passing the strap or the like through the key attachment hole 17 can prevent the SIM 2 from falling off.

SIM(2)을 장착한 상태에서 USB 컨넥터(20)를 PC 등에 끼워 넣으면, 액세스권한 인증을 할 수가 있어 PC와의 사이에서 데이터 수수를 실행할 수가 있게 된다.If the USB connector 20 is inserted into a PC or the like while the SIM 2 is mounted, access authority authentication can be performed, and data transfer can be performed between the PC and the PC.

한편, LED 표시(14)는 전원투입상태인지 여부를 나타내고, 스위치 버튼(41, 43)은 전원의 온·오프나 표시선택, 동작결정 등에 사용된다.On the other hand, the LED display 14 indicates whether the power is on or not, and the switch buttons 41 and 43 are used for turning on / off the power, selecting the display, and determining the operation.

도 34b와 같이, 케이스(1a)의 오른쪽으로부터 삽입된 SIM(2)은, 케이스(1a)에 설치된 R/W(리더라이터) 단자판(12)의 아래쪽에 고정된다. 통상, SIM 리더라이터(1S)의 케이스(1a)는 윗덮개부(18)와 아래쪽 케이스부(19)로 구성되고, 케이스(1a)의 내부에 비접촉통신용 안테나코일(11)이나 배터리(7)가 설치되어 있다. 안테나코일(11)은 단자판(12)을 매개로 SIM(2)의 접촉단자판(2t)의 C4, C8단자에 접속된다.As shown in Fig. 34B, the SIM 2 inserted from the right side of the case 1a is fixed to the bottom of the R / W (reader) terminal plate 12 provided in the case 1a. Usually, the case 1a of the SIM reader / writer 1S is composed of an upper cover portion 18 and a lower case portion 19, and the antenna coil 11 or the battery 7 for non-contact communication inside the case 1a. Is installed. The antenna coil 11 is connected to the terminals C4 and C8 of the contact terminal plate 2t of the SIM 2 via the terminal plate 12.

다음에, 액정 디스플레이 부착 SIM 리더라이터에 대해, SIM으로서 UIM을 이용한 경우를 예로 들어 설명한다. 이하, SIM 리더라이터를 UIM 리더라이터라고도 한다.Next, the SIM reader / writer with a liquid crystal display will be described taking the case where UIM is used as the SIM. Hereinafter, the SIM reader / writer is also called a UIM reader / writer.

도 29는 본 발명의 SIM 리더라이터의 블럭도이고, 도 30은 SIM 리더라이터 내의 구성을 나타낸 도면, 도 31은 SIM 리더라이터의 평면도, 도 32는 2차 전지 충방전부의 제어회로의 예를 나타낸 도면이다.FIG. 29 is a block diagram of the SIM reader / writer of the present invention, FIG. 30 is a diagram showing the configuration of the SIM reader / writer, FIG. 31 is a plan view of the SIM reader / writer, and FIG. 32 shows an example of the control circuit of the secondary battery charge / discharge unit. Drawing.

도 29에 도시된 바와 같이, 본 발명의 SIM 리더라이터(UIM 리더라이터라고도 함; 1)는 UIM(2)을 착탈가능하게 장착하는 것으로, 케이스(1a)와, 이 케이스(1a)에 설치된 액정 디스플레이(4; 도 34 참조), 케이스(1a) 내에 설치된 제어용 IC칩(3), 케이스(1a) 내에 설치된 안테나코일(11) 및, 케이스(1a) 내에 설치된 단자판(12)을 갖고 있다. 제어용 IC칩(3)은 CPU와 메모리를 가짐과 더불어, ISO7816 드라이버(31)와 액정 디스플레이 구동용 액정 드라이버(32)를 갖고 있다. 단, 이들 모두가 일체로 IC칩화되어 있는 것으로는 한정되지 않는다.As shown in Fig. 29, the SIM reader / writer (also referred to as UIM reader / writer) 1 of the present invention detachably mounts the UIM 2, and the case 1a and the liquid crystal provided in the case 1a. The display 4 (refer FIG. 34), the control IC chip 3 installed in the case 1a, the antenna coil 11 provided in the case 1a, and the terminal board 12 provided in the case 1a are provided. The control IC chip 3 has a CPU and a memory, and has an ISO7816 driver 31 and a liquid crystal driver 32 for driving a liquid crystal display. However, all of them are not limited to being integrated with an IC chip.

UIM(2)의 신호는, UIM 리더라이터(R/W) 단자판(12)과 릴레이(8)를 매개로 제어용 IC칩(3)으로 보내진다. 또 USB 컨넥터(20) 및 USB 포트(25)로부터의 신호는 USB/ISO7816 변환 IC칩(10)과 릴레이(8)를 매개로 제어용 IC칩(3)으로 보내진다.The signal of the UIM 2 is sent to the control IC chip 3 via the UIM reader / writer (R / W) terminal board 12 and the relay 8. The signals from the USB connector 20 and the USB port 25 are sent to the control IC chip 3 via the USB / ISO7816 conversion IC chip 10 and the relay 8.

리더라이터 단자판(12)은, UIM(2)의 접촉단자판의 8개의 단자와 접속하는 구조를 갖고 있다. 접촉단자의 경우, 예비단자로 되어 있는 C4와 C8단자가 UIM 리더라이터의 케이스(1a) 내의 안테나코일(11)에 접속되어 있다. 안테나코일(11)은, ISO14443에 준거한 비접촉통신을 행하기 위한 것이다.The reader / writer terminal board 12 has a structure for connecting with eight terminals of the contact terminal board of the UIM 2. In the case of the contact terminal, the C4 and C8 terminals, which are spare terminals, are connected to the antenna coil 11 in the case 1a of the UIM reader / writer. The antenna coil 11 is for conducting contactless communication in accordance with ISO14443.

UIM 리더라이터(1)는, 액정 디스플레이(4)나 제어용 IC칩(3) 등의 구동전원으로서 배터리(2차 전지; 7)를 구비하고 있다. 배터리(7)는 케이스(1a) 내에 배치됨과 더불어, 배터리(7)로는 리튬이온전지나 리튬폴리머전지를 바람직하게 사용할 수 있다.The UIM reader / writer 1 includes a battery (secondary battery) 7 as a driving power source for the liquid crystal display 4 and the control IC chip 3 or the like. The battery 7 is disposed in the case 1a, and as the battery 7, a lithium ion battery or a lithium polymer battery can be preferably used.

스위치 버튼(41)은 전원의 온·오프를, 스위치버튼(43)은 표시선택이나 동작결정을 위해 사용된다.The switch button 41 is used to turn the power on and off, and the switch button 43 is used for display selection or operation determination.

USB 포트(25)에는 USB 컨넥터(20)가 접속된다(도 30 참조). USB 컨넥터(20)는 2개의 데이터 핀과 전력 핀 및 접지 핀을 구비하고 있다. 2개의 데이터 핀(D+, D-)은 USB/7816 변환 IC칩(10)에 접속되고, 전력 핀은 배터리(2차 전지)에 접속되어 버스전력에 의한 충전을 가능하게 하고 있다. 접지 핀은 접지된다.A USB connector 20 is connected to the USB port 25 (see FIG. 30). The USB connector 20 has two data pins, a power pin, and a ground pin. Two data pins D + and D- are connected to the USB / 7816 conversion IC chip 10, and the power pins are connected to a battery (secondary battery) to enable charging by bus power. The ground pin is grounded.

액정 디스플레이(4)는, UIM(2)의 IC칩이 보유하는 정보를 스위치 버튼(43)의 조작으로 순차로 표시하도록 되어 있다.The liquid crystal display 4 sequentially displays the information held by the IC chip of the UIM 2 by the operation of the switch button 43.

액정 디스플레이(4)에는 도트 매트릭스 형식의 반사형 컬러 액정표시를 채용할 수 있고, 도형표시도 가능하다. 액정 디스플레이(4)의 두께는 1.0mm∼1.5mm 정도로 된다. 표시면적은 폭 20∼30mm로부터 길이 40∼70mm 정도의 것으로 할 수 있다.In the liquid crystal display 4, a dot matrix type reflective color liquid crystal display can be employed, and graphic display is also possible. The thickness of the liquid crystal display 4 is about 1.0 mm to 1.5 mm. The display area can be about 20 to 30 mm wide and about 40 to 70 mm long.

도 30 및 도 31은 UIM 리더라이터(1) 내의 구성을 나타낸 도면으로서, 액정 디스플레이(4)의 배면에 있어서의 리더라이터 단자판(12)과 안테나코일(11)의 관계를 나타내고 있다. 도 30은 UIM 리더라이터의 사시도이고, 도 31은 UIM 리더라이터의 평면도이다.FIG. 30 and FIG. 31 are views showing the structure of the UIM reader / writer 1, and show the relationship between the reader / writer terminal plate 12 and the antenna coil 11 on the rear surface of the liquid crystal display 4. 30 is a perspective view of the UIM reader / writer, and FIG. 31 is a plan view of the UIM reader / writer.

도 30, 도 31과 같이, 안테나코일(11)은 케이스(1a)의 윗덮개부(18)나 아래쪽 케이스부(19)의 내주 등에 따르도록 배선되고, 그 말단은 리더라이터 단자판(12)의 C4와 C8단자에 접속하도록 되어 있다. UIM(2)는 리더라이터의 오른쪽으로부터 삽입되어 리더라이터 단자판(12)의 아래쪽으로 들어가 고정된다(도 31).30 and 31, the antenna coil 11 is wired so as to conform to the inner circumference of the upper cover portion 18 or the lower case portion 19 of the case 1a, and the terminal thereof is connected to the end of the reader / writer terminal plate 12. As shown in FIG. It is connected to the terminals C4 and C8. The UIM 2 is inserted from the right side of the reader / writer into the lower part of the reader / writer terminal board 12 and fixed (FIG. 31).

도 30 및 도 31에 있어서, USB 컨넥터(20)로의 배선은 생략되어 있으나, C5(GND), C1(Vcc), C2(RST), C7(I/O)이 USB/ISO7816 변환 IC칩(10)으로 인도되게 된다. 2개의 데이터 핀(D+, D-)과 전력 핀 및 접지 핀이 USB 컨넥터(20)에 접속된다.30 and 31, although the wiring to the USB connector 20 is omitted, C5 (GND), C1 (Vcc), C2 (RST), and C7 (I / O) are USB / ISO7816 conversion IC chips 10 Will lead to). Two data pins (D +, D-), a power pin and a ground pin are connected to the USB connector 20.

종래의 SIM은 USB 기능을 가진 IC칩을 갖고, USB(D+)가 C4단자를, USB(D-)가 C8단자를 이용하고 있으나, USB/ISO7816 변환 IC칩(10)을 사용하는 경우에는 종래기능의 듀얼 IC모듈을 사용할 수 있다. 또, 안테나코일(11)의 단자로 C4와 C8단자를 이용하기 때문에, 8단자 이상의 특설단자판을 가진 단자를 UIM(2)나 리더라이터에 사용할 필요는 없다.The conventional SIM has an IC chip having a USB function, and the USB (D +) uses the C4 terminal and the USB (D-) uses the C8 terminal. However, when the USB / ISO7816 conversion IC chip 10 is used, Dual IC module with function can be used. In addition, since terminals C4 and C8 are used as the terminals of the antenna coil 11, it is not necessary to use terminals having a special terminal plate of 8 terminals or more for the UIM 2 or the reader / writer.

2차 전지인 배터리(7)로의 충전은, 케이스(1a)에 설치된 USB 컨넥터(20)를 매개로 이루어진다. USB 규격에서는, USB 케이블은 양방향으로 데이터를 전송하는 외에, 한쪽 방향으로 전력을 공급하는 것을 규정하고 있다. 본 발명에서는 케이블을 사용하지 않으나, 상류 단부(端部), 하류 단부를 규정하는 상보형상의 컨넥터를 매개로 충전이 이루어진다. USB는 통상 5V DC ± 5%, 500mA의 전원을 공급하도록 되어 있다. USB 규격은 또, 접속하는 디바이스가 그 자신의 전원을 가질 수 있다고 규정하고 있다. 이러한 디바이스는, 전원내장형 디바이스라 불린다. 한편, 상류의 디바이스, 또는 허브로부터 공급되는 전력에만 의존하는 디바이스는, 버스전력공급형 디바이스라 불린다. 따라서, 본 발명의 UIM 리더라이터는 전원내장형 디바이스에 해당하는 것으로 된다.Charging with the battery 7 which is a secondary battery is performed through the USB connector 20 provided in the case 1a. In the USB standard, the USB cable not only transmits data in both directions but also supplies power in one direction. In the present invention, a cable is not used, but charging is performed through a complementary connector defining an upstream end and a downstream end. USB is typically designed to deliver 5V DC ± 5% and 500mA of power. The USB standard also stipulates that a connecting device can have its own power supply. Such a device is called a power supply built-in device. On the other hand, an upstream device or a device that depends only on the power supplied from the hub is called a bus powered device. Therefore, the UIM reader / writer of the present invention corresponds to a power-embedded device.

도 32는 배터리(7)에 대한 2차 전지 충방전부의 제어회로의 예를 나타낸 도면이다.32 is a diagram illustrating an example of a control circuit of the secondary battery charge / discharge unit for the battery 7.

USB 컨넥터(20)는 전력 핀(Vbus; 23)과 접지 핀(24)을 갖고 있다. 접지 핀(24)은 회로기판 등(도시되지 않음)에 접지된다. 전력 핀(23)으로부터의 전력공급선은, 버스전력 공급시의 USB 규격을 만족시키기 위한 USB 파워 매니저(예컨대, 리니어 테크놀로지사 제품인 「LTC4410 ES6」 등; 100b)와, 배터리(7)의 충전조건을 만족시키기 위한 배터리 차저(예컨대, 리니어 테크놀로지사 제품인 「LTC4053EMSE-4.2」등; 100a)에 접속되어 있다.The USB connector 20 has a power pin (Vbus) 23 and a ground pin 24. The ground pin 24 is grounded to a circuit board or the like (not shown). The power supply line from the power pin 23 is a USB power manager (e.g., "LTC4410 ES6" manufactured by Linear Technology, Inc .; 100b) for satisfying the USB standard at the time of bus power supply, and the charging conditions of the battery 7 are determined. It is connected to a battery charger (eg, "LTC4053EMSE-4.2" manufactured by Linear Technology, Inc .; 100a) for satisfying.

USB 컨넥터(20)를 PC 등의 USB 단자에 접속하면, USB 파워 매니저(100b)가 전력 핀(23)의 전위를 검지해서, P형 FET(예컨대, 가부시키가이샤 도시바 제품인 「TPCS8302」 등; 100d)의 소스·드레인 사이를 전기적으로 분리한다. 그에 따라, 전력 핀(23)으로부터의 전력은 배터리 차저(1OOa)를 경유해서 배터리(7)를 충전하고, 또 한편으로는 USB 파워 매니저(100b)로부터 DC/DC 컨버터(100c)를 매개로 제어용 IC칩(3), 액정 디스플레이(4), 그 밖의 시스템부하(100)로 공급된다.When the USB connector 20 is connected to a USB terminal such as a PC, the USB power manager 100b detects the potential of the power pin 23, and a P-type FET (e.g., "TPCS8302" manufactured by Toshiba Corp .; Electrically separate between the source and the drain. Accordingly, the power from the power pin 23 charges the battery 7 via the battery charger 100a and, on the other hand, for control from the USB power manager 100b via the DC / DC converter 100c. The IC chip 3, the liquid crystal display 4, and other system loads 100 are supplied.

근년의 저소비전력화의 흐름에 따라, 부품은 저구동전압화가 되어 있기 때문에, USB의 공급전위규격인 5V에서는 전압이 높기 때문에 DC/DC 컨버터(1OOc)를 매개로 본 실시예에서는 시스템 전원으로서 3.3V로 강압(降壓)해서 사용하였다. 또, 배터리 차저(100a)는 최대로 1C 충전을 할 수 있도록 설정되어 있고, USB 파워 매니저(100b)에 의한 전력공급 제한과 맞추어 버스전력 공급시의 USB 규격을 만족시키고 있다.In recent years, as the power consumption is lowered, the components have become low driving voltages, so the voltage is high at 5V, which is the supply potential specification of USB, so that 3.3V is used as a system power supply in the present embodiment via a DC / DC converter 100c. It was used by force down. The battery charger 100a is set to allow maximum 1C charging, and satisfies the USB standard at the time of bus power supply in accordance with the power supply restriction by the USB power manager 100b.

한편, USB 컨넥터(20)가 PC 등의 USB 단자에 접속되어 있지 않은 경우는, 배터리 차저(100a)가 배터리(7)로부터의 충전시와는 역으로 흐르는 전력공급을 저지함과 더불어, P형 FET(100d)의 소스·드레인 사이가 전기적으로 접속되기 때문에, 배터리(7)로부터의 전력이 DC/DC 컨버터(100c)를 매개로 제어용 IC칩(3)과 액정 디스플레이(4), 그 밖의 시스템부하(100)로 공급된다.On the other hand, when the USB connector 20 is not connected to a USB terminal such as a PC, the battery charger 100a prevents the power supply flowing in reverse from the time of charging from the battery 7, and is also P-type. Since the source and the drain of the FET 100d are electrically connected, the power from the battery 7 is controlled via the DC / DC converter 100c, the control IC chip 3, the liquid crystal display 4, and other systems. Supplied to the load 100.

도 33은 액정 디스플레이(4)의 표시예를 나타낸 도면이다. 도 33의 표시는 메뉴선택화면에 있어서 (1) 전자머니 잔고, (2) 전자티켓, (3) 전자승차권 표시선택이 가능하도록 되어 있다.33 is a diagram illustrating a display example of the liquid crystal display 4. The display shown in Fig. 33 allows (1) electronic money balance, (2) electronic ticket, and (3) electronic ticket display selection on the menu selection screen.

배터리의 잔량(4b)은, 디스플레이(4)의 상부에 표시되어 있다. 건전지 형상의 틀 내의 4각형 형상으로 잔량이 표시되는 바, 잔량이 적게 된 경우에는 표시를 점멸시켜 충전을 촉구하도록 할 수도 있다. 또, 충전시에 충전의 진척상황을 표시하도록 할 수도 있다.The remaining amount 4b of the battery is displayed on the upper portion of the display 4. Since the remaining amount is displayed in a quadrangular shape in the battery-shaped frame, when the remaining amount becomes small, the display may blink to prompt the charging. It is also possible to display the progress of charging at the time of charging.

실시예Example

UIM 리더라이터(1)의 액정 디스플레이(4)로는, 30mm×40mm의 크기에서 4행×전각(全角) 10문자 표시(소비전류 O.3mA)의 것(일본판유리 가부시키가이샤 제품)을 사용하고, 제어용 IC칩(3)은 CISC 마이콤(르네사스 제품; 소비전류 40mA)을 사용하였다. 2차 전지로서 150mAh의 리튬이온 2차 전지(히다치 막셀 가부시키가이샤 제품; 두께 약 6mm)를 사용하여 풀충전 상태로부터 상기 액정 디스플레이(4)를 1 시간 정도 표시시킨 바, 배터리 잔량의 경고표시가 나왔다. 그 후, USB 컨넥터를 PC에 접속하고, 30분 정도 충전하였더니(5V 전력공급) 풀충전 상태로 되었다.As the liquid crystal display 4 of the UIM reader / writer 1, a product of 10 lines of 4 lines x full width (consumption current of 0.3 mA) is used (manufactured by Nippon Glass Co., Ltd.) in a size of 30 mm x 40 mm. The IC chip 3 for control used CISC Micom (Rena's product; consumption current 40mA). When the liquid crystal display 4 was displayed for about 1 hour from a full charge state by using a 150 mAh lithium ion secondary battery (made by Hitachi Maxell Co., Ltd .; thickness of about 6 mm) as a secondary battery, a warning indication of the remaining battery level was displayed. Came out. After that, the USB connector was connected to a PC and charged for about 30 minutes (5V power supply), which brought it to a full charge state.

본 발명의 액정 디스플레이 부착 UIM 리더라이터는, PC 액세스권한 인증에 사용할 수 있는 외에, ISO14443 비접촉통신기능을 구비하고 있기 때문에, 전자티켓, 전자머니결제 등의 각종 비접촉거래용도로 사용할 수 있다. 특히, USB 버스파워에 의한 충전기구를 구비하고 있기 때문에, 퍼스널 컴퓨터에 접속되어 있을 때에, 수시로 전원의 공급을 받아 액정표시 및 구동의 소비전력에 대응할 수가 있다. 또 배터리 충전에, AC어댑터를 사용하지 않기 때문에, 휴대에 편리함과 더불어, AC어댑터를 포함한 전체적인 장치코스트 저감에 기여할 수 있다.Since the UIM reader / writer with the liquid crystal display of the present invention can be used for PC access authority authentication and has an ISO14443 non-contact communication function, it can be used for various non-contact transactions such as electronic tickets and electronic money payment. In particular, since the charger port by USB bus power is provided, when connected to a personal computer, it can be supplied with power at any time to cope with the power consumption of liquid crystal display and driving. In addition, since the AC adapter is not used to charge the battery, it is convenient to carry and can contribute to the reduction of overall device cost including the AC adapter.

(제6실시형태)(Sixth Embodiment)

다음에는 본 발명의 제6실시형태에 따른 휴대기기(携帶機器)에 대해 도면을 참조해서 설명한다. 본 발명의 휴대기기는 비접촉통신 금지수단의 태양에 따라 4종류의 실시형태로 나누어진다.Next, a portable device according to a sixth embodiment of the present invention will be described with reference to the drawings. The portable device of the present invention is divided into four types according to aspects of the non-contact communication prohibition means.

도 35는 본 발명의 휴대기기의 실시예 6-1을 나타낸 도면이고, 도 36은 휴대기기의 실시예 6-2를 나타낸 도면, 도 37은 휴대기기의 실시예 6-3을 나타낸 도면, 도 38은 휴대기기의 실시예 6-4를 나타낸 도면, 도 39는 휴대기기의 전체구성을 나타낸 도면, 도 40은 실시예 6-1의 휴대기기의 블럭도, 도 41은 실시예 6-2, 6-3, 6-4의 휴대기기의 블럭도이다.35 is a view showing Embodiment 6-1 of a mobile device of the present invention, FIG. 36 is a view showing Embodiment 6-2 of a mobile device, FIG. 37 is a view showing Embodiment 6-3 of a mobile device, and FIG. 38 shows an embodiment 6-4 of the mobile device, FIG. 39 shows an overall configuration of the mobile device, FIG. 40 is a block diagram of the mobile device of the embodiment 6-1, FIG. 41 is an embodiment 6-2, 6-3 and 6-4 are block diagrams of portable devices.

본 발명에 따른 휴대기기(SIM 리더라이터라고도 함; 1)는, 뒤에 설명되는 바와 같이 UIM(SIM; 2)를 장착하는 것으로, 케이스(1a)와, 이 케이스(1a) 내에 설치되어 UIM(2)에 접속되는 단자판(12), 상기 케이스(1a) 내에 설치되어 상기 단자판(12)에 접속된 안테나코일(11) 및, 케이스(1a) 내에 설치된 제어용 IC칩(3)을 구비하고 있다. 또 케이스(1a)의 표면에는 액정 디스플레이(4) 및 지문센서(5)가 설치되어 있다(도 39 참조).The mobile device (also referred to as a SIM reader / writer) 1 according to the present invention is equipped with a UIM (SIM) 2 as described later, and is provided in the case 1a and the case 1a, and the UIM 2 ), An antenna coil 11 installed in the case 1a and connected to the terminal plate 12, and an IC chip 3 for control provided in the case 1a. The liquid crystal display 4 and the fingerprint sensor 5 are provided on the surface of the case 1a (see FIG. 39).

본 발명의 휴대기기(1)의 실시예 6-1에서는, 도 35와 같이 케이스(1a) 내에 있어서 안테나코일(11)과 UIM(2)의 접촉단자판(2t)의 C8단자(C4단자 측이라도 좋음) 사이에 스위치회로(55)가 설치되고, 당해 스위치회로(55)가 안테나 스위치 버튼(45; 도 40 참조)에 의해 온·오프된다. 이 경우는, 기계적 조작스위치(도시되지 않음)에 의해 스위치회로(55)가 온·오프되지만, 순수하게 기계적인 것에만 한정되지 않고 전자스위치 등이어도 좋다. 이 경우, 스위치회로(55)와 안테나 스위치 버튼(45)에 의해 비접촉통신 금지수단이 구성된다.In the embodiment 6-1 of the mobile device 1 of the present invention, as shown in Fig. 35, even if the C8 terminal (C4 terminal side) of the contact terminal plate 2t of the antenna coil 11 and the UIM 2 is in the case 1a. A good switch circuit 55 is provided, and the switch circuit 55 is turned on and off by the antenna switch button 45 (see FIG. 40). In this case, although the switch circuit 55 is turned on and off by a mechanical operation switch (not shown), it is not limited to a purely mechanical thing, but an electronic switch etc. may be sufficient. In this case, the non-contact communication inhibiting means is constituted by the switch circuit 55 and the antenna switch button 45.

접촉단자판(2t)은 접촉형 IC카드나 UIM(2)의 단자판으로서, 주지와 같이 8개의 단자면, 즉 C1(Vcc), C2(RST), C3(CLK), C5(GND), C6(Vpp), C7(I/O)를 갖고 있다. 당해 각 단자면에는, 단자판(2t) 이면에 실장한 IC칩의 각 패드를 스루홀(through hole: 관통구멍) 등을 매개로 접속하도록 하고 있다.The contact terminal board 2t is a terminal board of a contact type IC card or UIM 2, and as is well known, eight terminal surfaces, namely, C1 (Vcc), C2 (RST), C3 (CLK), C5 (GND), and C6 ( Vpp) and C7 (I / O). Each terminal surface is connected to each pad of the IC chip mounted on the back surface of the terminal plate 2t via a through hole or the like.

상기 단자 면 중 C4와 C8단자는, RFU(Revised for Future Use)단자로서, 접촉형에서는 현재 사용되고 있지 않다. 그래서, 이들 C4, C8단자에 IC칩의 비접촉통신기능부를 접속하는 것이 행하여지고 있다. 휴대기기(1) 측의 안테나코일(11)도 당해 단자에 컨택트핀에 의해 접속하도록 되어 있다.The C4 and C8 terminals of the terminal faces are RFU (Revised for Future Use) terminals, which are not currently used in the contact type. Therefore, connecting the non-contact communication function portion of the IC chip to these C4 and C8 terminals is performed. The antenna coil 11 on the portable device 1 side is also connected to the terminal by a contact pin.

실시예 6-1에 있어서, 기계적 조작스위치를 사용하는 경우에는 슬라이드스위치나 푸쉬 스위치 등을 사용할 수 있다. 구체적으로는 예컨대 일본국 알프스 덴키 가부시키가이샤 제품인 「SSAD 시리즈」등의 슬라이드 스위치나 「SPPJ6 시리즈」 등의 푸쉬 스위치 등과 같이 손가락끝으로 간단히 조작할 수 있는 스위치가 있다. 이 실시예의 슬라이드 스위치에서는, 사용상태와 불사용상태를 스위치로 절환하여 조작한다. 푸쉬 스위치에서는 스위치가 눌러져 있는 상태가 아니면 비접촉통신이 사용상태로는 되지 않는다.In Example 6-1, when a mechanical operation switch is used, a slide switch, a push switch, or the like can be used. Specifically, there are switches that can be easily operated with a fingertip, such as slide switches such as "SSAD series" manufactured by Japanese Alps Denki Co., Ltd. and push switches such as "SPPJ6 series". In the slide switch of this embodiment, the used state and the unused state are operated by switching the switch. In a push switch, contactless communication is not enabled unless the switch is in a depressed state.

본 발명의 휴대기기(1)의 실시예 6-2에서는, 도 36과 같이 안테나코일(11)과 UIM(2)의 접촉단자판(2t)의 C8단자(C4단자 측이라도 좋음) 사이에 릴레이(56)가 설치되어 있다.In Example 6-2 of the mobile device 1 of the present invention, as shown in FIG. 36, a relay (between the antenna coil 11 and the C8 terminal (may be the C4 terminal side) of the contact terminal plate 2t of the UIM 2) may be used. 56) is installed.

구체적으로는, 예컨대 가부시키가이샤 도시바 제품인 「TPL172」 등의 낮은 온저항의 포토 릴레이나 일반적인 릴레이, 솔리드스테이트 릴레이 등을 사용할 수 있다.Specifically, for example, a low on-resistance photo relay such as "TPL172" manufactured by Toshiba Corporation, a general relay, a solid state relay, or the like can be used.

릴레이(계전기)는, 일반적으로 전류, 전압, 전력 등이 미리 설정된 값을 넘거나 저하한 경우에 회로의 개폐를 실행하는 장치를 말한다. 포토 릴레이는 입력측 발광소자, 출력측 수광소자 + MOSFET의 3종류의 소자로 구성되어 있다. 포토 릴레이는 입력측 발광소자(LED)의 광을 출력측 수광소자(포토 다이오드)가 받아 전압으로 변환시키는 것으로, 이 전압이 게이트전압으로 되어 MOSFET를 구동하게 되는 것이다. 전기를 광으로 변환해서 신호를 전송하기 때문에, 입·출력 간을 전기적으로 절연하는 것, 무접점이기 때문에 접점마모가 없는 점 등의 특징이 있다.The relay (relay) generally refers to a device that performs the opening and closing of a circuit when a current, voltage, power, or the like exceeds or decreases a preset value. The photo relay is composed of three types of elements, an input side light emitting element and an output side light receiving element + MOSFET. The photo relay receives light from an input light emitting element (LED) and converts the light to an output light receiving element (photodiode) to a voltage. The voltage becomes a gate voltage to drive a MOSFET. The signal is transmitted by converting electricity into light, so that the input and output are electrically insulated from each other.

솔리드스테이트 릴레이는 반도체소자로 구성된 무접점 릴레이로서, 고속 제어성이나 고내구성에 특징이 있다.Solid state relays are solid-state relays composed of semiconductor devices, and are characterized by high speed controllability and high durability.

도 36에 도시된 실시예에서는, 기계적 동작에 의한 것이 아니라 전기적으로 동작이 수행되기 때문에, 제어 프로그램 등에 의해 자동적으로 회로의 개폐를 실행할 수 있다고 하는 효과가 있다.In the embodiment shown in Fig. 36, since the operation is performed electrically instead of by mechanical operation, there is an effect that the circuit can be opened and closed automatically by a control program or the like.

도 36에서는, 릴레이(56)가 제어신호에 의해 동작하는 것을 나타내고 있다. 이 경우, 휴대기기(1)의 안테나 스위치 버튼(45)을 조작함으로써, 예컨대 CPU를 매개로 릴레이(56)를 온·오프하는 조작으로 된다.36 shows that the relay 56 operates by a control signal. In this case, by operating the antenna switch button 45 of the portable device 1, it becomes an operation which turns on / off the relay 56 via CPU, for example.

본 발명의 휴대기기(1)의 실시예 6-3에서는, 도 37과 같이 안테나코일(11)과 UIM(2)의 접촉단자판(2t)의 C4단자(C8단자 측이라도 좋음) 사이에 인가되는 전압에 따라 용량이 변화하는 배리캡(Variable Capacitance: 가변용량) 다이오드(57)를 설치하고, C8단자 측을 접지시킨다. 구체적으로는, 예컨대 일본국 마츠시타덴키산교 가부시키가이샤 제품인 「MA2S374」 등의 배리캡 다이오드를 사용할 수 있다.In the embodiment 6-3 of the mobile device 1 of the present invention, as shown in FIG. 37, it is applied between the antenna coil 11 and the C4 terminal (may be the C8 terminal side) of the contact terminal plate 2t of the UIM 2. A variable capacitive diode 57 whose capacitance varies with voltage is provided, and the C8 terminal side is grounded. Specifically, for example, a barrier cap diode such as "MA2S374" manufactured by Matsushita Denki Sangyo Co., Ltd., can be used.

이 실시예에서는 제어전압을 변화시킴으로써, 용량이 변화하고 공진주파수가 어긋나서 비접촉통신의 실행여부를 제어할 수 있게 된다. 한편으로, 휴대기기의 특성에 맞는 공진주파수의 미조정이 부품의 변경 등을 하지 않고 가능하게 된다고 하는 새로운 효과도 발생하게 된다.In this embodiment, by changing the control voltage, it is possible to control whether or not non-contact communication is performed due to a change in capacitance and a shift in resonant frequency. On the other hand, a new effect arises that fine adjustment of the resonant frequency in accordance with the characteristics of the portable device can be performed without changing parts.

이 경우, 휴대기기(1)의 안테나 스위치 버튼(45)의 조작은, 예컨대 CPU를 매개로 배리캡 다이오드(57)에 대한 제어신호의 온·오프 조작으로 된다.In this case, the operation of the antenna switch button 45 of the portable device 1 is the on / off operation of the control signal to the varicap diode 57 via the CPU, for example.

본 발명의 휴대기기(1)의 실시예 6-4에서는, 도 38과 같이 안테나코일(11)과 UIM(2)의 접촉단자판(2t)의 C4단자의 게이트에 디지털 포텐션미터 또는 가변저항기(58)가 설치되어 있다. 구체적으로는, 예컨대 MAXIM사 제품인 「MAX5491」 등의 디지털 포텐션미터를 사용할 수 있다.In Example 6-4 of the portable device 1 of the present invention, as shown in Fig. 38, a digital potentiometer or a variable resistor (A) is connected to the gate of the C4 terminal of the contact terminal plate 2t of the antenna coil 11 and the UIM 2. 58) is installed. Specifically, for example, a digital potentiometer such as "MAX5491" manufactured by MAXIM Corporation can be used.

이 실시예에서는, 제어신호에 의해 디지털 포텐션미터 또는 가변저항기(58)에서의 저항값을 변화시킴으로써, 안테나코일(11)의 Q값(공진회로의 공진의 날카로움을 나타내는 값)이 변경되어 비접촉통신의 실행여부를 제어할 수 있다.In this embodiment, by changing the resistance value in the digital potentiometer or the variable resistor 58 in accordance with the control signal, the Q value (value representing the sharpness of the resonance of the resonance circuit) of the antenna coil 11 is changed to make no contact. You can control the execution of communication.

이 경우, 휴대기기(1)의 안테나 스위치 버튼(45)의 조작은, 예컨대 CPU를 매개로 디지털 포텐션미터(58)에 대한 제어신호의 온·오프 조작으로 된다.In this case, the operation of the antenna switch button 45 of the portable device 1 is the on / off operation of the control signal to the digital potentiometer 58 via the CPU, for example.

이제까지 나타낸 상기 실시예 6-2, 6-3, 6-4에서는, 스위치조작의 신호를 CPU를 매개로 릴레이 등의 본 발명의 기능인 온·오프 조작으로 하고 있으나, CPU를 매개로 하지 않고 조작스위치가 직접 당해 회로로 제어신호를 송신해서 기능시키는 것이 가능한 바, CPU를 매개로 할 것인지 여부는 절대적인 요건이 아님을 쉽게 유추할 수 있을 것이다.In Examples 6-2, 6-3, and 6-4 described above, the signal of the switch operation is an on / off operation that is a function of the present invention, such as a relay, via a CPU. It is possible to infer that the control signal is directly transmitted to the circuit to function, and it can be easily inferred that it is not an absolute requirement whether or not to use the CPU as an intermediary.

다음에는, 휴대기기(1)의 전체 구성에 대해 설명한다.Next, the overall configuration of the mobile device 1 will be described.

도 39는 휴대기기(1)의 전체 구성의 일례를 나타낸 도면으로서, 휴대기기(1)는 케이스(1a)와, 이 케이스(1a)에 설치된 액정 디스플레이(4), 지문센서(5) 및, USB 수용 소켓(25)을 구비하고 있다. 도 39a는 휴대기기(1)의 외관 사시도, 도 39b는 휴대기기(1)의 UIM(2)를 장착한 부분의 횡단면도이다.39 shows an example of the overall configuration of the mobile device 1, wherein the mobile device 1 includes a case 1a, a liquid crystal display 4 provided with the case 1a, a fingerprint sensor 5, A USB accommodating socket 25 is provided. FIG. 39A is an external perspective view of the mobile device 1, and FIG. 39B is a cross-sectional view of a portion in which the UIM 2 of the mobile device 1 is mounted.

도 39a에 도시된 바와 같이, 휴대기기(1)는 케이스(1a)의 오른쪽 단부에 있는 삽입구(15)를 갖고서, 이 삽입구(15)로부터 UIM(2)를 착탈가능하게 삽입할 수 있도록 되어 있다. 또, 휴대기기(1)는 본체 표면에 액정 디스플레이(4)를 갖고 있어, UIM(2)가 보유하는 각종 정보표시가 가능하게 된다.As shown in FIG. 39A, the mobile device 1 has an insertion opening 15 at the right end of the case 1a, and is capable of detachably inserting the UIM 2 from the insertion opening 15. . In addition, the portable device 1 has a liquid crystal display 4 on the surface of the main body, so that various types of information displayed by the UIM 2 can be displayed.

또, 케이스(1a)의 왼쪽에 USB 수용 소켓(암몰드; 25)을 설치해 둠으로써, USB 케이블을 접속해서 PC 등에 접속가능하게 된다. PC 등과의 접속을 위해서는 볼록한 모양으로 돌출한 USB 컨넥터를 이용해도 좋다.In addition, by providing the USB accommodating socket (female mold) 25 on the left side of the case 1a, the USB cable can be connected and connected to a PC or the like. To connect to a PC, you can use a convex USB connector.

또한 더욱이, 케이스(1a)의 표면에 지문센서(5)를 설치해서, PC 등에 접속해서 사용하는 경우의 액세스권한 인증을 할 수 있도록 해도 좋다.Furthermore, the fingerprint sensor 5 may be provided on the surface of the case 1a so that access authority authentication in the case of connecting and using a PC or the like may be performed.

휴대기기(1)의 상부면에 있는 스위치 버튼(41)은 전원의 온·오프 버튼이고, 스위치 버튼(43, 43a)은 표시선택이나 동작결정을 하기 위한 것이다. 또, 전원 슬라이드 스위치(44)는 전원상태를 록크하기 위한 것이다. 휴대기기(1)의 케이스(1a)의 윗덮개부(18)에 있는 버튼은, 본 발명에 따른 비접촉통신 금지수단을 동작시키기 위한 안테나 스위치 버튼(45)이다.The switch button 41 on the upper surface of the portable device 1 is an on / off button for power, and the switch buttons 43 and 43a are for display selection and operation decision. The power supply slide switch 44 is for locking the power supply state. The button on the top cover portion 18 of the case 1a of the portable device 1 is an antenna switch button 45 for operating the contactless prohibiting means according to the present invention.

한편, 각 전원 슬라이드 스위치(44), 스위치 버튼(41, 43, 43a)은 휴대기기(1)의 구성이나 디자인에 따라 적절히 배치하면 좋다.In addition, what is necessary is just to arrange | position each power slide switch 44 and switch button 41, 43, 43a suitably according to the structure and design of the portable apparatus 1. As shown in FIG.

도 39b의 단면도에 도시된 바와 같이, 휴대기기(1)의 오른쪽으로부터 삽입된 UIM(2)는, 휴대기기(1) 내의 UIM용 단자판(12)의 아래쪽에서 정지해서 고정되도록 되어 있다.As shown in the cross-sectional view of FIG. 39B, the UIM 2 inserted from the right side of the portable device 1 is fixed to the bottom of the UIM terminal plate 12 in the portable device 1.

통상, 휴대기기(1)의 케이스(1a)는, 윗덮개부(18)와 아래쪽 케이스부(19)로 구성되고, 케이스(1a)의 내부에는 회로기판(도시되지 않음), 단자판(12), 안테나코일(11), 배터리(도시되지 않음)가 설치되어 있다.Usually, the case 1a of the portable device 1 is comprised of the upper cover part 18 and the lower case part 19, The circuit board (not shown) and the terminal board 12 inside the case 1a. , Antenna coil 11 and a battery (not shown) are installed.

안테나코일(11)은 UIM용 단자판(12)을 매개로 UIM(2)의 접촉단자판(2t)의 C4, C8단자에 접속한다. 또, 케이스(1a)의 좌단 측에는 USB 수용 소켓(25)이 설치되어 있다.The antenna coil 11 is connected to the terminals C4 and C8 of the contact terminal plate 2t of the UIM 2 via the terminal plate 12 for the UIM. Moreover, the USB accommodating socket 25 is provided in the left end side of the case 1a.

UIM용 단자판(12)은, UIM(2)의 접촉단자판(2t)의 8단자와 도시되어 있지 않은 컨택트핀을 매개로 접속된다. UIM용 단자판(12)은, 예비단자로 되어 있는 C4와 C8단자가 휴대기기(1)의 케이스(1a) 내의 권선 안테나코일(11)에 접속되어 있다. 이 안테나코일(11)과 단자판(12)의 C4 또는 C8단자를 접속하는 회로에는 비접촉통신 금지수단이 설치되어 있다.The terminal plate 12 for UIM is connected to 8 terminals of the contact terminal board 2t of the UIM 2 via contact pins not shown. In the terminal plate 12 for UIM, C4 and C8 terminals which are spare terminals are connected to the winding antenna coil 11 in the case 1a of the portable apparatus 1. As shown in FIG. The circuit for connecting the antenna coil 11 and the C4 or C8 terminals of the terminal plate 12 is provided with noncontact communication prohibition means.

안테나코일(11)은 ISO14443에 준거한 비접촉통신을 행하기 위한 것이다. 그에 따라, UIM(2) 자체가 안테나코일을 가지지 않은 경우라도, 당해 안테나코일(11)을 통해 비접촉통신을 할 수 있게 된다.The antenna coil 11 is for conducting contactless communication in accordance with ISO14443. Accordingly, even when the UIM 2 itself does not have an antenna coil, non-contact communication can be performed through the antenna coil 11.

도 40은 본 발명의 휴대기기의 블럭도이지만, 실시예 6-1의 경우를 나타내고 있다.Fig. 40 is a block diagram of the mobile device of the present invention, but shows the case of Example 6-1.

본 발명의 휴대기기(1)는, 도 40에 도시된 바와 같이 휴대기기(1)의 전체를 제어하는 제어용 IC칩(3)을 갖고 있다. 이 제어용 IC칩(3)은 CPU와 메모리를 가짐과 더불어, ISO7816 드라이버(31)와 액정 디스플레이 구동용의 액정 드라이버(32), 또는 지문센서 드라이버(도시되지 않음)를 갖고 있다.The portable device 1 of the present invention has a control IC chip 3 for controlling the entire portable device 1 as shown in FIG. This control IC chip 3 has a CPU and a memory, and has an ISO7816 driver 31, a liquid crystal driver 32 for driving a liquid crystal display, or a fingerprint sensor driver (not shown).

UIM(2)으로부터의 신호는, UIM용 단자판(12)과 릴레이(9)를 매개로 제어용 IC칩(3)으로 보내진다. UIM(2)은, 어플리케이션의 예로서 전자머니와 전자티켓을 구비하도록 도시되어 있으나, 이들에 한정되는 것은 아니다.The signal from the UIM 2 is sent to the control IC chip 3 via the UIM terminal board 12 and the relay 9. The UIM 2 is illustrated as having an electronic money and an electronic ticket as an example of an application, but is not limited thereto.

안테나코일(11)은 케이싱의 윗덮개부(18)나 아래쪽 케이스부(19)의 내주 등에 따르도록 배선될 수 있으나, 외부기기와의 비접촉통신기능을 높이기 위해서는 액정 디스플레이(4)와 반대측 면의 아래쪽 케이스부(19) 내에 설치하는 것이 바람직하다. 이 안테나선은, 직경 O.3mm 정도의 피복동선을 이용하여 8회 권회(8턴) 정도로 할 수가 있다.The antenna coil 11 may be wired so as to conform to the inner circumference of the upper cover portion 18 or the lower case portion 19 of the casing, but in order to enhance the non-contact communication function with the external device, It is preferable to install in the lower case part 19. As shown in FIG. This antenna line can be made about 8 turns (8 turns) using the coated copper wire about diameter 0.3mm.

비접촉통신 금지수단은 안테나코일(11)과 단자판(12)의 C4, C8단자 사이에 설치된다. 도 40에 도시된 실시예 6-1의 경우는, 스위치회로(55)를 안테나코일(11)과 단자판(12)의 C8단자 사이에 설치하고 있다. 기계적 조작스위치의 경우, 스위치회로(55)와 안테나 스위치 버튼(45)은 통상 일체로 형성된다.Non-contact communication prohibition means is provided between the antenna coil 11 and the terminal C4, C8 of the terminal plate 12. In the case of Example 6-1 shown in FIG. 40, the switch circuit 55 is provided between the antenna coil 11 and the C8 terminal of the terminal plate 12. As shown in FIG. In the case of a mechanical operation switch, the switch circuit 55 and the antenna switch button 45 are usually formed integrally.

도 41은 마찬가지로 본 발명의 휴대기기의 블럭도이지만, 실시예 6-2, 6-3, 6-4의 경우를 나타내고 있다. 이들 실시예의 경우는, 제어용 IC칩(3)의 CPU로부터 제어신호(S)가 릴레이, 포토 릴레이, 솔리드스테이트 릴레이(56), 배리캡 다이오드(57), 디지털 포텐션미터, 가변저항기(58) 등으로 송신되지만, 안테나 스위치 버튼(45)은 IC칩(3)으로부터의 제어신호(S)를 온·오프한다.Fig. 41 is similarly a block diagram of the mobile device of the present invention, but shows the case of the embodiments 6-2, 6-3, and 6-4. In the case of these embodiments, the control signal S is transferred from the CPU of the control IC chip 3 to the relay, the photo relay, the solid state relay 56, the vari cap diode 57, the digital potentiometer and the variable resistor 58. The antenna switch button 45 turns on and off the control signal S from the IC chip 3, although it is transmitted by the light source or the like.

안테나 스위치 버튼(45) 자체는, 기계적인 것에 한정되지 않고, 당해 제어신호를 온·오프할 수 있는 것이면 특별히 한정되지 않는다. 안테나 스위치 버튼(45)의 압압시 등에만 제어신호가 온 또는 오프되는 것이어도 좋고, 안테나 스위치 버튼(45)의 압압 등에 의해 온·오프상태가 절환되는 것이어도 좋다.The antenna switch button 45 itself is not limited to a mechanical one, and is not particularly limited as long as the control signal can be turned on and off. The control signal may be turned on or off only when the antenna switch button 45 is pressed or the like, or the on / off state may be switched by pressing the antenna switch button 45 or the like.

안테나코일(11)과 단자판(12)의 C4 또는 C8단자 사이에는, 릴레이, 포토릴레이, 솔리드스테이트 릴레리(56), 배리캡 다이오드(57), 디지털 포텐션미터, 가변저항기(58) 등이 설치된다.Between the antenna coil 11 and the C4 or C8 terminals of the terminal plate 12, a relay, a photo relay, a solid state relay 56, a varicap diode 57, a digital potentiometer, a variable resistor 58, and the like are provided. Is installed.

도 40에서 설명한 휴대기기(1)의 그 밖의 구성이나 다음에 설명하는 구성은 각 실시예에 있어서 공통하는 것이다.Other configurations of the mobile device 1 described with reference to FIG. 40 and the configurations described below are common to each embodiment.

휴대기기(1)의 케이스(1a) 내에는 액정 디스플레이(4)나 제어용 IC칩(3) 등의 구동전원으로서 배터리(2차 전지; 7)가 설치되어 있다. 배터리(7)로는 리튬이온전지나 리튬폴리머전지가 바람직하게 사용될 수 있다. 리튬 2차 전지라면, 3.3∼3.5V 정도의 전압을 공급할 수가 있기 때문에, IC칩(3)을 구동하는 전력공급을 확실히 실시할 수가 있게 된다.In the case 1a of the portable device 1, a battery (secondary battery) 7 is provided as a driving power source such as the liquid crystal display 4 or the control IC chip 3. As the battery 7, a lithium ion battery or a lithium polymer battery can be preferably used. Since the lithium secondary battery can supply a voltage of about 3.3 to 3.5 V, power supply for driving the IC chip 3 can be reliably performed.

휴대기기(1)가 USB 수용 소켓(25) 또는 USB 컨넥터를 가진 경우에는, PC 등의 USB 포트에 접속할 수 있다. 수용 소켓의 경우는 케이블을 접속하는 것으로 된다.When the portable device 1 has a USB accommodating socket 25 or a USB connector, it can be connected to a USB port such as a PC. In the case of the accommodating socket, a cable is connected.

USB 케이블은 2개의 데이터 핀(D+, D-)과 전력 핀 및 접지 핀을 구비하는 것이 알려져 있다. 2개의 데이터 핀은, USB/7816 변환 IC칩(10)에 접속되고, 그 신호는 USB/ISO7816 변환 IC칩(10)과 릴레이(9)를 매개로 제어용 IC칩(3)으로 전달된다. 전력 핀으로부터는 버스파워가 공급된다.USB cables are known to have two data pins (D +, D-), a power pin, and a ground pin. Two data pins are connected to the USB / 7816 conversion IC chip 10, and the signal is transmitted to the control IC chip 3 via the USB / ISO7816 conversion IC chip 10 and the relay 9. Bus power is supplied from the power pins.

즉, USB 수용 소켓(25) 또는 컨넥터가 PC 등에 접속되어 있는 경우는, 구동용 전원을 PC 등으로부터 공급받도록 할 수가 있다. 버스파워로 배터리(7)를 충전하도록 해도 좋다.That is, when the USB accommodating socket 25 or the connector is connected to a PC or the like, the driving power can be supplied from the PC or the like. The battery 7 may be charged by bus power.

액정 디스플레이(4)로는, 크기 25mm×40mm 정도, 두께 1.0mm×1.5mm 정도의 것을 사용할 수 있다. 4행×전각 10문자 표시에서 소비전류는 O.3mA 정도로 된다. 지문센서(5)로는 정전용량형 지문센서를 바람직하게 사용할 수 있다. 지문센서(5)가 평면형인 경우는, 지문에 의한 요철(凹凸)을 전기신호로서 검출하는 센서로 기능하고, 지문에 의한 요철을 전기신호로 변환하는 센서회로를 다수개 갖추고서 손가락을 접촉시킴으로써 지문을 판독하는 것이다. 스위프형 지문센서(5)는, 수 mm 폭의 센서면을 손가락을 스치게 하는 것만으로 지문의 특징을 인식하게 된다. 휴대기기를 소형화하기 위해서는, 스위프형 지문센서가 바람직하다.As the liquid crystal display 4, a size of about 25 mm x 40 mm and a thickness of about 1.0 mm x 1.5 mm can be used. In 4 lines x 10 characters each, the current consumption is about 0.3 mA. As the fingerprint sensor 5, a capacitive fingerprint sensor can be preferably used. When the fingerprint sensor 5 is planar, it functions as a sensor that detects irregularities caused by fingerprints as an electrical signal, and is provided with a plurality of sensor circuits for converting irregularities caused by fingerprints into an electrical signal. To read a fingerprint. The swept fingerprint sensor 5 recognizes the characteristics of the fingerprint only by swiping a finger across the sensor surface of several mm width. In order to miniaturize a portable device, a swept fingerprint sensor is preferable.

휴대기기(1)의 케이스(1a)는, 폴리카보네이트 수지 등의 사출성형에 의한 윗덮개부(18)와 아래쪽 케이스부(19)로 구성되어 있다.The case 1a of the portable device 1 is composed of an upper lid portion 18 and a lower case portion 19 by injection molding of polycarbonate resin or the like.

액정 디스플레이(4)를 가진 휴대기기(1) 케이스(1a)의 전체 사이즈는, 폭 30∼40mm, 길이 40∼80mm, 두께 8∼20mm 정도로 구성할 수 있다.The overall size of the case 1a of the portable device 1 having the liquid crystal display 4 can be configured to have a width of 30 to 40 mm, a length of 40 to 80 mm, and a thickness of about 8 to 20 mm.

이상 설명한 바와 같이 본 발명의 휴대기기는, 안테나 부분과 UIM 사이를 접속하는 회로에 설치된 통신금지수단을 갖고 있기 때문에, UIM의 비접촉통신기능이 동작하는 장면으로 되더라도, 이용자가 통신금지수단을 해제해서 의도적으로 조작하지 않는 한 동작하는 일이 없다. 즉, 의도하지 않은 거래나 결제처리를 부주의하게 하는 일이 없기 때문에, 당해 처리를 취소하는 처치를 하는 번거로움이 생기지 않게 된다.As described above, the portable device of the present invention has a communication prohibition means provided in a circuit connecting the antenna portion and the UIM, so that the user cancels the communication prohibition means even when the scene of the non-contact communication function of the UIM is operated. It doesn't work unless you intentionally operate it. In other words, there is no inadvertent transaction or settlement processing, so that the trouble of canceling the processing is avoided.

또, 비접촉통신 금지수단의 온·오프가 간단한 스위치조작으로 가능하게 되기 때문에, 누구라도 쉽게 사용할 수가 있게 된다.In addition, since the on / off of the non-contact communication prohibition means can be enabled by a simple switch operation, anyone can easily use it.

Claims (33)

내부에 정보를 가진 SIM을 착탈자재로 장착하는 SIM 리더라이터에 있어서,In the SIM reader / writer which attaches and detaches SIM which has information inside, 케이스와,With the case, 이 케이스 내에 설치되어 SIM에 접속되는 단자판,A terminal plate installed in the case and connected to the SIM, 상기 케이스 내에 설치되어 상기 단자판에 접속된 안테나코일,An antenna coil installed in the case and connected to the terminal plate; 상기 케이스 내에 설치되어 상기 단자판에 접속된 제어용 IC칩 및,A control IC chip installed in the case and connected to the terminal plate; 상기 케이스의 표면에 설치되어 상기 제어용 IC칩에 의해 제어되는 디스플레이를 갖추어 구성되되,Installed on the surface of the case is configured to have a display controlled by the control IC chip, 단자판이 ISO14443에 준거한 비접촉통신을 수행하는 2개의 예비단자(C4, C8)와, 다른 5개의 단자(C1, C2, C3, C5, C7)을 갖고, 상기 예비단자(C4, C8)가 안테나 코일에 접속되며, 상기 다른 5개의 단자(C1, C2, C3, C5, C7)는 제어용 IC칩에 접속되고,The terminal plate has two preliminary terminals C4 and C8 for performing contactless communication in accordance with ISO14443, and five other terminals C1, C2, C3, C5 and C7, and the preliminary terminals C4 and C8 are antennas. The other five terminals C1, C2, C3, C5, and C7 are connected to a control IC chip, 디스플레이가 SIM 내부의 정보를 표시하도록 된 것을 특징으로 하는 SIM 리더라이터.And a display adapted to display information inside the SIM. 제1항에 있어서, 상기 케이스에 제어용 IC칩에 접속된 지문센서를 설치한 것을 특징으로 하는 SIM 리더라이터.The SIM reader / writer according to claim 1, wherein a fingerprint sensor connected to a control IC chip is provided in the case. 제1항에 있어서, 상기 케이스에 제어용 IC칩에 접속된 근거리간 통신수단을 설치한 것을 특징으로 하는 SIM 리더라이터.The SIM reader / writer according to claim 1, wherein the short-range communication means connected to the control IC chip is provided in the case. 제1항에 있어서, 상기 케이스에 USB용 컨넥터를 설치하고, 상기 케이스 내에 USB용 컨넥터에 접속된 USB/접촉형 IC카드 통신 인터페이스 변환기능을 가진 IC칩을 설치한 것을 특징으로 하는 SIM 리더라이터.The SIM reader / writer according to claim 1, wherein a USB connector is provided in the case, and an IC chip having a USB / contact type IC card communication interface conversion function connected to the USB connector is installed in the case. 제1항에 있어서, 상기 SIM이 접촉과 비접촉 인터페이스를 가진 것을 특징으로 하는 SIM 리더라이터.The SIM reader / writer of claim 1, wherein said SIM has a contact and a contactless interface. 제1항에 있어서, 상기 SIM이 멀티 어플리케이션을 탑재할 수 있도록 된 것을 특징으로 하는 SIM 리더라이터.The SIM reader / writer according to claim 1, wherein the SIM is capable of mounting multiple applications. 제3항에 있어서, 상기 근거리간 통신수단이 블루투스로 이루어져 있는 것을 특징으로 하는 SIM 리더라이터.4. The SIM reader / writer according to claim 3, wherein the short range communication means is made of Bluetooth. 제1항에 있어서, 상기 케이스에 제어용 IC칩에 접속된 적외선 발신부를 설치한 것을 특징으로 하는 SIM 리더라이터.The SIM reader / writer according to claim 1, wherein an infrared ray transmitting unit connected to the control IC chip is provided in the case. 제1항에 있어서, 상기 케이스 내에 단자판을 보유하는 회로기판을 설치하되,According to claim 1, Wherein the circuit board for holding the terminal plate in the case, 안테나코일의 전주길이의 50% 이상이 평면으로부터 보아 회로기판과 겹치지 않도록 된 것을 특징으로 하는 SIM 리더라이터.SIM reader writer, characterized in that at least 50% of the length of the pole of the antenna coil does not overlap with the circuit board from the plan view. 제9항에 있어서, 상기 안테나코일 중 평면으로부터 보아 회로기판과 겹치지 않는 부분의 내주와 회로기판의 외주 사이의 공간의 폭이 O.5mm∼3.0mm인 것을 특징으로 하는 SIM 리더라이터.The SIM reader / writer according to claim 9, wherein the width of the space between the inner circumference of the portion of the antenna coil that does not overlap the circuit board and the outer circumference of the circuit board is 0.5 mm to 3.0 mm. 제9항에 있어서, 상기 안테나코일이 배설된 평면과 회로기판이 배설된 평면 사이의 간극이 O.5mm∼3.0mm인 것을 특징으로 하는 SIM 리더라이터.The SIM reader / writer according to claim 9, wherein a gap between the plane on which the antenna coil is disposed and the plane on which the circuit board is disposed is 0.5 mm to 3.0 mm. 제9항에 있어서, 상기 케이스에 USB용 컨넥터를 설치하고, 상기 케이스 내에 USB용 컨넥터에 접속된 USB/접촉형 IC카드 통신 인터페이스 변환기능을 가진 IC칩을 설치한 것을 특징으로 하는 SIM 리더라이터.The SIM reader / writer according to claim 9, wherein a USB connector is provided in the case, and an IC chip having a USB / contact type IC card communication interface conversion function connected to the USB connector is installed in the case. 제1항에 있어서, 상기 케이스 중 디스플레이와는 반대측 면에, 쿠션성 소재 가 설치되어 있는 것을 특징으로 하는 SIM 리더라이터. The SIM reader / writer according to claim 1, wherein cushioning material is provided on a surface of the case opposite to the display. 제13항에 있어서, 상기 쿠션성 소재가 고무인 것을 특징으로 하는 SIM 리더라이터.The SIM reader / writer according to claim 13, wherein the cushion material is rubber. 제13항에 있어서, 상기 쿠션성 소재가 폴리우레탄 수지인 것을 특징으로 하는 SIM 리더라이터.The SIM reader / writer according to claim 13, wherein the cushion material is a polyurethane resin. 제13항에 있어서, 상기 디스플레이가 액정 디스플레이인 것을 특징으로 하는 SIM 리더라이터.The SIM reader / writer according to claim 13, wherein said display is a liquid crystal display. 제13항에 있어서, 상기 케이스에 USB용 컨넥터를 설치하고, 상기 케이스 내에 상기 USB용 컨넥터에 접속된 USB/접촉형 IC카드 통신 인터페이스 변환기능을 가진 IC칩을 설치한 것을 특징으로 하는 SIM 리더라이터.The SIM reader / writer according to claim 13, wherein a USB connector is installed in the case, and an IC chip having a USB / contact type IC card communication interface conversion function connected to the USB connector is installed in the case. . 삭제delete 삭제delete 삭제delete 삭제delete 제1항에 있어서, 상기 케이스 내에 디스플레이 구동용 2차 전지가 설치되되, 이 2차 전지가 케이스에 설치된 USB 컨넥터를 매개로 외부로부터 충전가능하게 되어 있는 것을 특징으로 하는 SIM 리더라이터.The SIM reader / writer according to claim 1, wherein a display driving secondary battery is installed in the case, and the secondary battery is chargeable from the outside through a USB connector installed in the case. 제22항에 있어서, 상기 2차 전지가 리튬이온전지로 이루어진 것을 특징으로 하는 SIM 리더라이터.23. The SIM reader / writer according to claim 22, wherein said secondary battery is made of a lithium ion battery. 제1항에 있어서, 상기 케이스 내에 비접촉통신 금지수단을 설치한 것을 특징으로 하는 SIM 리더라이터.The SIM reader / writer according to claim 1, wherein a non-contact communication prohibiting means is provided in said case. 제24항에 있어서, 상기 비접촉통신 금지수단이 단자판과 안테나코일 사이에 설치된 스위치회로를 갖춘 것을 특징으로 하는 SIM 리더라이터.25. The SIM reader / writer according to claim 24, wherein the non-contact communication prohibiting means has a switch circuit provided between the terminal plate and the antenna coil. 제24항에 있어서, 상기 비접촉통신 금지수단이, 단자판과 안테나코일 사이에 설치된 릴레이, 포토 릴레이, 솔리드스테이트 릴레이 중 어느 하나를 갖춘 것을 특 징으로 하는 SIM 리더라이터.The SIM reader / writer according to claim 24, wherein the contactless prohibiting means comprises any one of a relay, a photo relay, and a solid state relay provided between the terminal plate and the antenna coil. 제24항에 있어서, 상기 비접촉통신 금지수단이, 배리캡 다이오드에 의해 안테나코일의 공진주파수를 바꾸도록 된 것을 특징으로 하는 SIM 리더라이터.25. The SIM reader / writer according to claim 24, wherein the non-contact communication inhibiting means changes the resonance frequency of the antenna coil by means of a barricap diode. 제24항에 있어서, 상기 비접촉통신 금지수단이, 디지털 포텐션미터 또는 가변저항기에 의해 안테나코일의 Q값을 바꾸도록 된 것을 특징으로 하는 SIM 리더라이터.25. The SIM reader / writer according to claim 24, wherein the contactless prohibiting means changes the Q value of the antenna coil by means of a digital potentiometer or a variable resistor. 제25항에 있어서, 상기 스위치회로가 기계적 조작스위치에 의해 조작되도록 된 것을 특징으로 하는 SIM 리더라이터.27. The SIM reader / writer according to claim 25, wherein said switch circuit is adapted to be operated by a mechanical operation switch. 제29항에 있어서, 상기 기계적 조작스위치가 푸쉬 스위치로 이루어져, 스위치가 눌러진 상태에서 비접촉통신이 가능하게 되도록 된 것을 특징으로 하는 SIM 리더라이터.30. The SIM reader / writer according to claim 29, wherein the mechanical operation switch is a push switch, so that contactless communication is possible while the switch is pressed. 제29항에 있어서, 상기 기계적 조작스위치가 슬라이드 스위치로 이루어져, 스위치를 조작할 때마다 비접촉통신의 온·오프상태가 절환되도록 된 것을 특징으로 하는 SIM 리더라이터.The SIM reader / writer according to claim 29, wherein the mechanical operation switch is a slide switch, and the on / off state of non-contact communication is switched every time the switch is operated. 제24항에 있어서, 상기 케이스에 제어용 IC칩에 접속된 지문센서를 설치한 것을 특징으로 하는 SIM 리더라이터.25. The SIM reader / writer according to claim 24, wherein a fingerprint sensor connected to a control IC chip is provided in the case. 제24항에 있어서, 상기 케이스에 USB용 컨넥터를 설치하고, 상기 케이스 내에 USB용 컨넥터에 접속된 USB/접촉형 IC카드 통신 인터페이스 변환기능을 가진 IC칩을 설치한 것을 특징으로 하는 SIM 리더라이터.The SIM reader / writer according to claim 24, wherein a USB connector is provided in the case, and an IC chip having a USB / contact type IC card communication interface conversion function connected to the USB connector is installed in the case.
KR1020057014949A 2003-02-25 2004-02-25 Sim reader/writer Expired - Fee Related KR100764120B1 (en)

Applications Claiming Priority (12)

Application Number Priority Date Filing Date Title
JPJP-P-2003-00046656 2003-02-25
JP2003046656A JP4249506B2 (en) 2003-02-25 2003-02-25 SIM reader / writer
JP2003046657A JP4249507B2 (en) 2003-02-25 2003-02-25 SIM reader / writer with LCD
JPJP-P-2003-00046657 2003-02-25
JP2003389004A JP2005149357A (en) 2003-11-19 2003-11-19 UIM adapter
JPJP-P-2003-00389004 2003-11-19
JPJP-P-2003-00398333 2003-11-28
JP2003398333A JP2005157927A (en) 2003-11-28 2003-11-28 UIM reader / writer with LCD
JP2004009995A JP2005204188A (en) 2004-01-19 2004-01-19 Portable contactless communication device
JPJP-P-2004-00009995 2004-01-19
JP2004026216A JP2005222097A (en) 2004-02-03 2004-02-03 Portable device
JPJP-P-2004-00026216 2004-02-03

Publications (2)

Publication Number Publication Date
KR20060038355A KR20060038355A (en) 2006-05-03
KR100764120B1 true KR100764120B1 (en) 2007-10-09

Family

ID=32931719

Family Applications (1)

Application Number Title Priority Date Filing Date
KR1020057014949A Expired - Fee Related KR100764120B1 (en) 2003-02-25 2004-02-25 Sim reader/writer

Country Status (6)

Country Link
US (1) US7597259B2 (en)
EP (1) EP1600885B1 (en)
KR (1) KR100764120B1 (en)
AU (1) AU2004215827A1 (en)
DE (1) DE602004025452D1 (en)
WO (1) WO2004077345A1 (en)

Cited By (1)

* Cited by examiner, † Cited by third party
Publication number Priority date Publication date Assignee Title
KR101059531B1 (en) 2008-05-13 2011-08-26 주식회사 티비파트너스 Intelligent terminal

Families Citing this family (65)

* Cited by examiner, † Cited by third party
Publication number Priority date Publication date Assignee Title
US7757094B2 (en) * 2001-02-27 2010-07-13 Qualcomm Incorporated Power management for subscriber identity module
FI20030672A0 (en) * 2003-05-05 2003-05-05 Jari Ruuttu Mobile Phone Operating System
EP1883892A2 (en) * 2005-05-27 2008-02-06 DPD Patent Trust Ltd. Rfid reader with multiple interfaces
KR100728636B1 (en) * 2005-08-09 2007-06-15 (주)한창시스템 Secure NFC communication device and method supporting various security modules
US20070035452A1 (en) * 2005-08-09 2007-02-15 Hsin-Lung Lin Patch antenna having a universal serial bus (USB) connection port
JP2007156682A (en) * 2005-12-02 2007-06-21 Toshiba Corp Portable storage device
US11206664B2 (en) 2006-01-06 2021-12-21 Proxense, Llc Wireless network synchronization of cells and client devices on a network
WO2007101482A1 (en) * 2006-01-10 2007-09-13 Gemplus Electronic communication device able to communicate with an electronic module, corresponding electronic module and electronic system
JP4965151B2 (en) * 2006-04-11 2012-07-04 ルネサスエレクトロニクス株式会社 Solid-state imaging device
CH701169B1 (en) * 2006-10-09 2010-12-15 Legic Identsystems Ag Device for operation of a read / write device.
US7958291B2 (en) * 2006-10-10 2011-06-07 Atmel Rousset S.A.S. Supplemental communication interface
US20080099559A1 (en) * 2006-10-31 2008-05-01 Macronix International Co., Ltd. Dual Interface SIM Card Adapter with Detachable Antenna
US9269221B2 (en) 2006-11-13 2016-02-23 John J. Gobbi Configuration of interfaces for a location detection system and application
US8044813B1 (en) 2006-11-16 2011-10-25 Semiconductor Energy Laboratory Co., Ltd. Radio field intensity measurement device, and radio field intensity detector and game console using the same
EP2126779A4 (en) * 2006-12-15 2010-03-31 Bluebird Soft Co Ltd Rfid device and methods for controlling power supply according to connection with host and operation mode
DE602007011565D1 (en) 2007-03-06 2011-02-10 Vodafone Holding Gmbh Adapter for a subscriber module of a mobile terminal
JP4897525B2 (en) * 2007-03-16 2012-03-14 株式会社 日立ディスプレイズ Image display device
US7845568B2 (en) * 2007-05-09 2010-12-07 Atmel Rousset S.A.S. Managing power and timing in a smart card device
US20090053920A1 (en) * 2007-08-24 2009-02-26 Novatel Wireless, Inc. Electronic card arrangement
CN101584081B (en) * 2007-09-07 2013-02-27 松下电器产业株式会社 SIM card IC module and SIM card
US8070057B2 (en) 2007-09-12 2011-12-06 Devicefidelity, Inc. Switching between internal and external antennas
US9304555B2 (en) 2007-09-12 2016-04-05 Devicefidelity, Inc. Magnetically coupling radio frequency antennas
US8915447B2 (en) 2007-09-12 2014-12-23 Devicefidelity, Inc. Amplifying radio frequency signals
US9311766B2 (en) 2007-09-12 2016-04-12 Devicefidelity, Inc. Wireless communicating radio frequency signals
US8109444B2 (en) 2007-09-12 2012-02-07 Devicefidelity, Inc. Selectively switching antennas of transaction cards
CN102016874A (en) * 2007-12-10 2011-04-13 瑞萨电子株式会社 SIM adapter and SIM card
US7530823B1 (en) * 2008-01-07 2009-05-12 Sony Ericsson Mobile Communications Ab USB modem devices with a flip antenna and a retractable USB connector
US8838989B2 (en) * 2008-01-24 2014-09-16 Blackberry Limited Optimized biometric authentication method and system
US8508336B2 (en) 2008-02-14 2013-08-13 Proxense, Llc Proximity-based healthcare management system with automatic access to private information
TW200935319A (en) 2008-04-11 2009-08-16 Chant Sincere Co Ltd A card reader
DE102008018896A1 (en) * 2008-04-14 2009-10-15 T-Mobile International Ag Chip card with transmitting and receiving device and antenna for radio transmissions
EP2160052B1 (en) * 2008-09-01 2011-11-02 Vodafone Holding GmbH Method, system and adapter for connecting a plurality of devices
DE102008053098A1 (en) * 2008-10-24 2010-10-07 Giesecke & Devrient Gmbh Memory Card Reader
US20100115609A1 (en) * 2008-11-03 2010-05-06 At&T Mobility Ii Llc Device for accessing medical information
EP2192651A1 (en) * 2008-11-27 2010-06-02 Gemalto SA Radiofrequency communication device with separate antenna
CN201331794Y (en) * 2008-12-30 2009-10-21 深圳市江波龙电子有限公司 Card reader and mobile payment terminal
US9113845B2 (en) * 2009-01-08 2015-08-25 Given Imaging Ltd. Device and method for assembling in vivo sensing devices
TWI355576B (en) * 2009-02-20 2012-01-01 Quanta Comp Inc Electronic device
EP2261833A1 (en) * 2009-04-06 2010-12-15 Onsom, S.L. Automatic payment system for the urban parking phases of vehicles using radio frequency (RFID)
US8175746B2 (en) * 2009-06-29 2012-05-08 Carefusion 303, Inc. Weight-based dispensing system
US8538476B2 (en) * 2009-10-16 2013-09-17 Junior Besay Cellular network computer adaptation system
US9418205B2 (en) 2010-03-15 2016-08-16 Proxense, Llc Proximity-based system for automatic application or data access and item tracking
US8068011B1 (en) 2010-08-27 2011-11-29 Q Street, LLC System and method for interactive user-directed interfacing between handheld devices and RFID media
USD655708S1 (en) * 2010-11-30 2012-03-13 Archos USB device
US20120143707A1 (en) * 2010-12-07 2012-06-07 Deepak Jain Executing Reader Application
CN102622056B (en) * 2012-03-31 2016-05-11 惠州Tcl移动通信有限公司 The intelligent terminal of the replaceable radio communication device of a kind of user
WO2013150323A2 (en) * 2012-04-04 2013-10-10 Kiss Peter Connector and display device and a computer program product therefore
USD707682S1 (en) * 2012-12-05 2014-06-24 Logomotion, S.R.O. Memory card
US9647997B2 (en) 2013-03-13 2017-05-09 Nagrastar, Llc USB interface for performing transport I/O
USD729808S1 (en) 2013-03-13 2015-05-19 Nagrastar Llc Smart card interface
USD759022S1 (en) 2013-03-13 2016-06-14 Nagrastar Llc Smart card interface
US9888283B2 (en) 2013-03-13 2018-02-06 Nagrastar Llc Systems and methods for performing transport I/O
USD758372S1 (en) 2013-03-13 2016-06-07 Nagrastar Llc Smart card interface
DE202013003693U1 (en) 2013-04-04 2013-08-22 Certgate Gmbh Device with communication means and a receptacle for a chip card
US9405898B2 (en) 2013-05-10 2016-08-02 Proxense, Llc Secure element as a digital pocket
JP2015060392A (en) * 2013-09-18 2015-03-30 株式会社東芝 Ic card substrate, ic card manufacturing method, and ic card
WO2016018257A1 (en) * 2014-07-29 2016-02-04 Hewlett-Packard Development Company, L.P. Display device
USD780763S1 (en) 2015-03-20 2017-03-07 Nagrastar Llc Smart card interface
USD864968S1 (en) 2015-04-30 2019-10-29 Echostar Technologies L.L.C. Smart card interface
FR3038099A1 (en) * 2015-06-26 2016-12-30 Orange METHOD AND DEVICE FOR MANAGING NON-CONTACT APPLICATIONS
CN106557681A (en) * 2015-09-24 2017-04-05 国民技术股份有限公司 A kind of safety intelligent card and its using method
DE102015225275A1 (en) * 2015-12-15 2017-06-22 Bundesdruckerei Gmbh ID token with protected microcontroller
US10944221B2 (en) * 2018-09-05 2021-03-09 Assa Abloy Ab Systems and devices for authentication
US20230101220A1 (en) * 2021-09-27 2023-03-30 Real Identity Co., Ltd. Usb secure data storage device, system to authenticate the same and authenticating method of the same
KR102771174B1 (en) 2022-11-29 2025-02-26 (주)티엠에스피 Sim reader kit

Citations (3)

* Cited by examiner, † Cited by third party
Publication number Priority date Publication date Assignee Title
JP2002222442A (en) * 2001-01-26 2002-08-09 Denso Corp Automatic ticket examination system, portable telephone system, and ic tag
JP2002236892A (en) * 2001-02-08 2002-08-23 Dainippon Printing Co Ltd A contact / non-contact type IC chip, an electronic information recording medium on which the IC chip is mounted, and an electronic information recording medium control device.
US20030024996A1 (en) * 2001-07-31 2003-02-06 Koninklijke Philips Electronics N.V. Data carrier comprising an array of contacts

Family Cites Families (18)

* Cited by examiner, † Cited by third party
Publication number Priority date Publication date Assignee Title
JP3721195B2 (en) * 1995-03-15 2005-11-30 株式会社 日立製作所 IC card detection processing method and apparatus
JPH11154204A (en) * 1997-11-21 1999-06-08 Hitachi Ltd Contactless IC card reader / writer
FR2783336B1 (en) 1998-09-11 2001-10-12 Schlumberger Ind Sa DATA TRANSMISSION METHOD AND CARD FOR SUCH TRANSMISSION
DE19911416B4 (en) 1999-03-15 2005-02-10 Siemens Ag Pocket monitor for patient cards
GB2358991B (en) 1999-09-14 2002-02-13 Motorola Inc Wireless radio frequency peripheral interface for a cellular communication device
US6204818B1 (en) * 2000-02-01 2001-03-20 Auden Technology Mfg. Co., Ltd. Stretchable antenna for mobile phones
JP2002141986A (en) * 2000-08-25 2002-05-17 Nec Saitama Ltd Portable telephone set
US6883715B1 (en) * 2000-10-11 2005-04-26 Stmicroelectronics, Inc. Multi-mode smart card, system and associated methods
JP2002236901A (en) * 2001-02-08 2002-08-23 Dainippon Printing Co Ltd Electronic information recording medium and electronic information reading / writing device
JP2002284825A (en) 2001-03-23 2002-10-03 Mitsui Takeda Chemicals Inc Resin composition for laminate and laminate using the resin composition
JP2002300072A (en) 2001-03-30 2002-10-11 Hitachi Kokusai Electric Inc Transceiver for HF wireless line
US6973327B2 (en) * 2001-04-25 2005-12-06 Sony Corporation Communication module and communication apparatus having such a communication module
JP2002324220A (en) * 2001-04-25 2002-11-08 Sony Corp Communication device
JP2002374339A (en) * 2001-06-15 2002-12-26 Matsushita Electric Ind Co Ltd Electronic apparatus
JP2003030596A (en) * 2001-07-13 2003-01-31 Hitachi Ltd Storage device with logical channel management function
US20030153356A1 (en) * 2002-01-28 2003-08-14 Shih-Yuan Liu Mobile phone for multiple SIM cards
KR20040007056A (en) * 2002-07-16 2004-01-24 엘지전자 주식회사 A mobile phone with wireless modem
JP2007080162A (en) * 2005-09-16 2007-03-29 Lintec Corp Ic tag, ic tag reader/writer and ic tag using system

Patent Citations (3)

* Cited by examiner, † Cited by third party
Publication number Priority date Publication date Assignee Title
JP2002222442A (en) * 2001-01-26 2002-08-09 Denso Corp Automatic ticket examination system, portable telephone system, and ic tag
JP2002236892A (en) * 2001-02-08 2002-08-23 Dainippon Printing Co Ltd A contact / non-contact type IC chip, an electronic information recording medium on which the IC chip is mounted, and an electronic information recording medium control device.
US20030024996A1 (en) * 2001-07-31 2003-02-06 Koninklijke Philips Electronics N.V. Data carrier comprising an array of contacts

Cited By (1)

* Cited by examiner, † Cited by third party
Publication number Priority date Publication date Assignee Title
KR101059531B1 (en) 2008-05-13 2011-08-26 주식회사 티비파트너스 Intelligent terminal

Also Published As

Publication number Publication date
AU2004215827A1 (en) 2004-09-10
EP1600885B1 (en) 2010-02-10
KR20060038355A (en) 2006-05-03
EP1600885A4 (en) 2006-11-15
US20060155913A1 (en) 2006-07-13
US7597259B2 (en) 2009-10-06
DE602004025452D1 (en) 2010-03-25
WO2004077345A1 (en) 2004-09-10
EP1600885A1 (en) 2005-11-30

Similar Documents

Publication Publication Date Title
KR100764120B1 (en) Sim reader/writer
KR101027574B1 (en) SM, SM Holder, IC Module, IC Card and IC Card Holder
US7175084B2 (en) Integrated circuit card and case therefor
US8245944B2 (en) Assembly consisting of a micro-module and a reproducing device which is equipped with contact-free near-communication means
US20140375136A1 (en) Contactless Electronic Communication Device with Optional Auxiliary Power Source
CA2127611A1 (en) Portable radio frequency enclosure for a smart card
JP2005222097A (en) Portable device
KR100476157B1 (en) Smart Card Having Use Control Device
US20080277483A1 (en) Contactless IC card system with partible antenna
KR20000036900A (en) Handphone having radio frequency antenna
KR20060042195A (en) Electronics
JP4249506B2 (en) SIM reader / writer
JP2005204188A (en) Portable contactless communication device
JP2004118771A (en) SIM holder with USB interface and SIM
JP4249507B2 (en) SIM reader / writer with LCD
JP2005234838A (en) UIM adapter
KR200434239Y1 (en) Double Sided Antenna Antenna Transportation Card
JP2006227678A (en) 2-way IC card reader / writer
KR200196515Y1 (en) Apparatus for use limit of RF IC in portable telephone with noncontact type RF IC
US12050956B1 (en) Smart card reader
JP2005157927A (en) UIM reader / writer with LCD
KR200221781Y1 (en) Accessory for portable communication terminal having RF IC chip
KR200327318Y1 (en) Cellular phone battery equipped with non contcating smart IC chip module
CN213634645U (en) Portable financial terminal
KR100575783B1 (en) Loop antenna structure of portable terminal

Legal Events

Date Code Title Description
PA0105 International application

St.27 status event code: A-0-1-A10-A15-nap-PA0105

P11-X000 Amendment of application requested

St.27 status event code: A-2-2-P10-P11-nap-X000

P13-X000 Application amended

St.27 status event code: A-2-2-P10-P13-nap-X000

A201 Request for examination
PA0201 Request for examination

St.27 status event code: A-1-2-D10-D11-exm-PA0201

PG1501 Laying open of application

St.27 status event code: A-1-1-Q10-Q12-nap-PG1501

E902 Notification of reason for refusal
PE0902 Notice of grounds for rejection

St.27 status event code: A-1-2-D10-D21-exm-PE0902

T11-X000 Administrative time limit extension requested

St.27 status event code: U-3-3-T10-T11-oth-X000

T11-X000 Administrative time limit extension requested

St.27 status event code: U-3-3-T10-T11-oth-X000

E13-X000 Pre-grant limitation requested

St.27 status event code: A-2-3-E10-E13-lim-X000

P11-X000 Amendment of application requested

St.27 status event code: A-2-2-P10-P11-nap-X000

P13-X000 Application amended

St.27 status event code: A-2-2-P10-P13-nap-X000

E701 Decision to grant or registration of patent right
PE0701 Decision of registration

St.27 status event code: A-1-2-D10-D22-exm-PE0701

GRNT Written decision to grant
PR0701 Registration of establishment

St.27 status event code: A-2-4-F10-F11-exm-PR0701

PR1002 Payment of registration fee

Fee payment year number: 1

St.27 status event code: A-2-2-U10-U12-oth-PR1002

PG1601 Publication of registration

St.27 status event code: A-4-4-Q10-Q13-nap-PG1601

G170 Re-publication after modification of scope of protection [patent]
PG1701 Publication of correction

Patent document republication publication date: 20080416

Republication note text: Request for Correction Notice (Document Request)

Gazette number: 1007641200000

Gazette reference publication date: 20071009

St.27 status event code: A-5-5-P10-P19-oth-PG1701

PR1001 Payment of annual fee

Fee payment year number: 4

St.27 status event code: A-4-4-U10-U11-oth-PR1001

PR1001 Payment of annual fee

Fee payment year number: 5

St.27 status event code: A-4-4-U10-U11-oth-PR1001

FPAY Annual fee payment

Payment date: 20120921

Year of fee payment: 6

PR1001 Payment of annual fee

Fee payment year number: 6

St.27 status event code: A-4-4-U10-U11-oth-PR1001

FPAY Annual fee payment

Payment date: 20130923

Year of fee payment: 7

PR1001 Payment of annual fee

Fee payment year number: 7

St.27 status event code: A-4-4-U10-U11-oth-PR1001

LAPS Lapse due to unpaid annual fee
PC1903 Unpaid annual fee

Not in force date: 20140929

Payment event data comment text: Termination Category : DEFAULT_OF_REGISTRATION_FEE

St.27 status event code: A-4-4-U10-U13-oth-PC1903

PC1903 Unpaid annual fee

Ip right cessation event data comment text: Termination Category : DEFAULT_OF_REGISTRATION_FEE

Not in force date: 20140929

St.27 status event code: N-4-6-H10-H13-oth-PC1903

P22-X000 Classification modified

St.27 status event code: A-4-4-P10-P22-nap-X000