JPWO2019026761A1 - Mobile and computer programs - Google Patents
Mobile and computer programs Download PDFInfo
- Publication number
- JPWO2019026761A1 JPWO2019026761A1 JP2019534452A JP2019534452A JPWO2019026761A1 JP WO2019026761 A1 JPWO2019026761 A1 JP WO2019026761A1 JP 2019534452 A JP2019534452 A JP 2019534452A JP 2019534452 A JP2019534452 A JP 2019534452A JP WO2019026761 A1 JPWO2019026761 A1 JP WO2019026761A1
- Authority
- JP
- Japan
- Prior art keywords
- positioning device
- moving body
- estimation result
- agv
- sensor
- Prior art date
- Legal status (The legal status is an assumption and is not a legal conclusion. Google has not performed a legal analysis and makes no representation as to the accuracy of the status listed.)
- Pending
Links
- 238000004590 computer program Methods 0.000 title claims description 12
- 238000000034 method Methods 0.000 claims abstract description 41
- 238000004364 calculation method Methods 0.000 claims abstract description 39
- 230000008859 change Effects 0.000 claims description 12
- 230000005540 biological transmission Effects 0.000 claims description 7
- 230000007246 mechanism Effects 0.000 claims description 6
- 238000006073 displacement reaction Methods 0.000 claims description 4
- 230000000087 stabilizing effect Effects 0.000 abstract description 2
- 238000010586 diagram Methods 0.000 description 29
- 230000006854 communication Effects 0.000 description 27
- 238000004891 communication Methods 0.000 description 27
- 230000008569 process Effects 0.000 description 17
- 238000012545 processing Methods 0.000 description 17
- 239000003550 marker Substances 0.000 description 16
- 238000005259 measurement Methods 0.000 description 11
- 230000001133 acceleration Effects 0.000 description 7
- 230000003287 optical effect Effects 0.000 description 5
- 239000004065 semiconductor Substances 0.000 description 5
- 230000006870 function Effects 0.000 description 4
- 230000007175 bidirectional communication Effects 0.000 description 2
- 239000000470 constituent Substances 0.000 description 2
- 238000001514 detection method Methods 0.000 description 2
- 238000003384 imaging method Methods 0.000 description 2
- 238000013507 mapping Methods 0.000 description 2
- 239000002245 particle Substances 0.000 description 2
- 230000007704 transition Effects 0.000 description 2
- 238000013459 approach Methods 0.000 description 1
- 238000004422 calculation algorithm Methods 0.000 description 1
- 238000010276 construction Methods 0.000 description 1
- 238000011161 development Methods 0.000 description 1
- 239000006185 dispersion Substances 0.000 description 1
- 230000007613 environmental effect Effects 0.000 description 1
- 238000011156 evaluation Methods 0.000 description 1
- 238000003780 insertion Methods 0.000 description 1
- 230000037431 insertion Effects 0.000 description 1
- 230000004807 localization Effects 0.000 description 1
- 238000012986 modification Methods 0.000 description 1
- 230000004048 modification Effects 0.000 description 1
- 238000007781 pre-processing Methods 0.000 description 1
- 230000005855 radiation Effects 0.000 description 1
- 230000004044 response Effects 0.000 description 1
- 230000001360 synchronised effect Effects 0.000 description 1
- 238000012546 transfer Methods 0.000 description 1
Images
Classifications
-
- G—PHYSICS
- G05—CONTROLLING; REGULATING
- G05D—SYSTEMS FOR CONTROLLING OR REGULATING NON-ELECTRIC VARIABLES
- G05D1/00—Control of position, course, altitude or attitude of land, water, air or space vehicles, e.g. using automatic pilots
- G05D1/02—Control of position or course in two dimensions
Landscapes
- Engineering & Computer Science (AREA)
- Aviation & Aerospace Engineering (AREA)
- Radar, Positioning & Navigation (AREA)
- Remote Sensing (AREA)
- Physics & Mathematics (AREA)
- General Physics & Mathematics (AREA)
- Automation & Control Theory (AREA)
- Control Of Position, Course, Altitude, Or Attitude Of Moving Bodies (AREA)
Abstract
センシング方法の異なる2種類の測位装置を備える移動体の走行を安定化させる。移動体は、モータと、前記モータを制御して前記移動体を移動させる駆動装置と、互いに異なるセンシング方法によって前記移動体の移動に応じて取得したセンシング結果を示す第1センサデータおよび第2センサデータをそれぞれ出力する第1センサおよび第2センサと、前記第1センサデータを用いて第1推定演算を行って前記移動体の位置を推定する第1測位装置と、前記第2センサデータを用いて第2推定演算を行って前記移動体の位置を推定する第2測位装置と、前記第1測位装置による推定結果の確からしさを示す信頼性データが所定の条件に合致しているか否かに応じて、前記第1測位装置による推定結果および前記第2測位装置による推定結果の一方を前記移動体の位置として選択する演算回路と、を備える。(EN) Stabilizing the traveling of a mobile body including two types of positioning devices having different sensing methods. The moving body includes a motor, a drive device that controls the motor to move the moving body, and first sensor data and a second sensor that indicate sensing results obtained according to movement of the moving body by different sensing methods. Using a first sensor and a second sensor that respectively output data, a first positioning device that estimates the position of the moving body by performing a first estimation calculation using the first sensor data, and the second sensor data Whether the reliability data indicating the certainty of the estimation result by the first positioning device and the second positioning device that estimates the position of the moving body by performing the second estimation calculation according to the predetermined condition are satisfied. Accordingly, an arithmetic circuit that selects one of the estimation result by the first positioning device and the estimation result by the second positioning device as the position of the moving body.
Description
本開示は、移動体および当該移動体の移動を制御するためのコンピュータプログラムに関する。 The present disclosure relates to a mobile body and a computer program for controlling the movement of the mobile body.
ドローン(無人航空機)、自動運転カー、および自律移動ロボットなどの移動体(以下、単に「移動体」と称する)の位置を高い精度で推定する位置推定技術の開発が進められている。自己位置推定を行う移動体は、例えばレーザ測域センサなどの外界センサを備え、移動しながら周囲の空間をセンシングしてセンサデータを取得する。たとえば、センサデータから作成した移動体周囲の局所的地図データを、より広範囲の環境地図データと照合(マッチング)することにより、環境地図上における自己位置を同定することが可能である。 A position estimation technique for estimating the position of a moving body (hereinafter, simply referred to as “moving body”) such as a drone (unmanned aerial vehicle), an autonomous driving car, and an autonomous mobile robot with high accuracy is under development. A moving body that performs self-position estimation includes an external sensor such as a laser range sensor, senses a surrounding space while moving, and acquires sensor data. For example, it is possible to identify the self position on the environment map by collating the local map data around the moving body created from the sensor data with the environment map data in a wider range.
特開2016−224680号公報は、第1自己位置推定部と第2自己位置推定部とを備え、ステップごとに推定処理を実行する自己位置推定装置を開示している。第1自己位置推定部は、センサデータおよび環境地図から移動体の最新位置の確率分布を求め、この確率分布に基づいて第1自己位置を推定する。第2自己位置推定部は、オドメトリによって取得される、前回のステップから現在のステップまでの移動距離および移動方向を、前回のステップで推定された最終自己位置に加算して第2自己位置を推定する。この自己位置推定装置では、第1自己位置および第2自己位置の重みづけ平均値が現在のステップにおける最終自己位置とされる。 Japanese Unexamined Patent Application Publication No. 2016-224680 discloses a self-position estimation device that includes a first self-position estimation unit and a second self-position estimation unit, and that performs estimation processing for each step. The first self-position estimating unit obtains a probability distribution of the latest position of the moving body from the sensor data and the environment map, and estimates the first self-position based on this probability distribution. The second self-position estimation unit estimates the second self-position by adding the movement distance and the movement direction from the previous step to the current step acquired by the odometry to the final self-position estimated in the previous step. To do. In this self-position estimation device, the weighted average value of the first self-position and the second self-position is set as the final self-position in the current step.
国際公開第2013/002067号は、パーティクルフィルタを用いた自律移動ロボットの自己位置姿勢推定システムを開示している。このシステムは、距離センサからの計測データと、地図データと、エンコーダからのオドメトリデータとを用いて、ロボットの位置姿勢を推定する。パーティクルの分散に基づいて、位置姿勢推定結果の信頼性の評価値が算出される。このシステムによれば、移動ロボットの位置姿勢推定が正常に行われているか否かを判定し、正常でない場合は、ロボットを減速させたり、緊急停止させたり、正常に行われていないことを示す信号を出力したりすることができる。 International Publication No. 2013/002067 discloses a self-position estimation system for an autonomous mobile robot using a particle filter. This system estimates the position and orientation of the robot using the measurement data from the distance sensor, the map data, and the odometry data from the encoder. The reliability evaluation value of the position and orientation estimation result is calculated based on the dispersion of the particles. According to this system, it is determined whether the position and orientation of the mobile robot is estimated normally, and if not, it indicates that the robot is decelerated, emergency stopped, or not performed normally. It can output a signal.
本開示は、センシング方法の異なる2種類の測位装置を備える移動体の走行をより安定化させる技術を提供する。 The present disclosure provides a technique for further stabilizing the traveling of a mobile body including two types of positioning devices having different sensing methods.
本開示の移動体は、例示的な実施形態において、少なくとも1つのモータと、前記少なくとも1つのモータを制御して前記移動体を移動させる駆動装置と、第1センシング方法によって前記移動体の移動に応じて取得したセンシング結果を示す第1センサデータを出力する第1センサと、前記第1センシング方法とは異なる第2センシング方法によって前記移動体の移動に応じて取得したセンシング結果を示す第2センサデータを出力する第2センサと、前記第1センサデータを用いて第1推定演算を行って前記移動体の位置を推定する第1測位装置と、前記第2センサデータを用いて前記第1推定演算とは異なる第2推定演算を行って前記移動体の位置を推定する第2測位装置と、前記第1測位装置による推定結果の確からしさを示す信頼性データが所定の条件に合致しているか否かに応じて、前記第1測位装置による推定結果および前記第2測位装置による推定結果の一方を前記移動体の位置として選択する演算回路と、を備える。 In an exemplary embodiment, a moving body according to the present disclosure includes at least one motor, a drive device that controls the at least one motor to move the moving body, and a moving device that moves the moving body by a first sensing method. A first sensor that outputs first sensor data indicating the sensing result acquired accordingly, and a second sensor indicating the sensing result acquired according to the movement of the moving body by a second sensing method different from the first sensing method. A second sensor that outputs data, a first positioning device that estimates the position of the moving body by performing a first estimation calculation using the first sensor data, and the first estimation that uses the second sensor data Whether the second positioning device that estimates the position of the moving body by performing a second estimation calculation different from the calculation and the reliability data indicating the certainty of the estimation result by the first positioning device meet a predetermined condition. And an arithmetic circuit that selects one of the estimation result by the first positioning device and the estimation result by the second positioning device as the position of the moving body depending on whether or not the position is determined.
これらの包括的または具体的な態様は、システム、方法、集積回路、コンピュータプログラム、または、記録媒体によって実現されてもよい。あるいは、システム、装置、方法、集積回路、コンピュータプログラム、および記録媒体の任意な組み合わせによって実現されてもよい。 These comprehensive or specific aspects may be implemented by a system, a method, an integrated circuit, a computer program, or a recording medium. Alternatively, it may be realized by any combination of the system, the apparatus, the method, the integrated circuit, the computer program, and the recording medium.
本発明の移動体の実施形態によれば、第1測位装置による推定結果の確からしさを示す信頼性データが所定の条件に合致しているか否かに応じて、第1測位装置による推定結果および第2測位装置による推定結果の一方が、移動体の位置として選択される。これにより、例えば第1測位装置による推定結果の信頼性が低い場合でも、第2測位装置による推定結果を用いて、より安定した動作が可能になる。 According to the embodiment of the mobile body of the present invention, the estimation result by the first positioning device and the estimation result by the first positioning device are determined according to whether or not the reliability data indicating the certainty of the estimation result by the first positioning device meets a predetermined condition. One of the estimation results by the second positioning device is selected as the position of the mobile body. Thereby, for example, even when the reliability of the estimation result by the first positioning device is low, more stable operation can be performed by using the estimation result by the second positioning device.
<用語>
本開示の実施形態を説明する前に、本明細書において使用する用語の定義を説明する。<Terms>
Before describing the embodiments of the present disclosure, a definition of terms used in the present specification will be explained.
「無人搬送車」(AGV)とは、本体に人手または自動で荷物を積み込み、指示された場所まで自動走行し、人手または自動で荷卸しをする無軌道車両を意味する。「無人搬送車」は、無人牽引車および無人フォークリフトを含む。 An "automated guided vehicle" (AGV) means a trackless vehicle in which a main body is manually or automatically loaded with luggage, the vehicle automatically travels to a designated location, and the cargo is unloaded manually or automatically. "Unmanned guided vehicles" include unmanned towing vehicles and unmanned forklifts.
「無人」の用語は、車両の操舵に人を必要としないことを意味しており、無人搬送車が「人(たとえば荷物の積み下ろしを行う者)」を搬送することは除外しない。 The term "unmanned" means that no person is required to steer the vehicle and does not exclude that an automated guided vehicle carries "a person (eg, a person who loads and unloads luggage)."
「無人牽引車」とは、人手または自動で荷物の積み込み荷卸しをする台車を牽引して,指示された場所まで自動走行する無軌道車両である。 An "unmanned towing vehicle" is a trackless vehicle that pulls a truck that loads or unloads luggage manually or automatically and automatically travels to a designated location.
「無人フォークリフト」とは、荷物移載用のフォークなどを上下させるマストを備え,フォークなどに荷物を自動移載し指示された場所まで自動走行し,自動荷役作業をする無軌道車両である。 An "unmanned forklift" is a trackless vehicle that has a mast that moves a fork for loading and unloading up and down, automatically transfers the luggage to the fork, and automatically travels to a designated location for automatic cargo handling work.
「無軌道車両」とは、車輪と、車輪を回転させる電気モータまたはエンジンを備える移動体(vehicle)である。 A "trackless vehicle" is a vehicle that includes wheels and an electric motor or engine that rotates the wheels.
「移動体」とは、人または荷物を載せて移動する装置であり、移動のための駆動力(traction)を発生させる車輪、二足または多足歩行装置、プロペラなどの駆動装置を備える。本開示における「移動体」の用語は、狭義の無人搬送車のみならず、モバイルロボットおよびドローンを含む。 The “moving body” is a device for moving a person or luggage on it, and includes a driving device such as a wheel that generates a driving force (traction) for moving, a bipedal or multipedal walking device, and a propeller. The term "mobile" in this disclosure includes mobile robots and drones as well as unmanned guided vehicles in the narrow sense.
「自動走行」は、無人搬送車が通信によって接続されるコンピュータの運行管理システムの指令に基づく走行と、無人搬送車が備える制御装置による自律的走行とを含む。自律的走行には、無人搬送車が所定の経路に沿って目的地に向かう走行のみならず、追尾目標に追従する走行も含まれる。また、無人搬送車は、一時的に作業者の指示に基づくマニュアル走行を行ってもよい。「自動走行」は、一般には「ガイド式」の走行および「ガイドレス式」の走行の両方を含むが、本開示では「ガイドレス式」の走行を意味する。 The "automatic traveling" includes traveling based on a command of an operation management system of a computer to which an automatic guided vehicle is connected by communication and autonomous traveling by a control device included in the automatic guided vehicle. The autonomous traveling includes not only traveling of an automated guided vehicle toward a destination along a predetermined route but also traveling of following a tracking target. In addition, the automatic guided vehicle may temporarily perform the manual traveling based on the instruction of the operator. Although “automatic traveling” generally includes both “guided” traveling and “guideless” traveling, in the present disclosure, “guideless” traveling is meant.
「ガイド式」とは、誘導体を連続的または断続的に設置し、誘導体を利用して無人搬送車を誘導する方式である。 The “guide type” is a method in which the guide is installed continuously or intermittently and the guide is used to guide the automatic guided vehicle.
「ガイドレス式」とは、誘導体を設置せずに誘導する方式である。本開示の実施形態における無人搬送車は、自己位置推定装置を備え、ガイドレス式で走行する。 The "guideless method" is a method of guiding without installing a derivative. The automatic guided vehicle according to the embodiment of the present disclosure includes a self-position estimation device and travels in a guideless manner.
「自己位置推定装置」は、レーザレンジファインダなどの外界センサによって取得されたセンサデータに基づいて環境地図上における自己位置を推定する装置である。 The "self-position estimation device" is a device that estimates the self-position on the environment map based on sensor data acquired by an external sensor such as a laser range finder.
「SLAM(スラム)」とは、Simultaneous Localization and Mappingの略語であり、自己位置推定と環境地図作成を同時に行うことを意味する。 "SLAM" is an abbreviation for Simultaneous Localization and Mapping, which means that self-position estimation and environment mapping are performed at the same time.
<基本構成例>
本開示による移動体の具体的な実施形態を説明する前に、本開示による移動体の基本構成例を説明する。<Basic configuration example>
Before describing specific embodiments of the moving body according to the present disclosure, a basic configuration example of the moving body according to the present disclosure will be described.
図1は、本開示の例示的な実施形態における移動体の基本構成例を示すブロック図である。この例における移動体10は、第1センサ101と、第2センサ102と、第1測位装置103と、第2測位装置104と、演算回路105と、少なくとも1つの電気モータ(以下、単に「モータ」と称する)106と、駆動装置107とを備えている。第1測位装置103は、第1センサ101と演算回路105との間に接続されている。第2測位装置104は、第2センサ102と演算回路105との間に接続されている。駆動装置107は、少なくとも1つのモータ106を制御して移動体10を移動させる。
FIG. 1 is a block diagram showing a basic configuration example of a moving body in an exemplary embodiment of the present disclosure. The moving
移動体10の典型例は、モータ106に対して機械的に結合した少なくとも1個の駆動輪(不図示)を有し、駆動輪のトラクションによって地上を走行することができる。
A typical example of the moving
第1センサ101および第2センサ102は、移動体10が移動している間、互いに異なるセンシング方法によって移動体10の移動に応じた情報を取得する。それぞれのセンシング結果は、移動体10の位置推定に用いられる。第1センサ101および第2センサ102から出力されるデータを、それぞれ第1センサデータおよび第2センサデータと称する。
The
第1センサ101および第2センサ102の各々は、外界センサであってもよいし、内界センサであってもよい。「外界センサ」は、移動体10の外部の状態をセンシングするセンサである。外界センサには、例えば、レーザレンジファインダ、カメラ(または撮像素子)、LIDAR(Light Detection and Ranging)、ミリ波レーダ、および磁気センサがある。「内界センサ」は、移動体10の内部の状態をセンシングするセンサである。内界センサには、例えばロータリエンコーダ(以下、単に「エンコーダ」と称することがある)、加速度センサ、および角加速度センサ(例えばジャイロセンサ)がある。
Each of the
第1センサ101および第2センサ102は、異なる種類のセンサである。例えば、第1センサ101は外界センサであり、第2センサ102は内界センサであり得る。ある実施形態では、第1センサ101は、レーザレンジファインダ(以下、LRFと表記することがある)を含み、第2センサ102は、少なくとも1つのロータリエンコーダを含む。しかし、本開示はそのような形態に限定されない。第1センサ101および第2センサ102の各々は、移動体10の位置を推定するために利用されるデータを出力する限り、特定の種類のセンサに限定されない。第1センサ101および第2センサ102の各々は、例えば、カメラ、撮像装置、撮像素子、磁気センサ、LIDAR、ミリ波レーダ、角速度センサ、または加速度センサなどの機器であってもよい。
The
移動体10が移動している間、第1測位装置103は、第1センサ101から出力された第1センサデータを用いて第1推定演算を行って移動体10の現在の位置を推定する。例えば第1センサ101がレーザレンジファインダである場合、第1測位装置103は、予め用意された地図データと、レーザレンジファインダによって取得されたデータとの照合を行い、地図上のどの位置に移動体が位置しているかを推定する。第1測位装置103は、移動体の位置だけでなく、向き(または姿勢)を推定してもよい。第1測位装置103は、推定結果を示すデータを、第1位置情報として出力する。
While the moving
第2測位装置104は、第2センサ102から出力された第2センサデータを用いて第2推定演算を行って移動体10の現在の位置を推定する。例えば第2センサ102が少なくとも1つのロータリエンコーダを含む場合、第2測位装置104は、予めメモリなどの記録媒体に記録された初期位置の情報と、ロータリエンコーダから出力された車輪の回転状態を示す情報とから、現在の位置を推定することができる。第2測位装置104も、移動体の位置だけでなく、向きを推定してもよい。第2測位装置104は、推定結果を示すデータを、第2位置情報として出力する。
The
移動体10は、レーザレンジファインダから周期的に出力されたセンサデータに基づいて予め作成された地図データを記憶する記憶装置をさらに備えていてもよい。地図データの作成に使用されるレーザレンジファインダ(LRF)は、移動体10に搭載されたLRF(第1センサ101)でもよいし、他のLRFでもよい。この場合、第1測位装置103は、第1センサデータと地図データとの照合を行って移動体10の位置を推定する。この動作を「自己位置推定」と称する。自己位置推定は、座標だけでなく、基準軸からの角度の推定を含んでいてもよい。
The moving
移動体10は、第1車輪および第2車輪を含む複数の車輪を備える車両であってもよい。その場合、少なくとも1つのモータ106は、第1車輪に機械的に接続された第1モータと、第2車輪に機械的に接続された第2モータとを含み得る。移動体10は、第1モータから第1車輪までの動力伝達機構のいずれかの位置における回転を計測する第1ロータリエンコーダと、第2モータから第2車輪までの動力伝達機構のいずれかの位置における回転を計測する第2ロータリエンコーダとを備えていてもよい。「回転を計測する」とは、「回転方向」および(回転数を考慮した)「回転位置」を少なくとも計測することを意味する。
The moving
ある実施形態において、第1ロータリエンコーダおよび第2ロータリエンコーダは、それぞれ第1車輪および第2車輪の回転を計測する。その場合、第2測位装置104は、第1ロータリエンコーダおよび第2ロータリエンコーダの各々から出力された第2センサデータを用いて所与の初期位置からの相対的な変位量を計測し、初期位置から変位量だけ移動した位置を、移動体10の位置として推定することができる。初期位置は、移動体10の走行中、定期的にまたは不定期に更新され得る。例えば、演算回路105は、第1測位装置103によって推定された位置(座標)の値で、上記の初期位置の値を更新してもよい。移動体10の走行中、演算回路105は、この初期位置の更新を所定の周期で行ってもよいし、非周期的に行ってもよい。
In one embodiment, the first rotary encoder and the second rotary encoder measure rotations of the first wheel and the second wheel, respectively. In that case, the
一般に、第1位置情報および第2位置情報の信頼性には差違がある。例えば、第1センサ101がLRFを含み、第2センサ102がエンコーダを含む場合、LRFを用いて取得された第1位置情報の方が、エンコーダを用いて取得された第2位置情報よりも高い信頼性を有する傾向にある。これは、路面状態に依存して生じる車輪の空転、または段差によるずれなどの理由により、エンコーダから出力されるオドメトリデータには誤差が生じ易く、その誤差が蓄積され易いからである。このような信頼性の不一致は、LRFとエンコーダとの組み合わせに限らず、他の2種類のセンサ(例えばカメラとジャイロセンサ等)の組み合わせにおいても生じ得る。このため、第1位置情報および第2位置情報のうち、信頼性が高い方が主に使用され、他方は補助的に使用される。
Generally, there is a difference in the reliability of the first position information and the second position information. For example, when the
しかし、第1位置情報の方が第2位置情報よりも信頼性が低くなる場合もあり得る。例えば、第1測位装置103がLRFからの第1センサデータと地図データとのマッチングによって自己位置推定を行う形態では、第1測位装置103が実際とは全く異なる座標を誤って出力することがある。これは、例えば、同様の特徴点を含む箇所が経路上に複数存在する場合や、地図作成時には存在しなかった物体(特に壁等と混同し易い物体)が存在する場合に生じ易い。このような場合に第1位置情報を用いた自己位置推定を継続すると、正確な経路を走行できなくなる。その結果、目的の地点に到達できなくなるだけでなく、オーバーランまたは衝突のリスクが生じる。
However, the first position information may be less reliable than the second position information. For example, in the form in which the
そこで、本開示の実施形態では、移動体10の移動中、演算回路105が、第1測位装置103および第2測位装置104の推定結果のうち、より正確度が高いと推定される推定結果を選択して走行を制御する。これにより、例えば通常時には第1測位装置103によって推定された位置情報を用いて走行し、第1測位装置103による位置情報の信頼性が低いと判定された場合には、第2測位装置04による位置情報を用いた走行に切り替えることができる。
Therefore, in the embodiment of the present disclosure, while the moving
演算回路105は、第1位置情報と第2位置情報とに基づいて、移動体10の現在の位置を決定し、駆動装置107を制御する。演算回路105は、第1および第2の位置情報に加えて第1測位装置103による推定結果の確からしさを示す信頼性データを取得する。演算回路105は、信頼性データが所定の条件に合致しているか否かに応じて、第1測位装置103による推定結果および第2測位装置104による推定結果の一方を移動体10の位置として選択する。演算回路105は、例えば外部の装置から行き先の指示を受け付け、選択した移動体10の位置を利用して駆動装置107を制御し、当該行き先に向かって移動体10を移動させる。
The
信頼性データは、第1測位装置103から出力されてもよいし、演算回路105が自ら生成してもよい。例えば第1センサ101がLRFを含む形態では、第1測位装置103は、第1センサデータと地図データとの一致度を示すデータを、第1信頼性データとして出力してもよい。この場合、演算回路105は、第1測位装置103による推定結果を移動体10の位置として選択しているときにおいて、第1信頼性データの値が切替閾値以下になった場合に、第2測位装置104による推定結果を移動体10の位置として選択することができる。逆に、演算回路105は、第2測位装置104による推定結果を移動体10の位置として選択しているときにおいて、第1信頼性データの値が復帰閾値以上になった場合に、第1測位装置103による推定結果を移動体10の位置として選択する状態に戻すことができる。復帰閾値は、切替閾値と同じ値でもよいが、切替閾値よりも大きい値にしてもよい。例えば、第1信頼性データが「%」を単位とする数値で表される場合、復帰閾値を、切替閾値よりも数%から30%程度高い値にすることで、動作をより安定させることができる。
The reliability data may be output from the
第1信頼性データの値が復帰閾値以上になった場合であっても、演算回路105は、第1位置情報が示す座標の動きと第2位置情報が示す座標の動きとが近似していない場合には、第2位置情報が示す位置を移動体10の位置として選択してもよい。第1位置情報が示す座標の動きと第2位置情報が示す座標の動きとが近似していない場合には、以下の2つの場合があり得る。
(1)第1測位装置103による推定結果に基づいて推定した一定時間内(例えば数秒間)における移動体10の移動距離と、第2測位装置104による推定結果に基づいて推定した当該一定時間内における移動体10の移動距離との差が、第1閾値よりも大きい場合
(2)第1測位装置103による推定結果に基づいて推定した当該一定時間内における移動体10の角度変化量と、第2測位装置104による推定結果に基づいて推定した当該一定時間内における移動体10の角度変化量との差が、第2閾値よりも大きい場合Even when the value of the first reliability data is equal to or greater than the return threshold, the
(1) Within the fixed time estimated based on the estimation result by the
演算回路105は、上記(1)および(2)の少なくとも一方に該当する場合には、第1位置情報の信頼度が復帰閾値よりも高い場合でも、第2測位装置104による推定結果を移動体10の位置として選択し、運行を継続してもよい。
In the case where at least one of (1) and (2) above is satisfied, the
信頼性データは、第1位置情報が示す座標と、第2位置情報が示す座標との差を示すデータ(「第2信頼性データ」と称する)を含んでいてもよい。この場合、演算回路105は、第1測位装置103による推定結果として得られた位置と第2測位装置104による推定結果として得られた位置との差を第2信頼性データとして出力する。第1位置情報が示す座標を(x1,x1)とし、第2位置情報が示す座標を(x2,y2)とするとき、第2信頼性データは、例えば、(x1−x2)の絶対値、(y1−y2)の絶対値、または(x1−x2)2+(y1−y2)2の値もしくはその平方根を示すデータであり得る。演算回路105は、第1測位装置103による推定結果を移動体10の位置として選択しているときにおいて、第2信頼性データの値が予め定められた許容値以上になったとき、第2測位装置104による推定結果を移動体10の位置として選択することができる。逆に、演算回路105は、第2測位装置104による推定結果を移動体10の位置として選択しているときにおいて、第2信頼性データの値が当該許容値またはそれよりも小さい値未満になったとき、第1測位装置103による測定結果を移動体10の位置として選択する状態に戻すことができる。The reliability data may include data indicating the difference between the coordinates indicated by the first position information and the coordinates indicated by the second position information (referred to as “second reliability data”). In this case, the
本開示は、移動体における演算回路によって実行されるコンピュータプログラムも含む。そのようなプログラムは、移動体が備えるメモリに格納される。当該コンピュータプログラムは、演算回路に、第1測位装置による推定結果の確からしさを示す信頼性データが所定の条件に合致しているか否かに応じて、前記第1測位装置による推定結果および前記第2測位装置による推定結果の一方を前記移動体の位置として選択させる。 The present disclosure also includes a computer program executed by an arithmetic circuit in a mobile body. Such a program is stored in the memory provided in the mobile body. The computer program causes the arithmetic circuit to calculate the estimation result by the first positioning device and the first positioning device according to whether or not the reliability data indicating the certainty of the estimation result by the first positioning device meets a predetermined condition. 2 One of the estimation results by the positioning device is selected as the position of the moving body.
<例示的な実施形態>
以下、添付の図面を参照しながら、本開示による移動体および移動体システムのより具体的な実施形態を説明する。なお、必要以上に詳細な説明は省略する場合がある。たとえば、既によく知られた事項の詳細説明や実質的に同一の構成に対する重複説明を省略する場合がある。これは、以下の説明が不必要に冗長になるのを避け、当業者の理解を容易にするためである。本発明者らは、当業者が本開示を十分に理解するために添付図面および以下の説明を提供する。これらによって特許請求の範囲に記載の主題を限定することを意図しない。<Exemplary embodiment>
Hereinafter, more specific embodiments of a mobile body and a mobile body system according to the present disclosure will be described with reference to the accompanying drawings. In addition, more detailed description than necessary may be omitted. For example, detailed description of well-known matters and duplicate description of substantially the same configuration may be omitted. This is for avoiding unnecessary redundancy in the following description and for facilitating understanding by those skilled in the art. The inventors provide the accompanying drawings and the following description for those skilled in the art to fully understand the present disclosure. They are not intended to limit the claimed subject matter.
本実施形態は、移動体の一例として無人搬送車を備えたシステムに関する。以下の説明では、略語を用いて、無人搬送車を「AGV」と記述する。本実施形態では、第1センサ101がレーザレンジファインダを含み、第2センサ102が、2つの車輪の回転速度(単位時間当たりの回転数)を計測する2つのロータリエンコーダを含んでいる。
The present embodiment relates to a system including an automatic guided vehicle as an example of a mobile body. In the following description, the automatic guided vehicle is referred to as “AGV” using abbreviations. In the present embodiment, the
(1)システムの基本構成
図2は、本開示による例示的な移動体管理システム100の基本構成例を示している。移動体管理システム100は、少なくとも1台のAGV10と、ユーザ1によって操作される端末装置20と、AGV10の運行管理を行う運行管理装置50とを含む。 (1) Basic Configuration of System FIG. 2 shows an example of the basic configuration of an exemplary
AGV10は、走行に磁気テープなどの誘導体が不要な「ガイドレス式」走行が可能な無人搬送台車である。AGV10は、自己位置推定を行い、推定の結果を端末装置20および運行管理装置50に送信することができる。AGV10は、運行管理装置50からの指令に従って移動空間S内を自動走行することが可能である。
The
運行管理装置50は各AGV10の位置をトラッキングし、各AGV10の走行を管理するコンピュータシステムである。運行管理装置50は、デスクトップ型PC、ノート型PC、および/または、サーバコンピュータであり得る。運行管理装置50は、複数のアクセスポイント2を介して、各AGV10と通信する。たとえば、運行管理装置50は、各AGV10が次に向かうべき位置の座標のデータを各AGV10に送信する。各AGV10は、定期的に、たとえば100ミリ秒ごとに自身の位置および姿勢を示すデータを運行管理装置50に送信する。指示した位置にAGV10が到達すると、運行管理装置50は、さらに次に向かうべき位置の座標のデータを送信する。AGV10は、端末装置20に入力されたユーザ1の操作に応じて移動空間S内を走行することも可能である。端末装置20の一例はタブレットコンピュータである。典型的には、端末装置20を利用したAGV10の走行は地図作成時に行われ、運行管理装置50を利用したAGV10の走行は地図作成後に行われる。
The
図3は、3台のAGV10a,10bおよび10cが存在する移動空間Sの一例を示している。いずれのAGVも図中の奥行き方向に走行しているとする。AGV10aおよび10bは天板に載置された荷物を搬送中である。AGV10cは、前方のAGV10bに追従して走行している。なお、説明の便宜のため、図3では参照符号10a,10bおよび10cを付したが、以下では、「AGV10」と記述する。
FIG. 3 shows an example of the moving space S in which three
AGV10は、天板に載置された荷物を搬送する方法以外に、自身と接続された牽引台車を利用して荷物を搬送することも可能である。図4Aは接続される前のAGV10および牽引台車5を示している。牽引台車5の各足にはキャスターが設けられている。AGV10は牽引台車5と機械的に接続される。図4Bは、接続されたAGV10および牽引台車5を示している。AGV10が走行すると、牽引台車5はAGV10に牽引される。牽引台車5を牽引することにより、AGV10は、牽引台車5に載置された荷物を搬送できる。
The
AGV10と牽引台車5との接続方法は任意である。一例を説明する。AGV10の天板にはプレート6が固定されている。牽引台車5には、スリットを有するガイド7が設けられている。AGV10は牽引台車5に接近し、プレート6をガイド7のスリットに差し込む。差し込みが完了すると、AGV10は、図示されない電磁ロック式ピンをプレート6およびガイド7に貫通させ、電磁ロックをかける。これにより、AGV10と牽引台車5とが物理的に接続される。
The method of connecting the
再び図2を参照する。各AGV10と端末装置20とは、たとえば1対1で接続されてBluetooth(登録商標)規格に準拠した通信を行うことができる。各AGV10と端末装置20とは、1または複数のアクセスポイント2を利用してWi−Fi(登録商標)に準拠した通信を行うこともできる。複数のアクセスポイント2は、たとえばスイッチングハブ3を介して互いに接続されている。図2には2台のアクセスポイント2a,2bが記載されている。AGV10はアクセスポイント2aと無線で接続されている。端末装置20はアクセスポイント2bと無線で接続されている。AGV10が送信したデータはアクセスポイント2aで受信され、スイッチングハブ3を介してアクセスポイント2bに転送され、アクセスポイント2bから端末装置20に送信される。また、端末装置20が送信したデータは、アクセスポイント2bで受信され、スイッチングハブ3を介してアクセスポイント2aに転送され、アクセスポイント2aからAGV10に送信される。これにより、AGV10および端末装置20の間の双方向通信が実現される。複数のアクセスポイント2はスイッチングハブ3を介して運行管理装置50とも接続されている。これにより、運行管理装置50と各AGV10との間でも双方向通信が実現される。
Referring back to FIG. Each
(2)環境地図の作成
自己位置を推定しながらAGV10が走行できるようにするため、移動空間S内の地図が作成される。AGV10には後述の測位装置およびレーザレンジファインダが搭載されており、レーザレンジファインダの出力を利用して地図を作成できる。 (2) Creation of Environmental Map A map in the moving space S is created so that the
AGV10は、ユーザの操作によってデータ取得モードに遷移する。データ取得モードにおいて、AGV10はレーザレンジファインダを用いたセンサデータの取得を開始する。レーザレンジファインダは周期的に例えば赤外線または可視光のレーザビームを周囲に放射して周囲の空間Sをスキャンする。レーザビームは、たとえば、壁、柱等の構造物、床の上に置かれた物体等の表面で反射される。レーザレンジファインダは、レーザビームの反射光を受けて各反射点までの距離を計算し、各反射点の位置が示された測定結果のデータを出力する。各反射点の位置には、反射光の到来方向および距離が反映されている。測定結果のデータは「計測データ」または「センサデータ」と呼ばれることがある。
The
測位装置は、センサデータを記憶装置に蓄積する。移動空間S内のセンサデータの取得が完了すると、記憶装置に蓄積されたセンサデータが外部装置に送信される。外部装置は、たとえば信号処理プロセッサを有し、かつ、地図作成プログラムがインストールされたコンピュータである。 The positioning device stores the sensor data in the storage device. When the acquisition of the sensor data in the moving space S is completed, the sensor data accumulated in the storage device is transmitted to the external device. The external device is, for example, a computer having a signal processor and having a map creation program installed therein.
外部装置の信号処理プロセッサは、スキャンごとに得られたセンサデータ同士を重ね合わせる。信号処理プロセッサが重ね合わせる処理を繰り返し行うことにより、空間Sの地図を作成することができる。外部装置は、作成した地図のデータをAGV10に送信する。AGV10は、作成した地図のデータを内部の記憶装置に保存する。外部装置は、運行管理装置50であってもよいし、他の装置であってもよい。
The signal processor of the external device superimposes the sensor data obtained for each scan. A map of the space S can be created by the signal processor repeatedly performing the overlapping process. The external device transmits the created map data to the
外部装置ではなくAGV10が地図の作成を行ってもよい。上述した外部装置の信号処理プロセッサが行った処理を、AGV10のマイクロコントローラユニット(マイコン)などの回路が行えばよい。AGV10内で地図を作成する場合には、蓄積されたセンサデータを外部装置に送信する必要が無くなる。センサデータのデータ容量は一般には大きいと考えられる。センサデータを外部装置に送信する必要がないため、通信回線の占有を回避できる。
The
なお、センサデータを取得するための移動空間S内の移動は、ユーザの操作に従ってAGV10が走行することによって実現し得る。たとえば、AGV10は、端末装置20を介して無線でユーザから前後左右の各方向への移動を指示する走行指令を受け取る。AGV10は走行指令にしたがって移動空間S内を前後左右に走行し、地図を作成する。AGV10がジョイスティック等の操縦装置と有線で接続されている場合には、当該操縦装置からの制御信号にしたがって移動空間S内を前後左右に走行し、地図を作成してもよい。レーザレンジファインダを搭載した計測台車を人が押し歩くことによってセンサデータを取得してもよい。
The movement in the movement space S for acquiring the sensor data can be realized by the
なお、図2および図3には複数台のAGV10が示されているが、AGVは1台であってもよい。複数台のAGV10が存在する場合、ユーザ1は端末装置20を利用して、登録された複数のAGVのうちから一台のAGV10を選択して、移動空間Sの地図を作成させることができる。
Although a plurality of
地図が作成されると、以後、各AGV10は当該地図を利用して自己位置を推定しながら自動走行することができる。自己位置を推定する処理の説明は後述する。
After the map is created, each
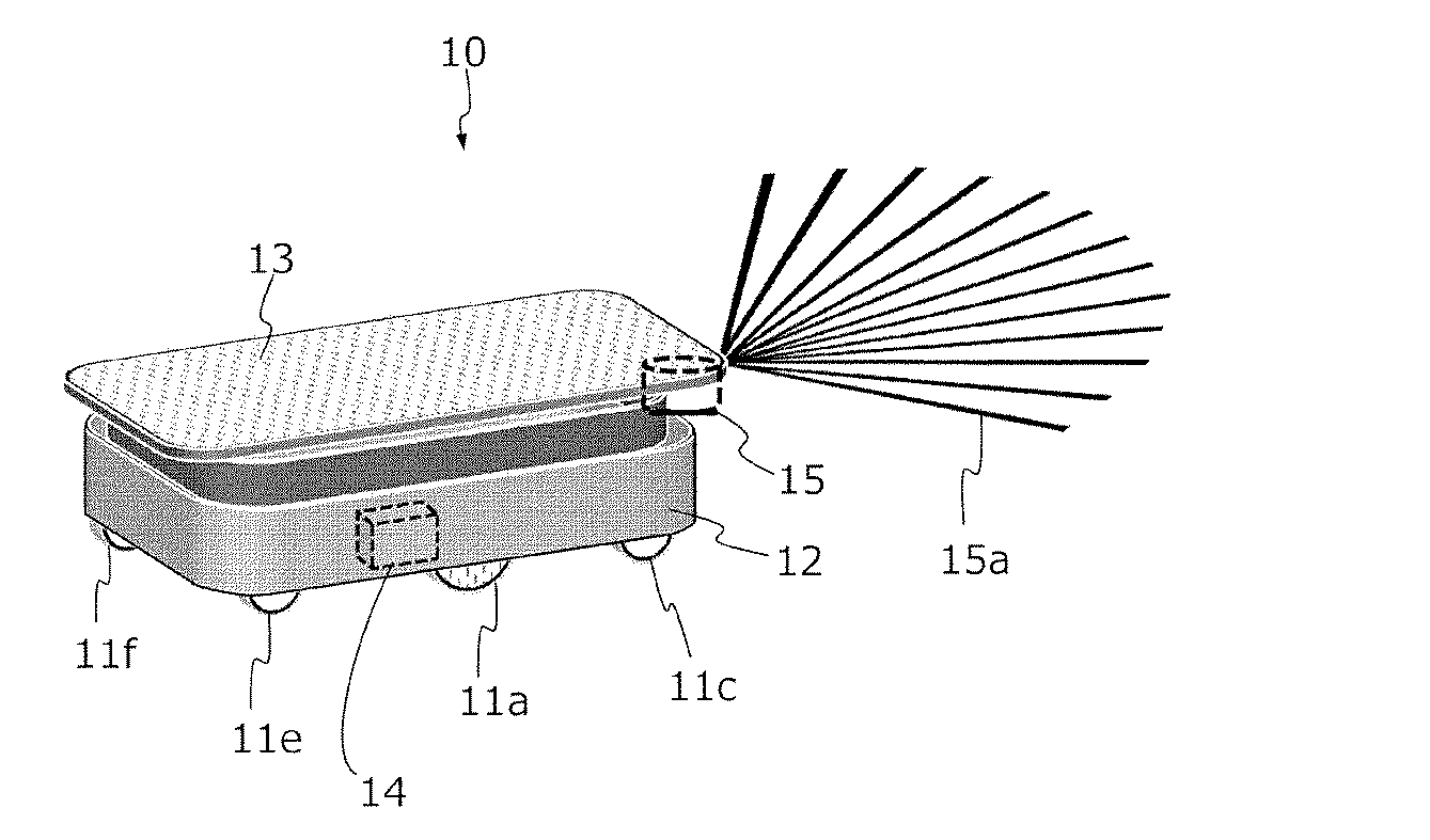
(3)AGVの構成
図5は、本実施形態にかかる例示的なAGV10の外観図である。AGV10は、2つの駆動輪11aおよび11bと、4つのキャスター11c、11d、11e、および11fと、フレーム12と、搬送テーブル13と、走行制御装置14と、レーザレンジファインダ15とを有する。2つの駆動輪11aおよび11bは、AGV10の右側および左側にそれぞれ設けられている。4つのキャスター11c、11d、11e、および11fは、AGV10の4隅に配置されている。なお、AGV10は2つの駆動輪11aおよび11bに接続される複数のモータも有するが図5には示されていない。また、図5には、AGV10の右側に位置する1つの駆動輪11aおよび2つのキャスター11cおよび11eと、左後部に位置するキャスター11fが示されているが、左側の駆動輪11bおよび左前部のキャスター11dはフレーム12の蔭に隠れているため明示されていない。4つのキャスター11c、11d、11e、および11fは、自由に旋回することができる。以下の説明では、駆動輪11aおよび駆動輪11bを、それぞれ車輪11aおよび車輪11bとも称する。 (3) Configuration of AGV FIG. 5 is an external view of an
走行制御装置14は、AGV10の動作を制御する装置であり、主としてマイコン(後述)を含む集積回路、電子部品およびそれらが搭載された基板を含む。走行制御装置14は、上述した、端末装置20とのデータの送受信、および、前処理演算を行う。
The
レーザレンジファインダ15は、たとえば赤外のレーザビーム15aを放射し、当該レーザビーム15aの反射光を検出することにより、反射点までの距離を測定する光学機器である。本実施形態では、AGV10のレーザレンジファインダ15は、たとえばAGV10の正面を基準として左右135度(合計270度)の範囲の空間に、0.25度ごとに方向を変化させながらパルス状のレーザビーム15aを放射し、各レーザビーム15aの反射光を検出する。これにより、0.25度ごと、合計1081ステップ分の角度で決まる方向における反射点までの距離のデータを得ることができる。なお、本実施形態では、レーザレンジファインダ15が行う周囲の空間のスキャンは実質的に床面に平行であり、平面的(二次元的)であることを想定している。しかしながら、高さ方向のスキャンを行ってもよい。
The
AGV10の位置および姿勢と、レーザレンジファインダ15のスキャン結果とにより、AGV10は、空間Sの地図を作成することができる。地図には、AGVの周囲の壁、柱等の構造物、床の上に載置された物体の配置が反映され得る。地図のデータは、AGV10内に設けられた記憶装置に格納される。
The
一般に、移動体の位置および姿勢は、ポーズ(pose)と呼ばれる。二次元面内における移動体の位置および姿勢は、XY直交座標系における位置座標(x, y)と、X軸に対する角度θによって表現される。AGV10の位置および姿勢、すなわちポーズ(x, y, θ)を、以下、単に「位置」と呼ぶことがある。
In general, the position and posture of a moving body is called a pose. The position and orientation of the moving body in the two-dimensional plane are represented by the position coordinates (x, y) in the XY orthogonal coordinate system and the angle θ with respect to the X axis. Hereinafter, the position and orientation of the
なお、レーザビーム15aの放射位置から見た反射点の位置は、角度および距離によって決定される極座標を用いて表現され得る。本実施形態では、レーザレンジファインダ15は極座標で表現されたセンサデータを出力する。ただし、レーザレンジファインダ15は、極座標で表現された位置を直交座標に変換して出力してもよい。
The position of the reflection point viewed from the radiation position of the
レーザレンジファインダの構造および動作原理は公知であるため、本明細書ではこれ以上の詳細な説明は省略する。なお、レーザレンジファインダ15によって検出され得る物体の例は、人、荷物、棚、壁である。
Since the structure and operating principle of the laser range finder are known, further detailed description is omitted in this specification. Examples of objects that can be detected by the
レーザレンジファインダ15は、周囲の空間をセンシングしてセンサデータを取得するための外界センサの一例である。そのような外界センサの他の例としては、イメージセンサおよび超音波センサが考えられる。
The
走行制御装置14は、レーザレンジファインダ15の測定結果と、自身が保持する地図データとを比較して、自身の現在位置を推定することができる。なお、保持されている地図データは、他のAGV10が作成した地図データであってもよい。
The traveling
図6Aは、AGV10の第1のハードウェア構成例を示している。また図6Aは、走行制御装置14の具体的な構成も示している。
FIG. 6A shows a first hardware configuration example of the
AGV10は、走行制御装置14と、レーザレンジファインダ15と、2台のモータ16aおよび16bと、駆動装置17と、車輪11aおよび11bと、2つのロータリエンコーダ18a、18b(以下、単に「エンコーダ18a」および「エンコーダ18b」と称することがある)とを備えている。
The
走行制御装置14は、マイコン14aと、メモリ14bと、記憶装置14cと、通信回路14dと、測位装置14eとを有している。マイコン14a、メモリ14b、記憶装置14c、通信回路14dおよび測位装置14eは通信バス14fで接続されており、相互にデータを授受することが可能である。レーザレンジファインダ15もまた通信インタフェース(図示せず)を介して通信バス14fに接続されており、計測結果である計測データを、マイコン14a、測位装置14eおよび/またはメモリ14bに送信する。
The
マイコン14aは、走行制御装置14を含むAGV10の全体を制御するための演算を行うプロセッサまたは制御回路(コンピュータ)である。典型的にはマイコン14aは半導体集積回路である。マイコン14aは、制御信号であるPWM(Pulse Width Modulation)信号を駆動装置17に送信して駆動装置17を制御し、モータに印加する電圧を調整させる。これによりモータ16aおよび16bの各々が所望の回転速度で回転する。なお、左右のモータ16aおよび16bの駆動を制御する1つ以上の制御回路(例えばマイコン)を、マイコン14aとは独立して設けてもよい。例えば、モータ駆動装置17が、モータ16aおよび16bの駆動をそれぞれ制御する2つのマイコンを備えていてもよい。それらの2つのマイコンは、エンコーダ18aおよび18bから出力されたエンコーダ情報を用いた座標計算をそれぞれ行い、所与の初期位置からのAGV10の移動距離を推定してもよい。また、当該2つのマイコンは、エンコーダ情報を利用してモータ駆動回路17aおよび17bを制御してもよい。
The
メモリ14bは、マイコン14aが実行するコンピュータプログラムを記憶する、揮発性の記憶装置である。メモリ14bは、マイコン14aおよび測位装置14eが演算を行う際のワークメモリとしても利用され得る。
The
記憶装置14cは、不揮発性の半導体メモリ装置である。ただし、記憶装置14cは、ハードディスクに代表される磁気記録媒体、または、光ディスクに代表される光学式記録媒体であってもよい。さらに、記憶装置14cは、いずれかの記録媒体にデータを書き込みおよび/または読み出すためのヘッド装置および当該ヘッド装置の制御装置を含んでもよい。
The
記憶装置14cは、走行する空間Sの地図データM、および、1または複数の走行経路のデータ(走行経路データ)Rを記憶する。地図データMは、AGV10が地図作成モードで動作することによって作成され記憶装置14cに記憶される。走行経路データRは、地図データMが作成された後に外部から送信される。本実施形態では、地図データMおよび走行経路データRは同じ記憶装置14cに記憶されているが、異なる記憶装置に記憶されてもよい。
The
走行経路データRの例を説明する。 An example of the travel route data R will be described.
端末装置20がタブレットコンピュータである場合には、AGV10はタブレットコンピュータから走行経路を示す走行経路データRを受信する。このときの走行経路データRは、複数のマーカの位置を示すマーカデータを含む。「マーカ」は走行するAGV10の通過位置(経由点)を示す。走行経路データRは、走行開始位置を示す開始マーカおよび走行終了位置を示す終了マーカの位置情報を少なくとも含む。走行経路データRは、さらに、1以上の中間経由点のマーカの位置情報を含んでもよい。走行経路が1以上の中間経由点を含む場合には、開始マーカから、当該走行経由点を順に経由して終了マーカに至る経路が、走行経路として定義される。各マーカのデータは、そのマーカの座標データに加えて、次のマーカに移動するまでのAGV10の向き(角度)および走行速度のデータを含み得る。AGV10が各マーカの位置で一旦停止し、自己位置推定および端末装置20への通知などを行う場合には、各マーカのデータは、当該走行速度に達するまでの加速に要する加速時間、および/または、当該走行速度から次のマーカの位置で停止するまでの減速に要する減速時間のデータを含み得る。
When the
端末装置20ではなく、運行管理装置50(例えば、PCおよび/またはサーバコンピュータ)がAGV10の移動を制御してもよい。その場合には、運行管理装置50は、AGV10がマーカに到達する度に、次のマーカへの移動をAGV10に指示してもよい。例えば、AGV10は、運行管理装置50から、次に向かうべき目的位置の座標データ、または、当該目的位置までの距離および進むべき角度のデータを、走行経路を示す走行経路データRとして受信する。
Instead of the
AGV10は、作成された地図と走行中に取得されたレーザレンジファインダ15が出力したセンサデータとを利用して自己位置を推定しながら、記憶された走行経路に沿って走行することができる。
The
通信回路14dは、たとえば、Bluetooth(登録商標)および/またはWi−Fi(登録商標)規格に準拠した無線通信を行う無線通信回路である。いずれの規格も、2.4GHz帯の周波数を利用した無線通信規格を含む。たとえばAGV10を走行させて地図を作成するモードでは、通信回路14dは、Bluetooth(登録商標)規格に準拠した無線通信を行い、1対1で端末装置20と通信する。
The
測位装置14eは、地図の作成処理、および、走行時には自己位置の推定処理を行う。測位装置14eは、AGV10の位置および姿勢とレーザレンジファインダのスキャン結果とにより、移動空間Sの地図を作成する。走行時には、測位装置14eは、レーザレンジファインダ15からセンサデータを受け取り、また、記憶装置14cに記憶された地図データMを読み出す。レーザレンジファインダ15のスキャン結果から作成された局所的地図データ(センサデータ)を、より広範囲の地図データMと照合(マッチング)することにより、地図データM上における自己位置(x, y, θ)を同定する。測位装置14eは、局所的地図データが地図データMに一致した程度を表す「信頼度」のデータを生成する。自己位置(x, y, θ)、および、信頼度の各データは、AGV10から端末装置20または運行管理装置50に送信され得る。端末装置20または運行管理装置50は、自己位置(x, y, θ)、および、信頼度の各データを受信して、内蔵または接続された表示装置に表示することができる。
The
本実施形態では、マイコン14aと測位装置14eとは別個の構成要素であるとしているが、これは一例である。マイコン14aおよび測位装置14eの各動作を独立して行うことが可能な1つのチップ回路または半導体集積回路であってもよい。図6Aには、マイコン14aおよび測位装置14eを包括するチップ回路14gが示されている。以下では、マイコン14aおよび測位装置14eが別個独立に設けられている例を説明する。
In this embodiment, the
2台のモータ16aおよび16bは、それぞれ2つの車輪11aおよび11bに取り付けられ、各車輪を回転させる。つまり、2つの車輪11aおよび11bはそれぞれ駆動輪である。本明細書では、モータ16aおよびモータ16bは、それぞれAGV10の右輪および左輪を駆動するモータであるとして説明する。
Two
AGV10は、さらに、車輪11aおよび11bの回転位置または回転速度を測定するエンコーダユニット18をさらに備えている。エンコーダユニット18は、第1ロータリエンコーダ18aおよび第2ロータリエンコーダ18bを含む。第1ロータリエンコーダ18aは、モータ16aから車輪11aまでの動力伝達機構のいずれかの位置における回転を計測する。第2ロータリエンコーダ18bは、モータ16bから車輪11bまでの動力伝達機構のいずれかの位置における回転を計測する。エンコーダユニット18は、ロータリエンコーダ18aおよび18bによって取得された信号を、マイコン14aに送信する。マイコン14aは、測位装置14eから受信した信号だけでなく、エンコーダユニット18から受信した信号を利用して、AGV10の移動を制御することもできる。
The
駆動装置17は、2台のモータ16aおよび16bの各々に印加される電圧を調整するためのモータ駆動回路17aおよび17bを有する。モータ駆動回路17aおよび17bの各々はいわゆるインバータ回路を含む。モータ駆動回路17aおよび17bは、マイコン14aまたはモータ駆動回路17a内のマイコンから送信されたPWM信号によって各モータに流れる電流をオンまたはオフし、それによりモータに印加される電圧を調整する。
The
図6Bは、AGV10の第2のハードウェア構成例を示している。第2のハードウェア構成例は、レーザ測位システム14hを有する点、および、マイコン14aが各構成要素と1対1で接続されている点において、第1のハードウェア構成例(図6A)と相違する。
FIG. 6B shows a second hardware configuration example of the
レーザ測位システム14hは、測位装置14eおよびレーザレンジファインダ15を有する。測位装置14eおよびレーザレンジファインダ15は、たとえばイーサネット(登録商標)ケーブルで接続されている。測位装置14eおよびレーザレンジファインダ15の各動作は上述した通りである。レーザ測位システム14hは、AGV10のポーズ(x, y, θ)を示す情報をマイコン14aに出力する。
The
マイコン14aは、種々の汎用I/Oインタフェースまたは汎用入出力ポート(図示せず)を有している。マイコン14aは、通信回路14d、レーザ測位システム14h等の、走行制御装置14内の他の構成要素と、当該汎用入出力ポートを介して直接接続されている。
The
図6Bに関して上述した構成以外は、図6Aの構成と共通である。よって共通の構成の説明は省略する。 Except for the configuration described above with respect to FIG. 6B, the configuration is common to that of FIG. Therefore, the description of the common configuration is omitted.
本開示の実施形態におけるAGV10は、図示されていない障害物検知センサおよびバンパースイッチなどのセーフティセンサを備えていてもよい。AGV10は、ジャイロセンサなどの慣性計測装置を備えていてもよい。ロータリエンコーダ18aおよび18bまたは慣性計測装置などの内界センサによる測定データを利用すれば、AGV10の移動距離および姿勢の変化量(角度)を推定することができる。これらの距離および角度の推定値は、オドメトリデータと呼ばれ、測位装置14eによって得られる位置および姿勢の情報を補助する機能を発揮し得る。
The
(4)地図データ
図7A〜図7Fは、センサデータを取得しながら移動するAGV10を模式的に示す。ユーザ1は、端末装置20を操作しながらマニュアルでAGV10を移動させてもよい。あるいは、図6Aおよび6Bに示される走行制御装置14を備えるユニット、または、AGV10そのものを台車に載置し、台車をユーザ1が手で押す、または牽くことによってセンサデータを取得してもよい。 (4) Map Data FIGS. 7A to 7F schematically show the
図7Aには、レーザレンジファインダ15を用いて周囲の空間をスキャンするAGV10が示されている。所定のステップ角毎にレーザビームが放射され、スキャンが行われる。なお、図示されたスキャン範囲は模式的に示した例であり、上述した合計270度のスキャン範囲とは異なっている。
FIG. 7A shows an
図7A〜図7Fの各々では、レーザビームの反射点の位置が、記号「・」で表される複数の黒点4を用いて模式的に示されている。レーザビームのスキャンは、レーザレンジファインダ15の位置および姿勢が変化する間に短い周期で実行される。このため、現実の反射点の個数は、図示されている反射点4の個数よも遥かに多い。測位装置14eは、走行に伴って得られる黒点4の位置を、たとえばメモリ14bに蓄積する。AGV10が走行しながらスキャンを継続して行うことにより、地図データが徐々に完成されてゆく。図7Bから図7Eでは、簡略化のためスキャン範囲のみが示されている。当該スキャン範囲は例示であり、上述した合計270度の例とは異なる。
In each of FIGS. 7A to 7F, the position of the reflection point of the laser beam is schematically shown using a plurality of
地図は、地図作成に必要な量のセンサデータを取得した後、そのセンサデータに基づいて、このAGV10内のマイコン14aまたは外部のコンピュータを用いて作成してもよい。あるいは、移動しつつあるAGV10が取得したセンサデータに基づいてリアルタイムで地図を作成してもよい。
The map may be created using the
図7Fは、完成した地図40の一部を模式的に示す。図7Fに示される地図では、レーザビームの反射点の集まりに相当する点群(Point Cloud)によって自由空間が仕切られている。地図の他の例は、物体が占有している空間と自由空間とをグリッド単位で区別する占有格子地図である。測位装置14eは、地図のデータ(地図データM)をメモリ14bまたは記憶装置14cに蓄積する。なお図示されている黒点の数または密度は一例である。
FIG. 7F schematically shows a part of the completed
こうして得られた地図データは、複数のAGV10によって共有され得る。
The map data thus obtained can be shared by a plurality of
AGV10が地図データに基づいて自己位置を推定するアルゴリズムの典型例は、ICP(Iterative Closest Point)マッチングである。前述したように、レーザレンジファインダ15のスキャン結果から作成された局所的地図データ(センサデータ)を、より広範囲の地図データMと照合(マッチング)することにより、地図データM上における自己位置(x, y, θ)を推定することができる。
A typical example of an algorithm in which the
(5)運行管理装置の構成例
図8は、運行管理装置50のハードウェア構成例を示している。運行管理装置50は、CPU51と、メモリ52と、位置データベース(位置DB)53と、通信回路54と、地図データベース(地図DB)55と、画像処理回路56とを有する。 (5) Configuration Example of Operation Management Device FIG. 8 shows a hardware configuration example of the
CPU51、メモリ52、位置DB53、通信回路54、地図DB55および画像処理回路56は通信バス57で接続されており、相互にデータを授受することが可能である。
The
CPU51は、運行管理装置50の動作を制御する信号処理回路(コンピュータ)である。典型的にはCPU51は半導体集積回路である。
The
メモリ52は、CPU51が実行するコンピュータプログラムを記憶する、揮発性の記憶装置である。メモリ52は、CPU51が演算を行う際のワークメモリとしても利用され得る。
The
位置DB53は、各AGV10の行き先となり得る各位置を示す位置データを格納する。位置データは、たとえば管理者によって工場内に仮想的に設定された座標によって表され得る。位置データは管理者によって決定される。
The
通信回路54は、たとえばイーサネット(登録商標)規格に準拠した有線通信を行う。通信回路54はアクセスポイント2(図1)と有線で接続されており、アクセスポイント2を介して、AGV10と通信することができる。通信回路54は、AGV10に送信すべきデータを、バス57を介してCPU51から受信する。また通信回路54は、AGV10から受信したデータ(通知)を、バス57を介してCPU51および/またはメモリ52に送信する。
The
地図DB55は、AGV10が走行する工場等の内部の地図のデータを格納する。当該地図は、地図40(図7F)と同じであってもよいし、異なっていてもよい。各AGV10の位置と1対1で対応関係を有する地図であれば、データの形式は問わない。たとえば地図DB55に格納される地図は、CADによって作成された地図であってもよい。
The
位置DB53および地図DB55は、不揮発性の半導体メモリ上に構築されてもよいし、ハードディスクに代表される磁気記録媒体、または光ディスクに代表される光学式記録媒体上に構築されてもよい。
The
画像処理回路56はモニタ58に表示される映像のデータを生成する回路である。画像処理回路56は、専ら、管理者が運行管理装置50を操作する際に動作する。本実施形態では特にこれ以上の詳細な説明は省略する。なお、モニタ59は運行管理装置50と一体化されていてもよい。また画像処理回路56の処理をCPU51が行ってもよい。
The
(6)運行管理装置の動作
図9を参照しながら、運行管理装置50の動作の概要を説明する。図9は、運行管理装置50によって決定されたAGV10の移動経路の一例を模式的に示す図である。 (6) Operation of Operation Management Device An outline of the operation of the
AGV10および運行管理装置50の動作の概要は以下のとおりである。以下では、あるAGV10が現在、位置M1におり、幾つかの位置を通過して、最終的な目的地である位置Mn+1(n:1以上の正の整数)まで走行する例を説明する。なお、位置DB53には位置M1の次に通過すべき位置M2、位置M2の次に通過すべき位置M3等の各位置を示す座標データが記録されている。The outline of the operation of the
運行管理装置50のCPU51は、位置DB53を参照して位置M2の座標データを読み出し、位置M2に向かわせる走行指令を生成する。通信回路54は、アクセスポイント2を介して走行指令をAGV10に送信する。The
CPU51は、AGV10から、アクセスポイント2を介して、定期的に現在位置および姿勢を示すデータを受信する。こうして運行管理装置50は、各AGV10の位置をトラッキングすることができる。CPU51は、AGV10の現在位置が位置M2に一致したと判定すると、位置M3の座標データを読み出し、位置M3に向かわせる走行指令を生成してAGV10に送信する。つまり運行管理装置50は、AGV10がある位置に到達したと判定すると、次に通過すべき位置に向かわせる走行指令を送信する。これにより、AGV10は最終的な目的位置Mn+1に到達することができる。上述した、AGV10の通過位置および目的位置は「マーカ」と呼ばれることがある。The
(7)オドメトリデータを利用した走行制御の例
次に、ロータリエンコーダ18aおよび18bからのオドメトリデータを利用した走行制御の例を説明する。以下の説明では、AGV10が図10に示す構成を備えている。図10は、AGV10の構成例を示すブロック図である。図10の構成は、第2測位装置19およびディスプレイ30が設けられている点を除き、図6Bの構成と同じである。第2測位装置19は、エンコーダユニット18とマイコン14aとの間に接続されている。ディスプレイ30は、マイコン14aに接続されている。以下の説明では、測位装置14eを、第2測位装置19と区別するために「第1測位装置14e」と称する。この実施形態では、レーザレンジファインダ15およびエンコーダユニット18は、それぞれ、図1における第1センサ101および第2センサ102としての機能を有する。マイコン14aは、図1における演算回路105に相当する。 (7) Example of Travel Control Using Odometry Data Next, an example of travel control using the odometry data from the
第2測位装置19は、例えばプロセッサなどの処理回路と、メモリとを備える。第2測位装置19は、ロータリエンコーダ18aおよび18bから出力されるデータを取得し、AGV10の位置および姿勢を示すデータ(x, y, θ)を生成してマイコン14aに出力する。第2測位装置19の機能は、マイコン14aに集約されていてもよい。その場合、図6Aまたは図6Bに示す構成と同様の構成が用いられる。第2測位装置19の機能を、駆動装置17における制御回路が備えていてもよい。
The
図11は、本実施形態における構成要素間の信号の流れを模式的に示す図である。第1測位装置14eは、LRF15から出力されたデータ(第1センサデータ)を用いて第1推定演算を行い、AGV10の位置および姿勢を推定する。本実施形態における第1推定演算は、第1センサデータと地図データとを照合して、座標(x,y)、角度θ、および信頼度(単位:%)を示すデータを生成する処理である。第1測位装置14eは、座標(x,y)、角度θ、および信頼度を示すデータを、マイコン(演算回路)14aに送る。
FIG. 11 is a diagram schematically showing the flow of signals between the constituent elements in this embodiment. The
第2測位装置19は、2つのエンコーダ18aおよび18bから出力されたデータ(第2センサデータ)を用いて第2推定演算を行い、AGV10の位置および姿勢を推定する。第2センサデータは、モータまたは車輪の回転状態または回転速度に関する情報を含む。回転速度と車輪の径とから、単位時間当たりの車輪の移動距離を推定できる。第2推定演算は、AGV10の座標および角度の初期値に、2つのエンコーダ18aおよび18bの出力に基づいて計算される座標および角度の変化量をそれぞれ積算する処理を含む。座標および角度の初期値は、例えば第1測位装置14eによって計算された座標および角度の値で定期的に更新され得る。第2測位装置19は、座標(x,y)および角度θを示すデータを、マイコン14aに送る。
The
以下の説明において、第1測位装置14eが推定した座標および角度を、まとめて「LRF座標」と称し、第2測位装置19が推定した座標および角度を、まとめて「エンコーダ座標」と称することがある。
In the following description, the coordinates and angles estimated by the
マイコン14aは、第1測位装置14eによる推定結果の確からしさを示す信頼性データが所定の条件に合致しているか否かに応じて、第1測位装置14eによる推定結果および第2測位装置19による推定結果の一方をAGV10の座標および角度として選択する。マイコン14aは、選択した座標および角度を駆動装置17に通知する。駆動装置17は、現在の座標および角度と、目的地における座標および角度との差分から、モータ16aおよび16bのそれぞれの回転速度の指令値を決定する。駆動装置17は、決定した指令値に基づいて、モータ16aおよび16bを制御する。
The
本実施形態における「信頼性データ」は、第1測位装置14eから出力される信頼度のデータ(第1信頼性データ)と、第1測位装置14eによって推定された座標および角度と第2測位装置19によって推定された座標および角度とのそれぞれの差を示すデータ(第2信頼性データ)とを含む。マイコン14aは、基本的には、相対的に信頼性が高いと考えられるLRF座標を用いて走行するように駆動装置17を制御する。その際、第2測位装置19が保持するエンコーダ座標をLRF座標で定期的に上書きする。これにより、両者の座標は定期的に同期する。しかし、第1測位装置14eの出力の信頼性が低いと考えられる状況下では、マイコン14aは、座標の同期を停止し、エンコーダ座標を使用してAGV10の走行を継続する。この場合、マイコン14aは、第1測位装置14eに初期位置同定を実行させるコマンドを発行し、信頼性の回復を試みる。言い換えれば、マイコン14aが第2測位装置19による推定結果を選択しているときは、第1測位装置14eは、第1センサデータと第2測位装置による推定結果とを利用して初期位置同定(第1推定演算)を行う。
The “reliability data” in the present embodiment includes reliability data (first reliability data) output from the
「初期位置同定」とは、AGV10が地図上のどの場所に位置しているかを探索する処理を指す。初期位置同定では、地図の全域または一部のエリア(例えば1m×1mから50m×50m程度のエリア)にわたって、地図データとLRF15のデータとのマッチングが行われる。本実施形態においては、AGV10の電源投入後または地図の切替後などに、初期位置同定が行われる。初期位置同定によってAGV10の位置が特定されると、その位置を中心とするより狭い範囲(例えば当該位置から数十cm程度の範囲内)を探索する「位置同定」が行われる。この位置同定は、AGV10の移動中に、例えば一定時間(例えば100ミリ秒)ごとに行われ得る。位置同定は、初期位置同定よりも探索範囲が狭く、かつ実行時間も短い。本実施形態では、「初期位置同定」および「位置同定」のいずれも、前述の「第1推定演算」に該当する。
“Initial position identification” refers to a process of searching where on the map the
マイコン14aは、走行中、信頼性データに基づいて、LRF座標を使用して走行するモードと、エンコーダ座標を使用して走行するモードとを切り替える。マイコン14aは、例えば以下の表1に示す条件に従ってこれらの2つのモードを切り替える。
During traveling, the
表1の条件では、第1測位装置14eから出力される信頼度が低下した場合だけでなく、LRF座標およびエンコーダ座標のX軸成分の差またはY軸成分の差が許容値以上になった場合にもLRF座標を使用するモードからエンコーダ座標を使用するモードに切り替えられる。このように2つの条件を課す理由は、第1測位装置14eが出力する信頼度が高い場合であっても、実際とは大きく異なる位置が現在の位置として推定される場合があるためである。なお、表1の例では、動作を安定化させるため、信頼度の復帰閾値が切替閾値よりも高く設定されている。
Under the conditions of Table 1, not only when the reliability output from the
次に、図12を参照して、AGV10の動作を説明する。図12は、AGV10の動作の例を示すフローチャートである。AGV10の電源が投入されると、マイコン14aは、第1測位装置14eに、初期位置同定を実行させる(ステップS101)。第1測位装置14eは、地図の全域または一部(例えば1m×1mから50m×50m程度の範囲)にわたって探索を行い、AGV10の初期位置を特定する。AGV10の初期位置が特定されると、マイコン14aは、第1測位装置14eに、その位置を中心とするより狭い領域(例えば当該位置から数十cmの範囲内)について位置同定を実行させる(ステップS102)。この位置同定により、AGV10の位置および姿勢(x,y,θ)が決定されると、マイコン14aは、地図切替エリアを走行しているか否かの判定を行う(ステップS103)。地図切替エリアとは、使用中の地図において、隣接する他の地図と重なる領域を指す。
Next, the operation of the
図13は、地図切替エリアを説明するための図である。図13は、1つの地図データが50m×50mの領域をカバーし、4つの地図データM1、M2、M3、M4によって1つの工場の1フロアの全域がカバーされる場合の例を示している。この例では、隣接する2つの地図の境界部分に、幅5mの矩形の重複領域が設けられている。この重複領域が地図切替エリアである。なお、地図データのサイズおよび重複領域の幅は、この例に限定されず、任意に設定してよい。 FIG. 13 is a diagram for explaining the map switching area. FIG. 13 shows an example in which one map data covers an area of 50 m×50 m, and four map data M1, M2, M3, and M4 cover the entire area of one floor of one factory. In this example, a rectangular overlapping area having a width of 5 m is provided at the boundary between two adjacent maps. This overlapping area is a map switching area. The size of the map data and the width of the overlapping area are not limited to this example, and may be set arbitrarily.
本実施形態では、マイコン14aは、AGV10が地図切替エリアを走行していると判断すると、使用する地図を隣接する他の地図に切り替える処理を行う(ステップS121)。この地図切替処理については図17および図18を参照して後述する。
In the present embodiment, when the
マイコン14aは、AGV10が地図切替エリアを走行していないと判断すると、上記の表1の条件(A)が満たされているかを判断する(ステップS104)。ここで、条件(A)の(1)、(2)のいずれも満たされていない場合には、LRF座標の信頼性が十分に高いといえる。この場合、マイコン14aは、第2測位装置19が保持するエンコーダ座標を、LRF座標で上書きする。その後、所定時間(例えば100ミリ秒)経過後、ステップS102に戻り、以下、同様の動作を実行する。
When the
ステップS104において、表1の条件(A)の(1)、(2)のいずれかが満たされている場合、マイコン14aは、LRF座標を用いた走行からエンコーダ座標を用いた走行に切り替える(ステップS111)。その後、マイコン14aは、所定時間ごとに、初期位置同定を行う(ステップS112)。この初期位置同定によって推定したLRF座標に基づいて、マイコン14aは、表1の条件(B)が満たされているかを判断する(ステップS113)。ここで条件(B)が満たされている場合には、LRF座標の信頼性が回復したと判断される。この場合、マイコン14aは、エンコーダ座標を用いた走行からエンコーダ座標を用いた走行に戻す(ステップS114)。以後、ステップS102に戻り、同様の動作を実行する。
In step S104, if either (1) or (2) of the condition (A) in Table 1 is satisfied, the
このように、図12に示す例では、マイコン14aは、第1測位装置14eによる推定結果をAGV10の位置として選択しているときにおいて、第1信頼性データの値(本実施形態では第1測位装置14eが算出する信頼度)が切替閾値以下になると第2測位装置19による推定結果をAGV10の位置として選択する。また、マイコン14aは、第1測位装置14eによる推定結果をAGV10の位置として選択しているときにおいて、第2信頼性データの値(本実施形態ではLRF座標とエンコーダ座標との差)が予め定められた許容値以上になると第2測位装置19による推定結果をAGV10の位置として選択する。マイコン14aが第2測位装置19による推定結果を選択しているときは、第1測位装置14eは、第1センサデータと第2測位装置19による推定結果(座標および角度)とを利用して初期位置同定(第1推定演算)を行う。他方、マイコン14aは、第2測位装置19による推定結果をAGV10の位置として選択しているときにおいて、第1信頼性データの値が予め定められた復帰閾値以上になり、かつ、第2信頼性データの値が予め定められた許容値未満になると、第1測位装置14eによる推定結果をAGV10の位置として選択する。
As described above, in the example illustrated in FIG. 12, the
このような動作により、LRF座標の信頼性に応じてモードを切り替え、安定した走行を実現することができる。 By such an operation, the mode can be switched according to the reliability of the LRF coordinate, and stable traveling can be realized.
図12の動作に加えて、マイコン14aは、AGV10の速度を、LRF座標の信頼性に応じて制御してもよい。例えば、マイコン14aは、第2測位装置19による推定結果を選択しているときは、第1測位装置14eによる推定結果を選択しているときよりも遅い速度でAGV10を移動させるように、駆動装置17に指示してもよい。さらに、第1推定演算(初期位置同定)を行って第1測位装置14eが出力した第1信頼性データ(信頼度)の値が予め定められた復帰閾値以上になったときは、駆動装置17に、AGV10の速度をさらに低下させ、第1測位装置14eに、第1推定演算を再度実行させてもよい。第1推定演算を再度行って第1測位装置14eが再度出力した第1信頼性データの値が復帰閾値以上を維持しているときは、駆動装置17に、AGV10の速度を増加させてもよい。他方、第1推定演算を再度行って第1測位装置14eが再度出力した第1信頼性データの値が復帰閾値以上を維持していないときは、駆動装置17に、AGV10の速度を増加させ、所定時間経過後、第1測位装置14eに、第1推定演算を再度実行させてもよい。「復帰閾値以上を維持していないとき」には、第1推定演算(本実施形態では初期位置同定)を複数回行っても、第1信頼性データの値が復帰閾値に満たない状態が連続する場合が含まれる。
In addition to the operation of FIG. 12, the
以下、図14から図16を参照しながら、より具体的な動作の例を説明する。 Hereinafter, a more specific example of the operation will be described with reference to FIGS. 14 to 16.
図14は、AGV10の動作の一例を模式的に示す図である。図15は、この例におけるAGV10の速度の時間変化を示す図である。図16は、この例におけるエンコーダ座標を用いた走行の動作を示すフローチャートである。
FIG. 14 is a diagram schematically showing an example of the operation of the
この例では、AGV10は、LRF座標の信頼性が高いと判断される場合には、LRF座標を用いて第1の速度(例えば50m/分)で位置同定を行いながら走行する。この状態で、LRF座標の信頼度が低下したりLRF座標とエンコーダ座標との差分が突然大きくなったりして上記の切り替え条件(A)を満たすようになると、マイコン14aは、エンコーダ座標を用いた走行に切り替える。このとき、マイコン14aは、AGV10の速度を第1の速度よりも低い第2の速度(例えば20m/分)に低下させる(ステップS201)。これは、エンコーダ座標を用いた走行を高速で行うと、衝突またはオーバーランが生じる可能性が高くなるためである。しかし、第2の速度を小さく設定しすぎると、LRF座標の信頼性が低くなる区間を抜け出すのに長い時間を要する可能性がある。よって、第2の速度は、低すぎず、高すぎない適度な値に設定される。
In this example, when it is determined that the reliability of the LRF coordinate is high, the
AGV10が第2の速度で走行している間、マイコン14aは、第1測位装置14eに、LRF座標の信頼性が回復するまで、初期位置同定を繰り返すように指示する。第1測位装置14eは、この指示を受け、信頼度が復帰閾値以上に回復するまで初期位置同定を繰り返す(ステップS202−S204)。この例では、繰り返しの上限回数(例えば20回)が設定されている。設定された上限回数だけ初期位置同定を繰り返しても信頼度が復帰閾値まで回復しない場合、マイコン14aは、AGV10を停止させ、運行管理装置50または端末装置20にエラー信号を送信する(ステップS205)。
While the
ステップS202の初期位置同定によってLRF座標の信頼度が復帰閾値以上に回復すると、マイコン14aは、AGV10の速度を第2の速度よりもさらに低い第3の速度(例えば7.5m/分)に低下させる(ステップS211)。そして、第1測位装置14eに初期位置同定を再度実行させる(ステップS212)。この初期位置同定においても信頼度が復帰閾値以上である場合(ステップS213におけるYes)、マイコン14aは、LRF座標およびエンコーダ座標のX軸成分の差およびY軸成分の差が、許容値(例:30cm)未満であるかを判定する(ステップS221)。ステップS213またはS221の判定がNoである場合、マイコン14aは、これらの判定がYesになるまで、初期位置同定(ステップS211)を繰り返す。本実施形態では、この繰り返しの上限回数が5回に設定されている。5回繰り返してもステップS221の条件が満たされない場合、マイコン14aは、AGV10の速度を第4の速度(例えば20m/分)に加速させる(ステップS215)。この例では、第4の速度は第2の速度と同じであるが、異なっていてもよい。その後、再度ステップS201に戻る。第4の速度に加速させることで、信頼性が低くなる区間を早期に抜け出せる可能性が高くなる。なお、ステップS215の代わりに、ステップS205に遷移して、AGV10を停止させ、運行管理装置50または端末装置20にエラー信号を送信してもよい。
When the reliability of the LRF coordinate is restored to the return threshold value or more by the initial position identification in step S202, the
ステップS221における判定がYesの場合、マイコン14aは、第1測位装置14eに位置同定処理を実行させる(ステップS230)。位置同定処理において、第1測位装置14eは、初期位置同定によって決定された位置の周辺の比較的狭いエリア(例えば当該位置から数十cm程度の範囲内)について、LRFのデータとのマッチングを行い、AGV10の座標および角度を決定する。この位置同定の結果、上記の「エンコーダ→LRF」の切り替え条件が満足される場合には、マイコン14aは、エンコーダ座標をLRF座標で上書きし(ステップS231)、LRF座標を用いた走行に切り替える(ステップS232)。そして、速度を第1の速度(例えば50m/分)に増加させる(ステップS233)。以後、通常の動作に戻る。
When the determination in step S221 is Yes, the
本実施形態では、第2の速度(20m/分)による初期位置同定が成功した後、第3の速度(7.5m/分)に減速させている。この理由は、初期位置同定後の位置同定の探索範囲が狭いことに起因している。位置同定の探索範囲が起点となる座標から数十cm程度の範囲内である場合、AGV10が20m/分で走行すると、数秒以内に探索範囲を超えてしまうおそれがある。マイコン14aが第1測位装置14eに初期位置同定を指示してから位置同定を指示するまでに、例えば数秒程度の時間を要する場合、20m/分のままでは位置同定ができない可能性がある。したがって、本実施形態では、第3の速度として7.5m/分に減速させている。
In this embodiment, after the initial position identification by the second speed (20 m/min) is successful, the speed is reduced to the third speed (7.5 m/min). The reason for this is that the search range for position identification after the initial position identification is narrow. When the search range for position identification is within a range of several tens of centimeters from the starting coordinates, if the
次に、図17および図18を参照しながら、地図切替処理(図12におけるステップS121)の例を説明する。図17は、LRF座標の信頼性が高い通常時の地図切替処理を模式的に示す図である。図18は、地図切替エリアを走行中にLRF座標の信頼性が低くなった場合の地図切替処理を模式的に示す図である。この例では、1つの地図が50m×50mの領域をカバーし、隣接する2つの地図が5mの幅の重複領域を有している。各地図の中心が座標の原点であり、横方向(X方向)および縦方向(Y方向)のそれぞれについて、原点から20mから25m離れたエリアが、地図切替エリアである。AGV10は、X方向に第1の速度(この例では50m/分)で地図切替エリアに侵入する。
Next, an example of the map switching process (step S121 in FIG. 12) will be described with reference to FIGS. 17 and 18. FIG. 17 is a diagram schematically showing a normal map switching process in which the LRF coordinate is highly reliable. FIG. 18 is a diagram schematically showing a map switching process when the reliability of the LRF coordinate becomes low during traveling in the map switching area. In this example, one map covers an area of 50m x 50m, and two adjacent maps have an overlapping area with a width of 5m. The center of each map is the origin of coordinates, and the
図17に示すように、AGV10がX=22.5mの地点を超えると、マイコン14aは、AGV10の速度を第3の速度(7.5m/分)に低下させる。その後、X=23.75mの地点を超えると、マイコン14aは、使用する座標をLRF座標からエンコーダ座標に切り替え、切替後の地図を用いた初期位置同定を第1測位装置14eに指示する。この初期位置同定によって得られたLRF座標の信頼度が十分に高く、エンコーダ座標との差が十分に低ければ、マイコン14aは、続けて位置同定を第1測位装置14eに指示する。この位置同定によって得られたLRF座標についても信頼度が十分に高く、エンコーダ座標との差が十分に低ければ、マイコン14aは、エンコーダ座標の値をLRF座標の値で更新し、AGV10の移動速度を第1の速度である50m/分に戻し、LRF座標を用いた走行に切り替える。
As shown in FIG. 17, when the
本実施形態では、第1測位装置14eは、地図切替後の初期位置同定を、LRF座標ではなくエンコーダ座標を用いて実行する。これにより、地図切替後の初期位置同定の成功率を高めることができる。
In the present embodiment, the
他方、地図切替処理の際にLRF座標の信頼性が低い場合、マイコン14aは、図18に示すように、信頼性が回復するまで、エンコーダ座標を用いた走行を継続する。AGV10がX=23.75mの地点を超えると、使用する地図を切り替え、第1測位装置14eは、初期位置同定を繰り返してLRF座標の信頼性の回復を試みる。信頼性が回復すると、マイコン14aは、LRF座標でエンコーダ座標を上書きし、AGV10の速度を第3の速度から第1の速度に増加させ、LRF座標を用いた走行に切り替える。
On the other hand, when the reliability of the LRF coordinate is low during the map switching process, the
以上のように、本実施形態によれば、LRF座標の信頼性が低下した場合に、エンコーダ座標を用いた走行に切り替え、信頼性が回復した後、LRF座標を用いた走行に戻す。さらに、速度の制御も併せて行うことにより、さらに安定した走行が可能になる。 As described above, according to the present embodiment, when the reliability of the LRF coordinate is lowered, the mode is switched to the drive using the encoder coordinate, and after the reliability is restored, the drive is returned to the drive using the LRF coordinate. Furthermore, by controlling the speed as well, more stable running becomes possible.
マイコン14aは、AGV10を移動させているとき、第1測位装置14eによる推定結果および第2測位装置19による推定結果のいずれを選択しているかを示す信号を出力するように構成されていてもよい。例えば、図10に示すディスプレイ30に、当該信号を出力してもよい。ディスプレイ30は、当該信号を受けて、第1測位装置14eおよび第2測位装置19のいずれの測位方式が選択されているかを示す情報を表示することができる。マイコン14aは、AGV10の外部の装置に当該信号を送信してもよい。外部の装置は、例えば、運行管理装置50または端末装置20であり得る。外部の装置は、AGV10に搭載された光源またはスピーカなどの装置であってもよい。外部の装置は、上記信号を受けて、第1測位装置14eおよび第2測位装置19のいずれの測位方式が選択されているかを、光、音、または文字の情報として提示することができる。これにより、ユーザは、AGV10が現在どの測位方式で運行しているのかを知ることができる。
The
(変形例)
次に、本実施形態の変形例を説明する。(Modification)
Next, a modified example of this embodiment will be described.
上記の表1の切り替え条件は一例であり、他の条件を適用することもできる。例えば、マイコン14aは、表1の条件によらず、以下の(1)、(2)のいずれかに該当する場合には、第2測位装置19による推定結果をAGV10の位置として選択してもよい。
(1)第1測位装置14eによる推定結果に基づいて推定した一定時間内におけるAGV10の移動距離と、第2測位装置19による推定結果に基づいて推定した一定時間内におけるAGV10の移動距離との差または比が、第1閾値よりも大きい場合
(2)第1測位装置14eによる推定結果に基づいて推定した一定時間内におけるAGV10の角度変化量と、第2測位装置19による推定結果に基づいて推定した上記一定時間内におけるAGV10の角度変化量との差または比が、第2閾値よりも大きい場合The switching conditions in Table 1 above are examples, and other conditions may be applied. For example, the
(1) Difference between the moving distance of the
上記の判定は、第1測位装置14eが出力するLRF座標の動きとエンコーダ座標の動きとが近似しているか否かの判定であるといえる。この判定を「LRF座標の信頼性判定」と称することにする。この判定を行うことにより、第1測位装置14eが出力する信頼度が比較的高い場合でも、位置推定が正確ではないという状況の発生を抑制することができる。他方、両者の座標の差が大きい場合(例えば30cm以上)であっても、上記の(1)、(2)の両方を満足している場合には、第1測位装置14eの座標が正しいとし、第1測位装置14eの座標でエンコーダ座標を上書きしてもよい。
It can be said that the above determination is a determination as to whether the movement of the LRF coordinate output by the
より具体的には、下記3つの条件の全てを満たす場合には、第1測位装置14eの座標が正しいと判定してもよい。
・単位時間(例えば1秒間)で、第1測位装置14eが出力する座標を元に計算した移動距離と、第2測位装置19が出力する座標を元に計算した移動距離との差が20%以下であること。
・単位時間(例えば1秒間)で、第1測位装置14eが出力する座標を元に計算した角度の変化量と、第2測位装置19が出力する座標を元に計算した角度の変化量との差が10%以下であること。
・現在の第1測位装置14eが出力する角度と、第2測位装置19が出力する角度との差の絶対値が45度以下であること。More specifically, when all of the following three conditions are satisfied, it may be determined that the coordinates of the
A difference of 20% between the movement distance calculated based on the coordinates output by the
Between the amount of change in angle calculated based on the coordinates output by the
The absolute value of the difference between the current angle output by the
具体的な計算式は、例えば以下のとおりである。
・1秒前の第1測位装置14eが出力した座標、角度を(Xr1, Yr1, θr1)、
・現在の第1測位装置14eが出力した座標、角度を(Xr2, Yr2, θr2)、
・1秒前の第2測位装置19が出力した座標、角度を(Xe1, Ye1, θe1)、
・現在の第2測位装置19が出力した座標、角度を(Xe2, Ye2, θe2)、
とする。図19は、これらの座標および角度の例を示している。通常走行時においては、以下の3つの不等式(1)〜(3)を全て満たす場合に、LRF座標が正しい(合格)と判定する。
0.64 ≦((Xr2-Xr1)2+(Yr2-Yr1)2) /( (Xe2-Xe1)2+(Ye2-Ye1)2) ≦ 1.44 (1)
|(θe2-θe1)-(θr2-θr1)| ≦ 10° (2)
|θe2 -θr2|≦ 45° (3)
ただし、エンコーダ座標から計算した距離((Xe2-Xe1)2+(Ye2-Ye1)2)が停止中とみなせるほど小さい場合は、距離の割合で判断することが不適当である。その場合は、第1測位装置14eが出力する座標から計算される距離((Xr2-Xr1)2+(Yr2-Yr1)2)が第1測位装置14eの座標値の通常の揺れの範囲内に入っているか否かで判断してもよい。例えば、第1測位装置14e座標値の通常の揺れの二乗値を500(mm)とすると、上記の式(1)に代えて、次の式(4)を用いてもよい。
((Xr2-Xr1)2+(Yr2-Yr1)2) ≦ 500 (mm) (4)The specific calculation formula is as follows, for example.
The coordinates and angles output by the
-The current coordinates and angle output by the
The coordinates and angles output by the
・The current coordinates and angle output by the
And FIG. 19 shows an example of these coordinates and angles. During normal traveling, it is determined that the LRF coordinate is correct (pass) if all of the following three inequalities (1) to (3) are satisfied.
0.64 ≤ ((Xr2-Xr1) 2 +(Yr2-Yr1) 2 ) /( (Xe2-Xe1) 2 +(Ye2-Ye1) 2 ) ≤ 1.44 (1)
|(θe2-θe1)-(θr2-θr1) | ≤ 10° (2)
|θe2 -θr2|≦ 45° (3)
However, if the distance calculated from the encoder coordinates ((Xe2-Xe1) 2 +(Ye2-Ye1) 2 ) is so small that it can be considered that the vehicle is stopped, it is inappropriate to judge based on the distance ratio. In that case, the distance ((Xr2-Xr1) 2 +(Yr2-Yr1) 2 ) calculated from the coordinates output by the
((Xr2-Xr1) 2 +(Yr2-Yr1) 2 ) ≤ 500 (mm) (4)
マイコン14aは、エンコーダ座標による走行時に、上記の表1(B)(2)の復帰条件を満たしていない場合であっても、以下の条件を全て満たしている場合には、LRF座標でエンコーダ座標を上書きし、LRF座標による走行に復帰してもよい。
・前述のLRF座標の信頼性判定が合格
・現在のLRF座標の信頼度が復帰閾値(例えば40%)以上
・直近の所定回数(例えば5回)の位置同定時の信頼度の平均が復帰閾値(例えば40%)以上
・LRF座標とエンコーダ座標とのX成分およびY成分の差が、いずれも閾値(例えば2m)未満である。Even when the
-The reliability judgment of the above-mentioned LRF coordinate is passed.-The reliability of the current LRF coordinate is the return threshold (for example, 40%) or more. (For example, 40%) or more-The difference between the X component and the Y component between the LRF coordinate and the encoder coordinate is less than a threshold value (for example, 2 m).
この条件によれば、LRF座標とエンコーダ座標とのX成分およびY成分の差のいずれかが許容値(例えば30cm)以上であっても、上記の信頼性判定が合格である場合には、LRF座標による走行に復帰する。このため、上記の表1の条件を適用した場合よりも、LRF座標を用いた走行に復帰し易い傾向にある。 According to this condition, even if one of the differences between the X component and the Y component between the LRF coordinate and the encoder coordinate is equal to or more than the allowable value (for example, 30 cm), the LRF is determined to be acceptable if the above reliability determination is successful. Return to traveling by coordinates. For this reason, it tends to return to traveling using the LRF coordinates more easily than when the conditions in Table 1 above are applied.
(8)他の実施形態
これまでの説明では、主に、移動体がガイドレス式のAGVであり、第1センサがレーザレンジファインダであり、第2センサが2つのロータリエンコーダを含む実施形態を例示した。しかし、本開示は、そのような実施形態に限定されない。 (8) Other Embodiments In the above description, the embodiment is mainly described in which the moving body is a guideless AGV, the first sensor is a laser range finder, and the second sensor includes two rotary encoders. Illustrated. However, the present disclosure is not limited to such an embodiment.
例えば、移動体は、路面に設けられた磁気テープまたは白線などの誘導体に沿って移動する「ガイド式」の移動体であってもよい。その場合、第1センサまたは第2センサは、磁気テープを読み取る磁気センサまたは白線を画像認識によって読み取るカメラであってもよい。測位装置は、磁気テープの破損の程度、または白線の汚れの程度、画像処理の際のマッチングの一致度などの様々な情報を信頼性データとして生成し得る。 For example, the moving body may be a “guide type” moving body that moves along a magnetic tape provided on the road surface or a guide such as a white line. In that case, the first sensor or the second sensor may be a magnetic sensor that reads a magnetic tape or a camera that reads a white line by image recognition. The positioning device can generate various information as reliability data such as the degree of damage to the magnetic tape, the degree of dirt on the white line, the degree of matching in matching during image processing.
加速度センサまたは角加速度センサを第1センサまたは第2センサとして利用してもよい。測位装置は、これらのセンサから出力されるデータの分散、または急峻に変化するデータの割合などの様々な情報を信頼性データとして生成し得る。 An acceleration sensor or an angular acceleration sensor may be used as the first sensor or the second sensor. The positioning device can generate various information such as the distribution of data output from these sensors or the ratio of data that changes sharply as reliability data.
上述の実施形態の説明では、一例として二次元空間(床面)を走行するAGVを挙げた。しかしながら本開示は三次元空間を移動する移動体、たとえば飛行体(ドローン)、にも適用され得る。ドローンが飛行しながら三次元空間地図を作成する場合には、二次元空間を三次元空間に拡張することができる。 In the above description of the embodiment, the AGV traveling in the two-dimensional space (floor surface) is taken as an example. However, the present disclosure can be applied to a moving body that moves in a three-dimensional space, for example, a flying body (drone). When making a three-dimensional space map while the drone is flying, the two-dimensional space can be extended to the three-dimensional space.
以上の各実施形態における演算回路またはマイコンによって実行される処理は、全て、コンピュータプログラム(ソフトウェア)によっても専用の回路(ハードウェア)によっても実現され得る。 All the processing executed by the arithmetic circuit or the microcomputer in each of the above embodiments can be realized by a computer program (software) or a dedicated circuit (hardware).
本開示の移動体および移動体管理システムは、工場、倉庫、建設現場、物流、病院などで荷物、部品、完成品などの物の移動および搬送に好適に利用され得る。 INDUSTRIAL APPLICABILITY The moving body and the moving body management system of the present disclosure can be suitably used for moving and transporting goods such as luggage, parts and finished products in factories, warehouses, construction sites, physical distribution, hospitals and the like.
1 ユーザ、 2a、2b アクセスポイント、 10 AGV(移動体)、 11a、11b 駆動輪(車輪)、 11c、11d、11e、11f キャスター、 14 走行制御装置、 14a マイコン(演算回路)、 14b メモリ、 14c 記憶装置、 14d 通信回路、 14e 測位装置、 16a、16b モータ、 15 レーザレンジファインダ、 17 駆動装置、 17a、17b モータ駆動回路、 18 エンコーダユニット、 18a、18b ロータリエンコーダ、 20 端末装置(タブレットコンピュータなどのモバイルコンピュータ)、 21 CPU、 22 メモリ、 23 通信回路、 24 画像処理回路、 25 ディスプレイ、 26 タッチスクリーンセンサ、 30 ディスプレイ、 50 運行管理装置、 51 CPU、 52 メモリ、 53 位置データベース(位置DB)、 54 通信回路、 55 地図データベース(地図DB)、 56 画像処理回路、 100 移動体管理システム、 101 第1センサ、 102 第2センサ、 103 第1測位装置、 104 第2測位装置、 105 演算回路、 106 モータ、 107 駆動装置
1 user, 2a, 2b access point, 10 AGV (moving body), 11a, 11b drive wheel (wheel), 11c, 11d, 11e, 11f caster, 14 traveling control device, 14a microcomputer (arithmetic circuit), 14b memory, 14c Storage device, 14d communication circuit, 14e positioning device, 16a, 16b motor, 15 laser range finder, 17 drive device, 17a, 17b motor drive circuit, 18 encoder unit, 18a, 18b rotary encoder, 20 terminal device (tablet computer, etc.) Mobile computer), 21 CPU, 22 memory, 23 communication circuit, 24 image processing circuit, 25 display, 26 touch screen sensor, 30 display, 50 operation management device, 51 CPU, 52 memory, 53 position database (position DB), 54 Communication circuit, 55 map database (map DB), 56 image processing circuit, 100 mobile management system, 101 first sensor, 102 second sensor, 103 first positioning device, 104 second positioning device, 105 arithmetic circuit, 106 motor , 107 Drive
Claims (24)
少なくとも1つのモータと、
前記少なくとも1つのモータを制御して前記移動体を移動させる駆動装置と、
第1センシング方法によって前記移動体の移動に応じて取得したセンシング結果を示す第1センサデータを出力する第1センサと、
前記第1センシング方法とは異なる第2センシング方法によって前記移動体の移動に応じて取得したセンシング結果を示す第2センサデータを出力する第2センサと、
前記第1センサデータを用いて第1推定演算を行って前記移動体の位置を推定する第1測位装置と、
前記第2センサデータを用いて前記第1推定演算とは異なる第2推定演算を行って前記移動体の位置を推定する第2測位装置と、
前記第1測位装置による推定結果の確からしさを示す信頼性データが所定の条件に合致しているか否かに応じて、前記第1測位装置による推定結果および前記第2測位装置による推定結果の一方を前記移動体の位置として選択する演算回路と
を備えた移動体。Is a mobile,
At least one motor,
A drive device that controls the at least one motor to move the moving body;
A first sensor that outputs first sensor data indicating a sensing result obtained according to the movement of the moving body by a first sensing method;
A second sensor that outputs second sensor data indicating a sensing result obtained according to the movement of the moving body by a second sensing method different from the first sensing method;
A first positioning device that estimates the position of the moving body by performing a first estimation calculation using the first sensor data;
A second positioning device that estimates a position of the moving body by performing a second estimation calculation different from the first estimation calculation using the second sensor data;
One of the estimation result by the first positioning device and the estimation result by the second positioning device depending on whether or not the reliability data indicating the certainty of the estimation result by the first positioning device matches a predetermined condition. And a computing circuit for selecting as the position of the moving body.
前記第1測位装置は、前記第1センサデータと前記地図データとの照合を行って前記移動体の位置を推定する、請求項2に記載の移動体。Further comprising a storage device for storing map data created in advance based on sensor data periodically output from the laser range finder or another laser range finder,
The mobile body according to claim 2, wherein the first positioning device estimates the position of the mobile body by matching the first sensor data with the map data.
前記少なくとも1つのモータは、第1モータおよび第2モータを含み、
前記第1モータと前記第1車輪とは機械的に接続されており、
前記第2モータと前記第2車輪とは機械的に接続されており、
前記少なくとも1つのロータリエンコーダは、前記第1モータから前記第1車輪までの動力伝達機構のいずれかの位置における回転を計測する第1ロータリエンコーダ、および、前記第2モータから前記第2車輪までの動力伝達機構のいずれかの位置における回転を計測する第2ロータリエンコーダを含む、請求項3に記載の移動体。Further comprising a first wheel and a second wheel,
The at least one motor includes a first motor and a second motor,
The first motor and the first wheel are mechanically connected,
The second motor and the second wheel are mechanically connected,
The at least one rotary encoder includes a first rotary encoder that measures rotation at any position of a power transmission mechanism from the first motor to the first wheel, and a second motor to the second wheel. The moving body according to claim 3, further comprising a second rotary encoder that measures rotation of the power transmission mechanism at any position.
前記駆動装置は、前記移動体の速度をさらに低下させ、
前記第1測位装置は、前記第1推定演算を再度行う、請求項15に記載の移動体。When the value of the first reliability data output by the first positioning device by performing the first estimation calculation is equal to or greater than a predetermined return threshold,
The drive device further reduces the speed of the moving body,
The mobile body according to claim 15, wherein the first positioning device performs the first estimation calculation again.
前記駆動装置は、前記移動体の速度を増加させる、請求項16に記載の移動体。When the value of the first reliability data output by the first positioning device again by performing the first estimation calculation again is equal to or more than the return threshold,
The moving body according to claim 16, wherein the driving device increases a speed of the moving body.
前記駆動装置は、前記移動体の速度を増加させ、
所定時間経過後、前記第1測位装置は、前記第1推定演算を再度行う、請求項16または17に記載の移動体。When the value of the first reliability data output by the first positioning device again by performing the first estimation calculation again does not maintain the return threshold value or more,
The driving device increases the speed of the moving body,
The mobile body according to claim 16 or 17, wherein the first positioning device performs the first estimation calculation again after a predetermined time has elapsed.
前記第1測位装置による推定結果に基づいて推定した一定時間内における前記移動体の移動距離と、前記第2測位装置による推定結果に基づいて推定した前記一定時間内における前記移動体の移動距離との差が、第1閾値よりも大きい場合、または、
前記第1測位装置による推定結果に基づいて推定した前記一定時間内における前記移動体の角度変化量と、前記第2測位装置による推定結果に基づいて推定した前記一定時間内における前記移動体の角度変化量との差が、第2閾値よりも大きい場合には、
前記第2測位装置による推定結果を前記移動体の位置として選択する、請求項1から18のいずれかに記載の移動体。The arithmetic circuit is
A moving distance of the moving body within a fixed time estimated based on an estimation result by the first positioning apparatus, and a moving distance of the moving body within the fixed time estimated based on an estimation result by the second positioning apparatus Is greater than a first threshold, or
Angle change amount of the moving body within the certain time period estimated based on the estimation result by the first positioning device, and angle of the moving body within the certain time period estimated based on the estimation result by the second positioning device When the difference from the change amount is larger than the second threshold value,
The moving body according to any one of claims 1 to 18, wherein the estimation result by the second positioning device is selected as the position of the moving body.
前記演算回路は、前記信号を前記ディスプレイに出力し、
前記ディスプレイは、前記信号を受けて、前記第1測位装置および前記第2測位装置のいずれの測位方式が選択されているかを示す情報を表示する、
請求項21に記載の移動体。Further equipped with a display,
The arithmetic circuit outputs the signal to the display,
The display receives the signal and displays information indicating which one of the first positioning device and the second positioning device is selected.
The moving body according to claim 21.
前記外部の装置は、前記信号を受けて、前記第1測位装置および前記第2測位装置のいずれの測位方式が選択されているかを、光、音、または文字の情報として提示する、
請求項21に記載の移動体。The arithmetic circuit transmits the signal to a device external to the moving body,
The external device receives the signal and presents which of the first positioning device and the second positioning device is selected as light, sound, or character information.
The moving body according to claim 21.
前記移動体は、
少なくとも1つのモータと、
前記少なくとも1つのモータを制御して前記移動体を移動させる駆動装置と、
第1センシング方法によって前記移動体の移動に応じて取得したセンシング結果を示す第1センサデータを出力する第1センサと、
前記第1センシング方法とは異なる第2センシング方法によって前記移動体の移動に応じて取得したセンシング結果を示す第2センサデータを出力する第2センサと、
前記第1センサデータを用いて第1推定演算を行って前記移動体の位置を推定する第1測位装置と、
前記第2センサデータを用いて前記第1推定演算とは異なる第2推定演算を行って前記移動体の位置を推定する第2測位装置と、
前記演算回路と、
を備え、
前記コンピュータプログラムは、前記演算回路に、
前記第1測位装置による推定結果の確からしさを示す信頼性データが所定の条件に合致しているか否かに応じて、前記第1測位装置による推定結果および前記第2測位装置による推定結果の一方を前記移動体の位置として選択させる、
コンピュータプログラム。A computer program executed by an arithmetic circuit in a mobile, comprising:
The moving body is
At least one motor,
A drive device that controls the at least one motor to move the moving body;
A first sensor that outputs first sensor data indicating a sensing result obtained according to the movement of the moving body by a first sensing method;
A second sensor that outputs second sensor data indicating a sensing result obtained according to the movement of the moving body by a second sensing method different from the first sensing method;
A first positioning device that estimates the position of the moving body by performing a first estimation calculation using the first sensor data;
A second positioning device that estimates a position of the moving body by performing a second estimation calculation different from the first estimation calculation using the second sensor data;
The arithmetic circuit;
Equipped with
The computer program, the arithmetic circuit,
One of the estimation result by the first positioning device and the estimation result by the second positioning device depending on whether or not the reliability data indicating the certainty of the estimation result by the first positioning device matches a predetermined condition. Is selected as the position of the moving body,
Computer program.
Applications Claiming Priority (3)
| Application Number | Priority Date | Filing Date | Title |
|---|---|---|---|
| JP2017150567 | 2017-08-03 | ||
| JP2017150567 | 2017-08-03 | ||
| PCT/JP2018/028092 WO2019026761A1 (en) | 2017-08-03 | 2018-07-26 | Moving body and computer program |
Publications (1)
| Publication Number | Publication Date |
|---|---|
| JPWO2019026761A1 true JPWO2019026761A1 (en) | 2020-07-27 |
Family
ID=65233750
Family Applications (1)
| Application Number | Title | Priority Date | Filing Date |
|---|---|---|---|
| JP2019534452A Pending JPWO2019026761A1 (en) | 2017-08-03 | 2018-07-26 | Mobile and computer programs |
Country Status (3)
| Country | Link |
|---|---|
| JP (1) | JPWO2019026761A1 (en) |
| CN (1) | CN110998472A (en) |
| WO (1) | WO2019026761A1 (en) |
Families Citing this family (15)
| Publication number | Priority date | Publication date | Assignee | Title |
|---|---|---|---|---|
| CN111480131B (en) * | 2018-08-23 | 2024-01-12 | 日本精工株式会社 | Self-propelled device, travel control method of self-propelled device and travel control program |
| JP6711555B1 (en) * | 2019-02-28 | 2020-06-17 | 三菱ロジスネクスト株式会社 | Transport system, area determination device, and area determination method |
| CN111714973B (en) | 2019-03-19 | 2022-04-19 | Lg电子株式会社 | Air purification system |
| JP2021056764A (en) * | 2019-09-30 | 2021-04-08 | 日本電産株式会社 | Movable body |
| WO2021147008A1 (en) * | 2020-01-22 | 2021-07-29 | 深圳市大疆创新科技有限公司 | Method for controlling unmanned robot, and unmanned robot |
| JP7489014B2 (en) * | 2020-03-31 | 2024-05-23 | 株式会社豊田自動織機 | Location Estimation System |
| US20230367330A1 (en) * | 2020-10-09 | 2023-11-16 | Sony Group Corporation | Autonomous mobile device, control method, and program |
| JP7338612B2 (en) * | 2020-11-16 | 2023-09-05 | 株式会社豊田自動織機 | Controller for automatic guided vehicle |
| JP7718428B2 (en) * | 2020-12-15 | 2025-08-05 | 日本電気株式会社 | Information processing device, mobile object control system, control method, and program |
| JP7511504B2 (en) | 2021-02-16 | 2024-07-05 | 三菱重工業株式会社 | MOBILE BODY, MOBILE CONTROL SYSTEM, AND METHOD AND PROGRAM FOR CONTROLLING MOBILE BODY |
| JP7047958B1 (en) * | 2021-03-25 | 2022-04-05 | 三菱電機株式会社 | Mobile management system |
| JP7760321B2 (en) * | 2021-10-12 | 2025-10-27 | キヤノン株式会社 | Information processing device, control method and program for information processing device |
| JP7274707B1 (en) | 2021-12-13 | 2023-05-17 | アイサンテクノロジー株式会社 | Evaluation system, computer program, and evaluation method |
| CN114577200B (en) * | 2022-03-08 | 2025-02-25 | 尚匠威亚智能装备(重庆)有限公司 | A path data exchange system for mobile handling device |
| CN115793005B (en) * | 2022-11-25 | 2025-06-03 | 东风柳州汽车有限公司 | Positioning mode switching method, device, equipment and storage medium |
Family Cites Families (13)
| Publication number | Priority date | Publication date | Assignee | Title |
|---|---|---|---|---|
| US5438517A (en) * | 1990-02-05 | 1995-08-01 | Caterpillar Inc. | Vehicle position determination system and method |
| BE1016001A3 (en) * | 2004-04-30 | 2006-01-10 | Egemin Nv | Automatic guided vehicle with improved navigation. |
| JP4984650B2 (en) * | 2006-05-30 | 2012-07-25 | トヨタ自動車株式会社 | Mobile device and self-position estimation method of mobile device |
| JP6052045B2 (en) * | 2013-05-01 | 2016-12-27 | 村田機械株式会社 | Autonomous mobile |
| KR101483549B1 (en) * | 2013-12-03 | 2015-01-16 | 전자부품연구원 | Method for Camera Location Estimation with Particle Generation and Filtering and Moving System using the same |
| JP6011562B2 (en) * | 2014-02-27 | 2016-10-19 | Jfeスチール株式会社 | Self-propelled inspection device and inspection system |
| WO2015156821A1 (en) * | 2014-04-11 | 2015-10-15 | Nissan North America, Inc. | Vehicle localization system |
| JP2016024598A (en) * | 2014-07-18 | 2016-02-08 | パナソニックIpマネジメント株式会社 | Control method of autonomous mobile device |
| JP6025814B2 (en) * | 2014-12-24 | 2016-11-16 | ヤマハ発動機株式会社 | Operating device and autonomous mobile system |
| CN106501833A (en) * | 2015-09-07 | 2017-03-15 | 石立公 | A kind of system and method for the detection vehicle place road area positioned based on multi-source |
| CN105424030B (en) * | 2015-11-24 | 2018-11-09 | 东南大学 | Fusion navigation device and method based on wireless fingerprint and MEMS sensor |
| CN105445776A (en) * | 2015-12-28 | 2016-03-30 | 天津大学 | Indoor and outdoor seamless positioning system |
| CN106908822B (en) * | 2017-03-14 | 2020-06-30 | 北京京东尚科信息技术有限公司 | UAV positioning switching method, device and UAV |
-
2018
- 2018-07-26 JP JP2019534452A patent/JPWO2019026761A1/en active Pending
- 2018-07-26 CN CN201880050090.1A patent/CN110998472A/en active Pending
- 2018-07-26 WO PCT/JP2018/028092 patent/WO2019026761A1/en not_active Ceased
Also Published As
| Publication number | Publication date |
|---|---|
| WO2019026761A1 (en) | 2019-02-07 |
| CN110998472A (en) | 2020-04-10 |
Similar Documents
| Publication | Publication Date | Title |
|---|---|---|
| JPWO2019026761A1 (en) | Mobile and computer programs | |
| TWI665538B (en) | A vehicle performing obstacle avoidance operation and recording medium storing computer program thereof | |
| CN110297487A (en) | Moving body, managing device and movable body system | |
| JP7081881B2 (en) | Mobiles and mobile systems | |
| US20200264616A1 (en) | Location estimation system and mobile body comprising location estimation system | |
| US11537140B2 (en) | Mobile body, location estimation device, and computer program | |
| US20200363212A1 (en) | Mobile body, location estimation device, and computer program | |
| JP7136426B2 (en) | Management device and mobile system | |
| JP2019148881A (en) | Moving object, and method and computer program controlling moving object | |
| WO2019187816A1 (en) | Mobile body and mobile body system | |
| JP2020166702A (en) | Mobile body system, map creation system, route creation program and map creation program | |
| JPWO2019054209A1 (en) | Map making system and map making device | |
| JP2019175137A (en) | Mobile body and mobile body system | |
| JP2019053391A (en) | Mobile body | |
| CN111971633B (en) | Position estimation system, mobile body having the position estimation system, and recording medium | |
| JP2019148871A (en) | Movable body and movable body system | |
| JP7243014B2 (en) | moving body | |
| JP2019079171A (en) | Movable body | |
| JP2019179497A (en) | Moving body and moving body system | |
| JP2019165374A (en) | Mobile body and mobile system | |
| CN112578789A (en) | Moving body | |
| JPWO2019069921A1 (en) | Mobile | |
| JP2019067001A (en) | Moving body | |
| JP2019175138A (en) | Mobile body and management device | |
| JP2020166701A (en) | Mobile object and computer program |
