JP7394502B1 - earphone - Google Patents
earphone Download PDFInfo
- Publication number
- JP7394502B1 JP7394502B1 JP2023116204A JP2023116204A JP7394502B1 JP 7394502 B1 JP7394502 B1 JP 7394502B1 JP 2023116204 A JP2023116204 A JP 2023116204A JP 2023116204 A JP2023116204 A JP 2023116204A JP 7394502 B1 JP7394502 B1 JP 7394502B1
- Authority
- JP
- Japan
- Prior art keywords
- earphone
- acoustic duct
- ear
- earring
- user
- Prior art date
- Legal status (The legal status is an assumption and is not a legal conclusion. Google has not performed a legal analysis and makes no representation as to the accuracy of the status listed.)
- Active
Links
Images
Classifications
-
- H—ELECTRICITY
- H04—ELECTRIC COMMUNICATION TECHNIQUE
- H04R—LOUDSPEAKERS, MICROPHONES, GRAMOPHONE PICK-UPS OR LIKE ACOUSTIC ELECTROMECHANICAL TRANSDUCERS; DEAF-AID SETS; PUBLIC ADDRESS SYSTEMS
- H04R1/00—Details of transducers, loudspeakers or microphones
- H04R1/10—Earpieces; Attachments therefor ; Earphones; Monophonic headphones
Landscapes
- Physics & Mathematics (AREA)
- Engineering & Computer Science (AREA)
- Acoustics & Sound (AREA)
- Signal Processing (AREA)
- Headphones And Earphones (AREA)
Abstract
【課題】 高い音量感と音質を確保しつつ、ユーザの耳に確実にフィットして装着される装着性の高いイヤホンを提供する。
【解決手段】 イヤホン1は、硬質材料により構成され、耳の外耳道内に挿入される音響ダクト3と、音響ダクト3の挿入方向とは反対側の端に連結されるイヤホン本体2と、音響ダクト3の外側面に取り付けられる弾性変形可能なイヤーリング4とを備えており、音響ダクト3の中心軸上の長さは、5mm~13mmであり、イヤーリング4は、音響ダクト3に対する傾斜角度が60~100°となるように音響ダクト3の外側面から延びており、イヤホン本体2は、音響ダクト3との連結部から音響ダクト3に対して傾斜角度50°~70°にてイヤーリング4とは反対の方向に延びている。
【選択図】 図1
[Problem] To provide earphones with high wearability that securely fit and are worn in a user's ears while ensuring a high sense of volume and sound quality.
SOLUTION: The earphone 1 is made of a hard material, and includes an acoustic duct 3 inserted into the external auditory canal of the ear, an earphone body 2 connected to an end of the acoustic duct 3 on the opposite side to the insertion direction, and an acoustic duct 3. The length of the acoustic duct 3 on the central axis is 5 mm to 13 mm, and the ear ring 4 has an inclination angle with respect to the acoustic duct 3. The earphone body 2 extends from the outer surface of the acoustic duct 3 at an angle of 60 to 100 degrees, and the earring 4 extends from the connection part with the acoustic duct 3 at an inclined angle of 50 degrees to 70 degrees with respect to the acoustic duct 3. extends in the opposite direction.
[Selection diagram] Figure 1
Description
本発明は、イヤホン本体から延びる音響ダクトをユーザの耳の外耳道に挿入することによって装着されるイヤホンに関する。 The present invention relates to an earphone that is worn by inserting an acoustic duct extending from an earphone body into the external auditory canal of a user's ear.
通常、空気伝導によって伝達される音の振動は、耳の中にある鼓膜へと伝達され、鼓膜の振動は、鼓膜の中にある3つの耳小骨を介して蝸牛に伝達される。蝸牛にはリンパ液があり、このリンパ液の振動が電気信号に変換されながら聴覚神経へと伝達され、この電気信号を脳が音として認識する。 Normally, sound vibrations transmitted by air conduction are transmitted to the eardrum in the ear, and vibrations of the eardrum are transmitted to the cochlea via three ossicles in the eardrum. The cochlea contains lymph fluid, and the vibrations of this fluid are converted into electrical signals and transmitted to the auditory nerve, which the brain recognizes as sound.
ユーザの耳に装着されるイヤホンには、耳に近接配置されたスピーカーに音声信号を印加することによって音声を再生し、空気伝導によって鼓膜に音を伝える空気伝導イヤホンがある。空気伝導イヤホンには、大別してインナーイヤー型とカナル(耳栓)型との2タイプがある。 BACKGROUND ART Earphones worn in a user's ears include air conduction earphones that reproduce sound by applying an audio signal to a speaker placed close to the ear and transmit the sound to the eardrum through air conduction. Air conduction earphones can be roughly divided into two types: inner-ear type and canal (earplug) type.
インナーイヤー型イヤホン(たとえば、特許文献1参照)は、耳の入口にある耳甲介と称される部分に引っ掛けて使用されるイヤホンである。インナーイヤー型イヤホンは、圧迫感がなく、周囲の環境音を聞き取りやすいというメリットがある。これに対して、カナル型イヤホン(たとえば、特許文献2参照)は、耳栓型のイヤーピースを耳の中に入れて使用されるものである。カナル型イヤホンは、高い遮音性が得られ、音漏れしないというメリットがある。 Inner-ear earphones (see, for example, Patent Document 1) are earphones that are used by being hooked onto a portion called the concha at the entrance of the ear. In-ear earphones have the advantage of not feeling pressured and making it easier to hear the surrounding environmental sounds. On the other hand, canal earphones (see, for example, Patent Document 2) are used by inserting an earplug-shaped earpiece into the ear. Canal type earphones have the advantage of providing high sound insulation and no sound leakage.
また、装着中でも周囲の音を聞くことができるイヤホンとして、骨伝導イヤホンが知られている。骨伝導とは、上述した空気伝導のメカニズムにおける振動が鼓膜と耳小骨を経由する過程を省略したものであって、音の振動がユーザの頭蓋骨を経て蝸牛に直接伝達される。そのため、鼓膜や耳小骨に異常がある難聴者などであっても、蝸牛や聴覚神経が正常であれば、この骨伝導によって音を確実に聴くことができる。骨伝導イヤホンは、このような原理を応用したものである。 Bone conduction earphones are also known as earphones that allow you to hear surrounding sounds while wearing them. Bone conduction omits the process in which vibrations pass through the eardrum and auditory ossicles in the air conduction mechanism described above, and sound vibrations are directly transmitted to the cochlea through the user's skull. Therefore, even people with hearing loss who have abnormalities in their eardrums or auditory ossicles can reliably hear sounds through bone conduction, as long as their cochlea and auditory nerve are normal. Bone conduction earphones apply this principle.
骨伝導イヤホンに関しては、今までに種々の提案がなされている。たとえば、特許文献3には、装着感がよく、完全防水・防塵構造とすることができ、また、骨伝導マイクロホンは一部において音響特性(周波数特性)のコントロールが可能な骨伝導イヤホンが提案されている。具体的には、この骨伝導イヤホンは、後面カバーと、骨伝導マイクロホンと骨伝導スピーカーとを収納して後面カバーに組み付けられるイヤホンケースとで構成されており、イヤホンケースに設けられた硬質樹脂製イヤプラグに、該硬質樹脂製イヤプラグよりも軟質材製の感知カバーを被着したものである。
Various proposals have been made regarding bone conduction earphones. For example,
また、特許文献4には、体を激しく動かす際にも位置ずれが生じにくい骨伝導イヤホンが提案されている。この骨伝導イヤホンは、外耳道に挿入して該外耳道に保持される保持体と、機器本体とで構成されており、機器本体は、電気機械変換部によって振動する筐体と保持体とを接続する弾性部を備えている。そして、この骨伝導イヤホンによれば、当該骨伝導イヤホンをユーザの耳介に装着した状態において、弾性部の弾性力によって筐体を珠間切痕の内面に押し当てることができるため、体を激しく動かしても当該骨伝導イヤホンの位置ずれが生じにくい。
Further,
しかしながら、インナーイヤー型イヤホンは、遮音性が低く音漏れし易いというデメリットを有している。これに対して、カナル型イヤホンは、イヤーピースを耳の奥に入れ込むため、耳への圧迫感が強く、周囲の環境音を聞き取りにくいというデメリットを有している。したがって、遮音性が高く音漏れを防止でき、かつ耳への圧迫感のないイヤホンが求められている。 However, inner-ear earphones have the disadvantage of poor sound insulation and easy sound leakage. On the other hand, canal earphones have the disadvantage that because the earpiece is inserted deep into the ear, there is a strong feeling of pressure on the ear, making it difficult to hear surrounding environmental sounds. Therefore, there is a need for earphones that have high sound insulation properties, can prevent sound leakage, and do not put pressure on the ears.
また、イヤホンの音質を向上させ、高い音量感と音質を確保するために、イヤホン本体に収容されたスピーカーの振動板の口径を大きくした場合、イヤホン本体が大型化してしまう。また、イヤホンにマイク機能やノイズキャンセリング機能などの機能を追加した場合、バッテリーおよび回路基板などが大型化し、イヤホン本体が大型化するとともに重量が増す。従来のイヤホンの構造では、イヤホン本体が大型化したり重量が増したりした場合、イヤホンが耳から外れやすくなったり、耳への圧迫感が強まったりするなど、ユーザのイヤホンの装着感が悪化するという問題がある。 Furthermore, if the diameter of the diaphragm of the speaker housed in the earphone body is increased in order to improve the sound quality of the earphone and ensure a high sense of volume and sound quality, the earphone body will become larger. Additionally, when functions such as a microphone function and noise canceling function are added to earphones, the battery and circuit board become larger, which increases the size and weight of the earphone itself. With the structure of conventional earphones, if the earphones become larger or heavier, the earphones become more likely to fall out of the ear, and the feeling of pressure on the ear becomes stronger, which worsens the user's comfort in wearing the earphones. There's a problem.
本発明は、上記問題に鑑みてなされたものであり、その目的は、高い音量感と音質を確保しつつ、ユーザの耳に確実にフィットして装着される装着性の高いイヤホンを提供することにある。 The present invention has been made in view of the above problems, and its purpose is to provide earphones with high wearability that securely fit and are worn in the user's ears while ensuring a high sense of volume and sound quality. It is in.
本発明は、上記課題を解決するために、硬質材料により構成され、耳の外耳道内に挿入される音響ダクトと、音響ダクトの挿入方向とは反対側の端に連結されるイヤホン本体と、音響ダクトの外側面に取り付けられる弾性変形可能なイヤーリングとを備えており、音響ダクトの中心軸上の長さは、5mm~13mmであり、イヤーリングは、音響ダクトに対する傾斜角度が60~100°となるように音響ダクトの外側面から延びており、イヤホン本体は、音響ダクトとの連結部から音響ダクトに対して傾斜角度50°~70°にてイヤーリングとは反対の方向に延びている、イヤホンを提供する。 In order to solve the above-mentioned problems, the present invention includes an acoustic duct made of a hard material and inserted into the external auditory canal of the ear, an earphone body connected to an end opposite to the insertion direction of the acoustic duct, and an earphone body connected to an end opposite to the insertion direction of the acoustic duct. The acoustic duct has an elastically deformable ear ring that is attached to the outer surface of the duct, and the length on the central axis of the acoustic duct is 5 mm to 13 mm, and the ear ring has an inclination angle of 60 to 100 degrees with respect to the acoustic duct. The earphone body extends from the outer surface of the acoustic duct at an angle of inclination of 50° to 70° with respect to the acoustic duct from the connecting portion with the acoustic duct in the opposite direction to the earring. , provide earphones.
本発明はまた、上記イヤホンにおいて、イヤホン本体の中心軸上の長さは、15mm~75mmである、イヤホンを提供する。 The present invention also provides the above earphone, wherein the length of the earphone body on the central axis is 15 mm to 75 mm.
本発明はまた、上記イヤホンにおいて、装着時に、音響ダクトの側面が耳のトラガスに当接することにより受ける力によってイヤーリングが弾性変形して耳甲介の内壁を押圧するとともに、イヤーリングが耳甲介の内壁から受ける反力により生じるモーメントによってイヤホン本体の端部が頬を押圧する、イヤホンを提供する。 The present invention also provides the above earphone in which, when worn, the earring is elastically deformed by the force received when the side surface of the acoustic duct comes into contact with the tragus of the ear and presses against the inner wall of the concha. To provide an earphone in which an end of an earphone body presses against the cheek by a moment generated by a reaction force received from an inner wall of the earphone.
本発明はまた、上記イヤホンにおいて、イヤーリングは、音響ダクトに着脱可能に取り付けられている、イヤホンを提供する。 The present invention also provides the above earphone, wherein the earring is detachably attached to the acoustic duct.
本発明はまた、上記イヤホンにおいて、イヤーリングの長手方向の長さは、12~20mmである、イヤホンを提供する。 The present invention also provides the above earphone, wherein the length of the earring in the longitudinal direction is 12 to 20 mm.
本発明はまた、上記イヤホンにおいて、イヤーリングは、2つのリングを連結一体化して構成されている、イヤホンを提供する。 The present invention also provides the above earphone, in which the earring is configured by connecting and integrating two rings.
本発明はまた、上記イヤホンにおいて、音響ダクトは、イヤホン本体に一体に形成されている、イヤホンを提供する。 The present invention also provides the above earphone, wherein the acoustic duct is integrally formed with the earphone body.
本発明はまた、上記イヤホンにおいて、イヤホン本体にスピーカーが内蔵されており、スピーカーが音響ダクトの直上に配置されている、イヤホンを提供する。 The present invention also provides the above earphone, in which the earphone body has a built-in speaker, and the speaker is disposed directly above the acoustic duct.
本発明はまた、上記イヤホンが空気伝導イヤホンである、イヤホンを提供する。 The present invention also provides an earphone, wherein the earphone is an air conduction earphone.
本発明はまた、上記イヤホンが骨伝導イヤホンである、イヤホンを提供する。 The present invention also provides an earphone, wherein the earphone is a bone conduction earphone.
本発明はまた、上記イヤホンにおいて、音響ダクトは、ユーザの生体情報を検出する少なくとも1つのセンサーを備えている、イヤホンを提供する。 The present invention also provides the above earphone, wherein the acoustic duct includes at least one sensor for detecting biometric information of the user.
本発明によれば、イヤホンをユーザが装着する際、音響ダクトをユーザの耳の外耳孔から外耳道内に挿入すると、音響ダクトの側面が耳のトラガスに当接され、耳のトラガスが音響ダクトを押すため、音響ダクトが受ける力によってイヤーリングが弾性変形しながら耳甲介の内壁、より具体的には耳甲介艇の内壁に当接して該内壁を押圧する。すると、イヤーリングは、耳甲介の内壁、より具体的には耳甲介艇の内壁から反力を受ける。この反力により生じるモーメントによってイヤホン本体の長手方向端部がユーザの頬に当接し、頬を押圧するとともに、頬から反力を受ける。したがって、本発明のイヤホンは、作用・反作用の原理によって、2つの反力と大きさが同じで方向が逆の押圧力で耳甲介の内壁と頬とを押圧することとなる。この結果、音響ダクトを耳の外耳道に挿入する構成を採用するイヤホンであっても、これをユーザの耳にフィットした状態で確実に装着することができ、その装着性が高められる。 According to the present invention, when a user wears an earphone, when the acoustic duct is inserted into the external auditory canal from the external auditory canal of the user's ear, the side surface of the acoustic duct comes into contact with the tragus of the ear, and the tragus of the ear contacts the acoustic duct. For pushing, the earrings are elastically deformed by the force applied to the acoustic duct and come into contact with the inner wall of the concha, more specifically the inner wall of the concha, and press the inner wall. Then, the earring receives a reaction force from the inner wall of the concha, more specifically from the inner wall of the concha. Due to the moment generated by this reaction force, the longitudinal end of the earphone body comes into contact with the user's cheek, presses the cheek, and receives a reaction force from the cheek. Therefore, according to the principle of action and reaction, the earphone of the present invention presses the inner wall of the concha and the cheek with a pressing force having the same magnitude and opposite direction as the two reaction forces. As a result, even if the earphone adopts a configuration in which an acoustic duct is inserted into the external auditory canal of the ear, the earphone can be reliably worn in a state that fits the user's ear, and its wearability is improved.
このように、本発明のイヤホンは、音響ダクトのトラガスが当接する点(図6のa点)を中心としてイヤホン全体があたかもシーソーのように揺動可能であることから、「シーソー型イヤホン」と呼ぶこともできる。 As described above, the earphone of the present invention is called a "seesaw type earphone" because the entire earphone can swing like a seesaw around the point where the tragus of the acoustic duct comes into contact (point a in Figure 6). You can also call.
本発明のイヤホンは、上述したようにシーソーのように揺動して装着させるものであるため、イヤホン本体が大型化したり重量が増したりした場合でも、耳に圧迫感がなく確実に装着させることができる。したがって、音質を向上させるためにスピーカーの振動版の口径を大きくしたり、様々な機能を追加してバッテリーや回路基板を大型化したりすることが可能である。 As described above, the earphone of the present invention is worn by swinging like a seesaw, so even if the earphone itself becomes larger or heavier, it can be worn securely without feeling pressure on the ear. I can do it. Therefore, in order to improve the sound quality, it is possible to increase the diameter of the diaphragm of the speaker, or to add various functions and increase the size of the battery and circuit board.
本発明のイヤホンであれば、音響ダクトの一つの側面が耳のトラガスに当接すればよく、従来のカナル型イヤホンのように耳の穴に入れ込むイヤーピースのみでイヤホンを安定化させる必要がないため、耳への圧迫感を抑制することができる。 With the earphones of the present invention, one side of the acoustic duct only needs to come into contact with the tragus of the ear, and there is no need to stabilize the earphones with only an earpiece that is inserted into the ear canal, unlike conventional canal earphones. , it is possible to suppress the feeling of pressure on the ears.
また、本発明のイヤホンであれば、音響ダクトを耳の外耳道内にトラガスよりも奥まで挿入するため、音の振動を外耳道内に確実に導入することができる。たとえば本発明のイヤホンが骨伝導イヤホンである場合には、スピーカーからの振動が耳の外耳道に挿入された音響ダクトを介してユーザの骨に直接効率よく伝達されるため、高い音量感と音質が得られる。 Furthermore, with the earphone of the present invention, since the acoustic duct is inserted deeper into the ear canal than the tragus, sound vibrations can be reliably introduced into the ear canal. For example, when the earphones of the present invention are bone conduction earphones, vibrations from the speaker are efficiently transmitted directly to the user's bones via an acoustic duct inserted into the ear canal, resulting in a high sense of volume and sound quality. can get.
(実施の形態)
以下に本発明の実施の形態を添付図面に基づいて説明する。図1は、本実施形態に係るイヤホン1の斜視図である。図2は、本実施形態に係るイヤホン1の側面図である。図3は、本実施形態に係るイヤホン1の平面図である。図4は、本実施形態に係るイヤホン1の底面図である。図5は、本実施形態に係るイヤホン1のイヤーリングの着脱構造を示す分解部分斜視図である。図6は、本実施形態に係るイヤホン1の装着状態を示すユーザの耳部分の側断面図である。
(Embodiment)
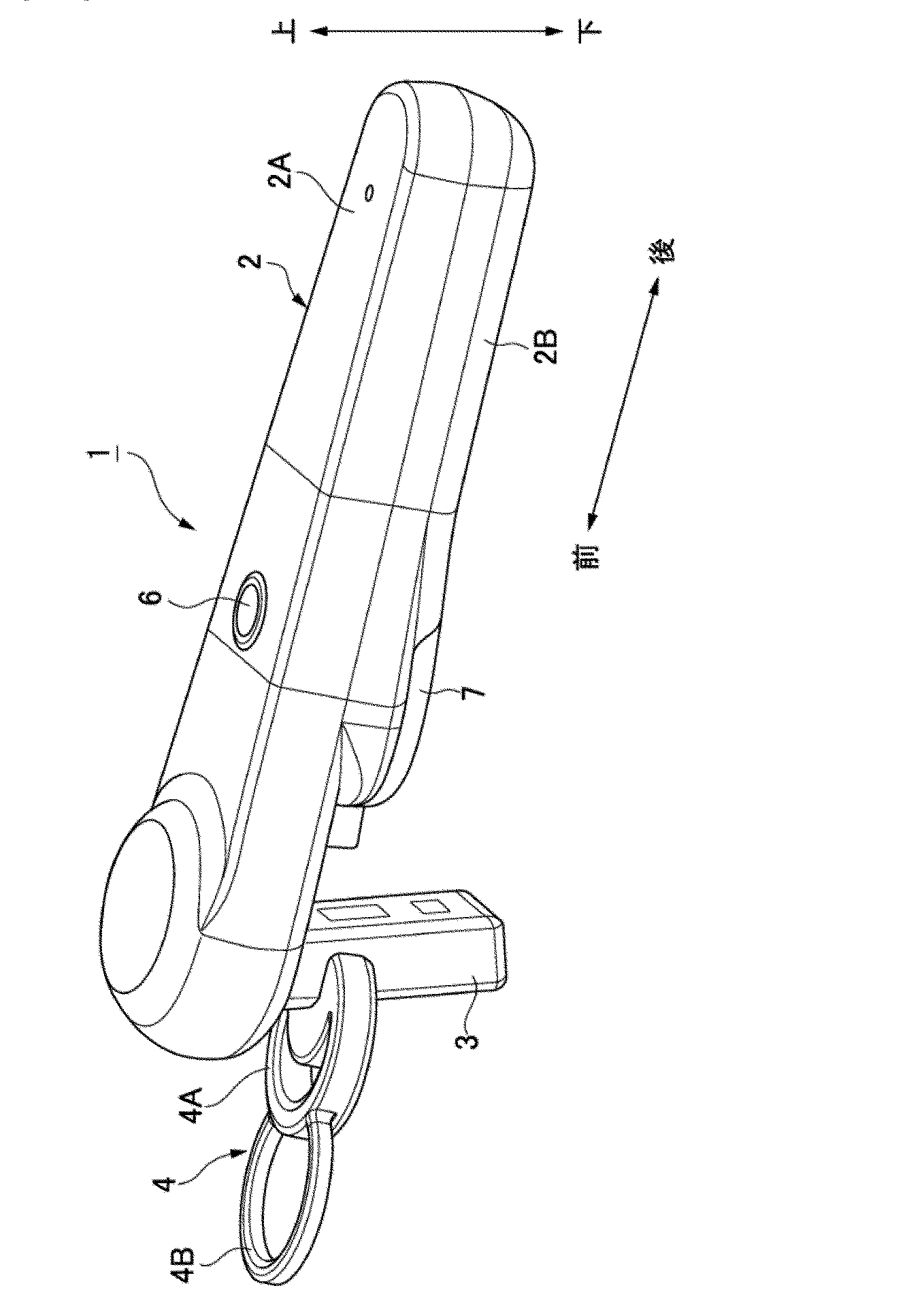
Embodiments of the present invention will be described below based on the accompanying drawings. FIG. 1 is a perspective view of an
以下の説明においては、図1及び図2の矢印方向を図示のようにそれぞれ「前後」方向、「上下」方向とする。 In the following description, the arrow directions in FIGS. 1 and 2 will be referred to as the "back and forth" direction and the "up and down" direction, respectively, as shown.
「上下」方向は、ユーザがイヤホン1を耳に装着した状態において、イヤホン1とユーザの耳とを結ぶ方向、言い換えればイヤホン1を耳に挿入する方向あるいは取り外す方向である。イヤホン1からユーザの耳へ向かう方向、すなわちイヤホン1を耳に挿入する方向を「下」方向とし、ユーザの耳からイヤホン1へ向かう方向、すなわちイヤホン1を耳から取り外す方向を「上」方向とする。
The "up and down" direction is the direction in which the
「前後」方向は、「上下」方向と直交する方向であり、ユーザがイヤホン1を耳に装着した状態において、イヤホン1がユーザの耳のトラガスに当接する位置と耳甲介の内壁に当接する位置とを結ぶ方向である。イヤホン1から耳のトラガスへ向かう方向、すなわちユーザの頬に向かう方向を「後」方向とし、イヤホン1から耳甲介の内壁へ向かう方向、すなわち後頭部へ向かう方向を「前」方向とする。
The "front-back" direction is a direction perpendicular to the "up-down" direction, and when the user wears the
ここで、図10に、耳介の各部位の名称を示す。図10に示すように、トラガス(耳珠ともいう)は、外耳道の入り口の顔側にある出っ張りである。耳介の外側の湾曲した部分は耳輪とよばれる。耳甲介は、図10に示す耳甲介腔および耳甲介艇により構成される。耳甲介腔は、外耳道の入り口のすぐそばにあるくぼみである。耳甲介艇は、外耳道の入り口からみて耳甲介腔よりも外側にあり、耳甲介腔とは耳輪の一部によって隔てられたくぼみである。本発明のイヤホン1は、耳甲介のなかでも耳甲介艇の内壁に当接する。本明細書において、「耳甲介の内壁」または「耳甲介艇の内壁」とは、耳甲介または耳甲介艇を構成するくぼみの縁となる壁をさす。
Here, FIG. 10 shows the names of each part of the auricle. As shown in FIG. 10, the tragus (also called the tragus of the ear) is a protrusion on the face side of the entrance to the external auditory canal. The outer curved part of the auricle is called the helix. The concha is composed of a concha cavity and a concha boat as shown in FIG. The concha cavity is a depression located just near the entrance to the external auditory canal. The conchae is located outside the concha cavity when viewed from the entrance of the external auditory canal, and is a depression separated from the concha cavity by a portion of the helix. The
本実施形態に係るイヤホン1は、図1~図4および図6に示すように、音響ダクト3と、イヤホン本体2と、イヤーリング4とを備えている。なお、本実施形態に係るイヤホン1は、骨伝導イヤホンであっても空気伝導イヤホンであってもよく、骨伝導および空気伝導の両方の機能を備えたイヤホンであってもよい。
The
音響ダクト3は、矩形棒状の部材であり、ユーザの耳の外耳孔から外耳道内にトラガスよりも奥まで挿入され、その側面が耳のトラガスに当接される。音響ダクト3は、イヤホン本体2の下ケース2Bの前端部から斜め下方に延びるように形成される。なお、本発明において、音響ダクトの形状は、外耳孔から外耳道内にトラガスよりも奥まで挿入しやすい形状であればよく、たとえば棒形状、筒形状、円柱形状および多角柱形状などの任意の形状であることができる。
The
音響ダクト3の長さは、ユーザの耳の外耳道内にトラガスよりも奥まで挿入可能な長さとなっている。音響ダクト3の中心軸上におけるイヤホン本体2の底面から音響ダクト3の先端までの長さは、ユーザの耳の外耳道内にスピーカー音を導入可能な長さであれば特に限定されないが、たとえば5mm以上であれば、ユーザの耳の外耳道内にスピーカー音を確実に導入することができる。また、音響ダクト3の中心軸上の長さは、たとえば8mm以上であれば、ユーザの耳の外耳道内にスピーカー音をより確実に導入することができる。音響ダクト3の中心軸上の長さは、特に限定されないが、たとえば13mm以下であることができ、これによりユーザに圧迫感を感じさせることなく、快適な装着感を与えることができる。また、音響ダクト3の中心軸上の長さは、たとえば10mm以下であれば、ユーザにさらに圧迫感を感じさせることなく、より快適な装着感を与えることができる。
The length of the
なお、本発明における音響ダクトの長さは、ユーザの耳の外耳道内のトラガスに当接する点から少なくとも10mm以上奥まで挿入される長さであることができる。この長さであれば、標準の大人の耳に装着した際に、ユーザの耳の外耳道内にスピーカー音を確実に導入することができる。また、この長さであれば、音響ダクトがトラガスにしっかり当接するため、音響ダクトとイヤーリングとイヤホン本体とがシーソーのように揺動してユーザの耳にフィットして確実に装着される。 Note that the length of the acoustic duct in the present invention can be such that it is inserted at least 10 mm or more deep from the point where it contacts the tragus in the external auditory canal of the user's ear. With this length, the speaker sound can be reliably introduced into the external auditory canal of the user's ear when worn on a standard adult's ear. In addition, with this length, the acoustic duct firmly contacts the tragus, so the acoustic duct, earring, and earphone body swing like a seesaw to fit in the user's ear and be securely worn.
音響ダクト3は、中実部材で構成されてもよいし、中空部材で構成されてもよい。たとえば、イヤホン1が骨伝導イヤホンである場合には、音響ダクト3は中実部材で構成されてもよい。また、イヤホン1が空気伝導イヤホンである場合には、音響ダクト3は中空部材で構成されてもよい。
The
イヤホン本体2は、音響ダクト3の長手方向における挿入方向とは反対側の端に連結された細長いケース体であり、イヤホン1を耳に装着する際には耳の外側に位置する。イヤホン本体2は、音響ダクト3との連結部からイヤーリング4とは反対の方向、すなわち後方(図1および図2参照)に向かって延びるように形成される。イヤホン本体2は、音響ダクト3との連結部から音響ダクト3に対して所定角度θ(図2参照)の傾斜角度で後方に向かって延びるように構成される。したがって、音響ダクト3は、イヤホン本体2の前端部から下方に向かって斜め後方に角度θだけ傾斜するように延びている。角度θは、たとえばθ=60°に設定することができるが、本発明において、傾斜角度θはこれに限定されず、たとえば60°±10°(50°~70°)に設定されることができる。
The
傾斜角度θがたとえば50°~70°の範囲内であるとき、イヤホン1を装着する際に、音響ダクト3の側面が耳のトラガス11に当接することにより受ける力Fによってイヤーリング4が弾性変形して耳甲介の内壁13を押圧する。そして、イヤーリング4が耳甲介の内壁13から受ける反力R1により生じるモーメントMによって、イヤホン本体2の後端部が頬14を押圧する。イヤホン1は、イヤーリング4の先端部が耳甲介の内壁を押圧するとともに、イヤホン本体2の端部が頬を押圧することによって、ユーザの耳に確実にフィットして装着される。
When the inclination angle θ is within the range of 50° to 70°, for example, when the
また、傾斜角度θがたとえば68°以下のとき、イヤホン1は、よりソフトにフィットして装着される。傾斜角度θがたとえば65°以下の場合、イヤホン1は、さらにソフトにフィットして装着されることができる。また、傾斜角度θがたとえば55°以上のとき、イヤホン1は、強くフィットして装着されるとともに、落ちにくくなるという利点を有する。傾斜角度θがたとえば58°以上のとき、イヤホン1は、より強くフィットして装着されるとともに、より落ちにくくなるという利点を有する。
Further, when the inclination angle θ is, for example, 68° or less, the
イヤホン本体2の中心軸上の長さは、音響ダクト3の端から延びてユーザの頬に当接可能な長さであればよく、特に限定されないが、少なくとも15mm以上であれば、装着時にイヤホン本体2の端部が頬14を適度な強さで押圧するため、ユーザの耳に確実にフィットして装着されることができる。また、イヤホン本体2の中心軸上の長さは、好ましくは20mm以上であり、これにより装着時にイヤホン本体2の端部が頬14をより強く押圧するため、ユーザの耳により確実にフィットして装着されることができる。また、イヤホン本体2の中心軸上の長さは、特に限定されないが、たとえば75mm以下であれば、ユーザが圧迫感を感じることなく、ユーザの耳に確実にフィットして装着されるとともに高い装着感を与えることができる。また、イヤホン本体2の中心軸上の長さは、好ましくは70mm以下であり、これによりユーザがさらに圧迫感を感じることなく、ユーザの耳により確実にフィットして装着されるとともにより高い装着感を与えることができる。
The length of the
イヤホン本体2は、上ケース2Aと下ケース2Bとを接合一体化して構成される。イヤホン本体2には、スピーカー5(図2参照)の他、各種電子部品を実装した基板、バッテリおよびスイッチ(図示せず)などが収容される。基板に実装された電子部品には、スピーカー5から出力される電気信号を機械振動に変換する電磁型または圧電型などの変換器が含まれる。図3に示すように、イヤホン本体2(上ケース2A)の上面の長手方向中央には、丸いマルチファンクションボタン(コマンドボタン)6が配置されている。また、図1、図2及び図4に示すように、イヤホン本体2(下ケース2B)の下面前方には、バッテリ交換のための不図示の開口部を下方から覆うカバー7が着脱可能に取り付けられている。
The earphone
スピーカー5は、図2に示すように、イヤホン本体2内の前端部における音響ダクト3の直上のユーザの耳に接触しない位置に配置される。スピーカー5がこのような位置に配置されるため、スピーカー5の音質を良くするために該スピーカー5の口径を十分大きくしても、このスピーカー5が耳の邪魔になることがない。なお、本実施形態では、スピーカー5をイヤホン本体2内に長手方向に沿って水平に収容したが、このスピーカー5をイヤホン本体2の長手方向に対して垂直に配置して収容するようにしてもよい。
As shown in FIG. 2, the
音響ダクト3とイヤホン本体2とは、一体に形成されてもよいし、別々に形成されてもよい。音響ダクト3とイヤホン本体2とを一体に構成することによって、これらの強度と剛性を高めることができる。
The
本実施形態において、イヤホン本体2(上ケース2Aと下ケース2B)および音響ダクト3は、剛性の高いABS樹脂などの硬質樹脂で構成されている。なお、本発明において、イヤホン本体および音響ダクトは、本実施形態に限定されず、硬質材料により構成されることができる。硬質材料には、たとえばABS樹脂だけでなく、ポリプロピレンおよびポリスチレン等の種々の樹脂を用いることができる。また、音響ダクトは、金属によって構成されてもよい。
In this embodiment, the earphone body 2 (
本発明のイヤホンは、音響ダクトの側面が耳のトラガスに当接することにより受ける力によってイヤーリングが弾性変形して耳甲介の内壁を押圧するとともに、イヤーリングが耳甲介の内壁から受ける反力により生じるモーメントによってイヤホン本体の端部が頬を押圧することにより装着される。そのため、音響ダクトが硬質材料により構成されることにより、音響ダクトが装着の柱となって耳にしっかりとフィットして安定して装着されることができる。また、本発明のイヤホンにおける音響ダクトは、外耳道内を完全に覆う必要がなく、外耳道の内壁との間に隙間が生じてもよい。したがって、本発明のイヤホンは、カナル型イヤホンの先端に取り付けられている、耳の奥に入れ込んで固定するために弾性変形するイヤーピースのような部材を必要としないため、耳を圧迫することなく快適な装着感を与えることができる。また、音響ダクトが硬質材料により構成されることにより、後述する変形例のように生体情報を検出するセンサーを取り付けることが可能となる。 In the earphone of the present invention, the earring is elastically deformed by the force received when the side surface of the acoustic duct comes into contact with the tragus of the ear and presses the inner wall of the concha, and the earring receives a reaction from the inner wall of the concha. The earphone body is worn by pressing the end of the earphone body against the cheek due to the moment generated by the force. Therefore, since the acoustic duct is made of a hard material, the acoustic duct serves as a support for wearing the earphone, and can fit securely to the ear and be stably worn. Further, the acoustic duct in the earphone of the present invention does not need to completely cover the inside of the ear canal, and a gap may be formed between the acoustic duct and the inner wall of the ear canal. Therefore, the earphone of the present invention does not require a member such as an earpiece that is attached to the tip of a canal type earphone and which elastically deforms in order to insert it deep into the ear and fix it, so it does not put pressure on the ear. It can provide a comfortable wearing feeling. Further, since the acoustic duct is made of a hard material, it becomes possible to attach a sensor for detecting biological information as in a modification described later.
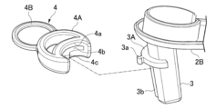
イヤーリング4は、音響ダクト3における耳のトラガスに当接される面とは反対側の外側面に取り付けられ、音響ダクト3の前面から前方(図1~図4の左方)に向かって延びる弾性変形可能な部材である。イヤーリング4は、イヤホン本体2が延びる方向とは反対側の方向に延びるように形成される。イヤーリング4は、リング状の2つのリング4A,4Bを連結一体化して構成されている。イヤーリング4の一方のリング4Aは、音響ダクト3の前面側の側面に当接し、前方向に突出するように形成される。リング4Bは、リング4Aの外側に、前方向に突出するように形成される。なお、本実施形態において、リング4A、4Bは略円形であるが、本発明では特に限定されず、曲線または直線により囲まれた形であればよく、たとえば楕円形および多角形等であることができる。イヤーリング4が2つのリング4A、4Bを連結一体化して構成されることにより、イヤーリング4のバネ性が向上し、ユーザの耳の形に合わせて柔軟に弾性変形するため、どのような耳にも合わせやすくなるという効果を奏する。
The
イヤーリング4の長手方向の長さ、すなわちリング4Aの音響ダクト3に取り付けられる部分から、前方向に突出したリング4Bの先端までの長さは、耳の大きさなどに応じて適宜設定することができ、特に限定されないが、装着の安定性から、たとえば12~20mmであることができる。また、イヤーリング4の長手方向の長さは、たとえば13~18mmであれば、装着の安定性をさらに高めることができる。
The length of the
イヤーリング4は、図2に示すように、イヤホン本体2の長手方向に対して平行となるように取り付けられている。なお、本発明において、イヤーリングが取り付けられる角度は、本実施形態に限定されず、たとえば音響ダクトに対する傾斜角度が60~100°となるように取り付けられることができる。また、イヤーリングが取り付けられる角度は、イヤホン本体の長手方向に対して略平行となる角度から、音響ダクトに対して略垂直となる角度までの間の任意の角度であることができる。
As shown in FIG. 2, the
イヤーリング4は、弾性変形可能な任意の材料によって構成されることができ、たとえば柔軟なシリコン、エラスマーおよびゴムなどによって構成されることができる。
The
イヤーリング4は、音響ダクト3に着脱可能になっていてもよいし、音響ダクト3と一体に構成されていてもよい。イヤーリング4が着脱可能になっている場合、大きさの異なる複数種類のイヤーリングを用意することができ、ユーザが自身の耳介および外耳道の大きさおよび形状に最適なイヤーリングを選択することができる。そのため、全てのユーザに対して高い装着感を与えることができる。
The
イヤーリング4の着脱構造の一例を図5に基づいて説明する。音響ダクト3の前面側上部には、半円リング状の嵌合凸部3Aが一体に形成されており、この嵌合凸部3Aの周方向中央には、係合突起3aが一体に突設されている。また、音響ダクト3の前面の幅方向中央には、嵌合凸部3Aから下方に直線状に延びる係合溝3bが縦方向に沿って形成されている。
An example of a structure for attaching and detaching the
他方、イヤーリング4の一方のリング4Aには、音響ダクト3に形成された嵌合凸部3Aに嵌合する凹曲面(半円)状の嵌合凹部4aが形成されており、この嵌合凹部4aの内周面には、係合溝4bが周方向に沿って形成されている。また、嵌合凹部4aの下部中央には、音響ダクト2に形成された前記係合溝3bに係合する係合突起4cが一体に突設されている。
On the other hand, one
したがって、イヤーリング4の一方のリング4Aに形成された嵌合凹部4aを音響ダクト3の嵌合凸部3Aに嵌め込み、該嵌合凸部3Aに突設された係合突起3aをイヤーリング4(リング4A)に形成された係合溝4bに係合させるとともに、イヤーリング4のリング4Aに突設された係合突起4cを音響ダクト3に形成された係合溝3bに係合させることによって、イヤーリング4が音響ダクト3の上部前面側に着脱可能且つ回転不能に取り付けられる。
Therefore, the
イヤーリング4を音響ダクト3に取り付ける位置は、イヤホン本体2の底面から音響ダクト3の先端までの間の任意の位置であることができる。音響ダクト3の中心軸上において、イヤホン本体2の前端部からイヤーリング4取り付け位置までの長さと、イヤーリング4取り付け位置から音響ダクト3の先端までの長さは、特に限定されないが、たとえば1:9~9:1であれば、イヤホン1をユーザの耳に確実にフィットして装着させることができる。音響ダクト3において、イヤホン本体2の前端部からイヤーリング4取り付け位置までの長さと、イヤーリング4取り付け位置から音響ダクト3の先端までの長さは、好ましくは2:3~2:5であり、これによりイヤホン1をユーザの耳により確実にフィットして装着させることができる。
The
なお、以上はユーザの一方(左または右)の耳に装着されるイヤホン1の構成について説明したが、他方(右または左)の耳に装着されるイヤホン1の構成は一方のそれと全く同じまたは対称的であるため、これについての図示及び説明は省略する。左右の耳に装着するそれぞれのイヤホンの構成が左右の区別なく全く同じである場合には、ユーザは、左右の区別なく、両イヤホンを左右の耳のどちらかに装着することができ、ユーザの利便性を高めることができる。
Although the configuration of the
ここで、本実施形態に係るイヤホン1がユーザの耳に装着されている状態を図6に示す。イヤホン1は、音響ダクト3の後面が耳のトラガス11(耳珠)に当接する向きに装着される。すなわち、音響ダクト3が耳の外耳道12に挿入されることによって、当該イヤホン1がユーザの耳に装着されるが、このとき、音響ダクト3の後面が耳のトラガス11に当接する。すると、音響ダクト3がトラガス11によって押圧されるため、該音響ダクト3に取り付けられたイヤーリング4が耳甲介の内壁13、より具体的には耳甲介艇の内壁に押し当てられて図6のように弾性変形によって撓む。この場合、イヤーリング4は、2つのリング4A,4Bを連結一体化して構成されているため、容易に弾性変形して耳甲介の内壁13に押し付けられる。
Here, FIG. 6 shows a state in which the
次に、図6の左右方向(前後方向)をX軸、上下方向をY軸とするX-Y座標平面において、イヤホン1に作用する力とこの力によって発生するモーメントについて解析すると以下のようになる。なお、音響ダクト3の後面が耳のトラガス11に当接する点をaとし、イヤーリング4が耳甲介の内壁13に当接する点をbとし、イヤホン本体2が頬に当接する点をcとする。
Next, in the X-Y coordinate plane in which the left-right direction (front-back direction) is the X-axis and the up-down direction is the Y-axis in FIG. 6, the force acting on the
イヤホン1を装着すると、イヤホン1の音響ダクト3の後面の点aにユーザの耳のトラガス11から外力Fが作用する。外力Fが作用することによって、イヤーリング4が前方に押されて耳甲介の内壁13の点bに突き当たり、該イヤーリング4が音響ダクト3と内壁13との間で圧縮される。これによってイヤーリング4が弾性変形して図6のように円弧状に撓み、点bにおいて耳甲介の内壁13から反力(抗力)R1を受ける。そして、この反力R1によって当該イヤホン1には矢印方向(時計方向)のモーメントMが発生し、このモーメントMを受けたイヤホン1のイヤホン本体2は、その後端部がユーザの頬14に点cにおいて当接し、頬14から上向きの反力(反力)R2を受ける。
When the
ここで、外力Fと2つの反力R1,R2のX軸方向成分Fx,R1x,R2xは、次式によってそれぞれ表わされる。
Fx=F・sinθ
R1x=R1・sinθ
R2x=0
上式のように、反力R2のX軸方向成分R2x=0であるため、
F=R1
が成立する。
Here, the X-axis direction components Fx, R1x, and R2x of the external force F and the two reaction forces R1 and R2 are respectively expressed by the following equations.
Fx=F・sinθ
R1x=R1・sinθ
R2x=0
As in the above formula, the X-axis direction component of the reaction force R2 is R2x = 0, so
F=R1
holds true.
また、外力Fと2つの反力R1,R2のY軸方向成分Fy、R1y、R2yは、次式によってそれぞれ表わされる。
Fy=F・cosθ
R1y=R1・cosθ
R2y=R2
Further, the Y-axis direction components Fy, R1y, and R2y of the external force F and the two reaction forces R1 and R2 are respectively expressed by the following equations.
Fy=F・cosθ
R1y=R1・cosθ
R2y=R2
ここで、点aと点b間のX軸方向の距離をL1、点aと点c間のX軸方向の距離をL2としてモーメントの釣り合いを考えると、次式が成立する。
R1y・L1=R2・L2 …(1)
Here, when considering moment balance, assuming that the distance in the X-axis direction between points a and b is L1 and the distance in the X-axis direction between points a and c as L2, the following equation holds true.
R1y・L1=R2・L2…(1)
したがって、イヤホン1のイヤホン本体2(下ケース2B)がユーザの頬14から受ける反力R2は、上式(1)より次のように求められる。
R2=R1y・(L1/L2)
=R1・cosθ・(L1/L2)
=F・cosθ・(L1/L2) …(2)
Therefore, the reaction force R2 that the earphone body 2 (
R2=R1y・(L1/L2)
=R1・cosθ・(L1/L2)
=F・cosθ・(L1/L2)…(2)
したがって、作用・反作用の原理によって、ユーザの頬14は点cにおいてイヤホン1から式(2)によって表される反力R2と同じ大きさで向きが逆の押圧力Pを受ける。
Therefore, according to the principle of action and reaction, the user's cheek 14 receives a pressing force P from the
そして、ユーザは、点bにおいて耳甲介の内壁13に作用する反力R1と同じ大きさで向きが逆の押圧力Qを受ける。このように、ユーザの耳に装着されたイヤホン1は、点bにおいて押圧力Qでユーザの耳甲介の内壁13を押圧し、点cでユーザの頬14を押圧力Pで押圧するため、当該イヤホン1がユーザの耳に確実にフィットして装着され、その装着性が高められる。ここで、ユーザの耳介や外耳道12の大きさや形状のバラツキは、イヤーリング4の弾性変形によって吸収されるため、当該イヤホン1は、如何なるユーザに対しても高い装着性を確保することができる、ユーザが激しく動いた場合であっても、耳から容易に外れて脱落することがない。
Then, the user receives a pressing force Q having the same magnitude and opposite direction as the reaction force R1 acting on the inner wall 13 of the concha at point b. In this way, the
以上説明したように、本実施形態のイヤホン1を装着する際には、音響ダクト3の側面が耳のトラガス11に当接することにより受ける力Fによってイヤーリング4が弾性変形して耳甲介の内壁13、より具体的には耳甲介艇の内壁を押圧する。そして、イヤーリング4が耳甲介の内壁13から受ける反力R1により生じるモーメントMによって、イヤホン本体2の後端部が頬14を押圧する。イヤホン1は、イヤーリング4の先端部が耳甲介の内壁を押圧するとともに、イヤホン本体2の端部が頬を押圧することによって、ユーザの耳に確実にフィットして装着される。
As explained above, when the
このように、本実施形態のイヤホン1は、音響ダクトに取り付けたイヤーピース等を耳に入れ込むことによって装着する従来の耳栓型のイヤホンとは異なり、音響ダクト3により外耳道の内壁を圧迫することがない。そのため、音響ダクト3を硬質材料で構成するとともに、その太さを外耳道よりも細くすることができる。したがって、ユーザは、圧迫感を感じることなく、快適な装着感を得ることができる。
As described above, the
本実施形態のイヤホン1が骨伝導イヤホンである場合、イヤホン1がユーザの左右の耳介10にフィットして装着されると、スピーカー5から発せられる音声(スピーカー音)の電気信号は、イヤホン本体2に内蔵された不図示の変換器によって機械振動に変換される。機械振動は、音響ダクト3を経てユーザの耳の近くの骨に伝導し、骨を振動させる。すると、骨の振動が蝸牛へと伝わり、蝸牛のリンパ液の振動が電気信号に変換されながら聴覚神経へと伝達され、この電気信号を脳が音として認識する。そのため、鼓膜や耳小骨に異常がある難聴者などであっても、蝸牛や聴覚神経が正常であれば、この骨伝導によって音を確実に聴くことができる。本実施形態のイヤホン1は、スピーカー5からの振動が外耳道12に挿入された音響ダクト3を介してユーザの骨に直接伝達されるため、高い音量感と音質を得ることができる。すなわち、本実施形態では、音響ダクト3をユーザの耳の外耳道12に挿入するとともに、該音響ダクト3を剛性の高い硬質樹脂(例えば、ABS樹脂)によって構成したため、スピーカー音による振動が減衰することなくユーザの耳周辺の骨に直接的且つ効率よく伝達され、高い音量感と音質を得ることができる。
When the
本実施形態のイヤホン1が空気伝導イヤホンである場合、イヤホン1の音響ダクト3には、スピーカー5と耳の外耳道内とを連通させる連通路が形成されてもよい。スピーカー音は、この連通路を通ってユーザの耳の外耳道内に導入され、鼓膜を経て蝸牛へと伝わる。本実施形態のイヤホン1であれば、スピーカー音が確実に外耳道内に導入されるため、環境音が大きな場所でもスピーカー音をはっきり聞くことができるとともに、タッチノイズやユーザ自身の声が響いてしまうのを防ぐことができる。
When the
以上の結果、本実施形態に係るイヤホン1によれば、高い音量感と音質を確保しつつ、当該イヤホン1をユーザの耳に確実にフィットして装着することができるという効果が得られる。
As a result of the above, the
(変形例)
次に、上述した実施形態の一変形例を図7~図9に基づいて説明する。図7は、本発明の一変形例に係るイヤホンに組み込まれる基板を示す図である。図8は、本発明の一変形例に係るイヤホンの音響ダクトの断面図である。図9は、本発明の一変形例に係るイヤホンの断面図である。なお、以下の本変形例の説明では、上述した実施形態と異なる構成についてのみ説明し、共通する部分については説明を省略する。
(Modified example)
Next, a modified example of the above-described embodiment will be described based on FIGS. 7 to 9. FIG. 7 is a diagram showing a board incorporated into an earphone according to a modified example of the present invention. FIG. 8 is a sectional view of an acoustic duct of an earphone according to a modified example of the present invention. FIG. 9 is a sectional view of an earphone according to a modified example of the present invention. In the following explanation of this modification, only the configurations that are different from the above-described embodiment will be explained, and the explanation of the common parts will be omitted.
本変形例は、上述した実施形態とは、音響ダクト3がユーザの生体情報を検出する少なくとも1つのセンサーを備えている点が異なっている。すなわち、本変形例のイヤホンは、ユーザの生体情報を測定する装置としても機能する。本明細書において、「生体情報」とは、生体の状態に関する情報を意味し、具体的には生体の健康状態および運動状態などに関する情報を意味する。本発明によって検出される生体情報には、特に限定されないが、たとえば脈拍数、心拍数、血中酸素飽和度(SpO2)、血圧、血流量、HRV解析(ストレスレベル)、血管年齢、頭部の傾き、活動量、体温および耳内温度等が含まれる。
This modification differs from the embodiment described above in that the
本変形例において、音響ダクト3は、ユーザの外耳道内にスピーカー音を導入する機能に加えて、ユーザの生体情報を検出する機能を備えている。本変形例では、音響ダクト3は、脈拍センサー(HRセンサー)8および温度センサー9を備えている。本変形例では、図7~9に示すように、音響ダクト3には、脈拍センサー8および温度センサー9が搭載された基板10が組み込まれている。脈拍センサー8および温度センサー9は、音響ダクト3のトラガスに当接する面に露出するように取り付けられており、装着時に外耳道内におけるトラガスの裏側の皮膚に接触する。基板10は、特に限定されないが、変形可能な基板であることができ、たとえばフレキシブル基板(FPC)であることができる。
In this modification, the
脈拍センサー8は、反射型の脈波センサーであり、所定の波長の光を外耳道内の皮膚に向けて照射し、反射した光を計測することにより脈拍数および血中酸素飽和度(SpO2)などを検出するセンサーである。
The
温度センサー9は、サーミスタ等の熱接触型温度検出素子を備え、外耳道内の皮膚に接触することにより皮膚の温度、すなわち体温を検出するセンサーである。
The
なお、本発明において、音響ダクトが備えるセンサーは、ユーザの生体情報を取得可能なセンサーであれば特に限定されず、たとえば脈拍センサー、温度センサー、体温センサー、加速度センサー、ジャイロセンサー、9軸センサーおよび血圧測定センサー等であることができる。 In the present invention, the sensors provided in the acoustic duct are not particularly limited as long as they are sensors capable of acquiring biometric information of the user, and include, for example, a pulse sensor, a temperature sensor, a body temperature sensor, an acceleration sensor, a gyro sensor, a 9-axis sensor, and It can be a blood pressure measurement sensor or the like.
本発明において、音響ダクトが備えるセンサーは、外耳道内の皮膚に接触して皮膚を介して生体情報を取得するセンサーに限らず、外耳道内の皮膚に接触せずに生体情報を取得するセンサーであってもよい。たとえば、音響ダクトが備えるセンサーは、赤外線等を用いて表面温度を測定する、非接触式の温度センサーなどであってもよい。 In the present invention, the sensor provided in the acoustic duct is not limited to a sensor that contacts the skin in the ear canal and acquires biological information through the skin, but also a sensor that acquires biological information without contacting the skin in the ear canal. You can. For example, the sensor included in the acoustic duct may be a non-contact temperature sensor that measures surface temperature using infrared rays or the like.
また、本発明のイヤホンは、加速度センサーを備え、ユーザの頭部の傾き(姿勢)および運動状態等を生体情報として取得してもよい。 Furthermore, the earphone of the present invention may include an acceleration sensor to acquire the tilt (posture) of the user's head, the state of movement, etc. as biological information.
本変形例のイヤホン1は、脈拍センサー8および温度センサー9の2つのセンサーを備えているが、本発明のイヤホンは、これに限定されず、センサーを1つのみ備えていてもよいし、3つ以上備えていてもよい。また、本発明のイヤホンが測定する生体情報は、1つであっても複数であってもよい。
Although the
本変形例のイヤホン1は、外耳道内で生体情報を測定するため、HRセンサー等の反射型の脈波センサーを使って脈波を計測する際に、太陽光などの影響を受けることがなく、安定して生体情報を取得することができる。
Since the
本変形例のイヤホン1の本体2には、音響ダクト3に組み込まれた基板10に接続された基板が収容されてもよいし、該基板が基板10と一体に形成されてもよい。本体2内の基板に実装された電子部品には、脈拍センサー8および体温センサー9により検出されたアナログ信号をデジタル信号に変換するA/D変換器、変換されたデジタル信号を一時的に記憶する記憶手段および計測されたデータを外部の端末等に送信する通信手段などが含まれる。
The
本変形例に係るイヤホン1であれば、ユーザに圧迫感を感じさせることなくユーザの耳に確実にフィットして装着されるため、ユーザの生体情報を正確に測定することができるという効果が得られる。
The
本発明のイヤホンは、たとえば一方の耳に装着されるイヤホンが上述した変形例のように生体情報測定装置としての機能をさらに備え、他方の耳に装着されるイヤホンは、イヤホンとしての機能のみを備えていてもよい。これにより、生体情報測定装置の機能を備えたイヤホンと、イヤホン機能のみを備えたイヤホンとを、左耳および右耳のそれぞれに装着し、両耳において音楽等を楽しみつつ、片耳において生体情報を測定することが可能となる。 In the earphone of the present invention, for example, the earphone worn in one ear further has a function as a biological information measuring device as in the above-mentioned modification, and the earphone worn in the other ear has only the function as an earphone. You may be prepared. This allows you to wear an earphone with the function of a biological information measuring device and an earphone with only an earphone function in each of your left and right ears, and enjoy music etc. with both ears while reading biological information with one ear. It becomes possible to measure.
また、本発明のイヤホンは、たとえば一方の耳に装着されるイヤホンが脈拍センサーおよび体温センサーを備え、他方の耳に装着されるイヤホンが加速度センサーを備えてもよい。これにより、両耳において音楽等を楽しみつつ、それぞれの耳において別の生体情報を測定することが可能となる。 Further, in the earphone of the present invention, for example, the earphone worn on one ear may be equipped with a pulse sensor and a body temperature sensor, and the earphone worn on the other ear may be equipped with an acceleration sensor. This makes it possible to enjoy music etc. with both ears and measure different biological information with each ear.
従来、生体情報を測定する装置として、ユーザの手首に装着する腕時計タイプの生体情報測定装置が知られている。しかし、手首に装着するタイプの生体情報測定装置では、トレーニング中および日々の生活においてユーザが手を動かすことによりノイズが発生しやすい。また、腕時計型では、外光を完全に遮断することができず、光センサの精度が低くなるという問題もある。 BACKGROUND ART Conventionally, as a device for measuring biological information, a wristwatch type biological information measuring device worn on a user's wrist is known. However, in a wrist-worn type of biological information measuring device, noise is likely to be generated when the user moves his/her hand during training and in daily life. In addition, the wristwatch type cannot completely block out external light, and there is also the problem that the accuracy of the optical sensor becomes low.
これに対し、本発明のイヤホンは、測定部としての音響ダクトのトラガスが当接する点(図6のa点)を中心としてイヤホン全体があたかもシーソーのように揺動して装着される。本発明のイヤホンは、上述したように装着されることにより、音響ダクトの側面がユーザの外耳道内におけるトラガス側の面に密着する。トラガスは弾力性が高いため、音響ダクトの側面と外耳道内のトラガス側の皮膚との密着性は非常に高くなる。トラガスには毛細血管が多数存在し、皮膚が薄いため、この部分に音響ダクトが備えるセンサが密着することにより、脈拍数等の生体情報を正確に測定することができる。 In contrast, the earphone of the present invention is worn with the entire earphone swinging like a seesaw around the point (point a in FIG. 6) where the tragus of the acoustic duct as the measuring section comes into contact. When the earphone of the present invention is worn as described above, the side surface of the acoustic duct comes into close contact with the tragus side surface in the user's ear canal. Since the tragus has high elasticity, the adhesion between the side surface of the acoustic duct and the skin on the tragus side in the ear canal is extremely high. Since there are many capillaries in the tragus and the skin is thin, the sensor included in the acoustic duct comes into close contact with this area, allowing accurate measurement of biological information such as pulse rate.
また、本発明のイヤホンは、外耳道内で生体情報を測定するため、従来の腕時計型と比較して、外光を遮断することができ、光センサを用いた場合でも精度を高めることができる。また、耳の中は腕よりも動きが少ないため、動きによるノイズも発生しにくい。そのため、本発明のイヤホンは、トレーニング中および日々の生活において、ユーザが活動している間でも正確な生体情報を測定することができる。 Furthermore, since the earphone of the present invention measures biological information within the ear canal, it can block external light compared to conventional wristwatch-type earphones, and can improve accuracy even when using an optical sensor. Additionally, because there is less movement in the ear than in the arm, movement noise is less likely to occur. Therefore, the earphone of the present invention can accurately measure biological information even while the user is active during training and daily life.
また、本発明のイヤホンは、外耳道内に挿入する長さのある音響ダクトにセンサーを設けるため、音響ダクトの長さに沿って複数のセンサーを配置することができる。 Further, in the earphone of the present invention, since sensors are provided in a long acoustic duct that is inserted into the ear canal, a plurality of sensors can be arranged along the length of the acoustic duct.
また、本発明における生体情報測定装置として機能する部分は、本発明のイヤホン以外に、他の種類のイヤホンにも取り付けることができる。すなわち、本発明におけるユーザの生体情報を検出するセンサーは、本発明のイヤホンに限らず、任意のイヤホンの音響ダクトに取り付けて、外耳道内において生体情報を検出することができるイヤホンとすることが可能である。 Furthermore, the portion that functions as a biological information measuring device in the present invention can be attached to other types of earphones in addition to the earphones of the present invention. That is, the sensor for detecting biological information of a user according to the present invention is not limited to the earphone according to the present invention, but can be attached to the acoustic duct of any earphone, and can be used as an earphone that can detect biological information within the ear canal. It is.
なお、本発明は、以上説明した実施の形態に適用が限定されるものではなく、特許請求の範囲及び明細書と図面に記載された技術的思想の範囲内で種々の変形が可能であることは勿論である。 The application of the present invention is not limited to the embodiments described above, and various modifications can be made within the scope of the technical ideas described in the claims, specification, and drawings. Of course.
1:イヤホン、2:イヤホン本体、2A:上ケース、2B:下ケース、
3:音響ダクト、3A:音響ダクトの嵌合凸部、3a:音響ダクトの係合突起、
3b:音響ダクトの係合溝、4:イヤーリング、4A,4B:リング、
4a:リングの嵌合凹部、4b:リングの係合溝、4c:リングの係合突起、
5:スピーカー、6:マルチファンクションボタン、7:カバー、11:トラガス、
12:外耳道、13:耳甲介の内壁、14:頬
1: Earphone, 2: Earphone body, 2A: Upper case, 2B: Lower case,
3: acoustic duct, 3A: fitting convex portion of acoustic duct, 3a: engaging protrusion of acoustic duct,
3b: Acoustic duct engagement groove, 4: Ear ring, 4A, 4B: Ring,
4a: Ring fitting recess, 4b: Ring engagement groove, 4c: Ring engagement protrusion,
5: Speaker, 6: Multi-function button, 7: Cover, 11: Tragus,
12: External auditory canal, 13: Inner wall of concha, 14: Cheek
Claims (10)
前記音響ダクトの挿入方向とは反対側の端に連結されるイヤホン本体と、
前記音響ダクトの外側面に取り付けられる弾性変形可能なイヤーリングとを備えており、
前記音響ダクトの中心軸上の長さは、5mm~13mmであり、
前記イヤーリングは、前記音響ダクトに対する傾斜角度が60~100°となるように前記音響ダクトの外側面から延びており、
前記イヤホン本体は、前記音響ダクトとの連結部から前記音響ダクトに対して傾斜角度50°~70°にて前記イヤーリングとは反対の方向に延びており、
装着時に、前記音響ダクトの側面が耳のトラガスに当接することにより受ける力によって前記イヤーリングが弾性変形して耳甲介の内壁を押圧するとともに、前記イヤーリングが耳甲介の内壁から受ける反力により生じるモーメントによって前記イヤホン本体の端部が頬を押圧する、イヤホン。 an acoustic duct made of a hard material and inserted into the ear canal;
an earphone body connected to an end opposite to the insertion direction of the acoustic duct;
and an elastically deformable ear ring attached to the outer surface of the acoustic duct,
The length of the acoustic duct on the central axis is 5 mm to 13 mm,
The earring extends from the outer surface of the acoustic duct such that the earring has an inclination angle of 60 to 100° with respect to the acoustic duct,
The earphone body extends from a connecting portion with the acoustic duct at an inclination angle of 50° to 70° with respect to the acoustic duct in a direction opposite to the earring,
When worn, the earring is elastically deformed by the force received when the side surface of the acoustic duct comes into contact with the tragus of the ear and presses against the inner wall of the concha, and the earring receives a reaction from the inner wall of the concha. An earphone , wherein the end of the earphone body presses against the cheek due to a moment caused by a force .
前記スピーカーが前記音響ダクトの直上に配置されている、請求項1または2に記載のイヤホン。 The earphone body has a built-in speaker,
The earphone according to claim 1 or 2, wherein the speaker is placed directly above the acoustic duct.
The earphone according to claim 1 or 2, wherein the acoustic duct includes at least one sensor that detects biometric information of a user.
Priority Applications (3)
| Application Number | Priority Date | Filing Date | Title |
|---|---|---|---|
| JP2023116204A JP7394502B1 (en) | 2023-07-14 | 2023-07-14 | earphone |
| PCT/JP2024/009124 WO2025017959A1 (en) | 2023-07-14 | 2024-03-08 | Earphone |
| CN202480006184.4A CN120435877A (en) | 2023-07-14 | 2024-03-08 | earphone |
Applications Claiming Priority (1)
| Application Number | Priority Date | Filing Date | Title |
|---|---|---|---|
| JP2023116204A JP7394502B1 (en) | 2023-07-14 | 2023-07-14 | earphone |
Publications (2)
| Publication Number | Publication Date |
|---|---|
| JP7394502B1 true JP7394502B1 (en) | 2023-12-08 |
| JP2025012978A JP2025012978A (en) | 2025-01-24 |
Family
ID=89030176
Family Applications (1)
| Application Number | Title | Priority Date | Filing Date |
|---|---|---|---|
| JP2023116204A Active JP7394502B1 (en) | 2023-07-14 | 2023-07-14 | earphone |
Country Status (3)
| Country | Link |
|---|---|
| JP (1) | JP7394502B1 (en) |
| CN (1) | CN120435877A (en) |
| WO (1) | WO2025017959A1 (en) |
Family Cites Families (6)
| Publication number | Priority date | Publication date | Assignee | Title |
|---|---|---|---|---|
| JPH09253062A (en) * | 1996-03-22 | 1997-09-30 | Ikyo Kk | Earphone type pulse sensor |
| US6819762B2 (en) * | 2001-03-16 | 2004-11-16 | Aura Communications, Inc. | In-the-ear headset |
| JP4778390B2 (en) * | 2006-10-03 | 2011-09-21 | ホシデン株式会社 | headset |
| JP2009111820A (en) * | 2007-10-31 | 2009-05-21 | Nippon Mmi Technology Kk | Bone conduction earphone |
| JP6100730B2 (en) * | 2014-04-22 | 2017-03-22 | 京セラ株式会社 | earphone |
| WO2023095757A1 (en) * | 2021-11-26 | 2023-06-01 | クレプシードラ株式会社 | Acoustic apparatus |
-
2023
- 2023-07-14 JP JP2023116204A patent/JP7394502B1/en active Active
-
2024
- 2024-03-08 WO PCT/JP2024/009124 patent/WO2025017959A1/en active Pending
- 2024-03-08 CN CN202480006184.4A patent/CN120435877A/en active Pending
Also Published As
| Publication number | Publication date |
|---|---|
| CN120435877A (en) | 2025-08-05 |
| JP2025012978A (en) | 2025-01-24 |
| WO2025017959A1 (en) | 2025-01-23 |
Similar Documents
| Publication | Publication Date | Title |
|---|---|---|
| CN110166916B (en) | In-the-ear hearing aid devices, hearing aids and electroacoustic transducers | |
| CN114040299B (en) | Earbuds with biometric sensing capabilities | |
| JP7282043B2 (en) | spectacles with auricular device | |
| US12160698B2 (en) | Audio device with wingtip anchor | |
| JP2018186934A (en) | Biological signal detection device and brain wave measurement method | |
| JP5915197B2 (en) | Blood flow sensor | |
| JP7282044B2 (en) | Glasses with sensors that detect biometric data | |
| US20260007363A1 (en) | Mutli-body earpiece | |
| CN112753231B (en) | Hearing device comprising a sensor and hearing system comprising a hearing device | |
| CN118679753A (en) | Earphone | |
| WO2010131360A1 (en) | Bone-conduction microphone, headset device and microphone device | |
| JP7361428B2 (en) | earphone | |
| JP2010200074A (en) | earphone | |
| CN208017485U (en) | Physiological Signal Measurement Device | |
| JP7394502B1 (en) | earphone | |
| JP2024035728A (en) | Biological information measuring device | |
| JP7698369B1 (en) | Earphones | |
| JP7653572B2 (en) | Bone conduction earphones | |
| TWM561502U (en) | Device for measuring human physiological signal | |
| WO2024085248A1 (en) | See-saw type earphones | |
| CN121445328A (en) | Ear-worn devices for detecting physiological parameters | |
| JP2024061455A (en) | Ear hole type bone conduction earphone | |
| WO2022264528A1 (en) | Sound collecting device | |
| CN118509760A (en) | Earphone | |
| JPH03192896A (en) | Electroacoustic transducer |
Legal Events
| Date | Code | Title | Description |
|---|---|---|---|
| A521 | Request for written amendment filed |
Free format text: JAPANESE INTERMEDIATE CODE: A523 Effective date: 20230719 |
|
| A621 | Written request for application examination |
Free format text: JAPANESE INTERMEDIATE CODE: A621 Effective date: 20230719 |
|
| A871 | Explanation of circumstances concerning accelerated examination |
Free format text: JAPANESE INTERMEDIATE CODE: A871 Effective date: 20230719 |
|
| A131 | Notification of reasons for refusal |
Free format text: JAPANESE INTERMEDIATE CODE: A131 Effective date: 20230807 |
|
| A521 | Request for written amendment filed |
Free format text: JAPANESE INTERMEDIATE CODE: A523 Effective date: 20231004 |
|
| TRDD | Decision of grant or rejection written | ||
| A01 | Written decision to grant a patent or to grant a registration (utility model) |
Free format text: JAPANESE INTERMEDIATE CODE: A01 Effective date: 20231023 |
|
| A61 | First payment of annual fees (during grant procedure) |
Free format text: JAPANESE INTERMEDIATE CODE: A61 Effective date: 20231120 |
|
| R150 | Certificate of patent or registration of utility model |
Ref document number: 7394502 Country of ref document: JP Free format text: JAPANESE INTERMEDIATE CODE: R150 |
