JP6947643B2 - Color-stable red-emitting phosphor - Google Patents
Color-stable red-emitting phosphor Download PDFInfo
- Publication number
- JP6947643B2 JP6947643B2 JP2017560665A JP2017560665A JP6947643B2 JP 6947643 B2 JP6947643 B2 JP 6947643B2 JP 2017560665 A JP2017560665 A JP 2017560665A JP 2017560665 A JP2017560665 A JP 2017560665A JP 6947643 B2 JP6947643 B2 JP 6947643B2
- Authority
- JP
- Japan
- Prior art keywords
- doped
- source
- reactor
- fluorophore
- phosphor
- Prior art date
- Legal status (The legal status is an assumption and is not a legal conclusion. Google has not performed a legal analysis and makes no representation as to the accuracy of the status listed.)
- Active
Links
Images
Classifications
-
- C—CHEMISTRY; METALLURGY
- C09—DYES; PAINTS; POLISHES; NATURAL RESINS; ADHESIVES; COMPOSITIONS NOT OTHERWISE PROVIDED FOR; APPLICATIONS OF MATERIALS NOT OTHERWISE PROVIDED FOR
- C09K—MATERIALS FOR MISCELLANEOUS APPLICATIONS, NOT PROVIDED FOR ELSEWHERE
- C09K11/00—Luminescent, e.g. electroluminescent, chemiluminescent materials
- C09K11/08—Luminescent, e.g. electroluminescent, chemiluminescent materials containing inorganic luminescent materials
- C09K11/61—Luminescent, e.g. electroluminescent, chemiluminescent materials containing inorganic luminescent materials containing fluorine, chlorine, bromine, iodine or unspecified halogen elements
- C09K11/617—Silicates
-
- C—CHEMISTRY; METALLURGY
- C09—DYES; PAINTS; POLISHES; NATURAL RESINS; ADHESIVES; COMPOSITIONS NOT OTHERWISE PROVIDED FOR; APPLICATIONS OF MATERIALS NOT OTHERWISE PROVIDED FOR
- C09K—MATERIALS FOR MISCELLANEOUS APPLICATIONS, NOT PROVIDED FOR ELSEWHERE
- C09K11/00—Luminescent, e.g. electroluminescent, chemiluminescent materials
- C09K11/08—Luminescent, e.g. electroluminescent, chemiluminescent materials containing inorganic luminescent materials
- C09K11/61—Luminescent, e.g. electroluminescent, chemiluminescent materials containing inorganic luminescent materials containing fluorine, chlorine, bromine, iodine or unspecified halogen elements
- C09K11/615—Halogenides
- C09K11/616—Halogenides with alkali or alkaline earth metals
-
- H—ELECTRICITY
- H01—ELECTRIC ELEMENTS
- H01J—ELECTRIC DISCHARGE TUBES OR DISCHARGE LAMPS
- H01J61/00—Gas-discharge or vapour-discharge lamps
- H01J61/02—Details
- H01J61/38—Devices for influencing the colour or wavelength of the light
- H01J61/42—Devices for influencing the colour or wavelength of the light by transforming the wavelength of the light by luminescence
- H01J61/44—Devices characterised by the luminescent material
Landscapes
- Chemical & Material Sciences (AREA)
- Inorganic Chemistry (AREA)
- Engineering & Computer Science (AREA)
- Materials Engineering (AREA)
- Organic Chemistry (AREA)
- Luminescent Compositions (AREA)
Description
本発明は、色安定赤色発光蛍光体に関する。 The present invention relates to a color-stable red-emitting phosphor.
米国特許第7,358,542号明細書、米国特許第7,497,973号明細書および米国特許第7,648,649号明細書に記載されているような、Mn4+で賦活化された錯フッ化物材料に基づく赤色発光蛍光体は、YAG:Ceのような黄色/緑色発光蛍光体と組み合わせて利用して、青色LEDから現行の蛍光灯、白熱灯およびハロゲンランプから生成されるものと同等の温白色光(黒体軌跡でCCT<5000K、色調指数(CRI)>80)を得ることができる。これらの材料は青色光を強く吸収し、約610nm〜658nmの範囲で効率よく発光し、深い赤色/NIR発光はわずかである。したがって、目の感度が低い深い赤色の発光が多い赤色蛍光体と比較して、発光効率が最大化される。量子効率は、青色(440〜460nm)励起下で85%を超えることができる。さらに、ディスプレイ用の赤色蛍光体の使用は、高い色域および効率をもたらすことができる。 Activated with Mn 4+ , as described in US Pat. Nos. 7,358,542, US Pat. No. 7,497,973 and US Pat. No. 7,648,649. Red light emitting phosphors based on the complex fluoride material are produced from current fluorescent lamps, incandescent lamps and halogen lamps from blue LEDs in combination with yellow / green light emitting phosphors such as YAG: Ce. It is possible to obtain warm white light (CCT <5000K, color tone index (CRI)> 80 in the black body locus) equivalent to that of the above. These materials strongly absorb blue light, emit light efficiently in the range of about 610 nm to 658 nm, and emit little deep red / NIR light. Therefore, the luminous efficiency is maximized as compared with the red phosphor, which emits a lot of deep red with low eye sensitivity. Quantum efficiency can exceed 85% under blue (440-460 nm) excitation. In addition, the use of red phosphors for displays can result in high color gamut and efficiency.
特許文献および科学文献に記載された材料を調製する方法は、典型的には、原料を混合し、生成物を沈殿させるステップを含む。そのようなバッチプロセスのいくつかの例は、Paulusz,A.G.,J.Electrochem.Soc.,942−947頁(1973)、米国特許第7,497,973号明細書および米国特許第8,491,816号明細書に記載されている。しかし、製品のスケールアップの問題およびその特性のバッチ間バラツキは大きな問題になり得る。さらに、バッチプロセスは、比較的大きな粒子を含む広範囲の粒径を有する材料を生成する。大きな粒子は、分配装置を詰まらせ、LEDパッケージを製造する際に問題を引き起こす可能性があり、不均一に沈降しやすくなり、均一でない分布を生じる。したがって、より小さいメジアン粒径およびより狭い粒径分布を有する製品を得ることができ、照明およびディスプレイ用途における性能を維持しながら、製品の最終特性をより良好に制御することができる赤色蛍光体の調製方法が望ましい。 The methods of preparing the materials described in the patent and scientific literature typically involve mixing the raw materials and precipitating the product. Some examples of such batch processes are described in Paulusz, A. et al. G. , J. Electrochem. Soc. , 942-947 (1973), US Pat. No. 7,497,973 and US Pat. No. 8,491,816. However, product scale-up issues and inter-batch variability in their properties can be major issues. In addition, the batch process produces materials with a wide range of particle sizes, including relatively large particles. Large particles can clog the distributor and cause problems in the manufacture of LED packages, making them more likely to settle unevenly, resulting in a non-uniform distribution. Therefore, a product with a smaller median particle size and a narrower particle size distribution can be obtained, and the final properties of the product can be better controlled while maintaining performance in lighting and display applications. The preparation method is desirable.
簡潔には、一態様において、本発明は、M源およびHFを含む第1の溶液およびMn源を含む第2の溶液を、A源の存在下で反応器に徐々に添加して、Mn+4ドープ蛍光体を含む生成液を形成するステップ;および反応器から生成液を周期的に排出するステップによってMn4+ドープ蛍光体を合成するための方法に関する。 Briefly, in one aspect, the invention gradually adds a first solution containing the M source and HF and a second solution containing the Mn source to the reactor in the presence of the A source to Mn +. The present invention relates to a method for synthesizing a Mn 4+ -doped phosphor by a step of forming a product solution containing a 4- doped phosphor; and a step of periodically discharging the product solution from the reactor.
Mn4+ドープ蛍光体は式Iのものであってもよい
Ax[MFy]:Mn+4 I
(式中、
AはLi、Na、K、Rb、Cs、またはそれらの組み合わせであり;
MはSi、Ge、Sn、Ti、Zr、Al、Ga、In、Sc、Y、La、Nb、Ta、Bi、Gd、またはそれらの組み合わせであり;
xは[MFy]イオンの電荷の絶対値であり;
yは、5、6または7であり;
あるいはこの蛍光体は、式(A)−(H)を有するものから選択されてもよい
(A)A2[MF5]:Mn4+(式中、Aは、Li、Na、K、Rb、Cs、NH4およびそれらの組み合わせから選択され、Mは、Al、Ga、Inおよびそれらの組み合わせから選択される);
(B)A3[MF6]:Mn4+(式中、Aは、Li、Na、K、Rb、Cs、NH4およびそれらの組み合わせから選択され;Mは、Al、Ga、Inおよびそれらの組み合わせから選択される);
(C)Zn2[MF7]:Mn4+(式中、Mは、Al、Ga、Inおよびそれらの組み合わせから選択される);
(D)A[In2F7]:Mn4+(式中、Aは、Li、Na、K、Rb、Cs、NH4およびそれらの組み合わせから選択される);
(E)A2[MF6]:Mn4+(式中、Aは、Li、Na、K、Rb、Cs、NH4およびそれらの組み合わせから選択され、Mは、Ge、Si、Sn、Ti、Zr、およびそれらの組み合わせから選択される);
(F)E[MF6]:Mn4+(式中、Eは、Mg、Ca、Sr、Ba、Znおよびそれらの組み合わせから選択され、Mは、Ge、Si、Sn、Ti、Zrおよびそれらの組み合わせから選択される);
(G)Ba0.65Zr0.35F2.70:Mn4+;ならびに
(H)A3[ZrF7]:Mn4+(式中、Aは、Li、Na、K、Rb、Cs、NH4から選択される)。
The Mn 4+ doped phosphor may be of formula I A x [MF y ]: Mn + 4 I
(During the ceremony,
A is Li, Na, K, Rb, Cs, or a combination thereof;
M is Si, Ge, Sn, Ti, Zr, Al, Ga, In, Sc, Y, La, Nb, Ta, Bi, Gd, or a combination thereof;
x is the absolute value of the charge of the [MF y] ion;
y is 5, 6 or 7;
Alternatively, this fluorophore may be selected from those having the formulas (A)-(H) (A) A 2 [MF 5 ]: Mn 4+ (in the formula, A is Li, Na, K, Rb). , Cs, NH 4 and combinations thereof, M is selected from Al, Ga, In and combinations thereof);
(B) A 3 [MF 6 ]: Mn 4+ (In the formula, A is selected from Li, Na, K, Rb, Cs, NH 4 and combinations thereof; M is Al, Ga, In and them. (Selected from the combination of);
(C) Zn 2 [MF 7 ]: Mn 4+ (In the formula, M is selected from Al, Ga, In and combinations thereof);
(D) A [In 2 F 7 ]: Mn 4+ (in the formula, A is selected from Li, Na, K, Rb, Cs, NH 4 and combinations thereof);
(E) A 2 [MF 6 ]: Mn 4+ (In the formula, A is selected from Li, Na, K, Rb, Cs, NH 4 and combinations thereof, and M is Ge, Si, Sn, Ti. , Zr, and combinations thereof);
(F) E [MF 6 ]: Mn 4+ (In the formula, E is selected from Mg, Ca, Sr, Ba, Zn and combinations thereof, and M is Ge, Si, Sn, Ti, Zr and them. (Selected from the combination of);
(G) Ba 0.65 Zr 0.35 F 2.70 : Mn 4+ ; and (H) A 3 [ZrF 7 ]: Mn 4+ (In the formula, A is selected from Li, Na, K, Rb, Cs, NH 4). NS).
別の態様において、本発明は、この方法によって調製されたMn4+ドープ蛍光体に関する。 In another aspect, the invention relates to Mn 4+ doped fluorophore prepared by this method.
本発明のこれらの特徴、態様、および利点、ならびに他の特徴、態様、および利点が、添付の図面を参照しつつ以下の詳細な説明を検討することによって、よりよく理解されると考えられ、添付の図面において、類似の文字は、図面の全体を通して類似の部分を表している。 These features, aspects, and advantages of the present invention, as well as other features, aspects, and advantages, are believed to be better understood by reviewing the following detailed description with reference to the accompanying drawings. In the accompanying drawings, similar letters represent similar parts throughout the drawing.
本明細書に記載されるMn4+ドープ蛍光体は、配位子として作用するフッ化物イオンによって取り囲まれ、必要に応じて対イオンによって電荷補償された、少なくとも1つの配位中心を含む錯フッ化物材料または配位化合物である。例えば、K2SiF6:Mn4+は、配位中心がSiであり、対イオンがKである。錯フッ化物を、時には単純な二元フッ化物の組み合わせとして表すこともあるが、このような表現は、配位中心周囲の配位子の配位数を示すものではない。角括弧(簡単のため省略されることがある)は、それらが包含する錯イオンが、単純なフッ化物イオンとは異なる新しい化学種であることを示している。賦活剤イオン(Mn4+)はまた、配位中心として作用し、ホスト格子の中心の一部、例えばSiを置換する。ホスト格子(対イオンを含む)は、賦活剤イオンの励起および発光特性をさらに改変させることができる。 The Mn 4+ doped phosphors described herein are complex husks containing at least one coordination center surrounded by fluoride ions acting as ligands and optionally counterion charged. It is a fluoride material or a coordination compound. For example, K 2 SiF 6 : Mn 4+ has a coordination center of Si and a counterion of K. The complex fluoride is sometimes expressed as a combination of simple binary fluorides, but such an expression does not indicate the coordination number of the ligand around the coordination center. Square brackets (which may be omitted for simplicity) indicate that the complex ions they contain are new species that differ from simple fluoride ions. The activator ion (Mn 4+ ) also acts as a coordination center, substituting a portion of the center of the host lattice, such as Si. The host lattice (including counterions) can further modify the excitation and luminescence properties of activator ions.
特定の実施形態において、蛍光体の配位中心、すなわち式I中のMは、Si、Ge、Sn、Ti、Zr、またはそれらの組み合わせである。より詳細には、配位中心は、Si、Ge、Tiまたはそれらの組み合わせであり、対イオンまたは式I中のAは、Na、K、Rb、Cs、またはそれらの組み合わせであり、yは6である。式Iの蛍光体の例としては、K2[SiF6]:Mn4+、K2[TiF6]:Mn4+、K2[SnF6]:Mn4+、Cs2[TiF6]、Rb2[TiF6]、Cs2[SiF6]、Rb2[SiF6]、Na2[TiF6]:Mn4+、Na2[ZrF6]:Mn4+、K3[ZrF7]:Mn4+、K3[BiF6]:Mn4+、K3[YF6]:Mn4+、K3[LaF6]:Mn4+、K3[GdF6]:Mn4+、K3[NbF7]:Mn4+、K3[TaF7]:Mn4+が挙げられる。特定の実施形態において、式Iの蛍光体は、K2SiF6:Mn4+である。 In certain embodiments, the coordination center of the fluorophore, i.e. M in formula I, is Si, Ge, Sn, Ti, Zr, or a combination thereof. More specifically, the coordination center is Si, Ge, Ti or a combination thereof, A in the counterion or formula I is Na, K, Rb, Cs, or a combination thereof, y is 6 Is. Examples of phosphors of formula I are K 2 [SiF 6 ]: Mn 4+ , K 2 [TiF 6 ]: Mn 4+ , K 2 [SnF 6 ]: Mn 4+ , Cs 2 [TiF 6 ], Rb 2 [TiF 6 ], Cs 2 [SiF 6 ], Rb 2 [SiF 6 ], Na 2 [TiF 6 ]: Mn 4+ , Na 2 [ZrF 6 ]: Mn 4+ , K 3 [ZrF 7 ]: Mn 4+ , K 3 [BiF 6 ]: Mn 4+ , K 3 [YF 6 ]: Mn 4+ , K 3 [LaF 6 ]: Mn 4+ , K 3 [GdF 6 ]: Mn 4+ , K 3 [NbF 7 ]: Mn 4+ , K 3 [TaF 7 ]: Mn 4+ . In certain embodiments, the fluorophore of formula I is K 2 SiF 6 : Mn 4+ .
式IのMn4+ドープ蛍光体中のマンガンの量は、約1.2mol%(約0.3wt%)〜約16.5mol%(約4wt%)の範囲であり得る。特定の実施形態において、マンガンの量は、約2mol%(約0.5wt%)〜13.4mol%(約3.3wt%)、または約2mol%〜12.2mol%(約3wt%)、または約2mol%〜11.2mol%(約2.76wt%)、または約2mol%〜約10mol%(約2.5wt%)、または約2mol%〜5.5mol%(約1.4wt%)、または約2mol%〜約3.0mol%(約0.75wt%)であり得る。 The amount of manganese in the Mn 4+ doped phosphor of Formula I can range from about 1.2 mol% (about 0.3 wt%) to about 16.5 mol% (about 4 wt%). In certain embodiments, the amount of manganese is from about 2 mol% (about 0.5 wt%) to 13.4 mol% (about 3.3 wt%), or from about 2 mol% to 12.2 mol% (about 3 wt%), or. About 2 mol% to 11.2 mol% (about 2.76 wt%), or about 2 mol% to about 10 mol% (about 2.5 wt%), or about 2 mol% to 5.5 mol% (about 1.4 wt%), or It can be from about 2 mol% to about 3.0 mol% (about 0.75 wt%).
本発明に従う方法は、水性HFおよびM源を含む第1の溶液ならびにMn源を含む第2の溶液を、A源の存在下で反応器に徐々に添加して、式IのMn4+ドープ蛍光体を含む生成液を形成するステップ;ならびに反応器から生成液を周期的に排出するステップを含む。供給溶液には、少なくとも第1および第2の溶液ならびに排出前または排出中に反応器に添加され得る他の溶液が含まれる。本発明に従う方法は、水性HFおよびM源を含む第1の溶液ならびにMn源を含む第2の溶液を、A源の存在下で反応器に徐々に添加しながら、反応器から生成液を徐々に排出するステップを含む。生成液の少なくとも一部の排出は、第1および第2の溶液の添加と同時に起こる。供給溶液を反応器に添加するのとほぼ同じ速度で生成液を排出することにより、反応器中の生成液の体積を平衡レベルに維持する。供給溶液には、少なくとも第1および第2の溶液ならびに排出前または排出中に反応器に添加され得る他の溶液が含まれる。 The method according to the present invention is to gradually add a first solution containing an aqueous HF and M source and a second solution containing an Mn source to the reactor in the presence of the A source and Mn 4+ dope of formula I. It includes the step of forming a product solution containing a phosphor; and the step of periodically discharging the product solution from the reactor. The feed solution includes at least the first and second solutions as well as other solutions that can be added to the reactor before or during discharge. The method according to the present invention is to gradually add the product solution from the reactor while gradually adding the first solution containing the aqueous HF and M sources and the second solution containing the Mn source to the reactor in the presence of the A source. Including the step of discharging to. Discharge of at least a portion of the product liquid occurs at the same time as the addition of the first and second solutions. The volume of the product in the reactor is maintained at equilibrium levels by draining the product at about the same rate as adding the feed solution to the reactor. The feed solution includes at least the first and second solutions as well as other solutions that can be added to the reactor before or during discharge.
いくつかの実施形態において、初期期間中は、生成液を排出することなく供給溶液を反応器に添加してもよい。いくつかの実施形態において、反応器は、HF、A源、Mn+4ドープ蛍光体の予備形成粒子、またはそれらの組み合わせから選択された材料を事前装填してもよい。蛍光体生成物のための非溶媒または逆溶媒も、事前装填に含めることができる。逆溶媒に適した物質としては、アセトン、酢酸、イソプロパノール、エタノール、メタノール、アセトニトリル、ジメチルホルムアミド、またはそれらの組み合わせが挙げられる。あるいは、逆溶媒は、供給溶液のいずれか中、またはM源もしくはMn源を含まない別個の供給溶液、特にA源を含み、M源またはMn源を含まない供給溶液中に含まれてもよい。 In some embodiments, the feed solution may be added to the reactor during the initial period without draining the product. In some embodiments, the reactor may be preloaded with a material selected from HF, A source, Mn + 4 doped phosphor preform particles, or a combination thereof. Non-solvent or reverse solvent for the fluorophore product can also be included in the preloading. Suitable substances for the reverse solvent include acetone, acetic acid, isopropanol, ethanol, methanol, acetonitrile, dimethylformamide, or a combination thereof. Alternatively, the antisolvent may be contained in any of the feed solutions, or in a separate feed solution that does not contain an M or Mn source, particularly a feed solution that contains an A source and does not contain an M or Mn source. ..
初期期間の後、生成液の少なくとも一部が排出される。いくつかの実施形態では、排出期間中の添加を停止することが望ましい場合があるが、生成液が排出されている間に供給溶液の添加を続けてもよい。排出事象の前または間の各添加期間の長さは、典型的には2〜30分、特に5〜15分、より詳細には8〜12分の範囲である。添加期間が長くなると粒子が大きくなり、および/または生成物が分解され、結果として輝度などの所望の特性が失われ得る。全反応時間、すなわち長い添加期間の全長は重要ではない。いくつかの実施形態では、約1時間であってもよい。 After the initial period, at least part of the product is drained. In some embodiments, it may be desirable to stop the addition during the discharge period, but the feed solution may continue to be added while the product is being discharged. The length of each addition period before or between efflux events typically ranges from 2 to 30 minutes, especially 5 to 15 minutes, more specifically 8 to 12 minutes. The longer the addition period, the larger the particles and / or the decomposition of the product, which can result in the loss of desired properties such as brightness. The total reaction time, i.e. the overall length of the long addition period, is not important. In some embodiments, it may be about 1 hour.
第1の溶液は、水性HFおよびM源を含む。M源は、溶液に良好な溶解度を有するSi含有化合物、例えばH2SiF6、Na2SiF6、(NH4)2SiF6、Rb2SiF6、Cs2SiF6、SiO2またはそれらの組み合わせ、特にH2SiF6であり得る。H2SiF6の使用は、水への溶解度が非常に高く、不純物としてアルカリ金属元素を含まないことから有利である。M源は、単一の化合物であってもよく、または2以上の化合物の組み合わせであってもよい。第1の溶液中のHF濃度は、少なくとも25wt%、特に少なくとも30wt%、より詳細には少なくとも35wt%であってよい。第1の溶液に水を加え、HFの濃度を下げ、粒径を低減させ、生成物の収率を改善することができる。M源として使用される材料の濃度は≦25wt%、特に≦15wt%であってよい。 The first solution contains an aqueous HF and M source. The M source is a Si-containing compound with good solubility in solution, such as H 2 SiF 6 , Na 2 SiF 6 , (NH 4 ) 2 SiF 6 , Rb 2 SiF 6 , Cs 2 SiF 6 , SiO 2 or a combination thereof. In particular, it can be H 2 SiF 6. The use of H 2 SiF 6 is advantageous because it is highly soluble in water and does not contain alkali metal elements as impurities. The M source may be a single compound or a combination of two or more compounds. The HF concentration in the first solution may be at least 25 wt%, particularly at least 30 wt%, and more specifically at least 35 wt%. Water can be added to the first solution to reduce the concentration of HF, reduce the particle size and improve the yield of the product. The concentration of the material used as the M source may be ≦ 25 wt%, especially ≦ 15 wt%.
第2の溶液は、Mn源を含み、溶媒として水性HFも含むことができる。Mn源としての使用に適した材料としては、例えば、K2MnF6、KMnO4、K2MnCl6、MnF4、MnF3、MnF2、MnO2、およびそれらの組み合わせ、特にK2MnF6が挙げられる。Mn源として使用される1または複数の化合物の濃度は重要ではなく、典型的には溶液中のその溶解度によって制限される。第2の溶液中のHF濃度は、少なくとも20wt%、特に少なくとも40wt%であってよい。 The second solution contains a Mn source and can also contain aqueous HF as a solvent. Materials suitable for use as a Mn source include, for example, K 2 MnF 6 , KMnO 4 , K 2 MnCl 6 , MnF 4 , MnF 3 , MnF 2 , MnO 2 , and combinations thereof, particularly K 2 MnF 6. Can be mentioned. The concentration of one or more compounds used as the Mn source is not important and is typically limited by its solubility in solution. The HF concentration in the second solution may be at least 20 wt%, especially at least 40 wt%.
第1および第2の溶液を、A源の存在下で、生成液を撹拌しながら反応器に添加する。使用する原料の量は、過剰のA源が存在し得ることを除いて、一般に所望の組成物に対応する。流量は、M源およびMn源がほぼ化学量論的比率で添加され、A源が化学量論的量より過剰に添加されるように調整することができる。多くの実施形態において、A源は、約150%〜300%モル過剰、特に約175%〜300%モル過剰の範囲の量で添加される。例えば、MnドープK2SiF6において、必要とされるKの化学量論的量は、2モル/モルMnドープK2SiF6であり、使用されるKFまたはKHF2の量は、蛍光体生成物の約3.5モル〜約6モルの範囲である。 The first and second solutions are added to the reactor in the presence of source A with stirring of the product. The amount of raw material used generally corresponds to the desired composition, except that an excess of A source may be present. The flow rate can be adjusted so that the M source and the Mn source are added in a substantially stoichiometric ratio and the A source is added in excess of the stoichiometric amount. In many embodiments, the A source is added in an amount in the range of about 150% to 300% molar excess, particularly about 175% to 300% molar excess. For example, in Mn-doped K 2 SiF 6 , the stoichiometric amount of K required is 2 mol / mol Mn-doped K 2 SiF 6 , and the amount of KF or KHF 2 used is phosphor formation. It ranges from about 3.5 mol to about 6 mol of the object.
A源は、単一の化合物であってもよく、または2以上の化合物の混合物であってもよい。適切な材料としては、KF、KHF2、KOH、KCl、KBr、Kl、KOCH3またはK2CO3、特にKFおよびKHF2、より詳細にはKHF2が挙げられる。K2MnF6のようなKを含むMn源は、特にKFまたはKHF2と組み合わせたK源であってよい。A源は、第1および第2の溶液のいずれかもしくは両方に存在してもよく、別々に添加される第3の溶液中、反応器ポット中、またはこれらの1もしくは複数の組み合わせ中に存在してもよい。 Source A may be a single compound or a mixture of two or more compounds. Suitable materials include KF, KHF 2 , KOH, KCl, KBr, Kl, KOCH 3 or K 2 CO 3 , especially KF and KHF 2 , and more particularly KHF 2 . The K-containing Mn source, such as K 2 MnF 6 , may be a K source specifically in combination with KF or KHF 2. Source A may be present in either or both of the first and second solutions, in a third solution added separately, in a reactor pot, or in one or more combinations thereof. You may.
生成液が反応器から排出された後、Mn+4ドープ蛍光体は、溶媒を単にデカントすることによって、または濾過によって、生成液から単離して、米国特許第8,252,613号明細書または米国特許出願第2015/0054400号明細書に記載のように、式IIの化合物;
A1 x[MFy]
II
(式中、
A1はH、Li、Na、K、Rb、Cs、またはそれらの組み合わせであり;
MはSi、Ge、Sn、Ti、Zr、Al、Ga、In、Sc、Y、La、Nb、Ta、Bi、Gd、またはそれらの組み合わせであり
xは[MFy]イオンの電荷の絶対値であり、
yは5、6または7である)
の水性フッ化水素酸中濃縮溶液を用いて処理することができる。
After the product has been expelled from the reactor, the Mn + 4- doped phosphor is isolated from the product by simply decanting the solvent or by filtration, US Pat. No. 8,252,613 or As described in U.S. Patent Application No. 2015/0054400, compounds of formula II;
A 1 x [MF y ]
II
(During the ceremony,
A 1 is H, Li, Na, K, Rb, Cs, or a combination thereof;
M is Si, Ge, Sn, Ti, Zr, Al, Ga, In, Sc, Y, La, Nb, Ta, Bi, Gd, or a combination thereof, and x is the absolute value of the charge of the [MF y] ion. And
y is 5, 6 or 7)
Can be treated with a concentrated solution in aqueous hydrofluoric acid.
式IIの化合物は、蛍光体生成物のためのホスト化合物の少なくともMFyアニオンを含み、式Iの化合物のA+カチオンも含むことができる。式MnドープK2SiF6の蛍光体生成物については、式IIの化合物に適切な材料として、H2SiF6、Na2SiF6、(NH4)2SiF6、Rb2SiF6、Cs2SiF6、またはそれらの組み合わせ、特にH2SiF6、K2SiF6およびそれらの組み合わせ、より詳細にはK2SiF6が挙げられる。処理溶液は、式IIの化合物の飽和またはほぼ飽和のフッ化水素酸中溶液である。ほぼ飽和した溶液は、飽和溶液に添加された約1〜10%過剰の水性HFを含む。溶液中のHFの濃度は、約25%(wt/vol)〜約70%(wt/vol)、特に約40%(wt/vol)〜約50%(wt/vol)の範囲である。濃度の低い溶液は、蛍光体の性能を低下させることがある。使用する処理溶液の量は、約2〜30ml/g生成物、特に約5〜20ml/g生成物、より詳細には約5〜15ml/g生成物の範囲である。 The compound of formula II comprises at least the MF y anion of the host compound for the fluorophore product and can also include the A + cation of the compound of formula I. For the phosphor product of formula Mn-doped K 2 SiF 6 , H 2 SiF 6 , Na 2 SiF 6 , (NH 4 ) 2 SiF 6 , Rb 2 SiF 6 , Cs 2 are suitable materials for the compound of formula II. Included is SiF 6 , or a combination thereof, in particular H 2 SiF 6 , K 2 SiF 6 and combinations thereof, and more particularly K 2 SiF 6 . The treatment solution is a saturated or nearly saturated solution of the compound of formula II in hydrofluoric acid. The nearly saturated solution contains about 1-10% excess aqueous HF added to the saturated solution. The concentration of HF in the solution ranges from about 25% (wt / vol) to about 70% (wt / vol), especially from about 40% (wt / vol) to about 50% (wt / vol). Low concentration solutions may reduce the performance of the phosphor. The amount of treatment solution used is in the range of about 2-30 ml / g product, particularly about 5-20 ml / g product, more specifically about 5-15 ml / g product.
処理された蛍光体を真空濾過し、HFおよび未反応の原料を除去するために1または複数の溶媒で洗浄することができる。洗浄溶媒に適した材料としては、酢酸およびアセトン、ならびにそれらの組み合わせが挙げられる。 The treated fluorophore can be vacuum filtered and washed with one or more solvents to remove HF and unreacted feedstock. Suitable materials for cleaning solvents include acetic acid and acetone, and combinations thereof.
スパン(Span)は、粒状物質または粉末についての粒径分布曲線の幅の尺度であり、式(1)に従って定義される: Span is a measure of the width of the particle size distribution curve for particulate matter or powder and is defined according to equation (1):
式中、
D50は体積分布のメジアン粒径であり、
D90は、分布の粒子の90%の粒径よりも大きい体積分布の粒径であり、
D10は、分布の粒子の10%の粒径よりも大きい体積分布の粒径である。
During the ceremony
D 50 is the median particle size of the volume distribution,
D 90 is a volume distribution particle size larger than 90% particle size of the distributed particles.
D 10 is the particle size of the volume distribution larger than the particle size of 10% of the distributed particles.
蛍光体粉末の粒径は、レーザ回折法によって都合よく測定することができ、市販の機器に備えられたソフトウェアにより、D90、D10、およびD50粒径値および分布のスパンを作成することができる。本発明の蛍光体粒子の場合、D50粒径は、約10μm〜約40μm、特に約15μm〜約35μm、より詳細には約20μm〜約30μmの範囲である。粒径分布のスパンは、≦1.0、特に≦0.9、より詳細には≦0.8、さらにより詳細には≦0.7であり得る。粒径は、流量、反応物濃度、および生成液の平衡体積を調節することによって制御することができる。 The particle size of the phosphor powder can be conveniently measured by laser diffraction , and software on the market can be used to create spans of D 90 , D 10 , and D 50 particle size values and distributions. Can be done. In the case of the phosphor particles of the present invention, the D 50 particle size ranges from about 10 μm to about 40 μm, particularly from about 15 μm to about 35 μm, and more specifically from about 20 μm to about 30 μm. The span of the particle size distribution can be ≤1.0, particularly ≤0.9, more specifically ≤0.8, and even more specifically ≤0.7. The particle size can be controlled by adjusting the flow rate, reactant concentration, and equilibrium volume of the product.
蛍光体生成物を生成液から単離し、処理し、乾燥させた後、これをアニールして米国特許第8,906,724号明細書に記載のように安定性を改善することができる。そのような実施形態において、蛍光体生成物は、フッ素含有酸化剤を含む雰囲気と接触しながら、昇温で保持される。フッ素含有酸化剤としては、F2、HF、SF6、BrF5、NH4HF2、NH4F、KF、AlF3、SbF5、ClF3、BrF3、KrF2、XeF2、XeF4、NF3、SiF4、PbF2、ZnF2、SnF2、CdF2またはそれらの組み合わせを挙げることができる。特定の実施形態において、フッ素含有酸化剤は、F2である。雰囲気中の酸化剤の量を、特に時間および温度の変化と併せて変化させ、色安定蛍光体を得ることができる。フッ素含有酸化剤がF2である場合、雰囲気は、少なくとも0.5%のF2を含むことができるが、いくつかの実施形態においてより低い濃度が有効な場合もある。特に、雰囲気は、少なくとも5%のF2、より詳細には少なくとも20%のF2を含むことができる。雰囲気は、窒素、ヘリウム、ネオン、アルゴン、クリプトン、キセノンを、フッ素含有酸化剤との任意の組み合わせでさらに含むことができる。特定の実施形態において、雰囲気は約20%のF2および約80%の窒素で構成される。 The fluorophore product can be isolated from the product, treated, dried and then annealed to improve stability as described in US Pat. No. 8,906,724. In such an embodiment, the fluorophore product is retained at elevated temperature while in contact with an atmosphere containing a fluorine-containing oxidant. Fluorine-containing oxidizing agents include F 2 , HF, SF 6 , BrF 5 , NH 4 HF 2 , NH 4 F, KF, AlF 3 , SbF 5 , ClF 3 , BrF 3 , KrF 2 , XeF 2 , XeF 4 , NF 3 , SiF 4 , PbF 2 , ZnF 2 , SnF 2 , CdF 2 or a combination thereof can be mentioned. In certain embodiments, the fluorine-containing oxidant is F 2 . Color-stable phosphors can be obtained by varying the amount of oxidant in the atmosphere, especially with changes in time and temperature. When the fluorinated oxidant is F 2 , the atmosphere can contain at least 0.5% F 2 , but lower concentrations may be effective in some embodiments. In particular, the atmosphere can include at least 5% F 2 and more specifically at least 20% F 2 . The atmosphere can further include nitrogen, helium, neon, argon, krypton, xenon in any combination with a fluorine-containing oxidant. In certain embodiments, the atmosphere is composed of about 20% F 2 and about 80% nitrogen.
蛍光体がフッ素含有酸化剤と接触する温度は、接触中、約200℃〜約700℃、特に約350℃〜約600℃の範囲内の任意の温度であり、いくつかの実施形態において約500℃〜約600℃である。蛍光体は、色安定蛍光体に変換させるために十分な時間、酸化剤と接触させる。時間と温度は相互に関連しており、例えば温度を下げて時間を増やしたり、または時間を短縮しながら温度を上げたりするなど、併せて調整することができる。特定の実施形態において、時間は少なくとも1時間、特に少なくとも4時間、より詳細には少なくとも6時間、最も詳細には少なくとも8時間である。 The temperature at which the phosphor contacts the fluorine-containing oxidant is any temperature in the range of about 200 ° C to about 700 ° C, particularly about 350 ° C to about 600 ° C during contact, and in some embodiments about 500. ° C to about 600 ° C. The fluorophore is contacted with an oxidant for a time sufficient to convert it into a color-stable fluorophore. Time and temperature are interrelated and can be adjusted together, for example, by lowering the temperature to increase the time, or by shortening the time and increasing the temperature. In certain embodiments, the time is at least 1 hour, particularly at least 4 hours, more specifically at least 6 hours, and most specifically at least 8 hours.
昇温において所望の時間保持した後、初期の冷却期間の間酸化雰囲気を維持しながら、炉内の温度を制御された速度で低下させることができる。初期の冷却期間の後、冷却速度は、同じ速度または異なる速度で制御されてもよく、または制御されなくてもよい。いくつかの実施形態において、冷却速度は少なくとも200℃の温度に達するまで制御される。他の実施形態において、冷却速度は、少なくとも雰囲気をパージするのに安全な温度に達するまで制御される。例えば、温度を約50℃に下げて、その後フッ素雰囲気のパージを開始することができる。5℃/分以下の制御された速度で温度を下げると、10℃/分の速度で温度を下げた場合と比較して優れた特性を有する蛍光体生成物を得ることができる。さまざまな実施形態において、この速度は、5℃/分以下、特に3℃/分以下、より詳細には1℃/分以下の速度で制御することができる。 After holding for a desired time in the temperature rise, the temperature in the furnace can be lowered at a controlled rate while maintaining an oxidizing atmosphere during the initial cooling period. After the initial cooling period, the cooling rate may or may not be controlled at the same or different rates. In some embodiments, the cooling rate is controlled until a temperature of at least 200 ° C. is reached. In other embodiments, the cooling rate is controlled at least until it reaches a temperature safe to purge the atmosphere. For example, the temperature can be lowered to about 50 ° C. and then the purging of the fluorine atmosphere can be started. When the temperature is lowered at a controlled rate of 5 ° C./min or less, a phosphor product having excellent properties can be obtained as compared with the case where the temperature is lowered at a rate of 10 ° C./min. In various embodiments, this rate can be controlled at a rate of 5 ° C./min or less, particularly 3 ° C./min or less, and more specifically 1 ° C./min or less.
制御された速度で温度を下げる期間は、接触温度および冷却速度に関連する。例えば、接触温度が540℃、冷却速度が10℃/分の場合、冷却速度を制御する期間は1時間未満であり、その後温度は外部制御なしでパージ温度または周囲温度に低下させてよい。接触温度が540℃で、冷却速度が5℃/分以下の場合、冷却時間は2時間未満であり得る。接触温度が540℃で、冷却速度が3℃/分以下の場合、冷却時間は3時間未満であり得る。接触温度が540℃で、冷却速度が1℃/分以下の場合、冷却時間は4時間未満であり得る。例えば、制御された冷却により温度を約200℃に下げることができ、次いで制御を中止することができる。制御された冷却期間の後、温度は初期の制御された速度よりも高いまたは低い速度で低下させてよい。 The duration of temperature reduction at a controlled rate is related to contact temperature and cooling rate. For example, when the contact temperature is 540 ° C. and the cooling rate is 10 ° C./min, the period for controlling the cooling rate is less than 1 hour, after which the temperature may be reduced to purge temperature or ambient temperature without external control. When the contact temperature is 540 ° C. and the cooling rate is 5 ° C./min or less, the cooling time can be less than 2 hours. When the contact temperature is 540 ° C. and the cooling rate is 3 ° C./min or less, the cooling time can be less than 3 hours. When the contact temperature is 540 ° C. and the cooling rate is 1 ° C./min or less, the cooling time can be less than 4 hours. For example, controlled cooling can reduce the temperature to about 200 ° C. and then discontinue control. After a controlled cooling period, the temperature may drop at a higher or lower rate than the initial controlled rate.
蛍光体をフッ素含有酸化剤と接触させる様式は重要ではなく、蛍光体を所望の特性を有する色安定蛍光体に変換するために十分な任意の方法で達成することができる。いくつかの実施形態において、蛍光体を含むチャンバーは、チャンバーが加熱されると過圧が発生するように添加され、その後封止され、他の実施形態において、フッ素と窒素の混合物をアニールプロセス全体を通して流動させ、より均一な圧力が確保される。いくつかの実施形態において、追加のフッ素含有酸化剤の添加が、一定期間後に導入されてもよい。 The mode in which the fluorophore is brought into contact with the fluorine-containing oxidant is not important and can be achieved in any way sufficient to convert the fluorophore into a color-stable fluorophore with the desired properties. In some embodiments, the chamber containing the phosphor is added so that overpressure occurs when the chamber is heated and then sealed, and in other embodiments a mixture of fluorine and nitrogen is annealed throughout the process. Flow through to ensure a more uniform pressure. In some embodiments, the addition of an additional fluorine-containing oxidant may be introduced after a period of time.
アニールされた蛍光体は、米国特許第8,252,613号明細書に記載のように、式IIの組成物の水性フッ化水素酸中飽和またはほぼ飽和した溶液で処理することができる。使用される処理溶液の量は、約10ml/g生成物〜20ml/g生成物の範囲、特に約10ml/g生成物である。処理されたアニール蛍光体は濾過によって単離され、酢酸およびアセトンのような溶媒で洗浄されて、汚染物および微量の水が除去され、窒素下で保存することができる。 The annealed fluorophore can be treated with a saturated or nearly saturated solution of the composition of formula II in aqueous hydrofluoric acid, as described in US Pat. No. 8,252,613. The amount of treatment solution used is in the range of about 10 ml / g product to 20 ml / g product, especially about 10 ml / g product. The treated annealed fluorophore is isolated by filtration and washed with solvents such as acetic acid and acetone to remove contaminants and trace amounts of water and can be stored under nitrogen.
本明細書に記載されている数値はいずれも、任意の低い値から任意の高い値までの間に少なくとも2単位の分離がある場合、1単位の増分で低い値から高い値までのすべての値を含む。一例として、成分の量または、例えば温度、圧力、時間などのプロセス変数の値が、例えば1〜90、好ましくは20〜80、より好ましくは30〜70であると述べられている場合、15〜85、22〜68、43〜51、30〜32などの値が本明細書において明確に列挙されていることを意図している。1未満の値の場合、1単位は、必要に応じて0.0001、0.001、0.01または0.1であると見なされる。これらは、具体的に意図される例に過ぎず、列挙された最低値と最高値との間の数値のすべての可能な組み合わせが、本出願において同様の様式で明確に述べられていると見なされるべきである。 All of the numbers described herein are all values from low to high in 1 unit increments if there is at least 2 units of separation between any low and any high values. including. As an example, if the amount of component or the value of a process variable such as temperature, pressure, time is stated to be, for example, 1-90, preferably 20-80, more preferably 30-70, 15-5. It is intended that values such as 85, 22-68, 43-51, 30-32, etc. are explicitly listed herein. For values less than 1, one unit is considered to be 0.0001, 0.001, 0.01 or 0.1, as appropriate. These are only specifically intended examples and all possible combinations of numbers between the listed minimum and maximum values are considered to be explicitly stated in a similar manner in this application. Should be.
本発明の一実施形態による照明装置または発光アセンブリまたはランプ10を図1に示す。照明装置10は、発光ダイオード(LED)チップ12として示される半導体放射源と、LEDチップに電気的に取り付けられたリード14とを備える。リード14は、より厚い1または複数のリードフレーム16によって支持された細いワイヤであってもよいし、またはリードは自己支持電極であってもよく、リードフレームは省略されてもよい。リード14はLEDチップ12に電流を供給し、それにより放射を発する。
A lighting device or light emitting assembly or
ランプは、発した放射が蛍光体に向けられたときに白色光を発生することができる半導体青色光源またはUV光源を備えることができる。一実施形態において、半導体光源は、さまざまな不純物をドープされた青色発光LEDである。したがって、LEDは、任意の適切なIII−V、II−VIまたはIV−IV半導体層に基づき、約250〜550nmの発光波長を有する半導体ダイオードを備えることができる。特に、LEDは、GaN、ZnSeまたはSiCを含む少なくとも1つの半導体層を備えることができる。例えば、LEDは、約250nmより長く、約550nmよりも短い発光波長を有する、式IniGajAlkN(式中、0≦i;0≦j;0≦kおよびI+j+k=1)で表される窒化化合物半導体を含むことができる。特定の実施形態において、チップは、約400〜約500nmのピーク発光波長を有する近紫外または青色発光LEDである。このようなLED半導体は当該技術分野において公知である。放射源は便宜上本明細書においてはLEDとして記載する。しかし、本明細書において使用する場合、この用語は、例えば半導体レーザダイオードを含むすべての半導体放射源を包含することを意味する。さらに、本明細書で論じる本発明の例示的な構造の一般的な考察は無機LEDベースの光源を対象としているが、特に明記しない限りLEDチップを別の放射源で置き換えることができ、半導体、半導体LED、またはLEDチップに関する言及は、限定するものではないが、有機発光ダイオードを含む任意の適切な放射源の単なる代表例であると理解すべきである。 The lamp can include a semiconductor blue or UV light source capable of producing white light when the emitted radiation is directed at the phosphor. In one embodiment, the semiconductor light source is a blue light emitting LED doped with various impurities. Therefore, LEDs can include semiconductor diodes having emission wavelengths of about 250-550 nm, based on any suitable III-V, II-VI or IV-IV semiconductor layer. In particular, the LED can include at least one semiconductor layer containing GaN, ZnSe or SiC. For example, LEDs are represented by the formula In i Ga j Al k N (in the formula, 0 ≦ i; 0 ≦ j; 0 ≦ k and I + j + k = 1) having emission wavelengths longer than about 250 nm and shorter than about 550 nm. The nitride compound semiconductor to be used can be included. In certain embodiments, the chip is a near-ultraviolet or blue light emitting LED having a peak emission wavelength of about 400 to about 500 nm. Such LED semiconductors are known in the art. The source of radiation is referred to herein as an LED for convenience. However, as used herein, the term is meant to include all semiconductor sources, including, for example, semiconductor laser diodes. Moreover, although the general discussion of the exemplary structures of the invention discussed herein is intended for inorganic LED-based light sources, unless otherwise specified, LED chips can be replaced with another source of radiation, such as semiconductors. References to semiconductor LEDs, or LED chips, should be understood as merely representative examples of any suitable light source, including, but not limited to, organic light emitting diodes.
照明装置10では、蛍光体組成物22がLEDチップ12に放射結合される。放射結合とは、要素が互いに関連しているため、一方からの放射が他方に伝達されることを意味する。蛍光体組成物22は、任意の適切な方法によってLED12上に堆積される。例えば、1または複数の蛍光体の水に基づく懸濁液を形成し、蛍光体層としてLED表面に適用できる。このような方法の1つでは、蛍光体粒子がランダムに懸濁されたシリコーンスラリーがLEDの周りに配置される。この方法は、蛍光体組成物22およびLED12の可能な位置の単なる例示である。したがって、蛍光体組成物22は、LEDチップ12の上に蛍光体懸濁液をコーティングし、乾燥させることによって、LEDチップ12の発光面の上にまたは直接にコーティングされ得る。シリコーン系懸濁液の場合、この懸濁液は適切な温度で硬化される。シェル18および封入材20は両方とも、白色光24がこれらの要素を透過するように透明でなければならない。限定を意図するものではないが、いくつかの実施形態において、蛍光体組成物のメジアン粒径は、約1〜約50ミクロン、特に約15〜約35ミクロンの範囲である。
In the illuminating
他の実施形態において、蛍光体組成物22は、LEDチップ12上に直接形成される代わりに、封入材20内に点在させられる。蛍光体(粉末形態)は、封入材20の単一領域内に、または封入材の全体積にわたって点在させることができる。LEDチップ12によって発せられた青色光は、蛍光体組成物22によって発せられた光と混ざり合い、混合光は白色光として現れる。蛍光体を封入材20内に点在させる場合、LEDチップ12の周囲に装填されたポリマーまたはシリコーン前駆体に蛍光体粉末を添加し、その後ポリマー前駆体を硬化させて、ポリマーまたはシリコーン材料を固化することができる。他の公知の蛍光体点在法、例えば、トランスファーローディング(transfer loading)も使用することができる。
In another embodiment, the
いくつかの実施形態において、封入材20は、屈折率Rを有するシリコーンマトリックスであり、蛍光体組成物22に加えて、約5%未満の吸光度およびR±0.1の屈折率を有する希釈材を含む。希釈材は、≦1.7、特に≦1.6およびより詳細には≦1.5の屈折率を有する。特定の実施形態において、希釈材は式IIのものであり、約1.4の屈折率を有する。蛍光体/シリコーン混合物に光学的に不活性な材料を添加することにより、蛍光体/封入材混合物を通る光束のより漸進的な分布が生じ、蛍光体への損傷を少なくすることができる。希釈材に適した材料には、約1.38(AlF3およびK2NaAlF6)〜約1.43(CaF2)の範囲の屈折率を有するLiF、MgF2、CaF2、SrF2、AlF3、K2NaAlF6、KMgF3、CaLiAlF6、K2LiAlF6、およびK2SiF6のようなフッ化物化合物ならびに約1.254〜約1.7の範囲の屈折率を有するポリマーが挙げられる。希釈材としての使用に適したポリマーの非限定的な例としては、ポリカーボネート、ポリエステル、ナイロン、ポリエーテルイミド、ポリエーテルケトン、ならびにスチレン、アクリレート、メタクリレート、ビニル、酢酸ビニル、エチレン、プロピレンオキシドおよびエチレンオキシドモノマー由来のポリマーならびにこれらのコポリマーが挙げられ、ハロゲン化および非ハロゲン化誘導体が挙げられる。これらのポリマー粉末は、シリコーン封入材に直接組み込み、その後シリコーンを硬化することができる。
In some embodiments, the
さらに別の実施形態において、蛍光体組成物22は、LEDチップ12にわたって形成される代わりに、シェル18の表面上にコーティングされる。蛍光体組成物は、好ましくは、シェル18の内側表面にコーティングされるが、所望であれば、シェルの外側表面上にコーティングされてもよい。蛍光体組成物22は、シェルの表面全体にコーティングされてもよく、またはシェルの表面上部のみにコーティングされてもよい。LEDチップ12によって発せられたUV/青色光は、蛍光体組成物22によって発せられた光と混ざり合い、混合光は白色光として現れる。当然のことながら、蛍光体は、いずれか2箇所または3箇所すべてに、またはシェルとは別個に、もしくはLEDに一体化されたような任意の他の適切な場所に配置することができる。
In yet another embodiment, the
図2は、本発明によるシステムの第2の構造を例示する。図1〜図4の対応する数字(例えば、図1の12および図2の112)は、特に明記しない限り、各図の対応する構造に関する。図2の実施形態の構造は、蛍光体組成物122がLEDチップ112上に直接形成される代わりに、封入材120内に点在する点を除いて、図1の構造と同様である。蛍光体(粉末形態)は、封入材の単一の領域内に、または封入材の全体積にわたって点在させることができる。LEDチップ112によって発せられた放射(矢印126によって示される)は、蛍光体122によって発せられた光と混ざり合い、混合光は白色光124として現れる。蛍光体を封入材120内に点在させる場合、蛍光体粉末をポリマー前駆体に添加し、LEDチップ112の周りに装填することができる。次いで、ポリマーまたはシリコーン前駆体を硬化させて、ポリマーまたはシリコーンを固化させることができる。他の公知の蛍光体点在法、例えば、トランスファー成形も使用することができる。
FIG. 2 illustrates a second structure of the system according to the present invention. Corresponding numbers in FIGS. 1 to 4 (eg, 12 in FIG. 1 and 112 in FIG. 2) relate to the corresponding structure in each figure unless otherwise specified. The structure of the embodiment of FIG. 2 is similar to that of FIG. 1 except that the
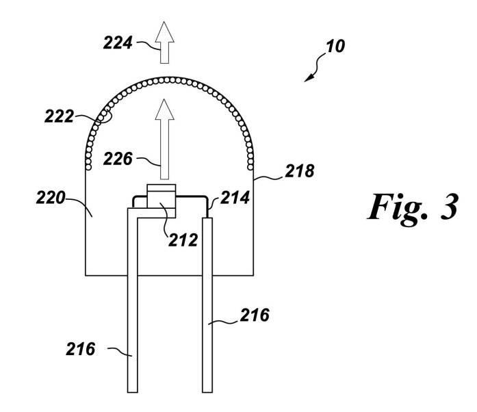
図3は、本発明によるシステムの第3の可能な構造を例示する。図3に示す実施形態の構造は、蛍光体組成物222が、LEDチップ212にわたって形成される代わりに、エンベロープ218の表面上にコーティングされる点を除いて、図1の構造と同様である。蛍光体組成物222は、好ましくはエンベロープ218の内側表面にコーティングされるが、所望であればエンベロープの外側表面にコーティングされてもよい。蛍光体組成物222は、エンベロープの表面全体にコーティングされてもよく、またはエンベロープの表面上部のみにコーティングされてもよい。LEDチップ212によって発せられた放射226は、蛍光体組成物222によって発せられた光と混ざり合い、混合光は白色光224として現れる。当然のことながら、図1から図3の構造は組み合わせることができ、蛍光体は、いずれか2箇所または3箇所すべてに、またはエンベロープとは別個に、もしくはLEDに一体化されたような任意の他の適切な場所に配置することができる。
FIG. 3 illustrates a third possible structure of the system according to the invention. The structure of the embodiment shown in FIG. 3 is similar to that of FIG. 1 except that the
上記構造のいずれにおいても、ランプは、封入材に埋め込まれた複数の散乱粒子(図示せず)を含むことができる。散乱粒子としては、例えば、アルミナまたはチタニアを挙げることができる。散乱粒子は、LEDチップから発せられた指向性光を、好ましくは無視できる量の吸収で効果的に散乱させる。 In any of the above structures, the lamp can include a plurality of scattered particles (not shown) embedded in the encapsulant. Examples of the scattered particles include alumina and titania. The scattered particles effectively scatter the directional light emitted from the LED chip with a preferably negligible amount of absorption.
図4の第4の構造に示すように、LEDチップ412は、反射カップ430内に取り付けられてもよい。カップ430は、アルミナ、チタニア、または当該技術分野で公知の他の誘電性粉末などの誘電材料から作製されるかもしくはこれによりコーティングされても、またはアルミニウムもしくは銀のような反射金属によってコーティングされてもよい。図4の実施形態の構造の残りの部分は、先の図面のいずれかの構造と同じであり、2つのリード416、導線432、および封入材420を備えることができる。反射カップ430は、第1のリード416によって支持され、導線432は、LEDチップ412を第2のリード416と電気的に接続するために使用される。
As shown in the fourth structure of FIG. 4, the LED chip 412 may be mounted in the
他の構造(特に、バックライト用途)は、例えば図5に例示されるような表面実装型デバイス(「SMD」)タイプの発光ダイオード550である。このSMDは、「側面発光型」であり、導光部材554の突出部分に発光窓552を有する。SMDパッケージは、上記で定義したLEDチップと、LEDチップから発せられた光によって励起される蛍光体材料とを備えることができる。他のバックライトデバイスとしては、限定するものではないが、半導体光源および本発明による色安定Mn4+ドープ蛍光体を含むディスプレイを有する、テレビ、コンピュータ、スマートフォン、タブレットコンピュータ、および他の携帯用デバイスが挙げられる。
Another structure (particularly for backlight applications) is a surface mount device (“SMD”) type
350〜550nmで発光するLEDおよび1または複数の他の適切な蛍光体とともに使用された場合、得られる照明システムは白色を有する光を発生する。ランプ10はまた、封入材に埋め込まれた散乱粒子(図示せず)をさらに含んでもよい。散乱粒子としては、例えば、アルミナまたはチタニアを挙げることができる。散乱粒子は、LEDチップから発せられた指向性光を、好ましくは無視できる量の吸収で効果的に散乱させる。
When used with an LED that emits light at 350-550 nm and one or more other suitable phosphors, the resulting illumination system produces light with a white color. The
色安定Mn4+ドープ蛍光体に加えて、蛍光体組成物22は、1または複数の他の蛍光体を含むことができる。約250〜550nmの範囲の放射を発する青色または近紫外LEDと組み合わせた照明装置で使用される場合、アセンブリによって発せられる得られる光は白色光となる。緑色、青色、黄色、赤色、橙色、または他の色の蛍光体などの他の蛍光体をブレンドに用いて、得られる光の白色をカスタマイズし、特定のスペクトル出力分布を生成することができる。蛍光体組成物22への使用に適した他の材料としては、ポリフルオレン、好ましくはポリ(9,9−ジオクチルフルオレン)およびそのコポリマー、例えばポリ(9,9’−ジオクチルフルオレン−co−ビス−N,N’‐(4−ブチルフェニル)ジフェニルアミン)(F8−TFB);ポリ(ビニルカルバゾール)およびポリフェニレンビニレンならびにそれらの誘導体などのエレクトロルミネセンスポリマーが挙げられる。さらに、前記発光層は、青色、黄色、橙色、緑色または赤色のリン光発光染料もしくは金属錯体またはそれらの組み合わせを含むことができる。リン光発光染料としての使用に適した材料としては、限定するものではないが、トリス(1−フェニルイソキノリン)イリジウム(III)(赤色染料)、トリス(2−フェニルピリジン)イリジウム(緑色染料)およびイリジウム(III)ビス(2−(4,6−ジフルオロフェニル)ピリジナト−N,C2)(青色染料)が挙げられる。ADS(American Dyes Source,Inc.)から市販されている蛍光およびリン光金属錯体を使用することもできる。ADSの緑色染料としては、ADS060GE、ADS061GE、ADS063GE、およびADS066GE、ADS078GE、およびADS090GEが挙げられる。ADSの青色染料としては、ADS064BE、ADS065BE、およびADS070BEが挙げられる。ADSの赤色染料としては、ADS067RE、ADS068RE、ADS069RE、ADS075RE、ADS076RE、ADS067RE、およびADS077REが挙げられる。
In addition to the color-stable Mn 4+ doped fluorophore, the
Mn4+ドープ蛍光体に加えて蛍光体組成物22での使用に適切な蛍光体としては、限定するものではないが:
((Sr1-z(Ca,Ba,Mg,Zn)z)1-(x+w)(Li,Na,K,Rb)wCex)3(Al1-ySiy)O4+y+3(x-w)F1-y-3(x-w)、0<x≦0.10、0≦y≦0.5、0≦z≦0.5、0≦w≦x;(Ca,Ce)3Sc2Si3O12(CaSiG);(Sr,Ca,Ba)3Al1-xSixO4+xF1-x:Ce3+(SASOF));(Ba,Sr,Ca)5(PO4)3(Cl,F,Br,OH):Eu2+,Mn2+;(Ba,Sr,Ca)BPO5:Eu2+,Mn2+;(Sr,Ca)10(PO4)6*νB2O3:Eu2+(式中、0<ν≦1);Sr2Si3O8*2SrCl2:Eu2+;(Ca,Sr,Ba)3MgSi2O8:Eu2+,Mn2+;BaAl8O13:Eu2+;2SrO*0.84P2O5*0.16B2O3:Eu2+;(Ba,Sr,Ca)MgAl10O17:Eu2+,Mn2+;(Ba,Sr,Ca)Al2O4:Eu2+;(Y,Gd,Lu,Sc,La)BO3:Ce3+,Tb3+;ZnS:Cu+,Cl-;ZnS:Cu+,Al3+;ZnS:Ag+,Cl-;ZnS:Ag+,Al3+;(Ba,Sr,Ca)2Si1-ξO4-2ξ:Eu2+(式中、0≦ξ≦0.2);(Ba,Sr,Ca)2(Mg,Zn)Si2O7:Eu2+;(Sr,Ca,Ba)(Al,Ga,In)2S4:Eu2+;(Y,Gd,Tb,La,Sm,Pr,Lu)3(Al,Ga)5-αO12-3/2α:Ce3+(式中、0≦α≦0.5);(Ca,Sr)8(Mg,Zn)(SiO4)4Cl2:Eu2+,Mn2+;Na2Gd2B2O7:Ce3+,Tb3+;(Sr,Ca,Ba,Mg,Zn)2P2O7:Eu2+,Mn2+;(Gd,Y,Lu,La)2O3:Eu3+,Bi3+;(Gd,Y,Lu,La)2O2S:Eu3+,Bi3+;(Gd,Y,Lu,La)VO4:Eu3+,Bi3+;(Ca,Sr)S:Eu2+,Ce3+;SrY2S4:Eu2+;CaLa2S4:Ce3+;(Ba,Sr,Ca)MgP2O7:Eu2+,Mn2+;(Y,Lu)2WO6:Eu3+,Mo6+;(Ba,Sr,Ca)βSiγNμ:Eu2+(式中、2β+4γ=3μ);Ca3(SiO4)Cl2:Eu2+;(Lu,Sc,Y,Tb)2-u-vCevCa1+uLiwMg2-wPw(Si,Ge)3-wO12-u/2(式中、−0.5≦u≦1、0<v≦0.1、および0≦w≦0.2);(Y,Lu,Gd)2-ψCaψSi4N6+ψC1-ψ:Ce3+,(式中、0≦ψ≦0.5);(Ca,Sr,Ba)SiO2N2:Eu2+,Ce3+;(Lu,Ca,Li,Mg,Y)Eu2+および/またはCe3+をドープしたα−SiAlON;β−SiAlON:Eu2+,3.5MgO*0.5MgF2*GeO2:Mn4+;Ca1-c-fCecEufAl1+cSi1-cN3,(式中、0≦c≦0.2、0≦f≦0.2);Ca1-h-rCehEurAl1-h(Mg,Zn)hSiN3,(式中、0≦h≦0.2、0≦r≦0.2);Ca1-2s-tCes(Li,Na)sEutAlSiN3,(式中、0≦s≦0.2、0≦f≦0.2,s+t>0);およびCa1-σ-χ-φCeσ(Li,Na)χEuφAl1+σ-χSi1-σ+χN3,(式中、0≦σ≦0.2、0≦χ≦0.4,0≦φ≦0.2)が挙げられる。
Suitable phosphors for use in the
((Sr 1-z (Ca , Ba, Mg, Zn) z) 1- (x + w) (Li, Na, K, Rb) w Ce x) 3 (Al 1-y Si y) O 4 + y +3 (xw) F 1-y-3 (xw) , 0 <x≤0.10, 0≤y≤0.5, 0≤z≤0.5, 0≤w≤x; (Ca, Ce) 3 Sc 2 Si 3 O 12 (CaSiG); (Sr, Ca, Ba) 3 Al 1-x Si x O 4 + x F 1-x : Ce 3+ (SASOF)); (Ba, Sr, Ca) 5 (PO 4 ) 3 (Cl, F, Br, OH): Eu 2+ , Mn 2+ ; (Ba, Sr, Ca) BPO 5 : Eu 2+ , Mn 2+ ; (Sr, Ca) 10 (PO 4) ) 6 * νB 2 O 3 : Eu 2+ (in the formula, 0 <ν ≦ 1); Sr 2 Si 3 O 8 * 2 SrCl 2: Eu 2+ ; (Ca, Sr, Ba) 3 MgSi 2 O 8 : Eu 2+ , Mn 2+ ; BaAl 8 O 13 : Eu 2+ ; 2SrO * 0.84P 2 O 5 * 0.16B 2 O 3 : Eu 2+ ; (Ba, Sr, Ca) MgAl 10 O 17 : Eu 2 + , Mn 2+ ; (Ba, Sr, Ca) Al 2 O 4 : Eu 2+ ; (Y, Gd, Lu, Sc, La) BO 3 : Ce 3+ , Tb 3+ ; ZnS: Cu + , Cl -; ZnS: Cu +, Al 3+; ZnS: Ag +, Cl -; ZnS: Ag +, Al 3+; (Ba, Sr, Ca) 2 Si 1- ξO 4-2 ξ: Eu 2+ ( wherein Medium, 0 ≦ ξ ≦ 0.2); (Ba, Sr, Ca) 2 (Mg, Zn) Si 2 O 7 : Eu 2+ ; (Sr, Ca, Ba) (Al, Ga, In) 2 S 4 : Eu 2+ ; (Y, Gd, Tb, La, Sm, Pr, Lu) 3 (Al, Ga) 5- αO 12-3 / 2 α: Ce 3+ (0 ≤ α ≤ 0.5 in the formula) ); (Ca, Sr) 8 (Mg, Zn) (SiO 4 ) 4 Cl 2 : Eu 2+ , Mn 2+ ; Na 2 Gd 2 B 2 O 7 : Ce 3+ , Tb 3+ ; (Sr, Ca) , Ba, Mg, Zn) 2 P 2 O 7 : Eu 2+ , Mn 2+ ; (Gd, Y, Lu, La) 2 O 3 : Eu 3+ , Bi 3+ ; (Gd, Y, Lu, La) ) 2 O 2 S: Eu 3+ , Bi 3+ ; (Gd, Y, Lu, La) VO 4 : Eu 3+ , Bi 3+ ; (Ca, Sr) S: Eu 2+ , Ce 3+ ; SrY 2 S 4 : Eu 2+ ; CaLa 2 S 4 : Ce 3+ ; (Ba, Sr, Ca) MgP 2 O 7 : Eu 2+ , Mn 2+ ; (Y, Lu) 2 WO 6 : Eu 3+ , Mo 6+ ; (Ba, Sr, Ca) βSiγNμ : Eu 2+ ( wherein, 2β + 4γ = 3μ); Ca 3 (SiO 4) Cl 2: Eu 2+; (Lu, Sc, Y, Tb) 2-uv Ce v Ca 1 + u Li w Mg 2-w P w (Si, Ge) 3-w O 12-u / 2 (in the formula, -0.5 ≤ u ≤ 1, 0 <v ≤ 0.1, and 0 ≤ w ≤ 0.2); (Y, Lu, Gd) 2- ψCa ψSi 4 N 6+ ψC 1- ψ: Ce 3+ , (in the formula, 0 ≦ ψ ≦ 0.5); (Ca, Sr, Ba) SiO 2 N 2 : Eu 2+ , Ce 3+ ; (Lu, Ca, Li, Mg, Y) Eu 2+ and / or Ce 3+ doped α-SiAlON; β-SiAlON: Eu 2+ , 3.5MgO * 0.5MgF 2 * GeO 2 : Mn 4+ ; Ca 1-cf Ce c Eu f Al 1 + c Si 1-c N 3, (0 ≦ c ≦ 0.2, 0 ≦ f ≦ 0.2 in the formula) ); Ca 1-hr Ce h Eu r Al 1-h (Mg, Zn) h SiN 3, ( where, 0 ≦ h ≦ 0.2,0 ≦ r ≦ 0.2); Ca 1-2s-t ce s (Li, Na) s Eu t AlSiN 3, ( where, 0 ≦ s ≦ 0.2,0 ≦ f ≦ 0.2, s + t>0); and Ca 1- σ - χ - φCeσ ( Li, Na) χEuφAl 1 + σ - χSi 1- σ + χN 3 , (in the formula, 0 ≦ σ ≦ 0.2, 0 ≦ χ ≦ 0.4, 0 ≦ φ ≦ 0.2).
特に、蛍光体組成物22は、紫外線、紫色、または青色励起の下で緑色スペクトル出力分布をもたらす1または複数の蛍光体を含むことができる。本発明の文脈において、これは緑色蛍光体または緑色蛍光体材料と称される。緑色蛍光体は、セリウムドープイットリウム・アルミニウム・ガーネット、より詳細には(Y,Gd,Lu,Tb)3(Al,Ga)5O12:Ce3+のような緑色から黄緑色から黄色の範囲の光を発する単一の組成物またはブレンドであってよい。緑色蛍光体は、青色および赤色にシフトしたガーネット材料のブレンドであってよい。例えば、青色シフト発光を有するCe3+ドープガーネットは、赤色シフト発光を有するCe3+ドープガーネットと組み合わせて使用されてもよく、緑色スペクトル出力分布を有するブレンドを生じる。青色および赤色シフトしたガーネットは、当該技術分野において知られている。いくつかの実施形態では、ベースラインのY3Al5O12:Ce3+蛍光体に対して、青色シフトガーネットは、Y3+に対してLu3+置換、Al3+に対してGa3+置換を有していてもよく、またはY3Al5O12:Ce3+蛍光体組成物においてCe3+ドーピングレベルを低下させてもよい。赤色シフトガーネットは、Y3+のGd3+/Tb3+への置換を有していてもよく、またはCe3+ドーピングレベルを上昇させてもよい。ディスプレイ用途に特に有用な緑色蛍光体の例はβ−SiAlONである。
In particular, the
蛍光体ブレンド中の個々の蛍光体のそれぞれの比は、所望の光出力の特性に依存して変化し得る。さまざまな実施形態の蛍光体ブレンドにおける個々の蛍光体の相対的比率は、それらの発光がブレンドされてLED照明デバイスに使用されるとき、CIE色度図上の所定のxおよびy値の可視光が生成されるように調整することができる。上述のように、白色光が好ましく生成される。この白色光は、例えば、約0.20から約0.55の範囲のx値と、約0.20から約0.55の範囲のy値とを有することができる。しかし、上述のように、蛍光体組成物中の各蛍光体の正確な同一性および量は、最終使用者の必要に応じて変えることができる。例えば、この材料は、液晶ディスプレイ(LCD)バックライトのために意図されたLEDに使用することができる。この用途では、LEDカラーポイントは、LCD/カラーフィルタの組み合わせを通過した後、所望の白色、赤色、緑色、および青色に基づいて適切に調整される。所与のブレンドのための潜在的な蛍光体のリストは網羅的であることを意味するものではなく、これらのMn4+ドープ蛍光体は、異なる発光を有するさまざまな蛍光体とブレンドして、所望のスペクトル出力分布を達成することができる。 The ratio of each of the individual phosphors in the fluorophore blend can vary depending on the desired light output characteristics. The relative proportions of the individual phosphors in the fluorophore blends of the various embodiments are visible light of predetermined x and y values on the CIE chromaticity diagram when their emission is blended and used in an LED lighting device. Can be adjusted to generate. As mentioned above, white light is preferably produced. The white light can have, for example, an x value in the range of about 0.20 to about 0.55 and a y value in the range of about 0.20 to about 0.55. However, as mentioned above, the exact identity and amount of each fluorophore in the fluorophore composition can be varied according to the needs of the end user. For example, this material can be used for LEDs intended for liquid crystal display (LCD) backlights. In this application, the LED color points are properly adjusted based on the desired white, red, green, and blue after passing through the LCD / color filter combination. The list of potential fluorophores for a given blend does not mean that they are exhaustive, and these Mn 4+ doped fluorophores are blended with various fluorophores with different luminescence, The desired spectral output distribution can be achieved.
いくつかの実施形態では、照明装置10は、4200°K以下の色温度を有し、蛍光体組成物22は、式Iの色安定Mn4+ドープ蛍光体からなる赤色蛍光体を含む。すなわち、蛍光体組成物22に存在する赤色蛍光体のみが、色安定Mn4+ドープ蛍光体であり;特に、蛍光体はK2SiF6:Mn4+である。組成物は、緑色蛍光体をさらに含んでいてもよい。緑色蛍光体は、Ce3+ドープガーネットまたはガーネットブレンド、特にCe3+ドープイットリウムアルミニウムガーネット、より詳細には式(Y,Gd,Lu,Tb)3(Al,Ga)5O12:Ce3+を有するYAGであり得る。赤色蛍光体がK2SiF6:Mn4+である場合、赤色蛍光体と緑色蛍光体材料との質量比は3.3未満であり得、これは、同様の組成の赤色蛍光体よりも著しく低いが、Mnドーパントのレベルは低い。
In some embodiments, the
本発明の色安定Mn4+ドープ蛍光体は、上記以外の用途に使用することができる。例えば、材料は、蛍光灯、陰極線管、プラズマディスプレイデバイスまたは液晶ディスプレイ(LCD)の蛍光体として使用することができる。この材料は、電磁カロリメータ、ガンマ線カメラ、コンピュータ断層撮影スキャナまたはレーザのシンチレータとして使用することもできる。これらの用途は単なる例示であり、限定するものではない。 The color-stable Mn 4+ doped fluorophore of the present invention can be used for applications other than the above. For example, the material can be used as a fluorescent lamp, cathode ray tube, plasma display device or liquid crystal display (LCD) phosphor. This material can also be used as an electromagnetic calorimeter, gamma ray camera, computed tomography scanner or laser scintillator. These uses are merely examples and are not limited.
比較例1および2:バッチプロセスによるMn4+ドープK2SiF6の調製
ビーカーAからD間の出発物質の量および分布を表1に示す。ビーカーAを積極的に撹拌し、ビーカーBの内容物を約10分間かけてそこに滴下した。ビーカーBの内容物の開始から約1分後に、ビーカーCおよびDの内容物のビーカーAへの滴下を開始し、約9分間にわたって続けた。沈殿物を10分間温浸し、撹拌を停止した。上清をデカントし、沈殿物を真空濾過し、酢酸で1回、アセトンで2回すすぎ、次いで真空下で乾燥させた。乾燥粉末を325メッシュの篩に通して篩い分けし、20%F2/80%窒素雰囲気下で、540℃において8時間アニールした。アニールした蛍光体を、K2SiF6で飽和した49%HFの溶液で洗浄し、真空下で乾燥させ、325メッシュの篩に通して篩い分けした。
Comparative Examples 1 and 2: Preparation of Mn 4+ Dope K 2 SiF 6 by Batch Process Table 1 shows the amount and distribution of starting materials between beakers A and D. Beaker A was actively agitated and the contents of beaker B were added dropwise thereto over about 10 minutes. Approximately 1 minute after the start of the contents of beaker B, dropping of the contents of beakers C and D into beaker A was started and continued for about 9 minutes. The precipitate was warmed for 10 minutes and stirring was stopped. The supernatant was decanted, the precipitate was evacuated, rinsed once with acetic acid and twice with acetone, then dried under vacuum. The dry powder was sieved through a 325 mesh sieve and annealed at 540 ° C. for 8 hours under a 20% F 2/80% nitrogen atmosphere. The annealed fluorophore was washed with a solution of 49% HF saturated with K 2 SiF 6 , dried under vacuum and sieved through a 325 mesh sieve.
手順
反応器には最初にHF中のKFまたは二フッ化カリウムの溶液を装填する。最初の装填にはK2MnF6も含まれていてもよい。次いで、K2SiF6およびK2MnF6の別々の供給溶液を、それぞれHF中で開始する。HF中のKFまたは二フッ化カリウム溶液は別々に供給されてもよいが、KFは他の溶液または初期装填物に含まれていてもよい。約10分後、供給液を停止し、混合物の一部を反応器から取り出す。この手順は複数回繰り返してもよい。
詳細な手順
1.1.0LのPTFE反応器およびU字型インペラーを使用。
Detailed procedure 1. Using 1.0L PTFE reactor and U-shaped impeller.
2.反応器の蓋には、3つの供給液チューブ用に穿設された3つの穴およびスロットを、インペラーが反応器の中心にくるように、有するべきである。 2. The reactor lid should have three holes and slots drilled for the three feed tubes so that the impeller is centered on the reactor.
3.適切な充填量で標識を付けて3つの清潔で乾燥した500mLのNalgeneボトルを準備する。1つのボトルは、最初の反応のための供給液の合計で標識される。他の2つは、第2、第3、およびさらなる反応のための供給液の合計である。(各バッチ後に反応器を排出すると、120mLの溶液が反応器に残る)
4.以下の表に従って供給液を準備する。
3. 3. Prepare three clean, dry, 500 mL Nalgene bottles labeled with the appropriate filling volume. One bottle is labeled with the sum of the feeds for the initial reaction. The other two are the sum of the feed solutions for the second, third, and further reactions. (When the reactor is drained after each batch, 120 mL of solution remains in the reactor)
4. Prepare the feed solution according to the table below.
7.すべての供給液が停止したら、反応器をNalgeneボトルに排出し、120mLのみが反応器に残るようにする(排出218mL)。ボトルにキャップし、取っておく。 7. When all feeds are shut down, drain the reactor into a Nalgene bottle so that only 120 mL remains in the reactor (drain 218 mL). Cap the bottle and set it aside.
8.第2反応のためのSiおよびMn供給液の速度を変更する。すべての供給液を開始し、12分間実行する。10分後、排出手順を繰り返す(排出290mL)。バッチ3と4のために取っておき、繰り返す。
8. The speed of the Si and Mn feeds for the second reaction is changed. Start all feeds and run for 12 minutes. After 10 minutes, the discharge procedure is repeated (discharge 290 mL). Save for
9.バッチ4が実行されている間、PFSをデカントしてフィルタに注ぐことによって濾過を開始する。3つのバッチをまとめて濾過する。pHが5.5になるまですすぎ、取っておいて、乾燥させて篩い分けする。
9. Filtration is initiated by decanting the PFS and pouring it into the filter while
10.バッチ2または3のボトルの1つを使用してバッチ4を排出し、取っておき、他のボトルを使用してバッチ5を実行して排出する。6番目のバッチが実行されている間に、バッチ4および5をまとめて濾過する。洗って取っておく。
10. One of the bottles of batch 2 or 3 is used to eject
11.ポンプを6番目のバッチで停止した後、漏斗を準備し、反応器を完全に排出する。他も同様にすすぐ。 11. After stopping the pump in the 6th batch, prepare the funnel and drain the reactor completely. Rinse others as well.
12.すべての粉末を325メッシュの篩に通して篩い分けする。 12. All powders are sieved through a 325 mesh sieve.
実施例2から3:半連続流プロセスによるMn4+ドープK2SiF6−−0.75%および1.35%Mn−−の調製
実施例1の手順を実施例2および3について繰り返した。同じ量の原料を実施例2に使用した:実施例3については、Mnの量を比例して増加して、蛍光体生成物において約1.35%のMnを得た。得られた蛍光体の粒径分布データを含む結果を表2に示す。
Examples 2 to 3: Preparation of Mn 4+ Dope K 2 SiF 6 −−0.75% and 1.35% Mn −− by Semi-Continuous Flow Process The procedure of Example 1 was repeated for Examples 2 and 3. The same amount of raw material was used in Example 2: For Example 3, the amount of Mn was increased proportionally to give about 1.35% Mn in the fluorophore product. Table 2 shows the results including the particle size distribution data of the obtained phosphor.
本発明のわずかな特定の特徴を、本明細書に例示および記載してきたが、多くの修正および変更が当業者には思い浮かぶことと思われる。したがって、添付の特許請求の範囲が、そのようなすべての修正および変更を本発明の真の精神の範囲に包含されるものとして含むように意図されていることを、理解すべきである。 Although only a few particular features of the invention have been exemplified and described herein, many modifications and modifications will come to those skilled in the art. Therefore, it should be understood that the appended claims are intended to include all such modifications and modifications as being within the scope of the true spirit of the invention.
10 照明装置、ランプ
12 LEDチップ、LED
14 リード
16 リードフレーム
18 シェル
20 封入材
22 蛍光体組成物
24 白色光
112 LEDチップ
120 封入材
122 蛍光体組成物
124 白色光
126 放射
212 LEDチップ
218 エンベロープ
222 蛍光体組成物
224 白色光
226 放射
412 LEDチップ
416 第1のリード、第2のリード
420 封入材
430 反射カップ
432 導線
550 発光ダイオード
552 発光窓
554 導光部材
10 Lighting device,
14
Claims (9)
Kx[SiFy]:Mn4+
I
前記方法が、Si源およびHFを含む第1の溶液ならびにMn源を含む第2の溶液を、K源の存在下で反応器に徐々に添加して、前記Mn4+ドープ蛍光体を含む生成液を形成するステップ、
前記反応器中の前記生成液の少なくとも一部を周期的に排出するステップ、
前記Mn4+ドープ蛍光体を前記生成液から単離するステップ、および
前記Mn4+ドープ蛍光体を昇温においてガス状のフッ素含有酸化剤と接触させ、式Iの色安定Mn4+ドープ蛍光体を形成するステップを含む方法;
(式中、
xは、[SiFy]イオンの電荷の絶対値であり、
yは、5、6または7である)。 A method for preparing a Mn 4+ doped fluorophore of formula I.
K x [ Si Fy]: Mn 4+
I
In the method, a first solution containing a Si source and an HF and a second solution containing an Mn source are gradually added to the reactor in the presence of a K source, and a product solution containing the Mn 4 + doped phosphor is contained. Steps to form,
A step of periodically draining at least a part of the product in the reactor.
The Mn 4+ doped step phosphor isolated from the product solution, and the Mn 4+ doped phosphor is contacted with a gaseous fluorine-containing oxidizing agent in the temperature of the, form a color-stable Mn 4+ doped phosphors of the formula I How to include steps to do;
(During the ceremony,
x is the absolute value of the charge of the [Si Fy] ion.
y is 5, 6 or 7).
請求項1に記載の方法。 y is 6,
The method according to claim 1.
Kx[SiFy]:Mn4+
I
前記方法が、HFおよびSi源を含む第1の供給液ならびにMn源を含む第2の供給液を、K源の存在下で反応器に徐々に添加して、Mn4+ドープ蛍光体を含む生成液を形成するステップ、
前記反応器中の前記生成液の体積が一定のままで、前記反応器から前記生成液を周期的に排出するステップ、
前記Mn4+ドープ蛍光体を前記生成液から単離するステップ、および
前記Mn4+ドープ蛍光体を昇温においてフッ素ガスと接触させ、式Iの色安定Mn4+ドープ蛍光体を形成するステップ、
を含む方法;
(式中、
xは、[SiFy]イオンの電荷の絶対値であり、
yは、5、6または7である)。 A method for preparing a color-stable Mn 4+ doped fluorophore of formula I.
K x [ Si Fy]: Mn 4+
I
The method comprises gradual addition of a first feed solution containing an HF and Si source and a second feed solution containing an Mn source to the reactor in the presence of a K source to produce a Mn 4+ doped fluorophore. Steps to form a liquid,
A step of periodically discharging the product liquid from the reactor while the volume of the product liquid in the reactor remains constant.
A step of isolating the Mn 4+ doped phosphor from the product solution, and a step of contacting the Mn 4+ doped phosphor with a fluorine gas at a temperature rise to form a color-stable Mn 4+ doped phosphor of formula I.
How to include;
(During the ceremony,
x is the absolute value of the charge of the [Si Fy] ion.
y is 5, 6 or 7).
The method of claim 8 , further comprising adding a third feed solution containing a K source to the reactor.
Applications Claiming Priority (5)
| Application Number | Priority Date | Filing Date | Title |
|---|---|---|---|
| US201562169192P | 2015-06-01 | 2015-06-01 | |
| US62/169,192 | 2015-06-01 | ||
| US14/950,644 US10047286B2 (en) | 2014-10-27 | 2015-11-24 | Color stable red-emitting phosphors |
| US14/950,644 | 2015-11-24 | ||
| PCT/US2016/031760 WO2016195937A1 (en) | 2015-06-01 | 2016-05-11 | Color stable red-emitting phosphors |
Publications (2)
| Publication Number | Publication Date |
|---|---|
| JP2018517811A JP2018517811A (en) | 2018-07-05 |
| JP6947643B2 true JP6947643B2 (en) | 2021-10-13 |
Family
ID=57441581
Family Applications (1)
| Application Number | Title | Priority Date | Filing Date |
|---|---|---|---|
| JP2017560665A Active JP6947643B2 (en) | 2015-06-01 | 2016-05-11 | Color-stable red-emitting phosphor |
Country Status (7)
| Country | Link |
|---|---|
| EP (1) | EP3303516A1 (en) |
| JP (1) | JP6947643B2 (en) |
| KR (1) | KR102699798B1 (en) |
| CN (1) | CN107771207B (en) |
| MY (1) | MY181703A (en) |
| TW (1) | TWI709638B (en) |
| WO (1) | WO2016195937A1 (en) |
Families Citing this family (3)
| Publication number | Priority date | Publication date | Assignee | Title |
|---|---|---|---|---|
| US10193030B2 (en) * | 2016-08-08 | 2019-01-29 | General Electric Company | Composite materials having red emitting phosphors |
| US11193059B2 (en) | 2016-12-13 | 2021-12-07 | Current Lighting Solutions, Llc | Processes for preparing color stable red-emitting phosphor particles having small particle size |
| CN116200193B (en) * | 2023-01-18 | 2024-01-26 | 大连工业大学 | Preparation of a Mn4+ activated K0.6Ba0.7Si0.5Ge0.5F6 red phosphor and its application in warm white LEDs |
Family Cites Families (12)
| Publication number | Priority date | Publication date | Assignee | Title |
|---|---|---|---|---|
| JP2001329260A (en) * | 2000-05-25 | 2001-11-27 | Fuji Photo Film Co Ltd | Apparatus and method for producing phosphor precursor crystal |
| US7497973B2 (en) | 2005-02-02 | 2009-03-03 | Lumination Llc | Red line emitting phosphor materials for use in LED applications |
| US7358542B2 (en) | 2005-02-02 | 2008-04-15 | Lumination Llc | Red emitting phosphor materials for use in LED and LCD applications |
| US7648649B2 (en) | 2005-02-02 | 2010-01-19 | Lumination Llc | Red line emitting phosphors for use in led applications |
| EP3045965B1 (en) | 2008-02-07 | 2020-05-27 | Mitsubishi Chemical Corporation | Red emitting fluoride phosphor activated by mn4+ |
| US8252613B1 (en) * | 2011-03-23 | 2012-08-28 | General Electric Company | Color stable manganese-doped phosphors |
| MY167700A (en) * | 2011-04-08 | 2018-09-21 | Shinetsu Chemical Co | Preparation of complex fluoride and complex fluoride phosphor |
| MY181973A (en) * | 2012-12-28 | 2021-01-15 | Shinetsu Chemical Co | Phosphor surface treatment method |
| US9580648B2 (en) * | 2013-03-15 | 2017-02-28 | General Electric Company | Color stable red-emitting phosphors |
| US9698314B2 (en) * | 2013-03-15 | 2017-07-04 | General Electric Company | Color stable red-emitting phosphors |
| JP5954355B2 (en) * | 2013-08-01 | 2016-07-20 | 日亜化学工業株式会社 | Fluoride phosphor and light emitting device using the same |
| US9399732B2 (en) | 2013-08-22 | 2016-07-26 | General Electric Company | Processes for preparing color stable manganese-doped phosphors |
-
2016
- 2016-05-11 JP JP2017560665A patent/JP6947643B2/en active Active
- 2016-05-11 WO PCT/US2016/031760 patent/WO2016195937A1/en not_active Ceased
- 2016-05-11 MY MYPI2017703725A patent/MY181703A/en unknown
- 2016-05-11 EP EP16723922.7A patent/EP3303516A1/en active Pending
- 2016-05-11 KR KR1020177037736A patent/KR102699798B1/en active Active
- 2016-05-11 CN CN201680032287.3A patent/CN107771207B/en active Active
- 2016-05-23 TW TW105115997A patent/TWI709638B/en active
Also Published As
| Publication number | Publication date |
|---|---|
| CN107771207A (en) | 2018-03-06 |
| MY181703A (en) | 2021-01-04 |
| CN107771207B (en) | 2022-01-18 |
| JP2018517811A (en) | 2018-07-05 |
| WO2016195937A1 (en) | 2016-12-08 |
| KR20180015178A (en) | 2018-02-12 |
| TW201715018A (en) | 2017-05-01 |
| TWI709638B (en) | 2020-11-11 |
| KR102699798B1 (en) | 2024-08-27 |
| EP3303516A1 (en) | 2018-04-11 |
Similar Documents
| Publication | Publication Date | Title |
|---|---|---|
| JP6752803B2 (en) | Color-stable red-emitting phosphor | |
| US10047286B2 (en) | Color stable red-emitting phosphors | |
| US10793773B2 (en) | Color stable red-emitting phosphors | |
| US11114591B2 (en) | Core-shell materials with red-emitting phosphors | |
| TW201610093A (en) | Red luminescent phosphor and related device | |
| JP6803845B2 (en) | Red light emitting phosphor, method and device | |
| JP6743002B2 (en) | Color-stable red-emitting phosphor | |
| JP6947643B2 (en) | Color-stable red-emitting phosphor | |
| TWI753015B (en) | Core-shell materials with red-emitting phosphors |
Legal Events
| Date | Code | Title | Description |
|---|---|---|---|
| A621 | Written request for application examination |
Free format text: JAPANESE INTERMEDIATE CODE: A621 Effective date: 20190311 |
|
| RD12 | Notification of acceptance of power of sub attorney |
Free format text: JAPANESE INTERMEDIATE CODE: A7432 Effective date: 20200406 |
|
| A521 | Request for written amendment filed |
Free format text: JAPANESE INTERMEDIATE CODE: A821 Effective date: 20200408 |
|
| A131 | Notification of reasons for refusal |
Free format text: JAPANESE INTERMEDIATE CODE: A131 Effective date: 20200528 |
|
| A601 | Written request for extension of time |
Free format text: JAPANESE INTERMEDIATE CODE: A601 Effective date: 20200819 |
|
| A521 | Request for written amendment filed |
Free format text: JAPANESE INTERMEDIATE CODE: A523 Effective date: 20201117 |
|
| A131 | Notification of reasons for refusal |
Free format text: JAPANESE INTERMEDIATE CODE: A131 Effective date: 20210212 |
|
| A601 | Written request for extension of time |
Free format text: JAPANESE INTERMEDIATE CODE: A601 Effective date: 20210418 |
|
| A521 | Request for written amendment filed |
Free format text: JAPANESE INTERMEDIATE CODE: A523 Effective date: 20210719 |
|
| TRDD | Decision of grant or rejection written | ||
| A01 | Written decision to grant a patent or to grant a registration (utility model) |
Free format text: JAPANESE INTERMEDIATE CODE: A01 Effective date: 20210827 |
|
| A61 | First payment of annual fees (during grant procedure) |
Free format text: JAPANESE INTERMEDIATE CODE: A61 Effective date: 20210916 |
|
| R150 | Certificate of patent or registration of utility model |
Ref document number: 6947643 Country of ref document: JP Free format text: JAPANESE INTERMEDIATE CODE: R150 |
|
| R250 | Receipt of annual fees |
Free format text: JAPANESE INTERMEDIATE CODE: R250 |
